Carrier 58Pha Phx Users Manual 03SI
58PHAPHX to the manual 31550e3b-6de8-47e6-aa87-b7ca482e9a8c
2015-01-24
: Carrier Carrier-58Pha-Phx-Users-Manual-310740 carrier-58pha-phx-users-manual-310740 carrier pdf
Open the PDF directly: View PDF
.
Page Count: 54

58PHA/PHX Performance Boost 80
4 --- Wa y M u l t i p oi s e
Induced---Combustion Gas Furnace
Input Capacities: 45,000 thru 135,000 Btuh
Installation, Start---up, Operating and
Service and Maintenance
Instructions Series 100/A
SAFETY CONSIDERATIONS 2........................
INTRODUCTION 3..................................
CODES AND STANDARDS 4..........................
Safety 4........................................
General Installation 5...............................
Combustion and Ventilation Air 5.....................
Duct Systems 5...................................
Acoustical Lining and Fibrous Glass Duct 5.............
Gas Piping and Gas Pipe Pressure Testing 5.............
Electrical Connections 5............................
Venting 5........................................
ELECTROSTATIC DISCHARGE PRECAUTIONS
PROCEDURE 5.....................................
LOCATION 6.......................................
INSTALLATION 10..................................
Upflow Installation 10..............................
Downflow Installation 11...........................
Horizontal Installation 13...........................
Filter Arrangement 14..............................
Air Ducts 14.....................................
Gas Piping 17....................................
115--V Wiring 22..................................
START--UP, ADJUSTMENT, AND SAFETY CHECK 36.....
General 36.......................................
Start--up Procedures 36.............................
Adjustments 36...................................
Check Safety Controls 39...........................
Checklist 40......................................
SERVICE AND MAINTENANCE PROCEDURES 43.......
Introduction 43...................................
Care and Maintenance 46...........................
Sequence of Operation 49...........................
Wiring Diagrams 51...............................
Troubleshooting 51................................
ama
REGISTERED
ISO 9001:2000
CERTIFIED
NOTE: Read the entire instruction manual before starting the
installation.
Portions of the text and tables are reprinted from NFPA 54/ANSI
Z223.1--2006E, with permission of National Fire Protection
Association, Quincy, MA 02269 and American Gas Association,
Washington DC 20001. This reprinted material is not the
complete and official position of the NFPA or ANSI on the
referenced subject, which is represented only by the standard in
its entirety.

2
2-7/16"
1-1/8"
28-7/8"
(733mm)
25-1/4"
22-9/16"
JUNCTION BOX
LOCATION
7/8" DI A
ACCESSORY 1/2" (13 mm) DIA.
THERMOSTAT WIRE ENTRY
3-15/16" (84mm)
LEFT HAND GAS
ENTRY
33-5/16" 24-7/8"
5-1/2"
7/8" (22mm) DIA.
ACCESSORY
11/16"
21-5/8"
BOTTOM INLE T 1-11/16"
13/16"
11/16"
4-13/16"
AIRFLOW
19"
OUTLE T
13/16"
11/16"
8-9/16"
VENT OUTLE T
5 PLACES (TYP)
3-3/4"
1-3/4" DIA.RIGHT HAND
GAS ENTRY
7/8" DIA. K.O. WIRE ENTRY
SIDE INLE T
14-7/8"
7/8" DIA. ACCESSORY
1-1/4"
1"
22-1/16"
A
D
F
E
(FLUE COLLAR)
5-15/16"
(135mm)
24"
CASING
1-5/16"
1/2" DIA. K.O.THERMOSTAT
WIRE ENTRY
ALTERNAT E
JUNCTION BOX
LOCATIONS (TYP)
26-1/8"
1-1/2"
7-3/4" 9-5/8"
11-1/2"
5-1/2"
(664mm)
(641mm)
(573mm)
(22mm)
(846mm)
(17mm) (549mm)
(
610mm
)
(43mm)
(140mm)
(632mm)
(17mm)
(140mm)
(95mm)
(21mm)
(122mm)
(217mm)
(62mm)
(33mm)
(29mm) (483mm)
(13mm)
(44mm)
(22mm)
(22mm)
(38mm)
(560mm)
(25mm)
(32mm)
(378mm)
(17mm)
(197mm)
(244mm)
(292mm)
(21mm)
A04037
NOTES:
1. Two additional 7/8 ---in. (22 mm) diameter holes are located in the top plate.
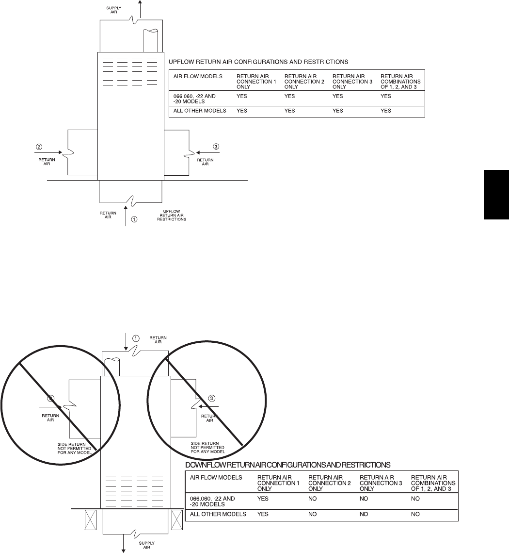
2. Minimum return---air openings at furnace, based on metal duct. If flex duct is used, see flex duct manufacturer’s recommendations for equivalent diameters.
a. For 800 CFM---16---in. (406 mm) round or 14 1/2 x 12---in. (368 x 305 mm) rectangle.
b. For 1200 CFM---20---in. (508 mm) round or 14 1/2 x 19 1/2 ---in. (368 x 495 mm) rectangle.
c. For 1600 CFM---22---in. (559 mm) round or 14 1/2 x 22 1/16 ---in. (368 x 560mm) rectangle.
d. For airflow requirements above 1800 CFM, see Air Delivery table in Product Data literature for specific use of single side inlets. The use of both sideinlets,a
combination of 1 side and the bottom, or the bottom only will ensure adequate return air openings for airflow requirements above 1800 CFM.
Fig. 1 -- Dimensional Drawing
Table1–Dimensions
FURNACE SIZE
A
CABINET
WIDTH
IN. (MM)
D
SUPPLY ---AIR
WIDTH
IN. (MM)
E
RETURN---AIR
WIDTH
IN. (MM)
F
C.L. TOP AND
BOTTOM FLUE
COLLAR
IN. (MM)
FLUE
COLLAR*
IN. (MM)
SHIP WT
(LB / KG)
FILTER
MEDIA
CABINET
SIZE
IN. (MM)
045--- 08/024045 14--- 3/16 (360) 12--- 9/16 (319) 12--- 11/16 (322) 9--- 5/16 (237) 4 (102) 114 (52) 16 (406)
070--- 16/048070 17--- 1/2 (445) 15--- 7/8 (403) 16 (406) 11--- 9/16 (294) 4 (102) 136 (62) 16 (406)
090--- 16/048090 21 (533) 19--- 3/8 (492) 19--- 1/2 (495) 13--- 5/16 (338) 4 (102) 150 (68) 20 (508)
110--- 20/060110 21 (533) 19--- 3/8 (492) 19--- 1/2 (495) 13--- 5/16 (338) 4 (102) 162 (73) 20 (508)
135--- 20/060135 24--- 1/2 (622) 22--- 7/8 (581) 23 (584) 15--- 1/16 (383) 4 (102) 173 (78) 24 (610)
* 5 in. or 6 in. (127 or 152 mm) vent connector may be required in some cases.
SAFETY CONSIDERATIONS
FIRE, EXPLOSION, ELECTRICAL SHOCK, AND
CARBON MONOXIDE POISONING HAZARD
Failure to follow this warning could result in dangerous
operation, serious injury, death, or property damage.
Improper installation, adjustment, alteration, service,
maintenance, or use could cause carbon monoxide
poisoning, explosion, fire, electrical shock, or other
conditions which may cause personal injury or property
damage. Consult a qualified service agency, local gas
supplier, or your distributor or branch for information or
assistance. The qualified service agency must use only
factory--authorized and listed kits or accessories when
modifying this product.
!WARNING FURNACE RELIABILITY HAZARD
Improper installation or misapplication of furnace may
require excessive servicing or cause premature component
failure.
Application of this furnace should be indoors with special
attention given to vent sizing and material, gas input rate,
air temperature rise, unit leveling, and unit sizing.
CAUTION
!
Improper installation, adjustment, alteration, service,
maintenance, or use can cause explosion, fire, electrical shock, or
other conditions which may cause death, personal injury, or
property damage. Consult a qualified installer, service agency, or
your distributor or branch for information or assistance. The
qualified installer or agency must use factory--authorized kits or
accessories when modifying this product. Refer to the individual
instructions packaged with the kits or accessories when installing.
Follow all safety codes. Wear safety glasses, protective clothing,
and work gloves. Have a fire extinguisher available. Read these
58PHA

3
instructions thoroughly and follow all warnings or cautions
include in literature and attached to the unit. Consult local
building codes, the current editions of the National Fuel Gas
Code (NFGC) NFPA 54/ANSI Z223.1 and the National
Electrical Code (NEC) NFPA 70.
In Canada, refer to the current editions of the National Standards
of Canada CAN/CSA--B149.1 and .2 Natural Gas and Propane
Installation Codes, and Canadian Electrical Code CSA C22.1
Recognize safety information. This is the safety--alert symbol .
When you see this symbol on the unit and in instructions or
manuals, be alert to the potential for personal injury.
Understand the signal words DANGER,WARNING,and
CAUTION. These words are used with the safety--alert symbol.
DANGER identifies the most serious hazards which will result in
severe personal injury or death. WARNING signifies hazards
which could result in personal injury or death. CAUTION is
used to identify unsafe practices which may result in minor
personal injury or product and property damage. NOTE is used
to highlight suggestions which will result in enhanced
installation, reliability, or operation.
CUT HAZARD
Failure to follow this caution may result in personal injury.
Sheet metal parts may have sharp edges or burrs. Use care
and wear appropriate protective clothing, safety glasses and
gloves when handling parts and servicing furnaces.
CAUTION
!
1. Use only with type of gas approved for this furnace. Refer
to the furnace rating plate.
2. Install this furnace only in a location and position as
specified in the “Location” section of these instructions.
3. Provide adequate combustion and ventilation air to the
furnace space as specified in “Air for Combustion and
Ventilation” section.
4. Combustion products must be discharged outdoors.
Connect this furnace to an approved vent system only, as
specified inthe “Venting” section of these instructions.
5. Never test for gas leaks with an open flame. Use a
commercially available soap solution made specifically for
the detection of leaks to check all connections, as specified
in the “Gas Piping” section.
6. Always install furnace to operate within the furnace’s
intended temperature--rise range with a duct system which
has an external static pressure within the allowable range,
as specified in the “Start--Up, Adjustments, and Safety
Check” section. See furnace rating plate.
7. When a furnace is installed so that supply ducts carry air
circulated by the furnace to areas outside the space
containing the furnace, the return air shall also be handled
by duct(s) sealed to the furnace casing and terminating
outside the space containing the furnace. See “Air Ducts”
section.
8. A gas--fired furnace for installation in a residential garage
must be installed as specified in the warning box in the
“Location” section.
9. The furnace may be used for construction heat provided
that the furnace installation and operation complies with
the first CAUTION in the LOCATION section of these
instructions.
10. These Multipoise Gas--Fired Furnaces are CSA (formerly
A.G.A. and C.G.A). design--certified for use with natural
and propane gases (see furnace rating plate) and for
installation in alcoves, attics, basements, closets, utility
rooms, crawlspaces, and garages. The furnace is
factory--shipped for use with natural gas. A CSA listed
accessory gas conversion kit is required to convert furnace
for use with propane gas.
11. See Fig. 2 for required clearances to combustible
construction.
12. Maintain a 1--in. (25 mm) clearance from combustible
materials to supply air ductwork for a distance of 36
inches (914 mm) horizontally from the furnace. See NFPA
90B or local code for further requirements.
13. These furnaces SHALL NOT be installed directly on
carpeting, tile, or any other combustible material other
than wood flooring. In downflow installations, factory
accessory floor base MUST be used when installed on
combustible materials and wood flooring. Special base is
not required when this furnace is installed on
manufacturer’s Coil Assembly Part No. CAR, CAP,
CNRV, and CNPV, or when Coil Box Part No. KCAKC is
used. See Fig. 2 for clearance to combustible construction
information.
INTRODUCTION
Series 100/A 4--way multipoise Category I fan--assisted furnace is
CSA design--certified. A Category I fan--assisted furnace is an
appliance equipped with an integral mechanical means to either
draw or force products of combustion through the combustion
chamber and/or heat exchanger. The furnace is factory--shipped
for use with natural gas.
This furnace is not approved for installation in mobile homes,
recreational vehicles, or outdoors. This furnace is designed for
minimum continuous return--air temperature of 60_F(16_C)db
or intermittent operation down to 55_F(13_C) db such as when
used with a night setback thermostat. Return--air temperature
must not exceed 85_F(29_C) db. Failure to follow these
return--air temperature limits may affect reliability of heat
exchangers, motors, and controls. (See Fig. 3).
For accessory installation details, refer to the applicable
instruction literature.
NOTE: Remove all shipping brackets and materials before
operating the furnace.
58PHA

4
A08471
Fig. 2 -- Clearances to Combustibles
CODES AND STANDARDS
Follow all national and local codes and standards in addition to
these instructions. The installation must comply with regulations
of the serving gas supplier, local building, heating, plumbing, and
other codes. In absence of local codes, the installation must
comply with the national codes listed below and all authorities
having jurisdiction.
In the United States and Canada, follow all codes and standards
for the following:
Safety
SUSA: National Fuel Gas Code (NFGC) NFPA
54--2006/ANSI Z223.1--2006 and the Installation Stan-
dards, Warm Air Heating and Air Conditioning Sys-
tems ANSI/NFPA 90B
SCANADA: CSA B149.1--05 National Standard of
Canada Natural Gas and Propane Installation Codes
(CAN/CSA--B149.1--05)
58PHA

5
Min 60ºF / 16ºC
Max 85ºF/ 29ºC
A02055
Fig. 3 -- Return Air Temperature
General Installation
SUS: Current edition of the NFGC and the NFPA 90B.
For copies, contact the National Fire Protection
Association Inc., Batterymarch Park, Quincy, MA
02269; (www.NFPA.org) or for only the NFGC,
contact the American Gas Association, 400 N. Capitol
Street, N.W., Washington, DC 20001 (www.AGA.org).
SCANADA: CAN/CSA--B149.1--05. For a copy,
contact Standard Sales, CSA International, 178
Rexdale Boulevard, Etobicoke (Toronto), Ontario,
M9W 1R3 Canada.
Combustion and Ventilation Air
SUS: NGFC NFPA54/ANSI Z223.1--2006 Section 9.3,
Air for Combustion and Ventilation.
SCANADA: Part 8 of CAN/CSA--B149.1--05, Venting
Systems and Air Supply for Appliances.
Duct Systems
SUS and CANADA: Air Conditioning Contractors
Association (ACCA) Manual D, Sheet Metal and Air
Conditioning Contractors National Association
(SMACNA), or American Society of Heating,
Refrigeration, and Air Conditioning Engineers
(ASHRAE) 2005 Fundamentals Handbook Chapter 35
or 2004 HVAC Systems and Equipment Handbook
Chapters 9 and 16.
Acoustical Lining and Fibrous Glass Duct
SUS and CANADA: current edition of SMACNA and
NFPA 90B as tested by UL Standard 181 for Class I
Rigid Air Ducts
Gas Piping and Gas Pipe Pressure T
esting
SUS: NFGC NFPA54/ANSI Z223.1--2006; chapters 5,
6, 7, and 8 and National Plumbing Codes.
SCANADA: CAN/CSA--B149.1--05 Parts 4, 5, and 6
Appendices A, B, E, and H.
Electrical Connections
SUS: National Electrical Code (NEC) ANSI/NFPA
70--2008.
SCANADA: Canadian Electrical Code CSA C22.1.
Venting
SUS: NFGC NFPA 54 / ANSI Z223.1--2006; Chapters
12 and 13.
SCANADA: CAN/CSA--B149.1--05 Part 8 and
Appendix C.
ELECTROSTATIC DISCHARGE (ESD)
PRECAUTIONS PROCEDURE
FURNACE RELIABILITY HAZARD
Improper installation or service of furnace may cause
premature furnace component failure.
Electrostatic discharge can affect electronic components.
Follow the Electrostatic Discharge Precautions Procedure
listed below during furnace installation and servicing to
protect the furnace electronic control. Precautions will
prevent electrostatic discharges from personnel and hand
tools which are held during the procedure. These
precautions will help to avoid exposing the control to
electrostatic discharge by putting the furnace, the control,
and the person at the same electrostatic potential.
CAUTION
!
1. Disconnect all power to the furnace. Multiple disconnects
maybe required. DO NOT TOUCH THE CONTROL OR
ANY WIRE CONNECTED TO THE CONTROL PRIOR
TO DISCHARGING YOUR BODY’S
ELECTROSTATIC CHARGE TO GROUND.
2. Firmly touch the clean, unpainted, metal surface of the
furnace chassis which is close to the control. Firmly touch
the clean, unpainted, metal surface of the furnace chassis
which is close to the control. Tools held in a person’s hand
during grounding will be satisfactorily discharged.
3. After touching the chassis, you may proceed to service the
control or connecting wires as long as you do nothing to
recharge your body with static electricity (for example;
DO NOT move or shuffle your feet, do not touch
ungrounded objects, etc.).
4. If you touch ungrounded objects (and recharge your body
with static electricity), firmly touch a clean, unpainted
metal surface of the furnace again before touching control
or wires.
5. Use this procedure for installed and uninstalled
(ungrounded) furnaces.
58PHA

6
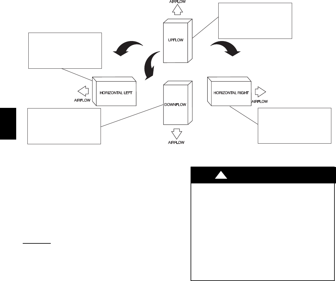
THE BLOWER IS LOCATED
TO THE RIGHT OF THE
BURNER SECTION, AND
AIR CONDITIONED AIR IS
DISCHARGED TO THE LEFT.
THE BLOWER IS
LOCATED BELOW THE
BURNER SECTION, AND
CONDITIONED AIR IS
DISCHARGED UPWARD.
THE BLOWER IS
LOCATED ABOVE THE
BURNER SECTION, AND
CONDITIONED AIR IS
DISCHARGED DOWNWARD
THE BLOWER IS
LOCATED TO THE LEFT
OF THE BURNER SECTION,
AND CONDITIONED AIR IS
DISCHARGED TO THE RIGHT.
A02097
Fig. 4 -- Multipoise Orientations
6. Before removing a new control from its container,
discharge your body’s electrostatic charge to ground to
protect the control from damage. If the control is to be
installed in a furnace, follow items 1 through 4 before
bringing the control or yourself in contact with the
furnace. Put all used and new controls into containers
before touching ungrounded objects.
7. An ESD service kit (available from commercial sources)
mayalsobeusedtopreventESDdamage.
LOCATION
GENERAL
This multipoise furnace is shipped in packaged configuration.
Some assembly and modifications are required when used in any
of the four applications shown in Fig. 4.
This furnace must:
Sbe installed so the electrical components are protected
from water.
Snot be installed directly on any combustible material
other than wood flooring (refer to SAFETY
CONSIDERATIONS).
Sbe located as close to the chimney or vent and attached
to an airdistribution system. Refer to Air Ducts section.
Sbe provided ample space for servicing and cleaning.
Always comply with minimum fire protection
clearances shown on the furnace clearance to
combustible label.
The following types of furnace installations may require
OUTDOOR AIR for combustion due to chemical exposures:
SCommercial buildings
SBuildings with indoor pools
SLaundry rooms
SHobby or craft rooms, and
SChemical storage areas
CARBON MONOXIDE POISONING HAZARD
Failure to follow this warning could result in personal
injury or death, and unit component damage.
Corrosive or contaminated air may cause failure of parts
containing flue gas, which could leak into the living space.
Air for combustion must not be contaminated by halogen
compounds, which include fluoride, chloride, bromide, and
iodide. These elements can corrode heat exchangers and
shorten furnace life. Air contaminants are found in aerosol
sprays, detergents, bleaches, cleaning solvents, salts, air
fresheners, and other household products. Do not install
furnace in a corrosive or contaminated atmosphere. Make
sure all combustion and circulating air requirements are met,
in addition to all local codes and ordinances.
!WARNING
If air is exposed to the following substances, it should not be used
for combustion air, and outdoor air may be required for
combustion:
SPermanent wave solutions
SChlorinated waxes and cleaners
SChlorine based swimming pool chemicals
SWate softening chemicals
SDe--icing salts or chemicals
SCarbon tetrachloride
SHaloge type refrigerants
SCleaning solvents (such as perchloroethylene)
SPrinting inks, paint removers, varnishes, etc.
SHydrochloric acid
SCements and glues
SAntistatic fabric softeners for clothes dryers
58PHA

7
SMasonry acid washing materials
All fuel--burning equipment must be supplied with air for fuel
combustion. Sufficient air must be provided to avoid negative
pressure in the equipment room or space. A positive seal must be
made between the furnace cabinet and the return--air duct to
prevent pulling air from the burner area and from draft safeguard
opening.
18-IN. (457.2 mm)
MINIMUM TO BURNERS
A93044
Fig. 5 -- Installation in a Garage
ELECTRICAL OPERATION HAZARD
Failure to follow this warning could result in personal
injury, death, and/or property damage.
When the furnace is installed in a residential garage, the
burners and ignition sources must be located at least 18
inches above the floor. The furnace must be located or
protected to avoid damage by vehicles. When the furnace is
installed in a public garage, airplane hangar, or other
building having a hazardous atmosphere, the furnace must
be installed in accordance with the NFGC or
CAN/CSA--B149.1--05. (See Fig. 5).
!WARNING
PERSONAL INJURY AND/OR PROPERTY
DAMAGE HAZARD
Improper use or installation of this furnace may cause
premature furnace component failure.
This gas furnace may be used for heating buildings under
construction provided that:
--The furnace is permanently installed with all electrical
wiring, piping, venting and ducting installed according to
these installation instructions. A return air duct is provided,
sealed to the furnace casing, and terminated outside the
space containing the furnace. This prevents a negative
pressure condition as created by the circulating air blower,
causing a flame rollout and/or drawing combustion
products into the structure.
--The furnace is controlled by a thermostat. It may not be
“hot wired” to provide heat continuously to the structure
without thermostatic control.
--Clean outside air is provided for combustion. This is to
minimize the corrosive effects of adhesives, sealers and
other construction materials. It also prevents the
entrainment of drywall dust into combustion air, which can
cause fouling and plugging of furnace components.
--The temperature of the return air to the furnace is
maintained between 55_F(13_C) and 80_F(27_C), with
no evening setback or shutdown. The use of the furnace
while the structure is under construction is deemed to be
intermittent operation per our installation instructions.
--The air temperature rise is within the rated rise range on
the furnace rating plate, and the gas input rate has been set
to the nameplate value.
--The filters used to clean the circulating air during the
construction process must be either changed or thoroughly
cleaned prior to occupancy.
--The furnace, ductwork and filters are cleaned as necessary
to remove drywall dust and construction debris from all
HVAC system components after construction is completed.
--Verify proper furnace operating conditions including
ignition, gas input rate, air temperature rise, and venting
according to these installation instructions.
CAUTION
!
Table 2 – Minimum Free Area Required for Each Combustion Air Opening or Duct to Outdoors
FUR-
NACE
INPUT
(BTUH)
TWO HORIZONTAL DUCTS
(1 SQ. IN./2,000 BTUH)
(1,100 SQ. MM/KW)
SINGLE DUCT OR OPENING
(1 SQ. IN./3,000 BTUH)
(734 SQ. MM/KW)
TWO OPENINGS OR VERTICAL
DUCTS
(1 SQ. IN./4,000 BTUH)
(550 SQ. MM/KW)
Free Area of Opening
and Duct
(sq.in./sq.mm)
Round Duct
Diameter
(in./mm)
Free Area of Open-
ing and Duct
(sq.In./sq.mm)
Round Duct
Diameter
(in. / mm)
Free Area of
Opening and Duct
(sq.In./sq.mm)
Round Duct
Diameter
(In./mm)
44,000 22 (14193) 6 (152) 14.7 (9484) 5 (127) 11 (7097) 4 (102)
66,000 33 (21290) 7 (178) 22 (14193) 6 (152) 16.5 (10645) 5 (127)
88,000 44 (28387) 8 (203) 29.3 (18903) 7 (178) 22 (14193) 6 (152)
110,000 55 (35484) 9 (229) 36.7 (23677) 7 (178) 27.5 (17742) 6 (152)
132,000 66 (42581) 10 (254) 44 (28387) 8 (203) 33 (21290) 7 (178)
EXAMPLES: Determining Free Area
FURNACE WATER HEATER TOTAL INPUT
110,000 + 30,000 = (140,000 divided by 4,000) = 35.0 Sq. In. for each two Vertical Ducts or Openings
66,000 + 40,000 = (106,000 divided by 3,000) = 35.3 Sq. In. for a Single Duct or Opening
88,000 +30,000 =(118,000 divided by 2,000) =59.0 Sq. In. for each of two Horizontal Ducts
58PHA

8
Table 3 – Minimum Space volumes for 100% combustion, Ventilation, and Dilution from Indoors
ACH*
OTHER THAN FAN---ASSISTED TOTAL
(1,000’S BTUH GAS INPUT RATE
FAN---ASSISTED TOTAL
(1,000’S BTUH GAS INPUT RATE)
30 40 50 44 66 88 110 132
SpaceVolume(ft.
3)
0.60 1,050 1,400 1,750 1,100 1,650 2,200 2,750 3,300
0.50 1,260 1,680 2,100 1,320 1,980 2,640 3,300 3,960
0.40 1,575 2,100 2,625 1,650 2,475 3,300 4,125 4,950
0.30 2,100 2,800 3,500 2,200 3,300 4,400 5,500 6,600
0.20 3,150 4,200 5,250 3,300 4,950 6,600 8,250 9,900
0.10 6,300 8,400 10,500 6,600 9,900 13,200 16,500 19,800
0.00 NP NP NP NP NP NP NP NP
*Air Changes/Hour
FIRE HAZARD
Failure to follow this warning could result in personal
injury, death and/or property damage.
Do not install the furnace on its back or hang furnace with
control compartment facing downward. Safety control
operation will be adversely affected. Never connect
return--air ducts to the back of the furnace. (See Fig. 6.)
!WARNING
A02054
Fig. 6 -- Prohibit Installation on Back
FURNACE CORROSION HAZARD
Failure to follow this caution may result in furnace damage.
Air for combustion must not be contaminated by halogen
compounds, which include fluoride, chloride, bromide, and
iodide. These elements can corrode heat exchangers and
shorten furnace life. Air contaminants are found in aerosol
sprays, detergents, bleaches, cleaning solvents, salts, air
fresheners, and other household products.
CAUTION
!
LOCATION RELATIVE TO COOLING EQUIPMENT
The cooling coil must be installed parallel with, or on the
downstream side of the unit to avoid condensation in the heat
exchangers. When installed parallel with the furnace, dampers or
other flow control must prevent chilled air from entering the
furnace. If the dampers are manually operated, they must be
equipped with means to prevent operation of either unit unless
the damper is in the full--heat or full--cool position.
AIR FOR COMBUSTION AND
VENTILATION
Provisions for adequate combustion, ventilation, and dilution air
must be provided in accordance with:
SU.S. installations: Section 9.3 of the NFGC
NFPA54/ANSI Z223.1--2006, Air for Combustion and
Ventilation, and applicable provisions of the local
building codes.
!WARNING
CARBON MONOXIDE POISONING HAZARD
Failure to follow this warning could result in personal injury
or death.
The operation of exhaust fans, kitchen ventilation fans,
clothes dryers, attic exhaust fans or fireplaces could create a
NEGATIVE PRESSURE CONDITION at the furnace.
Make--up air MUST be provided for the ventilation devices,
in addition to that required by the furnace. Refer to Carbon
Monoxide Poisoning Hazard warning in venting section of
these instructions to determine if an adequate amount of
make--up air is available.
SCanadian installations: Part 8 of the
CAN/CSA--B149.1--05, Venting Systems and Air
Supply for Appliances, and all authorities having
jurisdiction.
The requirements for combustion and ventilation air depend upon
whether or not the furnace is located in a space having a volume
of at least 50 cubic feet per 1,000 Btuh input rating for all gas
appliances installed in the space.
SSpaces having less than 50 cubic feet per 1,000 Btuh
require the OUTDOOR COMBUSTION AIR
METHOD.
SSpaces having at least 50 cubic feet per 1,000 Btuh
may use the INDOOR COMBUSTION AIR,
STANDARD or KNOWN AIR INFILTRATION
METHOD.
Outdoor Combustion Air Method
1. Provide the space with sufficient air for proper
combustion, ventilation, and dilution of flue gases using
permanent horizontal or vertical duct(s) or opening(s)
directly communicating with the outdoors or spaces that
freely communicate with the outdoors.
2. Fig. 7 illustrates how to provide TWO OUTDOOR
OPENINGS, one inlet and one outlet combustion and
ventilation airopening, to the outdoors.
58PHA

9
a. One opening MUST commence within 12--in. (300 mm)
of the ceiling and the second opening MUST commence
within 12--in. (300 mm) of the floor.
b. Size openings and ducts per Fig. 7 and Table 2.
c. TWO HORIZONTAL DUCTS require 1 square inch of
free area per 2,000 Btuh (1,100 mm2/kW) of combined
input for all gas appliances in the space per Fig. 7 and
Table 2.
d. TWO OPENINGS OR VERTICAL DUCTS require 1
square inch of free area per 4,000 Btuh (550 mm2/kW)
for combined input of all gas appliances in the space per
Fig. 7 and Table 2.
3. ONE OUTDOOR OPENING requires:
a. 1 square inch of free area per 3,000 Btuh (734 mm2/kW)
for combined input of all gas appliances in the space per
Table 2 and
b. Not less than the sum of the areas of all vent connectors
in the space.
The opening shall commence within 12” (300 mm) of the ceiling.
Appliances in the space shall have clearances of at least 1” (25
mm) from the sides and back and 6” (150 mm) from the front.
The opening shall directly communicate with the outdoors or
shall communicate through a vertical or horizontal duct to the
outdoors or spaces (crawl or attic) that freely communicate with
the outdoors.
1 SQ IN .
PER
4000
BTUH*
DUCTS
TO
O UTDOORS
1 SQ IN.
PER 4000
BTUH*
C IRCULA TING
AIR DUCTS
VENT
THR OUGH
R OOF
D
B
A
C
E
1 SQ IN.
PER 4000
BTUH*
DUCT
TO
OUTDOORS
CIRCULA TING AIR DUCT S
1 SQ IN.
PER 2000
BTUH*
1 SQ IN.
PER 2000
BTUH*
DUCT S
TO
OUTDOORS
12 ″ MAX
12 ″ MAX
12 ″ MAX
12 ″
MAX
12 ″
MAX
OUTDOORS
1 SQ IN .
PER
4000
BTUH*
F
G
CLEARANCE IN FRONT
OF COMB USTION AIR
OPENINGS SHALL BE
AT LEAST 3 IN .
(305mm)
(305mm)
(305mm)
(305mm)
(305mm)
(76mm)
*Minimum dimensions of 3 in. (76 mm).
NOTE: Use any of the following combinations of openings:
A&B, C&D, D&E, F&G
A03174
Fig. 7 -- Air for Combustion, Ventilation, and Dilution from
Outdoors
Indoor Combustion Air -- NFPA & AGA
Standard and Known--Air--Infiltration Rate Methods
Indoor air is permitted for combustion, ventilation, and dilution,
if the Standard or Known--Air--Infiltration Method is used.
CARBON MONOXIDE POISONING HAZARD
Failure to follow this warning could result in death and/or
personal injury.
Many homes require air to be supplied from outdoors for
furnace combustion, ventilation, and dilution of flue gases.
The furnace combustion air supply must be provided in
accordance with this instruction manual.
!WARNING
The Standard Method:
1. The space has no less volume than 50 cubic feet per 1,000
Btuh of the maximum input ratings for all gas appliances
installed in the space and
2. The air infiltration rate is not known to be less than 0.40
air changes per hour (ACH).
The Known Air Infiltration Rate Method shall be used, if the
infiltration rate is known to be:
1. Less than 0.40 ACH and
2. Equal to or greater than 0.10 ACH
Infiltration rates greater than 0.60 ACH shall not be used. The
minimum required volume of the space varies with the number of
ACH and shall be determined per Table 3 or Equations 1 and 2.
Determine the minimum required volume for each appliance in
the space and add the volumes together to get the total minimum
required volume for the space.
Table 3--Minimum Space Volumes were determined by using
the following equations from the National Fuel Gas Code ANSI
Z223.1--2006/NFPA 54--2006, 9.3.2.2:
1. For other than fan--assisted appliances, such as a draft
hood--equipped water heater:
Volume
Other
=21ft
3
ACH
I
other
1000 Btu/hr
A04002
2. For fan--assisted appliances such as this furnace:
Volume
Fan
=15ft
3
ACH
I
fan
1000 Btu/hr
A004003
If:
Iother = combined input of all other than fan--assisted appliances
in Btuh/hr
Ifan = combined input of all fan--assisted appliances in Btuh/hr
ACH = air changes per hour (ACH shall not exceed 0.60.)
The following requirements apply to the Standard Method and to
the Known Air Infiltration Rate Method.
1. Adjoining rooms can be considered part of a space if:
a. There are no closable doors between rooms.
b. Combining spaces on same floor level. Each opening
shall have free area of at least 1 in.2/1,000 Btuh (2,000
mm2/kW) of the total input rating of all gas appliances
in the space, but not less than 100 in.2(0.06 m2). One
opening shall commence within 12” (300 mm) of the
ceiling and the second opening shall commence within
12” (300 mm) of the floor. The minimum dimension of
air openings shall be at least 3 in. (80 mm). (See Fig. 8.)
c. Combining space on different floor levels. The volumes
of spaces on different floor levels shall be considered as
communicating spaces if connected by one or more
permanent openings in doors or floors having free area
58PHA

10
of at least 2 in.2/1,000 Btuh (4,400 mm2/kW) of total
input rating of all gas appliances.
2. An attic or crawlspace may be considered a space that
freely communicates with the outdoors provided there are
adequate permanent ventilation openings directly to
outdoors having free area of at least 1--in.2/4,000 Btuh of
total input rating forall gas appliances in the space.
3. In spaces that use the Indoor Combustion Air Method,
infiltration should be adequate to provide air for
combustion, permanent ventilation and dilution of flue
gases. However, in buildings with unusually tight
construction, additional air MUST be provided using the
methods described in the Outdoor Combustion Air
Method section.
Unusually tight construction is defined as construction with:
a. Walls and ceilings exposed to the outdoors have a
continuous, sealed vapor barrier. Openings are gasketed
or sealed and
CIRCULATING AIR
DUCTS
6" MIN
(FRONT)Ü
CIRCULATING AIR DUCTS
VENT THROUGH ROOF
1 SQ IN.
PER 1000
BTUH* IN DOOR
OR WALL
12" MAX
1 SQ IN.
PER 1000
BTUH* IN DOOR
OR WALL
12" MA X
UNCONFINED
SPACE
INTERIOR
HEATED
SPACE
CLEARANCE IN FRONT OF COMBUSTION AIR
OPENINGS SHALL BE AT LEAST 3 IN.
(305mm)
(152mm)
(305mm)
*Minimum opening size is 100 in.2with minimum dimensions of 3 in. (76
mm).
*Minimum of 3 in. (76 mm), when type ---B1 vent is used.
A03175
Fig. 8 -- Air for Combustion, Ventilation, and Dilution from
Indoors
b. Doors and openable windows are weatherstripped and
c. Other openings are caulked or sealed. These include
joints around window and door frames, between sole
plates and floors, between wall--ceiling joints, between
wall panels, at penetrations for plumbing, electrical and
gas lines, etc.
Combination of Indoor and Outdoor Air
1. Indoor openings shall comply with the Indoor
Combustion Air Method below and,
2. Outdoor openings shall be located as required in the
Outdoor Combustion Air Method menioned previously
and,
3. Outdoor openings shall be sized as follows:
a. Calculate the Ratio of all Indoor Space volume divided
by required volume for Indoor Combustion Air
Method below.
A02098
Fig. 9 -- Removing Bottom Closure Panel
b. Outdoor opening size reduction Factor is 1 minus the
Ratio in a. above.
c. Minimum size of Outdoor openings shall be the size
required in Outdoor Combustion Air Method above
multiplied by reduction Factor in b. above. Theminimum
dimension of air openings shall be not less than 3 in. (80
mm).
INSTALLATION
UPFLOW INSTALLATION
Bottom Return Air Inlet
These furnaces are shipped with bottom closure panel installed in
bottom return--air opening. Remove and discard this panel when
bottom return air is used. To remove bottom closure panel,
perform the following:
1. Tilt or raise furnace and remove two screws holding
bottom filler panel. (See Fig. 9.)
2. Rotate bottom filler panel downward to release holding
tabs.
3. Remove bottom closure panel.
4. Reinstall bottom filler panel and screws.
Side Return Air Inlet
These furnaces are shipped with bottom closure panel installed in
bottom return--air opening. This panel MUST be in place when
only side return air is used.
NOTE: Side return--air openings can be used in UPFLOW and
most HORIZONTAL configurations. Do not use side return--air
openings in DOWNFLOW configuration.
Leveling Legs (If Desired)
In upflow position with side return inlet(s), leveling legs may be
used. (See Fig. 10.) Install field--supplied, 5/16 x 1--1/2 in. (8 x
38 mm) (max) corrosion--resistant machine bolts, washers and
nuts.
NOTE: Bottom closure must be used when leveling legs are
used. It may be necessary to remove and reinstall bottom closure
panel to install leveling legs. To remove bottom closure panel, see
Item 1. in Bottom Return Air Inlet section.
To install leveling legs:
1. Position furnace on its back. Locate and drill a hole in
each bottom corner of furnace. (See Fig. 10.)
2. For each leg, install nut on bolt and then install bolt and
nut in hole. (Install flat washer if desired.)
3. Install another nut on other side of furnace base. (Install
flat washer if desired.)
58PHA

11
1
3
/
4
″
1
3
/
4
″
1
3/
4
″
1
3/
4
″
5/
16
″
5
/
16
″
5/
16
″
5/
16
″
(44mm)
(8mm)
(44mm)
(8mm)
(8mm)
(8mm)
(44mm)
(44mm)
A89014
Fig. 10 -- Leveling Legs
4. Adjust outside nut to provide desired height, and tighten
inside nut to secure arrangement.
5. Reinstall bottom closure panel if removed.
DOWNFLOW INSTALLATION
NOTE: For downflow applications, this furnace is approved for
use on combustible flooring when any one of the following 3
accessories are used:
SSpecial Base, KGASB
SCased Coil Assembly Part No. CNPV, CNRV, CAP, or
CAR
SCoil Box Part No. KCAKC
1. Determine application being installed from Table 4.
2. Construct hole in floor per Table 4 and Fig. 11.
3. Construct plenum to dimensions specified in Table 4 and
Fig. 11.
4. If downflow subbase, KGASB is used, install as shown in
Fig. 12. If Coil Assembly Part No. CNPV, CNRV, CAP
and CNR or Coil Box PartNo. KCAKC is used, install as
shown in Fig. 13.
NOTE: It is recommended that the perforated supply--air duct
flanges be completely folded over or removed from furnace when
installing the furnace on a factory--supplied cased coil or coil box.
To remove the supply--air duct flange, use wide duct pliers or
hand seamers to bend flange back and forth until it breaks off. Be
careful of sharp edges. (See Fig. 14.)
Bottom Return Air Inlet
These furnaces are shipped with bottom closure panel installed in
bottom return--air opening. Remove and discard this panel when
bottom return air is used. To remove bottom closure panel,
perform the following:
1. Tilt or raise furnace and remove two screws holding
bottom filler panel. (See Fig. 9.)
2. Rotate bottom filler panel downward to release holding
tabs.
3. Remove bottom closure panel.
4. Reinstall bottom filler panel and screws
PLENUM
OPENING
C
A
BD
FLOOR
OPENING
A96283
Fig. 11 -- Floor and Plenum Opening Dimensions
DOWNFLOW
SUBBASE
SHEET METAL
PLENUM
FLOOR
OPENING
FURNACE
(OR COIL CASING
WHEN USED)
COMBUSTIBLE
FLOORING
A96285
Fig. 12 -- Furnace, Plenum, and Subbase Installed
on a Combustible Floor
58PHA

12
APPROVED
COIL ASSEMBLY
OR
COIL BOX
FURNACE
SHEET METAL
PLENUM
FLOOR
OPENING
COMBUSTIBLE
FLOORING
A08556
Fig. 13 -- Furnace, Plenum, and Coil Assembly or
Coil Box Installed on a Combustible Floor
58PHA

13
Table 4 – Opening Dimensions -- In. (mm)
FURNACE
CASING
WIDTH
APPLICATION PLENUM OPENING FLOOR OPENING
A B C D
14–3/16
(360)
Upflow Applications on Combustible or Noncombustible Floor-
ing (KGASB subbase not required)
12--- 11/16
(322)
21--- 5/8
(549)
13--- 5/16
(338)
22--- 1/4
(565)
Downflow Applications on Noncombustible Flooring (KGASB
subbase not required)
12--- 9/16
(319)
19
(483)
13--- 3/16
(335)
19--- 5/8
(498)
Downflow applications on combustible flooring (KGASB sub-
base required)
11--- 13/16
(284)
19
(483)
13--- 7/16
(341)
20--- 5/8
(600)
Downflow Applications on Combustible Flooring with CNPV,
CNRV, CAR, or CAP Coil Assembly or KCAKC coil box
(KGASB subbase not required)
12--- 5/16
(313)
19
(483)
13--- 5/16
(338)
20
(508)
17–1/2
(445)
Upflow Applications on Combustible or Noncombustible Floor-
ing (KGASB subbase not required)
16
(406)
21--- 5/8
(549)
16--- 5/8
(422)
22--- 1/4
(565)
Downflow Applications on Noncombustible Flooring (KGASB
subbase not required)
15--- 7/8
(403)
19
(483)
16--- 1/2
(419)
19--- 5/8
(498)
Downflow applications on combustible flooring (KGASB sub-
base required)
15--- 1/8
(384)
19
(483)
16--- 3/4
(425)
20--- 5/8
(600)
Downflow Applications on Combustible Flooring with CNPV,
CNRV, CAR, or CAP Coil Assembly or KCAKC coil box
(KGASB subbase not required)
15--- 1/2
(394)
19
(483)
16--- 1/2
(419)
20
(508)
21
(533)
Upflow Applications on Combustible or Noncombustible Floor-
ing (KGASB subbase not required)
19--- 1/2
(495)
21--- 5/8
(549)
20--- 1/8
(511)
22--- 1/4
(565)
Downflow Applications on Noncombustible Flooring (KGASB
subbase not required)
19--- 3/8
(492)
19
(483)
20
(508)
19--- 5/8
(498)
Downflow applications on combustible flooring (KGASB sub-
base required)
18--- 5/8
(473)
19
(483)
20--- 1/4
(514)
20--- 5/8
(600)
Downflow Applications on Combustible Flooring with CNPV,
CNRV, CAR, or CAP Coil Assembly or KCAKC coil box
(KGASB subbase not required)
19
(483)
19
(483)
20
(508)
20
(508)
24--- 1/2
(622)
Upflow Applications on Combustible or Noncombustible Floor-
ing (KGASB subbase not required)
23
(584)
21--- 1/8
(537)
23--- 5/8
(600)
22--- 1/4
(565)
Downflow Applications on Noncombustible Flooring (KGASB
subbase not required)
22--- 7/8
(581)
19
(483)
23--- 1/2
(597)
19--- 5/8
(498)
Downflow applications on Combustible flooring (KGASB sub-
base required)
22--- 1/8
(562)
19
(483)
23--- 3/4
(603)
20--- 5/8
(600)
Downflow Applications on Combustible Flooring with CNPV,
CNRV, CAR, or CAP Coil Assembly or KCAKC coil box
(KGASB subbase not required)
22--- 1/2
(572)
19
(483)
23--- 1/2
(597)
20
(508)
HORIZONTAL INSTALLATION
FIRE, EXPLOSION, AND CARBON MONOXIDE
POISONING HAZARD
Failure to follow this warning could result in personal
injury, death, and/or property damage.
Do not install the furnace on its back or hang furnace with
control compartment facing downward. Safety control
operation will be adversely affected. Never connect
return--air ducts to the back of the furnace.
!WARNING
The furnace can be installed horizontally in an attic or crawl space
on either the left--hand (LH) or right--hand (RH) side. The furnace
can be hung from floor joists, rafters or trusses or installed on a
non--combustible platform, blocks, bricks or pad.
Suspended Furnace Support
The furnace may be supported under each end with threaded rod,
angle iron or metal plumber’s strap as shown. (See Fig. 15 and
16.) Secure angle iron to bottom of furnace as shown.
Heavy--gauge sheet metal straps (plumber’s straps) may be used
to suspend the furnace from each bottom corner. To prevent
screws from pulling out, use 2 #8 x 3/4--in. (19 mm) screws into
the side and 2 #8 x 3/4--in. (19 mm) screws in the bottom of the
furnace casing for each strap. (See Fig. 15 and 16.) If the screws
are attached to ONLY the furnace sides and not the bottom, the
straps must be vertical against the furnace sides and not pull away
from the furnace sides, so that the strap attachment screws are not
in tension (are loaded in shear) for reliable support.
Platform Furnace Support
Construct working platform at location where all required furnace
clearances are met. (See Fig. 2 and 17.) For furnaces with 1--in.
(25 mm) clearance requirement on side, set furnace on
noncombustible blocks, bricks or angle iron. For crawl space
installations, if the furnace is not suspended from the floor joists,
the ground underneath furnace must be level and the furnace set
on blocks or bricks.
Roll--Out Protection
Provide a minimum 17--3/4 in. x 22 in. (451 mm x 559 mm)
piece of sheet metal for flame roll--out protection in front of
burner area for furnaces closer than 12 inches (305 mm) above
the combustible deck or suspended furnaces closer than 12 inches
(305 mm) to joists. The sheet metal MUST extend underneath the
furnace casing by 1 in. (25 mm) with the door removed.
The bottom closure panel on furnaces of widths 17--1/2 in. (445
mm) and larger may be used for flame roll--out protection when
bottom of furnace is used for return air connection. See Fig. 17
for proper orientation of roll--out shield.
Bottom Return Air Inlet
These furnaces are shipped with bottom closure panel installed in
bottom return--air opening. Remove and discard this panel when
bottom return air is used. To remove bottom closure panel,
perform the following:
1. Tilt or raise furnace and remove two screws holding
bottom filler panel. (See Fig. 9.)
2. Rotate bottom filler panel downward to release holding
tabs.
58PHA

14
3. Remove bottom closure panel.
4. Reinstall bottom filler panel and screws. Side Return Air
Inlet
Side Return Air Inlet
These furnaces are shipped with bottom closure panel installed in
bottom return--air opening. This panel MUST be in place when
side return air inlet(s) is used without a bottom return air inlet.
Not all horizontal furnaces are approved for side return air
connections. (See Fig. 20).
FILTER ARRANGEMENT
CARBON MONOXIDE AND POISONING
HAZARD
Failure to follow this warning could result in personal
injury, or death.
Never operate a furnace without a filter or with filter access
door removed.
!WARNING
There are no provisions for an internal filter rack in these
furnaces.
Deluxe furnaces are shipped with a factory supplied Media Filter
Cabinet. The Media Filter Cabinet uses either the
factory--supplied standard 3/4--in. (19 mm) filter or a 4--in. (102
mm) wide Media Filter which can be purchased separately.
Refer to the instructions supplied with media Cabinet for
assembly and installation options.
AIR DUCTS
General Requirements
The duct system should be designed and sized according to
accepted national standards such as those published by: Air
Conditioning Contractors Association (ACCA), Sheet Metal and
Air Conditioning Contractors National Association (SMACNA)
or American Society of Heating, Refrigerating and Air
Conditioning Engineers (ASHRAE) or consult The Air Systems
Design Guidelines reference tables available from your local
distributor. The duct system should be sized to handle the
required system design CFM at the design external static pressure.
The furnace airflow rates are provided in Table 5--AIR
DELIVERY--CFM (With Filter).
When a furnace is installed so that the supply ducts carry air
circulated by the furnace to areas outside the space containing the
furnace, the return air shall also be handled by duct(s) sealed to
the furnace casing and terminating outside the space containing
the furnace.
Secure ductwork with proper fasteners for type of ductwork used.
Seal supply-- and return--duct connections to furnace with code
approved tape or duct sealer.
NOTE: Flexible connections should be used between ductwork
and furnace to prevent transmission of vibration. Ductwork
passing through unconditioned space should be insulated and
sealed to enhance system performance. When air conditioning is
used, a vapor barrier is recommended.
Maintain a 1--in. (25 mm) clearance from combustible materials
to supply air ductwork for a distance of 36 in. (914 mm)
horizontally from the furnace. See NFPA 90B or local code for
further requirements.
Ductwork Acoustical Treatment
NOTE: Metal duct systems that do not have a 90 degree elbow
and 10 ft. (3 M) of main duct to the first branch take--off may
require internal acoustical lining. As an alternative, fibrous
ductwork may be used if constructed and installed in accordance
with the latest edition of SMACNA construction standard on
fibrous glass ducts. Both acoustical lining and fibrous ductwork
shall comply with NFPA 90B as tested by UL Standard 181 for
Class 1 Rigid air ducts.
Supply Air Connections
For a furnace not equipped with a cooling coil, the outlet duct
shall be provided with a removable access panel. This opening
shall be accessible when the furnace is installed and shall be of
such a size that the heat exchanger can be viewed for possible
openings using light assistance or a probe can be inserted for
sampling the airstream. The cover attachment shall prevent leaks.
Upflow and Horizontal Furnaces
Connect supply--air duct to flanges on furnace supply--air outlet.
Bend flange upward to 90_with wide duct pliers. (See Fig. 14.)
The supply--air duct must be connected to ONLY the furnace
supply--outlet--air duct flanges or air conditioning coil casing
(when used). DO NOT cut main furnace casing side to attach
supply air duct, humidifier, or other accessories. All accessories
MUST be connected to duct external to furnace main casing.
NOTE: For horizontal applications, the top--most flange may be
bent past 90 degrees to allow the evaporator coil to hang on the
flange temporarily while the remaining attachment and sealing of
the coil are performed.
Downflow Furnaces
Connect supply--air duct to supply--air outlet on furnace. Bend
flange inward past 90_with wide duct pliers. (See Fig. 14.) The
supply--air duct must be connected to ONLY the furnace
supplyoutlet or air conditioning coil casing (when used). When
installed on combustible material, supply--air duct must be
connected to ONLY the accessory subbase KGASB0201ALL or
a factory approved air conditioning coil casing. DO NOT cut
main furnace casing to attach supply side air duct, humidifier, or
other accessories. All accessories MUST be connected to duct
external to furnace casing.
58PHA

15
UPFLOW DOWNFLOW HORIZONTAL
YES
NO NO
YES
YES
YES
NO
120°
MIN
YES 120°
MIN
YES
120°
MIN
90°90°
A02020
Fig. 14 -- Duct Flanges
1
/ 4 " (6mm) THREADED ROD
4 REQ.
SECURE ANGLE
IRON TO BOTTOM
OF FURNACE WITH
3 #8 x
3/4" (19mm) SCREWS
TYPICAL FOR 2 SUPPORTS
1” (25mm) SQUARE, 1-1/4”x1-1/4”x1/8” (32x32x3mm)
ANGLE IRON OR UNI-STRUT MAY BE USED
(2) HEX NUTS, (2) WASHERS & (2) LOCK WASHERS
REQ. PER ROD
8" (203mm) MIN
FOR DOOR REMOVAL
OUTER DOOR
A S SEMBLY
A05027
Fig. 15 -- Horizontal Unit Suspension
58PHA

16
METHOD 2
USE (4) #8 x 3/4 (19 mm) SHEET
METAL SCREWS FOR EACH
STRAP. THE STRAPS
SHOULD BE VERTICAL
AGAINST THE FURNACE
SIDES AND NOT PULL AWAY
FROM THE FURNACE
SIDES.
METHOD 1
FOLD ALL STRAPS UNDER
FURNACE AND SECURE WTH
(4) #8 x 3/4 (19 mm) SHEET METAL SCREWS
(2 SCREWS IN SIDE AND 2 SCREWS
IN BOTTOM).
A03176
Fig. 16 -- Horizontal Suspension with Straps
30-IN . (762mm)
MIN WORK AREA
6 ″ M IN
*
TYPE-B
VENT
17
3
/
4
″
22
″
SHEET
MET AL
SEDIMENT
TRAP
EQUIPMENT MANU AL
SHUT -OFF GAS VA LV E
LINE CONT A CT ONL Y PERMISSIBLE BETWEEN
LINES FORMED BY INTERSECTIONS OF
THE T OP AND TW O SIDES OF THE FURNA CE
JA CKET AND BUILDING JOISTS ,
STUDS , OR FRAMING.
GAS
ENTR Y
17
3
/
4
″
(451mm)
OVERALL
4
3
/
4
″
(121mm)
UNDER DOOR
1 ″
(25mm)
UNDER FURNACE
EXTEND OUT 12 ″
(305mm)
FR OM FA CE OF DOOR
* WHEN USED W ITH
SINGLE W ALL VEN T
CONNECTIONS
UNION
(152mm)
(451mm)
(559mm)
A03177
Fig. 17 -- Typical Attic Installation
58PHA

17
Return Air Connections
FIRE HAZARD
Failure to follow this warning could cause personal injury,
death and/or property damage.
Never connect return--air ducts to the back of the furnace.
Follow instructions below
!WARNING
Downflow Furnaces
The return--air duct must be connected to return--air opening
(bottom inlet) as shown in Fig. 19. DO NOT cut into casing sides
(left or right). Side opening is permitted for only upflow and most
horizontal furnaces. (See Fig. 19.) Bypass humidifier connections
should be made at ductwork or coil casing sides exterior to
furnace.
Upflow and Horizontal Furnaces
The return--air duct must be connected to bottom, sides (left or
right), or a combination of bottom and side(s) of main furnace
casing as shown in Fig. 18 and 20. Bypass humidifier may be
attached into unused return air side of the furnace casing. (See
Fig. 18 and 20.)
Not all horizontal furnaces are approved for side return air
connections. (See Fig. 20.)
GAS PIPING
FIRE OR EXPLOSION HAZARD
Failure to follow this warning could result in personal
injury, death, and/or property damage.
Never purge a gas line into a combustion chamber. Never
test for gas leaks with an open flame. Use a commercially
available soap solution made specifically for the detection
of leaks to check all connections.
!WARNING
FIRE OR EXPLOSION HAZARD
Failure to follow this warning could result in personal
injury,death, and/or property damage.
Use proper length of pipe to avoid stress on gas control
manifold and a gas leak.
!WARNING
FURNACE OVERHEAT HAZARD
Failure to follow this caution may result in property
damage.
Connect gas pipe to gas valve using a backup wrench to
avoid damaging gas controls and burner misalignment.
CAUTION
!
FIRE OR EXPLOSION HAZARD
Failure to follow this warning could result in personal
injury, death, and/or property damage.
If local codes allow the use of a flexible gas appliance
connector, always use a new listed connector. Do not use a
connector which has previously served another gas
appliance. Black iron pipe shall be installed at the furnace
gas control valve and extend a minimum of 2 in.(51 mm)
outside the furnace.
!WARNING
Gas piping must be installed in accordance with national and
local codes. Refer to current edition of NFGC in the U.S., the
CAN/CSA--B149.1--05 in Canada.
Installations must be made in accordance with all authorities
having jurisdiction. If possible, the gas supply line should be a
separate line running directly from meter to furnace.
NOTE: In the state of Massachusetts:
1. Gas supply connections MUST be performed by a
licensed plumber or gas fitter.
2. When flexible connectors are used, the maximum length
shall not exceed 36 inches (915 mm).
3. When lever handle type manual equipment shutoff valves
are used, they shall be T--handle valves.
4. The use of copper tubing for gas piping is NOT approved
by the state of Massachusetts.
Refer to Table 6 for recommended gas pipe sizing. Risers must be
used to connect to furnace and to meter. Support all gas piping
with appropriate straps, hangers, etc. Use a minimum of 1 hanger
every 6 ft. (2 M). Joint compound (pipe dope) should be applied
sparingly and only to male threads of joints. Pipe dope must be
resistant to the action of propane gas.
An accessible manual equipment shutoff valve MUST be
installed external to furnace casing and within 6 ft. (2 M) of
furnace. A 1/8--in. (3 mm) NPT plugged tapping, accessible for
test gauge connection, MUST be installed immediately upstream
of gas supply connection to furnace and downstream of manual
equipment shutoff valve.
NOTE: The furnace gas control valve inlet pressure tap
connection is suitable to use as test gauge connection providing
test pressure DOES NOT exceed maximum 0.5 psig (14--in. wc)
stated on gas control valve. (See Fig. 52.)
Some installations require gas entry on right side of furnace (as
viewed in upflow.) (See Fig. 21.)
Install a sediment trap in riser leading to furnace as shown in Fig
22. Connect a capped nipple into lower end of tee. Capped nipple
should extend below level of furnace gas controls. Place a ground
joint union between furnace gas control valve and exterior
manual equipment gas shutoff valve. A 1/8--in. (3 mm) NPT
plugged tapping, accessible for test gauge connection, MUST be
installed immediately upstream of gas supply connection to
furnace and downstream of manual equipment shutoff valve.
58PHA

18
Table 5 – Air Delivery -- CFM (With Filter)*
UNIT SIZE RETURN---AIR
SUPPLY SPEED EXTERNAL STATIC PRESSURE (In. wc)
0.1 0.2 0.3 0.4 0.5 0.6 0.7 0.8 0.9 1
045---08/
024045
Bottom or
Side(s)
51185 1145 1115 1075 1035 980 905 820 720 580
4920 880 835 800 755 720 680 645 605 540
3735 685 625 585 530 490 435 395 345 295
2820 765 725 670 630 580 545 490 455 405
1650 595 535 490 430 390 330 280 235 --- ---
070---16 /
048070
Bottom or
Side(s)
51625 1585 1535 1495 1460 1415 1365 1295 1220 1125
41405 1360 1320 1280 1240 1195 1155 1115 1070 1030
31240 1200 1155 1110 1065 1020 975 935 895 850
21190 1140 1095 1050 1000 955 915 870 830 790
11035 985 930 885 835 785 745 695 650 600
090---16 /
048090
Bottom or
Side(s)
51845 1800 1755 1710 1665 1595 1500 1400 1275 1105
41590 1545 1500 1455 1410 1365 1315 1270 1180 1000
31365 1320 1270 1215 1170 1125 1070 1025 955 900
21225 1160 1110 1060 1010 950 895 830 770 710
11100 1030 960 875 805 730 645 570 505 425
110---20 /
060110
Bottom or
Side(s)
52255 2205 2150 2100 2040 1985 1920 1835 1735 1615
41600 1525 1465 1400 1335 1275 1210 1150 1080 1015
31945 1890 1830 1770 1715 1655 1600 1545 1480 1430
21420 1340 1280 1200 1140 1065 1005 925 865 790
11280 1205 1140 1055 990 910 840 760 695 630
135---20 /
060135
Bottom or
Side(s)
52295 2240 2185 2125 2070 2005 1925 1805 1670 1545
41725 1660 1605 1545 1460 1395 1340 1285 1230 1170
31910 1865 1800 1745 1685 1610 1545 1485 1435 1380
21630 1575 1510 1435 1365 1300 1245 1185 1130 1065
11430 1355 1285 1200 1125 1075 1015 945 855 800
*A filter is required for each return ---air inlet. Airflow performance included 3/4 ---in. (19 mm) washable filter media such as contained in factory --- a u t h o r iz ed
accessory filter rack. To determine airflow performance without this filter, assume an additional 0.1 in. wc available external static pressure.
--- --- Indicates unstable operating conditions.
Table 6 – Maximum Capacity of Pipe*
NOMINAL IRON
PIPE
INTERNAL
DIAMETER LENGTH OF PIPE --- FT. (M)
SIZE IN. (mm) In. (mm) 10 20 30 40 50
1/2 (13) 0.622 (16) 175 (53) 120 (37) 97 (30) 82 (25) 73 (22)
3/4 (19) 0.824 (21) 360 (110) 250 (76) 200 (61) 170 (52) 151 (46)
1 (25) 1.049 (27) 680 (207) 465 (142) 375 (114) 320 (98) 285 (87)
1---1/4 (32) 1.380 (35) 1400 (427) 950 (290) 770 (235) 660 (201) 580 (177)
1---1/2 (38) 1.610 (41) 2100 (640) 1460 (445) 1180 (360) 990 (301) 900 (274)
* Cubic ft. of natural gas per hr for gas pressures of 0.5 psig (14---in. wc) or less and a pressure drop of 0.5---in wc (based on a 0.60 specific gravity
gas). Ref: Chapter 6 ANSI Z223---2006/NFPA 54---2006.
Piping should be pressure and leak tested in accordance with
NFGC in the United States or CAN/CSA--B149.1--05 in Canada,
local, and national plumbing and gas codes before the furnace has
been connected. After all connections have been made, purge
lines and check for leakage at furnace prior to operating furnace.
If pressure exceeds 0.5 psig (14--in. wc), gas supply pipe must be
disconnected from furnace and capped before and during supply
pipe pressure test. If test pressure is equal to or less than 0.5 psig
(14--in. wc), turn off electric shutoff switch located on furnace gas
control valve and accessible manual equipment shutoff valve
before and during supply pipe pressure test. After all connections
have been made, purge lines and check for leakage at furnace
prior to operating furnace.
The gas supply pressure shall be within the maximum and
minimum inlet supply pressures marked on the rating plate with
the furnace burners ON and OFF.
58PHA

19
A02075
Fig. 18 -- Upflow Return Air Configurations and Restrictions
A02163
Fig. 19 -- Downflow Return Air Configurations and Restrictions
58PHA

20
A02162
Fig. 20 -- Horizontal Return Air Configurations and Restrictions
2” (51mm)
Street Elbow
A08551
Fig. 21 -- Burner and Manifold
58PHA

21
Table 7 – Electrical Data
FURNACE
MODEL
V O LT S ---
H E R T Z ---
PHASE
OPERATING
VOLTAGE*
(VOLTS)
MAX UNIT
(AMPS)
UNIT
AMPACITY#
(AMPS)
MAX WIRE
LENGTH}
FT. (M)
MAX FUSE/
CKT BKR{
(AMPS)
MIN WIRE
GAGE
MAX MIN
045--- 08 / 024045 1 1 5 --- 6 0 --- 1 127 104 8.1 10.9 34 (10) 15 14
070--- 16 / 048070 1 1 5 --- 6 0 --- 1 127 104 9.5 12.6 29 (9) 15 14
090--- 16 / 048090 1 1 5 --- 6 0 --- 1 127 104 10.3 13.4 27 (8) 15 14
110--- 20 / 060110 1 1 5 --- 6 0 --- 1 127 104 13.1 16.9 34 (10) 20 12
135--- 20 / 060135 1 1 5 --- 6 0 --- 1 127 104 13.1 16.9 34 (10) 20 12
* Permissible limits of the voltage range at which the unit operates satisfactorily.
# Unit ampacity = 125 percent of largest operating component’s full load amps plus 100 percent of all other potential operating components’ (EAC, humidifier,
etc.) full load amps.
{Time---delay type is recommended.
}Length shown is as measured 1 way along wire path between unit and service panel for maximum 2 percent voltage drop.
UNION
SEDIMENT
TRAP
MANUAL
SHUTOFF
VALVE
(REQUIRED)
GAS
SUPPLY
A02035
Fig. 22 -- Typical Gas Pipe Arrangement
ELECTRICAL CONNECTIONS
ELECTRICAL SHOCK HAZARD
Failure to follow this warning could result in personal
injury or death.
Blower access panel door switch opens 115--v power to
control. No component operation can occur. Do not bypass
or close switch with panel removed.
!WARNING
See Fig. 25 for field wiring diagram showing typical field 115--v
wiring. Check all factory and field electrical connections for
tightness.
Field--supplied wiring shall conform with the limitations of 63_F
(35_C) rise.
ELECTRICAL SHOCK AND FIRE HAZARD
Failure to follow this warning could result in personal
injury, death, or property damage.
The cabinet MUST have an uninterrupted or unbroken
ground according to NEC ANSI/NFPA 70--2008 and
Canadian Electrical Code CSA C22.1 or local codes to
minimize personal injury if an electrical fault should occur.
This may consist of electrical wire, conduit approved for
electrical ground or a listed, grounded power cord (where
permitted by local code) when installed in accordance with
existing electrical codes. Refer to the power cord
manufacturer’s ratings for proper wire gauge. Do not use
gas piping as an electrical ground.
!WARNING
58PHA

22
FURNACE MAY NOT OPERATE
Failure to follow this caution may result in intermittent
furnace operation.
Furnace control must be grounded for proper operation or
else control will lock out. Control must remain grounded
through green/yellow wire routed to gas valve and manifold
bracket screw.
CAUTION
!
115--V WIRING
Verify that the voltage, frequency, and phase correspond to that
specified on unit rating plate. Also, check to be sure that service
provided by utility is sufficient to handle load imposed by this
equipment. Refer to rating plate or Table 7 for equipment
electrical specifications.
U.S. Installations: Make all electrical connections in accordance
with National Electrical Code (NEC) ANSI/NFPA 70--2008 and
any local codes or ordinances that might apply.
Canadian Installations: Make all electrical connections in
accordance with Canadian Electrical Code CSA C22.1 or
authorities having jurisdiction.
FIRE HAZARD
Failure to follow this warning could result in personal
injury, death, or property damage.
Do not connect aluminum wire between disconnect switch
and furnace. Use only copper wire.
!WARNING
Use a separate, fused branch electrical circuit with a properly
sized fuse or circuit breaker for this furnace. See Table 7 for wire
size and fuse specifications. A readily accessible means of
electrical disconnect must be located within sight of the furnace.
NOTE: Proper polarity must be maintained for 115--v wiring. If
polarity is incorrect, control LED status indicator light will flash
rapidly and furnace will NOT operate.
J--BOX RELOCATION
NOTE: If factory location of J--Box is acceptable, go to next
section (ELECTRICAL CONNECTION TO J--BOX).
NOTE: On 14--in. (356 mm) wide casing models, the J--Box
shall not be relocated to other side of furnace casing when the
vent pipe is routed within the casing.
1. Remove and save two screws holding J--Box.
NOTE: The J--Box cover need not be removed from the J--Box
in order to move the J--Box. Do NOT remove green ground
screw inside J--Box. The ground screw is not threaded into the
casing flange and can be lifted out of the clearance hole in casing
while swinging the front edge of the J--Box outboard of the
casing.
2. Cut wire tie on loop in furnace wires attached to J--box.
3. Move J--Box to desired location.
4. Fasten J--Box to casing with two screws removed in Step
1.
5. Route J--Box wires within furnace away from sharp edges,
rotating parts and hot surfaces.
ELECTRICAL CONNECTION TO J--BOX
Field--Supplied Electrical Box on Furnace J--Box Bracket
See Fig. 23.
1. Remove cover from furnace J--Box.
2. Attach electrical box to furnace J--Box bracket with at least
two field--supplied screws through holes in electrical box
into holes in bracket. Use blunt--nose screws that will not
pierce wire insulation.
3. Route furnace power wires through holes in electrical box
and J--Box bracket, and make field--wire connections in
electrical box. Use best practices (NEC in U.S. and CSA
C22.1 in Canada) for wire bushings, strain relief, etc.
4. Route and secure field ground wire to green ground screw
on J--Box bracket.
5. Connect line voltage leads as shown in Fig. 25.
6. Reinstall cover to J--Box. Do not pinch wires between
cover and bracket.
Electrical Box on Furnace Casing Side
See Fig. 23.
FIRE OR ELECTRICAL SHOCK HAZARD
Failure to follow this warning could result in personal
injury, death, or property damage.
If field--supplied manual disconnect switch is to be mounted
on furnace casing side, select a location where a drill or
fastener cannot damage electrical or gas components.
!WARNING
1. Select and remove a hole knockout in the casing where the
electrical box is to be installed.
NOTE: Check that duct on side of furnace will not interfere with
installed electrical box.
2. Remove the desired electrical box hole knockout and
positionthe hole in the electrical box over the hole in the
furnace casing.
3. Fasten the electrical box to casing by driving two
fieldsupplied screws from inside electrical box into casing
steel.
4. Remove and save two screws holding J--Box. (See Fig.
22.)
5. Pull furnace power wires out of 1/2--in. (12 mm) diameter
hole in J--Box. Do not loosen wires from strain--relief
wire--tie on outside of J--Box.
6. Route furnace power wires through holes in casing and
electrical box and into electrical box.
7. Pull field power wires into electrical box.
8. Remove cover from furnace J--Box.
9. Route field ground wire through holes in electrical box
and casing, and into furnace J--Box.
10. Reattach furnace J--Box to furnace casing with screws
removedinStep4.
11. Secure field ground wire to J--Box green ground screw.
12. Complete electrical box wiring and installation. Connect
line voltage leads as shown in Fig. 25. Use best practices
(NEC in U.S. and CSA C22.1 in Canada) for wire
bushings, strain relief, etc.
13. Reinstall cover to J--Box. Do not pinch wires between
cover and bracket.
58PHA

23
A03221
Fig. 23 -- Field--Supplied Electrical Box on Furnace Casing
POWER CORD INSTALLATION IN FURNACE J--BOX
NOTE: Power cords must be able to handle the electrical
requirements listed in Table 7. Refer to power cord
manufacturer’s listings.
1. Remove cover from J--Box.
2. Route listed power cord through 7/8--in. (22 mm) diameter
hole in J--Box.
3. Secure power cord to J--Box bracket with a strain relief
bushing or a connector approved for the type of cord used.
4. Secure field ground wire to green ground screw on J--Box
bracket.
5. Connect line voltage leads as shown in Fig. 25.
6. Reinstall cover to J--Box. Do not pinch wires between
cover and bracket.
BX CABLE INSTALLATION IN FURNACE J--BOX
1. Remove cover from J--Box.
2. Route BX cable into 7/8--inch diameter hole in J--Box.
3. Secure BX cable to J--Box bracket with connectors
approved for the type of cable used.
4. Secure field ground wire to green ground screw on J--Box
bracket.
5. Connect line voltage leads as shown in Fig. 25.
6. Reinstall cover to J--Box. Do not pinch wires between
cover and bracket.
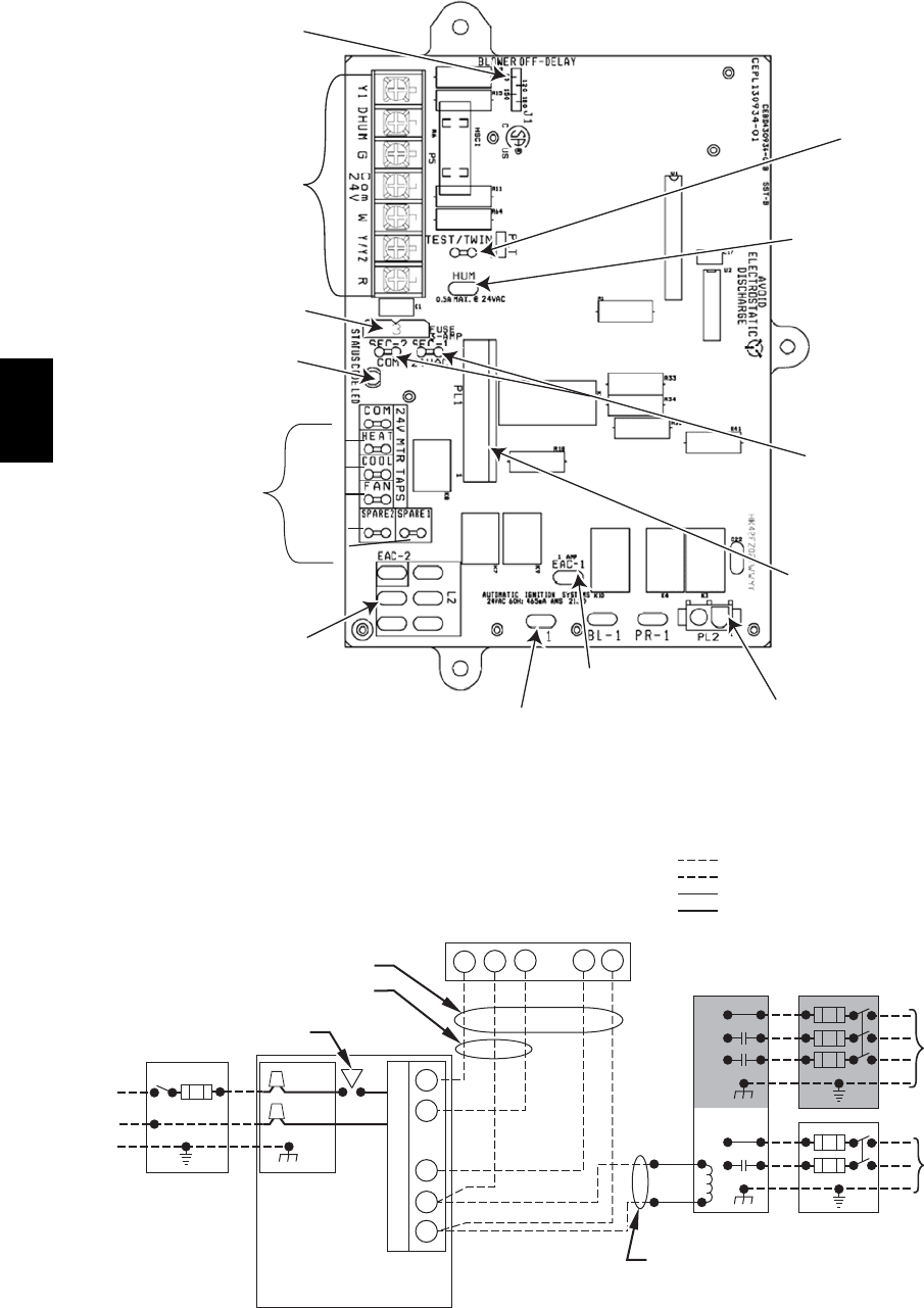
24--V WIRING
Make field 24--v connections at the 24--v terminal strip. (See Fig.
23.) Connect terminal Y/Y2 as shown in Fig. 24 for proper
cooling operation. Use only AWG No. 18, color--coded, copper
thermostat wire.
The 24--v circuit contains an automotive--type, 3--amp.. fuse
located on the control. Any direct shorts during installation,
service, or maintenance could cause this fuse to blow. If fuse
replacement is required, use ONLY a 3--amp.. fuse of identical
size.
ACCESSORIES
1. Electronic Air Cleaner (EAC)
Connect an accessory Electronic Air Cleaner (if used)
using 1/4--in female quick connect terminals to the two
male 1/4--in quick--connect terminals on the control board
marked EAC--1 and EAC--2. The terminals are rated for
115 VAC, 1.0 amps maximum and are energized during
blower motor operation. (See Fig. 24.)
2. Humidifier (HUM)
Connect an accessory 24 VAC, 0.5 amp. maximum
humidifier (if used) to the 1/4--in male quick--connect
HUM terminal and COM--24V screw terminal on the
control board thermostat strip. The HUM terminal is
energized when gas valve relay (GVR) is energized. (See
Fig. 24.)
NOTE: A field--supplied, 115--v controlled relay connected to
EAC terminals may be added if humidifier operation is desired
during blower operation.
NOTE: DO NOT connect furnace control HUM terminal to
HUM (humidifier) terminal on Thermidistatt, Zone Controller
or similar device. See Thermidistat, Zone Controller, thermostat,
or controller manufacturer’s instructions for proper connection.
VENTING
The furnace shall be connected to a listed factory built chimney
or vent, or a clay--tile lined masonry or concrete chimney. Venting
into an unlined masonry chimney or concrete chimney is
prohibited.
When an existing Category I furnace is removed or replaced, the
original venting system may no longer be sized to properly vent
the attached appliances. An improperly sized Category I venting
system could cause the formation of condensate in the furnace
and vent, leakage of condensate and combustion products, and
spillage of combustion products into the living space.
58PHA

24
BLOWER OFF-DELAY
24-V THERMOSTAT
TERMINALS
3-AMP FUSE
LED OPERATION
& DIAGNOSTIC
LIGHT
BLOWER SPEED
SELECTION
TERMINALS
HEAT
FAN
COOL
SPARE 2
SPARE 1
115-VAC (L2)
NEUTRAL
CONNECTIONS
115-VAC (L1)
NEUTRAL
CONNECTIONS
EAC-1 TERMINAL
(115-VAC 1.0 AMP. MAX.) PL2-HOT SURFACE
IGNITER & INDUCER
MOTOR CONNECTOR
PL1-LOW VOLTAGE
DRAIN HARNESS
CONNECTOR
TRANSFORMER
24-VAC CONNECTIONS
HUMIDIFIER TERMINAL
(24-VAC 0.5 AMP. MAX)
TWINNING AND/OR
COMPONENT TEST
TERMINAL
A08063
Fig. 24 -- Furnace Control
115-V FIELD-
SUPPLIED
DISCONNECT
AUXILIARY
J-BOX
24-V
TERMINAL
BLOCK
THREE-WIRE
HEATING-ONLY
FIVE WIRE
NOTE 1
NOTE 2
FIELD-SUPPLIED
DISCONNECT
CONDENSING
UNIT
TWO
WIRE
FURNACE
C
O
N
T
R
O
L
R
G
COM
WCR GY
GND
GND
FIELD 24-V WIRING
FIELD 115-, 208/230-, 460-V WIRING
FACTORY 24-V WIRING
FACTORY 115-V WIRING
208/230- OR
460-V
THREE
PHASE
208/230-V
SINGLE
PHASE
BLOWER DOOR SWITCH
WHT
BLK
WHT
BLK
NOTES: Connect Y-terminal in furnace as shown for proper blower operation.
Some thermostats require a "C" terminal connection as shown.
If any of the original wire, as supplied, must be replaced, use
same type or equivalent wire.
W
Y/Y2
GND
THERMOSTAT
TERMINALS
1.
2.
3.
A99440
Fig. 25 -- Heating and Cooling Application Wiring Diagram with 1--Stage Thermostat
58PHA

25
CARBON MONOXIDE POISONING HAZARD
Failure to follow the steps outlined below for each
appliance connected to the venting system being placed into
operation could result in carbon monoxide poisoning or
death. The following steps shall be followed for each
appliance connected to the venting system being placed into
operation, while all other appliances connected to the
venting system are not in operation:
1. Seal any unused openings in venting system.
2. Inspect the venting system for proper size and
horizontal pitch, as required in the National Fuel Gas
Code, ANSI Z223.1/NFPA 54 or CSA B149.1,
Natural Gas and Propane Installation Code and these
instructions. Determine that there is no blockage or
restriction, leakage, corrosion and other deficiencies,
which could cause an unsafe condition.
3. As far as practical, close all building doors and
windows and all doors between the space in which
the appliance(s) connected to the venting system are
located and other spaces of the building.
4. Close fireplace dampers.
5. Turn on clothes dryers and any appliance not
connected to the venting system. Turn on any
exhaust fans, such as range hoods and bathroom
exhausts, so they are operating at maximum speed.
Do not operate a summer exhaust fan.
6. Follow the lighting instructions. Place the appliance
being inspected into operation. Adjust the thermostat
so appliance is operating continuously.
7. Test for spillage from draft hood equipped
appliances at the draft hood relief opening after 5
minutes of main burner operation. Use the flame of a
match or candle.
8. If improper venting is observed during any of the
above tests, the venting system must be corrected in
accordance with the National Fuel Gas Code, ANSI
Z223.1/NFPA 54 and/or CSA B149.1, Natural Gas
and Propane Installation Code.
9. After it has been determined that each appliance
connected to the venting system properly vents when
tested as outlined above, return doors, windows,
exhaust fans, fireplace dampers and any other
gas--fired burning appliance to their previous
conditions of use.
!WARNING
Vent system or vent connectors may need to be resized. Vent
systems or vent connectors, must be sized to approach minimum
size as determined using appropriate table found in the NFGC or
CAN/CSA--B149.1--05.
GENERAL VENTING REQUIREMENTS
Follow all safety codes for proper vent sizing and installation
requirements, including local building codes, the National Fuel
Gas Code ANSI Z223.1--2006/NFPA 54--2006 (NFGC), Parts 12
and 13 in the United States or the National Standard of Canada,
Natural Gas and Propane Installation Code CSA--B149.1--05
(CAN/CSA--B149.1--05), Section 8 and Appendix C in Canada,
the local building codes, and furnace and vent manufacturers’
instructions.
These furnaces are design--certified as Category I furnaces in
accordance with ANSI Z21.47--2006/CSA 2.3--2006 and operate
with a non--positive vent static pressure to minimize the potential
for vent gas leakage. Category I furnaces operate with a flue loss
not less than 17 percent to minimize the potential for
condensation in the venting system. These furnaces are approved
for common venting and multistory venting with other fan
assisted or draft hood equipped appliances in accordance with the
NFGC or the CAN/CSA--B149.1--05, the local building codes,
and furnace and vent manufacturers’ instructions. The following
information and warning must be considered in addition to the
requirements defined in the NFGC and the
CAN/CSA--B149.1--05.
1. If a vent (common or dedicated) becomes blocked, the
furnace will be shut off by the draft safeguard switch
located on the vent elbow.
2. Do not vent this Category I furnace into a single--wall
dedicated or common vent. The dedicated or common
vent is considered to be the vertical portion of the vent
system that terminates outdoors.
3. Vent connectors serving Category I furnaces shall not be
connected into any portion of a mechanical draft system
operating under positive pressure.
4. In the U.S.: Do not vent this appliance with any solid fuel
burning appliance. In Canada: Check with the authority
having jurisdiction for approval on use with solid fuel
burning appliance.
5. Category I furnaces must be vented vertically or nearly
vertically unless equipped with a listed power ventor.
6. Do not vent this appliance into an unlined masonry
chimney. Refer to Chimney Inspection Chart, Fig. 33.
MASONRY CHIMNEY REQUIREMENTS
NOTE: These furnaces are CSA design--certified for use in
exterior tile--lined masonry chimneys with a factory accessory
Chimney Adapter Kit. Refer to the furnace rating plate for correct
kit usage. The Chimney Adapter Kits are for use with ONLY
furnaces having a Chimney Adapter Kit numbers marked on the
furnace rating plate.
If a clay tile--lined masonry chimney is being used and it is
exposed to the outdoors below the roof line, relining might be
required. Chimneys shall conform to the Standard for Chimneys,
Fireplaces, Vents, and Solid Fuel Burning Appliances
ANSI/NFPA 211--2006 in the United States and to a Provincial or
Territorial Building Code in Canada (in its absence, the National
Building Code of Canada) and must be in good condition.
U.S.A.--Refer to Sections 13.1.8 and 13.2.20 of the NFGC
NFPA54/ANSI Z223.1--2006 or the authority having jurisdiction
to determine whether relining is required. If relining is required,
use a properly sized listed metal liner, Type--B vent, or a listed
alternative venting design.
NOTE: See the NFPA54/ANSI Z223.1--2006, 13.1.8 and
13.2.20 regarding alternative venting design and the Exception,
which cover installations such as the Chimney Adapter Kits
KGACA02014FC and KGACA02015FC, which are listed for
use with these furnaces.
The Chimney Adapter Kit is listed alternative venting system for
these furnaces. See the kit instructions for complete details.
58PHA

26
See notes 2,5,7, and 10 on the page following these figures.
A04215
Fig. 26 -- Single--Stage Furnace with Single--Speed Air Con-
ditioner
See notes 2,5,8, and 10 on the page following these figures.
A04216
Fig. 27 -- Single Stage Furnace with Two--Speed Air Condi-
tioner
See notes 1, 2, 4, 6, 7, 9, 10 and 12 on the
page following these figures.
A04217
Fig. 28 -- Single--Stage Furnace with Single--Speed Heat
Pump (Dual Fuel)
See notes 1, 2, 3, 4, 6, 8, 9, 10 and 12 on the
page following these figures.
A04218
Fig. 29 -- Single--Stage Furnace with Two--Speed heat Pump
(Dual Fuel)
58PHA

27
HUMIDFIER
(24VAC)
See notes 1, 2, 4, 11, 12, and 13 on the page following these figures.
A04219
Fig. 30 -- Dual Fuel Thermostat with Single--Stage Furnace
and Single--Speed Heat Pump
HUMIDFIER
(24VAC)
See notes 1, 2, 3, 4, 11, 12, and 14 on the page following these figures.
A04220
Fig. 31 -- Dual Fuel Thermostat with Single--Stage Furnace
and Two--Speed Heat Pump
HUMIDFIER
(24VAC)
See note 2 on the page following these figures.
A04221
Fig. 32 -- Two Stage Thermostat with Single--Stage Furnace and Two--Speed Air Conditioner
NOTES FOR FIGURES 26--32
1. Heat pump MUST have a high pressure switch for dual fuel applications.
2. Refer to outdoor equipment Installation Instructions for additional information and setup procedure.
3. Outdoor Air Temperature Sensor must be attached in all dual fuel applications.
4. Dip switch No. 1 on Thermidistat should be set in OFF position for air conditioner installations. This is factory default.
5. Dip switch No. 1 on Thermidistat should be set in ON position for heat pump installations.
6. Dip switch No. 2 on Thermidistat should be set in OFF position for single--speed compressor operation. This is factory default.
7. Dip switch No. 2 on Thermidistat should be set in ON position for two--speed compressor operation.
8. Configuration Option No. 10 “Dual Fuel Selection” must be turned ON in all dual fuel applications.
9. NO connection should be made to the furnace HUM terminal when using a Thermidistat.
10. The RVS Sensing terminal “L” should not be connected. This is internally used to sense defrost operation.
11. DO NOT SELECT the “FURNACE INTERFACE” or “BALANCE POINT” option on the two--speed heat pump control board. This
is controlled internally by the Thermidistat/Dual Fuel Thermostat.
12. Dip switch D on Dual Fuel Thermostat should be set in OFF position for single--speed compressor operation. This is factory default.
13. Dip switch D on Dual Fuel Thermostat should be set in ON position for two--speed compressor operation.
58PHA

28
Canada (and U.S.A.)--This furnace is permitted to be vented into
a clay tile--lined masonry chimney that is exposed to the outdoors
below the roof line, provided:
1. Vent connector is Type--B double--wall, and
2. This furnace is common vented with at least 1 draft
hoodequipped appliance, and
3. The combined appliance input rating is less than the
maximum capacity given in Table A, and
4. The input rating of each space heating appliance is greater
than the minimum input rating given in Table B for the
local 99% Winter Design Temperature. Chimneys having
internal areas greater than 38 square inches require furnace
input ratings greater than the input ratings of these
furnaces. See footnote at bottom of Table B, and
5. The authority having jurisdiction approves.
If all of these conditions cannot be met, an alternative venting
design shall be used, such as the listed chimney adapter kit with
these furnaces, which are listed for use with the kit, a listed
chimney--lining system, or a Type--B common vent.
Inspections before the sale and at the time of installation will
determine the acceptability of the chimney or the need for repair
and/or (re)lining. Refer to the Fig. 33 to perform a chimney
inspection. If the inspection of a previously used tile--lined
chimney:
a. Shows signs of vent gas condensation, the chimney
should be relined in accordance with local codes and the
authority having jurisdiction. The chimney should be
relined with a listed metal liner, Type--B vent, or a listed
chimney adapter kit shall be used to reducecondensation.
If a condensate drain is required by local code, refer to
the NFGC NFPA54/ANSI Z223.1--2006, Section 12.10
for additional information on condensate drains.
b. Indicates the chimney exceeds the maximum permissible
size in the tables, the chimney should be rebuilt or relined
to conform to the requirements of the equipment being
installed and the authority having jurisdiction.
A chimney without a clay tile liner, which is otherwise in good
condition, shall be rebuilt to conform to ANSI/NFPA 211 or be
lined with a UL listed (ULC listed in Canada) metal liner or UL
listed Type--B vent. Relining with a listed metal liner or Type--B
vent is considered to be a vent--in--a--chase.
If a metal liner or Type--B vent is used to line a chimney, no other
appliance shall be vented into the annular space between the
chimney and the metal liner.
Exterior Masonry Chimney FAN + NAT
Installations with Type--B Double Wall Vent
Connectors ©NFPA & AGA
Table 8 – Combined Appliance Maximum Input Rating in
Thousands of BTUH per Hour
VENT HEIGHT
FT. (M)
INTERNAL AREA OF CHIMNEY
IN2(MM2)
12
(7741)
19
(12258)
28
(18064)
38
(24516)
6 (1.8) 74 119 178 257
8 (2.4) 80 130 193 279
10 (3.0) 84 138 207 299
15 (4.5) NR 152 233 334
20 (6.0) NR NR 250 368
30 (9.1) NR NR NR 404
Table 9 – Minimum Allowable Input Rating of Space--Heat-
ing Appliance in Thousands of BTUH per Hour
VENT HEIGHT
FT (M)
INTERNAL AREA OF CHIMNEY
IN2.(MM
2)
12
(7741)
19
(12258)
28
(18064)
38
(24516)
Local 99% Winter Design
Temperature: 17 to 26_F ( --- 8 t o --- 3 _C)
6 (1.8) 055 99 141
8 (2.4) 52 74 111 154
10 (3.0) NR 90 125 169
15 (4.6) NR NR 167 212
20 (6.1) NR NR 212 258
30 (9.1) NR NR NR 362
Local 99% Winter Design
Temperature: 5 to 16_F * ( --- 1 5 t o --- 9 _C)
6 (1.8) NR 78 121 166
8 (2.4) NR 94 135 182
10 (3.0) NR 111 149 198
15 (4.6) NR NR 193 247
20 (6.1) NR NR NR 293
30 (9.1) NR NR NR 377
Local 99% Winter Design
Temperature: ---10 to 4_F * ( --- 2 3 t o --- 1 6 _C)
6 (1.8) NR NR 145 196
8 (2.4) NR NR 159 213
10 (3.0) NR NR 175 231
15 (4.6) NR NR NR 283
20 (6.1) NR NR NR 333
30 (9.1) NR NR NR NR
Local 99% Winter Design
Temperature: ---11_F ( --- 2 4 _C) or lower
Not recommended for any vent configuration.
*The 99.6% heating db temperatures found in the 1997 or 2001 ASHRAE
Fundamentals Handbook, Climatic Design Information chapter, Table 1A
(United States) and 2A (Canada) or the 2005 ASHRAE Fundamentals
handbook, Climatic Design Information chapter, and the CD---ROM in-
cluded with the 2005 ASHRAE Fundamentals Handbook.
APPLIANCE APPLICATION REQUIREMENTS
Appliance operation has a significant impact on the performance
of the venting system. If the appliances are sized, installed,
adjusted, and operated properly, the venting system and/or the
appliances should not suffer from condensation and corrosion.
The venting system and all appliances shall be installed in
accordance with applicable listings, standards, and codes.
The furnace should be sized to provide 100 percent of the design
heating load requirement plus any margin that occurs because of
furnace model size capacity increments. Heating load estimates
can be made using approved methods available from Air
Conditioning Contractors of America (Manual J); American
Society of Heating, Refrigerating, and Air--Conditioning
Engineers; or other approved engineering methods. Excessive
oversizing of the furnace could cause the furnace and/or vent to
fail prematurely. When a metal vent or metal liner is used, the
vent must be in good condition and be installed in accordance
with the vent manufacturer’s instructions.
58PHA

29
CHIMNEY INSPECTION CHART
For additional requirements refer to the National Fuel Gas Code NFPA 54/ANSI Z223.1 and ANSI/NFPA 211
Chimneys, Fireplaces, Vents, and Solid Fuel Burning Appliances in the U.S.A. or to the Canadian
installation Code CSA-B149.1 in Canada.
Consult
Part C of
chimney adapter venting
instructions for
application
suitability
Is chimney
lined with properly
sized, listed liner or
Type-B vent?
Is chimney
to be dedicated to
a single
furnace?
Chimney
exposed to
outdoors below
roof line?
Repair
liner or top seal
or reline chimney as
necessary.
Mortar
or tile
debris?
Clay
tile misalignment,
missing sections,
gaps?
Debris
in cleanout?
Mortar, tile, metal vent,
fuel oil residue?
Is
liner and top
seal in good
condition?
Is chimney
property lined with
clay tile liner?
Crown
condition:
Missing mortar
or brick?
Rebuild
crown.
Yes
Yes
No
No
No Reline
Yes Repair
Yes
Yes
Yes
No
No
Remove mortar
and tile debris
Remove metal vent
or liner.
No
No
No
No
Yes
Yes
Suitable
Suitable
Not Suitable
Line chimney with property
sized, listed flexible metal
liner or Type-B vent per
NFGC or NSCNGPIC Vent
Sizing Tables and liner or
vent manufacturer’s
Installation instructions.
Install chimney
adapter per
instructions.
Chimney is
acceptable for use.
Install chimney
adapter per
instructions.
Consult
Part B of
chimney adapter venting
instructions for
application
suitability.
Yes
Not Suitable
Condensate
drainage at bottom
of chimney?
Yes
No
A03206
Fig. 33 -- Chimney Inspection Chart
58PHA

30
To prevent condensation in the furnace and vent system, the
following precautions must be observed:
1. The return--air temperature must be at least 60_F
(16_C)db except for brief periods of time during warm--up
from setback at no lower than 55_F(13_C) db or during
initial start--up from a standby condition.
2. Adjust the gas input rate per the installation instructions.
Low gas input rate causes low vent gas temperatures,
causing condensation and corrosion in the furnace and/or
venting system. Derating is permitted only for altitudes
above 2000 ft. (610 M).
3. Adjust the air temperature rise to the midpoint of the rise
range or slightly above. Low air temperature rise can cause
low vent gas temperature and potential for condensation
problems.
4. Set the thermostat heat anticipator or cycle rate to reduce
short cycling.
Air for combustion must not be contaminated by halogen
compounds which include chlorides, fluorides, bromides, and
iodides. These compounds are found in many common home
products such as detergent, paint, glue, aerosol spray, bleach,
cleaning solvent, salt, and air freshener, and can cause corrosion
of furnaces and vents. Avoid using such products in the
combustion--air supply. Furnace use during construction of the
building could cause the furnace to be exposed to halogen
compounds, causing premature failure of the furnace or venting
system due to corrosion.
Vent dampers on any appliance connected to the common vent
can cause condensation and corrosion in the venting system. Do
not use vent dampers on appliances common vented with this
furnace.
ADDITIONAL VENTING REQUIREMENTS
A 4” (101 mm) round vent elbow is supplied with the furnace. A
5--inch (127 mm) or 6-- inch (152 mm) vent connector may be
required for some model furnaces. A field--supplied
4--inch--to--5--inch (101 -- 127 mm) or 4--inch--to--6--inch (101 --
152 mm) sheet metal increaser fitting is required when 5--inch
(127 mm) or 6--inch (152 mm) vent connector is used. See Fig.
34--46 Venting Orientation for approved vent configurations.
NOTE: Vent connector length for connector sizing starts at
furnace vent elbow. The 4--inch vent elbow is shipped for upflow
configuration and may be rotated for other positions. Remove the
3 screws that secure vent elbow to furnace, rotate furnace vent
elbow to position desired, reinstall screws. The factory--supplied
vent elbow does NOT count as part of the number of vent
connector elbows.
The vent connector can exit the door through one of 5 locations
on the door.
1. Attach the single wall vent connector to the furnace vent
elbow, and fasten the vent connector to the vent elbow
with at least two field--supplied, corrosion--resistant, sheet
metal screws located 180_apart.
NOTE: An accessory flue extension KGAFE0112UPH is
available to extend from the furnace elbow to outside the furnace
casing. If flue extension is used, fasten the flue extension to the
vent elbow with at least two field--supplied, corrosion--resistant,
sheet metal screws located 180_apart. Fasten the vent connector
to the flue extension with at least two field--supplied, corrosion
resistant sheet metal screws located 180_apart.
2. Vent the furnace with the appropriate connector as shown
in Fig. 34--46.
CUT HAZARD
Failure to follow this caution may result in personal injury.
Sheet metal parts may have sharp edges or burrs. Use care
and wear appropriate protective clothing, safety glasses and
gloves when handling parts and servicing furnaces.
CAUTION
!
3. Orient the door to determine the correct location of the
door cutout to be removed.
4. Use aviation--type tin snips to remove the correct
U--shaped cut--out in door.
NOTE: If this furnace is equipped with knockouts in the door
for the vent, a number of techniques can be used to remove these
knockouts as seen in Fig. 47 through 51. The knockout in the
bottom of the door is unique due to its flanging and is not easily
removed by first cutting the two tie points at the edge of the door,
using aviation--type tin snips. (See Fig. 47.) A sharp blow to the
rounded end of the knockout (See Fig. 48.) will separate more tie
points and allow the knockout to be pulled loose. (See Fig. 49.)
Remove all burrs and sharp edges. For the knockouts in the other
locations on the door (top and sides), tin snips can also be used
along the door edges; however, the preferred method is to use a
hammer and screwdriver to strike a sharp blow (See Fig. 50.)
directly to the knockout tie points or use a hammer in the upper
left corner of the desired knockout. (See Fig. 51.) Remove all
burrs and sharp edges.
BURN HAZARD
Failure to follow this caution may cause personal injury.
Hot vent pipe is within reach of small children when
installed in downflow position. See the following
instruction.
CAUTION
!
An accessory Vent Guard Kit, KGAVG0101DFG is REQUIRED
for downflow applications for use where the vent exits through
the lower portion of the furnace casing door. Refer to the Vent
Guard Kit Instructions for complete details.
The horizontal portion of the venting system shall slope upwards
not less than 1/4--in. per linear ft. (21 mm/M) from the furnace to
the vent and shall be rigidly supported every 5 ft. (2 M) or less
with metal hangers or straps to ensure there is no movement after
installation.
SIDEWALL VENTING
This furnace is not approved for direct sidewall horizontal
venting.
In the U.S.: Per section 12.4.3.1 of the NFPA54/ANSI
Z223.1--2006, any listed mechanical venter may be used, when
approved by the authority having jurisdiction.
In Canada: Per section 8.24.2 of the CAN/CSA--B149.1--05,
any listed venters may be used, when approved by the authority
having jurisdiction.
Select the listed mechanical venter to match the Btuh input of the
furnace being vented. Follow all manufacturer’s installation
requirements for venting and termination included with the listed
mechanical venter.
58PHA

31
SEE NOTES: 1,2,4,7,8,9
on the page following
these figures
A03208
Fig. 34 -- Upflow Application--Vent Elbow Up
SEE NOTES: 1,2,3,4,7,8,9
on the pages following
these figures
A03209
Fig. 35 -- Upflow Application--Vent Elbow Right
SEE NOTES:1,2,3,4,5,7,8,9
on the page following
these figures
A03210
Fig. 36 -- Downflow Application--Vent Elbow Up then Left
SEE NOTES: 1,2,4,5,7,8,9
on the page following
these figures
A03211
Fig. 37 -- Downflow Application--Vent Elbow Up
58PHA

32
SEE NOTES: 1,2,4,5,6,7,8,9
on the page following these figures
A03207
Fig. 38 -- Downflow Application--Vent Elbow Left then Up
SEE NOTES:1,2,3,4,5,7,8,9
on the page following
these figures.
A03212
Fig. 39 -- Downflow Application--Vent Elbow Up then Right
SEE NOTES: 1,2,4,7,8,9 on the page
following these figures
A03213
Fig. 40 -- Horizontal Left Application--Vent Elbow Left
SEE NOTES: 1,2,4,5,7,8,9 on the page
following these figures
A03214
Fig. 41 -- Horizontal Left Application--Vent Elbow Right
then Up
58PHA

33
SEE NOTES: 1,2,4,7,8,9 on the page
following these figures
A03214
Fig. 42 -- Horizontal Right Application--Vent Elbow Right
SEE NOTES: 1,2,4,5,7,8,9 on the page
following these figures
A03215
Fig. 43 -- Horizontal Left Application--Vent Elbow Up
SEE NOTES: 1,2,4,5,7,8,9 on the page
following these figures
A03219
Fig. 44 -- Horizontal Right Application--Vent Elbow Left
then Up
SEE NOTES: 1,2,4,5,7,8,9 on the page
following these figures
A03216
Fig. 45 -- Horizontal Left Application--Vent Elbow Right
SEE NOTES: 1,2,4,5,7,8,9
A02068
Fig. 46 -- Horizontal Right Application--Vent Elbow Left
58PHA

34
Venting Notes for Figures 34--46
1. For common vent, vent connector sizing and vent
material: United States----use the NFGC Canada----use the
CAN/CSA--B149.1--05
2. Immediately increase to 5--inch (127 mm) or 6--inch (152
mm) vent connector outside furnace casing when 5--inch
(127 mm) vent connector is required, refer to Note 1
above.
3. Side outlet vent for upflow and downflow installations
must use Type B vent immediately after exiting the
furnace, except when KGAVG0101DFG, Downflow Vent
Guard Kit, is used in the downflow position.
4. Type--B vent where required, refer to Note 1 above.
5. Four--inch single--wall (26 ga. min.) vent must be used
inside furnace casing and when the KGAVG0101DFG
Downflow Vent Guard Kit is used external to the furnace.
6. Accessory Downflow Vent Guard Kit, KGAVG0101DFG
required in downflow installations with lower vent
configuration.
7. Chimney Adapter Kit may be required for exterior
masonry chimney applications. Refer to Chimney Adapter
Kit, KGACA02014FC or KGACA02015FC, for sizing
and complete application details.
8. Secure vent connector to furnace elbow with (2)
corrosion--resistant sheet metal screws, spaced
approximately 180_apart.
9. Secure all other single wall vent connector joints with (3)
corrosion resistant screws spaced approximately 120_
apart. Secure Type--B vent connectors per vent connector
manufacturer’s recommendations.
A04127
Fig. 47 -- Using Tin Snips to Cut Tie Points
58PHA

35
A04128
Fig. 48 -- Rounded End of Knockout
A04129
Fig. 49 -- Knockout Pulled Loose
A04130
Fig. 50 -- Hammer and Screwdriver Used for Knockout
A04131
Fig. 51 -- Remove Knockout with Hammer
58PHA

36
START--UP, ADJUSTMENT, AND SAFETY
CHECK
General
FIRE HAZARD
Failure to follow this warning could result in personal
injury, death and/or property damage.
This furnace is equipped with manual reset limit switches in
the gas control area. The switches open and shut off power
to the gas valve if a flame rollout or overheating condition
occurs in the gas control area. DO NOT bypass the
switches. Correct inadequate combustion air supply
problem before resetting the switches.
!WARNING
CUT HAZARD
Failure to follow this caution may result in personal injury.
Sheet metal parts may have sharp edges or burrs. Use care
and wear appropriate protective clothing, safety glasses and
gloves when handling parts and servicing furnaces.
CAUTION
!
1. Maintain 115--v wiring and ground. Improper polarity will
result in rapid flashing LED and no furnace operation.
2. Make thermostat wire connections at the 24--v terminal
block on the furnace control. Failure to make proper
connections will result in improper operation. (See Fig.
25.)
3. Gas supply pressure to the furnace must be greater than
4.5--in. wc (0.16 psig ) but not exceed 14--in. wc (0.5
psig).
4. Check all manual--reset switches for continuity.
5. Install blower compartment door. Door must be in place to
operate furnace.
6. Replace outer door.
Start--Up Procedures
FIRE AND EXPLOSION HAZARD
Failure to follow this warning could cause personal injury,
death and/or property damage.
Never test for gas leaks with an open flame. Use a
commercially available soap solution made specifically for
the detection of leaks to check all connections.
!WARNING
1. Purge gas lines after all connections have been made.
2. Check gas lines for leaks.
3. To Begin Component Self--Test:
Remove blower access door. Disconnect the thermostat R
lead from the furnace control board. Manually close the
blower door switch closed. Short (jumper) the COM--24v
terminal on control to the TEST/TWIN 3/16--inch quick
connect terminal on control until LED goes out
(approximately 2 sec). Gas valve and humidifier will not
be turned on. (See Fig. 24.)
ELECTRICAL SHOCK HAZARD
Failure to follow this warning could result in personal
injury, or death.
Blower access door switch opens 115--v power to control.
No component operation can occur unless switch is closed.
Caution must be taken when manually closing this switch
for service purposes.
!WARNING
NOTE: The furnace control allows all components, except the
gas valve, to be run for short period of time. This feature helps
diagnose a system problem in case of a component failure.
Component test feature will not operate if any thermostat signal is
present at the control.
Component test sequence is as follows:
Refer to service label attached to furnace or see Fig. 55.
a. LED will display previous status code 4 times.
b. Inducer motor starts and continues to run until Step f of
component test sequence.
c. Hot surface igniter is energized for 15 sec., then off.
d. Blower motor operates on HEAT speed for 10 sec.
e. Blower motor operates on COOL speed for 10 sec.
f. Inducer motor stops.
g. Reconnect R lead to furnace control board, release blower
door switch and re--install blower door.
4. Operate furnace per instruction on door.
5. Verify furnace shut down by lowering thermostat setting
below room temperature.
6. Verify furnace restarts by raising thermostat setting above
room temperature.
Adjustments
FIRE HAZARD
Failure to follow this warning could result in injury, death
and/or property damage.
DO NOT bottom out gas valve regulator adjusting screw.
This can result in unregulated manifold pressure and result in
excess overfire and heat exchanger failures.
!WARNING
FURNACE DAMAGE HAZARD
Failure to follow this caution may result in reduced furnace
life.
DO NOT redrill orifices. Improper drilling (burrs,
out--of--round holes, etc.) can cause excessive burner noise
and misdirection of burner flames. This can result in flame
impingement of heat exchangers, causing failures. (See Fig.
53.)
CAUTION
!
Furnace gas input rate on rating plate is for installations at
altitudes up to 2000 ft. (610 M). Furnace input rate must be
within +/--2 percent of furnace rating plate input. For altitudes
above 5500 ft. (1676 M), a field--supplied high altitude pressure
switch is required.
1. Determine the correct gas input rate.
In the U.S.A.:
58PHA

37
The input rating for altitudes above 2,000 ft. (610 M) must
be reduced by 4 percent for each 1,000 ft. (305 M) above
sea level. For installations below 2000 ft. (610 M), refer to
the unit rating plate. For installations above 2000 ft. (610
M), multiply the input on the rating plate by the de--rate
multiplier in Table 8 for the correct input rate.
In Canada:
The input rating must be derated by 10 percent for
altitudes of 2,000 ft. (610 M) to 4,500 ft. (1372 M) above
sea level by an authorized Gas Conversion Station or
Dealer. To determine correct input rate for altitude, see
example 1 and use 0.90 as derate multiplier factor.
EXAMPLE 1:
88,000 BTUH INPUT FURNACE INSTALLED AT 4300
FT. (1310 M)
Furnace Input
Rate at Sea
Level
X Derate
Multiplier
Factor
0.90
= Furnace Input
Rate at
Installation
Altitude
88,000 X = 79,200
2. Determine the correct orifice and manifold pressure
adjustment. There are two different orifice and manifold
adjustment tables. All models in all positions, except Low
NOx models in downflow or horizontal positions, use
Table 13 (22,000 Btuh/Burner).
Low NOx models in the downflow or horizontal positions
must use Table 14 (21,000 Btuh/Burner). See input listed
on rating plate.
a. Obtain average yearly gas heat value (at installed altitude)
from local gas supplier.
b. Obtain average yearly gas specific gravity from local gas
supplier.
c. Find installation altitude in Table 13 or 14.
d. Find closest natural gas heat value and specific gravity
in Table 13 or 14.
e. Follow heat value and specific gravity lines to point of
intersection to find orifice size and manifold pressure
settings for proper operation.
f. Check and verify burner orifice size in furnace. NEVER
ASSUME ORIFICE SIZE. ALWAYS CHECK AND
VERIFY.
g. Replace orifice with correct size if required by Table 10,
12, 13, and 14. Use only factory--supplied orifices. See
EXAMPLE 2.
Caution!! For the following applications, use the minimum vertical vent heights as specified below. For all other applications,
follow exclusively the National Fuel Gas Code.
FURNACE
ORIENTATION VENT ORIENTATION FURNACE INPUT
(BTUH/HR)
MIN. VENT
DIAMETER
IN (MM)*
MIN. VERTICAL VENT
HEIGHT
FT. (M)**
Downflow Vent elbow left, then up Fig. 38 132,000 5 (127 ) 12 (4)
Horizontal Left Vent elbow right, then up Fig. 41 132,000 5 (127 ) 7(2)
Horizontal Left Vent elbow right Fig. 42 132,000 5 (127 ) 7(2)
NOTE: All vent configurations must also meet National Fuel Gas Code venting requirements NFGC
*4 in. (102 mm) inside casing or vent guard
**Including 4 in. (102 mm) vent section(s)
Table 10 – Altitude Derate Multiplier for U.S.A.
ALTITUDE
(FT. / M)
PERCENT
OF
DERATE
DERATE
MULTIPLIER
FACTOR*
0–2000 (0--- 610) 01.00
2001–3000 (610--- 914) 8–12 0.90
3001–4000 (914--- 1219) 12–16 0.86
4001–5000 (1219--- 1524) 16–20 0.82
5001–6000 (1524--- 1829) 20–24 0.78
6001–7000 (1829--- 2134) 24–28 0.74
7001–8000 (2134--- 2438) 28–32 0.70
8001–9000 (2438--- 2743) 32–36 0.66
9001–10,000 (2743--- 3048) 36–40 0.62
* Derate multiplier factors are based on midpoint altitude for altitude
range.
3. Adjust manifold pressure to obtain correct input rate.
a. Turn gas valve ON/OFF switch to OFF.
b. Remove manifold pressure tap plug from gas valve. (See
Fig. 52.)
c. Connect a water column manometer or similar device to
manifold pressure tap.
d. Turn gas valve ON/OFF switch to ON.
e. Manually close blower door switch.
f. Set thermostat to call for heat.
g. Remove regulator seal cap and turn regulator adjusting
screw counterclockwise (out) to decrease input rate of
clockwise (in) to increase input rate.
EXAMPLE 2: (0 to 2000 ft. (0 to 610 M) altitude)
For 22,000 Btuh per burner application use Table 13.
Heating value = 1000 Btuh/cu ft.
Specific gravity = 0.62
Therefore: Orifice No. 43*
Manifold pressure: 3.7--in. wc
*Furnace is shipped with No. 43 orifices.
In this example all main burner orifices are the correct
size and do not need to be changed to obtain proper
input rate.
h. Install regulator seal cap.
i. Leave manometer or similar device connected and
proceed to Step 4.
NOTE: DO NOT set manifold pressure less than 3.2--in wc or
more than 3.8--in. wc for natural gas at sea level. If manifold
pressure is outside this range, change main burner orifices. Refer
to Table 10, 12, 13, and 14.
NOTE: If orifice hole appears damaged or it is suspected to have
been redrilled, check orifice hole with a numbered drill bit of
correct size. Never redrill an orifice. A burr--free and squarely
aligned orifice hole is essential for proper flame characteristics.
4. Verify natural gas input rate by clocking meter.
NOTE: Gas valve regulator adjustment cap must be in place for
proper input to be clocked.
a. Turn off all other gas appliances and pilots served by the
meter.
b. Run furnace for 3 minutes in heating operation.
58PHA

38
c. Measure time (in sec) for gas meter to complete 1
revolution and note reading. The 2 or 5 cubic feet dial
provides a more accurate measurement of gas flow.
d. Refer to Table 12 for cubic ft. of gas per hr.
e. Multiply gas rate (cu ft./hr) by heating value (Btuh/cu ft.)
to obtain input.
If clocked rate does not match required input from Step 1,
increase manifold pressure to increase input or decrease manifold
pressure to decrease input. Repeat steps b through e until correct
input is achieved. Reinstall regulator seal cap on gas valve.
5. Set temperature rise. The furnace must operate within the
temperature rise ranges specified on the furnace rating
plate. Do not exceed temperature rise range specified on
unit rating plate. Determine the temperature rise as
follows:
NOTE: Blower access door must be installed when taking
temperature rise reading. Leaving blower access door off will
result in incorrect temperature measurements.
ELECTRICAL SHOCK HAZARD
Failure to follow this warning could result in personal injury
or death.
Disconnect 115--v electrical power before changing speed
tap.
!WARNING
a. Place thermometers in return and supply ducts as close
to furnace as possible. Be sure thermometers do not see
radiant heat from heat exchangers. Radiant heat affects
temperature rise readings. This practice is particularly
important with straight--run ducts.
b. When thermometer readings stabilize, subtract return--air
temperature from supply--air temperatureto determineair
temperature rise.
NOTE: Blower access door must be installed for proper
temperature rise measurement.
NOTE: If the temperature rise is outside this range, first check:
(1.) Gas input for heating operation.
(2.) Derate for altitude if applicable.
(3.) Return and supply ducts for excessive restrictions
causing static pressures greater than 0.50--in. wc.
(4.) Dirty filter.
c. Reinstall blower access door if removed.
d. Turn gas valve ON/OFF switch to ON.
e. Adjust air temperature rise by adjusting blower speed.
Increase blower speed to reduce temperature rise.
Decrease blower speed to increase temperature rise
f. Turn thermostat down below room temperature and
remove blower access door.
g. To change motor speed selection for heating, remove
blower motor lead from control HEAT terminal (See Fig.
24.) Select desired blower motor speed lead from one of
the other terminals and relocate it to the HEAT terminal
(See Table 11 for lead color identification). Reconnect
original lead to SPARE terminal.
h. Repeat steps a through e.
i. When correct input rate and temperature rise is achieved,
turn gas valve ON/OFF switch to OFF.
j. Remove manometer or similar device from gas valve.
k. Reinstall manifold pressure tap plug in gas valve.
A06666
Fig. 52 -- Gas Control Valve
BURNER
ORIFICE
A93059
Fig. 53 -- Orifice Hole
FIRE HAZARD
Failure to follow this warning could result in personal
injury, death, and/or property damage.
Reinstall manifold pressure tap plug in gas valve to prevent
gas leak.
!WARNING
58PHA

39
Table 11 – Speed Selection
COLOR SPEED AS SHIPPED
Gray 5COOL
Yellow 4SPARE
Blue 3HEAT
Orange 2SPARE
Red 1* CONT FAN
* C on t in u o u s --- bl o w er sp e ed --- a s s h ip pe d d e f a u l t
FURNACE OVERHEATING HAZARD
Failure to follow this caution may result in reduced furnace
life.
Recheck temperature rise. It must be within limits specified
on the rating plate. Recommended operation is at the
mid--point of rise range or slightly above.
CAUTION
!
6. Set thermostat heat anticipator.
a. Mechanical thermostat -- Set thermostat heat anticipator
to match the amp. draw of the electrical components in
the R--W circuit. Accurate amp. draw readings can be
obtained at the wires normally connected to thermostat
subbase terminals, R and W. The thermostat anticipator
should NOT be in the circuit while measuring current.
(1.) Remove thermostat from subbase or from wall.
(2.) Connect an amp. meter as shown in Fig. 54 across
the R and W subbase terminals or R and W wires at
wall.
(3.) Record amp. draw across terminals when furnace is
in heating and after blower starts.
(4.) Set heat anticipator on thermostat per thermostat
instructions and install on subbase or wall.
b. Electronic thermostat: Set cycle rate for 4 cycles per hr.
7. Adjust blower off delay The blower off delay has 4
adjustable settings from 90 sec to 180 sec. The blower off
delay jumpers are located on the furnace control board.
(See Fig. 24.)
To change the blower off delay setting, move the jumper
from one set of pins on the control to the pins used for the
selected blower off delay. Factory off delay setting is 120
sec.
8. Set airflow CFM for cooling
Select the desired blower motor speed lead for cooling
airflow. See Table 5--Air Delivery--CFM (With Filter). See
Table 11 for lead color identification.
Check Safety Controls
The flame sensor, gas valve, and pressure switch were all checked
in the Start--up procedure section as part of normal operation.
1. Check Main Limit Switch(es)
This control shuts off combustion control system and
energizes air--circulating blower motor, if furnace
overheats. By using this method to check limit control, it
can be established that limit is functioning properly and
will operate if there is a restricted duct system or motor
failure. If limit control does not function during this test,
cause must be determined and corrected.
a. Run furnace for at least 5 minutes.
b. Gradually block off return air with a piece of cardboard
or sheet metal until the limit trips.
c. Unblock return air to permit normal circulation.
d. Burners will re--light when furnace cools down.
2. Check draft safeguard switch.
The purpose of this control is to cause the safe shutdown
of the furnace during certain blocked vent conditions.
R Y W G
10 TURNS
THERMOSTAT SUBBASE
TERMINALS WITH
THERMOSTAT REMOVED
(ANITICIPATOR, CLOCK, ETC.,
MUST BE OUT OF CIRCUIT.)
HOOK-AROUND
AMMETER
EXAMPLE: 5.0 AMPS ON AMMETER
10 TURNS AROUND JAWS
= 0.5 AMPS FOR THERMOSTAT
ANTICIPATOR SETTING
FROM UNIT 24-V
CONTROL TERMINALS
A96316
Fig. 54 -- Amp. Draw Check with Ammeter
a. Verify vent pipe is cool to the touch.
b. Disconnect power to furnace and remove vent connector
from furnace vent elbow.
c. Restore power to furnace and set room thermostat above
room temperature.
d. After normal start--up, allow furnace to operate for 2
minutes, then block vent elbow in furnace 80 percent of
vent area with a piece of flat sheet metal.
e. Furnace should cycle off within 2 minutes. Ifgas does not
shut off within 2 minutes, determine reason draft
safeguard switch did not function properly and correct
condition.
f. Remove blockage from furnace vent elbow.
g. Switch will auto--reset when it cools.
h. Re--install vent connector.
NOTE: Should switch remain open longer than 3 minutes,
furnace control board will lockout the furnace for 3 hours. To
reset furnace control board, turn thermostat below room
temperature or from HEAT to OFF and turn 115v power OFF,
then back ON.
3. Check Pressure Switch
This control proves operation of the draft inducer blower.
a. Turn off 115--v power to furnace.
b. Disconnect inducer motor lead wires from wire harness.
c. Turn on 115--v power to furnace.
d. Set thermostat to “call for heat” and wait 1 minute. When
pressure switch is functioning properly, hot surface
igniter should NOT glow and control diagnostic light
flashes a status code 32. If hot surface igniter glows when
inducer motor is disconnected, shut down furnace
immediately.
e. Determine reason pressure switch did not function
properly and correct condition.
f. Turn off 115--v power to furnace.
g. Reconnect inducer motor wires, replace outer door, and
turn on 115--v power.
h. Blower will run for 90 sec before beginning the call
forheat again.
i. Furnace should ignite normally.
58PHA

40
Table 12 – Gas Rate (Cu Ft./Hr.)
SECONDS
FOR 1 REVOLUTION
SIZE OF TEST DIAL SECONDS
FOR 1 REVOLUTION
SIZE OF TEST DIAL
1
Cu Ft. 2CuFt. 5CuFt. 1CuFt. 2CuFt. 5CuFt.
10 360 720 1800 50 72 144 360
11 327 655 1636 51 71 141 355
12 300 600 1500 52 69 138 346
13 277 555 1385 53 68 136 340
14 257 514 1286 54 67 133 333
15 240 480 1200 55 65 131 327
16 225 450 1125 56 64 129 321
17 212 424 1059 57 63 126 316
18 200 400 1000 58 62 124 310
19 189 379 947 59 61 122 305
20 180 360 900 60 60 120 300
21 171 343 857 62 58 116 290
22 164 327 818 64 56 112 281
23 157 313 783 66 54 109 273
24 150 300 750 68 53 106 265
25 144 288 720 70 51 103 257
26 138 277 692 72 50 100 250
27 133 267 667 74 48 97 243
28 129 257 643 76 47 95 237
29 124 248 621 78 46 92 231
30 120 240 600 80 45 90 225
31 116 232 581 82 44 88 220
32 113 225 563 84 43 86 214
33 109 218 545 86 42 84 209
34 106 212 529 88 41 82 205
35 103 206 514 90 40 80 200
36 100 200 500 92 39 78 196
37 97 195 486 94 38 76 192
38 95 189 474 96 38 75 188
39 92 185 462 98 37 74 184
40 90 180 450 100 36 72 180
41 88 176 439 102 35 71 178
42 86 172 429 104 35 69 173
43 84 167 419 106 34 68 170
44 82 164 409 108 33 67 167
45 80 160 400 110 33 65 164
46 78 157 391 112 32 64 161
47 76 153 383 116 31 62 155
48 75 150 375 120 30 60 150
49 73 147 367
Checklist
1. Put away tools and instruments. Clean up debris.
2. Verify that blower OFF--DELAY time is selected as
desired.
3. Verify that blower and burner access doors are properly
installed.
4. Cycle test furnace with room thermostat.
5. Check operation of accessories per manufacturer’s
instructions.
6. Review User’s Guide with owner.
7. Attach literature packet to furnace.
58PHA

41
Table 13 – Orifice Size* and Manifold Pressure (In. wc) for Gas Input Rate
A08220
58PHA

42
Table 13 -- Orifice Size* and Manifold Pressure (In. wc) for Gas Input Rate (CONT)
A08220A
58PHA

43
SERVICE AND MAINTENANCE
PROCEDURES
FIRE, INJURY, OR DEATH HAZARD
Failure to follow this warning could result in personal
injury, death and/or property damage.
The ability to properly perform maintenance on this
equipment requires certain knowledge, mechanical skills,
tools, and equipment. If you do not possess these, do not
attempt to perform any maintenance on this equipment
other than those procedures recommended in the User’s
Manual.
!WARNING
ELECTRICAL SHOCK, FIRE OR EXPLOSION
HAZARD
Failure to follow this warning could result in personal
injury or death, or property damage.
Before servicing, disconnect all electrical power to furnace.
Verify proper operation after servicing.
!WARNING
ELECTRICAL OPERATION HAZARD
Failure to follow this caution may result in improper
furnace operation or failure of furnace.
Label all wires prior to disconnection when servicing
controls. Wiring errors can cause improper and dangerous
operation.
CAUTION
!
INTRODUCTION
GENERAL
These instructions are written as if the furnace is installed in an
upflow application. An upflow furnace application is where the
blower is located below the combustion and controls section of
the furnace, and conditioned air is discharged upward. Since this
furnace can be installed in any of the 4 positions shown in Fig. 4,
you must revise your orientation to component location
accordingly.
ELECTRICAL CONTROLS AND WIRING
ELECTRICAL SHOCK HAZARD
Failure to follow this warning could result in personal
injury or death.
There may be more than one electrical supply to the
furnace. Check accessories and cooling unit for additional
electrical supplies that must be shut off during furnace
servicing.
CAUTION
!
The electrical ground and polarity for 115--v wiring must be
properly maintained. Refer to Fig. 25 for field wiring information
and to Fig. 59 for furnace wiring information.
NOTE: If the polarity is not correct, the STATUS LED on the
control will flash rapidly and prevent the furnace from heating.
The control system also requires an earth ground for proper
operation of the control and flame--sensing electrode.
The 24--v circuit contains an automotive--type, 3--amp.. fuse
located on the control. (See Fig. 24.) Any shorts of the 24--v
wiring during installation, service, or maintenance will cause this
fuse to blow. If fuse replacement is required, use ONLY a 3--amp.
fuse. The control LED will display status code 24 when fuse
needs to be replaced.
Proper instrumentation is required to service electrical controls.
The control in this furnace is equipped with a Status Code LED
(Light--Emitting Diode) to aid in installation, servicing, and
troubleshooting. It can be viewed through the sight glass in
blower access door. The furnace control LED is either ON
continuously, rapid flashing, or a code composed of 2 digits. The
first digit is the number of short flashes, the second digit is the
number of long flashes.
For an explanation of status codes, refer to service label located
on blower access door or Fig. 55 and the troubleshooting guide
which can be obtained from your distributor.
See Fig. 60, a brief Troubleshooting Guide.
For Controls With an Amber LED
The stored status code will not be erased from the control
memory, if 115-- or 24--v power is interrupted.
1. To retrieve status code, proceed with the following:
NOTE: NO thermostat signal may be present at control, and all
blower--OFF delays must be completed.
a. Leave 115--v power to furnace turned on.
b. Remove outer access door.
c. Look into blower access door sight glass for current LED
status. Removing blower access door will open blower
access door switch and terminate 115--v power to control
so that status code is not displayed.
d. BRIEFLY remove insulated terminal wire from the draft
safeguard (DSS) switch until LED goes out, then
reconnect it.
NOTE: If wire to LS or DSS is disconnected longer than 4 sec,
main blower starts, and retrieval request is ignored.
2. When above items have been completed, the LED flashes
status code 4 times. Record this status code for further
troubleshooting.
3. Check LED status. If no previous faults in history, control
will flash status code 11.
58PHA

44
Table 14 – Orifice Size* And Manifold Pressure (In. wc) For Gas Input Rate
A08221
58PHA

45
Table 14-- Orifice Size* And Manifold Pressure (In. wc) For Gas Input Rate (CONT)
A08221A
To initiate the component test sequence, shut OFF the room thermostat or disconnect the "R"
thermostat lead. Briefly short the TEST/TWIN terminal to the "Com 24V" terminal. Status LED
will flash code and then turn ON the inducer motor. The inducer motor will run for the entire
component test. The hot surface ignitor, blower motor fan speed (on AMBER LED boards
only) blower motor-heat speed, and blower motor-cool speed will be turned ON for 10-15
seconds each. Gas Valve and Humidifier will not be turned on.
CONTINUOUS OFF - Check for 115VAC at L1 and L2, and 24VAC at SEC-1 and SEC-2.
CONTINUOUS ON - Control has 24VAC power.
RAPID FLASHING - Line voltage (115VAC) polarity reversed. If twinned, refer to twinning kit instructions.
LED CODE STATUS
11 NO PREVIOUS CODE - Stored status code is erased automatically after 72 hours. On
RED LED boards stored status codes can also be erased when power
(115 VAC or 24 VAC) to control is interrupted.
12 BLOWER ON AFTER POWER UP (115 VAC or 24 VAC) -Blower runs for 90 seconds,
if unit is powered up during a call for heat (R-W closed) or R-W opens during blower
on-delay.
13 LIMIT CIRCUIT LOCKOUT - Lockout occurs if the limit, draft safeguard, flame rollout, or
blocked vent switch (if used) is open longer than 3 minutes.
- Control will auto reset after three hours. - Refer to #33.
14 IGNITION LOCKOUT - Control will auto-reset after three hours. Refer to #34.
21 GAS HEATING LOCKOUT - Control will NOT auto reset.
Check for: - Mis-wired gas valve -Defective control (valve relay)
22 ABNORMAL FLAME-PROVING SIGNAL - Flame is proved while gas valve is de-
energized. Inducer will run until fault is cleared. Check for: - Leaky gas valve
- Stuck-open gas valve
23 PRESSURE SWITCH DID NOT OPEN Check for:
- Obstructed pressure tubing. - Pressure switch stuck closed.
24 SECONDARY VOLTAGE FUSE IS OPEN Check for:
- Short circuit in secondary voltage (24VAC) wiring.
If status code recall is needed, briefly remove then reconnect one main limit wire to display stored status code. On RED LED boards do not remove power or blower door before initiating status code recall. After
status code recall is completed component test will occur.
327596-101 REV. B
31 PRESSURE SWITCH DID NOT CLOSE OR REOPENED - If open longer than five minutes,
inducer shuts off for 15 minutes before retry. Check for: - Excessive wind
- Proper vent sizing - Defective inducer motor
- Low inducer voltage (115VAC) - Defective pressure switch
- Inadequate combustion air supply - Disconnected or obstructed pressure tubing
- Low inlet gas pressure (if LGPS used) - Restricted vent
If it opens during blower on-delay period, blower will come on for the selected blower
off-delay.
33 LIMIT CIRCUIT FAULT - Indicates a limit, draft safeguard, flame rollout, or blocked vent
switch (if used) is open. Blower will run for 4 minutes or until open switch remakes
whichever is longer. If open longer than 3 minutes, code changes to lockout #13.
If open less than 3 minutes status code #33 continues to flash until blower shuts off.
Flame rollout switch and BVSS require manual reset. Check for: - Restricted vent
- Proper vent sizing - Loose blower wheel. - Excessive wind
- Dirty filter or restricted duct system.
- Defective blower motor or capacitor. - Defective switch or connections.
- Inadequate combustion air supply (Flame Roll-out Switch open).
34 IGNITION PROVING FAILURE - Control will try three more times before lockout #14
occurs. If flame signal lost during blower on-delay period, blower will come on for the
selected blower off-delay. Check for: - Flame sensor must not be grounded
- Oxide buildup on flame sensor (clean with fine steel wool).
- Proper flame sense microamps (.5 microamps D.C. min., 4.0 - 6.0 nominal).
- Gas valve defective or gas valve turned off - Manual valve shut-off
- Defective Hot Surface Ignitor - Control ground continuity
- Low inlet gas pressure - Inadequate flame carryover or rough ignition
- Green/Yellow wire MUST be connected to furnace sheet metal
45 CONTROL CIRCUITRY LOCKOUT Auto-reset after one hour lockout due to;
- Gas valve relay stuck open - Flame sense circuit failure - Software check error
Reset power to clear lockout. Replace control if status code repeats.
SERVICE
COMPONENT TEST
EACH OF THE FOLLOWING STATUS CODES IS A TWO DIGIT NUMBER WITH THE FIRST DIGIT DETERMINED BY THE NUMBER OF SHORT FLASHES AND THE SECOND DIGIT BY THE NUMBER OF LONG FLASHES.
A04223
Fig. 55 -- Service Label
58PHA

46
CARE AND MAINTENANCE
FIRE OR EXPLOSION HAZARD
Failure to follow this warning could result in personal
injury, death and/or property damage.
Never store anything on, near, or in contact with the
furnace, such as:
1. Spray or aerosol cans, rags, brooms, dust mops,
vacuum cleaners, or other cleaning tools.
2. Soap powders, bleaches, waxes or other cleaning
compounds, plastic or plastic containers, gasoline,
kerosene, cigarette lighter fluid, dry cleaning fluids,
or other volatile fluids.
3. Paint thinners and other painting compounds, paper
bags, or other paper products.
!WARNING
For continuing high performance and to minimize possible
equipment failure, periodic maintenance must be performed on
this equipment. Consult your local dealer about proper frequency
of maintenance and the availability of a maintenance contract.
ELECTRICAL SHOCK AND FIRE HAZARD
Failure to follow this warning could result in personal
injury, death or property damage.
Turn off the gas and electrical supplies to the unit before
performing any maintenance or service. Follow the
operating instructions on the label attached to the
furnace.
!WARNING
CARBON MONOXIDE POISONING AND
FIRE HAZARD
Failure to follow this warning could result in personal
injury, death and/or property damage.
Never operate unit without a filter or with filter access door
removed.
!WARNING
CUT HAZARD
Failure to follow this caution may result in personal injury.
Sheet metal parts may have sharp edges or burrs. Use care
and wear appropriate protective clothing, safety glasses and
gloves when handling parts and servicing furnaces.
CAUTION
!
The minimum maintenance on this furnace is as follows:
1. Check and clean/replace air filter each month or more
frequently if required. Replace if torn.
2. Check blower motor and wheel for cleanliness each
heating and cooling season. Clean as necessary.
3. Check electrical connections for tightness and controls for
proper operation each heating season. Service as
necessary.
4. Inspect burner compartment before each heating season
for rust, corrosion, soot or excessive dust. If necessary,
have furnace and burner serviced by a qualified service
agency.
5. Inspect the vent pipe/vent system before each heating
season for rust, corrosion, water leakage, sagging pipes or
broken fittings. Have vent pipes/vent system serviced by a
qualified service agency.
6. Inspect any accessories attached to the furnace such as a
humidifier or electronic air cleaner. Perform any service or
maintenance to the accessories as recommended in the
accessory instructions.
CLEANING AND/OR REPLACING AIR FILTER
The air filter arrangement will vary depending on the application.
The filter is exterior to the furnace casing.
NOTE: If the filter has an airflow direction arrow, the arrow
must point towards the blower.
Table 15 – Filter Size Information (In. / mm)
FURNACE
CASING
WIDTH
In. (mm)
FILTER SIZE (In. / mm)
FILTER TYPE
Side Return Bottom Return
14---1/2
(368)
16 x 25 x 3/4
(406 x 635 x 19)
14 x 25 x 3/4
(356 x 635 x 19) Washable*
17---1/2
(445)
16 X 25 X 3/4
(406 x 635 x 19)
16 X 25 X 3/4
(406 x 635 x 19) Washable*
21 (533) 16 x 25 x 3/4
(406 x 635 x 19)
20 X 25 X 3/4
(508 x 635 x 19) Washable*
24 (610) 16 x 25 x 3/4
(406 x 635 x 19)
24 X 25 X 3/4
(610 x 635 x 19) Washable*
* Recommended
Media cabinet filter procedures :
NOTE: Media cabinet is included with single--stage deluxe
furnace.
1. Turn off electrical supply to furnace before removing filter
access door.
2. Remove filter cabinet door.
3. Slide filter out of cabinet.
4. If equipped with permanent, washable 3/4--in. (19 mm) fil-
ter, clean filter by spraying cold tap water through filter in
opposite direction of airflow. Rinse filter and let dry.
Oiling or coating of the filter is not recommended. See
Table 15 for size information.
5. If equipped with factory--specified disposable media filter,
replace only with media filter having the same part
number and size. For expandable replacement media, refer
to the instructions included with the replacement media. If
equipped with accessory KGAFR0301ALL external filter
rack, See Table 15.
6. Slide filter into cabinet.
7. Replace filter cabinet door.
8. Turn on electrical supply to furnace.
BLOWER MOTOR AND WHEEL
ELECTRICAL SHOCK HAZARD
Failure to follow this warning could result in personal injury
or death.
Blower access door switch opens 115--v power to control.
No component operation can occur unless switch is closed.
Caution must be taken when manually closing this switch
for service purposes.
!WARNING
58PHA

47
NOTE: The blower wheel should not be dropped or bent as
balance will be affected. The following steps should be performed
by a qualified service agency.
To ensure long life and high efficiency, clean accumulated dirt
and grease from blower wheel and motor annually.
The inducer and blower motors are pre--lubricated and require no
additional lubrication. These motors can be identified by the
absence of oil ports on each end of the motor.
Clean blower motor and wheel as follows:
1. Turn off electrical supply to furnace.
2. Loosen the thumbscrew on outer door and remove outer
door.
3. For downflow or horizontal furnaces having vent pipes
within the furnace that pass in front of the blower access
door:
a. Disconnect vent connector from furnace vent elbow.
b. Disconnect and remove short piece of vent pipe from
within furnace.
4. Remove two screws from blower access door and remove
blower access door.
5. Disconnect both harness connectors from blower motor
instead of at the circuit board. This reduces the chances of
a miswire when reconnecting wiring. The connectors are
polarized to prevent connection in the wrong orientation.
6. Remove two screws holding control box to blower shelf.
7. Hang control box from front of furnace casing and away
from blower compartment.
8. Remove two screws holding blower assembly to blower
deck and slide blower assembly out of furnace.
9. Clean blower wheel and motor using a vacuum with soft
brush attachment. Blower wheel blades may be cleaned
with a small paint or flux brush. Do not remove or disturb
balance weights (clips) on blower wheel blades.
10. Vacuum any loose dust from blower housing, wheel and
motor.
11. If a greasy residue is present on blower wheel, remove
wheel from the blower housing and wash it with an
appropriate degreaser. To remove wheel:
NOTE: Before disassembly, mark blower motor, and blower
housing so motor and each arm is positioned at the same location
during reassembly.
a. Disconnect power choke wires (if used) and ground wire
attached to blower housing.
b. Remove screws securing cutoff plate and remove cutoff
plate from housing.
c. Loosen set screw holding blower wheel on motor shaft
(160+/--20 in.--lb. when reassembling).
d. Remove boltsholding motor to blowerhousing and slide
motor out of wheel (40+/--10 in.--lb. when reassembling).
e. Remove blower wheel from housing.
f. Clean wheel and housing.
12. Reassemble motor and blower by reversing steps 11f
through 11a, finishing with 11a. Be sure to reattach
ground wire to the blower housing.
13. Verify that blower wheel is centered in blower housing
and set screw contacts the flat portion of the motor shaft.
Loosen set screw on blower wheel and reposition if
necessary.
14. Spin the blower wheel by hand to verify that the wheel
does not rub on the housing.
15. Reinstall blower assembly in furnace.
16. Reinstall control box assembly in furnace.
UNIT DAMAGE HAZARD
Failure to follow this caution may result in shortened heat
exchanger life.
Heating fan speed(s) MUST be adjusted to provide proper
air temperature rise as specified on the rating plate.
Recommended operation is at the midpoint of the rise range
or slightly above. Refer to “SET TEMPERATURE RISE”
under START--UP, ADJUSTMENT, and SAFETY
CHECK.
CAUTION
!
NOTE: Refer to Table 11 for motor speed lead relocation if
leads were not identified before disconnection.
17. Reconnect blower leads to furnace control. Refer to
furnace wiring diagram, and connect thermostat leads if
previously disconnected.
18. To check blower for proper rotation:
a. Turn on electrical supply.
ELECTRICAL SHOCK HAZARD
Failure to follow this warning could result in personal
injury, or death.
Blower access door switch opens 115--v power to
furnace control. No component operation can occur
unless switch is closed. Exercise caution to avoid
electrical shock from exposed electrical components
when manually closing this switch for service purposes.
!WARNING
b. Manually close blower access door switch.
NOTE: If thermostat terminals are jumpered at the time blower
access door switch is closed, blower will run for 90 sec before
beginning a heating or cooling cycle.
c. Perform component self--test as shown at the bottom of
the SERVICE label, located on the front of blower access
door.
d. Verify blower is rotating in the correct direction.
19. If furnace is operating properly, RELEASE BLOWER
ACCESS DOOR SWITCH. Remove any jumpers or
reconnect any disconnected thermostat leads. Replace
blower access door.
20. Downflow or horizontal furnaces with vent pipe through
furnace only:
a. Install and connect short piece of vent pipe inside furnace
to existing vent.
b. Connect vent connector to vent elbow.
21. Reinstall casing door.
22. Turn on gas supply and cycle furnace through one
complete heating and cooling cycle. Verify the furnace
temperature rise as shown in “Adjustments” Section.
Adjust temperature rise as shown in “Adjustments”
Section. If outdoor temperature is below 70_F, (21_C)
turn off circuit breaker to outdoor unit before running
furnace in the cooling cycle. Turn outdoor circuit breaker
on after completing cooling cycle.
CLEANING HEAT EXCHANGER
The following steps should be performed by a qualified
service agency:
NOTE: If the heat exchangers get a heavy accumulation of soot
and carbon, they should be replaced rather than trying to clean
58PHA

48
them thoroughly. A heavy build--up of soot and carbon indicates
that a problem exists which needs to be corrected, such as
improper adjustment of manifold pressure, insufficient or poor
quality combustion air, incorrect size or damaged manifold
orifice( s), improper gas, or a restricted heat exchanger. Action
must be taken to correct the problem.
If it becomes necessary to clean the heat exchangers because of
dust or corrosion, proceed as follows:
1. Turn OFF gas and electrical power to furnace.
2. Remove outer access door.
3. Disconnect vent connector from furnace vent elbow.
4. For downflow or horizontal furnace having an internal
vent pipe, remove internal vent pipe within the casing.
5. Disconnect wires to the following components. Mark
wires to aid in reconnection of (be careful when
disconnecting wires from switches because damage may
occur):
a. Draft safeguard switch.
b. Inducer motor.
c. Pressure switch(es).
d. Limit overtemperature switch.
e. Gas valve.
f. Hot surface igniter.
g. Flame--sensing electrode.
h. Flame rollout switches.
6. Remove screws that fasten the collector box assembly to
the cell panel. Be careful not to damage the collector box.
Inducer assembly and elbow need not be removed from
collector box.
7. Disconnect gas line from gas manifold.
8. Remove the 5 screws that attach the burner assembly to
the cell panel. The gas valve and individual burners need
not be removed from support assembly. Remove NOx
baffles if installed.
NOTE: Be very careful when removing burner assembly to
avoid breaking igniter. See Fig. 56 and 57 for correct igniter
location.
9. Using field--provided 25--caliber rifle cleaning brush,
36--in. (914 mm) long, 1/4” (6 mm) diameter steel spring
cable, a variable speed, reversible electric drill, and
vacuum cleaner, clean cells as follows:
a. Remove metal screw fitting from wire brush to allow
insertion into cable.
b. Insert the twisted wire end of brush into end of spring
cable, and crimp tight with crimping tool or crimp by
striking with ball--peen hammer. TIGHTNESS IS VERY
IMPORTANT.
9/32”
7.1mm
5/16”
7.9mm
A05025
Fig. 56 -- Igniter Position--Side View
1-7/8
47.6 mm
A05026
Fig. 57 -- Igniter Position--Top View
NOTE: The materials needed in item 9 can usually be purchased
at local hardware stores.
(1.) Attach variable--speed, reversible drill to the end of
spring cable (end opposite brush).
(2.) Insert brush end of cable into the outlet opening of
cell and slowly rotate with drill. DO NOT force
cable. Gradually insert cable into upper pass of cell.
(See Fig. 58.)
(3.) Work cable in and out of cell 3 or 4 times to obtain
sufficient cleaning. DO NOT pull cable with great
force. Reverse drill and gradually work cable out.
(4.) Insert brush end of cable in burner inlet opening of
cell, and proceed to clean 2 lower passes of cell in
same manner as upper pass.
(5.) Repeat foregoing procedures until each cell in
furnace has been cleaned.
(6.) Using vacuum cleaner, remove residue from each
cell.
(7.) Using vacuum cleaner with soft brush attachment,
clean burner assembly.
(8.) Clean flame sensor with fine steel wool.
(9.) Install NOx baffles (if removed).
(10.) Reinstall burner assembly. Center burners in cell
openings.
10. Remove old sealant from cell panel and collector box
flange.
11. Spray releasing agent on the heat exchanger cell panel
where collector box assembly contacts cell panel.
NOTE: A releasing agent such as cooking spray or equivalent
(must not contain corn or canola oil, aromatic or halogenated
58PHA

49
hydrocarbons or inadequate seal may occur) and RTV sealant
(G.E. 162, 6702, or Dow--Corning 738) are needed before
starting installation. DO NOT substitute any other type of RTV
sealant. G.E. 162 (P771--9003) is available through RCD in 3--oz.
tubes.
12. Apply new sealant to flange of collector box and attach to
cell panel using existing screws, making sure all screws
are secure.
13. Reconnect wires to the following components. (Use
connection diagram on wiring label, if wires were not
marked for reconnection locations.):
a. Draft safeguard switch.
b. Inducer motor.
c. Pressure switch(es).
d. Limit over--temperature switch.
e. Gas valve.
f. Hot surface igniter.
g. Flame--sensing electrode.
h. Flame rollout switches.
i. Install NOx baffles (if removed).
14. Reinstall internal vent pipe, if applicable.
A91252
Fig. 58 -- Cleaning Heat Exchanger Cell
15. Reinstall vent connector on furnace vent elbow. Securely
fasten vent connector to vent elbow with 2 field--supplied,
corrosion--resistant, sheet metal screws located 180_apart.
16. Replace blower access door only, if it was removed.
17. Set thermostat above room temperature and check furnace
for proper operation.
18. Verify blower airflow and speed changes between heating
and cooling.
19. Check for gas leaks.
20. Replace outer access door.
FIRE OR EXPLOSION HAZARD
Failure to follow this warning could result in personal injury,
death and/or property damage.
Never purge a gas line into a combustion chamber. Never
test for gas leaks with an open flame. Use a commercially
available soap solution made specifically for the detection of
leaks to check all connections.
!WARNING
Sequence of Operation
NOTE: Furnace control must be grounded for proper operation
or control will lock out. Control is grounded through
green/yellow wire routed to gas valve and manifold bracket
screw. Using the schematic diagram in Fig. 59, follow the
sequence of operation through the different modes. Read and
follow the wiring diagram very carefully.
NOTE: If a power interruption occurs during a call for heat (W),
the control will start a 90--second blower--only ON period two
seconds after power is restored, if the thermostat is still calling for
gas heating. The Amber LED light will flash code 12 during the
90--second period, after which the LED will be ON continuous,
as long as no faults are detected. After the 90--second period, the
furnace will respond to the thermostat normally.
The blower door must be installed for power to be conducted
through the blower door interlock switch ILK to the furnace
control CPU, transformer TRAN, inducer motor IDM, blower
motor BLWM, hot--surface igniter HSI, and gas valve GV.
1. Heating
(See Fig. 25 for thermostat connections.)
The wall thermostat “calls for heat,” closing the R--to--W
circuit. The furnace control performs a self--check, verifies
the pressure switch contacts PRS are open, and starts the
inducer motor IDM.
a. Inducer Prepurge Period-- As the inducer motor IDM
comes up to speed, the pressure switch contacts PRS close
to begin a 15--second prepurge period.
b. Igniter Warm--Up-- At the end of the prepurge period,
the Hot--Surface igniter HSI is energized for a 17--second
igniter warm--up period.
c. Trial--for--Ignition Sequence-- When the igniter
warm--up period is completed, the main gas valve relay
contacts GVR close to energize the gas valve GV, the gas
valve opens, and 24 vac power is supplied for a
field--installed humidifier at the HUM terminal. The gas
valve GV permits gas flow to the burners where it is
ignited by the HSI. Five seconds after the GVR closes,
a 2--second flame proving period begins.The HSI igniter
will remain energized until the flame is sensed or until the
2--second flame proving period begins.
d. Flame--Proving-- When the burner flame is proved at the
flame--proving sensor electrode FSE, the furnace control
CPU begins the blower--ON delay period and continues
to hold the gas valve GV open. If the burner flame is not
proved within two seconds, the control CPU will close
the gas valve GV, and the control CPU will repeat the
ignition sequence for up to three more
Trials--For--Ignition before going to Ignition--Lockout.
Lockout will be reset automatically after three hours or
by momentarily interrupting 115 vac power to the
furnace, or by interrupting 24 vac power at SEC1 or
SEC2 to the furnace control CPU (not at W, G, R, etc.).
If flame is proved when flame should not be present, the
furnace control CPU will lock out of Gas--Heating mode
and operate the inducer motor IDM until flame is no
longer proved.
e. Blower--On Delay-- If the burner flame is proven, the
blower motor is energized on HEAT speed 25 seconds
after the gas valve GV is energized.
Simultaneously, the electronic air cleaner terminal
EAC--1 is energized and remains energized as long as the
blower motor BLWM is energized.
f. Blower--Off Delay-- When the thermostat is satisfied, the
R--to--W circuit is opened, de--energizing the gas valve
GV, stopping gas flow to the burners, and de--energizing
the humidifier terminal HUM. The inducer motor IDM
will remain energized for a 5--second post--purge period.
The blower motor BLWM and air cleaner terminal
EAC--1 will remain energized for 90, 120, 150, or 180
seconds (depending on the blower--OFF delayselection).
The furnace control CPU is factory--set for a 120--second
blower--OFF delay.
58PHA

50
2. Cooling Mode
The thermostat “calls for cooling.”
a. Single--Speed Cooling
(See Fig. 25 -- 32 for thermostat connections)
The thermostat closes the R--to--G--and--Y circuits. The
R--to-- Y circuit starts the outdoor unit, and the
R--to--G--and--Y/Y2 circuits start the furnace blower
motor BLWM on COOL speed.
The electronic air cleaner terminal EAC--1 is energized
with 115 vac when the blower motor BLWM is operating.
When the thermostat is satisfied, the R--to--G--and--Y
circuits are opened. The outdoor unit will stop, and the
furnace blower motor BLWM will continue operating on
the COOL speed for an additional 90 seconds. Jumper
Y/Y2 to DHUM to reduce the cooling off--delay to 5
seconds. (See Fig. 24.)
b. Two--Speed Cooling
(See Fig. 25 -- 32 for thermostat connections.)
The thermostat closes the R--to--G--and--Y1 circuits for
low--cooling or closes the R--to--G--and--Y1--and--Y2
circuits for high--cooling. The R--to--Y1 circuit starts the
outdoor unit on low--cooling speed, and the
R--to--G--and--Y1 circuit starts the furnace blower motor
BLWM on low--cool speed (same speed as FAN). The
R--to--Y1--and--Y2 circuits start the outdoor unit on
high--cooling speed, and the R--to--Gand-- Y/Y2 circuits
start the furnace blower motor BLWM on COOL speed.
The electronic air cleaner terminal EAC--1 is energized
with 115 vac whenever the blower motor BLWM is
operating.
When the thermostat is satisfied, the R--to--G--and--Y1 or
R--to--G--and--Y1 and Y2 circuits are opened. The
outdoor unit stops, and the furnace blower BLWM and
electronic air cleaner terminal EAC--1 will remain
energized for an additional 90 seconds. Jumper Y1 to
DHUM to reduce thecooling off--delay to 5 seconds. (See
Fig. 24.)
3. Thermidistat Mode
(See Fig. 26--29 for Thermidistat connections.)
The dehumidification output, DHUM on the Thermidistat
should be connected to the furnace control thermostat
terminal DHUM. When there is a dehumidify demand, the
DHUM input is activated, which means 24 vac signal is
removed from the DHUM input terminal. In other words,
the DHUM input logic is reversed. The DHUM input is
turned ON when no dehumidify demand exists. Once 24
vac is detected by the furnace control on the DHUM input,
the furnace control operates in Thermidistat mode. If the
DHUM input is low for more than 48 hours, the furnace
control reverts back to non--Thermidistat mode.
The cooling operation described in item 2. above also
applies to operation with a Thermidistat. The exceptions
are listed below:
a. When the R--to--G--and--Y1 circuit is closed and there is
a demand fordehumidification, thefurnace blowermotor
BLWM will continue running at low--cool speed (same
speed as FAN).
b. When the R--to--G--and--Y/Y2 circuit is closed and there
is a demand for dehumidification, the furnace blower
motor BLWM will drop the blower speed from COOL
to HEAT for a maximum of 10 minutes before reverting
back to COOL speed. If there is still a demand for
dehumidification after 20 minutes, the furnace control
CPU will drop the blower speed back to HEAT speed.
This alternating 10-- minute cycle will continue as long
as there is a call for cooling.
c. When the “call for cooling” is satisfied and there is a
demand for dehumidification, the cooling blower--off
delay is decreased from 90 seconds to 5 seconds.
4. Continuous Blower Mode
When the R--to--G circuit is closed by the thermostat, the
blower motor BLWM will operate on continuous--blower
speed (can be adjusted to FAN, HEAT, or COOL speed) at
the thermostat. Factory default is FAN speed. Terminal
EAC--1 is energized as long as the blower motor BLWM is
energized. During a call for heat, the blower BLWM will
stop during igniter warm--up (17 seconds), ignition (7
seconds), and blower--ON delay (25 seconds), allowing
the furnace heat exchangers to heat up more quickly, then
restarts at the end of the blower--ON delay period at HEAT
speed.
In heating, the furnace control CPU will hold the blower
motor BLWM at HEAT speed during the selected
blower--OFF delay period before reverting to
continuous--blower speed. When the thermostat “calls for
low--cooling,” the blower motor BLWM will switch to
operate at low--cool speed (same speed as FAN). When the
thermostat is satisfied, the blower motor BLWM will
operate an additional 90 seconds on low--cool speed (same
speed as FAN) before reverting back to
continuous--blower speed.
When the thermostat “calls for high--cooling”, the blower
motor BLWM will operate at COOL speed. When the
thermostat is satisfied, the blower motor BLWM will
operate an additional 90 seconds on COOL speed before
reverting back to continuous--blower speed.
When the R--to--G circuit is opened, the blower motor
BLWM will continue operating for an additional 5
seconds, if no other function requires blower motor
BLWM operation.
Continuous Blower Speed Selection from Thermostat
--To select different continuous--blower speeds from the
room thermostat, momentarily turn off the FAN switch or
pushbutton on the room thermostat for 1--3 seconds after
the blower motor BLWM is operating. The furnace control
CPU will shift the continuous--blower speed from the
factory setting of FAN to HEAT speed. Momentarily
turning off the FAN switch again at the thermostat will
shift the continuous--blower speed from HEAT to COOL.
Repeating the procedure will shift the continuous--blower
speed from COOL to FAN speed. The selection can be
changed as many times as desired and is stored in the
memory to be automatically used following a power
interruption.
58PHA

51
5. Heat pump
(See Fig. 25 -- 32 for thermostat connections.) When
installed with a heat pump, the furnace control
automatically changes the timing sequence to avoid long
blower off times during demand defrost cycles. When the
R -- t o -- W -- a n d -- Y 1 o r R -- t o -- W -- a n d -- Y 1 -- a n d -- G c i r c u i t s
are energized the furnace control CPU will switch to or
turn on the blower motor BLWM at HEAT speed, and
begin a heating cycle. The blower motor BLWM will
remain on until the end of the prepurge period, then shut
off for 24 seconds then come back on at HEAT speed.
When the W input signal disappears, the furnace control
begins a normal inducer post--purge period and the blower
remains running at HEAT speed for the selected
blower--OFF delay period then switches to low--cool
speed (same speed as FAN). If the
R--to--W--and--Y1--and--G signals disappear at the same
time, the blower motor BLWM will remain on for the
selected blower--OFF delay period. If the R--to--
W--and--Y1 signals disappear, leaving the G signal, the
blower motor BLWM will remain on for the selected
blower--OFF delay period then switch to
continuous--blower speed. When the R--to--W--and--Y/Y2,
R--to--W--and--Y/Y2--and--G, R--to--W--and--Y1--and--
Y / Y 2 , o r R -- t o -- W -- a n d -- Y 1 -- a n d -- Y / Y 2 -- a n d -- G c i r c u i t s
are energized the furnace control CPU will switch to or
turn on the blower motor BLWM at HEAT speed, and
begin a heating cycle. The blower motor BLWM will
remain on until the end of the prepurge period, then shut
off for 24 seconds then come back on at HEAT speed.
When theWinput signal disappears, the furnace control
begins a normal inducer post--purge period and the blower
switches to COOL speed after a 3 second delay. If the
R -- t o -- W -- a n d -- Y / Y 2 -- a n d -- G o r R -- t o -- W -- a n d -- Y 1 -- a n d --
Y/Y2--and--G signals disappear at the same time, the
blower motor BLWM will remain on for the selected
blower--OFF delay period. If the R--to--W--and--Y/Y2 or
R--to--W--and--Y1--and--Y/Y2 signals disappear, leaving
the G signal, the blower motor BLWM will remain on for
the selected blower--OFF delay period then switch to
continuous blower speed.
Wiring Diagrams
Refer to Fig. 59 for wiring diagram.
Troubleshooting
Refer to the service label. (See Fig. 55.) The Troubleshooting
Guide (See Fig. 60) can be a useful tool in isolating furnace
operation problems. Beginning with the word “Start,” answer
each question and follow the appropriate arrow to the next item.
The Guide will help to identify the problem or failed component.
After replacing any component, verify correct operation
sequence.
58PHA

52
A08176
Fig. 59 -- Wiring Diagram
58PHA

53
Is LED status light on?
Is LED status light blinking rapidly without a
pause?
Is LED status light blinking ON/OFF slowly
with a combination of short and long flashes?
Determine status code. The status code is a
2 digit number with the first digit determined
by the number of short flashes and the second
digit by the number of long flashes?
Go to section below for the status code that
was flashed.
Is there 115V at L1 and L2?
Is there 24V at SEC-1 and SEC-2?
Replace furnace control.
Check for correct line voltage polarity. If units
are twinned, check for proper low-voltage
(24V) transformer phasing.
To recall status code briefly remove and reconnect one RED wire from the draft
safeguard switch to display stored status code. On RED LED control do not
remove power or blower access panel before initiating status code recall. You
can also recall the previous status code by momentarily shorting the TEST/TWIN
terminal to Com24V terminal until the LED goes out. LED will flash the status
code of the previous fault or status code #11 (1 short and 1 long flash) if there
was no previous fault. After the control repeats the code 4 times, the control
will go through a brief component test sequence. The inducer will start and run
for the entire component test. The HSI, blower motor FAN speed (AMBER LED
boards only) HEAT speed, and COOL speed will run for 10 – 15 seconds each.
Gas valve and humidifier will not be turned on.
Was there a previous status code
other than #11?
Is door switch closed?
Is there 115V going to switch?
Replace door switch.
Replace transformer.
Does the control respond to W, Y1 (if present),
Y/Y2, and G (24V) thermostat signals?
Run system through a heating or cooling cycle
to check operation. Status codes are erased
after 72 hours. On RED LED boards stored
status codes can also be erased whenever
(115V or 24V) is interrupted.
Replace furnace control.
Is door switch closed?
Is circuit breaker closed?
Check for continuity in wire from circuit breaker
to furnace.
Close circuit breaker and go back to START.
Check room thermostat or
interconnecting cable.
Is 24V present at W, Y1 (if present), Y/Y2 or
G thermostat terminals on the furnace control?
Disconnect all the thermostat wires from the
furnace control.
Does the problem repeat when using
a jumper wire?
The thermostat is not compatible with the
furnace control. Either install a ballast resistor,
connect the Com24V thermostat terminal to
the thermostat, or replace the thermostat.
NO
YES
YES
NO
NO
YES
YES
YES
YES
NO
YES
YES
NO
YES
NO
YES
NO
NO
NO
YES
NO
YES
NO
START
NO
A02106A
Fig. 60 -- Troubleshooting Guide
58PHA

54
11 NO PREVIOUS CODE – Stored codes
are erased after 72 hours. On RED LED
boards stored status codes can also be
erased whenever power (115V or 24V)
is interrupted. Run system through a
heating or cooling cycle to check system.
12 BLOWER ON AFTER POWER UP –
(115V OR 24V) – Normal operation.
Blower runs for 90 seconds, if unit is
powered up during a call for heat (R-W
closed) or when (R-W opens) during the
blower on-delay period.
13LIMIT CIRCUIT LOCKOUT – Lockout
occurs if the limit, draft safeguard, flame
rollout, or blocked vent switch*(if used) is
open longer than 3 minutes. Control will
auto-reset after 3 hours. See code 33.
14 IGNITION LOCKOUT – System failed to
ignite gas and prove flame in 4 attempts.
Control will auto-reset after 3 hours.
See status code 34.
21 GAS HEATING LOCKOUT – Turn off
power and wait 5 minutes to retry.
Check for:
- Stuck closed gas valve relay on control.
-Miswire or short to gas valve wire.
22 ABNORMAL FLAME-PROVING SIGNAL
Flame is proved while gas valve is de-
energized. Inducer will run until fault is
cleared. Check for:
- Stuck open or leaky gas valve.
23 PRESSURE SWITCH DID NOT OPEN
Check for:
- Obstructed pressure tube.
- Pressure switch stuck closed.
24SECONDARY VOLTAGE FUSE IS OPEN
Check for:
-Short circuit in secondary voltage (24V)
wiring including thermostat leads.
Disconnect thermostat leads to isolate
short circuit.
31PRESSURE SWITCH DID NOT CLOSE
OR REOPENED – If open longer than 5
minutes, inducer shuts off for 15 minutes
before retry. If opens during blower on-
delay period, blower will come on for the
selected blower off-delay. Check for:
- Proper vent sizing.
-Low inducer voltage (115V).
-Low inlet gas pressure (if LGPS used).
-Inadequate combustion air supply.
-D
isconnected or obstructed pressure
tubing.
- Defective inducer motor.
- Defective pressure switch.
-Excessive wind.
-Restricted vent.
33 LIMIT CIRCUIT FAULT – Indicates the
limit, draft safeguard, flame rollout, or
blocked vent shutoff switch* (if used) is
open. Blower will run for 4 minutes or
until open switch remakes whichever is
longer. If open longer than 3 minutes,
code changes to lockout #13. If open
less than 3 min. status code #33
continues to flash until blower shuts off.
Flame rollout switch and BVSS requires
manual reset. Check for:
-Dirty filter or restricted duct system.
-Loose blower wheel.
- Defective switch or connections.
- Defective blower motor or capacitor.
-Inadequate combustion air supply
(flame rollout switch open).
- Restricted vent.
- Proper vent sizing.
-E
xcessive wind.
34 IGNITION PROVING FAILURE – If flame
is not sensed during the trial for ignition
period, the control will repeat the ignition
sequence 3 more times before lockout
#14 occurs. If flame signal is lost during
the blower on-delay period, blower will
come on for the selected blower off-delay.
Check the following items first before
proceeding to the next step.
-Gas valve turned off.
-Manual shut-off valve.
-Green/Ye l l o w wire MUST be connected
to furnace sheet metal.
-Flame sensor must not be grounded.
To determine whether the problem is in
the gas valve, igniter, or flame sensor the
system can be operated in the component
test mode to check the igniter. First
remove the R thermostat connection from
the control and initiate the component
test sequence. Does the igniter glow
orange/white by the end of the 15 second
warm-up period?
Unplug igniter harness from control and initiate
another component test sequence. Check
for 115V between pin 1 and NEUTRAL-L2 on
the control. Was 115V present for the 15
second period?
Reconnect the R thermostat lead and set
thermostat to call for heat. Connect voltmeter
across gas valve connections. Does gas valve
receive 24V?
Does gas valve open and allow gas to flow?
Do the main burners ignite?
Do the main burners stay on?
Repeat call for heat and check flame sensor
current during trial for ignition period. Is the
DC microamps below 0.5?
Is current near typical value?
Will main burners ignite and stay on?
Fixed.
Clean flame sensor with fine steel wool and
recheck current. Nominal current is 4.0 to 6.0
microamps.
45CONTROL CIRCUITRY LOCKOUT
Auto-reset after 1 hour lockout due to:
-Flame circuit failure.
-Gas valve relay stuck open.
- Software check error.
Reset power to clear lockout. Replace
control if code repeats.
Replace furnace control.
Check for continuity in the harness and igniter.
Replace defective component.
Check connections. If OK, replace control.
Check that all gas valves are turned on.
Replace valve.
Check for:
-Inadequate flame carryover or rough
ignition.
-Low inlet gas pressure.
- Proper firing rate.
- Blocked or incorrect carry- over gap.
(.045” nominal)
Allow blower to come on and repeat test to
check for intermittent operation.
Check connections and retry. If current is
near typical value (4.0-6.0 nominal) and
burners will not stay on, replace control.
Replace electrode.
Replace furnace control.
* Blocked vent shutoff switch used in Chimney Adapter Kit
YES
YES
YES
YES
NO
YES
YES
YES
NO
YES
NO
NO
NO
YES
NO
NO
NO
NO
A05032
Copyright 2008 Carrier Corp. S7310 W. Morris St. SIndianapolis, IN 46231
Manufacturer reserves the right to change, at any time, specifications and designs without notice and without obligations.
Catalog No: 58PHA---03SI
Replaces: 58PHA--02SI
Printed in U.S.A. Edition Date: 11/08
58PHA