Carrier Weathermaker Infinity 58Mca Users Manual
WEATHERMAKER INFINITY 58MTA OM58-114
58MXA to the manual f2679fa0-f874-468d-add3-c889d969ec5c
2015-01-24
: Carrier Carrier-Weathermaker-Infinity-58Mca-Users-Manual-310791 carrier-weathermaker-infinity-58mca-users-manual-310791 carrier pdf
Open the PDF directly: View PDF
.
Page Count: 12

MULTIPOISE, CONDENSING 58MCA, 58MTA, 58MVP, 58MXA
GAS FURNACE
USER: Please read all instructions in
the manual and retain all manuals for
future reference.
WARNING:
FIRE OR EXPLOSION HAZARD
Failure to follow safety warnings exactly could result in
serious injury, death, or property damage.
!
NOTE TO INSTALLER:
THIS MANUAL MUST BE LEFT WITH THE
EQUIPMENT USER.
— Do not store or use gasoline or other flammable
vapors and liquids in the vicinity of this or any other
appliance.
— WHAT TO DO IF YOU SMELL GAS
• Do not try to light any appliance.
• Do not touch any electrical switch; do not use any
phone in your building.
• Leave the building immediately.
• Immediately call your gas supplier from a neigh-
bor’s phone. Follow the gas supplier’s instructions.
• If you cannot reach your gas supplier, call the fire
department.
— Installation and service must be performed by a
qualified installer, service agency or the gas supplier.
WARNING:
Carbon Monoxide is invisible, odorless, and toxic!
Carrier Corporation recommends a carbon mon-
oxide alarm in your home, even if you do not own
a gas appliance. Locate the carbon monoxide
alarm in the living area of your home and away
from gas appliances and doorways to attached
garages. Follow the alarm manufacturer’s instruc-
tion included with the alarm.
!
Do not use this furnace if any part has been
under water. A flood-damaged furnace is
extremely dangerous. Attempts to use the
furnace can result in fire or explosion. A
qualified service agency should be contacted
to inspect the furnace and to replace all gas
controls, control system parts, electrical
parts that have been wet or the furnace if
deemed necessary.
USER’S INFORMATION MANUAL FOR OPERATION AND MAINTENANCE OF
YOUR GAS-FIRED FURNACE

2
TABLE OF CONTENTS
WELCOME TO A NEW GENERATION OF COMFORT
. . . . . . . 2
GENERAL FURNACE SAFETY
. . . . . . . . . . . . . . . . . . . . . . . . . . . . . . 2
FURNACE COMPONENTS
. . . . . . . . . . . . . . . . . . . . . . . . . . . . . . . . . . . 3
SAFETY CONSIDERATIONS
. . . . . . . . . . . . . . . . . . . . . . . . . . . . . . . . . 4
BEFORE STARTING YOUR FURNACE
. . . . . . . . . . . . . . . . . . . . . . . 4
STARTING AND SHUTTING DOWN YOUR FURNACE
. . . . . . . 4
Steps for Starting Your Furnace. . . . . . . . . . . . . . . . . . . . . . . . . .4-6
Shutting Down Your Furnace . . . . . . . . . . . . . . . . . . . . . . . . . . . . 6
PERFORMING ROUTINE MAINTENANCE
. . . . . . . . . . . . . . . . . . . 6
Filtering Out Trouble. . . . . . . . . . . . . . . . . . . . . . . . . . . . . . . . . . . 7
COMBUSTION AREA AND VENT SYSTEM
. . . . . . . . . . . . . . . . . . . 8
Heading South for the Winter . . . . . . . . . . . . . . . . . . . . . . . . . . . . 9
A CHECK-UP CHECKLIST
. . . . . . . . . . . . . . . . . . . . . . . . . . . . . . . 9,10
BEFORE YOU REQUEST A SERVICE CALL
. . . . . . . . . . . . . . . . .10
INSTALLATION DATA
. . . . . . . . . . . . . . . . . . . . . . . . . . . . . . . . . . . . .12
WELCOME TO A NEW GENERATION
OF COMFORT
Congratulations! In light of rising energy costs, the 58MXA,
58MCA, 58MTA, and WeatherMaker Infinity, Multipoise, Gas-
Fired Condensing Furnaces are among the soundest investments
today’s homeowner can make.
Your new furnace is truly a triumph of technology in home heat-
ing. A revolutionary design employs 2 heat exchangers to
“squeeze” out the maximum amount of heat from the fuel con-
sumed. In fact, your new furnace is so efficient, over 90%* of the
heat generated during combustion is captured and delivered inside
your home. That is more than a 33%* increase in heating effi-
ciency over conventional furnaces.
These are among the most energy-efficient furnaces you can buy to-
day. They also are among the safest and most dependable. We are
proud of the technological advances incorporated into the design of
these furnaces. With only minimal care, your new furnace will deliver
many years of money-saving home comfort and enjoyment. Spend
just a few minutes with this manual to learn the operation of your new
furnace and the small amount of maintenance it takes to help keep it
operating at peak efficiency year after year.
*The output capacity and any representations of efficiency for this furnace are based on standard
U.S. Department of Energy test procedures.
GENERAL FURNACE SAFETY
1. Combustible Materials, Gasoline Warning
. . . . . . . . . . . . . . . . . 1,4
2. Furnace Must be Kept Free and Clear of Insulating
Material Warning
. . . . . . . . . . . . . . . . . . . . . . . . . . . . . . . . . . . . . . . . .4
3. Furnace Needs Air for Combustion and Ventilation Warning
. . .4
4. Starting (Lighting) and Shutting Down the
Furnace Warning
. . . . . . . . . . . . . . . . . . . . . . . . . . . . . . . . . . . . . . . 4-6
5. Proper Furnace Shutdown Procedures
. . . . . . . . . . . . . . . . . . . . . . .5
6. Flood Damage Warning
. . . . . . . . . . . . . . . . . . . . . . . . . . . . . . . . . . . .1
7. Fire or Explosion Hazard Warning
. . . . . . . . . . . . . . . . . . . . . . . . . .1
8. Carbon Monoxide Warning
. . . . . . . . . . . . . . . . . . . . . . . . . . . . . . . .1
9. Service and Maintenance Electrical Hazard Warning
. . . . . . . . . .7
10. Improper Vent Warning
. . . . . . . . . . . . . . . . . . . . . . . . . . . . . . . . . . . .7
11. Sharp Edges Caution
. . . . . . . . . . . . . . . . . . . . . . . . . . . . . . . . . . . . . .6
12. No Filter Caution
. . . . . . . . . . . . . . . . . . . . . . . . . . . . . . . . . . . . . . . . .7
13. Filter Rod Modification Caution
. . . . . . . . . . . . . . . . . . . . . . . . . . . .9
14. Dirt, Rust, or Accumulation Caution
. . . . . . . . . . . . . . . . . . . . . . . .9
ed art
®
• • • • • • • • • • • • • • •
ULTRA HIGH EFFICIENCY
GAS FURNANCE
®
2
MODEL 58MVP
VARIABLE-CAPACITY
AND MODEL 58MTA
TWO-STAGE FURNACES
As an ENERGY STAR®
partner, Carrier Corporation
has determined that this
product meets the ENERGY
STAR® guidelines for
energy efficiency.
CERTIFIED
15. Freeze Damage Caution
. . . . . . . . . . . . . . . . . . . . . . . . . . . . . . . . . .7,9
16. Loud Noise Caution
. . . . . . . . . . . . . . . . . . . . . . . . . . . . . . . . . . . . . . . 9
17. Antifreeze Caution
. . . . . . . . . . . . . . . . . . . . . . . . . . . . . . . . . . . . . . . . 9
MODELS 58MXA (SHOWN) AND
58MCA FIXED-CAPACITY FURNACES
1

3
FURNACE COMPONENTS
Combustion-air intake connection to ensure contami-
nant-free air (right or left side).
Burner sight glass for viewing burner flame.
Burner assembly (inside). Operates with energy-saving
inshot burners and hot surface igniter for safe,
dependable heating.
Redundant gas valve. Safe and efficient. Features 1 gas
control with 2 internal shutoff valves. Valve appearance
varies with furnace model.
Vent outlet. Uses PVC pipe to carry flue gas from the fur-
nace’s combustion system (right or left side).
Inducer motor. Pulls hot flue gases through the heat ex-
changers, maintaining negative pressure for added safety.
Blower access panel safety interlock switch.
Air filter and retainer.
Condensate drain connection. Collects moisture con-
densed from burned gases for disposal into home drain
system. (Location in furnace varies.)
1
2
3
4
5
6
7
8
9
need art
3
MODELS 58MXA, 58MCA, AND 58MTA
FURNACES (UPFLOW POSITION)
Heavy-duty blower. Circulates air across the heat ex-
changers to transfer heat into the home.
Secondary condensing heat exchanger (inside). Wrings
out more heat through condensation. Constructed with
polypropylene-laminated steel to ensure durability.
Primary serpentine heat exchanger (inside). Stretches fuel
dollars with the S-shaped heat-flow design. Solid con-
struction of corrosion-resistant aluminized steel means re-
liability.
Furnace control board.
3-amp fuse provides electrical and component protection.
Light emitting diode (LED) on furnace control board.
Code light is for diagnosing furnace operation and service
requirements.
Pressure switch(es) ensure adequate flow of flue gas
through furnace and out vent system.
Rollout switch (manual reset) to prevent overtemperature.
Junction box for 115-v electrical power supply. (May be
located on right or left side)
Transformer (24v) behind furnace control board pro-
vides low-voltage power to furnace control board and
thermostat.
10
11
12
13
14
15
16
17
18
19
8
10
5
16
9
6
11
5
418
217
3
12
7
1
14
15
13
19
810
5
15
14
13
16
9
11
5
217
3
4
12
18
6
1
7
19
4
MODEL 58MVP
FURNACE (UPFLOW POSITION)

4
SAFETY CONSIDERATIONS
Recognize safety information. This is the safety-alert sym-
bol . When you see this symbol on the furnace and in
instructions or manuals, be alert to the potential for personal
injury.
Understand the signal words—DANGER, WARNING,
CAUTION and NOTE. DANGER, WARNING and
CAUTION are used with the safety-alert symbol. DANGER
identifies the most serious hazards which
will
result in severe
personal injury or death. WARNING signifies hazards which
could
result in personal injury or death. CAUTION is used
to identify unsafe practices which
would
result in minor per-
sonal injury or product and property damage. NOTE is used
to highlight suggestions which
will
result in enhanced instal-
lation, reliability or operation.
To minimize the possibility of serious personal injury, fire,
furnace damage, or improper operation;
carefully follow
these safety rules:
•Your gas furnace uses air from outside the home for com-
bustion and vents flue gas to the outdoors. It is not to be
installed using indoor air for combustion. The vent and air-
intake pipes must terminate outside the structure and must
not be obstructed in any way. Do not block or obstruct air
openings on furnace or spaces around the furnace.
5
• Keep the area around your furnace clear and free of com-
bustible materials, gasoline, and other flammable liquids and
vapors.
6
• Do not cover the furnace, store trash or debris near it, or
in any way block the flow of fresh air to the unit.
• A furnace installed in an attic or other insulated space must
be kept free and clear of insulating material. Examine the fur-
nace area when the furnace is installed or when insulation is
added. Some materials may be combustible.
This furnace contains SAFETY DEVICES which must be
MANUALLY RESET. If the furnace is left unattended for
an extended period of time, have it checked periodically for
proper operation. This precaution will prevent problems
associated with no heat, such as frozen water pipes, etc. See
“Before You Request a Service Call’’ section in this manual.
BEFORE STARTING YOUR FURNACE
Examine the furnace installation to determine that:
1. All flue gas carrying areas external to the furnace
(i.e. chimney, vent connector) are clear and free of
obstructions.
2. The vent connector is in place, slopes upward and is phys-
ically sound without holes or excessive corrosion.
3. The return-air duct connection(s) is physically sound, is
sealed to the furnace casing, and terminates outside the
space containing the furnace.
4. The physical support of the furnace is sound without sag-
ging cracks, gaps, etc. around the base.
5. There are no obvious signs of deterioration of the furnace.
6. The pilot and burner flames are in good adjustment (by
comparison with pictorial sketches or drawings of the
main burner flame and, if applicable, the pilot burner
flame).
!
WARNING
Fire Hazard! Failure to keep insulation clear of
furnace could result in fire, personal injury/death
or property damage.
WARNING
Do not keep combustible materials, gasoline, and
other flammable liquids or vapors around your
furnace. Failure to follow this warning could result
in fire, personal injury/death or property damage.
WARNING
For proper and safe operation the furnace needs
air for combustion and ventilation. Do not block
or obstruct the openings on the furnace, air
openings to the area in which the furnace is in-
stalled, and the space around the furnace. Failure
to follow this warning could result in fire, personal
injury/death or property damage.
!
!
!

5
STARTING AND SHUTTING DOWN
YOUR FURNACE
Instead of a continuously burning pilot flame which wastes
valuable energy, your furnace uses an automatic, hot surface
ignition system to light the burners each time the thermostat
starts your furnace.
Follow these important safeguards:
• Never attempt to manually light the burners with a match
or other source of flame.
• Read and follow the operating instructions on inside of
main furnace door, especially the item that reads as follows:
Wait 5 minutes to clear out any gas. Then smell for gas,
including near the floor. If you smell gas,
STOP!
Follow “B’’
in the safety information above on this furnace label. If you
don’t smell gas, go to the next step.
• If a suspected malfunction occurs with your gas control
system, such as the burners do not light when they should,
refer to the shutdown procedures on inside of main furnace
door, or in the “Shutting Down Your Furnace” section and
call your dealer as soon as possible.
•
CHECK AIR FILTER:
Before attempting to start your
furnace, be sure the furnace filter is clean and in place. See
“Performing Routine Maintenance” section in this manual.
Then proceed as follows:
STEPS FOR STARTING YOUR FURNACE
1. Set your room thermostat to the lowest temperature set-
ting. (See Fig. 8.)
2. Close the external manual gas valve. (See Fig. 9.)
8
910
3. Turn OFF electrical supply to the furnace. (See Fig. 10.)
4. Remove main furnace door. (See Fig. 11.)
11
5. The gas valve will have a control switch to turn off and on.
Turn the control switch on the gas control to the OFF
position and wait 5 minutes. (See Fig. 12 or 13.) Then
smell for gas, including near the floor. If you smell gas,
STOP! Follow “B” on furnace label. If you don’t smell
gas, go to next step.
For 58MTA and 58MVP 12
For 58MCA and 58MXA 13
WARNING
If overheating occurs or the gas valve fails to shut
off the gas supply, turn off the manual gas valve to
the furnace BEFORE turning off the electrical sup-
ply. (See Fig. 9.) Failure to follow this warning
could result in a fire or explosion, and personal in-
jury/death or property damage.
7
!
®
C
L
O
S
E
A04150
ON
OFF
or

6
For 58MTA and 58MVP 14
For 58MCA and 58MXA 15
6. After waiting 5 minutes, turn the control switch on the gas
control to the ON position. (See Fig. 14 or 15.)
16
17 18
7. Replace main furnace door. (See Fig. 16.)
8. Turn ON the electrical supply to the furnace and wait 1
minute. (See Fig. 17.)
9. Open the external manual gas valve. (See Fig. 18.)
10. Set the room thermostat to a temperature slightly
above the room temperature. This will automatically
signal the furnace to start.
11. When the furnace receives the start signal, the inducer is
started. When the pressure switch senses that there is suf-
ficient combustion air, the hot surface igniter is energized.
After the hot surface igniter is heated for 17 seconds, the
gas valve permits gas to flow to the main burners. After
ignition and a time delay of about 60 sec, the furnace
blower will start. Variable-capacity furnaces start at low
speed until the control makes the necessary adjustments
to operate the blower at either the low- or high-heat speed.
NOTE:
If the burners fail to ignite after 4 attempts, the fur-
nace control system will lock out. If lockout occurs, main
burners fail to light, or blower does not come on, shut down
the furnace and call your dealer for service.
12. Set your thermostat to the temperature that satisfies
your comfort requirements.
SUGGESTION: Setting the thermostat back a few
degrees—and compensating for the difference with
warmer clothing—can make a big difference in your fuel
consumption. The few degrees at the top of your thermo-
stat “comfort level’’ are the most costly degrees to obtain.
When the room temperature drops below the temperature
selected on the thermostat, the furnace will switch on auto-
matically. When the room temperature reaches the tempera-
ture selected on the thermostat, the furnace will be switched
off automatically.
Some thermostats have a FAN mode with 2 selections: AUTO
and ON. When set on AUTO, the furnace blower cycles on
and off. In the ON mode, the furnace blower runs continu-
ously. Continuous fan keeps the temperature level in your
home more evenly balanced. It also permits the indoor air to
be continuously filtered. ComfortFan™ –On all but the
58MCA, the blower speed can be increased or decreased if
desired due to change of seasons, large gatherings in your
home, etc. Simply change your FAN from ON to OFF for 1
to 3 seconds (or AUTO depending on your thermostat), and
then return to ON. The blower will switch to the next higher
speed. There are at least 3 speeds to choose from. If the
blower is running on its highest speed, a request to change
will direct the blower to return to its lowest speed.
SHUTTING DOWN YOUR FURNACE
Should you ever need to shut down your furnace for service
or maintenance, you will need to turn the furnace off. The
following procedures must be followed:
1. Set your room thermostat to the lowest temperature
setting. (See Fig. 19.)
19
2. Close the external manual gas valve (See Fig. 9.)
3. Turn off electrical supply to the furnace. (See Fig. 20.)
4. Remove main furnace door. (See Fig. 11.)
5. Turn the switch on the gas control to the OFF position.
(See Fig. 21 or 22.)
A04151
ON
OFF
or
O
P
E
N
®

7
20
For 58MTA and 58MVP
21
For 58MCA and 58MXA
22
6. Replace the main furnace door. (See Fig. 16.)
7. If the furnace is being shut down because of a malfunc-
tion, call your dealer as soon as possible.
PERFORMING ROUTINE
MAINTENANCE
NOTE:
The qualified installer or agency must use only
factory-authorized replacement parts, kits, and accessories
when modifying this product.
Installing and servicing heating equipment can be hazard-
ous due to gas and electrical components.
Only trained and qualified personnel should install, repair, or
service heating equipment. Untrained personnel can perform
basic maintenance functions such as cleaning and replacing
air filters.
All other operations must be performed by trained and qual-
ified service agency personnel. Observe safety precautions in
this manual, on tags, and on labels attached to the furnace,
and other safety precautions that may apply.
With proper maintenance and care, your furnace will operate
economically and dependably. Instructions for basic mainte-
nance are found on this and the following pages. However,
before beginning maintenance, follow these safety precautions:
FILTERING OUT TROUBLE
A dirty air filter will cause a loss of airflow in your duct
system. When excessive loss of airflow occurs, the furnace
may cycle on its safety controls. If this condition is left unat-
tended, the furnace will eventually lock out. It is recom-
mended that the furnace air filter be checked every 3 or 4
weeks and cleaned if necessary.
If installed with factory-specified disposable media filter,
check or replace filter before each heating and cooling sea-
son. Replace disposable media filter at least once a year.
The air filter is normally located in the blower compartment
(See Fig. 3 or 4.) or in the factory-supplied filter cabinet
attached to the side or bottom of the furnace casing. If air
filter has been installed in another location, contact your deal-
er for instructions. To inspect, clean, and/or replace the air
filter(s), follow these steps:
1. Turn off electrical supply to furnace. (See Fig. 20.)
2. Remove door/access panel
•AIR FILTERS(S) LOCATED IN BLOWER COMPART-
MENT
a. Remove main furnace door. (See Fig. 23.)
b. Remove blower access panel. (See Fig. 24.)
NOTE:
It will be necessary to remove 2 screws
•AIR FILTER LOCATED IN FILTER CABINET
CAUTION
Furnace is not to be installed, operated, and then
turned off and left turned off in an unoccupied
structure during winter. (See “Heading South for
the Winter” procedures in maintenance section on
page 9). Freeze damage to furnace would occur.
A04150
ON
OFF
or
!
WARNING
Turn off electrical power supply to your furnace
before removing the access doors to service or
perform maintenance. A failure to follow this
warning could result in personal injury/death or
property damage.
CAUTION
Although special care has been taken to minimize
sharp edges, be extremely careful when handling
parts or reaching into the furnace. Failure to follow
this caution would result in minor personal injury.
CAUTION
Never operate your furnace without a filter in place.
Doing so may damage the furnace blower motor.
An accumulation of dust and lint on internal parts
of your furnace can cause a loss of efficiency and
would cause minor property or product damage.
!
!
!

8
a. Remove filter cabinet door (See Fig. 25 and 26.)
NOTE: It will be necessary to remove 1 thumbscrew
3. Remove air filter from furnace.
•AIR FILTER LOCATED IN BLOWER COMPARTMENT
BOTTOM:
a. Slide filter retainer sideways until it is free of latch. (See
Fig. 27.)
b. Slide air filter out of furnace. (See Fig. 28.)
•AIR FILTER(S) LOACTED IN BLOWER COMPART-
MENT SIDE:
a. Remove filter retainer from latch. (See Fig. 29.)
b. Gently remove air filter and carefully turn the dirty side up
(if dirty) to avoid spilling dirt from the filter. (See Fig. 30.)
•AIR FILTER LOCATED IN FILTER CABINET:
a. Slide air filter out of furnace. Keep dirty side up (if dirty)
to avoid spilling dirt. (See Fig. 31 and 32.)
4. Inspect the filter. If torn, replace it.
NOTE: If washable filter that was shipped with the furnace has
been replaced by:
a) Factory specified disposable media filter–Do not clean. If
dirty, replace only with media filter having the same part
number and size. Install with airflow direction arrow point-
ing towards blower.
23 24
25
27 28
29 30
b) Electronic air cleaner (EAC) – Refer to EAC Owner’s
Manual for maintenance information.
5. If washable filter, wash filter (if dirty) in sink, bathtub, or out-
side with a garden hose. Always use cold tap water. A mild
liquid detergent may be used if necessary. Spray water
through filter in the opposite direction of airflow. Allow filter
to dry.
6. Reinstall clean air filter
7. Reinstall filter retainer (for blower compartment locations
only)
8. Replace blower access panel and main furnace door (See
Fig. 33 and 34.) or filter cabinet door (Fig. 35 and 36.)
9. Turn on electrical supply to furnace.
If your furnace air filter needs to be replaced, be sure to use a
factory-authorized filter of the same size that was orginally sup-
plied. Use the filter tables and compare your furnace size with the
proper filter size.
31 32
33 34
26

9
35 36
*Factory-provided with the furnace. Filters may be field modified by cutting-
filter material and support rods (3) in filters. Alternate sizes and additional
filters may be ordered from your dealer.
†Upflow only.
COMBUSTION AREA AND VENT SYSTEM
Visually inspect the combustion area and vent system before
each heating season. Make sure that all PVC pipes leading
into the combustion area and vent are free from any cracks
and sags. Check the combustion-air intake and vent pipe on
the outside of your home for blockage.
When dirt, soot, scale, or rust is allowed to build up, your fur-
nace can suffer a loss of efficiency and perform improperly.
Accumulations on the main burners can result in firing out of
normal sequence. This delayed ignition creates an alarmingly
loud sound.
To inspect the combustion area and vent system, you will
need a flashlight. Refer to Fig. 3 or 4, and proceed as follows:
1. Turn off the gas and electrical supplies to the furnace and
remove the main furnace door. (See Fig. 9, 10, and 11.)
2. Remove burner enclosure front. (See Fig. 37 or 38.)
Inspect the gas burners, igniter area, and remainder of furnace
for dirt, rust, soot, or scale.
3. Inspect the combustion-air and vent PVC pipes for sags,
holes, cracks, or disconnections. Horizontal portions of
pipes must slope downward toward furnace.
37 38
4. Reinstall burner enclosure front.
5. If your furnace is free of the above conditions, replace
main furnace door and turn on electrical and gas supplies
to the furnace. (See Fig. 16, 17, and 18.)
6. Start the furnace and observe its operation. Watch the
burner flames to see if they are clear blue, almost transpar-
ent. (See Fig. 36.) If you observe a suspected malfunction,
or the burner flames are not clear blue, call your dealer.
39
FURNACE AIR FILTER TABLE
AIR FILTER LOCATED IN BLOWER COMPARTMENT
FURNACE
CASING
WIDTH (IN.)
FILTER SIZE (IN) FILTER
TYPESide Return†Bottom Return
17-1/2 (1) 16 x 25 x 1* (1) 16 x 25 x 1* Cleanable
21 (1) 16 x 25 x 1 (1) 20 x 25 x 1* Cleanable
24-1/2 (1 or 2) 16 x 25 x 1 (1) 24 x 25 x 1* Cleanable
AIR FILTER LOCATED IN FILTER CABINET
FILTER
CABINET
HEIGHT (IN) FILTER
SIZE (IN) FILTER
TYPE
16 (1) 16 x 25 x 1*
or (1) 16 x 25 x 4-5/16 Cleanable or
Disposable
20 (1) 20 x 25 x 1*
or (1) 20 x 25 x 4-5/16 Cleanable or
Disposable
24 (1) 24 x 25 x 1*
or (1) 24 x 25 x 4-5/16 Cleanable or
Disposable
CAUTION
Use care when cutting support rods in filters to
protect against flying pieces and sharp rod ends.
Wear safety glasses, gloves, and appropriate pro-
tective clothing. Failure to follow this caution
could result in personal injury.
DANGER
If holes are found in the pipes or if any portion has
become disconnected, toxic fumes can escape into
your home. DO NOT OPERATE YOUR FURNACE.
Call your dealer for service. Failure to follow this
warning could result in personal injury or death.
!
!
CAUTION
If your furnace makes an especially loud noise
when the main burners light, shut down your fur-
nace and call your dealer. Failure to follow this
caution would result in minor property damage.
CAUTION
If dirt, rust, soot, or scale accumulations are found,
call your dealer. Do not operate your furnace. Failure
to follow this caution would result in minor property
or product damage.
!
!
Upflow Downflow

10
HEADING SOUTH FOR THE WINTER?
DON’T FORGET YOUR FURNACE!
Since the furnace uses a condensing heat exchanger, some water
will accumulate in the unit as a result of the heat transfer process.
Therefore, once it has been operated, it cannot be turned off and
left off for an extended period of time when temperatures will
reach 32°F or lower unless winterized. Follow these procedures
to winterize your furnace:
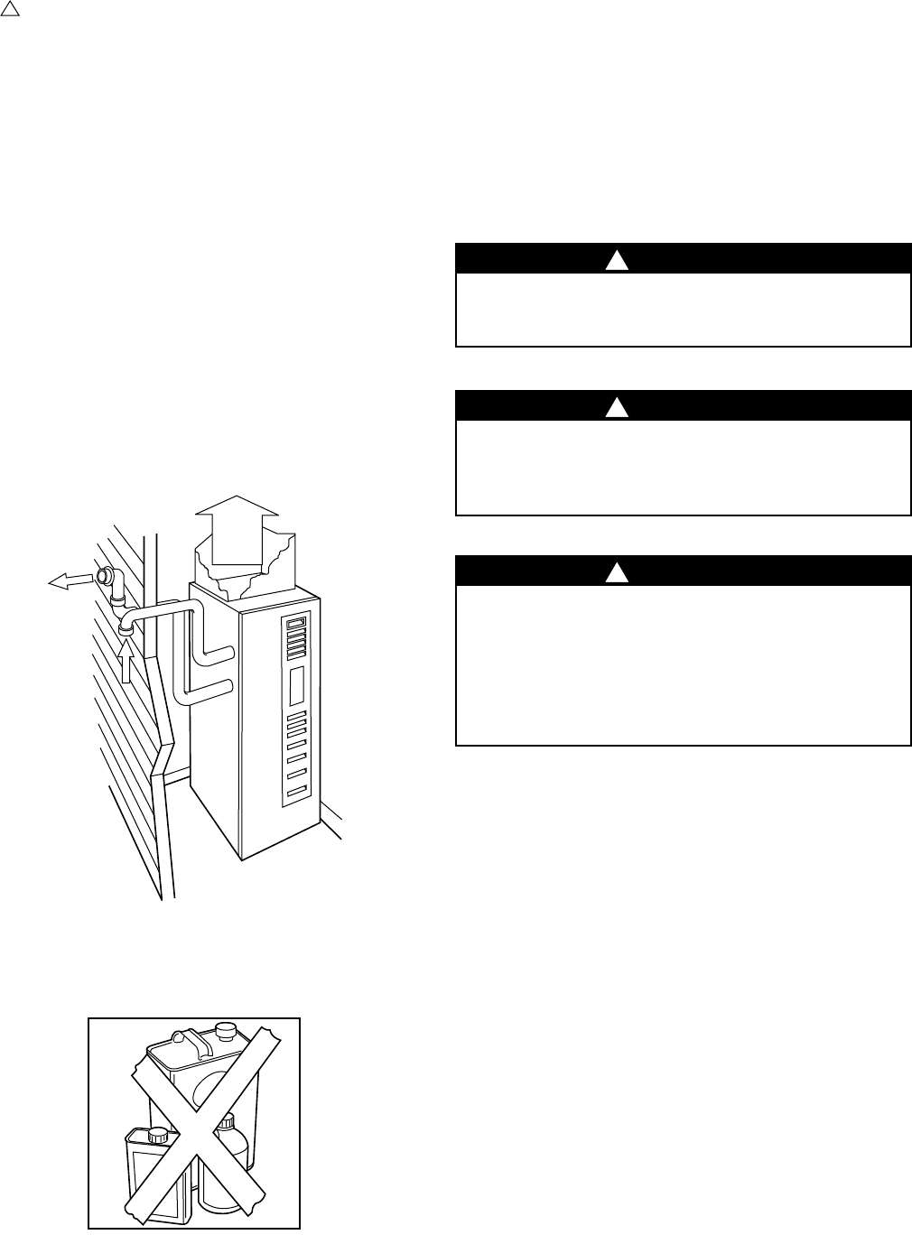
1. Obtain propylene glycol (RV/swimming pool antifreeze
or equivalent).
2. Turn off electrical supply to the furnace. (See Fig. 20.)
3. Remove main furnace door. (See Fig. 23.)
4. Remove upper inducer housing drain connection cap.
(See Fig. 40.)
40
41
5. Connect field-supplied 1/2-in. ID tube to upper inducer
housing drain connection.
6. Insert field-supplied funnel into tube.
7. Pour 1 quart of antifreeze into funnel/tube. Antifreeze
should run through inducer housing, overfill condensate
trap, and flow into open field drain. (See Fig. 41.)
8. Remove funnel and tube from inducer housing and
replace drain connection cap and clamp.
9. Replace main furnace door. (See Fig. 34.)
10. Propylene glycol need not be removed before restarting
furnace.
A CHECK-UP CHECKLIST
Your furnace represents an important investment in your fami-
ly’s comfort and your home’s value. To keep it performing
properly and to prevent future problems, have a trained service
specialist give your furnace a professional check-up annually.
The following checklist can be used as a guideline to proper
service:
• Inspect all flue gas passages, burners, heat exchangers, cou-
pling box(es), and inducer assembly.
•Inspect all combustion-air and vent piping inside structure
and vent pipe termination outside the structure.
•Check gas pipes leading to and inside of your furnace for leaks.
•Inspect and clean the blower motor and wheel.
NOTE: The inducer and blower motors are pre-lubricated and
require no additional lubrication. These motors can be identified
by the absence of oil ports on each end of the motor.
•Inspect and change or clean air filters(s) if necessary.
•Inspect all supply- and return-air ducts for obstructions, air
leaks, and insulation. Remedy any problem when necessary.
•Inspect the return-air duct connections(s) at the furnace to en-
sure it is physically sound, sealed to the furnace casing, and ter-
minates outside the space containing the furnace.
•Inspect electrical wiring, connections, and components for
loose connections.
•Perform an operational checkout to determine whether your
furnace is working properly and if it requires adjustments.
•Inspect all condensate drain tubes and condensate trap assem-
bly for leaks. The condensate removal system should be cleaned
annually by a qualified service agency. Refer to the Service and
Maintenance Instructions for further information.
•Examine the physical support of the furnace. Support should
be sound with not cracks, sagging, gaps, etc. around the base.
•Check furnace for any obvious signs of deterioration.
BEFORE YOU REQUEST A SERVICE
CALL
If your furnace is not operating or not performing properly,
you may save the expense of a service call by checking a few
things yourself before calling for service.
FOR INSUFFICIENT AIRFLOW:
•Check for dirty air filter(s).
•Check for blocked return-air or supply-air grilles throughout
your home. Ensure they are open and unobstructed.
If problem still exists, call your dealer for service.
IF FURNACE FAILS TO OPERATE:
Follow this checklist step by step, advancing to the next step
only if furnace fails to start.
•Check thermostat for proper temperature. Is thermostat set
above room temperature?
CAUTION
If the furnace is installed in an unconditioned space
where the ambient temperatures may be 32°F or
lower, freeze protection measures must be taken to
prevent minor property or product damage.
CAUTION
Do not use ethylene glycol (Prestone II antifreeze
coolant or equivalent). Failure of plastic compo-
nents will occur.
!
!
11
•Is thermostat set on HEAT?
•Check fuses and circuit breakers. Is electrical supply on?
•Is manual shutoff valve in gas supply pipe in open position?
(Follow start-up procedures if you open gas valve.)
NOTE: Turn off electrical supply before continuing with
checklist.
•Is control switch on gas valve in ON position? (Follow start-
up procedures if you must reset switch to ON position.)
•Check manual reset flame rollout switch located on the burner
box. (See Fig. 3 or 4.) If furnace has experienced high temper-
ature conditions, this switch will shut off the furnace. Reset it
by pushing the button on the switch. If it trips again, shut down
the furnace and call for service. See “Shutting Down Your Fur-
nace” section in this manual.
•Check for obstructions around the vent termination.
If the furnace still fails to operate, call your service representa-
tive.
For your convenience, record the furnace product and serial
numbers on back page. Should you ever require service, you
will have ready access to the information needed by your ser-
vice representative.
This furnace has a light-emitting-diode (LED) status code dis-
play to aid the installer, service technician, or homeowner while
installing or servicing the unit. The LED code can be seen by
removing the main furnace door and viewing the LED through
the view port in the blower access panel.

TO OBTAIN INFORMATION ON PARTS: Consult your installing dealer or the classified section of your local telephone directory under the
“Heating Equipment’’ or “Air Conditioning Contractors & Systems’’ heading for dealer listing by brand name.
Have available the Model No., Series Letter, & Serial No. of your equipment to ensure correct replacement part.
Carrier Corporation 7310 West Morris St. Indianapolis, IN 46231
Manufacturer reserves the right to discontinue, or change at any time, specifications or designs without notice and without incurring obligations.
Copyright 2004 Carrier Corporation Form: OM58-114 Replaces: OM58-108 Printed in the U.S.A. a8-04 PC 101 Catalog No. 535-80143
INSTALLATION DATA
Date Installed
Dealer Name
Address
City
State Zip
Telephone
FURNACE
Product No.
Model No.
Serial No.
AIR CONDITIONER OR HEAT PUMP
OUTDOOR UNIT:
Product No.
Model No.
Serial No.
INDOOR COIL:
Product No.
Model No.
Serial No.