Casio Digital Camera Ex Zs150 Users Manual
Casio-Ex-Zs150-Users-Manual-770358 casio-ex-zs150-users-manual-770358
Exzs150-M29-Fb-120518-E exzs150-m29-fb-120518-e
User manual EXZS150_M29_FB_120518_E Casio EX-ZS150 Digital Camera User Manuals and Instruction Guides
EX-ZS150 to the manual 56ef8b61-924a-464f-851e-2fe547d8022f
EXZS150_M29_FB EXZS150_M29_FB_EN EX-ZS150 | Digital Cameras | Manuals | CASIO
2015-01-21
: Casio Casio-Casio-Digital-Camera-Ex-Zs150-Users-Manual-243018 casio-casio-digital-camera-ex-zs150-users-manual-243018 casio pdf
Open the PDF directly: View PDF
.
Page Count: 136 [warning: Documents this large are best viewed by clicking the View PDF Link!]
- Accessories
- Read this first!
- Contents
- General Guide
- Monitor Screen Contents
- Quick Start Basics
- What you can do with your CASIO camera
- First, charge the battery prior to use.
- Configuring Basic Settings the First Time You Turn On the Camera
- Preparing a Memory Card
- Turning the Camera On and Off
- Holding the Camera Correctly
- To shoot a snapshot
- Viewing Snapshots
- Deleting Snapshots and Movies
- Snapshot Shooting Precautions
- Snapshot Tutorial
- Recording Movie Images and Audio
- Using BEST SHOT
- Advanced Settings
- Using On-screen Menus
- REC Mode Settings (REC)
- Selecting a Focus Mode (Focus)
- Changing the Focus Frame Shape (Focus Frame)
- Using Continuous Shutter (CS)
- Reducing the Effects of Camera and Subject Movement (Anti Shake)
- Specifying the Auto Focus Area (AF Area)
- Assigning Functions to the [<] and [>] Keys (L/R Key)
- Displaying the On-screen Grid (Grid)
- Using Icon Help (Icon Help)
- Configuring Power On Default Settings (Memory)
- Image Quality Settings (Quality)
- Viewing Snapshots and Movies
- Other Playback Functions (PLAY)
- Using the PLAY Panel
- Playing a Slideshow on the Camera (Slideshow)
- Performing Playback without Disturbing Others (Silent Mode)
- Rotating an Image (Rotation)
- Selecting Images for Printing (DPOF Printing)
- Protecting a File Against Deletion (Protect)
- Resizing a Snapshot (Resize)
- Cropping a Snapshot (Trimming)
- Adding Audio to a Snapshot (Dubbing)
- Copying Files (Copy)
- Printing
- Using the Camera with a Computer
- Other Settings (Set Up)
- Turning off Eye-Fi Card Communication (Eye-Fi)
- Configuring Camera Sound Settings (Sounds)
- Configuring a Startup Image (Startup)
- Specifying the File Name Serial Number Generation Rule (File No.)
- Configuring World Time Settings (World Time)
- Time Stamping Snapshots (Timestamp)
- Setting the Camera’s Clock (Adjust)
- Specifying the Date Style (Date Style)
- Specifying the Display Language (Language)
- Configuring Sleep State Settings (Sleep)
- Configuring Auto Power Settings (Auto Power Off)
- Configuring [_] and [>] Settings (REC/PLAY)
- Disabling File Deletion (_ Disabled)
- Configuring USB Protocol Settings (USB)
- Selecting the Screen Aspect Ratio and Video Output System (Video Out)
- Formatting Built-in Memory or a Memory Card (Format)
- Resetting the Camera to Factory Defaults (Reset)
- Appendix

1
E
Thank you for purchasing this CASIO product.
• Before using it, be sure to read the precautions contained in this User’s Guide.
• Keep the User’s Guide in a safe place for future reference.
• For the most up-to-date information about this product, visit the official EXILIM
Website at http://www.exilim.com/
Digital Camera
User’s Guide

2
As you unpack your camera, check to make sure that all accessories shown below
are included. If anything is missing, contact your original retailer.
Accessories
Rechargeable lithium ion
battery (NP-80)
USB-AC adaptor
(AD-C53U) USB cable
Power cord Strap
Basic Reference
*The shape of the power
cord plug varies
according to country or
geographic area.
To attach the strap to the camera
1
2
Attach strap here.

3
• The contents of this manual are subject to change without notice.
• The contents of this manual have been checked at each step of the production
process. Feel free to contact us if you notice anything that is questionable,
erroneous, etc.
• Any copying of the contents of this User’s Guide, either in part or its entirety, is
forbidden. Except for your own personal use, any other use of the contents of this
manual without the permission of CASIO COMPUTER CO., LTD. is forbidden
under copyright laws.
• CASIO COMPUTER CO., LTD. shall not be held liable for any damages or lost
profits suffered by you or any third party due to the use or malfunction of this
product.
• CASIO COMPUTER CO., LTD. shall not be held liable for any damages, lost
profits, or claims by third parties arising out of the use of Photo Transport, or
YouTube Uploader for CASIO.
• CASIO COMPUTER CO., LTD. shall not be held liable for any damages or lost
profits caused by loss of memory contents due to malfunction, repair, or any other
reason.
• Note that the example screens and product illustrations shown in this User’s Guide
may differ somewhat from the screens and configuration of the actual camera.
LCD Panel
The liquid crystal panel of the monitor screen uses high-precision technology that
provides a pixel yield in excess of 99.99%. This means that some very small number
of pixels may not light or may remain lit at all times. This is due to the characteristics
of the liquid crystal panel, and does not indicate malfunction.
Read this first!
Take a few test shots
Before shooting your final image, shoot a test shot to ensure that the camera is
recording correctly.

4Contents
Contents
Accessories . . . . . . . . . . . . . . . . . . . . . . . . . . . . . . . . . . . . . . . . . . . . . . . . . . . 2
Read this first! . . . . . . . . . . . . . . . . . . . . . . . . . . . . . . . . . . . . . . . . . . . . . . . . . 3
General Guide . . . . . . . . . . . . . . . . . . . . . . . . . . . . . . . . . . . . . . . . . . . . . . . . . 8
Monitor Screen Contents . . . . . . . . . . . . . . . . . . . . . . . . . . . . . . . . . . . . . . . . . 9
❚
Configuring Monitor Screen Settings . . . . . . . . . . . . . . . . . . . . . . . . . . . . . . . . . 11
❚❙
Quick Start Basics 12
What you can do with your CASIO camera . . . . . . . . . . . . . . . . . . . . . . . . . . 12
First, charge the battery prior to use.. . . . . . . . . . . . . . . . . . . . . . . . . . . . . . . 13
❚
To load the battery . . . . . . . . . . . . . . . . . . . . . . . . . . . . . . . . . . . . . . . . . . . . . . . 13
❚
Charge the Battery . . . . . . . . . . . . . . . . . . . . . . . . . . . . . . . . . . . . . . . . . . . . . . . 14
Configuring Basic Settings the First Time You Turn On the Camera. . . . . . . 19
Preparing a Memory Card . . . . . . . . . . . . . . . . . . . . . . . . . . . . . . . . . . . . . . . 20
❚
Supported Memory Cards. . . . . . . . . . . . . . . . . . . . . . . . . . . . . . . . . . . . . . . . . . 20
❚
To load a memory card . . . . . . . . . . . . . . . . . . . . . . . . . . . . . . . . . . . . . . . . . . . . 21
❚
To format (initialize) a new memory card . . . . . . . . . . . . . . . . . . . . . . . . . . . . . . 22
Turning the Camera On and Off . . . . . . . . . . . . . . . . . . . . . . . . . . . . . . . . . . 23
❚
To turn power on . . . . . . . . . . . . . . . . . . . . . . . . . . . . . . . . . . . . . . . . . . . . . . . . . 23
❚
To turn off the camera. . . . . . . . . . . . . . . . . . . . . . . . . . . . . . . . . . . . . . . . . . . . . 23
Holding the Camera Correctly . . . . . . . . . . . . . . . . . . . . . . . . . . . . . . . . . . . . 24
To shoot a snapshot. . . . . . . . . . . . . . . . . . . . . . . . . . . . . . . . . . . . . . . . . . . . 25
❚
Selecting an Auto Recording Mode . . . . . . . . . . . . . . . . . . . . . . . . . . . . . . . . . . 25
❚
To shoot a snapshot . . . . . . . . . . . . . . . . . . . . . . . . . . . . . . . . . . . . . . . . . . . . . . 26
Viewing Snapshots . . . . . . . . . . . . . . . . . . . . . . . . . . . . . . . . . . . . . . . . . . . . 28
Deleting Snapshots and Movies . . . . . . . . . . . . . . . . . . . . . . . . . . . . . . . . . . 29
❚
To delete a single file . . . . . . . . . . . . . . . . . . . . . . . . . . . . . . . . . . . . . . . . . . . . . 29
❚
To delete specific files. . . . . . . . . . . . . . . . . . . . . . . . . . . . . . . . . . . . . . . . . . . . . 30
❚
To delete all files . . . . . . . . . . . . . . . . . . . . . . . . . . . . . . . . . . . . . . . . . . . . . . . . . 30
Snapshot Shooting Precautions . . . . . . . . . . . . . . . . . . . . . . . . . . . . . . . . . . 31
❚
Auto Focus Restrictions . . . . . . . . . . . . . . . . . . . . . . . . . . . . . . . . . . . . . . . . . . . 31
❚❙
Snapshot Tutorial 32
Using the Control Panel. . . . . . . . . . . . . . . . . . . . . . . . . . . . . . . . . . . . . . . . . 32
Changing the Image Size . . . . . . . . . . . . . . . . . . . . . . . . . . . . . . . . (Size) . . 33
Using Flash . . . . . . . . . . . . . . . . . . . . . . . . . . . . . . . . . . . . . . . . . . .(Flash) . . 37
Using the Self-timer . . . . . . . . . . . . . . . . . . . . . . . . . . . . . . . . (Self-timer) . . 39
Using Face Detection . . . . . . . . . . . . . . . . . . . . . . . . . . . (Face Detection) . . 40
Shooting without Disturbing Others . . . . . . . . . . . . . . . . . . .(Silent Mode) . . 41
Using the easy Mode . . . . . . . . . . . . . . . . . . . . . . . . . . . . . . (easy Mode) . . 41
Shooting with Zoom . . . . . . . . . . . . . . . . . . . . . . . . . . . . . . . . . . . . . . . . . . . . 43
❚
Optical Zoom and Digital Zoom Switch Point . . . . . . . . . . . . . . . . . . . . . . . . . . . 44

5Contents
❚❙
Recording Movie Images and Audio 46
To record a movie . . . . . . . . . . . . . . . . . . . . . . . . . . . . . . . . . . . . . . . . . . . . . 46
Recording Audio Only . . . . . . . . . . . . . . . . . . . . . . . . . . (Voice Recording) . . 48
❚
To play back an audio recording . . . . . . . . . . . . . . . . . . . . . . . . . . . . . . . . . . . . . 49
❚❙
Using BEST SHOT 50
What is BEST SHOT? . . . . . . . . . . . . . . . . . . . . . . . . . . . . . . . . . . . . . . . . . . 50
❚
Some Sample Scenes . . . . . . . . . . . . . . . . . . . . . . . . . . . . . . . . . . . . . . . . . . . . 50
To shoot an image with BEST SHOT. . . . . . . . . . . . . . . . . . . . . . . . . . . . . . . 50
Recording a Self-portrait . . . . . . . . . . . . . . . . . . . . . . . . . . . . . . . . . . . . . . . . 53
❚❙
Advanced Settings 54
Using On-screen Menus . . . . . . . . . . . . . . . . . . . . . . . . . . . . . . . . . . . . . . . . 54
REC Mode Settings . . . . . . . . . . . . . . . . . . . . . . . . . . . . . . . . . . . . (REC) . . 56
❚
Selecting a Focus Mode . . . . . . . . . . . . . . . . . . . . . . . . . . . . . . . . .(Focus). . . 56
❚
Changing the Focus Frame Shape . . . . . . . . . . . . . . . . . . . (Focus Frame). . . 58
❚
Using Continuous Shutter . . . . . . . . . . . . . . . . . . . . . . . . . . . . . . . . . . (CS). . . 59
❚
Reducing the Effects of Camera and Subject Movement . . . . (Anti Shake). . . 59
❚
Specifying the Auto Focus Area . . . . . . . . . . . . . . . . . . . . . . . . . . (AF Area). . . 60
❚
Assigning Functions to the [4] and [6] Keys . . . . . . . . . . . . . . . (L/R Key). . . 61
❚
Displaying the On-screen Grid . . . . . . . . . . . . . . . . . . . . . . . . . . . . . . (Grid) . . . 61
❚
Using Icon Help . . . . . . . . . . . . . . . . . . . . . . . . . . . . . . . . . . . . . (Icon Help). . . 61
❚
Configuring Power On Default Settings . . . . . . . . . . . . . . . . . . . . (Memory). . . 62
Image Quality Settings . . . . . . . . . . . . . . . . . . . . . . . . . . . . . . . . (Quality) . . 63
❚
Specifying Snapshot Image Quality . . . . . . . . . . . . . . . (Quality (Snapshot)). . . 63
❚
Correcting Image Brightness . . . . . . . . . . . . . . . . . . . . . . . . . . . . (EV Shift) . . . 63
❚
Controlling White Balance . . . . . . . . . . . . . . . . . . . . . . . . . (White Balance). . . 64
❚
Specifying ISO Sensitivity . . . . . . . . . . . . . . . . . . . . . . . . . . . . . . . . . .(ISO). . . 65
❚
Optimizing Image Brightness . . . . . . . . . . . . . . . . . . . . . . . . . . . . (Lighting). . . 65
❚
Using Built-in Color Filters . . . . . . . . . . . . . . . . . . . . . . . . . . . . (Color Filter). . . 65
❚❙
Viewing Snapshots and Movies 66
Viewing Snapshots . . . . . . . . . . . . . . . . . . . . . . . . . . . . . . . . . . . . . . . . . . . . 66
Viewing a Movie. . . . . . . . . . . . . . . . . . . . . . . . . . . . . . . . . . . . . . . . . . . . . . . 66
Zooming an On-screen Image . . . . . . . . . . . . . . . . . . . . . . . . . . . . . . . . . . . . 67
Displaying the Image Menu . . . . . . . . . . . . . . . . . . . . . . . . . . . . . . . . . . . . . . 67
Viewing Snapshots and Movies on a TV Screen . . . . . . . . . . . . . . . . . . . . . . 68
❚❙
Other Playback Functions (PLAY) 70
Using the PLAY Panel . . . . . . . . . . . . . . . . . . . . . . . . . . . . . . . . . . . . . . . . . . 70
Playing a Slideshow on the Camera . . . . . . . . . . . . . . . . . . . . (Slideshow) . . 72
Performing Playback without Disturbing Others . . . . . . . . . .(Silent Mode) . . 73
Rotating an Image . . . . . . . . . . . . . . . . . . . . . . . . . . . . . . . . . . (Rotation) . . 73
Selecting Images for Printing . . . . . . . . . . . . . . . . . . . . . (DPOF Printing) . . 74
Protecting a File Against Deletion . . . . . . . . . . . . . . . . . . . . . . . . (Protect) . . 74

6Contents
Resizing a Snapshot . . . . . . . . . . . . . . . . . . . . . . . . . . . . . . . . . . .(Resize) . . 75
Cropping a Snapshot . . . . . . . . . . . . . . . . . . . . . . . . . . . . . . . .(Trimming) . . 75
Adding Audio to a Snapshot . . . . . . . . . . . . . . . . . . . . . . . . . . . (Dubbing) . . 76
❚
To play snapshot audio . . . . . . . . . . . . . . . . . . . . . . . . . . . . . . . . . . . . . . . . . . . . 76
Copying Files . . . . . . . . . . . . . . . . . . . . . . . . . . . . . . . . . . . . . . . . . (Copy) . . 77
❚❙
Printing 78
Printing Snapshots. . . . . . . . . . . . . . . . . . . . . . . . . . . . . . . . . . . . . . . . . . . . . 78
Connecting Directly to a PictBridge Compatible Printer . . . . . . . . . . . . . . . . 79
Using DPOF to Specify Images to be Printed and the Number of Copies. . . 81
❚❙
Using the Camera with a Computer 84
Things you can do using a computer... . . . . . . . . . . . . . . . . . . . . . . . . . . . . . 84
Using the Camera with a Windows Computer . . . . . . . . . . . . . . . . . . . . . . . . 85
❚
Viewing and Storing Images on a Computer. . . . . . . . . . . . . . . . . . . . . . . . . . . . 86
❚
Playing Movies . . . . . . . . . . . . . . . . . . . . . . . . . . . . . . . . . . . . . . . . . . . . . . . . . . 89
❚
Uploading Movie Files to YouTube . . . . . . . . . . . . . . . . . . . . . . . . . . . . . . . . . . . 90
❚
Transferring Images from Your Computer to Camera Memory. . . . . . . . . . . . . . 92
Using the Camera with a Macintosh . . . . . . . . . . . . . . . . . . . . . . . . . . . . . . . 94
❚
Connecting the Camera to Your Computer and Saving Files . . . . . . . . . . . . . . . 94
❚
Playing a Movie. . . . . . . . . . . . . . . . . . . . . . . . . . . . . . . . . . . . . . . . . . . . . . . . . . 96
Using an Eye-Fi Wireless SD Memory Card to Transfer Images . (Eye-Fi) . . 97
Files and Folders . . . . . . . . . . . . . . . . . . . . . . . . . . . . . . . . . . . . . . . . . . . . . . 99
Memory Card Data . . . . . . . . . . . . . . . . . . . . . . . . . . . . . . . . . . . . . . . . . . . 100
❚❙
Other Settings (Set Up) 102
Turning off Eye-Fi Card Communication . . . . . . . . . . . . . . . . . . . . (Eye-Fi) . 102
Configuring Camera Sound Settings . . . . . . . . . . . . . . . . . . . . . (Sounds) . 102
Configuring a Startup Image . . . . . . . . . . . . . . . . . . . . . . . . . . . . (Startup) . 103
Specifying the File Name Serial Number Generation Rule . . . . . (File No.) . 103
Configuring World Time Settings . . . . . . . . . . . . . . . . . . . . . (World Time) . 104
Time Stamping Snapshots . . . . . . . . . . . . . . . . . . . . . . . . . . (Timestamp) . 105
Setting the Camera’s Clock . . . . . . . . . . . . . . . . . . . . . . . . . . . . . (Adjust) . 105
Specifying the Date Style . . . . . . . . . . . . . . . . . . . . . . . . . . . . (Date Style) . 106
Specifying the Display Language . . . . . . . . . . . . . . . . . . . . . . (Language) . 106
Configuring Sleep State Settings . . . . . . . . . . . . . . . . . . . . . . . . . (Sleep) . 107
Configuring Auto Power Settings . . . . . . . . . . . . . . . . . . (Auto Power Off) . 107
Configuring [r] and [p] Settings . . . . . . . . . . . . . . . . . . . (REC/PLAY) . 108
Disabling File Deletion . . . . . . . . . . . . . . . . . . . . . . . . . . . . (Ü Disabled) . 108
Configuring USB Protocol Settings . . . . . . . . . . . . . . . . . . . . . . . . . (USB) . 109
Selecting the Screen Aspect Ratio and Video Output System (Video Out) . 109
Formatting Built-in Memory or a Memory Card . . . . . . . . . . . . . . (Format) . 110
Resetting the Camera to Factory Defaults . . . . . . . . . . . . . . . . . . (Reset) . 110

7Contents
❚❙
Appendix 111
Precautions during Use . . . . . . . . . . . . . . . . . . . . . . . . . . . . . . . . . . . . . . . . .111
Power Supply. . . . . . . . . . . . . . . . . . . . . . . . . . . . . . . . . . . . . . . . . . . . . . . . 118
❚
Charging . . . . . . . . . . . . . . . . . . . . . . . . . . . . . . . . . . . . . . . . . . . . . . . . . . . . . . 118
❚
Battery Precautions. . . . . . . . . . . . . . . . . . . . . . . . . . . . . . . . . . . . . . . . . . . . . . 118
❚
Using the Camera in another Country . . . . . . . . . . . . . . . . . . . . . . . . . . . . . . . 119
Using a Memory Card . . . . . . . . . . . . . . . . . . . . . . . . . . . . . . . . . . . . . . . . . 119
Computer System Requirements for Software (For Windows) . . . . . . . . . . 120
Reset Initial Default Settings . . . . . . . . . . . . . . . . . . . . . . . . . . . . . . . . . . . . 121
When things don’t go right... . . . . . . . . . . . . . . . . . . . . . . . . . . . . . . . . . . . . 123
❚
Troubleshooting . . . . . . . . . . . . . . . . . . . . . . . . . . . . . . . . . . . . . . . . . . . . . . . . 123
❚
Display Messages. . . . . . . . . . . . . . . . . . . . . . . . . . . . . . . . . . . . . . . . . . . . . . . 128
Number of Snapshots/Movie Recording Time/Voice Recording Time . . . . . 130
Specifications. . . . . . . . . . . . . . . . . . . . . . . . . . . . . . . . . . . . . . . . . . . . . . . . 132

8
The numbers in parentheses indicate the pages where each item is explained.
General Guide
1Zoom controller
(pages 26, 43, 67, 67)
2Shutter button (page 25)
3Flash (page 37)
4[ON/OFF] (Power)
(page 23)
5Front lamp (page 39)
6Lens
7Microphone
(pages 47, 76)
8[r] (REC) button
(pages 23, 25)
9Back lamp
(pages 15, 17, 37)
bk[0] (Movie) button
(page 46)
blStrap hole (page 2)
bm[USB/AV] port
(pages 15, 16, 68, 79,
87, 95)
bnConnector cover
bo[SET] button (page 32)
bp[ ] (Delete) button
(page 29)
bq[p] (PLAY) button
(pages 23, 28)
brControl button
([8][2][4][6])
(pages 11, 29, 32, 37,
54)
bsMonitor screen
(pages 9, 11)
42135
67
[ ]
[
SET
]
[ ]
[ ]
[ ]
bk9bl bm bn8
bqbr bp bobs
BackFront
btBattery/memory card slots (pages 13, 21)
ckTripod hole
Use this hole when attaching to a tripod.
clSpeaker
btckcl
Bottom

9
The monitor screen uses various indicators, icons, and values to keep you informed
of the camera’s status.
• The sample screens in this section are intended to show you the locations of all the
indicators and figures that can appear on the monitor screen in various modes.
They do not represent screens that actually appear on the camera.
.Snapshot Recording
.Shutter Button Half-pressed
Monitor Screen Contents
1Recording mode (page 25)
2Flash (page 37)
3ISO sensitivity (page 65)
4Aperture value
5Shutter speed
6Focus frame (pages 26, 60)
NOTE
• The aperture, shutter speed, and ISO sensitivity values will turn orange when you
half-press the shutter button if Auto Exposure is not correct.
1Remaining snapshot memory
capacity (page 130)
2Remaining movie memory
capacity (page 46)
3Recording mode (page 25)
4White balance setting
(page 64)
5Continuous shutter (page 59)
6
Image deterioration indicator (page 44)
7Metering mode (page 132)
8Snapshot image size (page 33)
9Snapshot image quality (page 63)
bkMovie image quality (page 36)
blFlash (page 37)
bmSelf-timer (page 39)
bnFace Detection (page 40)
boISO sensitivity (page 65)
bpDate/time (page 105)
bqExposure compensation (page 63)
brFocus frame (pages 26, 60)
bsTimestamp indicator (page 105)
btBattery level indicator (page 18)
ckEye-Fi (page 97)
clLighting (page 65)
cmAnti Shake (page 59)
cnFocus Mode (page 56)
bk
bl
bm
bo
bn
bp
89
341657
bs
2
bq
br
bt
cl
cm
cn
ck
3
2
4
5
1
6
B

10
.easy Mode
.Movie Recording
.Snapshot Viewing
1Remaining snapshot memory capacity
(page 130)
2Snapshot image size (page 33)
3Flash (page 37)
4Self-timer (page 39)
5Date/time (page 105)
6Timestamp indicator (page 105)
7Battery level indicator (page 18)
8Eye-Fi (page 97)
9Lighting (page 65)
bkFocus frame (pages 26, 60)
blRemaining movie memory capacity (page 46)
bmMovie image quality (page 36)
1Recording mode (page 46)
2White balance setting (page 64)
3Remaining movie memory capacity (page 46)
4Movie recording time (page 46)
5Flash (page 37)
6Exposure compensation (page 63)
7Battery level indicator (page 18)
8Movie recording in progress (page 46)
1File type
2Protect indicator (page 74)
3Folder name/file name (page 99)
4Snapshot image quality (page 63)
5Snapshot image size (page 33)
6ISO sensitivity (page 65)
7Aperture value
8Shutter speed
9Date/time (page 105)
bkBattery level indicator (page 18)
blEye-Fi (page 97)
6
bk
5
3
4
2
1
7
9
bl
bm
8
12
7 6
8
3
4
5
31
4
7
5
8
9
6
2
bk
bl

11
.Movie Playback
You can turn display information on and off by pressing [8] (DISP). You can
configure separate settings for the REC mode and PLAY mode.
1File type
2Protect indicator (page 74)
3Folder name/file name (page 99)
4Movie recording time (page 46)
5Movie image quality (page 36)
6Date/time (page 105)
7Battery level indicator (page 18)
8Eye-Fi (page 97)
Configuring Monitor Screen Settings
Information display on Displays information about image settings, etc. (REC
mode only).
Information display +
Date/Time on
In addition to information about snapshot settings,
displays movie setting information and the date/time
screen.
• You can specify the date style you want to use
(page 106).
Information display off No information displayed
4
5
3
6
7
8
1 2

12 Quick Start Basics
Quick Start Basics
Your CASIO camera is packed with a powerful selection of features and functions to
make recording of digital images easier, including the following three main functions.
What you can do with your CASIO camera
BEST SHOT
Simply select the sample scene you want and the
camera sets up automatically. Then all you need
to do is press the shutter button for perfect images.
Silent
The Silent mode disables flash, mutes camera
operation tones, and changes other settings to
help ensure that shooting does not bother others
around you.
See page 41 for more information.
See page 50 for more information.
See page 25 for more information.
Premium Auto
Select Premium Auto recording and the
camera automatically determines whether
you are shooting a subject or scenery, and
other conditions. Premium Auto delivers
higher image quality than standard Auto.

13 Quick Start Basics
Note that the battery of a newly purchased camera is not charged. Perform the steps
below to load the battery into the camera and charge it.
• Your camera requires a special CASIO rechargeable lithium ion battery (NP-80) for
power. Never try to use any other type of battery.
1. Open the battery cover.
Slide the battery cover slider towards
OPEN and then open it as indicated by
the arrows in the illustration.
2. Load the battery.
With the EXILIM logo on the
battery facing downwards
(towards the lens side of the
camera), hold the stopper
next to the battery in the
direction indicated by the
arrow as you slide the battery
into the camera. Press the
battery in until the stopper
secures it in place.
3. Close the battery cover.
Close the battery cover and then shift the
slider towards LOCK.
First, charge the battery prior to use.
To load the battery
2
1
EXILIM logo
Stopper
Battery
OK NG
1
2

14 Quick Start Basics
To replace the battery
1. Open the battery cover and remove
the current battery.
With the monitor screen side of the
camera facing upwards, slide the
stopper in the direction indicated by the
arrow in the illustration. After the battery
pops out, pull it the rest of the way out of
the camera.
2. Load a new battery.
You can use either of the two following methods to charge the camera’s battery.
• USB-AC adaptor
• USB connection to a computer
.To charge with the USB-AC adaptor
1. Turn off the camera.
Check to make sure that the camera’s monitor screen is
blank. If it isn’t, press [ON/OFF] (Power) to turn off the
camera.
2. After connecting the
supplied USB cable
to the USB-AC
adaptor, plug the
power cord into a
household power
outlet.
Charge the Battery
Stopper
[ON/OFF] (Power)
USB
USB-AC adaptor
Power cord
USB cable (included with camera)
USB port
Large connector

15 Quick Start Basics
3. Connect the USB
cable to the camera.
The back lamp should
light red, indicating that
charging has started.
The back lamp will go
out when charging is
complete.
It takes about
130 minutes to achieve a
full charge. Charging
may take longer
depending on charging
conditions.
Back Lamp Operation
4. After charging is complete, disconnect the USB cable from the camera
and then unplug the power cord from the power outlet.
Lamp Status Description
Lit Red Charging
Flashing Red
Abnormal ambient temperature,
USB-AC adaptor problem, or
battery problem (page 118)
Off Charging complete
USB cable
(included with camera)
Making sure that the mark on the USB cable connector
is towards the lens side, connect the cable to the camera.
[USB/AV]
port
Small
connector
USB-AC adaptor
Back lamp

16 Quick Start Basics
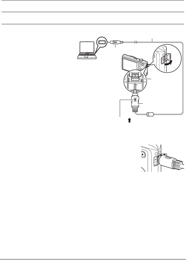
.To charge using a USB connection to a computer
The battery loaded in the camera is charged whenever the camera is connected
directly to a computer with the USB cable.
• Depending on the setup of your computer, you may not be able to charge the
camera’s battery over a USB connection. If this happens, use of the USB-AC
adaptor that comes with the camera is recommended.
1. Turn off the camera.
Check to make sure that the camera’s monitor
screen is blank. If it isn’t, press [ON/OFF]
(Power) to turn off the camera.
2. With your computer
turned on, connect the
camera to it.
The back lamp should light
red, indicating that charging
has started.
The back lamp will go out
when charging is complete.
It takes about 130 minutes to
achieve a full charge.
Charging may take longer
depending on charging
conditions.
IMPORTANT!
• The first time you connect the camera to your computer with the USB cable, an
error message may appear on your computer. If this happens, disconnect and then
reconnect the USB cable.
Monitor screen
[ON/OFF] (Power)
USB port USB cable
(included with camera)
[USB/AV] port
Large connector
Small connector
Making sure that the mark on the USB cable
connector is towards the lens side, connect the
cable to the camera.

17 Quick Start Basics
Back Lamp Operation
• The information in parentheses in the above table shows the lamp status while
the camera is turned on during charging.
3. After charging is complete, disconnect the USB cable from the camera
and then from the computer.
IMPORTANT!
• Charging is not performed while the connected computer is in the hibernate mode.
• A charging error can occur immediately after charging begins or some time after
charging begins. A charging error is indicated by the back lamp flashing red.
Other Charging Precautions
• With the two charging methods described above, you can charge the camera’s
battery (NP-80) without removing it from the camera. You also can charge the
battery using an optionally available charger unit (BC-80L). Never use any other
type of charger device. Attempting to use a different charger can result in
unexpected accident.
• USB charging devices and power supply devices are subject to fixed standards.
Use of an inferior device or a device that is not up to standard can cause
malfunction and/or failure of your camera.
• Operation is not guaranteed in the case of a computer built or modified by you.
Even in the case of a commercially available computer, certain USB port
specifications may make it impossible to charge via the USB cable.
• A battery that is still warm due to normal use may not charge fully. Give the battery
time to cool before charging it.
• A battery discharges slightly even when it is not loaded in the camera. Because of
this, it is recommended that you charge the battery immediately before you need to
use it.
• Charging the camera’s battery may cause interference with TV and radio reception.
If this happens, plug the charger into an outlet that is further away from the TV or
radio.
• Actual charging time depends on current battery capacity and charging conditions.
• Do not use the USB-AC adaptor with any other device.
Lamp Status Description
Lit Red,
(Lit/Flashing Amber) Charging
Flashing Red
Abnormal ambient temperature,
charging taking abnormally long,
or battery problem (page 118)
Off, (Lit Green) Charging complete
Back lamp

18 Quick Start Basics
Checking Remaining Battery Power
As battery power is consumed, a battery indicator on the monitor screen indicates
remaining power as shown below.
indicates battery power is low. Charge the battery as soon as possible.
Recording is not possible when is indicated. Charge the battery immediately.
• The level shown by the battery indicator may change when you switch between the
REC mode and PLAY mode.
• Leaving the camera for about 30 days with no power supplied while the battery is
dead will cause its date and time settings to be cleared. A message telling you to
configure time and date settings will appear the next time you turn on the camera
after restoring power. When this happens, configure date and time settings (page
105).
• See page 134 for information about battery life and number of shots.
Battery Power Conservation Tips
• When you do not need to use the flash, select ? (Flash Off) for the flash setting
(page 37).
• Enable the Auto Power Off and the Sleep features to protect against wasting
battery power when you forget to turn off the camera (pages 107, 107).
Remaining Power High Low
Battery Indicator ***
Indicator Color Cyan *Amber *Red *Red

19 Quick Start Basics
The first time you load a battery into the camera, a screen appears for configuring the
display language, date, and time settings. Failure to set the date and time correctly
will cause the wrong date and time data to be recorded with images.
IMPORTANT!
• A screen for language selection will not appear in step 2 of the procedure below if
you purchased a camera intended for the Japanese market. To change the display
language from Japanese in this case, use the procedure under “Specifying the
Display Language (Language)” (page 106). Note that a version of this manual in
the language you select may not be included with a camera intended for the
Japanese market.
• Camera models sold in certain geographic areas may not support display language
selection.
1. Hold down [ON/OFF] (Power) until the
back lamp lights green momentarily.
• This indicates that power is on.
2. Use [8], [2], [4], and [6] to select
the language you want and then press
[SET].
3. Use [8] and [2] to select a date style and then press [SET].
Example: July, 10, 2012
YY/MM/DD * 12/7/10
DD/MM/YY * 10/7/12
MM/DD/YY * 7/10/12
4. Set the date and the time.
Use [4] and [6] to select the setting you want to
change and then use [8] and [2] to change it.
To switch between 12-hour and 24-hour format, press
[0] (Movie).
5. After setting the date and time, use [4] and [6]
to select “Apply” and then press [SET].
6. Use [8] and [2] to select “Auto” or “Premium Auto” as the auto
recording mode and then press [SET].
See page 25 for information about the auto recording modes.
Configuring Basic Settings the First Time You Turn On the
Camera
SET
Back lamp
[0] (Movie)
[ON/OFF] (Power)

20 Quick Start Basics
NOTE
• Each country controls its local time offset and the use of summer time, and so they
are subject to change.
• Removing the battery from the camera too soon after configuring time and date
settings for the first time can cause the settings to be reset to their factory defaults.
Do not remove the battery for at least 24 hours after configuring settings.
Though the camera has built-in memory that can be used to store images and
movies, you probably will want to purchase a commercially available memory card for
greater capacity. The camera does not come with a memory card. Images recorded
while a memory card is loaded are saved to the memory card. When no memory card
is loaded, images are saved to built-in memory.
• For information about memory card capacities, see page 130.
– SD Memory Card (Up to 2GB)
– SDHC Memory Card (2GB to 32GB)
– SDXC Memory Card (32GB to 2TB)
Use one of the above types of memory card.
• The above are supported memory card types as of January 2012.
• Noted memory card capacities are standard values.
• Use only SD cards that are compliant with the SD Card Association specification.
• This camera supports use of Eye-Fi cards.
If you make a mistake configuring display language, date, or time settings with the
above procedure, refer to the following pages for information about how to correct
the settings.
– Display language: Page 106
– Date and time: Page 105
Preparing a Memory Card
Supported Memory Cards

21 Quick Start Basics
1. Press [ON/OFF] (Power) to turn off
the camera and then open the
battery cover.
Slide the battery cover slider towards
OPEN and then open it as indicated by
the arrows in the illustration.
2. Load a memory card.
Positioning the memory card so its front
is facing upwards (towards the monitor
screen side of the camera), slide it into
the card slot all the way in until you hear
it click securely into place.
3. Close the battery cover.
Close the battery cover and then shift the
slider towards LOCK.
IMPORTANT!
• Never insert anything besides a supported memory card (page 20) into the memory
card slot.
• Should water or any foreign object ever get into the card slot, immediately turn off
the camera, remove the battery, and contact your retailer or nearest CASIO
authorized service center.
To load a memory card
2
1
Front Back
Front
1
2

22 Quick Start Basics
To replace the memory card
Press the memory card and then release it.
This will cause it to pop out of the memory card
slot slightly. Pull the card out the rest of the way
and then insert another one.
• Never remove a card from the camera while
the back lamp is flashing green. Doing so
can cause the image save operation to fail
and even damage the memory card.
Before using a memory card for the first time with the camera, you must format it.
IMPORTANT!
• Formatting a memory card that already has snapshots or other files on it, will delete
its contents. Normally you do not need to format a memory card again. However, if
storing to a card has slowed down or if you notice any other abnormality, re-format
the card.
• Be sure to use the camera to format a memory card. Formatting a memory card on
a computer and then using it in the camera can slow down data processing by the
camera. In the case of an SD, SDHC, or SDXC memory card, formatting on a
computer can result in non-conformity with the SD format, causing problems with
compatibility, operation, etc.
• Before formatting a new Eye-Fi card to use it for the first time, copy the Eye-Fi
Manager install files to your computer. Do this before formatting the card.
1. Press [ON/OFF] (Power) to turn on the camera and then press [SET].
2. Use [8] and [2] to select the second Control Panel option from the
bottom (MENU) and then press [SET] (page 32).
3. Use [4] and [6] to select the “Set Up” tab.
4. Use [8] and [2] to select “Format” and then press [6].
5. Use [8] and [2] to select “Format” and then press [SET].
To format (initialize) a new memory card

23 Quick Start Basics
Pressing [ON/OFF] (Power) enters the REC mode so you
can record images. Pressing [p] (PLAY) while in the
REC mode enters the PLAY mode, which you can use to
view snapshots and movies (pages 28, 66).
•Pressing [r] (REC) while in the PLAY mode returns
to the REC mode.
• Take care to ensure that nothing is restricting or
coming into contact with the lens as it extends. Holding
the lens with your hand so it cannot extend creates the
risk of malfunction.
• About 10 seconds after you press [p] (PLAY) to
enter the PLAY mode, the lens will retract into the
camera.
• The Sleep function or Auto Power Off (pages 107,
107) will turn off power automatically if you do not
perform any operation for a preset amount of time.
Press [ON/OFF] (Power).
NOTE
• You also can configure the camera to turn on or off when you press [r] (REC) or
[p] (PLAY) (page 108).
Turning the Camera On and Off
To turn power on
To turn off the camera
[ON/OFF] (Power)
[p] (PLAY) [r] (REC)

24 Quick Start Basics
Your images will not come out clearly if you move the camera when you press the
shutter button. When pressing the shutter button, be sure to hold the camera as
shown in the illustration below, and keep it still by pressing your arms firmly against
your sides as you shoot.
Holding the camera still, carefully press the shutter button and take care to avoid all
movement as the shutter releases and for a few moments after it releases. This is
especially important when available lighting is low, which slows down the shutter
speed.
NOTE
• Take care that your fingers and the strap do not
cover any of the areas indicated in the illustration.
• To protect against accidentally dropping the
camera, attach the wrist strap and make sure it is
around your fingers or wrist while you are operating
the camera.
• Never swing the camera around by its strap.
• The supplied strap is intended for use with this
camera only. Never use it for any other purpose.
IMPORTANT!
• Take care to ensure that your fingers are not
blocking or are not too close to the flash. Fingers can
cause unwanted shadows when using the flash.
Holding the Camera Correctly
Horizontal Vertical
Hold the camera so the flash is
above the lens.
Flash
Front lamp
Lens
Microphone

25 Quick Start Basics
You can select one of two auto recording modes (Auto or Premium Auto) according to
your digital imaging needs.
1. Press [ON/OFF] (Power) to turn on the camera.
The camera will enter the REC mode.
• If the camera is in the PLAY mode, press [r] (REC).
• You also can configure the camera to turn on when you press [r] (REC) or
[p] (PLAY) (page 108).
2. Press [SET].
3. Use [8] and [2] to select the bottom Control Panel option (BS) and
then press [SET].
This will display a menu of BEST SHOT scenes (page 50).
4. Use [8], [2], [4], and [6] to select “Auto” or “Premium Auto”, and
then press [SET].
This enters the selected auto recording mode.
To shoot a snapshot
Selecting an Auto Recording Mode
Auto This is the standard Auto recording mode.
Premium Auto
With Premium Auto recording, the camera automatically
determines whether you are shooting a subject or scenery,
and other conditions. Premium Auto recording delivers higher
image quality than standard Auto recording.
• Premium Auto recording takes longer to process image data
after it is shot than Auto recording.
• It requires more power (and runs down the battery quicker)
than Auto.
R
Ÿ
Auto recording mode icon
Remaining Snapshot Memory
Capacity (page 130)
Shutter button
[r] (REC)
[SET]
[ON/OFF] (Power)
Monitor screen
[4] [6] [8] [2]

26 Quick Start Basics
1. Point the camera at the subject.
If you are using Premium Auto, text will appear in the
lower right corner of the monitor screen describing the
type of shot the camera has detected.
• You can zoom the image, if you want.
2. Half-press the shutter button to
focus the image.
When focus is complete, the camera
will beep, the back lamp will light
green, and the focus frame will turn
green.
To shoot a snapshot
When you half-press the shutter button, the
camera automatically adjusts exposure and
focuses on the subject it is currently pointed
at. Mastering how much pressure is required
for a half-press and a full-press of the shutter
button is an important technique for good-
looking images.
• The focus frame in the screen shots
included in this manual is shown at ß.
Note that you can change the form of the
focus frame, if you want (page 58).
w Wide Angle z Telephoto
Zoom controller
Back lamp Focus frame
Half-press
Press lightly
until the
button stops.
Beep, beep (Image is in focus.)
B

27 Quick Start Basics
3. Continuing to keep the camera still, press the shutter button the rest of
the way down.
This records the snapshot.
.If the image does not focus...
If the focus frame stays red and the back lamp is flashing green, it means that the
image is not in focus (because the subject is too close, etc.). Re-point the camera at
the subject and try to focus again.
.Shooting with Auto
If the subject is not in the center of the frame...
“Focus lock” (page 57) is the name of a technique you can use when you want to
shoot an image in which the subject to be focused on is not within the focus frame in
the center of the screen.
To track the movement of a moving subject
Half-press the shutter button to follow and focus automatically on a moving subject.
See “Ë Tracking” (page 60) for more information.
.Shooting with Premium Auto
• In addition to shutter speed, aperture, and ISO sensitivity, the camera
automatically executes the following operation as required when shooting with
Premium Auto.
– Auto Focus is normally performed until you half-press the shutter button.
– The camera automatically determines the focus point on the screen and focuses
there.
– Face Detection (page 40)
• Shooting with Premium Auto can cause vibration and noise to occur due to lens
operation. This does not indicate malfunction.
• In some cases, Premium Auto may not be able to interpret the shooting
environment correctly. If this happens, shoot with standard Auto.
Recording a Movie
Press [0] (Movie) to start
movie recording. Press
[0] (Movie) again to stop
movie recording. See
page 46 for details.
Full-press
Snap (Image is recorded.)
[0] (Movie)

28 Quick Start Basics
Use the following procedure to view snapshots on the camera’s monitor screen.
• For information about how to play back movies, see page 66.
1. Turn on the camera and press
[p] (PLAY) to enter the PLAY
mode.
• This will display one of the snapshots
currently stored in memory.
• Information about the displayed
snapshot also is included (page 10).
• You also can clear the information to
view only the snapshot (page 11).
• You can zoom in on the image by sliding the zoom controller towards z
(page 67). If you are recording a snapshot that is very important to you, it is
recommended that you zoom the image and check its details after recording it.
2. Use [4] and [6] to scroll between images.
• Holding down either button scrolls at high speed.
NOTE
• Half-pressing the shutter button while in the PLAY mode or while a menu screen is
displayed will switch directly to the REC mode.
Viewing Snapshots
[p] (PLAY)
[6][6]
[4][4]

29 Quick Start Basics
If memory becomes full, you can delete snapshots and movies you no longer need in
order to free up storage and record more images.
• In either the REC mode or PLAY mode, you can delete files
simply by pressing [ ] (Delete).
IMPORTANT!
• Remember that a file (image) delete operation cannot be
undone.
• Deleting an audio snapshot (page 76) deletes both the
snapshot and the audio file.
• You cannot delete files while movie or audio recording is in progress.
• The delete menu will not appear if you press [ ] (Delete) while “On” is selected for
the camera’s “Ü Disabled” setting (page 108). You can delete files only while “Off”
is selected for “Ü Disabled”.
1. Press [ ] (Delete).
2. Use [4] and [6] to scroll through the files until the one
you want to delete is displayed.
3. Use [8] and [2] to select “Delete” and then press [SET].
• To delete other files, repeat steps 2 and 3.
• To exit the delete operation, press [ ] (Delete).
Deleting Snapshots and Movies
To delete a single file
[ ] (Delete)

30 Quick Start Basics
1. Press [ ] (Delete).
2. Use [8] and [2] to select “Delete Files” and then press [SET].
• This displays a file selection screen.
3. Use [8], [2], [4], and [6] to move the selection boundary to the file
you want to delete, and then press [SET].
• This will select the check box of the currently selected file.
4. Repeat step 3 to select other files, if you want. After you are finished
selecting files, press [ ] (Delete).
5. Use [8] and [2] to select “Yes” and then press [SET].
• This deletes the files you selected.
• To exit the delete operation, press [ ] (Delete).
1. Press [ ] (Delete).
2. Use [8] and [2] to select “Delete All Files” and then press [SET].
3. Use [8] and [2] to select “Yes” and then press [SET] to delete all files.
This will cause the message “There are no files” to appear.
To delete specific files
To delete all files

31 Quick Start Basics
Operation
• Never open the battery cover while the back lamp is flashing green. Doing so can
result in the image you just shot being saved incorrectly, damage to other images
stored in memory, malfunction of the camera, etc.
• If unwanted light is shining directly onto the lens, shade the lens with your hand
when shooting an image.
Monitor Screen when Shooting Snapshots
• Subject brightness conditions can cause monitor screen response to slow and can
cause digital noise in the monitor screen image.
• The image that appears on the monitor screen is for image composition. The actual
image will be recorded at the quality set for the image quality setting (page 63).
Shooting Indoors under Fluorescent Lighting
• Minute flickering of fluorescent lighting can affect the brightness or color of an
image.
• Any of the following can make proper focus impossible.
– Solid color wall or other very low contrast subject
– Strongly back lit subject
– Very shiny subject
– Blinds or other subject with a repeating horizontal pattern
– Multiple subjects at varying distances from the camera
– Subject in a dark location
– Camera movement while shooting
– Fast-moving subject
– Subjects outside the focus range of the camera
• If you cannot focus properly, try using focus lock (page 57) or Manual Focus (page
56).
Snapshot Shooting Precautions
Auto Focus Restrictions

32 Snapshot Tutorial
Snapshot Tutorial
The Control Panel can be used to configure camera settings.
1. In the REC mode, press [SET].
2. Use [8] and [2] to select the setting you want to change.
This will select one of the Control Panel icons and display its settings.*1
3. Use [4] and [6] to change the setting.
4. If you want to configure another setting, repeat steps 2 and 3.
5. After all of the settings are the way you want, press [SET].
This will apply the settings and return to the REC mode.
If you selected “MENU”, the REC menu will appear.
If you selected “BS”, the BEST SHOT scene menu will appear.
• You can close the Control Panel by pressing [ ] (Delete).
Using the Control Panel
*1 Items displayed in the control panel depend on the recording mode.
*2 Snapshot image quality cannot be changed using the Control Panel.
Control Panel
Available settings
1
9
5
3
4
7
8
2
6
[SET]
[8] [2] [4] [6]
1Snapshot image size/quality*2
(pages 33, 63)
2Movie image quality (page 36)
3Flash (page 37)
4Self-timer (page 39)
5Face Detection (page 40)
6Silent Mode (page 41)
7easy Mode (page 41)
8REC menu display (page 54)
9BEST SHOT scene selection
(page 50)

33 Snapshot Tutorial
NOTE
• No icon is displayed for any Control Panel option (page 9) that is set to its initial
default (reset) setting. An icon will appear only if you change the setting of the
corresponding Control Panel option. The following are the initial defaults for Control
Panel options.
– Flash: Auto Flash
– Self-timer: Off
– Face Detection: Off
– Silent: Off
• You also can configure settings other than those listed above (page 54).
.Pixels
A digital camera image is a collection of small
dots called “pixels”. The more pixels there are
in an image, the more detail there will be.
However, you generally can do with fewer
pixels when printing an image (L size) through
a print service, attaching an image to e-mail,
when viewing the image on a computer, etc.
.About image sizes
The size of an image indicates how many pixels it contains, and is expressed as
horizontal pixelsxvertical pixels.
Changing the Image Size (Size)
10M (3648x2736) size image =
Approximately 10 million pixels
*Unit: pixels
VGA (640x480) size image =
Approximately 300,000 pixels
Pixel
3648*
2736*
640*
480*

34 Snapshot Tutorial
Image Size Selection Tips
Note that larger images have more pixels, so they take up more memory space.
• For information about image size, image quality, and number of images that can be
stored, see page 130.
• For information about movie image size, see page 36.
• For information about resizing existing snapshots, see page 75.
Large Number
of Pixels
More detail, but takes up more memory. Best
when you plan to print large-size prints (such
as A3 size).
Small Number
of Pixels
Less detail, but takes up less memory. Best
when you want to send images by e-mail,
etc.

35 Snapshot Tutorial
.To select the snapshot image size
1. In the REC mode, press [SET].
2. Use [8] and [2] to select the top Control Panel option (Snapshot
Image Size).
3. Use [4] and [6] to select an image size and then press [SET].
• The initial factory default image size setting is “16M”.
• Selecting “3:2” records images with an aspect ratio of 3:2, which matches the
standard aspect ratio of print paper.
• The letters “HDTV” stand for “High Definition Television”. An HDTV screen has an
aspect ratio of 16:9, which makes them wider than the usual 4:3 aspect ratio of
television screens of the past. Your camera can record images that are compatible
with the aspect ratio an HDTV screen.
• You should regard the print paper sizes suggested here as guidelines only (200 dpi
print resolution).
Image Size
(Pixels)
Suggested
Print Size and
Application
Description
16M
(4608x3456) Poster Print
Good detail for better clarity even for images
cropped (page 75) from the original
3:2
(4608x3072) Poster Print
16:9
(4608x2592) HDTV
10M
(3648x2736) A3 Print
Good detail
5M
(2560x1920) A4 Print
3M
(2048x1536) 3.5"x5" Print Best when preserving memory capacity is
relatively more important than image quality.
VGA
(640x480) E Mail
Image files are smaller, which is better when
attaching images to e-mail. However, images
are relatively coarser.

36 Snapshot Tutorial
.Specifying Movie Image Quality
Movie image quality is a standard that determines the detail, smoothness, and clarity
of a movie during playback. Shooting with the high-quality (HD) setting will result in
better image quality, but it also shortens the amount of time you can shoot.
1. In the REC mode, press [SET].
2. Use [8] and [2] to select the second Control Panel option from the top
(Movie Image Quality).
3. Use [4] and [6] to select the setting you want and then press [SET].
• The 16:9 aspect ratio is available when “HD” is selected as the image quality.
• Memory capacity (Movie recording time you can shoot) will be affected by the
quality settings you configure (page 131).
Image Quality (Pixels) Approximate Data Rate Frame Rate
HD 1280x720 30 Megabits/second 30 frames/second
STD 640x480 6 Megabits/second 30 frames/second

37 Snapshot Tutorial
1. In the REC mode, press [2] ( ) once.
2. Use [4] and [6] to select the flash
setting you want and then press [SET].
• If there are no indicators on the monitor
screen, you can cycle through the flash
modes by pressing [2] ( ). You can turn
display information on or off by pressing
[8] (DISP) (page 11).
3. Press the shutter button to shoot.
• For information about Flash Range, see page 133.
IMPORTANT!
• Foreign matter on the flash window can react with the light of the flash, producing
some smoke and abnormal odor. Though this does not indicate malfunction, oil
from your fingers and other foreign matter when left on the flash window can
become difficult to clean off later. Because of this, you should make it a regular
habit to wipe the window clean regularly with a soft, dry cloth.
Using Flash (Flash)
Auto Flash Flash fires automatically in accordance with exposure
(amount of light and brightness) conditions.
Flash Off Flash does not fire.
Flash On
Flash always fires. This setting can be used to brighten a
subject that normally comes out dark due to daylight or
backlight (daylight synchro flash).
Red Eye
Reduction
Flash fires automatically. This type of flash can be used to
reduce the chance of redness in the subject’s eyes.
Flash
[2] ( )
>
?
<
¥
Back lamp
Flashes orange while the flash is charging to
indicate that image recording is disabled.
• You will not be able to take another flash
snapshot until the lamp stops flashing
orange, which indicates that charging is
complete.
< indicates the flash will fire.

38 Snapshot Tutorial
NOTE
• Take care so your fingers and the strap do not block the flash.
• The desired effect may not be obtained when the subject is too far away or too
close.
• Flash charging time (page 133) depends on operating conditions (battery
condition, ambient temperature, etc.).
• Shooting with flash turned off when lighting is dim results in a slow shutter speed,
which can cause image blur due to camera movement. Under such conditions,
secure the camera with a tripod, etc.
• With red eye reduction, the flash is fired automatically in accordance with
exposure. It does not fire in areas where lighting is bright.
• The presence of outdoor sunlight, fluorescent lighting, or some other light source
can cause abnormal image colors.
• Select ? (Flash Off) for the flash setting when shooting in areas where flash
photograph is prohibited.
Red-eye Reduction
Using the flash to shoot at night or in a dimly lit room can cause red spots inside the
eyes of people who are in the image. This is caused when the light from the flash
reflects off of the retina of the eye. When red-eye reduction is selected as the flash
mode, the camera fires a pre-flash to cause the irises in the eyes of any people in the
image to close, which reduces the chance of red eye.
Note the following important points when using red-eye reduction.
• Red-eye reduction does not work unless the people in the image are looking
directly at the camera (flash).
• Red-eye reduction may not work very well if the subjects are located far away from
the camera.

39 Snapshot Tutorial
With the Self-timer, pressing the shutter button starts a timer. The shutter is released
and the image is shot after a fixed amount of time.
1. In the REC mode, press [SET].
2. Use [8] and [2] to select the fourth Control Panel option from the top
(Self-timer).
3. Use [4] and [6] to select the setting you want and then press [SET].
• The front lamp flashes while the Self-timer countdown is
in progress.
• You can interrupt an ongoing Self-timer countdown by
pressing [SET].
NOTE
• The Self-timer cannot be used together with the following features.
CS, some BEST SHOT scenes
• The Triple Self-timer cannot be used together with the following features.
Movie, Premium Auto, easy Mode, some BEST SHOT scenes
Using the Self-timer (Self-timer)
10sec
Self-timer 10-second Self-timer
2sec
Self-timer
2-second Self-timer
• When shooting under conditions that slow down the shutter
speed, you can use this setting to prevent image blur due to
camera movement.
X3
Self-timer
(Triple
Self-timer)
Shoots three images: one image 10 seconds after the shutter
button is pressed, and the next two images as soon as the
camera is ready after shooting the previous image. How long it
takes for the camera to get ready to shoot depends on the
image size and quality settings, whether or not a memory card
is loaded in the camera, and the flash charge condition.
Self-timer Off Turns off the Self-timer.
„
‚
”
Front lamp

40 Snapshot Tutorial
When shooting people, the face detection feature detects the faces of up to eight
individuals and adjusts focus and brightness accordingly.
1. In the REC mode, press [SET].
2. Use [8] and [2] to select the fifth Control Panel option from the top
(Face Detection).
3. Use [4] and [6] to select “G Face Detection: On” and then press
[SET].
4. Point the camera at the subject(s).
The camera will detect human faces and display a
frame around each one.
5. Half-press the shutter button.
The camera will focus and the frames around the
faces it focuses on will turn green.
6. Press the shutter button the rest of the way
down.
IMPORTANT!
• The camera performs center focus if it cannot detect a face.
• The only focus mode available while face detection is enabled is Auto Focus (AF).
• Face detection may take a bit longer when you hold the camera sideways.
• Detection of the following types of faces is not supported.
– Face that is obstructed by hair, sunglasses, a hat, etc., or a face in dark shade
– A profile or a face that is at an angle
– A face that is very far away and small, or very close and large
– A face in an area that is very dark
– The face of a pet or some other non-human subject
• Face detection cannot be used in combination with any of the following features.
– Some BEST SHOT scenes
– Movie Recording
• The AF area setting (page 60) is ignored while face detection is enabled.
Using Face Detection (Face Detection)
Face Detection icon

41 Snapshot Tutorial
The Silent mode automatically disables flash, mutes operation tones, and configures
other settings to avoid disturbing others around you. It comes in handy when shooting
in a museum or other areas where flash photograph is prohibited.
1. In the REC mode, press [SET].
2. Use [8] and [2] to select the sixth Control Panel option from the top
(Silent Mode).
3. Use [4] and [6] to select “On” and then press [SET].
This enters the Silent mode, which is indicated by m (Silent) on the monitor
screen.
• The settings shown below are fixed and cannot be changed while in the Silent
mode.
• See the following for details.
– Flash (page 37)
– Self-timer (page 39)
– Sounds (page 102)
• Entering the Silent mode in the REC mode will also enter the Silent mode in the
PLAY mode automatically (page 73).
The easy mode eliminates troublesome setups and simplifies snapshot recording.
This mode is recommended for those who are new to digital imaging.
1. In the REC mode, press [SET].
2. Use [8] and [2] to select the third option from the bottom in the
Control Panel (easy Mode).
3. Use [4] and [6] to select “| ON” and then press [SET].
This enters the easy mode.
Shooting without Disturbing Others (Silent Mode)
Flash Off
Self-timer Off
Sounds Off
Using the easy Mode (easy Mode)

42 Snapshot Tutorial
4. Point the camera at the subject.
If the camera detects a human face, it continually focuses on the face (page 40).
If the camera does not detect a face, it continually focuses on the center of the
screen.
• The camera will focus and focus frame will turn green.
5. When you are ready to shoot, press the shutter button.
This records the snapshot.
IMPORTANT!
• Vibration and noise will occur due to lens operation. This does not indicate
malfunction.
.easy Mode Control Panel
In the easy mode, the Control Panel provides you with access to four setting items:
image size, flash, self-timer, and easy Mode. There is also a “MENU” option, which
you can select to display a menu screen for configuring image quality (page 63) and
Setup tab (page 102) settings.
• In the easy mode, the Quality tab can be used to configure the “Movie Quality” and
“Lighting” settings only.
• The settings of menu options that appear on the normal REC menu but not on the
easy mode REC menu are automatically fixed at their optimum settings. These
fixed settings do not affect normal REC menu settings.
1. In the easy mode, press [SET].
In the easy mode, the characters that appear on
the setting screen are larger than they are in other
modes.
2. Use [8] and [2] to select the setting you
want to change.
1Image size (page 33)
2Flash (page 37)
3Self-timer (page 39)
4easy Mode (page 41)
5REC menu display (page 54)
1
5
3
4
2

43 Snapshot Tutorial
3. Use [4] and [6] to change the setting.
• An asterisk (*) indicates reset default settings.
• The following are explanations of the easy Mode.
k: Stays in easy Mode.
l: Exits easy Mode to the normal REC mode.
4. Press [SET].
This will apply your setting(s) and display the easy Mode viewfinder screen,
indicating the camera is ready to shoot.
If you selected “MENU” in step 2, pressing [SET] will display the REC menu. See
“Advanced Settings” (page 54) for details about configuring its settings.
• Pressing [ ] (Delete) will exit the Control Panel.
Your camera provides you with 12.5X optical zoom (that changes the lens focal
distance), which can be used in combination with digital zoom (that digitally
processes the center portion of the image to enlarge it) for total zoom capabilities of
12.5X to 159.5X. The image deterioration point depends on the image size (page 45).
1. In the REC mode, slide the zoom controller to zoom.
2. Press the shutter button to shoot the image.
IMPORTANT!
• Digital zoom is disabled while time stamping (page 105) is turned on.
Setting: Available Options:
Image Size ¤* / % / !
Flash > (Auto)* / < (On) / ? (Off)
Self-timer • (10-second self-timer) / l*
easy Mode k / l*
MENU Quality tab/Set Up tab
Shooting with Zoom
w (Wide Angle) : Reduces the size of the subject and broadens the range.
z (Telephoto) : Enlarges the subject and narrows the range.
w Wide Angle z Telephoto Zoom controller

44 Snapshot Tutorial
NOTE
• The higher the digital zoom factor, the coarser the recorded image. Note that the
camera also has a function that lets you record using digital zoom without image
deterioration (page 45).
• Use of a tripod is recommended to protect against image blur due to camera
movement when shooting with telephoto.
• Performing a zoom operation changes the lens aperture.
If you hold the zoom controller towards z (Telephoto), the zoom operation will stop
when the optical zoom factor reaches its maximum. Momentarily releasing the zoom
controller and then holding it again towards z (Telephoto) will switch to digital
zoom, which you can use to set an even higher zoom factor.
• During zoom, a zoom bar on the monitor screen shows the current zoom setting.
Optical Zoom and Digital Zoom Switch Point
Image deterioration indicator
Zoom bar
Focusing range
(Displayed for Auto Focus, Macro Focus, and Manual
Focus.)
12.5X to 90.0X
Undeteriorated image
quality range
1X 50.0X to 159.5X
Zoom pointer (Indicates current zoom.)
Image deterioration
Optical/digital zoom switch point
*12.5X optical zoom point
Deteriorated image
quality range

45 Snapshot Tutorial
• The image deterioration point
depends on the image size (page
33). The smaller the image size,
the higher the zoom factor you
can use before reaching the
image deterioration point.
• Though digital zoom generally
causes a deterioration of image
quality, some digital zoom
without image deterioration is
possible with image sizes of
“10M” and smaller. The range in
which you can use digital zoom
without image deterioration is
indicated on the display. The
deterioration point depends on
the image size.
Image
Size
Maximum
Zoom Factor
Undeteriorated
zoom limit
16M
50.0X 12.5X
3:2
16:9
10M 63.1X 15.8X
5M 90.0X 22.5X
3M 112.3X 28.1X
VGA 159.5X 90.0X

46 Recording Movie Images and Audio
Recording Movie Images and Audio
1. Configure the quality setting for the movie (page 36).
The length of the movie you can record will depend on the quality setting you
select.
2. In the REC mode, point the camera
at the subject and then press
[0] (Movie).
This will start recording and display Y
on the monitor screen.
Movie recording includes monaural
audio.
3. Press [0] (Movie) again to stop
recording.
Movie recording also will stop
automatically if memory becomes full
before you press [0] (Movie).
• The maximum allowed for a single movie recording is 4 GB in file size or
29 minutes in length. Movie recording stops automatically when either of these
limits is reached.
Shooting with BEST SHOT
With BEST SHOT (page 50), you can select the sample scene that matches the type
of movie you are trying to shoot and the camera will change its setup accordingly, for
beautiful movies every time. Selecting the BEST SHOT scene named Night Scene,
for example, will configure the camera so night scenes appear clearer and brighter.
To record a movie
Recording time
Remaining recording time
(page 131)
[0] (Movie)

47 Recording Movie Images and Audio
NOTE
• Spending a long time using movie recording will cause the camera to become
slightly warm to the touch. This is normal and does not indicate malfunction.
• The camera also records audio. Note the following points when
shooting a movie.
– Take care that the microphone is not blocked by your fingers,
etc.
– Good recording results are not possible when the camera is
too far away from what you are trying to record.
– Operating camera buttons while shooting can cause button
noise to be picked up in the audio.
• Shooting a very bright subject can cause a vertical band or a pink cast on the
monitor screen image. This does not indicate malfunction.
• Using the camera’s built-in memory or certain types of memory cards can slow
down processing speed. Whenever possible use an Ultra High-Speed Type
memory card. Note, however, that not all operations can be guaranteed even if an
Ultra High-Speed Type memory card is used. Certain movie quality settings can
result in too much time being required to record data, which can result in breaks in
the image and/or audio during playback. If this happens, the » and Y will flash
on the monitor screen.
• The effects of camera movement in an image become more pronounced when you
shoot close up or with a large zoom factor. Because of this, use of a tripod is
recommended under these conditions.
Microphone

48 Recording Movie Images and Audio
Voice Recording lets you record audio only, without a snapshot or movie.
• For information about Voice Recording capacities, see page 131.
1. In the REC mode, press [SET].
2. Use [8] and [2] to select the bottom Control Panel option (BS) and
then press [SET] (page 32).
3. Use [8], [2], [4], and [6] to select the “Voice Recording” scene and
then press [SET].
This causes ` to appear on the monitor screen.
4. Press the shutter button to start recording.
• The back lamp flashes green while recording is in
progress.
• Pressing [SET] during recording will insert a
marker into the recording. During playback, you
will be able to jump to the markers in the recording.
5. Press the shutter button again to stop audio
recording.
• To create another audio recording file, repeat
steps 4 and 5.
• To turn off Voice Recording, press [SET], use [8] and [2] to select the bottom
Control Panel option (BS), and then select another scene.
NOTE
• You can use [8] (DISP) during audio recording to toggle the monitor screen on
and off.
• When monitor screen contents are turned off, selecting the “Voice Recording”
scene will cause the monitor screen to turn off immediately (page 11).
About audio data
• Audio files can be played back on a computer with Windows Media Player or
QuickTime.
– Audio Data: WAVE/IMA-ADPCM (WAV extension)
Recording Audio Only (Voice Recording)
Recording time
Remaining recording time

49 Recording Movie Images and Audio
1. In the PLAY mode, use [4] and [6] to display
the Voice Recording file you want to play.
` is displayed in place of an image for a Voice
Recording file.
2. Press [0] (Movie) to start playback.
• You can also start playback by selecting the
second PLAY Panel item from the top (Playback
Start) and pressing [SET] (page 70).
Voice Recording Playback Controls
NOTE
• See page 29 for information about deleting a voice recording file.
To play back an audio recording
Fast forward/fast reverse [4] [6]
Play/pause [SET]
Jump to marker
While playback is paused, press [4] or [6] to
jump to the next marker and then press [SET]
to resume playback.
Volume adjustment Press [2] and then press [8] [2]
Monitor screen on/off [8] (DISP)
Playback end [0] (Movie)

50 Using BEST SHOT
Using BEST SHOT
BEST SHOT provides you with a collection of sample “scenes” that show a variety of
different types of shooting conditions. When you need to change the setup of the
camera, simply find the scene that matches what you are trying to achieve, and the
camera sets up for it automatically. This helps to minimize the chance of ruined
images due to poor exposure and shutter speed settings.
1. In the REC mode, press [SET].
2. Use [8] and [2] to select the
bottom Control Panel option (BS)
and then press [SET] (page 32).
This will display a menu of BEST
SHOT scenes.
• The initial default selection is
R (Auto) or Ÿ (Premium Auto).
3. Use [8], [2], [4], and [6] to
move the boundary to the scene
you want to select.
• The scene menu has multiple pages. Use [8] and [2] to scroll between menu
pages.
• You can access information about the currently selected scene. See page 51
for details.
• To return to the auto recording mode, select R (Auto) or Ÿ (Premium Auto)
(page 25).
What is BEST SHOT?
Some Sample Scenes
Portrait Scenery Night Scene Night Scene Portrait
To shoot an image with BEST SHOT
Currently selected scene
(with boundary)
Scene number
Scene name
[SET]
[8] [2] [4] [6]

51 Using BEST SHOT
4. Press [SET] to configure the camera with the settings for the currently
selected scene.
This returns to the REC mode.
• The settings of the scene you selected remain in effect until you select a
different scene.
• To select a different BEST SHOT scene, repeat the above procedure from
step 1.
5. Press the shutter button (if you are shooting a snapshot) or [0] (Movie)
(if you are shooting a movie).
.Using Scene Information Screen
To find out more about a scene, select it with the boundary
on the scene selection screen, and then slide the zoom
controller in either direction.
• To return to the scene menu, slide the zoom controller
again.
• To scroll between scenes, use [4] and [6].
• To configure the camera with the settings for the
currently selected scene, press [SET].

52 Using BEST SHOT
.BEST SHOT Precautions
• Some BEST SHOT scenes cannot be used while recording a movie.
• For YouTube scene cannot be used while shooting a snapshot.
• The Voice Recording scene cannot be used while shooting a snapshot or recording
a movie.
• Some scenes like Night Scene and Fireworks results in a slow shutter speed
setting. Since a slow shutter speed increases the chance of digital noise in the
image, the camera automatically performs a digital noise reduction process when
either of these scenes is selected. This means that it will take a bit longer for the
image to be saved which is indicated by the back lamp flashing green. Do not
perform any key operation during that time. Also, it is a good idea to use a tripod to
avoid image blur due to camera movement when shooting at slow shutter speeds.
• The BEST SHOT YouTube scene sets up the camera for recording movies that are
optimized for uploading to YouTube. Movies recorded with the YouTube scene are
stored in a special folder to make them easy to locate for uploading (page 100).
• Your camera includes a sample scene that optimizes settings for auction site
images. Depending on your camera model, the sample scene is named either “For
eBay” or “Auction”. Images you record using the auction site sample scene are
stored in a special folder so you can easily find them on your computer (page 100).
• High Sensitivity
– The high sensitivity setting is disabled whenever the camera’s flash fires.
– High sensitivity may not produce the desired results in very dark conditions.
– When shooting with slow shutter speeds, use a tripod to protect against blurring
due to camera movement.
– Under certain lighting conditions, the camera will perform an automatic noise
filtering operation to reduce digital noise in the image. This operation causes the
camera to take longer than normal to save the image and be ready for the next
shot.
• BEST SHOT scene images were not shot using this camera.
• Images shot using a BEST SHOT scene may not produce the results you expected
due to shooting conditions and other factors.
• You can modify the camera settings that are made after you select a BEST SHOT
scene. Note, however, that the BEST SHOT settings revert to their defaults when
you select another BEST SHOT scene or turn off the camera.

53 Using BEST SHOT
With this feature, you can shoot your own self-portrait simply by pointing the camera
at your face.
BEST SHOT has two self-portrait scenes from which to choose.
1. On the BEST SHOT scene menu, select “Self-portrait (1 person)” or
“Self-portrait (2 people)”.
2. Press the shutter button all the way down, and point
the camera at yourself.
About three seconds after you press the shutter button, the
camera will go into Auto Shutter standby and start face
detection. After the camera detects the specified number of
faces, focuses, and adjusts the exposure to the proper
level, it will beep twice and then release the shutter
automatically.
• The camera will emit a shutter sound and the front lamp will flash twice when
the shutter is released.
• To cancel Auto Shutter standby, press [SET].
IMPORTANT!
• If the camera remains in Auto Shutter standby without releasing the shutter, you
can record an image by pressing the shutter button all the way down again.
• Shooting with the self-portrait feature may produce a blurred image when shooting
in areas where lighting is dim, which results in a very slow shutter speed setting.
• The Auto Power Off (page 107) trigger time is fixed at five minutes while the
camera is in Auto Shutter standby. Sleep (page 107) is disabled while Auto Shutter
is being used.
Recording a Self-portrait
• Self-portrait (1 person): Shoots when the face of at least one person, including
you, is detected.
• Self-portrait (2 people) : Shoots when the faces of at least two people, including
you, are detected.

54 Advanced Settings
Advanced Settings
The following are menu operations you can use to configure various camera settings.
• REC mode menu contents and operations are different from those in the PLAY
mode. This section explains operations using the REC menu screen. See page 70
for information about PLAY menu screen operations.
.Example REC Menu Screen Operation
1. In the REC mode, press [SET].
2. Use [8] and [2] to select the second Control Panel
option from the bottom (MENU) and then press
[SET] (page 32).
This will display the REC menu screen.
3. Use [4] and [6] to select the tab where the menu
item you want to configure is located.
4. Use [8] and [2] to select the menu item you
want, and then press [6].
5. Use [8] and [2] to change the setting of the
selected menu item.
6. After the setting is the way you want, press
[SET] to apply the setting and return to the
viewfinder screen.
• Pressing [4] instead of [SET] applies the
selected setting and returns to the menu item
selection.
• To configure settings on another tab after
pressing [4] to return to the menu item selection,
use [8] or [ ] (Delete) to move the highlighting
up to the tabs, and then use [4] and [6] to
select the tab you want.
Using On-screen Menus
[SET]
[8] [2] [4] [6]
Example:
When “T Quality” is
selected on the “Quality”
tab
Tabs
Selected menu item
Settings

55 Advanced Settings
NOTE
• [ ] (Delete) provides a helpful way to navigate around tabs and menus.
– Pressing [ ] (Delete) while a tab is selected will display the viewfinder screen.
– Pressing [ ] (Delete) while menu item or setting is selected will “back step” in
the following sequence: Settings * Menu items * Tab.
IMPORTANT!
• Some menu items may not be available, depending on the recording mode being
use.
.REC Menu Operations in This Manual
REC menu operations are represented in this manual as shown below. The following
operation is the same one described under “Example REC Menu Screen Operation”
on page 54.
Procedure
[r] (REC)
*
[SET]
*
MENU
*
Quality Tab
*
T Quality
Use [4] and [6] to select the
“Quality” tab.
Use [8] and [2] to select “T Quality”
and then press [6].
Press [SET].Press
[r] (REC).
Use [8] and [2] to select the second Control Panel option from the
bottom (MENU) and then press [SET].

56 Advanced Settings
Procedure
[r] (REC) * [SET] * MENU * REC Tab * Focus
*1 The focus range is the distance from the lens surface.
*2 The minimum changes along with the optical zoom setting.
Super Macro
Super Macro fixes optical zoom at a position that allows you to shoot from the closest
distance to the subject. The result is closer and larger subject images.
NOTE
• Zoom is fixed while Super Macro is selected, so no zoom operation is performed
when you slide the zoom controller.
REC Mode Settings (REC)
Selecting a Focus Mode (Focus)
Settings Type of Shot Focus Mode Approximate Focus Range*1
Snapshot Movies Snapshot Movies
Q Auto
Focus
General
recording Automatic
Automatic
Approximately 5 cm to
9 (infinity) (2.0" to 9)
(Wide Angle)
´
Macro Close ups Automatic
Approximately 1 cm to 50 cm
(0.39" to 19.7") (Fifth step
zoom from the Widest Angle
setting)
Á
Super
Macro Close ups Automatic Approximately 1 cm to 50 cm
(0.39" to 19.7")
)
Infinity
Scenery and
other distant
subjects
Fixed Infinity
W
Manual
Focus
When you
want to focus
manually
Manual
Approximately 5 cm to
9 (infinity)*2 (2.0" to 9)
(Wide Angle)

57 Advanced Settings
To focus with manual focus
1. On the monitor screen, compose the image so
the subject you want to focus on is within the
yellow boundary.
2. Watching the image on the monitor screen use
[4] and [6] to adjust focus.
• At this time the image that is within the boundary
will enlarge and fill the monitor screen, which aids
in focusing. If you do not perform any operation for
two seconds while the enlarged image is displayed,
the screen in step 1 will re-appear.
NOTE
• An Auto Macro feature detects how far the subject is from the lens and
automatically selects either Macro Focus or Auto Focus accordingly.
• Auto Macro can be used when recording snapshots only.
• Auto Focus is the only focus mode available while face detection is enabled. To
select another focus mode, first turn off face detection (page 40).
• Use of the flash together with Macro Focus can cause the light of the flash to
become blocked, which may result in unwanted lens shadows in your image.
• Whenever you perform an optical zoom operation while shooting with Auto Focus,
Macro Focus, or Manual Focus, a value will appear on the monitor screen to tell
you the focus range, as shown below.
Example: oo cm to 9
*oo is the actual focusing range value.
• The operations assigned to the [4] and [6] keys with the “L/R Key” setting (page
61) are disabled while Manual Focus is selected as the focus mode.
Using Focus Lock
“Focus lock” is a technique you can use when you want
to compose an image in which the subject you want to
focus on is not within the focus frame in the center of the
screen.
• To use focus lock, select “Û Spot” for the Auto
Focus area (page 60).
Yellow boundary
Subject to be focused on
Focus frame

58 Advanced Settings
1. Align the monitor screen’s focus frame with the subject you want to
focus on and then half-press the shutter button.
2. Keeping the shutter button half-pressed
(which maintains the focus setting), move the
camera to compose the image.
3. When you are ready to shoot the image,
press the shutter button the rest of the way
down.
NOTE
• Focus lock also locks exposure (AE).
Procedure
[r] (REC) * [SET] * MENU * REC Tab * Focus Frame
You can use this procedure to select from among five different shapes, including a
heart shape, for the focus frame.
NOTE
• Half-pressing the shutter button will cause the focus frame to change one of the
shapes shown below.
• When shooting with face detection or the easy mode, the frame shape is ß.
Changing the Focus Frame Shape (Focus Frame)
Settings ß¹ ™ ¬ μ
Focus successful
Focus not successful

59 Advanced Settings
Procedure
[r] (REC) * [SET] * MENU * REC Tab * CS
While Continuous Shutter is turned on, images are continually recorded until memory
becomes full, as long as you keep the shutter button depressed.
Releasing the shutter button stops shooting.
NOTE
• With continuous shutter, exposure and focus for the first image are applied for
successive images as well.
• Continuous shutter cannot be used in combination with any of the following.
– Premium Auto
– Some BEST SHOT scenes
– easy Mode
– Movie Recording
• When using a continuous shutter mode, keep the camera still until all recording is
finished.
• The continuous shutter rate depends on the current image size and image quality
settings.
• The speed of Continuous Shutter depends on the type of memory card loaded in
the camera and the amount of free space available for storage. When shooting to
built-in memory, continuous shutter shooting is relatively slow.
• You cannot use the self-timer in combination with Continuous Shutter.
Procedure
[r] (REC) * [SET] * MENU * REC Tab * Anti Shake
You can turn on the camera’s Anti Shake feature to reduce image blur due to subject
movement or camera movement when shooting a moving subject using telephoto,
when shooting a fast-moving subject, or when shooting under dim lighting conditions.
Your digital camera is equipped with a CCD shift type camera shake correction
feature and a high-sensitivity anti image blur feature. These two features work in
concert to minimize the effects of hand and subject movement.
Using Continuous Shutter (CS)
Reducing the Effects of Camera and Subject Movement
(Anti Shake)
On Minimizes the effects of hand and subject movement.
Off Turns off Anti Shake settings
DEMO Half-pressing the shutter button demonstrates the effect of Anti
Shake. However, the image is not recorded.
A
F

60 Advanced Settings
NOTE
• Anti Shake is disabled during movie recording.
• ISO sensitivity, aperture, and shutter speed do not appear on the monitor screen
when you half-press the shutter button while “On” is selected. These values will
appear briefly, however, in the preview image that is displayed immediately after
you shoot a snapshot.
• Shooting while “On” is selected can cause an image to appear somewhat coarser
than normal and can cause slight deterioration of image resolution.
• Anti Shake may not be able to eliminate the effects of camera or subject movement
when movement is severe.
• Anti Shake may not work properly when the camera is mounted on a tripod. Turn
off Anti Shake.
Procedure
[r] (REC) * [SET] * MENU * REC Tab * AF Area
IMPORTANT!
• Auto Focus is disabled when W (Manual Focus) or ) (infinity) is selected for the
focus mode (page 56), even if you select an AF area.
• Selecting “Ë Tracking” can cause vibration and noise to occur due to lens
operation while tracking a subject. This does not indicate malfunction.
Specifying the Auto Focus Area (AF Area)
Spot This mode takes readings of a small area in the center of the
image. This setting works well with focus lock (page 57).
Multi
When you half-press the shutter button while this setting is
selected, the camera will select the optimum Auto Focus area from
among nine possible areas. The focus frame of the area where the
camera focuses will be displayed in green.
Tracking Half-pressing the shutter button focuses on the subject and causes
the focus frame to track the movement of the subject.
Û
È
Ë
“Û Spot” or “Ë Tracking”
Focus frame Focus frame
“È Multi”

61 Advanced Settings
Procedure
[r] (REC) * [SET] * MENU * REC Tab * L/R Key
You can assign one of the four functions listed below to the [4] and [6] keys.
Procedure
[r] (REC) * [SET] * MENU * REC Tab * Grid
The on-screen grid can be displayed on the REC mode
monitor screen for easy vertical and horizontal alignment
when composing images.
Procedure
[r] (REC) * [SET] * MENU * REC Tab * Icon Help
While Icon Help is turned on, a textual description will appear on the display for
certain icons when you switch between REC functions.
Functions Supported by Icon Help
• REC Mode, Flash, Metering Mode, White Balance, Self-timer, EV Shift
Assigning Functions to the [4] and [6] Keys (L/R Key)
Setting [4]/[6] key operation
EV Shift Adjusts the EV shift value (page 63)
White Balance Changes the white balance setting (page 64)
ISO Changes the ISO Sensitivity setting (page 65)
Self-timer Sets the self-timer time (page 39)
Off Cancels [4] and [6] key assignments
Displaying the On-screen Grid (Grid)
Using Icon Help (Icon Help)

62 Advanced Settings
Procedure
[r] (REC) * [SET] * MENU * REC Tab * Memory
When you turn off the camera, it remembers the current settings of all enabled
memory items and restores them when you turn it back on. Any memory item that is
disabled will be returned to its initial default setting whenever you turn off the camera.
*Optical zoom setting only.
• If you turn the camera power off and then back on while the BEST SHOT memory
item is enabled, all of the other memory items (except for zoom position) are
initialized to the currently selected BEST SHOT sample scene setup, regardless of
the enabled/disabled status of the other memory items. This is true for all BEST
SHOT scenes except “Auto” and “Premium Auto”.
Configuring Power On Default Settings (Memory)
Setting Disabled (Initial Default Setting) Enabled
b BEST SHOT Last used auto recording mode
Setting at power
off
Flash Auto
Focus AF (Auto Focus)
White Balance Auto
ISO Auto
AF Area Spot
CS Off
Self-timer Off
MF Position Position before manual focus was
selected.
Zoom Position*Full wide

63 Advanced Settings
Procedure
[r] (REC) * [SET] * MENU * Quality Tab * T Quality (Snapshot)
• The “Fine” setting helps to bring out details when shooting a finely detailed image
of nature that includes dense tree branches or leaves, or an image of a complex
pattern.
• Memory capacity (the number of images you can record) will be affected by the
quality settings you configure (page 130).
Procedure
[r] (REC) * [SET] * MENU * Quality Tab * EV Shift
You can manually adjust an image’s exposure value (EV value) before shooting it.
• Exposure Compensation Range: –2.0 EV to +2.0 EV
• Unit: 1/3 EV
1. Use [8] and [2] to adjust the exposure compensation value.
To cancel exposure compensation, change the EV value to 0.0.
2. Press [SET].
This applies the exposure compensation value. The exposure compensation
value you set remains in effect until you change it or turn off the camera (which
causes it to revert to “0.0”).
NOTE
• When shooting under very dark or very bright conditions, you may not be able to
obtain satisfactory results even after performing exposure compensation.
Image Quality Settings (Quality)
Specifying Snapshot Image Quality (Quality (Snapshot))
Fine Gives image quality priority.
Normal Normal
Correcting Image Brightness (EV Shift)
[8] : Increases the EV value. A higher EV
value is best for light-colored subjects
and backlit subjects.
[2] : Decreases the EV value. A lower EV
value is best for dark-color subjects and
for shooting outdoors on a clear day.

64 Advanced Settings
Procedure
[r] (REC) * [SET] * MENU * Quality Tab * White Balance
You can adjust white balance to match the source of light available where you are
shooting and avoid the blue cast that results when shooting outdoors when it is
cloudy, and the green cast that results when shooting under fluorescent lighting.
• When “Auto” is selected for the white balance setting, the camera automatically
determines the white point of the subject. Certain subject colors and light source
conditions can cause problems when the camera tries to determine the white point,
which makes proper white balance adjustment impossible. If this happens, select
the white balance setting that matches your shooting conditions (Daylight,
Overcast, etc.).
Controlling White Balance (White Balance)
Auto Configures the camera to adjust white balance automatically.
(Daylight) For shooting outdoors on a clear day
(Overcast) For shooting outdoors on an overcast rainy day, in the shade, etc.
(Shade) For shooting on a clear day in the shade of trees or buildings
(Day White
Fluorescent) For shooting under white or day white fluorescent lighting
(Daylight
Fluorescent) For shooting under daylight fluorescent lighting
(Tungsten) For shooting under light bulb lighting
Manual
For configuring the camera manually to suit a particular light
source
1Select “Manual”.
2Under the lighting conditions you plan to
use when shooting, point the camera at a
blank white piece of paper so it fills the
entire monitor screen and then press the
shutter button.
3Press [SET].
The white balance setting is retained even if you turn off the
camera.
¤
'
“
†
–
«
Blank white paper

65 Advanced Settings
Procedure
[r] (REC) * [SET] * MENU * Quality Tab * ISO
ISO sensitivity is a measure of sensitivity to light.
• “Auto” ISO sensitivity always is applied for movies, regardless of the current ISO
sensitivity setting.
• Higher ISO sensitivity values tend to result in digital noise in images.
Procedure
[r] (REC) * [SET] * MENU * Quality Tab * Lighting
You can use this setting to optimize the balance between bright areas and dark areas
when shooting images.
Procedure
[r] (REC) * [SET] * MENU * Quality Tab * Color Filter
Settings: Off, B/W, Sepia, Red, Green, Blue, Yellow, Pink, and Purple
Specifying ISO Sensitivity (ISO)
Auto Adjusts sensitivity automatically according to conditions.
ISO 64 Lower sensitivity
Higher sensitivity
Slow shutter speed
Fast shutter speed (Set
for shooting in dimly lit
areas.)
Less noise
Some coarseness
(increased digital noise)
ISO 100
ISO 200
ISO 400
ISO 800
ISO 1600
Optimizing Image Brightness (Lighting)
On Performs brightness correction. When this option is selected, it takes
longer for the image to be stored after the shutter button is pressed.
Off Does not perform brightness correction.
Using Built-in Color Filters (Color Filter)

66 Viewing Snapshots and Movies
Viewing Snapshots and Movies
See page 28 for the procedure for viewing snapshots.
1. Press [p] (PLAY) and then use [4] and [6] to display the movie you
want to view.
2. Press [0] (Movie) to start
playback.
Movie Playback Controls
• Playback may not be possible for movies not recorded with this camera.
Viewing Snapshots
Viewing a Movie
Fast forward/
fast reverse
[4] [6]
• Each press of either button increases the speed of the fast
forward or fast reverse operation.
• To return to normal playback speed, press [SET].
Play/pause [SET]
1 frame forward/
back
[4] [6]
• Holding down either button scrolls continuously.
Volume
adjustment
Press [2] and then press [8] [2].
• Volume can be adjusted only while movie playback is in
progress.
Information
display on/off [8] (DISP)
Zoom
Slide the zoom controller in the direction of z ([).
• You can use [8], [2], [4], and [6] to scroll the zoomed
image on the monitor screen. You can zoom a movie image
up to 4.5 times normal size.
Stop playback [0] (Movie)
Movie icon: »
Recording time
Image quality

67 Viewing Snapshots and Movies
1. In the PLAY mode, use [4] and [6] to scroll through the images until
the one you want is displayed.
2. Slide the zoom controller towards z ([) to
zoom.
You can use [8], [2], [4], and [6] to scroll the
zoomed image on the monitor screen. Slide the
zoom controller towards w to unzoom the image.
– When monitor screen contents are turned on, a
graphic in the lower right corner of the screen
shows what part of the zoomed image is
currently displayed.
– To exit the zoom screen, press [ ] (Delete).
– Though the maximum image zoom factor is 8X,
certain image sizes may not allow zooming up
to the full 8X.
1. In the PLAY mode, slide the zoom controller
towards w (]).
Use [8], [2], [4] and [6] to move the selection
boundary around the image menu.
To view a particular image, use [8], [2], [4], or [6] to
move the selection boundary to the image you want
and then press [SET].
Zooming an On-screen Image
Displaying the Image Menu
Image area
Current display area
Zoom factor
Boundary

68 Viewing Snapshots and Movies
1. Use an optionally available AV cable (EMC-7A) to connect it to the TV.
• Make sure that you insert the cable connector into the
USB/AV port until you feel it click securely into place.
Failure to insert the connector fully can result in poor
communication or malfunction.
• Note that even while the connector is fully inserted, you
still will be able to see the metal part of the connector as
shown in the illustration.
2. Turn on the TV and select its video input mode.
If the TV has more than one video input, select the one where the camera is
connected.
3. Turn on the camera and press [p] (PLAY).
This will cause an image to appear on the TV screen, without anything appearing
on the camera’s monitor screen.
• You also can change the aspect ratio of the screen and the video output
system (page 109).
4. Now you can display images and play back movies as you normally do.
IMPORTANT!
• Audio is initially output by the camera at maximum volume. When you first start
displaying images, set the TV volume control at a relatively low level and then
adjust it as required.
Viewing Snapshots and Movies on a TV Screen
Yellow AV cable
[USB/AV] port
White
Making sure that the mark on the AV cable connector is towards the
lens side, connect the cable to the camera.
VIDEO IN jack (yellow)
AUDIO IN jacks (white)
TV AudioVideo

69 Viewing Snapshots and Movies
NOTE
• Audio is monaural.
• Certain TVs may cut off part of the images.
• All icons and indicators that appear on the monitor screen also appear on the TV
screen. You can use [8] (DISP) to change the display contents.
Recording Camera Images to a DVD Recorder or Video Deck
Use one of the following methods to connect the camera to the recording device
using an optionally available AV cable (EMC-7A).
– DVD recorder or video deck: Connect to the VIDEO IN and AUDIO IN terminals.
– Camera: USB/AV port
You can play a slideshow of snapshots and movies on the camera and record it on a
DVD or video tape. When recording images to an external device, use [8] (DISP) to
clear all indicators from the monitor screen (page 11).
For information about connecting a monitor to the recording device and about how to
record, see the user documentation that comes with the recording device you are
using.

70 Other Playback Functions (PLAY)
Other Playback Functions (PLAY)
This section explains menu items that you can use to configure settings and perform
other playback operations.
Pressing [SET] in the PLAY mode will display the PLAY Panel.
.Example PLAY Panel Operation
1. In the PLAY mode, press [SET].
The PLAY Panel will appear along the
right side of the monitor screen.
2. Use [8] and [2] to select the
PLAY Panel item you want, and
then press [SET].
3. The following describes the operations you can perform for each of the
PLAY Panel items.
Using the PLAY Panel
Exit Exits the PLAY Panel.
Playback
Start
The operation that is performed when this item is selected
depends on the type of file that is currently displayed on the
monitor screen.
• Movie: Starts movie playback (page 66).
• Voice recording: Starts voice recording playback (page 49).
• Audio snapshot: Starts audio playback (page 76).
Slideshow
Displays a slideshow menu. See “Playing a Slideshow on the
Camera (Slideshow)” (page 72) for slideshow menu operations.
Silent Mode
The Silent mode turns off camera operation sounds so you can
avoid disturbing others around you when playing back images.
[SET]
[8] [2]PLAY Panel
â
P
ä
m

71 Other Playback Functions (PLAY)
.PLAY Menu Operations in This Manual
PLAY menu operations are represented in this manual as shown below. The following
operation is the same one described under “Example PLAY Panel Operation” on
page 70.
Menu
Displays the PLAY menu. You can perform the following
operations on the PLAY menu.
1Use [4] and [6] to select the tab
where the menu item you want to
configure is located.
2Use [8] and [2] to select the menu
item you want, and then press [6].
3Use [8] and [2] to change the
setting of the selected menu item.
4Press [SET] to apply the setting.
NOTE
• Pressing [ ] (Delete) performs one of the following
operations.
– If you previously selected a tab, pressing [ ] (Delete)
returns to the viewfinder screen.
– If you previously selected menu item, pressing [ ] (Delete)
returns to the tab.
à
Selected menu item
Tabs
Procedure
[p] (PLAY)
*
[SET]
*
MENU
*
PLAY Tab
*
Protect
Use [8] and [2] to select the bottom PLAY Panel
item (MENU) and then press [SET].
Use [4] and [6] to select the
“PLAY” tab.
Press
[p] (PLAY).
Press [SET].
Use [8] and [2] to select
“Protect” and then press [6].

72 Other Playback Functions (PLAY)
1. In the PLAY mode, press [SET].
2. Use [8] and [2] to select the third PLAY Panel item from the bottom
(Slideshow) and then press [SET] (page 70).
• To stop the slideshow, press [ ] (Delete). Pressing [SET] instead of [ ]
(Delete) stops the slideshow and returns to the menu screen.
• Adjust audio volume by pressing [2] and then press [8] or [2] during
playback.
• All button operations are disabled while the slideshow is transitioning from one
image to another.
• The time required for transition from one image to another may be longer in the
case of an image that was not recorded with this camera.
Playing a Slideshow on the Camera (Slideshow)
Start Starts the slideshow.
Time Time from the start to the end of the slideshow
1 to 5 minutes, 10 minutes, 15 minutes, 30 minutes, 60 minutes
Interval
Amount of time each image remains displayed
Use [4] and [6] to select a value from 1 to 30 seconds, or “MAX”.
If you specify a value from 1 to 30 seconds, images change at the
specified interval, but the audio portion of movies and audio
snapshots will continue to play until the end.
When the slideshow reaches a movie file while “MAX” is selected,
only the first frame of the movie will displayed. Voice Recording
files are not played back when “MAX” is selected.
Effect
Turns effect on or off.
On: Turns on the image change effect and background music.
Off: No image change effect or background music

73 Other Playback Functions (PLAY)
The Silent mode turns off camera operation sounds so you can avoid disturbing
others around you when play back images.
1. In the PLAY mode, press [SET].
2. On the PLAY panel (page 70), use [8] and [2] to select the second
menu option from the bottom (Silent) and then press [SET].
3. Use [8] and [2] to select “On” and then press [SET].
This enters the Silent mode, which is indicated by m on the monitor screen. The
“Sounds” setting (page 102) automatically changes to “Off” in the Silent mode.
Procedure
[p] (PLAY) * Snapshot Screen * [SET] * MENU *
PLAY Tab * Rotation
1. Use [8] and [2] to select “Rotation” and then press [SET].
Each press of [SET] will rotate the displayed image 90 degrees left.
2. When the displayed image is at the orientation you want, press
[ ] (Delete).
NOTE
• Note that this procedure does not actually change the image data. It simply alters
how the image is displayed on the camera’s monitor screen.
• An image that has been protected or zoomed cannot be rotated.
• The original (unrotated) version of the image will be displayed on the image menu
screen.
Performing Playback without Disturbing Others (Silent Mode)
Rotating an Image (Rotation)

74 Other Playback Functions (PLAY)
Procedure
[p] (PLAY) * Snapshot Screen * [SET] * MENU * PLAY Tab *
DPOF Printing
See page 81 for details.
Procedure
[p] (PLAY) * [SET] * MENU * PLAY Tab * Protect
IMPORTANT!
• Note that even if a file is protected, it will be deleted if you perform the format
operation (page 110).
Selecting Images for Printing (DPOF Printing)
Protecting a File Against Deletion (Protect)
On
Protects specific files.
1Use [4] and [6] to scroll through the files
until the one you want to protect is
displayed.
2Use [8] and [2] to select “On” and then
press [SET].
An image that is protected is indicated by
the › icon.
3To protect other files, repeat steps 1 and 2.
To exit the protect operation, press [ ] (Delete). To unprotect a file,
select “Off” instead of “On” in step 2 above.
All Files:
On
Protects all files.
1Use [8] and [2] to select “All Files: On” and then press [SET].
2Press [ ] (Delete).
To unprotect all files, select “All Files: Off” instead of “All Files: On” in
step 1 above.

75 Other Playback Functions (PLAY)
Procedure
[p] (PLAY) * Snapshot Screen * [SET] * MENU * PLAY Tab *
Resize
You can reduce the size of a snapshot and save the result as a separate snapshot.
The original snapshot is also retained. You can select resize an image to one of three
image sizes: 10M, 5M, VGA.
• Resizing a 3:2 or 16:9 size snapshot will create an image with an aspect ratio of
4:3, with both sides cut off.
• The recording date of the resized version of the snapshot will be the same as the
recording date of the original snapshot.
Procedure
[p] (PLAY) * Snapshot Screen * [SET] * MENU * PLAY Tab *
Trimming
You can crop a snapshot to trim parts you do not need,
and save the result in a separate file. The original
snapshot is also retained.
Use the zoom controller to zoom the image to the size you
want, use [8], [2], [4], and [6] to display the portion of
the image you want to cut out, and then press [SET].
• The image produced by cropping a 3:2 or 16:9 image
will have an aspect ratio of 4:3.
• The recording date of the cropped image will be the
same as the recording date of the original snapshot.
Resizing a Snapshot (Resize)
Cropping a Snapshot (Trimming)
Represents
snapshot area
Part of snapshot that is
currently displayed
Zoom factor

76 Other Playback Functions (PLAY)
Procedure
[p] (PLAY) * Snapshot Screen * [SET] * MENU * PLAY Tab *
Dubbing
2. Press [SET] again to stop audio recording.
• Take care that you do not block the camera’s microphone
with your fingers while recording.
• Good recording results are not possible when the camera is
too far away from what you are trying to record.
• Your camera supports the following audio data formats.
– Audio Format: WAVE/IMA-ADPCM (WAV extension)
• You cannot add audio to an image that is protected.
• To delete audio, perform the following operation:
Dubbing * Delete * [SET] * [ ] (Delete).
IMPORTANT!
• Note that you cannot restore the original audio of an Audio Snapshot after you
delete or re-record it.
1. In the PLAY mode, use [4] and [6] to scroll through the images until
the Audio Snapshot you want is displayed.
An audio snapshot is one that has a ˆ icon.
2. Press [0] (Movie) to start playback.
Adding Audio to a Snapshot (Dubbing)
You can add audio to a snapshot after you shoot it.
You can re-record a snapshot’s audio whenever you
want. You can record up to about 30 seconds of audio
for a single snapshot.
1. Press [SET] to start audio recording.
Remaining recording time
To play snapshot audio
Microphone

77 Other Playback Functions (PLAY)
Voice Recording Playback Controls
• Audio of an Audio Snapshot also can be played back on a computer with Windows
Media Player or QuickTime.
Procedure
[p] (PLAY) * [SET] * MENU * PLAY Tab * Copy
Files can be copied from the camera’s built-in memory to a memory card or from a
memory card to built-in memory.
NOTE
• You can copy snapshots, movies, audio snapshots, or Voice Recording files you
recorded with this camera.
Fast forward/fast reverse [4] [6]
Play/pause [SET]
Volume adjustment Press [2] and then
press [8] [2].
Display content switching [8] (DISP)
Stop playback [0] (Movie)
Copying Files (Copy)
Built-in * Card
Copies all files from built-in camera memory to a memory card.
This option copies all the files in built-in camera memory. It
cannot be used to copy a single file.
Card * Built-in
Copies a single file on the memory card to built-in camera
memory. Files are copied to the folder in built-in memory
whose name has the largest serial number.
1Use [4] and [6] to select the file you want to copy.
2Use [8] and [2] to select “Copy” and then press [SET].

78 Printing
Printing
• You can specify which images you want to print, the number of copies, and date
stamp settings before printing (page 81).
Printing Snapshots
Professional Print Service
You can take a memory card that contains the images you want
to print to a professional print service and have them printed.
Printing on a Home Printer
Printing Images on a Printer with Memory Card Slot
You can use a printer equipped with a memory card slot to print
images directly from a memory card. For details, see the user
documentation that comes with your printer.
Connecting Directly to a PictBridge Compatible
Printer
You can print on a printer that supports PictBridge (page 79).
Printing with a Computer
After transferring the images to your computer, use
commercially available software to print.

79 Printing
You can connect the camera directly to a printer that supports PictBridge and print
images without going through a computer.
.To set up the camera before connecting to a printer
1. Turn on the camera. Next, press [SET] and then display the REC menu
(page 54) or the PLAY menu (page 70).
2. On the “Set Up” tab, select “USB” and then press [6].
3. Use [8] and [2] to select “PTP (PictBridge)”, and then press [SET].
.Connecting the Camera to a Printer
Use the USB cable that
comes bundled with the
camera to connect the
camera to your printer’s USB
port.
• Make sure that you insert
the cable connector into the
USB/AV port until you feel it
click securely into place.
Failure to insert the
connector fully can result in
poor communication or
malfunction.
• Note that even while the connector is fully inserted, you still
will be able to see the metal part of the connector as shown in
the illustration.
• When connecting the USB cable to a USB port, make sure
you align the connector correctly with the port.
Connecting Directly to a PictBridge Compatible Printer
USB cable
(included with camera)
USB port
[USB/AV]
port
Making sure that the mark on the USB cable
connector is towards the lens side, connect the
cable to the camera.
Large connector
Small connector

80 Printing
.To print
1. Turn on the printer and load paper.
2. Turn on the camera.
This will display the print menu screen.
3. Use [8] and [2] to select “Paper Size”, and then
press [6].
4. Use [8] and [2] to select a paper size and then
press [SET].
• The following are the available paper sizes.
3.5"x5", 5"x7", 4"x6", A4, 8.5"x11", By Printer
• Selecting “By Printer” prints using a paper size selected on the printer.
• See the documentation that comes with your printer for information about
paper settings.
5. Use [8] and [2] to specify the print option you want.
• To toggle date stamping on and off, press [0]
(Movie). The date stamp will be printed when “On” is
indicated on the monitor screen.
6. Use [8] and [2] to select “Print” and then press
[SET].
Printing will start and the message “Busy... Please
wait...” will appear on the monitor screen. The message will disappear after a
short while, even though printing is still being performed. Pressing any camera
button will cause the printing status to re-appear. The print menu screen will re-
appear when printing is complete.
• If you selected “1 Image”, you can repeat the procedure from step 5, if you
want.
7. After printing is complete, turn off the camera and disconnect the USB
cable from the printer and camera.
1 Image : Prints one image. Select and then press [SET]. Next, use [4]
and [6] to select the image you want to print.
DPOF Printing : Prints multiple images. Select and then press [SET]. With this
option, images will be printed in accordance with DPOF settings
(page 81).

81 Printing
.Digital Print Order Format (DPOF)
DPOF is a standard that allows you to include image type, number of copy,
and time stamp on/off information on the memory card with the images.
After configuring settings, you can use the memory card to print on a home
printer that supports DPOF or take the memory card to a professional print
service.
• Whether or not you will be able to use DPOF settings for printing depends on the
printer you are using.
• Some professional print services may not support DPOF.
.Configuring DPOF Settings Individually for Each Image
Procedure
[p] (PLAY) * Snapshot Screen * [SET] * MENU * PLAY Tab *
DPOF Printing * Select images
1. Use [4] and [6] to scroll through the files until the image you want to
print is displayed.
2. Use [8] and [2] to specify the number of copies.
You can specify a value up to 99. Specify 00 if you do not want to print the image.
• If you want to include the date in the images, press [0] (Movie) so “On” is
shown for date stamping.
• Repeat steps 1 and 2 to configure settings for other images, if you want.
3. Press [SET].
Using DPOF to Specify Images to be Printed and the Number
of Copies

82 Printing
.Configuring the Same DPOF Settings for All the Images
Procedure
[p] (PLAY) * Snapshot Screen * [SET] * MENU * PLAY Tab *
DPOF Printing * All images
1. Use [8] and [2] to specify the number of copies.
You can specify a value up to 99. Specify 00 if you do not want to print the image.
• If you want to include the date in the images, press [0] (Movie) so “On” is
shown for date stamping.
2. Press [SET].
DPOF settings are not cleared automatically after printing is complete.
The next DPOF print operation you execute will be performed using the last DPOF
settings you configured for the images. To clear DPOF settings, specify “00” for the
number of copies of all images.
Tell your print service about your DPOF settings!
If you take a memory card to a professional print service, be sure to tell them that it
includes DPOF settings for the images to be printed and the number of copies. If you
don’t, the print service may print all the images without regard to your DPOF settings,
or they may ignore your date stamp setting.

83 Printing
.Date Stamping
You can use one of the following three methods to include the recording date in the
printout of an image.
.Standards Supported by the Camera
• PictBridge
This is a standard of the Camera and Imaging Products Association
(CIPA).
•Exif Print
Printing on a printer that supports Exif Print uses information
about shooting conditions recorded with the image to enhance
printed image quality. Contact your printer manufacturer for
information about models that support Exif Print, printer upgrades, etc.
Configuring camera settings
Configure DPOF settings (page 81).
You can turn date stamping on and off each time you print. You can configure
settings so some images include the date stamp and some don’t.
Configure the Camera’s Time Stamp setting (page 105).
• The camera’s Time Stamp setting imprints the date into a snapshot when you
shoot it, so the date is always included when you print. It cannot be deleted.
• Do not turn on DPOF date stamping for an image that includes a date
stamped with the camera’s Time Stamp function. Doing so can cause the two
stamps to be overprinted.
Configuring computer settings
You can use commercially available image management software to date
stamp images.
Professional print service
Request date stamping when ordering prints from a professional print service.

84 Using the Camera with a Computer
Using the Camera with a Computer
You can perform the operations described below while the camera is connected to a
computer.
*Windows only
The procedures you need to perform when using the camera with your computer and
when using the software are different for Windows and the Macintosh.
Things you can do using a computer...
Save images to a
computer and
view them there
• Save images and view them manually
(USB connection) (pages 86, 94).
• Transfer images to a computer
automatically over a wireless LAN for
viewing (Eye-Fi) (page 97).
Transfer images
stored on your
computer to
camera memory
In addition to images, you also can transfer
screen shot images from your computer to
the camera (Photo Transport*) (page 92).
Play back and
edit movies
• You can play back movies (pages 89, 96).
• To edit movies, use commercially
available software as required.
• Windows users should refer to “Using the Camera with a Windows Computer”
on page 85.
• Macintosh users should refer to “Using the Camera with a Macintosh” on page
94.

85 Using the Camera with a Computer
Install the required software in accordance with the version of Windows you are
running and what you want to do.
*YouTube Uploader for CASIO and Photo Transport will not run under 64-bit
versions of Windows OS.
Using the Camera with a Windows Computer
When you want to do
this:
Operating System
Version Install this software: See
page:
Save images to a
computer and view
them there manually
Windows 7,
Windows Vista,
Windows XP (SP3)
Installation not required. 86
Play movies
Windows 7,
Windows Vista,
Windows XP (SP3)
Installation not required.
• Windows Media Player,
which is already
installed on most
computers, can be used
for playback.
89
Edit movies
Windows 7,
Windows Vista,
Windows XP (SP3)
–
• Use commercial
software as required.
–
Upload movie files to
YouTube
Windows 7,
Windows Vista,
Windows XP (SP3)
YouTube Uploader for
CASIO*
• You need to download
it from the website.
90
Transfer images to the
camera
Windows 7,
Windows Vista,
Windows XP (SP3)
Photo Transport 1.0*
• You need to download
it from the website.
92

86 Using the Camera with a Computer
.Computer System Requirements for Software
Computer system requirements are different for each of the applications. Information
about computer system requirements can be found under “Computer System
Requirements for Software (For Windows)” on page 120 of this manual.
.Precautions for Windows Users
• The software requires Administrator privileges to run.
• Operation on a self-made computer is not supported.
• Operation may not be possible under certain computer environments.
You can connect the camera to your computer in order to view and store images
(snapshot and movie files).
IMPORTANT!
• Never unplug the USB cable, or operate the camera while viewing or storing
images. Doing so can cause data to become corrupted.
NOTE
• You also can use your computer’s card slot (if it has one) or a commercially
available card reader to access image files directly from the camera’s memory
card. For details, see the user documentation that comes with your computer.
.To connect the camera to your computer and save files
1. Turn on the camera. Next, press [SET] and then display the REC menu
(page 54) or the PLAY menu (page 70).
2. On the “Set Up” tab, select “USB” and then press [6].
3. Use [8] and [2] to select “Mass Storage”, and then press [SET].
Viewing and Storing Images on a Computer
Never use your computer to modify, delete, move, or rename any image files
that are in the camera’s built-in memory or on its memory card.
Doing so can cause problems with the camera’s image management data, which
will make it impossible to play back images on the camera and can drastically alter
remaining memory capacity. Whenever you want to modify, delete, move, or
rename an image, do so only on images that are stored on your computer.

87 Using the Camera with a Computer
4. Turn off the camera and
then use the USB cable
that comes with the
camera to connect it to
your computer.
• Connecting the camera to
a computer with a USB
cable starts charging of
the camera’s battery (page
16).
• Make sure that you insert
the cable connector into
the USB/AV port until you
feel it click securely into
place. Failure to insert the
connector fully can result
in poor communication or
malfunction.
• Note that even while the connector is fully inserted, you
still will be able to see the metal part of the connector as
shown in the illustration.
• When connecting the USB cable to a USB port, make
sure you align the connector correctly with the port.
• Your computer may not be able to recognize the camera
if you connect via a USB hub. Always connect directly to
the computer’s USB port.
5. Turn on the camera.
• The first time you connect the camera to your computer with the USB cable, an
error message may appear on your computer. If this happens, disconnect and
then reconnect the USB cable.
• Charging continues even if the camera is turned on.
6. Windows 7, Windows Vista users: Click “Start” and then “Computer”.
Windows XP users: Click “Start” and then “My Computer”.
7. Double-click “Removable Disk”.
• Your computer recognizes the memory card loaded in the camera (or built-in
memory if there is no card) as a removable disk.
USB port USB cable
(included with camera)
[USB/AV]
port
Large connector
Small connector
Making sure that the mark on the USB cable
connector is towards the lens side, connect the
cable to the camera.

88 Using the Camera with a Computer
8. Right-click the “DCIM” folder.
9. On the shortcut menu that appears, click “Copy”.
10.
Windows 7, Windows Vista users: Click “Start” and then “Documents”.
Windows XP users: Click “Start” and then “My Documents”.
• If you already have a “DCIM” folder in “Documents” (Windows 7, Windows
Vista) or “My Documents” (Windows XP), the next step will overwrite it. If you
want to keep the existing “DCIM” folder, you need to change its name or move
it to a different location before performing the next step.
11.
Windows 7 users: On the “Documents” “Organize” menu, select
“Paste”.
Windows Vista users: On the “Documents” “Edit” menu, select
“Paste”.
Windows XP users: On the “My Documents” “Edit” menu, select
“Paste”.
This will paste the “DCIM” folder (and all the image files it contains) into your
“Documents” (Windows 7, Windows Vista) or “My Documents” (Windows XP)
folder. You now have a copy of the files that are in camera memory on your
computer.
12.
After you finish copying images, disconnect the camera from the
computer.
On the camera, press [ON/OFF] (Power) to turn off the camera. After checking to
make sure that the back lamp is unlit or lit red, disconnect the USB cable.
.To view images you copied to your computer
1. Double-click the copied “DCIM” folder to open it.
2. Double-click the folder that contains the images you want to view.
3. Double-click the image file you want to view.
• For information about file names, see “Memory Folder Structure” on page 100.
• An image that was rotated on the camera will be displayed on your computer
screen in its original (unrotated) orientation.

89 Using the Camera with a Computer
Windows Media Player, which is already installed on most computers, can be used
for movie playback. To play back a movie, first copy the movie to your computer and
then double-click the movie file.
.Minimum Computer System Requirements for Movie Playback
The minimum system requirements described below are necessary to play back
movies recorded with this camera on a computer.
• The above are recommended system environments. Configuring one of these
environments does not guarantee proper operation.
• Certain settings and other installed software may interfere with proper playback of
movies.
Playing Movies
Operating System : Windows 7, Windows Vista, Windows XP (SP3)
CPU : Image Quality “HD”:
Pentium 4 3.2 GHz or higher
Image Quality “STD”:
Pentium M 1.0 GHz or higher
Pentium 4 2.0 GHz or higher
Required Software: Windows Media Player, DirectX 9.0c or higher

90 Using the Camera with a Computer
.Movie Playback Precautions
• Be sure to move the movie data to the hard disk of your computer before trying to
play it. Proper movie playback may not be possible for data accessed over a
network, from a memory card, etc.
• Proper movie playback may not be possible on some computers. If you experience
problems, try the following.
– Try recording movies with a quality setting of “STD”.
– Try upgrading Windows Media Player to the latest version.
– Quit any other applications you have running, and stop resident applications.
Even if proper playback is not possible on the computer, you can use an optionally
available AV cable (EMC-7A) to connect to the video input terminal of a TV or
computer and play back movies that way.
To make it easy to upload to YouTube a movie file recorded with the “For YouTube”
BEST SHOT scene, install YouTube Uploader for CASIO on your computer.
.What is YouTube?
YouTube is a movie sharing site managed by YouTube, LLC where you can upload
movies and view movies uploaded by others.
.To install YouTube Uploader for CASIO
Download the YouTube Uploader for CASIO installer from the CASIO digital camera
support page (http://www.casio-intl.com/support/). Double-click the installer and
follow the installation instructions that appear on your computer screen.
• For information about installation conditions and minimum computer system
requirements, see page 120.
Uploading Movie Files to YouTube

91 Using the Camera with a Computer
.To upload a movie file to YouTube
• Before you can use YouTube Uploader for CASIO, you need to go to the YouTube
website (http://www.youtube.com/) and register as a user there.
• Do not upload any video that is copyrighted (including neighboring copyrights)
unless you yourself own the copyright or you have obtained the permission of the
applicable copyright holder(s).
• A single movie shoot with the “For YouTube” scene can have a maximum file size
of 2048MB or a recording time of up to 15 minutes.
• The maximum file size for each upload is 2048MB.
1. On the BEST SHOT scene menu, select the “For YouTube” scene
(page 50).
2. Press [0] (Movie) to record the movie.
3. If it isn’t already, connect your computer to the Internet.
4. Connect the camera to your computer (page 86).
• This will cause charging to start (page 14).
5. Turn on the camera.
YouTube Uploader for CASIO will start up automatically.
• If this is the first time you are using the application, configure the YouTube user
ID and network environment settings, and then click the [OK] button.
6. The left side of the display will have an area for inputting a title,
category, and other information required for uploading to YouTube.
Enter the required information.
7. The right side of the display shows a list of movie files in camera
memory. Select the check box next to the movie file you want to
upload.
8. When everything is ready, click the [Upload] button.
This will upload the movie file(s) to YouTube.
• After uploading is complete, click the [Exit] button to exit the application.

92 Using the Camera with a Computer
If you want to transfer images from your computer to the camera, install Photo
Transport on your computer.
.To install Photo Transport
Download the Photo Transport installer from the CASIO digital camera support page
(http://www.casio-intl.com/support/). Double-click the installer and follow the
installation instructions that appear on your computer screen.
• For information about installation conditions and minimum computer system
requirements, see page 120.
.To transfer images to the camera
1. Connect the camera to your computer (page 86).
2. On your computer, click the following: Start * All Programs *
CASIO * Photo Transport.
This starts up Photo Transport.
3. Drag the file(s) you want to transfer to the [Transfer] button.
4. Follow the instructions that appear on the display to complete the
transfer.
• The details of the instructions that appear on the display and the transferred
images will depend on your Photo Transport setup. For details, click the
[Settings] button or [Help] button and check the setup.
Transfer Data
• Only image files with the following extensions can be transferred to the camera.
jpg, jpeg, jpe, bmp (bmp images are converted to jpeg images automatically when
transferred.)
• Certain types of images may not be able to be transferred.
• You cannot transfer movies to the camera.
Transferring Images from Your Computer to Camera Memory

93 Using the Camera with a Computer
.To transfer computer screen captures to the camera
1. Connect the camera to your computer (page 86).
2. On your computer, click the following: Start * All Programs *
CASIO * Photo Transport.
This starts up Photo Transport.
3. Display the screen whose screen capture you want to transfer.
4. Click the [Capture] button.
5. Draw a boundary around the area you want to capture.
Move your mouse pointer to the upper left corner of the area you want to capture
and then hold down the mouse button. Keeping the mouse button depressed,
drag the pointer down to the lower right corner of the area and then release the
mouse button.
6. Follow the instructions that appear on the display.
This will send an image of the area you selected to the camera.
• The transfer operation converts screen captures to JPEG format.
• The instructions that appear on the display and details about the transferred
images will depend on your Photo Transport setup. For details, click the
[Settings] button or [Help] button and check the setup.
.About settings and help
Click the [Settings] button when you want to change the Photo Transport setup. For
help about operation procedures and troubleshooting, click the Photo Transport
[Help] button.

94 Using the Camera with a Computer
Install the required software in accordance with what version of the Macintosh OS
you are running and what you want to do.
IMPORTANT!
• Never unplug the USB cable, or operate the camera while viewing or storing
images. Doing so can cause data to become corrupted.
• The camera does not support operation with Mac OS X 10.0. Operation is
supported with Mac OS 10.1, 10.2, 10.3, 10.4, 10.5, 10.6, and 10.7 (using the OS
standard USB driver) only.
NOTE
• You also can use your computer’s card slot (if it has one) or a commercially
available card reader to access image files directly from the camera’s memory
card. For details, see the user documentation that comes with your computer.
Using the Camera with a Macintosh
When you want to do
this:
Operating
System
Version
Install this software:
See
page:
Save images to your
Macintosh and view
them there manually
OS X Installation not required. 94
Save images to your
Macintosh
automatically/Manage
images
OS X Use iPhoto, which comes bundled
with some Macintosh products. –
Play movies OS X
You can playback with QuickTime,
which comes bundled with your
operating system.
96
Connecting the Camera to Your Computer and Saving Files
Never use your computer to modify, delete, move, or rename any image files
that are in the camera’s built-in memory or on its memory card.
Doing so can cause problems with the camera’s image management data, which
will make it impossible to play back images on the camera and can drastically alter
remaining memory capacity. Whenever you want to modify, delete, move, or
rename an image, do so only on images that are stored on your computer.

95 Using the Camera with a Computer
.To connect the camera to your computer and save files
1. Turn on the camera. Next, press [SET] and then display the REC menu
(page 54) or the PLAY menu (page 70).
2. On the “Set Up” tab, select “USB” and then press [6].
3. Use [8] and [2] to select “Mass Storage”, and then press [SET].
4. Turn off the camera and
then use the USB cable
that comes with the
camera to connect it to
your Macintosh.
• Connecting the camera to
a computer with a USB
cable starts charging of
the camera’s battery
(page 16).
• Make sure that you insert
the cable connector into
the USB/AV port until you
feel it click securely into
place. Failure to insert the
connector fully can result
in poor communication or
malfunction.
• Note that even while the connector is fully inserted, you
still will be able to see the metal part of the connector as
shown in the illustration.
• When connecting the USB cable to a USB port, make
sure you align the connector correctly with the port.
• Your computer may not be able to recognize the camera
if you connect via a USB hub. Always connect directly to
the computer’s USB port.
USB port USB cable
(included with camera)
Large connector
Small connector
Making sure that the mark on the USB cable
connector is towards the lens side, connect the
cable to the camera.
[USB/AV]
port

96 Using the Camera with a Computer
5. Turn on the camera.
The camera’s back lamp will light green or amber at this time. In this mode, your
Macintosh recognizes the memory card loaded in the camera (or the camera’s
built-in memory if it does not have a memory card loaded) as a drive. The
appearance of the drive icon depends on the Mac OS version you are using.
• The first time you connect the camera to your Macintosh with the USB cable,
an error message may appear on your computer. If this happens, disconnect
and then reconnect the USB cable.
• Charging continues even if the camera is turned on.
6. Double-click the camera’s drive icon.
7. Drag the “DCIM” folder to the folder to which you want to copy it.
8. After the copy operation is complete, drag the drive icon to Trash.
9. On the camera, press [ON/OFF] (Power) to turn off the camera. After
checking to make sure that the back lamp is unlit or lit red, disconnect
the USB cable.
.To view copied images
1. Double-click the camera’s drive icon.
2. Double-click the “DCIM” folder to open it.
3. Double-click the folder that contains the images you want to view.
4. Double-click the image file you want to view.
• For information about file names, see “Memory Folder Structure” on page 100.
• An image that was rotated on the camera will be displayed on your Macintosh
screen in its original (unrotated) orientation.
You can use QuickTime, which comes bundled with your operating system, to play
back movies on a Macintosh. To play back a movie, first copy it to your Macintosh
and then double-click the movie file.
Playing a Movie

97 Using the Camera with a Computer
.Minimum Computer System Requirements for Movie Playback
The minimum system requirements described below are necessary to play back
movies recorded with this camera on a computer.
• The above are recommended system environments. Configuring one of these
environments does not guarantee proper operation.
• Certain settings and other installed software may interfere with proper playback of
movies.
.Movie Playback Precautions
Proper movie playback may not be possible on some Macintosh models. If you
experience problems, try the following.
– Change the movie image quality setting to “STD”.
– Upgrade to the latest version of QuickTime.
– Shut down other applications that are running.
Even if proper playback is not possible on your Macintosh, you can use an optionally
available AV cable (EMC-7A) to connect to the video input terminal of a TV or
Macintosh and play back movies that way.
IMPORTANT!
• Be sure to move the movie data to the hard disk of your Macintosh before trying to
play it. Proper movie playback may not be possible for data accessed over a
network, from a memory card, etc.
Shooting with an Eye-Fi wireless SD memory card loaded in the camera makes it
possible to transfer image data automatically to a computer via wireless LAN.
1. Configure LAN access point, transfer destination and other settings for
the Eye-Fi card in accordance with the instructions that come with the
Eye-Fi card.
2. After configuring settings, load the Eye-Fi card into the camera and
record.
Images you record are sent by wireless LAN to your computer, etc.
• For full details, see the user documentation that comes with the Eye-Fi card.
• Before formatting a new Eye-Fi card to use it for the first time, copy the Eye-Fi
Manager install files to your computer. Do this before formatting the card.
Operating System : Mac OS X 10.3.9 or higher
Required Software: QuickTime 7 or higher
Using an Eye-Fi Wireless SD Memory Card to Transfer Images
(Eye-Fi)

98 Using the Camera with a Computer
IMPORTANT!
• Recorded images are transferred over wireless LAN. Do not use the Eye-Fi card or
turn off Eye-Fi card communication (page 102) when on an aircraft or in any other
location where use of wireless communication is limited or prohibited.
• Loading an Eye-Fi card will cause the Eye-Fi indicator to
appear on the monitor screen. Its transparent or not transparent
appearance indicates the communication status as shown below.
• A communication icon will appear on the monitor screen while image data
transfer is in progress.
• The camera’s Auto Power Off (page 107) function is disabled while image data
transfer is in progress.
• A confirmation message will appear on the monitor screen if you try to turn off the
camera while image data transfer is in progress. Follow the instructions in the
messages (page 128).
• Transfer of a large number of images can take some time to complete.
• Depending on the type of Eye-Fi card you are using and its settings, images on the
Eye-Fi card may be deleted following image data transfer.
• When recording a movie to an Eye-Fi card, it can take too much time to record
data, which can result in breaks in the image and/or audio.
• Proper Eye-Fi card data communication may not be possible due to camera
settings, battery level, or operating conditions.
Transparent Access point cannot be found or no
transferable image data exists.
Not transparent Image transfer in progress
Flashing Searching for access points

99 Using the Camera with a Computer
The camera creates a file and saves it each time you shoot a snapshot, record a
movie, or perform any other operation that stores data. Files are grouped by storing
them in folders. Each file and folder has its own unique name.
• For details about how folders are organized in memory, see “Memory Folder
Structure” (page 100).
• You can view folder and file names on your computer. For details about how file
names are displayed on the camera’s monitor screen, see page 10.
• The total number of folders and files allowed depends on the image size and
quality, and capacity of the memory card being used for storage.
Files and Folders
Name and Maximum Number Allowed Example
File
Each folder can contain up to 9999 files named
CIMG0001 through CIMG9999. The extension
on the file name depends on the file type.
26th file name:
Folders
Folders are named from 100CASIO to
999CASIO.
There can be up to 900 folders in memory.
• The BEST SHOT (page 50) includes a sample
scene that optimizes settings for auction site
images. Depending on your camera model,
the sample scene is named either “For eBay”
or “Auction”.
– Images recorded with the eBay scene are
stored in a folder named “100_EBAY”.
– Images recorded with the Auction scene are
stored in a folder named “100_AUCT”.
• BEST SHOT also has a scene named “For
YouTube” that optimizes movie settings for
recording movies for upload to YouTube.
Images recorded with the YouTube scene are
stored in a folder named “100YOUTB”.
100th folder name:
CIMG0026.JPG
Extension
Serial number (4 digits)
100CASIO
Serial number (3 digits)

100 Using the Camera with a Computer
The camera stores images you shoot in accordance with the Design Rule for Camera
File System (DCF).
.About DCF
The following operations are supported for DCF-compliant images. Note, however,
that CASIO makes no performance guarantees concerning these operations.
• Transferring this camera’s DCF-compliant images to another manufacturer’s
camera and view them.
• Printing this camera’s DCF-compliant images on another manufacturer’s printer.
• Transferring another camera’s DCF-compliant images to this camera and view
them.
.Memory Folder Structure
DCIM Folder
Recording Folder
Image File
Movie File
Audio File
Audio Snapshot Image File
Audio Snapshot Audio File
Recording Folder
Recording Folder
DPOF File Folder
DPOF File
*Other folders are created when the following BEST SHOT scenes are used for
recording: “For eBay” or “Auction” (scene name depends on camera model), or
“For YouTube”. The following shows the name of the folder created for each scene.
• eBay scene: 100_EBAY
• Auction scene: 100_AUCT
• YouTube scene: 100YOUTB
Memory Card Data
DCIM
100CASIO *
CIMG0001.JPG
CIMG0002.AVI
CIMG0003.WAV
CIMG0004.JPG
CIMG0004.WAV
101CASIO *
102CASIO *
MISC
AUTPRINT.MRK

101 Using the Camera with a Computer
.Supported Image Files
• Image files shot with this camera
• DCF-compliant image files
This camera may not be able to display an image, even if it is DCF-compliant. When
displaying an image recorded on another camera, it may take a long time for the
image to appear on this camera’s monitor screen.
.Built-in Memory and Memory Card Data Handling Precautions
• Whenever copying memory contents to your computer, you should copy the DCIM
folder and all of its contents. A good way to keep track of multiple DCIM copies of
the DCIM folders it to change its name to a date or something similar after you copy
it to your computer. If you later decided to return the folder to the camera, however,
be sure to change its name back to DCIM. The camera is designed to recognize
only a root file with the name DCIM. Note the camera also will not be able to
recognize the folders inside the DCIM folder unless they have the names they
originally had when you copied them from the camera to your computer.
• Folders and files must be stored in accordance with the “Memory Folder Structure”
shown on page 100 in order for the camera to be able to recognize them correctly.
• You also can use a PC card adapter or a memory card reader/writer to access
camera files directly from the camera’s memory card.

102 Other Settings (Set Up)
Other Settings (Set Up)
This section explains menu items that you can use to configure settings and perform
other operations in both the REC mode and PLAY mode.
Procedure
[SET] * MENU * Set Up Tab * Eye-Fi
Select “Off” to disable Eye-Fi card communication (page 97).
Procedure
[SET] * MENU * Set Up Tab * Sounds
• Setting a volume level of 0 mutes output.
See the following for more information.
– REC Menu (page 54)
– PLAY Menu (page 70)
Turning off Eye-Fi Card Communication (Eye-Fi)
Configuring Camera Sound Settings (Sounds)
Startup
Specifies the startup sound.
Sound 1 - 5: Built-in sounds (1 through 5)
Off: Sound off
Half Shutter
Shutter
Operation
Operation Specifies the sound volume. This setting is also used as the
audio level during video output (page 68).
Play
Specifies the volume of movie and Audio Snapshot audio
output. This volume setting is not used during video output
(from the USB/AV port).
=
=

103 Other Settings (Set Up)
Procedure
[SET] * MENU * Set Up Tab * Startup
Display the image you want to use as your startup image and then select “On”.
• The startup image does not appear when you turn on the camera by pressing
[p] (PLAY) (page 108).
• You can specify a snapshot you recorded as the startup image, or you can use the
special startup image provided in the camera’s built-in memory.
• If you select an audio snapshot as the startup image, the audio will not play at
startup.
• Formatting built-in memory (page 110) will delete the current startup image setting.
Procedure
[SET] * MENU * Set Up Tab * File No.
Use the following procedure to specify the rule that governs generation of the serial
number used in file names (page 99).
Configuring a Startup Image (Startup)
Specifying the File Name Serial Number Generation Rule
(File No.)
Continue
Tells the camera to remember the last used file number. A new file will
be named using the next sequential number, even if files are deleted or
if a blank memory card is loaded. If a memory card is loaded and that
card already has files stored on it and the largest sequential number in
the existing file names is greater than the largest sequential number
remembered by the camera, numbering of new files will start from the
largest sequential number in the existing file names plus 1.
Reset
Restarts the serial number from 0001 whenever all files are deleted or
when the memory card is replaced with a blank one. If a memory card
is loaded and that card already has files stored on it, numbering of new
files will start from the largest sequential number in the existing file
names number plus 1.

104 Other Settings (Set Up)
Procedure
[SET] * MENU * Set Up Tab * World Time
You can use the World Time screen to view the current time in a zone that is different
from your Home City when you go on a trip, etc. World Time displays the current time
in 162 cities in 32 time zones around the globe.
1. Use [8] and [2] to select “Destination” and then press [6].
• To change the geographic area and city for the time where you normally use
the camera, select “Home”.
2. Use [8] and [2] to select “City” and then press [6].
• To change the “Destination” setting to summer time, use [8] and [2] to select
“DST” and then select “On”. Summer time is used in some geographical areas
to advance the current time setting by one hour during the summer months.
3. Use [8], [2], [4], and [6] to select the geographic area you want and
then press [SET].
4. Use [8] and [2] to select the city you want and then press [SET].
5. Press [SET].
IMPORTANT!
• Before configuring World Time settings, make sure that the Home City setting is
the place where you live or normally use the camera. If it isn’t, select “Home” on the
screen in step 1 and configure the Home City, date, and time settings as required
(page 105).
Configuring World Time Settings (World Time)

105 Other Settings (Set Up)
Procedure
[SET] * MENU * Set Up Tab * Timestamp
You can configure the camera to stamp the recording date only, or date and time in
the lower right corner of each snapshot.
• Once date and time information is stamped into a snapshot, it cannot be edited or
deleted.
Example: July, 10, 2012, 1:25 p.m.
• Even if you do not stamp the date and/or time with Timestamp, you can do so later
using the DPOF function or some printing application (page 83).
• Digital zoom is disabled while time stamping is turned on.
• Time stamping is disabled when certain BEST SHOT scenes are being used.
Procedure
[SET] * MENU * Set Up Tab * Adjust
When the date and time settings are what you want, press [SET] to apply them.
• You can specify a date from 2001 to 2049.
• Be sure to select your Home City (page 104) before setting the time and date. If
you set the time and date while the wrong city is selected for your Home City, the
times and dates of all of the World Time cities (page 104) will be wrong.
Time Stamping Snapshots (Timestamp)
Date 2012/7/10
Date&Time 2012/7/10 1:25pm
Off No stamping of date and/or time
Setting the Camera’s Clock (Adjust)
[8] [2]Change the setting at the cursor location
[4] [6]Move the cursor between settings
[0] (Movie) Toggles between 12-hour and 24-hour format

106 Other Settings (Set Up)
Procedure
[SET] * MENU * Set Up Tab * Date Style
You can select from among three different styles for the date.
Example: July, 10, 2012
Procedure
[SET] * MENU * Set Up Tab * Language
.Specify the display language you want.
1Select the tab on the right.
2Select “Language”.
3Select the language you want.
• Camera models sold in certain geographic areas
may not support display language selection.
Specifying the Date Style (Date Style)
YY/MM/DD 12/7/10
DD/MM/YY 10/7/12
MM/DD/YY 7/10/12
Specifying the Display Language (Language)
1
23

107 Other Settings (Set Up)
Procedure
[SET] * MENU * Set Up Tab * Sleep
This feature turns off the monitor screen and lights the back lamp (green) whenever
no camera operation is performed for a preset period of time. Press any button to turn
the monitor screen back on.
Trigger Time Settings: 30 sec, 1 min, 2 min, Off (Sleep is disabled while “Off” is
selected.)
• Sleep is disabled under any of the following conditions.
– In the PLAY mode
– While the camera is connected to a computer or other device
– During “Ë Tracking”
– During Voice Recording playback or recording
– During movie recording and playback
• When both sleep and Auto Power Off are turned on, Auto Power Off takes priority.
Procedure
[SET] * MENU * Set Up Tab * Auto Power Off
Auto Power Off turns off the camera whenever no camera operation is performed for
a preset amount of time.
Trigger Time Settings: 1 min, 2 min, 5 min (The trigger time is always 5 minutes in the
PLAY mode.)
• Auto Power Off is disabled under any of the following conditions.
– While the camera is connected to a computer or other device
– During a slideshow
– During “Ë Tracking”
– During Voice Recording playback or recording
– During movie recording and playback
Configuring Sleep State Settings (Sleep)
Configuring Auto Power Settings (Auto Power Off)

108 Other Settings (Set Up)
Procedure
[SET] * MENU * Set Up Tab * REC/PLAY
• With “Power On/Off”, the camera turns off when you press [r] (REC) in the REC
mode or [p] (PLAY) in the PLAY mode.
• When “Power On” or “Power On/Off” is enabled, you can turn on the camera by
holding down [r] (REC) or [p] (PLAY) until the back lamp lights green
momentarily.
Procedure
[SET] * MENU * Set Up Tab * Ü Disabled
The camera will not start the image delete operation when you press [ ] (Delete)
while “Ü Disabled” is turned on.
You can protect against accidental deletion of images by selecting “On” for
“Ü Disabled”.
• Performing a format operation (page 110) will cause all images to be deleted, even
if file deletion is disabled (“On” selected for “Ü Disabled”) for some images.
Configuring [r] and [p] Settings (REC/PLAY)
Power On Camera turns on whenever [r] (REC) or [p] (PLAY) is
pressed.
Power On/Off Camera turns on or off whenever [r] (REC) or [p] (PLAY)
is pressed.
Disable Camera does not turn on or off whenever [r] (REC) or [p]
(PLAY) is pressed.
Disabling File Deletion (Ü Disabled)

109 Other Settings (Set Up)
Procedure
[SET] * MENU * Set Up Tab * USB
You can use the procedure below to select the USB communication protocol, which is
used when exchanging data with a computer, printer, or other external device.
Procedure
[SET] * MENU * Set Up Tab * Video Out
You can use the procedure in this section to select either NTSC or PAL as the video
output system. You can also specify an aspect ratio of 4:3 or 16:9.
• Select the aspect ratio (4:3 or 16:9) that matches the type of TV you plan to use.
Images will not display correctly if you select the wrong aspect ratio.
• Images will not display correctly unless the camera’s video signal output setting
matches the video signal system of the TV or other video equipment.
• Images cannot be displayed correctly on a TV or video equipment that is not NTSC
or PAL.
• An optionally available AV cable (EMC-7A) is required for video output.
Configuring USB Protocol Settings (USB)
Mass
Storage
Select this setting when connecting to a computer (pages 86, 95).
With this setting, the computer sees the camera as an external
storage device. Use this setting for normal transfer of images from
the camera to a computer.
PTP
(PictBridge)
Select this setting when connecting to a printer that supports
PictBridge (page 79). This setting simplifies the transfer of image
data to the connected device.
Selecting the Screen Aspect Ratio and Video Output System
(Video Out)
NTSC Video system used in Japan, the U.S., and other countries
PAL Video system used in Europe and other areas
4:3 Normal TV screen aspect ratio
16:9 Wide screen aspect ratio

110 Other Settings (Set Up)
Procedure
[SET] * MENU * Set Up Tab * Format
If a memory card is loaded in the camera, this operation will format the memory card.
It will format built-in memory if no memory card is loaded.
• The format operation will delete all contents on the memory card or in built-in
memory. It cannot be undone. Make sure you do not need any data currently on
the card or in built-in memory before you format it.
• Formatting built-in memory will delete the following data.
– Protected images
– Startup screen
• Formatting a memory card will delete the following data.
– Protected images
• Formatting will cause all images to be deleted, even if file deletion is disabled (“On”
selected for “Ü Disabled” (page 108)) for some images.
• Make sure the camera’s battery is sufficiently charged before starting a formatting
operation. Formatting may not be performed correctly and the camera may stop
operating normally if the camera powers down while formatting is in progress.
• Never open the battery cover while formatting is in progress. Doing so can cause
the camera to stop operating normally.
Procedure
[SET] * MENU * Set Up Tab * Reset
See page 121 for details about the camera’s factory default settings.
The settings below are not reset.
World Time settings, clock settings, date style, screen language, video output
Formatting Built-in Memory or a Memory Card (Format)
Resetting the Camera to Factory Defaults (Reset)

111 Appendix
Appendix
.Avoid Use While In Motion
• Never use the camera to record or play back images while operating an automobile
or other vehicle, or while walking. Looking at the monitor while in motion creates
the risk of serious accident.
.Flash
• Never use the flash unit in areas where flammable or explosive gas may be
present. Such conditions create the risk of fire and explosion.
• Never fire the flash in the direction of a person operating a motor vehicle. Doing so
can interfere with the driver’s vision and creates the risk of accident.
• Never fire the flash too close to the eyes of the subject. Doing so creates the risk of
loss of eyesight.
.Monitor Screen
• Should the monitor screen ever become cracked, never touch any of the liquid
inside the monitor screen. Doing so creates the risk of skin inflammation.
• Should monitor screen liquid ever get into your mouth, immediately rinse your
mouth out and contact your physician.
• Should monitor screen liquid ever get into your eyes or onto your skin, immediately
rinse with clean water for at least 15 minutes and contact your physician.
.Connections
• Never plug any devices that are not specified for use with this camera into
connectors. Connecting a non-specified device creates the risk of fire and electric
shock.
.Transport
• Never operate the camera inside of an aircraft or anywhere else where operation of
such devices is restricted. Improper use creates the risk of serious accident.
Precautions during Use

112 Appendix
.Smoke, abnormal odor, overheating, and other abnormalities
• Continued use of the camera while it is emitting smoke or strange odor, or while it
is overheating creates the risk of fire and electric shock. Immediately perform the
following steps whenever any of the above symptoms are present.
1. Turn off the camera.
2. Remove the battery from the camera, taking care to protect yourself against burn
injury.
3. Contact your dealer or nearest CASIO authorized service center.
.Water and Foreign Matter
• Water, other liquids, or foreign matter (especially metal) getting inside the camera
creates the risk of fire and electric shock. Immediately perform the following steps
whenever any of the above symptoms are present. Particular care is required when
using the camera where it is raining or snowing, near the ocean or other body of
water, or in a bathroom.
1. Turn off the camera.
2. Remove the battery from the camera.
3. Contact your dealer or nearest CASIO authorized service center.
.Dropping and Rough Treatment
• Continued use of the camera after it is damaged by dropping or other rough
treatment creates the risk of fire and electric shock. Immediately perform the
following steps whenever any of the above symptoms are present.
1. Turn off the camera.
2. Remove the battery from the camera.
3. Contact your dealer or nearest CASIO authorized service center.
.Keep Away From Fire
• Never expose the camera to fire, which can cause it to explode and creates the risk
of fire and electric shock.
.Disassembly and Modification
• Never try to take the camera apart or modify it in any way. Doing so creates the risk
of electric shock, burn injury, and other personal injury. Be sure to leave all internal
inspection, maintenance, and repair up to your dealer or nearest CASIO authorized
service center.

113 Appendix
.Locations To Be Avoided
• Never leave the camera in any of the following types of locations. Doing so creates
the risk of fire and electric shock.
– Areas subject to large amounts of humidity or dust
– Food preparation areas or other locations where oil smoke is present
– Near heaters, on a heated carpet, in areas exposed to direct sunlight, in a closed
vehicle parked in the sun, or other areas subject to very high temperatures
• Never place the camera on an unstable surface, on a high shelf, etc. Doing so can
cause the camera to fall, creating the risk of personal injury.
.Backing Up Important Data
• Always keep backup copies of important data in camera memory by transferring it
to a computer or other storage device. Note that data can be deleted in the case of
camera malfunction, repair, etc.
.Memory Protection
• Whenever replacing the battery, be sure to follow the correct procedure as
described in the documentation that comes with the camera. Incorrectly replacing
the battery can result in corruption or loss of data in camera memory.
.Rechargeable Battery
• Use only the USB-AC adaptor (AD-C53U) or the specified device to charge the
battery. Attempting to charge the battery by an unauthorized means creates the
risk of battery overheating, fire, and explosion.
• Do not expose or immerse the battery in fresh water or salt water. Doing so can
damage the battery, and cause deterioration of its performance and loss of service
life.
• The battery is intended for use with a CASIO Digital Camera only. Use with any
other device creates the risk of the battery damage, or deterioration of battery
performance and service life.
• Failure to observe any of the following precautions creates the risk of battery
overheating, fire, and explosion.
– Never use or leave the battery near open flame.
– Do not expose the battery to heat or fire.
– Never carry or store the battery together with items that can conduct electricity
(necklaces, pencil lead, etc.).
– Never disassemble the battery, pierce it with a needle, or expose it to strong
impact (hit it with a hammer, step on it, etc.), and never apply solder to it. Never
place the battery into a microwave oven, heater, high-pressure generating
device, etc.

114 Appendix
• Should you ever notice leakage, strange odor, heat generation, discoloration,
deformation, or any other abnormal condition while using, charging, or storing a
battery, immediately remove it from the camera and keep it away from open flame.
• Do not use or leave the battery under direct sunlight, in an automobile parked in the
sun, or in any other area subject to high temperatures. Doing so can damage the
battery, and cause deterioration of its performance and loss of service life.
• If battery charging does not end normally within the specified charging time, stop
charging anyway and contact your local CASIO authorized service center.
Continued charging creates the risk of battery overheating, fire, and explosion.
• Battery fluid can damage your eyes. Should battery fluid get into your eyes
accidentally, immediately rinse them with clean tap water and then consult a
physician.
• Be sure to read the user documentation that comes with the camera and special
USB-AC adaptor before using or charging the battery.
• If a battery is to be used by young children, make sure that a responsible adult
makes them aware of the precautions and proper handling instructions, and make
sure that they handle the battery correctly.
• Should fluid from a battery accidentally get onto clothing or your skin, immediately
rinse it off with clean tap water. Prolonged contact with battery fluid can cause skin
irritation.
.Battery Life
• Battery continuous operation times provided in this manual represent the
approximate amount of time before the camera turns off due to low battery power
when being powered by the special battery under normal temperature (23°C
(73°F)). They do not guarantee that you will be able to achieve the indicated level
of operation. Actual battery life is greatly affected by ambient temperature, battery
storage conditions, the amount of time spent in storage, etc.
• Leaving the camera on can run down the battery and cause the low battery
warning to appear. Turn off the camera whenever you are not using it.
• The low battery warning indicates that the camera is about to turn off due to low
battery power. Charge the battery as soon as possible. Leaving a low or dead
battery in the camera can lead to battery leakage and data corruption.

115 Appendix
.Data Error Precautions
Your digital camera is manufactured using precision digital components. Any of the
following creates the risk of corruption of data in camera memory.
– Removing the battery or memory card while the camera is performing some
operation
– Removing the battery or memory card while the back lamp is flashing green after
turning off the camera
– Disconnecting the USB cable while communication is in progress
– Shooting with a battery that quickly goes low right after it is charged
*Shooting with a battery that quickly goes low right after it is charged can also
cause camera malfunction. Replace the battery with a new one immediately.
– Other abnormal operations
Any of the above conditions can cause an error message to appear on the monitor
screen (page 128). Perform the action indicated by the message that appears.
.Operating Environment
• Operating Temperature Requirements: 0 to 40°C (32 to 104°F)
• Operating Humidity: 10 to 85% (non condensation)
• Do not place the camera in any of the following locations.
– In an area exposed to direct sunlight, or large amounts of moisture, dust, or sand
– Near an air conditioner or in other areas subjected to extreme temperature or
humidity
– Inside of a motor vehicle on a hot day, or in an area subjected to strong vibration
.Condensation
Sudden and extreme temperature changes, such as when the camera is moved from
the outdoors on a cold winter day into a warm room, can cause water droplets called
“condensation” to form on the interior and the exterior of the camera, which creates
the risk of malfunction. To prevent condensation from forming seal the camera in a
plastic bag before changing locations. Then leave the bag sealed to allow the air
inside to naturally change to the same temperature as the air in the new location.
After that, remove the camera from the bag and open the battery cover for a few
hours.
.Lens
• Never apply too much force when cleaning the surface of the lens. Doing so can
scratch the lens surface and cause malfunction.
• You may sometimes notice some distortion in certain types of images, such as a
slight bend in lines that should be straight. This is due to the characteristics of
lenses, and does not indicate malfunction of the camera.

116 Appendix
.Caring for your camera
• Never touch the lens or flash window with your fingers. Finger smudges, dirt, and
other foreign matter on the lens or flash window can interfere with proper operation
of the camera. Use a blower or other means to keep the lens and flash window free
of dirt and dust, and wipe gently with a soft, dry cloth.
• To clean the camera, wipe it with a soft, dry cloth.
.Old Rechargeable Battery Handling Precautions
• Insulate the positive and negative terminals with tape, etc.
• Do not peel the covering off of the battery.
• Do not try to take the battery apart.
.USB-AC adaptor Handling Precautions
• The USB-AC adaptor becomes slightly warm during charging. This is normal and
does not indicate malfunction.
• Unplug the power cord from the power outlet when you are not using the USB-AC
adaptor.
• Never use detergent to clean the power cord (especially the plug).
• Never cover the USB-AC adaptor with a blanket, etc. Doing so creates the risk of
fire.
-
0Never plug the power cord into an outlet whose voltage rating is different from
that marked on the power cord. Doing so creates the risk of fire, malfunction,
and electric shock.
0Take care to protect the power cord against damage and breaking. Never place
heavy objects onto the power cord, or expose it to intense heat. Doing so can
damage the power cord, creating the risk of fire and electric shock.
0Never try to modify the power cord, or subject it to severe bending, twisting, or
pulling. Doing so creates the risk of fire, malfunction, and electric shock.
0Never plug in or unplug the power cord while your hands are wet. Doing so
creates the risk of electric shock.
0Do not plug the power cord into an outlet or extension cord that is shared by
other devices. Doing so creates the risk of fire, malfunction, and electric shock.
0Should the power cord ever become damaged (to the point that internal wires
are exposed or cut), immediately contact your original retailer or a CASIO
authorized service center to request repair. Continued use of a damaged power
cord creates the risk of fire, malfunction, and electric shock.

117 Appendix
.Other Precautions
The camera becomes slightly warm during use. This is normal and does not indicate
malfunction.
.Copyrights
Except for your own personal enjoyment, unauthorized use of snapshots or movies of
images whose rights belong to others, without the permission of the right holder, is
forbidden by copyright laws. In some cases, shooting of public performances, shows,
exhibitions, etc. may be restricted entirely, even if it is for your own personal
enjoyment. Regardless of whether such files are purchased by you or obtained for
free, posting them on a website, a file sharing site, or any other Internet site, or
otherwise distributing them to third parties without the permission of the copyright
holder is strictly prohibited by copyright laws and international treaties. For example,
uploading or distributing on the Internet images of TV programs, live concerts, music
videos, etc. that were photographed or recorded by you may infringe upon the rights
of others. Note that CASIO COMPUTER CO., LTD. shall not be held liable for use of
this product in any way that infringes on the copyrights of others or that violates
copyright laws.
Note that trademark ™ and registered trademark ® are not use within the text of this
manual.
• SDXC Logo is a trademark of SD-3C, LLC.
• Microsoft, Windows, Windows Media, Windows Vista, Windows 7, and DirectX are
registered trademarks or trademarks of Microsoft Corporation in the United States
and other countries.
• Macintosh, Mac OS, QuickTime, and iPhoto are trademarks of Apple Inc.
• YouTube and the YouTube logo are trademarks or registered trademarks of
Google Inc.
• EXILIM, Photo Transport, and YouTube Uploader for CASIO are registered
trademarks or trademarks of CASIO COMPUTER CO., LTD.
• All other company or product names mentioned herein are registered trademarks
or trademarks of their respective companies.
Any and all unauthorized copying, distribution, and transfer for commercial purposes
of the software provided by CASIO for this product are prohibited.
This product’s YouTube upload functionality is included under license from YouTube,
LLC. The presence of YouTube upload functionality in this product is not an
endorsement or recommendation of the product by YouTube, LLC.
The following terms, which are used in this manual, are registered trademarks or
trademarks of their respective owners.

118 Appendix
.If the camera’s back lamp starts flashing red...
• Ambient temperature or the temperature of the battery may be either too high or
too low. Disconnect the USB cable and wait until temperature is within the
allowable charging range before trying again.
• Battery contacts may be dirty. Wipe them with a dry cloth.
• Try connecting to a different computer USB port. Depending on the setup of your
computer, you may not be able to charge the camera’s battery over a USB
connection.
.Precautions during Use
• Operation provided by a battery under cold conditions is always less than operation
under normal temperatures. This is due to the characteristics of the battery, not the
camera.
• Charge the battery in an area where the temperature is within the range of 10°C to
35°C (50°F to 95°F). Outside this temperature range charging can take longer than
normal or even fail.
• Do not tear or remove the battery outer label.
• If a battery provides only very limited operation following a full charge, it probably
means the battery has reached the end of its service life. Replace the battery with a
new one.
.Storage Precautions
• Storing the battery for a long time while it is charged can cause deterioration of
battery characteristics. If you do not plan to use a battery for some time, fully use
up its charge before storing it.
• Always remove the battery from the camera when you are not using it. A battery left
in the camera can discharge and go dead, which will require some time to charge
when you need to use the camera.
• Store batteries in a cool, dry place (20°C (68°F) or lower).
• To prevent over discharging of an unused battery, fully charge it, and then load it in
the camera and fully use up the charge about once every six months.
Power Supply
Charging
If problems continue to occur after you perform the above steps, it could mean that
the battery is faulty. Contact your nearest CASIO authorized service center.
Battery Precautions

119 Appendix
.Precautions during Use
• The bundled USB-AC adaptor is designed for operation with any power supply in
the range of 100V to 240V AC, 50/60Hz. Note, however, that the shape of the
power cord plug depends on each country or geographic area. Before taking the
camera and USB-AC adaptor along on a trip, check with travel agent about the
power supply requirements in your destination(s).
• Do not connect the USB-AC adaptor to a power supply through a voltage converter
or similar device. Doing so can lead to malfunction.
.Extra Batteries
• Taking along extra fully charged batteries (NP-80) is recommended while on a trip
in order to avoid not being able to shoot images due to the battery going dead.
See page 20 for information about supported memory cards and how to load a
memory card.
.Using a Memory Card
• SD memory cards, SDHC memory cards, and SDXC
memory cards have a write protect switch. Use the
switch when you need to guard against accidentally
deleting data. Note, however, if you write protect an SD
memory card you must then turn write protection off
whenever you want to record to it, format it, or delete
any of its images.
• If a memory card starts to behave abnormally during image playback, you can
restore normal operation by reformatting it (page 110). However, it is
recommended that you always take along multiple memory cards whenever using
the camera far away from the home or office.
• As you record data to and delete data from a memory card a number of times, it
loses its ability to retain data. Because of this, periodic re-formatting of a memory
card is recommended.
• Electrostatic charge, electrical noise, and other phenomena can cause data to
become corrupted or even lost. Make sure that you always back up important data
on other media (CD-R, CD-RW, hard disk, etc.).
Using the Camera in another Country
Using a Memory Card
Write enabled
Write disabled

120 Appendix
.Memory Card Handling Precautions
• Certain types of memory cards can slow down processing speed. Whenever
possible use an Ultra High-Speed Type memory card. Note, however, that not all
operations can be guaranteed even if an Ultra High-Speed Type memory card is
used. Certain movie quality settings can result in too much time being required to
record data, which can result in breaks in the image and/or audio during playback.
If this happens, the » and Y will flash on the monitor screen.
.Discarding or Transferring Ownership of a Memory Card or the
Camera
The format and delete functions of the camera do not actually delete files from the
memory card. The original data remains on the card. Note that responsibility for the
data on a memory card lies with you. The following procedures are recommended
whenever you discard a memory card or the camera, or if you transfer ownership to
another party.
• When discarding a memory card, either physically destroy the memory card or use
commercially available data delete software to completely delete the data on the
memory card.
• When transferring ownership of a memory card to another party, use commercially
available data deletion software to completely delete the data on it.
• Use the format function (page 110) to completely delete the data in built-in memory
before discarding or transferring ownership of the camera.
Computer system requirements are different for each of the applications. Be sure to
check the requirements for the particular application you are trying to use. Note that
the values provided here are minimum requirements for running each application.
Actual requirements are greater, depending on the number of images and the sizes of
the images being handled.
0Windows
YouTube Uploader for CASIO
• Sufficient memory to run the operating system
• Computer configuration that enables playback of movies on the YouTube site
• Computer configuration that enables upload of movies to the YouTube site
Photo Transport 1.0
Computer System Requirements for Software (For Windows)
Operating System : Windows 7, Windows Vista, Windows XP (SP3)
Operating System : Windows 7, Windows Vista, Windows XP (SP3)
Memory : At least 64MB
Hard Disk Drive Space : At least 2MB

121 Appendix
The tables in this section show the initial default settings on menus that appear in the
REC mode and PLAY mode when you reset the camera (page 110).
• A dash (–) indicates an item whose setting is not reset or an item for which there is
no reset setting.
IMPORTANT!
• Some menu items may not be available, depending on the recording mode being
use.
.REC Mode
“REC” Tab
“Quality” Tab
Reset Initial Default Settings
Focus Q (Auto Focus)
Focus Frame ß
CS Off
Anti Shake On
AF Area Û Spot
L/R Key Off
Grid Off
Icon Help On
Memory
b BEST SHOT:
Off / Flash: On /
Focus: Off /
White Balance: Off /
ISO: Off /
AF Area: On /
CS: Off /
Self-timer: Off /
MF Position: Off /
Zoom Position: Off
Quality
(Snapshots) Normal
EV Shift 0.0
White Balance Auto
T
ISO Auto
Lighting Off
Color Filter Off

122 Appendix
“Set Up” Tab
.PLAY Mode
“PLAY” Tab
“Set Up” Tab
• The contents of the “Set Up” tab are the same in the REC mode and PLAY mode.
Eye-Fi On
Sounds
Startup: Sound 1 /
Half Shutter:
Sound 1 /
Shutter: Sound 1 /
Operation: Sound 1 /
=Operation:
...////
/
=Play:
...////
Startup Off
File No. Continue
World Time –
Timestamp Off
Adjust –
Date Style –
Language –
Sleep 1 min
Auto Power
Off 2 min
REC/PLAY Off
Ü Disabled Off
USB Mass Storage
Video Out –
Format –
Reset –
Rotation Off
DPOF Printing –
Protect –
Resize –
Trimming –
Dubbing –
Copy –

123 Appendix
When things don’t go right...
Troubleshooting
Problem Possible Cause and Recommended Action
Power Supply
Power does not
turn on.
1)The battery may not be loaded correctly (page 13).
2)The battery may be dead. Charge the battery (page 14). If the
battery goes dead soon after being charged, it means the
battery has reached the end of its life and needs to be
replaced. Purchase a separately available CASIO NP-80
rechargeable lithium ion battery.
The camera
suddenly powers
down.
1)Auto Power Off may have activated (page 107). Turn power
back on.
2)The battery may be dead. Charge the battery (page 14).
3)The camera’s protection function may have activated
because camera temperature is too high. Turn off the camera
and wait until it cools down before trying to use it again.
Power will not turn
off. Nothing
happens when a
button is pressed.
Remove the battery from the camera and then reload it.
Image Recording
Image is not
recorded when the
shutter button is
pressed.
1)If the camera is in the PLAY mode, press [r] (REC) to enter
the REC mode.
2)If the flash is charging, wait until the charge operation
finishes.
3)If the message “Memory Full” appears, transfer images to
your computer, delete images you no longer need, or use a
different memory card.
Auto Focus does
not focus properly.
1)If the lens is dirty, clean it off.
2)The subject may not be in the center of the focus frame when
you compose the image.
3)The subject you are shooting may not be a type that is
compatible with Auto Focus (page 31). Use manual focus
(page 56).
4)You may be moving the camera when shooting. Try shooting
with Anti Shake or use a tripod.
5)You may be pressing the shutter button all the way without
waiting for Auto Focus. Half-press the shutter button and
allow enough time for Auto Focus to focus.

124 Appendix
The subject is out
of focus in the
recorded image.
The image may not be focused properly. When composing the
image, make sure the subject is located inside the focus frame.
The flash does not
fire.
1)If ? (Flash Off) is selected as the flash mode, change to
another mode (page 37).
2)If the battery is dead, charge it (page 14).
3)If a BEST SHOT scene that uses ? (Flash Off) is selected,
change to a different flash mode (page 37) or select a
different BEST SHOT scene (page 50).
The red ? (Flash
Off) icon is
displayed on the
monitor screen and
the flash does not
fire.
The flash unit may be malfunctioning. Contact a CASIO
authorized service center or your original retailer. Note that
though the flash will not fire, you still can use the camera for
non-flash shots.
Camera powers
down during Self-
timer countdown.
The battery may be dead. Charge the battery (page 14).
The monitor screen
image is out of
focus.
1)You may be using Manual Focus and have not focused the
image. Focus the image (page 57).
2)You may be using ´ (Macro) for scenery or portraits. Use
Auto Focus for scenery and portrait shots (page 56).
3)You may be trying to use Auto Focus or ) (Infinity) when
shooting a close-up shot. Use the ´ (Macro) for close ups
(page 56).
There is a vertical
line in the monitor
screen image.
Shooting a very brightly lit subject can cause a vertical band to
appear in the monitor screen image. This is a CCD
phenomenon known as “vertical smear”, and does not indicate
malfunction of the camera. Note that vertical smear is not
recorded with the image in the case of a snapshot, but it is
recorded in the case of a movie.
There is digital
noise in images.
1)Sensitivity may have been increased automatically for a dark
subject, which increases the chance of digital noise. Use a
light or some other means to illuminate the subject.
2)You may be attempting to shoot in a dark location with ?
(Flash Off) selected, which can increase digital noise and
make images appear coarse. In this case, turn on flash (page
37) or use lights for illumination.
3)Shooting with a high ISO sensitivity setting or with the
Lighting feature can cause an increase in digital noise. Use a
light or some other means to illuminate the subject.
Problem Possible Cause and Recommended Action

125 Appendix
A recorded image
was not saved.
1)Camera power may have been turned off before the save
operation was complete, which will result in the image not
being saved. If the battery indicator shows , charge the
battery as soon as possible (page 18).
2)You may have removed the memory card from the camera
before the save operation was complete, which will result in
the image not being saved. Do not remove the memory card
before the save operation is complete.
Though available
lighting is bright,
the faces of people
in the image are
dark.
Not enough light is reaching the subjects. Change the flash
mode setting to < (Flash On) for daylight synchro flash (page
37), or adjust EV shift to the + side (page 63).
Night shots come
out bad.
Use the following BEST SHOT scenes (page 50) when shooting
at night.
• Night Scene (for shooting night scenery only)
• Night Scene Portrait (for shooting people against night
scenery)
Subjects are too
dark when shooting
images in a
seashore or ski
area.
Sunlight reflected by water, sand, or snow, can cause
underexposure of images. Change the flash mode setting to <
(Flash On) for daylight synchro flash (page 37), or adjust EV
shift to the + side (page 63).
Digital zoom
(including HD
zoom) does not
work. The zoom
bar indicates zoom
only up to a zoom
factor of 12.5.
Time stamping may be turned on, which will cause digital zoom
to be disabled. Turn off time stamping (page 105).
The image is out of
focus during movie
recording.
1)Focusing may not be possible because the subject is outside
the focus range. Shoot within the allowable range.
2)The lens may be dirty. Clean the lens (page 115).
Problem Possible Cause and Recommended Action

126 Appendix
Playback
The color of the
playback image is
different from what
appears on the
monitor screen
when shooting.
Sunlight or light from another source may be shining directly
into the lens when you are shooting. Position the camera so
sunlight does not shine directly into the lens.
Images are not
displayed.
This camera cannot display non-DCF images recorded onto a
memory card using another digital camera.
Images cannot be
edited (with
resizing, trimming,
rotation).
Note that you cannot edit the following types of snapshots.
•Movies
• Snapshots recorded with another camera
File Deletion
A file cannot be
deleted.
1)The file may be protected. Unprotect the file (page 74).
2)“Ü Disabled” setting may be “On”. Change the setting to
“Off” (page 108).
Other
The wrong date
and time are
displayed, or the
wrong date and
time are being
stored along with
image data.
The date and time setting is off. Set the correct date and time
(page 105).
The messages on
the display are in
the wrong
language.
The wrong display language is selected. Change the display
language setting (page 106).
Images cannot be
transferred over a
USB connection.
1)The USB cable may not be connected securely. Check all
connections.
2)The wrong USB communication protocol is selected. Select
the correct USB communication protocol in accordance with
the type of device you are connecting (pages 86, 94).
3)If the camera is not turned on, turn it on.
4)Your computer may not be able to recognize the camera if
you connect via a USB hub. Always connect directly to the
computer’s USB port.
Problem Possible Cause and Recommended Action

127 Appendix
Language selection
screen appears
when the camera is
turned on.
1)You did not configure initial settings after purchasing the
camera or the camera may have been left with a dead
battery. Check the camera setup (pages 19, 106).
2)There may be a problem with the camera’s memory data. If
this is the case, perform the reset operation to initialize the
camera’s setup (page 110). After that, configure each setting.
If the language selection screen does not re-appear when you
turn the camera on, it means that the camera’s memory
management data has been restored.
If the same message appears after you turn power back on,
contact your retailer or a CASIO authorized service center.
The time and date
settings configured
the first time after
purchasing the
camera are reset to
their factory
defaults when
remove the
camera’s battery.
Load the camera’s battery and reconfigure the time and date
settings (page 19). Do not remove the battery from the camera
for at least 24 hours after configuring time and date settings.
After that, the settings will not be reset if you remove the
battery.
• If the time and date are reset to their factory default settings
when you remove the battery after it has been loaded for
more than 24 hours, it could mean that the camera’s setting
memory is defective. Contact your retailer or a CASIO
authorized service center.
Buttons are not
responsive right
after the power has
been turned on.
With large capacity memory cards there is a delay after the
power has been turned on before the buttons become
responsive.
Problem Possible Cause and Recommended Action

128 Appendix
Display Messages
ALERT
The camera’s protection function may have activated
because camera temperature is too high. Turn off the
camera and wait until it cools down before trying to use it
again.
Battery is low. Battery power is low.
Card ERROR
There is something wrong with the memory card. Turn off the
camera, remove the memory card and then reload it into the
camera. If this message re-appears when you turn the
camera back on, format the memory card (page 110).
IMPORTANT!
• Formatting a memory card deletes all its files. Before
formatting, try transferring recoverable files to a computer
or some other storage device.
Check
connections!
You are attempting to connect the camera to a printer while
the camera’s USB settings are not compatible with the USB
system of the printer (page 79).
Files could not be
saved because
battery is low.
Battery power is low, so an image file could not be saved.
Folder cannot be
created.
You are trying to record a file while there are already 9999
files stored in the 999th folder. If you want to record more,
delete files you no longer need (page 29).
Images are being
transferred.
Stop transfer and
turn off power?
You are attempting to turn off power while image data is
being transferred using the Eye-Fi card (page 97).
LENS ERROR
This message appears and the camera turns off whenever
lens performs some unexpected operation. If the same
message appears after you turn power back on, contact a
CASIO authorized service center or your original retailer.
Load paper! The printer ran out of paper while printing.
Memory Full
Memory is full with images you recorded and/or files saved
by editing operations. Delete files you no longer need (page
29).
Printing Error
An error occurred while printing.
• The printer is turned off.
• The printer generated an error, etc.
Record Error Image compression could not be performed for some reason
during image data storage. Shoot the image again.

129 Appendix
RETRY POWER ON
The lens came into contact with an obstruction while moving.
The camera will turn off automatically when this message
appears. Remove the obstruction and turn power back on
again.
SYSTEM ERROR Your camera system is corrupted. Contact your retailer or a
CASIO authorized service center.
The card is locked.
The LOCK switch of the SD, SDHC, or SDXC
memory card loaded in the camera is in the
locked position. You cannot store images to
or delete images from a memory card that is
locked.
There are no files. There are no files in built-in memory or on the memory card.
There are no
printing images.
Set up DPOF.
There are currently no files specified for printing. Configure
the required DPOF settings (page 81).
This card is not
formatted.
The memory card loaded in the camera is not formatted.
Format the memory card (page 110).
This file cannot be
played.
The file you are trying to access is corrupted or is a type that
cannot be displayed by this camera.
This function
cannot be used.
This message will appear part way through an operation
when you attempt to use a function that is not allowed in
combination with another function.
LOCK

130 Appendix
Snapshot
Number of Snapshots/Movie Recording Time/
Voice Recording Time
Image Size
(Pixels) Image Quality
Approximate
Image File
Size
Built-in Memory
*
1
Recording Capacity
SD Memory Card
*
2
Recording
Capacity
16M
(4608x3456)
Fine 5.57MB 8 2791
Normal 3.71MB 12 4191
3:2
(4608x3072)
Fine 4.92MB 9 3160
Normal 3.28MB 13 4740
16:9
(4608x2592)
Fine 4.10MB 11 3792
Normal 2.75MB 16 5654
10M
(3648x2736)
Fine 3.38MB 13 4600
Normal 2.27MB 20 6849
5M
(2560x1920)
Fine 1.72MB 26 9040
Normal 1.22MB 37 12744
3M
(2048x1536)
Fine 1.25MB 36 12439
Normal 820KB 55 18962
VGA
(640x480)
Fine 290KB 157 53616
Normal 240KB 190 64786

131 Appendix
Movies
Voice Recording
*1 Built-in memory capacity after formatting (Approx. 45.6MB)
*2 Based on a 16GB SDHC memory card (SanDisk Corporation). The number of images
you can save depends on the type of memory card you are using.
*3 The data transfer rate of built-in memory is not sufficient for HD movies. Whenever
possible use an Ultra High-Speed Type memory card.
• Snapshot, movie recording capacity, and voice recording capacity values are
approximate and intended for reference only. Actual capacity depends on image
contents.
• File size and data rate values are approximate and intended for reference only. Actual
values depend on the type of image being shot.
• When using a memory card with a different capacity, calculate the number of images as a
percentage of 16GB.
• A single movie shoot with the “For YouTube” scene can have a maximum file size of
2048MB or a recording time of up to 15 minutes.
Image
Quality
(Pixels)
Maximum
File Size
Approximate Data
Rate (Frame Rate)
Built-in
Memory
*
1
Recording
Capacity
SD Memory
Card
*
2
Recording
Capacity
File Size of
1-minute
Movie
HD
(1280
x
720)
Maximum
Movie Size:
4 GB
(or
29 minutes)
30 Megabits/second
(30 frames/second) 10 seconds
*3
17 minutes
9 seconds 225.0 MB
STD
(640x480)
6 Megabits/second
(30 frames/second) 54 seconds 1 hour
25 minutes 45.0 MB
File Format Maximum
File Size File Size Built-in Memory
*
1
Recording Capacity
SD Memory Card
*
2
Recording
Capacity
WAV
IMA-ADPCM 4 GB 5.5 KB/second 2 hours
20 minutes
796 hours
53 minutes

132 Appendix
Specifications
File Format Snapshots:
JPEG (Exif Version 2.3); DCF 2.0 standard; DPOF compliant
Movies:
Motion JPEG AVI, IMA-ADPCM audio (monaural)
Audio (Voice Recording): WAV (monaural)
Recording Media Built-in Memory (Image Storage Area: 45.6MB*)
SD/SDHC/SDXC
*Built-in memory capacity after formatting
Recorded Image Sizes Snapshot:
16M (4608x3456), 3:2 (4608x3072), 16:9 (4608x2592),
10M (3648x2736), 5M (2560x1920), 3M (2048x1536),
VGA (640x480)
Movies:
HD (1280x720), STD (640x480)
Effective Pixels 16.10 Megapixels
Imaging Element Size: 1/2.3-inch square pixel CCD
Total Pixels: 16.44 Megapixels
Lens/Focal Distance F3.0 (W) to 5.9 (T) f = 4.24 to 53.0 mm
(equivalent to 24 to 300 mm in 35 mm format)
Zoom 12.5X optical zoom, 4X digital zoom (50.0X in combination with
optical zoom)
Up to 159.5X when HD Zoom and Digital zoom are used in
combination (VGA size)
Focusing Contrast Detection Auto Focus
• Focus Modes:
Auto Focus, Macro Focus, Super Macro Focus, Infinity,
Manual Focus
•AF Area:
Spot, Multi, Tracking
Approximate Focus
(Snapshot)
(From Lens Surface)
Auto Focus: 5 cm to 9 (2.0" to 9) (Wide Angle)
Macro Focus: 1 cm to 50 cm (0.39" to 19.7") (Fifth step zoom
from the Widest Angle setting)
Super Macro Focus: 1 cm to 50 cm (0.39" to 19.7")
Infinity: 9
Manual: 5 cm to 9 (2.0" to 9) (Wide Angle)
*Range is affected by optical zoom.
Metering Multi-pattern (center weighted for some BS scenes) by imaging
element
Exposure Control Program AE
Exposure
Compensation
–2.0 EV to +2.0 EV (in 1/3EV steps)
Shutter CCD shutter, mechanical shutter

133 Appendix
Shutter Speed Snapshot (Auto): 1/2 to 1/2000 second
Snapshot (Premium Auto): 1/8 to 1/2000 second
Snapshot (Night Scene): 4 to 1/2000 second
*May differ due to the camera setup.
Aperture Value F3.0 (W) to F7.9 (W) (When used with ND filter)
*Using optical zoom changes the aperture value.
White Balance Auto, Daylight, Overcast, Shade, Day White Fluorescent,
Daylight Fluorescent, Tungsten, Manual WB
Sensitivity (Standard
Output Sensitivity)
Snapshots:
Auto, ISO 64, ISO 100, ISO 200, ISO 400, ISO 800,
ISO 1600 equivalent
Movies: Auto
Flash Modes Auto, Off, On, Red-eye reduction
Flash Range
(ISO Sensitivity: Auto)*
Wide Angle: 0.4 m to 2.6 m (1.3' to 8.5')
Telephoto: 0.9 m to 1.3 m (3.0' to 4.3')
*Range is affected by optical zoom.
Flash Charging Time Approximately 5 seconds maximum
Monitor Screen 2.7-inch TFT color LCD
230,400 (960x240) dots
External connection
terminal
USB port (Hi-Speed USB compatible, USB charging) /
AV output terminal (NTSC/PAL)
Microphone Monaural
Speaker Monaural
Power Requirements Rechargeable lithium ion battery (NP-80) x1

134 Appendix
Approximate Battery Life
All of the values provided below represent the approximate amount of time under
normal temperature (23°C (73°F)) before the camera turns off. These values are not
guaranteed. Low temperatures shorten battery life.
• Battery: NP-80 (Rated Capacity: 700 mAh)
• Recording Medium: 16GB SDHC memory card (SanDisk Corporation)
• Measurement Conditions
*1 Approximate number of shots (CIPA) (Operating Time)
In accordance with CIPA (Camera and Imaging Products Association) standards
Normal temperature (23°C (73°F)), monitor on, zoom operation between full wide
and full telephoto every 30 seconds, during which two images are shot with flash;
power turned off and back on every time 10 images are shot.
*2 Approximate playback time
Standard temperature (23°C (73°F)), one-image scroll approximately every
10 seconds
*3 Approximate time for a repeated cycle of 10 minutes recording followed by
deletion of the recorded file.
*4 Approximate continuous recording time
• The above values are based a new battery, starting from a full charge. Repeated
charging shortens battery life.
• Frequency of flash, zoom, and Auto Focus usage, and the time the camera is on
greatly affects recording time and number of shots values.
Number of Shots (CIPA) (Operating Time)*1230 shots
Continuous Playback (Snapshots)*24 hours 10 minutes
Approximate continuous movie recording time*31 hour 50 minutes
Continuous Voice Recording*44 hours 10 minutes
Power Consumption 3.7 V DC, Approximately 2.8 W
Dimensions 102 (W) x 58.9 (H) x 28.7 (D) mm
(4.0" (W) x 2.3" (H) x 1.1" (D))
(21.1 mm (0.8") thick excluding projections)
Weight Approximately 181g (6.4 oz) (including battery and memory card*)
Approximately 164g (5.8 oz) (excluding battery and memory card)
*16GB SDHC memory card (SanDisk Corporation)

135 Appendix
.Rechargeable lithium ion battery (NP-80)
.USB-AC adaptor (AD-C53U)
• Power cord precautions for use in Singapore
The power cord set is not supplied. The power cord used must comply with
relevant national and/or international standards.
Rated Voltage 3.7 V
Rated Capacitance 700 mAh
Operating Temperature
Requirements
0 to 40°C (32 to 104°F)
Dimensions 31.4 (W) x 39.5 (H) x 5.9 (D) mm
(1.24" (W) x 1.56" (H) x 0.23" (D))
Weight Approximately 15 g (0.53 oz)
Input Power 100 to 240 V AC, 50/60 Hz, 100 mA
Output Power 5.0 V DC, 650 mA
Operating Temperature
Requirements
5 to 35°C (41 to 95°F)
Dimensions 53 (W) x 21 (H) x 45 (D) mm
(2.1" (W) x 0.83" (H) x1.8" (D)) (excluding projections)
Weight Approximately 37 g (1.3 oz)

2012
CASIO COMPUTER CO., LTD.
6-2, Hon-machi 1-chome
Shibuya-ku, Tokyo 151-8543, Japan
MA1205-BM29