Casio Electronic Cash Register Tk 950 Users Manual User's
TK-950 to the manual eccaa5a3-bb86-4c69-b723-7bb39c582dde
2015-01-21
: Casio Casio-Electronic-Cash-Register-Tk-950-Users-Manual-242901 casio-electronic-cash-register-tk-950-users-manual-242901 casio pdf
Open the PDF directly: View PDF
.
Page Count: 112 [warning: Documents this large are best viewed by clicking the View PDF Link!]

ELECTRONIC CASH REGISTER
USER'S MANUAL
CI
THANK YOU
YOUR RECEIPT
CALL AGAIN !
GROCERY
DAIRY
H.B.A.
FROZEN
FOOD
DELICATESSEN
TK-950

2
E
Do not locate the cash register where it will be
subjected to direct sunlight, high humidity,
splashing with water or other liquids, or high
temperature (such as near a heater).
Never try to open the cash register or attempt
your own repairs. Take the cash register to your
authorized CASIO dealer for repairs.
Use a soft, dry cloth to clean the exterior of the
cash register. Never use benzene, thinner, or
any other volatile agent.
Never operate the cash register while your
hands are wet.
Be sure to check the sticker on the side of the
cash register to make sure that its voltage
matches that of the power supply in the area.
Important!
Your new cash register has been carefully tested before shipment to ensure proper operation. Safety
devices eliminate worries about breakdowns resulting from operator errors or improper handling. In
order to ensure years of trouble-free operation, however, the following points should be noted when
handling the cash register.
Introduction & Contents

Introduction & Contents
3E
Welcome to CASIO Cash Register!
Congratulations upon your selection of a CASIO Electronic Cash Register, which is designed to
provide years of reliable operation.
Operation of a CASIO cash register is simple enough to be mastered without special training.
Everything you need to know is included in this manual, so keep it on hand for reference.
Consult your CASIO dealer if you have any questions about points not specifically covered in this
manual.
GUIDELINES LAID DOWN BY FCC RULES FOR USE OF THE UNIT IN THE U.S.A.
(Not applicable to other areas)
WARNING: This equipment has been tested and found to comply with the limits for a Class A digital device,
pursuant to Part 15 of the FCC Rules. These limits are designed to provide reasonable protection against harmful
interference when the equipment is operated in a commercial environment. This equipment generates, uses, and
can radiate radio frequency energy and, if not installed and used in accordance with the instruction manual, may
cause harmful interference to radio communications. Operation of this equipment in a residential area is likely to
cause harmful interference in which case the user will be required to correct the interference at his own expense.
FCC WARNING: Changes or modifications not expressly approved by the party responsible for compliance
could void the user’s authority to operate the equipment.
Please keep all information for future reference.
The main plug on this equipment must be used to disconnect mains power.
Please ensure that the socket outlet is installed near the equipment and shall be easily accessible.

4
Introduction & Contents
E
Safety Precautions
•To use this product safely and correctly, read this manual thoroughly and operate as
instructed.
After reading this guide, keep it close at hand for easy reference.
Please keep all informations for future reference.
•Always observe the warnings and cautions indicated on the product.
About the icons
In this guide various icons are used to highlight safe operation of this product and to prevent
injury to the operator and other personnel and also to prevent damage to property and this
product. The icons and definitions are given below.
Indicates that there is a risk of severe injury or death if used incorrectly.
Indicates that injury or damage may result if used incorrectly.
Icon examples
To bring attention to risks and possible damage, the following types of icons are used.
The symbol indicates that it includes some symbol for attracting attention (including
warning). In this triangle the actual type of precautions to be taken (electric shock, in this
case) is indicated.
The symbol indicates a prohibited action. In this symbol the actual type of prohibited
actions (disassembly, in this case) will be indicated.
The symbol indicates a restriction. In this symbol the type of actual restriction (removal of
the power plug from an outlet, in this case) is indicated.
Warning!
Handling the register
Should the register malfunction, start to emit smoke or a strange odor, or
otherwise behave abnormally, immediately shut down the power and unplug
the AC plug from the power outlet. Continued use creates the danger of fire and
electric shock.
• Contact CASIO service representative.
Do not place containers of liquids near the register and do not allow any
foreign matter to get into it. Should water or other foreign matter get into the
register, immediately shut down the power and unplug the AC plug from the
power outlet. Continued use creates the danger of shorting, fire and electric
shock.
• Contact CASIO service representative.
Should you drop the register and damage it, immediately shut down the power
and unplug the AC plug from the power outlet. Continued use creates the
danger of shorting, fire and electric shock.
• Attempting to repair the register yourself is extremely dangerous. Contact CASIO service
representative.
Never try to take the register apart or modify it in any way. High-voltage
components inside the register create the danger of fire and electric shock.
• Contact CASIO service representative for all repair and maintenance.

Introduction & Contents
5E
Warning!
Power plug and AC outlet
Use only a proper AC electric outlet (100V~240V) . Use of an outlet with a
different voltage from the rating creates the danger of malfunction, fire, and
electric shock. Overloading an electric outlet creates the danger of overheating
and fire.
Make sure the power plug is inserted as far as it will go. Loose plugs create the
danger of electric shock, overheating, and fire.
• Do not use the register if the plug is damaged. Never connect to a power outlet that is loose.
Use a dry cloth to periodically wipe off any dust built up on the prongs of the
plug. Humidity can cause poor insulation and create the danger of electric
shock and fire if dust stays on the prongs.
Never use detergent to clean the power cord, especially the plug and jack.
Do not allow the power cord or plug to become damaged, and never try to
modify them in any way. Continued use of a damaged power cord can cause
deterioration of the insulation, exposure of internal wiring, and shorting, which
creates the danger of electric shock and fire.
• Contact CASIO service representative whenever the power cord or plug requires repair or
maintenance.
Caution!
Do not place the register on an unstable or uneven surface. Doing so can
cause the register — especially when the drawer is open — to fall, creating the
danger of malfunction, fire, and electric shock.
Do not place the register in the following areas.
• Areas where the register will be subject to large amounts of humidity or dust, or directly
exposed to hot or cold air.
• Areas exposed to direct sunlight, in a close motor vehicle, or any other area subject to very
high temperatures.
The above conditions can cause malfunction, which creates the danger of fire.
Do not overlay bend the power cord, do not allow it to be caught between
desks or other furniture, and never place heavy objects on top of the power
cord. Doing so can cause shorting or breaking of the power cord, creating the
danger of fire and electric shock.
Be sure to grasp the plug when unplugging the power cord from the wall outlet.
Pulling on the cord can damage it, break the wiring, or cause short, creating the
danger of fire and electric shock.
Never touch the plug while your hands are wet. Doing so creates the danger of
electric shock. Pulling on the cord can damage it, break the wiring, or cause
short, creating the danger of fire and electric shock.
Never touch the printer head, platen and cutter.

6
Introduction & Contents
E
Introduction & Contents ...................................................................................... 2
Getting Started ................................................................................................... 10
1. Load the memory protection batteris and Paper rolls ................................................. 10
2. Install receipt / journal paper. .......................................................................................11
3. Plug the cash register into a wall outlet. ..................................................................... 13
4. Insert the mode key marked “PGM” into the mode switch. ......................................... 13
5. Turn the mode switch to the “PGM” position............................................................... 13
6. Set the date. ............................................................................................................... 13
7. Set the time.................................................................................................................13
8. Tax table programming ............................................................................................... 14
9. Select printouts and watermark on receipt. ................................................................ 16
10. Department unit price programming ......................................................................... 17
11. PLU unit price programming ..................................................................................... 17
12. Discount rate programming ...................................................................................... 17
13. Issuing daily reset report........................................................................................... 17
14. Advanced operations and Setups ............................................................................. 18
15. Issuing reports .......................................................................................................... 18
16. Troubleshooting ........................................................................................................ 18
Introducing the Register.................................................................................... 20
General guide ................................................................................................................. 20
Roll paper .............................................................................................................................................. 20
Mode key .............................................................................................................................................. 20
Drawer .................................................................................................................................................. 20
Drawer lock / Drawer key ...................................................................................................................... 20
Magnetic plate ....................................................................................................................................... 20
Mode switch .......................................................................................................................................... 21
How to set the Pop-up display .............................................................................................................. 21
How to set the menu sheet ................................................................................................................... 21
Display ............................................................................................................................ 22
Display panel ........................................................................................................................................ 22
Main display .......................................................................................................................................... 22
Customer display .................................................................................................................................. 22
Keyboard ........................................................................................................................24
Allocatable functions ....................................................................................................... 26
Basic Operations and Setups ........................................................................... 28
How to read the printouts .................................................................................................... 28
How to use your cash register ............................................................................................. 29
Before business hours......................................................................................................... 30
Checking the time and date ............................................................................................ 30
To display and clear the date/time ........................................................................................................ 30
Preparing coins for change ............................................................................................. 30
Preparing and using department keys................................................................................. 31
Registering department keys .......................................................................................... 31
Programming department keys....................................................................................... 33
To program a unit price for each department ........................................................................................ 33
To program the tax calculation status for each department .................................................................. 33
To program high amount limit for each department............................................................................... 33
Registering department keys by programming data ....................................................... 34
Preset price ........................................................................................................................................... 34
Preset tax status ................................................................................................................................... 34
Locking out high amount limitation ........................................................................................................ 34
Preparing and using PLUs .................................................................................................. 35
Programming PLUs ........................................................................................................ 35
To program a unit price for each PLU ................................................................................................... 35
To program tax calculation status for each PLU ................................................................................... 35

Introduction & Contents
7E
Registering PLUs ............................................................................................................ 36
Preparing and using discounts ............................................................................................ 38
Programming discounts .................................................................................................. 38
Registering discounts ..................................................................................................... 38
Discount for items and subtotals ........................................................................................................... 38
Preparing and using reductions........................................................................................... 39
Programming for reductions ........................................................................................... 39
To program preset reduction amount .................................................................................................... 39
Registering reductions .................................................................................................... 39
Reduction for items and subtotal .......................................................................................................... 39
Registering credit and check payments .............................................................................. 40
Check .................................................................................................................................................... 40
Charge .................................................................................................................................................. 40
Credit .................................................................................................................................................... 40
Mixed tender (cash and check) ............................................................................................................. 40
Shifting the taxable status of an item .................................................................................. 41
Calculation merchandise subtotal ................................................................................... 41
Registering returned goods in the REG mode .................................................................... 42
Registering returned goods in the RF mode ....................................................................... 42
Registering money received on account ............................................................................. 43
Registering money paid out................................................................................................. 43
No sale registration ............................................................................................................. 43
Making corrections in a registration..................................................................................... 44
To correct an item you input but not yet registered ......................................................... 44
To correct an item you input and registered.................................................................... 45
To cancel all items in a transaction ................................................................................. 46
Printing the daily sales reset report ..................................................................................... 47
Advanced Operations ........................................................................................ 48
Using clerk functions ...........................................................................................................48
Enable clerk feature ........................................................................................................ 48
Assigning a clerk............................................................................................................. 48
Clerk number key .................................................................................................................................. 48
Single item cash sales......................................................................................................... 49
Currency exchange function................................................................................................ 50
Registering foreign currency ........................................................................................... 50
Full amount tender in foreign currency ................................................................................................. 50
Partial tender in a foreign currency ....................................................................................................... 51
Premium .............................................................................................................................. 52
Coupon ................................................................................................................................ 52
Age verification .................................................................................................................... 53
Check tracking systems ...................................................................................................... 54
Check tracking system.................................................................................................... 54
Opening a check ................................................................................................................................... 54
Adding to a check ................................................................................................................................. 54
Issuing a guest receipt .......................................................................................................................... 55
Closing a check memory ....................................................................................................................... 55
New / old check key operation .............................................................................................................. 55
Add check ............................................................................................................................................. 56
Flat-PLU .............................................................................................................................. 57
Text recall ............................................................................................................................ 57
Inputting the number of customers ...................................................................................... 57
Clerk interrupt function ........................................................................................................58
Condiment / preparation PLUs ............................................................................................ 59
Set menu ............................................................................................................................. 59
Arrangement key registrations ............................................................................................ 60
Tips ...................................................................................................................................... 60

8
Introduction & Contents
E
Item correction by using VOID key ...................................................................................... 61
Addition ............................................................................................................................... 61
Programming department / PLU descriptors and preset messages in the list .................... 62
How to choose and set the department / PLU descriptors in the list .............................. 62
How to choose and set the preset receipt message and graphic logo in the list ............ 62
Preset message and graphic print sample ............................................................................................ 62
Character manual input ....................................................................................................... 63
Entering characters .............................................................................................................63
Using character keyboard ............................................................................................... 63
Entering characters by multi tapping .............................................................................. 64
Programming descriptors and messages by entering characters ....................................... 65
Programming PLU descriptor ......................................................................................... 65
Programming department / flat-PLU / function key descriptor ........................................ 66
Function key .......................................................................................................................................... 66
Department key ..................................................................................................................................... 66
Flat-PLU key ......................................................................................................................................... 66
Programming message................................................................................................... 67
Receipt message .................................................................................................................................. 67
Programming Clerk name ............................................................................................... 67
Clerk name ............................................................................................................................................ 67
Programming other descriptors ...................................................................................... 68
Report descriptor .................................................................................................................................. 68
Text recall character .............................................................................................................................. 69
Grand total, special character ............................................................................................................... 69
Report title ............................................................................................................................................. 69
Machine feature program .................................................................................................... 70
General control program ................................................................................................. 70
Programming procedure ....................................................................................................................... 70
Program data (by address code) .......................................................................................................... 70
Address code 02 (machine number) ................................................................................70
Address code 03 (consecutive number) ...........................................................................70
Address code 04 (tax system) ..........................................................................................70
Address code 05 (print control for receipt) ....................................................................... 71
Address code 06 (calculation & operation control) ...........................................................71
Address code 08 (print control for fixed total report) ........................................................ 72
Address code 10 (print control for taxable amount) .........................................................72
Address code 14 (currency exchange control) .................................................................73
Address code 15 (print control for reports) .......................................................................73
Address code 16 (print control for grand total) .................................................................74
Address code 17 (print control) ........................................................................................74
Address code 18 (print control for guest receipt) .............................................................74
Address code 19 (receipt control) ....................................................................................74
Address code 21 (message control)................................................................................. 75
Address code 26 (check tracking) ....................................................................................75
Address code 27 (clerk control)........................................................................................ 75
Address code 30 (thermal printer control) ........................................................................76
Address code 34 (backlight control) .................................................................................76
Key function program .......................................................................................................... 78
Department key/Flat-PLU key/PLU program (Batch feature programming) ................... 78
Programming procedure ....................................................................................................................... 78
Program data ........................................................................................................................................ 78
Department key/Flat-PLU key/PLU program (Individual feature programming) ............. 79
Programming procedure ....................................................................................................................... 79
Program data (by address code) .......................................................................................................... 80
Transaction key program ................................................................................................ 81
Programming procedure ....................................................................................................................... 81
Program data ........................................................................................................................................ 81

Introduction & Contents
9E
Clerk program ................................................................................................................. 85
Clerk number, check number programming ..........................................................................................85
Clerk other programming ...................................................................................................................... 85
Set menu programming ........................................................................................................................ 86
Arrangement programming ................................................................................................................... 86
Keyboard layout change...................................................................................................... 87
Programming the function of each key ........................................................................... 87
Printing read/reset reports ................................................................................................... 88
To print the individual department, PLU read report ....................................................... 88
To print daily read reports (except open check and electronic journal)........................... 89
To print electronic journal read report ............................................................................. 89
To print open check read report ...................................................................................... 89
To print daily reset reports (except open check) ............................................................. 90
To print open check reset report ..................................................................................... 90
Read / reset report sample ............................................................................................. 91
To print the periodic 1/2 sales read/reset reports............................................................ 94
Reading the cash register's program................................................................................... 96
To print unit price/rate program (except PLU) ................................................................. 96
To print key descriptor, name, message program (except PLU) ..................................... 96
To print the machine program (except PLU) ................................................................... 97
To print the PLU unit price .............................................................................................. 98
To print the PLU descriptor ............................................................................................. 98
To print the PLU program................................................................................................ 98
To print the key allocation program ................................................................................. 98
Troubleshooting ............................................................................................... 100
When an error occurs ........................................................................................................ 100
When the * sign appears on the display ............................................................................ 101
When the register does not operate at all ......................................................................... 102
Clearing a machine lock up ............................................................................................... 102
In case of power failure ..................................................................................................... 103
When the L sign appears on the display ........................................................................... 103
User Maintenance and Options ...................................................................... 104
To replace journal paper .................................................................................................... 104
To replace receipt paper .................................................................................................... 105
Options .............................................................................................................................. 105
Specifications ................................................................................................... 106
Index .................................................................................................................. 107

10
E
1. Remove the printer
cover.
2. Remove the battery
compartment cover.
1. Load the memory protection batteris and Paper rolls
Load the two memory protection batteries
3. Note the (+) and (–) markings in the battery
compartment. Load a set of two new alkaline
batteries so that their positive (+) and nega-
tive (–) ends are facing as indicated by the
markings.
Important!
These batteries protect information stored in your cash register's memory when there is a power
failure or when you unplug the cash register. Be sure to install these batteries.
4. Replace the battery compartment cover. 5. Replace the printer cover.
WARNING!
•Never try to recharge the batteries supplied with the unit.
•Do not expose batteries to direct heat, let them become shorted or try to take them apart.
Keep batteries out of the reach of small children. If your child should swallow a battery, consult a
physician immediately.
Getting Started
This chapter shows how to setup the cash register and get it ready to operate. Please read this chapter even
if you have used a cash register before.
printer cover battery compartment cover
No battery is included
in the accessories.

11
Getting Started
E
Step 1
Remove the printer cover.
Step 2
Open the platen arm.
Step 3
Ensuring the paper is being
fed from the bottom of the
roll, lower the roll into the
space behind the printer.
Complete
Replace the printer cover,
passing the leading end of
the paper through the
cutter slot. Tear off the
excess paper.
Step 5
Close the platen arm
slowly until it locks
steadily.
Step 4
Put the leading end of the
paper over the printer.
To install receipt paper
Important!
Take away the head protection sheet from the printer and close the platen arm.
Caution! (in handling the thermal paper)
• Never touch the printer head and the platen.
• Unpack the thermal paper just before your use.
• Avoid heat/direct sunlight.
• Avoid dusty and humid places for storage.
• Do not scratch the paper.
• Do not keep the printed paper under the following circumstances:
High humidity and temperature/direct sunlight/contact with glue, thinner or a rubber eraser.
2. Install receipt / journal paper.
Platen arm
Platen
Printer

12
Getting Started
E
To install journal paper
Step 1
Remove the printer cover.
Step 2
Open the platen arm.
Step 3
Ensuring the paper is being
fed from the bottom of the
roll, lower the roll into the
space behind the printer.
Step 4
Put the leading end of the
paper over the printer.
Step 5
Close the platen arm
slowly until it locks
steadily.
Step 6
Remove the paper guide of
the take-up reel.
Step 7
Slide the leading end of
the paper into the groove
on the spindle of the take-
up reel and wind it onto
the reel two or three turns.
Step 8
Replace the paper guide of
the take-up reel.
Step 9
Place the take-up reel into
place behind the printer,
above the roll paper.
Step 10
Press the f key to take
up any slack in the paper.
During machine
installation, press the f
key after power on.
Complete
Replace the printer cover.

13
Getting Started
E
Be sure to check the sticker (rating plate) on the side of the cash
register to make sure that its voltage matches that of the power
supply in your area.
When the display shows “Low battery”, load memory protection batteries (refer to page 10).
3. Plug the cash register into a wall outlet.
4.
Insert the mode key marked “PGM” into the mode switch.
5. Turn the mode switch to the “PGM” position.
6. Set the date.
7. Set the time.
1. Enter current date in year - month - day order, and press the <X/FOR>
Example: June 15, 2008 2 080615x
2. Press <C> key.
Example: C
1. Enter current time in 24 hour system, and press the <X/FOR>
Example: 08:30 AM 2 0830x (9:45 PM 2 2145x)
2. Press <C> key.
Example: C
X
REG
OFF
RF
PGM
Z
X2/Z2
P
01
~00
RPT
AMOUNT
T1 T2 T3 T4
TOTAL CHANGE
OP
PGM
X
REG
OFF
RF
PGM

14
Getting Started
E
Programming automatic tax calculation
Important!
After you program the tax calculations, you also have to individually specify which departments
(page 33) and PLUs (page 35) are to be taxed.
For this cash register to be able to automatically register state sales tax, you must program its tax tables with
tax calculation data from the tax table for your state. There are three tax tables (U. S.) and four tax tables
(Canada) that you can program for automatic calculation of three/four separate sales taxes.
Programming for the U.S. tax tables procedure
There are two ways to set up the U.S. tax tables:
A) Input the desired tax rate / Changing the tax rate
/22/20101/
8. Tax table programming
02:HOW TO PROGRAM
TAX TABLE?
•SELECT YOUR STATE AND
ENTER NUMBER THEN
PRESS <HELP> KEY.
0101:ALABAMA
0201:ALASKA
0301:ARIZONA
0401:ARKANSAS
0501:CALIFORNIA
:
:
5001:WISCONSIN
5101:WYOMING
Follow these steps.
PLEASE SELECT YOUR
DISTRICT NUMBER FOR TAx
TABLE 1 (XXXX) AND TABLE
2 (YYYY) FROM BELOW
TABLE.
1)TURN MODE KEY TO PGM.
2)3<SUBTOTAL>
3)0025<SUBTOTAL>
4)XXXX <CASH> KEY.
5)YYYY <CASH> KEY.
(IF YOU DO NOT NEED
TABLE 2, JUST SKIP
STEP 5)
6)<SUBTOTAL>
XXXX, YYYY IS DISTRICT
NUMBER
ALABAMA
0101: 4% State
0102: 4.5% State & Local
:
0111: 9 % State & Local
(Alabama)
ENTER NUMBER THEN
PRESS <HELP> KEY.
01:HOW TO PROGRAM
DATE AND TIME?
02:HOW TO PROGRAM
TAX TABLE? (US)
:
:
B) Choose the tax rate from a preset tax table.
The procedure to setup the tax table is printed on the guidance receipt. First issue the guidance receitpt by
the / key and follow it to set the tax table.
63s616~612^34 6a6
6::;: 6a6s
Tax table No.
Tax table 1: 1
Tax table 2: 2
Tax table 3: 3
Tax rate
6.25%: 6^25
7%: 7
Rounding
Round off: 50
Cut off: 00
Round up: 90
Tax system
Add-on: 2
Add-in: 3
D
4
D
3
D
1
Skip to set “Round off / Add-on”.
Mode Switch
X
REG
OFF
RF
PGM
Z
X2/Z2
PGM

15
Getting Started
E
Important!
Be sure you use the federal sales tax data with your provincial sales tax data. Even if your
province use the same tax rate as another province, inputting the wrong data will result incorrect
tax calculations.
• 4 tax tables are used for the following purpose
Table 1: Used for the federal taxable items.
Table 2: Used for the provincial taxable items.
Table 3/4: Used for the provincial taxable items for different tax table.
8. Tax table programming (continued)
Mode Switch
X
REG
OFF
RF
PGM
Z
X2/Z2
PGM
Tax table No.
Tax table 1: 1
Tax table 2: 2
Tax table 3: 3
Tax table 4: 4
63s616~612^34 6a6
6::;: 6a6s
Tax rate
6.25%: 6^25
7%: 7
Rounding
Round off: 50
Cut off: 00
Round up: 90
Tax system
Add-on: 2
Add-in: 3
Tax on tax: 4
D
4
D
3
D
1
Skip to set “Round off / Add-on”.
Programming Canadian tax table

16
Getting Started
E
NOTE:
After completion of register programming, enter 6200 and s in the PGM 7 mode
(PGM mode ⇒ 7s) to backup the program data into the internal non-volatile memory.
(This opration takes about 30 seconds.)
Note !
If you need journal and are sometimes required receipts by customers, select “issue receipt”.
After business hours, issue the electronic journal report.
9. Select printouts and watermark on receipt.
Turn the mode switch to “PGM”, enter <0>, <1> or <10>, and press the <CHK>, <ST>
Example: issue receipt (with no watermark) 20ks
issue receipt (with watermark) 21ks
print journal 210ks

17
Getting Started
E
10. Department unit price programming
11. PLU unit price programming
12. Discount rate programming
13. Issuing daily reset report
After business hours, issue daily reset report.
Refer to page-47.
Maximum 6-digit unit price can be set to the department.
Refer to page-33.
Tax calculation status can be set to the department.
Refer to page-33.
Maximum 6-digit unit price can be set to the PLU.
Refer to page-35.
Tax calculation status can be set to the PLU.
Refer to page-35.
0.01 - 99.99% rate can be set to the Discount key.
Refer to page-38.
Tax calculation status can be set to the Discount key.
Refer to page-38.

18
Getting Started
E
14. Advanced operations and Setups
Using clerk functions ..................................... 48
Single item cash sales .................................... 49
Currency exchange function .......................... 50
Premium ......................................................... 52
Coupon ........................................................... 52
Age verification ............................................. 53
Check tracking system ................................... 54
Flat-PLU ........................................................ 57
Text recall....................................................... 57
Input the number of customers ...................... 57
Clerk interrupt function ................................. 58
Condiment / preparation PLUs ...................... 59
16. Troubleshooting
15. Issuing reports
Set menu ........................................................ 59
Arrangement key registrations ....................... 60
Tips ................................................................ 60
Item correction by using VOID key............... 61
Addition ......................................................... 61
Department / PLU name selection / set ......... 62
Preset message /graphic selection / set .......... 62
Character manual input .................................. 63
Machine feature program ............................... 70
Key function program .................................... 78
Keyboard layout change ................................ 87
Individual item read report ............................ 88
Daily read report ............................................ 89
PLU report ................................................ 89
Monthly report .......................................... 89
Hourly report ............................................ 89
Group report ............................................. 89
Flash report ............................................... 89
Electronic journal report ........................... 89
Open check report..................................... 89
Daily reset report ........................................... 90
Periodic sales report ....................................... 94
Program read report ....................................... 96
E sign appears .............................................. 100
* sign appears............................................... 101
Drawer does not open .................................. 101
L sign appears .............................................. 103
To replace receipt / journal paper......... 104, 105

19
Getting Started
E

20
E
Introducing the Register
Roll paper
You can use the roll paper to print receipts and a
journal (page 11 ~ 12).
Mode key
There are two types of mode keys: the program key
(marked “PGM”) and the operator key (marked “OP”).
The program key can be used to set the mode switch to
any position, while the operator key can select the
REG and OFF position.
Drawer
The drawer opens automatically whenever you finalize
a registration and whenever you issue a read or reset
report. The drawer will not open if it is locked with the
drawer key.
Drawer lock / Drawer key
Use the drawer key to lock and unlock the drawer.
Operator key Program key
OP
General guide
This part of the manual introduces you to the cash register and provides a general explanation of its various parts.
display drawer keyboard pop-up display printer cover take-up reel main operator customer
PGM
Magnetic plate
Use this plate for tacking the notes received from
customer.
Drawer key
Take-up reel
Roll paper
Printer
RAC connector cover
Pop-up display
(customer display)
Main display
Mode switch
Keyboard
Com port connector
cover
Printer cover
Drawer
Drawer lock

21
Introducing the Register
E
X
REG
REG
OFF
OFF
RF
RF
PGM
PGM
Z
X2/Z2
Mode switch
Use the mode keys to change the position of the mode switch and select the mode you want to use.
How to set the Pop-up display
1. Lift the unit until it stops. 2. Rotate the unit.
How to set the menu sheet
1. Pull the sheet cover up and remove the old menu sheet. 2. Put the new menu sheet and replace the cover.
816 24 32 40 48 56 64 72
715 23 31 39 47 55 63 71
61422 30 38 46 54 62 70
51321 29 37 45 53 61 69
41220 28 36 44 52 60 68
31119 27 35 43 51 59 67
21018 26 34 42 50 58 66
1 9 17 25 33 41 49 57 65
A
B
A lunch B lunch C lunch D lunch E lunch F lunch G lunch H lunch I lunch
A setmenu B setment C setmenu D setmenu E setmenu F setmenu G setmenu H setmenu I setmenu
A breakfastB breakfastC breakfastD breakfastE breakfastF breakfastG breakfastH breakfastI breakfast
A dinnerB dinnerC dinnerE dinnerE dinnerF dinnerG dinnerH dinnerI dinner
A lunch B lunch C lunch D lunch E lunch F lunch G lunch H lunch I lunch
A setmenu B setment C setmenu D setmenu E setmenu F setmenu G setmenu H setmenu I setmenu
A breakfastB breakfastC breakfastD breakfastE breakfastF breakfastG breakfastH breakfastI breakfast
A dinnerB dinnerC dinnerE dinnerE dinnerF dinnerG dinnerH dinnerI dinner
D
C
Mode
Switch
Mode Name Description
X2/Z2
Z
X
REG
OFF
RF
PGM
Periodic sale
read/reset
Daily sales reset
Daily sales read
Register
Stand-by
Refund
Program
Used to obtain periodic sales reports without resetting total
data or while resetting all total data.
Used to obtain daily reports while resetting (clearing) all
total data.
Used to obtain daily reports without resetting (clearing) all total
data.
Used for normal registration.
Cash register standing by.
Used for registering refund transaction.
Used for cash register programming.

22
Introducing the Register
E
Display
Display panel
Main display
3 ST $123.45
PRETZEL
1"34
RPT
AMOUNT
T1 T2 T3 T4
TOTAL CHANGE
Customer display
1"34

23
Introducing the Register
E
1Item count and subtotal
This part of the display shows item sold count and
subtotal.
2Item / Key / Change descriptor
When you register an item or key, the item / key /
change descriptor appears here.
Mode descriptor is also displayed here.
3Amount / Quantity
This part of the display shows monetary amounts.
It also can be used to show the current time.
(The current date is shown in the alphanumeric
display.)
4Taxable sales status indicators
When you register a taxable item, the corresponting
indicator is lit.
Displays Main Display Pop-up (customer) display
(alphanumeric + numeric display) (numeric display)
Item registration (by department/PLU)
Repeat registration
Totalize operation
1
3
2
6 ST $19.84
PLU0001
3 "50
RPT
AMOUNT
T1 T2 T3 T4
TOTAL CHANGE
54
6
3
2
CASH $20.00
CG
'66
RPT
AMOUNT
T1 T2 T3 T4
TOTAL CHANGE
7
"50
3
'66
3
1
3
4
2
3 ST $12.34
DEPT001
!50
RPT
AMOUNT
T1 T2 T3 T4
TOTAL CHANGE
!50
3
5Number of repeats
Anytime you perform a repeat registration (page 31,
36), the number of repeats appears here.
Note that only one digit is displayed for the number
of repeats. This means that a “5” could mean 5, 15 or
even 25 repeats.
6Tendered amount
When the tender operation is made, the entered value
appears here.
7Total / Change indicators
When the TOTAL indicator is lit, the displayed value
is monetary total or subtotal amount.
When the CHANGE indicator is lit, the displayed
value is the change due.

24
Introducing the Register
E
81624324048566472
71523313947556371
61422303846546270
51321293745536169
41220283644526068
31119273543515967
21018263442505866
1 9 17 25 33 41 49 57 65
789
456
123
000.
FEED
#NS
ERR.CORR
CANCEL
RF
—
C
% –
HELP
TAX
PGM
SUB
TOTAL
MENU
SHIFT
CLK #
SIGN
OFF
GUEST/
POST
RECEIPT
RECEIPT
ON/OFF
RC PD
NEW
OLD
NB CHK
CA AMT
TEND
PRICE
T/S1 T/S 2
PLU/
S DEPT
DATE
TIME
X/FOR
MD/ST
1
H
I
JK
P
S
3
2
N
L
7
8
09
A B
R
U
D
C
E
F
G
O
Q
4
5
6
T
M
Keyboard
1Paper feed key f
Hold this key down to feed paper from the printer.
2Ten key pad 0, 1, ~ 9, -, ^
Use these keys to input numbers.
3Clear key C
Use this key to clear an entry that has not yet been
registered.
4Cash amount tendered key a
Use this key to register a cash sale.
5Check key k
Use this key to register a check tender.
6Subtotal key s
Use this key to display and print the current subtotal
(includes add-on tax) amount.
7Help key /
Use this key to look up the procedures to set date/time,
tax table etc.
8Tax program key ~
Use this key to set the tax status and tax table.
9Clerk number key o
Use this key to sign clerk on and off the register.
0Sign off key Å
Use this key to sign clerk off the register.
AReceived on account key r
Use this key following a numeric entry to register money
received for non-sale transactions.
BPaid out key P
Use this key following a numeric entry to register money
paid out from the drawer.
CReduction (minus) key m
Use this key to input values for reduction.
DDiscount key p
Use this key to register discounts.
EReceipt on/off key Q
Use this key twice to change the status “receipt issue” or
“no receipt.”
FPrice key :
Use this key to register unit prices for subdepartment.
GPLU/Subdepartment key *
Use this key to input PLU (subdepartment) numbers.
HRefund key R
Use this key to input refund amounts and void certain
entries.
IMultiplication/For/Date/Time key x
Use this key to input a quantity for a multiplication and
registration of split sales of packaged items. Between
transactions, this key displays the current time and date.
JError correct / Cancel key e
Use this key to correct registration errors and to cancel
registration of entire transactions.
KGuest / Post receipt key g
Use this key to produce a guest or post-finalization
receipt.

25
Introducing the Register
E
LDepartment keys !, ", ~
Use these keys to register items to departments.
MMenu shift key @
Use this key to shift flat PLU keys to 1st ~ 3rd menu.
NMerchandise subtotal key M
Use this key to display and print the current subtotal
(excludes add-on tax) amount.
ONew balance key S
Use this key for adding the latest registered total amount
to the previous balance to obtain a new balance.
PNew check key N
Use this key in a check tracking system to input a new
check number in order to open a new check under that
number.
QOld check key O
Use this key in a check tracking system to input the
number of an existing check (previously created by the
new check key) whose details are stored in the check
tracking memory.
RNon-add key b
Use this key to print reference number (to identify a
personal check, credit card, etc.) during a transaction, use
this key after some numerical entries.
SNo sale key n
Use this key to open the drawer without registering
anything.
TTax shift 1 key t
Use this key without a numeric entry to change the
Taxable 1 status of the next item.
UTax shift 2 key T
Use this key without a numeric entry to change the
Taxable 2 status of the next item.

26
Introducing the Register
E
Allocatable functions
You can tailor a keyboard to suit your particular type of
business.
Add check
Use this key in a check tracking system to combine the details of
more than one check into a single check.
Addition (plus)
Use this key for registering surcharge.
Age verification
Use this key to enter tge birthdate of the customer for age
verification.
Arrangement
Use this key to activate an arrangement program programmed in
the arrangement file. Any operation that can be performed from
the keyboard, as well as mode, can be programmed in an
arrangement program, and can be performed merely by pressing
this key. In addition, one numeric entry can be included in an
arrangement program. In this case, input the number and press
this key.
The mode control function of this key can be programmed for
all modes except for the OFF and PGM mode.
Cash amount tendered
Use this key to register a cash sale.
Charge
Use this key to register a charge sale.
Check tendered
Use this key to register a check tender.
Clerk number
Use this key to sign clerk on and off the register.
Coupon
Use this key to register coupons.
Credit
Use this key to register a credit sale.
Currency exchange
Use this key for calculating subtotal amounts or paying amount
due in foreign currency.
Customer number
Use this key to register the number of customers.
Department
Use these keys to register items to departments.
Department no. / Department shift
Department no.: Use this key to input department numbers.
Department shift: Use this key to shift the department key
number.
Discount
Use this key to register discounts.
Enter
In an arrangement program, this key is used to insert numbers
entered before registering the arrangement.
Error correct / Cancel
Use this key to correct registration errors and to cancel registra-
tion of entire transactions.
Flat-PLU
Use this key to register items to flat-PLUs.
Help
Use this key to look up the procedures to set date/time, tax table
etc.
Manual tax
Use this key to register a tax amount.
Menu shift
Use this key to shift flat PLU keys to 1st ~ 3rd menu.
Merchandise subtotal
Use this key to obtain subtotal excluding the add-on tax amount
and the previous balance.
Multiplication
Use this key to input a quantity for a multiplication operation.
Between transactions, this key displays the current time and
date.
New balance
Use this key for adding the latest registered total amount to the
previous balance to obtain a new balance.
New check
Use this key in a check tracking system to input a new check
number in order to open a new check under that number.
New / Old check
Use this key in a check tracking system to input check numbers
in order to open new checks and to reopen existing checks.
When the clerk inputs a check number, the register checks to see
if that number already exists in the check tracking memory. If
there is no matching number in the memory, a new check is
opened under the input number. If the check number input
matches a number already stored in the memory, that check is
reopened for further registration or finalization.
No sale
Use this key to open the drawer between transaction.
Non-add
Use this key to print reference numbers (personal check number,
card number, etc.)
Non-add / No sale
Non-add: Use this key to print reference number (to identify a
personal check, credit card, etc.) during a transaction, use this
key after some numerical entries.
No sale: Use this key to open the drawer without registering
anything.
Old check
Use this key in a check tracking system to input the number of
an existing check (previously created by the New check key)
whose details are stored in the check tracking memory. Existing
checks are reopened to perform further registration or to finalize
them.
Open
Use this key to temporarily release a limitation on the number of
digits that can be input for a unit price.
Paid out
Use this key following a numeric entry to register money paid
out from the drawer.

27
Introducing the Register
E
PLU/Subdepartment
Use this key to input PLU (subdepartment) numbers.
Premium
Use this key to register premiums.
Price
Use this key to register unit prices for PLU (subdepartment).
Multiplication / For
Use this key to input a quantity for a multiplication operation
and registration of split sales of packaged items. Between
transactions, this key displays the current time and date.
Post receipt
Use this key to produce a guest or post-finalization
receipt.
Receipt on/off
Use this key twice to change the status “receipt issue” or “no
receipt.”
Received on account
Use this key following a numeric entry to register money
received for non-sale transactions.
Reduction (minus)
Use this key to input values for reduction.
Refund
Use this key to input refund amounts and void certain entries.
Sign off
Use this key to sign clerk off the register.
Subtotal
Use this key to display and print the current subtotal (includes
add-on tax) amount.
Tax status shift 1
Use this key to change the Taxable 1 status of the next item.
Tax status shift 2
Use this key to change the Taxable 2 status of the next item.
Tax program
Use this key to program tax status and tax table easily.
Text recall
Use this key to print presett characters.
Tip
Use this key to register tips.
VAT
Use this key to print a VAT breakdown.
Void
Use this key to invalidate preceding item data registered.

28
E
How to read the printouts
•The journal / receipts are records of all transactions and operations.
•The contents printed on receipts and journal are almost identical.
•You can choose the journal skip function.
If the journal skip function is selected, the cash register will print the total amount of each transaction, and the
details of premium, discount and reduction operations only, without printing department and PLU item registra-
tions on the journal.
•The following items can be skipped on receipts and journal.
•Taxable status
•Taxable amount
•Item counter
Receipt Sample Journal Sample Journal Sample
(Item lines Included) (by half height character)
*1 You can choose to print preset message and graphic at the top of the receipt or at the bottom of the receipt.
Basic Operations and Setups
In the operation examples contained in this manual, the print samples are what would be produced if the roll
paper is being used for receipts. They are not actual size. Actual receipts are 58 mm wide. Also, all sample receipts
and journals are printout images.
************************
* THANK YOU *
** CALL AGAIN **
************************
* COMMERCIAL MESSAGE *
* COMMERCIAL MESSAGE *
* COMMERCIAL MESSAGE *
* COMMERCIAL MESSAGE *
New Year
Sale
1st Anniversary
10% OFF
REG 03-06-2008 11:58
C
01 0001 000123
1 DEPT001 T1 $1.00
1 DEPT002 T1 $2.00
5 DEPT003 $5.00
7 No
TA1 $3.00
TX1 $0.15
TL
$8.15
CASH $10.00
CG $1.85
*** BOTTOM MESSAGE ***
*** BOTTOM MESSAGE ***
*** BOTTOM MESSAGE ***
*** BOTTOM MESSAGE ***
—Logo message
—Commercial message
—Preset message *1
—Preset graphic *1
—Mode/Date/Time
—Clerk/Machine No.
Consecutive No.
—Q’ty/Item
—Item counter
—Bottom message
REG 03-06-2008 11:58
C
01 0001 000123
1 DEPT001 T1 $1.00
1 DEPT002 T1 $2.00
5 DEPT003 $5.00
7 No
TA1 $3.00
TX1 $0.15
TL
$8.15
CASH $10.00
CG $1.85
REG 03-06-2008 11:59
C
01 0001 000124
1 DEPT001 T1 $1.00
1 DEPT012 T1 $1.00
5 DEPT003 $6.00
7 No
TA1 $2.00
TX1 $0.10
TL
$8.10
CASH $10.00
CG $1.90
REG 03-06-2008 11:59
C
01 0001 000125
REG 03-06-2008 11:58
C
01 0001 000123
1 DEPT001 T1 $1.00
1 DEPT002 T1 $2.00
5 DEPT003 $5.00
7 No
TA1 $3.00
TX1 $0.15
TL
$8.15
CASH $10.00
CG $1.85
REG 03-06-2008 11:59
C
01 0001 000124
1 DEPT001 T1 $1.00
1 DEPT012 T1 $1.00
5 DEPT003 $6.00
7 No
TA1 $2.00
TX1 $0.10
TL
$8.10
CASH $10.00
CG $1.90
REG 03-06-2008 11:59
C
01 0001 000124

Basic Operations and Setups
29 E
•Check to make sure that the cash register is
plugged in securely. Page 13
•Check to make sure there is enough paper
left on the roll. Pages 11, 12
•Read the flash report to confirm that totals are
all zero. Page 88
•Check the date and time. Page 30
•Register transactions. Page 31 -
•Periodically read totals. Page 88
•Issue electronic journal report (if necessary). Page 89
•Reset the daily totals. Page 47, 89
•Remove the journal. Page 104
•Empty the cash drawer and leave it open. Page 20
•Take the cash and journal to the office.
How to use your cash register
The following describes the general procedure you should use in order to get the most out of your cash register.
BEFORE business hours…
DURING business hours…
AFTER business hours…

Basic Operations and Setups
30
E
Before business hours
Checking the time and date
You can show the time or date on the display of the cash register whenever
there is no registration being made.
To display and clear the date/time
OPERATION DISPLAY
x
C
Preparing coins for change
You can use the following procedure to open the drawer without registering
an item. This operation must be performed out of a sale.
(You can use the r key instead of this key. See page 43.)
Opening the drawer without a sale
OPERATION RECEIPT
n
Date/time appears on the display.
Clears the date/time display.
NS ••••••••
X
REG
OFF
RF
PGM
Z
X2/Z2 OP
PGM
Mode switch
X
REG
OFF
RF
PGM
Z
X2/Z2 OP
PGM
Mode switch
REG
~00
RPT
AMOUNT
T1 T2 T3 T4
TOTAL CHANGE
06-15-2008 (SUN)
08-3~
RPT
AMOUNT
T1 T2 T3 T4
TOTAL CHANGE
Date
Time
Blinking

Basic Operations and Setups
31 E
Preparing and using department keys
Registering department keys
The following examples show how you can use the department keys in
various types of registrations.
Single item sale
Example 1
OPERATION RECEIPT
1-
!
F
Example 2 (Subtotal registration and change computation)
OPERATION RECEIPT
1234
!
s
20-F
Repeat
OPERATION RECEIPT
150!
!
!
s
10-F
Unit price $12.34
——————————
Item Quantity 1
——————————
Dept. 1
—————————————
Payment Cash $20.00
Unit price
Department
Amount tendered
Unit price $1.00
——————————
Item Quantity 1
——————————
Dept. 1
—————————————
Payment Cash $1.00
Unit price $1.50
——————————
Item Quantity 3
——————————
Dept. 1
—————————————
Payment Cash $10.00
1 DEPT001 $12.34
TL
$12.34
CASH $20.00
CG $7.66
—Total amount
—Amount tendered
—Change
1 DEPT001 $1.00
TL
$1.00
CASH $1.00
Department No./
—unit price
—Total amount
1 DEPT001 $1.50
1 DEPT001 $1.50
1 DEPT001 $1.50
TL
$4.50
CASH $10.00
CG $5.50
—Repeat
—Repeat
X
REG
OFF
RF
PGM
Z
X2/Z2
OP
PGM
Mode switch
Unit price
Department

Basic Operations and Setups
32
E
Unit price $1.00
——————————
Item Quantity 12
——————————
Dept. 1
—————————————
Payment Cash $20.00
Quantity
(4-digit integer/3-digit decimal)
Multiplication
OPERATION RECEIPT
12x
1-!
s
20-F
Department shift
OPERATION RECEIPT
}1-!
F
Department number
OPERATION RECEIPT
31}
13-:
F
•If } is not allocated on the keyboard, key allocation is necessary.
Designating upper department
press } first.
(-2- shows).
Unit price $1.00
——————————
Item Quantity 1
——————————
Dept. 73
—————————————
Payment Cash $1.00
1 DEPT073 $1.00
TL
$1.00
CASH $1.00
Unit price
4 for $10.00
——————————
Quantity 3
Item ——————————
Dept. 1
——————————
Taxable No
—————————————
Payment Cash $10.00
Quantity being purchased
(4-digit integer/3-digit decimal)
Package quantity
(4-digit integer/3-digit decimal)
Package price
Split sales of packaged items
OPERATION RECEIPT
3x
4x
10-!
s
10-F
Unit price $13.00
——————————
Item Quantity 1
——————————
Dept. 31
—————————————
Payment Cash $13.00 Unit price
Department No.
1 DEPT031 $13.00
TL
$13.00
CASH $13.00
12 DEPT001 $12.00
TL
$12.00
CASH $20.00
CG $8.00
—Quantity/result
3 DEPT001 $7.50
TL
$7.50
CASH $10.00
CG $2.50
—Quantity/result

Basic Operations and Setups
33 E
61s6~6
6 s
Different setting
Same setting
Appropriate
key
Mode switch
X
REG
OFF
RF
PGM
Z
X2/Z2
PGM
*
* Press ~ key repeatedly until the status you want to program is appeared on the display.
T/S1
~00
RPT
AMOUNT
T1 T2 T3 T4
TOTAL CHANGE
T/S2
~00
RPT
AMOUNT
T1 T2 T3 T4
TOTAL CHANGE
T/S3
~00
RPT
AMOUNT
T1 T2 T3 T4
TOTAL CHANGE
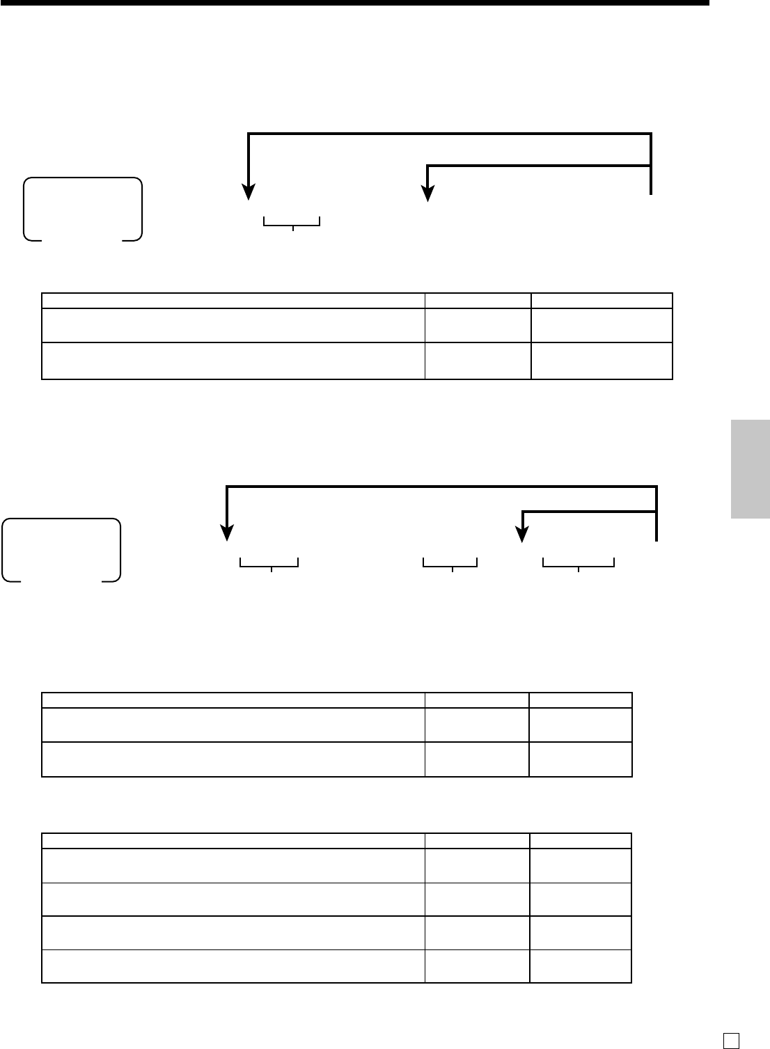
Programming procedure
To program high amount limit for each department
Programming procedure
6
3s
6
1566s
6
*
6:
~
:66s
Different setting
Same setting
D6 ~ D1
Appropriate
key
Mode switch
X
REG
OFF
RF
PGM
Z
X2/Z2
PGM
Description Choice Program code
High amount limit for entering unit price manually. Significant
numbers : ~ :D6 ~D1
61s6
*
6
:
:
:
:
:
:
66s
Unit price
Different setting
Same setting
Mode switch
Appropriate
key
X
REG
OFF
RF
PGM
Z
X2/Z2
PGM
To program the tax calculation status for each department
Tax calculation status
This specification defines which tax table should be used for automatic tax calculation.
Programming department keys
To program a unit price for each department
Appropriate key: In case of shifting department, press } key first.
* In case of shifting upper department, press } key here.
•If } is not allocated on the keyboard, key allocation is necessary.
* In case of shifting upper department, press } key here.

Basic Operations and Setups
34
E
Registering department keys by programming data
Preset price
OPERATION RECEIPT
"
F
Preset tax status
OPERATION RECEIPT
5x
#
$
s
20-F
Locking out high amount limitation
OPERATION RECEIPT
1050#
C
105#
s
2-F
Unit price ($2.00)preset
—————————
Quantity 5
Item 1 —————————
Dept. 3
—————————
Taxable (1)preset
—————————————
Unit price ($2.00)preset
—————————
Quantity 1
Item 2 —————————
Dept. 4
—————————
Taxable (2)preset
—————————————
Payment Cash $20.00
Unit price ($1.00)preset
—————————
Item Quantity 1
—————————
Dept. 2
—————————————
Payment Cash $1.00
Unit price $1.05
—————————
Quantity 1
Item —————————
Dept. 3
—————————
Max.amount
($10.00)
preset
—————————————
Payment Cash $2.00
ERROR ALARM
(Exceeding high amount)
5 DEPT003 T1 $10.00
1 DEPT004 T2 $2.00
TA1 $10.00
TX1 $0.40
TA2 $2.00
TX2 $0.20
TL
$12.60
CASH $20.00
CG $7.40
1 DEPT002 $1.00
TL
$1.00
CASH $1.00
—Department No./
unit price
Tax status
—Taxable Amount 1
—Tax 1
—Taxable Amount 2
—Tax 2
1 DEPT003 $1.05
TL
$1.05
CASH $2.00
CG $0.95
X
REG
OFF
RF
PGM
Z
X2/Z2
OP
PGM
Mode switch

Basic Operations and Setups
35 E
Preparing and using PLUs
This section describes how to prepare and use PLUs.
CAUTION:
Before you use PLUs, you must first program the unit price and tax status.
Programming PLUs
To program a unit price for each PLU
To program tax calculation status for each PLU
61s6~6PLU No. * 6s
To newPLU
Same setting
Mode switch
X
REG
OFF
RF
PGM
Z
X2/Z2
PGM
*
* Press ~ key repeatedly until the status you want to program is appeared on the display.
T/S1
~00
RPT
AMOUNT
T1 T2 T3 T4
TOTAL CHANGE
T/S2
~00
RPT
AMOUNT
T1 T2 T3 T4
TOTAL CHANGE
T/S3
~00
RPT
AMOUNT
T1 T2 T3 T4
TOTAL CHANGE
6 1s 6 PLU No.* 6 : : : : : : 6 a 6 s
Unit price
To new (not sequencial) PLU
Different setting to the next PLU
Same setting
Mode switch
X
REG
OFF
RF
PGM
Z
X2/Z2
PGM

Basic Operations and Setups
36
E
PLU code
Registering PLUs
The following examples show how you can use PLUs in various types of
registrations.
PLU single item sale
OPERATION RECEIPT
14
*
s
3-F
PLU repeat
OPERATION RECEIPT
14*
*
*
s
10-F
PLU multiplication
OPERATION RECEIPT
10x
7*
s
20-F
Unit price ($2.50)preset
—————————
Item Quantity 1
—————————
PLU 14
—————————————
Payment Cash $3.00
Unit price ($2.50)preset
—————————
Item Quantity 3
—————————
PLU 14
—————————————
Payment Cash $10.00
Unit price ($2.00)preset
—————————
Item Quantity 10
—————————
PLU 7
—————————————
Payment Cash $20.00
—PLU No./unit price
1 PLU0014 $2.50
TL
$2.50
CASH $3.00
CG $0.50
1 PLU0014 $2.50
1 PLU0014 $2.50
1 PLU0014 $2.50
TL
$7.50
CASH $10.00
CG $2.50
10 PLU0007 $20.00
TL
$20.00
CASH $20.00
CG $0.00
—Quantity/result
Quantity
(4-digit integer/3-digit decimal)
X
REG
OFF
RF
PGM
Z
X2/Z2 OP
PGM
Mode switch

Basic Operations and Setups
37 E
Unit price
(5for$20.00)
preset
——————————
Item Quantity 3
——————————
PLU 28
——————————————
Payment Cash $15.00
Unit price $32.80
——————————
Item 1 Quantity 1
——————————
PLU 30
——————————————
Unit price $13.00
——————————
Item 2 Quantity 2
——————————
PLU 31
——————————————
Payment Cash $60.00
Unit price
Repeat
1 PLU0030 $32.80
1 PLU0031 $13.00
1 PLU0031 $13.00
TL
$58.80
CASH $60.00
CG $1.20
Quantity being purchased
(4-digit integer/3-digit decimal)
Package quantity
(4-digit integer/3-digit decimal)
Open PLU
OPERATION RECEIPT
30*
3280:
31*
13-:
:
s
60-F
•Before registering an open PLU, it is necessary to preset it as an open PLU.
Split sales of packaged item
OPERATION RECEIPT
3x
5x
28*
s
15-F
3 PLU0028 $12.00
TL
$12.00
CASH $15.00
CG $3.00
—Quantity/result

Basic Operations and Setups
38
E
Applies the preset discount
rate to the last item registered.
The input value takes priority
of the preset value.
6 1s 6 : : : : 6 p 6 s
Preset rate
Example: 10.0% 210 5.5% 25^5
12.34% 212^34
Mode switch
X
REG
OFF
RF
PGM
Z
X2/Z2
PGM
To program the tax calculation status to the p key
Refer to page 33.
Registering discounts
The following example shows how you can use the p key in various types
of registration.
Discount for items and subtotals
OPERATION RECEIPT
5-!
16*
p
s
3^5p
s
15-F
•You can manually input rates up to 4 digits long (0.01% to 99.99%).
Taxable status of the p key
•Whenever you perform a discount operation on the last item registered, the tax calculation for discount amount
is performed in accordance with the tax status programmed for that item.
•Whenever you perform a discount operation on a subtotal amount, the tax calculation for the subtotal amount is
performed in accordance with the tax status programmed for the p key.
Preparing and using discounts
This section describes how to prepare and register discounts.
Programming discounts
To program a rate to the p key
Dept. 1 $5.00
—————————
Item 1 Quantity 1
—————————
Taxable (1)preset
—————————————
PLU 16
($10.00)
preset
—————————
Item 2 Quantity 1
—————————
Taxable (2)preset
—————————————
Discount Rate (5%)preset
—————————————
Subtotal Rate 3.5%
———————––––
discount Taxable
Nontaxable
—————————————
Payment Cash $15.00
1 DEPT001 T1 $5.00
1 PLU0016 T2 $10.00
5%
%- T2 -0.50
ST $14.50
3.5%
%- -0.51
TA1 $5.00
TX1 $0.20
TA2 $9.50
TX2 $0.48
TL
$14.67
CASH $15.00
CG $0.33
X
REG
OFF
RF
PGM
Z
X2/Z2 OP
PGM
Mode switch

Basic Operations and Setups
39 E
6 1s 6
:
:
:
:
:
:
6 m 6 s
Unit price
Mode switch
X
REG
OFF
RF
PGM
Z
X2/Z2
PGM
Preparing and using reductions
This section describes how to prepare and register reductions.
Programming for reductions
You can use the m key to reduce single item or subtotal amounts.
To program preset reduction amount
To program the tax calculation status to the m key
Refer to page 33.
Registering reductions
The following examples show how you can use the m key in various types
of registration.
Reduction for items and subtotal
OPERATION RECEIPT
5-!
25m
45*
m
s
75m
10-F
•You can manually input reduction values up to 7 digits long.
•If you want to subtract the reduction amount from the department or PLU totalizer, program “Net totaling.”
Reduces the last amount
registered by the value input.
Dept. 1 $5.00
—————————
Item 1 Quantity 1
—————————
Taxable (1)preset
—————————————
Reduction
Amount $0.25
—————————————
PLU 45 ($6.00)preset
—————————
Item 2 Quantity 1
—————————
Taxable (1)preset
—————————————
Reduction
Amount ($0.50)preset
—————————————
Subtotal Amount $0.75
———————––––
Reduction
Taxable (No)preset
—————————————
Payment Cash $10.00
1 DEPT001 T1 $5.00
- T1 -0.25
1 PLU0045 T1 $6.00
- T1 -0.50
- -0.75
TA1 $10.25
TX1 $0.41
TL
$9.91
CASH $10.00
CG $0.09
X
REG
OFF
RF
PGM
Z
X2/Z2
OP
PGM
Mode switch

Basic Operations and Setups
40
E
Registering credit and check payments
The following examples show how to register credits and payments by check.
Check
OPERATION RECEIPT
11-!
s
1234b
20-k
Dept. 4 $15.00
Item —————————
Quantity 1
—————————————
Payment Charge $15.00
Dept. 4 $55.00
Item —————————
Quantity 1
—————————————
Check $30.00
Payment —————————
Cash $25.00
Dept. 1 $11.00
Item —————————
Quantity 1
—————————————
Reference Number 1234
—————————————
Payment Check $20.00
1 DEPT001 $11.00
NS 1234
TL
$11.00
CHECK $20.00
CG $9.00
—Reference No.
X
REG
OFF
RF
PGM
Z
X2/Z2 OP
PGM
Mode switch
Mixed tender (cash and check)
OPERATION RECEIPT
55-$
s
30-k
25-F
Charge
OPERATION RECEIPT
15-$
s
h
•If h is not allocated on the keyboard, key allocation is necessary.
Credit
OPERATION RECEIPT
10-#
s
c
•If c is not allocated on the keyboard, key allocation is necessary.
Dept. 3 $10.00
Item —————————
Quantity 1
—————————————
Payment Credit $10.00
1 DEPT003 $10.00
TL
$10.00
CREDIT $10.00
1 DEPT004 $15.00
TL
$15.00
CHARGE $15.00
1 DEPT004 $55.00
TL
$55.00
CHECK $30.00
CASH $25.00
CG $0.00

Basic Operations and Setups
41 E
Shifting the taxable status of an item
By pressing “Tax Shift” key, you can shift the taxable status of an item.
Calculation merchandise subtotal
OPERATION DISPLAY
4-!
t
2-"
T
6-#
T
7-$
M
s
20-F
OPERATION RECEIPT
Dept. 1 $4.00
—————————
Item 1 Quantity 1
—————————
Taxable (2)preset
—————————————
Dept. 2 $2.00
—————————
Item 2 Quantity 1
—————————
Taxable (No)→1
—————————————
Dept. 3 $6.00
—————————
Item 3 Quantity 1
—————————
Taxable (1)→1, 2
—————————————
Dept. 4 $7.00
—————————
Item 4 Quantity 1
—————————
Taxable (2)→No
—————————————
Payment Cash $20.00
Pressing t changes the tax status
from Nontaxable to Taxable 1
Pressing T changes the tax status
from Taxable 1 to Taxable 1, 2
Pressing T changes the tax status
from Taxable 2 to Nontaxable
1 DEPT001 T2 $4.00
1 DEPT002 T1 $2.00
1 DEPT003 T12 $6.00
1 DEPT004 $7.00
TA1 $8.00
TX1 $0.32
TA2 $10.00
TX2 $0.50
TL
$19.82
CASH $20.00
CG $0.18
$00
RPT T1 T2 T3 T4
TOTAL CHANGE
"00
RPT T1 T2 T3 T4
TOTAL CHANGE
&00
RPT T1 T2 T3 T4
TOTAL CHANGE
'00
RPT T1 T2 T3 T4
TOTAL CHANGE
1)00
RPT T1 T2 T3 T4
TOTAL CHANGE
1)82
RPT T1 T2 T3 T4
TOTAL CHANGE
•For a partial tender operation, you should press the s key instead of the M key.
X
REG
OFF
RF
PGM
Z
X2/Z2 OP
PGM
Mode switch
Important!
•To change the tax status of the next item to be registered, be sure to press t, T.
If the last item registered is programmed as nontaxable, a discount (p key) operation on this item is
always nontaxable.
In this case, you cannot manually change the tax status to Taxable 1 or 2 by pressing the t, T
keys.

Basic Operations and Setups
42
E
Registering returned goods in the RF mode
The following examples show how to use the RF mode to register goods
returned by customers.
OPERATION RECEIPT
4-#
15m
2*
p
s
F
Important
•To avoid miss registrations in the RF mode, return the mode switch to the former position immediately.
X
REG
OFF
RF
PGM
Z
X2/Z2
PGM
Mode switch
Registering returned goods in the REG mode
The following example shows how to use the R key in the REG mode to
register goods returned by customers.
OPERATION RECEIPT
235!
2-"
1*
R
235!
R
1*
s
F
Dept. 1 $2.35
Item 1 —————————
Quantity 1
—————————————
Dept. 2 $2.00
Item 2 —————————
Quantity 1
—————————————
PLU 1 ($1.20)preset
Item 3 —————————
Quantity 1
—————————————
Returned Dept. 1 $2.35
—————————
Item 1 Quantity 1
—————————————
Returned PLU 1 ($1.20)preset
—————————
Item 3 Quantity 1
—————————————
Payment Cash $2.00
Press R before the item you
want to return.
1 DEPT001 $2.35
1 DEPT002 $2.00
1 PLU0001 $1.20
RF ••••••••
1 DEPT001 -2.35
RF ••••••••
1 PLU0001 -1.20
TL
$2.00
CASH $2.00
X
REG
OFF
RF
PGM
Z
X2/Z2
OP
PGM
Mode switch
Returned Dept. 3 $4.00
—————————
Item 1 Quantity 1
—————————————
Reduction
Amount $0.15
—————————————
Returned PLU 2 ($1.20)preset
—————————
IItem 2 Quantity 1
—————————————
Discount Rate (5%)preset
—————————————
Payment Cash $4.99
1 DEPT003 $4.00
- -0.15
1 PLU0002 $1.20
5%
%- -0.06
TL
$4.99
CASH $4.99

Basic Operations and Setups
43 E
Registering money received on account
The following example shows how to register money received on account.
This registration must be performed out of a sale.
OPERATION RECEIPT
7--r
Amount can be up to 8 digits.
Registering money paid out
The following example shows how to register money paid out from the
register. This registration must be performed out of a sale.
OPERATION RECEIPT
150P
Amount can be up to 8 digits.
No sale registration
You can use the following procedure to open the drawer without registering a
sale. This operation must be performed out of a sale.
OPERATION RECEIPT
n
Received amount $700.00
Paid out amount $1.50
RC $700.00
PD $1.50
X
REG
OFF
RF
PGM
Z
X2/Z2
OP
PGM
Mode switch
X
REG
OFF
RF
PGM
Z
X2/Z2
OP
PGM
Mode switch
NS ••••••••
X
REG
OFF
RF
PGM
Z
X2/Z2
OP
PGM
Mode switch

Basic Operations and Setups
44
E
Making corrections in a registration
There are three techniques you can use to make corrections in a registration.
$To correct an item that you input but not yet registered.
$To correct the last item you input and registered.
$To cancel all items in a transaction.
To correct an item you input but not yet registered
OPERATION RECEIPT
2-
C
1-!
12x
C
11x
2-"
2
C
3*
15+
6-
C
15*
10-:
s
10-
C
15-F
h
Enter PLU No. again.
—
—Correction of unit price
—
—
—Correction of quantity
—
—
—Correction of PLU No.
—
—
—Correction of open PLU unit price
—
—
—Correction of partial tender amount
—
1 DEPT001 $1.00
11 DEPT002 $22.00
1 PLU0003 $1.30
1 PLU0015 $10.00
TL
$34.30
CASH $15.00
CHARGE $19.30
X
REG
OFF
RF
PGM
Z
X2/Z2 OP
PGM
Mode switch

Basic Operations and Setups
45 E
To correct an item you input and registered
OPERATION RECEIPT
1-!
2-"
"
e
2*
e
5*
15*
6-:
e
15*
10-:
8x
4-$
e
6x
4-$
s
50p
e
s
5p
R2-"
e
R220"
s
20-F
e
15-F
k
—
——Clearance
—
—Correction of PLU No.
—
—
—Correction of open
PLU unit price
—
—
—Correction of quantity
—
—
—Correction of discount
—
—
—Correction of refund item
—
—
—Correction of partial tender
—
Corrected items are not printed on receipt
(in case of programming “Buffered receipt
printing”).
1 DEPT001 $1.00
1 DEPT002 $2.00
1 DEPT002 $2.00
CORR -2.00
1 PLU0002 $2.00
CORR -2.00
1 PLU0005 $1.50
1 PLU0015 $6.00
CORR -6.00
1 PLU0015 $10.00
8 DEPT004 $32.00
CORR -32.00
6 DEPT004 $24.00
ST $38.50
50%
%- -19.25
CORR $19.25
ST $38.50
5%
%- -1.93
RF ••••••••
1 DEPT -2.00
CORR $2.00
RF ••••••••
1 DEPT002 -2.20
TL
$34.37
CASH $20.00
CORR -20.00
CASH $15.00
CHECK $19.37

Basic Operations and Setups
46
E
To cancel all items in a transaction
OPERATION RECEIPT
1-!
2-"
3-#
4-$
s
e
Pressing s key is necessary to cancel
the transaction.
1 DEPT001 $1.00
1 DEPT002 $2.00
1 DEPT003 $3.00
1 DEPT004 $4.00
CANCEL ••••••••

Basic Operations and Setups
47 E
TA1 $2,369.69
TX1 $128.86
TA2 $2,172.96
TX2 $217.33
------------------------
GT $00000000125478.96
------------------------
Z TRANS 0001
0001012
CASH No 362
$1,638.04
CHARGE No 56
$1,174.85
RC No 4
$810.00
PD No 5
$520.00
$5.00
CORR No 14
$39.55
RCT No 3
NS No 5
------------------------
Printing the daily sales reset report
This report shows daily sales totals.
OPERATION REPORT
8
F
X
REG
OFF
RF
PGM
Z
X2/Z2
PGM
Mode switch
—Date/time
—Machine No./consecutive No.
—
Report title
—Department report title/reset counter
—Report code
—Department count/amount *1
—Department total count/total amount
—Fixed total report title/reset counter
—Report code
—Gross total *2
—Net total *2
—Cash in drawer *2
—Charge in drawer *2
—Check in drawer *2
—Credit in drawer 1 *2
—Credit in drawer 2 *2
—Credit in drawer 3 *2
—Credit in drawer 4 *2
—Refund mode *2
—Number of customer *2
—Average sales per customer *2
—Discount total *2
—Refund key *2
—Rounding total *2
—Cancellation *2
Z 03-06-2008 17:00
0001 000231
------------------------
Z DAILY Z
------------------------
Z DEPT 0001
0001015
DEPT001 203.25
$1,108.54
DEPT002 183
$1,362.26
DEPT008 5
$17.22
------------------------
TL 421.25
$2,872.28
------------------------
Z FIX 0001
0001011
GROSS 981.25
$6,574.40
NET No 111
$7,057.14
CAID $1,919.04
CHID $139.04
CKID $859.85
CRID(1) $709.85
CRID(2) $0.00
CRID(3) $0.00
CRID(4) $0.00
------------------------
RF No 3
$10.22
CUST CT 111
AVRG $63.57
DC $1.22
REF $2.42
ROUND $0.00
CANCEL No 2
$12.97
------------------------
—Taxable 1 amount *2
—Tax 1 amount *2
—Taxable 2 amount *2
—Tax 2 amount *2
—Grand total *2
—
Function key report title/reset counter
—Report code
—Function key count/amount *1
*1 Zero totalled departments/functions (the amount and item numbers are both zero) are not printed.
*2 These items can be skipped by programming.

48
E
Advanced Operations
Using clerk functions
Enable clerk feature
Please follow the below procedure to enable clerk feature.
Clerk number —Clerk name/machine No./consecutive No.
* COMMERCIAL MESSAGE *
REG 03-06-2008 11:58
C
01 0001 000123
1 DEPT01 T1 •1.00
Assigning a clerk
You can assign clerks by using clerk number.
Clerk number key
Clerk sign on
OPERATION RECEIPT
Signing clerk 1 on: 16o
Signing clerk 2 on: 26o
:
:
•If you do not want the clerk number to be shown on the display, press o before entering the number.
Clerk sign off
OPERATION
Signing clerk off: Å
(except PGM mode)
•The current clerk is also signed off whenever you set the mode switch to OFF position.
Important!
•The error code “E008” appears on the display whenever you try to perform a registration, a read/
reset operation without signing on.
•The signed on clerk is also identified on the receipt/journal.
63s62722s6
6400000000a6s
PGM
Mode switch

49
Advanced Operations and Setups
E
Example 2
OPERATION RECEIPT
3x
!
Example 3
OPERATION RECEIPT
2-#
!
F
The transaction is immedi-
ately finalized.
The transaction is not finalized.
Because another item is
registered before the single item
sales department.
Dept. 1 ($1.00)
——————————
Item Quantity 3
——————————
Status S.I.S
—————————————
Payment Cash $3.00
Dept. 3 $2.00
——————————
Item 1 Quantity 1
——————————
Status Normal
—————————————
Dept. 1 ($1.00)
——————————
Item 2 Quantity 1
——————————
Status S.I.S
—————————————
Payment Cash $3.00
3 DEPT001 $3.00
TL
$3.00
CASH $3.00
1 DEPT003 $2.00
1 DEPT001 $1.00
TL
$3.00
CASH $3.00
Single item cash sales
A department key or PLU programmed with single item sale status finalizes the transaction as soon as it is
registered.
The single item sales function can only be used for cash sales.
Example 1
OPERATION RECEIPT
1-!
Dept. 1 $1.00
——————————
Item Quantity 1
——————————
Status S.I.S
—————————————
Payment Cash $1.00
The transaction is immediately
finalized.
1 DEPT001 $1.00
TL
$1.00
CASH $1.00
—Department No./
unit price
—Cash total amount

50
Advanced Operations and Setups
E
(Displays in ¥: 3,150)
(Displays in $)
(Displays in $)
(Displays in $)
(5,000)
Currency exchange function
When <CE> key is pressed, a current subtotal including tax is converted directly into foreign currency and the
result is displayed, and the subsequent finalization is handled using the foreign currency. The currency
exchange function is released by finalizing a transaction, partial tender operation, receipt issuance, or by
pressing <SUBTOTAL>.
Before using the currency exchange function, it is necessary to program the conversion rate.
Registering foreign currency
Full amount tender in foreign currency
* Pre-programmed exchange rate: ¥ 100 = $0.9524
Important!
Tenders in a foreign currency can be registered using the a and k only.
Other finalize keys cannot be used.
OPERATION DISPLAY RECEIPT
5Enter the unit price and press the
applicable department key.
5Enter the next unit price and press
the applicable department key.
5Press E and s without en-
tering a numeric value. This op-
eration converts the subtotal (in-
cluding tax) dollar value into yen
by applying a pre-programmed ex-
change rate. The result is shown
on the display and printed on the
receipt/journal by programming.
5Enter the amount tendered in yen
and press E. This operation
converts the entered yen amount
into dollars by applying a pre-
programmed exchange rate. The
result is shown on the display.
5Press to finalize the transaction.
Note that you do not need to reen-
ter the dollar amount.
The register automatically calcu-
lates the change amount due in
dollars and shows it on the dis-
play, receipts and journal.
10-!
20-"
Es
50-E
a
1~00
2~00
#150
%000
1¶62
1 DEPT001 $10.00
1 DEPT002 $20.00
TL
•30.00
CE
CASH ¥5,000
CASH $47.62
CG $17.62

51
Advanced Operations and Setups
E
Partial tender in a foreign currency
* Pre-programmed exchange rate: ¥ 100 = $0.9524
Important!
Partial tender in a foreign currency can be registered using a and k only. Other finalization
keys cannot be used, but the remaining tender can be finalized using any finalize key.
OPERATION DISPLAY RECEIPT
5Enter the unit price and press the
applicable department key.
5Enter the next unit price and press
the applicable department key.
5Press E and s without en-
tering a numeric value. This op-
eration converts the subtotal (in-
cluding tax) dollar value into yen
by applying a pre-programmed ex-
change rate. The result is shown
on the display and printed on the
receipt/journal by programming.
5Enter the partial amount tendered
in yen and press E.
This operation converts the en-
tered yen amount into dollars by
applying a pre-programmed ex-
change rate. The result is shown
on the display.
5Press a to specify cash tender
for the yen partial tender. Note
that you do not need to reenter the
dollar amount.
The register automatically deducts
the dollar equivalent of the yen
amount tendered from the total
amount due and shows the amount
on the display.
5
Press to finalize the transaction.
10-!
20-"
Es
20-E
a
k
1~00
2~00
#150
"000
1~95
1~95
(Displays in $)
(Displays in $)
(Displays in ¥: 3,150)
(Displays in $)
(Displays in $)
(2,000)
1 DEPT001 $10.00
1 DEPT002 $20.00
TL
$30.00
CE
CASH ¥2,000
CASH $19.05
CHECK $10.95
•If <Currency Exchange> key is not allocated on the keyboard, key allocation is necessary.

52
Advanced Operations and Setups
E
Coupon
Note that errors result when the result of a calculation is negative if the cash register is programmed to prohibit
credit balances.
Example
OPERATION RECEIPT
2x
3-!
2x
50H
4-#
H
F
•If H is not allocated on the keyboard, key allocation is necessary.
Dept. 1 $3.00
——————————
Item 1 Quantity 2
——————————
Coupon $0.50 × 2
—————————————
Dept. 3 $4.00
——————————
Item 2 Quantity 1
——————————
Coupon ($1.00)
—————————————
Payment Cash $8.00
2 DEPT001 $6.00
COUPON -1.00
1 DEPT003 $4.00
COUPON -1.00
TL
$8.00
CASH $8.00
Premium
Example
OPERATION RECEIPT
1-!
10U
3x
2-!
s
U
F
•If U is not allocated on the keyboard, key allocation is necessary.
Dept. 1 $1.00
——————————
Item 1 Quantity 1
——————————
Premium 10%
—————————————
Dept. 1 $2.00
Item 2 ——————————
Quantity 3
—————————————
Subtotal Premium (15%)
—————————————
Payment Cash $8.17
1 DEPT001 $1.00
10%
%+ $0.10
3 DEPT001 $6.00
ST $7.10
15%
%+ $1.07
TL
$8.17
CASH $8.17

53
Advanced Operations and Setups
E
Age verification
This function is used to prohibit the item registration for the person whose age is under the programmed value.
Example
OPERATION RECEIPT
1-!
0503
1988B
1-!
2-#
F
•If B is not allocated on the keyboard, key allocation is necessary.
AGE
AGE 05-03-1988
1 DEPT001 $1.00
TL
$1.00
CASH $1.00
Dept. 1 $1.00
——————————
Item 1 Quantity 1
——————————
Age limit 18
—————————————
Dept. 3 $2.00
——————————
Item 2 Quantity 1
——————————
Age limit 20
—————————————
Payment Cash $1.00
—————————————
Birthdate May. 03. 1988
—————————————
Current date Apr. 03. 2006
Error “PLEASE ENTER
BIRTHDATE” occurs.
Enter birthdate by “MM-DD-
YYYY” order.
Error “AGE DOES NOT PERMIT
PRODUCT PURCHASE” occurs.
—Birthdate *
* This item can be skipped by programming.
AGE

54
Advanced Operations and Setups
E
Adding to a check
Example
OPERATION RECEIPT
1234O
30-!
10-"
S
Check tracking systems
Check tracking system
With the check tracking system, the amount, check number, store number, date/time and registration detail data
are stored in two files (check tracking index file and check tracking detail file).
•Check tracking detail file and index file are cleared by the following timing:
1.The check is cleared after printing finalized data on guest check receipts, or the check is also cleared when the
new or old check operation is made.
2.The check is cleared after printing finalized data on guest check receipt, or check is also cleared when the same
finalized check number is assigned in new check operation.
You can select one of these options by programming.
•Either of the following two operations can be used to correct input of a wrong check number.
<NEW CHECK>
Re-input the correct check number, or cancel the original check number, issue a receipt, and then re-input the
correct check number.
<OLD CHECK>, <NEW/OLD>
Temporary finalize the original check number, issue a receipt, and then re-input the correct check number.
Opening a check
Example
OPERATION RECEIPT
1234N
10-!
!
20-"
"
30-#
S
Press <NEW BALANCE> to temporarily close the transaction. If you want to finalize a check immediately, use
<CASH>, <CHARGE>, <CREDIT> or <CHECK>.
Check# 1234
—————————————
Dept 1
$10.00
Item 1 —————————
Quantity 2
—————————————
Dept 2
$20.00
Item 2 —————————
Quantity 2
—————————————
Dept 3
$30.00
Item 3 —————————
Quantity 1
Check# 1234
—————————————
Dept 1
$30.00
Item 1 —————————
Quantity 1
—————————————
Dept 2
$10.00
Item 2 —————————
Quantity 1
CHECK No.
1234
1 DEPT001 $10.00
1 DEPT001 $10.00
1 DEPT002 $20.00
1 DEPT002 $20.00
1 DEPT003 $30.00
SRVC TL
$90.00
CT 1
CHECK No.
1234
ST $90.00
1 DEPT001 $30.00
1 DEPT002 $10.00
SRVC TL
$130.00

55
Advanced Operations and Setups
E
Issuing a guest receipt
The following operation can be used to print out the balance of a temporarily finalized check.
Example
OPERATION RECEIPT
1234g
Closing a check memory
Example
OPERATION RECEIPT
1234O
150-F
Input the number of check you
want.
CT 1
CHECK No.
1234
1 DEPT001 $10.00
1 DEPT001 $10.00
1 DEPT002 $20.00
1 DEPT002 $20.00
1 DEPT003 $30.00
1 DEPT001 $30.00
1 DEPT002 $10.00
SRVC TL
$130.00
CT 1
CHECK No.
1234
ST $130.00
TL
$130.00
CASH $130.00
CG $20.00
New / old check key operation
Example 1
When a check number is input and <NEW/OLD> is pressed, the key works as a new check key function if
there is no matching check number in the check tracking memory.
OPERATION RECEIPT
3456Z
10-!
20-"
S
Example 2
When a check number is input and <NEW/OLD> is pressed, the key works as an old check key if there is
matching check number in the check tracking memory.
OPERATION RECEIPT
3456Z
30-F
•If Z is not allocated on the keyboard, key allocation is necessary.
Input a check number and press
<NEW/OLD>.
CHECK No.
3456
1 DEPT001 $10.00
1 DEPT002 $20.00
SRVC TL
$30.00
CHECK No.
3456
ST $30.00
TL
$30.00
CASH $30.00
CG $0.00

56
Advanced Operations and Setups
E
Add check
This operation lets you combine the amounts of more than one check into a single check.
Example
Registration for check number 1234
OPERATION RECEIPT
1234N
10-!
20-"
S
Added check
Check# 3456
—————————————
Dept 1
$30.00
Item —————————
Quantity 1
ADD
CHECK
Original check
Check# 1234
—————————————
Dept 1
$10.00
Item 1 —————————
Quantity 1
—————————————
Dept 2
$20.00
Item 2 —————————
Quantity 1
Check No. :
1234 Check No. :
3456
CHECK No.
1234
1 DEPT001 $10.00
1 DEPT002 $20.00
SRVC TL
$30.00
Registration for check number 3456
OPERATION RECEIPT
3456N
30-!
S
Registration for check number 1234
OPERATION RECEIPT
1234O
3456B
S
•If B is not allocated on the keyboard, key allocation is necessary.
CT 1
CHECK No.
1234
ST $30.00
ADD CHK 3456
ST $30.00
SRVC TL
$60.00
CHECK No.
3456
1 DEPT001 $30.00
SRVC TL
$30.00
ADD
CHECK

57
Advanced Operations and Setups
E
Text recall
This procedure is used to recall text by inputting the address where the text is stored. The recalled text is
printed on the receipt and journal.
Example
OPERATION RECEIPT
46-!
1B
10-"
2B
s
F
•If B is not allocated on the keyboard, key allocation is necessary.
Unit price
$46.00
Item 1 —————————
Dept. 1
—————————————
Unit price
$10.00
Item 2 —————————
Dept. 2
—————————————
Payment
Cash
$56.00
—————————————
Text 1 MEDIUM SIZE
—————————————
Text 2 SMALL SIZE
TEXT
RECALL
TEXT
RECALL
CT 3
1 DEPT001 $46.00
MEDIUM SIZE
1 DEPT002 $10.00
SMALL SIZE
TL
$56.00
CASH $56.00
Inputting the number of customers
Example
OPERATION RECEIPT
2B
15-!
5-"
s
F
•If B is not allocated on the keyboard, key allocation is necessary.
Unit price
$15.00
Item 1 —————————
Dept. 1
—————————————
Unit price
$5.00
Item 2 —————————
Dept. 2
—————————————
Customer
Number
2
—————————————
Payment
Cash
$20.00
CST CT 2
1 DEPT001 $15.00
1 DEPT002 $5.00
TL
$20.00
CASH $20.00
Flat-PLU
You can use the flat-PLUs to register items.
The procedure to register flat-PLU or to program to flat-PLU is similar to department key.
Please refer to page 31 through 34.
On these pages, replace
1. Department key (!, " .. ) to flat-PLU key( (,) .. )
2. Department shift key (}) to menu shift key (,)
•If flat-PLU key is not allocated on the keyboard, key allocation is necessary.
TEXT
RECALL
CST

58
Advanced Operations and Setups
E
Clerk interrupt function
There are two types of clerk interrupt function, illustrated by PROCEDURE 1 and PROCEDURE 2 below.
• In PROCEDURE 1, each clerk possesses a unique clerk interrupt buffer, and so the clerk interrupt function
gives each individual clerk the ability to perform an independent registration operation. In this case, each clerk
is individually linked to a unique clerk interrupt buffer.
• In PROCEDURE 2, multiple clerks use the same clerk interrupt buffer, and so a single clerk interrupt
operation (clerk change during registration) can be performed any registration is in progress. In this case,
multiple clerks are linked to a single clerk interrupt buffer.
Note the following important points concerning the clerk interrupt function.
• The register must be programmed to allow use of the clerk interrupt function.
• You cannot use the clerk interrupt function on a register set up to function as part of a check tracking system.
In the REG and RF modes, clerks can be change while a transaction is in progress, making it possible for
multiple clerks to simultaneously perform registrations using a single register.
For example, if clerk 1 is interrupted while registering a transaction, clerk 2 can use the same machine to
register a different transaction. Then clerk 1 can continue the original registration from the point where it was
interrupted.
PROCEDURE 1
Clerk 1
Clerk 2
Sign on
Sign on
Sign on
Sign on
Sign on
Registration A Post receipt AFinalization A
Finalization BRegistration B
<NEW BALANCE>
<NEW BALANCE>
<CASH>
<CASH>
<RECEIPT>
PROCEDURE 2
NOTES
•A guest receipt can be issued following clerk change, and receipts can be issued separately for each clerk.
Clerk 1
Clerk 2
Sign on
Sign on
Sign on
Registration A Finalization A + B
Registration B
<NEW BALANCE>
<NEW BALANCE>
<CASH>

59
Advanced Operations and Setups
E
Condiment / preparation PLUs
You can force entering condiment or preparation PLU after the main PLU registration by programming.
Example (condiment PLU)
OPERATION RECEIPT
1*
11*
12*
13*
F
Example (preparation PLU)
OPERATION RECEIPT
20*
21*
22*
23*
F
Registering main PLU.
No condiment registration
occurs an error condition.
Main item
PLU 1
$10.00
—————————————
PLU 11
$0.10
—————————
Condiment
PLU 12
$0.20
—————————
PLU 13
$0.30
—————————————
Payment Cash
$10.60
Registering main PLU.
Main item
PLU 20
$20.00
—————————————
PLU 21
$0.00
—————————
Preparation
PLU 22
$0.00
—————————
PLU 23
$0.00
—————————————
Payment Cash
$20.00
1 PLU0001 $10.00
PLU0011 $0.10
PLU0012 $0.20
PLU0013 $0.30
TL
$10.60
CASH $10.60
1 PLU0020 $20.00
PLU0021
PLU0022
PLU0023
TL
$20.00
CASH $20.00
Set menu
When you register a set menu, its total amount is added to the PLU totalizer and counter. The price of each set
menu item is also added to each respective PLU totalizer and counter.
Example
OPERATION RECEIPT
35*
F
Set menu
PLU 35 $5.00
—————————————
Item 1 PLU 1 --
——————————
Item 2 PLU 2 --
—————————
Item 3 PLU 3 --
——————————
Item 4 PLU 4 --
—————————————
Payment Cash $5.00
1 PLU0035 $5.00
PLU0001
PLU0002
PLU0003
PLU0004
TL
$5.00
CASH $5.00

60
Advanced Operations and Setups
E
Arrangement key registrations
Key operations can be assigned to an <ARRANGE> (arrangement key). Then, simply pressing <ARRANGE>
performs all of the key functions assigned to it.
Key operations can also be assigned to an address code. Then, when you input the address code using
<ARRANGE>, all of the key functions assigned to the address code are performed.
Example 1
OPERATION RECEIPT
A
Example 2
OPERATION RECEIPT
5A
•If A is not allocated on the keyboard, key allocation is necessary.
Arrangement 1
—————————————
PLU 1 ($8.00)
Item 1 ——————————
Quantity 1
—————————————
PLU 2 ($5.00)
Item 2 ——————————
Quantity 1
—————————————
Payment Cash $13.00
Arrangement 5
—————————————
Dept 1 $1.00
Item 1 ——————————
Quantity 1
—————————————
Dept 2 $2.00
Item 2 ——————————
Quantity 1
—————————————
Payment Cash $3.00
1 PLU0001 $8.00
1 PLU0002 $5.00
TL
$13.00
CASH $13.00
1 DEPT001 $1.00
1 DEPT002 $2.00
TL
$3.00
CASH $3.00
Tips
OPERATION RECEIPT
3-!
5-"
s
80B
10-F
•If B is not allocated on the keyboard, key allocation is necessary.
Unit price
$3.00
Item 1 —————————
Dept. 1
—————————————
Unit price
$5.00
Item 2 —————————
Dept. 2
—————————————
Tip Amount
$0.80
—————————————
Payment
Cash
$10.00
TIP
1 DEPT001 $3.00
1 DEPT002 $5.00
TIP $0.80
TL
$8.80
CASH $10.00
CG $1.20
TIP

61
Advanced Operations and Setups
E
Item correction by using VOID key
The following example shows how to use the G key to void previous registered items.
OPERATION RECEIPT
235!
2-"
1*
G
235!
G
1*
s
F
Dept. 1 $2.35
Item 1 —————————
Quantity 1
—————————————
Dept. 2 $2.00
Item 2 —————————
Quantity 1
—————————————
PLU 1 ($1.20)preset
Item 3 —————————
Quantity 1
—————————————
Void Dept. 1 $2.35
—————————
Item 1 Quantity 1
—————————————
Void PLU 1 ($1.20)preset
—————————
Item 3 Quantity 1
—————————————
Payment Cash $2.00
Press G before the item you
want to return.
1 DEPT001 $2.35
1 DEPT002 $2.00
1 PLU0001 $1.20
VOID ••••••••
1 DEPT001 -2.35
VOID ••••••••
1 PLU0001 -1.20
TL
$2.00
CASH $2.00
Addition
OPERATION RECEIPT
1-!
10B
3x
2-!
3x
B
F
+
Dept. 1 $1.00
——————————
Item 1 Quantity 1
——————————
Addition $0.10
—————————————
Dept. 1 $2.00
——————————
Item 2 Quantity 3
——————————
Addition 3 × ($0.20)
—————————————
Payment Cash $7.70
1 DEPT001 $1.00
+ $0.10
3 DEPT001 $6.00
+ $0.60
TL
$7.70
CASH $7.70
+
•If G is not allocated on the keyboard, key allocation is necessary.
•If B is not allocated on the keyboard, key allocation is necessary.
+
Corrected items are not printed on receipt
(in case of programming “Buffered receipt
printing”).

62
Advanced Operations and Setups
E
Programming department / PLU descriptors
and preset messages in the list
In this chapter, the procedures to choose department / PLU descriptors and preset messages from the preset list are
described. Read help receipt, so that you can set the descriptors and messages easily.
How to choose and set the department / PLU descriptors in the list
1. Turn to the PGM mode.
2. Enter 07 and press the / key.
3. Select the item name and follow these steps in the list.
How to choose and set the preset receipt message and graphic logo in the
list
1. Turn to the PGM mode.
2. Enter 08 and press the / key. (Programming procedure and Preset message list is issued.)
3. Follow these steps in the list.
Preset message and graphic print sample
New Year
Sale
1st Anniversary
10% OFF
—Preset message 1st. line
—Preset message 2nd. line
—Preset message 3rd. line
—Preset message 4th. line
—Preset graphic

63
Advanced Operations and Setups
E
Example:
Input “
A
pple Juice”,
enter <DBL><A> <DBL><Shift><p> <p> <l> <e> <Space> <CAPS><J> <Shift><u> <i> <c> <e> .
1Alphabet keys
Used input to characters.
2Double size letter key
Specifies that the next characters you input to double size
characters. After completion of inputting double size
character, press this key for normal size character.
3Space key
Set a space by depression.
4Clear key
Clears all input characters in the programming.
5Delete key
Clears the last input character, much like a back space
key.
6Program end key
Terminates the character programming.
7Character enter key
Registers the programmed characters.
8CAPS key
Pressing this key shifts the character from the lowercase
letter to upper case letter.
9Shift key
Pressing this key shifts the character from the uppercase
letter to lower case letter.
Entering characters
In this section, the method to enter descriptors or messages (characters) to the cash register during programming is
described.
Characters are specified by character keyboard or by multi tapping method. In the first half of this section, the
usage of character keyboard is described. In the latter half, inputting method by multi tapping is described.
Using character keyboard
ABCDEFGH I
JKLMNOPQR
ST UVWXY Z
12345 / . * .
67890–+!?
()@•#'%:&
CAPS
DEL
C
CA AMT
TEND
SPACE
DBL
SIZE
SUB
TOTAL
abcde fgh i
jk lmnopqr
s t uvwxyz
SHIFT
1
8 9
6
7
2
3
4
5
Character manual input
This chapter shows the procedures to program department / PLU descriptors, store messages, key descriptos, report
title, total descriptor (such as gross total, net total...) and clerk name.
The characters you entered by the character keyboard or multi-tapping keyboard, can be programmed.
The “Entering characters” section shows how to enter characters, and the “Programming descriptors and messages
by entering characters” shows how to program the entered characters to each memory.

64
Advanced Operations and Setups
E
Entering characters by multi tapping
When you enter characters by this method, you need to press each key repeatedly until the desired character
appears.
Multi tapping keyboard
1Alphabet keys
Used input to characters.
2Double size letter key
Specifies that the next characters you input to double size
characters. After completion of inputting double size
character, press this key for normal size character.
3Space key
Set a space by depression.
4Clear key
Clears all input characters in the programming.
5Delete key
Clears the last input character, much like a back space
key.
6Program end key
Terminates the character programming.
7Character enter key
Registers the programmed characters.
8Right cursor key
Move the cursor to the right by one to enter a character
on the same tapping key.
Example:
Input “
CL
AS S a”,
enter “<DBL>888 555 <DBL>8 1111 -1111 <Space> 8888”.
Key Text
7@-/:!?¨()*#+,^;<=
>$¥%&[] ’{|}•”“. \ _ ’£
x¿¡™§(space)
ABCabc8ÄÅÆÁÂÀÃÇâäà
åæáãç
DEFdef9 ÉÊËÈ éêëèƒ
GHIghi4ÍÎÏÌïîìíı
JKLjkl5
MNOmno6ÑÖØÓÔÒÕñôöò
øóõ
PQRSpqrs1 ß
TUVtuv2ÜÚÛÙüûùúµ
WXYZwxyz3 ÿ
0
(Right cursor)
(Delete)
7
8
9
4
5
6
1
2
3
0
-
^
C
CA AMT
TEND
SPACE
DBL
SIZE
SUB
TOTAL
ABC DEF
GHI JKL MNO
PQRS
TUV
WXYZ
DEL
789
456
123
000
.
1
8
6
7
2
3
4
5

65
Advanced Operations and Setups
E
Programming descriptors and messages by
entering characters
The following descriptors and messages can be programmed;
•Report descriptor (such as gross total, net total, cash in drawer…)
•Grand total
•Special character (such as mode symbol, taxable symbol…)
•Read/reset report title •Messages (Logo, commercial and bottom message)
•Clerk name •Function key descriptor
•PLU item descriptor •Department key descriptor
Programming PLU descriptor
62s6+6Characters a6s
PGM
Mode switch
PLU No.
To a new (not sequential) PLU
To the next PLU a
☞See “Entering characters” section,
on page 63, 64.
PLU No. Contents Initial character Yours
0001 PLU0001
0002 PLU0002
0003 PLU0003
0004 PLU0004
0005 PLU0005
0006 PLU0006
0007 PLU0007
0008 PLU0008
0009 PLU0009
0010 PLU0010
0011 PLU0011
0012 PLU0012
0013 PLU0013
0014 PLU0014
0015 PLU0015
0016 PLU0016
0017 PLU0017
0018 PLU0018
0019 PLU0019
0020 PLU0020
0021 PLU0021
0022 PLU0022
0023 PLU0023
0024 PLU0024
0025 PLU0025
0026 PLU0026
0027 PLU0027
0028 PLU0028
0029 PLU0029
0030 PLU0030
PLU0001
PLU0002
PLU0003
PLU0004
PLU0005
PLU0006
PLU0007
PLU0008
PLU0009
PLU0010
PLU0011
PLU0012
PLU0013
PLU0014
PLU0015
PLU0016
PLU0017
PLU0018
PLU0019
PLU0020
PLU0021
PLU0022
PLU0023
PLU0024
PLU0025
PLU0026
PLU0027
PLU0028
PLU0029
PLU0030

66
Advanced Operations and Setups
E
Programming department / flat-PLU / function key descriptor
62s66Character a6s
Appropriate key
To other key
PGM
Mode switch
*1
☞See “Entering characters” section,
on page 63, 64.
Contents Initial character Yours
Department 001
Department 002
Department 003
Department 004
Department 005
Department 006
Department 007
DEPT001
DEPT002
DEPT003
DEPT004
DEPT005
DEPT006
DEPT007
Contents Initial character Yours
PLU0001
PLU0002
PLU0003
PLU0004
PLU0005
PLU0006
PLU0007
PLU0001
PLU0002
PLU0003
PLU0004
PLU0005
PLU0006
PLU0007
Function key
Department key
Flat-PLU key
*1 Appropriate key: In case of shifting department, press <DEPT SHIFT> key first.
In case of shifting flat-PLU, press <MENU> key first.
Contents Initial character Yours
Cash/amount tendered
Check
New balance
New check
Old check
Received on account
Paid out
Discount
Receipt on/off
Guest / Post receipt
Refund
Error correct/Cancel
Sign off
Menu shift
Multiplication/For/Date time
Tax shift 1
Tax shift 2
Non-add
No sale
MD/ST
CASH
CHECK
NB
NEW CHK
OLD CHK
RC
PD
%-
RCT ON/OFF
RCT
RF
CORR
SIGN-OFF
MENU
QT
T/S1
T/S2
#
NS
MDST

67
Advanced Operations and Setups
E
Receipt message
Refer to “(message control)” on page 75.
Programming Clerk name
62s6o6
Characters
a6s
PGM
Mode switch
Clerk No.
To a new clerk
Clerk name
Programming message
PGM
Mode switch
To a new message record
To the next
message record
62s6:: DS s66a6s
Memory
No.
Characters
a
☞See “Entering characters” section,
on page 63, 64.
☞See “Entering characters” section,
on page 63, 64.
Clerk 01
Clerk 02
Clerk 03
Clerk 04
Clerk Contents Initial character Yours
No.
01
02
03
04
05
C
01
C
02
C
03
C
04
C
05
Memory Contents Initial character Yours
No.
01
02
03
04
05
06
07
08
09
10
11
12
:
25
:
40
41
42
1st line of logo message
2nd line of logo message
3rd line of logo message
4th line of logo message
1st line of commercial message
2nd line of commercial message
3rd line of commercial message
4th line of commercial message
1st line of bottom message
2nd line of bottom message
3rd line of bottom message
4th line of bottom message
:
(not used)
:
Australian GST message 1st. line
Australian GST message 2nd. line
Australian GST message 3rd. line
YOUR RECEIPT
THANK YOU
CALL AGAIN
DUPLICATE RECEIPT
TAX INVOICE
* INDICATES
TAXABLE SUPPLY

68
Advanced Operations and Setups
E
62s6:: :: s66a6s
Memory
No. Program
code
Characters
To other program code
To the next
memory No.
PGM
Mode switch
a
Report descriptor
Programming other descriptors
☞See “Entering characters” section,
on page 63, 64.
Memory Program Contents Initial character Yours
No. code
01
02
03
04
05
06
07
08
09
10
11
12
17
18
19
20
21
01
22
23
26
27
28
29
30
31
33
34
35
36
37
38
39
40
41
Gross total
Net total
Cash in drawer
Charge in drawer
Check in drawer
Credit 1 in drawer
Credit 2 in drawer
Credit 3 in drawer
Credit 4 in drawer
Cash in drawer for sub currency
Charge in drawer for sub currency
Check in drawer for sub currency
Refund mode total
Customer count
Average sales per customer
Clerk commision 1 total
Clerk commision 2 total
Foreign currency cash in drawer
Foreign currency check in drawer
Reduction
Coupon
Item return
Rounding for sub currency
Rounding
Cancellation
Taxable amount 1
Tax 1
Taxable amount 2
Tax 2
Taxable amount 3
Tax 3
Taxable amount 4
Tax 4
Non taxable amount
GROSS
NET
CAID
CHID
CKID
CRID(1)
CRID(2)
CRID(3)
CRID(4)
CAID2
CHID2
CKID2
RF
CUST
AVER
C-1
C-2
CECA1
CECK1
DC
COUPON
REF
ROUND
ROUND
CANCEL
TA1
TX1
TA2
TX2
TA3
TX3
TA4
TX4
NON TAX

69
Advanced Operations and Setups
E
Grand total, special character
Report title
Memory Program Contents Initial character Yours
No. code
01
02
03
04
05
24
06
08
09
16
Fixed total report title
Transaction key report title
PLU sales report title
Department sales report title
Group sales report title
Clerk sales report title
Hourly sales report title
Monthly sales report title
Financial report title
FIX
TRANS
PLU
DEPT
GROUP
CASHIER
HOURLY
MONTHLY
FLASH
Memory Program Contents Initial character Yours
No. code
01
02
03
04
06
08
09
23
10
11
12
13
16
17
18
19
01
20
main currency symbol (2), @ (2), No. (2), split pricing (2), not used (4),
sub currency symbol (2)
No. of item sold (2), No. of customer (2), not used (6),multiplication display (2)
multiplication (6) not used (6)
taxable symbol 1 (3 each) for tax 1, tax 2, tax 3, tax 4
taxable symbol 3 (3 each) for tax 1/2, tax 1/3, not used, not used, tax 2/3
foreign currency (2 each), not used (8)
mode symbol 1 (4 each) REG1/2, RF, not used
mode symbol 2 (4 each) PGM, Daily X, Daily Z, Periodic
mode symbol 3 (4 each) not used, PGM read
decimal: amount/q’ty, separator (main/sub) (1 each), not used (3), square (7)
A.M., P.M. (3 each), ST displayed on the dot display (2)
display subtotal symbol (ST key) (16)
subtotal discount / premium symbol (16)
post receipt total symbol (16)
change symbol (16)
Grand total (16)
$@ No/ **
NoCT @LB *QT
BUSY
T1 T2 T3 T4 T5
T12T13T14 T23
* * * * *
REG
RFR-
Pn
X Z XZ
TRG PGMX
..,.., X
AM PM ST
ST
ST
TL
CG
GT
Text recall character
Memory Program Contents Initial character Yours
No. code
01
02
03 39
04
05
Text recall character 01
Text recall charecter 02
Text recall character 03
Text recall character 04
Text recall character 05

70
Advanced Operations and Setups
E
Machine feature program
General control program
Programming procedure
Program data (by address code)
Address code 02 (machine number)
Description Choice Program code Initial value
Reset consecutive number after daily reset report is issued.
Always “00000000”
Yes = 0
No = 1 :
D8
;
D8
;~;
D7 ~ D1
;~;
D7 ~ D1
63s6::22s66s
:: ::a
PGM
Mode switch
Program data
(Max. 10 digits)
Address code
(2 digits)
~
Description Choice Program code Initial value
Machine number Significant
numbers ::::
D4D3D2D1
;;;;
D4D3D2D1
Address code 03 (consecutive number)
Address code 04 (tax system)
Description Choice Program code Initial value
Tax system
U.S. tax system = 1, Canadian tax system = 2
Always “00000000”
:
D9
;~;
D8 ~ D1
Significant
number
Aor S
(U.S.) (Canada)
D9
;~;
D8 ~ D1

71
Advanced Operations and Setups
E
Address code 06 (calculation & operation control)
Address code 05 (print control for receipt)
Description Choice Program code Initial value
Print total line during finalization.
Time system:
1 24 hour system, 2 12 hour system
Buffered receipt print *1
Skip item lines on journal. (journal skip)
Always “000”
Print number of item sold. (item counter)
Print tax symbols.
Always “00”
Print number of customers on header.
*1: Select “Yes” if you want to print receipts with watermarks.
a
b
a
b
:
(a+b)
D10
:
D9
:
D8
Yes = 0
No = 1
1 = 0
2 = 2
No = 0
Yes = 2
No = 0
Yes = 1
No = 0
Yes = 1
Yes = 0
No = 2
Yes = 0
No = 2
;;;
D7D6D6
:
(a+b)
D4
;;
D3 D2
:
D1
;
(a+b)
D10
;
D9
;
D8
;;;
D7D6D5
;;
D3 D2
;
D1
;
(a+b)
D4
Description Choice Program code Initial value
Follow the taxable status and commission status of previous item when +/-
operation is performed.
Force a money declaration before read/reset operation.
Force to press s before finalization
Allow credit balance while finalization.
Allow multiple refund operation.
Affect the result of +/-, %+/%- to the item. (Net totalling)
Include commission in net total.
Clear the key buffer when a receipt is issued. (REG mode only)
Sounds key catch tone.
Allow to issue post receipt, even if the original one is issued.
Always “00”
Treatment of flat-PLU key numeric inputs:
1 Treat as amount override
2 Treat as quantity extensions
Always “00”.
a
b
a
b
c
a
b
c
:
(a+b)
D10
:
(a+b+c)
D9
:
D8
:
D7
:
(a+b+c)
D6
;;
D5 D4
:
D3
;;
D2 D1
Yes = 0
No = 1
No = 0
Yes = 4
No = 0
Yes = 1
Yes = 0
No = 2
Yes = 0
No = 4
No = 0
Yes = 1
Yes = 0
No = 2
No = 0
Yes = 1
Yes = 0
No = 2
No = 0
Yes = 4
1 = 0
2 = 2
;
(a+b)
D10
;
(a+b+c)
D9
;
D8
;
D7
;
(a+b+c)
D6
;;
D5 D4
:
D3
;;
D2 D1

72
Advanced Operations and Setups
E
Address code 08 (print control for fixed total report)
Address code 10 (print control for taxable amount)
Description Choice Program code Initial value
Print taxable amount 1 on receipt/journal.
Print taxable amount 2 on receipt/journal.
Print taxable amount 3 on receipt/journal.
Print taxable amount 4 on receipt/journal.
Always “00000000”
a
b
c
:
(a+b+c)
D10
:
D9
;~;
D8 ~ D
1
Yes = 0
No = 1
Yes = 0
No = 2
Yes = 0
No = 4
Yes = 0
No = 1
;
(a+b+c)
D10
;
D9
;~;
D8 ~ D
1
Description Choice Program code Initial value
Print gross sales total on fixed total report (GROSS)
Print net sales total on fixed total report (NET)
Print cash in drawer total on fixed total report (CAID)
Print charge in drawer total on fixed total report (CHID)
Print check in drawer total on fixed total report (CKID)
Print credit in drawer total on fixed total report (CRID(1) ~ (4))
Always “0”
Print RF mode total on fixed total report (RF)
Print the net number of customers on fixed total report (CUST)
Print the average sales per customer on fixed total report (AVER)
Always “0”
Print commission 1 total on fixed total report (C-1)
Print commission 2 total on fixed total report (C-2)
Print foreign currency cash in drawer and check in drawer totals on fixed
total report (CECA1 ~ 2, CECK1 ~ 2)
Print <MINUS>, <COUPON>, <%–> and mix & match operation net total
on fixed total report (DC)
Print <REFUND> and <VOID> operation net total on fixed total report
(REF)
Print nontaxable totals on fixed total report (NON TAX)
Print rounding totals on fixed total report (ROUND)
Print cancellation total on fixed total report (CANCEL)
a
b
c
a
b
a
b
a
b
c
a
b
a
b
c
:
(a+b+c)
D10
:
D9
:
(a+b)
D8
;
D7
;:
D6
:
(a+b)
D5
;
D4
:
(a+b+c)
D3
:
(a+b+c)
D2
:
(a+b+c)
D1
Yes = 0
No = 1
Yes = 0
No = 2
Yes = 0
No = 4
Yes = 0
No = 2
Yes = 0
No = 1
Yes = 0
No = 4
Yes = 0
No = 4
Yes = 0
No = 1
Yes = 0
No = 2
Yes = 0
No = 1
Yes = 0
No = 2
Yes = 0
No = 4
Yes = 0
No = 1
Yes = 0
No = 2
Yes = 0
No = 1
Yes = 0
No = 2
Yes = 0
No = 4
;
(a+b+c)
D10
;
D9
;
(a+b)
D8
;
D7
;;
D6
S
(a+b)
D5
;
D4
J
(a+b+c)
D3
D
(a+b+c)
D2
D
(a+b+c)
D1

73
Advanced Operations and Setups
E
Address code 15 (print control for reports)
Address code 14 (currency exchange control)
Description Choice Program code Initial value
Monetary mode of CECA1 and CECK1 in fixed total report:
Decimal for CECA1 and CECK1 in fixed total report:
1 Period = 0, 2 Comma = 1
Separator for CECA1 and CECK1 in fixed total report:
1 Comma = 0, 2 Period = 1
Monetary mode of CECA2 and CECK2 in fixed total report:
Decimal for CECA2 and CECK2 in fixed total report:
1 Period = 0, 2 Comma = 1
Separator for CECA2 and CECK2 in fixed total report:
1 Comma = 0, 2 Period = 1
Always “0000”
a
b
a
b
:
D8
:
(a+b)
D7
:
D6
:
(a+b)
D5
;;;;
D4 D3 D2 D1
Significant
number (0 ~ 9)
1 = 0
2 = 1
1 = 0
2 = 4
Significant
number (0 ~ 9)
1 = 0
2 = 1
1 = 0
2 = 4
;
D8
;
(a+b)
D7
;
D6
;
(a+b)
D5
;;;;
D4 D3 D2 D1
Description Choice Program code Initial value
Zero skip department report.
Zero skip clerk report.
Zero skip transaction report.
Zero skip PLU report.
Zero skip hourly report.
Zero skip group report.
Always “0”
Prohibit issuing “OPEN CHECK Z” report.
Print PLU number on the PLU report.
Print sales ratio.
Issue double Z report.
Always “000”
a
b
a
b
c
a
b
:
(a+b)
D10
:
(a+b+c)
D9
:
D8
;
D7
:
D6
:
D5
:
(a+b)
D4
;;;
D3 D2 D1
Yes = 0
No = 1
Yes = 0
No = 2
Yes = 0
No = 1
Yes = 0
No = 2
Yes = 0
No = 4
Yes = 0
No = 1
No = 0
Yes = 1
No = 0
Yes = 4
No = 0
Yes = 1
No = 0
Yes = 2
;
(a+b)
D10
;
(a+b+c)
D9
;
D8
;
D7
;
D6
;
D5
;
(a+b)
D4
;;;
D3 D2 D1

74
Advanced Operations and Setups
E
Address code 19 (receipt control)
Description Choice Program code Initial value
Print receipt in double-height characters.
Always “000000”
:
D7
;~;
D6 ~ D
1
No = 0
Yes = 1 ;
D7
;~;
D6 ~ D
1
Address code 18 (print control for guest receipt)
Description Choice Program code Initial value
Classify registered item by group on guest receipt.
Always “0”
Print date on guest receipt.
Print time on guest receipt.
Merge the same registration on guest receipt. (Item consolidation)
Always “00”
a
b
:
D6
;
D5
:
(a+b)
D4
:
D3
;;
D2 D1
No = 0
Yes = 4
Yes = 0
No = 1
Yes = 0
No = 2
No = 0
Yes = 4
;
D6
;
D5
;
(a+b)
D4
;
D3
;;
D2 D1
Address code 16 (print control for grand total)
Description Choice Program code Initial value
Print consecutive number range of the day on daily fixed total report.
Always “00000”
Print grand total on daily sales reset report.
:
D7
;~;
D6 ~ D2
:
D1
No = 0
Yes = 1
Yes = 0
No = 1
;
D7
;~;
D6 ~ D2
;
D1
Address code 17 (print control)
Description Choice Program code Initial value
Print date on journal.
Print consecutive number on receipt/journal.
Print time on receipt.
Print time on journal.
Always “00”
a
b
a
b
:
(a+b)
D4
:
(a+b)
D3
;;
D2D1
Yes = 0
No = 2
Yes = 0
No = 4
Yes = 0
No = 1
Yes = 0
No = 2
;
(a+b)
D4
;
(a+b)
D3
;;
D2D1

75
Advanced Operations and Setups
E
Address code 21 (message control)
Address code 26 (check tracking)
Address code 27 (clerk control)
Description Choice Program code Initial value
Enable clerk interrupt.
Enable clerk function.
Always “00000000”
:
D10
:
D9
;~;
D8~D
1
No = 0
Yes = 1
No = 0
Yes = 4
;
D10
;
D9
;~;
D8~D
1
Description Choice Program code Initial value
Check number compulsory
Number of customer compulsory
Guest receipt compulsory (at finalization)
Always “0”
Tax calculation by new balance
(Calculation result is not saved into totalizer.)
Always “0000”
:
(a+b+c)
D7
;
D6
:
D5
;;;;
D4 D3 D2 D1
No = 0
Yes = 1
No = 0
Yes = 2
No = 0
Yes = 4
No = 0
Yes = 1
;
(a+b+c)
D7
;
D6
;
D5
;;;;
D4 D3 D2 D1
a
b
c
Description Choice Program code Initial value
Print graphic type logo.
(If select “No”, character type logo is printed.)
Print watermark on receipt.
Print commercial message on guest receipt.
Print bottom message on guest receipt.
Always “00”
Print commercial message on receipts in REG/RF mode.
Print bottom message on receipts in REG/RF mode.
Always “0000”
Always “0”
a
b
a
b
a
b
:
(a+b)
D10
:
(a+b)
D9
;;
D8 D7
:
(a+b)
D6
;;;;
D5 D4 D3 D2
;
D1
No = 0
Yes = 2
Yes = 0
No = 4
No = 0
Yes = 1
No = 0
Yes = 2
No = 0
Yes = 1
No = 0
Yes = 2
;
(a+b)
D10
;
(a+b)
D9
;;
D8 D7
;
(a+b)
D6
;;;;
D5 D4 D3 D2
;
D1

76
Advanced Operations and Setups
E
Address code 30 (thermal printer control)
Address code 34 (backlight control)
Description Choice Program code Initial value
Backlight
Always “000”
:
D4
;;;
D3 D2 D1
Available = 0
Not available = 1 ;
D4
;;;
D3 D2 D1
Description Choice Program code Initial value
Print preset receipt message and graphic
Print preset receipt message and graphic:
1 at the bottom of the receipt / 2 at the top of the receipt
Journal compressed print (print by half height characters)
Always “000”
:
(a+b)
D5
:
D4
;;;
D3 D2 D1
No = 0
Yes = 1
1 = 0
2 = 2
Yes = 0
No = 1
;
(a+b)
D5
;
D4
;;;
D3 D2 D1
a
b

77
Advanced Operations and Setups
E

78
Advanced Operations and Setups
E
Key function program
Department key/Flat-PLU key/PLU program (Batch feature programming)
Programming procedure
Department/Flat-PLU key
PLU
Program data
63s6+6::6a6s
PGM
Mode switch
To a new (not sequential) PLU
Program data
Different program to the next PLU
(Rec No. 4 digits)
PLU No.
~
*: In case of shifting department, press <DEPT SHIFT> key first.
In case of shifting flat-PLU, press <MENU SHIFT> key first.
To another key
63s6
*
6::66s
PGM
Mode switch
Program data
Appropriate
key
~
Description Choice Program code Initial value
Age limitation (“00” means no limitation)
Single item control:
Normal receipt = 0, Single item receipt = 3
Always “0”
Normal / condiment / preparation (Only for PLU, Flat-PLU)
Normal item = 0, Condiment = 1, Preparation = 2
Always “0”
Taxable status:
See page 81.
Enable 0 unit price.
Enable negative price.
Hash
Always “0”
Low digit limitation (LDL) for manually entered unit price.
Open PLU (only for PLU)
Commission 1
Commission 2
Always “0”
a
b
c
a
b
::
D14 D13
:
D12
;
D11
:
D10
;
D9
::
D8D7
:
(a+b+c)
D6
;
D5
:
D4
:
D3
:
(a+b)
D2
;
D1
Significant
number (00 - 99)
Significant
number
Significant
number
No = 0
Yes = 1
No = 0
Yes = 2
No = 0
Yes = 4
Significant
number
No = 0
Yes = 4
No = 0
Yes = 1
No = 0
Yes = 2
;;
D14 D13
;
D12
;
D11
;
D10
;
D9
::
D8D7
;
(a+b+c)
D6
;
D5
;
D4
;
D3
;
(a+b)
D2
;
D1

79
Advanced Operations and Setups
E
Department key/Flat-PLU key/PLU program (Individual feature programming)
Programming procedure
Department/Flat-PLU key
PLU
63s6: : 66s6*6::66s
PGM
Mode switch
To another key
Program data
Appropriate
key
Same program
Address code
~
*: In case of shifting department, press <DEPT SHIFT> key first.
In case of shifting flat-PLU, press <MENU SHIFT> key first.
6
3s
6
::66s
6
+
6
::
6
a
6
s
PGM
Mode switch
To a new (not sequential) PLU
Program data
Same program
Address code
PLU No.
Different program to the next PLU
~

80
Advanced Operations and Setups
E
Address code 15 (high amount limit)
Address code 13 (set menu)
Description Choice Program code
Set menu table record number (only for PLU) ::::
D4D3D2D1
Significant
numbers
Description Choice Program code
High amount limit for entering unit price manually. ::::::
D6D5D4D3D2D1
Significant
numbers
Program data (by address code)
Address code 11 (link)
Description Choice Program code
Link group record number: (000 ~ 999)
Always “0”
Link department record number: (000 ~ 999)
(only for PLU)
:::
D7 D6 D5
;
D4
:::
D3 D2 D1
Significant
numbers
Significant
numbers
Other address code
Address
code Description Choice Program code
Single item control:
Normal receipt = 0, Single item receipt = 3
Normal/condiment/preparation
Normal item = 0, Condiment = 1, Preparation = 2
Taxable status:
See page 81.
Enable 0 unit price.
Enable negative price.
Hash
Low digit limitation (LDL) for manually entered unit price.
Open PLU (Only for PLU)
Commission 1
Commission 2
Age limitation (“00” means no limitation)
a
b
c
:
:
::
D2D1
:
(a+b+c)
:
:
:
(a+b)
::
Significant
number
Significant
number
Significant
numbers
No = 0
Yes = 1
No = 0
Yes = 2
No = 0
Yes = 4
Significant
number
No = 0
Yes = 4
No = 0
Yes = 1
No = 0
Yes = 2
Significant
number (00 ~ 99)
18
01
03
05
07
04
09
26
a
b

81
Advanced Operations and Setups
E
Taxable status
for the U.S.
Always “0”
Taxable 1 status
Taxable 2 status
Taxable 3 status
for Canada
Always “0”
Non tax = 0 Taxable 3 = 3 Taxable 1 & 3 = 6
Taxable 1 = 1 Taxable 4 = 4 Taxable 1 & 4 = 7
Taxable 2 = 2 Taxable 1 & 2 = 5
a
b
c
;
D8
:
(a+b+c)
D7
;
D8
:
D7
No = 0
Yes = 1
No = 0
Yes = 2
No = 0
Yes = 4
Significant
number
Transaction key program
Programming procedure
Program data
<CASH>, <CHARGE>, <CHECK>
63s6::66s
PGM
Mode switch
To another transaction key
Program data
Transaction
key
~
Description Choice Program code
Prohibit entry of a partial payment
Prohibit the entry of the amount tendered.
Force entry of the amount tendered.
Print VAT breakdown. *1
Always “0”
High amount limit specification for subtotal and tendering amounts.
High amount limit specification for change amount due.
*1 This is valid option for Auto Cash, Single item or Currency exchange (include partial tender) as well.
a
b
c
:
(a+b+c)
D7
:
D6
;
D5
::
D4D3
::
D2D1
No = 0
Yes = 1
No = 0
Yes = 2
No = 0
Yes = 4
No = 0
Yes = 1
Maximum value
(0 ~ 9)
Number of zeros
(0 ~ 9)
Maximum value
(0 ~ 9)
Number of zeros
(0 ~ 9)

82
Advanced Operations and Setups
E
<ADDITION (PLUS)>, <REDUCTION (MINUS)>, <COUPON>
<RECEIVED ON ACCOUNT>, <PAID OUT>
Description Choice Program code
High amount limit specification for entering amounts
Always “00”
::
D4 D3
;;
D2 D1
Maximum value
(0 ~ 9)
Number of zeros
(0 ~ 9)
<PREMIUM (%+)>, <DISCOUNT (%-)>
Description Choice Program code
Taxable status:
See page 81.
Prohibit manual rate override.
Rounding:
Round off = 0, cut off = 1, round up = 2
Always “00”
Commission 1
Commission 2
Always “0”
a
b
::
D8 D7
:
D6
:
D5
;;
D4 D3
:
(a+b)
D2
;
D1
No = 0
Yes = 2
Significant
number
No = 0
Yes = 1
No = 0
Yes = 2
Description Choice Program code
Allow mode change or clerk change after non-add registration as first transaction.
(only for non-add function)
Always “0000”
Always “00”
:
D7
;;;;
D6 D5 D4 D3
;;
D2 D1
Yes = 0
No = 1
<NON-ADD (#)>, <NON-ADD (#)/NO SALE>
Description Choice Program code
Taxable status:
See page 81.
Allow credit balance. (–, CPN only)
Allow out of sales (+ only)
Always “00”
High digit limitation (HDL) for manually entered unit price
(“9” means NOT allow manual entry.)
Commission 1
Commission 2
Always “0”
a
b
a
b
::
D8 D7
:
(a+b)
D6
;;
D5 D4
:
D3
:
(a+b)
D2
;
D1
No = 0
Yes = 1
No = 0
Yes = 2
Significant
number
No = 0
Yes = 1
No = 0
Yes = 2

83
Advanced Operations and Setups
E
<CURRENCY EXCHANGE>
Description Choice Program code
Define amount symbol. (0, 1 ~ 2)
(“0” means local currency symbol.)
Define foreign currency totalizer. (0, 1 ~ 2)
(“0” treats as “1”.)
Rounding:
Round off = 0, cut off = 1, round up = 2
Always “0”
Monetary mode (0 ~ 9):
º00 = 2, º0 = 1, 0 = 0, º000 = 3
Monetary symbol for decimal
Monetary symbol for separator
Always “0”
a
b
:
D7
:
D6
:
D5
;
D4
:
D3
:
(a+b)
D2
;
D1
Significant
number
Significant
number
Significant
number
Significant
number
Decimal = 0
Comma = 1
Comma = 0
Decimal = 4
<MULTIPLICATION / FOR>
Description Choice Program code
Multiplication procedure: (<X> only)
1 Quantity × Amount, 2 Amount × Quantity
Rounding:
Round off = 0, cut off = 1, round up = 2
Always “0000”
:
D6
:
D5
;;;;
D4D3D2D1
1 = 0
2 = 1
Significant
number
Description Choice Program code
Taxable status (00, 01 ~ 04)
(“00” means taxable 1.)
Always “000000”
::
D8 D7
;;;;;;
D6D5D4D3D2D1
Significant
numbers
<SUBTOTAL>, <MERCHANDISE SUBTOTAL>
Description Choice Program code
Print when key is pressed.
Always “00000”
:
D6
;;;;;
D5D4D3D2D1
No = 0
Yes = 4
<TAX SHIFT>
<AGE VERIFICATION>
Description Choice Program code
Print when this key is registered.
Always “000”
Always “000000”
:
D10
;;;
D9 D8 D7
;;;;;;
D6D5D4D3D2D1
Yes = 0
No = 1

84
Advanced Operations and Setups
E
<ARRANGEMENT>
Description Choice Program code
Treat numeric entry as arrange table number
Arrangement table link number
:
D7
::::::
D6D5D4D3D2D1
No = 0
Yes = 1
Significant
numbers
<CREDIT>
<NEW BALANCE>
Description Choice Program code
Prohibit entry of a partial payment
Prohibit the entry of the amount tendered.
Force entry of the amount tendered.
Print VAT breakdown.
Always “0”
High amount limit specification for subtotal and tendering amounts.
Always “0”
Specify credit in drawer total in the fixed totalizer.
a
b
c
:
(a+b+c)
D7
:
D6
;
D5
::
D4D3
;
D2
:
D1
No = 0
Yes = 1
No = 0
Yes = 2
No = 0
Yes = 4
No = 0
Yes = 1
Maximum value
(0 ~ 9)
Number of zeros
(0 ~ 9)
Significant number
(0 ~ 4)
<TEXT RECALL>
Description Choice Program code
Order character file record number
Always “0000”
::
D6 D5
;;;;
D4 D3 D2 D1
Significant
numbers
Description Choice Program code
Cancel the transaction if no item is registered.
Always “00”
Function after normal (not in check tracking) registration:
Operation error = 0, Auto Cash = 1
Print VAT breakdown.
Always “00000”
:
D10
;;
D9 D8
:
D7
:
D6
;;;;;
D5D4D3D2D1
No = 0
Yes = 4
Significant
number
No = 0
Yes = 1

85
Advanced Operations and Setups
E
Clerk other programming
Programming procedure (individual)
Program data
Address code 67 (Clerk control)
63s6
::
07s6
::
s6
::
a6s
PGM
Mode switch
To a new (not sequential) clerk
Record No. Address code Program data
To the next clerk
~
Description Choice Program code
Training clerk
Always “00000”
:
D6
;~;
D5~D
1
No = 0
Yes = 1
Clerk program
Clerk number, check number programming
Programming procedure
Program Data
63s6::07s6:: :: 6a6s
PGM
Mode switch
To a new (not sequential) clerk
D10 D9~D
2D1
Record No.
To the next clerk
~
Address code 68 (Commission rate)
Description Choice Program code
Commission rate 1 (integer: 00 ~ 99)
Commission rate 1 (decimal: 00 ~ 99)
Commission rate 2 (integer: 00 ~ 99)
Commission rate 2 (decimal: 00 ~ 99)
::
D8D7
::
D6D5
::
D4D3
::
D2D1
Significant
numbers
Significant
numbers
Significant
numbers
Significant
numbers
Description Choice Program code
Check number for clerk interrupt
Clerk secret number
::::::
D10 D9D8D7D6D5
::::
D4D3D2D1
Significant
numbers
Significant
numbers

86
Advanced Operations and Setups
E
63s6::28s6B6B6s
::6+a
a
To a new (not sequential) record
Record No.
PLU code
To the next record
Maximum 15 items can be set.
Rec #: within 4 digits
PGM
Mode switch
MENU
SHIFT
~
Flat-
PLU
}
{
Set menu programming
Programming set menu includes two steps;
1Assigning PLUs and flat-PLUs to set menu tables. (These items are treated as “child” PLU.)
2Assigning set menu tables to “parent” PLU
(When a “parent” PLU is registered, all “child” PLUs in the designated set menu table are registered.)
Programming procedure
Arrangement programming
Programming procedure
63s6
::
38s6A6
::
a6
6
::
6A6s
* The same A should be pressed.
** Vacant record search: If you want to set an arrangement program to a new record, “vacant record search”
is possible. (enter 0000 instead of entering a record No.)
Record No.
(up to 4 digits)
PGM
Mode switch
Arrangement table No. (up to 6 digits)
Key operations
~~
~
*
*
**

87
Advanced Operations and Setups
E
Keyboard layout change
You can change the keyboard layout or allocate some new functions on the keyboard.
Note: Before changing the keyboard layout, you must issue the daily and periodic reset reports.
Configuration of the physical key layout
The shadowed keys are fixed function keys. You cannot change the function of these keys.
Note: The a key in programming procedures mean the #-013 key on the keyboard.
Programming the function of each key
*1 Two zero key, three zero key, decimal point key can only be allocated in #-011 and #-012 position.
Mode Switch
PGM
64s6:::: 6::: 66s
Function code
(3 digits)
Appropriate
key
Record No.
(only for Department and flat-PLU)
FEED
C
SUB
TOTAL
789
456
123
0
049 057 065 073 081 089 097 105 113
048 056 064 072 080 088 096 104 112
047 055 063 071 079 087 095 103 111
046 054 062 070 078 086 094 102 110
045 053 061 069 077 085 093 101 109
044 052 060 068 076 084 092 100 108
043 051 059 067 075 083 091 099 107
042 050 058 066 074 082 090 098 106
039 036 033 026 021
040 038 035 032 025 020
037 034 031 024 019
030 023 018
029 022 015
028 017
011 012 027 013
Content Function
code
Cash/amount tendered 001
Charge 002
Check tendered 003
Credit 004
New balance 006
Text recall 010
Tip 015
Received on account 020
Paid out 021
Reduction (Minus) 027
Discount 028
Addition (Plus) 029
Premium 030
Manual tax 032
Refund 033
Error correct/cancel 034
Void 035
Receipt 038
Content Function
code
Non-add 040
Non-add/no sale 041
No sale 042
Customer number 043
Arrangement 044
Currency exchange 045
VAT 046
PLU 048
Price 049
Department 051
Tax shift 057
Flat PLU 063
Menu shift 064
Open 067
Clerk number 072
Subtotal 075
Receipt on/off 076
Merchandise subtotal 080
Content Function
code
Multiplication 082
Quantity/For 083
VAT 089
New check 091
Old check 092
New/old check 093
Add check 094
Age verification 106
Open check 117
Help 141
Sign off 150
Tax Program 151
Dept no./Dept shift 152
Cancel 236
“00” double zero *1 096
“000” triple zero *1 097
“.” decimal point *1 098

88
Advanced Operations and Setups
E
Printing read/reset reports
• Daily sales read report (“X” mode)
You can print read reports at any time during the business day without affecting the data stored in the cash
register's memory.
• Daily sales reset report (“Z” mode)
You should print reset reports at the end of the business day.
Important!
•The reset operation issues a report and also clears all sales data from the cash register's memory.
•Be sure to perform the reset operations at the end of each business day. Otherwise, you will not be
able to distinguish between the sales data for different dates.
To print the individual department, PLU read report
This report shows sales for specific departments or PLUs.
OPERATION DISPLAY
1. Turn to X mode.
X
REG
OFF
RF
PGM
Z
X2/Z2
PGM
Mode switch
2. Specify a department / PLU / flat PLU. REPORT
•Specifying a department
!, ", }#...
•Specifying a PLU
1+, 10+...
•Specifying a flat-PLU
(, ), @*...
3. Press <ST> to exit this report.
X INDIVIDUAL
DEPT001 38
8.13% $257.53
PLU0001 17
0.53% $17.00
#0001
------------------------
TL 88.61
$516.10
—Read symbol/report title
—Department Name/No. of items
—Sales ratio/amount
—PLU Name/No. of items
—Sales ratio/PLU amount
—PLU code
—Total No. of items
—Total amount
X NEXT:RC
DAILY X
~00
RPT
AMOUNT
T1 T2 T3 T4
TOTAL CHANGE

89
Advanced Operations and Setups
E
To print daily read reports (except open check and electronic journal)
You can select the appropriate report shown in the display.
OPERATION DISPLAY
1. Turn to X mode.
X
REG
OFF
RF
PGM
Z
X2/Z2
PGM
Mode switch
2. Select report you want to get by the <RC> key.
3. Press <CASH> to print report. *1
*1 If money declaration is necessary, count how much cash is in the drawer and input this amount (up to 10 digits)
and press <#> key.
The cash register will automatically compare the input with the cash in drawer in the memory and print the
difference between these two amounts.
Note that if money declaration is required by programming, you cannot skip this procedure.
To print electronic journal read report
OPERATION
1. Turn to X mode.
2. Select electronic journal report by the <RC> key.
3. Press <CASH> key, enter start date and/or consecutive no. and press <CASH> key.
To print open check read report
OPERATION
1. Turn to X mode.
2. Select open check report by the <RC> key.
3. Press <CASH> key
4-a. Press <CASH> key to issue all open check.
4-b. Enter check no. and press <NEW> / <OLD> key to issue indidual check report.
4-c. Enter clerk no. and press <CASH> key to issue check by clerk.
X NEXT:RC
DAILY X
~00
RPT
AMOUNT
T1 T2 T3 T4
TOTAL CHANGE
X NEXT:RC
PLU
~00
RPT
AMOUNT
T1 T2 T3 T4
TOTAL CHANGE
X NEXT:RC
MONTHLY
~00
RPT
AMOUNT
T1 T2 T3 T4
TOTAL CHANGE
X NEXT:RC
HOURLY
~00
RPT
AMOUNT
T1 T2 T3 T4
TOTAL CHANGE

90
Advanced Operations and Setups
E
To print daily reset reports (except open check)
You can select the appropriate report shown in the display.
OPERATION DISPLAY
1. Turn to Z mode.
X
REG
OFF
RF
PGM
Z
X2/Z2
PGM
Mode switch
2. Select report you want to get by the <RC> key.
3. Press <CASH> to print report. *1
*1 If money declaration is necessary, count how much cash is in the drawer and input this amount (up to 10 digits)
and press <#/NS> key.
The cash register will automatically compare the input with the cash in drawer in the memory and print the
difference between these two amounts.
Note that if money declaration is required by programming, you cannot skip this procedure.
To print open check reset report
OPERATION
1. Turn to Z mode.
2. Select open check eport by the <RC> key.
3. Press <CASH> key
4-a. Enter check no. and press <NEW> / <OLD> key to issue indidual check report.
4-b. Enter clerk no. and press <CASH> key to issue check by clerk.
Z NEXT:RC
DAILY Z
~00
RPT
AMOUNT
T1 T2 T3 T4
TOTAL CHANGE
Z NEXT:RC
PLU
~00
RPT
AMOUNT
T1 T2 T3 T4
TOTAL CHANGE
Z NEXT:RC
MONTHLY
~00
RPT
AMOUNT
T1 T2 T3 T4
TOTAL CHANGE
Z NEXT:RC
HOURLY
~00
RPT
AMOUNT
T1 T2 T3 T4
TOTAL CHANGE

91
Advanced Operations and Setups
E
Read / reset report sample
Daily report
DC $1.22
REF $2.42
ROUND $0.00
CANCEL No 2
$12.97
------------------------
TA1 $2,369.69
TX1 $128.86
TA2 $2,172.96
TX2 $217.33
------------------------
GT $00000000125478.96
------------------------
Z TRANS 0001
0001012
CASH No 362
$1,638.04
CHARGE No 56
$1,174.85
RC No 4
$810.00
PD No 5
$520.00
$5.00
CORR No 14
$39.55
RCT No 3
NS No 5
------------------------
Z CASHIER 0001
0001017
C
01 ...........1
NET No 111
$1,845.35
C
02 ...........1
—Discount total *3
—Refund key *3
—Rounding total *3
—Cancellation *3
—Taxable 1 amount *3
—Tax 1 amount *3
—Taxable 2 amount *3
—Tax 2 amount *3
—Grand total *3
—Function key report title/reset counter
—Report code
—Function key count/amount *2
—Clerk report title/reset counter
—Report code
—Clerk name
—Net total
—Clerk name/drawer No.
------------------------
Z DAILY
------------------------
Z DEPT 0001
0001015
DEPT001 38
8.13% $257.53
DEPT002 183
$1,362.26
------------------------
TL 88.61
$1,916.10
------------------------
Z FIX 0001
0001011
DECLA $6,919.04
$0.00
GROSS 981.25
$6,574.40
NET No 111
$7,057.14
CAID $6,919.04
CHID $139.04
CKID $859.85
CRID(1) $709.85
CRID(2) $0.00
CRID(3) $0.00
CRID(4) $0.00
------------------------
RF No 3
$10.22
CUST CT 111
AVRG $63.57
—
Report title
—Department report title/reset counter
—Report code
—Department name/No. of items *2
—Sales ratio/amount *2
—Total No. of items
—Total amount
—Fixed total report title/reset counter *4
—Report code
—Declared cash in drawer of main currency *1
—Difference (= declared - accumulated) *1
—Gross total *3
—Net total *3
—Cash in drawer *3
—Charge in drawer *3
—Check in drawer *3
—Credit in drawer 1 *3
—Credit in drawer 1 *3
—Credit in drawer 1 *3
—Credit in drawer 1 *3
—Refund mode *3
—Customer number *3
—Average sales per customer *3
*1 Zero totalled departments/functions (the amount and item numbers are both zero) are not printed.
*2 These items can be skipped by programming.

92
Advanced Operations and Setups
E
X MONTHLY
0000020
1
......
GROSS 1236.76
$12,202.57
NET No 214
$12,202.57
31
......
GROSS 2132
$14,187.57
NET No 205
$13,398.76
------------------------
TL
GROSS 9746.63
$161,022.49
$16.52
NET No 2351
$161,022.49
$68.49
—Read symbol/report title
—Report code
—Date of a month
—Gross symbol/No. of items
—Gross sales amount
—Net symbol/No. of customers
—Net sales amount
—Total symbol
—Gross symbol/No. of items
—Gross sales amount
—Average daily gross sales
—Net symbol/No. of customers
—Net sales amount
—Average daily net sales
X HOURLY
0000019
00:00->01:00
CT 1
GROSS $1.10
NET No 1
1.90% $1.20
23:00->00:00
CT 1
GROSS $3.45
NET No 1
3.90% $3.59
------------------------
TL CT 280
GROSS $1,937.61
NET No 25
$2,096.80
X PLU
0000014
PLU0001 17
0.53% $17.00
#0001
PLU0100 42
4.03% $69.00
#0100
------------------------
TL 188.61
$516.10
—Read symbol/report title
—Report code
—PLU name/No. of items
—Sales ratio/PLU amount
—PLU code
—Total No. of items
—Total amount
—Read symbol/report title
—Report code
—Time range
—No. of customers
—Gross sales amount
—No. of receipt
—Sales ratio/net sales amount
—Total No. of customers
—Gross total amount
—Total No. of receipt
—Net total amount
Flash report
PLU report
Hourly report
Monthly report
X FLASH
0000071
DECLA $6,919.04
$0.00
GROSS 111.15
$7,054.14
NET No 120
$7,263.20
CAID $6,919.04
—Read symbol/report title
—Report code
—Main currency declared amount
—Difference
—Gross total
—Net total
—Cash in drawer

93
Advanced Operations and Setups
E
X GROUP
0000016
GROUP01 203.25
33.87% $1,108.54
GROUP02 183
40.58% $1,327.80
GROUP03 12
0.40% $13.25
GROUP99 13
0.54% $17.80
------------------------
TL 862
$3,272.00
—Read symbol/report title
—Report code
—Group No./No. of items
—Sales ratio/group amount
—Group total No. of items
—Group total amount
Group report
Open check report
—Report header/title
—Report code
—Mode symbol/date/time
—Clerk descriptor/Mc-No./consecutive No.
—Table No./No. of customer
—Check No.
—Subtotal amount
—Print “BUSY”, if the check is currently opened.
—No. of open check
—Open check total
Z OPEN CHECK
0001025
REG 03-04-2008 09:02
C
01 0001 000004
TABLE No.123456 CT 12
CHECK No.
123
$250.00
REG 03-04-2008 09:02
C
01 MC#01 000006
TABLE No.111111 CT 14
CHECK No.12345678
BUSY
$300.00
------------------------
TL No 28
$1,374.00
Electronic journal report
—Report header/title
—Report code
—Journal image
X E-JOURNAL
0000058
REG 03-06-2008 11:58
C
01 0001 000123
1 DEP0T01 T1 $1.00
1 DEPT002 T1 $2.00
5 DEPT003 $5.00
7 No
TA1 $3.00
TX1 $0.15
TX1 $0.10
TL
$8.10
CASH $10.00
CG $1.90
REG 03-06-2008 11:59
C
01 0001 000124

94
Advanced Operations and Setups
E
• Periodic sales read report (“X2” mode)
You can print read reports at any time during the business day without affecting the data stored in the cash
register's memory.
• Periodic sales reset report (“Z2” mode)
You should print reset reports at the end of the business day.
To print the periodic 1/2 sales read/reset reports
These reports show sales breakdowns of sales by any two kinds of period you want.
OPERATION DISPLAY
1. Turn to X2/Z2 mode.
X
REG
OFF
RF
PGM
Z
X2/Z2
PGM
Mode switch
2. Select report you want to get by the <RC> key.
3. Press <CASH> to print report.
XZ NEXT:RC
PERIODIC 1X
~00
RPT
AMOUNT
T1 T2 T3 T4
TOTAL CHANGE
XZ NEXT:RC
PERIODIC 1Z
~00
RPT
AMOUNT
T1 T2 T3 T4
TOTAL CHANGE
XZ NEXT:RC
PERIODIC 2X
~00
RPT
AMOUNT
T1 T2 T3 T4
TOTAL CHANGE
XZ NEXT:RC
PERIODIC 2Z
~00
RPT
AMOUNT
T1 T2 T3 T4
TOTAL CHANGE

95
Advanced Operations and Setups
E
*1 Zero totalled departments/functions (the amount and item numbers are both zero) are not printed.
*2 These items can be skipped by programming.
------------------------
ZZ1 TRANS 0001
0001112
CASH No 362
$1,638.04
CHARGE No 56
$1,174.85
RC No 4
$810.00
PD No 5
$5.00
CORR No 14
$39.55
RCT No 3
NS No 5
------------------------
ZZ1 CASHIER 0001
0001117
C
01 ...............1
NET No 111
$1,845.35
C
02 ...............1
—Function key report title/reset counter
—Report code
—Function key count/amount *1
—Clerk report title/reset counter
—Report code
—Clerk name
—Net total
—Clerk name
------------------------
ZZ1 PERIODIC 1Z
------------------------
ZZ1 DEPT 0001
0001115
DEPT001 38
8.13% $257.53
DEPT002 18
$1,362.26
------------------------
TL 88.61
$1,916.10
------------------------
ZZ1 FIX 0001
0001111
GROSS 981.25
$6,574.40
NET No 111
$7,057.14
CAID $6,919.04
CHID $139.04
CKID $859.85
CRID(1) $709.85
CRID(2) $0.00
CRID(3) $0.00
CRID(4) $0.00
------------------------
RF No 3
$10.22
CUST CT 111
AVRG $63.57
DC $1.22
REF $2.42
ROUND $0.00
CANCEL No 2
$12.97
------------------------
TA1 $2,369.69
TX1 $128.86
TA2 $2,172.96
TX2 $217.33
—
Report title
—Department report title/reset counter
—Report code
—Department Name/No. of items *1
—Sales ratio/amount *1
—Total No. of items
—Total amount
—Fixed total report title/reset counter
—Report code
—Gross total *2
—Net total *2
—Cash in drawer *2
—Charge in drawer *2
—Check in drawer *2
—Credit in drawer 1 *2
—Credit in drawer 2 *2
—Credit in drawer 3 *2
—Credit in drawer 4 *2
—Refund mode *2
—Customer number *2
—Average sales per customer *2
—Discount total *2
—Refund key *2
—Rounding total *2
—Cancellation *2
—Taxable 1 amount *2
—Tax 1 amount *2
—Taxable 2 amount *2
—Tax 2 amount *2

96
Advanced Operations and Setups
E
To print key descriptor, name, message program (except PLU)
OPERATION REPORT
1. Turn to PGM mode.
2. Enter <2> and press <ST> key.
3. Press <ST> key.
Reading the cash register's program
To print unit price/rate program (except PLU)
OPERATION REPORT
1. Turn to PGM mode.
2. Enter <1> and press <ST> key.
3. Press <ST> key.
P
02 ....................
GROSS 0001-01
NET 0002-01
CAID 0003-01
CATL 0004-01
0005-01
CASH 0001-02
CHECK 0002-02
PD 0003-02
0004-02
DEPT001 0001-05
DEPT002 0002-05
DEPT03 0003-05
0004-05
GROUP01 0001-06
GROUP02 0002-06
GROUP03 0003-06
0004-06
C
01 0001-07
C
02 0002-07
C
03 0003-07
0004-07
GT 0001-20
• @No/ ** ⁄ 0001-23
NoCT @LB *QT 0002-23
X BUSY 0003-23
—Program read symbol
—Fix total character
—Transaction key character
—Department character
—Group character
—Clerk character
—GT character
—Special character
FIX 0001-24
TRANS 0002-24
PLU 0003-24
0004-24
DAILY X 0001-29
PERIODIC 1X 0002-29
PERIODIC 2X 0003-29
0004-29
0001-32
YOUR RECEIPT
0002-32
THANK YOU
0001-39
CHARACTER RECALL********
****************
0002-39
*************
MC#01 0001-91
0001-97
—Report header character
—Batch X/Z character
—Receipt message
—Text recall character
P
01....................
CASH @0.00
- @1.00
%- 10%
DEPT001 0001-05
@1.00
DEPT002 0002-05
@2.00
—Program read symbol
—Transaction key unit price or rate
—Department descriptor/rec-#/05
—Unit price

97
Advanced Operations and Setups
E
To print the machine program (except PLU)
OPERATION REPORT
1. Turn to PGM mode.
2. Enter <3> and press <ST> key.
3. Press <ST> key.
—Program read symbol
—Transaction key program
—Key character/rec-#/file-#
—Key program
Department program
—Key character/rec-#/file-#
—Key program
—Address code 11 program
—Address code 15 program
Clerk program
—Clerk name/rec-#/file-#
—Clerk #/secret-#
—Compulsory
—Commission rate
—Time range program
—General control program
—Tax table
—Batch X/Z program
0001-30
NET 0001-01
0020-01
0001-38 000001
REG1 204-000
1 001-000
2 002-000
DEPT001 026-051
CASH 013-001
0002-38
0001-62 000000
00000000000000
0000000000
MC#01 0001-91
00000000
0001-98 00000000000000
0002-98 00000000000000
—Clerk detail link program
Arrangement program
—Rec-#/file-#/arrange no.
—Key descriptor/rec-#/file-#
—Scheduler program
—I/O parameter table
P
03 ....................
CASH 0001-02
00000000000000
CHECK 0002-02
00000000000000
PD 0003-02
00000000000000
DEPT001 0001-05
00000000000000
11-66 00000000
15-66 @1.23
0002-05
C
01 0001-07
0001000001
67 0000000000
68 00000000
0002-07
0001-09 00:00 -> 01:00
0002-09 01:00 -> 02:00
02:00 -> 03:00
0001-22 2200000000
0002-22 0000000000
0003-22 0000000000
0001-28
0002-28
0001-25
TX1 10.25%
TX1 0000
TX1 5003
DAILY X 0001-29
00 11-12-17-15-00
00-00-00-00-00
PERIODIC 1X 0002-29
01 11-12-17-15-00
00-00-00-00-00

98
Advanced Operations and Setups
E
P
04 ....................
1 -----------------------
00 0015-02
011-096
. 0009-02
012-098
CASH 0004-02
013-001
—Program read symbol
—Function character/rec-#/file-#
—Hard key code/function code
To print the PLU unit price
OPERATION REPORT
1. Turn to PGM mode.
2. Enter <6> and press <ST> key.
3. Enter <104> and press <ST> key.
4. Enter <start rec-#> and <CA> key.
5. Enter <end rec-#> and <CA> key.
To print the PLU descriptor
OPERATION REPORT
1. Turn to PGM mode.
2. Enter <6> and press <ST> key.
3. Enter <204> and press <ST> key.
4. Enter <start rec-#> and <CA> key.
5. Enter <end rec-#> and <CA> key.
To print the PLU program
OPERATION REPORT
1. Turn to PGM mode.
2. Enter <6> and press <ST> key.
3. Enter <304> and press <ST> key.
4. Enter <start rec-#> and <CA> key.
5. Enter <end rec-#> and <CA> key.
—Program 3 mode symbol
— PLU range
—PLU descriptor/rec-#/file-#
—Address code 01 ~ 10, 18 program
—Address code 11 program
—Address code 13 program
—Address code 15 program
P
03 ....................
#0001 - #0010
PLU0001 0001-04
00000000000000
11-66 000000
13-66 <- 0001-28
14-66 0
15-66 @1234.56
PLU0002 0002-04
To print the key allocation program
OPERATION REPORT
1. Turn to PGM mode.
2. Enter <4> and press <ST> key.
3. Press <ST> key.
P
01....................
#0001 - #0010
PLU0001 0001-04
@1.00
PLU0002 0002-04
@2.00
—Program read symbol
— PLU range
—PLU descriptor/rec-#/04
—Unit price
—Program 2 mode symbol
— PLU range
— PLU character
P
02 ....................
#0001 - #0010
PLU0001 0001-04
PLU0002 0002-04
PLU0003 0003-04

99
Advanced Operations and Setups
E

100
E
This section describes what to do when you have problems with operation.
When an error occurs
Errors are indicated by an error codes. When this happens, you can usually find out what the problem is
as illustrated below.
Press C and check the appropriate section of this manual for the operation you want to perform.
Troubleshooting
E001
E003
E004
E008
E010
E011
E016
E017
E018
E019
E021
E026
E029
E031
E033
E035
E036
E037
E038
E040
E046
E049
E050
E051
E053
E075
Mode switch position changed before finalization.
The signed on clerk differs from the clerk performed
the tracking check registration.
Initialization or unit lock clear operation in progress.
Registration without entering a clerk number.
The drawer is left open longer than the program time
(drawer open alarm).
Attempt to register while the cash drawer is open.
Two consecutive transactions attempted in the refund
mode.
Attempt made to register an item without inputting a
check number.
Attempt made to register an item without inputting a
table number.
Finalize operation attempted without entering the
number of customer.
No department linked PLU is registered.
No condiment/preparation PLU is registered.
Item registration is prohibited, while partial tender.
Finalization of a transaction attempted without
confirming the subtotal.
Finalize operation attempted without entering amount
tender.
Change amount exceeds preset limit.
Contents of the drawer exceed programmed limit.
High amount lock out/low digit lock out error
Read/reset operation without declaring cash in drawer.
This error appears only when this function is activated.
Attempt to register a new transaction without issuing a
guest receipt.
Registration buffer full.
Check tracking index memory full.
Check tracking detail memory full.
Attempt to made use <New Check> to open a new
check using a number that is already used for an
existing check in check tracking memory.
Attempt made to use <Old Check> reopen a new check
using a number that is not used for an existing check in
check tracking memory.
Attempt to finalize a transaction when balance is less
than or equal to zero.
Error
code Message Meaning Action
Return the mode switch to its original setting and
finalize the operation.
Input correct check number or assign the proper clerk
number.
Complete operation.
Enter a clerk number.
Close the drawer.
Shut the cash drawer.
Switch to another mode and then back to the RF mode
for the next transaction.
Input a check number.
Input a table number.
Enter the number of customer.
Correct the program.
Register condiment/preparation PLU.
Finalize the transaction.
Press <SUBTOTAL>.
Enter the amount tendered.
Input amount tendered again.
Perform paidout operation.
Enter correct amount.
Perform money declaration.
Issue a guest receipt.
Finalize the transaction.
Finalize and close the check number currently used.
Finalize and close the check number currently used.
Finalize and close the check that is currently under the
number that you want to use or use a different check
number.
Use the correct check number (if you want to reopen a
check that already exists in check tracking memory) or
use <New Check> to open a new check.
Register item(s) until the balance becomes positive
amount.
Wrong mode
Wrong operator
Error INIT/FC
Please sign on
Close the drawer
Close the drawer
Change back to REG
mode
Enter CHK/TBL number
Enter Table number
Enter number of
customers
No DEPT Link
Enter condiment/
preparation PLU
In the tender opera-
tion
Press ST key
Enter tendered amount
Change amount exceeds
limit
Remove money from the
drawer
Digit or amount
limitation over
Perform money declara-
tion
Issue guest receipt
REG buffer full
CHECK memory full
DETAIL memory full
CHK/TBL No. is occu-
pied
CHK/TBL No. is not
opened
Negative balance
cannot be finalized

101 E
Troubleshooting
Troubleshooting
When the cash drawer does not open!
In case of power failure or the machine is in malfunction, the cash
drawer does not open automatically. Even in these cases, you can
open the cash drawer by pulling drawer release lever (see below).
Important!
The drawer will not open, if it is locked with a drawer lock key.
When the * sign appears on the display
•Electronic journal memory near-end and memory full:
Important!
•When the register shows this sign, issue electronic journal read report (if nec-
essary) and reset this memory immediately.
Error
code Message Meaning Action
E101
E103
E105
E106
E112
E114
E139
E146
E200
E201
E202
E205
PLU maintenance file
full. Press <#2> to
exit
PLU Code is not exist.
Input the PLU Code
PLU file full
Item exists in the PLU
FILE
Close the journal
platen arm
Close the receipt
platen arm
Negative balance is not
allowed
Arrangement file full
Insert RAC
Illegal Format
File not found
File already exist.
Scanning PLU direct maintenance/batch maintenance
file becomes full.
PLU code is not existed in the file.
Scanning PLU file full
The designated item has already existed in the
scanning PLU file.
The journal platen arm is opened.
The receipt platen arm is opened.
Attempt to register <–> or <CPN> when the balance
becomes negative.
Arrangement file is full.
RAC is set.
Illegally formatted RAC
The designated file is not found in the RAC.
Can not write, because designated file has already been
in the RAC.
Terminate the maintenance.
Enter proper PLU code.
Modify the designated item.
Close the journal platen arm.
Close the receipt platen arm.
Enter proper minus/coupon amount.
Set the arrangement properly.
Set RAC.
Format the RAC.
Enter proper file name.
Check the operation and retry.
*
~00
RPT
AMOUNT
T1 T2 T3 T4
TOTAL CHANGE
Electronic journal memory near end memory full symbol

102
E
Troubleshooting
Clearing a machine lock up
If you make a mistake in operation, the cash register may lock up to avoid damage to programs and preset
data. Should it happens, you can use the following procedure to clear the lock up without losing any data.
1 Power off the register.
2 Insert the PGM key in the mode switch.
3 Press down f, and turn the mode switch to PGM mode.
4 The display shows 0.00, then release f.
5 Press s, then issue a receipt.
When the register does not operate at all
Perform the following check whenever the cash register enter an error condition as soon as you switch it
on. The results of this check are required by service personnel, so be sure to perform this check before
you contact a CASIO representative for servicing.
Start
Is register plugged in?
Is power on?
Do figures appear on the display?
Do keys function?
Does paper feed?
Plug in the power cord.
Set the mode switch to any position other than OFF.
Use other outlet.
Set to correct position.
Load paper.
Set platen arm correctly.
Is the electrical outlet active?
Contact CASIO service
representative.
Is the mode position correct?
Contact CASIO service
representative.
Is paper loaded correctly?
Is the platen arm closed correctly?
Contact CASIO service
representative.
YES
N O

103 E
In case of power failure
If the power supply to the cash register is cut by a power failure or any other reason, simply wait for
power to be restored. The details of any ongoing transaction as well as all sales data in memory are
protected by the memory backup batteries. (This is the reason to install the batteries.)
•Power failure during a registration
The subtotal for items registered up to the power failure is retained in memory. You will be able to continue
with the registration when power is restored.
•Power failure during printing a read / reset report
The data already printed before the power failure is retained in memory. You will be able to issue a report when
power is restored.
•Power failure during printing of a receipt / journal
Printing will resume after power is restored. A line that was being printed when the power failure occurred is
printed in full.
•Other
The power failure symbol is printed and any item that was being printed when the power failure occurred is
reprinted in full.
Important!
Once receipt / journal printing or printing of a report starts, it can be stopped only by interruption of
power to the cash register.
Troubleshooting
When the L sign appears on the display
About the low battery indicator…
The following shows the low battery indicator.
If this indicator appears when you switch the cash register on, it can mean one
of three things:
•No memory backup batteries are loaded in the cash register.
•The power of the batteries loaded in the unit is below a certain level.
•The batteries loaded in the unit are dead.
Important!
Whenever the low battery indicator appears on the display, load a set of two new batteries as soon
as possible. If there is a power failure or you unplug the cash register when this indicator appears,
you will lose all of your sales data and settings.
BE SURE TO KEEP THE POWER CORD OF THE CASH REGISTER
PLUGGED IN WHENEVER YOU REPLACE THE BATTERIES.
Troubleshooting
INIT
llllllllll
RPT
AMOUNT
T1 T2 T3 T4
TOTAL CHANGE

104
E
User Maintenance and Options
Step 2
Press f to feed about 20
cm of paper.
Step 3
Cut the journal paper at the
point where nothing is
printed.
Step 4
Remove the journal take-
up reel from its holder.
Step 5
Remove the paper guide
from the take-up reel.
Step 6
Slide the printed journal
from the take-up reel.
Step 7
Open the platen arm.
Step 8
Remove the old paper roll
from the cash register.
Step 9
Load new paper.
Go to the step 3 described
on page 12 of this manual.
Step 1
Set the mode switch to the
REG position and remove
the printer cover.
To replace journal paper
X
REG
OFF
RF
PGM
Z
X2/Z2

105 E
Options
P-5880T roll paper
WT-90, 91 wetproof cover
The optional wetproof cover protects the keyboard from moisture damage.
Consult your CASIO dealer for details.
User Maintenance and Options
Step 1
Set the mode switch to the
REG position and remove
the printer cover.
Step 2
Open the platen arm.
Step 3
Remove the old paper roll
from the cash register.
Step 4
Load new paper.
Go to the step 3 described
on page 11 of this manual.
To replace receipt paper X
REG
REG
OFF
OFF
RF
RF
PGM
PGM
Z
X2/Z2
User Maintenance and Options

106
E
Specifications
Contents
No. of Amount No. of items Count No. of Periodic
Category Totalizers (10 digits) (4 digits) (4 digits) customers Totalizer
(4 digits)
Department 200 ✔ *1 ✔ *3 ✔
PLU 2000 ✔ *1 ✔ *3
Hourly sales 24 ✔ *1 ✔ *4
Monthly 31 ✔ *1 ✔ *4
Clerk 30 ✔ *1 ✔ *4
-- ✔ *1 or ✔ *4 or ✔ *4 or ✔ *4 ✔
1✔ *2
Reset counter 8 ✔ *4 ✔
Consecutive No. 1 ✔ *4
*1: -9,999,999.99 ~ 99,999,999.99 *2: -999,999,999.99 ~ 9,999,999,999.99 *3: -999.99 ~ 9999.99 *4: 1 ~ 9999
* Specifications and design are subject to change without notice.
Input method
Entry: 10-key system, buffer memory 8 keys (2-key roll over)
Department: Full key system
Display
Main:
Amount 10 digits (zero suppression); No. of repeats, total, change, transaction indicator
Descriptor 16 digits × 2 lines; item descriptor, No. of items, mode, clerk name
Customer: Amount 8 digits (zero suppression)
Printer
Receipt / Journal: Thermal alpha-numeric system 24 digits
Receipt: Store name or slogan is printed automatically / with receipt on/off key
Journal: Automatic take up roll winding
Paper roll: 58 (W) × 80 (D) mm
Paper thickness: 0.06 ~ 0.085 mm
Paper feed: Separate for receipt and journal
Print speed: About 14 l/s
Listing capacity
Amount: 99999999
Quantity: 9999.999
Tendered amount: 9999999999
Percent: 99.99
Tax rate: 9999.9999
Numbers: 9999999999999999
Chronological data
Date print: Automatic date printout on receipt or journal, automatic calendar
Time print: Automatic time printout on receipt or journal, 24-hour system/12-hour system
Alarm Key catch tone, error alarm, sentinel alarm
Memory protection battery
The effective service life of memory protection batteries (two new size AA alkaline batteries) is
approximately one year from installation into the machine.
Power supply/power consumption
See the rating plate.
Operation temperature 0˚C ~ 40˚C (32˚F ~ 104˚F)
Humidity 10 ~ 90%
Dimensions and weight 198mm (H) × 330mm (W) × 360mm (D) / 5.5kg …with small size drawer
(7.8" (H) × 13" (W) × 14.1" (D) / 12lbs. 2oz.)
Non resettable
grand sales total
Transaction key
& fix total

107 E
Index
Specifications/Index
A
add check 26, 56
addition 26, 61, 82
age limitation 78, 81
age verification 26, 53, 83
allocatable function 26
alphabet key 63, 64
arrangement 26, 60, 84, 86
B
backlight 76
bottom message 28
C
cancel 24, 26, 46
CAPS key 63
cash 24, 26, 81
cash in drawer 47
change 31
character enter key 63, 64
character keyboard 63
character manual input 63
charge 26, 40, 81
check 24, 26, 40, 81
check adding 54
check closing 55
check opening 54
check tracking 54, 75
clear 24
clear key 63, 64
clerk 48
clerk function 74
clerk interrupt 58, 74
clerk name 67
clerk number 24, 26, 48, 85
commercial message 28
commission 78, 81, 85
compressed print 76
condiment / preparation 59, 78
consecutive number 28, 70
correction 44, 45
coupon 26, 52, 82
credit 26, 40, 84
credit balance 71
currency exchange 26, 50, 73, 83
customer display 20, 22
customer number 26, 57
D
daily sales X 20
daily sales X report 88
daily sales Z 20
daily sales Z report 47, 88
daily X report 89
daily Z report 17, 90
date 30
date set 13
delete key 63, 64
department 25, 26, 31, 66, 78, 79, 88
department number 26, 32
department report 47
department shift 26, 32
descriptor 62
descriptors by list 62
discount 24, 26, 38, 82
display 22
double size letter key 63, 64
double Z report 73
drawer 20
drawer key 20
drawer lock 20
E
electronic journal 89
electronic journal report 93
enter 26
error correct 24, 26
F
feed 24
fixed total report 47
flash report 92
flat-PLU 26, 57, 66, 78, 79
function code 86
function key 66
function key report 47
G
general control program 70
grand total 47, 69
gross total 47
group report 93
guest receipt 24, 27, 55
H
hash 78, 81
help 24, 26
high amount limit 33, 80
high amount limitation 34
hourly report 92
I
individual key report 88
item counter 28, 71
J
journal 12, 28
journal skip 71
K
key catch tone 71
key function program 78
keyboard 20
keyboard layout 87

108
E
Index
L
link 80
logo message 28
low digit limitation 78, 81
M
machine feature program 70
machine number 28, 70
magnetic plate 20
main display 20, 22
manual tax 26
memory protection 10
menu sheet 21
menu shift 25, 26, 57
merchandise subtotal 25, 26, 41, 83
message 67
message control 75
mixed tender 40
mode switch 20, 21
monthly report 92
multi tapping 64
multiplication 24, 26, 32, 36
multiplication / for 24, 27, 32, 37, 83
N
negative price 78, 81
net total 47
new / old check 26, 54, 55
new balance 25, 26, 84
new check 25, 26, 54
no sale 25, 26, 43
non-add 25, 26, 82
non-add / no sale 26, 82
O
OFF mode 20
old check 25, 26, 54
open 26
open check report 89, 93
open PLU 37, 78, 81
operator key 20
P
paid out 24, 26, 43, 82
paper install 11
periodic sale X/Z 20
periodic sales X report 94
periodic sales Z report 94
PGM mode 20
platen 11
PLU 24, 27, 35, 78, 79, 88
PLU report 92
pop-up display 20, 21
post receipt 24, 27
premium 27, 52, 82
preset graphic 28, 62, 76
preset message 28, 62, 76
preset price 34
preset tax status 34
price 24, 27
print control 71, 72, 73, 74
printer 20
printer cover 20
program backup 16
program end key 63, 64
program key 20
program mode 20
program report 96
R
R/J selection 16
rate 38
receipt 11, 28
receipt control 74
receipt on/off 24, 27
received on account 24, 27, 43, 82
reduction 24, 26, 39, 82
refund 24, 27, 42
refund mode 20
REG mode 20
register mode 20
repeat 23, 31, 36
report 88
report descriptor 68
report sample 91
report title 47, 69
RF mode 20, 42
right cursor key 64
roll paper 20
S
set menu 59, 80, 86
shift key 63
sign off 24, 27, 48
sign on 48
single item 31, 36, 49, 78, 81
space key 64
special character 69
stand-by 20
status indicator 23
subdepartment 24, 27
subtotal 24, 27, 31, 83
subtotal compulsory 71

109 E
Index
Index
T
take-up reel 12, 20
tax program 24, 27
tax shift 25, 27, 41, 83
tax status 33, 35, 38, 39
tax system 70
tax table 14
taxable status 81
text recall 27, 57, 69, 84
thermal paper 11
time 30
time set 13
tip 27, 60
training clerk 84
U
unit price 31, 33, 35
V
VAT 27
void 27, 61
W
watermark 16
X
X mode 20, 88
X2/Z2 mode 20, 94
Z
Z mode 20, 88
zero skip 73
zero unit price 78, 81

LIMITED WARRANTY: ELECTRONIC CASH REGISTERS
This product, except the battery, is warranted by Casio to the original purchaser to be free from defects in material and workmanship under normal use for a period,
from the data of purchase, of one year for parts and 90 days for labor. For one year, upon proof of purchase, the product will be repaired or replaced (with the same
or a similar model) at Casio's option, at a Casio Authorized Service Center without charge for parts. Labor will be provided without charge for 90 days. The
terminal resident software and programmable software, if any, included with this product or any programmable software which may be licensed by Casio or one
of its authorized dealers, is warranted by Casio to the original licensee for a period of ninety (90) days from the date of license to conform substantially to
published specifications and documentation provided it is used with the Casio hardware and software for which it is designed.
For a period of ninety (90) days, upon proof of license, Casio will, at its option, replace defective terminal resident software or programmable software, correct
significant program errors, or refund the license fee for such software. Significant program errors will be significant deviations from written documentation or
specifications. These are your sole remedies for any breach of warranty. In no event will Casio's liability exceed the license fee, if any, for such software. This
warranty will not apply if the product has been misused, abused, or altered.
Without limiting the foregoing, battery leakage, bending of the unit, a broken display tube, and any cracks or breaks in the display will be presumed to have
resulted from misuse or abuse. To obtain warranty service you must take or ship the product, freight prepaid, with a copy of the sales receipt or other proof of
purchase and the date of purchase, to a Casio Authorized Service Center. Due to the possibility of damage or loss, it is recommended when shipping the product
to a Casio Authorized Service Center that you package the product securely and ship it insured. CASIO HEREBY EXPRESSLY DISCLAIMS ALL OTHER
WARRANTIES, EXPRESS OR IMPLIED, INCLUDING ANY IMPLIED WARRANTY OF MERCHANTABILITY OR OF FITNESS FOR A PARTICULAR
PURPOSE. NO RESPONSIBILITY IS ASSUMED FOR ANY INCIDENTAL OR CONSEQUENTIAL DAMAGES, INCLUDING WITHOUT LIMITATION
DAMAGES RESULTING FROM MATHEMATICAL INACCURACY OF THE PRODUCT OR LOSS OF STORED DATA. SOME STATES DO NOT AL-
LOW THE EXCLUSION OR LIMITATION OF INCIDENTAL OR CONSEQUENTIAL DAMAGES, SO THE ABOVE LIMITATIONS OR EXCLUSIONS
MAY NOT APPLY TO YOU. This warranty gives you specific rights, and you may also have other rights which vary from state to state.
CASIO, INC.
570 MOUNT PLEASANT AVENUE,
P. O. BOX 7000, DOVER, NEW JERSEY 07801 U.S.A.
Model:.........................................Serial Number:......................................Date of Purchase:........................................
Your Name:....................................................................................................................................................................
Address:........................................................................................................................................................................
Dealer's Name:..............................................................................................................................................................
Address:........................................................................................................................................................................

CASIO COMPUTER CO., LTD.
6-2, Hon-machi 1-chome
Shibuya-ku, Tokyo 151-8543, Japan
MO0712-A Printed in Indonesia
TK-950*E