Central Pneumatic Premium Air Riveter Users Manual
2015-02-03
: Central-Pneumatic Central-Pneumatic-Premium-Air-Riveter-Users-Manual-467720 central-pneumatic-premium-air-riveter-users-manual-467720 central-pneumatic pdf
Open the PDF directly: View PDF
.
Page Count: 11

PREMIUM AIR RIVETER
Model
95173
ASSEMBLY AND OPERATION INSTRUCTIONS
Due to continuing improvements, actual product may differ slightly from the product described herein.
®
3491 Mission Oaks Blvd., Camarillo, CA 93011
Visit our website at: http://www.harborfreight.com
TO PREVENT SERIOUS INJURY, READ AND UNDERSTAND
ALL WARNINGS AND INSTRUCTIONS BEFORE USE.
Copyright© 2006 by Harbor Freight Tools®. All rights reserved. No portion of this
manual or any artwork contained herein may be reproduced in any shape or form
without the express written consent of Harbor Freight Tools.
For technical questions or replacement parts, please call 1-800-444-3353.
MANUAL REVISED 01/07

SKU 95173 For technical questions, please call 1-800-444-3353 PAGE 2
SPECIFICATIONS
Rivet Capacity (Pin Diameter) 3/32”, 1/8”, 5/32”, 3/16”
Operating Air Pressure 85 to 90 PSI
Air Consumption 4.5 SCFM @ 90 PSI
Air Inlet Size 1/4”-18 NPT
Overall Dimensions 11” High x 10-1/8” Long x 4” Wide
Weight ~3 Pounds
SAVE THIS MANUAL
You will need this manual for the safety warnings and precautions, assembly, oper-
ating, inspection, maintenance and cleaning procedures, parts list and assembly diagram.
Keep your invoice with this manual. Write the invoice number on the inside of the front
cover. Keep this manual and invoice in a safe and dry place for future reference.
UNPACKING
When unpacking, check to make sure that all the parts and accessories listed on
page 10 are included, and the product is intact and undamaged. If any parts are miss-
ing or broken, please call Harbor Freight Tools at the number shown on the cover of this
manual as soon as possible.
SAFETY WARNINGS AND PRECAUTIONS
WARNING! Use eye and hearing protection. Always wear ANSI-ap-
proved safety impact goggles and hearing protection when using this
Riveter. Other people in the work area must also wear appropriate ANSI-
approved safety equipment.
Keep work area clean. Cluttered areas invite accidents.
WARNING! Keep all body parts clear of the Rivets while the Riveter is connected
to the air hose.
Always wear heavy duty work gloves when operating the Riveter.
Stay within air pressure capacity. Never operate the Riveter above 90 PSI.
Observe work area conditions. Keep work area well lit.
Keep children away. Children must never be allowed in the work area. Do not let
them handle machines, tools, extension cords, or air hoses.
Store idle equipment. When not in use, tools must be stored in a dry location to
inhibit rust. Always lock up tools and keep out of reach of children.
1.
2.
3.
4.
5.
6.
7.
8.
SKU 95173 For technical questions, please call 1-800-444-3353 PAGE 3
Use the right tool for the job. Do not attempt to force a small tool or attachment
to do the work of a larger industrial tool. There are certain applications for which
this tool was designed. It will do the job better and more safely at the rate for which
it was intended. Do not modify this tool, and do not use this tool for a purpose for
which it was not intended.
Dress properly. Do not wear loose clothing or jewelry as they can be caught i mov-
ing parts. Protective, electrically non-conductive clothes and non-skid footwear are
recommended when working. Wear restrictive hair covering to contain long hair.
Do not overreach. Keep proper footing and balance at all times. Do not reach
over or across running tools or air hoses.
Disconnect air hose and release any built-up air pressure. Never service the
Riveter or disassemble with the air hose attached. Always release any built-up air
even after disconnecting hose. Disconnect the Riveter when not in use.
Remove adjusting wrenches. Check that adjusting wrenches are removed from
the tool and work surface before attaching to an air source.
Avoid unintentional starting. Be sure the Trigger (25) is in the OFF position when
not in use and before plugging in. Do not carry any tool with your finger on the
Trigger, whether it is attached to an air source or not. Do not point the tool towards
yourself or anyone.
Stay alert. Watch what you are doing. Use common sense. Do not operate any
tool when you are tired.
Check for damaged parts. Before using any tool, any part that appears damaged
should be carefully checked to determine that it will operate properly and perform
its intended function. Check for alignment and binding of moving parts, any broken
parts, and any other condition that may affect proper operation. Any part that is
damaged should be properly repaired or replaced by a qualified technician. Do not
use the tool if the Trigger does not operate properly.
Replacement parts and accessories. This product is to be repaired and serviced
only by a qualified technician. When this product is serviced, only identical replace-
ment parts should be used. Use of any other parts will void the warranty. Only use
accessories intended for use with this tool. Approved accessories are available
from Harbor Freight Tools.
Do not operate tool if under the influence of alcohol or drugs. Read warning
labels if taking prescription medicine to determine if your judgement or reflexes are
impaired while taking drugs. If there is any doubt, do not operate the tool.
Maintenance. The maintenance outlined in the “Maintenance” section of this manual
should be performed regularly. For your safety, this product should be serviced or
repaired regularly only by a qualified technician.
9.
10.
11.
12.
13.
14.
15.
16.
17.
18.
19.
SKU 95173 For technical questions, please call 1-800-444-3353 PAGE 4
Compressed air only. Use clean, dry, regulated, compressed air between 85 PSI
and 90 PSI. Never use oxygen, carbon dioxide, combustible gases, or any other
bottled gas as a power source for this tool.
Fire the Rivets into an appropriate work surface only. This Riveter is designed
for use on metal objects only, and is not suitable for soft surfaces.
Do not fire the Rivets too close to the edge of a workpiece. They may split the
workpiece and cause it to fly free, causing personal injury.
Transport the Riveter safely. Always disconnect the air supply when moving the
tool in the workplace. Carry the tool by the handle and avoid contact with the Trig-
ger (25).
Always attach the Bottle (15) to the Riveter prior to using the tool.
Avoid working alone. If an accident happens, an assistant can bring help.
WARNING! Some dust created by power sanding, sawing, grinding, drilling, and
other construction activities contain chemicals known (to the State of California) to
cause cancer, birth defects, or other reproductive harm.
Some examples of these chemicals are:
Lead from lead-based paints,
Crystalline silica from bricks, cement, and other masonry products,
Arsenic and chromium from chemically treated lumber.
(California Health & Safety Code § 25249.5, et seq.)
WARNING! The warnings, cautions, and instructions discussed in this instruction
manual cannot cover all possible conditions and situations that may occur. It must
be understood by the operator that common sense and caution are factors which
cannot be built into this product, but must be supplied by the operator.
20.
21.
22.
23.
24.
25.
26.
•
•
•
27.

SKU 95173 For technical questions, please call 1-800-444-3353 PAGE 5
ASSEMBLY INSTRUCTIONS
REGULATOR
FIGURE A FILTER
OILER
For best service, you should incorporate an oiler, regulator, and in-line filter, as shown
in the diagram above. Hoses, couplers, oilers, regulators, and filters are all available
at Harbor Freight Tools. NOTE: If an automatic oiler is not used, put 3-5 drops of
pneumatic Tool Oil (not included) in the tool’s quick connector before each use.
FIGURE B
QUICK CONNECTOR
(NOT INCLUDED)
AIR INLET
(35)
Prior to use, the Riveter requires the attachment of a Quick Connector (not included)
to its Air Inlet (35). To do so, make sure the screen Air Filter is properly seated in
the Air Inlet (35). Wrap approximately 3” of pipe thread sealer tape (not included)
around the male threads of the Quick Connector. Then, firmly tighten the Quick
Connector into the Air Inlet. (See Figure B.)
To Install A Nosepiece:
The Riveter comes with a set of four Nosepieces (1). The sizes of the Nosepieces
are 3/32”, 1/8”, 5/32”, and 3/16” and must be matched with the size of the rivet pin
(3/32”, 1/8”, 5/32”, or 3/16”) you intend to use. (See Figure D.)
Use the accessory Spanner when changing Nosepieces (1). Also, use care when
unscrewing a Nosepiece as the spring action in the Outer Cylinder (2) will cause
the Nosepiece to “pop out”. (See Figure D.)
Note: Nosepieces are stored underneath the Base Cover (34).
1.
2.
1.
2.

SKU 95173 For technical questions, please call 1-800-444-3353 PAGE 6
OPERATION
BOTTLE
(15)
TRIGGER
(25)
NOSEPIECE
(1)
OUTER CYLINDER
(2)
AIR SUPPLY HOSE
(NOT INCLUDED) FIGURE D
Make sure the Bottle (15) is firmly inserted onto the Airproof Lid (16) of the Riveter.
(See Figure D.)
Depending on the size of rivet pin used, attach the corresponding Nosepiece size
(3/32”, 1/8”, 5/32”, or 3/16”) with the accessory Spanner. (See Figure D.)
IMPORTANT: When drilling rivet holes in a workpiece, make sure to use the same
diameter drill bit as the outer diameter of rivet sleeve you will be using.
Attach an air hose to the previously installed Quick Connector of the Riveter.
(See Figure D.)
Turn on the air compressor, and set its regulator at 90 PSI. Do not exceed 90
PSI.
Insert the pin (long, thin end) of a rivet fully into the Nosepiece (1). CAUTION!
Make sure to NEVER to touch the Trigger (25) when you are inserting rivets.
(See Figure D.)
Insert the sleeve (short, thick end) of the rivet through the pre-drilled hole in the
workpiece.
Hold the Riveter firmly with both hands, and squeeze the Trigger (25) to activate
the Riveter. Repeat as necessary. Then, release pressure on the Trigger.
(See Figure D.)
When finished using the Riveter, turn off the air compressor. Squeeze the Trigger
(25) again to release any compressed air in the Riveter. Then, disconnect the air
hose from the tool. (See Figure D.)
Remove the Bottle (15), and empty the used rivets in a proper trash container. Then,
store the Riveter in a clean, dry, safe location out of reach of children and other
unauthorized people. (See Figure D.)
1.
2.
3.
4.
5.
6.
7.
8.
9.
10.

SKU 95173 For technical questions, please call 1-800-444-3353 PAGE 7
INSPECTION, MAINTENANCE, AND CLEANING
WARNING! Always wear ANSI-approved safety impact goggles when perform-
ing any inspection, maintenance, or cleaning procedures.
WARNING! Prior to performing any inspection, maintenance, or cleaning of the
Riveter, make sure to disconnect the air hose from the tool. Then, squeeze the
Trigger (25) again to release any compressed air in the Riveter.
To clean the exterior of the Riveter, wipe with a clean, damp cloth using a mild
detergent or mild solvent. Do not immerse the tool in liquids.
To clean and change the Jaws:
Unscrew and remove the Outer Cylinder (2), using the accessory Spanner.
Use the Spanner to unscrew and remove the Jaw Carrier (3). Use care as there
is a Jaw Push Spring (6) behind the Jaw Carrier which may fly out.
Remove the Jaws (4) from between the Jaw Carrier (3).
If you are going to clean the Jaws (4), use a steel brush and mild solvent. Then,
apply a light coat of machine oil to the Jaws. If you are going to replace the
Jaws:
Insert the new Jaws (4) into the Jaw Carrier (3). (See Assy. Diagram.)
When re-assembling the Jaw Carrier (3), make sure the Jaw Pusher’s (5) head
lines up with the Jaws. (See Assy. Diagram.)
SPANNER GAUGE
(THREADS)
JAW CARRIER
(3)
FIGURE E
OUTER CYLINDER
(2)
Check the distance from the head of the Jaw Carrier (3) to the mounting threads
of the Outer Cylinder (2) using the gauge on the Spanner. With the gauge at a
slight incline, the back of the gauge should rest on the beginning of the Frame
Head threads, while the front of the gauge should rest on the front edge of the
Jaw Carrier (3). If it does not, have a qualified service technician repair the
Riveter. (See Figure E.)
1.
2.
3.
a.
b.
c.
d.
e.
f.
g.

SKU 95173 For technical questions, please call 1-800-444-3353 PAGE 8
The Riveter comes from the factory with hydraulic oil included. Over time, if
the performance of the tool deteriorates it may be due to low hydraulic oil. Have a
qualified technician replenish the oil in the reservoir by removing the Air Cylinder
Lid (24) and piston and refilling the unit up to the top of the Lock Nut (18).
When storing, always store the Riveter in a clean, dry, safe location out of reach
of children and other unauthorized people.
CAUTION! All maintenance, service, and repairs not mentioned in this manual
must only be performed by a qualified service technician.
4.
5.
6.
PLEASE READ THE FOLLOWING CAREFULLY
THE MANUFACTURER AND/OR DISTRIBUTOR HAS PROVIDED THE PARTS LIST AND ASSEMBLY
DIAGRAM IN THIS MANUAL AS A REFERENCE TOOL ONLY. NEITHER THE MANUFACTURER OR
DISTRIBUTOR MAKES ANY REPRESENTATION OR WARRANTY OF ANY KIND TO THE BUYER THAT HE
OR SHE IS QUALIFIED TO REPLACE ANY PARTS OF THE PRODUCT. IN FACT, THE MANUFACTURER
AND/OR DISTRIBUTOR EXPRESSLY STATES THAT ALL REPAIRS AND PARTS REPLACEMENTS
SHOULD BE UNDERTAKEN BY CERTIFIED AND LICENSED TECHNICIANS, AND NOT BY THE BUYER.
THE BUYER ASSUMES ALL RISKS AND LIABILITY ARISING OUT OF HIS OR HER REPAIRS TO THE
ORIGINAL PRODUCT OR REPLACEMENT PARTS THERETO, OR ARISING OUT OF HIS OR HER
INSTALLATION OF REPLACEMENT PARTS THERETO.

SKU 95173 For technical questions, please call 1-800-444-3353 PAGE 9
TROUBLESHOOTING
Problem Possible Cause Possible Solution
Jaws slipping. Worn or damaged Jaws. Replace Jaws.
Jaws will not open. Loose Nosepiece.
Dirty Jaws.
1.
2.
Tighten Nosepiece.
Clean Jaws.
1.
2.
Stroke is too short. Low oil.
Rivet wrong size.
1.
2.
Prime Riveter.
Use proper rivet length.
1.
2.
Weak pulling action. Low air pressure.
Bad air compressor.
1.
2.
Check regulator.
Have compressor serviced by a qualified
technician.
1.
2.
Leaking air. Poor hose connections.
Bad O-Ring.
Dirty Air Valve.
Dirty air line inlet.
1.
2.
3.
4.
Reconnect using pipe thread sealant tape.
Replace O-Ring.
Clean and lubricate with pneumatic tool oil.
Clean and lubricate with pneumatic tool oil.
1.
2.
3.
4.
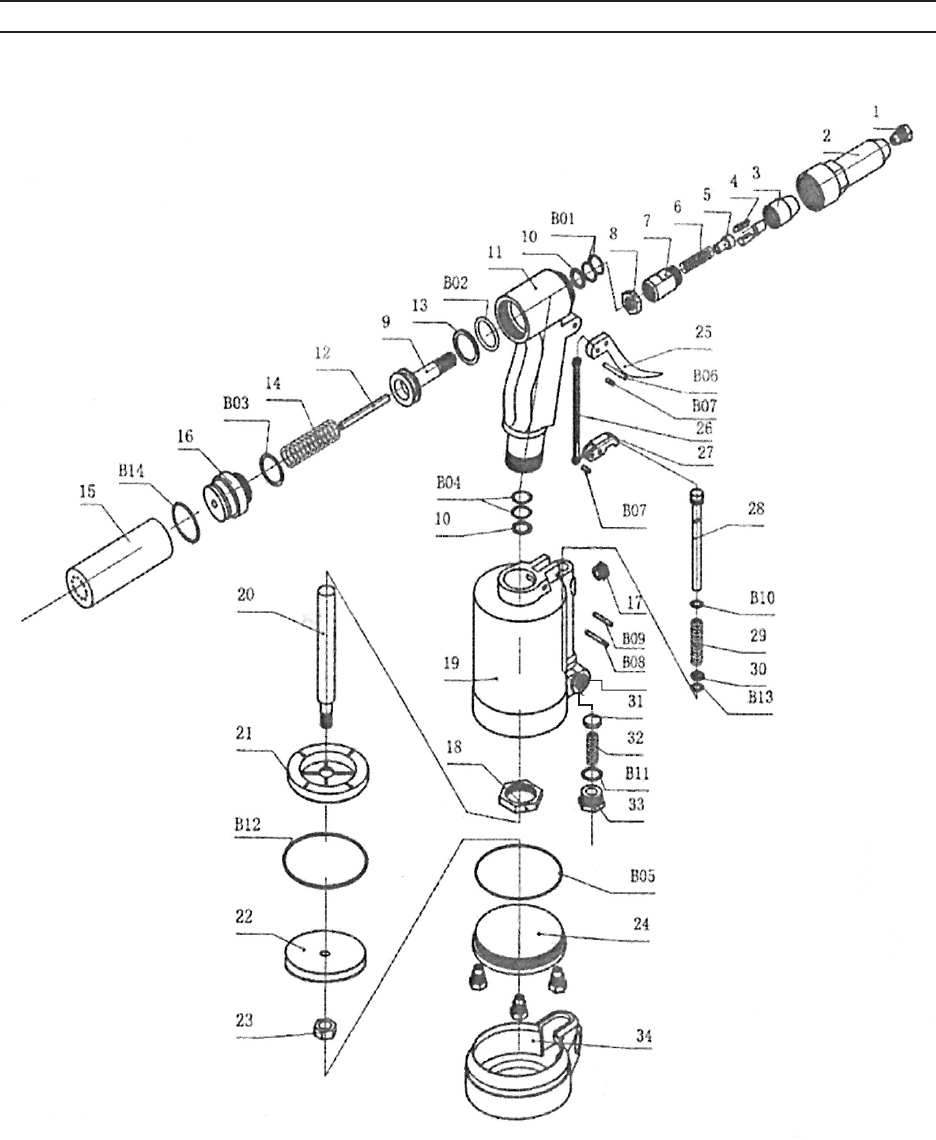
PARTS LIST
Part Description
1 Nosepiece (Set of 4)
2Outer Cylinder
3Jaw Carrier
4Jaws
5Jaw Pusher
6Jaw Push Spring
7Jaw Cylinder
8Case Lock Nut
9Principle Axis
10 Plastic Ring
11 Handle
12 Lead Axis
13 Plastic Ring
14 Restore Spring
15 Bottle
16 Airproof Lid
17 Silencer
Part Description
18 Lock Nut
19 Air Cylinder
20 Pole Piston
21 Cushion
22 Piston
23 Nut
24 Air Cylinder Lid
25 Trigger
26 Linker
27 Press Plank
28 Air Valve
29 Valve Spring
30 Copper Washer
31 Valve
32 Spring
33 Nut
34 Base Cover
Part Description
35 Air Inlet
B01 O-Ring
B02 O-Ring
B03 O-Ring
B04 O-Ring
B05 O-Ring
B06 Spring Pin
B07 Spring Pin
B08 Pin
B09 Spring Pin
B10 O-Ring
B11 O-Ring
B12 O-Ring
B13 O-Ring
B14 O-Ring

SKU 95173 For technical questions, please call 1-800-444-3353 PAGE 10
ASSEMBLY DIAGRAM
NOTE:
Some parts are listed and shown for illustration purposes only,
and are not available individually as replacement parts.
35

SKU 95173 For technical questions, please call 1-800-444-3353 PAGE 11
WARRANTY
3491 Mission Oaks Blvd. • PO Box 6009 • Camarillo, CA 93011 • (800) 444-3353
Harbor Freight Tools Co. makes every effort to assure that its products meet high quality and durability standards,
and warrants to the original purchaser that this product is free from defects in materials and workmanship for the
period of one year from the date of purchase. This warranty does not apply to damage due directly or indirectly
to misuse, abuse, negligence or accidents; repairs or alterations outside our facilities; or to lack of maintenance.
We shall in no event be liable for death, injuries to persons or property, or for incidental, contingent, special or
consequential damages arising from the use of our product. Some states do not allow the exclusion or limitation
of incidental or consequential damages, so the above limitation of exclusion may not apply to you. THIS
WARRANTY IS EXPRESSLY IN LIEU OF ALL OTHER WARRANTIES, EXPRESS OR IMPLIED, INCLUDING
THE WARRANTIES OF MERCHANTABILITY AND FITNESS.
To take advantage of this warranty, the product or part must be returned to us with transportation charges prepaid.
Proof of purchase date and an explanation of the complaint must accompany the merchandise. If our inspection
verifies the defect, we will either repair or replace the product at our election or we may elect to refund the purchase
price if we cannot readily and quickly provide you with a replacement. We will return repaired products at our
expense, but if we determine there is no defect, or that the defect resulted from causes not within the scope of
our warranty, then you must bear the cost of returning the product.
This warranty gives you specific legal rights and you may also have other rights which vary from state to state.
LIMITED 1 YEAR
WARRANTY