Chamberlain 2500Dc Users Manual GARAGE DOOR OPENER
2500DC 114A2934
2500DC to the manual 0851b07e-fe83-2974-69e1-e9679867e667
2015-01-25
: Chamberlain Chamberlain-2500Dc-Users-Manual-213771 chamberlain-2500dc-users-manual-213771 chamberlain pdf
Open the PDF directly: View PDF
.
Page Count: 72
- ENGLISH
- GARAGE DOOR OPENER Model 2500BC
- TABLE OF CONTENTS
- INTRODUCTION
- ASSEMBLY
- INSTALLATION
- INSTALLATION STEP 1 Determine the Header Bracket Location
- INSTALLATION STEP 2 Install the Header Bracket
- INSTALLATION STEP 3 Attach the Rail to the Header Bracket
- INSTALLATION STEP 4 Position the Opener
- INSTALLATION STEP 5 Hang the Opener
- INSTALLATION STEP 6 Install the Door Control
- INSTALLATION STEP 7 Install the Lights and Lens
- INSTALLATION STEP 8 Attach the Emergency Release Rope and Handle
- INSTALLATION STEP 9 Electrical Requirements
- INSTALLATION STEP 10 Install The Protector System®
- INSTALLATION STEP 11 Fasten the Door Bracket
- INSTALLATION STEP 12 Connect Door Arm to Trolley
- ADJUSTMENT
- OPERATION
- CARE OF YOUR OPENER
- HAVING A PROBLEM?
- PROGRAMMING
- REPAIR PARTS
- ACCESSORIES
- LIFTMASTER SERVICE IS ON CALL
- HOW TO ORDER REPAIR PARTS
- WARRANTY
- FRANÇAIS
- OUVRE-PORTE DE GARAGE Modèle 2500BC
- TABLE DES MATIÈRES
- INTRODUCTION Revue des symboles de sécurité et des mots de signalement
- MONTAGE -
- POSE
- POSE – 1re OPÉRATION Déterminer l’emplacement du support de linteau
- POSE – 2e OPÉRATION Pose du support de linteau
- POSE - 3e OPÉRATION Fixation du rail sur le support de linteau
- POSE - 4e OPÉRATION Positionnement de l'ouvre-porte
- POSE - 5e OPÉRATION Accrochage de l'ouvre-porte
- POSE - 6e OPÉRATION Pose de la commande de porte
- POSE - 7e OPÉRATION Pose des ampoules et des diffuseurs
- POSE - 8e OPÉRATION Pose de la corde et de la poignée de déclenchement d’urgence
- POSE 9
- POSE - 10e OPÉRATION Pose du Système Protector
- POSE - 11e OPÉRATION Fixation du support de porte
- POSE - 12e OPÉRATION Fixation de la biellette au chariot
- RÉGLAGES
- FONCTIONNEMENT
- ENTRETIEN DE L’OUVRE-PORTE DE GARAGE
- DÉFAUTS DE FONCTIONNEMENT
- PROGRAMMATION
- PIÈCES DE RECHANGE
- ACCESSOIRES
- SERVICE LIFTMASTER À VOTRE DISPOSITION
- COMMENT COMMANDER DES PIÈCES DE RECHANGE
- GARANTIE

Owner’s Manual
■Please read this manual and the enclosed safety materials carefully!
■Fasten the manual near the garage door after installation.
■The door WILL NOT CLOSE unless The Protector System®is connected
and properly aligned.
■Periodic checks of the opener are required to ensure safe operation.
■The model number label is located on the front of your opener.
GARAGE DOOR OPENER
Model 2500DC
For Residential Use Only
The Chamberlain Group, Inc.
845 Larch Avenue
Elmhurst, Illinois 60126-1196
www.liftmaster.com
®
®
New!
Optional Accessory
Available
See Page 35 for the New

2
Introduction 2-5
Safety symbol review and signal word review ............2
Preparing your garage door ........................................3
Tools ............................................................................3
Planning .....................................................................4
Carton inventory..........................................................5
Hardware inventory .....................................................5
Assembly 6-7
Fasten rail to the motor unit ........................................6
Set the belt tension .....................................................6
Attach the belt cap retainer .........................................7
Installation 7-23
Installation safety instructions .....................................7
Determine the header bracket location....................8-9
Install the header bracket..........................................10
Attach the rail to the header bracket .........................11
Position the opener ...................................................12
Hang the opener .......................................................13
Install the door control...............................................14
Install the lights and lens...........................................15
Attach the emergency release rope and handle .......15
Electrical requirements..............................................16
Install The Protector System®..............................17-19
Fasten the door bracket.......................................20-21
Connect the door arm to the trolley .....................22-23
Adjustment 24-26
Program the travel limits ...........................................24
Setting the force ........................................................25
Test the safety reversal system.................................26
Test The Protector System®......................................26
Operation 27-30
Operation safety instructions.....................................27
Using your garage door opener ................................27
Using the door control...............................................28
To open the door manually........................................28
Care of your garage door opener..............................29
Having a problem?...............................................29-30
Programming 31-32
To add or reprogram a hand-held remote control .....31
To erase all codes .....................................................31
3-Button Remotes .....................................................31
To add, reprogram or change
a Keyless Entry PIN ..................................................32
Repair Parts 33-34
Rail assembly parts...................................................33
Installation parts ........................................................33
Motor unit assembly parts.........................................34
Accessories 35
Repair Parts and Service 36
Warranty 36
TABLE OF CONTENTS
INTRODUCTION
Safety Symbol Review
When you see these Safety Symbols and Signal
Words on the following pages, they will alert you to
the possibility of serious injury or death if you do
not comply with the warnings that accompany them.
The hazard may come from something mechanical
or from electric shock. Read the warnings carefully.
When you see this Signal Word on the following
pages, it will alert you to the possibility of damage to
your garage door and/or the garage door opener if
you do not comply with the cautionary statements
that accompany it. Read them carefully.
This garage door opener has been designed and tested to offer safe service provided it is installed, operated,
maintained and tested in strict accordance with the instructions and warnings contained in this manual.
Mechanical
Electrical
WARNING
CAUTION WARNING
WARNING
WARNING
CAUTION WARNING
WARNING
WARNING
CAUTION
WARNING
WARNING

3
Preparing your garage door
Before you begin:
• Disable locks.
• Remove any ropes connected to garage door.
• Complete the following test to make sure your
garage door is balanced and is not sticking or
binding:
1. Lift the door about halfway as shown. Release
the door. If balanced, it should stay in place,
supported entirely by its springs.
2. Raise and lower the door to see if there is any
binding or sticking.
If your door binds, sticks, or is out of balance, call
a trained door systems technician.
To prevent damage to garage door and opener:
• ALWAYS disable locks BEFORE installing and operating
the opener.
• ONLY operate garage door opener at 120V, 60 Hz to
avoid malfunction and damage.
To prevent possible SERIOUS INJURY OR DEATH:
• ALWAYS call a trained door systems technician if
garage door binds, sticks, or is out of balance. An
unbalanced garage door may not reverse when
required.
• NEVER try to loosen, move or adjust garage door, door
springs, cables, pulleys, brackets or their hardware, all
of which are under EXTREME tension.
• Disable ALL locks and remove ALL ropes connected to
garage door BEFORE installing and operating garage
door opener to avoid entanglement.
WARNING
CAUTION WARNING
WARNING
WARNING
CAUTION
WARNING
WARNING
Tools needed
During assembly, installation and adjustment of the
opener, instructions will call for hand tools as
illustrated below.
Pliers
Wire Cutters
Claw Hammer
Hack Saw
Screwdriver Adjustable End Wrench
1/2" and 7/16" Sockets
and Wrench
Drill
Tape Measure
2
1
Stepladder
Pencil
3/16", 5/16" and
5/32" Drill Bits
Carpenter's
Level (Optional)
Sectional Door
One-Piece Door

Safety
Reversing Sensor
Horizontal and vertical reinforcement
is needed for lightweight garage doors
(fiberglass, steel, aluminum, door with
glass panels, etc.). See page 20 for details.
Header Wall
Safety
Reversing
Sensor
Support bracket &
fastening hardware
is required. See page 13.
FINISHED CEILING
Extension Spring
OR Torsion Spring
Motor unit
Wall-mounted
Door Control
Rail
Access Door
Gap between floor
and bottom of door must not exceed 1/4".
Vertical
Centerline
of Garage Door
4
SECTIONAL DOOR INSTALLATION
Planning
Identify the type and height of your garage door. Survey your garage area to see if any of the conditions below
apply to your installation. Additional materials may be required. You may find it helpful to refer back to this page
as you proceed with the installation of your opener.
Safety Reversing Sensor
FINISHED CEILING
Support bracket &
fastening hardware
is required. See page 13.
Safety
Reversing
Sensor
Header Wall
Access Door
Gap between floor
and bottom of door
must not exceed 1/4".
Motor unit
Wall-mounted
Door Control
Rail
Access
Door
Safety
Reversing Sensor
Safety
Reversing
Sensor
Gap between floor
and bottom of door
must not exceed 1/4".
ONE-PIECE DOOR WITHOUT TRACK
ONE-PIECE DOOR WITH TRACK

5
Straight Door
Arm Section
Curved Door
Arm Section
Header Bracket
UP
CEILING MOUNT ONLY
2-Conductor Bell Wire
White & White/Red
Safety Labels
and
Literature
Remote Control
Transmitter Visor Clip
Door Bracket
SECURITY✚®
3-Button Remote Control
(2) Safety Reversing Sensors
(1 Sending Eye and 1 Receiving Eye)
with 2-Conductor White & White/Black
Bell Wire attached
Safety Sensor
Bracket (2)
Belt Cap Retainer
One-Piece
T-rail
Styrofoam
Belt
Pulley Bracket
Belt
Trolley
Motor Unit with Light Lens
Rail Grease
LOCKLIGHT
Motion Detecting
Door Control Panel
Your garage door opener is packaged in two cartons
which contain the motor unit and the parts illustrated
below. Note that accessories will depend on the
model purchased. If anything is missing, carefully
check the packing material. Parts may be stuck in the
foam. KEEP THE FOAM INTACT (see page 6.)
Carton Inventory
Hardware Inventory
INSTALLATION HARDWARE
Hex Screw #8x3/8" (3)
Hex Bolt 5/16"-18x7/8" (4)
Lag Screw 5/16"-9x1-5/8" (2)
Lag Screw 5/16"-18x1-7/8" (2)
Self-Threading Screw 1/4"-14x5/8" (2)
Clevis Pin 5/16"x2-3/4" (1)
Clevis Pin 5/16"x1-1/4" (1)
Clevis Pin 5/16"x1" (1)
Nut 5/16"-18 (4)
Lock Washer 5/16" (4)
Screw 6ABx1-1/4" (2)
Screw 6-32x1" (2)
Insulated Staples (30)
Ring Fastener (3)
Handle
Drywall Anchors (2)
Rope
Carriage Bolts 1/4"-20x1/2" (2)
Wing Nut 1/4"x20 (2)

ASSEMBLY STEP 1
Attach the Rail to the Motor Unit
To avoid installation difficulties, do not run the
garage door opener until instructed to do so.
• Remove the two washered bolts mounted in top of
motor unit.
• Align rail and styrofoam over sprocket. Cut tape
from rail, belt and styrofoam.
• REMOVE STYROFOAM.
• Insert both washered bolts through the rail into the
motor unit. Tighten bolts securely.
Use only these bolts! Use of any other bolts
will cause serious damage to door opener.
• Position belt over the motor unit sprocket.
6
Motor Unit
Sprocket
Foam Packaging
Washered Bolts
5/16"-18x1/2"
ASSEMBLY STEP 2
Set the Belt Tension
• By hand, thread the spring trolley nut on the threaded
shaft until it is finger tight against the trolley (Figure 1).
Do not use any tools.
• Insert a screwdriver tip into one of the nut ring slots and
brace it firmly against the trolley (Figure 2).
• Place a 7/16" open end wrench on the square
end. Rotate about 1/4 turn until the spring releases
and snaps the nut ring against the trolley (Figure 3).
This extends the spring for optimum belt tension.
Trolley
Threaded
Shaft
Spring/Trolley Nut
Nut
Ring
Trolley
Threaded
Shaft
Nut Ring
Slots
Square
End
Figure 1
Figure 2
Nut RingTrolleyNut Ring
Trolley
1" (2.5 cm) 1-1/4" (3.18 cm)
BEFORE AFTER RELEASE
Figure 3
To avoid SERIOUS damage to garage door opener,
use ONLY those bolts/fasteners mounted in the top of
the opener.
WARNING
CAUTION
WARNING
WARNING

ASSEMBLY STEP 3
Attach the Belt Cap Retainer
• Position the belt cap retainer over the opener
sprocket so the two holes in cap align with the two
holes in mounting plate. Attach with #8x3/8" hex
screws provided.
You have now finished assembling your garage
door opener. Please read the following warnings
before proceeding to the installation section.
7
Hex Screws
#8x3/8"
Belt Cap
Retainer
Opener Sprocket
Mounting
Plate
IMPORTANT INSTALLATION INSTRUCTIONS
1. READ AND FOLLOW ALL INSTALLATION WARNINGS
AND INSTRUCTIONS.
2. Install garage door opener only on properly balanced
and lubricated garage door. An improperly balanced
door may not reverse when required and could result in
SEVERE INJURY or DEATH.
3. All repairs to cables, spring assemblies and other
hardware MUST be made by a trained door systems
technician BEFORE installing opener.
4. Disable all locks and remove all ropes connected to
garage door BEFORE installing opener to avoid
entanglement.
5. Install garage door opener 7 feet or more above floor.
6. Mount emergency release handle 6 feet above floor.
7. NEVER connect garage door opener to power source
until instructed to do so.
8. NEVER wear watches, rings or loose clothing while
installing or servicing opener. They could be caught in
garage door or opener mechanisms.
9. Install wall-mounted garage door control:
• within sight of the garage door.
• out of reach of children at minimum height of 5 feet.
• away from all moving parts of the door.
10. Place entrapment warning label on wall next to garage
door control.
11. Place manual release/safety reverse test label in plain
view on inside of garage door.
12. Upon completion of installation, test safety reversal
system. Door MUST reverse on contact with a
1-1/2" high object (or a 2x4 laid flat) on the floor.
To reduce the risk of SEVERE INJURY or DEATH:
WARNING
WARNING
WARNING
INSTALLATION
Hex Screw
#8x3/8"
HARDWARE SHOWN ACTUAL SIZE
To avoid possible SERIOUS INJURY to fingers from
moving garage door opener:
• ALWAYS keep hand clear of sprocket while operating
opener.
• Securely attach sprocket cover BEFORE operating.
WARNING
CAUTION WARNING
WARNING

8
INSTALLATION STEP 1
Determine the Header Bracket
Location
Installation procedures vary according to garage door
types. Follow the instructions which apply to your
door.
SECTIONAL DOOR
AND ONE-PIECE DOOR WITH TRACK
1. Close the door and mark the inside vertical
centerline of the garage door.
2. Extend the line onto the header wall above the
door.
You can fasten the header bracket within 4 feet
of the left or right of the door center only if a
torsion spring or center bearing plate is in the
way; or you can attach it to the ceiling (see
page 10) when clearance is minimal. (It may be
mounted on the wall upside down if necessary,
to gain approximately 1/2".)
If you need to install the header bracket on a 2x4
(on wall or ceiling), use lag screws (not provided)
to securely fasten the 2x4 to structural supports as
shown here and on page 10.
3. Open your door to the highest point of travel as
shown. Draw an intersecting horizontal line on the
header wall 2" above the high point. This height
will provide travel clearance for the top edge of the
door.
Proceed to Step 2, page 10.
To prevent possible SERIOUS INJURY or DEATH:
• Header bracket MUST be RIGIDLY fastened to
structural support on header wall or ceiling, otherwise
garage door might not reverse when required. DO NOT
install header bracket over drywall.
• Concrete anchors MUST be used if mounting header
bracket or 2x4 into masonry.
• NEVER try to loosen, move or adjust garage door,
springs, cables, pulleys, brackets, or their hardware, all
of which are under EXTREME tension.
• ALWAYS call a trained door systems technician if
garage door binds, sticks, or is out of balance. An
unbalanced garage door might not reverse when
required.
WARNING
CAUTION WARNING
WARNING
Header Wall
Sectional door with curved track
Track
Highest Point
of Travel
Door
2" (5 cm)
One-piece door with horizontal track
Door
Track
Header Wall
Highest Point
of Travel
2" (5 cm)
Unfinished
Ceiling
2x4
OPTIONAL
CEILING
MOUNT
FOR
HEADER
BRACKET
Header Wall
2x4 Structural
Supports
Vertical Centerline
of Garage Door
Level
(optional)

9
ONE-PIECE DOOR WITHOUT TRACK
1. Close the door and mark the inside vertical
centerline of your garage door. Extend the line
onto the header wall above door, as shown.
If headroom clearance is minimal, you can install
the header bracket on the ceiling. See page 10.
If you need to install the header bracket on a 2x4
(on wall or ceiling), use lag screws (not provided)
to securely fasten the 2x4 to structural supports
as shown. If installing into masonry, use concrete
anchors (not provided).
2. Open your door to the highest point of travel as
shown. Measure the distance from the top of the
door to the floor. Subtract the actual height of the
door. Add 8" to the remainder. (See Example).
3. Close the door and draw an intersecting horizontal
line on the header wall at the determined height.
NOTE: If the total number of inches exceeds the
height available in your garage, use the maximum
height possible, or refer to page 10 for ceiling
installation.
EXAMPLE
Distance from top of door
(at highest point of travel) to floor ...................... 92"
Actual height of door .......................................... -88"
Remainder.......................................................... 4"
Add..................................................................... +8"
Bracket height on header wall............................ =12"
(Measure UP from top of CLOSED door.)
Proceed to Step 2, page 10.
Header Wall
Vertical
Centerline
of Garage
Door
2x4
Unfinished
Ceiling
2x4
OPTIONAL
CEILING MOUNT
FOR
HEADER BRACKET
Structural
Supports
Door
Pivot
8" (20 cm)
One-piece door without track:
pivot hardware
Highest
Point
of Travel
Header Wall
Door
Jamb
Hardware
One-piece door without track:
jamb hardware
8" (20 cm)
Highest
Point
of Travel
Header Wall

10
INSTALLATION STEP 2
Install the Header Bracket
You can attach the header bracket either to the wall
above the garage door, or to the ceiling. Follow the
instructions which will work best for your particular
requirements. Do not install the header bracket
over drywall. If installing into masonry, use
concrete anchors (not provided).
WALL HEADER BRACKET INSTALLATION
• Center the bracket on the vertical centerline with
the bottom edge of the bracket on the horizontal
line as shown (with the arrow pointing toward the
ceiling).
• Mark the vertical set of bracket holes (do not use
the holes designated for ceiling mount). Drill 3/16"
pilot holes and fasten the bracket securely to a
structural support with the hardware provided.
Lag Screws
5/16"x9x1-5/8"
Highest Point of
Garage Door Travel
Vertical
Centerline of
Garage Door
Header
Wall
Garage
Door
UP
CEILING MOUNT ONLY
Wall Mounting Holes
Optional
Wall Mounting Holes
The nail hole is for
positioning only.
You must use lag screws
to mount the header bracket.
UP
CEILING MOUNT ONLY
Door Spring
Header
Bracket
2x4
Structural
Support
Vertical
Centerline of
Garage Door
Horizontal
Line
UP
CEILING MOUNT ONLY
Ceiling Mounting Holes
The nail hole is for
positioning only.
You must use lag screws
to mount the header bracket.
UP
Lag Screws
5/16"-9x1-5/8"
Garage Door
Vertical
Centerline
of Garage Door
Header Wall
– Finished Ceiling –
Header
Bracket
6" (15 cm)
Maximum
Vertical
Centerline
of Garage Door
Door
Spring
CEILING HEADER BRACKET INSTALLATION
• Extend the vertical centerline onto the ceiling as
shown.
• Center the bracket on the vertical mark, no more
than 6" from the wall. Make sure the arrow is
pointing toward the wall. The bracket can be
mounted flush against the ceiling when clearance
is minimal.
• Mark the side holes. Drill 3/16" pilot holes and
fasten bracket securely to a structural support with
the hardware provided.
Lag Screw
5/16"-9x1-5/8"
HARDWARE SHOWN ACTUAL SIZE

Header Bracket
Belt Pulley Bracket
Opener Carton or
Temporary
Support
Header Wall
Garage
Door
Clevis Pin
5/16"x2-3/4" Ring Fastener
Torsion
Spring
Rail
Clevis Pin
5/16"x2-3/4"
Ring Fastener
Header Bracket
Belt Pulley
Bracket
Foam Packaging
Rail
11
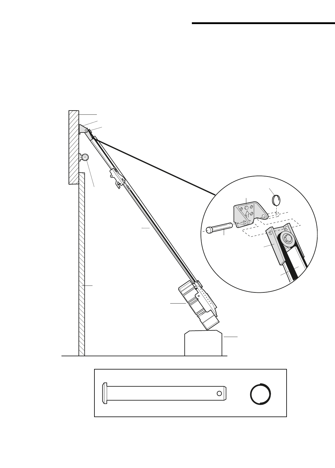
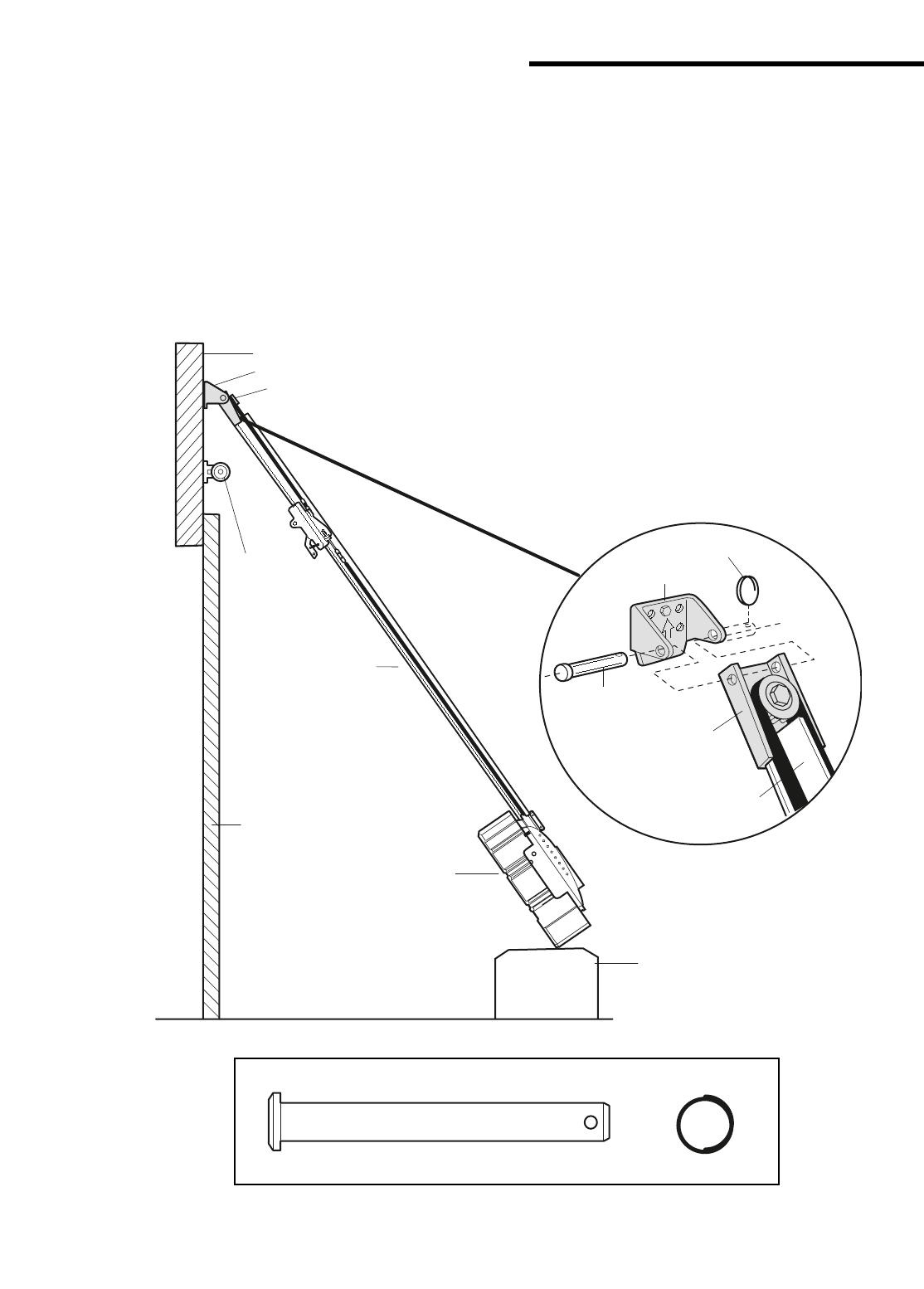
HARDWARE SHOWN ACTUAL SIZE
INSTALLATION STEP 3
Attach the Rail to the Header
Bracket
• Position the opener on the garage floor below the
header bracket. Use packing material as a
protective base. NOTE: If the door spring is in the
way you’ll need help. Have someone hold the
opener securely on a temporary support to allow
the rail to clear the spring.
• Position the rail bracket against the header
bracket.
• Align the bracket holes and join with a clevis pin
as shown.
• Insert a ring fastener to secure.

12
ONE-PIECE DOOR WITHOUT TRACK
A 2x4 on its side is convenient for setting an ideal
door-to-rail distance.
• Remove foam packaging.
• Raise the opener onto a stepladder. You will need
help at this point if the ladder is not tall enough.
• Open the door all the way and place a 2x4 on its
side on the top section of the door beneath the rail.
• The top of the door should be level with the top of
the motor unit. Do not position the opener more
than 4" above this point.
INSTALLATION STEP 4
Position the Opener
Follow instructions which apply to your door type as
illustrated.
SECTIONAL DOOR OR ONE-PIECE DOOR WITH
TRACK
A 2x4 laid flat is convenient for setting an ideal
door-to-rail distance.
• Remove foam packaging.
• Raise the opener onto a stepladder. You will need
help at this point if the ladder is not tall enough.
• Open the door all the way and place a 2x4 laid flat
on the top section beneath the rail.
• If the top section or panel hits the trolley when you
raise the door, pull down on the trolley release arm
to disconnect inner and outer sections. Slide the
outer trolley toward the motor unit. The trolley can
remain disconnected until Installation Step 12
is completed.
Rail
2x4 is used to determine
the correct mounting height
from ceiling.
Door
Header
Bracket
Top of Door
2x4 is used to determine
the correct mounting height
from ceiling.
To prevent damage to garage door, rest garage door
opener rail on 2x4 placed on top section of door.
WARNING
CAUTION
WARNING
WARNING
Trolley
Release Arm
ENGAGED RELEASED

13
INSTALLATION STEP 5
Hang the Opener
Three representative installations are shown. Yours
may be different. Hanging brackets should be
angled, Figure 1, to provide rigid support. On
finished ceilings, Figure 2, attach a sturdy metal
bracket to structural supports before installing the
opener. This bracket and fastening hardware are not
provided.
Existing brackets from a previous installation may be
fastened to the sides of the motor unit as in Figures
1 and 2, or to the mounting tabs as shown in
Figure 3. Then continue with step 5 below.
1. Measure the distance from each side of the motor
unit to the structural support.
2. Cut both pieces of the hanging bracket to required
lengths.
3. Drill 3/16" pilot holes in the structural supports.
4. Attach one end of each bracket to a support with
5/16"-18x1-7/8" lag screws.
5. Fasten the opener to the hanging brackets with
5/16"-18x7/8" hex bolts, lock washers and nuts.
6. Check to make sure the rail is centered over the
door (or in line with the header bracket if the
bracket is not centered above the door).
7. Remove the 2x4. Operate the door manually. If
the door hits the rail, raise the header bracket.
8. Grease the top and underside of the rail surface
where the trolley slides with rail grease.
Lag Screw 5/16"-18x1-7/8"
Hex Bolt
5/16"-18x7/8"Nut 5/16"-18Lock Washer 5/16"
HARDWARE SHOWN ACTUAL SIZE
Measure
Distance
Lag Screws
5/16"- 18x1-7/8"
Bracket
(Not Provided)
Lag Screws
5/16"-18x1-7/8"
(Not Provided)
Hex Bolts
5/16"-18x7/8"
Lock Washers 5/16"
Nuts 5/16"-18
— FINISHED CEILING —
Hex Bolts
5/16"-18x7/8"
Lock Washers 5/16"
Nuts 5/16"-18
Hex Bolts
5/16"-18x7/8"
Lock Washers 5/16"
Nuts 5/16"-18
Hidden
Support
Structural
Supports
Preferred range of
bracket placement
Preferred range of
bracket placement
Utilizing existing top mount installation
Existing Brackets
Bracket
(Provided)
Figure 1
Figure 2
Figure 3
To avoid possible SERIOUS INJURY from a falling
garage door opener, fasten it SECURELY to structural
supports of the garage. Concrete anchors MUST be used
if installing any brackets into masonry.
WARNING
CAUTION WARNING
WARNING

To prevent possible SERIOUS INJURY or DEATH from
electrocution:
• Be sure power is not connected BEFORE installing door
control.
• Connect ONLY to 24 VOLT low voltage wires.
To prevent possible SERIOUS INJURY or DEATH from a
closing garage door:
• Install door control within sight of garage door, out of
reach of children at a minimum height of 5 feet, and away
from all moving parts of door.
• NEVER permit children to operate or play with door
control push buttons or remote control transmitters.
• Activate door ONLY when it can be seen clearly, is
properly adjusted, and there are no obstructions to door
travel.
• ALWAYS keep garage door in sight until completely
closed. NEVER permit anyone to cross path of closing
garage door.
Red Grey
White
To release wire, push in
tab with screwdriver tip
Door Control
Connections
7/16"
Strip wire 7/16"
14
INSTALLATION STEP 6
Install the Door Control
Locate door control within sight of the door at a
minimum height of 5 feet where small children cannot
reach, and away from moving parts of the door and
door hardware. The installation surface must be
smooth and flat. If installing into drywall (Figure 1),
drill 5/32" holes and use anchors provided. For
pre-wired installations (as in new home construction),
it may be mounted to a single gang box (Figure 2).
NOTE: After installation, a green or amber indicator
light behind the cover will indicate proper connection.
If not lit, the Lock and Light features will not function
(reverse wires to correct).
1. Strip 7/16" of insulation from one end of bell wire
and connect to the two screw terminals on back of
door control by color: white wire to WHT and
white/red wire to the RED (Figure 3).
2. Remove cover by gently prying at slot in top of the
cover with a small flat head screwdriver. Fasten
with 6ABx1-1/4" self-tapping screws (drywall
installation) or 6-32x1" machine screws (into gang
box) as follows:
• Drill and install bottom screw, allowing 1/8" (3 mm)
to protrude above wall surface.
• Position bottom of door control on screw head and
slide down to secure. Adjust screw for snug fit.
• Install top screw with care to avoid cracking plastic
housing. Do not overtighten.
• Insert top tabs and snap on cover.
NOTE: The push bar may stick if the door control is
not mounted on a smooth surface. If a click is not
heard when pressing the push bar, loosen the two
mounting screws or relocate the door control to a
smoother surface.
3. (Standard installation only) Run bell wire up wall
and across ceiling to motor unit. Use insulated
staples to secure wire in several places. Do not
pierce wire with a staple, creating a short or open
circuit.
4. Strip 7/16" of insulation from end of bell wire.
Connect bell wire to the quick-connect terminals as
follows: white to white and white/red to red (Figure 4).
5. Use tacks or staples to permanently attach
entrapment warning label to wall near door control,
and manual release/safety reverse test label in a
prominent location on inside of garage door.
NOTE: DO NOT connect the power and operate the
opener at this time. The trolley will travel to the full
open position but will not return to the close
position until the sensor beam is connected and
properly aligned. See Safety Reversing Sensor
Instructions beginning on page 17.
WARNING
CAUTION
WARNING
WARNING
Drywall Anchors
Insulated
Staples
Screw 6ABx1-1/4"
(std installation)
Screw 6-32x1"
(pre-wired installation)
HARDWARE SHOWN ACTUAL SIZE
Figure 4
Figure 2
LOCKLIGHT
To Replace
Insert Top
Tabs First
STANDARD WALL MOUNT
Detector
Switch
Push Bar Cover
ON
OFF
Figure 1
24 Volt Bell Wire
PRE-WIRED INSTALLATION
LOCKLIGHT
To Replace
Insert Top
Tabs First
Detector
Switch
Push Bar Cover
ON
OFF
1
RED
2
WHITE
Door
Control
Terminal
Screws
24 Volt
Bell Wire
(BACK VIEW)
Bottom
Mounting
Hole
Top
Mounting
Hole
Figure 3

15
INSTALLATION STEP 7
Install the Lights and Lens
Press the release tabs on both sides of lens. Gently
rotate lens back and downward until the lens hinge
is in the fully open position. Do not remove the lens.
• Install up to a 100 watt maximum light bulb in each
socket. The lights will turn ON and remain lit for
approximately 4-1/2 minutes when power is
connected. Then the lights will turn OFF.
• Reverse the procedure to close the lens.
• If the bulbs burn out prematurely due to vibration,
replace with a Garage Door Opener bulb.
NOTE: Use only standard light bulbs. The use of
short neck or speciality light bulbs may overheat the
endpanel or light socket.
INSTALLATION STEP 8
Attach the Emergency Release
Rope and Handle
• Thread one end of the rope through the hole in the
top of the red handle so “NOTICE” reads right side
up as shown. Secure with an overhand knot at
least 1" from the end of the rope to prevent
slipping.
• Thread the other end of the rope through the hole
in the release arm of the outer trolley.
• Adjust rope length so the handle is 6 feet above
the floor. Secure with an overhand knot.
NOTE: If it is necessary to cut the rope, heat seal
the cut end with a match or lighter to prevent
unraveling.
Release Tab
Lens Hinge
Lens Hinge Slots
Lens
Release
Tab Slot
Release Tab
Release
Tab Slot
100 Watt (Max)
Standard Light Bulb
NOTICE
Overhand
Knot
Emergency
Release Handle
Overhand
Knot
Trolley
Release
Arm
Rope
To prevent possible SERIOUS INJURY or DEATH from a
falling garage door:
• If possible, use emergency release handle to disengage
trolley ONLY when garage door is CLOSED. Weak or
broken springs or unbalanced door could result in an
open door falling rapidly and/or unexpectedly.
• NEVER use emergency release handle unless garage
doorway is clear of persons and obstructions.
• NEVER use handle to pull door open or closed. If rope
knot becomes untied, you could fall.
WARNING
CAUTION WARNING
WARNING
To prevent possible OVERHEATING of the endpanel of
light socket,
• DO NOT use short neck or specialty light bulbs.
• DO NOT use halogen bulbs. Use ONLY incandescent.
WARNING
CAUTION
WARNING
WARNING

INSTALLATION STEP 9
Electrical Requirements
To avoid installation difficulties, do not run the
opener at this time.
To reduce the risk of electric shock, your garage door
opener has a grounding type plug with a third
grounding pin. This plug will only fit into a grounding
type outlet. If the plug doesn't fit into the outlet you
have, contact a qualified electrician to install the
proper outlet.
If permanent wiring is required by your local
code, refer to the following procedure.
To make a permanent connection through the 7/8"
hole in the top of the motor unit (according to local
code):
• Remove the motor unit cover screws and set the
cover aside.
• Remove the attached 3-prong cord.
• Connect the black (line) wire to the screw on the
brass terminal; the white (neutral) wire to the
screw on the silver terminal; and the ground wire
to the green ground screw. The opener must be
grounded.
• Reinstall the cover.
To avoid installation difficulties, do not run the
opener at this time.
RIGHT WRONG
Ground Tab
Green
Ground Screw
Ground Wire
Black Wire
PERMANENT WIRING
CONNECTION
White Wire
Black
Wire
To prevent possible SERIOUS INJURY or DEATH from
electrocution or fire:
• Be sure power is not connected to the opener, and
disconnect power to circuit BEFORE removing cover to
establish permanent wiring connection.
• Garage door installation and wiring MUST be in
compliance with all local electrical and building codes.
• NEVER use an extension cord, 2-wire adapter, or
change plug in any way to make it fit outlet. Be sure
the opener is grounded.
WARNING
CAUTION WARNING
WARNING
16

17
Invisible Light Beam
Protection Area
Sensor Beam
6" (15 cm) max.
above floor
Sensor Beam
6" (15 cm) max.
above floor
Facing the door from inside the garage
INSTALLATION STEP 10
Install The Protector System®
The safety reversing sensor must be connected
and aligned correctly before the garage door
opener will move in the down direction. This is a
required safety device and cannot be disabled.
IMPORTANT INFORMATION ABOUT THE SAFETY
REVERSING SENSOR
When properly connected and aligned, the safety
reversing sensor will detect an obstacle in the path of
its electronic beam. The sending eye (with an amber
indicator light) transmits an invisible light beam to the
receiving eye (with a green indicator light). If an
obstruction breaks the light beam while the door is
closing, the door will stop and reverse to full open
position, and the opener lights will flash 10 times.
The units must be installed inside the garage so that
the sending and receiving eyes face each other
across the door, no more than 6" above the floor.
Either can be installed on the left or right of the door
as long as the sun never shines directly into the
receiving eye lens.
The mounting brackets are designed to clip onto the
track of sectional garage doors without additional
hardware.
If it is necessary to mount the units on the wall, the
brackets must be securely fastened to a solid
surface such as the wall framing. Extension brackets
(see accessories) are available if needed. If
installing in masonry construction, add a piece of
wood at each location to avoid drilling extra holes in
masonry if repositioning is necessary.
The invisible light beam path must be unobstructed.
No part of the garage door (or door tracks, springs,
hinges, rollers or other hardware) may interrupt the
beam while the door is closing.
Be sure power is not connected to the garage door
opener BEFORE installing the safety reversing sensor.
To prevent SERIOUS INJURY or DEATH from a closing
garage door:
• Correctly connect and align the safety reversing sensor.
This required safety device MUST NOT be disabled.
• Install the safety reversing sensor so beam is NO
HIGHER than 6" above garage floor.
WARNING
CAUTION WARNING
WARNING

18
DOOR TRACK MOUNT (RIGHT SIDE)
Indicator
Light
Lens
Lip
Sensor
Bracket
Door
Track
FLOOR MOUNT (RIGHT SIDE)
WALL MOUNT (RIGHT SIDE)
Indicator
Light
Sensor
Bracket
Lens
Extension
Bracket
(See Accessories)
Inside
Garage
Wall
(Provided with
Extension
Bracket)
(Provided with
Extension Bracket)
Figure 1
Figure 2
Figure 3
Figure 4
WALL MOUNT (RIGHT SIDE)
Attach with
Concrete Anchors
(Not Provided)
Inside
Garage
Wall
Sensor
Bracket
Lens
Indicator
Light
Inside
Garage
Wall
Indicator
LightSensor
Bracket
Lens
Lag Screws
(Not Provided)
Fasten Wood Block to Wall with
Lag Screws (Not Provided)
INSTALLING THE BRACKETS
Be sure power to the opener is disconnected.
Install and align the brackets so the sensors will face
each other across the garage door, with the beam no
higher than 6" above the floor. They may be installed
in one of three ways, as follows.
Garage door track installation (preferred):
• Slip the curved arms over the rounded edge of
each door track, with the curved arms facing the
door. Snap into place against the side of the track.
It should lie flush, with the lip hugging the back
edge of the track, as shown in Figure 1.
If your door track will not support the bracket
securely, wall installation is recommended.
Wall installation (Figure 2 and 3):
• Place the bracket against the wall with curved arms
facing the door. Be sure there is enough clearance
for the sensor beam to be unobstructed.
• If additional depth is needed, an extension bracket
(See Accessories) or wood blocks can be used.
• Use bracket mounting holes as a template to locate
and drill (2) 3/16" diameter pilot holes on the wall at
each side of the door, no higher than 6" above the
floor.
• Attach brackets to wall with lag screws
(Not Provided).
• If using extension brackets or wood blocks, adjust
right and left assemblies to the same distance out
from the mounting surface. Make sure all door
hardware obstructions are cleared.
Floor installation (Figure 4):
• Use wood blocks or extension brackets (See
Accessories) to elevate sensor brackets so the
lenses will be no higher than 6" above the floor.
• Carefully measure and place right and left
assemblies at the same distance out from the wall.
Be sure all door hardware obstructions are cleared.
• Fasten to the floor with concrete anchors as shown.
Wing Nut
1/4"-20
Staples
Carriage Bolt
1/4"-20x1/2"
HARDWARE SHOWN ACTUAL SIZE

19
Invisible Light Beam
Protection Area
Sensor
Sensor
Bell Wire
Bell Wire Finished
Ceiling
Quick-Connect Terminals
Strip wire 7/16"
7/16"
Sensor
Connections
Connect Wire to
Quick-Connect Terminals
White/black
wire
White
wire
Red Grey
White
Carriage Bolt
1/4"-20x1/2" Lens
Wing Nut
Figure 5
Figure 6
MOUNTING AND WIRING THE SAFETY SENSORS
• Slide a 1/4"-20x1/2" carriage bolt head into the slot
on each sensor. Use wing nuts to fasten sensors to
brackets, with lenses pointing toward each other
across the door. Be sure the lens is not obstructed
by a bracket extension (Figure 5).
• Finger tighten the wing nuts.
• Run the wires from both sensors to the opener. Use
insulated staples to secure wire to wall and ceiling.
• Strip 7/16" of insulation from each set of wires.
Separate white and white/black wires sufficiently to
connect to the opener quick-connect terminals: white
to white and white/black to grey (Figure 6).
ALIGNING THE SAFETY SENSORS
• Plug in the opener. The indicator lights in both the
sending and receiving eyes will glow steadily if
wiring connections and alignment are correct.
The sending eye amber indicator light will glow
regardless of alignment or obstruction. If the green
indicator light in the receiving eye is off, dim, or
flickering (and the invisible light beam path is not
obstructed), alignment is required.
• Loosen the sending eye wing nut and readjust,
aiming directly at the receiving eye. Lock in place.
• Loosen the receiving eye wing nut and adjust sensor
until it receives the sender’s beam. When the green
indicator light glows steadily, tighten the wing nut.
TROUBLESHOOTING THE SAFETY SENSORS
1. If the sending eye indicator light does not glow
steadily after installation, check for:
• Electric power to the opener.
• A short in the white or white/black wires. These
can occur at staples, or at opener connections.
• Incorrect wiring between sensors and opener.
• A broken wire.
2. If the sending eye indicator light glows steadily but
the receiving eye indicator light doesn't:
• Check alignment.
• Check for an open wire to the receiving eye.
3. If the receiving eye indicator light is dim, realign
either sensor.
NOTE: When the invisible beam path is obstructed
or misaligned while the door is closing, the door will
reverse. If the door is already open, it will not close.
The opener lights will blink 10 times. (If bulbs are not
installed, 10 clicks can be heard.) See page 17.

20
INSTALLATION STEP 11
Fasten the Door Bracket
Follow instructions which apply to your door type
as illustrated below or on the following page.
A horizontal reinforcement brace should be long
enough to be secured to two or three vertical
supports. A vertical reinforcement brace should
cover the height of the top panel.
Figure 1 shows one piece of angle iron as the
horizontal brace. For the vertical brace, 2 pieces of
angle iron are used to create a U-shaped support.
The best solution is to check with your garage door
manufacturer for an opener installation door
reinforcement kit.
NOTE: Many door reinforcement kits provide for
direct attachment of the clevis pin and door arm. In
this case you will not need the door bracket; proceed
to Step 12.
SECTIONAL DOORS
1. Center the door bracket on the previously marked
vertical centerline used for the header bracket
installation. Note correct UP placement, as
stamped inside the bracket.
2. Position the top edge of the bracket 2"-4" below
the top edge of the door, OR directly below any
structural support across the top of the door.
3. Mark, drill holes and install as follows, depending
on your door’s construction:
Metal or light weight doors using a vertical angle
iron brace between the door panel support and
the door bracket:
• Drill 3/16" fastening holes. Secure the door bracket
using the two 1/4"-14x5/8" self-threading screws.
(Figure 2A)
• Alternately, use two 5/16" bolts, lock washers and
nuts (not provided). (Figure 2B)
Metal, insulated or light weight factory reinforced
doors:
• Drill 3/16" fastening holes. Secure the door bracket
using the self-threading screws (Figure 3).
Wood Doors:
• Use top and bottom or side to side door bracket
holes. Drill 5/16" holes through the door and secure
bracket with 5/16"x2" carriage bolts, lock washers
and nuts (not provided). (Figure 4)
NOTE: The 1/4"-14x5/8"
self-threading screws are
not intended for use on
wood doors.
To prevent damage to garage door, reinforce inside of
door with angle iron both vertically and horizontally.
WARNING
CAUTION
WARNING
WARNING
Vertical
Centerline
of Garage
Door
Door
Bracket
Location
Header
Bracket
HORIZONTAL AND VERTICAL
REINFORCEMENT IS NEEDED
FOR LIGHTWEIGHT GARAGE
DOORS (FIBERGLASS,
ALUMINUM, STEEL, DOORS
WITH GLASS PANEL, ETC.).
(NOT PROVIDED)
Door
Bracket
Vertical
Centerline
of Garage Door
UP
Vertical
Reinforcement
Self-Threading
Screw
1/4"-14x5/8"
Door
Bracket
Nut
5/16"-18
Bolt
5/16"-18x2"
Lock Washer
5/16"
UP
Vertical
Reinforcement
(Not Provided)
Vertical
Centerline
of Garage Door
UP
Self-Threading
Screw
1/4"-14x5/8"
Vertical
Centerline
of Garage Door
UP
Inside Edge
of Door or
Reinforcement Board
Bolt
5/16"x2"
(Not Provided)
Vertical
Centerline
of Garage
Door
Figure 1
Figure 2A
Figure 2B
Figure 3
Figure 4
Self-Threading
Screw
1/4"-14x5/8"
HARDWARE
SHOWN
ACTUAL SIZE

21
ONE-PIECE DOORS
Please read and comply with the warnings and
reinforcement instructions on the previous page.
They apply to one-piece doors also.
• Center the door bracket on the top of the door, in
line with the header bracket as shown. Mark either
the left and right, or the top and bottom holes.
•Metal Doors: Drill 3/16" pilot holes and fasten the
bracket with the 1/4"-14x5/8" self-threading screws
provided.
•Wood Doors: Drill 5/16" holes and use 5/16"x2"
carriage bolts, lock washers and nuts (not
provided) or 5/16"x1-1/2" lag screws (not
provided) depending on your installation needs.
NOTE: The door bracket may be installed on the top
edge of the door if required for your installation.
(Refer to the dotted line optional placement
drawing.)
Header Wall
Vertical
Centerline of
Garage Door
Finished Ceiling
Optional
Placement
of Door
Bracket
Header
Bracket
Door
Bracket
2x4 Support
For a door with no exposed framing,
or for the optional installation, use
lag screws 5/16"x1-1/2" (Not Provided)
to fasten door bracket.
METAL DOOR
Top of Door
(Inside
Garage)
Door
Bracket
Optional
Placement
Top Edge
of Door
Self-Threading
Screw
1/4"-14x5/8"
Door
Bracket
Top of Door
(Inside
Garage)
Carriage Bolt
5/16"x2"
(Not Provided)
Optional
Placement
Lock
Washer
5/16"
Nut
5/16"-18
Top Edge
of Door
WOOD DOOR
HORIZONTAL AND VERTICAL
REINFORCEMENT IS NEEDED
FOR LIGHTWEIGHT GARAGE
DOORS (FIBERGLASS,
ALUMINUM, STEEL, DOORS
WITH GLASS PANEL, ETC.).
(NOT PROVIDED)
Self-Threading Screw
1/4"-14x5/8"
HARDWARE SHOWN
ACTUAL SIZE

INSTALLATION STEP 12
Connect Door Arm to Trolley
Follow instructions which apply to your door type as
illustrated below and on the following page.
SECTIONAL DOORS ONLY
Make sure garage door is fully closed. Pull the
emergency release handle to disconnect the outer
trolley from the inner trolley. Slide the outer trolley
back (away from the door) about 2" as shown in
Figures 1, 2 and 3.
• Figure 1:
– Fasten straight door arm section to outer trolley
with the 5/16"x1" clevis pin. Secure the
connection with a ring fastener.
– Fasten curved section to the door bracket in the
same way, using the 5/16"x1-1/4" clevis pin.
• Figure 2:
– Bring arm sections together. Find two pairs of
holes that line up and join sections. Select holes
as far apart as possible to increase door arm
rigidity.
• Figure 3, Hole alignment alternative:
– If holes in curved arm are above holes in straight
arm, disconnect straight arm. Cut about 6" from
the solid end. Reconnect to trolley with cut end
down as shown.
– Bring arm sections together.
– Find two pairs of holes that line up and join with
bolts, lock washers and nuts.
• Pull the emergency release handle toward the
opener at a 45° angle so that the trolley release
arm is horizontal. Proceed to Adjustment Step 1,
page 24. Trolley will re-engage automatically when
opener is operated.
22
Lock Washer 5/16"
Nut 5/16"-18 Ring Fastener
Hex Bolt
5/16"-18x7/8"
Clevis Pin
5/16"x1" (Trolley)Clevis Pin
5/16"x1-1/4" (Door Bracket)
HARDWARE SHOWN ACTUAL SIZE
Ring
Fastener
Door
Bracket
Clevis Pin
5/16"x1-1/4"
Curved
Door Arm
Straight
Door Arm
Clevis Pin
5/16"x1"
Inner Trolley
Outer Trolley
Lock
Washers
5/16"
Nuts
5/16"-18
Door Bracket
Bolts
5/16"-18x7/8"
Emergency
Release
Handle
Lock
Washers
5/16"
Nuts
5/16"-18
Bolts
5/16"-18x7/8"
Cut This End
Figure 1
Figure 2
Figure 3

ALL ONE-PIECE DOORS
1. Assemble the Door Arm:
• Fasten the straight and curved door arm sections
together to the longest possible length (with a 2
or 3 hole overlap).
• Make sure the garage door is fully closed.
Connect the straight door arm section to the door
bracket with the 5/16"x1-1/4" clevis pin.
• Secure with a ring fastener.
• Pull the emergency release handle,
disconnecting the outer trolley from the inner
trolley by pulling straight down on the emergency
release handle and sliding the outer trolley back
toward the motor unit.
• Connect the curved door arm section to the
trolley using the 5/16"x1-1/4" clevis pin and ring
fastener.
NOTE: Adjusting the limits on the following page:
• The trolley will automatically connect. If not,
review the trolley lockout feature on page 28.
• When setting the up limit on the following page,
the door should not have a “backward” slant
when fully open as illustrated below. A slight
backward slant will cause unnecessary bucking
and/or jerking operation as the door is being
opened or closed from the fully open position.
23
Nuts
5/16"-18
Lock
Washers
5/16"
Ring
Fastener
Straight
Arm
Bolts
5/16"-18x7/8
Door
Bracket
Clevis Pin
5/16"x1-1/4"
Curved
Door Arm
Door Arm
Door Arm
Connector Hole
Closed
Door
Outer Trolley
Emergency Release Handle
Inner Trolley
Outer Trolley
Open Door
Door Arm
Correct Angle
Door with
Backward Slant (Incorrect)
Inner Trolley

4. Open and close the door with the remote control or
door control 2 or 3 times.
• If the door does not stop in the desired UP
(open) position or reverses before the door stops
at the DOWN (close) position, proceed to
Adjustment Step 2 Setting the Force.
• If the door stops in both the desired UP (open)
and DOWN (close) positions, proceed to
Adjustment Step 3, Test the Safety Reversal
System.
24
Without a properly installed safety reversal system,
persons (particularly small children) could be
SERIOUSLY INJURED or KILLED by a closing garage
door.
• Incorrect adjustment of garage door travel limits will
interfere with proper operation of safety reversal
system.
• NEVER use force adjustments to compensate for a
binding or sticking garage door.
• If one control (force or travel limits) is adjusted, the
other control may also need adjustment.
• After ANY adjustments are made, the safety reversal
system MUST be tested. Door MUST reverse on
contact with 1-1/2" high object (or 2x4 laid flat) on
floor.
WARNING
CAUTION WARNING
WARNING
To prevent damage to vehicles, be sure fully open door
provides adequate clearance.
WARNING
CAUTION
WARNING
WARNING
ADJUSTMENT STEP 1
Program the Travel Limits
Travel limits regulate the points at which the
door will stop when moving up or down. Follow
the steps below to set the limits.
To program the travel limits:
1. Press and hold the black button until the yellow
indicator light starts flashing slowly then release.
2. Push and hold the black button until the door
reaches the desired UP (open) position (Figure 2).
Adjust the position of the door by using the black
and orange buttons. Black moves the door UP
(open) and orange moves the door DOWN (close).
Check to be sure the door opens high enough for
your vehicle.
NOTE: Refer to previous page for correct door
position for one-piece door.
3. Push the remote control or door control (Figure 3).
This sets the UP (open) limit and begins closing
the door. Press either the black or orange button
before the door hits the floor. The door will stop.
Adjust the desired DOWN (close) limit position
using the black and orange buttons (Figure 4).
Check to be sure the door is fully closed without
applying excessive pressure on the rail (rail should
not bow upwards and the belt should not sag or
droop below the rail). Push the remote control or
door control (Figure 3). This sets the DOWN
(close) limit and begins opening the door.
NOTE: If neither the black or the orange button is
pressed, the door will reverse off the floor and the
DOWN travel limit will be set automatically.
BLACK ORANGE
Push and hold
until the door
is at desired UP
position
Figure 2
Orange
Button
Black
Button
Antenna
Indicator
Light
Figure 1
Figure 3
BLACK ORANGE
Push either
button to stop
door at desired
DOWN position
Figure 4
or
LOCKLIGHT

ADJUSTMENT STEP 2
Setting the Force
The force setting button is located on the back
panel of the motor unit. The force setting
measures the amount of force required to open
and close the door.
1. Locate the orange button on the back panel of unit
(Figure 1).
2. Push the orange button twice to enter unit into
Force Adjustment Mode (Figure 2). The LED
(Indicator Light) will flash quickly.
3. Push the remote control or door control (Figure 3).
The door will travel to the DOWN (close) position.
Push the remote control or door control again, the
door will travel to the UP (open) position. Push the
remote control or door control a third time to send
the door to the DOWN (close) position.
The LED (Indicator Light) will stop flashing when the
force has been learned.
The unit has learned the forces required to open and
close your door.
The door must travel through a complete cycle, UP
and DOWN, in order for the force to be set properly.
If the unit cannot open and close your door fully,
inspect your door to insure that it is balanced
properly and is not sticking or binding. See page 3,
“Preparing your garage door.”
25
Without a properly installed safety reversal system,
persons (particularly small children) could be
SERIOUSLY INJURED or KILLED by a closing garage
door.
• Too much force on garage door will interfere with
proper operation of safety reversal system.
• NEVER increase force beyond minimum amount
required to close garage door.
• NEVER use force adjustments to compensate for a
binding or sticking garage door.
• If one control (force or travel limits) is adjusted, the
other control may also need adjustment.
• After ANY adjustments are made, the safety reversal
system MUST be tested. Door MUST reverse on
contact with 1-1/2" high object (or 2x4 laid flat) on
floor.
WARNING
CAUTION WARNING
WARNING
Orange
Button
Black
Button
Antenna
Indicator
Light
BLACK ORANGE
Push Orange button
twice to enter
unit into Force
Adjustment Mode
Figure 3
Figure 2
Figure 1
or
LOCKLIGHT

ADJUSTMENT STEP 3
Test the Safety Reversal System
TEST
• With the door fully open, place a 1-1/2" board (or a
2x4 laid flat) on the floor, centered under the
garage door.
• Operate the door in the down direction. The door
must reverse on striking the obstruction. Upon
successful safety reversal test proceed to
Adjustment Step 4.
ADJUST
• If the door stops on the obstruction, it is not
traveling far enough in the down direction.
Complete Adjustment Steps 1 and 2 Programming
the Limits and Forces.
NOTE: On a sectional door, make sure limit
adjustments do not force the door arm beyond a
straight up and down position. See Figure 3,
page 22.
• Repeat the test.
• When the door reverses on the 1-1/2" board (or
2x4 laid flat), remove the obstruction and run the
opener through 3 or 4 complete travel cycles to
test adjustment.
• If the unit continues to fail the Safety Reverse Test,
call for a trained door systems technician.
IMPORTANT SAFETY CHECK:
Test the Safety Reverse System after:
• Each adjustment of door arm length, limits, or
force controls.
• Any repair to or adjustment of the garage door
(including springs and hardware).
• Any repair to or buckling of the garage floor.
• Any repair to or adjustment of the opener.
ADJUSTMENT STEP 4
Test The Protector System®
• Press the remote control push button to open the
door.
• Place the opener carton in the path of the door.
• Press the remote control push button to close the
door. The door will not move more than an inch,
and the opener lights will flash.
The garage door opener will not close from a remote
if the indicator light in either sensor is off (alerting
you to the fact that the sensor is misaligned or
obstructed).
If the opener closes the door when the safety
reversing sensor is obstructed (and the sensors
are no more than 6" above the floor), call for a
trained door systems technician.
26
Safety Reversing Sensor Safety Reversing Sensor
1-1/2" (3.8 cm) board
(or a 2x4 laid flat)
Without a properly installed safety reversal system,
persons (particularly small children) could be
SERIOUSLY INJURED or KILLED by a closing garage
door.
• Safety reversal system MUST be tested every month.
• If one control (force or travel limits) is adjusted, the
other control may also need adjustment.
• After ANY adjustments are made, the safety reversal
system MUST be tested. Door MUST reverse on
contact with 1-1/2" high object (or 2x4 laid flat) on the
floor.
Without a properly installed safety reversing sensor,
persons (particularly small children) could be
SERIOUSLY INJURED or KILLED by a closing garage
door.
WARNING
CAUTION WARNING
WARNING
WARNING
CAUTION WARNING
WARNING
1-1/2" board (or a 2x4
laid flat)

OPERATION
27
Using Your Garage Door Opener
Your Security✚®opener and hand-held remote
control have been factory programmed to a matching
code which changes with each use, randomly
accessing over 100 billion new codes. Your opener
will operate with several Security✚®remote controls
utilizing up to 12 functions, and one Security✚®
Keyless Entry System. If you purchase a new
remote, or if you wish to deactivate any remote,
follow the instructions in the Programming section.
Activate your opener with any of the following:
•The hand-held Remote Control: Hold the large
push button down until the door starts to move.
•The wall-mounted Door Control: Hold the push bar
down until the door starts to move.
•The Keyless Entry (See Accessories): If provided
with your garage door opener, it must be
programmed before use. See Programming.
When the opener is activated (with the safety
reversing sensor correctly installed and aligned)
1. If open, the door will close. If closed, it will open.
2. If closing, the door will reverse.
3. If opening, the door will stop.
4. If the door has been stopped in a partially open
position, it will close.
5. If obstructed while closing, the door will reverse. If
the obstruction interrupts the sensor beam, the
opener lights will blink for five seconds.
6. If obstructed while opening, the door will stop.
7. If fully open, the door will not close when the beam
is broken. The sensor has no effect in the opening
cycle.
If the sensor is not installed, or is misaligned, the
door won't close from a hand-held remote. However,
you can close the door with the Door Control, the
Outside Keylock, or Keyless Entry, if you activate
them until down travel is complete. If you release
them too soon, the door will reverse.
The opener lights will turn on under the following
conditions: when the opener is initially plugged in;
when power is restored after interruption; when the
opener is activated.
They will turn off automatically after 4-1/2 minutes or
provide constant light when the Light feature on the
Motion Detecting Control Panel is activated. Bulb
size is 100 watts maximum.
Security✚®light feature: Lights will also turn on
when someone walks through the open garage door.
With a Motion Detecting Control Panel, this feature
may be turned off as follows: Push and hold the light
button for 10 seconds and the incandescent light
bulbs will blink once signifying the feature is turned
OFF. To turn the feature back ON push and hold the
light button and the incandescent light bulbs will blink
once signifying the feature is turned ON.
IMPORTANT SAFETY INSTRUCTIONS
To reduce the risk of SEVERE INJURY or DEATH:
WARNING
WARNING
WARNING
1. READ AND FOLLOW ALL WARNINGS AND
INSTRUCTIONS.
2. ALWAYS keep remote controls out of reach of children.
NEVER permit children to operate or play with garage
door control push buttons or remote controls.
3. ONLY activate garage door when it can be seen clearly, it
is properly adjusted, and there are no obstructions to
door travel.
4. ALWAYS keep garage door in sight until completely
closed. NO ONE SHOULD CROSS THE PATH OF THE
MOVING DOOR.
5. NO ONE SHOULD GO UNDER A STOPPED, PARTIALLY
OPEN DOOR.
6. If possible, use emergency release handle to disengage
trolley ONLY when garage door is CLOSED. Weak or
broken springs or unbalanced door could result in an
open door falling rapidly and/or unexpectedly.
7. NEVER use emergency release handle unless garage
doorway is clear of persons and obstructions.
8. NEVER use handle to pull garage door open or closed. If
rope knot becomes untied, you could fall.
9. If one control (force or travel limits) is adjusted, the
other control may also need adjustment.
10. After ANY adjustments are made, the safety reversal
system MUST be tested.
11. Safety reversal system MUST be tested every month.
Garage door MUST reverse on contact with 1-1/2" high
object (or a 2x4 laid flat) on the floor.
12. ALWAYS KEEP GARAGE DOOR PROPERLY BALANCED
(see page 3). An improperly balanced door may not
reverse when required and could result in SEVERE
INJURY or DEATH.
13. All repairs to cables, spring assemblies and other
hardware, all of which are under EXTREME tension,
MUST be made by a trained door systems technician.
14. ALWAYS disconnect electric power to garage door
opener BEFORE making any repairs or removing
covers.
15. SAVE THESE INSTRUCTIONS.

28
Using the Wall-Mounted Door
Control
THE MOTION DETECTING DOOR CONTROL
Press the push bar to open or close
the door. Press again to reverse the
door during the closing cycle or to
stop the door while it's opening.
This door control contains a motion
detector that will automatically turn
on the light when it detects a person
entering the garage. This feature
can be easily turned off for
extended work light use.
Light feature
Press the Light button to turn the opener light on or off.
It will not control the opener lights when the door is in
motion. If you turn it on and then activate the opener,
the light will remain on for 4-1/2 minutes. Press again to
turn it off sooner. The 4-1/2 minute interval can be
changed to 1-1/2, 2-1/2, or 3-1/2 minutes as follows:
Press and hold the Lock button until the light blinks
(about 10 seconds). A single blink indicates that the
timer is reset to 1-1/2 minutes. Repeat the procedure
and the light will blink twice, resetting the timer to 2-1/2
minutes. Repeat again for a 3-1/2 minute interval, etc.,
up to a maximum of four blinks and 4-1/2 minutes.
When using the opener lights as working lights, we
recommend that you first disable the motion sensor See
Automatic Light Feature, following.
Automatic Light Feature: The opener light will turn
on automatically when a person enters the garage.
When a person walks in front of the door control, the
light will come on for five minutes, then shut off. This
feature works by detecting body heat and may not
work in temperatures around 100ûF (37.7ûC).
To disable this feature, slide the Detector Switch on
the right side of the door control down (off).
We recommend that you disable the motion sensor
when using the opener lights as working lights.
Otherwise, they will turn off automatically if you are
working beyond the sensor’s range.
Lock feature
Designed to prevent operation of the door from
hand-held remote controls. However, the door will open
and close from the Door Control, the Outside Keylock
and the Keyless Entry Accessories.
To activate, press and hold the Lock button for 2
seconds. The push bar light will flash as long as the
Lock feature is on.
To turn off, press and hold the Lock button again for
2 seconds.The push bar light will stop flashing. The
Lock feature will also turn off whenever the “Learn”
button on the motor unit panel is activated.
Additional features when used with the 3-Button
hand-held remote
A) To control the opener lights:
In addition to operating the door, you may
program the remote to operate the lights.
1. With the door closed, press and hold a small remote
button that you want to control the light.
2. Press and hold the Light button on the door control.
3. While holding the Light button, press and hold the
Lock button on the door control.
4. After the opener lights flash, release all buttons.
B) To operate one door using all three buttons on the
hand-held remote:
You may program the remote to
open the door with the large
button, close it with the middle
button, and stop the door’s
movement with the third button.
NOTE: If remote is already
programmed, you must first erase
all codes. See Programming.
1. With the door closed, press and hold the large
remote push button.
2. Press and hold the Lock button on the door control
for a minimum of one second before proceeding to
next step.
3. Press and hold the door control push bar.
4. After the opener lights flash, release all buttons.
To Open the Door Manually
The door should be fully
closed if possible. Pull down
on the emergency release
handle and lift the door
manually. To reconnect the
door to the opener, press the
door control push bar.
The lockout feature prevents
the trolley from reconnecting
automatically, Pull the
emergency release handle
down and back (toward the
opener). The door can then be
raised and lowered manually
as often as necessary. To
disengage the lockout feature,
pull the handle straight down.
The trolley will reconnect on
the next UP or DOWN
operation.
Open
Close
Stop
To prevent possible SERIOUS INJURY or DEATH from a
falling garage door:
• If possible, use emergency release handle to disengage
trolley ONLY when garage door is CLOSED. Weak or
broken springs or unbalanced door could result in an
open door falling rapidly and/or unexpectedly.
• NEVER use emergency release handle unless garage
doorway is clear of persons and obstructions.
• NEVER use handle to pull door open or closed. If rope
knot becomes untied, you could fall.
WARNING
CAUTION WARNING
WARNING
Trolley
Release
Arm
NOTICE
Emergency
Release
Handle
(Pull Down)
Trolley
Release
Arm
NOTICE
Emergency
Release Handle
(Down and Back)
LOCKOUT POSITION
MANUAL DISCONNECT
POSITION
LOCKLIGHT
Push
Bar
Lock
Button
Light
Button
Detector
Switch

29
CARE OF YOUR OPENER
MAINTENANCE SCHEDULE
Once a Month
• Manually operate door. If it is unbalanced or
binding, call a trained door systems technician.
• Check to be sure door opens & closes fully. Adjust
limits and/or force if necessary. (See pages 24
and 25)
• Repeat the safety reverse test. Make any
necessary adjustments. (See Adjustment Step 3)
Once a Year
• Oil door rollers, bearings and hinges. The opener
does not require additional lubrication. Do not
grease the door tracks.
THE REMOTE CONTROL BATTERY
The lithium battery should
produce power for up to
5 years. To replace battery,
use the visor clip or
screwdriver blade to pry open
the case as shown. Insert
battery positive side up.
Dispose of old battery properly.
Battery
positive
side up (+)
3. The door operates from the Door Control, but
not from the remote control:
• Is the door push bar flashing? If your model has
the Lock feature, make sure it is off.
• Program the opener to match the remote control
code. (Refer to instructions on the motor unit
panel.) Repeat with all remotes.
4. The remote control has short range:
• Change the location of the remote control in your
car.
• Check to be sure the antenna on the side or back
panel of motor unit extends fully downward.
• Some installations may have shorter range due to
a metal door, foil backed insulation, or metal
garage siding.
5. Opener noise is disturbing in living quarters of
home:
• If operational noise is a problem because of
proximity of the opener to the living quarters, the
Vibration Isolator Kit 89LMC can be installed. This
kit was designed to minimize vibration to the house
and is easy to install.
HAVING A PROBLEM?
1. The opener doesn't operate from either the
Door Control or the remote control:
• Does the opener have electric power? Plug a
lamp into the outlet. If it doesn't light, check the
fuse box or the circuit breaker. (Some outlets are
controlled by a wall switch.)
• Have you disabled all door locks? Review
installation instruction warnings on page 7.
• Is there a build-up of ice or snow under the door?
The door may be frozen to the ground. Remove
any restriction.
• The garage door spring may be broken. Have it
replaced.
2. Opener operates from the remote, but not from
the Door Control:
• Is the door control lit? If not, reverse the wires. If
the opener runs, check for a faulty wire connection
at the door control, a short under the staples, or a
broken wire.
• Are the wiring connections correct? Review
Installation Step 6, page 14.
NOTICE: To comply with FCC and or Industry Canada (IC) rules, adjustment or
modifications of this receiver and/or transmitter are prohibited, except for changing the
code setting or replacing the battery. THERE ARE NO OTHER USER SERVICEABLE PARTS.
Tested to Comply with FCC Standards FOR HOME OR OFFICE USE. Operation is subject to
the following two conditions: (1) this device may not cause harmful interference, and
(2) this device must accept any interference received, including interference that may
cause undesired operation.
To prevent possible SERIOUS INJURY or DEATH:
• NEVER allow small children near batteries.
• If battery is swallowed, immediately notify doctor.
WARNING
CAUTION WARNING
WARNING

30
Having a Problem? (Continued)
6. The garage door opens and closes by itself:
• Be sure that all remote control push buttons are
off.
• Remove the bell wire from the door control
terminals and operate from the remote only. If this
solves the problem, the door control is faulty
(replace), or there is an intermittent short on the
wire between the door control and the motor unit.
• Clear memory and re-program all remote controls.
7. The door doesn't open completely:
• Is something obstructing the door? Is it out of
balance, or are the springs broken? Remove the
obstruction or repair the door.
8. The door opens but won't close:
• If the opener lights blink, check the safety
reversing sensor. See Installation Step 10.
• If the opener lights don’t blink and it is a new
installation. See Adjustment Step 2. For an
existing installation, see below.
Repeat the safety reverse test after the adjustment
is complete.
9. The door reverses for no apparent reason and
opener lights don’t blink:
• Is something obstructing the door? Pull the
emergency release handle. Operate the door
manually. If it is unbalanced or binding, call a
trained door systems technician.
• Clear any ice or snow from the garage floor area
where the door closes.
• Review Adjustment Step 2.
Repeat safety reverse test after adjustments.
10. The door reverses for no apparent reason and
opener lights blink for 5 seconds after
reversing:
• Check the safety reversing sensor. Remove any
obstruction or align the receiving eye. See
Installation Step 10.
11. The opener lights don't turn on:
• Replace the light bulbs (100 watts maximum). Use
a standard neck garage door opener bulb if regular
bulb burns out.
12. The opener lights don't turn off:
• Is the Light feature on? Turn it off.
13. The opener strains to operate door:
• The door may be out of balance or the springs
may be broken. Close the door and use the
emergency release handle to disconnect the
trolley. Open and close the door manually. A
properly balanced door will stay in any point of
travel while being supported entirely by its springs.
If it does not, disconnect the opener and call a
trained door systems technician.
14. The opener motor hums briefly, then won't
work:
• The garage door springs may be broken. See
above.
• If the problem occurs on the first operation of the
opener, door may be locked. Disable the door lock.
15. The opener won't operate due to power
failure:
• Use the emergency release handle to disconnect
the trolley. The door can be opened and closed
manually. When power is restored, press the Door
Control push bar and trolley will automatically
reconnect (unless trolley is in lockout position.)
See page 28.
• The Outside Quick Release accessory (for use on
garages with no service door) disconnects the
trolley from outside the garage in case of power
failure.

*3-Button Remotes
If provided with your garage door opener, the large
button is factory programmed to operate it. Additional
buttons on any
Security✚®3-Button
remote or mini-remote
can be programmed to
operate other
Security✚®garage door
openers.
To Erase All Codes From Motor
Unit Memory
To deactivate any unwanted remote,
first erase all codes:
Press and hold the “learn” button on
motor unit until the learn indicator light
goes out (approximately 6 seconds).
All previous codes are now erased. Reprogram each
remote or keyless entry you wish to use.
Your garage door opener has already been programmed at the factory to operate with your hand-held remote
control. The door will open and close when you press the large push button.
Below are instructions for programming your opener to operate with additional Security✚®remote controls.
1. Press and hold the button on the
hand-held remote*that you wish
to operate your garage door.
2. While holding the remote button,
press and hold the LIGHT button
on the Motion Detecting Control
Panel.
3. Continue holding both buttons
while you press the push bar on
the Motion Detecting Control
Panel (all three buttons are held).
4. Release buttons when the motor
unit lights blink. It has learned the
code. If light bulbs are not
installed, two clicks will be heard.
1. Press and release the orange
“learn” button on the motor unit.
The learn indicator light will glow
steadily for 30 seconds.
2. Within 30 seconds, press and
hold the button on the hand-held
remote*that you wish to operate
your garage door.
3. Release the button when the
motor unit lights blink. It has
learned the code. If light bulbs
are not installed, two clicks will
be heard.
To Add or Reprogram a Hand-held Remote Control
USING THE “LEARN” BUTTON USING THE MOTION DETECTING
CONTROL PANEL
PROGRAMMING
31
NOTICE: If this Security
✚
®garage door opener is operated with a non-rolling code transmitter, the technical
measure in the receiver of the garage door opener, which provides security against code-theft devices, will be
circumvented. The owner of the copyright in the garage door opener does not authorize the purchaser or
supplier of the non-rolling code transmitter to circumvent that technical measure.
— — — — — — — —
— — — — — — — —
LOCK
LIGHT
LOCKLIGHT
LOCK LIGHT
LOCK LIGHT

1. Enter a four digit personal
identification number (PIN) of your
choice on the keypad. Then press
and hold ENTER.
2. While holding the ENTER button,
press and hold the LIGHT button
on the Motion Detecting Control
Panel.
3. Continue holding the ENTER and
LIGHT buttons while you press
the push bar on the Motion
Detecting Control Panel (all three
buttons are held).
4. Release buttons when the motor
unit lights blink. It has learned the
code. If light bulbs are not
installed, two clicks will be heard.
1. Press and release the orange
“learn” button on motor unit. The
learn indicator light will glow
steadily for 30 seconds.
2. Within 30 seconds, enter a four
digit personal identification
number (PIN) of your choice on
the keypad. Then press and hold
the ENTER button.
3. Release the button when the
motor unit lights blink. It has
learned the code. If light bulbs are
not installed, two clicks will be
heard.
To Add, Reprogram or Change a Keyless Entry PIN
NOTE: Your new Keyless Entry must be programmed to operate your garage door opener.
USING THE “LEARN” BUTTON USING THE MOTION DETECTING
CONTROL PANEL
NOTE: This method requires two people if the Keyless
Entry is already mounted outside the garage.
To change an existing, known PIN
If the existing PIN is known, it may be changed by one
person without using a ladder.
1. Press the four buttons for the present PIN, then
press and hold the # button.
The opener light will blink twice. Release the #
button.
2. Press the new 4-digit PIN you have chosen, then
press Enter.
The motor unit lights will blink once when the PIN has
been learned.
Test by pressing the new PIN, then press Enter. The
door should move.
To set a temporary PIN
You may authorize access by visitors or service people
with a temporary 4-digit PIN. After a programmed
number of hours or number of accesses, this temporary
PIN expires and will no longer open the door. It can be
used to close the door even after it has expired. To set
a temporary PIN:
1. Press the four buttons for your personal entry PIN
(not the last temporary PIN), then press and hold the
✽button.
The opener light will blink three times. Release the
button.
2. Press the temporary 4-digit PIN you have chosen,
then press Enter.
The opener light will blink four times.
3. To set the number of hours this temporary PIN will
work, press the number of hours (up to 255), then
press ✽.OR
3. To set the number of times this temporary PIN will
work, press the number of times (up to 255), then
press #.
The opener light will blink once when the temporary PIN
has been learned.
Test by pressing the four buttons for the temporary PIN,
then press Enter. The door should move. If the
temporary PIN was set to a certain number of openings,
remember that the test has used up one opening.To
clear the temporary password, repeat steps 1-3, setting
the number of hours or times to 0 in step 3.
32
— — — — — — — —
— — — — — — — —
LOCK
LIGHT
LOCK LIGHT
LOCK LIGHT
LOCK LIGHT

7
10
11
6
5
NOTICE
UP
CEILING MOUNT ONLY
8
1
4
2
3
9
12
LOCKLIGHT
2
1
5
6
3
7
8
4
Rail Assembly Parts
Installation Parts
33
KEY PART
NO. NO. DESCRIPTION
1 4A1008 Master link kit
2 41A5424 Belt pulley bracket
3 41B3869-1 Complete trolley assembly
4 109B33 Trolley clip
5 183B99 One-piece T-rail
6 41A5434-11 Full belt assembly
7 41B4103 Tensioner assembly
8 83A11-2 Rail grease
REPAIR PARTS
KEY PART
NO. NO. DESCRIPTION
1 98LMC Motion detecting door control panel
2 973LMC 3-Button remote control
3 10A20 3V2032 Lithium battery
4 29B137 Remote control visor clip
5 41A2828 Emergency release rope & handle
assembly
6 41B4494-1 2-Conductor bell wire - white &
white/red
7 41A5047-1 Door bracket w/clevis pin & fastener
8 41A4353-1 Header bracket w/clevis pin & fastener
9 41A5034 Safety sensor kit (receiving and
sending eyes) with 3' 2-conductor
bell wire attached
10 178B34 Straight door arm section
11 178B35 Curved door arm section
12 41A5266-1 Safety sensor brackets (2)
NOT SHOWN
41A2770-5 Installation hardware bag
(includes hardware listed on page 5)
114A2934 Owner’s manual

Motor Unit Assembly Parts
34
2
3
4
5
6
7
8
9
10
11
12
1
KEY PART
NO. NO. DESCRIPTION
1 41C76 Belt cap
2 41B4245-1 Line cord
3 41B4375-3 Terminal block w/screws
4 41C5317-1 Wire harness (logic)
41C5839 High voltage wire harness
41B5806-1 DC motor wire harness
41C5418 Light socket wire harness
5 41D605-1 Motor 80kg/100kg
KEY PART
NO. NO. DESCRIPTION
6 41A5507-6 Receiver logic board assembly
with end panel
41D182-1 End panel only
7 41B5351-7 Power supply
8 41C168 Transformer and harness
9 41D630-2 Bracket: light socket, limit switch
10 41A5490-10 Cover
11 175C147 Light socket
12 108D78 Light lens

35
LOCK LIGHT
CLOSED
OPEN
ACCESSORIES
974LMC
970LMC
995LMC
2778BDC
41A5281
1702LMC Outside Quick Release:
Required for a garage with NO
access door.
8 Foot Complete Rail:
To allow an 8 foot door to open fully.
Remote Light Control:
Enables homeowner to turn on a
lamp, television or other appliance
from their car with their garage door
opener remote or from anywhere in
their home with an additional
LiftMaster Security✚®remote.
4-Button Security✚®Remote Control:
Includes visor clip.
10 Foot Complete Rail:
To allow a 10 foot door to open fully.
2770BDC
976LMC
Extension Brackets:
(Optional) For safety sensor
installation onto the wall or floor.
Wireless Keyless Entry with
Security✚®:
Enables homeowner to operate garage
door opener from outside by entering a
password on a specially designed
keyboard. Also can add a temporary
password for visitors or service
persons. This temporary password can
be limited to a programmable number
of hours or entries.
3-Button Mini-Remote Control with
Security✚®:
With key ring.
902LMC/903LMC 2 & 3 Door Multi-Function Wall
Control:
Ideal for homes with up to three
garage doors. Combine up to three
controls into one wall control panel for
a neat compact appearance.
Enhanced functions include Lock
Feature to lock out outside radio
signals while you are away from
home and turn opener lights on or
off from the control panel.
Garage Door Monitor:
Security for the largest door of your home!
Tells you if your garage door is open or
closed. Monitors up to 4 garage doors by
adding additional sensor modules.
915LMC
Garage Door Monitor Sensor:
Additional accessory sensor for homes with
multiple garage doors.
916LMC
EverCharge™ Battery Backup System:
Provides backup power to the model
2500DC garage door opener.
475LMC
973LMC 3-Button Security✚®Remote Control:
Includes visor clip.
Motion Detecting Control Panel:
Multi-Function door control with motion
sensor that automatically turns opener lights
on for 5 minutes when it detects a person
entering the garage. Sensor can be easily
deactivated when desired.
98LMC
973WC Designer Burled Walnut 3-Button
Remote Control with Security✚®:
Includes visor clip.

© 2004, The Chamberlain Group, Inc.
114A2934B All Rights Reserved Printed in Mexico
LIFTMASTER SERVICE IS
ON CALL
OUR LARGE SERVICE ORGANIZATION
SPANS AMERICA AND CANADA
INSTALLATION AND SERVICE INFORMATION IS AS
NEAR AS YOUR TELEPHONE SEVEN DAYS A WEEK.
SIMPLY DIAL OUR TOLL FREE NUMBER:
1-800-654-4736
HOURS: (Central Std. Time)
6:00 A.M. TO 7:00 P.M. - Monday through Friday
8:00 A.M. TO 6:00 P.M. - Saturday
8:00 A.M. TO 4:30 P.M. - Sunday
www.liftmaster.com
For professional installation, parts and service,
contact your local LIFTMASTER/CHAMBERLAIN
dealer. Look for him in the Yellow Pages, or call our
Service number for a list of dealers in your area.
HOW TO ORDER
REPAIR PARTS
Selling prices will be furnished on request or parts will
be shipped at prevailing prices and you will be billed
accordingly.
WHEN ORDERING REPAIR PARTS, ALWAYS GIVE
THE FOLLOWING INFORMATION:
• PART NUMBER
• PART NAME
• MODEL NUMBER
ADDRESS ORDERS TO:
THE CHAMBERLAIN GROUP, INC.
Technical Support Group
6020 S. Country Club Road
Tucson, Arizona 85706
SERVICE INFORMATION
TOLL FREE NUMBER:
1-800-654-4736
LIFTMASTER GARAGE DOOR OPENER FIVE-YEAR LIMITED WARRANTY
LIFETIME MOTOR AND BELT LIMITED WARRANTY
The Chamberlain Group, Inc. (“Seller”) warrants to the first retail purchaser of this product, for the residence in which this
product is originally installed, that it is free from defect in materials and/or workmanship for a period of five years from the date
of purchase and that the motor and belt are free from defect in materials and/or workmanship for the lifetime of the product.
The proper operation of this product is dependent on your compliance with the instructions regarding installation, operation,
maintenance and testing. Failure to comply strictly with those instructions will void this warranty in its entirety.
If, during the limited warranty period, this product appears to contain a defect covered by this limited warranty, call
1-800-654-4736, toll free, before dismantling this product. Then send this product, pre-paid and insured, to our service center
for warranty repair. You will be advised of shipping instructions when you call. Please include a brief description of the problem
and a dated proof-of-purchase receipt with any product returned for warranty repair. Products returned to Seller for warranty
repair, which upon receipt by Seller are confirmed to be defective and covered by this limited warranty, will be repaired or
replaced (at Seller’s sole option) at no cost to you and returned pre-paid. Defective parts will be repaired or replaced with new
or factory-rebuilt parts at Seller’s sole option.
THIS LIMITED WARRANTY IS IN LIEU OF ANY OTHER WARRANTIES, EXPRESS OR IMPLIED, INCLUDING ANY
IMPLIED WARRANTY OF MERCHANTABILITY OR FITNESS FOR A PARTICULAR PURPOSE OR OTHERWISE, AND OF
ANY OTHER OBLIGATIONS OR LIABILITY ON SELLER’S PART. THIS LIMITED WARRANTY DOES NOT COVER NON-
DEFECT DAMAGE, DAMAGE CAUSED BY IMPROPER INSTALLATION, OPERATION OR CARE (INCLUDING, BUT NOT
LIMITED TO ABUSE, MISUSE, FAILURE TO PROVIDE REASONABLE AND NECESSARY MAINTENANCE,
UNAUTHORIZED REPAIRS OR ANY ALTERATIONS TO THIS PRODUCT), LABOR CHARGES FOR REINSTALLING A
REPAIRED OR REPLACED UNIT, REPLACEMENT OF BATTERIES AND LIGHT BULBS OR UNITS INSTALLED FOR NON-
RESIDENTIAL USE.
THIS LIMITED WARRANTY DOES NOT COVER ANY PROBLEMS WITH, OR RELATING TO, THE GARAGE DOOR OR
GARAGE DOOR HARDWARE, INCLUDING BUT NOT LIMITED TO THE DOOR SPRINGS, DOOR ROLLERS, DOOR
ALIGNMENT OR HINGES. ANY SERVICE CALL THAT DETERMINES THE PROBLEM HAS BEEN CAUSED BY ANY OF
THESE ITEMS COULD RESULT IN A FEE TO YOU.
UNDER NO CIRCUMSTANCES SHALL SELLER BE LIABLE FOR CONSEQUENTIAL, INCIDENTAL OR SPECIAL
DAMAGES ARISING IN CONNECTION WITH USE, OR INABILITY TO USE, THIS PRODUCT. IN NO EVENT SHALL
SELLER’S LIABILITY FOR BREACH OF WARRANTY, BREACH OF CONTRACT, NEGLIGENCE OR STRICT LIABILITY
EXCEED THE COST OF THE PRODUCT COVERED HEREBY. NO PERSON IS AUTHORIZED TO ASSUME FOR US ANY
OTHER LIABILITY IN CONNECTION WITH THE SALE OF THIS PRODUCT.
Some provinces do not allow the exclusion or limitation of consequential, incidental or special damages, so the above limitation
or exclusion may not apply to you. This limited warranty gives you specific legal rights, and you may also have other rights
which vary from province to province.

Manuel d'instructions
■Lire attentivement ce manuel ainsi que les consignes de sécurité!
■Après la pose, accrocher ce manuel près de la porte de garage pour s'y
reporter ultérieurement.
■La porte NE SE FERMERA PAS si le Système Protector®n'est pas branché
et réglé correctement.
■Pour un bon fonctionnement en toute sécurité de cet ouvre-porte de
garage, le vérifier et le régler périodiquement.
■L’étiquette du numéro de modèle est située sur le panneau avant de votre
ouvre-porte.
OUVRE-PORTE DE GARAGE
Modèle 2500DC
Pour résidences seulement
The Chamberlain Group, Inc.
845 Larch Avenue
Elmhurst, Illinois 60126-1196
www.liftmaster.com
®
®
Nouveau!
Accessoire disponible
en option
Voir page 35 pour le NOUVEAU

2
Introduction 2-5
Revue des symboles de sécurité
et des mots de signalement . . . . . . . . . . . . . . . . . . . . . . . .2
Préparation de votre porte de garage . . . . . . . . . . . . . . . .3
Outils nécessaires . . . . . . . . . . . . . . . . . . . . . . . . . . . . . . .3
Planification . . . . . . . . . . . . . . . . . . . . . . . . . . . . . . . . . . . .4
Inventaire des boîtes d'emballage . . . . . . . . . . . . . . . . . . . .5
Inventaire des fixations . . . . . . . . . . . . . . . . . . . . . . . . . . . .5
Sur le montage 6-7
Fixation du rail au moteur . . . . . . . . . . . . . . . . . . . . . . . . . .6
Réglage de tension de la courroie . . . . . . . . . . . . . . . . . . .6
Attachement du capuchon
de maintien de la courroie . . . . . . . . . . . . . . . . . . . . . . . . .7
Sur la pose 7-23
Instructions concernant
une pose en toute sécurité . . . . . . . . . . . . . . . . . . . . . . . . . .7
Déterminer l'emplacement du support de linteau . . . . . . .8-9
Pose du support de linteau . . . . . . . . . . . . . . . . . . . . . . . .10
Fixation du rail sur le support de linteau . . . . . . . . . . . . . . .11
Positionnement de l'ouvre-porte . . . . . . . . . . . . . . . . . . . . .12
Accrochage de l'ouvre-porte . . . . . . . . . . . . . . . . . . . . . . .13
Pose de la commande de porte . . . . . . . . . . . . . . . . . . . . .14
Pose des ampoules et des diffuseurs . . . . . . . . . . . . . . .15
Pose de la corde et de la poignée
de déclenchement d’urgence . . . . . . . . . . . . . . . . . . . . . . .15
Exigences électriques . . . . . . . . . . . . . . . . . . . . . . . . . . . .16
Pose du Système Protector® . . . . . . . . . . . . . . . . . . . .17-19
Fixation du support de la porte . . . . . . . . . . . . . . . . . . .20-21
Fixation de la biellette de la porte au chariot . . . . . . . . .22-23
Réglages 24-26
Réglage des courses . . . . . . . . . . . . . . . . . . . . . . . . . . . .24
Réglage de la force . . . . . . . . . . . . . . . . . . . . . . . . . . . . .25
Contrôle du système d'inversion de sécurité . . . . . . . . . . .26
Essai du Système Protector® . . . . . . . . . . . . . . . . . . . . . . .26
Fonctionnement 27-30
Instructions de fonctionnement en toute sécurité . . . . . . . .27
Utilisation de votre ouvre-porte de garage . . . . . . . . . . . .27
Utilisation de la commande de porte montée au mur . . .28
Pour ouvrir la porte manuellement . . . . . . . . . . . . . . . . . .28
Entretien de votre ouvre-porte de garage . . . . . . . . . . . .29
Défauts de fonctionnement . . . . . . . . . . . . . . . . . . . . . .29-30
Programmation 31-32
Pour ajouter ou reprogrammer une
télécommande à main . . . . . . . . . . . . . . . . . . . . . . . . . . .31
Pour effacer tous les codes . . . . . . . . . . . . . . . . . . . . . . .31
Télécommandes à trois boutons . . . . . . . . . . . . . . . . . . .31
Pour ajouter, reprogrammer ou modifier un
NIP d’entrée sans clé . . . . . . . . . . . . . . . . . . . . . . . . . . . .32
Pièces de réparation 33-34
Pièces d’assemblage des rails . . . . . . . . . . . . . . . . . . . . .33
Pièces pour la pose . . . . . . . . . . . . . . . . . . . . . . . . . . . . .33
Pièces d’assemblage du moteur . . . . . . . . . . . . . . . . . . .34
Accessoires 35
Pièces de réparation et service 36
Garantie 36
TABLE DES MATIÈRES
ATTENTION
AVERTISSEMENT
AVERTISSEMENT
AVERTISSEMENT
AVERTISSEMENT
ATTENTION
AVERTISSEMENT AVERTISSEMENT
AVERTISSEMENT
AVERTISSEMENT
Lorsque vous verrez ces symboles de sécurité et ces mots
de signalement sur les pages suivantes, ils vous aviseront
de la possibilité de lésions graves ou de mort si vous ne
vous conformez pas aux avertissements qui les
accompagnent. Le danger peut provenir de quelque chose
mécanique ou d’un choc électrique. Lisez attentivement les
avertissements.
Lorsque vous verrez ce mot de signalement sur les pages
suivantes, il vous avisera de la possibilité de dommages à
votre porte de garage et/ou ouvre-porte de garage si vous
ne vous conformez pas aux énoncés de mise en garde qui
l’accompagnent. Lisez-les attentivement.
Mécanique
Électrique
ATTENTION
AVERTISSEMENT AVERTISSEMENT
AVERTISSEMENT
AVERTISSEMENT
INTRODUCTION
Revue des symboles de sécurité et des
mots de signalement
Cet ouvre-porte de garage a été conçu et testé dans le but d’offrir un service sûr à condition qu’il soit installé, utilisé,
entretenu et testé en stricte conformité avec les instructions et les avertissements contenus dans le présent manuel.

3
Pince universelle
Pince coupante
Marteau
Scie à métaux
Tournevis Clé à molette
Clé à douille et douilles
de 1/2 po et 7/16 de po
Perceuse
Ruban à mesurer
2
1
Escabeau
Crayon
Forets de 3/16 de po,
de 5/16 de po et 5/32 de po
Niveau de
menuisier (facultatif)
Pour prévenir les dommages à la porte de garage et à
l’ouvre-porte :
• TOUJOURS désactiver les serrures AVANT de poser et
d’utiliser l’ouvre-porte.
• Faire fonctionner l’ouvre-porte de garage UNIQUEMENT à une
tension de 120 V, 60 Hz pour éviter les défauts de
fonctionnement et les dommages.
Pour prévenir d’éventuelles BLESSURES GRAVES ou
LA MORT :
• TOUJOURS appeler un technicien formé en systèmes de
porte si la porte de garage force ou est déséquilibrée. Une
porte de garage déséquilibrée peut ne pas remonter au
besoin.
• Ne JAMAIS tenter de desserrer, déplacer ou régler la porte de
garage ainsi que les ressorts, câbles, poulies, supports de
porte ou leurs ferrures de montage, lesquels sont tous sous
une tension EXTRÊME.
• Désactiver TOUTES les serrures et retirer TOUTES les cordes
raccordées à la porte de garage AVANT de poser et d’utiliser
l’ouvre-porte de garage afin d’éviter un emmêlement.
Préparation de Votre Porte de Garage
Avant de commencer :
• Désactiver les serrures.
• Retirer toute corde raccordée à la porte de garage.
•Réaliser le test suivant pour s’assurer que la porte de
garage est équilibrée et qu’elle ne force pas :
1. Soulever la porte à moitié, comme illustré, puis la
relâcher. Si elle est équilibrée, elle devrait rester en
place, entièrement supportée par ses ressorts.
2. Faire monter et descendre la porte pour s’assurer
qu’elle ne force pas.
Si votre porte force ou est déséquilibrée, appeler un
technicien formé en systèmes de porte.
Outils Nécessaires
Lors de l’assemblage, de la pose et du réglage de
l’ouvre-porte, les instructions feront appel aux outils à main
illustrés ci-après.
ATTENTION
AVERTISSEMENT AVERTISSEMENT
AVERTISSEMENT
AVERTISSEMENT
ATTENTION
AVERTISSEMENT AVERTISSEMENT
AVERTISSEMENT
AVERTISSEMENT
Porte Articulée
Porte Rigide

— — — — — — — —
Rail
Commande de porte à
montage mural
Moteur
Détecteur inverseur
de sécurité
Il faudra poser des renforts horizontaux et
verticaux dans le cas d'une porte de garage
légère (en fibre de verre, en acier, en
aluminium, en panneaux de verre, etc.).
Se reporter à la page 20 pour plus de détails.
PLAFOND FINI
Une cornière et des
fixations peuvent être
requises. Se reporter
à la page 13.
Détecteur
inverseur
de sécurité
Ressort
de traction
Ressort
de torsion
Porte d'accès
OU
Linteau
L'espace entre le plancher et le bas
de la porte ne doit pas être supérieur à 1/4 po.
Ligne du centre
vertical de la
porte de garage
4
Planification
Identifier le type et la hauteur de votre porte de garage. Examiner la région du garage pour noter si l’une des conditions
ci-après s’applique à votre installation. Des matériaux supplémentaires peuvent être nécessaires. Il vous sera peut-être utile
de vous reporter à cette page et aux illustrations qui l’accompagnent en procédant à la pose de l’ouvre-porte.
Rail
Commande de porte
à montage mural
Moteur
Détecteur inverseur
de sécurité
PLAFOND FINI
Une cornière et des
fixations peuvent être
requises. Se reporter
à la page 13.
Linteau
Détecteur
inverseur
de sécurité
Porte d'accès
L'espace entre le plancher
et le bas de la porte ne doit
être supérieur à 1/4 po.
Porte
d'accès
Détecteur inverseur
de sécurité
Détecteur
inverseur
de sécurité
L'espace entre le plancher
et le bas de la porte ne doit
être supérieur à 1/4 po.
POSE DE PORTE ARTICULÉE
POSE DE PORTE RIGIDE SANS GUIDES
PORTE RIGIDE AVEC GUIDES

5
UP
CEILING MOUNT ONLY
SECURITY✚®
Agrafe de
pare-soleil
d'télécommande
Rail rigide
Fil de sonnerie
blanc et blanc/rouge
à 2 conducteurs
Télécommande
à trois boutons
Support du détecteur
de sécurité (2)
Support de poulie
de courroie
Chariot
(2) Capteurs d'inversion de sécurité
(1 oeil de transmission et 1 oeil de réception)
avec fil de sonnerie blanc et blanc/noir
à deux conducteurs fixé
Documentation
et étiquettes
de sécurité
Biellette
droite
Biellette
courbée
Support de la porte
Mousse de
polystyrène
Courroie
Capuchon de maintien
de la courroie
Support de linteau
Moteur avec diffuseur
Graisse à rail
LOCKLIGHT
Panneau de commande de
porte avec détection de mouvement
Votre ouvre-porte de garage est emballé dans deux
cartons qui contiennent le moteur et toutes les pièces
illustrées ci-dessous. Veuillez noter que les accessoires
dépendront du modèle acheté. S'il vous manque une pièce
quelconque, veuillez verifiez soigneusement les matériaux
d'emballage. Des pièces peuvent se trouver coincées dans
la mousse. N'ENDOMMAGEZ PAS LA MOUSSE
D'EMBALLAGE (voir page 6).
Inventaire des boîtes d’emballage
Inventaire des ferrures de montage
FIXATIONS DE POSE
Vis hex de #8 x 35/8 po (3)
Boulon hexagonal de de 5/16 po-18 x 7/8 po (4)
Tire-fond de 5/16 po-9 x 1-5/8 po (2)
Tire-fond de 5/16 po-18 x 1-7/8 po (2)
Boulon de chariot de 5/16 po-18 x 2-1/2 po (2)
Axe de chape de 5/16 po x 2-3/4 po (1)
Axe de chape de 5/16 po x 1-1/4 po (1)
Axe de chape de 5/16 po x 1 po (1)
Écrou de 5/16 po - 18 (4)
Rondelle de blocage de 5/16 po (4)
Vis 6AB x 1-1/4 po (2)
Vis 6- 32 x 1 po (2)
Vis autotaraudeuse 1/4 po-14x5/8 po (2)
Agrafes isolées (30)
Anneau de fixation (3)
Poignée
Chevilles à murs secs (2)
Corde
Boulon à tête bombée et collet carré de
1/4 po - 20 x 1/2 po (2)
Écrou à oreilles 1/4 po - 20 (2)

MONTAGE - 1re OPÉRATION
Fixation du rail au moteur
Pour éviter les difficultés pendant la pose, ne faire
fonctionner l'ouvre-porte de garage que lorsque cela
est expressément indiqué.
• Enlever les deux boulons à rondelles montés sur le
dessus du moteur.
• Aligner le rail et la mousse de polystyrène au-dessus du
pignon. Couper la bande adhésive du rail, de la courroie
et de la mousse de polystyrène.
• ENLEVER LA MOUSSE DE POLYSTYRÈNE.
• Passer les deux boulons à rondelles au travers du rail et
dans le moteur. Serrer-les deux boulons solidement.
Il importe de n’utiliser que ces boulons! Tout autre
boulon causera des dommages considérables à
l’ouvre-porte.
• Positionner la courroie au-dessus du pignon du moteur.
6
MONTAGE - 2eOPÉRATION
Réglage de tension de la courroie
• Visser et serrer à la main l’écrou de ressort du chariot
sur l’arbre fileté jusqu’à ce qu’il soit serré contre le
chariot. (Figure 1). Ne pas utiliser d’outils.
• Insérer la pointe d’un tournevis dans l’une des fentes de
l’anneau d’écrou et l’appuyer solidement contre le
chariot (Figure 2).
• Placer une clé à fourche de 7/16 de pouce sur
l’extrémité carrée. Tourner environ 1/4 de tour jusqu’à ce
que le ressort se dégage et enclenche l’anneau d’écrou
contre le chariot (Figure 3).
Ceci étend le ressort pour une tension optimale de
la courroie.
Arbre fileté
du chariot
Écrou de
chariot/ressort
Anneau
d'écrou
Fentes d'anneau
d'écrou
Extrémiite carrée
Arbre fileté
de chariot
Figure 1
Figure 2
Anneau
d'écrou Chariot
Chariot
1 pouce (2.5 cm) 1-1/4 pouce (3.18 cm)
Avant Après le relâchement
A
nneau
d'écrou
Figure 3
Mousse d'emballage
Boulon à rondelle de blocage
de 5/16 po-18 x 1/2 po Pignon du
moteur
Afin d’éviter d’endommager SÉRIEUSEMENT l’ouvre-porte de
garage, utiliser UNIQUEMENT les boulons et les fixations
montés sur le dessus de l’ouvre-porte.
ATTENTION
AVERTISSEMENT AVERTISSEMENT
AVERTISSEMENT
AVERTISSEMENT

MONTAGE - 3eOPÉRATION
Fixation du capuchon de retenue
de la courroie
• Positionner le capuchon de retenue de la courroie
au-dessus du pignon du moteur de façon que les trois
trous du capuchon soient alignés avec les deux trous de
la plaque de butée. Le fixer avec les vis à tête
hexagonale no8 x 3/8 fournies.
Le montage de l'ouvre-porte de garage est maintenant
terminé. Lire les avertissements suivants avant de
procéder à la section sur la pose.
7
POSE
Vis á tête hexagonale de
n 8x3/8 de po
o
GRANDEUR RÉELLE DES FIXATIONS
Capuchon de
maintien de
la courroie
Pignon de
l'ouvre-porte
Plaque
de fixation
Vis á tête hexagonale de
no 8 x 3/8 po
Pour éviter d’éventuelles BLESSURES GRAVES aux doigts par
suite du mouvement de l’ouvre-porte :
• TOUJOURS garder la main à l’écart du pignon lorsque
l’ouvre-porte fonctionne.
• Fixer solidement le carter du pignon AVANT de faire
fonctionner l’ouvre-porte.
ATTENTION
AVERTISSEMENT AVERTISSEMENT
AVERTISSEMENT
AVERTISSEMENT
IMPORTANTES INSTRUCTIONS
CONCERNANT LA POSE
1. LIRE ET SUIVRE TOUS LES AVERTISSEMENTS ET
INSTRUCTIONS DE POSE.
2. Poser l’ouvre-porte de garage uniquement sur une porte de
garage bien équilibrée et lubrifiée. Une porte mal équilibrée
peut ne pas remonter au besoin et pourrait provoquer des
BLESSURES GRAVES ou LA MORT.
3. Toutes les réparations aux câbles, ensembles de ressort et
autres ferrures de montage DOIVENT être confiées à un
technicien formé en systèmes de porte AVANT de poser
l’ouvre-porte.
4. Désactiver toutes les serrures et retirer toutes les cordes
raccordées à la porte de garage AVANT de poser l’ouvre-porte
afin d’éviter un emmêlement.
5. Poser l’ouvre-porte de garage à au moins 7 pieds au-dessus
du sol.
6. Monter la poignée de déclenchement d’urgence à 6 pieds
au-dessus du sol.
7. Ne JAMAIS raccorder l’ouvre-porte de garage à une source de
courant avant d’avoir reçu l’instruction de le faire.
8. Ne JAMAIS porter de montres, bagues ou vêtements amples
durant la pose ou l’entretien de l’ouvre-porte. Ils pourraient
être happés par la porte de garage ou les mécanismes de
l’ouvre-porte.
9. Poser la commande de porte murale :
• en vue de la porte de garage.
• hors de la portée des enfants à une hauteur minimum
de 5 pieds.
• à l’écart de toutes les pièces mobiles de la porte.
10. Placer l’étiquette d’avertissement de prise au piège sur le
mur à côté de la commande de la porte de garage.
11. Placer l’étiquette d’essai d’inversion de sécurité/ouverture
manuelle bien en vue à l’intérieur de la porte de garage.
12. Au terme de la pose, faire l’essai du système d’inversion de
sécurité. La porte DOIT remonter au contact d’une objet
d’une hauteur de 1-1/2 po (ou un 2 x 4 posé à plat) sur
le sol.
Pour réduire le risque de BLESSURES GRAVES
ou MORTELLES :
AVERTISSEMENT
AVERTISSEMENT
AVERTISSEMENT
AVERTISSEMENT

8
POSE – 1re OPÉRATION
Déterminer l’emplacement du support
de linteau
Les méthodes de pose varient en fonction de la porte du
garage. Suivre les instructions qui correspondent à la porte
du garage sur laquelle on pose l’ouvre-porte.
PORTE ARTICULÉE
ET PORTE RIGIDE MUNIES DE GUIDES
1. Fermer la porte et marquer l’axe vertical intérieur de la
porte du garage.
2. Prolonger cet axe sur le linteau au-dessus de la porte.
Ne pas oublier que l’on peut fixer le support
du linteau à moins de 4 pieds à droite ou à gauche
de l’axe de la porte seulement si un ressort de
torsion ou une plaque d’appui centrale gêne; ce
support peut également être fixé au plafond (se
reporter à la page 10) si le dégagement n’est pas
suffisant. (Il peut être monté à l’envers sur un mur,
au besoin, pour gagner environ 1/2 po.)
Si l’on doit poser le support de linteau sur un 2 x 4 (au
mur ou au plafond), utiliser des tire-fond (non fournis)
pour s’assurer que le 2 x 4 est bien retenu sur les
solives, comme illustré sur cette page et à la page 10.
3. Ouvrir la porte à son point de course le plus haut, tel
qu’illustré. Tracer une ligne horizontale d’intersection sur
le linteau à 2 pouces au-dessus du point le plus haut.
Cette hauteur permettra d’obtenir un dégagement
suffisant pour le passage de la partie supérieure de
la porte.
Passer à la 2eopération, page 10.
Pour prévenir d’éventuelles BLESSURES GRAVES ou
LA MORT :
• Le support de linteau DOIT être fixé DE MANIÈRE RIGIDE à la
solive sur le linteau ou le plafond, sinon la porte de garage
pourrait ne pas remonter au besoin. NE PAS poser le support
de linteau sur des panneaux de placoplâtre.
• On DOIT utiliser des ancrages de béton pour le montage du
support de linteau ou d’un 2 x 4 dans la maçonnerie.
• Ne JAMAIS tenter de desserrer, déplacer ou régler la porte de
garage ainsi que les ressorts, câbles, poulies, supports de
porte ou leurs ferrures de montage, lesquels sont tous sous
une tension EXTRÊME.
• TOUJOURS appeler un technicien formé en systèmes de
porte si la porte de garage force ou est déséquilibrée. Une
porte de garage déséquilibrée peut ne pas remonter au
besoin.
Porte articulée avec guide courbé
Linteau
Guide
Point de course
le plus haut
Porte
2 po (5 cm)
Porte rigide avec guide horizontal
Porte
Guide
Linteau
Point de course
le plus haut
2 po (5 cm)
Plafond
non fini
2 x 4
MONTAGE DU
SUPPORT DE
LINTEAU AU
PLANFOND
EN OPTION
Linteau
2 x 4
Solives
Niveau de
menuisier
(Facultatif)
Ligne du centre
vertical de la
porte de garage
ATTENTION
AVERTISSEMENT AVERTISSEMENT
AVERTISSEMENT
AVERTISSEMENT

Linteau
Axe vertical
de la porte
du garage
2 x 4
Plafond
non fini
2 x 4
MONTAGE
DU SUPPORT
DE LINTEAU
AU PLAFOND
EN OPTION
Solives
Axe vertical de
la porte du garage
PORTE RIGIDE SANS GUIDES
1. La porte étant fermée, repérer et tracer l’axe vertical
intérieur de la porte du garage, et prolonger cette ligne
sur le linteau, au-dessus de la porte, comme illustré.
Si le dégagement en hauteur n’est pas suffisant, on
pourra poser le support de linteau au plafond. Se
reporter à la page 10.
Si l’on doit poser le support de linteau sur un 2 x 4 (au
mur ou au plafond), utiliser des tire-fond (non fournis)
pour bien retenir le 2 x 4 sur les solives, comme illustré.
2. Ouvrir la porte à son point de course le plus haut,
comme illustré. Mesurer la distance qu’il y a entre le
haut de la porte et le sol. Soustraire la hauteur réelle de
la porte. Ajouter 8 pouces à cette mesure. (Se reporter à
l’exemple).
3. Fermer la porte et tracer une ligne horizontale
d’intersection sur le linteau à la hauteur déterminée.
REMARQUE : Si le nombre total de pouces
(centimètres) dépasse la hauteur disponible dans le
garage, utiliser la hauteur maximale ou se reporter à la
page 10 pour la pose au plafond.
8 po (20 cm)
Porte rigide sans guides :
basculant sur pivots
Porte
Point de
course
le plus haut
Pivot
Linteau
Porte rigide sans guides :
ferrure de montant
8 po (20 cm)
Point de course
le plus haut
Porte
Ferrure de
montant
Linteau
EXEMPLE
Distance entre le haut de la porte (au point
de course le plus haut) et le plancher .........................92 po
Hauteur réelle de la porte...........................................-88 po
Reste..............................................................................4 po
Ajouter..........................................................................+8 po
Hauteur du support sur le linteau .............................= 12 po
(Mesurer vers le HAUT, depuis le dessus de la porte
lorsqu'elle est FERMÉE.)
Passer à la 2eopération, page 10.
9

UP
CEILING MOUNT ONLY
UP
– Plafond fini –
Tire-fond de
5/16 po- 9 x 1-5/8 po
Linteau
Support de
linteau
6 po (15 cm)
maximum
Ressort de
la porte
Porte de
garage
Trous de fixation au plafond
Le trou du clou n'est prévu que
pour le positionnement seulement. Des
tire-fond doivent être utilisés pour fixer
le support de linteau.
Axe vertical de
la porte du garage
Axe vertical de
la porte du garage
10
POSE DU SUPPORT DE LINTEAU AU PLAFOND
• Prolonger l’axe vertical sur le plafond, comme illustré.
• Centrer le support sur l’axe vertical à 6 pouces au
maximum du mur. S’assurer que la flèche est orientée
vers le mur. Le support peut être encastré dans le
plafond si le dégagement n’est pas suffisant.
• Marquer les trous latéraux. Percer des avant-trous de
3/16 po et fixer fermement le support sur une solive du
plafond à l’aide des fixations fournies.
UP
CEILING MOUNT ONLY
UP
CEILING MOUNT ONLY
Tire-fond de
5/16 po- 9 x 1-5/8 po
Point de course
le plus haut
(de la porte du garage)
Linteau
Porte de
garage
Trous de fixation au mur
Trous de fixation au
mur en option
Le trou du clou n'est prévu que
pour le positionnement
seulement. Des tire-fond doivent
être utilisés pour fixer
le support de linteau.
Ressort de
la porte
Support
de linteau
2 x 4 fixé
sur les
poteaux
Axe vertical de
la porte du garage
Axe vertical de
la porte du garage
POSE – 2eOPÉRATION
Pose du support de linteau
Le support de linteau peut être fixé soit sur le mur,
au-dessus de la porte, soit au plafond. Suivre les
instructions qui répondent le mieux aux besoins
particuliers. Ne pas poser le support de linteau sur des
panneaux de placoplâtre. Utiliser des ancrages de
béton (non fournis) pour la pose dans la maçonnerie.
POSE DU SUPPORT DE LINTEAU AU MUR
• Centrer le support par rapport à l’axe vertical, la partie
inférieure du support étant alignée avec la ligne
horizontale, comme illustré (la flèche du support doit
être orientée vers le plafond).
• Marquer la série verticale des trous de support (ne pas
utiliser les trous prévus pour le montage au plafond).
Percer des avant-trous de 3/16 pouce et fixer fermement
le support sur une solive avec les fixations fournies.
Tire-fond de
5/16 de po-9 x 1-5/8 de po
GRANDEUR RÉELLE DES FIXATIONS

11
Support de linteau
Support de poulie
de courroie
Support
temporaire
Linteau
Porte de
garage
Axe de chape de 5/16 po x 2-3/4 po Anneau d'arrêt
Ressort
à torsion
Rail
Axe de chape de
5/16 de po x 2-3/4 po
Anneau d'arrêt
Support de linteau
Support de
poulie
de courroie
Mousse
d'emballage
Rail
GRANDEUR RÉELLE DES FIXATIONS
POSE - 3eOPÉRATION
Fixation du rail sur le support
de linteau
• Positionner l'ouvre-porte de garage sur le plancher, juste
sous le support de linteau. Utiliser une des boîtes
d'emballage pour le protéger. REMARQUE : Si le
ressort de la porte gêne, il faudra demander de l'aide.
Demander à une personne de bien retenir l'ouvre-porte
sur un support temporaire de façon que le rail ne touche
pas le ressort.
• Positionner le support du rail contre le support
de linteau.
• Aligner les trous des supports et les raccorder avec un
axe de chape, comme il est illustré.
• Introduire un anneau d'arrêt pour immobiliser.

12
PORTE RIGIDE SANS GUIDES
Poser un 2x4 sur son côté très bien pour obtenir l'espace
qu'il faut entre la porte et le rail.
• Enlever l’emballage en mousse.
• Lever l'ouvre-porte et le faire reposer sur un escabeau.
Si l'escabeau n'est pas assez haut, demander de l'aide.
• Ouvrir complètement la porte et mettre un 2 x 4 son côté
sur sa partie supérieure, sous le rail.
• Le haut de la porte doit être à la même hauteur que le
dessus du moteur. Ne pas positionner l'ouvre-porte à
plus de 4 pouces au-dessus de ce point.
POSE - 4eOPÉRATION
Positionnement de l'ouvre-porte
Suivre les instructions qui se rapportent à la porte de
garage particulière, en se rapportant aux illustrations.
PORTE ARTICULÉE OU PORTE RIGIDE
AVEC GUIDES
Un 2 x 4 posé à plat convient très bien pour obtenir
l'espace qu'il faut entre la porte et le rail.
• Enlever l’emballage en mousse.
• Lever l'ouvre-porte et le faire reposer sur un escabeau. Si
l'escabeau n'est pas assez haut, demander de l'aide.
• Ouvrir complètement la porte et mettre un 2 x 4 à plat sur
sa partie supérieure, sous le rail.
• Si le panneau ou la section du dessus vient en contact
avec le chariot lorsqu’on lève la porte, tirer sur la biellette
de dégagement du chariot pour dégager le chariot
intérieur du chariot extérieur. Faire glisser le chariot
extérieur vers le moteur. Il ne sera pas nécessaire de
réassembler le chariot avant la fin de l’opération 12.
Porte
Rail
Le 2 x 4 est utilisé pour déterminer
la hauteur de fixation correcte
à partir du plafond.
Dessus de la porte
Support
de Linteau
Le 2 x 4 est utilisé pour déterminer
la hauteur de fixation correcte
à partir du plafond.
Biellette de
dégagement
du chariot
ENGAGÉE DÉGAGÉE
Pour prévenir les dommages à la porte de garage, faire reposer
le rail de l’ouvre-porte de garage sur un 2 x 4 placé sur la
section supérieure de la porte.
ATTENTION
AVERTISSEMENT AVERTISSEMENT
AVERTISSEMENT
AVERTISSEMENT

— PLAFOND FINI —
Support
caché
Région préférée de
positionnement des supports
Utilisation d'une installation existante
Supports existants
Support
(Fourni)
Région préférée de
positionnement des supports
Boulon de 5/16 po-18 x 7/8 po
Rondelle de blocage 5/16 po,
Écrou de 5/16 po-18
(Non fournie)
Boulon de 5/16 po-18 x 7/8 p
o
Rondelle de blocage 5/16 po,
Écrou de 5/16 po-18
Cornière
(Non fournie)
Tire-fond de
5/16 po-18 x 1-7/8 po
Mesurer
la distance
Tire-fond de
5/16 de po-18 x 1-7/8 po
Boulon de 5/16 po-18 x 7/8 po
Rondelle de blocage 5/16 po,
Écrou de 5/16 po-18
Solives
13
Figure 1
Figure 2
Tire-fond de 5/16 de po-18 x 1-7/8 de po
Boulon hexagonal de
5/16 de po-18 x 7/8 de po
Écrou de
5/16 de po-18
Rondelle-frein
de 5/16 de po
Pour éviter d’éventuelles BLESSURES GRAVES par suite de la
chute d’un ouvre-porte de garage, fixer l’ouvre-porte
SOLIDEMENT aux solives du garage. On DOIT utiliser des
ancrages de béton si les supports sont posés dans la
maçonnerie.
ATTENTION
AVERTISSEMENT AVERTISSEMENT
AVERTISSEMENT
AVERTISSEMENT
POSE - 5eOPÉRATION
Accrochage de l'ouvre-porte
Trois installations représentatives sont illustrées. Votre
installation peut être différente. Les cornières-crochets
doivent être inclinées, voir figure 1, afin de fournir un
support rigide. Dans le cas des plafonds finis, voir figure 2,
attachez une cornière métallique solide aux supports
structural avant d'installer l'ouvre-porte. La cornière et le
matériel de fixation ne sont pas fournis.
Les supports encore en place à la suite d'une installation
antérieure peuvent être attachés aux côtés du bloc moteur,
comme illustré aux figures 1 et 2, ou aux languettes de
montage comme illustré à la figure 3. Poursuivez ensuite
avec l’étape 5 ci-après.
1. Mesurer, de chaque côté de l'ouvre-porte, la distance
entre l'ouvre-porte et les solives.
2. Couper les deux supports de suspension à la longueur
requise.
3. Percer des avant-trous de 3/16 pouce dans les solives.
4. Fixer une extrémité de chaque support de suspension
sur une solive avec des tire-fond de
5/16 po -18 x 1-7/8 po.
5. Fixer l'ouvre-porte aux supports de suspension à l’aide
de boulons hexagonaux de 5/16 po -18 x 7/8 po, de
rondelles de blocage et d’écrous.
6. S’assurer que le rail est centré au-dessus de la porte
(ou dans le prolongement du support de linteau si le
support n’est pas centré au-dessus de la porte).
7. Retirer le 2 x 4. Faire fonctionner la porte
manuellement. Si la porte frappe le rail, lever le support
de linteau.
8. Graisser le dessus et le dessous de la surface du rail où
glisse le chariot à l’aide de graisse à rail.
Figure 3
GRANDEUR RÉELLE DES FIXATIONS

7/16 po Rouge Gris
Blanc
Pour relâcher le fil, enfoncer
la languette à l’aide de l’extrémité
du tournevis.
Dénuder le fil sur 7/16 po
Connexions
de commande de porte
14
Pour prévenir d’éventuelles BLESSURES GRAVES ou LA MORT
par suite d’électrocution :
• S’assurer que le courant est coupé AVANT de poser la
commande de porte.
• Raccorder UNIQUEMENT à des fils basse tension 24 V.
Pour prévenir d’éventuelles BLESSURES GRAVES ou LA MORT
par suite d’une porte de garage qui se ferme :
• Poser la commande de porte en vue de la porte de garage,
hors de la portée des enfants à une hauteur minimum de
5 pieds, et à l’écart de toutes les pièces mobiles de la porte.
• Ne JAMAIS laisser des enfants faire fonctionner les
boutons-poussoirs de la commande de porte ou les émetteurs
de la télécommande, ni jouer avec ceux-ci.
• Actionner la porte UNIQUEMENT lorsqu’on la voit clairement,
qu’elle est bien réglée et que rien n’en gêne la course.
• TOUJOURS garder la porte de garage en vue jusqu’à ce qu’elle
soit complètement fermée. Ne JAMAIS laisser personne
croiser le chemin d’une porte de garage qui se ferme.
ATTENTION
AVERTISSEMENT AVERTISSEMENT
AVERTISSEMENT
AVERTISSEMENT
Chevilles pour murs secs
Agrafe
isolée
Vis 6AB x 1-1/4 po
(installation standard)
Vis 6-32 x 1 po
(installation précâblée)
GRANDEUR RÉELLE DES FIXATIONS
POSE - 6eOPÉRATION
Pose de la commande de porte
Poser la commande murale dans un endroit où on pourra la
voir de la porte, à au moins 5 pieds du sol, là où les enfants
ne pourront pas l'atteindre et loin de toutes les pièces
mobiles et fixations de la porte. La surface de montage doit
être lisse et plate. Si les murs sont des murs secs, percer
des trous de 5/32 pouce (Figure 1) et utiliser les chevilles
fournies. Pour les installations précâblées (comme dans la
construction d’une maison neuve), on peut la monter sur une
boîte simple (Figure 2). REMARQUE : Après l’installation, un
témoin lumineux vert derrière le couvercle indiquera un
branchement approprié. S’il n’est pas allumé, les fonctions
de blocage et d’éclairage ne fonctionneront pas (inverser les
fils pour corriger).
1. Dénuder 7/16 de pouce à chaque extrémité des fils de
sonnerie; brancher les fils sur les deux bornes filetées qui
se trouvent à l ’arrière de la commande de porte et ceci
d’après: blanc à WHT; blanc/rouge à RED (Figure 3).
2. Enlever le couvercle en soulevant doucement à partir d'un
coin près du dessus du couvercle avec un petit tournevis à
lame plate (Figure 4). Fixer à l’aide de vis autotaraudeuses
6AB x 1-1/4 po (installation standard) ou de vis à métaux
6-32 x 1 po (dans la boîte simple) comme suit :
• Percer et poser la vis inférieure en laissant 1/8 po
(3 mm) faire saillie du mur.
• Placer le bas de la commande de porte par-dessus la tête
de vis et ajuster pour un ajustement serré.
• Percer et poser la vis supérieure soigneusement afin
d’éviter de fissurer le boîtier en plastique. Ne pas trop
serrer.
• Remettre le couvercle en place en insérant les languettes
inférieures et en enclenchant en place.
REMARQUE: Le gros bouton-poussoir peut rester
coincési la commande de porte n ’est pas montée sur une
surface lisse. Si aucun clic ne se fait entendre en
appuyant sur le gros bouton-poussoir, desserrer les deux
vis de montage ou déplacer la commande de porte à une
surface plus lisse.
3. (Installation standard seulement) Faites monter le fil
sonnerie le long du mur et à travers le plafond vers le
moteur. Utilisez des agrafes isolées pour attacher le fil à
plusieurs endroits. Ne pas percer le fil à l ’aide d ’une
agrafe, ce qui créerait un court-circuit.
4. Dénuder 7/16 po d ’isolation à l ’extrémité du fil de
sonnerie. Raccorder le fil de sonnerie aux bornes à
raccordement rapide comme suit: le fil blanc à blanc et le
fil blanc/rouge à rouge (Figure 4).
5. Utiliser des punaises ou des agrafes pour fixer en
permanence l ’étiquette d ’avertissement de prise au
piège sur le mur près de la commande de porte, et
l’étiquette d ’essai d ’inversion de sécurité/ouverture
manuelle bien en vue à l’intérieur de la porte de garage.
REMARQUE : Ne PAS brancher et faire fonctionner l’ouvre-
porte pour le moment. Le chariot se déplacera
jusqu’à la position complètement ouverte mais ne
reviendra pas à la position fermée avant que le
faisceau détecteur soit branché et correctement
aligné. Voir les instructions au sujet du détecteur
inverseur de sécurité à partir de la page 17.
Figure 4
1
RED
2
WHITE
Conducteurs
Bornes
filetées
Trou de
fixation
supérieur
Trou de
fixation
inférieur
Vue Arrière
LOCKLIGHT
Pour remettre le couvercle
enplace, insérer les languettes
supérieures
en premier
INSTALLATION STANDARD
Interrupteur
du détecteur
Couvercle
de barre-poussoir
ACTIONNER
ARRÊT
Figure 1
LOCKLIGHT
INSTALLATION PRÉCÂBLÉE
Fil de sonnerie
à conducteurs
24 V
Pour remettre
le couvercle
enplace, insérer
les languettes
supérieures
en premier
Interrupteur
du détecteur
Le couvercle
de barre-poussoir
ACTIONNER
ARRÊT
Figure 2
Figure 3

15
Plot de
cache-lampe
supérieur
Fente de
chássis
supérieure
Fentes de chásis
inférieures
Plot de cache-lampe
supérieur
Plot de
cache-lampe
intérieur
Cache-lampe
Fente de
chássis
supérieure
Ampoule standard
de 100 W (max.)
Pour prévenir d’éventuelles BLESSURES GRAVES ou LA MORT
par suite de la chute d’une porte de garage :
• Si possible, utiliser la poignée de déclenchement d’urgence
pour dégager le chariot UNIQUEMENT lorsque la porte de
garage est FERMÉE. Des ressorts faibles ou brisés ou une
porte déséquilibrée peuvent causer la chute rapide et/ou
imprévue d’une porte ouverte.
• Ne JAMAIS utiliser la poignée de déclenchement d’urgence à
moins que l’entrée de garage ne soit dégagée (absence de
personnes et d’obstacle).
• Ne JAMAIS utiliser la poignée pour ouvrir ou fermer la porte.
Il y a risque de chute si le nœud de la corde se défait.
NOTICE
Chariot Levier de
déclenchement
du chariot
Poignée de
déclenchement
d'urgence
Nœud
simple
Corde
ATTENTION
AVERTISSEMENT AVERTISSEMENT
AVERTISSEMENT
AVERTISSEMENT
AVERTISSEMENT
POSE - 7eOPÉRATION
Pose des ampoules et des diffuseurs
Appuyer sur les languettes de dégagement des deux côtés
du diffuseur. Faire pivoter le diffuseur délicatement vers
l’arrière et le bas jusqu’à ce que la charnière du diffuseur
soit complètement ouverte. Ne pas retirer le diffuseur.
• Visser une ampoule de 100 watts maximum dans
chaque douille. La lumière s’allumera et restera allumée
pendant environ 4-1/2 minutes aussitôt que le courant
sera établi. La lumière s’éteindra ensuite.
• Inverser la procédure pour fermer le diffuseur.
• Si l’ampoule brûle prématurément en raison de la
vibration, remplacer-la par une ampoule d’ouvre-porte
de garage.
REMARQUE : Utiliser uniquement une ampoule standard.
L’utilisation d’une ampoule à col court ou d’une ampoule
spécialisée peut causer une surchauffe du panneau
d’extrémité ou de la douille.
POSE - 8eOPÉRATION
Pose de la corde et de la poignée de
déclenchement d’urgence
• Faire passer une extrémité de la corde dans le trou
supérieur de la poignée rouge de façon que le mot
« NOTICE » puisse être lu à l'endroit. Fixer à l’aide d’un
nœud simple à au moins 1 po de l’extrémité de la corde,
pour empêcher le glissement.
• Passer l'autre extrémité de la corde dans le trou du
levier de déclenchement du chariot extérieur.
• Ajuster la longueur de la corde de façon que la poignée
soit à environ 6 pieds du sol. Fixer la corde à l’aide d’un
nœud simple.
REMARQUE : Si la corde doit être coupée, brûler
légèrement l'extrémité coupée pour empêcher qu'elle
ne s'effiloche.
Pour éviter toute SURCHAUFFE éventuelle du panneau
d’éclairage,
• NE PAS utiliser d’ampoules à col court ou de forme spéciale.
• NE PAS utiliser d’ampoules halogène. Utiliser UNIQUEMENT
des ampoules incandescentes.
ATTENTION
ATTENTION
AVERTISSEMENT AVERTISSEMENT
AVERTISSEMENT
AVERTISSEMENT

Pour éviter les difficultés pendant la pose, ne pas faire
fonctionner l'ouvre-porte pour le moment.
Afin de minimiser les risques de chocs électriques, le
cordon d'alimentation de l'ouvre-porte de garage comporte
une fiche à trois broches, dont une de mise à la terre.
Cette fiche ne peut être branchée que dans une prise de
courant mise à la terre. Si la fiche ne peut pas être
branchée dans la prise de courant qui existe, s'adresser à
un électricien qualifié pour faire poser une prise de courant
adéquate.
Si les codes municipaux exigent une installation
électrique permanente, procéder comme suit.
Pour procéder à un branchement permanent par le trou de
7/8 po pratiqué au-dessus du moteur :
• Retirer les vis du couvercle du moteur et mettre le
couvercle de côté.
• Débrancher le cordon à 3 fils.
• Brancher le fil noir (courant secteur) sur la vis de la borne
en laiton; le fil blanc (neutre) sur la vis de la borne en
argent, puis le fil de terre sur la vis verte de terre.
L'ouvre-porte doit obligatoirement être mis à la terre.
• Reposer le couvercle.
Pour éviter les difficultés pendant la pose, ne pas faire
fonctionner l'ouvre-porte pour le moment.
BON MAUVAIS
16
POSE - 9eOPÉRATION
Exigences électriques Pour prévenir d’éventuelles BLESSURES GRAVES ou LA MORT
par suite d’électrocution ou d’un incendie :
• S’assurer que l’ouvre-porte est hors tension et couper le
courant au circuit AVANT de retirer le couvercle pour
procéder à un branchement permanent.
• La pose et le câblage de la porte de garage DOIVENT être
conformes à tous les codes électriques et de construction
locaux.
• Ne JAMAIS utiliser de cordon de rallonge ou d’adaptateur
bifilaire ni modifier la fiche de quelque manière que ce soit
pour l’insérer dans la prise. S’assurer que l’ouvre-porte est
mis à la terre.
ATTENTION
AVERTISSEMENT
AVERTISSEMENT
AVERTISSEMENT
AVERTISSEMENT
Patte de terre
Vis verte
de terre
Fil de terre
Fil
noir
BRANCHEMENT
ÉLECTRIQUE
PERMANENT
Fil blanc
Fil
noir

17
Zone de protection du
faisceau lumineux invisible
Faisceau du détecteur
6 po (15 cm) max
au-dessus du sol
Faisceau du détecteur
6 po (15 cm) max
au-dessus du sol
Faisant face à la porte depuis l'intérieur du garage
POSE - 10eOPÉRATION
Pose du Système Protector®
Les détecteurs inverseurs de sécurité doivent être bien
branchés et bien alignés avant que l'ouvre-porte de
garage puisse fermer la porte.
INFORMATIONS IMPORTANTES AU SUJET DU
DÉTECTEUR INVERSEUR DE SÉCURITÉ
Lorsqu’il est bien raccordé et aligné, le détecteur détecte
un obstacle dans le parcours de son faisceau électronique.
La cellule émettrice (avec un témoin lumineux ambre)
transmet un faisceau de lumière invisible à la cellule
réceptrice (avec un témoin lumineux vert). Si un obstacle
brise le faisceau de lumière pendant que la porte se ferme,
la porte s’arrêtera et remontera jusqu’à la position
entièrement ouverte, et les lumières de l’ouvre-porte
clignoteront 10 fois.
Les unités doivent être posées à l’intérieur du garage de
manière à ce que la cellule émettrice et la cellule
réceptrice se fassent face l’une l’autre de part et d’autre de
la porte, à pas plus de 6 po au-dessus du sol. L’une ou
l’autre peut être posée à gauche ou à droite de la porte
pourvu que le soleil n’éclaire jamais directement la cellule
réceptrice.
Les supports de montage sont conçus en vue de leur
fixation par pince sur le guide des portes de garage
articulées sans fixations supplémentaires.
Si les unités doivent être montées sur le mur, les supports
doivent être fixés fermement à une surface solide telle que
la charpente du mur. On peut se procurer des supports de
rallonge (se reporter à la section Accessoires), au besoin.
Si la pose se fait dans une construction en maçonnerie,
ajouter un morceau de bois à chaque endroit pour éviter
de percer des trous supplémentaires dans la maçonnerie
si un repositionnement est nécessaire.
Il ne doit y avoir aucun obstacle sur le parcours du
faisceau de lumière invisible. Aucune partie de la porte de
garage (ni les guides, les ressorts, les charnières, les
rouleaux ou autres fixations de la porte) ne doit
interrompre le faisceau pendant que la porte se ferme.
S’assurer que l’ouvre-porte de garage est hors tension AVANT
de poser le détecteur inverseur de sécurité.
Pour prévenir des BLESSURES GRAVES ou LA MORT par suite
d’une porte de garage qui se ferme :
• Raccorder et aligner correctement le détecteur inverseur de
sécurité. Ce dispositif de sécurité requis NE DOIT PAS être
désactivé.
• Poser le détecteur inverseur de sécurité de manière à ce que
le faisceau NE SOIT PAS À UNE HAUTEUR de plus de 6 po
au-dessus du plancher du garage.
ATTENTION
AVERTISSEMENT
AVERTISSEMENT AVERTISSEMENT
AVERTISSEMENT
AVERTISSEMENT

18
POSE DES SUPPORTS
S’assurer que l’ouvre-porte est hors tension.
Poser et aligner les supports de manière à ce que les
détecteurs se fassent face l’un l’autre de part et d’autre de
la porte du garage, le faisceau n’étant pas à une hauteur
de plus de 6 po au-dessus du sol. Ils peuvent être posés
de trois façons, comme suit.
Pose aux guides de la porte de garage
(mode préféré) :
• Faire glisser les bras courbés par-dessus le bord arrondi
de chaque guide de porte, les bras courbés étant dirigés
vers la porte. Enclencher en place contre le côté du
guide. Il doit reposer à plat, avec le rebord embrassant
le bord arrière du guide, comme illustré à la Figure 1.
Si votre guide de porte ne supporte pas solidement le
support, une pose murale est recommandée.
Pose murale (Figure 2 et 3):
• Placer le support contre le mur, les bras courbés étant
dirigés vers la porte. S’assurer qu’il y a un dégagement
suffisant et qu’aucun obstacle n’est dans le parcours du
faisceau du détecteur.
• Si une profondeur supplémentaire est nécessaire, on
peut employer un support de rallonge (Se reporter à la
section Accessoires) ou des blocs de bois.
• Utiliser les trous de montage de support comme
gabarits pour positionner et percer deux avant-trous de
3/16 po de diamètre sur le mur de chaque côté de la
porte, à une hauteur maximale de 6 po du sol.
• Fixer les supports au mur à l’aide de tire-fond
(Non Fournis).
• Si des supports de rallonge ou des blocs de bois sont
employés, ajuster les ensembles droit et gauche à la
même distance vers l’extérieur depuis la surface de
montage. S’assurer qu’il n’y a aucune obstacle de
ferrure de porte.
Pose au sol (Figure 4):
• Utiliser des blocs de bois ou des supports de rallonge
(Se reporter à la section Accessoires) pour élever les
supports de détecteur de manière à ce que les
diffuseurs ne soient pas à plus de 6 po au-dessus
du sol.
• Mesurer soigneusement et placer les ensembles droit et
gauche à la même distance vers l’extérieur depuis le
mur. S’assurer qu’il n’y a aucune obstruction de ferrure
de porte.
• Fixer au sol à l’aide des ancrages de béton, comme
illustré.
MONTAGE SUR GUIDES DE PORTE (CÔTÉ DROIT)
Témoin
lumineux
Diffuseur
Rebord
Support de
détecteur
Guide
de porte
MONTAGE AU SOL (CÔTÉ DROIT)
MONTAGE MURAL (CÔTÉ DROIT)
Témoin
lumineux
Support de
détecteur
Diffuseur
Support de
rallonge
(Voir Accessoires)
Mur
intérieur
du
garage
(Fournis avec support
de rallonge)
(Fournis avec
support de
rallonge)
Figure 1
Figure 2
Figure 3
Figure 4
MONTAGE MURAL (CÔTÉ DROIT)
Mur
intérieur
du garage
Témoin
lumineux Support de
détecteur
Diffuseur
Tire-fond de
(Non fournis)
Attachez le morceau de bois au
mur avec des tire-fond (Non fournis)
Fixer à l'aide
d'ancrages de béton
(Non Fournis)
Mur
intérieur
du
garage
Support de
détecteur
Témoin
lumineux
Diffuseur
Écrou à
oreilles Agrafes isolées
Boulon à tête bombée
et collet carré de
1/4 de po-20 x 1/2 de po 1/4 de po-20
GRANDEUR RÉELLE DES FIXATIONS

7/16 po
Blanc/noi
r
fil
Raccorder les fils sur
bornes à raccordement rapide
Rouge Gris
Branchements des
détecteurs inverseurs
Blanc
fil
Aire de protection du
faisceau du luminère invisible
Détecteur inverseur
Détecteur inverseur
Fil de sonnerie
Plafond fini
Bornes à raccordement rapide
Dénuder le fil sur 7/16 po
Blanc
Fil de sonnerie
Boulon à tête
bombée et collet
carré de 1/4 de po-20 x 1/2 de po Diffuseur
Écrou à oreilles
Figure 5
MONTAGE ET CÂBLAGE DES
DÉTECTEURS INVERSEURS
• Faire glisser un boulon à tête bombée et collet carré de
1/4 po-20 x 1/2 po dans la fente de chaque capteur.
Utiliser des écrous à oreilles pour fixer les détecteurs aux
supports, avec les diffuseurs dirigés l’un vers l’autre à
travers la porte. S’assurer que le diffuseur n’est pas
obstrué par une rallonge de support (Figure 5).
• Serrer les écrous à oreilles à la main.
• Acheminer les fils des deux détecteurs à l’ouvre-porte.
Utiliser des agrafes isolées pour fixer le fil au mur et au
plafond.
• Dénuder 7/16 po d’isolation de chaque série de fils.
Séparer les fils blanc et blanc/noir suffisamment pour
raccorder les bornes à raccordement rapide de
l’ouvre-porte: blanc à blanc et blanc/noir à gris (Figure 6).
ALIGNEMENT DES DÉTECTEURS INVERSEURS
• Brancher l’ouvre-porte dans la prise de courant.
Les témoins des cellules émettrice et réceptrice
s’allumeront et resteront allumés si les connexions
électriques sont bonnes et si l’alignement est correct.
Le témoin lumineux ambre de la cellule émettrice
s’allumera indépendamment de l’alignement ou de
l’obstruction. Si le témoin lumineux vert de la cellule
réceptrice est éteint, faible ou clignotant (et que la
trajectoire du faisceau lumineux invisible n’est pas
obstruée), aligner les deux détecteurs.
• Desserrer l’écrou de la cellule émettrice et ajuster de
façon à ce qu’elle vise directement la cellule réceptrice.
Serrer l’écrou.
• Desserrer l’écrou de la cellule réceptrice et régler le
détecteur jusqu’à ce qu’il reçoive le faisceau de la
cellule émettrice. Lorsque le témoin vert reste allumé,
serrer l’écrou.
DÉPANNAGE DES DÉTECTEURS
INVERSEURS DE SÉCURITÉ
1. Si, lorsque la pose est terminée, le témoin de la cellule
émettrice ne reste pas constamment allumé après
l'installation, s'assurer :
• Que le courant électrique parvient bien à l'ouvre-porte.
• Qu'il n'y a pas de court-circuit dans les fils blanc ou
blanc/noir. Ces court-circuits peuvent se produire sous
les agrafes ou à la hauteur des branchements des
bornes filetées.
• Le câblage est bien fait entre les détecteurs et
l'ouvre-porte.
• Qu’il n’y a pas de fil brisé.
2. Si le témoin de la cellule émettrice est allumé alors que
le témoin de la cellule réceptrice est éteint :
• Vérifier l'alignement.
• Vérifier s’il y a un fil brisé dans la cellule réceptrice.
3. Si le témoin de la cellule réceptrice est faible, aligner
l’un ou l’autre des détecteurs.
REMARQUE : Lorsque le faisceau invisible est obstrué ou
mal aligné quand la porte se ferme, cette dernière
remontera. Si la porte est déjà ouverte, elle ne se fermera
pas. La lumière de l’ouvre-porte clignotera 10 fois (si
l’ampoule n’est pas posée, 10 clics se feront entendre).
Voir page 17.
19
Figure 6

20
Pour prévenir les dommages à la porte de garage, renforcer
l’intérieur de la porte par une ferrure angulaire, tant
verticalement qu’horizontalement.
ATTENTION
AVERTISSEMENT AVERTISSEMENT
AVERTISSEMENT
AVERTISSEMENT
POSE - 11eOPÉRATION
Fixation du support de porte
Suivre les instructions qui correspondent au type de porte,
comme il est illustré ci-dessous ou à la page suivante.
Un renfort horizontal doit être suffisamment long pour
être fixé à deux ou trois supports verticaux. Un renfort
vertical doit couvrir la hauteur du panneau supérieur.
La figure 1 illustre un morceau de cornière utilisé en tant
que renfort horizontal. Pour le renfort vertical, 2 morceaux
de cornière sont utilisés de façon à créer un support en
forme de U. La meilleure solution consiste à s'adresser au
fabricant de la porte de garage pour obtenir un nécessaire
de renforts de porte afin de pouvoir poser l'ouvre-porte de
garage.
REMARQUE : Bon nombre de nécessaires de renforts de
porte prévoient la fixation directe de l’axe de chape et de la
biellette de porte. Le support de porte est alors inutile;
procéder à l’étape 12.
PORTES ARTICULÉES
1. Centrer le support de la porte avec l'axe vertical
précédemment tracé et utilisé pour la pose du support
de linteau. Il convient de noter le positionnement correct
de « UP » (vers le haut), comme estampillé à l’intérieur
du support.
2. Positionner le bord supérieur du support de 2 à 4
pouces plus bas que le bord supérieur de la porte, OU
directement sous toute solive à travers le haut de la
porte.
3. Marquer, percer des trous et poser comme indiqué
ci-après, selon la construction de votre porte :
Portes métalliques ou légères utilisant une ferrure
angulaire verticale entre le support du panneau de
porte et le support de porte :
• Percer des trous de fixation de 3/16 po. Fixer le support
de porte à l’aide des deux vis autotaraudeuses de
1/4 po-14 x 5/8 po. (Figure 2A)
• On peut également utiliser deux boulons de 5/16 po, des
rondelles de blocage et des écrous (non fournis).
(Figure 2B)
Portes métalliques, isolées ou légères renforcées
à l’usine :
• Percer des trous de fixation de 3/16 po. Fixer le support
de porte à l’aide des vis autotaraudeuses (Figure 3).
Portes en bois :
• Utiliser les trous supérieurs et inférieurs ou latéraux de
support de porte. Percer des trous de 5/16 po à travers
la porte et fixer le support à l’aide de boulons à tête
bombée et à collet carré de 5/16 po x 2 po, des
rondelles de blocage et des écrous (non fournis).
(Figure 4)
REMARQUE : Les vis autotaraudeuses de
1/4 po-14 x 5/8 po ne sont pas
prévues pour être utilisées sur
des portes en bois.
Ligne du centre
vertical de la porte
de garage
Situation
du support
de porte
Support
de linteau
DES RENFORTS HORIZONTAUX ET
VERTICAUX SONT REQUIS DANS LE
CAS D'UNE PORTE DE GARAGE
LÉGÈRE (EN FIBRE DE VERRE, EN
ALUMINIUM, EN ACIER, EN
PANNEAUX DE VERRE, ETC.).
(NON FOURNIS)
UP
Support
de la porte
Renforts
verticaux
Vis autotaraudeuse
1/4 de po-14 x 5/8 de po
Ligne du centre
vertical de la porte
de garage Boulon
5/16 po
-18 x 2 po
Rondelle de blocage
de 5/16 de po
UP
Support
de la porte
Renforts
verticaux
(Non fournis)
Écrou de
5/16 de po-18
Ligne du centre
vertical de la porte
de garage
UP
Vis
autotaraudeuse
1/4 de po-14 x 5/8 de po
Ligne du centre
vertical de la
porte de garage
UP
Bord intérieur de la
porte ou morceau de
bois de renfort
Boulon
5/16 de po x 2 po
(Non fournis)
Ligne du centre
vertical de la
porte de garage
Figure 1
Figure 2A
Figure 2B
Figure 3
Figure 4
Vis
autotaraudeuse
1/4 de po-14 x 5/8 de po
GRANDEUR
RÉELLE DES
FIXATIONS

21
Linteau
Axe vertical
de la porte
du garage
Plafond fini
Placement
facultatif du
support de
la porte
Support
de
linteau
Support
de la porte
Support 2 x 4
Pour une porte sans cadre exposé,
ou pour l'installation facultative,
utiliser des tire-fonds de 5/16 po x 1-1/2 po
(non fournis) pour fixer le support de la porte.
PORTE MÉTALLIQUE
Dessus de
la porte
(intérieur du
garage)
Placement
facultatif
Bord
supérieur
de la porte
Vis
autotaraudeuse de
1/4 po-14 x 5/8 po
Support de
la porte
Boulon à tête
bombée et à
collet carré de
5/16 po x 2 po
(non fournis)
Placement
facultatif
Rondelle de blocage
de 5/16 po
Bord
supérieur
de la porte
PORTE EN BOIS
DES RENFORTS HORIZONTAUX ET
VERTICAUX SONT REQUIS DANS
LE CAS D'UNE PORTE DE GARAGE
LÉGÈRE (EN FIBRE DE VERRE,
EN ALUMINIUM, EN ACIER,
EN PANNEAUX DE VERRE, ETC.).
(NON FOURNIS)
Support de
la porte
Dessus de
la porte
(intérieur du
garage)
Écrou
5/16 po-18
Vis autotaraudeuse
1/4 de po-14 x 5/8 de po
GRANDEUR RÉELLE
DES FIXATIONS
PORTES RIGIDES
Prière de lire et de suivre les avertissements et les
instructions de renforcements à la page précédente. Ils
s’appliquent également aux portes rigides.
• Centrer le support de porte sur le dessus de la porte, en
l'alignant avec le support de linteau, comme il est
illustré. Repérer soit les trous de gauche et de droite,
soit les trous du haut et du bas.
• Portes métalliques : Percer des avant-trous de 3/16
pouce, puis fixer le support de la porte à l’aide des vis
autotaraudeuses de 1/4 po-14 x 5/8 po fournies.
• Portes en bois : Percer des trous de 5/16 po et utiliser
des boulons à tête bombée et à collet carré de
5/16 po x 2 po, des rondelles de blocage et des écrous
(non fournis) ou des tire-fond de 5/16 po x 1-1/2 po (non
fournis) suivant les besoins particuliers de l’installation.
REMARQUE : Le support de porte peut être posé sur le
bord supérieur de la porte, si nécessaire pour une
installation particulière. (Se reporter au dessin du
positionnement facultatif à la ligne pointillée.)

22
POSE - 12eOPÉRATION
Fixation de la biellette au chariot
Suivre uniquement les instructions se reportant à votre type
de porte, comme illustré ci-dessous et à la page suivante.
PORTE ARTICULÉE SEULEMENT
S'assurer que la porte du garage est complètement fermée.
Tirer la poignée de déclenchement d’urgence pour détacher
le chariot extérieur du chariot intérieur. Reculer le chariot
extérieur (en l'éloignant de la porte) d'environ 2 pouces,
comme illustré aux figures 1, 2 et 3.
• Figure 1 :
– Fixer la biellette droite sur le chariot extérieur à l'aide
d'un axe de chape de 5/16 po x 1 po. Faire tenir l'axe
de chape en place avec un anneau d'arrêt.
– Fixer la biellette courbée au support de la porte de la
même manière, à l'aide d'un axe de chape
de 5/16 po x 1-1/4 po.
• Figure 2 :
– Rapprocher les biellettes et aligner les trous. Choisir
les trous les plus éloignés étant donné qu'ils
permettent aux biellettes d'être plus solides.
• Figure 3, Méthode alternative :
– Si les trous de la biellette courbée sont trop hauts,
démonter la biellette droite et couper 6 po du bout.
Refixer la biellette droite sur le chariot en orientant la
partie coupée vers le bas, comme illustré.
– Rapprocher les biellettes.
– Aligner deux paires de trous et raccorder les deux
biellettes avec les boulons, les rondellesde blocage et
les écrous.
• Tirer la poignée de déclenchement d’urgence vers le bas
et l’arrière (vers l’ouvre-porte de garage) à un angle de
45oafin que la biellette de dégagement du chariot soit en
position horizontale. Passer à la section « réglages » 1re
opération, page 24. Le chariot se réenclenchera
automatiquement lorsque l'ouvre-porte fonctionnera.
Axe de chape de
5/16 po x 1-1/4 po
Axe de chape de
5/16 po x 1 po
Anneau d'arrêt
Support de
la porte
Biellette
courbée
Biellette
droite
Chariot intérieur
Chariot extérieur
Support de
la porte
Rondelle de
blocage de 5/16 po
Écrous de
5/16 po-18
Boulons hexagonaux de
5/16 po-18 x 7/8 po
Rondelle de blocage
de 5/16 po
Écrous de
5/16 po-18
Boulons hexagonaux
de 5/16 po-
18 x 7/8 po
Couper ce morceau
Poignée de
déclenchement
d'urgence
Figure 1
Figure 2
Figure 3
Rondelle-frein
de 5/16 de po
Écrou de
5/16 de po-18
Anneau
d'arrêt
Boulon hexagonal de
5/16 de po-18 x 7/8 de po
Axe de chape de
5/16 de po x 1 po (Chariot)
Axe de chape de
5/16 de po x 1-1/4 po
(Support de la porte)
GRANDEUR RÉELLE DES FIXATIONS

23
POUR TOUTES LES PORTES RIGIDES
1. Assemblage des biellettes:
• Assembler les biellettes droite et courbée à leur plus
grande longueur (2 ou 3 trous se chevauchant).
• La porte étant fermée, raccorder la biellette droite au
support de la porte à l'aide d'un axe de chape de
5/16 po x 1-1/4 po.
• Faire tenir l'axe de chape avec un anneau d'arrêt.
• Tirer sur la poignée de déclenchement manuel pour
déconnecter la partie extérieure du chariot de sa partie
intérieure, en tirant vers le bas et en faisant glisser la
partie extérieure du chariot vers le moteur de
l’ouvre-porte.
• Connecter la biellette courbée au chariot à l’aide de
l’axe de chape de 5/16 po x 1-1/4 po et de l’anneau
d’arrêt.
REMARQUE: Réglage de la fin de course de la page
suivante:
• Le chariot se raccordera automatiquement. Sinon,
revoir la section portant sur la fonction de verrouillage
du chariot à la page 28.
• Lors du réglage de la course d’ouverture à la page
suivante, la porte ne devrait pas être inclinée vers
l’arrière tel qu’illustré ci-dessous lorsqu’elle est
complètement ouverte. Une légère inclinaison arrière
entravera le mouvement ou provoquera un mouvement
saccadé de la porte lors de son ouverture ou de sa
fermeture à partir de la position complètement ouverte.
Écrous de
5/16 de po-18
Rondelle-frein
de 5/16 de po
Anneau
d'arrêt
Biellette
droite
Boulon de
5/16 de po-
18x7/8 de po
Support
de la porte
Axe de chape de
5/16 de po x 1-1/4 de po
Biellette
courbée
Biellette
Porte
fermée
Chariot extérieur
Porte ouverte
Porte inclinée vers l'arriére
(Incorrecte)
Angle correct
Poignée de déclenchement d'urgence
Chariot intérieur
Chariot intérieur
Chariot extérieur

24
Sans un système d’inversion de sécurité bien installé, des
personnes (plus particulièrement les petits enfants) pourraient
être GRIÈVEMENT BLESSÉES ou TUÉES par une porte de
garage qui se referme.
• Un réglage erroné des courses de la porte de garage gênera
un fonctionnement approprié du système d’inversion de
sécurité.
• Ne JAMAIS utiliser les réglages de force pour compenser une
porte qui force ou qui adhère.
• Après avoir réglé une commande (force ou course), il peut
être nécessaire de régler l’autre commande.
• Après avoir effectué quelque réglage que ce soit, on DOIT
faire l’essai du système d’inversion de sécurité. La porte de
garage DOIT remonter au contact d’un objet d’une hauteur de
1-1/2 po (ou un 2 x 4 posé à plat) sur le sol.
ATTENTION
AVERTISSEMENT AVERTISSEMENT
AVERTISSEMENT
AVERTISSEMENT
Pour prévenir les dommages aux véhicules, s’assurer que la
porte entièrement ouverte offre un dégagement suffisant.
ATTENTION
AVERTISSEMENT AVERTISSEMENT
AVERTISSEMENT
AVERTISSEMENT
4. Ouvrir et fermer la porte deux ou trois fois à l’aide de la
télécommande ou de la commande de la porte.
• Si la porte ne s’arrête pas à la position du HAUT (porte
ouverte) souhaitée ou inverse sa course avant de
s’arrêter à la position du BAS (porte fermée), passer à
l’étape Réglages - 2e opération, Réglage de la force.
• Si la porte s’arrête aux positions souhaitées pour le
HAUT (porte ouverte) et le BAS (porte fermée), passer
à l’étape Réglages - 3e opération, Essai du système
d’inversion de sécurité.
RÉGLAGES – 1ÈRE OPÉRATION
Programmation des courses
d’ouverture et de fermeture
Le réglage de ces courses fixe les points où la porte
s’arrêtera lors de son ouverture ou de sa fermeture.
Effectuer les étapes suivantes pour programmer les
limites de courses.
Pour programmer les limites de courses :
1. Tenir le bouton noir enfoncé jusqu’à ce que le témoin
lumineux jaune commence à clignoter lentement, puis
relâcher le bouton.
2. Tenir le bouton noir enfoncé jusqu’à ce que la porte
atteigne la position d’ouverture souhaitée (Figure 2).
Régler la position de la porte à l’aide des boutons noir et
orange. Le bouton noir ÉLÈVE (porte ouverte) la porte
et le bouton orange ABAISSE (porte ouverte) la porte.
S’assurer que la porte offre un dégagement suffisant pour
votre véhicule. Régler si nécessaire.
REMARQUE : Se reporter à la page précédente pour
positionner correctement une porte rigide.
3. Appuyer sur la télécommande ou la commande de la
porte (Figure 3). La limite du HAUT (porte ouverte) est
alors enregistrée et la porte commence à descendre.
Appuyer sur le bouton noir ou orange avant qu’elle
n’atteigne le sol. La porte s’arrête.
Régler la limite du BAS souhaitée (porte fermée) à l’aide
des boutons noir et orange (Figure 4). S’assurer que la
porte est complètement fermée sans qu’une pression
excessive ne s’exerce sur le rail (le rail ne doit pas
s’incurver vers le haut et la courroie ne doit pas pendre
sous le rail). Appuyer sur la télécommande ou la
commande de la porte (Figure 3). La limite du BAS
(porte fermée) est alors enregistrée et la porte
commence à s’ouvrir.
REMARQUE : Si l’on n’appuie pas sur les boutons noir ou
orange, la porte inverse son mouvement au sol et la limite
du BAS est fixée automatiquement.
NOIR ORANGE
Enfoncer et tenir
jusqu’à ce que la
porte soit à la
HAUTEUR désirée
Figure 2
Figure 3
NOIR ORANGE
Appuyer sur l’un ou
l’autre des boutons
pour arrêter la porte.
Tenir le bouton orange
enfoncé pour faire
descendre la porte à la
position du BAS souhaitée
Figure 4
ou
Bouton
noir
Bouton
orange
Antenne
Témoin
lumineux
Figure 1
LOCKLIGHT

Sans un système d’inversion de sécurité bien installé, des
personnes (plus particulièrement les petits enfants) pourraient
être GRIÈVEMENT BLESSÉES ou TUÉES par une porte de
garage qui se referme.
• Une trop grande force sur la porte de garage gênera un
fonctionnement approprié du système d’inversion de sécurité.
• Ne JAMAIS augmenter la force au-delà du niveau nécessaire
à la fermeture de la porte.
• Ne JAMAIS utiliser les réglages de force pour compenser une
porte qui force ou qui adhère.
• Après avoir réglé une commande (force ou course), il peut
être nécessaire de régler l’autre commande.
• Après avoir effectué quelque réglage que ce soit, on DOIT
faire l’essai du système d’inversion de sécurité. La porte de
garage DOIT remonter au contact d’un objet d’une hauteur de
1-1/2 po (ou un 2 x 4 posé à plat) sur le sol.
25
ATTENTION
AVERTISSEMENT AVERTISSEMENT
AVERTISSEMENT
AVERTISSEMENT
RÉGLAGES – 2E OPÉRATION
Réglage de la force
Le bouton de réglage de la force est situé sur le
panneau arrière du moteur. Le niveau de la force
mesure le montant de force requis pour ouvrir et
fermer la porte.
1. Repérer le bouton orange situé sur le panneau arrière
du moteur (Figure 1).
2. Appuyer deux fois sur le bouton orange pour placer
l’unité en mode de Réglage de la force (Figure 2). Le
voyant LED (témoin lumineux) se mettra à clignoter
rapidement.
3. Enfoncer le bouton-poussoir de la télécommande livrée
avec votre ouvre-porte (Figure 3). La porte s’abaissera
jusqu’à la position de fermeture. Appuyer à nouveau sur
la télécommande et la porte se lèvera jusqu’à la
position d’ouverture. Enfoncer le bouton-poussoir de la
télécommande une troisième fois pour refermer
la porte.
Le voyant LED (témoin lumineux) s’arrête de clignoter
quand l’ouvre-porte a appris la force nécessaire.
La programmation du réglage de la force nécessaire à
l’ouverture et à la fermeture de votre porte a été effectuée.
La porte doit effectuer un cycle complet d’ouverture et de
fermeture pour que la force puisse être réglée
correctement. Si l’ouvre-porte ne parvient pas à ouvrir ou
fermer complètement votre porte, inspecter celle-ci pour
s’assurer qu’elle est bien équilibrée et qu’elle ne force ou
ne coince pas. Voir page 3,
«
Préparation de Votre Porte
de Garage ».
Bouton
noir
Bouton
orange
Antenne
Témoin
lumineux
NOIR ORANGE
Appuyer deux fois
sur le bouton orange
pour placer l’unité en
mode de Réglage
de la force
Figure 3
Figure 2
Figure 1
ou
LOCKLIGHT

26
Sans un système d’inversion de sécurité bien installé, des
personnes (plus particulièrement les petits enfants) pourraient
être GRIÈVEMENT BLESSÉES ou TUÉES par une porte de
garage qui se referme.
• On DOIT procéder à une vérification mensuelle du système
d’inversion de sécurité.
• Après avoir réglé une commande (force ou course), il peut
être nécessaire de régler l’autre commande.
• Après avoir effectué quelque réglage que ce soit, on DOIT
faire l’essai du système d’inversion de sécurité. La porte de
garage DOIT remonter au contact d’un objet d’une hauteur de
1-1/2 po (ou un 2 x 4 posé à plat) sur le sol.
RÉGLAGES - 3eOPÉRATION
Essai du système d’inversion de
sécurité
ESSAI
• La porte étant entièrement ouverte, placer une planche
de 1-1/2 po d’épaisseur (ou un 2 x 4 à plat) sur le
plancher, centrée sous la porte de garage.
• Fermer la porte. La porte doit remonter dès qu'elle
touche l’obstacle. Si le système d’inversion de sécurité
fonctionne correctement, passer à l’étape Réglages - 4e
opération.
RÉGLAGE
• Si la porte s'arrête sur l’obstacle, sa course de fermeture
n'est pas suffisante.
REMARQUE : Dans le cas d'une porte articulée,
s'assurer que les réglages ne forcent pas sur la biellette,
ni à l'ouverture ni à la fermeture. Se figure 3 de la page
22.
• Répéter l’essai.
• Lorsque la porte remonte sur la planche de 1 po, retirer
l’obstacle et faire faire 3 ou 4 cycles complets à
l’ouvre-porte afin de vérifier le réglage.
• Si l’essai du système d’inversion de sécurité échoue,
appeler un technicien formé en systèmes de porte.
VÉRIFICATION DE SÉCURITÉ IMPORTANTE :
Faire l’essai du système d’inversion de sécurité après :
• Chaque fois que l'on modifie la longueur des biellettes,
et chaque fois que l'on procède à un réglage de la force
et de la course de la porte.
• Chaque fois que l'on répare ou que l'on règle la porte du
garage (y compris les ressorts et les fixations).
• Chaque fois que l’on répare le plancher du garage ou
après un soulèvement de celui-ci.
• Chaque fois que l'on procède à une réparation ou à un
réglage de l'ouvre-porte.
RÉGLAGES - 4eOPÉRATION
Essayer le Système de Protection®
• Appuyer sur le bouton-poussoir de la télécommande
pour ouvrir la porte.
• Mettre la boîte en carton de l'ouvre-porte dans la course
de la porte.
• Appuyer sur le bouton-poussoir de la télécommande
pour fermer la porte. La porte ne se déplacera pas de
plus d’un pouce, et les lumières de l’ouvre-porte
clignoteront.
La porte de garage ne se fermera pas à l'aide d'une
télécommande si le témoin lumineux d'un des deux
détecteurs est éteint (ce qui avertit que le détecteur est
mal aligné ou est obstrué).
Si l’ouvre-porte ferme la porte lorsque le détecteur
inverseur de sécurité est obstrué (et que les
détecteurs ne sont pas à plus de 6 po au-dessus du
sol), appeler un technicien formé en systèmes de
porte.
Détecteur inverseur de sécurité Détecteur inverseur de sécurité
Sans un système d’inversion de sécurité bien installé, des
personnes (plus particulièrement les petits enfants) pourraient
être GRIÈVEMENT BLESSÉES ou TUÉES par une porte de
garage qui se referme.
Planche de 1-1/2 de po (3,8 cm) (ou 2 x 4 à plat)
ATTENTION
AVERTISSEMENT AVERTISSEMENT
AVERTISSEMENT
AVERTISSEMENT
ATTENTION
AVERTISSEMENT AVERTISSEMENT
AVERTISSEMENT
AVERTISSEMENT

FONCTIONNEMENT
Utilisation de votre ouvre-porte de garage
Votre télécommande à main et ouvre-porte Security✚®ont
été réglés en usine à un code compatible qui change avec
chaque usage, accédant de manière aléatoire à plus de
100 milliards de nouveaux codes. Votre ouvre-porte
fonctionnera avec un nombre allant jusqu’à huit
télécommandes Security✚®et un Système d’entrée sans
clé. Si vous achetez une nouvelle télécommande ou que
vous désirez désactiver toute télécommande, suivez les
instructions de la section Programmation.
Actionner l’ouvre-porte suivant l’une des méthodes
ci-après :
•La télécommande à main : Appuyer sur le
bouton-poussoir jusqu’à ce que la porte commence à se
déplacer.
•La commande de porte murale : Tenir la barre ou le
bouton-poussoir enfoncé jusqu’à ce que la porte
commence à se déplacer.
•Le système d’entrée sans clé (Se reporter à la
section Accessoires) : s’il est fourni avec votre
ouvre-porte de garage, il doit être programmé avant
usage. Se reporter à la section Programmation.
Lorsque l’on actionne l’ouvre-porte de garage et que
les détecteurs inverseurs de sécurité sont
correctement installés et alignés
1. Si la porte est ouverte, elle se fermera. Si elle est
fermée, elle s’ouvrira.
2. Si la porte est en course de fermeture, elle remontera.
3. Si la porte est en course d’ouverture, elle s’arrêtera.
4. Si on l’a arrêtée en position partiellement ouverte, elle se
fermera.
5. Si la fermeture de la porte est gênée, la porte remontera.
Si l’obstacle interrompt le faisceau du détecteur, les
lumières de l’ouvre-porte clignoteront pendant 5
secondes.
6. Si l’ouverture de la porte est gênée, la porte s’arrêtera.
7. Si la porte est complètement ouverte, elle ne se fermera
pas tant que le faisceau lumineux sera interrompu.
Le détecteur n’a aucun effet lors du cycle d’ouverture.
Si le détecteur n’est pas installé ou est mal aligné, la porte
ne se fermera pas à partir d’une télécommande à main.
Cependant, vous pouvez fermer la porte avec la commande
de porte, la clé de verrouillage extérieur, ou l'entrée sans
clé, si vous les activez jusqu'à ce que la fermeture soit
complète. Si vous les relâchez trop tôt, la porte s'inversera.
L’éclairage de l’ouvre-porte de garage s’allumera dans
les cas suivants : lorsque l’on branche l’ouvre-porte de
garage pour la première fois sur le courant; lorsque le
courant est interrompu; lorsque l’ouvre-porte est actionné.
Cet éclairage s’éteint automatiquement après 4-1/2 minutes
ou il assure un éclairage constant lorsqu’on actionne la
fonction d’éclairage sur la commande de porte de détection
de mouvement. Des ampoules de 100 watts maximum
doivent être utilisées.
Éclairage Security
✚
®:Les lumières s’allumeront
également lorsqu’une personne franchira la porte de garage
ouverte. Sur une commande de porte de détection de
mouvement, cette fonction d’éclairage peut être désactivée
de la façon suivante : les lumières fermées, enfoncer et
tenir le bouton d’éclairage pendant 10 secondes jusqu’à ce
que les lumières s’éteignent, puis s’allument de nouveau.
Pour rétablir cette fonction, commencer avec le dispositif
d’éclairage de l’ouvre-porte allumé, puis enfoncer et tenir le
bouton d’eclairage pendant 10 secondes, jusqu’à ce que
les lumières s’éteignent, puis s’allument à nouveau.
27
IMPORTANTES CONSIGNES DE SÉCURITÉ
1. LIRE ET SUIVRE TOUS LES AVERTISSEMENTS ET
INSTRUCTIONS.
2. TOUJOURS garder les télécommandes hors de la portée des
enfants. Ne JAMAIS laisser les enfants faire fonctionner les
télécommandes ou les boutons-poussoirs de la commande de
porte ou jouer avec ceux-ci.
3. Actionner la porte de garage UNIQUEMENT lorsqu’on peut
la voir clairement, qu’elle est bien réglée et qu’il n’y a aucun
obstacle à la course de la porte.
4. TOUJOURS garder la porte de garage en vue jusqu’à sa
fermeture complète. PERSONNE NE DOIT TRAVERSER LE
PARCOURS DE LA PORTE EN MOUVEMENT.
5. PERSONNE NE DOIT PASSER SOUS UNE PORTE ARRÊTÉE EN
COURS D’OUVERTURE.
6. Si possible, utiliser la poignée de déclenchement d’urgence
pour dégager le chariot UNIQUEMENT lorsque la porte de
garage est FERMÉE. Des ressorts faibles ou brisés ou une
porte déséquilibrée peuvent causer la chute rapide et/ou
imprévue d’une porte ouverte.
7. Ne JAMAIS utiliser la poignée de déclenchement d’urgence
à moins que l’entrée de garage ne soit dégagée (absence de
personnes et d’obstacles).
8. Ne JAMAIS utiliser la poignée pour ouvrir ou fermer la porte.
Il y a risque de chute si le nœud de la corde se défait.
9. Après avoir réglé une commande (force ou course), il peut être
nécessaire de régler l’autre commande.
10. Après avoir effectué quelque réglage que ce soit, on DOIT faire
l’essai du système d’inversion de sécurité.
11. On DOIT procéder à une vérification mensuelle du système
d’inversion de sécurité. La porte de garage DOIT remonter au
contact d’un objet d’une hauteur de 1-1/2 po (ou un 2 x 4 posé
à plat) sur le sol.
12. TOUJOURS GARDER LA PORTE DE GARAGE BIEN
ÉQUILIBRÉE (se reporter à la page 3). Une porte mal équilibrée
peut ne pas remonter au besoin et pourrait provoquer des
BLESSURES GRAVES ou LA MORT.
13. Toutes les réparations aux câbles, ensembles de ressort et
autres ferrures de montage, qui sont tous sous une tension
EXTRÊME, DOIVENT être confiées à un technicien formé en
systèmes de porte.
14. TOUJOURS mettre l’ouvre-porte de garage hors tension AVANT
d’effectuer quelque réparation que ce soit ou d’enlever des
couvercles.
15.
Pour réduire le risque de BLESSURES GRAVES ou
de MORT :
AVERTISSEMENT
AVERTISSEMENT
AVERTISSEMENT
AVERTISSEMENT
CONSERVER CES INSTRUCTIONS.

2. Continuer à tenir tout en enfonçant le bouton d’éclairage sur le
panneau de commande de la porte.
3. Continuer à tenir les deux boutons tout en enfonçant le bouton
de blocage de la commande de la porte.
4. Lorsque l'éclairage de l'ouvre-porte clignote, relâcher tous les
boutons.
B) Pour actionner une porte en utilisant les trois boutons de la
télécommande à main :
On peut programmer la télécommande
de manière à ouvrir la porte avec le
gros bouton, à la refermer avec le
bouton central et à arrêter le
mouvement de la porte à l’aide du
troisième bouton.
REMARQUE : Si la télécommande est déjà programmée, on doit
d’abord effacer tous les codes. Voir Programmation.
1. La porte étant fermée, enfoncer et tenir le gros
bouton-poussoir de la télécommande.
2. Continuer à tenir tout en enfonçant le bouton de blocage sur la
commande de porte.
3. Continuer à tenir les deux boutons tout en enfonçant la barre-
poussoir de la commande de porte.
4. Lorsque l'éclairage de l'ouvre-porte clignote, relâcher tous les
boutons.
Ouverture manuelle de la porte
Dans la mesure du possible, la
porte doit être complètement
fermée. Tirer la poignée de
déclenchement d’urgence et
lever la porte manuellement.
Pour rattacher la porte à l’ouvre-
porte, appuyer sur la barre-
poussoir de la commande de
porte.
La fonction de verrouillage
empêche le chariot de se
réenclencher automatiquement.
Tirer la poignée de
déclenchement d’urgence vers le
bas et l’arrière (vers l’ouvre-porte
de garage). Il sera alors possible
d’ouvrir et de fermer la porte à la
main autant de fois qu’on le
désirera. Pour inhiber le
verrouillage, tirer la poignée droit
vers le bas. Le chariot se
réenclenchera lors de la
prochaine ouverture ou fermeture
de la porte.
NOTICE
NOTICE
Levier de
déclenchement
du chariot
Poignée de
déclenchement
d'urgence
(à tirer)
Poignée de
déclenchement
d'urgence
(tirer vers le bas et
l'arrière en direction
de l'ouvre-porte)
Levier de
déclenchement
du chariot
28
Pour prévenir d’éventuelles BLESSURES GRAVES ou LA MORT
par suite de la chute d’une porte de garage :
• Si possible, utiliser la poignée de déclenchement d’urgence
pour dégager le chariot UNIQUEMENT lorsque la porte de
garage est FERMÉE. Des ressorts faibles ou brisés ou une
porte déséquilibrée peuvent causer la chute rapide ou
imprévue d’une porte ouverte.
• Ne JAMAIS utiliser la poignée de déclenchement d’urgence à
moins que l’entrée de garage ne soit dégagée (absence de
personnes et d’obstacles).
• Ne JAMAIS utiliser la poignée pour ouvrir ou fermer la porte.
Il y a risque de chute si le nœud de la corde se défait.
ATTENTION
AVERTISSEMENT AVERTISSEMENT
AVERTISSEMENT
AVERTISSEMENT
AVERTISSEMENT
POSITION DE VERROUILLAGE
POSITION DE DÉCLENCHEMENT
MANUEL
Utilisation de la commande de porte à
montage mural
COMMANDE DE PORTE MURALE AVEC
DÉTECTEUR DE MOUVEMENT
Appuyer sur la barre pour ouvrir ou
fermer la porte. Appuyer à nouveau pour
faire remonter la porte lors du cycle de
fermeture ou pour arrêter la porte
pendant le cycle d'ouverture.
Cette commande de porte contient un
détecteur de mouvement qui allume
automatiquement l’éclairage lorsqu’il
détecte une personne pénétrant dans le
garage. On peut désactiver facilement catte fonction en vue d’une
utilisation prolongée des projecteurs de travail.
Fonction d'éclairage
Appuyez sur le bouton d'éclairage pour allumer ou éteindre
l’éclairage de l’ouvre-porte. Il ne contrôle pas l’éclairage de
l’ouvre-porte pendant que la porte est en mouvement. Si vous
allumez, puis activez l’ouvre-porte, l'éclairage demeurera allumé
pendant 4-1/2 minutes. Appuyez à nouveau sur ce bouton pour
l’éteindre plus tôt. L’intervalle de 4-1/2 minutes peut être changé à
1-1/2, 2-1/2 ou 3-1/2 minutes comme suit : Enfoncer et tenir le
bouton de blocage jusqu’à ce que l’éclairage clignote (environ 10
secondes). Un seul clignotement indique que la minuterie est
réglée à
1-1/2 minute. Répéter la procédure et l’éclairage clignotera deux
fois, réglant ainsi la minuterie à 2-1/2 minutes. Répéter à nouveau
pour un intervalle de 3-1/2 minutes, etc., jusqu’à un maximum de
quatre clignotements pour 4-1/2 minutes.
Il est recommandé de désactiver le détecteur de mouvement lors
de l’utilisation de l’éclairage de l’ouvre-porte comme projecteurs de
travail. Consulter la section Fonction d’éclairage automatique ci-
dessous.
Fonction d’éclairage automatique : L’éclairage de d’ouvre-
porte s’allume automatiquement lorsqu’une personne pénètre
dans le garage. Lorsqu’une personne marche devant la
commande de porte, l’éclairage s’allume pendant cinq minutes,
puis s’éteint. Cette fonction est activée par détection de la
chaleur corporelle et peut ne pas fonctionner à des
termpératures autour de 100°F (37.7ûC).
Pour désactiver cette fonction, faire glisser vers le bas (arrêt)
I’interrupteur du détecteur situé sur le côte droit de la
commande de porte.
Nous recommandons de désactiver le détecteur de mouvement
lors de l’utilisation de l’éclairage de l’ouvre-porte comme
projecteurs de travail. Sinon, il s’éteindra automatiquement
lorsqu’on travaille au-delà de la portée du capteur.
L'élément de verrouillage est conçu de manière à empêcher le
fonctionnement de la porte à l'aide de télécommandes à main.
Cependant, la porte s'ouvrira et se fermera à partir de la
commande de porte, de la serrure extérieure ou du système
d'ouverture sans clé en accessoire.
Pour actionner, appuyer sur le bouton de verrouillage et le tenir
pendant 2 secondes. L'éclairage de la barre-poussoir clignotera
aussi longtemps que l'élément de verrouillage sera en marche.
Pour arrêter, appuyer à nouveau sur le bouton de verrouillage et le
tenir pendant 2 secondes. L'éclairage de la barre-poussoir cessera
de clignoter. L'élément de verrouillage sera également neutralisé
chaque fois que le bouton LEARN se trouvant sur le panneau de
l'ouvre-porte sera actionné.
Caractéristique supplémentaire lorsqu'utilisé avec la
télécommande à main trois boutons
A) Commande de l'éclairage de l'ouvre-porte :
Vous pouvez programmer la télécommande de
manière à commander, non seulement la porte,
mais aussi l’éclairage.
1. La porte étant fermée, enfoncer et tenir un petit bouton de la
télécommande auquel on attribuera le contrôle de l’éclairage.
Ouverture
Fermeture
Arrêt
LOCK LIGHT
Barre-
poussoir
Bouton de
verrouillage Bouton
d'éclairage
Interrupteur
du détecteur

29
ENTRETIEN DE L’OUVRE-PORTE
DE GARAGE
PÉRIODICITÉS D’ENTRETIEN
Une fois par mois
• Faire fonctionner la porte à la main. Si elle est
déséquilibrée ou si elle force, appeler un technicien
formé en systèmes de porte.
• S’assurer que la porte s’ouvre et se ferme complètement.
Au besoin, régler les commandes de course et/ou de
force. (Se reporter aux pages 24 et 25)
• Répéter le contrôle du dispositif d’inversion de sécurité.
Procéder à tous les réglages nécessaires. (voir réglages
- 3eopération)
Une fois par année
• Huiler les rouleaux, les roulements et les charnières de
la porte. Il n’est pas nécessaire de lubrifier l’ouvre-porte
de garage. Ne pas graisser les guides de la porte.
LA PILE DE LA TÉLÉCOMMANDE
La pile au lithium devrait durer
pendant une période allant
jusqu’à 5 ans. Pour changer la
pile, ouvrir le boîtier comme
illustré en le soulevant à l’aide
de la pince du pare-soleil ou de
la lame d’un tournevis. Insérer
la pile avec le côté positif vers le
haut (+).
Se débarrasser de la pile
usagée convenablement.
3. La porte de garage fonctionne avec la commande de
porte, mais pas avec la télécommande :
• La barre-poussoir de porte clignote-t-elle? Si votre
modèle est pourvu de la fonction de verrouillage,
s’assurer qu’elle est inhibée.
• Programmer l’ouvre-porte en fonction du code de la
télécommande. (Se reporter aux instructions sur le
panneau du moteur.) Répéter pour toutes les
télécommandes.
4. Portée insuffisante de la télécommande :
• Changer l'emplacement de la télécommande dans
votre voiture.
• S’assurer que l’antenne sur le panneau latéral ou arrière
du moteur est déployée entièrement vers le bas.
• Certaines installations pourraient avoir un rayon de
fonctionnement plus court à cause d'une porte
métallique, d'isolation à revers d'aluminium, ou d'un
garage avec revêtement métallique.
5. L’ouvre-porte se fait fortement entendre dans la
résidence quand il fonctionne :
• Un nécessaire d’insonorisation 89LMC peut être posé.
Cet équipement est conçu pour minimiser les vibrations
à la maison et est facile à installer.
DÉFAUTS DE FONCTIONNEMENT
1. L’ouvre-porte ne fonctionne pas à l’aide de la
commande de porte ni de la télécommande :
• Le courant électrique parvient-il à l’ouvre-porte?
Brancher une lampe dans la prise de courant. Si elle ne
s’allume pas, vérifier les fusibles ou le disjoncteur.
(Certaines prises de courant sont commandées par un
interrupteur.)
• Les serrures de la porte sont-elles toutes ouvertes? Se
reporter aux avertissements des instructions de pose à
la page 7.
• De la neige ou de la glace s’est-elle accumulée sous la
porte? La porte peut être collée au sol par le gel.
Enlever tous les obstacles.
• Le ressort de la porte de garage pourrait être cassé.
Le faire remplacer.
• Un fonctionnement répété peut avoir déclenché la
protection thermique du moteur. Attendre 15 minutes
avant de refaire fonctionner l’ouvre-porte de garage.
2. L’ouvre-porte fonctionne avec la télécommande
mais pas avec la commande de porte :
• La commande de porte est-elle allumée? Sinon, retirer
le fil de sonnerie des bornes du moteur. Connecter les
terminaux rouge et blanc en touchant les deux
terminaux en même temps avec un morceau de fil. Si
l'ouvre-porte marche, vérifier qu'il n'y ait pas de mauvais
branchement à la commande de porte, de court-circuit
sous les agrafes, ou une cassure dans les fils.
• Les branchements électriques sont-ils bons? Se reporter
à la page 14, 6eopération de pose.
AVIS : Les règles de la FCC ou d’Industrie Canada (IC), ou les deux, interdisent tout
ajustement ou toute modification de ce récepteur et/ou de cet émetteur, sauf pour modifier
le code ou pour remplacer la pile. IL N’EXISTE AUCUNE AUTRE PIÈCE SUSCEPTIBLE
D’ÊTRE ENTRETENUE PAR L’UTILISATEUR.
Vérifié pour conformité avec les normes de la FCC POUR UTILISATION À LA MAISON OU
AU BUREAU. L’utilisation est sujette aux deux conditions ci-après : (1) ce dispositif ne peut
causer des interférences nuisibles, et (2) ce dispositif doit accepter toute interférence
reçue, y compris une interférence pouvant causer un fonctionnement non désiré.
Pile au pôle
positif vers
le haut (+)
Pour prévenir d’éventuelles BLESSURES GRAVES ou
LA MORT :
• Ne JAMAIS laisser de petits enfants à proximité des piles.
• Aviser immédiatement un médecin en cas d’ingestion d’une pile.
ATTENTION
AVERTISSEMENT AVERTISSEMENT
AVERTISSEMENT
AVERTISSEMENT

Défauts de fonctionnement (suite)
6. La porte s’ouvre et se ferme toute seule :
• S’assurer que tous les boutons-poussoirs de la
télécommande sont à la position d’arrêt.
• Débrancher le fil de sonnerie des bornes de la commande
de porte et faire fonctionner la télécommande seulement.
Si ceci résout le problème, la commande de porte est
défectueuse (il faudra alors la remplacer) ou il y a un
court-circuit intermittent sur le fil entre la commande de
porte et le moteur.
• Effacer la mémoire et reprogrammer toutes les
télécommandes.
7. La porte ne s’ouvre pas complètement :
• La porte est-elle gênée dans sa course? Est-elle
déséquilibrée ou les ressorts sont-ils brisés. Enlever
l'obstruction ou réparer la porte.
8. La porte s’ouvre, mais ne se ferme pas :
• Si l’éclairage de l’ouvre-porte clignote, vérifier le détecteur
inverseur de sécurité. Se reporter à la 10 e opération
d’installation.
• Si l’éclairage de l’ouvre-porte ne clignote pas et
l’installation est nouvelle, vérifier la force de fermeture.
Voir l'Étape de Réglage 2. Pour une installation en place,
voir ci-dessous.
Après avoir procédé au réglage, répéter le contrôle de
l’inversion de sécurité.
9. La porte remonte sans raison apparente et les
témoins de l’ouvre-porte ne clignotent pas :
• La porte est-elle gênée dans sa course? Tirer sur la
poignée de déclenchement d’urgence. Faire fonctionner la
porte à la main. Si elle est déséquilibrée ou si elle grippe,
appeler un technicien formé en systèmes de porte.
• Dégager toute accumulation de glace ou de neige
pouvant se trouver sur le seuil de contact avec la porte.
• Se reporter à l’étape de réglage 2.
Après avoir procédé au réglage, répéter le contrôle de
l’inversion de sécurité.
10. Le mouvement de la porte s´inverse sans raison
apparente et les témoins de l´ouvre-porte clignotent
pendant 5 secondes après l´inversion :
• Vérifier les détecteurs inverseurs de sécurité. Enlever
toute obstruction ou aligner la cellule réceptrice. Se
reporter à la 10eopération d’installation.
11. L’éclairage de l’ouvre-porte ne s’allume pas :
• Changer les ampoules (maximum 100 watts). Utiliser une
ampoule d’ouvre-porte de garage à douille standard si
l'ampoule normale brûle.
12. L’éclairage de l’ouvre-porte ne s’éteint pas:
• La caractéristique d’éclairage est-elle allumée? L’éteindre.
13. L’ouvre-porte requiert une force excessive pour
déplacer la porte :
• La porte est peut-être déséquilibrée ou bien les ressorts
sont cassés. Fermer la porte et utiliser la poignée de
déclenchement d’urgence pour détacher le chariot. Ouvrir
et fermer la porte à la main. Une porte bien équilibrée
restera à sa position d’arrêt, entièrement supportée par
les ressorts, détacher l’ouvre-porte et appeler un
technicien formé en systèmes de porte.
14. Le moteur de l’ouvre-porte gémit pendant un
moment et ne fonctionne pas :
• Les ressorts de la porte de garage sont cassés.
Se reporter au paragraphe précédent.
• Si cet incident se produit lors du premier fonctionnement
de l’ouvre-porte, la porte est peut-être verrouillée.
Neutraliser les serrures de la porte.
15. L’ouvre-porte ne fonctionne pas à cause d’une
panne de courant :
• Dégager le chariot à l’aide de la poignée et de la corde de
déclenchement d’urgence. Il sera alors possible d’ouvrir et
de fermer la porte à la main. Lorsque le courant sera
rétabli, appuyer sur le gros bouton-poussoir de la
commande de porte et le chariot se réenclenchera
automatiquement (à moins que le chariot soit en position
verrouillée). Se reporter à la page 28.
• Dans le cas d’un garage ne possédant pas de porte de
service, l’accessoire à serrure extérieure de
déclenchement permettra de désenclencher le chariot de
l’extérieur en cas de panne de courant.
30

31
PROGRAMMATION
REMARQUE : Si cet ouvre-porte de garage Security
✚
®est utilisé avec une télécommande émettrice à code fixe, le dispositif
technique que contient le récepteur de l’ouvre-porte et qui procure une protection contre les vols de code, se trouvera
contourné. Le détenteur des droits d’auteur de cet ouvre-porte de garage n’autorise pas l’acheteur ni le fournisseur de la
télécommande émettrice à code fixe à contourner ce dispositif technique.
L’ouvre-porte de garage a été programmé en usine de manière à fonctionner avec la télécommande à main fournie. La porte
s’ouvrira et se fermera lorsqu’on appuie sur le gros bouton-poussoir.
Ci-après se trouvent des instructions pour programmer votre ouvre-porte en vue du fonctionnement avec d’autres
télécommandes Security✚®.
* Télécommandes 3-Bouton
Programmé en usine, le gros bouton dont pourrait être
munie votre télécommande sert au fonctionnement de
l’ouvre-porte de garage. Les boutons supplémentaires sur
n'importe quelle télécommande
ou télécommande miniature
3-bouton Security✚®
peuvent être programmés
pour faire fonctionner
d'autres ouvre-portes de
garage Security✚®.
Pour effacer tous les codes de la
mémoire du moteur
Pour désactiver toute télécommande non
désirée, effacer d’abord tous les codes :
Enfoncer et tenir le bouton LEARN du
moteur jusqu’à ce que le témoin
lumineux LEARN s’éteigne (environ 6
secondes). Tous les codes précédents sont maintenant
effacés. Reprogrammer chaque télécommande ou entrée
sans clé qu’on désire utiliser.
1. Enfoncer et relâcher le bouton
orange LEARN sur le moteur. Le
témoin lumineux LEARN s’allumera
en continu pendant 30 secondes.
2. Dans un délai de 30 secondes,
enfoncer et tenir le bouton de la
télécommande* qui fera fonctionner
votre porte de garage.
3. Relâcher le bouton lorsque
l’éclairage du moteur clignote. Il a
appris le code. Si les ampoules ne
sont pas posées, deux clics
se feront entendre.
1. Enfoncer et tenir le bouton de la
télécommande*qui fera fonctionner
votre porte de garage.
2. Tout en tenant le bouton de la
télécommande, enfoncer et tenir le
bouton LIGHT sur la commande
murale de détection de mouvement.
3. Continuer à tenir les deux boutons
tout en appuyant sur la
barre-poussoir de la commande
murale de détection de mouvement
(les trois boutons sont tenus).
4. Relâcher les boutons lorsque
l’éclairage du moteur clignote. Il a
appris le code. Si les ampoules ne
sont pas posées, deux clics
se feront entendre.
Pour Ajouter ou Reprogrammer une Télécommande à Main
UTILISATION DU BOUTON LEARN UTILISATION DE LA COMMANDE DE PORTE DE
DÉTECTION DE MOUVEMENT
— — — — — — — —
— — — — — — — —
LOCK
LIGHT
LOCKLIGHT
LOCK LIGHT
LOCK LIGHT

— — — — — — — —
32
Pour Ajouter, Reprogrammer ou Modifier un NIP d’Entrée Sans Clé
REMARQUE: Votre nouvelle entrée sans clé doit être programmée de manière à faire fonctionner votre ouvre-porte de garage.
UTILISATION DU BOUTON « LEARN » UTILISATION DE LA COMMANDE DE PORTE
DE DÉTECTION DE MOUVEMENT
1. Introduire un numéro d’identification
personnelle (NIP) à quatre chiffres
de son choix sur le pavé numérique.
Enfoncer et tenir ensuite le bouton
ENTER.
2. Tout en tenant le bouton ENTER,
enfoncer et tenir le bouton LIGHT
sur la commande murale de
détection de mouvement.
3. Continuer à tenir les boutons
ENTER et LIGHT tout en appuyant
sur la barre-poussoir de la
commande murale de détection de
mouvemen (les trois boutons sont
tenus).
4. Relâcher les boutons lorsque
l’éclairage du moteur clignote. Il a
appris le code. Si les ampoules ne
sont pas posées, deux clics se
feront entendre.
1. Enfoncer et tenir le bouton orange
LEARN sur le moteur. Le témoin
lumineux LEARN s’allumera en
continu pendant 30 secondes.
2. Dans un délai de 30 secondes,
introduire un numéro d’identification
personnelle (NIP) à quatre chiffres
de son choix sur le pavé numérique.
Enfoncer et tenir ensuite le bouton
ENTER.
3. Relâcher le bouton lorsque
l’éclairage du moteur clignote. Il a
appris le code. Si les ampoules ne
sont pas posées, deux clics se
feront entendre.
REMARQUE : Cette méthode nécessite deux personnes
si le pavé pour l’entrée sans clé est déjà monté à
l’extérieur du garage.
Pour modifier un NIP connu, existant
Si le NIP existant est connu, il peut être modifié par une
seule personne sans devoir utiliser d’échelle.
1. Appuyer sur les quatre boutons correspondant au NIP
actuel, puis enfoncer et tenir le bouton #.
L’éclairage de l’ouvre-porte clignotera deux fois.
Relâcher le bouton #.
2. Introduire le nouveau NIP à 4 chiffres choisi, puis
appuyer sur ENTER.
L’éclairage du moteur clignotera une fois lorsque le NIP
aura été appris.
Faire un essai en introduisant sur le nouveau NIP, puis
appuyer sur ENTER. La porte devrait bouger.
Pour définir un NIP temporaire
Vous pouvez autoriser l’accès aux visiteurs ou aux
techniciens de service à l’aide d’un NIP temporaire à 4
chiffres. Après un nombre programmé d’heures ou un
nombre programmé d’utilisations, ce NIP temporaire vient
à expiration et n’ouvre plus la porte. On peut l’utiliser pour
fermer la porte une fois qu’il a expiré. Pour définir un NIP
temporaire :
1. Appuyer sur les quatre boutons correspondant à son
NIP d’entrée personnelle (non le dernier NIP
temporaire), puis enfoncer et tenir le bouton ✽.
L’éclairage de l’ouvre-porte clignotera trois fois.
Relâcher le bouton.
2. Introduire le NIP temporaire à 4 chiffres choisi, puis
appuyer sur ENTER.
L’éclairage de l’ouvre-porte clignotera quatre fois.
3. Pour définir le nombre d’heures de validité de ce NIP
temporaire, appuyer sur le nombre d’heures
(jusqu’à 255), puis appuyer sur ✽.
OU
3. Pour définir le nombre de fois de validité de ce NIP
temporaire, appuyer sur le nombre de fois (jusqu’à 255),
puis appuyer sur #.
L’éclairage de l’ouvre-porte clignotera une fois lorsque ce
NIP temporaire aura été appris.
Faire un essai en entrant les quatre chiffres correspondant
à ce NIP temporaire, puis appuyer sur ENTER. La porte
devrait bouger. Si le NIP temporaire a été défini pour un
certain nombre d’ouvertures, ne pas oublier que le test a
utilisé une ouverture. Pour effacer le mot de passe
temporaire, répéter les étapes 1 à 3, en définissant le
nombre d’heures ou de fois à 0 lors de l’étape 3.
— — — — — — — —
LOCK
LIGHT
LOCK LIGHT
LOCK LIGHT
LOCK LIGHT

7
10
11
6
5
NOTICE
UP
CEILING MOUNT ONLY
8
1
4
2
3
9
12
LOCKLIGHT
2
1
5
6
3
7
8
4
33
RÉF. No DE
PIÉCE DÉSIGNATION
1 4A1008 Maillon de raccord
2 41A5424 Support de poulie de
courroie
3 41B3869-1 Chariot complet
4 109B33 Pince de chariot
5 183B99 Rail rigide
6 41A5434-11 Courroie complète
7 41B4103 Ensamble de tension
8 83A11-2 Graisse à rail
PIÈCES DE RECHANGE
RÉF. No DE
PIÉCE DÉSIGNATION
1 98LMC Commande murale de détection de
mouvement
2 973LMC Télécommande à 3 - Bouton
3 10A20 Pile au lithium 3V2032
4 29B137 Agrafe de pare-soleil de la l’émetteur
5 41A2828 Poignée et corde de dégagement
manuel
6 41B4494-1 Fil de sonnerie à deux conducteurs
blanc et blanc/rouge
7 41A5047-1 Support de porte avec axe de
chape et fixation
8 41A4353-1 Support de linteau avec axe de chape
et fixation
9 41A5034 Nécessaire de détecteur de sécurité
(cellules de réception et de
transmission) avec fil de sonnerie à 2
conducteurs de 3 pi
10 178B34 Biellette droite
11 178B35 Biellette courbée
12 41A5266-1 Supports de détecteur de sécurité (2)
NON ILLUSTRÉS
41A2770-5 Sachet des fixations de pose
(comprend les fixations à la page 5)
114A2934 Manuel d’instructions
Pièces pour la pose
Pièces d’assemblage du rail

Pièces d’assemblage du moteur
34
2
3
4
5
6
7
8
9
10
11
12
1
RÉF. N° DE
PIÈCE DÉSIGNATION
1 41C76 Capuchon de retenue
de la courroie
2 41B4245-1 Cordon électrique
3 41B4375-3 Bornier avec vis
4 41C5317-1 Faisceau électrique avec prise
(logique)
41C5839 Harnais de fils haute tension
41B5806-1 DC moteur faisceau électrique
avec prise
41C5418 Douille d’ampoule harnais
5 41D605-1 Moteur 80kg/100kg
RÉF. N° DE
PIÈCE DÉSIGNATION
6 41A5507-6 Plaque logique du récepteur
avec panneau d’extrémité
41D182-1 Panneau d’extrémité seulement
7 41B5351-7 Module électrique
8 41C168 Transformateur avec harnais
9 41D630-2 Support de: douille d’ampoule,
d’interrupteur de fin de course
10 41A5490-10 Couvercle
11 175C147 Douille d’ampoule
12 108D78 Diffuseur

LOCK LIGHT
CLOSED
OPEN
35
ACCESSOIRES
41A5281 Supports de rallonge :
(Facultatif) Pour la pose du capteur de
sécurité au mur ou au sol.
1702LMC
976LMC
Détachement rapide d'extérieur :
Nécessaire pour un garage SANS
porte d'accès. Permet au propriétaire
d'ouvrir la porte de garage
manuellement à partir de l'extérieur en
déconnectant le chariot.
Rail complet de 10 pieds :
Pour permettre à une porte de
10 pieds de s'ouvrir complètement.
Rail complet de 8 pieds :
Pour permettre à une porte de 8 pieds
de s'ouvrir complètement.
974LMC
970LMC
Télécommande à 4 - Bouton
SECURITY✚®:
Comprend agrafe de pare-soleil.
Ouvre-porte sans fil et sans clé
avec Security✚®:
Permet d'ouvrir la porte de l’extérieur
en entrant un code sur le clavier de
conception spéciale. Peut également
ajouter un code temporaire pour les
visiteurs ou les préposés au service.
Ce code programmable peut être
limité à un nombre programmable
d’heures ou d’entrées.
Mini-télécommande à 3 - Bouton
SECURITY✚®:
Avec porte-clé.
902LMC/903LMC
Système de détection d’ouverture de
porte de garage :
Permet de surveiller la plus grande porte
de votre domicile! Indique si la porte du
garage est ouverte ou fermée. Peut
surveiller jusqu’à 4 portes de garage
avec des moniteurs supplémentaires.
915LMC
Moniteur de porte de garage :
Moniteur supplémentaire pour les
domiciles qui comptent plusieurs portes
de garage.
916LMC
Batterie de secours EverCharge™ :
Système d’alimentation de secours pour
l’ouvre-porte de garage, modèle 2500DC.
475LMC
973LMC Télécommande à 3 - Bouton
SECURITY✚®:
Comprend agrafe de pare-soleil.
Commande murale multifonction
pour 2 et 3 portes :
Idéal pour les domiciles qui comptent
jusqu’à trois portes. Trois postes de
commande logés dans un même
panneau pour garder une apparence
propre et dégagée. Fonction de
verrouillage qui empêche
l’actionnement de la porte à l’aide
d’une télécommande et commande
d’éclairage.
2778BDC
2770BDC
98LMC Panneau de commande de porte avec
détection de mouvement :
Commande de porte multifonction avec
détecteur de mouvement qui allume
automatiquement l’éclairage de
l’ouvre-porte pendant 5 minutes lorsqu’il
détecte une personne pénétrant dans le
garage. Le capteur peut facilement être
inhibé si désiré.
995LMC Commande d’éclairage :
Permet d’allumer une lampe, un
téléviseur ou un autre appareil à
partir de la voiture avec l’ouvre-porte
ou à partir de n’importe où dans la
maison avec une autre
télécommande LiftMaster Security✚®.
Télécommande noyer à 3 - Bouton
SECURITY✚®:
Comprend agrafe de pare-soleil.
973WC

© 2004, THE CHAMBERLAIN GROUP
114A2934B All Rights Reserved Printed in Mexico
SERVICE LIFTMASTER À
VOTRE DISPOSITION
NOTRE IMPORTANT ORGANISATION DE SERVICE
APRÈS-VENTE COUVRE TOUTE LES ÉTATS-UNIS E
LE CANADA.
SEPT JOURS PAR SEMAINE, VOUS POUVEZ
OBTENIR PAR TÉLÉPHONE DES INFORMATION SUR
L'INSTALLATION ET LE SERVICE APRÈS-VENTE :
1-800-654-4736
HEURES: (heure standarde centrale)
6 à 19 heures, du lundi au vendredi
8 à 18 heures, le samedi
8 heures à 16 heures de l’après-midi - le dimanche
www.liftmaster.com
Pour une installation, des pièces et un service
professionnels, communiquez avec votre dépositaire
local CHAMBERLAIN/LIFTMASTER. Recherchez son
numéro dans les pages jaunes ou appelez notre
numéro de service. Vous obtiendrez la liste des
concessionnaires de votre région.
COMMENT COMMANDER
DES PIÈCES DE RECHANGE
Les prix de vente seront fournis sur demande, ou bien
les pièces seront expédiées au prix en vigueur et vous
seront facturées en conséquence.
LORSQUE VOUS COMMANDEZ DES PIÈCES DE
RECHANGE, DONNEZ TOUJOURS LES
RENSEIGNEMENTS SUIVANTS :
• NUMÉRO DE LA PIÈCE
• NOM DE LA PIÈCE
• NUMÉRO DE MODÈLE
PASSEZ VOS COMMANDES À :
THE CHAMBERLAIN GROUP, INC.
Technical Support Group
6020 S. Country Club Road
Tucson, Arizona 85706
NOTRE NUMÉRO DE SERVICE:
1-800-654-4736
GARANTIE LIMITÉE DE 5 ANS SUR L'OUVRE-PORTE DE GARAGE LIFTMASTER
GARANTIE LIMITÉE À VIE SUR LE MOTEUR ET COURROIE
La société Chamberlain Group Inc. (« le Vendeur ») garantit à l’acheteur au détail initial de ce produit dans la résidence duquel ce
produit est originalement installé, que le produit est exempt de tout défaut de matière ou vice de fabrication pour une période de 5 ans
à compter de la date d’achat et que le moteur est exempt de défaut de matière et/ou vice de fabrication pour le vie de produit. Pour
que ce produit fonctionne correctement, il faut se conformer aux instructions relatives à l’installation, à l’opération, à la maintenance et
aux tests. Le non-respect de ces instructions invalide totalement la présente garantie.
Si, au cours de la période de garantie limitée, ce produit semble contenir un défaut couvert par la présente garantie limitée, appeler le
1 800 654-4736, sans frais, avant de démonter le produit. Envoyer ensuite le produit, en port payé et assuré, à notre centre de service
pour que la réparation soit couverte par la garantie. On vous indiquera les directives d’expédition lorsque vous appellerez. Une brève
description du problème et un reçu daté prouvant l’achat devront être joints à tout produit retourné pour une réparation sous garantie.
Lorsque le Vendeur aura reçu les produits qui lui sont retournés pour réparation, s’il s’avère que les produits étaient effectivement
défectueux et couverts par la présente garantie limitée, ils seront réparés ou remplacés (à la seule discrétion du Vendeur) sans frais
pour l’acheteur, puis retournés en port payé. Les pièces défectueuses seront réparées ou remplacées par de nouvelles pièces ou des
pièces remises à neuf en usine, à la seule discrétion du Vendeur.
LA PRÉSENTE GARANTIE LIMITÉE REMPLACE TOUTE AUTRE GARANTIE, EXPRESSE OU IMPLICITE, NOTAMMENT TOUTE
GARANTIE IMPLICITE DE QUALITÉ MARCHANDE OU D’ADAPTATION À UN BUT PARTICULIER, OU AUTRE, ET TOUTE
AUTRE OBLIGATION OU RESPONSABILITÉ DE LA PART DU VENDEUR. LA PRÉSENTE GARANTIE LIMITÉE NE COUVRE PAS
LES DOMMAGES QUI NE SONT PAS DUS À UN DÉFAUT, CEUX CAUSÉS PAR UNE MAUVAISE INSTALLATION, UNE
OPÉRATION OU UN ENTRETIEN INADÉQUATS (INCLUANT, NOTAMMENT, LES AVARIES DUES À UN MAUVAIS TRAITEMENT,
UN USAGE NON APPROPRIÉ, L’ABSENCE D’ENTRETIEN RAISONNABLE ET NÉCESSAIRE, DES RÉPARATIONS NON
AUTORISÉES OU TOUTE MODIFICATION À CE PRODUIT), LES FRAIS DE MAIN-D’ŒUVRE POUR LA RÉINSTALLATION D’UNE
UNITÉ RÉPARÉE OU REMPLACÉE, LE REMPLACEMENT DES PILES ET DES AMPOULES OU DES UNITÉS INSTALLÉES POUR
UNE UTILISATION NON RÉSIDENTIELLE.
LA PRÉSENTE GARANTIE LIMITÉE NE COUVRE PAS LES PROBLÈMES RELATIFS OU CONNEXES À LA PORTE DU GARAGE
OU À LA QUINCAILLERIE DE LA PORTE DU GARAGE, NOTAMMENT LES RESSORTS DE LA PORTE, LES GALETS DE PORTE,
L’ALIGNEMENT DE LA PORTE OU LES CHARNIÈRES. DES FRAIS POURRAIENT ÊTRE IMPUTÉS À L’ACHETEUR POUR
TOUTE RÉPARATION RÉSULTANT D’UN PROBLÈME CAUSÉ PAR L’UN DE CES ARTICLES.
LE VENDEUR NE SERA EN AUCUN CAS TENU RESPONSABLE DES DOMMAGES SPÉCIAUX OU INDIRECTS RÉSULTANT DE
L’UTILISATION OU DE L’IMPOSSIBILITÉ D’UTILISER CE PRODUIT. EN AUCUN CAS LA RESPONSABILITÉ DU VENDEUR
POUR L’INOBSERVATION DE GARANTIE, LA RUPTURE DE CONTRAT, LA NÉGLIGENCE OU LA RESPONSABILITÉ
OBJECTIVE NE POURRA EXCÉDER LE COÛT DU PRODUIT GARANTI AUX PRÉSENTES. NUL N’EST AUTORISÉ À ASSUMER
POUR NOUS D’AUTRES RESPONSABILITÉS RELATIVEMENT À LA VENTE DE CE PRODUIT.
Certaines provinces n’acceptant pas l’exclusion ou les restrictions relatives aux dommages spéciaux ou indirects, les restrictions ou
exclusions figurant dans la présente garantie pourraient ne pas s’appliquer. La présente garantie limitée accorde certains droits légaux
spécifiques à l’acheteur et il se peut qu’il ait d’autres droits qui varient d’une province à l’autre.