Chamberlain 3112E Fs2 Owners Manual 114A2680
2014-12-12
: Chamberlain Chamberlain-3112E-Fs2-Owners-Manual-119451 chamberlain-3112e-fs2-owners-manual-119451 chamberlain pdf
Open the PDF directly: View PDF
.
Page Count: 80
- ENGLISH OWNER'S MANUAL
- TABLE OF CONTENTS
- INTRODUCTION
- ASSEMBLY
- ASSEMBLY STEP 1 - For sectional and one-piece doors only - Assemble the T-rail and attach the chain pulley bracket
- ASSEMBLY STEP 1 - For sliding and swinging gates only - Assemble the T-rail and attach the chain pulley bracket
- ASSEMBLY STEP 2 - For sectional and one-piece doors only - Install the trolley
- ASSEMBLY STEP 2 - For sliding and swing gates only - Install the trolley
- ASSEMBLY STEP 3 - Fasten the T-rail to the motor unit
- ASSEMBLY STEP 4 - For sectional and one-piece doors only - Install the chain and attach the sprocket cover
- ASSEMBLY STEP 4 - For sliding and swinging gates only - Install the chain and attach the sproket cover
- ASSEMBLY STEP 5 - Tighten the chain
- INSTALLATION
- INSTALLATION STEP 1 - Determine the header bracket location
- INSTALLATION STEP 2 - Install the header bracket
- INSTALLATION STEP 3 - Attach the T-rail to the header bracket
- INSTALLATION STEP 4 - Position the opener
- INSTALLATION STEP 5 - Hang the opener
- INSTALLATION STEP 6 - Install the door control
- INSTALLATION STEO 7 - Install the lights
- INSTALLATION STEP 8 - Attach the emergency release rope and handle
- INSTALLATION STEP 9 - Electrical requirements
- INSTALLATION STEP 10 - Fasten the door bracket
- INSTALLATION STEP 11 - Connect door arm to trolley
- ADJUSTMENT
- OPERATION
- PROGRAMMING
- MOTOR UNIT ASSEMBLY PARTS
- ACCESSORIES
- WARRANTY
- SPANISH

Owner’s Manual
■Please read this manual and the enclosed safety materials carefully!
■Fasten the manual near the garage door after installation.
■Periodic checks of the opener are required to ensure safe operation.
■The model number label is located on the front panel of your opener.
GARAGE DOOR OPENER
Models 3112E FS2 • 3122E FS2
For Residential Use Only

2
Introduction Pages 2-8
Safety symbol and signal word review........................2
Preparing your garage door ........................................3
Tools needed...............................................................3
Planning ..................................................................4-6
Carton inventory..........................................................7
Hardware inventory .....................................................8
Assembly Pages 9-15
Assemble T-rail & attach the pulley bracket...........9-10
Install the trolley.........................................................11
Fasten the T-rail to the motor unit.............................12
Install the chain/cable and chain spreader ..........13-14
Tighten the chain and cable......................................15
Installation Pages 15-28
Installation safety instructions ...................................15
Determine the header bracket location................16-17
Install the header bracket..........................................18
Attach the T-rail to the header bracket......................19
Position the opener ...................................................20
Hang the opener .......................................................21
Install the door control...............................................22
Install the light ...........................................................23
Attach the emergency release rope and handle .......23
Electrical requirements..............................................24
Fasten the door bracket.......................................25-26
Connect the door arm to the trolley .....................27-28
Adjustment Pages 29-31
Adjust the travel limits ...............................................29
Adjust the force .........................................................30
Test the safety reversal system.................................31
Operation Pages 32-35
Operation safety instructions ....................................32
Using your garage door opener ................................32
Using the wall-mounted door control ........................33
To open the door manually .......................................33
Care of your garage door opener .............................34
Having a problem?...............................................34-35
Programming Pages 36-37
To add or reprogram a hand-held remote control .....36
To erase all codes .....................................................36
Multi-function remotes...............................................36
To add, reprogram or change a Keyless Entry PIN ..37
Repair Parts 38
Accessories 39
Service Numbers 40
Warranty 40
TABLE OF CONTENTS
When you see these Safety Symbols and Signal
Words on the following pages, they will alert you to
the possibility of serious injury or death if you do
not comply with the warnings that accompany them.
The hazard may come from something mechanical
or from electric shock. Read the warnings carefully.
When you see this Signal Word on the following
pages, it will alert you to the possibility of damage to
your garage door and/or the garage door opener if
you do not comply with the cautionary statements
that accompany it. Read them carefully.
Mechanical
Electrical
WARNING
CAUTION WARNING
WARNING
WARNING
CAUTION WARNING
WARNING
WARNING
CAUTION
WARNING
WARNING
INTRODUCTION
Safety Symbol
and Signal Word Review
This garage door opener has been designed and tested to offer safe service provided it is installed, operated,
maintained and tested in strict accordance with the instructions and warnings contained in this manual.

3
Pliers
Wire Cutters
Claw Hammer
Hack Saw
Screwdriver
Adjustable End WrenchLocking pliers
Sockets and Wrench
1/2", 5/8", 7/16", 9/16"
and 1/4"
Drill
Tape Measure
2
1
Stepladder
Pencil
Drill Bits
3/16", 5/16"
and 5/32"
Carpenter's
Level (optional)
To prevent damage to garage door and opener:
• ALWAYS disable locks before installing and operating
the opener.
• ONLY operate garage door opener at 120V, 60 Hz to
avoid malfunction and damage.
To prevent possible SERIOUS INJURY or DEATH:
• ALWAYS call a trained door systems technician if
garage door binds, sticks, or is out of balance. An
unbalanced garage door may not reverse when
required.
• NEVER try to loosen, move or adjust garage door, door
springs, cables, pulleys, brackets or their hardware, all
of which are under EXTREME tension.
• Disable ALL locks and remove ALL ropes connected to
garage door BEFORE installing and operating garage
door opener to avoid entanglement.
Preparing your garage door
Before you begin:
• Disable locks.
• Remove any ropes connected to garage door.
•Complete the following test to make sure your
garage door is balanced and is not sticking or
binding:
1. Lift the door about halfway as shown. Release
the door. If balanced, it should stay in place,
supported entirely by its springs.
2. Raise and lower the door to see if there is any
binding or sticking.
If your door binds, sticks, or is out of balance, call a
trained door systems technician.
Tools needed
During assembly, installation and adjustment of the
opener, instructions will call for hand tools as
illustrated below.
WARNING
CAUTION WARNING
WARNING
WARNING
CAUTION
WARNING
WARNING
Sectional Door
One-Piece Door

Safety Reversing Sensor
Support bracket &
fastening hardware
is required.
See page 21.
— — — — — — — —
Header Wall
FINISHED CEILING
Torsion
Spring
Extension
Spring
OR
Safety Reversing Sensor
Gap between floor
and bottom of door
must not exceed 6 mm.
Access
Door
Wall-
mounted
Door
Control
Horizontal and vertical reinforcement
is needed for lightweight garage doors
(fiberglass, steel, aluminum, door with
glass panels, etc.). See page 25 for details.
Motor unit
Slack in chain tension
is normal when
garage door is closed
(Optional Accessory)
(Optional Accessory)
Vertical
Centerline of
Garage Door
4
SECTIONAL DOOR INSTALLATION
Planning
Identify the type and height of your garage door.
Survey your garage area to see if any of the
conditions below apply to your installation. Additional
materials may be required. You may find it helpful to
refer back to this page and the accompanying
illustrations as you proceed with the installation of
your opener.
Depending on your requirements, there are several
installation steps which may call for materials or
hardware not included in the carton.
• Installation Step 1 – Look at the wall or ceiling
above the garage door. The header bracket must
be securely fastened to structural supports.
• Installation Step 5 – Do you have a finished ceiling
in your garage? If so, a support bracket and
additional fastening hardware may be required.
• Do you have an access door in addition to the
garage door? If not, Model 7702CB Outside Quick
Release is required. See Accessories page.
• Look at the garage door where it meets the floor.
Any gap between the floor and the bottom of the
door must not exceed 6 mm. Otherwise, the safety
reversal system may not work properly. See
Adjustment Step 3. Floor or door should be
repaired.
SECTIONAL DOOR INSTALLATIONS
• Do you have a steel, aluminum, fiberglass or glass
panel door? If so, horizontal and vertical reinforce-
ment is required (Installation Step 10).
• The opener should be installed above the center of
the door. If there is a torsion spring or center
bearing plate in the way of the header bracket, it
may be installed within 1.2 m to the left or right of
the door center. See Installation Steps 1 and 10.
Cable Pulley
Bracket
Header
Bracket Trolley
Straight
Door
Arm Emergency
Release
Rope & Handle
Door Bracket
Garage
Door
Curved
Door
Arm
Garage
Door
Spring
Header
Wall
CLOSED POSITION
Rail
Chain

5
Planning (Continued)
ONE-PIECE DOOR INSTALLATIONS
• Generally, a one-piece door does not require
reinforcement. If your door is lightweight, refer to
the information relating to sectional doors in
Installation Step 10.
• Depending on your door’s construction, you may
need additional mounting hardware for the door
bracket (Step 10).
Without a properly working safety reversal system,
persons (particularly small children) could be
SERIOUSLY INJURED or KILLED by a closing garage
door.
• The gap between the bottom of the garage door and
the floor MUST NOT exceed 6mm. Otherwise, the
safety reversal system may not work properly.
• The floor or the garage door MUST be repaired to
eliminate the gap.
WARNING
CAUTION WARNING
WARNING
Safety
Reversing Sensor
(Optional Accessory)
FINISHED CEILING
Support bracket
& fastening
hardware is required.
See page 21.
Slack in Chain Tension
is Normal When
Garage Door is Closed
Safety
Reversing Sensor
(Optional Accessory)
Header
Wall
Access
Door
Gap between floor and bottom
of door must not exceed 6 mm.
Wall-mounted
Door
Control
Motor Unit
ONE-PIECE DOOR WITHOUT TRACK
CLOSED POSITION
Access
Door
Gap between floor
and bottom of door
must not exceed 6 mm.
Safety Reversing
Sensor
(Optional Accessory)
Wall-
Mounted
Door
Control
Cable
Pulley Bracket
Door
Bracket
Straight
Door
Arm
Trolley
Header
Wall
Rail
Garage
Door
Emergency Release
Rope & Handle
Chain
Header
Bracket
Curved
Door Arm
Safety Reversing
Sensor
(Optional Accessory)
ONE-PIECE DOOR WITH TRACK
CLOSED POSITION
Cable
Pulley Bracket
Header
Bracket
Trolley
Straight
Door
Arm
Emergency
Release
Rope & Handle
Door
Bracket
Curved
Door
Arm
Header
Wall
Cable
Rail
Garage
Door

6
Safety Reversing Sensor
(Optional Accessory)
Safety Reversing Sensor
(Optional Accessory)
Header Wall
Safety Reversing Sensor
(Optional Accessory)
Safety Reversing Sensor
(Optional Accessory)
SLIDING GATE INSTALLATION
SWINGING GATE INSTALLATION
Planning (Continued)
GATE INSTALLATIONS
• It is recommended that you attach fine mesh or
screening across the inside of swinging or sliding
gates in order to prevent intruders from reaching
through the bars and releasing the trolley from the
door arm or pressing the door control button.
• The opener must be protected from rain and/or
moisture.
Without a properly working safety reversal system,
persons (particularly small children) could be
SERIOUSLY INJURED or KILLED by a closing gate.
• Activate gate ONLY when the gate is in full view and
free from any obstructions.
• ALWAYS keep gate in sight until completely closed.
NEVER permit anyone to cross the path of the moving
gate.
• ALWAYS keep gate in good repair and make sure it
moves freely. An improperly maintained gate may not
reverse when required and could result in SEVERE
PERSONAL INJURY or DEATH.
WARNING
CAUTION WARNING
WARNING

7
41B2616
Cable Pulley
Bracket
41B4494-1
2-Conductor Bell Wire
White & White/Red
41A3489
Trolley
41A4353
Header Bracket
178B35
Curved Door
Arm Section
178B34
Straight Door
Arm Section
Safety Labels
and
Literature
12B350
Hanging Brackets
UP
CEILING MOUNT ONLY
41A5047
Door Bracket
950-315CB
SECURITY✚®
Single-Button
Remote Control
956-315CB
SECURITY✚®
3-Button
Remote Control
41A5577-1
Lighted Door
Control Button
41A3473-2
Chain/Cable
Dispensing Carton
Model 3122
31D380
Sprocket
Cover
Rail Brace
Rail Brace
Rail
Center Section
183B111 (each)
Rail
End Section
(each) 183B113
Rail
End Section
183B113 (each)
Motor Unit and Light Lens
Model 3112 (1)
3122 (2)
Model 3112 (1)
41A4208
Chain Spreader & Screws
Model 3112E Only
Your garage door opener is packaged in one carton
which contains the motor unit and the parts illustrated
below. Note that accessories will depend on the
model purchased. If anything is missing, carefully
check the packing material.
Parts may be stuck in the foam. Hardware for
assembly and installation is shown on the next page.
Save the carton and packing material until installation
and adjustment is complete.
Carton Inventory

Hardware Inventory
Separate all hardware and group as shown below for the assembly and installation procedures.
8
Hex Bolt
5/16"-18x7/8" (4)
Screw
6ABx1-1/4" (2)
Lock Washer
5/16" (4)
Nut
5/16"-18 (6)
Clevis Pin
5/16"x2-3/4" (1)
NOTICE
Handle Insulated
Staples (10)
Assembly Hardware 41A2848
Installation Hardware 41A3475-18
Drywall Anchors (2)
Rope
Lock Nut
1/4"-20x1/2" (12)
Nut
5/16"-18 (5)
Washered Bolt
5/16"-18x1/2" (2)
(mounted in opener)
Carriage Bolt
5/16"-18x2-1/2" (2)
Carriage Bolt
1/4"-20x1/2" (12)
Hex Bolt
5/16"-18x7/8" (3) Master Link (2)
Ring Fastener (3)
Trolley
Threaded Shaft (1)
Lock Washer
5/16" (6)
Lag Screw
5/16"-9x1-5/8" (2)
Lag Screw
5/16"-18x1-7/8" (2)
Clevis Pin
5/16"x1" (1)
Clevis Pin
5/16"x1-1/4" (1)

RAIL BACK
(TO MOTOR UNIT)
RAIL FRONT
(TO DOOR)
Cable pulley bracket
attaches to FRONT
END of rail
Rail
(End Section)
Rail
(Center Section)
Carriage Bolt
1/4"-20x1/2"
Rail
(End Section)
Square Carriage
Bolt Hole
1/4" Lock Nut
Hex Bolts
5/16"-18x7/8"
Cable Pulley
Bracket
Bracket & Rail Must Be Aligned
Lock Washer
5/16"
Nut
5/16"-18
9
ASSEMBLY STEP 1
For Sectional and
One-Piece Doors ONLY
Assemble the T-Rail and
Attach the Cable Pulley Bracket
To avoid installation difficulties, do not run the
garage door opener until instructed to do so.
1. Align the four T-rail sections on a flat
surface exactly as shown. Center
sections are interchangeable. Front
and back sections are also
interchangeable for ease of assembly.
2. Insert the carriage bolts so the square
bolt necks seat in the square holes in
the T-rail sections and pass through
the round holes in the rail braces.
Assemble lock nuts, ensure alignment
and tighten.
NOTE: If T-rail is not assembled
exactly as shown, trolley will not travel smoothly
along length of rail or it will hit against nuts.
3. Position the cable pulley bracket on the front end
of the T-rail as shown. Fasten securely with the
hardware provided.
NOTE: When tightening the bolts be sure to keep
bracket parallel to the rail. Otherwise, the rail may
bow when the opener is operated.
Lock Nut
1/4"-20
Carriage Bolts
1/4"-20x1/2"
Hex Bolt
5/16"-18x7/8"
Nut
5/16"-18 Lock Washer
5/16"
HARDWARE
SHOWN ACTUAL SIZE

AWAY FROM
OPENER
Rail connects to
opener at this end.
Rail
(End Section)
Carriage Bolt
1/4"-20x1/2"
Rail
(End Section)
Square Carriage
Bolt Hole
1/4" Lock Nut
Brace
Cable pulley bracket
attaches to this
end of rail.
Rail
(Center Section)
10
ASSEMBLY STEP 1
For Sliding and Swinging Gates ONLY
Assemble the T-Rail and
Attach the Cable Pulley Bracket
To avoid installation difficulties, do
not run the garage door opener until
instructed to do so.
1. Align the four T-rail sections on a flat
surface exactly as shown. Center
sections are interchangeable. Front
and back sections are also
interchangeable for ease of
assembly.
2. Connect the center section and the
1/4" lock nuts to the end sections from
the same side, as shown.
NOTE: If T-rail is not assembled exactly as shown,
trolley will not travel smoothly along length of rail
or it will hit against nuts.
3. Insert the carriage bolts from the opposite side of
the end sections. Tighten the nuts. When
assembled, T-rail has a front-to-back position as
shown.
4. Position the cable pulley bracket on the front end
of the T-rail as shown. Fasten securely with the
hardware provided.
NOTE: When tightening the bolts be sure to keep
bracket parallel to the rail. Otherwise, the rail may
bow when the opener is operated.
Lock Nut
1/4"-20
Carriage Bolts
1/4"-20x1/2"
Hex Bolt
5/16"-18x7/8"
Nut
5/16"-18 Lock Washer
5/16"
HARDWARE
SHOWN ACTUAL SIZE
Hex Bolts
5/16"-18x7/8"
Cable Pulley
Bracket
Rail Bracket & Rail Must Be Aligned
Lock Washer
5/16"
Nut
5/16"

Trolley
Threaded
Shaft
Lock Washer
5/16"
Outer Nut
5/16"-18
Inner Nut
5/16"-18
Trolley
Trolley
Temporary Stop
Screwdriver
11
ASSEMBLY STEP 3
For Sliding and Swinging Gates Only
Install the Trolley
• Attach the trolley threaded shaft to the trolley with
the lock washer and nuts as shown.
• Insert a hex bolt into the hole in the front end of
the T-rail.
• Slide the trolley assembly along the rail until it
rests against the hex bolt (trolley stop).
NOTE: If trolley hits against any nuts on the
T-rail, the bolts and nuts were attached
from the wrong side and must be
repositioned. Review Assembly Step 1.
Trolley
Threaded
Shaft
Lock Washer
5/16"
Outer Nut
5/16"-18
Inner Nut
5/16"-18
Trolley
Hex Bolt
Trolley Stop
Hex Bolt
5/16"-18x7/8"
Nut
5/16"-18
Lock Washer
5/16"
Cable Pulley
Bracket
Nut
5/16" Lockwasher
5/16"-18
Hex Bolt
5/16"-18x7/8"
HARDWARE SHOWN ACTUAL SIZE
ASSEMBLY STEP 2
For Sectional and One-Piece Doors Only
Install the Trolley
• Attach the trolley threaded shaft to the trolley with
the lock washer and nuts as shown.
• As a temporary stop, insert a screwdriver into the
hole in the front end of the T-rail.
• Slide the trolley assembly along the rail to the
screwdriver stop.
NOTE: If trolley hits against any nuts on the
T-rail, the bolts and nuts were attached
from the wrong side and must be
repositioned. Review Assembly Step 1.
Lock Washer
5/16" Nut
5/16"-18
HARDWARE SHOWN ACTUAL SIZE

12
ASSEMBLY STEP 4
Fasten the T-Rail to the Motor Unit
• Place the opener on packing material to protect
the cover. For convenience, put a support under
the cable pulley bracket.
• Remove the two 5/16"-18x1/2" washered bolts
mounted in the top of the motor unit.
• Align the holes in the back section of the T-rail with
the holes in the motor unit.
• Fasten the rail with the two washered bolts
previously removed. Tighten securely. Remember
to use only these bolts! Any other bolts will
cause serious damage to the opener.
• Insert a 5/16"-18x7/8" hex bolt into the cover
protection bolt hole in the T-rail as shown. Tighten
securely with a 5/16" lock washer and nut.
NOTE: This bolt prevents trolley over-travel. Keep a
38 mm minimum between the trolley and this bolt
when adjusting travel limits (see page 29).
MODEL 3122E ONLY:
•Attach chain spreader with #8x1” hex screws
and washers as shown.
Washered Bolt
5/16"-18x1/2"
Rail
(Back
Section)
Cover
Protection
Bolt Hole
Nut
5/16"-18
Hex Bolt
5/16"-18x7/8"
Lock Washer
5/16"
USE ONLY THIS
TYPE AND SIZE
BOLT
Nut
5/16"-18 Lock Washer
5/16"
Hex Bolt
5/16"-18x7/8"
HARDWARE SHOWN ACTUAL SIZE
To avoid serious damage to opener, ONLY use bolts
mounted in top of motor unit.
WARNING
CAUTION
WARNING
WARNING

Cable
Pulley
Cable
Loop
Master
Link Bar
Master Link
Clip-On Spring
Pin
Pin
Notch
Chain
Flat end
of Trolley
Threaded
Shaft
Master Link Cap
Master
Link Cap
Master Link
Clip-On Spring
INSTALL CHAIN & CABLE
IN THIS DIRECTION
ASSEMBLY STEP 5
For Sectional and One-Piece Doors Only
Install the Chain/Cable and Attach
the Sprocket Cover
1. Pull the cable loop from
the carton and fasten it
to the trolley with a
master link from the
hardware bag
(Figure 1).
• Push pins of master
link bar through cable
loop and hole in front end of trolley.
• Push master link cap over pins and past pin
notches.
• Slide clip-on spring over cap and onto pin
notches until both pins are securely locked in
place.
2. With the trolley against the screwdriver, dispense
the cable around the pulley.
3. Model 3112E:
• Continue along the rail and around the motor unit
sprocket (Figure 2). The sprocket teeth must
engage the chain. Continue forward to the trolley
threaded shaft.
Model 3122E:
• Continue along the rail and around the motor unit
sprocket (Figure 2). Proceed back around the
correct groove in the chain spreader (Figure 3).
The sprocket teeth must engage the chain.
4. Use the second master link to connect the chain to
the flat end of the shaft (Figure 1). Check to make
sure the chain is not twisted.
5. Remove the screwdriver.
ATTACHING THE SPROCKET COVER
3112E ONLY
Insert the back tab in the slot on the back of the
mounting plate. Squeeze the cover slightly and insert
the front tab (Figure 4).
13
To avoid possible SERIOUS INJURY to fingers from
moving garage door opener:
• ALWAYS keep hand clear of sprocket while operating
opener.
• Securely attach sprocket cover BEFORE operating.
WARNING
CAUTION WARNING
WARNING
Motor Unit
Sprocket
Install Chain
In This Direction
Chain
Spreader
Figure 2
Figure 1
Leave Chain
& Cable
Inside Carton to
Prevent Kinking
Keep Chain
Taut When Dispensing
6-Tooth
Sprocket
Opener
Mounting Plate
Chain
Spreader
8-Tooth
Sprocket
Opener
Mounting Plate
Chain
Spreader
Figure 3
One-Piece Doors
6-Tooth Sprocket Application (Model 3122E)
Sectional Doors
8-Tooth Sprocket Application (Model 3122E)
(6-tooth sprocket can be used if slower travel speed
is desired.)
Sprocket
Cover
Mounting
Plate
Front Tab Slot
Back Tab Slot
Top of Motor Unit
Figure 4

14
ASSEMBLY STEP 6
For Sliding and Swinging Gates Only
Install the Chain/Cable and Attach
the Sprocket Cover
1. Pull the cable loop from
the carton and fasten it to
the trolley with a master
link from the hardware
bag (Figure 1).
• Push pins of master link
bar through cable loop
and hole in front end of
trolley.
• Push master link cap over pins and past
pin notches.
• Slide clip-on spring over cap and onto pin
notches until both pins are securely locked
in place.
2. To prevent the trolley from jamming against the
opener during operation, position trolley 5 to 15 cm
from the stop hole as shown. Then dispense the
chain around the opener sprocket (Figure 1). Make
sure the sprocket teeth engage the chain.
• Proceed around to the pulley bracket and forward
to the threaded trolley shaft.
3. Use the second master link to connect the chain to
the flat end of the shaft (Figure 1). Check to make
sure the chain is not twisted.
ATTACHING THE SPROCKET COVER
3112E ONLY
Insert the back tab in the slot on the back of the
mounting plate. Squeeze the cover slightly and insert
the front tab.
To avoid possible SERIOUS INJURY to fingers from
moving opener:
• ALWAYS keep hand clear of sprocket while operating
opener.
• Securely attach sprocket cover BEFORE operating.
WARNING
CAUTION WARNING
WARNING
Leave Chain
& Cable
Inside Carton to
Prevent Kinking
Keep Chain
Taut When Dispensing
Sprocket
Motor Unit
Back
Tab Slot
Mounting
Plate
Install Chain
in this Direction
Master
Link Pin
Master Link
Clip-On Spring
Master Link
Clip-On Spring
Flat End
of Trolley
Trolley Pin Notch
Flat End of
Threaded Shaft
Master
Link Cap
Rail
Master
Link Cap
Chain
Back Tab
Sprocket
Cover
Chain Link
Trolley Stop
(Hex Bolt)
5-15 cm
Pin Notch
Master
Link
Pin
Cable
Loop
Cable
Figure 1

15
ASSEMBLY STEP 7
Tighten the Chain and Cable
• Spin the inner nut and lock washer down the
trolley threaded shaft, away from the trolley.
• To tighten the chain, turn outer nut in the direction
shown. AS YOU TURN THE NUT, KEEP THE
CHAIN FROM TWISTING.
• When the chain is approximately 13 mm above the
base of the T-rail at its midpoint, re-tighten the
inner nut to secure the adjustment.
Sprocket noise can result if chain is either too
loose or too tight.
NOTE: When installation is complete, you may
notice some chain droop with the door closed. This is
normal. If the chain returns to the position shown
when the door is open, do not re-adjust the chain.
NOTE: During future maintenance, ALWAYS pull the
emergency release handle to disconnect trolley
before adjusting chain.
You have now finished assembling your garage
door opener. Please read the following warnings
before proceeding to the installation section.
Lock
Washer
To Tighten Outer Nut
Inner Nut
Chain
Base of Rail
13 mm
To Tighten
Inner Nut
Outer Nut
IMPORTANT INSTALLATION INSTRUCTIONS
1. READ AND FOLLOW ALL INSTALLATION WARNINGS
AND INSTRUCTIONS.
2. Install garage door opener only on properly balanced
and lubricated garage door. An improperly balanced
door may not reverse when required and could result in
severe injury or death.
3. All repairs to cables, spring assemblies and other
hardware MUST be made by a trained door systems
technician before installing opener.
4. Disable all locks and remove all ropes connected to
garage door before installing opener to avoid
entanglement.
5. Install garage door opener 2.1 m or more above floor.
6. Mount emergency release handle 1.8 m above floor.
7. NEVER connect garage door opener to power source
until instructed to do so.
8. NEVER wear watches, rings or loose clothing while
installing or servicing opener. They could be caught in
garage door or opener mechanisms.
9. Install wall-mounted garage door control:
• within sight of the garage door
• out of reach of children at minimum height of 1.5 m
• away from all moving parts of the door.
10. Place entrapment warning label on wall next to garage
door control.
11. Place manual release/safety reverse test label in plain
view on inside of garage door.
12. Upon completion of installation, test safety reversal
system. Door MUST reverse on contact with a 38 mm
obstruction on the floor.
To reduce the risk of SEVERE INJURY or DEATH:
WARNING
CAUTION
WARNING
WARNING
INSTALLATION

16
INSTALLATION STEP 1
Determine the Header Bracket
Location
Installation procedures vary according to garage door
types. Follow the instructions which apply to your
door.
If your door is a canopy or dual-track style garage
door, a door arm conversion kit is REQUIRED.
Follow the installation instructions included with the
replacement door arm sectional.
SECTIONAL DOOR AND
ONE-PIECE DOOR WITH TRACK
1. Close the door and mark the inside vertical
centerline of the garage door.
2. Extend the line onto the header wall above the
door.
You can fasten the header bracket within 1.2 m
of the left or right of the door center only if a
torsion spring or center bearing plate is in the
way; or you can attach it to the ceiling (see
page 17) when clearance is minimal. (It may be
mounted on the wall upside down if necessary,
to gain approximately 1 cm .)
If you need to install the header bracket on a
38 mm board (on wall or ceiling), use lag screws
(not provided) to securely fasten the 38 mm board
to structural supports as shown here and on
page 17.
3. Open your door to the highest point of travel as
shown. Draw an intersecting horizontal line on the
header wall 5 cm above the high point. This height
will provide travel clearance for the top edge of the
door.
Proceed to Step 2, page 18.
To prevent possible SERIOUS INJURY or DEATH:
• Header bracket MUST be RIGIDLY fastened to
structural support on header wall or ceiling, otherwise
garage door might not reverse when required. DO NOT
install header bracket over drywall.
• Concrete anchors MUST be used if mounting header
bracket or 25 mm board into masonry.
• NEVER try to loosen, move or adjust garage door,
springs, cables, pulleys, brackets, or their hardware, all
of which are under EXTREME tension.
• ALWAYS call a trained door systems technician if
garage door binds, sticks, or is out of balance. An
unbalanced garage door might not reverse when
required.
Finished
Ceiling
Vertical
Centerline
Header
Wall
38 mm
Board Structural
Supports
Vertical
Centerline
of Garage
Door
WARNING
CAUTION WARNING
WARNING
Header
Wall
Ceiling
SECTIONAL DOOR
WITH CURVED TRACK
Track
Highest Point
of Travel
Door
Header
Wall
Door Track
Jamb
Hardware
Highest Point
of Travel
ONE-PIECE DOOR
WITH HORIZONTAL
TRACK & JAMB
HARDWARE
Highest Point
of Travel
Door
Track
Garage
Exterior
Track
Header
Wall
Highest Point
of Travel
Door
Track CANOPY ONE-PIECE
DOOR WITH
VERTICAL TRACK
Header
Wall
ONE-PIECE DOOR
WITH HORIZONTAL &
VERTICAL TRACK

EXAMPLE
Distance from top of door
(at highest point of travel) to floor ..........234 cm
Actual height of door.............................-224 cm
Remainder................................................10 cm
Add.........................................................+20 cm
Bracket height on header wall................=30 cm
(Measure UP from top of CLOSED door.)
Proceed to Step 2, page 18.
17
Header Wall
Vertical
Centerline
of Garage
Door
38 mm Board
Unfinished
Ceiling
38 mm Board
OPTIONAL
CEILING MOUNT
FOR
HEADER BRACKET
Structural
Supports
ONE-PIECE DOOR WITHOUT TRACK
1. Close the door and mark the inside vertical
centerline of your garage door. Extend the line
onto the header wall above door, as shown.
If headroom clearance is minimal, you can install
the header bracket on the ceiling. (See page 18).
If you need to install the header bracket on a
38 mm board (on wall or ceiling), use lag screws
(not provided) to securely fasten the 38 mm board
to structural supports as shown.
2. Open your door to the highest point of travel as
shown. Measure the distance from the top of the
door to the floor. Subtract the actual height of the
door. Add 20 cm to the remainder. (See Example).
3. Close the door and draw an intersecting horizontal
line on the header wall at the determined height.
NOTE: If the total number of centimeters exceeds
the height available in your garage, use the
maximum height possible, or refer to page 18 for
ceiling installation.
Door
Highest Point
of Travel
Header Wall
Pivot
Distance
Floor
One-piece door without track:
pivot hardware
Header Wall
Highest Point
of Travel
Door
Floor
Distance
Jamb
Hardware
One-piece door without track:
jamb hardware

18
INSTALLATION STEP 2
Install the Header Bracket
You can attach the header bracket either to the wall
above the garage door, or to the ceiling. Follow the
instructions which will work best for your particular
requirements. Do not install the header bracket
over drywall. If installing into masonry, use
concrete anchors (not provided).
WALL HEADER BRACKET INSTALLATION
• Center the bracket on the vertical centerline with
the bottom edge of the bracket on the horizontal
line as shown (with the arrow pointing toward the
ceiling).
• Mark the vertical set of bracket holes (do not use
the holes designated for ceiling mount). Drill 5 mm
pilot holes and fasten the bracket securely to a
structural support with the hardware provided.
Lag Screw
5/16"-9x1-5/8"
HARDWARE SHOWN ACTUAL SIZE
Lag Screws
5/16"x9x1-5/8"
Highest Point of
Garage Door Travel
Vertical
Centerline of
Garage Door
Header
Wall
Garage
Door
UP
CEILING MOUNT ONLY
Wall Mounting Holes
Optional
Wall Mounting Holes
The nail hole is for
positioning only.
You must use lag screws
to mount the header bracket.
UP
CEILING MOUNT ONLY
Door Spring
Header
Bracket
38 mm
Board
Vertical Centerline
of Garage Door
UP
CEILING MOUNT ONLY
Ceiling Mounting Holes
The nail hole is for
positioning only.
You must use lag screws
to mount the header bracket.
UP
Lag Screws
5/16"x9x1-5/8"
Garage Door
Vertical Centerline
of Garage Door
Header Wall
– Finished Ceiling –
Header
Bracket
15 cm Maximum
Vertical
Centerline of
Garage Door
Door
Spring
CEILING HEADER BRACKET INSTALLATION
• Extend the vertical centerline onto the ceiling as
shown.
• Center the bracket on the vertical mark, no more
than 15 cm from the wall. Make sure the arrow is
pointing toward the wall. The bracket can be
mounted flush against the ceiling when clearance
is minimal.
• Mark the side holes. Drill 5 mm pilot holes and
fasten bracket securely to a structural support with
the hardware provided.

Clevis Pin
5/16"x2-3/4" Ring Fastener
HARDWARE SHOWN ACTUAL SIZE
Header
Bracket
Temporary
Support
Header Wall
Garage
Door
Rail
Chain
Pulley
Bracket
Clevis Pin
5/16"x2-3/4 "
Ring Fastener
Header Bracket
Chain
Pulley
Bracket
Rail
19
INSTALLATION STEP 3
Attach the T-Rail to the Header
Bracket
• Position the opener on the garage floor below the
header bracket. Use packing material as a
protective base.
NOTE: If the door spring is in the way you’ll need
help. Have someone hold the opener securely on
a temporary support to allow the rail to clear the
spring.
• Position the rail bracket against the header
bracket.
• Align the bracket holes and join with a clevis pin
as shown.
• Insert a ring fastener to secure.

20
ONE-PIECE DOOR WITHOUT TRACK
• With the door fully open and parallel to the floor,
measure the distance from the floor to the top of
the door.
• Using a stepladder as a support, raise the top of
the opener to this height.
• The top of the door should be level with the top of
the motor unit. Do not position the opener more
than 5 cm above this point.
INSTALLATION STEP 4
Position the Opener
Follow instructions which apply to your door type as
illustrated.
SECTIONAL DOOR OR ONE-PIECE DOOR WITH
TRACK
A 38 mm board is convenient for setting an ideal
door-to-T-rail distance.
• Raise the opener onto a stepladder. You will need
help at this point if the ladder is not tall enough.
• Open the door all the way and place a 38 mm
board on the top section beneath the T-rail.
• If the top section or panel hits the trolley when you
raise the door, pull down on the trolley release arm
to disconnect inner and outer sections. Slide the
outer trolley toward the motor unit. The trolley can
remain disconnected until Installation Step 11
is completed.
Rail
38 mm
Board
Door
Header
Bracket
Trolley
Release Arm
ENGAGED RELEASED
To prevent damage to garage door, rest garage door
opener rail on 38 mm board placed on top section of
door.
WARNING
CAUTION
WARNING
WARNING
Top of Motor Unit
Header
Bracket
Top of Door

Hex Bolt
5/16"-18x7/8" Nut 5/16"-18 Lock Washer 5/16"
Lag Screw
5/16"-18x1-7/8"
21
INSTALLATION STEP 5
Hang the Opener
Two representative installations are shown. Yours
may be different. Hanging brackets should be angled
(Figure 1) to provide rigid support. On finished
ceilings (Figure 2), attach a sturdy metal bracket to
structural supports before installing the opener. This
bracket and fastening hardware are not provided.
1. Measure the distance from each side of the motor
unit to the structural support.
2. Cut both pieces of the hanging bracket to required
lengths.
3. Drill 5 mm pilot holes in the structural supports.
4. Attach one end of each bracket to a support with
5/16"-18x1-7/8" lag screws.
5. Fasten the opener to the hanging brackets with
5/16"-18x7/8" hex bolts, lock washers and nuts.
6. Check to make sure the T-rail is centered over the
door (or in line with the header bracket if the
bracket is not centered above the door).
7. Remove the 38 mm board. Operate the door
manually. If the door hits the rail, raise the header
bracket.
8. Grease the top and underside of the rail surface
where the trolley slides with rail grease.
To avoid possible SERIOUS INJURY from a falling
garage door opener, fasten it SECURELY to structural
supports of the garage. Concrete anchors MUST be used
if installing any brackets into masonry.
Measure
Distance
Lag Screws
5/16"-18x1-7/8"
Structural
Supports
Bracket
(Not Provided)
Lag Screws
5/16"-18x1-7/8"
— FINISHED CEILING —
Hidden
Support
Bolt 5/16"-18x7/8"
Lock Washer 5/16"
Nut 5/16"-18
Bolt 5/16"-18x7/8"
Lock Washer 5/16"
Nut 5/16"-18
(Not Provided)
Bolt 5/16"-18x7/8"
Lock Washer 5/16"
Nut 5/16"-18
Figure 1
Figure 2
WARNING
CAUTION WARNING
WARNING
HARDWARE SHOWN ACTUAL SIZE
13 mm Socket Wrench

22
To prevent possible SERIOUS INJURY or DEATH from
electrocution:
• Be sure power is not connected BEFORE installing door
control.
• Connect ONLY to 24 VOLT low voltage wires.
To prevent possible SERIOUS INJURY or DEATH from a
closing garage door:
• Install door control within sight of garage door, out of
reach of children at a minimum height of 1.5 m, and away
from all moving parts of door.
• NEVER permit children to operate or play with door control
push buttons or remote control transmitters.
• Activate door ONLY when it can be seen clearly, is properly
adjusted, and there are no obstructions to door travel.
• ALWAYS keep garage door in sight until completely closed.
NEVER permit anyone to cross path of closing garage door.
WARNING
CAUTION
WARNING
WARNING
6ABx1-1/2" Screw
Lighted Door Control Button
Drywall
Anchors
Insulated
Staples
HARDWARE SHOWN ACTUAL SIZE
Bell Wire
Back Panel
Antenna
Lighted Door
Control Button
Terminal Screws
Bell Wire
WHT
RED
-2
-1
Lighted
Door Control Button
KG
1
3
9
7
5
KG
1
3
9
7
5
INSTALLATION STEP 6
Install the Door Control
Locate the door control within sight of the door at a
minimum height of 1.5 m where small children
cannot reach, and away from all moving parts of the
door and door hardware.
1. Strip 11 mm of insulation from one end of the bell
wire. Connect it to the two screw terminals on the
back of the door control by color: white wire to 2
and white/red wire to 1.
2. Remove the cover from the Lighted Door Control.
Fasten the Lighted Door Control Button securely
with 6ABx1-1/2" screws. If installing into drywall,
drill 5/32" holes and use the anchors provided.
3. Run the bell wire up the wall and across the
ceiling to the motor unit. Use insulated staples to
secure the wire in several places. Do not to pierce
the wire with a staple, creating a short or open
circuit.
4. Receiver quick-connect terminals and the antenna
are located on the back panel of the motor unit.
Position the antenna wire as shown.
5. Strip 11 mm of insulation from end of bell wire.
Connect the bell wire to the quick-connect
terminals as follows: white to white and white/red
to red.
NOTE: When connecting multiple door controls to
the opener, twist same color wires together. Insert
wires into quick-connect holes: white to white and
red/white to red.
6. Use tacks or staples to permanently attach the
entrapment warning label to the wall near the door
control, and the manual release/safety reverse
label in a prominent location on the inside of the
garage door.
WIRING INSTRUCTIONS FOR ACCESSORIES
The Protector System™: To opener terminals: White
to White and Black to Grey.
Outside Keylock Accessory connections: To opener
terminals: Red/white to Red and White to White.
To release wire, push in tab
with screwdriver tip
Door Control
Connections
Red Grey
White
Strip wire 11 mm
7/16" (11 mm)
Quick-Connect Terminals

23
INSTALLATION STEP 7
Install the Light
• Press the release tabs on both sides of lens. Gently
rotate lens back and downward until the lens hinge
is in the fully open position. Do not remove the
lens.
• Install up to a 100 watt maximum light bulb in the
socket. The light will turn ON and remain lit for
approximately 4-1/2 minutes when power is
connected. Then the light will turn OFF.
• Reverse the procedure to close the lens.
• If the bulb burns out prematurely due to vibration,
replace with a Garage Door Opener bulb.
NOTE: Use only standard light bulbs. The use of
short neck or speciality light bulbs may overheat the
endpanel or light socket.
INSTALLATION STEP 8
Attach the Emergency Release
Rope and Handle
• Thread one end of the rope through the hole in the
top of the red handle so "NOTICE" reads right side
up as shown. Secure with an overhand knot at
least 38 mm from the end of the rope to prevent
slipping.
• Thread the other end of the rope through the hole
in the release arm of the outer trolley.
• Adjust rope length so the handle is 1.8 m above
the floor. Secure with an overhand knot.
•Optional installation: As an added security option
a padlock may be installed on the trolley release
arm. To utilize this feature you must drill a hole
4.5 mm - 8 mm on the dimple which is located on
the trolley release arm. Install the padlock. When
using this feature the emergency release will not
work until the padlock is removed.
NOTE: If it is necessary to cut the rope, heat seal
the cut end with a match or lighter to prevent
unraveling.
To prevent possible SERIOUS INJURY or DEATH from a
falling garage door:
• If possible, use emergency release handle to
disengage trolley ONLY when garage door is
CLOSED. Weak or broken springs or unbalanced
door could result in an open door falling rapidly
and/or unexpectedly.
• NEVER use emergency release handle unless garage
doorway is clear of persons and obstructions.
• NEVER use handle to pull door open or closed. If
rope knot becomes untied, you could fall.
Lens Hinge
100 Watt (Max)
Standard Light Bulb
Release Tab
Trolley
NOTICE
Overhand
Knot
Emergency
Release Handle
Rope
Trolley
Release Arm
Dimple for trolley lock
WARNING
CAUTION WARNING
WARNING
To prevent possible OVERHEATING of the endpanel or
light socket,
• DO NOT use short neck or specialty light bulbs.
• DO NOT use halogen bulbs. Use ONLY incandescent.
WARNING
CAUTION
WARNING
WARNING

24
INSTALLATION STEP 9
Electrical Requirements
To avoid installation difficulties, do not run the
opener at this time.
To reduce the risk of electric shock, your garage door
opener has a grounding type plug with a third
grounding pin. This plug will only fit into a grounding
type outlet. If the plug doesn't fit into the outlet you
have, contact a qualified electrician to install the
proper outlet.
If permanent wiring is required by your local
code, refer to the following procedure.
To make a permanent connection through the 22 mm
diameter hole in the top of the motor unit:
• Remove the motor unit cover screws and set the
cover aside.
• Remove the attached 3-prong cord.
• Connect the black (line) wire to the screw on the
brass terminal; the white (neutral) wire to the
screw on the silver terminal; and the ground wire
to the green ground screw. The opener must be
grounded.
• Reinstall the cover.
To avoid installation difficulties, do not run the
opener at this time.
RIGHT WRONG
To prevent possible SERIOUS INJURY or DEATH from
electrocution or fire:
• Be sure power is not connected to the opener, and
disconnect power to circuit BEFORE removing cover to
establish permanent wiring connection.
• Garage door installation and wiring MUST be in
compliance with all local electrical and building codes.
• NEVER use an extension cord, 2-wire adapter, or
change plug in any way to make it fit outlet. Be sure
the opener is grounded.
Ground Tab
Green
Ground Screw
Ground Wire
Black Wire
PERMANENT WIRING
CONNECTION
White Wire
Black
Wire
WARNING
CAUTION WARNING
WARNING

25
To prevent damage to garage door, reinforce inside of
door with angle iron both vertically and horizontally.
INSTALLATION STEP 10
Fasten the Door Bracket
Follow instructions which apply to your door type
as illustrated below or on the following page.
A horizontal reinforcement brace should be long
enough to be secured to two vertical supports. A
vertical reinforcement brace should cover the
height of the top panel.
The illustration shows one piece of angle iron as the
horizontal brace. For the vertical brace, two pieces of
angle iron are used to create a "U"-shaped support
(Figure 1). The best solution is to check with your
garage door manufacturer for an opener installation
door reinforcement kit. If your door is a canopy or
dual-track style garage door, a door arm conversion
kit is required. Follow the installation instructions
included with the replacement door arm.
NOTE: Many vertical brace installations provide for
direct attachment of the clevis pin and door arm. In
this case you will not need the door bracket; proceed
to Installation Step 11.
SECTIONAL DOORS
• Center the door bracket on the previously marked
vertical centerline used for the header bracket
installation. Note correct UP placement, as
stamped inside the bracket (Figure 2).
• Position the bracket on the face of the door within
the following limits:
A) The top edge of the bracket 5 - 10 cm below
the top edge of the door.
B) The top edge of the bracket directly below any
structural support across the top of the door.
Vertical
Centerline
of Garage
Door
Door
Bracket
Location
Header Bracket Horizontal and vertical reinforcement
is needed for lightweight garage doors
(fiberglass, aluminum, steel, doors with
glass panel, etc). (Not Provided)
UP
Door Bracket
Inside Edge
of Door or
Reinforcement Board Door
Bracket
Nut
5/16"-18
Carriage Bolt
5/16"-18x2-1/2"
Lock Washer
5/16"
Vertical
Centerline
UP
Vertical
Reinforcement
Carriage Bolt
5/16"-18x2-1/2"
Nut 5/16"-18 Lockwasher 5/16"
HARDWARE SHOWN ACTUAL SIZE
Figure 1
Figure 2
• Mark and drill 8 mm left and right fastening holes.
Secure the bracket as shown in Figure 1 if there is
vertical reinforcement.
If your installation doesn't require vertical
reinforcement but does need top and bottom
fastening holes for the door bracket, fasten as shown
in Figure 2.
WARNING
CAUTION
WARNING
WARNING
13 mm Socket Wrench

26
Horizontal and vertical
reinforcement is needed for
lightweight garage doors
(fiberglass, aluminum, steel,
door with glass panel, etc.)
(not provided).
Header Wall
Vertical
Centerline of
Garage Door
Finished Ceiling
Optional
Placement
of Door
Bracket
Header
Bracket
Door
Bracket
38 mm Support
For a door with no exposed framing,
or for the optional installation, use
5/16"x1-1/2" lag screws (not provided)
to fasten door bracket.
Door
Bracket
Top of Door
(Inside Garage)
Carriage Bolt
5/16"-18x2-1/2"
Optional
Placement
Lock
Washer
5/16"
Nut
5/16"-18
Top Edge
of Door
ONE-PIECE DOORS
Please read and comply with the warnings and
reinforcement instructions on the previous page.
They apply to one-piece doors also.
• Center the door bracket on the top of the door, in
line with the header bracket as shown. Mark either
the left and right, or the top and bottom holes.
• Drill 8 mm pilot holes and fasten the bracket with
hardware provided.
If the door has no exposed framing, drill 5 mm pilot
holes and fasten the bracket with 5/16"x1-1/2" lag
screws (not provided) to the top of the door.
NOTE: The door bracket may be installed on the top
edge of the door if required for your installation.
(Refer to the dotted line optional placement drawing.)
Drill 5 mm pilot holes and substitute 5/16"x1-1/2" lag
screws (not provided) to fasten the bracket to the
door.
Carriage Bolt
5/16"-18x2-1/2"
Nut 5/16"-18 Lockwasher 5/16"
HARDWARE SHOWN ACTUAL SIZE
13 mm Socket Wrench

27
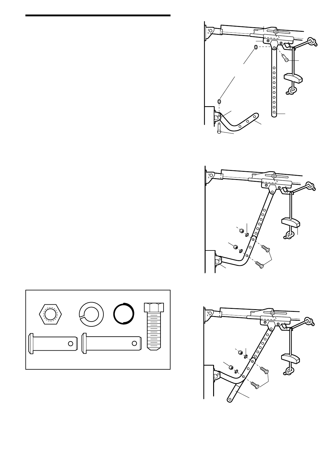
INSTALLATION STEP 11
Connect Door Arm to Trolley
Follow instructions which apply to your door type as
illustrated below and on the following page.
SECTIONAL DOORS ONLY
• Make sure garage door is fully closed. Pull the
emergency release handle to disconnect the outer
trolley from the inner trolley. Slide the outer trolley
back (away from the door) about 5 cm as shown in
Figures 1, 2 and 3.
• Figure 1:
– Fasten straight door arm section to outer trolley
with the 5/16"x1" clevis pin. Secure the
connection with a ring fastener.
– Fasten curved section to the door bracket in the
same way, using the 5/16"x1-1/4" clevis pin.
• Figure 2:
– Bring arm sections together. Find two pairs of
holes that line up and join sections. Select holes
as far apart as possible to increase door arm
rigidity.
• Figure 3, Hole alignment alternative:
– If holes in curved arm are above holes in straight
arm, disconnect straight arm. Cut about 15 cm
from the solid end. Reconnect to trolley with cut
end down as shown.
– Bring arm sections together.
– Find two pairs of holes that line up and join with
bolts, lock washers and nuts.
• Proceed to Adjustment Step 1, page 29. Trolley will
re-engage automatically when opener is operated.
Ring
Fastener
Door
Bracket
Clevis Pin
5/16"x1-1/4"
Curved
Door Arm
Straight
Door Arm
Clevis Pin
5/16"x1"
Inner Trolley
Outer Trolley
Lock
Washers
5/16"
Nuts
5/16"-18
Door Bracket
Bolts
5/16"-18x7/8"
Emergency
Release
Handle
Lock
Washers
5/16"
Nuts
5/16"-18
Bolts
5/16"-18x7/8"
Cut This End
Figure 1
Figure 2
Figure 3
Lock Washer 5/16"
Nut 5/16"-18 Ring Fastener
Hex Bolt
5/16"-18x7/8"
Clevis Pin
5/16"x1" (Trolley)
Clevis Pin
5/16"x1-1/4"
(Door Bracket)
HARDWARE SHOWN ACTUAL SIZE

ALL ONE-PIECE DOORS
1. Assemble the door arm:
• Fasten the straight and curved door arm sections
together to the longest possible length (with a 2
or 3 hole overlap).
• With the door closed, connect the straight door
arm section to the door bracket with the
5/16"x1-1/4" clevis pin.
• Secure with a ring fastener.
2. Adjustment procedures:
On one-piece doors, before connecting the door
arm to the trolley, the travel limits must be
adjusted. Limit adjustment screws are located on
the left side panel as shown on page 29. Follow
adjustment procedures below.
• Open door adjustment: decrease UP travel
limit
– Turn the UP limit adjustment screw counter-
clockwise 5-1/2 turns.
– Press the Door Control push bar. The trolley
will travel to the fully open position.
– Manually raise the door to the open position
(parallel to the floor), and lift the door arm to
the trolley. The arm should touch the trolley just
in back of the door arm connector hole. Refer
to the fully open trolley/door arm positions in
the illustration. If the arm does not extend far
enough, adjust the limit further. One full turn
equals 5 cm of trolley travel.
• Closed door adjustment: decrease DOWN
travel limit
– Turn the DOWN limit adjustment screw
clockwise 5 complete turns.
28
Door Arm
Door Arm
Connector Hole
Closed
Door
Outer Trolley
Emergency Release Handle
Inner Trolley
Outer Trolley
Open Door
Door Arm
Correct Angle
Door with
Backward Slant (Incorrect)
Inner Trolley
– Press the Door Control push bar. The trolley
will travel to the fully closed position.
– Manually close the door and lift the door arm to
the trolley. The arm should touch the trolley just
ahead of the door arm connector hole. Refer to
the fully closed trolley/door arm positions in the
illustration. If the arm is behind the connector
hole, adjust the limit further. One full turn
equals 5 cm of trolley travel.
3. Connect the door arm to the trolley:
• Close the door and join the curved arm to the
connector hole in the trolley with the remaining
clevis pin. It may be necessary to lift the door
slightly to make the connection.
• Secure with a ring fastener.
• Run the opener through a complete travel cycle. If
the door has a slight "backward" slant in full open
position as shown in the illustration, decrease the
UP limit until the door is parallel to the floor.
NOTE: When setting the up limit on the following
page, the door should not have a "backward" slant
when fully open as illustrated below. A slight
backward slant will cause unnecessary bucking
and/or jerking operation as the door is being opened
or closed from the fully open position.
Nuts
5/16"-18
Lock
Washers
5/16"
Ring
Fastener
Straight
Arm
Bolts
5/16"-18x7/8
Door
Bracket
Clevis Pin
5/16"x1-1/4"
Curved
Door Arm

29
ADJUSTMENT STEP 1
Adjust the UP and DOWN Travel
Limits
Limit adjustment settings regulate the points at which
the door will stop when moving up or down.
To operate the opener, press the Door Control push
bar. Run the opener through a complete travel cycle.
• Does the door open and close completely?
• Does the door stay closed and not reverse
unintentionally when fully closed?
If your door passes both of these tests, no limit
adjustments are necessary unless the reversing test
fails (Adjustment Step 3).
Adjustment procedures are outlined below. Read the
procedures carefully before proceeding to
Adjustment Step 2. Use a screwdriver to make limit
adjustments. Run the opener through a complete
travel cycle after each adjustment.
NOTE: Repeated operation of the opener during
adjustment procedures may cause the motor to
overheat and shut off. Simply wait 15 minutes and
try again.
NOTE: If anything interferes with the door’s upward
travel, it will stop. If anything interferes with the
door’s downward travel (including binding or
unbalanced doors), it will reverse.
HOW AND WHEN TO ADJUST THE LIMITS
• If the door does not open completely but opens
at least 1.5 m:
Increase up travel. Turn the UP limit adjustment
screw clockwise. One turn equals 5 cm of travel.
NOTE: To prevent the trolley from hitting the cover
protection bolt, keep a minimum distance of
5 cm -10 cm between the trolley and the bolt.
• If door does not open at least 1.5 m:
Adjust the UP (open) force as explained in
Adjustment Step 2.
• If the door does not close completely:
Increase down travel. Turn the down limit
adjustment screw counterclockwise. One turn
equals 5 cm of travel.
If door still won't close completely and the trolley
bumps into the pulley bracket (see page 4 or 5),
try lengthening the door arm (page 27) and
decreasing the down limit.
• If the opener reverses in fully closed position:
Decrease down travel. Turn the down limit
adjustment screw clockwise. One turn equals 5 cm
of travel.
Without a properly installed safety reversal system,
persons (particularly small children) could be
SERIOUSLY INJURED or KILLED by a closing garage
door.
• Incorrect adjustment of garage door travel limits will
interfere with proper operation of safety reversal
system.
• If one control (force or travel limits) is adjusted, the
other control may also need adjustment.
• After ANY adjustments are made, the safety reversal
system MUST be tested. Door MUST reverse on
contact with 38 mm obstacle on the floor.
• If the door reverses when closing and there is
no visible interference to travel cycle:
Test the door for binding: Pull the emergency
release handle. Manually open and close the door.
If the door is binding or unbalanced, call for a
trained door systems technician. If the door is
balanced and not binding, adjust the DOWN
(close) force. See Adjustment Step 2.
Left Side Panel Limit Adjustment Screws
Cover Protection
Bolt
5 cm -
10 cm
Adjustment Label
WARNING
CAUTION WARNING
WARNING
To prevent damage to vehicles, be sure fully open door
provides adequate clearance.
WARNING
CAUTION
WARNING
WARNING

ADJUSTMENT STEP 2
Adjust the Force
Force adjustment controls are located on the back
panel of the motor unit. Force adjustment settings
regulate the amount of power required to open and
close the door.
If the forces are set too light, door travel may be
interrupted by nuisance reversals in the down
direction and stops in the up direction. Weather
conditions can affect the door movement, so
occasional adjustment may be needed.
The maximum force adjustment range is about
3/4 of a complete turn. Do not force controls
beyond that point. Turn force adjustment controls
with a screwdriver.
NOTE: If anything interferes with the door’s upward
travel, it will stop. If anything interferes with the
door’s downward travel (including binding or
unbalanced doors), it will reverse.
HOW AND WHEN TO ADJUST THE FORCES
1. Test the DOWN (close) force
• Grasp the door bottom when the door is about
halfway through DOWN (close) travel. The door
should reverse. Reversal halfway through down
travel does not guarantee reversal on a 38 mm
obstruction. See Adjustment Step 3.
If the door is hard to hold or doesn't reverse,
DECREASE the DOWN (close) force by turning
the control counterclockwise. Make small
adjustments until the door reverses normally. After
each adjustment, run the opener through a
complete cycle.
• If the door reverses during the down (close)
cycle and the opener lights aren't flashing,
INCREASE DOWN (close) force by turning the
control clockwise. Make small adjustments until the
door completes a close cycle. After each
adjustment, run the opener through a complete
travel cycle. Do not increase the force beyond the
minimum amount required to close the door.
2. Test the UP (open) force
• Grasp the door bottom when the door is about
halfway through UP (open) travel. The door should
stop. If the door is hard to hold or doesn't stop,
DECREASE UP (open) force by turning the control
counterclockwise. Make small adjustments until the
door stops easily and opens fully. After each
adjustment, run the opener through a complete
travel cycle.
• If the door doesn’t open at least 1.5 m,
INCREASE UP (open) force by turning the control
clockwise. Make small adjustments until door
opens completely. Readjust the UP limit if
necessary. After each adjustment, run the opener
through a complete travel cycle.
30
Force
Adjustment
Controls
Back Panel
FORCE ADJUSTMENT LABEL
KG KG
1
3
9
7
5
1
3
9
7
5
KG KG
Antenna
Open Force Close Force
Without a properly installed safety reversal system,
persons (particularly small children) could be
SERIOUSLY INJURED or KILLED by a closing door or
gate.
• Too much force on garage door will interfere with
proper operation of safety reversal system.
• NEVER increase force beyond minimum amount
required to close garage door.
• NEVER use force adjustments to compensate for a
binding or sticking garage door.
• If one control (force or travel limits) is adjusted, the
other control may also need adjustment.
• After ANY adjustments are made, the safety reversal
system MUST be tested. Door MUST reverse on
contact with 38 mm obstacle on the floor.
WARNING
CAUTION WARNING
WARNING

31
Without a properly installed safety reversal system,
persons (particularly small children) could be
SERIOUSLY INJURED or KILLED by a closing door or
gate.
• Safety reversal system MUST be tested every month.
• If one control (force or travel limits) is adjusted, the
other control may also need adjustment.
• After ANY adjustments are made, the safety reversal
system MUST be tested. Door MUST reverse on
contact with 38 mm obstacle on the floor. Gate MUST
reverse on contact with 38 mm obstacle at the closing
edge.
ADJUSTMENT STEP 3
Test the Safety Reversal System
Garage Door Installation
TEST
• With the door fully open, place a 38 mm obstacle on
the floor, centered under the garage door.
• Operate the door in the down direction. The door
must reverse on striking the obstruction.
ADJUST
• If the door stops on the obstruction, it is not traveling
far enough in the down direction. Increase the DOWN
limit by turning the DOWN limit adjustment screw
counterclockwise 1/4 turn.
NOTE: On a sectional door, make sure limit
adjustments do not force the door arm beyond a
straight up and down position. See the illustration on
page 27.
• Repeat the test.
• When the door reverses on the 38 mm obstacle,
remove the obstruction and run the opener through 3
or 4 complete travel cycles to test adjustment.
IMPORTANT SAFETY CHECK:
Repeat Adjustment Steps 1, 2 and 3 after:
• Each adjustment of door arm length, limits, or force
controls.
• Any repair to or adjustment of the garage door
(including springs and hardware).
• Any repair to or buckling of the garage floor.
• Any repair to or adjustment of the opener.
Gate Installation
TEST
The opener must reverse if the gate comes in contact
with an obstruction. A closing gate should reverse with
little effort, and open completely. See Adjustment
Step 2.
• Use 38 mm board laid flat against the wall or gate
edge.
•SLIDING GATE DOOR, place a 38 mm board
between the door and wall of a closing gate. Gate
must reverse on the board and open completely.
Repeat at opposite wall if two openers are installed.
•SWING OUT GATE, insert a 38 mm board between
the closing gate sections. Gate sections must reverse
and swing open completely.
ADJUST
•If the gate stops on the obstruction, it is not traveling
far enough in the closing direction. Increase the
DOWN limit adjustment screw counterclockwise 1/4
turn. Repeat test.
• When the gate reverses on a 38 mm board, remove
the obstruction and run the opener through complete
travel cycle to test adjustment.
If the gate will not reverse after repeated adjustment
attempts, call for professional gate service.
WARNING
CAUTION WARNING
WARNING
ONE-PIECE DOOR
SECTIONAL DOOR
38 mm Obstacle
38 mm Obstacle
38 mm Obstacle
38 mm
Obstacle
SWINGING GATE
SLIDING GATE

OPERATION
32
IMPORTANT SAFETY INSTRUCTIONS
1. READ AND FOLLOW ALL WARNINGS AND
INSTRUCTIONS.
2. ALWAYS keep remote controls out of reach of children.
NEVER permit children to operate or play with garage
door control push buttons or remote controls.
3. ONLY activate garage door when it can be seen clearly, it
is properly adjusted, and there are no obstructions to
door travel.
4. ALWAYS keep garage door in sight until completely
closed. NO ONE SHOULD CROSS THE PATH OF THE
MOVING DOOR.
5. If possible, use emergency release handle to disengage
trolley ONLY when garage door is CLOSED. Weak or
broken springs or unbalanced door could result in an
open door falling rapidly and/or unexpectedly.
6. NEVER use emergency release handle unless garage
doorway is clear of persons and obstructions.
7. NEVER use handle to pull garage door open or closed. If
rope knot becomes untied, you could fall.
8. If one control (force or travel limits) is adjusted, the
other control may also need adjustment.
9. After any adjustments are made, the safety reversal
system MUST be tested.
10. Safety reversal system MUST be tested every month.
Garage door MUST reverse on contact with 38 mm
obstacle on the floor.
11. ALWAYS KEEP GARAGE DOOR PROPERLY BALANCED
(see page 3). An improperly balanced door may not
reverse when required and could result in severe injury
or death.
12. All repairs to cables, spring assemblies and other
hardware, all of which are under EXTREME tension,
MUST be made by a trained door systems technician.
13. ALWAYS disconnect electric power to garage door
opener before making any repairs or removing covers.
14. SAVE THESE INSTRUCTIONS.
To reduce the risk of SEVERE INJURY or DEATH:
Using Your Garage Door Opener
Your Security✚®opener and hand-held remote control
have been factory-set to a matching code which
changes with each use, randomly accessing over 100
billion new codes. Your opener will operate with up to
fifty-four Security✚®remote controls and one
Security✚®Keyless Entry System. If you purchase a
new remote, or if you wish to deactivate any remote,
follow the instructions in the Programming section.
Activate your opener with any of the following:
•The hand-held Remote Control: Hold the push
button down until the door starts to move.
•The wall-mounted Door Control: Hold the push
button or bar down until the door starts to move.
•The Keyless Entry (See Accessories): If provided
with your garage door opener, it must be
programmed before use. See Programming.
When the opener is activated
1. If open, the door will close. If closed, it will open.
2. If closing, the door will reverse.
3. If opening, the door will stop.
4. If the door has been stopped in a partially open
position, it will close.
5. If obstructed while closing, the door will reverse.
6. If obstructed while opening, the door will stop.
7. The optional Protector System™ uses an invisible
beam, which, when broken by an obstruction,
causes a closing door to open and prevents an
open door from closing. It is STRONGLY
RECOMMENDED for homeowners with young
children.
The opener lights will turn on under the following
conditions: when the opener is initially plugged in;
when power is restored after interruption; when the
opener is activated.
They will turn off automatically after 4-1/2 minutes or
provide constant light when the Light feature on the
Multi-Function Door Control is activated. Bulb size is
100 watts maximum.
Timer to close feature (ONLY available when
optional Protector System®is installed): The door
can be programmed to close the door automatically
in 10 seconds, 45 seconds, 2 minutes or, 3 minutes.
The Timer to close feature is preset to the off position
from the factory. To activate this feature, press and
hold the Lock button on the Multi-Function Door
Control until the opener light blinks once (about 10
seconds). A single blink indicates that the timer is
reset to 10 seconds. Repeat the procedure and the
light will blink twice, resetting the timer to 45
seconds. Repeat again for a 2 minute interval, etc.,
up to a maximum of four blinks and 3 minutes.
To deactivate, set the timer to 3 minutes. Press and
hold the Lock button on the Multi-Function Door
Control again for 10 seconds. The opener light will
blink 5 times. This feature is now deactivated.
WARNING
CAUTION
WARNING
WARNING

To Open the Door Manually
The door should be fully
closed if possible. Pull down
on the emergency release
handle and lift the door
manually. To reconnect the
door to the opener, press the
door control button.
The lockout feature prevents
the trolley from reconnecting
automatically, Pull the
emergency release handle
down and back (toward the
opener). The door can then
be raised and lowered
manually as often as
necessary. To disengage the
lockout feature, pull the
handle straight down. The
trolley will reconnect on the
next UP or DOWN operation.
To prevent possible SERIOUS INJURY or DEATH from a
falling garage door:
• If possible, use emergency release handle to
disengage trolley ONLY when garage door is
CLOSED. Weak or broken springs or unbalanced
door could result in an open door falling rapidly
and/or unexpectedly.
• NEVER use emergency release handle unless garage
doorway is clear of persons and obstructions.
• NEVER use handle to pull door open or closed. If
rope knot becomes untied, you could fall.
33
Using the Wall-Mounted
Door Control
THE LIGHTED DOOR CONTROL BUTTON
Press the button to open or close the
door. Press again to reverse the door
during the closing cycle or to stop the
door while it's opening.
WARNING
CAUTION WARNING
WARNING
Trolley
Release
Arm
NOTICE
Emergency
Release
Handle
(Pull Down)
Trolley
Release
Arm
NOTICE
Emergency
Release Handle
(Pull Down & Back
Towards Opener)
MANUAL DISCONNECT
POSITION
LOCKOUT POSITION

34
Care of Your Opener
LIMIT AND FORCE ADJUSTMENTS
Weather conditions may cause
some minor changes in door
operation requiring some
readjustments, particularly during
the first year of operation.
Pages 29 and 30 refer to the
limit and force adjustments. Only
a screwdriver is required. Follow
the instructions carefully.
Repeat the safety reverse test
(page 31) after any adjustment
of limits or force.
MAINTENANCE SCHEDULE
Once a Month
• Manually operate door. If it is unbalanced or
binding, call a trained door systems technician.
• Check to be sure door opens & closes fully. Adjust
limits and/or force if necessary. (See pages 29
and 30.)
• Repeat the safety reverse test. Make any
necessary adjustments. (See page 31.)
Twice a Year
• Check chain tension. Disconnect trolley first. Adjust
if necessary. (See page 15.)
Once a Year
• Oil door rollers, bearings and hinges. The opener
does not require additional lubrication. Do not
grease the door tracks.
THE REMOTE CONTROL BATTERY
The lithium battery should
produce power for up to
5 years. To replace battery,
use the visor clip or
screwdriver blade to pry
open the case as shown.
Insert battery positive side
up.
Dispose of old battery
properly.
LIMIT CONTROLS
(Left side panel)
FORCE CONTROLS
(Back panel)
Kg
1
3
9
7
5
1
3
9
7
5
Kg
Open Force Close Force
NOTICE: To comply with FCC and/or Industry Canada (IC) rules, adjustment or
modifications of this receiver and/or transmitter are prohibited, except for changing
the code setting or replacing the battery. THERE ARE NO OTHER USER
SERVICEABLE PARTS.
Tested to Comply with FCC Standards FOR HOME OR OFFICE USE. Operation is
subject to the following two conditions: (1) this device may not cause harmful
interference, and (2) this device must accept any interference received, including
interference that may cause undesired operation.
To prevent possible SERIOUS INJURY or DEATH:
• NEVER allow small children near batteries.
• If battery is swallowed, immediately notify doctor.
WARNING
CAUTION WARNING
WARNING
Having a Problem?
1. The opener doesn't operate from either the
Door Control or the remote control:
• Does the opener have electric power? Plug a lamp
into the outlet. If it doesn't light, check the fuse box
or the circuit breaker. (Some outlets are controlled
by a wall switch.)
• Have you disabled all door locks? Review
installation instruction warnings on page 15.
• Is there a build-up of ice or snow under the door?
The door may be frozen to the ground. Remove
any restriction.
• The garage door spring may be broken. Have it
replaced.
• Repeated operation may have tripped the
overload protector in the motor. Wait 15 minutes
and try again.
2. Opener operates from the remote, but not from
the Door Control:
• Is the door control lit? If not, reverse the wires. If
the opener runs, check for a faulty wire connection
at the door control, a short under the staples, or a
broken wire.
• Are the wiring connections correct? Review
Installation Step 6.
3. The door operates from the Door Control, but
not from the remote control:
• Is the door push bar flashing? If your model has
the Lock feature, make sure it is off.
• Program the opener to match the remote control
code. (Refer to instructions on the motor unit
panel.) Repeat with all remotes.
4. The remote control has short range:
• Change the location of the remote control in your
car.
• Check to be sure the antenna on the side or back
panel of motor unit extends fully downward.
• Some installations may have shorter range due to
a metal door, foil backed insulation, or metal
garage siding.
5. Opener noise is disturbing in living quarters of
home:
• If operational noise is a problem because of
proximity of the opener to the living quarters, the
Vibration Isolator Kit 41A3263 can be installed.
This kit was designed to minimize vibration to the
house and is easy to install.
Battery
positive
side up (+)

35
Having a Problem? (Continued)
6. The garage door opens and closes by itself:
• Be sure that all remote control push buttons are
off.
• Remove the bell wire from the door control
terminals and operate from the remote only. If this
solves the problem, the door control is faulty
(replace), or there is an intermittent short on the
wire between the door control and the motor unit.
• Clear memory and re-program all remote controls.
7. The door doesn't open completely:
• Is something obstructing the door? Is it out of
balance, or are the springs broken? Remove the
obstruction or repair the door.
• If the door is in good working order but now
doesn't open all the way, increase the up force.
See Adjustment Step 2.
• If the door opens at least 1.5 m, the travel limits
may need to be increased. One turn equals 5 cm
of travel. See Adjustment Step 1.
Repeat the safety reverse test after the adjustment is
complete.
8. The door stops but doesn't close completely:
• Review the travel limits adjustment procedures on
page 29.
Repeat the safety reverse test after any adjustment
of door arm length, close force or down limit.
9. The door reverses for no apparent reason and
opener lights don’t blink:
• Is something obstructing the door? Pull the
emergency release handle. Operate the door
manually. If it is unbalanced or binding, call a
trained door systems technician.
• Clear any ice or snow from the garage floor area
where the door closes.
• Review Adjustment Step 2.
• If door reverses in the fully closed position,
decrease the travel limits (Adjustment Step 1).
Repeat safety reverse test after adjustments to force
or travel limits. The need for occasional adjustment
of the force and limit settings is normal. Weather
conditions in particular can affect door travel.
10. The opener lights don't turn on:
• Replace the light bulbs (100 watts maximum). Use
a standard neck garage door opener bulb if regular
bulb burns out.
11. The opener lights don't turn off:
• Is the Light feature on? Turn it off.
12. The opener strains or maximum force is
needed to operate door:
• The door may be out of balance or the springs
may be broken. Close the door and use the
emergency release handle to disconnect the
trolley. Open and close the door manually. A
properly balanced door will stay in any point of
travel while being supported entirely by its springs.
If it does not, disconnect the opener and call a
trained door systems technician. Do not increase
the force to operate the opener.
13. The opener motor hums briefly, then won't
work:
• The garage door springs may be broken. See
above.
• If the problem occurs on the first operation of the
opener, door may be locked. Disable the door lock.
Repeat the safety reverse test after the adjustment is
complete.
14. The opener won't operate due to power
failure:
• Use the emergency release handle to disconnect
the trolley. The door can be opened and closed
manually. When power is restored, press the Door
Control push bar and trolley will automatically
reconnect (unless trolley is in lockout position.)
See page 33.
• The Outside Quick Release accessory (for use on
garages with no service door) disconnects the
trolley from outside the garage in case of power
failure.
15. The chain droops or sags:
• It is normal for the chain to droop slightly in the
closed door position. Use the emergency release
rope and handle to disconnect the trolley. If the
chain returns to the normal height when the trolley
is disengaged, and the door reverses on a 25 mm
obstruction, no adjustments are needed. (See
page 15.)

*Multi-Function Remotes
If provided with your
garage door opener,
the large button is
factory programmed to
operate it. Additional
buttons on any
Security✚®3-Button
remote or mini-remote can be programmed to operate
other Security✚®garage door openers.
To Erase All Codes From Motor
Unit Memory
To deactivate any unwanted remote,
first erase all codes:
Press and hold the “learn” button on
motor unit until the learn indicator
light goes out (approximately 6 seconds). All previous
codes are now erased. Reprogram each remote or
keyless entry you wish to use.
"A"
Button
"B"
Button
To Add or Reprogram a Hand-held Remote Control
USING THE LIGHTED DOOR CONTROL
"A"
Button
"B"
Button
PROGRAMMING
36
Your garage door opener has already been programmed at the factory to operate with your hand-held remote
control. The door will open and close when you press the large push button.
Below are instructions for programming your opener to operate with additional Security✚®remote controls.
1. Remove the cover from the Lighted Door Control.
2. Press and hold the button on the hand-held remote*that you wish to operate your garage
door.
3. While holding the remote button, press and hold the “A” button on the Lighted Door Control.
4. Continue holding both buttons while you press the “B” button on the Lighted Door Control
(all three buttons are held).
5. Release buttons when the motor unit lights blink. It has learned the code. If light bulbs are
not installed, two clicks will be heard.
NOTICE: If this Security
✚
®garage door opener is operated with a non-rolling code transmitter, the technical
measure in the receiver of the garage door opener, which provides security against code-theft devices, will be
circumvented. The owner of the copyright in the garage door opener does not authorize the purchaser or
supplier of the non-rolling code transmitter to circumvent that technical measure.

To Add or Change a Keyless Entry PIN
NOTE: Your new Keyless Entry must be programmed to operate your garage door opener.
USING THE LIGHTED DOOR CONTROL
NOTE: These methods requires two people if the Keyless Entry is already mounted outside the garage.
To change an existing, known PIN
If the existing PIN is known, it may be changed by one
person without using a ladder.
1. Press the four buttons for the present PIN, then
press and hold the # button.
The opener light will blink twice. Release the #
button.
2. Press the new 4-digit PIN you have chosen, then
press Enter.
The motor unit lights will blink once when the PIN has
been learned.
Test by pressing the new PIN, then press Enter. The
door should move.
To set a temporary PIN
You may authorize access by visitors or service people
with a temporary 4-digit PIN. After a programmed
number of hours or number of accesses, this temporary
PIN expires and will no longer open the door. It can be
used to close the door even after it has expired. To set
a temporary PIN:
1. Press the four buttons for your personal entry PIN
(not the last temporary PIN), then press and hold the
✽button.
The opener light will blink three times. Release the
button.
2. Press the temporary 4-digit PIN you have chosen,
then press Enter.
The opener light will blink four times.
3. To set the number of hours this temporary PIN will
work, press the number of hours (up to 255), then
press ✽.OR
3. To set the number of times this temporary PIN will
work, press the number of times (up to 255), then
press #.
The opener light will blink once when the temporary PIN
has been learned.
Test by pressing the four buttons for the temporary PIN,
then press Enter. The door should move. If the
temporary PIN was set to a certain number of openings,
remember that the test has used up one opening.To
clear the temporary password, repeat steps 1-3, setting
the number of hours or times to 0 in step 3.
37
1. Remove the cover from the Lighted Door Control.
2. Enter a four digit personal identification number (PIN) of your choice on the keypad. Then
press and hold ENTER.
3. While holding the ENTER button, press and hold the “A” button on the Lighted Door Control.
4. Continue holding the ENTER and “A” buttons while you press the “B” button on the Lighted
Door Control (all three buttons are held).
5. Release buttons when the motor unit lights blink. It has learned the code. If light bulbs are
not installed, two clicks will be heard.
"A"
Button
"B"
Button

Motor Unit Assembly Parts
38
10
8
13
14
15
4
5
3
2
9
16
12
18
11
17
6
7
DN
UP
Brown
Wire
(Down)
Contact LIMIT SWITCH ASSY.
Grey
Wire
Yellow
Wire
(Up)
Contact
Center Limit
Contact
Drive
Gear
19
1
KEY PART
NO. NO. DESCRIPTION
1 41A4208 Chain spreader - 3122E
1A 31D380 Sprocket cover - 3112E
2 41C4206-2 Gear and sprocket assy. - 3122E
2A 41C4798-2 Gear and sprocket - 3112E
3 41A2817 Drive/worm gear kit w/grease,
roll pins (2)
4 41B4245 Line cord
5 41A5484-7 End panel w/all labels
6 4A1344 Light socket
7 108D68 Lens
8 30B532 Capacitor - 1/2 HP
9 12A373 Capacitor bracket
10 41A3150 Terminal block w/screws
11 41D3058 Universal replacement motor &
bracket assembly
12 41A5525-21 Cover
13 81C253 Limit switch drive & retainer
14 41A5640 Limit switch assembly
15 41A2822-1 Interrupter cup assembly
16 41C4398A RPM sensor assembly
KEY PART
NO. NO. DESCRIPTION
17 41A5483-12B Receiver logic board assy.
18 41C5497 High voltage wire harness assy.
41C5498 Low voltage wire harness assy.
19 41D181 End panel w/all labels
NOT SHOWN
41A2826 Motor shaft bearing kit
41A2825 Opener assembly hardware kit
(includes screws not designated
by a number in illustration)
41A5536-6 Single-function remote control,
housing only (No circuit board)
10A20 3V2032 Lithium battery
29B137 Transmitter visor clip
41A2828 Manual release rope & handle
assembly
114A2681 Owner's Manual

39
LOCKLIGHT
ACCESSORIES
SECURITY✚®3-Button Mini
Remote Control:
With key ring and fastening strip.
SECURITY✚®Keyless Entry:
Enables homeowner to operate
garage door opener from outside
by entering a password on a
specially designed keyboard. Also
can add a temporary password for
visitors or service persons. This
temporary password can be limited
to a programmable number of
hours or entries.
760E
99E
98LM
1702E
970-315LG Outside Quick Release:
Required for a garage with NO
access door.
Motion Detecting Control Panel:
Multi-function door control with
motion sensor that automatically
turns opener lights on for 5
minutes when it detects a person
entering the garage. Sensor can
be easily deactivated when
desired.
SECURITY✚®Single-Button
Remote Control:
Includes visor clip.
971-315LM
SECURITY✚®3-Button
Remote Control:
Includes visor clip.
973-315MK
976-315LM
Outdoor Key Switch:
Opens the garage door
automatically from outside with the
turn of a key when transmitter is not
handy.
The Protector System®:
Provides auxiliary support to the
safety features built into your
opener. The system’s invisible
beam, when broken by an
obstruction, causes a closing door
to open and prevents an open door
from closing.
41A5281 Extension Brackets:
(Optional) For safety sensor
installation onto the wall or floor.
To order call: 1-520-792-0511.
630-516-8423 (USA)
5333-9974 (In Mexico City)
01-800-500-9300 (Toll Free in Mexico)

©2006, The Chamberlain Group, Inc.
114A2681D All Rights Reserved
CHAMBERLAIN SERVICE
IS ON CALL
INSTALLATION AND FOR HELP IN FINDING
SERVICING DISTRIBUTOR SIMPLY DIAL:
5333-9974: In Mexico, D.F.
01-800-500-9300: Toll Free outside of Mexico
City (within Mexico)
1-630-516-8423: Outside the Mexican
Republic (For the Servicing
Distributor in your country)
HOURS: 7:00 A.M. TO 3:30 P.M.
(Mountain Std. Time)
MONDAY through SATURDAY
For professional installation, parts and
service, contact your local CHAMBERLAIN
dealer. Look for him in the Yellow Pages, or call
our Service number for a list of dealers in your
area.
HOW TO ORDER
REPAIR PARTS
Selling prices will be furnished on request or parts
will be shipped at prevailing prices and you will be
billed accordingly.
WHEN ORDERING REPAIR PARTS, ALWAYS
GIVE THE FOLLOWING INFORMATION:
• PART NUMBER
• PART NAME
• MODEL NUMBER
ADDRESS ORDERS TO:
In Mexico:
Merik S.A. de C.V.
Poniente 152 #929
Col. Industrial Vallejo
02300 México, D.F.
Outside of Mexico/U.S. & Canada
THE CHAMBERLAIN GROUP, INC.
International Operations
845 Larch Avenue
Elmhurst, Illinois 60126 USA
CHAMBERLAIN GARAGE DOOR OPENER ONE-YEAR LIMITED WARRANTY
The Chamberlain Group, Inc. (“Seller”) warrants to the first retail purchaser of this product that it is free from defect in materials and/or
workmanship for a period of one year from the date of purchase. The proper operation of this product is dependent on your
compliance with the Owner’s Manual instructions regarding installation, operation, maintenance and testing. Failure to
comply strictly with those instructions will void this warranty in its entirety. Please note that the safety reverse system, in
order to operate properly with your garage door, must be adjusted and periodically tested in accordance with the Owner’s
Manual.
If, during the limited warranty period, it appears as though this product contains a defect which is covered by this limited warranty, call
our service number or the servicing distributor in your area, before dismantling this product. Then send this product, pre-paid
and insured, to the designated service center for warranty repair. You will be advised of shipping instructions when you call the service
number. Please include a brief description of the problem and a dated proof-of-purchase receipt with any product that is returned for
warranty repair.
Products returned to Seller for warranty repair, which upon receipt by Seller are confirmed to be defective and covered by this limited
warranty, will be repaired or replaced (at Seller’s sole option) at no cost to you and returned pre-paid. Defective parts will be repaired
or replaced with new or factory-rebuilt parts at Seller’s sole option.
THIS LIMITED WARRANTY IS IN LIEU OF ANY OTHER WARRANTIES, EXPRESS OR IMPLIED, INCLUDING ANY IMPLIED
WARRANTY OF MERCHANTABILITY OR FITNESS FOR A PARTICULAR PURPOSE, OR OTHERWISE, AND OF ANY OTHER
OBLIGATIONS OR LIABILITY ON SELLEER’S PART. THIS LIMITED WARRANTY DOES NOT COVER NON-DEFECT DAMAGE,
DAMAGE CAUSED BY IMPROPER INSTALLATION, OPERATION OR CARE (INCLUDING, BUT NOT LIMITED TO ABUSE,
MISUSE, FAILURE TO PROVIDE REASONABLE AND NECESSARY MAINTENANCE, OR ANY ALTERNATIONS TO THIS
PRODUCT), LABOR CHARGES FOR DISMANTLING OR REINSTALLING A REPAIRED OR REPLACED UNIT, OR
REPLACEMENT BATTERIES.
UNDER NO CIRCUMSTANCES SHALL SELLER BE LIABLE FOR CONSEQUENTIAL, INCIDENTAL OR SPECIAL DAMAGES
ARISING IN CONNECTION WITH THE USE, OR INABILITY TO USE, THIS PRODUCT. IN NO EVENT SHALL SELLER’S LIABILITY
FOR BREACH OF WARRANTY, BREACH OF CONTRACT, NEGLIGENCE OR STRICT LIABILITY EXCEED THE COST OF THE
PRODUCT COVERED HEREBY. NO PERSON IS AUTHORIZED TO ASSUME FOR US ANY OTHER LIABILITY IN CONNECTION
WITH THE SALE OF THIS PRODUCT.
Some states do not allow the exclusion or limitation of consequential, incidental or special damages, so the above limitation or exclusion
may not apply to you. This limited warranty gives you specific legal rights, and you may also have other rights which vary from state to
state.
LIMITED WARRANTY ON MOTOR
The motor is warranted to be free from any defect in materials and/or workmanship for a period of 72 full months (6 years) from the
date of purchase.

ABRE-PUERTAS DE GARAJE
Modelos 3112E FS2 • 3122E FS2
Sólo para uso residencial
Manual del propietario
■¡Favor de leer cuidadosamente este manual y los materiales de seguridad anexos!
■Guarde este manual cerca de la puerta del garaje.
■Se deben realizar revisiones periódicas del abre-puertas para asegurar su operación
segura.
■La etiqueta con el número de modelo de su abre-puertas de garaje está en el panel
delantero.

2
Mecánica
PRECAUCIÓN
ADVERTENCIA
ADVERTENCIA
ADVERTENCIA
ADVERTENCIA
PRECAUCIÓN
ADVERTENCIA
ADVERTENCIA
ADVERTENCIAADVERTENCIA
PRECAUCI
PRECAUCI
ÓN
ADVERTENCIA
ADVERTENCIAADVERTENCIA
Eléctrica
Introducción Páginas 2-8
Revisión de los símbolos y términos de seguridad........2
Preparación de la puerta de su garaje...........................3
Herramientas necesarias ...............................................3
Planificación ...............................................................4-6
Inventario de las cajas de cartón ...................................7
Inventario de piezas .......................................................8
Ensamblado Páginas 9-15
Ensamblar el riel en “T” y sujetar la ménsula ...........9-10
Instalar el carro.............................................................11
Fijar riel “T” a abre-puertas ..........................................12
Instalar la cadena o cable y colocar la cubierta
de la polea...............................................................13-14
Apretar la cadena y cable ...........................................15
Instalación Páginas 15-28
Instrucciones de seguridad para la instalación ............15
Determine dónde va a instalar
la ménsula del cabezal ...........................................16-17
Instale la ménsula del cabezal.....................................18
Coloque el riel en la ménsula del cabezal ...................19
Coloque el abre-puertas...............................................20
Cuelgue el abre-puertas...............................................21
Instale la consola de control premium .........................22
Instale el foco ..............................................................23
Instale la manija y la cuerda de emergencia ...............23
Requisitos para la instalación eléctrica........................24
Sujete la ménsula de la puerta ...............................25-26
Conecte el brazo de la puerta al carro ...................27-28
Ajustes Páginas 29-31
Ajuste el límite del recorrido.........................................29
Ajuste la fuerza.............................................................30
Pruebe el sistema de reversa de seguridad ................31
Operación Páginas 32-35
Instrucciones de seguridad para la operación..............32
Cómo usar el abre-puertas de garaje...........................32
Cómo usar la unidad de control de pared ....................33
Cómo abrir la puerta manualmente ..............................33
Mantenimiento de su abre-puertas de garaje ................34
Si tiene algún problema...........................................34-35
Cómo programar
el abre-puertas Páginas 36-37
Cómo usar un control remoto .....................................36
Cómo borrar todos los códigos ....................................36
Controles remotos de funciones múltiples ...................36
Cómo añadir o modificar un código
de entrada sin llave ......................................................37
Piezas que se pueden reparar 38
Accesorios 39
Números de Servicio 40
Garantía 40
CONTENIDO
INTRODUCCIÓN
Revisión de los símbolos y términos de
seguridad
Estas advertencias y/o símbolos de seguridad que
aparecen a lo largo de este manual le alertarán de la
existencia de riesgo de una lesión seria o de muerte si
no se siguen las instrucciones correspondientes. El peligro
puede ser eléctrico (electrocución) o mecánico. Lea las
instrucciones con mucho cuidado.
Cuando vea esta palabra y/o símbolo de seguridad a lo
largo de este manual le alertará de que existe el riesgo de
dañar la puerta del garaje y/o el abre-puertas si no se
siguen las instrucciones correspondientes. Lea las
instrucciones con mucho cuidado.
Este abre-puertas de garaje ha sido diseñado para un funcionamiento seguro, siempre y cuando se instale, se pruebe, se
opere y se le dé mantenimiento como se indica a lo largo de este manual, cumpliendo al pie de la letra con todas las
advertencias e instrucciones generales aquí contenidas.

3
Alicates
Corta cables
Martillo
Segueta
Destornillador Llave de extremo ajustable
Llave de dados
Taladro
Cinta de medir
2
1
Escala
Lápiz
Brocas de
5 mm y 8 mm
Nivel de
carpintero (opcional)
Preparación de la puerta del garaje
Antes de comenzar:
• Desarme las cerraduras.
• Retire cualquier cuerda o cable que esté conectado a la
puerta.
• Haga la siguiente prueba con su puerta para verificar
que esté equilibrada y que no se atore ni se atasque:
1. Levante la puerta hasta la mitad de su recorrido como
se muestra. Suelte la puerta, éste deberá mantenerse
en esa posición con sólo el soporte de los resortes.
2. Suba y baje la puerta; observe si se atora con algo o si
se atasca.
Si su puerta se atora o se atasca, llame a un técnico
profesional para que la repare.
Herramientas necesarias
Durante el montaje, instalación y ajuste del abre-puertas,
las instrucciones e indicarán usar las herramientas que
aparecen en la siguiente illustración.
Para evitar daños a la puerta y al abre-puertas:
• SIEMPRE desarme las cerraduras antes de instalar y/o de
operar el abre-puertas.
• SOLAMENTE opere el abre-puertas de garaje con corriente de
120V 60 Hz con objeto de evitar su mal funcionamiento y que
el abre-puertas se dañe.
Para evitar una LESIÓN GRAVE O INCLUSO LA MUERTE:
• SIEMPRE llame a un técnico profesional para que arregle la
puerta del garaje si éste se atora, se atasca, o está
desequilibrada. Es posible que una puerta de garaje que no
esté bien equilibrado no retroceda cuando se requiera.
• NUNCA intente aflojar, mover ni ajustar la puerta de su
garaje, los resortes la puerta, los cables, las poleas, las
ménsulas ni los tornillos, pues todos estos elementos están
bajo tensión EXTREMA.
• Quitar TODOS los seguros y retirar TODAS las cuerdas
conectadas a la puerta del garaje ANTES de instalar y operar
el abre-puertas de garaje para evitar que se enreden.
PRECAUCIÓN
ADVERTENCIA
ADVERTENCIA
ADVERTENCIA
ADVERTENCIA
PRECAUCI
PRECAUCI
ÓN
ADVERTENCIA
ADVERTENCIAADVERTENCIA
Puerta seccional
Puerta de una sola pieza

— — — — — — — —
O
El espacio entre la base de la
puerta y el piso no debe
superar los 6 mm
Unidad de
control de
la puerta,
instalada
en la pared
Unidad del motor
Detector de seguridad de reversa
(Accesorio opcional)
Se necesita un refuerzo horizontal y
vertical para puertas ligeras de garaje
(fibra de vidrio, acero, aluminio,
puertas con paneles de vidrio, etc.)
Para mayores detalles consultar la página 25.
TECHO TERMINADO
Se requiere de un sostén
de soporte y tornillos de
sujeción. Consultar la página 21.
La holgura en la tensión
de la cadena es normal
cuando la puerta se encuentra cerrada
Pared de cabecera
Detector de
seguridad de reversa
(Accesorio opcional)
Resorte de
extensión
Puerta
de acceso
Resorte
de torsión
Línea vertical del
centro de la puerta
4
Ménsula
Soporte de
cabecera Carro
Brazo
recto
Puerta
del garaje
Brazo
curvo
Los
resortes
Pared de
cabecera
Cadena
Cuerda y manija
del sistema de
liberación
de emergencia
Ensamble del riel
EN POSICIÓN CERRADA
Soporte
de la puerta
Planificación
Identifique la altura y el tipo de puerta de garaje que tiene.
Revise el área de su garaje y observe si alguna de las
siguientes instalaciones corresponden a la suya. A veces
se requieren materiales adicionales, así que tal vez sea
conveniente tener esta hoja y las ilustraciones
correspondientes a la mano cuando inicie la instalación de
su abre-puertas.
Dependiendo de sus necesidades individuales, es posible
que en algunos casos vayan a necesitar materiales o
herramientas que no se incluyen con este producto.
• Instalación Paso 1 – Observe la pared o el cielo raso
justo arriba de la puerta del garaje. La ménsula del
cabezal debe de estar firmemente sujeta a los soportes
de la estructura.
• Instalación Paso 5 – Si el plafón o cielo raso de su
garaje tiene acabados, es posible que necesite una
ménsula de soporte y/o más pernos y perneria para la
instalación.
• ¿Hay otra puerta que dé acceso al garaje? Si no es así,
será necesario contar con el Desenganchador exterior
rápido, Modelo 7702CB. Vea la página de Accesorios.
• Observe el punto donde la puerta hace contacto con el
piso. El espacio entre la base de la puerta y el piso no
debe exceder 6 mm. Si no es así, se corre el riesgo de
que el sistema de reversa de emergencia no funcione
correctamente. Vea Ajustes, Paso 3. Va a ser necesario
reparar ya sea el piso o la puerta.
INSTALACIÓN CON UNA PUERTA SECCIONAL
• Si tiene una puerta de aluminio, fibra de vidrio, o con
paneles de vidrio, va a necesitar refuerzos verticales y
horizontales de la puerta. (Instalación, Paso 10).
• El abre-puertas se debe instalar arriba del centro de la
puerta, pero si existe algún resorte de tensión o placa
de apoyo en el paso de la ménsula del cabezal, se
puede instalar hasta a 1.2 m a la derecha o a la
izquierda del centro de la puerta. Vea Instalación, Pasos
1 al 10.
INSTALACIÓN EN UNA PUERTA SECCIONAL

Detector de seguridad
de reversa
(Accesorio opcional)
TECHO TERMINADO
Se requiere de un sostén
de soporte y tornillería de
sujeción. Consultar
la página 21.
La holgura en la tensión
de la cadena es normal
cuando la puerta
se encuentra cerrada.
Pared de cabecera
Puerta
de acceso
Detector de
seguridad de reversa
(Accesorio opcional)
Unidad de
control
de la puerta,
instalada
en la pared
Unidad del motor
El espacio entre la base de
la puerta y el piso no debede
exceder 6 mm.
Puerta
de acceso
Detector de
seguridad
de reversa
(Accesorio opcional)
Detector de
seguridad
de reversa
(Accesorio opcional)
POSICIÓN CERRADA
Soporte de
cabecera
Ménsula
Soporte de
la puerta
Brazo
recto
Brazo
curvo
Carro Cadena
Cuerda y
manija del
sistema de
liberación
de emergencia
Riel
Puerta del
garaje
Pared
cabecera
El espacio entre la base de
la puerta y el piso no debe
exceder 6 mm.
POSICIÓN CERRADA
Ménsula
Soporte de
cabecera
Carro
Brazo
recto
Cuerda y
manija del
sistema de
liberación
de emergencia
Soporte de
la puerta
Brazo
curvo
Pared de
cabecera
Cable
Riel
Puerta del
garaje
5
PUERTA DE UNA SOLA
PIEZA SIN CARRIL
Planificación (continuación)
INSTALACIÓN EN PUERTAS DE UNA SOLA PIEZA
• Generalmente una puerta de una sola pieza no requiere
de refuerzos adicionales. Si usted tiene una puerta de
material liviano y quiere reforzarla, consulte la
información respecto a puertas seccionales, contenida
en Instalación, Paso 10.
• Dependiendo del diseño de su puerta, tal vez necesite
piezas o sujetadores adicionales para la ménsula de la
puerta (Paso 10).
Sin un sistema de reversa de seguridad que funcione
debidamente, al cerrar la puerta del garaje se corre el riesgo de
que las personas (y en particular los niños pequeños) sufran
LESIONES GRAVES o INCLUSO LA MUERTE.
• El espacio entre la base de la puerta del garaje y el piso NO
DEBE exceder 6 mm. De no ser así, el sistema de reversa de
seguridad no va a funcionar debidamente.
• El piso o la puerta del garaje SE DEBE reparar para eliminar
este espacio.
PRECAUCIÓN
ADVERTENCIA
ADVERTENCIA
ADVERTENCIA
ADVERTENCIA
PUERTA DE UNA PIEZA CON CARRIL

6
Detector de
seguridad de reversa
(Accesorio opcional)
Detector de
seguridad de reversa
(Accesorio opcional)
Pared de cabecera
Detector de
seguridad de reversa
(Accesorio opcional)
Detector de
seguridad de reversa
(Accesorio opcional)
INSTALACIÓN EN UNA PUERTA CORREDIZA
Planificación (continuación)
INSTALACIÓN DEL ABRE-PUERTAS
• Se recomienda colocar una malla fina a través de la
puerta corrediza o batiente, con el objeto de evitar que
cualquier intruso alcance el botón de control o el brazo
que desengancha el carrito.
• El chasis del abre-puertas estar protegido contra la
lluvia y/o la humedad.
Sin un sistema de retroceso que funcione de manera segura,
las personas (en especial los niños pequeños) podrían resultar
GRAVEMENTE HERIDAS o MORIR al cerrar la puerta.
• Active la puerta SÓLO cuando la vea bien y no presente
obstrucciones.
• Vigile SIEMPRE la puerta hasta que esté completamente
cerrada. NUNCA permita que alguien cruce el trayecto de la
puerta que se encuentra en movimiento.
• Mantenga SIEMPRE la puerta en buenas condiciones y
asegúrese de que se mueve libremente. Es posible que una
puerta que no se ha mantenido en forma apropiada no
retroceda cuando se necesite y pueda provocar HERIDAS
GRAVES o la MUERTE.
PRECAUCIÓN
ADVERTENCIA
ADVERTENCIA
ADVERTENCIA
ADVERTENCIA
INSTALACIÓN EN UNA PUERTA BATIENTE

7
41B2616
Ménsula
UP
CEILING MOUNT ONLY
41A3473 Modelo 3112E
41A3473-2 Modelo 3122E
Cadena y Cuerda
41A3489
Carro
183B113
Riel "T"
Sección final
(cada uno)
183B113
Riel "T"
Sección final
(cada uno) 41A4353
Soporte de
cabecera
178B35
Sección curva
del brazo de la
puerta
178B34
Sección recta
del brazo
de la puerta
Etiquetas de
seguridad y
documentación
12B350
Soportes Colgados
41A5047
Soporte de la puert
a
Unidad del motor y mica
41A4208
Extendedor de
la cadena
41B4494-1
Alambre de timbre
de 2 conductores
Blanco y blanco con rojo
950-315CB
SECURITY✚
Control remoto
un botón
Modelo 3112 (1)
Modelo 3122 (2)
956-315CB
SECURITY✚
Mini control remoto
de 3 botones
Modelo 3112 (1)
31D380
Cubierta del
portacadena
Sólo Modelo 3112E
183B111
Riel "T"
Sección centro
(cada uno)
Brazos en
Riel "T"
Brazos en
Riel "T"
Sólo Modelo 3122E
41A5577-1
Botón iluminado
de control de la puerta
Su abre-puertas viene empacado en una caja de cartón
que contienen el motor y las piezas que se muestran en la
siguiente ilustración. Tome nota de que los accesorios van
a depender del modelo que haya comprado. Si falta alguna
pieza, revise con cuidado el material de empaque ya que
en ocasiones las piezas se atoran en el hule espuma.
Toda la pernería y las piezas necesarias para el montaje e
instalación de su abre-puertas se ilustran en la siguiente
página. Conserve la caja y los materiales de empaque
(hule espuma) hasta que la instalación y el ajuste se hayan
terminado.
Inventario de las cajas

8
Tornillo tirafondo
5/16"-18x1-7/8" (2)
Tornillo
6ABx1-1/4" (2)
Tuerca
5/16"-18 (6)
Pernería de Ensamble 41A2848
Pernería de Instalacion 41A3475-18
Seguro de aro (3)
Arandela
5/16" (6)
Tornillo tirafondo
5/16"-9x1-5/8" (2)
Tuerca
5/16"-18 (5)
Arandela
5/16" (4)
Juego de enlace
maestro (2)
Perno roscado del carro (1) Tuerca de seguridad
1/4"-20x1/2" (12)
Pasador de chaveta
5/16"x2-3/4" (1)
Perno de coche
5/16"-18x2-1/2" (2)
Cordón
Manija
Pasador de chaveta
5/16"x1" (2)
Grapa (10)
Ta quete (2)
Perno hexagonal
5/16"-18x7/8" (4)
Perno con arandela
5/16"-18x1/2" (2)
(en el cabezal)
Perno de coche
1/4"-20x1/2" (12)
Perno hexagonal
5/16"-18x7/8" (3)
Pasador de chaveta
5/16"x1-1/4" (1)
Inventario de piezas
Antes de la instalación, organice todas las piezas en grupos como se muestra en la siguiente ilustración.

Perno Hexagonal
5/16"-18x7/8"
El soporte y riel deben estar paralelos
Arandela
5/16"
Tuerca
5/16"-18
Ménsula
Tuerca de
sequridad 1/4"
FRENTE DE RIEL
(HACIA LA PUERTA)
Ménsula fijada
FRENTE AL
FINAL del riel
RIEL TRASERO
(HACIA ABRE-PUERTAS)
Riel
(Sección final)
Riel
(Sección final)
Perno de coche
1/4"-20x1/2"
Escuadra del carro
perforación para
la flecha
Riel
(Sección centro)
9
ENSAMBLADO PASO 1
SOLO para puertas seccionales y de
una sola pieza
Ensamble de riel “T” y sujetar
la ménsula
No encienda ni use el abre-puertas hasta que llegue al
paso de la instalación correspondiente, de otra manera
corre el riesgo de complicar el proceso de instalación.
1. Extender las cuatro secciónes del riel "T"
en una superficie plana. El centro de las
secciónes son intercambiables. La
sección frontal y posterior también son
intercambiables para facilidad del
ensamble.
2. Inserte los pernos con cabeza redonda y
cuello cuadrado para que los cuellos de
los pernos cuadrados se asienten en los
hoyos cuadrados de las secciones del
riel "T" y pasen a través de los hoyos
redondos en los tierantes del riel.
Ensamble las tuercas de seguridad, alínee y apriete.
NOTA: Si el riel "T" no se ensambla exactamente como
se muestra, el carro no se moverá suavemente a lo largo
del riel o golpeará contra los pernos.
3. Situar la ménsula frente al final del riel "T" con se
muestra. Fijar firmement con los pernos indicados.
NOTA: Al apretar los pernos, asegúrese de que la
ménsula se mantenga paralela al riel. De otra manera el
riel puede doblarse cuando esté abriendo la puerta.
Tuerca de sequridad
1/4"-20
Perno de coche
1/4"-20x1/2"
Perno Hexagonal
5/16"-18x7/8"
Tuerca
5/16"-18
Arandela
5/16"
ESTAS PIEZAS
SE MUESTRAN
EN SU TAMAÑO
REAL

Tuerca de
sequridad 1/4"
EN DIRECCION
OPUESTA AL
ABRE-PUERTAS
El riel se
conecta al abre-puertas
mediante este extremo.
El sostén de la polea
del cable se fija a este
extremo del riel.
Riel
(Sección centro)
Riel
(Sección final)
Riel
(Sección final)
Perno de coche
1/4"-20x1/2"
Escuadra del carro
perforación para
la flecha
Brazos en Riel
10
ENSAMBLADO PASO 1
SOLO para puertas corredizas y
batientes
Ensamble de riel "T" y sujetar
la ménsula
No encienda ni use el abre-puertas hasta
que llegue al paso de la instalación
correspondiente, de otra manera corre el
riesgo de complicar el proceso de
instalación.
1.Extender las cuatro secciónes del riel "T"
en una superficie plana. El centro de las
secciónes son intercambiables. La
sección frontal y posterior también son
intercambiables para facilidad del
ensamble.
2. Conecte la sección y las contratuercas
de 1/4" a las secciones extremas del mismo lado como
se ilustra en la figura correspondiente.
NOTA: Si el riel "T" no se ensamble exactamente como
se muestra, el carro no se moverá suavemente a lo
largo del riel o golpeará contra los pernos.
3. Inserte los pernos con cabeza redonda y cuello
cuadrado en el lado opuesto a las secciones extremas.
Apriete las tuercas.
4. Situar la ménsula frente al final del riel "T" con se
muestra. Fijar firmement con los pernos indicados.
NOTA: Al apretar los pernos, asegúrese de que la
ménsula se mantenga paralela al riel. De otra manera el
riel puede doblarse cuando esté abriendo la puerta.
Perno Hexagonal
5/16"-18x7/8"
El soporte y riel deben estar paralelos
Arandela
5/16"
Tuerca
5/16"-18
Ménsula
Tuerca de sequridad
1/4"-20
Perno de coche
1/4"-20x1/2"
Perno Hexagonal
5/16"-18x7/8"
Tuerca
5/16"-18
Arandela
5/16"
ESTAS PIEZAS
SE MUESTRAN
EN SU TAMAÑO
REAL

11
Tope temporal
con destornillador
Espiga
roscada
Tuerca exterior
5/16"
Tuerca interior
5/16"
Carro
Carro
Arandela
5/16"
Arandela
5/16"
Tuerca
5/16"-18
Perno hexagonal
para del carro
Perno hexagonal
5/16"-18x7/8"
Espiga
roscada
Arandela 5/16"
Tuerca exterior
5/16"-18
Tuerca interior
5/16"-18
Arandela
5/16"
Tuerca interior
5/16"-18
Ménsula
Carro
Tuerca
5/16"-18
Arandela
5/16"
Perno hexagonal
5/16"-18x7/8"
ESTAS PIEZAS SE MUESTRAN
EN SU TAMAÑO REAL
ESTAS PIEZAS SE MUESTRAN EN SU TAMAÑO REAL
ENSAMBLADO PASO 2
Solamente para puertas seccionales y de
una sola pieza con rieles
Instalar el carro sobre el riel en "T"
• Unir la espiga roscada con el carro con arandela y
tornillo como se muestra.
• Como un tope temporal, inserte un destornillador dentro
del orificio ubicado en la parte frontal del riel "T".
• Deslizar el carro ensamblado a lo largo del riel hasta
topar con el destornillador.
NOTA: Si el carro golpea contra alguna tuerca en el
riel "T", esto significa que tanto los pernos como las
tuercas fueron colocados desde el lado opuesto y
deben ser colocados en su posición correcta.
Revisar Paso 1.
ENSAMBLADO PASO 3
Sólamente para puertas corredizas y
batientes
Instalar el carro sobre el riel en "T"
• Unir la espiga roscada con el carro con arandela y
tornillo como se muestra.
• Inserte un perno hexagonal en el orificio ubicado en el
extremo frontal del riel T.
• Deslice la parte del carro a lo largo del riel hasta que se
apoye contra el perno hexagonal (paro del carro).
NOTA: Si el carro se golpea contra alguna tuerca en el
riel "T", flecha y/o guía y tuerca donde se unen por
el lado opuesto y deben ser puestas nuevamente en
su posición correcta. Revisar Paso 1.

12
Riel
sección posterior
Orificio del tornillo
de protección de
la cubierta
Tuerca
5/16"-18
Arandela
5/16"
Perno con arandela
5/16"-18x1/2"
Perno hexagonal
5/16"-18x7/8"
USAR UNICAMENTE
ESTE TIPO Y
TAMAÑO DE PERNO
Tuerca
5/16"-18
Arandela
5/16"
Perno hexagonal
5/16"-18x7/8"
ESTAS PIEZAS SE MUESTRAN EN SU TAMAÑO REAL
Para evitar daños serios al abre-puertas, SÓLO utilizar pernos
montados en la parte superior del motor.
PRECAUCI
PRECAUCI
ÓN
ADVERTENCIA
ADVERTENCIAADVERTENCIA
ENSAMBLADO PASO 4
Fijar riel "T" al abre-puertas de garaje
• Colocar el abre-puertas de garaje material de empaque
para proteger la cubierta. Por conveniencia, colocar un
soporte abajo de la ménsula.
• Quitar los dos pernos con arandela 5/16"-18x1/2"
montados en la parte superior del motor.
• Alinear los orificios de la sección posterior del riel T con
los orificios del cabezal del abre-puertas.
• Fijar el riel con los dos (2) pernos previamente
colocados y ajustados firmemente. ¡Sólo se debe
utilizar estos pernos! Cualquier otro perno le
causarán serios daños al abre-puertas.
• Insertar el perno hexagonal 5/16"-18x7/8" en el orificio
de la cubierta protectora en el riel T tal como se
muestra. Apretar fuertemente con una arandela 5/16" y
una tuerca de 5/16".
NOTA: Este perno evita que el carro se desplace
demasiado. Mantener una distancia de un mínimo de
38 mm entre el carro y este perno al ajustar los límites de
carrera (ver página 29).
MODELO 3122E ÚNICAMENTE:
•Fijar el extendedor de la cadena con tornillos
hexagonales #8x1 pulgada y arandelas de la manera
mostrada.

ENSAMBLADO PASO 5
Solamente para puertas seccionales y
de una sola pieza con rieles
Instalar la cadena y conectar la
cubierta del portacadena
1. Sacar el cable de la caja y
sujetarlo al carro con un enlace
maestro de la caja de los
accesorios (Figura 1).
• Empujar los pernos de la
barra del enlace maestro a
través del cable y del orificio
en la parte delantera del
carro.
• Empuje la tapa del enlace maestro sobre los pernos y
las ranuras de los pernos.
• Deslice el resorte de clip sobre la tapa y sobre las
ranuras de los pernos hasta que los dos pernos estén
bien colocados y seguros en su lugar.
2. Con el carro contra el destornillador, alimentar el cable
alrededor de la polea.
3. Modelo 3112E:
• Continue a lo largo del riel y alrededor de la catarina
del motor (Figura 2). Los dientes de la catarina deben
estar conectados con la cadena. Continue hasta el
perno roscado del carro.
Modelo 3122E:
• Continue hasta el reil y dirigirlo hacia adelante de la
catarina del motor (Figura 2). Continue hacia atrás y
alrededor de la ranura apropiada en el extendedor de
la cadena como se indica en la (Figura 3). Los dientes
de la catarina del abre-puertas de garaje deben
engranar en la cadena.
4. Utilizar el segundo eslabón maestro para conectar la
cadena al extremo plano del eje con rosca (Figura 1).
Comprobar y asegurarse que la cadena no esté
torcida.
5. Quite el destornillador.
CUBIERTA DEL PORTACADENA 3112E (SOLAMENTE)
Insertar la lengueta posterior en la ranura en la parte
posterior de la placa de montaje. Oprimir la cubierta
ligeramente e insertar la lengueta delantera (Figura 4).
13
Catarina
Figura 2
Polea de
cable
Bucle de
cuerda
Eslabón
maestro
Seguro
Perno
Ranura
Cadena
Extremo plano
del perno roscado
Contra
Contra
Seguro
Instale La Cadena y
Cable En Esta Dirección
Figura 1
No seque
la cadena
y cable
de la caja.
Mantenga la cadena
y el cable tensos
Catarina de
6 dientes
Extendedor de
la cadena Placa de montaje
del abre-puertas
de garaje
Catarina de
8 dientes
Extendedor de
la cadena Placa de montaje
del abre-puertas
de garaje
Figura 3
Puertas de Una Pieza
Aplicación de la catarina de 6 dientes.
(Modelo 3122E)
Puerta en Secciones Con Riel Curvo
Aplicación de la catarina de 8 dientes. (Modelo 3122E)
(Se puede utilizar la catarina de 6 dientes si se desea
obtener una velocidad más lenta de recorrido.)
Para evitar posibles LESIONES GRAVES en los dedos causadas
por las partes móviles del abre-puertas de garaje:
• SIEMPRE tenga las manos lejos de la polea mientras esté
funcionando el abre-puertas.
• Ponga la cubierta de la polea ANTES de hacer funcionar
el abre-puertas.
PRECAUCIÓN
ADVERTENCIA
ADVERTENCIA
ADVERTENCIA
ADVERTENCIA
Cubierta de
la portacadena
Montaje
Ranura de
lengüeta frontal
Ranura de
lengüeta posterior
Parte superior de la unidad del motor
Figura 4

14
5-15 cm
Bucle de
cuerda
Cuerda
Extremo plano
del perno roscado
Instale la cadena
en esta dirección.
Riel
Eslabón maestro
Resorte de clip
Cadena
Posterior
Cubierta del
portacadena
Ranura del perno
Portacadena
Placa de montaje
Ranura de la lengüeta
posterior
Abre-puertas
Eslabón maestro
Resorte de clip
Ranura del perno
Carro
Perno de detención
(perno hexagonal)
Eslabón maestro
perno
Eslabón maestro
perno
Extremo plano (del carro)
Tapa del eslabón
de empalme
Tapa del eslabón
de empalme
Eslabón de cadena
Para evitar posibles LESIONES GRAVES en los dedos causadas
por las partes móviles del abre-puertas de garaje:
• SIEMPRE tenga las manos lejos de la polea mientras esté
funcionando el abre-puertas.
• Ponga la cubierta de la polea ANTES de hacer funcionar
el abre-puertas.
PRECAUCIÓN
ADVERTENCIA
ADVERTENCIA
ADVERTENCIA
ADVERTENCIA
Figura 1
ENSAMBLADO PASO 6
Solamente puertas corredizas y batientes
Instalar la cadena y conectar la
cubierta del portacadena
1. Sacar el cable de la caja y
sujetarlo al carro con un
enlace maestro de la caja de
los accesorios (Figura 1).
• Empujar los pernos de la
barra del enlace maestro a
través del cable y del
orificio en la parte
delantera del carro.
• Empuje la tapa del enlace maestro sobre los pernos y
las ranuras de los pernos.
• Deslice el resorte de clip sobre la tapa y sobre las
ranuras de los pernos hasta que los dos pernos estén
bien colocados y seguros en su lugar.
2. Para evitar que el carro quede atascado contra el abre-
puertas durante su funcionamiento, coloque el carro
5 a 15 cm del orificio de detención como aparece en la
ilustración. Luego alimente la cadena alrededor de la
catarina del abre-puertas (Figura 1). Asegúrese de que
los dientes de la catarina engranen la cadena.
• Continue alrededor de la ménsula de la polea y hasta
el perno roscado del carro.
3. Utilizar el segundo eslabón para conectar la cadena al
extremo plano del perno roscado (Figura 1).
Comprobar y asegurarse que la cadena no esté
torcida.
CUBIERTA DEL PORTACADENA 3112E (SOLAMENTE)
Insertar la lengueta posterior en la ranura en la parte
posterior de la placa de montaje. Oprimir la cubierta
ligeramente e insertar la lengueta delantera.
No seque
la cadena
y cable
de la caja.
Mantenga la cadena
y el cable tensos

15
ENSAMBLADO PASO 7
Apretar la Cadena y Cable
• Girar la tuerca y la arandela de cierre en la dirección del
perno roscado y alejado del carro.
• Para aligerar la cadena, girar la tuerca externa en la
dirección mostrada. A LA MEDIDA QUE GIRE LA
TUERCA, MANTENGA LA CADENA DERECHA.
• Cuando la cadena esté aproximadamente 13 mm sobre
la base del riel "T" en su punto medio, volver a apretar la
tuerca interna para asegurar el ajuste.
El engranaje de cadena se hará ruidoso si la tensión
de la cadena queda floja o muy apretada.
NOTA: Al terminar la instalación, es posible que note que
la cadena esté caída cuando la puerta está cerrada. Esto
es normal. Si la cadena regrese a la posición mostrada al
abrir la puerta, no vuelva a ajustar la cadena.
NOTA: Durante el mantenimiento futuro, SIEMPRE tirar la
manija de emergencia para desconectar el carro antes de
ajustar la cadena.
Ha finalizado el ensamblado de su abre-puertas de
garaje. Leer las advertencias siguientes antes de
proceder con la sección de instalación.
13 mm
Arandela
Para apretar la tuerca externa
Tuerca
interna
Cadena
Base del riel
Para apretar
la tuerca interna
Tuerca
externa
INSTALACIÓN
INSTRUCCIONES DE INSTALACIÓN IMPORTANTES
1. LEA Y SIGA LAS ADVERTENCIAS Y LAS INSTRUCCIONES
DE INSTALACIÓN
2. Instale el abre-puertas de garaje solamente en puertas de
garaje que estén bien equilibrados y lubricados. Si la puerta
no está debidamente equilibrado es posible que no retroceda
cuando así se requiera y podría ocasionar una lesión grave e
incluso la muerte.
3. Todas las reparaciones de los cables, resortes y otras partes
las DEBE llevar a cabo un técnico especializado en sistemas
de puertas, antes de instalar el abre-puertas.
4. Desarme todos los seguros y retire todas las cuerdas
conectadas al puerta de el garaje antes de instalar el abre-
puertas para evitar que estas se enreden.
5. Instale el abre-puertas de garaje a una distancia de 2.10 m del
piso.
6. Monte la manija de liberación de emergencia a una distancia
de 1.80 m del piso.
7. NO conecte el abre-puertas de garaje a una fuente de energía
eléctrica hasta que se le indique.
8. NUNCA lleve puestos relojes, anillos o prendas sueltas
durante la instalación o funcionamiento del abre-puertas,
pues podrían atorarse en la puerta de el garaje o en los
mecanismos del abre-puertas.
9. Instale el control del abre-puertas de garaje para paredes:
• de manera que quede a la vista desde la puerta
de el garaje.
• fuera del alcance de los niños y a una altura mínima
de 1.5 m.
• lejos de todas las partes móviles de la puerta.
10. Coloque la calcomanía que advierte sobre el riesgo de
enredarse sobre la pared cerca del control de la puerta del
garaje.
11. Coloque la calcomanía que contiene la prueba de reversa de
seguridad y liberación de emergencia a plena vista en la
parte interior de la puerta del garaje.
12. Al concluir la instalación, pruebe el sistema de reversa de
seguridad. la puerta DEBERÁ retroceder al entrar en
contacto con un objeto de 38 mm puesto sobre el piso.
Para reducir el riesgo de una LESIÓN GRAVE o LA MUERTE:
PRECAUCIÓN
ADVERTENCI
AADVERTENCIA
ADVERTENCIAADVERTENCIA

16
Guía
linea vertical
Cielo raso terminado
Pared de
cabezal
Soporte
Pedazo
de madera
de 25 mm
Línea central
vertical de la
puerta del garaje
Pared del
cabezal
Cielo raso
PUERTA SECCIÓNAL
CON RIEL EN CURVA
Riel
Puerta Puerta
Riel
Herrajes de
retención
PUERTA DE UNA SOLA PIEZA
CON RIEL HORIZONTAL Y
PERNERÍA DE RETENCIÓN
Punto más alto
del recorrido
Punto más alto
del recorrido
Pared del
cabezal
Puerta
Riel
Puerta
Riel
Exterior
Riel
PUERTA DE UNA
SOLA PIEZA CON
RIEL HORIZONTAL
Y VERTICAL
Punto más alto
del recorrido
Punto más alto
del recorrido
Pared del
cabezal Pared del
cabezal
PUERTA ESTILO
PABELLÓN DE UNA
SOLA PIEZA CON
RIEL VERTICAL
INSTALACIÓN PASO 1
Determinar la localización
de soporte de cabecera
Los procedimientos de instalación varían según el tipo de
puerta de garaje. Siga las instrucciones que se aplican a
su puerta.
Si su puerta de garaje es del estilo pabellón o de rieles
verticales y horizontales NECESITARÁ un kit de
conversión de brazo de puerta. Siga las instrucciones
adjunto con el brazo de puerta de repuesto.
PUERTA SECCIONAL Y PUERTA DE UNA SOLA
PIEZA CON RIELES
1. Con la puerta cerrada, localizar y marcar el centro
vertical de la puerta del garaje.
2 Extender la línea de centro hasta la pared del cabezal
que se ubica sobre la puerta.
Se puede sujetar el soporte del cabezal dentro de
una distancia de 1.2 m a la izquierda o a la derecha
del centro de la puerta solamente si estorba un
resorte de torsión o placa de cojinete central.
También se puede sujetar al cielo raso (ver página
17) si el espacio libre es mínimo. (Asimismo, se
puede instalar en forma invertida sobre la pared si
fuese necesario. Esto le otorgará aproximadamente
1 cm de espacio).
Si necesita instalar la ménsula del cabezal en un
pedazo de madera de 38 mm (ya sea en la pared o en
el cielo raso), use tornillos de cabeza cuadrada o pijas
(no se incluyen) para sujetar dicho pedazo de madera a
los soportes estructurales, como se indica aquí y en la
página 17.
3. Abra la puerta hasta el punto más alto de su recorrido
como se indica. Marque una línea horizontal que
intersecte la pared delantera a 5 cm del punto más alto
del recorrido. A esta altura, el extremo superior de la
puerta tendrá suficiente espacio para su recorrido.
Proceeder al Paso 2, Página 18
Para evitar una posible LESIÓN GRAVE O INCLUSO LA
MUERTE:
• La ménsula del cabezal DEBE quedar RÍGIDAMENTE sujeta al
soporte estructural en la pared delantera o en el cielo raso,
de no ser así es posible que la puerta del garaje no retroceda
cuando se requiera. NO instale la ménsula del cabezal en
muros falsos.
• Se DEBEN usar sujetadores para concreto si el montaje de la
ménsula del cabezal o del pedazo de madera de 38 mm se
hace en mampostería.
• NUNCA trate de aflojar, mover, ni ajustar la puerta del garaje,
los resortes, los cables, las poleas, las ménsulas ni la
pernería, pues todas estas piezas están bajo una tensión
EXTREMA.
• SIEMPRE llame a un técnico especializado en sistemas de
puertas si la puerta del garaje se atasca, atora o si está
desequilibrada. Una puerta de garaje que no esté equilibrada
puede no retroceder cuando se requiera.
PRECAUCIÓN
ADVERTENCIA
ADVERTENCIA
ADVERTENCIA
ADVERTENCIA

17
Pared
delantera
Línea
central
vertical
Cielo raso sin
acabados
Pedazo de madera
de 38 mm
INSTALACIÓN
OPCIONAL DE
LA MÉNSULA DEL
CABEZAL EN EL
CIELO RASO
Soportes de
la estructura
Pedazo
de madera
de 38 mm
Línea central
vertical de la
puerta del
garaje
Pivote
Distancia
Piso
Pared delantera
Punto más alto
del recorrido
Puerta
Puerta de una sola pieza sin riel:
pernería de pivote
Pared delantera
Punto más alto
del recorrido
Piso
Distancia
Puerta
Pernería
de retención
Puerta de una sola pieza sin riel y
con: pernería de retención
EJEMPLO
Distancia entre la parte superior de la puerta
(en su punto más alto de desplazamiento)
y el piso . . . . . . . . . . . . . . . . . . . . . . . . . . . . . . . . . 234 cm
Altura real de la puerta . . . . . . . . . . . . . . . . . . . . . -224 cm
Resultado . . . . . . . . . . . . . . . . . . . . . . . . . . . . . . . 10 cm
Sume. . . . . . . . . . . . . . . . . . . . . . . . . . . . . . . . . . . + 20 cm
Altura a la que se debe sujetar la ménsula
en la pared delantera . . . . . . . . . . . . . . . . . . . . . . = 30 cm
(Medir hacia ARRIBA desde la parte
superior de la puerta CERRADA)
Proceder al Paso 2, Página 18.
PUERTA DE UNA SOLA PIEZA SIN RIEL
1. Con la puerta cerrada, buscar y marcar el centro vertical
de la puerta del garaje. Extender la línea del centro
hasta la pared de cabecera arriba de la puerta, como se
muestra en la ilustración.
Si el espacio libre para el cabezal es mínimo, se puede
instalar el soporte del cabezal en el cielo raso (Ver
página 18).
Si necesita instalar el soporte del cabezal sobre un
pedazo de madera de 38 mm (en la pared o en el cielo
raso) utilice tornillos tirafondo (no proporcionados) para
sujetar firmemente el pedazo de madera a los soportes
estructurales en el modo indicado.
2. Abra la puerta hasta el punto más alto de su recorrido.
Medir la distancia entre la parte superior de la puerta y
el piso. Restar la altura real de la puerta. Sumar 20 cm
al resultado. (Ver el ejemplo que se da abajo.)
3. Cerrar la puerta y trazar una línea horizontal de
intersección sobre la pared del cabezal a la altura
determinada.
NOTA: Si el número total de centímetros excede la
altura de su garaje, usar la altura máxima posible o
consultar la página 18 para obtener información sobre la
instalación en el cielo raso.

18
Tornillos tirafondo
de 5/16 por 9x1-5/8 pulgadas
ESTAS PIEZAS SE MUESTRAN EN SU
TAMAÑO REAL
Tornillos tirafondo de
5/16x9x1-5/8 pulgadas
Punto más alto del
recorrido de la puerta
del garaje
Línea central
vertical
Pared
delantera
Orificios para la instalación de pared
Orificios opcionales
para la instalación en la pared
Este orificio es solamente
para marcar la posición de
la ménsula. Se deben de
utilizar los tornillos tirafondo
para sujetar la ménsula.
UP
CEILING MOUNT ONLY
Resorte de la puerta
Ménsula
del cabezal
La puerta del garaje
Pedazo
de madera
de 38 mm
ARRIBA
MONTAJE AL TECHO UNICAMENTE
Línea central
vertical de la
puerta del garaje
ARRIBA
MONTAJE AL TECHO UNICAMENTE
Orificios para la instalación
en el cielo raso
Este orificio es solamente para
marcar la posición de la ménsula.
Se deben de utilizar los tornillos
tirafondo para sujetar la ménsula
del cabezal.
UP
Tornillos tirafondo de
5/16x9x1-5/8 pulgadas
Pared delantera
– Cielo raso terminado –
Ménsula del
cabezal
Máximo de 15 cm
Resorte
de la
puerta
Puerta
del garaje Línea
vertical del
centro de la puerta
Línea central vertical
de la puerta del garaje
INSTALACIÓN PASO 2
Instale la ménsula del cabezal
La ménsula del cabezal se puede sujetar a la pared sobre
la puerta del garaje o en el cielo raso. Siga las
instrucciones que sean las más adecuadas para las
necesidades de su garaje. No instale la ménsula del
cabezal en un muro falso. Si va a sujetar la ménsula
del cabezal a ladrillo o mampostería, asegúrese de
utilizar sujetadores de cemento (no se incluyen).
INSTALACIÓN DE LA MÉNSULA DEL CABEZAL
EN LA PARED DELANTERA
• Coloque la ménsula sobre la línea central vertical con el
borde inferior sobre la línea horizontal como se muestra
en la ilustración (con la flecha de la ménsula apuntando
hacia el cielo raso).
• Marque los orificios de la ménsula que van en línea
vertical (no use los orificios designados para la
instalación en el cielo raso).Taladre los orificios con una
broca de 5 mm y sujete la ménsula al soporte de la
estructura con la pernería que se indica.
INSTALACIÓN DE LA MÉNSULA DEL CABEZAL
EN EL CIELO RASO
• Extienda la línea central vertical sobre el cielo raso como
se muestra en la ilustración.
• Coloque la ménsula al centro de la línea a no más de 15
cm de la pared. Asegúrase de que la flecha de la
ménsula apunte hacia la pared. La ménsula puede ser
instalada pegada al cielo raso cuando el espacio es muy
reducido.
• Marque donde va a taladrar los orificios laterales. Taladre
los orificios con una broca de 5 mm y sujete la ménsula
firmemente al soporte de la estructura con la pernería
que se incluye.

Seguro de aro
Pasador de chaveta
5/16"x2-3/4"
ESTAS PIEZAS SE MUESTRAN EN SU TAMAÑO REAL
Soporte
temporal
Soporte de cabecera
Pared de cabecera
Puerta de
garaje
Riel
Ménsula
Pasador de chaveta
5/16"x2-3/4"
Seguro de aro
Soporte de
cabecera
Ménsula
Riel
19
INSTALACIÓN PASO 3
Coloque el riel en la ménsula
del cabezal
• Coloque el abre-puertas sobre el piso del garaje debajo
de la ménsula del cabezal. Use el hule espuma del
empaque como base para protegerlo.
NOTA: Si el resorte de la puerta está obstruido, va a
necesitar ayuda. Otra persona tendrá que sostener el
abre-puertas firmemente sobre un soporte temporal para
ayudarle a que el riel pueda separarse del resorte.
• Coloque la ménsula del riel junto a la ménsula
del cabezal.
• Alinee los orificios de las ménsulas y júntelas con un
pasador de chaveta como se muestra en la ilustración.
• Sujételos con un anillo sujetador.

20
Riel
Pedazo de madera
38 mm
Puerta
CONTECTADO SUELTO
Brazo
de liberación
del carro
Operador
Orilla de
la puerta
Soporte del
cabezal
PUERTA DE UNA SOLA PIEZA SIN RIEL
• Abra completamente la puerta de manera que quede
paralela al piso, mida la distancia entre el piso y la parte
superior de la puerta.
• Coloque el abre-puertas a esta altura, utilizando una
escalera como apoyo.
• La parte superior de la puerta debe estar alineada con
la parte superior de la unidad del motor. No instale el
abre-puertas a más de 5 cm arriba de este punto.
INSTALACIÓN PASO 4
Coloque el abre-puertas
Siga las instrucciones correspondientes al tipo de puerta
de su garaje, como se muestra en la ilustración.
PUERTA SECCIONAL O PUERTA DE UNA SOLA
PIEZA CON RIEL
Un pedazo de madera de 38 mm le será de ayuda al
determinar la distancia ideal entre la puerta y el riel.
• Ponga el abre-puertas sobre la escalera. Si la escalera
no es lo suficientemente alta, va a necesitar ayuda.
• Abra completamente la puerta y coloque el pedazo de
madera de 38 mm en la sección superior, de manera
que quede debajo del riel.
• Si el panel superior golpea el carro al levantar la puerta,
jale hacia abajo el brazo de desenganche del carro para
desconectar las secciones internas y externas del
mismo. Deslice el carro externo hacia el motor. El carro
puede permanecer desconectado hasta el final del
Paso 11.
Para evitar que la puerta del garaje sufra daños, apoye el riel
del abre-puertas de garaje sobre un pedazo de madera de
38 mm colocado en la sección superior de la puerta.
PRECAUCI
PRECAUCI
ÓN
ADVERTENCIA
ADVERTENCIAADVERTENCIA

21
INSTALACIÓN PASO 5
Cuelgue el abre-puertas
Se muestran dos instalaciónes representativas. Quizá su
instalación sea diferente. Las soportes colgantes se deben
colocar en ángulo (Figura 1) para lograr un soporte rígido.
En los techos acabados (Figura 2), colocar un soporte
metá lico robusto sobre los soportes estructurales antes
de instalar el abre-puertas. Este soporte y los accesorios
no se incluyen con el abre-puertas.
1. Mida la distancia entre cada lado de la unidad del motor
y el soporte de la estructura.
2. Corte las dos partes de los soportes colgantes a la
medida adecuada.
3. Taladre los orificios de 5 mm en los soportes de la
estructura.
4. Sujete un extremo de cada soporte colgante al soporte
principal con tornillos tirafondo de 5/16 -18x1-7/8
pulgadas.
5. Sujete el abre-puertas a los soportes colgantes con
pernos hexagonales de 5/16 -18x7/8 pulgadas, y sus
tuercas y roldanas corespondientes.
6. Verifique que el abre-puertas esté centrado sobre la
puerta (o alineado con la ménsula del cabezal, si la
ménsula no está centrada sobre la puerta).
7. Quite el pedazo de madera de 38 mm. Haga funcionar
la puerta manualmente. Si la puerta golpea el riel, suba
la ménsula del cabezal.
8. Coloque grasa de riel en la parte superior y en
los lados de la superficie del
riel donde se desliza el carro.
Perno 5/16"-18x7/8"
Mida la
distancia
Tornillos tirafondo de
5/16"-18x1-7/8"
Vigas del
techo
Arandela 5/16"
Tuerca 5/16"-18
— TECHO TERMINADO —
Soporte
(No incluido)
Tornillos tirafondo
de 5/16"-18x1-7/8"
(No incluido)
Perno 5/16"-18x7/8"
Arandela 5/16"
Tuerca 5/16"-18
Soporte
oculto
Arandela 5/16"
Tuerca 5/16"-18
Perno 5/16"-18x7/8"
Soporte
(No incluido)
Figura 1
Figura 2
Para evitar la posibilidad de una LESIÓN GRAVE si se cae el
abre-puertas de garaje, sujételo FIRMEMENTE a los soportes
estructurales del garaje. Se DEBEN usar sujetadores para
concreto si alguno de los soportes se va a instalar en
mampostería.
PRECAUCIÓN
ADVERTENCIA
ADVERTENCIA
ADVERTENCIA
ADVERTENCIA
Perno hexagonal
de 5/16-18x7/8 pulg.
Tuerca de
5/16-18 pulg. Arandela de 5/16 pulg.
Tornillo tirafondo de 5/16-18x1-7/8 pulg.
ESTAS PIEZAS SE MUESTRAN EN SU TAMAÑO REAL
Llaves de caja de 13 mm

Vis 6ABx1-1/2 po Bouton-poussoir
éclairé de la commande de porte Agrage
isolée
Chevilles pour
murs secs
Para evitar la posibilidad de una LESIÓN GRAVE O INCLUSO LA
MUERTE por electrocución:
• ANTES de instalar el control de la puerta, asegúrese de que la
energía eléctrica no esté conectada.
• Conecte el control SÓLO a cables de bajo voltaje de 24 VOLTIOS.
Para evitar la posibilidad de una LESIÓN GRAVE O INCLUSO LA
MUERTE cuando la puerta del garaje se esté cerrando:
• Instale el control de la puerta de manera que quede a la vista
desde la puerta del garaje, fuera del alcance de los niños a una
altura mínima de 1.5 m y lejos de las partes móviles de la
puerta.
• NUNCA permita que los niños hagan funcionar o jueguen con
los botones de control de la puerta ni con los transmisores del
controles remotos.
• Haga funcionar la puerta SÓLO si lo puede ver claramente, si
la puerta está debidamente ajustada, y si no hay ninguna
obstrucción en su recorrido.
• SIEMPRE tenga a la vista la puerta del garaje hasta que esté
completamente cerrada. NUNCA permita que alguien se
atraviese en el recorrido de la puerta del garaje cuando se está
cerrando.
PRECAUCIÓN
ADVERTENCI
AADVERTENCIA
ADVERTENCIAADVERTENCIA
22
Panel trasero
del abre puerta
Cable de campana
Terminales de
conexión rápida
Tornillos
terminales
del botón
iluminado
de control
de la puerta
Botón iluminado
de control de la puerta Antena
WHT
RED
-2
-1
KG
1
3
9
7
5
KG
1
3
9
7
5
INSTALACIÓN PASO 6
Instalar el Control de la Puerta
Ubique el control de la puerta de manera que quede a la
vista desde la puerta y a una altura mínima de 1.5 m
donde los niños pequeños no lo puedan alcanzar y lejos
de las partes móviles de la puerta y de la pernería.
1. Pele 11 mm del extremo del cable de campana y
conéctelo a los terminales de tornillo correspondientes
al color del cable en la parte posterior de la puerta de la
unidad de control; blanco a 2 y blanco y rojo a 1.
2. Extraiga la cubierta del Control de Puerta Iluminada.
Sujetar el botón iluminado del control de la puerta
sólidamente mediante tornillos 6ABx1-1/2". Si la
instalación se hace en pared de yeso, taladrar tornillos
de 5/32" y utilizar los taquetes proporcionados.
3. Corra el cable de campana al motor a lo largo de la
pared yel techo, use grapas con aislamiento en various
puntos a lo largo del cable para sujetarlo. Tenga
cuidado de no perforar el cable al engraparlo, creando
así un corto circuito o un circuito abierto.
4. Terminales de conexión rápida del receptor y la antena
se encuentran en el tablero posterior del motor.
Colocar el cable de la antena como se muestra.
5. Retire más o menos 11 mm del aislamiento en un
extremo del cable de campana. Conecte el cable a los
terminales de conexión rápida de acuerdo a su color,
como sigue: el blanco al blanco y el blanco y rojo al rojo
NOTA: Al conectar controles múltiples de la puerta al abre-
puertas, tuerza juntos los cables del mismo color.Inserte
los cables en los orificios de conexión rápida: blanco a
blanco y rojo/blanco a rojo.
6. Use tachuelas o grapas para sujetar permanentemente
la calcomanía de advertencia sobre el riesgo de quedar
atrapado; esta calcomanía debe estar en la pared y
cerca del control de la puerta.
INSTRUCCIONES DEL ALAMBRADO PARA LOS
ACCESORIOS
Protector System™: para los tornillos de terminales:
blanco a blanco y negro a gris.
Conexiones del accesorio de cerradura exterior:
Terminales de conexión rápida al abridor: blanco a blanco;
blanco y rojo a rojo.
ESTAS PIEZAS SE MUESTRAN EN SU TAMAÑO REAL
11 mm
Pele el cable 11 mm
Rojo GrisBlanco
Conexiones del
control de la puerta
Para soltar el cable, empuje la
lengüeta hacia dentro con la punta
de un destornillador

23
INSTALACIÓN PASO 7
Instale el foco
• Oprima las lengüetas de desenganche ubicados a
ambos lados de la lente. Rote la lente suavemente
hacia atrás y hacia abajo hasta que la bisagra quede en
la posición totalmente abierta. No quite la lente.
• Instale focos de hasta 100 vatios como máximo en cada
portalámpara. En cuanto se conecte la electricidad, las
luces se ENCENDERÁN y permanecerán encendidas
por aproximadamente cuatro minutos y medio; luego, se
APAGARÁN.
• Invierta el procedimiento para cerrar la lente.
• Si las focos se funden prematuramente debido a la
vibración, use focos para abre-puertas de garaje.
NOTA: Sólo utilice focos estándares. El uso de bombillas
de cuello corto o especiales puede sobrecalentar el panel
o el portalámpara.
INSTALACIÓN PASO 8
Montaje de la manija y la cuerda
de emergencia
• Inserte un extremo del cordón en la manija, de modo
que la palabra "NOTICE" se lea correctamente como se
muestra. Asegúrelo con un nudo sencillo por lo menos
a 38 mm del extremo del cordón para evitar que se
suelte.
• Inserte el otro extremo del cordón en el orificio del brazo
liberador del carro.
• Ajuste el largo del cordón para que la manija quede a
1.8 m del piso. Haga un nudo igual en ese extremo.
• Instalación opcional: Puede instalarse un candado en
el brazo de desenganche del trole como una opción
más de seguridad. Para utilizar esta característica usted
debe perforar un orificio de 4.5 mm - 8 mm en la
hendidura ubicada en el brazo de desenganche del
trole. Instale el candado. Al usar esta característica el
desenganche de emergencia no funciona a menos que
se quite el candado.
NOTA: Si es necesario cortar el cordón, queme el extremo
cortado con un fósforo o encendedor para evitar que el
cordón se destuerza.
Para evitar la posibilidad de una LESIÓN GRAVE o INCLUSO
LA MUERTE si la puerta del garaje se cae:
• De ser posible, use la manija de emergencia para soltar el
carro SÓLO cuando la puerta del garaje esté CERRADA. Si
los resortes están débiles o rotos, o bien si la puerta está
desequilibrada, la puerta podría caerse rápida y/o
inesperadamente mientras se encuentra abierta.
• NUNCA use la manija de emergencia a menos que la
entrada del garaje esté libre de obstrucciones y no haya
ninguna persona presente.
• NUNCA use la manija para abrir o cerrar la puerta. Si el
nudo de la cuerda se suelta, usted podría caerse.
Bisagra
de la lente
Lengüeta
de desenganche
Foco estandar
de 100 vatios
(máximo)
Carro
NOTICE
Nudo
sobremano
Manija de
emergencia
Cordón
Brazo
liberador
del carro
Hendidura para el cierre del trole
PRECAUCIÓN
ADVERTENCIA
ADVERTENCIA
ADVERTENCIA
ADVERTENCIA
Para evitar que el panel o el portalámpara se SOBRECALIENTE,
• NO utilice focos de cuello corto o especiales.
• NO utilice focos halógenas. Utilice SÓLO focos
incandescentes.
PRECAUCI
PRECAUCI
ÓN
ADVERTENCIA
ADVERTENCIAADVERTENCIA

24
INSTALACIÓN PASO 9
Requisitos para la instalación eléctrica
Para evitar problemas con la instalación, no opere el
abre-puertas de garaje ahora.
Para reducir el riesgo de choque eléctrico, su abre-puertas
de garaje viene con una clavija de conexión a tierra de tres
patas. Esta clavija sólo se puede conectar a una toma de
corriente puesta a tierra y con tres entradas. Si la clavija
no entra en la toma de corriente que usted tiene, diríjase a
un electricista profesional para que instale la toma de
corriente correcta.
Si la reglamentación local exige que su abre-puertas
tenga cableado permanente, siga los siguientes pasos.
Para conectar el abre-puertas a la corriente eléctrica de
forma permanente a través del orificio de 22 mm
localizado en la parte superior del motor:
• Quite los tornillos de la tapa del abre-puertas y deje la
cubierta hacia un lado.
• Quite el cable de tres entradas.
• Conecte el cable (línea) negro al tornillo del terminal de
cobre, el cable blanco (neutral) al tornillo del terminal
color plata, y el cable a tierra al tornillo verde de la
puesta a tierra. El abre-puertas debe de estar puesto
a tierra.
• Vuelva a poner la tapa.
Para evitar problemas con la instalación, no opere el
abre-puertas de garaje ahora.
CORRECTO INCORRECTO
Para evitar la posibilidad de una LESIÓN GRAVE o INCLUSO
LA MUERTE por electrocución o incendio:
• Asegúrese de que el abre-puertas no esté conectado a la
energía eléctrica y desconecte la alimentación eléctrica al
circuito ANTES de quitar la cubierta para establecer la
conexión del cableado permanente.
• Tanto la instalación como el cableado de la puerta de garaje
DEBEN cumplir con todos los códigos locales eléctricos y de
construcción.
• NUNCA use una extensión ni un adaptador de dos hilos,
tampoco modifique la clavija para poder enchufarla.
Asegúrese de que el abre-puertas esté puesto a tierra.
Lengüeta de tierra
Tornillo de
tierra (verde)
Alambre
a tierra
Alambre
negro
CABLEADO
PERMANENTE
Alambre
blanco
Alambre
negro
PRECAUCIÓN
ADVERTENCIA
ADVERTENCIA
ADVERTENCIAADVERTENCIA

25
INSTALACIÓN PASO 10
Sujete la ménsula de la puerta
Siga las instrucciones que correspondan al tipo de puerta
de garaje que usted tenga, como se muestra en la
ilustración o en la página siguiente.
Si usa un puntal horizontal, éste debe de ser lo
suficientemente largo para sujetarlo a dos soportes
verticales. Si usa un puntal vertical, éste debe de ser
de la altura del panel superior.
La ilustración muestra una pieza de hierro en ángulo como
puntal horizontal. Para el puntal vertical se deben usar dos
piezas de hierro en ángulo con objeto de crear un soporte
en "U" (Figura 1). La mejor solución es ponerse en
contacto con la compañía fabricante de la puerta de su
garaje e informarse acerca de los juegos de refuerzos de
puertas para la instalación de un abre-puertas.
NOTA: Muchas de las instalaciones con soporte o
puntal vertical toman en cuenta la instalación directa de los
pasadores de chaveta y el brazo de la puerta. En este
caso, no necesitará instalar la ménsula para la puerta;
continue con el paso 11.
PUERTAS SECCIONALES
• Coloque la ménsula para la puerta sobre la línea central
vertical que había marcado previamente para la
instalación de la ménsula del cabezal. Asegúrese de
que la leyenda "UP" (arriba) esté en la posición
correcta, como se indica en la parte interior de la
ménsula (Figura 2).
• Coloque la ménsula sobre la parte delantera de la
puerta, dentro de los siguientes límites:
A) El borde superior de la ménsula 5 - 10 cm debajo del
borde superior de la puerta.
B) La orilla superior de la ménsula debe estar
directamente debajo de algún soporte de la
estructura a lo largo de la parte superior de la puerta.
Línea central
vertical de la
puerta del
garaje
Ménsula del cabezal
Si su puerta es de metal, aluminio,
fibra de vidrio o vidrio, siempre son
necesarios refuerzos verticales
y horizontales (no se incluyen)
Orilla interior de la
puerta o del refuerzo
de madera Ménsula de
la puerta
Tuerca
de 5/16-18
de pulg.
Perno de coche
de 5/16-18 por
2-1/2 pulgadas
Línea
central
vertical
UP
(hacia arriba)
Refuerzo vertical
Ubicación de
la ménsula
de la puerta
UP
(hacia arriba)
Ménsula de
la puerta
Arandela de
5/16 pulg.
Perno de coche de
5/16-18 por 2-1/2 pulgadas
Tuerca de 5/16-18
pulgadas Arandela de 5/16 pulgadas
ESTAS PIEZAS SE MUESTRAN EN SU TAMAÑO REAL
Figura 1
Figura 2
• Marque y taladre dos orificios de 8 mm para los
sujetadores a la derecha y a la izquierda. Sujete la
ménsula al refuerzo vertical (si éste existe), como se
muestra en la figura 1.
Si el tipo de instalación de su garaje no requiere refuerzos
verticales, pero sí necesita los orificios para los
sujetadores de la ménsula, taladre y sujete como se
muestra en la figura 2.
Para evitar que la puerta del garaje se dañe, refuerce su parte
interior con ángulos de hierro tanto vertical como
horizontalmente.
PRECAUCI
PRECAUCI
ÓN
ADVERTENCIA
ADVERTENCIAADVERTENCIA
Llaves de caja de 13 mm

26
Perno de coche de
5/16-18 por 2-1/2 pulgadas
Tuerca de 5/16-18
pulgadas Arandela de 5/16 pulgadas
ESTAS PIEZAS SE MUESTRAN EN SU TAMAÑO REAL
Si su puerta es de metal, aluminio,
fibra de vidrio o vidrio, siempre son
necesarios refuerzos verticales
y horizontales. (no se incluyen)
Pared delantera
Línea central vertical
de la puerta del garaje
Cielo raso
Colocación
opcional, para
la ménsula
de la puerta
Ménsula del cabezal
Ménsula
de la puerta
Pedazo de madera
38 mm
Extremo superior
de la puerta (interior
del garaje)
Perno de coche
de 5/16-18 por
2-1/2 pulg.
Colocación
opcional
Arandela
de 5/16
pulgada
Tuerca
de 5/16-
18 pulg.
Orilla superior
de la puerta
Si su puerta no tiene un marco exterior expuesto
o si debe recurrir a la instalación opcional, use tornillos
tirafondo de 5/16x1-1/2 pulg. (no se incluyen)
para sujetar la ménsula de la puerta.
Ménsula
de la puerta
PUERTAS DE UNA SOLA PIEZA
Lea y respete todas las advertencias e instrucciones
respecto a los refuerzos, contenidas en la página anterior,
respecto a la instalación de puertas plegables, ya que
todos los refuerzos para su puerta de una sola pieza son
los mismos.
• Coloque la ménsula de la puerta al centro de la parte
superior de la misma, alineada con la ménsula del
cabezal, según se indica en la ilustración. Marque ya
sea los orificios derecho e izquierdo o superior e inferior.
• Taladre los orificios pilotos de 8 mm y sujete la ménsula
con la pernería que se incluye.
Si la puerta no tiene un marco exterior expuesto, taladre
dos orificios de 5 mm y sujete la ménsula a la parte
superior de la puerta con tornillos de cabeza cuadrada de
5/16x1-1/2 pulgadas (no se incluyen).
NOTA: La ménsula para la puerta puede ser instalada
sobre la orilla superior de la puerta si es necesario para su
instalación en particular. (Vea la ilustración de colocación
opcional, señalada con la línea punteada). Taladre dos
orificios de 5 mm y sujete la ménsula a la parte superior
de la puerta con tornillos de cabeza cuadrada de
5/16x1-1/2 pulgadas (no se incluyen).
Llaves de caja de 13 mm

Arandela 5/16"
Tuerca 5/16"-18 Seguro de aro
Perno
Hexagonal
5/16"-18x7/8"
Pasador de chaveta
5/16"x1" (Carro)
Pasador de chaveta 5/16"x1-1/4"
(Ménsula de la puerta)
27
INSTALACIÓN PASO 11
Conectar el brazo de la puerta al carro
Siga las instrucciones que correspondan al tipo de puerta
de garaje que usted tenga, como se muestra
a continuación y en las dos páginas siguientes.
SÓLO PARA PUERTA SECCIONAL
• Asegúrese de que la puerta del garaje esté bien cerrada.
Jale la manija de emergencia para desconectar el carro
exterior al carro interior. Deslizar el carro exterior hacia
atrás (lejos de la puerta) unos 5 cm como muestran las
figuras 1, 2 y 3.
• Figura 1:
– Fije el brazo recto al carro exterior por medio del
pasador de chaveta 5/16"x1". Asegure la conexión con
un seguro de aro.
– Fije la sección curva de la misma forma a la ménsula
de la puerta, utilizando el pasador de chaveta
5/16"x1-1/4".
• Figura 2:
– Junte los dos brazos hasta poder alinear dos orificios
para unir las secciones, procurando que los orificios
estén tan separados como sea posible para aumentar
la rigidez en el brazo de la puerta.
• Figura 3, alineación alternativa del orificio:
– Si los orificios del brazo curvo están arriba de los del
brazo recto, desconecte el brazo recto y corte 15 cm
de la punta de salida. Reconéctelo al carro con la
punta cortada hacia abajo como se muestra.
– Junte los dos brazos.
– Busque dos pares de orificios alineados y únalos con
pernos, arandelas, y tuercas.
• Continue con el paso 1, Página 29. El carro se
reconectará automáticamente cuando se accione el
abre-puertas de garaje.
Seguro
de aro
Ménsula
de la puerta
Pasador de chaveta
5/16"x1-1/4"
Brazo curvo
Brazo
recto
Pasador
de chaveta
5/16"x1"
Arandela
5/16"
Tuerca
5/16"-18
Ménsula de la puerta
Pernos
5/16"-18x7/8"
Cordón
Arandela
5/16"
Tuerca
5/16"-18
Pernos
5/16"-18x7/8"
Cortar esta punta
Carro interior
Carro exterior
Manija de
emergencia
Figura 1
Figura 2
Figura 3
ESTAS PIEZAS SE MUESTRAN EN SU TAMAÑO REAL

28
Brazo de la puerta
Puerta
cerrada
Carro exterior
Manija de emergencia
Carro interior
Puerta abierta
Ángulo de la puerta
(incorrecto)
Angulo correcto
Carro exterior
Carro interior
Tuerca de
5/16-18
pulgadas
Arandela de
5/16 de pulgadas
Anillo sujetador
Brazo recto
Pernos de
5/16-18x7/8
de pulgadas
Ménsula de la puerta
Pasador de
chaveta de
5/16x1-1/4
de pulgada
Brazo curvo
– Oprima la barra pulsadora del control de la puerta. El
carro deberá ir hasta la posición de completamente
cerrada.
– Cierre la puerta manualmente y suba el brazo de la
puerta hasta el carro. El brazo de la puerta deberá
tocar el carro justo adelante del orificio conector del
brazo de la puerta. Consulte la ilustración
correspondiente al brazo de la puerta y al carro en
su posición de completamente cerrada. Si el brazo
queda detrás del orificio conector, ajuste el límite del
recorrido de la puerta; cada revolución del tornillo
equivale a 5 cm de recorrido del carro.
3. Conecte el brazo de la puerta al carro:
• Cierre la puerta y sujete el brazo curvo al orificio
conector del carro con el último pasador de chaveta.
Es posible que necesite levantar un poco la puerta
manualmente para poder hacer esta conexión.
• Asegúrelo con un anillo sujetador.
• Opere el abre-puertas por un ciclo completo de su
recorrido. Si la puerta parece estar en cierto ángulo
(hacia atrás) cuando está completamente abierta, así
como se muestra en la siguiente ilustración, disminuya
el límite del recorrido hacia arriba hasta que la puerta
quede paraleia al piso.
NOTA: Al establecer el límite hacia arriba como aparece
en la página siguiente, la puerta no debe tener una
inclinación “hacia atrás” cuando esté totalmente abierta,
como se ilustra abajo. Una ligera inclinación hacia atrás
hará que la puerta se atasque innecesariamente y/o que la
operación no sea uniforme al abrir o cerrar la puerta desde
la posición de totalmente abierta.
TODAS LAS PUERTAS DE UNA SOLA PIEZA
1. Arme el brazo de la puerta:
• Sujete las dos secciones de los brazos de la puerta
(recta y curva) a la mayor distancia posible, (de
manera que dos o tres de los orificios se sobrepongan
uno al otro).
• Cierre la puerta y sujete la sección recta del brazo a la
ménsula de la puerta con el pasador de chaveta de
5/16x1-1/4 pulgadas.
• Asegúrelos con un anillo sujetador.
2. Procedimiento de ajuste para puertas de una
sola pieza:
Si tiene una puerta de una sola pieza, deberá ajustar los
límites del recorrido antes de conectar el brazo de la
puerta. Los tornillos de ajuste del límite de recorrido se
encuentran en el panel del lado izquierdo, como se
muestra en la ilustración que aparece en la página 29.
Siga el procedimiento de ajuste que aparece a
continuación.
• Ajuste de abrir: disminuya el límite del recorrido
hacia arriba
– Ajuste el tornillo para ajustar el límite del recorrido
hacia arriba, dándole cinco y media vueltas hacia la
izquierda (dirección opuesta a las manecillas del
reloj).
– Oprima la barra pulsadora del control de la puerta. El
carro deberá ir hasta la posición de completamente
abierta.
– Abra la puerta manualmente de manera que esté
paralela al piso y suba el brazo de la puerta hasta el
carro. El brazo de la puerta deberá de tocar el carro
justo en la parte posterior del orificio conector.
Consulte la ilustración correspondiente al brazo de la
puerta y al carro en su posición completamente
abierta. Si el brazo no se extiende lo suficiente,
ajuste el límite del recorrido de la puerta; cada
revolución del tornillo equivale a 5 cm del recorrido
del carro.
• Ajuste de cerrar: disminuya el límite del recorrido
hacia abajo
– Ajuste el tornillo para ajustar el límite del recorrido
hacia abajo, dándole cinco vueltas completas hacia
la derecha (dirección de las manecillas del reloj).

29
AJUSTES, PASO 1
Ajuste el límite del recorrido hacia
arriba y hacia abajo
Al ajustar el límite del recorrido de la puerta, se regula
hasta que punto la puerta se detendrá al abrirse y
cerrarse.
Para activar el abre-puertas de garaje, oprimir el botón
iluminado. Activar el abre-puertas de garaje durante un
ciclo completo de operación.
• ¿la puerta se abre y cierra completamente?
• ¿la puerta permanece cerrada y no se mueve en reversa
inesperademente cuando no está completamente
cerrada?
Si su puerta pasa estas dos pruebas, no necesitará hacer
más ajustes al límite del recorrido. Pero si no pasa la
prueba de la reversa, tendrá que ajustar el límite del
recorrido (ajustes, paso 3).
El procedimiento de ajuste se explica a continuación. Lea
el procedimiento con cuidado antes de continuar con el
paso 2 de la sección de Ajustes. Use un desarmador para
hacer los ajustes al límite del recorrido. Después de llevar
a cabo un ajuste, deje que el abre-puertas corra un
ciclo completo de su recorrido.
NOTA: Abrir y cerrar la puerta varias veces durante el
procedimiento de ajuste puede hacer que el abre-puertas
se sobrecaliente y al sobrecalentarse se apagará.
Sólo espere quince minutos y continue con los ajustes
necesarios.
NOTA: Si algo interfiere con el recorrido de la puerta en su
trayectoria hacia arriba, ésta se detendrá. Pero si algo la
obstruye en su trayectoria hacia abajo (incluyendo un
posible desnivel o desequilibrio), esto activará la auto-
reversa y la puerta retrocederá.
CÓMO Y CUÁNDO AJUSTAR LOS LÍMITES
DEL RECORRIDO
• Si la puerta no se abre completamente, pero se abre
por lo menos 1.5 m:
Aumentar la carrera de abertura. Girar el tornillo de
abertura (UP) hacia la derecha. Una vuelta del tornillo
resulta en 5 cm de carrera.
NOTA: Para evitar que el carro golpee el tornillo de
protección de la cubierta, mantenga una distancia
mínima de 5 cm a 10 cm entre el carro y el perno.
• Si la puerta no abre al menos 1.5 m:
Ajustar el tornillo de abertura (UP) como se indica en el
Paso 2.
• Si la puerta no cierra totalmente:
Aumentar la carrera de cierre. Girar el tornillo (DOWN)
hacia la izquierda. Una vuelta del tornillo representa
5 cm de carrera.
Si la puerta aún no cierra por completo y el carro golpea
la ménsula (ver página 4 ó 5), tratar de alargar el brazo
de la puerta (ver página 27) y disminuya el límite del
recorrido hacia abajo.
• Si el abre-puertas de garaje da reversa al cerrar
totalmente:
Disminuir la carrera de cierre. Girar el tornillo (DOWN) a
la derecha. Una vuelta representa 5 cm de carrera.
Si el sistema de auto-reversa de seguridad no se ha instalado
debidamente, las personas (y los niños pequeños en
particular) podrían sufrir LESIONES GRAVES o INCLUSO LA
MUERTE cuando se cierre la puerta del garaje.
• El ajuste incorrecto de los límites del recorrido de la puerta
del garaje habrá de interferir con la operación adecuada del
sistema de auto-reversa de seguridad.
• Si se ajusta uno de los controles (límites de la fuerza o del
recorrido), es posible que sea necesario ajustar también el
otro control.
• Después de llevar a cabo cualquier ajuste, SE DEBE probar el
sistema de auto-reversa de seguridad. La puerta DEBE
retroceder al entrar en contacto con un objeto de 38 mm de
altura acostado en el piso.
• Si la puerta da reversa en el cierre y no hay nada que
interfiera en su camino:
Pruebe la puerta para verificar que no se doble ni se
atasque. Jale la manija de desenganche de emergencia,
y abra y cierre la puerta manualmente. Si la puerta
atasca, llame a un técnico especializado en sistemas de
puertas. Si la puerta no parece estar desnivelada ni se
atasca, continue con el ajuste de la fuerza del
movimiento hacia abajo de la puerta (cerrada), como se
indica en el paso 2 de la sección de Ajustes.
PRECAUCIÓN
ADVERTENCIA
ADVERTENCIA
ADVERTENCIA
ADVERTENCIA
Para evitar que los vehículos sufran daños, de que cuando la
puerta esté completamente abierta quede suficiente espacio
asegúrese.
PRECAUCI
PRECAUCI
ÓN
ADVERTENCIA
ADVERTENCIAADVERTENCIA
5 cm-
10 cm
Panel del lado izquierdo
Tornillos para el ajuste
del límite del recorrido
Perno de la
cubierta de
protección
Calcomanía de ajustes

30
KG KG
1
3
9
7
5
1
3
9
7
5
KG KG
Controles de ajuste de sensibilidad
Panel trasero del abre-puertas de garaje
ETIQUETA DE AJUSTES Antena
Fuerza de abertura Fuerza de cierre
Si el sistema de reversa de seguridad no se ha instalado
debidamente, las personas (y los niños pequeños en
particular) podrían sufrir LESIONES GRAVES o INCLUSO LA
MUERTE cuando se cierre la puerta del garaje.
• Si el límite de la fuerza del abre-puertas de garaje es excesivo
habrá de interferir con la operación adecuada del sistema de
auto-reversa de seguridad.
• NUNCA aumente la fuerza más allá de la cantidad mínima que
se requiera para cerrar la puerta del garaje.
• NUNCA use los ajustes de la fuerza para compensar si la
puerta del garaje se atasca o se atora.
• Si se ajusta uno de los controles (límites de la fuerza o del
recorrido), es posible que sea necesario ajustar también el
otro control.
• Después de llevar a cabo cualquier ajuste, SE DEBE probar el
sistema de auto-reversa de seguridad. La puerta DEBE
retroceder al entrar en contacto con un objeto de 38 mm de
altura acostado en el piso.
PRECAUCIÓN
ADVERTENCIA
ADVERTENCIA
ADVERTENCIA
ADVERTENCIA
AJUSTES, PASO 2
Ajuste la fuerza
Los tornillos para el ajuste de la fuerza del abre-puertas se
encuentran en el panel posterior del abre-puertas. Estos
ajustes controlarán la fuerza que será necesaria para abrir
y cerrar la puerta.
Si la fuerza está muy débil, es posible que la trayectoría
de la puerta esté interrupmpida por retrocesos molestos al
cerrar (movimiento hacia abajo) y detenciones al abrir
(movimiento hacia arriba). El clima puede afectar el
movimiento de la puerta, así que es posible que tenga que
hacer algunos ajustes ocasionalmente.
El máximo ajuste de la fuerza para los tornillos es 3/4
de vuelta, no trate de forzar el tornillo más allá de este
punto. Use un desarmador para hacer los ajustes.
NOTA: Si algo interfiere con el recorrido de la puerta en su
trayectoria hacia arriba, la puerta se detendrá. Pero si algo
obstruye su trayectoria hacia abajo (incluyendo un posible
desnivel o desequilibrio), esto activará la auto-reversa y la
puerta retrocederá.
CÓMO Y CUÁNDO AJUSTAR LA FUERZA DEL
ABRE-PUERTAS
1. Pruebe la fuerza del recorrido HACIA ABAJO (cerrar)
• Cierre la puerta manualmente agarrándola por la parte
inferior y deténgala más o menos a la mitad de su
trayectoria HACIA ABAJO (cerrar); la puerta deberá
retroceder. Si la puerta retrocede a la mitad de la
trayectoria, esto no garantiza que retrocederá al
toparse con una obstrucción de 38 mm. Siga con el
paso 3 de la sección de Ajustes.
Si es difícil sostener la puerta, o bien si la puerta
no retrocede, DISMINUYA la fuerza del movimiento
HACIA ABAJO (cerrar), con el tornillo de ajuste
dándole vuelta hacia la izquierda (dirección opuesta a
las manecillas del reloj). Haga pequeños ajustes hasta
que la puerta entre en reversa correctamente.
Después de llevar a cabo un ajuste, mande el abre-
puertas a correr un ciclo completo de su trayectoria.
• Si la puerta retrocede automáticamente en la
trayectoria hacia abajo (cerrar), y las luces del
abre-puertas no están parpadeando, AUMENTE la
fuerza de la trayectoria HACIA ABAJO (cerrar) con el
tornillo de ajuste dándole vuelta hacia la derecha
(dirección de las manecillas del reloj). Haga pequeños
ajustes hasta que la puerta haga un ciclo completo y
después de llevar a cabo el ajuste, mande el abre-
puertas a correr un ciclo completo de su trayectoria.
No aumente la fuerza más del mínimo necesario para
cerrar la puerta.
2. Pruebe la fuerza del recorrido HACIA ARRIBA (abrir):
• Cierre la puerta manualmente agarrándola por la parte
inferior y deténgala más o menos en la mitad de su
trayectoria HACIA ARRIBA (abrir); la puerta deberá
retroceder. Si no se detiene o es difícil sostenerla,
DISMINUYA la fuerza de la puerta HACIA ARRIBA con
el tornillo de ajuste, dándole vuelta hacia la izquierda
(dirección opuesta a las manecillas del reloj). Haga
pequeños ajustes hasta que la puerta haga un ciclo
completo. Después de llevar a cabo el ajuste, mande
el abre-puertas a correr un ciclo completo de su
trayectoria.
• Si la puerta no abre por lo menos 1.5 m,
AUMENTE la fuerza del RECORRIDO HACIA ARRIBA
(abrir) con el tornillo de ajuste, dándole vuelta hacia la
derecha (dirección de las manecillas del reloj). Haga
pequeños ajustes hasta que la puerta se abra
completamente. Reajuste el límite del recorrido HACIA
ARRIBA si es necesario. Después de llevar a cabo el
ajuste, mande el abre-puertas a correr un ciclo
completo de su trayectoria.

31
Si el sistema de reversa de seguridad no se ha instalado
debidamente, las personas (y los niños pequeños en
particular) podrían sufrir LESIONES GRAVES o INCLUSO LA
MUERTE cuando se cierre la puerta del garaje.
• El sistema de reversa de seguridad SE DEBE probar cada
mes.
• Si se ajusta uno de los controles (límites de la fuerza o del
recorrido), es posible que sea necesario ajustar también el
otro control.
• Después de llevar a cabo cualquier ajuste, SE DEBE probar el
sistema de reversa de seguridad. La puerta DEBE retroceder
al entrar en contacto con un objeto de 38 mm acostado en
el piso.
AJUSTES, PASO 3
Pruebe el sistema de reversa de seguridad
Instalación del abre-puertas de garaje
PRUEBA
•Abra completamente la puerta, coloque un pedazo de
madera de 38 mm acostado sobre el piso al centro de la
puerta del garaje.
• Opere la puerta en la dirección hacia abajo. La puerta
deberá entrar en reversa automáticamente al hacer
contacto con la obstrucción.
AJUSTE
•Si la puerta se detiene al toparse con la obstrucción, esto
significa que el recorrido HACIA ABAJO (cerrar) no es
suficiente. Aumente el límite del recorrido HACIA ABAJO,
con el tornillo correspondiente, haciéndolo girar 1/4 de
vuelta hacia la izquierda.
NOTA: Si su puerta es seccional, asegúrese de que los
ajustes al límite no hagan que el brazo de la puerta se
mueva más allá de una posición recta hacia arriba y hacia
abajo. Vea la ilustración de la página 27.
• Repita la prueba.
• Si la puerta retrocede automáticamente al hacer contacto
con el pedazo de madera de 38 mm, quite la obstrucción
y abra y cierre la puerta completamente por lo menos
cuatro o cinco veces para verificar que el ajuste sea
adecuado.
VERIFICACIÓN IMPORTANTE DE SEGURIDAD:
Repita los pasos de ajustes 1, 2 y 3 cada vez que:
• Se hagan ajustes al largo del brazo de la puerta, los
límites del recorrido, o los controles de la fuerza.
• Se hagan reparaciones o ajustes a la puerta del garaje
(incluyendo los resortes y la pernería).
• Se hagan reparaciones al piso del garaje porque está
desnivelado, etc.
• Se hagan reparaciones o ajustes al abre-puertas.
Instalación del abre-puertas de garaje
PRUEBA
El abre-puertas debe dar marcha atrás al entrar en contacto
con una obstrucción. Una puerta que está cerrándose debe
dar marcha atrás con muy poco esfuerzo y abrir
completamente. Vea Ajustes, Paso 2.
• Usar una tabla de 38 mm colocada sobre la pared o en la
orilla de la puerta.
•EN UNA PUERTA CORREDIZA, colocar una tabla de
25 mm entre la puerta y la pared cuando la puerta se esté
cerrando. La puerta debe dar marcha atrás sobre la tabla
y abrirse completamente. Repetir en la pared opuesta si
se han instalado dos abre-puertas.
•EN UNA PUERTA BATIENTE QUE ABRA HACIA FUERA,
insertar una tabla de 38 mm entre las secciones de la
puerta que se están cerrando. Las secciones de la puerta
deben dar marcha atrás y abrirse completamente.
AJUSTE
• Si la puerta se detiene ante la obstrucción, el recorrido
no es suficiente en la dirección de cerrado. Aumentar el
límite HACIA ABAJO, girando el tornillo de ajuste 1/4 de
vuelta en la dirección opuesta a las manecillas del reloj.
Repetir la prueba.
• Cuando la puerta dé marcha atrás al toparse con la tabla
de 38 mm, retirar la obstrucción y hacer funcionar el abre-
puertas un ciclo completo de su recorrido para probar el
ajuste.
Si la puerta no da marcha atrás después de realizar
varios ajustes, solicite servicio profesional.
PRECAUCIÓN
ADVERTENCIA
ADVERTENCIA
ADVERTENCIA
ADVERTENCIA
PUERTA DE UNA SOLA PIEZA
PUERTA SECCIONAL
38 mm Obstáculo
38 mm Obstáculo
38 mm
Obstáculo
UNA PUERTA BATIENTE
PUERTA CORREDIZA
38 mm Obstáculo

OPERACIÓN
INSTRUCCIONES DE SEGURIDAD IMPORTANTES
Para reducir el riesgo de LESIONES GRAVES o LA MUERTE:
PRECAUCIÓN
ADVERTENCI
AADVERTENCIA
ADVERTENCIAADVERTENCIA
1. LEA Y RESPETE TODAS LAS ADVERTENCIAS Y LAS
INSTRUCCIONES DE OPERACIÓN.
2. SIEMPRE conserve los controles remotos lejos del alcance de
los niños. NUNCA permita que los niños operen o jueguen
con los botones del control del abre-puertas de garaje ni con
los controles remotos.
3. SÓLO active el abre-puertas de garaje siempre y cuando lo
puedan ver con claridad, esté debidamente ajustado y no
haya ninguna obstrucción en su recorrido al cerrarse.
4. Tenga SIEMPRE la puerta del garaje a la vista hasta que esté
completamente cerrada. NADIE DEBE ATRAVESAR EL
RECORRIDO DE LA PUERTA CUANDO ESTÁ EN MOVIMIENTO.
5. De ser posible, use el desenganche de emergencia para soltar
el carro SÓLO cuando la puerta del garaje esté CERRADA. Si
los resortes están débiles o rotos, o bien si la puerta está
desequilibrada esta podría caerse rápida y/o inesperadamente
cuando esté abierta.
6. NUNCA use la manija del desenganche de emergencia a
menos que la entrada al garaje esté libre de obstrucciones y
no haya ninguna persona presente.
7. NUNCA use la manija para jalar la puerta para abrirla o
cerrarla. Si el nudo de la cuerda se suelta, usted podría caerse.
8. Si se ajusta uno de los controles (límites de la fuerza o del
recorrido), es posible que sea necesario ajustar también el
otro control.
9. Después de llevar a cabo cualquier ajuste, SE DEBE probar el
sistema de reversa de seguridad.
10. El sistema de reversa de seguridad SE DEBE probar cada
mes. La puerta DEBE retroceder al entrar en contacto con un
objeto de 38 mm de altura o acostado en el piso.
11. MANTENGA SIEMPRE LA PUERTA DEL GARAJE
DEBIDAMENTE EQUILIBRADA (vea la página 3). Si la puerta
no está debidamente equilibrada podría no retroceder
cuando así se requiera, lo que podría ocasionar una lesión
grave e incluso la muerte.
12. Todas las reparaciones necesarias para los cables, resortes
y otras piezas las DEBE llevar a cabo un técnico
especializado en sistemas de puertas, pues todas estas
piezas están bajo una tensión EXTREMA.
13. SIEMPRE desconecte el suministro de energía eléctrica al
abre-puertas de garaje antes de llevar a cabo cualquier
reparación o de quitar las cubiertas.
14.CONSERVE ESTAS INSTRUCCIONES.
Cómo usar su abre-puertas de garaje
Su abre-puertas Security✚y el control remoto han sido
programados en la fábrica con un código coincidente que
cambia cada vez que se usa, accesando al azar más de
100000 millones de códigos nuevos. Su abre-puertas
funcionará con varios controles remotos Security✚®,
utilizando hasta 54 funciones y un Sistema de llave digital de
Security✚®. Si compra un control remoto nuevo, o si desea
desactivar algún control remoto, siga las instrucciones que
aparecen en la sección sobre Cómo programar el abre-
puertas.
Active su abre-puertas de alguna de las siguientes
maneras:
•El Control remoto: Mantenga oprimido el botón grande
hasta que la puerta se empiece a mover.
•El Control de pared de la puerta: Mantenga oprimido el
botón o barra hasta que la puerta se empiece a mover.
•La llave digital (Vea Accesorios): Si se incluye con su
abre-puertas de garaje, deberá estar programado antes
de usarlo. Vea Cómo programar el abre-puertas.
Una vez activado el abre puertas
1. Si la puerta está abierta se va a cerrar. Si la puerta está
cerrada se va a abrir.
2. Si la puerta se está cerrando va a retroceder.
3. Si la puerta se está abriendo, se va a detener.
4. Si la puerta se ha detenido en un posición parcialmente
abierta, se va a cerrar.
5. Si al cerrarse la puerta se topó con alguna obstrucción,
va a retroceder.
6. Si al abrirse la puerta se topó con alguna obstrucción, se
va a detener.
7. Protector System™ opcional usa un rayo invisible que
cuando es interrumpido al momento en que la puerta se
está cerrando hace que la puerta regrese y si estaba
abierta no se cerrará mientras se obstruya el paso del
rayo. Este Sistema es MUY RECOMENDABLE si
tiene niños.
Las luces del abre-puertas se van a encender en los
siguientes casos: siempre que conecte el abre-puertas
inicialmente; cuando se restaura el suministro de energía
después de una interrupción; cuando el abre-puertas se
activa.
Las luces también se encenderán si alguien camina por la
puerta del garaje cuando esté abierta. Las luces se apagan
automáticamente después de cuatro minutos y medio. Las
bombillas deben ser de 100 vatios máximo.
Característica de sincronizador para cerrar (SÓLO
disponible cuando el Protector System®es instalada):
La puerta puede programarse para cerrar automáticamente
en 10 segundos, 45 segundos, 2 minutos ó 3 minutos.
La característica del sincronizador para cerrar está
pregraduada de fábrica a la posición inactiva. Para activar
esta característica oprima y mantenga oprimido el botón en
el control multifuncional de la puerta hasta que la luz del
abridor centellee una vez (10 segundos aproximadamente).
Un solo centelleo indica que el sincronizador se ha
regraduado a 10 segundos. Repita el procedimiento y la
luz centellea dos veces lo que significa que el
sincronizador se ha regraduado a 45 segundos. Repita
nuevamente para un intervalo de 2 minutos, etc., hasta un
máximo de 4 centelleos y 3 minutos.
Para desactivar, gradúe el sincronizador a 3 minutos.
Oprima y mantenga oprimido nuevamente el botón Lock en
el control multifuncional de la puerta por 10 segundos y la
luz del abridor centellea 5 veces. La característica está
ahora desactivada.
32

Para abrir la puerta manualmente
Si es posible, la puerta se debe
cerrar completamente. Jale la
manija del desenganche de
emergencia y levante la puerta
manualmente. Para volver a
conectar la puerta al abre-
puertas, oprima la barra
pulsadora de control de la
puerta.
El dispositivo de cierre evita que
el carro se vuelva a conectar
automáticamente. Tire de la
manija de emergencia hacia
abajo y hacia atrás. (hacia el
abre-puertas de garaje). La
puerta se puede subir y bajar
manualmente siempre que sea
necesario. Para desenganchar
la función de cierre, tire la
manija directamente hacia
abajo. El carro se volverá a
conectar la próxima vez que accione hacia
ARRIBA o hacia ABAJO.
Para evitar la posibilidad de una LESIÓN GRAVE o INCLUSO
LA MUERTE si la puerta del garaje se cae:
• De ser posible, use la manija del desenganche de emergencia
para soltar el carro SÓLO cuando la puerta de el garaje esté
CERRADA. Si los resortes están débiles o rotos, o bien si la
puerta está desequilibrada y se abre podría caerse rápida y/o
inesperadamente.
• NUNCA use la manija de desenganche de emergencia a
menos que la entrada del garaje esté libre de obstrucciones y
no haya ninguna persona presente.
• NUNCA use la manija para abrir o cerrar la puerta. Si el nudo
de la cuerda se suelta, usted podría caerse.
33
Cómo usar la unidad de
control de pared
BOTÓN ILUMIINADO DE CONTROL DE LA PUERTA
Presione el botón para abrir o cerrar la puerta.
Vuelva a presionarlo para hacer funcionar el
mecanismo de reversa de la puerta durante el
ciclo de cerrado o para detener la puerta
mientras se está abriendo.
PRECAUCIÓN
ADVERTENCIA
ADVERTENCIA
ADVERTENCIA
ADVERTENCIA
NOTICE
Manija de
emergencia
(jalar hacia
abajo y atrás en
la dirección del
abre-puertas de garaje)
Brazo
liberador
del carro
Brazo
liberador
del carro
NOTICE
Manija de
emergencia
(jalar hacia abajo)
POSICIÓN DE
DESENGANCHE MANUAL
POSICIÓN DE CERRADO

34
Mantenimiento de su abre-puertas
de garaje
AJUSTES DE LÍMITE Y FUERZA
Las condiciones climatológicas
pueden ocasionar cambios menores
en el funcionamiento de la puerta, que
requerirá algunos reajustes,
en particular durante el primer año de
operación.
En las páginas 29 y 30 se encuentra
la información sobre los ajustes de
límite y de fuerza. Lo único que
necesita es un desarmador. Siga las
instrucciones con mucho cuidado.
Repita la prueba de seguridad de
reversa (página 31) después de
hacer ajustes a los límites o a la fuerza.
CALENDARIO DE MANTENIMIENTO
Una vez al mes
• Haga funcionar la puerta manualmente. Si está
desequilibrada o se atasca, llame a un técnico
especializado en sistemas de puertas.
• Verifique que la puerta se abre y se cierra
completamente. Si es necesario, ajuste los límites y/o la
fuerza (Vea las páginas 29 y 30.).
• Repita la prueba de seguridad de reversa. Haga los
ajustes necesarios (Vea la página 31).
Dos veces al año
• Revisar la tensión de la cadena. Desconectar primero el
carro. Ajustar si es necesario (vea la página 15).
Una vez al año
• Ponga aceite en los rodillos, los cojinetes y las bisagras
de la puerta. El abre-puertas no necesita lubricación
adicional. No lubrique los rieles de la puerta.
LA BATERÍA DEL CONTROL REMOTO
La batería de litio debe
producir energía durante
cinco años. Para cambiar la
batería, use el clip del visor
o un desarmador para abrir
la caja, como se indica en la
ilustración. Coloque
la batería con el lado
positivo hacia arriba.
Elimine las baterías usadas en forma adecuada.
CONTROLES DE LIMITE
(Lado izquierdo)
KG KG
1
3
9
7
5
1
3
9
7
5
Fuerza
de abertura Fuerza
de cierre
CONTROLES DE FUERZA
(Lado posterior)
Para evitar la posibilidad de LESIONES GRAVES O INCLUSO
LA MUERTE:
• NUNCA permita que los niños pequeños estén cerca de
las baterías.
• Si alguien se traga una batería, llame al médico de inmediato.
PRECAUCIÓN
ADVERTENCIA
ADVERTENCIA
ADVERTENCIA
ADVERTENCIA
¿Si tiene algún problema?
1. El abre-puertas no funciona con la botonera de
pared ni con el control remoto:
• ¿Está el abre-puertas conectado a la electricidad?
Conecte una lámpara a la toma de corriente. Si no se
enciende, revise la caja de fusibles o el interruptor
automático. (Algunas tomas de corriente se controlan
con un interruptor de pared).
• ¿Ha desactivado todos los seguros de la puerta? Revise
las advertencias de las instrucciones de instalación que
aparecen en la página 15.
• ¿Hay nieve o hielo acumulado debajo de la puerta? La
puerta puede congelarse y quedarse pegada al piso.
Elimine esta restricción.
• El resorte de la puerta del garaje puede estar roto. Haga
que lo cambien.
• Es posible que las repetidas operaciones hayan
disparado el protector de sobrecarga del motor. Espere
15 minutos y vuelva a intentar.
2. El abre-puertas opera con el control remoto, pero no
funciona con la botonera de pared:
• ¿Está iluminado el control? Si no lo está, invierta los
cables. Si el abridor funciona, revise que los alambres
estén bien conectados en el control de la puerta, vea si
hay algún corto debajo de las grapas o algún alambre
roto.
• ¿Las conexiones del cableado son correctas? Revise el
paso 6 de la sección de Instalación.
3. la puerta funciona con el control de la puerta, pero
no funciona con el control remoto:
• ¿Está parpadeando el botón de la puerta? Si el modelo
de su abridor tiene la función de seguro (Lock),
cerciórese de que esté apagada.
• Programe el abridor para que coincida con el código del
control remoto (consulte las instrucciones que se
encuentran en el panel del motor). Repita esto con
todos los controles remotos.
4. El control remoto tiene corto alcance:
• Cambie la ubicación del control remoto en su coche.
• Revise y cerciórese de que la antena que se encuentra
a un lado o en el panel posterior de la unidad del motor
se extienda hacia abajo completamente.
• Algunas instalaciones pueden tener menor alcance si la
puerta es de metal, tiene aislamiento, o si el
recubrimiento externo de el garaje es de metal.
5. El ruido que hace el abridor molesta en las
habitaciones de la casa:
• Si el ruido de la operación del abridor es un problema
porque las habitaciones de la casa están muy cerca, se
puede instalar un Aislador de la vibración 41A3263. Este
accesorio está diseñado para minimizar la vibración en
la casa y es fácil de instalar.
Coloque la batería
con el lado positivo
hacia arriba (+)
AVISO: Para cumplir con las reglas de la FCC y/o de Canadá (IC), las reglas, ajustes o
modificaciones de este receptor y/o transmisor están prohibidos, excepto por el cambio de la
graduación del código o el reemplazo de la pila. NO HAY OTRAS PIEZAS REPARABLES DEL
USUARIO.
Se ha probado para cumplir con las normas de la FCC para USO DEL HOGAR O DE LA OFICINA.
La operación está sujeta a las dos condiciones siguientes:(1) este dispositivo no puede causar
interferencia perjudicial, y (2) este dispositivo debe aceptar cualquier interferencia recibida,
incluyendo la interferencia que puede causar una operación no deseable.

35
Si tiene algún problema (continuación)
6. La puerta del garaje se abre y se cierra por sí
misma:
• Asegúrese que todos los botones del control remoto
estén apagados.
• Quite el alambre del timbre de las terminales del control
de la puerta y haga funcionar la puerta solamente con el
control remoto. Si esto resuelve el problema, el control
de la puerta tiene alguna falla (cámbielo), o hay algún
corto intermitente en el alambre entre el control de la
puerta y la unidad del motor.
• Limpie la memoria y vuelva a programar todos los
controles remotos.
7. La puerta no abre completamente:
• ¿Hay algo que esté obstruyendo la puerta? ¿Está
desequilibrada, o los resortes están rotos? Elimine la
obstrucción o repare la puerta.
• Si la puerta está en buenas condiciones pero no abre
completamente, aumenta la fuerza hacia arriba. Vea
Ajustes, paso 2.
• Si la puerta abre por lo menos 1.5 m, es posible que se
tengan que aumentar los límites del recorrido. Una
vuelta equivale a 5 cm del recorrido. Vea Ajustes,
paso 1.
Repita la prueba de seguridad de reversa después de
terminar el ajuste.
8. La puerta se detiene pero no cierra completamente:
• Revise los procedimientos de ajuste de los límites del
recorrido que aparecen en la página 29.
Repita la prueba de seguridad de reversa después de
realizar cualquier ajuste al largo del brazo de la puerta, a
la fuerza o al límite hacia abajo.
9. La puerta retrocede sin ninguna razón en particular
y las luces del abre-puertas no parpadean:
• ¿Hay algo que esté obstruyendo la puerta? Jale la
manija del desenganche de emergencia. Opere la
puerta manualmente. Si está desequilibrada o se
atasca, llame a un profesional que arregle puertas de
garaje.
• Limpie el piso del garaje si tiene hielo o nieve en el
punto donde la puerta se cierra.
• Revise Ajustes, Paso 2.
• Si la puerta retrocede a la posición completamente
cerrada, disminuya los límites de recorrido (Ajustes,
paso 1).
Repita la prueba de seguridad de reversa después de
hacer los ajustes a la fuerza o a los límites del recorrido.
La necesidad de un ajuste ocasional de la fuerza y del
límite es normal. Las condiciones climatológicas en
particular pueden afectar el recorrido de la puerta.
10. Las luces del abre-puertas no se encienden:
• Cambie los focos (de 100 vatios máximo). Si la bombilla
se quema, use un foco estándar para puerta de garaje.
11. Las luces del abre-puertas no se apagan:
• ¿Está activada la función de luz? Si es así, apáguela.
12. El abre-puertas necesita la máxima fuerza para
operar la puerta:
• La puerta podría estar desequilibrada, o los resortes
podrían estar rotos. Ciérrela y use la manija del
desenganche de emergencia para desconectar el carro.
Abra y cierre la puerta manualmente. Si está bien
equilibrada se sostendrá en cualquier punto del
recorrido con sólo el soporte de sus resortes. Si esto no
ocurre, desconecte el abre-puertas y llame a un
técnico especializado en sistemas de puertas. No
aumente la fuerza para operar el abre-puertas.
13. El motor hace un ruido breve pero luego no
funciona:
• Los resortes de la puerta del garaje podrían estar rotos.
Vea los párrafos anteriores.
• Si el problema se presenta la primera vez que acciona
el abre-puertas, puede ser que la puerta esté con
seguro. Quítele el seguro.
Repita la prueba de seguridad de reversa después de
terminar el ajuste
14. El abre-puertas no funciona debido a una falla en el
suministro de energía:
• Use la manija de desenganche de emergencia para
desconectar el carro. La puerta se puede abrir y cerrar
manualmente. Cuando se restaure el suministro de
energía, oprima la barra pulsadora del control de la
puerta y el carro se vuelve a conectar automáticamente
(a menos que esté con seguro). Vea la página 33.
• El desenganche exterior rápido (que se usa solamente
en los garajes que tienen una puerta de de servicio)
desconecta el carro desde afuera del garaje en caso de
una falla en el suministro de energía.
15. La cadena se comba o afloja:
• Es normal que la cadena cuelque ligeramente cuando la
puerta está cerrada. Utilice la cuerda y la manija de
emergencia para desconectar el carro. Si la cadena
regresa a la altura normal cuando se libera el carro, y la
puerta vuelve al contacto con una pieza plana de
madera de 25 mm, no hay necesidad de ajustes. (Ver la
página 15.)

36
*Controles remotos de 3 botones
Si es proporcionado con
su abre-puertas de
garaje, el botón grande
ha sido programado en
la fabricá para operación
de su abre-puertas. Los
botones adicionales de
cualquier control remoto
de 3 botones Security✚®, o de un mini control remoto
pueden programarse para operar otros abre-puertas de
garaje Security✚®.
Botón
"A"
Botón
"B"
COMO PROGRAMAR EL ABRE-PUERTAS
Para borrar todos los códigos de la
memoria de la unidad del motor
Para desactivar cualquier control
remoto que no desee usar, antes que
nada borre todos los códigos:
Oprima y mantenga oprimido el botón
"aprender" (learn) de la unidad del
motor, hasta que la luz del indicador de "aprender"
(learn) se apague (aproximadamente 6 segundos). Ya
estarán borrados todos los códigos anteriores. Vuelva a
programar cada uno de los controles remotos o la llave
digital que desee usar.
1. Extraiga la cubierta del Control de Puerta Iluminada.
2. Oprima y mantenga oprimido el botón del control remoto que desee usar para la puerta de su
garaje.
3. Mientras mantiene oprimido el botón del control remoto, oprima y mantenga oprimido el botón
"A" en el Control de Puerta Iluminada.
4. Continúe oprimiendo los dos botones mientras oprime también el boton “B” en el Control de
Puerta Ilumindada. (con los tres botones oprimidos).
5. Suelte el botón del control remoto. as luces de la unidad del motor empiecena parpadear. Ya
aprendió el código. Si no se han puesto focos, se escucharán dos chasquidos.
Su abre-puertas de garaje ya viene programado de fábrica para operar con su control remoto. La puerta se abrirá y se
cerrará cuando oprima el botón grande.
A continuación se dan las instrucciones de programación del abre-puertas para que funcione con otros controles remotos
Security✚®.
AVISO: Si el abre-puertas de garaje Security
✚
®se usa con un transmisor de código no cambiante, se omitirá la intervención
del sistema de seguridad que tiene el abre-puertas contra dispositivos electrónicos usados para apropiarse
fraudulentamente del código. El titular del derecho de propiedad de este abre-puertas de garaje no autoriza al comprador
y/o vendedor del transmisor de código no cambiante a omitir la intervención del sistema de seguridad.
Cómo Agregar o Reprogrammar un Control Remoto Adicional
USO DEL CONTROL DE PUERTA ILUMINADA

37
1. Extraiga la cubierta del Control de Puerta Iluminada.
2. Ingrese un número de identificación personal (PIN) que haya elegido, usando el teclado. Luego
oprima y mantenga oprimido el botón ENTER.
3. Mientras mantiene oprimido el botón ENTER, oprima y mantenga oprimido el botón “A” de
Control de Puerta Iluminada.
4. Continúe oprimiendo los dos botones, ENTER y botón “A”, mientras oprime también el botón
“B” de Control de Puerta Iluminada (con los tres botones oprimidos).
5. Suelte los botones cuando las luces de la unidad del motor empiecen a parpadear. Ya aprendió
el código. Si no se han puesto focos, se escucharán dos chasquidos.
Para Poner o Cambiar el PIN de la Llave Digital
NOTA: Su nueva llave digital debe programarse para que accione el abre-puertas de garaje.
USO DEL CONTROL DE PUERTA ILUMINADA
NOTA: Estos métodos requiere dos personas si la Llave Digital ya está montada afuera del garaje.
Para cambiar un PIN existente
Si el PIN existente ya es conocido, una persona lo puede
cambiar sin usar una escalera.
1. Oprima los cuatro botones que correspondan al PIN
actual, luego oprima y mantenga oprimido el botón #.
La luz del abre-puertas parpadeará dos veces. Suelte el
botón #.
2. Oprima el nuevo PIN de cuatro dígitos y luego oprima
Enter.
Las luces de la unidad del motor van a parpadear una vez
cuando el PIN se haya aprendido.
Pruebe oprimiendo el nuevo PIN, luego oprima Enter. La
puerta debe moverse.
Para poner un PIN temporal
Usted puede autorizar el acceso a sus visitas o a personal
de servicio con un PIN temporal de cuatro dígitos.
Después de un determinado número de horas
programadas, o número de accesos, este PIN temporal
expira y no vuelve a abrir la puerta. Se puede usar para
cerrar la puerta aún después de que haya expirado. Haga
lo siguiente para poner un PIN temporal:
1. Oprima los cuatro botones correspondientes a su PIN
de entrada personal (no el último PIN temporal); luego
oprima y mantenga oprimido el botón ✽.
La luz del abre-puertas va a parpadear tres veces.
Suelte el botón.
2. Oprima los cuatro dígitos del PIN temporal que haya
elegido, luego oprima Enter.
La luz del abre-puertas va a parpadear cuatro veces.
3. Para fijar el número de horas que el PIN temporal debe
funcionar, oprima el número de horas (hasta 255), luego
oprima ✽.O
3. Para fijar el número de veces que el PIN temporal debe
funcionar, oprima el número de veces (hasta 255), luego
oprima #.
La luz del abre-puertas va a parpadear una vez cuando se
haya aprendido el PIN temporal.
Pruebe oprimiendo los cuatro botones correspondientes al
PIN temporal, luego oprima Enter. La puerta debe
moverse. Si el PIN temporal se ha fijado para abrir la
puerta un determinado número de veces, recuerde que la
prueba constituye una vez. Para borrar la contraseña
temporal, repita los pasos 1 al 3; fijando el número de
horas o de veces en 0, en el paso 3.

Piezas de la unidad del motor
38
DN
UP
Alambre
café
Contacto
hacia abajo ENSAMBLE
INTERRUPTOR LIMITE
Alambre
gris
Alambre
amarillo
Contacto
hacia arriba
Contacto limite
de centro
Engranaje
transmisor
10
813
14
15
4
5
3
2
9
16
12
18
11
17
6
7
19
1
CLAVE PARTE
NO. NO. DESCRIPCIÓN
1 41A4208 Extendedor de la cadena - 3122E
1A 31D380 Cubierta de la portacadena -
3112E
2 41C4206-2 Conjunto de engranaje y
portacadena - 3122E
2A 41C4798-2 Conjunto de engranaje y
portacadena - 3112E
3 41A2817 Conjunto de engranaje sin-fin y
transmisor con grasa y pernos de
expansión (2)
4 41B4245 Cordón eléctrico
5 41A5484-7 Panel con etiquetas
6 4A1344 Receptáculo de foco
7 108D68 Mica
8 30B532 Capacitor - 1/2 HP
9 12A373 Retén del capacitor
10 41A3150 Bloque terminal con tornillos
11 41D3058 Motor de repuesto y conjunto de
soporte universal.
12 41A5525-21 Cubierta
13 81C253 Retén e impulsor del interruptor
de límite
14 41A5640 Conjunto de interruptor de límite
15 41A2822-1 Anillo exterior del interruptor
16 41C4398A Sensor RPM con soporte
17 41A5483-12B Ensamble del panel lógico
del receptor
CLAVE PARTE
NO. NO. DESCRIPCIÓN
18 41C5497 Arnés de cables de alto voltaje
41C5498 Arnés de cables de bajo voltaje
19 41D181 Panel trasero con etiquetas
NO MOSTRADO
41A2826 Juego del soporte de motor
41A2825 Juego de pernería para el
ensamble del chasis (incluye
tornillos, no indicados con número
en la ilustración)
41A5536-6 Control remoto unifuncional y
tornillo (no se incluye el tablero de
circuitos)
10A20 Batería de litio de 3V2032
29B137 Broche de la visera
41A2828 Manija y el cordón liberador
del carro
114A2681 Manual del propietario

39
LOCKLIGHT
ACCESORI0S
760E
99E
98LM
1702E
970-315LG
971-315LM
973-315MK
976-315LM
Interruptor de Ilave externo:
Abre la puerta automáticamente desde
afuera cuando el control remoto no está
a la mano.
Protector System®:
Un sistema opcional para aumentar la
seguridad de su abre-puertas de garaje.
Si el rayo invisible del sensor se
interrumpe, la puerta dará reversa en
bajada y no cerrará si está abierta.
Control remoto de un Botón
SECURITY✚®:
Incluye broche del visor.
Control remoto de 3 Botones
SECURITY✚®:
Incluye broche del visor.
Minicontrol remoto de 3 Botones
SECURITY✚®:
Con anillo llavero y tira sujetadora.
Panel de control con la capacidad de
detectar movimiento:
La unidad de control de funciones
múltiples de la puerta está equipada con
sensores de movimiento que
mantendrán la luz encendida durante
cinco minutos cada vez que alguien
entre al garaje. Es posible desactivar el
sensor se así lo desea.
Llave digital SECURITY✚®:
Permite al usuario abrir la puerta del
garaje desde afuera al ingresar una
contraseña en un teclado diseñado
especialmente. También se puede
agregar una contraseña temporal para
visitantes o proveedores de servicios.
Esta contraseña temporal se puede
limitar a un número programable de
horas o entradas.
Desenganche exterior rápido:
Se necesita en un garaje SIN puerta
peatonal.
41A5281 Extensiones de ménsula:
(Opcionales). Para la instalación del
sensor de seguridad en la pared o en
el piso.
Para hacer un pedido, llamar al:
630-516-8423 (USA)
5333-9974 (México D F)
01-800-500-9300 (México General)

© 2006, The Chamberlain Group, Inc.
114A2681D Todos los Derechos Reservados
LOS SERVICIOS DE
CHAMBERLAIN ESTAN A
SU DISPOSICION
PARA LA INSTALACIÓN Y AYUDA EN LA
LOCALIZACIÓN DE UN DISTRIBUIDOR QUE
PROPORCIONE SERVICIO, SIMPLEMENTE
LLAME AL:
5333-9974: En México, D.F.
01-800-500-9300: Llamada gratis desde todas las
localidades fuera de la cuidad
de México (pero dentro del país)
1-630-516-8423: Fuera de la República Mexicana
(Para encontrar un distribuidor
que proporcione servicio)
HORAS: 7:00 a.m. a 3:30 p.m.
(Huso Horario de Montana)
LUNES A SABADO
Pongase en contacto con su distribuidor local de
Chamberlain si necesita instalación, partes de
repuesto y servicio profesional. Busque el
distribuidor en las Paginas Amarillas de su Guía de
Teléfono o llame nuestro numero de servicio para
obtener una lista de distribuidores en su área.
COMO ORDENAR
PARTES DE REPUESTO
Los precios serán dados si los pide o las partes seran
enviadas al precio en efecto y se la cobrara de
acuerdo.
CUANDO ORDENE PARTES DE REPUESTO,
SIEMPRE DE LOS DATOS SIGUIENTES:
• NUMERO DE PARTE
• DESCRIPCION
• NUMERO DE MODELO DE
SU ABRE PUERTA
ENVIE SU ORDEN A:
En La República de México:
Merik S.A. de C.V.
Poniente 152 #929
Col. Industrial Vallejo
02300 México, D.F.
Fuera de la República Mexicana,
Estados Unidos y Canadá
THE CHAMBERLAIN GROUP, INC.
Operaciones Internacionales
845 Larch Avenue
Elmhurst, Illinois. 60126 USA
GARANTIA LIMITADA DE UN AÑO DEL ABRE PUERTA CHAMBERLAIN DE PUERTA DE GARAJE
The Chamberlain Group, Inc. (“Vendedor”), garantiza al primer comprador minorista de éste producto, que éste mismo está libre de
defectos de materiales y de mano de obra por un período de un año a partir de la fecha de compra. La operación correcta de éste
producto depende de su acatamiento con las Instrucciones del Manual del Propietario referentes a la instalación,
operación, mantenimiento y prueba. El no obedecer estrictamente con estas restricciones, anulará por completo ésta
garantía. Por favor observar que el sistema de reversa de seguridad, para que opere correctamente con su puerta de
garaje, debe ajustarse y probarse periódicamente de acuerdo con lo establecido en el Manual del Propietario.
Si durante el período de garantía limitada, parece que éste producto contiene un defecto el cual es cubierto por esta garantía
limitada, antes de desmantelar éste producto comuníquese por teléfono con nuestro departamento de servicio o con el
distribuidor de servicio correspondiente a su localidad. A continuación, envié éste producto, una vez que sea pagado por
anticipado y asegurado, al centro de servicio correspondiente, con el fin de realizar la reparación, cubierta por la garantía. Al llamar
al centro de servicio correspondiente le proporcionarán las instrucciones de envío apropiadas. Por favor, incluir una descripción
breve del problema y un recibo fechado como prueba de compra, con cualquier producto que sea devuelto por concepto de
reparación cubierta por la garantía.
Los productos devueltos al Vendedor para la reparación cubierta por la garantía, los cuales una vez recibidos por el Vendedor, se
confirme que sean defectuosos y que estén cubiertos por ésta garantía limitada, serán reparados o reemplazados (a opción única
del Vendedor) sin costo para usted y serán devueltos con el porte pagado. Los componentes defectuosos serán reparados o
reemplazados a opción única del Vendedor con componentes nuevos o reconstruidos de fábrica.
ESTA GARANTIA LIMITADA SUSTITUYE A OTRAS GARANTIAS EXPRESAS O IMPLICADAS, INCLUYENDO CUALQUIER
GARANTIA IMPLICADA DE MERCANTIBILIDAD O DE ADECUACION PARA UN PROPOSITO PARTICULAR, O DE
CUALQUIER OTRA INDOLE, ADEMAS DE CUALQUIER OTRAS OBLIGACIONES O RESPONSABILIDADES DE PARTE DEL
VENDEDOR. ESTA GARANTIA LIMITADA NO CUBRE DAÑO ALGUNO QUE SURJA COMO CONSECUENCIA NO
RELACIONADA CON DEFECTO ALGUNO DEL PRODUCTO, NI TAMPOCO CUBRE EL DAÑO CAUSADO POR LA
INCORRECTA INSTALACION, OPERACION O CUIDADO (INCLUYENDO PERO NO LIMITADA AL ABUSO, MALTRATO, FALTA
DE PROPORCIONAR EL MANTENIMIENTO RAZONABLE Y NECESARIO, O CUALQUIER ALTERACION A ESTE PRODUCTO),
NI LOS CARGOS DE MANO DE OBRA PARA DESMANTELAR O VOLVER A INSTALAR UNA UNIDAD REPARADA O
REEMPLAZADA, NI TAMPOCO EL REEMPLAZO DE LAS BATERIAS.
BAJO NINGUNA CIRCUNSTANCIA EL VENDEDOR SERA RESPONSABLE DE DAÑOS CONSECUENCIALES, INCIDENTALES
O ESPECIALES QUE SURJAN EN RELACION CON EL USO O INCAPACIDAD DE USO DE ESTE PRODUCTO. LA
RESPONSABILIDAD DEL VENDEDOR POR VIOLACION DE LA GARANTIA, POR VIOLACION DEL CONTRATO,
NEGLIGENCIA O RESPONSABILIDAD ESTRICTA, EN NINGUN CASO DEBERA EXCEDER AL COSTO DEL PRODUCTO
CUBIERTO POR LA PRESENTE. NINGUNA PERSONA ESTA AUTORIZADA A ASUMIR POR NOSOTROS NINGUNA
RESPONSABILIDAD POR LA VENTA DE ESTE PRODUCTO.
Algunos estados no permiten la exclusión o limitación de daños consecuenciales, incidentales o especiales, de manera que la
anterior limitación o exclusión puede ser que no se aplique a usted. Esta garantía limitada le proporciona derechos legales
específicos y usted puede también tener otros derechos los cuales varían de un estado a otro.
GARANTIA LIMITADA DEL MOTOR
El motor se garantiza estar libre de cualquier defecto de mantenimiento y mano de obra por un período de 72 meses completos
(6 años) a partir de la fecha de compra.