Chevrolet 2007 Malibu Owners Manual Owner's
2015-10-23
: Chevrolet Chevrolet-2007-Chevrolet-Malibu-Owners-Manual-813817 chevrolet-2007-chevrolet-malibu-owners-manual-813817 chevrolet pdf
Open the PDF directly: View PDF
.
Page Count: 514 [warning: Documents this large are best viewed by clicking the View PDF Link!]
- 2007 Chevrolet Malibu BookTOC
- Seats and Restraint Systems
- Front Seats
- Rear Seats
- Safety Belts
- Safety Belts: They Are for Everyone
- Questions and Answers About Safety Belts
- How to Wear Safety Belts Properly
- Driver Position
- Shoulder Belt Height Adjustment
- Safety Belt Use During Pregnancy
- Right Front Passenger Position
- Rear Seat Passengers
- Rear Safety Belt Comfort Guides
- Safety Belt Pretensioners
- Safety Belt Extender
- Child Restraints
- Airbag System
- Restraint System Check
- Features and Controls
- Keys
- Doors and Locks
- Windows
- Theft-Deterrent Systems
- Starting and Operating Your Vehicle
- New Vehicle Break-In
- Ignition Positions
- Retained Accessory Power (RAP)
- Starting the Engine
- Adjustable Throttle and Brake Pedal
- Engine Coolant Heater
- Automatic Transaxle Operation (Base Models)
- Automatic Transaxle Operation (SS Models)
- Parking Brake
- Shifting Into Park (P)
- Shifting Out of Park (P)
- Parking Over Things That Burn
- Engine Exhaust
- Running the Engine While Parked
- Mirrors
- OnStar® System
- Universal Home Remote System
- Storage Areas
- Sunroof
- Instrument Panel
- Instrument Panel Overview
- Hazard Warning Flashers
- Other Warning Devices
- Horn
- Tilt and Telescopic Steering Wheel
- Turn Signal/Multifunction Lever
- Turn and Lane-Change Signals
- Headlamp High/Low-Beam Changer
- Flash-to-Pass
- Windshield Wipers
- Windshield Washer
- Rear Window Wiper/Washer (MAXX Model)
- Cruise Control
- Exterior Lamps
- Headlamps on Reminder
- Headlamps Off in PARK (P)
- Delayed Headlamps
- Daytime Running Lamps (DRL)
- Automatic Headlamp System
- Fog Lamps
- Instrument Panel Brightness
- Dome Lamp
- Entry/Exit Lighting
- Parade Dimming
- Front Reading Lamps
- Rear Reading Lamps
- Trunk Lamp
- Cargo Lamp
- Battery Run-Down Protection
- Accessory Power Outlet(s)
- Cigarette Lighter
- Climate Controls
- Warning Lights, Gages, and Indicators
- Instrument Panel Cluster
- Speedometer and Odometer
- Trip Odometer
- Tachometer
- Safety Belt Reminder Light
- Passenger Safety Belt Reminder Light
- Airbag Readiness Light
- Passenger Airbag Status Indicator
- Charging System Light
- Brake System Warning Light
- Anti-Lock Brake System Warning Light
- Traction Control System (TCS) Warning Light
- Traction Control System Active Light
- Enhanced Traction System Warning Light
- Enhanced Traction System Active Light
- Engine Coolant Temperature Warning Light
- Engine Coolant Temperature Gage
- Malfunction Indicator Lamp
- Oil Pressure Light
- Security Light
- Cruise Control Light
- Highbeam On Light
- Fuel Gage
- Driver Information Center (DIC)
- Audio System(s)
- Setting the Time for Radios without Radio Data Systems (RDS)
- Setting the Time for Radios with Radio Data Systems (RDS)
- Radio with CD (Base Level)
- Radio with CD (Uplevel)
- Radio with Six-Disc CD
- XM Radio Messages
- Rear Seat Entertainment System
- Rear Seat Audio (RSA) (Without Entertainment System)
- Rear Seat Audio (RSA) (With Entertainment System)
- Theft-Deterrent Feature
- Audio Steering Wheel Controls (Three Spoke)
- Audio Steering Wheel Controls (Four Spoke)
- Radio Reception
- Care of Your CDs and DVDs
- Care of the CD and DVD Player
- Fixed Mast Antenna (MAXX Only)
- Backglass Antenna (Sedan Only)
- XM™ Satellite Radio Antenna System
- Instrument Panel Overview
- Driving Your Vehicle
- Your Driving, the Road, and Your Vehicle
- Defensive Driving
- Drunken Driving
- Control of a Vehicle
- Braking
- Anti-Lock Brake System (ABS)
- Braking in Emergencies
- Traction Control System (TCS)
- Enhanced Traction System (ETS)
- Steering
- Off-Road Recovery
- Passing
- Loss of Control
- Competitive Driving
- Driving at Night
- Driving in Rain and on Wet Roads
- City Driving
- Freeway Driving
- Before Leaving on a Long Trip
- Highway Hypnosis
- Hill and Mountain Roads
- Winter Driving
- If Your Vehicle is Stuck in Sand, Mud, Ice, or Snow
- Rocking Your Vehicle to Get It Out
- Loading Your Vehicle
- Towing
- Your Driving, the Road, and Your Vehicle
- Service and Appearance Care
- Service
- Fuel
- Checking Things Under the Hood
- Hood Release
- Engine Compartment Overview
- Engine Oil
- Engine Oil Life System
- Engine Air Cleaner/Filter
- Automatic Transaxle Fluid (2.2L L4 and 3.5L V6 Engines)
- Automatic Transaxle Fluid (3.9L V6 Engine)
- Engine Coolant
- Coolant Surge Tank Pressure Cap
- Engine Overheating
- Overheated Engine Protection Operating Mode (3.5L V6 and 3.9L V6 Engines)
- Cooling System
- Power Steering Fluid
- Windshield Washer Fluid
- Brakes
- Battery
- Jump Starting
- Bulb Replacement
- Windshield Wiper Blade Replacement
- Tires
- Winter Tires
- Tire Sidewall Labeling
- Tire Terminology and Definitions
- Inflation - Tire Pressure
- High-Speed Operation
- Tire Inspection and Rotation
- When It Is Time for New Tires
- Buying New Tires
- Different Size Tires and Wheels
- Uniform Tire Quality Grading
- Wheel Alignment and Tire Balance
- Wheel Replacement
- Tire Chains
- If a Tire Goes Flat
- Changing a Flat Tire
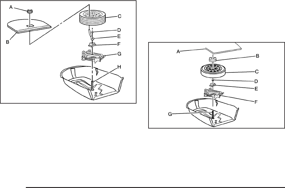
- Removing the Spare Tire and Tools
- Removing the Flat Tire and Installing the Spare Tire
- Storing a Flat or Spare Tire and Tools (Sedan)
- Storing a Flat or Spare Tire and Tools (Sedan SS)
- Storing a Flat or Spare Tire and Tools (All MAXX Models)
- Compact Spare Tire
- Appearance Care
- Cleaning the Inside of Your Vehicle
- Fabric/Carpet
- Leather
- Ultra Lux Suede
- Instrument Panel, Vinyl, and Other Plastic Surfaces
- Care of Safety Belts
- Weatherstrips
- Washing Your Vehicle
- Cleaning Exterior Lamps/Lenses
- Finish Care
- Windshield and Wiper Blades
- Aluminum Wheels
- Tires
- Sheet Metal Damage
- Finish Damage
- Underbody Maintenance
- Chemical Paint Spotting
- Vehicle Identification
- Electrical System
- Capacities and Specifications
- Maintenance Schedule
- Maintenance Schedule
- Introduction
- Maintenance Requirements
- Your Vehicle and the Environment
- Using the Maintenance Schedule
- Scheduled Maintenance
- Additional Required Services
- Maintenance Footnotes
- Owner Checks and Services
- At Each Fuel Fill
- At Least Once a Month
- At Least Once a Year
- Recommended Fluids and Lubricants
- Normal Maintenance Replacement Parts
- Engine Drive Belt Routing
- Maintenance Record
- Maintenance Schedule
- Customer Assistance Information
- Index

Seats and Restraint Systems ....................... 7
Front Seats .............................................. 8
Rear Seats ............................................. 17
Safety Belts ............................................ 20
Child Restraints ...................................... 44
Airbag System ........................................ 74
Restraint System Check ......................... 92
Features and Controls ................................ 95
Keys ....................................................... 97
Doors and Locks .................................. 107
Windows ............................................... 114
Theft-Deterrent Systems ....................... 116
Starting and Operating Your Vehicle ..... 120
Mirrors .................................................. 140
OnStar
®
System ................................... 145
Universal Home Remote System .......... 148
Storage Areas ...................................... 159
Sunroof ................................................ 162
Instrument Panel ....................................... 165
Instrument Panel Overview ................... 168
Climate Controls ................................... 189
Warning Lights, Gages, and Indicators .... 200
Driver Information Center (DIC) ............ 219
Audio System(s) ................................... 227
Driving Your Vehicle ................................. 287
Your Driving, the Road, and
Your Vehicle ..................................... 288
Towing ................................................. 328
2007 Chevrolet Malibu Owner Manual M
1

Service and Appearance Care .................. 339
Service ................................................. 342
Fuel ...................................................... 344
Checking Things Under
the Hood ........................................... 350
Bulb Replacement ................................ 390
Windshield Wiper Blade Replacement .... 395
Tires ..................................................... 398
Appearance Care .................................. 436
Vehicle Identification ............................. 445
Electrical System .................................. 446
Capacities and Specifications ................ 455
Maintenance Schedule .............................. 457
Maintenance Schedule .......................... 458
Customer Assistance Information ............. 477
Customer Assistance and Information ..... 478
Reporting Safety Defects ...................... 496
Index .......................................................... 499
2

GENERAL MOTORS, GM, the GM Emblem,
CHEVROLET, the CHEVROLET Emblem,
the MALIBU Emblem, and the names MALIBU
and MALIBU MAXX are registered trademarks of
General Motors Corporation.
This manual includes the latest information at the
time it was printed. We reserve the right to
make changes after that time without further
notice. For vehicles first sold in Canada, substitute
the name “General Motors of Canada Limited”
for Chevrolet Motor Division whenever it appears
in this manual.
This manual describes features that may be
available in this model, but your vehicle may not
have all of them. For example, more than one
entertainment system may be offered or your
vehicle may have been ordered without a front
passenger or rear seats.
Keep this manual in the vehicle, so it will be there
if it is needed while you are on the road. If the
vehicle is sold, leave this manual in the vehicle.
Canadian Owners
A French language copy of this manual can be
obtained from your dealer or from:
Helm, Incorporated
P.O. Box 07130
Detroit, MI 48207
Litho in U.S.A.
Part No. 15864103 A First Printing
©
2006 General Motors Corporation. All Rights Reserved.
3

How to Use This Manual
Many people read the owner manual from
beginning to end when they first receive their new
vehicle. If this is done, it can help you learn
about the features and controls for the vehicle.
Pictures and words work together in the
owner manual to explain things.
Index
A good place to quickly locate information about
the vehicle is the Index in the back of the manual.
It is an alphabetical list of what is in the manual
and the page number where it can be found.
Safety Warnings and Symbols
There are a number of safety cautions in this
book. We use a box and the word CAUTION to
tell about things that could hurt you if you were to
ignore the warning.
{CAUTION:
These mean there is something that could
hurt you or other people.
In the caution area, we tell you what the hazard is.
Then we tell you what to do to help avoid or
reduce the hazard. Please read these cautions. If
you do not, you or others could be hurt.
You will also find a
circle with a slash
through it in this book.
This safety symbol
means “Do Not,” “Do
Not do this” or “Do Not
let this happen.”
4

Vehicle Damage Warnings
Also, in this manual you will find these notices:
Notice: These mean there is something
that could damage your vehicle.
A notice tells about something that can damage
the vehicle. Many times, this damage would not be
covered by your vehicle’s warranty, and it could
be costly. But the notice will tell what to do to help
avoid the damage.
When you read other manuals, you might see
CAUTION and NOTICE warnings in different colors
or in different words.
There are also warning labels on the vehicle. They
use the same words, CAUTION or NOTICE.
Vehicle Symbols
The vehicle has components and labels that use
symbols instead of text. Symbols are shown along
with the text describing the operation or
information relating to a specific component,
control, message, gage, or indicator.
If you need help figuring out a specific name of a
component, gage, or indicator, reference the
following topics:
•Seats and Restraint Systems in Section 1
•Features and Controls in Section 2
•Instrument Panel Overview in Section 3
•Climate Controls in Section 3
•Warning Lights, Gages, and Indicators in
Section 3
•Audio System(s) in Section 3
•Engine Compartment Overview in Section 5
5

These are some examples of symbols that may be found on the vehicle:
6

Front Seats ..................................................... 8
Manual Seats ................................................ 8
Power Seat ................................................... 9
Manual Lumbar ............................................. 9
Heated Seats .............................................. 10
Reclining Seatbacks .................................... 10
Head Restraints .......................................... 13
Passenger Folding Seatback (Maxx) ............ 14
Power Lift Seat ........................................... 16
Rear Seats .................................................... 17
Rear Seat Operation ................................... 17
Safety Belts .................................................. 20
Safety Belts: They Are for Everyone ........... 20
Questions and Answers About Safety Belts .... 25
How to Wear Safety Belts Properly ............. 26
Driver Position ............................................. 26
Shoulder Belt Height Adjustment ................. 34
Safety Belt Use During Pregnancy .............. 35
Right Front Passenger Position ................... 35
Rear Seat Passengers ................................ 36
Rear Safety Belt Comfort Guides ................ 39
Safety Belt Pretensioners ............................ 43
Safety Belt Extender ................................... 43
Child Restraints ............................................ 44
Older Children ............................................. 44
Infants and Young Children ......................... 47
Child Restraint Systems .............................. 51
Where to Put the Restraint .......................... 55
Lower Anchors and Tethers for
Children (LATCH) .................................... 58
Securing a Child Restraint in a
Rear Seat Position ................................... 67
Securing a Child Restraint in the
Right Front Seat Position ......................... 69
Airbag System .............................................. 74
Where Are the Airbags? .............................. 76
When Should an Airbag Inflate? .................. 80
What Makes an Airbag Inflate? ................... 81
How Does an Airbag Restrain? ................... 81
What Will You See After an Airbag Inflates? ... 82
Passenger Sensing System ......................... 84
Servicing Your Airbag-Equipped Vehicle ...... 90
Adding Equipment to Your
Airbag-Equipped Vehicle .......................... 91
Restraint System Check ............................... 92
Checking the Restraint Systems .................. 92
Replacing Restraint System Parts
After a Crash ........................................... 93
Section 1 Seats and Restraint Systems
7

Front Seats
Manual Seats
{CAUTION:
You can lose control of the vehicle if you
try to adjust a manual driver’s seat while
the vehicle is moving. The sudden
movement could startle and confuse you,
or make you push a pedal when you do
not want to. Adjust the driver’s seat only
when the vehicle is not moving.
Lift the bar located under the front of the seat to
unlock it. Slide the seat to where you want it
and release the bar. Try to move the seat with
your body to be sure the seat is locked in place.
8

Power Seat
If the vehicle has a
power seat, the control
used to operate it is
located on the outboard
side of the driver’s seat.
To adjust the seat, do any of the following:
•Move the seat forward or rearward by sliding
the control forward or rearward.
•Raise or lower the front part of the seat
cushion by moving the front of the control up
or down.
•Raise or lower the rear part of the seat
cushion by moving the rear of the control up
or down.
Manual Lumbar
If your vehicle has this
feature, the handle is
located on the outboard
side of the seat.
Move the handle up repeatedly to decrease
lumbar support. Move the handle down repeatedly
to increase lumbar support.
9

Heated Seats
Your vehicle may have heated front seats.
The buttons are located
on the outboard side of
the driver’s and front
passenger’s seats.
Press the top of the switch to turn the feature on.
The seat will heat to the high setting. The
indicator light above the switch will be lit next to
the number 2.
Press the top of the switch again to go to the low
heat setting. The indicator light will be lit next
to the number 1.
Press the bottom of the switch to turn the
feature off.
The heated seat feature will turn off when the
ignition is turned off.
Reclining Seatbacks
{CAUTION:
You can lose control of the vehicle if you
try to adjust a manual driver’s seat while
the vehicle is moving. The sudden
movement could startle and confuse you,
or make you push a pedal when you do
not want to. Adjust the driver’s seat only
when the vehicle is not moving.
{CAUTION:
If the seatback is not locked, it could
move forward in a sudden stop or crash.
That could cause injury to the person
sitting there. Always push and pull on the
seatback to be sure it is locked.
10

The seats have manual reclining seatbacks. The
lever used to operate them is located on the
outboard side of the seats.
To recline the seatback, do the following:
1. Lift the recline lever.
2. Move the seatback to the desired position,
then release the lever to lock the seatback
in place.
3. Push and pull on the seatback to make sure it
is locked.
To return the seatback to an upright position, do
the following:
1. Lift the lever fully without applying pressure to
the seatback and the seatback will return to
the upright position. Release the lever to
lock the seatback in place.
2. Push and pull on the seatback to make sure it
is locked.
11

{CAUTION:
Sitting in a reclined position when your
vehicle is in motion can be dangerous.
Even if you buckle up, your safety belts
cannot do their job when you are reclined
like this.
The shoulder belt cannot do its job
because it will not be against your body.
Instead, it will be in front of you. In a
crash, you could go into it, receiving neck
or other injuries.
The lap belt cannot do its job either. In a
crash, the belt could go up over your
abdomen. The belt forces would be there,
not at your pelvic bones. This could cause
serious internal injuries.
For proper protection when the vehicle is
in motion, have the seatback upright.
Then sit well back in the seat and wear
your safety belt properly.
Do not have a seatback reclined if your vehicle is
moving.
12

Head Restraints
Adjust the head restraint so that the top of the
restraint is at the same height as the top of
the occupant’s head. This position reduces the
chance of a neck injury in a crash.
Pull the restraint up to
raise it. To lower the
head restraint, press the
button, located on the
top of the seatback, and
push the restraint down.
The rear seat head restraints are also adjustable.
13

Passenger Folding Seatback (Maxx)
Your vehicle may have a passenger folding
seatback. This feature allows for more cargo space
or allows the seatback to be used as a temporary
table while the vehicle is stopped.
{CAUTION:
If you fold the seatback forward to carry
longer objects, such as skis, be sure any
such cargo is not near an airbag. In a
crash, an inflating airbag might force that
object toward a person. This could cause
severe injury or even death. Secure objects
away from the area in which an airbag
would inflate. For more information, see
Where Are the Airbags? on page 76 and
Loading Your Vehicle on page 322.
{CAUTION:
Things you put on this seatback can
strike and injure people in a sudden stop
or turn, or in a crash. Remove or secure
all items before driving.
14

To fold the seatback forward, do the following:
1. Make sure the seatback is in the most upright
position and locked by using the reclining
seatback lever on the outboard side of the seat.
See Reclining Seatbacks on page 10.
2. If your vehicle has the passenger folding seat
without a side impact airbag, press either
lever located on the back of the seatback and
fold the seatback forward.
If your vehicle has the passenger folding seat
with a side impact airbag, press the lever
located on the back of the seatback on
the inboard side. Press the lever and fold the
seatback forward.
To raise the seatback, do the following:
1. If your vehicle has the passenger folding seat
without a side impact airbag, press either
lever located on the back of the seatback. Pull
the seatback up to lock it into place. Make
sure the safety belt is not twisted or caught in
the seatback.
If your vehicle has the passenger folding seat
with a side impact airbag, press the lever
located on the back of the seatback on
the inboard side. Pull the seatback up to lock
it into place. Make sure the safety belt is
not twisted or caught in the seatback.
Seat without Side Impact Airbag shown,
Seat with Side Impact Airbag similar
15

{CAUTION:
If the seatback is not locked, it could
move forward in a sudden stop or crash.
That could cause injury to the person
sitting there. Always push and pull on the
seatback to be sure it is locked.
2. Push and pull the seatback to make sure it is
locked into place.
3. Use the reclining seatback lever to adjust the
seatback to a comfortable position. See
Reclining Seatbacks on page 10.
Power Lift Seat
Your vehicle may have this feature. First move the
seat forward or rearward to where you want it.
See Manual Seats on page 8.
The power lift seat switch is located on the
outboard side of the driver’s seat. To raise or
lower the seat, press the top or bottom of
the switch.
16

Rear Seats
Rear Seat Operation
Folding the Seatback
Your vehicle has a split folding rear seatback.
To fold down the rear seatback on the sedan, do
the following:
1. Open the trunk and pull one or both of the
handles located on the upper part of the
trunk opening. The driver’s side handle will
open the larger side of the seatback. The
passenger’s side handle will open the smaller
side of the seatback.
Notice: Folding a rear seat with the safety
belts still fastened may cause damage to the
seat or the safety belts. Always unbuckle
the safety belts and return them to their normal
stowed position before folding a rear seat.
2. Once a handle is pulled, the seatback can be
pushed open through the trunk, or pulled
open from inside the vehicle.
To fold down the rear seatback on the MAXX, do
the following:
1. Pull up on and hold the lever located on the
side of either rear seat.
17

Notice: Folding a rear seat with the safety
belts still fastened may cause damage to the
seat or the safety belts. Always unbuckle
the safety belts and return them to their normal
stowed position before folding a rear seat.
2. Once a lever is pulled, the seatback can be
pushed into the down position.
{CAUTION:
If the seatback is not locked, it could
move forward in a sudden stop or crash.
That could cause injury to the person
sitting there. Always push and pull on the
seatback to be sure it is locked.
18

{CAUTION:
A safety belt that is improperly routed, not
properly attached, or twisted will not
provide the protection needed in a crash.
The person wearing the belt could be
seriously injured. After raising the rear
seatback, always check to be sure that the
safety belts are properly routed and
attached, and are not twisted.
To return the seatback to the upright position,
push the seatback up until you hear a click. Then
pull on the seatback to make sure it is secure.
Rear Sliding Seat (MAXX Only)
If your vehicle is the MAXX model your rear seat
will slide forward or rearward to allow more
cargo space in the rear.
Lift the bar located under the front of the seat to
unlock the seat. Slide the seat to where you want it
and release the bar. Try to move the seat back
and forth to be sure the seat is locked in place.
If your vehicle has the rear seat entertainment
system, slide the rear seat forward so that the front
edge of the seat cushion is lined up with the
mark on the carpet retainer trim on the floor of the
driver’s side rear seat. If the rear seat is forward
of the mark, you will not be able to open the
DVD screen.
19

Safety Belts
Safety Belts: They Are for Everyone
This part of the manual tells you how to use
safety belts properly. It also tells you some things
you should not do with safety belts.
{CAUTION:
Do not let anyone ride where he or she
cannot wear a safety belt properly. If you
are in a crash and you are not wearing a
safety belt, your injuries can be much
worse. You can hit things inside the
vehicle or be ejected from it. You can be
seriously injured or killed. In the same
crash, you might not be, if you are
buckled up. Always fasten your safety
belt, and check that your passengers’
belts are fastened properly too.
{CAUTION:
It is extremely dangerous to ride in a
cargo area, inside or outside of a vehicle.
In a collision, people riding in these areas
are more likely to be seriously injured or
killed. Do not allow people to ride in any
area of your vehicle that is not equipped
with seats and safety belts. Be sure
everyone in your vehicle is in a seat and
using a safety belt properly.
20

Your vehicle has a light
that comes on as a
reminder to buckle up.
See Safety Belt
Reminder Light
on page 203.
In most states and in all Canadian provinces, the
law says to wear safety belts. Here is why:
They work.
You never know if you will be in a crash. If you do
have a crash, you do not know if it will be a
bad one.
A few crashes are mild, and some crashes can be
so serious that even buckled up, a person
would not survive. But most crashes are in
between. In many of them, people who buckle up
can survive and sometimes walk away. Without
belts they could have been badly hurt or killed.
After more than 40 years of safety belts in
vehicles, the facts are clear. In most crashes
buckling up does matter... a lot!
21

Why Safety Belts Work
When you ride in or on anything, you go as fast
as it goes.
Take the simplest vehicle. Suppose it is just a
seat on wheels.
Put someone on it.
22

Get it up to speed. Then stop the vehicle. The
rider does not stop.
The person keeps going until stopped by
something. In a real vehicle, it could be the
windshield...
23

or the instrument panel... or the safety belts!
With safety belts, you slow down as the vehicle
does. You get more time to stop. You stop
over more distance, and your strongest bones
take the forces. That is why safety belts
make such good sense.
24

Questions and Answers About
Safety Belts
Q: Will I be trapped in the vehicle after an
accident if I am wearing a safety belt?
A: You could be — whether you are wearing a
safety belt or not. But you can unbuckle a
safety belt, even if you are upside down. And
your chance of being conscious during and
after an accident, so you can unbuckle and get
out, is much greater if you are belted.
Q: If my vehicle has airbags, why should I
have to wear safety belts?
A: Airbags are supplemental systems only; so
they work with safety belts — not instead of
them. Every airbag system ever offered
for sale has required the use of safety belts.
Even if you are in a vehicle that has airbags,
you still have to buckle up to get the most
protection. That is true not only in frontal
collisions, but especially in side and other
collisions.
Q: If I am a good driver, and I never drive far
from home, why should I wear safety belts?
A: You may be an excellent driver, but if you are
in an accident — even one that is not your
fault — you and your passengers can be hurt.
Being a good driver does not protect you
from things beyond your control, such as
bad drivers.
Most accidents occur within 25 miles (40 km)
of home. And the greatest number of serious
injuries and deaths occur at speeds of less than
40 mph (65 km/h).
Safety belts are for everyone.
25

How to Wear Safety Belts Properly
This part is only for people of adult size.
Be aware that there are special things to know
about safety belts and children. And there
are different rules for smaller children and babies.
If a child will be riding in your vehicle, see
Older Children on page 44 or Infants and Young
Children on page 47. Follow those rules for
everyone’s protection.
First, you will want to know which restraint
systems your vehicle has.
We will start with the driver position.
Driver Position
Lap-Shoulder Belt
The driver has a lap-shoulder belt. Here is how to
wear it properly.
1. Close and lock the door.
2. Adjust the seat so you can sit up straight.
To see how, see “Seats” in the Index.
3. Pick up the latch plate and pull the belt across
you. Do not let it get twisted.
The lap-shoulder belt may lock if you pull the
belt across you very quickly. If this happens,
let the belt go back slightly to unlock it.
Then pull the belt across you more slowly.
26

4. Push the latch plate into the buckle until
it clicks.
Pull up on the latch plate to make sure it is
secure. If the belt is not long enough,
see Safety Belt Extender on page 43.
Make sure the release button on the buckle is
positioned so you would be able to unbuckle
the safety belt quickly if you ever had to.
5. Move the shoulder belt height adjuster to the
height that is right for you. Improper shoulder
belt height adjustment could reduce the
effectiveness of the safety belt in a crash. See
Shoulder Belt Height Adjustment on page 34.
6. To make the lap part tight, pull up on the
shoulder belt.
It may be necessary to pull stitching on the
safety belt through the latch plate to fully
tighten the lap belt on smaller occupants.
27

The lap part of the belt should be worn low and
snug on the hips, just touching the thighs. In
a crash, this applies force to the strong pelvic
bones. And you would be less likely to slide under
the lap belt. If you slid under it, the belt would
apply force at your abdomen. This could cause
serious or even fatal injuries. The shoulder
belt should go over the shoulder and across the
chest. These parts of the body are best able
to take belt restraining forces.
The safety belt locks if there is a sudden stop
or crash.
28

Q: What is wrong with this?
A: The shoulder belt is too loose. It will not give
nearly as much protection this way.
{CAUTION:
You can be seriously hurt if your shoulder
belt is too loose. In a crash, you would
move forward too much, which could
increase injury. The shoulder belt should
fit against your body.
29

Q: What is wrong with this?
A: The lap belt is too loose. It will not give nearly
as much protection this way.
{CAUTION:
You can be seriously hurt if your lap belt
is too loose. In a crash, you could slide
under the lap belt and apply force at your
abdomen. This could cause serious or
even fatal injuries. The lap belt should be
worn low and snug on the hips, just
touching the thighs.
30

Q: What is wrong with this?
A: The belt is buckled in the wrong place.
{CAUTION:
You can be seriously injured if your belt is
buckled in the wrong place like this. In a
crash, the belt would go up over your
abdomen. The belt forces would be there,
not at the pelvic bones. This could cause
serious internal injuries. Always buckle
your belt into the buckle nearest you.
31

Q: What is wrong with this?
A: The shoulder belt is worn under the arm. It
should be worn over the shoulder at all times.
{CAUTION:
You can be seriously injured if you wear
the shoulder belt under your arm. In a
crash, your body would move too far
forward, which would increase the chance
of head and neck injury. Also, the belt
would apply too much force to the ribs,
which are not as strong as shoulder
bones. You could also severely injure
internal organs like your liver or spleen.
32

Q: What is wrong with this?
A: The belt is twisted across the body.
{CAUTION:
You can be seriously injured by a twisted
belt. In a crash, you would not have the
full width of the belt to spread impact
forces. If a belt is twisted, make it straight
so it can work properly, or ask your dealer
to fix it.
33

To unlatch the belt, push the button on the buckle.
The belt should go back out of the way.
Before you close the door, be sure the belt is out
of the way. If you slam the door on it, you can
damage both the belt and your vehicle.
Shoulder Belt Height Adjustment
Before you begin to drive, move the shoulder belt
height adjuster to the height that is right for you.
Adjust the height so that the shoulder portion of
the belt is centered on your shoulder. The
belt should be away from your face and neck, but
not falling off your shoulder. Improper shoulder
belt height adjustment could reduce the
effectiveness of the safety belt in a crash.
To move it down, push
down the release
button (A) and move the
height adjuster to the
desired position.
You can move the
height adjuster up by
pushing the release
button up.
After you move the height adjuster to where
you want it, try to move it without pushing the
release button to make sure it has locked
into position.
34

Safety Belt Use During Pregnancy
Safety belts work for everyone, including pregnant
women. Like all occupants, they are more likely
to be seriously injured if they do not wear
safety belts.
A pregnant woman should wear a lap-shoulder
belt, and the lap portion should be worn as low as
possible, below the rounding, throughout the
pregnancy.
The best way to protect the fetus is to protect the
mother. When a safety belt is worn properly, it
is more likely that the fetus will not be hurt
in a crash. For pregnant women, as for anyone,
the key to making safety belts effective is wearing
them properly.
Right Front Passenger Position
To learn how to wear the right front passenger’s
safety belt properly, see Driver Position on page 26.
The right front passenger’s safety belt works the
same way as the driver’s safety belt — except
for one thing. If you ever pull the shoulder portion
of the belt out all the way, you will engage the
child restraint locking feature. If this happens, let
the belt go back all the way and start again.
35

Rear Seat Passengers
It is very important for rear seat passengers to
buckle up! Accident statistics show that unbelted
people in the rear seat are hurt more often in
crashes than those who are wearing safety belts.
Rear passengers who are not safety belted
can be thrown out of the vehicle in a crash. And
they can strike others in the vehicle who are
wearing safety belts.
Lap-Shoulder Belt
All rear seat positions have lap-shoulder belts.
Here is how to wear one properly. 1. Pick up the latch plate and pull the belt across
you. Do not let it get twisted.
The shoulder belt may lock if you pull the belt
across you very quickly. If this happens, let
the belt go back slightly to unlock it. Then pull
the belt across you more slowly.
36

2. Push the latch plate into the buckle until it
clicks.
Pull up on the latch plate to make sure it is
secure.
When the shoulder belt is pulled out all the
way, it will lock. If it does, let it go back all the
way and start again.
If the belt is not long enough, see Safety Belt
Extender on page 43.
Make sure the release button on the buckle is
positioned so you would be able to unbuckle
the safety belt quickly if you ever had to.
3. To make the lap part tight, pull up on the
shoulder part.
37

The lap part of the belt should be worn low and
snug on the hips, just touching the thighs. In
a crash, this applies force to the strong pelvic
bones. And you would be less likely to slide under
the lap belt. If you slid under it, the belt would
apply force at your abdomen. This could cause
serious or even fatal injuries.
The shoulder belt should go over the shoulder and
across the chest. These parts of the body are
best able to take belt restraining forces.
The safety belt locks if there is a sudden stop or
a crash.
{CAUTION:
You can be seriously hurt if your shoulder
belt is too loose. In a crash, you would
move forward too much, which could
increase injury. The shoulder belt should
fit against your body.
38

To unlatch the belt, push the button on the buckle.
Rear Safety Belt Comfort Guides
Rear shoulder belt comfort guides may provide
added safety belt comfort for older children
who have outgrown booster seats and for some
adults. When installed on a shoulder belt, the
comfort guide positions the belt away from
the neck and head.
Malibu Sedan
There is one guide for each outside passenger
position in the rear seat. Here is how to install a
comfort guide to the safety belt:
1. Pull the elastic cord out from between the
edge of the seatback and the interior body
to remove the guide from its storage clip.
39

2. Slide the guide under and past the belt. The
elastic cord must be under the belt. Then,
place the guide over the belt, and insert the
two edges of the belt into the slots of
the guide.
3. Be sure that the belt is not twisted and it lies
flat. The elastic cord must be under the belt
and the guide on top.
40

{CAUTION:
A safety belt that is not properly worn may
not provide the protection needed in a
crash. The person wearing the belt could
be seriously injured. The shoulder belt
should go over the shoulder and across
the chest. These parts of the body are best
able to take belt restraining forces.
4. Buckle, position, and release the safety belt
as described in Rear Seat Passengers on
page 36. Make sure that the shoulder
belt crosses the shoulder.
To remove and store the comfort guide, squeeze
the belt edges together so that you can take
them out of the guide. Pull the guide upward to
expose its storage clip, and then slide the
guide onto the clip. Turn the guide and clip inward
and slide them between the seatback and the
interior body, leaving only the loop of the elastic
cord exposed.
41

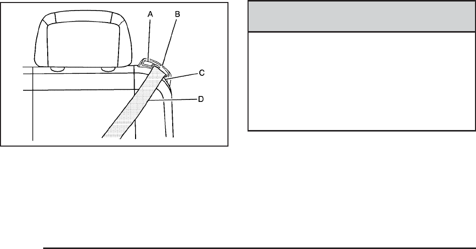
Malibu MAXX
There is a safety belt routing guide attached to
each outside passenger position in the rear seat of
the Malibu MAXX. Here is how to use the safety
belt routing guide:
1. Slide the edge of the safety belt (D) through
the opening at the top of the guide (B).
2. Adjust the safety belt so that it lies flat against
the lower level (C) or the upper level (A) of
the guide.
Be sure the safety belt lies flat against the
guide.
{CAUTION:
A safety belt that is not properly worn may
not provide the protection needed in a
crash. The person wearing the belt could
be seriously injured. The shoulder belt
should go over the shoulder and across
the chest. These parts of the body are best
able to take belt restraining forces.
3. Buckle, position, and release the safety belt
as described in Rear Seat Passengers on
page 36. Make sure that the shoulder
belt crosses the shoulder.
To remove the safety belt from the guide, slide the
edge of the safety belt through the opening at
the top of the guide.
42

Safety Belt Pretensioners
Your vehicle has safety belt pretensioners for the
driver and right front passenger. Although you
cannot see them, they are part of the safety belt
assembly. They help tighten the safety belts during
the early stages of a moderate to severe frontal
and near frontal crash if the threshold conditions
for pretensioner activation are met. And, if
your vehicle has side impact airbags, safety belt
pretensioners can help tighten the safety belts in a
side crash.
Pretensioners work only once. If they activate in a
crash, you will need to get new ones, and
probably other new parts for your safety belt
system. See Replacing Restraint System Parts
After a Crash on page 93.
Safety Belt Extender
If the vehicle’s safety belt will fasten around you,
you should use it.
But if a safety belt is not long enough, your dealer
will order you an extender. When you go in to
order it, take the heaviest coat you will wear, so
the extender will be long enough for you. To
help avoid personal injury, do not let someone else
use it, and use it only for the seat it is made to
fit. The extender has been designed for adults.
Never use it for securing child seats. To wear it,
just attach it to the regular safety belt. For
more information see the instruction sheet that
comes with the extender.
43

Child Restraints
Older Children
Older children who have outgrown booster seats
should wear the vehicle’s safety belts.
Q: What is the proper way to wear safety belts?
A: An older child should wear a lap-shoulder belt
and get the additional restraint a shoulder belt
can provide. The shoulder belt should not
cross the face or neck. The lap belt should fit
snugly below the hips, just touching the
top of the thighs. It should never be worn over
the abdomen, which could cause severe or
even fatal internal injuries in a crash.
According to accident statistics, children are safer
when properly restrained in the rear seating
positions than in the front seating positions.
In a crash, children who are not buckled up can
strike other people who are buckled up, or can be
thrown out of the vehicle. Older children need
to use safety belts properly.
44

{CAUTION:
Never do this.
Here two children are wearing the same
belt. The belt can not properly spread the
impact forces. In a crash, the two children
can be crushed together and seriously
injured. A belt must be used by only
one person at a time.
Q: What if a child is wearing a lap-shoulder
belt, but the child is so small that the
shoulder belt is very close to the child’s
face or neck?
A: If the child is sitting in a seat next to a
window, move the child toward the center of
the vehicle. Also see Rear Safety Belt
Comfort Guides on page 39. If the child is
sitting in the center rear seat passenger
position, move the child toward the safety belt
buckle. In either case, be sure that the
shoulder belt still is on the child’s shoulder, so
that in a crash the child’s upper body would
have the restraint that belts provide.
45

{CAUTION:
Never do this.
Here a child is sitting in a seat that has a
lap-shoulder belt, but the shoulder part is
behind the child. If the child wears the
belt in this way, in a crash the child might
slide under the belt. The belt’s force
would then be applied right on the child’s
abdomen. That could cause serious or
fatal injuries.
Wherever the child sits, the lap portion of the belt
should be worn low and snug on the hips, just
touching the child’s thighs. This applies belt force
to the child’s pelvic bones in a crash.
46

Infants and Young Children
Everyone in a vehicle needs protection! This
includes infants and all other children. Neither the
distance traveled nor the age and size of the
traveler changes the need, for everyone, to use
safety restraints. In fact, the law in every state
in the United States and in every Canadian
province says children up to some age must be
restrained while in a vehicle.
{CAUTION:
Children can be seriously injured or
strangled if a shoulder belt is wrapped
around their neck and the safety belt
continues to tighten. Never leave children
unattended in a vehicle and never allow
children to play with the safety belts.
Every time infants and young children ride in
vehicles, they should have the protection provided
by appropriate restraints. Young children should
not use the vehicle’s adult safety belts alone,
unless there is no other choice. Instead, they need
to use a child restraint.
47

{CAUTION:
People should never hold a baby in their
arms while riding in a vehicle. A baby
does not weigh much — until a crash.
During a crash a baby will become so
heavy it is not possible to hold it. For
example, in a crash at only 25 mph
(40 km/h), a 12 lb (5.5 kg) baby will
suddenly become a 240 lb (110 kg) force
on a person’s arms. A baby should be
secured in an appropriate restraint.
48

{CAUTION:
Children who are up against, or very close
to, any airbag when it inflates can be
seriously injured or killed. Airbags plus
lap-shoulder belts offer protection for
adults and older children, but not for
young children and infants. Neither the
vehicle’s safety belt system nor its airbag
system is designed for them. Young
children and infants need the protection
that a child restraint system can provide.
49

Q: What are the different types of add-on
child restraints?
A: Add-on child restraints, which are purchased by
the vehicle’s owner, are available in four basic
types. Selection of a particular restraint should
take into consideration not only the child’s
weight, height, and age but also whether or not
the restraint will be compatible with the motor
vehicle in which it will be used.
For most basic types of child restraints, there
are many different models available. When
purchasing a child restraint, be sure it is
designed to be used in a motor vehicle. If it is,
the restraint will have a label saying that it
meets federal motor vehicle safety standards.
The restraint manufacturer’s instructions
that come with the restraint state the weight
and height limitations for a particular child
restraint. In addition, there are many kinds
of restraints available for children with
special needs.
{CAUTION:
Newborn infants need complete support,
including support for the head and neck.
This is necessary because a newborn
infant’s neck is weak and its head weighs
so much compared with the rest of its
body. In a crash, an infant in a rear-facing
seat settles into the restraint, so the crash
forces can be distributed across the
strongest part of an infant’s body, the
back and shoulders. Infants always
should be secured in appropriate infant
restraints.
50

{CAUTION:
The body structure of a young child is
quite unlike that of an adult or older child,
for whom the safety belts are designed. A
young child’s hip bones are still so small
that the vehicle’s regular safety belt may
not remain low on the hip bones, as it
should. Instead, it may settle up around
the child’s abdomen. In a crash, the belt
would apply force on a body area that is
unprotected by any bony structure. This
alone could cause serious or fatal injuries.
Young children always should be secured
in appropriate child restraints.
Child Restraint Systems
An infant car bed (A), a special bed made for use
in a motor vehicle, is an infant restraint system
designed to restrain or position a child on a
continuous flat surface. Make sure that the infant’s
head rests toward the center of the vehicle.
51

A rear-facing infant seat (B) provides restraint with
the seating surface against the back of the
infant. The harness system holds the infant in
place and, in a crash, acts to keep the infant
positioned in the restraint.
A forward-facing child seat (C-E) provides restraint
for the child’s body with the harness and also
sometimes with surfaces such as T-shaped
or shelf-like shields.
52

A booster seat (F-G) is a child restraint designed
to improve the fit of the vehicle’s safety belt
system. Some booster seats have a shoulder belt
positioner, and some high-back booster seats
have a five-point harness. A booster seat can also
help a child to see out the window.
Q: How Should I Use a Child Restraint?
A: A child restraint system is any device designed
for use in a motor vehicle to restrain, seat, or
position children. A built-in child restraint
system is a permanent part of the motor
vehicle. An add-on child restraint system is a
portable one, which is purchased by the
vehicle’s owner. To help reduce injuries, an
add-on child restraint must be secured in
the vehicle. With built-in or add-on child
restraints, the child has to be secured within
the child restraint.
When choosing an add-on child restraint, be
sure the child restraint is designed to be
used in a vehicle. If it is, it will have a label
saying that it meets federal motor vehicle
safety standards. Then follow the instructions
for the restraint. You may find these
instructions on the restraint itself or in a
booklet, or both.
53

Securing an Add-on Child Restraint
in the Vehicle
{CAUTION:
A child can be seriously injured or killed in
a crash if the child restraint is not properly
secured in the vehicle. Make sure the child
restraint is properly installed in the vehicle
using the vehicle’s safety belt or LATCH
system, following the instructions that
came with that restraint, and also the
instructions in this manual.
To help reduce the chance of injury, the child
restraint must be secured in the vehicle. Child
restraint systems must be secured in vehicle seats
by lap belts or the lap belt portion of a lap-shoulder
belt, or by the LATCH system.
See Lower Anchors and Tethers for Children
(LATCH) on page 58 for more information. A child
can be endangered in a crash if the child restraint is
not properly secured in the vehicle.
When securing an add-on child restraint, refer to
the instructions that come with the restraint
which may be on the restraint itself or in a booklet,
or both, and to this manual. The child restraint
instructions are important, so if they are not
available, obtain a replacement copy from the
manufacturer.
Keep in mind that an unsecured child restraint can
move around in a collision or sudden stop and
injure people in the vehicle. Be sure to properly
secure any child restraint in your vehicle — even
when no child is in it.
54

Securing the Child Within the Child
Restraint
There are several systems for securing the child
within the child restraint. One system, the
three-point harness, has straps that come down
over each of the infant’s shoulders and buckle
together at the crotch. The five-point harness
system has two shoulder straps, two hip straps, and
a crotch strap. A shield may take the place of hip
straps. A T-shaped shield has shoulder straps that
are attached to a flat pad which rests low against
the child’s body. A shelf- or armrest-type shield has
straps that are attached to a wide, shelf-like shield
that swings up or to the side.
{CAUTION:
A child can be seriously injured or killed in
a crash if the child is not properly secured
in the child restraint. Make sure the child
is properly secured, following the
instructions that came with that restraint.
Because there are different systems, it is important
to refer to the instructions that come with the
restraint. A child can be endangered in a crash if
the child is not properly secured in the child
restraint.
Where to Put the Restraint
Accident statistics show that children are safer if
they are restrained in the rear rather than the front
seat. We recommend that child restraints be
secured in a rear seat, including an infant riding in
a rear-facing infant seat, a child riding in a
forward-facing child seat and an older child riding
in a booster seat.
55

Never put a rear-facing child restraint in the right
front passenger seat. Here is why:
{CAUTION:
A child in a rear-facing child restraint can
be seriously injured or killed if the right
front passenger’s airbag inflates. This is
because the back of the rear-facing child
restraint would be very close to the
inflating airbag.
Even though the passenger sensing
system is designed to turn off the right
front passenger’s frontal airbag if the
system detects a rear-facing child
restraint, no system is fail-safe, and no
one can guarantee that an airbag will not
CAUTION: (Continued)
CAUTION: (Continued)
deploy under some unusual circumstance,
even though it is turned off. We
recommend that rear-facing child
restraints be secured in the rear seat,
even if the airbag is off.
If you need to secure a forward-facing
child restraint in the right front seat,
always move the front passenger seat as
far back as it will go. It is better to secure
the child restraint in a rear seat.
If you need to secure more than one child restraint
in the rear seat, review the following illustrations.
Depending on where you place the child restraint,
you may not be able to access certain safety
belt assemblies or LATCH anchors for additional
passengers or child restraints.
56

Configurations for Use of Child
Restraints
A. Child restraint using
LATCH
B. Child restraint or
occupant using
safety belt
A. Occupant prohibited
B. Child restraint
using LATCH
A. Child restraint
using LATCH
B. Child restraint or
occupant using
safety belt
C. Child restraint using
safety belt or LATCH
or occupant using
safety belt
A. Child restraint or
occupant using
safety belt
A. Child restraint or
occupant using
safety belt
B. Child restraint
using LATCH
Wherever you install a child restraint, be sure to
secure the child restraint properly.
Keep in mind that an unsecured child restraint can
move around in a collision or sudden stop and
injure people in the vehicle. Be sure to properly
secure any child restraint in your vehicle — even
when no child is in it.
57

Lower Anchors and Tethers for
Children (LATCH)
The LATCH system holds a child restraint during
driving or in a crash. This system is designed
to make installation of a child restraint easier. The
LATCH system uses anchors in the vehicle and
attachments on the child restraint that are made for
use with the LATCH system
Make sure that a LATCH-compatible child restraint
is properly installed using the anchors, or use
the vehicle’s safety belts to secure the restraint,
following the instructions that came with that
restraint, and also the instructions in this manual.
When installing a child restraint with a top
tether, you must also use either the lower anchors
or the safety belts to properly secure the child
restraint. A child restraint must never be installed
using only the top tether and anchor.
In order to use the LATCH system in your vehicle,
you need a child restraint that has LATCH
attachments. The child restraint manufacturer will
provide you with instructions on how to use
the child restraint and its attachments. The
following explains how to attach a child restraint
with these attachments in your vehicle.
Not all vehicle seating positions or child restraints
have lower anchors and attachments or top
tether anchors and attachments.
Lower Anchors
Lower anchors (A) are metal bars built into the
vehicle. There are two lower anchors for each
LATCH seating position that will accommodate a
child restraint with lower attachments (B).
58

Top Tether Anchor
A top tether (A, C) anchors the top of the child
restraint to the vehicle. A top tether anchor is built
into the vehicle. The top tether attachment (B)
on the child restraint connects to the top tether
anchor in the vehicle in order to reduce the forward
movement and rotation of the child restraint
during driving or in a crash.
Your child restraint may have a single tether (A) or
a dual tether (C). Either will have a single
attachment (B) to secure the top tether to the
anchor.
Some child restraints that have a top tether are
designed for use with or without the top tether
being attached. Others require the top tether
always to be attached. In Canada, the law requires
that forward-facing child restraints have a top
tether, and that the tether be attached. In
the United States, some child restraints also have
a top tether. Be sure to read and follow the
instructions for your child restraint.
If the child restraint does not have a top tether,
one can be obtained, in kit form, for many
child restraints. Ask the child restraint
manufacturer whether or not a kit is available.
59

Lower Anchor and Top Tether Anchor
Locations
i(Top Tether Anchor):
Seating positions with
top tether anchors.
j(Lower Anchor):
Seating positions with
two lower anchors.
To assist you in locating
the lower anchors, each
rear anchor position
has a label, near
the crease between the
seatback and the
seat cushion.
For sedan models, each rear seating position has
exposed metal lower anchors in the crease
between the seatback and the seat cushion.
To assist you in locating
the top tether anchors,
the top tether anchor
symbol is located on the
back of the rear
seatback near the top
tether anchors.
Rear Seat
MAXX Models
MAXX Models
60

For sedan models, the top tether anchors are
located behind the rear seat on the filler panel.
For MAXX models, the top tether anchors are
located on the back of the rear seatback. Be sure
to use an anchor located on the same side of
the vehicle as the seating position where the child
restraint will be placed.
Do not secure a child restraint in the right front
passenger’s position if a national or local law
requires that the top tether be attached, or if the
instructions that come with the child restraint
say that the top tether must be attached. There is
no place to attach the top tether in this position.
Sedan MAXX
61

Accident statistics show that children are safer if
they are restrained in the rear rather than the front
seat. See Where to Put the Restraint on page 55
for additional information.
Securing a Child Restraint Designed for
the LATCH System
{CAUTION:
If a LATCH-type child restraint is not
attached to anchors, the restraint will not
be able to protect the child correctly. In a
crash, the child could be seriously injured
or killed. Make sure that a LATCH-type
child restraint is properly installed using
the anchors, or use the vehicle’s safety
belts to secure the restraint, following the
instructions that came with that restraint,
and also the instructions in this manual.
{CAUTION:
Each top tether anchor and lower anchor
in the vehicle is designed to hold only one
child restraint. Attaching more than one
child restraint to a single anchor could
cause the anchor or attachment to come
loose or even break during a crash. A
child or others could be injured if this
happens. To help prevent injury to people
and damage to your vehicle, attach only
one child restraint per anchor.
62

{CAUTION:
Children can be seriously injured or
strangled if a shoulder belt is wrapped
around their neck and the safety belt
continues to tighten. Secure any unused
safety belts behind the child restraint so
children cannot reach them. Pull the
shoulder belt all the way out of the
retractor to set the lock, if your vehicle has
one, after the child restraint has been
installed. Be sure to follow the instructions
of the child restraint manufacturer.
Notice: Contact between the child restraint or
the LATCH attachment parts and the vehicle’s
safety belt assembly may cause damage to
these parts. Make sure when securing unused
safety belts behind the child restraint that
there is no contact between the child restraint
or the LATCH attachment parts and the
vehicle’s safety belt assembly.
Folding an empty rear seat with the safety
belts secured may cause damage to the safety
belt or the seat. When removing the child
restraint, always remember to return the safety
belts to their normal, stowed position before
folding the rear seat.
If you need to secure more than one child restraint
in the rear seat, see Where to Put the Restraint
on page 55. Depending on where you place
the child restraint, you may not be able to access
certain safety belt assemblies or LATCH
anchors for additional passengers or child
restraints.
You cannot secure three child restraints using the
LATCH anchors in the rear seat at the same
time, but you can install two of them. If you want
to do this, install one LATCH child restraint in
the passenger-side position, and install the other
one either in the driver’s-side position or in
the center position. Refer to the following
illustration to learn which anchors to use.
63

A. Passenger’s Side Rear Seat Lower Anchors
B. Center Rear Seat Lower Anchors
C. Driver’s Side Rear Seat Lower Anchors
A. Passenger’s Side Rear Seat Lower Anchors
B. Center Rear Seat Lower Anchors
C. Driver’s Side Rear Seat Lower Anchors
Make sure to attach the child restraint at the
proper anchor location.
Sedan
MAXX
64

This system is designed to make installation of
child restraints easier. When using lower anchors,
do not use the vehicle’s safety belts. Instead
use the vehicle’s anchors and child restraint
attachments to secure the restraints. Some
restraints also use another vehicle anchor to
secure a top tether.
1. Attach and tighten the lower attachments to
the lower anchors. If the child restraint does
not have lower attachments or the desired
seating position does not have lower anchors,
secure the child restraint with the top tether
and the safety belts. Refer to your child
restraint manufacturer instructions and the
instructions in this manual.
1.1. Find the lower anchors for the desired
seating position.
1.2. Put the child restraint on the seat.
1.3. Attach and tighten the lower
attachments on the child restraint to the
lower anchors.
2. If the child restraint manufacturer recommends
that the top tether be attached, attach and
tighten the top tether to the top tether anchor,
if equipped. Refer to the child restraint
instructions and the following steps:
2.1. Find the top tether anchor.
2.2. If the position you are using has an
adjustable head restraint, raise it. See
Head Restraints on page 13.
2.3. Route, attach and tighten the top tether
according to your child restraint
instructions and the following
instructions:
If the position you are
using does not have a
head restraint and
you are using a single
tether, route the
tether over the
seatback.
65

If the position you are
using does not have a
head restraint and
you are using a dual
tether, route the
tether over the
seatback.
If the position you are
using has an adjustable
head restraint and
you are using a single
tether, route the
tether under the head
restraint and in between
the head restraint
posts. See Head
Restraints on page 13.
If the position you are
using has an adjustable
head restraint and
you are using a dual
tether route the
tether under the head
restraint and in between
the head restraint
posts. See Head
Restraints on page 13.
3. Push and pull the child restraint in different
directions to be sure it is secure.
66

Securing a Child Restraint in a
Rear Seat Position
If your child restraint has the LATCH system, see
Lower Anchors and Tethers for Children
(LATCH) on page 58.
If your child restraint does not have the LATCH
system, you will be using the lap-shoulder
belt to secure the child restraint in this position. Be
sure to follow the instructions that came with the
child restraint. Secure the child in the child restraint
when and as the instructions say.
1. Put the child restraint on the seat.
2. Pick up the latch plate, and run the lap and
shoulder portions of the vehicle’s safety belt
through or around the restraint. The child
restraint instructions will show you how.
3. Buckle the belt. Make sure the release button
is positioned so you would be able to unbuckle
the safety belt quickly if you ever had to.
67

4. Pull the rest of the shoulder belt all the way
out of the retractor to set the lock.
5. To tighten the belt, push down on the child
restraint, pull the shoulder portion of the belt
to tighten the lap portion of the belt, and
feed the shoulder belt back into the retractor.
If you are using a forward-facing child
restraint, you may find it helpful to use your
knee to push down on the child restraint
as you tighten the belt.
68

6. If your child restraint manufacturer
recommends using a top tether, attach and
tighten the top tether to the top tether anchor.
Refer to the instructions that came with the
child restraint and see Lower Anchors
and Tethers for Children (LATCH) on page 58.
7. Push and pull the child restraint in different
directions to be sure it is secure.
To remove the child restraint, if the top tether is
attached to the top tether anchor, disconnect
it. Unbuckle the vehicle’s safety belt and let it go
back all the way. The safety belt will move
freely again and be ready to work for an adult or
larger child passenger.
Securing a Child Restraint in the
Right Front Seat Position
Your vehicle has a right front passenger’s airbag.
A rear seat is a safer place to secure a
forward-facing child restraint. See Where to Put
the Restraint on page 55.
In addition, your vehicle has the passenger
sensing system. The passenger sensing system is
designed to turn off the right front passenger’s
frontal airbag when an infant in a rear-facing infant
seat or a small child in a forward-facing child
restraint or booster seat is detected. See
Passenger Sensing System on page 84 and
Passenger Airbag Status Indicator on page 205 for
more information on this including important
safety information.
69

A label on your sun visor says, “Never put a
rear-facing child seat in the front.” This is because
the risk to the rear-facing child is so great, if the
airbags deploy.
{CAUTION:
A child in a rear-facing child restraint can
be seriously injured or killed if the right
front passenger’s airbag inflates. This is
because the back of the rear-facing child
restraint would be very close to the
inflating airbag.
Even though the passenger sensing
system is designed to turn off the right
front passenger’s frontal airbag if the
system detects a rear-facing child
CAUTION: (Continued)
CAUTION: (Continued)
restraint, no system is fail-safe, and no
one can guarantee that an airbag will not
deploy under some unusual circumstance,
even though it is turned off. We
recommend that rear-facing child
restraints be secured in the rear seat,
even if the airbag is off.
If you need to secure a forward-facing
child restraint in the right front seat,
always move the front passenger seat as
far back as it will go. It is better to secure
the child restraint in a rear seat.
70

If you need to secure a forward-facing child
restraint in the right front seat position, move the
seat as far back as it will go before securing
the forward-facing child restraint. See Manual
Seats on page 8 or Power Seat on page 9.
If your child restraint has the LATCH system, see
Lower Anchors and Tethers for Children (LATCH)
on page 58.
There is no top tether anchor in the right front
passenger’s position. Do not secure a child seat in
this position if a national or local law requires that
the top tether be anchored, or if the instructions that
come with the child restraint say that the top tether
must be anchored. See Lower Anchors and Tethers
for Children (LATCH) on page 58 if the child
restraint has a top tether.
You will be using the lap-shoulder belt to secure
the child restraint in this position. Be sure to follow
the instructions that came with the child restraint.
Secure the child in the child restraint when and as
the instructions say.
1. Your vehicle has a right front passenger’s
frontal airbag. See Passenger Sensing
System on page 84. We recommend that
rear-facing child restraints be secured in a rear
seat, even if the airbag or airbags are off. If
your child restraint is forward-facing, move the
seat as far back as it will go before securing
the child restraint in this seat. See Manual
Seats on page 8 or Power Seat on page 9.
When the passenger sensing system has
turned off the right front passenger’s frontal
airbag and side impact airbag (if equipped), the
off indicator in the passenger airbag status
indicator should light and stay lit when you turn
the ignition to ON or START. See Passenger
Airbag Status Indicator on page 205.
71

2. Put the child restraint on the seat.
3. Pick up the latch plate, and run the lap and
shoulder portions of the vehicle’s safety belt
through or around the restraint. The child
restraint instructions will show you how.
4. Buckle the belt. Make sure the release button
is positioned so you would be able to unbuckle
the safety belt quickly if you ever had to.
5. Pull the rest of the shoulder belt all the way
out of the retractor to set the lock.
72

6. To tighten the belt, push down on the child
restraint, pull the shoulder portion of the belt
to tighten the lap portion of the belt, and
feed the shoulder belt back into the retractor.
If you are using a forward-facing child
restraint, you may find it helpful to use your
knee to push down on the child restraint
as you tighten the belt. You should not be able
to pull more of the belt from the retractor
once the lock has been set.
7. Push and pull the child restraint in different
directions to be sure it is secure.
8. If the airbag is off, the off indicator on the
instrument panel will be lit and stay lit
when the key is turned to ON or START.
If a child restraint has been installed and the on
indicator is lit, turn the vehicle off. Remove
the child restraint from the vehicle and reinstall the
child restraint.
If, after reinstalling the child restraint and restarting
the vehicle, the on indicator is still lit, check to
make sure that the vehicle’s seatback is not
pressing the child restraint into the seat cushion. If
this happens, slightly recline the vehicle’s
seatback and adjust the seat cushion if possible.
Also make sure the child restraint is not trapped
under the vehicle head restraint. If this happens,
adjust the head restraint.
If the on indicator is still lit, secure the child in the
child restraint in a rear seat position in the vehicle
and check with your dealer.
To remove the child restraint, unbuckle the
vehicle’s safety belt and let it go back all the way.
The safety belt will move freely again and be
ready to work for an adult or larger child
passenger.
73

Airbag System
Your vehicle has a frontal airbag for the driver and
another frontal airbag for the right front passenger.
Your vehicle may also have a seat-mounted
side impact airbag for the driver and for the right
front passenger. Your vehicle may also have
roof-mounted side impact airbags. Roof-mounted
side impact airbags are available for the driver
and the passenger seated directly behind
the driver and for the right front passenger and the
passenger seated directly behind that passenger.
If your vehicle has seat-mounted side impact
airbags, the word AIRBAG will appear on
the airbag covering on the side of the front
seatback closest to the door. If your vehicle has
roof-mounted side impact airbags, the word
AIRBAG will appear on the airbag covering on the
ceiling near the side windows.
Airbags are designed to supplement the protection
provided by safety belts. Even though today’s
airbags are also designed to help reduce the risk
of injury from the force of an inflating bag, all
airbags must inflate very quickly to do their job.
Here are the most important things to know about
the airbag system:
{CAUTION:
You can be severely injured or killed in a
crash if you are not wearing your safety
belt, even if you have airbags. Wearing
your safety belt during a crash helps
reduce your chance of hitting things
inside the vehicle or being ejected from it.
Airbags are “supplemental restraints” to
the safety belts. All airbags are designed
to work with safety belts but do not
replace them.
CAUTION: (Continued)
74

CAUTION: (Continued)
Frontal airbags for the driver and right
front passenger are designed to deploy in
moderate to severe frontal and near
frontal crashes. They are not designed to
inflate in rollover, rear crashes, or in many
side crashes. And, for some unrestrained
occupants, frontal airbags may provide
less protection in frontal crashes than
more forceful airbags have provided in
the past.
Side impact airbags are designed to
inflate in moderate to severe crashes
where something hits the side of your
vehicle. They are not designed to inflate in
frontal, in rollover, or in rear crashes.
Everyone in your vehicle should wear a
safety belt properly, whether or not there
is an airbag for that person.
{CAUTION:
Both frontal and side impact airbags
inflate with great force, faster than the
blink of an eye. If you are too close to an
inflating airbag, as you would be if you
were leaning forward, it could seriously
injure you. Safety belts help keep you in
position for airbag inflation before and
during a crash. Always wear your safety
belt even with frontal airbags. The driver
should sit as far back as possible while
still maintaining control of the vehicle.
Occupants should not lean on or sleep
against the door.
75

{CAUTION:
Anyone who is up against, or very close
to, any airbag when it inflates can be
seriously injured or killed. Airbags plus
lap-shoulder belts offer the best
protection for adults, but not for young
children and infants. Neither the vehicle’s
safety belt system nor its airbag system is
designed for them. Young children and
infants need the protection that a child
restraint system can provide. Always
secure children properly in your vehicle.
To read how, see Older Children on
page 44 or Infants and Young Children
on page 47.
There is an airbag
readiness light on the
instrument panel cluster,
which shows the
airbag symbol.
The system checks the airbag electrical system for
malfunctions. The light tells you if there is an
electrical problem. See Airbag Readiness Light on
page 204 for more information.
Where Are the Airbags?
The driver’s frontal airbag is in the middle of the
steering wheel.
76

The right front passenger’s frontal airbag is in the
instrument panel on the passenger’s side.
If your vehicle has a seat-mounted side impact
airbag for the driver, it is in the side of the driver’s
seatback closest to the door.
77

If your vehicle has a seat-mounted side impact
airbag for the right front passenger, it is in the side
of the passenger’s seatback closest to the door.
If your vehicle has a roof-mounted side impact
airbag for the driver and the person seated directly
behind the driver, it is in the ceiling above the
side windows.
78

If your vehicle has a roof-mounted side impact
airbag for the right front passenger and the person
seated directly behind that passenger, it is in
the ceiling above the side windows.
{CAUTION:
If something is between an occupant and
an airbag, the airbag might not inflate
properly or it might force the object into
that person causing severe injury or even
death. The path of an inflating airbag must
be kept clear. Do not put anything
between an occupant and an airbag, and
do not attach or put anything on the
steering wheel hub or on or near any
other airbag covering. If your vehicle has
roof-mounted side impact airbags, never
secure anything to the roof of your
vehicle by routing the rope or tie-down
through any door or window opening. If
you do, the path of an inflating airbag will
be blocked. Do not let seat covers block
the inflation path of a side impact airbag.
The path of an inflating airbag must be
kept clear.
79

When Should an Airbag Inflate?
The driver’s and right front passenger’s frontal
airbags are designed to inflate in moderate to
severe frontal or near-frontal crashes. But they are
designed to inflate only if the impact exceeds a
predetermined deployment threshold. Deployment
thresholds take into account a variety of desired
deployment and non-deployment events and are
used to predict how severe a crash is likely to be in
time for the airbags to inflate and help restrain the
occupants. Whether your frontal airbags will or
should deploy is not based on how fast your vehicle
is traveling. It depends largely on what you hit, the
direction of the impact, and how quickly your
vehicle slows down.
In addition, your vehicle has “dual-stage” frontal
airbags, which adjust the restraint according
to crash severity. Your vehicle has electronic
frontal sensors which helps the sensing system
distinguish between a moderate frontal impact and
a more severe frontal impact. For moderate
frontal impacts, these airbags inflate at a level less
than full deployment. For more severe frontal
impacts, full deployment occurs.
If the front of your vehicle goes straight into a wall
that does not move or deform, the threshold
level for the reduced deployment is about
12 to 16 mph (19 to 26 km/h), and the threshold
level for a full deployment is about 18 to 24 mph
(29 to 38.5 km/h). The threshold level can
vary, however, with specific vehicle design, so that
it can be somewhat above or below this range.
Frontal airbags may inflate at different crash
speeds. For example:
•If the vehicle hits a stationary object, the
airbags could inflate at a different crash speed
than if the vehicle hits a moving object.
•If the vehicle hits an object that deforms, the
airbags could inflate at a different crash
speed than if the vehicle hits an object that
does not deform.
•If the vehicle hits a narrow object (like a pole),
the airbags could inflate at a different crash
speed than if the vehicle hits a wide object
(like a wall).
•If the vehicle goes into an object at an angle,
the airbags could inflate at a different crash
speed than if the vehicle goes straight into
the object.
80

Frontal airbags (driver and right front passenger)
are not intended to inflate during vehicle
rollovers, rear impacts, or in many side impacts.
Your vehicle may or may not have side impact
airbags. See Airbag System on page 74 for more
information. Side impact airbags are intended
to inflate in moderate to severe side crashes. A
side impact airbag will inflate if the crash severity
is above the system’s designed threshold level.
The threshold level can vary with specific vehicle
design. Side impact airbags are not intended
to inflate in frontal or near-frontal impacts,
rollovers, or rear impacts. A side impact airbag is
intended to deploy on the side of the vehicle
that is struck.
In any particular crash, no one can say whether
an airbag should have inflated simply because
of the damage to a vehicle or because of what the
repair costs were. For frontal airbags, inflation is
determined by what the vehicle hits, the angle
of the impact, and how quickly the vehicle slows
down. For side impact airbags, inflation is
determined by the location and severity of
the impact.
What Makes an Airbag Inflate?
In an impact of sufficient severity, the airbag
sensing system detects that the vehicle is
in a crash. The sensing system triggers a release
of gas from the inflator, which inflates the
airbag. The inflator, airbag and related hardware
are all part of the airbag modules. Frontal
airbag modules are located inside the steering
wheel and the instrument panel. For vehicles with
seat-mounted side impact airbags, there are
also airbag modules in the side of the front
seatbacks closest to the door. For vehicles with
roof-mounted side impact airbags, there are
also airbag modules in the ceiling of the vehicle,
near the side window.
How Does an Airbag Restrain?
In moderate to severe frontal or near frontal
collisions, even belted occupants can contact the
steering wheel or the instrument panel. In
moderate to severe side collisions, even belted
occupants can contact the inside of the vehicle.
Airbags supplement the protection provided
by safety belts.
81

Airbags distribute the force of the impact more
evenly over the occupant’s upper body, stopping
the occupant more gradually. But the frontal
airbags would not help you in many types of
collisions, including rollovers, rear impacts, and
many side impacts, primarily because an
occupant’s motion is not toward the airbag. Side
impact airbags would not help you in many
types of collisions, including many frontal or near
frontal collisions, rollovers, and rear impacts.
Airbags should never be regarded as anything
more than a supplement to safety belts, and then
only in moderate to severe frontal or near-frontal
collisions for the driver’s and right front
passenger’s frontal airbags, and only in moderate
to severe side collisions for vehicles with side
impact airbags.
What Will You See After an Airbag
Inflates?
After the frontal and seat-mounted side impact
airbags inflate, they quickly deflate, so quickly that
some people may not even realize an airbag
inflated. Roof-mounted side impact airbags may still
be at least partially inflated minutes after the vehicle
comes to rest. Some components of the airbag
module — the steering wheel hub for the driver’s
airbag, the instrument panel for the right front
passenger’s bag, the side of the seatback closest to
the door for the seat-mounted side impact airbags
(if equipped), and the garnish trim and the area
along the ceiling of your vehicle near the side
windows for the roof–mounted side impact airbags
(if equipped) — may be hot for a short time. The
parts of the airbag that come into contact with you
may be warm, but not too hot to touch. There may
be some smoke and dust coming from the vents in
the deflated airbags. Airbag inflation does not
prevent the driver from seeing out of the windshield
or being able to steer the vehicle, nor does it
prevent people from leaving the vehicle.
82

{CAUTION:
When an airbag inflates, there may be
dust in the air. This dust could cause
breathing problems for people with a
history of asthma or other breathing
trouble. To avoid this, everyone in the
vehicle should get out as soon as it is
safe to do so. If you have breathing
problems but cannot get out of the vehicle
after an airbag inflates, then get fresh air
by opening a window or a door. If you
experience breathing problems following
an airbag deployment, you should seek
medical attention.
Your vehicle has a feature that may automatically
unlock the doors, turn the interior lamps on,
and turn the hazard warning flashers on when the
airbags inflate. You can lock the doors, turn the
interior lamps off, and turn the hazard warning
flashers off again by using the controls for those
features.
In many crashes severe enough to inflate the
airbag, windshields are broken by vehicle
deformation. Additional windshield breakage may
also occur from the right front passenger
airbag.
•Airbags are designed to inflate only once.
After an airbag inflates, you will need
some new parts for the airbag system. If you
do not get them, the airbag system will
not be there to help protect you in another
crash. A new system will include airbag
modules and possibly other parts. The service
manual for your vehicle covers the need to
replace other parts.
•Your vehicle has a crash sensing and
diagnostic module which records information
after a crash. See Vehicle Data Collection and
Event Data Recorders on page 490.
•Let only qualified technicians work on the
airbag system. Improper service can mean that
the airbag system will not work properly.
See your dealer for service.
83

Passenger Sensing System
Your vehicle has a passenger sensing system.
The passenger airbag status indicator on the
instrument panel will be visible when you turn your
ignition key to ON or START.
The words ON and OFF or the symbol for on and
off, will be visible during the system check. If
you use remote start to start your vehicle from a
distance, if your vehicle has this feature, you
may not see the system check. When the system
check is complete, either the word ON or the
word OFF, or the symbol for on or the symbol for
off will be visible. See Passenger Airbag Status
Indicator on page 205.
The passenger sensing system will turn off the
right front passenger’s frontal airbag under certain
conditions. The driver’s airbags are not part of
the passenger sensing system.
The passenger sensing system works with
sensors that are part of the right front passenger’s
seat. The sensors are designed to detect the
presence of a properly-seated occupant and
determine if the passenger’s frontal airbag should
be enabled (may inflate) or not.
Accident statistics show that children are safer if
they are restrained in the rear rather than the front
seat. We recommend that child restraints be
secured in a rear seat, including an infant riding in
a rear-facing infant seat, a child riding in a
forward-facing child seat, and an older child riding
in a booster seat.
United States Canada
84

Your vehicle has a rear seat that will accommodate
a rear-facing child restraint. A label on your sun
visor says, “Never put a rear-facing child seat
in the front.” This is because the risk to the
rear-facing child is so great, if the airbag deploys.
{CAUTION:
A child in a rear-facing child restraint can
be seriously injured or killed if the right
front passenger’s airbag inflates. This is
because the back of the rear-facing child
restraint would be very close to the
inflating airbag.
Even though the passenger sensing
system is designed to turn off the
passenger’s frontal airbag if the system
detects a rear-facing child restraint, no
system is fail-safe, and no one can
CAUTION: (Continued)
CAUTION: (Continued)
guarantee that an airbag will not deploy
under some unusual circumstance, even
though it is turned off. We recommend
that rear-facing child restraints be secured
in the rear seat, even if the airbag is off.
If you need to secure a forward-facing
child restraint in the right front seat,
always move the front passenger seat as
far back as it will go. It is better to secure
the child restraint in a rear seat.
85

The passenger sensing system is designed to turn
off the right front passenger’s frontal airbag if:
•The right front passenger seat is unoccupied.
•The system determines that an infant is
present in a rear-facing infant seat.
•The system determines that a small child is
present in a forward-facing child restraint.
•The system determines that a small child is
present in a booster seat.
•A right front passenger takes his/her weight off
of the seat for a period of time.
•The right front passenger seat is occupied by
a smaller person, such as a child who has
outgrown child restraints.
•Or, if there is a critical problem with the airbag
system or the passenger sensing system.
When the passenger sensing system has turned
off the right front passenger’s frontal airbag, the off
indicator on the instrument panel will light and
stay lit to remind you that the airbag is off.
If a child restraint has been installed and the on
indicator is lit, turn the vehicle off. Remove
the child restraint from the vehicle and reinstall the
child restraint following the child restraint
manufacturer’s directions and refer to Securing a
Child Restraint in the Right Front Seat Position
on page 69.
If, after reinstalling the child restraint and restarting
the vehicle, the on indicator is still lit, check to
make sure that the vehicle’s seatback is not
pressing the child restraint into the seat cushion. If
this happens, slightly recline the vehicle’s
seatback and adjust the seat cushion if possible.
Also make sure the child restraint is not trapped
under the vehicle head restraint. If this happens,
adjust the head restraint.
86

If the on indicator is still lit, secure the child in the
child restraint in a rear seat position in the
vehicle and check with your dealer.
The passenger sensing system is designed to
enable (may inflate) the right front passenger’s
frontal airbag anytime the system senses
that a person of adult size is sitting properly in the
right front passenger’s seat. When the passenger
sensing system has allowed the airbag to be
enabled, the on indicator will light and stay lit to
remind you that the airbag is active.
For some children who have outgrown child
restraints and for very small adults, the passenger
sensing system may or may not turn off the
right front passenger’s frontal airbag, depending
upon the person’s seating posture and body build.
Everyone in your vehicle who has outgrown
child restraints should wear a safety belt
properly — whether or not there is an airbag for
that person.
If a person of adult-size is sitting in the right front
passenger’s seat, but the off indicator is lit, it
could be because that person is not sitting properly
in the seat. If this happens, turn the vehicle off
and ask the person to place the seatback in
the fully upright position, then sit upright in the
seat, centered on the seat cushion, with the
person’s legs comfortably extended. Restart the
vehicle and have the person remain in this position
for about two minutes. This will allow the system
to detect that person and then enable the
passenger’s airbag.
87

{CAUTION:
If the airbag readiness light in the
instrument panel cluster ever comes on
and stays on, it means that something
may be wrong with the airbag system. If
this ever happens, have the vehicle
serviced promptly, because an adult-size
person sitting in the right front
passenger’s seat may not have the
protection of the frontal airbag. See
Airbag Readiness Light on page 204 for
more on this, including important safety
information.
A thick layer of additional material such as a
blanket, or aftermarket equipment such as seat
covers, seat heaters, and seat massagers,
can affect how well the passenger sensing system
operates. Remove any additional material from
the seat cushion before reinstalling or securing the
child restraint and before a small occupant,
including a small adult, sits in the right front
passenger’s seat.
88

You may want to consider not using seat covers
or other aftermarket equipment if your vehicle
has the passenger sensing system. See Adding
Equipment to Your Airbag-Equipped Vehicle
on page 91 for more information about
modifications that can affect how the
system operates.
The passenger sensing system may suppress the
airbag deployment when liquid is soaked into
the seat. If this happens, the off indicator in the
passenger airbag status indicator and the
airbag readiness light on the instrument panel will
be lit. The system should resume normal
operation after the seat is allowed to dry. If the
system operates incorrectly after the seat
has dried, have your dealer check the system.
{CAUTION:
Stowing of articles under the passenger’s
seat or between the passenger’s seat
cushion and seatback may interfere with
the proper operation of the passenger
sensing system.
89

Servicing Your Airbag-Equipped
Vehicle
Airbags affect how your vehicle should be
serviced. There are parts of the airbag system in
several places around your vehicle. You do
not want the system to inflate while someone is
working on your vehicle. Your dealer and the
service manual have information about servicing
your vehicle and the airbag system. To purchase a
service manual, see Service Publications
Ordering Information on page 497.
{CAUTION:
For up to 10 seconds, after the ignition is
turned off and the battery is disconnected,
an airbag can still inflate during improper
service. You can be injured if you are
close to an airbag when it inflates. Avoid
yellow connectors. They are probably part
of the airbag system. Be sure to follow
proper service procedures, and make sure
the person performing work for you is
qualified to do so.
The airbag system does not need regular
maintenance.
90

Adding Equipment to Your
Airbag-Equipped Vehicle
Q: Is there anything I might add to the front
or sides of the vehicle that could keep the
airbags from working properly?
A: Yes. If you add things that change your
vehicle’s frame, bumper system, height,
front end or side sheet metal, they may keep
the airbag system from working properly.
Also, the airbag system may not work properly
if you relocate any of the airbag sensors. If
you have any questions about this, you should
contact Customer Assistance before you
modify your vehicle. The phone numbers and
addresses for Customer Assistance are in
Step Two of the Customer Satisfaction
Procedure in this manual. See Customer
Satisfaction Procedure on page 478.
Q: Because I have a disability, I have to get
my vehicle modified. How can I find out
whether this will affect my airbag system?
A: Changing or moving any parts of the front
seats, safety belts, the airbag sensing and
diagnostic module, steering wheel, instrument
panel, ceiling headliner, ceiling and pillar
garnish trim, roof-mounted airbag modules, or
airbag wiring can affect the operation of the
airbag system. If you have questions, call
Customer Assistance. The phone numbers and
addresses for Customer Assistance are in Step
Two of the Customer Satisfaction Procedure in
this manual. See Customer Satisfaction
Procedure on page 478.
91

Restraint System Check
Checking the Restraint Systems
Now and then, make sure the safety belt reminder
light and all your belts, buckles, latch plates,
retractors, and anchorages are working properly.
Look for any other loose or damaged safety
belt system parts. If you see anything that might
keep a safety belt system from doing its job, have
it repaired. See Care of Safety Belts on page 440
for more information.
Torn or frayed safety belts may not protect you in
a crash. They can rip apart under impact forces.
If a belt is torn or frayed, get a new one right away.
Also look for any opened or broken airbag
covers, and have them repaired or replaced. The
airbag system does not need regular maintenance.
Notice: If you damage the covering for the
driver’s or the right front passenger’s airbag,
or the airbag covering on the driver’s and
right front passenger’s seatback (if equipped),
or the side impact airbag covering on the
garnish trim and ceiling near the side windows
(if equipped), the airbag may not work
properly. You may have to replace the airbag
module in the steering wheel, both the
airbag module and the instrument panel for the
right front passenger’s airbag, the airbag
module and seatback for the driver’s and right
front passenger’s seat-mounted side impact
airbags (if equipped), or the side impact airbag
module, garnish trim and ceiling covering
for the roof-mounted side impact airbags
(if equipped). Do not open or break the airbag
coverings.
92

Replacing Restraint System Parts
After a Crash
{CAUTION:
A crash can damage the restraint systems
in your vehicle. A damaged restraint
system may not properly protect the
person using it, resulting in serious injury
or even death in a crash. To help make
sure your restraint systems are working
properly after a crash, have them
inspected and any necessary
replacements made as soon as possible.
If you have had a crash, do you need new belts or
LATCH system parts?
After a very minor collision, nothing may be
necessary. But if the belts were stretched, as they
would be if worn during a more severe crash,
then you need new parts.
If the LATCH system was being used during a
more severe crash, you may need new LATCH
system parts.
If belts are cut or damaged, replace them.
Collision damage also may mean you will need to
have LATCH system, safety belt or seat parts
repaired or replaced. New parts and repairs may
be necessary even if the belt or LATCH system
was not being used at the time of the collision.
If your seat adjuster will not work after a crash, the
special part of the safety belt that goes through
the seat to the adjuster may need to be replaced.
If an airbag inflates, you will need to replace
airbag system parts. See the part about the airbag
system earlier in this manual.
93

If the frontal airbags inflate you will need to
replace the driver’s and right front passengers
safety belt retractor assembly. Be sure to do so.
Then the new retractor assembly will be there
to help protect you in a collision.
After a crash you may need to replace the driver
and front passenger’s safety belt retractor
assemblies, even if the frontal airbags have not
deployed. The driver and front passenger’s safety
belt retractor assemblies contain the safety belt
pretensioners.
Have your safety belt pretensioners checked if
your vehicle has been in a collision, or if your
airbag readiness light stays on after you start your
vehicle or while you are driving. See Airbag
Readiness Light on page 204.
94

Keys .............................................................. 97
Remote Keyless Entry (RKE) System .......... 99
Remote Keyless Entry (RKE) System
Operation ............................................... 100
Doors and Locks ........................................ 107
Door Locks ................................................ 107
Power Door Locks ..................................... 108
Door Ajar Reminder .................................. 108
Delayed Locking ........................................ 108
Programmable Automatic Door Locks ........ 110
Rear Door Security Locks ......................... 110
Lockout Protection ..................................... 111
Trunk (Sedan) ........................................... 112
Liftgate (MAXX) ......................................... 113
Windows ...................................................... 114
Power Windows ........................................ 115
Sun Visors ................................................ 115
Theft-Deterrent Systems ............................. 116
Content Theft-Deterrent ............................. 116
PASS-Key
®
III+ ......................................... 118
PASS-Key
®
III+ Operation ......................... 119
Starting and Operating Your Vehicle ......... 120
New Vehicle Break-In ................................ 120
Ignition Positions ....................................... 121
Retained Accessory Power (RAP) ............. 122
Starting the Engine .................................... 123
Adjustable Throttle and Brake Pedal .......... 124
Engine Coolant Heater .............................. 125
Automatic Transaxle Operation
(Base Models) ........................................ 127
Automatic Transaxle Operation
(SS Models) ........................................... 130
Parking Brake ........................................... 134
Shifting Into Park (P) ................................. 135
Shifting Out of Park (P) ............................. 136
Parking Over Things That Burn ................. 137
Engine Exhaust ......................................... 138
Running the Engine While Parked ............. 139
Mirrors ......................................................... 140
Manual Rearview Mirror ............................. 140
Manual Rearview Mirror with OnStar
®
.......... 140
Section 2 Features and Controls
95

Automatic Dimming Rearview Mirror
with OnStar
®
and Compass ................... 140
Automatic Dimming Rearview Mirror
with Compass ........................................ 142
Outside Power Mirrors ............................... 144
Outside Power Heated Mirrors ................... 144
Outside Convex Mirror ............................... 144
OnStar
®
System .......................................... 145
Universal Home Remote System ................ 148
Universal Home Remote System
(With Three Round LED) ....................... 148
Universal Home Remote System
(With One Triangular LED) ..................... 149
Universal Home Remote System
Operation (With Three Round LED) ....... 150
Universal Home Remote System
Operation (With One Triangular LED) ..... 156
Storage Areas ............................................. 159
Glove Box ................................................. 159
Cupholder(s) .............................................. 160
Center Console Storage Area .................... 160
Map Pocket ............................................... 160
Rear Compartment Storage
Panel/Cover (MAXX) .............................. 160
Table (MAXX) ........................................... 162
Convenience Net ....................................... 162
Sunroof ....................................................... 162
Section 2 Features and Controls
96

Keys
{CAUTION:
Leaving children in a vehicle with the
ignition key is dangerous for many
reasons. They could operate the power
windows or other controls or even make
the vehicle move. The children or others
could be badly injured or even killed.
Do not leave the keys in a vehicle with
children.
97

One key is used for the
ignition and all locks.
When a new vehicle is delivered, the key has a
bar-coded key tag. This tag may be removed
by your dealer before it is delivered.
Each tag has a key code on it that tells your
dealer or a qualified locksmith how to make extra
keys. Keep the tag in a safe place. If you lose
your keys, you’ll be able to have one made easily
using this tag. If you need a new key, go to
your dealer for the correct key code. See Roadside
Assistance Program on page 484 for more
information.
Notice: If you ever lock your keys in your
vehicle, you may have to damage the vehicle
to get in. Be sure you have spare keys.
98

Remote Keyless Entry (RKE)
System
If the vehicle has the Remote Keyless Entry (RKE)
system, it operates on a radio frequency subject
to Federal Communications Commission (FCC)
Rules and with Industry Canada.
This device complies with Part 15 of the FCC
Rules. Operation is subject to the following
two conditions:
1. This device may not cause interference.
2. This device must accept any interference
received, including interference that may
cause undesired operation of the device.
This device complies with RSS-210 of Industry
Canada. Operation is subject to the following
two conditions:
1. This device may not cause interference.
2. This device must accept any interference
received, including interference that may
cause undesired operation of the device.
Changes or modifications to this system by other
than an authorized service facility could void
authorization to use this equipment.
At times you may notice a decrease in range. This
is normal for any RKE system. If the transmitter
does not work or if you have to stand closer
to your vehicle for the transmitter to work, try this:
•Check the distance. You may be too far
from your vehicle. You may need to stand
closer during rainy or snowy weather.
•Check the location. Other vehicles or objects
may be blocking the signal. Take a few steps
to the left or right, hold the transmitter
higher, and try again.
•Check to determine if battery replacement is
necessary. See “Battery Replacement”
under Remote Keyless Entry (RKE) System
Operation on page 100.
•If you are still having trouble, see your dealer
or a qualified technician for service.
99

Remote Keyless Entry (RKE)
System Operation
The vehicle’s doors may be locked and unlocked,
and the trunk or liftgate may be opened from
about 3 feet (1 m) up to 197 feet (60 m) away with
the remote keyless entry transmitter. If your
vehicle has the remote vehicle start feature, you
can also start the vehicle’s engine with the remote
keyless entry transmitter.
The following functions may be available if your
vehicle has the remote keyless entry system:
/(Remote Vehicle Start): If your vehicle has
this feature, the engine may be started from
outside the vehicle using the remote keyless entry
transmitter. See “Remote Vehicle Start” later in
this section for more detailed information.
Q(Lock): Press the lock button to lock all the
doors. The interior lamps will turn off after all of the
doors are closed. If enabled through the Driver
Information Center (DIC), the remote lock feedback
can be programmed to have the horn chirp
and/or the parking lamps flash when the remote
keyless entry transmitter is used to lock the
vehicle’s doors. See “LOCK HORN” and “LIGHT
FLASH” under DIC Vehicle Personalization
on page 225 for more information.
Pressing the lock button may arm the content
theft-deterrent system. See Content
Theft-Deterrent on page 116.
Remote Keyless Entry
with Remote Start
Remote Keyless Entry
without Remote Start
100

K(Unlock): Press the unlock button to unlock the
driver’s door. If the button is pressed again
within five seconds, all remaining doors, and the
liftgate will unlock. The interior lamps will turn
on and stay on for 20 seconds or until the ignition
is turned on. If enabled through the DIC, the
remote unlock feedback can be programmed to
have the horn chirp and/or the parking lamps flash
when the remote keyless entry transmitter is
used to unlock the vehicle’s doors. See “UNLOCK
HORN” and “LIGHT FLASH” under DIC Vehicle
Personalization on page 225 for more information.
If enabled through the DIC, and it is dark
enough outside, the vehicle’s high-beam
headlamps, parking lamps, and back-up lamps will
turn on each time the unlock button on the
transmitter is pressed. These exterior lamps will
stay on for 20 seconds, or until a door is opened.
See “EXT (Exterior) LIGHTS” under DIC Vehicle
Personalization on page 225.
Pressing the unlock button will disarm the content
theft-deterrent system, if equipped. See Content
Theft-Deterrent on page 116.
V(Remote Trunk/Liftgate Release): The
trunk or liftgate will open when this button on
the transmitter is pressed and held for about
one second. You can open the sedan trunk or
the liftgate on the MAXX when the vehicle
is in PARK (P) or when the ignition is off.
L(Vehicle Locator/Panic Alarm): This button
may be used to locate your vehicle. Press and
release this button to initiate vehicle locate. The
horn will sound three times and the headlamps
and parking lamps will flash three times. Press
and hold the button for about three seconds to
initiate the panic alarm. The horn will sound and
the headlamps and parking lamps will flash for
30 seconds. Press the button again to cancel the
panic alarm.
101

Matching Transmitter(s) to Your
Vehicle
Each remote keyless entry transmitter is coded to
prevent another transmitter from unlocking your
vehicle. If a transmitter is lost or stolen, a
replacement can be purchased through your
GM dealer. Remember to bring any remaining
transmitters with you when you go to your dealer.
Each vehicle can have a maximum of
four transmitters matched to it.
Battery Replacement
Under normal use, the battery in your remote
keyless entry transmitter should last about
four years.
You can tell the battery is weak if the transmitter
will not work at the normal range in any location.
If you have to get close to your vehicle before
the transmitter works, it is probably time to change
the battery.
The KEY FOB BATT LOW message in the
vehicle’s DIC will display if the remote keyless
entry transmitter battery is low.
Notice: When replacing the battery, use care
not to touch any of the circuitry. Static
from your body transferred to these surfaces
may damage the transmitter.
102

To replace the battery in the remote keyless entry
transmitter do the following:
1. Insert a flat object, with a thin edge, into the
notch located below the vehicle locator/panic
alarm button, and separate the bottom
half from the top half of the transmitter.
2. Remove the battery and replace it with the
new one. Make sure the positive (+) side of
the battery faces up. Use one three-volt,
CR2032, or equivalent type battery.
3. Put the two halves back together. Make sure
the cover is on tight, so water will not get
inside the transmitter.
4. Test the operation of the transmitter with the
vehicle.
103

Remote Vehicle Start
Your vehicle may have a remote start feature.
This feature allows you to start the engine
from outside the vehicle. It may also start the
vehicle’s heating or air conditioning systems and
rear window defogger. When the remote start
system is active and the vehicle has an automatic
climate control system, it may automatically
regulate the inside temperature. Normal operation
of the system will return after the key is turned
to ON. See Automatic Climate Control System on
page 193 for additional information.
Laws in some communities may restrict the use of
remote starters. For example, some laws may
require a person using remote start to have
the vehicle in view when doing so. Check local
regulations for any requirements on remote
starting of vehicles.
Do not use the remote start feature if your vehicle
is low on fuel. Your vehicle may run out of fuel.
The remote start feature provides two separate
starts, each with 10 minutes of engine running time.
The remote vehicle start feature needs to be reset
after your vehicle’s engine is started two times
using the transmitter’s remote start button.
The remote start system is reset by inserting the
vehicle’s key into the ignition switch and turning it
to ON. See Ignition Positions on page 121 for
information regarding the ignition positions on
your vehicle.
You can start your vehicle’s engine from about
197 feet (60 m) away. However, the range may be
less while the vehicle is running, and as a result
you may need to be closer to your vehicle to turn it
off than you were to turn it on.
There are other conditions which may affect the
performance of the transmitter, see Remote
Keyless Entry (RKE) System on page 99.
104

/(Remote Start): If your vehicle has the remote
start feature, the keyless entry transmitter will
have a button with this symbol on it.
To start the vehicle using the remote start feature,
do the following:
1. Aim the transmitter at the vehicle.
2. Press and release the transmitter’s lock
button, then immediately press and hold
the transmitter’s remote start button until the
vehicle’s turn signal lights flash.
3. When the vehicle starts, the parking lamps
will turn on and remain on while the engine
is running.
The engine will shut off automatically after
10 minutes, unless a time extension has been
done, or the vehicle’s key is inserted into
the ignition switch and turned to ON.
If you enter the vehicle after a remote start,
and the engine is still running, insert the
key into the ignition switch and turn it to ON to
drive the vehicle.
4. To manually shut off a remote start, do any of
the following. The parking lamps will turn off.
•Aim the remote keyless entry transmitter
at the vehicle, and press the remote
start button.
•Turn on the hazard warning flashers.
•Turn the ignition switch to ON and then
to OFF.
If only one remote start procedure has been done,
since last driving the vehicle or resetting the
remote start system, the engine may be started
again remotely by following the remote start
procedure a second time.
If the remote start procedure is used again before
the first 10 minute time frame has ended, the
first 10 minutes will immediately expire and
the second 10 minute time frame will start.
105

The remote vehicle start feature will not operate if
any of the following occur:
•The remote start system is disabled through
the DIC.
•The vehicle’s key is in the ignition.
•The vehicle’s hood is open.
•The hazard warning flashers are on.
•The check engine light is on. See Malfunction
Indicator Lamp on page 212.
•The engine coolant temperature is too high.
•The oil pressure is low.
•Two remote vehicle starts have already been
provided.
Vehicles that have the remote vehicle start feature
are shipped from the factory with the remote
vehicle start system enabled. The system may be
enabled or disabled through the DIC. See
“REMOTE START” under DIC Vehicle
Personalization on page 225 for additional
information.
Remote Start Ready
If your vehicle does not have the remote vehicle
start feature, it will have the remote start ready
feature. This feature allows your dealer to add the
manufacturer’s remote vehicle start feature.
If the keyless entry transmitter has a plus (+)
symbol on the back cover, your vehicle has the
remote start ready feature. You can lock or unlock
your vehicle from about 197 feet (60 m) away.
See your dealer if you would like to add the
manufacturer’s remote vehicle start feature to
your vehicle.
106

Doors and Locks
Door Locks
{CAUTION:
Unlocked doors can be dangerous.
•Passengers, especially children, can
easily open the doors and fall out of a
moving vehicle. When a door is
locked, the handle will not open it.
You increase the chance of being
thrown out of the vehicle in a crash if
the doors are not locked. So, wear
safety belts properly and lock the
doors whenever you drive.
CAUTION: (Continued)
CAUTION: (Continued)
•Young children who get into unlocked
vehicles may be unable to get out.
A child can be overcome by extreme
heat and can suffer permanent injuries
or even death from heat stroke.
Always lock your vehicle whenever
you leave it.
•Outsiders can easily enter through an
unlocked door when you slow down
or stop your vehicle. Locking your
doors can help prevent this from
happening.
There are several ways to lock and unlock your
vehicle.
From the outside, use your key or remote keyless
entry transmitter, if equipped. Turn the key
counterclockwise to unlock the door.
From the inside, lock and unlock the door by
moving the manual lock knob down and up, or by
using the power door lock switches.
107

Power Door Locks
The power door lock
switches are located on
the driver’s and front
passenger’s door.
Press the top of the switch to unlock all doors and
liftgate, if equipped. Press the bottom of the
switch to lock all doors and liftgate, if equipped.
The rear doors do not have power door lock
switches. Rear seat passengers must use
the manual lock knob on their doors.
Door Ajar Reminder
If one of the doors is not fully closed while the
ignition is on and the shift lever is moved out of
PARK (P) or NEUTRAL (N) the following will occur:
•A chime will sound.
•The DOOR AJAR message will display
through the Driver Information Center (DIC)
until the door is closed. See DIC Warnings and
Messages on page 222.
Delayed Locking
This feature allows the driver to delay the locking
of the vehicle. It will not operate with the key
in the ignition. See Lockout Protection on
page 111.
108

Press the driver’s power door lock switch or the
remote keyless entry transmitter lock button once.
With the key removed from the ignition and the
driver’s door open, the following will occur:
•Three chimes will sound to signal the delay.
•All doors will lock and the turn signals will flash
once five seconds after the last door has been
closed.
•The horn will chirp if the horn chirp feature is
enabled. See DIC Vehicle Personalization on
page 225.
If a door is opened before the five seconds has
elapsed, the doors will not lock until five seconds
after all doors are closed.
If the power door lock switch or the transmitter
lock button is pressed twice when leaving
the vehicle, the doors will lock immediately.
If the power door unlock switch or the transmitter
unlock button is pressed, the doors will unlock
immediately and not lock automatically after
the doors are closed.
This feature is turned on at the factory but may
be turned off through the Driver Information
Center (DIC).
109

Programmable Automatic
Door Locks
Your vehicle is programmed at the factory to lock all
doors automatically when the following are met:
•all doors are closed
•the ignition is on
•the shift lever is moved out of PARK (P).
This feature cannot be disabled.
When the shift lever is moved back to PARK (P),
all doors will unlock.
If someone needs to exit the vehicle once the
doors are locked, have that person use the manual
lock knob or power door unlock switch.
The power door lock and unlock functions can be
programmed through prompts displayed on the
Driver Information Center (DIC). These prompts
allow you to choose various lock and unlock
settings. See DIC Vehicle Personalization
on page 225.
Rear Door Security Locks
Your vehicle has rear door security locks. These
prevent passengers from opening the rear
doors from the inside.
The rear door security
locks are located on the
inside edge of each
rear door. You
must open the rear
doors to access them.
The label showing
lock and unlock
positions is located
near the lock.
Security Lock Label
shown
110

To set the locks, do the following:
1. Insert the key into the security lock slot and
turn it so the slot is in the horizontal position.
2. Close the door.
When you want to open a rear door when the
security lock is on, do the following:
1. Unlock the door using the remote keyless
entry transmitter, if the vehicle has one, the
power door lock switch, or by lifting the
rear door manual lock.
2. Open the door from the outside.
To cancel the rear door security lock, do
the following:
1. Unlock the door and open it from the outside.
2. Insert the key into the security lock slot
and turn it so the slot is in the vertical position.
Lockout Protection
This feature prevents the driver’s door from being
locked using the power door locks, if the key is
left in the ignition and a door is open.
Pressing the power door lock switch will lock all
the doors and then unlock the driver’s door.
Pressing and holding the power door lock switch
for more than three seconds will override this
feature.
If you remove the key from the ignition, or if you
use the manual door lock or the remote keyless
entry transmitter, you could still lock your key
inside your vehicle. Always remember to take your
key with you.
111

Trunk (Sedan)
To unlock the trunk from the outside, use the key
or the remote keyless entry transmitter. When
closing the trunk, close from the center to ensure
it fully latches.
{CAUTION:
It can be dangerous to drive with the
trunk lid open because carbon monoxide
(CO) gas can come into your vehicle.
You cannot see or smell CO. It can cause
unconsciousness and even death. If you
must drive with the trunk lid open or if
electrical wiring or other cable
connections must pass through the seal
between the body and the trunk lid:
•Make sure all other windows are shut.
CAUTION: (Continued)
CAUTION: (Continued)
•Turn the fan on your heating or
cooling system to its highest speed
and select the control setting that will
force outside air into your vehicle. See
Climate Control System.
•If you have air outlets on or under
the instrument panel, open them all
the way.
See Engine Exhaust on page 138.
Remote Trunk/Liftgate Release
Press the remote
release button, located
on the lower edge
of the driver’s door,
to open the trunk lid
or the liftgate.
112

You can open the trunk lid on the sedan or the
liftgate on the MAXX only while the vehicle
is in PARK (P) or the ignition is off.
Emergency Trunk Release Handle
Notice: Do not use the emergency trunk
release handle as a tie-down or anchor point
when securing items in the trunk as it
could damage the handle. The emergency
trunk release handle is only intended to aid a
person trapped in a latched trunk, enabling
them to open the trunk from the inside.
There is a glow-in-the-dark emergency trunk
release handle located inside the trunk of the sedan
model on the trunk latch. This handle will glow
following exposure to light. Pull the release handle
up to open the trunk from the inside.
Liftgate (MAXX)
To open the liftgate, press the trunk/liftgate button
on the remote keyless entry transmitter or the
remote trunk/liftgate release button located on the
lower edge of the driver’s door. See “Remote
Trunk/Liftgate Release” under Trunk (Sedan) on
page 112.
If the liftgate is unlocked, you can manually open
it by pressing the touchpad switch located on
the underside of the liftgate trim panel, slightly to
the right of center.
113

Windows
{CAUTION:
Leaving children, helpless adults, or pets
in a vehicle with the windows closed is
dangerous. They can be overcome by the
extreme heat and suffer permanent
injuries or even death from heat stroke.
Never leave a child, a helpless adult, or a
pet alone in a vehicle, especially with the
windows closed in warm or hot weather.
114

Power Windows
The power window
switches are located on
the armrest on the
driver’s door. In
addition, each
passenger door
has a switch for
its own window.
Express-Down Window
The driver’s window also has an express-down
feature. This switch is labeled AUTO. Press
the front of the switch part way, and the driver’s
window will open a small amount. If the front of the
switch is pressed all the way down and released,
the window will go all the way down automatically.
To stop the window while it is lowering, pull the
front of the switch momentarily. To raise the
window, pull and hold the front of the switch.
Window Lockout
The driver’s power window controls also include a
lockout button.
o(Window Lockout): Press the lockout button
to stop the rear passengers from using their
window switches. The driver and front passenger
can still operate all the windows with the lock
on. When the red part of the switch is visible you
have returned to normal window operation.
Sun Visors
To block out glare, you can swing down the
visors. You can also remove them from the center
mount and swing them to the side, to block out
glare from the side. The visors also have
extenders that can be pulled out.
Your vehicle may have lighted visor vanity mirrors
located on the passenger and driver’s side
visor. When you lift the cover, the light will turn on.
115

Theft-Deterrent Systems
Vehicle theft is big business, especially in some
cities. Although your vehicle has a number of
theft-deterrent features, we know that nothing we
put on it can make it impossible to steal.
Content Theft-Deterrent
Your vehicle may have
a content theft-deterrent
alarm system.
Arming the System
With the ignition off, you can arm the system by
doing any one of the following:
•Press the remote keyless entry transmitter
lock button.
•Press the power door lock switch while the
driver’s door is open.
The system will arm either:
•Thirty seconds after all the doors and the
liftgate (MAXX) are closed.
•Sixty seconds with any door open.
If you press the lock button on the remote keyless
entry transmitter a second time while all the
doors and liftgate are closed, the system will
arm immediately. The system will still arm in
sixty seconds if a door or liftgate is open. When
the opened door or liftgate is closed, it will
also become armed.
The security light, located on the instrument panel
cluster, will turn on to indicate that arming has
been initiated. Once the system is armed,
the security light will flash once every
three seconds.
If the security light is flashing twice per second,
this means that a door or the liftgate is open.
If you do not want to arm the system, you may lock
the car with the lock knob on the doors.
116

Disarming the System
You can disarm the system by doing any one of
the following:
•Press the remote keyless entry transmitter
unlock button.
•Turn the ignition on.
•Turn the driver’s door key lock cylinder
counterclockwise.
Once the system is disarmed, the security light will
stop flashing.
How the System Alarm is Activated
If the system is armed, it can be activated
by either:
•Opening the driver’s door or liftgate
(MAXX model). This will cause a ten second
pre-alarm chirp followed by a thirty second full
alarm of horn and lights.
•Opening any other door. This will immediately
cause a full alarm of horn and lights for
thirty seconds.
When an alarm event has finished, the system will
re-arm itself automatically.
How to Turn Off the System Alarm
To turn off the system alarm, do one of the
following:
•Press the lock button on the remote keyless
entry transmitter. The system will then
re-arm itself.
•Press the unlock button on the remote
keyless entry transmitter. This will also
disarm the system.
•Insert the key in the driver’s door key lock
cylinder and turn it counterclockwise. This
will also disarm the system.
•Insert the key in the ignition and turn it on.
This will also disarm the system.
How to Detect a Tamper Condition
If you hear three chirps when you press the unlock
or lock buttons on the remote keyless entry
transmitter, it means that the content theft security
system alarm was triggered previously.
117

PASS-Key
®
III+
The PASS-Key
®
III+ system operates on a radio
frequency subject to Federal Communications
Commission (FCC) Rules and with Industry
Canada.
This device complies with Part 15 of the FCC
Rules. Operation is subject to the following
two conditions:
1. This device may not cause harmful
interference.
2. This device must accept any interference
received, including interference that may
cause undesired operation.
This device complies with RSS-210 of Industry
Canada. Operation is subject to the following
two conditions:
1. This device may not cause interference.
2. This device must accept any interference
received, including interference that may
cause undesired operation of the device.
Changes or modifications to this system by other
than an authorized service facility could void
authorization to use this equipment.
PASS-Key
®
III+ uses a radio frequency
transponder in the key that matches a decoder in
your vehicle.
118

PASS-Key
®
III+ Operation
Your vehicle is equipped with PASS-Key
®
III +
(Personalized Automotive Security System)
theft-deterrent system. PASS-Key
®
III+isa
passive theft-deterrent system. This means you
don’t have to do anything special to arm or disarm
the system. It works when you insert or remove
the key from the ignition.
When the PASS-Key
®
III + system senses that
someone is using the wrong key, it shuts down the
vehicle’s starter and fuel systems. The starter
will not work and fuel will stop flowing to the
engine. Anyone using a trial-and-error method to
start the vehicle will be discouraged because
of the high number of electrical key codes.
When trying to start the vehicle if the engine does
not start and the security light comes on, the
key may have a damaged transponder. Turn the
ignition off and try again.
If the engine still does not start, and the key
appears to be undamaged, try another ignition
key. At this time, you may also want to check the
fuse, see Fuses on page 447. If the engine still
does not start with the other key, your vehicle
needs service. If your vehicle does start, the first
key may be faulty. See your dealer who can
service the PASS-Key
®
III + to have a new key
made. In an emergency, contact Chevrolet
Roadside Assistance. See Roadside Assistance
Program on page 484 for more information.
It is possible for the PASS-Key
®
III + decoder to
“learn” the transponder value of a new or
replacement key. Up to 10 additional keys may be
programmed for the vehicle. The following
procedure is for programming additional keys only.
If all the currently programmed keys are lost or
do not operate, you must see your dealer or
a locksmith who can service PASS-Key
®
III+to
have keys made and programmed to the system.
See your GM dealer or a locksmith who can
service PASS-Key
®
III + to get a new key blank
that is cut exactly as the ignition key that operates
the system.
119

To program the new key do the following:
1. Verify that the new key has “+” stamped on it.
2. Insert the already programmed key in the
ignition and start the engine. If the engine
will not start, see your dealer for service.
3. After the engine has started, turn the key to
off, and remove the key.
4. Insert the key to be programmed and turn it
to on within five seconds of removing the
original key.
5. The security light will turn off once the key
has been programmed. It may not be
apparent that the security light went on due to
how quickly the key is programmed.
6. Repeat Steps 1 through 5 if additional keys
are to be programmed.
If you are ever driving and the security light comes
on and stays on, you may be able to restart
your engine if you turn it off. Your PASS-Key
®
III +
system, however, is not working properly and
must be serviced by your dealer. Your vehicle is
not protected by the PASS-Key
®
III + system
at this time.
If you lose or damage your PASS-Key
®
III + key,
see your GM dealer or a locksmith who can
service PASS-Key
®
III + to have a new key made.
Starting and Operating
Your Vehicle
New Vehicle Break-In
Notice: Your vehicle does not need an
elaborate break-in. But it will perform better in
the long run if you follow these guidelines:
•Do not drive at any one constant speed, fast
or slow, for the first 500 miles (805 km). Do
not make full-throttle starts. Avoid
downshifting to brake, or slow, the vehicle.
•Avoid making hard stops for the first
200 miles (322 km) or so. During this time
your new brake linings are not yet broken
in. Hard stops with new linings can mean
premature wear and earlier replacement.
Follow this breaking-in guideline every time
you get new brake linings.
•Do not tow a trailer during break-in. See
Towing a Trailer on page 331 for the trailer
towing capabilities of your vehicle and more
information.
Following break-in, engine speed and load can
be gradually increased.
120

Ignition Positions
With the key in the
ignition switch, you can
turn it to four different
positions.
Notice: Using a tool to force the key from the
ignition switch could cause damage or
break the key. Use the correct key and turn the
key only with your hand. Make sure the key
is in all the way. If none of this works,
then your vehicle needs service.
9(OFF): This is the only position from which
you can remove the key. It also locks your ignition
and transaxle. A warning chime will sound if
you open the driver’s door while the ignition is off
and the key is left in the ignition.
ACC (ACCESSORY): This position lets you use
things like the radio and windshield wipers
while the engine is not running.
Use this position if your vehicle must be pushed or
towed, but never try to push-start your vehicle.
See Recreational Vehicle Towing on page 328.
R(ON): This position unlocks the ignition. It
is also the position to where the key returns after
you start the engine and release the switch.
The switch will stay in this position while the
engine is running. But even while the engine is
not running, you can use ON to operate your
electrical accessories, and to display some
instrument panel warning lights.
The battery could be drained if you leave the key
in the ACC or On position with the engine off.
You may not be able to start your vehicle if
the battery is allowed to drain for an extended
period of time.
/(START): This position starts the engine.
When the engine starts, release the key.
The ignition switch will return to the ON
position for normal driving.
121

Key In the Ignition
Never leave your vehicle with the keys inside, as it
is an easy target for joy riders or thieves. If you
leave the key in the ignition and park your vehicle,
a chime will sound, when you open the driver’s
door. Always remember to remove your key from
the ignition and take it with you. This will lock
your ignition and transaxle. Also, always remember
to lock the doors.
The battery could be drained if you leave the key
in the ignition while your vehicle is parked.
You may not be able to start your vehicle after it
has been parked for an extended period of time.
Retained Accessory Power (RAP)
Your vehicle has a Retained Accessory
Power (RAP) feature which will allow the radio
and power windows, and if your vehicle has heated
seats and sunroof, to continue to work up to
10 minutes after the ignition is turned OFF.
The power windows, heated seats and sunroof will
work until any door is opened.
The radio will continue to work until the driver’s
door is opened.
All these features will work when the ignition key
is in the ON or ACC (Accessory) positions.
122

Starting the Engine
Place the transaxle in the proper gear.
Move your shift lever to PARK (P) or
NEUTRAL (N). Your engine will not start in
any other position -- this is a safety feature.
To restart when you are already moving, use
NEUTRAL (N) only.
Notice: Shifting into PARK (P) with the vehicle
moving could damage the transaxle. Shift into
PARK (P) only when your vehicle is stopped.
Starting Procedure
1. With your foot off the accelerator pedal, turn
the ignition key to START. When the engine
starts, let go of the key. The idle speed will go
down as your engine gets warm. Do not
race the engine immediately after starting it.
Operate the engine and transaxle gently
to allow the oil to warm up and lubricate all
moving parts.
Your vehicle has a Computer-Controlled
Cranking System. This feature assists in
starting the engine and protects components.
If the ignition key is turned to the START
position, and then released when the engine
begins cranking, the engine will continue
cranking for a few seconds or until the vehicle
starts. If the engine does not start and the
key is held in START for many seconds,
cranking will be stopped after 15 seconds to
prevent cranking motor damage. To prevent
gear damage, this system also prevents
cranking if the engine is already running.
Engine cranking can be stopped by turning the
ignition switch to the ACC or OFF position.
Notice: Cranking the engine for long periods
of time, by returning the key to the START
position immediately after cranking has ended,
can overheat and damage the cranking
motor, and drain the battery. Wait at least
15 seconds between each try, to allow
the cranking motor to cool down.
123

2. If the engine does not start after 5-10 seconds,
especially in very cold weather (below 0°F
or −18°C), it could be flooded with too much
gasoline. Try pushing the accelerator
pedal all the way to the floor and holding it
there as you hold the key in START for up to
a maximum of 15 seconds. Wait at least
15 seconds between each try, to allow the
cranking motor to cool down. When the engine
starts, let go of the key and accelerator.
If the vehicle starts briefly but then stops
again, do the same thing. This clears the extra
gasoline from the engine. Do not race the
engine immediately after starting it. Operate
the engine and transaxle gently until the
oil warms up and lubricates all moving parts.
Notice: Your engine is designed to work with
the electronics in your vehicle. If you add
electrical parts or accessories, you could
change the way the engine operates. Before
adding electrical equipment, check with
your dealer. If you do not, your engine might
not perform properly. Any resulting damage
would not be covered by your vehicle’s
warranty.
Adjustable Throttle and Brake Pedal
If your vehicle has this feature, you can change
the position of the throttle and brake pedals.
This feature is designed for shorter drivers, since
the pedals cannot move farther away from the
standard position, but can move rearward
for better pedal reach.
The ignition must be off or the vehicle in PARK
(P) for this feature to work. The feature will
not work if your foot is pushing on the throttle or
brake pedal. Remove your foot from the pedals
and press the switch again.
The switch used to
adjust the pedals is
located on the left side of
the instrument panel.
124

To use your adjustable throttle and brake pedal
feature, do the following:
The adjustable pedal feature is meant to be used
with the adjustable seat and adjustable steering
wheel controls to reach a safe and comfortable
position.
1. Adjust your seat to a comfortable position
where you can comfortably reach other
controls such as the radio and climate controls.
2. Adjust the throttle and brake pedals to reach
a comfortable and safe operating position.
3. Adjust the steering wheel to a safe operating
position.
Engine Coolant Heater
In very cold weather, 0°F (−18°C) or colder, the
engine coolant heater, if your vehicle has this
feature, can help. You will get easier starting and
lower fuel usage during engine warm-up.
Usually, the coolant heater should be plugged in a
minimum of four hours prior to starting your
vehicle. At temperatures above 32°F (0°C), use of
the coolant heater is not required. Your vehicle
may also have an internal thermostat in the
plug end of the cord. This will prevent operation of
the engine coolant heater when the temperature
is at or above 0°F (−18°C) as noted on the cord.
125

To Use the Engine Coolant Heater
1. Turn off the engine.
2. Open the hood and unwrap the electrical cord.
On the 2.2L engine, the engine coolant heater
cord is located near the air cleaner box on the
passenger’s side of the engine compartment.
On the 3.5L and 3.9L V6 engines, the engine
coolant heater cord is located on the driver’s
side around the battery box. See Engine
Compartment Overview on page 352 for more
information on location.
{CAUTION:
Plugging the cord into an ungrounded
outlet could cause an electrical shock.
Also, the wrong kind of extension cord
could overheat and cause a fire. You
could be seriously injured. Plug the cord
into a properly grounded three-prong
110-volt AC outlet. If the cord will not
reach, use a heavy-duty three-prong
extension cord rated for at least 15 amps.
3. Plug the cord into a normal, grounded
110-volt AC outlet.
4. Before starting the engine, be sure to unplug
and store the cord as it was before to keep it
away from moving engine parts. If you do
not, it could be damaged.
How long should you keep the coolant heater
plugged in? The answer depends on the outside
temperature, the kind of oil you have, and some
other things. Instead of trying to list everything here,
we ask that you contact your dealer in the area
where you will be parking your vehicle. The dealer
can give you the best advice for that particular area.
126

Automatic Transaxle Operation
(Base Models)
Your automatic transaxle
has a shift lever located
on the console between
the seats.
PARK (P): This position locks your front wheels. It
is the best position to use when you start your
engine because your vehicle cannot move easily.
{CAUTION:
It is dangerous to get out of your vehicle
if the shift lever is not fully in PARK (P)
with the parking brake firmly set. Your
vehicle can roll.
Do not leave your vehicle when the engine
is running unless you have to. If you have
left the engine running, the vehicle can
move suddenly. You or others could be
injured. To be sure your vehicle will not
move, even when you are on fairly level
ground, always set your parking brake
and move the shift lever to PARK (P). See
Shifting Into Park (P) on page 135.Ifyou
are pulling a trailer, see Towing a Trailer
on page 331.
127

Make sure the shift lever is fully in PARK (P)
before starting the engine. Your vehicle has an
automatic transaxle shift lock control system. You
must fully apply your regular brake first and
then press the shift lever button before you can
shift from PARK (P) when the ignition key is in ON.
If you cannot shift out of PARK (P), ease
pressure on the shift lever, then push the shift
lever all the way into PARK (P) as you maintain
brake application. Then press the shift lever button
and move the shift lever into another gear. See
Shifting Out of Park (P) on page 136.
REVERSE (R): Use this gear to back up.
Notice: Shifting to REVERSE (R) while your
vehicle is moving forward could damage the
transaxle. The repairs would not be covered by
your warranty. Shift to REVERSE (R) only after
your vehicle is stopped.
To rock your vehicle back and forth to get out of
snow, ice or sand without damaging your
transaxle, see If Your Vehicle is Stuck in Sand,
Mud, Ice, or Snow on page 320.
NEUTRAL (N): In this position, your engine does
not connect with the wheels. To restart when
you are already moving, use NEUTRAL (N) only.
Also, use NEUTRAL (N) when your vehicle is
being towed.
{CAUTION:
Shifting into a drive gear while your
engine is running at high speed is
dangerous. Unless your foot is firmly on
the brake pedal, your vehicle could move
very rapidly. You could lose control and
hit people or objects. Do not shift into a
drive gear while your engine is running at
high speed.
Notice: Shifting out of PARK (P) or
NEUTRAL (N) while the engine is running at
high speed may damage the transaxle.
The repairs would not be covered by your
warranty. Be sure the engine is not running at
high speeds when shifting your vehicle.
128

DRIVE (D): This position is for normal driving.
It provides the best fuel economy for your vehicle.
If you need more power for passing, and you are:
•Going less than 35 mph (56 km/h), push your
accelerator pedal about halfway down.
•Going about 35 mph (56 km/h) or more, push
the accelerator all the way down.
Notice: If your vehicle seems to start up
rather slowly or not shift gears when you go
faster, and you continue to drive your vehicle
that way, you could damage the transaxle.
Have your vehicle serviced right away. You can
drive in LOW (L2) when you are driving less
than 35 mph (56 km/h) and DRIVE (D) for higher
speeds until then.
LOW (L): This position gives you access to
FOURTH, THIRD, SECOND and FIRST gear
ranges. This provides more engine braking
but lower fuel economy than DRIVE (D). You can
use it on very steep hills, or in deep snow or
mud. If the electronic range select is put in LOW
(L), the transaxle will not shift into lower gears until
the vehicle is going slow enough.
Electronic Range Select Mode
This feature allows you
to limit higher gears by
selecting a maximum
gear range when the
shift lever is in LOW (L).
The button for this mode
is located on the left of
the shift lever knob.
When the shift lever is first moved into LOW (L),
the display in the instrument panel shows L3.
Press the minus (−) end of the button on the shift
lever once for L2 and once more for L1. Press
the plus (+) end of the button once each to return
to L2, L3 and L4. The shift lever must be moved
back to DRIVE (D) to turn off the electronic range
select mode.
129

L4 (LOW 4): This position does not limit gears,
but provides more engine braking, and lower
fuel economy, than DRIVE (D). The actual gear is
determined by throttle and vehicle speed.
L3 (LOW 3/DRIVE 3): This position prevents
fourth gear operation. Actual gear is determined
by throttle and vehicle speed.
L2 (LOW 2/DRIVE 2): This position prevents third
and fourth gear operation. Actual gear is
determined by throttle and vehicle speed. If you
shift from L3 to L2 at vehicle speeds exceeding
80 mph (110 km/h), the transaxle will not shift into
L2 gear until the vehicle is going slow enough.
L1 (LOW 1/DRIVE 1): This position prevents L2,
L3, and L4 gear operation. If you shift from L2
to the L1 position at vehicle speeds exceeding
40 mph (65 km/h), the transaxle will not shift into
L1 gear until the vehicle is going slow enough.
Automatic Transaxle Operation
(SS Models)
Your automatic transaxle
has a shift lever located
on the console between
the seats.
PARK (P): This position locks your front wheels. It
is the best position to use when you start your
engine because your vehicle cannot move easily.
130

{CAUTION:
It is dangerous to get out of your vehicle
if the shift lever is not fully in PARK (P)
with the parking brake firmly set. Your
vehicle can roll.
Do not leave your vehicle when the engine
is running unless you have to. If you have
left the engine running, the vehicle can
move suddenly. You or others could be
injured. To be sure your vehicle will not
move, even when you are on fairly level
ground, always set your parking brake
and move the shift lever to PARK (P).
See Shifting Into Park (P) on page 135.
If you are pulling a trailer, see Towing a
Trailer on page 331.
Make sure the shift lever is fully in PARK (P) before
starting the engine. Your vehicle has an automatic
transaxle shift lock control system. You must fully
apply your regular brake first and press the shift
lever button before you can shift from PARK (P)
while the ignition key is in ON. If you cannot shift
out of PARK (P), ease pressure on the shift lever
and push the shift lever all the way into PARK (P)
as you maintain brake application. Then move the
shift lever into another gear. See Shifting Out of
Park (P) on page 136.
REVERSE (R): Use this gear to back up.
Notice: Shifting to REVERSE (R) while your
vehicle is moving forward could damage the
transaxle. The repairs would not be covered by
your warranty. Shift to REVERSE (R) only after
your vehicle is stopped.
To rock your vehicle back and forth to get out of
snow, ice, or sand without damaging your
transaxle, see If Your Vehicle is Stuck in Sand,
Mud, Ice, or Snow on page 320.
131

NEUTRAL (N): In this position, your engine does
not connect with the wheels. To restart when
you are already moving, use NEUTRAL (N) only.
Also, use NEUTRAL (N) when your vehicle is
being towed.
{CAUTION:
Shifting into a drive gear while your
engine is running at high speed is
dangerous. Unless your foot is firmly on
the brake pedal, your vehicle could move
very rapidly. You could lose control and
hit people or objects. Do not shift into a
drive gear while your engine is running at
high speed.
Notice: Shifting out of PARK (P) or
NEUTRAL (N) while the engine is running at
high speed may damage the transaxle.
The repairs would not be covered by your
warranty. Be sure the engine is not running at
high speeds when shifting your vehicle.
DRIVE (D): This position is for normal driving.
It provides the best fuel economy for your vehicle.
If you need more power for passing, and you are:
•Going less than 35 mph (55 km/h), push your
accelerator pedal about halfway down.
•Going about 35 mph (55 km/h) or more, push
the accelerator all the way down.
MANUAL MODE (M): This position, allows you
to change gears similar to a manual transaxle.
If your vehicle has this feature, see Driver
Shift Control (DSC).
Driver Shift Control (DSC)
This feature allows you to select lower or higher
driving gears when the shift lever is in MANUAL
MODE (M). The button for this mode is located on
the left side of the shift lever knob.
132

To use this feature, do the following:
1. Move the shift lever from DRIVE (D) rearward
into the MANUAL MODE (M). The vehicle will
be in the MANUAL MODE (M) and a gear
based on the current driving speed.
While driving in MANUAL MODE (M), the
transaxle will remain in the selected drive
gear unless:
•A shift is required to protect the engine or
transaxle or,
•The vehicle slows almost to a stop
(the vehicle will automatically downshift)
2. Press the plus (+) button to upshift or the
minus (-) button to downshift.
When the shift lever is first moved into MANUAL
MODE (M), the display on the instrument panel
cluster shows M1, M2, M3, M4. Position M for the
manual mode and a number representing the
gear the transaxle is in. Press the minus (−) end
of the button on the shift lever to downshift.
Press the plus (+) end of the button to upshift.
The shift lever must be moved back to DRIVE (D)
to turn off the manual mode and return to fully
automatic shifting.
While using the Driver Shift Control (DSC) feature
the vehicle will have firmer shifting and increased
performance. You can use this for sport driving
or when climbing hills to stay in gear longer or to
downshift for more power or engine braking.
The transaxle will only allow you to shift into gears
appropriate for the vehicle speed and engine
revolutions per minute (RPM). The transaxle will
not automatically shift to the next higher gear if the
engine RPM is too high.
When coming to a stop in the manual mode, the
vehicle will automatically downshift to the proper
gear based on speed. Upon acceleration you will
need to manually upshift to the desired gear.
Second Gear Start Feature
When accelerating your vehicle from a stop in
snowy and icy conditions, you may want to shift
the gear select tap switch into Second gear.
A higher gear allows you to gain more traction on
slippery surfaces.
133

With the DSC feature, the vehicle can be set to
pull away in Second gear.
1. Move the shift lever from DRIVE (D) into the
MANUAL MODE (M).
2. With the vehicle stopped, press (+) end of the
button to select Second gear. The vehicle will
start from a stop position in Second gear.
3. Once moving select the desired drive gear.
Parking Brake
To set the parking
brake, push down the
parking brake pedal with
your left foot. If the
ignition is on, the brake
system warning light
will come on. See Brake
System Warning Light
on page 207.
To release the parking brake, hold the regular
brake pedal down with your right foot. Push down
momentarily on the parking brake pedal with
your left foot until you feel the pedal release. If the
parking brake is not released when you begin to
drive, the brake system warning light will be
on and a chime will sound warning you that the
parking brake is still on.
The PUSH PARK PEDAL message will also
appear in the Driver Information Center (DIC) to
remind you to release the parking brake. See
DIC Warnings and Messages on page 222.
Notice: Driving with the parking brake on can
overheat the brake system and cause
premature wear or damage to brake system
parts. Verify that the parking brake is fully
released and the brake warning light is
off before driving.
If you are towing a trailer and are parking on a hill,
see Towing a Trailer on page 331.
134

Shifting Into Park (P)
{CAUTION:
It can be dangerous to get out of your
vehicle if the shift lever is not fully in
PARK (P) with the parking brake firmly set.
Your vehicle can roll. If you have left the
engine running, the vehicle can move
suddenly. You or others could be injured.
To be sure your vehicle will not move, even
when you are on fairly level ground, use
the steps that follow. If you are pulling a
trailer, see Towing a Trailer on page 331.
1. Hold the brake pedal down with your right foot
and set the parking brake.
2. Move the shift lever into PARK (P) by holding
in the button on the shift lever and pushing
the shift lever all the way toward the front
of the vehicle.
3. Turn the ignition key to OFF.
4. Remove the key and take it with you. If you
can leave your vehicle with the ignition key in
your hand, your vehicle is in PARK (P).
Leaving Your Vehicle With the
Engine Running
{CAUTION:
It can be dangerous to leave your vehicle
with the engine running. Your vehicle
could move suddenly if the shift lever is
not fully in PARK (P) with the parking
brake firmly set. And, if you leave the
vehicle with the engine running, it could
overheat and even catch fire. You or
others could be injured. Do not leave your
vehicle with the engine running.
If you have to leave your vehicle with the engine
running, be sure your vehicle is in PARK (P) and
your parking brake is firmly set before you leave it.
After you have moved the shift lever into PARK (P),
hold the regular brake pedal down. Then, see if you
can move the shift lever away from PARK (P)
without first pushing the button.
If you can, it means that the shift lever was not
fully locked in PARK (P).
135

Torque Lock
If you are parking on a hill and you do not shift your
transaxle into PARK (P) properly, the weight of the
vehicle may put too much force on the parking pawl
in the transaxle. You may find it difficult to pull the
shift lever out of PARK (P). This is called “torque
lock.” To prevent torque lock, set the parking brake
and then shift into PARK (P) properly before you
leave the driver’s seat. To find out how, see Shifting
Into Park (P) on page 135.
When you are ready to drive, move the shift
lever out of PARK (P) before you release the
parking brake.
If torque lock does occur, you may need to have
another vehicle push your vehicle a little uphill
to take some of the pressure from the parking pawl
in the transaxle, then you will be able to pull the
shift lever out of PARK (P).
Shifting Out of Park (P)
Your vehicle has an automatic transaxle shift lock
control system. You have to apply your regular
brake first and then press the shift lever
button before you can shift from PARK (P). See
Automatic Transaxle Operation (Base Models) on
page 127 or Automatic Transaxle Operation
(SS Models) on page 130.
If you cannot shift out of PARK (P), ease pressure
on the shift lever and push the shift lever all the
way into PARK (P) as you maintain brake
application. Then press the shift lever button and
move the shift lever into the gear you wish.
136

Parking Over Things That Burn {CAUTION:
Things that can burn could touch hot
exhaust parts under your vehicle and
ignite. Do not park over papers, leaves,
dry grass, or other things that can burn.
137

Engine Exhaust
{CAUTION:
Engine exhaust can kill. It contains the
gas carbon monoxide (CO), which you
cannot see or smell. It can cause
unconsciousness and death.
You might have exhaust coming in if:
•Your exhaust system sounds strange
or different.
•Your vehicle gets rusty underneath.
•Your vehicle was damaged in a
collision.
CAUTION: (Continued)
CAUTION: (Continued)
•Your vehicle was damaged when
driving over high points on the road
or over road debris.
•Repairs were not done correctly.
•Your vehicle or exhaust system has
been modified improperly.
If you ever suspect exhaust is coming into
your vehicle:
•Drive it only with all the windows
down to blow out any CO; and
•Have your vehicle fixed immediately.
138

Running the Engine While Parked
It is better not to park with the engine running. But if
you ever have to, here are some things to know.
{CAUTION:
Idling the engine with the climate control
system off could allow dangerous exhaust
into your vehicle. See the earlier caution
under Engine Exhaust on page 138.
Also, idling in a closed-in place can let
deadly carbon monoxide (CO) into your
vehicle even if the climate control fan is at
the highest setting. One place this can
happen is a garage. Exhaust — with
CO — can come in easily. NEVER park in
a garage with the engine running.
Another closed-in place can be a blizzard.
See Winter Driving on page 316.
{CAUTION:
It can be dangerous to get out of your
vehicle if the shift lever is not fully in
PARK (P) with the parking brake firmly
set. Your vehicle can roll. Do not leave
your vehicle when the engine is running
unless you have to. If you have left the
engine running, the vehicle can move
suddenly. You or others could be injured.
To be sure your vehicle will not move,
even when you are on fairly level ground,
always set your parking brake and move
the shift lever to PARK (P).
Follow the proper steps to be sure your vehicle
will not move. See Shifting Into Park (P) on
page 135.
If you are parking on a hill and if you are pulling a
trailer, also see Towing a Trailer on page 331.
139

Mirrors
Manual Rearview Mirror
This mirror can be adjusted two ways. First, to
adjust the angle of the mirror, move the mirror to a
position that allows you to see out of the back
window. To adjust the height of the mirror, adjust
the arm that connects the mirror to the windshield.
To reduce glare from lights behind you, move the
lever toward you to the night position.
Manual Rearview Mirror
with OnStar
®
If your vehicle has this feature, this mirror has a
knob located at the bottom of the mirror. It is used
to change the mirror from day to night position.
To reduce glare from headlamps behind you while
driving at night, rotate the knob clockwise. For
daytime driving, turn the knob counterclockwise.
There are also three OnStar
®
buttons located
at the bottom of the mirror face. See your dealer
for more information on the system and how
to subscribe to OnStar
®
. See OnStar
®
System on
page 145 for more information about the
services OnStar
®
provides.
Automatic Dimming Rearview Mirror
with OnStar
®
and Compass
Your vehicle may have an automatic dimming
rearview mirror with a compass and OnStar
®
controls. For more information about OnStar
®
, see
OnStar
®
System on page 145.
The automatic dimming feature turns on each time
the vehicle is started. To turn automatic dimming
off or on, press the left button below the mirror.
A green indicator light will be on when automatic
dimming is on.
There are also three OnStar
®
buttons located at the
bottom of the mirror. See your dealer for more
information on the system and how to subscribe to
OnStar
®
. See OnStar
®
System on page 145 for
more information about the service OnStar
®
provides.
Compass Operation
Press the on/off button once to turn the compass
on or off.
When the ignition and the compass feature are
on, the compass will show two character boxes for
a few seconds. After a few seconds, the mirror
will display the current compass direction.
140

Compass Calibration
If after a few seconds the display does not show a
compass direction, (N for North for example),
there may be a strong magnetic field interfering
with the compass. Such interference may be
caused by a magnetic antenna mount, note pad
holder, or similar object. If the letter C appears
in the compass window, the compass may need to
be reset or calibrated.
The mirror can be calibrated by driving the vehicle
in circles at 5 mph (8 km/h) or less until the
display reads a direction.
Compass Variance
Compass variance is the difference between
earth’s magnetic north and true geographic north.
If the mirror is not adjusted for compass
variance, the compass could give false readings.
The mirror is set in zone eight upon leaving
the factory. It will be necessary to adjust the
compass to compensate for compass variance if
the vehicle is driven outside zone eight. Under
certain circumstances, such as a long distance,
cross-country trip, it will be necessary to adjust the
compass variance.
To adjust for compass variance, do the following:
1. Find your current location and variance
zone number on the zone map that follows.
2. Press and hold the on/off button until a zone
number appears on the display.
3. Once the zone number appears on the
display, press the on/off button quickly
until you reach the correct zone number.
If C appears in the compass window,
the compass may need calibration. See
“Compass Calibration” listed previously.
141

Automatic Dimming Rearview Mirror
with Compass
Your vehicle may have an automatic dimming
rearview mirror with a compass. This feature
enables the mirror to sense nighttime glare from
vehicle headlamps from behind and automatically
dim to reduce the glare to a safe level. The
automatic dimming feature turns on each time the
vehicle is started.
O(On/Off): This is the on/off button for the
automatic dimming feature.
Automatic Dimming Mirror Operation
The automatic dimming mirror function is turned on
automatically each time the ignition is started.
To operate the automatic dimming mirror, do the
following:
1. Make sure the green indicator light, located to
the left of the on/off button, is on. If it’s not,
press the on/off button until the green
light comes on, indicating that the mirror is in
automatic dimming mode.
2. Turn off the automatic dimming mirror function
by pressing the on/off button until the green
indicator light turns off.
Compass Operation
Y:This is the on/off button for the
compass feature.
Press this button once to turn the compass on
or off.
When the ignition and the compass feature are
on, the compass will show two character boxes for
a few seconds. After a few seconds, the mirror
will display the current compass direction.
Compass Calibration
If after a few seconds the display does not show a
compass direction, (N for North for example),
there may be a strong magnetic field interfering
with the compass. Such interference may be
caused by a magnetic antenna mount, note pad
holder, or similar object. If the letter C or CAL
appears in the compass window, the compass may
need to be reset or calibrated.
To calibrate the compass, do the following:
•Make sure CAL is displayed in the display.
If CAL is not displayed, press and hold the
compass button until CAL is displayed.
•Drive the vehicle in circles at 5 mph (8 km/h)
or less until the display reads a direction.
142

Compass Variance
Compass variance is the difference between
earth’s magnetic north and true geographic north.
If the mirror is not adjusted for compass
variance, the compass could give false readings.
The mirror is set in zone eight upon leaving
the factory. It will be necessary to adjust the
compass to compensate for compass variance if
the vehicle is driven outside zone eight. Under
certain circumstances, such as a long distance,
cross-country trip, it will be necessary to adjust the
compass variance.
To adjust for compass variance, do the following:
1. Find your current location and variance
zone number on the following zone map. 2. Press and hold the compass button until a
Z and a zone number appears on the display.
3. Once the zone number appears on the
display, press the compass button quickly until
you reach the correct zone number. If C or
CAL appears in the compass window,
the compass may need calibration. See
“Compass Calibration” listed previously.
143

Outside Power Mirrors
The controls for the
outside power mirrors
are located on the
driver’s door armrest.
Use the selector switch located below the four-way
control panel to choose either the left or right
outside mirror. Then press any of the four arrows
located on the control pad to move each mirror
in the desired direction.
Adjust each mirror so you can see the side of
your vehicle and the area beside and behind
your vehicle.
Outside Power Heated Mirrors
If the vehicle has this feature, when the rear
window defogger is turned on, the heated driver’s
and passenger’s outside power mirrors are
warmed to help clear them of ice, snow and
condensation. See “Rear Window Defogger” under
Climate Control System on page 189 for more
information. Also see Outside Power Mirrors
on page 144 for mirror operation.
Outside Convex Mirror
{CAUTION:
A convex mirror can make things (like
other vehicles) look farther away than they
really are. If you cut too sharply into the
right lane, you could hit a vehicle on your
right. Check your inside mirror or glance
over your shoulder before changing lanes.
The passenger’s side mirror is convex. A convex
mirror’s surface is curved so more can be
seen from the driver’s seat. It also makes things,
like other vehicles, look farther away than they
really are.
144

OnStar
®
System
OnStar
®
uses several innovative technologies and
live advisors to provide you with a wide range
of safety, security, information, and convenience
services. If your airbags deploy, the system is
designed to make an automatic call to OnStar
®
Emergency advisors who can request emergency
services be sent to your location. If you lock
your keys in the vehicle, call OnStar
®
at
1-888-4-ONSTAR and they can send a signal to
unlock your doors. If you need roadside
assistance, press the OnStar
®
button and they
can contact Roadside Service for you.
OnStar
®
service is provided to you subject to the
OnStar
®
Terms and Conditions. You may cancel
your OnStar
®
service at any time by contacting
OnStar
®
as provided below. A complete OnStar
®
Owner’s Guide and the OnStar
®
Terms and
Conditions are included in the vehicle’s OnStar
®
Subscriber glove box literature. For more
information, visit onstar.com or onstar.ca, contact
OnStar
®
at 1–888–4–ONSTAR (1–888–466–7827)
or TTY 1–877–248–2080, or press the OnStar
®
button to speak with an OnStar
®
advisor 24 hours a
day, 7 days a week.
Not all OnStar
®
features are available on all
vehicles. To check if your vehicle is equipped to
provide the services described below, or for a
full description of OnStar
®
services and system
limitations, see the OnStar
®
Owner’s Guide in your
glove box or visit onstar.com.
OnStar
®
Services
For new vehicles equipped with OnStar
®
, the Safe
& Sound Plan, or the Directions & Connections
®
Plan is included for one year from the date of
purchase. You can extend this plan beyond the
first year, or upgrade to the Directions &
Connections
®
Plan. For more information, press
the OnStar
®
button to speak with an advisor. Some
OnStar
®
services (such as Remote Door Unlock
or Stolen Vehicle Location Assistance) may not be
available until you register with OnStar
®
.
145

Available Services with Safe & Sound
®
Plan
•Automatic Notification of Airbag Deployment
•Advanced Automatic Crash Notification (AACN)
(If equipped)
•Link to Emergency Services
•Roadside Assistance
•Stolen Vehicle Location Assistance
•AccidentAssist
•Remote Door Unlock/Vehicle Alert
•OnStar
®
Vehicle Diagnostics
•GM
®
Goodwrench
®
On Demand Diagnostics
•OnStar
®
Hands-Free Calling with
30 complimentary minutes
•OnStar
®
Virtual Advisor
Available Services included with
Directions & Connections
®
Plan
•All Safe and Sound Plan Services
•Driving Directions - Advisor delivered or
OnStar
®
Turn-by-Turn Navigation (If equipped)
•RideAssist
•Information and Convenience Services
OnStar
®
Hands-Free Calling
OnStar
®
Hands-Free Calling allows eligible
OnStar
®
subscribers to make and receive calls
using voice commands. Hands-Free Calling is fully
integrated into the vehicle, and can be used
with OnStar
®
Pre-Paid Minute Packages.
Hands-Free Calling may also be linked to a
Verizon Wireless service plan, depending on
eligibility. To find out more, refer to the OnStar
®
Owner’s Guide in the vehicle’s glove box, visit
www.onstar.com or www.onstar.ca, or speak with
an OnStar
®
advisor by pressing the OnStar
®
button or calling 1-888-4-ONSTAR
(1-888-466-7827).
OnStar
®
Virtual Advisor
OnStar
®
Virtual Advisor is a feature of OnStar
®
Hands-Free Calling that uses your minutes
to access location-based weather, local traffic
reports, and stock quotes. By pressing the phone
button and giving a few simple voice commands,
you can browse through the various topics.
See the OnStar
®
Owner’s Guide for more
information.
146

OnStar
®
Steering Wheel Controls
Your vehicle may have a Talk/Mute button that
can be used to interact with OnStar
®
Hands-Free
Calling. See Audio Steering Wheel Controls
(Three Spoke) on page 281 or Audio Steering
Wheel Controls (Four Spoke) on page 282
for more information.
On some vehicles, you may have to hold the
button for a few seconds and give the command
“ONSTAR” in order to activate the OnStar
®
Hands-Free Calling feature.
On some vehicles, the mute button can be used to
dial numbers into voicemail systems, or to dial
phone extensions. See the OnStar
®
Owner’s
Guide for more information.
How OnStar
®
Service Works
In order to provide you with OnStar
®
services, your
vehicle’s OnStar
®
system has the capability of
recording and transmitting vehicle information. This
information is automatically sent to an OnStar
®
Call
Center at the time of an OnStar
®
button press,
Emergency button press or if your airbags or AACN
system deploys. The vehicle information usually
includes your GPS location and, in the event of a
crash, additional information regarding the accident
that your vehicle has been involved in (e.g. the
direction from which your vehicle was hit). When
you use the Virtual Advisor feature of OnStar
®
Hands-Free Calling, your vehicle also sends
OnStar
®
your GPS location so that we can provide
you with location-based services.
147

OnStar
®
service cannot work unless your vehicle
is in a place where OnStar
®
has an agreement
with a wireless service provider for service in that
area. OnStar
®
service also cannot work unless
you are in a place where the wireless service
provider OnStar
®
has hired for that area
has coverage, network capacity and reception
when the service is needed, and technology that
is compatible with the OnStar
®
service. Not all
services are available everywhere, particularly in
remote or enclosed areas, or at all times.
OnStar
®
service that involves location information
about your vehicle cannot work unless GPS
satellite signals are unobstructed and available in
that place as well.
Your vehicle must have a working electrical
system (including adequate battery power) for the
OnStar
®
equipment to operate. There are other
problems OnStar
®
cannot control that may prevent
OnStar
®
from providing OnStar
®
service to you
at any particular time or place. Some examples are
damage to important parts of your vehicle in an
accident, hills, tall buildings, tunnels, weather
or wireless phone network congestion.
Your Responsibility
You may need to increase the volume of your
radio to hear the OnStar
®
advisor. If the light next
to the OnStar
®
buttons is red, this means that
your system is not functioning properly and should
be checked by a dealer. If the light appears
clear (no light is appearing), your OnStar
®
subscription has expired. You can always press
the blue OnStar
®
button to confirm that your
OnStar
®
equipment is active.
Universal Home Remote
System
Universal Home Remote System
(With Three Round LED)
The Universal Home Remote System provides
a way to replace up to three hand-held
Radio-Frequency (RF) transmitters used to
activate devices such as garage door openers,
security systems, and home lighting.
148

This device complies with Part 15 of the FCC
Rules. Operation is subject to the following
two conditions:
1. This device may not cause harmful
interference.
2. This device must accept any interference
received, including interference that may
cause undesired operation.
The FCC Grant of Equipment Authorization
Certificate number is KOBGTE05A.
This device complies with RSS-210 of Industry
Canada. Operation is subject to the following
two conditions:
1. This device may not cause interference.
2. This device must accept any interference
received, including interference that may
cause undesired operation of the device.
The Canadian Registration ID number is
3521A-GTE05A.
Changes or modifications to this system by other
than an authorized service facility could void
authorization to use this equipment.
Universal Home Remote System
(With One Triangular LED)
The Universal Home Remote System provides a
way to replace up to three hand-held
radio-frequency (RF) transmitters used to activate
devices such as garage door openers, security
systems, and home lighting.
This device complies with Part 15 of the FCC
Rules. Operation is subject to the following
two conditions:
1. This device may not cause harmful
interference.
2. This device must accept any interference
received, including interference that may
cause undesired operation.
The FCC Grant of Equipment Authorization
Certificate number is CB2SAHL3.
149

This device complies with RSS-210 of Industry
Canada. Operation is subject to the following
two conditions:
1. This device may not cause interference.
2. This device must accept any interference
received, including interference that may
cause undesired operation of the device.
The Canadian Registration ID number is
2791021849A.
Changes or modifications to this system by other
than an authorized service facility could void
authorization to use this equipment.
Universal Home Remote System
Operation (With Three Round LED)
Your vehicle may have the Universal Home Remote
System. If there are three round Light Emitting
Diode (LED) above the Universal Home Remote
System buttons, follow the instructions below.
If there is one triangular LED above the Universal
Home Remote System buttons, follow the
instructions under Universal Home Remote System
Operation (with one triangular LED).
This system provides a way to replace up to
three remote control transmitters used to activate
devices such as garage door openers, security
systems, and home lighting.
150

Do not use the this system with any garage door
opener that does not have the stop and reverse
feature. This includes any garage door opener
model manufactured before April 1, 1982.
Read the instructions completely before attempting
to program the transmitter. Because of the steps
involved, it may be helpful to have another
person available to assist you in programming the
transmitter.
Be sure to keep the original remote control
transmitter for use in other vehicles, as well as, for
future programming. You only need the original
remote control transmitter for fixed code
programming. It is also recommended that upon
the sale or lease termination of the vehicle,
the programmed buttons should be erased for
security purposes. See “Erasing your Universal
Home Remote Buttons” later in this section.
Be sure that people and objects are clear of the
garage door or security device you are
programming. When programming a garage door,
it is advised to park outside of the garage.
If you do not know if your garage door opener is a
fixed code or rolling code device, open your
garage door opener’s remote control battery cover.
Your garage door opener is a fixed code device
if there is a panel of switches. If not, your
garage door opener is a rolling code device.
151

Programming Universal Home
Remote — Fixed Code
Fixed Code garage door openers are used for
garage doors produced prior to 1996. Fixed code
uses the same coded signal every time, which
is manually programmed by setting DIP switches
for a unique personal code.
Follow these steps to program up to three channels:
1. Remove the battery cover of the hand-held
transmitter.
2. Write down the eight to 12 coding switch
settings from left to right. When the switch
is in the up position, write “on,” and when a
switch is in the down position, write “off”.
If a switch is set between the up and down
position, write “middle”.
3. Enter these positions into the Universal Home
Remote System as follows.
Press and release all three buttons at the same
time to put the device into programming mode.
Example of Switch Settings
152

4. The indicator light will blink slowly. In order
from left to right, and within two and one-half
minutes, enter each switch setting into the
Universal Home Remote System. Push
one button for each switch as follows:
•Left button = “on” switch position.
•Right button = “off” switch position.
•Middle button = “middle” switch position.
5. After entering the switch settings, press and
release all three buttons at the same time.
The indicator lights will turn on.
6. Press and hold the button you would like to
use to control the garage door until the
garage door moves. The indicator light above
the selected button should slowly blink.
You may need to hold the button from
five to 55 seconds.
7. Immediately release the button when the
garage door moves. The indicator light will
blink rapidly until programming is complete.
8. Press and release the button again. The
garage door should move, confirming that
programming is successful and complete.
To program another device such as an additional
garage door opener, a security device, or
home lighting, repeat Steps 1 through 8, choosing
a different function button in Step 7 than what
you used for the garage door opener.
Example
153

Programming Universal Home
Remote — Rolling Code
Rolling code garage door openers are used for
garage doors produced after 1996 and are
code protected. Rolling code means the coded
signal is changed every time your remote control
garage door opener is used.
Programming a rolling code garage door opener
involves time-sensitive actions, so read the
entire procedure before you begin. If you do not
follow these actions, the device will time out
and you will have to repeat the procedure.
Follow these steps to program up to three channels:
1. Press the two outside buttons at the same
time for one to two seconds, and immediately
release them.
2. Go to the garage. Locate the garage door
motor head and press and release the
“learn” button.
After pressing the “learn” button, you have
10 to 30 seconds to complete Step 4
depending on your garage control unit. If you
cannot locate the “learn” button, refer to
the owner’s guide for your garage door opener.
154

3. Press and hold the button you would like to
use to control the garage door until the
garage door moves. The indicator light, above
the selected button, should slowly blink.
You may need to hold the button from five to
20 seconds.
4. Immediately release the button when the
garage door moves. The indicator light will
blink rapidly until programming is complete.
5. Press and release the button again. The
garage door should move, confirming that
programming is successful and complete.
To program another device such as an additional
garage door opener, a security device, or
home lighting, repeat Steps 1 through 6, choosing
a different function button in Step 4 than what
you used for the garage door opener.
Using Universal Home Remote
Press and hold the appropriate button for at least
half of a second. The indicator light will come
on while the signal is being transmitted.
Reprogramming Universal Home
Remote Buttons
You can reprogram any of the three buttons by
repeating the instructions.
Erasing Universal Home Remote
Buttons
You should erase the programmed buttons when
you sell the vehicle or terminate your lease.
To erase either rolling code or fixed code on the
Universal Home Remote device, do the following:
1. Press and hold the two outside buttons at
the same time for about 20 seconds, until
the indicator lights, located directly above the
buttons, begin to blink rapidly.
2. Once the indicator lights begin to blink,
release both buttons. The codes from all
button will be erased.
For additional information on Universal Home
Remote, see Customer Assistance Offices
on page 482.
155

Universal Home
Remote System Operation
(With One Triangular LED)
Your vehicle may have the Universal Home
Remote System. If there is one triangular Light
Emitting Diode (LED) above the Universal
Home Remote buttons, follow the instructions
below. If your vehicle has three round LED above
the Universal Home Remote buttons, follow the
instructions under Universal Home Remote System
Operation (with three round LED).
Do not use the Universal Home Remote with any
garage door opener that does not have the stop
and reverse feature. This includes any garage door
opener model manufactured before April 1, 1982.
If you have a newer garage door opener with rolling
codes, please be sure to follow Steps 6 through 8 to
complete the programming of your Universal Home
Remote Transmitter.
Read the instructions completely before attempting
to program the Universal Home Remote.
Because of the steps involved, it may be helpful to
have another person available to assist you in
the programming steps.
Keep the original hand-held transmitter for use in
other vehicles as well as for future Universal
Home Remote programming. It is also
recommended that upon the sale of the vehicle,
the programmed Universal Home Remote buttons
should be erased for security purposes. See
“Erasing Universal Home Remote Buttons” later in
this section or, for assistance, see Customer
Assistance Offices on page 482.
Be sure that people and objects are clear of the
garage door or gate operator you are
programming. When programming a garage door,
it is advised to park outside of the garage.
It is recommended that a new battery be installed in
your hand-held transmitter for quicker and more
accurate transmission of the radio-frequency signal.
156

Programming Universal Home Remote
Follow these steps to program up to three channels:
1. Press and hold down the two outside
Universal Home Remote buttons, releasing
only when the Universal Home Remote
indicator light begins to flash, after
20 seconds. Do not hold down the buttons for
longer than 30 seconds and do not repeat
this step to program a second and/or
third hand-held transmitter to the remaining
two Universal Home Remote buttons.
2. Position the end of your hand-held transmitter
about 1 to 3 inches (3 to 8 cm) away from the
Universal Home Remote buttons while
keeping the indicator light in view.
3. Simultaneously press and hold both the
desired Universal Home Remote button and
the hand-held transmitter button. Do not
release the buttons until Step 4 has been
completed.
Some entry gates and garage door openers
may require you to substitute Step 3 with
the procedure noted in “Gate Operator and
Canadian Programming” later in this section.
4. The indicator light will flash slowly at first
and then rapidly after Universal Home
Remote successfully receives the frequency
signal from the hand-held transmitter. Release
both buttons.
5. Press and hold the newly-trained Universal
Home Remote button and observe the
indicator light.
If the indicator light stays on continuously,
programming is complete and your device
should activate when the Universal Home
Remote button is pressed and released.
To program the remaining two Universal Home
Remote buttons, begin with Step 2 under
“Programming Universal Home Remote.”
Do not repeat Step 1 as this will erase all of
the programmed channels.
If the indicator light blinks rapidly for two
seconds and then turns to a constant light,
continue with Steps 6 through 8 following to
complete the programming of a rolling-code
device, most commonly, a garage door opener.
157

6. Locate in the garage, the garage door opener
receiver (motor-head unit). Locate the “Learn”
or “Smart” button. This can usually be
found where the hanging antenna wire is
attached to the motor-head unit.
7. Firmly press and release the “Learn” or
“Smart” button. The name and color of
the button may vary by manufacturer.
You will have 30 seconds to start Step 8.
8. Return to the vehicle. Firmly press and hold
the programmed Universal Home Remote
button for two seconds, then release it.
Immediately press and hold the same button
a second time for two seconds, then
release it. Immediately, press and hold the
same button a third time for two seconds,
then release.
The Universal Home Remote should now
activate the rolling-code device.
To program the remaining two Universal
Home Remote buttons, begin with Step 2 of
“Programming Universal Home Remote.”
Do not repeat Step 1, as this will erase all
previous programming from the Universal Home
Remote buttons.
Gate Operator and Canadian
Programming
Canadian radio-frequency laws require transmitter
signals to time out or quit after several seconds
of transmission. This may not be long enough
for Universal Home Remote to pick up the signal
during programming. Similarly, some U.S. gate
operators are manufactured to time out in
the same manner.
If you live in Canada, or you are having difficulty
programming a gate operator or garage door
opener by using the “Programming Universal
Home Remote” procedures, regardless of where
you live, replace Step 3 under “Programming
Universal Home Remote” with the following:
Continue to press and hold the Universal Home
Remote button while you press and release every
two seconds (cycle) the hand-held transmitter
button until the frequency signal has been
successfully accepted by the Universal Home
Remote. The Universal Home Remote indicator
light will flash slowly at first and then rapidly.
Proceed with Step 4 under “Programming
Universal Home Remote” to complete.
158

Using Universal Home Remote
Press and hold the appropriate Universal Home
Remote button for at least half of a second.
The indicator light will come on while the signal is
being transmitted.
Erasing Universal Home Remote
Buttons
To erase programming from the three Universal
Home Remote buttons do the following:
1. Press and hold down the two outside buttons
until the indicator light begins to flash, after
20 seconds. Do not hold the two outside
buttons for longer than 30 seconds.
2. Release both buttons.
The Universal Home Remote is now in the training
(learning) mode and can be programmed at any
time beginning with Step 2 under “Programming
Universal Home Remote” shown earlier in
this section.
Individual buttons cannot be erased, but they
can be reprogrammed. See “Reprogramming a
Single Universal Home Remote Button” following
this section.
Reprogramming a Single Universal
Home Remote Button
To program a device to Universal Home Remote
using a Universal Home Remote button
previously trained, follow these steps:
1. Press and hold the desired Universal Home
Remote button. Do not release the button.
2. The indicator light will begin to flash after
20 seconds. While still holding the
Universal Home Remote button, proceed
with Step 2 under “Programming Universal
Home Remote” shown earlier in this section.
For additional information on Universal Home
Remote, see Customer Assistance Offices
on page 482.
Storage Areas
Glove Box
To open, pull the handle down and pull the glove
box door down until it stops and is fully open.
159

Cupholder(s)
There is a cupholder next to the shift lever and
another, if equipped, at the rear of the shift lever.
If your vehicle has rear seat cupholders, pull
down the door on the back of the center console
to access them.
Center Console Storage Area
There is a storage compartment in the center
console area. To open the lower compartment, pull
up on the release at the front edge of the
armrest. Your vehicle may have an accessory
power outlet inside of the storage area. See
Accessory Power Outlet(s) on page 187 for
more information.
Map Pocket
Your vehicle may have storage pockets located on
the door panels or the back of the front seats.
Rear Compartment Storage
Panel/Cover (MAXX)
Your vehicle may have an adjustable panel/cargo
cover feature. The panel/cargo cover can be
adjusted into three positions.
160

To use the panel in the lower position, do the
following:
1. Insert the front corners of the panel into the
lower guides.
2. Slide the panel forward.
3. Press down on the back of the panel.
The panel can be used in this position if you need
additional space above the panel. Place the
cargo on top of the panel in this position.
{CAUTION:
If you were to carry things on the
adjustable panel when it is in the upper
(cargo cover) or center positions, during a
sudden vehicle movement or a crash,
those things could be thrown around in
the vehicle. You or others could be
injured. When it is in the upper or center
position, always secure any cargo on the
floor beneath the panel/cover.
To use the panel in the center position, do the
following:
1. Insert the front corners of the panel into the
middle guides.
2. Slide the panel forward.
3. Press down on the back of the panel.
To use the panel in the upper position, do the
following:
1. Insert the front corners of the panel into the
upper guides.
2. Slide the panel forward.
3. Press down on the back of the panel.
This can be used as a cargo cover for the rear
area. The panel may be installed either carpet or
plastic side up. The panel may also be used
as a table in this position. See “Table” following
for more information.
161

Table (MAXX)
Your vehicle may have an adjustable panel that
also functions as a table. The maximum load
for the table is 100 lbs distributed (45 kg).
To set up the table, do the following:
1. Place the front corners into the rear upper
guides.
2. Unlatch the fastener to release the leg from
the plastic side of the table and turn the leg
outward.
3. Set the table leg securely onto the liftgate lock
striker at the rear edge of the vehicle.
Notice: Driving with the panel extended into
the table position could damage your vehicle.
Always have the panel in the stored position
while you are driving.
Notice: Placing hot items on the surface of
the table could damage it. Always be sure that
the items that are placed on the surface of
the table are of moderate temperature.
Hooks are located on the table to hang items.
Convenience Net
You may have a convenience net in the rear of
your vehicle to help keep small loads, like grocery
bags, in place during sharp turns or quick stops
and starts.
The net is not designed for larger, heavier items.
You can unhook the net so that it will lie flat
when you are not using it.
Sunroof
If the vehicle has a
sunroof, the switch to
operate it is located
on the overhead
console between the
sun visors.
162

The sunroof will only operate when the ignition is
in ACC or ON, or while retained accessory
power (RAP) is active. See Retained Accessory
Power (RAP) on page 122 for more information.
The sunroof can be opened to a vent position or it
can be express-opened all of the way.
To open the sunroof to the vent position, push the
rear of the switch and release it. Push and
release the rear of the switch again to fully open
the sunroof.
The vent and open positions can be adjusted for
driving comfort by pushing and holding the front of
the switch until the sunroof moves to the desired
position.
A deflector will automatically pop up when the
sunroof is opened. The deflector will retract when
the sunroof is closed.
To close the sunroof, push the front of the switch
and hold it until the sunroof is closed. The sunroof
will stop if the switch is released during operation.
Remember to close the sunshade by hand.
The sunroof cannot be opened or closed if the
vehicle has an electrical failure.
Notice: If you force the sunshade forward of
the sliding glass panel, damage will occur
and the sunroof may not open or close
properly. Always close the glass panel before
closing the sunshade.
163

✍NOTES
164

Instrument Panel Overview ........................ 168
Hazard Warning Flashers .......................... 170
Other Warning Devices ............................. 170
Horn .......................................................... 170
Tilt and Telescopic Steering Wheel ............ 170
Turn Signal/Multifunction Lever .................. 171
Turn and Lane-Change Signals ................. 172
Headlamp High/Low-Beam Changer .......... 172
Flash-to-Pass ............................................ 173
Windshield Wipers ..................................... 173
Windshield Washer .................................... 174
Rear Window Wiper/Washer
(MAXX Model) ....................................... 175
Cruise Control ........................................... 176
Exterior Lamps .......................................... 179
Headlamps on Reminder ........................... 182
Headlamps Off in PARK (P) ...................... 182
Delayed Headlamps .................................. 182
Daytime Running Lamps (DRL) ................. 183
Automatic Headlamp System ..................... 184
Fog Lamps ................................................ 185
Instrument Panel Brightness ...................... 185
Dome Lamp .............................................. 185
Entry/Exit Lighting ...................................... 186
Parade Dimming ........................................ 186
Front Reading Lamps ................................ 186
Rear Reading Lamps ................................ 186
Trunk Lamp ............................................... 186
Cargo Lamp .............................................. 186
Battery Run-Down Protection ..................... 187
Accessory Power Outlet(s) ........................ 187
Cigarette Lighter ........................................ 188
Climate Controls ......................................... 189
Climate Control System ............................. 189
Automatic Climate Control System ............. 193
Outlet Adjustment ...................................... 199
Warning Lights, Gages, and Indicators ..... 200
Instrument Panel Cluster ........................... 200
Speedometer and Odometer ...................... 202
Trip Odometer ........................................... 202
Tachometer ............................................... 202
Safety Belt Reminder Light ........................ 203
Passenger Safety Belt Reminder Light ....... 203
Section 3 Instrument Panel
165

Airbag Readiness Light ............................. 204
Passenger Airbag Status Indicator ............. 205
Charging System Light .............................. 207
Brake System Warning Light ..................... 207
Anti-Lock Brake System
Warning Light ........................................ 208
Traction Control System (TCS)
Warning Light ........................................ 209
Traction Control System
Active Light ............................................ 210
Enhanced Traction System
Warning Light ........................................ 210
Enhanced Traction System
Active Light ............................................ 211
Engine Coolant Temperature
Warning Light ........................................ 211
Engine Coolant Temperature Gage ............ 212
Malfunction Indicator Lamp ........................ 212
Oil Pressure Light ..................................... 216
Security Light ............................................ 217
Cruise Control Light .................................. 217
Highbeam On Light ................................... 217
Fuel Gage ................................................. 218
Driver Information Center (DIC) .................. 219
DIC Operation and Displays ...................... 219
DIC Warnings and Messages .................... 222
DIC Vehicle Personalization ....................... 225
Audio System(s) ......................................... 227
Setting the Time for Radios without Radio
Data Systems (RDS) .............................. 228
Setting the Time for Radios with Radio
Data Systems (RDS) .............................. 229
Radio with CD (Base Level) ...................... 229
Radio with CD (Uplevel) ............................ 235
Radio with Six-Disc CD ............................. 244
XM Radio Messages ................................. 258
Rear Seat Entertainment System ............... 260
Rear Seat Audio (RSA)
(Without Entertainment System) ............. 277
Rear Seat Audio (RSA)
(With Entertainment System) .................. 279
Theft-Deterrent Feature ............................. 281
Audio Steering Wheel Controls
(Three Spoke) ........................................ 281
Section 3 Instrument Panel
166

Audio Steering Wheel Controls
(Four Spoke) .......................................... 282
Radio Reception ........................................ 283
Care of Your CDs and DVDs .................... 284
Care of the CD and DVD Player ............... 284
Fixed Mast Antenna (MAXX Only) ............. 284
Backglass Antenna (Sedan Only) .............. 285
XM™ Satellite Radio Antenna System ....... 285
Section 3 Instrument Panel
167

Instrument Panel Overview
168

The main components of your instrument panel are the following:
A. Side Window Outlets. See Climate Control
System on page 189.
B. Turn Signal/Multifunction Lever. See Turn
Signal/Multifunction Lever on page 171.
C. Cruise Controls (If Equipped). See Cruise
Control on page 176.
D. Instrument Panel Cluster. See Instrument
Panel Cluster on page 200.
E. Windshield Wiper/Washer Lever. See
Windshield Wipers on page 173.
F. Ignition Switch. See Ignition Positions on
page 121.
G. Hazard Warning Flasher. See Hazard Warning
Flashers on page 170.
H. Passenger Sensing System. See Passenger
Sensing System on page 84.
I. Center Air Outlets. See Climate Control System
on page 189.
J. Audio System. See Audio System(s) on
page 227.
K. Climate Control System. See Climate Control
System on page 189.
L. Glove Box. See Glove Box on page 159.
M. Side Air Outlets. See Climate Control System
on page 189.
N. Adjustable Pedal Buttons (If Equipped).
See Adjustable Throttle and Brake Pedal on
page 124.
O. Instrument Panel Brightness Control. See
Instrument Panel Brightness on page 185.
P. Storage Compartment.
Q. Fog Lamps (If Equipped). See Fog Lamps on
page 185.
R. Hood Release. See Hood Release on
page 350.
S. Parking Brake. See Parking Brake on
page 134.
T. Horn. See Horn on page 170.
U. Audio Steering Wheel Controls (If Equipped).
See Audio Steering Wheel Controls (Three
Spoke) on page 281 or Audio Steering Wheel
Controls (Four Spoke) on page 282.
V. Accessory Power Outlet. See Accessory Power
Outlet(s) on page 187.
W. Shift Lever. See Shifting Into Park (P) on
page 135.
169

X. Center Console Storage Compartment. See
Center Console Storage Area on page 160.
Y. Traction Control Button or Enhanced Traction
System Button (If Equipped). See Traction
Control System (TCS) on page 296 Enhanced
Traction System (ETS) on page 297.
Z. Rear Wiper/Washer Controls (If Equipped).
See Windshield Washer on page 174.
Hazard Warning Flashers
Your hazard warning flashers let you warn others.
They also let police know you have a problem. Your
front and rear turn signal lamps will flash on and off.
The hazard warning
flasher button is located
in the center of the
instrument panel.
Your hazard warning flashers work no matter what
position your key is in, and even if the key is not in
the ignition switch.
Press the button to make the front and rear turn
signal lamps flash on and off. Press the button
again to turn the flashers off.
When the hazard warning flashers are on, your
turn signals will not work.
Other Warning Devices
If you carry reflective triangles, you can set them up
at the side of the road about 300 feet (100 m)
behind your vehicle.
Horn
Press near or on the horn symbols on your
steering wheel pad to sound the horn.
Tilt and Telescopic Steering Wheel
A tilt and telescope wheel allows you to adjust the
steering wheel before you drive. You can raise the
steering wheel to the highest level to give your legs
more room when you enter and exit the vehicle.
The lever that allows you to tilt and telescope the
steering wheel is located on the left side of the
steering column.
170

To tilt and telescope the wheel, pull down the
lever. Then move the wheel to a comfortable
position, pull up the lever to lock the wheel
in place. The wheel can be adjusted up and
down as well as forward and backward.
Turn Signal/Multifunction Lever
The lever on the left side of the steering column
includes the following:
•GTurn and Lane-Change Signals. See
Turn and Lane-Change Signals on page 172.
•3Headlamp High/Low-Beam Changer.
See Headlamp High/Low-Beam Changer
on page 172.
•Flash-to-Pass. See Flash-to-Pass on
page 173.
•PExterior Light Control. See Exterior Lamps
on page 179.
171

Turn and Lane-Change Signals
The turn signal has two upward (for right) and two
downward (for left) positions. These positions
allow you to signal a turn or a lane change.
To signal a turn, move the lever all the way up or
down to the latched position. When the turn is
finished, the lever will return automatically.
An arrow on the
instrument panel
cluster will flash in
the direction of the
turn or lane change.
To signal a lane change, just raise or lower the
lever until the arrow starts to flash. Hold it
there until you complete your lane change. The
lever will return by itself when you release it.
A warning chime signal will come on if you have left
your turn signal on for more than 2/3 mile (1 km).
As you signal a turn or a lane change, if the
arrows flash rapidly, a signal bulb may be burned
out and other drivers won’t see your turn signal.
If a bulb is burned out, replace it to help avoid an
accident. If the arrows don’t go on at all when
you signal a turn, check for burned-out bulbs and
then check the fuse. See Fuses on page 447.
Headlamp High/Low-Beam Changer
To change the headlamps from low beam to
high beam, push the turn signal/multifunction
lever away from you.
When the high beams
are on, a light on the
instrument panel cluster
also will be on if the
ignition is in ON.
To change the headlamps from high beam to low
beam, pull the turn signal lever toward you.
172

Flash-to-Pass
This feature lets you use your high-beam
headlamps momentarily to signal a driver in
front of you that you want to pass.
To use it, pull the turn signal/multifunction lever
toward you until the high-beam headlamps come
on, then release the lever to turn them off.
Windshield Wipers
Be sure to clear ice and snow from the wiper blades
before using them. If the wiper blades are frozen to
the windshield, gently loosen or thaw them. If the
blades do become damaged, install new blades
or blade inserts. See Windshield Wiper Blade
Replacement on page 395.
Heavy snow or ice can overload the wiper motor.
A circuit breaker will stop the motor until it cools
down. Clear away snow or ice to prevent an
overload. If the wipers gets stuck, turn the wipers
off, clear away the snow or ice, and then turn the
wipers back on.
Use this lever, located on the right side of the
steering wheel, to operate the windshield wipers.
1(High Speed): Move the lever to this
position for steady wiping at high speed.
6(Low Speed): Move the lever to this
position for steady wiping at low speed.
&(Delay): Move the lever to this position to set
a delay between wipes.
173

6(Delay/Intermittent Speed Sensitive):
When the lever is in the delay position, move the
intermittent adjust band to set for shorter or longer
delay cycles. To the left of the adjust band are bars
that indicate the frequency of the wipes. Smaller
bars mean the wiper movement is less frequent.
Larger bars mean the wiper movement is more
frequent.
During intermittent wiping mode, the delay cycle
time is sensitive to vehicle speed. As the vehicle
speed increases your delay cycle time will decrease
and wiper movement will occur more frequently.
9(Off): Move the lever to this position to turn off
the windshield wipers.
8(Mist): Move the lever all the way down
to mist and release for a single wiping cycle. The
windshield wipers will stop after one wipe and the
lever will return to its original position. If additional
wipes are needed, hold the band on mist longer.
As an added safety feature, if the wipers are on for
more than 15 seconds, the vehicle’s headlamps
will turn on automatically. They will turn off
15 seconds after the wipers are turned off.
Windshield Washer
To wash your windshield, push in the button at the
end of the stalk until the washers begin.
{CAUTION:
In freezing weather, do not use your
washer until the windshield is warmed.
Otherwise the washer fluid can form ice
on the windshield, blocking your vision.
When you release the button, the washers will
stop, but the wipers will continue to wipe for about
three cycles and will either stop or will resume
the speed you were using before.
174

Rear Window Wiper/Washer
(MAXX Model)
{CAUTION:
In freezing weather, do not use your
washer until the windshield is warmed.
Otherwise the washer fluid can form ice
on the windshield, blocking your vision.
If your vehicle has a rear
window wiper, the switch
is located on the center
console. See Instrument
Panel Overview on
page 168.
Press the top of the switch to put the wiper in
continuous operation mode. Press the bottom of
the switch to put the wiper system in delay mode.
Press the center of the switch to wash and wipe the
rear window. Washer fluid will spray up the glass as
long as the switch is pushed. When the switch is
released, the wipers will continue to cycle about
three times. To turn either of the wiper settings off,
press the opposite side of the switch. Pressing the
button all the way down to either side turns on a
wiper setting.
There is one shared washer fluid reservoir for the
front and rear windshield wipers. See Windshield
Washer Fluid on page 380.
175

Cruise Control
With cruise control, you can maintain a speed of
about 25 mph (40 km/h) or more without keeping
your foot on the accelerator. This can really help on
long trips. Cruise control does not work at speeds
below about 25 mph (40 km/h).
{CAUTION:
Cruise control can be dangerous where
you cannot drive safely at a steady speed.
So, do not use your cruise control on
winding roads or in heavy traffic.
Cruise control can be dangerous on
slippery roads. On such roads, fast
changes in tire traction can cause
excessive wheel slip, and you could lose
control. Do not use cruise control on
slippery roads.
Setting Cruise Control
The cruise control buttons are located on left side
of the steering wheel.
T(On/Off): Press this button to turn the cruise
control system on and off.
RES+ (Resume/Accelerate): Press this button
to make the vehicle accelerate or resume to a
previously set speed.
4–Spoke Steering Wheel
Cruise Controls
3–Spoke Steering Wheel
Cruise Controls
176

SET– (Set/Coast): Press this button to set the
speed or to decrease the set speed.
[(Cancel): Press this button to cancel
cruise control.
Cruise control will not work if your parking brake is
set, or if the master cylinder brake fluid level is low.
The cruise control light on the instrument panel
cluster will come on after the cruise control
has been set to the desired speed.
{CAUTION:
If you leave your cruise control on when
you are not using cruise, you might hit a
button and go into cruise when you do not
want to. You could be startled and even
lose control. Keep the cruise control switch
off until you want to use cruise control.
1. Press the button with the cruise control
symbol on it.
2. Get up to the speed you want.
3. Press the SET– button located on the steering
wheel and release it.
4. Take your foot off the accelerator.
177

Resuming a Set Speed
Suppose you set your cruise control at a desired
speed and then you apply the brake. This shuts off
the cruise control. But you don’t need to reset it.
Once you are driving about 25 mph (40 km/h) or
more, press the RES+ button on your steering
wheel. The vehicle will go back to your chosen
speed and stay there.
Increasing Speed While Using Cruise
Control
There are two ways to go to a higher speed.
•If the cruise control system is already
engaged, press the RES+ symbol. Hold it
there until you get up to the speed you want,
and then release the button.
•To increase your speed in very small amounts,
press the RES+ symbol briefly and then release
it. Each time you do this, your vehicle will go
about 1 mph (1.6 km/h) faster.
Reducing Speed While Using Cruise
Control
To reduce your speed while using cruise control:
•Press and hold the set button on the steering
wheel until you reach the lower speed you
want, then release it.
•To slow down in very small amounts, press the
set button on the steering wheel briefly. Each
time you do this, you’ll go about 1 mph
(1.6 km/h) slower.
Passing Another Vehicle While Using
Cruise Control
Use the accelerator pedal to increase your speed.
When you take your foot off the pedal, your vehicle
will slow down to the cruise speed you set earlier.
178

Using Cruise Control on Hills
How well your cruise control will work on hills
depends upon your speed, load and the steepness
of the hills. When going up steep hills, you may
have to step on the accelerator pedal to maintain
your speed. When going downhill, you may have to
brake or shift to a lower gear to keep your speed
down. Of course, applying the brake takes you out
of cruise control. Many drivers find this to be too
much trouble and do not use cruise control on
steep hills.
Ending Cruise Control
There are three ways to disengage the cruise
control:
•Step lightly on the brake pedal; when cruise
control disengages, the cruise symbol in the
instrument panel cluster will go out.
•Press the on/off button, this will turn off the
cruise control system.
•Press the cancel button. When cruise control
disengages, the cruise symbol in the
instrument panel cluster will go out.
Erasing Speed Memory
When you turn off the cruise control or the
ignition, your cruise control set speed memory
is erased.
Exterior Lamps
The lever on the left side of the steering column
operates the exterior lamps.
179

The exterior lamp switch has the following
four positions:
2(Headlamps): This position turns on the
headlamps, parking lamps, and taillamps.
;(Parking Lamps): This position turns on the
parking lamps and taillamps only.
AUTO (Automatic Headlamp System):
This position automatically turns on the Daytime
Running Lamps during daytime, and the
headlamps, parking lamps, and taillamps at night.
P(Off/On): This position is the momentary
Off/On switch for the Automatic Headlamp System.
In Canada, this only works when the vehicle is
in PARK (P).
When operating in AUTO, a momentary turn of the
switch to off/on will turn off the Automatic Headlamp
System. Turn the switch to off/on again will turn
the Automatic Headlamp System back on. The
Automatic Headlamp System is always turned
on at the beginning of an ignition cycle.
The following charts show the condition of the
vehicle’s exterior lamps when the transaxle is not in
PARK (P) and the switch is moved to each position:
United States Exterior Lamp Positions for Daytime
Lamps PAUTO ;2
Headlamp OFF DRL Mode OFF ON
Parking Lamp OFF OFF ON ON
Taillamp OFF OFF ON ON
180

United States Exterior Lamp Positions for Nighttime
Lamps PAUTO ;2
Headlamp OFF ON OFF ON
Parking Lamp OFF ON ON ON
Taillamp OFF ON ON ON
Canadian Exterior Lamp Positions for Daytime
Lamps PAUTO ;2
Headlamp DRL Mode DRL Mode DRL Mode ON
Parking Lamp OFF OFF ON ON
Taillamp OFF OFF ON ON
Canadian Exterior Lamp Positions for Nighttime
Lamps PAUTO ;2
Headlamp ON ON ON ON
Parking Lamp ON ON ON ON
Taillamp ON ON ON ON
181

Headlamps on Reminder
If you open the driver’s door and turn off the
ignition while leaving the lamps on, you will
hear a warning chime.
Headlamps Off in PARK (P)
This feature works when the ignition is ON and it is
dark outside. To turn the headlamps off when it is
dark outside but keep other exterior lights on, turn
the exterior lamp control to the parking lamp
position. In this position, the parking lamps,
sidemarker lamps, taillamps, license plate lamps
and instrument panel lights will be on, but the
headlamps will be off.
To turn on the headlamps along with the other
lamps when it is dark outside, turn the exterior
lamp control to the AUTO or headlamp position.
This feature will not work for Canadian vehicles.
Delayed Headlamps
The delayed headlamps feature will continue to
illuminate the headlamps for 20 seconds after the
key is turned to off at night. Then the headlamps
will automatically turn off.
To override the 20 second delayed headlamp
feature while it is active turn the switch at the end
of the turn signal/multifunction lever to the off/on
position.
182

Daytime Running Lamps (DRL)
Daytime Running Lamps (DRL) can make it easier
for others to see the front of your vehicle during
the day. DRL can be helpful in many different
driving conditions, but they can be especially
helpful in the short periods after dawn and before
sunset. Fully functional daytime running lamps
are required on all vehicles first sold in Canada.
The DRL system will turn your low-beam
headlamps on at a reduced brightness when
the following conditions are met:
•The ignition is on.
•The exterior lamp control is turned to AUTO. In
addition, Canadian vehicles DRL will also turn
on if you have turned on the parking lamps.
•The light sensor detects daytime light. See the
end of this section for more information on the
light sensor.
•The shift lever is not in PARK (P).
While the DRL system is on, the taillamps,
sidemarker lamps, and instrument panel lights
will not be illuminated.
The DRL system will be off any time your vehicle is
in PARK (P). The DRL system on U.S. vehicles can
also be turned off by using the off/on switch for one
ignition cycle.
As with any vehicle, you should turn on the
regular headlamp system when you need it.
Light Sensor
Your vehicle has a light sensor on top of the
instrument panel. Make sure it is not covered or the
headlamps may remain on when you do not need
them. The light sensor for the DRL and Automatic
Headlamp features is located on top of the
instrument panel.
The automatic headlamp system may be on when
driving through a parking garage, heavy outcast
weather, or a tunnel. This is normal.
183

Automatic Headlamp System
When it is dark enough outside, your automatic
headlamp system will turn on your headlamps at
the normal brightness along with other lamps such
as the taillamps, sidemarker, parking lamps and the
instrument panel lights. The radio lights will also
be dim.
Your vehicle is equipped with a light sensor on top
of the instrument panel, make sure it is not covered
or the automatic headlamp system will be on when
it is not needed.
There is a delay in the transition between the
daytime and nighttime operation of the DRL and the
automatic headlamp systems so that driving under
bridges or bright overhead street lights does not
affect the system. The DRL and automatic
headlamp systems will only be affected when the
light sensor sees a change in lighting lasting longer
than this delay.
If you start your vehicle in a dark garage, the
automatic headlamp system will come on
immediately. Once you leave the garage, it will take
about one minute for the automatic headlamp
system to change to DRL if it is light outside. During
that delay, your instrument panel cluster may not be
as bright as usual. Make sure your instrument panel
brightness control is in the full bright position. See
“Instrument Panel Brightness Control” under
Instrument Panel Brightness on page 185.
To idle your vehicle with the automatic headlamp
system off, turn the ignition on and set the
exterior light switch to the off/on position. For
Canadian vehicles, the transaxle must stay
in PARK (P) for this function.
As with any vehicle, you should turn on the
regular headlamps when you need them.
184

Fog Lamps
If your vehicle has this
feature, the button for
the fog lamps is located
on the instrument
panel, to the left of
the steering wheel.
If your vehicle has fog lamps, the ignition must
be on.
Push the button to turn the fog lamps on. An
indicator light in the button will glow when the fog
lamps are on. Push the button again to turn the fog
lamps off.
The fog lamps will turn off while the high-beam
headlamps are turned on.
Some localities have laws that require the
headlamps to be on along with the fog lamps.
Instrument Panel Brightness
The control for this
feature is located on the
instrument panel to the
left of the steering wheel.
Turn the knob clockwise to brighten the lights or
counterclockwise to dim them.
Dome Lamp
The switch on this lamp has three positions. The on
position will turn on the lamp anytime. The door
position will turn on the lamp whenever a door is
opened. The off position will shut off the lamp
completely, even while a door is opened. Your
dome lamp may be equipped with two rear reading
lamps. See Rear Reading Lamps on page 186.
185

Entry/Exit Lighting
When you open any door, the lamps inside of your
vehicle will go on. These lamps will fade out
20 seconds after the last door is closed, or when
the ignition is turned on after all doors have
been closed. These lamps will also go on when
you press the trunk release button, the unlock
button or the panic button on the remote keyless
entry transmitter.
The lamps inside of your vehicle will turn on for
about 10 seconds after your key is removed from
the ignition to provide an illuminated exit.
Parade Dimming
Parade dimming is a separate lighting mode of
operation that is activated if the park lamps are
turned on during the day. Usually when the park
lamps are turned on during the day, the display’s
illumination and LEDs become lower and the
backlighting is activated. To avoid this condition,
backlighting is turned off, and the displays and
LEDs are set to a high predetermined intensity
when daylight conditions are detected to enhance
the display’s visibility during daytime.
Front Reading Lamps
Push the lens to turn the reading lamps on and
off. The reading lamps will turn on when the door
is open if the dome lamp is in the door position.
The reading lamps will also turn on with the dome
lamp switch in the on position. The lamps will
not turn on if the door is open and the dome
lamp is in the off position.
Rear Reading Lamps
The vehicle’s dome lamp may have two reading
lamps. The reading lamps turn on and off by
pushing on the lens.
Trunk Lamp
The trunk lamp comes on when you open your trunk.
Cargo Lamp
If your vehicle is the MAXX model, it has a cargo
lamp. The cargo lamp comes on when the liftgate is
opened. If you want to leave the liftgate open you
can turn off the cargo lamp by pushing on the lens.
186

Battery Run-Down Protection
Your vehicle has a battery run-down protection
feature designed to protect your vehicle’s battery.
When any interior lamp (trunk, reading, or visor
vanity) is left on while the ignition is turned off,
the battery run-down protection system will
automatically shut the lamp(s) off after 20 minutes.
This will avoid draining the battery.
To reactivate the interior lamps, do one of the
following:
•Turn on the ignition.
•Turn the exterior lamp control off and then on.
•Open a door.
•Press any remote keyless entry transmitter
button (if equipped).
•Press the remote trunk release button.
•Press the power door lock switch.
The battery run-down feature will also be activated
when any door on the vehicle is left open and
the ignition is in OFF.
Accessory Power Outlet(s)
With accessory power outlets you can plug in
auxiliary electrical equipment such as a cellular
telephone.
For vehicles with Traction Control system, the
accessory power outlets are located on the front of
the center console storage area and also inside the
console storage compartment. The compartment
has notches that allow power cords to be routed
outside of the console while the lid is closed. On
vehicles without Traction Control, both outlets are
located on the front of the center console storage
area. There is also an outlet in the rear cargo area
of the MAXX.
Notice: Leaving electrical equipment on for
extended periods will drain the battery. Always
turn off electrical equipment when not in use
and do not plug in equipment that exceeds the
maximum amperage rating.
Certain electrical accessories may not be
compatible with the accessory power outlet and
could result in blown vehicle or adapter fuses.
If you experience a problem see your dealer for
additional information on accessory power outlets.
187

Notice: Adding any electrical equipment to
your vehicle may damage it or keep other
components from working as they should. The
repairs would not be covered by your warranty.
Do not use equipment exceeding maximum
amperage rating of 20 amperes. Check with
your dealer before adding electrical equipment.
When adding electrical equipment, be sure to
follow the proper installation instructions included
with the equipment.
Notice: Improper use of the power outlet can
cause damage not covered by your warranty.
Do not hang any type of accessory or
accessory bracket from the plug because the
power outlets are designed for accessory
power plugs only.
Cigarette Lighter
Your vehicle may have a cigarette lighter. To use
the lighter, located on the instrument panel below
the climate controls, push it in all the way and let
go. When it is ready, it will pop back out by itself.
Notice: Holding a cigarette lighter in while it is
heating will not allow the lighter to back
away from the heating element when it is hot.
Damage from overheating may occur to the
lighter or heating element, or a fuse could be
blown. Do not hold a cigarette lighter in
while it is heating.
Notice: If you put papers, pins, or other
flammable items in the ashtray, hot cigarettes
or other smoking materials could ignite
them and possibly damage your vehicle.
Never put flammable items in the ashtray.
188

Climate Controls
Climate Control System
With this system you can control the heating,
cooling and ventilation for your vehicle. If
your vehicle has the remote start feature, the
climate control system will function as part of
the remote start feature. See Remote Keyless
Entry (RKE) System Operation on page 100.
Operation
9(Fan): Turn the left knob clockwise or
counterclockwise to increase or decrease
the fan speed. The fan must be on to run the
air-conditioning compressor.
To change the air delivery settings, turn the right
knob to select one of the following:
H(Vent): This mode directs air to the instrument
panel outlets.
)(Bi-Level): This mode directs half of the air to
the instrument panel outlets, and the remaining
air to the floor outlets. Some air may be directed
toward the side windows.
6(Floor): This mode directs most of the air to
the floor outlets with some air directed to the
side window outlets and windshield.
:(Outside Air): Press the right side of this
button to turn the outside air mode on. When this
mode is selected, air from outside the vehicle will
circulate throughout your vehicle. When the button
is pressed, an indicator light will come on to let you
know that it is activated. The outside air mode can
be used with all modes, but it cannot be used with
the recirculation mode. Pressing this button will
cancel the recirculation mode.
189

?(Recirculation): Press the left side of the
button to turn the recirculation mode on. When
recirculation mode is selected, the air inside the
vehicle will be recirculated through the climate
control system and the vehicle, not from outside
your vehicle. This mode is helpful when you are
trying to limit odors from entering your vehicle and
for maximum air conditioning performance in hot
weather. When the button is pressed, an indicator
light above the button will come on to let you know
that it is activated. The recirculation indicator light
will blink three times if you try to use recirculation in
a mode that it can not be used in. Only use this
mode when it is needed for comfort, since window
fogging will rapidly occur if the air conditioning
compressor is not engaged.
Pressing this button will cancel the outside air
mode. When you switch to the defog or defrost
modes the system will automatically move from
recirculation to outside air. When the vehicle or fan
is turned off and back on, the system will default to
outside air automatically. Only use recirculation
mode when it is needed for comfort, since window
fogging may occur.
Temperature Control: Turn the center knob
clockwise or counterclockwise to increase
or decrease the temperature inside your vehicle.
When it’s cold outside 0°F (−18°C) or lower,
use the engine coolant heater, if equipped, to
provide warmer air faster to your vehicle. An
engine coolant heater warms the coolant that the
engine uses to provide heat to warm the inside
of your vehicle. For more information, see Engine
Coolant Heater on page 125.
#(Air Conditioning): Press this button to turn
the air conditioning system on or off. When the air
conditioning button is pressed, an indicator light will
come on to let you know that air conditioning is
activated.
The air-conditioning system removes moisture
from the air, so you may sometimes notice a small
amount of water dripping underneath your vehicle
while idling or after turning off the engine. This
is normal.
190

Maximum Air Conditioning
On hot days, open the windows to let hot inside
air escape; then close them. This helps to reduce
the time it takes for your vehicle to cool down.
It also helps the system to operate more efficiently.
For quick cool down on hot days, do the
following:
1. Select the Cvent mode.
2. Select the highest fan speed.
3. Select #air conditioning.
4. Select the ?recirculation mode.
5. Select the coolest temperature.
Using these settings together for long periods of
time may cause the air inside of your vehicle to
become too dry. To prevent this from happening,
after the air in your vehicle has cooled, turn the
recirculation mode off.
Defogging and Defrosting
Fog on the inside of windows is a result of high
humidity (moisture) condensing on the cool window
glass. This can be minimized if the climate control
system is used properly. There are two modes to
choose from to clear fog or frost from your
windshield. Use the defog mode to clear the
windows of fog or moisture and warm the
passengers. Use the defrost mode to remove
fog or frost from the windshield more quickly.
Turn the right knob to select the defog or
defrost mode.
-(Defog): This mode splits the air between
the windshield and the floor outlets with a small
amount directed to the side windows. When you
select this mode, the system turns off recirculation
automatically. The air-conditioning compressor will
run unless the outside temperature is at or below
freezing. The air-conditioning compressor will
operate although the indicator light will not be on.
191

The air-conditioning indicator light will turn off when
defog is selected. If the air-conditioning button is
pressed while in defog mode, the indicator light will
turn on. If the button is pressed again, the light will
turn off. The recirculation mode cannot be selected
while in the defog mode. Do not drive the vehicle
until all the windows are clear.
1(Defrost): This mode directs most of the air to
the windshield with some air directed to the floor
vents. In this mode, the system will automatically
force outside air into your vehicle. The
air-conditioning compressor will run unless the
outside temperature is at or below freezing. The
air-conditioning compressor will operate although
the indicator light will not be on. The air-conditioning
indicator light will turn off when defrost is selected.
If the air-conditioning button is pressed while in
defrost mode, the indicator light will turn on. If the
button is pressed again, the light will turn off.
Recirculation cannot be selected while in the
defrost mode.
To help clear the windshield quickly, do the
following:
1. Select the defrost mode.
2. Select the highest temperature.
3. Select the highest fan speed.
Rear Window Defogger
The rear window defogger uses a warming grid to
remove fog or frost from the rear window.
<REAR: Press this button to turn the rear
window defogger on or off. An indicator light will
come on to let you know that the rear window
defogger is activated. Be sure to clear as much
snow from the rear window as possible.
If driving below 50 mph (80 km/h), the rear window
defogger will turn off about 15 minutes after the
button is pressed. If turned on again, the defogger
will only run for about seven minutes before turning
off. The defogger can also be turned off by pressing
the button again or by turning off the engine.
192

If your vehicle’s speed is maintained above
50 mph (80 km/h), the rear window defogger will
remain on once the button is pressed.
If your vehicle has the remote start feature, the
rear defogger will automatically be turned on if it is
cold outside. When the vehicle transitions out of
the remote start mode, the rear defogger will
turn off. See Remote Keyless Entry (RKE)
System Operation on page 100.
Notice: Do not use anything sharp on the
inside of the rear window. If you do, you could
cut or damage the warming grid, and the repairs
would not be covered by your warranty. Do not
attach a temporary vehicle license, tape, a decal
or anything similar to the defogger grid.
Automatic Climate Control System
If your vehicle has this system, you can
automatically control the heating, cooling
and ventilation in your vehicle.
Automatic Operation
AUTO (Automatic): Select AUTO on both the fan
speed control and the air delivery mode control
knobs to activate the automatic system. When
automatic operation is active the system will
control the inside temperature and air delivery.
193

Use the steps below to place the entire system in
automatic mode:
1. Place the fan knob and the mode knob
to AUTO.
The display will now show the current set
temperature. When auto is selected, the air
conditioning operation and air inlet will be
automatically controlled. The air conditioning
compressor will run when the outside
temperature is over about 40°F (4°C). The air
inlet will normally be set to outside air. If it’s hot
outside, the air inlet may automatically switch to
recirculate inside air to help quickly cool down
your vehicle.
2. Set the temperature.
To find your comfort setting, start with an initial
temperature setting and allow about 20 minutes
for the system to regulate. Press the up or
down arrow temperature buttons to adjust
the temperature setting as necessary.
If you choose the temperature setting of 60°F
(15°C) the system will remain at the maximum
cooling setting. If you choose the temperature
setting of 90°F (32°C) the system will remain at
the maximum heat setting. Choosing either
maximum setting will not cause the vehicle to
heat or cool any faster.
Be careful not to cover the sensor located
on the top of the instrument panel near the
windshield. This sensor regulates air
temperature based on sun load, and also
turns on your headlamps.
Also be careful not to cover the sensor grille
on the lower right side of the climate control
faceplate. This senses the inside vehicle
temperature needed for proper regulation.
To avoid blowing cold air at start-up in cold
weather, the system will delay turning on the
fan until warm air is available. The length
of delay depends on the engine coolant
temperature. Turning the fan knob will
override this delay and change the fan
to a selected speed.
194

If your vehicle has the remote start feature, the
climate control display will initially show “AS” in
place of the temperature to indicate the remote start
has been activated. The system will automatically
regulate the temperature according to the following:
•If inside air temperature is below 72°F (22°C),
the system will automatically adjust to the
following settings: highest fan speed, defrost
mode, recirculation, and the full heat position.
•If inside air temperature is above 79°F (26°C)
the system will automatically adjust to the
following settings: highest fan speed, panel
mode, recirculation, and full cold position.
•If inside air temperature is between 72°F (22°C)
and 79°F (26°C), the system will adjust
automatically to the following settings : medium
fan speed, panel mode, recirculation, and the
full cold position.
The climate control will change back to manual
operation by turning on the vehicle with the
key. See Remote Keyless Entry (RKE) System
Operation on page 100.
The heater works best if you keep the windows
closed while using it.
Manual Operation
You may manually adjust the air delivery mode or
fan speed.
9(Off): Select this position on the fan knob
to turn off the entire climate control system.
Outside air will still enter the vehicle, and will be
directed to the floor. This direction can be changed
by changing the mode position. The temperature
can also be adjusted using either the up or
down arrow temperature buttons.
9(Fan): The knob with the fan symbol allows
you to manually adjust the fan speed.
H(Vent): This mode directs air to the instrument
panel outlets.
)(Bi-Level): This mode directs half of the air to
the instrument panel outlets, and the remaining
air to the floor outlets.
6(Floor): This mode directs most of the air to
the floor outlets with some air directed to the
side window outlets and windshield.
195

:(Outside Air): Press the right side of this
button to turn the outside air mode on. When this
mode is selected, air from outside the vehicle
will circulate throughout your vehicle. When the
button is pressed, an indicator light will come on to
let you know that it is activated. The outside air
mode can be used with all modes, except with the
recirculation mode. Pressing this button will
cancel the recirculation mode.
?(Recirculation): Press the left side of the
button to turn the recirculation mode on. When
recirculation mode is selected, the air inside the
vehicle will be recirculated through the climate
control system and the vehicle, not from outside
your vehicle. This mode is helpful when you are
trying to limit odors from entering your vehicle and
for maximum air conditioning performance in hot
weather. When the button is pressed, an indicator
light above the button will come on to let you know
that it is activated. The recirculation indicator light
will blink three times if you try to use recirculation in
a mode that it can not be used in. Only use this
mode when it is needed for comfort, since window
fogging will rapidly occur if the air conditioning
compressor is not engaged.
Pressing this button cancels the auto recirculation
feature. Each time the vehicle is started, the system
will revert to the auto recirculation function.
If you select recirculation while in defrost, defog or
floor, the light on the button will flash three times
and go out to let you know this is not allowed. This
is to prevent window fogging.
When the weather is cool or damp, operating the
system in recirculation for extended periods of time
may cause fogging of the vehicle’s windows. To
clear the fog, select either defog or defrost. Make
sure the air conditioning is on. You will want to allow
the air conditioning to run automatically to help
dehumidify the air.
xw (Temperature Control): Press the up
and down arrows to increase or decrease the
temperature inside the vehicle.
#(Air Conditioning): Press this button to turn
the air conditioning compressor on and off. A light
above the button will illuminate when the air
conditioning is on.
196

When air conditioning is selected or in AUTO
mode, the system will run the air conditioning
automatically to cool and dehumidify the air
entering the vehicle.
On hot days, open the windows to let hot inside
air escape; then close them. This helps to reduce
the time it takes for your vehicle to cool down.
It also helps the system to operate more efficiently.
On cool, but sunny days while using manual
operation of the automatic system, use bi-level to
deliver warm air to the floor and cooler air to
the instrument panel outlets. To warm or cool the
air delivered, press the temperature buttons to
the desired setting.
In AUTO mode the system will cool and dehumidify
the air inside the vehicle. Also while in AUTO
mode, the system will maximize its performance
by using recirculation as necessary.
On cold days when using manual operation of the
automatic system, choose floor mode to deliver air
to the floor outlets. To warm or cool the air
delivered, push the temperature buttons to the
desired setting.
If you want to use the automatic mode, turn the
knob to AUTO and adjust the temperature by
pressing the temperature buttons.
Defogging and Defrosting
You can use either defog or front defrost to clear
fog or frost from your windshield. Use the defog
mode to clear the windows of fog or moisture.
Use the front defrost button to defrost the front
windshield.
-(Defog): Use this setting to clear the windows
of fog or moisture. Turn the mode knob to this
position to select this setting. This setting will
deliver air to the floor and windshield outlets.
0(Defrost): Turn the mode knob to this
position to defrost the windshield. The system
will automatically control the fan speed if you
select defrost from AUTO mode. If the outside
temperature is 40°F (4°C) or warmer, your air
conditioning compressor will automatically run to
help dehumidify the air and dry the windshield. The
air conditioning indicator light will blink three times
if you try to turn off the compressor while in
this mode.
197

Rear Window Defogger
The rear window defogger uses a warming grid to
remove fog from the rear window.
<(Rear): Press this button to turn the rear
window defogger on or off. An indicator light above
the button will come on to let you know that the
rear window defogger is activated.
If driving below 50 mph (80 km/h), the rear window
defogger will turn off about 15 minutes after the
button is pressed. If you need additional warming
time, press the button again.
If your vehicle’s speed is maintained above 50 mph
(80 km/h), the rear window defogger will remain on
once the button is pressed.
If your vehicle has heated mirrors this button will
also activate that feature.
If your vehicle has the remote start feature, the
rear defogger and heated mirrors will automatically
be turned on if it is cold outside. The indicator
light will not be on. When the vehicle transitions
out of remote start mode the rear defogger
and heated mirrors will turn off.
Notice: Do not use a razor blade or sharp
object to clear the inside rear window. Do not
adhere anything to the defogger grid lines
in the rear glass. These actions may damage
the rear defogger. Repairs would not be
covered by your warranty.
198

Outlet Adjustment
Use the thumbwheels on the air outlets, located on
the center and on the sides of the instrument panel,
to change the horizontal direction of the airflow. Use
the tabs on the outlet vanes to change the vertical
direction of the airflow. Use the tabs on the outlet
vanes to shut off airflow to the outlets.
The two upper outlets in the center of the
instrument panel are dedicated to the rear seats.
These outlets are fixed to aim airflow into the rear
seats to help cool the rear occupants in hot
weather. Airflow can be shut off at the upper
outlets by turning the vertical thumbwheel. The
louvers are fixed, do not attempt to move them or
they may break.
Operation Tips
•Clear away any ice, snow or leaves from the
air inlets at the base of the windshield that
may block the flow of air into your vehicle.
•Use of non-GM approved hood deflectors may
adversely affect performance of the system.
•Keep the path under the front seats clear of
objects to help circulate the air inside of
your vehicle more effectively.
•When an objectionable odor outside the
vehicle is encountered, use the recirculation
mode, with the temperature knob at a
comfortable setting to prevent the odor from
entering the vehicle through the ventilation
system. This can be helpful when driving
through a long tunnel with poor ventilation.
However, extended usage of this mode in cold
or cool weather can cause window fogging.
199

Warning Lights, Gages, and
Indicators
This part describes the warning lights and gages
that may be on your vehicle. The pictures will
help you locate them.
Warning lights and gages can signal that
something is wrong before it becomes serious
enough to cause an expensive repair or
replacement. Paying attention to your warning
lights and gages could also save you or others
from injury.
Warning lights come on when there could be or
there is a problem with one of your vehicle’s
functions. As you will see in the details on the next
few pages, some warning lights come on briefly
when you start the engine just to let you know they
are working. If you are familiar with this section,
you should not be alarmed when this happens.
Gages can indicate when there could be or there
is a problem with one of your vehicle’s functions.
Often gages and warning lights work together to
let you know when there is a problem with your
vehicle.
When one of the warning lights comes on and
stays on when you are driving, or when one of the
gages shows there may be a problem, check
the section that tells you what to do about
it. Follow this manual’s advice. Waiting to do
repairs can be costly — and even dangerous.
Get to know your warning lights and gages.
They are a big help.
Instrument Panel Cluster
Your instrument panel cluster is designed to let
you know at a glance how your vehicle is running.
You’ll know how fast you’re going, how much
fuel you’re using, and many other things you will
need to drive safely and economically.
200

Your vehicle has this instrument panel cluster, which includes indicator warning lights and gages that are
explained on the following pages.
United States Base version shown, Canada and SS Model Similar
201

Speedometer and Odometer
Your speedometer lets you see your speed in
both miles per hour (mph) and kilometers
per hour (km/h).
Your odometer shows how far your vehicle
has been driven, in either miles (used in the
United States) or kilometers (used in Canada).
Your vehicle has a tamper resistant odometer.
The digital odometer will read 999,999 if someone
tries to turn it back.
You may wonder what happens if your vehicle
needs a new odometer installed. If the new
one can be set to the mileage total of the old
odometer, then it must be. But if it can’t, then it’s
set at zero and a label must be put on the
driver’s door to show the old mileage reading
when the new odometer was installed.
Trip Odometer
The trip odometer can tell you how far you have
driven since you last reset it.
The trip odometer is accessed and reset through
the Driver Information Center (DIC). See DIC
Operation and Displays on page 219 for more
information.
Tachometer
The tachometer shows your engine speed in
revolutions per minute (rpm).
202

Safety Belt Reminder Light
When the key is turned to ON or START, a chime
will come on for several seconds to remind people
to fasten their safety belts, unless the driver’s safety
belt is already buckled.
The safety belt light will
also come on and stay
on for several seconds,
then it will flash for
several more.
This chime and light will be repeated if the driver
remains unbuckled and the vehicle is in motion.
If the driver’s belt is already buckled, neither
the chime nor the light will come on.
Passenger Safety Belt
Reminder Light
Several seconds after the key is turned to ON or
START, a chime will sound for several seconds to
remind the front passenger to buckle their safety
belt. This would only occur if the passenger airbag
is enabled. See Passenger Sensing System on
page 84 for more information. The passenger
safety belt light will also come on and stay on for
several seconds, then it will flash for several more.
This chime and light
is repeated if the
passenger remains
unbuckled and the
vehicle is in motion.
If the passenger’s safety belt is buckled, neither
the chime nor the light will come on.
203

Airbag Readiness Light
There is an airbag readiness light on the instrument
panel cluster, which shows the airbag symbol. The
system checks the airbag’s electrical system for
malfunctions. The light tells you if there is an
electrical problem. The system check includes
the airbag sensor, the pretensioners, the airbag
modules, the wiring and the crash sensing and
diagnostic module. For more information on the
airbag system, see Airbag System on page 74.
This light will come on
when you start your
vehicle, and it will flash
for a few seconds. Then
the light should go out.
This means the system
is ready.
If the airbag readiness light stays on after you
start the vehicle or comes on when you are driving,
your airbag system may not work properly.
Have your vehicle serviced right away.
{CAUTION:
If the airbag readiness light stays on after
you start your vehicle, it means the airbag
system may not be working properly. The
airbags in your vehicle may not inflate in
a crash, or they could even inflate without
a crash. To help avoid injury to yourself
or others, have your vehicle serviced right
away if the airbag readiness light stays on
after you start your vehicle.
The airbag readiness light should flash for a few
seconds when you turn the ignition key to ON.
If the light does not come on then, have it fixed so
it will be ready to warn you if there is a problem.
204

Passenger Airbag Status Indicator
Your vehicle has the passenger sensing system.
Your instrument panel has a passenger airbag
status indicator.
When the ignition key is turned to ON or START,
the passenger airbag status indicator will light ON
and OFF, or the symbol for on and off, for several
seconds as a system check. If you use remote start
to start your vehicle, if you have this feature, you
may not see the system check. Then, after several
more seconds, the status indicator will light either
ON or OFF, or either the on or off symbol to let you
know the status of the right front passenger’s
frontal airbag.
If the word ON or the on symbol is lit on the
passenger airbag status indicator, it means that
the right front passenger’s frontal airbag is enabled
(may inflate).
{CAUTION:
If the on indicator comes on when you have
a rear-facing child restraint installed in the
right front passenger’s seat, it means that
the passenger sensing system has not
turned off the passenger’s frontal airbag.
A child in a rear-facing child restraint can
be seriously injured or killed if the right
front passenger’s airbag inflates. This is
because the back of the rear-facing child
restraint would be very close to the
inflating airbag. Do not use a rear-facing
child restraint in the right front passenger’s
seat if the airbag is turned on.
Your vehicle has a rear seat that will accommodate
a rear-facing child restraint.
United States Canada
205

A label on your sun visor says, “Never put a
rear-facing child seat in the front.” This is because
the risk to the rear-facing child is so great, if the
airbag deploys.
{CAUTION:
Even though the passenger sensing
system is designed to turn off the
passenger’s frontal airbag if the system
detects a rear-facing child restraint,
no system is fail-safe, and no one can
guarantee that an airbag will not deploy
under some unusual circumstance, even
though it is turned off. We recommend
that rear-facing child restraints be secured
in the rear seat, even if the airbag is off.
If the word OFF or the off symbol is lit on the airbag
status indicator, it means that the passenger
sensing system has turned off the right front
passenger’s frontal airbag. See Passenger
Sensing System on page 84 for more on this,
including important safety information.
If, after several seconds, all status indicator lights
remain on, or if there are no lights at all, there
may be a problem with the lights or the passenger
sensing system. See your dealer for service.
{CAUTION:
If the off indicator and the airbag
readiness light ever come on together, it
means that something may be wrong with
the airbag system. If this ever happens,
have the vehicle serviced promptly,
because an adult-size person sitting in the
right front passenger seat may not have
the protection of the frontal airbag. See
Airbag Readiness Light on page 204.
206

Charging System Light
The charging system
light will come on for
a few seconds
when you turn on the
ignition as a check
to indicate it is working.
If the light stays on, or comes on while you are
driving and you hear a chime, there could be a
problem with the electrical charging system. This
could indicate that there is a loose generator drive
belt or another electrical problem. Have it checked
right away. Driving while this light is on could drain
the battery and result in the engine and headlights
suddenly shutting off.
If you must drive a short distance with this light
on, turn off accessories, such as the radio,
air conditioner and heater fan.
Brake System Warning Light
Your vehicle’s hydraulic brake system is divided
into two parts. If one part is not working, the other
part can still work and stop you. For good braking,
though, you need both parts working well.
If the warning light comes on, there is a brake
problem. Have your brake system inspected
right away.
This light should come on briefly when you turn the
ignition key to ON. If it does not come on then, have
it fixed so it will be ready to warn you if there is a
problem.
United States Canada
207

When the ignition is on, the brake system warning
light will also come on when you set your parking
brake. The light will stay on if your parking brake
does not release fully. If it stays on after your
parking brake is fully released, it means you
have a brake problem.
The Driver Information Center (DIC) may display a
BRAKE FLUID message. See DIC Warnings
and Messages on page 222 for more information.
If the light comes on while you are driving, pull off
the road and stop carefully. You may notice that the
pedal is harder to push or the pedal may go closer
to the floor. It may take longer to stop. Try turning
off and restarting the vehicle one or two times, if the
light is still on, have the vehicle towed for service.
See Towing Your Vehicle on page 328.
{CAUTION:
Your brake system may not be working
properly if the brake system warning light
is on. Driving with the brake system
warning light on can lead to an accident.
If the light is still on after you have pulled
off the road and stopped carefully, have
the vehicle towed for service.
Anti-Lock Brake System
Warning Light
If your vehicle has the
anti-lock brake system,
the light will come
on when your engine is
started and may stay
on for several seconds.
That’s normal.
208

If the light stays on, turn the ignition to off. If the light
comes on and the chime sounds when you are
driving, stop as soon as possible and turn the
ignition off. Then start the engine again to reset the
system. If the light still stays on, or comes on again
while you are driving, your vehicle needs service. If
the regular brake system warning light is not on,
you still have brakes, but you do not have anti-lock
brakes. If the regular brake system warning light is
also on, you do not have anti-lock brakes and there
is a problem with your regular brakes. See Brake
System Warning Light on page 207 earlier in this
section.
The anti-lock brake system warning light will come
on briefly when you turn the ignition key to ON.
This is normal. If the light does not come on then,
have it fixed so it will be ready to warn you if
there is a problem.
Traction Control System (TCS)
Warning Light
If your vehicle has
the Traction Control
System (TCS), this light
may come on for the
following reasons:
•If you turn the system off by pressing the TC
(traction control) button located on the center
console, the light will come on and stay on. To
turn the system back on, press the button again
and the warning light should go out.
•If there is a brake system problem that is
specifically related to traction control, the TCS
will turn off and the warning light will come on.
If the traction control system warning light comes on
and stays on for an extended period of time when
the system is turned on, your vehicle needs service.
209

Traction Control System
Active Light
If your vehicle has the
Traction Control System
(TCS), this light will
come on when
the system is limiting
wheel spin.
Slippery road conditions may exist if the TCS
active light comes on, so adjust your driving
accordingly.
The light will stay on for a few seconds after the
system stops limiting wheel spin.
Enhanced Traction System
Warning Light
If your vehicle has the
Enhanced Traction
System (ETS), this light
may come on for the
following reasons:
•If you turn the system off by pressing the TC
(traction control) button located on the center
console, the light will come on and stay on. To
turn the system back on, press the button again
and the warning light should go out.
•If there’s a brake system problem that is
specifically related to traction control, the ETS
will turn off and the warning light will come on.
If the traction control system warning light comes on
and stays on for an extended period of time when
the system is turned on, your vehicle needs service.
210

Enhanced Traction System
Active Light
If your vehicle has the
Enhanced Traction
System (ETS), this light
will come on when
the system is limiting
wheel spin.
Slippery road conditions may exist if the Enhanced
Traction System active light comes on, so adjust
your driving accordingly.
The light will stay on for a few seconds after the
system stops limiting wheel spin.
Engine Coolant Temperature
Warning Light
This light indicates
that the engine coolant
has overheated or
the radiator cooling fan
is not working.
This light will come on briefly when you turn on
the ignition as a check to show you it is working.
If the light comes on and the vehicle has been
operating under normal driving conditions, pull off
the road, stop the vehicle, and turn off the
engine as soon as possible.
See Cooling System on page 373 for more
information.
211

Engine Coolant Temperature Gage
This gage shows the engine coolant temperature.
If the gage pointer moves into the red area,
the light comes on and you hear a chime, your
engine is too hot! It means that your engine
coolant has overheated.
If you have been operating your vehicle under
normal driving conditions and the gage reads hot,
you should pull off the road, stop your vehicle
and turn off the engine as soon as possible.
See Engine Overheating on page 370.
Malfunction Indicator Lamp
Check Engine Light
Your vehicle has a
computer which
monitors operation
of the fuel, ignition,
and emission control
systems.
This system is called OBD II (On-Board
Diagnostics-Second Generation) and is intended to
assure that emissions are at acceptable levels for
the life of the vehicle, helping to produce a cleaner
environment. The check engine light comes on
to indicate that there is a problem and service is
required. Malfunctions often will be indicated by the
system before any problem is apparent. This may
prevent more serious damage to your vehicle.
This system is also designed to assist your service
technician in correctly diagnosing any malfunction.
United States Canada
212

Notice: If you keep driving your vehicle
with this light on, after awhile, your emission
controls may not work as well, your fuel
economy may not be as good, and your engine
may not run as smoothly. This could lead to
costly repairs that may not be covered by your
warranty.
Notice: Modifications made to the engine,
transaxle, exhaust, intake, or fuel system of
your vehicle or the replacement of the original
tires with other than those of the same Tire
Performance Criteria (TPC) can affect your
vehicle’s emission controls and may cause
this light to come on. Modifications to these
systems could lead to costly repairs not
covered by your warranty. This may also
result in a failure to pass a required Emission
Inspection/Maintenance test. See Accessories
and Modifications on page 342.
This light should come on, as a check to show
you it is working, when the ignition is on and the
engine is not running. If the light does not
come on, have it repaired. This light will also
come on during a malfunction in one of two ways:
•Light Flashing — A misfire condition has
been detected. A misfire increases vehicle
emissions and may damage the emission
control system on your vehicle. Diagnosis
and service may be required.
•Light On Steady — An emission control
system malfunction has been detected on
your vehicle. Diagnosis and service may be
required.
213

If the Light is Flashing
The following may prevent more serious damage
to your vehicle:
•Reducing vehicle speed
•Avoiding hard accelerations
•Avoiding steep uphill grades
•If you are towing a trailer, reduce the amount of
cargo being hauled as soon as it is possible
If the light stops flashing and remains on steady,
see “If the Light Is On Steady” following.
If the light continues to flash, when it is safe to do
so, stop the vehicle. Find a safe place to park your
vehicle. Turn the key off, wait at least 10 seconds
and restart the engine. If the light remains on
steady, see “If the Light Is On Steady” following.
If the light is still flashing, follow the previous steps,
and see your dealer for service as soon as
possible.
If the Light Is On Steady
You may be able to correct the emission system
malfunction by considering the following:
Did you recently put fuel into your vehicle?
If so, reinstall the fuel cap, making sure to fully
install the cap. See Filling the Tank on page 347.
The diagnostic system can determine if the fuel cap
has been left off or improperly installed. A loose or
missing fuel cap will allow fuel to evaporate into the
atmosphere. A few driving trips with the cap
properly installed should turn the light off.
Did you just drive through a deep puddle of water?
If so, your electrical system may be wet. The
condition will usually be corrected when the
electrical system dries out. A few driving trips
should turn the light off.
214

Have you recently changed brands of fuel?
If so, be sure to fuel your vehicle with quality fuel.
See Gasoline Octane on page 344. Poor fuel
quality will cause your engine not to run as
efficiently as designed. You may notice this as
stalling after start-up, stalling when you put
the vehicle into gear, misfiring, hesitation on
acceleration, or stumbling on acceleration. (These
conditions may go away once the engine is warmed
up.) This will be detected by the system and cause
the light to turn on.
If you experience one or more of these conditions,
change the fuel brand you use. It will require at
least one full tank of the proper fuel to turn the
light off.
If none of the above steps have made the light
turn off, your dealer can check the vehicle.
Your dealer has the proper test equipment and
diagnostic tools to fix any mechanical or electrical
problems that may have developed.
Emissions Inspection and Maintenance
Programs
Some state/provincial and local governments have
or may begin programs to inspect the emission
control equipment on your vehicle. Failure to pass
this inspection could prevent you from getting a
vehicle registration.
Here are some things you need to know to help
your vehicle pass an inspection:
Your vehicle will not pass this inspection if the
check engine light is on or not working properly.
Your vehicle will not pass this inspection if the OBD
(on-board diagnostic) system determines that
critical emission control systems have not been
completely diagnosed by the system. The vehicle
would be considered not ready for inspection.
This can happen if you have recently replaced
your battery or if your battery has run down. The
diagnostic system is designed to evaluate critical
emission control systems during normal driving.
This may take several days of routine driving. If you
have done this and your vehicle still does not pass
the inspection for lack of OBD system readiness,
your dealer can prepare the vehicle for inspection.
215

Oil Pressure Light
If your vehicle has low
engine oil pressure, this
light will stay on after
you start your engine,
or come on and you will
hear a chime when
you are driving.
This indicates that your engine is not receiving
enough oil. The engine could be low on oil,
or could have some other oil problem. Have it
fixed immediately.
This light will come on briefly when you turn on
the ignition as a check to show you it is working.
If it does not come on with the ignition on, you
may have a problem with the bulb. Have it
fixed right away.
{CAUTION:
Do not keep driving if the oil pressure is
low. If you do, your engine can become
so hot that it catches fire. You or others
could be burned. Check your oil as soon as
possible and have your vehicle serviced.
Notice: Lack of proper engine oil maintenance
may damage the engine. The repairs would
not be covered by your warranty. Always follow
the maintenance schedule in this manual for
changing engine oil.
216

Security Light
For information
regarding this light,
see Theft-Deterrent
Systems on page 116.
Cruise Control Light
This light comes on
whenever you set the
cruise control.
The light goes out when the cruise control is
turned off. See Cruise Control on page 176 for
more information.
Highbeam On Light
This light comes on
when the high-beam
headlamps are in use.
See Headlamp High/Low-Beam Changer on
page 172.
217

Fuel Gage
Your fuel gage tells you about how much fuel you
have left, when the ignition is on. When the
indicator nears empty, this light, located left of the
pump symbol, will come on and you will hear a
chime. You still have a little fuel left, but you should
get more soon. The arrow on the fuel gage points to
side of the vehicle with the fuel door.
Here are four things that some owners ask about.
These are normal and do not indicate a problem
with your fuel gage:
•At the service station, the gas pump shuts off
before the gage reads full.
•It takes a little more or less fuel to fill up than
the gage indicated. For example, the gage may
have indicated the tank was half full, but it
actually took a little more or less than half the
tank’s capacity to fill the tank.
•The indicator moves a little when you turn a
corner or speed up.
•The gage goes back to empty when you turn off
the ignition.
United States Canada
218

Driver Information Center (DIC)
The Driver Information Center (DIC) provides
the following:
•A way to personalize your vehicle
•Trip information
•Warning messages
The buttons used to activate the DIC are located
on the left side of the vehicle’s audio system.
INFO/4(Information): Press this button to scroll
through the vehicle information mode displays.
MENU: Press this button to enter and scroll
through the menu mode.
ENTER/r(Enter): Press this button to
select a menu option or to acknowledge a
warning message.
The DIC messages will be read through your
audio system display.
DIC Operation and Displays
The DIC comes on when the ignition is ON. If your
vehicle has the uplevel audio system, the time
and outside temperature is shown on the first line
of the display and the DIC information is shown
on the second line of the display.
The DIC has different modes which can be
accessed by pressing the DIC buttons. The button
functions are detailed in the following section.
United States Canada
219

Information Mode
INFO/4(Information): Press this button to scroll
through the vehicle information mode displays
in the following order:
•TRIP A
•TRIP B
•FUEL RANGE (Fuel Range Until Empty)
•ECON (Average Fuel Economy)
•AV SPEED (Average Vehicle Speed)
•OIL LIFE (Engine Oil Life System)
TRIP A or TRIP B: Press the information button
until TRIP A or TRIP B is displayed. This shows the
current distance traveled since the last reset for
each trip odometer in either miles (mi) or kilometers
(km). Both odometers can be used at the same
time. Each trip odometer can be reset to zero
separately by pressing and holding the enter button
for a few seconds while the desired trip odometer is
displayed.
FUEL RANGE: Press the information button
until FUEL RANGE is displayed. This shows the
remaining distance you can drive without refueling.
It is based on fuel economy and the fuel remaining
in the tank.
When the fuel level is low, FUEL RANGE LOW
displays.
The fuel economy data used to determine fuel
range is an average of recent driving conditions.
As your driving conditions change, this data is
gradually updated. Fuel range cannot be reset.
ECON (Economy): Press the information button
until ECON is displayed. Average fuel economy
is how many miles per gallon (mpg) or liters
per 100 kilometers (L/100 km) your vehicle is
getting based on current and past driving
conditions.
Press and hold the enter button while ECON is
displayed to reset the average fuel economy.
Average fuel economy will then be calculated
starting from that point. If the average fuel
economy is not reset, it will be continually
updated each time you drive.
AV (Average) SPEED: Press the information
button until AV SPEED is displayed. This shows
the vehicle’s average speed in miles per hour
(mph) or kilometers per hour (km/h).
Press and hold the enter button while AV SPEED
is displayed to reset the average vehicle speed.
220

OIL LIFE: Press the information button until
OIL LIFE is displayed. The engine oil life system
shows an estimate of the oil’s remaining useful life.
It shows 100% when the system is reset after
an oil change. It will alert you to change the oil on
a schedule consistent with your driving conditions.
Always reset the engine oil life system after an
oil change. See Engine Oil Life System on
page 360.
In addition to the engine oil life system monitoring
the oil life, additional maintenance is recommended
in the Maintenance Schedule in this manual. See
Scheduled Maintenance on page 460 and Engine
Oil on page 357.
Personalization
MENU: Press this button while the ignition is ON to
scroll through each of the personalization options in
the following order. To avoid excessive drain on the
battery, it is recommended that the headlamps are
turned off. If the vehicle is moving faster than 2 mph
(3 km/h), the personalization menu options are not
available, except for the UNITS option.
All of the personalization options may not be
available on your vehicle. Only the options available
display on the DIC.
•Oil Life Reset
•Units Selection (English/Metric)
•Remote Start Capability
•Horn Chirp During Remote Keyless Entry
Locking
•Horn Chirp During Remote Keyless Entry
Unlocking
•Exterior Light Flash During Remote Keyless
Entry Locking or Unlocking
•Delayed Locking
•Automatic Vehicle Unlocking: Specific Doors
•Automatic Vehicle Unlocking: When Key is Off
or When Shift To Park
•Exterior Perimeter Lighting During Remote
Keyless Entry Unlock
•Select Language: (English, French, Spanish or
German)
221

When the desired option is reached, press the
enter button to toggle between the modes of that
option. To make a selection, press the MENU
button again.
If no selection is made within 10 seconds, the
display reverts back to the previous information
displayed.
The MENU mode is exited when the information
button is pressed, a 10 second time period
has elapsed, the ignition is turned to OFF,
or the end of the MENU list is reached.
See DIC Vehicle Personalization on page 225 for
more information on the personalization options.
Enter
ENTER/r(Enter): Press this button to reset
certain functions and to turn off or acknowledge
messages on the DIC display. This button
also toggles through the options available in each
personalization menu.
DIC Warnings and Messages
These messages appear if there is a problem
detected in one of your vehicle’s systems.
A message will clear when that condition is no
longer present on the vehicle. To acknowledge a
message and clear it from the display, press
any of the three DIC buttons. If the condition is
still present, the warning message will come back
on the next time the vehicle is turned off and
back on. With most messages, a warning chime
sounds when the message displays. Your
vehicle may have other warning messages.
AUTO (Automatic) LIGHTS OFF: This message
displays if the automatic headlamp system is
disabled with the headlamp switch.
AUTO (Automatic) LIGHTS ON: This message
displays if the automatic headlamp system is
enabled with the headlamp switch.
BRAKE FLUID: This message displays to inform
the driver that the brake fluid level is low while the
ignition is in ON. The brake system warning light on
the instrument panel cluster also comes on. See
Brake System Warning Light on page 207 for more
information. Have the brake system serviced by
your dealer as soon as possible.
222

CHANGE OIL SOON: This message displays
when the life of the engine oil has expired and it
should be changed.
When you acknowledge the CHANGE OIL SOON
message by clearing it from the display, you still
must reset the engine oil life system separately.
See Engine Oil Life System on page 360,Engine
Oil on page 357, and Scheduled Maintenance on
page 460 for more information.
CHECK GAS CAP: This message displays if the
fuel cap has not been fully tightened. Recheck
the fuel cap to make sure that it is on properly.
A few driving trips with the cap properly installed
should turn the message off.
DOOR AJAR: This message displays if one or
more of the vehicle’s doors are not closed properly.
When this message displays, make sure that the
door is closed completely.
ENGINE DISABLED: This message displays
if the starting of the engine is disabled. Have your
vehicle serviced immediately by your dealer.
ENG (Engine) PWR (Power) REDUCED: This
message displays to inform you that the vehicle
has reduced engine power to avoid damaging the
engine. Reduced engine power can affect the
vehicle’s ability to accelerate. If this message is on,
but there is no reduction in performance, proceed to
your destination. The performance may be reduced
the next time the vehicle is driven. The vehicle may
be driven at a reduced speed while this message is
on, but acceleration and speed may be reduced.
Anytime this message stays on, the vehicle should
be taken to your dealer for service as soon as
possible.
GATE AJAR: If your vehicle has a liftgate, this
message displays when the liftgate is not closed
completely. Make sure that the liftgate is closed
completely. See Liftgate (MAXX) on page 113 for
more information.
ICE POSSIBLE: This message displays when the
outside air temperature is cold enough to create
icy road conditions. Adjust your driving accordingly.
223

KEY FOB BATT (Battery) LOW: This message
displays if the Remote Keyless Entry (RKE)
transmitter battery is low. Replace the battery in
the transmitter. See “Battery Replacement” under
Remote Keyless Entry (RKE) System Operation on
page 100.
LOW FUEL: This message displays along with
a low fuel warning light on the instrument panel
cluster when your vehicle is low on fuel. Refill the
fuel tank as soon as possible. See Fuel on
page 344 and Filling the Tank on page 347.
LOW WASHER FLUID: This message displays
when your vehicle is low on windshield washer fluid.
Refill the windshield washer fluid reservoir
as soon as possible. See “Adding Washer Fluid”
under Windshield Washer Fluid on page 380.
POWER STEERING: This message displays if a
problem has been detected with the electric power
steering, if your vehicle has this feature. Have your
vehicle serviced immediately by your dealer.
PUSH PARK PEDAL: This message displays if
the parking brake is left engaged. See Parking
Brake on page 134 for more information.
SERVICE AIR BAG: This message displays if
there is a problem with the airbag system. Have
your vehicle serviced immediately by your dealer.
TRUNK AJAR: If your vehicle has a trunk, this
message displays when the trunk lid is not closed
completely. Make sure that the trunk lid is
closed completely. See Trunk (Sedan) on
page 112 for more information.
224

DIC Vehicle Personalization
The following personalization options may appear
on your vehicle’s audio display by pressing the
MENU button:
OIL LIFE RESET: When this option is displayed,
you can reset the engine oil life system. To reset
the system, see Engine Oil Life System on
page 360.
UNITS: When UNITS appears on the display,
press the enter button to move between METRIC
or ENGLISH. When you have made your choice,
press the MENU button to record your selection.
The initial setting from the factory is English for the
United States and metric for Canada.
If you choose English, all information will be
displayed in English units. For example, distance
in miles (mi) and fuel economy in miles per
gallon (mpg) is displayed.
If you choose metric, all information will be
displayed in metric units. For example, distance
in kilometers (km) and fuel economy in liters per
100 kilometers (L/100 km) is displayed.
The unit measurement will also change the trip
odometer, temperature, and average fuel economy
displays.
REMOTE START: If your vehicle has this feature,
the remote start option can be enabled or disabled.
When REMOTE START appears on the display,
press the enter button to move between OFF and
ON. When you have made your choice, press the
MENU button to record your selection. The initial
setting from the factory is ON.
LOCK HORN: If your vehicle has Remote Keyless
Entry (RKE), this option which allows the vehicle’s
horn to chirp every time the lock button on the RKE
transmitter is pressed, can be enabled or disabled.
When LOCK HORN appears on the display, press
the enter button to move between ON and OFF.
When you have made your choice, press the MENU
button to record your selection. The initial setting
from the factory is OFF.
UNLOCK HORN: If your vehicle has Remote
Keyless Entry (RKE), this option which allows the
vehicle’s horn to chirp every time the unlock button
on the RKE transmitter is pressed, can be enabled
or disabled. When UNLOCK HORN appears on the
display, press the enter button to move between
ON and OFF. When you have made your choice,
press the MENU button to record your selection.
The initial setting from the factory is OFF.
225

LIGHT FLASH: If your vehicle has Remote
Keyless Entry (RKE), this option which allows the
vehicle’s exterior perimeter lighting to flash every
time the lock, unlock, or trunk release buttons on
the RKE transmitter are pressed, can be enabled or
disabled. When LIGHT FLASH appears on the
display, press the enter button to move between
OFF and ON. When you have made your choice,
press the MENU button to record your selection.
The initial setting from the factory is ON.
DELAY LOCK: The delayed locking option, which
delays the actual locking of the vehicle, can be
enabled or disabled. When DELAY LOCK appears
on the display, press the enter button to move
between OFF and ON. When you have made your
choice, press the MENU button to record your
selection. The initial setting from the factory is ON.
AUTO UNLK (Unlock): The automatic door
unlocking option, which allows the vehicle to
automatically unlock certain doors can be enabled
or disabled. When AUTO UNLK appears on the
display, press the enter button to move between
ALL, DRIVER, or NONE. When you have made
your choice, press and the MENU button to record
your selection. The initial setting from the factory is
ALL. See Programmable Automatic Door Locks on
page 110 for more information.
UNLK (Unlock): This screen displays only if
DRIVER or ALL is selected for the AUTO UNLK
option. This option determines when the automatic
door unlocking will occur, when either the key
is turned to OFF or the vehicle is shifted into
PARK (P). When UNLK appears on the display,
press the enter button to move between KEY OFF
and SHIFT TO P (Park). When you have made your
choice, press the MENU button to record your
selection. The initial setting from the factory is
SHIFT TO P (Park). See Programmable Automatic
Door Locks on page 110 for more information.
EXT (Exterior) LIGHTS: If your vehicle has
Remote Keyless Entry (RKE), this option, which
allows the vehicle’s exterior perimeter lighting to
turn on each time the unlock button on the RKE
transmitter is pressed, can be enabled or disabled.
When EXT LIGHTS appears on the display, press
the enter button to move between ON and OFF.
When you have made your choice, press the MENU
button to record your selection. The initial setting
from the factory is ON.
226

LANGUAGE: To select your choice of language,
press the enter button to move between the
optional languages.
The languages are ENGLISH, FRENCH,
SPANISH, and GERMAN.
Choosing a language will display all of the
information on the DIC in the desired language.
When you have made your choice, press the
MENU button for at least one second to record
your selection. The initial setting from the factory is
ENGLISH.
Audio System(s)
Determine which radio your vehicle has and then
read the pages following to familiarize yourself
with its features.
Driving without distraction is a necessity for
a safer driving experience. See Defensive
Driving on page 288. By taking a few moments
to read this manual and get familiar with your
vehicle’s audio system, you can use it with less
effort, as well as take advantage of its features.
While your vehicle is parked, set up your audio
system by presetting your favorite radio stations,
setting the tone and adjusting the speakers. Then,
when driving conditions permit, you can tune to
your favorite stations using the presets and steering
wheel controls if the vehicle has them.
{CAUTION:
This system provides you with a far greater
access to audio stations and song listings.
Giving extended attention to entertainment
tasks while driving can cause a crash and
you or others can be injured or killed.
Always keep your eyes on the road and
your mind on the drive — avoid engaging
in extended searching while driving.
Keeping your mind on the drive is important for
safe driving. For more information, see Defensive
Driving on page 288.
Here are some ways in which you can help avoid
distraction while driving.
227

While your vehicle is parked:
•Familiarize yourself with all of its controls.
•Familiarize yourself with its operation.
•Set up your audio system by presetting your
favorite radio stations, setting the tone, and
adjusting the speakers. Then, when driving
conditions permit, you can tune to your favorite
radio stations using the presets and steering
wheel controls if the vehicle has them.
Notice: Before adding any sound equipment
to your vehicle, such as an audio system, CD
player, CB radio, mobile telephone, or two-way
radio, make sure that it can be added by
checking with your dealer. Also, check federal
rules covering mobile radio and telephone
units. If sound equipment can be added, it is
very important to do it properly. Added sound
equipment may interfere with the operation of
your vehicle’s engine, radio, or other systems,
and even damage them. Your vehicle’s systems
may interfere with the operation of sound
equipment that has been added.
Your vehicle has a feature called Retained
Accessory Power (RAP). With RAP, the audio
system can be played even after the ignition is
turned off. See Retained Accessory Power (RAP)
on page 122 for more information.
Setting the Time for Radios without
Radio Data Systems (RDS)
To set the hour, press the clock button. The clock
symbol appears on the display and the hour
number flashes. Turn the ADJ (adjust) knob to
increase or to decrease the hours. To set the
minutes, press the clock button again. The minute
numbers flashes. Turn the ADJ knob to increase or
to decrease the minutes. The time can be set with
the ignition on or off.
228

Setting the Time for Radios with
Radio Data Systems (RDS)
To set the hour, press the clock button. The clock
symbol appears on the display and the hour
number flashes. Turn the ADJ (adjust) knob to
increase or to decrease the hours. To set the
minutes, press the clock button again. The minute
numbers flashes. Turn the ADJ knob to increase or
to decrease the minutes. The time can be set with
the ignition on or off.
To synchronize the time with an FM station
broadcasting Radio Data System (RDS)
information, press and hold the clock button to
enter the clock set mode, then press and hold the
clock button for three seconds until UPDATED
displays. If the time is not available from the
station, NO UPDATE displays.
RDS time is broadcast once a minute. After tuning
to an RDS broadcast station, it can take a few
minutes for the time to update.
Radio with CD (Base Level)
Playing the Radio
O(Power): Press this knob to turn the system
on and off.
u(Volume): Turn this knob clockwise or
counterclockwise to increase or to decrease the
volume.
United States shown, Canada similar
229

DISP (Display): Press this knob to switch the
display between the time and the temperature or
the radio station frequency and the temperature.
When the ignition is off, press this knob to display
the time.
To change the default on the display, press the
DISP knob until the desired option displays,
then hold the knob for two seconds. The radio
produces a beep and the selected display
becomes the default.
Finding a Station
AM/FM/CD: Press this button to switch between
FM1, FM2, AM, and CD. The selection displays.
ADJ (Adjust): Turn this knob to select radio
stations.
SEEK w/ SEEK x:Press the SEEK up button
or the SEEK down button to go to the next or
to the previous station and stay there.
To scan stations, press and hold either SEEK
button for two seconds until a beep sounds. The
radio goes to a station, plays for a few seconds,
then goes to the next station. Press either
SEEK button again to stop scanning.
To scan preset stations, press and hold either
SEEK button for more than four seconds until
two beeps sound. The radio goes to the first preset
station stored on the pushbuttons, plays for a
few seconds, then goes to the next preset station.
Press either SEEK button again to stop scanning
presets.
The radio only seeks and scans stations with a
strong signal that are in the selected band.
Setting Preset Stations
Up to 18 stations (six FM1, six FM2, and six AM),
can be programmed on the six numbered
pushbuttons, by performing the following steps:
1. Turn the radio on.
2. Press AM/FM/CD to select FM1, FM2, or AM.
3. Tune in the desired station.
4. Press and hold one of the six numbered
pushbuttons until a beep sounds. When
that numbered pushbutton is pressed, the
station that was set, returns.
5. Repeat the steps for each pushbutton.
230

Setting the Tone (Bass/Treble)
TONE /P/Q(Bass/Treble): To adjust the bass or
the treble, press and release the tone button until
BASS or TREB (treble) displays. Turn the ADJ
(adjust) knob to increase or to decrease the
tone. If a station is weak or has static, decrease
the treble.
To adjust bass or treble to the middle position,
select BASS or TREB. Then press and hold the
tone button for more than two seconds. A beep
sounds and the level adjusts to the middle position.
To adjust the tone controls to the middle position,
first exit tone by pressing another button, causing
the radio to perform that function, or by waiting
five seconds until the default display returns.
Then press and hold the tone button for more
than two seconds until a beep sounds. ALL
CENTERED displays.
Adjusting the Speakers (Balance/Fade)
BAL/FADE /S(Balance/Fade): To adjust
the balance between the right and the left speakers,
press and release the balance and fade button until
BAL (balance) displays. Turn the ADJ knob to move
the sound toward the right or the left speakers.
To adjust the fade between the front and the rear
speakers, press and release the balance and fade
button until FADE displays. Then turn the ADJ knob
to move the sound toward the front or the rear
speakers.
To adjust the balance or the fade to the middle
position, select BAL or FADE. Then press and
hold the balance and fade button for more than
two seconds. A beep sounds and the level adjusts
to the middle position.
To adjust the speaker controls to the middle
position, first exit balance and fade by pressing
another button, causing the radio to perform that
function, or by waiting five seconds until the default
display returns. Then press and hold the balance
and fade button for more than two seconds until
A beep sounds. ALL CENTERED displays.
231

Radio Messages
CALIBRATE: The audio system has been
calibrated for your vehicle from the factory. If
CALIBRATE displays, it means that the radio has
not been configured properly for your vehicle
and must be returned to your dealer for service.
LOCKED: This message displays when the
THEFTLOCK
®
system has locked up. Take the
vehicle to your dealer for service.
If any error occurs repeatedly or if an error cannot
be corrected, contact your dealer.
Playing a CD
Insert a CD partway into the slot, label side up. The
player pulls it in and the CD should begin playing. If
you want to insert a CD with the ignition off, first
press the eject button or the DISP knob.
As each new track starts to play, the track
number displays.
If the ignition or radio is turned off with a CD in the
player, it stays in the player. When the ignition or
radio is turned on, the CD starts playing, where it
stopped, if it was the last selected audio source.
The CD player can play the smaller 3 inch (8 cm)
single CDs with an adapter ring. Full-size CDs
and the smaller CDs are loaded in the same
manner.
If playing a CD-R, the sound quality can be reduced
due to CD-R quality, the method of recording, the
quality of the music that has been recorded, and the
way the CD-R has been handled. There can be an
increase in skipping, difficulty in finding tracks,
and/or difficulty in loading and ejecting. If these
problems occur, check the bottom surface of the
CD. If the surface of the CD is damaged, such as
cracked, broken, or scratched, the CD will not play
properly. If the surface of the CD is soiled, see Care
of Your CDs and DVDs on page 284 for more
information.
If there is no apparent damage, try a known
good CD.
232

Do not add any label to a CD, it could get
caught in the CD player. If a CD is recorded on
a personal computer and a description label is
needed, try labeling the top of the recorded CD
with a marking pen.
Notice: If you add any label to a CD, insert
more than one CD into the slot at a time, or
attempt to play scratched or damaged CDs, you
could damage the CD player. When using the
CD player, use only CDs in good condition
without any label, load one CD at a time, and
keep the CD player and the loading slot free of
foreign materials, liquids, and debris.
If an error displays, see “CD Messages” later in
this section.
1s(Reverse): Press and hold this pushbutton
to reverse quickly within a track. You will hear
sound at a reduced volume. Release this
pushbutton to play the passage. The elapsed
time of the track displays.
2\(Fast Forward): Press and hold this
pushbutton to advance quickly within a track.
You will hear sound at a reduced volume. Release
this pushbutton to play the passage. The elapsed
time of the track displays.
3 RPT (Repeat): Press this pushbutton once
to hear a track over again. REPEAT ON and RPT
displays. The current track continues to repeat.
Press RPT again to turn off repeat play. REPEAT
OFF displays and RPT disappears from the
display.
4 RDM (Random): Press this pushbutton to hear
the tracks in random, rather than sequential, order.
T#, RANDOM, and RDM displays. Press RDM
again to turn off random play. RANDOM OFF
displays and RDM disappears.
SEEK w:Press this button to go to the next
track. The track number displays. If this button is
pressed more than once, the player continues
moving forward through the CD.
If this button is held for more than two seconds, the
CD enters CD scan mode and the CD plays the first
10 seconds of each track. Press this button again to
stop scanning.
233

SEEK x:Press this button to go to the start of
the current track if more than eight seconds
have played. The track number displays. If this
button is pressed more than once, the player
continues moving backward through the CD.
If this button is held for more than two seconds, the
CD enters CD scan mode and the CD plays the first
10 seconds of each track. Press this button again to
stop scanning.
DISP (Display): Press this knob to see the
current track number, time, and temperature or the
track number, the elapsed time of the track, and
the temperature.
To change the default on the display, press this
knob until the desired option displays, then
hold the knob for two seconds. A beep sounds
and the selected display becomes the default.
AM/FM/CD: Press this button when listening to
the radio to play a CD.
EJECT / Z(Eject): Press this button to eject a
CD. Eject can be activated with either the
ignition or radio off. CDs can be loaded with the
ignition and radio off if this button is pressed first.
CD Messages
If the CD comes out, it could be for one of the
following reasons:
•It is very hot. When the temperature returns to
normal, the CD should play.
•You are driving on a very rough road. When the
road becomes smoother, the CD should play.
•The CD is dirty, scratched, wet, or
upside down.
•The air is very humid. If so, wait about an hour
and try again.
•There could have been a problem while burning
the CD.
•The label could be caught in the CD player.
If the CD is not playing correctly, for any other
reason, try a known good CD.
If any error occurs repeatedly or if an error cannot
be corrected, contact your dealer. If the radio
displays an error message, write it down and
provide it to your dealer when reporting the
problem.
234

Radio with CD (Uplevel) Radio Data System (RDS)
The audio system has a Radio Data System (RDS).
RDS features are available for use only on FM
stations that broadcast RDS information.
With RDS, the radio can do the following:
•Seek to stations broadcasting the selected
type of programming
•Receive announcements concerning local and
national emergencies
•Display messages from radio stations
•Seek to stations with traffic announcements
This system relies upon receiving specific
information from these stations and only works
when the information is available. In rare cases, a
radio station can broadcast incorrect information
that causes the radio features to work improperly.
If this happens, contact the radio station.
While the radio is tuned to an RDS station, the
station name or call letters display instead of the
frequency. RDS stations can also provide the
time of day, a program type (PTY) for current
programming, and the name of the program being
broadcast.
United States shown, Canada similar
235

XM™ Satellite Radio Service
XM™ is a satellite radio service that is based in the
48 contiguous United States and Canada. XM™
offers a large variety of coast-to-coast channels
including music, news, sports, talk, traffic/weather
(U.S. subscribers), and children’s programming.
XM™ provides digital quality audio and text
information that includes song title and artist name.
A service fee is required in order to receive the
XM™ service. For more information, contact
XM™; In the U.S. at www.xmradio.com or call
1-800-852-XMXM (9696) or in Canada at
www.xmradio.ca or call 1-877-GET-XMSR
(438-9677).
Playing the Radio
O(Power): Press this knob to turn the system
on and off.
u(Volume): Turn this knob clockwise or
counterclockwise to increase or to decrease
the volume.
DISP (Display): Press this knob to switch the
display between the time and the temperature or
the radio station frequency and the temperature.
When the ignition is off, press this knob to display
the time.
For RDS, press this knob to change what displays
while using RDS. The display options are station
name, RDS station frequency, PTY, and the name
of the program (if available).
For XM™ (if equipped), press this knob while in
XM mode to retrieve four different categories
of information related to the current song or
channel: Artist, Song Title, Category or PTY,
Channel Number/Channel Name.
To change the default on the display, press the
DISP knob until you see the desired display, then
hold the knob for two seconds. The radio produces
a beep and the selected display becomes the
default.
236

AUTO u(Automatic Volume): With automatic
volume, the audio system adjusts automatically
to make up for road and wind noise as you drive.
Set the volume at the desired level. Press this
button to select LOW, MEDIUM, or HIGH. AUTO
VOL LOW (automatic volume low), AUTO VOL
MEDIUM (automatic volume medium), or AUTO
VOL HIGH (automatic volume high) displays.
Each higher setting allows for more volume
compensation at faster vehicle speeds. Then as
you drive, automatic volume increases the volume,
as necessary, to overcome noise at any speed. The
volume level should always sound the same to you
as you drive. AUTO VOL NONE (automatic volume
none) displays if the radio cannot determine the
vehicle speed or if the engine is not running. To turn
automatic volume off, press this button until AUTO
VOL OFF (automatic volume off) displays.
Finding a Station
BAND: Press this button to switch between FM1,
FM2, AM, or XM1 or XM2 (if equipped). The
selection displays.
ADJ (Adjust): Turn this knob to select radio
stations.
xSEEK w:Press the down or up arrow to go to
the next or to the previous station and stay there.
To scan stations, press and hold either arrow for
two seconds until a beep sounds. The radio goes to
a station, plays for a few seconds, then goes to the
next station. Press either arrow again to stop
scanning.
To scan preset stations, press and hold either arrow
for more than four seconds until two beeps sound.
The radio goes to the first preset station stored on
the pushbuttons, plays for a few seconds, then
goes to the next preset station. Press either arrow
again to stop scanning presets.
The radio only seeks and scans stations with a
strong signal that are in the selected band.
237

Setting Preset Stations
Up to 30 stations (six FM1, six FM2, and six AM,
six XM1 and six XM2 (if equipped)), can be
programmed on the six numbered pushbuttons,
by performing the following steps:
1. Turn the radio on.
2. Press BAND to select FM1, FM2, AM, or XM1
or XM2.
3. Tune in the desired station.
4. Press AUTO TONE (automatic tone) or
AUTO EQ (automatic equalization) to
select the equalization.
5. Press and hold one of the six numbered
pushbuttons until a beep sounds. When that
numbered pushbutton is pressed, the station
that was set, returns and the equalization that
was selected is stored for that pushbutton.
6. Repeat the steps for each pushbutton.
Setting the Tone
(Bass/Midrange/Treble)
TONE /P/Q(Bass/Treble): Press and release
this button until BASS, MID (midrange), or TREB
(treble) displays. Turn the ADJ knob to increase or
to decrease the tone. The display shows the bass,
midrange, or treble level. If a station is weak or has
static, decrease the treble.
To adjust bass, midrange, or treble to the middle
position, select BASS, MID, or TREB. Then
press and hold the tone button for more than
two seconds. One beep sounds and the tone
control adjusts to the middle position.
To adjust all tone controls to the middle position,
press and hold the tone button while no tone control
displays. ALL CENTERED displays and a beep
sounds. The bass, midrange, and treble adjusts to
the middle position.
AUTO TONE/AUTO EQ (Automatic
Equalization): Press this button to select
customized equalization settings designed for
country, jazz, talk, pop, rock, and classical.
To return to the manual mode, press the AUTO
TONE or AUTO EQ button until CUSTOM displays.
You can also manually adjust the bass, midrange,
and treble using the tone button.
238

Adjusting the Speakers (Balance/Fade)
BAL/FADE / S(Balance/Fade): To adjust
the balance between the right and the left speakers,
push and release the balance and fade button until
BAL displays. Turn the ADJ knob to move the
sound toward the right or the left speakers.
To adjust the fade between the front and the rear
speakers, push and release the balance and fade
button until FADE displays. Turn the ADJ (adjust)
knob to move the sound toward the front or the
rear speakers.
To adjust balance or fade to the middle
position, select BAL or FADE. Then press and
hold the balance and fade button for more than
two seconds. One beep sounds and the speaker
control adjusts to the middle position.
To adjust both speaker controls to the middle
position, push and hold the tone button while
no speaker control displays. ALL CENTERED
displays and one beep sounds. The balance
and fade adjusts to the middle position.
Finding a Program Type (PTY) Station
(RDS and XM™)
To select and find a desired PTY perform the
following:
1. Press the P-TYPE button to activate program
type select mode. PTY for FM or PTYPE for
XM and a program type displays.
2. Turn the ADJ knob to select a PTY.
3. Once the desired PTY displays, press the
SEEK up arrow to select the PTY and go to
the PTY’s first station.
4. To go to another station within that PTY press
the SEEK up arrow again. If the radio cannot
find the desired PTY, NONE FOUND displays
and the radio returns to the last station you
were listening to.
After 15 seconds of inactivity or if the P-TYPE
button is pressed again, the radio exits program
type select mode.
239

BAND (Alternate Frequency): Alternate
frequency lets the radio switch to a stronger
station with the same program type. To turn
alternate frequency on, press and hold BAND
for two seconds. FM ALT FREQ ON and AF
displays. The radio can switch to stations with a
stronger frequency.
To turn alternate frequency off, press and hold
BAND again for two seconds. FM ALT FREQ OFF
displays and AF disappears. The radio does not
switch to other stations.
This function does not apply for XM™ Satellite
Radio Service.
RDS Messages
ALERT!: Alert warns of local or national
emergencies. When an alert announcement
comes on the current radio station, ALERT!
displays. You will hear the announcement, even if
the volume is low or a CD is playing. If a CD is
playing, play stops during the announcement.
Alert announcements cannot be turned off.
ALERT! is not affected by tests of the emergency
broadcast system. This feature is not supported
by all RDS stations.
MSG (Message): If the current station has a
message, MSG displays. Press this button to
see the message. The message can display the
artist, song title, call in phone numbers, etc.
If the entire message is not displayed, parts of the
message displays every three seconds. To scroll
through the message, press and release the MSG
button. A new group of words display after every
press of the button. Once the complete message
has displayed, MSG disappears until another new
message is received. The last message can be
displayed by pressing the MSG button. The last
message can be viewed until a new message is
received or a different station is tuned to.
When a message is not available from a station,
NO MESSAGE displays.
TRAF (Traffic): If TRAFFIC displays, the tuned
station broadcasts traffic announcements and
when a traffic announcement comes on the tuned
radio station you will hear it.
If the station does not broadcast traffic
announcements, press the TRAF button and
the radio seeks to a station that does. When
a station that broadcasts traffic announcements
is found, the radio stops seeking and TRAF
between brackets appears on display.
240

If no station is found that broadcasts traffic
announcements, NO TRAFFIC INFO displays.
If TRAF is on the display, press the TRAF button to
turn off the traffic announcements.
The radio plays the traffic announcement even if the
volume is low. The radio interrupts the play of a CD
if the last tuned station broadcasts traffic
announcements.
This function does not apply to XM™ Satellite
Radio Service.
Radio Messages
CALIBRATE: The audio system has been
calibrated for your vehicle from the factory. If
CALIBRATE displays, it means that the radio has
not been configured properly for your vehicle and it
must be returned to your dealer for service.
LOCKED: This message is displayed when
the THEFTLOCK
®
system has locked up.
Take your vehicle to your dealer for service.
If any error occurs repeatedly or if an error cannot
be corrected, contact your dealer.
Radio Messages for XM™ Only
See XM Radio Messages on page 258 later in this
section for further detail.
Playing a CD
Insert a CD partway into the slot, label side up. The
player pulls it in and the CD should begin playing.
If you want to insert a CD with the ignition off, first
press the eject button or the DISP (display) knob.
As each new track starts to play, the track number
displays.
If the ignition or radio is turned off with a CD in the
player, it stays in the player. When the ignition or
radio is turned on, the CD starts playing, where it
stopped, if it was the last selected audio source.
The CD player can play the smaller 3 inch (8 cm)
single CDs with an adapter ring. Full-size CDs
and the smaller CDs are loaded in the same
manner.
If playing a CD-R, the sound quality can be reduced
due to CD-R quality, the method of recording, the
quality of the music that has been recorded, and the
way the CD-R has been handled. There can be
an increase in skipping, difficulty in finding
tracks, and/or difficulty in loading and ejecting.
241

If these problems occur, check the bottom surface
of the CD. If the surface of the CD is damaged,
such as cracked, broken, or scratched, the CD will
not play properly. If the surface of the CD is soiled,
see Care of Your CDs and DVDs on page 284 for
more information.
If there is no apparent damage, try a known
good CD.
Do not add any label to a CD, it could get caught in
the CD player. If a CD is recorded on a personal
computer and a description label is needed, try
labeling the top of the recorded CD with a
marking pen.
Notice: If you add any label to a CD, insert
more than one CD into the slot at a time, or
attempt to play scratched or damaged CDs, you
could damage the CD player. When using the
CD player, use only CDs in good condition
without any label, load one CD at a time, and
keep the CD player and the loading slot free of
foreign materials, liquids, and debris.
If an error displays, see “CD Messages” later in
this section.
s(Reverse): Press and hold this pushbutton to
reverse quickly within a track. You will hear sound
at a reduced volume. Release the button to play the
passage. The elapsed time of the track displays.
\(Fast Forward): Press and hold this
pushbutton to advance quickly within a track. You
will hear sound at a reduced volume. Release
the button to play the passage. The elapsed time
of the track displays.
RPT (Repeat): Press this button once to hear a
track over again. REPEAT ON and RPT displays.
The current track continues to repeat. Press
RPT again to turn off repeat play. REPEAT OFF
displays and RPT disappears.
RDM (Random): Press this button to hear the
tracks in random, rather than sequential, order.
T#, RANDOM, and RDM displays, T and the track
number displays when each track starts to play.
Press RDM again to turn off random play.
RANDOM OFF displays and RDM disappears.
242

xSEEK w:Press the down arrow to go to the
start of the current track if more than eight seconds
have played. If this arrow is pressed more than
once, the player continues moving backward
through the CD.
Press the up arrow to go to the start of the next
track. If this arrow is pressed more than once, the
player continues moving forward through the CD.
If either arrow is held or pressed for more than
two seconds, the CD enters CD scan mode and the
CD plays the first 10 seconds of each track. Press
either arrow again to stop scanning.
DISP (Display): Press this knob to see how long
the current track has been playing. T, the track
number, and the elapsed time of the track appears
on the display. To change the default on the
display, time or elapsed time, press the knob until
the desired option displays, then hold the knob for
two seconds. The radio produces one beep and the
selected display becomes the default. Pressing this
button also displays text on commercially recorded
CDs (if available).
AUTO TONE/AUTO EQ (Automatic
Equalization): Press this button to select the
desired equalization setting while playing a CD.
The equalization is automatically recalled when a
CD is played. For more information, see AUTO
TONE/AUTO EQ listed previously in this section.
BAND: Press this button to listen to the radio
when a CD is playing. The inactive CD remains
inside the radio for future listening.
SRCE (Source): Press this button to play a
CD or to access a remote device (if installed)
while listening to the radio.
EJECT / Z(Eject): Press this button to eject
a CD. Eject may be activated with either the
ignition or radio off. CDs can be loaded with the
ignition and radio off if this button is pressed first.
243

CD Messages
CHECK CD: If this message displays and/or the
CD ejects, it could be for one of the following
reasons:
•It is very hot. When the temperature returns to
normal, the CD should play.
•You are driving on a very rough road. When the
road becomes smoother, the CD should play.
•The CD is dirty, scratched, wet, or
upside down.
•The air is very humid. If so, wait about an hour
and try again.
•There could have been a problem while burning
the CD.
•The label could be caught in the CD player.
If the CD is not playing correctly, for any other
reason, try a known good CD.
If any error occurs repeatedly or if an error cannot
be corrected, contact your dealer. If the radio
displays an error message, write it down and
provide it to your dealer when reporting the
problem.
Radio with Six-Disc CD
United States shown, Canada similar
244

Radio Data System (RDS)
The audio system has a Radio Data System (RDS).
RDS features are available for use only on FM
stations that broadcast RDS information.
With RDS, the radio can do the following:
•Seek to stations broadcasting the selected
type of programming
•Receive announcements concerning local and
national emergencies
•Display messages from radio stations
•Seek to stations with traffic announcements
This system relies upon receiving specific
information from these stations and only works
when the information is available. In rare cases, a
radio station can broadcast incorrect information
that causes the radio features to work improperly.
If this happens, contact the radio station.
While the radio is tuned to an RDS station, the
station name or call letters appear on the display
instead of the frequency. RDS stations can also
provide the time of day, a program type (PTY) for
current programming, and the name of the program
being broadcast.
XM™ Satellite Radio Service
XM™ is a satellite radio service that is based in the
48 contiguous United States and Canada. XM™
offers a large variety of coast-to-coast channels
including music, news, sports, talk, traffic/weather
(U.S. subscribers), and children’s programming.
XM™ provides digital quality audio and text
information that includes song title and artist name.
A service fee is required in order to receive the
XM™ service. For more information, contact
XM™; In the U.S. at www.xmradio.com or call
1-800-852-XMXM (9696) or in Canada at
www.xmradio.ca or call 1-877-GET-XMSR
(438-9677).
245

Playing the Radio
O(Power): Press this knob to turn the system
on and off.
u(Volume): Turn this knob clockwise or
counterclockwise to increase or to decrease
the volume.
DISP (Display): Press this knob to switch the
display between time and temperature or radio
station frequency and temperature. When the
ignition is off, press this knob to display the time.
For RDS, press the DISP knob to change what
displays while using RDS. The display options are
station name, RDS station frequency, PTY, and the
name of the program (if available).
For XM™ (if equipped), press the DISP knob while
in XM mode to retrieve four different categories of
information related to the current song or channel:
Artist, Song Title, Category or PTY, Channel
Number/Channel Name.
To change the default on the display, press the
DISP knob until the desired option displays, then
hold the knob for two seconds. A beep sounds and
the selected display becomes the default.
AUTO u(Automatic Volume): With automatic
volume, the audio system adjusts automatically
to make up for road and wind noise as you drive.
Set the volume at the desired level. Press this
button to select LOW, MEDIUM, or HIGH. AUTO
VOL LOW (automatic volume low), AUTO VOL
MEDIUM (automatic volume medium), or AUTO
VOL HIGH (automatic volume high) displays.
Each higher setting allows for more volume
compensation at faster vehicle speeds. Then as
you drive, automatic volume increases the volume,
as necessary, to overcome noise at any speed. The
volume level should always sound the same to you
as you drive. AUTO VOL NONE (automatic volume
none) displays if the radio cannot determine the
vehicle speed or if the engine is not running. To turn
automatic volume off, press this button until AUTO
VOL OFF (automatic volume off) displays.
246

Finding a Station
BAND: Press this button to switch between FM1,
FM2, AM, or XM1 or XM2 (if equipped). The
selection displays.
ADJ (Adjust): Turn this knob to select radio
stations.
xSEEK w:Press the down or up arrow to go to
the next or to the previous station and stay there.
To scan stations, press and hold either arrow for
two seconds until a beep sounds. The radio goes to
a station, plays for a few seconds, then goes to the
next station. Press either arrow again to stop
scanning.
To scan preset stations, press and hold either arrow
for more than four seconds until two beeps sound.
The radio goes to the first preset station stored on
the pushbuttons, plays for a few seconds, then
goes to the next preset station. Press either arrow
again to stop scanning presets.
The radio only seeks and scans stations with a
strong signal that are in the selected band.
Setting Preset Stations
Up to 30 stations (six FM1, six FM2, and six AM,
six XM1 and six XM2 (if equipped)), can be
programmed on the six numbered pushbuttons,
by performing the following steps:
1. Turn the radio on.
2. Press BAND to select FM1, FM2, AM, or XM1
or XM2.
3. Tune in the desired station.
4. Press AUTO TONE (automatic tone) or
AUTO EQ (automatic equalization) to
select the equalization.
5. Press and hold one of the six numbered
pushbuttons until a beep sounds. When
that numbered pushbutton is pressed,
the station that was set, returns and the
equalization that was selected is stored for
that pushbutton.
6. Repeat the steps for each pushbutton.
247

Setting the Tone
(Bass/Midrange/Treble)
TONE /P/Q(Bass/Treble): Press and release
this button until BASS, MID (midrange), or TREB
(treble) displays. Turn the ADJ knob to increase or
to decrease the tone. The display shows the bass,
mid, or treble level. If a station is weak or has static,
decrease the treble.
To adjust bass, midrange, or treble to the middle
position, select BASS, MID, or TREB. Then
press and hold the tone button for more than
two seconds. The display level adjusts to the
middle position and a beep sounds.
To adjust all tone controls to the middle position,
press and hold the tone button when no tone
control displays. ALL CENTERED displays and a
beep sounds.
AUTO TONE/AUTO EQ (Automatic
Equalization): Press this button to select
customized equalization settings designed for
country, jazz, talk, pop, rock, and classical.
The equalization setting last chosen displays when
you first press this button. Each time you press this
button, another equalization setting displays and
automatic tone or automatic equalization switches
to that preset equalization settings.
To return to the manual mode, press the AUTO
TONE or AUTO EQ button until CUSTOM displays.
Then manually adjust the bass, midrange, and
treble using the tone button.
248

Adjusting the Speakers (Balance/Fade)
BAL/FADE / S(Balance/Fade): To adjust
the balance between the right and the left speakers,
push and release the balance and fade button until
BAL (balance) displays. Turn the ADJ (adjust) knob
to move the sound toward the right or the left
speakers.
To adjust the fade between the front and rear
speakers, push and release the balance and fade
button until FADE displays. Turn the ADJ knob to
move the sound toward the front or the rear
speakers.
To adjust balance or fade to the middle position,
select BAL or FADE. Then press and hold
the balance and fade button for more than
two seconds. The display level adjusts to the
middle position and a beep sounds.
To adjust both speaker controls to the middle
position, press and hold the tone button when no
speaker control is displayed. ALL CENTERED
displays and a beep sounds.
Finding a Program Type (PTY) Station
(RDS and XM™)
To select and find a desired PTY perform the
following:
1. Press the P-TYPE button to activate program
type select mode. PTY for FM or PTYPE for
XM and a program type displays.
2. Turn the ADJ knob to select a PTY.
3. Once the desired PTY displays, press the
SEEK up arrow to select and go to the
PTY’s first station.
4. To go to another station within that PTY press
the SEEK up arrow again. If the radio cannot
find the desired PTY, NONE FOUND
displays and the radio returns to the
last station you were listening to.
5. Press P-TYPE to exit program type
select mode.
If PTY times out and no longer displays, go
back to Step 1.
If both P-TYPE and TRAF are on, the radio
searches for stations with the selected PTY and
traffic announcements.
249

BAND (Alternate Frequency): Alternate
frequency allows the radio to switch to a stronger
station with the same program type. To turn
alternate frequency on, press and hold BAND for
two seconds. FM ALT FREQ ON and AF displays.
The radio can switch to stations with a stronger
frequency.
To turn alternate frequency off, press and hold
BAND again for two seconds. FM ALT FREQ OFF
displays and AF disappears. The radio does not
switch to other stations.
This function does not apply for XM™ Satellite
Radio Service.
RDS Messages
ALERT!: Alert warns of local or national
emergencies. When an alert announcement comes
on the current radio station, ALERT! displays. You
will hear the announcement, even if the volume is
low or a CD is playing. If a CD is playing, play stops
during the announcement. Alert announcements
cannot be turned off.
ALERT! is not affected by tests of the emergency
broadcast system. This feature is not supported by
all RDS stations.
MSG (Message): If the current station has a
message, MSG displays. Press this button to see
the message. The message can display the
artist, song title, call in phone numbers, etc.
If the entire message is not displayed, parts of the
message appears every three seconds. To scroll
through the message, press and release the MSG
button. A new group of words display after every
press of this button. Once the complete message
has displayed, MSG disappears until another new
message is received. The last message can display
by pressing the MSG button. The last message can
be viewed until a new message is received or a
different station is tuned to.
When a message is not available from a station,
NO MESSAGE displays.
MSG (Traffic): If TRAFFIC displays, the tuned
station broadcasts traffic announcements and
when a traffic announcement comes on the
tuned radio station you will hear it.
If the current tuned station does not broadcast
traffic announcements, press and hold this button
for two seconds and the radio seeks to a station
that does. When a station that broadcasts traffic
announcements is found, the radio stops
seeking and TRAF between brackets displays.
250

When a traffic announcement comes on the tuned
radio station you will hear it. If no station is found
that broadcasts traffic announcements, NO
TRAFFIC INFO displays.
If TRAF displays, press and hold the MSG button
for two seconds to turn off the traffic
announcements.
The radio plays the traffic announcement even if the
volume is low. The radio interrupts the play of a CD
if the last tuned station broadcasts traffic
announcements.
This function does not apply to XM™ Satellite
Radio Service.
Radio Messages
CALIBRATE: The audio system has been
calibrated for your vehicle from the factory. If
CALIBRATE displays, it means that the radio
has not been configured properly for the vehicle
and it must be returned to your dealer for service.
LOCKED: This message displays when the
THEFTLOCK
®
system has locked up. Take your
vehicle to your dealer for service.
If any error occurs repeatedly or if an error cannot
be corrected, contact your dealer.
Radio Messages for XM™ Only
See XM Radio Messages on page 258 later in this
section for further detail.
Playing a CD
If the ignition or radio is turned off, with a CD in the
player, it stays in the player. When the ignition or
radio is turned on, the CD starts playing where it
stopped, if it was the last selected audio source.
When a CD is inserted, the CD symbol displays
on the CD. As each new track starts to
play, the track number also displays.
The CD player can play the smaller 3 inch (8 cm)
single CDs with an adapter ring. Full-size CDs
and the smaller CDs are loaded in the same
manner.
If playing a CD-R, the sound quality can be
reduced due to CD-R quality, the method of
recording, the quality of the music that has been
recorded, and the way the CD-R has been
handled. There can be an increase in skipping,
difficulty in finding tracks, and/or difficulty in loading
and ejecting. If these problems occur, check the
bottom surface of the CD. If the surface of the CD
is damaged, such as cracked, broken, or
scratched, the CD will not play properly.
251

If the surface of the CD is soiled, see Care of
Your CDs and DVDs on page 284 for more
information.
If there is no apparent damage, try a known
good CD.
Do not add any label to a CD, it could get caught in
the CD player. If a CD is recorded on a personal
computer and a description label is needed, try
labeling the top of the recorded CD with a
marking pen.
Notice: If you add any label to a CD, insert
more than one CD into the slot at a time, or
attempt to play scratched or damaged CDs, you
could damage the CD player. When using the
CD player, use only CDs in good condition
without any label, load one CD at a time, and
keep the CD player and the loading slot free of
foreign materials, liquids, and debris.
If an error displays, see “CD Messages” later in
this section.
LOAD: Press the LOAD button to load CDs into
the CD player. This CD player holds up to six CDs.
To insert one CD, do the following:
1. Turn the ignition on.
2. Press and release the LOAD button.
3. Wait for INSERT CD to flash on the display.
4. Load a CD. Insert the CD partway into the slot,
label side up. The player pulls the CD in.
To insert multiple CDs, do the following:
1. Turn the ignition on.
2. Press and hold the LOAD button for
two seconds.
A beep sounds and MULTI LOAD CD, then
INSERT CD and the number displays.
3. Once INSERT CD and the number displays,
load a CD. Insert the CD partway into the
slot, label side up. The player pulls the CD in.
Once the CD is loaded, INSERT CD and
the number displays again. After that, you can
load another CD. The CD player takes up
to six CDs. Do not try to load more than six.
To load more than one CD but less than
six, complete Steps 1 through 3. When finished
loading CDs, the radio begins to play the last CD
loaded.
252

If more than one CD has been loaded, a number
for each CD displays and the currently selected
slot number is underlined.
EJECT/Z:To eject a single CD press this button.
The radio displays EJECTING CD # and the single
CD symbol flashes until the CD is ready to be
removed. When the CD is ready to be removed it
ejects part way from the radio and the display
changes to a flashing REMOVE CD # with the
single CD symbol flashing until the CD is removed.
If the CD is not removed within 25 seconds the
radio pulls it back in.
To eject multiple CDs, press and hold the eject
button until a beep sounds and EJECTING ALL
CDS displays with the single CD symbol flashing.
The CD symbol flashes until a CD is ready to be
removed. When the CD is ready to be removed it
ejects part way from the radio and the display
changes to a flashing REMOVE CD # with the
single CD symbol flashing until the CD is removed.
If the CD is not removed within 25 seconds the
radio pulls it back in. After the CD is removed the
radio repeats the previous actions until all of the
CDs have been removed or a CD is pulled back in.
Playing a Specific Loaded CD
For every CD loaded, a number displays. To play a
specific CD, press the numbered pushbutton that
corresponds to the CD you want to play. A small bar
displays under the CD number that is playing, and
the track number also displays.
If an error displays, see “CD Messages” later in
this section.
s(Reverse): Press and hold this button to
reverse quickly within a track. You will hear sound
at a reduced volume. Release this button to play
the passage. T#, the elapsed time, and REV
(reverse) displays.
\(Fast Forward): Press and hold this button to
advance quickly within a track. You will hear sound
at a reduced volume. Release the button to play the
passage. T#, the elapsed time, and FWD (forward)
displays.
253

RPT (Repeat): With the repeat setting, one track
or an entire CD can be repeated.
To use repeat, do the following:
•To repeat the track you are listening to, press
and release the RPT button. REPEAT ON and
RPT displays. Press RPT again to turn off
repeat play. REPEAT OFF displays and RPT
disappears.
•To repeat the CD you are listening to, press
and hold the RPT button for more than
two seconds. REPEAT ON and RPT displays.
Press RPT again to turn off repeat play.
REPEAT OFF displays and RPT disappears.
RDM (Random): With the random setting, the
tracks can be played in random, rather than
sequential, order, on one CD or on all of the CDs.
To use random, do one of the following:
•To play the tracks in random order on the CD
this is currently playing, press the RDM button.
RANDOM TRACKS and RDM displays. Press
RDM again to turn off random play. RANDOM
OFF displays and RDM disappears.
•To play the tracks on all of the CDs that are
loaded, in random order, press and hold the
RDM button for more than two seconds.
A beep sounds, RANDOM ALL CDS, and RDM
displays. Press RDM again to turn off random
play. RANDOM OFF displays and RDM
disappears.
xSEEK w:Press the down arrow to go to the
start of the current track, if more than eight seconds
have played. Press the up arrow to go to the
beginning of the next track. If either arrow is held
or pressed more than once, the player continues
moving backward or forward through the CD.
To scan the current CD, press and hold either
SEEK arrow for more than two seconds. The CD
goes to the next track, plays the first 10 seconds,
then goes to the next track. Press either SEEK
arrow again to stop scanning.
To scan all of the CDs loaded, press and hold either
SEEK arrow for more than four seconds. The CD
goes to the next CD, plays the first 10 seconds of
the first track, then goes to the next CD. Press
either SEEK arrow again to stop scanning.
254

DISP (Display): Press this knob to switch between
time, temperature, and the elapsed time of the
track. To change the default display (CD#/Track#/
Time, CD#/Track#/Temperature, or Track#/Elapsed
Time/Temperature), press the knob until the
desired option displayed, then hold the knob for
two seconds. The radio produces one beep and
the selected display becomes the default.
AUTO TONE/AUTO EQ (Automatic
Equalization): Press this button to select the
desired equalization setting while playing a CD.
The equalization is set whenever a CD is played.
For more information, see “AUTO TONE” or
“AUTO EQ” listed previously in this section.
BAND: Press this button to listen to the radio
when a CD is playing. The inactive CD(s) remains
inside the radio for future listening.
SRCE (Source): Press this button to play a CD
or to access the remote device, when listening
to the radio.
Using Song List / RMode
The six-disc CD changer has a feature called song
list. This feature is capable of saving 20 track
selections.
To save tracks into the song list feature, perform
the following steps:
1. Turn the radio on and load it with at least
one CD. See “LOAD” listed previously in
this section for more information.
2. Check to see that the CD changer is not in
song list mode. S-LIST should not display.
If S-LIST is displayed, press the SONG LIST
button to turn it off.
3. Select the desired CD by pressing the
numbered pushbutton and then use the SEEK
left arrow to locate the track to be saved. The
track begins to play.
4. Press and hold the song list button for two or
more seconds to save the track into memory.
When song list is pressed, one beep sounds.
After two seconds of pressing song list
continuously, two beeps sound to confirm that
the track has been saved and TRACK number
ADDED displays.
5. Repeat Steps 3 and 4 for saving other
selections.
255

SONG LIST FULL displays if you try to save more
than 20 selections.
To play the song list, press the song list button.
One beep sounds and SONG LIST displays.
The recorded tracks begin to play in the order
that they were saved.
Seek through the song list by using the SEEK
arrows. Seeking past the last saved track returns
you to the first saved track.
To delete tracks from the song list, perform the
following steps:
1. Turn the CD player on.
2. Press the song list button to turn song list on.
SONG LIST displays.
3. Press the SEEK arrows to select the desired
track to be deleted.
4. Press and hold the song list button for
two seconds. When song list is pressed,
one beep sounds. After two seconds of
continuously pressing the song list button, two
beeps sound to confirm that the track has been
deleted and TRACK number DELETED
displays.
After a track has been deleted, the remaining
tracks are moved up the list. When another track
is added to the song list, the track is added to
the end of the list.
To delete the entire song list, perform the
following steps:
1. Turn the CD player on.
2. Press the song list button to turn song list on.
S-LIST displays.
3. Press and hold the song list button for more
than four seconds. A beep sounds, followed
by two beeps after two seconds, and a
final beep sounds after four seconds. SONG
LIST EMPTY displays indicating that the
song list has been deleted.
If a CD is ejected, and the song list contains saved
tracks from that CD, those tracks are automatically
deleted from the song list. Any tracks saved to the
song list again are added to the bottom of the list.
To end song list mode, press the song list button.
One beep sounds and S-LIST is removed from
the display.
256

CD Messages
CHECK CD: If this message displays and/or the
CD ejects, it could be for one of the following
reasons:
•It is very hot. When the temperature returns to
normal, the CD should play.
•You are driving on a very rough road.
When the road becomes smoother,
the CD should play.
•The CD is dirty, scratched, wet, or
upside down.
•The air is very humid. If so, wait about an
hour and try again.
•There could have been a problem while
burning the CD.
•The label could be caught in the CD player.
If the CD is not playing correctly, for any
other reason, try a known good CD.
If any error occurs repeatedly or if an error cannot
be corrected, contact your dealer. If the radio
displays an error message, write it down and
provide it to your dealer when reporting the
problem.
257

XM Radio Messages
Radio Display Message Condition Action Required
XL (Explicit Language
Channels)
XL on the radio display,
after the channel name,
indicates content with
explicit language.
These channels, or any others, can be blocked at a
customer’s request, by calling 1-800-852-XMXM (9696).
Updating Updating encryption code The encryption code in the receiver is being updated, and
no action is required. This process should take no longer
than 30 seconds.
No Signal Loss of signal The system is functioning correctly, but the vehicle is in a
location that is blocking the XM™ signal. When the vehicle
is moved into an open area, the signal should return.
Loading XM Acquiring channel audio
(after 4 second delay)
The audio system is acquiring and processing audio and
text data. No action is needed. This message should
disappear shortly.
CH Off Air Channel not in service This channel is not currently in service. Tune to another
channel.
CH Unavail Channel no longer
available
This previously assigned channel is no longer assigned.
Tune to another station. If this station was one of the
presets, choose another station for that preset button.
No Info Artist Name/Feature
not available
No artist information is available at this time on this channel.
The system is working properly.
No Info Song/Program
Title not available
No song title information is available at this time on this
channel. The system is working properly.
258

Radio Display Message Condition Action Required
No Info Category Name not
available
No category information is available at this time on this
channel. The system is working properly.
No Info No Text/Informational
message available
No text or informational messages are available at this time
on this channel. The system is working properly.
Not Found No channel available for
the chosen category
There are no channels available for the selected category.
The system is working properly.
XM Locked Theft lock active The XM™ receiver in your vehicle could have previously
been in another vehicle. For security purposes, XM™
receivers cannot be swapped between vehicles. If this
message is received after having your vehicle serviced,
check with your dealer.
Radio ID Radio ID label (channel 0) If tuned to channel 0, this message alternates with the
XM™ Radio eight digit radio ID label. This label is needed
to activate the service.
Unknown Radio ID not known
(should only be if
hardware failure)
If this message is received when tuned to channel 0, there
could be a receiver fault. Consult with your dealer.
Chk XMRcvr Hardware failure in the
receiver module
If this message does not clear within a short period of time,
the receiver could have a fault. Consult with your dealer.
259

Rear Seat Entertainment System
Your vehicle may have a DVD Rear Seat
Entertainment (RSE) system. The RSE system
includes a DVD player, a video display screen,
two sets of wireless headphones, and a remote
control.
This system also functions as a rear seat audio
(RSA) system. See Rear Seat Audio (RSA)
(Without Entertainment System) on page 277 or
Rear Seat Audio (RSA) (With Entertainment
System) on page 279 for more information.
Parental Control
The RSE system may be disabled from the
driver’s seat by pressing the power button on the
radio twice. To resume use of the RSE system
press the RSE power button.
Before You Drive
The RSE is designed for rear seat passengers
only. The driver cannot safely view the video
screen while driving and should not try to do so.
The DVD system is designed to be inoperable
when the vehicle is exposed to extremely low or
high temperatures, in order to protect your system
from damage. Operate the DVD system under
normal or comfortable cabin temperature ranges.
Headphones
The RSE system includes two sets of wireless
headphones.
The wireless headphones have an ON/OFF button
and a volume control. To use the headphones
press, the ON/OFF button. An indicator light on the
headphones will illuminate. If the light does not
illuminate, the batteries may need to be replaced.
See “Battery Replacement” later in this section
for more information. Press the button to turn the
headphones OFF when not in use.
If the RSE system is shut off or if the headphones
are out of range of the transmitters, located at the
top of the DVD player, for more than three minutes,
the headphones will shut off automatically to save
the battery power. If you move too far forward or
step out of the vehicle, the headphones will lose the
audio signal.
To adjust the volume on the wireless headphones,
use the volume control on the headphones.
Make sure that the headphones are worn correctly,
left to right, to ensure the signal is received
properly.
260

Notice: Do not store the headphones in heat
or direct sunlight. This could damage the
headphones and repairs will not be covered by
your warranty. Keep the headphones stored
in a cool, dry place.
MAXX vehicles with the RSE system may
have a rear seat storage compartment. Store
the headphones and the remote control in this
compartment when not in use.
The MAXX vehicles may also include two sets of
wireless headphones with foam ear pads that
can be replaced.
Foam ear pads on the rear seat headphones may
become worn or damaged. The headphone
foam ear pads can become damaged if they are
not handled or stored properly. If the headphone
foam ear pads do become damaged or worn
out, the foam pads can be replaced separately
from the headphone set. It is not necessary
to replace the complete headphone set.
The headphone replacement foam ear pads can
be ordered in pairs. See your dealer for more
information.
If there is a decreased audio signal during CD
or DVD play, there may be a low hissing noise
through the speakers and/or headphones. If the
hissing sound in the wireless headphones seems
excessive, make sure that the headphone batteries
are fully charged. Some amount of hissing is
normal.
Battery Replacement
To change the batteries, do the following:
1. Loosen the screw on the battery compartment
door located on the left side of the headphone
earpiece.
2. Replace the two AAA batteries in the
compartment. Make sure that they are
installed correctly using the diagram on
the inside of the battery compartment.
3. Replace the battery compartment door and
tighten the screw.
If the headphones are to be stored for a long
period of time, remove the batteries, and keep
them in a cool, dry place.
261

Stereo RCA Jacks
The RCA jacks are located on the DVD faceplate
on the floor console. The RCA jacks allow audio
and video signals to be connected from an auxiliary
device such as a camcorder or a video game unit to
the RSE system. The yellow RCA jack is used for
video inputs, the red RCA jack for right audio
inputs, and the white RCA jack for left audio inputs.
The system requires standard RCA cables, not
included, to connect the auxiliary device to the RCA
jacks. Refer to the manufacturer’s instructions for
proper usage.
To use the auxiliary audio and video inputs, connect
an external auxiliary device such as a camcorder to
the RCA jacks and turn on both the auxiliary device
power and the power on the front of the RSE
system. Press the play and source buttons at the
same time or the AUX button on the remote control
to switch to the auxiliary device. See “DVD Player”
and “Remote Control” later in this section for more
information.
Audio Output
Audio from the DVD player or auxiliary devices can
be heard through the following possible sources:
•Wireless Headphones
•Vehicle’s Speakers
•Wired Headphones (not included)
Only one audio source can be heard through the
vehicles speakers at a time.
The RSE system or an auxiliary device can be
heard through all of the vehicles speakers
when the following occurs:
•The RSE system is off
•A DVD or auxiliary device is playing
•The front audio system is on and the SRCE
button is pressed to enable the RSE system
The headphone symbol will appear on the radio
display when the RSE system is on and the
headphone symbol will disappear from the display
when it is off.
262

To turn the vehicles rear speakers on and off,
press the power button on the RSE system or on
the remote control. When the rear speakers
are off, the audio from the RSE system can be
heard through both the wireless headphones and
the vehicles front speakers at the same time.
The RSE system can be heard through the wired
headphones, not included, on the RSE system
when the following occurs:
•The RSE system is on
•A DVD or auxiliary device is playing
The volume on the radio may vary when switching
between a radio station, CD, DVD, cassette, or
auxiliary device.
If there is a decreased audio signal during CD
or DVD play, there may be a low hissing noise
through the speakers and/or headphones. If the
hissing sound in the wireless headphones seems
excessive, make sure that the headphone batteries
are fully charged. Some amount of hissing is
normal.
Video Screen
The video screen is located on the back of the
floor console. Open the video screen by rotating
the screen up and adjust its position as desired.
The video screen may not be able to be rotated up
if the rear seat is too far forward. See “Rear Sliding
Seat (MAXX Only)” under Rear Seat Operation on
page 17 for more information.
When the video screen is not in use, push it down
into its stored position.
The DVD player and display will continue to operate
when the video screen is in either the up or down
positions.
The window on the RSE system contains the
transmitter for the wireless headphones and the
remote control. If the screen is in the closed
position, the signals will not be available for the
operation of the headphones or the remote control.
Notice: Avoid directly touching the video
screen, as damage may occur. See “Cleaning
the Video Screen” later in this section for
more information.
263

DVD Player
The DVD player is located on the end of the floor
console under the video screen.
The DVD player can be controlled by the buttons
on the RSE system and/or by the buttons on
the remote control. See “Remote Control” later
in this section for more information.
The DVD player is only compatible with DVDs of
the appropriate region code for the country that the
vehicle was sold in. The DVD region code is printed
on the jackets of most DVDs. Video CDs, standard
audio CDs, and audio CD-Rs can be played by the
DVD player. The video screen will display a menu
when an audio CD or CD-R is playing.
If an error message appears on the video screen,
see “DVD Messages” later in this section.
DVD Player Buttons
O(Power): Press this button to turn the RSE
system on and off.
c/Z(Stop/Eject): Press this button to stop
playing, rewinding, or fast forwarding. Press
this button again to eject a DVD or CD.
k(Play/Pause): Press this button to start play of
a DVD or CD. Press this button while a DVD or CD
is playing to pause it. Press it again to continue play
of a DVD or CD. When in menu mode, press this
button to enter a selection.
264

1–6 (Preset Pushbuttons): This button is
inactive when in DVD mode.
BAND: Press this button to switch between FM1,
FM2, AM, or XM1 or XM2 (if equipped). If the front
seat passengers are listening to the DVD player,
the rear seat passengers cannot select XM1
or XM2.
SRCE (Source): Press this button to switch
between playing a cassette tape or a CD.
xSEEK w:Press the down arrow to go to the
beginning of the current chapter or track if more
than five seconds have played. Press the up arrow
to go to the next chapter or track. This button may
not work when the DVD is playing the copyright
information or the previews.
xw(Volume): Press the up or down arrow to
increase or decrease the volume on the wired
headphones, not included. The arrows on the left
side are for the left headphone and the arrows
on the right side are for the right headphone.
Playing a Disc
To play a disc, gently insert the disc, with the label
side up, into the loading slot. The DVD player
will continue loading the disc and the player will
automatically start if the vehicle is in the CAP
position, ACC, or RAP.
If a disc is already in the player, make sure that
the DVD player is on, then press the play/pause
button on the player faceplate or on the remote
control.
Some DVDs will not allow fast forwarding or
skipping of the copyright information or the
previews. Some DVDs will begin playing after
the previews have finished. If the DVD does not
begin playing at the main title, refer to the
on-screen instructions.
265

Stopping and Resuming Playback
To stop playing a disc, press and release the stop
button on the DVD player faceplate or the remote
control.
To resume playback, press the play/pause button
on the DVD player faceplate or the remote control.
The movie should resume play from where it was
last stopped if the disc has not been ejected or the
stop button has not been pressed twice on the
remote control.
If the disc has been ejected or if the stop button has
been pressed twice on the remote control, press the
play button once to resume play at the beginning of
the disc. A resume symbol will appear momentarily
on the video screen. When the resume symbol is
displayed, press the play button again to resume
playback from where the disc last stopped.
Ejecting a Disc
Press the eject button, on the DVD player or the
remote control, to eject the disc.
If a disc is ejected from the player, but not removed,
the DVD player will reload the disc after a short
period of time. The disc will be stored in the DVD
player. The DVD player will not resume play of the
disc automatically.
Remote Control
To use the remote control, aim it at the transmitter
window on the DVD player and press the desired
button. Direct sunlight or very bright light may affect
the ability of the transmitter to receive signals from
the remote control. If the remote control does not
seem to be working, the batteries may need to be
replaced. See “Battery Replacement” later in this
section. Objects blocking the line of sight will affect
the function of the remote control.
Notice: Do not store the remote control in
heat or direct sunlight. This could damage the
remote control and it would not be covered
by your warranty. Keep the remote control
stored in the rear seat armrest when not in use.
If your vehicle is the Malibu MAXX, your vehicle
may have a rear seat storage compartment. Store
the headphones and the remote control in this
compartment when not in use.
266

Remote Control Buttons
O(Power): Press this button to turn the DVD
player on and off.
Z(Eject): Press this button to eject or to load
the disc.
P(Backlight): Press this button to turn the
remote control backlight on. The backlight will time
out after about eight seconds.
r(Enter): Press this button to select the
choices that are highlighted in any menu.
w,x,o,p(Directional Arrows): Press these
buttons to navigate through DVD menus.
y(Main DVD Menu): Press this button to view
the media menu. The media menu is different
on every disc. Use the up, down, right, and
left arrow buttons to move the cursor around the
media menu. After making a selection, press
the enter button. Press this button again to start
play of the disc.
u(Wired Headphone Volume): Press the plus
and minus buttons to increase or to decrease the
volume of both wired headphones (not included).
E(Screen Brightness): Press the plus and
minus buttons to increase or to decrease the
intensity of the video screen.
q(Return): Press this button to exit the current
active menu and return to the previous menu.
This button will operate only when a DVD is
playing and/or a menu is active.
s(Rewind): Press this button to rewind the DVD
or CD. To stop rewinding, press this button again.
This button may not work when the DVD is playing
the copyright information or the previews.
267

\(Fast Forward): Press this button to fast
forward the DVD or CD. To stop fast forwarding,
press this button again. This button may not
work when the DVD is playing the copyright
information or the previews.
s(Play/Pause): Press this button to start play of
a DVD or CD. Press this button while a DVD or CD
is playing to pause it. Press this button again to
continue the play of the DVD or CD.
While in the menu, press this button to enter a
selection. When using RSA or an auxiliary device,
pressing this button will play a DVD or a CD if they
are loaded.
g(Previous Chapter/Track): Press this button
to go to the beginning of the current track or
chapter. Press this button again to return to the
previous track or chapter. This button may not work
when the DVD is playing the copyright information
or the previews.
l(Next Chapter/Track): Press this button to
advance to the beginning of the next chapter or
track. This button may not work when the DVD is
playing the copyright information or the previews.
c(Stop): Press this button to stop playing,
rewinding, or fast forwarding a DVD or CD. Press
this button twice to return to the beginning of
the DVD.
b(Size): Press this button to change the
display mode for 4:3 aspect ratio movies. This
function cycles between NORMAL, WIDE,
and FULL video modes.
•Normal The horizontal image is not stretched.
The borders at the left and the right of the
picture are blanked. All lines of the vertical
image are displayed.
•Wide The horizontal image is non-lineraly
stretched. The image tends to be stretched
more at the borders then the middle.
The borders are not displayed.
•Full The horizontal image is linearly stretched.
All vertical lines are displayed. No borders are
present.
z(Display): Press this button to display the
title, chapter, the time of a DVD or track number,
the time of a CD, and the menu functions on
the video screen. Press this button again to turn
off the display item.
268

}(Audio Compression): DVDs have a wide
dynamic audio range. Audio compression may be
used to reduce the difference between soft and
loud selections of the DVD. Press this button
to switch the audio compression on and off.
AUX (Auxiliary): Press this button to switch the
system between the DVD player and an auxiliary
source.
Setup Menu
To access the setup menu, ensure that a DVD is
in the player and the video is stopped. Press
the display button. Once the menu is activated,
use the directional arrows and the enter button to
navigate the screen.
Picture Preferences
The USER PREFERENCE SETTINGS menu
allows the default viewing preferences to be
modified. Use the remote control up and down
arrow buttons to select. The movie may stop while
selections are being made.
TV Shape: The default video screen display
may be selected from 4:3 letterbox, 4:3 panscan,
or 16:9.
Black Level Shift: The default black level to the
video screen may be adjusted.
Video Shift: The default position of the video on
the display may be adjusted.
Color Settings: The default color setting of the
video screen may be selected from Personal, Rich,
Natural, Soft, or Animation.
Personal Color: The default setting for
Saturation, Brightness, and Contrast may be
adjusted.
Sound Preferences
The USER PREFERENCE SETTINGS menu
allows the default sound preferences to be
modified. Use the remote control up and down
arrow buttons to select. The movie may stop while
selections are being made.
Analog Output: The default sound output may be
selected from Stereo or Dolby
®
surround.
Dynamic Compression: The default setting may
be selected as On or Off.
Karaoke Vocal: The default setting may be
selected as On or Off.
269

Language Preferences
The USER PREFERENCE SETTINGS menu
allows the default language preferences to be
modified. Use the remote control up and down
arrow buttons to select. The movie may stop while
selections are being made.
Audio Language: The default DVD playback
audio language may be selected from various
languages. The audio output is dependent
on whether a DVD supports the selected language.
Subtitle: The default DVD subtitle language
may be selected from English, Spanish, or French.
The subtitle language is dependent on whether
the DVD supports the selected language.
Menu: The default on-screen display language
may be selected from various languages.
Features
The USER PREFERENCE SETTINGS menu
allows you to modify the default feature preferences
from the display. Use the remote control up and
down arrow buttons to select. The movie may stop
while selections are being made.
Status Window: The status window may be
selected as On or Off. The status window provides
disc type, elapsed time, and number of titles
information while the menu bar is displayed or
the DVD is stopped.
Help Text: Help text may be selected as On or
Off. A help text bar is provided at the bottom of
the screen describing the functions of an item
selected from any of the user menus.
270

Menu Bar
The menu bar can be displayed across the top of
the screen by pressing the DISPLAY button on the
remote control. Selecting icons from the menu bar
allows adjustments to the audio and video settings.
Use the remote control left and right arrow buttons
to scroll through the menu bar. A description of the
highlighted icon will appear at the bottom of the
screen. Use the down arrow to display the options
for the highlighted icon.
The movie may stop playing while selections are
being made.
Current Subtitle Language: The subtitle
language may be selected as Off, English,
Spanish, or French. The actual subtitle language
is dependent on whether a DVD supports the
selected language.
Current Audio Language: The audio language
may be selected as Off, English, Spanish, or
French. The actual audio language is dependent
on whether a DVD supports the selected language.
Smart Color: This color setting may be selected
without changing the default from the color
settings menu.
Sound Mode: This analog output may be
changed without changing the default from the
analog output menu.
Frame-by-Frame: The DVD will pause and
may be viewed frame-by-frame, in forward or
reverse, by using the remote control arrow buttons.
Press play to resume play of the DVD. DVD
audio will not be available during selection.
Slow Motion: The DVD will pause and may be
viewed in slow motion, at various speeds, in
forward or reverse, by using the remote control
arrow buttons. Press play to resume play of
the DVD. DVD audio will not be available during
selection.
Scan Speeds: The DVD may be viewed in fast
motion, at various speeds, in forward or reverse, by
using the remote control arrow buttons. Press play
to resume play of the DVD. DVD audio will not be
available during selection.
Enlarge Picture: The DVD will pause and the
frame may be enlarged by using the remote control
arrow key buttons. Pressing the enter button on the
remote control allows panning of the frame using
the remote control arrow buttons. Press play to
resume play of the DVD. DVD audio will not be
available during selection.
271

Title: Move between DVD titles by using the
remote control arrow buttons.
Chapter: Move between DVD chapters by using
the remote control arrow buttons.
Time Search: The user can jump to different areas
of a DVD by using the remote control arrow and
enter buttons to select a specific time position.
Favorite Track Selection (FTS): You may
program the unit to play only your favorite track
selections from a DVD or Audio CD. For a DVD,
FTS is accessed from the Menu bar. For a CD, the
FTS screen will appear on the display immediately
when the CD is inserted. From the screen, choose
the tracks on the CD that you wish to store, using
the remote control right and left arrows and the
ENTER button to select. The player will remember
the selections and each time the CD is inserted in
the player, only those tracks will be played, if FTS is
turned on. The player can remember selections for
up to 50 discs. To remove FTS for a disc, the disc
must be in the player and the highlighted tracks
must be de-selected. Use the right and left arrow
buttons and the ENTER button or select CLEAR
ALL on the display.
Not all DVDs support all of the feature defaults in
the setup menus. In the event a feature is not
supported, defaults will be provided by the
DVD media.
Exit the setup menu by pressing the return button
on the remote control. If changes are made to the
setup menu, the DVD will resume play from the
beginning.
Battery Replacement
To change the remote control batteries, do the
following:
1. Unclip the battery door located on the back of
the remote control.
2. Replace the two AA batteries. Make sure that
they are installed correctly, using the diagram
on the inside of the battery compartment.
3. Close the battery door.
If the remote control is to be stored for a long
period of time, remove the batteries and keep them
in a cool, dry place.
272

Tips and Troubleshooting Chart
Problem Recommended Action
No power. The ignition may not be in
the on position, ACC, or
RAP. The parental control
button might have been
pressed.
Disc will not play. The system might be off.
The parental control
button might have been
pressed. The system
might be in auxiliary
source mode. Press the
AUX button to switch
between the DVD player
and the auxiliary source.
The disc is upside down
or is not compatible.
Problem Recommended Action
No sound. The volume on the
headphones could be too
low. Adjust the volume on
the right earpiece on the
wireless headphones. If
the DVD system is being
heard through the vehicle
speakers, adjust the
volume from the radio.
The radio must have the
RSE enabled by using the
SRCE button.
The picture does not fill the
screen. There are black
borders on the top and
bottom or on both sides or
it looks stretched out.
Press and release the size
control button on the
remote control. This will fill
the screen. If there are
borders on the top and
bottom, the movie may
have been made that way
for a standard screen.
I ejected the disc and tried
to take it out, but it was
pulled back into the slot.
Eject the disc again.
273

Problem Recommended Action
The language in the audio
or on the screen is wrong.
Press the main display
menu button on the DVD
player or the remote
control and change the
audio or language
selection on the
DVD menu.
The remote control does
not work.
Point the remote control
directly at the transmitter
window. The batteries
could be weak or put in
wrong. The parental
control button might have
been pressed. The remote
control will not work the
RSA control, only the
RSE system.
How do I get subtitles on
or off?
Press the display button
on the remote control to
go to the DVDs main
menu. Then follow the
screen prompts.
Problem Recommended Action
After stopping the player, I
push the play button but
sometimes the DVD starts
where I left off, and
sometimes at the
beginning.
Press the stop button on
the remote control to
resume where the DVD
left off. Press the stop
button twice to start the
DVD at the beginning. If
the power is off and the
DVD is still in the player,
press the play button.
The DVD is playing but
there is no picture or
sound. The auxiliary
source is running but
there is no picture or
sound.
Press and release the
AUX button on the remote
control or the SRCE and
play buttons on the DVD
player to get to auxiliary
input. Check to make sure
that the auxiliary source is
connected to the inputs
properly.
The audio or video skips
or jumps.
The DVD could be dirty or
scratched. Try cleaning
the DVD.
274

Problem Recommended Action
When I return to the DVD
from the system menu,
sometimes it plays from
the beginning and
sometimes from where it
left off.
If the stop button was
pressed once, it resumes
play from where it left off.
If the stop button was
pressed twice, it will start
at the beginning of the
DVD. However, if a
change was made to the
menu the DVD will start
from where it left off, even
if the stop button was only
pressed once.
The fast forward, reverse,
previous, and next
functions do not work.
Some commands that do
one thing for DVDs will
not always work or
perform the same function
for audio CDs or games.
These functions may also
be disabled when the
DVD is playing the
copyright information or
the previews.
Problem Recommended Action
My disc is stuck in the
player. The eject button
does not work.
Press the eject button on
the DVD player. Turn the
power off, then on again,
then press the eject
button on the DVD player.
Do not attempt to force or
remove the disc from the
player. If the problem
persists, return to your
GM dealer for further
assistance.
I lost the remote control
and/or the headphones.
Contact your GM dealer
for assistance.
Sometimes the wireless
headphone audio cuts out
or buzzes for a moment,
then it comes back.
This could be caused by
blocking the transmitting
area between the
headphones and the
transmitter on the DVD
player. Make sure
nothing is between the
headphones and the DVD
player.
275

Problem Recommended Action
DVD System inoperable. In severe or extreme
temperatures your DVD
system might not be
operable. Temperatures
below −4°F (−20°C) or
above 158°F (70°C) could
damage the DVD system.
Operate the DVD system
under normal or
comfortable cabin
temperature ranges.
The wireless headphones
have audio distortion.
Verify that the
headphones are facing to
the front of the vehicle,
left and right sides are
indicated on the
headphones to ensure
that the signal is received
properly.
In auxiliary mode, the
picture moves or scrolls.
Check the signal coming
from the auxiliary device
and make sure that the
connection and the signal
are good.
DVD Messages
The following errors may be displayed on the
video screen:
Disc Format Error: This message will be
displayed if a disc is inserted upside down,
if the disc is not readable, or if the disc format
is not compatible.
Disc Play Error: This message will be displayed
if the mechanism cannot play the disc. Scratched
or damaged discs will cause this error.
Region Code Error: This message will be
displayed if the region code of the DVD is not
compatible with the region code of the DVD player.
Load/Eject Error: This message will be displayed
if the disc is not properly loaded or ejected.
Disc Not Present: This message will be displayed
when the play or the stop button is pressed
without a disc in the player.
276

DVD Distortion
There may be an experience with video distortion
when operating cellular phones, scanners,
CB radios, Global Position Systems (GPS)*,
two-way radios, mobile fax, or walkie talkies.
It may be necessary to turn off the DVD player
when operating one of these devices in or near the
vehicle.
*Excludes the OnStar
®
System.
Cleaning the DVD Player
When cleaning the outside DVD faceplate and
buttons, use only a clean cloth dampened with
clean water.
Cleaning the Video Screen
When cleaning the video screen, use only a clean
cloth dampened with clean water. Use care when
directly touching or cleaning the screen, as damage
may result.
Rear Seat Audio (RSA)
(Without Entertainment System)
This feature allows rear seat passengers to listen to
and control any of the sources: radio, cassette, and
CDs. An audio or radio source may be listened to
but cannot be changed from the RSE if the front
seat passengers have selected the same source
from the front seat controls. (For example, the radio
station selected with the front seat controls cannot
be changed by the rear seat control(s)).
277

The front seat audio controls always have priority
over the RSA controls. If the front seat passengers
switch to the same source as the RSA, the RSA will
no longer control the source.
You can operate the RSA when the main radio
is off.
You can use wired headphones (not included) or
the wireless headphones. The wired headphones
connect to the outlets on the RSA system.
The rear seat passengers have control of the
volume for each set of wired headphones. Adjust
the volume on the wireless headphones by
turning the volume control on each headset.
Primary Radio Controls
The following function is controlled by the
main radio:
PWR (Power): Front seat passengers can turn
the RSA off by quickly pressing this knob twice.
Rear Seat Radio Controls
The following functions are controlled by the RSA
system:
n(Volume): Turn this knob to increase or to
decrease the volume. The left knob controls
the left wired headphones and the right knob
controls the right wired headphones.
O(Power): Press this button to turn the system
on or off. The rear speakers will be muted when the
RSA power is turned on.
SRCE (Source): Press this button to play a
cassette tape or CD when listening to the radio.
The inactive tape or CD will remain safely
inside the radio for future listening.
278

BAND: Press this button to switch between FM1,
FM2, AM, or XM1 or XM2 (if equipped).
1–6 (Preset): Press this button to go to the next
preset radio station. This function is inactive if
the front seat passengers are listening to the radio.
When a cassette tape is playing, press this
button to go to the other side of the tape.
When a CD is playing in the six-disc CD changer,
press this button to select the next CD, if multiple
CDs are loaded. This function is inactive if the front
seat passengers are listening to a CD.
©¨(Seek): When listening to the radio, press
the left or the right arrow to go to the next or the
previous station and stay there. This function is
inactive if the front seat passengers are listening to
the radio.
When a cassette tape is playing, press the left or
the right arrow to hear the next or the previous
selection. This function is inactive if the front seat
passengers are listening to a cassette tape.
When a CD is playing, press the left arrow to go to
the start of the current track if more than eight
seconds have played. Press the right arrow to go to
the next track on the CD. This function is inactive if
the front seat passengers are listening to a CD.
Rear Seat Audio (RSA)
(With Entertainment System)
This feature allows rear seat passengers to listen to
and control any of the sources: radio and CDs.
An audio or radio source may be listened to but
cannot be changed from the RSE if the front seat
passengers have selected the same source from
the front seat controls. (For example, the radio
station selected with the front seat controls cannot
be changed by the rear seat control(s).
The front seat audio controls always have
priority over the RSA controls. If the front seat
passengers switch to the same source as the RSA,
the RSA will no longer control the source.
You can operate the RSA when the main radio
is off.
The rear seat passengers have control of the
volume for each set of headphones.
279

O(Power): Press this button to turn the RSE
system on and off. The rear speakers will be
muted when the RSA power is turned on.
1–6 (Preset): Press this button to go to the next
preset radio station set on the pushbuttons on
the main radio. This function is not active if
the front seat passengers are listening to the radio.
When a cassette tape is playing, press this
button to go to the other side of the tape. This
function is not active if the front seat passengers
are listening to a cassette tape.
When a CD is playing in the six-disc CD changer,
press this button to select the next CD, if multiple
CDs are loaded. This function is not active if the
front seat passengers are listening to a CD.
BAND: Press this button to switch between FM1,
FM2, AM, or XM1 or XM2 (if equipped).
SRCE (Source): Press this button to switch
between playing a cassette tape and CD.
xSEEK w:When listening to the radio, press
the up or the down arrow to go to the next or the
previous station and stay there. This function is
inactive if the front seat passengers are listening to
the same band.
When a cassette tape is playing, press the up or
the down arrow to go to the next or the previous
selection. This function is inactive if the front seat
passengers are listening to a cassette tape.
When a CD is playing, press the up arrow to go to
the next track on the CD. Press the down arrow to
go to the start of the current track if more than
five seconds have played. This function is inactive if
the front seat passengers are listening to a CD.
280

xw(Volume): Press the up or down arrow to
increase or decrease the volume on the wired
headphones (not included). The arrows on
the right are for the right headphones and the
arrows on the left are for the left headphones.
Theft-Deterrent Feature
THEFTLOCK
®
is designed to discourage
theft of your vehicle’s radio. The feature works
automatically by learning a portion of the Vehicle
Identification Number (VIN). If the radio is moved to
a different vehicle, it does not operate and LOCKED
displays.
With THEFTLOCK
®
activated, the radio cannot
operate if stolen.
Audio Steering Wheel Controls
(Three Spoke)
If your vehicle has this
feature, some audio
controls can be adjusted
at the steering wheel.
They include the
following:
xw:Press the up or the down arrow to go to the
next or to the previous radio station and stay there.
The radio will only seek stations with a strong signal
that are in the selected band.
To scan stations, press and hold either arrow for
two seconds until SCAN appears on the display and
you hear a beep. The radio will go to a station, play
for a few seconds, then go on to the next station.
Press either arrow again to stop scanning.
When a CD is playing, press the up or the down
arrow to go to the next or previous track.
281

To scan the current CD, press and hold either up or
down arrow for more than two seconds. The CD will
go to the next track, play the first 10 seconds, then
go on to the next track. Press either up or down
arrow again to stop scanning.
To scan all of the CDs loaded, press and hold either
up or down arrow for more than four seconds. The
CD will go to the next CD, play the first 10 seconds
of each track, then go on to the next CD. Press
either up or down arrow again to stop scanning.
+−(Volume): Press the plus or minus button to
increase or to decrease the volume.
1–6 (Preset Pushbuttons): Press this button to
play stations that are programmed on the radio
preset pushbuttons. The radio will only seek preset
stations with a strong signal that are in the
selected band.
When a CD is playing in the six-disc CD changer,
press this button to go to the next available CD,
if multiple CDs are loaded.
Audio Steering Wheel Controls
(Four Spoke)
If your vehicle has this
feature, some audio
controls can be adjusted
at the steering wheel.
They include the
following:
xw (Seek): Press the up or the down arrow to
go to the next or to the previous radio station
and stay there. The radio will only seek stations
with a strong signal that are in the selected band.
To scan stations, press and hold either arrow for
two seconds until you hear a beep. The radio will go
to a station, play for a few seconds, then go on to
the next station. Press either arrow again to stop
scanning.
282

When a CD is playing, press the up or the down
arrow to go to the next or previous track.
>(Mute): Press this button to silence the
system. Press this button again, or any other radio
button, to turn the sound on.
BAND: Press this button to switch between FM1,
FM2, AM, or XM1 or XM2 (if equipped).
1–6 (Preset Pushbuttons): Press this button to
play stations that are programmed on the radio
preset pushbuttons. The radio will only seek preset
stations with a strong signal that are in the
selected band.
When a CD is playing in the six-disc CD changer,
press this button to go to the next available CD, if
multiple CDs are loaded.
+/−x(Volume): Pull the plus or minus button to
increase or to decrease the volume.
Radio Reception
You may experience frequency interference
and static during normal radio reception if items
such as cellphone chargers, vehicle convenience
accessories, and external electronic devices are
plugged into the accessory power outlet. If there is
interference or static, unplug the item from the
accessory power outlet.
AM
The range for most AM stations is greater than for
FM, especially at night. The longer range can cause
station frequencies to interfere with each other.
For better radio reception, most AM radio stations
boosts the power levels during the day, and then
reduce these levels during the night. Static can also
occur when things like storms and power lines
interfere with radio reception. When this happens,
try reducing the treble on your radio.
FM Stereo
FM stereo gives the best sound, but FM signals
reach only about 10 to 40 miles (16 to 65 km). Tall
buildings or hills can interfere with FM signals,
causing the sound to fade in and out.
283

XM™ Satellite Radio Service
XM™ Satellite Radio Service gives digital radio
reception from coast-to-coast in the 48 contiguous
United States, and in Canada. Just as with FM,
tall buildings or hills can interfere with satellite
radio signals, causing the sound to fade in and out.
In addition, traveling or standing under heavy
foliage, bridges, garages, or tunnels can cause
loss of the XM™ signal for a period of time.
The radio could display NO XM SIGNAL to
indicate interference.
Care of Your CDs and DVDs
Handle CDs carefully. Store them in their original
cases or other protective cases and away from
direct sunlight and dust. The CD player scans the
bottom surface of the disc. If the surface of a CD is
damaged, such as cracked, broken, or scratched,
the CD does not play properly or not at all. If the
surface of a CD is soiled, take a soft, lint free cloth
or dampen a clean, soft cloth in a mild, neutral
detergent solution mixed with water, and clean it.
Make sure the wiping process starts from the center
to the edge.
Do not touch the bottom side of a CD while
handling it; this could damage the surface. Pick up
CDs by grasping the outer edges or the edge of
the hole and the outer edge.
Care of the CD and DVD Player
The use of CD lens cleaners for CDs is not
advised, due to the risk of contaminating the lens
of the CD optics with lubricants internal to the
CD mechanism.
Fixed Mast Antenna (MAXX Only)
The fixed mast antenna can withstand most
car washes without being damaged. If the mast
should ever become slightly bent, straighten it out
by hand. If the mast is badly bent, replace it.
Check occasionally to make sure the mast is still
tightened to the rear quarter panel.
284

Backglass Antenna (Sedan Only)
The AM-FM antenna is integrated with the
rear window defogger, located in the rear window.
Make sure that the inside surface of the rear
window is not scratched and that the grid lines on
the glass are not damaged. If the inside surface
is damaged, it could interfere with radio reception.
Notice: Using a razor blade or sharp object
to clear the inside rear window may damage
the rear window antenna and/or the rear
window defogger. Repairs would not be
covered by your warranty. Do not clear the
inside rear window with sharp objects.
Notice: Do not apply aftermarket glass tinting
with metallic film. The metallic film in some
tinting materials will interfere with or distort the
incoming radio reception. Any damage caused
to your backglass antenna due to metallic
tinting materials will not be covered by your
warranty.
Because this antenna is built into the rear window,
there is a reduced risk of damage caused by
car washes and vandals.
If adding a cellular telephone to your vehicle, and
the antenna needs to be attached to the glass,
make sure that the grid lines for the AM-FM
antenna are not damaged. There is enough space
between the grid lines to attach a cellular telephone
antenna without interfering with radio reception.
XM™ Satellite Radio Antenna
System
The XM™ Satellite Radio antenna is located on
the roof of your vehicle. Keep this antenna clear of
snow and ice build up for clear radio reception.
If your vehicle has a sunroof, the performance of
the XM™ system may be affected if the sunroof
is open.
Loading items onto the roof of your vehicle can
interfere with the performance of the XM™ system.
Make sure the XM™ Satellite Radio antenna is
not obstructed.
285

✍NOTES
286

Your Driving, the Road, and
Your Vehicle ............................................ 288
Defensive Driving ...................................... 288
Drunken Driving ........................................ 289
Control of a Vehicle .................................. 292
Braking ...................................................... 292
Anti-Lock Brake System (ABS) .................. 293
Braking in Emergencies ............................. 295
Traction Control System (TCS) .................. 296
Enhanced Traction System (ETS) .............. 297
Steering .................................................... 299
Off-Road Recovery .................................... 302
Passing ..................................................... 302
Loss of Control .......................................... 304
Competitive Driving ................................... 305
Driving at Night ......................................... 306
Driving in Rain and on Wet Roads ............ 307
City Driving ............................................... 310
Freeway Driving ........................................ 311
Before Leaving on a Long Trip .................. 312
Highway Hypnosis ..................................... 313
Hill and Mountain Roads ........................... 314
Winter Driving ........................................... 316
If Your Vehicle is Stuck in Sand,
Mud, Ice, or Snow ................................. 320
Rocking Your Vehicle to Get It Out ........... 321
Loading Your Vehicle ................................ 322
Towing ........................................................ 328
Towing Your Vehicle ................................. 328
Recreational Vehicle Towing ...................... 328
Towing a Trailer ........................................ 331
Section 4 Driving Your Vehicle
287

Your Driving, the Road, and
Your Vehicle
Defensive Driving
The best advice anyone can give about driving is:
Drive defensively.
Please start with a very important safety device in
your vehicle: Buckle up. See Safety Belts: They
Are for Everyone on page 20.
{CAUTION:
Defensive driving really means “Be ready
for anything.” On city streets, rural roads,
or expressways, it means “Always expect
the unexpected.” Assume that pedestrians
or other drivers are going to be careless
and make mistakes. Anticipate what they
might do and be ready. Rear-end collisions
are about the most preventable of
accidents. Yet they are common. Allow
enough following distance. Defensive
driving requires that a driver concentrate
on the driving task. Anything that distracts
from the driving task makes proper
defensive driving more difficult and can
even cause a collision, with resulting
injury. Ask a passenger to help do these
things, or pull off the road in a safe place to
do them. These simple defensive driving
techniques could save your life.
288

Drunken Driving
Death and injury associated with drinking and
driving is a national tragedy. It is the number
one contributor to the highway death toll, claiming
thousands of victims every year.
Alcohol affects four things that anyone needs to
drive a vehicle:
•Judgment
•Muscular Coordination
•Vision
•Attentiveness
Police records show that almost half of all motor
vehicle-related deaths involve alcohol. In most
cases, these deaths are the result of someone who
was drinking and driving. In recent years, more
than 16,000 annual motor vehicle-related deaths
have been associated with the use of alcohol, with
more than 300,000 people injured.
Many adults — by some estimates, nearly half
the adult population — choose never to drink
alcohol, so they never drive after drinking.
For persons under 21, it is against the law in
every U.S. state to drink alcohol. There are good
medical, psychological, and developmental
reasons for these laws.
The obvious way to eliminate the leading highway
safety problem is for people never to drink
alcohol and then drive. But what if people do?
How much is “too much” if someone plans
to drive? It is a lot less than many might think.
Although it depends on each person and situation,
here is some general information on the problem.
The Blood Alcohol Concentration (BAC) of
someone who is drinking depends upon
four things:
•The amount of alcohol consumed
•The drinker’s body weight
•The amount of food that is consumed before
and during drinking
•The length of time it has taken the drinker to
consume the alcohol
289

According to the American Medical Association,
a 180 lb (82 kg) person who drinks three 12 ounce
(355 ml) bottles of beer in an hour will end up
with a BAC of about 0.06 percent. The person
would reach the same BAC by drinking three
4 ounce (120 ml) glasses of wine or three mixed
drinks if each had 1-1/2 ounces (45 ml) of
liquors like whiskey, gin, or vodka.
It is the amount of alcohol that counts. For example,
if the same person drank three double martinis
(3 ounces or 90 ml of liquor each) within an hour,
the person’s BAC would be close to 0.12 percent.
A person who consumes food just before or during
drinking will have a somewhat lower BAC level.
There is a gender difference, too. Women
generally have a lower relative percentage of
body water than men. Since alcohol is carried in
body water, this means that a woman generally
will reach a higher BAC level than a man of
her same body weight will when each has the
same number of drinks.
The law in most U.S. states, and throughout
Canada, sets the legal limit at 0.08 percent.
In some other countries, the limit is even lower.
For example, it is 0.05 percent in both France
and Germany. The BAC limit for all commercial
drivers in the United States is 0.04 percent.
The BAC will be over 0.10 percent after three to
six drinks (in one hour). Of course, as we have
seen, it depends on how much alcohol is in the
drinks, and how quickly the person drinks them.
290

But the ability to drive is affected well below a BAC
of 0.10 percent. Research shows that the driving
skills of many people are impaired at a BAC
approaching 0.05 percent, and that the effects are
worse at night. All drivers are impaired at BAC
levels above 0.05 percent. Statistics show that the
chance of being in a collision increases sharply for
drivers who have a BAC of 0.05 percent or above.
A driver with a BAC level of 0.06 percent has
doubled his or her chance of having a collision. At a
BAC level of 0.10 percent, the chance of this driver
having a collision is 12 times greater; at a level of
0.15 percent, the chance is 25 times greater!
The body takes about an hour to rid itself of the
alcohol in one drink. No amount of coffee or
number of cold showers will speed that up.
“I will be careful” is not the right answer. What if
there is an emergency, a need to take sudden
action, as when a child darts into the street?
A person with even a moderate BAC might not
be able to react quickly enough to avoid the
collision.
There is something else about drinking and driving
that many people do not know. Medical research
shows that alcohol in a person’s system can make
crash injuries worse, especially injuries to the
brain, spinal cord, or heart. This means that when
anyone who has been drinking — driver or
passenger — is in a crash, that person’s chance
of being killed or permanently disabled is
higher than if the person had not been drinking.
{CAUTION:
Drinking and then driving is very
dangerous. Your reflexes, perceptions,
attentiveness, and judgment can be
affected by even a small amount of
alcohol. You can have a serious — or
even fatal — collision if you drive after
drinking. Please do not drink and drive
or ride with a driver who has been
drinking. Ride home in a cab; or if you
are with a group, designate a driver
who will not drink.
291

Control of a Vehicle
You have three systems that make your
vehicle go where you want it to go. They are the
brakes, the steering, and the accelerator. All
three systems have to do their work at the places
where the tires meet the road.
Sometimes, as when you are driving on snow or
ice, it is easy to ask more of those control systems
than the tires and road can provide. That means
you can lose control of your vehicle.
Adding non-GM accessories can affect your
vehicle’s performance. See Accessories and
Modifications on page 342.
Braking
See Brake System Warning Light on page 207.
Braking action involves perception time and
reaction time.
First, you have to decide to push on the brake
pedal. That is perception time. Then you have to
bring up your foot and do it. That is reaction time.
Average reaction time is about three-fourths of a
second. But that is only an average. It might be less
with one driver and as long as two or three seconds
or more with another. Age, physical condition,
alertness, coordination, and eyesight all play a part.
So do alcohol, drugs, and frustration. But even in
three-fourths of a second, a vehicle moving at
60 mph (100 km/h) travels 66 feet (20 m). That
could be a lot of distance in an emergency, so
keeping enough space between your vehicle and
others is important.
And, of course, actual stopping distances vary
greatly with the surface of the road, whether it is
pavement or gravel; the condition of the road,
whether it is wet, dry, or icy; tire tread; the
condition of the brakes; the weight of the vehicle;
and the amount of brake force applied.
292

Avoid needless heavy braking. Some people drive
in spurts — heavy acceleration followed by
heavy braking — rather than keeping pace with
traffic. This is a mistake. The brakes may not have
time to cool between hard stops. The brakes
will wear out much faster if you do a lot of heavy
braking. If you keep pace with the traffic and
allow realistic following distances, you will
eliminate a lot of unnecessary braking. That means
better braking and longer brake life.
If your vehicle’s engine ever stops while you are
driving, brake normally but do not pump the
brakes. If you do, the pedal may get harder to
push down. If the engine stops, you will still have
some power brake assist. But you will use it
when you brake. Once the power assist is used
up, it may take longer to stop and the brake pedal
will be harder to push.
Adding non-GM accessories can affect your
vehicle’s performance. See Accessories and
Modifications on page 342.
Anti-Lock Brake System (ABS)
Your vehicle may have the Anti-Lock Brake
System (ABS), an advanced electronic braking
system that will help prevent a braking skid.
If your vehicle has ABS,
this warning light on the
instrument panel will
come on briefly when
you start your vehicle.
293

Let us say the road is wet and you are driving
safely. Suddenly, an animal jumps out in front of
you. You slam on the brakes and continue braking.
Here is what happens with ABS:
A computer senses that wheels are slowing down.
If one of the wheels is about to stop rolling, the
computer will separately work the brakes at
each wheel.
ABS can change the brake pressure faster than
any driver could. The computer is programmed
to make the most of available tire and road
conditions. This can help you steer around the
obstacle while braking hard.
As you brake, your computer keeps receiving
updates on wheel speed and controls braking
pressure accordingly.
294

Remember: ABS does not change the time you
need to get your foot up to the brake pedal or
always decrease stopping distance. If you get too
close to the vehicle in front of you, you will not have
time to apply your brakes if that vehicle suddenly
slows or stops. Always leave enough room up
ahead to stop, even though you have ABS.
Using ABS
Do not pump the brakes. Just hold the brake
pedal down firmly and let anti-lock work for you.
You may feel a slight brake pedal pulsation
or notice some noise, but this is normal.
Braking in Emergencies
At some time, nearly every driver gets into a
situation that requires hard braking.
If you have ABS, you can steer and brake at the
same time. However, if you do not have ABS, your
first reaction — to hit the brake pedal hard and
hold it down — may be the wrong thing to
do. Your wheels can stop rolling. Once they do,
the vehicle cannot respond to your steering.
Momentum will carry it in whatever direction it was
headed when the wheels stopped rolling. That
could be off the road, into the very thing you were
trying to avoid, or into traffic.
If you do not have ABS, use a “squeeze” braking
technique. This will give you maximum braking
while maintaining steering control. You can do this
by pushing on the brake pedal with steadily
increasing pressure.
In an emergency, you will probably want to
squeeze the brakes hard without locking the
wheels. If you hear or feel the wheels sliding,
ease off the brake pedal. This will help you
retain steering control. If you do have ABS, it is
different. See Anti-Lock Brake System (ABS)
on page 293.
In many emergencies, steering can help you more
than even the very best braking.
295

Traction Control System (TCS)
Your vehicle may have a Traction Control System
(TCS) that limits wheel spin. This is especially
useful in slippery road conditions. The system
operates only if it senses that one or both of the
front wheels are spinning or beginning to lose
traction. When this happens, the system reduces
engine power and may also upshift the transaxle
to limit wheel spin. Also, the traction control system
activates the appropriate corner brakes to gain
even quicker control to limit wheel spin.
This light is located on
the instrument panel
cluster.
It will come on when your Traction Control System
is limiting wheel spin. You may feel or hear the
system working, but this is normal.
If your vehicle is in cruise control when the
traction control system begins to limit wheel spin,
the cruise control will automatically disengage.
When road conditions allow you to safely use it
again, you may re-engage the cruise control.
See Cruise Control on page 176.
The Traction Control System operates in all
transaxle shift lever positions except park or
neutral. But the system can upshift the transaxle
only as high as the shift lever position you’ve
chosen, so you should use the lower gears only
when necessary. See Automatic Transaxle
Operation (Base Models) on page 127 or
Automatic Transaxle Operation (SS Models) on
page 130.
When the system is off,
this warning light,
located on the
instrument panel cluster,
will come on to let you
know if there’s a
problem, or if the system
has been turned off.
When this warning light is on, the system will not
limit wheel spin. Adjust your driving accordingly.
296

To limit wheel spin, especially in slippery road
conditions, you should always leave the Traction
Control System on. But you can turn the system off
if you prefer.
To turn the system on or off, press the TC button
located under the climate controls. In order to
effectively “rock” the vehicle, you will need to turn
off TCS.
If you press the TC button once, the traction control
system will turn off and the traction control system
warning light will come on. Press the TC button
again to turn the system back on. The traction
control system warning light will go off.
When you turn the system off, the Traction Control
System warning light will come on and stay on.
If the Traction Control System is limiting wheel spin
when you press the button to turn the system
off, the warning light will come on – but the system
won’t turn off right away. It will wait until there’s
no longer a current need to limit wheel spin.
Adding non-GM accessories can affect your
vehicle’s performance. See Accessories and
Modifications on page 342 for more information.
Enhanced Traction System (ETS)
Your vehicle may have an Enhanced Traction
System (ETS) that limits wheel spin. This is
especially useful in slippery road conditions.
The system operates only if it senses that one or
both of the front wheels are spinning or
beginning to lose traction. When this happens, the
system reduces engine power and may also
upshift the transaxle to limit wheel spin.
This light will come on
when your Enhanced
Traction System is
engaged and limiting
wheel spin.
You may feel or hear the system working, but this
is normal.
If your vehicle is in cruise control when the
Enhanced Traction System begins to limit
wheel spin, the cruise control will automatically
disengage. When road conditions allow you
to safely use it again, you may re-engage the
cruise control. See Cruise Control on page 176.
297

The Enhanced Traction System operates in all
transaxle shift lever positions. But the system can
upshift the transaxle only as high as the shift
lever position you’ve chosen, so you should use
the lower gears only when necessary.
When the system is on,
this warning light will
come on to let you know
there’s a problem.
When this warning light is on, the system will not
limit wheel spin. Adjust your driving accordingly.
To limit wheel spin, especially in slippery road
conditions, you should always leave the Enhanced
Traction System on. But you can turn the system
off if you prefer.
To turn the system on
or off, press the traction
control button located
on the center console
under the climate
control system.
When you turn the system off, the Enhanced
Traction System warning light will come on and
stay on. If the Enhanced Traction System is
limiting wheel spin when you press the button to
turn the system off, the warning light will come
on – but the system won’t turn off right away.
It will wait until there’s no longer a current need to
limit wheel spin.
You can turn the system back on at any time by
pressing the button again. The traction control
system warning light should go off.
298

Steering
Electric Power Steering
If your vehicle has the electric power steering
system and the engine stalls while you are driving,
the power steering assist system will continue to
operate until you are able to stop your vehicle.
If you lose power steering assist because the
electric power steering system is not functioning,
you can steer, but it will take more effort.
If you turn the steering wheel in either direction
several times until it stops, or hold the steering
wheel in the stopped position for an extended
amount of time, you may notice a reduced amount
of power steering assist. The normal amount of
power steering assist should return shortly after a
few normal steering movements.
The electric power steering system does not
require regular maintenance. If you suspect
steering system problems, contact your dealer for
service repairs. See DIC Warnings and Messages
on page 222.
Hydraulic Power Steering
If your vehicle has the hydraulic power steering
system and you lose power steering assist
because the engine stops or the power steering
system is not functioning, you can steer, but it will
take much more effort.
Steering Tips
It is important to take curves at a reasonable speed.
A lot of the “driver lost control” accidents mentioned
on the news happen on curves. Here is why:
Experienced driver or beginner, each of us is
subject to the same laws of physics when
driving on curves. The traction of the tires against
the road surface makes it possible for the
vehicle to change its path when you turn the front
wheels. If there is no traction, inertia will keep
the vehicle going in the same direction. If you have
ever tried to steer a vehicle on wet ice, you will
understand this.
299

The traction you can get in a curve depends on
the condition of your tires and the road surface, the
angle at which the curve is banked, and your
speed. While you are in a curve, speed is the
one factor you can control.
Suppose you are steering through a sharp curve.
Then you suddenly apply the brakes. Both
control systems — steering and braking — have
to do their work where the tires meet the road.
Unless you have four-wheel anti-lock brakes,
adding the hard braking can demand too much of
those places. You can lose control.
The same thing can happen if you are steering
through a sharp curve and you suddenly
accelerate. Those two control systems — steering
and acceleration — can overwhelm those places
where the tires meet the road and make you lose
control. See Traction Control System (TCS) on
page 296 or Enhanced Traction System (ETS) on
page 297.
What should you do if this ever happens? Ease up
on the brake or accelerator pedal, steer the
vehicle the way you want it to go, and slow down.
Speed limit signs near curves warn that you
should adjust your speed. Of course, the posted
speeds are based on good weather and road
conditions. Under less favorable conditions you will
want to go slower.
If you need to reduce your speed as you approach
a curve, do it before you enter the curve, while
your front wheels are straight ahead.
Try to adjust your speed so you can “drive”
through the curve. Maintain a reasonable, steady
speed. Wait to accelerate until you are out of
the curve, and then accelerate gently into
the straightaway.
Adding non-GM accessories can affect your
vehicle’s performance. See Accessories and
Modifications on page 342.
300

Steering in Emergencies
There are times when steering can be more
effective than braking. For example, you come over
a hill and find a truck stopped in your lane, or a car
suddenly pulls out from nowhere, or a child darts
out from between parked cars and stops right in
front of you. You can avoid these problems by
braking — if you can stop in time. But sometimes
you cannot; there is not room. That is the time for
evasive action — steering around the problem.
Your vehicle can perform very well in emergencies
like these. First apply your brakes — but, unless
you have anti-lock brakes, not enough to lock
your wheels.
See Braking on page 292. It is better to remove as
much speed as you can from a possible collision.
Then steer around the problem, to the left or
right depending on the space available.
An emergency like this requires close attention and
a quick decision. If you are holding the steering
wheel at the recommended 9 and 3 o’clock
positions, you can turn it a full 180 degrees very
quickly without removing either hand. But you
have to act fast, steer quickly, and just as quickly
straighten the wheel once you have avoided
the object.
The fact that such emergency situations are always
possible is a good reason to practice defensive
driving at all times and wear safety belts properly.
301

Off-Road Recovery
You may find that your right wheels have dropped
off the edge of a road onto the shoulder while
you are driving.
If the level of the shoulder is only slightly below the
pavement, recovery should be fairly easy. Ease off
the accelerator and then, if there is nothing in the
way, steer so that your vehicle straddles the edge
of the pavement. You can turn the steering wheel
up to one-quarter turn until the right front tire
contacts the pavement edge. Then turn your
steering wheel to go straight down the roadway.
Passing
The driver of a vehicle about to pass another on a
two-lane highway waits for just the right moment,
accelerates, moves around the vehicle ahead, then
goes back into the right lane again. A simple
maneuver?
Not necessarily! Passing another vehicle on a
two-lane highway is a potentially dangerous move,
since the passing vehicle occupies the same
lane as oncoming traffic for several seconds.
A miscalculation, an error in judgment, or a brief
surrender to frustration or anger can suddenly put
the passing driver face to face with the worst of all
traffic accidents — the head-on collision.
So here are some tips for passing:
•Drive ahead. Look down the road, to the
sides, and to crossroads for situations
that might affect your passing patterns. If you
have any doubt whatsoever about making
a successful pass, wait for a better time.
302

•Watch for traffic signs, pavement markings, and
lines. If you can see a sign up ahead that might
indicate a turn or an intersection, delay your
pass. A broken center line usually indicates it is
all right to pass, providing the road ahead is
clear. Never cross a solid line on your side of
the lane or a double solid line, even if the road
seems empty of approaching traffic.
•Do not get too close to the vehicle you want to
pass while you are awaiting an opportunity. For
one thing, following too closely reduces your
area of vision, especially if you are following a
larger vehicle. Also, you will not have adequate
space if the vehicle ahead suddenly slows or
stops. Keep back a reasonable distance.
•When it looks like a chance to pass is coming
up, start to accelerate but stay in the right lane
and do not get too close. Time your move so
you will be increasing speed as the time comes
to move into the other lane. If the way is clear to
pass, you will have a running start that more
than makes up for the distance you would lose
by dropping back. And if something happens to
cause you to cancel your pass, you need only
slow down and drop back again and wait for
another opportunity.
•If other vehicles are lined up to pass a slow
vehicle, wait your turn. But take care that
someone is not trying to pass you as you pull
out to pass the slow vehicle. Remember to
glance over your shoulder and check the
blind spot.
•Check your vehicle’s mirrors, glance over your
shoulder, and start your left lane change signal
before moving out of the right lane to pass.
When you are far enough ahead of the passed
vehicle to see its front in your vehicle’s inside
mirror, activate the right lane change signal and
move back into the right lane. Remember that
your vehicle’s passenger side outside mirror is
convex. The vehicle you just passed may seem
to be farther away from you than it really is.
•Try not to pass more than one vehicle at a time
on two-lane roads. Reconsider before passing
the next vehicle.
•Do not overtake a slowly moving vehicle too
rapidly. Even though the brake lamps are not
flashing, it may be slowing down or starting
to turn.
•If you are being passed, make it easy for the
following driver to get ahead of you. Perhaps
you can ease a little to the right.
303

Loss of Control
Let us review what driving experts say about what
happens when the three control systems — brakes,
steering, and acceleration — do not have enough
friction where the tires meet the road to do what the
driver has asked.
In any emergency, do not give up. Keep trying to
steer and constantly seek an escape route or
area of less danger.
Skidding
In a skid, a driver can lose control of the vehicle.
Defensive drivers avoid most skids by taking
reasonable care suited to existing conditions, and
by not overdriving those conditions. But skids
are always possible.
The three types of skids correspond to your
vehicle’s three control systems. In the braking skid,
your wheels are not rolling. In the steering or
cornering skid, too much speed or steering in a
curve causes tires to slip and lose cornering force.
And in the acceleration skid, too much throttle
causes the driving wheels to spin.
A cornering skid and an acceleration skid are
best handled by easing your foot off the
accelerator pedal.
If your vehicle starts to slide, ease your foot off
the accelerator pedal and quickly steer the
way you want the vehicle to go. If you start
steering quickly enough, your vehicle may
straighten out. Always be ready for a second skid
if it occurs.
Of course, traction is reduced when water, snow,
ice, gravel, or other material is on the road.
For safety, you will want to slow down and adjust
your driving to these conditions. It is important
to slow down on slippery surfaces because
stopping distance will be longer and vehicle control
more limited.
304

While driving on a surface with reduced traction, try
your best to avoid sudden steering, acceleration,
or braking, including reducing vehicle speed by
shifting to a lower gear. Any sudden changes could
cause the tires to slide. You may not realize the
surface is slippery until your vehicle is skidding.
Learn to recognize warning clues — such as
enough water, ice, or packed snow on the road to
make a mirrored surface — and slow down when
you have any doubt.
If you have the Anti-Lock Brake System (ABS),
remember: It helps avoid only the braking
skid. If you do not have ABS, then in a braking
skid, where the wheels are no longer rolling,
release enough pressure on the brakes to get the
wheels rolling again. This restores steering
control. Push the brake pedal down steadily when
you have to stop suddenly. As long as the
wheels are rolling, you will have steering control.
Competitive Driving
See your warranty book before using your vehicle
for competitive driving. After reviewing your
warranty book, please see the GM Performance
Parts website or catalog for parts and equipment
required for competitive driving.
Notice: If you use your vehicle for competitive
driving, the engine may use more oil than it
would with normal use. Low oil levels can
damage the engine. Be sure to check the oil
level often during competitive driving and keep
the level at or near the upper mark that
shows the proper operating range on the
engine oil dipstick. For information on how to
add oil, see Engine Oil on page 357.
305

Driving at Night
Night driving is more dangerous than day driving.
One reason is that some drivers are likely to
be impaired — by alcohol or drugs, with night
vision problems, or by fatigue.
Here are some tips on night driving.
•Drive defensively.
•Do not drink and drive.
•Adjust the inside rearview mirror to reduce the
glare from headlamps behind you.
•Since you cannot see as well, you may need
to slow down and keep more space between
you and other vehicles.
•Slow down, especially on higher speed roads.
Your vehicle’s headlamps can light up only so
much road ahead.
•In remote areas, watch for animals.
•If you are tired, pull off the road in a safe
place and rest.
No one can see as well at night as in the daytime.
But as we get older these differences increase.
A 50-year-old driver may require at least twice as
much light to see the same thing at night as a
20-year-old.
What you do in the daytime can also affect your
night vision. For example, if you spend the
day in bright sunshine you are wise to wear
sunglasses. Your eyes will have less trouble
adjusting to night. But if you are driving, do not
wear sunglasses at night. They may cut down on
glare from headlamps, but they also make a
lot of things invisible.
You can be temporarily blinded by approaching
headlamps. It can take a second or two, or
even several seconds, for your eyes to re-adjust
to the dark. When you are faced with severe glare,
as from a driver who does not lower the high
beams, or a vehicle with misaimed headlamps,
slow down a little. Avoid staring directly into
the approaching headlamps.
306

Keep the windshield and all the glass on your
vehicle clean — inside and out. Glare at night is
made much worse by dirt on the glass. Even
the inside of the glass can build up a film caused
by dust. Dirty glass makes lights dazzle and
flash more than clean glass would, making the
pupils of your eyes contract repeatedly.
Remember that the headlamps light up far less of a
roadway when you are in a turn or curve. Keep your
eyes moving; that way, it is easier to pick out dimly
lighted objects. Just as the headlamps should be
checked regularly for proper aim, so should your
eyes be examined regularly. Some drivers suffer
from night blindness — the inability to see in dim
light — and are not even aware of it.
Driving in Rain and on Wet Roads
Rain and wet roads can mean driving trouble. On a
wet road, you cannot stop, accelerate, or turn as
well because your tire-to-road traction is not as
good as on dry roads. And, if your tires do not have
much tread left, you will get even less traction. It is
always wise to go slower and be cautious if rain
starts to fall while you are driving. The surface may
get wet suddenly when your reflexes are tuned for
driving on dry pavement.
307

The heavier the rain, the harder it is to see.
Even if your windshield wiper blades are in good
shape, a heavy rain can make it harder to see
road signs and traffic signals, pavement markings,
the edge of the road, and even people walking.
It is wise to keep your windshield wiping equipment
in good shape and keep your windshield washer
fluid reservoir filled with washer fluid. Replace your
windshield wiper inserts when they show signs
of streaking or missing areas on the windshield, or
when strips of rubber start to separate from the
inserts.
{CAUTION:
Wet brakes can cause accidents. They
may not work as well in a quick stop and
may cause pulling to one side. You could
lose control of the vehicle.
After driving through a large puddle of
water or a car wash, apply your brake pedal
lightly until your brakes work normally.
Driving too fast through large water puddles or
even going through some car washes can cause
problems, too. The water may affect your brakes.
Try to avoid puddles. But if you cannot, try to slow
down before you hit them.
Hydroplaning
Hydroplaning is dangerous. So much water can
build up under your tires that they can actually ride
on the water. This can happen if the road is wet
enough and you are going fast enough. When your
vehicle is hydroplaning, it has little or no contact
with the road.
Hydroplaning does not happen often. But it can
if your tires do not have much tread or if the
pressure in one or more is low. It can happen if a
lot of water is standing on the road. If you can
see reflections from trees, telephone poles,
or other vehicles, and raindrops dimple the water’s
surface, there could be hydroplaning.
Hydroplaning usually happens at higher speeds.
There just is not a hard and fast rule about
hydroplaning. The best advice is to slow down
when it is raining.
308

Driving Through Deep Standing Water
Notice: If you drive too quickly through
deep puddles or standing water, water can
come in through your engine’s air intake and
badly damage your engine. Never drive through
water that is slightly lower than the underbody
of your vehicle. If you cannot avoid deep
puddles or standing water, drive through them
very slowly.
Driving Through Flowing Water
{CAUTION:
Flowing or rushing water creates strong
forces. If you try to drive through flowing
water, as you might at a low water
crossing, your vehicle can be carried away.
CAUTION: (Continued)
CAUTION: (Continued)
As little as six inches of flowing water
can carry away a smaller vehicle. If this
happens, you and other vehicle occupants
could drown. Do not ignore police
warning signs, and otherwise be very
cautious about trying to drive through
flowing water.
Some Other Rainy Weather Tips
•Besides slowing down, allow some extra
following distance. And be especially careful
when you pass another vehicle. Allow yourself
more clear room ahead, and be prepared to
have your view restricted by road spray.
•Have good tires with proper tread depth.
See Tires on page 398.
309

City Driving
One of the biggest problems with city streets is
the amount of traffic on them. You will want
to watch out for what the other drivers are doing
and pay attention to traffic signals.
Here are ways to increase your safety in
city driving:
•Know the best way to get to where you are
going. Get a city map and plan your trip
into an unknown part of the city just as you
would for a cross-country trip.
•Try to use the freeways that rim and crisscross
most large cities. You will save time and
energy. See Freeway Driving on page 311.
•Treat a green light as a warning signal.
A traffic light is there because the corner is
busy enough to need it. When a light
turns green, and just before you start to move,
check both ways for vehicles that have not
cleared the intersection or may be running the
red light.
310

Freeway Driving
Mile for mile, freeways — also called thruways,
parkways, expressways, turnpikes, or
superhighways — are the safest of all roads.
But they have their own special rules.
The most important advice on freeway driving
is: Keep up with traffic and keep to the right.
Drive at the same speed most of the other drivers
are driving. Too-fast or too-slow driving breaks
a smooth traffic flow. Treat the left lane on
a freeway as a passing lane.
At the entrance, there is usually a ramp that leads
to the freeway. If you have a clear view of the
freeway as you drive along the entrance ramp, you
should begin to check traffic. Try to determine
where you expect to blend with the flow. Try to
merge into the gap at close to the prevailing speed.
Switch on your turn signal, check your mirrors, and
glance over your shoulder as often as necessary.
Try to blend smoothly with the traffic flow.
Once you are on the freeway, adjust your speed
to the posted limit or to the prevailing rate if it
is slower. Stay in the right lane unless you want
to pass.
311

Before changing lanes, check your mirrors.
Then use your turn signal.
Just before you leave the lane, glance quickly
over your shoulder to make sure there is not
another vehicle in your blind spot.
Once you are moving on the freeway, make
certain you allow a reasonable following distance.
Expect to move slightly slower at night.
When you want to leave the freeway, move to the
proper lane well in advance. If you miss your
exit, do not, under any circumstances, stop and
back up. Drive on to the next exit.
The exit ramp can be curved, sometimes quite
sharply. The exit speed is usually posted. Reduce
your speed according to your speedometer, not
to your sense of motion. After driving for any
distance at higher speeds, you may tend to think
you are going slower than you actually are.
Before Leaving on a Long Trip
Make sure you are ready. Try to be well rested.
If you must start when you are not fresh — such as
after a day’s work — do not plan to make too
many miles that first part of the journey. Wear
comfortable clothing and shoes you can easily
drive in.
Is your vehicle ready for a long trip? If you keep it
serviced and maintained, it is ready to go. If it
needs service, have it done before starting out.
Of course, you will find experienced and able
service experts in GM dealerships all across
North America. They will be ready and willing to
help if you need it.
Here are some things you can check before a trip:
•Windshield Washer Fluid: Is the reservoir
full? Are all windows clean inside and outside?
•Wiper Blades: Are they in good shape?
•Fuel, Engine Oil, Other Fluids: Have you
checked all levels?
•Lamps: Are they all working? Are the lenses
clean?
312

•Tires: They are vitally important to a safe,
trouble-free trip. Is the tread good enough
for long-distance driving? Are the tires
all inflated to the recommended pressure?
•Weather Forecasts: What is the weather
outlook along your route? Should you
delay your trip a short time to avoid a major
storm system?
•Maps: Do you have up-to-date maps?
Highway Hypnosis
Is there actually such a condition as highway
hypnosis? Or is it just plain falling asleep at the
wheel? Call it highway hypnosis, lack of
awareness, or whatever.
There is something about an easy stretch of road
with the same scenery, along with the hum of the
tires on the road, the drone of the engine, and the
rush of the wind against the vehicle that can make
you sleepy. Do not let it happen to you! If it does,
your vehicle can leave the road in less than a
second, and you could crash and be injured.
What can you do about highway hypnosis?
First, be aware that it can happen.
Then here are some tips:
•Make sure your vehicle is well ventilated, with
a comfortably cool interior.
•Keep your eyes moving. Scan the road ahead
and to the sides. Check your rearview mirrors
and your instruments frequently.
•If you get sleepy, pull off the road into a rest,
service, or parking area and take a nap, get
some exercise, or both. For safety, treat
drowsiness on the highway as an emergency.
313

Hill and Mountain Roads
Driving on steep hills or mountains is different
from driving in flat or rolling terrain.
If you drive regularly in steep country, or if you are
planning to visit there, here are some tips that
can make your trips safer and more enjoyable.
•Keep your vehicle in good shape. Check
all fluid levels and also the brakes, tires,
cooling system, and transaxle. These parts
can work hard on mountain roads.
{CAUTION:
If you do not shift down, your brakes
could get so hot that they would not work
well. You would then have poor braking or
even none going down a hill. You could
crash. Shift down to let your engine assist
your brakes on a steep downhill slope.
314

{CAUTION:
Coasting downhill in NEUTRAL (N) or with
the ignition off is dangerous. Your brakes
will have to do all the work of slowing
down. They could get so hot that they
would not work well. You would then have
poor braking or even none going down a
hill. You could crash. Always have your
engine running and your vehicle in gear
when you go downhill.
•Know how to go down hills. The most important
thing to know is this: let your engine do some of
the slowing down. Shift to a lower gear when
you go down a steep or long hill.
•Know how to go uphill. Drive in the highest gear
possible.
•Stay in your own lane when driving on two-lane
roads in hills or mountains. Do not swing wide
or cut across the center of the road. Drive at
speeds that let you stay in your own lane.
•As you go over the top of a hill, be alert. There
could be something in your lane, like a stalled
car or an accident.
•You may see highway signs on mountains that
warn of special problems. Examples are long
grades, passing or no-passing zones, a falling
rocks area, or winding roads. Be alert to these
and take appropriate action.
315

Winter Driving
Here are some tips for winter driving:
•Have your vehicle in good shape for winter.
•You may want to put winter emergency
supplies in your trunk.
Also see Tires on page 398.
Include an ice scraper, a small brush or broom, a
supply of windshield washer fluid, a rag, some
winter outer clothing, a small shovel, a flashlight, a
red cloth, and a couple of reflective warning
triangles. And, if you will be driving under severe
conditions, include a small bag of sand, a piece of
old carpet, or a couple of burlap bags to help
provide traction. Be sure you properly secure these
items in your vehicle.
316

Driving on Snow or Ice
Most of the time, those places where the tires
meet the road probably have good traction.
However, if there is snow or ice between the tires
and the road, you can have a very slippery
situation. You will have a lot less traction, or grip,
and will need to be very careful.
What is the worst time for this? Wet ice. Very cold
snow or ice can be slick and hard to drive on.
But wet ice can be even more trouble because it
may offer the least traction of all. You can get
wet ice when it is about freezing, 32°F (0°C), and
freezing rain begins to fall. Try to avoid driving
on wet ice until salt and sand crews can get there.
Whatever the condition — smooth ice, packed,
blowing, or loose snow — drive with caution.
Accelerate gently. Try not to break the fragile
traction. If you accelerate too fast, the drive wheels
will spin and polish the surface under the tires
even more.
Unless you have the Anti-Lock Brake System
(ABS), you will want to brake very gently,
too. If you do have ABS, see Anti-Lock Brake
System (ABS) on page 293. This system improves
your vehicle’s stability when you make a hard
stop on a slippery road. Whether you have ABS or
not, you will want to begin stopping sooner than
you would on dry pavement. Without ABS, if
you feel your vehicle begin to slide, let up on the
brakes a little. Push the brake pedal down
steadily to get the most traction you can.
317

Remember, unless you have ABS, if you brake so
hard that your wheels stop rolling, you will just
slide. Brake so your wheels always keep rolling
and you can still steer.
•Whatever your braking system, allow greater
following distance on any slippery road.
•Watch for slippery spots. The road might be
fine until you hit a spot that is covered with ice.
On an otherwise clear road, ice patches may
appear in shaded areas where the sun cannot
reach, such as around clumps of trees, behind
buildings, or under bridges. Sometimes the
surface of a curve or an overpass may remain
icy when the surrounding roads are clear. If you
see a patch of ice ahead of you, brake before
you are on it. Try not to brake while you are
actually on the ice, and avoid sudden steering
maneuvers.
If You Are Caught in a Blizzard
If you are stopped by heavy snow, you could be in
a serious situation. You should probably stay
with your vehicle unless you know for sure that you
are near help and you can hike through the snow.
Here are some things to do to summon help
and keep yourself and your passengers safe:
•Turn on your hazard flashers.
•Tie a red cloth to your vehicle to alert police
that you have been stopped by the snow.
•Put on extra clothing or wrap a blanket around
you. If you do not have blankets or extra
clothing, make body insulators from
newspapers, burlap bags, rags, floor
mats — anything you can wrap around
yourself or tuck under your clothing to
keep warm.
318

You can run the engine to keep warm, but be
careful.
{CAUTION:
Snow can trap exhaust gases under your
vehicle. This can cause deadly CO (carbon
monoxide) gas to get inside. CO could
overcome you and kill you. You cannot see
it or smell it, so you might not know it is in
your vehicle. Clear away snow from around
the base of your vehicle, especially any
that is blocking your exhaust pipe. And
check around again from time to time to be
sure snow does not collect there.
Open a window just a little on the side of
the vehicle that is away from the wind.
This will help keep CO out.
Run your engine only as long as you must.
This saves fuel. When you run the engine, make it
go a little faster than just idle. That is, push the
accelerator slightly. This uses less fuel for the heat
that you get and it keeps the battery charged.
319

You will need a well-charged battery to restart the
vehicle, and possibly for signaling later on with
your headlamps. Let the heater run for a while.
Then, shut the engine off and close the window
almost all the way to preserve the heat. Start
the engine again and repeat this only when you
feel really uncomfortable from the cold. But do it as
little as possible. Preserve the fuel as long as
you can. To help keep warm, you can get out of
the vehicle and do some fairly vigorous exercises
every half hour or so until help comes.
If Your Vehicle is Stuck in Sand,
Mud, Ice, or Snow
In order to free your vehicle when it is stuck,
you will need to spin the wheels, but you do not
want to spin your wheels too fast. The method
known as rocking can help you get out when you
are stuck, but you must use caution.
If your vehicle has a traction system, the traction
system can often help to free a stuck vehicle.
See Traction Control System (TCS) on page 296
or Enhanced Traction System (ETS) on page 297.
If the stuck condition is too severe for the
traction system to free the vehicle, turn the traction
system off and use the rocking method.
320

{CAUTION:
If you let your vehicle’s tires spin at high
speed, they can explode, and you or others
could be injured. And, the transaxle or
other parts of the vehicle can overheat.
That could cause an engine compartment
fire or other damage. When you are stuck,
spin the wheels as little as possible. Do not
spin the wheels above 35 mph (55 km/h) as
shown on the speedometer.
Notice: Spinning the wheels can destroy parts
of your vehicle as well as the tires. If you spin
the wheels too fast while shifting the transaxle
back and forth, you can destroy the transaxle.
See Rocking Your Vehicle to Get It Out on
page 321.
For information about using tire chains on your
vehicle, see Tire Chains on page 417.
Rocking Your Vehicle to Get It Out
First, turn the steering wheel left and right.
That will clear the area around the front wheels.
If your vehicle has a traction system, you
should turn the traction system off. See Traction
Control System (TCS) on page 296 or Enhanced
Traction System (ETS) on page 297. Then
shift back and forth between REVERSE (R) and a
forward gear, spinning the wheels as little as
possible. Release the accelerator pedal while you
shift, and press lightly on the accelerator pedal
when the transaxle is in gear. By slowly spinning
the wheels in the forward and reverse directions,
you will cause a rocking motion that may free your
vehicle. If that does not get your vehicle out
after a few tries, it may need to be towed out.
If your vehicle does need to be towed out,
see Towing Your Vehicle on page 328.
321

Loading Your Vehicle
It is very important to know how much weight
your vehicle can carry. This weight is called the
vehicle capacity weight and includes the weight of
all occupants, cargo and all nonfactory-installed
options. Two labels on your vehicle show how much
weight it may properly carry, the Tire and Loading
Information label and the Certification label.
{CAUTION:
Do not load your vehicle any heavier than
the Gross Vehicle Weight Rating (GVWR),
or either the maximum front or rear Gross
Axle Weight Rating (GAWR). If you do,
parts on your vehicle can break, and it
can change the way your vehicle handles.
These could cause you to lose control
and crash. Also, overloading can shorten
the life of your vehicle.
Tire and Loading Information Label
A vehicle specific Tire and Loading Information
label is attached to the vehicle’s center pillar
(B-pillar). With the driver’s door open, you will find
the label attached below the door lock post (striker).
Label Example
322

The Tire and Loading Information label shows the
number of occupant seating positions (A), and the
maximum vehicle capacity weight (B) in kilograms
and pounds.
The Tire and Loading Information label also shows
the tire size of the original equipment tires (C) and
the recommended cold tire inflation pressures (D).
For more information on tires and inflation see Tires
on page 398 and Inflation - Tire Pressure on
page 407.
There is also important loading information on the
Certification label. It tells you the Gross Vehicle
Weight Rating (GVWR) and the Gross Axle Weight
Rating (GAWR) for the front and rear axle; see
“Certification Label” later in this section.
Steps for Determining Correct Load Limit
1. Locate the statement “The combined
weight of occupants and cargo should never
exceed XXX kg or XXX pounds” on your
vehicle placard.
2. Determine the combined weight of the driver
and passengers that will be riding in your
vehicle.
3. Subtract the combined weight of the driver
and passengers from XXX kilograms or
XXX pounds.
4. The resulting figure equals the available
amount of cargo and luggage load capacity.
For example, if the “XXX” amount equals
1400 lbs and there will be five 150 lb
passengers in your vehicle, the amount of
available cargo and luggage load capacity is
650 lbs (1400 −750 (5 x 150) = 650 lbs).
323

5. Determine the combined weight of luggage
and cargo being loaded on the vehicle. That
weight may not safely exceed the available
cargo and luggage load capacity calculated
in Step 4.
6. If your vehicle will be towing a trailer, the load
from your trailer will be transferred to your
vehicle. Consult this manual to determine how
this reduces the available cargo and luggage
load capacity of your vehicle.
If your vehicle can tow a trailer, see Towing a
Trailer on page 331 for important information
on towing a trailer, towing safety rules,
and trailering tips.
Item Description Total
A
Vehicle
Capacity Weight for
Example 1 =1,000 lbs (453 kg)
B
Subtract
Occupant Weight
150 lbs (68 kg) ×2=300 lbs (136 kg)
CAvailable Occupant
and Cargo Weight =700 lbs (317 kg)
Example 1
324

Item Description Total
A
Vehicle
Capacity Weight for
Example 2 =1,000 lbs (453 kg)
B
Subtract
Occupant Weight
150 lbs (68 kg) ×5=750 lbs (340 kg)
CAvailable Cargo
Weight =250 lbs (113 kg)
Item Description Total
A
Vehicle
Capacity Weight for
Example 3 =1,000 lbs (453 kg)
B
Subtract
Occupant Weight
200 lbs (91 kg) ×5=1,000 lbs (453 kg)
CAvailable Cargo
Weight =0 lbs (0 kg)
Refer to your vehicle’s Tire and Loading
Information label for specific information about
your vehicle’s capacity weight and seating
positions. The combined weight of the driver,
passengers, and cargo should never exceed your
vehicle’s capacity weight.
Example 2 Example 3
325

Certification Label
A vehicle specific Certification label, found on
the rear edge of the driver’s door, tells you
the gross weight capacity of your vehicle, called
the Gross Vehicle Weight Rating (GVWR).
The GVWR includes the weight of the vehicle, all
occupants, fuel and cargo. Never exceed the
GVWR for your vehicle, or the Gross Axle Weight
Rating (GAWR) for either the front or rear axle.
And, if you do have a heavy load, you should
spread it out.
{CAUTION:
Do not load your vehicle any heavier than
the Gross Vehicle Weight Rating (GVWR),
or either the maximum front or rear Gross
Axle Weight Rating (GAWR). If you do,
parts on your vehicle can break, and it
can change the way your vehicle handles.
These could cause you to lose control
and crash. Also, overloading can shorten
the life of your vehicle.
326

If you put things inside your vehicle — like
suitcases, tools, packages, or anything else — they
will go as fast as the vehicle goes. If you have to
stop or turn quickly, or if there is a crash, they will
keep going.
{CAUTION:
Things you put inside your vehicle can
strike and injure people in a sudden stop
or turn, or in a crash.
•Put things in the trunk or rear area of
your vehicle. In a trunk, put them as
far forward as you can. Try to spread
the weight evenly. If you have
fold-down rear seats, you will find
four anchors on the back wall of your
trunk. You can use these anchors to
tie down lighter loads. They are not
strong enough for heavy things,
however, so put them as far forward
as you can in the trunk or rear area.
CAUTION: (Continued)
CAUTION: (Continued)
•Never stack heavier things, like
suitcases, inside the vehicle so that
some of them are above the tops of
the seats.
•Do not leave an unsecured child
restraint in your vehicle.
•When you carry something inside the
vehicle, secure it whenever you can.
•Do not leave a seat folded down
unless you need to.
327

Towing
Towing Your Vehicle
Consult your dealer or a professional towing
service if you need to have your disabled vehicle
towed. See Roadside Assistance Program on
page 484.
If you want to tow your vehicle behind another
vehicle for recreational purposes (such as behind
a motorhome), see “Recreational Vehicle
Towing” following.
Recreational Vehicle Towing
Recreational vehicle towing means towing your
vehicle behind another vehicle — such as behind
a motorhome. The two most common types of
recreational vehicle towing are known as “dinghy
towing” (towing your vehicle with all four wheels
on the ground) and “dolly towing” (towing
your vehicle with two wheels on the ground and
two wheels up on a device known as a “dolly”).
With the proper preparation and equipment, many
vehicle can be towed in these ways. See “Dinghy
Towing” and “Dolly Towing”, following.
Here are some important things to consider before
you do recreational vehicle towing:
•What’s the towing capacity of the towing
vehicle? Be sure you read the tow vehicle
manufacturer’s recommendations.
•How far will you tow? Some vehicles have
restrictions on how far and how long they
can tow.
•Do you have the proper towing equipment?
See your dealer or trailering professional
for additional advice and equipment
recommendations.
•Is your vehicle ready to be towed? Just as
you would prepare your vehicle for a long
trip, you’ll want to make sure your vehicle is
prepared to be towed. See Before Leaving on
a Long Trip on page 312.
328

Dinghy Towing
The Malibu Sedan SS and Maxx SS cannot be
dinghy towed.
For vehicles that can be dinghy towed, follow
these steps:
1. Position the vehicle to tow and then secure it.
2. Turn the ignition switch to OFF.
3. Set the parking brake.
4. To prevent your battery from draining while the
vehicle is being towed, remove the following
fuse from the instrument panel fuse block: IGN
SENSOR. See Instrument Panel Fuse Block on
page 447 for more information.
5. Turn the ignition switch to ACC.
6. Shift your transaxle to NEUTRAL (N).
7. Release the parking brake.
Remember to install the fuses once you reach
your destination. To reinstall a fuse, do the
following:
1. Set the parking brake.
2. Remove the key from the ignition switch.
3. Reinstall the fuse.
Notice: If you exceed 65 mph (105 km/h) while
towing your vehicle, it could be damaged.
Never exceed 65 mph (105 km/h) while towing
your vehicle.
329

Notice: Towing your vehicle from the rear
could damage it. Also, repairs would not
be covered by the warranty. Never have your
vehicle towed from the rear.
Dolly Towing
To tow your vehicle with a dolly and two wheels
on the ground, follow these steps:
1. Put the front wheels on a dolly.
2. Put the vehicle in PARK (P).
3. Set the parking brake and then remove the key.
4. Clamp the steering wheel in a straight-ahead
position with a clamping device designed for
towing.
5. Release the parking brake.
330

Towing a Trailer
{CAUTION:
If you do not use the correct equipment
and drive properly, you can lose control
when you pull a trailer. For example, if the
trailer is too heavy, the brakes may not
work well — or even at all. You and your
passengers could be seriously injured.
You may also damage your vehicle; the
resulting repairs would not be covered by
your warranty. Pull a trailer only if you have
followed all the steps in this section.
Ask your dealer for advice and information
about towing a trailer with your vehicle.
If you have a Malibu Sedan SS or a Maxx SS,
trailer towing is not recommended. Your vehicle
was neither designed nor intended to tow a trailer.
Your vehicle can tow a trailer if it is equipped with
a 3.5L V6 engine and the proper trailer towing
equipment. To identify the trailering capacity
of your vehicle, you should read the information in
“Weight of the Trailer” that appears later in this
section. Trailering is different than just driving your
vehicle by itself. Trailering means changes in
handling, durability and fuel economy. Successful,
safe trailering takes correct equipment, and it
has to be used properly.
That’s the reason for this part. In it are many
time-tested, important trailering tips and safety
rules. Many of these are important for your safety
and that of your passengers. So please read
this section carefully before you pull a trailer.
Load-pulling components such as the engine,
transaxle, wheel assemblies and tires are forced
to work harder against the drag of the added
weight. The engine is required to operate
at relatively higher speeds and under greater
loads, generating extra heat. What’s more,
the trailer adds considerably to wind resistance,
increasing the pulling requirements.
331

If You Do Decide To Pull A Trailer
If you do, here are some important points:
•There are many different laws, including speed
limit restrictions, having to do with trailering.
Make sure your rig will be legal, not only where
you live but also where you’ll be driving.
A good source for this information can be
state or provincial police.
•Consider using a sway control. You can ask a
hitch dealer about sway controls.
•Don’t tow a trailer at all during the first
1,000 miles (1 600 km) your new vehicle is
driven. Your engine, axle or other parts could
be damaged.
•Then, during the first 500 miles (800 km) that
you tow a trailer, don’t drive over 50 mph
(80 km/h) and don’t make starts at full throttle.
This helps your engine and other parts of
your vehicle wear in at the heavier loads.
•Obey speed limit restrictions when towing a
trailer. Don’t drive faster than the maximum
posted speed for trailers, or no more than
55 mph (90 km/h), to save wear on your
vehicle’s parts.
Three important considerations have to do with
weight:
•the weight of the trailer,
•the weight of the trailer tongue
•and the total weight on your vehicle’s tires.
Weight of the Trailer
How heavy can a trailer safely be?
It should never weigh more than 1,000 lbs
(450 kg). But even that can be too heavy.
It depends on how you plan to use your rig. For
example, speed, altitude, road grades, outside
temperature and how much your vehicle is used to
pull a trailer are all important. It can also depend
on any special equipment that you have on
your vehicle, and the amount of tongue weight the
vehicle can carry. See “Weight of the Trailer
Tongue” later in this section for more information.
Maximum trailer weight is calculated assuming
only the driver is in the tow vehicle and it has all
the required trailering equipment. The weight
of additional optional equipment, passengers and
cargo in the tow vehicle must be subtracted
from the maximum trailer weight.
332

When towing a trailer on long uphill grades while
the outside temperature is above 85°F (29°C),
reduce your vehicle speed to 45 mph (72 km/h) to
avoid overheating the engine cooling system.
You can ask your dealer for our trailering
information or advice, or you can write us at:
Chevrolet Customer Assistance
P.O. Box 33170
Detroit, MI 48232-5170
In Canada, write to:
General Motors of Canada Limited
Customer Communication Centre, 163-005
1908 Colonel Sam Drive
Oshawa, Ontario L1H 8P7
Weight of the Trailer Tongue
The tongue load (A) of any trailer is an important
weight to measure because it affects the total
or gross weight of your vehicle. The Gross Vehicle
Weight (GVW) includes the curb weight of the
vehicle, any cargo you may carry in it, and
the people who will be riding in the vehicle. And if
you tow a trailer, you must add the tongue load
to the GVW because your vehicle will be carrying
that weight, too. See Loading Your Vehicle on
page 322 for more information about your vehicle’s
maximum load capacity.
If you’re using a weight-carrying hitch or a
weight-distributing hitch, the trailer tongue (A)
should weigh 10 to 15 percent of the total loaded
trailer weight (B).
After you’ve loaded your trailer, weigh the trailer
and then the tongue, separately, to see if the
weights are proper. If they aren’t, you may be able
to get them right simply by moving some items
around in the trailer.
333

Total Weight on Your Vehicle’s Tires
Be sure your vehicle’s tires are inflated to the
upper limit for cold tires. You’ll find these numbers
on the Tire and Loading Information label. See
Loading Your Vehicle on page 322. Then be sure
you don’t go over the GVW limit for your
vehicle, including the weight of the trailer tongue.
Hitches
It’s important to have the correct hitch equipment.
Crosswinds, large trucks going by and rough
roads are a few reasons why you’ll need the right
hitch. Here are some rules to follow:
•The rear bumper on your vehicle is not
intended for hitches. Do not attach rental
hitches or other bumper-type hitches to it.
Use only a frame-mounted hitch that does not
attach to the bumper.
•Will you have to make any holes in the body
of your vehicle when you install a trailer
hitch? If you do, then be sure to seal the holes
later when you remove the hitch. If you
don’t seal them, deadly carbon monoxide (CO)
from your exhaust can get into your vehicle.
See Engine Exhaust on page 138. Dirt
and water can, too.
Safety Chains
You should always attach chains between your
vehicle and your trailer. Cross the safety
chains under the tongue of the trailer so that the
tongue will not drop to the road if it becomes
separated from the hitch. Instructions about safety
chains may be provided by the hitch manufacturer
or by the trailer manufacturer. Follow the
manufacturer’s recommendation for attaching
safety chains and do not attach them to the
bumper. Always leave just enough slack so you
can turn with your rig. And, never allow safety
chains to drag on the ground.
Trailer Brakes
Does your trailer have its own brakes?
Be sure to read and follow the instructions for the
trailer brakes so you’ll be able to install, adjust
and maintain them properly. And because you may
have anti-lock brakes, do not try to tap into your
vehicle’s hydraulic brake system. If you do,
both systems won’t work well, or at all.
334

Driving with a Trailer
Towing a trailer requires a certain amount of
experience. Before setting out for the open road,
you’ll want to get to know your rig. Acquaint
yourself with the feel of handling and braking with
the added weight of the trailer. And always
keep in mind that the vehicle you are driving is
now a good deal longer and not nearly as
responsive as your vehicle is by itself.
Before you start, check the trailer hitch and
platform (and attachments), safety chains,
electrical connector, lamps, tires and mirror
adjustment. If the trailer has electric brakes, start
your vehicle and trailer moving and then apply
the trailer brake controller by hand to be sure the
brakes are working. This lets you check your
electrical connection at the same time.
During your trip, check occasionally to be sure
that the load is secure, and that the lamps and any
trailer brakes are still working.
Following Distance
Stay at least twice as far behind the vehicle ahead
as you would when driving your vehicle without
a trailer. This can help you avoid situations
that require heavy braking and sudden turns.
Passing
You’ll need more passing distance up ahead when
you’re towing a trailer. And, because you’re a
good deal longer, you’ll need to go much farther
beyond the passed vehicle before you can
return to your lane.
Backing Up
Hold the bottom of the steering wheel with one
hand. Then, to move the trailer to the left,
just move that hand to the left. To move the trailer
to the right, move your hand to the right. Always
back up slowly and, if possible, have someone
guide you.
335

Making Turns
Notice: Making very sharp turns while
trailering could cause the trailer to come in
contact with the vehicle. Your vehicle could be
damaged. Avoid making very sharp turns
while trailering.
When you’re turning with a trailer, make wider
turns than normal. Do this so your trailer
won’t strike soft shoulders, curbs, road signs,
trees or other objects. Avoid jerky or sudden
maneuvers. Signal well in advance.
Turn Signals When Towing a Trailer
When you tow a trailer, your vehicle may
need additional wiring. Check with your dealer.
The arrows on your instrument panel will
flash whenever you signal a turn or lane change.
Properly hooked up, the trailer lamps will also
flash, telling other drivers you’re about to
turn, change lanes or stop.
When towing a trailer, the arrows on your
instrument panel will flash for turns even if the bulbs
on the trailer are burned out. Thus, you may think
drivers behind you are seeing your signal when
they are not. It’s important to check occasionally to
be sure the trailer bulbs are still working.
Driving On Grades
When towing a trailer on long uphill grades while
the outside temperature is above 85°F (29°C),
reduce your vehicle speed to 45 mph (72 km/h) to
avoid overheating the engine cooling system.
Reduce speed and shift to a lower gear before you
start down a long or steep downgrade. If you
don’t shift down, you might have to use your
brakes so much that they would get hot and no
longer work well.
Pay attention to the engine coolant gage. If the
indicator is in the red area, turn off the air
conditioning to reduce engine load. See Engine
Overheating on page 370.
336

Parking on Hills
{CAUTION:
You really should not park your vehicle,
with a trailer attached, on a hill.
If something goes wrong, your rig could
start to move. People can be injured, and
both your vehicle and the trailer can be
damaged.
But if you ever have to park your rig on a hill,
here’s how to do it:
1. Apply your regular brakes, but don’t shift into
PARK (P) yet.
2. Have someone place chocks under the trailer
wheels.
3. When the wheel chocks are in place, release
the regular brakes until the chocks absorb
the load.
4. Reapply the regular brakes. Then apply your
parking brake and shift into PARK (P).
5. Release the regular brakes.
337

When You Are Ready to Leave After
Parking on a Hill
1. Apply your regular brakes and hold the pedal
down while you:
•start your engine,
•shift into a gear, and
•release the parking brake.
2. Let up on the brake pedal.
3. Drive slowly until the trailer is clear of the
chocks.
4. Stop and have someone pick up and store
the chocks.
Maintenance When Trailer Towing
Your vehicle will need service more often when
you’re pulling a trailer. Things that are especially
important in trailer operation are automatic
transaxle fluid (don’t overfill), engine oil, drive belt,
cooling system and brake system. Each of
these is covered in this manual, and the Index will
help you find them quickly. If you’re trailering,
it’s a good idea to review this information before
you start your trip.
Check periodically to see that all hitch nuts and
bolts are tight.
Engine Cooling When Trailer Towing
Your cooling system may temporarily overheat
during severe operating conditions. See Engine
Overheating on page 370.
338

Service ........................................................ 342
Accessories and Modifications ................... 342
California Proposition 65 Warning .............. 343
Doing Your Own Service Work .................. 343
Adding Equipment to the Outside of
Your Vehicle .......................................... 344
Fuel ............................................................. 344
Gasoline Octane ........................................ 344
Gasoline Specifications .............................. 345
California Fuel ........................................... 345
Additives ................................................... 345
Fuels in Foreign Countries ........................ 346
Filling the Tank ......................................... 347
Filling a Portable Fuel Container ............... 349
Checking Things Under
the Hood .................................................. 350
Hood Release ........................................... 350
Engine Compartment Overview .................. 352
Engine Oil ................................................. 357
Engine Oil Life System .............................. 360
Engine Air Cleaner/Filter ............................ 362
Automatic Transaxle Fluid (2.2L L4
and 3.5L V6 Engines) ............................ 363
Automatic Transaxle Fluid
(3.9L V6 Engine) .................................... 364
Engine Coolant .......................................... 367
Coolant Surge Tank Pressure Cap ............ 370
Engine Overheating ................................... 370
Overheated Engine Protection Operating
Mode (3.5L V6 and 3.9L V6 Engines) .... 372
Cooling System ......................................... 373
Power Steering Fluid ................................. 378
Windshield Washer Fluid ........................... 380
Brakes ...................................................... 381
Battery ...................................................... 384
Jump Starting ............................................ 384
Bulb Replacement ....................................... 390
Halogen Bulbs ........................................... 390
Headlamps, Front Turn Signal, and
Parking Lamps ....................................... 390
Taillamps, Turn Signal, Stoplamps and
Back-up Lamps ...................................... 392
License Plate Lamp ................................... 394
Replacement Bulbs ................................... 394
Section 5 Service and Appearance Care
339

Windshield Wiper Blade Replacement ....... 395
Tires ............................................................ 398
Winter Tires .............................................. 399
Tire Sidewall Labeling ............................... 400
Tire Terminology and Definitions ............... 404
Inflation - Tire Pressure ............................. 407
High-Speed Operation ............................... 408
Tire Inspection and Rotation ...................... 409
When It Is Time for New Tires .................. 410
Buying New Tires ...................................... 411
Different Size Tires and Wheels ................ 413
Uniform Tire Quality Grading ..................... 414
Wheel Alignment and Tire Balance ............ 415
Wheel Replacement .................................. 415
Tire Chains ............................................... 417
If a Tire Goes Flat .................................... 418
Changing a Flat Tire ................................. 418
Removing the Spare Tire and Tools .......... 420
Removing the Flat Tire and Installing
the Spare Tire ....................................... 422
Storing a Flat or Spare Tire and
Tools (Sedan) ........................................ 428
Storing a Flat or Spare Tire and
Tools (Sedan SS) .................................. 430
Storing a Flat or Spare Tire and
Tools (All MAXX Models) ....................... 432
Compact Spare Tire .................................. 435
Appearance Care ........................................ 436
Cleaning the Inside of Your Vehicle .......... 436
Fabric/Carpet ............................................. 437
Leather ...................................................... 438
Ultra Lux Suede ........................................ 439
Instrument Panel, Vinyl, and Other
Plastic Surfaces ..................................... 439
Care of Safety Belts .................................. 440
Weatherstrips ............................................ 440
Washing Your Vehicle ............................... 440
Cleaning Exterior Lamps/Lenses ................ 441
Finish Care ............................................... 441
Windshield and Wiper Blades .................... 441
Aluminum Wheels ...................................... 442
Tires ......................................................... 443
Sheet Metal Damage ................................. 443
Finish Damage .......................................... 443
Section 5 Service and Appearance Care
340

Underbody Maintenance ............................ 443
Chemical Paint Spotting ............................ 444
Vehicle Identification .................................. 445
Vehicle Identification Number (VIN) ........... 445
Service Parts Identification Label ............... 446
Electrical System ........................................ 446
Add-On Electrical Equipment ..................... 446
Headlamp Wiring ....................................... 446
Windshield Wiper Fuses ............................ 446
Power Windows and Other Power
Options .................................................. 447
Fuses ........................................................ 447
Instrument Panel Fuse Block ..................... 447
Engine Compartment Fuse Block ............... 450
Rear Compartment Fuse Block .................. 452
Capacities and Specifications .................... 455
Section 5 Service and Appearance Care
341

Service
Your dealer knows your vehicle best and wants
you to be happy with it. We hope you will go
to your dealer for all your service needs. You will
get genuine GM parts and GM-trained and
supported service people.
We hope you will want to keep your GM vehicle
all GM. Genuine GM parts have one of these
marks:
Accessories and Modifications
When you add non-GM accessories to your vehicle
they can affect your vehicle’s performance and
safety, including such things as, airbags, braking,
stability, ride and handling, emissions systems,
aerodynamics, durability, and electronic systems
like anti-lock brakes, traction control and stability
control. Some of these accessories may even
cause malfunction or damage not covered by
warranty.
GM Accessories are designed to complement and
function with other systems on your vehicle.
Your GM dealer can accessorize your vehicle
using genuine GM Accessories. When you go to
your GM dealer and ask for GM Accessories,
you will know that GM-trained and supported
service technicians will perform the work using
genuine GM Accessories.
342

California Proposition 65 Warning
Most motor vehicles, including this one, contain
and/or emit chemicals known to the State of
California to cause cancer and birth defects or
other reproductive harm. Engine exhaust,
many parts and systems (including some inside
the vehicle), many fluids, and some component
wear by-products contain and/or emit these
chemicals.
Doing Your Own Service Work
{CAUTION:
You can be injured and your vehicle could
be damaged if you try to do service work
on a vehicle without knowing enough
about it.
•Be sure you have sufficient knowledge,
experience, the proper replacement
parts, and tools before you attempt any
vehicle maintenance task.
•Be sure to use the proper nuts, bolts,
and other fasteners. English and metric
fasteners can be easily confused. If you
use the wrong fasteners, parts can later
break or fall off. You could be hurt.
If you want to do some of your own service work,
you will want to use the proper service manual.
It tells you much more about how to service your
vehicle than this manual can. To order the
proper service manual, see Service Publications
Ordering Information on page 497.
343

Your vehicle has an airbag system. Before
attempting to do your own service work, see
Servicing Your Airbag-Equipped Vehicle on
page 90.
You should keep a record with all parts receipts
and list the mileage and the date of any service
work you perform. See Maintenance Record
on page 473.
Adding Equipment to the Outside of
Your Vehicle
Things you might add to the outside of your
vehicle can affect the airflow around it. This may
cause wind noise and affect windshield washer
performance. Check with your dealer before
adding equipment to the outside of your vehicle.
Fuel
Use of the recommended fuel is an important part
of the proper maintenance of your vehicle. To
help keep your engine clean and maintain optimum
vehicle performance, GM recommends the use
of gasoline advertised as TOP TIER Detergent
Gasoline.
Gasoline Octane
Use regular unleaded gasoline with a posted
octane rating of 87 or higher. If the octane rating
is less than 87, you may notice an audible
knocking noise when you drive, commonly referred
to as spark knock. If this occurs, use a gasoline
rated at 87 octane or higher as soon as possible. If
you are using gasoline rated at 87 octane or
higher and you hear heavy knocking, your engine
needs service.
344

Gasoline Specifications
At a minimum, gasoline should meet ASTM
specification D 4814 in the United States or
CAN/CGSB-3.5 in Canada. Some gasolines may
contain an octane-enhancing additive called
methylcyclopentadienyl manganese tricarbonyl
(MMT). General Motors recommends against the
use of gasolines containing MMT. See Additives
on page 345 for additional information.
California Fuel
If your vehicle is certified to meet California
Emissions Standards, it is designed to operate on
fuels that meet California specifications. See the
underhood emission control label. If this fuel is not
available in states adopting California emissions
standards, your vehicle will operate satisfactorily on
fuels meeting federal specifications, but emission
control system performance may be affected. The
malfunction indicator lamp may turn on and your
vehicle may fail a smog-check test. See Malfunction
Indicator Lamp on page 212. If this occurs, return to
your authorized GM dealer for diagnosis.
If it is determined that the condition is caused by the
type of fuel used, repairs may not be covered by
your warranty.
Additives
To provide cleaner air, all gasolines in the United
States are now required to contain additives
that will help prevent engine and fuel system
deposits from forming, allowing your emission
control system to work properly. In most cases,
you should not have to add anything to your fuel.
However, some gasolines contain only the
minimum amount of additive required to meet U.S.
Environmental Protection Agency regulations.
To help keep fuel injectors and intake valves clean,
or if your vehicle experiences problems due to
dirty injectors or valves, look for gasoline that is
advertised as TOP TIER Detergent Gasoline. Also,
your dealer has additives that will help correct
and prevent most deposit-related problems.
345

Gasolines containing oxygenates, such as ethers
and ethanol, and reformulated gasolines may be
available in your area. General Motors
recommends that you use these gasolines if they
comply with the specifications described earlier.
However, E85 (85% ethanol) and other fuels
containing more than 10% ethanol must not be
used in vehicles that were not designed for
those fuels.
Notice: Your vehicle was not designed for
fuel that contains methanol. Do not use
fuel containing methanol. It can corrode metal
parts in your fuel system and also damage
the plastic and rubber parts. That damage
would not be covered under your warranty.
Some gasolines that are not reformulated for low
emissions may contain an octane-enhancing
additive called methylcyclopentadienyl manganese
tricarbonyl (MMT); ask the attendant where you
buy gasoline whether the fuel contains MMT.
General Motors recommends against the use of
such gasolines. Fuels containing MMT can reduce
the life of spark plugs and the performance of
the emission control system may be affected. The
malfunction indicator lamp may turn on. If this
occurs, return to your dealer for service.
Fuels in Foreign Countries
If you plan on driving in another country outside
the United States or Canada, the proper fuel may
be hard to find. Never use leaded gasoline or
any other fuel not recommended in the previous
text on fuel. Costly repairs caused by use of
improper fuel would not be covered by your
warranty.
To check the fuel availability, ask an auto club, or
contact a major oil company that does business
in the country where you will be driving.
346

Filling the Tank
{CAUTION:
Fuel vapor burns violently and a fuel fire
can cause bad injuries. To help avoid
injuries to you and others, read and follow
all the instructions on the pump island.
Turn off your engine when you are
refueling. Do not smoke if you are near
fuel or refueling your vehicle. Keep
sparks, flames, and smoking materials
away from fuel. Do not leave the fuel
pump unattended when refueling your
vehicle. This is against the law in some
places. Keep children away from the fuel
pump; never let children pump fuel.
The tethered fuel cap is located behind a hinged
fuel door on the passenger’s side of the vehicle.
To open the door, insert your finger into the finger
depression next to the fuel door.
To remove the fuel cap, turn it slowly
counterclockwise. The fuel cap has a spring in it; if
the cap is released too soon, it will spring back
to the right.
While refueling, hang the tethered fuel cap from
the hook on the fuel door.
347

{CAUTION:
If you spill fuel and then something
ignites it, you could be badly burned. Fuel
can spray out on you if you open the fuel
cap too quickly. This spray can happen if
your tank is nearly full, and is more likely
in hot weather. Open the fuel cap slowly
and wait for any hiss noise to stop. Then
unscrew the cap all the way.
Be careful not to spill fuel. Do not top off or overfill
the tank and wait a few seconds after you have
finished pumping before removing the nozzle.
Clean fuel from painted surfaces as soon
as possible. See Washing Your Vehicle on
page 440.
When replacing the fuel cap, turn it clockwise until
it clicks. Make sure the cap is fully installed.
The diagnostic system can determine if the fuel
cap has been left off or improperly installed.
This would allow fuel to evaporate into the
atmosphere. See Malfunction Indicator Lamp on
page 212.
The CHECK GAS CAP message will be displayed
on the Driver Information Center (DIC) if the
fuel cap is not properly installed. See DIC
Warnings and Messages on page 222 for more
information.
{CAUTION:
If a fire starts while you are refueling, do
not remove the nozzle. Shut off the flow of
fuel by shutting off the pump or by
notifying the station attendant. Leave the
area immediately.
Notice: If you need a new fuel cap, be sure to
get the right type. Your dealer can get one
for you. If you get the wrong type, it may not
fit properly. This may cause your malfunction
indicator lamp to light and may damage
your fuel tank and emissions system. See
Malfunction Indicator Lamp on page 212.
348

Filling a Portable Fuel Container
{CAUTION:
Never fill a portable fuel container while it
is in your vehicle. Static electricity
discharge from the container can ignite the
gasoline vapor. You can be badly burned
and your vehicle damaged if this occurs.
CAUTION: (Continued)
CAUTION: (Continued)
To help avoid injury to you and others:
•Dispense gasoline only into approved
containers.
•Do not fill a container while it is inside
a vehicle, in a vehicle’s trunk, pickup
bed, or on any surface other than the
ground.
•Bring the fill nozzle in contact with the
inside of the fill opening before
operating the nozzle. Contact should
be maintained until the filling is
complete.
•Do not smoke while pumping
gasoline.
349

Checking Things Under
the Hood
{CAUTION:
An electric fan under the hood can start up
and injure you even when the engine is not
running. Keep hands, clothing, and tools
away from any underhood electric fan.
{CAUTION:
Things that burn can get on hot engine
parts and start a fire. These include
liquids like fuel, oil, coolant, brake fluid,
windshield washer and other fluids, and
plastic or rubber. You or others could be
burned. Be careful not to drop or spill
things that will burn onto a hot engine.
Hood Release
To open the hood, do the following:
1. Pull the hood
release handle with
this symbol on it.
It is located
inside the vehicle to
the left of the
steering column.
350

2. Then go to the front of the vehicle and push
the secondary hood release handle toward
the driver’s side of the vehicle.
3. Lift the hood.
4. Release the hood prop rod from its retainer
and put the hood prop into the slot marked
with an arrow.
Before closing the hood, be sure all the filler caps
are on properly. Then lift the hood to relieve
pressure on the hood prop. Remove the hood
prop from the slot in the hood and return the
prop to its retainer. Lower the hood 8 to 12 inches
(20 to 30 cm) above the vehicle and release it to
latch fully. Check to make sure the hood is closed
and repeat the procedure if necessary.
351

Engine Compartment Overview
When you open the hood on the 2.2L L4 engine, here is what you will see:
352

A. Engine Air Cleaner/Filter. See Engine Air
Cleaner/Filter on page 362.
B. Engine Oil Dipstick. See “Checking Engine Oil”
under Engine Oil on page 357.
C. Engine Oil Fill Cap. See “When to Add Engine
Oil” under Engine Oil on page 357.
D. Engine Coolant Surge Tank. See Cooling
System on page 373.
E. Brake Fluid Reservoir. See “Brake Fluid” under
Brakes on page 381.
F. Battery. See Battery on page 384.
G. Engine Compartment Fuse Block. See Engine
Compartment Fuse Block on page 450.
H. Windshield Washer Fluid Reservoir. See
“Adding Washer Fluid” under Windshield
Washer Fluid on page 380.
353

When you open the hood on the 3.5L V6 engine, here is what you will see:
354

A. Engine Air Cleaner/Filter. See Engine Air
Cleaner/Filter on page 362.
B. Power Steering Fluid Reservoir (If Equipped).
See Power Steering Fluid on page 378
C. Engine Oil Fill Cap. See “When to Add Engine
Oil” under Engine Oil on page 357.
D. Engine Oil Dipstick. See “Checking Engine Oil”
under Engine Oil on page 357.
E. Engine Coolant Surge Tank. See Cooling
System on page 373.
F. Coolant Surge Tank Pressure Cap. See
Coolant Surge Tank Pressure Cap on page 370
G. Brake Fluid Reservoir. See “Brake Fluid”
under Brakes on page 381.
H. Battery. See Battery on page 384.
I. Engine Compartment Fuse Block. See Engine
Compartment Fuse Block on page 450.
J. Windshield Washer Fluid Reservoir. See
“Adding Washer Fluid” under Windshield
Washer Fluid on page 380.
355

When you open the hood on the 3.9L V6 engine, here is what you will see:
356

A. Engine Air Cleaner/Filter. See Engine Air
Cleaner/Filter on page 362.
B. Engine Coolant Bleed Valve. See Cooling
System on page 373
C. Power Steering Fluid. See Power Steering
Fluid on page 378.
D. Automatic Transaxle Fluid Dipstick (Out of
View). See “Checking Fluid Level” under
Automatic Transaxle Fluid (2.2L L4 and 3.5L
V6 Engines) on page 363 or Automatic
Transaxle Fluid (3.9L V6 Engine) on page 364.
E. Engine Oil Fill Cap. See “When to Add
Engine Oil” under Engine Oil on page 357.
F. Engine Oil Dipstick. See “Checking Engine Oil”
under Engine Oil on page 357.
G. Engine Coolant Surge Tank. See Cooling
System on page 373.
H. Coolant Surge Tank Pressure Cap. See
Coolant Surge Tank Pressure Cap on page 370
I. Brake Fluid Reservoir. See “Brake Fluid”
under Brakes on page 381.
J. Battery. See Battery on page 384.
K. Windshield Washer Fluid Reservoir. See
“Adding Washer Fluid” under Windshield
Washer Fluid on page 380.
L. Engine Compartment Fuse Block. See Engine
Compartment Fuse Block on page 450.
Engine Oil
Checking Engine Oil
It is a good idea to check the engine oil every time
you get fuel. In order to get an accurate reading,
the oil must be warm and the vehicle must be
on level ground.
The engine oil dipstick handle is a yellow loop.
See Engine Compartment Overview on page 352
for the location of the engine oil dipstick.
1. Turn off the engine and give the oil
several minutes to drain back into the oil pan.
If you do not do this, the oil dipstick might
not show the actual level.
2. Pull the dipstick and clean it with a paper
towel or cloth, then push it back in all the
way. Remove it again, keeping the tip down
and check the level.
357

When to Add Engine Oil If the oil is below the MIN mark for the L4 engine
or below the cross-hatched area at the tip of
the dipstick for the V6 engine, you will need to add
at least one quart/liter of oil. But you must use
the right kind. This section explains what kind of oil
to use. For engine oil crankcase capacity, see
Capacities and Specifications on page 455.
Notice: Do not add too much oil. If the engine
has so much oil that the oil level gets above
the upper mark that shows the proper
operating range, the engine could be damaged.
See Engine
Compartment Overview
on page 352 for the
location of the engine
oil fill cap.
Be sure to add enough oil to put the level
somewhere in the proper operating range. Push
the dipstick all the way back in when you are
through.
L4 Engine
V6 Engine
358

What Kind of Engine Oil to Use
Look for two things:
•GM6094M
Your vehicle’s engine requires oil meeting GM
Standard GM6094M. You should look for
and use only an oil that meets GM Standard
GM6094M.
•SAE 5W-30
As shown in the viscosity chart, SAE 5W-30 is
best for your vehicle.
These numbers on an oil container show its
viscosity, or thickness. Do not use other
viscosity oils such as SAE 20W-50.
Oils meeting these
requirements should
also have the starburst
symbol on the
container. This symbol
indicates that the oil
has been certified by the
American Petroleum
Institute (API).
359

You should look for this information on the oil
container, and use only those oils that are
identified as meeting GM Standard GM6094M and
have the starburst symbol on the front of the oil
container.
Notice: Use only engine oil identified as
meeting GM Standard GM6094M and showing
the American Petroleum Institute Certified
For Gasoline Engines starburst symbol. Failure
to use the recommended oil can result in
engine damage not covered by your warranty.
GM Goodwrench
®
oil meets all the requirements
for your vehicle.
If you are in an area of extreme cold, where the
temperature falls below −20°F (−29°C), it is
recommended that you use either an SAE 5W-30
synthetic oil or an SAE 0W-30 oil. Both will
provide easier cold starting and better protection
for the engine at extremely low temperatures.
Engine Oil Additives
Do not add anything to the oil. The recommended
oils with the starburst symbol that meet GM
Standard GM6094M are all you will need for good
performance and engine protection.
Engine Oil Life System
When to Change Engine Oil
Your vehicle has a computer system that lets you
know when to change the engine oil and filter. This
is based on engine revolutions and engine
temperature, and not on mileage. Based on driving
conditions, the mileage at which an oil change will
be indicated can vary considerably. For the oil life
system to work properly, you must reset the system
every time the oil is changed.
When the system has calculated that oil life has
been diminished, it will indicate that an oil change is
necessary. A CHANGE OIL SOON message will
come on. See DIC Warnings and Messages on
page 222. Change the oil as soon as possible
within the next 600 miles (1 000 km). It is possible
that, if you are driving under the best conditions, the
oil life system may not indicate that an oil change is
necessary for over a year. However, the engine oil
and filter must be changed at least once a year and
at this time the system must be reset. Your dealer
has GM-trained service people who will perform this
work using genuine GM parts and reset the system.
It is also important to check the oil regularly and
keep it at the proper level.
360

If the system is ever reset accidentally, you must
change the oil at 3,000 miles (5 000 km) since
your last oil change. Remember to reset the oil life
system whenever the oil is changed.
How to Reset the Engine Oil Life
System
The Engine Oil Life System calculates when to
change the engine oil and filter based on vehicle
use. Anytime the oil is changed, reset the
system so it can calculate when the next oil
change is required. If a situation occurs where you
change the oil prior to a CHANGE OIL SOON
message being turned on, reset the system.
After changing the engine oil, reset the system by
performing the following steps:
1. Display OIL LIFE RESET on the DIC.
2. Press and hold the ENTER button for at least
one second. An ACKNOWLEDGED display
message will appear for three seconds or until
the next button is pressed. This will tell you
the system has been reset.
3. Turn the key to OFF.
If the CHANGE OIL SOON message comes back
on when you start your vehicle, the engine oil
life system has not reset. Repeat the procedure.
What to Do with Used Oil
Used engine oil contains certain elements that may
be unhealthy for your skin and could even cause
cancer. Do not let used oil stay on your skin for very
long. Clean your skin and nails with soap and
water, or a good hand cleaner. Wash or properly
dispose of clothing or rags containing used engine
oil. See the manufacturer’s warnings about the use
and disposal of oil products.
Used oil can be a threat to the environment. If you
change your own oil, be sure to drain all the oil from
the filter before disposal. Never dispose of oil by
putting it in the trash, pouring it on the ground, into
sewers, or into streams or bodies of water. Instead,
recycle it by taking it to a place that collects used
oil. If you have a problem properly disposing of
used oil, ask your dealer, a service station, or a
local recycling center for help.
361

Engine Air Cleaner/Filter
See Engine Compartment Overview on page 352
for the location of the engine air cleaner/filter.
When to Inspect the Engine Air
Cleaner/Filter
Inspect the air cleaner/filter at the Maintenance II
intervals and replace it at the first oil change after
each 50,000 mile (83 000 km) interval. See
Scheduled Maintenance on page 460 for more
information. If you are driving in dusty/dirty
conditions, inspect the filter at each engine oil
change.
How to Inspect the Engine Air
Cleaner/Filter
To inspect the air cleaner/filter, remove the filter
from the vehicle and lightly shake the filter to
release loose dust and dirt. If the filter remains
caked with dirt, a new filter is required.
To inspect or replace the engine air cleaner/filter,
do the following:
1. Remove the screws that hold the cover on.
2. Disconnect the electrical connector.
3. Lift off the cover.
4. Inspect or replace the engine air cleaner/filter.
5. Reverse Steps 1 through 3 to reinstall the
cover and reconnect the electrical connector.
362

{CAUTION:
Operating the engine with the air cleaner/
filter off can cause you or others to be
burned. The air cleaner not only cleans the
air; it helps to stop flames if the engine
backfires. If it is not there and the engine
backfires, you could be burned. Do not
drive with it off, and be careful working on
the engine with the air cleaner/filter off.
Notice: If the air cleaner/filter is off, a backfire
can cause a damaging engine fire. And, dirt can
easily get into your engine, which will damage
it. Always have the air cleaner/filter in place
when you are driving.
Automatic Transaxle Fluid
(2.2L L4 and 3.5L V6 Engines)
It is not necessary to check the transaxle fluid
level. A transaxle fluid leak is the only reason for
fluid loss. If a leak occurs, take your vehicle to
the dealership service department and have
it repaired as soon as possible.
Change the fluid and filter at the intervals listed in
Additional Required Services on page 463, and
be sure to use the transaxle fluid listed in
Recommended Fluids and Lubricants on page 469.
Notice: Use of the incorrect automatic
transaxle fluid may damage your vehicle, and
the damages may not be covered by your
warranty. Always use the automatic transaxle
fluid listed in Recommended Fluids and
Lubricants on page 469.
363

Automatic Transaxle Fluid
(3.9L V6 Engine)
When to Check and Change Automatic
Transaxle Fluid
A good time to check the automatic transaxle fluid
level is when the engine oil is changed.
Change the fluid and filter at the intervals listed in
Additional Required Services on page 463, and be
sure to use the transaxle fluid listed in
Recommended Fluids and Lubricants on page 469.
How to Check Automatic
Transaxle Fluid
Because this operation can be a little difficult, you
may choose to have this done at the dealership
service department.
If you do it yourself, be sure to follow all the
instructions here, or you could get a false reading
on the dipstick.
Notice: Too much or too little fluid can damage
the transaxle. Too much can mean that some of
the fluid could come out and fall on hot engine
or exhaust system parts, starting a fire. Too
little fluid could cause the transaxle to overheat.
Be sure to get an accurate reading if you check
the transaxle fluid.
Wait at least 30 minutes before checking the
transaxle fluid level if you have been driving:
•When outside temperatures are above
90°F (32°C).
•At high speed for quite a while.
•In heavy traffic — especially in hot weather.
•While pulling a trailer.
To get the right reading, the fluid should be at
normal operating temperature, which is 180°F to
200°F (82°C to 93°C).
Get the vehicle warmed up by driving about
15 miles (24 km) when outside temperatures are
above 50°F (10°C). If it is colder than 50°F (10°C),
you may have to drive longer.
364

Checking the Fluid Level
Prepare the vehicle as follows:
1. Park the vehicle on a level place. Keep the
engine running.
2. With the parking brake applied, place the shift
lever in PARK (P).
3. With your foot on the brake pedal, move the
shift lever through each gear, pausing for
about three seconds in each one. Then,
position the shift lever in PARK (P).
4. Let the engine run at idle for three to
five minutes.
Then, without shutting off the engine, follow
these steps:
The transaxle fluid
dipstick handle has this
symbol on it, and is
located near the rear of
the engine
compartment.
See Engine Compartment Overview on page 352
for more information on location.
1. Pull out the dipstick and wipe it with a clean
rag or paper towel.
2. Push it back in all the way, wait three seconds
and then pull it back out again.
365

3. Check both sides of the dipstick, and read the
lower level. The fluid level must be in the
crosshatched area.
4. If the fluid level is in the acceptable range,
push the dipstick back in all the way.
How to Add Automatic Transaxle Fluid
Refer to the Maintenance Schedule to determine
what kind of transaxle fluid to use. See
Recommended Fluids and Lubricants on page 469.
If the fluid level is low, add only enough of the
proper fluid to bring the level into the crosshatched
area on the dipstick.
1. Pull out the dipstick.
2. Using a long-neck funnel, add enough fluid at
the dipstick hole to bring it to the proper level.
It does not take much fluid, generally less
than one pint (0.5 L). Do not overfill.
Notice: Use of the incorrect automatic
transaxle fluid may damage your vehicle, and
the damages may not be covered by your
warranty. Always use the automatic transaxle
fluid listed in Recommended Fluids and
Lubricants on page 469.
366

3. After adding fluid, recheck the fluid level as
described under “How to Check Automatic
Transaxle Fluid,” earlier in this section.
4. When the correct fluid level is obtained, push
the dipstick back in all the way.
Engine Coolant
The cooling system in your vehicle is filled with
DEX-COOL
®
engine coolant. This coolant is
designed to remain in your vehicle for five years or
150,000 miles (240 000 km), whichever occurs first,
if you add only DEX-COOL
®
extended life coolant.
The following explains the cooling system and how
to add coolant when it is low. If there is a problem
with engine overheating, see Engine Overheating
on page 370.
A 50/50 mixture of clean, drinkable water and
DEX-COOL
®
coolant will:
•Give freezing protection down to
−34°F (−37°C).
•Give boiling protection up to 265°F (129°C).
•Protect against rust and corrosion.
•Help keep the proper engine temperature.
•Let the warning lights and gages work as they
should.
Notice: Using coolant other than DEX-COOL
®
may cause premature engine, heater core, or
radiator corrosion. In addition, the engine
coolant may require changing sooner, at the
first maintenance service after each
30,000 miles (50 000 km) or 24 months,
whichever occurs first. Any repairs would not
be covered by your warranty. Always use
DEX-COOL
®
(silicate-free) coolant in your
vehicle.
367

What to Use
Use a mixture of one-half clean, drinkable water
and one-half DEX-COOL
®
coolant which will
not damage aluminum parts. If you use this coolant
mixture, you do not need to add anything else.
{CAUTION:
Adding only plain water to your cooling
system can be dangerous. Plain water, or
some other liquid such as alcohol, can boil
before the proper coolant mixture will.
Yourvehicle’s coolant warning system is
set for the proper coolant mixture.
Withplain water or the wrong mixture, your
engine could get too hot but you would not
get the overheat warning. Your engine
could catch fire and you or others could be
burned. Use a 50/50 mixture of clean,
drinkable water and DEX-COOL
®
coolant.
Notice: If you use an improper coolant mixture,
your engine could overheat and be badly
damaged. The repair cost would not be covered
by your warranty. Too much water in the
mixture can freeze and crack the engine,
radiator, heater core, and other parts.
If you have to add coolant more than four times a
year, have your dealer check the cooling system.
Notice: If you use extra inhibitors and/or
additives in your vehicle’s cooling system, you
could damage your vehicle. Use only the proper
mixture of the engine coolant listed in this
manual for the cooling system. See
Recommended Fluids and Lubricants on
page 469 for more information.
368

Checking Coolant
The engine coolant surge tank is located in the rear
of the engine compartment. See Engine
Compartment Overview on page 352 for more
information on location.
{CAUTION:
Turning the surge tank pressure cap when
the engine and radiator are hot can allow
steam and scalding liquids to blow out
and burn you badly. Never turn the surge
tank pressure cap — even a little — when
the engine and radiator are hot.
The vehicle must be on a level surface. When the
engine is cold, the coolant level should be at
the FULL COLD mark or slightly higher.
369

Adding Coolant
If you need more coolant, add the proper
DEX-COOL
®
coolant mixture at the surge tank,
but only when the engine is cool. If the surge tank
is empty, a special fill procedure is necessary.
See Engine Overheating on page 370 and Cooling
System on page 373.
{CAUTION:
You can be burned if you spill coolant on
hot engine parts. Coolant contains
ethylene glycol, and it will burn if the
engine parts are hot enough. Do not spill
coolant on a hot engine.
When replacing the pressure cap, make sure it is
hand-tight and fully seated.
Coolant Surge Tank Pressure Cap
Notice: If the pressure cap is not tightly
installed, coolant loss and possible engine
damage may occur. Be sure the cap is properly
and tightly secured.
Engine Overheating
You will find an engine coolant temperature gage
as well as an engine coolant temperature
warning light on your vehicle’s instrument panel
cluster. See Engine Coolant Temperature Gage on
page 212 and Engine Coolant Temperature
Warning Light on page 211.
370

If Steam Is Coming From Your Engine
{CAUTION:
Steam from an overheated engine can
burn you badly, even if you just open the
hood. Stay away from the engine if you
see or hear steam coming from it. Just
turn it off and get everyone away from the
vehicle until it cools down. Wait until
there is no sign of steam or coolant
before you open the hood.
If you keep driving when your engine is
overheated, the liquids in it can catch fire.
You or others could be badly burned.
Stop your engine if it overheats, and get
out of the vehicle until the engine is cool.
Notice: If your engine catches fire because
you keep driving with no coolant, your vehicle
can be badly damaged. The costly repairs
would not be covered by your warranty.
If No Steam Is Coming From Your
Engine
An overheat warning can indicate a serious
problem.
If you get an engine overheat warning, but see or
hear no steam, the problem may not be too
serious. Sometimes the engine can get a little too
hot when you:
•Climb a long hill on a hot day.
•Stop after high-speed driving.
•Idle for long periods in traffic.
•Tow a trailer.
If you get the overheat warning with no sign of
steam, try this for a minute or so:
1. In heavy traffic, let the engine idle in
NEUTRAL (N) while stopped. If it is safe to do
so, pull off the road, shift to PARK (P) or
NEUTRAL (N) and let the engine idle.
2. Turn on your heater to full hot at the highest
fan speed and open the windows as
necessary.
371

If you no longer have the overheat warning, you
can drive. Just to be safe, drive slower for
about 10 minutes. If the warning does not come
back on, you can drive normally.
If the warning continues, pull over, stop, and park
your vehicle right away.
If there is still no sign of steam, idle the engine for
three minutes while you are parked. If you still
have the warning, turn off the engine and
get everyone out of the vehicle until it cools down.
You may decide not to lift the hood but to get
service help right away.
Overheated Engine Protection
Operating Mode (3.5L V6 and
3.9L V6 Engines)
This emergency operating mode allows your
vehicle to be driven to a safe place in an
emergency situation. If an overheated engine
condition exists, an overheat protection mode
which alternates firing groups of cylinders helps
prevent engine damage. In this mode, you
will notice a significant loss in power and engine
performance. The temperature gage will
indicate an overheat condition exists. Driving
extended miles (km) and/or towing a trailer in the
overheat protection mode should be avoided.
Notice: After driving in the overheated engine
protection operating mode, to avoid engine
damage, allow the engine to cool before
attempting any repair. The engine oil will be
severely degraded. Repair the cause of coolant
loss, change the oil and reset the oil life
system. See Engine Oil on page 357.
372

Cooling System
When you decide it is safe to lift the hood, here is
what you will see:
A. Electric Engine Cooling Fans
B. Engine Coolant Surge Tank
C. Pressure Cap
{CAUTION:
An electric engine cooling fan under the
hood can start up even when the engine
is not running and can injure you. Keep
hands, clothing, and tools away from any
underhood electric fan.
If the coolant inside the coolant surge tank is
boiling, do not do anything else until it cools down.
The vehicle should be parked on a level surface.
3.5L V6 Engine shown, 2.2L L4 and 3.9L V6 Engines
similar
373

The coolant level should be at or above the FULL
COLD mark on the front of the coolant surge tank. If
it is not, you may have a leak at the pressure cap or
in the radiator hoses, heater hoses, radiator, water
pump, or somewhere else in the cooling system.
{CAUTION:
Heater and radiator hoses, and other
engine parts, can be very hot. Do not touch
them. If you do, you can be burned.
Do not run the engine if there is a leak. If
you run the engine, it could lose all
coolant. That could cause an engine fire,
and you could be burned. Get any leak
fixed before you drive the vehicle.
If there seems to be no leak, with the engine on,
check to see if the electric engine cooling fans are
running. If the engine is overheating, both fans
should be running. If they are not, your vehicle
needs service.
Notice: Engine damage from running your
engine without coolant is not covered by your
warranty.
Notice: Using coolant other than DEX-COOL
®
may cause premature engine, heater core, or
radiator corrosion. In addition, the engine
coolant could require changing sooner, at
30,000 miles (50 000 km) or 24 months,
whichever occurs first. Any repairs would not
be covered by your warranty. Always use
DEX-COOL
®
(silicate-free) coolant in your
vehicle.
374

How to Add Coolant to the Coolant
Surge Tank
Notice: This vehicle has a specific coolant fill
procedure. Failure to follow this procedure
could cause your engine to overheat and
be severely damaged.
If you have not found a problem yet, check to see
if coolant is visible in the surge tank. If coolant
is visible but the coolant level is not at or above the
FULL COLD mark, add a 50/50 mixture of
clean, drinkable water and DEX-COOL
®
coolant at
the coolant surge tank, but be sure the cooling
system, including the coolant surge tank pressure
cap, is cool before you do it. See Engine
Coolant on page 367 for more information.
If no coolant is visible in the surge tank, add
coolant as follows:
{CAUTION:
Steam and scalding liquids from a hot
cooling system can blow out and burn
you badly. They are under pressure, and
ifyou turn the coolant surge tank pressure
cap — even a little — they can come out at
high speed. Never turn the cap when the
cooling system, including the coolant
surge tank pressure cap, is hot. Wait for
the cooling system and coolant surge
tank pressure cap to cool if you ever have
to turn the pressure cap.
375

{CAUTION:
Adding only plain water to your cooling
system can be dangerous. Plain water, or
some other liquid such as alcohol, can
boil before the proper coolant mixture will.
Your vehicle’s coolant warning system is
set for the proper coolant mixture. With
plain water or the wrong mixture, your
engine could get too hot but you would
not get the overheat warning. Your engine
could catch fire and you or others could
be burned. Use a 50/50 mixture of clean,
drinkable water and DEX-COOL
®
coolant.
Notice: In cold weather, water can freeze and
crack the engine, radiator, heater core and
other parts. Use the recommended coolant and
the proper coolant mixture.
{CAUTION:
You can be burned if you spill coolant on
hot engine parts. Coolant contains
ethylene glycol and it will burn if the
engine parts are hot enough. Do not spill
coolant on a hot engine.
376

1. You can remove the
coolant surge tank
pressure cap when
the cooling system,
including the coolant
surge tank pressure
cap and upper
radiator hose, is no
longer hot.
Turn the pressure cap slowly counterclockwise
about two or two and one-half turns. If you
hear a hiss, wait for that to stop. This will allow
any pressure still left to be vented out the
discharge hose.
2. Then keep turning the pressure cap slowly,
and remove it.
377

3. Fill the coolant surge tank with the
proper mixture, to the FULL COLD mark on
the front of the surge tank. Wait about
five minutes, then check to see if the level is
below the FULL COLD mark. If the level
is below the FULL COLD mark, add additional
coolant to bring the level up to the mark.
Repeat this procedure until the level remains
constant at the FULL COLD mark for at
least five minutes.
4. With the coolant surge tank pressure cap off,
start the engine and let it run until you can
feel the upper radiator hose getting hot. Watch
out for the engine cooling fans.
By this time, the coolant level inside the coolant
surge tank may be lower. If the level is lower
than the FULL COLD mark, add more of the
proper mixture to the coolant surge tank until
the level reaches the FULL COLD mark.
5. Then replace the pressure cap. Be sure the
pressure cap is hand-tight and fully seated.
See your dealer, if necessary.
Power Steering Fluid
See Engine
Compartment Overview
on page 352 for
reservoir location.
378

When to Check Power Steering Fluid
Power steering fluid is used in all vehicles with
V6 engines. Vehicles with the 4-cylinder engine
have electric power steering and do not use power
steering fluid.
It is not necessary to regularly check power
steering fluid unless a leak is suspected in the
system, or an unusual noise is heard. A fluid loss
in this system could indicate a problem. Have
the system inspected and repaired.
How to Check Power Steering Fluid
To check the power steering fluid, do the following:
1. Turn the key off and let the engine
compartment cool down.
2. Wipe the cap and the top of the
reservoir clean.
3. Unscrew the cap and wipe the dipstick with a
clean rag.
4. Replace the cap and completely tighten it.
5. Remove the cap again and look at the
fluid level on the dipstick
The fluid level should be within the crosshatched
area on the dipstick.
If the fluid is at or below the ADD mark on the
dipstick, add just enough fluid to bring the
level within the crosshatched area.
What to Use
To determine what kind of fluid to use, see
Recommended Fluids and Lubricants on page 469.
Always use the proper fluid. Failure to use the
proper fluid can cause leaks and damage hoses
and seals.
379

Windshield Washer Fluid
What to Use
When you need windshield washer fluid, be sure
to read the manufacturer’s instructions before
use. If you will be operating your vehicle in an area
where the temperature may fall below freezing,
use a fluid that has sufficient protection against
freezing.
Adding Washer Fluid
When the windshield washer fluid reservoir is low,
a LOW WASHER FLUID message will be
displayed on the Driver Information Center (DIC).
See DIC Warnings and Messages on page 222
for more information.
Open the cap with the
washer symbol on it.
Add washer fluid
until the tank is full. See
Engine Compartment
Overview on page 352
for reservoir location.
Notice:
•When using concentrated washer fluid,
follow the manufacturer’s instructions
for adding water.
•Do not mix water with ready-to-use washer
fluid. Water can cause the solution to
freeze and damage your washer fluid tank
and other parts of the washer system.
Also, water does not clean as well
as washer fluid.
•Fill your washer fluid tank only
three-quarters full when it is very cold.
This allows for expansion if freezing
occurs, which could damage the tank if it
is completely full.
•Do not use engine coolant (antifreeze) in
your windshield washer. It can damage
your washer system and paint.
380

Brakes
Brake Fluid
Your brake master
cylinder reservoir is
filled with DOT-3 brake
fluid. See Engine
Compartment Overview
on page 352 for the
location of the reservoir.
There are only two reasons why the brake fluid
level in the reservoir might go down. The first
is that the brake fluid goes down to an acceptable
level during normal brake lining wear. When
new linings are put in, the fluid level goes back
up. The other reason is that fluid is leaking out of
the brake system. If it is, you should have your
brake system fixed, since a leak means that
sooner or later your brakes will not work well, or
will not work at all.
So, it is not a good idea to top off your brake fluid.
Adding brake fluid will not correct a leak. If you
add fluid when your linings are worn, then you will
have too much fluid when you get new brake
linings. You should add or remove brake fluid, as
necessary, only when work is done on the
brake hydraulic system.
{CAUTION:
If your vehicle has too much brake fluid, it
can spill on the engine. The fluid will burn
if the engine is hot enough. You or others
could be burned, and your vehicle could
be damaged. Add brake fluid only when
work is done on the brake hydraulic
system.
When your brake fluid falls to a low level, your
brake warning light will come on. See Brake
System Warning Light on page 207.
381

What to Add
When you do need brake fluid, use only DOT-3
brake fluid. Use new brake fluid from a sealed
container only. See Recommended Fluids
and Lubricants on page 469.
Always clean the brake fluid reservoir cap and the
area around the cap before removing it. This
will help keep dirt from entering the reservoir.
{CAUTION:
With the wrong kind of fluid in the brake
system, the brakes may not work well, or
they may not even work at all. This could
cause a crash. Always use the proper
brake fluid.
Notice:
•Using the wrong fluid can badly damage
brake system parts. For example, just a
few drops of mineral-based oil, such
as engine oil, in the brake system can
damage brake system parts so badly that
they will have to be replaced. Do not
let someone put in the wrong kind of fluid.
•If you spill brake fluid on your vehicle’s
painted surfaces, the paint finish can
be damaged. Be careful not to spill brake
fluid on your vehicle. If you do, wash it
off immediately. See Washing Your Vehicle
on page 440.
Brake Wear
Your vehicle has front disc brakes and may have
rear drum brakes or rear disc brakes.
Disc brake pads have built-in wear indicators that
make a high-pitched warning sound when the
brake pads are worn and new pads are needed.
The sound may come and go or be heard all
the time your vehicle is moving, except when you
are pushing on the brake pedal firmly.
382

{CAUTION:
The brake wear warning sound means that
soon the brakes will not work well. That
could lead to an accident. When you hear
the brake wear warning sound, have your
vehicle serviced.
Notice: Continuing to drive with worn-out
brake pads could result in costly brake repair.
Some driving conditions or climates may cause a
brake squeal when the brakes are first applied or
lightly applied. This does not mean something is
wrong with your brakes.
Properly torqued wheel nuts are necessary to help
prevent brake pulsation. When tires are rotated,
inspect brake pads for wear and evenly tighten
wheel nuts in the proper sequence to GM torque
specifications.
If you have rear drum brakes, they do not have
wear indicators, but if you ever hear a rear brake
rubbing noise, have the rear brake linings inspected
immediately.
Also, the rear brake drums should be removed and
inspected each time the tires are removed for
rotation or changing. When you have the front
brake pads replaced, have the rear brakes
inspected, too.
Brake linings should always be replaced as
complete axle sets.
Brake Pedal Travel
See your dealer if the brake pedal does not return
to normal height, or if there is a rapid increase in
pedal travel. This could be a sign of brake trouble.
Brake Adjustment
Every time you apply the brakes, with or without the
vehicle moving, your brakes adjust for wear.
Replacing Brake System Parts
The braking system on a vehicle is complex. Its
many parts have to be of top quality and work well
together if the vehicle is to have really good
braking. Your vehicle was designed and tested with
top-quality GM brake parts. When you replace parts
of your braking system — for example, when your
brake linings wear down and you need new ones
put in — be sure you get new approved GM
replacement parts.
383

If you do not, your brakes may no longer work
properly. For example, if someone puts in
brake linings that are wrong for your vehicle, the
balance between your front and rear brakes can
change — for the worse. The braking performance
you have come to expect can change in many other
ways if someone puts in the wrong replacement
brake parts.
Battery
Your vehicle has a maintenance free battery. When
it is time for a new battery, get one that has the
replacement number shown on the original battery’s
label. We recommend an ACDelco
®
replacement
battery. See Engine Compartment Overview on
page 352 for battery location.
Warning: Battery posts, terminals, and related
accessories contain lead and lead compounds,
chemicals known to the State of California to cause
cancer and reproductive harm. Wash hands after
handling.
Vehicle Storage
If you are not going to drive your vehicle for 25 days
or more, remove the black, negative (−) cable from
the battery. This will help keep your battery from
running down.
{CAUTION:
Batteries have acid that can burn you and
gas that can explode. You can be badly
hurt if you are not careful. See Jump
Starting on page 384 for tips on working
around a battery without getting hurt.
Jump Starting
If your vehicle’s battery has run down, you may
want to use another vehicle and some jumper
cables to start your vehicle. Be sure to use the
following steps to do it safely.
384

{CAUTION:
Batteries can hurt you. They can be
dangerous because:
•They contain acid that can burn you.
•They contain gas that can explode
or ignite.
•They contain enough electricity to
burn you.
If you do not follow these steps exactly,
some or all of these things can hurt you.
Notice: Ignoring these steps could result in
costly damage to your vehicle that would
not be covered by your warranty.
Trying to start your vehicle by pushing or
pulling it will not work, and it could damage
your vehicle.
1. Check the other vehicle. It must have a
12-volt battery with a negative ground system.
Notice: If the other vehicle’s system is not a
12-volt system with a negative ground,
both vehicles can be damaged. Only use
vehicles with 12-volt systems with negative
grounds to jump start your vehicle.
2. Get the vehicles close enough so the jumper
cables can reach, but be sure the vehicles are
not touching each other. If they are, it could
cause a ground connection you do not
want. You would not be able to start your
vehicle, and the bad grounding could damage
the electrical systems.
To avoid the possibility of the vehicles rolling,
set the parking brake firmly on both vehicles
involved in the jump start procedure. Put an
automatic transaxle in PARK (P) or a manual
transaxle in NEUTRAL before setting the
parking brake.
385

Notice: If you leave your radio or other
accessories on during the jump starting
procedure, they could be damaged. The repairs
would not be covered by your warranty.
Always turn off your radio and other
accessories when jump starting your vehicle.
3. Turn off the ignition on both vehicles. Unplug
unnecessary accessories plugged into the
cigarette lighter or the accessory power outlet.
Turn off the radio and all lamps that are not
needed. This will avoid sparks and help save
both batteries. And it could save the radio!
4. Open the hoods and locate the batteries. Find
the positive (+) and negative (−) terminal
locations on each vehicle. See Engine
Compartment Overview on page 352 for more
information on location.
{CAUTION:
An electric fan can start up even when the
engine is not running and can injure you.
Keep hands, clothing and tools away from
any underhood electric fan.
{CAUTION:
Using a match near a battery can cause
battery gas to explode. People have been
hurt doing this, and some have been
blinded. Use a flashlight if you need more
light.
Be sure the battery has enough water. You
do not need to add water to the battery
installed in your new vehicle. But if a
battery has filler caps, be sure the right
amount of fluid is there. If it is low, add
water to take care of that first. If you do not,
explosive gas could be present.
Battery fluid contains acid that can burn
you. Do not get it on you. If you
accidentally get it in your eyes or on your
skin, flush the place with water and get
medical help immediately.
386

5. Check that the jumper cables do not have
loose or missing insulation. If they do, you
could get a shock. The vehicles could be
damaged too.
Before you connect the cables, here are some
things you should know. Positive (+) will go to
positive (+) or to a remote positive (+) terminal if
the vehicle has one. Negative (−) will go to a
heavy, unpainted metal engine part or to a
remote negative (−) terminal if the vehicle
has one.
Do not connect positive (+) to negative (−)or
you will get a short that would damage the
battery and maybe other parts too. And do not
connect the negative (−) cable to the
negative (−) terminal on the dead battery
because this can cause sparks.
{CAUTION:
Fans or other moving engine parts can
injure you badly. Keep your hands away
from moving parts once the engine is
running.
6. Connect the red positive (+) cable to the
positive (+) terminal of the dead battery.
387

7. Do not let the other end touch metal. Connect
it to the positive (+) terminal of the good
battery. Use a remote positive (+) terminal if
the vehicle has one.
8. Now connect the black negative (−) cable to
the negative (−) terminal of the good battery.
Use a remote negative (−) terminal if the
vehicle has one.
Do not let the other end touch anything until the
next step. The other end of the negative (−)
cable does not go to the dead battery. It goes to
a heavy, unpainted metal engine part or to a
remote negative (−) terminal on the vehicle with
the dead battery.
9. Connect the other end of the negative (−) cable
at least 18 inches (45 cm) away from the dead
battery, but not near engine parts that move.
The electrical connection is just as good there,
and the chance of sparks getting back to the
battery is much less.
If the security light flashes, wait until the light
stops flashing.
10. Now start the vehicle with the good battery
and run the engine for a while.
11. Try to start the vehicle that had the dead
battery. If it will not start after a few tries, it
probably needs service.
388

Notice: If the jumper cables are connected or
removed in the wrong order, electrical
shorting may occur and damage the vehicle.
The repairs would not be covered by your
warranty. Always connect and remove
the jumper cables in the correct order, making
sure that the cables do not touch each other
or other metal.
A. Heavy, Unpainted Metal Engine Part
B. Good Battery
C. Dead Battery
To disconnect the jumper cables from both
vehicles, do the following:
1. Disconnect the black negative (−) cable from
the vehicle that had the dead battery.
2. Disconnect the black negative (−) cable from
the vehicle with the good battery.
3. Disconnect the red positive (+) cable from the
vehicle with the good battery.
4. Disconnect the red positive (+) cable from the
other vehicle.
Jumper Cable Removal
389

Bulb Replacement
For the proper type of replacement bulbs, see
Replacement Bulbs on page 394.
For any bulb changing procedure not listed in this
section, contact your dealer.
Halogen Bulbs
{CAUTION:
Halogen bulbs have pressurized gas
inside and can burst if you drop or
scratch the bulb. You or others could be
injured. Be sure to read and follow the
instructions on the bulb package.
Headlamps, Front Turn Signal, and
Parking Lamps
A. High-Beam Headlamp
B. Low-Beam Headlamp/DRL
C. Front Turn Signal/Parking Lamp
390

To replace one of these bulbs, do the following:
1. Open the hood. See Hood Release on
page 350 for more information.
2. Remove the two bolts attaching the headlamp
assembly to the vehicle.
3. Remove the headlamp assembly from the
vehicle by pulling it forward. Use care not
to scratch the vehicle with the lamp or
the lamp with the fender.
4. Remove the dust covers (A, B, or C) from the
individual bulb sockets.
5. Disconnect the
wiring harness,
then turn the
bulb socket
counterclockwise
to remove it.
391

6. Remove the bulb
from the bulb
socket.
7. Replace the old bulb with a new bulb.
8. Turn the bulb socket clockwise and reconnect
the wiring harness to the bulb socket.
9. Return the headlamp assembly to its original
position. Be sure to line up the holes in the
lamp assembly to the round ends of the
mounting pins.
10. Reinstall the two bolts attaching the headlamp
assembly to the vehicle.
Taillamps, Turn Signal, Stoplamps
and Back-up Lamps
To replace one of these
bulbs, do the following:
A. Taillamp
B. Back-Up Lamp
C. Taillamp/Stoplamp/Turn Signal Lamp
1. Open the trunk or liftgate. See Trunk (Sedan)
on page 112 or Liftgate (MAXX) on page 113
for more information.
392

2. Remove the
two fasteners
located on the
inside of the trunk
at the rear of
the vehicle.
3. Pull back the trunk trim.
4. Remove the plastic wing nut.
5. Pull out the taillamp assembly and turn the
bulb socket one quarter turn counterclockwise.
6. Pull the bulb to
remove it from the
socket. Replace
the old bulb with a
new one.
7. Reverse the steps to attach the taillamp
assembly to the vehicle.
When securing the lamp assembly back into
place, align the assembly so that the trunk
lid doesn’t contact it.
393

License Plate Lamp
To replace the license plate lamp bulb, do the
following:
1. Remove the two screws holding the license
plate lamp assembly to the fascia.
2. Turn and pull the license plate lamp forward
through the fascia opening.
3. Turn the bulb socket counterclockwise and
pull the bulb straight out of the socket.
4. Install the new bulb.
5. Reverse Steps 1 through 3 to reinstall the
lamp assembly.
Replacement Bulbs
Exterior Lamp Bulb Number
Back-Up Lamp 921
Front Parking/Turn Signal Lamp 3157KX
License Plate Lamp *W5W, **168
Headlamps
High-Beam H9
Low-Beam/DRL H11
Stoplamp/Taillamp/Turn Signal
Lamp 3057
* Malibu SS
**Malibu MAXX
For replacement bulbs not listed here, contact
your dealer.
394

Windshield Wiper Blade
Replacement
Windshield wiper blades should be inspected for
wear and cracking. See Scheduled Maintenance
on page 460.
To replace the wiper blade, do the following:
1. Pull the windshield wiper arm away from the
windshield.
2. Press the tab that holds the wiper blade to
the arm.
3. Pull the assembly down to release it from the
U-hooked end of the wiper arm and slide the
assembly away from the arm.
4. Slide in the new wiper blade assembly and
snap it into place.
5. Repeat Steps 1 through 4 for the other wiper,
if necessary.
395

Rear Wiper Blade Replacement – MAXX
To replace the rear wiper blade, do the following:
1. Pull the wiper blade assembly away from
the window.
2. Pull the wiper blade out of the wiper blade
assembly, as shown.
3. Hold the wiper blade refill with the curved side
facing downward.
396

4. Remove clip (A), shown in step 3, and slide it
into the claw of the wiper blade assembly.
5. Remove clip (B), shown in step 3, and slide it
into the remaining claw of the wiper blade
assembly.
397

Tires
Your new vehicle comes with high-quality tires
made by a leading tire manufacturer. If you ever
have questions about your tire warranty and where
to obtain service, see your GM Warranty booklet
for details. For additional information refer to
the tire manufacturer’s booklet included with
your vehicle.
{CAUTION:
•Poorly maintained and improperly
used tires are dangerous.
•Overloading your tires can cause
overheating as a result of too much
friction. You could have an air-out and
a serious accident. See Loading Your
Vehicle on page 322.
•Underinflated tires pose the same
danger as overloaded tires. The
resulting accident could cause serious
CAUTION: (Continued)
CAUTION: (Continued)
injury. Check all tires frequently to
maintain the recommended pressure.
Tire pressure should be checked when
your tires are cold. See Inflation - Tire
Pressure on page 407.
•Overinflated tires are more likely to be
cut, punctured, or broken by a sudden
impact — such as when you hit a
pothole. Keep tires at the
recommended pressure.
•Worn, old tires can cause accidents. If
your tread is badly worn, or if your tires
have been damaged, replace them.
See High-Speed Operation on page 408 for
inflation pressure adjustment for high
speed driving.
398

Low-Profile Performance Tire
If your vehicle has P225/50R18 or P225/50R17
size tires, they are classified as low-profile
performance tires. These tires are designed for
very responsive driving on wet or dry pavement.
You may also notice more road noise with
low-profile performance tires and that they tend to
wear faster.
Notice: If your vehicle has low-profile tires,
they are more susceptible to damage from road
hazards or curb impact than standard profile
tires. Tire and/or wheel assembly damage
can occur when coming into contact with road
hazards like, potholes, or sharp edged
objects, or when sliding into a curb. Your GM
warranty does not cover this type of damage.
Keep tires set to the correct inflation pressure
and, when possible avoid contact with
curbs, potholes, and other road hazards.
Winter Tires
If you expect to drive on snow or ice covered
roads often, you may want to get winter tires for
your vehicle. All season tires provide good overall
performance on most surfaces but they may
not offer the traction you would like or the same
level of performance as winter tires on snow or ice
covered roads.
Winter tires, in general, are designed for increased
traction on snow and ice covered roads. With
winter tires, there may be decreased dry
road traction, increased road noise, and shorter
tread life. After switching to winter tires, be alert for
changes in vehicle handling and braking.
See your dealer for details regarding winter tire
availability and proper tire selection. Also,
see Buying New Tires on page 411.
399

If you choose to use winter tires:
•Use tires of the same brand and tread type on
all four wheel positions.
•Use only radial ply tires of the same size, load
range, and speed rating as the original
equipment tires.
Winter tires with the same speed rating as your
original equipment tires may not be available for H,
V, W, Y, and ZR speed rated tires. If you choose
winter tires with a lower speed rating, never
exceed the tire’s maximum speed capability.
Tire Sidewall Labeling
Useful information about a tire is molded into its
sidewall. The examples below show a typical
passenger vehicle tire and a compact spare tire
sidewall. (A) Tire Size: The tire size is a combination of
letters and numbers used to define a particular tire’s
width, height, aspect ratio, construction type, and
service description. See the “Tire Size” illustration
later in this section for more detail.
Passenger (P-Metric) Tire Example
400

(B) TPC Spec (Tire Performance Criteria
Specification): Original equipment tires designed
to GM’s specific tire performance criteria have
a TPC specification code molded onto the sidewall.
GM’s TPC specifications meet or exceed all
federal safety guidelines.
(C) DOT (Department of Transportation): The
Department of Transportation (DOT) code
indicates that the tire is in compliance with the
U.S. Department of Transportation Motor Vehicle
Safety Standards.
(D) Tire Identification Number (TIN): The letters
and numbers following DOT (Department of
Transportation) code is the Tire Identification
Number (TIN). The TIN shows the manufacturer
and plant code, tire size, and date the tire
was manufactured. The TIN is molded onto both
sides of the tire, although only one side may have
the date of manufacture.
(E) Tire Ply Material: The type of cord and
number of plies in the sidewall and under the
tread.
(F) Uniform Tire Quality Grading (UTQG): Tire
manufacturers are required to grade tires
based on three performance factors: treadwear,
traction, and temperature resistance. For more
information see Uniform Tire Quality Grading on
page 414.
(G) Maximum Cold Inflation Load Limit:
Maximum load that can be carried and the
maximum pressure needed to support that load.
401

(A) Temporary Use Only: The compact spare
tire or temporary use tire has a tread life of
approximately 3,000 miles (5 000 km) and should
not be driven at speeds over 65 mph (105 km/h).
The compact spare tire is for emergency use when
a regular road tire has lost air and gone flat. If
your vehicle has a compact spare tire, see
Compact Spare Tire on page 435 and If a Tire
Goes Flat on page 418.
(B) Tire Ply Material: The type of cord and
number of plies in the sidewall and under the
tread.
(C) Tire Identification Number (TIN): The letters
and numbers following the DOT (Department of
Transportation) code is the Tire Identification
Number (TIN). The TIN shows the manufacturer
and plant code, tire size, and date the tire
was manufactured. The TIN is molded onto both
sides of the tire, although only one side may have
the date of manufacture.
(D) Maximum Cold Inflation Load Limit:
Maximum load that can be carried and the
maximum pressure needed to support that load.
(E) Tire Inflation: The temporary use tire or
compact spare tire should be inflated to 60 psi
(420 kPa). For more information on tire pressure
and inflation see Inflation - Tire Pressure on
page 407.
(F) Tire Size: A combination of letters and
numbers define a tire’s width, height, aspect ratio,
construction type, and service description. The
letter T as the first character in the tire size means
the tire is for temporary use only.
Compact Spare Tire Example
402

(G) TPC Spec (Tire Performance Criteria
Specification): Original equipment tires designed
to GM’s specific tire performance criteria have
a TPC specification code molded onto the sidewall.
GM’s TPC specifications meet or exceed all
federal safety guidelines.
Tire Size
The following illustration shows an example of a
typical passenger vehicle tire size.
(A) Passenger (P-Metric) Tire: The United
States version of a metric tire sizing system. The
letter P as the first character in the tire size
means a passenger vehicle tire engineered to
standards set by the U.S. Tire and Rim
Association.
(B) Tire Width: The three-digit number indicates
the tire section width in millimeters from sidewall
to sidewall.
(C) Aspect Ratio: A two-digit number that
indicates the tire height-to-width measurements.
For example, if the tire size aspect ratio is
60, as shown in item C of the illustration, it would
mean that the tire’s sidewall is 60 percent as
high as it is wide.
(D) Construction Code: A letter code is used to
indicate the type of ply construction in the tire.
The letter R means radial ply construction;
the letter D means diagonal or bias ply
construction; and the letter B means belted-bias
ply construction.
(E) Rim Diameter: Diameter of the wheel in
inches.
(F) Service Description: These characters
represent the load range and speed rating of the
tire. The load index represents the load carry
capacity a tire is certified to carry. The load index
can range from 1 to 279. The speed rating is
the maximum speed a tire is certified to carry a
load. Speed ratings range from A to Z.
403

Tire Terminology and Definitions
Air Pressure: The amount of air inside the tire
pressing outward on each square inch of the
tire. Air pressure is expressed in pounds
per square inch (psi) or kilopascal (kPa).
Accessory Weight: This means the combined
weight of optional accessories. Some examples of
optional accessories are, automatic
transmission/transaxle, power steering, power
brakes, power windows, power seats, and
air conditioning.
Aspect Ratio: The relationship of a tire’s height
to its width.
Belt: A rubber coated layer of cords that is
located between the plies and the tread. Cords
may be made from steel or other reinforcing
materials.
Bead: The tire bead contains steel wires wrapped
by steel cords that hold the tire onto the rim.
Bias Ply Tire: A pneumatic tire in which the plies
are laid at alternate angles less than 90 degrees
to the centerline of the tread.
Cold Tire Pressure: The amount of air pressure
in a tire, measured in pounds per square inch (psi)
or kilopascals (kPa) before a tire has built up heat
from driving. See Inflation - Tire Pressure on
page 407.
Curb Weight: This means the weight of a motor
vehicle with standard and optional equipment
including the maximum capacity of fuel, oil, and
coolant, but without passengers and cargo.
DOT Markings: A code molded into the sidewall
of a tire signifying that the tire is in compliance
with the U.S. Department of Transportation (DOT)
motor vehicle safety standards. The DOT code
includes the Tire Identification Number (TIN),
an alphanumeric designator which can also identify
the tire manufacturer, production plant, brand,
and date of production.
GVWR: Gross Vehicle Weight Rating. See
Loading Your Vehicle on page 322.
GAWR FRT: Gross Axle Weight Rating for the
front axle. See Loading Your Vehicle on page 322.
GAWR RR: Gross Axle Weight Rating for the
rear axle. See Loading Your Vehicle on page 322.
404

Intended Outboard Sidewall: The side of an
asymmetrical tire, that must always face outward
when mounted on a vehicle.
Kilopascal (kPa): The metric unit for air pressure.
Light Truck (LT-Metric) Tire: A tire used on
light duty trucks and some multipurpose passenger
vehicles.
Load Index: An assigned number ranging from
1 to 279 that corresponds to the load carrying
capacity of a tire.
Maximum Inflation Pressure: The maximum air
pressure to which a cold tire may be inflated. The
maximum air pressure is molded onto the sidewall.
Maximum Load Rating: The load rating for a tire
at the maximum permissible inflation pressure
for that tire.
Maximum Loaded Vehicle Weight: The sum of
curb weight, accessory weight, vehicle capacity
weight, and production options weight.
Normal Occupant Weight: The number of
occupants a vehicle is designed to seat multiplied
by 150 lbs (68 kg). See Loading Your Vehicle
on page 322.
Occupant Distribution: Designated seating
positions.
Outward Facing Sidewall: The side of an
asymmetrical tire that has a particular side that
faces outward when mounted on a vehicle.
The side of the tire that contains a whitewall, bears
white lettering, or bears manufacturer, brand,
and/or model name molding that is higher
or deeper than the same moldings on the other
sidewall of the tire.
Passenger (P-Metric) Tire: A tire used on
passenger cars and some light duty trucks and
multipurpose vehicles.
Recommended Inflation Pressure: Vehicle
manufacturer’s recommended tire inflation
pressure as shown on the tire placard. See
Inflation - Tire Pressure on page 407 and Loading
Your Vehicle on page 322.
405

Radial Ply Tire: A pneumatic tire in which
the ply cords that extend to the beads are laid at
90 degrees to the centerline of the tread.
Rim: A metal support for a tire and upon which
the tire beads are seated.
Sidewall: The portion of a tire between the tread
and the bead.
Speed Rating: An alphanumeric code assigned
to a tire indicating the maximum speed at
which a tire can operate.
Traction: The friction between the tire and the
road surface. The amount of grip provided.
Tread: The portion of a tire that comes into
contact with the road.
Treadwear Indicators: Narrow bands, sometimes
called wear bars, that show across the tread of
a tire when only 1/16 inch (1.6 mm) of tread
remains. See When It Is Time for New Tires on
page 410.
UTQGS (Uniform Tire Quality Grading
Standards): A tire information system that
provides consumers with ratings for a tire’s
traction, temperature, and treadwear. Ratings are
determined by tire manufacturers using
government testing procedures. The ratings are
molded into the sidewall of the tire. See Uniform
Tire Quality Grading on page 414.
Vehicle Capacity Weight: The number of
designated seating positions multiplied by 150 lbs
(68 kg) plus the rated cargo load. See Loading
Your Vehicle on page 322.
Vehicle Maximum Load on the Tire: Load on an
individual tire due to curb weight, accessory
weight, occupant weight, and cargo weight.
Vehicle Placard: A label permanently attached to
a vehicle showing the vehicle’s capacity weight
and the original equipment tire size and
recommended inflation pressure. See “Tire and
Loading Information Label” under Loading
Your Vehicle on page 322.
406

Inflation - Tire Pressure
Tires need the correct amount of air pressure to
operate effectively.
Notice: Do not let anyone tell you that
under-inflation or over-inflation is all right. It is
not. If your tires do not have enough air
(under-inflation), you can get the following:
•Too much flexing
•Too much heat
•Tire overloading
•Premature or irregular wear
•Poor handling
•Reduced fuel economy
If your tires have too much air (over-inflation),
you can get the following:
•Unusual wear
•Poor handling
•Rough ride
•Needless damage from road hazards
A Tire and Loading Information label is attached to
the vehicle’s center pillar (B-pillar). This label shows
your vehicle’s original equipment tires and the
correct inflation pressures for your tires when they
are cold. The recommended cold tire inflation
pressure, shown on the label, is the minimum
amount of air pressure needed to support your
vehicle’s maximum load carrying capacity.
For additional information regarding how much
weight your vehicle can carry, and an example of
the Tire and Loading Information label, see
Loading Your Vehicle on page 322. How you load
your vehicle affects vehicle handling and ride
comfort. Never load your vehicle with more weight
than it was designed to carry.
When to Check
Check your tires once a month or more. Do not
forget to check the compact spare tire, it should be
at 60 psi (420 kPa). For additional information
regarding the compact spare tire, see Compact
Spare Tire on page 435.
407

How to Check
Use a good quality pocket-type gage to check tire
pressure. You cannot tell if your tires are
properly inflated simply by looking at them. Radial
tires may look properly inflated even when they
are under-inflated. Check the tire’s inflation
pressure when the tires are cold. Cold means your
vehicle has been sitting for at least three hours
or driven no more than 1 mile (1.6 km).
Remove the valve cap from the tire valve stem.
Press the tire gage firmly onto the valve to
get a pressure measurement. If the cold tire
inflation pressure matches the recommended
pressure on the Tire and Loading Information
label, no further adjustment is necessary. If the
inflation pressure is low, add air until you reach the
recommended amount.
If you overfill the tire, release air by pushing on
the metal stem in the center of the tire valve.
Re-check the tire pressure with the tire gage.
Be sure to put the valve caps back on the valve
stems. They help prevent leaks by keeping out dirt
and moisture.
High-Speed Operation
{CAUTION:
Driving at high speeds, 100 mph
(160 km/h) or higher, puts an additional
strain on tires. Sustained high-speed
driving causes excessive heat build up
and can cause sudden tire failure. You
could have a crash and you or others
could be killed. Some high-speed rated
tires require inflation pressure adjustment
for high speed operation. When speed
limits and road conditions are such that a
vehicle can be driven at high speeds,
make sure the tires are rated for high
speed operation, in excellent condition,
and set to the correct cold tire inflation
pressure for the vehicle load.
Set the cold tire inflation pressure to
35 psi (241 kPa) for the front and rear tires, when
operating your vehicle at high-speed conditions.
408

When you end high-speed driving return the tires
to the cold inflation pressure shown on the
Tire and Loading Information label. See Loading
Your Vehicle on page 322 and Inflation - Tire
Pressure on page 407.
Tire Inspection and Rotation
Tires should be rotated every 5,000 to 8,000 miles
(8 000 to 13 000 km).
Any time you notice unusual wear, rotate your
tires as soon as possible and check wheel
alignment. Also check for damaged tires or wheels.
See When It Is Time for New Tires on page 410
and Wheel Replacement on page 415 for
more information.
The purpose of regular rotation is to achieve more
uniform wear for all tires on the vehicle. The
first rotation is the most important. See Scheduled
Maintenance on page 460.
When rotating your tires, always use the correct
rotation pattern shown here.
Do not include the compact spare tire in your tire
rotation.
After the tires have been rotated, adjust the front
and rear inflation pressures as shown on the
Tire and Loading Information label.
409

Make certain that all wheel nuts are properly
tightened. See “Wheel Nut Torque” under
Capacities and Specifications on page 455.
{CAUTION:
Rust or dirt on a wheel, or on the parts to
which it is fastened, can make wheel nuts
become loose after time. The wheel could
come off and cause an accident. When
you change a wheel, remove any rust or
dirt from places where the wheel attaches
to the vehicle. In an emergency, you can
use a cloth or a paper towel to do this;
but be sure to use a scraper or wire brush
later, if needed, to get all the rust or dirt
off. See Changing a Flat Tire on page 418.
When It Is Time for New Tires
One way to tell when it
is time for new tires is
to check the treadwear
indicators, which will
appear when your tires
have only 1/16 inch
(1.6 mm) or less of tread
remaining.
410

You need a new tire if any of the following
statements are true:
•You can see the indicators at three or more
places around the tire.
•You can see cord or fabric showing through
the tire’s rubber.
•The tread or sidewall is cracked, cut, or
snagged deep enough to show cord or fabric.
•The tire has a bump, bulge, or split.
•The tire has a puncture, cut, or other damage
that cannot be repaired well because of the
size or location of the damage.
Buying New Tires
GM has developed and matched specific tires for
your vehicle. The original equipment tires
installed on your vehicle, when it was new, were
designed to meet General Motors Tire
Performance Criteria Specification (TPC spec)
system rating. If you need replacement tires, GM
strongly recommends that you get tires with
the same TPC Spec rating. This way, your vehicle
will continue to have tires that are designed to
give the same performance and vehicle safety,
during normal use, as the original tires.
411

GM’s exclusive TPC Spec system considers over
a dozen critical specifications that impact the
overall performance of your vehicle, including
brake system performance, ride and handling,
traction control, and tire pressure monitoring
performance. GM’s TPC Spec number is molded
onto the tire’s sidewall by the tire manufacturer.
If the tires have an all-season tread design,
the TPC spec number will be followed by an MS
for mud and snow. See Tire Sidewall Labeling
on page 400 for additional information.
{CAUTION:
Mixing tires could cause you to lose
control while driving. If you mix tires of
different sizes, brands, or types (radial
and bias-belted tires), the vehicle may not
handle properly, and you could have a
crash. Using tires of different sizes,
CAUTION: (Continued)
CAUTION: (Continued)
brands, or types may also cause damage
to your vehicle. Be sure to use the correct
size, brand, and type of tires on all
wheels. It is all right to drive with your
compact spare temporarily, as it was
developed for use on your vehicle. See
Compact Spare Tire on page 435.
{CAUTION:
If you use bias-ply tires on your vehicle,
the wheel rim flanges could develop
cracks after many miles of driving. A tire
and/or wheel could fail suddenly, causing
a crash. Use only radial-ply tires with the
wheels on your vehicle.
412

If you must replace your vehicle’s tires with those
that do not have a TPC Spec number, make
sure they are the same size, load range, speed
rating, and construction type (radial and
bias-belted tires) as your vehicle’s original tires.
Your vehicle’s original equipment tires are listed on
the Tire and Loading Information label. This
label is attached to the vehicle’s center pillar
(B-pillar). See Loading Your Vehicle on page 322,
for more information about the Tire and Loading
Information label and its location on your vehicle.
Different Size Tires and Wheels
If you add wheels or tires that are a different size
than your original equipment wheels and tires, this
may affect the way your vehicle performs, including
its braking, ride and handling characteristics,
stability, and resistance to rollover. Additionally, if
your vehicle has electronic systems such as,
anti-lock brakes, traction control, and electronic
stability control, the performance of these systems
can be affected.
{CAUTION:
If you add different sized wheels, your
vehicle may not provide an acceptable
level of performance and safety if tires not
recommended for those wheels are
selected. You may increase the chance
that you will crash and suffer serious
injury. Only use GM specific wheel and
tire systems developed for your vehicle,
and have them properly installed by a GM
certified technician.
See Buying New Tires on page 411 and
Accessories and Modifications on page 342 for
additional information.
413

Uniform Tire Quality Grading
Quality grades can be found where applicable on
the tire sidewall between tread shoulder and
maximum section width. For example:
Treadwear 200 Traction AA Temperature A
The following information relates to the system
developed by the United States National Highway
Traffic Safety Administration (NHTSA), which
grades tires by treadwear, traction, and
temperature performance. This applies only to
vehicles sold in the United States. The grades are
molded on the sidewalls of most passenger car
tires. The Uniform Tire Quality Grading (UTQG)
system does not apply to deep tread, winter-type
snow tires, space-saver, or temporary use
spare tires, tires with nominal rim diameters of
10 to 12 inches (25 to 30 cm), or to some
limited-production tires.
While the tires available on General Motors
passenger cars and light trucks may vary with
respect to these grades, they must also conform
to federal safety requirements and additional
General Motors Tire Performance Criteria (TPC)
standards.
Treadwear
The treadwear grade is a comparative rating based
on the wear rate of the tire when tested under
controlled conditions on a specified government
test course. For example, a tire graded 150 would
wear one and a half (1.5) times as well on the
government course as a tire graded 100. The
relative performance of tires depends upon the
actual conditions of their use, however, and may
depart significantly from the norm due to variations
in driving habits, service practices, and differences
in road characteristics and climate.
Traction – AA, A, B, C
The traction grades, from highest to lowest, are AA,
A, B, and C. Those grades represent the tire’s
ability to stop on wet pavement as measured under
controlled conditions on specified government test
surfaces of asphalt and concrete. A tire marked C
may have poor traction performance.
Warning: The traction grade assigned to this tire
is based on straight-ahead braking traction
tests, and does not include acceleration, cornering,
hydroplaning, or peak traction characteristics.
414

Temperature – A, B, C
The temperature grades are A (the highest), B,
and C, representing the tire’s resistance to
the generation of heat and its ability to dissipate
heat when tested under controlled conditions on a
specified indoor laboratory test wheel. Sustained
high temperature can cause the material of the tire
to degenerate and reduce tire life, and excessive
temperature can lead to sudden tire failure.
The grade C corresponds to a level of performance
which all passenger car tires must meet under
the Federal Motor Vehicle Safety Standard
No. 109. Grades B and A represent higher levels
of performance on the laboratory test wheel
than the minimum required by law.
Warning: The temperature grade for this tire is
established for a tire that is properly inflated
and not overloaded. Excessive speed,
underinflation, or excessive loading, either
separately or in combination, can cause heat
buildup and possible tire failure.
Wheel Alignment and Tire Balance
The tires and wheels on your vehicle were aligned
and balanced carefully at the factory to give you
the longest tire life and best overall performance.
Adjustments to wheel alignment and tire
balancing will not be necessary on a regular basis.
However, if you notice unusual tire wear or your
vehicle pulling to one side or the other, the
alignment may need to be checked. If you notice
your vehicle vibrating when driving on a smooth
road, your tires and wheels may need to be
rebalanced. See your dealer for proper diagnosis.
Wheel Replacement
Replace any wheel that is bent, cracked, or badly
rusted or corroded. If wheel nuts keep coming
loose, the wheel, wheel bolts, and wheel
nuts should be replaced. If the wheel leaks air,
replace it (except some aluminum wheels,
which can sometimes be repaired). See your
dealer if any of these conditions exist.
Your dealer will know the kind of wheel you need.
Each new wheel should have the same
load-carrying capacity, diameter, width, offset and
be mounted the same way as the one it replaces.
415

If you need to replace any of your wheels, wheel
bolts, or wheel nuts, replace them only with
new GM original equipment parts. This way, you
will be sure to have the right wheel, wheel
bolts, and wheel nuts for your vehicle.
{CAUTION:
Using the wrong replacement wheels,
wheel bolts, or wheel nuts on your vehicle
can be dangerous. It could affect the
braking and handling of your vehicle,
make your tires lose air and make you
lose control. You could have a collision in
which you or others could be injured.
Always use the correct wheel, wheel bolts,
and wheel nuts for replacement.
Notice: The wrong wheel can also cause
problems with bearing life, brake cooling,
speedometer or odometer calibration,
headlamp aim, bumper height, vehicle ground
clearance, and tire or tire chain clearance
to the body and chassis.
See Changing a Flat Tire on page 418 for more
information.
Used Replacement Wheels
{CAUTION:
Putting a used wheel on your vehicle is
dangerous. You cannot know how it has
been used or how far it has been driven. It
could fail suddenly and cause a crash. If
you have to replace a wheel, use a new
GM original equipment wheel.
416

Tire Chains
{CAUTION:
If your vehicle has P215/60R16,
P225/50R17, or P225/50R18 size tires, do
not use tire chains. There is not enough
clearance.
Tire chains used on a vehicle without the
proper amount of clearance can cause
damage to the brakes, suspension, or
other vehicle parts. The area damaged by
the tire chains could cause you to lose
control of your vehicle and you or others
may be injured in a crash.
Use another type of traction device only if
its manufacturer recommends it for use
on your vehicle and tire size combination
and road conditions. Follow that
CAUTION: (Continued)
CAUTION: (Continued)
manufacturer’s instructions. To help avoid
damage to your vehicle, drive slowly,
readjust or remove the device if it is
contacting your vehicle, and do not spin
your vehicle’s wheels.
If you do find traction devices that will fit,
install them on the front tires.
Notice: If your vehicle has P205/65R15 size
tires, use tire chains only where legal and only
when you must. Use only SAE Class S-type
chains that are the proper size for your
tires. Install them on the front tires and tighten
them as tightly as possible with the ends
securely fastened. Drive slowly and follow the
chain manufacturer’s instructions. If you
can hear the chains contacting your vehicle,
stop and retighten them. If the contact
continues, slow down until it stops. Driving
too fast or spinning the wheels with chains on
will damage your vehicle.
417

If a Tire Goes Flat
It is unusual for a tire to blowout while you are
driving, especially if you maintain your vehicle’s
tires properly. If air goes out of a tire, it is
much more likely to leak out slowly. But if you
should ever have a blowout, here are a few tips
about what to expect and what to do:
If a front tire fails, the flat tire will create a drag
that pulls the vehicle toward that side. Take your
foot off the accelerator pedal and grip the
steering wheel firmly. Steer to maintain lane
position, and then gently brake to a stop well out
of the traffic lane.
A rear blowout, particularly on a curve, acts much
like a skid and may require the same correction
you would use in a skid. In any rear blowout
remove your foot from the accelerator pedal. Get
the vehicle under control by steering the way
you want the vehicle to go. It may be very bumpy
and noisy, but you can still steer. Gently brake
to a stop, well off the road if possible.
{CAUTION:
Lifting a vehicle and getting under it to do
maintenance or repairs is dangerous
without the appropriate safety equipment
and training. The jack provided with your
vehicle is designed only for changing a
flat tire. If it is used for anything else, you
or others could be badly injured or killed
if the vehicle slips off the jack. Use the
jack provided with your vehicle only for
changing a flat tire.
If a tire goes flat, the next part shows how to use
the jacking equipment to change a flat tire safely.
Changing a Flat Tire
If a tire goes flat, avoid further tire and wheel
damage by driving slowly to a level place. Turn on
your vehicle’s hazard warning flashers. See
Hazard Warning Flashers on page 170 for more
information.
418

{CAUTION:
Changing a tire can be dangerous. The
vehicle can slip off the jack and roll over
or fall on you or other people. You and
they could be badly injured or even killed.
Find a level place to change your tire. To
help prevent the vehicle from moving:
1. Set the parking brake firmly.
2. Put the shift lever in PARK (P).
3. Turn off the engine and do not restart
while the vehicle is raised.
4. Do not allow passengers to remain in
the vehicle.
To be even more certain the vehicle will
not move, you should put blocks at the
front and rear of the tire farthest away
from the one being changed. That would
be the tire, on the other side, at the
opposite end of the vehicle.
When your vehicle has a flat tire, use the following
example as a guide to assist you in the placement
of wheel blocks.
The following information will tell you next how to
use the jack and change a tire.
419

Removing the Spare Tire and Tools
The equipment you will need is in the trunk or
cargo area.
1. Open the trunk for sedan models. See Trunk
(Sedan) on page 112 for more information.
For MAXX models, open the liftgate. See
Liftgate (MAXX) on page 113.
2. For the sedan, lift the handle on the spare tire
cover. The handle may hook on the trunk
front edge weatherstrip to hold the cover out
of the way. For the MAXX, lift the handle
to release the latch on the spare tire cover.
3. For the MAXX, lift and remove the cover. 4. Turn the wing nut counterclockwise and
remove it. Then remove the compact
spare tire. See Compact Spare Tire on
page 435 for more information.
5. Remove the wing nut holding the jack
in place.
6. Remove the extension bolt (MAXX models
and Sedan SS only) that is clipped to the
jack. You will need this later to store the
flat tire.
7. Remove the jack and wheel wrench from the
trunk or cargo area.
420

Tire Changing Tools
The tools you will be using include the wheel
wrench (A) and jack (B). The MAXX and all
SS models include an additional extension.
1. Turn the plastic wing nut counterclockwise to
loosen wheel wrench.
2. Unhook the wheel wrench from the jack.
Sedan shown, MAXX Models and Sedan SS similar
421

3. Extend the handle on the wheel wrench by
pressing the button with your index finger and
pulling on the end of the wrench. You must do
this before using the wheel wrench.
Removing the Flat Tire and
Installing the Spare Tire
1. If your vehicle has a wheel cover or hubcap
that has plastic wheel nut caps, loosen the
plastic nut caps. You might need to use
the wheel wrench to loosen them. Do not pry
off wheel covers or center caps that have
plastic wheel nut caps.
2. Remove the wheel cover or center cap from
the wheel to locate the wheel nuts.
If your vehicle has a wheel cover or hubcap
without plastic wheel nut caps, gently pry
on the edge of the plastic wheel trim to remove
it from the wheel to locate the wheel nuts.
422

3. Use the wrench to loosen all the wheel nuts.
Do not remove them yet.
4. It is recommended that you do a safety check
before preceding. See Changing a Flat Tire
on page 418 for more information.
5. Position the lift head at the jack location
nearest the flat tire. Make sure all of the
jack lift head is touching the jacking flange
under the body. Do not place the jack under a
body panel. The lower body panel has an
arrow to aid in locating the jacking location.
423

6. Put the compact spare tire near the flat tire
being changed.
{CAUTION:
Getting under a vehicle when it is jacked
up is dangerous. If the vehicle slips off
the jack you could be badly injured or
killed. Never get under a vehicle when it is
supported only by a jack.
{CAUTION:
Raising your vehicle with the jack
improperly positioned can damage the
vehicle and even make the vehicle fall. To
help avoid personal injury and vehicle
damage, be sure to fit the jack lift head
into the proper location before raising the
vehicle.
7. Raise the vehicle by turning the wrench
clockwise. Raise the vehicle far enough off the
ground so there is enough room for the
compact spare tire to fit.
424

8. Remove all of the
wheel nuts.
9. Remove the flat tire.
{CAUTION:
Rust or dirt on the wheel, or on the parts
to which it is fastened, can make the
wheel nuts become loose after time. The
wheel could come off and cause an
accident. When you change a wheel,
CAUTION: (Continued)
CAUTION: (Continued)
remove any rust or dirt from the places
where the wheel attaches to the vehicle. In
an emergency, you can use a cloth or a
paper towel to do this; but be sure to use
a scraper or wire brush later, if needed, to
get all the rust or dirt off.
10. Remove any rust or
dirt from the wheel
bolts, mounting
surfaces and
spare wheel.
425

11. Install the compact spare tire.
{CAUTION:
Never use oil or grease on studs or nuts.
If you do, the nuts might come loose.
Your wheel could fall off, causing a
serious accident.
12. Put the wheel nuts back on with the rounded
end toward the wheel. Tighten each nut by
hand or with the wrench until the wheel is held
against the hub. 13. Lower the vehicle by turning the wrench
counterclockwise. Lower the jack completely.
426

{CAUTION:
Incorrect wheel nuts or improperly
tightened wheel nuts can cause the wheel
to come loose and even come off. This
could lead to an accident. Be sure to use
the correct wheel nuts. If you have to
replace them, be sure to get new GM
original equipment wheel nuts. Stop
somewhere as soon as you can and have
the nuts tightened with a torque wrench to
the proper torque specification. See
Capacities and Specifications on page 455
for wheel nut torque specification.
Notice: Improperly tightened wheel nuts can
lead to brake pulsation and rotor damage.
To avoid expensive brake repairs, evenly
tighten the wheel nuts in the proper sequence
and to the proper torque specification. See
Capacities and Specifications on page 455 for
the wheel nut torque specification.
14. Tighten the wheel
nuts firmly in a
crisscross sequence,
as shown, with
the wheel wrench.
Notice: Wheel covers will not fit on your
compact spare. If you try to put a wheel cover
on the compact spare, you could damage
the cover or the spare.
Do not try to put a wheel cover on your compact
spare tire. It will not fit. Store the wheel cover
and wheel nut caps in the trunk until you have the
flat tire repaired or replaced.
427

Storing a Flat or Spare Tire and
Tools (Sedan)
Storing a Flat Tire and Tools
{CAUTION:
Storing a jack, a tire, or other equipment
in the passenger compartment of the
vehicle could cause injury. In a sudden
stop or collision, loose equipment could
strike someone. Store all these in the
proper place.
To store the flat tire and tools in the compact
spare tire compartment, do the following:
A. Cover
B. Wing Nut
C. Jack and Wheel
Wrench
D. Flat Tire (Valve
Stem down)
E. Bolt
1. Open the trunk. See Trunk (Sedan) on
page 112 for more information.
2. Remove the center cap from the wheel.
3. Place the tire (D) in the compartment, valve
stem up, with the bolt (E) extending through
the wheel center hole.
428

4. Place the jack and wheel wrench (D) over the
bolt (E), inside the wheel.
5. Secure by tightening the larger wing nut (B)
onto the bolt (E).
6. Reinstall the tire cover (A).
Storing the Compact Spare Tire
The compact spare tire is for temporary use only.
Store the compact spare tire and tools as
shown in the following diagram.
A. Cover
B. Retainer
C. Spare Tire
D. Wing Nut
E. Jack and Wheel
Wrench
F. Bolt
The compact spare is for temporary use only.
Replace the compact spare tire with a full-size tire
as soon as you can. See Compact Spare Tire
on page 435.
429

Storing a Flat or Spare Tire and
Tools (Sedan SS)
{CAUTION:
Storing a jack, a tire, or other equipment
in the passenger compartment of the
vehicle could cause injury. In a sudden
stop or collision, loose equipment could
strike someone. Store all these in the
proper place.
Storing the Flat Tire and Tools
To store the flat tire and jack in the compact spare
tire compartment, do the following:
1. Open the trunk. See Trunk (Sedan) on
page 112 for more information.
2. Remove the bolt extension (in the yellow
sleeve) from the jack and remove the
center cap from the wheel.
3. Place the jack over the bolt (B) on the floor,
making sure it contacts the bolt as shown.
4. With the yellow cap in place to prevent the
wheel from being scratched, place the bolt
extension (A) onto the bolt (B).
5. Thread the small wing nut (C) until it is at or
near the end of the threads.
6. Place the flat tire in the compartment, valve
stem up.
430

7. Reach under the wheel and lift the bolt
extension (A) so that the threaded end of the
bolt passes through the center hole of the
wheel.
8. Remove the yellow cap.
9. Secure the tire and wheel with the retainer.
10. Re-install the cover.
A. Cover
B. Retainer
C. Flat Tire
D. Wing Nut
E. Bolt Extension
F. Jack and Wheel
Wrench
G. Bolt
431

Storing the Compact Spare Tire
The compact spare tire is for temporary use only.
Store the compact spare tire and tools as
shown in the following diagram.
A. Cover
B. Retainer
C. Flat Tire
D. Wing Nut
E. Jack, Wheel
Wrench and Bolt
Extension
F. Bolt
The compact spare is for temporary use only.
Replace the compact spare tire with a full-size tire
as soon as you can. See Compact Spare Tire
on page 435.
Storing a Flat or Spare Tire and
Tools (All MAXX Models)
{CAUTION:
Storing a jack, a tire, or other equipment
in the passenger compartment of the
vehicle could cause injury. In a sudden
stop or collision, loose equipment could
strike someone. Store all these in the
proper place.
432

Storing the Flat Tire and Tools
To store the flat tire and jack in the compact spare
tire compartment, do the following:
1. Open the liftgate. See Liftgate (MAXX) on
page 113 for more information.
2. Remove the bolt extension (in the yellow
sleeve) from the jack and remove the
center cap from the wheel.
3. Place the jack over the bolt (B) on the floor,
making sure it contacts the bolt as shown.
4. Install the bracket (D) and then the bolt
extension (A).
5. Secure the jack, bracket and bolt extension
with the wing nut (C) provided.
6. With the valve stem up, place the tire on the
compartment floor with the rear of the tire
beneath the trim panel (tire may not lay
completely flat).
7. Make sure the bolt extension (A) passes
through the wheel center.
8. Remove the plug from the center hole of the
floor cover by pressing on the tabs on the
bottom of the cover.
9. Remove the yellow cap from the bolt
extension.
10. Fold the rear flap of the cover up and place the
cover on top of the wheel. The extension will
come through the center hole in the cover.
11. Secure the tire and wheel with the retainer.
433

A. Retainer
B. Cover
C. Flat Tire (Valve
Stem Up)
D. Nut
E. Bolt Extension
F. Bracket
G. Jack and Wheel
Wrench
H. Bolt
Storing the Compact Spare Tire
and Tools
The compact spare tire is for temporary use only.
Store the compact spare tire and tools as
shown in the following diagram.
A. Cover
B. Retainer
C. Spare Tire
D. Wing Nut
E. Bracket
F. Jack, Wheel
Wrench and Bolt
Extension
G. Bolt
434

The compact spare is for temporary use only.
Replace the compact spare tire with a full-size tire
as soon as you can. See Compact Spare Tire
on page 435.
Compact Spare Tire
Although the compact spare tire was fully inflated
when the vehicle was new, it can lose air after
a time. Check the inflation pressure regularly. It
should be 60 psi (420 kPa).
After installing the compact spare on the vehicle,
stop as soon as possible and make sure the
spare tire is correctly inflated. The compact spare
is made to perform well at speeds up to 65 mph
(105 km/h) for distances up to 3,000 miles
(5 000 km), so you can finish your trip and have
the full-size tire repaired or replaced at your
convenience. Of course, it is best to replace the
spare with a full-size tire as soon as possible. The
spare tire will last longer and be in good shape
in case it is needed again.
Notice: When the compact spare is installed,
do not take your vehicle through an automatic
car wash with guide rails. The compact
spare can get caught on the rails. That can
damage the tire and wheel, and maybe
other parts of your vehicle.
Do not use the compact spare on other vehicles.
And do not mix the compact spare tire or
wheel with other wheels or tires. They will not fit.
Keep the spare tire and its wheel together.
Notice: Tire chains will not fit your compact
spare. Using them can damage your vehicle
and can damage the chains too. Do not use tire
chains on your compact spare.
435

Appearance Care
Cleaning the Inside of Your Vehicle
Your vehicle’s interior will continue to look its
best if it is cleaned often. Although not always
visible, dust and dirt can accumulate on your
upholstery. Dirt can damage carpet, fabric, leather,
and plastic surfaces. Regular vacuuming is
recommended to remove particles from your
upholstery. It is important to keep your upholstery
from becoming and remaining heavily soiled.
Soils should be removed as quickly as possible.
Your vehicle’s interior may experience extremes of
heat that could cause stains to set rapidly.
Lighter colored interiors may require more frequent
cleaning. Use care because newspapers and
garments that transfer color to your home
furnishings may also transfer color to your
vehicle’s interior.
When cleaning your vehicle’s interior, only use
cleaners specifically designed for the surfaces
being cleaned. Permanent damage may result
from using cleaners on surfaces for which
they were not intended. Use glass cleaner only on
glass. Remove any accidental over-spray from
other surfaces immediately. To prevent over-spray,
apply cleaner directly to the cleaning cloth.
Notice: If you use abrasive cleaners when
cleaning glass surfaces on your vehicle, you
could scratch the glass and/or cause damage
to the integrated radio antenna and the
rear window defogger. When cleaning the
glass on your vehicle, use only a soft cloth and
glass cleaner.
Many cleaners contain solvents that may become
concentrated in your vehicle’s breathing space.
Before using cleaners, read and adhere to all safety
instructions on the label. While cleaning your
vehicle’s interior, maintain adequate ventilation by
opening your vehicle’s doors and windows.
Dust may be removed from small buttons and
knobs using a small brush with soft bristles.
436

Your dealer has a product for cleaning your
vehicle’s glass. Should it become necessary, you
can also obtain a product from your dealer to
remove odors from your vehicle’s upholstery.
Do not clean your vehicle using the following
cleaners or techniques:
•Never use a knife or any other sharp object to
remove a soil from any interior surface.
•Never use a stiff brush. It can cause damage
to your vehicle’s interior surfaces.
•Never apply heavy pressure or rub
aggressively with a cleaning cloth. Use of
heavy pressure can damage your interior and
does not improve the effectiveness of soil
removal.
•Use only mild, neutral-pH soaps. Avoid
laundry detergents or dishwashing soaps with
degreasers. Using too much soap will leave
a residue that leaves streaks and attracts dirt.
For liquid cleaners, about 20 drops per
gallon (3.78 L) of water is a good guide.
•Do not heavily saturate your upholstery while
cleaning.
•Damage to your vehicle’s interior may result
from the use of many organic solvents such
as naptha, alcohol, etc.
Fabric/Carpet
Use a vacuum cleaner with a soft brush
attachment frequently to remove dust and loose
dirt. A canister vacuum with a beater bar in
the nozzle may only be used on floor carpet and
carpeted floor mats. For soils, always try to remove
them first with plain water or club soda. Before
cleaning, gently remove as much of the soil
as possible using one of the following techniques:
•For liquids: gently blot the remaining soil with a
paper towel. Allow the soil to absorb into the
paper towel until no more can be removed.
•For solid dry soils: remove as much as possible
and then vacuum.
437

To clean, use the following instructions:
1. Saturate a lint-free, clean white cloth with
water or club soda.
2. Wring the cloth to remove excess moisture.
3. Start on the outside edge of the soil and gently
rub toward the center. Continue cleaning,
using a clean area of the cloth each time it
becomes soiled.
4. Continue to gently rub the soiled area until the
cleaning cloth remains clean.
5. If the soil is not completely removed, use a
mild soap solution and repeat the cleaning
process that was used with plain water.
If any of the soil remains, a commercial fabric
cleaner or spot lifter may be necessary. When a
commercial upholstery cleaner or spot lifter is to be
used, test a small hidden area for colorfastness
first. If the locally cleaned area gives any
impression that a ring formation may result, clean
the entire surface.
After the cleaning process has been completed, a
paper towel can be used to blot excess moisture
from the fabric or carpet.
Leather
A soft cloth dampened with water may be used to
remove dust. If a more thorough cleaning is
necessary, a soft cloth dampened with a mild soap
solution can be used. Allow the leather to dry
naturally. Do not use heat to dry. Never use steam
to clean leather. Never use spot lifters or spot
removers on leather. Many commercial leather
cleaners and coatings that are sold to preserve
and protect leather may permanently change
the appearance and feel of your leather and are
not recommended. Do not use silicone or
wax-based products, or those containing organic
solvents to clean your vehicle’s interior because
they can alter the appearance by increasing
the gloss in a non-uniform manner. Never use
shoe polish on your leather.
438

Ultra Lux Suede
Cleaning Ultra Lux Suede
Use a mild solution of lukewarm water and a
neutral dish soap on a soft cloth or sponge. For
the following stains, follow these instructions:
Coffee, Tea, and Milk: Blot with a clean,
soft, white cloth. Then clean with mild soapy water
and a clean white cloth.
Cosmetics: Clean with mild soapy water and a
clean white cloth.
Jelly, Syrup, and Fruit: Remove most of the
solids, then clean with warm tap water and a clean
white cloth.
Oil and Grease: Sprinkle baking soda on the
spot, brush, then wipe with a clean white cloth.
Instrument Panel, Vinyl, and Other
Plastic Surfaces
A soft cloth dampened with water may be used to
remove dust. If a more thorough cleaning is
necessary, a clean soft cloth dampened with a
mild soap solution can be used to gently remove
dust and dirt. Never use spot lifters or removers
on plastic surfaces. Many commercial cleaners and
coatings that are sold to preserve and protect
soft plastic surfaces may permanently change the
appearance and feel of your interior and are
not recommended. Do not use silicone or
wax-based products, or those containing organic
solvents to clean your vehicle’s interior because
they can alter the appearance by increasing
the gloss in a non-uniform manner.
Some commercial products may increase gloss on
your instrument panel. The increase in gloss
may cause annoying reflections in the windshield
and even make it difficult to see through the
windshield under certain conditions.
439

Care of Safety Belts
Keep belts clean and dry.
{CAUTION:
Do not bleach or dye safety belts. If you
do, it may severely weaken them. In a
crash, they might not be able to provide
adequate protection. Clean safety belts
only with mild soap and lukewarm water.
Weatherstrips
Silicone grease on weatherstrips will make them
last longer, seal better, and not stick or squeak.
Apply silicone grease with a clean cloth. During
very cold, damp weather frequent application may
be required. See Recommended Fluids and
Lubricants on page 469.
Washing Your Vehicle
The paint finish on the vehicle provides beauty,
depth of color, gloss retention, and durability.
The best way to preserve the vehicle’s finish is to
keep it clean by washing it often with lukewarm
or cold water.
Do not wash the vehicle in the direct rays of the
sun. Use a car washing soap. Do not use
strong soaps or chemical detergents. Be sure to
rinse the vehicle well, removing all soap
residue completely. Approved cleaning products
can be obtained from your dealer. See Vehicle
Care/Appearance Materials on page 444.Donot
use cleaning agents that are petroleum based,
or that contain acid or abrasives. All cleaning
agents should be flushed promptly and not allowed
to dry on the surface, or they could stain. Dry
the finish with a soft, clean chamois or an
all-cotton towel to avoid surface scratches and
water spotting.
High pressure car washes may cause water to
enter the vehicle.
440

Cleaning Exterior Lamps/Lenses
Use only lukewarm or cold water, a soft cloth and
a car washing soap to clean exterior lamps
and lenses. Follow instructions under Washing
Your Vehicle on page 440.
Finish Care
Occasional waxing or mild polishing of the vehicle
by hand may be necessary to remove residue
from the paint finish. Approved cleaning products
can be obtained from your dealer. See Vehicle
Care/Appearance Materials on page 444.
Notice: Machine compounding or aggressive
polishing on a basecoat/clearcoat paint
finish may damage it. Use only non-abrasive
waxes and polishes that are made for a
basecoat/clearcoat paint finish on your vehicle.
The vehicle has a basecoat/clearcoat paint
finish. The clearcoat gives more depth and gloss
to the colored basecoat. Always use waxes
and polishes that are non-abrasive and made for a
basecoat/clearcoat paint finish.
Foreign materials such as calcium chloride and
other salts, ice melting agents, road oil and
tar, tree sap, bird droppings, chemicals from
industrial chimneys, etc., can damage the vehicle’s
finish if they remain on painted surfaces. Wash
the vehicle as soon as possible. If necessary, use
non-abrasive cleaners that are marked safe for
painted surfaces to remove foreign matter.
Exterior painted surfaces are subject to aging,
weather, and chemical fallout that can take their
toll over a period of years. To help keep the
paint finish looking new, keep the vehicle in a
garage or covered whenever possible.
Windshield and Wiper Blades
If the windshield is not clear after using the
windshield washer, or if the wiper blade chatters
when running, wax, sap, or other material may
be on the blade or windshield.
Clean the outside of the windshield with a glass
cleaning liquid or powder and water solution.
The windshield is clean if beads do not form when
it is rinsed with water.
441

Grime from the windshield will stick to the wiper
blades and affect their performance. Clean
the blade by wiping vigorously with a cloth soaked
in full-strength windshield washer solvent. Then
rinse the blade with water.
Check the wiper blades and clean them as
necessary; replace blades that look worn.
Aluminum Wheels
Notice: If you use strong soaps, chemicals,
abrasive polishes, cleaners, brushes, or
cleaners that contain acid on aluminum or
chrome-plated wheels, you could damage the
surface of the wheel(s). The repairs would
not be covered by your warranty. Use
only GM-approved cleaners on aluminum or
chrome-plated wheels.
Keep the wheels clean using a soft clean cloth
with mild soap and water. Rinse with clean water.
After rinsing thoroughly, dry with a soft clean
towel. A wax may then be applied.
Notice: Using chrome polish on aluminum
wheels could damage the wheels. The repairs
would not be covered by your warranty.
Use chrome polish on chrome wheels only.
The surface of these wheels is similar to the
painted surface of the vehicle. Do not use strong
soaps, chemicals, abrasive polishes, abrasive
cleaners, cleaners with acid, or abrasive cleaning
brushes on them because the surface could
be damaged. Do not use chrome polish on
aluminum wheels.
Notice: If you drive your vehicle through an
automatic car wash that has silicone carbide
tire cleaning brushes, you could damage
the aluminum or chrome-plated wheels. The
repairs would not be covered by your warranty.
Never drive a vehicle equipped with aluminum
or chrome-plated wheels through an
automatic car wash that uses silicone carbide
tire cleaning brushes.
Do not take the vehicle through an automatic car
wash that has silicone carbide tire cleaning
brushes. These brushes can also damage the
surface of these wheels.
442

Tires
To clean the tires, use a stiff brush with tire
cleaner.
Notice: Using petroleum-based tire dressing
products on your vehicle may damage the
paint finish and/or tires. When applying a tire
dressing, always wipe off any overspray
from all painted surfaces on your vehicle.
Sheet Metal Damage
If the vehicle is damaged and requires sheet
metal repair or replacement, make sure the body
repair shop applies anti-corrosion material to
parts repaired or replaced to restore corrosion
protection.
Original manufacturer replacement parts will
provide the corrosion protection while maintaining
the warranty.
Finish Damage
Any stone chips, fractures or deep scratches in
the finish should be repaired right away. Bare
metal will corrode quickly and may develop into
major repair expense.
Minor chips and scratches can be repaired with
touch-up materials available from your dealer.
Larger areas of finish damage can be corrected in
your dealer’s body and paint shop.
Underbody Maintenance
Chemicals used for ice and snow removal and
dust control can collect on the underbody. If these
are not removed, corrosion and rust can develop
on the underbody parts such as fuel lines,
frame, floor pan, and exhaust system even though
they have corrosion protection.
At least every spring, flush these materials from the
underbody with plain water. Clean any areas where
mud and debris can collect. Dirt packed in close
areas of the frame should be loosened before being
flushed. Your dealer or an underbody car washing
system can do this for you.
443

Chemical Paint Spotting
Some weather and atmospheric conditions can
create a chemical fallout. Airborne pollutants can
fall upon and attack painted surfaces on the
vehicle. This damage can take two forms: blotchy,
ring-shaped discolorations, and small, irregular
dark spots etched into the paint surface.
Although no defect in the paint job causes this, GM
will repair, at no charge to the owner, the surfaces
of new vehicles damaged by this fallout condition
within 12 months or 12,000 miles (20 000 km) of
purchase, whichever occurs first.
Vehicle Care/Appearance Materials
Description Usage
Polishing Cloth
Wax-Treated
Interior and exterior
polishing cloth.
Tar and Road Oil
Remover
Removes tar, road oil and
asphalt.
Chrome Cleaner and
Polish
Use on chrome or
stainless steel.
Vehicle Care/Appearance Materials
(cont’d)
Description Usage
White Sidewall Tire
Cleaner
Removes soil and black
marks from whitewalls.
Vinyl Cleaner Cleans vinyl.
Glass Cleaner Removes dirt, grime,
smoke and fingerprints.
Chrome and Wire Wheel
Cleaner
Removes dirt and grime
from chrome wheels and
wire wheel covers.
Finish Enhancer
Removes dust,
fingerprints, and surface
contaminants. Spray on
wipe off.
Swirl Remover Polish
Removes swirl marks,
fine scratches and other
light surface
contamination.
Cleaner Wax Removes light scratches
and protects finish.
444

Vehicle Care/Appearance Materials
(cont’d)
Description Usage
Foaming Tire Shine Low
Gloss
Cleans, shines and
protects in one easy step,
no wiping necessary.
Wash Wax Concentrate
Medium foaming
shampoo. Cleans and
lightly waxes.
Biodegradable and
phosphate free.
Spot Lifter
Quickly and easily
removes spots and stains
from carpets, vinyl and
suede upholstery.
Odor Eliminator
Odorless spray odor
eliminator used on
fabrics, vinyl, suede and
carpet.
Vehicle Identification
Vehicle Identification Number (VIN)
This is the legal identifier for your vehicle. It
appears on a plate in the front corner of the
instrument panel, on the driver’s side. You can see
it if you look through the windshield from outside
your vehicle. The VIN also appears on the Vehicle
Certification and Service Parts labels and the
certificates of title and registration.
Engine Identification
The eighth character in the VIN is the engine
code. This code will help you identify your vehicle’s
engine, specifications, and replacement parts.
445

Service Parts Identification Label
You will find this label on the inside of the glove
box. It is very helpful if you ever need to order
parts. On this label, you will find the following:
•VIN
•Model designation
•Paint information
•Production options and special equipment
Do not remove this label from the vehicle.
Electrical System
Add-On Electrical Equipment
Notice: Do not add anything electrical to your
vehicle unless you check with your dealer
first. Some electrical equipment can damage
your vehicle and the damage would not
be covered by your warranty. Some add-on
electrical equipment can keep other
components from working as they should.
Your vehicle has an airbag system. Before
attempting to add anything electrical to your
vehicle, see Servicing Your Airbag-Equipped
Vehicle on page 90.
See Towing a Trailer on page 331 for more
information about add-on electrical equipment and
towing a vehicle.
Headlamp Wiring
The headlamp wiring is protected by fuses, one for
each headlamp, in the fuse block. An electrical
overload will cause the lamps to turn off. If this
happens, have your headlamp wiring checked
right away.
Windshield Wiper Fuses
The windshield wiper motor is protected by a
circuit breaker and a fuse. If the motor overheats
due to heavy snow, etc., the wiper will stop
until the motor cools. If the overload is caused by
some electrical problem, have it fixed.
446

Power Windows and Other
Power Options
The power window motors are protected by a circuit
breaker in the motor, and a fuse in the fuse panel. If
the motor overheats due to a heavy load the
window will stop until the motor cools. When the
current load is too heavy the fuse will open,
protecting the circuit until the problem is fixed.
Fuses
The wiring circuits in your vehicle are protected
from short circuits by fuses and fusible thermal
links in the wiring itself.
Look at the silver-colored band inside the fuse. If
the band is broken or melted, replace the fuse.
Be sure you replace a bad fuse with a new one of
the identical size and rating.
If you ever have a problem on the road and don’t
have a spare fuse, you can borrow one that
has the same amperage. Just pick a feature of
your vehicle that you can get along without — like
the radio or cigarette lighter — and use its
fuse, if it is the correct amperage. Replace it as
soon as you can.
There are three fuse blocks in your vehicle: one in
the center of the instrument panel, one in the
engine compartment and one in the trunk.
There is a fuse puller located on the instrument
panel fuse block. It can be used to easily remove
fuses from the fuse block.
Instrument Panel Fuse Block
The instrument panel fuse block is located at on
the lower front side of the console, on the
passenger side of the vehicle. To access the
fuses, open the fuse panel door by pulling out.
To reinstall the door, insert the hooks at the front
end first, then push the door into the console
panel to secure it.
447

Fuses Usage
POWER
MIRRORS Power Mirrors
EPS Electric Power Steering
Fuses Usage
RUN/CRANK Cruise Control, Electronic Range
Select, Driver Shift Control,
Passenger Airbag Status Indicator
448

Fuses Usage
HVAC
BLOWER HIGH
(Relay) Climate Control System
CLUSTER/
THEFT Instrument Panel Cluster, Theft
Deterrent System
ONSTAR OnStar
®
System
NOT
INSTALLED Not Used
AIRBAG (IGN) Airbag System
HVAC
CTRL (BATT) Climate Control System
PEDAL Adjustable Throttle and Brake Pedal
WIPER SW Windshield Wiper/Washer Switch
IGN SENSOR Ignition Switch
STR/WHL
ILLUM Steering Wheel Controls
Backlighting
NOT
INSTALLED Not Used
RADIO Audio System
INTERIOR
LIGHTS Overhead Lighting, Trunk/Cargo
Lighting
REAR WIPER Rear Wiper System/Washer Pump
HVAC
CTRL (IGN) Climate Control System
Fuses Usage
HVAC
BLOWER Climate Control System
DOOR LOCK Automatic Door Lock System
ROOF/HEAT
SEAT
Sunroof, Heated Seats, Automatic
Dimming Rearview Mirror, Compass,
Rear Wiper/Washer System
POWER
WINDOWS Power Window Switch
NOT
INSTALLED Not Used
NOT
INSTALLED Not Used
AIRBAG
(BATT) Airbag System
FUSE PULLER Fuse Puller
SPARE FUSE
HOLDER Spare
SPARE FUSE
HOLDER Spare
SPARE FUSE
HOLDER Spare
SPARE FUSE
HOLDER Spare
449

Fuses Usage
1 Air Conditioning Clutch
2 Electronic Throttle Control
3 Engine Control Module (IGN 1) (V6)
4 Transmission
6 Emission 1
7 Left Headlamp Low-Beam
8 Horn
9 Right Headlamp Low-Beam
10 Front Fog Lamps
11 Left Headlamp High-Beam
12 Right Headlamp High-Beam
13 Engine Control Module (BATT) (L4)
14 Windshield Wiper
15 Anti-lock Brake System
16 Engine Control Module (IGN 1) (L4)
17 Cooling Fan 1
18 Cooling Fan 2
19 Run Relay
20 IBCM 1
21 IBCM (R/C)
Fuses Usage
22 Rear Electrical Center 1
23 Rear Electrical Center 2
24 Anti-lock Brake System
25 IBCM 2
26 Starter
27 (DIODE) Windshield Wiper
41 Electric Power Steering
42 Transaxle Control Module
43 Ignition Module
44 Fuel Injectors
45 Rear Oxygen Sensors
46 (Resistor) Brake Lamp Diagnostic
47 Daytime Running Lamps
51 Engine Control Module (BATT) (V6)
451

Relays Usage
28 Cooling Fan 1
29 Cooling Fan Mode Series/Parallel
30 Cooling Fan 2
31 Starter
32 Run/Crank Ignition
33 Powertrain
34 Air Conditioning Clutch
35 High-Beam Headlamps
36 Front Fog Lamps
37 Horn
38 Low-Beam Headlamps
39 Windshield Wiper 1
40 Windshield Wiper 2
48 Daytime Running Lamps
Rear Compartment Fuse Block
The rear compartment fuse block is located in the
trunk of the vehicle. Access the fuse block
through the trunk panel on the driver’s side of the
rear cargo area.
452

Fuses Usage
1 Not Used
2 Driver Seat Controls
3 Not Used
Fuses Usage
4 Not Used
5 Emission
6 Parklamps
453

Fuses Usage
7 Not Used
8 Not Used
9 Not Used
10 Sunroof Controls
11 Not Used
12 Auxiliary Power 2
13 Not Used
14 Heated Seat Controls
15 Not Used
16
Remote Keyless Entry System, XM
Satellite Radio, Rear Seat
Entertainment System, Homelink
17 Back-up Lamps
18 Not Used
19 Not Used
20 Cigarette Lighter, Auxiliary Power
Outlet
21 Not Used
22 Trunk
Fuses Usage
23 Rear Window Defogger
24 Heated Mirror Controls
25 Fuel Pump
Relays Usage
26 Rear Window Defogger
27 Parklamps
28 Not Used
29 Not Used
30 Not Used
31 Not Used
32 Not Used
33 Back-up Lamps
34 Not Used
35 Not Used
36 Trunk
37 Fuel Pump
38 (Diode) Trunk, Cargo Lamps
454

Capacities and Specifications
The following approximate capacities are given in English and metric conversions. Please refer to
Recommended Fluids and Lubricants on page 469 for more information.
Application
Capacities
English Metric
Air Conditioning Refrigerant R134a
For the air conditioning system refrigerant charge
amount, see the refrigerant caution label located
under the hood. See your dealer for more
information.
Automatic Transaxle Complete Overhaul
Automatic Transaxle 4T45-E 7.0 qt 6.6 L
Automatic Transaxle 4T65-E 7.4 qt 7.0 L
Cooling System
2.2L L4 Engine 7.5 qt 7.1 L
3.5L V6 and 3.9L V6 Engines 9.9 qt 9.4 L
Engine Oil with Filter
2.2L L4 Engine 5.0 qt 4.7 L
3.5L V6 and 3.9L V6 Engines 4.0 qt 3.8 L
455

Application
Capacities
English Metric
Fuel Tank
Sedan 16.1 gal 61.1 L
Malibu Maxx 16.3 gal 61.7 L
Wheel Nut Torque 100 lb ft 140 Y
All capacities are approximate. When adding, be sure to fill to the appropriate level, as recommended in this
manual.
Engine Specifications
Engine VIN Code Transaxle Spark Plug Gap
2.2L L4 F Automatic 0.040 inches (1.01 mm)
3.5L V6 N Automatic 0.040 inches (1.01 mm)
3.9L V6 1 Automatic 0.040 inches (1.01 mm)
456

Maintenance Schedule ................................ 458
Introduction ............................................... 458
Maintenance Requirements ........................ 458
Your Vehicle and the Environment ............ 458
Using the Maintenance Schedule ............... 459
Scheduled Maintenance ............................. 460
Additional Required Services ..................... 463
Maintenance Footnotes .............................. 464
Owner Checks and Services ..................... 465
At Each Fuel Fill ....................................... 466
At Least Once a Month ............................. 466
At Least Once a Year ............................... 467
Recommended Fluids and Lubricants ........ 469
Normal Maintenance
Replacement Parts ................................. 470
Engine Drive Belt Routing ......................... 471
Maintenance Record .................................. 473
Section 6 Maintenance Schedule
457

Maintenance Schedule
Introduction
Important: Keep engine oil at the proper level
and change as recommended.
Have you purchased the GM Protection Plan? The
Plan supplements your new vehicle warranties.
See your Warranty and Owner Assistance booklet
or your dealer for details.
Maintenance Requirements
Notice: Maintenance intervals, checks,
inspections, replacement parts, and
recommended fluids and lubricants as
prescribed in this manual are necessary to keep
your vehicle in good working condition. Any
damage caused by failure to follow scheduled
maintenance may not be covered by warranty.
Your Vehicle and the Environment
Proper vehicle maintenance not only helps to keep
your vehicle in good working condition, but also
helps the environment. All recommended
maintenance is important. Improper vehicle
maintenance can even affect the quality of the air
we breathe. Improper fluid levels or the wrong
tire inflation can increase the level of emissions
from your vehicle. To help protect our environment,
and to keep your vehicle in good condition, be
sure to maintain your vehicle properly.
458

Using the Maintenance Schedule
We at General Motors want to help you keep your
vehicle in good working condition. But we do
not know exactly how you will drive it. You may
drive very short distances only a few times a week.
Or you may drive long distances all the time in
very hot, dusty weather. You may use your vehicle
in making deliveries. Or you may drive it to
work, to do errands, or in many other ways.
Because of all the different ways people use their
vehicles, maintenance needs vary. You may
need more frequent checks and replacements. So
please read the following and note how you
drive. If you have any questions on how to keep
your vehicle in good condition, see your GM
Goodwrench
®
dealer.
This schedule is for vehicles that:
•carry passengers and cargo within
recommended limits. You will find these limits
on the Tire and Loading Information label.
See Loading Your Vehicle on page 322.
•are driven on reasonable road surfaces within
legal driving limits.
•use the recommended fuel. See Gasoline
Octane on page 344.
The services in Scheduled Maintenance on
page 460 should be performed when indicated.
See Additional Required Services on page 463 and
Maintenance Footnotes on page 464 for further
information.
{CAUTION:
Performing maintenance work on a
vehicle can be dangerous. In trying to do
some jobs, you can be seriously injured.
Do your own maintenance work only if
you have the required know-how and the
proper tools and equipment for the job. If
you have any doubt, see your GM
Goodwrench
®
dealer to have a qualified
technician do the work.
Some maintenance services can be complex. So,
unless you are technically qualified and have
the necessary equipment, you should have your
GM Goodwrench
®
dealer do these jobs.
459

When you go to your GM Goodwrench
®
dealer for
your service needs, you will know that GM-trained
and supported service technicians will perform
the work using genuine GM parts.
If you want to purchase service information, see
Service Publications Ordering Information on
page 497.
Owner Checks and Services on page 465 tells you
what should be checked, when to check it, and
what you can easily do to help keep your vehicle in
good condition.
The proper replacement parts, fluids, and
lubricants to use are listed in Recommended
Fluids and Lubricants on page 469 and Normal
Maintenance Replacement Parts on page 470.
When your vehicle is serviced, make sure these
are used. All parts should be replaced and all
necessary repairs done before you or anyone else
drives the vehicle. We recommend the use of
genuine GM parts.
Scheduled Maintenance
When the CHANGE OIL SOON message in the
Driver Information Center (DIC) comes on, it means
that service is required for your vehicle. Have your
vehicle serviced as soon as possible within the next
600 miles (1 000 km). It is possible that, if you are
driving under the best conditions, the engine oil life
system may not indicate that vehicle service is
necessary for over a year. However, the engine oil
and filter must be changed at least once a year and
at this time the system must be reset. Your GM
Goodwrench
®
dealer has GM-trained service
technicians who will perform this work using
genuine GM parts and reset the system.
If the engine oil life system is ever reset
accidentally, you must service your vehicle within
3,000 miles (5 000 km) since your last service.
Remember to reset the oil life system whenever
the oil is changed. See Engine Oil Life System on
page 360 for information on the Engine Oil Life
System and resetting the system.
460

When the CHANGE OIL SOON message appears,
certain services, checks, and inspections are
required. Required services are described in the
following for “Maintenance I” and “Maintenance II.”
Generally, it is recommended that your first service
be Maintenance I, your second service be
Maintenance II, and that you alternate
Maintenance Iand Maintenance II thereafter.
However, in some cases, Maintenance II may be
required more often.
Maintenance I— Use Maintenance Iif the
message comes on within 10 months since the
vehicle was purchased or Maintenance II
was performed.
Maintenance II — Use Maintenance II if the
previous service performed was Maintenance I.
Always use Maintenance II whenever the message
comes on 10 months or more since the last
service or if the message has not come on at all
for one year.
Scheduled Maintenance
Service Maintenance IMaintenance II
Change engine oil and filter. See Engine Oil on page 357. Reset oil life system.
See Engine Oil Life System on page 360.An Emission Control Service. ••
Visually check for any leaks or damage. See footnote (j). ••
Inspect engine air cleaner filter. If necessary, replace filter. See Engine Air
Cleaner/Filter on page 362.See footnote (k). •
461

Scheduled Maintenance (cont’d)
Service Maintenance IMaintenance II
Rotate tires and check inflation pressures and wear. See Tire Inspection and
Rotation on page 409 and “Tire Wear Inspection” in At Least Once a Month on
page 466.
••
Inspect brake system. See footnote (a). ••
Check engine coolant and windshield washer fluid levels and add fluid as
needed. ••
Perform any needed additional services. See “Additional Required Services” in
this section. ••
Inspect suspension and steering components. See footnote (b). •
Inspect engine cooling system. See footnote (c). •
Inspect wiper blades. See footnote (d). •
Inspect restraint system components. See footnote (e). •
Lubricate body components. See footnote (f). •
3.9L Engine Only: Check automatic transaxle fluid level and add fluid as
needed. •
Inspect throttle system. See footnote (g). •
462

Additional Required Services
The following services should be performed at the first maintenance service (Ior II) after the indicated miles
(kilometers) shown for each item.
Additional Required Services
Service and Miles (Kilometers) 25,000
(40 000)
50,000
(80 000)
75,000
(120 000)
100,000
(160 000)
125,000
(200 000)
150,000
(240 000)
Inspect fuel system for damage or leaks. • •••••
Inspect exhaust system for loose or
damaged components. • •••••
Replace engine air cleaner filter. See
Engine Air Cleaner/Filter on page 362.•••
Change automatic transaxle fluid
and filter (severe service only). See
footnote (h).
•••
Replace spark plugs. Inspect spark plug
wires (V6 only). An Emission Control
Service.
•
Engine cooling system service
(or every five years, whichever occurs
first). An Emission Control Service. See
footnote (i).
•
Inspect engine accessory drive belt.
An Emission Control Service. See
footnote (l).
•
463

Maintenance Footnotes
(a) Visually inspect brake lines and hoses for
proper hook-up, binding, leaks, cracks, chafing,
etc. Inspect disc brake pads for wear and rotors for
surface condition. Inspect other brake parts,
including calipers, parking brake, etc.
(b) Visually inspect front and rear suspension and
steering system for damaged, loose, or missing
parts or signs of wear. Inspect electric power
steering cables for proper hook-up, binding,
cracks, chafing, etc. Inspect hydraulic power
steering lines and hoses for proper hook-up,
binding, leaks, cracks, chafing, etc.
(c) Visually inspect hoses and have them replaced
if they are cracked, swollen, or deteriorated.
Inspect all pipes, fittings and clamps; replace with
genuine GM parts as needed. To help ensure
proper operation, a pressure test of the cooling
system and pressure cap and cleaning the outside
of the radiator and air conditioning condenser is
recommended at least once a year.
(d) Visually inspect wiper blades for wear or
cracking. Replace blades that appear worn or
damaged or that streak or miss areas of the
windshield.
(e) Make sure the safety belt reminder light and all
your belts, buckles, latch plates, retractors, and
anchorages are working properly. Look for
any other loose or damaged safety belt system
parts. If you see anything that might keep a safety
belt system from doing its job, have it repaired.
Have any torn or frayed safety belts replaced. Also
look for any opened or broken airbag coverings,
and have them repaired or replaced. The
airbag system does not need regular maintenance.
(f) Lubricate all key lock cylinders, door hinges
and latches, hood hinges and latches, and trunk lid
hinges and latches. More frequent lubrication
may be required when exposed to a corrosive
environment. Applying silicone grease on
weatherstrips with a clean cloth will make them
last longer, seal better, and not stick or squeak.
(g) Check system for interference or binding
and for damaged or missing parts. Replace parts
as needed. Replace any components that
have high effort or excessive wear. Do not
lubricate accelerator or cruise control cables.
464

(h) Change automatic transaxle fluid and filter if
the vehicle is mainly driven under one or more of
these conditions:
−In heavy city traffic where the outside
temperature regularly reaches 90°F (32°C) or
higher.
−In hilly or mountainous terrain.
−When doing frequent trailer towing.
−Uses such as found in taxi, police, or delivery
service.
If you do not use your vehicle under any of these
conditions, the fluid and filter do not require
changing.
(i) Drain, flush, and refill cooling system. This
service can be complex; you should have
your dealer perform this service. See Engine
Coolant on page 367 for what to use. Inspect
hoses. Clean radiator, condenser, pressure cap,
and filler neck. Pressure test the cooling
system and pressure cap.
(j) A fluid loss in any vehicle system could indicate
a problem. Have the system inspected and
repaired and the fluid level checked. Add fluid if
needed.
(k) If you drive regularly under dusty conditions,
inspect the filter at each engine oil change.
(l) Visually inspect belt for fraying, excessive
cracks, or obvious damage. Replace belt if
necessary.
Owner Checks and Services
These owner checks and services should be
performed at the intervals specified to help ensure
the safety, dependability, and emission control
performance of your vehicle. Your GM
Goodwrench
®
dealer can assist you with these
checks and services.
Be sure any necessary repairs are completed at
once. Whenever any fluids or lubricants are added
to your vehicle, make sure they are the proper
ones, as shown in Recommended Fluids and
Lubricants on page 469.
465

At Each Fuel Fill
It is important to perform these underhood checks
at each fuel fill.
Engine Oil Level Check
Check the engine oil level and add the proper oil if
necessary. See Engine Oil on page 357 for
further details.
Notice: It is important to check your oil
regularly and keep it at the proper level. Failure
to keep your engine oil at the proper level
can cause damage to your engine not covered
by your warranty.
Engine Coolant Level Check
Check the engine coolant level and add
DEX-COOL
®
coolant mixture if necessary. See
Engine Coolant on page 367 for further details.
Windshield Washer Fluid Level Check
Check the windshield washer fluid level in
the windshield washer fluid reservoir and add the
proper fluid if necessary.
At Least Once a Month
Tire Inflation Check
Visually inspect your vehicle’s tires and make sure
they are inflated to the correct pressures. Do not
forget to check the spare tire. See Inflation - Tire
Pressure on page 407. Check to make sure the
spare tire is stored securely. See Changing a Flat
Tire on page 418.
Tire Wear Inspection
Tire rotation may be required for high mileage
highway drivers prior to the Engine Oil Life System
service notification. Check the tires for wear
and, if necessary, rotate the tires. See Tire
Inspection and Rotation on page 409.
466

At Least Once a Year
Starter Switch Check
{CAUTION:
When you are doing this inspection, the
vehicle could move suddenly. If the
vehicle moves, you or others could be
injured.
1. Before you start, be sure you have enough
room around the vehicle.
2. Firmly apply both the parking brake and the
regular brake. See Parking Brake on
page 134.
Do not use the accelerator pedal, and be
ready to turn off the engine immediately if it
starts.
3. Try to start the engine in each gear. The
vehicle should start only in PARK (P) or
NEUTRAL (N). If the vehicle starts in any
other position, contact your GM Goodwrench
®
dealer for service.
Automatic Transaxle Shift Lock Control
System Check
{CAUTION:
When you are doing this inspection, the
vehicle could move suddenly. If the
vehicle moves, you or others could be
injured.
1. Before you start, be sure you have enough
room around the vehicle. It should be parked
on a level surface.
2. Firmly apply the parking brake. See Parking
Brake on page 134.
Be ready to apply the regular brake
immediately if the vehicle begins to move.
3. With the engine off, turn the ignition to ON,
but do not start the engine. Without applying
the regular brake, try to move the shift
lever out of PARK (P) with normal effort. If the
shift lever moves out of PARK (P), contact
your GM Goodwrench
®
dealer for service.
467

Ignition Transaxle Lock Check
While parked, and with the parking brake set, try
to turn the ignition to OFF in each shift lever
position.
•The ignition should turn to OFF only when the
shift lever is in PARK (P).
•The ignition key should come out only in OFF.
Contact your GM Goodwrench
®
dealer if service
is required.
Parking Brake and Automatic Transaxle
Park (P) Mechanism Check
{CAUTION:
When you are doing this check, your
vehicle could begin to move. You or others
could be injured and property could be
damaged. Make sure there is room in front
of your vehicle in case it begins to roll. Be
ready to apply the regular brake at once
should the vehicle begin to move.
Park on a fairly steep hill, with the vehicle facing
downhill. Keeping your foot on the regular
brake, set the parking brake.
•To check the parking brake’s holding ability:
With the engine running and transaxle in
NEUTRAL (N), slowly remove foot pressure
from the regular brake pedal. Do this until the
vehicle is held by the parking brake only.
•To check the PARK (P) mechanism’s holding
ability: With the engine running, shift to
PARK (P). Then release the parking brake
followed by the regular brake.
Contact your GM Goodwrench
®
dealer if service is
required.
Underbody Flushing Service
At least every spring, use plain water to flush any
corrosive materials from the underbody. Take
care to clean thoroughly any areas where mud and
other debris can collect.
468

Recommended Fluids and
Lubricants
Fluids and lubricants identified below by name,
part number, or specification may be obtained from
your dealer.
Usage Fluid/Lubricant
Engine Oil
Engine oil which meets GM
Standard GM6094M and displays
the American Petroleum Institute
Certified for Gasoline Engines
starburst symbol. GM Goodwrench
®
oil meets all the requirements for
your vehicle. To determine the
proper viscosity for your vehicle’s
engine, see Engine Oil on page 357.
Engine Coolant
50/50 mixture of clean, drinkable
water and use only DEX-COOL
®
Coolant. See Engine Coolant on
page 367.
Hydraulic Brake
System
Delco
®
Supreme 11 Brake Fluid or
equivalent DOT-3 brake fluid.
Windshield
Washer GM Optikleen
®
Washer Solvent.
Usage Fluid/Lubricant
Hydraulic
Power Steering
System (if
equipped)
GM Power Steering Fluid
(GM Part No. U.S. 89021184, in
Canada 89021186).
Automatic
Transaxle
DEXRON
®
-VI Automatic
Transmission Fluid.
Key Lock
Cylinders
Multi-Purpose Lubricant, Superlube
(GM Part No. U.S. 12346241, in
Canada 10953474).
Hood Latch
Assembly,
Secondary
Latch, Pivots,
Spring Anchor,
and
Release Pawl
Lubriplate Lubricant Aerosol
(GM Part No. U.S. 12346293, in
Canada 992723) or lubricant
meeting requirements of NLGI #2,
Category LB or GC-LB.
Hood and Door
Hinges
Multi-Purpose Lubricant, Superlube
(GM Part No. U.S. 12346241, in
Canada 109435474).
Weatherstrip
Conditioning
Weatherstrip Lubricant
(GM Part No. U.S. 3634770, in
Canada 10953518) or Dielectric
Silicone Grease (GM Part No.
U.S. 12345579, in Canada 992887).
469

Normal Maintenance Replacement Parts
Replacement parts identified below by name, part number, or specification can be obtained from your
GM dealer.
Part Part Numbers ACDelco
®
Part
Numbers
Engine Air Cleaner/Filter 25099149 A1208 C
Engine Oil Filter
2.2L L4 Engine 12605566 PF457G
3.5L V6 and 3.9L V6 Engines 89017342 PF61
Spark Plugs
2.2L L4 Engine 12598004 41-103
3.5L V6 and 3.9L V6 Engines 12591131 41-100
Windshield Wiper Blades
Driver’s Side – 22.0 inches (55.0 cm) 22688087 —
Passenger’s Side – 19.6 inches (50.0 cm) 22688086 —
Rear – 18 inches (46.7 cm) 10392621* —
*Wiper blade and assembly
470

Engine Drive Belt Routing
2.2L L4 Engine
3.5L V6 Engine
471

3.9L V6 MAXX Engine
472

Maintenance Record
After the scheduled services are performed, record the date, odometer reading, who performed the
service, and the type of services performed in the boxes provided. See Maintenance Requirements on
page 458. Any additional information from Owner Checks and Services on page 465 can be added on the
following record pages. You should retain all maintenance receipts.
Maintenance Record
Date Odometer
Reading Serviced By Maintenance Ior
Maintenance II Services Performed
473

Maintenance Record (cont’d)
Date Odometer
Reading Serviced By Maintenance Ior
Maintenance II Services Performed
474

Maintenance Record (cont’d)
Date Odometer
Reading Serviced By Maintenance Ior
Maintenance II Services Performed
475

Maintenance Record (cont’d)
Date Odometer
Reading Serviced By Maintenance Ior
Maintenance II Services Performed
476

Customer Assistance and Information ....... 478
Customer Satisfaction Procedure ............... 478
Online Owner Center ................................. 481
Customer Assistance for Text
Telephone (TTY) Users .......................... 482
Customer Assistance Offices ..................... 482
GM Mobility Reimbursement Program ........ 483
Roadside Assistance Program ................... 484
Courtesy Transportation ............................. 487
Vehicle Data Collection and
Event Data Recorders ............................ 490
Collision Damage Repair ........................... 491
Reporting Safety Defects ............................ 496
Reporting Safety Defects to the
United States Government ..................... 496
Reporting Safety Defects to the
Canadian Government ............................ 496
Reporting Safety Defects to
General Motors ...................................... 496
Service Publications Ordering
Information ............................................. 497
Section 7 Customer Assistance Information
477

Customer Assistance and
Information
Customer Satisfaction Procedure
Your satisfaction and goodwill are important
to your dealer and to Chevrolet. Normally, any
concerns with the sales transaction or the
operation of your vehicle will be resolved by your
dealer’s sales or service departments. Sometimes,
however, despite the best intentions of all
concerned, misunderstandings can occur.
If your concern has not been resolved to your
satisfaction, the following steps should be taken:
STEP ONE: Discuss your concern with a member
of dealership management. Normally, concerns
can be quickly resolved at that level. If the matter
has already been reviewed with the sales,
service, or parts manager, contact the owner of
the dealership or the general manager.
STEP TWO: If after contacting a member of
dealership management, it appears your concern
cannot be resolved by the dealership without
further help, in the U.S., contact the Chevrolet
Customer Assistance Center by calling
1-800-222-1020. In Canada, contact General
Motors of Canada Customer Communication
Centre by calling 1-800-263-3777 (English) or
1-800-263-7854 (French).
We encourage you to call the toll-free number in
order to give your inquiry prompt attention. Please
have the following information available to give
the Customer Assistance Representative:
•Vehicle Identification Number (VIN).
This is available from the vehicle registration
or title, or the plate at the top left of the
instrument panel and visible through the
windshield.
•Dealership name and location.
•Vehicle delivery date and present mileage
(kilometers).
When contacting Chevrolet, please remember that
your concern will likely be resolved at a dealer’s
facility. That is why we suggest you follow
Step One first if you have a concern.
478

STEP THREE — U.S. Owners: Both General
Motors and your dealer are committed to making
sure you are completely satisfied with your new
vehicle. However, if you continue to remain
unsatisfied after following the procedure outlined in
Steps 1 and 2, you should file with the BBB Auto
Line Program to enforce your rights.
The BBB Auto Line Program is an out of court
program administered by the Council of Better
Business Bureaus to settle automotive disputes
regarding vehicle repairs or the interpretation of the
New Vehicle Limited Warranty. Although you may
be required to resort to this informal dispute
resolution program prior to filing a court action, use
of the program is free of charge and your case will
generally be heard within 40 days. If you do not
agree with the decision given in your case, you may
reject it and proceed with any other venue for relief
available to you.
You may contact the BBB Auto Line Program using
the toll-free telephone number or write them at the
following address:
BBB Auto Line Program
Council of Better Business Bureaus, Inc.
4200 Wilson Boulevard
Suite 800
Arlington, VA 22203-1838
Telephone: 1-800-955-5100
This program is available in all 50 states and the
District of Columbia. Eligibility is limited by
vehicle age, mileage, and other factors. General
Motors reserves the right to change eligibility
limitations and/or discontinue its participation in
this program.
479

STEP THREE — Canadian Owners: In the event
that you do not feel your concerns have been
addressed after following the procedure outlined
in Steps 1 and 2, General Motors of Canada
Limited wants you to be aware of its participation
in a no-charge Mediation/Arbitration Program.
General Motors of Canada Limited has committed
to binding arbitration of owner disputes involving
factory-related vehicle service claims. The program
provides for the review of the facts involved by
an impartial third party arbiter, and may include an
informal hearing before the arbiter. The program
is designed so that the entire dispute settlement
process, from the time you file your complaint
to the final decision, should be completed in about
70 days. We believe our impartial program
offers advantages over courts in most jurisdictions
because it is informal, quick, and free of charge.
For further information concerning eligibility in
the Canadian Motor Vehicle Arbitration Plan
(CAMVAP), call toll-free 1-800-207-0685.
Alternatively, you may call the General Motors
Customer Communication Centre, 1-800-263-3777
(English), 1-800-263-7854 (French), or you may
write to:
The Mediation/Arbitration Program
c/o Customer Communication Centre
General Motors of Canada Limited
Mail Code: CA1-163-005
1908 Colonel Sam Drive
Oshawa, Ontario L1H 8P7
Your inquiry should be accompanied by your
Vehicle Identification Number (VIN).
480

Online Owner Center
Online Owner Center
(United States only)
The Owner Center is a resource for your GM
ownership needs. Specific vehicle information
can be found in one place.
The Online Owner Center allows you to:
•Get e-mail service reminders.
•Access information about your specific
vehicle, including tips and videos and
an electronic version of this owner manual.
•Keep track of your vehicle’s service history
and maintenance schedule.
•Find GM dealers for service nationwide.
•Receive special promotions and privileges
only available to members.
Refer to www.MyGMLink.com on the web for
updated information and to register your vehicle.
My GM Canada (Canada only)
My GM Canada is a password-protected section
of gmcanada.com where you can save information
on GM vehicles, get personalized offers, and
use handy tools and forms with greater ease.
Here are a few of the valuable tools and services
you will have access to:
− My Showroom: Find and save information on
vehicles and current offers in your area.
− My Dealers/Retailers: Save details such as
address and phone number for each of
your preferred GM Dealers or Retailers.
− My Driveway: Receive service reminders and
helpful advice on owning and maintaining
your vehicle.
− My Preferences: Manage your profile,
subscribe to E-News and use tools and forms
with greater ease.
To sign up to My GM Canada, visit the My GM
Canada section within www.gmcanada.com.
481

Customer Assistance for Text
Telephone (TTY) Users
To assist customers who are deaf, hard of
hearing, or speech-impaired and who use Text
Telephones (TTYs), Chevrolet has TTY equipment
available at its Customer Assistance Center.
Any TTY user in the U.S. can communicate with
Chevrolet by dialing: 1-800-833-CHEV (2438).
(TTY users in Canada can dial 1-800-263-3830.)
Customer Assistance Offices
Chevrolet encourages customers to call the
toll-free number for assistance. However, if a
customer wishes to write or e-mail Chevrolet, the
letter should be addressed to:
United States — Customer Assistance
Chevrolet Motor Division
Chevrolet Customer Assistance Center
P.O. Box 33170
Detroit, MI 48232-5170
www.Chevrolet.com
1-800-222-1020
1-800-833-2438
(For Text Telephone devices (TTYs))
Roadside Assistance: 1-800-CHEV-USA
(243-8872)
Fax Number: 313-381-0022
From Puerto Rico:
1-800-496-9992 (English)
1-800-496-9993 (Spanish)
Fax Number: 313-381-0022
From U.S. Virgin Islands:
1-800-496-9994
Fax Number: 313-381-0022
Canada — Customer Assistance
General Motors of Canada Limited
Customer Communication Centre, CA1-163-005
1908 Colonel Sam Drive
Oshawa, Ontario L1H 8P7
www.gmcanada.com
1-800-263-3777 (English)
1-800-263-7854 (French)
1-800-263-3830 (For Text Telephone
devices (TTYs))
Roadside Assistance: 1-800-268-6800
482

Overseas — Customer Assistance
Please contact the local General Motors
Business Unit.
Mexico, Central America and
Caribbean Islands/Countries
(Except Puerto Rico and U.S.
Virgin Islands) — Customer Assistance
General Motors de Mexico, S. de R.L. de C.V.
Customer Assistance Center
Paseo de la Reforma # 2740
Col. Lomas de Bezares
C.P. 11910, Mexico, D.F.
01-800-508-0000
Long Distance: 011-52-53 29 0 800
GM Mobility Reimbursement
Program
This program, available to qualified applicants,
can reimburse you up to $1,000 of the cost
of eligible aftermarket adaptive equipment required
for your vehicle, such as hand controls or a
wheelchair/scooter lift.
The offer is available for a very limited period of
time from the date of vehicle purchase/lease.
For more details, or to determine your vehicle’s
eligibility, visit gmmobility.com or call the GM
Mobility Assistance Center at 1-800-323-9935.
Text telephone (TTY) users, call 1-800-833-9935.
General Motors of Canada also has a Mobility
Program. Call 1-800-GM-DRIVE (463-7483)
for details. TTY users call 1-800-263-3830.
483

Roadside Assistance Program
In the U.S., call 1-800-CHEV-USA
(1-800-243-8872)
In Canada, call 1-800-268-6800
Service available 24 hours a day, 365 days a year.
As the owner of a new Chevrolet vehicle, you are
automatically enrolled in the Chevrolet Roadside
Assistance program. This value-added service is
intended to provide you with peace of mind as you
drive in the city or travel the open road.
Who is Covered?
Roadside Assistance coverage is for the vehicle
operator, regardless of ownership. A person driving
this vehicle without the consent of the owner is
not eligible for coverage.
The following services are provided in the U.S.
during the Bumper-to-Bumper warranty period and,
in Canada, during the Base Warranty coverage
period of the New Vehicle Limited Warranty, up to
a maximum coverage of $100.
•Fuel Delivery: Delivery of enough fuel for the
customer to get to the nearest service station
(about $5 in the U.S. and 10 litres in Canada).
Service to provide diesel may be restricted. For
safety reasons, propane and other alternative
fuels will not be provided through this service.
•Lock-out Service: To ensure security, the
driver must present the vehicle registration and
personal ID before lock-out service is provided.
Lock-out service will be covered at no charge if
you are unable to gain entry into your vehicle.
If your vehicle will not start, Roadside
Assistance will arrange to have your vehicle
towed to the nearest authorized dealership.
In the U.S., replacement keys made at the
customer’s expense will be covered within
10 miles (16 km).
484

•Emergency Tow From a Public Roadway or
Highway: Tow to the nearest dealership for
warranty service or in the event of a
vehicle-disabling accident. Winch-out
assistance when the vehicle is mired in sand,
mud, or snow.
•Flat Tire Change: If your vehicle has a spare
tire, installation of the tire in good condition will
be covered at no charge. The customer is
responsible for the repair or replacement of the
tire if not covered by a warrantable failure.
•Jump Start: No-start occurrences which
require a battery jump start will be covered at
no charge.
Additional Services for Canadian
Customers
•Trip Routing Service: Upon Request,
Roadside Assistance will send you detailed,
computer-personalized maps, highlighting your
choice of either the most direct route or the
most scenic route to your destination,
anywhere in North America, along with any
helpful travel information we may have
pertaining to your trip. To request this service,
please call us toll-free at 1-800-268-6800.
We will make every attempt to send your
personalized trip routing as quickly as
possible, but it is best to allow three weeks
before your planned departure date.
Trip routing requests will be limited to
six per calendar year.
485

•Trip Interruption Benefits and Assistance:
In the event of a warranty related vehicle
disablement, while en route and over
250 kilometres from original point of departure,
you may qualify for trip interruption expense
assistance. This assistance covers reasonable
reimbursement of up to a maximum of
$500 (Canadian) for (A) meals (maximum of
$50/day), (B) lodging (maximum of $100/night)
and (C) alternate ground transportation
(maximum of $40/day). This benefit is to assist
you with some of the unplanned expense
you may incur while waiting for your vehicle to
be repaired.
Pre-authorization, original detailed receipts
and a copy of the repair order are required.
Once authorization has been given, your
advisor will help you make any necessary
arrangements and explain how to claim for trip
interruption expense assistance.
•Alternative Service: There may be times,
when Roadside Assistance cannot provide
timely assistance, your advisor may authorize
you to secure local emergency road service,
and you will be reimbursed up to $100 upon
submission of the original receipt to Roadside
Assistance.
In many instances, mechanical failures are
covered under Chevrolet’s Bumper-to-Bumper
warranty, and the duration of the Base Warranty
Coverage for Canadian customers of the new
Vehicle Limited Warranty. However, any cost for
parts and labor for non-warranty repairs are
the responsibility of the driver.
For prompt and efficient assistance when calling,
please provide the following to the Roadside
Assistance Representative:
•Your name, home address, and home
telephone number.
•Telephone number of your location.
•Location of the vehicle.
•Model, year, color, and license plate number.
•Odometer reading, Vehicle Identification
Number (VIN), and delivery date of the vehicle.
•Description of the problem.
486

While we hope you never have the occasion to
use our service, it is added security while traveling
for you and your family. Remember, we are
only a phone call away. U.S. customers call
Chevrolet Roadside Assistance: 1-800-CHEV-USA
(1-800-243-8872), text telephone (TTY) users,
call 1-888-889-2438, Canadian customers
call 1-800-268-6800.
Chevrolet and General Motors of Canada Limited
reserve the right to limit services or reimbursement
to an owner or driver when, in their sole discretion,
the claims become excessive in frequency or type
of occurrence.
Roadside Assistance is not part of or included in
the coverage provided by the New Vehicle Limited
Warranty. Chevrolet and General Motors of
Canada Limited reserve the right to make any
changes or discontinue the Roadside Assistance
program at any time without notification.
Towing and Road Service Exclusions
Specifically excluded from Roadside Assistance
coverage are towing or services for vehicles
operated on a non-public roadway or highway,
fines, impound towing caused by a violation
of local, Municipal, State, Provincial, or Federal
law, and mounting, dismounting or changing
of snow tires, chains, or other traction devices.
Courtesy Transportation
To enhance your ownership experience, we and
our participating dealers are proud to offer Courtesy
Transportation, a customer support program for
new vehicles.
For warranty repairs during the Bumper-to-Bumper
(U.S.) or Base Warranty Coverage period
(Canada), provided by the New Vehicle Limited
Warranty, interim transportation may be available
under the Courtesy Transportation program.
Several courtesy transportation options are
available to assist in reducing your inconvenience
when warranty repairs are required.
487

Courtesy Transportation is not a part of the New
Vehicle Limited Warranty and is available only
at participating dealers. A separate booklet entitled
“Warranty and Owner Assistance Information”
furnished with each new vehicle provides detailed
warranty coverage information.
Scheduling Service Appointments
When your vehicle requires warranty service, you
should contact your dealer and request an
appointment. By scheduling a service appointment
and advising your service consultant of your
transportation needs, your dealer can help
minimize your inconvenience.
If your vehicle cannot be scheduled into the
service department immediately, keep driving it
until it can be scheduled for service, unless,
of course, the problem is safety-related. If it is,
please call your dealership, let them know this, and
ask for instructions.
If the dealer requests that you simply drop the
vehicle off for service, you are urged to do so as
early in the work day as possible to allow for
the same day repair.
Transportation Options
Warranty service can generally be completed
while you wait. However, if you are unable to wait,
GM helps to minimize your inconvenience by
providing several transportation options.
Depending on the circumstances, your dealer can
offer you one of the following:
Shuttle Service
Shuttle service is the preferred means of offering
Courtesy Transportation and participating
dealers can provide you with shuttle service to get
you to your destination with minimal interruption
of your daily schedule. This includes one-way
or round trip shuttle service within reasonable time
and distance parameters for the dealer’s area.
Public Transportation or Fuel
Reimbursement
If your vehicle requires overnight warranty
repairs, and public transportation is used as
‘shuttle service,’ the reimbursement is limited
to the associated shuttle allowance and must be
supported by original receipts.
488

In addition, for U.S. customers, should you
arrange transportation through a friend or relative,
limited reimbursement for reasonable fuel
expenses may be available. Claim amounts should
reflect actual costs and be supported by original
receipts.
Courtesy Rental Vehicle
Your dealer may arrange to provide you with a
courtesy rental vehicle or reimburse you for
a rental vehicle that you obtain if your vehicle is
kept for an overnight warranty repair. Rental
reimbursement will be limited and must be
supported by original receipts. This requires that
you sign and complete a rental agreement
and meet state/provincial, local, and rental vehicle
provider requirements. Requirements vary and
may include minimum age requirements, insurance
coverage, credit card, etc. You are responsible
for fuel usage charges and may also be
responsible for taxes, levies, usage fees,
excessive mileage, or rental usage beyond the
completion of the repair.
Generally it is not possible to provide a like-vehicle
as a courtesy rental.
Additional Program Information
All program options, such as shuttle service, may
not be available at every dealer. Please contact
your dealer for specific information about
availability. All Courtesy Transportation
arrangements will be administered by appropriate
dealer personnel.
General Motors reserves the right to unilaterally
modify, change or discontinue Courtesy
Transportation at any time and to resolve all
questions of claim eligibility pursuant to the terms
and conditions described herein at its sole
discretion.
489

Vehicle Data Collection and
Event Data Recorders
Your vehicle, like other modern motor vehicles,
has a number of sophisticated computer systems
that monitor and control several aspects of the
vehicle’s performance. Your vehicle uses on-board
vehicle computers to monitor emission control
components to optimize fuel economy, to monitor
conditions for airbag deployment and, if the
vehicle has the Anti-lock Brake System (ABS), to
provide anti-lock braking and to help the driver
control the vehicle in difficult driving situations.
Some information may be stored during regular
operations to facilitate repair of detected
malfunctions; other information is stored only
in a crash event by computer systems,
such as those commonly called Event Data
Recorders (EDR).
In a crash event, computer systems, such as the
airbag Sensing and Diagnostic Module (SDM) in
your vehicle may record information about the
condition of the vehicle and how it was operated,
such as data related to engine speed, brake
application, throttle position, vehicle speed, safety
belt usage, airbag readiness, airbag performance,
and the severity of a collision. This information has
been used to improve vehicle crash performance
and may be used to improve crash performance of
future vehicles and driving safety. Unlike the data
recorders on many airplanes, these on-board
systems do not record sounds, such as
conversation of vehicle occupants.
To read this information, special equipment is
needed and access to the vehicle or the device
that stores the data is required. GM will not access
information about a crash event or share it with
others other than:
•with the consent of the vehicle owner or, if the
vehicle is leased, with the consent of the
lessee,
•in response to an official request of police or
similar government office,
•as part of GM’s defense of litigation through
the discovery process, or
•as required by law.
490

In addition, once GM collects or receives data,
GM may:
•use the data for GM research needs,
•make it available for research where
appropriate confidentiality is to be maintained
and need is shown, or
•share summary data which is not tied to a
specific vehicle with non-GM organizations
for research purposes.
Others, such as law enforcement, may have
access to the special equipment that can read the
information if they have access to the vehicle
or the device that stores the data.
If your vehicle has OnStar
®
, please check the
OnStar
®
subscription service agreement or
manual for information on its operations and data
collection.
Collision Damage Repair
If your vehicle is involved in a collision and it is
damaged, have the damage repaired by a qualified
technician using the proper equipment and
quality replacement parts. Poorly performed
collision repairs will diminish your vehicle’s
resale value, and safety performance can be
compromised in subsequent collisions.
Collision Parts
Genuine GM Collision parts are new parts made
with the same materials and construction methods
as the parts with which your vehicle was
originally built. Genuine GM Collision parts are
your best choice to assure that your vehicle’s
designed appearance, durability, and safety are
preserved. The use of Genuine GM parts can help
maintain your GM New Vehicle Warranty.
491

Recycled original equipment parts may also be
used for repair. These parts are typically removed
from vehicles that were total losses in prior
accidents. In most cases, the parts being recycled
are from undamaged sections of the vehicle.
A recycled original equipment GM part, may be an
acceptable choice to maintain your vehicle’s
originally designed appearance and safety
performance, however, the history of these parts
is not known. Such parts are not covered by
your GM New Vehicle Limited Warranty, and any
related failures are not covered by that warranty.
Aftermarket collision parts are also available. These
are made by companies other than GM and may
not have been tested for your vehicle. As a result,
these parts may fit poorly, exhibit premature
durability/corrosion problems, and may not perform
properly in subsequent collisions. Aftermarket parts
are not covered by your GM New Vehicle Limited
Warranty, and any vehicle failure related to such
parts are not covered by that warranty.
Repair Facility
GM also recommends that you choose a collision
repair facility that meets your needs before you
ever need collision repairs. Your GM dealer
may have a collision repair center with GM-trained
technicians and state of the art equipment, or
be able to recommend a collision repair center that
has GM-trained technicians and comparable
equipment.
Insuring Your Vehicle
Protect your investment in your GM vehicle with
comprehensive and collision insurance coverage.
There are significant differences in the quality
of coverage afforded by various insurance policy
terms. Many insurance policies provide reduced
protection to your GM vehicle by limiting
compensation for damage repairs by using
aftermarket collision parts. Some insurance
companies will not specify aftermarket collision
parts. When purchasing insurance, we recommend
that you assure your vehicle will be repaired
with GM original equipment collision parts. If such
insurance coverage is not available from your
current insurance carrier, consider switching
to another insurance carrier.
492

If your vehicle is leased, the leasing company
may require you to have insurance that assures
repairs with Genuine GM Original Equipment
Manufacturer (OEM) parts or Genuine
Manufacturer replacement parts. Read your lease
carefully, as you may be charged at the end of
your lease for poor quality repairs.
If an Accident Occurs
Here is what to do if you are involved in an
accident.
•Try to relax and then check to make sure you
are all right. If you are uninjured, make sure
that no one else in your vehicle, or the
other vehicle, is injured.
•If there has been an injury, call 911 for help.
Do not leave the scene of an accident until
all matters have been taken care of. Move
your vehicle only if its position puts you
in danger or you are instructed to move it by a
police officer.
•Give only the necessary and requested
information to police and other parties involved
in the accident. Do not discuss your personal
condition, mental frame of mind, or anything
unrelated to the accident. This will help guard
against post-accident legal action.
•If you need roadside assistance, call
GM Roadside Assistance. See Roadside
Assistance Program on page 484 for more
information.
•If your vehicle cannot be driven, know where
the towing service will be taking it. Get a
card from the tow truck operator or write down
the driver’s name, the service’s name, and
the phone number.
•Remove any valuables from your vehicle before
it is towed away. Make sure this includes your
insurance information and registration if you
keep these items in your vehicle.
493

•Gather the important information you will
need from the other driver. Things like name,
address, phone number, driver’s license
number, vehicle license plate, vehicle make,
model and model year, Vehicle Identification
Number (VIN), insurance company and policy
number, and a general description of the
damage to the other vehicle.
•If possible, call your insurance company from
the scene of the accident. They will walk you
through the information they will need. If they
ask for a police report, phone or go to the police
department headquarters the next day and you
can get a copy of the report for a nominal fee. In
some states/provinces with “no fault” insurance
laws, a report may not be necessary. This is
especially true if there are no injuries and both
vehicles are driveable.
•Choose a reputable collision repair facility for
your vehicle. Whether you select a GM dealer
or a private collision repair facility to fix the
damage, make sure you are comfortable with
them. Remember, you will have to feel
comfortable with their work for a long time.
•Once you have an estimate, read it carefully
and make sure you understand what work will
be performed on your vehicle. If you have a
question, ask for an explanation. Reputable
shops welcome this opportunity.
494

Managing the Vehicle Damage Repair
Process
In the event that your vehicle requires damage
repairs, GM recommends that you take an active
role in its repair. If you have a pre-determined
repair facility of choice, take your vehicle there, or
have it towed there. Specify to the facility that
any required replacement collision parts be original
equipment parts, either new Genuine GM parts
or recycled original GM parts. Remember, recycled
parts will not be covered by your GM vehicle
warranty.
Insurance pays the bill for the repair, but you must
live with the repair. Depending on your policy
limits, your insurance company may initially value
the repair using aftermarket parts. Discuss this
with your repair professional, and insist on
Genuine GM parts.
Remember if your vehicle is leased you may be
obligated to have the vehicle repaired with
Genuine GM parts, even if your insurance
coverage does not pay the full cost.
If another party’s insurance company is paying
for the repairs, you are not obligated to accept
a repair valuation based on that insurance
company’s collision policy repair limits, as you
have no contractual limits with that company.
In such cases, you can have control of the repair
and parts choices as long as cost stays within
reasonable limits.
495

Reporting Safety Defects
Reporting Safety Defects to the
United States Government
If you believe that your vehicle has a defect which
could cause a crash or could cause injury or
death, you should immediately inform the National
Highway Traffic Safety Administration (NHTSA),
in addition to notifying General Motors.
If NHTSA receives similar complaints, it may open
an investigation, and if it finds that a safety
defect exists in a group of vehicles, it may order a
recall and remedy campaign. However, NHTSA
cannot become involved in individual problems
between you, your dealer, or General Motors.
To contact NHTSA, you may call the Vehicle
Safety Hotline toll-free at 1-888-327-4236
(TTY: 1-800-424-9153); go to
http://www.safercar.gov; or write to:
Administrator, NHTSA
400 Seventh Street, SW.
Washington, D.C. 20590
You can also obtain other information about motor
vehicle safety from http://www.safercar.gov.
Reporting Safety Defects to the
Canadian Government
If you live in Canada, and you believe that your
vehicle has a safety defect, you should
immediately notify Transport Canada, in addition
to notifying General Motors of Canada Limited.
You may call them at 1-800-333-0510 or write to:
Transport Canada
Road Safety Branch
2780 Sheffield Road
Ottawa, Ontario K1B 3V9
Reporting Safety Defects to
General Motors
In addition to notifying NHTSA (or Transport
Canada) in a situation like this, we certainly hope
you will notify General Motors. Please call the
Chevrolet Customer Assistance Center at
1-800-222-1020, or write:
Chevrolet Motor Division
Chevrolet Customer Assistance Center
P.O. Box 33170
Detroit, MI 48232-5170
496

In Canada, please call us at 1-800-263-3777
(English) or 1-800-263-7854 (French). Or, write:
General Motors of Canada Limited
Customer Communication Centre, CA1-163-005
1908 Colonel Sam Drive
Oshawa, Ontario L1H 8P7
Service Publications Ordering
Information
Service Manuals
Service Manuals have the diagnosis and repair
information on engines, transmission, axle
suspension, brakes, electrical, steering, body, etc.
Transmission, Transaxle, Transfer
Case Unit Repair Manual
This manual provides information on unit repair
service procedures, adjustments, and
specifications for GM transmissions, transaxles,
and transfer cases.
Service Bulletins
Service Bulletins give technical service information
needed to knowledgeably service General
Motors cars and trucks. Each bulletin contains
instructions to assist in the diagnosis and service
of your vehicle.
In Canada, the service bulletin reference number
can be obtained by contacting your General
Motors dealer or by calling 1-800-GM-DRIVE
(1-800-463-7483). This reference number is
needed to order the service bulletin from
Helm, Inc.
RETAIL SELL PRICE: $6.00 US + Processing Fee
497

Owner Information
Owner publications are written specifically for
owners and intended to provide basic operational
information about the vehicle. The owner
manual will include the Maintenance Schedule for
all models.
In-Portfolio: Includes a Portfolio, Owner Manual,
and Warranty Booklet.
RETAIL SELL PRICE: $35.00 US +
Processing Fee
Without Portfolio: Owner’s Manual only.
RETAIL SELL PRICE: $25.00 US +
Processing Fee
Current and Past Model Order Forms
Technical Service Bulletins and Manuals are
available for current and past model GM vehicles.
To request an order form, please specify year
and model name of the vehicle.
ORDER TOLL FREE: 1-800-551-4123
Monday-Friday 8:00 AM - 6:00 PM
Eastern Time
For Credit Card Orders Only
(VISA-MasterCard-Discover), visit Helm, Inc. on
the World Wide Web at: www.helminc.com
Or you can write to:
Helm, Incorporated
P.O. Box 07130
Detroit, MI 48207
Prices are subject to change without notice and
without incurring obligation. Allow ample time
for delivery.
Note to Canadian Customers: All listed prices are
quoted in U.S. funds. Canadian residents are
to make checks payable in U.S. funds.
498

A
Accessories and Modifications ..................... 342
Accessory Power Outlet(s) .......................... 187
Adding Equipment to Your Airbag-
Equipped Vehicle ....................................... 91
Additives, Fuel ............................................ 345
Add-On Electrical Equipment ....................... 446
Adjustable Throttle and Brake Pedal ............ 124
Air Cleaner/Filter, Engine ............................. 362
Air Conditioning .................................. 189, 193
Airbag
Passenger Status Indicator ....................... 205
Readiness Light ....................................... 204
Airbag Sensing and Diagnostic
Module (SDM) .......................................... 490
Airbag System ............................................... 74
Adding Equipment to Your
Airbag-Equipped Vehicle ......................... 91
How Does an Airbag Restrain? .................. 81
Passenger Sensing System ....................... 84
Servicing Your Airbag-Equipped Vehicle ..... 90
What Makes an Airbag Inflate? .................. 81
What Will You See After an Airbag
Inflates? ................................................. 82
When Should an Airbag Inflate? ................. 80
Where Are the Airbags? ............................. 76
Airbag System (cont.)
Antenna, Backglass ..................................... 285
Antenna, Fixed Mast ................................... 284
Antenna, XM™ Satellite Radio
Antenna System ....................................... 285
Anti-Lock Brake System (ABS) .................... 293
Anti-Lock Brake, System Warning Light ....... 208
Appearance Care
Aluminum Wheels .................................... 442
Care of Safety Belts ................................ 440
Chemical Paint Spotting ........................... 444
Cleaning Exterior Lamps/Lenses .............. 441
Cleaning the Inside of Your Vehicle .......... 436
Fabric/Carpet ........................................... 437
Finish Care .............................................. 441
Finish Damage ......................................... 443
Instrument Panel, Vinyl, and
Other Plastic Surfaces .......................... 439
Leather .................................................... 438
Sheet Metal Damage ............................... 443
Tires ........................................................ 443
Ultra Lux Suede ....................................... 439
Underbody Maintenance ........................... 443
Vehicle Care/Appearance Materials .......... 444
Washing Your Vehicle .............................. 440
Weatherstrips ........................................... 440
Windshield and Wiper Blades ................... 441
499

Appearance Care (cont.)
Audio System(s) .......................................... 227
Audio Steering Wheel Controls ........ 281, 282
Backglass Antenna ................................... 285
Care of Your CD and DVD Player ............ 284
Care of Your CDs and DVDs ................... 284
Fixed Mast Antenna ................................. 284
Radio with CD ................................ 229, 235
Radio with Six-Disc CD ............................ 244
Rear Seat Audio (RSA) ................... 277, 279
Setting the Time for Radios with
Radio Data Systems (RDS) .................. 229
Setting the Time for Radios without
Radio Data Systems (RDS) .................. 228
Theft-Deterrent Feature ............................ 281
Understanding Radio Reception ............... 283
XM™ Satellite Radio Antenna System ...... 285
Automatic Climate Control System ............... 193
Automatic Headlamp System ....................... 184
Automatic Transaxle
Fluid ............................................... 363, 364
Operation ........................................ 127, 130
B
Backglass Antenna ...................................... 285
Battery ........................................................ 384
Run-Down Protection ............................... 187
Before Leaving on a Long Trip .................... 312
Brake
Anti-Lock Brake System (ABS) ................. 293
Emergencies ............................................ 295
Parking .................................................... 134
System Warning Light .............................. 207
Brake Pedal, Throttle ................................... 124
Brakes ........................................................ 381
Braking ....................................................... 292
Braking in Emergencies ............................... 295
Break-In, New Vehicle ................................. 120
Bulb Replacement ....................................... 390
Halogen Bulbs ......................................... 390
Headlamps, Front Turn Signal,
and Parking Lamps .............................. 390
License Plate Lamps ................................ 394
Replacement Bulbs .................................. 394
Taillamps, Turn Signal, Stoplamps
and Back-up Lamps .............................. 392
Buying New Tires ........................................ 411
500

C
Calibration .......................................... 140, 142
California Fuel ............................................. 345
California Proposition 65 Warning ................ 343
Canadian Owners ........................................... 3
Capacities and Specifications ...................... 455
Carbon Monoxide ..... 112, 113, 138, 316, 331
Care of
Safety Belts ............................................. 440
Your CD and DVD Player ........................ 284
Your CDs and DVDs ................................ 284
Cargo Lamp ................................................ 186
Center Console Storage Area ...................... 160
Chains, Tire ................................................. 417
Charging System Light ................................ 207
Check
Engine Light ............................................ 212
Checking Things Under the Hood ................ 350
Chemical Paint Spotting .............................. 444
Child Restraints
Child Restraint Systems ............................. 51
Infants and Young Children ........................ 47
Lower Anchors and Tethers for Children ..... 58
Older Children ........................................... 44
Securing a Child Restraint in a
Rear Seat Position ................................. 67
Child Restraints (cont.)
Securing a Child Restraint in the
Right Front Seat Position ........................ 69
Where to Put the Restraint ........................ 55
Cigarette Lighter .......................................... 188
Cleaning
Aluminum Wheels .................................... 442
Exterior Lamps/Lenses ............................. 441
Fabric/Carpet ........................................... 437
Finish Care .............................................. 441
Inside of Your Vehicle .............................. 436
Instrument Panel, Vinyl, and
Other Plastic Surfaces .......................... 439
Leather .................................................... 438
Tires ........................................................ 443
Ultra Lux Suede ....................................... 439
Underbody Maintenance ........................... 443
Washing Your Vehicle .............................. 440
Weatherstrips ........................................... 440
Windshield and Wiper Blades ................... 441
Climate Control System ............................... 189
Automatic ................................................. 193
Outlet Adjustment ..................................... 199
Collision Damage Repair ............................. 491
Comfort Guides, Rear Safety Belt ................. 39
Compact Spare Tire .................................... 435
Compass ............................................ 140, 142
501

Competitive Driving ..................................... 305
Content Theft-Deterrent ............................... 116
Control of a Vehicle ..................................... 292
Convenience Net ......................................... 162
Coolant
Engine Temperature Gage ........................ 212
Engine Temperature Warning Light ........... 211
Heater, Engine ......................................... 125
Surge Tank Pressure Cap ........................ 370
Cooling System ........................................... 373
Cruise Control ............................................. 176
Cruise Control Light .................................... 217
Cupholder(s) ................................................ 160
Customer Assistance Information
Courtesy Transportation ........................... 487
Customer Assistance for Text
Telephone (TTY) Users ......................... 482
Customer Assistance Offices .................... 482
Customer Satisfaction Procedure .............. 478
GM Mobility Reimbursement Program ...... 483
Reporting Safety Defects to
General Motors ..................................... 496
Reporting Safety Defects to the
Canadian Government .......................... 496
Reporting Safety Defects to the
United States Government .................... 496
Customer Assistance Information (cont.)
Roadside Assistance Program .................. 484
Service Publications Ordering
Information ........................................... 497
D
Daytime Running Lamps ............................. 183
Defensive Driving ........................................ 288
Delayed Headlamps .................................... 182
Delayed Locking .......................................... 108
Doing Your Own Service Work .................... 343
Dome Lamp ................................................ 185
Door
Delayed Locking ...................................... 108
Door Ajar Reminder ................................. 108
Locks ....................................................... 107
Power Door Locks ................................... 108
Programmable Automatic Door Locks ....... 110
Rear Door Security Locks ........................ 110
Driver
Position, Safety Belt ................................... 26
Driver Information Center (DIC) ................... 219
DIC Operation and Displays ..................... 219
DIC Vehicle Personalization ..................... 225
DIC Warnings and Messages ................... 222
502

Driving
At Night ................................................... 306
City .......................................................... 310
Defensive ................................................. 288
Drunken ................................................... 289
Freeway ................................................... 311
Hill and Mountain Roads .......................... 314
In Rain and on Wet Roads ...................... 307
Rocking Your Vehicle to Get it Out .......... 321
Winter ...................................................... 316
DVD
Rear Seat Entertainment System ............. 260
E
Electrical System
Add-On Equipment ................................... 446
Engine Compartment Fuse Block ............. 450
Fuses ...................................................... 447
Headlamp Wiring ..................................... 446
Instrument Panel Fuse Block ................... 447
Power Windows and Other
Power Options ...................................... 447
Rear Compartment Fuse Block ................ 452
Windshield Wiper Fuses ........................... 446
Engine
Air Cleaner/Filter ...................................... 362
Battery ..................................................... 384
Check and Service Engine Soon Light ........ 212
Coolant .................................................... 367
Coolant Heater ......................................... 125
Coolant Temperature Gage ...................... 212
Coolant Temperature Warning Light .......... 211
Drive Belt Routing .................................... 471
Engine Compartment Overview ................ 352
Exhaust ................................................... 138
Oil ........................................................... 357
Oil Life System ........................................ 360
Overheated Protection Operating Mode ...... 372
Overheating ............................................. 370
Starting .................................................... 123
Enhanced Traction System (ETS) ................ 297
Active Light .............................................. 211
Warning Light ........................................... 210
Entry/Exit Lighting ....................................... 186
Event Data Recorders (EDR) ...................... 490
Extender, Safety Belt ..................................... 43
Exterior Lamps ............................................ 179
503

F
Filter
Engine Air Cleaner ................................... 362
Finish Damage ............................................ 443
Fixed Mast Antenna .................................... 284
Flashers, Hazard Warning ........................... 170
Flash-to-Pass .............................................. 173
Flat Tire ...................................................... 418
Flat Tire, Changing ...................................... 418
Flat Tire, Storing ........................ 428, 430, 432
Fluid
Automatic Transaxle ........................ 363, 364
Power Steering ........................................ 378
Windshield Washer .................................. 380
Fog Lamps .................................................. 185
Folding Seatback, Passenger ........................ 14
Front Reading Lamps .................................. 186
Fuel ............................................................ 344
Additives .................................................. 345
California Fuel .......................................... 345
Filling a Portable Fuel Container .............. 349
Filling Your Tank ...................................... 347
Fuels in Foreign Countries ....................... 346
Fuel (cont.)
Gage ....................................................... 218
Gasoline Octane ...................................... 344
Gasoline Specifications ............................ 345
Fuses .......................................................... 447
Engine Compartment Fuse Block ............. 450
Instrument Panel Fuse Block ................... 447
Rear Compartment Fuse Block ................ 452
Windshield Wiper ..................................... 446
G
Gage
Engine Coolant Temperature .................... 212
Fuel ......................................................... 218
Speedometer ........................................... 202
Tachometer .............................................. 202
Garage Door Opener .......................... 148, 149
Gasoline
Octane ..................................................... 344
Specifications ........................................... 345
Glove Box ................................................... 159
GM Mobility Reimbursement Program .......... 483
504

H
Hazard Warning Flashers ............................ 170
Head Restraints ............................................ 13
Headlamp Wiring ......................................... 446
Headlamps
Automatic Headlamp System .................... 184
Bulb Replacement .................................... 390
Daytime Running Lamps .......................... 183
Delayed ................................................... 182
Flash-to-Pass ........................................... 173
Halogen Bulbs ......................................... 390
Headlamps, Front Turn Signal,
and Parking Lamps .............................. 390
High/Low Beam Changer ......................... 172
On Reminder ........................................... 182
Headlamps Off in Park (P) .......................... 182
Heated Seats ................................................ 10
Heater ................................................ 189, 193
Highbeam On Light ..................................... 217
High-Speed Operation, Tires ........................ 408
Highway Hypnosis ....................................... 313
Hill and Mountain Roads ............................. 314
Hood
Checking Things Under ............................ 350
Release ................................................... 350
Horn ............................................................ 170
How to Use This Manual ................................ 4
How to Wear Safety Belts Properly ............... 26
I
Ignition Positions ......................................... 121
Infants and Young Children, Restraints .......... 47
Inflation - Tire Pressure ............................... 407
Instrument Panel
Overview .................................................. 168
Instrument Panel (I/P)
Brightness ................................................ 185
Cluster ..................................................... 200
J
Jump Starting .............................................. 384
K
Keyless Entry System ................................... 99
Keys ............................................................. 97
505

L
Labeling, Tire Sidewall ................................. 400
Lamps
Battery Run-Down Protection ................... 187
Cargo ...................................................... 186
Dome ....................................................... 185
Exterior .................................................... 179
Fog .......................................................... 185
Front Reading .......................................... 186
Rear Reading .......................................... 186
Trunk ....................................................... 186
LATCH System
Child Restraints ......................................... 58
License Plate Lamps ................................... 394
Lift Seat, Power ............................................ 16
Liftgate ........................................................ 113
Light
Airbag Readiness ..................................... 204
Anti-Lock Brake System Warning ............. 208
Brake System Warning ............................. 207
Charging System ..................................... 207
Cruise Control .......................................... 217
Engine Coolant Temperature Warning ....... 211
Enhanced Traction System (ETS)
Active Light .......................................... 211
Enhanced Traction System (ETS)
Warning Light ....................................... 210
Light (cont.)
Highbeam On .......................................... 217
Malfunction Indicator ................................ 212
Oil Pressure ............................................. 216
Passenger Airbag Status Indicator ............ 205
Passenger Safety Belt Reminder .............. 203
Safety Belt Reminder ............................... 203
Security ................................................... 217
TCS Warning Light .................................. 209
Traction Control System Active ................. 210
Traction Control System (TCS) Warning ..... 209
Lighting
Entry/Exit ................................................. 186
Parade Dimming ...................................... 186
Loading Your Vehicle ................................... 322
Lockout Protection ....................................... 111
Locks
Delayed Locking ...................................... 108
Door ........................................................ 107
Lockout Protection ................................... 111
Power Door ............................................. 108
Programmable Automatic Door Locks ....... 110
Rear Door Security Locks ........................ 110
Loss of Control ........................................... 304
Lumbar
Manual Controls .......................................... 9
506

M
Maintenance Schedule
Additional Required Services .................... 463
At Each Fuel Fill ...................................... 466
At Least Once a Month ............................ 466
At Least Once a Year .............................. 467
Introduction .............................................. 458
Maintenance Footnotes ............................ 464
Maintenance Record ................................ 473
Maintenance Requirements ...................... 458
Normal Maintenance Replacement Parts .... 470
Owner Checks and Services .................... 465
Recommended Fluids and Lubricants ....... 469
Scheduled Maintenance ........................... 460
Using ....................................................... 459
Your Vehicle and the Environment ............ 458
Malfunction Indicator Light ........................... 212
Manual Lumbar Controls ................................. 9
Manual Seats .................................................. 8
Map Pocket ................................................. 160
Message
DIC Warnings and Messages ................... 222
Mirrors
Automatic Dimming Rearview
with Compass ....................................... 142
Mirrors (cont.)
Automatic Dimming Rearview with
OnStar
®
and Compass ......................... 140
Manual Rearview Mirror ........................... 140
Manual Rearview Mirror with OnStar
®
...... 140
Outside Convex Mirror ............................. 144
Outside Power Heated Mirrors ................. 144
Outside Power Mirrors ............................. 144
MyGMLink.com ............................................ 481
N
New Vehicle Break-In .................................. 120
Normal Maintenance Replacement Parts ..... 470
O
Odometer .................................................... 202
Odometer, Trip ............................................ 202
Off-Road Recovery ...................................... 302
Oil
Engine ..................................................... 357
Pressure Light .......................................... 216
Oil, Engine Oil Life System ......................... 360
Older Children, Restraints ............................. 44
Online Owner Center ................................... 481
507

OnStar
®
System, see OnStar
®
Manual ........ 145
Other Warning Devices ................................ 170
Outlet Adjustment ........................................ 199
Outlet(s), Accessory Power .......................... 187
Outside
Convex Mirror .......................................... 144
Power Heated Mirrors .............................. 144
Power Mirrors .......................................... 144
Overheated Engine Protection
Operating Mode ....................................... 372
Owner Checks and Services ....................... 465
Owners, Canadian .......................................... 3
P
Paint, Damage ............................................ 443
Parade Dimming .......................................... 186
Park (P)
Shifting Into ............................................. 135
Shifting Out of ......................................... 136
Park (P) Headlamps Off in Park (P) ............ 182
Parking
Brake ....................................................... 134
Over Things That Burn ............................ 137
Passenger Airbag Status Indicator ............... 205
Passenger Sensing System ........................... 84
Passing ....................................................... 302
PASS-Key
®
III+ ........................................... 118
PASS-Key
®
III+ Operation ........................... 119
Power
Accessory Outlet(s) .................................. 187
Door Locks .............................................. 108
Electrical System ..................................... 447
Lift Seat ..................................................... 16
Retained Accessory (RAP) ....................... 122
Seat ............................................................ 9
Steering Fluid .......................................... 378
Windows .................................................. 115
Pretensioners, Safety Belt ............................. 43
Programmable Automatic Door Locks .......... 110
Q
Questions and Answers About Safety Belts ...... 25
R
Radios ........................................................ 227
Care of Your CD and DVD Player ............ 284
Care of Your CDs and DVDs ................... 284
Radio with CD ................................ 229, 235
Radio with Six-Disc CD ............................ 244
Rear Seat Audio ............................. 277, 279
508

Radios (cont.)
Setting the Time for Radios with
Radio Data Systems (RDS) .................. 229
Setting the Time for Radios without
Radio Data Systems (RDS) .................. 228
Theft-Deterrent ......................................... 281
Understanding Reception ......................... 283
Rear Compartment Storage Panel/Cover ..... 160
Rear Door Security Locks ........................... 110
Rear Reading Lamps .................................. 186
Rear Safety Belt Comfort Guides .................. 39
Rear Seat Audio (RSA) ...................... 277, 279
Rear Seat Entertainment System ................. 260
Rear Seat Operation ..................................... 17
Rear Seat Passengers, Safety Belts .............. 36
Rear Windshield Washer/Wiper .................... 175
Rearview Mirror, Automatic Dimming
with Compass .......................................... 142
Rearview Mirror, Automatic Dimming
with OnStar
®
and Compass ..................... 140
Rearview Mirror with OnStar
®
...................... 140
Rearview Mirrors ......................................... 140
Reclining Seatbacks ...................................... 10
Recommended Fluids and Lubricants .......... 469
Recreational Vehicle Towing ........................ 328
Remote Keyless Entry (RKE) System ............ 99
Remote Keyless Entry (RKE) System,
Operation ................................................. 100
Removing the Flat Tire and Installing
the Spare Tire .......................................... 422
Removing the Spare Tire and Tools ............ 420
Replacement Bulbs ..................................... 394
Reporting Safety Defects
Canadian Government ............................. 496
General Motors ........................................ 496
United States Government ....................... 496
Restraint System Check
Checking the Restraint Systems ................. 92
Replacing Restraint System Parts
After a Crash ......................................... 93
Retained Accessory Power (RAP) ................ 122
Right Front Passenger Position,
Safety Belts ............................................... 35
Roadside
Assistance Program ................................. 484
Rocking Your Vehicle to Get it Out .............. 321
Routing, Engine Drive Belt .......................... 471
Running the Engine While Parked ............... 139
509

S
Safety Belt
Passenger Reminder Light ....................... 203
Pretensioners ............................................. 43
Reminder Light ........................................ 203
Safety Belts
Care of .................................................... 440
Driver Position ........................................... 26
How to Wear Safety Belts Properly ............ 26
Questions and Answers About
Safety Belts ............................................ 25
Rear Safety Belt Comfort Guides ............... 39
Rear Seat Passengers ............................... 36
Right Front Passenger Position .................. 35
Safety Belt Extender .................................. 43
Safety Belt Use During Pregnancy ............. 35
Safety Belts Are for Everyone .................... 20
Shoulder Belt Height Adjuster .................... 34
Safety Warnings and Symbols ......................... 4
Scheduled Maintenance ............................... 460
Seatback, Folding Passenger ........................ 14
Seats
Head Restraints ......................................... 13
Heated Seats ............................................. 10
Manual ........................................................ 8
Manual Lumbar ............................................ 9
Passenger Folding Seatback ...................... 14
Power Lift Seat .......................................... 16
Power Seat ................................................. 9
Rear Seat Operation .................................. 17
Reclining Seatbacks ................................... 10
Securing a Child Restraint
Rear Seat Position ..................................... 67
Right Front Seat Position ........................... 69
Security Light .............................................. 217
Service ........................................................ 342
Accessories and Modifications .................. 342
Adding Equipment to the Outside
of Your Vehicle ..................................... 344
California Proposition 65 Warning ............. 343
Doing Your Own Work ............................. 343
Engine Soon Light ................................... 212
Publications Ordering Information ............. 497
Servicing Your Airbag-Equipped Vehicle ......... 90
510

Setting the Time
Radios with Radio Data Systems (RDS) ..... 229
Radios without Radio Data
Systems (RDS) ..................................... 228
Sheet Metal Damage ................................... 443
Shifting Into Park (P) ................................... 135
Shifting Out of Park (P) ............................... 136
Shoulder Belt Height Adjuster ........................ 34
Signals, Turn and Lane-Change .................. 172
Spare Tire
Compact .................................................. 435
Installing .................................................. 422
Removing ................................................ 420
Storing ................................... 428, 430, 432
Specifications, Capacities ............................ 455
Speedometer ............................................... 202
Starting Your Engine ................................... 123
Steering ...................................................... 299
Steering Wheel Controls, Audio .......... 281, 282
Storage Areas
Center Console Storage Area ................... 160
Convenience Net ..................................... 162
Cupholder(s) ............................................ 160
Glove Box ................................................ 159
Map Pocket ............................................. 160
Rear Compartment Storage Panel/Cover .... 160
Table ....................................................... 162
Stuck in Sand, Mud, Ice, or Snow ............... 320
Sun Visors .................................................. 115
Sunroof ....................................................... 162
T
Table ........................................................... 162
Tachometer ................................................. 202
Taillamps
Turn Signal, Stoplamps and
Back-up Lamps ..................................... 392
TCS Active Light ......................................... 210
TCS Warning Light ...................................... 209
511

Theft-Deterrent, Radio ................................. 281
Theft-Deterrent Systems .............................. 116
Content Theft-Deterrent ............................ 116
PASS-Key
®
III+ ........................................ 118
PASS-Key
®
III+ Operation ........................ 119
Throttle, Adjustable ...................................... 124
Tires ........................................................... 398
Aluminum Wheels, Cleaning ..................... 442
Buying New Tires ..................................... 411
Chains ..................................................... 417
Changing a Flat Tire ................................ 418
Cleaning .................................................. 443
Compact Spare Tire ................................. 435
Different Size ........................................... 413
High-Speed Operation .............................. 408
If a Tire Goes Flat ................................... 418
Inflation - Tire Pressure ............................ 407
Inspection and Rotation ............................ 409
Installing the Spare Tire ........................... 422
Removing the Flat Tire ............................. 422
Removing the Spare Tire and Tools ......... 420
Tires (cont.)
Storing a Flat or Spare
Tire and Tools ..................... 428, 430, 432
Tire Sidewall Labeling .............................. 400
Tire Terminology and Definitions ............... 404
Uniform Tire Quality Grading .................... 414
Wheel Alignment and Tire Balance ........... 415
Wheel Replacement ................................. 415
When It Is Time for New Tires ................. 410
Winter Tires ............................................. 399
Towing
Recreational Vehicle ................................. 328
Towing a Trailer ....................................... 331
Your Vehicle ............................................. 328
Traction
Control System Active Light ..................... 210
Control System (TCS) .............................. 296
Control System Warning Light .................. 209
Enhanced Traction System (ETS) ............. 297
Enhanced Traction System (ETS)
Active Light .......................................... 211
Enhanced Traction System (ETS)
Warning Light ....................................... 210
512

Transaxle
Fluid, Automatic .............................. 363, 364
Transaxle Operation, Automatic ........... 127, 130
Trip Odometer ............................................. 202
Trunk .......................................................... 112
Trunk Lamps ............................................... 186
Turn and Lane-Change Signals ................... 172
Turn Signal/Multifunction Lever .................... 171
U
Understanding Radio Reception ................... 283
Uniform Tire Quality Grading ....................... 414
Universal Home Remote System ........ 148, 149
Operation ........................................ 150, 156
V
Vehicle
Control ..................................................... 292
Damage Warnings ....................................... 5
Loading .................................................... 322
Symbols ...................................................... 5
Vehicle Data Collection and Event
Data Recorders ........................................ 490
Vehicle Identification
Number (VIN) .......................................... 445
Service Parts Identification Label .............. 446
Vehicle Personalization
DIC .......................................................... 225
Ventilation Adjustment .................................. 199
Visors .......................................................... 115
W
Warning Lights, Gages and Indicators ......... 200
Warnings
DIC Warnings and Messages ................... 222
Hazard Warning Flashers ......................... 170
Other Warning Devices ............................ 170
Safety and Symbols ..................................... 4
Vehicle Damage .......................................... 5
Wheels
Alignment and Tire Balance ..................... 415
Different Size ........................................... 413
Replacement ............................................ 415
Where to Put the Restraint ............................ 55
513

Windows ..................................................... 114
Power ...................................................... 115
Windshield
Washer .................................................... 174
Washer Fluid ........................................... 380
Wiper Blade Replacement ........................ 395
Wiper Blades, Cleaning ............................ 441
Wiper Fuses ............................................ 446
Wipers ..................................................... 173
Windshield, Rear Washer/Wiper ................... 175
Winter Driving ............................................. 316
Winter Tires ................................................. 399
X
XM Radio Messages ................................... 258
XM™ Satellite Radio Antenna System ......... 285
Y
Your Vehicle and the Environment ............... 458
514
