Chevrolet 2009 Aveo Users Manual GM Owner Manuals
2009 Aveo to the manual 0fc14df6-f939-4133-a770-512a9708a9f2
2015-01-21
: Chevrolet Chevrolet-2009-Aveo-Users-Manual-244459 chevrolet-2009-aveo-users-manual-244459 chevrolet pdf
Open the PDF directly: View PDF
.
Page Count: 354 [warning: Documents this large are best viewed by clicking the View PDF Link!]
- 2009 Chevrolet Aveo BookTOC
- Seats and Restraint System
- Features and Controls
- Keys
- Doors and Locks
- Windows
- Theft-Deterrent Systems
- Starting and Operating Your Vehicle
- New Vehicle Break-In
- Ignition Positions
- Starting the Engine
- Engine Heater
- Automatic Transmission Operation
- Manual Transmission Operation
- Parking Brake
- Shifting Into Park (Automatic Transmission)
- Shifting Out of Park
- Parking the Vehicle (Manual Transmission)
- Parking Over Things That Burn
- Engine Exhaust
- Running the Vehicle While Parked
- Mirrors
- OnStar® System
- Storage Areas
- Sunroof
- Instrument Panel
- Instrument Panel Overview
- Hazard Warning Flashers
- Horn
- Tilt Wheel
- Turn Signal/Multifunction Lever
- Turn and Lane-Change Signals
- Headlamp High/Low-Beam Changer
- Flash-to-Pass
- Windshield Wipers
- Windshield Washer
- Rear Window Wiper/Washer
- Cruise Control
- Exterior Lamps
- Daytime Running Lamps (DRL)
- Fog Lamps
- Instrument Panel Brightness
- Dome Lamp
- Inadvertent Power Battery Saver
- Accessory Power Outlet(s)
- Ashtray(s) and Cigarette Lighter
- Clock
- Climate Controls
- Warning Lights, Gages, and Indicators
- Instrument Panel Cluster
- Speedometer and Odometer
- Trip Odometer
- Tachometer
- Safety Belt Reminders
- Airbag Readiness Light
- Passenger Airbag Status Indicator
- Charging System Light
- Up-Shift Light
- Brake System Warning Light
- Antilock Brake System (ABS) Warning Light
- Hold Mode Light
- Engine Coolant Temperature Gage
- Tire Pressure Light
- Malfunction Indicator Lamp
- Oil Pressure Light
- Change Engine Oil Light
- Fog Lamp Light
- Cruise Control Light
- Highbeam On Light
- Daytime Running Lamps (DRL) Indicator Light
- Door Ajar Light
- Fuel Gage
- Low Fuel Warning Light
- Trip Computer
- Audio System(s)
- Instrument Panel Overview
- Driving Your Vehicle
- Your Driving, the Road, and the Vehicle
- Driving for Better Fuel Economy
- Defensive Driving
- Drunk Driving
- Control of a Vehicle
- Braking
- Antilock Brake System (ABS)
- Braking in Emergencies
- Steering
- Off-Road Recovery
- Passing
- Loss of Control
- Driving at Night
- Driving in Rain and on Wet Roads
- Before Leaving on a Long Trip
- Highway Hypnosis
- Hill and Mountain Roads
- Winter Driving
- If Your Vehicle is Stuck in Sand, Mud, Ice, or Snow
- Rocking Your Vehicle to Get It Out
- Loading the Vehicle
- Towing
- Your Driving, the Road, and the Vehicle
- Service and Appearance Care
- Service
- Fuel
- Checking Things Under the Hood
- Headlamp Aiming
- Bulb Replacement
- Windshield Wiper Blade Replacement
- Tires
- Tire Sidewall Labeling
- Tire Terminology and Definitions
- Inflation - Tire Pressure
- Tire Pressure Monitor System
- Tire Pressure Monitor Operation
- Tire Inspection and Rotation
- When It Is Time for New Tires
- Buying New Tires
- Different Size Tires and Wheels
- Uniform Tire Quality Grading
- Wheel Alignment and Tire Balance
- Wheel Replacement
- Tire Chains
- If a Tire Goes Flat
- Changing a Flat Tire
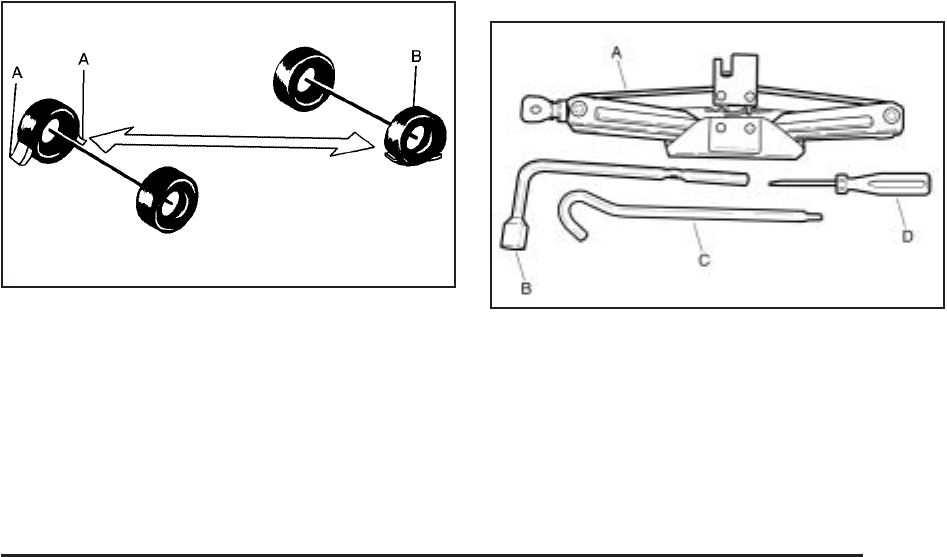
- Removing the Spare Tire and Tools
- Removing the Flat Tire and Installing the Spare Tire
- Storing a Flat or Spare Tire and Tools
- Compact Spare Tire
- Appearance Care
- Interior Cleaning
- Fabric/Carpet
- Leather
- Instrument Panel, Vinyl, and Other Plastic Surfaces
- Care of Safety Belts
- Weatherstrips
- Washing Your Vehicle
- Cleaning Exterior Lamps/Lenses
- Finish Care
- Windshield and Wiper Blades
- Aluminum Wheels
- Tires
- Sheet Metal Damage
- Finish Damage
- Underbody Maintenance
- Chemical Paint Spotting
- Vehicle Identification
- Electrical System
- Capacities and Specifications
- Maintenance Schedule
- Maintenance Schedule
- Introduction
- Maintenance Requirements
- Your Vehicle and the Environment
- Using the Maintenance Schedule
- Scheduled Maintenance
- Additional Required Services
- Maintenance Footnotes
- Owner Checks and Services
- At Each Fuel Fill
- At Least Once a Month
- At Least Once a Year
- Recommended Fluids and Lubricants
- Maintenance Replacement Parts
- Engine Drive Belt Routing
- Maintenance Record
- Maintenance Schedule
- Customer Assistance Information
- Index

Seats and Restraint System ............................. 1-1
Head Restraints ......................................... 1-2
Front Seats ............................................... 1-4
Rear Seats ............................................... 1-9
Safety Belts ............................................. 1-16
Child Restraints ....................................... 1-34
Airbag System ......................................... 1-60
Restraint System Check ............................ 1-75
Features and Controls ..................................... 2-1
Keys ........................................................ 2-2
Doors and Locks ....................................... 2-6
Windows ................................................. 2-12
Theft-Deterrent Systems ............................ 2-14
Starting and Operating Your Vehicle ........... 2-18
Mirrors .................................................... 2-34
OnStar
®
System ...................................... 2-36
Storage Areas ......................................... 2-39
Sunroof .................................................. 2-40
Instrument Panel ............................................. 3-1
Instrument Panel Overview .......................... 3-4
Climate Controls ...................................... 3-18
Warning Lights, Gages, and Indicators ........ 3-23
Trip Computer ......................................... 3-38
Audio System(s) ....................................... 3-40
Driving Your Vehicle ....................................... 4-1
Your Driving, the Road, and the Vehicle ....... 4-2
Towing ................................................... 4-24
Service and Appearance Care .......................... 5-1
Service ..................................................... 5-3
Fuel ......................................................... 5-5
Checking Things Under the Hood ............... 5-11
Headlamp Aiming ..................................... 5-43
Bulb Replacement .................................... 5-43
Windshield Wiper Blade Replacement ......... 5-50
Tires ...................................................... 5-51
Appearance Care ..................................... 5-79
Vehicle Identification ................................. 5-86
Electrical System ...................................... 5-86
Capacities and Specifications ..................... 5-93
Maintenance Schedule ..................................... 6-1
Maintenance Schedule ................................ 6-2
Customer Assistance Information .................... 7-1
Customer Assistance and Information ........... 7-2
Reporting Safety Defects ........................... 7-16
Vehicle Data Recording and Privacy ........... 7-18
Index ................................................................ 1
2009 Chevrolet Aveo Owner Manual M

GENERAL MOTORS, GM, the GM Emblem,
CHEVROLET, the CHEVROLET Emblem, and the
name AVEO are registered trademarks of General
Motors Corporation.
This manual includes the latest information at the time it
was printed. GM reserves the right to make changes
after that time without further notice. For vehicles
first sold in Canada, substitute the name “General
Motors of Canada Limited” for Chevrolet Motor Division
wherever it appears in this manual.
This manual describes features that may or may not be
on your specific vehicle.
Read this manual from beginning to end to learn about
the vehicle’s features and controls. Pictures, symbols,
and words work together to explain vehicle operation.
Keep this manual in the vehicle for quick reference.
Canadian Owners
A French language copy of this manual can be obtained
from your dealer/retailer or from:
Helm, Incorporated
P.O. Box 07130
Detroit, MI 48207
1-800-551-4123
www.helminc.com
Propriétaires Canadiens
On peut obtenir un exemplaire de ce guide en français
auprès de concessionnaire ou à l’adresse suivante:
Helm, Incorporated
P.O. Box 07130
Detroit, MI 48207
1-800-551-4123
www.helminc.com
Index
To quickly locate information about the vehicle, use the
index in the back of the manual. It is an alphabetical
list of what is in the manual and the page number where
it can be found.
Litho in U.S.A.
Part No. 25853987 B Second Printing
©
2008 General Motors Corporation. All Rights Reserved.
ii

Safety Warnings and Symbols
A circle with a slash
through it is a safety
symbol which means “Do
Not,” “Do not do this,”
or “Do not let this happen.”
A box with the word CAUTION is used to tell about
things that could hurt you or others if you were to ignore
the warning.
{CAUTION:
These mean there is something that could hurt
you or other people.
Cautions tell what the hazard is and what to do to avoid
or reduce the hazard. Read these cautions.
A notice tells about something that can damage the
vehicle.
Notice: These mean there is something that could
damage your vehicle.
Many times, this damage would not be covered by the
vehicle’s warranty, and it could be costly. The notice
tells what to do to help avoid the damage.
There are also warning labels on the vehicle which use
the same words, CAUTION or Notice.
Vehicle Symbols
The vehicle has components and labels that use
symbols instead of text. Symbols are shown along with
the text describing the operation or information
relating to a specific component, control, message,
gage, or indicator.
M:This symbol is shown when you need to see your
owner manual for additional instructions or information.
*:This symbol is shown when you need to see a
service manual for additional instructions or information.
iii

Vehicle Symbol Chart
Here are some additional symbols that may be found on
the vehicle and what they mean. For more information
on the symbol, refer to the index.
9:Airbag Readiness Light
#:Air Conditioning
!:Antilock Brake System (ABS)
g:Audio Steering Wheel Controls or OnStar
®
$:Brake System Warning Light
":Charging System
I:Cruise Control
B:Engine Coolant Temperature
O:Exterior Lamps
#:Fog Lamps
.:Fuel Gage
+:Fuses
i:Headlamp High/Low-Beam Changer
j:LATCH System Child Restraints
*:Malfunction Indicator Lamp
::Oil Pressure
}:Power
/:Remote Vehicle Start
>:Safety Belt Reminders
7:Tire Pressure Monitor
F:Traction Control
M:Windshield Washer Fluid
iv

Head Restraints ...............................................1-2
Front Seats ......................................................1-4
Manual Seats ................................................1-4
Seat Height Adjuster .......................................1-5
Manual Lumbar ..............................................1-5
Reclining Seatbacks ........................................1-6
Rear Seats .......................................................1-9
Rear Seat Operation (Sedan) ...........................1-9
Rear Seat Operation (Hatchback) ....................1-12
Safety Belts ...................................................1-16
Safety Belts: They Are for Everyone ................1-16
How to Wear Safety Belts Properly .................1-21
Lap-Shoulder Belt .........................................1-30
Safety Belt Use During Pregnancy ..................1-33
Safety Belt Extender .....................................1-34
Child Restraints .............................................1-34
Older Children ..............................................1-34
Infants and Young Children ............................1-38
Child Restraint Systems .................................1-41
Where to Put the Restraint .............................1-44
Lower Anchors and Tethers for
Children (LATCH) ......................................1-46
Securing a Child Restraint in a Rear
Seat Position ............................................1-53
Securing a Child Restraint in the Right
Front Seat Position ....................................1-56
Airbag System ...............................................1-60
Where Are the Airbags? ................................1-62
When Should an Airbag Inflate? .....................1-64
What Makes an Airbag Inflate? .......................1-65
How Does an Airbag Restrain? .......................1-65
What Will You See After an Airbag Inflates? .....1-66
Passenger Sensing System ............................1-67
Servicing Your Airbag-Equipped Vehicle ...........1-73
Adding Equipment to Your Airbag-Equipped
Vehicle ....................................................1-74
Restraint System Check ..................................1-75
Checking the Restraint Systems ......................1-75
Replacing Restraint System Parts
After a Crash ............................................1-76
Section 1 Seats and Restraint System
1-1

Head Restraints
The front seats have adjustable head restraints in the
outboard seating positions.
{CAUTION:
With head restraints that are not installed and
adjusted properly, there is a greater chance that
occupants will suffer a neck/spinal injury in a
crash. Do not drive until the head restraints for all
occupants are installed and adjusted properly.
Adjust the head restraint so that the top of the restraint is
at the same height as the top of the occupant’s head.
This position reduces the chances of a neck injury in a
crash.
1-2

Pull the head restraint up to raise it. To lower the head
restraint, press the button, located on the top of the
seatback, and push the restraint down.
Push down on the head restraint after the button is
released to make sure that it is locked in place.
The head restraints are not designed to be removed.
The rear seats have head rests that are adjustable
up and down.
1-3

Front Seats
Manual Seats
{CAUTION:
You can lose control of the vehicle if you try to
adjust a manual driver’s seat while the vehicle is
moving. The sudden movement could startle and
confuse you, or make you push a pedal when you
do not want to. Adjust the driver’s seat only when
the vehicle is not moving.
Pull up and hold the bar
located under the front of
the seat to unlock it.
Slide the seat to where you want it and release the bar.
Then try to move the seat with your body, to make
sure the seat is locked into place.
1-4

Seat Height Adjuster
Turn the knob located on
the outboard side of the
seat cushion to adjust
the height of the driver seat
cushion.
Turn the knob forward to raise the height of the seat
cushion and rearward to lower it.
Manual Lumbar
On vehicles with front
seat manual lumbar, the
adjustment lever is located
on the outboard side of
the seatback.
Move the lever up or down to one of its three positions
to increase or decrease the lumbar support. The
highest position provides the most support and the
lowest position provides the least support.
1-5

Reclining Seatbacks
{CAUTION:
You can lose control of the vehicle if you try to
adjust a manual driver’s seat while the vehicle is
moving. The sudden movement could startle and
confuse you, or make you push a pedal when you
do not want to. Adjust the driver’s seat only when
the vehicle is not moving.
{CAUTION:
If either seatback is not locked, it could move
forward in a sudden stop or crash. That could
cause injury to the person sitting there. Always
push and pull on the seatbacks to be sure they
are locked.
The seats have manual reclining seatbacks. The lever
used to operate them is located on the outboard side of
the seats.
1-6

To recline the seatback:
1. Lift the recline lever.
2. Move the seatback to the desired position, then
release the lever to lock the seatback in place.
3. Push and pull on the seatback to make sure it is
locked.
To return the seatback to an upright position:
1. Lift the lever fully without applying pressure to the
seatback and the seatback will return to the upright
position.
2. Push and pull on the seatback to make sure it is
locked.
1-7

{CAUTION:
Sitting in a reclined position when the vehicle is in
motion can be dangerous. Even if when buckled
up, the safety belts cannot do their job when
reclined like this.
The shoulder belt cannot do its job because it will
not be against your body. Instead, it will be in front
of you. In a crash, you could go into it, receiving
neck or other injuries.
The lap belt cannot do its job either. In a crash,
the belt could go up over your abdomen. The belt
forces would be there, not at your pelvic bones.
This could cause serious internal injuries.
For proper protection when the vehicle is in
motion, have the seatback upright. Then sit well
back in the seat and wear the safety belt properly.
Do not have a seatback reclined if the vehicle is
moving.
1-8

Rear Seats
Rear Seat Operation (Sedan)
Folding the Seatbacks
The rear seatbacks can be folded down to increase
cargo space.
To fold down the seatbacks:
Notice: Folding a rear seat with the safety belts
still fastened may cause damage to the seat or the
safety belts. Always unbuckle the safety belts
and return them to their normal stowed position
before folding a rear seat. 1. Remove the safety belt strap from the safety belt
guide by pulling it through the slot.
2. Push the head restraints all the way down.
3. Unlatch the center safety belt by pressing the red
button on the buckle.
1-9

4. Detach the center safety belt from the mini buckle
by inserting the ignition key into the slot in the mini
buckle, pressing the release button, and allowing
the belt to retract.
5. Pull up the release knob located on top of either of
the rear seatbacks.
6. Fold the rear seatback forward and down.
To return the seatback to the upright position:
1. Hook the safety belts into the safety belt guide.
2. Lift the seatback up and push it to its original
position.
1-10

{CAUTION:
If either seatback is not locked, it could move
forward in a sudden stop or crash. That could
cause injury to the person sitting there. Always
push and pull on the seatbacks to be sure they
are locked.
3. Push down and rearward firmly on the top of the
seatbacks until it latches securely in the fully
upright position.
4. To reattach the center seat safety belt to the mini
buckle, pull it from the retractor.
5. Push the latch plate at the end of the safety belt
strap into the mini-buckle until the mechanism
clicks. Make sure the strap is not twisted.
The sliding latch plate will face the front of the
vehicle.
{CAUTION:
A safety belt that is improperly routed, not properly
attached, or twisted will not provide the protection
needed in a crash. The person wearing the belt
could be seriously injured. After raising the rear
seatback, always check to be sure that the safety
belts are properly routed and attached, and are
not twisted.
6. Insert the safety belt strap back into the safety belt
guide.
1-11

Rear Seat Operation (Hatchback)
Folding the Rear Seats
The rear seats can be folded to increase cargo space.
To fold the rear seats:
1. Lower the head restraints completely.
2. Unlatch the center safety belt by pressing the red
button on the buckle.
3. Detach the center safety belt from the mini buckle
by inserting the key into the slot in the mini buckle,
pressing the release button, and allowing it to
retract.
1-12

4. Pull up the release knob, located on the top
of the seatbacks, and fold the seatbacks forward
and down.
Notice: Folding a rear seat with the safety belts
still fastened may cause damage to the seat or the
safety belts. Always unbuckle the safety belts
and return them to their normal stowed position
before folding a rear seat.
5. Move the safety belt buckles and safety belt in the
center seating position out of the space between
the seatbacks and the seat cushion so they are not
in the way as the seat is being folded.
6. Firmly pull the release handles on the rear side of
the seat cushion to unlock the seat cushion.
7. Lift the seat cushion up and flip it forward.
1-13

8. Clip the hook to the front seat head restraint to
keep the rear seat secure.
Unfolding the Seats
To return the rear seats to the normal seating position:
1. Unclip the hook from the front seat head restraint.
2. Position the buckles in back of the seat latches
when moving the rear seats to the sitting position.
Notice: Damage to the safety belt buckle or rear
seat locking mechanism can occur if the safety belt
and buckles are pinched under the rear seat
cushion. Do not place the safety belt and buckles
on the floor under the rear seat cushion when
the rear seat is put back to the sitting position.
3. Push the seat cushion down to its original position
until it latches securely. Try to pull up on the seat to
make sure it is locked in place.
4. Hook the safety belts in the outboard seating
positions into the retaining clips.
1-14

{CAUTION:
A safety belt that is improperly routed, not properly
attached, or twisted will not provide the protection
needed in a crash. The person wearing the belt
could be seriously injured. After raising the rear
seatback, always check to be sure that the safety
belts are properly routed and attached, and are
not twisted.
5. Lift the seatbacks up and push them back to their
original latched positions.
6. Unhook the safety belts in the outboard seating
positions from the retaining clips.
7. Return the safety belt buckles and the center seat
safety belt to their original position between the rear
seatback and the seat cushion. Make sure the
straps of the safety belt and buckles are not twisted.
8. To reattach the center seat safety belt to the mini
buckle, pull it from the retractor.
{CAUTION:
If either seatback is not locked, it could move
forward in a sudden stop or crash. That could
cause injury to the person sitting there. Always
push and pull on the seatbacks to be sure they
are locked.
9. Push down and rearward firmly on the top of the
seatbacks until they latch securely in the fully
upright position.
1-15

Safety Belts
Safety Belts: They Are for Everyone
This section of the manual describes how to use
safety belts properly. It also describes some things not
to do with safety belts.
{CAUTION:
Do not let anyone ride where a safety belt cannot
be worn properly. In a crash, if you or your
passenger(s) are not wearing safety belts, the
injuries can be much worse. You can hit things
inside the vehicle harder or be ejected from the
vehicle. You and your passenger(s) can be
seriously injured or killed. In the same crash, you
might not be, if you are buckled up. Always fasten
your safety belt, and check that your passenger(s)
are restrained properly too.
{CAUTION:
It is extremely dangerous to ride in a cargo area,
inside or outside of a vehicle. In a collision, people
riding in these areas are more likely to be
seriously injured or killed. Do not allow people to
ride in any area of your vehicle that is not
equipped with seats and safety belts. Be sure
everyone in your vehicle is in a seat and using a
safety belt properly.
This vehicle has indicators as a reminder to buckle the
safety belts. See Safety Belt Reminders on page 3-26
for additional information.
1-16

In most states and in all Canadian provinces, the law
requires wearing safety belts. Here is why:
You never know if you will be in a crash. If you do have
a crash, you do not know if it will be a serious one.
A few crashes are mild, and some crashes can be so
serious that even buckled up, a person would not
survive. But most crashes are in between. In many of
them, people who buckle up can survive and sometimes
walk away. Without safety belts, they could have
been badly hurt or killed.
After more than 40 years of safety belts in vehicles, the
facts are clear. In most crashes buckling up does
matter... a lot!
Why Safety Belts Work
When you ride in or on anything, you go as fast as
it goes.
Take the simplest vehicle. Suppose it is just a seat on
wheels.
1-17

Put someone on it. Get it up to speed. Then stop the vehicle. The rider
does not stop.
1-18

The person keeps going until stopped by something.
In a real vehicle, it could be the windshield... or the instrument panel...
1-19

or the safety belts!
With safety belts, you slow down as the vehicle does.
You get more time to stop. You stop over more distance,
and your strongest bones take the forces. That is why
safety belts make such good sense.
Questions and Answers About
Safety Belts
Q: Will I be trapped in the vehicle after a crash if I
am wearing a safety belt?
A: You could be — whether you are wearing a safety
belt or not. But your chance of being conscious
during and after an accident, so you can unbuckle
and get out, is much greater if you are belted.
And you can unbuckle a safety belt, even if you are
upside down.
Q: If my vehicle has airbags, why should I have to
wear safety belts?
A: Airbags are supplemental systems only; so they
work with safety belts — not instead of them.
Whether or not an airbag is provided, all occupants
still have to buckle up to get the most protection.
That is true not only in frontal collisions, but
especially in side and other collisions.
1-20

Q: If I am a good driver, and I never drive far from
home, why should I wear safety belts?
A: You may be an excellent driver, but if you are in a
crash — even one that is not your fault — you and
your passenger(s) can be hurt. Being a good
driver does not protect you from things beyond your
control, such as bad drivers.
Most accidents occur within 25 miles (40 km) of
home. And the greatest number of serious injuries
and deaths occur at speeds of less than 40 mph
(65 km/h).
Safety belts are for everyone.
How to Wear Safety Belts Properly
This section is only for people of adult size.
Be aware that there are special things to know about
safety belts and children. And there are different
rules for smaller children and infants. If a child will be
riding in the vehicle, see Older Children on page 1-34 or
Infants and Young Children on page 1-38. Follow
those rules for everyone’s protection.
It is very important for all occupants to buckle up.
Statistics show that unbelted people are hurt more often
in crashes than those who are wearing safety belts.
Occupants who are not buckled up can be thrown out of
the vehicle in a crash. And they can strike others in
the vehicle who are wearing safety belts.
First, before you or your passenger(s) wear a safety
belt, there is important information you should know.
1-21

Sit up straight and always keep your feet on the floor in
front of you. The lap part of the belt should be worn
low and snug on the hips, just touching the thighs.
In a crash, this applies force to the strong pelvic bones
and you would be less likely to slide under the lap
belt. If you slid under it, the belt would apply force on
your abdomen. This could cause serious or even
fatal injuries. The shoulder belt should go over the
shoulder and across the chest. These parts of the body
are best able to take belt restraining forces.
The shoulder belt locks if there is a sudden stop or
crash.
1-22

Q: What is wrong with this?
A: The shoulder belt is too loose. It will not give as
much protection this way.
{CAUTION:
You can be seriously hurt if your shoulder belt is
too loose. In a crash, you would move forward too
much, which could increase injury. The shoulder
belt should fit snugly against your body.
1-23

Q: What is wrong with this?
A: The lap belt is too loose. It will not give nearly as
much protection this way.
{CAUTION:
You can be seriously hurt if your lap belt is too
loose. In a crash, you could slide under the lap
belt and apply force on your abdomen. This could
cause serious or even fatal injuries. The lap belt
should be worn low and snug on the hips, just
touching the thighs.
1-24

Q: What is wrong with this?
A: The belt is buckled in the wrong buckle.
{CAUTION:
You can be seriously injured if your belt is buckled
in the wrong place like this. In a crash, the belt
would go up over your abdomen. The belt forces
would be there, not on the pelvic bones. This
could cause serious internal injuries. Always
buckle your belt into the buckle nearest you.
1-25

Q: What is wrong with this?
A: The belt is over an armrest.
{CAUTION:
You can be seriously injured if your belt goes over
an armrest like this. The belt would be much too
high. In a crash, you can slide under the belt. The
belt force would then be applied on the abdomen,
not on the pelvic bones, and that could cause
serious or fatal injuries. Be sure the belt goes
under the armrests.
1-26

Q: What is wrong with this?
A: The shoulder belt is worn under the arm. It should
be worn over the shoulder at all times.
{CAUTION:
You can be seriously injured if you wear the
shoulder belt under your arm. In a crash, your
body would move too far forward, which would
increase the chance of head and neck injury. Also,
the belt would apply too much force to the ribs,
which are not as strong as shoulder bones. You
could also severely injure internal organs like your
liver or spleen. The shoulder belt should go over
the shoulder and across the chest.
1-27

Q: What is wrong with this?
A: The belt is behind the body.
{CAUTION:
You can be seriously injured by not wearing the
lap-shoulder belt properly. In a crash, you would
not be restrained by the shoulder belt. Your body
could move too far forward increasing the chance
of head and neck injury. You might also slide
under the lap belt. The belt force would then be
applied right on the abdomen. That could cause
serious or fatal injuries. The shoulder belt should
go over the shoulder and across the chest.
1-28

Q: What is wrong with this?
A: The belt is twisted across the body.
{CAUTION:
You can be seriously injured by a twisted belt. In a
crash, you would not have the full width of the belt
to spread impact forces. If a belt is twisted, make
it straight so it can work properly, or ask your
dealer/retailer to fix it.
1-29

Lap-Shoulder Belt
All seating positions in the vehicle have a
lap-shoulder belt.
If you are using a rear seating position with a detachable
safety belt and the safety belt is not attached, see
Rear Seat Operation (Sedan) on page 1-9 or Rear Seat
Operation (Hatchback) on page 1-12 for instruction
on reconnecting the safety belt to the mini-buckle.
The following instructions explain how to wear a
lap-shoulder belt properly.
1. Adjust the seat, if the seat is adjustable, so you can
sit up straight. To see how, see “Seats” in the
Index.
2. Pick up the latch plate and pull the belt across you.
Do not let it get twisted.
The lap-shoulder belt may lock if you pull the belt
across you very quickly. If this happens, let the belt
go back slightly to unlock it. Then pull the belt
across you more slowly.
If the shoulder portion of a passenger belt is pulled
out all the way, the child restraint locking feature
may be engaged. If this happens, let the belt
go back all the way and start again.
3. If the belt stops before it reaches the buckle, tilt the
latch plate and keep pulling until it can be buckled.
1-30

4. Push the latch plate into the buckle until it clicks.
If the latch plate will not go fully into the buckle,
check if the correct buckle is being used.
Pull up on the latch plate to make sure it is secure.
If the belt is not long enough, see Safety Belt
Extender on page 1-34.
Position the release button on the buckle so that
the safety belt could be quickly unbuckled if
necessary.
5. If equipped with a shoulder belt height adjuster,
move it to the height that is right for you. See
“Shoulder Belt Height Adjustment” later in this
section for instructions on use and important safety
information.
6. To make the lap part tight, pull up on the
shoulder belt.
It may be necessary to pull stitching on the safety
belt through the latch plate to fully tighten the
lap belt on smaller occupants.
1-31

To unlatch the belt, push the button on the buckle. The
belt should return to its stowed position.
Before a door is closed, be sure the belt is out of the
way. If a door is slammed against a safety belt, damage
can occur to both the safety belt and the vehicle.
Shoulder Belt Height Adjuster
The vehicle has a shoulder belt height adjuster for the
driver and right front passenger seating positions.
Adjust the height so that the shoulder portion of the belt
is centered on the shoulder. The belt should be away
from the face and neck, but not falling off the shoulder.
Improper shoulder belt height adjustment could
reduce the effectiveness of the safety belt in a crash.
To move it down, press
the release button (A) and
move the height adjuster
to the desired position.
After the adjuster is set to the desired position, try to
move it down without pressing the release button
to make sure it has locked into position.
1-32

Safety Belt Pretensioners
This vehicle has safety belt pretensioners for front
outboard occupants. Although the safety belt
pretensioners cannot be seen, they are part of the
safety belt assembly. They can help tighten the safety
belts during the early stages of a moderate to severe
frontal or near frontal crash if the threshold conditions for
pretensioner activation are met.
Pretensioners work only once. If the pretensioners
activate in a crash, they will need to be replaced, and
probably other new parts for the vehicle’s safety
belt system. See Replacing Restraint System Parts
After a Crash on page 1-76.
Safety Belt Use During Pregnancy
Safety belts work for everyone, including pregnant
women. Like all occupants, they are more likely to be
seriously injured if they do not wear safety belts.
A pregnant woman should wear a lap-shoulder belt, and
the lap portion should be worn as low as possible,
below the rounding, throughout the pregnancy.
The best way to protect the fetus is to protect the
mother. When a safety belt is worn properly, it is more
likely that the fetus will not be hurt in a crash. For
pregnant women, as for anyone, the key to making
safety belts effective is wearing them properly.
1-33

Safety Belt Extender
If the vehicle’s safety belt will fasten around you, you
should use it.
But if a safety belt is not long enough, your dealer/retailer
will order you an extender. When you go in to order it,
take the heaviest coat you will wear, so the extender will
be long enough for you. To help avoid personal injury, do
not let someone else use it, and use it only for the seat it
is made to fit. The extender has been designed for adults.
Never use it for securing child seats. To wear it, attach it
to the regular safety belt. For more information, see the
instruction sheet that comes with the extender.
Child Restraints
Older Children
Older children who have outgrown booster seats should
wear the vehicle’s safety belts.
1-34

The manufacturer’s instructions that come with the
booster seat, state the weight and height limitations for
that booster. Use a booster seat with a lap-shoulder
belt until the child passes the below fit test:
•Sit all the way back on the seat. Do the knees bend
at the seat edge? If yes, continue. If no, return to
the booster seat.
•Buckle the lap-shoulder belt. Does the shoulder belt
rest on the shoulder? If yes, continue. If no, then
return to the booster seat.
•Does the lap belt fit low and snug on the hips,
touching the thighs? If yes, continue. If no, return to
the booster seat.
•Can proper safety belt fit be maintained for the
length of the trip? If yes, continue. If no, return
to the booster seat.
Q: What is the proper way to wear safety belts?
A: An older child should wear a lap-shoulder belt and
get the additional restraint a shoulder belt can
provide. The shoulder belt should not cross the face
or neck. The lap belt should fit snugly below the
hips, just touching the top of the thighs. This applies
belt force to the child’s pelvic bones in a crash. It
should never be worn over the abdomen, which
could cause severe or even fatal internal injuries in
a crash.
According to accident statistics, children and infants are
safer when properly restrained in the rear seating
positions than in the front seating positions.
In a crash, children who are not buckled up can strike
other people who are buckled up, or can be thrown
out of the vehicle. Older children need to use safety
belts properly.
1-35

{CAUTION:
Never do this.
Never allow two children to wear the same safety
belt. The safety belt can not properly spread the
impact forces. In a crash, the two children can be
crushed together and seriously injured. A safety
belt must be used by only one person at a time.
1-36

{CAUTION:
Never do this.
Never allow a child to wear the safety belt with the
shoulder belt behind their back. A child can be
seriously injured by not wearing the lap-shoulder
belt properly. In a crash, the child would not be
restrained by the shoulder belt. The child could
move too far forward increasing the chance of
head and neck injury. The child might also slide
under the lap belt. The belt force would then be
applied right on the abdomen. That could cause
serious or fatal injuries. The shoulder belt should
go over the shoulder and across the chest.
1-37

Infants and Young Children
Everyone in a vehicle needs protection! This includes
infants and all other children. Neither the distance
traveled nor the age and size of the traveler changes
the need, for everyone, to use safety restraints. In fact,
the law in every state in the United States and in
every Canadian province says children up to some age
must be restrained while in a vehicle.
{CAUTION:
Children can be seriously injured or strangled if a
shoulder belt is wrapped around their neck and
the safety belt continues to tighten. Never leave
children unattended in a vehicle and never allow
children to play with the safety belts.
Airbags plus lap-shoulder belts offer protection for
adults and older children, but not for young children and
infants. Neither the vehicle’s safety belt system nor
its airbag system is designed for them. Every time
infants and young children ride in vehicles, they should
have the protection provided by appropriate child
restraints.
Children who are not restrained properly can strike
other people, or can be thrown out of the vehicle.
{CAUTION:
Never do this.
Never hold an infant or a child while riding in a
vehicle. Due to crash forces, an infant or a child
will become so heavy it is not possible to hold it
during a crash. For example, in a crash at only
25 mph (40 km/h), a 12 lb (5.5 kg) infant will
suddenly become a 240 lb (110 kg) force on a
person’s arms. An infant should be secured in an
appropriate restraint.
1-38

{CAUTION:
Never do this.
Children who are up against, or very close to, any
airbag when it inflates can be seriously injured or
killed. Never put a rear-facing child restraint in the
right front seat. Secure a rear-facing child restraint
CAUTION: (Continued)
CAUTION: (Continued)
in a rear seat. It is also better to secure a
forward-facing child restraint in a rear seat. If you
must secure a forward-facing child restraint in the
right front seat, always move the front passenger
seat as far back as it will go.
1-39

Q: What are the different types of add-on child
restraints?
A: Add-on child restraints, which are purchased by the
vehicle’s owner, are available in four basic types.
Selection of a particular restraint should take
into consideration not only the child’s weight, height,
and age but also whether or not the restraint will
be compatible with the motor vehicle in which it will
be used.
For most basic types of child restraints, there are
many different models available. When purchasing a
child restraint, be sure it is designed to be used
in a motor vehicle. If it is, the restraint will have a
label saying that it meets federal motor vehicle
safety standards.
The restraint manufacturer’s instructions that come
with the restraint state the weight and height
limitations for a particular child restraint. In addition,
there are many kinds of restraints available for
children with special needs.
{CAUTION:
To reduce the risk of neck and head injury during
a crash, infants need complete support. This is
because an infant’s neck is not fully developed
and its head weighs so much compared with the
rest of its body. In a crash, an infant in a
rear-facing child restraint settles into the restraint,
so the crash forces can be distributed across the
strongest part of an infant’s body, the back and
shoulders. Infants should always be secured in
rear-facing child restraints.
1-40

{CAUTION:
A young child’s hip bones are still so small that
the vehicle’s regular safety belt may not remain
low on the hip bones, as it should. Instead, it may
settle up around the child’s abdomen. In a crash,
the belt would apply force on a body area that is
unprotected by any bony structure. This alone
could cause serious or fatal injuries. To reduce the
risk of serious or fatal injuries during a crash,
young children should always be secured in
appropriate child restraints.
Child Restraint Systems
A rear-facing infant
seat (A) provides restraint
with the seating surface
against the back of
the infant.
The harness system holds the infant in place and, in a
crash, acts to keep the infant positioned in the restraint.
A forward-facing child
seat (B) provides restraint
for the child’s body with the
harness.
1-41

A booster seat (C-D) is a child restraint designed to
improve the fit of the vehicle’s safety belt system.
A booster seat can also help a child to see out the
window.
Securing an Add-On Child Restraint in
the Vehicle
{CAUTION:
A child can be seriously injured or killed in a crash
if the child restraint is not properly secured in the
vehicle. Secure the child restraint properly in the
vehicle using the vehicle’s safety belt or LATCH
system, following the instructions that came with
that child restraint and the instructions in this
manual.
To help reduce the chance of injury, the child restraint
must be secured in the vehicle. Child restraint systems
must be secured in vehicle seats by lap belts or the
lap belt portion of a lap-shoulder belt, or by the LATCH
system. See Lower Anchors and Tethers for Children
(LATCH) on page 1-46 for more information. A child can
be endangered in a crash if the child restraint is not
properly secured in the vehicle.
1-42

When securing an add-on child restraint, refer to the
instructions that come with the restraint which may be on
the restraint itself or in a booklet, or both, and to this
manual. The child restraint instructions are important, so
if they are not available, obtain a replacement copy
from the manufacturer.
Keep in mind that an unsecured child restraint can
move around in a collision or sudden stop and injure
people in the vehicle. Be sure to properly secure
any child restraint in the vehicle — even when no child
is in it.
Securing the Child Within the Child
Restraint
{CAUTION:
A child can be seriously injured or killed in a crash
if the child is not properly secured in the child
restraint. Secure the child properly following the
instructions that came with that child restraint.
1-43

Where to Put the Restraint
Accident statistics show that children are safer if they
are restrained in the rear rather than the front seat.
We recommend that children and child restraints
be secured in a rear seat, including: an infant or a child
riding in a rear-facing child restraint; a child riding in
a forward-facing child seat; an older child riding in
a booster seat; and children, who are large enough,
using safety belts.
A label on your sun visor says, “Never put a rear-facing
child seat in the front.” This is because the risk to the
rear-facing child is so great, if the airbag deploys.
{CAUTION:
A child in a rear-facing child restraint can be
seriously injured or killed if the right front passenger
airbag inflates. This is because the back of the
rear-facing child restraint would be very close to the
inflating airbag. A child in a forward-facing child
restraint can be seriously injured or killed if the right
front passenger airbag inflates and the passenger
seat is in a forward position.
Even if the passenger sensing system has turned
off the right front passenger frontal airbag, no
system is fail-safe. No one can guarantee that an
airbag will not deploy under some unusual
circumstance, even though it is turned off.
Secure rear-facing child restraints in a rear
seat, even if the airbag is off. If you secure a
forward-facing child restraint in the right front seat,
always move the front passenger seat as far back
as it will go. It is better to secure the child restraint in
a rear seat.
See Passenger Sensing System on page 1-67 for
additional information.
1-44

When securing a child restraint in a rear seating
position, study the instructions that came with your child
restraint to make sure it is compatible with this vehicle.
There are a couple of things you need to know
about using child restraints in your rear seat:
If you use a child restraint
in the center rear seating
position (A), the safety
belts and the child restraint
LATCH anchors for
the rear outside seating
positions (B) will not be
accessible.
Therefore, you will not be able to secure child restraints
or have passengers ride in the rear outside seating
positions.
If you use two child
restraints (A) in the rear
outside seating positions,
the safety belt for the
center rear seat
position (B) will not be
accessible.
Therefore, you will not be able to secure a child
restraint or have a passenger ride in the center rear
seating position.
Wherever you install a child restraint, be sure to secure
the child restraint properly.
Keep in mind that an unsecured child restraint can
move around in a collision or sudden stop and injure
people in the vehicle. Be sure to properly secure
any child restraint in your vehicle — even when no child
is in it.
1-45

Lower Anchors and Tethers for
Children (LATCH)
The LATCH system holds a child restraint during driving
or in a crash. This system is designed to make
installation of a child restraint easier. The LATCH
system uses anchors in the vehicle and attachments on
the child restraint that are made for use with the
LATCH system.
Make sure that a LATCH-compatible child restraint is
properly installed using the anchors, or use the vehicle’s
safety belts to secure the restraint, following the
instructions that came with that restraint, and also the
instructions in this manual. When installing a child
restraint with a top tether, you must also use either the
lower anchors or the safety belts to properly secure
the child restraint. A child restraint must never be
installed using only the top tether and anchor.
In order to use the LATCH system in your vehicle, you
need a child restraint that has LATCH attachments.
The child restraint manufacturer will provide you
with instructions on how to use the child restraint and its
attachments. The following explains how to attach a
child restraint with these attachments in your vehicle.
Not all vehicle seating positions or child restraints have
lower anchors and attachments or top tether anchors
and attachments.
Lower Anchors
Lower anchors (A) are metal bars built into the vehicle.
There are two lower anchors for each LATCH seating
position that will accommodate a child restraint with
lower attachments (B).
1-46

Top Tether Anchor
A top tether (A, C) anchors the top of the child restraint
to the vehicle. A top tether anchor is built into the
vehicle. The top tether attachment (B) on the child
restraint connects to the top tether anchor in the vehicle
in order to reduce the forward movement and rotation
of the child restraint during driving or in a crash.
Your child restraint may have a single tether (A) or a
dual tether (C). Either will have a single attachment (B)
to secure the top tether to the anchor.
Some child restraints that have a top tether are designed
for use with or without the top tether being attached.
Others require the top tether always to be attached. In
Canada, the law requires that forward-facing child
restraints have a top tether, and that the tether be
attached. Be sure to read and follow the instructions for
your child restraint.
If the child restraint does not have a top tether, one can
be obtained, in kit form, for many child restraints. Ask
the child restraint manufacturer whether or not a kit
is available.
Lower Anchor and Top Tether Anchor
Locations
i(Top Tether Anchor):
Seating positions with top
tether anchors.
j(Lower Anchor): Seating
positions with two lower
anchors.
1-47

To assist you in locating
the lower anchors, each
seating position with lower
anchors has two labels,
near the crease between
the seatback and the
seat cushion.
Hatchback models may have zippers over the lower
anchor areas. If so, unzip the seat cover below
the labels to access each lower anchor.
To assist you in locating
the top tether anchors, the
top tether anchor symbol
is located on the cover.
For sedan models, the top tether anchors are located
under the covers behind the rear seat on the filler panel.
Pull open the cover to access the top tether anchors.
Be sure to use an anchor located on the same side
of the vehicle as the seating position where the child
restraint will be placed.
Sedan
1-48

For hatchback models, the top tether anchors (B)
are located in the rear cargo area, attached to the
back wall (A) of the vehicle. Squeeze and pull the front
part of the plastic cover to access the top tether anchors.
Remove the cargo shade before installing the top tether.
The cargo shade should remain off while the top tether
is in use. Be sure to use an anchor located on the same
side of the vehicle as the seating position where the child
restraint will be placed.
Do not secure a child restraint in a position without a
top tether anchor if a national or local law requires that
the top tether be attached, or if the instructions that
come with the child restraint say that the top tether must
be attached.
Accident statistics show that children are safer if they
are restrained in the rear rather than the front seat.
See Where to Put the Restraint on page 1-44 for
additional information.
Hatchback
1-49

Securing a Child Restraint Designed for
the LATCH System
{CAUTION:
If a LATCH-type child restraint is not attached to
anchors, the child restraint will not be able to protect
the child correctly. In a crash, the child could be
seriously injured or killed. Install a LATCH-type
child restraint properly using the anchors, or use the
vehicle’s safety belts to secure the restraint,
following the instructions that came with the child
restraint and the instructions in this manual.
{CAUTION:
Do not attach more than one child restraint to a
single anchor. Attaching more than one child
restraint to a single anchor could cause the anchor
or attachment to come loose or even break during
a crash. A child or others could be injured. To
reduce the risk of serious or fatal injuries during a
crash, attach only one child restraint per anchor.
{CAUTION:
Children can be seriously injured or strangled if a
shoulder belt is wrapped around their neck and
the safety belt continues to tighten. Buckle any
unused safety belts behind the child restraint so
children cannot reach them. Pull the shoulder belt
all the way out of the retractor to set the lock, if
your vehicle has one, after the child restraint has
been installed.
1-50

Notice: Do not let the LATCH attachments rub
against the vehicle’s safety belts. This may damage
these parts. If necessary, move buckled safety
belts to avoid rubbing the LATCH attachments.
Do not fold the empty rear seat with a safety belt
buckled. This could damage the safety belt or
the seat. Unbuckle and return the safety belt to its
stowed position, before folding the seat.
1. Attach and tighten the lower attachments to the
lower anchors. If the child restraint does not have
lower attachments or the desired seating position
does not have lower anchors, secure the child
restraint with the top tether and the safety belts.
Refer to your child restraint manufacturer
instructions and the instructions in this manual.
1.1. Find the lower anchors for the desired
seating position.
1.2. Put the child restraint on the seat.
1.3. Attach and tighten the lower attachments on
the child restraint to the lower anchors.
2. If the child restraint manufacturer recommends that
the top tether be attached, attach and tighten the
top tether to the top tether anchor, if equipped.
Refer to the child restraint instructions and
the following steps:
2.1. Find the top tether anchor.
2.2. Flip the cover to access the top tether
anchors.
2.3. For hatchback models, remove the cargo
shade before installing the top tether. The
cargo shade should remain off while the top
tether is in use.
2.4. Raise the headrest or head restraint if the
desired seating position has an adjustable
headrest or head restraint. See Head
Restraints on page 1-2.
1-51

2.5. Route and tighten the top tether according to
your child restraint instructions and the
following instructions:
If the position you are
using does not have a
headrest or head restraint
and you are using a
single tether, route the
tether over the seatback.
If the position you are
using does not have a
headrest or head restraint
and you are using a
dual tether, route the tether
over the seatback.
If the position you are using
has a headrest or head
restraint and you are using
a dual tether, route the
tether under the headrest
or head restraint and in
between the headrest or
head restraint posts.
If the position you are
using has an adjustable
headrest or head restraint
and you are using a
single tether, route the
tether under the headrest
or head restraint and
in between the headrest or
head restraint posts.
3. Push and pull the child restraint in different
directions to be sure it is secure.
1-52

Securing a Child Restraint in a Rear
Seat Position
When securing a child restraint in a rear seating
position, study the instructions that came with your child
restraint to make sure it is compatible with this vehicle.
If your child restraint has the LATCH system, see Lower
Anchors and Tethers for Children (LATCH) on
page 1-46 for how to install your child restraint using
LATCH. If you secure a child restraint using a safety belt
and it uses a top tether, see Lower Anchors and
Tethers for Children (LATCH) on page 1-46 for top
tether anchor locations.
Do not secure a child restraint in a position without a
top tether anchor if a national or local law requires that
the top tether be anchored, or if the instructions that
come with the child restraint say that the top strap must
be anchored.
In Canada, the law requires that forward-facing child
restraints have a top tether, and that the tether be
attached.
If your child restraint does not have the LATCH system,
you will be using the safety belt to secure the child
restraint in this position. Be sure to follow the instructions
that came with the child restraint. Secure the child in the
child restraint when and as the instructions say.
If you need to install more than one child restraint in the
rear seat, be sure to read Where to Put the Restraint
on page 1-44.
1. Put the child restraint on the seat.
2. Pick up the latch plate, and run the lap and shoulder
portions of the vehicle’s safety belt through or
around the restraint. The child restraint instructions
will show you how.
1-53

3. Push the latch plate into the buckle until it clicks.
If you find that the latch plate will not go fully into
the buckle, see if you are using the correct buckle.
Make sure the release button is positioned so
you would be able to unbuckle the safety belt
quickly if necessary.
4. Pull the rest of the shoulder belt all the way out of
the retractor to set the lock.
1-54

5. To tighten the belt, push down on the child restraint,
pull the shoulder portion of the belt to tighten the lap
portion of the belt and feed the shoulder belt back
into the retractor. If you are using a forward-facing
child restraint, you may find it helpful to use your
knee to push down on the child restraint as you
tighten the belt.
6. If your child restraint has a top tether, follow the
child restraint manufacturer’s instructions regarding
the use of the top tether. See Lower Anchors
and Tethers for Children (LATCH) on page 1-46.
7. Push and pull the child restraint in different
directions to be sure it is secure.
To remove the child restraint, unbuckle the vehicle’s
safety belt and let it go back all the way. If the top tether
is attached to a top tether anchor, disconnect it.
1-55

Securing a Child Restraint in the
Right Front Seat Position
This vehicle has airbags. A rear seat is a safer place to
secure a forward-facing child restraint. See Where to
Put the Restraint on page 1-44.
In addition, the vehicle has a passenger sensing system
which is designed to turn off the right front passenger
frontal airbag and seat-mounted side impact airbag
(if equipped) under certain conditions. See Passenger
Sensing System on page 1-67 and Passenger Airbag
Status Indicator on page 3-27 for more information
on this, including important safety information.
A label on the sun visor says, “Never put a rear-facing
child seat in the front.” This is because the risk to
the rear-facing child is so great, if the airbag deploys.
{CAUTION:
A child in a rear-facing child restraint can be
seriously injured or killed if the right front
passenger airbag inflates. This is because the
back of the rear-facing child restraint would be
very close to the inflating airbag. A child in a
forward-facing child restraint can be seriously
injured or killed if the right front passenger airbag
inflates and the passenger seat is in a forward
position.
Even if the passenger sensing system has turned
off the right front passenger frontal airbag, no
system is fail-safe. No one can guarantee that an
airbag will not deploy under some unusual
circumstance, even though it is turned off.
CAUTION: (Continued)
1-56

CAUTION: (Continued)
Secure rear-facing child restraints in a rear
seat, even if the airbag is off. If you secure a
forward-facing child restraint in the right front seat,
always move the front passenger seat as far back
as it will go. It is better to secure the child restraint
in a rear seat.
See Passenger Sensing System on page 1-67 for
additional information.
If the child restraint has the LATCH system, see Lower
Anchors and Tethers for Children (LATCH) on
page 1-46 for how to install your child restraint using
LATCH. If a child restraint is secured using a safety belt
and it uses a top tether, see Lower Anchors and
Tethers for Children (LATCH) on page 1-46 for top
tether anchor locations.
Do not secure a child seat in a position without a top
tether anchor if a national or local law requires that the
top tether be anchored, or if the instructions that
come with the child restraint say that the top strap must
be anchored.
In Canada, the law requires that forward-facing child
restraints have a top tether, and that the tether be
attached.
You will be using the lap-shoulder belt to secure the
child restraint in this position. Follow the instructions that
came with the child restraint.
1. Move the seat as far back as it will go before
securing the forward-facing child restraint.
When the passenger sensing system has turned off
the right front passenger frontal airbag and
seat-mounted side impact airbag (if equipped), the
off indicator on the passenger airbag status
indicator should light and stay lit when you start the
vehicle. See Passenger Airbag Status Indicator
on page 3-27.
2. Put the child restraint on the seat.
1-57

3. Pick up the latch plate, and run the lap and shoulder
portions of the vehicle’s safety belt through or
around the restraint. The child restraint instructions
will show you how.
Tilt the latch plate to adjust the belt if needed.
4. Push the latch plate into the buckle until it clicks.
Position the release button on the buckle so that
the safety belt could be quickly unbuckled if
necessary.
1-58

5. Pull the rest of the shoulder belt all the way out of
the retractor to set the lock. 6. To tighten the belt, push down on the child restraint,
pull the shoulder portion of the belt to tighten the
lap portion of the belt and feed the shoulder
belt back into the retractor. If you are using a
forward-facing child restraint, you may find it helpful
to use your knee to push down on the child
restraint as you tighten the belt.
7. Push and pull the child restraint in different
directions to be sure it is secure.
If the airbag or airbags are off, the off indicator in the
passenger airbag status indicator will come on and stay
on when the vehicle is started.
1-59

If a child restraint has been installed and the off symbol
is not lit, see “If the On Indicator is Lit for a Child
Restraint” under Passenger Sensing System on
page 1-67 for more information.
To remove the child restraint, unbuckle the vehicle’s
safety belt and let it go back all the way.
Airbag System
The vehicle has the following airbags:
•A frontal airbag for the driver.
•A frontal airbag for the right front passenger.
The vehicle may have the following airbags:
•A seat-mounted side impact airbag for the driver.
•A seat-mounted side impact airbag for the right front
passenger.
All of the airbags in your vehicle will have the word
AIRBAG embossed in the trim or on an attached label
near the deployment opening.
For frontal airbags, the word AIRBAG will appear on the
middle part of the steering wheel for the driver and
on the instrument panel for the right front passenger.
With seat-mounted side impact airbags, the word
AIRBAG will appear on the side of the seatback closest
to the door.
Airbags are designed to supplement the protection
provided by safety belts. Even though today’s airbags
are also designed to help reduce the risk of injury
from the force of an inflating bag, all airbags must inflate
very quickly to do their job.
Here are the most important things to know about the
airbag system:
{CAUTION:
You can be severely injured or killed in a crash if
you are not wearing your safety belt — even if you
have airbags. Airbags are designed to work with
safety belts, but do not replace them. Also, airbags
are not designed to deploy in every crash. In some
crashes safety belts are your only restraint. See
When Should an Airbag Inflate? on page 1-64.
Wearing your safety belt during a crash helps
reduce your chance of hitting things inside the
vehicle or being ejected from it. Airbags are
“supplemental restraints” to the safety belts.
Everyone in your vehicle should wear a safety belt
properly — whether or not there is an airbag for that
person.
1-60

{CAUTION:
Airbags inflate with great force, faster than the
blink of an eye. Anyone who is up against, or very
close to, any airbag when it inflates can be
seriously injured or killed. Do not sit unnecessarily
close to the airbag, as you would be if you were
sitting on the edge of your seat or leaning forward.
Safety belts help keep you in position before and
during a crash. Always wear your safety belt, even
with airbags. The driver should sit as far back as
possible while still maintaining control of the
vehicle.
Occupants should not lean on or sleep against the
door or side windows in seating positions with
seat-mounted airbags.
{CAUTION:
Children who are up against, or very close to, any
airbag when it inflates can be seriously injured or
killed. Airbags plus lap-shoulder belts offer
protection for adults and older children, but not for
young children and infants. Neither the vehicle’s
safety belt system nor its airbag system is designed
for them. Young children and infants need the
protection that a child restraint system can provide.
Always secure children properly in your vehicle. To
read how, see Older Children on page 1-34 or
Infants and Young Children on page 1-38.
There is an airbag
readiness light on the
instrument panel, which
shows the airbag symbol.
The system checks the airbag electrical system for
malfunctions. The light tells you if there is an electrical
problem. See Airbag Readiness Light on page 3-26 for
more information.
1-61

Where Are the Airbags?
The driver’s frontal airbag is in the middle of the
steering wheel.
The right front passenger’s frontal airbag is in the
instrument panel on the passenger’s side.
1-62

If your vehicle has seat-mounted side impact airbags for
the driver and right front passenger, they are in the
side of the seatbacks closest to the door.
{CAUTION:
If something is between an occupant and an airbag,
the airbag might not inflate properly or it might force
the object into that person causing severe injury or
even death. The path of an inflating airbag must be
kept clear. Do not put anything between an
occupant and an airbag, and do not attach or put
anything on the steering wheel hub or on or near
any other airbag covering.
Do not use seat accessories that block the inflation
path of a seat-mounted side impact airbag.
Driver Side shown, Passenger Side similar
1-63

When Should an Airbag Inflate?
Frontal airbags are designed to inflate in moderate to
severe frontal or near-frontal crashes to help reduce the
potential for severe injuries mainly to the driver’s or
right front passenger’s head and chest. However, they
are only designed to inflate if the impact exceeds a
predetermined deployment threshold. Deployment
thresholds are used to predict how severe a crash is
likely to be in time for the airbags to inflate and
help restrain the occupants.
Whether your frontal airbags will or should deploy is not
based on how fast your vehicle is traveling. It depends
largely on what you hit, the direction of the impact,
and how quickly your vehicle slows down.
Frontal airbags may inflate at different crash speeds.
For example:
•If the vehicle hits a stationary object, the airbags
could inflate at a different crash speed than if the
vehicle hits a moving object.
•If the vehicle hits an object that deforms, the
airbags could inflate at a different crash speed than
if the vehicle hits an object that does not deform.
•If the vehicle hits a narrow object (like a pole), the
airbags could inflate at a different crash speed
than if the vehicle hits a wide object (like a wall).
•If the vehicle goes into an object at an angle, the
airbags could inflate at a different crash speed
than if the vehicle goes straight into the object.
Thresholds can also vary with specific vehicle design.
In addition, your vehicle has dual-stage frontal airbags.
Dual-stage airbags adjust the restraint according to
crash severity. Your vehicle has electronic frontal
sensors, which help the sensing system distinguish
between a moderate frontal impact and a more severe
frontal impact. For moderate frontal impacts, dual-stage
airbags inflate at a level less than full deployment.
For more severe frontal impacts, full deployment occurs.
Frontal airbags are not intended to inflate during
vehicle rollovers, rear impacts, or in many side impacts.
The vehicle may or may not have seat-mounted side
impact airbags. See Airbag System on page 1-60.
Seat-mounted side impact airbags are intended to inflate
in moderate to severe side crashes. Seat-mounted
side impact airbags will inflate if the crash severity is
above the system’s designed threshold level. The
threshold level can vary with specific vehicle design.
Seat-mounted side impact airbags are not intended to
inflate in frontal impacts, near-frontal impacts, rollovers,
or rear impacts. A seat-mounted side impact airbag
is intended to deploy on the side of the vehicle that is
struck.
1-64

In any particular crash, no one can say whether an
airbag should have inflated simply because of the
damage to a vehicle or because of what the repair costs
were. For frontal airbags, inflation is determined by
what the vehicle hits, the angle of the impact, and how
quickly the vehicle slows down. For seat-mounted
side impact airbags, deployment is determined by the
location and severity of the side impact.
What Makes an Airbag Inflate?
In a deployment event, the sensing system sends an
electrical signal triggering a release of gas from the
inflator. Gas from the inflator fills the airbag causing the
bag to break out of the cover and deploy. The inflator, the
airbag, and related hardware are all part of the airbag
module.
Frontal airbag modules are located inside the steering
wheel and instrument panel. For vehicles with
seat-mounted side impact airbags, there are airbag
modules in the side of the front seatbacks closest
to the door.
How Does an Airbag Restrain?
In moderate to severe frontal or near frontal collisions,
even belted occupants can contact the steering wheel
or the instrument panel. In moderate to severe side
collisions, even belted occupants can contact the inside
of the vehicle.
Airbags supplement the protection provided by safety
belts. Frontal airbags distribute the force of the
impact more evenly over the occupant’s upper body,
stopping the occupant more gradually. Seat-mounted
side impact airbags distribute the force of the impact
more evenly over the occupant’s upper body.
But airbags would not help in many types of collisions,
primarily because the occupant’s motion is not toward
those airbags. See When Should an Airbag Inflate?
on page 1-64 for more information.
Airbags should never be regarded as anything more
than a supplement to safety belts.
1-65

What Will You See After an Airbag
Inflates?
After the frontal and seat-mounted side impact airbags
inflate, they quickly deflate, so quickly that some
people may not even realize the airbags inflated.
Some components of the airbag module may be hot for
several minutes. For location of the airbag modules,
see What Makes an Airbag Inflate? on page 1-65.
The parts of the airbag that come into contact with you
may be warm, but not too hot to touch. There may
be some smoke and dust coming from the vents in the
deflated airbags. Airbag inflation does not prevent
the driver from seeing out of the windshield or being
able to steer the vehicle, nor does it prevent people from
leaving the vehicle.
{CAUTION:
When an airbag inflates, there may be dust in the
air. This dust could cause breathing problems for
people with a history of asthma or other breathing
trouble. To avoid this, everyone in the vehicle
should get out as soon as it is safe to do so. If you
have breathing problems but cannot get out of the
vehicle after an airbag inflates, then get fresh air by
opening a window or a door. If you experience
breathing problems following an airbag deployment,
you should seek medical attention.
The vehicle has a feature that may automatically unlock
the doors, turn the interior lamps on, and turn on the
hazard warning flashers when the airbags inflate.
You can lock the doors, turn the interior lamps off, and
turn the hazard warning flashers off by using the
controls for those features.
1-66

In many crashes severe enough to inflate the airbag,
windshields are broken by vehicle deformation.
Additional windshield breakage may also occur
from the right front passenger airbag.
•Airbags are designed to inflate only once. After an
airbag inflates, you will need some new parts for
the airbag system. If you do not get them, the airbag
system will not be there to help protect you in
another crash. A new system will include airbag
modules and possibly other parts. The service
manual for your vehicle covers the need to replace
other parts.
•The vehicle has a crash sensing and diagnostic
module which records information after a crash.
See Vehicle Data Recording and Privacy on
page 7-18 and Event Data Recorders on page 7-19.
•Let only qualified technicians work on the airbag
system. Improper service can mean that the
airbag system will not work properly. See your
dealer/retailer for service.
Passenger Sensing System
The vehicle has a passenger sensing system for the
right front passenger position. The passenger airbag
status indicator will be visible when you start the vehicle.
The word OFF or off symbol will be visible near the
clock, located in the center of the instrument panel,
during the system check. See Passenger Airbag Status
Indicator on page 3-27.
When the system check is complete, either the words
ON and OFF or the symbol for on and off will be visible
under certain conditions.
The passenger sensing system will turn off the right
front passenger frontal airbag and seat-mounted
side impact airbag (if equipped) under certain conditions.
The driver airbags are not part of the passenger
sensing system.
The passenger sensing system works with a sensor that
is part of the right front passenger seat. The sensor is
designed to detect the presence of a properly-seated
occupant and determine if the right front passenger
frontal airbag and seat-mounted side impact airbag
(if equipped) should be enabled (may inflate) or not.
United States Canada
1-67

According to accident statistics, children are safer when
properly secured in a rear seat in the correct child
restrain for their weight and size.
We recommend that children be secured in a rear seat,
including: an infant or a child riding in a rear-facing
child restraint; a child riding in a forward-facing child
seat; an older child riding in a booster seat; and children,
who are large enough, using safety belts.
A label on the sun visor says, “Never put a rear-facing
child seat in the front.” This is because the risk to
the rear-facing child is so great, if the airbag deploys.
{CAUTION:
A child in a rear-facing child restraint can be
seriously injured or killed if the right front
passenger airbag inflates. This is because the
back of the rear-facing child restraint would be
very close to the inflating airbag. A child in a
forward-facing child restraint can be seriously
injured or killed if the right front passenger airbag
inflates and the passenger seat is in a forward
position.
CAUTION: (Continued)
CAUTION: (Continued)
Even if the passenger sensing system has turned
off the right front passenger frontal airbag and
seat-mounted side impact airbag (if equipped), no
system is fail-safe. No one can guarantee that an
airbag will not deploy under some unusual
circumstance, even though the airbag(s) are off.
Secure rear-facing child restraints in a rear seat,
even if the airbag(s) are off. If you secure a
forward-facing child restraint in the right front seat,
always move the front passenger seat as far back
as it will go. It is better to secure the child restraint
in a rear seat.
The passenger sensing system is designed to turn off
the right front passenger frontal airbag and
seat-mounted side impact airbag (if equipped) if:
•The right front passenger seat is unoccupied.
•The system determines that an infant is present in
a rear-facing infant seat.
•The system determines that a small child is present
in a child restraint.
1-68

•The system determines that a small child is present
in a booster seat.
•A right front passenger takes his/her weight off of
the seat for a period of time.
•The right front passenger seat is occupied by a
smaller person, such as a child who has outgrown
child restraints.
•Or, if there is a critical problem with the airbag
system or the passenger sensing system.
When the passenger sensing system has turned off the
right front passenger frontal airbag and seat-mounted
side impact airbag (if equipped), the off symbol will light
and stay lit to remind you that the airbag or airbags
are off. See Passenger Airbag Status Indicator on
page 3-27.
The passenger sensing system is designed to enable
(may inflate) the right front passenger’s frontal airbag and
seat-mounted side impact airbag (if equipped) anytime
the system senses that a person of adult size is sitting
properly in the right front passenger’s seat. When the
passenger sensing system has allowed the airbag or
airbags to be enabled, the off symbol will not light.
For some children who have outgrown child restraints
and for very small adults, the passenger sensing system
may or may not turn off the right front passenger’s
frontal airbag and seat-mounted side impact airbag
(if equipped), depending upon the person’s seating
posture and body build. Everyone in your vehicle who
has outgrown child restraints should wear a safety
belt properly — whether or not there is an airbag for that
person.
{CAUTION:
If the airbag readiness light ever comes on and
stays on, it means that something may be wrong
with the airbag system. To help avoid injury to
yourself or others, have the vehicle serviced right
away. See Airbag Readiness Light on page 3-26
for more information, including important safety
information.
1-69

If the On Indicator is Lit for a Child
Restraint
If a child restraint has been installed and the on
indicator is lit:
1. Turn the vehicle off.
2. Remove the child restraint from the vehicle.
3. Remove any additional items from the seat such as
blankets, cushions, seat covers, seat heaters, or
seat massagers.
4. Reinstall the child restraint following the directions
provided by the child restraint manufacturer and
refer to Securing a Child Restraint in the Right Front
Seat Position on page 1-56 Securing a Child
Restraint in the Right Front Seat Position.
5. If, after reinstalling the child restraint and restarting
the vehicle, the on indicator is still lit, turn the
vehicle off. Then slightly recline the vehicle seatback
and adjust the seat cushion, if adjustable, to
make sure that the vehicle seatback is not pushing
the child restraint into the seat cushion.
Also make sure the child restraint is not trapped
under the vehicle head restraint. If this happens,
adjust the head restraint. See Head Restraints
on page 1-2.
6. Restart the vehicle.
If the on indicator is still lit, secure the child in the child
restraint in a rear seat position in the vehicle, and
check with your dealer/retailer.
1-70

If the On Indicator is Lit for an
Adult-Size Occupant
If a person of adult-size is sitting in the right front
passenger seat, but the off symbol is lit, it could be
because that person is not sitting properly in the seat.
If this happens, use the following steps to allow the
system to detect that person and enable the right front
passenger frontal airbag and seat-mounted side
impact airbag (if equipped):
1. Turn the vehicle off.
2. Remove any additional material from the seat, such
as blankets, cushions, seat covers, seat heaters, or
seat massagers.
3. Place the seatback in the fully upright position.
4. Have the person sit upright in the seat, centered on
the seat cushion, with legs comfortably extended.
5. Restart the vehicle and have the person remain in
this position for two to three minutes after the on
indicator is lit.
1-71

Additional Factors Affecting System
Operation
Safety belts help keep the passenger in position on the
seat during vehicle maneuvers and braking, which
helps the passenger sensing system maintain the
passenger airbag status. See “Safety Belts” and “Child
Restraints” in the Index for additional information
about the importance of proper restraint use.
A thick layer of additional material, such as a blanket or
cushion, or aftermarket equipment such as seat covers,
seat heaters, and seat massagers can affect how well the
passenger sensing system operates. We recommend
that you not use seat covers or other aftermarket
equipment other than any that GM has approved for your
specific vehicle. See Adding Equipment to Your
Airbag-Equipped Vehicle on page 1-74 Adding
Equipment to Your Airbag-Equipped Vehicle for more
information about modifications that can affect how the
system operates.
{CAUTION:
Stowing of articles under the passenger seat or
between the passenger seat cushion and seatback
may interfere with the proper operation of the
passenger sensing system.
1-72

Servicing Your Airbag-Equipped
Vehicle
Airbags affect how the vehicle should be serviced.
There are parts of the airbag system in several places
around the vehicle. Your dealer/retailer and the
service manual have information about servicing the
vehicle and the airbag system. To purchase a service
manual, see Service Publications Ordering Information
on page 7-17.
{CAUTION:
For up to 10 seconds after the ignition is turned off
and the battery is disconnected, an airbag can still
inflate during improper service. You can be injured if
you are close to an airbag when it inflates. Avoid
yellow connectors. They are probably part of the
airbag system. Be sure to follow proper service
procedures, and make sure the person performing
work for you is qualified to do so.
1-73

Adding Equipment to Your
Airbag-Equipped Vehicle
Q: Is there anything I might add to or change about
the vehicle that could keep the airbags from
working properly?
A: Yes. If you add things that change your vehicle’s
frame, bumper system, height, front end or side
sheet metal, they may keep the airbag system from
working properly. Changing or moving any parts
of the front seats, safety belts, the airbag sensing
and diagnostic module, steering wheel, instrument
panel, front sensors, or airbag wiring can affect
the operation of the airbag system.
In addition, the vehicle has a passenger sensing
system for the right front passenger position, which
includes sensors that are part of the passenger
seat. The passenger sensing system may not
operate properly if the original seat trim is replaced
with non-GM covers, upholstery or trim, or with
GM covers, upholstery or trim designed for a
different vehicle. Any object, such as an aftermarket
seat heater or a comfort enhancing pad or device,
installed under or on top of the seat fabric,
could also interfere with the operation of the
passenger sensing system. This could either
prevent proper deployment of the passenger
airbag(s) or prevent the passenger sensing system
from properly turning off the passenger airbag(s).
See Passenger Sensing System on page 1-67.
If you have any questions about this, you should
contact Customer Assistance before you modify
your vehicle. The phone numbers and addresses for
Customer Assistance are in Step Two of the
Customer Satisfaction Procedure in this manual.
See Customer Satisfaction Procedure on page 7-2.
Q: Because I have a disability, I have to get
my vehicle modified. How can I find out whether
this will affect my airbag system?
A: If you have questions, call Customer Assistance.
The phone numbers and addresses for Customer
Assistance are in Step Two of the Customer
Satisfaction Procedure in this manual. See
Customer Satisfaction Procedure on page 7-2.
In addition, your dealer/retailer and the service manual
have information about the location of the airbag
sensors, sensing and diagnostic module and airbag
wiring.
1-74

Restraint System Check
Checking the Restraint Systems
Safety Belts
Now and then, check that the safety belt reminder light,
safety belts, buckles, latch plates, retractors, and
anchorages are all working properly.
Look for any other loose or damaged safety belt system
parts that might keep a safety belt system from doing
its job. See your dealer/retailer to have it repaired. Torn
or frayed safety belts may not protect you in a crash.
They can rip apart under impact forces. If a belt is torn
or frayed, get a new one right away.
Make sure the safety belt reminder light is working.
See Safety Belt Reminders on page 3-26 for more
information.
Keep safety belts clean and dry. See Care of Safety
Belts on page 5-82.
Airbags
The airbag system does not need regularly scheduled
maintenance or replacement. Make sure the airbag
readiness light is working. See Airbag Readiness Light
on page 3-26 for more information.
Notice: If an airbag covering is damaged, opened,
or broken, the airbag may not work properly.
Do not open or break the airbag coverings. If there
are any opened or broken airbag covers, have
the airbag covering and/or airbag module replaced.
For the location of the airbag modules, see What
Makes an Airbag Inflate? on page 1-65. See your
dealer/retailer for service.
1-75

Replacing Restraint System Parts
After a Crash
{CAUTION:
A crash can damage the restraint systems in your
vehicle. A damaged restraint system may not
properly protect the person using it, resulting in
serious injury or even death in a crash. To help
make sure your restraint systems are working
properly after a crash, have them inspected and
any necessary replacements made as soon as
possible.
If the vehicle has been in a crash, do you need new
safety belts or LATCH system (if equipped) parts?
After a very minor crash, nothing may be necessary.
But the safety belt assemblies that were used during any
crash may have been stressed or damaged. See your
dealer/retailer to have the safety belt assemblies
inspected or replaced.
If the vehicle has the LATCH system and it was being
used during a crash, you may need new LATCH system
parts.
New parts and repairs may be necessary even if the
safety belt or LATCH system (if equipped), was
not being used at the time of the crash.
If an airbag inflates, you will need to replace airbag
system parts. See the part on the airbag system earlier
in this section.
Have the safety belt pretensioners checked if the
vehicle has been in a crash, if the airbag readiness light
stays on after the vehicle is started, or while you are
driving. See Airbag Readiness Light on page 3-26.
1-76

Keys ...............................................................2-2
Remote Keyless Entry (RKE) System ................2-3
Remote Keyless Entry (RKE) System
Operation ...................................................2-4
Doors and Locks .............................................2-6
Door Locks ....................................................2-6
Central Door Unlocking System ........................2-7
Door Ajar Reminder ........................................2-7
Rear Door Security Locks ................................2-7
Trunk (Sedan) ................................................2-8
Liftgate (Hatchback) ......................................2-10
Windows ........................................................2-12
Manual Windows ..........................................2-12
Power Windows ............................................2-13
Sun Visors ...................................................2-14
Theft-Deterrent Systems ..................................2-14
Immobilizer ..................................................2-14
Immobilizer Operation ....................................2-15
Content Theft-Deterrent .................................2-16
Starting and Operating Your Vehicle ................2-18
New Vehicle Break-In ....................................2-18
Ignition Positions ..........................................2-18
Starting the Engine .......................................2-19
Engine Heater ..............................................2-21
Automatic Transmission Operation ...................2-22
Manual Transmission Operation ......................2-26
Parking Brake ..............................................2-28
Shifting Into Park (Automatic Transmission) ......2-29
Shifting Out of Park ......................................2-30
Parking the Vehicle (Manual Transmission) .......2-31
Parking Over Things That Burn .......................2-32
Engine Exhaust ............................................2-32
Running the Vehicle While Parked ..................2-33
Mirrors ...........................................................2-34
Manual Rearview Mirror .................................2-34
Outside Manual Mirrors ..................................2-34
Outside Power Mirrors ...................................2-35
Outside Convex Mirror ...................................2-35
Outside Heated Mirrors ..................................2-35
OnStar
®
System .............................................2-36
Storage Areas ................................................2-39
Glove Box ...................................................2-39
Cupholders ..................................................2-39
Sunglasses Storage Compartment ...................2-40
Sunroof .........................................................2-40
Section 2 Features and Controls
2-1

Keys
{CAUTION:
Leaving children in a vehicle with the ignition key
is dangerous for many reasons, children or others
could be badly injured or even killed. They could
operate the power windows or other controls or
even make the vehicle move. The windows will
function with the keys in the ignition and children
could be seriously injured or killed if caught in the
path of a closing window. Do not leave the keys in
a vehicle with children.
The key can be used for the ignition, doors and all
other locks.
The key has a key code tag that the dealer/retailer or
qualified locksmith can use to make new keys. Store this
information in a safe place, not in your vehicle.
Your vehicle may have an electronic immobilizer
designed to protect your car against theft. If so, only
keys with the correct electronic code can be used
to start the vehicle. See Immobilizer Operation on
2-2

page 2-15 for additional information. If a replacement
key or an additional key is needed, it must be purchased
from your dealer/retailer or certified locksmith.
Notice: If you ever lock your keys in the vehicle,
you may have to damage the vehicle to get in.
Be sure you have spare keys.
In an emergency, contact Roadside Assistance.
See Roadside Assistance Program on page 7-7 for
more information.
Remote Keyless Entry (RKE)
System
If this vehicle has the Remote Keyless Entry (RKE)
system, it operates on a radio frequency subject
to Federal Communications Commission (FCC) Rules
and with Industry Canada.
This device complies with Part 15 of the FCC Rules.
Operation is subject to the following two conditions:
1. This device may not cause interference.
2. This device must accept any interference received,
including interference that may cause undesired
operation of the device.
This device complies with RSS-210 of Industry Canada.
Operation is subject to the following two conditions:
1. This device may not cause interference.
2. This device must accept any interference received,
including interference that may cause undesired
operation of the device.
Changes or modifications to this system by other than
an authorized service facility could void authorization to
use this equipment.
If there is a decrease in the RKE operating range,
try this:
•Check the distance. The transmitter may be too far
from the vehicle. Stand closer during rainy or snowy
weather.
•Check the location. Other vehicles or objects may be
blocking the signal. Take a few steps to the left or
right, hold the transmitter higher, and try again.
•Check the transmitter’s battery. See “Battery
Replacement” later in this section.
•If the transmitter is still not working correctly,
see your dealer/retailer or a qualified technician
for service.
2-3

Remote Keyless Entry (RKE)
System Operation
The Remote Keyless Entry (RKE) transmitter functions
work up to 65 feet (20 m) away from the vehicle.
There are other conditions which can affect the
performance of the transmitter. See Remote Keyless
Entry (RKE) System on page 2-3.
The following functions may be available if the vehicle
has RKE:
Q(Lock): Press to lock all of the doors. If all of the
doors and the trunk or liftgate are closed, the hazard
lamps flash once and the horn will sound to indicate
that locking has occurred and the theft-deterrent system
is active.
K(Unlock): Press to unlock all of the doors.
The hazard lamps flash twice to indicate that unlocking
has occurred and that the theft-deterrent system is
deactivated. If the doors are not opened within
30 seconds the doors will lock again.
3(Panic) (Hatchback): Press to sound the panic
alarm. The hazard lamps will flash and the panic alarm
will stay on for about 30 seconds. Press any of the
buttons on the transmitter to turn off the alarm.
V(Remote Trunk Release) (Sedan): Press and
hold for approximately one second to open the trunk.
The LED light (A) on the transmitter flashes when
the buttons on the transmitter are pressed. If the light
does not flash see “Battery Replacement” later in
this section.
The buttons do not operate and the theft-deterrent
system does not activate if the key is in the ignition.
Hatchback Sedan
2-4

Programming Transmitters to the
Vehicle
Only RKE transmitters programmed to the vehicle will
work. If a transmitter is lost or stolen, a replacement
can be purchased and programmed through your
dealer/retailer. When the replacement transmitter is
programmed to the vehicle, all remaining transmitters
must also be programmed. Any lost or stolen
transmitters no longer work once the new transmitter
is programmed. Each vehicle can have up to
five transmitters programmed to it.
Battery Replacement
Replace the battery if the LED on the transmitter does
not flash when you press the buttons.
Notice: When replacing the battery, do not touch
any of the circuitry on the transmitter. Static from
your body could damage the transmitter.
To replace the battery:
1. Remove the screw from the back of the cover and
open the cover of the transmitter.
2. Pull the transmitter out of the cover and carefully
turn the circle cover of the transmitter unit
toward open.
3. Remove the battery.
4. Insert the new battery, positive side facing up.
Use one three-volt, CR1620, or equivalent, type
battery.
5. Turn the circle cover of the transmitter unit toward
close and put the transmitter unit in the cover.
6. Put the two halves back together and replace the
screw. Make sure the cover is on tightly, so water
will not get in.
7. Test the transmitter operation.
2-5

Doors and Locks
Door Locks
{CAUTION:
Unlocked doors can be dangerous.
•Passengers, especially children, can easily
open the doors and fall out of a moving
vehicle. When a door is locked, the handle
will not open it. You increase the chance of
being thrown out of the vehicle in a crash if
the doors are not locked. So, wear safety
belts properly and lock the doors whenever
you drive.
•Young children who get into unlocked vehicles
may be unable to get out. A child can be
overcome by extreme heat and can suffer
permanent injuries or even death from heat
stroke. Always lock your vehicle whenever
you leave it.
•Outsiders can easily enter through an
unlocked door when you slow down or stop
your vehicle. Locking your doors can help
prevent this from happening.
There are several ways to lock and unlock your vehicle.
From the outside, use your key or the Remote Keyless
Entry (RKE) transmitter. See Remote Keyless Entry
(RKE) System Operation on page 2-4.
To manually unlock the front doors from the outside,
insert the key and turn it toward the front of the vehicle.
To manually lock the doors from the outside, insert
the key and turn it toward the rear of the vehicle.
All doors, except for the driver’s door, can be locked by
pushing down the manual door lock and then closing
the door. On vehicles with power locks, the driver’s door
can only by locked from the outside by using the key
or the optional remote keyless entry transmitter.
From the inside, you can lock and unlock all of the
doors by pushing or pulling the manual door lock located
on each door.
2-6

Central Door Unlocking System
Your vehicle may be equipped with the central door
unlocking system. This system is activated from
the driver’s door.
From the outside, you can lock or unlock all the doors
by using either the key or the remote keyless entry
transmitter, if equipped. From the inside, you can lock
or unlock all the doors by using the driver’s door
lock switch.
Door Ajar Reminder
If one of the doors, trunk
or liftgate is not closed
properly while the ignition
is on, the door ajar
light on the instrument
panel comes on and stays
on until the doors are
closed.
Rear Door Security Locks
Your vehicle has rear
door security locks on
each rear door that
prevent passengers from
opening the rear doors
from the inside.
Using the Rear Door Security Lock
1. Move the lever up to lock.
2. Close the door.
3. Do the same thing to the other rear door lock.
Notice: Pulling the inside door handle while the
rear door security locks are engaged could damage
your vehicle. Do not pull the inside door handle
while the rear door security locks are engaged.
The rear doors on your vehicle cannot be opened from
the inside while this feature is in use.
2-7

Opening a Rear Door When the
Security Lock is On
1. Unlock the door from the inside.
2. Open the door from the outside.
If you do not cancel the security lock, adults or older
children who ride in the rear will not be able to open the
rear door from the inside. You should let adults and
older children know how to cancel the locks.
Canceling the Rear Door Security Lock
1. Unlock the door from the inside and open the
door from the outside.
2. Move the lever down to unlock.
3. Do the same for the other rear door.
The rear door locks can now be locked and unlocked
normally.
Trunk (Sedan)
{CAUTION:
Exhaust gases may enter the vehicle if it is driven
with the liftgate, trunk/hatch open, or with any
objects that pass through the seal between the
body and the trunk/hatch or liftgate. Engine
exhaust contains Carbon Monoxide (CO) which
cannot be seen or smelled. It can cause
unconsciousness and even death.
If the vehicle must be driven with the liftgate, or
trunk/hatch open:
•Close all of the windows.
•Fully open the air outlets on or under the
instrument panel.
•Adjust the Climate Control system to a setting
that brings in only outside air and set the fan
speed to the highest setting. See Climate
Control System in the Index.
•If the vehicle is equipped with a power liftgate,
disable the power liftgate function.
For more information about carbon monoxide,
see Engine Exhaust on page 2-32.
2-8

To open the trunk on your sedan from outside of your
vehicle, insert the key into the lock cylinder and turn the
key clockwise or use the remote keyless entry
transmitter, if equipped.
Remote Trunk Release
If your vehicle has a trunk
release button located on
the driver’s door, you
can open the trunk from
inside your vehicle by
pressing the release
button.
When closing the trunk, close from the center to ensure
it fully latches.
If your vehicle has a trunk
release lever located on
the outboard side of
the driver’s seat, you can
open the trunk from
inside your vehicle by
pulling the release lever.
Trunk Release Button
Trunk Release Lever
2-9

Emergency Trunk Release Handle
Notice: Do not use the emergency trunk release
handle as a tie-down or anchor point when securing
items in the trunk as it could damage the handle.
The emergency trunk release handle is only
intended to aid a person trapped in a latched trunk,
enabling them to open the trunk from the inside.
There is a glow-in-the-dark emergency trunk release
handle located on the underside of the trunk lid.
This handle will glow following exposure to light. Pull the
release handle down to open the trunk from the inside.
Liftgate (Hatchback)
{CAUTION:
Exhaust gases may enter the vehicle if it is driven
with the liftgate, trunk/hatch open, or with any
objects that pass through the seal between the
body and the trunk/hatch or liftgate. Engine exhaust
contains Carbon Monoxide (CO) which cannot be
seen or smelled. It can cause unconsciousness and
even death.
If the vehicle must be driven with the liftgate, or
trunk/hatch open:
•Close all of the windows.
•Fully open the air outlets on or under the
instrument panel.
CAUTION: (Continued)
2-10

CAUTION: (Continued)
•Adjust the Climate Control system to a setting
that brings in only outside air and set the fan
speed to the highest setting. See Climate
Control System in the Index.
•If the vehicle is equipped with a power liftgate,
disable the power liftgate function.
For more information about carbon monoxide,
see Engine Exhaust on page 2-32.
To open the liftgate on your hatchback from outside of
the vehicle, insert the key into the lock cylinder and
turn it counterclockwise or use the remote keyless entry
transmitter, if equipped. Then pull up the handle
above the license plate to open the liftgate.
When closing the liftgate, close from the center to
ensure it fully latches.
To lock the liftgate, insert the key into the lock cylinder
and turn it clockwise or use the remote keyless entry
transmitter, if equipped.
The liftgate can also be locked or unlocked by the
central door unlocking system or remote keyless entry,
if equipped. See Central Door Unlocking System on
page 2-7 and Remote Keyless Entry (RKE) System
Operation on page 2-4.
2-11

Windows
{CAUTION:
Leaving children, helpless adults, or pets in a
vehicle with the windows closed is dangerous.
They can be overcome by the extreme heat and
suffer permanent injuries or even death from heat
stroke. Never leave a child, a helpless adult, or a
pet alone in a vehicle, especially with the windows
closed in warm or hot weather.
Manual Windows
Use the window crank to open and close each window.
The rear windows do not open fully.
2-12

Power Windows
{CAUTION:
Leaving children in a vehicle with the keys is
dangerous for many reasons, children or others
could be badly injured or even killed. They could
operate the power windows or other controls or
even make the vehicle move. The windows will
function and they could be seriously injured or
killed if caught in the path of a closing window.
Do not leave keys in a vehicle with children.
When there are children in the rear seat use the
window lockout button to prevent unintentional
operation of the windows.
If your vehicle has power windows, the switches are
located on the driver’s door. In addition, each passenger
door has a switch for its own window.
The ignition must be turned to ON/RUN to use the
power windows. To lower the window, press and hold
the switch. To raise the window, lift up on the switch.
Release the switch when the window reaches the
desired level.
2-13

Window Lockout
The window lockout is
located with the driver’s
power window switches.
Press the lockout button to stop the rear passengers
from using their window switches. The driver can
still operate all the windows with the lockout on. Press
the lockout button again to return to normal window
operation.
Sun Visors
To block out glare you can swing down the visors.
You can also remove them from the center mount and
swing them to the side.
Visor Vanity Mirror
Your vehicle has vanity mirrors located on the back of
the sun visors. Swing down the sun visor to expose the
vanity mirror.
Theft-Deterrent Systems
Vehicle theft is big business, especially in some cities.
This vehicle has theft-deterrent features, however,
they do not make it impossible to steal.
Immobilizer
This device complies with Part 15 of the FCC Rules.
Operation is subject to the following two conditions:
1. This device may not cause interference.
2. This device must accept any interference received,
including interference that may cause undesired
operation.
This device complies with RSS-210 of Industry Canada.
Operation is subject to the following two conditions:
1. This device may not cause interference.
2. This device must accept any interference received,
including interference that may cause undesired
operation of the device.
Changes or modifications to this system by other than
an authorized service facility could void authorization to
use this equipment.
2-14

Immobilizer Operation
The vehicle may have a passive theft-deterrent system.
The immobilizer system prevents the vehicle from
being started by an unauthorized person by isolating the
power supply to the ignition system, the fuel pump
and the fuel injectors.
The system is automatically armed when the key is
removed from the ignition. You do not have to manually
arm or disarm the system.
Your vehicle has a special key that works with the
theft-deterrent system. There is a transponder in the key
head that is electronically coded. The correct key will
start the vehicle. An invalid key immobilizes the engine.
If your key is ever damaged, you may not be able to
start your vehicle.
When trying to start the vehicle, if the engine does not
start and the security light flashes or comes on,
there may be a problem with the theft-deterrent system.
Turn the ignition off and try again.
If the engine still does not start, and the key appears to
be undamaged, try another key. At this time, you
may also want to check the fuse. See Fuses and Circuit
Breakers on page 5-87. If the engine still does not
start with the other key, your vehicle needs service.
If your vehicle does start, the first key may be faulty.
See your dealer/retailer who can have a new key made.
Up to 10 keys may be programmed for the vehicle.
If you lose or damage your keys, only a dealer/retailer
can have new keys made.
If you are ever driving and the security light comes on
and stays on, you will be able to restart the engine
if you turn it off. The theft-deterrent system, however,
is not working properly and must be serviced by
your dealer/retailer. Your vehicle is not protected by the
theft-deterrent system at this time.
In an emergency, contact Roadside Assistance.
See Roadside Assistance Program on page 7-7.
2-15

Content Theft-Deterrent
Your vehicle may have a content theft-deterrent system.
The theft-deterrent system will not arm when you lock
the doors using the key or the manual door lock. It arms
only when you use the remote keyless entry transmitter.
Arming the System
To arm the system, do the following:
1. Close the doors, the windows, the hood, and the
trunk or liftgate.
Make sure that the windows are closed, as the
system can be armed even if the windows are open.
2. Turn the key to LOCK/OFF and remove the
key from the ignition.
If the key is inserted in the ignition, the transmitter
will not arm the theft-deterrent system.
3. Lock the doors by pressing the lock button on the
remote keyless entry transmitter.
•The LED light on the transmitter will flash once.
•All of the doors will lock.
•The hazard warning lamps will flash once and
the horn will sound.
•The security light will flash continuously to
indicate that the theft-deterrent system is armed.
The security light is located on the center of
the instrument panel near the clock.
To avoid activating the alarm by accident, do one of the
following:
•Unlock the driver’s or passenger’s front door using
the key.
•Press the unlock button on the remote keyless
entry transmitter.
Unlocking a door any other way will activate the alarm
when a door or the trunk or liftgate is opened.
If you do not want to arm the theft-deterrent system,
lock the vehicle using the key or the manual door locks.
2-16

Disarming the System
To disarm the system, do one of the following:
•Unlock the driver’s or passenger’s front door using
the key.
•Press the unlock button on the remote keyless
entry transmitter.
− The LED light on the transmitter will
flash once.
− All of the doors will unlock.
− The hazard warning lamps will flash twice.
If the door is not opened or if the engine is not started
within 30 seconds after disarming the system using
the transmitter, all of the doors will automatically lock
and the theft-deterrent mode will rearm.
How the System Alarm is Activated
If a door or the trunk or liftgate is opened without using
the key or the remote keyless entry transmitter, the
horn will sound and the lamps will flash for up to
30 seconds.
How to Turn Off the System Alarm
If the system alarm is active, it can be deactivated using
one of the following methods:
•Press one of the buttons on the remote keyless
entry transmitter.
•Unlock the driver’s or passenger’s front door using
the key.
Otherwise, the alarm will automatically stop after
30 seconds. The system will then lock the doors and
rearm the theft-deterrent system.
How to Detect a Tamper Condition
If the hazard warning lamps flash once when you press
the lock button on the remote keyless entry transmitter,
the theft-deterrent system alarm was activated while
you were away.
2-17

Starting and Operating
Your Vehicle
New Vehicle Break-In
Notice: The vehicle does not need an elaborate
break-in. But it will perform better in the long run if
you follow these guidelines:
•Do not drive at any one constant speed, fast or
slow, for the first 500 miles (805 km). Do not
make full-throttle starts. Avoid downshifting to
brake or slow the vehicle.
•Avoid making hard stops for the first 200 miles
(322 km) or so. During this time the new brake
linings are not yet broken in. Hard stops
with new linings can mean premature wear and
earlier replacement. Follow this breaking-in
guideline every time you get new brake linings.
Following break-in, engine speed and load can be
gradually increased.
Ignition Positions
The ignition switch has
four different positions.
{CAUTION:
On manual transmission vehicles, turning the key
to LOCK/OFF will lock the steering column and
result in a loss of ability to steer the vehicle.
This could cause a collision. If you need to turn
the engine off while the vehicle is moving, turn the
key only to ACC/ACCESSORY. Do not push the
key in while the vehicle is moving.
2-18

Notice: Using a tool to force the key to turn in the
ignition could cause damage to the switch or break
the key. Use the correct key, make sure it is all the
way in, and turn it only with your hand. If the key
cannot be turned by hand, see your dealer/retailer.
LOCK/OFF: This position locks the steering wheel,
ignition, shift lever and transmission. This is the
only position in which you can insert or remove the key.
The steering can bind with the wheels turned off
center. If this happens, move the steering wheel from
right to left while turning the key to ACC/ACCESSORY.
If this doesn’t work, then the vehicle needs service.
ACC/ACCESSORY: This position operates some of the
electrical accessories, such as the radio, but not the
climate control system.
ON/RUN: This position can be used to operate the
electrical accessories, and to display some instrument
panel cluster warning and indicator lights. The switch
stays in this position when the engine is running. If you
leave the key in the ACC/ACCESSORY or ON/RUN
position with the engine off, the battery could be drained.
You may not be able to start the vehicle if the battery
is allowed to drain for an extended period of time.
START: This is the position that starts the engine.
When the engine starts, release the key. The ignition
switch returns to ON/RUN for driving. Do not turn
the key to START if the engine is running.
Starting the Engine
Automatic Transmission
Move the shift lever to P (Park) or N (Neutral).
The engine will not start in any other position.
To restart the engine when the vehicle is already
moving, use N (Neutral) only.
Notice: Do not try to shift to P (Park) if the vehicle
is moving. If you do, you could damage the
transmission. Shift to P (Park) only when the
vehicle is stopped.
Manual Transmission
The shift lever should be in N (Neutral) and the parking
brake engaged. Hold the clutch pedal to the floor
and start the engine. The vehicle will not start if the
clutch pedal is not all the way down.
2-19

Starting Procedure
1. With your foot off the accelerator pedal, turn the
ignition to START. When the engine starts, let go
of the key. The idle speed will go down as the
engine gets warm.
Notice: Holding the key in START for longer than
15 seconds at a time will cause the battery to
be drained much sooner. And the excessive heat
can damage the starter motor. Wait about
15 seconds between each try to help avoid draining
the battery or damaging the starter.
2. If the engine does not start, wait about 15 seconds
and try again. Wait about 15 seconds between
each try.
When the engine has run about 10 seconds to
warm up, the vehicle is ready to be driven. Do not
run the engine at high speed when it is cold.
If the weather is below freezing (32°F or 0°C),
let the engine run for a few minutes to warm up.
3. If the engine still will not start, or starts but then
stops, it could be flooded with too much gasoline.
Try pushing the accelerator pedal all the way to the
floor and holding it there as you hold the key in
START for about three seconds. If the vehicle starts
briefly but then stops again, do the same thing,
but this time keep the pedal down for five or
six seconds. This clears the extra gasoline from the
engine.
Notice: The engine is designed to work with the
electronics in the vehicle. If electrical parts or
accessories are added, you could change the way
the engine operates. Before adding electrical
equipment, check with your dealer/retailer. If you
do not, the engine might not perform properly.
Any resulting damage would not be covered by the
vehicle warranty.
2-20

Engine Heater
The engine heater can provide easier starting and better
fuel economy during engine warm-up in cold weather
conditions at or below 0°F (−18°C). Vehicles with an
engine heater should be plugged in at least four hours
before starting.
To Use the Engine Heater
1. Turn off the engine.
2. Remove the extension cord from the trunk. Open
the hood and connect the electrical cord (A) with
the extension cord.
3. Plug the extension cord into a normal, grounded
110-volt AC outlet.
{CAUTION:
Plugging the cord into an ungrounded outlet could
cause an electrical shock. Also, the wrong kind of
extension cord could overheat and cause a fire.
You could be seriously injured. Plug the cord into a
properly grounded three-prong 110-volt AC outlet.
If the cord will not reach, use a heavy-duty
three-prong extension cord rated for at least
15 amps.
4. Before starting the engine, be sure to unplug both
the extension cord and under hood electrical cord,
and store them as they were before. This will
keep them away from moving engine parts, and
prevent damage.
The length of time the heater should remain plugged in
depends on several factors. Ask a dealer/retailer in
the area where you will be parking the vehicle for the
best advice on this.
2-21

Automatic Transmission Operation
If the vehicle has an automatic transmission, the shift
lever is located on the console between the seats.
Movement between certain positions requires pushing
the release button on the front of the shifter.
P (Park): This position locks the front wheels. It is the
best position to use when you start the engine
because the vehicle cannot move easily.
{CAUTION:
It is dangerous to get out of the vehicle if the shift
lever is not fully in P (Park) with the parking brake
firmly set. The vehicle can roll.
Do not leave the vehicle when the engine is
running unless you have to. If you have left the
engine running, the vehicle can move suddenly.
You or others could be injured. To be sure the
vehicle will not move, even when you are on fairly
level ground, always set the parking brake and
move the shift lever to P (Park). See Shifting Into
Park (Automatic Transmission) on page 2-29.
Ensure that the shift lever is fully in P (Park) before
starting the engine. The vehicle has an automatic
transmission shift lock control system. You have to apply
the brake pedal before you can shift from P (Park)
when the key is in ON/RUN. If you cannot shift out of
P (Park) while holding the brake pedal down, see
Shifting Out of Park on page 2-30.
2-22

R (Reverse): Use this gear to back up.
When shifting from N (Neutral) to R (Reverse), you need
to apply the brake pedal and push the release button
on the front of the shifter.
Notice: Shifting to R (Reverse) while the vehicle is
moving forward could damage the transmission.
The repairs would not be covered by the vehicle
warranty. Shift to R (Reverse) only after the vehicle
is stopped.
To rock the vehicle back and forth to get out of snow,
ice or sand without damaging the transmission, see
If Your Vehicle is Stuck in Sand, Mud, Ice, or Snow on
page 4-15.
N (Neutral): In this position, the engine does not
connect with the wheels. To restart the engine while
the vehicle is already moving, use N (Neutral) only.
Also, use N (Neutral) when the vehicle is being towed.
{CAUTION:
Shifting into a drive gear while the engine is
running at high speed is dangerous. Unless your
foot is firmly on the brake pedal, the vehicle could
move very rapidly. You could lose control and hit
people or objects. Do not shift into a drive gear
while the engine is running at high speed.
Notice: Shifting out of P (Park) or N (Neutral) with
the engine running at high speed may damage
the transmission. The repairs would not be covered
by the vehicle warranty. Be sure the engine is
not running at high speed when shifting the vehicle.
2-23

D4 (Automatic Overdrive): This position is for normal
driving.
When operating the vehicle in severe cold conditions,
the transmission may be prevented from shifting into
D4 gear until the transmission fluid has warmed up to it’s
operational temperature.
Notice: If the vehicle seems to start up rather
slowly or not shift gears when you go faster,
and you continue to drive the vehicle that way,
you could damage the transmission. Have the
vehicle serviced right away. You can drive in
2 (Second) when you are driving less than 35 mph
(55 km/h) and D4 (Automatic Overdrive) for higher
speeds until then.
2 (Second): This position gives you more power but
lower fuel economy. You can use 2 (Second) on hills.
It can help control vehicle speed as you go down steep
mountain roads, while using the brakes off and on.
Notice: Do not drive in 2 (Second) at speeds
over 65 mph (105 km/h), or you can damage the
transmission. Use D4 (Automatic Overdrive)
as much as possible. Do not shift into 2 (Second)
unless you are going slower than 65 mph (105 km/h)
or you can damage the engine.
1 (First): This position gives you even more power but
lower fuel economy than 2 (Second). You can use it
on very steep hills, or in deep snow or mud. If the shift
lever is put in 1 (First), the transmission will not shift
into first gear until the vehicle is going slowly enough.
Notice: Spinning the tires or holding the vehicle
in one place on a hill using only the accelerator
pedal may damage the transmission. The repair will
not be covered by the vehicle warranty. If you are
stuck, do not spin the tires. When stopping on a hill,
use the brakes to hold the vehicle in place.
If there is a malfunction with the automatic transmission,
the malfunction indicator lamp (MIL) or the HOLD
indicator light will turn on or flash. See Malfunction
Indicator Lamp on page 3-32 or Hold Mode Light
on page 3-30.
Have the vehicle fixed as soon as possible.
2-24

Hold Mode
If the vehicle’s transmission has hold mode, you can
select this mode to allow the automatic transmission to
stay in a specific gear range.
Press the HOLD button on the shift lever console to turn
on hold mode. Press the button again to turn off hold
mode, and return to normal automatic transmission
operation.
The HOLD light will light up on the instrument panel
cluster. See Hold Mode Light on page 3-30.
When hold mode is activated, the transmission runs
as follows:
Selector Lever Position Gear Range
D4 Third Gear
2 Second Gear
1 First Gear
Hold Mode Features
Winter Function
Select hold mode while in D4 (Automatic Overdrive) or
2 (Second) gear to help the vehicle maintain traction
on slippery road surfaces, such as snow, mud, or ice.
2-25

Manual Transmission Operation
Five-Speed
This is your shift pattern.
1 (First): Press the clutch pedal and shift into 1 (First).
Then, slowly let up on the clutch pedal as you press
the accelerator pedal.
You can shift into 1 (First) when you are going less than
20 mph (32 km/h). If you have come to a complete
stop and it is hard to shift into 1 (First), put the shift lever
in N (Neutral) and let up on the clutch. Press the
clutch pedal back down. Then shift into 1 (First).
2 (Second): Press the clutch pedal as you let up on
the accelerator pedal and shift into 2 (Second).
Then, slowly let up on the clutch pedal as you press the
accelerator pedal.
3 (Third), 4 (Fourth) and 5 (Fifth): Shift into 3 (Third),
4 (Fourth) and 5 (Fifth), the same way you do for
2 (Second). Slowly let up on the clutch pedal as you
press the accelerator pedal.
To stop, let up on the accelerator pedal and press the
brake pedal. Just before the vehicle stops, press
the clutch pedal and the brake pedal, and shift to
N (Neutral).
N (Neutral): Use this position when you start or idle
the engine.
2-26

R (Reverse): To back up, press down the clutch
pedal, lift up the ring on the shift lever and shift into
R (Reverse). Let up on the clutch pedal slowly
while pressing the accelerator pedal.
Notice: Shifting to R (Reverse) while the vehicle is
moving forward could damage the transmission.
The repairs would not be covered by the vehicle
warranty. Shift to R (Reverse) only after the vehicle
is stopped.
Also, use R (Reverse), along with the parking brake,
for parking the vehicle.
Shift Speeds
{CAUTION:
If you skip a gear when you downshift, you could
lose control of the vehicle. You could injure
yourself or others. Do not shift down more than
one gear at a time when you downshift.
Up-Shift Light
If you have a manual
transmission, you may
have an up-shift light.
This light will show
you when to shift to the
next higher gear for
the best fuel economy.
When this light comes on, you can shift to the next
higher gear if weather, road, and traffic conditions let
you. For the best fuel economy, accelerate slowly
and shift when the light comes on.
While you accelerate, it is normal for the light to go on
and off if you quickly change the position of the
accelerator. Ignore the light when you downshift.
2-27

Parking Brake
The parking brake lever is located between the
bucket seats.
To set the parking brake, hold the brake pedal down
and pull up on the parking brake lever. If the ignition is
on, the brake system warning light will come on.
See Brake System Warning Light on page 3-28.
To release the parking brake, hold the brake pedal
down. Pull the parking brake lever up until you can press
the release button. Hold the release button in as you
move the brake lever all the way down.
Notice: Driving with the parking brake on can
overheat the brake system and cause premature
wear or damage to brake system parts. Make sure
that the parking brake is fully released and the brake
warning light is off before driving.
2-28

Shifting Into Park
(Automatic Transmission)
{CAUTION:
It can be dangerous to get out of the vehicle if the
shift lever is not fully in P (Park) with the parking
brake firmly set. The vehicle can roll. If you have
left the engine running, the vehicle can move
suddenly. You or others could be injured. To be
sure the vehicle will not move, even when you are
on fairly level ground, use the steps that follow.
1. Hold the brake pedal down and set the parking
brake. See Parking Brake on page 2-28 for more
information.
2. Move the shift lever into P (Park) by pressing the
button on the shift lever and pushing the lever all
the way toward the front of the vehicle.
3. Turn the ignition key to LOCK/OFF.
4. Remove the key and take it with you. If you can
leave the vehicle with the ignition key in your
hand, the vehicle is in P (Park).
Leaving the Vehicle With the Engine
Running (Automatic Transmission)
{CAUTION:
It can be dangerous to leave the vehicle with the
engine running. The vehicle could move suddenly
if the shift lever is not fully in P (Park) with the
parking brake firmly set. And, if you leave the
vehicle with the engine running, it could overheat
and even catch fire. You or others could be
injured. Do not leave the vehicle with the engine
running.
If you have to leave the vehicle with the engine running,
be sure the vehicle is in P (Park) and the parking
brake is firmly set before you leave it. After you have
moved the shift lever into P (Park), hold the brake pedal
down. Then see if you can move the shift lever away
from P (Park) without first pushing the shift lock release
button. If you can, it means that the shift lever was
not fully locked into P (Park).
2-29

Torque Lock (Automatic Transmission)
If you are parking on a hill and you do not shift your
transmission into P (Park) properly, the weight of
the vehicle may put too much force on the parking pawl
in the transmission. You may find it difficult to pull the
shift lever out of P (Park). This is called “torque lock.”
To prevent torque lock, set the parking brake and
then shift into P (Park) properly before you leave the
driver seat. To find out how, see Shifting Into Park
(Automatic Transmission) on page 2-29.
When you are ready to drive, move the shift lever out
of P (Park) before you release the parking brake.
If torque lock does occur, you may need to have
another vehicle push yours a little uphill to take
some of the pressure from the parking pawl in the
transmission, so you can pull the shift lever out
of P (Park).
Shifting Out of Park
Vehicles with an automatic transmission have a shift
interlock system. You have to apply the brake pedal
before you can shift from P (Park) when the ignition is
in the ON/RUN position. See Automatic Transmission
Operation on page 2-22.
If you cannot shift out of P (Park) while holding the
brake pedal down, try this:
1. Set the parking brake.
2. Turn the ignition off and remove the key.
3. Remove the hole cover from the shift lock slot by
prying it off using a small, flat object. The shift
lock release slot is located at the top of the
shift lever.
2-30

4. Insert the key into the shift lock slot and press and
hold the key.
5. Shift to N (Neutral).
6. Remove the key from the slot, insert the key into
the ignition and start the engine.
7. Replace the shift-lock release slot cover.
8. Apply and hold the brake pedal fully and release
the parking brake.
9. Shift to the gear you want.
10. Have the vehicle fixed as soon as you can.
Parking the Vehicle
(Manual Transmission)
Before leaving the vehicle, do the following:
1. Hold the brake pedal down and firmly apply the
parking brake.
2. Fully press in the clutch pedal and place the
shift lever into the gear position as stated below:
•When parking on level ground, place the
shift lever into N (Neutral).
•When parking downhill, place the shift lever
in R (Reverse).
•When parking uphill, place the shift lever in
1 (First).
3. After shifting, turn the ignition to LOCK/OFF,
remove the key and release the clutch.
2-31

Parking Over Things That Burn
{CAUTION:
Things that can burn could touch hot exhaust
parts under the vehicle and ignite. Do not park
over papers, leaves, dry grass, or other things that
can burn.
Engine Exhaust
{CAUTION:
Engine exhaust contains Carbon Monoxide (CO)
which cannot be seen or smelled. Exposure to CO
can cause unconsciousness and even death.
CAUTION: (Continued)
CAUTION: (Continued)
Exhaust may enter the vehicle if:
•The vehicle idles in areas with poor ventilation
(parking garages, tunnels, deep snow that
may block underbody airflow or tail pipes).
•The exhaust smells or sounds strange or
different.
•The exhaust system leaks due to corrosion or
damage.
•The vehicle’s exhaust system has been
modified, damaged or improperly repaired.
•There are holes or openings in the vehicle
body from damage or after-market
modifications that are not completely sealed.
If unusual fumes are detected or if it is suspected
that exhaust is coming into the vehicle:
•Drive it only with the windows completely down.
•Have the vehicle repaired immediately.
Never park the vehicle with the engine running in an
enclosed area such as a garage or a building that
has no fresh air ventilation.
2-32

Running the Vehicle While Parked
It is better not to park with the engine running. But if you
ever have to, here are some things to know.
{CAUTION:
Idling a vehicle in an enclosed area with poor
ventilation is dangerous. Engine exhaust may
enter the vehicle. Engine exhaust contains Carbon
Monoxide (CO) which cannot be seen or smelled.
It can cause unconsciousness and even death.
Never run the engine in an enclosed area that has
no fresh air ventilation. For more information,
see Engine Exhaust on page 2-32.
{CAUTION:
It can be dangerous to get out of the vehicle if
the automatic transmission shift lever is not fully
in P (Park) with the parking brake firmly set.
The vehicle can roll. Do not leave the vehicle
when the engine is running unless you have to.
If you have left the engine running, the vehicle can
move suddenly. You or others could be injured.
To be sure the vehicle will not move, even when it
is on fairly level ground, always set the parking
brake and move the automatic transmission shift
lever to P (Park), or the manual transmission shift
lever to Neutral.
Follow the proper steps to be sure the vehicle will not
move. If the vehicle has an automatic transmission,
see Shifting Into Park (Automatic Transmission)
on page 2-29.
2-33

Mirrors
Manual Rearview Mirror
Hold the inside rearview mirror in the center to move it
for a clearer view behind your vehicle. Adjust the
mirror to avoid glare from the headlamps behind you.
Push the tab forward for daytime use and pull it for
nighttime use.
Outside Manual Mirrors
Adjust the mirrors to see a little of the side of your
vehicle.
Controls for the outside manual mirrors are located next
to each mirror.
Manually fold the mirrors inward to prevent damage
when going through an automatic car wash. To fold,
push the mirror toward the vehicle. Push the mirror
outward, to return it to the original position.
2-34

Outside Power Mirrors
The control is located on
the instrument panel, left
of the steering wheel.
The ignition must be turned to ON/RUN to adjust the
mirrors.
To adjust the mirrors:
1. Select the mirror you want to adjust by moving the
selector switch to L for the driver side mirror or
R for the passenger side mirror.
2. Press one of the four arrows located on the control
pad to move the mirror to the desired direction.
Manually fold the mirrors inward to prevent damage
when going through an automatic car wash. To fold,
push the mirror toward the vehicle. Push the mirror
outward, to return to its original position.
Outside Convex Mirror
{CAUTION:
A convex mirror can make things (like other
vehicles) look farther away than they really are.
If you cut too sharply into the right lane, you could
hit a vehicle on the right. Check the inside mirror or
glance over your shoulder before changing lanes.
The passenger side mirror is convex shaped. A convex
mirror’s surface is curved so more can be seen from
the driver seat.
Outside Heated Mirrors
For vehicles with this feature:
<(Rear Window Defogger): Press to heat the
mirrors. See “Rear Window and Outside Mirror
Defogger” under Climate Control System on page 3-18
for more information.
2-35

OnStar
®
System
OnStar uses several innovative technologies and live
advisors to provide a wide range of safety, security,
information, and convenience services. If the airbags
deploy, the system is designed to make an automatic
call to OnStar Emergency advisors who can request
emergency services be sent to your location.
If the keys are locked in the vehicle, call OnStar at
1-888-4-ONSTAR to have a signal sent to unlock the
doors. OnStar Hands-Free Calling, including 30 trial
minutes good for 60 days, is available on most vehicles.
OnStar Turn-by-Turn Navigation service, with one trial
route, is available on most vehicles. Press the
OnStar button to have an OnStar advisor contact
Roadside Service.
OnStar service is provided subject to the OnStar Terms
and Conditions included in the OnStar Subscriber
glove box literature.
Some services such as Remote Door Unlock or Stolen
Vehicle Location Assistance may not be available
until the owner of the vehicle registers with OnStar.
After the first prepaid year, contact OnStar to select a
monthly or annual subscription payment plan. If a
payment plan is not selected, the OnStar system and all
services, including airbag notification and emergency
services, may be deactivated and no longer available.
For more information visit onstar.com (U.S.) or onstar.ca
(Canada), or press the OnStar button to speak with
an advisor.
Not all OnStar services are available on all vehicles.
To check if this vehicle is able to provide the services
described below, or for a full description of OnStar
services and system limitations, see the OnStar Owner’s
Guide in the glove box or visit onstar.com (U.S.) or
onstar.ca (Canada), contact OnStar at 1-888-4-ONSTAR
(1-888-466-7827) or TTY 1-877-248-2080, or press
the OnStar button to speak with an OnStar advisor
24 hours a day, 7 days a week.
2-36

OnStar Services Available with the
Safe & Sound Plan
•Automatic Notification of Airbag Deployment
•Advanced Automatic Crash Notification (AACN)
(If equipped)
•Link to Emergency Services
•Roadside Assistance
•Stolen Vehicle Location Assistance
•Remote Door Unlock/Vehicle Alert
•OnStar Vehicle Diagnostic Email
•GM Goodwrench On Demand Diagnostics
•OnStar Hands-Free Calling with 30 trial minutes
•OnStar Virtual Advisor (U.S. Only)
OnStar Services Included with
Directions & Connections Plan
•All Safe and Sound Plan Services
•RideAssist
•Information and Convenience Services
OnStar Hands-Free Calling
OnStar Hands-Free Calling allows eligible OnStar
subscribers to make and receive calls using voice
commands. Hands-Free Calling is fully integrated into
the vehicle, and can be used with OnStar Pre-Paid
Minute Packages. Most vehicles include 30 trial minutes
good for 60 days. Hands-Free Calling can also be
linked to a Verizon Wireless service plan in the U.S. or
a Bell Mobility service plan in Canada, depending
on eligibility. To find out more, refer to the OnStar
Owner’s Guide in the vehicle’s glove box, visit
onstar.com or onstar.ca, or speak with an OnStar
advisor by pressing the OnStar button or calling
1-888-4-ONSTAR (1-888-466-7827).
2-37

OnStar Virtual Advisor
OnStar Virtual Advisor is a feature of OnStar Hands-Free
Calling that uses minutes to access location-based
weather, local traffic reports, and stock quotes. Press the
phone button and give a few simple voice commands to
browse through the various topics. See the OnStar
Owner’s Guide for more information. This feature is only
available in the continental U.S.
How OnStar Service Works
The OnStar system can record and transmit vehicle
information. This information is automatically sent to an
OnStar Call Center when the OnStar button is pressed,
the emergency button is pressed, or if the airbags or
AACN system deploy. This information usually includes
the vehicle’s GPS location and, in the event of a crash,
additional information regarding the crash that the vehicle
was involved in (e.g. the direction from which the vehicle
was hit). When the Virtual Advisor feature of OnStar
Hands-Free Calling is used, the vehicle also sends
OnStar the vehicle’s GPS location so they can provide
services where it is located.
OnStar service cannot work unless the vehicle is
in a place where OnStar has an agreement with a
wireless service provider for service in that area.
OnStar service also cannot work unless the vehicle is in
a place where the wireless service provider OnStar
has hired for that area has coverage, network capacity
and reception when the service is needed, and
technology that is compatible with the OnStar service.
Not all services are available everywhere, particularly in
remote or enclosed areas, or at all times.
Location information about the vehicle is only available
if the GPS satellite signals are unobstructed and
available.
The vehicle must have a working electrical system,
including adequate battery power, for the OnStar
equipment to operate. There are other problems OnStar
cannot control that may prevent OnStar from providing
OnStar service at any particular time or place. Some
examples are damage to important parts of the vehicle
in a crash, hills, tall buildings, tunnels, weather or
wireless phone network congestion.
Your Responsibility
Increase the volume of the radio if the OnStar advisor
cannot be heard. If the light next to the OnStar buttons
is red, the system may not be functioning properly.
Press the OnStar button and request a vehicle
diagnostic. If the light appears clear (no light is
appearing), your OnStar subscription has expired and
all services have been deactivated. Press the OnStar
button to confirm that the OnStar equipment is active.
2-38

Storage Areas
The vehicle has shopping hooks on each front seatback.
Lift the headrest to access the hooks.
Glove Box
Lift up on the glove box lever to open it.
Cupholders
Two cupholders are located in the center instrument
panel, below the climate control system. To use
the cupholder, push in on the cover, then pull it out.
After use, push in the cupholder until it latches.
There is also a cupholder located in the rear of the
center console.
2-39

Sunglasses Storage Compartment
For vehicles with this feature, the sunglasses storage
compartment is located above the driver’s door.
To open, pull down and hold the upper part of the
cover. Release the cover and the compartment will
automatically close.
Sunroof
On vehicles with this
feature, the switch is
located on the headliner
between the sun visors.
The sunroof only operates when the ignition is turned
to ON/RUN. The sunroof can be opened to a vent
position or it can be opened all of the way.
To open the sunroof, to the vent position, open the
sunshade. Then press and hold the driver’s side of the
switch. To close the sunroof, press and hold the
passenger’s side of the switch until the sunroof reaches
the desired position.
To fully open the sunroof, press and hold the passenger’s
side of the switch. The sunshade opens with the sunroof.
To close the sunroof, press and hold the driver’s side of
the switch. The sunroof will stop if the switch is released
during operation. Close the sunshade manually.
In both the vent and fully open positions, the air flow
can be adjusted by pushing and holding the switch until
the sunroof moves to the desired position.
The sunroof cannot be opened or closed if the vehicle
has an electrical failure.
2-40

Instrument Panel Overview ...............................3-4
Hazard Warning Flashers ................................3-6
Horn .............................................................3-6
Tilt Wheel .....................................................3-6
Turn Signal/Multifunction Lever .........................3-7
Turn and Lane-Change Signals ........................3-7
Headlamp High/Low-Beam Changer ..................3-8
Flash-to-Pass .................................................3-8
Windshield Wipers ..........................................3-8
Windshield Washer .........................................3-9
Rear Window Wiper/Washer ...........................3-10
Cruise Control ..............................................3-10
Exterior Lamps .............................................3-13
Daytime Running Lamps (DRL) .......................3-14
Fog Lamps ..................................................3-15
Instrument Panel Brightness ...........................3-15
Dome Lamp .................................................3-16
Inadvertent Power Battery Saver .....................3-16
Accessory Power Outlet(s) .............................3-16
Ashtray(s) and Cigarette Lighter ......................3-17
Clock ..........................................................3-17
Climate Controls ............................................3-18
Climate Control System .................................3-18
Outlet Adjustment .........................................3-21
Passenger Compartment Air Filter ...................3-22
Warning Lights, Gages, and Indicators ............3-23
Instrument Panel Cluster ................................3-24
Speedometer and Odometer ...........................3-25
Trip Odometer ..............................................3-25
Tachometer .................................................3-25
Safety Belt Reminders ...................................3-26
Airbag Readiness Light ..................................3-26
Passenger Airbag Status Indicator ...................3-27
Charging System Light ..................................3-28
Up-Shift Light ...............................................3-28
Brake System Warning Light ..........................3-28
Antilock Brake System (ABS) Warning Light .....3-30
Hold Mode Light ...........................................3-30
Engine Coolant Temperature Gage ..................3-31
Tire Pressure Light .......................................3-31
Malfunction Indicator Lamp .............................3-32
Oil Pressure Light .........................................3-34
Section 3 Instrument Panel
3-1

Change Engine Oil Light ................................3-35
Fog Lamp Light ............................................3-35
Cruise Control Light ......................................3-36
Highbeam On Light .......................................3-36
Daytime Running Lamps (DRL)
Indicator Light ...........................................3-36
Door Ajar Light .............................................3-36
Fuel Gage ...................................................3-37
Low Fuel Warning Light .................................3-38
Trip Computer ................................................3-38
Audio System(s) .............................................3-40
AM-FM Radio ...............................................3-41
Radio with CD ..............................................3-46
Using an MP3 ..............................................3-54
XM Radio Messages .....................................3-56
Audio Steering Wheel Controls .......................3-57
Radio Reception ...........................................3-58
Fixed Mast Antenna (Hatchback) .....................3-58
Backglass Antenna (Sedan) ...........................3-59
Multi-Band Antenna .......................................3-59
Section 3 Instrument Panel
3-2

✍NOTES
3-3

Instrument Panel Overview
3-4

The main components of the instrument panel are the following:
A. Outlet Adjustment on page 3-21.
B. Instrument Panel Cluster on page 3-24.
C. Clock on page 3-17.
D. Hood Release on page 5-12.
E. Horn on page 3-6.
F. Audio System(s) on page 3-40.
G. Climate Control System on page 3-18.
H. Ashtray. See Ashtray(s) and Cigarette Lighter on
page 3-17.
I. Cupholders on page 2-39.
J. Cigarette Lighter. See Ashtray(s) and Cigarette
Lighter on page 3-17.
K. Hazard Warning Flashers on page 3-6.
L. Glove Box on page 2-39.
3-5

Hazard Warning Flashers
The hazard warning flasher button is located to the right
of the climate control system on the sedan.
|Hazard Warning Flasher: Press to make the front
and rear turn signal lamps flash on and off. This warns
others that you are having trouble. Press the button
again to turn the flashers off.
When the hazard warning flashers are on, the turn
signals will not work.
Horn
Press near or on the horn symbols on the steering
wheel pad to sound the horn.
Tilt Wheel
A tilt wheel lets the steering wheel be adjusted.
The tilt wheel lever is located underneath the steering
column slightly to the left.
Pull the lever down to move the steering wheel up or
down. Pull the lever up to lock the wheel in place.
Do not adjust the tilt lever while driving.
3-6

Turn Signal/Multifunction Lever
The lever on the left side of the steering column
includes the following:
G:Turn and Lane-Change Signals
3:Headlamp High/Low-Beam Changer
P:Exterior Light Control
#:Fog Lamps, if equipped
Flash-to-Pass Feature.
Information for these features is on the pages following.
Turn and Lane-Change Signals
An arrow on the instrument panel cluster flashes in the
direction of the turn or lane change.
Move the lever all the way up or down to signal a turn.
Raise or lower the lever until the arrow starts to flash
to signal a lane change. Hold it there until the lane
change is completed.
The lever returns to its starting position whenever it is
released.
If after signaling a turn or a lane change the arrow
flashes rapidly or does not come on, a signal bulb may
be burned out.
Have the bulbs replaced. If the bulb is not burned out,
check the fuse. See Fuses and Circuit Breakers on
page 5-87.
3-7

Headlamp High/Low-Beam Changer
The headlamps must be on for this feature to work.
Push the turn signal lever away from you to turn the high
beams on.
This instrument panel cluster light 3comes on while
the high beams are on and the ignition is turned to
ON/RUN.
Pull the lever towards you to return to low beams.
Flash-to-Pass
This feature is used to signal to the vehicle ahead that
you want to pass.
Pull the turn signal/multifunction lever towards you until
the high-beam headlamps come on, then release
the lever to turn them off.
Windshield Wipers
Sedan shown
Hatchback shown
3-8

The lever is located on the right side of the steering
column. The ignition must be turned to ON/RUN
to operate the windshield wipers.
Move the lever to one of the following positions:
HI (High Speed): For steady wiping at high speed.
LO (Low Speed): For steady wiping at low speed.
INT (Intermittent): Move to this position for a delayed
wiping cycle. Turn the band on the windshield wiper
toward FAST or SLOW for a shorter or longer
delay between wipes. The wiper speed can only be
adjusted when the lever is in the INT position.
OFF: Turns the windshield wipers off.
Misting Function
Move the lever toward INT for a single wiping cycle.
Hold it there until the windshield wipers start; then let go.
The windshield wipers will stop after one wipe. If more
wipes are needed, hold the band toward INT longer.
Clear ice and snow from the wiper blades before using
them. If they are frozen to the windshield, carefully
loosen or thaw them. If the blades become damaged,
get new blades or blade inserts. See Windshield
Wiper Blade Replacement on page 5-50.
Heavy snow or ice can overload the wipers. A circuit
breaker stops them until the motor cools.
Windshield Washer
To use this feature the ignition must be turned to
ON/RUN. Pull the windshield washer/wiper lever toward
you to spray washer fluid on the windshield.
The spray continues until the lever is released.
The wipers will run a few times and either stop or
will resume at the speed being used previously.
See Windshield Washer Fluid on page 5-33 for
information on filling the windshield washer fluid.
{CAUTION:
In freezing weather, do not use your washer until
the windshield is warmed. Otherwise the washer
fluid can form ice on the windshield, blocking your
vision.
3-9

Rear Window Wiper/Washer
{CAUTION:
In freezing weather, do not use your washer until
the windshield is warmed. Otherwise the washer
fluid can form ice on the windshield, blocking your
vision.
The vehicle may have a rear window wiper/washer.
Turn the rear wiper/washer band to operate the
rear window wiper/washer.
OFF: Turns the rear window wiper/washer off.
Z:Turns the rear wiper on for intermittent wipes.
Y:Sprays washer fluid onto the rear window and the
wiper operates continuously.
The windshield washer reservoir is used for the
windshield and rear window. Check the fluid level if
either washer is not working. See Windshield Washer
Fluid on page 5-33.
Cruise Control
For vehicles with cruise control, a speed of about
24 mph (39 km/h) or more can be maintained without
keeping your foot on the accelerator. Cruise control does
not work at speeds below 24 mph (39 km/h).
When the brakes are applied, or the clutch pedal if you
have a manual transmission, the cruise control turns off.
{CAUTION:
Cruise control can be dangerous where you cannot
drive safely at a steady speed. So, do not use the
cruise control on winding roads or in heavy traffic.
Cruise control can be dangerous on slippery roads.
On such roads, fast changes in tire traction can
cause excessive wheel slip, and you could lose
control. Do not use cruise control on slippery roads.
3-10

The cruise control buttons are located on the right side
of the steering wheel.
I/O(On/Off): Press to turn the cruise control on
or off.
RES+ (Resume/Accelerate): Press to make the
vehicle accelerate or resume to a previously set speed.
SET– (Set/Coast): Press to set the speed or make
the vehicle decelerate.
Setting Cruise Control
{CAUTION:
If you leave your cruise control on when you are
not using cruise, you might hit a button and go
into cruise when you do not want to. You could be
startled and even lose control. Keep the cruise
control switch off until you want to use cruise
control.
1. Press I/Oto turn cruise control on.
2. Accelerate to the speed desired.
3. Press the SET– button and release it. The cruise
control light comes on in the instrument panel
cluster to show that the cruise control is on.
4. Take your foot off the accelerate pedal.
3-11

Resuming a Set Speed
If the cruise control is set to a desired speed and then
the brakes are applied, or the clutch pedal if you have
a manual transmission, the cruise control shuts off.
But it does not need to be reset.
Once the vehicle is going about 24 mph (39 km/h) or
more, briefly press the RES+ button. The vehicle returns
to the previously set speed and stays there.
If the RES+ button is held, the vehicle speed will
continue to increase until the button is released or the
brake pedal is applied. Do not hold in the RES+ button,
unless you want the vehicle to go faster.
Increasing Speed While Using Cruise
Control
There are two ways to go to a higher speed.
•Use the accelerator pedal to get to a higher speed.
Press the SET−button, then release the button and
the accelerator pedal.
•Press the RES+ button. Hold it there until the
desired speed is reached, and then release it.
To increase the vehicle speed in small amounts,
briefly press the RES+ button and then release it.
Each time this is done, the vehicle goes about
1 mph (1.6 km/h) faster.
The accelerate feature only works after the cruise
control is turned on by pressing the SET−button.
Reducing Speed While Using Cruise
Control
There are two ways to reduce the vehicle speed while
using cruise control:
•Press the SET−button until the lower speed
desired is reached, then release it.
•To slow down in small amounts, briefly press the
SET−button. Each time this is done, the vehicle
goes about 1 mph (1.6 km/h) slower.
Passing Another Vehicle While Using
Cruise Control
Use the accelerator pedal to increase the vehicle speed.
When you take your foot off the pedal, the vehicle
slows down to the cruise control speed set earlier.
3-12

Using Cruise Control on Hills
How well the cruise control works on hills depends upon
the vehicle speed, load, and the steepness of the
hills. When going up steep hills, you might have to step
on the accelerator pedal to maintain the vehicle’s
speed. When going downhill, you might have to brake
or shift to a lower gear to keep the vehicle’s speed
down. When the brakes are applied the cruise control
turns off.
Ending Cruise Control
There are two ways to turn off the cruise control:
•Step lightly on the brake pedal, or press the clutch
pedal, if you have a manual transmission.
•Press I/Oon the cruise control pad.
Erasing Speed Memory
The cruise control set speed memory is erased when
the cruise control or the ignition is turned off.
Exterior Lamps
The lever on the left side of the steering column
operates the exterior lamps.
The exterior lamp band has three positions:
3(Headlamps): Turns on the headlamps, together
with the following:
•Taillamps
•License Plate Lamp
•Instrument Panel Lights
•Parking Lamps
The headlamps automatically turn off when the ignition
key is turned to LOCK/OFF or ACC/ACCESSORY.
Uplevel shown, Base similar
3-13

;(Parking Lamps): Turns on the parking lamps,
together with the taillamps, license plate lamp,
and instrument panel lights.
OFF: Turns all the lamps off, except the Daytime
Running Lamps (DRL).
Daytime Running Lamps (DRL)
Daytime Running Lamps (DRL) can make it easier for
others to see the front of your vehicle during the day.
Fully functional daytime running lamps are required on
all vehicles first sold in Canada.
The DRL system makes the headlamps come on when
the following conditions are met:
•The ignition is on.
•The exterior lamp band is in OFF or in the parking
lamp position.
•The parking brake is released.
An indicator light on instrument panel cluster comes on
when the DRL system is on.
When the DRL system is on, the taillamps, sidemarker
lamps, parking lamps and instrument panel lights do
not come on unless the exterior lamps control is turned
to the parking lamp or headlamp position.
The DRL system turns off when one of the following
conditions are met:
•The ignition is off.
•The parking brake is on.
•The high-beam headlamps are on.
•The low-beam headlamps are on.
•The flash-to-pass feature is used.
The regular headlamp system should be used when
needed.
3-14

Fog Lamps
For vehicles with fog lamps, they are controlled by
the #band located on the middle of the turn signal/
multifunction lever.
To use the fog lamps, the ignition must be turned to
ON/RUN and the low-beam headlamps or parking lamps
must be on.
Turn the band to #to turn the fog lamps on. The band
automatically returns to its starting position when
released. The fog lamp indicator light comes on in the
instrument panel cluster. See Fog Lamp Light on
page 3-35.
To turn the fog lamps off, turn the band to #again.
The fog lamp indicator light will go off.
The fog lamps will also turn off when the high-beam
headlamps are turned on. When the high-beam
headlamps are turned off, the fog lamps will turn on
again.
Some localities have laws that require the headlamps
to be on along with the fog lamps.
Instrument Panel Brightness
This feature controls the brightness of the instrument
panel lights.
The thumbwheel for this feature is located on the
instrument panel to the left of the steering column.
Turn the thumbwheel to brighten or dim the lights.
3-15

Dome Lamp
The vehicle has a dome lamp.
ON: The light comes on and stays on.
O(Door): The light comes on when a door is opened.
The light turns off when all the doors are closed.
OFF: The light remains off even when a door is opened.
Inadvertent Power Battery Saver
This feature is designed to protect the vehicle’s battery
against drainage. If the exterior lamps control is left
in the ;or 2position, the key is removed and
the driver door is opened, the lights will turn off
automatically.
If the key is removed and the driver door is opened
while the dome lamp is on, the dome lamp will not turn
off automatically.
Accessory Power Outlet(s)
Accessory power outlets can be used to plug in auxiliary
electrical equipment, such as a cellular phone.
The accessory power outlet is located next to the
parking brake on the center console.
To use the accessory power outlet, remove the protective
cap. When not in use, always cover the outlet with the
protective cap. The accessory power outlet is operational
when the ignition is turned to ACC/ACCESSORY or
ON/RUN.
Notice: Leaving electrical equipment on for
extended periods will drain the battery. Always turn
off electrical equipment when not in use and do not
plug in equipment that exceeds the maximum
amperage rating.
Certain electrical accessories may not be compatible
with the accessory power outlet and could result
in blown vehicle or adapter fuses. If you experience a
problem, see your dealer/retailer for additional
information on accessory power outlets.
Notice: Adding any electrical equipment to the
vehicle can damage it or keep other components
from working as they should. The repairs would not
be covered by the vehicle warranty. Do not use
equipment exceeding maximum amperage rating of
20 amperes. Check with your dealer/retailer before
adding electrical equipment.
When adding electrical equipment, be sure to follow
the proper installation instructions included with
the equipment.
3-16

Notice: Improper use of the power outlet can cause
damage not covered by the warranty. Do not hang
any type of accessory or accessory bracket from the
plug because the power outlets are designed for
accessory power plugs only.
Ashtray(s) and Cigarette Lighter
The ashtray is located at the lower part of the center
instrument panel. To remove the front ashtray for
cleaning, open the ashtray fully, press in the retaining
tab and pull the bin out.
Notice: If papers, pins, or other flammable items are
put in the ashtray, hot cigarettes or other smoking
materials could ignite them and possibly damage the
vehicle. Never put flammable items in the ashtray.
The cigarette lighter is located to the right of the front
ashtray. To use it, turn the ignition to ACC/ACCESSORY
or ON/RUN, push the cigarette lighter in all the way
and let go. When it is ready, it will pop back out.
Notice: Holding a cigarette lighter in while it is
heating will not allow the lighter to back away from
the heating element when it is hot. Damage from
overheating may occur to the lighter or heating
element. Do not hold a cigarette lighter in while it
is heating.
Clock
There is a digital clock located in the center of the
instrument panel, above the center air outlets. When the
ignition is turned to ACC/ACCESSORY or ON/RUN,
the time is displayed in the digital clock. There are
three buttons for adjusting the digital clock:
H (Hour): Press once to go forward one hour. To go
forward more than one hour, press and hold the button
until the correct hour is reached.
M (Minute): Press once to go forward one minute.
To go forward more than one minute, press and hold
the button until the correct minute is reached.
S (Set): Press to reset the time to the nearest hour.
For example, if the set button is pressed while the time
is between 8:00 and 8:29, the display is set to 8:00.
If this button is pressed while the time is between 8:30
and 8:59, the display is set to 9:00.
After disconnecting the battery or replacing the fuse,
reset the clock.
3-17

Climate Controls
Climate Control System
The heating, cooling, and ventilation for the vehicle can
be controlled with this system.
A. Temperature Control
B. Fan Control
C. Air Delivery Mode
Control
D. Air Conditioning (A/C)
E. Recirculation
F. Rear Window
Defogger
A. Temperature Control
B. Fan Control
C. Air Delivery Mode
Control
D. Rear Window
Defogger
E. Outside Air/
Recirculation
Climate Control System with Heater and
Air Conditioning
Climate Control System with Heater Only
3-18

OFF: Turns the fan off.
Temperature Control: Turn clockwise or
counterclockwise to increase or decrease the
temperature of the air flowing from the system.
9(Fan Control): Turn clockwise or counterclockwise
to increase or decrease the fan speed. The fan must
be turned on to run the air conditioning compressor.
Air Delivery Mode Control: Turn clockwise or
counterclockwise to change the current airflow mode.
Select from the following air delivery modes:
Y(Vent): Air is directed to the instrument panel
outlets.
\(Bi-Level): Air is divided between the instrument
panel and floor outlets.
[(Floor): Air is directed to the floor outlets, with
some air directed to the rear outlets. Keep the area
under the front seats clear to allow the flow of air to the
rear compartment.
É(Defog): This mode clears the windows of fog or
moisture. Air is directed to the windshield, floor, and
side window outlets. When this mode is selected,
the system automatically runs the air-conditioning.
To defog the windows faster, turn the temperature
control to the warmest setting.
1(Defrost): This mode quickly clears the windshield
of fog or frost. Air is directed to the windshield and
side window outlets. When this mode is selected,
the system automatically runs the air-conditioning.
To defrost the windows faster, turn the temperature
control to the warmest setting.
Do not drive the vehicle until all the windows are clear.
A/C (Air Conditioning): For vehicles with air
conditioning, follow these steps to use the system.
Turn 9to the desired speed. The air conditioning
does not operate when the fan control knob is in the off
position. Press A/C to turn the air conditioning on
and off. When A/C is pressed, an indicator light comes
on to show that the air conditioning is on.
3-19

For quick cool down on hot days, do the following:
1. Open the windows to let hot air escape.
2. Press ?.
3. Press A/C.
4. Select the coolest temperature.
5. Select the highest 9speed.
Using these settings together for long periods of time may
cause the air inside of the vehicle to become too dry.
To prevent this from happening, after the air in the vehicle
has cooled, turn the recirculation mode off.
The air conditioning system removes moisture from the
air, so a small amount of water might drip under the
vehicle while idling or after turning off the engine.
This is normal.
?(Recirculation): This mode recirculates and helps
to quickly cool the air inside the vehicle. It can be
used to prevent outside air and odors from entering
the vehicle.
For vehicles with a recirculation button, press the button
to turn the recirculation mode on. An indicator light
comes on to show that the recirculation is on. Press the
button again to return to outside air mode.
For vehicles with a lever, move the lever to choose the
recirculation mode.
Using the recirculation mode for extended periods may
cause the windows to fog. If this happens, select the
defrost mode.
:(Outside Air): This mode brings outside air into
the vehicle.
For vehicles with a recirculation button, press the button
until the recirculation mode is turned off. The vehicle
then returns to the outside air mode.
For vehicles with a lever, move the lever to choose the
outside air mode.
3-20

Rear Window and Outside Mirror
Defogger
For vehicles with a rear window and outside mirror
defogger, they only work when the ignition is turned to
ON/RUN.
The rear window defogger uses a warming grid to
remove fog or frost from the rear window.
<(Rear Window Defogger): Press to turn the rear
window and outside mirror defogger on or off. An
indicator light comes on to show that the feature is on.
If the vehicle does not have air conditioning, the rear
window defogger may turn off about 10 minutes after the
button is pressed. If it remains on, it can be turned off by
pressing <again or by turning off the engine.
If the vehicle has air conditioning, the rear window
defogger turns off about 10 minutes after the button is
pressed. The defogger can also be turned off by turning
the engine off.
Notice: Do not use anything sharp on the inside of
the rear window. If you do, you could cut or
damage the warming grid, and the repairs would not
be covered by the vehicle warranty. Do not attach
a temporary vehicle license, tape, a decal or
anything similar to the defogger grid.
Outlet Adjustment
To open an outlet, press on its cover. Turn the cover to
change the direction of the airflow.
Operation Tips
•Clear away any ice, snow or leaves from the air
inlets at the base of the windshield that may
block the flow of air into the vehicle.
•Use of non-GM approved hood deflectors may
adversely affect the performance of the system.
•Keep the path under the front seats clear of objects
to help circulate the air inside of the vehicle more
effectively.
3-21

Passenger Compartment Air Filter
For vehicles with a passenger compartment air filter, it is
located behind the glove box. It can be accessed after
removing the glove box from its housing.
Pollen and dust are removed by the filter. The air
cleaner/filter may need to be changed periodically.
To change the passenger compartment air filter, use the
following steps:
1. Open the glove box halfway down.
2. Grip the glove box by both the upper and lower
sides and pull it out of its housing.
3. Remove the filter cover by pressing in on the
bottom retaining tab and pulling the cover down.
3-22

4. Replace the air conditioner filter.
5. View the air flow arrows on the filter before installing
to ensure the filter is installed correctly.
Warning Lights, Gages, and
Indicators
Warning lights and gages can signal that something is
wrong before it becomes serious enough to cause
an expensive repair or replacement. Paying attention to
the warning lights and gages could prevent injury.
Warning lights come on when there may be or is a
problem with one of the vehicle’s functions. Some
warning lights come on briefly when the engine is started
to indicate they are working.
Gages can indicate when there may be or is a problem
with one of the vehicle’s functions. Often gages and
warning lights work together to indicate a problem with
the vehicle.
When one of the warning lights comes on and stays on
while driving, or when one of the gages shows there
may be a problem, check the section that explains what
to do. Follow this manual’s advice. Waiting to do
repairs can be costly and even dangerous.
3-23

Instrument Panel Cluster
The instrument panel cluster is designed to show how the vehicle is running. It indicates how fast the vehicle is
going, how much fuel is being used, and many other things needed to drive safely and economically.
The vehicle’s instrument panel cluster includes indicator warning lights and gages that are explained on the following
pages.
United States Manual Transmission shown, Canada and Automatic Transmission similar
3-24

Speedometer and Odometer
The speedometer shows the vehicle’s speed in both
miles per hour (mph) and kilometers per hour (km/h).
The odometer shows how far the vehicle has been
driven, in either miles (used in the United States)
or kilometers (used in Canada).
Trip Odometer
The trip odometer can record the number of miles, used
in the United States, or kilometers, used in Canada,
traveled for up to two trips.
Cycle between the odometer and trip odometers A
and B by pressing the reset button located in the lower
right area of the speedometer. Press the reset button
to tell how many miles or kilometers have been recorded
on either Trip A or Trip B since the trip odometer was
last set back to zero.
To reset each trip odometer to zero, press and hold the
reset button. The reset button resets only the trip
odometer that is being displayed. Each trip odometer
must be reset individually.
Tachometer
The tachometer displays the engine speed in revolutions
per minute (rpm).
Notice: If the engine is operated above 6,500 rpm,
the vehicle could be damaged, and the damages
would not be covered by the vehicle warranty.
Do not operate the engine with the tachometer
above 6,500 rpm.
3-25

Safety Belt Reminders
Safety Belt Reminder Light
When the engine is
started this light and chime
comes on and stays on
for several seconds
to remind the people to
fasten their safety belts.
The light also begins
to flash.
This cycle repeats if the driver remains unbuckled and
the vehicle is moving.
If the driver safety belt is already buckled, neither the
light nor chime comes on.
Airbag Readiness Light
There is an airbag readiness light on the instrument
panel cluster, which shows the airbag symbol.
The system checks the airbag’s electrical system for
malfunctions. The light tells if there is an electrical
problem. The system check includes the airbag sensor,
the airbag modules, the wiring and the crash sensing
and diagnostic module. For more information on
the airbag system, see Airbag System on page 1-60.
This light comes on when
the vehicle is started,
and it will flash for a
few seconds. When the
light goes out this indicates
the system is functioning
properly.
If the airbag readiness light stays on or comes on while
driving, the airbag system may not work properly.
Have the vehicle serviced right away.
{CAUTION:
If the airbag readiness light stays on after the
vehicle is started or comes on while driving, it
means the airbag system might not be working
properly. The airbags in the vehicle might not
inflate in a crash, or they could even inflate
without a crash. To help avoid injury, have the
vehicle serviced right away.
3-26

Passenger Airbag Status Indicator
The vehicle has the passenger sensing system.
See Passenger Sensing System on page 1-67 for
important safety information. The vehicle has a
passenger airbag status indicator near the clock,
located in the center of the instrument panel.
When the vehicle is started, the passenger airbag status
indicator will light ON and OFF or the symbol for on and
off, for several seconds as a system check. Then, after
several more seconds, the status indicator will light either
ON or OFF, or either the on or off symbol, to let you know
the status of the right front passenger frontal and
seat-mounted side impact airbag (if equipped).
If the word ON or the on symbol is lit on the passenger
airbag status indicator, it means that the right front
passenger frontal airbag and seat-mounted side impact
airbag (if equipped) is enabled (may inflate).
If the word OFF or the off symbol is lit on the passenger
airbag status indicator, it means that the passenger
sensing system has turned off the right front passenger
frontal airbag and seat-mounted side impact airbag
(if equipped).
If, after several seconds, both status indicator lights
remain on, or if there are no lights at all, there may be
a problem with the lights or the passenger sensing
system. See your dealer/retailer for service.
{CAUTION:
If the airbag readiness light ever comes on and
stays on, it means that something may be wrong
with the airbag system. To help avoid injury to
yourself or others, have the vehicle serviced right
away. See Airbag Readiness Light on page 3-26
for more information, including important safety
information.
United States Canada
3-27

Charging System Light
This light will come on briefly when the ignition is turned
on, and the engine is not running, as a check to show
it is working.
It should go out when the engine is started. If it stays
on, or comes on while driving, there may have a problem
with the electrical charging system. Have it checked
by your dealer/retailer. Driving while this light is on could
drain the battery. If a short distance must be driven
with the light on, turn off all accessories, such as
the radio and air conditioner to help reduce the drain
on the battery.
Up-Shift Light
The vehicle may have an
up-shift light.
When this light comes on, shift to the next higher gear if
weather, road, and traffic conditions allow.
See Manual Transmission Operation on page 2-26 for
more information.
Brake System Warning Light
The vehicle’s hydraulic brake system is divided into
two parts. If one part is not working, the other part can
still work and stop the vehicle. For good braking,
both parts need to work.
3-28

{CAUTION:
The brake system might not be working properly if
the brake system warning light is on. Driving with
the brake system warning light on can lead to a
crash. If the light is still on after the vehicle has
been pulled off the road and carefully stopped,
have the vehicle towed for service.
If the warning light comes on, there is a brake problem.
Have the brake system inspected right away.
When the ignition is on, the brake system warning light
will also come on when the parking brake is set.
The light will stay on if the parking brake does not fully
release. If it stays on after the parking brake is fully
released, it means there is a brake problem.
If the light comes on while driving, carefully pull off the
road and stop. The pedal may be harder to push or
may go closer to the floor. It may take longer to stop.
If the light is still on, have the vehicle towed for service.
See Towing Your Vehicle on page 4-24.
United States Canada
3-29

Antilock Brake System (ABS)
Warning Light
For vehicles with the
Antilock Brake System
(ABS), this light comes on
briefly when the engine
is started.
If the light stays on, turn the ignition to LOCK/OFF or if
the light comes on, stop as soon as possible and
turn the ignition off. Then start the engine again to reset
the system. If the light still stays on, or comes on
again while driving, the vehicle needs service. See your
dealer/retailer. If the regular brake system warning
light is not on, the brakes will still work, but the antilock
brakes will not work. If the regular brake system
warning light is also on, the antilock brakes will not
work and there is a problem with the regular brakes.
See Brake System Warning Light on page 3-28.
The ABS warning light will come on briefly when the
ignition is turned to ON/RUN. This is normal. If the light
does not come on then, have it fixed so it will be
ready to warn if there is a problem.
Hold Mode Light
If the vehicle has this
feature, this light comes on
when the hold mode is
active.
If the HOLD mode light flashes, have the vehicle
checked. See “Hold Mode” under Automatic
Transmission Operation on page 2-22 for more
information.
3-30

Engine Coolant Temperature Gage
The vehicle has an engine coolant temperature gage.
With the ignition turned to ON/RUN, this gage shows the
engine coolant temperature.
If the gage pointer moves into the red area, the engine is
too hot. It means that the engine coolant has overheated.
If the vehicle has been operating under normal driving
conditions, pull off the road, stop the vehicle and turn off
the engine as soon as possible.
See Engine Overheating on page 5-30.
Tire Pressure Light
For vehicles with the tire
pressure light, it comes on
briefly when the engine
is started.
It provides information about tire pressures and the
Tire Pressure Monitoring System.
When the Light is On Steady
This indicates that one or more of the tires are
significantly underinflated.
Stop and check the tires as soon as it is safe to do,
and inflate them to the proper pressure. See Tires on
page 5-51 for more information.
When the Light Flashes First and Then is
On Steady
This indicates that there may be a problem with the Tire
Pressure Monitor System. The light flashes for about
a minute and then stays on steady for the remainder
of the ignition cycle. This sequence will repeat with every
ignition cycle. See Tire Pressure Monitor System on
page 5-59 for more information.
United States Canada
3-31

Malfunction Indicator Lamp
Check Engine Light
A computer system called OBD II (On-Board
Diagnostics-Second Generation) monitors operation of
the fuel, ignition, and emission control systems. It makes
sure that emissions are at acceptable levels for the life of
the vehicle, helping to produce a cleaner environment.
This light comes on when
the ignition is on, but the
engine is not running, as a
check to show it is
working. If it does not,
have the vehicle serviced
by your dealer/retailer.
If the check engine light comes on and stays on, while
the engine is running, this indicates that there is an
OBD II problem and service is required.
Malfunctions often are indicated by the system before
any problem is apparent. Heeding the light can prevent
more serious damage to the vehicle. This system
assists the service technician in correctly diagnosing
any malfunction.
Notice: If the vehicle is continually driven with
this light on, after a while, the emission controls
might not work as well, the vehicle’s fuel economy
might not be as good, and the engine might not
run as smoothly. This could lead to costly repairs
that might not be covered by the vehicle warranty.
Notice: Modifications made to the engine,
transmission, exhaust, intake, or fuel system of the
vehicle or the replacement of the original tires
with other than those of the same Tire Performance
Criteria (TPC) can affect the vehicle’s emission
controls and can cause this light to come on.
Modifications to these systems could lead to
costly repairs not covered by the vehicle warranty.
This could also result in a failure to pass a
required Emission Inspection/Maintenance test.
See Accessories and Modifications on page 5-3.
This light comes on during a malfunction in one of
two ways:
Light Flashing: A misfire condition has been detected.
A misfire increases vehicle emissions and could
damage the emission control system on the vehicle.
Diagnosis and service might be required.
3-32

The following can prevent more serious damage to the
vehicle:
•Reduce vehicle speed.
•Avoid hard accelerations.
•Avoid steep uphill grades.
If the light continues to flash, when it is safe to do so,
stop the vehicle. Find a safe place to park the vehicle.
Turn the key off, wait at least 10 seconds, and restart
the engine. If the light is still flashing, follow the previous
steps and see your dealer/retailer for service as soon
as possible.
Light On Steady: An emission control system
malfunction has been detected on the vehicle.
Diagnosis and service might be required.
An emission system malfunction might be corrected by
doing the following:
•Make sure the fuel cap is fully installed. See Filling
the Tank on page 5-8. The diagnostic system can
determine if the fuel cap has been left off or
improperly installed. A loose or missing fuel cap
allows fuel to evaporate into the atmosphere. A few
driving trips with the cap properly installed should
turn the light off.
•If the vehicle has been driven through a deep
puddle of water, the vehicle’s electrical system
might be wet. The condition is usually corrected
when the electrical system dries out. A few driving
trips should turn the light off.
•Make sure to fuel the vehicle with quality fuel.
Poor fuel quality causes the engine not to run
as efficiently as designed and may cause: stalling
after start-up, stalling when the vehicle is changed
into gear, misfiring, hesitation on acceleration,
or stumbling on acceleration. These conditions
might go away once the engine is warmed up.
If one or more of these conditions occurs, change
the fuel brand used. It will require at least one
full tank of the proper fuel to turn the light off.
See Gasoline Octane on page 5-5.
If none of the above have made the light turn off, have
your dealer/retailer check the vehicle. The dealer/retailer
has the proper test equipment and diagnostic tools to
fix any mechanical or electrical problems that might have
developed.
3-33

Emissions Inspection and
Maintenance Programs
Some state/provincial and local governments have or
might begin programs to inspect the emission control
equipment on the vehicle. Failure to pass this inspection
could prevent getting a vehicle registration.
Here are some things to know to help the vehicle pass
an inspection:
•The vehicle will not pass this inspection if the check
engine light is on with the engine running, or if the
key is in the ON/RUN and the light is not on.
•The vehicle will not pass this inspection if the
OBD II (on-board diagnostic) system determines
that critical emission control systems have not been
completely diagnosed by the system. The vehicle
would be considered not ready for inspection.
This can happen if the battery has recently been
replaced or if the battery has run down.
The diagnostic system is designed to evaluate
critical emission control systems during normal
driving. This can take several days of routine
driving. If this has been done and the vehicle still
does not pass the inspection for lack of OBD II
system readiness, your dealer/retailer can prepare
the vehicle for inspection.
Oil Pressure Light
If the vehicle has low
engine oil pressure, this
light will stay on after
the engine is started, or
come on while driving.
This indicates that the engine is not receiving enough
oil. The engine could be low on oil, or could have some
other oil problem. Have it fixed immediately by your
dealer/retailer.
The oil light could also come on in three other situations:
•When the ignition is on but the engine is not
running, the light will come on as a test to show it is
working. The light will go out when the ignition is
turned on. If it does not come on with the ignition
on, there may be a problem with the fuse or
bulb. Have it fixed right away.
•If the vehicle comes to a hard stop, the light may
come on for a moment. This is normal.
3-34

{CAUTION:
Do not keep driving if the oil pressure is low.
The engine can become so hot that it catches fire.
Someone could be burned. Check the oil as soon
as possible and have the vehicle serviced.
Notice: Lack of proper engine oil maintenance can
damage the engine. The repairs would not be
covered by the vehicle warranty. Always follow the
maintenance schedule in this manual for changing
engine oil.
Change Engine Oil Light
The vehicle may have an
engine oil life system that
indicates when the oil
needs to be changed.
When the change engine oil light comes on, it means
that the engine oil needs to be changed.
Once the engine oil has been changed, the engine oil
life system must be reset. After reset, the change engine
oil light goes out.
See Engine Oil Life System on page 5-18,Scheduled
Maintenance on page 6-4 and Engine Oil on page 5-16
for more information.
Fog Lamp Light
For vehicles with this
feature, the fog lamps light
will come on when the
fog lamps are in use.
The light will go out when the fog lamps are turned off.
See Fog Lamps on page 3-15 for more information.
3-35

Cruise Control Light
If the vehicle has cruise
control, this light comes on
whenever the cruise
control is set.
The light will go out when the cruise control is turned
off. See Cruise Control on page 3-10 for more
information.
Highbeam On Light
This light comes on when
the high-beam headlamps
are in use.
See Headlamp High/Low-Beam Changer on page 3-8
for more information.
Daytime Running Lamps (DRL)
Indicator Light
This light turns on
whenever the Daytime
Running Lamps are on.
See Daytime Running Lamps (DRL) on page 3-14 for
more information.
Door Ajar Light
The door ajar light comes
on and stays on until all
doors, trunk and liftgate
are closed and completely
latched.
If the key is in the ignition while the driver’s door is
open, a warning chime also sounds.
3-36

Fuel Gage
The fuel gage indicates about how much fuel is left
when the ignition is turned to ON/RUN.
When the tank nears empty, the low fuel warning
light will come on. There is still a little fuel left,
but the vehicle’s fuel tank should be filled soon.
See Low Fuel Warning Light on page 3-38 for more
information.
An arrow on the fuel gage indicates the side of the
vehicle the fuel door is located.
Here are four things that some owners ask about.
None of these show a problem with the fuel gage:
•At the service station, the gas pump shuts off before
the gage reads full.
•It takes a little more or less fuel to fill up than the
gage indicated. For example, the gage may have
indicated the tank was half full, but it actually took a
little more or less than half the tank’s capacity to
fill the tank.
•The indicator moves a little when turning a corner
or speeding up.
•The gage goes back to empty when the ignition is
turned off.
United States Canada
3-37

Low Fuel Warning Light
This light comes on when
the vehicle is low on fuel.
The low fuel warning light comes on when there is
approximately 1.7 gallons (6.0 liters) of fuel remaining in
the tank.
To turn the light off, add fuel to the fuel tank. See Filling
the Tank on page 5-8.
Trip Computer
The vehicle may have trip computer, it provides the
driver with driving information such as the driving
distance for the remaining fuel, outside temperature,
average fuel economy, and driving time.
The trip computer button is located in the lower right
area of the tachometer. Each time you press it,
the display cycles through the available choices.
Range for Remaining Fuel
This display shows the
approximate number of
remaining miles the vehicle
can be driven without
refueling.
The minimum display for the range is 45 miles (72 km).
Once the minimum display range is under
45 miles (72 km), you will see dashes on the display.
3-38

The fuel range estimate is based on an average of the
vehicle’s fuel economy over recent driving history
and the amount of fuel remaining in the fuel tank.
This estimate will change if driving conditions change.
For example, if driving in traffic and making frequent
stops, this display may read one number, but if
the vehicle is driven on a freeway, the number may
change even though the same amount of fuel is in the
fuel tank. This is because different driving conditions
produce different fuel economies. Generally, freeway
driving produces better fuel economy than city driving.
Outside Temperature
This display shows the approximate outside
temperature.
Average Fuel Economy
This display shows the
approximate average
miles per gallon (mpg).
This number is calculated based on the number of mpg
recorded since the last time this menu item was
reset. To reset the average fuel economy press and
hold the trip computer button.
Driving Time
This display can be used
as a timer.
The display will show the amount of time that has
passed since the timer was last reset. The timer is only
running while the vehicle is moving. To reset the
driving time press and hold the trip computer button.
3-39

Audio System(s)
Determine which radio the vehicle has and read the
following pages to become familiar with its features.
{CAUTION:
Taking your eyes off the road for extended periods
could cause a crash resulting in injury or death to
you or others. Do not give extended attention to
entertainment tasks while driving.
This system provides access to many audio and non
audio listings.
To minimize taking your eyes off the road while driving,
do the following while the vehicle is parked:
•Become familiar with the operation and controls of
the audio system.
•Set up the tone, speaker adjustments, and preset
radio stations.
For more information, see Defensive Driving on
page 4-2.
Notice: Contact your dealer/retailer before adding
any equipment.
Adding audio or communication equipment could
interfere with the operation of the vehicle’s engine,
radio, or other systems, and could damage them.
Follow federal rules covering mobile radio and
telephone equipment.
3-40

AM-FM Radio
Playing the Radio
O(Power/Volume): Press and release to turn the
system on. Press and hold this knob for more than
two seconds to turn the system off.
Turn to increase or decrease the volume.
When the system is on, press and release Oto mute
the system. Press and release Oagain to turn the
sound back on.
Finding a Station
BAND: Press to choose FM, AM, or XM™ (if equipped).
The display will show the selection.
uSEEK: Press to seek the next radio station with a
strong signal in the selected band.
tSEEK: Press to seek the previous radio station with
a strong signal in the selected band.
[TUNE: Press to go to the next station manually.
rTUNE: Press to go to the previous station manually.
SCAN: Press to scan radio stations. The radio goes to a
station, plays for a few seconds, then goes to the next
station. Press this button again to stop scanning.
The radio only scans stations with a strong signal in the
selected band.
AST (Automatic Store): Twelve preset stations with the
strongest reception in the area can be automatically
stored. The radio will only scan stations with a strong
signal that are in the selected AM or FM band. If the
Automatic Store function is started in the FM band, only
FM stations are stored in preset pages A1 and A2.
3-41

If the Automatic Store function is started in the AM band,
only AM stations are stored in A1 and A2. A combination
of AM, FM and XM (if equipped) stations can be stored
manually into the other four favorite pages.
To use Automatic Store:
1. Press and hold AST to use Auto Store mode.
2. Press the pushbutton below the ON tab on the radio
display.
3. Automatic Store searches for radio stations with a
strong signal and automatically set presets A1 and
A2 with new stations.
4. After all stations are set, press the pushbutton below
the arrow tab on the radio display to return to the
main radio screen
To reset the automatically stored radio stations, press
and hold AST. Then press the pushbutton below
the RESE tab on the radio display. If no stations are
stored on preset pages A1 and A2, the RESE option
does not appear in the radio display. When the
Automatic Store function is used, any stations that were
previously set will be deleted and replaced with new
stations.
Storing a Radio Station
Drivers are encouraged to set up radio station favorites
while the vehicle is in P (Park). Tune to favorite
stations using the pushbuttons, favorites button, and
steering wheel controls. See Defensive Driving on
page 4-2.
A maximum of 36 stations can be programmed as
favorites using the six pushbuttons positioned below the
radio station frequency labels and by using the radio
favorites page button (FAV button). Press the FAV
button to go through up to six pages of favorites,
each having six favorite stations available per page.
If Automatic Store is used, then four pages of favorites
are available. Each page of favorites can contain
any combination of AM, FM, or XM™ (if equipped)
stations. To store a station as a favorite:
1. Tune in the desired station.
2. Press and release the FAV button to display the
page where the station is to be stored.
3. Press and hold one of the six numbered
pushbuttons until a beep sounds. When the
pushbutton is pressed and released, the station that
was set will return.
4. Repeat the Steps 1 through 3 for each radio station
to be stored as a favorite.
3-42

To setup the number of favorites pages:
1. Press and hold FAV until the radio setup menu
displays.
2. Select the desired number of favorites pages by
pressing the pushbutton located below the
displayed page numbers.
3. Press FAV to return to the original main radio
screen showing the radio station frequency tabs and
to begin the process of programming favorites for
the chosen amount of numbered pages.
Setting the Tone (Bass/Mid/Treble)
SOUND (Bass/Mid/Treble): Press to adjust the bass,
midrange, or treble.
Adjusting the Bass
To adjust the bass:
1. Press SOUND.
2. Press the pushbutton below the Bass tab on the
display.
3. Turn Oto adjust the setting.
4. The settings are saved after five seconds.
Adjusting the Midrange
To adjust the midrange:
1. Press SOUND.
2. Press the pushbutton below the Mid tab on the
display.
3. Turn Oto adjust the setting.
4. The settings are saved after five seconds.
Adjusting the Treble
To adjust the treble:
1. Press SOUND.
2. Press the pushbutton below the Treb tab on the
display.
3. Turn Oto adjust the setting.
4. The settings are saved after five seconds.
3-43

Adjusting the Speakers (Balance/Fade)
SOUND (Balance/Fade): Press to adjust the balance
or fade.
Adjusting the Balance
To adjust the balance:
1. Press SOUND.
2. Press the pushbutton below the Bal tab on the
display.
3. Turn Oto adjust the setting.
4. The settings are saved after five seconds.
Adjusting the Fade
To adjust the fade:
1. Press SOUND.
2. Press the pushbutton below the Fad tab on the
display.
3. Turn Oto adjust the setting.
4. The settings are saved after five seconds.
Setting the EQ
SOUND (Equalization): Press to select an equalization
setting.
Setting the EQ
To set the EQ:
1. Press SOUND.
2. Press the pushbutton below the P.EQ tab on the
display. The Pop, Rock, Ctry, Voice, Jazz, Clas
tabs appear on the display.
3. Press the pushbutton below the desired selection to
set the EQ. Pressing the same pushbutton again
cancels the EQ setting.
3-44

XM Satellite Radio Service
XM is a satellite radio service that is based in the
48 contiguous United States and 10 Canadian
provinces. XM Satellite Radio has a wide variety of
programming and commercial-free music, coast-to-coast,
and in digital-quality sound. During your trial or when you
subscribe, you will get unlimited access to XM Radio
Online for when you are not in the vehicle. A service fee
is required to receive the XM service. For more
information, contact XM at xmradio.com or call
1-800-929-2100 in the U.S. and xmradio.ca or call
1-877-438-9677 in Canada.
Radio Messages for XM Only
See XM Radio Messages on page 3-56 later in this
section for further detail.
Using the Auxiliary Input Jack
The radio system has an auxiliary input jack located on
the lower right side of the faceplate. This is not an
audio output; do not plug the headphone set into the
front auxiliary input jack. An external audio device such
as an iPod
®
, laptop computer, MP3 player, CD changer,
etc. can be connected to the auxiliary input jack for
use as another audio source.
Drivers are encouraged to set up any auxiliary device
while the vehicle is in P (Park). See Defensive
Driving on page 4-2 for more information on driver
distraction.
To use a portable audio player, connect a 3.5 mm
(1/8 inch) cable to the radio’s front auxiliary input jack.
When a device is connected, press the radio CD/AUX
button to begin playing audio from the device over
the vehicle speakers.
O(Power/Volume): Turn to adjust the volume.
Additional volume adjustments may have to be made
from the portable device if the volume is too quiet or
too loud.
AUX (Auxiliary): Press to listen to the radio while a
portable audio device is playing. Press again and
the system begins playing audio from the connected
portable audio player. If a portable audio player is
not connected, No Aux Input Device Found may display.
3-45

Radio with CD
Playing the Radio
O(Power/Volume): Press and release to turn the
system on. Press and hold this knob for more than
two seconds to turn the system off.
Turn to increase or decrease the volume.
When the system is on, press and release Oto mute
the system. Press and release Oagain to turn the
sound back on.
Finding a Station
BAND: Press to choose FM, AM, or XM™ (if equipped).
The display will show the selection.
uSEEK: Press to seek the next radio station with a
strong signal in the selected band.
tSEEK: Press to seek the previous radio station with
a strong signal in the selected band.
[TUNE: Press to go to the next station manually.
rTUNE: Press to go to the previous station manually.
SCAN/AST: Press to scan radio stations. The radio
goes to a station, plays for a few seconds, then goes to
the next station. The radio only scans stations with a
strong signal in the selected band. Press SCAN/AST
again to stop scanning.
Press and hold SCAN/AST to use Auto Store.
The radio only scans stations with a strong signal in the
selected band.
AST (Automatic Store): Twelve preset stations with
the strongest reception in the area can be automatically
stored. The radio will only scan stations with a strong
signal that are in the selected AM or FM band.
3-46

If the Automatic Store function is started in the FM
band, only FM stations are stored in preset pages A1
and A2. If the Automatic Store function is started in the
AM band, only AM stations are stored in A1 and A2.
A combination of AM, FM and XM (if equipped)
stations can be stored manually into the other four
favorite pages.
To use Automatic Store:
1. Press and hold SCAN/AST to use Auto Store mode.
2. Press the pushbutton below the ON tab on the
radio display.
3. Automatic Store searches for radio stations with a
strong signal and automatically set presets A1 and
A2 with new stations.
4. After all stations are set, press the pushbutton
below the arrow tab on the radio display to
return to the main radio screen
To reset the automatically stored radio stations, press
and hold SCAN/AST. Then press the pushbutton
below the RESE tab on the radio display. If no stations
are stored on preset pages A1 and A2, the RESE
option does not appear in the radio display. When the
Automatic Store function is used, any stations that were
previously set will be deleted and replaced with new
stations.
Storing a Radio Station
Drivers are encouraged to set up radio station favorites
while the vehicle is in P (Park). Tune to favorite
stations using the pushbuttons, favorites button, and
steering wheel controls. See Defensive Driving on
page 4-2.
A maximum of 36 stations can be programmed as
favorites using the six pushbuttons positioned below the
radio station frequency labels and by using the radio
favorites page button (FAV button). Press the FAV
button to go through up to six pages of favorites,
each having six favorite stations available per page.
If Automatic Store is used, then four pages of favorites
are available. Each page of favorites can contain
any combination of AM, FM, or XM™ (if equipped)
stations. To store a station as a favorite:
1. Tune in the desired station.
2. Press and release the FAV button to display the
page where the station is to be stored.
3. Press and hold one of the six numbered
pushbuttons until a beep sounds. When the
pushbutton is pressed and released, the station that
was set will return.
4. Repeat the Steps 1 through 3 for each radio station
to be stored as a favorite.
3-47

To setup the number of favorites pages:
1. Press and hold FAV until the radio setup menu
displays.
2. Select the desired number of favorites pages by
pressing the pushbutton located below the
displayed page numbers.
3. Press FAV to return to the original main radio
screen showing the radio station frequency tabs and
to begin the process of programming favorites for
the chosen amount of numbered pages.
Setting the Tone (Bass/Mid/Treble)
SOUND (Bass/Mid/Treble): Press to adjust the bass,
midrange, or treble.
Adjusting the Bass
To adjust the bass:
1. Press SOUND.
2. Press the pushbutton below the Bass tab on the
display.
3. Turn Oto adjust the setting.
4. The settings are saved after five seconds.
Adjusting the Midrange
To adjust the midrange:
1. Press SOUND.
2. Press the pushbutton below the Mid tab on the
display.
3. Turn Oto adjust the setting.
4. The settings are saved after five seconds.
Adjusting the Treble
To adjust the treble:
1. Press SOUND.
2. Press the pushbutton below the Treb tab on the
display.
3. Turn Oto adjust the setting.
4. The settings are saved after five seconds.
3-48

Adjusting the Speakers (Balance/Fade)
SOUND (Balance/Fade): Press to adjust the balance
or fade.
Adjusting the Balance
To adjust the balance:
1. Press SOUND.
2. Press the pushbutton below the Bal tab on the
display.
3. Turn Oto adjust the setting.
4. The settings are saved after five seconds.
Adjusting the Fade
To adjust the fade:
1. Press SOUND.
2. Press the pushbutton below the Fad tab on the
display.
3. Turn Oto adjust the setting.
4. The settings are saved after five seconds.
Setting the EQ
SOUND (Equalization): Press to select an equalization
setting.
Setting the EQ
To set the EQ:
1. Press SOUND.
2. Press the pushbutton below the P.EQ tab on the
display. The Pop, Rock, Ctry, Voice, Jazz, Clas
tabs appear on the display.
3. Press the pushbutton below the desired selection to
set the EQ. Pressing the same pushbutton again
cancels the EQ setting.
3-49

XM Satellite Radio Service
XM is a satellite radio service that is based in the
48 contiguous United States and 10 Canadian provinces.
XM Satellite Radio has a wide variety of programming
and commercial-free music, coast-to-coast, and in
digital-quality sound. During your trial or when you
subscribe, you will get unlimited access to XM Radio
Online for when you are not in the vehicle. A service fee
is required to receive the XM service. For more
information, contact XM at xmradio.com or call
1-800-929-2100 in the U.S. and xmradio.ca or call
1-877-438-9677 in Canada.
Radio Messages for XM Only
See XM Radio Messages on page 3-56 later in this
section for further detail.
Playing a CD
Insert a CD partway into the slot, label side up.
The player pulls it in and the CD begins playing.
A CD can be loaded while the ignition is in the
OFF position.
When the CD is inserted, CDP appears on the display.
As the CD is loading, LOADING appears on the
display. As each new track starts to play, the track
number displays.
If the ignition or radio is turned off with a CD in the
player, it will stay in the player. When a CD is in
the player and the ignition is in the ON/RUN position,
the radio must be turned on before the CD will start
playing. When the ignition and radio are turned on,
the CD will start playing where it stopped, if it was the
last selected audio source.
The CD player can play the smaller 3 inch (8 cm) single
CDs with an adapter ring. Full-size CDs and the
smaller CDs are loaded in the same manner.
[TUNE (Next Track): Press [TUNE to go to the
next track. The track number will appear on the display.
The player will continue moving forward through the
CD with each press of [TUNE.
rTUNE (Previous Track): Press to go to the start of
the current track. The track number will appear on
the display. The player will continue moving backward
through the CD with each press of rTUNE.
3-50

BAND: Press to listen to the radio while a CD is playing.
The CD remains inside the radio for future listening.
CD/AUX: Press to play a CD when listening to the
radio. CDP appears on the display when the CD player
has been selected. The CD symbol will appear on
the display when a CD is loaded.
Press CD/AUX while a CD is playing to pause the CD.
PAUSE flashes on the display. Press CD/AUX again
to start playing the CD.
Press CD/AUX to play a CD when listening to the audio
contents from other device (AUX mode). CDP appears
on the display when the CD player has been selected.
The CD symbol will appear on the display when a
CD is loaded.
EJECT: Press to eject a CD. The CD can be ejected
when the ignition or the radio is turned off.
RPT (Repeat): Press the pushbutton under the RPT
tab on the display to repeat the current track, RPT
appears on the display. Press the pushbutton again to
stop repeat.
RDM (Random): Press the pushbutton below the RDM
tab on the display to play tracks in random, rather
than sequential order, RDM appears on the display.
Press the pushbutton again to stop random play.
INT (Scan): Press the pushbutton below the INT tab on
the display to listen to the first few seconds of each
track on the CD, INTRO appears on the display.
Press the pushbutton again to stop scanning and the
current track begins to play.
Playing an MP3/WMA CD-R Disc
The radio has the MP3/WMA CD-R disc capability.
For more information, see Using an MP3 on page 3-54
later in this section.
3-51

CD Messages
CHECK CD: If this message displays and/or the CD
comes out, it could be for one of the following reasons:
•It is very hot. When the temperature returns to
normal, the CD should play.
•The road is very rough. When the road becomes
smoother, the CD should play.
•The CD is dirty, scratched, wet, or upside down.
•The air is very humid. If so, wait about an hour and
try again.
•The format of the CD might not be compatible.
See Using an MP3 on page 3-54 later in this
section.
•There could have been a problem while burning
the CD.
•The label could be caught in the CD player.
If the CD is not playing correctly, for any other reason,
try a known good CD.
If any error occurs repeatedly or if an error cannot be
corrected, contact your dealer/retailer. If the radio
displays an error message, write it down and provide it
to your dealer/retailer when reporting the problem.
Care of CDs
If playing a CD-R, the sound quality can be reduced
due to CD-R quality, the method of recording, the quality
of the music that has been recorded, and the way the
CD-R or CD-RW has been handled. Handle them
carefully. Store CD-R(s) in their original cases or other
protective cases and away from direct sunlight and
dust. The CD player scans the bottom surface of the
disc. If the surface of a CD is damaged, such as
cracked, broken, or scratched, the CD does not play
properly or not at all. Do not touch the bottom side of a
CD while handling it; this could damage the surface.
Pick up CDs by grasping the outer edges or the edge of
the hole and the outer edge.
If the surface of a CD is soiled, clean it with a soft, lint
free cloth or dampen a clean, soft cloth in a mild,
neutral detergent solution mixed with water. Make sure
the wiping process starts from the center to the edge.
Care of the CD Player
Do not add labels to a CD, it could get caught in the CD
player. Use a marking pen to write on the top of the
CD if a description is needed.
Do not use CD lens cleaners, they could damage the
CD player.
3-52

Notice: If a label is added to a CD, or more than
one CD is inserted into the slot at a time, or an
attempt is made to play scratched or damaged CDs,
the CD player could be damaged. While using the
CD player, use only CDs in good condition without
any label, load one CD at a time, and keep the
CD player and the loading slot free of foreign
materials, liquids, and debris.
If an error displays, see “CD Messages” earlier in this
section.
Using the Auxiliary Input Jack
The radio system has an auxiliary input jack located on
the lower right side of the faceplate. This is not an
audio output; do not plug the headphone set into the
front auxiliary input jack. An external audio device such
as an iPod, laptop computer, MP3 player, CD changer,
etc. can be connected to the auxiliary input jack for
use as another audio source.
Drivers are encouraged to set up any auxiliary device
while the vehicle is in P (Park). See Defensive Driving on
page 4-2 for more information on driver distraction.
To use a portable audio player, connect a 3.5 mm
(1/8 inch) cable to the radio’s front auxiliary input jack.
When a device is connected, press the radio CD/AUX
button to begin playing audio from the device over
the vehicle speakers.
O(Power/Volume): Turn to adjust the volume.
Additional volume adjustments may have to be made
from the portable device if the volume is too quiet or
too loud.
CD/AUX (Auxiliary): Press to play a CD while a
portable audio device is playing. Press CD/AUX a
second time for the system to begin playing audio from
the connected portable audio player. The portable
audio device continues playing until it is turned off.
3-53

Using an MP3
MP3/WMA CD-R Disc
MP3 Format
If you burn your own MP3/WMA disc on a personal
computer:
•Make sure the MP3/WMA files are recorded on a
CD-R disc.
•Do not mix standard audio and MP3/WMA files on
one disc.
•Make sure each MP3/WMA file has a .m3u or
.wma extension, other file extensions might not work.
•Files can be recorded with a variety of fixed or
variable bit rates. Song title, artist name, and album
are available for display by the radio when recorded
using ID3 tags version 1 and 2.
•Make sure to finalize the disc when burning an
MP3/WMA disc, using multiple sessions. It is usually
better to burn the disc all at once.
The player is able to read and play a maximum of
50 folders, five sessions, and 999 files. Long file names
and folder names can use more disc memory space
than necessary. To conserve space on the disc,
minimize the length of the file and folder names.
An MP3/WMA CD that was recorded using no file
folders can also be played. The system can support up
to eight folders in depth, though, keep the depth of
the folders to a minimum in order to keep down
the complexity and confusion in trying to locate a
particular folder during playback. If a CD contains more
than the maximum of 50 folders, five sessions, and
999 files, the player lets you access and navigate up to
the maximum, but all items over the maximum are
ignored.
Root Directory
The root directory is treated as a folder. If the root
directory has compressed audio files, the directory is
displayed as ROOT. All files contained directly under the
root directory are accessed prior to any other directory.
Empty Directory or Folder
If a root directory or a folder exists somewhere in the
file structure that contains only folders/subfolders and no
compressed files directly beneath them, the player
advances to the next folder in the file structure that
contains compressed audio files. The empty folder does
not display.
3-54

No Folder
When a CD contains only compressed files, the files are
located under the root folder. The next and previous
folder function does not function on a CD that was
recorded without folders or playlists. When displaying
the name of the folder the radio displays ROOT.
When a CD contains only compressed audio files, but
no folders, all files are located under the root folder.
When the radio displays the name of the folder, the radio
displays ROOT.
Order of Play
The player play will begin from the first track under the
root directory. When all tracks from the root directory
have been played, play will continue from files according
to their numerical listing. After playing the last track
from the last folder, the player will begin playing again
at the first track of the first folder or root directory.
File System and Naming
The song name in the ID3 tag is displayed. If the song
name is not present in the ID3 tag, then the radio
displays the file name without the extension (such as
MP3/WMA) instead.
Track names longer than 32 characters or four pages
are shortened. Parts of words on the last page of
text and the extension of the filename does not display.
Playing an MP3/WMA
With the ignition in the ON/RUN position, insert a CD
partway into the slot, label side up. The player pulls the
disc in. LOADING, and then MP3 or WMA appears
on the display. The CD should begin playing. As each
new track starts to play, the track number, and the
song name will appear on the display. If the ignition or
radio is turned off with a CD in the player, it will stay
in the player. When a CD is in the player and the ignition
is turned on, the radio must be turned on before the
CD will start playback. When the ignition and radio are
turned on, the CD will start playing where it stopped,
if it was the last selected audio source.
The CD player can play the smaller 3 inch (8 cm)
single CDs with an adapter ring. Full-size CDs and the
smaller CDs are loaded in the same manner.
Sound quality may be reduced due to CD-R quality,
the method of recording, the quality of the music
that has been recorded, and the way the CD-R has
been handled.
DIR (Directory): Press to repeat the tracks in the
current directory. DIR displays.
Press DIR again to repeat the tracks in all of the
directories. ALL displays.
Press DIR again to turn off repeat play.
3-55

uSEEK t(Next/Previous Folder) (in MP3/WMA
Mode): Press to change the folder. If CD-R does not
have any folders, “ROOT” flashes on the display
for a short time.
[TUNE (Next Track): Press the up TUNE arrow to
go to the next track. The track number displays.
The player continues moving forward through the CD
each time TUNE is pressed.
rTUNE (Previous Track): Press the down TUNE
arrow to go to the start of the current track. The track
number displays. The player continues moving backward
through the CD each time TUNE is pressed.
INFO/DISP (Information/Display): Press to display
additional text information related to the current
MP3/WMA song. A choice of additional information such
as: Song Title, Album Title, and Artist. Bit rate might
also display.
When information is not available, No Info displays.
Press this button for longer than two seconds to change
display mode.
SCROLL (MP3/WMA Mode Only): Press the SOUND
button for longer than two seconds. The song title or
other available information of a song scrolls on/off.
The offset is scroll on. The scroll mode can be changed
only when the SOUND button is pressed for longer than
two seconds.
XM Radio Messages
UPDATING: The encryption code in the receiver is
being updated, and no action is required. This process
should take no longer than 30 seconds.
NO SIGNAL: The system is functioning correctly, but
the vehicle is in a location that is blocking the XM™
signal. When the vehicle is moved into an open area,
the signal should return.
LOADING: The audio system is acquiring and
processing audio and text data. No action is needed.
This message should disappear shortly.
OFF AIR: This channel is not currently in service.
Tune in to another channel.
CH UNAVAILABLE: This previously assigned channel
is no longer assigned. Tune to another station. If this
station was one of the presets, choose another station
for that preset button.
RADIO ID: If tuned to channel 0, this message
alternates with the XM™ Radio 8 digit radio ID label.
This label is needed to activate the service.
CHECK XM TUNER: If this message does not clear
within a short period of time, the receiver could have a
fault. Consult with your dealer/retailer.
3-56

Audio Steering Wheel Controls
If the vehicle has this feature, some audio controls can
be adjusted at the steering wheel.
PWR (Power): Press and release to turn the system on
and off.
When the system is on, press and release for a short
time to mute the system. Press and release again to turn
the sound back on.
+ VOLUME – : Press the toggle bar located below
the + VOLUME −to adjust the volume. Press the
left side of the toggle bar, below the + (plus) sign to
increase the volume. Press the right side of the toggle
bar, below the −(minus) sign to decrease the volume.
SEEK: Press and release to go to the next preset
station.
Press and hold for a long time to go to the next AM,
FM, or XM station. The radio seeks stations only with a
strong signal that are in the selected band.
When playing a CD, press and release to go to the next
track. Press and hold to fast forward through the tracks.
MODE: Press and release this button multiple times
to cycle through the audio playback options that
are available on the vehicle. Options may include FM,
AM, XM, CD, and AUX.
Front View of the
Steering Wheel Controls Side View of the
Volume Control
3-57

Radio Reception
Frequency interference and static can occur during
normal radio reception if items such as cell phone
chargers, vehicle convenience accessories, and external
electronic devices are plugged into the accessory
power outlet. If there is interference or static, unplug the
item from the accessory power outlet.
AM
The range for most AM stations is greater than for FM,
especially at night. The longer range can cause station
frequencies to interfere with each other. For better radio
reception, most AM radio stations boost the power
levels during the day, and then reduce these levels
during the night. Static can also occur when things like
storms and power lines interfere with radio reception.
When this happens, try reducing the treble on the radio.
FM Stereo
FM signals only reach about 10 to 40 miles (16 to 65 km).
Although the radio has a built-in electronic circuit that
automatically works to reduce interference, some static
can occur, especially around tall buildings or hills,
causing the sound to fade in and out.
XM™ Satellite Radio Service
XM Satellite Radio Service gives digital radio reception
from coast-to-coast in the 48 contiguous United States,
and in Canada. Just as with FM, tall buildings or hills can
interfere with satellite radio signals, causing the sound to
fade in and out. In addition, traveling or standing under
heavy foliage, bridges, garages, or tunnels may cause
loss of the XM signal for a period of time.
Cellular Phone Usage
Cellular phone usage may cause interference with the
vehicle’s radio. This interference may occur when
making or receiving phone calls, charging the phone’s
battery, or simply having the phone on. This interference
causes an increased level of static while listening to
the radio. If static is received while listening to the radio,
unplug the cellular phone and turn it off.
Fixed Mast Antenna (Hatchback)
Vehicles without OnStar
®
have a fixed mast antenna
that can withstand most car washes without being
damaged. If the mast should ever become slightly bent,
straighten it out by hand. If the mast is badly bent,
replace it.
3-58

Check occasionally to make sure the mast is still
tightened to the antenna base located on the roof of the
vehicle. If tightening is required, tighten by hand.
Backglass Antenna (Sedan)
Vehicles without OnStar
®
have the AM-FM antenna
integrated with the rear window defogger, located in the
rear window. Make sure that the inside surface of the
rear window is not scratched and that the lines on
the glass are not damaged. If the inside surface
is damaged, it could interfere with radio reception. Also,
for proper radio reception, the antenna connector at
the top-center of the rear window needs to be properly
attached to the post on the glass.
Notice: Using a razor blade or sharp object to clear
the inside rear window may damage the rear window
antenna and/or the rear window defogger. Repairs
would not be covered by your warranty. Do not clear
the inside rear window with sharp objects.
Notice: Do not apply aftermarket glass tinting with
metallic film. The metallic film in some tinting
materials will interfere with or distort the incoming
radio reception. Any damage caused to your
backglass antenna due to metallic tinting materials
will not be covered by your warranty.
Because this antenna is built into the rear window, there
is a reduced risk of damage caused by car washes
and vandals.
If static is heard on the radio, when the rear window
defogger is turned on, it could mean that a defogger grid
line has been damaged. If this is true, the grid line must
be repaired.
If adding a cellular telephone to the vehicle, and the
antenna needs to be attached to the glass, make sure
that the grid lines for the AM-FM antenna are not
damaged. There is enough space between the grid lines
to attach a cellular telephone antenna without interfering
with radio reception.
Multi-Band Antenna
Vehicles with OnStar
®
have a multi-band antenna that
is located on the roof of the vehicle. The antenna is used
for the AM/FM radio, OnStar
®
and the XM™ Satellite
Radio Service System. Keep the antenna clear of
obstructions for clear reception. If the vehicle has a
sunroof, the performance of the AM/FM radio, OnStar
®
,
and the XM system may be affected if the sunroof
is open.
3-59

✍NOTES
3-60

Your Driving, the Road, and the Vehicle ............4-2
Driving for Better Fuel Economy .......................4-2
Defensive Driving ...........................................4-2
Drunk Driving .................................................4-3
Control of a Vehicle ........................................4-3
Braking .........................................................4-4
Antilock Brake System (ABS) ...........................4-5
Braking in Emergencies ...................................4-6
Steering ........................................................4-6
Off-Road Recovery .........................................4-8
Passing ........................................................4-8
Loss of Control ..............................................4-8
Driving at Night ............................................4-10
Driving in Rain and on Wet Roads ..................4-10
Before Leaving on a Long Trip .......................4-11
Highway Hypnosis ........................................4-12
Hill and Mountain Roads ................................4-12
Winter Driving ..............................................4-13
If Your Vehicle is Stuck in Sand, Mud, Ice,
or Snow ...................................................4-15
Rocking Your Vehicle to Get It Out .................4-16
Loading the Vehicle ......................................4-16
Towing ..........................................................4-24
Towing Your Vehicle .....................................4-24
Recreational Vehicle Towing ...........................4-24
Towing a Trailer ...........................................4-27
Section 4 Driving Your Vehicle
4-1

Your Driving, the Road, and
the Vehicle
Driving for Better Fuel Economy
Driving habits can affect fuel mileage. Here are some
driving tips to get the best fuel economy possible.
•Avoid fast starts and accelerate smoothly.
•Brake gradually and avoid abrupt stops.
•Avoid idling the engine for long periods of time.
•When road and weather conditions are appropriate,
use cruise control, if equipped.
•Always follow posted speed limits or drive more
slowly when conditions require.
•Keep vehicle tires properly inflated.
•Combine several trips into a single trip.
•Replace the vehicle’s tires with the same TPC Spec
number molded into the tire’s sidewall near the size.
•Follow recommended scheduled maintenance.
Defensive Driving
Defensive driving means “always expect the
unexpected.” The first step in driving defensively is to
wear your safety belt — See Safety Belts: They Are
for Everyone on page 1-16.
{CAUTION:
Assume that other road users (pedestrians,
bicyclists, and other drivers) are going to be
careless and make mistakes. Anticipate what they
might do and be ready. In addition:
•Allow enough following distance between you
and the driver in front of you.
•Focus on the task of driving.
Driver distraction can cause collisions resulting in
injury or possible death. These simple defensive
driving techniques could save your life.
4-2

Drunk Driving
{CAUTION:
Drinking and then driving is very dangerous.
Your reflexes, perceptions, attentiveness, and
judgment can be affected by even a small amount
of alcohol. You can have a serious — or even
fatal — collision if you drive after drinking. Do not
drink and drive or ride with a driver who has been
drinking. Ride home in a cab; or if you are with a
group, designate a driver who will not drink.
Death and injury associated with drinking and driving is
a global tragedy.
Alcohol affects four things that anyone needs to drive a
vehicle: judgment, muscular coordination, vision, and
attentiveness.
Police records show that almost 40 percent of all motor
vehicle-related deaths involve alcohol. In most cases,
these deaths are the result of someone who was drinking
and driving. In recent years, more than 17,000 annual
motor vehicle-related deaths have been associated with
the use of alcohol, with about 250,000 people injured.
For persons under 21, it is against the law in every
U.S. state to drink alcohol. There are good medical,
psychological, and developmental reasons for
these laws.
The obvious way to eliminate the leading highway
safety problem is for people never to drink alcohol and
then drive.
Medical research shows that alcohol in a person’s
system can make crash injuries worse, especially
injuries to the brain, spinal cord, or heart. This means
that when anyone who has been drinking — driver
or passenger — is in a crash, that person’s chance of
being killed or permanently disabled is higher than if the
person had not been drinking.
Control of a Vehicle
The following three systems help to control the vehicle
while driving — brakes, steering, and accelerator.
At times, as when driving on snow or ice, it is easy to
ask more of those control systems than the tires
and road can provide. Meaning, you can lose control of
the vehicle.
Adding non-dealer/non-retailer accessories can affect
vehicle performance. See Accessories and Modifications
on page 5-3.
4-3

Braking
See Brake System Warning Light on page 3-28.
Braking action involves perception time and reaction
time. Deciding to push the brake pedal is perception
time. Actually doing it is reaction time.
Average reaction time is about three-fourths of a second.
But that is only an average. It might be less with one
driver and as long as two or three seconds or more with
another. Age, physical condition, alertness, coordination,
and eyesight all play a part. So do alcohol, drugs,
and frustration. But even in three-fourths of a second,
a vehicle moving at 60 mph (100 km/h) travels 66 feet
(20 m). That could be a lot of distance in an emergency,
so keeping enough space between the vehicle and others
is important.
And, of course, actual stopping distances vary greatly
with the surface of the road, whether it is pavement
or gravel; the condition of the road, whether it is
wet, dry, or icy; tire tread; the condition of the brakes;
the weight of the vehicle; and the amount of brake force
applied.
Avoid needless heavy braking. Some people drive
in spurts — heavy acceleration followed by heavy
braking — rather than keeping pace with traffic.
This is a mistake. The brakes might not have time to
cool between hard stops. The brakes will wear out much
faster with a lot of heavy braking. Keeping pace with
the traffic and allowing realistic following distances
eliminates a lot of unnecessary braking. That means
better braking and longer brake life.
If the engine ever stops while the vehicle is being
driven, brake normally but do not pump the brakes.
If the brakes are pumped, the pedal could get harder to
push down. If the engine stops, there will still be
some power brake assist but it will be used when the
brake is applied. Once the power assist is used up,
it can take longer to stop and the brake pedal will be
harder to push.
Adding non-dealer/non-retailer accessories can affect
vehicle performance. See Accessories and Modifications
on page 5-3.
4-4

Antilock Brake System (ABS)
The vehicle might have the Antilock Brake System (ABS),
an advanced electronic braking system that helps prevent
a braking skid.
If the vehicle has ABS,
this warning light comes
on briefly when the vehicle
is started.
The warning light is on the instrument panel cluster.
See Antilock Brake System (ABS) Warning Light
on page 3-30.
Let us say the road is wet and you are driving safely.
Suddenly, an animal jumps out in front of you. You slam
on the brakes and continue braking. Here is what
happens with ABS:
A computer senses that the wheels are slowing down.
If one of the wheels is about to stop rolling, the computer
will separately work the brakes at each wheel.
ABS can change the brake pressure to each wheel, as
required, faster than any driver could. This can help
the driver steer around the obstacle while braking hard.
As the brakes are applied, the computer keeps
receiving updates on wheel speed and controls braking
pressure accordingly.
Remember: ABS does not change the time needed to
get a foot up to the brake pedal or always decrease
stopping distance. If you get too close to the vehicle in
front of you, there will not be enough time to apply
the brakes if that vehicle suddenly slows or stops.
Always leave enough room up ahead to stop, even
with ABS.
Using ABS
Do not pump the brakes. Just hold the brake pedal
down firmly and let antilock work. A slight brake pedal
pulsation might be felt or some noise might be
heard, but this is normal.
4-5

Braking in Emergencies
At some time, nearly every driver gets into a situation
that requires hard braking.
If the vehicle has ABS, it allows the driver to steer and
brake at the same time. However, if the vehicle does
not have ABS, the first reaction — to hit the brake pedal
hard and hold it down — might be the wrong thing to
do. The wheels can stop rolling. Once they do, the
vehicle cannot respond to the driver’s steering.
Momentum will carry it in whatever direction it was
headed when the wheels stopped rolling. That could be
off the road, into the very thing the driver was trying
to avoid, or into traffic.
If the vehicle does not have ABS, use a “squeeze”
braking technique. This gives maximum braking while
maintaining steering control. Do this by pushing on
the brake pedal with steadily increasing pressure.
In an emergency, you will probably want to squeeze the
brakes hard without locking the wheels. If you hear or
feel the wheels sliding, ease off the brake pedal.
This helps retain steering control. With ABS, it is
different. See Antilock Brake System (ABS) on page 4-5.
In many emergencies, steering can help more than
even the very best braking.
Steering
Power Steering
If power steering assist is lost because the engine stops
or the system is not functioning, the vehicle can be
steered but it will take more effort.
Steering Tips
It is important to take curves at a reasonable speed.
Traction in a curve depends on the condition of the tires
and the road surface, the angle at which the curve is
banked, and vehicle speed. While in a curve, speed is
the one factor that can be controlled.
If there is a need to reduce speed, do it before entering
the curve, while the front wheels are straight.
Try to adjust the speed so you can drive through the
curve. Maintain a reasonable, steady speed. Wait to
accelerate until out of the curve, and then accelerate
gently into the straightaway.
4-6

Steering in Emergencies
There are times when steering can be more effective
than braking. For example, you come over a hill and find
a truck stopped in your lane, or a car suddenly pulls
out from nowhere, or a child darts out from between
parked cars and stops right in front of you. These
problems can be avoided by braking — if you can stop
in time. But sometimes you cannot stop in time
because there is no room. That is the time for evasive
action — steering around the problem.
The vehicle can perform very well in emergencies like
these. First apply the brakes — but, unless the
vehicle has antilock brakes, not enough to lock the
wheels. See Braking on page 4-4. It is better to remove
as much speed as possible from a collision. Then steer
around the problem, to the left or right depending
on the space available.
An emergency like this requires close attention and a
quick decision. If holding the steering wheel at the
recommended 9 and 3 o’clock positions, it can be turned
a full 180 degrees very quickly without removing
either hand. But you have to act fast, steer quickly, and
just as quickly straighten the wheel once you have
avoided the object.
The fact that such emergency situations are always
possible is a good reason to practice defensive driving
at all times and wear safety belts properly.
4-7

Off-Road Recovery
The vehicle’s right wheels can drop off the edge of a
road onto the shoulder while driving.
If the level of the shoulder is only slightly below the
pavement, recovery should be fairly easy. Ease off the
accelerator and then, if there is nothing in the way,
steer so that the vehicle straddles the edge of the
pavement. Turn the steering wheel 3 to 5 inches,
8 to 13 cm, (about one-eighth turn) until the right front
tire contacts the pavement edge. Then turn the steering
wheel to go straight down the roadway.
Passing
Passing another vehicle on a two-lane road can be
dangerous. To reduce the risk of danger while passing:
•Look down the road, to the sides, and to crossroads
for situations that might affect a successful pass.
If in doubt, wait.
•Watch for traffic signs, pavement markings, and
lines that could indicate a turn or an intersection.
Never cross a solid or double-solid line on your side
of the lane.
•Do not get too close to the vehicle you want to
pass. Doing so can reduce your visibility.
•Wait your turn to pass a slow vehicle.
•When you are being passed, ease to the right.
Loss of Control
Let us review what driving experts say about what
happens when the three control systems — brakes,
steering, and acceleration — do not have enough friction
where the tires meet the road to do what the driver
has asked.
In any emergency, do not give up. Keep trying to
steer and constantly seek an escape route or area of
less danger.
4-8

Skidding
In a skid, a driver can lose control of the vehicle.
Defensive drivers avoid most skids by taking reasonable
care suited to existing conditions, and by not overdriving
those conditions. But skids are always possible.
The three types of skids correspond to the vehicle’s
three control systems. In the braking skid, the wheels
are not rolling. In the steering or cornering skid, too
much speed or steering in a curve causes tires to slip
and lose cornering force. And in the acceleration skid,
too much throttle causes the driving wheels to spin.
If the vehicle starts to slide, ease your foot off the
accelerator pedal and quickly steer the way you want
the vehicle to go. If you start steering quickly enough,
the vehicle may straighten out. Always be ready for
a second skid if it occurs.
Of course, traction is reduced when water, snow, ice,
gravel, or other material is on the road. For safety, slow
down and adjust your driving to these conditions. It is
important to slow down on slippery surfaces because
stopping distance will be longer and vehicle control
more limited.
While driving on a surface with reduced traction,
try your best to avoid sudden steering, acceleration, or
braking, including reducing vehicle speed by shifting
to a lower gear. Any sudden changes could cause
the tires to slide. You may not realize the surface is
slippery until the vehicle is skidding. Learn to
recognize warning clues — such as enough water, ice,
or packed snow on the road to make a mirrored
surface — and slow down when you have any doubt.
If the vehicle has the Antilock Brake System (ABS),
remember: It helps avoid only the braking skid. If the
vehicle does not have ABS, then in a braking skid,
where the wheels are no longer rolling, release enough
pressure on the brakes to get the wheels rolling
again. This restores steering control. Push the brake
pedal down steadily when you have to stop suddenly.
As long as the wheels are rolling, you will have steering
control.
4-9

Driving at Night
Night driving is more dangerous than day driving because
some drivers are likely to be impaired — by alcohol or
drugs, with night vision problems, or by fatigue.
Night driving tips include:
•Drive defensively.
•Do not drink and drive.
•Reduce headlamp glare by adjusting the inside
rearview mirror.
•Slow down and keep more space between you and
other vehicles because headlamps can only light up
so much road ahead.
•Watch for animals.
•When tired, pull off the road.
•Do not wear sunglasses.
•Avoid staring directly into approaching headlamps.
•Keep the windshield and all glass on your vehicle
clean — inside and out.
•Keep your eyes moving, especially during turns or
curves.
No one can see as well at night as in the daytime.
But, as we get older, these differences increase.
A 50-year-old driver might need at least twice as much
light to see the same thing at night as a 20-year-old.
Driving in Rain and on Wet Roads
Rain and wet roads can reduce vehicle traction
and affect your ability to stop and accelerate. Always
drive slower in these types of driving conditions
and avoid driving through large puddles and
deep-standing or flowing water.
{CAUTION:
Wet brakes can cause crashes. They might not
work as well in a quick stop and could cause
pulling to one side. You could lose control of the
vehicle.
After driving through a large puddle of water or a
car/vehicle wash, lightly apply the brake pedal until
the brakes work normally.
Flowing or rushing water creates strong forces.
Driving through flowing water could cause your
vehicle to be carried away. If this happens, you
and other vehicle occupants could drown. Do not
ignore police warnings and be very cautious about
trying to drive through flowing water.
4-10

Hydroplaning
Hydroplaning is dangerous. Water can build up under
your vehicle’s tires so they actually ride on the
water. This can happen if the road is wet enough and
you are going fast enough. When your vehicle is
hydroplaning, it has little or no contact with the road.
There is no hard and fast rule about hydroplaning.
The best advice is to slow down when the road is wet.
Other Rainy Weather Tips
Besides slowing down, other wet weather driving tips
include:
•Allow extra following distance.
•Pass with caution.
•Keep windshield wiping equipment in good shape.
•Keep the windshield washer fluid reservoir filled.
•Have good tires with proper tread depth. See Tires
on page 5-51.
•Turn off cruise control.
Before Leaving on a Long Trip
To prepare your vehicle for a long trip, consider having
it serviced by your dealer/retailer before departing.
Things to check on your own include:
•Windshield Washer Fluid: Reservoir full?
Windows clean — inside and outside?
•Wiper Blades: In good shape?
•Fuel, Engine Oil, Other Fluids: All levels checked?
•Lamps: Do they all work and are lenses clean?
•Tires: Are treads good? Are tires inflated to
recommended pressure?
•Weather and Maps: Safe to travel?
Have up-to-date maps?
4-11

Highway Hypnosis
Always be alert and pay attention to your surroundings
while driving. If you become tired or sleepy, find a
safe place to park your vehicle and rest.
Other driving tips include:
•Keep the vehicle well ventilated.
•Keep interior temperature cool.
•Keep your eyes moving — scan the road ahead
and to the sides.
•Check the rearview mirror and vehicle
instruments often.
Hill and Mountain Roads
Driving on steep hills or through mountains is different
than driving on flat or rolling terrain. Tips for driving
in these conditions include:
•Keep the vehicle serviced and in good shape.
•Check all fluid levels and brakes, tires, cooling
system, and transmission.
•Going down steep or long hills, shift to a
lower gear.
{CAUTION:
If you do not shift down, the brakes could get so
hot that they would not work well. You would then
have poor braking or even none going down a hill.
You could crash. Shift down to let the engine
assist the brakes on a steep downhill slope.
{CAUTION:
Coasting downhill in N (Neutral) or with the ignition
off is dangerous. The brakes will have to do all the
work of slowing down and they could get so hot
that they would not work well. You would then
have poor braking or even none going down a hill.
You could crash. Always have the engine running
and the vehicle in gear when going downhill.
4-12

•Stay in your own lane. Do not swing wide or cut
across the center of the road. Drive at speeds
that let you stay in your own lane.
•Top of hills: Be alert — something could be in your
lane (stalled car, accident).
•Pay attention to special road signs (falling rocks
area, winding roads, long grades, passing or
no-passing zones) and take appropriate action.
Winter Driving
Driving on Snow or Ice
Drive carefully when there is snow or ice between the
tires and the road, creating less traction or grip. Wet ice
can occur at about 32°F (0°C) when freezing rain
begins to fall, resulting in even less traction. Avoid
driving on wet ice or in freezing rain until roads can be
treated with salt or sand.
Drive with caution, whatever the condition. Accelerate
gently so traction is not lost. Accelerating too quickly
causes the wheels to spin and makes the surface under
the tires slick, so there is even less traction.
Try not to break the fragile traction. If you accelerate too
fast, the drive wheels will spin and polish the surface
under the tires even more.
The Antilock Brake System (ABS) on page 4-5 improves
vehicle stability during hard stops on a slippery roads,
but whether the vehicle has ABS or not, apply the
brakes sooner than when on dry pavement. Without
ABS, if the vehicle begins to slide, let up on the brake
pedal a little and apply steady pedal pressure to get the
most traction. On vehicles without ABS, braking so
hard that the wheels stop rolling can cause the vehicle
to slide — brake so the wheels always keep rolling
so you can still steer.
Allow greater following distance on any slippery road
and watch for slippery spots. Icy patches can occur on
otherwise clear roads in shaded areas. The surface
of a curve or an overpass can remain icy when
the surrounding roads are clear. Avoid sudden steering
maneuvers and braking while on ice.
Turn off cruise control, if equipped, on slippery surfaces.
4-13

Blizzard Conditions
Being stuck in snow can be in a serious situation.
Stay with the vehicle unless there is help nearby.
If possible, use the Roadside Assistance Program
on page 7-7. To get help and keep everyone in the
vehicle safe:
•Turn on the Hazard Warning Flashers on page 3-6.
•Tie a red cloth to an outside mirror.
{CAUTION:
Snow can trap engine exhaust under the vehicle.
This may cause exhaust gases to get inside.
Engine exhaust contains carbon monoxide (CO)
which cannot be seen or smelled. It can cause
unconsciousness and even death.
If the vehicle is stuck in the snow:
•Clear away snow from around the base of
your vehicle, especially any that is blocking
the exhaust pipe.
•Check again from time to time to be sure
snow does not collect there.
CAUTION: (Continued)
CAUTION: (Continued)
•Open a window about two inches (5 cm) on
the side of the vehicle that is away from the
wind to bring in fresh air.
•Fully open the air outlets on or under the
instrument panel.
•Adjust the Climate Control system to a setting
that circulates the air inside the vehicle and
set the fan speed to the highest setting.
See Climate Control System in the Index.
For more information about carbon monoxide,
see Engine Exhaust on page 2-32.
Snow can trap exhaust gases under your vehicle.
This can cause deadly CO (carbon monoxide) gas
to get inside. CO could overcome you and kill you.
You cannot see it or smell it, so you might not
know it is in your vehicle. Clear away snow from
around the base of your vehicle, especially any
that is blocking the exhaust.
4-14

Run the engine for short periods only as needed to
keep warm, but be careful.
To save fuel, run the engine for only short periods as
needed to warm the vehicle and then shut the engine off
and close the window most of the way to save heat.
Repeat this until help arrives but only when you feel
really uncomfortable from the cold. Moving about
to keep warm also helps.
If it takes some time for help to arrive, now and then
when you run the engine, push the accelerator
pedal slightly so the engine runs faster than the idle
speed. This keeps the battery charged to restart
the vehicle and to signal for help with the headlamps.
Do this as little as possible to save fuel.
If Your Vehicle is Stuck in Sand,
Mud, Ice, or Snow
Slowly and cautiously spin the wheels to free the
vehicle when stuck in sand, mud, ice, or snow.
See Rocking Your Vehicle to Get It Out on page 4-16.
{CAUTION:
If you let your vehicle’s tires spin at high speed,
they can explode, and you or others could be
injured. The vehicle can overheat, causing an
engine compartment fire or other damage.
Spin the wheels as little as possible and avoid
going above 35 mph (55 km/h) as shown on the
speedometer.
For information about using tire chains on the vehicle,
see Tire Chains on page 5-68.
4-15

Rocking Your Vehicle to Get It Out
Turn the steering wheel left and right to clear the
area around the front wheels. Shift back and forth
between R (Reverse) and a forward gear, or with
a manual transmission, between 1 (First) or 2 (Second)
and R (Reverse), spinning the wheels as little as
possible. To prevent transmission wear, wait until the
wheels stop spinning before shifting gears. Release the
accelerator pedal while shifting, and press lightly on
the accelerator pedal when the transmission is in gear.
Slowly spinning the wheels in the forward and reverse
directions causes a rocking motion that could free
the vehicle. If that does not get the vehicle out after a
few tries, it might need to be towed out. If the vehicle
does need to be towed out, see Towing Your Vehicle
on page 4-24.
Loading the Vehicle
It is very important to know how much weight
your vehicle can carry. This weight is called the
vehicle capacity weight or maximum load amount
and includes the weight of all occupants, cargo,
and all nonfactory-installed options. Two labels on
your vehicle show how much weight it may
properly carry, the Tire and Loading Information
label and the Certification label.
{CAUTION:
Do not load the vehicle any heavier than the
Gross Vehicle Weight Rating (GVWR), or
either the maximum front or rear Gross Axle
Weight Rating (GAWR). If you do, parts on
the vehicle can break, and it can change
the way your vehicle handles. These could
cause you to lose control and crash.
Also, overloading can shorten the life of
the vehicle.
4-16

Tire and Loading Information
Label - United States
A vehicle specific Tire and Loading Information
label is attached to the vehicle’s center pillar
(B-pillar). With the driver’s door open, you will find
the label attached below the door lock post (striker).
The Tire and Loading Information label shows the
number of occupant seating positions (A), and the
maximum vehicle capacity weight (B) in kilograms
and pounds.
The Tire and Loading Information label also
shows the tire size of the original equipment
tires (C) and the recommended cold tire inflation
pressures (D). For more information on tires
and inflation see Tires on page 5-51 and
Inflation - Tire Pressure on page 5-57.
There is also important loading information on
the Certification label. See “Certification Label”
later in this section.
Steps for Determining Correct Load Limit
1. Locate the statement ‘‘The combined weight
of occupants and cargo should never exceed
XXX kg or XXX lbs’’ on your vehicle’s placard.
2. Determine the combined weight of the driver
and passengers that will be riding in your
vehicle.
3. Subtract the combined weight of the driver
and passengers from XXX kg or XXX lbs.
Label Example
4-17

4. The resulting figure equals the available
amount of cargo and luggage load capacity.
For example, if the “XXX” amount equals
1400 lbs and there will be five 150 lb
passengers in your vehicle, the amount of
available cargo and luggage load capacity is
650 lbs (1400 - 750 (5 x 150) = 650 lbs).
5. Determine the combined weight of luggage
and cargo being loaded on the vehicle. That
weight may not safely exceed the available
cargo and luggage load capacity calculated
in Step 4.
6. If your vehicle will be towing a trailer, the load
from your trailer will be transferred to your
vehicle. Consult this manual to determine how
this reduces the available cargo and luggage
load capacity of your vehicle.
Your vehicle is neither designed nor intended to
tow a trailer.
Item Description Total
AVehicle Capacity Weight
for Example 1 =
1,000 lbs
(453 kg)
BSubtract Occupant
Weight 150 lbs
(68 kg) ×2=
300 lbs
(136 kg)
CAvailable Occupant
and Cargo Weight =
700 lbs
(317 kg)
Example 1
4-18

Item Description Total
AVehicle Capacity Weight
for Example 2 =
1,000 lbs
(453 kg)
BSubtract Occupant
Weight 150 lbs
(68 kg) ×5=
750 lbs
(340 kg)
C Available Cargo Weight =250 lbs
(113 kg)
Item Description Total
AVehicle Capacity Weight
for Example 3 =
1,000 lbs
(453 kg)
BSubtract Occupant
Weight 200 lbs
(91 kg) ×5=
1,000 lbs
(453 kg)
C Available Cargo Weight =0 lbs
(0 kg)
Refer to your vehicle’s tire and loading
information label for specific information about
your vehicle’s capacity weight and seating
positions. The combined weight of the driver,
passenger, and cargo should never exceed your
vehicle’s capacity weight.
Example 2 Example 3
4-19

Tire and Loading Information
Label - Canada
A vehicle specific Tire and Loading Information
label is attached to the driver’s side, center
pillar (B-pillar). This label shows the Maximum
Load amount, the number of occupant seating
positions, the original equipment tires, and the
recommended cold tire inflation pressure.
For more information on tires and inflation see
Tires on page 5-51 and Inflation - Tire Pressure
on page 5-57.
There is also important loading information on
the Certification label. See “Certification Label”
later in this section.
Steps for Determining Correct Load Limit
1. Locate the “Maximum Load” amount.
2. Determine the combined weight of the driver
and passengers that will be riding in your
vehicle.
3. Subtract the combined weight of the driver
and passengers from the Maximum Load
amount.
4. The resulting figure equals the available
amount of cargo and luggage load capacity.
For example, if the Maximum Load amount
equals 1400 lbs (635 kg) and there will be
five 150 lb (68 kg) passengers in your vehicle,
the amount of available cargo and luggage
load capacity is 650 lbs (295 kg).
Label Example
4-20

5. Determine the combined weight of luggage
and cargo being loaded on the vehicle. That
weight may not safely exceed the available
cargo and luggage load capacity calculated
in Step 4.
6. If your vehicle will be towing a trailer, the load
from your trailer will be transferred to your
vehicle. Consult this manual to determine how
this reduces the available cargo and luggage
load capacity of your vehicle.
Your vehicle is not designed nor intended to tow
a trailer.
Item Description Total
AVehicle Capacity Weight
or Maximum Load
for Example 1 =
1,000 lbs
(453 kg)
BSubtract Occupant
Weight 150 lbs
(68 kg) ×2=
300 lbs
(136 kg)
CAvailable Occupant
and Cargo Weight =
700 lbs
(317 kg)
Example 1
4-21

Item Description Total
AVehicle Capacity Weight
or Maximum Load
for Example 2 =
1,000 lbs
(453 kg)
BSubtract Occupant
Weight 150 lbs
(68 kg) ×5=
750 lbs
(340 kg)
C Available Cargo Weight =250 lbs
(113 kg)
Item Description Total
AVehicle Capacity Weight
or Maximum Load
for Example 3 =
1,000 lbs
(453 kg)
BSubtract Occupant
Weight 200 lbs
(91kg) ×5=
1,000 lbs
(453 kg)
C Available Cargo Weight =0 lbs
(0 kg)
Refer to your vehicle’s Tire and Loading
Information label for specific information about
your vehicle’s capacity weight and seating
positions. The combined weight of the driver,
passengers, and cargo should never exceed your
vehicle’s maximum load weight.
Example 2 Example 3
4-22

Certification Label A vehicle specific Certification label is attached to
the center pillar (B-pillar), below the driver’s
door latch. This label tells you the gross weight
capacity of your vehicle, called the Gross Vehicle
Weight Rating (GVWR). The GVWR includes
the weight of the vehicle, all occupants, fuel and
cargo. Never exceed the GVWR for your vehicle,
or the Gross Axle Weight Rating (GAWR) for
either the front or rear axle.
And, if you do have a heavy load, you should
spread it out. See “Steps for Determining Correct
Load Limit” earlier in this section.
{CAUTION:
Do not load the vehicle any heavier than the
Gross Vehicle Weight Rating (GVWR), or
either the maximum front or rear Gross Axle
Weight Rating (GAWR). If you do, parts on the
vehicle can break, and it can change the way
your vehicle handles. These could cause you
to lose control and crash. Also, overloading
can shorten the life of the vehicle.
Notice:Overloading your vehicle may cause
damage. Repairs would not be covered by your
warranty. Do not overload your vehicle.
Label Example - United States
Label Example - Canada
4-23

If you put things inside your vehicle — like
suitcases, tools, packages, or anything else — they
will go as fast as the vehicle goes. If you have to
stop or turn quickly, or if there is a crash, they will
keep going.
{CAUTION:
Things you put inside your vehicle can strike
and injure people in a sudden stop or turn, or
in a crash.
•Put things in the cargo area of your
vehicle. Try to spread the weight evenly.
•Never stack heavier things, like suitcases,
inside the vehicle so that some of them
are above the tops of the seats.
•Do not leave an unsecured child restraint
in your vehicle.
•When you carry something inside the
vehicle, secure it whenever you can.
•Do not leave a seat folded down unless
you need to.
Towing
Towing Your Vehicle
To avoid damage, the disabled vehicle should be towed
with all four wheels off the ground. Consult your
dealer/retailer or a professional towing service if the
disabled vehicle must be towed. See Roadside
Assistance Program on page 7-7.
To tow the vehicle behind another vehicle for
recreational purposes, such as behind a motorhome,
see “Recreational Vehicle Towing” following.
Recreational Vehicle Towing
Recreational vehicle towing means towing the vehicle
behind another vehicle – such as behind a motorhome.
The two most common types of recreational vehicle
towing are known as dinghy towing and dolly towing.
Dinghy towing is towing the vehicle with all four wheels
on the ground. Dolly towing is towing the vehicle
with two wheels on the ground and two wheels up on a
device known as a dolly.
4-24

Here are some important things to consider before
recreational vehicle towing:
•What is the towing capacity of the towing vehicle?
Be sure to read the tow vehicle manufacturer’s
recommendations.
•What is the distance that will be travelled? Some
vehicles have restrictions on how far and how
long they can tow.
•Is the proper towing equipment going to be used?
See your dealer/retailer or trailering professional
for additional advice and equipment
recommendations.
•Is the vehicle ready to be towed? Just as preparing
the vehicle for a long trip, make sure the vehicle is
prepared to be towed. See Before Leaving on a
Long Trip on page 4-11.
Dinghy Towing
Notice: If the vehicle is towed with all four wheels
on the ground, the drivetrain components could
be damaged. The repairs would not be covered by
the vehicle warranty. Do not tow the vehicle with all
four wheels on the ground.
The vehicle was not designed to be towed with all
four wheels on the ground. If the vehicle must be
towed, a dolly should be used. See “Dolly Towing”
that follows for more information.
4-25

Dolly Towing From the Front
The vehicle can be towed from the front using a dolly.
To tow the vehicle using a dolly, follow these steps:
1. Attach the dolly to the tow vehicle following the
dolly manufacturer’s instructions.
2. Drive the front wheels onto the dolly.
3. Put an automatic transmission in P (Park) or a
manual transmission in N (Neutral).
4. Set the parking brake and remove the key.
5. For an automatic transmission, insert the key into
the shift-lock release slot and shift to N (Neutral).
See Shifting Out of Park on page 2-30.
6. Clamp the steering wheel in a straight-ahead
position with a clamping device designed for
towing.
7. Release the parking brake.
4-26

Dolly Towing From the Rear
Notice: Towing the vehicle from the rear with
the front wheels on the ground could cause
transmission damage. Do not tow the vehicle from
the rear with the front wheels on the ground.
Towing a Trailer
The vehicle is neither designed nor intended to tow
a trailer.
4-27

✍NOTES
4-28

Service ............................................................5-3
Accessories and Modifications ..........................5-3
California Proposition 65 Warning .....................5-4
California Perchlorate Materials Requirements .....5-4
Doing Your Own Service Work .........................5-4
Adding Equipment to the Outside of
the Vehicle .................................................5-5
Fuel ................................................................5-5
Gasoline Octane ............................................5-5
Gasoline Specifications ....................................5-5
California Fuel ...............................................5-6
Additives .......................................................5-6
Fuels in Foreign Countries ...............................5-7
Filling the Tank ..............................................5-8
Filling a Portable Fuel Container .....................5-11
Checking Things Under the Hood ....................5-11
Hood Release ..............................................5-12
Engine Compartment Overview .......................5-14
Engine Oil ...................................................5-16
Engine Oil Life System ..................................5-18
Engine Air Cleaner/Filter ................................5-19
Automatic Transmission Fluid .........................5-21
Manual Transmission Fluid .............................5-23
Hydraulic Clutch ...........................................5-23
Cooling System ............................................5-24
Engine Coolant .............................................5-25
Engine Overheating .......................................5-30
Power Steering Fluid .....................................5-32
Windshield Washer Fluid ................................5-33
Brakes ........................................................5-34
Battery ........................................................5-37
Jump Starting ...............................................5-38
Headlamp Aiming ...........................................5-43
Bulb Replacement ..........................................5-43
Halogen Bulbs ..............................................5-43
Headlamps ..................................................5-44
Front Turn Signal, Sidemarker and
Parking Lamps ..........................................5-45
Center High-Mounted Stoplamp (CHMSL)
(Hatchback) ..............................................5-47
Center High-Mounted Stoplamp (CHMSL)
(Sedan) ...................................................5-47
Taillamps, Turn Signal, Sidemarker,
Stoplamps and Back-up Lamps ...................5-48
License Plate Lamp ......................................5-49
Replacement Bulbs .......................................5-49
Windshield Wiper Blade Replacement ..............5-50
Tires ..............................................................5-51
Tire Sidewall Labeling ...................................5-52
Tire Terminology and Definitions .....................5-54
Inflation - Tire Pressure .................................5-57
Tire Pressure Monitor System .........................5-59
Section 5 Service and Appearance Care
5-1

Tire Pressure Monitor Operation .....................5-60
Tire Inspection and Rotation ...........................5-62
When It Is Time for New Tires .......................5-63
Buying New Tires .........................................5-64
Different Size Tires and Wheels ......................5-65
Uniform Tire Quality Grading ..........................5-66
Wheel Alignment and Tire Balance ..................5-67
Wheel Replacement ......................................5-67
Tire Chains ..................................................5-68
If a Tire Goes Flat ........................................5-69
Changing a Flat Tire .....................................5-70
Removing the Spare Tire and Tools ................5-71
Removing the Flat Tire and Installing the
Spare Tire ................................................5-73
Storing a Flat or Spare Tire and Tools ............5-78
Compact Spare Tire ......................................5-78
Appearance Care ............................................5-79
Interior Cleaning ...........................................5-79
Fabric/Carpet ...............................................5-80
Leather .......................................................5-81
Instrument Panel, Vinyl, and Other Plastic
Surfaces ..................................................5-81
Care of Safety Belts ......................................5-82
Weatherstrips ...............................................5-82
Washing Your Vehicle ...................................5-82
Cleaning Exterior Lamps/Lenses .....................5-83
Finish Care ..................................................5-83
Windshield and Wiper Blades .........................5-84
Aluminum Wheels .........................................5-84
Tires ...........................................................5-85
Sheet Metal Damage .....................................5-85
Finish Damage .............................................5-85
Underbody Maintenance ................................5-85
Chemical Paint Spotting .................................5-85
Vehicle Identification ......................................5-86
Vehicle Identification Number (VIN) .................5-86
Service Parts Identification Label .....................5-86
Electrical System ............................................5-86
Add-On Electrical Equipment ..........................5-86
Headlamp Wiring ..........................................5-87
Windshield Wiper Fuses ................................5-87
Power Windows and Other Power Options .......5-87
Fuses and Circuit Breakers ............................5-87
Instrument Panel Fuse Block ..........................5-88
Engine Compartment Fuse Block ....................5-89
Capacities and Specifications ..........................5-93
Section 5 Service and Appearance Care
5-2

Service
For service and parts needs, visit your dealer/retailer.
You will receive genuine GM parts and GM-trained and
supported service people.
Genuine GM parts have one of these marks:
Accessories and Modifications
When non-dealer/non-retailer accessories are added to
the vehicle, they can affect vehicle performance and
safety, including such things as airbags, braking,
stability, ride and handling, emissions systems,
aerodynamics, durability, and electronic systems like
antilock brakes, traction control, and stability control.
Some of these accessories could even cause
malfunction or damage not covered by the vehicle
warranty.
Damage to vehicle components resulting from the
installation or use of non-GM certified parts, including
control module modifications, are not covered under the
terms of the vehicle warranty and may affect remaining
warranty coverage for affected parts.
GM Accessories are designed to complement and
function with other systems on the vehicle. Your GM
dealer/retailer can accessorize the vehicle using genuine
GM Accessories. When you go to your GM dealer/retailer
and ask for GM Accessories, you will know that
GM-trained and supported service technicians will
perform the work using genuine GM Accessories.
Also, see Adding Equipment to Your Airbag-Equipped
Vehicle on page 1-74.
5-3

California Proposition 65 Warning
Most motor vehicles, including this one, contain and/or
emit chemicals known to the State of California to
cause cancer and birth defects or other reproductive
harm. Engine exhaust, many parts and systems
(including some inside the vehicle), many fluids, and
some component wear by-products contain and/or emit
these chemicals.
California Perchlorate Materials
Requirements
Certain types of automotive applications, such as airbag
initiators, seat belt pretensioners, and lithium batteries
contained in remote keyless transmitters, may contain
perchlorate materials. Special handling may be
necessary. For additional information, see
www.dtsc.ca.gov/hazardouswaste/perchlorate.
Doing Your Own Service Work
{CAUTION:
You can be injured and the vehicle could be
damaged if you try to do service work on a vehicle
without knowing enough about it.
•Be sure you have sufficient knowledge,
experience, the proper replacement parts,
and tools before attempting any vehicle
maintenance task.
•Be sure to use the proper nuts, bolts, and
other fasteners. English and metric fasteners
can be easily confused. If the wrong fasteners
are used, parts can later break or fall off. You
could be hurt.
If doing some of your own service work, use the proper
service manual. It tells you much more about how to
service the vehicle than this manual can. To order
the proper service manual, see Service Publications
Ordering Information on page 7-17.
5-4

This vehicle has an airbag system. Before attempting to
do your own service work, see Servicing Your
Airbag-Equipped Vehicle on page 1-73.
Keep a record with all parts receipts and list the mileage
and the date of any service work performed. See
Maintenance Record on page 6-17.
Adding Equipment to the Outside of
the Vehicle
Things added to the outside of the vehicle can affect the
airflow around it. This can cause wind noise and can
affect fuel economy and windshield washer performance.
Check with your dealer/retailer before adding equipment
to the outside of the vehicle.
Fuel
Use of the recommended fuel is an important part of the
proper maintenance of this vehicle. To help keep the
engine clean and maintain optimum vehicle performance,
we recommend the use of gasoline advertised as TOP
TIER Detergent Gasoline.
Gasoline Octane
Use regular unleaded gasoline with a posted octane
rating of 87 or higher. If the octane rating is less than 87,
you might notice an audible knocking noise when you
drive, commonly referred to as spark knock. If this
occurs, use a gasoline rated at 87 octane or higher as
soon as possible. If you are using gasoline rated at
87 octane or higher and you hear heavy knocking, the
engine needs service.
Gasoline Specifications
At a minimum, gasoline should meet ASTM specification
D 4814 in the United States or CAN/CGSB-3.5 or
3.511 in Canada. Some gasolines contain an
octane-enhancing additive called methylcyclopentadienyl
manganese tricarbonyl (MMT). We recommend
against the use of gasolines containing MMT. See
Additives on page 5-6 for additional information.
5-5

California Fuel
If the vehicle is certified to meet California Emissions
Standards, it is designed to operate on fuels that
meet California specifications. See the underhood
emission control label. If this fuel is not available
in states adopting California emissions standards, the
vehicle will operate satisfactorily on fuels meeting federal
specifications, but emission control system performance
might be affected. The malfunction indicator lamp
could turn on and the vehicle might fail a smog-check
test. See Malfunction Indicator Lamp on page 3-32.
If this occurs, return to your authorized dealer/retailer for
diagnosis. If it is determined that the condition is
caused by the type of fuel used, repairs might not be
covered by the vehicle warranty.
Additives
To provide cleaner air, all gasolines in the United States
are now required to contain additives that help prevent
engine and fuel system deposits from forming, allowing
the emission control system to work properly. In
most cases, you should not have to add anything to the
fuel. However, some gasolines contain only the
minimum amount of additive required to meet U.S.
Environmental Protection Agency regulations. To help
keep fuel injectors and intake valves clean, or if the
vehicle experiences problems due to dirty injectors or
valves, look for gasoline that is advertised as TOP TIER
Detergent Gasoline.
For customers who do not use TOP TIER Detergent
Gasoline regularly, one bottle of GM Fuel System
Treatment PLUS, added to the fuel tank at every
engine oil change, can help clean deposits from fuel
injectors and intake valves. GM Fuel System Treatment
PLUS is the only gasoline additive recommended by
General Motors.
5-6

Also, your dealer/retailer has additives that will help
correct and prevent most deposit-related problems.
Gasolines containing oxygenates, such as ethers and
ethanol, and reformulated gasolines might be available
in your area. We recommend that you use these
gasolines, if they comply with the specifications
described earlier. However, E85 (85% ethanol) and
other fuels containing more than 10% ethanol must
not be used in vehicles that were not designed for
those fuels.
Notice: This vehicle was not designed for fuel that
contains methanol. Do not use fuel containing
methanol. It can corrode metal parts in the fuel
system and also damage plastic and rubber parts.
That damage would not be covered under the
vehicle warranty.
Some gasolines that are not reformulated for low
emissions can contain an octane-enhancing additive
called methylcyclopentadienyl manganese tricarbonyl
(MMT); ask the attendant where you buy gasoline
whether the fuel contains MMT. We recommend against
the use of such gasolines. Fuels containing MMT can
reduce the life of spark plugs and the performance of the
emission control system could be affected. The
malfunction indicator lamp might turn on. If this occurs,
return to your dealer/retailer for service.
Fuels in Foreign Countries
If you plan on driving in another country outside the
United States or Canada, the proper fuel might be hard
to find. Never use leaded gasoline or any other fuel
not recommended in the previous text on fuel. Costly
repairs caused by use of improper fuel would not
be covered by the vehicle warranty.
To check the fuel availability, ask an auto club, or
contact a major oil company that does business in the
country where you will be driving.
5-7

Filling the Tank
{CAUTION:
Fuel vapor burns violently and a fuel fire can
cause bad injuries. To help avoid injuries to you
and others, read and follow all the instructions on
the pump island. Turn off the engine when you are
refueling. Do not smoke if you are near fuel or
refueling the vehicle. Do not use cellular phones.
Keep sparks, flames, and smoking materials away
from fuel. Do not leave the fuel pump unattended
when refueling the vehicle. This is against the law
in some places. Do not re-enter the vehicle while
pumping fuel. Keep children away from the fuel
pump; never let children pump fuel.
To open the fuel filler door,
pull up on the release
lever with this symbol on it.
It is located on the floor
on the outboard side of the
driver seat.
5-8

The tethered fuel cap is located behind a hinged fuel
door on the passenger side of the vehicle.
To remove the fuel cap, turn it slowly counterclockwise.
The fuel cap has a spring in it; if the cap is released
too soon, it will spring back to the right.
{CAUTION:
Fuel can spray out on you if you open the fuel cap
too quickly. If you spill fuel and then something
ignites it, you could be badly burned. This spray
can happen if the tank is nearly full, and is more
likely in hot weather. Open the fuel cap slowly and
wait for any hiss noise to stop. Then unscrew the
cap all the way.
Be careful not to spill fuel. Do not top off or overfill the
tank and wait a few seconds after you have finished
pumping before removing the nozzle. Clean fuel
from painted surfaces as soon as possible. See
Washing Your Vehicle on page 5-82.
Hatchback shown. Sedan similar
5-9

When replacing the fuel cap, turn it clockwise until it
clicks. Make sure the cap is fully installed. The
diagnostic system can determine if the fuel cap has
been left off or improperly installed. This would allow fuel
to evaporate into the atmosphere. See Malfunction
Indicator Lamp on page 3-32.
{CAUTION:
If a fire starts while you are refueling, do not
remove the nozzle. Shut off the flow of fuel by
shutting off the pump or by notifying the station
attendant. Leave the area immediately.
Notice: If a new fuel cap is needed, be sure to get
the right type. Your dealer/retailer can get one
for you. The wrong type might not fit properly. This
can cause the malfunction indicator lamp to light
and can damage the fuel tank and emissions
system. See Malfunction Indicator Lamp on
page 3-32.
5-10

Filling a Portable Fuel Container
{CAUTION:
Never fill a portable fuel container while it is in the
vehicle. Static electricity discharge from the
container can ignite the fuel vapor. You can be
badly burned and the vehicle damaged if this
occurs. To help avoid injury to you and others:
•Dispense fuel only into approved containers.
•Do not fill a container while it is inside a
vehicle, in a vehicle’s trunk, pickup bed, or on
any surface other than the ground.
•Bring the fill nozzle in contact with the inside
of the fill opening before operating the nozzle.
Contact should be maintained until the filling
is complete.
•Do not smoke while pumping fuel.
•Do not use a cellular phone while
pumping fuel.
Checking Things Under
the Hood
{CAUTION:
An electric fan under the hood can start up and
injure you even when the engine is not running.
Keep hands, clothing, and tools away from any
underhood electric fan.
{CAUTION:
Things that burn can get on hot engine parts and
start a fire. These include liquids like fuel, oil,
coolant, brake fluid, windshield washer and other
fluids, and plastic or rubber. You or others could
be burned. Be careful not to drop or spill things
that will burn onto a hot engine.
5-11

Hood Release
To open the hood:
1. Pull the hood release
handle inside the
vehicle. It is located on
the lower left side of
the instrument panel.
2. Then go to the front of the vehicle and lift up on the
secondary hood release lever, located under the
front center of the hood.
3. Lift the hood and release the hood prop from its
retainer located on the underside of the hood.
5-12

4. Securely place the hood prop into the slot on the
inner fender.
Before closing the hood, be sure all the filler caps are
on properly. Then lift the hood to relieve pressure on the
hood prop. Remove the hood prop from the slot in the
inner fender and return the prop to its retainer. Lower the
hood 12 inches (30 cm) above the vehicle and release
it so it fully latches. Check to make sure the hood is
closed and repeat the process if necessary.
5-13

Engine Compartment Overview
Automatic Transmission shown, Manual Transmission similar
5-14

A. Engine Air Cleaner/Filter on page 5-19.
B. Engine Oil Fill Cap. See “When to Add Engine Oil”
under Engine Oil on page 5-16.
C. Brake/Clutch Fluid Reservoir. See “Brake Fluid”
under Brakes on page 5-34 and Hydraulic Clutch on
page 5-23.
D. Engine Coolant Surge Tank. See Cooling System on
page 5-24.
E. Engine Compartment Fuse Block on page 5-89.
F. Battery on page 5-37.
G. Windshield Washer Fluid Reservoir. See “Adding
Washer Fluid” under Windshield Washer Fluid
on page 5-33.
H. Engine Oil Dipstick. See “Checking Engine Oil”
under Engine Oil on page 5-16.
I. Automatic Transmission Dipstick. See Automatic
Transmission Fluid on page 5-21.
J. Power Steering Fluid Reservoir. See Power Steering
Fluid on page 5-32.
5-15

Engine Oil
If the engine oil pressure
light comes on, check the
engine oil level right away.
The oil pressure light is on the instrument panel cluster.
See Oil Pressure Light on page 3-34. Check the
engine oil level regularly; this is an added reminder.
Checking Engine Oil
It is a good idea to check the engine oil level at each
fuel fill. In order to get an accurate reading, the oil must
be warm and the vehicle must be on level ground.
The engine oil dipstick handle is a yellow loop. See
Engine Compartment Overview on page 5-14 for
the location of the engine oil dipstick.
1. Turn off the engine and give the oil several minutes
to drain back into the oil pan. If this is not done, the
oil dipstick might not show the actual level.
2. Pull the dipstick and clean it with a paper towel or
cloth, then push it back in all the way. Remove it
again, keeping the tip down and check the level.
When to Add Engine Oil
If the oil is below the MIN (minimum) mark on the
dipstick, add at least one quart/liter of the recommended
oil. This section explains what kind of oil to use. For
engine oil crankcase capacity, see Capacities and
Specifications on page 5-93.
Notice: Do not add too much oil. If the engine has
so much oil that the oil level gets above the
upper mark that shows the proper operating range,
the engine could be damaged.
See Engine Compartment Overview on page 5-14 for
the location of the engine oil fill cap.
Add enough oil to put the level somewhere in the proper
operating range. Push the dipstick all the way back in
when through.
5-16

What Kind of Engine Oil to Use
Look for three things:
•GM6094M
Use only an oil that meets GM Standard GM6094M.
•SAE 5W-30
SAE 5W-30 is best for the vehicle. These numbers
on an oil container show its viscosity, or thickness.
Do not use other viscosity oils such as SAE 20W-50.
•American Petroleum Institute (API) starburst symbol
Oils meeting these
requirements should have
the starburst symbol on
the container. This symbol
indicates that the oil
has been certified by the
American Petroleum
Institute (API).
Notice: Use only engine oil identified as meeting
GM Standard GM6094M and showing the American
Petroleum Institute Certified For Gasoline Engines
starburst symbol. Failure to use the recommended
oil can result in engine damage not covered by
the vehicle warranty.
Cold Temperature Operation
If in an area of extreme cold, where the temperature
falls below −20°F (−29°C), use either an SAE 5W-30
synthetic oil or an SAE 0W-30 engine oil. Both provide
easier cold starting for the engine at extremely low
temperatures. Always use an oil that meets the required
specification, GM6094M. See “What Kind of Engine
Oil to Use” for more information.
5-17

Engine Oil Additives / Engine Oil
Flushes
Do not add anything to the oil. The recommended oils
with the starburst symbol that meet GM Standard
GM6094M are all that is needed for good performance
and engine protection.
Engine oil system flushes are not recommended and
could cause engine damage not covered by the vehicle
warranty.
Engine Oil Life System
When to Change Engine Oil
This vehicle has the Engine Oil Life System, a computer
system that indicates when to change the engine oil and
filter. This is based on engine revolutions and engine
temperature, and not on mileage. Based on driving
conditions, the mileage at which an oil change is
indicated can vary considerably. For the oil life system to
work properly, the system must be reset every time the oil
is changed.
When the system has calculated that oil life has been
diminished, it indicates that an oil change is necessary.
A change engine oil light displays. Change the oil as
soon as possible within the next 600 miles (1 000 km).
It is possible that, if driving under the best conditions, the
oil life system might not indicate that an oil change is
necessary for over a year. However, the engine oil and
filter must be changed at least once a year and at this
time the system must be reset. Your dealer/retailer has
trained service people who will perform this work using
genuine parts and reset the system. It is also important to
check the oil regularly and keep it at the proper level.
If the system is ever reset accidentally, the oil must be
changed at 3,000 miles (5 000 km) since the last oil
change. Remember to reset the oil life system whenever
the oil is changed.
How to Reset the Engine Oil Life
System
The Engine Oil Life System calculates when to change
your engine oil and filter based on vehicle use. Whenever
the oil is changed, reset the system so it can calculate
when the next oil change is required. If a situation occurs
where the oil is changed prior to a change engine oil light
being turned on, reset the system.
After changing the engine oil, the system must be reset:
1. With the engine off, turn the ignition key to ON/RUN.
2. Fully press and release the accelerator pedal slowly
three times within five seconds.
3. Turn the key to LOCK/OFF, then start the vehicle.
5-18

If the change engine oil light comes back on when the
vehicle is started, the engine oil life system has not
reset. Repeat the reset procedure.
What to Do with Used Oil
Used engine oil contains certain elements that can be
unhealthy for your skin and could even cause cancer.
Do not let used oil stay on your skin for very long. Clean
your skin and nails with soap and water, or a good
hand cleaner. Wash or properly dispose of clothing or
rags containing used engine oil. See the manufacturer’s
warnings about the use and disposal of oil products.
Used oil can be a threat to the environment. If you
change your own oil, be sure to drain all the oil from the
filter before disposal. Never dispose of oil by putting it
in the trash, pouring it on the ground, into sewers, or into
streams or bodies of water. Recycle it by taking it to a
place that collects used oil.
Engine Air Cleaner/Filter
The engine air cleaner/filter is located in the engine
compartment on the passenger side of the vehicle. See
Engine Compartment Overview on page 5-14 for
more information on location.
When to Inspect the Engine Air
Cleaner/Filter
Inspect the air cleaner/filter at the Maintenance II
intervals and replace it at the first oil change after each
50,000 mile (80 000 km) interval. See Scheduled
Maintenance on page 6-4 for more information. If you
are driving in dusty/dirty conditions, inspect the filter
at each engine oil change.
How to Inspect the Engine Air
Cleaner/Filter
To inspect the engine air cleaner/filter, remove the filter
from the vehicle and lightly shake the filter to release
loose dust and dirt. If the filter remains caked with dirt, a
new filter is required.
5-19

To inspect or replace the air cleaner/filter:
1. Remove the screws and lift off the cover.
2. Inspect or replace the engine air cleaner/filter.
3. Put the cover back on tightly and tighten the screws.
See Additional Required Services on page 6-6 for
replacement intervals.
{CAUTION:
Operating the engine with the air cleaner/filter off
can cause you or others to be burned. The air
cleaner not only cleans the air; it helps to stop
flames if the engine backfires. If it is not there and
the engine backfires, you could be burned. Do not
drive with it off, and be careful working on the
engine with the air cleaner/filter off.
Notice: If the air cleaner/filter is off, a backfire can
cause a damaging engine fire. And, dirt can
easily get into the engine, which will damage it.
Always have the air cleaner/filter in place when you
are driving.
5-20

Automatic Transmission Fluid
When to Check Automatic
Transmission Fluid
Check the automatic transmission fluid level at least
twice a year. Add fluid if needed. See Scheduled
Maintenance on page 6-4.
How to Check Automatic Transmission
Fluid
Because this operation can be a little difficult, you may
choose to have this done at the dealer/retailer service
department.
If you do it yourself, be sure to follow all the instructions
here, or you could get a false reading on the dipstick.
Notice: Too much or too little fluid can damage
your transmission. Too much can mean that some
of the fluid could come out and fall on hot engine
parts or exhaust system parts, starting a fire.
Too little fluid could cause the transmission to
overheat. Be sure to get an accurate reading if you
check your transmission fluid.
Wait at least 30 minutes before checking the
transmission fluid level if you have been driving:
•When outside temperatures are above 90°F (32°C).
•At high speed for quite a while.
•In heavy traffic — especially in hot weather.
To get the right reading, the fluid should be at normal
operating temperature, which is 158°F to 176°F
(70°C to 80°C).
Get the vehicle warmed up by driving about 15 miles
(24 km) when outside temperatures are above 50°F
(10°C). If it is colder than 50°F (10°C), you may have to
drive longer.
Checking the Fluid Level
Prepare the vehicle as follows:
1. Park the vehicle on a level place. Keep the engine
running.
2. With the parking brake applied, place the shift lever
in P (Park).
3. With your foot on the brake pedal, move the shift
lever through each gear range, pausing for about
three seconds in each range. Then, position
the shift lever in P (Park).
4. Let the engine run at idle for three to five minutes.
5-21

Then, without shutting off the engine, follow these steps:
1. Locate the automatic transmission dipstick which
is located toward the front of the engine
compartment, near the power steering fluid
reservoir.
See Engine Compartment Overview on page 5-14
for more information on location.
2. Pull out the dipstick and wipe it with a clean rag or
paper towel.
3. Push the dipstick back in all the way, wait three
seconds, and then pull it back out again.
4. Check both sides of the dipstick. The fluid should
be between MIN (A) and MAX (B) mark of the hot
area of the dipstick.
5. If the fluid level is in the acceptable range, push the
dipstick back in all the way.
How to Add Automatic Transmission
Fluid
Refer to the Maintenance Schedule to determine what
kind of transmission fluid to use. See Recommended
Fluids and Lubricants on page 6-13.
If the fluid level is low, add only enough of the proper
fluid to bring the level into the area between the
two dimples in the hot range on the dipstick.
1. Pull out the dipstick.
2. Using a long-neck funnel, add enough fluid at the
dipstick hole to bring it to the proper level.
It does not take much fluid, generally less than one
pint (0.5 L). Do not overfill.
Notice: Use of the incorrect automatic transmission
fluid may damage the vehicle, and the damages
may not be covered by the vehicle’s warranty.
Always use the automatic transmission fluid listed
in Recommended Fluids and Lubricants on
page 6-13.
3. After adding fluid, recheck the fluid level as
described under “How to Check Automatic
Transmission Fluid” earlier in this section.
4. When the correct fluid level is obtained, push the
dipstick back in all the way.
5-22

Manual Transmission Fluid
It is not necessary to check the transmission fluid level.
A transmission fluid leak is the only reason for fluid
loss. If a leak occurs, take the vehicle to the
dealer/retailer service department and have it repaired
as soon as possible. See Recommended Fluids
and Lubricants on page 6-13 for the proper fluid to use.
Hydraulic Clutch
There is one reservoir for both the brake and the
hydraulic clutch fluid. See Brakes on page 5-34 for more
information.
The hydraulic clutch linkage in the vehicle is
self-adjusting. The master cylinder reservoir is filled
with hydraulic fluid.
A fluid loss in this system could indicate a problem.
Have the system inspected and repaired.
When to Check and What to Use
Refer to the Maintenance Schedule to determine how
often to check the fluid level in the master cylinder
reservoir and for the proper fluid. See Owner Checks
and Services on page 6-9 and Recommended
Fluids and Lubricants on page 6-13.
How to Check and Add Fluid
The reservoir is located near the back of the engine
compartment on the driver side of the vehicle. See
Engine Compartment Overview on page 5-14 for more
information on location.
To check the fluid level, look on the side of the reservoir.
If the fluid reaches the MAX (A) mark on the reservoir,
the fluid level is correct. If the fluid does not reach
the MIN (B) mark on the reservoir, then fluid needs to
be added.
5-23

Cooling System
The cooling system allows the engine to maintain the
correct working temperature.
A. Electric Engine Cooling Fan
B. Coolant Surge Tank with Pressure Cap
{CAUTION:
An electric engine cooling fan under the hood can
start up even when the engine is not running and
can cause injury. Keep hands, clothing, and tools
away from any underhood electric fan.
5-24

{CAUTION:
Heater and radiator hoses, and other engine parts,
can be very hot. Do not touch them. If you do, you
can be burned.
Do not run the engine if there is a leak. If you run
the engine, it could lose all coolant. That could
cause an engine fire, and you could be burned.
Get any leak fixed before you drive the vehicle.
Notice: Using coolant other than DEX-COOL
®
can
cause premature engine, heater core, or radiator
corrosion. In addition, the engine coolant may
require changing sooner, at the first maintenance
service after each 30,000 miles (50 000 km) or
24 months, whichever occurs first. Any repairs
would not be covered by the vehicle warranty.
Always use DEX-COOL
®
(silicate-free) coolant in
the vehicle.
Engine Coolant
The cooling system in the vehicle is filled with
DEX-COOL
®
engine coolant. This coolant is designed to
remain in the vehicle for five years or 150,000 miles
(240 000 km), whichever occurs first.
The following explains the cooling system and how to
check and add coolant when it is low. If there is a
problem with engine overheating, see Engine
Overheating on page 5-30.
5-25

What to Use
{CAUTION:
Adding only plain water to the cooling system can
be dangerous. Plain water, or some other liquid
such as alcohol, can boil before the proper coolant
mixture will. The vehicle’s coolant warning system
is set for the proper coolant mixture. With plain
water or the wrong mixture, the engine could get
too hot but you would not get the overheat
warning. The engine could catch fire and you or
others could be burned. Use a 50/50 mixture of
clean, drinkable water and DEX-COOL
®
coolant.
Use a 50/50 mixture of clean, drinkable water and
DEX-COOL
®
coolant. If using this mixture, nothing else
needs to be added. This mixture:
•Gives freezing protection down to −34°F (−37°C),
outside temperature.
•Gives boiling protection up to 265°F (129°C), engine
temperature.
•Protects against rust and corrosion.
•Will not damage aluminum parts.
•Helps keep the proper engine temperature.
Notice: If an improper coolant mixture is used,
the engine could overheat and be badly damaged.
The repair cost would not be covered by the vehicle
warranty. Too much water in the mixture can freeze
and crack the engine, radiator, heater core, and
other parts.
Notice: If extra inhibitors and/or additives are used
in the vehicle’s cooling system, the vehicle could be
damaged. Use only the proper mixture of the engine
coolant listed in this manual for the cooling system.
See Recommended Fluids and Lubricants on
page 6-13 for more information.
Checking Coolant
The vehicle must be on a level surface when checking the
coolant level.
Check to see if coolant is visible in the coolant surge tank.
If the coolant inside the coolant surge tank is boiling, do
not do anything else until it cools down. If coolant is
visible but the coolant level is not between the Minimum
and Maximum marks, add a 50/50 mixture of clean,
drinkable water and DEX-COOL
®
coolant at the coolant
surge tank, but be sure the cooling system is cool before
this is done. See Engine Coolant on page 5-25 for more
information.
5-26

The engine coolant surge tank is located in the rear of
the engine compartment on the driver side of the
vehicle. See Engine Compartment Overview on
page 5-14 for more information on location.
{CAUTION:
Turning the surge tank pressure cap when the
engine and radiator are hot can allow steam and
scalding liquids to blow out and burn you badly.
Never turn the surge tank pressure cap — even a
little — when the engine and radiator are hot.
When the engine is cold, the coolant level should be
between the Maximum (A) and Minimum (B) marks on
the coolant surge tank. The level rises at engine
operation temperature and drops again when the engine
cools down.
The coolant should be between the Maximum (A) and
Minimum (B) marks, when the engine is cold. If it is not,
there could be a leak in the cooling system.
5-27

How to Add Coolant to the Coolant
Surge Tank
{CAUTION:
You can be burned if you spill coolant on hot
engine parts. Coolant contains ethylene glycol and
it will burn if the engine parts are hot enough. Do
not spill coolant on a hot engine.
Notice: This vehicle has a specific coolant fill
procedure. Failure to follow this procedure could
cause the engine to overheat and be severely
damaged.
{CAUTION:
An electric engine cooling fan under the hood can
start up even when the engine is not running and
can cause injury. Keep hands, clothing, and tools
away from any underhood electric fan.
{CAUTION:
Steam and scalding liquids from a hot cooling
system can blow out and burn you badly. They are
under pressure, and if you turn the surge tank
pressure cap — even a little — they can come out
at high speed. Never turn the cap when the
cooling system, including the surge tank pressure
cap, is hot. Wait for the cooling system and surge
tank pressure cap to cool if you ever have to turn
the pressure cap.
If no coolant is visible in the surge tank, add coolant as
follows:
1. Remove the coolant surge tank pressure cap when
the cooling system, including the coolant surge tank
pressure cap and upper radiator hose, is no longer
hot. Turn the pressure cap slowly counterclockwise
about two or two and one-half turns.
If you hear a hiss, wait for that to stop. This will
allow any pressure still left to be vented out
the discharge hose.
5-28

2. Then keep turning the pressure cap slowly and
remove it. 3. Fill the coolant surge tank with the proper mixture
to the Maximum mark on the coolant surge tank.
Wait about five minutes, then check to see if
the level is below the mark. If the level is below the
Maximum mark, add additional coolant to bring
the level up to the mark.
Repeat this procedure until the level remains
constant at the Maximum mark for at least
five minutes.
5-29

4. With the coolant surge tank pressure cap off, start
the engine and let it run until you can feel the upper
radiator hose getting hot. Watch out for the
engine cooling fan.
By this time, the coolant level inside the coolant
surge tank may be lower. If the level is lower than
the Maximum mark, add more of the proper mixture
to the coolant surge tank until the level reaches
the mark.
5. Replace the pressure cap. Be sure the pressure
cap is hand-tight and fully seated.
Notice: If the pressure cap is not tightly installed,
coolant loss and possible engine damage may
occur. Be sure the cap is properly and tightly
secured.
Engine Overheating
The vehicle has an indicator to warn of the engine
overheating.
There is a coolant temperature gage on the instrument
panel cluster. See Engine Coolant Temperature
Gage on page 3-31.
You may decide not to lift the hood when this warning
appears, but instead get service help right away.
See Roadside Assistance Program on page 7-7.
If you do decide to lift the hood, make sure the vehicle
is parked on a level surface.
Then check to see if the engine cooling fan is running.
If the engine is overheating, the fan should be
running. If it is not, do not continue to run the engine
and have the vehicle serviced.
Notice: Engine damage from running the engine
without coolant is not covered by the warranty.
Notice: If the engine catches fire because of being
driven with no coolant, your vehicle can be badly
damaged. The costly repairs would not be covered
by the vehicle warranty.
5-30

If Steam Is Coming From The Engine
Compartment
{CAUTION:
Steam from an overheated engine can burn you
badly, even if you just open the hood. Stay away
from the engine if you see or hear steam coming
from it. Just turn it off and get everyone away from
the vehicle until it cools down. Wait until there is no
sign of steam or coolant before you open the hood.
If you keep driving when your engine is overheated,
the liquids in it can catch fire. You or others could
be badly burned. Stop your engine if it overheats,
and get out of the vehicle until the engine is cool.
If No Steam Is Coming From The
Engine Compartment
If an engine overheat warning is displayed but no steam
can be seen or heard, the problem may not be too
serious. Sometimes the engine can get a little too hot
when the vehicle:
•Climbs a long hill on a hot day.
•Stops after high-speed driving.
•Idles for long periods in traffic.
If the overheat warning is displayed with no sign of
steam:
1. Turn the air conditioning off.
2. Turn the heater on to the highest temperature and
to the highest fan speed. Open the windows as
necessary.
3. If in a traffic jam, let the engine idle in N (Neutral)
while stopped. If it is safe to do so, pull off the
road, shift to P (Park) or N (Neutral) and let
the engine idle.
If the temperature overheat gage is no longer in the
overheat zone or an overheat warning no longer displays,
the vehicle can be driven. Continue to drive the vehicle
slow for about 10 minutes. Keep a safe vehicle distance
from the car in front of you. If the warning does not come
back on, continue to drive normally.
5-31

If the warning continues, pull over, stop, and park the
vehicle right away.
If there is no sign of steam, idle the engine for
three minutes while parked. If the warning is still
displayed, turn off the engine until it cools down.
Power Steering Fluid
When to Check Power Steering Fluid
The power steering fluid reservoir is located toward the
front of the engine compartment on the driver’s side
of the vehicle. See Engine Compartment Overview on
page 5-14 for reservoir location.
It is not necessary to regularly check power steering
fluid unless you suspect there is a leak in the system or
you hear an unusual noise. A fluid loss in this system
could indicate a problem. Have the system inspected
and repaired.
How to Check Power Steering Fluid
Turn the key off and let the engine compartment
cool down.
The level should be between the MIN (B) and MAX (A)
marks on the reservoir. If the level drops below the
MIN (B) mark, add power steering fluid. Do not overfill the
reservoir and remember to replace the cap tightly when
you are finished and clean up any spilled fluid.
5-32

What to Use
To determine what kind of fluid to use, see
Recommended Fluids and Lubricants on page 6-13.
Always use the proper fluid. Failure to use the proper
fluid can cause leaks and damage hoses and seals.
Windshield Washer Fluid
What to Use
When you need windshield washer fluid, be sure to read
the manufacturer’s instructions before use. If you will be
operating your vehicle in an area where the temperature
may fall below freezing, use a fluid that has sufficient
protection against freezing.
Adding Washer Fluid
Open the cap with the
washer symbol on it.
Add washer fluid until the
tank is full. See Engine
Compartment Overview on
page 5-14 for reservoir
location.
Notice:
•When using concentrated washer fluid, follow
the manufacturer’s instructions for adding
water.
•Do not mix water with ready-to-use washer fluid.
Water can cause the solution to freeze and
damage your washer fluid tank and other parts
of the washer system. Also, water does not
clean as well as washer fluid.
•Fill the washer fluid tank only three-quarters full
when it is very cold. This allows for fluid
expansion if freezing occurs, which could
damage the tank if it is completely full.
•Do not use engine coolant (antifreeze) in your
windshield washer. It can damage the vehicle’s
windshield washer system and paint.
5-33

Brakes
Brake Fluid
The vehicle has one
reservoir for both the brake
and clutch hydraulic
systems. It is filled with
DOT-3 brake fluid.
See Engine Compartment Overview on page 5-14 for
the location of the reservoir.
There are only two reasons why the brake fluid level in
the reservoir might go down:
•The brake fluid level goes down because of normal
brake lining wear. When new linings are installed,
the fluid level goes back up.
•A fluid leak in the brake or clutch hydraulic system
can also cause a low fluid level. Have the brake or
clutch hydraulic system fixed, since a leak means
that sooner or later the brakes will not work well.
Do not top off the brake fluid. Adding brake fluid does
not correct a leak. If fluid is added when the linings are
worn, there will be too much fluid when new brake
linings are installed. Add or remove fluid, as necessary,
only when work is done on the brake or clutch
hydraulic system.
{CAUTION:
If too much brake fluid is added, it can spill on the
engine and burn, if the engine is hot enough. You
or others could be burned, and the vehicle could
be damaged. Add brake fluid only when work is
done on the brake and/or clutch hydraulic system.
When the brake fluid falls to a low level, the brake
warning light comes on. See Brake System Warning
Light on page 3-28.
5-34

What to Add
Use only new DOT-3 brake fluid from a sealed
container. See Recommended Fluids and Lubricants on
page 6-13.
Always clean the brake fluid reservoir cap and the area
around the cap before removing it. This helps keep
dirt from entering the reservoir.
{CAUTION:
With the wrong kind of fluid in the brake or clutch
hydraulic system, the brakes or clutch might not
work well. This could cause a crash. Always use
the proper brake fluid.
Notice:
•Using the wrong fluid can badly damage brake
or clutch hydraulic system parts. For example,
just a few drops of mineral-based oil, such
as engine oil, in the brake or clutch hydraulic
system can damage brake or clutch hydraulic
system parts so badly that they will have
to be replaced. Do not let someone put in the
wrong kind of fluid.
•If brake fluid is spilled on the vehicle’s painted
surfaces, the paint finish can be damaged. Be
careful not to spill brake fluid on the vehicle.
If you do, wash it off immediately. See Washing
Your Vehicle on page 5-82.
5-35

Brake Wear
This vehicle has front disc brakes and could have rear
drum brakes or rear disc brakes.
Disc brake pads have built-in wear indicators that make a
high-pitched warning sound when the brake pads are
worn and new pads are needed. The sound can come
and go or be heard all the time the vehicle is moving,
except when applying the brake pedal firmly.
{CAUTION:
The brake wear warning sound means that soon the
brakes will not work well. That could lead to an
accident. When the brake wear warning sound is
heard, have the vehicle serviced.
Notice: Continuing to drive with worn-out brake
pads could result in costly brake repair.
Some driving conditions or climates can cause a brake
squeal when the brakes are first applied or lightly applied.
This does not mean something is wrong with the brakes.
Properly torqued wheel nuts are necessary to help
prevent brake pulsation. When tires are rotated, inspect
brake pads for wear and evenly tighten wheel nuts in the
proper sequence to torque specifications in Capacities
and Specifications on page 5-93.
If the vehicle has rear drum brakes, they do not have
wear indicators, but if a rear brake rubbing noise is
heard, have the rear brake linings inspected
immediately. Rear brake drums should be removed and
inspected each time the tires are removed for rotation
or changing. When the front brake pads are replaced,
have the rear brakes inspected, too.
Brake linings should always be replaced as complete
axle sets.
Brake Pedal Travel
See your dealer/retailer if the brake pedal does not
return to normal height, or if there is a rapid increase in
pedal travel. This could be a sign that brake service
might be required.
Brake Adjustment
Every moderate brake stop, the disc brakes adjust for
wear. If rarely making moderate or heavier brake stops,
the brakes might not adjust correctly. Very carefully
making a few moderate brake stops about every
1,000 miles (1 600 km) will adjust the brakes properly.
If the vehicle has rear drum brakes and the brake pedal
goes down farther than normal, the rear drum brakes
might need adjustment. Adjust them by backing up and
firmly applying the brakes a few times.
5-36

Replacing Brake System Parts
The braking system on a vehicle is complex. Its many
parts have to be of top quality and work well together if
the vehicle is to have really good braking. The vehicle
was designed and tested with top-quality brake parts.
When parts of the braking system are replaced — for
example, when the brake linings wear down and new
ones are installed — be sure to get new approved
replacement parts. If this is not done, the brakes might
not work properly. For example, if someone puts in brake
linings that are wrong for the vehicle, the balance
between the front and rear brakes can change — for the
worse. The braking performance expected can change in
many other ways if the wrong replacement brake parts
are installed.
Battery
This vehicle has a maintenance free battery. When it is
time for a new battery, see your dealer/retailer for
one that has the replacement number shown on the
original battery’s label. See Engine Compartment
Overview on page 5-14 for battery location.
Warning: Battery posts, terminals, and related
accessories contain lead and lead compounds,
chemicals known to the State of California to cause
cancer and reproductive harm. Wash hands after
handling.
Vehicle Storage
{CAUTION:
Batteries have acid that can burn you and gas that
can explode. You can be badly hurt if you are not
careful. See Jump Starting on page 5-38 for tips
on working around a battery without getting hurt.
Infrequent Usage: If the vehicle is driven infrequently,
remove the black, negative (−) cable from the battery.
This helps keep the battery from running down.
Extended Storage: For extended storage of the vehicle,
remove the black, negative (−) cable from the battery or
use a battery trickle charger. This helps maintain the
charge of the battery over an extended period of time.
5-37

Jump Starting
If the vehicle’s battery has run down, you may want to
use another vehicle and some jumper cables to start
your vehicle. Be sure to use the following steps to do it
safely.
{CAUTION:
Batteries can hurt you. They can be dangerous
because:
•They contain acid that can burn you.
•They contain gas that can explode or ignite.
•They contain enough electricity to burn you.
If you do not follow these steps exactly, some or
all of these things can hurt you.
Notice: Ignoring these steps could result in costly
damage to the vehicle that would not be covered
by the warranty.
Trying to start the vehicle by pushing or pulling it
will not work, and it could damage the vehicle.
1. Check the other vehicle. It must have a 12-volt
battery with a negative ground system.
Notice: If the other vehicle’s system is not a 12-volt
system with a negative ground, both vehicles can
be damaged. Only use vehicles with 12-volt systems
with negative grounds to jump start your vehicle.
2. Get the vehicles close enough so the jumper cables
can reach, but be sure the vehicles are not touching
each other. If they are, it could cause a ground
connection you do not want. You would not be able
to start your vehicle, and the bad grounding
could damage the electrical systems.
To avoid the possibility of the vehicles rolling, set
the parking brake firmly on both vehicles involved in
the jump start procedure. Put an automatic
transmission in P (Park) or a manual transmission
in N (Neutral) before setting the parking brake.
5-38

Notice: If you leave the radio or other accessories
on during the jump starting procedure, they could be
damaged. The repairs would not be covered by the
warranty. Always turn off the radio and other
accessories when jump starting the vehicle.
3. Turn off the ignition on both vehicles. Unplug
unnecessary accessories plugged into the cigarette
lighter or the accessory power outlet. Turn off
the radio and all lamps that are not needed. This
will avoid sparks and help save both batteries.
And it could save the radio!
4. Open the hoods and locate the batteries. Find the
positive (+) and negative (−) terminal locations on
each vehicle. See Engine Compartment Overview
on page 5-14 for more information on location.
{CAUTION:
An electric fan can start up even when the engine
is not running and can injure you. Keep hands,
clothing and tools away from any underhood
electric fan.
{CAUTION:
Using a match near a battery can cause battery
gas to explode. People have been hurt doing this,
and some have been blinded. Use a flashlight if
you need more light.
Be sure the battery has enough water. You do not
need to add water to the battery installed in your
new vehicle. But if a battery has filler caps, be
sure the right amount of fluid is there. If it is low,
add water to take care of that first. If you don’t,
explosive gas could be present.
Battery fluid contains acid that can burn you. Do
not get it on you. If you accidentally get it in your
eyes or on your skin, flush the place with water
and get medical help immediately.
5-39

{CAUTION:
Fans or other moving engine parts can injure you
badly. Keep your hands away from moving parts
once the engine is running.
5. Check that the jumper cables do not have loose or
missing insulation. If they do, you could get a
shock. The vehicles could be damaged too.
Before you connect the cables, here are some things
you should know. Positive (+) will go to positive (+) or
to a remote positive (+) terminal if the vehicle has
one. Negative (−) will go to a heavy, unpainted metal
engine part or to a remote negative (−) terminal if the
vehicle has one.
Do not connect positive (+) to negative (−)oryou
will get a short that would damage the battery
and maybe other parts too. And do not connect the
negative (−) cable to the negative (−) terminal on
the dead battery because this can cause sparks.
6. Connect the red positive (+) cable to the positive (+)
terminal of the dead battery. Use a remote
positive (+) terminal if the vehicle has one.
5-40

7. Do not let the other end touch metal. Connect it to
the positive (+) terminal of the good battery. Use a
remote positive (+) terminal if the vehicle has one.
8. Now connect the black negative (−) cable to the
negative (−) terminal of the good battery. Use a
remote negative (−) terminal if the vehicle has one.
Do not let the other end touch anything until the
next step. The other end of the negative (−) cable
does not go to the dead battery. It goes to a
heavy, unpainted metal engine part or to a remote
negative (−) terminal on the vehicle with the
dead battery.
5-41

9. Connect the other end of the negative (−) cable at
least 18 inches (45 cm) away from the dead battery,
but not near engine parts that move.
The electrical connection is just as good there, and
the chance of sparks getting back to the battery
is much less.
10. Now start the vehicle with the good battery and run
the engine for a while.
11. Try to start the vehicle that had the dead battery.
If it will not start after a few tries, it probably needs
service.
Notice: If the jumper cables are connected or
removed in the wrong order, electrical shorting may
occur and damage the vehicle. The repairs would
not be covered by the vehicle warranty. Always
connect and remove the jumper cables in the correct
order, making sure that the cables do not touch
each other or other metal.
A. Heavy, Unpainted Metal Engine Part or Remote
Negative (–) Terminal
B. Good Battery or Remote Positive (+) and Remote
Negative (−) Terminals
C. Dead Battery or Remote Positive (+) Terminal
Jumper Cable Removal
5-42

To disconnect the jumper cables from both vehicles, do
the following:
1. Disconnect the black negative (−) cable from the
vehicle that had the dead battery.
2. Disconnect the black negative (−) cable from the
vehicle with the good battery.
3. Disconnect the red positive (+) cable from the
vehicle with the good battery.
4. Disconnect the red positive (+) cable from the other
vehicle.
Headlamp Aiming
Headlamp aim has been preset at the factory and
should need no further adjustment.
However, if your vehicle is damaged in a crash, the
headlamp aim may be affected. Aim adjustment to the
low-beam headlamps may be necessary if oncoming
drivers flash their high-beam headlamps at you
(for vertical aim).
If the headlamps need to be re-aimed, it is recommended
that you take the vehicle to your dealer/retailer for
service.
Bulb Replacement
For the proper type of replacement bulbs, see
Replacement Bulbs on page 5-49.
For any bulb changing procedure not listed in this
section, contact your dealer/retailer.
Halogen Bulbs
{CAUTION:
Halogen bulbs have pressurized gas inside and
can burst if you drop or scratch the bulb. You or
others could be injured. Be sure to read and follow
the instructions on the bulb package.
5-43

Headlamps
To replace a headlamp bulb:
1. Open the hood. See Hood Release on page 5-12.
2. Remove the three bolts to remove the headlamp
assembly.
3. Disconnect the wiring harness connector from the
rear of the bulb.
4. Remove the headlamp cap.
5. Release the spring that retains the bulb by
loosening the screw.
6. Remove the old bulb and install the new bulb.
7. Install the bulb retaining spring and tighten
the screw.
8. Reinstall the headlamp cap.
9. Reconnect the wiring harness at the rear of
the bulb.
5-44

10. Reinstall the headlamp assembly using the
three bolts.
Front Turn Signal, Sidemarker and
Parking Lamps
To replace a front turn signal or parking lamp bulb:
1. Open the hood. See Hood Release on page 5-12
for more information.
2. Remove the three bolts to remove the headlamp
assembly.
3. Disconnect the wiring harness connector from the
rear of the bulb.
5-45

4. Turn the front turn signal bulb socket
counterclockwise.
5. Pull the front turn signal bulb socket out of the lamp
housing.
6. Press the bulb inward and turn it counterclockwise
to remove it from the bulb socket.
7. Install the new bulb into the socket by pressing it in
and turning it clockwise.
8. Install the socket into the lamp housing by turning it
clockwise.
9. Reconnect the wiring harness connector at the rear
of the bulb.
10. Reinstall the headlamp assembly using the
three bolts.
5-46

Center High-Mounted Stoplamp
(CHMSL) (Hatchback)
To replace a CHMSL bulb on the hatchback:
1. Open the liftgate. See Liftgate (Hatchback) on
page 2-10 for more information.
2. Pull down on the lamp assembly while holding the
end of the bracket.
3. Remove the lens cover using a flat head
screwdriver.
4. Remove the bulb by pulling it straight out of the
bulb holder.
5. Install the new bulb.
6. Reverse Steps 1 through 3 to reinstall.
Center High-Mounted Stoplamp
(CHMSL) (Sedan)
To replace a CHMSL bulb on the sedan:
1. Open the trunk. See Trunk (Sedan) on page 2-8 for
more information.
2. Remove the two screws and the lamp housing.
Disconnect the wiring harness connector before
removing the lamp housing.
3. Remove the five screws and the reflector assembly.
4. Remove the bulb by pulling it straight out of the
bulb holder.
5. Install the new bulb.
6. Reverse Steps 1 through 3 to reinstall.
5-47

Taillamps, Turn Signal, Sidemarker,
Stoplamps and Back-up Lamps
To replace a taillamp, turn signal lamp, stoplamp, or
back-up bulb:
1. Open the liftgate or trunk. See Liftgate (Hatchback)
on page 2-10 or Trunk (Sedan) on page 2-8.
2. Remove the two screws and the lamp assembly.
3. Turn the bulb socket counterclockwise and remove
the socket.
4. Press the bulb in and turn counterclockwise to
remove from the socket.
5. Press the new bulb in and turn clockwise to install
the bulb into the socket.
6. Turn the bulb socket clockwise to reinstall.
7. Reinstall the lamp assembly and two screws.
Hatchback
Sedan
5-48

License Plate Lamp
To replace one of these bulbs:
1. Remove the two screws holding each of the license
plate lamps.
2. Turn and pull the license plate lamp toward you
through the opening.
3. Turn the bulb socket counterclockwise and pull the
bulb straight out of the socket.
4. Install the new bulb.
5. Push the bulb straight into the socket and turn
clockwise to reinstall.
6. Push and turn the license plate lamp away from
you through the opening.
7. Reinstall the two screws holding the license
plate lamp.
Replacement Bulbs
Exterior Lamp Bulb Number
Back-Up Lamps 94535571
Center High-Mounted Stoplamp
(CHMSL) 94535587
Front Parking/Turn Signal Lamps 94535578
Front Sidemarker Lamps 94535578
Headlamps 94535548
License Plate Lamp 94535587
Rear Sidemarker Lamps 94535577
Rear Turn Signal Lamps 94535572
Stoplamp/Taillamps 94535577
For replacement bulbs not listed here, contact your
dealer/retailer.
5-49

Windshield Wiper Blade
Replacement
Windshield wiper blades should be inspected for wear
or cracking. See “Wiper Blade Check” for more
information.
Replacement blades come in different types and are
removed in different ways. For the proper type,
see Maintenance Replacement Parts on page 6-15.
Here is how to remove and replace the windshield wiper
blade:
1. Pull the windshield wiper arm away from the
windshield.
2. Press the retaining clip (A) and pull the wiper blade
off the arm.
3. Install a new blade by reversing Steps 1 and 2.
5-50

Tires
Your new vehicle comes with high-quality tires
made by a leading tire manufacturer. If you ever
have questions about your tire warranty and where
to obtain service, see your vehicle Warranty
booklet for details. For additional information refer
to the tire manufacturer.
{CAUTION:
Poorly maintained and improperly used tires
are dangerous.
•Overloading your vehicle’s tires can
cause overheating as a result of too
much flexing. You could have an air-out
and a serious accident. See Loading the
Vehicle on page 4-16.
CAUTION: (Continued)
CAUTION: (Continued)
•Underinflated tires pose the same danger
as overloaded tires. The resulting
accident could cause serious injury.
Check all tires frequently to maintain the
recommended pressure. Tire pressure
should be checked when your vehicle’s
tires are cold. See Inflation - Tire
Pressure on page 5-57.
•Overinflated tires are more likely to be
cut, punctured, or broken by a sudden
impact — such as when you hit a
pothole. Keep tires at the recommended
pressure.
•Worn, old tires can cause accidents.
If the tire’s tread is badly worn, or if your
vehicle’s tires have been damaged,
replace them.
5-51

Tire Sidewall Labeling
Usefulinformation about a tire is molded into its
sidewall. The examples below show a typical
passenger car tire and a compact spare tire
sidewall.
(A) Tire Size:The tire size is a combination of
letters and numbers used to define a particular
tire’s width, height, aspect ratio, construction type
and service description. See the “Tire Size”
illustration later in this section for more detail.
(B) DOT (Department of Transportation):The
Department of Transportation (DOT) code
indicates that the tire is in compliance with the
U.S. Department of Transportation Motor Vehicle
Safety Standards.
(C) Tire Identification Number (TIN):The letters
and numbers following DOT code are the Tire
Identification Number (TIN). The TIN shows
the manufacturer and plant code, tire size, and
date the tire was manufactured. The TIN is molded
onto both sides of the tire, although only one
side may have the date of manufacture.
(D) Tire Ply Material:The type of cord and
number of plies in the sidewall and under the
tread.
(E) Uniform Tire Quality Grading (UTQG):Tire
manufacturers are required to grade tires
based on three performance factors: treadwear,
traction and temperature resistance. For more
information see Uniform Tire Quality Grading on
page 5-66.
Passenger Car Tire Example
5-52

(F) Maximum Cold Inflation Load Limit:
Maximum load that can be carried and the
maximum pressure needed to support that load.
For information on recommended tire pressure see
Inflation - Tire Pressure on page 5-57 and
Loading the Vehicle on page 4-16.
(A) Temporary Use Only:The compact
spare tire or temporary use tire has a tread life of
approximately 3,000 miles (5 000 km) and should
not be driven at speeds over 65 mph (105 km/h).
The compact spare tire is for emergency use when
a regular road tire has lost air and gone flat. See
Compact Spare Tire on page 5-78 and If a Tire
Goes Flat on page 5-69.
(B) Tire Ply Material:The type of cord and
number of plies in the sidewall and under the tread.
(C) Tire Identification Number (TIN):The Tire
Identification Number (TIN). The TIN shows the
manufacturer and plant code, tire size, and date the
tire was manufactured. The TIN is molded onto both
sides of the tire, although only one side may have
the date of manufacture.
(D) Maximum Cold Inflation Load Limit:
Maximum load that can be carried and the
maximum pressure needed to support that load.
See Compact Spare Tire on page 5-78 and Loading
the Vehicle on page 4-16.
(E) Tire Inflation:The temporary use tire or
compact spare tire should be inflated to 60 psi
(420 kPa). For more information on tire pressure
and inflation see Inflation - Tire Pressure on
page 5-57.
(F) Tire Size :A combination of letters and
numbers define a tire’s width, height, aspect ratio,
construction type and service description. The letter
T as the first character in the tire size means the tire
is for temporary use only.
Compact Spare Tire Example
5-53

Tire Size
The following illustration shows an example of a
typical passenger car tire size.
(A) Passenger (P-Metric) Tire:The United States
version of a metric tire sizing system. The letter P
as the first character in the tire size means a
passenger vehicle tire engineered to standards set
by the U. S. Tire and Rim Association.
(B) Tire Width:The three-digit number indicates
the tire section width in millimeters from sidewall
to sidewall.
(C) Aspect Ratio:A two-digit number that
indicates the tire height-to-width measurements.
For example, if the tire size aspect ratio is 70, as
shown in item C of the illustration, it would mean
that the tire’s sidewall is 70% as high as it is wide.
(D) Construction Code:A letter code is used to
indicate the type of ply construction in the tire.
The letter R means radial ply construction;
the letter D means diagonal or bias ply
construction; and the letter B means belted-bias
ply construction.
(E) Rim Diameter:Diameter of the wheel in
inches.
(F) Service Description:These characters
represent the load index and speed rating of the
tire. The load index represents the load carry
capacity a tire is certified to carry. The speed
rating is the maximum speed a tire is certified to
carry a load.
Tire Terminology and Definitions
Air Pressure:The amount of air inside the tire
pressing outward on each square inch of the tire.
Air pressure is expressed in pounds per square
inch (psi) or kilopascal (kPa).
Accessory Weight:This means the combined
weight of optional accessories. Some examples of
optional accessories are, automatic transmission,
power steering, power brakes, power windows,
power seats, and air conditioning.
5-54

Aspect Ratio:The relationship of a tire’s height
to its width.
Belt:A rubber coated layer of cords that is located
between the plies and the tread. Cords may be
made from steel or other reinforcing materials.
Bead:The tire bead contains steel wires wrapped
by steel cords that hold the tire onto the rim.
Bias Ply Tire:A pneumatic tire in which the plies
are laid at alternate angles less than 90 degrees
to the centerline of the tread.
Cold Tire Pressure:The amount of air pressure in
a tire, measured in pounds per square inch (psi) or
kilopascals (kPa) before a tire has built up heat
from driving. See Inflation - Tire Pressure on
page 5-57.
Curb Weight:The weight of a motor vehicle with
standard and optional equipment including the
maximum capacity of fuel, oil, and coolant, but
without passengers and cargo.
DOT Markings:A code molded into the sidewall
of a tire signifying that the tire is in compliance
with the U.S. Department of Transportation (DOT)
motor vehicle safety standards. The DOT code
includes the Tire Identification Number (TIN), an
alphanumeric designator which can also identify the
tire manufacturer, production plant, brand, and date
of production.
GVWR:Gross Vehicle Weight Rating. See
Loading the Vehicle on page 4-16.
GAWR FRT:Gross Axle Weight Rating for the
front axle. See Loading the Vehicle on page 4-16.
GAWR RR:Gross Axle Weight Rating for the
rear axle. See Loading the Vehicle on page 4-16.
Intended Outboard Sidewall:The side of an
asymmetrical tire, that must always face outward
when mounted on a vehicle.
Kilopascal (kPa):The metric unit for air pressure.
Light Truck (LT-Metric) Tire:A tire used on
light duty trucks and some multipurpose passenger
vehicles.
Load Index:An assigned number ranging from
1 to 279 that corresponds to the load carrying
capacity of a tire.
Maximum Inflation Pressure:The maximum air
pressure to which a cold tire can be inflated.
The maximum air pressure is molded onto the
sidewall.
Maximum Load Rating:The load rating for a tire
at the maximum permissible inflation pressure
for that tire.
5-55

Maximum Loaded Vehicle Weight:The sum of
curb weight, accessory weight, vehicle capacity
weight, and production options weight.
Normal Occupant Weight:The number of
occupants a vehicle is designed to seat multiplied
by 150 lbs (68 kg). See Loading the Vehicle on
page 4-16.
Occupant Distribution:Designated seating
positions.
Outward Facing Sidewall:The side of an
asymmetrical tire that has a particular side that
faces outward when mounted on a vehicle.
The side of the tire that contains a whitewall, bears
white lettering, or bears manufacturer, brand,
and/or model name molding that is higher
or deeper than the same moldings on the other
sidewall of the tire.
Passenger (P-Metric) Tire:A tire used on
passenger cars and some light duty trucks and
multipurpose vehicles.
Recommended Inflation Pressure:Vehicle
manufacturer’s recommended tire inflation
pressure as shown on the tire placard. See
Inflation - Tire Pressure on page 5-57 and Loading
the Vehicle on page 4-16.
Radial Ply Tire:A pneumatic tire in which the
ply cords that extend to the beads are laid at
90 degrees to the centerline of the tread.
Rim:A metal support for a tire and upon which
the tire beads are seated.
Sidewall:The portion of a tire between the tread
and the bead.
Speed Rating:An alphanumeric code assigned to
a tire indicating the maximum speed at which a
tire can operate.
Traction:The friction between the tire and the
road surface. The amount of grip provided.
Tread:The portion of a tire that comes into
contact with the road.
Treadwear Indicators:Narrow bands, sometimes
called wear bars, that show across the tread of
a tire when only 1/16 inch (1.6 mm) of tread
remains. See When It Is Time for New Tires on
page 5-63.
5-56

UTQGS (Uniform Tire Quality Grading
Standards):A tire information system that
provides consumers with ratings for a tire’s
traction, temperature, and treadwear. Ratings are
determined by tire manufacturers using government
testing procedures. The ratings are molded into the
sidewall of the tire. See Uniform Tire Quality
Grading on page 5-66.
Vehicle Capacity Weight:The number of
designated seating positions multiplied by 150 lbs
(68 kg) plus the rated cargo load. See Loading
the Vehicle on page 4-16.
Vehicle Maximum Load on the Tire:Load on an
individual tire due to curb weight, accessory
weight, occupant weight, and cargo weight.
Vehicle Placard:A label permanently attached to
a vehicle showing the vehicle’s capacity weight
and the original equipment tire size and
recommended inflation pressure. See “Tire and
Loading Information Label” under Loading
the Vehicle on page 4-16.
Inflation - Tire Pressure
Tires need the correct amount of air pressure to
operate effectively.
Notice: Do not let anyone tell you that
under-inflation or over-inflation is all right. It is
not. If your tires do not have enough air
(under-inflation), you can get the following:
•Too much flexing
•Too much heat
•Tire overloading
•Premature or irregular wear
•Poor handling
•Reduced fuel economy
If your tires have too much air (over-inflation),
you can get the following:
•Unusual wear
•Poor handling
•Rough ride
•Needless damage from road hazards
A vehicle specific Tire and Loading Information
label is attached to your vehicle. This label shows
your vehicle’s original equipment tires and the
correct inflation pressures for your tires when they
are cold.
5-57

The recommended cold tire inflation pressure,
shown on the label, is the minimum amount of air
pressure needed to support your vehicle’s
maximum load carrying capacity.
For additional information regarding how much
weight your vehicle can carry, and an example of
the Tire and Loading Information label, see
Loading the Vehicle on page 4-16. How you load
your vehicle affects vehicle handling and ride
comfort. Never load your vehicle with more weight
than it was designed to carry.
When to Check
Check your tires once a month or more. Do not
forget to check the compact spare tire, it should be
at 60 psi (420 kPa). For additional information
regarding the compact spare tire, see Compact
Spare Tire on page 5-78.
How to Check
Use a good quality pocket-type gage to check tire
pressure. You cannot tell if your tires are
properly inflated simply by looking at them. Radial
tires may look properly inflated even when they
are under-inflated. Check the tire’s inflation
pressure when the tires are cold. Cold means your
vehicle has been sitting for at least three hours
or driven no more than 1 mile (1.6 km).
Remove the valve cap from the tire valve stem.
Press the tire gage firmly onto the valve to
get a pressure measurement. If the cold tire
inflation pressure matches the recommended
pressure on the Tire and Loading Information
label, no further adjustment is necessary. If the
inflation pressure is low, add air until you reach the
recommended amount.
If you overfill the tire, release air by pushing on
the metal stem in the center of the tire valve.
Re-check the tire pressure with the tire gage.
Be sure to put the valve caps back on the valve
stems. They help prevent leaks by keeping out dirt
and moisture.
5-58

Tire Pressure Monitor System
The Tire Pressure Monitor System (TPMS) uses radio
and sensor technology to check tire pressure levels. The
TPMS sensors monitor the air pressure in your
vehicle’s tires and transmit tire pressure readings to a
receiver located in the vehicle.
Each tire, including the spare (if provided), should be
checked monthly when cold and inflated to the inflation
pressure recommended by the vehicle manufacturer
on the vehicle placard or tire inflation pressure label. (If
your vehicle has tires of a different size than the size
indicated on the vehicle placard or tire inflation pressure
label, you should determine the proper tire inflation
pressure for those tires.)
As an added safety feature, your vehicle has been
equipped with a tire pressure monitoring system (TPMS)
that illuminates a low tire pressure telltale when one
or more of your tires is significantly under-inflated.
Accordingly, when the low tire pressure telltale
illuminates, you should stop and check your tires as
soon as possible, and inflate them to the proper
pressure. Driving on a significantly under-inflated tire
causes the tire to overheat and can lead to tire failure.
Under-inflation also reduces fuel efficiency and tire
tread life, and may affect the vehicle’s handling
and stopping ability.
Please note that the TPMS is not a substitute for proper
tire maintenance, and it is the driver’s responsibility to
maintain correct tire pressure, even if under-inflation has
not reached the level to trigger illumination of the
TPMS low tire pressure telltale.
Your vehicle has also been equipped with a TPMS
malfunction indicator to indicate when the system is not
operating properly. The TPMS malfunction indicator is
combined with the low tire pressure telltale. When the
system detects a malfunction, the telltale will flash for
approximately one minute and then remain continuously
illuminated. This sequence will continue upon
subsequent vehicle start-ups as long as the malfunction
exists.
When the malfunction indicator is illuminated, the
system may not be able to detect or signal low tire
pressure as intended. TPMS malfunctions may occur for
a variety of reasons, including the installation of
replacement or alternate tires or wheels on the vehicle
that prevent the TPMS from functioning properly.
Always check the TPMS malfunction telltale after
replacing one or more tires or wheels on your vehicle to
ensure that the replacement or alternate tires and
wheels allow the TPMS to continue to function properly.
See Tire Pressure Monitor Operation on page 5-60
for additional information.
5-59

Federal Communications Commission
(FCC) and Industry and Science
Canada
The Tire Pressure Monitor System (TPMS) operates on
a radio frequency and complies with Part 15 of the
FCC Rules. Operation is subject to the following two
conditions:
1. This device may not cause harmful interference.
2. This device must accept any interference received,
including interference that may cause undesired
operation.
Vehicles with TPMS operate on a radio frequency and
comply with RSS-210 of Industry and Science Canada.
Operation is subject to the following two conditions:
1. This device may not cause interference.
2. This device must accept any interference received,
including interference that may cause undesired
operation of the device.
Changes or modifications to this system by other than
an authorized service facility could void authorization to
use this equipment.
Tire Pressure Monitor Operation
This vehicle may have a Tire Pressure Monitor System
(TPMS). The TPMS is designed to warn the driver when a
low tire pressure condition exists. If your vehicle has this
feature, the TPMS sensors are mounted onto each tire
and wheel assembly, excluding the spare tire and wheel
assembly. The TPMS sensors monitor the air pressure in
your vehicle’s tires and transmit tire pressure readings to
a receiver located in the vehicle.
When a low tire pressure
condition is detected, the
TPMS illuminates the
low tire pressure warning
light on the instrument
panel cluster.
The low tire pressure warning light comes on at each
ignition cycle until the tires are inflated to the correct
inflation pressure.
5-60

The tire pressure warning light may come on in cool
weather when the vehicle is first started, and then turn
off as you start to drive. This could be an early
indicator that the tire pressures are getting low and
need to be inflated to the proper pressure.
A Tire and Loading Information label, attached to your
vehicle, shows the size of your vehicle’s original
equipment tires and the correct inflation pressure for your
vehicle’s tires when they are cold. See Loading the
Vehicle on page 4-16, for an example of the tire
information label and its location on your vehicle. Also
see Inflation - Tire Pressure on page 5-57.
Your vehicle’s TPMS system can warn you about a low
tire pressure condition but it does not replace normal
tire maintenance. See Tire Inspection and Rotation
on page 5-62 and Tires on page 5-51.
Notice: Liquid tire sealants could damage the Tire
Pressure Monitor System (TPMS) sensors. Sensor
damage caused by using a tire sealant is not
covered by your warranty. Do not use liquid tire
sealants.
TPMS Malfunction Light
The TPMS will not function properly if one or more of
the TPMS sensors are missing or inoperable. When the
system detects a malfunction, the low tire warning
light flashes for about one minute and then stays on for
the remainder of the ignition cycle. The low tire
warning light comes on at each ignition cycle until the
problem is corrected. Some of the conditions that
can cause the malfunction light to come on are:
•One of the road tires has been replaced with the
spare tire. The spare tire does not have a TPMS
sensor. The TPMS malfunction light and DIC
message should go off once you re-install the road
tire containing the TPMS sensor.
•One or more TPMS sensors are missing or
damaged. The TPMS malfunction light should go off
when the TPMS sensors are installed and the sensor
matching process is performed successfully. See
your dealer/retailer for service.
•Replacement tires or wheels do not match your
vehicle’s original equipment tires or wheels. Tires
and wheels other than those recommended for your
vehicle could prevent the TPMS from functioning
properly. See Buying New Tires on page 5-64.
•Operating electronic devices or being near facilities
using radio wave frequencies similar to the TPMS
could cause the TPMS sensors to malfunction.
5-61

If the TPMS is not functioning it cannot detect or signal a
low tire condition. See your dealer/retailer for service if
the TPMS malfunction light and DIC message comes on
and stays on.
TPMS Sensor Identification Codes
Each TPMS sensor has a unique identification code.
Any time you replace one or more of the TPMS sensors,
or rotate the vehicle’s tires, the identification codes
need to be matched to the new tire/wheel position. The
sensors are matched, to the tire/wheel positions, in
the following order: driver side front tire, passenger side
front tire, passenger side rear tire, and driver side
rear tire using a TPMS diagnostic tool. See your
dealer/retailer for service.
Tire Inspection and Rotation
We recommend that you regularly inspect your
vehicle’s tires, including the spare tire, for signs of
wear or damage. See When It Is Time for New
Tires on page 5-63 for more information.
Tires should be rotated every 5,000 to 8,000 miles
(8 000 to 13 000 km). See Additional Required
Services on page 6-6.
The purpose of a regular tire rotation is to achieve
a uniform wear for all tires on the vehicle. This
will ensure that your vehicle continues to perform
most like it did when the tires were new.
Any time you notice unusual wear, rotate your
tires as soon as possible and check wheel
alignment. Also check for damaged tires or wheels.
See When It Is Time for New Tires on page 5-63
and Wheel Replacement on page 5-67 for
more information.
When rotating your tires, always use the correct
rotation pattern shown here.
Do not include the compact spare tire in the tire
rotation.
5-62

After the tires have been rotated, adjust the front
and rear inflation pressures as shown on the
tire and loading information label. See Loading the
Vehicle on page 4-16 for an example of the tire
and loading information label and where it is
located on your vehicle. Make certain that all wheel
nuts are properly tightened. See “Wheel Nut
Torque” under Capacities and Specifications on
page 5-93.
{CAUTION:
Rust or dirt on a wheel, or on the parts to
which it is fastened, can make wheel nuts
become loose after time. The wheel could
come off and cause an accident. When you
change a wheel, remove any rust or dirt from
places where the wheel attaches to the
vehicle. In an emergency, you can use a
cloth or a paper towel to do this; but be sure
to use a scraper or wire brush later, if
needed, to get all the rust or dirt off. See
Changing a Flat Tire on page 5-70.
When It Is Time for New Tires
Various factors, such as maintenance, temperatures,
driving speeds, vehicle loading, and road conditions
influence when you need new tires.
One way to tell when it is
time for new tires is to
check the treadwear
indicators, which will
appear when your tires
have only 1/16 inch
(1.6 mm) or less of tread
remaining.
You need new tires if any of the following statements
are true:
•You can see the indicators at three or more places
around the tire.
•You can see cord or fabric showing through the
tire’s rubber.
•The tread or sidewall is cracked, cut, or snagged
deep enough to show cord or fabric.
5-63

•The tire has a bump, bulge, or split.
•The tire has a puncture, cut, or other damage that
cannot be repaired well because of the size or
location of the damage.
The rubber in tires degrades over time, even if they are
not being used. This is also true for the spare tire, if
your vehicle has one. Multiple conditions affect how fast
this aging takes place, including temperatures, loading
conditions, and inflation pressure maintenance. With
proper care and maintenance tires will typically wear out
before they degrade due to age. If you are unsure
about the need to replace your tires as they get older,
consult the tire manufacturer for more information.
Buying New Tires
GM has developed and matched specific tires for your
vehicle. If you need replacement tires, GM strongly
recommends that you get tires that are the same size,
brand, load range, speed rating, and construction
type (radial and bias-belted tires) as your vehicle’s
original tires. This way, your vehicle will continue to have
tires that are designed to give the same performance
and vehicle safety, during normal use, as the original
tires. See Tire Sidewall Labeling on page 5-52 for
additional information.
GM recommends replacing tires in sets of four. This is
because uniform tread depth on all tires will help
keep your vehicle performing most like it did when the
tires were new. Replacing less than a full set of tires can
affect the braking and handling performance of your
vehicle. See Tire Inspection and Rotation on page 5-62.
{CAUTION:
Mixing tires could cause you to lose control
while driving. If you mix tires of different
sizes, brands, or types (radial and bias-belted
tires), the vehicle may not handle properly,
and you could have a crash. Using tires of
different sizes, brands, or types may also
cause damage to your vehicle. Be sure to
use the correct size, brand, and type of tires
on all wheels. It is all right to drive with your
compact spare temporarily, as it was
developed for use on your vehicle. See
Compact Spare Tire on page 5-78.
5-64

{CAUTION:
If you use bias-ply tires on the vehicle, the
wheel rim flanges could develop cracks after
many miles of driving. A tire and/or wheel
could fail suddenly, causing a crash. Use
only radial-ply tires with the wheels on the
vehicle.
Vehicles that have a tire pressure monitoring system
could give an inaccurate low-pressure warning if
tires not recommended for your vehicle are installed.
Tires that do not match the original equipment tires
could give a low-pressure warning that is higher or lower
than the proper warning level you would get with
original equipment tires. See Tire Pressure Monitor
System on page 5-59.
Your vehicle’s original equipment tires are listed on the
Tire and Loading Information Label. See Loading
the Vehicle on page 4-16, for more information about
the Tire and Loading Information label and its location
on your vehicle.
Different Size Tires and Wheels
If you add wheels or tires that are a different size than
your original equipment wheels and tires, this may
affect the way your vehicle performs, including its
braking, ride and handling characteristics, stability, and
resistance to rollover. Additionally, if your vehicle
has electronic systems such as, antilock brakes, traction
control, and electronic stability control, the performance
of these systems can be affected.
{CAUTION:
If you add different sized wheels, your vehicle may
not provide an acceptable level of performance
and safety if tires not recommended for those
wheels are selected. You may increase the
chance that you will crash and suffer serious
injury. Only use GM specific wheel and tire
systems developed for your vehicle, and have
them properly installed by a GM certified
technician.
See Buying New Tires on page 5-64 and Accessories
and Modifications on page 5-3 for additional information.
5-65

Uniform Tire Quality Grading
Quality grades can be found where applicable on
the tire sidewall between tread shoulder and
maximum selection width. For example:
Treadwear 200 Traction AA Temperature A
The following information relates to the system
developed by the Unites States National Highway
Traffic Safety Administration (NHTSA), which
grades tires by treadwear, traction, and
temperature performance. This applies only to
vehicles sold in the United States. The grades are
molded on the sidewalls of most passenger car
tires. The Uniform Tire Quality Grading (UTQG)
system does not apply to deep tread, winter-type
snow tires, space-saver, or temporary use
spare tires, tires with nominal rim diameters of
10 to 12 inches (25 to 30 cm), or to some
limited-production tires.
While the tires available on General Motors
passenger cars and light trucks may vary with
respect to these grades, they must also conform
to federal safety requirements.
Treadwear
The treadwear grade is a comparative rating based
on the wear rate of the tire when tested under
controlled conditions on a specified government
test course. For example, a tire graded 150 would
wear one and a half (1
1
⁄
2
) times as well on the
government course as a tire graded 100. The
relative performance of tires depends upon the
actual conditions of their use, however, and may
depart significantly from the norm due to variations
in driving habits, service practices, and differences
in road characteristics and climate.
Traction — AA, A, B, C
The traction grades, from highest to lowest, are AA,
A, B, and C. Those grades represent the tire’s
ability to stop on wet pavement as measured under
controlled conditions on specified government test
surfaces of asphalt and concrete. A tire marked C
may have poor traction performance.
5-66

Temperature — A, B, C
The temperature grades are A (the highest), B, and
C, representing the tire’s resistance to the
generation of heat and its ability to dissipate heat
when tested under controlled conditions on a
specified indoor laboratory test wheel. Sustained
high temperature can cause the material of the tire
to degenerate and reduce tire life, and excessive
temperature can lead to sudden tire failure. The
grade C corresponds to a level of performance
which all passenger car tires must meet under the
Federal Motor Vehicle Safety Standard No. 109.
Grades B and A represent higher levels of
performance on the laboratory test wheel than the
minimum required by law. It should be noted that
the temperature grade for this tire is established for
a tire that is properly inflated and not overloaded.
Excessive speed, underinflation, or excessive
loading, either separately or in combination, can
cause heat buildup and possible tire failure.
Wheel Alignment and Tire Balance
The tires and wheels on your vehicle were aligned and
balanced carefully at the factory to give you the longest
tire life and best overall performance. Adjustments to
wheel alignment and tire balancing will not be necessary
on a regular basis. However, if you notice unusual tire
wear or your vehicle pulling to one side or the other, the
alignment might need to be checked. If you notice your
vehicle vibrating when driving on a smooth road, the tires
and wheels might need to be rebalanced. See your
dealer/retailer for proper diagnosis.
Wheel Replacement
Replace any wheel that is bent, cracked, or badly rusted
or corroded. If wheel nuts keep coming loose, the wheel,
wheel bolts, and wheel nuts should be replaced. If the
wheel leaks air, replace it (except some aluminum
wheels, which can sometimes be repaired). See your
dealer/retailer if any of these conditions exist.
Your dealer/retailer will know the kind of wheel
you need.
Each new wheel should have the same load-carrying
capacity, diameter, width, offset, and be mounted
the same way as the one it replaces.
5-67

If you need to replace any of your wheels, wheel bolts,
wheel nuts, or Tire Pressure Monitor System (TPMS)
sensors, replace them only with new GM original
equipment parts. This way, you will be sure to have the
right wheel, wheel bolts, wheel nuts, and TPMS
sensors for your vehicle.
{CAUTION:
Using the wrong replacement wheels, wheel bolts,
or wheel nuts on your vehicle can be dangerous. It
could affect the braking and handling of your
vehicle, make your tires lose air and make you
lose control. You could have a collision in which
you or others could be injured. Always use the
correct wheel, wheel bolts, and wheel nuts for
replacement.
Notice: The wrong wheel can also cause problems
with bearing life, brake cooling, speedometer or
odometer calibration, headlamp aim, bumper height,
vehicle ground clearance, and tire or tire chain
clearance to the body and chassis.
See Changing a Flat Tire on page 5-70 for more
information.
Used Replacement Wheels
{CAUTION:
Putting a used wheel on the vehicle is dangerous.
You cannot know how it has been used or how far it
has been driven. It could fail suddenly and cause a
crash. If you have to replace a wheel, use a new
GM original equipment wheel.
Tire Chains
Notice: Use tire chains only where legal and only
when you must. Use only SAE Class “S” type chains
that are the proper size for your tires. Install them
on the front tires and tighten them as tightly as
possible with the ends securely fastened. Drive
slowly and follow the chain manufacturer’s
instructions. If you can hear the chains contacting
your vehicle, stop and retighten them. If the contact
continues, slow down until it stops. Driving too
fast or spinning the wheels with chains on will
damage your vehicle.
5-68

If a Tire Goes Flat
It is unusual for a tire to blowout while you are driving,
especially if you maintain your vehicle’s tires properly.
If air goes out of a tire, it is much more likely to leak out
slowly. But if you should ever have a blowout, here
are a few tips about what to expect and what to do:
If a front tire fails, the flat tire creates a drag that pulls
the vehicle toward that side. Take your foot off the
accelerator pedal and grip the steering wheel firmly.
Steer to maintain lane position, and then gently brake to
a stop well out of the traffic lane.
A rear blowout, particularly on a curve, acts much like a
skid and may require the same correction you would
use in a skid. In any rear blowout remove your foot from
the accelerator pedal. Get the vehicle under control
by steering the way you want the vehicle to go. It may
be very bumpy and noisy, but you can still steer. Gently
brake to a stop, well off the road if possible.
{CAUTION:
Lifting a vehicle and getting under it to do
maintenance or repairs is dangerous without the
appropriate safety equipment and training. If a jack
is provided with the vehicle, it is designed only for
changing a flat tire. If it is used for anything else,
you or others could be badly injured or killed if the
vehicle slips off the jack. If a jack is provided with
the vehicle, only use it for changing a flat tire.
If a tire goes flat, the next part shows how to use the
jacking equipment to change a flat tire safely.
5-69

Changing a Flat Tire
If a tire goes flat, avoid further tire and wheel damage by
driving slowly to a level place. Turn on the hazard
warning flashers. See Hazard Warning Flashers on
page 3-6.
{CAUTION:
Changing a tire can be dangerous. The vehicle
can slip off the jack and roll over or fall on you or
other people. You and they could be badly injured
or even killed. Find a level place to change your
tire. To help prevent the vehicle from moving:
1. Set the parking brake firmly.
2. Put an automatic transmission shift lever in
P (Park), or shift a manual transmission to
1 (First) or R (Reverse).
CAUTION: (Continued)
CAUTION: (Continued)
3. Turn off the engine and do not restart while
the vehicle is raised.
4. Do not allow passengers to remain in the
vehicle.
To be even more certain the vehicle will not move,
you should put blocks at the front and rear of the
tire farthest away from the one being changed.
That would be the tire on the other side, at the
opposite end of the vehicle.
5-70

When the vehicle has a flat tire (B), use the following
example as a guide to assist you in the placement
of wheel blocks (A).
A. Wheel Block
B. Flat Tire
The following information explains how to use the jack
and change a tire.
Removing the Spare Tire and Tools
The compact spare tire and tools you will need are
located in the trunk.
A. Jack
B. Wheel Wrench
C. Jack Handle
D. Screwdriver
(if equipped)
1. Open the trunk or liftgate. See Trunk (Sedan) on
page 2-8 or Liftgate (Hatchback) on page 2-10.
2. Lift the trim cover.
5-71

Removing the Flat Tire and
Installing the Spare Tire
1. Do a safety check before proceeding. See Changing
a Flat Tire on page 5-70.
2. If your vehicle has wheel covers, turn the four
plastic caps counterclockwise by hand or by
using the wheel wrench. The plastic nuts do not
come off of the cover.
3. Remove the wheel cover using the flat end of the
jack handle. Pry along the edge of the wheel cover
until it comes off.
Store the wheel cover in the cargo area until you
have the flat tire repaired or replaced.
4. Turn the wheel nuts counterclockwise to loosen
them. Do not remove them yet.
5-73

5. Locate the notch in the frame near each wheel
which the jack head fits in.
6. Position the jack and raise the jack head until it fits
firmly into the notch in the vehicle’s frame nearest
the flat tire.
7. Put the compact spare tire near you.
Hatchback Sedan
5-74

8. Insert the jack handle into the jack and the wheel
wrench onto the end of the jack handle.
{CAUTION:
Getting under a vehicle when it is jacked up is
dangerous. If the vehicle slips off the jack, you
could be badly injured or killed. Never get under a
vehicle when it is supported only by a jack.
{CAUTION:
Raising your vehicle with the jack improperly
positioned can damage the vehicle and even
make the vehicle fall. To help avoid personal injury
and vehicle damage, be sure to fit the jack lift
head into the proper location before raising the
vehicle.
9. Turn the wheel wrench clockwise to raise the
vehicle. Raise the vehicle far enough off the ground
so there is enough room for the compact spare
tire to fit underneath the wheel well.
10. Turn the wheel nuts counterclockwise to
remove them.
11. Remove the flat tire.
5-75

{CAUTION:
Rust or dirt on a wheel, or on the parts to which it
is fastened, can make wheel nuts become loose
after time. The wheel could come off and cause
an accident. When changing a wheel, remove any
rust or dirt from places where the wheel attaches
to the vehicle. In an emergency, use a cloth or a
paper towel to do this; but be sure to use a
scraper or wire brush later, if needed, to get all the
rust or dirt off. See Changing a Flat Tire on
page 5-70.
12. Remove any rust or dirt
from the wheel bolts,
mounting surfaces
and spare wheel.
13. Place the compact spare tire on the wheel-mounting
surface.
{CAUTION:
Never use oil or grease on bolts or nuts because
the nuts might come loose. The vehicle’s wheel
could fall off, causing a crash.
14. Install the wheel nuts with the rounded end of the
nuts toward the wheel. Tighten each nut by hand
clockwise until the wheel is held against the hub.
15. Lower the vehicle by turning the wheel wrench
counterclockwise. Lower the jack completely.
5-76

{CAUTION:
Wheel nuts that are improperly or incorrectly
tightened can cause the wheels to become loose or
come off. The wheel nuts should be tightened with a
torque wrench to the proper torque specification
after replacing. Follow the torque specification
supplied by the aftermarket manufacturer when
using accessory locking wheel nuts. See Capacities
and Specifications on page 5-93 for original
equipment wheel nut torque specifications.
Notice: Improperly tightened wheel nuts can lead
to brake pulsation and rotor damage. To avoid
expensive brake repairs, evenly tighten the wheel
nuts in the proper sequence and to the proper
torque specification. See Capacities and
Specifications on page 5-93 for the wheel nut
torque specification.
16. Tighten the wheel nuts
firmly in a crisscross
sequence, as shown.
Notice: Wheel covers will not fit on your vehicle’s
compact spare. If you try to put a wheel cover
on the compact spare, the cover or the spare could
be damaged.
5-77

Storing a Flat or Spare Tire and
Tools
{CAUTION:
Storing a jack, a tire, or other equipment in the
passenger compartment of the vehicle could
cause injury. In a sudden stop or collision, loose
equipment could strike someone. Store all these in
the proper place.
To store a flat or compact spare tire and tools:
1. Store the flat tire or the compact spare in the
compact spare tire compartment.
2. Secure the retainer.
3. Store the tools securely in the foam tray and place
the tray back in the cargo area.
4. Replace the trim cover.
The compact spare tire is for temporary use only.
Replace the compact spare tire with a full-size tire as
soon as you can. See Compact Spare Tire on
page 5-78.
Compact Spare Tire
{CAUTION:
Driving with more than one compact spare tire at a
time could result in loss of braking and handling.
This could lead to a crash and you or others could
be injured. Use only one compact spare tire at
a time.
The compact spare tire was fully inflated when the vehicle
was new, it can lose air after a time. Check the inflation
pressure regularly. It should be 60 psi (414 kPa).
After installing the compact spare on your vehicle, you
should stop as soon as possible and make sure
your spare tire is correctly inflated. The compact spare
is intended to perform well at speeds up to 50 mph
(80 km/h), so you can finish your trip and have
your full-size tire repaired or replaced where you want.
Replace your spare with a full-size tire as soon as
you can.
5-78

Notice: When the compact spare is installed, do
not take the vehicle through an automatic car wash
with guide rails. The compact spare can get
caught on the rails which can damage the tire,
wheel and other parts of the vehicle.
Do not use your compact spare on other vehicles.
Do not mix your compact spare tire or wheel with other
wheels or tires. Keep your spare tire and its wheel
together.
Notice: Tire chains will not fit the compact spare.
Using them can damage the vehicle and can damage
the chains too. Do not use tire chains on the
compact spare.
Appearance Care
Interior Cleaning
The vehicle’s interior will continue to look its best if it is
cleaned often. Although not always visible, dust and
dirt can accumulate on the upholstery. Dirt can damage
carpet, fabric, leather, and plastic surfaces. Regular
vacuuming is recommended to remove particles from the
upholstery.
It is important to keep the upholstery from becoming
and remaining heavily soiled. Soils should be removed
as quickly as possible. The vehicle’s interior may
experience extremes of heat that could cause stains to
set rapidly.
Lighter colored interiors may require more frequent
cleaning. Use care because newspapers and garments
that transfer color to home furnishings may also
transfer color to the vehicle’s interior.
When cleaning the vehicle’s interior, only use cleaners
specifically designed for the surfaces being cleaned.
Permanent damage may result from using cleaners on
surfaces for which they were not intended. Use glass
cleaner only on glass. Remove any accidental over-spray
from other surfaces immediately. To prevent over-spray,
apply cleaner directly to the cleaning cloth.
Notice: Using abrasive cleaners when cleaning
glass surfaces on the vehicle, could scratch
the glass and/or cause damage to the rear window
defogger. When cleaning the glass on the vehicle,
use only a soft cloth and glass cleaner.
Many cleaners contain solvents that may become
concentrated in the vehicle’s breathing space. Before
using cleaners, read and adhere to all safety instructions
on the label. While cleaning the vehicle’s interior,
maintain adequate ventilation by opening the vehicle’s
doors and windows.
5-79

Dust may be removed from small buttons and knobs
using a small brush with soft bristles.
Products that remove odors from the vehicle’s
upholstery and clean the vehicle’s glass can be obtained
from your dealer/retailer.
Do not clean the vehicle using:
•A knife or any other sharp object to remove a soil
from any interior surface.
•A stiff brush. It can cause damage to the vehicle’s
interior surfaces.
•Heavy pressure or aggressive rubbing with a
cleaning cloth. Use of heavy pressure can damage
the interior and does not improve the effectiveness
of soil removal.
•Laundry detergents or dishwashing soaps with
degreasers can leave residue that streaks and
attracts dirt. For liquid cleaners, about 20 drops per
gallon (3.78 L) of water is a good guide. Use
only mild, neutral-pH soaps.
•Too much cleaner that saturates the upholstery.
•Organic solvents such as naptha, alcohol, etc. that
can damage the vehicle’s interior.
Fabric/Carpet
Use a vacuum cleaner with a soft brush attachment
frequently to remove dust and loose dirt. A canister
vacuum with a beater bar in the nozzle may only be used
on floor carpet and carpeted floor mats. For any soil,
always try to remove it first with plain water or club soda.
Before cleaning, gently remove as much of the soil as
possible using one of the following techniques:
•For liquids: gently blot the remaining soil with a paper
towel. Allow the soil to absorb into the paper towel
until no more can be removed.
•For solid dry soils: remove as much as possible and
then vacuum.
To clean:
1. Saturate a lint-free, clean white cloth with water or
club soda.
2. Wring the cloth to remove excess moisture.
3. Start on the outside edge of the soil and gently rub
toward the center. Continue cleaning, using a clean
area of the cloth each time it becomes soiled.
4. Continue to gently rub the soiled area until the
cleaning cloth remains clean.
5. If the soil is not completely removed, use a mild
soap solution and repeat the cleaning process
that was used with plain water.
5-80

If any of the soil remains, a commercial fabric cleaner or
spot lifter may be necessary. When a commercial
upholstery cleaner or spot lifter is to be used, test a
small hidden area for colorfastness first. If the locally
cleaned area gives any impression that a ring formation
may result, clean the entire surface.
After the cleaning process has been completed, a paper
towel can be used to blot excess moisture from the
fabric or carpet.
Leather
A soft cloth dampened with water can be used to
remove dust. If a more thorough cleaning is necessary,
a soft cloth dampened with a mild soap solution can
be used. Allow the leather to dry naturally. Do not use
heat to dry. Never use steam to clean leather. Never
use spot lifters or spot removers on leather. Many
commercial leather cleaners and coatings that are sold
to preserve and protect leather may permanently
change the appearance and feel of the leather and are
not recommended. Do not use silicone or wax-based
products, or those containing organic solvents to clean
the vehicle’s interior because they can alter the
appearance by increasing the gloss in a non-uniform
manner. Never use shoe polish on leather.
Instrument Panel, Vinyl, and Other
Plastic Surfaces
A soft cloth dampened with water may be used to
remove dust. If a more thorough cleaning is necessary,
a clean soft cloth dampened with a mild soap solution
can be used to gently remove dust and dirt. Never use
spot lifters or removers on plastic surfaces. Many
commercial cleaners and coatings that are sold to
preserve and protect soft plastic surfaces may
permanently change the appearance and feel of the
interior and are not recommended. Do not use silicone
or wax-based products, or those containing organic
solvents to clean the vehicle’s interior because they can
alter the appearance by increasing the gloss in a
non-uniform manner.
Some commercial products may increase gloss on the
instrument panel. The increase in gloss may cause
annoying reflections in the windshield and even make it
difficult to see through the windshield under certain
conditions.
5-81

Care of Safety Belts
Keep belts clean and dry.
{CAUTION:
Do not bleach or dye safety belts. It may severely
weaken them. In a crash, they might not be able
to provide adequate protection. Clean safety belts
only with mild soap and lukewarm water.
Weatherstrips
Silicone grease on weatherstrips will make them last
longer, seal better, and not stick or squeak. Apply silicone
grease with a clean cloth. During very cold, damp
weather frequent application may be required.
Washing Your Vehicle
The best way to preserve the vehicle’s finish is to keep it
clean by washing it often.
Notice: Certain cleaners contain chemicals that can
damage the emblems or nameplates on the vehicle.
Check the cleaning product label. If it states that it
should not be used on plastic parts, do not use it on
the vehicle or damage may occur and it would not be
covered by the warranty.
Do not wash the vehicle in direct sunlight. Use a car
washing soap. Do not use cleaning agents that
are petroleum based or that contain acid or abrasives,
as they can damage the paint, metal or plastic on
the vehicle. Approved cleaning products can be obtained
from your dealer/retailer. Follow all manufacturers’
directions regarding correct product usage, necessary
safety precautions and appropriate disposal of any
vehicle care product.
Rinse the vehicle well, before washing and after to
remove all cleaning agents completely. If they are
allowed to dry on the surface, they could stain.
Dry the finish with a soft, clean chamois or an all-cotton
towel to avoid surface scratches and water spotting.
High pressure car washes may cause water to enter the
vehicle. Avoid using high pressure washes closer
than 12 inches (30 cm) to the surface of the vehicle.
Use of power washers exceeding 1,200 psi (8 274 kPa)
can result in damage or removal of paint and decals.
5-82

Cleaning Exterior Lamps/Lenses
Use only lukewarm or cold water, a soft cloth and a car
washing soap to clean exterior lamps and lenses.
Follow instructions under Washing Your Vehicle on
page 5-82.
Finish Care
Occasional waxing or mild polishing of the vehicle by
hand may be necessary to remove residue from
the paint finish. Approved cleaning products can be
obtained from your dealer/retailer.
If the vehicle has a basecoat/clearcoat paint finish, the
clearcoat gives more depth and gloss to the colored
basecoat. Always use waxes and polishes that are
non-abrasive and made for a basecoat/clearcoat
paint finish.
Notice: Machine compounding or aggressive
polishing on a basecoat/clearcoat paint finish may
damage it. Use only non-abrasive waxes and
polishes that are made for a basecoat/clearcoat
paint finish on the vehicle.
Foreign materials such as calcium chloride and other
salts, ice melting agents, road oil and tar, tree sap, bird
droppings, chemicals from industrial chimneys, etc.,
can damage the vehicle’s finish if they remain on painted
surfaces. Wash the vehicle as soon as possible. If
necessary, use non-abrasive cleaners that are marked
safe for painted surfaces to remove foreign matter.
Exterior painted surfaces are subject to aging, weather
and chemical fallout that can take their toll over a
period of years. To help keep the paint finish looking
new, keep the vehicle garaged or covered whenever
possible.
Protecting Exterior Bright Metal Parts
Bright metal parts should be cleaned regularly to keep
their luster. Washing with water is all that is usually
needed. However, chrome polish may be used on
chrome or stainless steel trim, if necessary.
Use special care with aluminum trim. To avoid damaging
protective trim, never use auto or chrome polish,
steam or caustic soap to clean aluminum. A coating of
wax, rubbed to high polish, is recommended for all
bright metal parts.
5-83

Windshield and Wiper Blades
Clean the outside of the windshield with glass cleaner.
Clean the rubber blades using a lint free cloth or paper
towel soaked with windshield washer fluid or a mild
detergent. Wash the windshield thoroughly when
cleaning the blades. Bugs, road grime, sap, and a buildup
of vehicle wash/wax treatments may cause wiper
streaking. Replace the wiper blades if they are worn or
damaged.
Wipers can be damaged by:
•Extreme dusty conditions
•Sand and salt
•Heat and sun
•Snow and ice, without proper removal
Aluminum Wheels
Notice: Using strong soaps, chemicals, abrasive
polishes, cleaners, brushes, or cleaners that contain
acid on aluminum or chrome-plated wheels, could
damage the surface of the wheel(s). The repairs
would not be covered by the warranty. Use
only approved cleaners on aluminum or
chrome-plated wheels.
Keep the wheels clean using a soft clean cloth with mild
soap and water. Rinse with clean water. After rinsing
thoroughly, dry with a soft clean towel. A wax may then
be applied.
Notice: Using chrome polish on aluminum wheels
could damage the wheels. The repairs would not
be covered by the warranty. Use chrome polish on
chrome wheels only.
The surface of these wheels is similar to the painted
surface of the vehicle. Do not use strong soaps,
chemicals, abrasive polishes, abrasive cleaners,
cleaners with acid, or abrasive cleaning brushes on
them because the surface could be damaged. Do not
use chrome polish on aluminum wheels.
Notice: Driving the vehicle through an automatic
car wash that has silicone carbide tire cleaning
brushes, could damage the aluminum or
chrome-plated wheels. The repairs would not be
covered by the warranty. Never drive a vehicle
equipped with aluminum or chrome-plated wheels
through an automatic car wash that uses silicone
carbide tire cleaning brushes.
5-84

Tires
To clean the tires, use a stiff brush with tire cleaner.
Notice: Using petroleum-based tire dressing
products on the vehicle may damage the paint finish
and/or tires. When applying a tire dressing, always
wipe off any overspray from all painted surfaces
on the vehicle.
Sheet Metal Damage
If the vehicle is damaged and requires sheet metal
repair or replacement, make sure the body repair shop
applies anti-corrosion material to parts repaired or
replaced to restore corrosion protection.
Original manufacturer replacement parts will provide the
corrosion protection while maintaining the vehicle
warranty.
Finish Damage
Any stone chips, fractures or deep scratches in the finish
should be repaired right away. Bare metal will corrode
quickly and may develop into major repair expense.
Minor chips and scratches can be repaired with touch-up
materials available from your dealer/retailer. Larger areas
of finish damage can be corrected in your dealer’s/
retailer’s body and paint shop.
Underbody Maintenance
Chemicals used for ice and snow removal and dust
control can collect on the underbody. If these are not
removed, corrosion and rust can develop on the
underbody parts such as fuel lines, frame, floor pan,
and exhaust system even though they have corrosion
protection.
At least every spring, flush these materials from the
underbody with plain water. Clean any areas where mud
and debris can collect. Dirt packed in close areas of
the frame should be loosened before being flushed.
Your dealer/retailer or an underbody car washing system
can do this.
Chemical Paint Spotting
Some weather and atmospheric conditions can create a
chemical fallout. Airborne pollutants can fall upon and
attack painted surfaces on the vehicle. This damage can
take two forms: blotchy, ring-shaped discolorations,
and small, irregular dark spots etched into the
paint surface.
Although no defect in the paint job causes this, we will
repair, at no charge to the owner, the surfaces of
new vehicles damaged by this fallout condition within
12 months or 12,000 miles (20 000 km) of purchase,
whichever occurs first.
5-85

Vehicle Identification
Vehicle Identification Number (VIN)
This is the legal identifier for the vehicle. It appears on a
plate in the front corner of the instrument panel, on
the driver side. It can be seen through the windshield
from outside the vehicle. The VIN also appears on
the Vehicle Certification and Service Parts labels and
the certificates of title and registration.
Engine Identification
The eighth character in the VIN is the engine code. This
code helps identify the vehicle’s engine, specifications,
and replacement parts. See “Engine Specifications”
under Capacities and Specifications on page 5-93 for the
vehicle’s engine code.
Service Parts Identification Label
This label is on the inside of the glove box. It is
very helpful if parts need to be ordered. The label has
the following information:
•Vehicle Identification Number (VIN)
•Model designation
•Paint information
•Production options and special equipment
Do not remove this label from the vehicle.
Electrical System
Add-On Electrical Equipment
Notice: Do not add anything electrical to the vehicle
unless you check with your dealer/retailer first. Some
electrical equipment can damage the vehicle and the
damage would not be covered by the vehicle’s
warranty. Some add-on electrical equipment can
keep other components from working as they should.
Add-on equipment can drain the vehicle battery, even if
the vehicle is not operating.
The vehicle has an airbag system. Before attempting to
add anything electrical to the vehicle, see Servicing
Your Airbag-Equipped Vehicle on page 1-73.
5-86

Headlamp Wiring
The headlamp wiring is protected by fuses in the fuse
block. An electrical overload will cause the lamps to turn
off. If this happens, have the headlamp wiring checked
right away.
Windshield Wiper Fuses
The windshield wiper motor is protected by a circuit
breaker and a fuse. If the motor overheats due to heavy
snow, etc., the wiper will stop until the motor cools. If
the overload is caused by some electrical problem, have
it fixed.
Power Windows and Other Power
Options
Circuit breakers in the fuse block protect the power
windows and other power accessories. When the current
load is too heavy, the circuit breaker opens and
closes, protecting the circuit until the problem is fixed or
goes away.
Fuses and Circuit Breakers
The wiring circuits in the vehicle are protected from
short circuits by a combination of fuses, circuit breakers
and fusible thermal links. This greatly reduces the
chance of fires caused by electrical problems.
Look at the silver-colored band inside the fuse. If the
band is broken or melted, replace the fuse. Be sure you
replace a bad fuse with a new one of the identical
size and rating.
Fuses of the same amperage can be temporarily
borrowed from another fuse location, if a fuse goes out.
Replace the fuse as soon as you can.
5-87

Instrument Panel Fuse Block
The instrument panel fuse block is located on the end of
the instrument panel on the driver side of the vehicle.
To access the fuses, open the fuse panel door by
pulling the door out.
To reinstall the door, first insert the rear edge of the
fuse panel door, then push the front of the door into the
end of the instrument panel to secure it.
Fuses Usage
AUDIO Audio, Clock, Immobilizer
AUDIO/RKE A/C Switch, Clock, Power Mirror Unit,
Audio, Anti-Theft Module, TPMS
B/UP LAMP PNP Switch, Reverse Lamp Switch
BLANK Not Used
BLANK Not Used
BLANK Not Used
BLANK Not Used
5-88

Fuses Usage
CIGAR Cigar Lighter
CLUSTER Brake Switch, TPMS, Anti-Theft
Module
DEFOG
MIRROR Power Mirror Unit, A/C Switch
RR DEFOG Rear Defog
DOOR LOCK Door Lock
NA DRL NA DRL Circuit
MIRROR/
SUNROOF Mirror Control Switch, Room Lamp,
A/C Switch
EMS 1 Engine Room Fuse Block, TCM,
VSS, Fuel Pump
EMS 2 Stoplamp Switch
HORN Horn
OBD DLC, Immobilizer
CLUSTER/
ROOM LAMP Trunk Room Lamp, Trunk Open
Switch, IPC, Room Lamp
SDM Sensing and Diagnostic Module
SOKET Power Jack
Fuses Usage
STOP LAMP Brake Switch
SUNROOF Sunroof Module (Option)
T/SIG Hazard Switch
WIPER Wiper Switch, Wiper Motor
Engine Compartment Fuse Block
The engine compartment fuse block is located on the
driver side of the vehicle, near the battery. See
Engine Compartment Overview on page 5-14 for more
information on location.
Notice: Spilling liquid on any electrical components
on the vehicle may damage it. Always keep the
covers on any electrical component.
To access the fuses, press in the side flaps to release
the cover. To reinstall the cover, push the cover until it is
secure.
5-89

Fuses Usage
FAN HI Cooling Fan HI Relay
ABS-1 EBCM
ABS-2 EBCM
Fuses Usage
SJB BATT Instrument Panel Fuse Block
ACC/IG1 IGN1 Relay
IG2/ST IGN2 Relay, Starter Relay
5-90

Fuses Usage
ACC/RAP Instrument Panel Fuse Block
P/WINDOW-2 Power Window Switch
P/W
WINDOW-1 Power Window Switch
FAN LOW Cooling Fan LOW Relay
A/CON A/C Compressor Relay
PKLP LH Tail Lamp (LH), Side Marker (LH),
Turn Signal & Parking Lamp (LH),
License Lamp
PKLP RH Tail Lamp (RH), Side Marker (RH),
Turn Signal & Parking Lamp (RH),
License Lamp, I/P Fuse Block
ECU ECM, TCM
FRT FOG Front Fog Lamp Relay
F/PUMP Fuel Pump Relay
Fuses Usage
HAZARD Hazard Switch, Hood Contact
Switch
HDLP HI LH Head Lamp (LH), IPC
HDLP HI RH Head Lamp (RH)
IPC IPC
HDLP LO LH Head Lamp (LH), I/P Fuse Block
HDLP LO RH Head Lamp (RH)
EMS-1 ECM, Injector
DLIS Ignition Switch
EMS-2 EVAP Canister Purge Solenoid,
Thermostat Heater, HO2S, MAF
Sensor
SPARE Not Used
5-91

Relays Usage
F/PUMP
RELAY Fuel Pump
STARTER
RELAY Starter
PARK LAMP
RELAY Park Lamp
FRONT FOG
RELAY Fog Lamp
HDLP HIGH
RELAY Head Lamp High
HDLP LOW
RELAY Head Lamp Low
Relays Usage
FAN HIGH
RELAY Cooling Fan High
FAN LOW
RELAY Cooling Fan Low
A/CON RELAY Air Conditioner
ENGINE MAIN
RELAY Main Power
ACC/RAP
RELAY I/P Fuse Block
IGN-2 RELAY Ignition
Misc. Usage
FUSE PULLER Fuse Puller
5-92

Capacities and Specifications
The following approximate capacities are given in English and metric conversions. See Recommended Fluids and
Lubricants on page 6-13 for more information.
Application Capacities
English Metric
Air Conditioning Refrigerant R134a
For the air conditioning system refrigerant charge
amount, see the refrigerant caution label located
under the hood. See your dealer/retailer for more
information.
Cooling System 6.7 qt 6.3 L
Engine Oil with Filter 4.8 qt 4.5 L
Fuel Tank 11.9 gal 45.0 L
Transmission, Automatic 6.2 qt 5.87 L
Transmission, Manual 1.9 qt 1.8 L
Wheel Nut Torque 81 lb ft 110 Y
All capacities are approximate. When adding, be sure to fill to the approximate level, as recommended in this
manual. Recheck fluid level after filling.
Engine Specifications
Engine VIN Code Transmission Spark Plug Gap
1.6L L4 6 Automatic and
Manual 0.039-0.043 inch (1.0-1.1 mm)
5-93

✍NOTES
5-94

Maintenance Schedule ......................................6-2
Introduction ...................................................6-2
Maintenance Requirements ..............................6-2
Your Vehicle and the Environment ....................6-2
Using the Maintenance Schedule ......................6-2
Scheduled Maintenance ...................................6-4
Additional Required Services ............................6-6
Maintenance Footnotes ...................................6-8
Owner Checks and Services ............................6-9
At Each Fuel Fill ..........................................6-10
At Least Once a Month .................................6-10
At Least Once a Year ...................................6-11
Recommended Fluids and Lubricants ...............6-13
Maintenance Replacement Parts .....................6-15
Engine Drive Belt Routing ..............................6-16
Maintenance Record .....................................6-17
Section 6 Maintenance Schedule
6-1

Maintenance Schedule
Introduction
Important: Keep engine oil at the proper level and
change as recommended.
Have you purchased the GM Protection Plan? The Plan
supplements the vehicle warranties. See the Warranty
and Owner Assistance booklet or your dealer/retailer
for details.
Maintenance Requirements
Notice: Maintenance intervals, checks, inspections,
replacement parts, and recommended fluids and
lubricants as prescribed in this manual are
necessary to keep this vehicle in good working
condition. Any damage caused by failure to follow
scheduled maintenance might not be covered by the
vehicle warranty.
Your Vehicle and the Environment
Proper vehicle maintenance not only helps to keep
the vehicle in good working condition, but also helps the
environment. All recommended maintenance is
important. Improper vehicle maintenance can even
affect the quality of the air we breathe. Improper fluid
levels or the wrong tire inflation can increase the level
of emissions from the vehicle. To help protect the
environment, and to keep the vehicle in good condition,
be sure to maintain the vehicle properly.
Using the Maintenance Schedule
We want to help keep this vehicle in good working
condition. But we do not know exactly how you will drive
it. You might drive very short distances only a few
times a week. Or you might drive long distances all the
time in very hot, dusty weather. You might use the
vehicle in making deliveries. Or you might drive
it to work, to do errands, or in many other ways.
Because of all the different ways people use their
vehicles, maintenance needs vary. You might need more
frequent checks and replacements. So please read
the following and note how you drive. If you have any
questions on how to keep the vehicle in good condition,
see your dealer/retailer.
6-2

This schedule is for vehicles that:
•carry passengers and cargo within recommended
limits on the Tire and Loading Information label.
See Loading the Vehicle on page 4-16.
•are driven on reasonable road surfaces within legal
driving limits.
•use the recommended fuel. See Gasoline Octane
on page 5-5.
The services in Scheduled Maintenance on page 6-4
should be performed when indicated. See Additional
Required Services on page 6-6 and Maintenance
Footnotes on page 6-8 for further information.
{CAUTION:
Performing maintenance work on a vehicle can be
dangerous. In trying to do some jobs, you can be
seriously injured. Do your own maintenance work
only if you have the required know-how and the
proper tools and equipment for the job. If you have
any doubt, see your dealer/retailer to have a
qualified technician do the work. See Doing Your
Own Service Work on page 5-4.
Some maintenance services can be complex. So,
unless you are technically qualified and have the
necessary equipment, have your dealer/retailer do
these jobs.
When you go to your dealer/retailer for service, trained
and supported service technicians will perform the
work using genuine parts.
To purchase service information, see Service
Publications Ordering Information on page 7-17.
Owner Checks and Services on page 6-9 tells what
should be checked, when to check it, and what
can easily be done to help keep the vehicle in good
condition.
The proper replacement parts, fluids, and lubricants to
use are listed in Recommended Fluids and Lubricants
on page 6-13 and Maintenance Replacement Parts
on page 6-15. When the vehicle is serviced, make sure
these are used. All parts should be replaced and all
necessary repairs done before you or anyone else
drives the vehicle. We recommend the use of genuine
parts from your dealer/retailer.
6-3

Scheduled Maintenance
When the change engine oil light displays, service is
required for the vehicle. Have the vehicle serviced
as soon as possible within the next 600 miles
(1 000 km). It is possible that, if driving under the best
conditions, the engine oil life system may not indicate
that vehicle service is necessary for over a year.
However, the engine oil and filter must be changed at
least once a year and at this time the system must
be reset. Your dealer/retailer has trained service
technicians who will perform this work using genuine
parts and reset the system.
If the engine oil life system is ever reset accidentally,
service the vehicle within 3,000 miles (5 000 km)
since the last service. Remember to reset the oil life
system whenever the oil is changed. See for information
on the Engine Oil Life System and resetting the
system.
When the change engine oil light displays, certain
services, checks, and inspections are required.
Required services are described in the following for
“Maintenance I” and “Maintenance II.” Generally,
it is recommended that the first service be
Maintenance I, the second service be Maintenance II,
and then alternate Maintenance Iand Maintenance II
thereafter. However, in some cases, Maintenance II may
be required more often.
Maintenance I— Use Maintenance Iif the change
engine oil light displays within 10 months since
the vehicle was purchased or Maintenance II was
performed.
Maintenance II — Use Maintenance II if the previous
service performed was Maintenance I. Always use
Maintenance II whenever the change engine oil light
displays 10 months or more since the last service or if
the message has not come on at all for one year.
6-4

Scheduled Maintenance
Service Maintenance IMaintenance II
Change engine oil and filter. See Engine Oil on page 5-16. Reset oil life system.
See Engine Oil Life System on page 5-18.An Emission Control Service. ••
Visually check for any leaks or damage. See footnote (j). ••
Inspect engine air cleaner filter. If necessary, replace filter. See Engine Air
Cleaner/Filter on page 5-19.See footnote (k). •
Rotate tires and check inflation pressures and wear. See Tire Inspection and
Rotation on page 5-62 and “Tire Wear Inspection” in At Least Once a Month
on page 6-10.
••
Inspect brake system. See footnote (a). ••
Check engine coolant and windshield washer fluid levels. Add fluid as needed. ••
Perform any needed additional services. See “Additional Required Services”
in this section. ••
Inspect suspension and steering components. See footnote (b). •
Inspect engine cooling system. See footnote (c). •
Inspect wiper blades. See footnote (d). •
Inspect restraint system components. See footnote (e). •
Lubricate body components. See footnote (f). •
Inspect PCV system. An Emission Control Service. See footnote †. •
Replace passenger compartment air filter. See footnote (l). •
Check automatic transmission fluid level and add fluid as needed. •
6-5

Additional Required Services
The following services should be performed at the first maintenance service (Ior II) after the indicated miles (kilometers)
shown for each item.
Additional Required Services
Service and Miles (Kilometers) 25,000
(40 000) 50,000
(80 000) 75,000
(120 000) 100,000
(160 000) 125,000
(200 000) 150,000
(240 000)
Inspect fuel system for damage
or leaks. • •••••
Inspect exhaust system for loose or
damaged components. • •••••
Replace engine air cleaner filter.
See Engine Air Cleaner/Filter on
page 5-19.
• •••••
Change automatic transmission fluid
and filter (severe service only).
See footnote (h).
•••
Replace spark plugs.
An Emission Control Service.
Not to exceed 37,500 miles (60 000 km).
• •••••
6-6

Additional Required Services (cont’d)
Service and Miles (Kilometers) 25,000
(40 000) 50,000
(80 000) 75,000
(120 000) 100,000
(160 000) 125,000
(200 000) 150,000
(240 000)
Inspect EVAP canister and vapor lines.
Replace EVAP vent solenoid valve.
An Emission Control Service.
See footnote †.
•••
Engine cooling system service
(or every five years, whichever occurs
first). An Emission Control Service.
See footnote (i).
•
Inspect engine accessory drive belts.
An Emission Control Service.
See footnote (g).
• •••••
Replace timing belt. •
Replace fuel filter. An Emission Control
Service. See footnote †. •
Replace power steering pump
accessory drive belt. •••
6-7

Maintenance Footnotes
†The U.S. Environmental Protection Agency or the
California Air Resources Board has determined that the
failure to perform this maintenance item will not nullify
the emission warranty or limit recall liability prior to
the completion of the vehicle’s useful life. We, however,
urge that all recommended maintenance services be
performed at the indicated intervals and the
maintenance be recorded.
(a) Visually inspect brake lines and hoses for proper
hook-up, binding, leaks, cracks, chafing, etc. Inspect
disc brake pads for wear and rotors for surface
condition. Inspect drum brake linings/shoes for wear or
cracks. Inspect other brake parts, including drums,
wheel cylinders, calipers, parking brake, etc.
(b) Visually inspect front and rear suspension and
steering system for damaged, loose, or missing parts
or signs of wear. Inspect power steering cables for
proper hook-up, binding, cracks, chafing, etc.
(c) Visually inspect hoses and have them replaced if
they are cracked, swollen, or deteriorated. Inspect
all pipes, fittings and clamps; replace with genuine
parts as needed. To help ensure proper operation,
a pressure test of the cooling system and pressure cap
and cleaning the outside of the radiator and air
conditioning condenser is recommended at least
once a year.
(d) Inspect wiper blades for wear, cracking, or
contamination. Clean the windshield and wiper blades,
if contaminated. Replace wiper blades that are worn
or damaged. See Windshield Wiper Blade Replacement
on page 5-50 and Windshield and Wiper Blades on
page 5-84 for more information.
(e) Make sure the safety belt reminder light and safety
belt assemblies are working properly. Look for any
other loose or damaged safety belt system parts. If you
see anything that might keep a safety belt system
from doing its job, have it repaired. Have any torn or
frayed safety belts replaced. Also see Checking
the Restraint Systems on page 1-75.
(f) Lubricate all key lock cylinders, door hinges and
latches, hood hinges and latches, and trunk lid hinges
and latches. More frequent lubrication may be required
when exposed to a corrosive environment. Applying
silicone grease on weatherstrips with a clean cloth will
make them last longer, seal better, and not stick or
squeak.
(g) Visually inspect belt for fraying, excessive cracks, or
obvious damage. Replace belt if necessary.
6-8

(h) Change automatic transmission fluid and filter if the
vehicle is mainly driven under one or more of these
conditions:
−In heavy city traffic where the outside temperature
regularly reaches 90°F (32°C) or higher.
−In hilly or mountainous terrain.
−When doing frequent trailer towing.
−Uses such as found in taxi, police, or delivery
service.
If the vehicle is not used under any of these conditions,
the fluid and filter do not require changing.
(i) Drain, flush, and refill cooling system. This service
can be complex; you should have your dealer/retailer
perform this service. See Engine Coolant on page 5-25
for what to use. Inspect hoses. Clean radiator,
condenser, pressure cap, and filler neck. Pressure test
the cooling system and pressure cap.
(j) A fluid loss in any vehicle system could indicate a
problem. Have the system inspected and repaired and
the fluid level checked. Add fluid if needed.
(k) If driving regularly under dusty conditions, inspect
the filter at each engine oil change.
(l) If driving regularly under dusty conditions, the filter
may require replacement more often.
Owner Checks and Services
These owner checks and services should be performed
at the intervals specified to help ensure vehicle safety,
dependability, and emission control performance.
Your dealer/retailer can assist with these checks and
services.
Be sure any necessary repairs are completed at once.
Whenever any fluids or lubricants are added to the
vehicle, make sure they are the proper ones, as shown
in Recommended Fluids and Lubricants on page 6-13.
6-9

At Each Fuel Fill
It is important to perform these underhood checks at
each fuel fill.
Engine Oil Level Check
Notice: It is important to check the engine oil
regularly and keep it at the proper level. Failure to
keep the engine oil at the proper level can cause
damage to the engine not covered by the vehicle
warranty.
Check the engine oil level and add the proper oil
if necessary. See Engine Oil on page 5-16.
Engine Coolant Level Check
Check the engine coolant level and add DEX-COOL
®
coolant mixture if necessary. See Engine Coolant
on page 5-25.
Windshield Washer Fluid Level Check
Check the windshield washer fluid level in the windshield
washer fluid reservoir and add the proper fluid if
necessary.
At Least Once a Month
Tire Inflation Check
Inspect the vehicle’s tires and make sure they are
inflated to the correct pressures. Do not forget to
check the spare tire, if the vehicle has one.
See Inflation - Tire Pressure on page 5-57.Ifthe
vehicle has a spare tire, check to make sure it is stored
securely. See Changing a Flat Tire on page 5-70.
Tire Wear Inspection
Tire rotation may be required for high mileage highway
drivers prior to the Engine Oil Life System service
notification. Check the tires for wear and, if necessary,
rotate the tires. See Tire Inspection and Rotation on
page 5-62.
6-10

At Least Once a Year
Starter Switch Check
{CAUTION:
When you are doing this inspection, the vehicle
could move suddenly. If the vehicle moves, you or
others could be injured.
1. Before starting this check, be sure there is enough
room around the vehicle.
2. Firmly apply both the parking brake and the regular
brake. See Parking Brake on page 2-28 if necessary.
Do not use the accelerator pedal, and be ready to
turn off the engine immediately if it starts.
3. For automatic transmission vehicles, try to start the
engine in each gear. The starter should work only
in P (Park) or N (Neutral). If the starter works in any
other position, your vehicle needs service.
For manual transmission vehicles, put the shift lever
in Neutral, push the clutch pedal down halfway,
and try to start the engine. The starter should work
only when the clutch pedal is pushed down all
the way to the floor. If the starter works when the
clutch pedal is not pushed all the way down,
your vehicle needs service.
Automatic Transmission Shift Lock
Control System Check
{CAUTION:
When you are doing this inspection, the vehicle
could move suddenly. If the vehicle moves, you or
others could be injured.
1. Before starting this check, be sure there is enough
room around the vehicle. It should be parked on a
level surface.
2. Firmly apply the parking brake. See Parking Brake
on page 2-28 if necessary.
Be ready to apply the regular brake immediately if
the vehicle begins to move.
3. With the engine off, turn the ignition to ON/RUN,
but do not start the engine. Without applying the
regular brake, try to move the shift lever out
of P (Park) with normal effort. If the shift lever
moves out of P (Park), your vehicle needs service.
6-11

Ignition Transmission Lock Check
While parked, and with the parking brake set, try to turn
the ignition to LOCK/OFF in each shift lever position.
•For automatic transmission vehicles, the ignition
should turn to LOCK/OFF only when the shift
lever is in P (Park).
•For manual transmission vehicles, the ignition
should turn to LOCK/OFF only when you press the
key release button.
On all vehicles, the ignition key should come out only
in LOCK/OFF.
Turn the steering wheel to the left and to the right.
It should only lock when turned to the right.
Parking Brake and Automatic
Transmission P (Park) Mechanism
Check
{CAUTION:
When you are doing this check, the vehicle could
begin to move. You or others could be injured and
property could be damaged. Make sure there is
room in front of the vehicle in case it begins to roll.
Be ready to apply the regular brake at once
should the vehicle begin to move.
6-12

Park on a fairly steep hill, with the vehicle facing
downhill. Keeping your foot on the regular brake,
set the parking brake.
•To check the parking brake’s holding ability: With
the engine running and transmission in N (Neutral),
slowly remove foot pressure from the regular
brake pedal. Do this until the vehicle is held by the
parking brake only.
•To check the P (Park) mechanism’s holding ability:
With the engine running, shift to P (Park). Then
release the parking brake followed by the regular
brake.
Underbody Flushing Service
At least every spring, use plain water to flush any
corrosive materials from the underbody. Take care to
clean thoroughly any areas where mud and other
debris can collect.
Recommended Fluids and
Lubricants
Fluids and lubricants identified below by name, part
number, or specification can be obtained from your
dealer/retailer.
Usage Fluid/Lubricant
Engine Oil
Engine oil which meets
GM Standard GM6094M and
displays the American Petroleum
Institute Certified for Gasoline
Engines starburst symbol.
To determine the proper viscosity
for your vehicle’s engine,
see Engine Oil on page 5-16.
Engine Coolant
50/50 mixture of clean, drinkable
water and use only DEX-COOL
®
Coolant. See Engine Coolant on
page 5-25.
Hydraulic
Brake System Delco
®
Supreme 11 Brake Fluid or
equivalent DOT-3 brake fluid.
6-13

Usage Fluid/Lubricant
Windshield
Washer Solvent Optikleen
®
Washer Solvent.
Power Steering
System DEXRON
®
-VI Automatic
Transmission Fluid.
Automatic
Transmission
Use only T-IV Automatic
Transmission Fluid
(GM Part No. U.S. 88900925,
in Canada 22689186).
Manual
Transmission
Manual Transmission Fluid
(GM Part No. U.S. 89021806,
in Canada 89021807).
Key Lock
Cylinders
Multi-Purpose Lubricant, Superlube
(GM Part No. U.S. 12346241,
in Canada 10953474).
Manual
Transmission
Shift Linkage
Chassis Lubricant
(GM Part No. U.S. 12377985,
in Canada 88901242) or lubricant
meeting requirements of NLGI #2,
Category LB or GC-LB.
Usage Fluid/Lubricant
Chassis
Lubrication
Chassis Lubricant
(GM Part No. U.S. 12377985,
in Canada 88901242) or lubricant
meeting requirements of NLGI #2,
Category LB or GC-LB.
Hood Latch
Assembly,
Secondary
Latch, Pivots,
Spring Anchor,
and
Release Pawl
Lubriplate Lubricant Aerosol
(GM Part No. U.S. 12346293,
in Canada 992723) or lubricant
meeting requirements of NLGI #2,
Category LB or GC-LB.
Hood and
Door Hinges
Multi-Purpose Lubricant, Superlube
(GM Part No. U.S. 12346241,
in Canada 10953474).
Weatherstrip
Conditioning
Weatherstrip Lubricant
(GM Part No. U.S. 3634770,
in Canada 10953518) or
Dielectric Silicone Grease
(GM Part No. U.S. 12345579,
in Canada 992887).
6-14

Maintenance Replacement Parts
Replacement parts identified below by name, part number, or specification can be obtained from your dealer/retailer.
Maintenance Replacement Parts
Part GM Part Number ACDelco Part Number
Engine Air Cleaner/Filter 96536696 A3081C
Engine Oil Filter 93185674 —
Passenger Compartment Air Filter 96962173 —
Spark Plugs 96476119 —
Wiper Blades - Hatchback
Driver Side 96476652 —
Passenger Side 96476656 —
Rear 96301840 —
Wiper Blades - Sedan
Driver Side 96476652 —
Passenger Side 96476656 —
6-15

Engine Drive Belt Routing
6-16

Maintenance Record
After the scheduled services are performed, record the date, odometer reading, who performed the service, and the
type of services performed in the boxes provided. See Maintenance Requirements on page 6-2. Any additional
information from Owner Checks and Services on page 6-9 can be added on the following record pages. You should
retain all maintenance receipts.
Maintenance Record
Date Odometer
Reading Serviced By Maintenance Ior
Maintenance II Services Performed
6-17

Maintenance Record (cont’d)
Date Odometer
Reading Serviced By Maintenance Ior
Maintenance II Services Performed
6-18

Maintenance Record (cont’d)
Date Odometer
Reading Serviced By Maintenance Ior
Maintenance II Services Performed
6-19

Maintenance Record (cont’d)
Date Odometer
Reading Serviced By Maintenance Ior
Maintenance II Services Performed
6-20

Customer Assistance and Information ...............7-2
Customer Satisfaction Procedure ......................7-2
Online Owner Center ......................................7-5
Customer Assistance for Text Telephone
(TTY) Users ...............................................7-6
Customer Assistance Offices ............................7-6
GM Mobility Reimbursement Program ................7-7
Roadside Assistance Program ..........................7-7
Scheduling Service Appointments ....................7-11
Courtesy Transportation .................................7-11
Collision Damage Repair ................................7-13
Reporting Safety Defects ................................7-16
Reporting Safety Defects to the
United States Government ..........................7-16
Reporting Safety Defects to the
Canadian Government ................................7-17
Reporting Safety Defects to
General Motors .........................................7-17
Service Publications Ordering Information .........7-17
Vehicle Data Recording and Privacy ................7-18
Event Data Recorders ...................................7-19
OnStar
®
......................................................7-20
Navigation System ........................................7-20
Radio Frequency Identification (RFID) ..............7-20
Section 7 Customer Assistance Information
7-1

Customer Assistance and
Information
Customer Satisfaction Procedure
Your satisfaction and goodwill are important to
your dealer and to Chevrolet. Normally, any concerns
with the sales transaction or the operation of the vehicle
will be resolved by the dealer’s sales or service
departments. Sometimes, however, despite the best
intentions of all concerned, misunderstandings can
occur. If your concern has not been resolved to your
satisfaction, the following steps should be taken:
STEP ONE: Discuss your concern with a member of
dealership management. Normally, concerns can
be quickly resolved at that level. If the matter has
already been reviewed with the sales, service, or parts
manager, contact the owner of the dealership or the
general manager.
STEP TWO: If after contacting a member of dealership
management, it appears your concern cannot be
resolved by the dealership without further help, in the
U.S., call the Chevrolet Customer Assistance Center
at 1-800-222-1020. In Canada, call General Motors
of Canada Customer Communication Centre at
1-800-263-3777 (English), or 1-800-263-7854 (French).
We encourage you to call the toll-free number in
order to give your inquiry prompt attention. Have the
following information available to give the Customer
Assistance Representative:
•Vehicle Identification Number (VIN). This is available
from the vehicle registration or title, or the plate at the
top left of the instrument panel and visible through
the windshield.
•Dealership name and location.
•Vehicle delivery date and present mileage.
When contacting Chevrolet, remember that your
concern will likely be resolved at a dealer’s facility.
That is why we suggest following Step One first.
7-2

STEP THREE — U.S. Owners: Both General Motors
and your dealer are committed to making sure you are
completely satisfied with your new vehicle. However, if
you continue to remain unsatisfied after following the
procedure outlined in Steps One and Two, you can file
with the Better Business Bureau (BBB) Auto Line
Program to enforce your rights.
The BBB Auto Line Program is an out of court program
administered by the Council of Better Business Bureaus
to settle automotive disputes regarding vehicle repairs or
the interpretation of the New Vehicle Limited Warranty.
Although you may be required to resort to this informal
dispute resolution program prior to filing a court action,
use of the program is free of charge and your case will
generally be heard within 40 days. If you do not agree
with the decision given in your case, you may reject it and
proceed with any other venue for relief available to you.
You may contact the BBB Auto Line Program using the
toll-free telephone number or write them at the following
address:
BBB Auto Line Program
Council of Better Business Bureaus, Inc.
4200 Wilson Boulevard
Suite 800
Arlington, VA 22203-1838
Telephone : 1-800-955-5100
dr.bbb.org/goauto
This program is available in all 50 states and the District
of Columbia. Eligibility is limited by vehicle age, mileage,
and other factors. General Motors reserves the right to
change eligibility limitations and/or discontinue its
participation in this program.
7-3

STEP THREE — Canadian Owners: In the event that
you do not feel your concerns have been addressed
after following the procedure outlined in Steps 1 and 2,
General Motors of Canada Limited wants you to be aware
of its participation in a no-charge Mediation/Arbitration
Program. General Motors of Canada Limited has
committed to binding arbitration of owner disputes
involving factory-related vehicle service claims. The
program provides for the review of the facts involved
by an impartial third party arbiter, and may include an
informal hearing before the arbiter. The program is
designed so that the entire dispute settlement process,
from the time you file your complaint to the final decision,
should be completed in about 70 days. We believe our
impartial program offers advantages over courts in most
jurisdictions because it is informal, quick, and free of
charge.
For further information concerning eligibility in the
Canadian Motor Vehicle Arbitration Plan (CAMVAP), call
toll-free 1-800-207-0685, or call the General Motors
Customer Communication Centre, 1-800-263-3777
(English), 1-800-263-7854 (French), or write to:
The Mediation/Arbitration Program
c/o Customer Communication Centre
General Motors of Canada Limited
Mail Code: CA1-163-005
1908 Colonel Sam Drive
Oshawa, Ontario L1H 8P7
Your inquiry should be accompanied by the Vehicle
Identification Number (VIN).
7-4

Online Owner Center
Online Owner Center
(U.S.) — www.gmownercenter.com/
chevrolet
Information and services customized for your specific
vehicle — all in one convenient place.
•Digital owner manual, warranty information,
and more
•Online service and maintenance records
•Find Chevrolet dealers for service nationwide
•Exclusive privileges and offers
•Recall notices for your specific vehicle
•OnStar
®
and GM Cardmember Services Earnings
summaries
Other Helpful Links:
Chevrolet — www.chevrolet.com
Chevrolet Merchandise — www.chevymall.com
Help Center — www.chevrolet.com/helpcenter
•FAQ
•Contact Us
My GM Canada (Canada) — www.gm.ca
My GM Canada is a password-protected section of
www.gm.ca where you can save information on
GM vehicles, get personalized offers, and use handy
tools and forms with greater ease.
Here are a few of the valuable tools and services you
will have access to:
•My Showroom: Find and save information on
vehicles and current offers in your area.
•My Dealers/Retailers: Save details such as address
and phone number for each of your preferred GM
dealers/retailers.
•My Driveway: Access quick links to parts and
service estimates, check trade-in values, or
schedule a service appointment by adding the
vehicles you own to your driveway profile.
•My Preferences: Manage your profile and use tools
and forms with greater ease.
To sign up, visit the My GM Canada section within
www.gm.ca.
7-5

Customer Assistance for Text
Telephone (TTY) Users
To assist customers who are deaf, hard of hearing, or
speech-impaired and who use Text Telephones (TTYs),
Chevrolet has TTY equipment available at its Customer
Assistance Center. Any TTY user in the U.S. can
communicate with Chevrolet by dialing:
1-800-833-CHEV (2438). (TTY users in
Canada can dial 1-800-263-3830.)
Customer Assistance Offices
Chevrolet encourages customers to call the toll-free
number for assistance. However, if a customer wishes
to write or e-mail Chevrolet, the letter should be
addressed to:
United States — Customer Assistance
Chevrolet Motor Division
Chevrolet Customer Assistance Center
P.O. Box 33170
Detroit, MI 48232-5170
Chevrolet.com
1-800-222-1020
1-800-833-2438 (For Text Telephone devices (TTYs))
Roadside Assistance: 1-800-CHEV-USA (243-8872)
From Puerto Rico:
1-800-496-9992 (English)
1-800-496-9993 (Spanish)
From U.S. Virgin Islands:
1-800-496-9994
Canada — Customer Assistance
General Motors of Canada Limited
Customer Communication Centre, CA1-163-005
1908 Colonel Sam Drive
Oshawa, Ontario L1H 8P7
gmcanada.com
1-800-263-3777 (English)
1-800-263-7854 (French)
1-800-263-3830 (For Text Telephone devices (TTYs))
Roadside Assistance: 1-800-268-6800
Overseas — Customer Assistance
Please contact the local General Motors Business Unit.
7-6

Mexico, Central America and Caribbean
Islands/Countries (Except Puerto Rico
and U.S. Virgin Islands) — Customer
Assistance
General Motors de Mexico, S. de R.L. de C.V.
Customer Assistance Center
Paseo de la Reforma # 2740
Col. Lomas de Bezares
C.P. 11910, Mexico, D.F.
01-800-508-0000
Long Distance: 011-52-53 29 0 800
GM Mobility Reimbursement
Program
This program, available to qualified applicants, can
reimburse you up to $1,000 of the cost of eligible
aftermarket adaptive equipment required for your vehicle,
such as hand controls or a wheelchair/scooter lift.
The offer is available for a very limited period of time
from the date of vehicle purchase/lease. For more
details, or to determine your vehicle’s eligibility, visit
gmmobility.com or call the GM Mobility Assistance
Center at 1-800-323-9935. Text telephone (TTY) users,
call 1-800-833-9935.
General Motors of Canada also has a Mobility Program.
Call 1-800-GM-DRIVE (463-7483) for details. TTY
users call 1-800-263-3830.
Roadside Assistance Program
For U.S. purchased vehicles, call 1-800-CHEV-USA
(1-800-243-8872); (Text telephone (TTY):
1-888-889-2438).
For Canadian purchased vehicles, call 1-800-268-6800.
Service is available 24 hours a day, 365 days a year.
7-7

Calling for Assistance
When calling Roadside Assistance, have the following
information ready:
•Your name, home address, and home telephone
number
•Telephone number of your location
•Location of the vehicle
•Model, year, color, and license plate number of the
vehicle
•Odometer reading, Vehicle Identification Number
(VIN), and delivery date of the vehicle
•Description of the problem
Coverage
Services are provided up to 5 years/100,000 miles
(160 000 km), whichever comes first.
In the U.S., anyone driving the vehicle is covered.
In Canada, a person driving the vehicle without
permission from the owner is not covered.
Roadside Assistance is not a part of the New Vehicle
Limited Warranty. Chevrolet and General Motors of
Canada Limited reserve the right to make any changes or
discontinue the Roadside Assistance program at any time
without notification.
Chevrolet and General Motors of Canada Limited
reserve the right to limit services or payment to an owner
or driver if they decide the claims are made too often,
or the same type of claim is made many times.
7-8

Services Provided
•Emergency Fuel Delivery: Delivery of enough fuel
for the vehicle to get to the nearest service station.
•Lock-Out Service: Service is provided to unlock the
vehicle if you are locked out. A remote unlock may
be available if you have OnStar
®
. For security
reasons, the driver must present identification
before this service is given.
•Emergency Tow From a Public Road or Highway:
Tow to the nearest Chevrolet dealer for warranty
service, or if the vehicle was in a crash and cannot
be driven. Assistance is also given when the vehicle
is stuck in the sand, mud, or snow.
•Flat Tire Change: Service is provided to change a
flat tire with the spare tire. The spare tire, if equipped,
must be in good condition and properly inflated.
It is the owner’s responsibility for the repair or
replacement of the tire if it is not covered by the
warranty.
•Battery Jump Start: Service is provided to jump
start a dead battery.
•Trip Interruption Benefits and Assistance: If your
trip is interrupted due to a warranty failure, incidental
expenses may be reimbursed during the 5 years/
100,000 miles (160 000 km) Powertrain warranty
period. Items considered are hotel, meals, and
rental car.
Services Not Included in Roadside
Assistance
•Impound towing caused by violation of any laws.
•Legal fines.
•Mounting, dismounting or changing of snow tires,
chains, or other traction devices.
•Towing or services for vehicles driven on a
non-public road or highway.
7-9

Services Specific to Canadian
Purchased Vehicles
•Fuel delivery: Reimbursement is approximately
$5 Canadian. Diesel fuel delivery may be restricted.
Propane and other fuels are not provided through
this service.
•Lock-Out Service: Vehicle registration is required.
•Trip Routing Service: Detailed maps of North
America are provided when requested either with
the most direct route or the most scenic route. There
is a limit of six requests per year. Additional travel
information is also available. Allow three weeks for
delivery.
•Trip Interruption Benefits and Assistance: Must
be over 250 kilometres from where your trip was
started to qualify. General Motors of Canada Limited
requires pre-authorization, original detailed receipts,
and a copy of the repair orders. Once authorization
has been received, the Roadside Assistance advisor
will help you make arrangements and explain how to
receive payment.
•Alternative Service: If assistance cannot be
provided right away, the Roadside Assistance
advisor may give you permission to get local
emergency road service. You will receive payment,
up to $100, after sending the original receipt to
Roadside Assistance. Mechanical failures may be
covered, however any cost for parts and labor for
repairs not covered by the warranty are the owner
responsibility.
7-10

Scheduling Service Appointments
When your vehicle requires warranty service, contact
your dealer/retailer and request an appointment.
By scheduling a service appointment and advising your
service consultant of your transportation needs, your
dealer/retailer can help minimize your inconvenience.
If your vehicle cannot be scheduled into the service
department immediately, keep driving it until it can be
scheduled for service, unless, of course, the problem is
safety-related. If it is, please call your dealership/retailer,
let them know this, and ask for instructions.
If the dealer/retailer requests you to bring the vehicle for
service, you are urged to do so as early in the work
day as possible to allow for the same day repair.
Courtesy Transportation
To enhance your ownership experience, we and our
participating dealers are proud to offer Courtesy
Transportation, a customer support program for vehicles
with the Bumper to Bumper (Base Warranty Coverage
period in Canada) and extended powertrain, and
hybrid specific warranty in both the U.S. and Canada.
Several courtesy transportation options are available to
assist in reducing your inconvenience when warranty
repairs are required.
Courtesy Transportation is not a part of the New Vehicle
Limited Warranty. A separate booklet entitled “Warranty
and Owner Assistance Information” furnished with each
new vehicle provides detailed warranty coverage
information.
7-11

Transportation Options
Warranty service can generally be completed while you
wait. However, if you are unable to wait, GM helps
to minimize your inconvenience by providing several
transportation options. Depending on the circumstances,
your dealer can offer you one of the following:
Shuttle Service
Shuttle service is the preferred means of offering
Courtesy Transportation. Dealers may provide you with
shuttle service to get you to your destination with minimal
interruption of your daily schedule. This includes one-way
or round trip shuttle service within reasonable time and
distance parameters of the dealer’s area.
Public Transportation or Fuel
Reimbursement
If your vehicle requires overnight warranty repairs, and
public transportation is used instead of the dealer’s
shuttle service, the expense must be supported by
original receipts and can only be up to the maximum
amount allowed by GM for shuttle service. In addition, for
U.S. customers, should you arrange transportation
through a friend or relative, limited reimbursement for
reasonable fuel expenses may be available. Claim
amounts should reflect actual costs and be supported by
original receipts. See your dealer for information
regarding the allowance amounts for reimbursement of
fuel or other transportation costs.
Courtesy Rental Vehicle
Your dealer may arrange to provide you with a courtesy
rental vehicle or reimburse you for a rental vehicle that
you obtain if your vehicle is kept for an overnight warranty
repair. Rental reimbursement will be limited and must be
supported by original receipts. This requires that you
sign and complete a rental agreement and meet state/
provincial, local, and rental vehicle provider requirements.
Requirements vary and may include minimum age
requirements, insurance coverage, credit card, etc. You
are responsible for fuel usage charges and may also
be responsible for taxes, levies, usage fees, excessive
mileage, or rental usage beyond the completion of the
repair.
It may not be possible to provide a like-vehicle as a
courtesy rental.
Additional Program Information
All program options, such as shuttle service, may not be
available at every dealer. Please contact your dealer
for specific information about availability. All Courtesy
Transportation arrangements will be administered
by appropriate dealer personnel.
General Motors reserves the right to unilaterally modify,
change or discontinue Courtesy Transportation at any
time and to resolve all questions of claim eligibility
pursuant to the terms and conditions described herein
at its sole discretion.
7-12

Collision Damage Repair
If your vehicle is involved in a collision and it is
damaged, have the damage repaired by a qualified
technician using the proper equipment and quality
replacement parts. Poorly performed collision repairs
diminish your vehicle’s resale value, and safety
performance can be compromised in subsequent
collisions.
Collision Parts
Genuine GM Collision parts are new parts made with the
same materials and construction methods as the parts
with which your vehicle was originally built. Genuine GM
Collision parts are your best choice to ensure that your
vehicle’s designed appearance, durability, and safety are
preserved. The use of Genuine GM parts can help
maintain your GM New Vehicle Warranty.
Recycled original equipment parts may also be
used for repair. These parts are typically removed
from vehicles that were total losses in prior crashes.
In most cases, the parts being recycled are from
undamaged sections of the vehicle. A recycled
original equipment GM part, may be an acceptable choice
to maintain your vehicle’s originally designed appearance
and safety performance, however, the history of these
parts is not known. Such parts are not covered by your
GM New Vehicle Limited Warranty, and any related
failures are not covered by that warranty.
Aftermarket collision parts are also available. These are
made by companies other than GM and may not have
been tested for your vehicle. As a result, these parts may
fit poorly, exhibit premature durability/corrosion problems,
and may not perform properly in subsequent collisions.
Aftermarket parts are not covered by your GM New
Vehicle Limited Warranty, and any vehicle failure related
to such parts are not covered by that warranty.
Repair Facility
We recommend that you choose a collision repair facility
that meets your needs before you ever need collision
repairs. Your dealer/retailer may have a collision repair
center with GM-trained technicians and state of the art
equipment, or be able to recommend a collision repair
center that has GM-trained technicians and comparable
equipment.
7-13

Insuring Your Vehicle
Protect your investment in your GM vehicle with
comprehensive and collision insurance coverage. There
are significant differences in the quality of coverage
afforded by various insurance policy terms. Many
insurance policies provide reduced protection to your
GM vehicle by limiting compensation for damage repairs
by using aftermarket collision parts. Some insurance
companies will not specify aftermarket collision
parts. When purchasing insurance, we recommend that
you assure your vehicle will be repaired with GM
original equipment collision parts. If such insurance
coverage is not available from your current insurance
carrier, consider switching to another insurance carrier.
If your vehicle is leased, the leasing company may
require you to have insurance that assures repairs with
Genuine GM Original Equipment Manufacturer (OEM)
parts or Genuine Manufacturer replacement parts. Read
your lease carefully, as you may be charged at the
end of your lease for poor quality repairs.
If a Crash Occurs
Here is what to do if you are involved in a crash.
•Check to make sure that you are all right. If you are
uninjured, make sure that no one else in your
vehicle, or the other vehicle, is injured.
•If there has been an injury, call emergency services
for help. Do not leave the scene of a crash until all
matters have been taken care of. Move your vehicle
only if its position puts you in danger or you are
instructed to move it by a police officer.
•Give only the necessary and requested information
to police and other parties involved in the crash. Do
not discuss your personal condition, mental frame of
mind, or anything unrelated to the crash. This will
help guard against post-crash legal action.
•If you need roadside assistance, call GM Roadside
Assistance. See Roadside Assistance Program on
page 7-7 for more information.
7-14

•If your vehicle cannot be driven, know where the
towing service will be taking it. Get a card from the
tow truck operator or write down the driver’s name,
the service’s name, and the phone number.
•Remove any valuables from your vehicle before it is
towed away. Make sure this includes your insurance
information and registration if you keep these items
in your vehicle.
•Gather the important information you will need from
the other driver. Things like name, address, phone
number, driver’s license number, vehicle license
plate, vehicle make, model and model year, Vehicle
Identification Number (VIN), insurance company and
policy number, and a general description of the
damage to the other vehicle.
•If possible, call your insurance company from the
scene of the crash. They will walk you through the
information they will need. If they ask for a police
report, phone or go to the police department
headquarters the next day and you can get a copy of
the report for a nominal fee. In some states/provinces
with “no fault” insurance laws, a report may not be
necessary. This is especially true if there are no
injuries and both vehicles are driveable.
•Choose a reputable collision repair facility for your
vehicle. Whether you select a dealer/retailer or a
private collision repair facility to fix the damage,
make sure you are comfortable with them.
Remember, you will have to feel comfortable with
their work for a long time.
•Once you have an estimate, read it carefully and
make sure you understand what work will be
performed on your vehicle. If you have a question,
ask for an explanation. Reputable shops welcome
this opportunity.
7-15

Managing the Vehicle Damage Repair
Process
In the event that your vehicle requires damage repairs,
GM recommends that you take an active role in its repair.
If you have a pre-determined repair facility of choice, take
your vehicle there, or have it towed there. Specify to the
facility that any required replacement collision parts be
original equipment parts, either new Genuine GM parts or
recycled original GM parts. Remember, recycled parts
will not be covered by your GM vehicle warranty.
Insurance pays the bill for the repair, but you must
live with the repair. Depending on your policy limits,
your insurance company may initially value the repair
using aftermarket parts. Discuss this with your repair
professional, and insist on Genuine GM parts. Remember
if your vehicle is leased you may be obligated to have the
vehicle repaired with Genuine GM parts, even if your
insurance coverage does not pay the full cost.
If another party’s insurance company is paying for the
repairs, you are not obligated to accept a repair valuation
based on that insurance company’s collision policy
repair limits, as you have no contractual limits with that
company. In such cases, you can have control of the
repair and parts choices as long as cost stays within
reasonable limits.
Reporting Safety Defects
Reporting Safety Defects to the
United States Government
If you believe that your vehicle has a defect which
could cause a crash or could cause injury or
death, you should immediately inform the National
Highway Traffic Safety Administration (NHTSA)
in addition to notifying General Motors.
If NHTSA receives similar complaints, it may open
an investigation, and if it finds that a safety defect
exists in a group of vehicles, it may order a recall
and remedy campaign. However, NHTSA cannot
become involved in individual problems between
you, your dealer/retailer, or General Motors.
To contact NHTSA, you may call the Vehicle
Safety Hotline toll-free at 1-888-327-4236
(TTY: 1-800-424-9153); go to safercar.gov;
or write to:
Administrator, NHTSA
1200 New Jersey Avenue, S.E.
Washington D.C., 20590
You can also obtain other information about motor
vehicle safety from safercar.gov.
7-16

Reporting Safety Defects to the
Canadian Government
If you live in Canada, and you believe that your
vehicle has a safety defect, notify Transport Canada
immediately, in addition to notifying General Motors of
Canada Limited. Call them at 1-800-333-0510 or write to:
Transport Canada
Road Safety Branch
2780 Sheffield Road
Ottawa, Ontario K1B 3V9
Reporting Safety Defects to
General Motors
In addition to notifying NHTSA (or Transport Canada) in
a situation like this, please notify General Motors.
Call 1-800-222-1020, or write:
Chevrolet Motor Division
Chevrolet Customer Assistance Center
P.O. Box 33170
Detroit, MI 48232-5170
In Canada, call 1-800-263-3777 (English) or
1-800-263-7854 (French), or write:
General Motors of Canada Limited
Customer Communication Centre, CA1-163-005
1908 Colonel Sam Drive
Oshawa, Ontario L1H 8P7
Service Publications Ordering
Information
Service Manuals
Service Manuals have the diagnosis and repair
information on engines, transmission, axle suspension,
brakes, electrical, steering, body, etc.
Service Bulletins
Service Bulletins give additional technical service
information needed to knowledgeably service
General Motors cars and trucks. Each bulletin contains
instructions to assist in the diagnosis and service of
your vehicle.
Owner Information
Owner publications are written specifically for owners
and intended to provide basic operational information
about the vehicle. The owner manual includes the
Maintenance Schedule for all models.
In-Portfolio: Includes a Portfolio, Owner Manual, and
Warranty Booklet.
RETAIL SELL PRICE: $35.00 (U.S.) plus processing fee
Without Portfolio: Owner Manual only.
RETAIL SELL PRICE: $25.00 (U.S.) plus processing fee
7-17

Current and Past Model Order Forms
Technical Service Bulletins and Manuals are available
for current and past model GM vehicles. To request
an order form, specify year and model name of
the vehicle.
ORDER TOLL FREE: 1-800-551-4123
Monday-Friday 8:00 AM - 6:00 PM
Eastern Time
For Credit Card Orders Only
(VISA-MasterCard-Discover), visit Helm, Inc.
on the World Wide Web at: helminc.com
Or you can write to:
Helm, Incorporated
P.O. Box 07130
Detroit, MI 48207
Prices are subject to change without notice and without
incurring obligation. Allow ample time for delivery.
Note to Canadian Customers: All listed prices are
quoted in U.S. funds. Canadian residents are to make
checks payable in U.S. funds.
Vehicle Data Recording and
Privacy
Your GM vehicle has a number of sophisticated
computers that record information about the vehicle’s
performance and how it is driven. For example, your
vehicle uses computer modules to monitor and control
engine and transmission performance, to monitor the
conditions for airbag deployment and deploy airbags in a
crash and, if so equipped, to provide antilock braking
to help the driver control the vehicle. These modules
may store data to help your dealer/retailer technician
service your vehicle. Some modules may also store data
about how you operate the vehicle, such as rate of fuel
consumption or average speed. These modules may also
retain the owner’s personal preferences, such as radio
pre-sets, seat positions, and temperature settings.
7-18

Event Data Recorders
This vehicle has an Event Data Recorder (EDR). The
main purpose of an EDR is to record, in certain crash or
near crash-like situations, such as an airbag deployment
or hitting a road obstacle, data that will assist in
understanding how a vehicle’s systems performed.
The EDR is designed to record data related to vehicle
dynamics and safety systems for a short period of time,
typically 30 seconds or less. The EDR in this vehicle is
designed to record such data as:
•How various systems in your vehicle were operating
•Whether or not the driver and passenger safety belts
were buckled/fastened
•How far, if at all, the driver was pressing the
accelerator and/or brake pedal
•How fast the vehicle was traveling
This data can help provide a better understanding of the
circumstances in which crashes and injuries occur.
Important: EDR data is recorded by your vehicle
only if a non-trivial crash situation occurs; no data is
recorded by the EDR under normal driving conditions
and no personal data (e.g., name, gender, age,
and crash location) is recorded. However, other parties,
such as law enforcement, could combine the EDR
data with the type of personally identifying data routinely
acquired during a crash investigation.
To read data recorded by an EDR, special equipment
is required, and access to the vehicle or the EDR is
needed. In addition to the vehicle manufacturer, other
parties, such as law enforcement, that have the special
equipment, can read the information if they have access
to the vehicle or the EDR.
GM will not access this data or share it with others
except: with the consent of the vehicle owner or, if the
vehicle is leased, with the consent of the lessee; in
response to an official request of police or similar
government office; as part of GM’s defense of litigation
through the discovery process; or, as required by law.
Data that GM collects or receives may also be used for
GM research needs or may be made available to others
for research purposes, where a need is shown and the
data is not tied to a specific vehicle or vehicle owner.
7-19

OnStar
®
If your vehicle has OnStar and you subscribe to the
OnStar services, please refer to the OnStar Terms and
Conditions for information on data collection and use.
Navigation System
If your vehicle has a navigation system, use of the system
may result in the storage of destinations, addresses,
telephone numbers, and other trip information. Refer to
the navigation system operating manual for information
on stored data and for deletion instructions.
Radio Frequency
Identification (RFID)
RFID technology is used in some vehicles for functions
such as tire pressure monitoring and ignition system
security, as well as in connection with conveniences such
as key fobs for remote door locking/unlocking and
starting, and in-vehicle transmitters for garage door
openers. RFID technology in GM vehicles does not use
or record personal information or link with any other GM
system containing personal information.
7-20

A
Accessories and Modifications ............................ 5-3
Accessory Power Outlets ................................. 3-16
Adding Equipment to Your Airbag-Equipped
Vehicle ....................................................... 1-74
Additives, Fuel ................................................. 5-6
Add-On Electrical Equipment ............................ 5-86
Air Cleaner/Filter, Engine ................................. 5-19
Air Conditioning .............................................. 3-18
Airbag
Passenger Status Indicator ........................... 3-27
Readiness Light .......................................... 3-26
Airbag System ................................................ 1-60
Adding Equipment to Your Airbag-Equipped
Vehicle ................................................... 1-74
How Does an Airbag Restrain? ...................... 1-65
Passenger Sensing System ........................... 1-67
Servicing Your Airbag-Equipped Vehicle .......... 1-73
What Makes an Airbag Inflate? ...................... 1-65
What Will You See After an Airbag Inflates? .... 1-66
When Should an Airbag Inflate? .................... 1-64
Where Are the Airbags? ............................... 1-62
AM-FM Radio ................................................. 3-41
Antenna, Backglass ......................................... 3-59
Antenna, Fixed Mast ....................................... 3-58
Antilock Brake System (ABS) ............................. 4-5
Antilock Brake, System Warning Light ................ 3-30
Appearance Care
Aluminum Wheels ........................................ 5-84
Care of Safety Belts .................................... 5-82
Chemical Paint Spotting ............................... 5-85
Cleaning Exterior Lamps/Lenses .................... 5-83
Fabric/Carpet .............................................. 5-80
Finish Care ................................................. 5-83
Finish Damage ............................................ 5-85
Instrument Panel, Vinyl, and Other
Plastic Surfaces ....................................... 5-81
Interior Cleaning .......................................... 5-79
Leather ...................................................... 5-81
Sheet Metal Damage ................................... 5-85
Tires .......................................................... 5-85
Underbody Maintenance ............................... 5-85
Washing Your Vehicle ................................... 5-82
Weatherstrips .............................................. 5-82
Windshield and Wiper Blades ........................ 5-84
Appointments, Scheduling Service ..................... 7-11
Ashtray ......................................................... 3-17
Audio System ................................................. 3-40
AM-FM Radio ............................................. 3-41
Audio Steering Wheel Controls ...................... 3-57
Backglass Antenna ...................................... 3-59
1

Audio System (cont.)
Fixed Mast Antenna ..................................... 3-58
Radio Reception .......................................... 3-58
Radio with CD ............................................ 3-46
Automatic Transmission
Fluid .......................................................... 5-21
Operation ................................................... 2-22
B
Backglass Antenna .......................................... 3-59
Battery .......................................................... 5-37
Inadvertent Power Saver .............................. 3-16
Brake
Emergencies ................................................ 4-6
Brake Fluid .................................................... 5-34
Brakes .......................................................... 5-34
System Warning Light .................................. 3-28
Braking ........................................................... 4-4
Braking in Emergencies ..................................... 4-6
Break-In, New Vehicle ..................................... 2-18
Bulb Replacement
Center High-Mounted Stoplamp (CHMSL) ........ 5-47
Daytime Running Lamp ................................ 3-14
Fog Lamp .................................................. 3-15
Front Turn Signal, Sidemarker and
Parking Lamps ......................................... 5-45
Bulb Replacement (cont.)
Halogen Bulbs ............................................ 5-43
Headlamp Aiming ........................................ 5-43
Headlamps ......................................... 5-43, 5-44
License Plate Lamps .................................... 5-49
Replacement Bulbs ...................................... 5-49
Taillamps, Turn Signal, Sidemarker,
Stoplamps, and Back-Up Lamps ................. 5-48
Buying New Tires ........................................... 5-64
C
California Fuel .................................................. 5-6
California Perchlorate Materials Requirements ....... 5-4
California Proposition 65 Warning ....................... 5-4
Canadian Owners ................................................ ii
Capacities and Specifications ............................ 5-93
Carbon Monoxide ............................. 2-8, 2-32, 4-13
Care of
Safety Belts ................................................ 5-82
CD, MP3 ....................................................... 3-54
Center High-Mounted Stoplamp (CHMSL) ........... 5-47
Chains, Tire ................................................... 5-68
Charging System Light .................................... 3-28
Check
Engine Lamp .............................................. 3-32
Checking Things Under the Hood ...................... 5-11
2

Chemical Paint Spotting ................................... 5-85
Child Restraints
Child Restraint Systems ............................... 1-41
Infants and Young Children ........................... 1-38
Lower Anchors and Tethers for Children .......... 1-46
Older Children ............................................. 1-34
Securing a Child Restraint in a Rear
Seat Position ........................................... 1-53
Securing a Child Restraint in the Right
Front Seat Position ................................... 1-56
Where to Put the Restraint ........................... 1-44
Cigarette Lighter ............................................. 3-17
Cleaning
Aluminum Wheels ........................................ 5-84
Exterior Lamps/Lenses ................................. 5-83
Fabric/Carpet .............................................. 5-80
Finish Care ................................................. 5-83
Instrument Panel, Vinyl, and Other
Plastic Surfaces ....................................... 5-81
Interior ....................................................... 5-79
Leather ...................................................... 5-81
Tires .......................................................... 5-85
Underbody Maintenance ............................... 5-85
Washing Your Vehicle ................................... 5-82
Weatherstrips .............................................. 5-82
Windshield and Wiper Blades ........................ 5-84
Climate Control System ................................... 3-18
Air Filter, Passenger Compartment ................. 3-22
Outlet Adjustment ........................................ 3-21
Clock ............................................................ 3-17
Clutch, Hydraulic ............................................. 5-23
Collision Damage Repair .................................. 7-13
Compact Spare Tire ........................................ 5-78
Content Theft-Deterrent .................................... 2-16
Control of a Vehicle .......................................... 4-3
Coolant
Engine ....................................................... 5-25
Engine Temperature Gage ............................ 3-31
Cooling System .............................................. 5-24
Courtesy Transporation .................................... 7-11
Cruise Control ................................................ 3-10
Cruise Control Light ........................................ 3-36
Cupholders .................................................... 2-39
Customer Information
Courtesy Transportation ................................ 7-11
Customer Assistance for Text Telephone
(TTY) Users .............................................. 7-6
Customer Assistance Offices ........................... 7-6
Customer Satisfaction Procedure ..................... 7-2
GM Mobility Reimbursement Program ............... 7-7
Online Owner Center ..................................... 7-5
Reporting Safety Defects to General Motors ....... 7-17
Reporting Safety Defects to the
Canadian Government .............................. 7-17
Reporting Safety Defects to the
United States Government ......................... 7-16
Roadside Assistance Program ......................... 7-7
Service Publications Ordering Information ........ 7-17
3

D
Daytime Running Lamps Indicator Light ............. 3-36
Defensive Driving ............................................. 4-2
Disc, MP3 ...................................................... 3-54
Doing Your Own Service Work ........................... 5-4
Dome Lamp ................................................... 3-16
Door
Ajar Light ................................................... 3-36
Central Door Unlocking System ....................... 2-7
Door Ajar Reminder ....................................... 2-7
Locks .......................................................... 2-6
Rear Door Security Locks ............................... 2-7
Driver
Seat Height Adjuster ...................................... 1-5
Driving
At Night ..................................................... 4-10
Before a Long Trip ...................................... 4-11
Defensive ..................................................... 4-2
Drunken ....................................................... 4-3
Highway Hypnosis ....................................... 4-12
Hill and Mountain Roads .............................. 4-12
In Rain and on Wet Roads ........................... 4-10
Rocking Your Vehicle to Get it Out ................. 4-16
Winter ........................................................ 4-13
Driving for Better Fuel Economy ......................... 4-2
E
EDR ............................................................. 7-18
Electrical System
Add-On Equipment ...................................... 5-86
Engine Compartment Fuse Block ................... 5-89
Fuses and Circuit Breakers ........................... 5-87
Headlamp Wiring ......................................... 5-87
Instrument Panel Fuse Block ......................... 5-88
Power Windows and Other Power Options ...... 5-87
Windshield Wiper Fuses ............................... 5-87
Engine
Air Cleaner/Filter ......................................... 5-19
Change Engine Oil Light ............................... 3-35
Check and Service Engine Soon Lamp ........... 3-32
Coolant ...................................................... 5-25
Coolant Temperature Gage ........................... 3-31
Drive Belt Routing ....................................... 6-16
Engine Compartment Overview ...................... 5-14
Exhaust ..................................................... 2-32
Oil ............................................................. 5-16
Oil Life System ........................................... 5-18
Overheating ................................................ 5-30
Starting ...................................................... 2-19
Engine Heater ................................................ 2-21
Event Data Recorders ..................................... 7-19
Extender, Safety Belt ....................................... 1-34
Exterior Lamps ............................................... 3-13
4

F
Filter
Engine Air Cleaner ...................................... 5-19
Finish Damage ............................................... 5-85
Fixed Mast Antenna ........................................ 3-58
Flashers, Hazard Warning .................................. 3-6
Flash-to-Pass ................................................... 3-8
Flat Tire ........................................................ 5-69
Flat Tire, Changing ......................................... 5-70
Flat Tire, Storing ............................................. 5-78
Fluid
Automatic Transmission ................................ 5-21
Power Steering ........................................... 5-32
Windshield Washer ...................................... 5-33
Fog Lamp
Fog ........................................................... 3-15
Fog Lamp Light .............................................. 3-35
Fuel ............................................................... 5-5
Additives ...................................................... 5-6
California Fuel .............................................. 5-6
Driving for Better Economy ............................. 4-2
Filling a Portable Fuel Container .................... 5-11
Filling the Tank ............................................. 5-8
Fuels in Foreign Countries .............................. 5-7
Gage ......................................................... 3-37
Gasoline Octane ........................................... 5-5
Gasoline Specifications .................................. 5-5
Low Warning Light ....................................... 3-38
Fuses
Engine Compartment Fuse Block ................... 5-89
Fuses and Circuit Breakers ........................... 5-87
Instrument Panel Fuse Block ......................... 5-88
Windshield Wiper ......................................... 5-87
G
Gage
Engine Coolant Temperature ......................... 3-31
Fuel .......................................................... 3-37
Speedometer .............................................. 3-25
Tachometer ................................................. 3-25
Gasoline
Octane ........................................................ 5-5
Specifications ............................................... 5-5
Glove Box ..................................................... 2-39
GM Mobility Reimbursement Program .................. 7-7
H
Hazard Warning Flashers ................................... 3-6
Head Restraints ............................................... 1-2
Headlamp
Aiming ....................................................... 5-43
Headlamp Wiring ............................................ 5-87
5

Headlamps .................................................... 5-44
Bulb Replacement ....................................... 5-43
Daytime Running Lamp ................................ 3-14
Exterior Lamps ............................................ 3-13
Flash-to-Pass ............................................... 3-8
Front Turn Signal, Sidemarker and
Parking Lamps ......................................... 5-45
Halogen Bulbs ............................................ 5-43
High/Low Beam Changer ................................ 3-8
Heater ........................................................... 3-18
Engine ....................................................... 2-21
Height Adjuster, Driver Seat ............................... 1-5
Highbeam On Light ......................................... 3-36
Highway Hypnosis ........................................... 4-12
Hill and Mountain Roads .................................. 4-12
Hold Mode Light ............................................. 3-30
Hood
Checking Things Under ................................ 5-11
Release ..................................................... 5-12
Horn ............................................................... 3-6
How to Wear Safety Belts Properly ................... 1-21
Hydraulic Clutch ............................................. 5-23
I
Ignition Positions ............................................. 2-18
Immobilizer .................................................... 2-14
Immobilizer Operation ...................................... 2-15
Inadvertent Power Battery Saver ....................... 3-16
Infants and Young Children, Restraints ............... 1-38
Inflation - Tire Pressure ................................... 5-57
Instrument Panel
Brightness .................................................. 3-15
Cluster ....................................................... 3-24
Overview ..................................................... 3-4
J
Jump Starting ................................................. 5-38
K
Keyless Entry System ....................................... 2-3
Keys ............................................................... 2-2
L
Labeling, Tire Sidewall ..................................... 5-52
Lamp
Malfunction Indicator .................................... 3-32
Lamps
Dome ........................................................ 3-16
Inadvertent Power Battery Saver .................... 3-16
Lap-Shoulder Belt ........................................... 1-30
LATCH System for Child Restraints ................... 1-46
License Plate Lamps ....................................... 5-49
6

Liftgate
Carbon Monoxide ........................................ 2-10
Light
Airbag Readiness ........................................ 3-26
Antilock Brake System (ABS) Warning ............ 3-30
Brake System Warning ................................. 3-28
Change Engine Oil ...................................... 3-35
Charging System ......................................... 3-28
Cruise Control ............................................. 3-36
Daytime Running Lamps Indicator .................. 3-36
Door Ajar ................................................... 3-36
Fog Lamp .................................................. 3-35
Highbeam On ............................................. 3-36
Hold Mode ................................................. 3-30
Low Fuel Warning ....................................... 3-38
Oil Pressure ............................................... 3-34
Passenger Airbag Status Indicator .................. 3-27
Safety Belt Reminders .................................. 3-26
Tire Pressure .............................................. 3-31
Up-Shift ..................................................... 3-28
Lights
Exterior Lamps ............................................ 3-13
Flash-to-Pass ............................................... 3-8
High/Low Beam Changer ................................ 3-8
Loading Your Vehicle ....................................... 4-16
Locks
Central Door Unlocking System ....................... 2-7
Door ........................................................... 2-6
Rear Door Security Locks ............................... 2-7
Loss of Control ................................................ 4-8
Low Fuel Warning Light ................................... 3-38
Lower Anchors and Tethers for Children ............. 1-46
Lumbar
Manual Controls ............................................ 1-5
M
Maintenance Schedule
Additional Required Services ........................... 6-6
At Each Fuel Fill ......................................... 6-10
At Least Once a Month ................................ 6-10
At Least Once a Year .................................. 6-11
Introduction .................................................. 6-2
Maintenance Footnotes .................................. 6-8
Maintenance Record .................................... 6-17
Maintenance Replacement Parts .................... 6-15
Maintenance Requirements ............................. 6-2
Owner Checks and Services ........................... 6-9
Recommended Fluids and Lubricants ............. 6-13
Scheduled Maintenance ................................. 6-4
Using .......................................................... 6-2
Your Vehicle and the Environment ................... 6-2
Malfunction Indicator Lamp ............................... 3-32
Manual Lumbar Controls .................................... 1-5
Manual Seats ................................................... 1-4
Manual Transmission
Fluid .......................................................... 5-23
Operation ................................................... 2-26
Manual Windows ............................................ 2-12
7

Mirrors
Manual Rearview Mirror ................................ 2-34
Outside Convex Mirror ................................. 2-35
Outside Heated Mirrors ................................ 2-35
Outside Manual Mirrors ................................ 2-34
Outside Power Mirrors .................................. 2-35
MP3 ............................................................. 3-54
MyGMLink.com ................................................ 7-5
N
Navigation System, Privacy .............................. 7-20
New Vehicle Break-In ...................................... 2-18
O
Odometer ...................................................... 3-25
Odometer, Trip ............................................... 3-25
Off-Road Recovery ........................................... 4-8
OilChange Engine Oil Light ............................... 3-35
Engine ....................................................... 5-16
Pressure Light ............................................. 3-34
Oil, Engine Oil Life System .............................. 5-18
Older Children, Restraints ................................ 1-34
OnStar, Privacy .............................................. 7-20
OnStar
®
System, see OnStar
®
Manual ............... 2-36
Outlet Adjustment ............................................ 3-21
Outlets
Accessory Power ......................................... 3-16
Outside
Convex Mirror ............................................. 2-35
Heated Mirrors ............................................ 2-35
Manual Mirrors ............................................ 2-34
Power Mirrors ............................................. 2-35
Owner Checks and Services .............................. 6-9
Owners, Canadian ............................................... ii
P
Paint, Damage ............................................... 5-85
Park
Shifting Into ................................................ 2-29
Shifting Out of ............................................ 2-30
Park Brake .................................................... 2-28
Parking
Over Things That Burn ................................. 2-32
Parking Your Vehicle ....................................... 2-31
Passenger Airbag Status Indicator ..................... 3-27
Passenger Compartment Air Filter ..................... 3-22
Passenger Sensing System .............................. 1-67
Passing ........................................................... 4-8
Perchlorate Materials Requirements, California ...... 5-4
8

Power
Electrical System ......................................... 5-87
Inadvertent Battery Saver ............................. 3-16
Steering Fluid ............................................. 5-32
Windows .................................................... 2-13
Privacy .......................................................... 7-18
Event Data Recorders .................................. 7-19
Navigation System ....................................... 7-20
OnStar ....................................................... 7-20
Radio Frequency Identification ....................... 7-20
R
Radio Frequency Identification (RFID), Privacy .... 7-20
Radios
AM-FM Radio ............................................. 3-41
Radio with CD ............................................ 3-46
Reception ................................................... 3-58
Rear Door Security Locks .................................. 2-7
Rear Seat Operation ................................. 1-9, 1-12
Rear Windshield Washer/Wiper ......................... 3-10
Rearview Mirrors ............................................. 2-34
Reclining Seatbacks .......................................... 1-6
Recommended Fluids and Lubricants ................. 6-13
Recreational Vehicle Towing ............................. 4-24
Remote Keyless Entry (RKE) System .................. 2-3
Remote Keyless Entry (RKE) System,
Operation ..................................................... 2-4
Removing the Flat Tire and Installing the
Spare Tire .................................................. 5-73
Removing the Spare Tire and Tools ................... 5-71
Replacement Bulbs ......................................... 5-49
Replacement Parts, Maintenance ...................... 6-15
Reporting Safety Defects
Canadian Government .................................. 7-17
General Motors ........................................... 7-17
United States Government ............................ 7-16
Restraint System Check
Checking the Restraint Systems .................... 1-75
Replacing Restraint System Parts
After a Crash .......................................... 1-76
Roadside
Assistance Program ....................................... 7-7
Rocking Your Vehicle to Get it Out .................... 4-16
Routing, Engine Drive Belt ............................... 6-16
Running the Vehicle While Parked ..................... 2-33
S
Safety Belt Reminders ..................................... 3-26
Safety Belts
Care of ...................................................... 5-82
How to Wear Safety Belts Properly ................ 1-21
Lap-Shoulder Belt ........................................ 1-30
9

Safety Belts (cont.)
Safety Belt Extender .................................... 1-34
Safety Belt Use During Pregnancy ................. 1-33
Safety Belts Are for Everyone ....................... 1-16
Safety Warnings and Symbols .............................. iii
Scheduled Maintenance ..................................... 6-4
Seats
Driver Seat Height Adjuster ............................. 1-5
Head Restraints ............................................ 1-2
Manual Lumbar ............................................. 1-5
Rear Seat Operation .............................. 1-9, 1-12
Reclining Seatbacks ...................................... 1-6
Securing a Child Restraint
Rear Seat Position ...................................... 1-53
Right Front Seat Position .............................. 1-56
Service ........................................................... 5-3
Accessories and Modifications ......................... 5-3
Adding Equipment to the Outside of the
Vehicle ..................................................... 5-5
California Perchlorate Materials
Requirements ............................................ 5-4
California Proposition 65 Warning .................... 5-4
Doing Your Own Work ................................... 5-4
Engine Soon Lamp ...................................... 3-32
Publications Ordering Information ................... 7-17
Service, Scheduling Appointments ..................... 7-11
Servicing Your Airbag-Equipped Vehicle .............. 1-73
Sheet Metal Damage ....................................... 5-85
Shifting
Out of Park ................................................ 2-30
Shift Lock Manual Release ........................... 2-30
Shifting Into Park ............................................ 2-29
Signals, Turn and Lane-Change .......................... 3-7
Spare Tire
Compact .................................................... 5-78
Installing .................................................... 5-73
Removing ................................................... 5-71
Storing ....................................................... 5-78
Specifications, Capacities ................................. 5-93
Speedometer .................................................. 3-25
Starting the Engine ......................................... 2-19
Steering .......................................................... 4-6
Steering Wheel Controls, Audio ......................... 3-57
Steering Wheel, Tilt Wheel ................................. 3-6
Storage Areas ................................................ 2-39
Cupholders ................................................. 2-39
Glove Box .................................................. 2-39
Sunglasses Storage Compartment .................. 2-40
Stuck in Sand, Mud, Ice, or Snow ..................... 4-15
Sun Visors ..................................................... 2-14
Sunroof ......................................................... 2-40
10

T
Tachometer .................................................... 3-25
Taillamps
Turn Signal, Sidemarker, Stoplamps, and
Back-Up Lamps ....................................... 5-48
Theft-Deterrent Systems ................................... 2-14
Content Theft-Deterrent ................................ 2-16
Immobilizer ................................................. 2-14
Immobilizer Operation ................................... 2-15
Tilt Wheel ........................................................ 3-6
Time ............................................................. 3-17
Tire
Pressure Light ............................................. 3-31
Tires ............................................................. 5-51
Aluminum Wheels, Cleaning .......................... 5-84
Buying New Tires ........................................ 5-64
Chains ....................................................... 5-68
Changing a Flat Tire .................................... 5-70
Cleaning .................................................... 5-85
Compact Spare Tire ..................................... 5-78
Different Size .............................................. 5-65
If a Tire Goes Flat ....................................... 5-69
Inflation - Tire Pressure ................................ 5-57
Inspection and Rotation ................................ 5-62
Installing the Spare Tire ................................ 5-73
Pressure Monitor Operation ........................... 5-60
Tires (cont.)
Pressure Monitor System .............................. 5-59
Removing the Flat Tire ................................. 5-73
Removing the Spare Tire and Tools ............... 5-71
Storing a Flat or Spare Tire and Tools ............ 5-78
Tire Sidewall Labeling .................................. 5-52
Tire Terminology and Definitions .................... 5-54
Uniform Tire Quality Grading ......................... 5-66
Wheel Alignment and Tire Balance ................. 5-67
Wheel Replacement ..................................... 5-67
When It Is Time for New Tires ...................... 5-63
Towing
Recreational Vehicle ..................................... 4-24
Towing a Trailer .......................................... 4-27
Your Vehicle ............................................... 4-24
Transmission
Fluid, Automatic ........................................... 5-21
Fluid, Manual .............................................. 5-23
Up-Shift Light .............................................. 3-28
Transmission Operation, Automatic .................... 2-22
Transmission Operation, Manual ........................ 2-26
Trip Computer ................................................ 3-38
Trip Odometer ................................................ 3-25
Trunk .............................................................. 2-8
Turn and Lane-Change Signals .......................... 3-7
Turn Signal/Multifunction Lever ........................... 3-7
11

U
Uniform Tire Quality Grading ............................ 5-66
Up-Shift Light ................................................. 3-28
V
Vehicle
Control ........................................................ 4-3
Loading ...................................................... 4-16
Parking Your ............................................... 2-31
Running While Parked .................................. 2-33
Symbols ......................................................... iii
Vehicle Data Recording and Privacy .................. 7-18
Vehicle Identification
Number (VIN) ............................................. 5-86
Service Parts Identification Label ................... 5-86
Ventilation Adjustment ...................................... 3-21
Visors ........................................................... 2-14
W
Warning Lights, Gages, and Indicators ............... 3-23
Warnings
Hazard Warning Flashers ............................... 3-6
Safety and Symbols ......................................... iii
Wheels
Alignment and Tire Balance .......................... 5-67
Different Size .............................................. 5-65
Replacement ............................................... 5-67
Where to Put the Restraint ............................... 1-44
Windows ....................................................... 2-12
Manual ...................................................... 2-12
Power ........................................................ 2-13
Windshield
Washer ........................................................ 3-9
Washer Fluid .............................................. 5-33
Wiper Blade Replacement ............................. 5-50
Wiper Blades, Cleaning ................................ 5-84
Wiper Fuses ............................................... 5-87
Wipers ......................................................... 3-8
Windshield, Rear Washer/Wiper ........................ 3-10
Winter Driving ................................................ 4-13
X
XM Radio Messages ....................................... 3-56
Y
Your Vehicle and the Environment ....................... 6-2
12
