Chevrolet 2009 Tahoe Hybrid Owners Manual Owner's
2015-10-23
: Chevrolet Chevrolet-2009-Chevrolet-Tahoe-Hybrid-Owners-Manual-813894 chevrolet-2009-chevrolet-tahoe-hybrid-owners-manual-813894 chevrolet pdf
Open the PDF directly: View PDF
.
Page Count: 94
- 2009 Chevrolet Tahoe and GMC Yukon Two-Mode Hybrid BookTOC
- Seats and Restraint System
- Features and Controls
- Instrument Panel
- Driving Your Vehicle
- Service and Appearance Care
- Maintenance Schedule
- Index

Seats and Restraint System ............................. 1-1
Front Seats ............................................... 1-2
Restraint System Check .............................. 1-3
Features and Controls ..................................... 2-1
Storage Areas ........................................... 2-2
Starting and Operating Your Vehicle ............. 2-3
Instrument Panel ............................................. 3-1
Climate Controls ........................................ 3-2
Warning Lights, Gages, and Indicators .......... 3-3
Driver Information Center (DIC) .................. 3-12
Audio System(s) ....................................... 3-14
Driving Your Vehicle ....................................... 4-1
Your Driving, the Road, and the Vehicle ....... 4-2
Towing ..................................................... 4-2
Service and Appearance Care .......................... 5-1
Service ..................................................... 5-2
Checking Things Under the Hood ................. 5-3
Bulb Replacement .................................... 5-21
Electrical System ...................................... 5-22
Tires ...................................................... 5-24
Capacities and Specifications ..................... 5-52
Maintenance Schedule ..................................... 6-1
Maintenance Schedule ................................ 6-2
Index ................................................................ 1
2009 Chevrolet Tahoe and GMC Yukon Two-Mode Hybrid M

GENERAL MOTORS, GM and the GM Emblem,
CHEVROLET, the CHEVROLET Emblem, GMC, the
GMC Emblem, and the names TAHOE and YUKON are
registered trademarks of General Motors Corporation.
The information in this manual supplements the
owner manual. This manual includes the latest
information at the time it was printed. GM reserves
the right to make changes after that time without
further notice.
Keep this manual in the vehicle for quick reference.
Canadian Owners
A French language copy of this manual can be obtained
from your dealer/retailer or from:
Helm, Incorporated
P.O. Box 07130
Detroit, MI 48207
1-800-551-4123
helminc.com
Propriétaires Canadiens
On peut obtenir un exemplaire de ce guide en français
auprès de concessionnaire ou à l’adresse suivante:
Helm Incorporated
P.O. Box 07130
Detroit, MI 48207
1-800-551-4123
helminc.com
Litho in U.S.A.
Part No. 25785839 A First Printing
©
2008 General Motors Corporation. All Rights Reserved.
ii

Introduction
Your hybrid SUV is designed to be more fuel efficient
than the standard SUV, which results in reduced carbon
dioxide emissions.
Using this Supplement
This supplement contains information specific to the
hybrid components of the vehicle. It does not explain
everything you need to know about the vehicle.
Read this supplement along with the owner manual to
learn about the vehicle’s features and controls.
Index
A good place to look for what you need is the Index in
back of this supplement. It is an alphabetical list of
what is in the supplement, and the page number where
you will find it.
iii

✍NOTES
iv

Front Seats ......................................................1-2
Power Seats ..................................................1-2
Manual Lumbar ..............................................1-2
Manual Reclining Seatbacks .............................1-3
Restraint System Check ...................................1-3
Replacing Restraint System Parts
After a Crash .............................................1-3
Section 1 Seats and Restraint System
1-1

Front Seats
Power Seats
A. Power Seat Adjustment Control
B. Manual Lumbar Control
C. Manual Reclining Seatback Lever
Adjust the seat forward or rearward by sliding the
control (A) forward or rearward.
Your vehicle may have additional features to adjust the
power seat:
•Raise or lower the front part of the seat cushion by
moving the front of the control up or down.
•Raise or lower the entire seat by moving the rear of
the control up or down.
Manual Lumbar
Increase or decrease lumbar support by turning the
control (B) forward or rearward.
1-2

Manual Reclining Seatbacks
To recline the seatback:
1. Lift the reclining seatback lever (C).
2. Move the seatback to the desired position, then
release the lever to lock the seatback in place.
3. Push and pull on the seatback to make sure it is
locked.
To return the seatback to an upright position:
1. Lift the lever fully without applying pressure to the
seatback and the seatback will return to the upright
position.
2. Release the lever to lock the seatback in place.
3. Push and pull on the seatback to make sure
it is locked.
Restraint System Check
Replacing Restraint System Parts
After a Crash
If an airbag inflates or the vehicle has been in a crash,
the vehicle’s sensing system may command the
automatic hybrid battery disconnect to open. The battery
will disconnect. The hybrid battery will be off and the
vehicle will not start. The airbag readiness light and/or
SERVICE HYBRID SYSTEM message may come
on in the driver information center. See “Airbag
Readiness Light” in the owner manual and Driver
Information Center (DIC) on page 3-12 for more
information.
To operate the vehicle, the automatic hybrid battery
disconnect must be reconnected by a qualified service
technician and sensing system parts will need to be
replaced. Have the vehicle serviced right away.
1-3

✍NOTES
1-4

Storage Areas ..................................................2-2
Power Outlet Alternating Current .......................2-2 Starting and Operating Your Vehicle .................2-3
Starting the Vehicle ........................................2-3
Automatic Transmission Operation ....................2-6
Regenerative Braking ....................................2-10
Running the Vehicle While Parked ..................2-10
Section 2 Features and Controls
2-1

Storage Areas
Power Outlet Alternating Current
The vehicle may have a power outlet that can be used
to plug in electrical equipment that uses a maximum
limit of 150 watts.
The power outlet is located
in the rear cargo area on
the driver side.
An indicator light on the outlet turns on to show it is in
use. The light comes on when the ignition is in ON/RUN
and equipment requiring less than 150 watts is plugged
into the outlet, and no system fault is detected.
The indicator light does not come on when the ignition
is in LOCK/OFF or if no equipment is plugged into
the outlet.
If equipment is connected using more than 150 watts,
or a system fault is detected, a protection circuit shuts
off the power supply and the indicator light turns off.
To reset the circuit, unplug the item and plug it back
in or turn the Retained Accessory Power (RAP) off and
then back on. The power restarts when equipment
using 150 watts or less is plugged into the outlet and a
system fault is not detected.
The power outlet is not designed for the following
electrical equipment and may not work properly if these
items are plugged into the power outlet:
•Equipment with high initial peak wattage such as:
compressor-driven refrigerators and electric
power tools.
•Other equipment requiring an extremely stable
power supply such as: microcomputer-controlled
electric blankets, touch sensor lamps, etc.
See High Voltage Devices and Wiring on page 5-3.
2-2

Starting and Operating
Your Vehicle
Starting the Vehicle
{CAUTION:
Exiting the vehicle, without first shifting into
P (Park), may cause the vehicle to move, and you
or others can be seriously injured. Because the
vehicle has the Automatic Engine Start/Stop
feature, the vehicle’s engine might seem to be
shut off when you come to a complete stop.
CAUTION: (Continued)
CAUTION: (Continued)
However, once the brake pedal is released, the
vehicle can move. The vehicle’s engine can also
restart at any time.
Shift to P (Park) and turn the ignition to
LOCK/OFF, before exiting the vehicle.
Start the engine as you would any other engine.
See “Starting the Engine” in the owner manual for more
information on starting. The hybrid system provides
very quiet engine starting. If pulling a trailer with trailer
brakes, see Towing a Trailer on page 4-2 for more
information.
2-3

Auto Stop
The vehicle has an Auto Stop feature. After a successful
engine start, the engine may turn off and operate in the
Auto Stop mode. Some of the vehicle conditions that
allow the engine to stop running and enter the Auto Stop
mode are:
•Ignition switch is in the ON/RUN position.
•The hood is closed.
•The gear selector is in P (Park), N (Neutral) or
D (Drive).
•The hybrid battery is at an acceptable state of
charge.
•The hybrid battery voltage, temperature or power
limits are not exceeded. In very hot conditions,
Auto Stop may be unavailable until the hybrid battery
has cooled.
•The engine is at operating temperature.
If you are on an incline, the hybrid drive motor can help
keep the vehicle from rolling backwards, even if the
engine is in Auto Stop.
With your foot off the brake and the vehicle on level
ground, the hybrid drive motor may cause the vehicle
to roll slowly forward, even when the engine is in
Auto Stop.
Keep your foot firmly on the brake pedal until you are
ready for the vehicle to move.
Engine OFF and AUTO STOP modes are indicated on
the tachometer display. When the tachometer needle
indicates OFF, the engine is not running and will remain
off until the ignition key is placed in the START position
or a remote vehicle start is performed. When the
tachometer needle indicates AUTO STOP, the hybrid
system is on, the engine is not running, but may
Auto Start at any time without notice. See Tachometer
on page 3-4 for more information.
A chime will sound if the driver door is opened while
in Auto Stop as a reminder that the ignition switch is
not in the LOCK/OFF position. Always turn the ignition
switch to LOCK/OFF and remove the key from the
ignition switch when exiting the vehicle.
2-4

Auto Start
The vehicle also has an Auto Start feature. The engine
will remain off while in Auto Stop mode until vehicle
conditions require the engine to run. The near-instant
starting of the engine from Auto Stop mode is called
Auto Start. Some of the vehicle conditions that
may cause the engine to Auto Start are:
•The hood is opened.
•The gear selector is in M (Manual Mode) or
R (Reverse).
•The hybrid battery state of charge is too low.
•The hybrid battery voltage, temperature or power
limits are exceeded.
•The engine is not at operating temperature.
•Acceleration demands require the use of the engine.
EV Mode
The vehicle also has an EV mode which uses only the
electric motor to move the vehicle. Depending on
the state of battery charge, the vehicle can travel up to
two miles (3.2 km) in EV mode. EV mode is unavailable
when the vehicle is out of fuel.
With light acceleration, the vehicle will drive in EV mode.
If increased acceleration is required, or the vehicle
reaches approximately 25 mph (40 km/h), the engine
will start automatically. The engine shuts off at speeds
below 25 mph (40 km/h) unless the transmission is
in M (Manual Mode) or Auto Stop is disabled.
During heavy acceleration, both the engine and hybrid
electric motors supply power. A sensation similar to
a transmission gear change can be felt as the
transmission changes modes. Engine RPM may remain
above 4,000 RPM for a longer period during hard
acceleration.
2-5

Automatic Transmission Operation
The vehicle has an electronic shift position indicator
within the instrument panel cluster.
There are several different positions for the shift lever.
See “Range Selection Mode” later in this section.
P (Park): This position locks the rear wheels. It is the
best position to use when you start the engine because
the vehicle cannot move easily.
When parked on a hill, especially when the vehicle
has a heavy load, you may notice an increase in the
effort to shift out of P (Park). See “Shifting Into P (Park)”
in the Index of vehicle’s owner manual for more
information.
{CAUTION:
It is dangerous to get out of the vehicle if the shift
lever is not fully in P (Park) with the parking brake
firmly set. The vehicle can roll.
Do not leave the vehicle when the engine is
running unless you have to. If you have left the
engine running, the vehicle can move suddenly.
You or others could be injured. To be sure the
vehicle will not move, even when you are on fairly
level ground, always set the parking brake and
move the shift lever to P (Park). See Shifting Into
Park in the Owner Manual. If you are pulling a
trailer, see Towing a Trailer on page 4-2.
2-6

{CAUTION:
If you have Four-Wheel Drive, the vehicle will
be free to roll — even if the shift lever is in
P (Park) — if the transfer case is in Neutral.
So, be sure the transfer case is in a drive gear,
Two-Wheel Drive High or Four-Wheel Drive High
or Four-Wheel Drive Low — not in Neutral.
See ‘‘Shifting into Park’’ in the owner manual.
R (Reverse): Use this gear to back up.
Notice: Shifting to R (Reverse) while the vehicle is
moving forward could damage the transmission.
The repairs would not be covered by the vehicle
warranty. Shift to R (Reverse) only after the vehicle
is stopped.
To rock the vehicle back and forth to get out of snow,
ice, or sand without damaging the transmission,
see “If Your Vehicle is Stuck in Sand, Mud, Ice, or
Snow” in the Index of the vehicle’s owner manual.
N (Neutral): In this position, the engine and
transmission are not connected with the wheels.
To restart the engine when the vehicle is already
moving, use N (Neutral) only.
{CAUTION:
Shifting into a drive gear while the engine is
running at high speed is dangerous. Unless your
foot is firmly on the brake pedal, the vehicle could
move very rapidly. You could lose control and hit
people or objects. Do not shift into a drive gear
while the engine is running at high speed.
Notice: Shifting out of P (Park) or N (Neutral) with
the engine running at high speed may damage
the transmission. The repairs would not be covered
by the vehicle warranty. Be sure the engine is
not running at high speed when shifting the vehicle.
2-7

D (Drive): This position is for normal driving. It provides
the best fuel economy. If you need more power for
passing, and you are:
•Going less than about 35 mph (55 km/h), push the
accelerator pedal about halfway down.
•Going about 35 mph (55 km/h) or more, push the
accelerator all the way down.
D (Drive) or M (Manual Mode) can be used when towing
a trailer, carrying a heavy load, driving on steep hills,
or for off-road driving. You may want to shift the
transmission to a lower gear selection if the transmission
shifts too often.
Downshifting the transmission in slippery road conditions
could result in skidding. See “Skidding” under “Loss of
Control” in the Index of the vehicle’s owner manual
for more information.
When temperatures are very cold, the transmission’s
gear shifting may be delayed, providing more stable
shifts until the engine warms up. Shifts may be more
noticeable with a cold transmission. This difference
in shifting is normal.
M (Manual Mode): This position lets drivers select
the range of gears appropriate for current driving
conditions. If the vehicle has this feature, see “Range
Selection Mode” later in this section.
Notice: Spinning the tires or holding the vehicle
in one place on a hill using only the accelerator
pedal may damage the transmission. The repair will
not be covered by the vehicle warranty. If you are
stuck, do not spin the tires. When stopping on a hill,
use the brakes to hold the vehicle in place.
The vehicle has a shift stabilization feature that
adjusts the transmission shifting to the current driving
conditions to reduce rapid upshifts and downshifts.
If the shift stabilization feature determines that a current
vehicle speed cannot be maintained, the transmission
does not upshift. In some cases, this may appear to be a
delayed shift, however the transmission is operating
normally.
2-8

Range Selection Mode
The Range Selection Mode controls the vehicle’s
transmission.
To use this feature:
1. Move the shift lever to the M (Manual Mode).
2. Press the plus/minus button, to upshift or downshift
selecting the desired range of gears.
A number displays next to the M, indicating the current
gear that has been selected. The number displayed in
the gear indicator is the highest gear that can be used.
The vehicle can automatically shift to lower gears as it
adjusts to driving conditions. When 3 (Third) is selected,
1 (First) through 3 (Third) gears are automatically shifted
by the vehicle, but 4 (Fourth) cannot be used until it is
selected.
The Range Selection Mode controls the vehicle and
engine speed while driving down a hill or towing a trailer,
by allowing you to select a desired range of gears.
When you move the shift lever into M, the transmission
will default to M4. In this gear range, effective engine
braking occurs at speeds above 45 mph (72 km/h).
Pushing the minus (−) button on the shift lever reduces
the gear range.
In the M3 gear range, effective engine braking occurs at
speeds above 35 mph (56 km/h).
In the M2 gear range, effective engine braking occurs at
speeds above 25 mph (40 km/h).
In the M1 gear range, effective engine braking occurs at
speeds above 10 mph (16 km/h).
When operating in M (Manual Mode), Auto Stop is
disabled. For better vehicle efficiency, operate the
vehicle in D (Drive) not M (Manual Mode).
Cruise control can be used while using the Range
Selection Mode.
2-9

Regenerative Braking
Regenerative braking is a hybrid technology that
enables the electric drive motor to operate as a
generator when coasting or braking. Energy from the
moving vehicle recharges the hybrid battery.
The hydraulic disc brakes work with the regenerative
braking to insure effective braking, such as when a high
braking demand is requested.
The braking system is computer controlled and blends
the regenerative braking with the conventional hydraulic
disc brakes to meet any requirements for deceleration.
The controller interprets the braking request and uses
regenerative braking, conventional hydraulic braking or
a combination of both as necessary. Because the
controller applies the hydraulic brakes through its high
pressure accumulator, you may occasionally hear
the motor driven pump when it recharges the system.
This is normal.
See “Warning Lights, Gages, and Indicators” and “Driver
Information Center (DIC)” in the Index of the owner
manual. In the event of a controller problem, the brake
pedal may be harder to push and the stopping
distance may be longer.
Running the Vehicle While Parked
It is better not to park with the engine running. But if you
ever have to, here are some things to know.
{CAUTION:
Exiting the vehicle, without first shifting into
P (Park), may cause the vehicle to move, and you
or others can be seriously injured. Because the
vehicle has the Automatic Engine Start/Stop
feature, the vehicle’s engine might seem to be
shut off when you come to a complete stop.
However, once the brake pedal is released, the
vehicle can move. The vehicle’s engine can also
restart at any time.
Shift to P (Park) and turn the ignition to
LOCK/OFF, before exiting the vehicle.
Follow the proper steps to be sure the vehicle will not
move. See “Shifting Into Park” in the owner manual
for more information.
If pulling a trailer, see Towing a Trailer on page 4-2 for
more information.
2-10

Climate Controls ..............................................3-2
Warning Lights, Gages, and Indicators ..............3-3
Instrument Panel Cluster .................................3-3
Tachometer ...................................................3-4
Charging System Light ....................................3-4
Fuel Economy Gage .......................................3-5
Brake System Warning Light ............................3-6
Antilock Brake System (ABS) Warning Light .......3-7
StabiliTrak
®
Indicator Light ...............................3-7
Engine Coolant Temperature Gage ...................3-8
Oil Pressure Gage ..........................................3-8
Oil Pressure Light .........................................3-10
Fuel Gage ...................................................3-11
Driver Information Center (DIC) .......................3-12
DIC Warnings and Messages .........................3-12
Audio System(s) .............................................3-14
Navigation/Radio System ...............................3-14
Section 3 Instrument Panel
3-1

Climate Controls
For more information on the vehicle’s climate control
system, see “Climate Control System” in the owner
manual.
Electric Air Conditioning Compressor
This hybrid vehicle has a electrically powered air
conditioning compressor. This allows for continuous
air conditioning operation and passenger comfort,
even while the hybrid engine cycles on and off.
When operating the climate control system, select the
AUTO mode and the desired temperature setting.
The climate control system automatically adjusts the
fan speed and airflow direction. The climate control
system continues to adjust the climate control settings
chosen for best use of electrical power.
To get maximum engine off time, select a warmer
temperature setting or turn off the air conditioning to
shut off the compressor. Continuous air conditioning use
can cause the engine to autostart more frequently.
Some noise may be heard occasionally from the
compressor, especially when air conditioning use is
high and the engine has turned off.
3-2

Warning Lights, Gages, and Indicators
Instrument Panel Cluster
The instrument cluster is designed to show at a glance how the vehicle is running. It indicates how fast the vehicle is
going, about how much fuel is left, and many other things needed to drive safely and economically.
United States version shown, Canada similar
3-3

Tachometer
When the gas engine is off and the key is in the
ON/RUN position, the position of the tachometer
indicator shows the state of the vehicle:
•AUTO STOP position indicates that the vehicle is
still able to move and the engine could restart,
by an Auto Start, at any time.
•OFF position indicates that the engine is off.
When the engine is on, the tachometer indicator shows
the engine’s revolutions per minute (rpm).
Charging System Light
This light will come on
briefly when the
ignition is turned to
ACC/ACCESSORY or
ON/RUN, but the engine is
not running, as a check
to show it is working.
It should go out once the engine has been started. If it
stays on, or comes on while driving, there could be
a problem with the charging system. A charging system
Driver Information Center (DIC) message may also
appear. See DIC Warnings and Messages on page 3-12
for more information. This light could indicate that
there are electrical problems. Have it checked right
away. If a short distance must be driven with the light
on, be certain to turn off all the accessories, such as the
radio and air conditioner.
United States Version
shown, Canada similar
3-4

Fuel Economy Gage
This gage shows when the vehicle is operating at a
fuel efficient point.
By modifying driving behavior to increase the
economy time during driving, fuel mileage will be
improved. When driving in a way that increases the
fuel economy, the indicator moves into the high
efficiency band. When driving in a way that decreases
fuel economy, the indicator moves into the less
efficient band. There are several zones on the gage,
indicating several levels of efficiency when accelerating
or decelerating.
United States Canada
3-5

Brake System Warning Light
With the ignition in ON/RUN, the brake system warning
light comes on when the parking brake is set. If the
vehicle is driven with the parking brake engaged,
a chime sounds when the vehicle speed is greater than
5 mph (8 km/h).
The vehicle’s hydraulic brake system is divided into
two parts. If one part is not working, the other part can
still work and stop the vehicle. For good braking,
though, both parts need to be working well.
If the warning light comes on and a chime sounds there
could be a brake problem. Have the brake system
inspected right away.
This light also comes on due to low brake fluid. See the
owner manual for more information.
This light should come on briefly when the ignition key
is turned to ON/RUN. If it does not come on then,
have it fixed so it will be ready to warn if there is a
problem.
{CAUTION:
The brake system might not be working properly if
the brake system warning light is on. Driving with
the brake system warning light on can lead to a
crash. If the light is still on after the vehicle has
been pulled off the road and carefully stopped,
have the vehicle towed for service.
If the light comes on while driving, pull off the road and
stop carefully. The pedal might be harder to push or
can go closer to the floor. It may take longer to stop.
If the light does not go out, have the vehicle towed for
service. See Towing Your Vehicle on page 4-2.
United States Canada
3-6

Antilock Brake System (ABS)
Warning Light
For vehicles with the
Antilock Brake System
(ABS), this light comes on
briefly when the engine
is in ON/RUN.
That is normal. If the light does not come on then, have
it fixed so it will be ready to warn if there is a problem.
If the ABS light stays on, turn the ignition off, if the light
comes on while driving, stop as soon as it is safely
possible and turn the ignition off. Then start the engine
again to reset the system. If the ABS light still stays
on, or comes on again while driving, the vehicle needs
service. If the regular brake system warning light is
not on, the vehicle still has brakes, but not antilock
brakes. If the regular brake system warning light is
also on, the vehicle does not have antilock brakes
and there is a problem with the regular brakes.
See Brake System Warning Light on page 3-6.
For vehicles with a Driver Information Center (DIC),
see DIC Warnings and Messages on page 3-12 for all
brake related DIC messages.
StabiliTrak
®
Indicator Light
For vehicles with
StabiliTrak, this warning
light comes on briefly when
the ignition is in ON/RUN.
If it does not, have the vehicle serviced by your
dealer/retailer. If the system is working normally the
indicator light goes off.
When this light flashes, the system is on.
If it stays on while driving, there may be a problem with
the StabiliTrak system and the vehicle may need
service. See the owner manual for more information.
3-7

Engine Coolant Temperature Gage
This gage shows the engine coolant temperature.
It also provides an indicator of how hard the vehicle is
working. During a majority of the operation, the gage
reads 210° F (100° C) or less. If a load is being pulled
or going up hills, it is normal for the temperature to
fluctuate and go over the 235° F (113° C) mark.
However, if the gage reaches the 260° F (125° C) mark,
it indicates that the cooling system is working beyond
its capacity.
Oil Pressure Gage
The oil pressure gage shows the engine oil pressure
in psi (pounds per square inch) when the engine
is running. Canadian vehicles indicate pressure in
kPa (kilopascals).
Oil pressure should be 29 to 80 psi (200 to 550 kPa).
In certain situations, such as long extended idles on
hot days, it could read as low as 15 psi (105 kPa) and
still be considered normal.
United States Canada United States Canada
3-8

A reading in the low pressure zone may be caused by
a dangerously low oil level or some other problem
causing low oil pressure. Check the oil as soon
as possible.
{CAUTION:
Do not keep driving if the oil pressure is low.
The engine can become so hot that it catches fire.
Someone could be burned. Check the oil as soon
as possible and have the vehicle serviced.
Notice: Lack of proper engine oil maintenance can
damage the engine. The repairs would not be
covered by the vehicle warranty. Always follow the
maintenance schedule in this manual for changing
engine oil.
AUTO STOP
When the engine goes into Automatic Engine Stop, the
oil pressure gage drops to zero when the tachometer
is at the AUTO STOP position. This is normal and
oil pressure returns to the normal operating range once
the engine starts.
See Starting the Vehicle on page 2-3 for more
information.
AUTO STOP displays in the Driver Information
Center (DIC) when the vehicle speed is zero.
See DIC Warnings and Messages on page 3-12
for more information.
3-9

Oil Pressure Light
{CAUTION:
Do not keep driving if the oil pressure is low.
The engine can become so hot that it catches fire.
Someone could be burned. Check the oil as soon
as possible and have the vehicle serviced.
Notice: Lack of proper engine oil maintenance can
damage the engine. The repairs would not be
covered by the vehicle warranty. Always follow the
maintenance schedule in this manual for changing
engine oil.
This light comes on briefly
as a check it works, when
the ignition is in ON/RUN.
If it does not, have the
vehicle serviced.
If the light comes on and stays on, it means that oil is
not flowing through the engine properly. The vehicle
could be low on oil and might have some other system
problem.
During an AUTO STOP there is zero oil pressure, but
this light will not come on.
3-10

Fuel Gage
When the ignition is on, the fuel gage shows
approximately how much fuel is left in the tank.
The gage will first indicate E (empty) before it is out of
fuel, but the vehicle should be refueled as soon as
possible.
An arrow on the fuel gage indicates the side of the
vehicle the fuel door is on.
Listed are four situations that may occur with the fuel
gage, none of these indicate a problem:
•At the gas station, the fuel pump shuts off before
the gage reads F (full).
•It takes a little more or less fuel to fill up than the
fuel gage indicated. For example, the gage may
have indicated the tank was half full, but it actually
took a little more or less than half the tank’s
capacity to fill the tank.
•The gage moves a little while turning a corner or
speed up.
•The gage does not go back to E (empty) when the
ignition is turned off.
United States Canada
3-11

Driver Information Center (DIC)
Trip/Fuel Menu Items
Press the trip/fuel button to display the battery voltage.
For more items see “DIC Operation and Displays” in
the owner manual.
BATTERY VOLTAGE
This display shows the current battery voltage. If the
voltage is in the normal range, the value will display.
For example, the display may read BATTERY
VOLTAGE 13.2 VOLTS. If the voltage is low, the
display will show LOW. If the voltage is high, the display
will show HIGH. Your vehicle’s charging system
regulates voltage based on the state of the battery.
The battery voltage may fluctuate when viewing this
information on the DIC. This is normal. See “Charging
System Light” in the owner manual for more information.
If there is a problem with the battery charging system,
the DIC will display a message. See DIC Warnings
and Messages on page 3-12.
INST (Instantaneous) ECONOMY
This display normally shows instantaneous fuel
economy. When the vehicle is in Auto Stop mode
AUTO STOP will be displayed. See Starting the
Vehicle on page 2-3 for more information. The display
may also show if the vehicle is currently in V4 MODE
or V8 MODE. See “Active Fuel Management” in
the owner manual for more information.
DIC Warnings and Messages
Warning messages are displayed on the DIC to notify
the driver that the status of the vehicle has changed and
that some action may be needed by the driver to
correct the condition. If there is more than one message
that needs to be displayed they will appear one after
another. Some messages may not require immediate
action but you should press the select button or the trip
odometer reset stem on the instrument panel cluster
to acknowledge that you received the message
and clear it from the display. Some messages cannot
be cleared from the display because they are more
urgent; these messages require action before they can
be removed from the DIC display. The following are
the possible messages that can be displayed and some
information about them. For information on other DIC
messages, see “DIC Warnings and Messages” in
the owner manual Index.
3-12

SERVICE BATTERY CHARGING
SYSTEM
If the hybrid battery system faults or fails this message
will appear on the DIC. The engine auto stop feature
will be disabled and the battery/charging system light will
appear in the instrument panel cluster. See “Battery
Warning Light” in the owner manual Index.
Driving with this light on could drain your batteries.
Have the electrical system checked as soon as possible.
Pressing the select button or the trip odometer reset
stem on the instrument panel cluster will acknowledge
this message and clear it from the DIC display.
HOOD OPEN
If the hood is not fully closed or there is a problem
with the hood switch, this message will be displayed.
Close the hood to clear the message. If the HOOD
OPEN message continues to be displayed after
verifying the hood is closed, you should have the hood
switch serviced. Pressing the select button or the
trip odometer reset stem on the instrument panel cluster
will acknowledge this message and clear it from the
DIC display.
When this message is displayed, the auto stop
function will not operate. If the vehicle is in auto stop
mode when this message appears, the engine will
instantly start.
OIL PRESSURE LOW STOP ENGINE
If engine oil pressure is low, this message will be
displayed on the DIC. Stop the vehicle as soon as safely
possible and do not operate it until the cause of the
low oil pressure has been corrected. Check your oil level
as soon as possible and have your vehicle serviced.
See “Engine Oil” in the owner manual Index.
SERVICE BRAKE SYSTEM
This message will be displayed if there is a problem
with the brake system. You will still be able to brake, but
it will be noticeably more difficult. Pull off the road to a
safe location and have your vehicle towed to the nearest
dealer/retailer for service. See “Brakes,” “Brake System
Warning Light,” and “ABS Brake System Warning
Light” in the owner manual Index.
SERVICE HYBRID SYSTEM
If this message is displayed on the DIC, the vehicle may
continue to operate, but you need to have it serviced
as soon as possible.
SERVICE POWER STEERING
This message displays if a problem has been detected
with the electric power steering. Have your vehicle
serviced by your dealer/retailer immediately.
3-13

Audio System(s)
Navigation/Radio System
For vehicles with a navigation radio system, see the
Navigation System manual for more information.
To view the hybrid screen, press the MENU button on
the radio. The hybrid screen displays when entering the
Configuration Menu.
The display shows:
•Auto Stop
•Battery Charging
•Engine Idle
•2-Wheel and 4-Wheel Drive Modes for:
− Engine Power
− Battery Power
− Hybrid Power
3-14

Your Driving, the Road, and the Vehicle ............4-2
Electric Power Steering ...................................4-2 Towing ............................................................4-2
Towing Your Vehicle .......................................4-2
Towing a Trailer .............................................4-2
Section 4 Driving Your Vehicle
4-1

Your Driving, the Road, and
the Vehicle
Electric Power Steering
This vehicle has On-Demand Electric-Assist Power
Steering instead of conventional full-time hydraulic
power steering. It uses electricity supplied by the same
battery which is re-charged by the regenerative
braking system.
Because the system is On-Demand Electric-Assist,
energy is used only when the steering wheel is turned,
or when the steering gear is used to help isolate the
forces of rough roads. This system does not use power
steering fluid, making it maintenance-free.
Towing
Towing Your Vehicle
Consult your dealer/retailer or a professional towing
service if the disabled vehicle needs to be towed.
Towing a Trailer
For more information, see “Towing a Trailer” in the
owner manual Index.
Weight of the Trailer
How heavy can a trailer safely be?
It depends on how the rig is used. For example, speed,
altitude, road grades, outside temperature and how
much the vehicle is used to pull a trailer are all
important. It can depend on any special equipment on
the vehicle, and the amount of tongue weight the vehicle
can carry.
4-2

Maximum trailer weight is calculated assuming only the
driver is in the tow vehicle and it has all the required
trailering equipment. The weight of additional optional
equipment, passengers and cargo in the tow vehicle
must be subtracted from the maximum trailer weight.
Use the following charts to determine how much the
vehicle can weigh, based upon the vehicle model
and options.
Vehicle Axle Ratio Maximum Trailer Weight GCWR*
2WD 6.0 L V8 3.08 6,200 lbs (2 812 kg) 12,000 lbs (5 443 kg)
4WD 6.0 L V8 3.08 6,000 lbs (2 722 kg) 12,000 lbs (5 443 kg)
*The Gross Combination Weight Rating (GCWR) is the total allowable weight of the completely loaded vehicle and
trailer including any passengers, cargo, equipment and conversions. The GCWR for the vehicle should not be
exceeded.
Trailer Brakes
If a trailer is being towed that has trailer brakes and
the trailer brakes are manually applied while driving
slower than 25 mph (40 km/h), the vehicle may go into
auto stop mode even if the brakes are not being
pressed. Using the trailer brake system manually can
make the hybrid vehicle perform as if the brake pedal
in the vehicle is being pressed. The trailer brake
operation check will still work. If the trailer brakes are
manually applied for an extended period of time,
the SERVICE BRAKE SYSTEM DIC message comes
on. The message goes off after the trailer brakes
have been released. No other action is necessary.
For more information, see “Trailer Brakes” in the Index
of the vehicle’s owner manual.
4-3

✍NOTES
4-4

Service ............................................................5-2
Doing Your Own Service Work .........................5-2
Checking Things Under the Hood .....................5-3
High Voltage Devices and Wiring ......................5-3
Engine Compartment Overview .........................5-4
Automatic Transmission Fluid ...........................5-5
Drive Motor/Generator Control Module (DMCM)
Coolant Surge Tank Pressure Cap ..................5-6
Drive Motor/Generator Control Module (DMCM)
Cooling System ...........................................5-6
Power Steering Fluid .....................................5-11
Brakes ........................................................5-11
Battery ........................................................5-15
Jump Starting ...............................................5-16
Bulb Replacement ..........................................5-21
Taillamps, Turn Signal, Stoplamps and
Back-up Lamps .........................................5-21
Replacement Bulbs .......................................5-22
Electrical System ............................................5-22
Fuses and Circuit Breakers ............................5-22
Underhood Fuse Block ..................................5-22
Tires ..............................................................5-24
Inflation - Tire Pressure .................................5-24
Tire Pressure Monitor Operation .....................5-25
Tire Inspection and Rotation ...........................5-29
Tire Chains ..................................................5-30
If a Tire Goes Flat ........................................5-30
Tire Sealant and Compressor Kit
(Without Selector Switch) ............................5-32
Tire Sealant and Compressor Kit
(With Selector Switch) ................................5-42
Tire Sealant and Compressor Kit Storage .........5-50
Capacities and Specifications ..........................5-52
Section 5 Service and Appearance Care
5-1

Service
Doing Your Own Service Work
{CAUTION:
Never try to do your own service on hybrid
components. You can be injured and the vehicle
can be damaged if you try to do your own service
work. Service and repair of these hybrid
components should only be performed by a
trained service technician with the proper
knowledge and tools.
{CAUTION:
You can be injured and the vehicle could be
damaged if you try to do service work on a vehicle
without knowing enough about it.
•Be sure you have sufficient knowledge,
experience, the proper replacement parts,
and tools before attempting any vehicle
maintenance task.
•Be sure to use the proper nuts, bolts, and
other fasteners. English and metric fasteners
can be easily confused. If the wrong fasteners
are used, parts can later break or fall off.
You could be hurt.
5-2

If doing some of your own service work, use the proper
service manual. It tells you much more about how to
service the vehicle than this manual can. To order
the proper service manual, see “Service Publications
Ordering Information” in the owner manual.
This vehicle has an airbag system. Before attempting
to do your own service work, see “Servicing Your
Airbag-Equipped Vehicle” in the owner manual.
Keep a record with all parts receipts and list the
mileage and the date of any service work performed.
See “Maintenance Record” in the owner manual.
Checking Things Under
the Hood
High Voltage Devices and Wiring
{CAUTION:
Exposure to high voltage can cause shock, burns,
and even death. The high voltage systems in your
vehicle can only be serviced by technicians with
special training.
High voltage devices are identified by labels.
Do not remove, open, take apart, or modify these
devices. High voltage cable or wiring has orange
covering. Do not probe, tamper with, cut, or modify
high voltage cable or wiring.
5-3

Engine Compartment Overview
When you open the hood on your vehicle, you will see:
5-4

A. See “Engine Air Cleaner/Filter” in the owner manual.
B. Drive Motor/Generator Control Module (DMCM).
See Drive Motor/Generator Control Module (DMCM)
Cooling System on page 5-6.
C. Engine Oil Dipstick. See “Engine Oil” in the owner
manual.
D. Automatic Transmission Fluid Dipstick. See
Automatic Transmission Fluid on page 5-5.
E. Brake Fluid Reservoir. See Brakes on page 5-11.
F. See “Underhood Fuse Block” in the owner manual.
G. See “Windshield Washer Fluid” in the owner
manual.
H. Hybrid Auxiliary Fuse Block. See Underhood Fuse
Block on page 5-22.
I. DMCM Coolant Surge Tank Pressure Cap. See
Drive Motor/Generator Control Module (DMCM)
Coolant Surge Tank Pressure Cap on page 5-6.
J. See “Coolant Surge Tank Pressure Cap” in
the owner manual.
K. Engine Oil Fill Cap. See “Engine Oil” in the owner
manual.
Automatic Transmission Fluid
For more information, see “Automatic Transmission
Fluid” in the owner manual Index.
Checking the Fluid Level
Your vehicle’s automatic transmission dipstick looks like
this. For more information on location, see Engine
Compartment Overview on page 5-4.
5-5

Drive Motor/Generator Control
Module (DMCM) Coolant Surge Tank
Pressure Cap
See Engine Compartment
Overview on page 5-4
for more information
on location.
The Drive Motor/Generator Control Module (DMCM)
coolant surge tank pressure cap must be fully installed
on the hybrid coolant surge tank.
Notice: If the pressure cap is not tightly installed,
coolant loss and possible damage to the Drive
Motor/Generator Control Module (DMCM) may occur.
Be sure the cap is properly and tightly secured.
Drive Motor/Generator Control
Module (DMCM) Cooling System
In addition to the regular cooling system, the vehicle is
also equipped with a cooling system for the DMCM
system. This system is serviced differently than
the vehicle’s main cooling system. The DMCM cooling
system includes the DMCM coolant surge tank,
DMCM surge tank pressure cap, DMCM cooling pumps,
hybrid cooling radiator and the Drive Motor/Generator
Control Module (DMCM). The DMCM cooling system
uses a 50/50 pre-mixed DEX-COOL™ coolant and
deionized water available at your dealer/retailer.
See “Engine Coolant” and “Cooling System” in the
owner manual for more information.
5-6

When you decide it is safe to lift the hood, here is what
you will see:
A. Drive Motor/Generator Control Module (DMCM)
B. Engine Coolant Surge Tank Pressure Cap
C. DMCM Coolant Surge Tank/Engine Coolant
Surge Tank
D. DMCM Cooling Hoses (Out of View)
E. DMCM Coolant Tank Pressure Cap
If the coolant inside the DMCM coolant surge tank is
boiling, do not do anything else until it cools down.
The coolant level should be at or above the FULL
COLD mark with the vehicle parked on a level surface.
If it is not, there might be a leak at the DMCM cooler
core, DMCM pressure cap, DMCM cooler hoses,
DMCM cooling pump or somewhere else in the DMCM
cooling system.
Notice: Running the engine when there is a leak in
the hybrid cooling system can cause the hybrid
cooling system to lose all coolant and can damage
the system. Get any leak fixed before you drive
the vehicle or run the engine.
5-7

How to Add Coolant to the DMCM
Coolant Surge Tank
If no problem has been found yet, check to see if
coolant is visible in the DMCM coolant surge tank.
If coolant is visible, add pre-mixed DEX-COOL™
coolant, available at your dealer/retailer, at the DMCM
coolant surge tank, but be sure the DMCM cooling
system, including the DMCM coolant surge tank pressure
cap, is cool before you do it. Use the procedure following.
{CAUTION:
Steam and scalding liquids from a hot cooling
system can blow out and burn you badly. They are
under pressure, and if you turn the coolant surge
tank pressure cap — even a little — they can
come out at high speed. Never turn the cap when
the cooling system, including the coolant surge
tank pressure cap, is hot. Wait for the cooling
system and coolant surge tank pressure cap to
cool if you ever have to turn the pressure cap.
Notice: Using coolant other than a pre-mixed
DEX-COOL, available at your dealer/retailer, may
damage your vehicle. Any repairs would not
be covered by your warranty. Always use a
pre-mixed DEX-COOL (silicate-free) coolant in
your vehicle.
5-8

{CAUTION:
You can be burned if you spill coolant on hot
engine parts. Coolant contains ethylene glycol
and it will burn if the engine parts are hot enough.
Do not spill coolant on a hot engine.
If the DMCM coolant is empty, your vehicle must be
serviced by your dealer and a special fill procedure
must be followed.
Notice: Attempting to fill the DMCM cooling surge
tank yourself when the fluid level is empty can
damage your vehicle. Your vehicle must be serviced. 1. Park the vehicle on a level surface and turn the
vehicle off. Remove the DMCM coolant surge
tank pressure cap when the DMCM cooling system,
including the DMCM coolant surge tank pressure
cap and DMCM cooling hoses, are no longer hot.
Turn the DMCM coolant surge tank pressure cap
slowly counterclockwise (left) about one full turn.
Wait 30 seconds.
5-9

2. Then keep turning the DMCM coolant surge tank
pressure cap slowly, and remove it.
3. Add the pre-mixed DEX-COOL™, available at your
dealer/retailer, to the DMCM coolant surge tank
until the level reaches the FULL COLD mark.
4. Turn the ignition to ON/RUN without starting the
engine. The hybrid cooling pumps will run and
any trapped air will purge to the surge tank.
5. Add the pre-mixed DEX-COOL™, available at your
dealer/retailer, until the coolant level is maintained
at the FULL COLD mark. This should take no
longer than two minutes of hybrid cooling pump
operation.
If the level cannot be kept at the FULL COLD
level, your vehicle may need service. See your
dealer/retailer.
6. Then replace the
DMCM coolant surge
tank pressure cap.
Be sure the pressure
cap is hand-tight
and fully seated.
Notice: Using tap water, cooling system sealers or
conditioners in an attempt to stop coolant leaks
can damage the DMCM and engine cooling systems.
Never use tap water, cooling system sealers or
conditioners in your cooling system.
5-10

Power Steering Fluid
The vehicle has electric power steering and does not
use power steering fluid.
Brakes
Brake Fluid
The brake master cylinder
reservoir is filled with
DOT-3 brake fluid. See
Engine Compartment
Overview on page 5-4
for the location of
the reservoir.
There are only two reasons why the brake fluid level in
the reservoir might go down:
•The brake fluid level goes down because of normal
brake lining wear. When new linings are installed,
the fluid level goes back up.
•A fluid leak in the brake hydraulic system can also
cause a low fluid level. Have the brake hydraulic
system fixed, since a leak means that sooner
or later the brakes will not work well.
Do not top off the brake fluid. Adding fluid does not
correct a leak. If fluid is added when the linings
are worn, there will be too much fluid when new brake
linings are installed. Add or remove brake fluid, as
necessary, only when work is done on the brake
hydraulic system.
{CAUTION:
If too much brake fluid is added, it can spill on
the engine and burn, if the engine is hot enough.
You or others could be burned, and the vehicle
could be damaged. Add brake fluid only when
work is done on the brake hydraulic system.
See “Checking Brake Fluid” in this section.
When the brake fluid falls to a low level, the brake
warning light comes on. See “Brake System Warning
Light” in the owner manual.
Refer to the Maintenance Schedule to determine when
to check the brake fluid. See “Scheduled Maintenance”
in the owner manual.
5-11

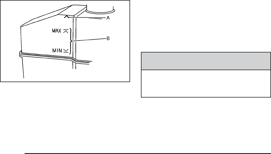
Checking Brake Fluid
Check brake fluid by looking at the brake fluid reservoir.
See Engine Compartment Overview on page 5-4.
With the engine not running for at least one minute, the
maximum fluid level (A) is at the top of the reservoir
body. With the engine running, the fluid level should be
in the proper operating range (B) between the MIN
and MAX marks. If it is not, have the brake hydraulic
system checked to see if there is a leak.
After work is done on the brake hydraulic system,
make sure the level, with the engine running, is in
the proper operating range (B) between the MIN and
MAX marks.
What to Add
Use only new DOT-3 brake fluid from a sealed
container. See “Recommended Fluids and Lubricants”
in the owner manual.
Always clean the brake fluid reservoir cap and the area
around the cap before removing it. This helps keep
dirt from entering the reservoir.
{CAUTION:
With the wrong kind of fluid in the brake hydraulic
system, the brakes might not work well. This could
cause a crash. Always use the proper brake fluid.
5-12

Notice:
•Using the wrong fluid can badly damage brake
hydraulic system parts. For example, just a
few drops of mineral-based oil, such as engine
oil, in the brake hydraulic system can damage
brake hydraulic system parts so badly that they
will have to be replaced. Do not let someone
put in the wrong kind of fluid.
•If brake fluid is spilled on the vehicle’s painted
surfaces, the paint finish can be damaged.
Be careful not to spill brake fluid on the
vehicle. If you do, wash it off immediately.
See “Washing Your Vehicle” in the owner
manual.
Brake Wear
This vehicle has disc brakes. Disc brake pads have
built-in wear indicators that make a high-pitched warning
sound when the brake pads are worn and new pads
are needed. The sound can come and go or be heard all
the time the vehicle is moving, except when applying
the brake pedal firmly.
{CAUTION:
The brake wear warning sound means that soon
the brakes will not work well. That could lead to an
accident. When the brake wear warning sound is
heard, have the vehicle serviced.
Notice: Continuing to drive with worn-out brake
pads could result in costly brake repair.
Some driving conditions or climates can cause a brake
squeal when the brakes are first applied or lightly
applied. This does not mean something is wrong with
the brakes.
5-13

Properly torqued wheel nuts are necessary to help
prevent brake pulsation. When tires are rotated, inspect
brake pads for wear and evenly tighten wheel nuts in
the proper sequence to torque specifications in
“Capacities and Specifications” in the owner manual.
Brake linings should always be replaced as complete
axle sets.
Brake Pedal Travel
See your dealer/retailer if the brake pedal does not
return to normal height, or if there is a rapid increase in
pedal travel. This could be a sign that brake service
might be required.
Brake Adjustment
Every time the brakes are applied, the disc brakes
adjust for wear.
Replacing Brake System Parts
The braking system on a vehicle is complex. Its many
parts have to be of top quality and work well together
if the vehicle is to have really good braking. The
vehicle was designed and tested with top-quality
brake parts. When parts of the braking system are
replaced — for example, when the brake linings wear
down and new ones are installed — be sure to get new
approved replacement parts. If this is not done, the
brakes might not work properly. For example, if
someone puts in brake linings that are wrong for the
vehicle, the balance between the front and rear brakes
can change — for the worse. The braking performance
expected can change in many other ways if the
wrong replacement brake parts are installed.
5-14

Battery
This vehicle has a standard 12-volt battery and a
high-voltage hybrid battery.
When a new standard 12-volt battery is needed, see
your dealer/retailer for one that has the replacement
number shown on the original battery’s label.
When a new high-voltage hybrid battery is needed,
see your dealer/retailer.
If an airbag inflates or the vehicle has been in a crash,
the vehicle’s sensing system might command the
automatic hybrid battery disconnect to open.
See Replacing Restraint System Parts After a Crash
on page 1-3 for more information.
Warning: Battery posts, terminals, and related
accessories contain lead and lead compounds,
chemicals known to the State of California to cause
cancer and reproductive harm. Wash hands after
handling.
Vehicle Storage
{CAUTION:
Batteries have acid that can burn you and gas that
can explode. You can be badly hurt if you are not
careful. See Jump Starting on page 5-16 for tips
on working around a battery without getting hurt.
Infrequent Usage: If the vehicle is driven infrequently,
remove the 12-volt battery black, negative (−) cable from
the battery. This helps keep the battery from running
down.
Extended Storage: For extended storage of the vehicle,
remove the 12-volt battery black, negative (−) cable
from the battery or use a battery trickle charger.
This helps maintain the charge of the battery over an
extended period of time.
Remember to reconnect the battery when ready to drive
the vehicle.
5-15

Jump Starting
If the vehicle’s 12-volt battery has run down, you may
want to use another vehicle and some jumper cables
to start your vehicle. Use the following steps to do
it safely.
{CAUTION:
Batteries can hurt you. They can be dangerous
because:
•They contain acid that can burn you.
•They contain gas that can explode or ignite.
•They contain enough electricity to burn you.
If you do not follow these steps exactly, some or
all of these things can hurt you.
Notice: Ignoring these steps could result in costly
damage to the vehicle that would not be covered
by the warranty.
Trying to start the vehicle by pushing or pulling it
will not work, and it could damage the vehicle.
1. Check the other vehicle. It must have a 12-volt
battery with a negative ground system.
Notice: If the other vehicle’s system is not a 12-volt
system with a negative ground, both vehicles can
be damaged. Only use vehicles with 12-volt systems
with negative grounds to jump start your vehicle.
2. Get the vehicles close enough so the jumper cables
can reach, but be sure the vehicles are not touching
each other. It could cause a ground connection
you do not want. You would not be able to start your
vehicle, and the bad grounding could damage the
electrical systems.
To avoid the possibility of the vehicles rolling, set
the parking brake firmly on both vehicles involved
in the jump start procedure. Put the automatic
transmission in P (Park) or a manual transmission
in N (Neutral) before setting the parking brake.
If you have a four-wheel-drive vehicle, be sure the
transfer case is in a drive gear, not in N (Neutral).
5-16

Notice: If you leave the radio or other accessories
on during the jump starting procedure, they
could be damaged. The repairs would not be
covered by the warranty. Always turn off the radio
and other accessories when jump starting the
vehicle.
3. Turn off the ignition on both vehicles. Unplug
unnecessary accessories plugged into the cigarette
lighter or the accessory power outlets. Turn off
the radio and all the lamps that are not needed.
This avoids sparks and helps save both batteries.
It could save the radio!
4. Open the hood on the other vehicle and locate the
positive (+) and negative (−) terminal locations on
that vehicle.
Your vehicle has a remote positive (+) and a remote
negative (−) jump starting terminal. You should
always use these remote terminals instead of the
terminals on the battery.
If the vehicle has a remote positive (+), it is located
under a red plastic cover at the positive battery
post. To uncover the remote positive (+) terminal,
open the red plastic cover.
5. The remote negative (−) is a solid engine ground.
5-17

{CAUTION:
An electric fan can start up even when the engine
is not running and can injure you. Keep hands,
clothing and tools away from any underhood
electric fan.
{CAUTION:
Using a match near a battery can cause battery
gas to explode. People have been hurt doing this,
and some have been blinded. Use a flashlight if
you need more light.
CAUTION: (Continued)
CAUTION: (Continued)
Be sure the battery has enough water. You do not
need to add water to the battery installed in your
new vehicle. But if a battery has filler caps, be
sure the right amount of fluid is there. If it is low,
add water to take care of that first. If you do not,
explosive gas could be present.
Battery fluid contains acid that can burn you.
Do not get it on you. If you accidentally get it in
your eyes or on your skin, flush the place with
water and get medical help immediately.
{CAUTION:
Fans or other moving engine parts can injure you
badly. Keep your hands away from moving parts
once the engine is running.
5-18

6. Check that the jumper cables do not have loose
or missing insulation. If they do, you could get a
shock. The vehicles could be damaged too.
Before you connect the cables, here are some
basic things you should know. Positive (+) goes to
positive (+) or to a remote positive (+) terminal
if the vehicle has one. Negative (−) will go to
a heavy, unpainted metal engine part or a solid
engine ground.
Do not connect positive (+) to negative (−)oryou
will get a short that would damage the battery
and maybe other parts too. Do not connect
the negative (−) cable to the negative (−) terminal
on the dead battery because this can cause sparks.
7. Connect the red positive (+) cable to the positive (+)
terminal of the vehicle with the dead battery.
Use a remote positive (+) if the vehicle has one.
8. Do not let the other end touch metal. Connect it
to the positive (+) terminal of the good battery.
Use a remote positive (+) if the vehicle has one.
9. Now connect the black negative (−) cable to the
negative (−) terminal of the good battery. Use a
remote negative (−) if the vehicle has one.
Do not let the other end touch anything until the
next step. The other end of the negative (−) cable
does not go to the dead battery. It goes to a
heavy, unpainted metal engine part or to the remote
negative (−) terminal on the vehicle with the dead
battery.
10. Connect the other end of the negative (−) cable to
the remote negative (−) terminal, on the vehicle
with the dead battery.
11. Now start the vehicle with the good battery and run
the engine for a while.
12. Try to start the vehicle that had the dead battery.
If it will not start after a few tries, it probably needs
service.
5-19

Notice: If the jumper cables are connected or
removed in the wrong order, electrical shorting may
occur and damage the vehicle. The repairs would
not be covered by your warranty. Always connect
and remove the jumper cables in the correct
order, making sure that the cables do not touch
each other or other metal.
Jumper Cable Removal
A. Heavy, Unpainted Metal Engine Part or Remote
Negative (−) Terminal
B. Good Battery or Remote Positive (+) and Remote
Negative (−) Terminals
C. Dead Battery or Remote Positive (+) Terminal
To disconnect the jumper cables from both vehicles:
1. Disconnect the black negative (−) cable from
the vehicle that had the bad battery.
2. Disconnect the black negative (−) cable from the
vehicle with the good battery.
3. Disconnect the red positive (+) cable from the
vehicle with the good battery.
4. Disconnect the red positive (+) cable from the other
vehicle.
5. Return the remote positive (+) terminal cover to
its original position.
5-20

Bulb Replacement
Taillamps, Turn Signal, Stoplamps
and Back-up Lamps
A. Taillamp/Stoplamp
B. Back-up Lamp
C. Turn Signal Lamp
D. Sidemarker Lamp
If the taillamp/stoplamp (A) need to be replaced,
see your dealer/retailer.
1. Open the liftgate. See “Power Liftgate” in the
owner’s manual index.
2. Remove the two
screws from the
taillamp assembly.
3. Pull the taillamp assembly rearward until the inner
pins on the taillamp assembly are disengaged from
the vehicle.
4. Press the release tab, if bulb socket has one, and
turn the bulb socket counterclockwise to remove it
from the taillamp assembly.
5. Pull the old bulb straight out from the bulb socket.
6. Press a new bulb into the bulb socket and insert
it into the taillamp assembly. Turn the bulb socket
clockwise into the taillamp assembly until it clicks.
7. Reinstall the taillamp assembly. When reinstalling,
make sure to line up the pins on the taillamp
assembly with the vehicle. If this is not done the
taillamp assembly cannot be correctly installed.
5-21

Replacement Bulbs
Exterior Lamp Bulb Number
Back-up Lamp and Rear Turn
Signal Lamp 3156
Sidemarker Lamp 194
For replacement bulbs not listed here, contact your
dealer/retailer.
Electrical System
Fuses and Circuit Breakers
The wiring circuits in the vehicle are protected from
short circuits by a combination of fuses, circuit breakers
and fusible thermal links. This greatly reduces the
chance of fires caused by electrical problems.
Be sure you replace a bad fuse with a new one of the
identical size and rating.
If you ever have a problem on the road and do not have
a spare fuse, you can borrow one that has the same
amperage. Just pick some feature of the vehicle that you
can get along without, like the radio or cigarette
lighter, and use its fuse, if it is the correct amperage.
Replace it as soon as you can.
The vehicle also has a special fuse in the battery box
for the 300-volt batteries. If this fuse has failed and
needs to be replaced, the vehicle will be disabled and
you will need to have the vehicle repaired by your
dealer/retailer. Do not attempt to self-service this fuse.
Underhood Fuse Block
Hybrid Auxiliary Underhood Fuse
Block
The hybrid underhood fuse block is located in the
engine compartment near the front of the vehicle.
Lift the cover for access to the fuse/relay block.
See Engine Compartment Overview on page 5-4 for
more information on its location. For more information on
the main underhood fuse block, see “Underhood Fuse
Block” in the owner manual.
5-22

Fuses Usage
1ACPO
2 BECM FAN
3 ACCM
4 CAB HTR PMP
5 EMPTY
6 COOL PUMP
7 EPS
Fuses Usage
8Drive Motor/Generator
Control Module 1
9Drive Motor/Generator
Control Module 2
10 BECM
J-Case Usage
FAN 1 Cooling Fan 1
TRANS PUMP Auxiliary Transmission Fluid Pump
FAN 2 Cooling Fan 2
CAB HTR PMP Cab Heater Pump
Relays Usage
FAN LOW Cooling Fan Low Speed Relay
FAN MID 1 Cooling Fan Mid 1
FAN HI Cooling Fan High
Speed Relay
FAN MID 2 Cooling Fan Mid 2
FAN CNTRL Cooling Fan Control
5-23

Tires
Inflation - Tire Pressure
Tires need the correct amount of air pressure to operate
effectively.
Notice: Do not let anyone tell you that
under-inflation or over-inflation is all right.
It is not. If your tires do not have enough air
(under-inflation), you can get the following:
•Too much flexing
•Too much heat
•Tire overloading
•Premature or irregular wear
•Poor handling
•Reduced fuel economy
If your tires have too much air (over-inflation),
you can get the following:
•Unusual wear
•Poor handling
•Rough ride
•Needless damage from road hazards
A vehicle specific Tire and Loading Information label
is attached to your vehicle. This label shows your
vehicle’s original equipment tires and the correct
inflation pressures for your tires when they are cold.
The recommended cold tire inflation pressure, shown
on the label, is the minimum amount of air pressure
needed to support your vehicle’s maximum load carrying
capacity.
For additional information regarding how much weight
your vehicle can carry, and an example of the Tire
and Loading Information label, see “Loading Your
Vehicle” in the Index of the owner manual. How you
load your vehicle affects vehicle handling and ride
comfort. Never load your vehicle with more weight than
it was designed to carry.
When to Check
Check your tires once a month or more.
5-24

How to Check
Use a good quality pocket-type gage to check tire
pressure. You cannot tell if your tires are properly
inflated simply by looking at them. Radial tires may look
properly inflated even when they’re underinflated.
Check the tire’s inflation pressure when the tires are cold.
Cold means your vehicle has been sitting for at least
three hours or driven no more than 1 mile (1.6 km).
Remove the valve cap from the tire valve stem.
Press the tire gage firmly onto the valve to get a
pressure measurement. If the cold tire inflation pressure
matches the recommended pressure on the tire and
loading information label, no further adjustment is
necessary. If the pressure is low, add air until you
reach the recommended amount.
If you overfill the tire, release air by pushing on the
metal stem in the center of the tire valve. Recheck the
tire pressure with the tire gage.
Be sure to put the valve caps back on the valve stems.
They help prevent leaks by keeping out dirt and moisture.
Tire Pressure Monitor Operation
This vehicle may have a Tire Pressure Monitor System
(TPMS). The TPMS is designed to warn the driver
when a low tire pressure condition exists. TPMS sensors
are mounted onto each tire and wheel assembly.
The TPMS sensors monitor the air pressure in the
vehicle’s tires and transmit the tire pressure readings
to a receiver located in the vehicle.
When a low tire pressure
condition is detected, the
TPMS will illuminate
the low tire pressure
warning symbol located
on the instrument
panel cluster.
At the same time a message to check the pressure in a
specific tire appears on the Driver Information Center
(DIC) display. The low tire pressure warning light
and the DIC warning message come on at each ignition
cycle until the tires are inflated to the correct inflation
pressure. Using the DIC, tire pressure levels can
be viewed by the driver. For additional information and
details about the DIC operation and displays see DIC
Warnings and Messages on page 3-12. Also, see “DIC
Operation and Displays” in the Index of the owner
manual for more information.
5-25

The low tire pressure warning light may come on in cool
weather when the vehicle is first started, and then
turn off as you start to drive. This could be an early
indicator that the air pressure in the tire(s) are getting
low and need to be inflated to the proper pressure.
A Tire and Loading Information label, attached to your
vehicle, shows the size of your vehicle’s original
equipment tires and the correct inflation pressure for
your vehicle’s tires when they are cold. See “Loading
Your Vehicle” for an example of the Tire and Loading
Information label and its location on your vehicle.
Also see Inflation - Tire Pressure on page 5-24.
Your vehicle’s TPMS can warn you about a low tire
pressure condition but it does not replace normal
tire maintenance. See “Tire Inspection and Rotation”
and “Tires” in the Index of the owner manual for more
information.
Notice: Using non-approved tire sealants could
damage the Tire Pressure Monitor System (TPMS)
sensors. TPMS sensor damage caused by using
an incorrect tire sealant is not covered by the
vehicle warranty. Always use the GM approved tire
sealant available through your dealer/retailer.
Your vehicle, when new, included a factory-installed
Tire Sealant and Compressor Kit. This kit uses a
GM approved liquid tire sealant. See Tire Sealant and
Compressor Kit (Without Selector Switch) on page 5-32
or Tire Sealant and Compressor Kit (With Selector
Switch) on page 5-42.
TPMS Malfunction Light and Message
The TPMS will not function properly if one or more of the
TPMS sensors are missing or inoperable. When the
system detects a malfunction, the low tire warning light
flashes for about one minute and then stays on for
the remainder of the ignition cycle. A DIC warning
message is also displayed. The low tire warning light
and DIC warning message come on at each ignition
cycle until the problem is corrected. Some of the
conditions that can cause the malfunction light and
DIC message to come on are:
•The TPMS sensor matching process was started
but not completed or not completed successfully
after rotating the vehicle’s tires. The DIC message
and TPMS malfunction light should go off once
the TPMS sensor matching process is performed
successfully. See “TPMS Sensor Matching Process”
later in this section.
5-26

•One or more TPMS sensors are missing or
damaged. The DIC message and the TPMS
malfunction light should go off when the TPMS
sensors are installed and the sensor matching
process is performed successfully. See your
dealer/retailer for service.
•Replacement tires or wheels do not match your
vehicle’s original equipment tires or wheels.
Tires and wheels other than those recommended
for your vehicle could prevent the TPMS from
functioning properly. See “Buying New Tires” in
the Index of the owner manual.
•Operating electronic devices or being near facilities
using radio wave frequencies similar to the TPMS
could cause the TPMS sensors to malfunction.
If the TPMS is not functioning it cannot detect or
signal a low tire condition. See your dealer/retailer for
service if the TPMS malfunction light and DIC message
comes on and stays on.
TPMS Sensor Matching Process
Each TPMS sensor has a unique identification code.
Any time you rotate your vehicle’s tires or replace one or
more of the TPMS sensors, the identification codes
will need to be matched to the new tire/wheel position.
The sensors are matched to the tire/wheel positions
in the following order: driver side front tire, passenger
side front tire, passenger side rear tire, and driver
side rear tire using a TPMS diagnostic tool. See your
dealer/retailer for service.
The TPMS sensors can also be matched to each
tire/wheel position by increasing or decreasing the tire’s
air pressure. If increasing the tire’s air pressure, do
not exceed the maximum inflation pressure indicated on
the tire’s sidewall.
To decrease air-pressure out of a tire you can use the
pointed end of the valve cap, a pencil-style air pressure
gage, or a key.
5-27

You have two minutes to match the first tire/wheel
position, and five minutes overall to match all four
tire/wheel positions. If it takes longer than two minutes,
to match the first tire and wheel, or more than
five minutes to match all four tire and wheel positions
the matching process stops and you need to start over.
The TPMS sensor matching process is outlined below:
1. Set the parking brake.
2. Turn the ignition switch to ON/RUN with the
engine off.
3. Press the Remote Keyless Entry (RKE) transmitter’s
LOCK and UNLOCK buttons at the same time for
approximately five seconds. The horn sounds twice
to signal the receiver is in relearn mode and TIRE
LEARNING ACTIVE message displays on the
DIC screen.
4. Start with the driver side front tire.
5. Remove the valve cap from the valve cap stem.
Activate the TPMS sensor by increasing or
decreasing the tire’s air pressure for five seconds,
or until a horn chirp sounds. The horn chirp,
which may take up to 30 seconds to sound,
confirms that the sensor identification code has
been matched to this tire and wheel position.
6. Proceed to the passenger side front tire, and repeat
the procedure in Step 5.
7. Proceed to the passenger side rear tire, and repeat
the procedure in Step 5.
8. Proceed to the driver side rear tire, and repeat the
procedure in Step 5. The horn sounds two times to
indicate the sensor identification code has been
matched to the driver side rear tire, and the TPMS
sensor matching process is no longer active.
The TIRE LEARNING ACTIVE message on the
DIC display screen goes off.
9. Turn the ignition switch to LOCK/OFF.
10. Set all four tires to the recommended air pressure
level as indicated on the Tire and Loading
Information label.
11. Put the valve caps back on the valve stems.
5-28

Tire Inspection and Rotation
Tires should be rotated every 5,000 to 8,000 miles
(8 000 to 13 000 km).
Any time you notice unusual wear, rotate your tires
as soon as possible and check wheel alignment.
Also check for damaged tires or wheels. See “When It
Is Time for New Tires” and “Wheel Replacement” in
the Index of the owner manual for more information.
The purpose of regular rotation is to achieve more
uniform wear for all tires on the vehicle. The first rotation
is the most important. See “Scheduled Maintenance”
in the Index of the owner manual. When rotating your tires, always use the correct rotation
pattern shown here.
After the tires have been rotated, adjust the front and
rear inflation pressures as shown on the Tire and
Loading Information label. See “Loading Your Vehicle”
in the Index of the owner manual for an example of
the label and its location on your vehicle.
The Tire Pressure Monitor System (TPMS) sensors will
need to be reset after a tire rotation. See “TPMS
Sensor Identification Codes” under “Tire Pressure
Monitor Operation”.
Make certain that all wheel nuts are properly tightened.
See “Wheel Nut Torque” under “Capacities and
Specifications” in the Index of the owner manual.
5-29

Tire Chains
{CAUTION:
Do not use tire chains. There is not enough
clearance. Tire chains used on a vehicle without
the proper amount of clearance can cause
damage to the brakes, suspension, or other
vehicle parts. The area damaged by the tire
chains could cause you to lose control of the
vehicle and you or others may be injured in a
crash. Use another type of traction device only if
its manufacturer recommends it for use on the
vehicle and tire size combination and road
conditions. Follow that manufacturer’s instructions.
To help avoid damage to the vehicle, drive slowly,
re-adjust or remove the device if it is contacting
the vehicle, and do not spin the wheels. If you do
find traction devices that will fit, install them on the
rear tires.
If a Tire Goes Flat
Your vehicle has a tire inflator kit. There is no spare tire,
no tire changing equipment, and no place to store a tire.
It is unusual for a tire to blow out while you are driving,
especially if you maintain your tires properly. If air
goes out of a tire, it is much more likely to leak out
slowly. But, if you should ever have a blow out, here are
a few tips about what to expect and what to do:
If a front tire fails, the flat tire creates a drag that pulls
the vehicle toward that side. Take your foot off the
accelerator pedal and grip the steering wheel firmly.
Steer to maintain lane position, and then gently brake to
a stop well out of the traffic lane.
5-30

A rear blow out, particularly on a curve, acts much like
a skid and may require the same correction you
would use in a skid. In any rear blow out, remove your
foot from the accelerator pedal. Get the vehicle
under control by steering the way you want the vehicle
to go. It may be very bumpy and noisy, but you can
still steer. Gently brake to a stop, well off the road
if possible.
If a tire goes flat, avoid further tire and wheel damage
by driving slowly to a level place and stopping.
Then do this:
1. Turn on the hazard warning flashers.
2. Park your vehicle. Set the parking brake firmly
and put the shift lever in PARK (P).
3. Turn off the engine.
4. Inspect the flat tire.
If the tire has been separated from the wheel or has
damaged sidewalls or large tears that allow rapid
air loss, call a tire repair facility. See “Roadside
Assistance Program” in the Index of the owner manual.
If the flat tire is due to a slow leak caused by a nail
or other similar road hazard, the tire inflator kit may be
used to repair the damaged tire temporarily. The kit
uses a liquid tire sealant to seal small punctures in the
tread area of the tire.
After repairing a tire with the tire inflator kit, take your
vehicle to an authorized retailer to have the tire
inspected and repaired as soon as possible. The tire
sealant is a temporary repair only. See Tire Sealant and
Compressor Kit (Without Selector Switch) on page 5-32
or Tire Sealant and Compressor Kit (With Selector
Switch) on page 5-42.
5-31

Tire Sealant and Compressor Kit
(Without Selector Switch)
System Identification
If the vehicle has the tire sealant and compressor kit
shown above, see the operating instructions that follow.
If the vehicle has the tire sealant and compressor kit
shown above, follow the operating instructions
under “Tire Sealant and Compressor Kit (With Selector
Switch).
5-32

{CAUTION:
Idling a vehicle in an enclosed area with poor
ventilation is dangerous. Engine exhaust may
enter the vehicle. Engine exhaust contains Carbon
Monoxide (CO) which cannot be seen or smelled.
It can cause unconsciousness and even death.
Never run the engine in an enclosed area that has
no fresh air ventilation. For more information,
see ”Engine Exhaust” in the owner manual.
{CAUTION:
Over-inflating a tire could cause the tire to rupture
and you or others could be injured. Be sure to
read and follow the tire sealant and compressor kit
instructions and inflate the tire to its recommended
pressure. Do not exceed the recommended
pressure.
{CAUTION:
Storing the tire sealant and compressor kit or
other equipment in the passenger compartment of
the vehicle could cause injury. In a sudden stop or
collision, loose equipment could strike someone.
Store the tire sealant and compressor kit in its
original location.
If this vehicle has a tire sealant and compressor kit,
there may not be a spare tire, tire changing equipment,
and on some vehicles there may not be a place to
store a tire.
The tire sealant and compressor can be used to
temporarily seal punctures up to
1
⁄
4
inch (6 mm) in the
tread area of the tire. It can also be used to inflate
an under inflated tire.
If the tire has been separated from the wheel, has
damaged sidewalls, or has a large puncture, the tire is
too severely damaged for the tire sealant and
compressor kit to be effective. See “Roadside
Assistance Program” in the owner manual.
5-33

Read and follow all of the tire sealant and compressor
kit instructions.
The kit includes:
A. Air Compressor
B. Tire Sealant
Canister
C. Power Plug
D. On/Off Button
E. Pressure Gage
F. Air Only Hose
(Black)
G. Sealant/Air Hose
(Clear)
Tire Sealant
Read and follow the safe handling instructions on the
label adhered to the sealant canister.
Check the tire sealant expiration date on the sealant
canister. The sealant canister should be replaced before
its expiration date. Replacement sealant canisters are
available at your local dealer/retailer. See “Removal and
Installation of the Sealant Canister” following.
There is only enough sealant to seal one tire.
After usage, the sealant canister and sealant/air hose
assembly must be replaced. See “Removal and
Installation of the Sealant Canister” following.
5-34

Using the Tire Sealant and Compressor
Kit to Temporarily Seal and Inflate a
Punctured Tire
Follow the directions closely for correct sealant usage.
When using the tire sealant and compressor kit during
cold temperatures, warm the kit in a heated environment
for 5 minutes. This will help to inflate the tire faster.
Always do a safety check first. See If a Tire Goes Flat
on page 5-30
1. Remove the tire sealant and compressor kit from its
storage location. See Tire Sealant and Compressor
Kit Storage on page 5-50
Make sure the on/off button (D) is in the off (O)
position.
2. Unwrap the sealant/air hose (F) and the power
plug (C).
3. Place the kit on the ground.
Make sure the tire valve stem is positioned close to
the ground so the hose will reach it.
4. Remove the valve stem cap from the flat tire by
turning it counterclockwise.
5. Attach the sealant/air hose (F) onto the tire valve
stem. Turn it clockwise until it is tight.
5-35

6. Plug the power plug (C) into the accessory power
outlet in the vehicle. Unplug all items from other
accessory power outlets. See “Accessory Power
Outlet(s) in the owner manual.”
If the vehicle has an accessory power outlet, do not
use the cigarette lighter.
If the vehicle only has a cigarette lighter, use the
cigarette lighter.
Do not pinch the power plug cord in the door or
window.
7. Start the vehicle. The vehicle must be running while
using the air compressor.
8. Press the on/off (D) button to turn the tire sealant
and compressor kit on.
The compressor will inject sealant and air into
the tire.
The pressure gage (E) will initially show a high
pressure while the compressor pushes the sealant
into the tire. Once the sealant is completely
dispersed into the tire, the pressure will quickly drop
and start to rise again as the tire inflates with air only.
9. Inflate the tire to the recommended inflation pressure
using the pressure gage (E). The recommended
inflation pressure can be found on the Tire and
Loading Information label. See Inflation - Tire
Pressure on page 5-24.
The pressure gage (E) may read higher than the
actual tire pressure while the compressor is on.
Turn the compressor off to get an accurate pressure
reading. The compressor may be turned on/off
until the correct pressure is reached.
Notice: If the recommended pressure cannot be
reached after approximately 25 minutes, the vehicle
should not be driven farther. The tire is too severely
damaged and the tire sealant and compressor kit
cannot inflate the tire. Remove the power plug from
the accessory power outlet and unscrew the inflating
hose from the tire valve. See “Roadside Assistance
Program” in the owner manual.
10. Press the on/off button (D) to turn the tire sealant
and compressor kit off.
The tire is not sealed and will continue to leak air until
the vehicle is driven and the sealant is distributed in
the tire, therefore, Steps 11 through 17 must be done
immediately after Step 10.
Be careful while handling the tire sealant and
compressor kit as it could be warm after usage.
5-36

11. Unplug the power plug (C) from the accessory
power outlet in the vehicle.
12. Turn the sealant/air hose (F) counterclockwise to
remove it from the tire valve stem.
13. Replace the tire valve stem cap.
14. Replace the sealant/air hose (F), and the power
plug (C) back in their original location.
15. If the flat tire was able
to inflate to the
recommended inflation
pressure, remove
the maximum speed
label from the sealant
canister (B) and
place it in a highly
visible location.
The label is a reminder not to exceed 55 mph
(90 km/h) until the damaged tire is repaired
or replaced.
16. Return the equipment to its original storage location
in the vehicle.
17. Immediately drive the vehicle 5 miles (8 km) to
distribute the sealant in the tire.
18. Stop at a safe location and check the tire pressure.
Refer to Steps 1 through 11 under “Using the Tire
Sealant and Compressor Kit without Sealant to
Inflate a Tire (Not Punctured).”
If the tire pressure has fallen more than 10 psi
(68 kPa) below the recommended inflation pressure,
stop driving the vehicle. The tire is too severely
damaged and the tire sealant cannot seal the tire.
See “Roadside Assistance Program” in the
owner manual.
If the tire pressure has not dropped more than
10 psi (68 kPa) from the recommended inflation
pressure, inflate the tire to the recommended
inflation pressure.
5-37

19. Wipe off any sealant from the wheel, tire or vehicle.
20. Dispose of the used sealant canister (B) and
sealant/air hose (F) assembly at a local
dealer/retailer or in accordance with local state
codes and practices.
21. Replace it with a new canister available from your
dealer/retailer.
22. After temporarily sealing a tire using the tire sealant
and compressor kit, take the vehicle to an authorized
dealer/retailer within a 100 miles (161 km) of driving
to have the tire repaired or replaced.
Using the Tire Sealant and Compressor
Kit without Sealant to Inflate a Tire
(Not Punctured)
To use the air compressor to inflate a tire with air only
and not sealant:
5-38

Always do a safety check first. See If a Tire Goes Flat
on page 5-30
1. Remove the tire sealant and compressor kit from its
storage location. See Tire Sealant and Compressor
Kit Storage on page 5-50
2. Unlock the air only hose (F) from the sealant
canister (B) by pulling up on the lever.
3. Pull the air only hose (F) from the sealant
canister (B).
4. Remove the power plug (C) from the air
compressor (A).
5. Place the kit on the ground.
Make sure the tire valve stem is positioned close to
the ground so the hose will reach it.
6. Remove the tire valve stem cap by turning it
counterclockwise.
7. Attach the air only hose (F) onto the tire valve stem
and press the lever down to secure it.
8. Plug the power plug (C) into the accessory power
outlet in the vehicle. Unplug all items from other
accessory power outlets. See “Accessory Power
Outlet(s) in the owner manual.”
If the vehicle has an accessory power outlet, do not
use the cigarette lighter.
If the vehicle only has a cigarette lighter, use the
cigarette lighter.
Do not pinch the power plug cord in the door or
window.
9. Start the vehicle. The vehicle must be running
while using the air compressor.
10. Press the on/off (D) button to turn the
compressor on.
The compressor will inflate the tire with air only.
11. Inflate the tire to the recommended inflation pressure
using the pressure gage (E). The recommended
inflation pressure can be found on the Tire and
Loading Information label. See Inflation - Tire
Pressure on page 5-24.
The pressure gage (E) may read higher than the
actual tire pressure while the compressor is on.
Turn the compressor off to get an accurate reading.
The compressor may be turned on/off until the
correct pressure is reached.
5-39

12. Press the on/off button (D) to turn the tire sealant
and compressor kit off.
Be careful while handling the tire sealant and
compressor kit as it could be warm after usage.
13. Unplug the power plug (C) from the accessory
power outlet in the vehicle.
14. Disconnect the air only hose (C) from the tire valve
stem, by turning it counterclockwise, and replace
the tire valve stem cap.
15. Replace the air only hose (F) and the power
plug (C) back in its original location.
16. Place the equipment in the original storage location
in the vehicle.
Removal and Installation of the Sealant
Canister
To remove the sealant canister:
1. Unlock the air only hose (F) from the sealant
canister (B) by pulling up on the lever.
2. Pull the air only hose (F) from the sealant canister (B).
3. Unwrap the sealant/air hose (F) from the
compressor (A).
5-40

4. Turn the sealant canister (B) so the inflator filling
hose is aligned with the slot in the compressor.
5. Lift the sealant canister (B) from the compressor
and replace with a new sealant canister. See your
dealer/retailer for more information.
To install a new sealant canister:
1. Align the sealant/air hose (F) with the slot in the air
compressor.
2. Push the sealant canister (B) down and turn it
clockwise.
3. Wrap the sealant/air hose (F) around the air
compressor channel to stow it in its original location.
4. Push the air compressor inflator hose (F) onto the
sealant canister inlet and push the lever down.
5-41

Tire Sealant and Compressor Kit
(With Selector Switch)
System Identification
If the vehicle has the tire sealant and compressor kit
shown above, see the operating instructions that follow.
If the vehicle has the tire sealant and compressor kit
shown above, follow the operating instructions
under “Tire Sealant and Compressor Kit (Without
Selector Switch).
5-42

{CAUTION:
Idling a vehicle in an enclosed area with poor
ventilation is dangerous. Engine exhaust may
enter the vehicle. Engine exhaust contains Carbon
Monoxide (CO) which cannot be seen or smelled.
It can cause unconsciousness and even death.
Never run the engine in an enclosed area that has
no fresh air ventilation. For more information,
see ”Engine Exhaust” in the owner manual.
{CAUTION:
Over-inflating a tire could cause the tire to rupture
and you or others could be injured. Be sure to
read and follow the tire sealant and compressor kit
instructions and inflate the tire to its recommended
pressure. Do not exceed the recommended
pressure.
{CAUTION:
Storing the tire sealant and compressor kit or
other equipment in the passenger compartment of
the vehicle could cause injury. In a sudden stop or
collision, loose equipment could strike someone.
Store the tire sealant and compressor kit in its
original location.
If this vehicle has a tire sealant and compressor kit,
there may not be a spare tire, tire changing equipment,
and on some vehicles there may not be a place to
store a tire.
The tire sealant and compressor can be used to
temporarily seal punctures up to
1
⁄
4
inch (6 mm) in the
tread area of the tire. It can also be used to inflate
an under inflated tire.
If the tire has been separated from the wheel, has
damaged sidewalls, or has a large puncture, the tire is
too severely damaged for the tire sealant and
compressor kit to be effective. See “Roadside
Assistance Program” in the owner manual.
5-43

Read and follow all of the tire sealant and compressor
kit instructions.
The kit includes:
A. Selector Switch
(Sealant/Air or
Air Only)
B. On/Off Button
C. Pressure Gage
D. Pressure Deflation
Button
E. Tire Sealant Canister
F. Sealant/Air Hose
(Clear)
G. Air Only Hose (Black)
H. Power Plug
Tire Sealant
Read and follow the safe handling instructions on the
label adhered to the sealant canister.
Check the tire sealant expiration date on the sealant
canister. The sealant canister should be replaced before
its expiration date. Replacement sealant canisters are
available at your local dealer/retailer. See “Removal and
Installation of the Sealant Canister” following.
There is only enough sealant to seal one tire.
After usage, the sealant canister and sealant/air hose
assembly must be replaced. See “Removal and
Installation of the Sealant Canister” following.
5-44

Using the Tire Sealant and Compressor
Kit to Temporarily Seal and Inflate a
Punctured Tire
Follow the directions closely for correct sealant usage.
When using the tire sealant and compressor kit during
cold temperatures, warm the kit in a heated environment
for 5 minutes. This will help to inflate the tire faster.
Always do a safety check first. See If a Tire Goes Flat
on page 5-30. Do not remove any objects that have
penetrated the tire.
1. Remove the tire sealant and compressor kit from its
storage location. See Tire Sealant and Compressor
Kit Storage on page 5-50.
2. Unwrap the sealant/air hose (F) and the power
plug (H).
3. Place the kit on the ground.
4. Remove the valve stem cap from the flat tire by
turning it counterclockwise.
5. Attach the sealant/air hose (F) onto the tire valve
stem. Turn it clockwise until it is tight.
6. Plug the power plug (H) into the accessory power
outlet in the vehicle. Unplug all items from other
accessory power outlets. See “Accessory Power
Outlet(s) in the owner manual.”
If the vehicle has an accessory power outlet, do not
use the cigarette lighter.
If the vehicle only has a cigarette lighter, use the
cigarette lighter.
Do not pinch the power plug cord in the door or
window.
5-45

7. Start the vehicle. The vehicle must be running while
using the air compressor.
8. Turn the selector switch (A) counterclockwise to the
Sealant + Air position.
9. Press the on/off (B) button to turn the tire sealant
and compressor kit on.
The compressor will inject sealant and air into
the tire.
The pressure gage (C) will initially show a high
pressure while the compressor pushes the sealant
into the tire. Once the sealant is completely
dispersed into the tire, the pressure will quickly drop
and start to rise again as the tire inflates with air only.
10. Inflate the tire to the recommended inflation pressure
using the pressure gage (C). The recommended
inflation pressure can be found on the Tire and
Loading Information label. See Inflation - Tire
Pressure on page 5-24.
The pressure gage (C) may read higher than the
actual tire pressure while the compressor is on.
Turn the compressor off to get an accurate pressure
reading. The compressor may be turned on/off
until the correct pressure is reached.
Notice: If the recommended pressure cannot be
reached after approximately 25 minutes, the vehicle
should not be driven farther. The tire is too severely
damaged and the tire sealant and compressor kit
cannot inflate the tire. Remove the power plug from
the accessory power outlet and unscrew the inflating
hose from the tire valve. See “Roadside Assistance
Program” in the owner manual.
11. Press the on/off button (B) to turn the tire sealant
and compressor kit off.
The tire is not sealed and will continue to leak air until
the vehicle is driven and the sealant is distributed in
the tire, therefore, Steps 12 through 18 must be done
immediately after Step 11.
Be careful while handling the tire sealant and
compressor kit as it could be warm after usage.
12. Unplug the power plug (H) from the accessory
power outlet in the vehicle.
13. Turn the sealant/air hose (F) counterclockwise to
remove it from the tire valve stem.
14. Replace the tire valve stem cap.
15. Replace the sealant/air hose (F), and the power
plug (H) back in their original location.
5-46

16. If the flat tire was able
to inflate to the
recommended inflation
pressure, remove
the maximum speed
label from the sealant
canister (E) and
place it in a highly
visible location.
The label is a reminder not to exceed 55 mph
(90 km/h) until the damaged tire is repaired
or replaced.
17. Return the equipment to its original storage location
in the vehicle.
18. Immediately drive the vehicle 5 miles (8 km) to
distribute the sealant in the tire.
19. Stop at a safe location and check the tire pressure.
Refer to Steps 1 through 11 under “Using the Tire
Sealant and Compressor Kit without Sealant to
Inflate a Tire (Not Punctured).”
If the tire pressure has fallen more than 10 psi
(68 kPa) below the recommended inflation pressure,
stop driving the vehicle. The tire is too severely
damaged and the tire sealant cannot seal the tire.
See “Roadside Assistance Program” in the
owner manual.
If the tire pressure has not dropped more than
10 psi (68 kPa) from the recommended inflation
pressure, inflate the tire to the recommended
inflation pressure.
20. Wipe off any sealant from the wheel, tire, and
vehicle.
21. Dispose of the used sealant canister (E) and
sealant/air hose (F) assembly at a local
dealer/retailer or in accordance with local state
codes and practices.
22. Replace it with a new canister available from your
dealer/retailer.
23. After temporarily sealing a tire using the tire sealant
and compressor kit, take the vehicle to an authorized
dealer/retailer within a 100 miles (161 km) of driving
to have the tire repaired or replaced.
5-47

Using the Tire Sealant and Compressor
Kit without Sealant to Inflate a Tire
(Not Punctured)
To use the air compressor to inflate a tire with air only
and not sealant:
Always do a safety check first. See If a Tire Goes Flat
on page 5-30.
1. Remove the tire sealant and compressor kit from its
storage location. See Tire Sealant and Compressor
Kit Storage on page 5-50.
2. Unwrap the air only hose (G) and the power
plug (H).
3. Place the kit on the ground.
4. Remove the tire valve stem cap from the flat tire by
turning it counterclockwise.
5. Attach the air only hose (G) onto the tire valve stem
by turning it clockwise until it is tight.
6. Plug the power plug (H) into the accessory power
outlet in the vehicle. Unplug all items from other
accessory power outlets. See “Accessory Power
Outlet(s) in the owner manual.”
If the vehicle has an accessory power outlet, do not
use the cigarette lighter.
If the vehicle only has a cigarette lighter, use the
cigarette lighter.
Do not pinch the power plug cord in the door or
window.
5-48

7. Start the vehicle. The vehicle must be running while
using the air compressor.
8. Turn the selector switch (A) clockwise to the Air
Only position.
9. Press the on/off (B) button to turn the compressor on.
The compressor will inflate the tire with air only.
10. Inflate the tire to the recommended inflation pressure
using the pressure gage (C). The recommended
inflation pressure can be found on the Tire and
Loading Information label. See Inflation - Tire
Pressure on page 5-24.
The pressure gage (C) may read higher than the
actual tire pressure while the compressor is on.
Turn the compressor off to get an accurate reading.
The compressor may be turned on/off until the
correct pressure is reached.
If you inflate the tire higher than the recommended
pressure you can adjust the excess pressure by
pressing the pressure deflation button (D) until the
proper pressure reading is reached. This option
is only functional when using the air only hose (G).
11. Press the on/off button (B) to turn the tire sealant
and compressor kit off.
Be careful while handling the tire sealant and
compressor kit as it could be warm after usage.
12. Unplug the power plug (H) from the accessory
power outlet in the vehicle.
13. Disconnect the air only hose (G) from the tire valve
stem, by turning it counterclockwise, and replace
the tire valve stem cap.
14. Replace the air only hose (G) and the power
plug (H) and cord back in its original location.
15. Place the equipment in the original storage location
in the vehicle.
The tire sealant and compressor kit has an accessory
adapter located in a compartment on the bottom of
its housing that may be used to inflate air mattresses,
balls, etc.
5-49

Removal and Installation of the Sealant
Canister
To remove the sealant canister:
1. Unwrap the sealant hose.
2. Press the canister
release button.
3. Pull up and remove the canister.
4. Replace with a new canister which is available from
your dealer/retailer.
5. Push the new canister into place.
Tire Sealant and Compressor Kit
Storage
The tire sealant and compressor kit is located under the
storage tray on the driver side trim panel (over the
rear wheelhouse).
To access the tire sealant and compressor kit:
1. Remove the tray by pulling up on the finger
depression to access the tire sealant and
compressor kit.
5-50

2. Locate the tire sealant and compressor kit.
3. Remove the sealant and compressor kit without
a selector switch by pulling the velcro strip up
and back.
Remove the sealant and compressor kit with a
selector switch by lifting upward on the yellow tab
to release the unit.
4. Remove the sealant and compressor kit from its
plastic tray assembly.
To store the tire sealant and compressor kit, reverse
the steps.
5-51

Capacities and Specifications
Application Capacities
English Metric
Cooling System
Drive Motor Generator Control Module Cooling
System 2.9 qt 2.7 L
6.0L V8 Engine Cooling System 15.5 qt 14.7 L
Fuel Tank 24.5 gal 92.7 L
All capacities are approximate. Recheck fluid level after filling.
5-52

Maintenance Schedule
At Least Once a Year
Tire Sealant and Compressor Kit
Check the sealant expiration date printed on the
instruction label of the Tire Sealant and Compressor Kit
at least once a year. See your dealer/retailer for a
replacement canister.
Recommended Fluids and
Lubricants
Fluids identified below are specific to the hybrid
vehicle and can be obtained from your dealer/retailer.
See the owner manual for the other fluids and lubricants
recommended for the vehicle.
Usage Fluid/Lubricant
Drive Motor/
Generator
Control Module
(DMCM)
Cooling System
Always use the pre-mixed
50/50 mixture of de-ionized water
and DEX-COOL
®
(silicate-free)
coolant available at your
dealer/retailer. See Drive
Motor/Generator Control Module
(DMCM) Cooling System on
page 5-6.
Engine Drive Belt Routing
6-2

A
Alternating Current
Power Outlet ................................................ 2-2
Antilock Brake, System Warning Light .................. 3-7
Audio System(s)
Navigation/Radio System .............................. 3-14
Automatic Transmission, Fluid ............................ 5-5
B
Battery .......................................................... 5-15
Brake Fluid .................................................... 5-11
Brakes .......................................................... 5-11
Regenerative Braking ................................... 2-10
System Warning Light .................................... 3-6
Bulb Replacement
Taillamps, Turn Signal, Stoplamps and
Back-up Lamps ........................................ 5-21
C
Canadian Owners ................................................ ii
Capacities and Specifications ............................ 5-52
Chains, Tire ................................................... 5-30
Charging System Light ...................................... 3-4
Climate Controls ............................................... 3-2
Compressor Kit
Storing ....................................................... 5-50
Compressor Kit, Tire Sealant .................... 5-32, 5-42
Coolant
Engine Temperature Gage .............................. 3-8
Coolant Surge Tank Pressure Cap, (DMCM) ......... 5-6
Cooling System, (DMCM) .................................. 5-6
D
Drive Motor/Generator Control Module (DMCM)
Coolant Surge Tank Pressure Cap ................... 5-6
Drive Motor/Generator Control Module (DMCM)
Cooling System ............................................. 5-6
Driver Information Center (DIC) ......................... 3-12
Warnings and Messages ............................... 3-12
E
Engine
Compartment Overview .................................. 5-4
Coolant Temperature Gage ............................. 3-8
Drive Belt Routing ......................................... 6-2
1

F
Flat Tire ........................................................ 5-30
Fluid, Power Steering ...................................... 5-11
Fuel
Gage ......................................................... 3-11
Fuel Economy Gage ......................................... 3-5
G
Gage
Engine Coolant Temperature ........................... 3-8
Fuel .......................................................... 3-11
Fuel Economy .............................................. 3-5
Oil Pressure ................................................. 3-8
Tachometer .................................................. 3-4
H
High Voltage Devices and Wiring ........................ 5-3
I
Inflation - Tire Pressure ................................... 5-24
Inflator Kit, Tire ....................................... 5-32, 5-42
Instrument Panel Cluster ................................... 3-3
Introduction ........................................................ iii
J
Jump Starting ................................................. 5-16
L
Light
Antilock Brake System (ABS) Warning .............. 3-7
Brake System Warning ................................... 3-6
Charging System ........................................... 3-4
Oil Pressure ............................................... 3-10
StabiliTrak
®
Indicator ..................................... 3-7
Lumbar
Manual Controls ............................................ 1-2
2

M
Maintenance Schedule
At Least Once a Year .................................... 6-2
Recommended Fluids and Lubricants ............... 6-2
Manual, How to Use ........................................... iii
Manual Lumbar Controls .................................... 1-2
Manual Reclining Seatbacks ............................... 1-3
N
Navigation/Radio System .................................. 3-14
O
OilPressure Light ............................................. 3-10
Oil Pressure Gage ............................................ 3-8
Orange Covered Wiring ..................................... 5-3
Owners, Canadian ............................................... ii
P
Power
Seat ............................................................ 1-2
Power Outlet Alternating Current ......................... 2-2
Power Steering Fluid ....................................... 5-11
R
Radios
Navigation/Radio System .............................. 3-14
Reclining Seatbacks, Manual .............................. 1-3
Recommended Fluids and Lubricants .................. 6-2
Regenerative Braking ...................................... 2-10
Restraint System Check
Replacing Restraint System Parts
After a Crash ............................................ 1-3
Routing, Engine Drive Belt ................................. 6-2
Running the Vehicle While Parked ..................... 2-10
3

S
Seats
Manual Lumbar ............................................. 1-2
Manual Reclining Seatbacks ........................... 1-3
Power Seats ................................................. 1-2
Service, Doing Your Own Work .......................... 5-2
Specifications, Capacities ................................. 5-52
StabiliTrak
®
Indicator Light ................................. 3-7
Starting Your Vehicle ......................................... 2-3
Storing the Tire Sealant and Compressor Kit ...... 5-50
T
Tachometer ...................................................... 3-4
Taillamps
Turn Signal, Stoplamps and
Back-up Lamps ........................................ 5-21
Tire Sealant
Storing ....................................................... 5-50
Tires
Chains ....................................................... 5-30
If a Tire Goes Flat ....................................... 5-30
Inflation, Pressure ........................................ 5-24
Inspection and Rotation ................................ 5-29
Tire Sealant and Compressor Kit ........... 5-32, 5-42
Towing
Towing Your Vehicle ...................................... 4-2
Trailer .......................................................... 4-2
Transmission, Automatic Fluid ............................. 5-5
V
Vehicle
Running While Parked .................................. 2-10
Voltage Devices, High and Wiring ....................... 5-3
W
Wiring, High Voltage Devices ............................. 5-3
4
