Chiayo Electronics Co SM-716-470 Wireless Microphone Transmitter User Manual SDR 5616 SDR 1204 manual 2015 new
Chiayo Electronics Co Ltd Wireless Microphone Transmitter SDR 5616 SDR 1204 manual 2015 new
Users Manual

OPERATING MANUAL
FITNESS AUDIO
U Series Wireless Mic System
SDR-5616 Receiver
SM-716 / MT-U8 Transmitter
V Series Wireless Mic System
SDR-1204 Receiver
M-209C Transmitter

Wireless Microphone System Operating Manual
2
1. INTRODUCTION
Congratulations on your purchase of the latest Fitness Audio PLL Synthesised 16 channel
frequency agile UHF high band or VHF professional wireless system. Please read this
operating manual thoroughly in order to familiarise yourself with the controls before using.
2. FRONT AND REAR PANEL CONTROLS
1. Power Switch
2. RF Signal Indicator
3. Diversity Indicator
4. AF Signal Indicator
5. RF test Button
6. Channel Selector
7.
Volume Control
8
.
Antenna B Socket
9. Fixed Mic-level Balanced output
10. Unbalanced Variable Line-level output
11. Squelch Control
12. DC IN Jack
13. Antenna A socket
RF Test
To find the best channel for transmission, ensure the receiver is connected to a mixer and
amplifier and press the RF Test button (5). If interference is heard select the next channel in
order using switch (6) and repeat the test until a clean channel is found. Then select the
matching channel number on the Belt-Pack Transmitter and test for voice level.

Wireless Microphone System Operating Manual
3
3. RECEIVER INSTALLATION
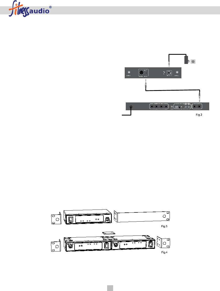
Audio output connection
There are two audio output sockets on the rear panel of the receiver. A 6.35mm Jack to Jack
cable is supplied as standard and will connect into most Mic/Line Mixers including our
Fitness Audio Aeromix line as per Fig 2. When
connected with a jack to jack cable the volume
control on the front of the receiver works as a
"turn down" control should you need to adjust
the mic volume for a signal processor. The 12
o'clock position is approximately the same level
as using a balanced XLR cable.
When you connect using an XLR balanced cable
the signal level is fixed. It is the same level as
plugging a cabled microphone to the same
input and it by-passes the front panel volume
control.
Rack Mounting the Receiver
The Fitness Audio U & V Series Receivers are a 19” half-rack mount design and is supplied
with a specially designed 19” rack mount “wings” that can be bolted into equipment
cabinets.
Assemble as shown in Fig 3. We have also supplied you with a pair of antenna extension
cables so that the two antennas can be mounted into the holes on the rack ears out front in
the air and not trapped inside a steel box. Use the star washer and the nut on the inside of
the rack ears to get a firm non-slipping mount.
A double receiver rack mount kit is available as an optional extra if required (Fig 4).
Positioning the Receiver
For best operation, the receiver should be at least 1m above the ground and at least 1m
away from a wall or metal surface to minimise RF reflections.

Wireless Microphone System Operating Manual
4
4. THE BELT-PACK TRANSMITTER
Channel Selection and Gain
Insert the battery bottom first. The
channel selector and gain adjustment are
located under the battery cover as shown
in the picture below. To make channel
selection (U-Series only) remove the cover
and select a channel by turning the
Channel Selector (6) with a small
screwdriver. Gain adjustment for lavalier
and headset microphones can be done by
adjusting the MT trimpot (5), whereas GT
trimpot (4) is for the gain adjustment of
an electric guitar or other high impedance
line level inputs. When you turn the
transmitter ON (1) you will see a single
flash(2) if the battery is charged and ready
to use. Should you see a continuous red
light then the battery is about to fail so
please change it for a new one. If you’re
using the transmitter with the latest
Aeromic, Cyclemic or E*Mic then make
sure the MT trimpot is turned up to the
maximum.
Due to minor variations in the casing sizes of many brands of 9V batteries, the transmitter
battery compartment of the SM-716 is designed to accommodate the preferred 9V size
battery made by Eveready - the Energiser 9V Alkaline – but other brands may also work well.
Re-chargeable Ni MH batteries @ 170-190mAH ratings may need to be re-charged after
about 1.5 – 2.0 hours of continuous use, whereas alkaline 9V batteries will generally be
suitable for about 6 – 8 hours of airtime with the Aeromic or E•Mic/V•Mic wireless
microphones.
We recommend the use of an Aeromic Pouchbelt to hold the transmitter around your waist
or arm to protect your investment. A range of transmitter pouchbelts in different styles and
colours are available. For more details please consult your FA System supplier.
1. Battery Status Indicator
2. Power Switch
3. Microphone Connector
4. GT Trimpot
5. MT Trimpot
6. Channel Selector
Pouchbelts shown L - R: Standard, Hipster, Zipster, Grey Zipster, Beige Theater belt.

Wireless Microphone System Operating Manual
5
5. MINI TRANSMITTER
If your system has been supplied with a Mini Transmitter then it will already be wired for an
Aeromic or Cyclemic, E•Mic or V•Mic either attached to the frame or with an arm pouch or
waist pouchbelt to suit.
To select the matching channel to the receiver remove the battery cover and with the small
screwdriver supplied change the channel to match the one selected on the receiver.
Please note that the MT-U8 is an 8 channel transmitter and will normally be supplied lining
up with channels 0-7, the RED segment on the receiver. In some countries a “B” group of
channels may also be available (Ch. 8-F) in the BLUE segment.
Using Multiple Transmitters At One Location
You can use up to eight MT-U8/SM716 systems under the one roof without interference from
each other. There will be different, non-conflicting channels in all frequency groups supplied
around the world so please check with your dealer or national supplier for this information.
There will be different, non-conflicting channels in
other frequency groups supplied around the world so
please check with your dealer or national supplier for
this information.
Fit a quality AAA battery into the battery
compartment, re-fit the lid and push the sealed on/off
button. A blue LED illuminates to let you know it’s on.
When the LED starts flashing, the power is running
low and it’s time to change the battery. One quality
Alkaline AAA battery should supply over 4 hours of air
time. Re-chargeable AAA batteries can also be used
but expect less airtime depending on the battery
rating. Frequent re-charging will be necessary.
Coloured lids are also available as an optional extra in
yellow, orange, red, and blue to match all of our
microphones so they can be paired up to colour code
a studio or a combination.
The Yoga Wrap is a measured neoprene wrap around
with velcro fixing that offers you the first sweat barrier
to us if you are teaching cycling or hot yoga or any
class that generates a lot of sweat through your hair or
skin of your head - contact your supplier for the cost
of this handy accessory - like pouchbelts and
windscreens for the E*Mic, every instructor should
have one.

Wireless Microphone System Operating Manual
6
6. REMARKS
The V Series Receiver
Your receiver comes with 3 VHF channels to choose from. In the USA these are the travelling
frequencies around 169MHz and 4 channels elsewhere in the world ie UK 175MHz.
The single frequency transmitter supplied will match one of these channels. If it does not
work well on the frequency supplied then please contact your supplier to exchange for a
different channel transmitter.
RF Interference
If you encounter receiving interference (from other than an operating TV station), it can
often be overcome by adjusting the receiver’s squelch control, as described below. Please
note that wireless frequencies are shared with other radio services, and according to FCC
regulations wireless microphone operations are unprotected from interference from licensed
operations in the band. If any interference is received by any Government or
non-Government operation, the wireless microphone must cease operation. (The above
statement is valid for the U.S.A.)
Receiver Squelch control
The squelch control on the back panel of the receiver is preset at the factory, but can be
adjusted if you use the system in a high RF interference area. If there is audio output from the
receiver when your transmitter is OFF, adjust the squelch control so the system will receive
the signal from your transmitter but squelch or eliminate the unwanted background RF noise.
This adjustment can cause a reduction in usable range of the wireless transmitter, so set the
control to the lowest position which reliably mutes the unwanted RF signal.
Batteries
Many batteries are known to leak conductive and/or corrosive liquid when not used for a
period of time. Please remove the batteries from the transmitter if it is not to be used for a
period of a few days or more.
Multiple Transmitters
Please note that you can only use one mic transmitter at a time with the FA Series Receivers
so make sure that all other transmitters on the same frequency are turned off.

Wirel
ess Microphone System Operating Manual
7
7. THE OPTIONAL HANDMIC
Handheld mics are available for both Fitness Audio U and V Series Receivers, contact your
supplier for pricing.
Please note that you can only use one mic transmitter at a time with the
FA Series Receivers so make sure any other transmitter is turned off be
transmitter.
Q
-
215
(V-Series compatible)
1. Capsule with metal grille
2. Battery Good Indicator (green)
Battery Low Indicator (red)
3. Power on/off switch
SQ
-
5016
/
SQ
-
1016V
/
SQ
1.
Capsule with metal grille
2.
Battery Good Indicator (green)
Battery Low Indicator (red)
3. Power on/off switch
4. LCD display (SQ-
5016
○
1
○
2
○
3
○
4
ess Microphone System Operating Manual
Handheld mics are available for both Fitness Audio U and V Series Receivers, contact your
Please note that you can only use one mic transmitter at a time with the
FA Series Receivers so make sure any other transmitter is turned off be
fore using a hand
SQ
-
1016
(U-Series only)
Capsule with metal grille
Battery Good Indicator (green)
Battery Low Indicator (red)
5016
only)

Wireless Microphone System Operating Manual
8
The Fitness Audio SDR-5616 / SDR-1204 Receiver, SM-716 / M-209C and MT-U8 Transmitters
are covered by a minimum 12 month parts and labour warranty against manufacturer’s
defects from the date of purchase by the first owner.
Warranty Information
(Please retain for your records)
This product was purchased by:
(Your Business)………………………………………………………………….
on (date).../... /... from (Company)………………………………………………
of (address) ……………………………………………………………………..
Model Number(s) ……………………………………………………………….
Serial Number(s) ……………………………………………………………..….
FCC & IC Caution:
This device complies with Part 15 & Part 74 of the FCC Rules and Canada licence-exempt
RSS-210 & RSS-310 standard. Operation is subject to the following conditions:
(1) This device may not cause interference.
(2) This device must accept any interference, including interference that may cause
undesired operation of the device. This device complies with FCC RF radiation exposure
limits set forth for an uncontrolled environment.
Le présent appareil est conforme aux CNR d'Industrie Canada applicables aux appareils radio
exempts de licence. L'exploitation est autorisée aux deux conditions suivantes :
(1) l'appareil ne doit pas produire de brouillage, et
(2) l'appareil doit accepter tout brouillage radioélectrique subi, même si le brouillage est
susceptible d'en compromettre le fonctionnement.
Fitness Audio
Distributed in Europe by Knud Danielsen A/S Denmark www.fitnessaudio.dk
in the Americas by Fitness Audio, LLC Santa Cruz, Ca. www.fitaud.com
and the rest of the world by Fitness Audio Distributors, Sydney, Australia
www.fitnessaudio.net.au
Email: info@fitnessaudio.com.au Website: www.fitnessaudio.com.au
Manufactured for Fitness Audio Network P/L
PO Box 321 Alexandria, NSW 1435 Australia
Manufactured by
CHIAYO Electronics, 30 Lane 27 Sec.4. Jen-Ai Taipei, Taiwan
12I2265