Clarke 131E User Manual WELDER Manuals And Guides L0901090
CLARKE Welder Manual L0901090 CLARKE Welder Owner's Manual, CLARKE Welder installation guides
User Manual: Clarke 131E 131E CLARKE WELDER - Manuals and Guides View the owners manual for your CLARKE WELDER #131E. Home:Tool Parts:Clarke Parts:Clarke WELDER Manual
Open the PDF directly: View PDF
.
Page Count: 28

WE_85 80E@_- WE__ _E @
131E- ,2_TE
_SYA !50
I

Congratulations on the purchase of your new 1311"1_ welder. Before attempting
to operate this machine, please read this manual thoroughly and follow all
instructions carefully. By doing so you wilt help to ensure the safety of both
yourself and others around you, and at the same time, you should look forward
to long and trouble free service from your I_lll'_J welder.
1.0 Safety Precautions 4
1A.0 Normes de Securite 6
2.0 Arc Welding - How it Works 8
3.0 Thermal Overload Protection 8
4.0 Electrical Connection 9
5.0 Preparation for Welding 9
Diagram 1 11
6.0 Welding Technique 12
7.0 Welding Pitfalls 13
8.0 Maintenance and Servicing 13
9.0 Welder Doesn't work? 16
10.0 Types of Joints 17
Parts drawing and list - Wiring diagram WE6485 18-19
Parts drawing and list - Wiring diagram WE6490 20-21
Parts drawing and list - Wiring diagram WE6519 22-23
Parts drawing and list - Wiring diagram WE6534 24-25
Parts drawing and list - Wiring diagram WE6537 26-28
Parts drawing and list - Wiring diagram WE6522 29-30
GUARANTEE
For 12 months from the date of purchase, Clarke warranties this welder against failures
due to defects in material or workmanship. This warranty does not cover expendable
parts such as contact tips or nozzles, which are consumed during normal welder
operation. If the welder fails within 12 months from the date of purchase, you must
contact Clarke Power Products at 1-800-227-9603 to acquire a Return Authorization
Number. Once you have acquired a Return Authorization Number from Clarke, return the
product to the following address - postage or UPS paid:
Clarke Power Products, Inc.
28740 Glenwood Road
Perrysburg, OH 43551
Attn: Warranty Repair
We will examine the product. If the problem is due to a manufacturing defect, we will
repair or replace the product at no charge and return it to you postage or UPS paid. If the
problem is due to misuse, abuse, the product has been modified, or is out of warranty, we
will contact you with a repair estimate and ask for a credit card number for payment. After
the product has been repaired, it will be returned postage or UPS paid. This warranty
applies only while this product is used in the United States. This warranty gives you
specific legal rights, and you may also have other rights which vary from state to state.
2

1.0 SAFETY PRECAUTIONS
1.1 GENERAL INSTRUCTIONS
Make sure this manual is carefully read and understood by the
operator.
1.2 LOCATION
Welding processes of any kind can be dangerous not only to
the operator but to any person situated near the equipment if
safety and operating rules are not strictly observed.
These are the main precautionary measures to observe:
• Operators should protect their body by wearing closed,
non-flammable protective clothing, without pockets or turned up
trousers.
• The operators should wear a non-flammable welding
helmet designed so as to shield the neck and the face. It is
necessary to keep the protective lens always clean and to
replace it when broken or cracked. It is advisable to put a
transparent glass between the lens and the welding area.
Welding should be done in a close area that does not open into
other working areas.
• The operators should never look at the welding arc without
the correct protection for the eyes. They should always wear
safety glasses with side shields to protect from flying particles.
• The welding process must be performed on metal coatings
thoroughly cleaned from layers of rust or paint to avoid production
of harmful fumes. The parts degreased with a solvent must be
dried before welding.
• Welding should never be done on metals or coated metals
containing zinc, mercury, chronium, graphite, lead cadmium or
beryllium unless the operator and the people standing in the same
area use an air-supplied respirator.

1.3 SAFETY INSTRUCTIONS
For your safety, before plugging in the welder, closely follow these
instructions:
• When working in a confined space, the welder must be
kept outside the welding area and the ground cable should be
fixed to the workplace. Never work in a damp or wet area, in
these conditions.
• Do not use damaged input or welding cables.
• The welding torch should never be pointed at the operator's
or another person's body.
• The welder must never be operated without its panels as
this could cause serious injury to the operator and could damage
the equipment.
1.4 FIRE PREVENTION
Make sure that appropriate fire prevention devices are available
near to the welding area;
All combustible material must be removed from the welding area.
1.6 ELECTRIC SHOCK
DANGER - ELECTRIC SHOCK CAN BE FATAL
Ifa person is found unconscious and electric shock is suspected,
do not touch the person ifthey are in contact with any electrical
wires. Disconnect power from the machine and then use First
Aid. Dry wood, and other insulating material can be used to move
electrical cables, if necessary, away from the person.

1A.0 NORMES DE S¢:CURIT¢:
IA.I ]NSTRUCT]DNS G_.N_.RALES
Assurez-vous que I'operateur lit et comprend ce manuel.
1A.2 LIEU D'UTILISATION
Si les normes de securite et d'utilisation ne sont pas soi,qneusement
respectees, les operations de soudaqe peuvent devenir
dan,qereuses non seulement pour I'operateur, mais aussi pour les
personnes se trouvant & proximite du lieu ot_le soudaqe a lieu.
Precautions principales & suivre:
• Les operateurs doivent se proteger en portant des
combinaisons de protection fermees et non inflammables, sans
poches ni revers.
• Les operateurs doivent utiliser un casque de soudage, non
inflammable, realis6 de fagon & proteger le cou et le visage. Les
verres de protection doivent toujours 6tre propres et il faut les
remplacer des qu'ils sont casses ou fissures. II convient d'inserer
un verre transparent entre le verre inactinique et lazone de soudage.
L'operation de soudage doit 6tre effectuee dans un lieu isole des
autres zones de travail.
• Les operateurs ne doiventjamais, pour aucune raison, regarder
un arc voltafque sans porter une protection adequate pour les yeux.
IIfaudra toujours utiliser des lunettes de protection avec des verres
transparents afin d'eviter les eclats et d'autres corps etrangers qui
pourraient blesser les yeux.
• Le soudage doit 6tre effectu6 sur des surfaces m6talliques sans
couches de rouilles ou de peinture, afin d'eviter la formation de
fumees nuisibles. Avant de souder, il faut essuyer les parties ayant
ete degraiss6es avec des solvants.
• II ne faut jamais souder des metaux ou des metaux vernis
contenant du zinc, du mercure, du chrome, du graphite, du plomb,
du cadmium ou du beryl, si roperateur et les personnes & proximite
ne portent pas un respirateur adequat.

1A.3 INSTRUCTIONS POUR LA S¢:CURIT¢:
Pour sauvegarder votre securit6, suivez attentivement ces
instructions avant de brancher le gen6rateur & la ligne:
•Si le lieu de travail est exigu, I'appareil doit 6tre place en dehors
de la zone de soudage et le c&ble de masse doit _tre fixe & la
piece en travail. Dans ces conditions, il ne faut pas travailler dans
des zones humides ou mouillees.
• Ne jamais utiliser des c&bles d'alimentation ou de soudage
endommages.
• La torche de soudage ne doit jamais 6tre dirigee contre
roperateur ou une autre personne.
• Le gen6rateur ne doitjamais 6tre utilise sans ses panneaux,
cas ceci pourrait provoquer de graves blessures & I'operateur et
des dommages & I'appareil.
1A.4 PRC:VENTIONS CONTRE LES INCENDIES
• S'assurer que des dispositifs antiincendie sont disponibles
pres de la zone de soudage.
•I_liminer de la zone de soudage et des alentours toutes sortes
de materiau inflammable.
1A.7 DIECHARGE IELECTRIQUE
ATTENTION! UNE DISCHARGE €:LECTRIQUE PEUT F:TRE
MORTELLE!
Si on trove une personne sans connaissance et si on ale suspect d'une
d6charge 616ctrique, il ne faut pas toucher la personne en question si
elle est encore en contact avec les commandes. Couper l'alimentation
la machine et pr6ter les premiers soins. Pour 61oigner les c_bles du
bless6, on peut utiliser, si n6cessaire, du bois sec ou un autre mat6riel
isolant.

2.0 ARC WELDING - HOW IT WORKS
Arc welding is a process by which two pieces of metal are joined
together using the heat developed by an electric arc between
the workpiece and an electrode (welding material).
The electrode is connected to one output side of the same
transformer. When the electrode comes into contact with the
workpiece an arc is struck. The high temperature of the arc melts
the electrode into the joint of the work piece and fusion occurs.
MIN/MAX AMPS 55-90 30-90 40400 40-200 45-250 60-150
I
ELECTRODES 1/16-5/64 1/16-5/64 1/16-3/32 1/16-3/16 5/64-15/64 3/32-i/8
OPEN CRCUT
V(_)I_TS -37 -37 .48 .48 52 148
I I
VOLTS!PHASE 120/1 120/1 120/1 220/1 220/1 220/1
MAX INPUT
owE Ps 113 113 114 123 132 .13
DIM. 15X9X11 17X10X12 17X10X12 _11Xi5 3_16x1617x12x10
I I I I
V_IGHT 28LBS 29LBS 34LBS 75LBS 150LBS 31LBS
!
P TNuMBER'WEISS'WE 90'WE6519'WE65 WE6522
3.0 THERMAL OVERLOAD PROTECTION
If the duty cycle of the welder is exceeded, a thermostat will
automatically cut the power to prevent the machine from burning
out. If this should happen you will have to wait approximately 30
minutes until the transformer cools down. Then the thermostat
will automatically reset itself and you can continue welding: The
thermostat is a protective safety device and no harm will normally
be done to the transformer unless it is frequently over loaded, in
which case damage will eventually result. For the modes180E,
95E and EasiArc 150 the intervention of the thermostat is
indicated by the lighting of the ON/OFF switch.

4.0 ELECTRICAL CONNECTION
The wires in the input cable of this machine are colored in
accordance with the following code:
120V. 230V.
Green Ground Green & Yellow Ground
White Neutral Blue Live
Black Live Brown Live
120 Volts 20Amp grounded plug: Model 80E - 95E - 131E.
230 Volts grounded plug: Model 240TE
WARNING: This machine must be grounded.
Ifyou intend on using an extension cord make sure the wire cable
size is adequate in diameter.
Ifyou are in doubt about electrical connections consult a qualified
electrician. Do not attempt electrical repairs yourself.
5.0 PREPARATION FOR WELDING
1 With the On/Off switch (item B) in the Off position, connect
the welding leads as follows. (Does not apply to models 80E,
95E and Easi Arc 150 which have fixed leads):
• Connect the ground lead (item N) to the ground terminal
which is the black knob (item F) identified by the ground
symbol (see diagram 1), and secure the ground clamp (item
M) to the workpiece (item L). Note: For good contact the
ground clamp must be attached to the clean bare metal, not
painted.
• Connect the welding lead (item G) to the electrode terminal,
which is the black knob (item E) identified by the electrode
holder symbol (diagram 1) and secure an appropriate welding
rod (item I) by its bare end into the jaws of the elctrode holder
(item H). Note: All connections should be a good metal contact.
Clean with a wire brush where necessary.

2 Thesize(diameter)ofweldingrodshouldbe approximately
thesameas thethicknessof metalto bewelded.An appropriate
currentmustbe selectedbyturningthelargehandwheel(itemC)
untiltheslidingindicator(itemD) inthe topof themachineshows
the required amperage setting. With practice you will gain a
feel for the correct amperage setting for different welding rod
thicknesses.
For beginners the table below gives some useful guidelines.
I
I
15/64" 240-250
3 To assemble face shield, first place the darkened plastic
window in the recessed window area in the body. Secure in place
using the two plastic screws fasteners provided. Locate the
handle fixing into the slot in the shield body, press firmly and
rotate through 90 degrees until the lug locates into the hole in
the shield body.

DIAGRAM 1
A Power Cable
B ON/OFF Switch
C Handwheel
D Amperage Indicator
E Electrode Terminal
F Ground Terminal
G Welding Lead
H Electrode Holder
I Electrode
L Workpiece
M Ground Clamp
N Ground Cable
\
GROUND CLAMP SYMBOL -
IDENTIFIES GROUND
TERMINAL (BLACK KNOB)
ELECTRODE HOLDER SYMBOL -
IDENTIFIES ELECTRODE
TERMINAL (BLACK KNOB)
lu
{H"

6.0 WELDING TECHNIQUE
1 Plug your welder into the correct socket and switch on using
the ON/OFF switch (Item B). NOTE (for models 80E, 95E and Easi
Arc 150): If the machine stops at any time and the ON/OFF switch
lights, the thermostat has intervened. Wait for a few minutes while
the transformer cools down and when the ON/OFF switch goes out
again welding can begin.
2 Particularly for beginners, the most difficult aspect of the arc
welding process is that of striking an arc. We strongly recommended
that you practice on pieces of scrap metal to get the feel of
the operation, before you start on an actual welding job.
3 Hold the electrode about 3/8" from the workpiece and at an
angle of about 70 degrees to 80 degrees to the work surface; take
care not to accidentally touch the workpiece until you are ready to
begin.
4 Holding the welding mask close to your face, give a short
stroke with the electrode on the workpiece. As soon as the arc is
struck, lightly withdraw the electrode from the workpiece to leave a
tiny gap of around 1/16". The current will flow across the gap with a
crackling noise and brilliant arc. Continue to weld in one direction,
maintaining the small gap as you go. At the end of the run, just
withdraw the electrode fully from the workpiece.
NOTE: When you strike an arc be sure to withdraw the electrode
fairly swiftly to leave the 1/16" gap, otherwise the electrode will weld
itself to the workpiece. Should this happen give the electrode a short
sharp jerk to free it and, if necessary strike the arc again.
5 Inspect the job carefully. With a correct combination of rod
size and amperage setting, the area of the weld should be a com-
plete fusion of the electrode metal being joined. Slag forming on
the surface should be chipped away with a hammer.
11

If the resulting weld looks irregular or messy, or shows signs of
porosity or slag contamination, you have almost certainly failed
to achieve the correct combination. Do not worry as practice
will soon cure this, and the following tips on welding pitfalls should
help to improve your technique quite quickly.
WARNING: Never look at welding arc, it can seriously
damage your eyes. Always use the face shield provided
or any proper welding mask.
HEALTH WARNING: When welding always make sure
there is adequate ventilation in the working area as the
welding process gives off toxic fumes.
7.0 WELDING PITFALLS
The arc welding technique is an acquired skill and will almost
certainly require considerable practice before perfect results are
obtained. The diagrams below should help to explain pitfalls in
your technique and how to overcome them.
1 Arc distance too short - this causes irregular masses of
weld to be deposited with slag contamination on the uneven
surface.
2 Arc distance too long - this causes poor penetration
resulting in a weak weld with excessive spatter and porosity.
Surface of weld is rough and the arc makes a hissing sound.
12

3 Electrode moved over workpiece too slowly - this causes
a very wide and heavy deposit which overlaps at the sides. It is
wasteful in terms of both time and electrodes used.
4 Electrode moved over the workpiece too quickly - this
causes poor penetration with a "stringy" and incomplete weld
deposit. Slag is very difficult to remove.
5 Amperage too low - this causes poor penetration and
causes the electrode to stick to the workpiece easily. Also results
in a very irregular and high weld deposit with difficult slag removal.
6 Amperage too high - this causes excessive penetration
with spatter and a deep and pointed crater. It may even cause
holes to be burnt in the workpiece. Burns electrodes very quickly.
/f_" \
13

7 The perfect weld - with the correct combination of arc length,
amperage regulation and inclination of the electrode you will, with
practice, produce the perfect weld. This should be regular with
uniform ripples and no slag contamination. The arc will make a
steady crackling sound.
8.0 MAINTENANCE AND SERVICING
Your CLARKE arc welder is a simple and robust unit, requiring
virtually no maintenance other than the guidelines shown below:
Keep the ventilation holes in welder clean to avoid the build up
of dirt and oxides inside the machine, this can reduce machine
output.
Check all cables periodically; they must be in a good condition
and free of cracks or cuts.
Always try to avoid getting particles of metal inside the machine
since they could cause short circuits.
Periodically clean the inside of the welder with compressed air
IMPORTANT: unplug the welder before cleaning.
Should you have a problem with your machine contact your local
service agent or CLARKE POWER PRODUCTS, Inc. at
(800)227-9603
14

9.0 WELDER DOESN'T WORK?
PROBLEM
Power source
stops.
PROBABLE CAUSE POSSIBLE SOLUTION
Thermostatic overload
activated due to
overload.
Power switch light Bad connection
on but no weld between ground clamp
current, and workpiece.
Impurities on base Clean with wire brush.
Unstable arc. metal.
Porous weld. Dirty base metal. Clean with wire brush.
The thermostatic overload
automatically resets when
the transformer has cooled
(approx. 15 minutes).
Clean or wire brush the
work surface.
15


10.0 TYPES OF JOINTS
OPEN SQUARE BUTT JOINT
÷11
Gap varies from _ 6ram to 4 8ram depending
on p_ate thickness
SINGLE VEE BUTT JOINT
1.6mm
........... NOT £ESS THAN 70°
/
/
I L
DOUBLE VEE BUTT JOINT
NOT LESS THAN 70 °
1.6mm _ t
SINGLE BEVEL JOINT
/
DOUBLE BEVEL JOINT
CORNER JOINT
SINGLE FILLET LAP JOINT
DOUBLE FILLET LAP JOINT
SINGLE STRAP JOINT
DOUBLE STRAP JOINT
DOUBLE FILLET TEE JOINT SINGLE FILLET TEE JOINT

WE6485 ° PARTS OR,AWING
_8

N
i
WE6485 _ARC W_LDER CLARKE WELO 8@E
_222_022
_¢_337_180
_4320_45
_222!®t6
V_44 ! 102_2
*¢_337052f_
Rear :Pa¢_
T_s_,_ 127 _ I_A
/ta_e_" 6OHz 120V
Ha_
I_¸
_3
_4
_5
_432i0t2_
@_ 22110q_5
#'_2 i _50_7
......................................................t, i,
Za_#_C_mp t20A
P_S_c Mask
Da_ G_ss
!4amrt_e_oSr_,_h
$ab_ C_m_
WE6485 - WIRING DIAG_M
!''1: L
/ _4 >
.........:22:..t...........................................::r::;,,
!9¸

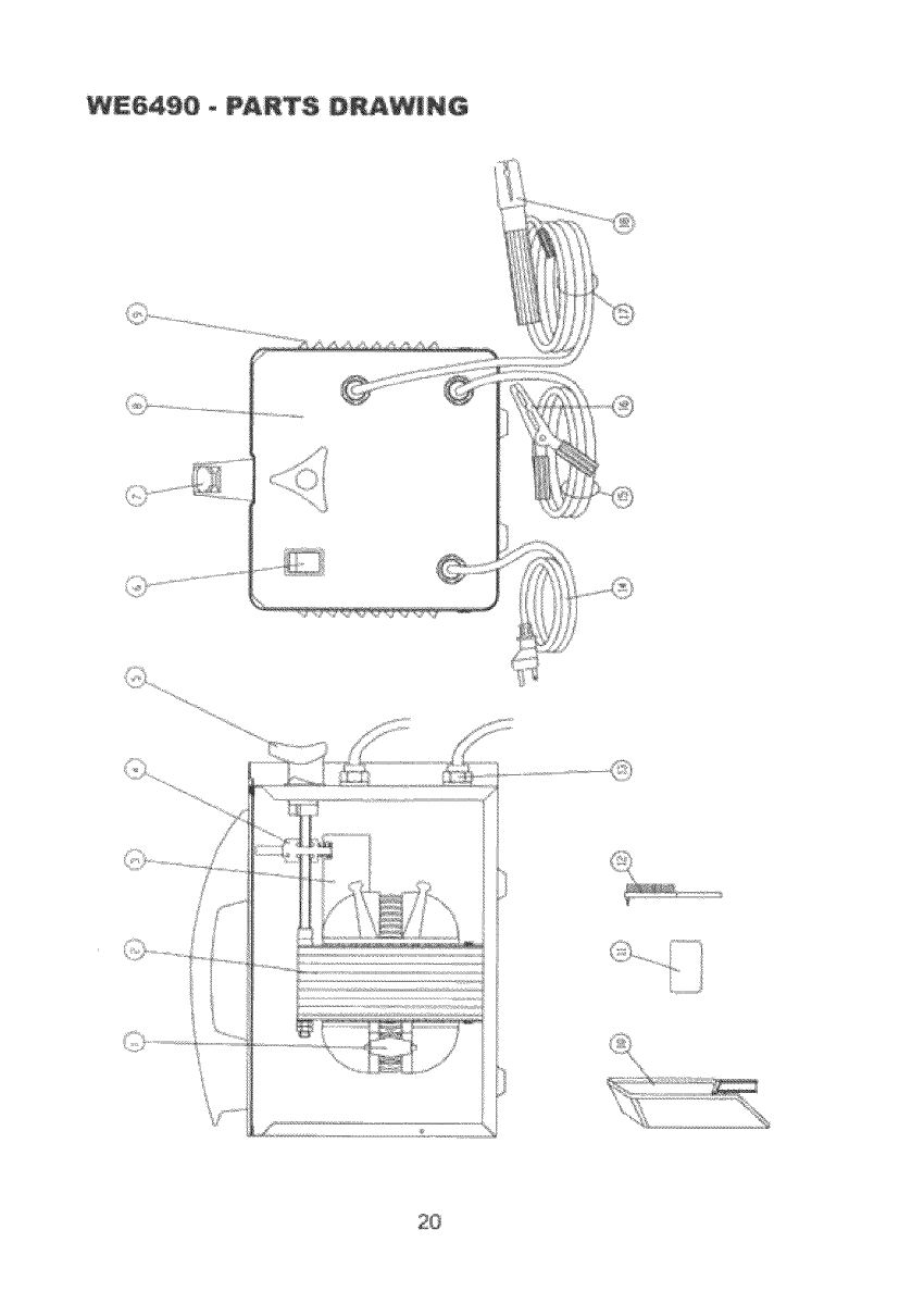
WE6490 _PARTS DRAWING
2O

W_6490 _ARC WELDER CLARKE WELD 95E
2 #_*_44 !! G202
3 ]_4!4159_0
4 #2_:3381500t
s_a_I27 " t6A
S_
Hat_ _/
Har_
r Pa_
3
2t

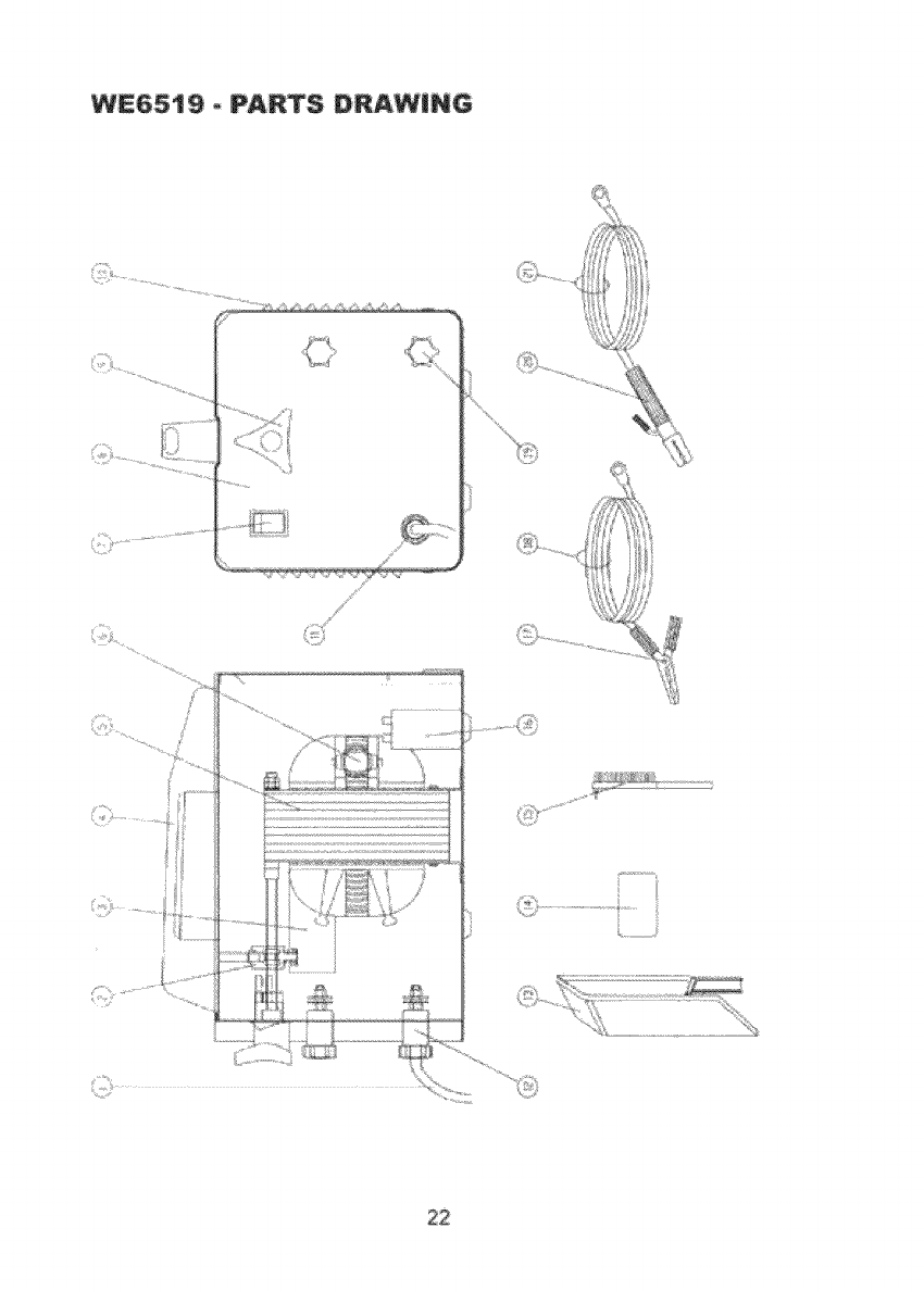
WE6519 _PARTS DRAW|NG
i,S
'c_i_ l /i¸ 'i! ¸
i_ ¸ /il ii
22

Po_ Cc_'8 m25
Am÷_icaa Pi%
3 _?_4 4i5910
a _2180@03
WE6519 ,oARC WELDER CLARKE WELD 13IE
J
[3 V'._ 2 J_fl}SO02
_4
_S
B _._SS780104
Sh_ Yok@
Ha_8_
T_a _8_t 2OV
Lo_r Par_
L_'bes H_ 8_
U_s_ Pa_!
Csb_ C_mp
_?_ 3370_015
_7
_8
2!
_ 2 ! 90500_
_A_223!5006
jY_22iI_1'7
j _#S_432i00@
_a_ 43285048
s
P&s@c Mask
Da_k GSass
Har_rn÷_,B_h
8s@ C_sr_p
E4/rlh Cab_ 10_m
m_6
W_55! 9- W|R|_G _iAGRA_
;i4! ..........................
:> ii
23

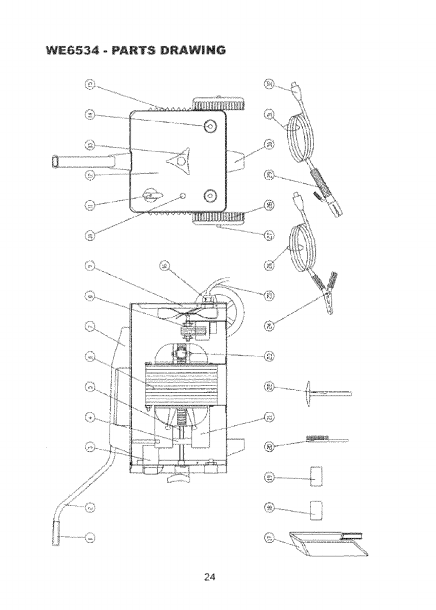
WE653,4 o PARTS DRAWING
24

_4
!5
i8
WE6534 -ARC WEL@_R
_Ma _ld384
¢4£216_903
@.43 5
_ 2281®!7
_433871 @96I
Upp÷t Pa_'_
17'I
18 }
_2
_4
25
2_
27
_8
:25
30
}
32
_SZ21WS5808
_'@!21908@57
_2t905@9
V_2 ! @OSO10
_22210021
@_22:11C_7
_:2022C©70
V:_t(21625018
V_22!1@18
%_43205t3! a
%S_22 I@@'!
W_5534 - W_RI_G #_AGRAM
5:2:}
6{tZ
25

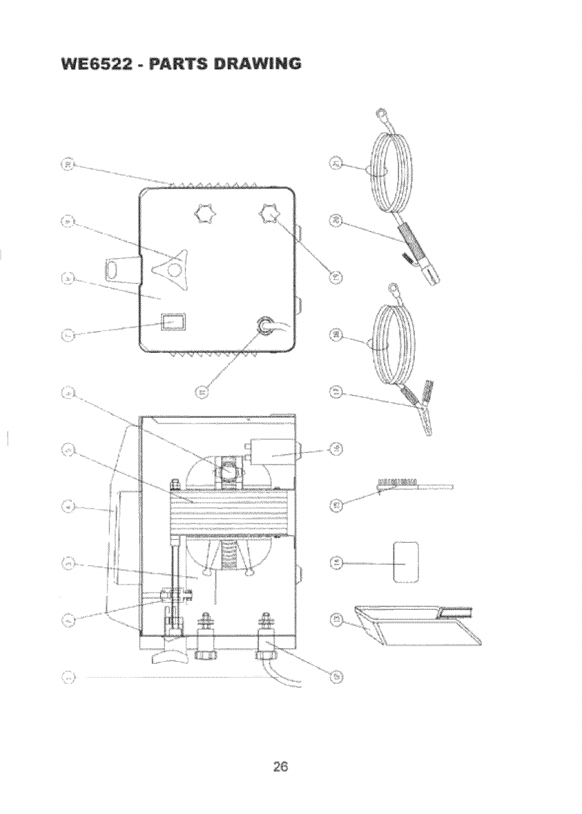
WE6522- PARTS DRAWING
s, /
26

WE6522 _ARC WELDER
4 _V?_i44110_ 14
B _P_,£432@584 S
4ar_Sk_
_3
t4
_5
_21G950i0 Cab_ C_s_'@
Y_£_1414159i Sh_
V_21905002 ;_s_ c Nask
_s_£_gO5Cg8 Sa_ Gff_ss
_4w_8_C@d m_28 _'
WE_522 oWl_!_G @iAGRA_

WE6485 80E _o -WE6490 95E _o
WE6519 131E - WE6534 240TE
WE6522 EASYARC 150
OPERATING MANUAL