Code Systems PAN09 Car Alarm Remote Transceiver User Manual
Code Systems Inc Car Alarm Remote Transceiver
User Manual
MAY/26/02003
RST762R OP 1
MODEL RST762R
REMOTE ENGINE STARTER
WITH ALARM SYSTEM
OWNER’S MANUAL
FCC COMPLIANCE STATEMENT:
This device complies with part 15 of the FCC Rules. Operation is subject to the following two conditions: (1) This
device may not cause harmful interference, and (2) this device must accept any interference received, including
interference that may cause undesired operation.
CAUTION: Changes or modifications not expressly approved by the manufacturer responsible for compliance
could void the user’s authority to operate the equipment

MAY/26/02003
RST762R OP 2
TABLE OF CONTENTS:
A. REMOTE TRANSMITTER OPERATION ……………………………………….…………………….………... 3
B. BUTTON LOCK ………………………………………………………….……….……………………….………. 4
C. LED DISPLAY .……………..……………………………………………………………………….…………….. 4
D. CHIRP INDICATOR ..………..……………………………………………………………………………….…… 4
E. PARKING LIGHT …….……..……………………………………………………………………………...……... 4
F. ALARM OPERATION CONDITION .…………………………………………………………………………..... 4
G. ACTIVE ARMING – ARM & LOCK .…………………………………………………………………………..... 4
Defective Sensor Reminder
Silent Arming / Disarming
Shock Sensor By-Pass
Noiseless Mode
Passive Starter Disable
Transmitter Can Be Arming The System when Drive
Hidden Alarm Function
H. PASSIVE ARMING .……………………………………………..…………………………………………...……. 5
Passive Arming with Passive Door Locking
Passive Arming By-Pass
I. ACTIVE DISARMING – UNLOCK & DISARM .…………………………………………………..……..………. 5
Tamper Disarming
Pathway Illumination
Two Steps Door Unlock
Automatic Re-Arm
J. DISARMING WITHOUT A TRANSMITTER .……………..…………………………………………...………… 6
Overrides the Alarm without Password Pin Code
Overrides the Alarm With Password Pin Code
K. VALET MODE .……………..……………………………………………………………………….……..….…… 6
Enter Valet Mode
Exit Valet Mode
Remote Valet Mode
L. CAR LOCATOR .……………………………………………………………………….……………..…………… 7
M. PANIC FUNCTION .………………………………………………………………………………..…...………… 7
N. TRIGGER THE SYSTEM .………………………………………..…………………………..………...………… 7
Clear The Trigger Icons and Melody Sound
Noise Abatement Circuit
O. ANTI CAR- JACKING .………………………………………………………………….………………………... 7
Active Anti Car Jacking.
Passive Anti Car Jacking
Trigger The Anti Car Jacking Mode
Override The System To Turn Off Anti Car Jacking
P. LAST TRIGGER MEMORY RETRIEVAL .……………………………………………..……….…..…..……… 8
Q. SYSTEM’S STATUS CHECK ……………………………………………………………..…..…….…………... 8
R. DRIVER PAGING (OPTIONAL) ………..…………………………….…………..………..…………...……….. 9
S. DOME LIGHT CONVENIENCE DELAY & SUPERVISION ……………………..……..………….……..…... 9
T. IGNITION CONTROL THE DOOR LOCK/UNLOCK. ………..………………….………...…………………... 9
U. TRUNK RELEASE (CHANNEL 3) OUTPUT ………..……………………………………..………..…………. 9
V. CHANNEL 4 TIMER CONTROL OUTPUT ………..……………………………………….……..….…..…….. 9
W. CHANNEL 5 TIMER CONTROL OUTPUT ……….………………………………………..……..….………... 9
X. CHANNEL 6 TIMER CONTROL OUTPUT ………..………………………………………..…….….…..…….. 9
Y. POWER ON MEMONRY: ………..……………………………………………………………...….…….….…...10
REMOTE START OPERATION:
A. TO REMOTE START THE VEHICLE ………..……………………………..…………………………..……... 10
Safe Start (Child safety mode).
B. ENGINE START MEMORIZING FOR THE VEHICLE WITH STANDARD TRANSMISSION GEAR …... 10
C. TO OPERATE THE VEHICLE WHILE RUNNING ON THE REMOTE START ………………………..….. 11
D. TEMPORARY STOP FEATURE …………..………………………………….………………………..………. 11
E. TIMER START ………………………………………………………………….…………….………....……….. 11
3 Hours Timer Start
Exit the Timer Start
F. TO TURN OFF THE REMOTE START ……………………………………………….….…….………...…….. 11
G. SHUT-DOWN INPUT FOR REMOTE STARTER ……………………………….…………………………….. 11
H. DISABLING THE REMOTE START SYSTEM …………………………….…………………..………….…... 12

MAY/26/02003
RST762R OP 3
BATTERY REPLACEMENT FOR 2-WAY LED REMOTE CONTROLTRANSMITTER …………………… 12
WARNINGS:
As with any product that performs automatic functions, there are certain safety precautions that you must
practice and be aware of.
1. Keep the transmitter out of children’s reach.
2. Do not leave anyone in the vehicle while running on remote control.
3. Alert servicing personnel that the vehicle can be started automatically.
4. Do not start the vehicle by remote while it’s in an enclosed area or garage.
5. Always apply the parking brake and lock the vehicle as you exit the vehicle.
6. The vehicle windows must be rolled up.
7. Should the unit malfunction, disconnect the fuse until the problem is corrected.
8. The use and operations of this system is the sole responsibility of the operator.
9. Some areas may have local ordinances that prohibit leaving a vehicle running on public streets.
10. Do not start the vehicle by remote while the standard transmission vehicle is parked at a steep place.
OPERATION:
A. REMOTE TRANSMITTER OPERATION:
Transmitter Button System Function Remark
Lock Doors & Arm System
Panic function Press and Hold for 3 seconds.
Car Locator Under armed mode
- Arm and Delete The 2 Stage Shock Sensor. Press twice within 3 seconds
- - Arm and Noiseless Mode Press within 3 seconds
- Arm System and Hidden Alarm Function Press within 3 seconds
+ Silent Arming / Disarming Ignition in "off" position.
+ Active Anti Car-Jacking Mode Ignition in "on" position press and
hold for 2 seconds
+ Channel # 4 Timer Output (4)
+ Channel # 5 Timer Output (5)
+ Channel # 6 Timer Output (6)
Unlock Doors & Disarm System
- Two Steps Door Unlock & Disarm System Press twice within 3 seconds.
Trunk Release (Channel 3) Press and Hold for 2 seconds
- Passive Arming By-pass While the system Disarmed.
Press within 3 seconds
- - Remote Control Entry/Exit Valet Mode While the system Disarmed,
Press within 3 seconds
- Activate or Turn Off The Remote Start Press twice within 3 seconds.
2-WAY LED REMOTE CONTROL TRANSMITTER OPERATION ONLY:
Transmitter Button System Function Remark
- () (2 second) Button Lock Press within 3 seconds and Hold
button for 2 seconds
- - (C) System’s Status Check Press within 3 seconds
- ( ) Optional Driving Pager Press within 3 seconds
- ( ) (2 second) Melody Sound On / Off Press within 3 seconds and Hold
() button for 2 seconds
- (M) Last Trigger Memory Retrieval Press within 3 seconds

MAY/26/02003
RST762R OP 4
B. BUTTON LOCK: It is useful if you want to disable the transmission function of the remote control
temporarily to prevent from any inadvertent pressing of buttons by others. Press the button first,
within 3 seconds press and hold the () button for 2 seconds to activate or cancel the button lock
function. The “beep” sound always muted while press button and the LED will flash for few seconds to
show the remote control transmitter is on “Button Lock” mode.
C. LED display:
LED Function LED Function
Off Disarmed Zone 1 / Warn-Away Trigger
Slow Flash Armed 2 flashes... pause Zone 2 / Trigger on Trunk/Hood
Flash Passive Starter Disable 3 flashes... pause Zone 3 / Trigger on Door Switch
Fast Flash Passive Arming 4 flashes... pause Zone 4 / Trigger on Shock Sensor
On (Solid) Valet Mode 5 flashes... pause Zone 5 / Trigger on Ignition Switch
D. CHIRP INDICATORS: E. PARKING LIGHT:
Chirp Function Parking light Function
1 chirp Arm 1 flash Arm
2 chirps Disarm 2 flashes Disarm
3 chirps Defective Reminder 3 flashes Disarm / Triggered
4 chirps Disarm / Triggered 12 flashes Car Locator
6 chirps Car Locator Constant On Under Remote Start
F. ALARM OPERATING CONDITION:
Siren / Horn Parking Light LED Doors Starter Dome Light
1. Arming 1 or 3 Chirps 1 Flash Slow Flash Locking Disable
2. Disarming 2 or 4 Chirps 2 or 3 Flashes Unlocking Turns on for 30 -second
3. Trigger Alarming Flashes Slow Flash Disable Flashes
4. Passive
Starter
Disable
Fast Flash Disable
5. Panic Alarming Flashes Flashes
6. Car-Jacking Alarming Flashes Disable Flashes
7. Car Locator 6 Chirps 12 Flashes Locking
G. ACTIVE ARMING – LOCK & ARM:
1. Press button on the transmitter.
2. The siren will chirp once and parking light will flash once indicating that the system is now armed. The
vehicle door will lock upon arming when interfaced with the security system.
THE ACTION OF THE 2-WAY LED REMOTE CONTROL TRANSMITTER
ARM LED MELODY SOUND
Arm LED turns on for 2 seconds One Chirp
Arm & Hood / Trunk Ajar LED flash for 60 seconds Three Chirps
Arm & Door Ajar LED flash for 60 seconds Three Chirps
DEFECTIVE SENSOR REMINDER: If the siren sounds 3 chirps, then you have left a door, trunk, or hood
lid ajar. (See Alarm Feature “I - 4 Programming)
SILENT ARMING / DISARMING: Press the transmitter and button at the same time will arm or
disarm your security system, No chirp sound will be heard, arm / disarm confirmation will be through the
vehicles parking lights only.
SHOCK SENSOR BY-PASS: Press the button on the transmitter two times within 3 seconds will arm
the security system and by-pass the shock sensor. The system will chirp one additional time to confirm the
sensor bypass mode was activated. The sensor bypass feature is programmed to activate for one arming
cycle only. The security system will return to normal operation during the next arming cycle.

MAY/26/02003
RST762R OP 5
NOISELESS MODE: Press button once the siren chirps once, The system is armed.
Press the button twice more within 3 seconds: The siren chirps once again, the system is now in
Noiseless mode, On this mode trigger the zone 4 shock sensor, the trigger timer will reduced from 30
seconds to 15 seconds. .
The noiseless feature is programmed to activate for one arming cycle only. The security system will return
to normal operation during the next arming cycle.
PASSIVE STARTER DISABLES: (See Alarm Feature I - 2 Programming)
The purpose of the feature is to protect the vehicle from being stole at all times, regardless of whether or
not the alarm is armed.
The starter of the vehicle will be disable 60 seconds after the ignition is turned off. Once the key is turned
off, the LED will flash fast for 60 seconds.
After 60-second timer has elapsed, the LED will flash slowly (one-half its normal armed rate) to indicate
the passive starter disable is activated and the system will not respond to any trigger input except the
ignition trigger.
HIDDEN ALARM FUNCTION: Press the button first, within 3 seconds press the button to
activate the hidden alarm function. The security system will armed and with “Hidden Alarm Function”. The
siren / horn will be silenced even if the sensor is triggered in the armed status.
H. PASSIVE ARMING
Active arming / disarming is controlling your security system via the remote transmitter. This security
system is equipped with an optional Passive Arming feature, which allows the security system to arm 30
seconds after the last door is closed. Operation is as follows.
1. Turn the ignition to the “OFF” position and exit the vehicle.
2. After all entrances are closed, the security system LED will flash fast for 30 seconds. If you reopen any
door / hood / trunk, the security system LED will stop flashing. It will begin flashing again once the
vehicle all entrances are closed.
3. After 30-second timer has elapsed, the security system will automatically “ARM”. The siren will chirp [1]
time and the parking lights will flash [1] time.
PASSIVE ARMING WITH PASSIVE DOOR LOCKING (See Alarm Feature “I - 2” Programming):
The vehicle doors will automatically lock after passive arming cycle has been completed.
PASSIVE ARMING BY-PASS: While the system disarmed, Press the buttons twice, the security
will respond with [1] chirp and LED will turn “ON”. The security system will remain in this temporally state
for as long as you wish. To exit passive by-pass, press the transmitter or button and the system
will return to normal status.
I. ACTIVE DISARMING – UNLOCK & DISARM:
1. Press button on the transmitter.
2. The siren will chirp twice and parking light flash twice to indicating that the security system is now
disarmed. The vehicle’s door will unlock and dome light turns on for 30 seconds upon disarming when
interfaced with the security system.
THE ACTION OF THE 2-WAY LED REMOTE CONTROL TRANSMITTER
LED MELODY SOUND
Disarm LED turns on for 2 seconds 2 Chirps
Hood / Trunk Trigger LED flash for 60 seconds 4 Chirps
Door Trigger LED flash for 60 seconds 4 Chirps
Shock Sensor Trigger LED flash for 15 seconds 4 Chirps
Ignition Trigger LED flash for 60 seconds 4 Chirps
TAMPER DISARMING: If alarm triggered, upon disarm the system, siren chirp 4 times, parking light flash
3 times.
PATHWAY ILLUMINATION (See Alarm Feature “II - 3” Programming): This feature turns the parking
light “ON” for 30 seconds upon a unlock signal and for 10 seconds upon the lock signal.

MAY/26/02003
RST762R OP 6
TWO STEPS DOOR UNLOCK (See Alarm Feature “III - 2” Programming): This feature will independently
unlock the driver’s door only when disarming the security system. Pushing the button a second time
within 3 seconds will unlock the other doors.
AUTOMATIC RE-ARM (See Alarm Feature “I - 3” Programming): If this feature is selected, the security
system will automatically re-arm itself in 60 seconds after disarming with remote transmitter. Automatic
rearm will cancel if any door is opened before the 60 seconds timer has elapsed.
J. DISARMING WITHOUT A TRANSMITTER ( Alarm Feature III - 1 Programming )
OVERRIDES THE ALARM WITHOUT PASSWORD PIN CODE: (Factory Default Setting)
The Override function may be used if the remote transmitter is lost or inoperative.
1. Enter the vehicle and turn the ignition switch to 'ON’ position. (Alarm will sound.)
2. Within 10 seconds push and release the valet switch
The alarm will stop sounding and enter the disarm mode. You can now start and operate the vehicle
normally.
OVERRIDE THE ALARM WITH PASSWORD PIN CODE: (Alarm Feature III - 1 Programming)
Unlike valet switch easily found, and defeated, this security system allows the consumer to program a
password pin code. Offering a higher level of security.
1. Enter the vehicle and turn the ignition switch to 'ON’ position. (Alarm will sound.)
2. Within 5 seconds, enter your chosen the first digit code by press and release the Valet Switch.
(When finished above procedures, system's siren stop alarming, parking light stop flashing, but the
vehicle can not be start and drive away.)
3. Within 15 seconds of the last digit code enter (the 1st code), turn the Ignition Switch “OFF” and then
“ON”.
4. Within 15 seconds, enter your chosen of the second digit code by press and release the Valet Switch.
5. Turn the ignition switch “OFF” position.
[4] Chirps form siren/horn, [3] flash from parking light to indicate the system was disarmed.
Note 1: You must override the alarm within 60 seconds. If not, the system will automatically re-arm.
EXAMPLE: To Override The System With The Password Code 83, you would;
1. Enter the vehicle and turn the ignition switch to 'ON’ position. (Alarm will sound.)
2. Within 5 seconds, Press and Release the Valet Switch 8 times
(When finished above procedures, system's siren stops alarming, parking light stop flashing, other
sensor stop trigger, but the vehicle can not be start and drive away.)
3. Within 15 seconds of the last digit code enter (the 1st code), turn the Ignition Switch “Off” and then “ON”.
4. Within 15 seconds, Press and Release the Valet Switch 3 times
5. Turn the Ignition Switch to “Off” position.
[4] Chirps form siren/horn, [3] flash from parking light to indicate the system was disarmed.
K. VALET MODE: (System in Disarm or Valet mode)
The valet switch allows you to temporarily bypass all alarm function, eliminating the need to hand your
transmitter to parking attendants or garage mechanics. When the system is in valet mode, all alarm
function and remote start function are bypassed, however the remote panic feature and remote door
locks will remain operational. To use the valet mode, the system must first be disarmed either by using
you remote transmitter, or by operating the Manual override sequence.
Enter Valet Mode:
1. From the disarmed condition, turn the ignition to “ON” position.
2. Push and hold valet switch for 2 seconds until the LED turns on. The LED wills remain on as long as
the system is in 'valet mode'.
Exit Valet Mode:
1. Return to normal operation, turn ignition 'on'.
2. Push and hold valet switch for 2 seconds, The LED wills turn off indicate the system are exiting the
valet mode.
REMOTE VALET: (System in Disarm or Valet mode)
Press and release button on the transmitter three times within 3 seconds to enter / exit valet
mode. A parking flash to confirm enters valet mode and two parking lights flashing to confirm exit valet
mode.
THE ACTION OF THE 2-WAY LED REMOTE CONTROL TRANSMITTER
LED MELODY SOUND
Enter The Valet Mode Z LED turns on for 2 seconds 2 Chirps

MAY/26/02003
RST762R OP 7
Exit The Valet Mode One “Exit” Melody Sound
Remote Door Lock Z LED turns on for 2 seconds 1 Chirps
Remote Door Unlock Z LED turns on for 2 seconds 2 Chirps
L. CAR LOCATOR
Under armed mode, press the button to active car locator function. The siren will chirp 6 times. The
parking light will flash 12 times, for you to easily locate your car.
THE ACTION OF THE 2-WAY LED REMOTE CONTROL TRANSMITTER
MELODY SOUND
Car Locator One “Activate” Melody Sound
M. PANIC FUNCTION: (See Alarm Feature I - 7 Programming.) Two case emergency.
1. Press and hold the button for 3 second. The alarm will immediately sound.
2. During panic mode, the normal function of this transmitter button will be suspended. The transmitter
and buttons can be used to lock and unlock the door (if the option is installed), however once the
button is pressed, the vehicle’s starter disable device, (where installed) will be enable allowing the
vehicle to start.
3. To stop the alarm, press and hold the transmitter or button on the transmitter again for 3
seconds. Also if any transmitter button other than or button is pressed and released, the panic
mode will be turned off immediately.
4. If the button is not pressed, the alarm will automatically stop after 30 seconds.
N. TRIGGER THE SYSTEM
When armed, your vehicle is protected as follows:
1. Light impact will trigger the warn-away signal.
2. Heavy impacts / Doors open / Hood open / Trunk open / Turn on the ignition key will trigger the
programmed sequence.
The starter disable relay (if installed) prevents the vehicle’s starter from cranking. The siren, horn, parking
lights, and dome light will turn on to alerting of an intrusion for 30 seconds. Then it will stop and automatic
reset and re-arm. If the one of sensors or detectors still active, the alarm system will sound a maximum of
6 times of 30 seconds cycles.
THE ACTION OF THE 2-WAY LED REMOTE CONTROL TRANSMITTER
LED MELODY SOUND
Hood / Trunk Trigger LED flash for 60 seconds “Zone 2” Melody Sound for 15 seconds
Door Trigger LED flash for 60 seconds “Zone 3” Melody Sound for 15 seconds
Shock Sensor Trigger LED flash for 60 seconds “Zone 4” Melody Sound for 15 seconds
Ignition Trigger LED flash for 60 seconds “Zone 5” Melody Sound for 15 seconds
NOISE ABATEMENT CIRCUIT: You system has “Noise Abatement Circuit”. It prevents annoying
repetitive trigger sequences due to faulty door pin switches or environmental condition such as thunder,
jackhammers airport noise, etc.
Here’s how “Noise Abatement Circuit” works: The alarm triggers five times. Each time, the same sensor or
switch is triggering the alarm. “Noise Abatement Circuit” will interpret this pattern of triggers as false alarm.
After the fifth trigger, “Noise Abatement Circuit” ignores, or bypasses, that sensor or switch until the other
sensor or switch is trigger.
“Noise Abatement Circuit” covers doors (Hood/Trunk) differently: If the alarm is triggered by an open door
for six full cycles, the doors will be bypassed until the trigger ceases.
O. ANTI CAR- JACKING
Warning: If you don't need the car jacking function in this alarm system, be sure to set car jacking feature
“OFF”. This system is default setting all car-jacking “OFF”. (See Alarm Feature I - 6 Programming.)

MAY/26/02003
RST762R OP 8
ACTIVE ANTI CAR JACKING:
1. Press and hold the transmitter and button at the same time for 2 seconds while the vehicle’s
ignition is ON. The parking lights will turn on for 1.5 seconds to indicate this enter.
2. Once the system is armed, If you are forced from the vehicle, the system will trigger when the door is
opened and closed while the ignition is “ON”.
PASSIVE ANTI CAR- JACKING:
It operate as below:
1. Turn the ignition switch to “ON” position, the system will arm.
2. Once the system is armed, If you are forced from the vehicle, the system will trigger when the door is
opened and closed while the ignition is “ON”.
TRIGGER THE ANTI CAR -JACKING MODE:
3-timer circuits will function as follows:
First timer:
a. 50 seconds after the system has beer triggered. The siren will start chirping for 15 seconds.
b. During this 15 seconds period of chirping, you will be alerting to push the valet switch once to turn off
the car-jacking feature.
c. If not, it will enter second timer car jacking.
Second timer:
65 seconds after the system has been triggered. The siren starts alarming and the parking light starts
flashing.
Third timer:
90 seconds after the system has been triggered
a. The siren still alarming and the parking light flashing, and
b. The starter disable will activate to prevent the vehicle from starting.
c. It will remain active until the vehicle's battery power exhausted.
OVERRIDE THE SYSTEM TO TURN OFF ANTI CAR- JACKING:
Turn the ignition switch from OFF to ON, and within 10 seconds push valet switch, the siren will stop and
the system disarmed
Note: If you use password pin code to double protect the vehicle security, you will need to use it to
completely disarm the system.
P. LAST TRIGGER MEMORY RETRIEVAL (For two-way transmitter operation only)
If you are out of range and you want to retrieval last trigger’s memory storage in the 2-way remote control
transmitter. Press the first, within 3 seconds press the (M) button, with one melody sound and
the last trigger’s memory storage in the transmitter will immediately display on the “Red LED”.
THE ACTION OF THE 2-WAY LED REMOTE CONTROL TRANSMITTER
LED
Hood / Trunk Trigger LED flash for 60 seconds
Door Trigger LED flash for 60 seconds
Shock Sensor Trigger LED flash for 60 seconds
Ignition Trigger LED flash for 60 seconds
Q. SYSTEM’S STATUS CHECK (For two-way transmitter operation only)
When you want to check the system’s present status through the 2-Way remote control transmitter, Press
the transmitter button twice, within 3 seconds press the (C) button, with one melody sound and
all the system’s present status will immediately displayed on the LED.
Note: If it has no responds then you are out of range.
THE ACTION OF THE 2-WAY LED REMOTE CONTROL TRANSMITTER
LED
Armed LED turns on for 5 seconds
Disarmed LED turns on for 5 seconds
Valet mode Z LED turns on for 5 seconds
Engine Running LED Fast flash for 60 seconds

MAY/26/02003
RST762R OP 9
Hood/Trunk Ajar LED flash for 60 seconds
Door Open LED flash for 60 seconds
R. DRIVER PAGING (For two-way transmitter operation only)
It is useful the event that someone wants to page the driver of the parked vehicle.
Indoor Driving Paging
Under the ignition switch “off” condition, press and hold the valet switch for 2 seconds to page the driver,
one chirp sound shall be emitted from the vehicle and the paging melody sound continues sounding from
your 2-way remote control transmitter.
Outdoor Driving Paging
If someone tries to page you by tapping the paging (knock) sensor (optional) which is usually mounted on
the bottom part of front window, the paging melody sound continues sounding from you 2-way Remote
control Transmitter.
1. Press the button first, within 3 seconds press the ( ) button to activate outdoor driver paging
function. It responds with chirps of the vehicle, a melody sound from the remote control transmitter to
confirm the function is on.
2: When tapping the paging (knock) sensor, one chirp sound shall be emitted from the vehicle and the
paging melody sound continues sounding for 20 seconds from you 2-way Remote control Transmitter
3. Turn on the ignition switch; OR press the button to arm the system; OR press the button to
disarm the system, this outdoor driver paging function will exit.
THE ACTION OF THE 2-WAY LED REMOTE CONTROL TRANSMITTER
MELODY SOUND
Driver Paging “Telephone” Melody Sound for 15 seconds
S. DOME LIGHT CONVENIENCE DELAY & SUPERVISION
The alarm with a unique feature which will turn on your vehicle dome light as following:
1. Upon disarming, the interior light will remain on for 30 seconds.
2. If the vehicle is intruded, the interior light will flash for the same duration as the siren.
Note: Turn on the ignition switch or arm the alarm will turn off the dome light.
T. IGNITION CONTROL DOOR LOCK/UNLOCK. (See Alarm Feature II – 2 Programming).
If the vehicles door locks have been interfaced to the security system, the system will automatically lock
the vehicle's doors when the ignition is turned “ON” and /or unlock the vehicle’s doors when the ignition is
turned “OFF”.
U. TRUNK RELEASE (CHANNEL 3) OUTPUT.
Press and hold button on the transmitter for two seconds to remote control the trunk release or other
electric devices.
V. CHANNEL 4 TIMER CONTROL OUTPUT (See Alarm Feature III – 5 Programming.)
Press the transmitter (4) and (4) button at the same time to active Channel 4 function. Channel
4 is user-programmable timer output. You may program the built-in timer to send a ground signal for any
time duration from 1 second to 120 seconds. For instance, this timer output may be used to turn on the
headlight, power window or sunroof. (Factory defaults setting at momentary output.)
W. CHANNEL 5 TIMER CONTROL OUTPUT (See Alarm Feature III – 6 Programming.)
Press the transmitter (5) and (5) buttons at the same time to active Channel 5 function.
Channel 5 is user-programmable timer output. You may program the built-in timer to send a ground
signal for any time duration from 1 second to 120 seconds. For instance, this timer output may be used to
turn on the headlight, power window or sunroof. (Factory defaults setting at momentary output.)
X. CHANNEL 6 TIMER CONTROL OUTPUT (See Alarm Feature III – 7 Programming.)
Press the transmitter (6) and (6) buttons at the same time to active Channel 6 function.
Channel 6 is user-programmable timer output. You may program the built-in timer to send a ground

MAY/26/02003
RST762R OP 10
signal for any time duration from 1 second to 120 seconds. For instance, this timer output may be used to
turn on the headlight, power window or sunroof. (Factory defaults setting at momentary output.)
Y. POWER ON MEMONRY:
This security system is equipped with circuitry that will allow the unit to remember its alarm state if the
power is lost and then reconnected.
REMOTE START OPERATION:
A. TO REMOTE START THE VEHICLE:
When you want to start your vehicle,
1. Press button twice on the transmitter.
2. The parking light will activate to indicate the remote start received the signal.
3. The engine will start approximately 5 seconds.
4. Once the engine is running, after couple seconds the parking light will turn on again and climate controls
will activate and adjust the vehicles interior temperature to your preset setting.
5. The vehicle will run for 5 to 30 minute cycle and automatically shut down.
NOTE: The Remote Start Unit will not start the vehicle if any one of the following conditions exists:
1. The hood is opened.
2. The brake pedal is pressed.
3. Move the optional remote start enable toggle switch to OFF position. (If installed)
4. The gear selector is in any gear other then “PARK” or “NEUTRAL”
THE ACTION OF THE 2-WAY LED REMOTE CONTROL TRANSMITTER
LED MELODY SOUND
Activate Remote Start LED Fast flash for 2 seconds One “Activate” Melody Sound
Engine Running LED Fast flash for 60 seconds “Beep Sound” for 5 seconds
Stop The Remote Start One “Stop” Melody Sound
SAFE START (Child safety mode) (See Start Feature I – 6 Programming.)
Factory defaults setting to press the button twice on the transmitter to start the vehicle. Programming
this feature to eliminate an accidental remote start, when kids enter this transmitter, it requires:
The user press the transmitter and buttons at the same time to start the vehicle.
B. ENGINE START MEMORIZING FOR THE VEHICLE WITH STANDARD (MANUAL)
TRANSMISSION GEAR (Cut the VIOLET LOOP WIRE for Standard transmission gear vehicle)
The system senses the neutral transmission gear position automatically and there is no prior set-up
required. The system in the standard transmission vehicle operates as following process when you exit the
vehicle to sense and memorize the neutral transmission gear position. If the vehicles are of automatic
transmission gear, this process is omitted.
1. While engine is running by ignition key, pull up the hand brake and place the transmission gear in the
neutral position.
2. Before turning off the engine, press the button twice on the transmitter.
-- The LED indicator will flash 3 times to confirm enter.
3. Pull off the “Ignition Key” from the key cylinder.
-- Engine continues running until the pre-programmed time elapsed or shutdown input is received.--
4. Exit from the vehicle and Close all doors.
-- The engine still continues running and it is normal operating process.--
5. Within 1 minute from the time of step 1, press the button on the transmitter to lock the doors.
6-1. If the engine shuts down immediately and the system is now ready for next remote (or
programmable) engine starts.
6-2. If the engine not shuts down immediately, the system is failed in engine start memorize set up,
repeat above process again.
If the door is opened after above process, the prior memorization for the next remote or programmed
engine start sequence is delete and the function shall not work until you repeat above process again.
Note: If the engine start memorize is set up, the dome light convenience delay function will be temporarily
By-pass.

MAY/26/02003
RST762R OP 11
C. TO OPERATE THE VEHICLE WHILE RUNNING ON THE REMOTE START:
To operate the vehicle while engine running on the remote start.
1. Insert the ignition key and turn it to “ON” (not the start) position.
2. Press the brake pedal.
Note: If the brake pedal is pressed before the key is in the ON position, the engine will shut down.
D. TEMPORARY STOP FEATURE:
This feature allows the vehicle to remain running after the key has been removed from the ignition. This
feature is useful for occasions when you wish to exit and lock the vehicle for short periods of time, but
would like to leave the motor running and the climate control on.
1.Before turning off the engine, press the button twice on the transmitter and the LED indicator will
flash 3 times to confirm enter.
2.Turn the ignition key to OFF position. (The engine will stay running.)
3.The engine will run until the pre-programmed time elapsed or shutdown input is received.
Note: For Standard Transmission Gear Vehicle: Before press the button, Pull up the hand brake first.
E. TIMER START:
This unit can be programmed to start and run the engine every 3 hours. The engine will run for the
programmed running time and then shut down.
IMPORTANT: Timer Start should be used only in open areas, Never start and run the vehicle in on
enclosed space as a garage or carport.
3 hours timer start: This feature is design for an extreme cold climate usage. The system will auto start
the vehicle every 3 hours, to prevent engine freezing and hard to start.
A MAXIMUM OF SIX CYCLES CAN OCCUR.
ENTER:
1. Press the button twice to remote start the vehicle. As soon as the vehicle is running and the parking
light have turned on or flashing.
2. Immediately depress the button once, within 2 seconds
3. Rapidly depresses the button (or depresses + buttons, if you program + buttons =
Start / Stop button.) The parking light will flash (3) times. The siren or horn chirps (3) times. The vehicle
is now programmed to start every (3) hours.
4. Press the brake pedal to stop the vehicle running.
Exit the timer start:
Timer start can be exited manually as follows:
1. Make sure the remote start system is not operating the engine.
2. Turn the ignition on. The LED and parking light will flash (4) times. The horn chirps (4) times.
Or
1. Press the button twice to remote start the vehicle. As soon as the vehicle is running and the parking
light have turned on or flashing.
2. Immediately depress the button then press and hold the button for 2 seconds. (or depresses
+ buttons, if you program + buttons = Start / Stop button.) The parking light will flash (4)
times. The siren or horn chirps (4) times. The vehicle is no longer programmed to start automatically.
F. TO TURN OFF THE REMOTE START:
When the engine is running (by remote start), if you want to stop it,
1. Press button twice on the remote transmitter under remote start mode.
2. Move the optional remote start enable toggle switch to OFF position. (If installed)
3. Press the brake pedal.
4. Pull down the hand brake. (for Standard Transmission Gear Vehicle)
The vehicle will shut down and turn off the parking light to indicate engine stopped.
THE ACTION OF THE 2-WAY LED REMOTE CONTROL TRANSMITTER
The remote control transmitter responds a melody sound to indicate the remote start is turn off.
G. SHUT-DOWN INPUT FOR REMOTE STARTER:
If any of the following conditions exist while the system is operating, the engine will not start or will shut
down immediately:
1. The hood is opened.

MAY/26/02003
RST762R OP 12
2. The brake pedal is pressed.
3. The hand brake is released (for Standard Transmission Gear Vehicle)
4. Engine is over-revved. {“Tachometer checking type” only}
5. The pre-programmed run time (5 /10 / 20 / 30 minutes) has elapsed.
6. Press button twice on the remote transmitter under remote start mode .
7. Move the optional remote start enable toggle switch to OFF position. (If installed)
8. The vehicle refused to start running after {3} unsuccessful attempts.
H. DISABLING THE REMOTE START SYSTEM: (If installed)
This feature allows your system’s remote start unit to be temporarily disabled to prevent the vehicle from
being remote started accidentally. This feature is useful if the vehicle is being serviced or stored in an
enclosed area. To disable the remote start, move the optional remote start enable toggle switch to the
OFF position.
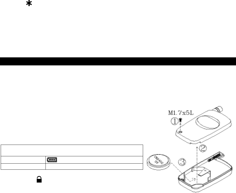
BATTERY REPLACEMENT FOR 2-WAY LED REMOTE TRANSMITTER:
Note: If the system is interfered by stronger radio frequency around, sources of high voltage electric power
or
such Obstacles like tall buildings and so on, the transmission range may get shorter as the system
uses
low out put powered frequency.
BATTERY REPLACEMENT:
A CR2450 3V lithium battery powers the Remote Transmitter.
When the power of the battery weakness, it has three short “bi”
sound and the “Orange LED” pause flash for 5 seconds while
pressing the button of the remote transmitter to remind user need
to replace a new battery.
THE ACTION OF THE 2-WAY LED REMOTE CONTROL
TRANSMITTER (LOW BATTERY)
LED LED turn on for 5 seconds
MELODY SOUND Three “Button Beeping” Sound
Note: Press the button two times when the battery
compartment is empty, then insert the new battery.