Compal Communications UPX001 PDA Phone User Manual A26391 K182 Z120 1 7619
Compal Communications, Inc. PDA Phone A26391 K182 Z120 1 7619
Contents
- 1. Manual
- 2. users manual
Manual

Handheld
EasyGuide
English
Pocket LOOX T Series
Are there ...
... any technical problems or other questions which you would like help with?
Please contact:
• our Hotline/Help Desk
(see Help Desk List or the Internet: www.fujitsu-siemens.com/helpdesk)
• your sales partner
• your sales office
Further information can be found in the "Safety" and "Warranty" manuals.
The latest information on our products, tips, updates, etc., can be found on our website at:
www.fujitsu-siemens.com
This manual was produced by Xerox Global Services.
Published by
Fujitsu Siemens Computers GmbH
Edition: 1, July 2006
Order No.: A26391-K182-Z120-1-7619

Pocket LOOX T Series
Your Pocket LOOX
Working with files
Important notes
Security functions
Equipment overview
Connecting and
networking the Pocket PC
with other devices
Getting started
Energy saving functions
Making telephone calls
with the Pocket PC
EasyGuide
Troubleshooting and tips
Operating the Pocket PC
Technical data
Creating messages
Manufacturer’s notes
Using the Internet
Index
Using GPS functions
Using the camera
functions (optional)
Edition 1, July 2006
Adobe and Acrobat are trademarks of Adobe systems Incorporated and may be protected in
certain countries.
Intel is a registered trademark, XScale is trademark of Intel Corporation, U.S.A.
Microsoft, Windows and ActiveSync are registered trademarks of the Microsoft Corporation.
Windows Mobile is a trademark of Microsoft Corporation.
The SD Logo is a trademark of Secure Digital.
The Bluetooth trademarks are the property of Bluetooth SIG, Inc., U.S.A. licensed for Fujitsu
Siemens Computers GmbH.
All other trademarks referenced are trademarks or registered trademarks of their respective
owners, whose protected rights are acknowledged.
Copyright © Fujitsu Siemens Computers GmbH 2006
All rights, including rights of translation, reproduction by printing, copying or similar methods,
in part or in whole, are reserved.
Offenders will be liable for damages.
All rights reserved, particularly for rights created by patent grant or registration of a utility
model or design.
Delivery subject to availability. Right of technical modification reserved.

Contents
Your Pocket LOOX …......................................................................................................................... 1
Notational conventions ......................................................................................................................... 2
Important notes .................................................................................................................................. 3
Safety notes.......................................................................................................................................... 3
Using the Pocket PC ............................................................................................................................ 4
Equipment overview........................................................................................................................... 5
Indicators (LEDs) and status indicators in the display.......................................................................... 6
Using the operating elements............................................................................................................... 8
Using the keyboard....................................................................................................................... 8
Using the pen and display .......................................................................................................... 11
Using the online buttons for telephony ....................................................................................... 11
Using the 3-way scroll button and the navigation key ................................................................ 12
Using the application buttons and the softkey buttons ............................................................... 14
Using the on-screen keyboard.................................................................................................... 16
Software overview .............................................................................................................................. 18
Accessories ........................................................................................................................................ 20
Cradle......................................................................................................................................... 20
External GPS antenna (optional)................................................................................................ 20
Getting started.................................................................................................................................. 21
Checking the delivery contents........................................................................................................... 21
Removing the protective film from the camera and the screen .......................................................... 21
Installing the battery and the SIM card (optional)............................................................................... 22
Connecting the power adapter and charging the battery.................................................................... 23
Starting up your Pocket PC for the first time ...................................................................................... 23
Calibrating the screen......................................................................................................................... 24
Entering a PIN (optional) .................................................................................................................... 24
Familiarising yourself with basic operation of the device.................................................................... 24
Internet and intranet connections with CONNECTMOBILITY-E2C .................................................... 25
Starting CONNECTMOBILITY E2C............................................................................................ 25
User data dialogue ..................................................................................................................... 25
GPRS/UMTS provider selection................................................................................................. 26
Data synchronisation.......................................................................................................................... 26
Data synchronisation via Exchange Server................................................................................ 26
Data synchronisation with ActiveSync........................................................................................ 27
Using the online help.......................................................................................................................... 31
Making telephone calls with the Pocket PC................................................................................... 33
Making a telephone call...................................................................................................................... 33
Answering an incoming call................................................................................................................ 34
Ending the conversation..................................................................................................................... 34
Displaying missed calls ...................................................................................................................... 34
Using the Voice Commander.............................................................................................................. 35
Speed dial function............................................................................................................................. 36
Using the handsfree function.............................................................................................................. 37
Muting the telephone.......................................................................................................................... 38
Call holding......................................................................................................................................... 38
Making a conference call.................................................................................................................... 39
Making video telephone calls (optional) ............................................................................................. 40
Managing contacts ............................................................................................................................. 42
Copying contact details from the Pocket PC to the SIM card..................................................... 42
A26391-K182-Z120-1-7619, edition 1

Contents
Copying contacts from the SIM card to the Pocket PC...............................................................42
Displaying services on the SIM card (network provider specific)........................................................43
SIM security ........................................................................................................................................43
SIM lock ..............................................................................................................................................43
Blocking your SIM card .......................................................................................................................44
Configuring telephone settings ...........................................................................................................44
Network selection........................................................................................................................44
Setting up a mailbox number ......................................................................................................45
Setting up the SMS Service Centre ............................................................................................45
Setting up call diversion..............................................................................................................46
Operating the Pocket PC..................................................................................................................47
Using the profiles of your Pocket PC ..................................................................................................47
Selecting profiles.........................................................................................................................48
Configuring profiles .....................................................................................................................48
Switching the Pocket PC on and off....................................................................................................48
Switching the Pocket PC off and on during normal use (Standby mode) ...................................49
Pocket PC: switching off to save battery life...............................................................................50
Resetting the Pocket PC.....................................................................................................................50
Soft reset (warm start) ................................................................................................................50
Cold starting and resetting factory default settings.....................................................................51
Out and about with the Pocket PC......................................................................................................52
Transporting Pocket PC..............................................................................................................52
In-flight usage .............................................................................................................................52
Usage while driving.....................................................................................................................52
Cleaning the Pocket PC......................................................................................................................53
Charging the battery............................................................................................................................54
Inserting and removing an expansion card .........................................................................................57
Inserting the expansion card.......................................................................................................57
Removing the expansion card ....................................................................................................58
Using the Pocket PC as a USB Host device.......................................................................................59
Configuring device settings.................................................................................................................60
Adapting menus ..................................................................................................................................60
Fast access to programs via FSC SpeedMenu ..................................................................................60
Creating messages ...........................................................................................................................61
Inbox ...................................................................................................................................................61
SMS messages...................................................................................................................................62
Creating and sending SMS messages........................................................................................62
Managing SMS messages on the SIM card................................................................................62
MMS messages ..................................................................................................................................63
Configuring the MMS application................................................................................................63
Creating and sending MMS messages .......................................................................................64
E-mail..................................................................................................................................................65
Setting up e-mail accounts for POP3, SMTP or IMAP4..............................................................65
Setting up an e-mail account for the VPN corporate network .....................................................65
Setting up e-mail sending via ActiveSync...................................................................................66
Creating and sending e-mails .....................................................................................................66
Downloading e-mails from a server (e-mail pull).........................................................................66
Receiving e-mails and other data automatically in real-time (e-mail push).........................................67
Using the Internet..............................................................................................................................69
Accessing the Internet with Internet Explorer......................................................................................69
Using GPS functions ........................................................................................................................71
FSC GPSLocator ................................................................................................................................71
A26391-K182-Z120-1-7619, edition 1

Contents
Using the camera functions (optional) ........................................................................................... 73
2 megapixel autofocus camera .................................................................................................. 73
Working with files............................................................................................................................. 77
Windows Media Player....................................................................................................................... 77
ClearVue PDF .................................................................................................................................... 77
Using Java applications...................................................................................................................... 78
Downloading Java applications .................................................................................................. 78
Starting Java applications .......................................................................................................... 78
Compressing files with FSC MobileZip............................................................................................... 79
Security functions ............................................................................................................................ 81
Password protection........................................................................................................................... 82
Device lock (key and display lock)...................................................................................................... 82
FSC KeyLock...................................................................................................................................... 83
FSC SecureLock ................................................................................................................................83
Connecting and networking the Pocket PC with other devices................................................... 85
Activating and deactivating radio modules ......................................................................................... 85
Wireless connection via Wireless LAN............................................................................................... 85
Wireless communication with Bluetooth............................................................................................. 86
Selecting location for Bluetooth operation.................................................................................. 86
Energy saving functions.................................................................................................................. 87
General information on energy management ..................................................................................... 87
Using energy saving functions............................................................................................................ 87
Configuring standby mode.......................................................................................................... 87
Switching off display lighting ...................................................................................................... 87
Configuring display lighting ........................................................................................................ 88
Configuring key illumination ....................................................................................................... 88
Configuring device behaviour when E-mail push is activated .................................................... 88
Switching on the sound and setting the volume ......................................................................... 88
Using Wireless Manager ............................................................................................................ 89
Troubleshooting and tips................................................................................................................. 91
Installing new software ....................................................................................................................... 91
The Pocket PC’s time or date are not correct..................................................................................... 91
The display of the Pocket PC remains dark ....................................................................................... 91
The display is difficult to read ............................................................................................................. 92
The Pocket PC switches off................................................................................................................ 92
The Pocket PC does not start after being switched on....................................................................... 92
The Pocket PC does not respond any more....................................................................................... 93
The battery discharges too quickly..................................................................................................... 93
The End button does not respond properly ........................................................................................ 93
No sound or minimal volume.............................................................................................................. 94
Poor reception via GPS...................................................................................................................... 94
Contact with hotline/help desk............................................................................................................ 94
Calling up the IMEI number........................................................................................................ 95
Calling up the UUID.................................................................................................................... 95
Technical data................................................................................................................................... 97
Pocket PC........................................................................................................................................... 97
Battery (Li-Ion).................................................................................................................................... 98
Power adapter .................................................................................................................................... 99
Manufacturer’s notes ..................................................................................................................... 101
Environmental protection.................................................................................................................. 101
A26391-K182-Z120-1-7619, edition

Contents
Disposal and recycling ......................................................................................................................101
CE marking .......................................................................................................................................102
???Information on exposure/specific absorption rate (SAR).............................................................103
FCC Warning Statement for Mobile Phone ???GSM 850 and PCS1900 .........................................104
RF Exposure Information (SAR) for Mobile Phone ???GSM 850 and PCS1900..............................104
FCC Warning Statement for WLAN product .....................................................................................105
RF Exposure Information (SAR) for WLAN product..........................................................................105
Index.................................................................................................................................................107
A26391-K182-Z120-1-7619, edition 1

Your Pocket LOOX …
... is the first integrated Pocket PC from Fujitsu Siemens Computers which combines a GSM/UMTS
mobile telephone with an innovative and high-performance handheld and a GPS navigation system.
With Bluetooth and wireless LAN you can establish a connection to other devices at the office and
away from it without bothersome cables. With your Pocket LOOX, you can for example access the
Internet via UMTS/GSM or a Wireless LAN. You can call up both web and WAP pages with the
Internet Explorer. As well as SMS and MMS messaging, the ergonomic keyboard is also perfect for
writing and sending e-mails. Thanks to the e-mail push function, you no longer need to download
incoming e-mails yourself anymore – instead, they are automatically and comfortably transferred
directly to your Pocket LOOX. Calendars, contacts and tasks are automatically updated.
Depending on equipment level, your Pocket LOOX will have one or two integrated cameras. The
VGA camera is used for video telephony via UMTS. With the aid of the 2 megapixel autofocus
camera you can take photographs and then view the results on the high-resolution touchscreen.
Alternatively, you can also record video sequences.
Microsoft Windows 5.0 Phone Edition also includes the MS Office applications Microsoft Word, Excel and
PowerPoint. You can store notes in written form or verbally as with a dictation device. Under Microsoft
Windows 5.0 Phone Edition, your data will also be preserved if the battery ever becomes discharged.
Install ActiveSync on your computer, connect the Pocket LOOX to your computer and you are ready to
synchronise your data. In the office you can then effortlessly transfer all your data and newly created
documents to your computer.
With the optional USB Host cable you can use your Pocket LOOX as a USB Host device. You can
connect different USB devices, such as an external hard disk, to the Pocket PC. Read your favourite
book quite comfortably away from home on the display or use the MP3 player.
The following documentation contains additional information on your Pocket PC and the operating
system:
• the "Getting Started" poster
• the "Safety" and "Warranty" manuals
• the help function on your Pocket PC
• the files on the Microsoft Getting Started CD (e.g. *.TXT, T*.PDF)
A26391-K182-Z120-1-7619, edition 1 1

Notational conventions
Notational conventions
The following symbols and fonts used in this manual:
Pay particular attention to texts marked with this symbol. Failure to observe
this warning may endanger your health or safety, destroy the system, or lead
to loss of data. The warranty will be invalidated if defects to the Pocket PC
are caused as a result of failure to follow the instructions.
!
Indicates important information which is required to use the system properly.
i
► Texts which follow this symbol describe steps that must be performed in the
order shown.
This font indicates programme names, commands, or menu items.
"Quotation marks" indicate names of chapters, data carriers and terms that are being
emphasised.
2 A26391-K182-Z120-1-7619, edition 1

Important notes
This chapter contains safety notes and important information you must observe when using your
Pocket PC.
This Pocket PC complies with the relevant safety regulations for data processing equipment. If you
have questions as to whether you can set up and operate the Pocket PC in the intended
environment, please contact your sales point or our hotline/help desk.
Safety notes
Observe the safety notes in the "Safety" manual and the following safety notes to prevent
injuries, damage to your device or data loss.
!
● During installation and before operating the device, observe the instructions on environmental
conditions in "Technical data".
• Connect the mains adapter plug to the mains adapter. The mains adapter plug must never be
connected to an electrical outlet without the mains adapter.
• The mains adapter must only be connected to an electrical outlet when the Pocket PC or the
cradle is connected to the mains adapter.
• Do not use the mains adapter for other devices.
• When transporting the device on a trip, observe the information in "Out and about with the
Pocket PC".
• After resetting the Pocket PC (i.e. after a cold start or resetting the device to the factory
defaults) the telephone functions are active. In the process, the WLAN radio component will
briefly become active while it is initialised. Please be aware of this if you are in an environment
where radio components must not be used (e.g. hospital, aircraft). Bluetooth is not activated
after a reset.
• Prolonged use of headphones, especially at very loud volumes, can cause hearing damage.
A26391-K182-Z120-1-7619, edition 1 3

Important notes
Using the Pocket PC
Store the Pocket PC in a fully charged state in a dry environment. When storing the device please do
not exceed the permissible temperature limits – see "Technical data", section "Pocket PC". The
lower the temperature at which the batteries are stored, the lower the rate of self-discharge.
Avoid leaving your Pocket PC lying in direct sunlight in a car. The temperature could
exceed the permissible temperature in such cases.
i To protect the battery, battery charging is interrupted at excessively high temperatures.
Please note that batteries discharge themselves over time. Therefore, recharge the battery of your
Pocket PC at regular intervals during the storage period.
Protect your Pocket PC against dirt. Dirt or other contamination can cause contact faults on the
connections.
4 A26391-K182-Z120-1-7619, edition 1

Equipment overview
3
4
567
9
23
10
11
12
13
14
15
16
1
220
22
117
18
19
21
8
1 = Antenna indicator 12 = Application button 1: Calendar
2 = VGA camera 13 = Answer button
3 = Battery/events indicator 14 = Softkey button 1
4 = Display 15 = Application button 5: SpeedMenu and
camera
5 = Navigation key
6 = Softkey button 2 16 = 3-way scroll button
7 = End button 17 = Pen slot
8 = Application button 2: Inbox 18 = Socket for headphones or headset
9 = Keyboard with integrated number block 19 = GSM port
10 = GPS antenna port 20 = 2 megapixel autofocus camera
11 = Mini USB port 21 = Battery compartment
22 = Slot for SD/MMC expansion card
23 = Application button 6: Voice notes
A26391-K182-Z120-1-7619, edition 1 5

Equipment overview
Indicators (LEDs) and status indicators in the display
Your Pocket-PC has two flashing indicators (LEDs) on the casing which light up in different colours,
as well as various status indicators in the title bar of the display which will provide you with
information about the current status of your device.
1 2
1 = Antenna indicator
2 = Battery/events indicator
Indicators (LEDs)
Indicator Colour Indicator state Meaning
Green Flashing GPS has been activated. Antenna (1)
Blue Flashing Bluetooth is active.
On Battery is fully charged. Orange Battery/events (2)
Slow flashing Battery is being charged.
Red Quick flashing Battery is overheated.
Blue Slow flashing New message available, missed
call or schedule reminder active.
Green Slow flashing New e-mail waiting.
6 A26391-K182-Z120-1-7619, edition 1

Equipment overview
i
If more than one event occurs at the same time then the LEDs will flash in the relevant
colours in turn.
Wenn z. B. For example, if a new e-mail is received while the battery is being charged, the
indicator will flash orange and green in turn.
Status indicators on the display
The most important status indicators are shown below:
Status
icon Meaning Status
icon Meaning
New e-mail, SMS or MMS
No signal
Incoming telephone call
GPRS available
Active telephone call
GPRS active
Active call via data line
UMTS available
Call forwarding
Roaming
Call holding
Synchronisation error
Missed call(s) Antenna switched off
Battery indicator – battery full
All system tones switched on
Battery low
All system tones switched off
Battery being charged
WLAN active
Signal strength
WLAN access point available
A26391-K182-Z120-1-7619, edition 1 7

Equipment overview
Using the operating elements
Your Pocket PC offers various operating elements
● Keyboard with integrated number block
● Pen and display
● Online buttons for telephony
● 3-way scroll button
● Navigation key, application buttons and softkey buttons
● On-screen keypad
Using the keyboard
The keyboard is designed to offer all of the functions of a keyboard with an integrated number block.
Some enhanced keyboard functions are accessed via key combinations (short cuts).
i
Lower case letters are output by default.
To obtain a higher case letter, press and hold the corresponding letter button.
Description of buttons
The key buttons on your keyboard are described below together with their functions.
Taste Funktion
Backspace key
The Backspace key deletes the character to the left of the cursor.
Enter key (return)
ENTER
Brief press of the button
The enter key terminates a command line. The command you have entered is
executed when you press this key.
Long press of the button
The device lock (key lock and display lock) is set or cancelled, see also
"Device lock (key and display lock)".
Shift key
Umsch
The Shift key causes uppercase characters to appear. In the case of overlay
keys, the character printed on the upper left of the key appears when that key
is pressed.
8 A26391-K182-Z120-1-7619, edition 1

Equipment overview
Brief press of the button
FN key
The Fn key enables the special functions indicated on buttons with more than
one label (see "Key combinations").
Long press of the button
Pressing the FN key for longer switches the keyboard illumination on or off.
Double-clicking the button
Engage the FN key to activate or deactivate FN mode.
The Tab key moves the cursor to the next tab stop. Tab key
The Start key invokes the Windows Start menu.
Start key
Closes the active window.
OK key
Spacebar
Inserts the space character.
Symbol key
Brief press of the button
Replaces the current character with a related character with an accent, e.g. the
letter “a” is changed to “á”. Up to 5 different related characters are available.
Pressing the button again switches to the next available related character.
Long press of the button
A window containing all of the available characters is opened or closed (if
open).
Asterisk key
Long press of the button
The Pocket PC is set to Silent Mode, or Silent Mode is deactivated. All tones
and the vibration alarm are activated or deactivated.
A26391-K182-Z120-1-7619, edition 1 9

Equipment overview
Key combinations (short cuts)
Key combinations are entered as follows:
► Press and hold the first key in the combination.
► While holding the first key down, press the second key in the combination.
Key combination Function
FN + navigation key down Scroll down
FN + navigation key up Scroll up
FN + navigation key left Jump to the start of a list or e-mail
FN + navigation key right Jump to the end of a list or e-mail
FN and Shift Shift lock
Shift + navigation key left Decrease display brightness
Shift + navigation key right Increase display brightness
Application-dependent key-combinations
Key combinations are a useful way of quickly accessing functions in many applications, e.g. your
inbox or the Telephone function. You can operate the device almost entirely without the pen.
► Press the right-hand softkey button in the application.
A menu showing the available functions is displayed.
► Press the letter which is underlined in the function you wish to execute.
The function is then executed.
10 A26391-K182-Z120-1-7619, edition 1

Equipment overview
Using the pen and display
With the aid of the supplied pen, you can also perform actions by touching the display.
► Briefly touch the desired element on the display with the pen to trigger an action.
► To activate popup menus, again touch the desired element with the pen, but this time leave the
pen to rest on the element for a moment. The popup menu appears and you can select an
element by touching it.
Using the online buttons for telephony
When you launch the Telephone application, a window pops up with the online buttons for telephony:
► Enter the required telephone number by touching the display with the pen.
or
► Enter the required telephone number via the integrated number block on the keyboard.
You can now make a call – see "Making a telephone call".
A26391-K182-Z120-1-7619, edition 1 11

Equipment overview
Using the 3-way scroll button and the navigation key
3-way scroll button
3
1
2
With the scroll button you can scroll up or down and forward or backward (1, 2) within the menu or
application. You activate menu entries by pressing the scroll button in the centre position (3).
i
If you are in the Telephone application you can use the 3-way scroll button to adjust the
telephone volume.
12 A26391-K182-Z120-1-7619, edition 1

Equipment overview
Navigation key
1
The way in which the navigation key (1) works depends on the application you are in. In some
applications you scroll line-by-line up, down, left or right in a menu. To activate menu items press the
middle of the navigation key. By contrast, in other applications – e.g. e-mail – you can page up or
down with the navigation key.
A26391-K182-Z120-1-7619, edition 1 13

Equipment overview
Using the application buttons and the softkey buttons
With the application buttons and the appropriate presets (see "Configuring the application buttons"),
you can open your preferred programs and applications directly from standby mode or from within an
application.
As the application buttons react differently to short or long presses you can assign a total of eight
different programmes or applications to the application buttons.
In addition, your Pocket PC also has two softkey buttons.
12
8
4
5
6
7
1
3
1 = Softkey button 2 5 = Answer button
6 = Softkey button 1
7 = Application button 5: camera
2 = End button
3 = Application button 2: Inbox
4 = Application button 1: Calendar 8 = Application button 6: Voice notes
14 A26391-K182-Z120-1-7619, edition 1

Equipment overview
Key Allocated function for a short press Allocated function for a long
press
● During a call: ends the call.
● During an active call: ends the
call.
End button
● Otherwise: the Profiles menu
is displayed.
● For an incoming call: ignores the
call.
● In the Today screen: puts the
device into Standby mode.
● In other applications: changes to
the Today screen or to the next
active application.
● For active data connections:
terminates the data connection.
A single press of the button terminates
a connection (call, data connection) or
changes to the next active application.
You may need to press the button
several times in sequence to get to the
Today screen and put the device into
Standby mode.
● During an active call: call is held. During a call:
Answer button
● For an incoming call: the call is
answered. Activates or deactivates the
internal loudspeaker (handsfree
mode). Any other connected
devices, e.g. BT headset or
receiver, are deactivated or
activated accordingly. This means
that the loudspeaker can be
activated even with the headset
connected.
● If no call is active: opens the
application Telephone.
Softkey button 1 Depends on the particular application.
Softkey button 2
Application Button 1 Calendar New calendar entry.
Application Button 2 Inbox Create new mail.
Application Button 5 FSC SpeedMenu or camera application
(depending on the device type)
In the camera application:
• Short press: Operates shutter
release.
• Short half-press: Autofocus
FSC SpeedMenu or not assigned
(depending on the device type)
Application Button 6 Application for creating voice notes
(dictation unit)
Create new voice note
A26391-K182-Z120-1-7619, edition 1 15

Equipment overview
Configuring the application buttons
You can also assign other applications or functions to the preselected application buttons.
► Select
Start – Settings – Personal – Buttons.
► Touch the corresponding button in the selection list with the pen.
► Assign an application or function to the button.
► Confirm with
OK.
Using the on-screen keyboard
In some applications which allow text input you will see the symbol for the on-screen keyboard in the
footer.
You can use the on-screen keyboard in different ways:
Mode Description
Symbols Keyboard showing all available symbols and special
characters
Keyboard Standard on-screen keyboard
Touch the keys on the keyboard shown on-screen to
enter text.
Letter recognizer Write individual letters, numbers and punctuation marks –
they are then converted into typed text.
Block recognizer
Input text as a connected block of text to write letters,
numbers, symbols and punctuation marks which are then
converted into typed text. Use gestures to input the Enter
key and the Backspace key.
Transcriber Write in cursive handwriting or individual letters – or in a
combination of the two – and convert the result into typed
text.
Displaying/hiding the on-screen keyboard
► Touch the icon for the on-screen keyboard.
The on-screen keyboard is displayed on the screen.
► Touch the icon for the on-screen keyboard again to close the keyboard.
16 A26391-K182-Z120-1-7619, edition 1

Equipment overview
Changing on-screen keyboard mode
The on-screen keyboard is displayed.
► Click on the arrow next to the on-screen keyboard icon.
A popup window appears with the available modes.
► Select your preferred mode.
i
More information about the on-screen keyboard and its different modes can be found in
the online help function of your Pocket PC.
A26391-K182-Z120-1-7619, edition 1 17

Equipment overview
Software overview
The following table provides an overview of the most important programs which are already installed
on your Pocket PC and where you can find information on using these programs.
Software Used for Operating information
Telephone Telephone application with video
telephony functionality
Help file on Pocket PC
Word Mobile For word processing Help file on Pocket PC
Excel Mobile For spreadsheet functions Help file on Pocket PC
PowerPoint Mobile For opening and displaying
presentations created on a PC
Help file on Pocket PC
Outlook Mobile Mailbox, calendar, contacts, notes,
tasks
Help file on Pocket PC
ActiveSync For data synchronisation Help file on the Pocket PC and
on the computer on which you
installed ActiveSync.
Internet Explorer Mobile Browser for websites and WAP sites Help file on Pocket PC
Windows Media Player
Mobile 10 For playing audio and video files Help file on Pocket PC
• MSN Messenger for receiving and
sending text messages via the
Internet
Pocket MSN Help file on Pocket PC
• MSN Hotmail for receiving and
sending e-mails via an MSN
Hotmail account
FSC SpeedMenu Help file on Pocket PC
Quick start menu for simplifying daily
procedures. Adapt the menu to your
needs. Support for one-handed
operation
FSC CONNECTMOBILITY-
E2C Help file on Pocket PC
Connection manager for efficient
management and control of complex
Internet and Intranet connections.
Automates and minimizes user
actions.
FSC Voice Recorder Brings genuine Dictaphone©
functionality to the Pocket PC
Help file on Pocket PC
FSC Panning Experiencing problems when scrolling
in Internet Explorer Mobile?
FSC Panning quickly brings window
contents into view. Especially useful
on large websites.
Help file on Pocket PC
FSC KeyLock Protects against accidental starting of
the Pocket-PC when a key is pressed
Help file on Pocket PC
18 A26391-K182-Z120-1-7619, edition 1

Equipment overview
FSC MobileZip Open, unpack, create and edit Zip
archives
Help file on Pocket PC
FSC Backup (optional) Data backup and restoration Help file on Pocket PC
ClearView PDF Program for displaying files in the PDF
format
Help file on Pocket PC
Voice Commander Control the device with your voice. For
telephone calls, calling up information
about your contacts and about your
programs.
Help file on Pocket PC
GPSLocator GPSLocator illustrates the basic
functions of your GPS system
Help file on Pocket PC
SIM Manager Manages the data on your SIM card Help file on Pocket PC
A26391-K182-Z120-1-7619, edition 1 19

Equipment overview
Accessories
We offer a range of accessories to make it easier and more convenient to work with your Pocket PC.
Information on additional accessories for your Pocket PC can be found on our website at
www.fujitsu-siemens.com/accessories.
Below you will find a short description of the special accessories for your Pocket PC.
Cradle
With the cradle you can charge the battery in the Pocket PC and/or synchronise data between the
Pocket PC and a computer.
External GPS antenna (optional)
With a Pocket PC with integrated GPS, you can connect an external GPS antenna to the underside
of the Pocket PC. The external GPS antenna improves performance in difficult reception conditions.
20 A26391-K182-Z120-1-7619, edition 1

Getting started
It will only take a few moments to have your Pocket PC up and running, ready for use. The steps you
will need to work through include:
• Checking the delivery contents
• Removing the protective film from the camera and the screen
• Installing the battery and the SIM card (optional)
• Connecting the power adapter
• Starting up your Pocket PC for the first time
• Calibrating the touchscreen
• Familiarising yourself with basic operation of the device
• Performing initial data synchronisation with ActiveSync or Exchange Server (optional)
More information on these individual steps can be found on the poster “Getting Started” and in the
chapters below.
Checking the delivery contents
► Check the contents of your delivery package – use the “Getting Started” poster to make sure
nothing is missing.
Removing the protective film from the camera and
the screen
The lens of the camera (optional) and the display are covered with a protective film to protect them
against scratches.
► Before starting up the Pocket PC, remove the protective films on the lens of the camera and
the display.
A26391-K182-Z120-1-7619, edition 1 21

Getting started
Installing the battery and the SIM card (optional)
You can use your Pocket PC in two different modes of operation:
● Without a SIM card: no telephony functions available
● With a SIM card: telephony functions are available
The SIM card is provided by the operator of your telephone network. Use of a SIM card is optional. If
you choose to use the Pocket PC without a SIM card then the telephony functions will not be
available. However, calls to emergency services are also possible without a SIM card.
1
2
► Slide off the cover from the Pocket PC in the direction of the arrow (1).
► If using a SIM card, insert it in the direction of the arrow into the SIM card slot (2).
1
2
3
► Insert the battery in the battery compartment (1).
► Slide the battery catch in the direction of the arrow (2).
► Slide the cover back on in the direction of the arrow as far as it will go (3).
Your new battery will not be charged when you unpack it. Therefore, before using the
device for the first time without a mains power supply you should charge the battery until
the corresponding LED indicator stops flashing.
i
22 A26391-K182-Z120-1-7619, edition 1

Getting started
Connecting the power adapter and charging the
battery
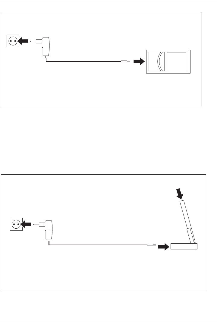
! Please observe the safety information in the "Important notes" chapter.
Information on connecting the mains adapter and charging the battery can be found in "Operating the
Pocket PC" in the section "Charging the battery".
Starting up your Pocket PC for the first time
1
2
► Press the End button to switch on the Pocket PC (1).
The Pocket PC is switched on.
► Pull out the pen in the direction of the arrow (2).
A26391-K182-Z120-1-7619, edition 1 23

Getting started
Calibrating the screen
The display of your Pocket PC is a touchscreen. To ensure that the touchscreen of your Pocket PC
reacts correctly when touched with the pen, you will be asked to calibrate the touchscreen after the
initial start-up.
► Touch the centre of the cross hairs that appear on the display with the stylus.
► You will need to repeat this procedure several times, whereby the cross hairs will appear at
different locations on the display each time.
► Follow the instructions on the display.
Entering a PIN (optional)
If you are using a SIM card you will be asked to enter your PIN once the calibration process is
finished.
► Enter your PIN.
Familiarising yourself with basic operation of the
device
Next, the operating system provides a brief introduction to the operation of the Pocket PC with the
pen after the initial start-up.
► Follow the instructions on the display.
Today screen
Following the introduction the Today screen appears. The Today screen shows all important current
information at a glance. From this screen you have access to all programs and to the system
settings.
Please also use the help function available on your Pocket PC if you want to know more
about using the programs contained in the operating system.
i
24 A26391-K182-Z120-1-7619, edition 1

Getting started
Internet and intranet connections with
CONNECTMOBILITY-E2C
CONNECTMOBILITY-E2C (E2C for short) is a tool that enables you to establish a connection to the
Internet or to your company's intranet very easily by simply pressing a button.
With a few clicks you can change between your company WLAN, your private WLAN at home or a
WLAN hotspot in a cafe or at the airport. You can connect to BT or IrDA via your GPRS-capable
telephone without having to think about settings and automatically start your preferred application.
If you are using a SIM card from one of the major network operators in Europe then the
pre-settings of your network operator will be automatically adopted.
i Detailed information on the use of CONNECTMOBILITY-E2C can be found in the help file
on your Pocket PC.
Starting CONNECTMOBILITY E2C
► Select Start - Programs - CONNECTMOBILITY E2C.
CONNECTMOBILITY-E2C is started.
User data dialogue
If additional data are required to establish the connection to the required target network, e.g. GSM,
VPN, WLAN WPA PEAP, then they are requested after the "Connect" softkey is pressed - but before
the actual connection is established.
The following data may be concerned depending on the type of connection:
• User name
• Password
• Domain
• RSA ID PIN
• RSA ID Token
A26391-K182-Z120-1-7619, edition 1 25

Getting started
GPRS/UMTS provider selection
If E2C determines while establishing a connection with a GPRS/UMTS network that you are not in
your home country, E2C attempts to read out the home provider of your mobile phone to establish a
GPRS/UMTS connection with the related settings. If E2C is unable to read out the home provider of
your mobile phone, the dialogue "GPRS/UMTS provider selection" opens. Here you can provide E2C
with the missing data required to automatically establish the GPRS/UMTS connection. E2C requires
information on the country and the home provider of your mobile phone from you.
Data synchronisation
Two data synchronisation methods are available:
● Exchange Server
● ActiveSync
Data synchronisation via Exchange Server
Exchange Server allows you to synchronise data with a server directly via WLAN or GPRS.
Configuring Exchange Server
► Select Start - Programs - ActiveSync.
The ActiveSync window appears on the screen.
► Select
Menu – Add Server Source or Menu – Configure Server.
The Server Settings window is then displayed.
► Enter the name of the server on which Exchange Server is running.
► Click on
Next to confirm.
► Enter the user name, password and domain.
► If necessary click on Advanced to make further settings.
► Click on
Next to confirm.
► Select the data you wish to synchronise via Exchange Server.
► If necessary click on Settings to make further settings.
► Click on
Finish to confirm.
The data are synchronised with Exchange Server.
26 A26391-K182-Z120-1-7619, edition 1

Getting started
Synchronising data with Exchange Server
► Select Start - Programs - ActiveSync.
The ActiveSync window appears on the screen.
► Select
Synchronize.
► Enter your password.
The data are synchronised with Exchange Server.
Data synchronisation with ActiveSync
With ActiveSync you can synchronise your data on your Pocket PC and your computer (e.g. Outlook
data).
You can also use ActiveSync to upload new software onto your Pocket PC.
The USB cable and the ActiveSync software are provided for data synchronisation. ActiveSync is
already installed on your Pocket PC. You only need to install ActiveSync on your computer.
Installing ActiveSync on your computer
you will find the ActiveSync program and the necessary driver on the supplied Microsoft Getting
Started CD.
► Insert the Microsoft Getting Started CD in the optical drive of your computer.
The ActiveSync installation program will start.
► If the installation program of ActiveSync does not start automatically, double-click on the file
Setup.exe of ActiveSync.
► Follow the instructions on the screen.
During the installation the software will attempt to establish a connection to the Pocket PC.
If you have not yet installed Outlook on your computer, you will need to install it on your
computer before the first data synchronisation takes place between your Pocket PC and
your computer. You will find Outlook on the supplied Microsoft Getting Started CD.
i
A26391-K182-Z120-1-7619, edition 1 27

Getting started
Performing a data synchronisation
After you have specified the desired and required settings for synchronisation in the ActiveSync
Setup Wizard on your computer, the first synchronisation starts automatically.
You need to copy the data you have processed on your Pocket PC on the road onto your computer
so that you can access the latest version of the data there as well. This procedure is conveniently
enabled with data synchronisation:
In the ActiveSync program you can specify that the latest version of a file is checked and then
automatically updated on the respective data carrier - regardless of whether it is the Pocket PC or a
computer.
You can synchronise data between your Pocket PC and your computer via the cradle, using a USB
cable or via Bluetooth or wireless LAN.
Information about how to synchronise data using ActiveSync can be found in the ActiveSync help file on
your computer.
Connecting your Pocket PC and computer
2
1
► Switch the computer on.
► Connect the USB cable to your Pocket PC (1) and to one of the USB ports (2) of your
computer.
The Pocket PC is now connected to your computer. The ActiveSync partnership is established
between your Pocket PC and computer, and the data are synchronised.
More detailed information about data synchronisation with ActiveSync can be found in the
help file on your Pocket PC.
i
28 A26391-K182-Z120-1-7619, edition 1

Getting started
Using the cradle
With the cradle you can charge the battery in the Pocket PC and/or synchronise data between the
Pocket PC and a computer.
The cradle has two mini USB ports: one port for data synchronisation and one port for the mains
adapter.
DATA CHG
2
1
1 = Port for the charging device
2 = Data synchronisation port
Selecting a location for the cradle
Place the cradle on a stable, flat and non-slip surface. In view of the multitude of different finishes
used on furniture, it is possible that the rubber feet of the Pocket PC will mark the surface they stand
on.
The cradle and the mains adapter should be at least 200 mm apart.
The Pocket PC and the cradle should not be subjected to extreme environmental conditions. Protect
the Pocket PC and cradle from dust, moisture and heat.
A26391-K182-Z120-1-7619, edition 1 29

Getting started
Using the cradle for data synchronisation
Before the first data synchronisation between your Pocket PC and computer, you will need
to install the program ActiveSync on your computer (see "Installing ActiveSync on your
computer").
i
3
2
1
► Switch the computer on.
► Place the Pocket PC in the cradle (1).
► Connect the USB cable to the data synchronisation port of the cradle (2).
► Connect the USB cable to one of the USB ports of your computer (3).
The Pocket PC is now connected to your computer. The ActiveSync partnership between your
Pocket PC and your computer is established.
► If the battery charge level of your Pocket PC is low, you should connect the mains adapter (see
"Connecting the power adapter").
More information on data synchronisation can be found in the help file on your Pocket PC.
30 A26391-K182-Z120-1-7619, edition 1

Getting started
Using the online help
Your Pocket PC comes with a detailed online help function. You can call up the online help directly or
context-sensitively from an application.
Starting the online help independently of an application:
► Click on
Start – Help.
The Help window opens.
Click on Contents to view all of the available help topics.
Alternatively you can click on Search to find specific topics.
Starting the online help from an application:
You are in an application.
► Click on
Start – Help.
A Help window pops up with topics related to the application.
A26391-K182-Z120-1-7619, edition 1 31

Getting started
32 A26391-K182-Z120-1-7619, edition 1

Making telephone calls with the
Pocket PC
Your Pocket PC is equipped with all of the functions of a modern mobile telephone. If you have a
SIM card from a telephone network operator you can use it. Without a SIM card you will only be able
to make calls to the emergency services.
Making a telephone call
The Pocket PC offers you various ways to make telephone calls:
Enter a phone number
You are in the Today screen.
► Enter the required telephone number via the keyboard.
► Press the Answer button.
The connection is established.
Select a phone number from your contacts
► Click on
Start – Contacts.
You saved contacts are displayed.
► Touch the required contact.
The details for the selected contact are then shown.
► Touch the corresponding telephone number.
► Press the Answer button.
The connection is established.
Select a phone number from your list of calls
► Click on
Start – Telephone.
The online keyboard for telephony is displayed.
► Touch
Recent Calls.
The list of recent calls is displayed.
► Touch the corresponding telephone number.
► Press the Answer button.
The connection is established.
A26391-K182-Z120-1-7619, edition 1 33

Making telephone calls with the Pocket PC
Answering an incoming call
On your Pocket PC, incoming calls are signalled by the selected ringtone/vibration alarm and a
corresponding display on the screen.
► To answer the call, touch Answer on the screen.
or
► Press the Answer button.
You can also use the Ignore option if you would prefer not to answer the incoming call.
i
Ending the conversation
► Press the End button.
or
► Touch
End on the display.
Displaying missed calls
Missed calls are indicated by the right-hand indicator flashing blue as well as the word Note on the
bottom left of the footer.
► Touch Note to display the missed call.
or
► Press the left, preselected softkey button.
The number of missed calls is displayed.
► Select
View to display the caller’s telephone number.
or
► Click on
Close to close the window without having the telephone number displayed.
34 A26391-K182-Z120-1-7619, edition 1

Making telephone calls with the Pocket PC
Using the Voice Commander
With the aid of the Voice Commander speech recognition application you can save a voice identifier
for each of your contacts. Once this has been set up, you only need to say the voice identifier in the
Voice Commander application and your Pocket PC will automatically dial the telephone number of
the contact.
For best results with the Voice Commander system, we recommend that you assign the
Voice Commander application to one of the application keys – see "Configuring the
application buttons".
i
Making a call via Voice Commander
► Select
Start - Programs - Voice Commander.
Voice Commander is opened. You are prompted to speak a command.
► Say "call <voice identifier>", e.g. "call test", to dial the telephone number of the contact with the
corresponding voice identifier.
Once Voice Commander has been able to assign your text to a command you will be asked to
confirm it.
► If the command has been correctly recognised say “yes”.
The phone number of the contact is dialled.
Detailed information on the use of the Voice Commander system can be found in the help
file on your Pocket PC.
i
A26391-K182-Z120-1-7619, edition 1 35

Making telephone calls with the Pocket PC
Speed dial function
You can assign speed dial numbers to up to 99 contacts. These speed dial numbers allow you to dial
required telephone numbers more quickly.
Programming the speed dial function
► Click on
Start – Contacts.
You saved contacts are displayed.
► Touch the required contact.
The details for the selected contact are then shown.
► Select
Menu – Add Speed Dial.
► Choose an available speed dial number, e.g. "29".
► Confirm with
OK.
The speed dial number for your contact has now been saved.
Making a call via the speed dial number
► Click on Start – Telephone.
The online keyboard for telephony is displayed.
► Enter * plus the speed dial number, e.g. "29".
The contact assigned to this speed dial number is displayed.
► Press the Answer button.
The connection is established.
36 A26391-K182-Z120-1-7619, edition 1

Making telephone calls with the Pocket PC
Using the handsfree function
With the aid of the handsfree function you can make calls via the loudspeaker without having to hold
the telephone to your ear. In the process, the loudspeaker volume and the microphone sensitivity are
significantly increased.
► Click on
Start – Telephone.
The online keyboard for telephony is displayed.
► Enter the telephone number with the stylus pen.
► Press the Answer button.
The connection is established.
► Touch
Handsfree.
or
► Press and hold the Answer button.
The handsfree function is now active, and the loudspeaker is switched on.
► Touch
Handsfree Off to switch the loudspeaker off again.
or
► Press and hold the Answer button.
A26391-K182-Z120-1-7619, edition 1 37

Making telephone calls with the Pocket PC
Muting the telephone
During a call you can mute the microphone of your Pocket PC to prevent the other person from being
able to hear what you or someone else in the room is saying.
► Click on Start – Telephone.
The online keyboard for telephony is displayed.
► Enter the telephone number.
► Press the Answer button.
The connection is established.
► Touch
Sound Off.
The microphone is switched off.
► To switch the microphone back on, touch Sound On.
Call holding
This function allows you to put a call on hold without terminating it. In this case the person at the
other end of the line will hear music while he or she is on hold. In the mean time you can for example
dial a second telephone number and set up a second telephone connection.
► Click on
Start – Telephone.
The online keyboard for telephony is displayed.
► Enter the telephone number.
► Press the Answer button.
The connection is established.
► Tap
Hold.
The call is put on hold. While it is on hold, the person at the other end of the line hears music.
► If you would like to set up a second telephone connection, touch the keyboard in the footer and
dial the required number.
► To terminate the second call, touch End.
► Touch
Alternate Line to speak to the first person again.
You can also combine two held calls into a conference call – see "Making a conference
call".
i
38 A26391-K182-Z120-1-7619, edition 1

Making telephone calls with the Pocket PC
Making a conference call
You have established two telephone connections, see "Call holding". You would like to combined
these two calls to a conference call.
Setting up a conference call
► Touch
Menu – Conference.
All connections are combined to a conference call.
Disconnecting all connections from the conference call
► Tap on End.
All connections are disconnected.
Disconnecting selected connections
► Touch Menu – Private.
All active connections are displayed.
► Tap on the connection you would like to terminate.
► Tap on
End.
The selected connection is terminated. All other connections remain connected.
A26391-K182-Z120-1-7619, edition 1 39

Making telephone calls with the Pocket PC
Making video telephone calls (optional)
Depending on the equipment level, your Pocket PC is supplied with a camera which enables you to
make video telephone calls. Video telephone calls are also possible if the person receiving the call
has video functionality without the corresponding camera.
Please check with your telephone network operator whether separate activation is required
for this service.
i
GPRS does not support video telephony. Video telephone calls can only be made via a
UMTS connection.
The quality of the video telephone call depends largely on the strength of the UMTS
network. The video telephone call will be interrupted in the event of network fluctuations.
Answering an incoming video telephone call
On your Pocket PC, incoming video telephone calls are signalled by the selected ringtone/vibration
alarm and a corresponding display on the screen.
► To answer the call, touch Answer on the screen.
or
► Press the Answer button.
You can also use the Ignore option if you would prefer not to answer the incoming call.
i
The video camera on the front of the device is activated, the camera window appears in the display
and the connection is established.
► Position yourself in front of the video camera so that your picture is shown clearly on the
display of the Pocket PC.
Making a video telephone call
You are logged into a UMTS network.
► Click on
Start – Telephone.
The Telephone application is displayed.
► Enter the required telephone number.
► Select
Video.
40 A26391-K182-Z120-1-7619, edition 1

Making telephone calls with the Pocket PC
The video camera on the front of the device is activated, the camera window appears in the display
and the connection is established.
► Position yourself in front of the video camera so that your picture is shown clearly on the
display of the Pocket PC.
Once a connection has been successfully established, the display on the Pocket PC will show the
picture of the person you are calling.
Further options for video telephone calls
Further video telephony options are available in the Telephone window:
Option Meaning
Interrupts the video transmission without terminating the video telephone call.
Mutes the microphone.
Switches between the cameras.
By default the camera on the front of the device is used for video telephone calls.
This function allows you to switch to the 2 megapixel autofocus camera on the
back of the device.
Changes the video settings:
• Both video pictures are the same size.
• Only the video picture of the person making the call is shown.
• Own video image is large, video image of the other person is small.
• Own video image is small, video image of the other person is large.
Terminates the video telephone call.
End
A26391-K182-Z120-1-7619, edition 1 41

Making telephone calls with the Pocket PC
Managing contacts
The Pocket PC offers you two ways to save contact details:
• Use the "Contacts" application to save the contact details directly onto your Pocket PC.
• Save the contact details on the SIM card (optional)
With the "Contacts" application, your Pocket PC offers an address book with comprehensive
functions. You can save your contact data in a local address book on your Pocket PC.
Detailed information on the use of the “Contacts” application can be found in the help file
on your Pocket PC.
i
Copying contact details from the Pocket PC to the SIM card
The "Contacts" application also allows you to copy contact data from the local address book of your
Pocket PC to your SIM card.
The "Contacts" application displays both contacts from the local address book and
contacts from the currently used SIM card. Contacts on the SIM card are marked with the
SIM card symbol.
i
► Click on Start – Contacts.
The contacts are displayed.
► Touch the required contact.
The contact is opened.
► Select the menu Save to SIM.
The contact is copied to the SIM card.
Copying contacts from the SIM card to the Pocket PC
With the aid of the SIM Card Manager you can display the contact data on the SIM card and copy
them to your Pocket PC.
► Select
Start - Programs - SIM Contacts.
The SIM Card Manager is opened with the contact data saved on the SIM card.
► Select
Copy now to transfer the contact data from the SIM card to your Pocket PC.
The contact data are copied across.
42 A26391-K182-Z120-1-7619, edition 1

Making telephone calls with the Pocket PC
Displaying services on the SIM card (network
provider specific)
With the aid of the "SIM Toolkit" application you can also display the services, e.g. Info-Services,
made available by your telephone network provider with your SIM card.
► Select Start - Programs - SIM Toolkit.
The available services are displayed.
Please contact your telephone network provider for more information about the services
available.
i
SIM security
If you are operating your Pocket PC with a SIM card, the system will ask you to enter your PIN
number whenever you switch the telephone function on or off, completely shut down the device or
change the battery and/or the SIM card.
However, you can also deactivate the PIN request in the device settings if you would prefer to start
up your Pocket PC without being asked for your PIN number:
► Click on
Start – Settings – Telephone.
► Place a tick next to the option Switch off PIN request.
The PIN is no longer requested when the device is started up.
SIM lock
Depending on your telephone network provider, your Pocket PC may have a SIM lock, i.e.
you may not be able to use your device with SIM cards from other network providers.
i
For more information about how to cancel the SIM lock, please contact your telephone
network provider.
A26391-K182-Z120-1-7619, edition 1 43

Making telephone calls with the Pocket PC
Blocking your SIM card
The SIM card is provided by the operator of your telephone network.
i
Please contact the operator of your telephone network if your would like to have your SIM
card blocked.
Configuring telephone settings
The SIM card for telephony functions is provided by the operator of your telephone network. As a
result, the telephone settings depend to a large extent on the functions made available by your
telephone network provider.
Detailed information on the configuration of telephone settings can be found in the help file
on your Pocket PC.
i
Network selection
If you use more than one network you can define one of the networks as your preferred network.
► Click on
Start – Settings – Personal.
► Select
Telephone.
The window with the settings for the Telephone application is now displayed.
► Select the
Network tab.
► Select
Find network.
Your network connections are updated.
► Tap on
Define networks.
The strongest network is automatically selected.
or
► Under the network selection options select Manual.
A list of the available networks is displayed.
► Choose your preferred network.
► Confirm your settings with OK.
The network is selected.
44 A26391-K182-Z120-1-7619, edition 1

Making telephone calls with the Pocket PC
Setting up a mailbox number
The mailbox number is provided by your telephone network provider.
i
► Select Start – Settings – Personal – Telephone – Services.
► In the scroll menu select the entry Mailbox and SMS.
► Select
Request settings.
The settings are read in from the network.
► Enter your mailbox number under Mailbox.
► Confirm with
OK.
The mailbox number is set up.
Setting up the SMS Service Centre
i
The number of your SMS Service Centre is provided by your telephone network provider
and may already be pre-selected.
► Select Start – Settings – Personal – Telephone – Services.
► In the scroll menu select the entry Mailbox and SMS.
► Select
Request settings.
The settings are read in from the network.
► Enter the number of your SMS Service Centre under SMS Service Number.
► Confirm with
OK.
The SMS Service Centre is set up.
A26391-K182-Z120-1-7619, edition 1 45

Making telephone calls with the Pocket PC
Setting up call diversion
With your Pocket PC you can divert incoming calls – e.g. when your device is switched off, or if you
are currently using a different telephone, or in case you are already answering another call on the
line.
► Select
Start – Settings – Personal – Telephone – Services.
► Select
Call diversion in the scroll menu.
► Select
Request settings.
The settings are read in from the network.
► Enter the desired settings for the call diversion.
► Confirm with
OK.
Call diversion is set up.
46 A26391-K182-Z120-1-7619, edition 1

Operating the Pocket PC
This chapter contains descriptions of the operating elements of your Pocket PC as well as
information about how to use it.
! Please refer to the notes in "Important notes".
Using the profiles of your Pocket PC
Default profiles provide convenient access to frequently used system settings, tailored to the
particular way in which you are using the device. With the aid of these profiles you can control power
consumption or the radio modules of your device. You can also use profiles to control data behaviour
and the acoustic/visual behaviour.
Profile Description
Standby The Pocket PC is switched to Standby mode.
Switch off The Pocket PC is completely switched off.
In-flight mode All radio modules (telephone, WLAN, Bluetooth) are deactivated. The
Pocket-PC is operated as a handheld only.
Direct push Deactivates or activates the E-mail push function, see
"Receiving e-mails and other data automatically in real-time (e-mail
push)".
Data connection off Deactivates all data connections. The telephone functions remain
active.
Outside Mode for loud environments. The volume of acoustic signals is
increased.
Meeting mode Acoustic signals are switched off. Vibration function is active.
Normal mode The volume of the acoustic signals corresponds to the standard
volume of the device.
Maximum power Mode for high-speed working with comparatively high power
consumption.
Maximum battery life Energy saving mode.
Automatic The Power Manager determines the optimum power consumption
mode and the processor performance. The CPU automatically
switches between the power profiles according to the required use.
BT handsfree Switches the Pocket PC to Bluetooth handsfree (optional).
If you would like to switch off the vibration function as well as the system tones, you can
activate silent mode by pressing and holding the star key.
i
A26391-K182-Z120-1-7619, edition 1 47

Operating the Pocket PC
Selecting profiles
► From the Today screen, press and hold the End button.
The profiles selection menu is displayed.
► Use the navigation key to select the required profile.
The profile is activated.
► Confirm with the Enter key.
Configuring profiles
► From the Today screen, press and hold the End button.
The profiles selection menu is displayed.
► Use the navigation key to select the required profile.
► Select
Menu - Edit.
► Enter the settings for the profile and confirm with OK.
The new profile settings are saved.
Detailed information on the configuration of the profiles can be found in the help file on
your Pocket PC.
i
Switching the Pocket PC on and off
The Pocket PC is switched on and off with the End key. After certain applications or the installation of
new programs, it may be necessary to restart the Pocket PC with a soft reset. It is only necessary in
rare and exceptional cases to reset the Pocket PC to the factory defaults.
1
1= End button
48 A26391-K182-Z120-1-7619, edition 1

Operating the Pocket PC
Switching the Pocket PC off and on during normal use
(Standby mode)
Switching the Pocket PC to Standby mode
► From the Today screen, briefly press the End button.
The Pocket PC is switched to Standby mode.
If you have specified a switch-off time in the system settings, your Pocket PC will
automatically switch to Standby mode after this specified time.
i
There are two ways to switch on your Pocket PC:
Switching on with the End button
► Briefly press the End button.
► If the device lock is activated, press and hold the Enter button afterwards.
The Pocket PC is switched on.
Switching on with the application buttons
By default, you can also switch your Pocket PC on by briefly pressing one of the application buttons.
► Briefly press any one of the application buttons.
The applications assigned to the respective button appear on the screen.
With the appropriate setting in FSC KeyLock you can prevent the Pocket-PC being started
by pressing the application button.
i
Detailed information about FSC KeyLock can be found in the help file on your Pocket PC.
A26391-K182-Z120-1-7619, edition 1 49

Operating the Pocket PC
Pocket PC: switching off to save battery life
Switching off
► From the Today screen, press and hold the End button.
The profiles selection menu is displayed.
► Select the profile Switch off.
The profile is activated. All programs are closed and the Pocket PC is completely switched off. The
power consumption of the Pocket PC is reduced to a minimum.
► To switch the Pocket PC back on again, press and hold the End button.
Resetting the Pocket PC
Soft reset (warm start)
After certain applications or the installation of new programs, it may be necessary to restart the
Pocket PC with a soft reset.
Unsaved data will be lost. Shut down all programs before you restart the Pocket-PC.
!
1
► Slide off the battery cover from the Pocket PC.
► Briefly press the stylus tip into the soft reset opening (1).
The warm boot is carried out.
50 A26391-K182-Z120-1-7619, edition 1

Operating the Pocket PC
Cold starting and resetting factory default settings
If your Pocket PC stops working and switching off and on with the End button and the soft reset is
unsuccessful, you can perform a cold start with your Pocket PC or reset it to the factory default
settings.
Unsaved data will be lost.
!
1
2
► Slide off the battery cover from the Pocket PC.
► Briefly remove and then refit the battery.
► Wait a few seconds.
► At the same time press and hold the End button (1) and press the tip of the stylus pen into the
soft reset opening (2).
The display will show a list of available options.
► Select
Skip if you would like to perform a normal cold start.
► To restore the Pocket PC to the factory defaults select Factory Defaults.
The selected option is performed.
It may take a few minutes for the factory defaults to be restored. At the end an acoustic signal
sounds. Please follow the further instructions on the display.
i
The data memory is deleted when the Pocket PC is restored to its factory defaults. This
means: You will lose all data (documents, additionally installed programs, personal
settings) that you haven't saved elsewhere. Always back up your data on a regular basis
(memory card, FSC Backup).
If you have set a password with FSC SecureLock then this password will remain.
A26391-K182-Z120-1-7619, edition 1 51

Operating the Pocket PC
Out and about with the Pocket PC
Please observe the following information when you are out and about with your Pocket PC.
Transporting Pocket PC
► Switch the Pocket PC off.
► Disconnect the cables from the Pocket PC.
► If the device needs to be shipped, use the original packaging or other suitable packaging to
protect it from damage caused by mishandling.
► Use a bag for the Pocket PC when transporting it. The bag offers protection against knocks and
bumps and is available as an accessory.
► In some countries the use of Bluetooth is restricted or completely prohibited. Ask about the
regulations in the country you will be travelling in before starting your trip. As a precaution,
switch Bluetooth off in case there is any uncertainty at your place of residence.
► Protect the Pocket PC from severe shocks and extreme temperatures (e.g., direct sunlight in a
car).
!
If you are travelling abroad, check that the mains adapter can be operated with the local
mains voltage. Do not use any other voltage converter!
In-flight usage
► If you wish to use your Pocket PC during a flight as a pure handheld without telephony
functions, Bluetooth or WLAN, check with the airline first whether and under what conditions
this is allowed.
► Before embarking on the flight, make sure that you switch off all telephony functions, Bluetooth
and WLAN functions. To do this, select the "In-flight mode" profile – see "Using the profiles of
your Pocket PC".
Usage while driving
► Use a handsfree system, e.g. a handsfree installation in the vehicle or the optional Bluetooth
headset, and select the BT handsfree profile before you start driving – see "Using the profiles
of your Pocket PC".
52 A26391-K182-Z120-1-7619, edition 1

Operating the Pocket PC
Cleaning the Pocket PC
► Switch the Pocket PC off.
► Pull the power plug out of the mains outlet.
!
Do not use any cleaning agents that contain abrasives or may corrode plastic.
Please ensure that no liquid enters the Pocket PC.
► Clean the surface of the device with a dry cloth.
► If it is very dirty, you can clean the device and the display with a damp cloth.
A26391-K182-Z120-1-7619, edition 1 53

Operating the Pocket PC
Charging the battery
Your Pocket PC is equipped with a powerful battery. When you're on the road your Pocket PC is
supplied with power by the integrated battery.
i
The battery is not charged on delivery and should be charged prior to the first mobile use.
You have three ways of recharging the battery:
● You can connect the Pocket PC directly to an electrical outlet with the mains adapter.
● You can connect the cradle to an electrical outlet with the power adapter and insert the Pocket
PC into the cradle.
● You can connect the Pocket PC to a computer’s USB port using a USB cable.
You can continue to work with the Pocket PC during charging. This extends the charging time.
Please read the information about the mains adapter in "Connecting the power adapter"
chapter.
i
Recharging the battery directly via the mains adapter
You can connect the mains adapter directly to the Pocket PC.
► Slide the suitable mains adapter plug into
the mains adapter in the direction of the
arrow until it engages.
UK
54 A26391-K182-Z120-1-7619, edition 1

Operating the Pocket PC
2
1
► Connect the mains adapter cable to the mini USB port on the Pocket PC (1).
► Plug the mains adapter into a mains outlet (2).
The installed battery is now charged. The battery indicator flashes orange.
When the battery is fully charged, the power-on indicator lights continuously orange.
Charging the battery via the cradle
You can connect the mains adapter to the cradle:
2
1
3
► Connect the mains adapter cable to the charging device port on the cradle (1).
► Plug the mains adapter into a mains outlet (2).
A26391-K182-Z120-1-7619, edition 1 55

Operating the Pocket PC
► Place the Pocket PC in the cradle (3).
The installed battery is now charged. The battery indicator flashes orange.
When the battery is fully charged, the battery indicator lights continuously orange.
Charging the battery via a USB port
► Connect the USB cable to your Pocket PC.
► Connect the USB cable to the computer’s USB port.
Depending on the charge current the charging process may take longer than with a mains
adapter.
i
Optimising battery life
When you have completely charged the battery, you can operate the Pocket PC without a mains
power connection. However, it is not possible to exactly specify the maximum operating time, as
different applications use more or less energy.
In the system settings you can make settings that help you save energy when using your Pocket PC
– see “Energy saving functions ”. Doing this will help you to optimise battery life.
56 A26391-K182-Z120-1-7619, edition 1

Operating the Pocket PC
Inserting and removing an expansion card
A slot enables the operation of an expansion card of the type "Secure Digital I/O" or
"MultiMediaCard".
Observe the manufacturer's instructions when using the expansion cards.
! Never use force when inserting or removing an expansion card.
Make sure that no foreign objects enter the slot.
Inserting the expansion card
2
1
3
► If necessary, also press on the edge of the placeholder so that the placeholder is slightly
pushed out of the slot (1).
► Pull the placeholder out of the Pocket PC (2).
► Carefully push the expansion card into the slot (3).
The expansion card can protrude by one to several millimetres (depending on the type of expansion
card).
Keep the placeholder for the expansion card in a safe place. When you remove the
expansion card again, you should reinsert the expansion card placeholder. This prevents
foreign matter from getting into the slot.
i
A26391-K182-Z120-1-7619, edition 1 57

Operating the Pocket PC
Removing the expansion card
2
1
3
► Press on the edge of the expansion card so that the expansion card slightly jumps out of the
slot (1).
► Slide the expansion card out of the Pocket PC (2).
► Insert the placeholder into the slot again (3) if necessary.
The placeholder protrudes by one to two millimetres.
58 A26391-K182-Z120-1-7619, edition 1

Operating the Pocket PC
Using the Pocket PC as a USB Host device
With the optional USB Host cable you can use
your Pocket PC as a USB Host device and
connect various USB devices, such as a
MEMORYBIRD, to the Pocket PC.
You can connect USB devices from Fujitsu Siemens Computers (e.g. MEMORYBIRD or
STORAGEBIRD) immediately.
i If you want to connect other USB devices, ask your dealer whether you will need to install
corresponding drivers first.
The current consumption of the USB device must not exceed 100 mA (at +5 V). USB
devices with a current consumption of more than 100 mA must be supplied with power via
their own power supply.
► Select Start – Settings – System – USB Mode.
The window for selecting the USB mode pops up.
► Select the
USB Host option.
► Confirm with
OK.
► Connect the USB host cable to the mini USB port on the Pocket PC.
► Connect the USB device (such as a MEMORYBIRD) to the USB port of the USB Host cable.
The USB device is now connected to your Pocket PC.
► If the battery charge level of your Pocket PC is low, you should connect the mains adapter (see
"Connecting the power adapter").
► When you no longer need to operate the Pocket PC as a USB Host, change the USB mode
back to USB Client.
A26391-K182-Z120-1-7619, edition 1 59

Operating the Pocket PC
Configuring device settings
i
Detailed information about how to configure device settings such as the date, time, alarms,
background images, tones, application and task displays etc. can be found in the help file
on your Pocket PC.
Adapting menus
Frequently used programs appear in the Start menu. You can adapt the Start menu to meet your
needs.
► Touch the Menus symbol under Start - Settings - Personal.
A list of programs/applications appears.
To remove programs from the Start menu, click in the checkbox of the program. The check mark is
removed from the checkbox.
To add programs to the Start menu, click in the checkbox of the desired program. A check mark
appears in the checkbox.
Fast access to programs via FSC SpeedMenu
Do you want fast access to programmes but all application buttons are already assigned? Do you
always open the same documents and folders? Do you sometimes miss having an extra hand for
using the stylus?
Use FSC SpeedMenu and accelerate daily processes on your Pocket LOOX!
● Create and organise your own list of frequently used documents, programs and folders.
● Open them quickly directly from the menu.
● One-handed or stylus operation as desired.
i
Detailed information on this topic can be found in the help file on your Pocket PC.
60 A26391-K182-Z120-1-7619, edition 1

Creating messages
Just like any other mobile phone, you can use your Pocket PC to send SMS and MMS messages as
well as e-mails.
Incoming messages are indicated with the die LEDs (see "Indicators (LEDs) and status indicators in
the display") and a message on the screen and, depending on the device settings, via a signal tone
or vibration alarm.
Inbox
You can use the Inbox to check and manage all incoming and sent message types (SMS, MMS, e-
mail), as well as to create and send new messages.
The last messaging application that was used is always active in the window, e.g. MMS or e-mail.
All message types have their own account with subfolders.
Via the Inbox menu you can display the accounts and subfolders for the active message type or for a
different message type:
● Trash
● Draft
● Inbox
● Outgoing messages
● Sent messages
With the aid of the Sort by menu you can also display the messages according to certain criteria:
● Message type
● From
● Date received
● Subject
Use the New function to create a new message of the currently selected message type.
Display inbox
► Click on Start – Messaging.
The inbox is displayed.
► Select the required message type and the required subfolder via the Inbox.
All messages of the selected type are displayed.
A26391-K182-Z120-1-7619, edition 1 61

Creating messages
SMS messages
You can also use your Pocket PC to create SMS text messages in exactly the same way as a normal
mobile telephone. Each SMS text message can contain a maximum of 160 characters.
Creating and sending SMS messages
► Click on Start – Messaging.
► Click on the dropdown menu Inbox.
► Tap on the SMS account.
► Select
New.
A window opens for writing the new SMS.
► Enter the addressee and the text message for the SMS.
► Select
Send.
The SMS message is sent.
Detailed information on SMS messaging can be found in the help file on your Pocket PC.
i
Managing SMS messages on the SIM card
With the SMS Manager you can display all of the messages saved on your SIM card, transfer them
to your Pocket PC or delete them from the SIM card.
► Select Start - Programs – SMS Manager.
The SMS manager is displayed together with the SMS messages saved on the SIM card.
► Select the required SMS message.
► To copy an SMS message into the Inbox of your Pocket PC, select Save – Save to Inbox.
► To copy all SMS messages into the Inbox of your Pocket PC, select Save – Save All To Inbox.
► Do delete an SMS message from the SIM card, select Delete – Delete From SIM.
► Do delete all SMS messages from the SIM card, select Delete – Delete All SMS.
► Select
OK to exit the SMS Manager.
62 A26391-K182-Z120-1-7619, edition 1

Creating messages
MMS messages
MMS (Multimedia Messaging Service) messages are messages which can contain multimedia
objects like pictures, sound or video clips (3GP, MP4, AVI, WMV). You can attach files with a
maximum size of up to 300 kB.
Before you can send any MMS messages you will need to configure your MMS application, see
"Configuring the MMS application".
i
Your telephone network provider will generally provide you with the data for your MMS
connection.
Configuring the MMS application
In order to configure your MMS application, you will need to define your MMS connection and an
MMS profile.
Configuring the MMS connection
► Click on
Start – Settings.
► Select the
Connections tab.
► Select the
Connections icon.
► Select
Advanced.
► Select
Find networks.
► Under
Use programs with automatic Internet access click on New.
The ISP name window appears on the screen.
► Enter
MMS in this field..
► Select the
Modem tab.
► Select
New.
► Under
Enter name of connection enter the name "My connection".
► From the
Select modem dropdown list select the entry Mobile radio connection (GPRS).
► Select
Next.
The My connections window appears on the screen.
► Under
Access point name, enter the name for the access point provided to you by your telephone
network provider.
► Select Next.
► Enter the user name, password and domain given to you by your telephone network provider.
► Click on
Finish to confirm your entries.
Your MMS connection is configured.
A26391-K182-Z120-1-7619, edition 1 63

Creating messages
Configuring the MMS profile
You are in the Today screen. Your MMS connection is configured.
► Click on
Start – Messaging.
The inbox is displayed.
► Click on
Menu – MMS Settings.
The Settings window appears on the screen.
► Choose any profile and tap on Edit.
The Profile Settings window is displayed.
► Enter the profile settings provided by your telephone network provider.
► Click on
Finish to confirm your entries.
Your MMS profile is configured.
Creating and sending MMS messages
► Click on Start – Messaging.
► Click on the dropdown menu Inbox.
► Tap on the MMS account.
► Select
New.
The window with the new MMS is opened.
► Enter the addressee and the subject of the MMS.
► To attach a picture or video clip, select Menu – Insert – Picture or Menu – Insert – Video and select
the picture or video you would like to attach.
The picture or video clip is displayed in the MMS window.
► To attach an audio file, select Menu – Insert – Voice note and select the audio file you would like
to attach.
The audio file is displayed in the MMS window.
► To attach a different file type, select Menu – Insert – File and select the file.
The file is displayed in the MMS window.
► Select
Enter text and type in your text message.
► Select
Send.
The MMS message is sent.
64 A26391-K182-Z120-1-7619, edition 1

Creating messages
E-mail
With the Pocket PC you have various options for sending and receiving e-mails:
Private mail:
• Via a POP3, SMTP or IMAP4 account from your ISP
Company mail:
• Via a VPN corporate network
• Via ActiveSync
In order to be able to send e-mails you will therefore need a suitable e-mail account from your ISP or
a suitable e-mail account on a VPN corporate network (Virtual Private Network).
Setting up e-mail accounts for POP3, SMTP or IMAP4
► Click on Start – Messaging.
► Click on the dropdown menu Inbox.
► Tap on the e-mail account.
► Select
Menu – Tools – New Account.
► Enter the required data.
► Click on
Finish to confirm your entries.
Setting up an e-mail account for the VPN corporate network
i
Your ISP or administrator will generally be able to provide you with the data for your e-mail
account.
► Select Start - Programs - ActiveSync.
The ActiveSync window is opened.
► Select
Menu – Add Server Source or Menu – Configure Server.
The Server Settings window is opened.
► Enter the server address.
► Click on
Next to confirm.
► Enter the user name, password and domain.
► Click on
Finish to confirm your entries.
A26391-K182-Z120-1-7619, edition 1 65

Creating messages
Setting up e-mail sending via ActiveSync
► Connect your Pocket PC to your computer, see "Connecting your Pocket PC and computer".
► Follow the instructions on the screen.
Creating and sending e-mails
With your Pocket PC you can easily send e-mail messages with attachments (photos, voice notes,
files).
► Click on Start – Messaging.
► Click on the dropdown menu Inbox.
► Tap on the e-mail account.
► Select
New.
The window with the new e-mail is opened.
► Enter the addressee, the subject and the message.
► Select
Send.
The e-mail is sent.
Detailed information on creating and sending messages can be found in the help file on
your Pocket PC.
i
Downloading e-mails from a server (e-mail pull)
The process for downloading e-mails from a server depends on your e-mail account:
• If you have an Outlook e-mail account then you can transfer your e-mails via ActiveSync to your
handheld – see "Data synchronisation with ActiveSync".
• If you have an ISP e-mail account or a VPN server connection then you will need to log on to
the Internet or network.
► Click on Start – Messaging.
► Click on the dropdown menu Inbox.
► Tap on the e-mail account.
► Click on
Menu – Send/Receive.
Any new e-mails on the server are transferred to the Pocket PC, and e-mails in the "Outgoing
messages" folder of your Pocket PC are transferred to the server for sending.
66 A26391-K182-Z120-1-7619, edition 1

Creating messages
Receiving e-mails and other data automatically in
real-time (e-mail push)
If you have a data connection to a mobile network provider (GPRS/UMTS) for your Pocket PC then
your e-mails, calendar data, contact data, tasks etc. can be delivered from the network to your
Pocket PC in real-time via e-mail push.
If your device is switched off when new data are received via e-mail push then the LED will start to
flash.
The following conditions must be satisfied in order to use e-mail push:
• The server must support e-mail push.
• Exchange Server 2003 Service Pack 2 is installed.
• Direct push has been set up by your administrator on your Pocket PC.
Please consult your administrator if you have any queries.
i
In general, e-mail push should already be activated on your device after being set up by the
administrator.
To deactivate e-mail push, you will need to deactivate the corresponding profile on your Pocket PC:
► From the Today screen, press and hold the End button.
The profiles selection menu is displayed.
► Select the profile Direct Push.
The profile is deactivated.
E-mail push is deactivated.
► To reactivate e-mail push, select the profile Direct Push again.
The profile is activated.
Detailed information on adjusting the device behaviour when e-mail push is activated can
be found in "Configuring device behaviour when E-mail push is activated".
i
A26391-K182-Z120-1-7619, edition 1 67

Creating messages
68 A26391-K182-Z120-1-7619, edition 1

Using the Internet
In order to use the Internet you will need to have Internet access via an ISP or on a VPN corporate
network (Virtual Private Network).
In some cases your Internet access may already be pre-configured on your device. If this is the case
you will simply need to launch Internet Explorer – see "Accessing the Internet with Internet Explorer".
Otherwise you can configure your Internet access via FSC CONNECTMOBILITY-E2C. Detailed
information on this topic can be found in the help file on your Pocket PC.
Your ISP or administrator will be able to provide you with the required Internet access
data.
i
Accessing the Internet with Internet Explorer
With FSC CONNECTMOBILITY-E2C you can set up a connection to the Internet or to your company’s
intranet via WLAN, GSM or GPRS at the push of a button.
Your Pocket PC uses Internet Explorer Mobile as its Internet browser. This offers extensive browser
functionality.
Calling up Internet Explorer Mobile
You have selected the desired connection type with FSC CONNECTMOBILITY-E2C and established a
connection.
► Click on Start – Internet Explorer.
Internet Explorer is displayed.
Detailed information on the use of Internet Explorer Mobile and FSC CONNECTMOBILITY-
E2C can be found in the help file on your Pocket PC or in "Internet and intranet
connections with CONNECTMOBILITY-E2C".
i
A26391-K182-Z120-1-7619, edition 1 69

Using the Internet
70 A26391-K182-Z120-1-7619, edition 1

Using GPS functions
Using GPS functions
With a GPS receiver and navigation software you can use the Pocket PC as a navigation system.
Depending on the equipment, the GPS receiver is either integrated or available as an external
accessory.
Map materials for your Pocket PC are available from retailers on DVD or on memory cards
or via an online shop.
i
You have two options for using the navigation software on your Pocket PC:
● You can use the navigation software on a preinstalled expansion card.
● You can install the navigation software via your computer, e.g. from a DVD.
To register your navigation software you will require the serial number of the navigation
software and possibly also the device ID of your Pocket PC.
i The device ID will be displayed after the initial start-up of the navigation software if
necessary.
► Register your navigation software and your map materials as described in the instructions for
the navigation software.
A description of how to use the navigation software is provided in the instructions on the navigation
software.
i
If the reception signal is weak, you can connect an external GPS antenna. The external
GPS antenna improves performance under difficult reception conditions.
The external GPS antenna is available as an accessory.
GPS connects to COM6 at 9600 Bit/s.
Detailed information on this topic can be found in the help file on your Pocket PC.
FSC GPSLocator
FSC GPSLocator is demonstration software which illustrates how the GPS receiver of your Pocket
LOOX device works.
When you start the FSC GPSLocator the GPS receiver is also activated. Exiting the programme
deactivates the GPS receiver.
The GPS module is calibrated the first time you start it. This can take several minutes. When you
subsequently start the device your GPS receiver will be ready for use in just a few seconds.
Inside a building you will not normally be able to receive a GPS signal. It is therefore best to calibrate
the GPS receiver out in the open.
A26391-K182-Z120-1-7619, edition 1 71

Using GPS functions
GPSLocator shows you the GPS coordinates of your current location. If you are on the move with the
device - either on foot or in the car - the direction of movement and speed are also displayed.
The POI Finder is an application which helps you to find your way back to a previously saved
position.
72 A26391-K182-Z120-1-7619, edition 1

Using the camera functions (optional)
Depending on its equipment level, your Pocket PC will come with two integrated cameras: one VGA
camera on the front and one 2 megapixel autofocus camera on the back of the device (resolution:
1600 x 1200).
You can use the VGA camera for video telephone calls – see "Making video telephone calls".
With the 2 megapixel autofocus camera you can record both individual still photographs as well as
short video sequences.
2 megapixel autofocus camera
Supported file formats
File type Formats
Pictures BMP, JPG
Video AVI, WMV, MPEG4, 3GP
Starting the application "Pictures & Videos"
You can create and manage pictures and videos with the Pictures & Videos application.
► Select
Start - Programs – Pictures & Videos.
The application Pictures & Videos is opened.
Starting the camera directly
► Push the application button 5: Camera
The camera is started.
Taking pictures
The camera window is open.
► To adjust the autofocus, briefly press the application button 5: Camera.
► To take a picture, briefly press the application button 5 (Camera), which acts as the shutter
release.
The picture is taken and displayed in the Pictures & Videos window as a full-size picture.
► Select
Camera to take more pictures.
► Select
OK to return to the overview of all pictures and videos.
A26391-K182-Z120-1-7619, edition 1 73

Using the camera functions (optional)
Recording a video sequence
The application Pictures & Videos is opened.
► Select
Camera.
or
► Tap the
Camera icon.
The camera window opens.
► Select
Menu – Video.
The camera is switched to video mode.
► To start the video recording, briefly press the application button 5 (Camera), which acts as the
shutter release.
The video recording starts.
► To stop the video recording, briefly press the application button 5 (Camera) again.
The video recording stops.
► If you would like to record more video sequences, click on the middle of the navigation key
again.
► Select
OK to return to the overview of all pictures and videos.
Configuring the camera and video settings
Depending on whether the camera mode or video mode is active, further options for using the
camera are available in the Menu.
Camera settings
Option Meaning
Video This option switches the camera to video mode.
Mode With this option you can choose between different recording modes:
• Normal: For taking individual shots.
• Burst: For taking a sequence of 5 shots.
• Timer: Self timer option (5-second delay)
Brightness Adjustment of the brightness settings
Resolution Adjustment of the image resolution
Zoom Adjustment of the zoom settings
Options Various options are available for changing settings (image size, slide
show, file location etc.).
74 A26391-K182-Z120-1-7619, edition 1

Using the camera functions (optional)
Video settings
Option Meaning
Photo This option switches the camera to photo mode.
Brightness Adjustment of the brightness settings
Quality Adjustment of the video quality settings
Options Various options are available for changing settings (image size, slide
show, file location etc.).
Detailed information on this topic can be found in the help file on your Pocket PC.
i
A26391-K182-Z120-1-7619, edition 1 75

Using the camera functions (optional)
76 A26391-K182-Z120-1-7619, edition 1

Working with files
Windows Media Player
With Windows Media Player, you can play back various audio and video formats on your Pocket PC:
File type Formats
Audio WMA, MP3, WAV
Video WMV, MPEG4
You can find detailed information on how to use the Windows Media Player in the help file
on your Pocket PC.
i
ClearVue PDF
With ClearVue PDF, you can view PDF files on your Pocket PC.
i
You can find detailed information on how to use ClearVue PDF in the help file on your
Pocket PC.
A26391-K182-Z120-1-7619, edition 1 77

Working with files
Using Java applications
With the JBlend programme, you can run Java applications for mobile devices, download them from
the Internet onto your device and install them.
Downloading Java applications
► Select Start – Programs – JBlend.
The programme and the available Java applications are displayed.
► Select
Download.
Internet Explorer is displayed.
► Enter the desired Internet address.
► Download the desired Java application.
You will be asked if you wish to install the Java application.
► Confirm with
Yes.
Starting Java applications
► Select Start – Programs – JBlend.
The programme and the available Java applications are displayed.
► Tap on the Java application you wish to start.
The Java application is started.
► Uninstalling Java applications
► Select
Start – Programs – JBlend.
The programme and the available Java applications are displayed.
► Select the Java application you wish to uninstall.
► Select
Menu - Delete.
You will be asked if you wish to uninstall the Java application.
► Confirm with
Yes.
78 A26391-K182-Z120-1-7619, edition 1

Working with files
Compressing files with FSC MobileZip
FSC MobileZip lets you open, unpack, create and edit Zip archives.
FSC MobileZip extends the popup menu in the File Explorer. If you tap for longer on a file, you will
see additional entries in the popup menu, with which you can quickly create and extract archives.
FSC MobileZip supports archives up to a size of 4 GB as well as password protection with simple
encryption.
You can find detailed information on how to use FSC MobileZip in the help file on your
Pocket PC.
i
A26391-K182-Z120-1-7619, edition 1 79

Working with files
80 A26391-K182-Z120-1-7619, edition 1

Security functions
Your Pocket PC can be protected or locked in several ways:
Lock Meaning
Password protection provided by the Microsoft Windows 5.0 Phone Edition
operating system, see "Password protection".
Password protection
Password protection is lost if the device is reset to the factory settings.
Device lock (key and
display lock)
Protects the device by locking the operating elements against accidental
inputs during operation, see "Device lock (key and display lock)".
FSC KeyLock Prevents the device in standby mode (disabled status) from being
reactivated when an application key is pressed, see "FSC KeyLock".
FSC SecureLock Protects the devices against access by third parties by requesting a
password, see "FSC SecureLock".
Password protection is retained even if the device is reset to the factory
settings and offers special anti-theft protection A stolen device is worthless.
SIM Lock The device is only activated for a specific SIM card (by the telephone
network operator), see "Making telephone calls with the Pocket PC", section
"SIM lock".
Prevents the device from being used with other SIM cards.
A26391-K182-Z120-1-7619, edition 1 81

Security functions
Password protection
You can use a password to protect your Pocket PC against unauthorised use. This makes your data
accessible only to persons who know the password.
i
When FSC SecureLock is set, this password protection can only be lifted after the FSC
SecureLock has been cleared.
► Tap on the Password symbol under Start – Settings – Personal.
► Select the type of password you prefer:
− A password consisting of four numbers (simple 4-digit password).
− A password of alphanumeric characters (a complex alphanumeric password).
If a password has been assigned, you will have to enter this password the next time you switch on.
If you have forgotten your password, you can restart your Pocket PC by resetting it to the factory
settings (see "Cold starting and resetting factory default settings").
Device lock (key and display lock)
With the device lock (key and display lock) you can lock the following device elements and functions
during active operation, in order to prevent accidental inputs:
● Application buttons
● Keypad
● Display
● Acceptance of an incoming call via the talk key
● Ending a call via the End key
The device can be switched off even when the device lock is active.
i
Locking the device
► Press and hold the Enter key.
The device is locked.
Deactivating the device lock
► Press and hold the Enter key.
or
► Press Unlock and the star key consecutively.
The device is unlocked.
82 A26391-K182-Z120-1-7619, edition 1

Security functions
FSC KeyLock
Use the FSC KeyLock to prevent accidental activation of your Pocket LOOX. for example, if the device
is in your pocket.
Normally, the device is activated if one of the application or telephone keys is pressed.
Activating FSC KeyLock
► Select Start – Settings – Personal – Keys – FSC KeyLock.
► Activate Lock application keys.
Switching on with active lock
► Briefly press the End key.
► Then press and hold the Enter key.
FSC SecureLock
To protect your Pocket PC and your data from unauthorised access by third parties, you can protect
it with a password.
► Select Start – Settings – System – Secure Lock.
► Activate the Theft protection control box.
► Select the desired type of password in the Password type field. Enter the password and confirm
it if necessary.
► Enter a term on the Note tab page that will remind you of your password if necessary, but which
will not enable other users to guess your password.
This term is displayed if the password has been entered incorrectly five times.
► Tap OK.
If your Pocket PC is reset to the factory settings, you will be prompted to enter the password.
When you restart your device or if you do not use it for a long time while it is switched on, you will be
prompted to enter the password.
A26391-K182-Z120-1-7619, edition 1 83

Security functions
84 A26391-K182-Z120-1-7619, edition 1

Connecting and networking the Pocket
PC with other devices
The Pocket PC offers a wide range of ways to exchange data with other devices or to work in a
network.
In addition, the wireless LAN (optional) and Bluetooth (optional) radio modules are available for
wireless communication.
This chapter provides information on wireless data transfer
● Via wireless LAN
● Via Bluetooth
Activating and deactivating radio modules
You can use Wireless Manager to activate or deactivate the telephone, Bluetooth and WiFi/WLAN.
You are in the Today screen.
► Tap on the telephone symbol.
The Wireless Manager is displayed.
► To activate or deactivate the telephone, Bluetooth or WiFi/WLAN, tap on the symbol next to
WiFi, Bluetooth or Telephone.
or
► To activate or deactivate all components, tap on the symbol next to All.
The selected component is activated or deactivated.
Wireless connection via Wireless LAN
Your Pocket PC is equipped with an integrated wireless LAN. Information on this topic is provided in
the help file on your Pocket PC. You can establish WLAN connections using the
CONNECTMOBILITY-E2C software.
i
You can find more information on the CONNECTMOBILITY-E2C software in the "Internet
and intranet connections with CONNECTMOBILITY-E2C" section and in the help file on
your Pocket PC.
A26391-K182-Z120-1-7619, edition 1 85

Connecting and networking the Pocket PC with other devices
Wireless communication with Bluetooth
With your Pocket PC with an integrated Bluetooth module you can communicate wirelessly with other
Bluetooth devices, e.g. with another Pocket PC, a computer or a mobile phone.
You can establish Bluetooth connections via the BT Manager. Start the BT Manager via the FSC
SpeedMenu.
i
You can find detailed information on the BT Manager in the help file on your Pocket PC.
Selecting location for Bluetooth operation
• We recommend that you use the Pocket PC with the Bluetooth components in a typical
operating environment. Other Bluetooth devices, which you want to communicate with, should
be located at a distance of up to 10 m.
• Only install a partner device within the recommended distance. Observe the output power class
of the partner device when doing so. Details are contained in the operating manual for the
partner device.
• Use the Pocket PC with the Bluetooth at least 2 m away from other electrical or electronic
systems. If you must use the Pocket PC near a microwave cooker, then maintain a distance of
at least 3 m from the microwave cooker, as the reception is subject to interference from the
microwaves.
• Should problems result when communicating via Bluetooth because radios or radio devices are
located in the vicinity, then move the Pocket PC to a different location.
86 A26391-K182-Z120-1-7619, edition 1

Energy saving functions
The Pocket PC uses less power when the energy saving functions are enabled. This means you can
work with the Pocket PC for longer before having to recharge the battery.
General information on energy management
The battery operating time is considerably dependent on the applications used. Please note that a
particularly large amount of energy is required to play sound files or make sound recordings.
Data exchange with a computer also consumes additional battery power. Therefore, always connect
your Pocket PC to an electrical outlet during data exchange if possible.
Using energy saving functions
You can save energy in several ways to optimally utilise the battery operating time:
Configuring standby mode
► Under Start – Settings – System – Power, select the number of minutes after which the Pocket
PC is to switch into the standby mode when it is not used.
After the specified time has passed, the Pocket PC will automatically bet set to standby mode.
i
Press the End key to end standby mode.
The Pocket PC returns to the point at which you interrupted your work.
Switching off display lighting
► Under Start – Settings – System – Display lighting, select the number of minutes after which
the display lighting is to be switched off in the battery mode when the Pocket PC is not used.
A26391-K182-Z120-1-7619, edition 1 87

Energy saving functions
Configuring display lighting
You can adjust the display lighting on your Pocket PC to make it darker or brighter. Reduce the
display brightness to save energy.
► Select Start – Settings – System – Display lighting – Brightness.
► Use the slide control to adjust the display lighting during battery operation and/or during use
with an external power supply, until the desired level of brightness is reached.
► Confirm with OK.
Configuring key illumination
► Select Start – Settings – System.
► Select Key illumination.
The window for adjusting the key illumination is displayed.
► Set the desired duration of key illumination during battery operation and during use with an
external power supply.
► Confirm with OK.
Key illumination can also be activated and deactivated by pressing and holding the FN
key.
i
Configuring device behaviour when E-mail push is activated
You can configure how your device should behave when E-mail push is activated. Usually, the
device LED starts flashing when new information is being received. However, you can change this
behaviour.
► In the Today screen, press and hold the End key.
The profile list is displayed.
► Use the navigation key to select the desired profile.
► Select Menu – Edit.
► Enter the settings for E-mail push and confirm with OK.
Switching on the sound and setting the volume
► Tap on the loudspeaker symbol in the title bar.
A popup window for the loudspeaker settings appears.
► Set the desired volume on the slide control with the stylus.
► To switch off the sound, activate the selection field for Off with the stylus.
► Touch the display anywhere outside the popup window.
88 A26391-K182-Z120-1-7619, edition 1

Energy saving functions
Device sounds can also be activated and deactivated by pressing and holding the FN
key.
i
Using Wireless Manager
You can use Wireless Manager to manage the energy status of telephone, Bluetooth and
WiFi/WLAN.
You are in the Today screen.
► Tap on the telephone symbol.
The Wireless Manager is displayed.
► To activate or deactivate the telephone, Bluetooth or WiFi/WLAN, tap on the symbol next to
WiFi, Bluetooth or Telephone.
or
► To activate or deactivate all components, tap on the symbol next to All.
The selected component is activated or deactivated.
A26391-K182-Z120-1-7619, edition 1 89

Troubleshooting and tips
If a fault occurs in your Pocket PC, try to eliminate it with the measures described in this chapter. If
you fail to correct the problem, proceed as follows:
► Make a note of the steps and the circumstances that led to the fault. Also make a note of any
error messages displayed.
► Switch the Pocket PC off.
► Contact your sales outlet or our hotline/help desk.
Installing new software
You will find information on installing supplementary programmes in the ActiveSync help file that you
can call up after installing ActiveSync on your computer.
► When installing programmes or drivers, important files may be overwritten and modified. You
should make a backup before the installation in order to access the original files if an error
should occur after installation (see "Data synchronisation with ActiveSync").
The Pocket PC’s time or date are not correct
Cause Troubleshooting
► Tap on the Clock symbol under Start – Settings –
System.
Time and date are incorrect.
► Change the time.
or
► Connect your Pocket PC via ActiveSync to your
computer.
► Synchronise data between the Pocket PC and the
computer. The time and date are also synchronised
in the process.
The display of the Pocket PC remains dark
Cause Troubleshooting
Display lighting is switched off.
► Press and hold the End key.
A26391-K182-Z120-1-7619, edition 1 91

Troubleshooting and tips
The display is difficult to read
Cause Troubleshooting
Reflected glare
► Turn the Pocket PC until you can see the
information in the display again.
The Pocket PC switches off
Cause Troubleshooting
The battery is dead.
► Connect the power adapter to the Pocket PC to
charge the battery.
or
► Connect the power adapter to the cradle and insert
the Pocket PC in the cradle to charge the battery.
The battery is charging. The power-on indicator flashes
orange.
The Pocket PC does not start after being switched on
Cause Troubleshooting
The battery is dead. ► Connect the power adapter to the Pocket PC to
charge the battery.
or
► Connect the power adapter to the cradle and insert
the Pocket PC in the cradle to charge the battery.
The battery is charging. The power-on indicator flashes
orange.
The power adapter is not connected
correctly.
► Switch the Pocket PC off.
► Check whether the power adapter is properly
connected to the Pocket PC and the electrical outlet.
► Then switch the Pocket PC on again
92 A26391-K182-Z120-1-7619, edition 1

Troubleshooting and tips
The Pocket PC does not respond any more
Cause Troubleshooting
An application program has caused
the fault.
► Restart the Pocket PC (see "Switching the
Pocket PC on and off").
or
► If the restart does not work, reset the Pocket PC to
the factory settings (see "Cold starting and resetting
factory default settings").
The battery is dead. ► Connect the power adapter to the Pocket PC to
charge the battery.
or
► Connect the power adapter to the cradle and insert
the Pocket PC in the cradle to charge the battery.
The battery is charging. The power-on indicator flashes
orange.
The battery discharges too quickly
Cause Troubleshooting
The battery is either too hot or too
cold.
► Bring the Pocket PC up / down to a normal
temperature again.
If the operating time of the battery mode is extremely
short, the battery is probably old and should be replaced.
Please contact your dealer for a new battery.
The End button does not respond properly
Cause Troubleshooting
You have pressed the End key for too
long to switch the Pocket PC on or
off.
► Briefly press the End key until the Pocket PC
switches on or off.
A26391-K182-Z120-1-7619, edition 1 93

Troubleshooting and tips
No sound or minimal volume
Cause Troubleshooting
Volume set wrongly. ► Touch the loudspeaker symbol in the navigation bar.
A popup window for the loudspeaker settings appears.
► Activate the selection field for On with the stylus.
or
► Set the desired volume on the slide control with the
stylus.
Poor reception via GPS
Cause Troubleshooting
The installation position of the Pocket
PC in your vehicle is unfavourable.
► Change the installation position of the Pocket PC.
Your vehicle's windscreen is coated. ► Use an external GPS antenna (available as an
accessory).
Contact with hotline/help desk
If you are unable to solve a certain problem, please contact the hotline/help desk. Additional details
are contained in the "Safety" and "Warranty" manuals. Please have the following information ready
when you call:
• The model name and serial number of the Pocket PC. The serial number is located on a sticker
on the backside of the Pocket PC.
• Notes of any messages that appear on the screen and information on acoustic signals.
• Any changes you have made to the hardware or software after receiving the Pocket PC.
• Your system configuration and all peripheral devices connected to your system (e. g. keyboard).
• Your sales contract.
• Your IMEI number.
The Fujitsu Siemens Computers hotline or help desk requires the device information for your Pocket
PC in order to process your problem. You can find this information directly on your device:
94 A26391-K182-Z120-1-7619, edition 1

Troubleshooting and tips
Calling up the IMEI number
The IMEI number (International Mobile Equipment Identity) is a 15-digit serial number, which is used
to uniquely identify your Pocket PC.
► Select Start – Settings – System – System information.
► Select Identity.
The IMEI number is displayed.
Calling up the UUID
The UUID (Universally Unique Identifier) is a globally unique 16 or 28 bit number, that is also used to
identify your device.
► Select Start – Settings – System – System information.
► Select Identity.
The UUID is displayed.
A26391-K182-Z120-1-7619, edition 1 95

Troubleshooting and tips
96 A26391-K182-Z120-1-7619, edition 1

Technical data
Pocket PC
System Pocket LOOX T810 Pocket LOOX T830
General
Processor Intel® PXA270 416 MHz based
on Intel® XScale™ micro-
architecture
Intel® PXA270 416 MHz based
on Intel® XScale™ micro-
architecture
System memory
(RAM):
64 MB
System memory
(RAM):
64 MB
Memory
Flash memory
(ROM):
128 MB
Flash memory
(ROM):
128 MB
Electrical data
Regulations complied with CE, FCC, UL, Ulc CE, FCC, UL, Ulc
Protection class III III
Maximum power draw: (Pocket
PC on with battery charging)
5 W 5 W
Display
Transflective TFT display 2.4 inch, 240 x 249 colours,
65,536 colours, LED
background lighting
2.4 inch, 240 x 249 colours,
65,536 colours, LED
background lighting
Card slots
"Secure Digital I/O",
"MultiMediaCard"
"Secure Digital I/O",
"MultiMediaCard"
Ports/interfaces
Input/output port USB 1.1 USB 1.1
Audio Microphone, loudspeaker,
headphones (3.5 mm),
receiver for GSM/UMTS calls
Microphone, loudspeaker,
headphones (3.5 mm),
receiver for GSM/UMTS calls
Bluetooth Bluetooth 2.0 Bluetooth 2.0
Wireless LAN 802.11 b/g, WiFi certified 802.11 b/g, WiFi certified
GPS SiRF GCS3F (Star III) SiRF GCS3F (Star III)
A26391-K182-Z120-1-7619, edition 1 97

Technical data
Cameras
Camera 1 – VGA camera (640 x 480) for video
telephony via UMTS
Camera 2 – 2 mega pixel auto-focus camera
(1600 x 1200) for images/video
Baseband
UMTS/GSM/GPRS
Baseband
EMP U250 EMP U250
GSM 900/180/1900 GSM 900/180/1900
UMTS 2100 UMTS 2100
Environmental conditions
Environment class 7K1/7K2 DIN IEC 721 EN 60721 DIN IEC 721 EN 60721
Housing class 7M2 DIN IEC 721 EN 60721 DIN IEC 721 EN 60721
Temperature
–10 °C – 55 °C
● Operation
● Transport –40 °C – 75 °C
–20 °C – 60 °C
–20 °C – 45 °C
–10 °C – 55 °C
–40 °C – 75 °C
● Storage < 1 month –20 °C – 60 °C
● Storage > 1 month –20 °C – 45 °C
Dimensions
Height/width/depth 126.6 mm x 64.6 mm x 21.6 mm 126.6 mm x 64.6 mm x 21.6 mm
Weight 195 g +/-10 g 195 g +/-10 g
Battery (Li-Ion)
Rated capacity 1530 mAh
Charging time (when not in
operation):
Max. 4 hours
Operating time
• Up to 4 hours GSM talk time
• Up to 150 hours standby
98 A26391-K182-Z120-1-7619, edition 1

Technical data
Power adapter
Electrical data
Primary:
● Rated voltage: 100-240 V
● Rated frequency: 50 - 60 Hz
Secondary:
● Rated voltage:
● Max. rated current:
5 V +/- 5 %
1.0 A
A26391-K182-Z120-1-7619, edition 1 99

Technical data
100 A26391-K182-Z120-1-7619, edition 1

Manufacturer’s notes
Environmental protection
Fujitsu Siemens Computers has defined standards for environment-friendly product design with a
guideline applicable corporate-wide. The binding application of these internal guidelines continuously
implements ecological product requirements. The main points are:
• Repair friendliness and long life due to modular design
• Low noise emissions
• Low energy consumption
• Minimization of material diversity
• Ecological criteria for plastics
• Avoidance of materials harmful to the environment
• Recyclability
More details on the subject of environmental protection are available on the Internet at:
www.fujitsu-siemens.de/umwelt or www.fujitsu-siemens.com/rl/aboutus/envman/index.html.
Disposal and recycling
You will find further information about country-specific recycling and disposal options in the Internet
at www.fujitsu-siemens.com/recycling or on the Microsoft Getting Started CD.
A26391-K182-Z120-1-7619, edition 1 101

Manufacturer’s notes
CE marking
Products bearing the CE marking comply with the R&TTE Directive
(1999/5/EC), EMC Directive (89/336/EEC), and the Low Voltage Directive
(73/23/EEC) issued by the Commission of the European Community.
CE compliance of this device is valid only if powered with by a CE-marked AC Adapter provided by
Fujitsu Siemens Computers. Compliance with these directives implies conformity to the following
European Norms (in parentheses are the equivalent international standards and regulations):
• EN 55022 (CISPR 22) — Electromagnetic Interference
• EN 55024 (IEC 61000-4-2, 3, 4, 5, 6, 8, 11) — Electromagnetic Immunity
• EN 61000-3-2 (IEC 61000-3-2) — Power Line Harmonics
• EN 61000-3-3 (IEC 61000-3-3) — Power Line Flicker
• EN 60950 (IEC 60950) — Product Safety
• ETS 300 328-2 — Technical requirements for 2.4 GHz radio equipment
• EN 301 489-1, -17 — General EMC requirements for radio equipment
The IEEE 802.11b wireless LAN and Bluetooth functionality of this product can be used in the
following EU countries, EU candidate countries and EFTA countries: Belgium, Denmark, Germany,
Estonia, Finland, France, Greece, Great Britain, Ireland, Iceland, Italy, Liechtenstein, Latvia,
Lithuania, Luxemburg, Malta, Netherlands, Norway, Austria, Poland, Portugal, Sweden, Switzerland,
Slovakia, Slovenia, Spain, Czech Republic, Hungary and Cyprus.
!
The user is responsible for radio interference that may occur when operating the device.
For IEEE 802.11b wireless LAN operation of this product, only a limited band is available in France
(Channels 10, 11, 12, and 13 only). The Autorité de régulation des télécommunications (ART) has
special regulations for hotspots allowing other channels, too.
Please check with ART (http://www.art-telecom.fr) on this for local rulings and for authorization.
102 A26391-K182-Z120-1-7619, edition 1

Manufacturer’s notes
???Information on exposure/specific absorption rate
(SAR)
This device meets the EU requirements (1999/519/EU) on the limitation of exposure of the general
public to electromagnetic fields by way of health protection.
The limits are part of extensive recommendations for the protection of the general public. These
recommendations have been developed and checked by independent scientific organisations
through regular and thorough evaluations of scientific studies. To guarantee the safety of all persons,
regardless of age and health, the limits include a significant safety buffer.
Before radio devices can be put in circulation, their agreement with European laws or limits must be
confirmed; only then may the CE symbol be applied.
The unit of measurement for the European Council’s recommended limit for mobile telephones is the
"Specific Absorption Rate" (SAR). This SAR limit is 2.0 W/kg, averaged over 10g of body tissue. It
meets the requirements of the International Commission on Non-Ionizing Radiation Protection
(ICNIRP) and was included in the European Standard EN 50360 for mobile radio devices. The SAR
regulation for mobile telephones is in line with European Standard EN 50361.The maximum SAR
value is calculated at the highest output level in all frequency bands of the mobile telephone. During
use, the actual SAR level is usually much lower than the maximum value, because the mobile
telephone works in different output levels. It only transmits with as much output as is required to
reach the network. In general the following applies: The closer you are to a base station, the lower
the transmission output of your mobile telephone.
The highest SAR value for this device, measured in accordance with the standard, is ??? W/kg.
???You can find the SAR value for this device in the Internet at ???. Even if the SAR value differs
depending on the device and the position used, all Fujitsu Siemens devices comply with the legal
requirements.
A26391-K182-Z120-1-7619, edition 1 103
FCC Regulations:
zThis device complies with part 15 of the FCC Rules. Operation is subject to the following
two conditions: (1) This device may not cause harmful interference, and (2) this device must
accept any interference received, including interference that may cause undesired operation.
zThis device has been tested and found to comply with the limits for a Class B digital device,
pursuant to Part 15 of the FCC Rules. These limits are designed to provide reasonable
protection against harmful interference in a residential installation. This equipment generates,
uses and can radiated radio frequency energy and, if not installed and used in accordance with
the instructions, may cause harmful interference to radio communications. However, there is
no guarantee that interference will not occur in a particular installation If this equipment does
cause harmful interference to radio or television reception, which can be determined by
turning the equipment off and on, the user is encouraged to try to correct the interference by
one or more of the following measures:
-Reorient or relocate the receiving antenna.
-Increase the separation between the equipment and receiver.
-Connect the equipment into an outlet on a circuit different from that to which the receiver is
connected.
-Consult the dealer or an experienced radio/TV technician for help.
Changes or modifications not expressly approved by the party responsible for compliance
could void the user‘s authority to operate the equipment.

4RF Exposure Information (SAR)
This device meets the government’s requirements for exposure to radio waves. This device
is designed and manufactured not to exceed the emission limits for exposure to radio
frequency (RF) energy set by the Federal Communications Commission of the U.S.
Government.
The exposure standard for wireless devices employs a unit of measurement known as the
Specific Absorption Rate, or SAR. The SAR limit set by the FCC is 1.6W/kg. *Tests for
SAR are conducted using standard operating positions accepted by the FCC with the device
transmitting at its highest certified power level in all tested frequency bands. Although the
SAR is determined at the highest certified power level, the actual SAR level of the device
while operating can be well below the maximum value. This is because the device is
designed to operate at multiple power levels so as to use only the poser required to reach the
network. In general, the closer you are to a wireless base station antenna, the lower the
power output.
The highest SAR value for the device as reported to the FCC when tested for use at the ear is
0.246 W/kg (PCS Head) for model T830, and 0.111 W/kg (PCS Head) for model T810, and
when worn on the body, as described in this user guide, is 0.987 W/kg(PCS Body), and 0.029
W/kg (WLAN Body) for model T830, and 0.91 W/kg (PCS Body), and 0.042 W/kg (WLAN
Body) for model T810. (Body-worn measurements differ among device models, depending
upon available enhancements and FCC requirements.)
While there may be differences between the SAR levels of various devices and at various
positions, they all meet the government requirement.
The FCC has granted an Equipment Authorization for this device with all reported SAR
levels evaluated as in compliance with the FCC RF exposure guidelines. SAR information
on this device is on file with the FCC and can be found under the Display Grant section of
http://www.fcc.gov/oet/fccid after searching on FCC ID: QQXUPX001.
For body worn operation, this device has been tested and meets the FCC RF exposure
guidelines for use with an accessory that contains no metal and the positions the handset a
minimum of 1.5 cm from the body. Use of other enhancements may not ensure compliance
with FCC RF exposure guidelines. If you do no t use a body-worn accessory and are not
holding the device at the ear, position the handset a minimum of 1.5 cm from your body when
the device is switched on.

Index
2 Megapixel Autofokus Kamera 5
3-Wege-Scrolltaste
verwenden 12
3-Wege-Scrolltaste 5
Accessories 20
ActiveSync
Datensynchronisation 28
ActiveSync installieren 27
ActiveSync-Partnerschaft aufbauen 28
Akku
aufladen 54
einsetzen 21
entlädt sich 93
Kapazität 4
lagern 4
technische Daten 98
über Docking-Station aufladen 55
über Netzadapter aufladen 54
über USB-Anschluss aufladen 56
Akku-Betriebsdauer optimieren 56
Alarme
einstellen 60
Annehmen-Taste 5
Anruf
tätigen 33
Anzeige
Bluetooth 6
GPS 6
Nachricht 6
Application button: switch on 49
Applikationstaste
Kalender-Taste 5
Kamera 5
Posteingang 5
SpeedMenu 5
Applikationstasten
verwenden 14
Auslieferungszustand 51
Ausschalten 50
Ausschaltzeit 49
Battery
inserting 22
Bedienelemente 8
Bedienung, grundlegend 24
Bildschirmtastatur
verwenden 16
Bluetooth 86
aktivieren 85
Anzeige 6
CE-Kennzeichnung 102
CONNECTMOBILITY-E2C 25
starten 25
Daten
technische 97
Datensynchronisation
über Docking-Station 30
Datensynchronisation über ActiveSync 28
Datenübertragung
Bluetooth 86
Wireless LAN 85
Datum
einstellen 60
Datum stimmt nicht 91
Description of buttons 8
Display 5
bleibt dunkel 91
Reflexionsblendung 92
reinigen 53
verwenden 11
Display kalibrieren 24
Displayanzeige, schlecht lesbar 92
Displaybeleuchtung
konfigurieren 88
Docking-Station verwenden 29
Drahtlose Datenübertragung 85, 86
Dunkles Display 91
Eingehendes Gespräch 34
Einschalten 50
Elektromagnetische Verträglichkeit 102
E-mail 65
E-Mail
erstellen 65, 66
konfigurieren 65
SMTP 65
versenden 66
VPN-Firmennetz 65
E-Mail-Pull 66
E-Mail-Push 67
Geräteverhalten 88
E-Mail-Versand
über ActiveSync 66
Ende-Taste 5
ausschalten 49
einschalten 49
reagiert nicht 93
Energiespar-Möglichkeiten 87
Energieverwaltung optimieren 87
Entgangene Anrufe
anzeigen 34
Entsorgung 101
Erst-Start 23
Erweiterungskarte 57
einsetzen 57
entnehmen 58
A26391-K182-Z120-1-7619, edition 1 107

Index
Exchange Server
Daten synchronisieren 27
Datensynchronisation 26
konfigurieren 26
Falsches Datum/Uhrzeit 91
Fehlerbehebung 91
FN-Modus 9
Freisprechfunktion 37
FSC GPSLocator 71
FSC KeyLock 83
FSC MobileZip 79
FSC SecureLock 83
FSC SpeedMenu 60
Funkanzeige 5, 6
Funkkomponenten
aktivieren 85
Geräteeinstellung konfigurieren 60
Geräteinformationen 94
Gerätesperre 8, 82
Geräteverhalten bei E-Mail-Push 88
Gespräch
beenden 34
halten 38
GPS 71
Anzeige 6
GSM-Anschluss 5
Halten
Gespräch 38
Hardware, Überblick 5
Helles Display 92
Heute-Bildschirm 24
Hintergrundbild
einstellen 60
Hinweise
CE-Kennzeichnung 102
Entsorgung 101
Reinigung 53
Sicherheit 3
Hotline/Help Desk 94
IMEI-Nummer 95
Inbetriebnahme 21
Akku einbauen 22
Display 24
Erst-Start 23
grundlegende Bedienung 24
Heute-Bildschirm 24
Netzadapter anschließen 23
Indicator
battery charge level 6
Installation, neue Software 91
Internet
CONNECTMOBILITY-E2C 25
nutzen 69
Internet Explorer 69
Intranet
CONNECTMOBILITY-E2C 25
Java-Anwendungen
anzeigen 78
JBlend
Java 78
Kaltstart 51
Kamera
Bilder aufnehmen 73
Einstellungen 74
verwenden 73
Videos aufnehmen 74
Kein Ton 94
Kennwortschutz unter Pocket-PC 82
Key combinations 10
Konfigurieren
Telefoneinstellungen 44
Kontakte 42
Kurzwahl 36
Lagerung, Akku 4
Lautstärke
Profile 47
Lautstärke, minimal 94
Mailbox
einrichten 45
Menü
anpassen 60
Mikrofon 5
Mini-USB-Anschluss 5
MMS
konfigurieren 63
versenden 63
Modi
Profile 47
Nachrichten
erstellen 61
Navigationskreuz 5
verwenden 12
Netzadapter
mit Netzadapterleitung an Pocket-PC
55
technische Daten 99
Netzwerk
auswählen 44
Notational conventions 2
Nummer SMS-Service-Center-Zentrale
einrichten 45
Online-Hilfe
verwenden 31
Online-Tasten für Telefonie
verwenden 11
Operating elements 5
Optische Anzeigen
Profile 47
PDF Viewer 77
PDF-Dateien
108 A26391-K182-Z120-1-7619, edition 1

Index
anzeigen 77
PIN 43
eingeben 24
Pocket-PC
arbeitet nicht 93
ausschalten 48
bedienen 47
einschalten 23, 48
mit Computer verbinden 28
Nutzung während der Fahrt 52
Nutzung während des Flugs 52
reinigen 53
schaltet sich aus 92
startet nicht 92
transportieren 52
verbinden mit anderen Geräten 85
vernetzen 85
zurücksetzen 50
Pocket-PC ausschalten 50
Pocket-PC einschalten 50
Ports 5
Posteingang 61
E-Mail 61
MMS 61
SMS 61
Power adapter
connecting 23
Power-on indicator 5, 6
Problemlösungen 91
Profile 47
auswählen 48
konfigurieren 48
Programme
ClearVue PDF 77
FSC MobileZip 79
Windows Media Player 77
Recycling 101
Reinigung 53
Rufumleitung
einrichten 46
Safety notes 3
Schlechte Displayanzeige 92
Schlechter GPS-Empfang 94
Schneller Programmzugriff 60
SD-Steckplatz 5
Short Cuts 10
Sicherheit 81
Signs and symbols 2
Silent-Mode 9, 47
SIM Lock 43
SIM-Karte
einsetzen 21
sperren 44
SIM-Karten Manager 42
SIM-Kontakte 42
verwalten 42
SIM-Sicherheit 43
SMS
erstellen 62
SMS-Service-Center-Zentrale
einrichten 45
Softkey-Tasten
verwenden 14
Soft-Reset
durchführen 50
Software
Neu-Installation 91
Überblick 18
Sommerzeit 91
Sprachnotiz 5
Sprachwahl 35
Standby-Modus 49
Status
Akkuladezustand 6
Nachricht 6
Status indicator 5
Stift
herausnehmen 23
Störungsbehebung 91
Stummschalten
Telefon 38
Stylus: using 11
Tastatur 8
Technische Daten 97
Akku 98
Netzadapter 99
Pocket-PC 97
Telefon
Einstellungen 44
stummschalten 38
verwenden 33
Telefonbuch 42
Telefoneinstellungen
konfigurieren 44
Telefonfunktionen 33
Telefonkonferenz 39
Telefonnetz auswählen 44
Tipps 91
Töne
einstellen 60
Transport 52
Überblick
Hardware 5
Software 18
Uhrzeit
einstellen 60
stimmt nicht 91
USB-Datentransfer 59
USB-Host
A26391-K182-Z120-1-7619, edition 1 109

Index
Pocket-PC als USB-Host verwenden
59
VGA-Kamera 5
Videotelefonat 40
Voice Commander 35
Warmstart 50
Windows Media Player 77
Winterzeit 91
Wireless LAN 85
aktivieren 85
Wireless Manager 89
WLAN 85
aktivieren 85
Zeit stimmt nicht 91
Zurücksetzen 50, 51
110 A26391-K182-Z120-1-7619, edition 1