Controlled Entry Distributors HANBUT915-AL Remote Controller User Manual
Controlled Entry Distributors, Inc. Remote Controller Users Manual
Users Manual

1/4
6-1621766 rev00 06/06/2017
The Transmitter Solutions transmitter is a transmitter operating at 915MHz.
It has been designed for the control of automatic closing systems and anti-
burglar systems, thanks to its very high security coding system (Rolling code).
The code sent by the transmitter changes at each activation, avoiding any
scanning and copying risk. A special algorithm allows to keep synchronized
transmitter and receiver.
The two AAA alkaline batteries of the transmitter have a shelf life of about 24
months.
The product fully complies with Part 15 of FCC Regulations.
1 CHANNEL TRANSMITTER
TRAHANBUT915-AL
Thank you for choosing this Transmitter Solutions product.
Please read this manual carefully before installing the product.
CONTENTS
1. TRANSMITTER OVERVIEW
1A - General information
1B - Technical specication
1C - Main components
1D - Status of the transmitter
2. NUMBERING
3. PROGRAMMING
4. OPERATION
5. BATTERY ACCESS
6. TROUBLESHOOTING
1A - General information

2/4 6-1621766 rev00 06/06/2017
1B - Technical specications
Operating frequency:
Number of inputs:
Battery:
Battery life:
Security Code:
Number combinations:
Operating temperature:
Overall dimensions (transmitter):
Overall dimensions (battery case):
Weight:
Weight with batteris:
915 MHz
1
2 x 1,5V Alkaline battery (AAA)
18 - 24 months
Rolling code
2exp256
23°F - +131°F (-5°C - +55°C)
2,13’’ x 0,98’’ x 0,39’’ (54 x 25 x 10 mm)
2,00’’ x 0,94’’ x 0,47’’ (51 x 24 x 12 mm)
0.64 oz. (18,2 gr.)
1.45 oz. (41,2 gr.)
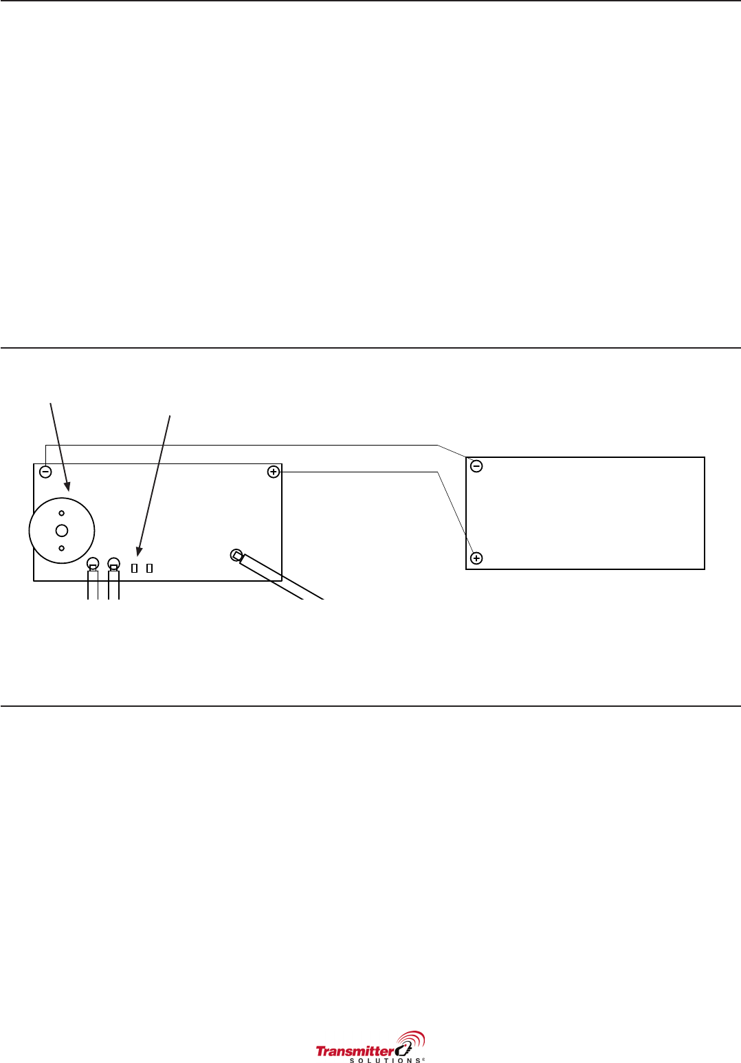
1C - Main components
2 x AAA
BATTERY CASE
black cable (-)
red cable (+)
ANTENNA
2 x BLACK
NO CONTACT
BUZZER RED LED
1D -
Status of the transmitter
By pressing the button connect to the TRAHANBUT915-AL transmitter it is
possible to check the status of the battery:
1. Press and hold the button.
2. After 5 seconds, the transmitter emits:
• 2 fast beeps, the status of the battery is ok.
• From 3 to 6 slow beeps, the level of the battery is low. The lower level is
signaled with 6 beeps.
When the level of the battery is low, at each use of the transmitter, it indicates
the low battery with an acoustic signal.
NOTE: in case the button is blocked, after 10 s the transmitter will emit an audio
error signal and it will be repeated every 60 s.

3/4
6-1621766 rev00 06/06/2017
2 - NUMBERING
Each transmitter is manufactured and sold with a different factory-set serial
number.
3 - PROGRAMMING
The transmitter must be programmed into your system memory.
Your own installer or reseller will provide you the necessary instructions for
your system.
4 - OPERATION
A- Connect the NO button to the inputs cables (2 black cables).
B- Firmly depress the button until the red LED illuminates.
C- After the LED has illuminated, release the button.
If the device you are attempting to activate does not respond, repeat steps B
and C or consult section 6 ( Troubleshooting ) of this manual.
5 - BATTERY ACCESS
To access the battery, please refer to the push plate manual.
Slide out the old batteries and replace them with the new ones (AAA alkaline
battery) respecting the polarity.
NOTE: Please dispose of the batteries properly according to local laws and regulations.
Test proper battery installation by verifying that the red LED illuminates when the
button is pushed.
6 - TROUBLESHOOTING
PROBLEM SOLUTION
The system does not receiver the
transmitter signal.
The transmitter LED will not light
Replace the transmitter
batteries
The system does not receiver the
transmitter signal.
The transmitter LED is ON
Check to verify the transmitter is
programmed into your sistem
The operating range is reduced Replace the transmitter
batteries

4/4 6-1621766 rev00 06/06/2017
Transmitter Solutions - Type: TRAHANBUT915-AL
FCC ID: SU7HANBUT915-AL
This device complies with part 15 of the FCC Rules.
Operation is subject to the following two conditions:
(1) This device may not cause harmful interference and
(2) this device must accept any interference received, including
interference that may cause undesired operation.
The warranty period of Transmitter Solutions 915 transmitters is 60 months,
beginning from the manufacturing date of the transmitter. During this period,
if the product does not operate correctly, due to a defective component, the
product will be repaired or replaced at the sole discretion of Transmitter
Solutions.
The warranty does not extend to the transmitter case which can be damaged
by conditions outside the control of Transmitter Solutions or to battery life.
NOTICE
WARRANTY
Any changes or modication to Transmitter Solutions equipment not expressly
approved by Transmitter Solutions could void the manufacturer’s warranty
and the user’s authority to operate this product.
7380 S. Eastern Ave, Ste 124-320 - Las Vegas, NV 89123
(866) 975-0101 - (866) 975-0404 Fax
www.transmittersolutions.com
Federal Communication Commission Interference Statement
This equipment has been tested and found to comply with the limits for a Class B digital
device, pursuant to Part 15 & 74 of the FCC Rules. These limits are designed to provide
reasonable protection against harmful interference in a residential installation.
This equipment generates, uses and can radiate radio frequency energy and, if not installed
and used in accordance with the instructions, may cause harmful interference to radio
communications. However, there is no guarantee that interference will not occur in a
particular installation. If this equipment does cause harmful interference to radio or television
reception, which can be determined by turning the equipment off and on, the user is
encouraged to try to correct the interference by one of the following measures:
. Reorient or relocate the receiving antenna.
. Increase the separation between the equipment and receiver.
. Connect the equipment into an outlet on a circuit different from that to which the receiver is
connected.
. Consult the dealer or an experienced radio/TV technician for help.
FCC Caution: To assure continued compliance, any changes or modifications not expressly
approved by the party responsible for compliance could void the user's authority to operate
this equipment. (Example - use only shielded interface cables when connecting to computer
or peripheral devices).