Cooper Notification CRLU-201 EMERGENCY NOTIFICATION SYSTEM User Manual WAVES Network Configuration Tool v5 6 1
Cooper Notification, Inc. EMERGENCY NOTIFICATION SYSTEM WAVES Network Configuration Tool v5 6 1
Users Manual

Notification
Cooper Notification
7565 Commerce Court
Sarasota, FL 34243
Tel.: 941.487.2300
Fax: 941.487.2387
www.coopernotification.com
Version 5.6.1
WAVES NETWORK CONFIGURATION
TOOL ADMINISTRATOR MANUAL
Part Number P01-04912-C
April 2010
Cooper Notification is

WAVES Network Configuration Tool Administrator Manual v5.6.1 i
P/N P01-04912-C
COPYRIGHT
Copyright © 2010, Cooper Notification, Inc. All rights reserved. Cooper Notification and its logo are trademarks of
Cooper Notification, Inc.
Cooper Notification, Inc., a premier supplier of MNS to the Department of Defense and U.S. government, is part of
the Cooper Notification business which also includes Cooper Wheelock, Inc., Roam Secure, Inc., and MEDC.
Under the copyright laws, this manual may not be reproduced in any form without the prior written consent of Cooper
Notification, Inc. No patent liability is assumed with respect to the use of the information contained herein.
Any use of WAVES Software is subject to and conditioned upon [your] acceptance of the Cooper Notification, Inc.
software licensing agreement.
TRADEMARKS
WAVES and the WAVES logo are trademarks of Cooper Notification, Inc. RSAN and RSIX are products of Roam
Secure, Inc. dba Cooper Notification protected by U.S. patent 7,409,428; other patents pending. HPSA, SPT, and
LMD are trademarks of Cooper Notification, Inc. in the U.S.A. and other countries. Windows is a registered
trademark of Microsoft, Inc. Other brands and their products are trademarks or registered trademarks of their
respective holders and should be noted as such.
EXPORT
This document contains technical data that may be controlled under the U.S. Export Administration Regulations and
may be subject to the approval of the U.S. Department of Commerce prior to export. Any export, directly or
indirectly, in contravention of the U.S. Export Administration Regulation is prohibited.
DISCLAIMER
This manual has been reviewed for accuracy when used in conjunction with Cooper Notification authorized
administrator and/or operator training. The information contained herein was accurate for the software at the time of
this manual's production. Cooper Notification assumes no liability for damages incurred directly or indirectly from
errors, omissions, or discrepancies between WAVES and the manual.

ii WAVES Network Configuration Tool Administrator Manual v5.6.1
P/N P01-04912-C
DISCLAIMER - NCT WHEN USED WITH TRX OR CRLU
Changes or modifications that are not expressly approved by Cooper Notification could void the user’s right to
operate the equipment.
This device complies with Part 15 of the Federal Communications Commission (FCC) Rules. Operation is subject to
the following two conditions:
•This device may not cause harmful interference.
•This device must accept any interference received, including interference that may cause undesired
operation.
The following table (Table FR.1) contains a list of the approved antennae for use with a TRX or CRLU. Antenna
installation is limited to those listed in Table FR.1 and may only be installed by a professional.
TABLE FR.1 Antennae Approved for Use
Description Cooper P/N Manufacturer
Manufacturer Part
Number
Antenna, 9DBI, Omnidirectional A01-02255 Mobile Mark OD9-2400
Antenna, Omni-directional, 15
DBI
A01-02257 Hyperlink Technologies HG2415U-PRO
Antenna, Directional, 8DBI A01-02259 Hyperlink Technologies RE09P-NM
Antenna, Omnidirectional, 3DBI A01-02260 Hyperlink Technologies HG2403RD-NM
Antenna, Omni, 6DBI A01-02820 Maxrad MFB24006
Antenna, 2.4GHZ 15DBI,
GRID, N-FEM CON
A01-02856 Hyperlink Technologies HG2415G-NF
Antenna, 2.4 GHZ, 13.9 DBI,
YAGI
A01-02859 Laird Technologies PC2415N
Antenna, 2.4GHZ, 15DBI,
YAGI, N-FEMALE
A01-02860 Hyperlink Technologies HG2415Y-NF
Antenna, Fixed, 15DBI A03-02416 Hyperlink Technologies HG2416P

WAVES Network Configuration Tool Administrator Manual v5.6.1 iii
P/N P01-04912-C
SAFETY SUMMARY
Safety Notices, Warnings, and Cautions must be applied during operation and maintenance of the equipment. If
situations arise that are not covered in the General Safety Notices, Warnings, or Cautions the local authority will issue
instructions as deemed necessary to resolve the situation.
GENERAL SAFETY NOTICES
The following safety notices supplement the specific Warnings and Cautions found throughout this manual.
•Equipment must be clear of all power lines, wires, and electrical obstructions at all times.
•Ensure that precautionary measures are employed to prevent applying power to equipment at any time
maintenance work is in progress.
•Do not touch electronic components with wet hands.
•Do not make any unauthorized alterations to equipment or components.
•Do not wear loose clothing while working around rotating parts of machinery.
•When working near electricity do not use metal rules, flashlights, metallic pencils, or any other object
having exposed conducting material.
•When possible, avoid installing equipment during severe or wet conditions. Handling equipment with wet
hands may cause slippage resulting in bodily injury and/or damage to equipment.
•Ensure the area is well ventilated when using cleaning, gasoline, and oil products. Avoid prolonged
breathing of fumes which may cause physical harm.
•Proper personal protective equipment (PPE) should be used when changing a battery. This equipment
includes acid resistant gloves, and safety glasses, as well as proper body acid-resistance coverings and safety
shoes.
OPERATING RESPONSIBILITIES
It is the responsibility of the owner and/or operator of the product to ensure the following.
•The equipment is correctly and safely installed.
•When installed, the equipment fully complies with federal, state, and local codes.
•Any person operating this equipment has been properly trained.
•Any person who has not been trained on the safe use of this equipment does not have access to it.
C
Circuit boards are electrostatic sensitive. All Electrostatic Discharge (ESD) sensitive components contain solid
state circuits that may become damaged when contacted with an electrostatic charge. Extreme care must be taken
to protect the circuitry.
Wear a static dissipating grounding wrist strap or similar protective device grounded at the nearest available bare
metal chassis or other ground point BEFORE touching the circuit board.
Always hold a components board by its edges or facing plate if available. Avoid touching the edge connectors.
Never slide components over any surface.
Failure to follow correct grounding procedures may cause severe damage to the circuitry.

iv WAVES Network Configuration Tool Administrator Manual v5.6.1
P/N P01-04912-C
•Any person operating this equipment has access to all documentation and information required for the safe
use and operation of this equipment.
•Any person operating this equipment remains alert at all times. Never operate machinery when physically or
mentally fatigued, or while under the influence of alcohol, drugs, or medication.
•The equipment is properly maintained and safety inspected at regularly scheduled intervals.
WARNINGS
Specific warnings used in this manual are summarized below and pages referenced. These warnings appear
throughout the manual.
•Make sure electrical connections are secure before applying power to a unit. Failure to secure connection
may cause an electrical arc resulting in physical shock or damage to equipment. (Page 74)
CAUTIONS
Specific cautions used in this manual are summarized below and pages referenced. These cautions appear throughout
the manual.
•(None cited.)

WAVES Network Configuration Tool Administrator Manual v5.6.1 v
P/N P01-04912-C
MODIFICATION RECORD
The following table displays the modifications made to this manual.
TABLE FR.2 Manual Modification Record
MOD # ECN # Description
A N/A Original
B 90132 Front Matter: Updated General Safety Notices and added “Operating Responsibilities”
section to stay consistent with manual template style.
Preface: Changed “Customer Support” to “Customer Satisfaction” and corrected the phone
number.
Section 4.1.1: Added two new notes (one after the second paragraph and one at the end of
the section).
Sections 4.1.1.1, 4.2.1.1, and 4.2.1.2: Changed reference to section in “WAVES
Administrator Manual” from “Audio Settings” to “WAVES Volume Settings”.
Section 4.2.4.4: Rewrote end of first paragraph; rewrote step 1; rewrote paragraph before
Table 4.3.
Section 4.2.4.4: Edited Table 4.3 in the following rows - Battery row, RSSI row, Miss
Correlations row, deleted Link Enable row, Audio CRC fail row, Speaker Tower Status row,
ACU Status row.
C 100026 Front Matter: Added disclaimer pertaining to FCC rules and the NCT manual; Added list of
approved antennae for TRX and CRLU.

vi WAVES Network Configuration Tool Administrator Manual v5.6.1
P/N P01-04912-C

WAVES Network Configuration Tool Administrator Manual v5.6.1 vii
P/N P01-04912-C
TABLE OF CONTENTS
Preface
About This Manual................................................................................................xv
Documentation Conventions ................................................................................xvi
Getting Help..........................................................................................................xviii
Chapter 1 Introduction
What Is WAVES? .................................................................................................1
WAVES Features .................................................................................................2
Command and Control...............................................................................................2
Simultaneous Messaging...........................................................................................2
Real-Time Emergency Alerting ..................................................................................2
Pre-Approved Frequencies ........................................................................................2
Chemical, Biological, Radiological, and Nuclear Capability .......................................2
Portable Field Units....................................................................................................2
UFC Compliant...........................................................................................................3
J-34 Department of Defense Anti-Terrorism Directorate............................................3
How Does WAVES Work?....................................................................................3
WAVES System Components ..............................................................................3
Integrated Base Station (IBS) ....................................................................................4
Base Station Transceivers ...................................................................................4
ADU-301 ..............................................................................................................7
IBS Personal Computer .......................................................................................8
Field Transceivers......................................................................................................8
TRX-401...............................................................................................................8
Radio-400 and Radio-500 (Field).........................................................................9
Peripheral Devices ...............................................................................................9
Chapter 2 Using the Network Configuration Tool
What is the Network Configuration Tool?.............................................................13
Launching the Application.......................................................................................... 14
Opening the Configuration Tool for the First Time ...............................................14
Opening a Different Base Station WVS File.........................................................15
Closing the Application............................................................................................... 15
Exploring the Screen Components.......................................................................16
Component Descriptions............................................................................................ 16
Chapter 3 Creating a Functional Site Tree
Understanding the Site Tree Structure .................................................................21

Table of Contents
viii WAVES Network Configuration Tool Administrator Manual v5.6.1
P/N P01-04912-C
Navigating the Site Tree .......................................................................................22
Expanding a Branch...................................................................................................23
Collapsing a Branch ...................................................................................................23
Viewing Branch Details ..............................................................................................23
Selecting the Operating Mode ..............................................................................24
Changing the Operating Mode...................................................................................25
Changing the Password .............................................................................................25
Building the Site Tree ...........................................................................................26
Creating a New Configuration Tool Database File.....................................................26
Defining Site Tree Elements ......................................................................................27
Element Addresses ..............................................................................................27
Adding a Zone......................................................................................................29
Adding a Sub-Zone or Unit...................................................................................29
Renaming the Site and Elements...............................................................................29
Deleting Site Tree Elements ......................................................................................30
Deleting a Zone, Sub-Zone, or Unit .....................................................................30
Deleting a Site......................................................................................................30
Reorganizing the Site Tree ........................................................................................30
Moving a Sub-Zone or Unit ..................................................................................31
Copying a Unit......................................................................................................31
Updating a Unit’s TRX................................................................................................31
Saving Database Files..........................................................................................32
Maintaining Different Unit Settings.............................................................................32
Copying the Database to a New File..........................................................................32
Backing Up the Database File ..............................................................................32
Backing Up the Databases.........................................................................................33
Recording Unit and Global Properties........................................................................33
Upgrading a WVS Database File..........................................................................33
Chapter 4 Configuring Site Tree Elements
Configuring Global Site Properties .......................................................................35
Audio Settings ............................................................................................................35
Audio Mode ..........................................................................................................36
Defining BIT Monitoring Parameters..........................................................................36
Configuring Transceiver Properties ......................................................................39
Unit Audio Settings.....................................................................................................39
Changing Unit Audio Properties...........................................................................39
Changing Site, Zone or Sub-Zone Audio Properties............................................39
RS-232 Devices .........................................................................................................39
I/O Settings ................................................................................................................39
Configuring Digital Pins........................................................................................ 40
Monitoring TRX Digital Inputs ..............................................................................42
BIT Parameters.......................................................................................................... 43
Setting BIT Parameters........................................................................................43
Manually Requesting BIT Results ........................................................................45
Manually Requesting POB Results ......................................................................45
Viewing BIT and POB Results .............................................................................46
Rebooting the TRX from the Configuration Tool ..................................................48

WAVES Network Configuration Tool Administrator Manual v5.6.1 ix
P/N P01-04912-C
Table of Contents
TRX Unit ID ................................................................................................................49
Assigning Unit and Installation IDs to a TRX .......................................................49
Internal Parameters....................................................................................................51
TRX Internal Parameters .....................................................................................51
VHF or UHF Radio Internal Parameters .............................................................. 53
Verifying Database Integrity .................................................................................54
Peeping Unit Information............................................................................................54
Refreshing the Monitor Unit Data.........................................................................55
Closing the Monitor Unit Dialog Box ....................................................................55
Using the Verify Command ........................................................................................55
Refreshing the Verify Settings Data .....................................................................55
Closing the Verify Settings Dialog Box.................................................................55
Exporting the Database to a Text File ..................................................................55
Exporting and Printing the Database .........................................................................56
Updating TRX Firmware .......................................................................................57
Chapter 5 Setting Up Peripheral Devices
Display Signs........................................................................................................59
Setting the Display Sign RS-232 Type.......................................................................59
Speaker Tower (SPT)...........................................................................................60
High-Powered Speaker Array (HPSA)..................................................................60
Wireless Activator System (WA)...........................................................................61
Defining Wireless Activator System Properties..........................................................61
Defining WA Families...........................................................................................62
Configuring the TRX for WA Communication.......................................................63
Setting Up WA Events................................................................................................64
Monitoring Wireless Activators...................................................................................64
Nuclear, Biological, and Chemical (NBC) Detectors ............................................64
Configuring the TRX for NBC Detector Communications ..........................................64
Setting Up NBC Detector Events ...............................................................................65
Monitoring NBC Detectors .........................................................................................66
Autonomous Control Unit (ACU) ..........................................................................66
Configuring a Transceiver for ACU Communications ................................................66
Identify the ACU Type ................................................................................................68
Activating ACU Messages..........................................................................................68
Monitoring the ACU Status.........................................................................................68
Digital Output Devices ..........................................................................................69
Appendix A TRX Transmitting Offset Assignments
Using Transmitting Offset Numbers .....................................................................71
Transmitting Offset Numbers List .........................................................................72
Appendix B TRX Firmware Update Procedures
Firmware Updating Methods ................................................................................73

Table of Contents
x WAVES Network Configuration Tool Administrator Manual v5.6.1
P/N P01-04912-C
Wired Mode ..........................................................................................................73
Wireless / On-Line Mode ......................................................................................75
Appendix C Configuring the RF AGC Setting
Setting the AGC to “Off” .......................................................................................77
Appendix D Troubleshooting
Resolving System Problems.................................................................................79
Glossary
A - Z......................................................................................................................81
Index
A - Z......................................................................................................................87

WAVES Network Configuration Tool Administrator Manual v5.6.1 xi
P/N P01-04912-C
LIST OF FIGURES
FIGURE 1.1 Integrated Base Station................................................................................... 4
FIGURE 1.2 CRLU-201 ....................................................................................................... 4
FIGURE 1.3 Example of an application with SRLU ............................................................. 5
FIGURE 1.4 Example of site with Backup CRLU................................................................. 6
FIGURE 1.5 Radio-400 VHF base station transceiver......................................................... 7
FIGURE 1.6 ADU-301 front and rear panels ....................................................................... 7
FIGURE 1.7 TRX-401..........................................................................................................9
FIGURE 1.8 Radio-400 VHF field transceiver ..................................................................... 9
FIGURE 1.9 WAVES peripheral devices ............................................................................. 11
FIGURE 2.1 WAVES 7 Off-Line caution .............................................................................. 14
FIGURE 2.2 Blank Configuration Tool WVS database window ........................................... 14
FIGURE 2.3 Open WVS database in Configuration Tool window ....................................... 15
FIGURE 2.4 Network Configuration Tool screen................................................................. 16
FIGURE 3.1 Network Configuration Tool site tree............................................................... 22
FIGURE 3.2 Site tree branch icons...................................................................................... 22
FIGURE 3.3 Expanded and collapsed site tree branches ................................................... 22
FIGURE 3.4 Branch element details.................................................................................... 23
FIGURE 3.5 Action panel operating mode icons ................................................................. 25
FIGURE 3.6 Change Password dialog box.......................................................................... 25
FIGURE 3.7 New File window ............................................................................................. 27
FIGURE 3.8 Element addressing scheme........................................................................... 28
FIGURE 3.9 Select Type dialog box.................................................................................... 29
FIGURE 4.1 Monitor BIT settings tab .................................................................................. 37
FIGURE 4.2 I/O Settings tab................................................................................................ 40
FIGURE 4.3 Status monitoring dialog box........................................................................... 42
FIGURE 4.4 BIT settings tab ............................................................................................... 44
FIGURE 4.5 BIT results window .......................................................................................... 46
FIGURE 4.6 Unit ID settings tab.......................................................................................... 50
FIGURE 4.7 Internal Parameters settings tab ..................................................................... 52
FIGURE 4.8 Monitor Unit dialog box.................................................................................... 54
FIGURE 4.9 Verify Settings for Unit dialog box ................................................................... 55
FIGURE 4.10 Database exported as a text file...................................................................... 57
FIGURE 5.1 RS-232 devices - display sign settings............................................................ 60
FIGURE 5.2 WA System devices ........................................................................................ 61
FIGURE 5.3 Activator Families settings tab......................................................................... 62

List of Figures
xii WAVES Network Configuration Tool Administrator Manual v5.6.1
P/N P01-04912-C
FIGURE 5.4 Activator Definition Table ................................................................................ 62
FIGURE 5.5 Defining a WRX Receiver RS-232 device ....................................................... 63
FIGURE 5.6 RS-232 devices tab - Sensor settings ............................................................. 65
FIGURE 5.7 ACU communications...................................................................................... 66
FIGURE 5.8 RS-232 devices tab - ACU settings................................................................. 67
FIGURE 5.9 ACU Properties settings tab............................................................................ 68
FIGURE 5.10 Auto-activate digital output device................................................................... 69
FIGURE B.1 Version Update dialog box.............................................................................. 74
FIGURE B.2 Wireless Firmware Update dialog box ............................................................ 75
FIGURE C.1 Blank WACOL Shell dialog box ...................................................................... 77
FIGURE C.2 WACOL Shell command AGC Off .................................................................. 78

WAVES Network Configuration Tool Administrator Manual v5.6.1 xiii
P/N P01-04912-C
LIST OF TABLES
TABLE FR.1 Antennae Approved for Use .........................................................................ii
TABLE FR.2 Manual Modification Record .........................................................................v
TABLE PR.1 Documentation Terms ..................................................................................xvi
TABLE PR.2 Icon Conventions.......................................................................................... xvii
TABLE 2.1 NCT Screen Components Functions............................................................17
TABLE 3.1 Operating Modes Permissions ....................................................................24
TABLE 4.1 “Monitor BIT” Parameter Descriptions .........................................................37
TABLE 4.2 BIT Condition Icons on the Site Tree ...........................................................43
TABLE 4.3 Commonly Referenced BIT Results Descriptions ........................................46
TABLE A.1 RF Transmit Offset Numbers ........................................................................72
TABLE D.1 Troubleshooting System Problems...............................................................79

List of Tables
xiv WAVES Network Configuration Tool Administrator Manual v5.6.1
P/N P01-04912-C

WAVES Network Configuration Tool Administrator Manual v5.6.1
xv
P/N P01-04912-C
Preface
This manual provides a user with the information needed to install, configure, and operate
the WAVES system. To better understand WAVES functionalities and features, a system
overview is also provided.
An outline of each chapter’s content is briefly described in the section below, as well as a
list of terms and conventions used in this manual and customer support information.
About This Manual
To assist you in quickly identifying each chapter’s content, a brief chapter description is
provided below.
Chapter 1, “Introduction”
This chapter presents the WAVES system and its capabilities, main features, components,
and principle of operation.
Chapter 2, “Using the Network Configuration Tool”
This chapter familiarizes the user with the Configuration Tool screen and its menus and
toolbars.
Chapter 3, “Creating a Functional Site Tree”
This chapter describes how to build a functional site tree of elements in the WAVES
network.
Chapter 4, “Configuring Site Tree Elements”
This chapter describes how to define zone, sub-zone, and unit properties for each
element’s on the site tree.
Chapter 5, “Setting Up Peripheral Devices”
This chapter describes procedures for configuring the peripheral devices in the WAVES
network.
Appendix A, “TRX Transmitting Offset Assignments”
This appendix provides recommended transmitting offset assignment numbers for RF
frequency values.

xvi WAVES Network Configuration Tool Administrator Manual v5.6.1
P/N P01-04912-C
Appendix B, “TRX Firmware Update Procedures”
This appendix provides instructions for updating or reloading transceiver firmware.
Appendix C, “Configuring the RF AGC Setting”
This appendix describes how to change the AGC setting by writing a custom command
and sending it to a TRX.
Appendix D, “Troubleshooting”
This appendix provides a list of problems and resolutions for problems that may occur
when using the Network Configuration Tool.
Documentation Conventions
The following tables describe frequently used terms and icon conventions found in this
manual. For definitions of additional words and acronyms used in this manual, see the
Glossary on page 81.
TABLE PR.1 Documentation Terms
Term Description
Base Station The command center of the WAVES network.
The term is used interchangeably with “IBS.”
Configuration Tool Part of the WAVES application that allows administrators to
configure and define global and individual transceiver settings for
devices in the WAVES system.
The term is used interchangeably with “Network Configuration
Tool” and “NCT.”
Device An appliance attached to a transceiver that provides input or sends
messages into the WAVES system. For example a chemical detector
or wireless and fixed duress activators.
Global The entire installation site on the unit site tree.
The term is used interchangeably with “Theater” or “Site.”
IBS Integrated Base Station. The command center of the WAVES
network.
The term is used interchangeably with “Base Station.”
NCT Part of the WAVES application that allows administrators to
configure and define global and individual transceiver settings for
devices in the WAVES system.
The term is used interchangeably with “Configuration Tool” and
“Network Configuration Tool.”
Network Configuration
Tool
Part of the WAVES application that allows administrators to
configure and define global and individual “transceiver settings for
devices in the WAVES system.
The term is used interchangeably with “Configuration Tool” and
“NCT.”

WAVES Network Configuration Tool Administrator Manual v5.6.1 xvii
P/N P01-04912-C
Site (Site-wide) The entire installation site on the unit site tree.
The term is used interchangeably with “Theater” and “Global.”
Theater The entire installation site on the unit site tree.
The term is used interchangeably with “Global” and “Site.”
Transceiver An addressable node in the WAVES wireless network that receives
and broadcasts messages, such as the TRX-401, CRLU-201, VHF
Radio 400, and UHF Radio 500.
he term is used interchangeably with “Unit”, “TRX”, or “CRLU.”
TRX An addressable transceiver node in the WAVES wireless network
that uses FHSS technology to broadcast RF signals over a wide range
of frequencies.
The term is used interchangeably with “Transceiver” and “Unit.”
Unit An addressable node on the site tree that represents an individual
transceiver in the WAVES network.
The term is used interchangeably with 'Transceiver' or “TRX.”
TABLE PR.2 Icon Conventions
Icon Description
Users should not disregard information in a Note. Indicates information that
emphasizes or supplements important points of the main text which, in some cases,
may be essential to the completion of a task. A Note is typed in regular lower case
text.
ALERTS THE USER TO POSSIBLE HAZARDS WHICH MAY CAUSE
LOSS OF LIFE, PHYSICAL INJURY OR ILL HEALTH IN ANY FORM
EITHER IMMEDIATE OR LATENT. A WARNING NOTE IS TYPED IN
BOLD UPPER CASE TEXT.
Alerts the user to possible hazards which may cause damage to
equipment but not danger to people. A Caution note is typed in bold
lower case text.
TABLE PR.1 Documentation Terms
Term Description

xviii WAVES Network Configuration Tool Administrator Manual v5.6.1
P/N P01-04912-C
Getting Help
For assistance, comments, or inquiries please contact Customer Satisfaction at the
following:
Cooper Notification
7565 Commerce Court
Sarasota, Florida 34243
U.S.A.
Telephone:941.487.2379
Fax:941.487.2389
Email:mvsr-support@cooperindustries.com

WAVES Network Configuration Tool Administrator Manual v5.6.1
1
P/N P01-04912-C
CHAPTER 1
Introduction
The Wireless Audio Visual Emergency System (WAVES) is an integrated alerting and site
protection system. It provides control of live and recorded audio and visual warnings and
instructions before, during, and after emergency situations to help direct everyone to
safety. This chapter provides an overview of WAVES, its features, and components.
The following sections are included in this chapter.
•What Is WAVES?
•WAVES Features
•How Does WAVES Work?
•WAVES System Components
•Peripheral Devices
1.1 WHAT IS WAVES?
WAVES is a command and control emergency notification system that broadcasts safety
sirens, live and recorded voice messages, and visual notifications via secure wireless
networks to alert, warn, and inform people of what to do in an emergency or disaster.
Using zones and subzones, people in immediate danger areas, whether indoor or outdoor,
can be alerted quickly and accurately.
Developed using secure wireless technology, WAVES is the de-facto standard for anti-
terrorism/force protection systems used by the Federal Government. Single frequency,
narrow band VHF/UHF communications, as well as secure digital Frequency Hopping
Spread Spectrum (FHSS) technology and a redundancy backbone are incorporated,
preventing jamming, interference, and eavesdropping as well as protecting the network in
the event of a disaster. The WAVES network reconfigures automatically if a unit goes
down, allowing alerts and messages to continue broadcasting without interruption. In the
event the primary command center is destroyed, a fixed or mobile secondary station(s) can
be used to control the system. To provide backup power if a grid power loss is
experienced, each WAVES transceiver and base station are protected by an uninterruptible
power supply (UPS). Additionally, optional solar power and backup generators can be
added to the system, to ensure system operation during power loss.
From speaker sirens to indoor speakers and from strobes to LED signs, WAVES can send
emergency messages in a variety of formats. An event can be programmed (scripted) to

Introduction
2 WAVES Network Configuration Tool Administrator Manual v5.6.1
P/N P01-04912-C
trigger notifications without further intervention of a human operator, thereby decreasing
response time and the likelihood of notification failures. For example, a scripted event can
be automatically activated by an alert sensor, such as a push button at a gate, a wireless
panic button or a Chemical, Biological, Radiological and Nuclear (CBRN) detector.
WAVES also provides the ability to remotely access a base station and activate critical
mass notification functions by using a telephone (including cellular) or a networked
computer, as well as wired or wireless activators.
1.2 WAVES FEATURES
WAVES is the most reliable, field-proven secure digital wireless system available today.
Its system features include the following:
1.2.1 Command and Control
WAVES provides the user a sophisticated command and control capability with an easy-
to-use user interface. Its PC-controllable wireless network, highly adaptable to virtually
any type and size facility or area, can operate as a standalone system or be integrated with
security systems such as intrusion detection, weather systems, access control, fire alarms,
and CBRN or Nuclear, Biological, Chemical (NBC) detection systems.
1.2.2 Simultaneous Messaging
In a WAVES network, the locally stored message feature enables simultaneous activation
of different messages at different nodes, allowing each transceiver or HPSA at a site to
play different messages simultaneously, while retaining the common-message alerting that
WAVES already performs.
1.2.3 Real-Time Emergency Alerting
WAVES integration with Cooper Notification’s Roam Secure Alert Network (RSAN™) is
an optional feature that provides for the exchange of Common Alerting Protocol (CAP)
messages by way of a TCP/IP network such as LAN, WAN, or the Internet. Through this
interoperability alerts can be quickly issued to a text-enabled device, phone, fax, or
computer.
1.2.4 Pre-Approved Frequencies
WAVES wireless frequencies are pre-approved for use throughout military and
government facilities (JF12 #7787 and SFAF), requiring no further action nor creating any
delays in use.
1.2.5 Chemical, Biological, Radiological, and Nuclear Capability
WAVES has the capability to integrate with other control systems, including CBRN
systems. Cooper Notification has worked with the US Marine Corps on integration of
ACADA GID-3 sensor devices with WAVES and continues to work with the U.S. military
to integrate with the most advanced CBRN sensor systems.
1.2.6 Portable Field Units
WAVES portable systems, Tactical WAVES (TACWAVES™), Mobile Speaker Tower
(MSPT™), and Mobile Speaker Array (MSA™), can operate as standalone or be

WAVES Network Configuration Tool Administrator Manual v5.6.1 3
P/N P01-04912-C
How Does WAVES Work?
integrated into one system to work as field notification units for tactical operations or
temporary events.
1.2.7 UFC Compliant
U.S. Army Corps of Engineers identifies Cooper Notification as fully compliant with UFC
4-021-01 Individual Building MNS. Cooper Notification is the only company that can
supply all four types of mass notification systems as mentioned in the November 21, 2003
ECB, which included the Individual Building, Giant Voice, Telephone Alerting, and
Installation-Wide Control System.
1.2.8 J-34 Department of Defense Anti-Terrorism Directorate
WAVES is the only wireless alerting system that meets all J-34 Department of Defense
Anti-Terrorism Directorate requirements. In 1998 the Joint Chiefs of Staff established 11
requirements that any Personnel Alerting System (PAS) system must meet. U.S. Army
CECOM tested available PAS systems and found that WAVES was the only system that
fulfilled all 11 requirements.
1.3 HOW DOES WAVES WORK?
The WAVES system consists of a base station and up to 15,376 uniquely addressable field
transceivers that create a radio frequency (RF) network of many transceivers connected
together. Each transceiver has a single transmitter that it listens to and may have none,
one, or multiple transceivers that it transmits to. The base station transceiver is the highest
level transmitter that all other transceivers listen to, either directly or through other
transceivers. All digital traffic flows from the base station transceiver in the forward
channel and flows back through the backwards channel.
The RF network is controlled by firmware inside each transceiver. When a transceiver is
powered up it searches for a transmitter to listen to. Upon locating a valid transmitter that
has sufficient signal strength, the transceiver locks-on to the transmitter. Any loss of signal
from the transmitter causes the transceiver to search for another transmitter in its table of
valid transmitters. Once locked-in, communication can take place between nodes in the
WAVES system.
In addition to the hardware RF path, each transceiver listens and reports to the base station
computer’s WAVES software. A logical address is assigned to each transceiver, based
upon its location in an installation site tree. All commands to and from the transceiver
reference its address. For any on-line element information to be received by the WAVES
software and reflected the database, the correct address must be programmed into the
transceiver. This is automatically done when you program the various properties of each
transceiver. Once the transceivers are configured and the system is setup, an operator
stationed at a WAVES console can monitor the system and initiate responses to
notifications.
1.4 WAVES SYSTEM COMPONENTS
•Integrated Base Station (IBS)
−Base Station Transceivers
−Audio Data Unit (ADU-301)

Introduction
4 WAVES Network Configuration Tool Administrator Manual v5.6.1
P/N P01-04912-C
−Central Command Unit (Personal Computer)
•Field Transceivers
1.4.1 Integrated Base Station (IBS)
The IBS is the command center of the WAVES
network. All sensor appliances, like Wireless
Activator (WA) panic buttons and Nuclear, Biological,
and Chemical (NBC) detectors send their signals
through the RF network to the IBS, which is running
WAVES software. The software is set up during
installation to either immediately respond and alert
personnel to safety through notification appliances,
such as speakers, strobes, and LED text signs, or to
allow the operator at the IBS to decide what action to
take.
In addition to optional peripheral devices the IBS
system includes a UPS, Primary/Alternate Base
Station Switch, microphone, cables, antennas, and a
built-in speaker. The core IBS components are
described in the sections that follow.
FIGURE 1.1 Integrated Base Station
1.4.1.1 Base Station Transceivers
A base station transceiver facilitates communication between a WAVES IBS and field
transceiver nodes. The IBS can contain one or both of the following base station
transceivers: a CRLU-201 for TRX communication, and/or a Radio-400 (VHF)/Radio-
500 (UHF) transceiver.
1.4.1.1.1 CRLU-201
The CRLU-201 is the base station transceiver unit of the WAV E S system for TRX FHSS
communication. It transmits multiple channels of audio and visual display messages, as
well as RS-232 data and control information for wireless distribution within the WAVE S
system. At the same time, it receives RS-232 data and network-wide supervisory Built-in
Test (BIT) diagnostic reports for subsequent transmission to the WAVE S software.
FIGURE 1.2 CRLU-201
The CRLU-201 is a fully integrated unit with an integral power supply, audio amplifiers,
and antennas. It digitizes incoming analog audio streams from an ADU-301 and
Antenna
Panel Cover
Sync
Indicator
Connector
Panel Cover
Connector Panel

WAVES Network Configuration Tool Administrator Manual v5.6.1 5
P/N P01-04912-C
WAVES System Components
communicates with the ADU-301 through a multi-pair, shielded cable terminated in a
DB-25 connector. RS-232 data is communicated through a DB-9 connector. The CRLU
can also be programmed to function as a TRX field transceiver.
The CRLU is powered locally from either an AC (100-240V, 47-63Hz) or DC (12-16V)
power source, or remotely from the ADU-301 through a designed cable. The device can
also accommodate an optional UPS-901 that can provide up to five hours of operation.
The UPS-901 batteries are stackable, allowing for extended backup time.
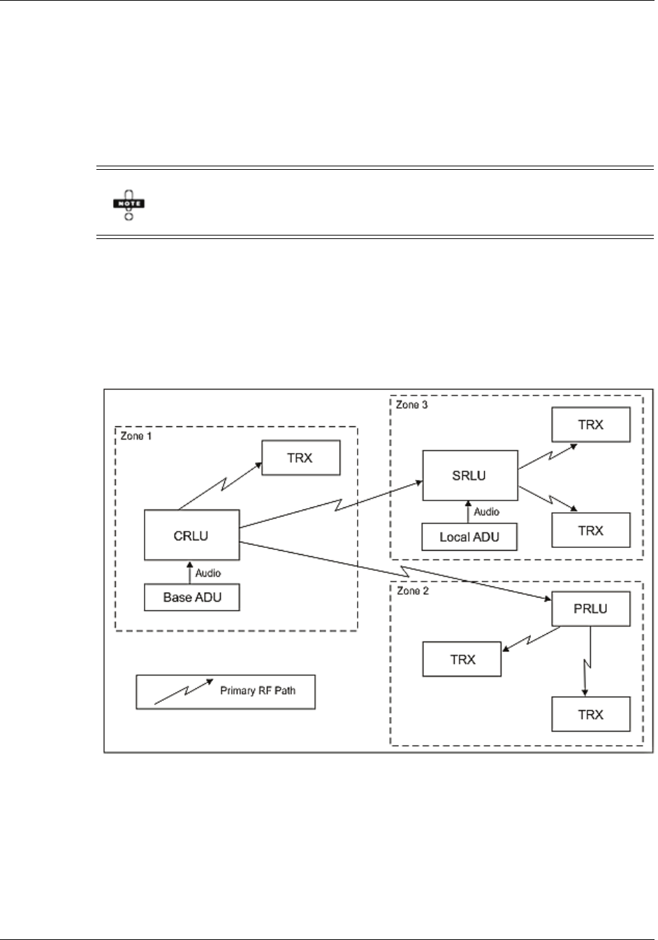
The CRLU-201 can be configured to function as a Satellite Relay Unit (SRLU) and a
Backup CRLU to create an Alternate Base Station.
1.4.1.1.1.1 CRLU-201 SRLU Configuration
The SRLU is used as a relay with the added capability of being an independent audio
source for local announcements, or when more than two audio sources are needed.
The following diagram is an example of an application with a SRLU.
FIGURE 1.3 Example of an application with SRLU
1.4.1.1.1.2 SRLU Audio/Voice Switching Priorities
The SRLU audio channels can be configured to broadcast one of two audio sources: Local
or Base. In Local mode, the local audio inputs (the output from the local ADU) are
transmitted to the SRLU zone. In Base mode, only the audio channels received from the
CRLU are transmitted to the SRLU zone.
The SRLU voice channels are configured to establish the relative priority of the PTT
messages received from the local ADU and the CRLU. In Base mode, a PTT message
All CRLU-201 and UPS-901 circuits have a Class 2 rating.
You can address the following functions to the CRLU: PTT, volume, discrete
I/O and audio messages. You cannot address visual messages to the CRLU.

Introduction
6 WAVES Network Configuration Tool Administrator Manual v5.6.1
P/N P01-04912-C
from the CRLU will override a PTT from the local ADU. In Local mode, PTT from the
local ADU will override a PTT message from the CRLU.
See the “Audio Files” section in the WAVES Administrator Manual for instructions on
setting the SRLU audio and voice configurations.
1.4.1.1.1.3 Backup CRLU-201 Configuration (Alternate Base Station)
As an Alternate Base Station, the CRLU-201functions as an SRLU until activated by
turning the Primary/Alternate Base Station switch on the front of the IBS. When the
switch is in Primary position, the unit acts as an SRLU. When the switch is Alternate
position, the unit becomes the network CRLU.
FIGURE 1.4 Example of site with Backup CRLU
All functions of the SRLU, as described in Section 1.4.1.1.1.1, “CRLU-201 SRLU
Configuration”, apply to the Backup CRLU configuration.
1.4.1.1.2 Radio-400 and Radio-500 (Base)
The base station Radio-400 (VHF) or 500 (UHF) are transceivers used to facilitate
communication between an IBS and VHF/UHF-radio-equipped nodes. For WAVES
systems using VHF/UHF radio nodes, the IBS contains a Master COTS radio controller
that communicates through a Master COTS VHF/UHF radio with a network of VHF/UHF
radio-enabled nodes in the WAVES network. As with the CRLU, the VHF/UHF radio
transmits audio messages and control information for distribution within the WAVES
system. The radio also processes supervisory diagnostic reports.

WAVES Network Configuration Tool Administrator Manual v5.6.1 7
P/N P01-04912-C
WAVES System Components
FIGURE 1.5 Radio-400 VHF base station transceiver
1.4.1.2 ADU-301
The ADU-301 is the interface between the IBS personal computer (PC) and the base
station transceiver, providing an interface between its input audio and data channels and
the base station transceiver. It converts data from the PC to a form usable to the transceiver
and provides the interface. The base station transceiver subsequently communicates with
the field transceivers.
FIGURE 1.6 ADU-301 front and rear panels
The following connections can be made by way of the ports on the ADU-301.
•Two balanced or unbalanced line-level audio sources (ChA and ChB) can be
connected via the XLR connector on the front panel or the ¼-inch phono jacks on
the rear panel. Each channel level can be adjusted using the -20 dB pad, the
+30 dB trimmer and the peak/clip LED indicators (on the front and rear panels).
•A PC sound card can be connected (TO/FROM) via stereo phono jacks provided
on the rear panel.
•A microphone can be connected via the XLR connector on the front panel or the
¼-inch phono jack on the front panel. The microphone input includes a pre-
amplifier and soft-limiter compressor. The microphone can be activated via the
front panel PTT switch or from an external control signal connected to a ¼-inch
phono jack.
•A monitor stereo speaker/headphone output with adjustable gain up to 4 watts per
channel is provided via a ¼-inch phono jack on the front panel (Tip – Channel A +
Voice and Ring – Channel B + Voice).
•A bridge can be set up between a data device and the CRLU-201 RS-232
connector via the ADU-301 DATA Ports: RS-232 TO CRLU and RS-232
connectors.
•RS-232 to RS-422 conversion can be made through an interface between the
optional PC (RS-232 via its DATA PORTS: TO PC CONTROL connector) and
the CRLU-201 (RS-422 via its DATA PORTS: To CRLU connector).
•Power is provided locally from an AC (100-240V, 47-63Hz) power source. It can
also provide power to, or receive power from the CRLU-201 through the CAB-
ADU-25-CRLU-4 cable.

Introduction
8 WAVES Network Configuration Tool Administrator Manual v5.6.1
P/N P01-04912-C
The ADU voice output depends on one of the two voice inputs and on the following
priorities:
•Top Priority – Microphone + PTT. When pressing the PTT button, the
microphone is enabled, and any other voice signal is disabled.
•Second Priority – Sound card. When activating a message through the computer
(by the Scheduler or audio/visual message), the audio output is transmitted.
1.4.1.3 IBS Personal Computer
The IBS contains a custom personal computer that is the heart of the system and controls
the network through the WAVES software application. The network database, all
messages, and scheduled events are stored in and controlled from the PC.
Using the WAV E S software, transceivers can be monitored from the base station and
grouped into zones and sub-zones to facilitate real-time control of audio, voice and data
messages, prerecorded and saved messages, and scheduled message broadcasts.
1.4.2 Field Transceivers
Field transceivers are addressable nodes in the wireless network that receive and broadcast
messages sent to them. The transceivers can independently process information
selectively transmitted to them from the base station or from local sensors. They then
amplify audio signals for speakers and send data to visual display signs and other
connected output appliances. This enables WAVES installers to adapt each transceiver to
its immediate acoustic environment and the WAVES operators to adapt each transceiver to
changing conditions. In this way, acoustic quality and transceiver integrity can be
maintained.
1.4.2.1 TRX-401
The TRX-401 is an addressable transceiver node in the WAVES network that uses FHSS
technology to broadcast RF signals over a wide range of frequencies. Frequency offsets
are used to spread RF signals. Receiving stations use their frequency offset settings to
recognize and retrieve RF signals directed to them. Each transmitter receiver pair hops in
synchronization across 76 channels in a pseudo-random pattern. Spreading the frequency
like this makes the signal hard to interfere with and hard to eavesdrop into.
All ADU-301 circuits have a Class 2 rating.

WAVES Network Configuration Tool Administrator Manual v5.6.1 9
P/N P01-04912-C
Peripheral Devices
FIGURE 1.7 TRX-401
From the base station, WAVES can transmit two high-fidelity audio channels multiplexed
with a full-duplex data channel that receives and transmits signals to on-site control and
monitoring appliances. This enables the WAVES operator to transmit an audio broadcast
and a voice announcement at any given time and synchronize them with a display message
sent on the data channel.
Each TRX is programmed to receive communication from up to nine other TRXs. This
provides increased reliability and survivability. In the event that the primary source TRX
fails, the signal is automatically rerouted through secondary TRXs. Finally, the WAVES
operator at the base station has full real-time control of each TRX's audio and data
parameter settings, enabling the operator not only control of the audio and data settings
but also ability to monitor each transceiver's operating parameters and status.
1.4.2.2 Radio-400 and Radio-500 (Field)
Radio-400 and Radio-500 units are VHF and UHF off-the-shelf radios, respectively, used
as transceiver nodes operating on a single-frequency narrow band. Radio frequency
settings are preprogrammed in manufacturing to customer specifications. Commands sent
from the WAVES Base Station are received by the radio and played through configured
devices. The radio also transmits messages and status reports upstream to the IBS.
FIGURE 1.8 Radio-400 VHF field transceiver
1.5 PERIPHERAL DEVICES
In WAVES, peripheral devices are any appliances that provide input or send messages into
the WAVES system. For example, chemical detectors can be programmed to alert the fire
department response team to what chemical agent type is dispersing and where it appears.
Teams can don appropriate gear before arriving at the site and down-wind buildings can be
immediately alerted to evacuate. In the event of a systematic intrusion, patterns of sensors
show up immediately on the WAVES satellite map for the command unit to make
appropriate responses to save lives. WAVES is also capable of activating other appliances,
such as access-control bollards using custom-built interfaces.
Connector Panel
Antenna
Panel Cover
Sync
Indicator
Connector
Panel Cover

Introduction
10 WAVES Network Configuration Tool Administrator Manual v5.6.1
P/N P01-04912-C
Sensor appliances configured in the WAVES network are capable of triggering assigned
WACOL scripts that send messages to notification appliances. For example, when
activated, a script can play prerecorded messages to speakers, cause strobes to flash or
display a preset message on an LED sign. The scripts can be activated as needed or
scheduled to play automatically to assigned sensor appliance. For information on creating
scripts, refer to the WAVES 7 Administrator Manual or WAVES 7 Online Help for your
system.
Examples of peripheral devices include the following:
•Wireless and Fixed Duress Activators - Sense input from users at remote
locations.
•Intrusion Detection Systems (IDS) - Sends detection status messages to
WAVES.
•NBC/CBRN Detectors - Sends status and alarm messages to WAVES.
•WAVES Microphone - Sends live audio and command PTT messages to
WAVES.
Figure 1.9 displays some of the peripheral appliances that can be connected to the WAVES
network.

WAVES Network Configuration Tool Administrator Manual v5.6.1 11
P/N P01-04912-C
Peripheral Devices
FIGURE 1.9 WAVES peripheral devices

Introduction
12 WAVES Network Configuration Tool Administrator Manual v5.6.1
P/N P01-04912-C

WAVES Network Configuration Tool Administrator Manual v5.6.1
13
P/N P01-04912-C
CHAPTER 2
Using the Network
Configuration Tool
The Network Configuration Tool provides access to administrator tasks that are essential
in setting up unit parameters in the WAVES network. This chapter describes how to open
the application and familiarizes the user with the screen components.
The following sections are included in this chapter.
•What is the Network Configuration Tool?
•Exploring the Screen Components
2.1 WHAT IS THE NETWORK CONFIGURATION TOOL?
The Network Configuration Tool allows the administrator to configure and define global
and individual transceiver settings for devices in the WAVES system.
•Global settings affect the entire installation site and include parameters internal to
the WAVES application, as well as several parameters that are uniformly loaded
into all transceivers.
•Transceiver settings affect an individual unit and its behavior in the WAVES
system.
When an administrator opens the Network Configuration Tool, WAVES 7 remains open in
the background, and, if there are any scripts in the scripts queue, asks the operator if it is
OK to delete the currently queued scripts before opening the Configuration Tool. After the
Network Configuration Tool opens, WAVES 7 is disconnected from the hardware network
devices so that any 'inbound' messages from devices and any 'outbound', AreaAlert, or
scheduled messages are discarded until the Configuration Tool is closed.
When the administrator closes the Configuration Tool, WAVES 7 automatically restarts
the connection to the hardware network devices and a change to the database is noted on
the WAVES Event List in the Status panel. In addition, the Event log will continue to log
any scripts that attempted to play when the Configuration Tool was active.
You CANNOT send prerecorded audio or visual messages, or make live PTT
announcements using the Network Configuration tool. Only global and unit
properties settings and verification actions are permitted.

Using the Network Configuration Tool
14 WAVES Network Configuration Tool Administrator Manual v5.6.1
P/N P01-04912-C
2.1.1 Launching the Application
For an existing base station, the NCT automatically opens the last launched database,
which should be the same one that is open in WAVES 7. For a new base station database,
you must identify the *.wvs file.
2.1.1.1 Opening the Configuration Tool for the First Time
1. From the WAVES 7 screen, login as Administrator.
2. From the Administration menu, select Network Configuration. The WAVES 7
Off-Line dialog box appears advising you that the CRLU Service will be stopped
while the Configuration Tool is open.
FIGURE 2.1 WAVES 7 Off-Line caution
3. Click OK. The Network Configuration Tool opens displaying a blank WVS
database.
FIGURE 2.2 Blank Configuration Tool WVS database window
4. From the NCT screen, set the mode to On-line or Off-line and log in.
5. From the File menu, select Open. The Open a File dialog box appears.

WAVES Network Configuration Tool Administrator Manual v5.6.1 15
P/N P01-04912-C
What is the Network Configuration Tool?
6. From the Look In list, open the C:\Waves\Data directory and open the same
WVS database that is open in WAVES 7. (For example,
C:\Waves\Data\StationAnywhere.wvs.) The database opens.
.
FIGURE 2.3 Open WVS database in Configuration Tool window
7. From the File menu, select Save.
The next time you launch the Network Configuration Tool, the application will
recognize the last database you saved and automatically open it.
2.1.1.2 Opening a Different Base Station WVS File
1. From the WAVES 7 screen, login as Administrator.
2. From the Administration menu, select Network Configuration. The WAVES 7
Off-Line dialog box appears advising you that the CRLU Service will be stopped
while the Configuration Tool is open.
3. Click OK. The Network Configuration Tool opens.
4. From the NCT screen, set the mode to On-line or Off-line and log in.
5. From the File menu, select Open. The Open a File dialog box appears.
6. From the Look In list, open the C:\Waves\Data directory and the desired WVS
file.
2.1.2 Closing the Application
1. From the File menu, select Save if any changes have been made.

Using the Network Configuration Tool
16 WAVES Network Configuration Tool Administrator Manual v5.6.1
P/N P01-04912-C
2. Do one of the following:
−Click the icon on the toolbar.
OR
−From the File menu, select Exit.
The application closes.
The WAVES screen maximizes and any changes to the network configuration will
be reflected in WAVES within seconds as it automatically restarts the network
routing process. In addition, an event saying “WVS database changed” is added to
the WAVES Event List in the Status panel.
2.2 EXPLORING THE SCREEN COMPONENTS
When the Configuration Tool opens it automatically opens the last saved database.
FIGURE 2.4 Network Configuration Tool screen
2.2.1 Component Descriptions
The Network Configuration Tool toolbars contain buttons that correspond to many of the
menu commands. While not all buttons will be used, you can find out what each one does
by pointing to it and reading its tool tip. Table 2.1 below describes the main sections of the
NCT screen, as well as menu options and command buttons that you may use.
Site Tree
Panel
Toolbar
Action Panel
Database Name Bar
Menu Bar
Unit Details Panel

WAVES Network Configuration Tool Administrator Manual v5.6.1 17
P/N P01-04912-C
Exploring the Screen Components
The following table identifies and describes ONLY the functional areas of the
Network Configuration Tool interface that you will use. Because several tasks
are performed from WAVES 7, not all NCT command buttons and menu
options are discussed.
TABLE 2.1 NCT Screen Components Functions
Screen Area Function
Database
Name Bar
Displays the opened *.wvs file name and its directory path.
Unit Details
Panel
Displays selected site tree element(s).
Site tree elements can be displayed as icons a list, or detailed list. See the
description for the View | Units option under “Menu Bar” in the Screen Area
column.
Menu Bar Provides access to the following administrative and operator functions:
• File
−New - Available only in Off-line, On-line, or Wired mode,
allows you to open a blank window to create a new database.
−Open - Available only in Off-line, On-line, or Wired mode,
allows you to open the “Open a File” dialog box and choose an
existing WVS database.
−Properties - Available only in Off-line, On-line, or Wired
mode, this option opens the ‘global’ site Properties dialog box
from which unit parameters can be configured.
−Save - Available in any mode, allows you to save an open file.
−Save As - Available in any mode, allows you to save an open file
with a new name and/or to a different location.
−Exit - Available in any mode, allows you to close the
Network Configuration Tool.
•Edit
−New - Available only in Off-line, On-line, or Wired mode, allows
you to add a new zone, sub-zone, or unit to the site tree. You can
also right-click a zone or sub-zone and choose “New” from the
shortcut menu, or press the “Insert” key.
−Cut - Available only in Off-line, On-line, or Wired mode,
allows you to cut a selected site tree element from its location.
−Copy - Available only in Off-line, On-line, or Wired mode,
allows you to copy a selected site tree element.

Using the Network Configuration Tool
18 WAVES Network Configuration Tool Administrator Manual v5.6.1
P/N P01-04912-C
Menu Bar
(continued)
−Paste - Available only in Off-line, On-line, or Wired mode,
allows you to paste a cut or copied site tree element into a new
location on the site tree.
−Rename - Available only in Off-line, On-line, or Wired mode,
allows you to rename a selected site tree element. You can also
slowly double-click the element to change the name or right-click
the element and choose “Rename” from the shortcut menu.
−Delete - Available only in Off-line, On-line, or Wired mode,
allows you to delete a selected site tree element. You can also
right-click the element and choose “Delete” from the shortcut
menu.
−Properties - Available only in Off-line, On-line, or Wired mode,
this option opens a selected unit’s Properties dialog box. You can
also right-click the unit and choose “Properties” from the shortcut
menu.
•View
−WACOL Shell - Available only in Off-line, On-line, or
Wired mode, allows you to open the “WACOL Shell” dialog box.
From the dialog box, you can enter or select a WACOL command
to execute to a selected site tree element.
−Speaker Towers - Available in any mode, allows you to open the
“Speaker Tower” dialog box. From the dialog box you can send
prerecorded alarms or Built-in Audio Messages, initiate a self-test,
and temporarily set the speaker tower volume.
−Volume Mute - Available in any mode, allows you to open the
“Volume/Mute” dialog box. From the dialog box, you can adjust
volume and mute settings for a site, zone, sub-zone, or unit.
−Toolbars - Available in any mode, allows you to hide or display
toolbar elements and the Action Panel.
−Units - Available in any mode, allows you to display unit
information in the Unit Details panel as:
•Large icons
•Small icons
•Vertical list
•Vertical list with BIT details
• Commands
−Monitor - Available only in On-line and User mode,
allows you monitor site conditions for a configured TRX.
TABLE 2.1 NCT Screen Components Functions
Screen Area Function

WAVES Network Configuration Tool Administrator Manual v5.6.1 19
P/N P01-04912-C
Exploring the Screen Components
Menu Bar
(continued)
−Bit Result - Available in any mode when a “Request BIT”
command has been issued, allows you to open the “BIT Results”
window. From the window you can view the results of the BIT
test.
−Peep Unit Info - Available only in On-line, Wired, and User
mode, allows you to open the “Monitor unit” window to peep a
unit’s parameters.
−Verify - Available only in On-line, Wired, and User mode, allows
you to open the “Verify Settings” window for a selected site tree
element.
−DB to Unit - This option is currently not used.
− Update All - This option is no longer in use.
−Version Update -Available only in Wired mode, allows you to
open the “Version Update” dialog box. From the dialog box you
can update a transceiver’s firmware version.
−Wireless Update - Available only in On-line mode, allows you to
open the “Wireless Firmware Update” dialog box. From the dialog
box you can to update or reload a transceiver’s firmware.
−Change Password - Available only in Off-line, On-line, and
Wired mode, allows you to change a user password.
−Change COM - Available only in Off-line, On-line, and Wired
mode, allows you to open the “Select COM port” dialog box and
select from a list of available communication ports.
−Export Data Base - Available in any mode, allows you to export
the database file to a user specified file directory.
•Window
−Cascade, Tile vertical, Tile horizontal, Arrange icons -
Available in any mode, allows you to arrange open dialog boxes
on the screen.
• Mode
−Off-line, On-line, Wired, User - Allows you to
select and switch between user modes.
•Help
−Help - Allows you to open the PDF version of the Network
Configuration Tool Administrator Manual.
−About - Available in any mode, allows you to open an information
screen that contains Configuration Tool information.
TABLE 2.1 NCT Screen Components Functions
Screen Area Function
The “DB to Unit” command is obsolete and
not compatible with the current database
version. using the command will cause
undesirable results in the database.

Using the Network Configuration Tool
20 WAVES Network Configuration Tool Administrator Manual v5.6.1
P/N P01-04912-C
Toolbar Contains shortcut buttons to common administrator functions.
• Available only when a unit in the Unit Details panel is selected.
Selecting a unit in the Unit Details panel and then clicking the arrow-
up folder button navigates the selected unit to the next lower folder or
units inside its parent folder on the site tree.
• Available only in Off-line, On-line, and Wired mode, and when a
unit in the Unit Details panel is selected.
Selecting a unit in the Unit Details panel and then clicking the arrow-
down folder button navigates the selected unit into its parent folder on
the site tree.
Site Tree
Panel
Contains a graphical representation of the site database in an organized
hierarchical tree format.
TABLE 2.1 NCT Screen Components Functions
Screen Area Function
For button descriptions other than those shown below, see
the Menu Bar descriptions.

WAVES Network Configuration Tool Administrator Manual v5.6.1
21
P/N P01-04912-C
CHAPTER 3
Creating a Functional Site Tree
The Network Configuration Tool’s site tree depicts a functional system view and a
graphical representation of units in the WAVE S network. This chapter describes how to
build and organize the site tree.
The following sections are included in this chapter.
•Understanding the Site Tree Structure
•Navigating the Site Tree
•Selecting the Operating Mode
•Building the Site Tree
•Saving Database Files
•Backing Up the Database File
•Upgrading a WVS Database File
3.1 UNDERSTANDING THE SITE TREE STRUCTURE
The site tree is organized in a hierarchical tree format, in which the higher branches of the
tree represent general areas and the lower branches are more specific. The site tree is
presented on the left side of the Network Configuration Tool window. This same site tree
and element names are referenced and seen in the WAVES 7 application.
All configuration procedures described in this chapter are normally carried
out in Off-line mode by a WAVES Administrator.

Creating a Functional Site Tree
22 WAVES Network Configuration Tool Administrator Manual v5.6.1
P/N P01-04912-C
The highest branch of the site tree
represents the entire/global site. The
default global name for a new database
site is “Theater”; however, you can
change it to a more descriptive name. For
example, in Figure 3.1 the site name has
been changed to “Convention Center”.
The different areas of the site are
represented by the site elements: zones
(z), sub-zones (s), and units (u).
FIGURE 3.1 Network Configuration Tool site tree
Zone and sub-zone branches appear below the site branch. For example, in Figure 3.1,
“Main” is a zone and “Meeting Rooms”, “Ballrooms”, and “Restaurants” are its sub-
zones.
Units are the lowest branches on the site tree. Unit branches can appear under a zone or
sub-zone branch. For example, in Figure 3.1, “Lobby” is in the “Main” zone and
“Ballroom” sub-zone.
3.2 NAVIGATING THE SITE TREE
You can use the site tree to display the entire site or focus on one specific area of the site.
When you open a WVS file, the Network Configuration Tool displays the site and zone
branches. An icon appears next to each branch to assist you in identifying the branch level.
FIGURE 3.2 Site tree branch icons
If you are working with a large site that contains many site elements, you may need to
expand or collapse branches to obtain a general view of the site tree or focus on a specific
branch. For example, you can view all the zones on the site tree by collapsing the branches
under them or you can open all the branches under a specific zone.
A “+” sign to the left of a branch icon indicates that the branch contains collapsed
branches. A “-” sign indicates that the branch has sub-branches and all the branches
immediately under it are open. For example, all branches immediately under the “Main”
branch in Figure 3.3 are open but branches under the “Meeting Rooms”, “Ballroom”, and
“Restaurant” branches are hidden. “Lobby” and “Indoor Pool” do not have branches under
them.
FIGURE 3.3 Expanded and collapsed site tree branches
Global Site Name
Zone Name
Sub-zone Name
Unit Name
Site Zone Sub-Zone Unit

WAVES Network Configuration Tool Administrator Manual v5.6.1 23
P/N P01-04912-C
Navigating the Site Tree
3.2.1 Expanding a Branch
•Double-click the branch name.
OR
•Click the “+” sign to the left of the branch icon.
3.2.2 Collapsing a Branch
•Double-click the branch name.
OR
•Click the “-” sign to the left of the branch icon.
3.2.3 Viewing Branch Details
You can view the details of a branch and the branches immediately under it in a table
format in the Unit Details panel. The available details categories are selected on the
Monitor BIT tab of the global Properties window. See Section 4.1.2, “Defining BIT
Monitoring Parameters” on page 36 for instructions on configuring Monitor BIT tab
options.
1. From the site tree, click a branch element.
2. Do one of the following:
−From the View menu, select Units, choose Icons, and then point to Details.
OR
−Click the icon located on the toolbar.
The branch details appear in table format in Unit Details panel.
FIGURE 3.4 Branch element details

Creating a Functional Site Tree
24 WAVES Network Configuration Tool Administrator Manual v5.6.1
P/N P01-04912-C
3.3 SELECTING THE OPERATING MODE
You can work with the Configuration Tool in one of four operating modes:
•User
•Off-line
•On-line
•Wired
Table 3.1, “Operating Modes Permissions” provides a task list and what mode is
authorized to perform the task.
When you start the Network Configuration Tool application, User mode is active. The
other three operating modes are password protected and allow access to administrative
tasks.
User Mode - User mode allows you to view database statuses and perform general
operational tasks, but no database operations (see Table 3.1, “Operating Modes
Permissions” ).
Off-line Mode - Off-line mode allows you to work off-line to design a site tree and
make changes to the design of existing site trees. You can also adjust the property
settings of the base and field transceivers.
On-line Mode - On-line mode allows you to control on-line operation of the
Configuration Tool through the connection between the computer at the base station
and the base station transceiver. In this mode, you can receive BIT reports, design or
make changes to the design of a site tree, adjust the property settings of the base and
field transceivers, refresh the current operating parameters and reconfigure an entire
site. To ensure the integrity of the site tree, it is recommended that you redesign the
site tree off-line and only update the site tree after you are satisfied with the new
design.
Wired Mode - Wired mode allows you to initialize the base and field transceivers. It
is the only mode in which you can set Unit IDs and update a transceiver’s software
version. Wired mode requires a direct cable connection between the PC and the
transceiver being configured. The On-line and Wired modes operate at 19,200 bps.
TABLE 3.1 Operating Modes Permissions
Operation
User
Mode
Off-line
Mode
On-line
Mode
Wired
Mode
Peep unit internal parameters Yes No Yes Yes
Verify database parameters with actual unit
parameters Yes N o Yes Ye s
Save current settings Yes Yes Yes Yes
Open a file No Yes Yes Yes
Create a new file No Yes Yes Yes
Exit program Yes Yes Yes Yes
Copy unit No Yes Yes Yes
Cut unit No Ye s Yes Yes
Paste unit No Yes Yes Yes
View/change unit properties (except for ID) No Yes Yes Yes

WAVES Network Configuration Tool Administrator Manual v5.6.1 25
P/N P01-04912-C
Selecting the Operating Mode
* In the database only.
** Updates only the directly connected unit.
3.3.1 Changing the Operating Mode
1. From the Mode menu, select Off-line, On-
line, Wired, or User or click the desired
mode’s icon from the Action panel.
When changing from User Mode, the “Enter
a password” dialog box may appear.
FIGURE 3.5 Action panel operating mode icons
2. If the Enter a password dialog box appears, enter the Password and click OK.
3.3.2 Changing the Password
1. Set the mode to Off-line, On-line, or Wired.
2. From the Commands menu, select Change Password. The Change Password
dialog box appears.
FIGURE 3.6 Change Password dialog box
3. Enter the Old Password.
4. Enter the New Password.
5. Re-enter the New Password and click OK.
Change unit ID No Yes* No Yes
Change unit view Yes Yes Yes Yes
Ren ame uni t No Ye s Yes Yes
Change window view options Yes Yes Yes Yes
Send database to unit No No Yes Yes
Update version No No No Yes**
TABLE 3.1 Operating Modes Permissions (continued)
Operation
User
Mode
Off-line
Mode
On-line
Mode
Wired
Mode

Creating a Functional Site Tree
26 WAVES Network Configuration Tool Administrator Manual v5.6.1
P/N P01-04912-C
3.4 BUILDING THE SITE TREE
The site database is stored in a WVS file. To build the site tree, you must first create a new
WVS database file.
3.4.1 Creating a New Configuration Tool Database File
1. From the WAVES 7 screen, login as Administrator.
2. From the Administration menu, select Network Configuration. The WAVES 7
Off-Line dialog box appears advising you that the CRLU Service will be stopped
while the Configuration Tool is open.
3. Click OK. The application opens displaying information for the database that was
open in WAVES 7.
4. Set the mode to Wired ( ), On-line ( ), or Off-line ( ).
5. From the File menu, select New or click the icon on the toolbar. The Close
File dialog box appears.
All operations defined in this section can be performed in any mode except
User mode.
When working in Off-line or Wired mode, the Unit icon appears as a green
block with a black question mark.

WAVES Network Configuration Tool Administrator Manual v5.6.1 27
P/N P01-04912-C
Building the Site Tree
6. Click Ye s to save the file. A <new file> window opens.
FIGURE 3.7 New File window
An empty site tree appears on the left side of the window. The Configuration Tool assigns
it the default site name, “Theater”. You can change the site name to a more appropriate
name, especially if you have more than one site, as described in Section 3.4.3.
3.4.2 Defining Site Tree Elements
Zones, sub-zones, and units are site elements that represent the different branches of the
site tree. The elements include the following:
•Zones - Zones appear on the level just below the site name. You can define up
to 31 zones.
•Sub-zones - Sub-zones appear immediately below zones. You can define up to
15 sub-zones under each zone.
•Units - Units appear on the lowest level of the site tree. If you do not need a
sub-zone, you can insert the unit directly under the zone. You can define up to 31
units under a zone or sub-zone.
3.4.2.1 Element Addresses
When you define a site tree element, the Configuration Tool automatically assigns it a
numeric address according to a strict numeric hierarchy. The hierarchy numbering is
described below.

Creating a Functional Site Tree
28 WAVES Network Configuration Tool Administrator Manual v5.6.1
P/N P01-04912-C
•The address for a zone, sub-zone, or unit consists of three (3) numbers separated
by commas (x,y,z) (where x is the zone number, y is the sub-zone number, and z is
the unit number).
•The address number assigned to the first zone in a site is 1, and so on.
•The address number assigned to the first sub-zone of a zone is 1, and so on.
•The address number assigned to the first unit of a sub-zone is 1, and so on.
Examples of addresses for site tree elements
shown in Figure 3.8 and described below.
•The top level address is 0,0,0 for the
whole site (Theater), which is the root
of the site tree.
•The address of the first zone is 1,0,0.
•The address of the first sub-zone is
1,1,0 when it is added under the first
zone.
•The address of the first unit is 1,1,1
when it is added under the first sub-
zone.
•The address of the second unit is 1.1.2
when it is added under the first sub-
zone.
FIGURE 3.8 Element addressing scheme
Site Tree Address

WAVES Network Configuration Tool Administrator Manual v5.6.1 29
P/N P01-04912-C
Building the Site Tree
3.4.2.2 Adding a Zone
1. Set mode to Wired, On-line, or Off-line.
2. Click the site name. For example, the site name in Figure 3.8 is “Theater”.
3. Do one of the following:
−Press the Insert key and then the Enter key.
OR
−Right-click the site name and select New from the shortcut menu. The new
zone appears at the bottom of the site tree and an address is assigned to it. You
can rename the Zone as described in Section 3.4.3.
3.4.2.3 Adding a Sub-Zone or Unit
1. Set mode to Wired, On-line, or Off-line.
2. Click a zone or sub-zone and do one of the following:
−Press the Insert key.
OR
−Right-click the zone or sub-zone and select New from the shortcut menu. The
Select Type dialog box opens.
FIGURE 3.9 Select Type dialog box
3. Click Unit or Sub-Zone. The new unit or sub-zone appears and an address is
assigned to it. You can rename the element as described in Section 3.4.3.
3.4.3 Renaming the Site and Elements
When you create a new site or site element, the Network Configuration Tool automatically
assigns default names. You can change the default names to more appropriate ones at any
time.
1. Set mode to Wired, On-line, or Off-line.
See Chapter 4, “Configuring Site Tree Elements” for information on defining
the element parameters.
You can place up to 15,376 units (15,872 elements) in a tree structure.
See Chapter 4, “Configuring Site Tree Elements” for information on defining
the element parameters.

Creating a Functional Site Tree
30 WAVES Network Configuration Tool Administrator Manual v5.6.1
P/N P01-04912-C
2. Select the site or a site element.
3. Do one of the following:
−From the Edit menu, select Rename.
OR
−Press the F2 key.
OR
−Right-click the element and select Rename from the shortcut menu.
4. Type the new name and press the Enter key.
3.4.4 Deleting Site Tree Elements
3.4.4.1 Deleting a Zone, Sub-Zone, or Unit
When you delete a zone or sub-zone element, you also delete all the site elements under it.
For example, if you delete “North” in Figure 3.1, you also delete “Pool” and “Tennis
Courts”.
1. Set mode to Wired, On-line, or Off-line.
2. On the site tree, click the site element you want to delete.
3. Do one of the following:
−On the Edit menu, click Delete.
OR
−Right-click the element and then select Delete from the shortcut menu.
OR
−Press the Delete key.
The Delete Site dialog box opens.
4. Click Ye s to delete the element or No to cancel the action. The element is deleted.
3.4.4.2 Deleting a Site
•Delete the file from your hard disk. For example, open the C:\Waves\Data
directory, locate the file and delete it.
3.4.5 Reorganizing the Site Tree
You can easily reorganize unit groupings on your site tree and add new site elements by
moving or copying sub-zones and units.
DO NOT use apostrophes or quotation marks in unit or group names.
Deleting a zone or sub-zone also deletes the elements subordinate to it.

WAVES Network Configuration Tool Administrator Manual v5.6.1 31
P/N P01-04912-C
Building the Site Tree
If you reorganize the site tree in Off-line mode and save the new addresses, you must later
update the field transceivers in On-line mode to maintain the integrity of the site tree. See
Chapter 4, “Configuring Site Tree Elements” for detailed instructions on setting and
updating unit parameters.
3.4.5.1 Moving a Sub-Zone or Unit
1. Set mode to On-line.
2. Select the sub-zone or unit you want to move.
3. Drag the sub-zone or unit to the desired new location. The Move Site dialog box
opens.
4. Click Ye s to move the element or No to cancel the action. The sub-zone or unit
appears in the new location and the Configuration Tool assigns new addresses to
the relocated site element and all its subordinate branches.
5. Update the moved unit’s transceiver as described in Section 3.4.6, “Updating a
Unit’s TRX”.
3.4.5.2 Copying a Unit
1. Set mode to Wired, On-line, or Off-line.
2. Select the unit you want to copy.
3. From the Edit menu, select Copy or click the icon on the toolbar.
4. Select the zone or sub-zone under which you want to place the duplicate element.
5. From the Edit menu, select Paste or click the icon on the toolbar. The Copy
Site dialog box opens.
6. Click Yes to paste the element or No to cancel the action. The copied unit appears
in the new location and the Configuration Tool assigns it a new address.
7. Update the copied unit’s transceiver as described in Section 3.4.6, “Updating a
Unit’s TRX”.
3.4.6 Updating a Unit’s TRX
When elements are moved or copied, you must update the unit’s TRX with its new
address.
1. Set mode to On-line or Wired.
2. From the site tree, select the unit to be updated and right-click.
3. From the shortcut menu, select Properties. The unit’s Properties dialog box
appears.
Changing the location of a sub-zone or unit on the site tree changes unit
addresses. When you move a sub-zone or unit the Configuration Tool
automatically assigns new addresses based on the site tree hierarchy.
When you copy a unit, the parameters of the unit are duplicated but the
address is different.

Creating a Functional Site Tree
32 WAVES Network Configuration Tool Administrator Manual v5.6.1
P/N P01-04912-C
4. For each tab in the Properties dialog box, select a tab and click Update the Unit.
5. When finished, click OK to close the dialog box.
3.5 SAVING DATABASE FILES
After building the site tree, save the file for use at a later time.
1. Set mode to Wired, On-line, or Off-line.
2. From the File menu select Save or click the icon on the toolbar.
If this is the first time the file is saved, the Save a File dialog box opens. Do the
following:
a. From the Save In box, locate the C:\Waves\Data directory.
b. Type a name for the file.
c. Click Save. The database is saved with a .wvs file extension.
3.5.1 Maintaining Different Unit Settings
You can maintain different sets of parameters for each unit in the site by saving them to
different database files.
For example, you may be responsible for the efficient operation of a stadium, in which one
day a concert may take place and the next day a sports event. Each type of event could
require very different unit groupings and audio settings.You can build a site tree
containing all the transceivers currently located in the stadium and save it in different
database files. You can then open one of the *.wvs files and rearrange the units into
different groups and configure audio settings appropriate to a concert. Later you can open
the other *.wvs file and rearrange the units into groups and configure audio settings
appropriate for a football game.
3.5.2 Copying the Database to a New File
1. Set mode to Wired, On-line, or Off-line.
2. From the File menu, click Save As. The Save a File dialog box opens.
3. From the Save In box, locate the C:\Waves\Data directory.
4. Type a name for the new file.
5. Click Save. The Configuration Tool copies the contents of the original file into the
new file and saves it with a .wvs extension.
3.6 BACKING UP THE DATABASE FILE
When the site design is complete, make a backup copy of the database and store it in a safe
location. At a minimum, both *.wvs and *.mdb databases should be copied to a removable
media such as floppy diskette or CD.
Make sure the internal settings and Unit ID of each unit remain the same.

WAVES Network Configuration Tool Administrator Manual v5.6.1 33
P/N P01-04912-C
Upgrading a WVS Database File
It is recommended, that you also manually record all unit and global properties in the
event the removable media or database becomes corrupt.
3.6.1 Backing Up the Databases
1. From the File menu, select Save or click the icon to save any changes to the
database.
2. From the File menu, select Exit or click the icon on the toolbar to close the
Configuration Tool.
3. Open the C:\Waves\Data directory.
4. Hold down the Ctrl key and click the *.wvs and *.mdb files.
5. Right-click the highlighted files and choose Send To from the shortcut menu.
6. Send the files to a 3-1/2 Floppy, CD, or other removable media. If access to an
external backup device is available the entire C:\Waves directory can be backed
up.
7. Close the C:\Waves\Data directory.
8. Label the media to indicate its contents and then store the media in a safe location.
3.6.2 Recording Unit and Global Properties
This procedure is optional but highly recommended in the event the removable media
becomes corrupt. By manually recording the unit and global properties you can
reconstruct the Network Configuration Tool database if necessary.
1. From the Network Configuration Tool, set the mode to On-line or Off-line.
2. Expand the site tree so that each unit can be seen.
3. From the site tree, select the first unit and open its properties dialog box by
clicking the (Properties) icon on the toolbar.
4. Do the following:
a. Record the unit name displayed on the dialog box's title bar.
b. From each tab, record the properties.
c. When finished, click OK to close the dialog box.
5. Repeat Step 4 for all site tree devices.
6. From the File menu, select Properties. The Properties dialog box for the entire
site appears.
7. Do the following:
a. Record the site name displayed on the dialog box's title bar.
b. From each tab, record the settings.
c. When finished, click OK to close the dialog box.
8. Click OK to close the Properties dialog box.
3.7 UPGRADING A WVS DATABASE FILE
WAVES NCT 5.6.x is fully compatible with WVS database files from WAVES NCT v5.4.
No conversion is required when upgrading from that version.

Creating a Functional Site Tree
34 WAVES Network Configuration Tool Administrator Manual v5.6.1
P/N P01-04912-C
To upgrade the WVS database file from WAVES v5.3 or earlier, follow the instructions
outlined below.
1. Start WAVE S 7 and login as Administrator.
2. From the Administration menu, select Network Configuration. The WAVES 7
Off-Line dialog box appears advising you that the CRLU Service will be stopped
while the Configuration Tool is open.
3. Click OK. The Network Configuration Tool opens.
4. Select On-line or Off-line mode, enter your password, and click OK.
5. From the File menu, select Open. The Open dialog box appears.
6. Locate the *.wvs file and click Open. The Open dialog box closes and a Close
File dialog box appears.
7. From the Close File dialog box, click No.
8. From the File menu, select Save As.
9. Rename the file, saving it to the C:\Waves\Data directory.
10. Open the C:\Waves\Data directory.
11. Locate and rename the MDB file to match the newly renamed WVS file. The
*.wvs and *.mdb file names must be identical for WAVES 7 to work.
12. Save and close the Network Configuration Tool.

WAVES Network Configuration Tool Administrator Manual v5.6.1
35
P/N P01-04912-C
CHAPTER 4
Configuring Site Tree Elements
General site properties must be set to address the functional requirements at a site, as well
as unique properties set for each transceiver. This chapter describes how to set up the site
operating parameters.
The following sections are included in this chapter.
•Configuring Global Site Properties
•Configuring Transceiver Properties
•Verifying Database Integrity
•Exporting the Database to a Text File
•Updating TRX Firmware
4.1 CONFIGURING GLOBAL SITE PROPERTIES
Global property settings affect the whole site. These include parameters internal to the
Network Configuration Tool application, as well as several parameters that are uniformly
loaded into all transceivers.
The following site-wide properties should be set.
•Audio Mode
•BIT results
4.1.1 Audio Settings
Global audio settings allow you to determine how the audio channels are utilized and
enable the automatic periodic refreshing of TRX volume and mute settings.
For normal WAVES operation, the 'audio' channels A and B (I and II) are muted, the
'voice' channels are not muted, and the 'audio mode' is always Mono 32. In WAVES, 'voice
channels' refer to input from WAVES via the microphone or computer sound card.
Configuring site elements is a administrator function, therefore all procedures
in this chapter are performed in Off-line, On-line, or Wired mode.

Configuring Site Tree Elements
36 WAVES Network Configuration Tool Administrator Manual v5.6.1
P/N P01-04912-C
By using WAVES 7 tools along with the Network Configuration Tool, volume levels can
be set globally (theater), by zone or sub-zone, or for individual units. Changing the
volume properties of an individual TRX at the 'unit level' changes only the settings for that
TRX. Changing the volume properties of the theater, zone, or sub-zone affects the settings
of all the TRXs located under their branches on the site tree.
Because the volume of an individual TRX is affected by the site, zone, and sub-zone
settings, it is recommended that you configure volume settings in the order outlined in the
WAVES 7 Administrator Manual or WAVES 7 Online Help for your system. Changing the
theater, zone, or sub-zone volume after the unit volume has been set will cause a change in
the unit volume. For example, if the Voice volume on a 'unit' is set to 40 dB and you
change the Voice volume of the 'theater' to -5 dB, then the 'unit' will broadcast voice
announcements at a volume of 35 dB (unit volume setting minus changed theater volume).
4.1.1.1 Audio Mode
Audio Mode defines the type of audio configuration supported by the transceivers.
1. Set the mode to Off-line, On-line, or Wired.
2. From the File menu, select Properties. The site Properties dialog box opens.
3. Select the Audio Options tab.
4. From the Audio Mode list, select 32 mono and then click Update.
5. Click OK to close the dialog box.
For instructions on configuring audio settings, refer to the “WAVES Volume Settings”
topic in the WAVES 7 Administrator Manual or WAVES 7 Online Help for your system.
4.1.2 Defining BIT Monitoring Parameters
The global properties Monitor BIT tab allows you to define which BIT parameters will
display in the Unit Details panel when in Detail mode. WAVES 7 allows you to view BIT
results; however, on rare occasion you may need to see additional information.
1. Set the mode to Off-line, On-line, or Wired.
2. From the File menu, select Properties. The site Properties dialog box opens.
3. Select the Monitor BIT tab.
Setting the theater, zone, or sub-zone volume levels to non-zero values will
affect the volume level of all units located under their site tree branch.
Whenever you add a new transceiver to an existing network, you must reapply
the group volume settings (theater, zone, and sub-zone).
To ensure units are broadcasting at their expected levels, configure volume
settings as outlined in the WAVES 7 Administrator Manual or WAVES 7
Online Help for your system.
To ensure units are broadcasting at their expected levels, confirm that your
volume settings are also consistent with the “Instruction Sheet: Configuring
WAVES Volume Settings” (P/N P40-00019).

WAVES Network Configuration Tool Administrator Manual v5.6.1 37
P/N P01-04912-C
Configuring Global Site Properties
FIGURE 4.1 Monitor BIT settings tab
4. Do one of the following:
−Click the Select All button to choose all options.
OR
a. Click the Select None button to clear all check boxes.
b. Select the Speaker Tower check box.
c. Select any other desired parameter(s).
All selected BIT parameters will display in the Unit Details panel when in Detail
mode.
Table 4.1 provides brief descriptions of the items that can be selected on the
Monitor BIT tab. See Section 4.2.4, “BIT Parameters” for further descriptions.
5. Click Apply to save the new parameters.
6. Click OK to close the site Properties dialog box.
TABLE 4.1 “Monitor BIT” Parameter Descriptions
BIT Item Reported BIT Parameter Description
Addr Unit address (zone, sub-zone, unit #)
Speaker Tower Status reported from the external Speaker Tower or HPSA unit. Reports on
Unit Details panel as None, OK, Fault, or Comm Fault.
RF AGC Current state of AGC. Reports on Unit Details panel as On or Off.
Last RSSI Read Relative signal strength of last hop packet received. Reports on Unit Details
panel as 0 - 255.

Configuring Site Tree Elements
38 WAVES Network Configuration Tool Administrator Manual v5.6.1
P/N P01-04912-C
Audio CRC
Failures
Simple 8-bit counter of CRC failures; 255 rolls over to 0. Reports on Unit
Details panel as 0 - 255
Audio
Miscorrelations
Simple 8-bit counter of the number of expected correlation sequences that
were not detected; 255 rolls over to 0. Reports on Unit Details panel as 0 -
255.
Battery Level Battery status. Reports on Unit Details panel as No, OK, or Low.
AC Supply AC power status. Reports on Unit Details panel as OK or Fail.
Link Enable RS-232 link status. Reports on Unit Details panel as Enable or Disable.
Audio Output
Level
Last tested status of audio output circuit. Reports on Unit Details panel as
OK or Fail.
Report Rate Reporting rate for BIT information, in tenths of a second. Reports on Unit
Details panel as 10 - up
Source ID Unit ID of the current upstream relay. Reports on Unit Details panel as 1 -
16383.
Antenna Relative signal strength of last packet received from downstream unit for
relay to the CRLU. Reports on Unit Details panel as 0 - 100%.
BWD RSSI Relative signal strength of last packet received from a downstream unit for
relay to the CRLU. Reports on Unit Details panel as 0 - 255.
BWD ID Low 8 bits of the Unit ID of the source of the last packet received from a
downstream unit. Add multiple of 256 to this value to obtain the actual Unit
ID. Reports on Unit Details panel as 0 - 255.
Quality State Indication of the integrity of the audio data being received. Switching
between states is based on the number of CRC failures received within a
given time period that varies from 2 to 20 seconds. Values are listed in order
of increasing quality. Reports on Unit Details panel one of the following:
• After Switching - Designates that the unit just selected (switched
to) a new upstream RF source.
• Voice Mute Designates the unit is synchronized with the upstream
RF source but is not yet determined to be ready, no audio is passed
through.
• Audio Mute - Designates the received signal is strong enough to
attempt announcements but the reliability is not yet established.
• Low, Medium, and High - Designates the signal quality
assessment based on the most recent CRC error counts. When the
number of CRC errors decreases during a count period, the TRX
reports a better Quality State.
TABLE 4.1 “Monitor BIT” Parameter Descriptions (continued)
BIT Item Reported BIT Parameter Description

WAVES Network Configuration Tool Administrator Manual v5.6.1 39
P/N P01-04912-C
Configuring Transceiver Properties
4.2 CONFIGURING TRANSCEIVER PROPERTIES
Transceiver properties are settings that affect an individual unit and its behavior in the
system.
4.2.1 Unit Audio Settings
Because the volume of an individual TRX is affected by the site, zone, and sub-zone
settings, it is recommended that you configure volume settings in the order outlined in
WAVES 7 Administrator Manual or WAVES 7 Online Help for your system. Changing the
theater, zone, or sub-zone volume after the unit volume has been set will cause a change in
the unit volume. For example, if the Voice volume on a 'unit' is set to 40 dB and you
change the Voice volume of the 'theater' to -5 dB, then the 'unit' will broadcast voice
announcements at a volume of 35 dB (unit volume setting minus changed theater volume).
Refer to Section 4.1.1, “Audio Settings” for additional information on audio settings.
4.2.1.1 Changing Unit Audio Properties
•Refer to the “WAVES Volume Settings” topic of the WAVES 7 Administrator
Manual or WAVES 7 Online Help for your system.
4.2.1.2 Changing Site, Zone or Sub-Zone Audio Properties
•Refer to the “WAVES Volume Settings” topic of the WAVES 7 Administrator
Manual or WAVES 7 Online Help for your system.
4.2.2 RS-232 Devices
The Configuration Tool allows you to set up different types of RS-232 peripheral devices
such as display signs, sirens, wireless activators, individual building emergency systems,
and chemical detector sensors. Refer to Chapter 5, “Setting Up Peripheral Devices” for
instructions.
4.2.3 I/O SETTINGS
You can monitor and control site conditions from the base station by attaching external
devices to the input and output pins of TRXs at key locations throughout your site and by
configuring their digital I/O pins using the Network Configuration Tool. Each field TRX
is equipped with one digital input pin and two digital I/O pins.
When an external device is attached to the digital input and ground pin of a TRX, the TRX
receives a high (5 V) or low (0 V) signal from the device. Once you have configured the
digital setting in the NCT you can return to WAVES 7 to configure a response that is
triggered when a defined condition for the digital device exists.
Transceiver properties can be sent to the unit in Wired mode or On-line
mode.
To ensure units are broadcasting at their expected levels, configure volume
settings as outlined in the WAVES 7 Administrator Manual or WAVES 7
Online Help for your system.

Configuring Site Tree Elements
40 WAVES Network Configuration Tool Administrator Manual v5.6.1
P/N P01-04912-C
4.2.3.1 Configuring Digital Pins
1. Set mode to Wired or On-line.
2. Select a unit on the site tree and do one of the following:
−From the Edit menu, select Properties.
OR
−Right-click the unit and select Properties from the shortcut menu.
OR
−Click the icon on the toolbar.
The unit’s Properties dialog box appears.
3. Select the I/O Settings tab.
4. Select the Monitor I/O on this unit check box. All digital input and I/O options
become available.
FIGURE 4.2 I/O Settings tab
To configure Digital Input (J2 Pin 10 on the TRX):
a. From the Digital Input 1 box, select Active to activate the digital input pin.
b. Type a descriptive name in the Name box.
c. Select the Emergency priority check box. Emergency priority is not
required, but is recommended. If not selected, the notification is not received
by WAVES until the next regular BIT cycle of the TRX.
Digital I/O 2: Select
“Auto-activate with PTT” to
assert this output any time
PTT announcements are made.

WAVES Network Configuration Tool Administrator Manual v5.6.1 41
P/N P01-04912-C
Configuring Transceiver Properties
To configure Digital I/O 2 (J2 Pin 9 on the TRX):
a. From the Digital I/O 2 box, click the In button to activate the digital pin as an
input or the Out button to activate the digital pin as an output.
b. Type a descriptive name in the Name box.
c. Select the Emergency priority check box. Emergency priority is not
required, but is recommended. If not selected, the notification is not received
by WAVES until the next regular BIT cycle of the TRX.
To configure Digital I/O 3 (J2 Pin 8 on the TRX):
a. From the Digital I/O 3 box, click the In button to activate the digital pin as an
input or the Out button to activate the digital pin as an output.
b. Type a descriptive name in the Name box.
c. Select the Emergency priority check box. Emergency priority is not
required, but is recommended. If not selected, the notification is not received
by WAVES until the next regular BIT cycle of the TRX.
5. Click Update the Unit to send all the settings in the Properties dialog box to the
transceiver.
6. Click OK to close the dialog box.
4.2.3.1.1 Prioritizing Digital Device Messages
A ‘normal sampling rate’ is based on the Report Rate defined in the BIT tab of the
Properties dialog box. When an input is assigned an emergency priority status, the TRX
overrides the Report Rate and sends a status message immediately to the CRLU.
Emergency status messages also receive priority allocation of bandwidth to expedite their
transmission to the base station. When configuring digital input or I/O settings, make sure
to select the Emergency priority check box. Emergency priority is not required, but is
recommended. If not selected, the notification is not received by WAVES until the next
regular BIT cycle of the transceiver.
You can assign emergency priority to one or all of the digital inputs.
If Digital I/O 2 is configured as output (Out), checking the “Auto-activate with
PTT” check box causes output to be asserted whenever the TRX makes a
PTT announcement. For example, an attached strobe will automatically flash
whenever audio is played to the unit. If the option is not checked, the strobe
will only flash when an I/O ON command is issued.
If you are working in On-line mode, the settings are saved in the base station
computer’s database after an acknowledgment is received.
If you are working in Off-line mode, a message appears informing you that
the data was not sent to the field transceiver and asking if you want to save
the properties in the database. If you click Yes, the new settings are stored in
the database. However, later you must update the field transceiver by
switching to the On-line mode and sending the properties to the unit
manually.

Configuring Site Tree Elements
42 WAVES Network Configuration Tool Administrator Manual v5.6.1
P/N P01-04912-C
To assign emergency priority to a digital input:
1. Select the unit on the site tree and do one of the following:
−From the Edit menu, select Properties.
OR
−Right-click the unit and select Properties from the shortcut menu.
OR
−Click the icon on the toolbar.
The unit’s Properties dialog box appears.
2. Select the I/O Settings tab.
3. Select the Emergency Priority check box for the desired activated digital
device(s).
4. Click Update the Unit to send all the settings in the Properties dialog box to the
transceiver.
5. Click OK to close the dialog box.
4.2.3.2 Monitoring TRX Digital Inputs
If you programmed a field TRX to send status messages to the base station computer by-
way-of the CRLU, you can monitor the condition of the transceiver’s digital inputs from
the Network Configuration Tool or WAVES screens.
To monitor inputs from the Network Configuration Tool:
1. Set mode to User or On-line.
2. From the site tree, select a unit to be monitored.
3. From the Commands menu, select Monitor or click the icon from the
Action panel. The status monitor dialog box appears.
FIGURE 4.3 Status monitoring dialog box
The following transceiver statuses can be monitored on the status box. The name
assigned to an active digital I/O pin appears above its graphic representation.
−Digital Input - A light appears below each digital input’s name. If the digital
input receives a signal (activated), the light below its name turns red and the
Event script for the digital input is activated if configured in WAVES 7.
−Digital Output - A switch appears below each digital output’s name. If the
switch is turned ON, the output is 5 V. If the switch is turned OFF, the output
is grounded.
Digital Input
Indicator
Digital Output
Switch

WAVES Network Configuration Tool Administrator Manual v5.6.1 43
P/N P01-04912-C
Configuring Transceiver Properties
4.2.4 BIT Parameters
Each field transceiver conducts two types of diagnostic built-in tests:
•Power-on-BIT (POB) - Tests the hardware configuration during power on.
•Online BIT - Tests the system’s ongoing operation.
If the transceiver is connected to a high-power speaker array (SPT/HPSA) or ACU it also
reports the results of the unit’s internal BIT. Test results are reported at a defined rate or
upon demand to the base station console.
When the BIT detects an unusual condition, the Configuration Tool graphically indicates
the status of the field transceiver on the site tree by replacing the transceiver’s normal unit
icon with special icons. The condition is also indicated on the WAVES operator screen by
flashing icons or status indicators. Refer to the WAVES 7 Operator Manual or WAVES 7
Online Help for more information on monitoring statuses from the WAVES 7 screen.
Table 4.2 below provides a description of the icons that display on the Network
Configuration Tool site tree.
4.2.4.1 Setting BIT Parameters
1. Set mode to Wired, On-line, or Off-line.
2. From the site tree, select the TRX you want to run a BIT on and do one of the
following:
−From the Edit menu, select Properties.
OR
−Right-click the unit and select Properties from the shortcut menu.
OR
−Click the icon on the toolbar.
The unit’s Properties dialog box appears.
TABLE 4.2 BIT Condition Icons on the Site Tree
Icon Description
Red block with a yellow question mark. The base station did not receive BIT
results from the unit. When the base station tried to contact the unit, it received no
response.
Yellow loudspeaker with a red “X” across it. The Speaker Tower reported an error
or is not communicating.
Red battery with a red diagonal line across it. The BIT detected that the backup
battery power supply is low (has 10V or less).
Blue battery with a yellow lightning sign. The BIT detected that the unit is using
its backup battery.
Blue battery with a red “X” across it. The BIT detected that the unit does not have
a backup battery even though it is registered as having one.
Yellow block with a black exclamation mark. A problem exists with a connected
RS-232 device.
Green block with black question mark. The system is off line and no statuses are
being received.

Configuring Site Tree Elements
44 WAVES Network Configuration Tool Administrator Manual v5.6.1
P/N P01-04912-C
3. Select the BIT tab.
FIGURE 4.4 BIT settings tab
4. Do one of the following depending on the transceiver type:
For a TRX transceiver:
a. In the Report rate box, type or select the rate at which the TRX sends BIT
messages to the CRLU. The default Report Rate is 60 seconds. Unless adding
a new device, it is recommended that you leave the rate as set by the Cooper
Notification Field Engineer to avoid the possibility of causing false
indications.
b. Select the Has backup battery check box, to register the TRX backup battery
if the TRX is attached to a UPS-901 and to check its status.
c. Select the Has AC supply check box, to register the TRX AC power supply if
the TRX has an AC power cord attached to it and to check its status.
d. Click Update the Unit to send all the settings to the TRX and then click OK
to close the dialog box.
For a VHF or UHF transceiver:
a. In the Report rate box, type or select 60 seconds as the rate at which the
transceivers sends BIT messages to the Base VHF/UHF radio.
b. Clear the Has backup battery check box.
c. Clear the Has AC supply check box.
d. Click OK to save the settings to the NCT database and close the dialog box.
5. From the File menu, select Save to save changes to the WAVES 7 database.

WAVES Network Configuration Tool Administrator Manual v5.6.1 45
P/N P01-04912-C
Configuring Transceiver Properties
4.2.4.2 Manually Requesting BIT Results
1. Set mode to Wired, On-line, or Off-line.
2. From the site tree, select the transceiver you want BIT results from and do one of
the following:
−From the Edit menu, select Properties.
OR
−Right-click the unit and select Properties from the shortcut menu.
OR
−Click the icon on the toolbar.
The unit’s Properties dialog box appears.
3. Select the BIT tab and click Request BIT.
4. Click OK to close the dialog box.
5. See Section 4.2.4.4, “Viewing BIT and POB Results” for instructions on viewing
the results.
4.2.4.3 Manually Requesting POB Results
1. Set mode to Wired, On-line, or Off-line.
2. From the site tree, select the transceiver you want POB results from and do one of
the following:
−From the Edit menu, select Properties.
OR
−Right-click the unit and select Properties from the shortcut menu.
OR
−Click the icon on the toolbar.
The unit’s Properties dialog box appears.
3. Select the BIT tab and click Request POB.
4. Click OK to close the dialog box.
5. See Section 4.2.4.4, “Viewing BIT and POB Results” for instructions on viewing
the results.

Configuring Site Tree Elements
46 WAVES Network Configuration Tool Administrator Manual v5.6.1
P/N P01-04912-C
4.2.4.4 Viewing BIT and POB Results
The BIT Results window displays
the results of a request for BIT and
POB information for a transceiver.
The name and address of the unit
appear on the title bar. The
window displays the BIT and POB
results data from the transceiver.
1. With the unit from which
you requested the BIT or
POB report already
selected, select the
Commands menu.
2. Select BIT Result. The
BIT Results window
appears.
FIGURE 4.5 BIT results window
Many of the results displayed in the upper portion of the BIT Results window are used
only for factory testing and may not show relevant information for the TRX operational
status. These fields should not be relied upon to assess the condition of the transceiver
hardware. Table 4.3 describes commonly referenced fields on the BIT Results window.
TABLE 4.3 Commonly Referenced BIT Results Descriptions
Field Description
Battery Reports the UPS-901 battery status as one of the following:
• 0 - No battery
• 1 - Low battery level
• 2 - Medium battery level
• 3 - High battery level
Output Level Reports the audio output level as one of the following:
•OK
•Fault
RSSI Reports the communication (receive) signal strength.
In a WAVES system, a minimum of 170 is required to meet the
“Acceptable” level for signal strength and greater than 180 is “Good”.

WAVES Network Configuration Tool Administrator Manual v5.6.1 47
P/N P01-04912-C
Configuring Transceiver Properties
Miss Correlations Reports the number of packets lost by the receiver (cumulative value
with rollover at 255). When packets are lost, Audio CRC fail is also
incremented. When there are seven consecutive failures, the receiver
starts to search for another source.
Source Reports the Unit ID of the current RF source.
RF agc Reports the receive attenuation status. Used for attenuation of strong
signals.
The following results are returned:
•On - Receive signal is attenuated.
•Off - Receive signal is not attenuated.
Audio CRC fail Reports the Audio CRC failures per second (cumulative value with
rollover at 255) as one of the following:
•Increments of 0-2 failures per 10 seconds - Good reception.
•Increments of more than 20 failures per 10 seconds (the
receiver will search for another source) - Poor reception.
Speaker Tower
Status
Reports the Speaker Tower statuses as follows:
•Status - Reports the following:
−None if no SPT is defined.
−OK
−Fault if any of the criteria below are also “Fault”.
•Mains - When configured, reports the following:
−OK
−Fault if missing 120/240 charge voltage.
•Battery Volts
−For SPT - When configured, reports actual voltage of
battery. If less than 22.5 volts, status is fault; nominal
voltage is 25 to 28 volts.
−For HPSA - When configured, reports actual voltage of
battery. If less than 45 volts, status is fault; nominal
voltage is 50 to 56 volts.
•Amp 1-8 - Reports the following:
−OK
−Fault
TABLE 4.3 Commonly Referenced BIT Results Descriptions (continued)
Field Description

Configuring Site Tree Elements
48 WAVES Network Configuration Tool Administrator Manual v5.6.1
P/N P01-04912-C
4.2.4.5 Rebooting the TRX from the Configuration Tool
1. Set mode to Wired, or On-line.
2. From the site tree, select the transceiver that needs rebooted and do one of the
following:
−From the Edit menu, select Properties.
OR
ACU Status The ACU Status only applies to the ACU-117 model. The ACU-340 will
only report a yellow block with a black exclamation mark, meaning that
a problem exists with a connected RS-232 device.
Reports the ACU statuses as follows:
•Status - Reports the following:
−None if no ACU is defined.
−OK
−Fault if any of the criteria below are also “Fault”.
•External - Reports the following:
−OK
−Fault (typically a shorted speaker wire to the building
ground).
•Battery - Reports the following:
−OK
−Fault if battery voltage is low or missing.
•Mains - Reports the following:
−OK
−Fault if missing 120/240 charge voltage.
•Microphone - Reports the following:
−OK
−Fault
•Amplifier - Reports the following:
−OK
−Fault
•Interface - Reports the following:
−OK
−Fault if missing status request from transceiver for 30
seconds or more.
•Line Open/Line Short - Reports the following:
−OK
−Fault if speaker wires are disconnected or shorted
together.
TABLE 4.3 Commonly Referenced BIT Results Descriptions (continued)
Field Description

WAVES Network Configuration Tool Administrator Manual v5.6.1 49
P/N P01-04912-C
Configuring Transceiver Properties
−Right-click the unit and select Properties from the shortcut menu.
OR
−Click the icon on the toolbar.
The unit’s Properties dialog box appears.
3. Select the BIT tab and click Reboot the Unit.
4. Click OK to close the dialog box.
4.2.5 TRX Unit ID
Every TRX has a unique Unit ID number between 2 and 16,383 that is arbitrarily assigned
at installation time. The Unit ID is the transceiver’s address in the WAVES system. It is
used by the Configuration Tool to link each unit to its RF sources. For VHF/UHF Radio-
400/500 transceivers the Unit ID is preset in manufacturing.
A TRX may also be assigned an Installation ID. This identifier groups multiple units into
an “installation group”. The Installation ID is used by TRXs operating in Lock Mode
“AUTO” to only receive from sources within their own group. TRXs operating in Lock
Mode “NORMAL” ignore the Installation ID.
4.2.5.1 Assigning Unit and Installation IDs to a TRX
1. Connect one end of the CAB-PC-ADU-3 cable to the Serial port of your PC and
the other end to the RS-232 port of the TRX.
2. Set mode to Wired.
3. Select the unit on the site tree and do one of the following:
−From the Edit menu, select Properties.
OR
−Right-click the unit and select Properties from the shortcut menu.
OR
−Click the icon on the toolbar.
The unit’s Properties dialog box appears.
Assigning the unit and installation IDs applies only to TRX transceivers.
For VHF/UHF Radio-400/500 transceivers the Unit ID is preset in
manufacturing.
You must assign each unit a unique Unit ID between 2 and 16,383.
TRX Unit ID and Installation ID parameters can only be set in Wired mode. If
it is assigned in Off-line mode then the Configuration Tool saves it only in the
base station’s computer database.

Configuring Site Tree Elements
50 WAVES Network Configuration Tool Administrator Manual v5.6.1
P/N P01-04912-C
4. Select the Unit ID tab.
FIGURE 4.6 Unit ID settings tab
5. In the Unit ID box, type a numeric value.
Assign any number from 2 to 16,383. The eight least significant bits of the Unit
IDs for each of a TRX’s children (RF listeners) should be different. See
Section 4.1.2, “Defining BIT Monitoring Parameters”for instructions on
configuring BIT parameters.
6. In the Installation Id box, type a name. This is an optional entry.
7. Click Update the Unit to send all the parameters to the TRX.
8. Click OK to close the dialog box.
Do not set the Unit ID to 0 (zero). If set to 0, connection lines for RSSI will not
display on the WAVES 7 map.

WAVES Network Configuration Tool Administrator Manual v5.6.1 51
P/N P01-04912-C
Configuring Transceiver Properties
4.2.6 Internal Parameters
Internal parameters must be set up for each transceiver. Required parameters differ for a
TRX and a VHF/UHF radio. The following list describes the parameters you will see on
the Internal Parameters tab.
Unit Address - The Configuration Tool automatically assigns a unit address based on
its position in the site tree and loads it when assigning the internal parameters. It is not
modifiable from this window.
Unit Type - Defines the unit’s type as CRLU (base station transceiver), RLX (field
receiver), PRLU (field relay), SRLU (satellite relay), or a backup CRLU (BCRLU).
Sw Mode - RF switching mode. May be defined as “Enabled” or “Disabled.” The
“Enabled” state enables the TRX to search for an alternate RF source in case the
quality of its current RF source drops below a preset limit.
Lock Mode - “Auto” or “Normal”. In “Normal” mode the TRX will lock only onto an
RF source from the RF Settings table. In “Auto” mode the TRX will lock onto the first
received source with a matching installation ID and not on the Ineligible Sources list.
TX Offset - A value selected for the transceiver’s forward RF transmissions. See
Appendix A, “TRX Transmitting Offset Assignments” for a list of TX offset numbers.
RF Settings - Pairs of Unit IDs and Offset values for TRX units that serve as RF
sources for the TRX being set up. Up to nine sources may be specified. This table is
only active in Normal Lock Mode.
Ineligible Sources - A table of unit IDs of the RF sources that the TRX may not
receive from. This table is only active in Auto Lock Mode.
SRLU - When the unit type is an SRLU or Backup CRLU, the user may choose the
primary source of the audio and voice channels. Two choices are available: Base and
Local. When “Base” is selected, the primary source is the CRLU. When “Local” is
selected, the primary source is the SRLU.
4.2.6.1 TRX Internal Parameters
The TRX is a transmitter node in the WAVES wireless network that receives and plays
messages addressed to them using FHSS technology to broadcast RF signals over a wide
range of frequencies. Frequency offsets are used to spread RF signals. Receiving stations
use their frequency offset settings to recognize and retrieve RF signals directed to them.
If you are working in Wired mode, the settings are saved in the base station
computer’s database after an acknowledgment is received.
You cannot assign a Unit ID in On-line mode. You can assign it in Off-line
mode, in which case a message appears informing you that the ID was not
sent to the field transceiver and asking if you want to save it in the database.
If you click Yes, the new settings are stored in the database. Later you must
update the field transceiver as follows:
a. Connect one end of the CAB-PC-ADU cable to the Serial port of your
computer and the other end to the RS-232 port of the TRX.
b. Switch to Wired mode and click Update the Unit on the Unit ID tab of
the Properties dialog box.

Configuring Site Tree Elements
52 WAVES Network Configuration Tool Administrator Manual v5.6.1
P/N P01-04912-C
4.2.6.1.1 Setting TRX Internal Parameters for “Normal Mode”
1. Select the unit on the site tree and do one of the following:
−From the Edit menu, select Properties.
OR
−Right-click the unit and select Properties from the shortcut menu.
OR
−Click the icon on the toolbar.
The unit’s Properties dialog box appears.
2. Select the Internal Parameters tab.
FIGURE 4.7 Internal Parameters settings tab
Setting up TRX Internal Parameters is most efficiently done in Wired mode.
That way, the unit does not need to re-sync with its sources. However,
Internal Parameters may be set in On-Line mode, except if the unit is a
CRLU.

WAVES Network Configuration Tool Administrator Manual v5.6.1 53
P/N P01-04912-C
Configuring Transceiver Properties
3. From the Unit Type list box, select the type of unit.
4. From the Lock Mode list box, select Normal.
5. In the RF Settings box, enter the RX ID and Offset parameters as per the RF
plan. See Appendix A, “TRX Transmitting Offset Assignments” for a list of
transmit offset numbers.
6. Click Update the Unit to send all the settings to the TRX.
7. Click OK to close the Properties dialog box.
8. Verify that the unit reports an OK status (blue icon) on the site tree.
4.2.6.1.2 Setting TRX Internal Parameters for “Auto Mode”
1. Select the unit on the site tree and do one of the following:
−From the Edit menu, select Properties.
OR
−Right-click the unit and select Properties from the shortcut menu.
OR
−Click the icon on the toolbar.
The unit’s Properties dialog box appears.
2. Select the Internal Parameters tab.
3. From the Unit Type list box, select the type of unit.
4. From the Lock Mode list box select Auto.
5. If applicable, in the Ineligible Sources box, enter the unit IDs of RF sources that
the unit may not receive from.
6. Click Update the Unit to send all the settings to the TRX.
7. Click OK to close the Properties dialog box.
4.2.6.2 VHF or UHF Radio Internal Parameters
Radio-400 and Radio-500 are VHF and UHF transmitter nodes in the WAVES wireless
network that receive and broadcast messages addressed to them on a single frequency,
narrow band. Frequency settings are preprogrammed per customer specifications.
If you select SRLU or Backup CRLU as the Unit Type, the Audio and Voice
source selections appear within the SRLU group box.
a. In the SRLU box, select one of the following Audio sources: Base for
CRLU input or Local for SRLU input.
b. Select one of the following Voice priority: Base to give CRLU voice
messages priority over local announcements, Local to give priority to
local PTT messages.
Setting up TRX Internal Parameters is most efficiently done in Wired mode.
That way, the unit does not need to re-sync with its sources. However,
Internal Parameters may be set in On-Line mode, except if the unit is a
CRLU.

Configuring Site Tree Elements
54 WAVES Network Configuration Tool Administrator Manual v5.6.1
P/N P01-04912-C
1. Select the unit on the site tree and do one of the following:
−From the Edit menu, select Properties.
OR
−Right-click the unit and select Properties from the shortcut menu.
OR
−Click the icon on the toolbar.
The unit’s Properties dialog box appears.
2. Select the Internal Parameters tab.
3. From the Unit Type list box, select RLX.
4. From the TX Offset box, use the default setting of “2”.
5. Click Update the Unit to send all the settings to the unit.
6. Click OK to close the Properties dialog box.
4.3 VERIFYING DATABASE INTEGRITY
4.3.1 Peeping Unit Information
You can monitor a transceiver’s internal parameters by using the Peep Unit Information
option on the Configuration Tool.
1. Set mode to On-line, Wired, or User.
2. Select a unit on the site tree.
3. From the Commands menu, select Peep Unit Info or click the icon. The
Monitor Unit dialog box appears.
FIGURE 4.8 Monitor Unit dialog box
It may take several seconds for the unit information to appear.
Different transceiver types report different information. The dialog box
automatically adjusts itself to the information contained within it.

WAVES Network Configuration Tool Administrator Manual v5.6.1 55
P/N P01-04912-C
Exporting the Database to a Text File
4.3.1.1 Refreshing the Monitor Unit Data
•From the Monitor Unit dialog box, click Refresh.
4.3.1.2 Closing the Monitor Unit Dialog Box
•From the Monitor Unit dialog box, click Close.
4.3.2 Using the Verify Command
The Verify command compares the contents of a transceiver’s internal database with the
intended settings as they appear in the WVS database.
1. Set mode to On-line, Wired, or User.
2. From the site tree, select the unit you want to verify.
3. From the Commands menu, select Verify. The Verify Settings for Unit dialog box
opens.
FIGURE 4.9 Verify Settings for Unit dialog box
Each database entry that matches will display a blue O.K. A database entry that does not
match will display a red ERROR. To correct an error, update the unit with the correct
parameters.
The “Audio Settings” category compares the current TRX settings with the stored
‘default’ setting (not the current database setting) and will report “ERROR” if the TRX
settings are not the default settings.
4.3.2.1 Refreshing the Verify Settings Data
•From the Verify Settings for Unit dialog box, click Refresh.
4.3.2.2 Closing the Verify Settings Dialog Box
•From the Verify Settings for Unit dialog box, click Close.
4.4 EXPORTING THE DATABASE TO A TEXT FILE
You can export database information as a text file and then print the file. The report
includes the following information:
•Unit Internal Settings
−Address

Configuring Site Tree Elements
56 WAVES Network Configuration Tool Administrator Manual v5.6.1
P/N P01-04912-C
−ID
−Type
−Tx Offset
−Installation ID
−Switching and Lock Modes
−BIT Reporting Rate
−External Device Settings
−SRLU/Backup CRLU Audio Sources
−RF Sources
•Unit Design Settings
−Theater, Zone, Sub-Zone, or Unit Name
−Associated Bitmap File (if any)
•Unit Audio Settings
−System Audio Mode
−Volume Settings (Zone and sub-zone numbers are relative, unit settings are
absolute, corresponding to the numbers shown in the Properties window.)
−Bass and Treble Settings (for Units only)
−Mute Settings
•Wireless Activator families
−WA Family Number
−WA Family Name
4.4.1 Exporting and Printing the Database
1. From the Commands menu, select Export Data Base. The Export DataBase
confirmation dialog box appears.
2. Click Yes to export the database to TXT file or No to cancel the action. If Yes was
selected, the Save a File dialog box appears.
3. Enter the File name and click Save. The default location for the saved file is
C:\Waves\Data.
4. Open the C:\Waves\Data directory and locate the file.

WAVES Network Configuration Tool Administrator Manual v5.6.1 57
P/N P01-04912-C
Updating TRX Firmware
5. Open the file with an ASCII editor, such as Notepad, and then print the file using
the standard Windows printing procedure.
FIGURE 4.10 Database exported as a text file
4.5 UPDATING TRX FIRMWARE
On occasion it will be necessary to update or reload the TRX’s firmware.
There are two methods for updating the TRX firmware: Wired Update and Wireless
Update.
See Appendix B, “TRX Firmware Update Procedures” for instructions.

Configuring Site Tree Elements
58 WAVES Network Configuration Tool Administrator Manual v5.6.1
P/N P01-04912-C

WAVES Network Configuration Tool Administrator Manual v5.6.1
59
P/N P01-04912-C
CHAPTER 5
Setting Up Peripheral Devices
A WAVES system can include several types of peripheral devices that enhance the
message and alarm notifications to personnel. This chapter describes administrator
procedures for configuring peripheral devices in the Network Configuration Tool.
The following sections are included in this chapter.
•Display Signs
•Speaker Tower (SPT)
•High-Powered Speaker Array (HPSA)
•Wireless Activator System (WA)
•Nuclear, Biological, and Chemical (NBC) Detectors
•Autonomous Control Unit (ACU)
•Digital Output Devices
5.1 DISPLAY SIGNS
The WAVES system supports several types of visual display signs. You must configure
sign properties before the sign can execute a script from WAVES 7 to display a message.
5.1.1 Setting the Display Sign RS-232 Type
1. Set mode to On-line.
2. From the site tree, select the unit that is connected to a display sign and do one of
the following:
−From the Edit menu, select Properties.
OR
−Right-click the unit and select Properties from the shortcut menu.
OR
−Click the icon on the toolbar.
The unit’s Properties dialog box appears.

Setting Up Peripheral Devices
60 WAVES Network Configuration Tool Administrator Manual v5.6.1
P/N P01-04912-C
3. Select the RS-232 devices tab.
FIGURE 5.1 RS-232 devices - display sign settings
4. From the Select display driver box, choose <ASCII>.
5. From the Display baud rate box, click the arrow and select the correct rate.
−For Galaxy 3010, 3020, or G200 display signs: Select 19200.
−For an InfoNet display sign: Select 9600.
6. Click Update the unit and then OK to close the Properties dialog box.
5.2 SPEAKER TOWER (SPT)
The SPT is a high-powered siren system designed to broadcast live or prerecorded
messages for public warning in cases of emergency, natural disasters, or military conflicts.
This peripheral device acts as a node in the WAVES network that communicates through
an RS-232 interface connected to a TRX located inside the SPT electronics enclosure. For
For instructions on configuring the SPT settings, see the SPT Installation and User
Manual.
5.3 HIGH-POWERED SPEAKER ARRAY (HPSA)
Like the SPT, the HPSA is also a high-powered siren system designed to broadcast live or
prerecorded messages for public warning. As a peripheral device, it acts as a node in the
WAVES network that communicates through either a TRX or UHF/VHF Radio-400/500
transceiver located inside the HPSA electronics enclosure. For instructions on configuring

WAVES Network Configuration Tool Administrator Manual v5.6.1 61
P/N P01-04912-C
Wireless Activator System (WA)
the HPSA settings, see the either the HPSA-3000 Series Installation and User manuals or
HPSA-4000 Series Installation and User Manual.
5.4 WIRELESS ACTIVATOR SYSTEM (WA)
The Wireless Activator System allows personnel to remotely communicate with a WAVES
Base Station to issue notification of critical alarm and emergency events. The system
consists of the following:
•Wireless Activator Transmitter (WTX)
•Wireless Activator Receiver (WRX)
FIGURE 5.2 WA System devices
After WA devices have been defined and configured in the Network Configuration Tool
database, the administrator can then assign activators and set up WA events in WAVES 7.
The following WA events can be configured:
•Alarm - An event triggered when the white button on a WA Activator is pressed
and when the WA Receiver is not already in Alarm or Emergency mode.
When triggered, the activator number appears, flashing on the right side of the
WA Receiver’s (WRX) LED panel.
•Emergency - An event triggered when the red button on the WA Activator is
pressed and when the WA Receiver is not already in Emergency mode.
When triggered, the activator number appears, flashing on the left side of the LED
panel.
•LowBattery - An event triggered when an activator determines that its battery
power is low.
•NotExists - An event triggered when an activator is lost from the receiver's list of
known activators, or regained communications.
5.4.1 Defining Wireless Activator System Properties
The WRX initiates a change-of-state warning by communicating with a TRX unit by-way-
of the unit’s RS-232 port. Each group of activators is called a “family” and is assigned a
family name. Each individual WTX is assigned a unique identifier, identifying it to its
own WRX.
Receiver LED
Indicator Panel
“Alarm”
indication
flashes on
right side
“Emergency”
indication
flashes on
left side
Activator
Buttons
WTX (Transmitter) WRX (Receiver)

Setting Up Peripheral Devices
62 WAVES Network Configuration Tool Administrator Manual v5.6.1
P/N P01-04912-C
5.4.1.1 Defining WA Families
1. Set the mode to Off-line, On-line, or Wired.
2. From the File menu, select Properties.
3. Select the Activator Families tab.
4. Click New Family. A new WA
family named “Family <#>” is
added to the list box.
5. Select the newly added family and
click Rename. The Edit name
dialog box appears.
6. Enter a new name for the family
and click OK.
FIGURE 5.3 Activator Families settings tab
7. From the list box, select the family and click Properties. The Activator Definition
Table appears.
8. From the Activator Definition Table, for each transmitter address click its “In-
Use” button.The WRX can communicate with up to 23 activators.
FIGURE 5.4 Activator Definition Table
9. Click Apply to save the new setting and then OK to close the dialog box.
10. Click OK to close the Properties dialog box.
Each family represents a
WRX and all WTXs
associated with it.

WAVES Network Configuration Tool Administrator Manual v5.6.1 63
P/N P01-04912-C
Wireless Activator System (WA)
5.4.1.2 Configuring the TRX for WA Communication
1. Set the mode to Off-line, On-line, or Wired.
2. Click the unit on the site tree that is connected to the WRX.
3. Do one of the following:
−From the Edit menu, select Properties.
OR
−Right-click the element and select Properties.
OR
−Click the icon on the toolbar.
The unit’s Properties dialog box appears.
4. Select the RS-232 devices tab.
FIGURE 5.5 Defining a WRX Receiver RS-232 device
5. From the Select type(s) box, select the WA Receiver radio button.
6. From the Wireless Activator Families list box, select the family you wish to
assign to the WRX.
7. Click Update the unit to send all the settings to the TRX.
8. Set other properties as described in Section 4.2, “Configuring Transceiver
Properties”.
9. Click OK to close the dialog box.

Setting Up Peripheral Devices
64 WAVES Network Configuration Tool Administrator Manual v5.6.1
P/N P01-04912-C
10. Set up wireless activator events as described Section 5.4.2, “Setting Up WA
Events”.
5.4.2 Setting Up WA Events
WA events are defined in WAVES 7 to announce activator activity. Refer to the WAVES 7
Administrator Manual or WAVES 7 Online Help for your system for instructions on setting
up WA events.
5.4.3 Monitoring Wireless Activators
WA activity is monitored from the WAVES 7 screen by an operator. Refer to the WAVES 7
Operator Manual or WAVES 7 Online Help for instructions on monitoring wireless
activators.
5.5 NUCLEAR, BIOLOGICAL, AND CHEMICAL (NBC)
DETECTORS
The Network Configuration Tool, when coupled with the appropriate TRX firmware
version, adds the capability to interface with specialized sensors through the TRX RS-232
port. The firmware provides interface protocols for communication with the following
sensor devices.
•RAE Systems® ppbRAE detector (with firmware version 1.22, or later)
•Smiths Detection® GID-3 detector (with DWIU-enabled firmware)
The TRX periodically polls the sensors for data and reports the data to WAVES, where an
operator monitors the system for alerts.
After detectors have been defined and configured in the Network Configuration Tool
database, the administrator can then set up detector events in WAVES 7.
5.5.1 Configuring the TRX for NBC Detector Communications
1. Set mode to Wired or On-line.
2. From the site tree, select the unit that is connected to an NBC detector and do one
of the following:
−From the Edit menu, select Properties.
OR
−Right-click the unit and select Properties from the shortcut menu.
OR
−Click the icon on the toolbar.
The unit’s Properties dialog box appears.
3. Select the RS-232 devices tab.
The TRX must be running a compatible firmware version to interface with the
sensor. Contact Cooper Notification/MadahCom Customer Support if
assistance is needed.

WAVES Network Configuration Tool Administrator Manual v5.6.1 65
P/N P01-04912-C
Nuclear, Biological, and Chemical (NBC) Detectors
4. From the Select type(s) box, click the Sensor radio button.
FIGURE 5.6 RS-232 devices tab - Sensor settings
5. In the Poll Interval box, type or select the polling interval, in tenths of a second
(i.e., 40 = 4 seconds). The TRX will poll the sensor for data at this interval. Valid
values are from 10 to 60 tenths of a second. A value of zero disables polling.
6. From the Select sensor type box, choose the chemical detector type.
7. From the Sensor baud rate box, select the baud rate.
8. Click Update the unit to send all the settings to the TRX.
9. Set other properties as described in Section 4.2, “Configuring Transceiver
Properties”.
10. Click OK to close the dialog box.
11. Set up detector events as described Section 5.5.2, “Setting Up NBC Detector
Events”.
5.5.2 Setting Up NBC Detector Events
Detector events are set up in WAVES 7 to announce detector activity. Refer to the WAVES
7 Administrator Manual or WAVES 7 Online Help for your system for instructions on
setting up NBC events.

Setting Up Peripheral Devices
66 WAVES Network Configuration Tool Administrator Manual v5.6.1
P/N P01-04912-C
5.5.3 Monitoring NBC Detectors
Detector activity is monitored from the WAVES 7 screen by an operator. Refer to the
WAVES 7 Operator Manual or WAVES 7 Online Help for instructions on monitoring gas
detectors.
5.6 AUTONOMOUS CONTROL UNIT (ACU)
The ACU is an individual building mass notification system that can be connected to a
base-wide WAVES system.
It includes a WAVES audio command center that is a state-of-the-art Emergency Voice
Evacuation Control Panel, which provides the ability to dispatch several preprogrammed
messages from a local operator console. The system is also capable of delivering live
voice messages using an integral microphone.
FIGURE 5.7 ACU communications
When an optional TRX is added to the ACU, the TRX functions as the audio and data
input/output node when the system is in base-wide mass notification mode.
The ACU also integrates with fire alarm systems by providing a deactivation signal for
fire-alarm audible notification appliances while WAVES delivers voice messages.
After the ACU has been configured in the Network Configuration Tool database, the
administrator must define the ACU type in WAVES 7.
5.6.1 Configuring a Transceiver for ACU Communications
1. Set mode to Wired or On-line.
2. From the site tree, select the ACU and do one of the following:
−From the Edit menu, select Properties.
OR

WAVES Network Configuration Tool Administrator Manual v5.6.1 67
P/N P01-04912-C
Autonomous Control Unit (ACU)
−Right-click the unit and select Properties from the shortcut menu.
OR
−Click the icon on the toolbar.
The unit’s Properties dialog box appears.
3. Select the RS-232 devices tab.
4. From the Select type(s) box, click the ACU radio button.
FIGURE 5.8 RS-232 devices tab - ACU settings
5. Click Update the unit to send the setting to the transceiver and then OK to close
the dialog box.
6. Set other properties as described in Section 4.2, “Configuring Transceiver
Properties”.
7. Repeat Step 2, to reopen the unit’s Properties dialog box. A new tab appears in the
dialog box, “ACU Properties”.
8. Select the ACU Properties tab.
The ACU Properties tab only appears after the unit has been configured as
an ACU on the RS-232 devices tab.

Setting Up Peripheral Devices
68 WAVES Network Configuration Tool Administrator Manual v5.6.1
P/N P01-04912-C
FIGURE 5.9 ACU Properties settings tab
9. From the Number of Available Messages list, select the number that represents
how many PB-2 through PB-8 buttons are actually green back-lit (active) on the
front of the ACU control panel.
10. Click Time Sync to synchronize the ACU log reports to the computer clock. In
normal operation, WAVES does this automatically at startup and once per day
thereafter.
11. Click Apply to save the settings and then OK to close the dialog box.
5.6.2 Identify the ACU Type
Before ACU messaging can begin you must identify the type of building emergency
system installed at your site. This is done from WAVES 7. Refer to the WAVES 7
Administrator Manual or WAVES 7 Online Help for instructions.
5.6.3 Activating ACU Messages
ACU messages are activated from the WAVES screen using buttons and scripts set up by
the WAVES Administrator. See the WAVES 7 Operator Manual or WAVES 7 Online Help
for instructions.
5.6.4 Monitoring the ACU Status
ACU status is monitored from the WAVES 7 screen by an operator. Refer to the WAVES 7
Operator Manual or WAVES 7 Online Help for instructions on monitoring devices.

WAVES Network Configuration Tool Administrator Manual v5.6.1 69
P/N P01-04912-C
Digital Output Devices
5.7 DIGITAL OUTPUT DEVICES
WAVES 5.6.1 and higher allows you to configure automatic activation of output devices,
such as strobes, that are attached to Digital I/O 2 (J2 Pin 9 on the TRX) and can be turned
on by a 5-Volt signal.
To set auto-activate digital output devices:
1. Set mode to Wired or On-line.
2. From the site tree, select the unit (the output device must be attached to Digital
I/O J2 Pin 9 on the TRX) and then do one of the following:
−From the Edit menu, select Properties.
OR
−Right-click the unit and select Properties from the shortcut menu.
OR
−Click the icon on the toolbar.
The unit’s Properties dialog box appears.
3. Select the I/O Settings tab.
FIGURE 5.10 Auto-activate digital output device
Digital I/O 2: Select
“Auto-activate with PTT”
to assert this output
any time PTT
announcements are made.

Setting Up Peripheral Devices
70 WAVES Network Configuration Tool Administrator Manual v5.6.1
P/N P01-04912-C
4. From the Digital I/O 2 box, click the Out button to activate the digital pin as
output signal.
5. Type a descriptive name in the Name box.
6. Select the Auto-activate with PTT check box.
7. Click Update the Unit to send all the settings in the Properties dialog box to the
transceiver.
8. If necessary, set other properties as described in Section 4.2, “Configuring
Transceiver Properties”.
9. Click OK to close the dialog box.
If Digital I/O 2 is configured as output (Out), checking the “Auto-activate with
PTT” check box causes output to be asserted whenever the TRX makes a
PTT announcement. For example, an attached strobe will automatically flash
whenever audio is played to the unit. If the option is not checked, the strobe
will only flash when an I/O ON command is issued.

WAVES Network Configuration Tool Administrator Manual v5.6.1
71
P/N P01-04912-C
APPENDIX A
TRX Transmitting Offset
Assignments
This appendix presents the recommended transmitting offset assignment order for a
WAVES site.
The following sections are included in this appendix.
•Using Transmitting Offset Numbers
•Transmitting Offset Numbers List
A.1 USING TRANSMITTING OFFSET NUMBERS
An offset number is an RF frequency value assigned by you to a CRLU-201 or TRX-401
that enables it to recognize which RF signals to accept and which to ignore. The following
list provides important information when assigning offset numbers.
•Assign “0” as the transmitting offset of the CRLU and “2” to those transceivers
configured as RLXs on the Internal Parameters tab of the unit’s Properties
dialog box.
•Offset numbers can be reused on the same site IF the two TRXs are not within RF
range of each other.
•To avoid transmission difficulties, make sure that you do not assign similar
transmitting offsets to field transceivers defined as PRLUs in the same area. For
example, do not assign “5” and “7” to two field transceivers located close to each
other.

72 WAVES Network Configuration Tool Administrator Manual v5.6.1
P/N P01-04912-C
A.2 TRANSMITTING OFFSET NUMBERS LIST
The following table lists the recommended transmitting offset assignment order.
TABLE A.1 RF Transmit Offset Numbers
Item Offset # Item Offset # Item Offset #
CRLU 0 25. 60 51. 48
RLX 2 26. 12 52. 20
1. 31 27. 50 53. 64
2. 13 28. 66 54. 15
3. 53 29. 40 55. 49
4. 5 30. 9 56. 4
5. 23 31. 74 57. 58
6. 43 32. 36 58. 26
7. 67 33. 14 59. 51
8. 3 34. 30 60. 35
9. 37 35. 55 61. 62
10. 59 36. 38 62. 72
11. 11 37. 18 63. 54
12. 73 38. 63 64. 25
13. 47 39. 27 65. 42
14. 7 40. 44 66. 28
15. 17 41. 75 67. 68
16. 41 42. 21 68. 8
17. 71 43. 34 69. 39
18. 19 44. 52 70. 46
19. 29 45. 69 71. 32
20. 61 46. 16 72. 56
21. 70 47. 57 73. 1
22. 24 48. 33 74. 22
23. 45 49. 65
24. 6 50. 10

WAVES Network Configuration Tool Administrator Manual v5.6.1
73
P/N P01-04912-C
APPENDIX B
TRX Firmware Update
Procedures
On occasion it may be necessary to update or reload the TRX’s firmware. This appendix
provides instructions for updating the firmware.
The following sections are included in this appendix.
•Firmware Updating Methods
•Wired Mode
•Wireless / On-Line Mode
B.1 FIRMWARE UPDATING METHODS
There are two methods for updating the TRX firmware:
•Wired Mode
•Wireless / On-line Mode
The Wired method is faster and less disruptive to system operations than a Wireless update
making it the preferred method. However, under special circumstances, where access to a
TRX unit is restricted, the Wireless update method may be preferable.
The firmware update is a two-step process. First, the hex file containing the binary code is
transferred to a buffer within the unit. When this step is successfully completed, the
content of the buffer is burned into the TRX unit’s on-board memory.
B.2 WIRED MODE
1. Disconnect the TRX power cable from its power source. The TRX turns off.
2. Connect one end of the CAB-PC-ADU-3 cable to your computer Serial port and
the other end to the TRX RS-232 port.
3. From the Network Configuration Tool, set mode to Wired.

74 WAVES Network Configuration Tool Administrator Manual v5.6.1
P/N P01-04912-C
4. From the Commands menu, select Version Update. The Version Update dialog
box appears.
FIGURE B.1 Version Update dialog box
5. From the Hex File Name box, do one of the following:
−Enter the appropriate file name and add the .hex extension to the end of the
name.
OR
−Click the magnifying glass and locate the file.
6. Click Update Version. The message “Waiting for Ready to Receive” appears.
7. Immediately (within 5 seconds) plug the TRX power cable into its power source
to turn the TRX on.
A series of messages are issued documenting the actions taking place. The update
progress can be seen from the Version Update Progress box on the Version Update
dialog box.
8. Verify that the update was successful by selecting the Commands menu and
choosing Peep Unit Info or by clicking the icon. The Monitor unit window
opens.
9. Check the version number and ensure it matches the newly installed update.
Be prepared to plug the TRX power cable back into its power source within 5
seconds AFTER clicking the Update Version button.
MAKE SURE ELECTRICAL CONNECTIONS ARE SECURE BEFORE
APPLYING POWER TO A UNIT. FAILURE TO SECURE CONNECTION
MAY CAUSE AN ELECTRICAL ARC RESULTING IN PHYSICAL SHOCK
OR DAMAGE TO EQUIPMENT.

WAVES Network Configuration Tool Administrator Manual v5.6.1 75
P/N P01-04912-C
Wireless / On-Line Mode
B.3 WIRELESS / ON-LINE MODE
1. Open the Network Configuration Tool as described in Section 2.1.1, “Launching
the Application”.
2. Set the mode to On-line.
3. From the site tree, select the zone, sub-zone, or unit to be updated.
4. From the Commands menu, select Wireless Update. The Wireless Firmware
Update dialog box appears.
FIGURE B.2 Wireless Firmware Update dialog box
5. From the Address box, verify that the address is correct for the selected TRX.
6. From the Firmware Version box, do one of the following:
−Enter the appropriate file name and add the .hex to the end of the name.
OR
A CRLU cannot be programmed using the wireless method.
When a zone or sub-zone that contains multiple units is selected as the site
tree target their units will be listed separately in the Units’ update status list
box of the Wireless Firmware Update dialog box (see Figure B.2).
Avoid attempting updates to groups of more than 15 units as the probability
of success is diminished.

76 WAVES Network Configuration Tool Administrator Manual v5.6.1
P/N P01-04912-C
−Click the magnifying glass and locate the file.
7. Click Start. Acknowledgment is provided informing you that the file transfer is in
progress. Also, a progress bar indicates the number of bytes being sent to the TRX
unit.
8. From the Units’ update status list box, verify that the file transfer process was
successful by checking the Transfer Status column.
If the transfer was not successful, click Start again.
9. From the Units’ update status list box, highlight the unit(s) you want to update
and click Program Units. The follow actions occur:
−A message appears informing you that the program command was sent.
−The TRX’s Sync indicator LED flashes quickly, indicating that firmware
loading is in progress.
10. Upon successful completion of the programming, a message appears informing
you that the unit is back on and displays the new firmware version.
11. Click Close.

WAVES Network Configuration Tool Administrator Manual v5.6.1
77
P/N P01-04912-C
APPENDIX C
Configuring the RF AGC Setting
When a TRX is shipped the RF AGC turned Off. In the event a BIT report shows the AGC
as “On” use the instructions in this appendix to reset it to “Off”.
The following sections are included in this appendix:
•Setting the AGC to “Off”
C.1 SETTING THE AGC TO “OFF”
Write a WACOL CustomCmd statement to execute the procedure.
1. From the View menu, select WACOL Shell. The WACOL Shell dialog box
appears.
FIGURE C.1 Blank WACOL Shell dialog box
2. In the Command Line box type the following:
prim “customcmd”, addr(1,0,1), 172, 5, “OF A5 05 50 5A”
•Where 172 is the opcode for AGC control and 5 is the number of
command arguments in the quoted string.
•Where OF (letter “O”) turns the AGC Off and the remaining parameters
are a required constant for the AGC command.
THIS PROCEDURE SHOULD ONLY BE PERFORMED BY A TRAINED
COOPER NOTIFICATION FIELD ENGINEER.

78 WAVES Network Configuration Tool Administrator Manual v5.6.1
P/N P01-04912-C
3. Click Go!. The Network Configuration Tool executes the WACOL statement. The
WACOL statement appears in the command list box and is added to the command
list.
FIGURE C.2 WACOL Shell command AGC Off
4. Click Close.

WAVES Network Configuration Tool Administrator Manual v5.6.1
79
P/N P01-04912-C
APPENDIX D
Troubleshooting
This appendix includes a list of problems that may arise when using WAVES and possible
solutions.
The following sections are included in this appendix:
•Resolving System Problems
D.1 RESOLVING SYSTEM PROBLEMS
The following table provides a list of possible problems that may occur when operating
WAVES and resolutions for the problems. Contact Cooper Notification/MadahCom
Customer Support if a problem persists or is not discussed in this manual.
TABLE D.1 Troubleshooting System Problems
Problem Resolution
The “Select Com Port” dialog box popped up
when you ran WAVES for the first time.
The dialog box is telling you what COM ports
are available for use.
• Change the COM port or click
Cancel to close the dialog box.
The Network Configuration Tool may already
be running.
•Click Cancel.
A hardware failure if the selected COM port
may have occurred.
• Check devices for failure
notifications.
The audio from a TRX speaker is unclear. Check the reception quality of the TRX in the
BIT Result. If the RSSI value is below 160,
assign a different primary and secondary RF
source to the TRX. (In a WAVES system, a
minimum of 160-179 is required to meet the
“Acceptable” level for signal strength and
greater than 180 is “Good”.)
Check the Audio Mode setting.

80 WAVES Network Configuration Tool Administrator Manual v5.6.1
P/N P01-04912-C
.
A unit’s icon changes to the blue battery icon
on the site tree.
Indicates that the AC power supply to the
TRX has been interrupted and that the TRX is
now receiving power from its backup battery.
A unit’s icon changes to the red battery icon
on the site tree.
Indicates that the backup battery power supply
is low (has 10V or less).
A unit’s icon changes to the blue battery with
an “X” across it on the site tree.
Indicates that the TRX does not have a backup
battery even though it is registered as having
one.
TABLE D.1 Troubleshooting System Problems
Problem Resolution

WAVES Network Configuration Tool Administrator Manual v5.6.1
81
P/N P01-04912-C
Glossary
A
ACU Autonomous Control Unit. A UFC-compliant device that is the core component of
an individual building system. It incorporates an Audio Command Center capable
of dispatching several prerecorded messages as well as live voice messages
throughout the protected building.
ADU-301 Audio Data Unit. The ADU-301 is the interface between the Command Unit
Computer and the base station transceiver, providing an interface between its
input audio and data channels and the base station transceiver. It converts serial
data from the Command Unit Computer to a form usable to the transceiver. It also
provides an interface between the PC and base station transceiver.
All Call Mode Sends a live message to all unit devices in the installation site even when the
computer is turned off.
Alternate Base Station Used if the WAVES primary base station becomes unserviceable or inaccessible.
AreaAlert The AreaAlert function is designed to identify and alert units based on their
location, not their function. When a threatened area is identified, a list is
constructed of units that lie in that area. WAVES determines which of its
transceiver units is/are contained within the defined area and uses that list as the
selected units when executing the specified script.
AVM Audio Visual Message. A Network Configuration Tool dialog box used to manage
rdd drivers.
B
BCRLU Backup CRLU. Acts as an SRLU until a specific discrete signal is detected, at
which time it takes over the CRLU functions for the entire network.
BIT Built-In-Test. Network-wide supervisory diagnostic report.
C
CAP Common Alerting Protocol. CAP messaging is a worldwide used XML-based
data format that allows individuals to exchange public warnings and emergency
alerts between alerting systems. CAP integration with WAVES allows a sending

82 WAVES Network Configuration Tool Administrator Manual v5.6.1
P/N P01-04912-C
agency to issue a standardized message to the WAVES system, triggering a
configured CAP Event that executes a WACOL script.
CBRN Chemical, Biological, Radiological and Nuclear. Detection system that sends
status and alarm messages to the WAVES Operator console.
COTS Commercial Off The Shelf.
CRLU-201 Central Relay Unit. A fully integrated transceiver located at a base station. The
CRLU-201 transmits multiple channels of audio and visual display messages, and
RS-232 data and control information, and receives RS-232 data and BIT reports
for subsequent transmission to the IBS software.
D
DCE Data Communication Equipment. A device that communicates with data terminal
equipment in RS-232 communications. For example, a modem.
DTE Data Terminal Equipment. A device that controls data flowing to or from a
computer.
DTMF Dual Tone Multi Frequency. The WAVES DTMF utilizes a Dialogic® interface
card to access the WAVES system remotely by any touch-tone phone. The user
responds to pre-defined prompts in a manner similar to a voice-mail system to
record a message to play or select a WAVES script to execute.
F
FHSS Frequency Hopping Spread Spectrum. WAVES CRLU and TRX transceivers use
FHSS technology to broadcast RF signals over a wide range of frequencies.
Frequency offsets are used to spread the RF signals. Receiving stations use their
frequency offset settings to recognize and retrieve RF signals directed to them.
H
HPSA High-Powered Speaker Array. A high-powered public address and siren system
used in the WAVES network to broadcast live or prerecorded messages. The
HPSA employs TRX or VHF/UHF radio transceivers for communicating within
the WAVES system and supports both planar and horn arrays.
I
IBS Integrated Base Station. The IBS is the command center of the WAVES network.
All sensor appliances, like panic buttons and NBC detectors send their signals
through the RF network to the IBS, which is running WAVES software. WAVES
software is set up during installation to either immediately respond and alert
personnel to safety through notification appliances, such as speakers, strobes, and
LED text signs, or to allow the operator at the IBS to decide what appropriate
action to take.
IDS Intrusion Detection System. Sends detection status messages to WAVES.
L
LMD Local Message Device. In a WAVES network the LMD enables simultaneous
activation of different messages at different nodes, allowing each transceiver or

WAVES Network Configuration Tool Administrator Manual v5.6.1 83
P/N P01-04912-C
speaker tower at a site to play different messages simultaneously, while retaining
the common-message alerting that WAVES already performs. Local and WAVES
Base Station audio messages are managed in a selectable prioritization.
M
MNS Mass Notification System.
MSA Mobile Speaker Array. An HPSA system housed on a sturdy trailer base with an
extendable horn mast, locking outriggers and jockey wheel, and multiple power
sources. The MSA is used in the WAVES network to broadcast live or prerecorded
messages, employing TRX or VHF/UHF radio transceivers to communicate
within the WAVES system.
N
NAB Network Access Bridge. Acting as a bridge between a WAVES Base Station and a
satellite WAVES system, a NAB consists of headless PC (without monitor,
keyboard, or mouse) running NAB software, a COTS VHF radio controller and/or
an ADU-301 and CRLU-201, a power supply, and the case that houses all of these
components. The NAB is Ethernet-based, extending the range of WAVES
communication to nodes distributed over a wide area and limitless distance.
NBC Nuclear Biological Chemical. Detection system that sends status and alarm
messages to the WAVES Operator console.
Normal Mode Sends a live message to only those devices selected from the WAVES Selection
panel.
Notification Appliance Any appliance that alerts or protects personnel.
P
PAS Personnel Alerting System.
PDB Power Distribution Board.
Peripheral Device Any appliance that provides input or sends a message into the WAVES system.
POB Power-on BIT. Tests the hardware configuration during the power-on process.
POI Point-of-Impact.
PRLU Primary Relay Unit. A field transceiver, TRX-401, addressable node configured
as a PRLU in the wireless network that receives and broadcasts messages
addressed to it. A PRLU can also retransmit messages it receives from a CRLU or
another relay node, extending the range between the CRLU and an RLX.
PTT Push-to-Talk. Broadcasts a live message that is being spoken into a microphone.
R
Radio-400 An addressable VHF transmitter node in the WAVES wireless network that
receives and broadcasts messages addressed to it on a single frequency, narrow
band. Commands sent from a WAVES IBS are received by the radio and played to
attached end-of-line devices. The radio also transmits messages and status reports
upstream to the IBS. Frequency settings are preprogrammed per customer
specifications and within the VHF range of 30 - 300 megahertz.

84 WAVES Network Configuration Tool Administrator Manual v5.6.1
P/N P01-04912-C
Radio-500 An addressable UHF transmitter node in the WAVES wireless network that
receives and broadcasts messages addressed to it on a single frequency, narrow
band. Commands sent from a WAVES IBS are received by the radio and played to
attached end-of-line devices. The radio also transmits messages and status reports
upstream to the IBS. Frequency settings are preprogrammed per customer
specifications and within the UHF range of 300 - 3000 megahertz.
RF Radio Frequency. A radio frequency signal sent and received through the WAVES
network.
RLX Field Receiver End Unit. An addressable TRX field transceiver node configured
as an RLX in the wireless network that receives and passes broadcast messages to
devices connected to it.
Roam Secure Cooper Notification's Roam Secure Alert Network works together with Roam
Secure Information Exchange (RSIX) as an anywhere, anytime information
sharing and emergency alerting system, delivering real-time critical emergency
communication to any text-enabled device, phone, or fax on national, regional,
and local levels. RSAN uses the Common Alerting Protocol as its messaging
format.
RSAN Roam Secure Alert Network.
RSIX Roam Secure Information Exchange. RSIX works behind the scenes in the RSAN
system to automatically aggregate and deliver information and alerts in real-time
on national, regional, and local levels.
RSSI Received Signal Strength Indicator. A measurement of strength (not necessarily
the quality) of the received signal in a wireless environment.
S
SectorAlert SectorAlert allows the grouping of units into a geographic set (sector) that enables
all units in the sector to always be alerted together. The sectors are visually
identified on the site map by drawing a square, rectangle, or polygon SectorAlert
grid around a group of units by using longitude and latitude coordinates. In
SectorAlert mode, when an AreaAlert message is received, the Threat Area is not
compared with the unit locations but with the sector location. If any part of the
Threat Area lies within a sector, all units in that sector are alerted.
SPL Sound Pressure Level. The physical intensity of the alarm sound.
SPT Speaker Tower. A high-powered public address and siren system used in the
WAVES network to broadcast live or prerecorded messages.
SRLU Satellite Relay Unit. An addressable TRX field transceiver node configured as a
SRLU in the wireless network that receives and broadcasts messages addressed to
devices attached to it. An SRLU can also accept audio and voice input from a
locally-connected base station and transmit it as messages from the CRLU, but
only to units defined to be in its downline tree.
Stored Messages An optional local messaging feature that is inherently part of a high-powered
speaker array unit’s device controller board. Stored message capability enables
simultaneous activation of different messages at different nodes, allowing each
transceiver or HPSA at a site to play different messages simultaneously, while
retaining the common-message alerting that WAVES already performs.

WAVES Network Configuration Tool Administrator Manual v5.6.1 85
P/N P01-04912-C
T
TACWAVES Tactical Wireless Audio Visual Emergency System. A fully functional standalone
portable alerting system capable of being rapidly deployed in the field for disaster
relief, humanitarian missions, tent city operations, and temporary events to
broadcast emergency announcements in wide areas.
TRX-401 The TRX-401 is an addressable transceiver node in the wireless network that
receives and broadcasts messages addressed to it. It is addressable as a PRLU or
RLX. Each transceiver is assigned a unique address. The TRX is a fully integrated
unit with an integral power supply, audio amplifiers, and dual diversity antennas,
and supports connections to optional external antennas.
U
UHF Ultra High Frequency. A band of radio frequencies from 300-3000 megahertz.
UPS Uninterruptible Power Supply. A device used to maintain a continuous power
supply in the event of primary power interruption.
UWI Universal WAVES Interface. An accessory to the TRX designed specifically to
provide a simple way to interface the WAVES system to third party systems.
V
VHF Very High Frequency. A band of radio frequencies between 30-300 megahertz.
W
WA Wireless Activator. The Wireless Activator System consists of an EMP-221-WRX
Receiver (WRX Receiver) which communicates with up to twenty-three (23)
EMP-221-WTX Activators (WTX Activators). Together, they trigger and report
alarm and emergency events to WAVES system.
WACOL WAVES Command Language. Script commands used to execute WAVES
procedures.
WAVES Wireless Audio Visual Emergency System. WAVES is a secure wireless
technology that prevents jamming, interference, and eavesdropping and protects
the network in the event of a disaster, allowing messages to continue broadcasting
without interruption. Existing security systems, such as fire alarms, intrusion
detection, and CBRN detection systems can integrate with WAVES.

86 WAVES Network Configuration Tool Administrator Manual v5.6.1
P/N P01-04912-C

WAVES Network Configuration Tool Administrator Manual v5.6.1 87
P/N P01-04912-C
INDEX
A
ACU, 66
activate message, 68
configure, 66
monitor status, 68
Add
sub-zone, 29
unit, 29
zone, 29
Addressing
units, 27
ADU-301, 4, 7
AC, 7
audio sources, 7
data port, 7
headphone, 7
microphone, 7
PC sound card, 7
power, 7
PTT switch, 7
RS-232, 7
voice output priority, 8
AGC
BIT report, 46
set to off, 77
Alternate Base Station, 6
Assign
Unit ID, 49
Audio
ADU-301, 7
change for unit, 39
CRC fail BIT report, 46
CRC failures, 37
mode, 36
output level, 37
site, 39
sources, 7
sub-zone, 39
TRX settings, 39
volume settings, 39
zone, 39
Auto Mode, 53
Auto-Activate Digital I/O De-
vice, 69
Autonomous Control Unit, 66
B
Backup Database, 32
Base Station, 4
transceivers, 4
Battery
BIT results, 46
status, 46
Battery Level, 37
BIT, 4
condition icon, 43
parameters, 43
report parameters, 36
report rate, 44
report rate for TRX, 44
report rate for VHF/UHF
radio, 44
results descriptions, 46
TRX settings, 44
types, 43
update results, 45
VHF/UHF settings, 44
view results, 46
BIT report, 46
Built-in Test, 4, 43
Buttons
wireless activator, 61
BWD ID, 37
BWD RSSI, 37
C
Caution Notes, iii
CBRN, 2
Central Command Unit, 8
Central Relay Unit. See also
CRLU
Change
site audio, 39
sub-zone audio, 39
unit audio properties, 39
zone audio, 39
Channel, 51
levels, 7, 39
Chemical Sensors
configure, 64
Close
monitor unit dialog box, 55
Network Configuration
Tool, 15
Commands Menu, 18
ComPort, 79
Conventions, xvi
icons, xvii
terms, xvi
Copy
site tree to new file, 32
unit, 31
CRC, 37
BIT report, 46
Create
database, 26
CRLU
AC, 5
ADU-301, 7
alternate base station, 6
backup configuration, 6
base station transceiver, 4
DC, 5
SRLU, 5
Customer Support, xviii
D
Data Port, 7
Database
backup file, 32
creating, 26
integrity, 54
name bar, 16
printout, 55
save, 32
upgrade file, 33
verify TRX, 55
Define
site tree elements, 27
Delete
site, 30
sub-zone, 30
unit, 30
zone, 30
Detection Devices
configure, 64
configure TRX, 64
GID-3, 64
RAE, 64

88 WAVES Network Configuration Tool Administrator Manual v5.6.1
P/N P01-04912-C
Smiths, 64
Digital
auto-activate I/O 2, 69
configure pins, 40
input, 42
monitor, 42
output, 42
Display Signs
configure, 59
E
Edit Menu, 17
Email, xviii
Emergency Priority, 41, 70
F
Families
defining, 62
Features, 2
FHSS, 82
Field Units, 2
File Menu, 17
Firmware
update, 57
update in on-line mode, 75
update in wired mode, 73
update in wireless mode, 75
Frequencies, 2
G
Getting Help, xviii
GID-3, 2
Global Site
audio mode, 36
audio options, 35
BIT report parameters, 36
definition, xvii
properties, 35
H
Headphone, 7
HPSA
BIT report, 47
I
I/O Settings, 39
IBS, 4
Icons
caution, xvii
important, xvii
note, xvii
site tree, 43
Ineligible Sources, 51
Integrated Base Station, 4
Internal Parameters Dialog Box,
51
L
LMD
Local Messaging. See also LMD
Lock Mode, 49, 51, 53
M
Menu
Commands, 18
Edit, 17
File, 17
View, 18
Windows, 19
Menu Bar, 16
Message Priority, 41
Microphone
ADU-301, 7
Miscorrelations, 37
Missed Correlations
BIT report, 46
Mobile Speaker Tower, 2
Mode
audio, 36
auto, 53
changing, 25
lock, 51
normal, 52
Off-line, 24
On-line, 24
password, 25
permissions, 24
Sw, 51
User, 24
Wired, 24
Modification Record, v
Monitor
ACU status, 68
dialog box, 42
digital, 42
refresh monitor unit dialog
box, 55
wireless activators, 64
Monitor BIT Dialog Box, 36
Monitor Unit Dialog Box, 54
Move
sub-zone, 31
unit, 31
MSA, 2
MSPT, 2
N
NBC, 64
configure, 64
NBC Detector, 2
Normal Mode, 52
O
Off-line Mode, 24
On-line Mode, 24
Output Level, 46
P
Password, 25
PC, 2, 8
Peep, 54
monitor unit dialog box, 54
Peripheral Devices
detector devices, 9
intrusion detection system
(IDS), 9
microphone, 9
set up ACU, 66
set up detectors, 64
set up NBC, 64
set up SPT, 60
set up wireless activator, 61
wireless activators, 9
Permissions, 24
Personal Computer (PC), 8
Pins
configure digital, 40
POB, 43
update results, 45
view results, 46
Power-on BIT, 43
Print

WAVES Network Configuration Tool Administrator Manual v5.6.1 89
P/N P01-04912-C
database text file, 55
Priority
ADU-301 voice output, 8
emergency, 41, 70
for messages, 41
PTT, 5, 7
switch, ADU-301, 7
Q
Quality State, 37
R
Radio Frequency. See also RF
Radio-400
base transceiver, 6
field transceiver, 9
Radio-400. See also VHF/UHF
Radio-500
base transceiver, 6
field transceiver, 9
Radio-500. See also VHF/UHF
Reboot TRX, 48
Refresh
monitor data, 55
Relay
SRLU, 5
Rename Elements, 29
Report Rate, 44
RF
network, 3
RF AGC, 37
BIT report, 46
set to off, 77
RF Network, 51
RF Settings, 51
RS-232, 4
ACU, 66
ADU-301, 7
chemical sensors, 64
detection devices, 64
port, 49
sirens, 60
to RS-422 conversion, 7
visual displays, 39
wireless activators, 61
RS-422, 7
RSSI, 37
BIT report, 46
S
Safety
cautions, iii
general notices, iii
summary, iii
warnings, iii
Save
database files, 32
Sirens
configure, 60
Site
change audio, 39
delete, 30
Site Tree, 16
add sub-zone, 29
add unit, 29
add zone, 29
copy, 32
creating new database, 26
define elements, 27
details, 23
navigation, 22
organization, 21
rename elements, 29
reorganize, 30
Sound Card, 7
Source
BIT report, 46
Speaker Tower, 37
BIT report, 46
SRLU, 5, 51
alternate base station, 6
Strobe
auto-activate, 69
Sub-Zone, 22
add, 29
change audio, 39
delete, 30
move, 31
Sw Mode, 51
T
TACWAVES, 2
Telephone, xviii
Theater, xvii, 22
Toolbar, 16
Transceiver, xvii
base station, 4
CRLU-201, 4
field, 8
Radio-400 (Base), 6
Radio-400 (Field), 9
Radio-500 (Base), 6
Radio-500 (Field), 9
TRX-401, 8
Transmit Offset, 71
Troubleshooting, 79
TRX, xvii
ADU-301, 7
assign Unit ID, 49
audio settings, 39
auto mode, 53
configure ACU, 66
configure chemical sensors,
64
configure detection devices,
64
configure display sign, 59
configure pins, 40
configure sirens, 60
configure wireless
activators, 61
configure wireless receiver,
63
detection devices, 64
field transceiver, 8
internal parameters, 52, 53
lock mode, 49, 51, 53
normal mode, 52
reboot, 48
update, 31
update firmware, 57, 73, 75
verify internal database, 55
TX Offset, 51
numbers, 72
using offset numbers, 71
U
UFC, 3
Unit, xvii, 22
add, 29
address, 51
addressing, 27
change audio, 39
copy, 31
delete, 30
move, 31

90 WAVES Network Configuration Tool Administrator Manual v5.6.1
P/N P01-04912-C
peep, 54
type, 51
Unit Details
BIT report, 37
panel, 16
Unit ID, 49, 51
assign, 49
Update
BIT results, 45
POB results, 45
TRX, 31
TRX firmware, 57
Upgrade
database file, 33
UPS-901, 5
User Mode, 24
V
Verify Database, 55
Version Update Dialog Box, 74
VHF/UHF
base transceiver, 6
BIT settings, 44
field transceiver, 9
report rate, 44
View
BIT results, 46
POB results, 46
View Menu, 18
Voice
channels, 5
volume settings, 39
Volume
audio setting, 39
voice setting, 39
W
Warning Notes, iii
WAVES
central command unit, 8
description, 1
features, 2
methodology, 3
PC, 2
system components, 3
Windows Menu, 19
Wired Mode, 24
Wireless Activators
alarm event, 61
configure, 61
configuring for TRX, 63
events, 64, 65
families, 62
monitor, 64
red button, 61
white button, 61
Z
Zone, 22
add, 29
change audio, 39
delete, 30

Notification
Cooper Notification
7565 Commerce Court
Sarasota, FL 34243
Tel.: 941.487.2300
Fax: 941.487.2387
www.coopernotification.com
Cooper Notification is