Craftsman 113234610 User Manual MITER SAW Manuals And Guides L0803249
CRAFTSMAN Miter Saw Manual L0803249 CRAFTSMAN Miter Saw Owner's Manual, CRAFTSMAN Miter Saw installation guides
User Manual: Craftsman 113234610 113234610 CRAFTSMAN MITER SAW - Manuals and Guides View the owners manual for your CRAFTSMAN MITER SAW #113234610. Home:Tool Parts:Craftsman Parts:Craftsman MITER SAW Manual
Open the PDF directly: View PDF
.
Page Count: 32

_F Save This Manual
or Future Reference
owner's
manual
MODEL NO.
113.234610
10" COMPOUND
MITER SAW
Serial
Number
Model and serial numbers
may be found at the side of
the miter saw arm.
You should record both
model and serial number in
a safe place for future use.
CAUTION:
READ ALL
INSTRUCTIONS
CAREFULLY
CRRFTSMRN
IO-INCH COMPOUND
MITER SAW
• assembly
• operating
• repair parts
Sold by SEARS, ROEBUCK AND CO., Chicago, IL 60684 U.S.A.
Part No. SP5092
J

FULL ONE YEAR WARRANTY ON CRAFTSMAN MITER SAW
If within one year from the date of purchase, this Craftsman Miter Saw fails due to a defect
in material or workmanship, Sears will repair it, free of charge.
WARRANTY SERVICE IS AVAILABLE BY SIMPLY CONTACTING THE NEAREST SEARS SER-
VICE CENTER/DEPARTMENT THROUGHOUT THE UNITED STATES.
This warranty applies only while this product is used in the United States.
This warranty gives you specific legal rights, and you may also have other rights which
vary from state to state.
SEARS, ROEBUCK AND CO., Dept. 698/731A, Sears Tower, Chicago, IL 60684
GENERAL SAFETY INSTRUCTIONS FOR POWER TOOLS
1. KNOW YOUR POWER TOOL
Read and understand the owner's manual and
labels affixed to the tool. Learn its application and
limitations as well as the specific potential hazards
peculiar to this tool.
2. This tool is DOUBLE INSULATED to give you
added protection. Double insulation does not take
the place of normal safety precautions when
operating this tool. When servicing this double insu-
lated tool, use only identical parts.
3. KEEP GUARDS IN PLACE
In working order, and in proper adjustment and
alignment.
4. REMOVE ADJUSTING KEYS AND WRENCHES
Form habit of checking to see that keys and adjust-
ing wrenches are removed from tool before turning
=ton.
5. KEEP WORK AREA CLEAN
Cluttered areas and benches invite accidents. Floor
must not be slippery due to wax or sawdust.
6. AVOID DANGEROUS ENVIRONMENT
Don't use power tools in damp or wet locations or
expose them to rain. Keep work area well lighled.
Provide adequate surrounding work space.
7. KEEP CHILDREN AWAY
All visitors should be kept a safe distance from
work area.
8. MAKE WORKSHOP CHILD-PROOF
With padlocks, master switches, by removing star-
ter keys, or storing tools where children can't get
them
9. DON'T FORCE TOOL
It will do the job better and safer at the rate for
which it was designed
10. USE RIGHTTOOL
Don't force tools or attachment to do a job it was
not designed for.
11. WEAR PROPER APPAREL
Do not wear loose clothing, gloves, neckties, or
jewelry (rings, wrist watches) to get caught in mov-
ing parts. NONSLIP footwear is recommended.
Wear protective hair covering to contain long hair
Rol! long sleeves above the elbow.
12. USE SAFETY GOGGLES (HEAD PROTECTION)
Wear safety goggles (must comply with ANSI
Z87.1) at al! times. Everyday eyeglassess are not
safety glasses. They only have impact resistant
lenses. Also, use face or dust mask if cutting oper-
ation is dusty, and ear protectors (plugs or muffs)
during extended periods of operation.
13. SECURE WORK
Use clamps or a vise to hold work when practical
It frees both hands to operate tool.
14, DON'T OVERREACH
Keep proper footing and balance at all times
15. MAINTAIN TOOLS WITH CARE
Keep tools sharp and clean for best and safest
performance Follow instructions for lubricating and
changing accessories.
16. DISCONNECT TOOLS
Before servicing; when changing accessories such
as blades, bits. cutters, etc
17. AVOID ACCIDENTAL STARTING
Make sure switch is in "OFF" position before p!ug-
ging in.
18. USE RECOMMENDED ACCESSORIES
Consult the owner's manual for recommended ac-
cessories Follow the instructions that accompany
the accessories. The use of improper accessones
may cause hazards.
19, NEVER STAND ON TOOL OR ITS STAND
Serious injury could occur if the toot is tipped or if
the cutting tool is accidentally contacted. Do not
store materials above or near the tool such that it
_s necessary to stand on the tool or its stand to
reach them.
20. CHECK DAMAGED PARTS
Before further use of the tool, a guard or other part
that is damaged should be carefully checked to
ensure that it will operate properly and perform its
intended function. Check for alignment of moving
parts, binding or moving parts, breakage of parts,
mounting and any other conditions that may affect
its operation A guard or other part that is damaged
should be properly repaired or replaced,
21. NEVER LEAVETOOL RUNNING UNATTENDED
Turn power off Don't leave tool until it comes to a
complete stop

additional safety instructions for miter saw
Safety is a combination of common sense, staying alert
and knowing how your miter saw works
BEFORE USING THE SAW:
WARNING: TO AVOID MISTAKES THAT COULD
CAUSE SERIOUS, PERMANENT INJURY, DO NOT
PLUG THE SAW IN UNTIL THE FOLLOWING STEPS
HAVE BEEN SATISFACTORILY COMPLETED.
1. Assembly and alignment.
2. Learn the function and prope_ use of:
a. The on-off switch,
b. The upper and lower blade guards
c The arbor lock and handle latch.
d. The bevel clamp, fence clamps, and miter lock
handle.
3. Read and understand all safety instructions and
operating procedures throughout the manual.
4. Read the following label on the miter saw:
_AFCTY ................................ ]FOR YOUR OWN _ L o..... _=_.,_*, ....... g ...... !
WHEN INSTALLING OR MOVINGTHE SAW:
1. To avoid iniury from unexpected saw movement:
a Place the saw on a firm level surface where there
is plenty of room for handling and properly sup-
porting the workpiece.
b Support the saw, so the table is level and the saw
does not rock.
c. Bolt or clamp the saw to its support.
2. Before moving the saw, lock the miter, bevel and
power-head positions Unplug electric cord.
3 To avoid back injury, get help when you need to lift
the saw more than 10 inches. Hold the too! close to
your body. Bend your knees so you can lift with your
legs, not your back. Lift by using the hand-hold areas
at the bottom of the base. Never carry the tool by
the cord or power head handle. Damage to insulation
could cause an electric shock. Damage to wire con-
nections could cause a fire.
4. Place the saw so others will stay out from behind it.
Thrown debris could injure people in its path.
BEFORE EACH USE:
1. Inspect your saw. If any part of this miter saw is
missing, or bent, or has failed in any way, or any
electrical parts don't work properly, turn the saw off
and unplug the saw. Replace damaged, missing, or
failed parts before using the saw again.
2. Plan Your Work to protect your eyes, hands,
face, ears.
a. Wear safety goggles (not glasses) that comply
with ANSI Z87.1 (shown on package). Using any
power tool can result in foreign objects being
thrown into the eyes, which can result in perma- _,.o'-
nent eye damage. Safety goggles are available .._
at Sears retail catalog stores. Use of glasses or
use of goggles not in compliance with ANSI Z871
could result in severe injury from breakage of the
eye protection
WEAR YOUR
b. For dusty operations, wear a face shield along
with safety goggles.
c. To avoid injury from jams, slips or thrown pieces:
1. Choose the right 10-inch diameter blade for
the material and the type of cutting you plan
to do, Use this miter saw to cut only wood,
wood-like products or soft metals like
aluminum Other materials may shatter, grab
at the blade, or create other dangers.
2. Make sure the direction of rotation arrow on
the blade matches the direction arrow on the
saw, The blade teeth should always point
downward at the front of the Saw
3. Make sure the blade is sharp, undamaged
and properly aligned. With the saw unplugged,
push the power-head all the way down. Hand
spin the blade and check for clearace. Tilt the
power-head to 45 degree bevel and repeat
the check. If the blade hits anything, make
the adjustments shown in the Maintaining
Maximum .Cutting Capacity section.
a. Make sure the blade and arbor collars are
clean.
5. Make sure the collars' recessed sides are fac-
ing toward the blade.
6. Make sure the recessed side of the blade
washer (just under the arbor screw head)
faces the collar
7. Using _/5-inch box end wrench, make sure the
arbor cap screw retaining the blade collars is
firmly hand tightened.
8. Make sure all clamps and locks are tight and
there is no excessive play in any parts.
9. Never cut FREEHAND:
a. Brace your workpiece solidly against the
fence and table top so it will not rock or
twist during the cut. Make sure no debris
is caught beneath the workpiece.
b. Make sure no gaps between the work-
piece, fence and table will let the workpiece
shift after it is cut in two.
c. Use jigs, fixtures or a different tool for un-
stable workpieces 3

10. Never out more than one workpiece at atime.
11. Make sure the cut off piece can move side-
ways after it's cut off. Otherwise, it could
get wedged against the blade and thrown
violently.
12. Use extra caution with large, very small or
awkward workpieces:
a. Use extra supports (tables, saw horses,
blocks, etc.) for any workpieces large
enough to tip when not held down to the
table top.
b. Do not use this saw to cut pieces too
small to let you easily hold the work while
you keep the thumb side of your index
(pointer) finger against the outside edge
of the fence.
c. When cutting irregularly shaped work-
pieces, plan your work so it wil! not slip
and pinch the blade. A piece of molding,
for exarnple, must tie flat or be held by a
fixture or jig that will not let it twisL rock
or slip while being cut.
d. Properly support round material such as
dowel rods, or tubing. They have a ten-
dency to roll while being cut, causing the
blade to "bite." To avoid this, always use
a fixture designed to properly hold your
work piece.
13. Make sure there are no nails or foreign ob-
jects in the part of the workpiece to be cut.
14. Make sure bystanders are clear of the tool
and workpiece. Keep them clear of the area
behind the saw where debris will be thrown.
15. Never turn your miter saw "ON" before clear-
ing everything except the workpiece and
related support devices off the table.
d. To avoid risk of hearing damage, wear ear plugs
or muffs during extended periods of operation.
e. To avoid being suddenly pulled into the blade:
1. Do not wear gloves.
2. Remove all jewelry and loose clothing.
3. Tie back long hair.
4. Roll long sleeves above the elbow.
f. To avoid injury from accidental starting, always
unplug saw before disconnecting the guard, in-
stalling or removing any blade, accessory or
attachment, or making any adjustments.
g. To avoid an electrical shock, make sure your
fingers do not touch the metal prongs on the plug
when inserting or removing the plug to or from
a live outlet.
h. Never put lubricants on the blade while it's
spinning.
i. To avoid burns or other fire damage, never use
the saw near flammable liquids, vapors or gases.
j. To avoid injury from unsafe accessories, use only
accessories shown on the recommended acces-
sories list in this manual.
WHENEVER SAW IS RUNNING:
WARNING: DON'T ALLOW FAMILIARITY (GAINED
FROM FREQUENT USE OF YOUR MITER SAW) TO
CAUSE A CARELESS MISTAKE. ALWAYS RE-
MEMBER THAT A CARELESS FRACTION OF A SEC-
OND IS ENOUGH TO CAUSE A SEVERE INJURY.
1. Before actually cutting with the saw, let it run for a
while If your saw makes an unfamiliar noise or if it
vibrates excessively, stop immediately. ]-urn the saw
off. Unplug the saw. Do not restart until finding and
correcting the problem
2. Neve_ confine the piece being cut off. Never hold it
clamp it, touch it, or use length stops against it It
must be free to move sideways. If confined, it could
get wedged against the blade and thrown violently
3. Avoid awkward hand positions where a sudden slip
could cause a hand to move into the blade
4. Let the blade reach full speed before cutting
5. Feed the saw into the workpiece only fast enough
to let the blade cut without bogging down or binding
6. Before freeing jammed material, release switch and
unplug the saw. Wait for all moving parts to stop.
7. After finishing a cut, keep holding the power-head
down. release the switch, and wait for all mowng
parts to stop before moving your hands
glossary of terms for woodworking
Arbor
The shaft on which a cutting tool is mounted.
Bevel Cut
An angle cutting operation made through the face of
the work p_ece.
Compound Cut
A simultaneous bevel and miter cutting operation.
Crosscut
A cutting operation made across the width of the work-
piece.
Freehand
Performing a cut without the use of fence (guide), hold
down or other proper device to prevent the workpiece
from twisting during the cutting operation. Twisting of
the workpiece can cause it to be thrown.
Gum
A sticky, sap based residue from wood products.
Heel
Misalignment of the blade.
Kerf
The amount of material removed by the blade in a
through cut or the slot produced by the blade in a non-
through or partial cut
Miter Cut
An angle cutting operation made across the width u,
the work piece.
Resin
A sticky, sap based substance that has hardened.

Revolutions Per Minute (RPM)
The number of turns completed by a spinning object in
one minute.
Sawblade Path
The area of the workpiece or table top directly in line
with either the travel of the blade or the part of the
workpiece which wilt be, or has been. cut by the blade.
Set
The distance that the tip of the sawblade tooth is bent
(or set) outward from the face of the blade
Workpiece
The item on which the cutting operation is being per-
formed. The surfaces of a workpiece are commonly
referred to as faces, ends, and edges.
FACE
LEDGE
END
electrical connections
o')
.2 "-_
-- C
t.u (..)
POWER SUPPLY
Motor Specifications
The AC motor used in this saw is auniversal, nonrevers-
ible type having the following specifications:
Rated H R ................................ 2
Maximum Developed H.R .................. 2
Voltage ................................. t20
Amperes ................................. 15
Hertz (Cycles) ........................ 60
Phase ................................ Single
RPM .................................. 4900
Rotation of Shaft .................... Clockwise
Brake ............................. Automatic
WARNING: TO AVOID ELECTRICAL HAZARDS,
FIRE HAZARDS, OR DAMAGE TO THE TOOL, USE
PROPER CIRCUIT PROTECTION. YOUR SAW IS
WIRED AT THE FACTORY FOR 120V OPERATION.
CONNECT TO A 120V, 15-AMP, BRANCH CIRCUIT
AND USE A 15-AMP TIME DELAY FUSE OR CIRCUIT
BREAKER. TO AVOID SHOCK OR FIRE, IF POWER
CORD IS WORN OR CUT, OR DAMAGED IN ANY
WAY, HAVE IT REPLACED IMMEDIATELY.
DOUBLE INSULATED
The miter saw is double insulated to provide a double
thickness of insulation between you and the tool's elec-
trical system. All exposed metal parts are isolated from
the internal metal motor components with protecting
insulation.
Your unit has a plug that looks like the one shown below.
This power tool is equipped with a 2-conductor cord
listed by Underwriters Laboratories (UL). The plug
permits you to use any conventional !20-volt electrical
outlet without necessity for maintaining a ground
connection.
CAUTION: Double insulation does not take the
place of normal safety precautions when operating
this tool.
DANGER: To avoid electrocution:
1. Use only identical replacement parts when servicing
a tool with double insulation. Servicing should be
performed by a qualified service technician.
2. Do not use {n rain or where floor is wet
This tool is intended for indoor residential use only.
MOTOR SAFETY PROTECTION
CAUTION: To avoid motor damage, this motor
should be blown out or vacuumed frequently to
keep sawdust from interfering with normal motor
ventilation.
1. Connect this tool to a 120V, 15-amp branch circuit
with a 15-amp time delay fuse or circuit breaker.
Using the wrong s_ze fuse can damage the motor.
2. If the motor won't start, release the trigger switch
immediately. UNPLUG THE TOOL. Check the saw
blade to make sure it turns freely. If the blade is free,
try to start the motor again, tf the motor still does
not start, refer to the "Motor Trouble-Shooting Chart."
3. If the motor suddenly stalls while cutting wood, re-
lease the trigger switch, unplug the tool, and free
the blade from the wood. The motor may now be
restarted and the cut finished.
4. Fuses may "blow" or circuit breakers may trip fre-
quently if:
a. MOTOR IS OVERLOADEDiQverloading can
occur if you feed too rapidly or make too many
start!stops in a short time.
b. Voltages not more than 10% above or below the
nameplate voltage can handle normal loads. For
heavy loads, however, the voltage at motor
terminals must equal the voltage specified on
nameplate.
5. Most motor troubles may be traced to loose or incor-
rect connections, overload, low voltage (such as
small size wire in the supply circuit) or to overly long
supply circuit wire Always check the connections,

the load and the supply circuit whenever motor
doesn't work well. Check wire sizes and length with
the Wire Size Chart below,
WIRE SIZES
The use of any extension cord will Cause some loss of
power, To keep this to a minimum and to prevent over-
heating and motor burn-out, use the table below to
determine the minimum wire size (A.W.G.) extension
cord.
For orcuits that are farther than 100 feet away from
electrical service box, the w_re s_ze must be increased
proportionately in order to deliver ample voltage to the
saw motor.
Length of the Wire Sizes Required For 120V
Conductor (American Wire Gage Number)
0-25 Ft, 14
26-100 Ft. 12
Over 100 Ft. 8
contents
Page
Guarantee ................................ 2
General Safety Instructions for Power Tools ..... 2
Additional Safety Instructions for Miter Saws .... 3
Glossary of Terms for Woodworking ........... 4
Electrical Connections ...................... 5
Unpacking and Preassembly ................. 6
Knowing Your Miter Saw .................... 7
Page
Assembly and Alignment ................... 9
Mounting the Saw ...................... 13
Basic Saw Operations .................... 15
Maintenance and Lubrication ................ 21
Trouble Shooting ....................... 22
Repair Parts ............................ 25
UNPACKING AND PREASSEMBLY
WARNING: TO AVOID INJURY FROM UNEXPECTED
STARTING OR ELECTRICAL SHOCK, DO NOTPLUG
THE POWER CORD INTO A SOURCE OF POWER
DURING UNPACKING AND ASSEMBLY. THIS CORD
MUST REMAIN UNPLUGGED WHENEVER YOU ARE
WORKING ON THE SAW.
Model 113.234610 Miter Saw is shipped complete in
one box.
WARNING: ALTHOUGH SMALL, THIS SAW IS
HEAVY. TO AVOID BACK INJURY, GET HELP
WHENEVER YOU HAVE TO LIFT THE SAW MORE
THAN 10 INCHES.
1. Remove the miter saw from the carton by lifting the
saw by the base.
WARNING: IF ANY PART IS MISSING OR DAMAGED,
DO NOT PLUG THE SAW IN UNTIL THE MISSING
OR DAMAGED PART IS CORRECTLY REPLACED.
TO AVOID ELECTRIC SHOCK, USE ONLY IDENTI-
CAL REPLACEMENT PARTS WHEN SERVICING
DOUBLE INSULATED TOOLS,
2. Place the saw on a secure stationary work surface
and look the saw over carefully.

tools needed
Tools required for assembly and alignment:
•Medium Screwdriver
•#2 Phillips Screwdriver
• Combination Square
• 1/2Box End/Open End Wrench or Socket
• 2 - 15/16Box End/Open End Wrenches or Adjustable
Wrenches or Socket Wrenches
• s/re" Hex "L' Wrench
COMBINATION SQUARE MUST BE TRUE
DRAW LIGHT STRAIGHT EDGE OF
LINE ON BOARD BOARD 3/4" THICK
ALONG THIS EDGE,_ _,.A ,THIS EDGE MUST BE
"_--" "lrl)_._ fPERFECTLY STRAIGHT
SHOULD BE NO GAP OR OVERLAP WHEN
SQUARE IS FLIPPED OVER IN DOTTED POSITION
MEDIUM SCREWDRIVER
#2 PHILLIPS SCREWDRIVER
COMBINATION SQUARE
,
_A6"HEX "L" WRENCH
1/2"WRENCH
ls/+8"BOX END/OPEN END
WRENCHES
t/2" SOCKET
ls/1_"SOCKETS &
SOCKET WRENCHES
ADJUSTABLE WRENCH "_ >_
m-_
o_E
1" CD
o--
__ (/}
€._ €/)
O3
t'-Q.
.-}

knowing your miter saw
1, Warning label.
2. Handle Latch--The miter saw can be locked in the
lowered position for compact storage,
3. Fence Lock Handles--The fence has two positions
for increased crosscut capacity. The lock handles
secure the fence to the base. The saw is shipped
with the fence in the front position.
NOTE: If the fence is being used in the rear position,
the two fence lock handles must be loosened before
changing the miter angle. Then tighten the fence handle
at the desired miter angle before starting a cut.
4. Miter Lock Handle--The miter lock handle securely
locks the miter saw at a desired miter angle. Index
pointshave been provided at 0, 22.5 R/L, and 45 R/L.
5. Bevel Lock Handle--The bevel lock handle locks
the miter saw at a desired bevel angle.
6. Lower Blade Guard--The blade guard helps protect
your hands from the blade in the raised position. To
avoid binding on the workpiece, it retracts as the
blade is lowered.
7. Miter Saw Handle--The saw handle contains the
trigger switch with a lock-off button. The blade is
lowered into the workpiece by pushing down on the
handle. The saw will return to its upright position
when the handle is released.
,
WARNING LABEL
.
HANDLE LATCH
\
3. 5,
FENCE LOCK BEVEL LOCK
HANDLE HANDLE

assembly and alignment
ASSEMBLY AND ALIGNMENT
Assembling the Lower Blade Guard
NOTE: For compact shipment the lower blade guard
has been partially disconnected.
1. The miter saw is equipped with a handle latch used
to lock the miter saw in the lowered position To
release, push the handle down slightly and turn the
handle latch to the other side
2. Release the handle latch and raise the saw to its
up 'position.
3. Slide the lower guard assembly down until the
groove in the mounting plate rests on the front screw.
Tighten the screw with a phillips screwdriver
4 Remove the shoulder screw on the pwot casting as
dlustrated. Attach the blade guard link to the pivot
casting with a phillips screwdriver.
LINK
SHOULDER SCREW
HANDLE
LATCH
PIVOT
NOTE: With the blade guard link attached, the guard
should raise as the blade is lowered towards the BLADE GUARD
work MOUNTING
table and drop to cover the blade as the power head LINK PLATE ,_ ,_
is raised This link helps prevent guard hangups and __ "_
binding while you are cutting. E=m
P,VOT/f '1/ /// ,OWE.
CAST,NG ";" ,--BLADEGUARD
Assembly and Alignment
Step One--Blade Square to Table
NOTE: The miter saw was assembled, aligned, and
inspected before shipment. Alignment should be
checked and any adjustments made to insure accurate
cuts.
1. Check miter lock handle setting The miter lock han-
dle should be at the 0° position. To reset the miter
angle, turn the miter lock handle counter clockwise
and press down the index spring.
2. Lower the blade and lock the handle latch Use the
combination square to check blade squareness to
table. If the blade does not contact the ful! length of
the square, follow the alignment procedure.
a. Loosen bevel lock handle.
b. Grasping meta! upper guard, move the cutting
head left or right until blade makes contact with
the full length of the square.
c. Tighten the bevel lock handle.
3. Check the bevel indicator. If indicator needs adjust-
ment use a phillips screwdriver and slide the
indicator to the 0 ° on the scale.

Step Two--Checking and Aligning Blade with Turn
Table Slot
1 The blade should look like it's parallel to the sides
of the turn table slot. The blade should be 1/8"closer
to left side than right,
2. If blade looks parallel with turn table slot proceed
to step three. If necessary, realign blade with turn
table slot, adjust as follows.
a. Use a %d' hex "U' wrench to loosen (but do not
remove) the two cap screws that attach pivot
support to turn table. Move blade power-head so
it is parallel with turn table slot. Securely tighten
cap screws. Recheck blade position and readjust
if necessary, Always check blade clearance to
table when the miter saw is fully tilted to the left.
TURN TABLE
SLOT
Step Three--Checking and Adjusting Blade Square-
ness to Fence (Front Fence Position)
1 To check blade squareness to fence, use a combina-
tion square Place the square against the fence and
next to the blade as illustrated. Place the square so
the set in the teeth won't hold it from the blade. The
blade should contact the full length of the square.
2. If blade contacts full length of square, proceed to
next step, If blade is not square to the fence, follow
the alignment procedure.
a Loosen miter lock handle a half turn The latch
handle should still be secured with btade in low-
ered position.
NOTE: Take the saw off its stand, bench or
plywood base if readjustment is necessary.
CAUTION: TO keep from losing control of the unit,
steady the base with one hand while loosening the
two bolts with the other hand.
b. With the unit securely resting on a large stable
surface, tilt the unit by lifting up on one side or
the other of the base. Loosen the two miter arm
bolts on the underside of the turn table with a
1/,_,,wrench or socket. Tilt the unit by lifting up on
one side or the other of the base
c. Return the saw to its normal resting position.
Make sure the miter lock handle is loose but do
not release the index spring.
d. Use the miter saw handle to turn the turn table
and saw so that the blade contacts the full length
of the square. Watch out for tooth set Turn the
miter lock handle clockwise to lock saw square
to fence.
e. Tilt saw as in Step B and tighten bolts,
f. Recheck blade squarenesss to fence and read-
just if necessary.
Adjustment of Miter Scale Indicator
I Loosen the phillips screws that hold the indicator in
place. Reposition the indicator and retighten screw,
10
lJ //,/
/x'._.2 \,.=
ii

Step Four--Pivot Adjustments
NOTE: These adjustments were made at the factory
and normally do not require readjustment,
1. The miter saw should rise completely to the up posi-
tion by itself, If the saw will not raise by itself or if
there is play in the pivot joints the following adjust-
ments are necessary.
Travel Pivot Adjustments
a, Hold the pivot bolt with an adjustable or _5!16"wrench.
Loosen the hex lock nut with an adjustable or _5/18"
wrench.
b. Recheck the saw travel. Saw should rise freely to
its up travel stop. Check to see that the saw will
raise from all positions and there is no looseness in
the pivot. If saw still won't fully rise, have Sears
Service check and repair it.
HEX LOCK"
NUT
PIVOT BOLT
/
/
ADJUSTABLE
WRENCH
Bevel Pivot Adjustment
1. The miter saw should bevel easily by loosening the
bevel lock handle and tilting the power head to the
left. If movement is tight or if there is looseness in
the pivot follow the adjustment procedure.
a. Loosen the bevel lock handle.
b. Turn the hex lock nut with an adjustable or 15/1_"
wrench.
c. Recheck bevel movement of the miter saw. Re-
adjust if necessary.
Depth Stop
The depth stop limits the blades downward travel, It
allows the blade to go below the work table enough to
maintain full cutting capacities. The depth stop positions
the blade 1/4"from the cast iron table support. The depth
stop is factory set and should never need adjustment.
Maintaining Maximum Cutting Capacity
WARNING: TO AVOID INJURY FROM UNEXPECTED
STARTING OR ELECTRICAL SHOCK, DO NOT PLUG
THE SAW IN. THE POWER CORD MUST REMAIN
UNPLUGGED WHENEVER YOU ARE WORKING ON
THE SAW.
Unplug the saw before any adjustment is attempted.
This tool is factory set to provide maximum cutting
capacity for the 10" saw blade provided. When the
diameter of the blade has been reduced due to sharpen-
ing, it may be necessary to adjust depth stop to provide
maximum cutting capacity, When a new blade is in-
stalled, it is necessary to check the clearance of the
blade to the turn table structure.
1. To adjust the depth stop use an adjustable wrench
and loosen the hex nut at the rear of the miter
saw arm.
2. Use a flat blade screwdriver to adjust the depth stop
adjusting bolt. The saw blade is lowered by turning
the bolt counterclockwise and raised by turning the
bolt clockwise.
DEPTH
STOP
\
BEVEL LOCK
HANDLE ADJUSTABLE
HEX LOCK WRENCH
NUT
3. Lower the blade into the slot of the turn table, Check
blade clearance and maximum cutting distance (dis-
tance from fence where blade enters) to front of turn
table slot. Readjust if necessary.
WARNING: DO NOT START THE MITER SAW WITH-
OUT CHECKING FOR INTERFERENCE BETWEEN
THE BLADE AND THE TURN TABLE STRUCTURE.
DAMAGE COULD RESULT TO THE BLADE IF IT
STRIKES THE TURN TABLE STRUCTURE DURING
OPERATION OF THE SAW.
4. Tighten the hex nut with an adjustable wrench while
carefully holding the depth stop adjusting bolt with
the flat blade screwdriver so it will not turn while
tightening hex nut.
=="E
11

FencePositions
Themiter saw has two fence positions. The front fence
position is used for workpieces up to standard 2 x 4 for
cut off and bevel operation, floor and ceiling moldings,
and door casings. The rear fence position is used
for cut off and bevel operation for a standard 2 x 6
workpiece.
Standard 2 x 4 measures 11/2"x 31/2''
Standard 2 x 6 measures 1!/2'' x 5'/2"
The base on either side of the work table has two sets
of holes for locating the fence. To change the fence
position, remove the two fence lock handles. Put the
fence in the other fence position and install the fence
lock handles.
The rear fence position is designed to slide side to side
when the miter setting is changed. This feature lets the
fence move to provide maximum support for the work-
piece. If it is necessary to change the miter cut in the
rear position first loosen the rip fence lock handles.
Release the miter lock handle and move it to the desired
miter angle. Tighten the miter lock handle and the fence
lock handles.
CAUTION: Do not try to change the miter position
while the fence is in the rear fence position before
loosening the fence lock handles. You might dam-
age the fence alignment arm.
On/Off Trigger Switch
To prevent the trigger from being accidentally engaged,
a lock-off button is provided. To start the tool, press in
the lock-off button and squeeze the trigger. Release
the trigger to stop the miter saw.
V!IL .......
REAR FENCE POSITION
Removing or Installing the Blade
WARNING: TO AVOID INJURY FROM A THROWN
WORKPIECE OR THROWN PIECES OF BLADE, DO
NOT USE A BLADE LARGER OR SMALLER THAN
10" DIAMETER.
WARNING: TO AVOID INJURY FROM UNEXPECTED
STARTING, UNPLUG THE SAW WHENEVER YOU
ARE REMOVING OR INSTALLING THE BLADE.
1. Unplug the saw from the outlet.
2. Loosen the screw holding the lower guard mounting
plate to the upper guard with phillips screwdriv_,r.
3. Lift the lower guard up and tilt the lower guard assem-
bly back so the arbor screw is exposed.
4. Find the arbor lock between the upper guard and
the miter saw handle. Place a 1/2"box end wrench
over arbor screw.
5. Press the arbor lock and hold it in firmly while turning
the wrench clockwise, The arbor lock will engage
after some turning of the wrench.
6 Remove the arbor screw, arbor washer, outer blade
collar, and the blade.
ARBOR
LOCK
UPPER /
BLADE
GUARD
ARBOR
SCREW
½"BOX WRENCH
t I F---
MITERSAW
HANDLE
i
12

NOTE: Pay attention to pieces removed, noting, their
position and direction they face (see illustration). Wipe
the blade collars clean of any sawdust before installing
the new blades.
8. Install the new 10" blade (see recommended acces-
sory list) Make sure the rotation arrow on the blade
matches the clockwise rotation arrow on the upper
guard
9. Install the outer blade collar, arbor washer and
arbor screw. Press the arbor lock and turn the '_'_"
wrench counter clockwise to secure the blade,
Tighten arbor screw securely
10, Lower the lower blade guard until the slot in mount-
mg plate rests all the way down on the locking
screw. Tighten the screw with phillips screwdriver.
DANGER: NEVER USE SAW WITHOUT MOUNT-
ING PLATE SECURELY IN PLACE. IT KEEPS
THE ARBOR SCREW FROM FALLING OUT IF
IT ACCIDENTALLY LOOSENS, AND PREVENTS
THE SPINNING BLADE FROM COMING OFF
THE MACHINE.
11. Be sure the arbor lock is released so the blade
turns freely
NOTE: The arbor !ock can be damaged by improper
use. If the arbor lock will not hold, lower the blade down
on to a scrap p_ece of wood positioned againsl the
fence This wilt serve as an alternate locking means
ARBOR
WASHER \
m _
/
ARBOR l
SCREW INNER BLADE
OUTER COLLAR
BLADE COLLAR (DO NOT REMOVE)
BLADE
WARNING: AFTER INSTALLING A NEW BLADE,
MAKE SURE THE BLADE CLEARS THE TABLE
SLOT AT THE 0° AND 450 BEVEL POSITIONS.
LOWER THE BLADE INTO THE LOWER TABLE AND
CHECK FOR ANY CONTACT WITH THE BASE OR
TURN TABLE STRUCTURE.
If blade contacts turn table, refer to assembly and align-
ment, step two. for adjustment.
If blade bottoms out on turn table structure, refer
to assembly and alignment, depth stop section for
adjustment
MOUNTING THE SAW
WARNING: TO AVOID INJURY FROM UNEXPECTED
SAW MOVEMENT:
a. Before moving the saw, lock the miter, bevel and
power-head positions. Unplug electric cord
b. To avoid back mlury, get help when you need to !ift
the saw more than t0 inches. Hold the tool close to
your body. Bend your knees so you can lift with your
legs, not your back Lift by using the hand-hold areas
at the bottom of the base.
c. Never carry the miter saw by the power cord or the
plastic handle Carrying the toot by the power cord
could cause damage to the insulation or the wire
connections resulting in electric shock or fire.
d. Place the saw so other people cannot stand behind
it. Thrown debris could injure people in its path.
e. Place the saw on a firm, level surface where there
is plenty of room for handling and properly support-
ing the workpiece
f. Support the saw so the table is level and the saw
does not rock.
g. Bolt or clamp the saw to ils support.
Place the saw in the desired location either on a work
bench or the recommended leg set. The base of the
saw has four holes to mount the miter saw {see illustra-
tion). If the saw ts to be used in one location, fasten it
to the work bench or leg set.
(DUST BAG: REMOVED FOR CLARITY)
REAR MOUNTING
HOLES
\
FOWARD
MOUNTING HOLES
REAR MOUNTING
HOLES
o
/
1' : '_ FORWARD
NOTE: Fence has been moved forward for access to
rear mounting holes
13

If the saw is to be used in a portable application, mount
the saw to a 3/4"piece of plywood. The mounting board
can then be clamped down to prevent it from tipping.
/
0
MOUNTING
BOLTS
14
3/4"PLYWOOD
CATALOG NO. 9-22246 LEG SET
MOUNTING HOLES FOR MODEL
113,234610 MITER SAW
o o0
0D-
O
0
0
Q
o
o
I
o
oO
0C3 I
0 ° _ j
b
o
o
o
o
o I }o°o o°',
II
STIFFENER-- END "-_
_--STIFFENER--SIDE
Attach miter saw to holes indicated
Recommended mounting hardware (not included)
4-5/t6-18 x 3 hex head bolts
4-%_ flat washers
4-s/16lock washers
4-s/,6 hex nuts
4i
14_"
--4*
14"1
t 14 ,
__1__4,
!
51/8"
MOUNTING BOARD FOR CATALOG
NO. 9-22244 LEG SET
NOTE: Attach the mounting board to the leg set first.
Then mount the miter saw to the mounting
board using the recommended hardware (not
included) drill 3/8"dia. holes HOLES FOR
MTG. BOARD
<1. 12,,_ I TO LEG SET
',l__ I-
÷__
FRONT
15VY' "!
24"
Recommended hardware (not included)
Mounting board to legset
4-s/,6-18 x lY2 hex head bolts
4-5/16flat washers
4-5/_ lock washers
4-5,h6hex nuts
HOLES FOR
MTG. MITER
SAW
Mounting miter saw to mounting board
4-5/t6-18 x 3_.'2hex head bolts
4-5/16flat washer
4-s/1_lock washer
4-_'_6hex nuts

0 0 0 0
o
Attach mounting board to holes indicated.
l
10"
FRONT SIDE
CATALOG NO. 9-22244 LEG SET
BASIC SAW OPERATIONS
WARNING: FOR YOUR OWN SAFETY, READ AND
UNDERSTAND ALL SAFETY INSTRUCTIONS AND
OPERATING PROCEDURES THROUGHOUT THE
MANUAL BEFORE USING THIS TOOL.
BEFORE EACH USE:
1. Inspect your saw Replace damaged, missing, or
failed parts before using the saw.
2. Wear safety goggles (not glasses) that comply with
ANSI Z87.1 (shown on package).
3. For dusty operations, wear a face shield along with
safety goggles.
4. To avoid injury from jams, slips or thrown pieces:
a Choose the right 10-inch diameter blade for the
material and the type of cutting you plan to do.
Use this miter saw to cut only wood, wood-like
products or soft metals like aluminum. Other ma-
terials may shatter, grab at the blade, or create
other dangers
WARNING: IF PLANNING TO SAW ALUMINUM
OR OTHER NON-FERROUS METALS:
=UNDER ADVERSE CONDITIONS, THE
BLADE CAN GRAB WORKPIECE SUD-
DENLY AND UNEXPECTEDLY, THIS PRE-
SENTS RISK OF SERIOUS PERSONAL
INJURY TO THE OPERATOR OR BY-
STANDERS.
• USE ONLY SAWBLADE SPECIFICALLY
RECOMMENDED FOR NON-FERROUS
METAL CUTTING.
•DO NOT CUT METAL WORKPIECES THAT
MUST BE HAND HELD: USE AUXILIARY
CLAMPS OR OTHER EQUIPMENT AS
APPROPRIATE.
•OPERATOR MUST BE EXPERIENCED IN
CIRCULAR SAWING OF NON-FERROUS
METALS OR UNDER SUPERVISION OF AN
EXPERIENCED PERSON.
b. Make sure the direction of rotation arrow on the
blade matches the direction arrow on the saw.
The teeth of the blade should always point down-
ward at the front of the saw.
c. Make sure the blade is sharp, undamaged and
properIy aligned
d. Make sure the blade and arbor collars are clean.
e. Make sure the collars' recessed sides are facing
toward the blade.
f. Make sure the recessed side of the blade washer
(just under the arbor screw head) faces the collar.
g. Using a _/_"box end wrench, make sure the arbor
screw retaining the blade collars is firmly hand
tightened.
h. Make sure all clamps and locks are tight and
there _s no excessive play in any parts.
mO
15

7. Nevercut FREEHAND:
a. Braceyourworkpiecesolidlyagainstthefence
andtabletopsoit willnotrockor twistduring
the cut.Makesurethereis nodebriscaught
beneaththeworkpiece.
b. Make sure no gaps between the workpiece,
fence and table will cause shifting after the work-
piece is cut in two.
c. Use jigs, fixtures or a different tool for unstable
workpieces.
8. Never cut more than one workpiece at a time.
9. Make sure the cut off piece can move sideways
after it's cut off. Otherwise, it could get wedged
against the blade and thrown violently.
Use extra caution with large, very small or awkward
workpieces:
a. Use extra supports (tables, saw horses, blocks,
etc.) for any workpieces large enough to tip
when not held down to the table top.
b. Do not use this saw to cut pieces too small to
let you easily hold the work while you keep the
thumb side of your index (pointer) finger against
the outside edge of the fence
c. When cutting irregularly shaped workpieces,
plan your work so it will not slip and pinch the
blade. A piece of molding, for example, must lie
flat or be held by a fixture or jig that will not let
it twist, rock or slip while being cut.
d. Properly support round material such as dowel
rods, or tubing. They have a tendency to roll
while being cut, causing the blade to ."bite." To
avoid this, use a fixture designed to properly
hold your work piece.
Make sure there are no nails or foreign objects in
the part of the workpiece to be cut.
10.
11.
12. Make sure bystanders are clear of the tool and
workpiece. Keep them clear of the area behind the
saw where debris will be thrown.
13, Never turn your miter saw "ON" before clearing
everything except the workpiece and related sup-
port devices off the table.
14. To avoid risk of hearing damage, wear ear plugs
or muffs during extended periods of operation.
15. To avoid being suddenly pulled into the blade:
a. Do not wear gloves.
b. Remove all jewelry and loose clothing.
c. Tie back long hair.
d. Roll long sleeves above the elbow.
16. To avoid burns or other fire damage, never use the
saw near flammable liquids, vapors or gases,
WHENEVER SAW IS RUNNING:
17. Before actually cutting with the saw, let it run for a
while. If your saw makes an unfamiliar noise or if
it vibrates excessively, stop immediately. Turn the
saw off. Unplug the saw. Do not restart until findin 9
and correcting the problem,
18. Never confine the piece being cut off Never hold
it, clamp iL touch it, or use length stops against it
It must be free to move sideways. If confined, tt
could get wedged against the blade and thrown
violently.
19. Avoid awkward hand positions where a sudden slip
could cause a hand to move into the blade.
20. Let the blade reach full speed before cutting.
21. Feed the saw into the workpiece only fast enough
to let the blade cut without bogging down or binding.
22. Before freeing jammed material, release switch and
unplug the saw. Wait for all moving parts to stop
23. After finishing a cut, keep holding the power-head
down, release the switch, and wait for all moving
parts to stop before moving your hands.
Body and Hand Position
Proper positioning of your body and hands when operat-
ing the miter saw will make cutting easier and safer.
Never place hands near cutting area. Place hand at
least 4" from path of blade Hold workpiece firmly to
the fence to prevent movement toward the blade. Keep
hands in position until trigger has been released and
the blade has completely stopped. Before making a
cut, make a "dry run" with the power off so you can see
the path of the blade.
WARNING: DO NOT TRY TO CUT SHORT PIECES.
YOU CANNOT PROPERLY SUPPORT THE WORK-
PIECE AND KEEP YOUR HOLD DOWN HAND THE
REQUIRED DISTANCE FROM THE BLADE.
16

MiterCut
Whena miter cut is required, move the saw to the
desired angle. Do not stand in front of the saw table.
Move withthe handle to the miter angle to make the cut.
NOTE: Remember to loosen the fence lock handles
before changing the miter angle with the fence in the
rear position.
Bevel Cut
When a bevel cut is required, tilt the blade to desired
bevel angle. Stand to the left side ofthe handle to make
the cut.
17

CompoundCut
When a compound cut is required, select the correct
bevel and miter position. Move with the handle to the
miter angle to make the cut. If the fence is in the rear
position, loosen the two lock handles before changing
the miter angle.
Cutting Bowed Material
Before cutting a workpiece, check to make sure it is
not bowed. If it is bowed the workpiece must be
positioned and cut as illustrated. Do not position work-
piece incorrectly or try to cut the workpiece without the
support of the fence. This will cause pinching of the
workpiece on the blade. The workpiece could suddenly
jump or move and your hand could hit the blade.
CORRECT INCORRECT
18

Workpiece Support
Long pieces need extra supports. The supports should
be placed along the workpiece so the workpiece does
_not sag and your hand holding the workpiece is
positioned 4" or more from the blade path. The support
should let the workpiece lay flat on the base and work
table during the cutting operation.
WORKPIECE
\
WORKPIECE
SUPPORT
Auxiliary Fence
Certain types of-molding need a fence face extension
due to the size and position of the workpiece. Holes
are provided in the fence to attach an auxiliary fence
made of straight wood typically 1/2inch thick by 3 inches
high by 20 inches long. The auxiliary fence is used with
the saw in the 0°bevel position. If a bevel cut is desired,
the auxiliary fence will have to be removed.
,.n O
19

Filler Blocks for Cutting Crown Moldings
The majority of crown moldings have contact surfaces
of 52° and 38° to the rear surface of the molding, When
joining the face of the filler block these angles must be
maintained. The following illustrations show two
methods that can be used when cutting crown moldings
depending on how the filler block is attached to the
fence.
When the filler blocks are attached with the face of the
filler blocks pointing upwards, the molding must be
placed on the table upside down.
When the filler blocks are attached to the fence with
the face of the filler blocks pointing downwards, the
molding must be placed on the table right side up. This
is the same position as it would be when nailed between
the ceiling and wall.
Make 2 filler blocks 10 inches long. Fasten blocks se-
curely to fence, For btock face pointing downward, you
may need to drill new fastener holes in the fence.
FENCE
m J FILLER BLOCK FACE
iI
L
FENCE FILLER
BLOCK
FACE
POINTING
// DOWNWARD
52° /
,_/MOLDING
/BLE
1
Vertical Bevel Cutting
To make a miter cut in a 2 x 4 workpiece (actual 1%"
x 31/_'') in the vertical position (on edge) a spacer, such
as the auxiliary fence described on the previous page,
is required. Fence is !ocated in the front fence position
SPACE BLOCK
\
FENCE
2O

maintenance and lubrication
Maintenance
Always unplug the power cord before any maintenance
check on this saw
DANGER: Never put lubricants on the blade while
it's spinning,
WARNING: TO AVOID INJURY FROM UNEXPECTED
STARTING OR ELECTRICAL SHOCK, UNPLUG THE
POWER CORD BEFORE WORKING ON THE SAW.
WARNING: FOR YOUR SAFETY, THIS SAW IS DOU-
BLE INSULATED. TO AVOID ELECTRICAL SHOCK,
FIRE OR INJURY, USE ONLY PARTS IDENTICAL TO
THOSE IDENTIFIED IN THE PARTS LIST. REASSEM-
BLE EXACTLY AS ORIGINAL ASSEMBLYTO AVOID
ELECTRICAL HAZARDS.
Replacing Carbon Brushes
The carbon brushes furnished will last approximately
50 hours of running time or 10000 on/off cycles. Re-
place both carbon brushes when either has less than
','4" length of carbon remaining To inspect or replace
first unplug the saw. Then remove the black plastic cap
on the side of the motor (caution, this cap is spnng
toaded by the brush assembly). Then pull out the brush.
Repeat for the other side To reassemble reverse the
procedure. The ears on the metal end of the brush
assembly go in the same hote the carbon part fits into.
Tighten the cap snugly but do not overtighten.
NOTE: To reinstall the same brushes, first make sure
the brushes go back in the way they came out. This
will avoid a break in period that _educes performance
and increases wear
WARNING: IF BLOWING SAWDUST, WEAR PROPER
EYE PROTECTION TO KEEP DEBRIS FROM BLOW-
ING INTO EYES.
Recommended Accessories
WARNING: TO AVOID INJURY FROM UNSAFE AC-
CESSORIES, USE ONLY ACCESSORIES SHOWN
ON THE RECOMMENDED ACCESSORIES LIST IN
THIS MANUAL.
Prohibited Accessories-The use of'any cutting tool
except 10" saw blades which meet the requirement
under recommended accessories _s prohibited Do not
use accessories such as shaper cutters or dado sets,
Ferrous metal (metal with iron in it) cutling and the use
of abrasive wheels are prohibited. See DANGER NOTE
(BASIC SAW OPERATIONS) if plannin 9 to saw non-ferr-
ous metal.
Leg Sets ........................... 9-22244
9-22246
Carbide-Tipped Blades:
Trim Saw ....................... See Catalog
Cut-Off ........................ See Catalog
Combination .................... See Catalog
Plywood/Parhcle Board ............ See Catalog
Non-Carbide Tipped Blades
Cross Cut/Plywood ............... See Catalog
Combination .................... See Catalog
Basic Blade Requirements
!0" Diameter
Blades marked for 5,500 RPM or higher.
%" Arbor Hole
Lower Blade Guard
Do not use the saw without the lower guard. The lower
blade guard is attached to the saw for protection. Should
the lower guard become damaged, do not use the saw
until damaged guard has been replaced Develop a
regular check to make sure the lower guard is working
properly. Clean the lower guard of any dust or build up
with a damp cloth.
CAUTION: Do not use solvents on the guard. They
could make the plastic "cloudy" and brittle.
WARNING: WHEN CLEANING LOWER GUARD UN-
PLUG THE SAW FROM THE OUTLET TO AVOID
UNEXPECTED START-UP.
Saw Dust
Periodically, sawdust will accumulate under the work
table and base. This could cause difficulty in the move-
ment of the work table when setting up a miter cut.
Frequently blow out or vacuum up the sawdust.
Lubrication
All the motor bearings in this tool are lubricated with a
sufficient amount of high grade lubricant for the life of
the unit under normal operating conditions, therefore,
no further lubrication is required (See below.)
Infrequent Lubrication as Required:
1. Lubrication of arm pivot for free movement.
a. By loosening nut and applying oil to washer and
to contact face (minor).
b. Dis-assembly means required to grease pwot bolt
and contact faces (major).
NOTE: Disassembly should be done by an au-
thorized service technician. Removal of the upper
guard and the bolt stop is necessary before pivot
can be disassembled, Pay close attention to the
spring-end positions in the castings.., mark with "1o
chalk to avoid later confusion, _ ,,-
2. Lubrication of mechanism which pivots lower guard: _ .._o
Use light household oil (sewing machine oil) on _ ._
metal-to-metal or metal-to-plaslic guard conlact e ,-.,
areas as required for smooth, quiet operation. Avoid ._'E._"'
excess oil, to which sawdust will cling. ;_
21

PROBLEM
Brake does not stop
blade within
2-3 seconds.
TROUBLE SHOOTING GUIDE -MOTOR
,2
3.
4.
PROBABLE CAUSE
Brushes not seated
or lightly sticking,
Motor brake winding-
overheated from use of not-
recommended accessory
or rapid on/off cycling.
Arbor screw loose
Other.
Motor does not start, 1. Fuse.
2. Brushes worn.
3. Other.
Brush sparking when 1, Normal--automatic brake
switch released, working properly.
SUGGESTED CORRECTIVE ACTION
--Inspect/clean/replace brushes
(see maintenance section).
--Use a recommended blade
--Let cool down.
-- Retighten
--Authorized service Check motor brake winding,
switch, condition of commutator.
-15-Amp time delay fuse, or CKT. breaker.
-See "Maintenance," page 21.
--Authorized service
TROUBLE SHOOTING GUIDE -GENERAL
PROBLEM PROBABLE CAUSE SUGGESTED CORRECTIVE ACTION
Blade hits table, 1. Misalignment. --See Assembly and Alignment, page 10
2. Damaged depth stop. --Get authorized Sears Service.
Angle of cut 1 Misalignment. -See Assembly and Alignment, page 10
not accurate,
Can't move 1. Fence in rear position --Loosen fence clamps Retighten before starting
miter adjustment, and clamp tight, next cut,
2. Sawdust under table, --Vacuum or blow out dust,
, WEAR EYE PROTECTION
Power-head 1, Loose pivot points. --See Assembly and Alignment, Step 4, page !2.
wobbles.
Power-head
won't fully rise.
22
Blade binds, jams,
burns wood.
Tool vibrates or
shakes.
1 Pivot misadjustment.
2. Part failure.
3 Pivot spring not replaced
properly after service.
! Improper operation,
2. Dull blade,
3 Improper blade
4 Warped blade.
1. Saw blade not round
2. Saw blade damaged.
3. Saw biade loose.
4. Other.
--See Assembly and Alignment, Step 4, page 12.
--Get authorized Sears Service.
-Get authorized Sears Service.
-See Basic Saw Operation, page 16.
-Replace or sharpen blade.
--Replace with 10" diameter blade designed
for the material being cut.
-- Replace blade.
--Replace blade
--Replace blade.
--Tighten arbor screw,
--Get authorized Sears Service.

WHITE
BLACK
f_
IF
TRIGGER
SWITCH
BRUSH
SHORT BLUE
IJ"
41
1/"
,41
LONG
1/BLUE _
IGRAY
BRAKE
BRUSH
CIRCUIT DIAGRAM
NOTES
23

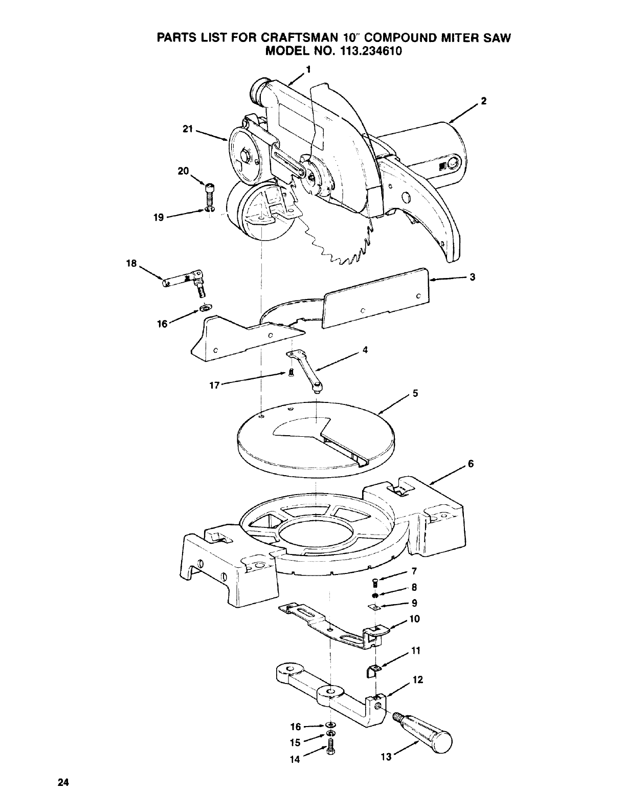
PARTS LIST FOR CRAFTSMAN 10" COMPOUND MITER SAW
MODEL NO. 113.234610
18
24

repair parts
PARTS LIST FOR CRAFTSMAN 10" COMPOUND MITER SAW
MODEL NO. 113.234610
Always order by Part Number--Not by Key Number
FIGURE 1
Key Part Description
No. No.
1
2
3
4
5
6
7
8
9
10
11
816688
816810
816673
816678
STD510802
STD551108
816716
816691
816690
Blade Guard Asm.
(see Fig. 4)
Motor Asm. (see Fig. 2)
Fence
Arm-Fence
Table
Base (Includes Scale)
Screw Pan HD. 8-32 x 5/16
Lockwasher #8
Indicator-Miter
Spring-Index
Plate-Clamp
Key Description
No.
12
13
14
15
16
17
!8
19
20
21
Part
No.
i
8 t 6685
816669
STD523108
STD551131
STD551031
809727-2
816863-1
STD551137
60032
i
Arm-Miter
Handle-Miter
*Bolt-Hex HD. 5/16-18 x 7/8
* Lockwasher 5/16
*Washer 11/32 xl 1/16 x 1/1
Screw Flat HD. Type "T"
8-32 x 3/8
Clamp-Bolt
*Lockwasher 3/8
Screw Soc HD. Cap
3/8-16 x 1
Pivot Asm. (see Fig. 3)
*Standard Hardware Item--May Be Purchased Locally.
m
Q.
O
rt-
25

repair parts
PARTS LIST FOR CRAFTSMAN 10" COMPOUND MITER SAW
MODEL NO. 113.23461,0
'°'I
14
18
16
23 2
22 1
34
67
15
11
\
14 !3 12
Always order by Part Number--Not by Key Number
FIGURE 2--ARM AND MOTOR ASSEMBLY
9
/
WARNING: For your safety, this miter saw is specially insulated. To avoid electrical shock, fire or injury,
use only parts identical to those identified in the parts list. Reassemble exactly as originally assembled.
Key Part
No. No.
! 816667
2 816704
3 816768
4 816770
5 816740
6 816697
7 816696
8 816679
9 46-57466-3
10 816700
11 817143
!2 816680
13 56-100002
Description
Guard-Cord
eW/Plug-Cord
Brush
Cover-Brush
Protector-Wire
Lock-Switch
:l:Spring-Switch Lock
Handle-RH.
*Screw Pan HD. M4x20
eSwitch
Screw Pan HD.TY.AB M4xl
Handle - L.H.
*Nut Hex M4 x0.7
!
Key /Part Description
No, INo.
14
15
16
17
18
19
20
21
22
23
816755
816701
816743
816725
816668
816698
56-100007
816689-!
60047
816723
SP5092
Screw Pan HD. M5 x 20
Button-Switch
Screw Pan HD. M4 x 15
Clamp-Cord
Cushion
Screw-Set Slotted M 10 x 1 5
*NutHex M10x 1.5
eMotor & Arm Asm. (InckJdes
Keys 1,2,3,4,5,16.17)
Washer .630 x 1 x ' b2
Nut Lock M16
Owner's Manual (Not Illus )
•Any attempt to repair or replace electrical parts on this unit may create a HAZARD un!ess repair is done by
a qualified service technician. Repair service is available at your nearest Sears Store.
*Standard Hardware Item--May Be Purchased Locaily.
26 :l:See Mechanical Assembly Caution on page 29.

repair parts
PARTS LIST FOR CRAFTSMAN 10" COMPOUND MITER SAW
MODEL NO. 113.234610
12
11
10
14
1
57
Always order by Part Number--Not by Key Number
FIGURE 3--PIVOT ASSEMBLY
Key Part Description
No. No.
1 816664
2 816674
3 816671
4 STD510602
5 816686
6 816714
7 816722
8 STD551137
Plate-Lock
Screw Pan HD, Shoulder M6
:l:Spring-Torsion
*Screw Pan HD 6-32 x1/4
Indicator-Bevel
Pivot-Support
Bolt-Bevel
* Lockwasher 3/8
*Standard Hardware Item--May Be Purchased Locally.
:l:See Mechanical Assembly Caution on page 29
Key Part Description
No. No.
9 60032
10 816666
11 816721
12 60047
13 816723
14 816863
15 STD551031
16 816676
17 STD551131
Screw Soc HD, Cap 3/8-16 x 1
Bolt-Stop
Bolt-Pivot
Washer ,630 x 1 x !/32
Nut Lock M16
Clamp-Bolt
*Washer 11/32xl 1/16xl/16
Pivot
*Lockwasher 5/16
27 '_"

PARTS LIST FOR CRAFTSMAN 10" COMPOUND MITER SAW
MODEL NO. 113.234610
22
18
17
16 15
14
2O
10
11
6
13
11 12
28

repair parts
PARTS LIST FOR CRAFTSMAN 10" COMPOUND MITER SAW
MODEL NO, 113.234610
Always order by Part Number--Not by Key Number
FIGURE 4. Blade & Blade Guard Asm.¢
Key Part Description
No. No.
1 507758
2 816706
3 STD511103
4 816708
5 816707
6 813091-3
7 816849-1
8 46-58494-3
9 816677
10 816755-2
11 507759
12 9-32668
Guard Asm
Plate-Retainer
*Screw Pan HD. 10-32 x 3/8
Spring
Lock-Spindle
* Screw Hex. HD. 10-32x3/8
Spacer 7/32 x 5/16 x 9/64
Lockwasher 5mm
Spring-Guard
' Screw Pan HD. MSx15
Collar-Blade Set
(Includes Key #13)
1 10-in. Chisel Tooth
Saw Blade
Key Part Description
No. No.
IIIIIII
13 816703
14 816711
15 60041
16 STD541411
17 507757
18 817144
19 817145
20 816818
21 816811
22 816812
23 STD551010
Scr. Hex Washer HD.
L.H M8 x 1.25
Guard-Lower
Washer 13/64 x !/2 x 1/32
Nut Lock 10-32
Lever Asm-Actuator
Screw- Shoulder
1/4-20xl/2
Screw- Shoulder 10-32 x3/4
Sleeve-Rubber
Bag-Dust
Bag-Clamp
Washer 13/64x 1/2x 1/16
*Standard Hardware Item--May Be Purchased Locally.
tStock item may be secured through the hardware department of most Sears retail or catalog order houses.
:l:See following Mechanical Assembly Caution,
CAUTION: MECHANICAL ASSEMBLY, TO QUALIFIED SERVICE TECHNICIAN.
1. Wear approved eye protection when working with coil springs including spring, switch lock 816696.
2. Incorrect re-assembly of torsion spring 816671 can cause an unsafe condition because cutting head
fails to rise fully to stop, or because spring fails through over-stress.
3. Improper re-assembly of mechanisms controlling movement of lower guard 816711 can cause an
unsafe condition because guard fails to operate freely as cutting head is moved up and down; or
because, with cutting head up, manually rotated guard is not (lightly) restored to the closed position
by guard spring 816677.
n
.=-.
29

NOTES
30

NOTES
31

f
owner's
manual
SERVICE
MODEL NO.
113.234610
10" COMPOUND
MITER SAW
HOW TO ORDER
REPAIRPARTS
10-1NCH COMPOUND
MITER SAW
Now that you have purchased your 10-inch Compound Miter
Saw, should a need ever exist for repair parts or service,
simply contact any Sears Service Center and most Sears,
Roebuck and Co. store_ Be sure to provide all pertinent
facts when you call or visit
The model number of your 10-inch Compound Miter Saw
will be found on a plate attached to your saw, at the side
of the Miter Saw arm.
V_IEN ORDERING REPAIR PARTS,ALWAYS GIVE THE FOLLOWING
iNFORMATION:
PARTNUMBER
MODEL NUMBER
113.234610
PARTDESCRIPTION
NAME OF ITEM
10" COMPOUND MITERSAW
Allpartslistedmay be ordered from any Sears ServiceCenter
and most Sears stores.Ifthe partsyou need are not stocked
locally,your order willbe electronicallytransmiffedto a Sears
Repair PartsDistributionCenter forhandling.
Sold by SEARS, ROEBUCK AND CO., Chicago, IL 60684 U.S.A.
Part No. SP5092 Form No. SP5092-I
J
/