Craftsman 113234880 User Manual 8 1/4 COMPOUND MITER SAW Manuals And Guides L0807397
CRAFTSMAN Miter Saw Manual L0807397 CRAFTSMAN Miter Saw Owner's Manual, CRAFTSMAN Miter Saw installation guides
User Manual: Craftsman 113234880 113234880 CRAFTSMAN 8 1/4 COMPOUND MITER SAW - Manuals and Guides View the owners manual for your CRAFTSMAN 8 1/4 COMPOUND MITER SAW #113234880. Home:Tool Parts:Craftsman Parts:Craftsman 8 1/4 COMPOUND MITER SAW Manual
Open the PDF directly: View PDF
.
Page Count: 32

Save This Manual
For Future Reference
S_r_ARS
owners
manual
MODEL NO.
113.234880
8- I/4 INCH
SLIDECOMPOUND
MITER SAW
Serial
Number_
Model and serial numbers
may be found on the
base
You should record both
model and serial number in
a safe place for future use.
FORYOUR
SAFETY:
READ ALL
INSTRUCTIONS
CAREFULLY
,__AIRS /r.RRFT._H RN
8-1/4 INCH SLIDE
COMPOUND MITERSAW
• assembly
• operating
• repair parts
Sold by SEARS, ROEBUCK AND CO., Chicago, IL 60684 U.S.A.
P_rt No. SP5524 Printed in Taiwan

FULL ONE YEAR WARRANTY ON CRAFTSMAN SLIDE COMPOUND MITER SAW •
if within one year from the date of purchase, this Craftsman Slide Compound Miter Saw fails
due to a defect in material or workmanship, Sears will repair it, free of charge.
WARRANTY SERVICE IS AVAILABLE BY SIMPLY CONTACTING THE NEAREST SEARS SERV-
ICE CENTER/DEPARTMENT THROUGHOUT THE UNITED STATES.
This warranty applies only while this product is used in the United States.
This warranty gives you specific legal rights, and you may also have other rights which vary
from state to state.
SEARS, ROEBUCK AND CO., D/817 WA Hoffman Estates, IL 60195
Safety Instruction for Slide Compound Miter Saw
Safety is a combination of common sense, staying alert
and knowing how your slide compound miter saw
works. Read this manual to understand this saw.
SAFETY SIGNAL WORDS
_1, DANGER: means if the safety information is not
followed someone will be seriously injured or kilted.
A_ WARNING: means if the safety information is not
followed someone could be seriously injured or
killed.
'& CAUTION: means if the safety information is not
followed someone might be injured.
BEFORE USING THE SLIDE
COMPOUND MITER SAW:
WARNING: To avoid mistakes that could cause
serious, permanent injury, do not plug the saw
in until the following steps are completed.
•Assembly and alignment. (See pages 9-13).
• Learn the use and function of:
(a) the ON-OFF switch,
(b) upper and lower blade guards,
(c) handle latch,
(d) bevel lock handle,
(e) cover plate screw.
(f) depth adjustment bolt,
(g) carriage lock knob,
(h) miter lock handle, and
(i ) saw handle.
• Review and understand all safety instructions and
operating procedures in this manual.
• Review the maintenance methods for this slide
compound miter saw. (See page 21)
Read the following DANGER and WARNING labels
found on the slide compound miter saw:
m. ,LtA1 =[:l
F_ \_ i
•\\
!
/
_WARNING
3lade can lift and throw wo_plece.
3Jade can suddenly come toward you.
ro avoid this:
'or Chop Cuts, _lways LOCK SLIDE.
For Slide Cuts:
NEVER pull saw Into workplace.
Position blade over front edge of
workplace. To cut, PUSH saw
down Into front edge, then back
toward fence.
Read Owner's Manual before using tool
&WARNING
f* Read the Manual before using this saw. 6, Do nor perform any operation freehand. I_ DOUBLE INSULATED
Z.Wear safety goggles that meet ANSI Z87.1 7. Do not reach around or behind saw blade, f L-.J JWhen servicing use only
Standards. 8. Unplug saw before changing blade or secvtc_g. _identical mn_Rmmnt nactm
3,Tighten_ arbor screw and all clamps beforB g. Release trigger end ,waft for blade to stop Electncs" I-. 120 vo'-rts........ "_-
sawing, before moving wor kpmce or changing set.up. 60 Hz AC only (_l,_' \
4.Donotoperatethissawwifftoutguardsinplace. 10.To avoid electric shock_ do not oxpose to |n= m "' _ _.UL,J./
5.Keep hands away from the moving blade, rain• S000 _M IEWo-/5
WHEN INSTALLING OR MOVING THE
SLIDE COMPOUND MITER SAW.
Before moving the sew:
•Lock the miter, bevel, and carriage lock knobs.
• Unplug the power cord. 2
• Get help. This saw weighs 70 pounds. To avoid
back injury, get help whenever you need to lift it.
NEVER carry the saw by the cord or power head han-
dle. The handle could break suddenly. Damage to insu-
lation could cause an electric shock. Damage to wire
connections could cause a fire.

AVOIDDANGEROUSENVIRONMENT.Usetheslide
compoundmitersawin a dry,indoorplaceprotected
fromrain.Keepworkareawelllighted.
Placetheslidecompoundmitersawsoneithertheuser
orbystandersareforcedtostandinlinewiththeblade.
Throwndebriscouldinjurepeopleinitspath.
Toavoid injury from unexpected saw movement:
•Put the slide compound miter saw on a firm level
surface where there is plenty of room for handling
and properly supporting the workpiece.
• Support the slide compound miter saw so the table
is level and the saw does not rock.
Bolt or clamp the saw to its support.
NEVER STAND ON TOOL. Serious injury could
occur if the tool tips or you accidentally hit the cut-
ting tool. Do not store anything above or near the
tool where anyone might stand on the tool to reach
them.
To avoid injury or death from electrical shock:
•THIS TOOL IS DOUBLE INSULATED to give you
added protection. Double insulation does not take
the place of normal safety precautions when oper-
ating this tool. When servicing this double insulat-
ed tool, use only identical parts.
• Make sure your fingers do not touch the plug's
metal prongs when plugging or unplugging the
slide compound miter saw.
BEFORE EACH USE:
Inspect your slide compound miter saw.
DISCONNECT THE SAW. To avoid injury from acci-
dental starting, unplug the saw, before changing the
setup, changing the blade or adjusting anything.
Compare the direction of rotation arrow on the guard to
the direction arrow on the blade. The blade teeth
should always point downward at the front of the saw,
Tighten the arbor screw.
Tighten the cover plate stop screw.
CHECK DAMAGED PARTS. Check for:
Alignment of moving parts,
Damaged electric cords.
Binding of moving parts,
Broken parts,
Stable mounting,
Function of arm return spring and lower guard:
Push the arm all the way down, then let it rise up
until it stops by itself. Check the lower guard to see
if it closed fully, If it did not, follow the instructionsin
the Trouble Shooting section.
Smooth, solid movement of sliding assembly,
Other conditions that may affect the way the slide
compound miter saw works.
KEEP GUARDS IN PLACE, in working order, and in
proper adjustment.
If any part is missing, bent, or broken in any way, or any
electrical parts don't work, turn the saw off and unplug
it. REPLACE damaged, missing, or failed parts before
using the saw again.
MAINTAIN TOOLS WITH CARE Keep the slide com-
pound miter saw clean for best and safest performance
Follow instructions for lubricating. DON'T put lubricants
on the blade while it's spinning.
REMOVE ADJUSTING KEYS AND WRENCHES from
tool before turning it on.
To avoid injury from jams, slips or thrown pieces:
•Choose the right 8-1/4 inch diameter blade for the
material and the typeof cuttingyou plan to do.
•Make sure the blade is sharp, undamaged and
properly aligned. With the saw unplugged, push
the power-head all the way down and back. Hand
spin the blade and check for clearance. Tilt the
power-head to 45 degree bevel and repeat the
check. If the blade hits anything, make the adjust-
ments shown in the Assembly and Alignment
section. (page 9)
• Make sure the blade and arbor collars are clean.
• Make sure the arbor collars' recessed sides are
facing the blade.
• Using the provided arbor wrench or other 1/2"
wrench, make sure the arbor cap screw is firmly
hand tightened.
°Make sure all clamps and looks are tight and no
parts have excessive play.
• KEEP WORK AREA CLEAN. Cluttered areas and
benches invite accidents. Floor must not be slippery.
To avoid burns or other fire damage, never use the
slide compound miter saw near flammable liquids,
vapors or gasses.
Plan ahead to protect your eyes, hands,
face, ears.
KNOW YOUR SLIDE COMPOUND MITER SAW.
Read and understand the owner's manual and labels
affixed to the toot. Learn its application and limitations
as well as the specific potential hazards peculiar to this
tool.
To avoid injury from accidental contact with moving
parts, don't do layout, assembly, or setup work on the
slide compound miter saw while any parts are moving.
AVOID ACCIDENTAL STARTING. Make sure switch is
"OFF" before plugging slide compound miter saw into a
power outlet.
Plan your work.
USE THE RIGHT TOOL. Don't force tool or attachment
to do a job it was not designed to do. Use a different
tool for any workpiece that can't be held in a solidly
braced, fixed position.
CAUTION: This machine is not designed for
cutting metals. Use this slide compound miter
saw to cut only wood, and wood like products.
Other materials may shatter, bind on the blade,
start fires or create other dangers.

Dress for safety. WEARYOUR
Any power slide compound miter saw can throw foreign
objects into the eyes. This can cause permanent eye
damage. Wear safety goggles (not glasses) that comply
with ANSI Z87.1 (shown on package). Everyday eye-
glasses have only impact resistant lenses. They are not
safety glasses. Safety goggles are available at Sears
retail catalog stores, Glasses or goggles not in compliance
with ANSI Z87.1 could seriously hurt you when they
break.
• Do not wear loose clothing, gloves, neckties or
jewelry (rings, wrist watches) They can get caught
and draw you into moving parts.
• Wear nonslip footwear.
• lqe back long hair.
• Roll long sleeves above the elbow
•Noise levels vary widely. To avoid possible hearing
damage, wear ear plugs or muffs when using slide
compound miter saw for hours at a time.
• For dusty operations wear a dust mask along with
the safety goggles.
Inspect your workpieee.
Make sure there are no nails or foreign objects in the
part of the workpiece to be cut.
Plan your work to avoid the spinning blade and
keep the workpiece from binding on the blade and
flying out of your hands:
Plan how you will make the cut. Always:
• Make sure the blade is not spinning.
• Raise the blade.
• Slide the saw out above the front edge of the work-
piece before starting it, and
• Push the saw blade down on top of the wood and
then away from you to make the cut.
IDANGER: NEVER pull the saw toward you
during acut. The blade can suddenly climb up
on top of the workpiece and force itself
toward you.
Plan the way you will hold the workpiece from start to
finish:
Avoid awkward operations and hand positions where a
sudden slip could cause fingers or hand to move into
the blade.
DON'T OVERREACH. Keep good footing and balance.
Never reach behind or beneath the saw blade.
Keep your face and body to one side, out of line with a
possible throwback.
Never cut FREEHAND:
• Brace your workpiece solidly against the fence and
table top so ,t will not rock or twist during the cut
• Make sure there's no debris between the work
piece and its supports
• Make sure no gaps between the workpiece fence
and table wilr let the workpiece shill after it is cut _n
two.
• Never cut more than one workppece at a time
•Keep the cut off piece free to move sideways after
it's cut off Otherwise. it could get wedged against
the blade and thrown violently
• Clear everything except the workpiece and related
support devices off t,_e table before turning the
slide compound miter saw on
• SECURE WORK. Use clamps or a vise to help
hold the work when irs practical
Use extra caution with large, very small or awk-
ward workpieces:
• Use extra supports (tables saw horses, blocks.
e[c.i for any workpieces large enough to tip when
not hetd down to the table top.
• NEVER use another persoH as a substitute for a
table ex_er'.so "_, or as additiona_ sn,ooort for a
workplece
• Do nol use tn,s saw to :,,,' pieces too small [o let
you easily i-old the ,.vo_kwniie you keep the thumb
side of your flt_/ poetic,, _'_'g_ against the out-
sideeag_ _ n. !ercd.
• When cutting {rregu_auy shapeo workp_eces, plan
your work support so =twlti not Shp Dncn Th_biaoe .
and be torn [rum ,,.u. , __ A pLece of molding,
for example nc, b[ ,o iL_f_r be heid by a fixture or
j_gthat wiii not let [ r_,,_/_ock or slip while being
cut.
• Properly support round material such as dowel
rods. They have a tendency to roll while being cut
causing the blade to "bite" To avoid this, always
use a fixture designed to properly hold your work-
piece
WHENEVER SAW BLADE IS SPINNING.
WARNING: Don't let familiarity (gained from
frequent use of your slide compound miter
saw) cause a careless mistake. A careless
fraction of a second is enough to cause
a severe injury.
Before starting your cut watch the slide compuur'o
miter saw whiie it runs If it makes an unfarnil,at no_se
or vibrates a lot, stop _mmediately Turn the slide com-
pound miter saw off. Unplug the shde compound m_,
saw. Do not restart until finding and correcting the p_c_'
lem.
KEEP CHILDREN AWAY. Keep all visitors a safe dis-
tance from the slide compound miter saw. Make sure
bystanders are clear of the slide compound miter saw
and workp_ece
4

Never confine the piece being cut off. Never hold it,
clamp it, touch it, or use length stops against it while the
blade is spinning, tt must be free to move sideways on
its own. If confined, it could get wedged against the
blade and thrown violently.
Let the blade reach full speed before cutting.
DON'T FORCE TOOL. It will do the job better and safer
at its designed rate. Feed the blade into the workpiece
only fast enough to let it cut without bogging down or
binding.
Before freeing any jammed material:
• Turn switch "OFF"
• Unplug the slide compound miter saw.
•Wait for all moving parts to stop.
After finishing a cut:
•Keep holding the power head down,
• Release the switch, and wait for all moving parts to
stop before moving your hands.
• If blade doesn't stop within 6 seconds, unplug the
saw and follow the instructions in the Trouble
Shooting section for fixing the blade brake before
using the saw again,
BEFORE LEAVING THE SAW:
NEVER LEAVE TOOL RUNNING UNATTENDED. Turn
power off. Wait for all moving parts to stop.
Make workshop child-proof. Lock the shop. Disconnect
master switches. Store tool away from children and oth-
ers not qualified to use it.
glossary of terms for woodworking
Arbor
The shaft on which a cutting too! is mounted
Bevel Cut
An angle cutting operation made through the face of the
workpiece.
Compound Cut
A simultaneous bevel and miter cutting operation.
Crosscut
A cutting operation made across the width of the
workp_ece,
Freehand
Performing a cut w,thout the use of fence (guide), hold
down or other proper device to prevent the workpiece
from _Jisting during the cutting operation. Twisting of
the workpiece can cause it to be thrown.
Gum
A st;cky sap based residue from wood products
Heel
M ';a'icnm(mt o_th_ nlade
Kerr
The amount of material removed by the blade _n a
through cut or the slot produced by the blade in a non-
through or partial cut
Miter Cut
An angle cutting operation made across the width of the
workp=ece
Resin
A sticky, sap based substance that has hardened.
Revolutions Per Minute (RPM)
The number of turns completed by a spinning object in
one minute.
Sawblade Path
The area of the workpiece or table top directly in line
with either the travel of the blade or the part of the work-
piece which will be, or has been, cut by the blade.
Set
The distance that the tip of the sawblade tooth is bent
(or set) outward from the face of the blade.
Dado
A non-through cut which produces a square sided
_otch or trough in the workpiece.
Workpiece
The item on which the cutting operation is being per-
formed. The surfaces of a workpiece are commonly
referred to as faces, ends, and edges.
End
Edge

electrical connections
POWER SUPPLY
Motor Specifications
The AC motor used in this saw is a universal, nonre-
versible type having the following specifications:
Maximum Developed H.P .......................................... 2
Voltage ................................................................... 120
Amperes .................................................................. 10
Hertz (Cycles) ......................................................... 60
Phase .............................................................. Single
RPM .................................................................... 5000
Rotation of Shaft ......................................... Clockwise
Brake ............................................................ Automatic
WARNING: To avoid electrical hazards, fire haz-
ards, or damage, or damage to the tool, use
proper circuit protection. Your saw is wired at
the factory for 120v operation. Connect to a
f20v, 15-amp branch circuit and use a 15-amp
time delay fuse or circuit breaker. To avoid
shock or fire, if power cord is worn or cut, or
damaged in any way, have it replaced immedi-
ately.
DOUBLE INSULATED
The slide compound miter saw is intended for residen-
tian use only. It is double insulated to provide a double
thickness of insulation between you and the tool's
electrical system. All exposed metal parts are isolated
from the internal metal motor components with pro-
tecting insulation.
Your unit has a plug that looks like the one shown
below..
WARNING: To reduce the risk of electrical
shock, this appliance has a polarized plug (one
blade is wider than the other). This plug will fit in
a polarized outlet only one way, f the p ug does
not fit fully in the outlet, reverse plug. If it still
does not fit, contact a qualified electrician to
install the proper outlet. Do not change the plug
in any way.
WARNING: Double insulation does not take the
place of normal safety precautions when operat-
ing this tool.
DANGER: To avoid electrocution:
1. Use only identical replacement parts when
servicing a tool with double insulation. Ser-
vicing should be performed by a qualified ser-
vice technician.
2. Do not use in rain or where floor is wet. This
tool is intended for indoor residual use only.
MOTOR SAFETY PROTECTION
CAUTION: To avoid motor damage, this motor
should be blown out or vacuumed frequently to
keep sawdust from interfering with normal
motor ventilation.
1. Connect this tool to a 120V, 15-amp branch circuit
with a 15-amp time delay fuse or circuit breaker.
Using the wrong size fuse can damage the motor.
2. If the motor won't start, release the trigger switch
immediately. UNPLUG THE TOOL Check the saw
blade to make sure it turns freely. If the blade is
free, try to start the motor again. If the motor still
does not start, refer to the "Motor Trouble-Shoot-
mg Chart."
3. If the motor suddenly stalls while cutting wood,
release the trigger switch, unplug the tool, and
free the blade from the wood. The motor may now
be restarted and the cut finished.
4. Fuses may "blow" or circuit breakers may trip fre-
quently if:
a. MOTOR IS OVERLOADED--Overloading can
occur if you feed too rapidly or make too many
start/stops in a short time.
b. Voltages net more than 10% above or below
the nameplate voltage can handle normal
loads. For heavy loads, however, the voltage at
motor terminals must equal the voltage speci-
fied on nameplate.
5. Most motor troubles may be traced to loose or
incorrect connections, overload, low voltage (such
as small size wire in the supply circuit) or to overly
tong supply circuit wire. Always check the connec-
tions, the load and the supply circuit whenever
motor doesn't work well. Check wire sizes and
length with the Wire Size Chart below,
WIRE SIZES
The use of any extension cord will cause some loss of
power. To keep this to a minimum and to prevent over-
heating and motor burn-out, use the table below to
determine the minimum wire size (A.W.G.) extension
cord.
6

For circuits that are farther than 100 feet away from
electrical service box, the wire size must be increased
proportionately in order to deliver ample voltage to the
saw motor,
Ampererati_g 0 50 51 100 107 i3 0 1:2 ! - 150
ton _)ameplate)
Ext Cord Length Wire Size iAmerican Wire Gauge}
25 Ft 18 18 l_ 14
50 Ft 18 16 16 14
75 F1 18 16 !4 14
!00 F_ 16 14 12 12
125 Ft 16 12 12 12
150 Ft 16 12 !2 -=
contents
Guarantee .................................................................. 2
Safety Instructions for Slide Compound
Miter Saw ................................................................. 2
Glossary of Terms for Woodworking ............................ 5
Electrical Connections ................................................... 6
Unpacking and Preassembly ................................ 7
Knowing Your Miter Saw ................................................ 8
Assembiy and Alignment .......................................... 9
Mounting the Saw .......................................................... 13
Basic Saw Operations ....................................... 14
Maintenance and Lubrication ........................................ 21
Troubie Shooting ......................................................... 23
Repair Parts .............................................................. 26
unpacking
WARNING: To avoid injury from unexpected
starting or electrical shock, do not plug the
power cord into a source of power during
unpacking and assembly. This cord must remain
unplugged whenever you are working on the
saw.
1. Before removing the saw from the shipping carton
tighten the carriage lock knob to guard against sud-
den movement
2. Remove the saw from the shipping carton by lifting
with the handholds located at the base of the saw.
Model 113.234880 Slide Compound Miter Saw is
shipped complete in one box
I
WARNING: Although small, this saw is heavy. To J
avoid back injury, get help whenever you have to J
lift the saw.
WARNING: It any part is missing or damaged, do
not plug the saw in until the missing or damaged
part is correctly replaced. To avoid electrical
shock, use only identical
replacement parts when servicing double
insulated tools.
Place the saw on a secure stationary work surface and
look the saw over carefully.

tools needed
NOTE: AII fasteners are metric except arbor screw and
mounting hardware for lower guard,
Tools required for assembly and alignment of miter
saw:
•#2 Phillips Screwdriver
•Combination Square
• Adjustable Wrench
_,_ #2 PHILLIPS SCREWDRIVER
COMBINATION SQUARE ADJUSTABLE WRENCH
COMBINATION SQUARE MUST BE TRUE
DRAW LIGHT
LINE ON BOARD
ALONG TRIS EDG_.__
SHOULD BE NO GAP OR OVERLAP WHEN
SQUARE IS FLIPPED OVER IN DOTTED PO61TION
STRAIGHT EDGE OF
BOARD 3/4" THICK
THIS EDGE MUST BE
PERFECTLY STRAIGHT
FURNISHED WRENCH I12" ARBOR BOX
AND 12mm OPEN END
knowing your slide compound miter saw
I Warning labels.
2 Handle Latch--The miter saw can be locked in the
lowered position for compact storage.
3 Depth Adjustment bolt--When properly adjusted it
limits saw blade travel to approximately 1/4" below
the table.
4. Miter Lock Handle--The miter lock handle clamps
the miter saw at a desired miter angle. Index points
have been provided at 0.15, 22-1/2, 30, 45 L/R.
5 Bevel Lock Handle_The bevel lock handle locks
the saw at a desired bevel angle.
6 Bevel Adjustment Stops--Bolts that are adjusted to
stop sawblade at 90_ bevel and 45; bevel.
7. Carriage Lock Knob--Lock the carriage in place.
8. Lower Blade Guard-The blade guard helps pro-
tect your hands from the blade in the raised posi-
ticn. To avoid binding on the workpiece, it retracts
as the blade is lowered.
10. Cover Plate
Screw
9. Saw Handle--The saw handle contains the trigger
switch with a lock-off button. The blade is bowered
into the workpiece by pushing down on the handle.
The saw will return to its upright position when the
handle is released.
!0. Cover Plate Screw--When tightened, holds cover
plate in place and can be loosened to let cover
plate swing back for blade changing.
9. Saw Handle 1. Warning Labels 3. Depth Adjustment bolt
with Knurled Nut
and Jam Nuts
6. Bevel Adju
Stops
2. Handle Latch
7, Carriage
Lock Knob
8. Lower Blade
Guard
4_ Miter Lock Handle
5. Bevel Lock
Handle

assembly and alignment
ASSEMBLY AND ALIGNMENT
Assembling the Lower Blade Guard
NOTE: For compact shipment the lower blade guard
has been partially disconnected.
!. The slide compound miter saw has a spring loaded
pin to lock the miter saw in the !owered position. To
release push the handle down slightly, pull the lock-
ing knob and give a quarter turn,
2. Release pressure on the handle and allow the saw
to rise to its up position
3, Remove the M6 x 1.0 shoulder screw and hardware
from the pivot casting as illustrated. Attach the blade
guard link to the pivot casting with a phillips screw-
driver while you tighten the jam nut with the
adjustable wrench,
NOTE: With the blade guard link attached, the guard
should raise as the blade is lowered towards the work
table and drop to cover the blade as the power head is
raised. This link helps prevent guard hangups and bind-
ing while you are cutting, Check that link is centered
under guard bearing and does not twist and bind under
pressure, tf the link does bind contact Sears Service,
Smaller Jam
M6 x 1.0 Shoulder Thicker Nut
Screw Washers
Link
Pivot
Larger
Thinner
Washel
ASSEMBLY AND ALIGNMENT
Step One -- Blade Square (90°) to Table
NOTE: The compound slide miter saw was assem-
bled, aligned, and inspected before shipment.
Alignment should be checked and any necessary
adjustments made to insure accurate cuts.
1. Lower the blade and use the head latch to keep the
blade in the down position. Use a combination
square to check blade squareness to table. If the
blade does not contact the full length of the square.
follow the procedure below,
a. Loosen the bevel lock handle.
b. Grasp the metal upper guard and move the cut-
ting head to the left as far as it will go.
c. Loosen the right side bevel stop lock nut. Lower
the bevel stop bolt down as far as it will go.
d. Grasp the metal upper guard again and position
the cutting head until the blade makes contact
with the full length of the square.
e. Tighten the bevel lock handie
f. Use 12mm wrench end to hold the bevel stop lock
nut in place.
g Use another wrench to turn the bevel stop bolt
until it hits the bottom of the bevel stop.
h. Lock the bevel stop nut.
2. Check the bevel indicator, If the indicator needs
adjustment use a phillips screwdriver and slide the
indicator to the 0" on the scale.
9

Step Two -- Blade 45 to Table
1. Loosen the bevel lock handle. Grasp the metal
guard and tiIt the cutting head to the Ieft until it
strikes the left bevel stop,
2. Use a procedure similar to Step One except use the
45 side of the combination square, Adjust as neces-
sary.
3. Return blade to 90 upright position and tighten
bevel lock
Step Three -- Fence Square (90') to Blade
1. Lower the blade and use the head latch to keep the
blade in the down position. Use a combination
square to make sure the fence is square to the blade
as shown. If an adjustment is needed follow the pro-
cedure below
a Loosen the four (4) fence lock bolts
b Piace a combination square against the saw
blade and adjust the fence until it is 90 to the
blade
c Tighten the four (4) fence lock bolts
Step Four- Adjustment of Miter Scale indicator
1 Position the turntable to the 0 position Lock the
m_terhandle
2 The miter scale indicator should be pointing to 0
3 !f necessary, loosen the phillips screw that holds the
indicator in place Reposition the indicator and
retighten screw
10 /
Miter
Lock
Handle
Miter Scale
Indicator

Step Five-- Bevel Pivot Adjustment
The compound slide miter saw should bevel easily by
loosening the bevel lock handle and tilting the power
head to the left If movement is tight or if there is loose
ness in the pivot follow the adjustment procedure.
a. Loosen the beveI lock handle
b Turn the hex lock nut wifh a wrench
c Recheck bevel movement of the miter saw
Readjust if necessary
IWARNING: To keep the nut from working it's way I
I
off as you use the saw, at least one thread of the I
pivot bolt must always stick out past the nut.
Always keep the nut at least that tight.
Step Six -- Cutting Head Pivot Adjustment
The compound slide miter saw should nse completely
to the up position by itself. To check this release the
handle latch and see if the saw will rise by itsolfl If the
saw wiII not rise by itself or if there is play in the pivot
joints the following adfustment _snecessary
aif the saw does not rise by itself loosen the lock
nut on the pivot bolt
b If there is play in the joints slightly tighten the lock
nut on the pivot bolt
c Recheck the saw travel Saw should rise freely to
its up travel stop. Check to see that the saw wilI
rise from al! positions and there is no looseness in
the pivot If saw still won't fully rise, have Sears
Service check and repair it,
WARNING: To keep the nut from working it's way
off as you use the saw, at least on thread of the
pivot bolt must always stick out past the nut.
Always keep the nut at least that tight.
Depth
Stop
.Jam Nuts
Pivot Bolt Bevel
and Nut Lock Bevel Hex Lock Nut
Handle
Step Seven -- Depth Stop
The depth stop limits the blade's downward travel. It
allows the blade to go below the work table enough to
maintain full cutting capacities, thereby cutting com-
pletely through the workpiece at the fence, Properly
adjus_ea, the dec,th stop positions the blade !,'4"below
the table.
WARNING: To avoid injury from unexpected
starting or electrical shock, do not plug the saw
in. The power cord must remain unplugged
whenever you are working on the saw.
This too! is factory set to provide maximum cutting
capacity for the 8-1/4" saw blade provided. When the
diameter of the blade has been reduced due to sharp-
enrng _tmay be necessary to adjust the depth stop
When a new blade is installed it is necessary to check
ibe clearance of the blade to the turn table structure
Follow the procedure below.
a. Loosen the two (2) jam nuts on the end of the
depth stop bolt.
b. Loosen the knurled nut at the top of the arm,
c The saw blade is lowered by turning the depth
stop bolt counterclockwise and raised by turning
the bolt clockwise.
d. Lower the blade into the slot of the turn table.
Check blade clearance and maximum cutting dis-
tance (distance from fence where blade enters) to
front of work table slot. Readjust if necessary.
CAUTION: Do not start the compound slide miter
saw without checking for interference between the
blade and the turn table structure. The blade could
be ruined if it cuts into the turn table structure. I
e. Tighten the large knuded nut at the top of arm.
f. Tighten the two (2) nuts on the end of the depth
stop bolt against the depth stop.
11

Removing or Installing the Blade
WARNING: To avoid injury from a thrown work-
piece or thrown pieces of blade, do not use a
blade larger or smaller than 8-1/4" diameter,
WARNING: To avoid injury from unexpected
starting, unplug the saw whenever you are
removing or installing the blade.
Blade Guard
Link
Mounting
Plate
1. Unplug the saw from the outlet. Cutting head is up.
2. Rotate lower guard out of the way. Loosen the
screw holding the lower guard mounting plate to
the upper guard.
3. Lift the lower guard up and tilt the lower guard
assembly back so the arbor screw is exposed
4. Find the arbor lock between the upper guard and
the miter saw handle. Place a 1/2" box end wrench
or arbor wrench furnished, over arbor screw.
5. Press the arbor lock and hold it in firmly while turn-
ing the wrench clockwise. The arbor lock will
engage after some turning of the wrench.
NOTE: The arbor lock can be damaged by improper
use. If the arbor lock will not hold, lower the blade down
on to a scrap piece of wood positioned against the
fence. This will serve as an alternate locking means.
6. Unscrew and remove the arbor screw, arbor washer.
outer blade collar, and the blade.
Loosen
This Locking
Screw After
Rotating
Lower Guard
Lower
Blade Guard
Arbor
Lock
ol
NOTE: Pay attention to pieces removed, noting their
position and direction they face (see illustration). Wipe
the blade collars clean of any sawdust before installing
the new blades.
7. Install the new 8-1/4" blade. Make sure the rotation
arrow on the blade matches the clockwise rotation
arrow on the upper guard.
8. install the outer blade collar, arbor washer and
arbor screw. Press the arbor lock and turn the 1/2"
wrench counter clockwise to secure the blade.
Tighten arbor screw securely.
9. Lower the lower blade guard until the slot in mount-
ing plate rests all the way down on the tocking
screw_ Tighten the locking screw.
DANGER: Never use saw without mounting
plate locked securely in place. It keeps the
arbor screw from falling out if it accidentally
loosens and prevents the spinning blade from
coming off the machine.
or Wrench
Furnished
Arbor
Washer _8-1/4" Blade
Screw /Inner Blade
/Collar
Outer (Do Not Remove)
Blade Collar
WARNING: After installing a new blade, make
sure the blade clears the table slot at the 0°and
45°bevel positions. Lower the blade into the
table slot and check for any contact with the
base or turn table structure.
10. Be sure the arbor lock is released so the blade
turns freely. If blade contacts turn table, refer to assembly and align-
ment, step two, for adjustment.
If blade bottoms out on turn table structure, due to
assembly and alignment, see depth stop section for
adjustment.
(See page 11, Step 7).
12

MOUNTING THE SAW
IWARNING: To avoid injury: I
Before moving the saw:
• Lock the miter, bevel and carriage.
• Unplug the power cord.
• Get help. This saw weighs 70 pounds. To avoid
back injury, get help whenever you need to tiff it.
NEVER carry the saw by the cord or power head han-
dle The handle could break suddenly. Damage to tnsu-
lation could cause an electric shock. Damage to wire
connections could cause a fire.
DANGEROUS ENVIRONMENT. Use the slide com-
pound miter saw _na dry, indoor place protected from
rain. Keep work area welI lighted.
Place the slide compound miter saw so neither the user
or bystanders are forced to stand in line with the blade
Thrown debris could injure people in its path.
To avoid injury from unexpected saw movement:
• Put the slide compound miter saw on a firm level
surface where there is plenty of room for handling
and properly supporting the workpiece.
•Support the slide compound miter saw so the table
is level and the saw does not rock.
• Loosen the set screw locking the "U"-shaped
extension on the rear of the saw. Slide the bracket
out to support the saw. Retighten the set screw.
• Bolt or clamp the saw to its support.
Place the saw on a work bench. The base of the saw
has three holes to mount the compound slide miter saw
(see illustration). If the saw is to be used in one loca-
tion, fasten it to the work bench
Mounting Hole
Mounting Hole
i -- Set Screw
Mounting Hole
_xtension
Extension 1_ '_/'---_ _/
/'
/
[
If the saw is to be used in a portable application, mount
the saw to a 1/2" piece of plywood. Then clamp the
mounting board down to prevent it from tipping or
slipping.
13

Basic Saw Operations
BEFORE USING THE SLIDE
COMPOUND MITER SAW:
WARNING: To avoid mistakes that could cause
serious, permanent injury, do not plug the saw
in until the following steps are completed.
,Assembly and alignment. (See pages (10-12)
• Learn the use and function of:
(a) the ON OFF switch,
(b) upper and lower blade guards.
(c) head latch,
(d) bevel lock handle,
(e) cover plate stop screw,
(f) depth adjustment bolt,
(g) carriage lock knob,
(h) miter lock handle, and
(i) saw handle.
• Review and understand all safety instructions and
operating procedures in this manual.
• Review the maintenance methods for this slide
compound miter saw, (See pages 21-22)
BEFORE EACH USE:
Inspect your slide compound miter saw,
DISCONNECT THE SAW. To avoid injury from acc_
dental starting, unplug the saw, before changing the
setup, changing the blade or adjusting anything.
Compare the direction of rotation arrow on the guard to
the direction arrow on the blade. The blade teeth
should always point downward at the front of the saw.
Tighten the arbor screw.
Tighten the cover plate stop screw.
CHECK DAMAGED PARTS. Check for:
• Alignment of moving parts,
• Damaged electric cords,
• Binding of moving parts,
• Broken parts,
• Stable mounting,
•Function of arm return spnng and lower guard:
Push the arm all the way down, then let it rise up
until it stops by itself. Check the lower guard to see
if it closed fully, If it did not, follow the instructions
in the Trouble Shooting section.
• Smooth, solid movement of the slide assembly,
•Other conditions that may affect the way the slide
compound miter saw works,
KEEP GUARDS IN PLACE. in working order, and in
proper adjustment
If any part is missing, bent, or broken in any way, or any
electrical parts don't work, turn the saw off and unplug
it. REPLACE damaged, missing or failed parts before
using the saw again.
MAINTAINING TOOLS WITH CARE. Keep the slide
compound miter saw clean for best and safest perfor
mance. Follow instructions for lubricating. DON'T put
lubricants on the blade while it's spinning.
REMOVE ADJUSTING KEYS AND WRENCHES from
tool before turning it on.
To avoid injury from jams, slips or thrown pieces:
• USE ONLY RECOMMENDED ACCESSORIES
(See page 22). Consult this Owner's manual for
recommended accessories. Follow the instructions
that come with the accessories. The use of
improper accessories may cause risk of injury to
persons
• Choose the right 8-1/4" inch diameter blade for the
material and the type of cutting you plan to do.
• Make sure the blade is sharp, undamaged and
properly aligned with the saw unplugged, push the
power-heed all the way down and back. Hand spin
the blade and check for clearance. Tilt the power
head to 45 degree bevel and repeat the check. If
the blade hits anything, make the adjustments
shown m the Maintaining Maximum Cutting
Capacity section.
• Make sure the blade and arbor collars are clean.
• Make sure the arbor collars' recessed sides are
facing the blade.
• Using the provided arbor wrench or a 1,2" box
end wrench make sure the arbor cap screw is firm
ly hand tightened.
• Make sure all clamps and locks are tight and no
parts have excessive play.
• KEEP WORK AREA CLEAN. Cluttered areas and
benches invite accidents. Floor must not be slip
pery.
To avoid burns or other fire damage, never use the
slide compound miter saw near flammable liquids.
vapors or gases.
Plan ahead to protect your eyes, hands,
face, ears.
KNOW YOUR SLIDE COMPOUND MITER SAW.
Read and understand the owner's manual and labels
affixed to the tool. Learn its application and limitations
as well as the specific potential hazards peculiar to this
tooI.
To avoid injury from accidental contact with moving
parts, don't do layout, assembly, or setup work on the
slide compound miter saw while any parts are moving.
AVOID ACCIDENTAL STARTING. Make su)e switch is
'OFF' before plugging slide compound miter saw into a
power outlet.
14

Plan your work.
USE THE RIGHT TOOL. Don't force tool or attachment
to do a job it was not designed to do. Use a different
too! for any workpiece that can't be held in a solidly
braced, fixed position.
Dress for safety.
Any power slide compound miter saw can throw foreign
objects into the eyes. This can cause permanent eye
damage. Wear safety goggles (not glasses) that comply
with ANSI Z87.1 (shown on package). Everyday eye-
glasses have only impact resistant lenses. The are not
safety glasses. Safety goggles are available at Sears
retaiI catalog stores. Glasses or goggles not in compli-
ance with ANSI Z87.1 could seriously hurt you when
they break.
• Do not wear loose clothing, gloves, neckties or
jewelry (rings, wrist watches). They can get caught
and draw you into moving parts.
• Wear nonslip footwear.
•Tie back long hair.
• Roll long sleeves above the elbow.
• Noise levels vary widely. To avoid possible hearing
damage, wear ear plugs or muffs when using slide
compound miter saw for hours at a time.
• For dusty operations, wear a dust mask along with
the safety goggles.
Inspect your workpiece.
Make sure there are no nails or foreign objects in the
part of the workpiece to be cut.
Plan your work to avoid the spinning blade and
keep the workpiece from binding on the blade and
flying out of your hands:
Plan how you wilt make the cut. Always:
• Make sure the blade is not spinning.
• Raise the blade.
* Slide the saw out to the front edge of the work-
piece before starting iL and
• Push the saw blade down and away from you to
make the cut.
lDANGER: NEVER pull the saw toward you I
i
during a cut. The blade can suddenly climb I
up on top of the workpiece and force
itself toward you.
Pian the way you will hold the workpiece from start to
finish:
Avoid awkward operations and hand positions where a
sudden slip could cause fingers or hand to move into
the blade.
Never reach behind or beneath the blade.
DON'T OVERREACH. Keep good footing and balance.
Keep your face and body to one side, out of line with a
possible throwback.
Never cut FREEHAND:
• Brace your workpiece solidly against the fence and
table to so it wilt not rock or twist during the cut.
• Make sure there's no debris between the work
piece and its supports.
• Make sure no gaps between the workpiece, fence
and table will let the workpiece shift after it is cut in
two.
•Never cut more than one workpiece at a time.
• Keep the cut Off piece free to move sideways after
it's cut off. Otherwise, it could get wedged against
the blade and thrown violently.
• Clear everything except the workpiece and related
support devices off the table before turning the
siide compound miter saw on.
• SECURE WORK. Use clamps or a vise to help
hold the work when it's practical
Use extra caution with large, very small or awkward
workpieces:
• Use extra supports (tables, saw horses, blocks.
etc.) for any workpieces large enough to tip when
not held down to the table top.
• NEVER use another person as a substitute for a
table extension, or as additional support for a
workp_ece.
• Do not use this saw to cut pieces too small to let
you easily hold the work while you keep the thumb
side of your index (pointer) finger against the out-
side edge of the fence.
• When cutting irregularly shaped workpieces, plan
your work support so it will not slip, pinch the blade
and be torn from your hands. A piece of molding,
for example must lie fiat or be held by a fixture or
jig that will not let it twist, rock or slip while being
cut.
• Properly support round material such as dowel
rods. They have a tendency to roll while being cut,
causing the blade to "bite". To avoid this, always
use a fixture designed to properly hold your work-
piece.
15

WHENEVER SAW BLADE IS SPINNING.
WARNING: Don't let familiarity (gained from
frequent use of your slide compound miter saw)
cause a careless mistake. A careless
fraction of a second is enough to cause a severe
injury.
Before starting your cut, watch the slide compound
miter saw while it runs. If it makes an unfamiliar noise
or vibrates a lot, stop immediately. Turn the slide com-
pound miter saw off, Unplug the slide compound miter
saw. Do not restart until finding and correcting the prob-
lem.
KEEP CHILDREN AWAY. Keep all visitors a safe dis-
tance from the slide compound miter saw. Make sure
bystanders are clear of the slide compound miter saw
and workpiece
Never confine the piece being cut off. Never hold it,
clamp it, touch it, or use length stops against it while the
blade is spinning. It must be free to move sideways on
its own. If confined, it could get wedged against the
blade and thrown violently.
Let the blade reach full speed before cutting,
DON'] FORCE TOOL, It will do the job better and safer
at its designed rate. Feed the blade into the workpiece
only fast enough to let it cut without bogging down or
binding.
Before freeing any jammed material:
•Turn switch "OFF".
• Unplug the slide compound miter saw.
•Wait for all moving parts to stop.
After finishing a cut:
• Keep holding the power head down,
• Release the switch, and wait for all moving parts to
stop before moving your hands,
• If blade doesn't stop within 6 seconds, unplug the
saw and follow the instructions in the Trouble
Shooting section for fixing the brake before using
the saw again.
BEFORE LEAVING THE SAW:
NEVER LEAVE TOOL RUNNING UNATTENDED, Turn
power off. Wait for all moving parts to stop.
Make workshop child-proof. Lock the shop. Disconnect
master switches, Store tool away from children and oth-
ers not qualified to use it.
Making Common Cuts
There are two types of cuts that can be made with the
slide compound miter saw;
1. Chop Cutting (See page 17).
•The carriage lock knob is tightened and the saw
handle is pushed down to cut through the work-
piece.
• This type of cut i¢,,usedmainly for narrow pieces.
2. Slide Cutting (See page 18).
•The carriage lock knob is left loose, the cutting
head is pulled towards the operator, the saw blade
is lowered into the workpiece and then pushed to
the rear of the saw to complete the cut.
• Used for cutting wide pieces
Body and Hand Position
Proper positioning of your body and hands when oper-
ating the miter saw will make cutting easier and safer,
Never place hands near cutting area. Place hand so all
parts are at least 4" from path of blade. Hold workpiece
firmly to the fence to prevent movement toward the
blade. Keep hands in position until blade has complete-
ly stopped. Before making a cut, make a "dry run" with
the power off so you can see the path of the blade.
WARNING: To avoid thrown work and blade con-
tact, do not try to cut pieces too short to let you
properly support the workpiece and keep your
hold down hand the required distance from the
blade,
WARNING: For your convenient use, your saw
has a blade brake. The brake is not a safety
device. Never rely on it to replace proper use or
the guard on your saw. If the blade does not stop
within 6 seconds, unplug the saw and follow the
instructions in the Trouble Shooting section for
fixing the brake before using the saw again.
16

Chop Cutting
90° Crosscut
a. Slide the cutting head to the rear as far as it will
go.
b. Lock carriage lock knob.
c. Position workpiece on table and against fence.
d. Turn on saw and lower blade into workpiece.
e. After cut is complete turn off saw, wait for blade to
come to a complete stop, allow cutting head to
rise up.
/
Miter Cut
When a miter cut is required, move the saw to the
desired angle. Do not stand in front of the saw table.
Move with the handle to the miter angle to make the
cut.
There are settings on the miter scale for angles
(degrees), crown molding, and rafter slope(s).
NOTE: Remember to loosen the miter lock handle
before changing the mite_"angle.
Bevel Cut
When a bevel cut is required, tilt the blade to desired
bevel angle. Stand to the left side of the handle to make
the cut.
17

CompoundCut
Whena compoundcut is required,selectthecorrect
bevelandmiterposition,Movewiththehandleto the
miterangleto makethecut
Crownmoldingsettingsarespeciallymarkedonmiter
and bevel scales
Hold Down Vise
The hold down vise is used to help hold the workpiece
_nthe correct cutting position. It may be used on either
the left side of the miter saw or the right side, Before
turning the saw on make sure the hold down vise does
not interfere with the cutting action of the saw.
WARNING: The vise will help hold the
workpiece down. It will not keep the saw from
throwing pieces that twist into the blade.
To avoid this:
•Always hold the workpiece against the
fence.
•Always hold the clamped side of the work-
piece.
•Never confine the piece being cut off. Never
hold it, clamp it, touch it, or use length stops
against it while the blade is spinning. It must
be free to move sideways on its own. If con-
fined, it could get wedged against the
blade and thrown violently.
Slide Cutting
Plan your work to avoid the spinning blade and
keep the workpiece from binding on the blade and
flying out of your hands:
Plan how you will make the cut. Always:
• Make sure the blade is not spinning.
• Raise the blade
• Slide the saw out above the front edge of the
workpiece before starting it, and
• Push the saw blade down and away from you to
make the cut.
jDANGER: NEVER pull the saw toward you during
a cut. The blade can suddenly climb up on top of
the workpiece and force itself toward you.
Workpieces up to 12" wide and 2-1,,'2"thick can be cut
following the directions below:
a, Put wood against fence.
b. Loosen the carriage lock knob
c. Grasp the saw handle and putl the carriage until
the arbor (center of saw blade) is over the front
edge of the workpiece.
d Switch on the saw and allow to come to full
speed 18

e. Pushthesawhandleall thewaydownandcut
throughtheedgeoftheworkpiece.
/
f. Gently PUSH the saw handle TOWARDS the
fence completing the cu[
g. Push power head to full rear position after each _ _-._ _L_/_ "
cut,
h. Turn motor off and allow blade to come to a com- ---_ __1plete stop before moving hands.
_. Allow cutting head to rise up by itself.
(
19

Cutting Bowed Material
Before cutting a workpiece, check to make sure it is not
bowed. If it is bowed the workpiece must be positioned
and cut as illustrated.
WARNING: Do not position workpiece incorrectly
or try to cut the workpiece without the support of
the fence, This will cause pinching of the work-
piece on the blade, the workpiece could sudden-
ly jump or move and your hand could hit the
blade.
CORRECT
Workpiece Support
Long pieces need extra supports. The supports should
be placed along the workpiece so the workpiece does
not sag and your hand holding the workpiece is posi
tioned 4" or more from the blade path. The support
should let the workpiece lie flat on the base and work
table during the cutting operation
i'l
Rough Cutting a Dado by Making
Grooving-Depth Cuts
By using the depth adjustment knob it is possible to
rough cut a dado as shown After the two outside cuts
have been completed the inside material (represented
by slanted lines) is removed with a chisel.
a. Set the depth of cut by loosening the knurled nut
on the depth adjustment bolt. Do not change the
position of the two (2) jam nuts on the end of the
bolt
b Turn the depth adjustment bolt to the correct set
t_ng
c Tighten the knurted nut.
d Cul the two outside grooves
e. Use a wood chisel to remove the material
between the outside grooves,
NOTE: Because of the sawblades cutting arc material
at the beginning or end of the cut(s) may have to be
removed with a chisel. 20
Cut These Grooves
With Saw
/
Workpiece

TIPS FOR CUTTING COMPOUND MITERS
A compound miter is a cut requiring both a miter setting
and bevel setting. A compound miter is used for making
frames or boxes that have sloping sides and are wide
at one end and narrow at the opposite end. Compound
miters are 'lricky" to make because the miter setting
and bevel setting are directly related to each other,
Every time the miter setting is changed the bevel set-
ting must also be adjusted; likewise every adjustment to
bevel requires a corresponding adjustment to miter.
Because it may take several tries to obtain the desired
angle it is advisable to make test cuts in a scrap piece
of material.
TIPS FOR CUTTING CROWN MOLDING
A slide compound miter saw _s excellent for cutting
crown molding. Crown molding is difficult to cut
because in order to fit correctly it must be precisely
mitered.
All Standard (U.S.) crown molding has a top rear angle
(fits next to ceiling) of 52° and a bottom rear angle (fits
against wail) of 38°
On the miter and bevel scale indicatorthere are setting
marks (CM) for Crown Molding.
MITER AND BEVEL SE'n'ING FOR STANDARD
CROWN MOLDING
BEVEL MITER TYPE OF CUT
SE3-rlNG SETTING
LEFT SIDE, iNSIDE CORNER:
33.8 ° 31 6° 1. Position top of molding
RIGHT against fence.
2. Left side is finished piece.
RIGHT SIDE. iNSIDE CORNER:
33.8° 31.6° 1, Position bottom of molding
LEFT against fence,
2, Left side is finished piece.
LEFT SIDE, OUTSIDE CORNER:
33.8° 31.6 ° 1. Position bottom of molding
LEFT against fence.
2. Right side is finished p_ece.
RIGHT SIDE, OUTSIDE CORNER:
33.8 ° 31.6 ° 1. Position top of molding
RIGHT against fence.
2. Right side is finished piece.
NOTE: On aII above cuts lay molding with broad back
surface flat on table.
PRETESTING COMPOUND SETTINGS ON SCRAP
MATERIAL IS EXTREMELY IMPORTANT!
Inside
Corner
Outside
Corner
maintenance and lubrication
Maintenance
Always unplug the power cord before any maintenance
check on this saw.
DANGER: Never put lubricants on the blade
while it's spinning.
WARNING: To avoid injury from unexpected
starting or electrical shock, unplug the power
cord before working on the saw.
WARNING: For your safety, this saw is double
insulated. To avoid electrical shock, fire or injury,
use only parts identical to those identified in the
parts list. Reassemble exactly as original assem-
bly to avoid electrical shock.
21

maintenance and lubrication (cont.)
Replacing Carbon Brushes
The carbon brushes furnished will last approximately 50
hours of running time or 10,000 on.off cycles Replace
both carbon brushes when either has less than 1/4"
length of carbon remaining. To inspect or replace first
unplug the saw. then remove the black plastic cap on
the side of the motor (caution. this cap is spring loaded
by the brush assembly.). Then pul! out the brush.
Repeat for the other side. To reassemble reverse the
procedure The ears on the metal end of the brush
assembly go in the same hole the carbon part fits into.
Tqghtenthe cap snugly but do not overtighten
NOTE: To reinstall the same brushes, first make sure
the brushes go back in the way they came out. This will
avoid a break in period that reduces performance and
Increases wear
Lower Blade Guard
Do not use the saw without the lower guard. The iower
blade guard is attached to the saw for protection.
Should the lower guard become damaged, do not use
the saw until damaged guard has been replaced.
Develop a regular check to make sure the lower guard
is working properly. Clean the lower guard of any dust
or build up with a damp cloth.
CAUTION: Do not use solvents on the guard.
They could make the plastic "cloudy"
and brittle.
I WARNING: When cleaning lower guard unplug
the saw from the outlet to avoid
unexpected start-up,
Sawdust
Periodically_ sawdust will accumulate under the work
table and base This could cause difficulty in the move
ment of the work table when setting up a miter cut,
Blow out or vacuum up the sawdust as required.
IWARNING: If blowing sawdust, wear proper eye
protection to keep debris from blowing
into eyes.
Lubrication
Chop Pivot: Light machine oil or aerosol wilt penetrate
from ends and junction points. Qualified service techni-
cian can remove pwot up-stop to relieve spring tension.
and 2 metric set screws holding shaft in order to drive
shaft about 3/4" right. Exposed surfaces are lubricated
with automotive type oil
Central Pivot of Plastic Guard: Use light household oil
(sewing machine oil) on metal-to-metal or meta!-to-plas-
tic guard contact areas as required for smooth, quiet
operation. Avoid excess oil, to which sawdust will cling.
Table Pivot: Qualified service technician should lift table
from base in base-down tool position only or index-
detent bail may be lost, Use automotive type oil on rub-
bing surfaces.
Bevel Pivot: Bevel Pivot casting may be loosened or
removed from table casting without special difficulty by
qualified service technician. Lubricate rubbing surfaces
with automotive type oil
Link: (Which actuates lower guard movement) may be
oiled at rear pivot, greased at ball-bearing contact, and
oiled where link actuates acetal roller of lower
guard if down chop motion is hard to start.
WARNING: To avoid injury from unsafe
accessories, use only accessories shown on
the recommended accessories list in
this manual.
WARNING: To avoid injury from incompatible
prohibited accessories, use only Sears
Craftsman 8-1/4" saw blades of the type listed
under recommended accessories. Don't use
accessories such as shaper cutters or dado
sets. Metal cutting and the use of abrasive
wheels are prohibited.
Recommended Accessories
Basic Blade Requirements
8-1/4" Diameter
Blades marked for 5,500 RPM or higher
5/8" Arbor Hole
AIl the motor bearings in this tool are lubricated with a
sufficient amount of high grade lubricant for the. life of
the unit under normal operating conditions, therefore,
no further lubrication is required (See below.i
Infrequent Lubrication as Required:
Slide Tubes: Squirt automotive type oil directly on
tubes it will be picked up and dispersed by builtqn felt
wicks,
Carbide-Tipped Blades:
8 !/4" Trim Saw .................................... See Catalog
8-t/4" Cut-Off .......................................... See Catalog
8-1/4" Combination ..................................... See Catalog
8-t/4" Plywood/Particle Board ................. See Catalog
Non Carbide Tipped Blades:
8-14" Cross Cut'Plywood ......................... See Catalog
8-t/4" Combination ............................... See Catalog
22

TROUBLE SHOOTING GUIDE - ELECTRICAL
PROBABLE CAUSE SUGGESTED CORRECTIVE ACTION
1 Brushes not seated
or Iightly sticking
PROBLEM
Brake does not stop
blade within
3-6 seconds.
2.
3.
4
Motor brake winding--
overheated from use of not
recommended accessory
or rapid on/off cycling.
Arbor screw loose
Other
Motor does not start. 1. Fuse.
2. Brushes worn.
3 Other
Brush sparking when 1 Normal--automatic brake
switch released working properly.
=- Inspect/clean'replace brushes
(see maintenance section)
i Install new brushes
-- Use a recommended blade
Let cool down,
-- Retighten
-- Authorized service: See "'Brake Trouble Shooting
page 24.
-- 15-Amp time delay fuse, or circuit breaker
-- See "Maintenance page 22
-- Authorized service
TROUBLE SHOOTING GUIDE - GENERAL
PROBLEM PROBABLE CAUSE SUGGESTED CORRECTIVE ACTION
Blade hits table 1. Adjustment of depth stop. -- See 'Depth Stop", Step 7 page 11
Angle of cut 1. Misaiignment. -- See "Assembly and Alignment" page 9-11
not accurate
Cant adjust 1. Center bolt too tight. -- Adjust
miter angles
2, Lubrication dried up. -- Clean and re lubricate between table and
base. See "Maintenance Section"
Power-head See "Assembly and Alignment", Step 6, page 11.
won't fully rise. -- See 'Maintenance."
-- Get authorized Sears Service
Blade binds, jams, -- See 'Basic Saw Operation' page 16.
burns wood.
Tool vibrates or
shakes.
1 Pivot misadjustment.
2, Lubrication dried up
3. Pivot spring not replaced
properly after service.
1 Improper operation.
2. Dull blade.
3. Improper blade.
4. Warped blade.
1. Saw blade not round
2, Saw blade damaged.
3 Saw blade loose
4. Other
Replace or sharpen blade
-- Replace with 8-1 4" diameter blade designed
for the materiaI being cut.
Replace blade.
-- Replace blade.
-- Replace blade.
-- Tighten arbor screw
Get authorized Sears Service.
23

WIRING DIAGRAM
WARNING: For your safety, this miter saw is
double insulated. To avoid electrical shock,
fire, or injury use only parts identical to those
identified in the parts lisL Reassemble exactly
as originally assembled.
--WIDE BLADE
WHITE) FIELD LEAD
BLACK
(RED) FIELD LEAD _ a
3RAY)BRAKE LEAD
SWITCH WHITE _RUSH
' BRUSH
fBLACK
YELLOWBUTTON
LOCATOR
Trouble-shooting Of Brake By Qualified Service Per-
son Only:
1. Unplug the power cord before each step.
2. InstalI service brushes, especially if a delayed
come-in of brake has been noticed before failure.
3. Check brake circuit for continuity: Remove brush
caps and brushes. Use ohmeter to check for conti-
nuity from brass brush holder to brush holder. If
open, locate exact place using ohmeter, As indi-
cated by test, tighten a connection or replace field
assembly or replace switch,
4. If above tests do not produce a solution, then
replace armature assembly,
5. After repair, check direction of rotation of blade vs
arrow on guard.
To Prevent Switch Damage When Removing Leads:
Insert .043" dia. music wire or use switch pick avail-
able from Lucerne Products, Hudson, Ohio 44236
Telephone No. (216) 653-6661.
24

CARBIDE TIPPED BLADES
SAFETY INSTRUCTIONS & WARNINGS
OSHA required industria! users to inspect tool prior to mounting
for cracks, chipped or bent teeth, or cutting edges that are
not sharp. The tool must be completely clean to allow proper
inspection.
See CFR § 1910.213
WOODWORKING MACHINERY REQUIREMENTS-ITEM S-7
"Al! cracked saws shall be removed from service:'
Do not operate saw machine without proper saw blade guard in
place. Other important instructions and warnings regarding your
safety are contained in saw machine owner's manual. If you do not
have such a manual, contact the machine manufacturer to obtain
one before using the saw machine with this blade.
Carbide is a very hard but brittle material. Care should be taken
while mounting, using and storing carbide blades to prevent
accidental damage. Slight shocks, such as striking tip during
handling, can seriously damage the blade. Foreign objects in the
workpiece, such as wire or nails, can also cause tips to crack or
break off.
Never use blade on saw machine that will exceed maximum
recommended blade R.EM.
Always wear proper eye protection which complies with current ANSI
Standard Z87.1 when using any power tool.
Before using, Always:
• Visually examine blade and tips for cracks breakage, missing
or loose tips, or other damage. DO NOT USE IF DAMAGE
IS SUSPECTED.
• Mount blade securely in proper rotation direction.
• Never leave a running machine unattended.
FAILURE TO HEED THESE INSTRUCTIONS AND WARNINGS
REGARDING USE OF THIS PRODUCT CAN RESULT IN
SERIOUS BODILY INJURY.
25

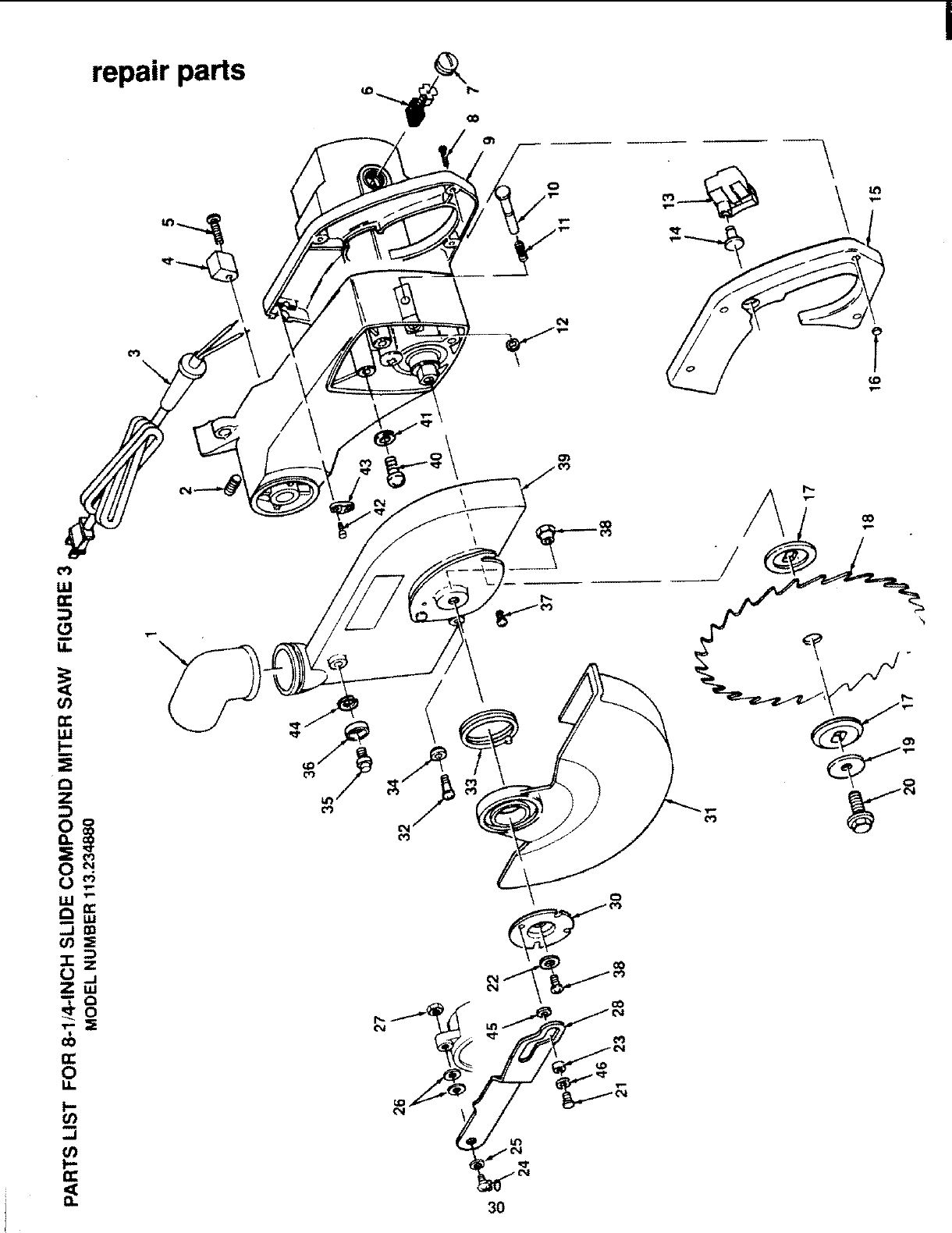
repair karts PARTS LIST FOR 8-1/4-INCH SLIDE COMPOUND MITER SAW
MODEL NUMBER 113.234880
FIGURE 1
49 ( SEE FIGURE 2 )
3O
J
29 _ 28
26
123
6 5
16
4 ( SEE
FIGURE 3 )
26

repair parts
PARTS LIST FOR 8-1/4-INCH SLIDE COMPOUND MITER SAW
MODEL NO. 113.234880
Always order by Part Number - Not by Key Number
FIGURE 1
Key Part
No. No,
1 819179
2 8055614
3 818656
4 .......
5 820628
6 820627
7 820646
8 813249-156
9 STD835025
10 STD840812
11 820647
12 820623
13 813313-1
14 820640
t5 820644
16 820632
17 820641
18 820645
19 820643
20 820642
21 813313
22 818677
23 820649
24 820735
25 818471-4
26 820638
Description
Washer, Spring
Washer. ,505 x 13/16 x 1/32
_ Nut, LockM12x !.75
See Figure 3
Spring, Torsion
Spacer, Tubular Support
Shaft, Bevel
Pin, Roll 6 x 30
Screw, Hex M8 x 1.25-32
* Nut, M8x125
A'_ Bolt, Shoulder
Indicator, Bevel
Screw. Pan M5 x 0.8 10
Table
Knob, Miter Lock
Ring, Retaining E8
Rod
Indicator, Miter
Shoe, Spring
Guide, Rod
Screw Pan M5 x 0.8-8
Ball, Index
Spring, Detent
Base w/Scale
Screw, Set M6 x t 0-10
Extension
Key Part
No, No.
27 820624
28 818470-I
29 820730
30 82O625
31 820732
32. 813310kl
33 STD852005
34 820237-6
35 820709
36 820708
37 820710
38 813249-80
39 820711
40 820707
41 820712
42 820626
43 STD851010
44 STD882010
45 820717
46 820714
47 820715
48 820716
49 SP5524
Description
Fence
Screw, Fiat Hd. M5 x 0.8-12
Guard, Fence Danger
Knob
Washer, Flat M8.5 x 16 x 1,2
Screw, Hex Hd M8 x 1.25 25
Lockwasher M5
Washer, M5x 11.5x 1.0
Face, Clamp
Shaft, Threaded
Post
Pin, Roll 3 x 15
Arm, Vise
Knob
Screw, Wing M6 x 1.0-20
Shaft
* Washer, FlatM 10x 19x2
* Lockwasher, Split-Ring M10
Bolt, Special M10 x 1.5
Handle, Lock
Spring, Compression
Screw, Socket 3mm
See Figure 2
Owners Manual
(Not Illustrated)
*Standard Hardware Item -- May Be Purchased Locally
_i, WARNING: These Items Are Important To The Safety Of This Tool. Do Not Substitute Common Parts
27

repair parts
\\
\\
\
/
/
28

repair parts
,,=,
z
o _"
n ,4
o=
°_o
0z
,- n,-
'7" Z
.0
-,1
0
¢J
o
o o
Z _. x
o _ _ _o
..o_m >_-o _'c c > _ _--
o -_o c E_ _ci_ .co
",,'noon rn,'n _000n0n
_ _ _o_
0_00 0000_00
I _"
,£
Q
o
0 _
Oo _ ., _
_,._ou ._ cm_ ._-0 o I
t.)CO Og-- 0_0_ _ _''
_o m:_rr N c '.','N J
_o_
00_00000
0
0
J_
D-
O3
z_
E
i
a_
"o
29

repair parts
3O
ip-

repair parts
o
CO _
0_0_00 , O0 0 0_0_ _0 _ 0
0
0
E E
E o
o 09
o _ o_
rr
"_ ×
z o _-
r_
o__
O0 03
t_ _ E
>, _ c
i
31

S_FA/ S
owner's
manual
SERVICE
MODEL NO.
113.234880
8-1A INCH
COMPOUND MITER SAW
IF YOU NEED REPAIR
SERVICE OR PARTS:
For Repair Service, Call
this Toll Free Number
1-800-4-REPAIR
(1-800-473-7247)
For Replacement Parts
information and Ordering,
Call this Toll Free Number:
1-800-FON-PART
(1-800-366-7278)
81A-INCH SLIDE
COMPOUND MITER SAW
Now that you have purchased your 8_:* inch Slide Compound
Miter Saw, should a need ever exist for repair parts or service
simply contact any Sears Service Center and most Sears, Roe-
buck and Co stores. Be sure to provide all pertinent facts when
you call or visit,
The model number of your 8_:_inch Compound Miter Saw will be
found on a plate attached to the base,
When ordering repair parts, always give the following
information:
PART NUMBER
MODEL NUMBER
113,234880
PART DESCRIPTION
NAME OF ITEM
8-_A inch Slide Compound
Miter Saw
All parts listed may be ordered from any Sears Service Center
and most Sears stores. If the parts you need are not stocked
locally, your order will be electronically transmitted to a Sears
Repair Parts Distribution Center for handling,
Sold by SEARS, ROEBUCK AND CO., Chicago, II. 60684 U.S.A.
Part No. SP5524 Form No. SP5524-5 Printed in Taiwan 8/94