Craftsman 113299510 User Manual Saw Table Manuals And Guides 1704213L
User Manual: Craftsman 113299510 113299510 CRAFTSMAN Saw Table - Manuals and Guides View the owners manual for your CRAFTSMAN Saw Table #113299510. Home:Tool Parts:Craftsman Parts:Craftsman Saw Table Manual
Open the PDF directly: View PDF
.
Page Count: 68

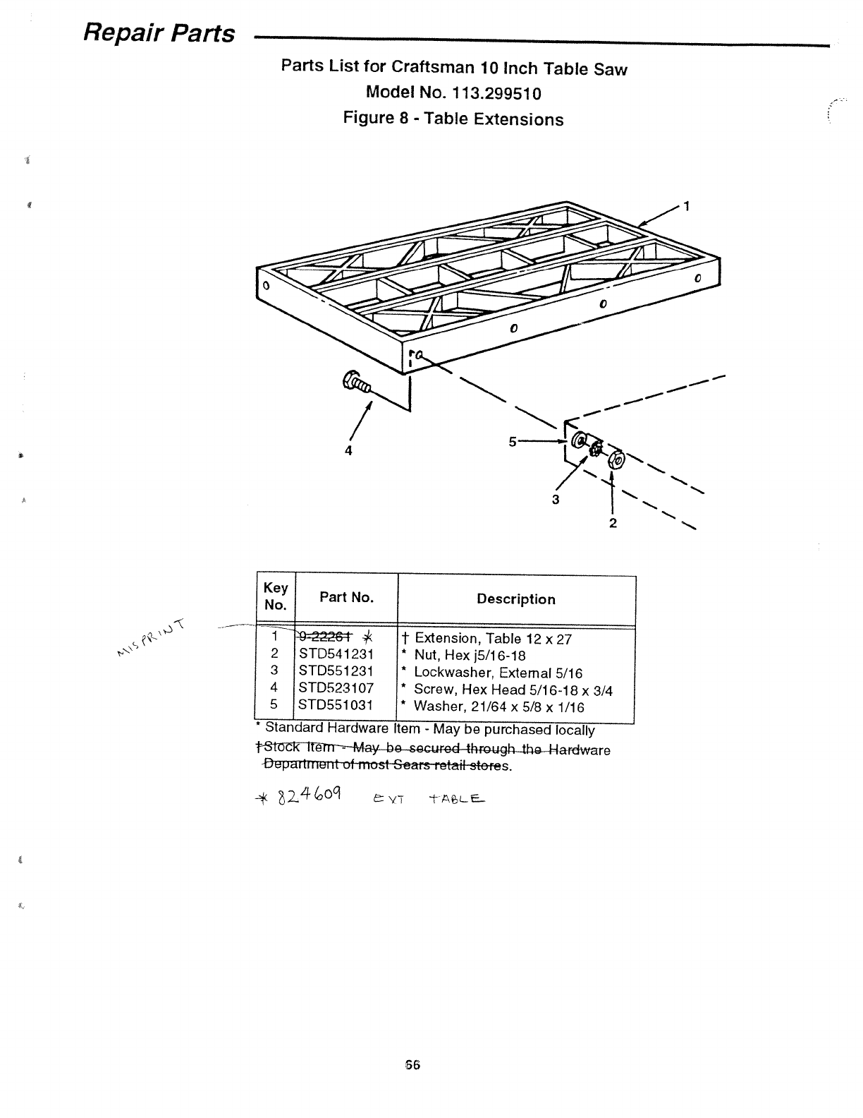
SP5910


































































