Craftsman 152221240 User Manual TABLE SAW Manuals And Guides L0607449
CRAFTSMAN Saw Table Manual L0607449 CRAFTSMAN Saw Table Owner's Manual, CRAFTSMAN Saw Table installation guides
User Manual: Craftsman 152221240 152221240 CRAFTSMAN TABLE SAW - Manuals and Guides View the owners manual for your CRAFTSMAN TABLE SAW #152221240. Home:Tool Parts:Craftsman Parts:Craftsman TABLE SAW Manual
Open the PDF directly: View PDF
.
Page Count: 88

Owner's uai
CRRFrSMRH
1.75 Horsepower (continuous duty)
2.4 Horsepower (maximum developed)
3450 R.P.M. (no load R.P.M.)
10-in. TABLE SAW
Model No.
152.221240
CAUTION:
FOR YOUR OWN SAFETY; Read
and follow all of the Safety and
Operating Instructions before
Operating this Table Saw.
Customer Helpline
1-800-897-7709
Please have your Model No.
and Serial No. available.
Sears, Roebuck and Co., Hoffman Estates, IL 60179 U.S.A.
Part No. OR91552
Revision: D Espa5ol pg. 48

SECTION PAGE
Warranty .......................................................................................................................................................................... 2
Product Specifications .................................................................................................................................................. 2
Glossary of Terms .......................................................................................................................................................... 3
Safety Instructions ......................................................................................................................................................... 4
Guidelines for Extension Cords ................................................................................................................................... 5
Grounding Instructions ................................................................................................................................................. 6
Specific Safety Instructions for Table Saw .................................................................................................................. 7
Accessories and Attachments ...................................................................................................................................... 9
Carton Contents ........................................................................................................................................................... 11
Know Your Table Saw .................................................................................................................................................. 15
Assembly Instructions ................................................................................................................................................. 16
Operations and Adjustment to the Table Saw ........................................................................................................... 26
Maintenance .................................................................................................................................................................. 38
Troubleshooting Guide ................................................................................................................................................ 40
Part List ......................................................................................................................................................................... 41
Espanol ......................................................................................................................................................................... 48
Service Information ...................................................................................................................................................... 88
FULLONEYEAR WARRANTY
If this product fails due to a defect in material or workmanship within one year from the date of purchase, return it
to the nearest Sears Service Center for repair, free of charge.
This warranty gives you specific legal rights, and you may also have other rights, which vary, from state to state.
Sears, Roebuck and Co., Dept 817 WA, Hoffman Estates, IL 60179
lO-in. Table Saw
Motor type induction
Continuous duty HP 1.75
Maximum developed HP 2.4
Amps 15/7.5
Volts 120/240
Hertz 60
RPM 3450 R.RM. (no load R.RM.)
Blade tilt Left tilt
Blade drive Poly-V Belt
Blade diameter 10-in.
Blade arbor 5/8-in.
Number of teeth 40
Blade speed 3450 R.RM.
Fence type Biesemeyer, Commercial
Fence System
Max depth-of-cut at 90-degree 3-3/8-in.
Max depth-of-cut at 45-degree 2-1/4-in.
Max rip to the right of the blade 30-in.
Max rip to the left of the blade 18-in.
Table in front of blade at max depth-of-cut 12-1/2-in.
Max dado width 13/16-in.
Max dado blade diameter 8-in.
Left and right table wing 12-in, Cast Iron
Weight of table saw 330 Ibs.
Weight of fence assembly 70 Ibs.
To avoid electrical shock to yourself and damage to the
Table Saw, use proper circuit protection. Do not expose to
rain, or use in a damp environment.
The Table Saw is factory wired for 120V, 60 Hz, operation.
Connect to a 120V, 15 amp branch circuit and use a 15
amp time delay fuse or circuit breaker. The electrical circuit
cannot have any wire size less than #14. To avoid shock
or fire, replace power cord immediately if it is damaged in
any way.

Anti-KickbackFingers- Asafetydeviceattachedtothe
bladeguardandsplitterassemblydesignedtostopa
workpiecefrombeingthrownbackduringacuttingopera-
tion.
Arbor- Theshaftonwhichthebladeoraccessorycut-
ting-toolismounted.
BevelCut- Theoperationofmakinganycutwiththe
bladesetonadegreeotherthan90degrees.
CompoundCut- Theoperationofmakingbotha bevel
anda mitercutatonetime.
Crosscut- Theoperationofmakingacutacrossthe
grainorwidthofaworkpiece.
Dado- Anon-throughcutthatproducesasquarenotch.
A dadoistypicallyfrom1/8-in.to 13/16-in.wide.Adado
requiresaspecialsetofblades,notincludedwiththis
tablesaw.
Kerf- Thematerialremovedbythebladeinthework-
pieceduringanycuttingoperation.
Kickback- Whentheworkpieceisthrownbacktowards
theoperatorduringa cuttingoperationwhentheworkpiece
initiallycontactsthebladeorif theworkpiecepinchesthe
blade.Kickbackisdangerousandcanresultinserious
injury.
MiterCut- Theoperationofmakingacutusingthemiter
gaugeatanyangleotherthanzerodegrees.
PushStick- Anaccessorydevicethatcanbemadeor
purchasedtohelppushtheworkpiecethroughtheblade.
Apushstickisusedtokeeptheoperator'shandsaway
fromthebladewhenrippinganarrowworkpiece.
Rabbet- Asquarenotchintheedgeoftheworkpiece.
Resaw- Theoperationofmakingacuttoreducethe
thicknessoftheworkpiece.
Featherboard- Anaccessorydevicethatcanbemadeor
purchasedtohelpguideorholddownaworkpieceduring
cuttingoperations.
Freehand- Averydangerousoperationofmakingacut
withoutusingthefenceormitergaugeinacuttingopera-
tion.FreehandcutsmustneverbeperformedonaTable
Saw.
Gum,Pitchor Resin- Asticky,sapbasedresiduethat
comesfromwoodproducts.
Heel- Themisalignmentofthebladetothemiterslots;
whenthebladeisnotparalleltothemiterslots.
RipCut- Theoperationof makingacutwiththegrainof
theworkpiece.
SawBladePath- Theareathatisdirectlyinlinewiththe
blade,includingareaover,under,behindandinfrontofit.
Setof theSawBlade- Thedistancethatthetipsofthe
sawbladeareangledoutwardsfromthethicknessofthe
blade.Thesetofthesawbladeteethallowsfortheblade
bodytopasssafelythroughallcuts.
Table/WorkArea- Thetotalsurfaceofthetopofthetable
sawonwhichtheworkpiecerestswhileset-uporcutting
operationsarebeingperformed.

GENERAL SAFETY iNSTRUCTiONS
Operating a Table Saw can be dangerous if safety and
common sense are ignored. The operator must be
familiar with the operation of the tool. Read this manual
to understand this Table Saw. DO NOT operate this
Table Saw if you do not fully understand the limitations
of this tool. DO NOT modify this Table Saw in any way.
REMEMBER: Your personal safety is your
responsibility.
9. ALWAYS WEAR EYE PROTECTION. Any power
tool can throw debris into the eyes during opera-
tions, which could cause severe and permanent
eye damage. Everyday eyeglasses are NOT safety
glasses. ALWAYS wear Safety Goggles (that
comply with ANSi standard Z87.1) when operating
power tools. Safety Goggles are available at Sears
Retail Stores. Hearing equipment should comply
with ANSi $3.19 Standards
BEFORE USING THE TABLE SAW
To avoid serious injury and damage to the tool, read
and follow all of the Safety and Operating Instructions
before operating the Table Saw.
1. READ the entire Owner's Manual. LEARN how to
use the tool for its intended applications.
2. GROUND ALL TOOLS. If the tool is supplied with
a 3-prong plug, it must be plugged into a 3-contact
electrical receptacle. The 3rd prong is used to
ground the tool and provide protection against
accidental electric shock. DO NOT remove the 3rd
prong. See Grounding Instructions.
3. AVOID A DANGEROUS WORKING ENViRON-
MENT. DO NOT Use electrical tools in a damp
environment or expose them to rain.
4. DO NOT use electrical tools in the presence of
flammable liquids or gasses.
5. ALWAYS keep the work area clean, well lit, and
organized. DO NOT work in an environment with
floor surfaces that are slippery from debris, grease,
and wax.
6. KEEP ViSiTORS AND CHILDREN AWAY from the
table saw. DO NOT permit people to be in the
immediate work area, especially when the electrical
tool is operating.
7. DO NOT FORCE THE TOOL to perform an opera-
tion for which it was not designed. It will do a safer
and higher quality job by only performing operations
for which the tool was intended.
8. WEAR PROPER CLOTHING. DO NOT wear loose
clothing, gloves, neckties, or jewelry. These items
can get caught in the machine during operations
and pull the operator into the moving parts. Users
must wear a protective cover on their hair, if the
hair is long, to prevent it from contacting any
moving parts.
10.
11.
12.
13.
14.
15.
16.
17.
18.
19.
ALWAYS UNPLUG THE TOOL FROM THE ELEC=
TRICAL RECEPTACLE when making adjustments,
changing parts or performing any maintenance.
KEEP PROTECTIVE GUARDS iN PLACE AND iN
WORKING ORDER.
AVOID ACCIDENTAL STARTING. Make sure that
the power switch is in the "OFF" position before plug-
ging in the power cord to the electrical receptacle.
REMOVE ALL MAINTENANCE TOOLS from the
immediate area prior to turning the tool "ON".
USE ONLY RECOMMENDED ACCESSORIES.
Use of incorrect or improper accessories could
cause serious injury to the operator and cause
damage to the tool. If in doubt, check the instruction
manual that comes with that particular accessory.
NEVER LEAVE ARUNNING TOOL UNATTENDED.
Turn the power switch to the "OFF" position. DO
NOT leave the tool until it has come to a complete
stop.
DO NOT STAND ON A TOOL. Serious injury could
result if the tool tips over or you accidentally contact
the tool.
DO NOT store anything above or near the tool
where anyone might try to stand on the tool to
reach it.
MAiNTAiN YOUR BALANCE. DO NOT extend
yourself over the tool. Wear oil resistant rubber-
soled shoes. Keep floor clear of debris, grease, and
wax.
MAiNTAiN TOOLS WITH CARE. Always keep tools
clean and in good working order. Keep all blades
and tool bits sharp.

20.EACHAND EVERY TIME, CHECK FOR DAM=
AGED PARTS PRIOR TO USING THE TOOL.
Carefully check all guards to see that they operate
properly, are not damaged, and perform their
intended functions. Check for alignment, binding or
breaking of moving parts. A guard or other part that
is damaged should be immediately repaired or
replaced.
21. CHILDPROOF THE WORKSHOP AREA by remov-
ing switch keys, unplugging tools from the electrical
receptacles, and using padlocks.
22. DO NOT OPERATE TOOL iF UNDER THE
iNFLUENCE OF DRUGS OR ALCOHOL.
23. SECURE ALL WORK. When it is possible, use
clamps or jigs to secure the workpiece. This is safer
than attempting to hold the workpiece with your
hands.
24. STAY ALERT, WATCH WHAT YOU ARE DOING,
AND USE COMMON SENSE WHEN OPERATING
A POWER TOOL. DO NOT USE A TOOL WHILE
TIRED OR UNDER THE iNFLUENCE OF DRUGS,
ALCOHOL, OR MEDICATION. A moment of
inattention while operating power tools may result
in serious personal injury.
25. Use of this tool can generate and disburse dust or
other airborne particles, including wood dust,
crystalline silica dust and asbestos dust. Direct
particles away from face and body. Always operate
tool in well ventilated area and provide for proper
dust removal. Use dust collection system wherever
possible. Exposure to the dust may cause serious
and permanent respiratory or other injury, including
silicosis (a serious lung disease), cancer, and
death. Avoid breathing the dust, and avoid pro-
longed contact with dust. Allowing dust to get into
your mouth or eyes, or lay on your skin may pro-
mote absorption of harmful material. Always use
properly fitting NIOSH/OSHA approved respiratory
protection appropriate for the dust exposure, and
wash exposed areas with soap and water.
26. USE A PROPER EXTENSION CORD iN GOOD
CONDiTiON. When using an extension cord, be
sure to use one heavy enough to carry the current
your product will draw. Please see "MiNiMUM
RECOMMENDED GAUGE FOR EXTENSION
CORDS (AWG)" table for correct sizing of an
extension cord. If in doubt, use the next heavier
gauge.
GUIDELINES FOR
EXTENSION CORDS
The smaller the gauge-number, the larger diameter of
the extension cord. If in doubt of the proper size of an
extension cord, use a shorter and thicker cord. An
undersized cord will cause a drop in line voltage result-
ing in a loss of power and overheating. USE ONLY A
3=WIRE EXTENSION CORD THAT HAS A 3=PRONG
GROUNDING PLUG AND A 3=POLE RECEPTACLE
THAT ACCEPTS THE TOOL'S PLUG.
If you are using an extension cord outdoors, be sure it
is marked with the suffix "W-A" ("W" in Canada) to indi-
cate that it is acceptable for outdoor use.
Be sure your extension cord is properly sized, and in
good electrical condition. Always replace a damaged
extension cord or have it repaired by a qualified person
before using it.
Protect your extension cords from sharp objects, exces-
sive heat, and damp or wet areas.
120 VOLT OPERATION ONLY
25' LONG 50' LONG 100' LONG
0 to 6 Amps
6 to 10 Amps
10 to 12 Amps
12 to 15 Amps
18 AWG
18 AWG
16 AWG
14 AWG
16 AWG
16 AWG
16 AWG
12 AWG
16 AWG
14 AWG
14 AWG
Not
recommended
240 VOLT OPERATION ONLY
0 to 6 Amps
6 to 10 Amps
10 to 12 Amps
12 to 15 Amps
25' LONG
18 AWG
18 AWG
16 AWG
14 AWG
50' LONG
18 AWG
18 AWG
16 AWG
12 WG
100' LONG
16 AWG
14 AWG
14 AWG
Not
recommended
27. DiRECTiON OF FEED. Feed work into a blade or
cutter against the direction of rotation of the blade
or cutter only.

THiS TOOL MUST BE GROUNDED WHILE iN USE
TO PROTECT THE OPERATOR FROM ELECTRIC
SHOCK.
iN THE EVENT OF AMALFUNCTION OR BREAK-
DOWN, grounding provides the path of least resistance
for electric current and reduces the risk of electric
shock. This tool is equipped with an electric cord that
has an equipment-grounding conductor and a ground-
ing plug. The plug MUST be plugged into a matching
electrical receptacle that is properly installed and
grounded in accordance with ALL local codes and
ordinances.
DO NOT MODIFY THE PLUG PROVIDED. If it will not
fit the electrical receptacle, have the proper electrical
receptacle installed by a qualified electrician.
iMPROPER ELECTRICAL CONNECTION of the equip-
ment-grounding conductor can result in risk of electric
shock. The conductor with the green insulation (with
or without yellow stripes) is the equipment-grounding
conductor. DO NOT connect the equipment-grounding
conductor to a live terminal if repair or replacement of
the electric cord or plug is necessary.
CHECK with a qualified electrician or service personnel
if you do not completely understand the grounding
instructions, or if you are not sure the tool is properly
grounded.
The motor supplied with your Table Saw is a dual
voltage 120/240 volts, 60 hertz alternating current,
single phase motor. It is shipped wired for 120 volts
application. Never connect the green or ground wire to
a live terminal.
USE ONLY A 3=WIRE EXTENSION CORD THAT HAS
A 3=PRONG GROUNDING PLUG AND A 3-POLE
RECEPTACLE THAT ACCEPTS THE TOOL'S PLUG.
REPLACE ADAMAGED OR WORN CORD IMMEDI=
ATELY.
FOR GROUNDED, CORD=CONNECTED MACHINES
iNTENDED FOR USE ON A SUPPLY CIRCUIT HAVING
ANOMINAL RATING LESS THAN 150 VOLTS.
This tool is intended for use on a circuit that has an
electrical receptacle as shown in FIGURE "IA'.
FIGURE "IA" shows a 3-wire electrical plug and elec-
trical receptacle that has a grounding conductor. If a
properly grounded electrical receptacle is not available,
an adapter as shown in FIGURE "IB" can be used to
temporarily connect this plug to a 2-contact ungrounded
receptacle. The adapter has a dgid lug extending from it
that MUST be connected to a permanent earth ground,
such as a properly grounded receptacle box. THiS
ADAPTER iS PROHIBITED iN CANADA.
CAUTION: In all cases, make certain the electrical
receptacle in question is properly grounded. If you are
not sure have a certified electrician check the electrical
receptacle.
The motor supplied with your Table Saw is a dual volt-
age, 120/240 volt, single phase motor. If it is desired
to operate your table saw at 240 volts, it is necessary to
reconnect the motor leads in the motor junction box by
following the wiring diagram on the junction box cover.
MAKE CERTAIN the motor is disconnected from power
source before reconnecting motor leads.
Fig. 1A
120 Volt
grounding conductor
3-wire electrical cord
""_ 3-prong
electrical
receptacle
Fig. 1B
120 Volt
grounding conductor
3-wire electrical cord
grounding
2-prong
electrical
receptacle

It is also necessary to replace the 120 volt plug, sup-
plied with the motor, with a UL/CSA Listed plug suitable
for 240 volts and rated current of the saw. Contact a
local qualified electrician for proper procedures to install
the plug. The table saw must comply with all local and
national electrical codes after the 240 volt plug is
installed.
The table saw with a 240 volt plug should only be con-
nected to an outlet having the same configuration as
the plug shown in Figure "1C". No adapter is available
or should be used with the 240 volt plug.
MAKE CERTAIN that masks or respirators are
MSHA/NIOSH approved.
The operation of any Table Saw can result in debris
being thrown into your eyes, which can result in severe
eye damage. ALWAYS wear Safety Goggles (that com-
ply with ANSi standard Z87.1) when operating the Table
Saw. Safety Goggles are available at Sears Retail
Stores. Keep your thumbs and fingers away from the
blade while it is spinning.
Fig. 1C
current
240 VOLT carrying
prongs
grounding blade is
longest of the 3 blades
grounded outlet box
©
e
©
MAKE CERTAIN the receptacle in question is properly
grounded. If you are not sure have a qualified electri-
cian check the receptacle.
This Table Saw is for indoor use only. Do not expose to
rain or use in damp locations.
SPECIFIC SAFETY INSTRUCTIONS
FOR TABLE SAWS
CALIFORNIA PROPOSITION 65
SOME DUST CREATED BY POWER SANDING,
SAWING, GRINDING, DRILLING AND OTHER CON=
STRUCTION ACTiViTIES contains chemicals known to
cause cancer, birth defects or other reproductive harm.
Some examples of these chemicals are:
• lead from lead-based paints,
• crystalline silica from bricks and cement and other
masonry products, and
• arsenic and chromium from chemically-treated lumber.
Your risk from these exposures varies, depending on
how often you do this type of work. To reduce your
exposure to these chemicals: work in a well ventilated
area, and work with approved safety equipment, such
as those dust masks that are specially designed to filter
out microscopic particles.
Basic precautions should always be followed when
using your Table Saw. To reduce the risk of injury,
electrical shock or fire, comply with the safety rules
listed below:
1. READ and understand the instruction manual
before operating the Table Saw.
2. DO NOT OPERATE THiS MACHINE until it is as-
sembled and installed according to the instructions.
3. OBTAIN ADVICE FROM YOUR SUPERVISOR,
instructor, or another qualified person if you are not
familiar with the operation of this machine.
4. DO NOT leave the Table Saw plugged into the elec-
trical outlet. Unplug Table Saw from the outlet when
not in use and before servicing, changing blades
and cleaning.
5. ALWAYS turn the power switch "OFF" before
unplugging the Table Saw.
6. TO REDUCE THE RISK OF ELECTRICAL
SHOCK, do not use outdoors. Do not expose to
rain. Store indoors.
7. FOLLOW all electrical and safety codes, including
the National Electric Code (NEC) and the Occupa-
tional Safety and Health Regulations (OSHA). All
electrical connections and wiring should be made
by qualified personnel only.
8. DO NOT handle the plug or Table Saw with wet
hands.
9. USE only as described in this manual. USE acces-
sories only recommended by Sears.
10. DO NOT pull the Table Saw by the power cord.
NEVER allow the power cord to come in contact
with sharp edges, hot surfaces, oil or grease.
11. DO NOT unplug the Table Saw by pulling on the
power cord. ALWAYS grasp the plug, not the cord.
12. REPLACE a damaged cord immediately. DO NOT
use a damaged cord or plug. If the Table Saw is not
operating properly, or has been damaged, left out-
doors or has been in contact with water, return it to
a Sears Service Center.
13. DO NOT use the Table Saw as a toy. DO NOT use
near or around children.

14.TheTableSawisdesignedforhomeuseorlight 27.NEVERperformlayout,assemblyorset-upworkon
commercialdutyONLY. thetable/workareawhenthemachineis running.
15.CONNECTTableSawtoa properlygroundedoutlet
only.Seegroundinginstructions. 28.NEVERresetthethermal-overloadbuttonbefore
youhaveturnedthetablesaw"OFF".
16.ALWAYSUSEtheguardswheneverpossible.
Checktoseethattheyareinplace,securedand
workingcorrectly.
17.AVOIDKICKBACKby:
• Keepingbladesharpandfreeof rustandpitch.
• Keepingripfenceparallelto sawblade.
• Usingsawbladeguardandsplitterassemblyfor
everypossibleoperation,includingallthrough-
sawing.
• Pushingtheworkpiecepastthesawbladepriorto
release.
• Neverripaworkpiecethatis twistedor
warped,ordoesnothaveastraightedgetoguide
alongthefence.
• Usingfeatherboardswhenthebladeguardand
splitterassemblycannotbeused.
Neversawinga largeworkpiecethatcannotbe
controlled.
Neverusingthefenceasaguidewhencross-
cutting.
• Neversawingaworkpiecewithlooseknotsor
otherflaws.
18.REMOVEcut-offpiecesanddebrisfromthetable
beforestartingthesaw.Thevibrationofthesaw
maycausethemto moveintothesawbladeandbe
thrownout. Aftercutting,turnthesawoff. When
thebladehascometoa completestop,unplugthe
sawandremovealldebris.
19.NEVERSTARTthesawwiththeworkpieceagainst
theblade.
20.NEVERperform"free-hand"operations.Useeither
thefenceor mitergaugeto positionandguidethe
workpiece.Holdtheworkpiecefirmlyagainstthe
mitergaugeorfence.
21.USEa pushstick(s)for rippinga narrowworkpiece.
22.AVOID AWKWARD OPERATIONS AND HAND
POSITIONS where a sudden slip could cause a
hand to move into the blade.
23. KEEP arms, hands and fingers away from the
blade.
24. NEVER have any part of your body in line with the
path of the saw blade.
25. NEVER reach around or over the blade.
26. NEVER attempt to free a stalled blade without first
turning the machine "OFF" and unplugging it from
the power source.
29.
30.
31.
32.
33.
34.
PROPERLY SUPPORT long or wide workpiece.
TURN THE SAW "OFF" and unplug from power
source. Clean off the table/work area before leav-
ing the saw. LOCK the START/STOP switch with
padlock provided to prevent unauthorized use.
ALWAYS position auxiliary fence at least 2-inches
in front of saw blade when using auxiliary fence as
a stop when cross-cutting.
The right extension wing MUST BE completely
assembled and motor cover closed and fastened
before table saw is to be connected to the power
source.
ADDiTiONAL iNFORMATiON regarding the safe
and proper operation of this product is available
from the National Safety Council, 1121 Spring Lake
Drive, Itasca, IL 60143-3201 in the Accident
Prevention Manual for Industrial Operation and also
in the Safety Data Sheets provided by the NSC.
Please also refer to the American National
Standards Institute ANSi 01.1 Safety Requirements
for Woodworking Machinery and the U.S.
Department of Labor OSHA 1910.213 Regulations.
SAVE THESE iNSTRUCTiONS. Refer to them
frequently and use them to instruct other users.
Information regarding the safe and proper operation of
this tool is available from the following sources:
Power Tool Institute
1300 Summer Avenue
Cleveland, OH 44115-2851
www.powertoolinstitute.org
National Safety Council
1121 Spring Lake Drive
Itasca, IL 60143-3201
American National Standards Institute
25 West 43rd Street
4th floor
New York, NY 10036
www.ansi.org
ANSi 01.1 Safety Requirements for Woodworking
Machines, and the U.S. Department of Labor regulations
www.osha.gov

AVAILABLE ACCESSORIES
Visit your Sears Hardware Department or see the Sears
Power and Hand Tool Catalog for the following acces-
sories.
Sears may recommend other accessories not listed in
this manual.
See your nearest Sears Hardware Department or Sears
Power and Hand Tool Catalog for other accessories.
ITEM
* Miter Gauge Extension & Stop
* Stock Clamp, Miter Gauge
* Table Insert -Standard
* Table Insert -Dado
* Table Insert -Molding Cutterhead
* Saw Blade - Leitz; lO-in, x 40 tooth
variable pitch blade
* Fence Guide System
STOCK NUMBER
29879
29880
29882
29885
29887
29888
32371
Do not use any accessory unless you have completely
read the Owner's Manual for that accessory.
Use only accessories recommended for this table saw.
Using other accessories may cause serious injury and
cause damage to the table saw.
Fig. 2A
CONSTRUCTING AFEATHERBOARD
24"
I'5" ' I
Figure 2A illustrates dimensions for making a typical
featherboard. The material, which the featherboard is
constructed of, should be straight piece of wood that is
free of knots and cracks. Featherboards are used to
keep the work in contact with the fence and table and
help prevent kickbacks. Clamp the featherboard to the
fence and table so that the leading edge of the feather-
board will support the workpiece until the cut is com-
pleted.
Use featherboards for all non-through cutting opera-
tions where the guard and splitter assembly must be
removed. Always replace the guard and splitter
assembly when the non-through cutting operations
are finished. See figure 2B.
Fig. 2B

CONSTRUCTING A PUSHSTICK
When ripping work less than 4 inches wide, a pushstick should be used to complete the feed and could easily be
made from scrap material by following the pattern shown in figure 2C.
Fig. 2C
The Pushstick should be made of 3/4 or 1/2 inch wood or a thickness less than the width of the
workpiece to be cut.
Figure 2C should be copied and scaled so the grids are 1/2 inch square. This copy can be used
to make your pushstick.
10

UNPACKING AND CHECKING CONTENTS Fig. 3-1 1
The table saw is a heavy machine, two people are
required to unpack and lift the table saw.
This table saw will require some amount of assembly.
This table saw is shipped in two separate cartons, one
for the saw and one for the fence. The saw carton also
contains a box of saw parts.
1. Remove parts from all of the cartons and lay them
on a clean work surface.
2. Two or more people are required to lift the table
saw off of the shipping pallet.
3. Remove any protective materials and coatings from
all of the parts and the table saw. The protective
coatings can be removed by spraying WD-40 on
them and wiping it off with a soft cloth. This may
need redone several times before all of the protec-
tive coatings are removed completely.
CAUTION: DO NOT use acetone, gasoline or lacquer thin-
ner to remove any protective coatings on your table saw.
4. After cleaning, apply a good quality paste wax to
any unpainted surfaces. Make sure to buff out the
wax before assembly.
8, Compare the items to figures below; verify that all
items are accounted for before discarding the ship-
ping box. If there are any missing parts, call
Customer Helpline 1-800-897-7709.
The right extension wing must be completely assem-
bled and motor cover closed and fastened before table
saw is to be connected to the power source.
If any parts are missing, do not attempt to plug in the
power cord and turn "ON" the table saw. The table saw
can only be turned "ON" after all the parts have been
obtained and installed correctly.
TABLE SAW
1. Table saw assembly
2. Extension wing (2)
3. Handwheel (2)
4. Handwheel lock knob (2)
5. Splitter mounting rod
6. Splitter bracket assembly
7. Wrench hook
8. Leveling foot (4)
9. Fence hook (2)
10. Polly-V belt
11. Blade guard and splitter assembly
12. Dust Port
13. Switch
14. Saw blade (not shown)
11
11
13
\\\\\\\\\\\\\\\\\
4

FENCE
20.Rearrail
21.Frontrail
22.Guidetube
23.Extensiontableassembly
24.T-Square_)fenceassembly
25.Lockinghandleknob
26.Cursor(2)
27.Template
/
27
Fig. 3-2
2O
22
21
26
23
Fig. 3-3
MITER GAUGE
40. Miter gauge
41. Cross cut fence
42. Depth stop
43. Clamp assembly
44. M5 x 20mm Hex socket
head screw (3)
45. M5 Flat washer (3)
46. M5 Square nut (3)
47. Elevating rod
48. Knob (2)
41
40 48 47
12

Fig. 3=4
5O
OUTFEED TABLE
50. Outfeed table assembly
51. Hinge assembly (2)
52. Clamp knob
53. Upper support assembly
54. Lower support
55. Support retainer
51
52
53
54
55
Hardware packs are not identified or labeled. See hardware
diagram to help in finding the correct part. See figure 3-5.
,Hardware Pack for Biesemeyer Fence Rails
(#0R91669) includes: (Hardware finish is Zinc)
Flat Washer M8 (2)
Flat Washer 5/16" (9)
Lock Washer M8 (2)
Lock Washer 5/16" (9)
Lock Washer 1/4" (6)
Flat Head Screw 5/16-18 x 2" (6)
Hex Head Screw M8 x 25mm (2)
Hex Head Screw 5/16-18 x 1-1/2" (3)
Hex Head Screw 1/4-20 x 1/2" (4)
Hex Head Screw 1/4-20 x 3/4" (2)
Hex nut 5/16-18 (9)
,, Hardware Pack for Biesemeyer Fence (#0R91666)
includes: (Hardware finish is Zinc)
Flat Washer #10 (4)
Round head Screw 10-32 x 3/8" (4)
Knob (Black) (not shown)
Cursor (not shown) (2)
Hardware Pack for Extension Wings (#0R92013)
includes: (Hardware finish is Black Oxide)
Flat Washer M8 (8)
Lock Washer M8 (8)
Hex Head Screw M8x1.25 x 30mm (8)
Hardware Pack for Outfeed Table (#0R92015)
includes: (Hardware finish is Black Oxide)
Clamp Knob
Flat washer M5 (16)
Flat Washer M6 (2)
Lock Washer M5 (8)
Lock Washer M6 (2)
Hex Head Screw M5 x 16mm (8)
Hex Head Screw M6 x 25mm (2)
Hex Head Screw 6 x 35mm (2)
Hex Nut M5 (8)
Hex Nut M6, Nylok (2)
Miscellaneous Hardware: (Hardware finish is
Black Oxide)
Sheet Metal Screw M4 x 8mm (6)
Sheet Metal Screw 1/4-20 x 3/8" (4)
13

Fig. 3=5
HEX HEAD SCREW N8xI.25 x 25_M
HEX HEAD _REW MSx|.25 x 3O_a
HEX HEAD SCREW 5/|6-|8 × |-i/2"
0 @
HEX HEAD SCREW N6 x 25_
0 @
HEX HEAD SCREW N6 x 35_
HEX HEAD SCREW 1/4-20 x i12"
HEX HEAD SCREW |/4=20 x 3/4"
0 @
HEX HEAD SCREW N5 x 16_r'_
FLAT HEAD SCREW 5/|6=18 × 2"
® @
ROUND HEAD SCREW |0=32 x 3/8"
SHEET NETAL SCREW I/4=20 x 3/8"
SHEET METAL SCREW _4 x8MM
@8 @8
HEX NUT M6,
HEX NUT N8×1.25 NYLOCK
@El @B
HEX NUT M5
HEX Nut 5/16°=18
@I
FLAT WASHER N8
FLAT WASHER #10
LOCK WASHER M6
LrIcK WASHER _48
LBCK WASHER _5
LDCK WASHER 5/16" @ _
LBCK WASHER |/4"
14

24
2
431 6
23 7 8 9
10
22
17
14
11
15
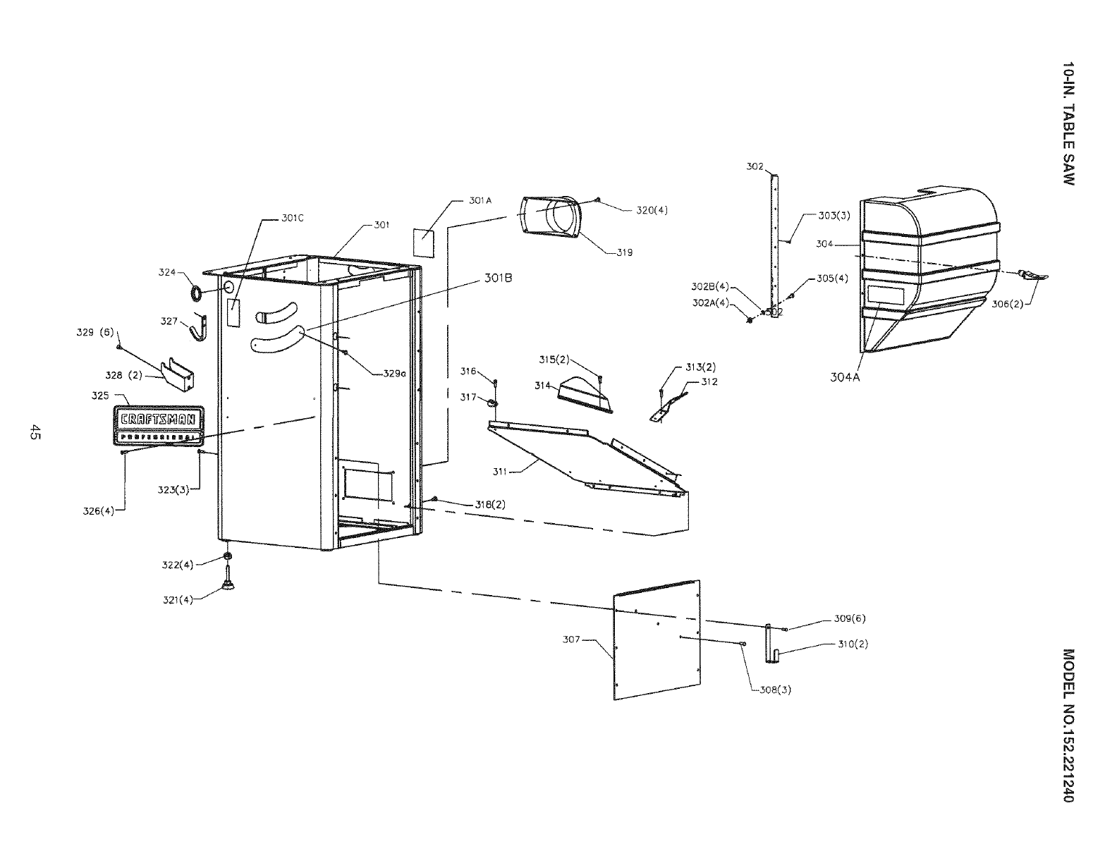
1. Splitter assembly
2. Anti-kickback fingers
3. Blade
4. Blade guard
5. Align-a-cut insert
6. Rear out-feed table
7. Table surface
8. 12-in. cast iron wing
9. Biesemeyer commercial T-square fence
10. Accessory Biesemeyer extension table
11. Front rail with scale
12. Rip fence handle
13. Motor cover
14. Bevel scale
15. Full cabinet
16. Leveling foot
17. Rip fence holder bracket
18. Blade height handwheel
19. Handwheel lock
20. Bevel height handwheel
21. Bevel handwheel lock
22. On/Off switch
23. Deluxe Miter gauge
24. Miter gauge groove
15

TOOLS REQUIRED
The following tools are needed for assembly and align-
ment. Note: Two blade wrenches and five hex wrenches
are provided with your table saw. The remaining tools
are typical shop tools and are not included withyour
table saw.
18mm wrench
13mm wrench
10mm wrench
8mm wrench
1/2-in. wrench
7/16-in. wrench
3/16-in. hex wrench
#2 Phillips screwdriver
#3 Phillips screwdriver
Pipe clamp
C-clamp (2)
Power drill with 5/16-in. drill bit
• The table saw is a heavy machine; two people may
be required for certain assembly operations.
DO NOT assemble the table saw until you are sure
the tool is unplugged.
• DO NOT assemble the table saw until you are sure
the power switch is in the "OFF" position.
• For your own safety, DO NOT connect the machine to
the power source until the machine is completely
assembled and you read and understand this entire
Owner's Manual.
LEVELING FEET ASSEMBLY
MAKE CERTAIN the table saw is disconnected from
the power source.
Figure 44
NOTE: If you will be permanently attaching your table
saw to the floor, DO NOT assemble leveling feet and go
on to the next step.
1. With two people, tip the front of the table saw (A)
back and block the table saw up using two small
blocks of scrap 2x4 lying horizontal (B). CAUTION:
The table saw is heavy; two people are required for
this operation. Make sure the table saw is sturdily
supported before proceeding. See figure 4-1.
2. Make sure M8 hex nut (C) is completely threaded
down on each of the four leveling feet (D). See fig-
ure 4-1.
3.
4.
Thread one leveling foot with hex nut to the bottom
of both front corners of the cabinet (E). See figure
4-1.
Remove the scrap 2x4 blocks under the front of the
table saw and place them under the back of the
saw. Repeat these steps to attach two leveling feet
to the rear corners of the cabinet.
DUST PORT ASSEMBLY
MAKE CERTAIN the table saw is disconnected from
the power source.
Figure 5=1
1. Attach the dust port (A) to the opening (B) in the
bottom rear of the cabinet with four 1/4-20 x 3/8"
round head tap screws, not shown. See figure 5-1.
16

POLY=V BELT ASSEMBLY
MAKE CERTAIN the table saw is disconnected from
the power source.
Figure 6=1 B
;c
1,
2.
3.
4,
Make sure all packaging material has been
removed from inside the cabinet.
Open the motor cover and place the motor Poly-V
belt (A) over the blade pulley (B). See figure 6-1.
Carefully lift the motor (C) and place the belt under
the motor pulley (not shown). Make sure all the
v-notches in the belt are mated with the v-notches
of the blade and motor pulley. See figure 6-1.
Carefully let the motor down and close motor cover.
EXTENSION WING ASSEMBLY
MAKE CERTAIN the table saw is disconnected from
the power source.
The right extension wing must be completely assem-
bled and motor cover closed and fastened before table
saw is to be connected to the power source.
Figure 7=1 A
1,
2,
CAUTION: The extension wings are heavy; two
people are required to assemble both extension
wings to the table saw.
Assemble one of the extension wings (A) to the left
side of the table saw. Align the four holes (B) in the
extension wing with the four holes in the left side of
the saw table. Use four M8 x 30mm hex head
screws, M8 lock washers and M8 flat washers. Do
not completely tighten hardware at this time. See
figure 7-1.
Figure 7=2
DE
3,
4,
Lay a straight edge (C) across the saw table (D)
and extension wing (E). Make sure that the front
face of the extension wing (F) is flat to the front
face of the saw table (G). Adjust the extension
wing so that its top surface is exactly flat to the saw
table and securely tighten hardware. See figure 7-2.
Repeat steps 2 and 3 above to assemble the other
extension wing to the right side of the table saw.
HANDWHEEL ASSEMBLY
MAKE CERTAIN the table saw is disconnected from
the power source.
Figure 8=1
D
C
17

1. BLADE GUARD AND SPLITTER ASSEMBLY
Place one of the handwheels (A) onto the bevel
shaft (B) located on the side of the cabinet. Align
the groove (C) in the back of the handwheel with
the pin (D). See figure 8-1.
Figure 8=2
E
MAKE CERTAIN the table saw is disconnected from
the power source.
1. Remove the table insert. Note: Remove the table
insert retaining bolt used to secure the tame insert
to the saw table.
Figure 10=1
B
F
2. Thread the locking knob (E) onto the threaded end
of the shaft (F). See figure 8-2.
3. Repeat the steps above to assemble the remaining
handwheel and locking knob onto the blade raise/
lower shaft located on the front of the cabinet.
WRENCH AND FENCE HOOK ASSEMBLY
MAKE CERTAIN the table saw is disconnected from
the power source.
Figure 94
C_ .......
f
J
1. Assemble both of the fence hooks (A) to the left
side of the cabinet (B) using four M4 x 8mm sheet
metal screws, not shown. See figure 9-1.
2. Assemble the wrench hook (C) above the fence
hooks using two M4 x 8mm sheet metal screws, not
shown. See figure 9-1.
2. Place the threaded end of the mounting splitter rod
(A) through the hole (B) in the rear of the cabinet.
Place a M12 hex nut (not shown) onto the threaded
end of the mounting splitter rod inside of the cabi-
net and tighten securely. See figure 10-1 and 10-2.
Note: Place an 18mm wrench on 12mm hex nut and a
13mm wrench on flats of the splitter rod and tighten.
Figure 10=2
A
3. Place the splitter bracket assembly (C) onto the
mounting splitter rod. See figure 10-2 and 10-3.
18

Figure 10=3
\C
4.
5.
Place the front attachment point (D) of the blade
guard and splitter assembly (H) down into the
tool-less front attachment point (E). Place the rear
attachment slot (F) onto the threads of the splitter
bracket knob (G); securely tighten splitter bracket
knob. Note: The splitter bracket assembly will need
to be positioned to fit the blade guard and splitter
assembly on the mounting splitter rod. See figure
10-3.
Remove the hex nut (K) and outer flange (J) from
the blade arbor (I). Note: The arbor has a right
hand thread; to loosen the hex nut turn it counter-
clockwise. See figure 10-4.
Figure 10=4
M
Figure 10=5
o
\\\. \\
\\\\\
\\\
\
\\\\\
\,
7. Place a square (N) onto the saw table and against
the splitter assembly (0) behind the kickback fin-
gers (P). Make adjustments to the splitter bracket
assembly (Q) so that the splitter is square to the
saw table. Once square, tighten the two hex socket
head screws on the bottom of the splitter bracket
assembly. See figure 10-5.
Figure 10=6
T
\\\
\\\.
6. Place 10" saw blade (Z) onto blade arbor (I); make
sure the teeth of the blade are pointing down in the
front of the table saw. Place the outer flange (J)
and hex nut (K) onto the blade arbor and snug hex
nut by hand. Place the open-end blade wrench (L)
on the flats of the inner blade flange (not shown)
and the box-end blade wrench (M) onto the hex nut
and securely tighten. Note: The blade arbor has a
right hand thread; to tighten the hex nut turn it
clockwise. See figure 10-4.
19
8.
9.
10.
Lay a straight edge (R) against the left side of the
saw blade (S). Align the splitter (T) so that it is in a
straight line with the blade and tighten the one hex
socket head screw (U) on top of the splitter bracket
assembly. See figure 10-6.
Replace table insert and tighten table insert retain-
ing bolt removed in step 1.
If there is any problem with the front splitter attach-
ment bracket being out-of-square to the saw table
or blade alignment, see "AMGNING SPMTTER
BRACKET" in the Operations and Adjustments
section of this manual.

B SEMEYER
®
[G
BIESEMEYER ® T=SQUARE ® COMMERCIAL
RiP FENCE SYSTEM ASSEMBLY
FRONT AND REAR RAiL ASSEMBLY
SAW TABLE
FRONT
MAKE CERTAIN the table saw is disconnected from
the power source.
Figure 11=1
E
DE
C
4. Using the template (G), check and adjust front rail
parallel to the table surface on both sides of the
saw table. See figure 11-3.
5. When you are sure that the front rail is exactly
parallel to the table surface, securely tighten front
rail mounting hardware.
Figure 11=4
C
2.
3.
BA
Position front rail (A) against front edge of saw
table. Align the two holes on the front rail (B) with
the two holes in the saw table and fasten the rail to
the table using two 5/16-18 x 2" flat head screws,
5/16" flat washers, 5/16" lock washers and 5/16-18
hex nuts. Do not completely tighten the mounting
hardware at this time. See figure 11-1.
Make sure the top edge (C) of the front rail is
below the top of the saw table (D) and that the front
rail is not blocking the ends of the miter gauge
grooves (E).
Finish fastening the front rail to the extension wings
with two 5/16-18 x 2" flat head screws, 5/16" flat
washers, 5/16" lock washers and 5/16-18 hex nuts
through the two holes (F) in the extension wings.
Do not completely tighten the mounting hardware at
this time. See figure 11-1.
6.
7.
I
I
Position rear rail (H) against back edge of saw
table. Align the two holes (I) on the rear rail with
the two holes in the saw table and fasten the rail to
the table using two M8 x 25mm hex head screws,
M8 Iockwashers, and M8 flat washers. Do not com-
pletely tighten the mounting hardware at this time.
See figure 11-4.
Align the one hole on the rear rail (J) with the hole
in the right extension wing and fasten the rail using
5/16-18 x 1-1/2" hex head screw, 5/16" flat washer,
5/16" lock washer and 5/16-18 hex nut. Do not
completely tighten the mounting hardware at this
time. See figure 11-4.
20

IMPORTANT:Donotusetemplatesuppliedtosetthe
rearrail.
8. Makesurethetopedgeof thefrontrailisbelowthe
topofthesawtableandthatthefrontrailisnot
blockingtheendsof themitergaugegrooves.
9. Whenyouaresurethattherearrailis properly
alignedandit is parallelto thetablesurface,
securelytightenrearrailmountinghardware.
BIESEMEYER EXTENSION
TABLE ASSEMBLY
Figure 11=6
cBA
2,
3,
Place the Biesemeyer extension table assembly (A)
in position between the front and rear rails. Make
sure the edge of the extension table assembly is
flush against the right side of the extension wing
(B). Using a straight edge or level (C) make certain
the extension table is level to the saw table. Using
a pipe clamp (not supplied) (D) snug up the ends of
rails to hold the extension table in position. It may
be necessary to clamp extension wing (B) and the
extension table (A) together; use two c-clamps
underneath the table surface. See figure 11-6.
Drill four 5/16" holes (E) through extension table
assembly using existing holes in the front and rear
rails. See figure 11-6.
After the holes have been drilled, fasten the front
rail to the extension table using two 5/16-18 x 1-1/2"
flat head screws, 5/16" flat washers, 5/16" lock
washers and 5/16-18 hex nuts. Fasten the rear rail
to the extension table using two 5/16-18 x 1-1/2"
hex head screws, 5/16" flat washers, 5/16" lock
washers and 5/16-18 hex nuts. Make sure the
extension table is still level with the saw table
before securely tightening hardware. Remove all
clamps.
GUIDE TUBE AND SWITCH ASSEMBLY
Figure 11=7
B
1, Align the four threaded holes in the bottom of the
guide tube (A) with the four holes in the right side of
the front rail (B). Fasten the guide tube to the front
rail with four 1/4-20 x 1/2" hex head screws and
1/4" lock washers. Do not tighten screws at this
time. See figure 11-7.
Figure 11=8
DD
2. Attach switch (C) to the two tapped holes (D) in the
far left bottom of the guide tube with two 1/4-20 x
3/4" hex head screws and 1/4" lock washers.
See figure 11-8.
3. Make sure the guide tube is parallel to the front rail
before tightening all six screws.
21

KNOB AND CURSOR ASSEMBLY OUTFEED TABLE ASSEMBLY
Figure 11=9
D
Figure 11=10 KK
2,
3,
4,
5,
6,
F
E G H
Thread knob (A) onto fence locking handle (B).
Turn knob clockwise to screw it onto threads of
fence locking handle. See figure 11-9.
Align left fence side (C) at a distance from the right
side (D) of the right miter gauge groove and lock
the fence.
Use a measuring tape to measure the distance
from the saw blade right side to the left fence side.
Assemble the cursor (E) to the right side of the
fence cross arm (F) with two #10-32 x 3/8" round
head screws and #10 flat washers (I). Do not
completely tighten screws.
Align cursor with the guide tube measuring scale
(H) so that the thin black line (G) is on the same
number as the distance measured in Step 3.
Tighten the cursor screws.
Remove fence from table and reposition it on left
side of saw blade. Align right fence side at a dis-
tance from the left side of left miter gauge groove
and lock the fence.
7. Use a measuring tape to measure the distance
from the saw blade left side to the right fence side.
8. Assemble the second cursor to left side of fence
cross arm with two #10-32 x 3/8" round head
screws and #10 flat washers. Do not completely
tighten screws.
9. Align cursor with the guide tube measuring scale so
that the thin black line is on the same number as
the distance measured in Step 7. Tighten the cursor
screws.
1,
2,
I
E
D
C F
GH
Attach support retainer (A) to the lower rear of the
cabinet with two M6 x 25mm hex head screws, M6
lock washers and M6 flat washers. Do not com-
pletely tighten hardware. See figure 11-10.
Assemble the lower support (B) to the support
retainer with one M6 x 35mm hex head screw and
M6 Nylok hex nut. Be sure that the notch (H) in the
lower support is facing up. Do not completely tight-
en hex nut. Allow lower support to move freely.
See Figure 11-10 and 11-11.
Figure 11=11
C
G
/
E
3, Place clamp knob (C) through slot (D) of upper sup-
port assembly (E), making sure that the rounded
corner (M) of the upper support is facing towards
notch (H) in lower support. Thread clamp knob into
threaded hole of lower support.
22

4,
5,
6,
Fold out lower and upper support arms straight, so
that the pin (G) in the upper support goes into notch
(H) of lower support and securely tighten clamp
knob.
Assemble both hinge assemblies (I) to the outfeed
table assembly (J) with four M5 x 16mm hex head
screws, M5 lock washers, M5 flat washers. Secure
the hex head screws with four M5 flat washers and
M5 hex nuts placed under the outfeed table. Do
not completely tighten hardware.
Assemble the hinges on the outfeed table to the top
of the rear rail through existing holes with four M5 x
16mm hex head screws, M5 lock washers, M5 flat
washers. Secure the hex head screws with four M5
flat washers and M5 hex nuts placed under the rear
rail. Do not completely tighten hardware.
Fig. 11-12
CONNECTING SWITCH CORD
TO MOTOR CORD
MAKE CERTAIN the table saw is disconnected from
the power source.
Fig. 12-1
7,
8,
9,
Attach upper support assembly to tab (L) under-
neath outfeed table using one M6 x 35 hex head
screw (N) and one M6 Nylok hex nut (O). Do not
completely tighten hex nut. Allow upper support to
move freely. See figure 11-12.
Tighten hardware attaching the hinges to both rear
rail and outfeed table.
Make sure the clearance miter gauge grooves (K)
in the outfeed table align with the table saw's miter
gauge grooves. Place a straight edge on the saw
table overhanging the outfeed table. Make sure the
outfeed table is level or slightly below the saw table
and securely tighten hardware attaching support
retainer to cabinet.
A
1,
2,
Place the switch cord (A) through hole (B) in front
of cabinet. See figure 12-1.
Open motor cover, plug switch cord (C) into motor
cord (D). See figure 12-2.
3. Pull slack in switch cord into the cabinet.
Fig. 12-2
/
4. Make a loop (E) from the slack of the switch cord
and place it behind cord retaining bar (F).
See figure 12-2.
23

MITER GAUGE ASSEMBLY Figure 13=2
MAKE CERTAIN the table saw is disconnected from
the power source.
Figure 13-1
E
B
2,
3,
Thread elevating rod (A) into the top threaded hole
in the miter gauge body (B). See figure 13-1.
Place clamp assembly (C) on top of the miter
gauge knob (D) and elevating rod. Place two
knobs (E) through the slot in the clamp assembly
and thread one knob into miter gauge knob
and one into the elevating rod. Position clamp
assembly as shown and tighten both knobs.
See figure 13-1.
Place one M5 flat washer onto one M5 x 20mm hex
socket head screw. Thread one M5 square nut
onto the hex socket head screw until the screw is
flush with the back of the square nut. Repeat this
for one more flat washer, head socket head screw
and square nut.
H
4,
5,
6,
Slide both of the square nuts with hex socket head
screw and flat washer (F) into the lower T-slot (G)
of the cross cut fence (H). See figure 13-2.
Place the thread section of the hex socket head
screws into the grooves (I) of the miter gauge body.
Make sure the flat washers are against the heads
of the hex socket head screws. See figure 13-2.
Position the cross cut fence so that no part of the
fence is in the path of the saw blade. Allow the
cross cut fence to rest on the saw table and
securely tighten both hex socket head screws.
Figure 13=3
7,
8,
9.
Place one M5 flat washer onto one M5 x 20mm hex
socket head screw (J). Place this through the hole
in the top of the depth stop (K). Thread one M5
square nut onto the hex socket head screw until the
tip of the screw is flush with the back of the square
nut. See figure 13-3.
Slide the square nut and depth stop into the top
T-slot (L) of the cross cut fence. See figure 13-3.
Position depth stop as desired and tighten the hex
socket head screw.
Note: Storage hooks for crosscut fence are located
under motor cover.
24

BOLTING TABLE SAW TO THE FLOOR Figure 13A=3
MAKE CERTAIN the table saw is disconnected from
the power source.
If you wish, the table saw can be permanently mounted
to the floor. To attach to the floor, see instructions
below.
Figure 13A-1
C
A A
C
D
1. Remove the four leveling feet (A) from the table
saw (B). See Figure 13A-1.
2. Remove six Phillip head screws (C) and remove
dust spout (D) from the back of the cabinet.
Figure 13A-2
/
E\
H
G
F
G
3. Remove four Phillip head screws (E) from the left
side of the cabinet. See figure 13A-2.
4. Open the motor cover (F) and remove the two
Phillip head screws (G) from the CRAFTSMAN
nameplate (H). NOTE: These two Phillip head
screws have hex nuts on the inside of the cabinet.
5. Remove nine Phillip head screws ([) from the right
side of the cabinet. Remove the two miter gauge
fence hooks and the side panel (J). See figure 13A-3.
Figure 13A=4
25
6. Open motor cover and remove dust chute (K).
7. Position the table saw where you want it permanent-
ly mounted.
8. Mark the floor through the holes in the four bottom
corner brackets (L).
9. Move the table saw out of the way and drill pilot
holes at the four locations marked.
10. Attach the table saw to the floor using appropriate
hardware (not included).

CAUTION LOCKING ON/OFF SWITCH
• A separate electrical circuit should be used for your 1.
table saw. The table saw comes pre-wired for 120-volt
use. The circuit should not be less than #14 AWG wire
and should be protected with a 15-amp time lag fuse. 2.
• Have a qualified electrician repair or replace damaged
or worn cord immediately.
• Before connecting the motor to the power line, make
certain the switch is in the "OFF" position and be sure
that the electric current is of the same characteristics 3.
as the motor nameplate. All line connections should
make good contact.
• Running on low voltage or long extension cords will
damage the motor.
When the table saw is not in use, the "ON" button
should be locked so that it cannot be started.
Using the padlock included with your table saw, lift
the red "OFF" paddle and place the padlock
through the holes (C) in the side of the "ON" button
and then lock the padlock. Make sure keys have
been removed from padlock and placed where no
children can get them. See figure 14-1.
To use the table saw, unlock and remove the
padlock from the "ON" button.
THERMAL=OVERLOAD PROTECTION
• DO NOT expose the table saw to rain or operate the
in damp locations.
• MAKE SURE all parts have been assembled correct-
ly and are in working order.
• KEEP table surface clear of tools and debris before
starting table saw.
STARTING AND STOPPING THE SAW
Figure 14=1
1,
2.
3,
J
The ON/OFF switch is located under the front rail
on the table saw.
To turn the table saw on, press the green "ON"
button (A) in one-half inch. Note: There is a safety
feature on the switch to insure that the switch must
be completely pressed before the saw will START.
See figure 14-1.
To turn the table saw off, press the large red "OFF"
paddle (B) or lift the paddle and press directly on
the red "OFF" button. See figure 14-1.
• Turn the power switch "OFF" and unplug the power
cord from its power source prior to doing or perform-
ing any maintenance.
• Make certain that the "OFF" button has been de-
pressed before pushing the thermal-overload reset
button.
The motor supplied with your table saw has a resettable
thermal-overload relay (D), see figure 14-1. If the motor
shuts off during an operation (cutting a workpiece too
fast or using a dull blade, using the saw beyond its
capacity, or low voltage) press the "OFF" button and let
the motor cool three to five minutes. Push the reset
thermal-overload button on the side of the ON/OFF
switch assembly. Make certain that the saw blade and
work area has been cleared of debris before restarting
saw. The motor can now be turned on again.
RAISING AND LOWERING THE BLADE
Figure 15=1
26
The blade height adjustment handwheel and handwheel
lock knob are located on the front of the cabinet above
the blade bevel scale. To raise the saw blade, loosen
the handwheel lock knob (A) (counterclockwise) and
turn the handwhee[ (B) clockwise. When the saw blade
is at its desired height, tighten the handwheel lock knob
(clockwise) until it is securely tightened. See figure 15-1.

Tolowerthesawblade,loosenthehandwheellock
knob(counterclockwise)andturnthehandwheel
counterclockwise.Whenthesawbladeisat itsdesired
height,tightenthehandwheellockknob(clockwise)
untilit issecurelytightened.
TILTING THE BLADE
The blade bevel handwheel and handwheel lock knob
are located on the left side of the cabinet. To increase
the saw blade bevel, loosen the handwheel lock knob
(A) (counterclockwise) and turn the handwheel (B)
clockwise. When the saw blade is at its desired
degree, tighten the handwheel lock knob (clockwise)
until it is securely tightened. See figure 15-1.
To return the saw blade bevel to zero degrees, loosen
the handwheel lock knob (counterclockwise) and turn
the handwheel counterclockwise. When the saw blade
is back to zero degrees it will come into contact with the
adjustable positive stop which will cause the blade to
stop. Tighten the handwheel lock knob (clockwise) until
it is securely tightened.
To tilt the blade bevel to 45-degrees, loosen the hand-
wheel lock knob (counterclockwise) and turn the hand-
wheel clockwise. When the saw blade is at 45-degrees
it will come into contact with the adjustable positive stop
which will cause the blade to stop. Tighten the hand-
wheel lock knob (clockwise) until it is securely tightened.
ADJUSTING BLADE BEVEL POSITIVE STOPS
3. If the blade will not tilt to 90-degrees, turn (counter-
clockwise) the set screw (C) in the left hand side of
the saw table until the blade can be positioned to
90-degrees. Tighten bevel handwheel lock knob,
located on the left side of the cabinet. This will keep
the blade from further tilting and check that the set
screw is contacting positive stop. See figure 16-1.
4. Once the blade has been tilted to 90-degrees,
tighten bevel handwheel lock knob, located on the
left side of the cabinet. This will keep the blade
from further tilting. Turn the set screw clockwise
until it comes in contact with the positive stop.
Figure 16=2
Figure 16=1
B
A
1. To adjust blade to a 90-degree blade bevel positive
stop, raise the saw blade (A) to its highest position.
See figure 16-1.
2. Using a combination square (B) check that the
blade is 90-degrees to the saw table (zero degrees
on bevel scale). See figure 16-1.
5. To adjust blade to a 45-degree blade bevel positive
stop, raise the saw blade to its highest position.
6. Using a combination square (D) check that the
blade is 45-degrees to the saw table (45-degrees
on bevel scale). See figure 16-2.
7. If the blade will not tilt to 45-degrees, turn (counter-
clockwise) the set screw (E) in the right hand side
of the saw table until the blade can be positioned to
45-degrees. Tighten bevel handwheel lock knob,
located on the left side of the cabinet. This will keep
the blade from further tilting and check that the set
screw is contacting positive stop. See figure 16-2.
8. Once the blade has been tilted to 45-degrees,
tighten bevel handwheel lock knob, located on the
left side of the cabinet. This will keep the blade
from further tilting. Turn the set screw clockwise
until it comes in contact with the positive stop.
BEVEL ARROW ADJUSTMENT
1. Make certain that the blade is at 90-degrees to
the table surface with a combination square.
See figure 16-1.
27

Figure 17=1
C
1. Raise the saw blade to its highest point.
2. Place a combination square (A) on the saw table
with one edge (B) of the square against the left
miter slot (C). See figure 17A-1.
3. Adjust the square so the rule (D) just touches the
saw blade about 1 inch in from the outer diameter.
Make sure the rule is not touching any of the
carbide tips of the saw blade.
4. Lock the rule in this position.
5. This dimension should be around 5-1/2 inch, plus or
minus 3/32 of an inch.
Fig. 17A-2
2. Check that the bevel arrow (A) is pointing to the
zero degree mark on the bevel scale (B) located on
the front of the cabinet. See figure 17-1.
3. To adjust arrow, loosen the Philips head screw (C)
and reposition the bevel arrow and tighten screw.
See figure 17-1.
CHECKING BLADE ALIGNMENT
Blade heel is the alignment of the blade to the miter
slots. This means when the blade is not parallel to the
miter slots, it is heeling. The blade is set parallel at the
factory and should not need any adjustments. You can
check this by using a dial indicator (not included) or a
combination square (not included). It is recommended
to check the alignment before initial operation as
follows:
MAKE CERTAIN the table saw is disconnected from
the power source.
Fig. 17A-1
A
6. Rotate the saw blade back so that you take the
measurement from the same spot on the saw
blade. See figure 17A-2.
7. Take a reading at the rear of the blade (E) with the
combination square. If there is a difference of more
than four pieces of standard printer paper between
the rule and the blade, then adjustment will have to
be made.
8. If an adjustment is necessary, see "ADJUSTING
BLADE ALIGNMENT."
ADJUSTING BLADE ALIGNMENT
Blade alignment is factory set and should not need
adjustment. All saw blades have some runout.
Therefore, readjusting the blade alignment should only
be attempted if it becomes necessary (see checking
blade alignment).
MAKE CERTAIN the table saw is disconnected from
the power source.
28

Fig. 17B=1
BIESEMEYER
®
[
BIESEMEYER ® T=SQUARE ® COMMERCIAL
RiP FENCE SYSTEM ASSEMBLY
OPERATIONS AND ADJUSTMENTS
MAKE CERTAIN the table saw is disconnected from
the power source when making adjustments.
B
A
To align the blade parallel to the miter slot, first
loosen two hex head screws (A) under the left side
of the table saw. This is the same side as the bevel
handwheel (B). See figure 17B-1.
Fig. 17B=2
CC
Figure 18=1
G
A
B
2.
3.
4.
5.
6.
Open motor cover located on the right side of the
table saw. Loosen two hex head screws (C) located
directly above the opening. See figure 17B-2.
The saw table is now loose and can be reposi-
tioned until the blade is parallel to the miter slot.
Repeat steps in "CHECKING BLADE AMGNMENT."
When blade is parallel to miter slot, tighten all four
hex head screws.
Recheck blade alignment.
Tilt the blade to 45 degrees, and rotate the saw
blade by hand. Make sure the blade does not
contact the table insert.
29
1. To move the rip fence (A) along the guide tube (B),
simply lift up on lock handle (C). See figure 18-1.
2. Slide the rip fence to a desired position on the
guide tube and push down on the fence lock handle
to lock the rip fence. NOTE: A magnet is assem-
bled to the fence body to hold the lock handle in the
up position when moving the rip fence.
See figure 18-1.
3. The thin black line located on the cursor (D) indi-
cates the distance the rip fence is positioned away
from the saw blade. It may be necessary to adjust
one or both cursors. Make a test cut with the rip
fence locked in position. See figure 18-1.
4. Measure the width of the finished cut and adjust the
cursor by loosening the two screws (E). Adjust the
cursor until the thin black line is aligned with the
same marking on the scale (F) as the finished cut.
Retighten the two screws. See figure 18-1.

FENCE ALIGNMENT
1. The rip fence (A) must be adjusted so it is parallel
to the miter gauge groove (G). See figure 18-1.
2. To check and adjust, move fence until the bottom
left edge of the fence is in line with the right edge of
the right hand miter gauge groove and push down
on the fence lock handle (C). See figure 18-1.
3. Check to see if the rip fence is parallel to the miter
gauge groove for the entire length of the table. If
an adjustment is necessary, lift up the fence lock
handle and raise the fence up off the guide tube
(B). See figure 18-2.
Figure 18=2
4,
5,
Slightly tighten or loosen one of the two adjusting
screws ([), using a 3/16" hex wrench, (not supplied).
See figure 18-2.
Replace the rip fence on the guide tube and check
again to see if the rip fence is parallel with the miter
gauge groove for the entire length. Repeat this
adjustment until the rip fence is parallel with the
miter gauge groove. IMPORTANT: Very little move-
ment of screws is necessary to adjust the fence
parallel with the miter gauge groove.
ADJUSTING CLAMPING ACTION OF
FENCE LOCKING HANDLE
1. When the lock handle (C) is pushed to the down
position, the rip fence (A) should be completely
clamped to the guide tube (B). See figure 18-1.
2. If the rip fence is not completely clamped to the
guide, lift up lock handle and take the rip fence off
the guide tube.
3,
4,
5,
Slightly tighten the two adjusting screws (I), using a
3/16" hex wrench (not supplied). NOTE: Screws
should be tightened an equal amount.
See figure 18-2.
Replace rip fence onto the guide tube and lock.
Check to see if the rip fence is securely clamping
on the guide tube. Repeat steps above if additional
adjustments are necessary.
IMPORTANT: After adjusting the damping action
on the rip fence, check to see if the rip fence is still
parallel to the miter gauge groove.
LUBRICATION
1, Apply paste wax weekly to the rip fence (A) and
guide tube's (B) sliding surfaces. Also, the saw
table and extension table surfaces should be waxed
often. See figure 18-1.
2. Apply grease to cam lock (J), and cam-foot (K)
occasionally to prevent wear. See figure 18-2.
TABLE INSERT ADJUSTMENT
MAKE CERTAIN the table saw is disconnected from
the power source when making adjustments.
Figure 194
C
1. The table insert (A) must always be level with the
saw table (B). To adjust the table insert, loosen
and remove table insert retaining bolt (C). See
figure 19-1.
2. Place a straight edge across the front and rear of
the table insert. Check that the insert is perfectly
level with the saw table.
3, To level the tame insert, turn the one or more
adjusting set screws (D) as needed and recheck.
See figure 19-1.
30

4. Oncetheinsertislevel,securetheinsertwiththe
retainingboltremovedinstep1.
5. Thetableinsertisequippedwithafingerhole(E)
foreasyremoval.Seefigure19-1.
CHANGING MOTOR VOLTAGE
• MAKE CERTAIN the table saw is disconnected from
the power source before working on motor.
• Have a certified electrician make all electrical connec-
tions. All local and state codes must be maintained.
The motor supplied with the table saw is a dual voltage
120/240-volt, single phase motor. The motor is wired
from the factory for 120-volt operation. To change to
240-volt operation for your table saw, proceed with the
following instructions. It is also necessary to replace
the 120 volt plug, supplied with the table saw, with a
UL/CSA Listed plug (not included) suitable for 240 volts
and the rated current of the motor. The table saw with a
240 volt plug should only be connected to an outlet
having the same configuration as the plug. No adapter
is available or should be used with the 240 volt plug.
Figure 20=1
B
1. Make sure switch is "OFF" and disconnect power
cord from power source.
2. Open motor cover and verify on the motor tag (A)
that motor is dual voltage. See figure 20-1.
3. If motor tag states that it is dual voltage remove
junction box cover (B) on motor (C).
See figure 20-1.
4. Using wiring diagram on inside of junction box
cover, reconnect motor leads for 240-volt operation.
5. Replace junction box cover and close motor cover.
6. Replace 120 volt plug with a UL/CSA Listed 240
volt plug rated for current of the motor.
7. The ON/OFF switch is 4-pole and does not need
modified.
CHANGING THE SAW BLADE
• Turn the power switch "OFF" and unplug the power
cord from its power source when changing the saw
blade.
• USE ONLY 10-in. diameter blades with 5/8-in. arbor
holes, rated at or higher than 3800 R.P.M.
Figure 21=1
/
C
1.
2.
3.
4.
8.
Remove blade guard and splitter.
Remove the table insert retaining bolt and remove
the table insert.
Unlock the raise/lower handwheel lock and raise
saw blade to maximum height.
Two wrenches are supplied with the table saw.
Place one open-end wrench (A) on the flat of the
saw arbor to keep it from turning. Place the closed-
end wrench (B) on the arbor nut (C). Turn the arbor
nut wrench toward the front of saw to loosen it.
Remove arbor nut, blade flange (D) and saw blade
(E). See figure 21-1.
Assemble the new saw blade; make certain the
teeth point down at the front of the saw table and
assemble the blade flange and arbor nut. Using
both blade wrenches as previously mentioned,
tighten arbor nut in the opposite direction from
which it was loosened.
6. Replace table insert and tighten the table insert
retaining bolt.
7. Replace blade guard and splitter
31

ALiGNiNG SPLITTER BRACKET
MAKE CERTAIN the table saw is disconnected from
the power source.
Fig. 21A=1
A
3. Retighten the two hex socket head cap screws after
the splitter has been aligned.
4. If necessary, adjust the rear splitter bracket (F).
Make certain that entire splitter is in line with the
saw blade. See figure 21A-2.
5. Recheck to make certain the splitter is still square
to the saw table. If adjustments are necessary, see
BLADE GUARD AND SPLITTER ASSEMBLY.
LEITZ 10=INCH VARIABLE TOOTH
SAW BLADE
Key features of the Leitz Variable Pitch Saw Blade:
1. Longer blade life: Combining variable tooth patterns
with noise reducing laser ornamentation can extend
tool life 25% to 50%.
2. High cut quality: 41% improvement over standard
blades in most materials.
3. Quiet Running: Noise reduction of 5dB to lOdB
compared to standard saw blades. A lOdB is
equivalent to a 50% reduction in noise level to the
human ear.
4. Best Performance Value
5. Precision, laser cut steel body, best quality micro-
grain carbide, hand hammered (tuned) to industry-
best tolerances.
B
To adjust front splitter bracket (A), loosen the two
hex socket head cap screws (B). See figure 21A-1.
MITER GAUGE OPERATION
AND ADJUSTMENT
Fig. 21A-2 MAKE CERTAIN the table saw is disconnected from
the power source when making adjustments.
D
Figure 22=1
B
C
A
1. The miter gauge has adjustable positive stops at
O-degree and plus or minus 45-degrees or it can be
manually set at any angle between plus or minus
60-degrees.
2. Place a straight edge (C) along the left side of
blade (D) and adjust the front splitter bracket to
align the splitter (E) with the blade. See figure
21A-2.
2.
32
To rotate miter gauge body (A), loosen knob (B)
and pull out plunger (C) and rotate miter gauge
body to desired angle and tighten knob.
See figure 22-1.

Figure 22=2 CLAMP AND FENCE STOP OPERATION
G
D
MAKE CERTAIN the table saw is disconnected from
the power source when making adjustments.
3, To rotate to the next positive stop pull plunger out,
rotate miter gauge body then push plunger back in
and continue rotating miter gauge body until it stops
against next positive stop.
4. To adjust O-degree positive stops, loosen knob, pull
out on plunger and turn miter gauge over.
5. Loosen the lock nut (D) 3 or 4 turns. See figure 22-2.
6, Place a square against the guide bar (E) and front
of the miter gauge body (F). Square the miter
gauge body to the guide bar and tighten knob.
See figure 22-1.
7. Push in plunger and make adjustments to stop
screw (G) so that it touches the plunger, then tight-
en lock nut. See figure 22-2.
8. Recheck the positive stop angle to the saw blade.
Insert the guide bar into the miter gauge groove
and slide the miter gauge up to the saw blade.
9. To check, place a square against the saw blade
and miter gauge body. If any more adjustments are
needed repeat steps above.
10. To set both 45-degree positive stops, repeat steps
above.
Figure 23=1
E
B C
\
D
1,
2,
3,
The stock clamp (A) can be positioned in and out
by loosening the two knobs (B) and sliding the
clamp body in or out. Refighten knobs when at
desired position. See figure 23-1.
The stock clamp has a quick release allowing you
to quickly position the clamp up or down. To en-
gage quick release press up on trigger (C) and hold.
The clamping pad (D) will fall or it can be lifted. To
release let go of the trigger. Now you can turn knob
(E) to apply clamping pressure. See figure 23-1.
The fence stop (F) can be repositioned along the
fence by loosening the hex socket head screw (G).
Slide the fence stop to desired position and tighten
hex socket head screw. If the fence stop is not
needed, it can be stored out of the way on the
backside of the fence. See figure 23-1.
33

CROSSCUTTING
Crosscutting requires the use of the miter gauge (A) to
position and guide the workpiece (B). See figure 24-1.
The use of non-Craftsman attachments and acces-
sories may result in risk of injury or damage to the
table saw.
Fig 24=1
DA
TO CROSSCUT:
1. Place the workpiece against the miter gauge and
advance both the miter gauge and workpiece
toward the saw blade (C). See figure 24-1.
Note: The miter gauge may be used in either one of
the miter gauge grooves. When bevel cutting (blade
tilted), use the right hand miter gauge groove so that the
blade tilts away from the miter gauge and your hands.
2. Start the cut slowly and hold the workpiece firmly
against the miter gauge and the table.
Figure 24=2
E
AUXiLiARY FENCE
For added safety and convenience, the miter gauge can
be fitted with an auxiliary fence (E) if not already sup-
plied with one. If the auxiliary fence is not provided with
your saw, one can be purchased as an accessory or
one can be made from a dimensional piece of hard-
wood. This auxiliary fence can be fastened to the front
of the miter gauge by using two screws (not included)
through the slots (not shown) in the miter gauge body.
See figure 24.2.
Figure 24=3
F
/
H K /
To avoid serious injury, NEVER hang onto or touch the
part of the workpiece that is going to be cut off (D).
3. Continue cutting until the workpiece is cut in two.
4. Slide the miter gauge and workpiece back to the
starting point.
Note: Before sliding the workpiece back, give the work-
piece a little sideways shift to move it slightly away from
the saw blade.
NEVER pick up any short cut off scrap pieces from the
table while the saw is running. Wait until the saw blade
has come to a complete stop.
CUT=OFF GAUGE
1. When cross-cutting a number of pieces to the same
length, clamp a block (F) of wood to the fence (J) to
use as a cut-off gauge. It is important that this block
of wood always be positioned in front of the saw
blade. See figure 24-3.
CAUTION
When using the block as a cut-off gauge, it is very
important that the rear end of the block be positioned
so the workpiece is clear of the block before it enters
the blade.
Never use the fence as a cut-off gauge when crosscutting.
34

Whencross-cuttinga numberof piecestothesame
length,a blockofwoodcanbeclampedtothefence
andusedasa cut-offgaugeasshown.Itis important
thatthisblockof woodalwaysbepositionedinfrontof
thesawbladeasshown.Oncethecut-offlengthis
determined,securethefenceandusethemitergauge
tofeedtheworkintotheblade.Thisblockof wood
allowsthecut-offpieceto movefreelyalongthetable
surfacewithoutbindingbetweenthefenceandthesaw
table,therebylesseningthepossibilityof kickbackand
injurytotheoperator.
Note:Thisblockallowsthecut-offscrappiecetomove
freelyalongthetablesurfacewithoutbindingbetween
thefenceandtheblade,therebylesseningthepossibil-
ityofkickbackandinjuryto theoperator.
2. Oncethecut-offlengthisdetermined,lockthe
fenceandslidetheworkpieceacrossthetable
surfaceuntilit contactstheblock.Usethemiter
gauge(K)tofeedtheworkpieceintotheblade.
Toavoidkickbackwhenusingtheblock(F)asa cut-off
gauge,it isveryimportantthattherearendoftheblock
(G)bepositionedsotheworkpiece(H)isclearofthe
blockbeforeit entersthebladed). Neverusethefence
(J)asa cut-offgaugewhencrosscutting.See
figure24-3
RIPPING
NEVER stand in the line of the saw blade path when
ripping.
• ALWAYS keep hands and fingers away from the saw
blade.
Figure 25=1
1,
2.
3.
With the workpiece clear of the saw blade, start the
motor.
Place the workpiece on the saw table with the
straight edge against the fence.
Advance the workpiece slowly, holding it down and
against the fence, then into the saw blade.
Note: The workpiece can be fed through the saw blade
with one or two hands depending on the size.
4. Affter the workpiece is beyond the saw blade and
anti-kickback fingers, you can remove your hand
from the workpiece. When this is done, the work-
piece will either stay on the table, tilt up slightly and
be caught by the rear end of the guard, or slide off
the table to the floor. Alternately, the feed can con-
tinue to the end of the table, after which the work-
piece is lifted and brought back along the outside
edge of the fence.
5. The cut-off part of the workpiece remains on the
table and is not touched until the saw blade has
come to a complete stop.
CAUTION
When ripping a workpiece longer than three feet, it is
recommended that the workpiece be supported at the
rear of the table saw to keep it from falling. A roller
stand can be purchased to support long workpieces to
the rear of a table saw.
CAUTION
If the workpiece is to be cut less than 4-inches wide, a
push stick (E) or guide should always be used to keep
your hands away from the saw blade. See figure 25-2.
Figure 25=2
A
C
Ripping is the operation of making a cut with the grain
of the workpiece; the rip fence (A) is used to position
and guide the workpiece. Since the workpiece is
pushed along the fence, it must have a straight edge
and make solid contact with the saw table. The blade
guard (B) and splitter assembly (C) must be used. The
splitter has anti-kickback fingers (D) to prevent the
workpiece from kicking back, and the splitter assembly
to prevent the wood kerf from closing and binding on
the blade. See figure 25-1.
An accessory Craftsman Fence Guide can be pur-
chased to assist when making narrow cuts. See
"ACCESSORIES AND ATTACHMENTS" section in this
manual.
35

DADO BLADE SET
The blade guard and splitter assembly cannot be used
when dadoing or molding and must be swung to the
rear of the saw. Blade guard must be reassembled
when finished dadoing or molding.
Figure 26=1 B
Dado blades and chippers have a set to their teeth. The
teeth of the dado blades and chippers must be
arranged so that the set of each tooth overlaps the next
tooth. The set of the dado blade (C) and chipper (D)
overlap as shown in Figure 26-3. A shim (E) can be
used as needed to control the exact width of a dado.
See figures 26-2 and 26-3.
Figure 26=3
-_--D
J
©
A
Dadoing is cutting a non-through cut that produces a
square notch into the workpiece. Most dado blade sets
(not included) are made up of two outside dado blades
(A) and four or five inside chippers (B). Shims (E) can
be placed between blades and chippers to slightly vary
the width of a dado. No more than two shims should be
placed together between one set of blades or chippers.
Shims can be made of heavy paper, brass or metal.
Various combinations of the dado blades and chippers
are used to cut grooves from 1/8" to 13/16" for use in
shelving, making joints, tenons, grooving, etc. See
figures 26-1,26-2, and 26-3.
Figure 26=2
When the dado blade is 13/16-inch wide, the outside
arbor flange (F) cannot be used. Only the arbor nut (G)
should be used; tighten the arbor nut against the dado
blade body. Do not lose the outside arbor flange, for it
will be needed when reattaching a blade to the saw
arbor. Also, an accessory dado blade table insert (H)
(not included) must be used in place of the standard
table insert. See figure 26-4.
Figure 264
C
H o
(NOT INCLUDED)
The blade guard and splitter assembly cannot be used
when dadoing and must be swung to the rear of the
saw.
36

Figure 26=5
Figure 26-5, shows a typical dado operation using the
miter gauge.
• NEVER use the dado head in a bevel position.
• ALWAYS install blade guard and splitter assembly
after dado operation is completed.
MOLDING HEAD CUTTER
Molding is cutting a shape on the edge or face of the
workpiece. Cutting moldings with a molding cutterhead
(not included) on the circular saw is a fast, safe and
clean operation. The many different knife shapes avail-
able make it possible for the operator to produce almost
any kind of molding, such as various styles of corner
moulds, picture frames, table edges, etc.
A
Figure 27=1
B
• The blade guard and splitter assembly cannot be
used when dadoing or molding and must be swung to
the rear of the saw. Blade guard must be reassem-
bled when finished.
Figure 27=2
©
©
Figure 27-2 shows the molding cutterhead is assembled
to the saw arbor as shown.
If the outside arbor flange (D) cannot be used with the
molding cutterhead, tighten the arbor nut (E) against
the cutterhead body. Do not lose the outside arbor
flange, for it will be needed when reattaching a blade to
the saw arbor. Also, an accessory molding cutterhead
table insert (F) (not included) must be used in place of
the standard table insert. See figure 27-2.
Figure 27=3
G
C
The molding head consists of a cutterhead (A) in which
you can mount various shapes of steel knives (B).
Each of the three knives in a set is fitted into a groove
in the cutterhead and securely clamped with a screw.
The knife grooves (C) should be kept free of sawdust,
which would prevent the cutter from seating properly.
See figure 27-1.
It is necessary when using the molding cutterhead to
add a wood facing (G) to the face of the rip fence (H).
The wood facing is attached to the fence with fasteners.
A 3/4-inch facing is suitable for most work although an
occasional job may require 1-inch facing. See figure
27-3.
37

Positionthewoodfacingoverthecutterheadwiththe
cutterheadbelowthesurfaceofthetable.Turnthesaw
onandraisethecutterheadslowly.Thecutterheadwill
cutitsowngrooveinthewoodfacing.
• Neverusemoldingcutterheadina bevelposition.
Neverruntheworkpiecebetweenthefenceandthe
moldingcutterheadasirregularshapedwoodwill
causekickback.
CAUTION
When molding end grain, the miter gauge must be
used. The feed should be slowed up at the end of
the cut to prevent splintering
In all cuts, pay attention to the grain, making the cuts
in the same direction as the grain whenever possible.
BACKLASH ADJUSTMENTS FOR
BLADE RAISING/LOWERING AND
BLADE TiLTiNG ASSEMBLIES
If any play is detected in the blade raising/lowering or
blade tilting assemblies, the following adjustments
should be made.
Turn the power switch "OFF" and unplug the power
cord from its power source when making adjustments.
NOTE: In the illustration below, the table saw has been
turned upside down and the blade removed for clarity.
PROTECTING CAST iRON TABLE
FROM RUST
MAKE CERTAIN to turn the power "OFF" and unplug
the power cord from its power source.
The environment and frequency of human contact can
have a very detrimental impact on unpainted cast iron
surfaces. Moisture, humidity and oils (from human
hands!) can cause the unpainted cast iron surfaces to
mar or rust, so it is important to conduct routine main-
tenance to keep your table saw looking new. Cleaning
and waxing the cast iron surfaces on a regular main-
tenance schedule is recommended as follows:
Figure 28=1 To clean and maintain the unpainted cast iron
surfaces:
C• Apply a heavy coat of WD-40 onto the unpainted
cast iron surface.
Use a fine steel wood pad to buff the unpainted
cast iron. Make sure to buff in a "front-to-rear"
direction only. A side-to-side buffing motion will
show in the finely ground cast iron as a flaw, defect
or scratches.
1.
2.
B A
To adjust the blade raising/lowering assembly,
loosen lock-nut (A) and turn the eccentric sleeve
(B) until all play is removed in the assembly, then
tighten lock-nut. See figure 28-1
To adjust the blade tilting assembly, loosen lock-nut
(C) and turn the eccentric (D) until all play is
removed in the assembly, then tighten the lock-nut.
See figure 28-1.
Reapply WD-40 and buff the unpainted cast iron
surfaces until the stains or rust is removed. Make
sure you use the same front-to-rear buffing direction
to avoid scratching or marring the cast iron surface.
After all stains and/or rust have been removed,
clean all oil and dirt from the table saw using a soft
cloth or rag.
Lastly, you need to apply a good automotive paste
wax to all unpainted cast iron surfaces. This will
help to protect the saw from rusting from further
contact with moisture or oily hands.
38

LUBRiCATiON
The table saw has sealed lubricated bearings in the
motor housing that do not require any additional lubrica-
tion from the operator.
CLEANING
With the table saw unplugged, blow off motor with low-
pressure air to remove dust or dirt. Air pressure above
50 R S. I. should not be used as high-pressured air
may damage insulation. The operator should always
wear eye protection when using compressed air.
Do not allow chips and dust to accumulate under table
saw. Keep area clean and in safe order.
CAUTION: DO NOT USE FLAMMABLE MATERIALS
to clean tame saw.
Only trained personnel should perform repairs to the
table saw. Contact your nearest Sears Service Center
for authorized service. Unauthorized repairs or replace-
ment with non-factory parts could cause serious injury
to the operator and damage to the table saw.
39

TOPREVENTINJURYTOYOURSELF or damage to the table saw, turn the power switch to the "OFF" position and
unplug the power cord from the electrical receptacle before making any adjustments.
PROBLEM
Motor does not
start:
Motor stalls,
thermal-overload
trips or circuit
breakers open
frequently:
Motor starts
slowly or fails to
come to full speed:
Motor running too
hot:
Handwheels are hard
to turn:
Miter gauge does not
move smoothly:
Workpiece binds,
burns or stalls motor
when ripping:
Saw blade does not
cut true at 90 or 45
degrees:
Rip fence does not
move smoothly:
Saw vibrates
excessively:
LIKELY CAUSE(S) SOLUTION
1, 1,
Switch not pressed in far enough or switch
in the "OFF" position.
2. Defective switch.
3. Defective capacitor.
4. Low line voltage.
5. Defective motor.
1. Circuit overload.
2. Low line voltage.
3. Motor overload.
4. Incorrect fuses on circuit breakers.
5. Short circuit in motor; loose connections or
worn insulation on lead wires.
1. Low line voltage.
2. Defective motor windings.
3. Defective capacitor.
1. Restricted air circulation due to dust
accumulation.
2. Motor overload.
1.
2.
Handwheel Lock Knob has not been loosened.
Dust accumulation on tilting or beveling gears
inside of cabinet.
1. Miter gauge groove and miter gauge bar are
dirty.
2. Set-screws in miter gauge bar are out of
adjustment.
1. Blade is dull.
2. Board is warped or twisted.
3. Rip fence is not parallel to blade.
1. Blade is dull.
2. Indicator arrow is not properly adjusted.
3. Positive stops are not set properly.
1. Rip fence is not mounted properly.
2. Rails are dirty or sticky.
1. Blade is warped.
2. Drive belt is damaged.
3. Work surface is uneven.
4. Saw is not mounted securely.
Depress switch in 1/2 inch or make sure switch is in the
"ON" position.
2. Have switch replaced.
3. Have capacitor replaced.
4. Correct low line voltage condition. If saw is plugged into an
extension cord, plug saw directly into wall outlet.
5. Have motor replaced.
NOTE: 3 and 4 must be done by a qualified service
technician.
1. Reduce circuit load (turn off other appliances)
2. Correct low line voltage condition. Check line voltage with a
multi-meter. If saw is plugged into an extension cord,
unplug saw from extension cord and plug saw directly to
wall outlet.
3. Reduce load on motor, slow down feed rate of workpiece
being pushed into blade.
4. Have correct fuses on circuit breakers installed by a quali-
fied electrician.
5. Inspect terminals in motor for damaged insulation and
shorted wires and have them replaced. Check all power
lead connections.
1. Correct low line voltage condition. Check line voltage with a
multi-meter. If saw is plugged into an extension cord,
unplug saw from extension cord and plug saw directly to
wall outlet.
2. Have motor replaced.
3. Have capacitor replaced
1. Clean dust and restore normal air circulation around motor.
2. Reduce load on motor.
1. Loosen Handwheel Lock Knob.
2. Clean off tilt and bevel gear assemblies.
1. Clean miter gauge groove and bar.
2. Adjust set-screws in miter gauge bar.
1. Sharpen or replace blade.
2. Replace board.
3. See "Fence Alignment" in Operation and Adjustment
Section.
1. Sharpen or replace blade.
2. Adjust bevel indicator arrow.
3. Adjust 90 and 45-degree positive stops.
1. See "Fence Alignment" in Operation and Adjustment Section.
2. Clean and apply paste wax to rails.
1. Replace blade.
2. Replace drive belt.
3. Reposition saw on a flat surface. Adjust leveling feet, if
supplied with saw.
4. Tighten all hardware.
40

10-IN.TABLESAW MODEL NO.152.221240
When servicing, use only CRAFTSMAN replacement parts. Use of any other parts may create a HAZARD or cause
product damage.
Any attempt to repair or replace electrical parts on this table saw may create a HAZARD unless a qualified service
technician does repairs. Repair service is available at your nearest Sears Service Center.
Always order by PART NUMBER, not by key number.
*AVAILABLE AT MOST RETAIL STORES
Key No. PART No. Description
N/A OR91662 OWNER'S MANUAL -#22124 10" TaNe Saw
N/A OR91710 BLADE GUARD ASSEMBLY, (NOT SHOWN)
CONSISTS OF REF #: 1,2, 3, 3a, 3b 4, 6, 6, 7, 16, 24 & 25
N/A OR91711 SPLITTER BRACKET ASSEMBLY, (NOT SHOWN)
CONSISTS OF REF #: 9, 9a, 10, 11, 12, 13,14, 15 & 17
1 OR91785 PUSH NUT (CHROME)
2 OR91781 PIN
3 OR91027 "SEE THRU" BLADE GUARD
3A OR91674 WARNING LABEL
3B OR91675 WARNING LABEL PICTORAL
4 OR91782 PIN
6 OR91008 GUARD BRACKET
6 OR91834 PUSH NUT (BLACK)
7 OR91745 GUARD SPRING
8 OR91031 SPLITTER MOUNTING ROD
9 OR91812 HEX SOCKET HEAD SCREW M6 x 22ram
9A STD862006 LOCK WASHER M6
10 OR91011 SPLITTER REAR MOUNT LOWER
11 OR91061 SPLITTER MOUNT SQUARE NUT
12 OR91012 SPLITTER REAR MOUNT UPPER
13 OR91820 SPECIAL FLAT WASHER (ID:6.4mm, OD:18mm, T:1.6mm)
14 STD862006 LOCK WASHER M6
16 OR91768 HEX SOCKET HEAD SCREW M6 x 16ram
16 OR91016 SPLITTER
17 OR91048 SPLITTER KNOB
18 OR91760 HEX SOCKET HEAD SCREW M6 x 6ram
19 OR91820 SPECIAL FLAT WASHER (ID6.4mm, OD:18mm, T:1.6ram)
20 OR91768 HEX SOCKET HEAD SCREW M6 x 16ram
21 OR91010 SPLITTER FRONT MOUNT
21A OR91791 SPRING PIN 3ram x 10ram
22 OR91013 SPLITTER SPRING CLIP
23 OR91763 SPECIAL HEX NUT M12
24 OR91796 SPRING PIN 4ram x 22ram
26 OR91009 ANTI - KICKBACK FINGER
30 OR91789 SET SCREW 1/4-28 x 3/8", NYLOCK
31 OR91014 TABLE INSERT- STANDARD
32 OR91062 TABLE INSERT RETAINING BOLT
33 OR91816 TABLE
34 OR91821 HEX SOCKET SET SCREW M8 x 20ram
36 OR91021 ALIGN-A-CUT INSERT
36 STD861008 FLAT WASHER M8
37 STD852008 LOCK WASHER M8
38 STD836030 HEX HEAD SCREW M8x1.25 x 30mm
39A OR91016 EXTENSION WING 12" CAST IRON
40 OR91817 SPECIAL FLAT WASHER
41 STD862008 LOCK WASHER M8
42 STD836026 HEX HEAD SCREW M8x1.25 x 25mm
60 OR91040 SWITCH PADDLE
60A OR90376 PADLOCK AND KEY
61A OR91712 SWITCH ASSEMBLY
63A OR91679 SWITCH RESET LABEL
N/A OR92012 CLAMPING BODY ASSEMBLY, Consists of Key No's: 101,
102, 103, 104, 106, 106, 107, 108,109, 110, 111, 112 & 113
100 OR91066 CLAMP KNOB
101 OR91066 CLAMP BODY
102 OR91067 UPPER BUSHING
103 OR91068 ELEVATING KNOB
104 OR91796 SPRING PIN 4ram x 26ram
106 OR91069 QUICK RELEASE SPRING
106 OR91070 QUICK RELEASE BRACKET
107 OR91797 SPRING PIN 6ram x 26ram
108 OR91071 LOWER BUSHING
109 OR91072 ELEVATING ROD
110 OR91073 CLAMP FOOT
111 STD861004 FLAT WASHER M4
112 OR91774 PAN HEAD SCREW M4 x 10ram
113 OR91076 CLAMP PAD
114 OR91076 MITER GAGE BODY
115 OR91077 SPECIAL WASHER, T-SLOT
116 OR91074 SPECIAL SCREW
117 OR91118 SQUARE NUT M5
118 OR91078 CROSS CUT FENCE
Qty.
1
N/A
N/A
Key No. PART No. Description
119 OR91079
120 OR91763
121 OR91783
122 OR91774
123 OR91080
124 OR91081
125 OR91082
126 OR91775
127 OR91776
127A STD840407
128 OR91756
129 OR91823
130 OR91573
131 OR91084
132 OR91085
133 OR91086
134 OR91756
134A OR91823
135 OR91087
136 OR91118
2B0 OR91767
201 OR91020
2B2 OR91824
2B3 OR91734
2B3A OR91732
204 OR91733
205 OR91004
206 OR91024
2B7 OR91801
2B8 OR91733
209 OR91022
210B OR35930
211 OR91026
212 OR91OBO
213 STD83BO4B
214 STD8B1OlO
215 OR91003
216 STD8B1010
217 STD8B2010
218 STD84101B
220 OR91721
221 OR90253
222 OR91023
223 OR91770
224A OR91049
224C OR91723
224E OR9172B
22BA OR91577
225C OR91578
226 BTD83BO30
226A STD8B1OO8
227 STD8B1OO8
228 OR91001
229 STD8B2OO8
230 STD840812
231 OR9182B
232 OR91771
233 OR91784
234 OR91802
235 OR91054
236 OR91OBB
237 OR91OB7
240 OR91790
241 OR91757
243 OR91116
244 OR91793
245 STDB41231
248 OR91803
249 OR91800
251 OR91028
252 OR91029
253 OR91019
Qty.
GUIDE BAR 1
HEX SOCKET SET SCREW M4 x 16mm 4
PIN 1/4" x 3/4" 1
PAN HEAD SCREW M4 x 10ram 2
PLUNGER 1
PLUNGER BLOCK 1
CURSOR 1
PAN HEAD SCREW M4 x 16ram 1
PAN HEAD SCREW M4 x 20ram 3
HEX NUT M4 3
HEX SOCKET HEAD SCREW MB x 2Omm 2
SPECIAL FLAT WASHER (ID:5.3, OD:12, T:1.2) 2
MITER SCALE 1
SPECIAL WASHER, MITER HANDLE 1
MITER GAUGE KNOB 1
ELEVATING ROD 1
HEX SOCKET HEAD SCREW MB x 2Omm 1
SPECIAL FLAT WASHER (ID:5.3, OD:12, T:1.2) 1
DEPTH STOP 1
SQUARE NUT M6 1
JAM NUT 5/8-18-LH 1
ARBOR PULLEY 1
KEY 6mm x 6mm x 16mm 1
BEARING CLOSURE NUT 1
ARBOR SPACER 1
BALL BEARING <6203 LLB> 1
ELEVATING BRACKET 1
ARBOR SLEEVE 1
WAVE WASHER <BWW 6203> 1
BALL BEARING <6203 LLB> 1
ARBOR SHAFT 1
LEITZ, 10" BLADE, VARIABLE PITCH, 40 TOOTH, 5/8" BORE 1
BLADE FLANGE 1
BLADE HEX NUT-RH 1
HEX HEAD SCREW M10x1.6 x 46ram 2
FLAT WASHER M10 2
REAR BRACKET 1
FLAT WASHER M10 2
LOCK WASHER M10 2
HEX NUT M10x1.5 2
BELT (28" 6Rib Jsection PolyV )+E142 1
HEX SOCKET SET SCREW M5 x 12mm 1
MOTOR PULLEY 1
KEY 6mm x 6mm x 86ram 1
MOTOR ASSEMBLY 1.75 HP 1
START CAPACITOR 1
RUN CAPACITOR 1
MOTOR SPEC PLATE 1.75 HP 1
MOTOR WIRING DIAGRAM LABEL 1
HEX HEAD SCREW MSx1.26 x 30ram 4
FLAT WASHER M8 4
FLAT WASHER M8 4
MOTOR BRACKET 1
LOCK WASHER M8 4
HEX NUT M8x1.25 4
SPRING PIN 8ram x 35mm 1
LOCK NUT 1/2-13UNC 3
PLATE WASHER 1
WAVE WASHER 1
MOTOR MOUNT STUD 1
MOTOR SPRING 1
STUD 1
SHAFT 1
HEX SOCKET HEAD SCREW M5 x 2Omm, NYLOK 2
ELEVATING SHAFT ASSEMBLY 1
SPRING PIN 3mm x 20ram 1
JAM NUT 5/8-18 1
TRUNNION ASSEMBLY 1
WAVE WASHER E188 1
RAISE/LOWER SLEEVE 1
RAISE/LOWER SPACER 1
POINTER 1
41

10-iN.TABLESAW MODEL NO.152.221240
Key No. PART No.
254 OR90059
255 OR91826
N/A OR91804
256 OR91045
256A OR91041
256B OR91038
256C OR91044
258 OR91046
261 OR91117
261A OR91793
262 OR91738
263 OR91006
264 STD851010
265 STD836045
266 OR91018
266A OR91740
266B OR91137
266C OR91762
267 OR91816
268 STD840508
268A OR91827
69 OR91017
270 OR91786
N/A OR91804
271 OR91045
271A OR91041
271B OR91038
271C OR91044
273 OR91046
274 OR91768
275 STD851010
276 STD852010
277 STD841015
280 OR91726
281 OR91727
282 OR90289
283 OR90290
284 OR90291
288 OR91728
286 OR91729
287 OR91808
290 OR91814
291 OR91787
301 OR91105
301A OR91563
301B OR91565
301C OR91566
302 OR91183
302A STD840508
302B STD851005
303 OR91787
304 OR91123
304A OR91564
305 OR91777
306 OR91058
307 OR91127
308 OR91787
309 OR91787
310 OR91129
311 OR91124
312 OR91125
313 OR91787
314 OR91126
315 OR91787
316 OR91787
317 OR91737
318 OR91787
319 OR91128
320 OR91835
321 OR91132
322 STD840812
323 OR91787
324 OR91106
325 OR91090
326 OR91743
Description
FLAT WASHER M6
CHEESE HEAD SCREW M6 x 16ram
HANDWHEEL ASSEMBLY, (NOT SHOWN)
CONSISTS OF: 256, 256A, 256B 7 286C
HANDWHEEL
ELEVATING KNOB ASSEMBLY
KNOB BOLT
KNOB END CAP
HANDWHEEL LOCK KNOB
TILT SHAFT ASSEMBLY
SPRING PIN 3ram x 20ram
ECCENTRIC
FRONT BRACKET
FLAT WASHER M10
HEX HEAD SCREW M10x1.5 x 45mm
TILT COLLAR
FIBER WASHER 3/8"
COLLAR
HEX SOCKET SET SCREW 1/4-20 X 1/4"
HEX SOCKET SET SCREW M6 x 8ram
HEX NUT M5
SPECIAL FLAT WASHER (ID:5.3, OD:18, T:3)
TILT BRACKET
ROUND HEAD SCREW M5 x 25ram
HANDWHEEL ASSEMBLY, (NOT SHOWN)
CONSISTS OF: 271,271A, 271B & 271C
HANDWHEEL
TILTING KNOB ASSY
KNOB BOLT
KNOB END CAP
HANDWHEEL LOCK KNOB
,JAM NUT 9/16-18
FLAT WASHER M1O
LOCK WASHER M1O
HEX NUT M1Oxl.5
BOX END WRENCH
OPEN END WRENCH
2.5mm ALLEN WRENCH
3ram ALLEN WRENCH
4ram ALLEN WRENCH
5ram ALLEN WRENCH
6ram ALLEN WRENCH
1/6" ALLEN WRENCH
CABLE CLAMP
ROUND HEAD TAP SCREW 1/4-28 x 3/8"
CABINET ASSEMBLY
SPEC TAG (C SAW)
BEVEL SCALE
BLADE ELEVATION AND TILT LABEL
HINGE ASSEMBLY
HEX NUT M5
FLAT WASHER M5
SHEET METAL SCREW 1/4-20 x 3/8"
MOTOR COVER
WARNING LABEL
PAN HEAD SCREW M5 X 15ram
LATCH BLACK SWELL ASSEMBLY
CABINET SIDE PANEL
SHEET METAL SCREW 1/4-20 x 3/8"
SHEET METAL SCREW 1/4-20 x 3/8"
MITER GAUGE FENCE HOOK
DUST CHUTE
RIGHT DUST DEFLECTOR
SHEET METAL SCREW 1/4-20 x 3/8"
LEFT DUST DEFLECTOR
SHEET METAL SCREW 1/4-20 x 3/8"
SHEET METAL SCREW 1/4-20 x 3/8"
CABLE CLAMP
SHEET METAL SCREW 1/4-20 x 3/8"
DUST PORT
ROUND HEAD TAP SCREW 1/4-28 x 1/2"
LEVELING SCREW
HEX NUT M8xl.28
SHEET METAL SCREW 1/4-20 x 3/8"
INSULATOR
NAMEPLATE
FLAT HEAD TAP SCREW 1/4-20 x 3/8"
Qty.
1
1
N/A
N/A
Key No. PART No. Description Qty.
327 OR91134 WRENCH HOOK 1
328 OR91135 FENCE HOOK 2
329 OR91832 TRIANGLE TAP SCREW M4 x 8ram 6
329A OR91832 TRIANGLE TAP SCREW M4 x 8ram 2
350 OR91180 OUTFEED TABLE WELDMENT 1
351 OR91754 HEX NUT M6, NYLOCK 1
352 OR91156 UPPER SUPPORT 1
353 OR91157 LOWER SUPPORT 1
354 OR91754 HEX NUT M6, NYLOCK 1
355 STD851006 FLAT WASHER M6 2
356 STD852006 LOCK WASHER M6 2
357 STD833025 HEX HEAD SCREW M6 x 25ram 2
358 OR91158 SUPPORT RETAINER 1
359 STD833035 HEX HEAD SCREW M6 x 35ram 1
360 OR91794 SPRING PIN 4ram x 16ram 1
361 OR91159 CLAMP KNOB 1
362 STD833035 HEX HEAD SCREW M6 x 35ram 1
363 STD840508 HEX NUT M5 8
364 OR91154 HINGE ASSEMBLY 2
365 STD851005 FLAT WASHER M5 16
366 STD852005 LOCK WASHER M5 8
367 OR91747 HEX HEAD SCREW MS x 16ram 8
401 OR81600 PLASTIC CAPLUG 2" X 3" 1
402 OR91601 FENCE SIDE REPLACEMENT KIT, 42" WHITE
(SEE SERVICE NOTE "A") 1
403 OR91602 LABEL LARGE BIESEMEYER COMM/HS FNC 1
404 STD511103 10-32 x 3/8" ROUND HEAD SCREW 2
405 STD551010 #10 FLAT WASHER 2
406 OR91603 CURSOR 1
407 OR91604 LABEL, FLAG & EAGLE" 1
408 OR91605 LABEL, COMM FENCE BLU/SILVER 1
409 STD511103 10-32 x 3/8" ROUND HEAD SCREW 2
410 STD551010 #10 FLAT WASHER 2
411 OR91603 CURSOR 1
412 OR91652 1/4-20 x 1 3/4" HEX SOCKET HEAD SCREW 1
413 OR91665 3/8-16 x 1-13/16" HEX HEAD SCREW 1
414 OR91606 KNOB 1
415 OR91607 HANDLE ASSEMBLY 1
416 OR91608 FOOT ASSEMBLY 1
417 OR91609 PAD 2
418 OR91610 PAD, WEAR 2
419 OR91656 3/8-16 NYLON INSERT 1
420 OR91654 1/4-20 NYLON INSERT 1
421 OR91667 3/8-16 x 5/16" SOCKET HEAD SET SCREW 2
422 OR91610 PAD, WEAR 2
423 OR91601 FENCE SIDE REPLACEMENT KIT, 42" WHITE
(SEE SERVICE NOTE "A") 1
424 STD835025 M8x1.25 x 25ram HEX HEAD SCREW 2
425 STD852008 M8 LOCK WASHER 2
426 STD851008 M8 FLAT WASHER 2
427 OR91611 LABEL, APPLY PASTE WAX 1
N/A OR92010 BIESEMEYER T-SQUARE FENCE ASSEMBLY (not shown);
Consists of Key No's: 401,402,403, 404,405, 406,407, 408,
409,410, 411,412,413, 414,415, 416, 417,418, 419,420,
421,422,423 & 427
428 OR91612 45" REAR RAIL 1
429 STD523115 5/16-18 x 1-1/2" HEX HEAD SCREW 3
430 STD551031 5/16" FLAT WASHER 3
431 STD551131 5/16" LOCK WASHER 3
432 STD541031 5/16-18 HEX NUT 3
433 OR91600 PLASTIC CAP PLUG 2" X 3" 2
434 OR91613 GUIDE TUBE ASSEMBLY 1
435 OR91614 LEFT HAND SCALE, 3/4", ENGLISH
(SEE SERVICE NOTE "B") 1
436 OR91615 RIGHT HAND SCALE, 3/4", ENGLISH
(SEE SERVICE NOTE "B") 1
437 STD541031 5/16-18 HEX NUT 6
438 STD551131 5/16" LOCK WASHER 6
439 STD551031 5/16" FLAT WASHER 6
440 OR91660 5/16-18 x 2" FLAT HEAD SCREW 6
441 STD551125 1/4" SPLIT LOCK WASHER 2
442 STD622507 1/4-28 x 3/4" HEX HEAD SCREW 2
443 STD551125 1/4" SPLIT LOCK WASHER 4
444 STD622505 1/4-20 x 1/2" HEX HEAD SCREW 4
445 OR91616 FRONT RAIL 1
446 OR91617 TABLE ASSEMBLY 12" X 27" 1
N/A OR92011 TEMPLATE (not shown)
Service Notes:
A KIT INCLUDES; BOARD, LAMINATE, ]-EDGING AND HARDWARE
B SCALE IS PROVIDED OVERSIZE AND MUST BE CUT TO PROPER LENGTH
42

co
39A (
3B
136
i<2>
o
Z
w
r-
r_
09
>
0
rn
r-
Z
P
4_
0

I
?
Z
F"
m
0
m
z
.o
P
m_

PI_P|I|II|,
301B
3°2l ,$303(3)
I:l__°'-
304A
o
Z
w
p-
ro
O9
>
O
ITI
r"
Z
.o
_o
4_
o

10-iN. TABLE SAW MODEL NO.152.221240
367(8)
366(8)
365(1 564(2)
Z,36,3(8) 362
361
35O
360
359
358
355(2)
46

1O-IN.TABLESAW MODEL NO.152.221240
413
435
415
\
416
434
445
406
.-"_---42t (2)
402
40 t
428
446 4.32(3)
47

_nuai dei Proprietario
CRRFrSMRH
1.75 caballos de fuerza (servicio continuo)
2.4 caballos de fuerza (maximo desarrollado)
3450 R.P.IVI. (R.P.M. sin carga)
No. de IVIodelo
152.221240
de 1 pu
f
PRECAUCION:
PARA SU SEGURIDAD PERSONAL:
Lea y obedezca todas las Instrucciones
de Seguridad y Funcionamiento antes
de accionar esta Sierra de Mesa.
Linea deAyudaal Cliente
1-800-897-7709
Sirvase tener listo su
No de Modelo y No. de Serie.
Sears, Roebuck and Co., Hoffman Estates, IL 60179 U.S.A.
No. de Modelo OR91552
Revisado: REV. D 48

SECCION PAGINA
Garant[a ............................................................................................................................................................................................... 49
Especificacienes del producto ............................................................................................................................................................. 49
Glesario de terminos ........................................................................................................................................................................... 50
Instrucciones de seguridad ................................................................................................................................................................. 51
Directrices para las extensiones electricas ........................................................................................................................................ 52
Instrucciones de conexi6n a tierra ...................................................................................................................................................... 53
Instrucciones especfficas de seguridad para las sierras de mesa ..................................................................................................... 54
Accesorios y aditamentos ................................................................................................................................................................... 56
Contenido de la caja ............................................................................................................................................................................ 58
Conozca su sierra de mesa ................................................................................................................................................................ 62
Instrucciones de montaje .................................................................................................................................................................... 63
Operaciones y ajustes ......................................................................................................................................................................... 73
Mantenimiento ..................................................................................................................................................................................... 85
Gu[a de Iocalizaci6n de aver[as .......................................................................................................................................................... 87
Informaci6n de servicio ....................................................................................................................................................................... 88
GARANT[A COMPLETA DE UN ANO
Si este producto Ilegara a fallar debido a defectos materiales o de elaboraci6n dentro de un are desde la fecha de compra,
devuelvalo a su Centro de Servicio Sears mas cercano para repararlo sin costo alguno.
Esta garant[a le concede derechos legales especfficos, y tambien podr_ tener otros derechos que variar_n de un estado a otro.
Sears Roebuck and Co., Dept 817 WA, Hoffman Estates, IL 60179
Sierra de Mesa de 10 pulg.
Tipo de motor Inducci6n
HP de servicio continuo 1.75
HP maximo desarrollado 2.4
Amperios 15/7.5
Voltios 120/240
Hertz 60
RPM 3450 R.P.M. (R.RM. sin carga)
Inclinaci6n de la hoja Inclinaci6n izquierda
Marcha de la hoja Correa Poly-V
DiAmetro de la hoja 10 pulg.
Eje de la hoja 5/8 pulg.
Numero de dientes 40
Velocidad de la hoja 3450 R.RM.
Tipo de guia Biesemeyer, Sistema de Guia
Comercial
Profundidad maxima
de corte a 90 grados
Profundidad maxima
de corte a 45 grades
Corte a Io largo maximo
a la derecha de la hoja
Corte a Io largo maximo
a la izquierda de la hoja
3-3/8 pulg.
2-1/4 pulg.
30 pulg.
18 pulg.
Mesa frente a la hoja a la
profundidad maxima de corte
Ancho maximo de la
fresa rotativa de ranurar
Diametro maximo de hoja de
la fresa rotativa de ranurar
Ala de mesa izquierda
y derecha
Peso de la sierra de mesa
Peso del ensamblado
de la guia
12-1/2 pulg.
13/16 pulg.
8 pulg.
12 pulg., hierro fundido
330 Ibs.
70 Ibs.
Haga use de la protecci6n de circuitos correcta para evitar los
cheques electricos a s[ mismo y el dare a la Sierra de Mesa.
No la exponga a la Iluvia ni haga uso de ella en entornos
humedos.
La Sierra de Mesa viene cableada de fabrica para el fun-
cionamiento a 120 V, 60 Hz. Conectar a un circuito ramal de
120 V, 15 amperios y utilice un fusible o disyuntor de circuitos
de retardaci6n de tiempo de 15 amperios. El circuito electrico
no podr& tener un tamaSo de cable menor al #14. Para evitar
choques o incendios, reponga el cord6n de energ[a inmedia-
tamente siesta daSado en cualquier manera.
49

Alefriz - Muesca cuadrada en el borde del material.
Contragolpe - Cuando el material es arrojado hacia el
operario durante una operaci6n de corte en el memento que
el material hace contacto inicial con la hoja, o si el material
hace constricci6n sobre la hoja. Los contragolpes son
peligrosos y pueden resultar en heridas graves.
Fresa rotativa de ranurar - Corte no directo que produce
una muesca cuadrada. Una fresa rotativa tiene, tfpicamente,
un ancho de 1/8 a 13/16 pulg. Una fresa rotativa requiere un
conjunte especial de hojas que no estan incluidas con esta
sierra de mesa.
Goma, alquitr_in oresina - Residuo pegajoso y basado en
la savia producido por los productos de madera.
Corte a Io largo - La operaci6n de hacer un corte a Io largo
del grano del material.
Corte eompuesto - La operaci6n de hacer cortes tanto de
biselado come de ingletes a la misma vez.
Gradaci6n de la hoja de la sierra - La distancia en que las
puntas de la hoja de la sierra estan anguladas hacia afuera
desde el grosor de la hoja. La gradaci6n de los dientes de la
hoja de la sierra permite que el cuerpo de la hoja atraviese
todos los cortes con seguridad.
Corte de biselado - La operaci6n de realizar cualquier corte
con el conjunto de hojas en cualquier grade que no sea 90
grados.
Ladeo - El mal alineamiento de la hoja con las ranuras de
ingletes, o cuando la hoja no esta paralela con las ranuras de
ingletes.
Corte de ingletes - La operaci6n de hacer un corte utilizan-
do la escuadra de ingletes a cualquier angulo que no sea de
cero grados.
Corte repetido - La operaci6n de realizar un corte para
reducir el grosor del material.
Corte transversal - La operaci6n de realizar un corte a Io
ancho del grano o el ancho del material.
Mano libre - Una operaci6n muy peligrosa para efectuar un
corte sin hacer uso de la gufa de corte ni la escuadra de
ingletes durante una operaci6n de corte. Los cortes a mano
libre jam_s deben realizarse con una Sierra de Mesa.
Mesa/zona de trabajo - La superficie total de la parte
superior de la sierra de mesa sobre la que descansa el
material mientras que se realizan operaciones de montaje
o de corte.
Dedos anti-contragolpe - Dispositivo de seguridad conec-
tado al protector de hoja y al ensamblado del hendidor
dise5ado para evitar la expulsi6n de un material durante las
operaciones de corte.
Eje - El eje sobre el cual esta montada la hoja o la herra-
mienta cortante de accesorio.
Refrentado - Dispositivo accesorio que puede hacerse o
comprarse para ayudar a la gufa o sujetar un material durante
las operaciones de corte.
Trayecto de la hoja de la sierra - La zona que est_ directa-
mente en Ifnea con la hoja, incluyendo la zona per encima,
por debajo y per delante de la misma.
Entalladura - La pieza removida del material per la hoja
durante cualquier operaci6n de corte.
Vara de empuje - Dispositivo accesorio que puede hacerse o
comprarse para ayudar a empujar el material a traves de la
hoja. Se hace use de una vara de empuje para evitar que las
manos del operario entren en contacto con la hoja durante el
corte a Io largo de materiales angostos.
50

INSTRUCCIONES GENERALES DE
SEGURiDAD
El funcionamiento de una Sierra de Mesa puede resultar
peligroso si se hace caso omiso de la seguridad y del sentido
com0n. El operario debe estar familiarizado con el funciona-
miento de la herramienta. Lea este manual para entender su
Sierra de Mesa. NO OPERE esta Sierra de Mesa si no
entiende plenamente las limitaciones de dicha herramienta.
NO haga modificaciones de ning0n tipo a esta Sierra de
Mesa. RECUERDE: Usted es responsable de su propia
seguridad.
9, UTILICE PROTECCION OCULAR SIEMPRE. Cualquier
herramienta mecb,nica puede arrojar escombros hacia los
ojos durante el funcionamiento, pudiendo esto resultar en
heridas oculares graves y permanentes. Los anteojos de
uso cotidiano NO son gafas de seguridad. Utilice Gafas
de Protecci6n SIEMPRE (que cumplan con la normativa
Z87.1 de ANSI) durante la operaci6n de herramientas
mecanicas. Las Gafas de Protecci6n est&n disponibles
en las tiendas Sears de ventas al detal. El equipo auditi-
vo debe cumplir con la Normativa $3.19 de ANSI.
ANTES DE UTILIZAR LA SIERRA DE MESA
Para evitar las heridas graves y el daSo a la herramienta, lea
y obedezca todas las instrucciones de Seguridad y Operaci6n
antes de operar la Sierra de Mesa.
1. LEA a conciencia el Manual del Propietario. APRENDA a
c6mo hacer use de esta herramienta para sus aplica-
clones diseSadas.
2, CONECTE TODAS LAS HERRAMIENTAS A TIERRA.
Si la herramienta se suministra con un enchufe de 3
machos, se le debe enchufar aun tomacorrientes que
disponga de 3 contactos electricos. El tercer macho se
utiliza para conectar la herramienta a tierra y ofrecer
protecci6n contra los choques electricos accidentales.
NO quite el tercer macho. Yea las Instrucciones de
Conexi6n a Tierra.
3. EVITE UN ENTORNO LABORAL PELIGROSO. NO
utilice las herramientas electricas en un entorno h0medo,
ni tampoco las exponga a Iluvia.
4. NO utilice herramientas electricas si hay gases o Ifquidos
inflamables presentes.
5,
6,
IVIANTENGA SIEMPRE su zona de trabajo limpia, bien
alumbrada y organizada. NO TRABAJE en un entorno
con superficies de piso resbalosas a consecuencia de los
escombros, la grasa y la cera.
MANTENGA ALEJADOS A LOS NINOS Y VISITANTES.
NO permita que haya personas en la zona inmediata de
trabajo, particularmente cuando la herramienta electrica
se encuentre en funcionamiento.
7, NO DEBE FORZAR LA HERRAMIENTA a realizar
operaciones para las que no fue dise5ada. Realizar& una
labor m&s segura y de mejor calidad si se le utiliza para
realizar operaciones para las que fue dise5ada.
8, UTILICE VESTIMENTA APROPIADA. NO vista ropa
holgada, guantes, corbatas ni artfculos de joyerfa. Estos
artfculos pueden quedar atrapados en la maquina
durante las operaciones y tirar del operario, atrayendolo
hacia las piezas en movimiento. El usuario debe Ilevar
una cubierta protectora sobre el cabello, si tiene
cabellera larga, para impedir el contacto con cualquier
pieza en movimiento.
10.
11.
12.
13.
14.
15.
16.
17.
18.
19.
SIEMPRE DESENCHUFE LA HERRAMIENTA DEL
TOMACORRIENTES cuando vaya a realizar ajustes,
cambiar piezas o realizar cualquier clase de manteni-
miento.
MANTENGA LOS ESCUDOS DE PROTECCION EN SU
SlTIO Y EN BUEN ESTADO DE FUNCIONAMIENTO.
EVITE EL ARRANQUE ACCIDENTAL. Asegurese de
que el interrupter de potencia se encuentre en la posici6n
de "APAGADO" antes de enchufar el cord6n de potencia
en el tomacorrientes.
QUITE TODAS LAS HERRAMIENTAS DE MANTENI-
MIENTO de la zona inmediata antes de encender la
herramienta.
SOLO UTlUCE ACCESORIOS RECOMENDADOS. El
use de accesorios incorrectos o poco apropiados puede
ocasionar heridas graves al operario y ocasionar da5o a
la herramienta. Si tiene dudas, consulte el manual de
instrucciones que se adjunta con el accesorio especffico.
JAM_.S DEJE UNA HERRAMIENTA EN FUNCIONA-
MIENTO SIN ATENDER. Conmute el interrupter de
energfa a la posici6n de apagado. NO abandone la
herramienta hasta que esta se haya detenido per
completo.
NO SE PARE SOBRE LA HERRAMIENTA. Pueden pro-
ducirse heridas graves si la herramienta se vuelca o si
usted hace contacto con la herramienta aecidentalmente.
NO ALMACENE nada per encima ni cerca de la maquina
en donde alguien pueda intentar pararse en la herra-
mienta para alcanzarlo.
MANTENGA SU EQUlUBRIO. NO se extienda sobre la
herramienta. Haga use de zapatos con suela de caucho
resistente al aeeite. Mantenga el piso libre de escombros,
grasa o cera.
MANTENGA SUS HERRAMIENTAS CUIDADOSA-
MENTE. Mantenga sus herramientas limpias yen buen
estado. Mantenga afiladas todas las hojas y brocas.
51

20. REVISE SI HAY PiEZAS DAIklADAS ANTES DE CADA
USO DE LA HERRAMIENTA. Revise todos los protec-
tors cuidadosamente para comprobar que funcionan
correctamente y que no estan dahados, y que realizan
sus funciones dise_adas correctamente. Revise el
alineamiento, la fijaci6n o la ruptura de las piezas en
movimiento. Cualquier protector u otra piezas que se
encuentre da_ada debe repararse o reemplazarse
inmediatamente.
21. HAGA SU TALLER A PRUEBA DE Nll_lOS quitando las
Ilaves del interruptor, desenchufando las herramientas de
los tomacorrientes y haciendo uso de candados.
22. NO OPERE LA HERRAMIENTA BAJO LA INFLUENCIA
DE LAS DROGAS ODEL ALCOHOL.
23. AFIANCE TODO EL MATERIAL. Siempre que resulte
posible, utilice abrazaderas o plantillas para asegurar el
material. Esto ofrece mayor seguridad que intentar
sujetar el material con sus propias manos.
24. MANTleNGASE ALERTA, ESTle CONSClENTE DE LO
QUE HACE,Y UTILICE SENTIDO COMON CUANDO
VAYA A OPERAR UNA HERRAMIENTA MECANICA.
NO UTILICE LA HERRAMIENTA Si ESTA CANSADO
O BAJO LA INFLUENClA DE DROGAS, ALCOHOL O
MEDICAMENTOS. Un momento de descuido durante el
uso de herramientas electricas puede resultar en
lesiones personales graves.
25. El uso de esta herramienta puede generar y dispersar
polvo u otras part[culas aereas, incluyendo polvo de
madera, polvo de sflice cristalino y polvo de asbesto.
Dirija las part[culas en la direcci6n opuesta a la cara y el
cuerpo. Opere la herramienta siempre en un lugar con
buena ventilaci6n y proporcione la eliminaci6n correcta
de polvo. Utilice un sistema de recolecci6n de polvo
siempre que sea posible. La exposici6n al polvo puede
ocasionar da5o respiratorio grave y permanente u otros
da5os, incluyendo silicosis (una enfermedad pulmonar
grave), cancer y la muerte. Evite respirar el polvo y evite
el contacto prolongado con el polvo. El permitir la entrada
del polvo en su boca u ojos, o dejar que permanezca
sobre su piel, podra promover la absorci6n de materiales
da5inos. Utilice siempre la protecci6n respiratoria NIOSH
/OSHA que sea apropiada para la exposici6n al polvo y
lave las zonas afectadas con jab6n y agua.
26. UTIMCE UNA EXTENSION ELleCTRiCA CORRECTA Y
EN BUEN ESTADO. Cuando vaya a hacer uso de una
extensi6n electrica, aseg0rese de utilizar una que sea Io
suficientemente fuerte como para transportar la corriente
a ser utilizada por su herramienta. Tenga la bondad de
referirse a la tabla "CALIBRE MINIMO RECOMENDADO
PARA LAS EXTENSiONES ELECTRICAS (AWG)" para
el dimensionamiento correcto de la extensi6n electrica.
Si tiene dudas, utilice la siguiente extensi6n de mayor
calibre.
27. DIRECCION DE LA ALIMENTACION. Alimente el
material hacia la hoja o cortadora s61o contra el sentido
de la rotaci6n de la hoja o cortadora.
DIRECTRICES PARA
LAS EXTENSIONES ELC:CTRICAS
Mientras menor sea el n0mero de calibre, mayor sera el
diametro de la extensi6n electrica. Si tiene dudas sobre las
dimensiones correctas de una extensi6n electrica, utilice un
cord6n mas corto y mas grueso. Una extensi6n de dimen-
siones insuficientes producira una caida en el voltaje de Ifnea,
resultando en una perdida de potencia y el sobrecalentamien-
to. SOLO UTILICE UNA EXTENSION ELC:CTRICA DE 3
HILOS QUE DISPONGA DE UN ENCHUFE DE CONEXION
A TIERRA DE 3MACHOS,Y UN RECEPT._.CULO DE 3
POLOS QUE ACEPTE EL ENCHUFE DE LA M,_,QUINA.
Siesta haciendo uso de una extensi6n electrica a la intern-
perle, este seguro de que la extensi6n se encuentre marcada
con "W-A" ("W" en el CanadA), Io que indica que su uso a la
intemperie es aceptable.
Aseg0rese de que las dimensiones de su extensi6n electrica
sear las correctas y que se encuentre en buen estado
electrico. Repare siempre una extensi6n electrica da5ada, o
procure que una persona experta la repare antes del uso.
Proteja sus extensiones electricas contra los objetos filosos,
el calor en exceso y de los lugares mojados o h0medos.
FUNCIONAMIENTO A 120 VOLTIOS SOLAMENTE
0 a 6 Amperios
6 a 10 Amperios
10 a 12 Amperios
12 a 15 Amperios
25 PIES DE
LARGO
18AWG
18AWG
16AWG
14 AWG
50 PIES DE
LARGO
16AWG
16 AWG
16 AWG
12AWG
100 PiES DE
LARGO
16 AWG
14 AWG
14 AWG
No se
recomienda
FUNCIONAMIENTO A 240 VOLTIOS SOLAMENTE
0 a 6 Amperios
6 a 10 Amperios
10 a 12 Amperios
12 a 15 Amperios
25 PIES DE
LARGO
18AWG
18AWG
16AWG
14 AWG
50 PIES DE
LARGO
18AWG
18 AWG
16AWG
12 AWG
100 PiES DE
LARGO
16 AWG
14 AWG
14 AWG
No se
recomienda
52

ESTA HERRAMIENTA DEBE ESTAR CONECTADA A TIER-
RA DURANTE EL USO PARA PROTEGER AL OPERARIO
CONTRA LOS CHOQUES ELE_CTRICOS.
EN EL CASO DE UN MALFUNCIONAMIENTO O AVERIA, la
conexi6n a tierra ofrece el trecho de menor resistencia para la
corriente electrica y reduce el riesgo de los choques electri-
cos. Esta herramienta viene equipada con un cord6n electrico
que dispone de un conductor de conexi6n a tierra para el
equipo asi como un enchufe de conexi6n a tierra. El enchufe
DEBE estar enchufado a un tomacorrientes coincidente que
haya sido correctamente instalado y conectado a tierra de
acuerdo con TODOS los c6digos y ordenanzas municipales.
NO MODIFIQUE EL ENCHUFE SUMINISTRADO. Haga que
un electricista calificado instale el tomacorrientes apropiado si
el enchufe no cabe en el tomacorrientes.
LA CONEXION EL¢CTRICA INCORRECTA del conductor de
conexi6n a tierra para el equipo puede resultar en el riesgo
de choques electricos. El conductor con el aislamiento verde
(con o sin rayas amarillas) es el conductor de conexi6n a
tierra para el equipo. NO conecte el conductor de conexi6n a
tierra para el equipo a una terminaci6n viva si resulta nece-
sario reparar o reemplazar el cord6n electrico o el enchufe.
CONSULTE con un electricista calificado o personal de servi-
cio si no entiende las instrucciones de conexi6n a tierra com-
pletamente, o si no esta seguro que la herramienta esta
debidamente conectada a tierra.
El motor suministrado con su Sierra de Mesa es un motor
monofasico de corriente alterna y voltaje doble de 120/240
voltios, 60 hertzios. Se envfa cableado para las aplicaciones
a 120 voltios. Jamas conecte el alambre verde (de tierra) a un
terminal vivo.
SOLO UTILICE UNA EXTENSION ELE_CTRICA DE 3
HILOS QUE DISPONGA DE UN ENCHUFE DE CONEXION
A TIERRA DE 3 MACHOS,Y UN RECEPTACULO DE 3
POLOS QUE ACEPTE EL ENCHUFE DE LA MAQUINA.
REPONGA CUALQUIER CORDON DAI_IADO O GASTADO
INMEDIATAMENTE.
PARA LAS MAQUINAS CONECTADAS A TIERRA Y CON
CORDON DISEI_IADAS PARA EL USO EN UN CIRCUITO
DE SUMINJSTRO CON UNA POTENCIA DE RFtGIMEN
MENOR A LOS 150 VOLTIOS.
Esta herramienta esta diseRada para el uso en un circuito
que disponga de un tomacorrientes como el que se ilustra en
la FIGURA "IA". La FIGURA "IA" muestra un enchufe elec-
trico de 3 hilos y un tomacorrientes electrico con conductor de
conexi6n a tierra. Si no se encuentra disponible un tomacorri-
entes debidamente conectado a tierra, se puede hacer uso de
un adaptador, segun Io ilustrado en la FIGURA "1B", para
conectar dicho enchufe provisionalmente al tomacorrientes de
2 contactos que no est_ conectado a tierra. El adaptador
cuenta con una orejeta r[gida que DEBE ser conectada a una
conexi6n a tierra permanente, tal como Io es una caja de
tomacorrientes debidamente conectada a tierra. SE PRO-
HIBE EL USO DE ESTE ADAPTADOR EN EL CANADA.
PRECAUCION: En todos los casos, asegurese de que el
tomacorrientes en cuesti6n este debidamente conectado a
tierra. Si no est& seguro, haga que un electricista certificado
revise el tomacorrientes.
El motor suministrado con su Sierra de Mesa es un motor
monof&sico de voltaje doble, 120/240 voltios. Si desea operar
su sierra de mesa a 240 voltios, sera necesario reconectar
los avances del motor dentro de la caja de empalmes del
motor, siguiendo el diagrama de cableado que aparece en la
cubierta de la caja de empalmes.
ASEGORESE de que el motor este desconectado de la
fuente de energia antes de reconectar los avances del motor.
Fig. 1A
120 Voltios
conductor de conexi6n
a tierra 0
cord6n el_ctrico de tres hilos
\tomacorrientes
paratres
machos
Fig. 1B
120 Voltios
orejeta del adaptador
de conexi6n a tierra
tomacorrientes para
dos machos
cord6n electrico de tres hilos
53

Tambien serA necesario reemplazar el enchufe de 120 voltios
suministrado con el motor por un enchufe clasificado por
UL/CSA come apropiado para los 240 voltios y la corriente
clasificada de la sierra. Comun[quese con un electricista local
competente acerca de los procedimientos correctos para
instalar el enchufe. La sierra de mesa debe cumplir con todos
los c6digos electricos en el ambito local y nacional tras la
instalaci6n del enchufe de 240 voltios.
La sierra de mesa con el enchufe de 240 voltios s61o debe
conectarse a un tomacorrientes que disponga de la misma
configuraci6n que el enchufe ilustrado en la Figura "1C". No
hay adaptadores disponibles para el enchufe de 240 voltios ni
tampoco debe usarse ninguno.
ASEGURESE de que las mascaras o respiradores tienen
aprobaci6n MSHA /NIOSH.
El funcionamiento de cualquier sierra de mesa puede tener
come consecuencia la expulsi6n de escombros hacia sus
ojos, Io que puede resultar en heridas oculares graves.
UTILICE SIEMPRE Gafas de Protecci6n (que cumplan con la
normativa Z87.1 de ANSI) cuando vaya a hacer uso de la
sierra de mesa. Las Gafas de Seguridad estan disponibles en
las tiendas Sears de ventas al detal. Mantenga los pulgares y
los dedos alejados de la hoja mientras que esta se encuentre
girando.
Fig. 1C
240 VOLTIOS machos
portadores
de corriente
el macho de conexi6n a
tierra es el mdtslargo de
los machos
tomacorrientes
conectado a tierra
©
e
©
ASEGURESE de que el tomacorrientes en cuesti6n este
debidamente conectado a tierra. Si no esta seguro, haga que
un electricista competente revise el tomacorrientes.
La Sierra de Mesa es para el uso en interiores exclusiva-
mente. No la exponga a la Iluvia, ni haga use de ella en
lugares ht]medos.
INSTRUCCIONES DE SEGURIDAD
ESPECJFICAS PARA LAS SIERRAS
DE MESA
REGLAMENTO "PROPOSITION 65"
DE CALIFORNIA
EL POLVO GENERADO MEDIANTE LIJADO MEC,,_NICO,
ASERRADO, RECTIFICACION, PERFORACION Y OTRAS
ACTIVIDADES DE CONSTRUCCION contiene productos
qu[micos conocidos como fuentes de cancer, defectos de
nacimiento u etros daSos reproductivos. Algunos ejemplos de
estos qufmicos incluyen los siguientes:
• plomo proveniente de pinturas con base de plomo,
o s[lice cristalino de ladrilles y cemente y etros productos de
mamposterfa, y
o arsenico y cremo de las maderas tratadas con qu[micos.
Su riesgo proveniente de dichas exposicienes pedra variar
segt_n que tan a menudo realice dicha clase de trabajo. Para
reducir su exposici6n a estes qufmicos: trabaje en un sitie
que goce de buena ventilaci6n y trabaje con equipo de
seguridad aprobado, tal come las caretas de polvo diseBadas
especialmente para filtrar las part[culas microsc6picas.
Debe observar siempre las precauciones basicas cuando
utiliza su Sierra de Mesa. Para reducir el riesgo de lesiona-
miento, cheque electrico o incendio, cumple con las reglas de
seguridad que siguen:
1. LEA y entienda el manual de instrucciones antes de
poner la sierra de mesa en funcionamiente.
2. NO OPERE ESTA MAQUINA hasta que se encuentre
ensamblada e instalada conforme alas instrucciones.
3,
4,
5,
6.
7,
8,
9.
10.
11.
12.
13.
ASESORESE CON SU SUPERVISOR, instructor u otra
persona experta si no estA familiarizado con el uso de
esta maquina
NO PERMITA que la sierra de mesa permanezca en-
chufada al tomacorrientes. La sierra de mesa debe
desenchufarse del tomacorrientes cuando no se
encuentre en use y antes de rendir servicio, cambiar
hojas y limpiar.
COLOQUE el interrupter de energ[a en "APAGADO"
antes de desenchufar la sierra de mesa.
PARA REDUCIR EL RIESGO DE CHOQUES EL¢CTRI-
COS, no utilice la sierra a la intemperie. No la exponga a
la Iluvia. Almacenela puertas adentro.
OBEDEZCA todos los c6digos electricos y de seguridad,
incluyendo el C6digo Electrico Nacional (NEC) y las
Nermas de Salud y Seguridad en el Trabajo (OSHA).
Todas la conexiones y cableado electrico deben ser
realizadas s61o per personal competente.
NO manipule el enchufe ni la sierra de mesa con las
manes mojadas.
UTILICELA s61o come se describe en este manual.
Utilice accesorios recomendaos por Sears solamente.
JAMAS tire de la Sierra de Mesa per su cord6n de
energ[a. NUNCA permite que el cord6n de energia entre
en contacto con berdes filosos, superficies calientes,
aceite o grasa.
NO desenchufe la sierra de mesa tirando del cord6n de
energ[a. AGARRE siempre el enchufe y no el cord6n.
REPONGA un cord6n da5ado inmediatamente. NO
utilice un cord6n o enchufe que esten da5ados. Si la
sierra de mesa funciona debidamente, o si ha side da5a-
da, dejada a la intemperie o si ha entrado en contacto
con el agua, devuelvala a un Centro de Servicio Sears.
NO utilice la sierra de mesa come juguete. NO LA
UTlUCE si hay niBos presentes.
54

14. La Sierra de Mesa esta diseRada para el use dom4stico
o el use comercial ligero SOLAMENTE.
15. CONECTE la sierra de mesa a un tomacorrientes
debidamente conectado a tierra. Vea las instrucciones de
conexi6n a tierra.
16. UTIMCE SIEMPRE los protectores cuando resulte possi-
ble hacerlo. Revise que esten en su sitio, afianzados y
funcionando correctamente.
17. EVITE LOS CONTRAGOLPES haciendo Io siguiente:
•Manteniendo la hoja afilada y libre de oxidaci6n y
alquitran.
•Manteniendo la gufa de corte a Io largo paralela con la
hoja de la sierra.
•Usando el protector de la hoja de la sierra y el ensam-
blade del hendidor para todas las eperaciones posibles,
incluyendo el aserrado directo.
•Empujando el material mas all_ de la hoja de la sierra
antes de soltarlo.
•No cortando a Io largo jam#,s ning0n material que este
torcido o alabeado, o que no disponga de un borde
recto para guiarlo a Io largo de la gufa de corte.
•Usando tablas de refrentado cuando no pueda utilizarse
el protector de hoja y el ensamblado del hendidor.
•No aserrando jam_s una pieza de material grande que
no pueda controlarse.
•No usando jamas la guia durante el corte transversal.
•No aserrando jamAs un material con nudos sueltos u
otras imperfecciones.
18. RETIRE las piezas troceadas y los escombros de la
mesa antes de arrancar la sierra. La vibraci6n de la
sierra puede hacer que se muevan hacia la hoja de la
sierra, expulsandolas. Despues de realizar el corte,
apague la sierra. Cuando la hoja se haya detenido por
completo, desenchufe la sierra y retire los escombros.
19. JAMAS ARRANQUE la sierra con el material contra la
hoja.
20. JAMAS realice operaciones "a mane libre'. Haga use de
la gufa de corte o de la gufa de ingletes para orientar y
guiar el material. Sujete el material firmemente contra la
escuadra de ingletes o la gufa de corte.
21. UTILICE una varilla o varillas de empuje para cortar
materiales angostos a Io largo.
22. EVITE OPERACIONES Y POSlCIONES MANUALES
TORPES en las que un deslizamiento repentino puede
hacer que su mane haga contacte con la hoja de la
sierra.
23. MANTENGA brazes, manes y dedos alejados de la hoja.
24. JAMAS penga ninguna parte de su cuerpo en Ifnea con
el trayecto de la hoja de la sierra.
25. JAMAS intente alcanzar alrededor ni per encima de la
hoja.
26. JAMAS intente liberar una hoja atascada sin primero
apagar y desenchufar la hoja de la fuente de energfa.
27.
28.
29.
30.
31.
32.
33.
34.
JAMAS realice labores de trazado, ensamblado o monta-
je sobre la mesa /zona de trabajo cuando la m_quina se
encuentre en funcionamiento.
JAMAS reestablezca el bot6n de sobrecarga termica sin
haber apagado antes la sierra de mesa.
APOYE los materiales largos o anchos correctamente.
APAGUE LA SIERRA y desenchufela de la fuente de
energfa. Limpie la mesa /zona de trabajo antes de aban-
donar la sierra. BLOQUEE el interrupter de ARRANQUE
/PARADA (START/STOP) con el candado suministrado
para impedir el uso desautorizado.
POSICIONE SlEMPRE la gufa auxiliar per Io menos
2 pulgadas en frente de la hoja de la sierra cuando vaya
a usar la gufa auxiliar como tope de parada durante el
corte transversal.
El ala de extensi6n derecha DEBE ESTAR plenamente
ensamblado y la cubierta del motor debe estar cerrada y
afianzada antes de que se conecte la sierra de mesa a la
fuente de energfa.
INFORMACION ADIClONAL sobre el funcionamiento
seguro y correcto de este producto est& disponible de
parte del National Safety Council, 1121 Spring Lake
Drive, Itasca, IL 60143-3201 en el Manual de Prevenci6n
de Accidentes para Operaciones Industriales asf como en
las Hojas de Datos de Seguridad suministradas por el
NSC. Tenga la bondad de referirse tambien a los
Requisites de Seguridad para la Maquinaria de
Ebanisterfa (ANSI 01.1 de la American National
Standards Institute) y el Reglamento OSHA 1910.213
del U.S. Department of Labor.
GUARDE ESTAS INSTRUCCIONES. Refierase a elias
con frecuencia y utilfcelas para instruir a los demos.
Las fuentes que aparecen a continuaci6n tienen informaci6n
disponible acerca de la venta y funcionamiento correcto de
esta herramienta:
Power Tool Institute
1300 Summer Avenue
Cleveland, OH 44115-2851
www. powertoolinstitute.org
National Safety Council
1121 Spring Lake Drive
Itasca, IL 60143-3201
American National Standards Institute
25 West 43rd Street
4th floor
New York, NY 10036
www.ansi.org
ANSI 01.1 Safety Requirements for Woodworking
Machines (Requisites de Seguridad para la Maquinaria de
Ebanisterfa ANSI 01.1) y los reglamentos del U.S.
Department of Labor
www.osha.gov
55

ACCESORIOS DiSPONiBLES
Visite su Departamento de Ferreteffa de Sears o consulte el
Catalogo de Herramientas Electricas y de Mano de Sears
para los siguientes accesorios:
ARTJCULO NOMERO DE EXISTENCIA
* Extensi6n y Tope de Parada
de la Escuadra de Ingletes 29879
* Abrazadera de Material,
Escuadra de Ingletes 29880
* Inserci6n de Mesa - Estandar 29882
* Inserci6n de Mesa - Fresa Rotativa 29885
* Inserci6n de Mesa -
Cabezal de Corte para Moldura 29887
* Hoja de Sierra - Leitz; Hoja de Paso
Variable, 10 pulg. x 40 dientes 29888
* Sistema de Gu/as 32371
Sears podra recomendar otros accesorios no listados en este
manual.
Consulte su Departamento de Ferreteffa de Sears mas cer-
cano o el Catalogo de Herramientas Electricas y de Mano de
Sears para otros accesorios.
No utilice ning0n accesorio a menos que haya lefdo cabal-
mente el Manual del Propietario para dicho accesorio.
$61o utilice accesorios recomendados para esta Sierra de
Mesa. El uso de otros accesorios puede ocasionar lesions
graves y producir daffo a la Sierra de Mesa.
CONSTRUYENDO UNA TABLA DE B[SELADO
Fig. 2A
24" [
3t4"
La entalladura debe guardar una .............. _ IV.//
distancia aproximada de 1/4 de pulg. -..... I //_ f _, /
La Figura 2A ilustra las dimensiones para hacer una tabla de
biselado tfpica. El material del cual esta hecho la tabla de
biselado debe ser una pieza de madera recta que este libre
de nudos y grietas. Las tablas de biselado se utilizan para
mantener el trabajo en contacto con la gufa y la mesa para
impedir los contragolpes. Afiance la tabla de biselado a la
gufa y la mesa de manera que el borde delantero de la tabla
de biselado apoye el material hasta que se haya realizado el
corte.
Utilice tablas de biselado para todas las operaciones de corte
que no sean de paso yen las que debe retirarse el protector
y el ensamblado del hendidor. Reponga siempre el protector y
el ensamblado del hendidor una vez completadas las opera-
clones de corte que no sean de paso. Ver figura 2B.
Fig. 2B
56

CONSTRUYENDO UNA VARA DE EMPUJE
Durante el corte a Io largo de materiales con menos de 4 pulgadas de ancho, se debe hacer uso de una vara de empuje para
completar la alimentaci6n. Puede construirse facilmente utilizando material descartado y siguiendo el patr6n ilustrado en la
Figura 2C.
Fig. 2C
La vara de empuje debe estar hecha con madera de 3/4 6 1/2 pulgada o con un grosor
inferior al ancho del material a cortarse.
La figura 2C debe copiarse y hacerse a escala, de tal manera que las rejillas sean de
1/2 pulgada cuadrada. Esta copia puede emplearse en la construcci6n de su vara de
empuje.
57

DESEMPACANDO Y REVISANDO Figura 3-1
EL CONTENIDO 1
La sierra de mesa es una maquina pesada. Se requieren dos
personas para desempaquetarla y levantar la sierra de mesa.
Esta sierra de mesa requerira cierta cantidad de ensamblado.
Esta sierra de mesa se env[a en dos cajas individuales, una
para la sierra y otra para la gu(a. La caja de la sierra tambien
incluye una caja de piezas para la sierra.
1. Remueva las piezas de todas las cajas y col6quelas
sobre una superficie de trabajo limpia.
2. Se requieren dos o mas personas para levantar la sierra
de mesa de la paleta de embarque.
3. Remueva cualquier material y revestimiento protectivo de
todas las piezas y de la sierra de mesa. El revestimiento
de las piezas puede quitarse con rociar WD-40 sobre
elias y limpiandolas con un patio suave. Podra ser nece-
sario repetir este proceso varias veces antes de poder
quitar todo el revestimiento protectivo.
PRECAUCION: No utilice acetona, gasolina ni diluyente de
laca para quitar ningun revestimiento protectivo de su sierra
de mesa.
4. Tras la limpieza, aplique una cera en pasta de Buena
calidad sobre cualquier superficie sin pintar. Asegt]rese
de pulir la cera antes del montaje.
5, Compare los artfculos con las figuras que aparecen
abajo. Verifique que todos los artfculos esten presentes
antes de desechar la caja de env[o. Si faltan piezas,
Ilame a la Linea de Ayuda al Cliente al 1-800-897-7709.
El ala de extensi6n derecha debe estar plenamente ensam-
blado y la cubierta del motor debe estar cerrada y afianzada
antes de que se conecte la sierra de mesa a la fuente de
energia.
Si Ilegara a faltar cualquier pieza, no intente enchufar
el cord6n de potencia y encender la sierra de mesa.
La sierra de mesa s61o podrb_encenderse despues
de que se hayan obtenido todas las piezas y 12
estas hayan sido instaladas correctamente.
SIERRA DE MESA
1. Ensamblado de la sierra de mesa
2. Ala de extensi6n (2)
3. Volante de mane (2)
4. Perilla de cierre del volante de mano (2)
5. Vara de montaje del hendidor
6. Ensamblado del soporte del hendidor
7. Gancho de la Ilave 10
8. Pie nivelador (4)
9. Gancho de la guia (2)
10. Correa Poly-V
11. Ensamblado de protector de la hoja y hendidor
12. Puerto de polvo
13. Interrupter
14. Hoja de la sierra (no ilustrada)
5
13
\\\\\\\\\\\\\\\\\\\
4
58

GUiA
20. Riel posterior
21. Riel delantero
22. Tubo de gufa
23. Ensamblado de extensi6n de mesa
24. Ensamblado de la gufa de la escuadra en T
25. Perilla de la agarradera de cierre
26. Cursor (2)
27. Plantilla
Figura. 3-2
20
22
21
26
23
ESCUADRA DE INGLETES
40. Escuadra de ingletes
41. Gufa de corte transversal
42. Tope de profundidad
43. Ensamblado de abrazadera
44. Tornillo de cabeza hueca
M5 x 20 mm (3)
45. Arandela plana M5 (3)
46. Tuerca cuadrada M5 (3)
47. Varilla elevadora
48. Perilla (2)
Figura 3-3
41
40 48 47
59

MESA DE AVANCE DE SALIDA
50. Ensamblado de la mesa
de avance de salida
51. Ensamblado de bisagras (2)
52. Perilla de abrazadera
53. Ensamblado de soporte superior
54. Soporte inferior
55. Reten del soporte
Figura. 3-4
5O
51
52
53
54
55
Los estuches de ferreter[a no estan identificados ni etiquetados. Consulte el
diagrama de ferreterfa para ayudar a Iocalizar la pieza correcta. Ver figura 3-5.
Estuche de Ferreteria para Rieles de Guia Biesemeyer
(#OR91669)
Incluye (ferreteria con acabado de Zinc):
Arandela Plana M8 (2)
Arandela Plana 5/16 pulg. (9)
Arandela de Cierre M8 (2)
Arandela de Cierre 5/16 pulg. (9)
Arandela de Cierre 1/4 pulg. (6)
Tornillo de Cabeza Plana 5/16-18 x 2 pulg. (6)
Tornillo de Cabeza Hex M8 x 25 mm (2)
Tornillo de Cabeza Hex 5/16-18 x 1-1/2 pulg. (3)
Tomillo de Cabeza Hex 1/4-20 x 1/2 pulg. (4)
Tornillo de Cabeza Hex 1/4-20 x 3/4 pulg. (2)
Tornillo Hex 5/16-18 (9)
•Estuche de Ferreteria para Gufa Biesemeyer
(#OR91666)
Incluye (ferreteria con acabado de Zinc):
Arandela Plana #10 (4)
Tornille de Cabeza Redenda 10-32 x 3/8" (4)
Perilla (Negra) (no ilustrado)
Cursor (no ilustrado) (2)
Estuche de Ferreterfa para Alas de E×tensibn
(#OR92013) Incluye (ferreteria con acabado de Oxido
Negro):
Arandela Plana M8 (8)
Arandela de Cierre M8 (8)
Tornillo de Cabeza Hex M8 x 1.25 x 30 mm (8)
Estuche de Ferreteria para Mesa de Avance de Salida
(#OR92015) Incluye (ferreteria con acabado de O×ido
Negro):
Perilla de Abrazadera
Arandela Plana M5 (16)
Arandela Plana M6 (2)
Arandela de Cierre M5 (8)
Arandeia de Cierre M6 (2)
Tornillo de Cabeza Hex M5 x 16 mm (8)
Tornillo de Cabeza Hex M6 x 25 mm (2)
Tornillo de Cabeza Hex 6 x 35 mm (2)
Tuerca Hex M5 (8)
Tuerca Hex M6, Nylok (2)
Ferreteria Varia (ferreteria con acabado de O×ido
Negro):
Tornillo de Chapa Metalica M4 x 8 mm (6)
Tornillo de Chapa Met&lica 1/4-20 x 3/8 pulg. (4)
6O

Fig. 3-5
©
TORNILLO DE CABEZA HEX M8 x 1.25 x 25 mm
TORNILLO DE CABEZA HE× M8 x 1.25 x 30 mm
T©RNILL© DE CABEZA HEX 5/16-18 x 1-1/2 pulg.
O ©
TORNILLO DE CABEZA HEX M6 x 25 mm
O
TORNILLO
TORNILLQ DE CABEZA HEX 1/4-20 x 1/2
T©RNILLO DE CABEZA HEX 1/4-20 x 3/4
©
DE CABEZA HEX M6 x 35 mm
©
pulg.
©
pulg.
O ©
TORNILLO DE CABEZA HEX M5 x 16 mm
TORNILLO DE CABEZA PLANA 5/16-18 x 2 pulg.
® C_ @
TORNILLO DE CABEZA REDONDA 10-32 x 3/8 pulg.
TORNILL© DE CHAPA MET,_I_ICA 1/4-20 × g/8 pulg.
TORNILLO DE CHAPA MET,4LICA M4 X 8 mm
©El
TUERCA HEX M8 x 1.25
©El
TUERCA HEX 5/16 pulg.-18
@
TUERCA HEX M6,
NYLOCK
@
TUERCA HEX M5
©1
1 ARANDELA
PLANA M6
ARANDELA PLANA M8
©1
ARANDELA PLANA 5/16 pulg.
© I
ARANDELA
PLANA M5
©1
ARANDELA
PLANA #10
ARANDELA DE
ARANDELA DE CIERRE M8 CIERRE M6
ARANDELA DE CIERRE
5/16 pulg.
ARANDELA DE
CIERRE M5
ARANDELA
DE CIERRE
1/4 pulg.
61

24
2
431 6
23 7 8 9
10
22
17
14
11
15
1. Ensamblado del hendidor
2. Dedos anticontragolpe
3. Hoja
4. Protector de hoja
5. Pieza inserta de alineamiento de corte
6. Mesa posterior de avance de salida
7. Superficie de la mesa
8. Aia de hierro fundido de 12 pulg.
9. Gufa comercial Biesemeyer en escuadra de "T"
10. Accesorio de mesa de extensi6n Biesemeyer
11. Riel delantero con escala
12. Agarradera de la gufa de corte a Io largo
13. Cubierta del motor
14. Escuadra de biselado
15. Gabinete completo
16. Pie nivelador
17. Soporte de sujeci6n de la gufa de corte a Io largo
18. Volante de altura de hoja
19. Cierre del volante de mano
20. Volante de altura de biselado
21. Cierre del volante de biselado
22. Interruptor de encendido/apagado
23. Escuadra de ingletes de lujo
24. Ranura de la escuadra de ingletes
62

HERRAIVilENTAS REQUERIDAS
Se requieren las siguientes herramientas para el montaje y el
alineamiento. Aviso: Se suministran dos Ilaves de hoja y cinco
Ilaves hexagonales con su sierra de mesa. Las herramientas
restantes son herramientas tfpicas de taller y no se incluyen
con su sierra de mesa.
Llave de 18 mm
Llave de 13 mm
Llave de 10 mm
Llave de 8 mm
Llave de 1/2 pulg.
Llave de 7/16 pulg.
Llave hexagonal de 3/16 pulg.
Destornillador Phillips #2
Destornillador Phillips #3
Abrazadera de tubes
Abrazadera en "C" (2)
Taladradora con broca de 5/16 pulg.
AVlSO: Siva a afianzar su sierra de mesa al suelo perma-
nentemente, NO ENSAMBLE las patas niveladoras y prosiga
al siguiente paso.
1, Con dos personas, incline el frente de la sierra de mesa
(A) hacia atras y bloquee la sierra de mesa en esta posi-
ci6n usando dos bloques peque5os de madera descarta-
da de 2 x 4 horizontalmente (B). PRECAUCION: La
sierra de mesa es pesada. Se requieren dos personas
para esta operaci6n. Asegurese de que la sierra de mesa
este bien apoyada antes de continuar. Ver la figura 4-1.
2. Asegt_rese de que haya una tuerca hexagonal M8 rosca-
da completamente hasta el fondo sobre cada uno de los
cuatro pies niveladores (D). Ver la figura 4-1.
o
o
La sierra de mesa es una m_quina pesada. Podr_n
requerirse dos personas para ciertas operaciones de
montaje.
NO monte la sierra de mesa hasta que este seguro que
la herramienta este desenchufada.
NO monte la sierra de mesa hasta que este seguro que
el interruptor de energfa este en la posici6n de "apagado"
(OFF).
Para su seguridad personal, NO conecte la maquina a la
fuente de energia hasta que la maquina se encuentre
completamente montada y haya lefdo y entendido este
Manual del Operario cabalmente.
MONTAJE DE LOS PIES NWELADORES
3,
4,
Enrosque un pie nivelador con la tuerca hexagonal al
fondo de ambas esquinas delanteras del gabinete (E).
Ver la figura 4-1.
Retire los bloques de madera descartada de 2 x 4 desde
por debajo de la sierra de mesa y col6quelos debajo de
la parte posterior de la sierra. Repita estos pasos para
conectar los dos pies niveladores alas esquinas
posteriors del gabinete.
MONTAJE DEL PUERTO DE POLVO
ASEGURESE de que la sierra de mesa este desconectada
de la fuente de energfa.
Figura 5-1
ASEGORESE de que la sierra de mesa este desconectada
de la fuente de energfa.
Figura 44
B
1, Conecte el puerto de polvo (A) a la abertura (B) en la
parte posterior inferior del gabinete usando cuatro
tornillos roscadores de cabeza redonda 1/4-20 x 3/8
pulg., no ilustrados aquf. Consulte la figura 5-1.
63

MONTAJE DE LA CORREA POLY-V
ASEGORESE de que la sierra de mesa este desconectada
de la fuente de energfa.
Figura 64 B
C
/
1. AsegLirese de que todo el material de embalaje haya sido
removido del interior del gabinete.
2. Abra la cubierta del motor y coloque la correa Poly-V (A)
del motor sobre la polea de la hoja (B). Ver la figura 6.1
3. Levante el motor (C) cuidadosamente y coloque la correa
debajo de la polea del motor (no ilustrada). Asegurese de
que las muescas en "V" en la correa coincidan con las
muescas en "V" de la polea de la hoja y el motor. Ver
figura 6-1.
4. Baje el motor cuidadosamente y cierre la cubierta del
motor.
MONTAJE DE LAS ALAS DE EXTENSION
ASEGORESE de que la sierra de mesa este desconectada
de la fuente de energfa.
El ala de extensi6n derecho debe estar plenamente ensam-
blado y la cubierta del motor debe estar cerrada y afianzada
antes de que se conecte la sierra de mesa a la fuente de
energfa.
Figura 74 A
1. PRECAUCION: Las alas de extensi6n son pesadas. Se
requieren dos personas para ensamblar ambas alas de
extensi6n a la sierra de mesa.
2, Monte una de las alas de extensi6n (A) al lade izquierdo
de la sierra de mesa. Los cuatro agujeros (B) en el ala de
extensi6n deben ser alineados con los cuatro agujeros en
el lado izquierdo de la sierra de mesa. Utilice cuatro
tornillos de cabeza hexagonal M8 x 30 ram, arandelas de
cierre M8 y arandelas planas M8. No apriete el herramen-
tal completamente en este momento. Ver la figura 7-1.
Figura 7-2
D
3,
4,
Coloque una regla (C) a Io ancho de la mesa de la sierra
(D) y el ala de extension (E). Asegt_rese de que la cara
frontal del ala de extensi6n (F) este plana con el frente
de la mesa de la sierra (G). Ajuste el ala de extensi6n de
tal manera que su superficie superior se encuentre per-
fectamente plana con la mesa de la sierra. Apriete la
ferreterfa de manera segura. Ver la figura 7-2.
Repita los pasos 2 y 3 arriba para montar la otra exten-
sion al lado derecho de la sierra.
MONTAJE DEL VOLANTE DE MANO
ASEGURESE de que la sierra de mesa este desconectada
de la fuente de energfa.
Figura 8-1
D
C
64

1. MONTAJE DEL PROTECTOR DE
HOJAS YHENDIDOR
Coloque uno de los volantes de mane (A) sobre el eje
biselado (B) Iocalizado en el lado del gabinete. La ranura
(C) en el dorso del volante debe alinearse con el pasador
(D). Ver la figura 8-1.
Figura 8=2 ASEGURESE de que la sierra de mesa este desconectada
de la fuente de energfa.
1. Quite la pieza de inserci6n de mesa. Aviso: Quite el
perno de reten de la pieza de inserci6n de mesa que se
utiliza para afianzar la pieza a la mesa de la sierra.
Figura 10=1
B
2. Enrosque la perilla de cierre (E) sobre el extremo
roscado del eje (F). Ver la figura 8-2.
3. Repita los pasos anteriores para montar el volante
restante y la perilla de cierre sobre el eje de elevaci6n y
bajada de la hoja, Iocalizado al frente del gabinete.
MONTAJE DE LA LLAVE
YGANCHO DE GUiA
ASEGORESE de que la sierra de mesa este desconectada
de la fuente de energfa.
Figura 94
.......... [ ........... __ ......
2,
Monte ambos ganchos de gufa (A) al lade izquierdo del
gabinete (B) usando cuatro tornillos de rosca chapa M4 x
10 mm, no ilustrados. Ver la figura 9-1.
Monte el gancho de Ilave (C) sobre los ganchos de gufa
usando dos tornillos de rosca chapa M4 x 10 mm, no
ilustrados. Ver la figura 9-1.
2, Coloque el extremo roscado de la vara de montaje del
hendidor (A) a traves del agujero (B) en la parte posterior
del gabinete. Coloque una tuerca hexagonal M12 (no
ilustrada) sobre el extreme roscado de la vara de mon-
taje del hendidor dentro del gabinete y afiancelo de
manera segura. Ver las figuras 10-1 y 10-2.
Aviso: Coloque una Ilave de 18 mm sobre la parte hexagonal
y una Ilave de 13 mm sobre las partes planas de la vara del
hendidor y aprietelas.
Figura 10=2
C
3. Coloque el ensamblado del soporte del hendidor (C)
sobre la vara de montaje del hendidor. Ver las figures
10-2 y 10-3.
65

Figura 10=3 Figura 10=5
\Q
0
4,
5,
Coloque el punto de conexi6n delantero (D) del ensam-
blado de protector de hoja y de hendidor (H) sobre el
punto de conexi6n delantero que carece de herramientas
(E). Coloque la ranura de conexi6n trasera (F) sobre las
roscas de la perilla del soporte del hendidor (G). Afiance
la perilla del soporte del hendidor de manera segura.
Aviso: Ser& necesario posicionar el ensamblado del
soporte del hendidor de manera que se ajuste al ensam-
blado de protector de hoja y de hendidor por encima de
la vara de montaje del hendidor. Ver la figura 10-3.
Quite la tuerca hexagonal (K) y la pestaSa exterior (J)
del arbol de la hoja (I). Aviso: El arbol esta roscado a la
derecha; para aflojar la tuerca hexagonal, gfrela en
sentido antihorario. Ver la figura 10-4.
Figura 10=4
M
7,
\\
\\\\\\\\
Coloque una escuadra (N) sobre la mesa de la sterra y
contra el ensamblado del hendidor (O) detras de los
dedos anticontragolpe (P). Realice ajustes al ensamblado
del soporte del hendidor (Q) de tal manera que el hendi-
dor quede cuadrado con la mesa de la sierra. Una vez
cuadrado, afiance los dos tornillos de cabeza hueca
hexagonal por debajo del ensamblado de soporte del
hendidor. Ver la figura 10-5.
Figura 10=6
U
\
T
\\\\
\\\
\\\
6, Coloque la hoja de sierra de 10 pulg. (Z) sobre el eje de
la hoja (I); asegurese de que los dientes de la hoja apun-
ten hacia abajo al frente de la mesa de la sierra. Coloque
la pestaSa exterior (J) y la tuerca hexagonal (K) sobre el
eje de la hoja y apriete la tuerca hexagonal manual-
mente. Coloque la Ilave de boca de la hoja (L) sobre las
partes planas de la pesta5a interior de la hoja (no ilustra-
da) y la Ilave de extremo de caja (M) de la hoja sobre la
tuerca hexagonal, apretandolas seguramente. Aviso: El
eje de la hoja tiene un roscado derecho; para afianzar la
tuerca hexagonal, gfrela en sentido horario. Ver la figura
10-4.
8,
9,
10.
Coloque una regla (R) contra el lado izquierdo de la hoja
de la sierra (S), alineando el hendidor (T) de tal manera
que quede en Ifnea recta con la hoja, y apretando el
unico tornillo de cabeza hueca hexagonal (U) en la parte
superior del ensamblado de soporte del hendidor. Ver la
figura 10-6.
Monte la pieza de inserci6n de la mesa y apriete el perno
de reten de la pieza que fue quitada en el paso 1.
Si existe cualquier problema con la falta de cuadrado
del soporte de conexi6n del hendidor delantero y la
mesa de la sierra o el alineamiento de la hoja, consulte
"ALINEAMIENTO DEL SOPORTE DEL HENDIDOR" en
la secci6n de Operaciones y Ajustes de este manual.
66

B SEMEYER
®
[
Figura 11-3
1
ENSAMBLADO DEL SISTEMA COMERCIAL
DE GUiA DE CORTE A LO LARGO EN
ESCUADRA "T" DE BIESEMEYER
MONTAJE DE LOS RIELES DELANTERO Y
TRASERO
MESA DE LA
SIERRA RIEL
DELANTERO
ASEGURESE de que la mesa este desconectada de la
fuente de energfa.
Figura 11-1
E
D
E
C
4. Usando la plantilla (G), revise y ajuste el riel delantero
paralelo con la superficie de la mesa en ambos lades de
la mesa de la sierra. Ver la figura 11-3.
5, Cuando este seguro de que el riel delantero se encuentre
exactamente paralelo con la superficie de la mesa,
apriete toda la ferreterfa de montaje del riel delantero
seguramente.
Figura 11-8
C
2,
3,
BA
Posicione el riel delantero (A) contra el borde delantero
de la mesa de la sierra. Alinee los dos agujeros en el riel
delantero (B) con los dos agujeros en la mesa de la
sierra y afiance el riel a la mesa, utilizando dos tornillos
de cabeza plana de 5/16-18 x 2 pulg., arandelas planas
de 5/16 pulg., arandelas de cierre de 5/16 pulg. y tuercas
hexagonales de 5/16-18. No apriete la ferreter_a de men-
taje del todo en este memento. Ver figura 11-1.
Aseg0rese de que el borde superior (C) del riel delantero
este por debajo de la parte superior de la mesa de la
sierra (D) y que el riel delantero no este bloqueando los
extremes de las ranuras de la escuadra de ingletes (E).
Termine de ajustar el riel delantero alas alas de exten-
sion con dos tornillos de cabeza plana de 5/16-18 x 2
pulg., arandelas planas de 5/16 pulg., arandelas de cierre
de 5/16 pulg. y tuercas hexagonales de 5/16-18 a traves
de los dos agujeros (F) en las alas de extensi6n. No
apriete la ferreteffa de montaje de todo en este
momento. Ver la figura 11-1.
I
I
6,
7,
Posicione el riel trasero (H) contra el borde trasero de la
mesa de la sierra. Alinee los dos agujeros (I) en el riel
trasero con los dos agujeros en la mesa de la sierra,
afianzando el riel a la mesa con dos tornillos de cabeza
hexagonal M8 x 25 mm, arandelas de cierre M8 y aran-
delas planas M8. No apriete la ferreterfa de montaje
completamente en este memento. Ver la figura 11-4.
Alinee el agujero en el riel trasero (J) con el agujero en el
ala de extensi6n derecha, afianzando el riel con un
tornillo de cabeza hexagonal 5/16-18 x 1-1/2 pulg., aran-
dela plana de 5/16 pulg., arandela de cierre de 5/16 pulg.
y tuerca hexagonal de 5/16-18. No apriete la ferreterfa de
montaje completamente en este momento. Ver la figura
11-4.
67

IMPORTANTE: No utilice la plantilla suministrada para fijar el
riel trasero.
8,
9,
Aseg0rese de que el borde superior del riel delantero
este por debajo de la parte superior de la mesa de la
sierra y que el riel delantero no este bloqueando los
extremos de las ranuras de la escuadra de ingletes.
Cuando este seguro de que el riel trasero este debida-
mente alineado y que se encuentre paralelo a la super-
ficie de la mesa, afiance toda la ferreterfa de montaje del
riel trasero seguramente.
MONTAJE DE LA EXTENSION
DE MESA BIESEMEYER
Figura 11-6
ENSAMBLADO DEL TUBO DE GUiA
YCONMUTADOR
Figura 11-7
C
2,
3,
Coloque el ensamblado de la mesa de extension
Biesemeyer (A) en posici6n entre los rieles delantero y
trasero. AsegL]rese de que el borde de la mesa de exten-
sion este parejo contra el lado derecho del ala de exten-
sion (B). Usando una regla o nivel (O), asegtirese de que
la mesa de extensi6n este nivelada con la mesa de la
sierra. Usando una abrazadera de tubos (no suministra-
da) (D) apriete los extremos de los rieles para mantener
la mesa de extensi6n en su sitio. Podra ser necesario
juntar el ala de extensi6n (B) y la mesa de extensi6n (A)
con abrazaderas. Utilice dos abrazaderas en "C" pot
debajo de la superficie de la mesa. Ver la figura 11-6.
Perfore cuatro agujeros de 5/16 pulg. (E) a traves del
ensamblado de la mesa de extensi6n, usando los agu-
jeros existentes en los rieles delantero y traseros. Ver la
figura 11-6.
Despues de haber taladrado los agujeros, afiance el riel
delantero a la mesa de extensi6n haciendo uso de dos
tornillos de cabeza plana 5/16-18 x 1-1/2 pulg., arandelas
planas de 5/16 pulg., arandelas de cierre de 5/16 pulg. y
tuercas hexagonales de 5/16-18. Afiance el riel trasero a
la mesa de extensi6n, haciendo uso de dos tornillos de
cabeza hexagonal 5/16-18 x 1-1/2 pulg., arandelas
planas de 5/16 pulg., arandelas de cierre de 5/16 pulg. y
tuercas hexagonales de 5/16-18. Aseg0rese de que la
mesa de extensi6n permanezca nivelada con la mesa de
la sierra antes de afianzar la ferreterfa seguramente.
Quite todas las abrazaderas.
1, Alinee los cuatro agujeros roscados en el fondo del tubo
de gufa (A) con los cuatro agujeros en el lade derecho
del riel delantero (B). Afiance el tubo de gu(a al riel
delantero con cuatro tornillos de cabeza hexagonal de
1/4-20 x 1/2 pulg. y arandelas de cierre de 1/4 pulg. No
apriete los tornillos en este momento. Ver la figura 11-7.
Figura 11-8
2,
3,
Oonecte el conmutador (C) a los dos agujeros roscados
(D) en el fondo a extrema izquierda del tubo de gufa con
dos tornillos de cabeza hexagonal de 1/4-20 x 3/4 pulg. y
arandelas de cierre de 1/4 pulg. Ver la figura 11-8.
Aseg0rese de que el tubo de gufa este paralelo con el
riel delantero antes de apretar toda la ferreterfa.
68

ENSAMBLADO DE LA PERILLA Y CURSOR
Figura 11=9
D C
ENSAMBLADO DE LA MESA DE AVANCE
DE SALIDA
Figura 11=10
K
F
2,
3,
4,
5,
6,
7,
8,
9,
E G H
Enrosque la perilla (A) sobre la agarradera de cierre
de la guia (B). Gire la perilla en sentido horario para
atornillarla sobre las roscas de la agarradera de cierre
de la guia. Ver la figura 11-9.
Alinee el lado izquierdo de la gufa (C) a cierta distancia
del lado derecho (D) de la ranura de la escuadra de
ingletes derecha, enclavando la gufa.
Use una cinta de medir para medir la distancia entre el
lado derecho de la hoja de la sierra hasta el lade
izquierdo de la gufa.
Monte el cursor (E) al lado derecho de la cruceta de la
gufa (F) usando dos tornillos de cabeza redonda #10-32
x 3/8 pulg. y arandelas planas #10 (I). No apriete los
tornillos completamente.
Alinee el cursor con la escala de medici6n del tubo de
gufa (H) de manera que la Ifnea delgada negra (G) este
en el mismo n0mero que la distancia medida en el Paso
3. Apriete los tornillos del cursor.
Remueva la guia de la mesa y rep6ngala sobre el lado
izquierdo de la hoja de la sierra. Alinee el lade derecha
de la guia a cierta distancia del lado izquierdo de la ranu-
ra de la escuadra de ingletes izquierda y enclave la gufa.
Utilice una cinta de medir para medir la distancia entre
el lado izquierdo de la hoja de la sierra hasta el lado
derecho de la gufa.
Monte el segundo cursor al lado izquierdo de la cruceta
de la guia usando dos tornillos de cabeza redonda
#10- 32 x 3/8 pulg. y arandelas planas #10. No apriete
los tornillos completamente.
Alinee el cursor con la escala de medici6n del tubo de
gufa de manera que la Ifnea delgada negra este en el
mismo n0mero que la distancia medida en el Paso 7.
Apriete los tornillos del cursor.
E
D
C F
G H
1,
2,
Conecte el reten de soporte (A) al extremo trasero
inferior del gabinete usando dos tornillos de cabeza
hexagonal M6 x 25 mm, arandelas de cierre M6 y aran-
delas planas M6. No apriete la ferreterfa completamente.
Ver la figura 11-10.
Monte el soporte inferior (B) al reten de soporte con un
tornillo de cabeza hexagonal M6 x 35 mm y una tuerca
hexagonal Nylok M6. Aseg0rese de que la muesca (H)
en el soporte inferior apunte hacia arriba. No apriete la
tuerca hexagonal completamente. Permita que el soporte
inferior se mueva libremente. Ver las figuras 11-10 y
11-11.
Figura 11=11
c
3, Coloque la perilla de abrazadera ( C ) a traves de la
ranura ( D ) del ensamblado de soporte superior ( E ),
asegurando que la esquina redondeada (M) del soporte
superior apunte hacia la muesca (H) del soporte inferior.
Enrosque la perilla de abrazadera dentro del agujero
roscado del soporte inferior.
69

4,
5,
6,
Desdoble los brazos de soporte inferior y superior hasta
dejarlos rectos, de manera que el pasador (G) en el
soporte superior pueda insertarse en la muesca (H) del
soporte inferior, y afiance la perilla de abrazadera
seguramente.
Monte ambos ensamblados de bisagra (I) al ensamblado
de la mesa de avance de salida (J) con cuatro tornillos
de cabeza hexagonal M5 x 16 mm, arandelas de cierre
M5 y arandelas planas M5. Afiance los tornillos hexago-
hales con cuatro arandelas planas M5 y tuercas hexago-
hales M5 colocadas por debajo de la mesa de avance de
salida. No apriete la ferreteria completamente.
Monte las bisagras en la mesa de avance de salida a la
parte superior del riel trasero a traves de los agujeros
existentes, usando para ello cuatro tornillos de cabeza
hexagonal M5 x 16 mm, arandelas de cierre M5 y aran-
delas planas M5. Afiance los tornillos de cabeza hexago-
nal con cuatro arandelas planas M5 y tuercas hexago-
hales M5 colocadas por debajo del riel trasero. No
apriete la ferreteria completamente.
Figura 11-12
CONECTANDO EL CORDON DEL
INTERRUPTOR AL CORD(_N DEL MOTOR
ASEGURESE de que la sierra de mesa este desconectada
de la fuente de energia.
Figura 12-1
7,
8,
9.
Conecte el ensamblado de soporte superior a la orejeta
(L) debajo de la mesa de avance de salida usando una
tuerca de cabeza hexagonal M6 x 35 (N) y una tuerca
hexagonal M6 Nylok (O). No apriete la tuerca hexagonal
completamente. Permita que el soporte superior se
mueva libremente. Ver figura 11-12.
Apriete la ferreteria conectando las bisagras tanto al riel
trasero como a la mesa de avance de salida.
Asegurese de que las ranuras de espacio libre de la
escuadra de ingletes (K) en la mesa de avance de
salida esten alineadas con las ranuras de la escuadra
de ingletes de la sierra de mesa. Coloque una regla
sobre la mesa de la sierra en saliente sobre la mesa de
avance de salida. Asegurese de que la mesa de avance
de salida este nivelada o ligeramente per debajo de la
mesa de la sierra. Afiance seguramente la ferreteria
conectando el reten de soporte al gabinete.
A
1. Pase el cord6n del interruptor (A) a traves del agujero (B)
al frente del gabinete. Ver la figura 12-1.
2. Abra la cubierta del motor, enchufe el cord6n del interrup-
ter (C) al cord6n del motor (D). Ver figura 12-2.
3. Recoja cualquier huelgo en el cord6n del interruptor
desde el interior del gabinete.
Figura 12-2
t
ii,
4,
r
[/F
i
/
/
Haga un lazo (E) desde la holgura del cord6n interruptor
y col6quelo detras de la barra de reten del cord6n (F).
Ver figura 12-2
70

MONTAJE DE LA ESCUADRA DE Figura 13-2
INGLETES
ASEGORESE de que la sierra de mesa este desconectada
de la fuente de energfa.
Figura 13-1
2,
3,
4,,
Enrosque la vara de elevaci6n (A) en el agujero roscado
superior del cuerpo de la escuadra de ingletes (B).
Consulte la figura 13-1.
Coloque el ensamblado de abrazadera (C) sobre la
perilla de la escuadra de ingletes (D) y la vara de ele-
vaci6n. Coloque dos perillas (E) a traves de la ranura en
el ensamblado de la abrazadera y enrosque una perilla
en la perilla de la escuadra de ingletes y otra en la vara
de elevaci6n. Posicione el ensamblado de abrazadera
seg0n Io indicado y apriete ambas perillas. Ver la figura
13-1.
Coloque una arandela plana M5 sobre un tornillo de
cabeza hueca hexagonal M5 x 20 mm. Enrosque una
tuerca cuadrada M5 sobre el tornillo de cabeza hueca
hexagonal hasta que el tornillo quede parejo con la parte
trasera de la tuerca cuadrada. Repita este paso para una
arandela plana, tornillo de cabeza hueca hexagonal y
tuerca cuadrada adicionales.
Deslice ambas tuercas cuadradas con el tornillo de
cabeza hueca hexagonal y arandela plana (F) hacia la
ranura en "T" inferior (G) de la gufa de corte transversal
(H). Ver la figura 13-2.
H
5,
6,
7,
Coloque la secci6n roscada de los tornillos de cabeza
hueca hexagonal en las ranuras (I) del cuerpo de la
escuadra de ingletes. Aseg0rese de que las arandelas
planas esten contra las cabezas de los tornillos de
cabeza hueca hexagonal. Ver la figura 13-2.
Posicione la gufa de corte transversal de tal manera que
ninguna parte de la gufa se encuentre en el trayecto de
la hoja de la sierra. Permita que la guia de corte trans-
versal descanse sobre la hoja de la sierra y apriete se-
guramente los dos tornillos de cabeza hueca hexagonal.
Coloque una arandela plana M5 sobre un tornillo de
cabeza hueca hexagonal M5 x 20 mm (J). Coloque esto
a traves del agujero en la parte superior del tope de pro-
fundidad (K). Enrosque una tuerca cuadrada M5 sobre el
tornillo de cabeza hueca hexagonal hasta que el tornillo
quede parejo con la parte trasera de la tuerca cuadrada.
Ver la figura 13-3.
Figura 13-3 L
J
8. Deslice la tuerca cuadrada y el tope de profundidad hacia
la ranura en "T" superior (L) de la gufa de corte transver-
sal. Ver la figura 13-3..
9. Posicione el tope de profundidad seg0n Io deseado yva-
priete el tornillo de cabeza hueca hexagonal.
Aviso: Los ganchos de almacenamiento para la gufa de corte
transversal se encuentran pot debajo de la cubierta del motor.
71

EMPERNANDO LA SIERRA DE MESA
AL PISO
ASEGURESE de que la sierra de mesa este desconectada
de la fuente de energfa.
Si Io desea, la sierra de mesa puede montarse al piso de
forma permanente. Para conectarla al piso, consulte las
siguientes instrucciones:
Flgura 13A-1
FIgura 13A-3
C
A A
C
D
1. Quite las cuatro patas niveladoras (A) de la sierra de
mesa (B). Ver Figura 13A-1.
2. Quite los seis tornillos de cabeza Phillips (C) y quite el
surtidor de polvo (D) de la parte posterior del gabinete.
FIgura 13A-2
/
E\
H
G
G
F
3,
4.
Quite los cuatro tornillos de cabeza Phillips (E) del lado
izquierdo del gabinete. Ver figura 13A-2.
Abra la cubierta del motor (F) y quite los dos tornillos de
cabeza Phillips (G) de la placa de notaciones CRAFTS-
MAN (H). AVlSO: Estos dos tornillos de cabeza Phillips
tienen tuercas hexagonales en el interior del gabinete.
5, Quite los nueve tornillos de cabeza Phillips (I) del lado
derecho del gabinete. Quite los dos ganchos de gufa de
la escuadra de ingletes y el panel lateral (J). Ver figura
13A-3.
FIgura 13A-4
6. Abra la cubierta del motor y quite el conducto de polvo
(K).
7. Coloque la sierra de mesa en donde desea montarla
permanentemente.
8. Marque el piso a traves de los agujeros en cuatro
soportes inferiores de esquina (L).
9. Mueva la sierra de mesa a un lado y perfore agujeros
piloto en los cuatro lugares marcados.
10. Conecte la sierra de mesa al piso utilizando la ferreterfa
apropiada (no se incluye).
72

PRECAUCI6N
*Debe hacerse use de un circuito electrico individual para
su sierra de mesa. La sierra de mesa viene cableada
de antemano para el funcionamiento a 120 voltios. El
circuito no debe tener un calibre de alambre menor que
#14 AWG y debe estar protegido con un fusible de
retardaci6n de tiempo de 15 amperios.
*Haga que un electricista competente repare o reponga el
cord6n daRado o gastado inmediatamente.
,Antes de conectar el motor a la Ifnea de potencia,
aseg0rese de que el interruptor este en la posici6n de
apagado ("OFF") y aseg0rese de que la corriente electri-
ca tenga las mismas caracterfsticas que la placa de
notaciones del motor. Todas las conexiones de Ifnea
deben hacer buen contacto.
•El funcionamiento a bajo voltaje o con extensiones
electricas largas daRara el motor.
ENCLAVANDO EL INTERRUPTOR DE
ENCENDIDO/APAGADO
1 Cuando la sierra de mesa no se encuentre en uso, el
bot6n de "ENCENDIDO" debe estar enclavado para que
no pueda activarse.
2. Usando el candado que se incluye con su sierra de
mesa, levante la paleta roja de "APAGADO" y coloque el
candado a traves de los agujeros (C) en el lade del bot6n
de "ENCENDIDO" y luego cierre el candado. Asegtirese
de que las Ilaves del candado hayan side quitadas y
colocadas en d6nde no pueda alcanzarlas ningt]n niflo.
Ver la figura 14-1.
3. Para hacer use de la sierra de mesa, abra el candado y
retfrelo del bot6n de "ENCENDIDO".
PROTECClC)N CONTRA SOBRECARGAS
TERMICAS
,NO exponga la sierra de mesa a la Iluvia, ni haga uso de
ella en lugares ht]medos.
*ASEGURESE de que todas las piezas hayan side
correctamente montadas y que esten en buen estado de
funcionamiento.
MANTENGA la superficie de la mesa libre de herramien-
tas y escombros antes de arrancar la sierra de mesa.
ARRANCANDO Y DETENIENDO LA SIERRA
Figura 14-1
2,
3,
El interrupter de ENCENDIDO/APAGADO (ON/OFF) est&
Iocalizado per debajo del riel delantero de la sierra de
mesa.
Para encender la sierra de mesa, oprima el bot6n verde
de "ENCENDIDO" (A) hacia adentro una media pulgada.
Aviso: Existe un dispositivo de seguridad en el interruptor
para garantizar que el interrupter debe ser presionado
completamente antes de que la sierra ARRANQUE. Ver
la figura 14-1.
Para apagar la sierra de mesa, presione la paleta roja
grande de "APAGADO" ("OFF") (B) o levante la paleta y
presione el bot6n rojo de "APAGADO" ("OFF") directa-
mente. Ver la figura 14-1.
73
Coloque el interrupter de energfa en la posici6n de
"APAGADO" y desenchufe el cord6n de energia de la
fuente de energfa antes de efectuar o realizar cualquier
mantenimiento.
,Asegurese de que el bot6n de "APAGADO" haya side
presionado antes de oprimir el bot6n de restablecimiento
de sobrecargam termica.
El motor suministrado con su sierra de mesa tiene un rele
restaurable de sobrecargas termicas (D). Ver la figura 14-1.
Si el motor se apaga durante una operaci6n (cortando un
material con rapidez excesiva o usando una hoja roma, usan-
do la sierra mb.s alia de su capacidad o a bajo voltaje), pre-
sione el bot6n de APAGADO y permita que el motor se enfrfa
de tres a cinco minutes. Empuje el bot6n de sobrecargas
termicas al costado del ensamblado del interruptor de
ENCENDIDO/APAGADO. Asegurese de que la hoja de la
sierra y la zona de trabajo hayan side despejadas de escom-
bros antes de reactivar la sierra. El motor ya puede encender-
se de nuevo.
ELEVANDO Y BAJANDO LA HOJA
Figura 15=1
A,
El volante de mano de ajuste de altura de la hoja y la perilla
de cierre del volante de mane estan situados al frente del
gabinete, per encima de la escuadra de biselado de la hoja.
Para elevar la hoja de la sierra, afloje la perilla de cierre del
volante de mane (A) (en sentido antihorario) y gire el volante
de mane (B) en sentido horario. Cuando la hoja de la sierra
se encuentre a la altura deseada, apriete la perilla de cierre
del volante de mano (en sentido horario) hasta que este
afianzada seguramente. Ver la figura 15-1.

Parabajarlahojadelasierra,aflojelaperilladecierredel
volantedemane(ensentidoantihorario)y gireelvolantede
maneensentidoantihorario.Cuandolahojadelasierrase
encuentrealaalturadeseada,aprietelaperilladecierredel
volantedemane(ensentidohorario)hastaqueeste
afianzadaseguramente.
INCLINANDO LA HOJA
El volante de mano de biselado de la hoja y la perilla de
cierre del volante de mano estan situados en el lade izquierdo
del gabinete. Para aumentar el biselado de la hoja de la
sierra, afloje la perilla de cierre del volante de mane (A) (en
sentido antihorario) y gire el volante de mane (B) en sentido
horario. Cuando la hoja de la sierra se encuentre en su grade
deseado, apriete la perilla de cierre del volante de mane (en
sentido horario) hasta que este afianzada seguramente. Ver
la figura 15-1.
Para devolver el biselado de la hoja de la sierra a cero
grados, afloje la perilla del volante de mane (en sentido anti-
horario) y gire el volante de mane en sentido antihorario.
Cuando la hoja de la sierra este a cero grades de nuevo,
entrara en contacto con el tope positivo ajustable, haciendo
que la hoja se detenga. Apriete la perilla de cierre del volante
de mano (en sentido horario) hasta que este afianzada
seguramente.
Para inclinar el biselado de la hoja a 45 grados, afloje la
perilla de cierre del volante de mano (en sentido antihorario) y
gire el volante de mano en sentido horario. Cuando la hoja de
la sierra este a 45 grades, har_ contacto con el tope positive
ajustable, haciendo que la hoja se detenga. Apriete la perilla
de cierre del volante de mane (en sentido horario) hasta que
este afianzada seguramente.
AJUSTANDO LOS TOPES POSITIVOS DE
BISELADO DE LA HOJA
Figura 16=1
3,
4,
Si la hoja no se inclina a 90 grados, gire el tornillo de
fijaci6n (C) (en sentido antihorario) al lado izquierdo de la
mesa de la sierra hasta que la hoja pueda posicionarse a
los 90 grades. Apriete la perilla de cierre del volante de
mano de biselado, Iocalizado en el lade izquierdo del
gabinete. Esto impedirA la inclinaci6n adicional de la hoja
y verificara que el tornillo de fijaci6n este en contacto con
el tope positivo. Ver la figura 16-1.
Una vez que la hoja haya sido inclinada a 90 grados,
apriete la perilla de cierre del volante de mane de bise-
lado, Iocalizado en el lade izquierdo del gabinete. Esto
impedira la inclinaci6n adicional de la hoja. Gire el tornillo
de fijaci6n en sentido horario hasta que entre en contacto
con el tope positivo.
Figura 16=2
5,
6,
7,
8,
Para ajustar la hoja a un tope positivo de biselado de
hoja de 45 grados, eleve la hoja de la sierra a su
posici6n mas alta.
Usando una escuadra de combinaciones (D), revise
que la hoja este a 45 grados de la mesa de la sierra
(45 grades en la escala de biselado). Ver la figura 16-2.
Si la hoja no se inclina a 45 grados, gire el tornillo de
fijaci6n (E) (en sentido antihorario) Iocalizado en el lade
derecho de la mesa de la sierra hasta que la hoja pueda
posicionarse a 45 grados. Apriete la perilla de cierre del
volante de mane de biselado, Iocalizada en el lado
izquierdo del gabinete. Esto impedira la inclinaci6n
adicional de la hoja y verificara que el tornillo de fijaci6n
este en contacto con el tope positive. Ver la figura 16-2.
Una vez que la hoja haya side inclinada a 45 grades,
apriete la perilla de cierre del volante de mano de bise-
lade Iocalizada en el lade izquierdo del gabinete. Esto
impedir& la inclinaci6n adicional de la hoja. Gire el tornillo
de fijaci6n en sentido horario hasta que entre en contacto
con el tope positivo.
2,
Para ajustar la hoja a un tope positivo de biselado de
hoja de 90 grados, eleve la hoja de la sierra (A) a su
posici6n mas alta. Ver la figura 16-1.
Usando una escuadra de combinaciones (B), revise que
la hoja se encuentre a 90 grades de la mesa de la sierra
(cero grados en la escala de biselado). Ver la figura 16-1.
AJUSTE DE LA FLECHA DE BISELADO
1. Asegt]rese de que la hoja este a 90 grades de la super-
ficie de la mesa usando una escuadra de combinaciones.
Ver la figura 16-1.
74

Figura 17-1
C
1,
2.
3,
4,
5.
Eleve la hoja de la sierra a su punto m&s alto.
Coloque una escuadra de combinaciones (A) sobre la
mesa de la sierra con uno de los bordes (B) de la
escuadra contra la ranura de ingletes izquierda (C). Ver
figura 17A-1.
Ajuste la escuadra de manera que la regla (D) s61o toque
la hoja de la sierra aproximadamente 1 pulgada del
dib,metro extemo. Asegurese de que la regla no toque
ninguno de los puntos de carburo de la hoja de la sierra.
Sujete la regla en esta posici6n.
Esta dimensi6n debe ser alrededor de 5-1/2 pulgadas,
mas o menos 3/32 de pulgada.
Figura 17A-2
2,
3,
Revise que la flecha de biselado (A) apunte hacia la
marca de cero grados en la escala de biselado (B)
situada al frente del gabinete. Ver la figura 17-1.
Para ajustar la flecha, afloje el tornillo de cabeza Philips
(C) y reposicione la flecha de biselado y apriete el
tornillo. Ver la figura 17-1.
REVISANDO EL ALINEAMIENTO
DE LA HOJA
La inclinaci6n de la hoja es el alineamiento incorrecto de la
hoja con las ranuras de ingletes. Esto significa que cuando la
hoja no se encuentra paralela a las ranuras de inglete, se
esta inclinando. La hoja estb. fijada paralelamente en la
fabrica y no debe requerir ningun ajuste adicional. Puede
revisar esto mediante el uso de un indicador de cuadrante (no
incluido) o una escuadra de combinaciones (no incluida). Se
recomienda revisar el alineamiento antes del funcionamiento
inicial en la siguiente manera:
ASEGORESE de que la sierra de mesa este desconectada
de la fuente de energfa.
Figura 17A-1
6,
7,
8,
Gire la hoja de la sierra hacia atras para que pueda
tomar las medidas desde el mismo punto en la hoja de la
sierra. Ver figura 17A-2.
Tome una lectura en la parte posterior de la hoja (E) con
la escuadra de combinaciones. Si hay una diferencia de
mas de cuatro espacios de papel estandar de impresora
entre la regla y la hoja, se tendra que realizar un ajuste.
Si resulta necesario realizar el ajuste, consulte
"AJUSTANDO EL ALINEAMIENTO DE LA HOJA'.
AJUSTANDO EL ALINEAMIENTO
DE LA HOJA
El alineamiento de la hoja esta fijado de f_brica y no debe
requerir ajuste. Todas las hojas de sierra tienen cierta
cantidad de desviaci6n. Per consiguiente, el reajuste del
alineamiento de la hoja s61o debe realizarse si resulta nece-
sario (ver Revisando el Alineamiento de la Hoja).
ASEGURESE de que la sierra de mesa este desconectada
de la fuente de energia.
A
75

Figura 17B=1
/\BIESEMEYER
®
[
ENSAIVIBLADO DEL SISTEMA COMERClAL
DE GUiA DE CORTE A LO LARGO CON
ESCUADRA "T" DE BIESEMEYER
OPERACIONES Y AJUSTES
B
A
Para alinear el paralelo de la hoja con la ranura de
ingletes, afloje primero las dos tuercas de cabeza hexa-
gonal (A) debajo del lado izquierdo de la sierra de mesa.
Este es en el mismo lado que el volante de biselado (B).
Ver figura 17B-1.
Figura 17B=2
cC
ASEGURESE de que la sierra de mesa este desconectada
de la fuente de energfa durante la realizaci6n de los ajustes.
Figura 18=1
G
A
F
B
2,
3,
4,,
5.
6.
Abra la cubierta del motor Iocalizada sobre el lado
derecho de la sierra de mesa. Afloje los dos tornillos de
cabeza hexagonal (C) Iocalizados directamente sobre la
abertura. Ver Figura 17B-2.
La sierra de mesa se encuentra aflojada ahora y podra
reposicionarse hasta que la hoja quede paralela con la
ranura de ingletes. Repita los pasos en "REVISANDO EL
ALINEAMIENTO DE LA HOJA'.
Cuando la hoja este paralela a la ranura de ingletes,
apriete los cuatro tornillos de cabeza hexagonal.
Vuelva a revisar el alineamiento de la hoja.
Incline la hoja a 45 grades y gire la hoja de la sierra
manualmente. Asegurese de que la hoja no haga con-
tacto con la pieza de inserci6n de mesa.
76
1,
2,
3,
4,
Para mover la guia de corte a Io largo (A) a Io largo del
tubo de gufa (B) sencillamente levante la agarradera de
cierre (C). Ver la figura 18-1.
Deslice la gu[a de corte a Io largo a la posici6n deseada
sobre el tubo de gufa y haga presi6n sobre la agarradera
de cierre de la gufa para enclavar la gu[a de corte a Io
largo. AVISO: Hay un iman montado en el cuerpo de la
gufa para sostener la agarradera de cierre en la posici6n
elevada durante el movimiento de la gufa de corte a Io
largo. Ver la figura 18-1.
La Ifnea negra delgada situada sobre el cursor (D) indica
la distancia a la que se encuentra posicionada la gufa de
corte a Io largo desde la hoja de la sierra. Podra resultar
necesario ajustar uno de los cursores o ambos. Realice
un corte de prueba con la gufa de corte a Io largo en la
posici6n enclavada. Ver la figura 18-1.
Mida el ancho del corte terminado y ajuste el cursor aflo-
jando los dos tornillos (E). Ajuste el cursor hasta que la
Ifnea negra delgada este alineada con la misma marca
en la escala (F) que el corte terminado. Vuelva a apretar
ambos tornillos. Ver la figura 18-1.

ALINEAMIENTO DE LA GU[A
2,
3,
La gu[a de corte a Io largo (A) debe ajustarse de tal
manera que quede paralela con la ranura de la escuadra
de ingletes (G). Ver la figura 18-1.
Para revisar y ajustar, mueva la gufa hasta que el borde
inferior izquierdo de la gufa este en Ifnea con el borde
derecho de la ranura de la escuadra de ingletes a mano
derecha y haga presi6n hacia abajo sobre la agarradera
de cierre de la guia (C). Ver la figura 18-1.
Revise que la gufa de corte a Io largo este paralela con
la ranura de la escuadra de ingletes a todo Io largo de la
mesa. Si resulta necesario hacer un ajuste, levante la
agarradera de cierre de la gufa y levante la gufa comple-
tamente del tubo de gufa (B). Ver la figura 18-2.
Figura 18-2
3,
4,
5,
Apriete ligeramente los dos tornillos de ajuste (I) usando
una Ilave hexagonal de 3/16 pulg. (no suministrada).
AVlSO: Los tornillos deben afianzarse en cantidades
iguales. Ver la figura 18-2.
Reponga la gufa de corte a Io largo sobre el tubo de gufa
y encl_vela. Revise que la gufa de corte a Io largo este
afianzada de manera segura al tubo de gufa. Repita los
pasos anteriores si se requiere la realizaci6n de ajustes
adicionales.
IMPORTANTE: Despues de ajustar la acci6n de
abrazadera en la guia de corte a Io largo, revise que la
gufa de corte a Io largo aun siga paralela a la ranura de
la escuadra de ingletes.
LUBR[CACR_N
2,
Aplique cera en pasta semanalmente alas superficies
deslizantes de la gufa de corte a Io largo (A) y del tubo
de gufa (B). Ademas, la mesa de la sierra y las super-
ficies de las mesas de extensi6n deben encerarse a
menudo. Ver la figura 18-1.
Aplique grasa al cierre de levas (J) y al pie de levas (K)
ocasionalmente para impedir el desgaste. Ver la figura
18-2.
AJUSTE DE LA PIEZA DE INSERCION
DE MESA
ASEGURESE de que la sierra de mesa es% desconectada
de la fuente de potencia durante la realizaci6n de los ajustes.
Figura 19-1
D B D
4,
5,
Apriete o afloje ligeramente uno de los dos tornillos de
ajuste (I) usando una Ilave hexagonal de 3/16 pulg. (no
suministrada). Ver la figura 18-2.
Reponga la gufa de corte a Io largo sobre el tubo de guia
y revise de nuevo para ver que la gu(a de corte a Io largo
este paralela con la ranura de la escuadra de ingletes a
todo Io largo de la mesa. Repita este ajuste hasta que la
gu_a de corte a Io largo este paralela con la ranura de la
escuadra de ingletes. IMPORTANTE: Se requiere muy
poco movimiento de los tornillos para ajustar la gufa en
paralelo con la ranura de la escuadra de ingletes.
AJUSTANDO LA ACCION DE
ABRAZADERA DE LA AGARRADERA DE
ClERRE DE LA GU[A
Cuando la agarradera de cierre (C) haya sido presionada
hacia abajo a la posici6n inferior, la guia de corte a Io
largo (A) debe quedar plenamente afianzada al tubo de
gufa (B). Ver la figura 18-1.
2. Si la gufa de corte a Io largo no est& plenamente abra-
zada a la guia, levante la agarradera de cierre y levante
la gufa de corte a Io largo fuera del tubo de guia.
1,
2,
3,
La pieza de inserci6n de mesa (A) debe estar nivelada
siempre con la mesa de la sierra (B). Para ajustar la
pieza de inserci6n de la mesa, afloje y remueva el perno
de reten de la pieza de inserci6n de mesa (C). Ver la
figura 19-1.
Coloque una regla sobre el frente y la parte trasera de la
pieza de inserci6n de mesa. Revise que la pieza de
inserci6n este perfectamente nivelada con la mesa de la
sierra.
Para nivelar la pieza de inserci6n de la mesa, gire el
tornillo o los tornillos de ajuste de fijaci6n (D) segun Io
necesario y vuelva a revisar. Ver la figura 19-1.
77

4,
5,
Una vez que la pieza de inserci6n de mesa este nive-
lada, afiance la pieza con el perno de reten que fue
removido en el paso 1.
La pieza de inserci6n de mesa viene equipada con un
agujero de dedo (E) para la remoci6n facil. Ver la figura
19-1.
CAMBIANDO EL VOLTAJE DEL MOTOR
5,
6.
7.
Reponga la cubierta de la caja de empalmes y cierre la
cubierta del motor.
Reponga el enchufe de 120 voltios por uno de 240
voltios clasificado por UL/CSA para la corriente del motor.
El interruptor de ENCENDIDO/APAGADO es de 4 polos y
no necesita ser modificado.
CAMBIANDO LA HOJA DE LA SIERRA
•ASEGURESE de que la sierra de mesa este desconec-
tada de la fuente de potencia antes de trabajar con el
motor.
o Haga que un electricista competente realice todas las
conexiones electricas. Deben acatarse todos los c6digos
locales y estatales.
El motor suministrado con la sierra de mesa es un motor
monofasico de doble voltaje, 120/240-voltios. El motor viene
cableado de fabrica para el funcionamiento a 120 voltios.
Para cambiar su sierra de mesa al funcionamiento a 240
voltios, prosiga con las siguientes instrucciones. Tambien
resulta necesario reemplazar el enchufe de 120 voltios
suministrado con la sierra de mesa por un enchufe de 120
voltios clasificado per UL /CSA (no incluido) y apropiado para
los 240 voltios y la corriente clasificada de la sierra. La sierra
de mesa con el enchufe de 240 voltios s61o debe conectarse
a un tomacorrientes que disponga de la misma configuraci6n
que el enchufe. No hay adaptadores disponibles para el
enchufe de 240 voltios ni tampoco debe usarse ninguno.
Figura 20=1
A
C
B
1,
2.
3,
4,
Asegurese de que el interrupter este "APAGADO" y
desconecte el cord6n de energfa de la fuente de energfa.
Abra la cubierta del motor y verifique en la etiqueta del
motor (A) que el motor es de doble voltaje. Ver la figura
20-1.
Si la etiqueta del motor declara que es de doble voltaje,
quite la cubierta de la caja de empalmes (B) del motor
(C). Ver la figura 20-1.
Usando el diagrama de cableado en el interior de la
cubierta de la caja de empalmes, reconecte los avances
del motor para el funcionamiento a 240 voltios.
o Conmute el interrupter de energia a APAGADO y desen-
chufe el cord6n de potencia de su fuente de potencia
mientras que efectua el recambio de la hoja de la sierra.
• SOLO UTILICE hojas con diametro de 10 pulg. y con
agujeros de eje de 5/8 pulg., tasados a 3800 RPM o m&s
alto.
Figura 21=1
E
B
1,
2.
3.
4.
5,
6,
7.
Remueva el protector de hoja y el hendidor.
Remueva el perno de reten de la pieza de inserci6n de
mesa y remueva la pieza de inserci6n de mesa.
Desenclave el cierre del volante de mano de elevaci6n /
bajado y eleve la hoja de la sierra a su altura maxima.
Se suministran dos Ilaves con la sierra de mesa. Coloque
una Ilave de boca (A) sobre la parte plana del eje de la
sierra para evitar que gire. Coloque la Ilave de extreme
cerrado (B) sobre la tuerca del eje (C). Gire la Ilave de la
tuerca del eje hacia el frente de la sierra para aflojarla.
Remueva la tuerca del eje, la pestafla de la hoja (D) y la
hoja de la sierra (E). Ver la figura 21-1.
Monte la nueva hoja de la sierra. Aseg0rese de que los
dientes apunten hacia abajo al frente de la mesa de la
sierra y monte la pestaRa de la hoja y la tuerca del eje.
Usando ambas Ilaves de hoja en la manera antes men-
cionada, apriete la tuerca del eje en la direcci6n contraria
a la que fue afiojada.
Reponga la pieza de inserci6n de mesa y apriete el
perno de reten de la pieza de inserci6n de mesa.
Reponga el protector de hoja y el hendidor.
78

ALINEANDO EL SOPORTE DEL HENDIDOR
ASEGORESE de que la sierra de mesa este desconectada
de la fuente de energ[a.
Figura 21A=1
A
B
3,
4.
5,
Vuelva a apretar los dos tornillos de cabeza hueca
hexagonal despues de haber alineado el hendidor.
Si resulta necesario, ajuste el soporte del hendidor
posterior (F) asegurandose de que el hendidor completo
este en I[nea con la hoja de la sierra. Ver figura 21A-2.
Vuelva a revisar para asegurarse de que el hendidor siga
atin cuadrado con la mesa de la sierra. Si se requiere
efectuar algt_n ajuste, consulte PROTECTOR DE HOJA Y
ENSAMBLADO DEL HENDIDOR.
HOJA DE SIERRA LEITZ DE DIENTES
VARIABLES DE 10 PULG.
Los distintivos claves de la Hoja de Sierra Leitz de Paso
Variable:
1, Vida de hoja mas extensa: Combinar los patrones de
dientes variables con ornamentaci6n laser insonorizante
puede extender la vida de la herramienta entre 25% y
50%.
2. Alta calidad de corte: Mejora del 41% por encima de las
hojas estandar en la mayoria de los materiales.
3, Operaci6n silenciosa: Insonorizaci6n de 5 dB a 10 dB en
comparaci6n con las hojas estandar. 10 dB es equiva-
lente a una reducci6n del 50% en el nivel de ruido al oido
humano.
4. Mejor valor de rendimiento.
5. Cuerpo de precisi6n de acero cortado a laser, carburo de
microgranos de mejor calidad, amartillado a mano (sin-
tonizado) alas mejores tolerancias de la industria.
OPERACION Y AJUSTE DE LA ESCUADRA
DE INGLETES
1. Para ajustar el soporte del hendidor delantero (A), afloje
los dos tornillos de cabeza hueca hexagonal (B). Ver
Fig. 21A-1.
Figura 21A=2
D
2. Coloque una regla (C) a Io largo del lado izquierdo de la
hoja (D) y ajuste el soporte el hendidor delantero para
alinear el hendidor (E) a la hoja. Ver figura 21A-2.
ASEGURESE de que la sierra de mesa este desconectada
de la fuente de energ[a cuando vaya a realizar ajustes.
Figura 22=1
A
.............................. ZC:ZCC_I/
79
1,
2,
3,
4,
La escuadra de ingletes dispone de topes positivos
ajustables a 0 grados y positivo/negativo 45 grades, o
puede ser establecido manualmente a cualquier angulo
entre positivo/negativo 60 grades.
Para girar el cuerpo de la escuadra de ingletes (A), afloje
la perilla (B) y extraiga el embolo (C). Gire el cuerpo de
la escuadra de ingletes al angulo deseado y apriete la
perilla. Ver la figura 22-1.
Para girar al siguiente tope positive, extraiga el embolo,
gire el cuerpo de la escuadra de ingletes, luego vuelva a
empujar el embolo hacia adentro y siga girando el cuerpo
de la escuadra de ingletes hasta que se detenga en el
siguiente tope positive.
Para ajustar los topes positivos a 0 grados, afloje la
perilla, extraiga el embolo y dele vuelta a la escuadra de
ingletes.

Figura 22=2
G
D
5. Afloje la tuerca de cierre (D) 3 6 4 vueltas. Ver la figura
22-2.
6, Coloque una escuadra contra la barra de gufa (E) y el
frente del cuerpo de la escuadra de ingletes. Cuadre el
cuerpo de la escuadra de ingletes con la barra de gufa y
apriete la perilla. Ver la figura 22-1.
7. Empuje el embolo hacia adentro y haga ajustes al tornillo
de parada (G) de manera que toque el embolo, apretan-
do la tuerca de cierre despues. Ver la figura 22-2.
8, Vuelva a revisar el angulo del tope positivo con la hoja de
la sierra. Inserte la barra de gufa dentro de la ranura de
la escuadra de ingletes y deslice la escuadra de ingletes
hasta la hoja de la sierra.
9. Para revisar, coloque una escuadra contra la hoja de la
sierra y el cuerpo de la escuadra de ingletes. Si se
requieren ajustes adicionales, repita los pasos anteriores.
10. Para fijar ambos topes positivos de 45 grados, repita los
pasos anteriores.
OPERACION DE LA ABRAZADERA Y DEL
TOPE DE LA GUiA
ASEGURESE de que la sierra de mesa este desconectada
de la fuente de energfa cuando realice los ajustes.
Figura 23=1
E
B C
\
D
1,
2,
3,
La abrazadera de material (A) puede ser posicionada
dentro y fuera aflojando las dos perillas (B) y deslizando
el cuerpo de la abrazadera hacia adentro o afuera.
Vuelva a apretar las perillas cuando se encuentren en la
posici6n deseada. Ver la figura 23-1.
La abrazadera de material tiene una liberaci6n rapida
que le permite posicionar la abrazadera arriba o abajo
con rapidez. Para engranar la liberaci6n rapida, oprima el
gatillo hacia arriba (C) y sujetelo. La almohadilla de
abrazadera (D) caera o podra ser elevada. Para liberar,
suelte el gatillo. Ahora podra darle vuelta a la perilla (E)
para aplicar presi6n de abrazadera. Ver la figura 23-1.
El tope de parada de la gufa (F) puede reposicionarse a
Io largo de la gufa aflojando el tornillo de cabeza hueca
hexagonal (G). Deslice el tope de parada de la gufa a la
posici6n deseada y apriete el tornillo de cabeza hueca
hexagonal. Si no se requiere el tope de parada de la
gu[a, se le puede almacenar detr_s de la gufa para que
no estorbe. Ver la figura 23-1.
80

CORTE TRANSVERSAL
El corte transversal exige el use de la escuadra de ingletes
(A) para posicionar y guiar el material (B). Ver la figura
24-1.
El uso de aditamentos y accesorios que no sean de
Craftsman podra resultar en el riesgo de lesiones al usuario
o dare a la sierra de mesa.
Figura 24-1
DA
PARA EL CORTE TRANSVERSAL:
1. Coloque el material contra la escuadra de ingletes y
avance tanto la escuadra de ingletes come el material
hacia la hoja de la sierra (C). Ver figura 24-1.
Aviso: La escuadra de ingletes podra utilizarse en cualquiera
de las ranuras de escuadra de ingletes. Durante el corte de
biselado (con la hoja inclinada) haga use de la ranura
derecha de la escuadra de ingletes para que la hoja se incline
en el sentido opuesto a la escuadra de ingletes y de sus
manes.
2. Inicie el corte con lentitud y sujete el material con firmeza
contra la escuadra de ingletes y la mesa.
Para evitar heridas graves, no se agarre ni toque JAMAS la
parte del material que va a cortarse (D).
3. Siga cortando hasta que el material haya sido cortado a
la mitad.
4. Deslice la escuadra de ingletes y el material hacia el
punto de comienzo otra vez.
Aviso: Antes de deslizar el material nuevamente, mueva el
material hacia el lade un poco para alejarlo ligeramente de la
hoja de la sierra.
JAM,_S recoja ningLin trozo de material descartado de la
mesa mientras que la sierra este funcionando. Espere hasta
que la hoja de la sierra se haya detenido por completo.
Figura 24-2
E
\\\ \
GUiA AUXILIAR
Para mayor seguridad y conveniencia, la escuadra de
ingletes puede equiparse con una gufa auxiliar (E) si no es
que viene equipada con una. Si la gufa auxiliar no ha side
suministrada con su sierra, es posible comprar una come
accesorio o puede hacerse una a partir de un pedazo dimen-
sional de madera dura. Esta gufa auxiliar puede afianzarse al
frente de la escuadra de ingletes usando dos tornillos (no
incluidos) a traves de las ranuras (no ilustradas) en el cuerpo
de la escuadra de ingletes. Ver figura 24-2.
Figura 24-3
J
HK
CALIBRE DE TROCEADO
1, Cuando vaya a realizar el corte transversal de un numero
de piezas a la misma extensi6n, afiance un bloque de
madera (F) a la guia (J) para utilizarlo come calibre de
troceado. Es importante que dicho bloque de Madera
siempre sea posicionado al frente de la hoja de la sierra.
Ver la figura 24-3.
PRECAUCION
Cuando vaya a hacer use del bloque come calibre de corte,
es muy importante que la parte trasera del bloque este posi-
cionado de tal manara que el material quede libre del bloque
antes de entrar en la hoja.
Jam&s utilice la gufa como calibre de corte durante el corte
transversal.
81

Durante el corte transversal de un cierto n0mero de piezas a
la misma Iongitud, se podra abrazar un bloque de madera a
la gufa para funcionar como calibre de corte en la forma
ilustrada. Es importante que este bloque de madera siempre
se encuentre posicionado al frente de la hoja de la sierra,
seg0n Io ilustrado. Una vez que se haya determinado la
extensi6n de corte, afiance la gufa y utilice la escuadra de
ingletes para alimentar el material a la hoja. Este bloque de
madera permite que la pieza troceada se mueva con libertad
a Io largo de la superficie de la mesa sin que se produzca
ning0n agarrotamiento entre la gufa y la mesa de la sierra,
reduciendo as/la posibilidad del contragolpe y lesiones al
usuario.
Aviso: Este bloque permite que el pedazo de material des-
cartado de troceado se mueva libremente a Io largo de la
superficie de la mesa sin atascarse entre la guia y la hoja,
reduciendo asi la posibilidad del contragolpe y las heridas al
usuario.
2, Una vez que la extensi6n de troceado haya sido determi-
nada, enclave la gufa y deslice el material a Io largo de la
superficie de la mesa hasta que haga contacto con el
bloque. Utilice la escuadra de ingletes (K) para alimentar
el material hacia la hoja.
Para evitar los contragolpes durante el uso del bloque (F)
come calibre de troceado, es muy importante que el extreme
trasero del bloque (G) sea posicionado de tal manera que el
material (H) este despejado del bloque antes de que ingrese
en la hoja (I). Jamas utilice la gufa (J) come calibre de
troceado durante el corte transversal. Vea la figura 24-3.
CORTE A LO LARGO
1,
2.
3.
Con el material libre de la hoja de la sierra, arranque el
motor.
Coloque el material sobre la mesa de la sierra con el
borde recto contra la guia.
Avance el material lentamente, sujetandolo hacia abajo y
contra la gufa, y luego hacia la hoja de la sierra.
Aviso: El material puede alimentarse a traves de la hoja de la
sierra con una o dos manes, segun el tamaRo.
4. Despues de que el material se encuentre m_s all_ de la
hoja de la sierra y de los dedos anticontragolpe, podra
retirar su mane del material. Cuando haya hecho esto, el
material o permanecera en la mesa, o se inclinara ligera-
mente para quedar atrapada per el extreme trasero de la
gufa, o se deslizar_ de la mesa hacia el suelo.
Alternativa-mente, la alimentaci6n podr_ proseguir hasta
el final de la mesa, despues de Io cual el material podra
levantarse y traerse nuevamente a Io largo del borde
externo de la gufa.
5. La parte troceada del material permanece sobre la mesa
y no se toca hasta que la hoja de la sierra se haya
detenido por completo.
PRECAUClON
Cuando vaya a cortar a Io largo cualquier material m_s largo
que tres pies, se recomienda que el material sea apoyado
detr_s de la sierra de mesa para evitar que caiga. Puede
comprarse un estante de rodillos para apoyar los materials
largos detras de una sierra de mesa.
PRECAUClON
Si el material a cortarse tiene menos de 4 pulg. de ancho,
debe hacerse use siempre de una varilla de empuje (E) o
gu/a para mantener sus manes alejadas de la hoja de la
sierra. Ver figura 25-2.
• JAM_.S se pare en la Ifnea del trayecto de la hoja de la
sierra durante el corte a Io largo.
o SlEMPRE mantenga las manos y los dedos alejados de
la hoja de la sierra.
Figura 25=1
A
Figura 25-2
JE
C
El corte a Io largo es la operaci6n de realizar un corte en
direcci6n del grano del material. La gufa de corte a Io largo
(A) se utiliza para posicionar y guiar el material. Puesto que el
material se empuja a Io largo de la gufa, debe disponer de un
borde recto y hacer contacto con la mesa de la sierra. El pro-
tector de hoja (B) y el ensamblado del hendidor (C) deben ser
utilizados. El hendidor cuenta con dedos anticontragolpe (D)
para impedir que el material haga contragolpe, y el ensam-
blade del hendidor para impedir que la entalladura de la
Madera se cierre y atasque la hoja. Ver la figura 25-1.
Puede comprarse una Gufa Craftsman de accesorio como
ayuda cuando vaya a efectuar cortes angostos. Vea la
secci6n "ACCESORIOS Y ADITAMENTOS" en este manual.
82

CONJUNTO DE FRESAS ROTATIVAS
DE RANURAR
El protector de hoja y ensamblado del hendidor no puede
utilizarse durante el fresado o moldurado y debe bascularse
hacia la parte trasera de la sierra. El protector de hojas debe
reensamblarse una vez que haya completado el fresado o
moldurado.
Figura 26=1 B
A
El fresado es un corte que no es pasante o directo y que pro-
duce una muesca cuadrada en el material. La mayor[a de los
conjuntos de fresas rotativas (no incluidas) estan confor-
madas por dos fresas rotativas exteriores (A) y cuatro o cinco
astilladoras interiores (B). Pueden colocarse calzos (E) entre
las fresas y astilladores para variar el ancho de un corte de
fresa ligeramente. No deben colocarse mas de dos calzos
juntos entre un conjunto de fresas o astilladoras. Los calzos
pueden estar hechos de papel pesado, bronce o metal. Las
distintas combinaciones de fresas y astilladoras se utilizan
para el ranurado de 1/8 pulg. a 13/16 pulg. en la construcci6n
de anaqueles, la formaci6n de juntas, espigado, ranurado,
etc. Ver las figuras 26-1,26-2 y 26-3.
Figura 26=2
Los dientes de las fresas rotativas y las astilladoras tienen
gradaci6n. Los dientes de las fresas rotativas y las astillado-
ras deben estar dispuestas de tal forma que la gradaci6n de
cada diente este solapada con la del pr6ximo diente. Las
gradaciones de la fresa rotativa (C) y la astilladora (D) se
solapan como se ilustra en la Figura 26-3. Puede utilizarse un
calzo (E) segtin sea necesario para controlar el ancho exacto
de una fresa rotativa. Ver las figuras 26-2 y 26-3.
Figura 26=3
-.-D
J
Cuando el ancho de la fresa rotativa es de 13/16 pulg., no
puede hacerse uso de la pestaSa exterior del eje (F). $61o
debe usarse la tuerca del eje (G). Apriete la tuerca del eje
contra el cuerpo de la fresa rotativa. No pierda la pestafla
exterior del eje, ya que sera necesaria durante la reconexi6n
de la hoja al eje de la sierra. Ademas debe hacerse uso de
una pieza de inserci6n de mesa para la fresa rotativa (H) (no
incluida) en vez de la pieza de inserci6n de mesa est&ndar.
Ver figura 26-4.
Figura 26=4
C
H
(NO INCLUIDO)
G
El protector de hoja y el ensamblado del hendidor no pueden
ser usados durante el fresado y deben bascularse hacia la
parte trasera de la sierra.
83

Figura 26-5
El protector de hoja y el ensamblado del hendidor no pueden
utilizarse durante el fresado o el moldurado y deben bascu-
larse hacia la parte trasera de la sierra• El protector de hoja
debe reensamblarse cuando haya terminado.
Figura 27-2
D
La Figura 26-5 muestra una operaci6n tfpica de fresado
haciendo uso de la escuadra de ingletes.
o
o
JAMAS utilice el cabezal de fresa rotativa en la posici6n
de biselado.
SIEMPRE instale el protector de hojas y el ensamblado
del hendidor despues de haber completado la operaci6n
de fresado.
FRESA DE MOLDURAR
El moldurado es el cortar una figura en el borde o la cara del
material• El corte de moldurados con una fresa de moldurar
(no incluida) en la sierra circular representa una operaci6n
r_pida, segura y limpia. Las distintas formas de cuchillas
disponibles permiten que el operario produzca casi cualquier
clase de moldurado, tales como distintos tipos de moldurados
de esquinas, marcos para cuadros, bordes de mesa, etc.
Figura 27-1
B
La Figura 27-2 muestra el cabezal de moldurado montado al
eje de la sierra•
Si la pestaSa exterior del eje (D) no puede utilizarse con el
cabezal de moldurado, apriete la tuerca del eje (E) contra el
cuerpo del cabezal. No pierda la pestafia exterior del eje, ya
que sera necesaria durante la reconexi6n de la hoja al eje de
la sierra• Ademas debe hacerse uso de una pieza de inser-
ci6n de mesa para el moldurado (F) (no incluida) en vez de la
pieza de inserci6n de mesa estandar. Ver la figura 27-2.
Figura 27-3
G
H
C
El cabezal de moldurar consiste de un cabezal de corte (A)
en el que puede montar distintos tipos de cuchillas de acero
(B). Cada una de las tres cuchillas en un conjunto esta fijada
a una ranura en el cabezal de corte y esta afianzada segura-
mente con un tornillo. Las ranuras de las cuchillas (C) deben
conservarse libres de aserrfn, Io que impedirfa que la fresa
tuviese el asiento correcto. Ver la figura 27-1.
Durante el uso del cabezal de moldurado, resulta necesario
afiadir un refrentado de madera (G) a la cara de la gufa de
corte a Io largo (H). El refrentado se conecta a la gufa
mediante el uso de afianzadores. Un refrentado de 3/4 pulg.
es adecuado para la mayorfa de los trabajos, aunque ciertos
trabajos ocasionalmente podran exigir un refrentado de
1 pulg. Ver la figura 27-3.
84

Posicione el refrentado de madera sobre el cabezal de corte
con el cabezal de corte per debajo de la superficie de la
mesa. Encienda la sierra y eleve el cabezal de corte lenta-
mente. El cabezal de corte cortara su propia ranura en el
refrentado de madera.
PRECAUClON
Durante el moldurado a contrahilo debe hacerse use de la
escuadra de ingletes. La velocidad de alimentaci6n debe
reducirse al final del corte para impedir el astillado.
* Jamas utilice el cabezal de moldurado en la posici6n de
biselado.
En todos los cortes, preste atenci6n al grano, haciendo los
cortes en la misma direcci6n que el grano siempre que sea
posible.
* Jamas pase el material entre la gufa y el cabezal de moldu-
rado, ya que la madera de configuraci6n irregular producira
contragolpes.
AJUSTES DE REPERCUSION PARA LOS
ENSAMBLADOS DE ELEVACI()N/BAJADO
DE LA HOJA E INCLINACI(DN DE LA HOJA
PROTEGIENDO LA MESA DE HIERRO
MOLDEADO CONTRA LA OXIDACKDN
Se deben realizar los siguientes ajustes si se detecta
cualquier holgura en los ensamblados de elevaci6n/bajado
o inclinaci6n de la hoja.
ASEGURESE de haber apagado la energfa ("OFF") y des-
enchufe el cord6n de potencia de su fuente de energfa.
Coloque el interruptor de energfa en "APAGADO" y desen-
chufe el cord6n de energfa de su fuente de energfa cuando
vaya a realizar ajustes.
AVISO: En la siguiente ilustraci6n, la sierra de mesa ha sido
colocada boca abajo y se ha quitado la hoja de la sierra para
mayor claridad.
El medic ambiente y la frecuencia del contacto humano
pueden tener un efecto sumamente nocivo sobre las super-
ficies de hierro moldeado sin pintar. El vaho, la humedad y los
aceites (provenientes de la mane humana) pueden hacer que
las superficies de hierro moldeado sin pintar se daRen o se
oxiden, asf que resulta importante Ilevar a cabo mantenimien-
to rutinario para que su sierra de mesa se conserve come
nueva. La limpieza y el encerado de las superficies de hierro
moldeado, siguiendo un programa de mantenimiento regular,
se recomiendan come sigue:
Figura 28=1
C
Para limpiar y mantener las superficies de hierro sin
pintar:
• Aplique una capa gruesa de WD-40 sobre la superficie
de hierro moldeado sin pintar.
Utilice una almohadilla de lana de acero fina para pulir el
hierro moldeado sin pintar. Aseg0rese de pulir en sentido
"del frente a parte posterior" solamente. El pulido de lado
a lado aparecera en el hierro finamente moldeado como
una lacra, defecto o ralladura.
B A
2,
Para ajustar el ensamblado de elevaci6n/bajado de la
hoja, afloje la tuerca de cierre (A) y gire el casquillo
excentrico (B) hasta haber quitado toda la holgura del
ensamblado. Luego apriete la tuerca de cierre de nuevo.
Ver la figura 28-1.
Para ajustar el ensamblado de inclinaci6n de la hoja,
apriete la tuerca de cierre (C) y gire la excentrica (D)
hasta haber quitado toda la holgura del ensamblado.
Luego apriete la tuerca de cierre de nuevo. Ver la figura
28-1.
Vuelva a aplicar WD-40 para pulir la superficie de hierro
moldeado sin pintar hasta que haya quitado las manchas
o la oxidaci6n. Aseg0rese de usar el mismo movimiento
de frotaci6n del frente a parte posterior para evitar rayar
o daRar la superficie de hierro moldeado.
Despues de haber quitado todas las manchas y/o oxida-
ci6n, limpie todo el aceite y suciedad de la sierra de
mesa, utilizando para clio un pa5o o trapo suave.
Finalmente, necesita aplicar una cera automotriz en
pasta de buena calidad a todas las superficies de hierro
moldeado sin pintar. Esto le ayudar& a proteger la sierra
contra la oxidaci6n como resultado del contacto adicional
con la humedad o las manos aceitosas.
85

LUBRICACK_N
La sierra de mesa tiene cojinetes lubricados sellados en la
carcasa del motor que no requieren lubricaci6n adicional per
parte del operario.
LIMPIEZA
Con la sierra de mesa desenchufada, sople aire a baja pre-
si6n sobre el motor para quitar el polvo o la suciedad. No
debe hacerse use de una presi6n de aire en exceso de
50 RS.I., ya que el aire de alta presi6n puede da_ar el aisla-
miento. El operario debe utilizar protecci6n ocular siempre
cuando vaya a utilizar aire comprimido.
No permita que se acumulen astillas y polvo debajo de la
sierra de mesa. Mantenga la zona limpia yen buen estado.
PRECAUCION: NO UTILICE MATERIALES INFLAMABLES
para limpiar la sierra de mesa.
S61o personal competente debe realizar reparaciones a la
sierra de mesa. Comunfquese con su Centre de Servicio
Sears mas cercano para obtener servicio autorizado. Las
reparaciones desautorizadas o el reemplazo con piezas que
no sean de fabrica podrfan ocasionar lesiones graves al
operario y daRo a la sierra de mesa.
86

Para evitar herirse a si mismo o daRar la sierra de mesa, conmute el interrupter de energfa a "APAGADO" y desenchufe el cord6n
de potencia del tomacorrientes antes de realizar cualquier ajuste.
PROBLEMA SOLUCION
Motor no arranca:
Motor se atasca, se
dispara la sobrecarga
t6rrnica o se abren los
disyuntores de circuito
con frecuencia:
Motor arranca lenta-
mente ono aJcanza
plena velocidad:
Motor marcha caliente:
Resulta difi'cil girar los
volantes de mano:
Escuadra de ingletes
no se mueve de manera
uniforme:
Material se atasca, se
quema o detiene el
motor durante el corte a
Io largo:
La hoja de la sierra no
corta correctamente a
90 o 45 grados:
CAUSAS POSIBLES
1. Interruptor no fue oprimido a suficiente profundidad 1.
o interruptor en posicion de apagado.
2. Interruptor defectuoso. 2.
3. Capacitador defectuoso. 3.
4. Bajo voltaje de line& 4.
5. Motor defectuoso.
3.
4.
5.
2.
3.
1.
2.
1.
2.
1.
2.
1.
2.
3.
1.
2.
3.
1. Bajo voltaje de line&
Presione el interruptor fi pulg. hacia adentro o asegurese de que el
interruptor este en la posici6n de "encendidd'.
Haga reernplazar el interruptor.
Haga reernplazar el capacitador.
Corrija la condici6n de bajo voltaje de h'nea. Si la sierra esta
enchufada a una extensi6n, enchufe la sierra directarnente al torn
corrientes.
Haga reernplazar el motor.
AVlSO: El 3 y 4 deben ser realizados por un tecnico de servicio
cornpetente.
Reduzca la carga del circuito (apague otros enseres).
Corrija la condici6n de bajo voltaje de line& Revise el voltaje de
linea con un medidor multiple. Si la sierra esta enchufada a una
extensi6n, enchufe la sierra directamente al tomacorrientes.
Reduzca la carga del motor, reduzca la tasa de alirnentaci6n del
material empujado hacia la hoja,
Haga que un electricista cornpetente instale los fusibles
correctos en los disyuntores de circuito.
Inspeccione las terrninaciones en el motor por si hay aislarniento
daSado y/o cables cortocircuitados y rep6ngalos. Revise todas
las conexiones de avances de fuerza,
Corrija la condici6n de bajo voltaje de line& Revise el voltaje de
linea con un rnedidor multiple. Si la sierra esta enchufada a una
extensi6n, enchufe la sierra directamente al tomacorrientes.
Haga reernplazar el motor.
Haga reernplazar el capacitador.
Sobrecarga del circuito. 1.
Bajo voltaje de linea. 2.
Sobrecarga del motor. 3.
Fusibles incorrectos en los disyuntores de circuito. 4.
Cortocircuito del motor; conexiones sueltas o 5.
aislarniento gastado en los avances.
1.
Bobinados defectuosos del motor. 2.
Capacitador defectuoso. 3.
Circulaci6n de aire restringida debido a la acurnulaci6n 1.
de polvo.
Sobrecarga del motor. 2.
La Perilla de Cierre del Volante de Mano no ha sido 1.
aflojada.
Acurnulaci6n de polvo sobre los engranajes de 2.
inclinaci6n o biselado dentro del gabinete.
Suciedad en la ranura de la escuadra de ingletes y 1.
en la barra de la escuadra de ingletes.
Tornillos de fijacion en la barra de la escuadra de 2.
ingletes estan desajustados.
Hoja rorna. 1.
Tabla alabeada o torcida, 2.
Gul'a de corte a Io largo no esta paralela a la hoja de 3.
la sierra.
Hoja rorna. 1.
Ajuste incorrecto de la flecha indicadora, 2.
Fijaci6n incorrecta de los topes positivos. 3.
Montaje incorrecto de la guia de corte a Io largo. 1.
Rieles sucios o pegajosos. 2.
1.
2.
3.
4.
Lirnpie el polvo y restaure la circulaci6n normal de aire
alrededor del motor.
Reduzca la carga del motor.
Afloje la Perilla de Cierre del Volante de Mano.
Limpie los ensamblados de engranaje de inclinaci6n o biselado.
Limpie la ranura y la barra de la escuadra de ingletes.
Ajuste los tornillos de fijaci6n en la barra de la escuadra de ingletes.
Afile o reponga la hqa,
Reponga la tabla.
Ver "Alinearniento de Gul'a" en Operaci6n y Ajustes.
Afile o reponga la hoja,
Ajuste la flecha indicadora de biselado.
Ajuste los topes positivos de 90 y 45 grados.
La guu'a de corte aIo 1. Ver "Alinearniento de Guia" en Operaciones y Ajustes.
largo no se rnueve de 2. Lirnpie y aplique cera en pasta a los rieles.
manera uniforme:
Vibraei6n excesiva de la
sierra: 1. Hoja alabeada,
2. Correa de marcha da5ada,
3. Superficie de trabajo desigual.
4. La sierra no esta rnontada de manera segura.
Reponga la hoja,
Reponga la correa de rnarcha.
Reposicione la sierra en una superficie plana. Ajuste los pies
niveladores, si fueron surninistrados con la sierra.
Apriete toda la ferreteria
87

Your Home
For repair - in your home -of all major brand appliances,
......................................lawn and garden equipment, or heating and cooling systems, ....................
no matter who made it, no matter who sold it!
For the replacement parts, accessories and
owner's manuals that you need to do-it-yourself.
For Sears professional installation of home appliances
and items like garage door openers and water heaters.
1-800-4-MY-HOIVlE ® Anytime, day or night
(1-800-469-4663) (U.S.A. and Canada)
www.sears.com www.sears.ca
0 ur Home
Forrepairofcarry-inproductslikevacuums,lawnequipment,
and electronics, call or go on-line for the location of the nearest
SearsParts8,RepairCenter.
1-800-488-1222 Anytime, day or night (U.S.A. only)
www.sears.com
iiiiiiiiiiiiiiiiiiiii
TO purchase a protection agreement (U.S.A.)
or maintenance agreement (Canada)on a product serviced by Sears:
1-800-827-6655 (U.S.A.) 1-800-361-6665 (Canada)
Au Canada pour service en frangais:
Para pedir servicio de reparacion a
.....................domicilio, y para ordenar piezas: 1-800-LE-FOYER Mc
(1-800-533-6937)
1-888-SU-HOGAR sM www.sears.ca
© Sears, Roebuck and Co.
@ Registered Trademark /TMTrademark /sMService Mark of Sears, Roebuck and Co.
® Marca Registrada /TMMarca de F_brica /sMMarca de Servicio de Sears, Roebuck and Co.
MC Marque de commerce /MDMarque d_pos_e de Sears, Roebuck and Co. @ Sears, Roebuck and Co.