Craftsman 161216300 User Manual ENGINE ANALYZER Manuals And Guides 1006230L
User Manual: Craftsman 161216300 161216300 CRAFTSMAN ENGINE ANALYZER - Manuals and Guides View the owners manual for your CRAFTSMAN ENGINE ANALYZER #161216300. Home:Automotive Parts:Craftsman Parts:Craftsman ENGINE ANALYZER Manual
Open the PDF directly: View PDF  .
.
Page Count: 12

J_
Ie J Y2
owners
manual
MODEL NO.
161.216300
Caution:
Read Rules For
Safe Operation
and Complete
Operating Test
Procedures
Carefully
IIIII
IIIII .I I III illll U III!IIII
INE ANALYZ
FOR 12 VOLT SYSTEMS
OPERATING INSTRUCTIONS
SAFETY RULES
TUNE-UP PROCEDURES
I IIIIIII III III I
PRINTED IN U.S.A,
REPAIR PARTS
III II
SEARS, ROEBUCK AND CO. U.S.A.
CH!CAGO, ILLINOIS 60684
. II IJ IIIII[ I . I IIIIIIIIIIIIIIIIIWHIIIIIIIIIII II
L IllIII . .I II I ,JJ..... II IJLJIIJIII I III1[ .l Ill . . I
IiilliiII III II I I IIIIIIIIIIIIIIIIIIII
2-168302

RULES FOR SAFE AUTOMOTIVE TESTING
1.
WARNING -- READ CAREFULLY
Read this OperaUon Manual and these Rules for Safe
Automotive Testing carefully. Failure to follow instructions
and safety rules could result in sedous bodily injury and/or
damage to the Instrument.
Before starting the engine, set the parking brake and place the
gear selector in NEUTRAL on standard transmissions and
PARK on automatic transmiasionl,
2. The carbon monoxide m exhaustgas is highly tOxiC To avoid
asphyxiation, always operate vehicle in •well-ventilated ares,
If vehicle ss tn an enclose_l area, exhaust should be routed
directly to the outside vie leak-proof exhaust hose.
3 An automobile battery is capabfe of producing very high
currents Therefore, exercise reasonable care when working
near the battery to avoid electrical connections through tools,
wristwatch, etc
4 Avoid contact with battery electrolyte Electrolyte can burn
holes mclothing, burn skin and cause permanent damage to
eyes Always wear splash-proof safety goggles when work=ng
around the battery tf battery electrolyte rs splashed mthe eyes
or on skin. immediately flush the affected area Ior 15 minutes
with targe quanhhes of clean water; mcase of eye contact, seek
medical atd immediately
5. The gases generated by a charging battery are highly explo-
sive Do not smoke or permit flame or spark Io occur near a
battery at any hme, particularly when _t =scharging. Any room
or compartment containing charging batteries should be
well ventilated to prevent accumulation of exploswe gases To
avoid sparks, do not disturb the baltery charger connections
while battery is charging, and always turn charger off before
disconnecting the battery chps When removing or recon-
necting battery cables, make sure =gnition switch and all
accessories are turned off A techmque used by many
mechanics _s to carefully blow across the top of the baltery
to remove any hydrogen gas accumulation before connechng
or disconnecting battery clips
6. Never add acid to a battery once the battery has been placed =n
service; doing so may result _n dangerous spattering of
electrolyte.
7. Keep hands, hair, neckbe, loose clothing and test leads well
away from fan blades, fan belt, power steering belt, air con-
drtioner belt and other moving engine parts as serious injury
Could result from entanglement.
8. Oo not tuch hot exhaust mamfotd, redactor or high-voltage
spark plug and Cod terminals Spark voltages are not normally
lethal, but an involuntary lark of the hands or arms caused by
electrical shock may result =n,nJury.
9 Never look directly into carburetor throat whde engine _s
cranking or running A sudden backfire can cause serious
burns.
10 To avoid the possibility of a flash fire, do not smoke or permit
flame or spark to occur near carburetor, fuel hne, fuel filter,
fuel pump or other potential sources of spdled gasoline or
gasottne vapors
1! Naver remove radlator cap while the engme ts hot, Hot coolant
escaping under pressure can cause serious burns.
12 The jack supphed with the vehicle should be used onty for
changing wheels. Never crawl under car or run engine while
vehicle is on jack.
13. When mak=ng electrical test connect=ons to the vehicle, do nol
usa the carburetor or other fuel system components as a
ground connection, as aspark could _gn=te the gasoline vapors
and cause a fire or an explosion
14 Do not let test cables rest or tall on or near hot or mowng
engine parts,
15 Use cauhon when d=sconnectmg rgmhon cables Pull cables
carefully at the boot w_th the pr'oper tool
IMPORTANT
THIS MANUAL PRESENTS COMPLETE HOOKUP INSTRUCTIONS FOR THE SEARS 161.2163 ENGINE ANALYZER. IT ALSO
DESCRIBES MANY OF THE TESTS THAT THIS INSTRUMENT IS CAPABLE OF PERFORMING AS WELL AS WHEN THEY
SHOULD BE USED BASED ON VEHICLE PERFORMANCE, TUNE-UP OR TROUBLE ENCOUNTERED. CONSULT YOUR
VEHICLE SERVICE MANUAL FOR SPECIFIC TUNE-UP INFORMATION AND TEST PROCEDURES. FOLLOW THE
MANUFACTURER'S SPECIFICATIONS AND TEST PROCEDURES FOR ADJUSTING DWELL ANGLE AND IDLE SPEED,
ESPECIALLY ON VEHICLES WITH MODERN ELECTRONIC IGNITION AND EMISSION CONTROLS. DO NOT ATTEMPT TO
SERVICE A VEHICLE WITHOUT THE MANUFACTURER'S INSTRUCTIONS AND SPECIFICATIONS,
VEHICLE MANUAL, SOURCES FOR SERVICE INFORMATION.
The following is a tiStof publishers who have service manuals for your specific vehicle at nominal cost.
Write to them for availability and prices, specifying the make, style, and model year of your vehrcle.
Amedcan Molora Corporallon
Myr=ad
8835 General Drive
Plymouth Township
M_ch_gan 48170
Ch ry$1er Corporation
Dyment D_Stnbution Service
Service Publication
20026 Progress Drive
Strongevdle, Ohio 44136
Fgcd Publication Department
Hblm Incorporated
Post Office Box 07150
Detroit, Michigan 48207
Buick
Tuar Company
Post Office Box 354
Fhnt, M_chigan 48501
Oldsmobile
Lansing L=thographers
Post Office Box 23188
Lansing. Michigan 48909
Cadillac, Chevrolet, Pontiac
Helm incorporated
Post Office Box 07130
Detroit, Michigan 48207
OTHER SOURCES - Nonfactory
Domestic and Impod Cart
Chdton Book Company
ChHton Way
Radnor, PA 19089
Cordura Publications
M_tchell Manuals, Inc.
Post Office Box 26260
San Diego, CA 92128
Motor's Auto Repair Manual
Hearst Company
250 W 55th Street
New Yo_k, N Y 10019

ENGINE ANALYZER
CONTROLS, CONNECTIONS,
AND ACCESSORIES
DESCRIPTION. The Model 161.2163 Engine
Analyzer has a clearly labeled meter and controls as
shown in the Master Hookup diagram, Figure 1below.
QMETER
This meter displays the following scares:
• RPM 0-6000
0.1200
= Volts 0-16
• Dwell 0-45 degrees (8 cylinder)
0-90 degrees (4 cylinder)
0-60 degrees (6 cylinder)
GM C_3 system Mixture Control
Duty Cycle Solenoid also uses the
0-60 degrees scale.
• Low Volts 0-3.2
• Points OK/Bad/Open
• Amps 0-!00
Q ETER ZERO ADJUSTER
Before connecting any leads to the engine, rotate the
adjuster slowly with ascrewdriver until the pointer
is on zero,
@ FUNCT1ON SELECTOR
This selects the Volts, Amps, Dwell/Points, and 4, 6, or
8 cytinder RPM functions of the analyzer.
Q ANGE SELECTOR
This selects the Dwell or Points/Low Volts lunctions
of the analyzer, as well as the 0-1200 or 0-6000 RPM
ranges.
(_ BATTERY LEAD
The Red clip is connected to the positive (+) battery
terminal, and the Black clip is connected to a clean,
secure engine ground. For safety reasons, do not use
the negative (-) battery terminal or any fuel system
components for ground connections. Vapors or
gasses in these areas can cause an explosion if a
spark occurs during connection. The Red and Black
clips should be connected as shown for all tests.
(_ DWELLiRPM/C-3/POINTS/LOW VOLTS LEAD
The Green clip is used for measuring Dwetl, RPM,
General Motors C-3 Mixture Control Solenoid Duty
Cycle, Points Resfstance, and Low Volts. For Dwell,
RPM and Points Resistance testing, connect this
clip to the negative (-) side of the ignition coi! in Figure
iand 3 through 10, Connections for other tests will be
* shown and described in specific test procedures.
Q AMPS LEAD AND SHUNT
The Amps Lead and shunt are used for measuring
alternator output. To maintain simplicity in overall
analyzer usage, connect this lead only when measur-
ing alternator output, page 7, "AMP LEAD AND
SHUNT HOOKUP REQUIREMENT"
GREEN
COIL
DISTRIBUTOR
STEP 9
BATTERY
ALTERNATOR
OUTPUT W!RE STEPS 2 --S
REFER TO "AMP LEAD AND SHUNT HOOKUP
REQUIREMENT" SECTION, STEPS AS
INDICATED, PAGE 7
Sears 161.2163 Master Hookup Diagram
FIGURE 1

ACCESSORIES
FIGURE 2
PRIMARY TACH CONNECTIONS
GREEN CLIP
TO
BALLAST
BAT.)
COIL
CONTROL UNIT
TO CONTROL UNIT
PRIMARY TACH CONNECTION -- GREEN Clip
At! Chrysler Corporation Electronic ignition,
,6 & 8 Cylinder shown 1972 - 1985
+ FIGURE 3
............................. ,,,,r,,
TO IGN.
SWITCH .TO DIST,
ADAPTER ]
INCLUDED
PRIMARY TACH/DWELL CONNECTION _GREEN Clip
1974 Ford Electronic and All
Breaker Potnls Ignition Systems
FIGURE 4
1+ GM HEI ADAPTOR
The GM HEt Adaptor is used to provide Connection to
the "TACH" terminal on GM HEt systems. See Figure 7
for typical installation.
2+ GM DIAGNOSTIC ADAPTOR
The GM Diagnostic Adaptor is used to make con-
nection to vehicles equipped with the GM Diagnostic
Connector, (1976 - 1982). It is also used'to make con-
nection to Toyota vehicles which use the tlA (Inte-
grated Ignition Assembly). See Figures 9 and 10 for
installatiOn.
3. FORD COIL CLIP
The Ford Coil Clip is usedfor ignition systemswhich
have booted ignition coil connectiOnS.See Figure 4
for installation,
GREEN
CLIP
PRIMARY TACH CONNECTION -- GREEN Clip
Ford Solid State & DuraSpark Systems 1975 • 1985
FIGURE $
GREEN___
PRIMARY TACH CONNECTION -- GREEN Clip
FOrd TFI Systems 1981 -1985
FIGURE 6

-)TOIGNITION
SWITCH
DELCO HEI
WITH
INTEGRAL
COIL
AOAPTER
PRIMARY TACH CONNECTION _GREEN Clip
Delco HEr 1974. 1985
FIGURE 7
PRIMARY TACH CONNECTION -- GREEN Clip
Delco HE! i974- 1985 External Coil
FIGURE a
SPADE
GREEN TERMINAL
CLIP ADAPTER
PRIMARY TA(_H CONNECTION _GREEN Clip
GM Dia_lnosfic Conneclor and
Delco HEI Syslems !976 -1982
FIGURE 9
INSERT
DIAGNOSTIC
ADAPTER
l
GREEN _'. _,._ REMOVE
CAP FROM
TACH TEST
CONNECTOR
PRIMARY TACH CONNECTION _GREEN Clip
Toyota IIA (Integraled Ignition Assembly) 1983 - 1985
F}GURE t0
Note: This is NOT a Tach Connection polnl.
DWELL CONNECTOR (GREEN)
GM C3
/(Computer Command Control)
IPertormance Check ONLY
GREEN CLIP or Ground Jumper _See Vehicle Service Manual
_:IGURE 11

ELECTRICAL SYSTEM--
PRELIMINARY CHECKS
INTRODUCTION. Before performing any electrical
system tests, carefully read the following information.
These checks will help you to identify the more common
electrical system problems and will serve as ageneral
guide formaking electrical system tests.
VEHICLE CHECKS.
A, CONSULT THE VEHICLE MANUAL OF THE
VEHICLE BEING TESTED FOR SPECIFIC VOLT-
AGE AND CURRENT SPECIFICATIONS AND TEST
PROCEDURES.
B,
C,
Check the fan belt; tension it according to the manu-
facturer's specifications.
Check the generator or alternator pulley and mount-
ing bolts. They should be tight. Make sure that the
charging and cranking system wiring and the battery
cables are in good condition and that connections
are clean and tight. Make sure that the battery is clean
and that the liquid level in each cell is above the plates
on vent-cap style batteries or that the green "eye" is
visible on maintenance-free batteries,
g. Check the "CCA" (Cold Cranking Amps) rating of the
vehicle battery, often listed on the battery. This
number should equal or exceed the specification
given by the manufacturer for the vehicle's engine.
If the battery capacity is too small, acord engine may
crank slowly or not at all on very cold days. If speci-
fications are not available, the following method may
be used to determine the recommended battery
capacity:_
8CYLINDER ENGINES, The cubic inch displace-
ment (CID -- not liters) equals the Cold Cranking
Amp requirement. For e _ample, a350 cubic inch
displacement engine equals a350 CCA minimum.
For cold climates, add 20% of the cubic inch dis-
ptacement to the CCA. Therefore, 350 x .2 (20%) =
70, 350 + 70 = 420. A 420 CCA or greater rated
battery should be uSed.
• 6 CYLINDER ENGINES. Calculate the Cubic inch
displacement per cylinder and multiply by 8. For
example a231 cubic inch displacement 6 cylinder
engine = 38.5 cubic inch displacement per cylinder,
Then, 38,5 x8 = 308 CCA minimum, For cold cli-
mates, add 20% of the adjusted cubic inch displace-
ment to the CCA. Therefore, 308 x .2 (20%) = 62.
308 + 62 = 370. A 370 CCA battery or greater should
be used.
• 4 CYLINDER ENGINES. Multiply the cubic inch
displacement of the engine by 2. For example, a
t51 cubic inch displacement engine x 2 = 302 CCA.
For cold climates, add 20% of the adjusted cubic
inch displacement to the CCA. Therefore, 302 x .2
20% = 60. 302 + 60 = 362. A 362 CCA or greater rated
E. Check the alternator/generator output rating as listed
on its color-coded tag or _tamped on the alternator/
generator frame. Forexample, 60A or IOOAindicates a
60 Ampere or 100 Ampere alternator/generator. This
rating should equal or exceed the manufacturer's
specification for the vehicle as equipped. An alter-
nator/generator which is elect[ically too small for the
vehicle cannot charge a battery when the vehicle is
run under heavy electrically loaded conditions (lights,
HI fan, air conditioning et¢.) The result.could be a NO
Crank/Start condition after prolonged operation
under heavy electrical load conditions,
F. Electrical specifications are generally given for an
engine which is at normal operating temperature, tf
the ehgine is cold and will start; operate the engine
at idle speedfor at least 10 minutes before making any
tests or until it is fully warm (upper radiator hose is
hot). If the engine wil! not start and the cranking
system tests must be made on a cold engine, cranking
voltage may be slightly lower than specificationsstate.
CRANKING VOLTAGE AND BATTERY CONDITION
If the engine cranks slowly or not at afl, the battery,
cranking motor, and associated wiring may be at fault.
Check the cranking voltage as indicated below.
1. Connect the analyzer to the vehicle as shown in Figure
1, and 3 through !0. The AMP LEAD AND SHUNT
hookup is not necessary for this test.
2. Disable the engine from starting as explained in your
vehicte service manual, See Figure 13.
3 Function Selector- Volts
4_ Crank the engine while observing the 16 volt scale on
the analyzer,
5. Normal Result- 9.6 volts or more at 70 °F. Voltage will
drop slightly as temperature decreases.
6. If the results are significantly out of specification
consuit your vehicle service manual for further
diagnosis.
7. If battery voltage remains abnormally high (above
approximately 10.5 volts) on a slow or no cranking
engine, the problem may be loose or corroded
connection(s) in the cranking circuit. Follow the pro-
cedure described below.

CRANKING CIRCUIT VOLTAGE LOSS TEST,
THE CRANK1NG CIRCUIT VOLTAGE LOSS TEST
checks for voltage losses in the cranking system,
1. Perform the instructions listed under "Electrical
System -- Preliminary Checks,"
2. Disable the engine from starting as explained in your
vehicle service manual. See Figure 13.
3. Function Selector -Dwell/Points
4. Range Selector - Points/Low Volts
5. Use the Green and Black clipswhile referring to Figure
12. Connect the clips alternately between 1 and 2,
2 and 3, 4 and 5, 4 and 6, 6 and 7, 7 and 8, 7and 9",
8 and 9, and 8 and !0, Record the results at each point
as read on the 3.2 volt scale of the meter with the
engine cranking.
6. if the meter reads backwards (left of zero) during
testing, reverse the Green and Black clip connections.
7. During this test, no reading should be higher than
0.2 volt.
8. To restart the engine, reverse the "Disabling Pro*
cedure."
9, If any reading is significantly higher than 0.2 volts,"
check the cable or connections involved. Clean and
tighten the connections. Replace broken, cracked or
corroded parts when needed.
"The reading between 7 and 9, the starter solenoid
voltage drop, may be a little h{gher than 0.2 volts and
be satisfactory. Refer to your vehicle manua! for
specifications.
CHARGINL_ _Y_ 1_M VUL i/_L_I;:
It is the function of the charging systemto keep the battery
charged when the engine is running and to power the
rest of the vehicle's electrical load requirement (ignition,
lights, fan, etc), If this system fails, the result will be a
discharged or possibly"dead" battery.
!. Connect the analyzerto the vehicle as shownin Figure
!, and 3through !0, The AMP LEAD AND SHUNT
hookup is not necessary,
2. Function Selector - Volts
3. Start the engine and allow it to warm to normal oper-
ating temperature. Operate it at curb idle.
4. With all accessories off observe the 16 volt scale on
the analyzer.
5. Normal Result - 13.2 to 15.2 volts or as specified in the
vehicle service manual,
6, Function Selector - RPM, 4, 6, or 8 cylinder to match
engine under test.
7. Range Selector - O_Y_)O0RPM
8. Select a step on the fast idle cam which will maintain
engine speed between t800 and 2800 RPM, or have
'an assistanthold engine speed in this range, Hold this
speed through Step 12,
9, Function Selector - Volts {
10. Observe the 16 voltscale on the analyzer. The voltage
should not have changed from Step 5 more than about
.5 volts,
11. Load the electrical system by turning on the lights,
HI fan, and wipers.
12. Observe the 16 volt scale on the analyzer, Voltage_
should not drop below about 13.0 volts,
Cranking Circuit Voltage Loss, Typical Circuit
F|GURE 12
NOTE
This is arepresentative sample of one type of cranking circuit,
Your vehicle may use a difle_en_ (_iTcuit with dif|erent com-
ponents or locations,

13. Shut off all accessories, return the engine to curb
idle, and shut it off.
14. If the results obtained in Steps 5, 10, or 12 are signifi -
cantly different from those shown or vehicle service
manual values, further diagnosis may be required:
see your vehicle service manual.
AMP LEAD AND SHUNT HOOKUP REQUIREMENT
If the results obtained in the CHARGING SYSTEM
VOLTAGE Test indicated a problem with the charging
system, it may be necessary to measure the alternator
output current to determine if the alternator is functioning
properly. To do this, follow the test procedure as outlined
in your vehicle service manual; since the procedure is
unique to each vehicle,
To use the 2163 Sears Analyzer for the alternator output
test, the following procedure describes the method of
connecting the current shunt to the charging system.
1, Disconnect negative (-) battery cable.
2. Remove the alternator output wire(s) from the output
terminal of the alternator.
3, Connect the removed wire(s) to the shunt as shown in
Figure 1, using #!0-32 xVzto _Y4"hardware as shown.
4, Attach the slotted end of the shunt,to the alternator
output terminal.
5, Make sureallconnections areclean and tight and that
NO PART OF THE SHUNT OR CONNECTIONS ARE
TOUCHING VEHICLE GROUND.
6+ Re-connect the negative (-) battery cable.
7. Connect the remainder of the analyzer's leads to the
vehicle as shown in Figures 1, and 3through i0.
8. Function Selector- Amps
9. Perform the following steps to assure that the shunt is
connected to the Amp Lead in the proper polarity.
1. Engineoff.
2. Function Selector- Volts
3. ObserVe the reading on the 16 volt scale of the
analyzer,
4. Start the engine. Wait a few moments and observe
the reading on the 16 volt scare.If it is higher than
Step 3, go to "A" below. !f it is lower than Step 3, go
to "B" below.
"A" FunctiOn Selector - Amps, Observe the meter
pointer movement. If it is above the "O" at the left
hand sideof the meter scale, polarity is correct. If it
deflects below "O", shut off the engine and reverse
the "slip on" connections at the shunt. Be careful
not to let pliers or Shunt touch ground when re-
versing these connections.
"B" Function Selector - Amps, Observe the meter
pointer movement, If it is below the "O +'at the left
hand side of the meter scale, polarity is correct.
If it is above the "O", shut off the engine and
reverse the "3fip on" connections at the shunt. Be
careful not to let pliers or shunt touch ground when
reversing these connections.
10. Perform the charging system test procedure as
described in your vehicle service manual. Switch
the Function and Range Selectors to obtain other
MISCELLANEOUS VOLTAGE TESTS
This analyzer can perform many of the voltage tests called
out in the vehicle service mandal, such as voltages at
lamp sockets, motors, solenoids and relays.
1. To measure voltage on the 16 volt scale:
+ Function Selector -Volts /
+ Red clip *positive (+)
tBlack clip - negative (-) ground
2. To measure voltage on the 3.2 volt scale:
•Function Selector - Dwell/Points
•Range Selector -Points/Low Volts
•Green clip +positive (+)
•Black clip -Negative (-) ground
NOTE
The voltmeter functions of this instrument can be used
anywhere the vehicle service manual calls for voltage
measurement except in those applications which call
for 10 Megohm input impedance or adigital voltmeter.
i,,,,.,, '
IGNITION SYSTEM TESTS
1. Primary Coil Voltage
(a) if the engine cranks normally, but does not start,
alow voltage (or no voltage) may be measured at
the coil primary (+ terminal), Look for poor (or no)
connection to the ignition Switch, wiring harness,
or (bulkhead) connectors,
(b) If the engine starts, but dies immediately upon
releasing the key, the ballast resistor may beopen
(or changed value). A fqll explanation for trouble-
shooting this problem will be found in your vehicfe
service manual.
2, Breaker Point Resistance Test (Breaker Point Systems
Only),
Visually check the breaker point and associated wiring
and connections. Check to see that the lead from the
distributor to the Negative (+) terminal of the ignition
cotl is not damaged (nicked insulation etc.), Remove
the distributor cap and inspect the breaker points,
Properly adjusted breaker points become light gray
in color in normal use. If they are blued, blackened
or pitted, they have exceeded their normal _ife,
(a) To prevent the engine from starting, disable the
ignition system by grounding the coil tower wire
as shown below.
Disabling Procedure,
Breaker Point Ignllion System
Ct_t IDC 4
ENGINE
GROUND

,
to) L;onnect[ne analyzer to the vehicle as shown in
Figures 1 and 4.
(c) Function Selector -Dwell/Points
(d) Range Selector - Points/Low Volts
NOTE
When testing a vehicle with dual points, alternately
block one set of points open with a piece of insulating
material while the other set is being tested.
(e) Turn the ignition key to the ON position. If the
meter reads OPEN on the points scale, crank the
engine a fraction of a revolution at a time until
the meter reads in the left hand area of the scale.
(f) The points are now closed.
A reading in the OK zone of the points scale indJ*
cares that the breaker points and associated
wiring are in good condition. The Analyzer may
indicate high point resistance on a new set of
points until they have been run tn the vehicle for
a few miles and have been properly seated. This
condition may be ignored as long as any defects
discovered during the previous visual check have
been corrected.
(g) Areading in the BAD zone of the pointsscale may
indicate defective points or any of the following
faults may exist:
•Poor distributor ground
•Poor connection on the primary lead from the
distributor to the ignition coil
= Defective distributor pigtail lead
=Misaligned points
•Poor points/plate ground insidedistributor
Correct the defect and repeat the test,
Dwell Test And Adjustment (Breaker Point Systems
Only or Transistorized Systems which Use Breaker
Points).
Before performing the DWELL TEST AND ADJUST-
MENT PROCEDURE, read the vehicle emission con-
trol label or the vehicle service manual to determine
what should be done with the vacuum hoses con-
nected to the distributor and the various advance/
retard solenoids. Most often, the vacuum hose must
be disconnected from the distributor and the end
plugged with a plastic golf "tee" or other plug.
(a) Connect the analyzer to the vehicle as shown in
Figures 1 and 4.
(b) Function Selector -Dwell/Points
(c) Range Selector - Dwell
(d) Start the engine and allow it to warm up (upper
radiator hose hot),
Operate the #ngine at curb idle OR the RPM
specified by the vehicle emission control label or
the vehicle service manual for measuring dwell.
Check the RPM by switching the FUNCTION
SELECTOR to, the appropriate RPM position to
match the vehicle engine under test, Return the
Function Selector to Dwell and observe the
correct dwell scale.
(e) It dwelt is within specification no adjustment is
necessary.
,, ........ ,,
NOTE
There is adirect relationshipbetween dwell end timing.
However, it is onlya one way relationship.If you change
the dwell angle of the breaker points, you will auto-
matically change the ignition timing. Changing the
timing, though, has no effect on the dwell angle. FOR
THIS REASON, IT tS IMPORTANT TO RE-CHECK
THE TIMING WHENEVER THE DWELL ANGLE HAS
BEEN ADJUSTED.
DWELL ADJUSTMENT -
CONVENTIONAL BREAKER POINT SYSTEMS
On GM distributorswith asmall metal slide cover, lift the
cover and insert a W' Allen wrench in the adjusting screw
socket and adjust the dwell by turning the wrench, as
shown in Figure 14.
i .... ,,,,, ,
WINDOW
I18" ALLEN
WRENCH
., Ii
ADJUSTMENT SCREW
TYPICAL GENERAL MOTORS
BREAKER-POINTS DISTRIBUTOR
FIGURE !4
On Ford, Chrysler,American Motors and other distributors
not equipped with a small metal access slide cover, per-
form the following steps while referringto Figure 15,
1. Remove coi! wire from center tower of distributor cap
and ground the wire bY connecting the loose end to
the engine or frame.
2. Remove the distributor cap and rotor.
3. Connect a remote starterswitch to the vehicle or have
an assistantcrank the engine for you,
4. With ignition switch ON and engine cranking observe
reading on the Dwell scale.
5. To adjust Dwelt, loosen the locking screw slightlyand
adjust the point gap with a feeler gauge according to
the procedure outlined in the vehicle service manual.
After adjustment, tighten lOcking screw, and recheck
dwell while cranking engine. Repeat procedure if
necessary. (Figure 15),

6. Reassembledistributorand recheckdwellreading
withengineoperatingatidlespeed.
Repeatsteps5and6if necessary.
AU
SlottedHole
Locking Screw-
Dwelt Ad
(All except IDelco*Remy Sliding Window Dislrlbutors)
FIGURE 15
DWELL VARIATION TEST
.
2.
Follow the introductory paragraph and Steps a,
through c, of Dwell Test and Adjustment, page 8.
Start the engine and increase the engine speed from
idle to about 1500 RPM and note the dwelt angle.
Return the engine speed to idle and again note the
dwell angle; If the difference between the two dwetl
angle readings is more than 3 degrees, check for
excessive wear in the breaker point plate and coup s
ILngs or excessive wear in the distributor shaft gear
and bushings.
FUEL SYSTEM TESTS
General Motors C-3 (Computer Command Control)
Mixture Control Solenoid Dwelt- (Carburetor
equipped vehiclesonly), The GM C-3 systemcontrols
Air/Fue! ratio with a mixture control solenoid in the
carburetor, The basic system performance check of
thissystemrequireschecking the duty cycle or"dwell"
of the M/C solenoid, Note that regardless of the
number of cylinders in the engine, the "dwell" reading
is always read on the 6 cylinder dwell scale.
,Connect the analyzer to the vehicle as shown in
Figures 1,7, 8, 9, and 11. Note that the Green Clip wili
have to be moved from the RPM connection point
(Figures 7, 8. and 9) to the MiC Solenoid connector
(Figure 11) during the test procedure when either
RPM or Dwell measurement iSspecified. It will also be
3,
Getector a5 follows:
A. For RPM measurement,
* Function Selector - RPM (4, 6, or 8 cylinder to
match the engine under test)
e Range Selector- 0-1200 for idle RPM
0-6000 for High RPM
B, For MiC So{enoid dwell measurement,
Function Selector- Dwell/Points
Range Selector - Dwell
Follow the test procedures as outlined in your vehicle
service manual,
ENGINE RPM MEASUREMENT
1, Connect the analyzer to the vehicle as shown in
Figures 1, and 3 through 10.
2. Function Selector - 4, 6, or 8 cylinder RPM position
tO match the vehicle under test.
3. Range Selector - 0-1200 or 0-6000 depending on the
engine speed to be measured.
4. Carburetor Adjustments _ There are several adjust-
ments which should be checked as part of a per=
formance tuneup, Those which require engine RPM
monitoring are:
=Curb idle
•E_aseIdle
•Solenoid controlled Idle
• Fast Idle
Your vehicle will likely have some combination of
these adjustments, Proper adjustment of these
settings isa requirement for gOodengine performance
and drivability.
5. Fuel tnjection Adjustments - Some fuel injection
systems have a minimum and maximum authority
adjustment which should be checked during routine
performance tuneup or whenever idle problems are
encountered,
6, Miscellaneous Engine Tests -Many of the test pro-
cedures in your vehicle service manual require the
engine to run at a specific RPM during the test. Your
instrument provides excellent monitoring capabilities
for this purpose,

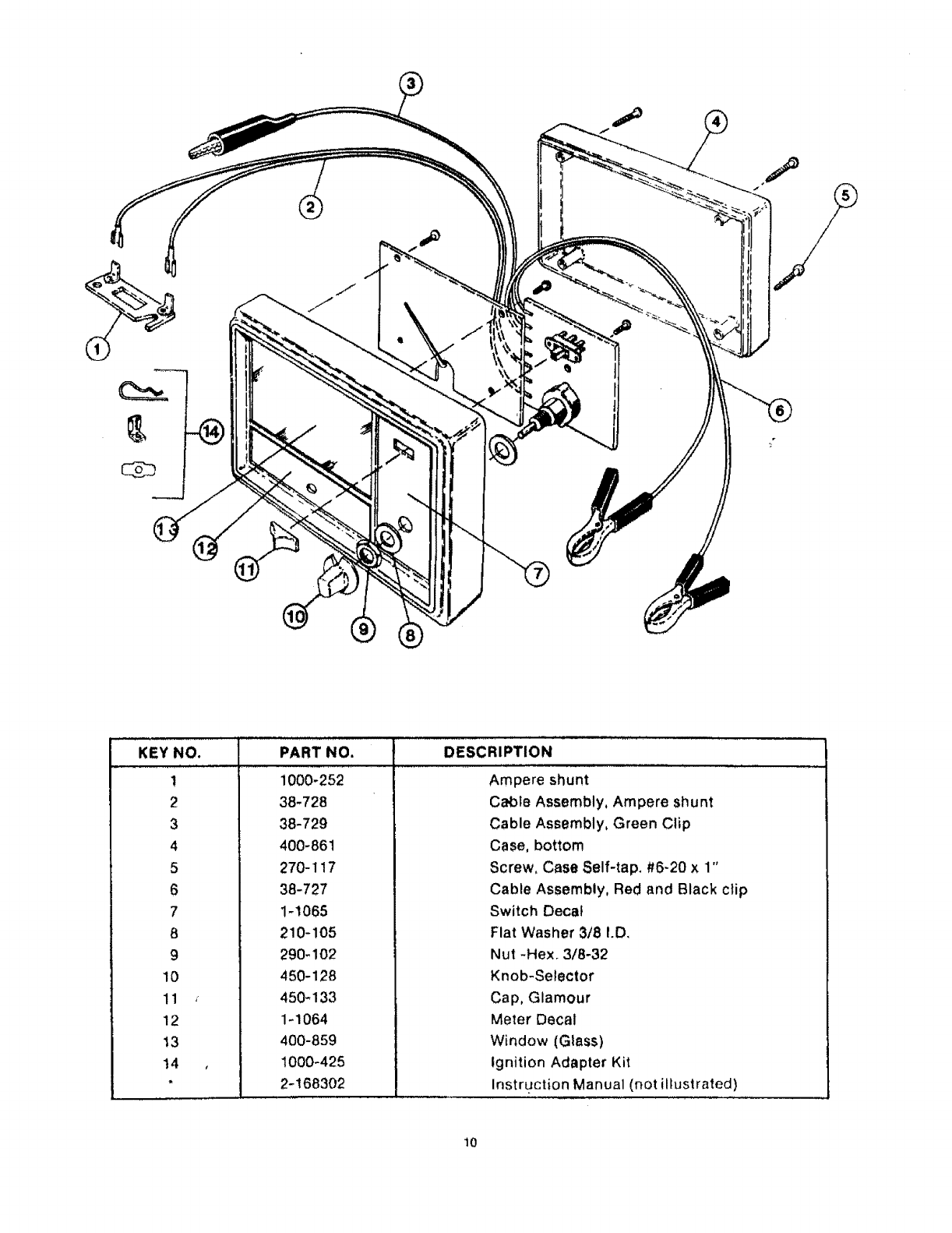
[.............KEY NO.
.... J, , ,, , ,,,,,j,,
1
2
3
4
5
6
7
8
9
10
11 _
12
i3
14 ,
PART NO.
i000-252
38-728
38-729
400-861
270-117
38-727
!-1065
210-105
290-102
450-128
450-133
1-1064
400-859
1000-425
2-168302
DESCRIPTION
, ,,i ......
Ampere shunt
Cable Assembly, Ampere shunt
Cable Assembly, Green Clip
Case, bottom
Screw, Case Self-tap. #6-20 x1"
Cable Assembly, Red and Black clip
Switch Decal
Flat Washer 3/8 I.D,
Nut -Hex. 3/8-32
Knob-Selector
Cap, Glamour
Meter Decal
Window (Glass)
Ignition Adapter Kit
Instruction Manual (not illustrated)
10

II [
owners
manual
MODEL NO.
161.216300
HOW TO ORDER
REPAIR PARTS
[I III III I1_111111111111 ......
IIII II IIIIIIIIII I[ ................... II II I I IIIIIIIIIIIIIIII I III IIIlI I L
ENGINE
ANALYZER
Now that you have purchased your
ENGINE ANALYZERt should a need ever exist
for repair parts or servicer simply contact any
Sears, Roebuck and Co. stores. Be sure to pro-
vide all pertinent facts when you call or visit.
The model number of your ENGINE ANALYZER
can be found on the front of the instrument.
WHEN ORDERING REPAIR PARTS, ALWAYS
GtVE THE FOLLOWING INFORMATION'
•PART NUMBER • PART DESCRIPTION
•MODEL NUMBER • NAME OF ITEM
All parts listed may be ordered from any Sears
Service Center and most Sears stores,
if the parts you need are not stocked locally, your
order will be electronically transmitted to a Sears
Repair Parts Distribution Center for handling.
l .....
I II II I Illll iillll IIll II li II ........