Craftsman 351243951 User Manual BAND SAW Manuals And Guides L0801047
CRAFTSMAN Saw Band Manual L0801047 CRAFTSMAN Saw Band Owner's Manual, CRAFTSMAN Saw Band installation guides
User Manual: Craftsman 351243951 351243951 CRAFTSMAN BAND SAW - Manuals and Guides View the owners manual for your CRAFTSMAN BAND SAW #351243951. Home:Tool Parts:Craftsman Parts:Craftsman BAND SAW Manual
Open the PDF directly: View PDF
.
Page Count: 20

SAVE THIS MANUAL
FOR
FUTURE REFERENCE
IS_EA/R8
OWNER'S
MANUAL
MODEL NO.
351.243951
CAUTION:
READ ALL
INSTRUCTIONS
CAREFU LLY!
8_A/,_,_/I: RI:1FTSMI:1N®
18" Band Saw
Light Industrial Tool
oassembly
•operating
.repair parts
Sold by SEARS, ROEBUCK AND CO., Chicago, IL 60684 U.S.A. ©
Part Noo 6666.03 April 1993

FULL ONE-YEAR WARRANTY ON SEARS/CRAFTSMAN 18" Band Saw
If, within one full year from the date of purchase this Sears Craftsman 18" Band Saw fails due to a
defect in material or workmanship, Sears will repair it free of charge.
WARRANTY SERVICE 1SAVAILABLE BY SIMPLY RETURNING THE BAND SAW TO THE
NEAREST SEARS STORE OR SERVICE CENTER THROUGHOUT THE UNITED STATES.
This warranty gives you specific legal rights, and you may have other rights which vary from state
to state.
SEARS, ROEBUCK AND CO., D/817 WA, 3333 Beverly Road, Hofman Estates, IL 60179
GENERAL SAFETY INSTRUCTIONS FOR POWER TOOLS
BEFORE ANY WORK IS DONE READ THE CAU-
TIONS LISTED BELOW CAREFULLY. WORKING
SAFELY PREVENTS ACCIDENTS.
OPERATOR SHOULD BE PREPARED FOR JOB:
a. Wear proper apparel. Do not wear loose clothing,
gloves, neckties, rings, bracelets or other jewelry
which may get caught in moving parts of the saw,
bWear protective hair covering to contain long hair
c. Wear safety shoes with non-slip sole&
d, Wear safety glasses. Everyday glasses have only
impact resistant lenses. They are not safety glasses°
eWear face mask or dust mask if ct_ing operation
is dusty°
f. Be alert and think clearly. Never operate power
tools when tired, intoxicated or when taking
medications that cause drowsiness,,
WORK AREA SHOULD BE READY FOR JOB:
a Keep work area clean. Cluttered work areas and
workbenches invite accidents,
b Do not use power tools in dangerous environ-
ments. Do not use power tools in damp or wet
location& Do not expose power tools to rain.
c Work area should be properly lighted,
d. The proper electrical outlet should beavailabIefor
the logic A three-prong plug should be plugged
directly into a properly grounded, three-prong
receptacle.
e Extension cords should have a grounding prong
and the three wires of the extension cord should be
the correct gauge,
f Keep visitors a safe distance from work area.
g. Keep children out of workplace° Make workshop
childproof,, Use padlocks, master switches and
remove starter keys to prevent any unintentional
use of power tools
SAW SHOULD BE MAINTAINED:
a, Always unplug band saw prior to inspection,
b Consult the owner's manual for specific maintain-
ing and adjusting procedures
c Keep band saw lubricated.,
d Use sharp blades and keep the saw clean for safest
operation.
e., Remove adjusting keys and wrenches. Form
habit of checking to see that keys and adjusting
wrenches are removed before turning on saw_
f Keep all guards in place and in working order.
g, Keep all parts in working order. Check to deter-
mine that the guard or other parts will operate
properly and perform their intended function_
ho Check for damaged parts. Check for alignment of
moving parts, binding of moving parts, breakage of
parts, mounting and any other condition that may
affect a tool's operation.
i, A guard or other part that is damaged should be
properly repaired or replaced. Do not perform
makeshift repairs., (Use the parts list provided with
owner's manual to order replacement parts,,)
OPERATOR SHOULD KNOW HOW TO USE SAW:
aUse the right tool for the job, Do not force a tool
or attachment to do a job for which it was not
designed.
b, Disconnect saw from power when changing
blade°
c, Avoid accidental start-up. Make surethat the saw
is in the "off" position before plugging in,
dDo not force a tool It wilt work most efficiently at
the rate for which it was designed.
e, Use recommended accessories, Consult the
owner's manual for recommended accessories.
The use of improper accessories may cause risk of
injury to persons.
f Handle the workpiece correctly,, Use push sticks
or push blocks when required Protect hands from
possible injury°
g Turn the saw off if it jams. A blade jams when it
digs too deeply into the workpiece. (The motor
force keeps it stuck in the workplace.)
h Never leave saw running unattended, Turn the
power off and do not leave saw until it comes to a
complete stop.
i, Do not overreach. Keep proper footing and
balance.
j. Never stand on saw, Serious injury could occur if
saw istipped or if blade is unintentionally contacted
k Keep hands away from moving parts and blade
I, Know your saw. Learn its operation, application
and specific limitations.
-2-

CONTENTS
Warranty ............................................. 2
General Safety Instructions
for Power Tools .................................. 2
Safety Instructions for Sand Saw ................. 3
Motor and Electrical Specifications ................. 4
Unpacking ....................................... 4
Assembly ............................................. 5
Electrical Connections .......................... 5
Operating Instructions ........................... 5 - 9
Maintenance ........................................... 9
Recommended Accessories ........................ 9
Troubleshooting ............................... 10
Parts Illustration and Listfor Motor' +............... 12
Parts Illustrationand Listfor Switch ................ 13
Parts Illustration for Blade Drive ................... 14
Parts Listfor Blade Drive .............................. 15
Parts Illustration for Table .......................... 16
Parts List for Table .............................. 17
Parts illustration for Blade Guides ................. 18
Parts List for Blade Guides ...................... 19
WARNING LABEL
The 18" band saw has been marked with a warning label
that needs to be observed for' safe operation, The
operator should be aware of the location and contents
of this label.
This warning label is placed in a specific location so it is
visible to the operator when starting and operating the
saw,,
WARNING
FOR YOUR OWN SAFETY
[] Read and understand owner's manual before
[] operating band saw
_ _ways wear eye protection
mDo not wear gloves, neckties, jewelry or loose
]clothing,
Mount saw securely to floor,
[] Maintain proper adjustment of blade tension,
]blade guides and thrust bearings
Adjust upper guide to just clear workpfeoe,
iHandle workpiece correctly Hold workpiece
against table, Use push sticks or push blocks
m when required
Guards should be in place and used at all times
[] Keep fingers out of path of blade
[] Turn machine off if it jams. Do not remove
jammed or cutoff pieces until the saw is turned
off, unplugged and the blade has stopped
SAFETY INSTRUCTIONS FOR 18" BAND SAW
Think safetyl Safety is a combination of operator
common sense and alertness at all times when the
band saw is being used.
WARNING: DO NOT ATTEMPT TO OPERATE THE
BAND SAW UNTIL IT IS COMPLETELY
ASSEMBLED ACCORDING TO THE IN-
STRUCTIONS.
1,+ KNOW GENERAL POWER TOOL SAFETY, Make
sure all precautions are understood and provided
for (page 2)+
2. SECURE ALL FASTENERS. Frequently check that
nuts and bolts are tight and have not vibrated loose
3,. FOLLOW OPERATING INSTRUCTIONS, Operate
the band saw as described in the manual,
4+ BE SURE MOTOR RUNS CLOCKWISE facing
shaft end+Blade must travel down toward the table+
5, USE THE CORRECT SPEED. The proper speed
will produce the optimum cut
6,. DO NOT FORCE THE CUT+ Slowing or stalling the
motor will overheat it+
7, DO NOT OVERHEAT THE WORKPIECE Excess
heat at the cut can damage the blade and reduce
the quality of the cut
8 AVOID DEFLECTING THE BLADE, Adjust the
blade guides to hold the blade properly, (See
"Upper and Lower Blade Guides," pages 6 and 7)
9, AVOID SHOCKING THE BLADE+ Do not start a cut
on a sharp comer',, (See "Blade Pitch." page 7+)
I0+ KEEP BAND SAW MAINTAINED, Follow "Main-
tenance" instructions (page 9)
11+ DISCONNECT POWER Turn switch off and dis-
connect the powerwhenever band saw is not in use
Caution; Be certain to follow proper operating pro-
cedures despite familiarity gained from fre-
quent use of your band saw+ Always
remember that being careless for even a
fraction of a second is sufficient time to
inflict severe injury.
The operation of any power tool can result in foreign
objects being thrown into the eyes. which can result in
severe eye damage,
Always wear safety goggles complying with ANSI Z87+1
(shown on package) before commencing saw opera-
tion+ Safety goggles are available at Sears retail or
catalog stores
-3-

MOTOR
MOTOR
AND ELECTRICAL SPECIFICATIONS
The band saw is supplied with a motor° The 120 volt AC
capacitor start motor has the following specifications:
Max° Developed Horsepower ....................... 2
Voltage .......................................... 120
Amperes .......................................... 7
Hertz ........... .................................... 60
Phase ........................................ Single
RPM ............................................... 1725
Rotation (viewed from shaft end) ........... Clockwise
POWER SOURCE
1_ The motor is designed for operation on the voltage
and frequency specified on motor nameplate_
2. Normal loads will be handled safely on voltages not
more than 10% above or below nameplate voltage
3. Running unit on voltages which are not within this
range may cause overheating and motor burnout.
GROUNDING iNSTRUCTIONS
WARNING: CHECK WITH A QUALIFIED
ELECTRICIAN OR SERVICE PERSON-
NEL IF GROUNDING INSTRUCTIONS
ARE NOT UNDERSTOOD OR IF IN
DOUBT AS TO WHETHER BAND SAW
IS PROPERLY GROUNDED.
DO NOT PERMIT FINGERS TO TOUCH
TERMINALS OF PLUGS WHEN IN-
STALLING OR REMOVING PLUG,
The band saw is provided with a 3-conductor cord and
ground type plug which has agrounding prong ap-
proved by Underwriters Laboratories and the Canadian
Standards Association
Do not remove or alter grounding prong in any manner_
In the event of a malfunction or breakdown, grounding
provides a path of least resistance for electrical current
to reduce risk of electrical shock.
The plug must be plugged into a matching outlet that is
properly installed and grounded in accordance'with all
local codes and ordinances_
Do not modify plug provided. If itwitl not fit in the outlet,
have the proper outlet installed by a qualified electrician°
Improper connection of the equipment-grounding con-
ductor can result in a risk of electrical shock.
The conductor with insulation having an outer surface
which is green or yellow with green stripe is the equip-
ment-grounding conductor,,
If repair or replacement of the electrical cord or plug is
necessary, make sure the equipment-grounding con-
ductor is not connected to a line terminal,
EXTENSION CORDS
I. The use of any extension cord wilt cause some drop
in the voltage and loss of power,
2. Wires of the extension cord must be sufficient in size
to carry the current and maintain adequate voltage.
3. Use the table below to determine the minimum wire
size (AWoG.) extension cord.
4_ Use only 3-wire extension cords having 3-prong
grounding type plugs and 3-pole receptacles which
accept the tool plug.
5, If power cord is worn, cut or damaged in any way,
have it replaced immediately.,
Extension Cord Length Wire Size A.W.G,
Upto50 ft........................................... t6
50 -100 ft........................................... 14
NOTE: Using extension cords over 100 ft. long is
not recommended.
UNPACKING
Check for shipping damage_ tf any damage or loss has
occurred, immediately fife a claim with the carrier°
IMPORTANT: TABLE AND RIP FENCE ARE COATED
WITH A PROTECTIVE COATING WHICH MUST BE
REMOVED FOR PROPER FIT AND OPERATION,
Remove coating with mild solvents such as mineral
spirits and a soft cloth, Nonflammable solvents are
recommended. After cleaning, cover all exposed sur-
faces with a light coating of oil, Paste ,wax is recom-
mended for table tops
Caution:Never use highly volatile solvents, Avoid
getting cleaning solution on paint, rubber or
plastic parts as it may tend to deteriorate
these 1inishes, Use soap and water on paint,
plastic or rubber components.
Band saw comes assembled except for following parts:
1 Table is shipped in a box next to saw
2, Motor is shipped in a box next to saw
3. Motor pulley V-belts are shipped behind upper
cabinet door
Parts shipped in a separate box within crate:
4. Rip fence and rip fence knob
5, 120 Volt plug, 2 each wire nuts, and strain relief
6, 2 Each band saw mounting brackets
7, Motor mount bracket
8 Standard and wide table inserts
9Miter gauge assembly
10_ Handwheel, handle, 6-1,0 x 8ram set screw and
extra long 3mm hex wrench
11_ Hex pin for table
12, 4 Each 5/16-18 x 3/4", 8 each 5/16-18 x 1" and 1
each 5/16_18 x 1 1/8" hex head bolts
13, 20 Each 5/16" and 4 each 8mm flat washers
14 12 Each 5/16" and 4 each 8ram lock washers
15 4 Each 8mm-1.25 x 25ram hex head bolts
16, 9 Each 5/16"-18 hex nuts
-4-

ASSEMBLY
MOUNT MOTOR
Refer to Figure 2
NOTE: Do not mount motor pulley to motor until
motor is mounted to sawn
!Mount motor (Key No 1) to motor mount bracket
(Key No 2) using four each 5/16-18 x 1" he× head
bolts (Key NOr,6), eight each flat washers (Key
No. 7) and four each lock washers (Key No, 8), Be
sure to mount motor to bracket using holes in
motor base as shown in Figure 2
2 Mount motor mount bracket to band saw base
using four each 8ram-1,25 x 25mm hex head bolts
(Key Noo 3), four each 8ram lock washers (Key
No 4) and four' each 8mm flat washers (Key No 5).
Refer to Figure 4
3 Slide motor pulley (Key NQ 38) onto motor' shaft
with motor key in motor' shaft groove and motor
pulley groove° Align motor pulley with step pulley
(Key No_ 32) using a straight edge so that V-
grooves in motor pulley are aligned with V-grooves
in step pulley. Secure motor pulley with two set
screws (Key No. 40),
4 Slide belt tension handwheel (Key No..51) onto belt
tension shaft (Key No_ 52) and secure handwheel
with setscrew (Key No. 55) using 3mm hexwrench
Thread handle (Key Nov53) into handwheeL
5 Mount motor V-belt (Key No, 38) on motor pulley
and step pulley. Tension V-belts by rotating tension
handwheel
Refer to Figure 5._
6 Mount table usingfour each 5/16-18 x 3/4" hex head
bolts (Key No 12), four each lock washers (Key
No, 13) and four eachflatwashers (KeyNo 14). Do
not tighten bolts Press the standard insert (Key
No. 2) into hole on top of table with beveled slot
aligned parallel with slot in table. Position table so
that blade is centered with insert slot and blade is
parallel with miter gauge slot Secure table by
tightening four each 5/16-18 x 3/4" hex head bolts
7 Thread 5/16"_18 hex nut (Key No. 16) onto 5/16-18
x I 1/8" hex head bolt (Key No,_15).Thread bolt into
threaded hole on bottom left side of table. Adjust
table perpendicular to blade using a square and
rotate 5/16-t8 x 1 1/8" bolt so that it holds table in
perpendicular position. Rotate hex nut against
table to secure bolt,
8 Mount two each mounting brackets (Key No.,24) to
holes on front side of band saw base using four
each 5/!64 8× 1"hex head bolts (Key No, 25), eight
each flat washers (Key No. 14), four each lock
washers (Key No_ 13) and four each 5/16_'-18 hex
nuts (Key No 16). Secure mounting brackets to
floor using two each anchor bolts (not supplied).
ELECTRICAL CON NECTIONS
WIRING MOTOR
WARNING: ALL ELECTRICAL CONNECTIONS
MUST BE PERFORMED BY A
QUALIFIED ELECTRICIAN.
Refer to Figure 2
The motor (Key No, 1) should be wired for 120 volts and
clockwise rotation as viewed from shaft end of motor
A schematic supplied with motor will describe proper
wiring procedures
Refer to Figure 3
Wire motor tine cord (Key No,. 6) to motor using strain
relief (Key No, 8) and two wire nuts (not shown),
Mount strain relief to motor connection box by removing
a "knock-out" on connection box and locking the strain
relief through "knock-out" hole with strain relief nut
Pass motor cord through strain relief and secure cord
with screw and nut on strain relief.
Wire motor with wire nuts provided Be sure to ground
motor with green grounding wire in motor cord
INSTALL PLUG
Refer to Figure 3
Wire line cord to plug (Key No, 9) provided Be sure to
ground plug using green grounding wire in line cord
OPERATING INSTRUCTIONS
The 18" Band Saw isa versatile cutting tool and provides
four different cutting speeds so the saw can be used to
cut a variety of materials. The band saw offers con-
venient tensioning and tracking so changing blades is
not cumbersome The band saw can accommodate
blade widths up to 1" for many types of cuts
WARNING: ALWAYS OBSERVE THE FOLLOWING
SAFETY PRECAUTIONS.
Use proper blade for workpiece. Make sure blade
guides are positioned and adjusted correctly
Check to make sure blade is tensioned correctly_ Be
sure blade is tracking correctly Align table to blade
Choose the proper speed for cutting operation
After turning on saw. allow blade to come to full speed
before attempting any cutting operation
Support workpiece properly Use a smooth steady feed
to guide work through cut
Keep hands away and out of line with moving parts
Always wear eye protection
-5-

OPERATING iNSTRUCTiONS (Continued)
REMOVING BLADE
Refer to Figure 4,.
The 18" Band Saw is designed for convenient blade
changing. The table is provided with a slot which allows
the blade to be removed without disturbing the table.
Remove the stud so it will not obstruct removal of blade.
Loosen lever (Key Noo 17) which locks tracking knob
(Key No. t6).
Loosen blade tension by rotating handwheel (Key
No. 15)o
When removing blade be careful because blade may
spring from saw when tension is released. The released
blade can be removed and replaced with another blade,,
INSTALLING BLADE
To replace the blade, the table stud must be removed as
described in "Removing Blade" above.
Although many of the adjustments may not be altered
when the blade is removed, every adjustment should be
checked prior to using a newly installed blade,
Follow safety precautions which should be observed
every time the band saw is turned on,
Make sure the blade teeth are pointing in the correct
direction. Blade teeth must point down° Turn blade in-
side out if necessaryH
Center the blade on the blade wheel. Tension and track
the blade as described in the following sections.
NOTE: Do not use a new blade to complete a
previously started cut,
TENSIONING BLADE
Refer to Figure 4.
Tension blade by turning the handwheel (Key No. 15).
Be sure blade guides are not interfering with the path of
the blade.
Tighten blade until it is properly tensioned, A properly
tensioned blade will ring slightly when back of blade is
plucked, (Like a string on an instrument ,)
NOTE: CHECK THE TENSION OF A NEW BLADE.
ADDITIONAL TENSION MAY BE RE-
QUIRED AFTER A FEW MINUTES OF
OPERATION.
TRACKING BLADE
Refer To Figure 6.
Track the blade after it has been tensioned°
Proper tracking is achieved when drive wheel and idler
wheels are aligned,
The knob (Key No, 16) is used to tilt tracking bracket
(Key No. 6) and align blade wheels,
A change intension of blade will affect wheel alignment
Turn idler wheel (Key No 4) by hand and observe how
blade rides on the wheels
If blade tends to ride out of the cabinet, turn knob
clockwise to tilt idler wheel up.
If blade tends to ride into the cabinet, turn tracking knob
counterclockwise to tilt idler wheel down,
When blade is tracking properly, lock the position by
holding the knob and tightening the lever (Key No,, 17)
against the cabinet.
ALIGNMENT OF DRIVE WHEEL
Refer to Figure 4.
A blade under high tension may also pull drive wheel out
of alignment.
Alignment of drive wheel can be adjusted with hex bolts
(Key No, 27),
Lock position with nuts (Key No. 28).
NOTE: Only attempt adjusting drive wheel align-
ment if blade cannot be properly tracked
with tracking adjustment alone.
BLADE GUIDES
Refer to Figure &
Blade guides support the band saw blade at sides and
the rear of blade. The blade guides should be adjusted
to prevent twisting and deflection of blade,
Blade guides should not touch blade when no material
or workpiece is in contact with the blade,. Guides need
to be adjusted as described below,,
UPPER BLADE GUIDES
Refer to Figure 6
The upper blade guides employ two ball bearing sets on
adjusting pins for side support and a thrust bearing on
an adjusting pin at the rear.
The guide depth bracket (Key No. 26) should be posi-
tioned so bearing on either side of blade will support as
much of blade width as possible without interfering with
the tooth set.,
Adjust guide depth bracket by loosening bolt (Key No,
11) and sliding bracket into position.
Secure position of upper guide casting by tightening
bolt, Adjust guide bearings to the side of the blade with
a hex wrench.
Use a feeler gauge to check that the bearing is about
0°002" away from the blade
Lock the adjustment by tightening the bolt and nut (Key
Nos,, 34 and 13).
Loosen handle (Key No. 23) and push adjusting pin to
set thrust bearings 04002" away from back of the blade,
Secure the position of the rear bearing by tightening
handle,
Adjust height of the upper guide bearings to clear the
workpiece by 1/4"
Loosen knob (Key No, !) and reposition rack within
guides,
Tighten knob to secure position on height adjustment
-6-

OPERATING INSTRUCTIONS (Continued)
LOWER BLADE GUIDES
Refer'to Figure 6.
The lower blade guide employs two guide blocks for side
to side support.
The lower guide bracket is spaced close to table surface
to minimize unsupported length of blade
Loosen nut (Key No, 27) to position the lower guide
bracket on the alignment block (Key No. 33).
Adjust the lower' guide bracket so the block does not
interfere with the blade set.
Loosen set screws for' guide blocks and adjust blocks to
about 0,002" from each side of blade_
Adjust bearing (Key No. 19) at rear' of blade by loosening
the knob (Key NOo32)_
ALIGN TABLE
To perform any straight cut accurately, table must be
aligned to the blade.
Once blade is tensioned and tracked correctly, the tabte
can be adjusted to it
Lock table in horizontal position_ Attach rip fence to the
table and push it against the blade,
Make sure rip fence and blade are parallel,
If table is not aligned, loosen four hex nuts which attach
table to upper trunnion and reposition the table_
Secure table position with four' hex bolts when it is
aligned. (Review "Assembly," Number 6,)
BLADE SELECTION
Blades vary depending on type of material to be cut, size
of the workpiece and type of cut that is being performed.
Characteristics which make blades different are width,
thickness, type of tooth and blade pitch
The width of blade describes the distance from tip of a
tooth to back of blade
Width of blade will affect rigidity of blade. A wider' blade
will wander' less and produce a straighter cut
Width of blade also limits the smallest radius which can
be cut,. A 1/4" wide blade can cut about a 1" diameter_
Blade thickness describes distance between sides of
blade, A thicker blade has more rigidity and stronger
teetb_
The narrow thick blade would be used to cut curves in
metal, while a wide thin blade would be used to re-saw
lumber
Blade manufacturers should be able to supply informa-
tion about biades for specific applications
TYPE OF TOOTH
The shape of teeth are varied to achieve specific cutting
results_
A blade cuts the work by removing material
The blade must scrape a chip of the workpiece away
from the cut,
The shape of gullet between teeth determines how much
material can be taken out with each blade tooth
Rake angle is the angle which the cutting face of the
tooth makes with a line perpendicular to the back of
blade°
A 0° rake angle is used to scrape harder materiats away
from the cut.
A positive rake angle causes the blade to dig aggressive-
ly into the workpiece,
Softer materials require more aggressive chip removal,
Larger gullets provide for faster removaf but have to be
limited in size because they make the blade teeth
weaker.
Blade teeth will also vary inthe way which the teeth have
been set from one side to the other.
A wider set is used for contour work because the wider
kerf allows the operator to cut tighter curves,
BLADE PITCH
Pitch describes number of teeth per inch or tooth size.
Blades with more teeth per inch will produce smoother
cuts_
The type of material being cut determines number of
teeth which should be in contact with wor k,There should
always be at least three teeth in contact with the cut to
avoid shocking the blade.
Blade shocking occurs when the pitch is too large and
the blade tooth encounters too much material. This can
strip teeth from the blade.
When the pitch is too small the gullets of the teeth will fill
up, leading to the creation of excess heat for the blade.
In soft materials the proper blade has between 6 and 12
teeth per inch.
In cutting hard materials, where shocking is more
detrimental, there should be between 12 and 24 teeth
per'inch.
BLADE SPEED
The amount of force that the blade cuts with is deter_
mined by blade speed.
High cutting speeds are used on soft materials where
less force is needed and a high rate of material removal
is desired_
Low cutting speeds are used on hard materials where
more force is required,
To change the blade speed, position the V-belts in the
proper configuration as indicated (see Figure 1).
Reposition the V-belts and tension them as described in
the next section
_7-

OPERATING iNSTRUCTIONS (Continued)
BLADE SPEED (FPM)
0 700 1480 380_
Figure 1
FPM
©
270 -Steel, bronze
700 - Brass, copper
1480 - Hard woods, plastic
3800 _ Soft woods, other light materials
REPOSITIONING V-BELTS
Refer to Figures 1 and 4
The band saw uses a two-belt drive system to provide a
selection of blade speeds (see Figure 1).,
Idler pulley (Key No, 32, Figure 4) is fastened to tension
arm (Key No. 33) so both belts can be tensioned at the
same time.
Position tension arm by revolving handwheel (Key
No. 51). Loosen the V-belts by rotating the handwheel
counterclockwise
When the V-belts are loose, position them to desired
configuration (see "Blade Speed," and Figure 1) and
tighten by rotating the handwheel clockwise,
Belts are properly tensioned when light pressure applied
between the pulleys produces about 1/2" deflection.
Do not overtighten V-belts, Excessive tension on V-belts
will reduce available cutting force.
TYPE OF CUT
Band saw can be used to perform a variety of cuts
Cutting procedure used depends on size and desired
shape of cut
Rip fence is used to guide workpiece to prod uce straight
cuts on longer pieces_
Miter gauge is used to produce angle cUtSr
Contour cutting is done by guiding workpiece free*
handed to produce curved shapes,
Beveled cutting can be done with any proper work guide
method by tilting the table°
Regard less ofwhich method of guiding the work is used,
aworkpiece which overhangs the table by more than 10"
should be supported by freestanding material stands
RIP FENCE OPERATION
Refer to Figure 5_
Rip fence can be used to guide workpiece with one
square edge past blade when tabte is aligned properly,
Set the rip fence to the desired width of cut on the inside
of the throat, Do not forget about the saw kerf. Use a
square to measure from tip of a tooth to fence,, Lock
fence securely with knob (Key No. 14).
The portion of material between blade and fence is
considered the workpiece. Material on outside and be-
hind the cut is scrap material which is being cut off,
Use right hand to keep work against fence,, Do not push
on scrap portion of work, This could pinch or bind blade
Avoid passing hands beyond the cut,, Use push sticks to
finish cuts and pass the workptece away from the blade.
MITER GAUGE OPERATION
Use miter gauge for securing and holding workpiece at
desired angle to produce angled cuts, Use scale to
adjust gauge to desired angle,
Caution: Never use miter gauge and rip fence at
the same time. Workpiece may bind
blade damaging workpiece and injur-
ing operator.
CONTOUR SAWING
When contour sawing, both hands must be used to keep
workpiece flat against the table and guided along
desired path,
Avoid positioning hands in line with blade, Hands could
contact blade if they slip,,
Try to stand to front of saw and use hands over portion
of table which is to the right of blade and before the cut
Do not attempt sharp corners which may twist or bind
the blade. Cut small corners by sawing around them,
Saw to remove smaller pieces of scrap until desired
shape is obtained,
BEVEL CUTTING
Refer to Figure 5,
Perform any saw operation at a bevel by tilting table
Loosen knob (Key No 8, Figure 5) to tilt table to desired
position, Use a square or protractor to set angle and lock
table in position with knob
Use caution when supporting work while bevel cutting
Do not allow work to hang on blade.
-8-

OPERATING INSTRUCTIONS (Continued)
DUST COLLECTION
Refer to Figure 4,
Sawdust or metal shavings wiltfail into the lower cabinet
of the saw.
The saw is fitted with a 4" male dust chute (Key No. 45)
for attachment to a dust collector°
Use a dust collector with a4" diameter hose to create
the proper' suction to remove debris from inside the
lower cabinet.
The particles which collect on the drive wheel may affect
the band saw's operation.
Make sure that the brush (Key Noo 25) is in contact with
the wheel to properly remove foreign particles from the
drive wheel
Caution: Check that the lower cabinet is free of
sawdust before performing any metal cut-
ting operations. This is a possible fire
hazard,
MAINTENANCE
CLEANING
Keep machine and workshop c_ean,
Do not allow sawdust or metal shavings to accumulate
on the band saw.
Keep wheels clean,
Debris on wheels wJJ!cause poor" tracking and blade
slippage.
Keep mechanism's threaded or sliding surfaces free of
foreign particles,
Operate the band saw with a dust collector to minimize
clean up.
LUBRICATION
The shielded ball bearings are permanently lubricated
when manufactured and require no further' lubrication
Small amounts of machine oil can be applied to
mechanism's threaded or' sliding surfaces.
Occasionally apply a coat of automobile type wax to the
table to keep it slick and corrosion free,,
KEEP BAND SAW IN REPAIR
If the power cord is worn or cut in any way, have it
replaced,
Replace V-belts and blade when they are worn°
Replace any damaged or missing part
Use the parts list to order'parts.
RECOMMENDED ACCESSORIES (Catalog Items)
REPLACEMENT BLADES
LxW" TEETH CATALOG
FOR INCH PER INCH NUMBER
Wood 133 x 3/4 4 926656
, , ,,,,,,,,
Metal 133 x3/4 10 926657
Metal 133 x3/4 14 ,926658
-9-

SYMPTOM
Excessive blade
breakage
Premature blade
dulling
i,i ill, ,i ,i,l,l,i
Crooked cuts
2o
4,_
5,
6r,
7.
8
9.
1o
2.,
3o
4,
5
6
7,
2_
3.
4,
5
6
7.
8o
9.,
TROUBLESHOOTING
Material not secure on table
Incorrect speed or feed
Blade too coarse for material
Incorrect blade tension
Teeth in contact with work before saw
is started
Blade rubs on wheel flange
Mis-aligned guides
Blade too thick for wheel diameter
Cracking at weld
,,,,,,Hi, ,,,HU II,I,ll,,,I
Blade too coarse
Too much speed
Inadequate feed pressure
Hard spots or scale in or on material
Work hardening of material
Blade installed backwards
Insufficient blade tension
Work not square
Rate of feed too great
Guide blocks not adjusted properly
Inadequate blade tension
Upper blade guide too far from
workpiece
Dull blade
Speed incorrect
Blade guide assembly toose
Blade thrust bearing not adjusted
properly
CORRECTIVE ACTION(S)
1o Squarely place work on table
2 Check Machinist Handbook for recommended
speed or feed
3 Check Machinist Handbook for recommended
blade type
4. Adjust blade propedy
5. Place blade in contact with work after saw has
reached full speed
6 Adjust wheel alignment propedy
7Adjust blade guides propedy
8 Use thinner blade
9, Replace blade
1, Use finer tooth blade
2. Try next lower speed
3_ Gently increase pressure
4 Reduce speed, increase rate of feed (scale)
Change blades (hard spots)
5 Increase rate of feed
6. Remove blade, twist inside out and
reinstall blade
7_ Increase tension to proper level
,H, i ii , ,ill
1 Use rip fence; adjust tilt of table at 90° to blade
2. Reduce rate of feed
3. Move both guide blocks within 0.002" to
blade (use gauge)
4 Increase blade tension properly
5 Adjust upper guide to clear workpiece
by 1/4"
6, Replace blade
7, Check Machinist Handbook for
recommended speeds
8 Tighten blade guide assembly
9. Move blade thrust bearing within 0°002"
behind blade back
H, i, 'H'H"'HH""'H
1. Reduce speed or feed
2_ Replace with finer blade
1 Decrease feed pressure
1_ Reptace
2, Adjust as pet"Lower Blade Guides," page 7
3 Tighten properly
1, Blade guide blocks or bearings worn
2_ Blade guide blocks or bearings not
adjusted properly
3, Blade guide blocks or bearing bracket
loose
1, Teeth too coarse for work
2. Feed too heavy
3. Vibrating workpiece
4. Teeth filling with material
i ,H,,, H
1. Blade tension too great
2, Drive bett tension too great
3Blade too coarse for work
(typical when cutting pipe)
4, Blade too fine for work (typical when
cutting either thick or soft material)
5 Excessive dirt and sawdust
i i, ,i,l,l,ll, l,,i, =
Rough cuts 1 Too much speed or feed
2, Blade too coarse
Blade is twisting 1. Cut is binding blade
i , Hi H,,
Unusual wear on
side/back of blade
Teeth ripping from 1. Use blade with finer teeth
blade 2, Decrease feed rate
3Hold workpiece firmly
4. Use blade with coarser teeth
,,i,ll
Motor running
too hot
1 Reduce tension on blade
2. Reduce tension on drive belt
3 Use blade with finer teeth
4 Use blade with coarser teeth
5 Clean thoroughly; vacuum motor and belt area
-10-

DATE
SERVICE RECORD
MAINTENANCE PERFORMED
i ,Ji,,IL,J,,,,,,,,,,,L
COMPONENTS REQUIRED
ll,_ H ,ll,,,,,,,,ll ii ill ,,

REPLACEMENT PARTS ILLUSTRATION FOR MOTOR
1
2
Figure 2 - Motor Illustration
REPLACEMENT PARTS LIST FOR MOTOR
KEY
NO.
1
2
3
4
5
6
7
8
9
PART
NO,
6501o00
5596o01
0302°00
1333..00
0695.00
STD523110
STD551031
STD551131
STD541031
DESCRIPTION
Motor with key
Motor mount bracket
8-! 25 x25mm Bolt, hex head
8mm Washer, lock
8mm Washer, flat
*5/16-18 x 1" Bolt, hex head
*5/16" Washer, flat
*5/16" Washer, lock
*5/16"-18 Nut, hex
QTY.
t
1
4
4
4
4
8
4
4
*Standard hardware item available locally.
Always order by Part No. not by Key No
-12_

REPLACEMENT PARTS ILLUSTRATION FOR SWITCH
11
.1
Figure 3 - Switch illustration
REPLACEMENT PARTS LIST FOR SWITCH
KEY PART
NO. NO, DESCRIPTION QTY.
i,,, ,,,, "
1 0423,00 Switch with key 1
2 542&00 Switch plate t
3 5167,00 4-.70 x 10ram Screw, fiat head 4
4 STD840610 *6mm-1o0 Nut, hex 2
5 5441.00 6-1.0 x 16ram Screw, flat head 2
6 5427.00 Line cord (switch to motor) 1
7 5428.00 Line cord (power to switch) 1
87256.00 Strain relief 2
95597.00 Plug t
10 2820,00 6ram Washer, serrated 3
11 544200 Strain relief t
12 0582.00 Strain relief 1
•Standard hardware item available locally
Always order by Part No, not by Key No,
q3-

REPLACEMENT PARTS ILLUSTRATION FOR BLADE DRIVE
22
2O
t4
23
3O
22
26
44
32
2t
35
18
16
14
37
51
5O
17
53
Figure 4
-t4-

REPLACEMENT PARTS LIST FOR BLADE DRIVE
KEY PART
NO. NO.
1 5101.00
2 0341.00
3 STD315235 *
4 5103.00
5 510&00
6 510&00
7 STD852016
8 5107_00
9 5108o00
t0 5109.00
11 1305o00
12 5t1!.00
13 5112,00
14 STD85t008
15 511&00
16 5114o00
17 511500
18 2807.00
19 STD835016
20 7257.00
21 STD852020
22 5440.00
23 STD840812
124 5120.00
J25 512t_00
!26 5!22.00
DESCRIP1
Tread
17mm Retatnln_ ring,
extema!
Bearing 6203
Idler wheel
Idler shaft
Tracking brack,
*16 mm Washer lock
16mm x 1_5Nu:, hex
Tension bracke
Pivot shaft
Push nut, 10mr
Upper wheel s[ pport
Spacer
8ram Washer, flat
Blade tension handwheel
Blade tracking knob
Tracking lever
8mm-1o25 Nut, hex
head washe
* 8qo25 x 16mm ,
hex head
Door knob
*20mm Washer, lock
Latch
*8mmq.25 Nut, hex
Brush bushing
Chip brush
8-1.25 x 100ran , carriage
QTY.
2
4
2
1
1
1
t
2
1
1
2
1
1
5
1
1
1
5
4
2
1
2
2
1
1
1
KEY]
NO.I
27 I
28 !
29 I
30 I
31 l
32 j
q
33 ]
34 1
35 1
36 1
37 I
39 1
40 I
41 I
42 I
43 't
44 t
45 I
46 t
47 t
48 1
49 t
50t
51 I
52 I
53 ]
O I
PART
NO.
STD833020
STD840610
5t23.00
5t24_00
5125,00
512600
5127,,00
512&00
5!29,00
2809.00
STD851016
STD3O3340
2796.00
281&00
519600
104300
STD851008
3837°00
5!38.00
280000
5t40..01
5141.01
5t42.00
5598.00
736800
277&00
£26656
DESCRIPTION
*6-1.0 x 20mm Bolt, hex head
* 6mm-l.0 Nut, hex
Shaft
Drive Wheel
V-Belt, 3L610
Idler pulley
Tension arm
Clevis
8 x 16ram Pin, spring
Collar
*16ram Washer, flat
*V-Belt, 3L340
Motor pulley
6-1.0 x 12mm Screw, set fL pt
20mm-1.5, Nut, hex
* 6-1o0x 8ram Screw, set
* 8mm Washer', fiat
Bearing 6203 RSR
Dust chute
4-0°7 x 6ram Screw, set
Lower cabinet door
Upper' cabinet door
Spacer
Cabinet
Handwheel
Shaft
Handle
Blade, 133"-4 hook (wood)
QTY,
1
J
t
4
!
1
1
1
4 I
i
i
1
1
1 I
1t
I
i
1 Not economical for reptacemenL
eNot shown. The accessories are current and were available inthe catalog at the time this
manual was printed.
* Standard hardware item, available locally
Always order by Part No not by Key No
-15-

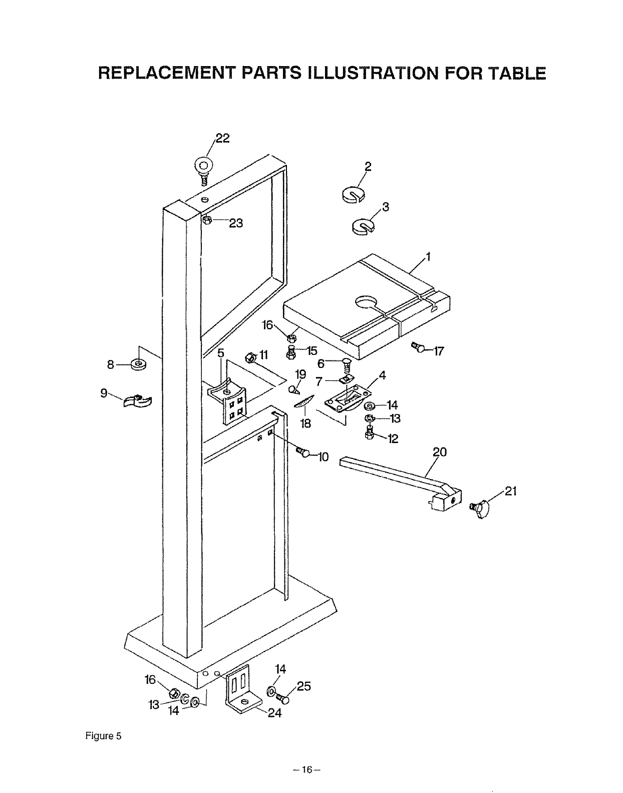
REPLACEMENT PARTS ILLUSTRATION FOR TABLE
2
d
_3
18
Figure 5
14
/
24
--16 i

REPLACEMENT PARTS LIST FOR TABLE
......KEY
NO.
1
2
3
4
5
6
7
8
9
10
11
12
13
14
15
16
17
18
19
2O
21
22
23
24
25
o
PART
NO.
535900
517&00
5195.00
5185.01
5187+01
5184.00
5! 8600
STD851008
5210+00
5188,00
2807.00
STD523107
STD551131
STD551031
6542.00
STD541031
DESCRIPTION ................
Table
Table insert, thin slot
Table insert, wide slot
Upper trunnion
Lower' trunnion
8-1.25 x 50ram Bolt, carriage
Guide block
* 8mm Washer, fiat
Lock knob
8-1+25x 20mm Bolt, carriage
8mm-1.25 Nut, hex hdLwasher
* 5/16-18 x 3/4" Bolt, hex head
, ,, .,,,,,,,,,,,v,,
r* 5/16" Washer, lock
* 5/16" Washer, flat
5/16-18 x 1 1/8" Bolt, hex head
E* 5/16"-18 Nut, hex
, ,,, ,, ,, ,,_,,,,,u,,,,,
0211 +00
7634.+00
7635+00
5351.00
0003+00
5356+00
5358+00
5354.00
STD523110
6666.03
Table stud
Scale
Screw, thread forming
Rip fence
Knob, external threads
Eye bolt
12mm-1o75 Nut, hex nylon
Mountinq bracket
*5/16q8 x 1" Bolt, hex head
Owner's Manual
Standard hardware item available locally
Not shown
Always order by Part No not by Key No
QTY.
1
1
1
1
1
t
t
1
1
4
4
4
8
12
t
5
1
1
1
1
1
1
1
2
4
1
REPLACEMENT PARTS LIST FOR MITER GAUGE
Figure 5a
KEY PART
NO. NO. QTY.
1 8251+00 1
2 8250.00 1
3 1370.00 1
4 STD551025 1
5
6
7
8
9
10
11
12
13
14
15
16
17
825500
8252+00
STD541010
STD511007
8253.00
8254.00
388800
STD511002
599100
1833.00
109300
825600
825700
DESCRIPTION
Miter gauge
Miter gauge bar
#10 Fiber washer
*1/4" Washer, flat
Threaded pin
Knob
*#10-24 Hex nut
*#10-24 x 3/4" Screw, pan head
indicator
Scale
#10 Washer, fiat
*#10-24 x 1/4" Screw, pan head
#10-24 x 1/2" Screw, flat head
5-80 x 8mm Screw, fiat head
Guide
Indexing pin
Miter gauge assembly
* Standard hardware item available locally
eNot shown
Always order by Part No not by Key No
-17-
1
1
3
3
1
1
1
!
2
1
1
1
1

REPLACEMENT PARTS ILLUSTRATION FOR BLADE GUIDES
Figure 6
14
13
11
22
32
34
•27
28
-18-

REPLACEMENT PARTS LIST FOR
KEY
NO,
1
2
3
4
5
6
7
8
9
10
1t
12
13
14
15
16
17
18
19
2O
21
22
23
24
25
26
27
28
29
3O
31
32
33
34
35
36
37
38
39
40
41
42
43
44
45
BLADE GUIDES
PART
NO.
521&00
7258.00
0832,00
7260700
2810.00
5! 48.00
5211.00
5212o00
5151,.00
5152.00
STD833025
5213.00
STD840610
STD833012
5154.00
STD851006
5155°00
3646°00
STD315465
2818.00
5159.00
516Q.00
5161_00
5162.00
7261.00
5164,00
5153,00
STD851006
2819.00
5t66.00
365&00
5169.00
5168.00
STD833020
STD851004
STD833016
STD840407
5156.00
7636.00
0781.00
5215o00
5216o00
7637_00
5188°00
2811.00
DESCRIPTION QTY
, ,,,, ,,,,
Lock knob 1
10ram Washer 4
8mmq.25 Nut, hex 1
Blade guide handwheel t
Pinion gear ........... 1
8mm Retaining ring, external 1
Bolt plate 1
Guide extrusion 1
Guide bracket 2
Pinion bracket 1
, ,,,,,,
*6-140x 25mm Bolt, hex head 2
5mm x 16 Screw, thread forming 2
* 6-1.0mm Nut, hex 2
*6-1.0 x 12mm Bolt, hex head 2
6-1.0 × 20mm Screw, flat head 1
,,,,,,,,,
*6mm Washer', flat 4
Upper guide casting 1
Guide bearing pin 3
*Guide bearing (626Z) 3
6mm-l,0 Nut, hex head washer 6
Guide bearing clamp 2
Thrust bearing assembly 1
Clamp handle 1
Thrust bearing clamp t
Guide attaching bracket t
Guide depth bracket t
6-1,0mm Nut, hex nylon 4
*6ram Washer, flat 2
6q.0 x 12ram Screw, flat po#lt set 2
Lower' guide casting 1
Guide block 2
Thrust bearing lock knob 1
Alignment block 1
* 6-1,0 x 20mrn Bolt, hex head 4
*4mm Washer, flat _,
*6-1,0 x 15mm Bolt, hex head 6
*4mm-.70 NUt, hex 2
4ram Washer, serrated 2
Blade guard clip 1
4-.70 x 8mm Screw, pan head 6
4mm-o70 x 20 Screw, pan head 6
Rack 2
Blade Guard 1
8mm-1,25 x 20 Bolt, carriage t
Pinion shaft 1
46 2817.00 4 x 20ram Pin, spring t
47 7262.00 8mm Washer, flat 1
Always order by Part No. not by Key No.
-t9-

OWNER'S
MANUAL
SERVICE
MODEL NO.
351.243951
HOW TO ORDER
REPAIR PARTS
18" Band Saw
Light Industrial Tool
Thank you for purchasing your 18" Band Saw from Sears
This unit will provide you with many years of reIiable service
Should the need exist for repair parts or service, simply
contact any Sears Service Center and most Sears, Roebuck
and Co stores Be sure to provide ail pertinent facts when
you call or visit. The model number of your 18" Band Saw
will be found on the upper cabinet door
All parts listed may be ordered from any Sears Service
Center and most Sears stores. If the parts you need are not
stocked locally, your order wilt be electronically transmitted
to the Sears Repair Parts Distribution Center for handling
When ordering repair parts, always give the following
information:
NAME OF ITEM: t8" Band Saw
MODEL NUMBER: 351 243951
PART NUMBER:
PART DESCRIPTION:
Sold by SEARS, ROEBUCK AND CO., Chicago, IL 60684 UoS,A. ©
Part No. 6666.03 April 1993