Craftsman 358794251 User Manual GAS LINE TRIMMERS Manuals And Guides L0305478
CRAFTSMAN Line Trimmers/Weedwackers, Gas Manual L0305478 CRAFTSMAN Line Trimmers/Weedwackers, Gas Owner's Manual, CRAFTSMAN Line Trimmers/Weedwackers, Gas installation guides
User Manual: Craftsman 358794251 358794251 CRAFTSMAN GAS LINE TRIMMERS - Manuals and Guides View the owners manual for your CRAFTSMAN GAS LINE TRIMMERS #358794251. Home:Lawn & Garden Parts:Craftsman Parts:358794251 Craftsman Grass trimmer (weed wacker) Manual
Open the PDF directly: View PDF 
.
Page Count: 36

Operator's Manual
I(RRFTSMRN'I
25cc/1.5 cu. in. 2-Cycle
17 Inch Cutting Path /0.080 In. Line
GASOLINE WEEDWACKER ®
Model No.
358.794251
For Occasional Use Only ®
WARNING:
Read and follow all Safety Rules and Operating
Instructions before first use of this product.
For answers to your questions about this product:
Call 7 am-7 pm, Mon.-Sat., or 10 am-7 pm, Sun.
• 1-800-235-5878 (.ou_ listed are CentraI Time)
Sears, Roebuck and Co., Hoffman Estates, IL 60179 U.S.A.
530086411 4/9/01

Warranty Statement 2 Storage 11
Safety Rules 2 Troubleshooting Chart 12
Assembl_; 4 Emissions Statement 13
Operation 5 Parts Ust 15
Maintenance 9 Spanish 18
Service & Adjustments 10 Parts and Ordering BackCover
FULL ONE YEAI_ WARRANTY ON
WEEDWACKER _' UNE TRIMMER
For one year from the date of purchase, when this Craftsman Gas Powered
Weedwacker Line Tdmmer is maintained, lubricated, and tuned up according to
the operating and maintenance instructions in the Operator's Manual, Sears will
repair, free of charge, any defect in materials or workmanship.
This warranty excludes nylon line, spar plug, and air filter, which are expendable
parts and become worn during normal use.
If this Weedwacker line tdmmer is used for commercial purposes, this warranty ap-
plies for only 90 days from the date of purchase. If this Weedwacker line trimmer is
used for rental purposes, this warranty applies for only 30 clays from the date of pur-
chase. This warranty applies only while this product is in use in the United States.
WARRANTY SERVICE IS AVAILABLE BY RETURNING THE WEEDWACKER LINE TRIMMER
TO THE NEAREST SEARS STORE OR SERVICE CENTER IN THE UNITED STATES•
This warranty gives you specific legal rights, and you may also have other rights
which vary from state to state.
Sears, Roebuck and Co., D/817 WA, Hoffman Estates, IL 60179
WARNING: When using gar-
dening appliances, basic safety pre-
cautions must always be followed to
reduce the risk of fire and serious
injury. Read and follow all instructions.
This power unit can be dangerous! Op-
erator is responsible for following
•instructions and warnings on unit and in
manual. Read entire Operator's Manual
before using unit! Be thoroughly familiar
with the controls and the proper use of
the unit. Restrict the use of this unit to
persons who have read, understand,
and will follow the instructions and
warnings on the unit and in the manual.
Never allow children to operate this unit.
OPERATORS SAFETY INFORMATION
MANUAL .ON THE UNIT
DANGER: Never use blades or
flailing devices. This unit is designed
for line trimmer use only. Use of any
other accessories or attachments will
increase the risk of injury.
@@G
,_ WARNING: Trimmer line throws
objects violently. You and others can be
blinded/injured. Wear eye and leg
protection. Keep body parts clear of ro-
tating line.
Eye Protection /_
Keep children, bystanders, and animals
50 feet (15 meters) away. Stop unit im-
mediately if approached.
If situations occur which are not cov-
ered in this manual, use care and
good judgment. If you need assis-
tance, contact your Sears Service
Center or call 1-800-235-5878.
2

OPERATORSAFETY
•Dress propedy. Always wear safety
glasses or similar eye protection
when operating, or performing main-
tenance, on your unit (safety
.91asses ere available). Eye protec-
tion should be marked Z87.
•Always wear face or dust mask if op-
eration is dusty.
• Always wear heavy, long pants, long
sleeves, boots, and gloves. Wear-
ing safety leg guards is recom-
mended.
•Always wear foot protection. Do not
go barefoot or wear sandals. Stay
• clear of spinning line.
Secure hair above shoulder length.
Secure or remove loose clothing or
clothing with loosely hanging ties,
straps, tassels, etc. They can be
caught in moving parts.
•Being fully covered also helps pro-
tect you from debris and pieces of
toxic plants thrown by spinning line.
• Stay Alert. Do not operate this unit
when you are tired, ill, upset or un-
der the influence of alcohol, drugs,
or medication. Watch what you are
•doing; use common sense.
Wear hearing protection.
•Never start or run inside a closed
room or building. Breathing exhaust
fumes can kill.
•Keep handles free of oil and fuel.
UNIT /MAINTENANCE SAFETY
•Disconnect the spark plug before
_erforming maintenance except car-
uretor adjustments.
•Look for and replace damaged or
loose parts before each use. Look
for and repair fuel leaks before use.
Keep in good working condition.
•Replace trimmer head parts that are
chipped, cracked, broken, or dam-
aged in any other way before using
the unit.
•Maintain unit according to recom-
mended procedures. Keep cutting
line at proper length.
•Use only 0.080 in.(2 mm) diameter
Craftsman® brand line. Never use
• wire, rope, string, etc.
Install required shield propedy be-
fore using the unit. Use only speci-
fied tdmmer head; make sure it is
properly installed and securely fas-
tened.
• Make sure unit is assembled cor-
rectly as shown in this manual.
• Make carburetor adjustments with
lower end supported to prevent line
from contacting any object.
•Keep others away when making car-
buretor adjustments.
• Use only recommended Craftsman
accessories and replacement parts.
•Have all maintenance and service
not explained in this manual per-
formed by a Sears Service Center.
FUEL SAFELY
•Mix and pour fuel outdoors.
iKeep away from sparks or flames.
Use a container approved for fuel.
Do not smoke or allow smoking near
fuel or the unit.
•Avoid spilling fuel or oil. Wipe up all
fuel spills.
•Move at least 10 feet (3 meters)
away from fueling site before start-
ing engine.
•Stop engine and allow to cool before
removing fuel cap.
•Always store gasoline in a container
approved for flammable liquids.
CU'II"ING SAFETY
_WARNING: Inspect the area be-
fore each use. Remove objects
(rocks, broken glass, nails, wire, etc.)
which can be thrown by or become
entangled in line. Hard objects can
damage the trimmer head and be
thrown causing serious injury.
iUse only for tdmming, scalping, mow-
ing and sweeping. Do not use for edg-
ing, pruning or hedge tdmming.
Keep firm footing and balance. Do
not overreach.
• Keep all parts of your body away
from muffler and spinning line. Keep
engine below waist level. Ahot mut-
fief can cause serious bums.
•Cut from your right to your left. Cut-
ting on left side of the shield will
throw debris away from the operator.
•Use only in daylight or good artificial
light.
•Use only for jobs explained in this
manual.
TRANSPORTING AND STORAGE
•Allow engine to cool; secure unit be-
fore storing or transporting in ve-
hicle.
•Empty the fuel tank before storing or
transporting the unit. Use up fuel left
in the carburetor by starting the en-
gine and letting it run until it stops.
•Store unit and fuel in area where
fuel vapors cannot reach sparks or
open flames from water heaters,
electric motors or switches, fur-
naces, etc.
3

•Store unit so line limiter blade can-
not accidentally cause injury. The
unit can be hung by the tube.
•Store unit out of reach of children.
SAFETY NOTICE: Exposure to vibra-
t!onsthrough prolonged use ofgaso-
hne powered hand tools could cause
blood vessel or nerve damage in the
fingers, hands, and joints of people
prone to circulation disorders or ab-
normal swellings. Prolonged use in
coldweather has been linked to blood
vessel damage in otherwise healthy
people. If symptoms occur such as
numbness, pare, lossof strength,
change in skin color or texture, or loss
offeeling in the fingers, hands, or
joints, discontinue the use of this tool
and seek medical attention. An anti-
vibration system does not guarantee
the avoidance of these problems. Us-
ers who operate power tools on a con-
tinual and regular basis must monitor
closely their physical conditionand
the condition of this tool.
SPECIAL NOTICE: This unit is
equipped with a temperature limiting
muffler and spark arresting screen
which meets the requirements of Cali-
fornia Codes 4442 and 4443. All U.S.
forest land and the states of California,
Idaho, Maine, Minnesota, New Jersey,
Oregon, and Washington require by
law that many intemal combustion en-
gines be equipped with a spark arrest-
ing screen. If you operate in a locale
where such regulationsexist, you are
legally responsible for maintaining the
operating condition ofthese parts.
Failure to do so is a violation of the
law. For normal homeowner use, the
muffler and spark arresting screen will
not require any service. After 50
hours of use, we recommend that your
muffler be serviced or replaced by
your Sears Service Center.
CARTON CONTENTS
Check carton contents against the fol-
lowing list.
Model 358.794251
•Trimmer
•Shield
•Wing Nut (screwed onto shield)
•Assist Handle (with bolt and knob)
*Container of Oil
•Replacement Spool
Examine parts for damage. Do not
use damaged parts.
NOTE: If you need assistance or find
parts missing or damaged, call
1-800-235-5878.
It is normal for the fuel filter to rattle in
the empty fuel tank.
Finding fuel or oil residue on muffler is
normal due to carburetor adjustments
and testing done by the manufacturer.
ASSEMBLY
A
dli WARNING: If received as-
sembled, repeat all steps to ensure
your unit is properly assembled and all
fasteners are secure.
Be sure to attach the assist handle to
the unit before you attach the shield.
ATTACHING THE HANDLE
(some units are already assembled)
1. Assemble handle to the unit as
shown; make sure bottom of handle
is seated in the groove in the trigger
housing.
NOTE: Knob must be assembled on
the right hand side of the unit as
shown in the illustration.
2. Make sure the bolt is seated in the
hex-shaped hole in the handle.
3. Pivot the handle to a comfortable
position.
4. "13ghtenknob securely.
ATTACHING SHIELD
_IL WARNING: The shield must be
properly installed. The shield provides
partial protection from the risk of thrown
objects to the operator and others and
is equipped with a line limiter blade
which cuts excess line to the proper
length. The line limiter blade (on under-
side of shield) is sharp and can cut you.
4

For proper orientation of shield, see
KNOW YOUR TRIMMER illustration in OP-
ERATION section.
1. Remove wing nut from shield.
2. Insert bracket into slot as shown.
3. Pivot shield until bolt passes
through hole in bracket.
4. Securely tighten wing nut onto
bolt.
Slot
Shield
Bracket
..g
\
Line Umiter Blade _/l_g
KNOW YOUR TRIMMER
READ THIS OPERATOR'S MANUAL AND SAFETY RULES BEFORE OPERATING YOUR
UNIT. Compare the illustrations with your unit to familiarize yourself with the location
of the various controls and adjustments. Save this manual for future reference.
Assist Hanclle
Tube
Muffler "_
ON/OFF Tdgger Tdmmer
Switch \ __ Spark Plug Head
Starter /F_,_/f_ "t'_ Edge
Quide
Choke Lever Shi i
'_11_'_// Pdmer Bulb
-- _ Fuel Mix LJmiter
_ILJ_ Fill Cap Blade
ON/OFF SWITCH
The ON/OFF switch is used to stop en-
gine. Move switch to the OFF position to
stop engine.
PRIMER BULB
The PRIMER BULB removes air from
the carburetor and fuel lines and fills
them with fuel. This allows you to start
the engine with fewer pulls on the
starter rope. Activate the primer bulb
by pressing it and allowing it to return
to its original form.
CHOKE
The CHOKE helps to supply fuel to the
engine to aid in cold starting. Activate
the choke by moving the choke lever to
the FULL CHOKE posiUon. After the en-
_ne attempts to start, move the choke
lever to the HALF CHOKE position. Once
engine has started, move the choke le-
ver to the OFF CHOKE position.
EDGE GUIDE
The EDGE GUIDE protects the unit from
contacting the ground during edging.
BEFORE STARTING ENGINE
WARNING: Be sure to read
the fuel information in the safety rules
before you begin. If you do not
understand the safety rules, do not
attempt to fuel your unit. Call
1-800-235-5878.
FUELING ENGINE
_k, WARNING: Remove fuel cap
slowly when refueling.
This engine is certified to operate on
unleaded gasoline. Before operation,
gasoline must be mixed with a good
quality synthetic 2-cycle air-cooled
engine oil. We recommend Craftsman
5

brandsyntheticoil.Mixgasolineand
oil at a ratioof 40:1(,6,40:1ratio is
obtainedbymixing3.2ouncesof oil
with1gallonof unleaded_.asoline).
DO NOT USE automotive od or boat oil.
These oils will cause engine damage.
When mixing fuel, follow instructions
printed on container.
Once oil is added to gasoline, shake
container momentarily to assure that
the fuel is thoroughly m=xed.Always
read and follow the safety rules
relating to fuel before fueling your unit.
IMPORTANT
Experience indicates that alcohol
blended fuels (called gasohol or using
ethanol or methanol) can attract mois-
ture which leads to separation and
formation of acids during storage.
Acidic gas can damage the fuel sys-
tem of an engine while in storage.
To avoid engine problems, empty the
fuel systembefore storage for 30 days
or longer. Drain the gas tank, start the
engine and let it run until the fuel lines
and carburetor are empty. Use fresh
fuel next season.
Never use engine or carburetor clean-
er products in the fuel tank or perma-
nent damage may occur.
See the STORAGE section for addition-
al information.
HOW TO STOP YOUR UNIT
•To stop the engine, move the ON/
OFF switch to the OFF position.
•If engine does not stop, move choke
to the FULL CHOKE position.
E.Choke Lever A
nglne ._
ON/OFF _ _
HOW TO START YOUR UNIT
_WARNING: The trimmer head
will tum while starting the engine.
Avoid any contact with the muffler.A
hot muffler can cause serious burns.
STARTING A COLD ENGINE (or a
warm engine after running out of
fuel)
1. Set unit on a flat surface.
2. Move ON/OFF switch to the ON
position.
3. Slowly press the primer bulb 6
times.
4. Move choke lever to FULL CHOKE
position.
5. Squeeze the throttle tdgger fully and
hold through all remaining steps.
/_AL_/,Ch°ke
Lever
_Pri%er
"_ Bulb
6. Pull starter rope handle sharply
until engine sounds as it if is trying
to start, but do not pull rope more
than 6 times.
7. As soon as engine sounds as if it
is trying to start, move choke lever
to the HALF CHOKE position.
8. Pull starter rope sharply until engine
runs, but no more than 6 pulls.
NOTE: If the engine doesn't start
after 6 pulls (at the HALF CHOKE
position), move the choke lever to
the FULL CHOKE position and press
the primer bulb 6 times. Squeeze
and hold the throttle tdg.ger and pull
the starter rope 2 more times. Move
the choke lever to the HALF CHOKE
position and pull the starter rope un-
til the engine runs, but no more than
6 pulls. If the engine still doesn't
start, it is probably flooded. Proceed
to STARTING A FLOODED ENGINE.
9. Once the engine starts, allow it to
run 10 seconds, then move the
choke lever to the OFF CHOKE
position. Allow the unit to run for
30 more seconds at OFF CHOKE
before releasing the throttle trigger.
NOTE: If engine dies with the
choke lever in the OFF CHOKE
position, move the choke lever to
the HALF CHOKE position and pull
the rope until engine runs, but no
more than 6 pulls.
6

STARTING A WARM ENGINE
1. Move ON/OFF switCh to the ON posi-
tion.
2. Move the choke lever to the HALF
CHOKE position.
3. Squeeze and hold the throttle trig-
ger. Keep throttle trigger fully
squeezed until the engine runs
smoothly.
4. Pull starter rope sharply until engine
runs, but no more than 5 pulls.
5. Allow engine to run 15 seconds,
then move the choke lever to the
OFF CHOKE position.
NOTE: If engine has not started, pull
starter rope 5 more pulls. If engine still
does not run, it is probably flooded.
STARTING A FLOODED ENGINE
Flooded engines can be started by
placing the choke lever in the OFF
CHOKE position; then, pull the rope to
clear the engine of excess fuel. This
could require pulling the starter handle
many times depending on how badly
the unit is flooded.
If the unit still doesn't start, refer to
TROUBLESHOOTING TABLE or call
1-800-235-5878.
OPERATING INSTRUCTIONS
It is recommended that the engine
not be operated for longer than 1
minute at full throttle.
OPERATING PosmoN
ALWAYS WEAR:
Eye Protection
Long Pants
Heavy Shoes
Cut from your right to your leff.
Always release the throttle trigger and
allow the engine to return to idle
speed when notcutting.
To stop engine:
• Release the throttletrigger.
Move the ON/OFF swi[c_ to the OFF
position.
TWIST AND EDGE
The Twist and Edge feature allows for
easy edging of sidewalks, patios,
driveways, etc.
1. Pull the tab toward the engine.
2. Twist the tube to the edging posi-
tion; release tab.
TRIMMER LINE ADVANCE
The trimmer line will advance approxi-
mately 2 In. (5 cm) each time the bot-
tom of the trimmer head is tapped on
the groundwith the engine runningat
full throttle.The most efficient line
length is the maximum length allowed
by the line ,miter.
Always keep the shield in place when
the tool is being operated.
To advance line:
• Operate the engine at fullthrottle.
Hold the trimmerhead parallelto and
above the grassy area.
• Tap the bottomof the trimmerhead
lightlyon the groundone time. Ap-
proximately21n. (5 cm) of line will be
advanced witheaChtap.
Toadvanceline,tapbottomof trimmer
headon groundonetime.
Line limiter cuts line 1
proper length.
_IL WARNING: Always wear eye
protection. Never lean over the trim-
mer head. Rocks or debris can rico-
chet or be thrown into eyes and face
and cause blindness or other serious
injury.
Do not run the engine at a higher
speed than necessary. The cutting
line will cut efficiently when the engine
is run at less than full throttle. At lower
speeds, there is less engine noise and
vibration. The cutting line will last
longer and will be less likely to '_Neld"
onto the spool.
Always tap the trimmer head on a
grassy area. Tapping on surfaces such
as concrete or asphalt can cause ex-
cessive wear to the trimmer head.
If the line is worn down to 2 in. (5 cm) or
less, more than one tap will be required
to obtain the most efficient line length.
_,WARNING: Use only 0.080"
(2 mm) diameter line. Other sizes of
line will not advance properly and can
cause serious injury. Do not use other
materials such as wire, string, rope,
7

etc. Wire can break offduring cutting
and become a dangerous missile that
can cause serious injury.
CU'I'rlNG METHODS
Use minimum speed and do not
crowd the hne when cutting around
hard objects (rock, gravel, fence
posts, etc.), which can damage the
trimmer head, become entangled in
the line, or be thrown causing a seri-
ous hazard.
•The tip of the line does the cutting.
You will achieve the best performance
and minimum line wear by not crowd-
ing the line into the cutting area. The
right and wrong ways are shown be-
low.
"Rpof the Line Line Crowded Into
Does The Cutting
SCALPING -The scalping technique
removes unwanted vegetation down
to the ground. Hold the bottom of the
trimmer head about 3 in. (8 cm) above
the ground and at an angle. Allow the
tip of the line to strike the ground
around trees, posts, monuments, etc.
This technique increases line wear.
MOWING -Your trimmer is ideal for
mowing in places conventional lawn
mowers cannot reach. In the mowing
position, keep the line parallel to the
ground. Avoid pressing the head into
I Work Area the ground as this can scalp the
,flli_ _K ground and damage the tool.
Mowing I_
_-
•The line will easily remove grass and ._,_L_ f.
weeds from around walls, fences,
trees and flower beds, but it also can
cut the tender bark of trees or shrubs
and scar fences. To help avoid dam-
age especially to delicate vegetation
or trees with tender bark, shorten line
to4-5 in. (10-13 cm) and use at less
than full throttle.
•For trimming or scalping, use less
than full throttle to increase line life
and decrease head wear, espsclally:
During light duty cutting.
Near objects around which the line
can wrap such as small posts,
trees or fence wire.
•For mowing or sweeping, use full
throttle for a good clean job.
TRIMMING -Hold the bottom of the
trimmer head about 3 in. (8 cm) above
the ground and at an angle. Allow only
the tip of the line to make contact. Do
not force trimmer line into work area.
3 in. (8
Above Ground _ " '_'_3:
SWEEPING - The fanning action of
the rotating line can be used for a
quick and easy clean up. Keep the
line parallel to and above the surfaces
being swept and move the tool from
side to side.
EDGING -Adjust trimmer to the edg-
ing position (see TWIST AND EDGE
section). Allow only the tip of the line
to make contact. Do not force trimmer
line into work area.
i_Edging /
Ii
,lll_l 7.
8

MAINTENANCESCHEDULE
_i WARNING: Disconnect the spark plug
except for carburetor adjustments.
CARE & MAINTENANCE TASK
Check for loose fasteners and parts
Check for damaged or worn parts
Inspect and clean unit and labels
Clean air filter
Inspect muffler and spark arresting screen
Replace spark plug
before performing maintenance
WHEN TO PERFORM
Before each use
Before each use
After each use
Every 5 hours of operation
Every 50 hours of operation
Yearly
GENERAL RECOMMENDATIONS
The warranty on this unit does not
cover items that have been subjected
to operator abuse or negligence. To
receive full value from the warranty,
the operator must maintain unit as
instructed in this manual. Various ad-
jedustmentswill need to be made peri-
ically to properly maintain your unit.
CHECK FOR LOOSE
FASTENERS AND PARTS
•Spark Plug Boot
•Air Filter
_Housing _r_
Assist Handle Screws
•Debris Shield
CHECK FOR DAMAGED OR
WORN PARTS
Contact Sears Service Center for re-
placement of damaged or worn pads.
•ON/OFF Switch - Ensure ON/OFF
switch functions properly by moving
the switch to the OFF position. Make
sure engine stops; then, restart en-
gine and continue.
• Fuel Tank -Discontinue use of unit if
fuel tank shows signs of damage or
leaks.
•Debris Shield -Discontinue use of
unit if debris shield is damaged.
INSPECT AND CLEAN UNIT AND
LABELS
•After each use, inspect complete unit
for Ioo6e or damaged pads. Clean
the unit and labels using a damp cloth
with a mild detergent.
• Wipe off unit with a clean dry cloth.
CLEAN AIR RLTER
A dirty air filter decreases engine per-
formance and increases fuel consump-
tion and harmful emissions. Always
clean after every 5 hours of operation.
1. Clean the cover and the area
_around it to keep dirt from falling
into the carburetor chamber when
the cover is removed.
2. Remove parts as illustrated.
NOTE: To avoid creating a fire hazard
or producing harmful evaporative
emissions, do not clean filter in gaso-
line or other flammable solvent.
3. Wash the filter in soap and water.
4. Allow filter to dry.
5. Add a few drops of oil to the filter;
squeeze the filter to distributeoil.
6. Replace pads.
_S Filter
crews
J
Cover
INSPECT MUFFLER AND SPARK
ARRESTING SCREEN
IIWARNING: The muffler on this
product contains chemicals known to
the State of California to cause cancer.
_,WARNING: Muffler is very hot
during and after use. Do not touch the
muffler or allow combustible material
such as dry grass or fuel to do so.
As your unit is used, carbon deposits
build up on the muffler and spark ar-
restincj screen and must be removed
to avoid creating a fire hazard or af-
fecting engine performance.
For normal homeowner use, the muf-
fler and spark arrestingscreen will not
require any service. After 50 hours of
use, we recommend that your muffler
be serviced or replaced by your Sears
Service Center.
9

REPLACESPARKPLUG
Replacethespark plugeach.yearto
ensurethe enginestartseasierand
runsbetter.Set spark pluggapat
0.025in. Ignitiontiming isfixed and
nonadjustable.
1. Twist, then pull off spark plug boot.
2. Remove spark plug from cylinder
and discard.
3. Replace with Champion RCJ-TY
spark plug and tighten with a 3/4
in. socket wrench (10-12 ft.-Ibs).
4. Reinstall the spark plug boot.
REPLACING THE LINE
1. Remove spool by firmly pulling on
tap button.
2. Clean entire surface of hub and
spool.
3. Replace with pre-wound spool, or
cut a length of 20 feet of 0.08(7' (2
ram) diameter Craftsman® brand
line. Never use wire, rope, string,
etc., which can break off and be-
come a dangerous missile.
4. Insert one end of line about 1/2
inch (1 cm) into the small hole on
the inside of the spool.
5. Wind line evenly and tightly onto
spool. Wind in the direction of the
arrow on the spool
Small
Hole'--_,t///_(_l.,_.." Spool
Line in Notch
Hub Line exit hole
6. Push the line into the notch, leav-
ing 3 to 5 inches ( 7 -12 cm) un-
wound.
7. Insert the line into the exit hole in
the hub as shown in the illustration.
8. Align the notch with the line exit
hole.
9. Push spool into hub until it snaps
into place.
t0. Pull the line extending outside of
the hub to release it from the
notch.
CARBURETOR ADJUSTMENT
_;_ WARNING: The trimmer head
will be spinning during most of this
procedure. Wear your protective
equipment and observe all safety pre-
cautions. After making mixture adjust-
ments, recheck idle speed.
Carburetor adjustment is critical and if
done improperly can permanently
damage the engine as well as the car-
buretor. If you require further assis-
tance or are unsure about performing
this procedure, call our customer as-
sistance help line at 1-800-235-5878.
Old fuel, a dirty air filter, a dirty fuel fil-
ter, or flooding may give the impres-
sion of an improperly adjusted carbu-
retor. Check these conditions before
adjusting the carburetor.
The carburetor has been carefully set
at the factory. Adjustments may be
necessary if you notice any of the fol-
lowing conditions:
• Engine will not idle. See IDLE SPEED
under adjusting procedure.
•Engine dies or hesitates instead of
accelerating. See ACCELERATION
CHECK under adjusting procedure.
•Loss of cutting power. See MIXTURE
ADJUSTMENT (L or H) under adjusting
procedure.
There are three adjustment screws on
the carburetor. The low speed adjust-
ment screw is marked with the letter L,
and the high speed adjustment screw
is marked with the letter H. The third
screw is the idle adjustment screw.
Adjustment (_djustment (L)
Idle Screw Adjustment
ADJUSTING PROCEDURE
CAUTION: Do not force plastic limiter
caps on screws beyond the built-in
stops or damage will occur. Be sure
trimmer line is extended to the maxi-
mum length allowed by the line limiter
blade.
Initial Settings:
1. Turn beth mixture screws (L and
H) counterclockwise until they
stop.
10

2. Turn the idle speed screw clock-
wise until it stops. Now turn coun-
terclockwise 4 1/2 turns.
3. Start engine, cut grass for 3 min-
utes, then proceed to adjust
screws according to the instruc-
tions below. If engine perfor-
mance at initial settings is accept-
able, no further adjustments are
necessary. If engine does not
start, refer to TROUBLESHOOTING
TABLE. If still unable to remedy sit-
uation, call 1-800-235-5878.
Idle Speed
Allow engine to idle. Adjust speed until
engine runs without stalling.
•Tum idle speed screw clockwise to
increase engine speed if engine
stalls or dies.
•Turn idle speed screw counterclock-
wise to decrease engine speed.
No further adjustments are necessary
if performance is satisfactory.
Low Speed Mixture Adjustment -L
1. Allow the engine to idle.
2. Turn low speed mixture screw (L)
slowly clockwise until the speed
begins to drop.
3. Turn the low speed mixture screw
(L) counterclockwise until the
speed increases and then starts to
drop again.
4. Set the low speed mixture screw
(L) at the midpoint between the
two positions.
Readjust the idle speed (See IDLE
SPEED).
High Speed Mixture Adjustment -H
CAUTION: Do not operate engine at
full throttle for prolonged periods while
making adjustments as damage to the
engine can occur. Adjust the mixture
screw 1/16 of a rum at a time. A 1/16
turn is about the width of the slot in the
top of the screw.
1. Allow the engine to idle.
2. Squeeze the throttle trigger fully.
Turn the high speed mixture screw
(H) counterclockwise until it stops.
3. Turn the high speed mixture screw
(H) 1/16 of a turn clockwise at a
time until the engine runs smoothly.
After completing adjustments, check
for acceleration. Reset if necessary.
Acceleration Check
If engine dies or hesitates instead of
accelerating, turn the low speed mix-
ture screw (L) counterclockwise until
you have smooth acceleration.
4BbWARNING: Perform the follow-
ing steps after each use:
•Allow engine to cool, and secure the
unit before stodng or transporting.
•Store unit and fuel in a well ventilated
area where fuel vapors cannot reach
sparks or open flames from water
heaters, electric motors or switches,
fumaces, etc.
• Store unit with all guards in place.
Position unit so that any sha.rp object
cannot accidentally cause injury.
•Store unit and fuel well out of the
reach of children.
SEASONAL STORAGE
Prepare unit for storage at end of sea-
son or if it will not be used for 30 days
or more.
If your unit is to be stored for a period
of time:
•Clean the entire unit before lengthy
storage.
• Store in a clean dry area.
• Lightly oil external metal surfaces.
FUEL SYSTEM
Under FUELING ENGINE in the OPERA-
TION section of this manual, see mas-
sage labeled IMPORTANT regarding
the use of gasohol in your engine.
Fuel stabilizer is an acceptable alter-
native in minimizing the formation of
fuel gum deposits during storage. Add
stabilizer to the gasoline in the fuel
tank or fuel storage container. Follow
the mix instructions found on stabilizer
container. Run engine at least 5 min-
utes after adding stabilizer.
Craftsman 40:1, 2-cycle engine oil (air
cooled) is already blended with fuel
stabilizer. If you do not use this Sears
oil, you can add a fuel stabilizer to
your fuel tank.
INTERNAL ENGINE
•Remove spark plug and pour 1tea-
spoon of 40:1, 2-cycle engine oil (air
cooled) through the spark plug open-
ing. Slowly pull the starter rope 8 to
10 times to distribute oil.
•Replace spark plug with new one of
recommended type and heat range.
• Clean air filter.
11

•Check entire unit for loose screws,
nuts,and bolts.Replace any dam-
aged, broken,or wom parts.
•Atthe beginningof the next season,
use only Iresh fuel having the proper
gasoline'to oilratio.
OTHER
•Do not store gasoline from one sea-
son to another.
•Replace your gasoline can if it starts
to rust.
TROUBLESHOOTING TABLE
WARNING: Always stop unit and disconnect spark plug before perform-
ing all of the recommended remedies below except remedies that require
TROUBLE
Engine wilt not
start.
Engine will
not idle
propedy.
Engine will not
accelerate,
lacks power,
or dies under
aload.
Engine
smokes
excessively.
Engine runs
hot.
operation of the unit.
CAUSE REMEDY
1. Move ON/OFF switch to ON.
1. ON/OFF switch in OFF
position.
2. Engine flooded.
3. Fuel tank empty.
4. Spark plug not fidng.
5. Fuel not reaching
carburetor.
6. Carburetor requires
adjustment,
1. Carburetor requires
adjustment.
2. Crankshaft seals worn.
3. Compression low.
1. Air filter dirty.
2. Spark plug fouled,
3. Carburetor requires
adjustment.
4, Carbon build-up on
muffler outlet screen.
5. Compression low.
1. Choke partially on.
2. Fuel mixture incorrect.
3. Air filter dirty.
4. Carburetor requires
adjustment.
1. Fuel mixture incorrect.
2. Spark plug incorrect.
3. Carburetor requires
adjustmenL
4. Carbon build-up on
muffler outlet screen.
2, See =Starling a Rooded Engine" in
Operation Section.
3, Fill tank with correct fuel mixture.
4. Install new spark plug.
5. Check for dirty fuel filter; replace.
Check for kinked or split fuel line;
repair or replace.
:6. See "Carburetor Adjustment"in
Service and Adjustments Section.
1. See =Carburetor Adjustment"in
Service and Adjustments Section.
!2. Contact Sears Service Center.
3. Contact Sears Service Center.
1. Clean or replace air filter.
2. Clean or replace plug
and regap.
3. See "CarburetorAdjustment"in
Service and Adjustments Section.
4. Contact Sears Service Center.
5. Contact Sears Service Center.
1. Adjustchoke.
2. Empty fuel tank and refillwith
correct fuel mixture,
3. Clean or replace air filter.
4. See =Carburetor Adjustmen_ in
Service and Adjustments Section.
1. See =Fueling Engine" in Operation
section.
2. Replace with correct spark plug.
3. See =Carburetor Adjustment"in
Service and Adjustments Section.
4. Contact Sears Service Center.
12

YOUR WARRANTY RIGHTS AND OB-
LIGATIONS: The U.S. Environmental
Protection Agency/California Air Re-
sources Board and Sears, Roebuck
and Co., U.S.A., are pleased to explain
the emisslons control system warranty
on your year 2000-2003 small off-road
engine. In California, all new small off-
road engines must be designed, built,
and equipped to meet the State's strin-
gent anti-smog standards. Sears must
warrant the emission control system on
your small off-road engine for the peri-
ods of time listed below provided there
has been no abuse, neglect, or improp-
er maintenance of your small off-road
engine engine. Your emission control
system includes parts such as the car-
buretor and the ignition system. Where
a warrantable condition exists, Sears
will repair your small off-road engine
engine at no cost to you. Expenses •
covered under warranty include diagno-
sis, parts and labor. MANUFACTUR-
ER'S WARRANTY COVERAGE: If any
emissions related part on your engine
(as listed under Emissions Control War-
ranty Parts List) is defective or a defect
in the materials or workmanship of the
engine causes the failure of such an
emission related part, the part will be
repaired or replaced by Sears. OWN-
ER'S WARRANTY RESPONSIBILI-
TIES: As the small off-road.engine en-
gine owner, you are responsible for the
performance of the required mainte-
nance listed in your Owner's Manual.
Sears recommends that you retain all
receipts covering maintenance on your
small off-road engine, but Sears cannot
deny warranty solely for the lack of re-
ceipts or for your failure to ensure the
performance of all scheduled mainte-
nance. As the small off-road engine en-
gine owner, you should be aware that
Sears may deny you warranty coverage
if your small off-road engine engine or
a part of it has failed due to abuse, ne-
glect, improper maintenance, unap-
proved modifications, or the use of parts
not made or approved by the original
equipment manufacturer. You are re-
sponsible for presenting your small off-
road engine to a Sears authorized re-
pair center as soon as a problem exists.
Warranty repairs should be completed
in a reasonable amount of time, not to
exceed 30 days. If you have any ques-
tions regarding your warranty rights and
responsibilities, you should contact your
nearest authorized service center or call
Sears at 1-800-469-4663. WARRANTY
COMMENCEMENT DATE: The war-
ranty period begins on the date the
small off-road engine is purchased.
LENGTH OF COVERAGE: This war-
ranty shall be for a period of two years
from the initial date of purchase. WHAT
IS COVERED: REPAIR OR REPLACE-
MENT OF PARTS. Repair or replace-
ment of any warranted part will be per-
formed at no charge to the owner at an
approved Sears Service Center. If you
have any questions regarding your war-
ranty rights and responsibilities, you
should contact your nearest authorized
service center or call Sears at
1-800-469-4663. WARRANTY PE-
RIOD: Any warranted part which is not
scheduled for replacement as required
maintenance, or which is scheduled
only for regular inspection to the effect
of "repair or replace as necessary" shall
be warranted for 2 years. Any war-
ranted part which is scheduled for re-
placement as required maintenance
shall be warranted for the period of time
up to the first scheduled replacement
point for that pad. DIAGNOSIS: The
owner shall not be charged for diagnos-
tic labor which leads to the determina-
tion that a warranted part is defective if
the diagnostic work is performed at an
approved Sears Service Center. CON-
SEQUENTIAL DAMAGES: Sears may
be liable for damages to other engine
components caused by the failure of a
warranted part still under warranty.
WHAT IS NOT COVERED: All failures
caused by abuse, neglect, or improper
maintenance are not covered. ADD-ON
OR MODIRED PARTS: The use of
add-on or modified parts can be
grounds for disallowing a warranty
claim. Sears is not liable to cover fail-
ures of warranted parts caused by the
use of add-on or modified pads. HOW
TO RLE A CLAIM: If you have any
questions regarding your warranty rights
and responsibilities, you should contact
your nearest authorized service center
or call Sears at 1-800-469-4663.
13

WHERE TO GET WARRANIY SER-
VICE: Warranty services or repairs shall
be provided at all Sears Service Cen-
ters. Call 1-800-469-4663.
MAINTENANCE, REPLACEMENT
AND REPAIR OF EMISSION RE-
LATED PARTS: Any Sears approved
replacement part used in the perfor-
mance d any warranty maintenance or
repair on emission related pads will be
provided without charge to the owner if
the part is under warranty. EMISSION
CONTROL WARRANTY PARTS LIST:
Carburetor,IgnitionSystem:Spark Plug
(covered up to maintenanceschedule),
IgnitionModule, Mufflerincludingcata-
lyst. MAINTENANCE STATEMENT:
The owner is responsiblefor the perfor-
manceof all requiredmaintenanceas
defined inthe owner's manual.
This engine is certified to be emissions compliant for the following use:
[] Moderate (50 hours)
[] Intermediate (125 hours)
[] Extended (300 hours)
14

REPAIR PARTS
SEARS MODEL 3S8.794251
_I_ WAflNING
All repairs, adjustments and
maintenance not de_=rlbed In
the Operetor's Mannal muat be
performed by qualified service
personnel.
16 17
Ref.
I.
2.
3.
4.
5.
6.
7.
8.
9.
10.
11.
12.
13.
14.
15.
16.
Part No.
530016193
530047923
530038682
530O42O84
530047925
530054159
530071416
53O095853
530016179
530047924
530054160
5300158S0
530016118
530016173
530047919
530052285
530015814
530071328
De_crtpUon
W_c_er
Throttle Hsg, (Right)
Throttle Lever
Spdnll-Compression
Ac_Jator
Locator-dght
Assy-D,'k,e Shah Hsg,
Flex-Drive Shaft
Screw
ThrottleI-Lsg.(Left)
Locator-lett
Screw
W_ngnut
Bolt-Handld
AssistHanole
Line kJmlter
Screw-Line Umiter
Shield Kit Ass_/.
(Incl. 16& 17)
19.
20.
21.
22.
23,
24.
25.
26.
27.
Not
Part No.
53OO15820
530015934
5300t6118
53OO95574
53OO54459
530095770
530401958
530401957
71-85846
Shown
530086411
530055574
530055505
530055570
530055425
530038128
Desodptlon
Bolt
Screw
Wmgnul
Dust Cup
Assy-Wtm Guard
Hub Ass'y.(ind.# 25,26)
Sp_ing-Ralum
Retainer*Spool
Spool w/Line
Operator Manual
Decal-Shaft Warning
Decal-Instruction
Decal-Modal
Decal-Shield
Decal-On/Off
15

REPAIR PARTS
44
SEARS TRIMMER MODEL 358.794251
12 3
45
88
53
I I
47 48 49
51
61 62
64
maintenance not descdbed In
the Operator's Manual must
be performed by qualified
sendce personnel.
23 24
I
29
65
66
18
Ref.
1.
2.
3.
4.
5.
6.
7.
8.
11.
12
13,
14.
15
16
17
18
19
20
21
22
23
24
25
Pad NO.
530071362
53OO42O88
530071361
530015953
Champion
530071'359
530071363
530055535
530016014
!530071363
530071443
530038747
530038686
!530016353
530036569
530036375
530054414
530015716
530015852
530015254
530052431
530036145
530039211
530015954
_0OS4448
Description Ref, Part NO.
Kit-Muffler (incl.2.3) 26. 530(_4449
MufflerSpdn9 27. 530071363
Screen-Spark Arrestor
Screw-Cylinder 28. 530037692
Spark Plug(RCJ-7Y) 29. 530027569
Kit-Cylinder 30. 530071325
Gasket-Cylinder/Carb. 31. 530015882
Ca_, Adeplor 32. 530027953
Scmw-Carb Adptr. 33. 530023817
Gasket-Carb. 34. 530015941
Kit-Carb. Ass'),. 35. 530071363
(incl. LimilerCap) 36. 530069945
Choke Plate
Choke Shutter 37. 530055120
Screw-Carburetor 38. 530015162
FilterSuppod Rate 39. 530071357
Air Filter Foam
Air FilterCover 40, 530032124
Screw-Air Box 41. 530019179
Choke Spacer 42. 530015945
Washer !43. 530032125
Spacer-lgnit. Module i530015934
530015810
IgnitionModule 46. 530055516
Screw-lgnit. MOdule 47. 530049379
GroundWire Ass'y.
Description
Lead Wire Ass_.
Kit-Englne Gasket
(Incl, 7.10.35,56)
S_lch-On/OIf
;tarter Handle
Kit-Rope
Screw
Drive Coupling
Spring Stader Dog
Rot. Ring/C'shaft
Gasket-Cylinder
ConnectingRod
Assy.
PistonRing
PistonPin Retainer
Kit-Piston
(Incls. 37.38 S Fin
Outer Boaring
C'case Seal
Ret Ring-C'case
Inner Bearing
Scmw-Shd/Fan Hsg
Screw
Rear Shroud
Fuel Tank ASS',/.
incl. 50,51 )
Rill.
48.
49,
50.
51.
52.
53.
54.
55.
56.
57.
58.
61.
62.
63.
64.
65.
66.
67.
68.
25
27
67
Part No. DescdgUon
530016131 V_Lsher-fueltank
530015888 Screw-Fuel Tank
530014347 Fuel Cap Assy.
530095646 Fuel pickup Assy
530069247 Fuel L_e (Small)
53006_216 Fuel Une (Large)
530055351 Shield-Heat
530015805 Screw-Heat Sh;eld
530071363 O-ring-C'case
530054753 CrankshaftASS'./.
530012462 CrankcaseAssyo
(Incl. 40-43)
530071360 C'ca3e/C'shaft Assy.
(Incl. 34.40-43.57.58
530069886 Flywheel Ass'y.
530015828 Washer-Flat
530016224 Screw-Pulley
530053985 Retainer-Pulley
530071324 Kit-Starter Pulley
(Incl. 3t)
530042086 Slarter Spring
530055507 Assy.-Fan Hsg.
530018810 Screw
530055546 Assy-11_rottleCab;e
16

REPAIR PARTS
SEARS TRIMMER MODEL 358,794251
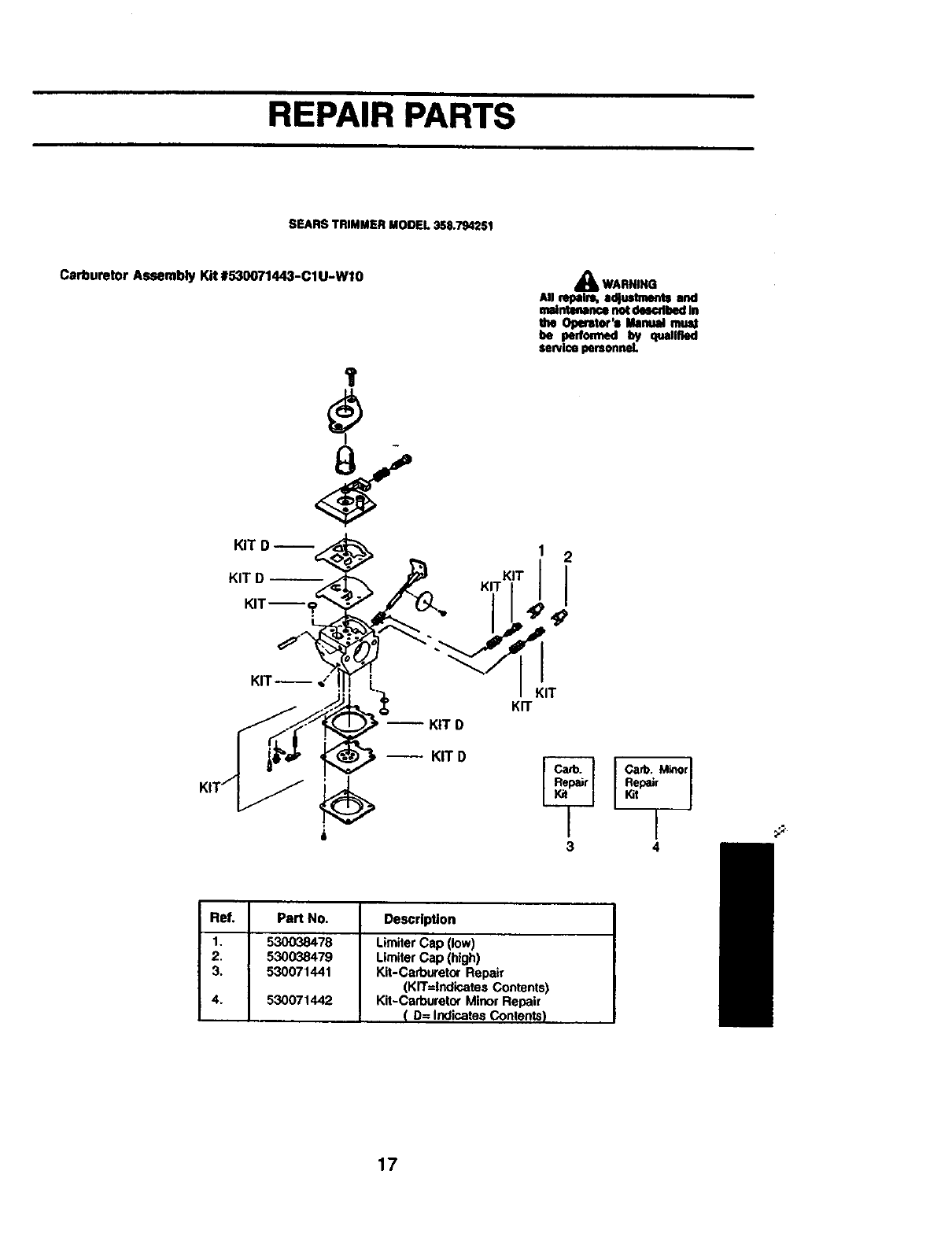
Carburetor Assembly Kit #530071443-CIU-W10 _WARNING
All repairlk acijustments and
maintenance not ciescdbed in
Ihe Operator's Manual mus_
lie iiIdomled bY qUlllltlld
service personmlL
il
KIT O --_) 2
KIT D --_----_ __ KITI_ I
.gi. _" K,T
3 4
Ref. Part No. DescdpUon
1. 530038478 LimiterCap (low)
2, 530038479 LimiterCap (high)
3. 530071441 Kit-Carburetor Repair
(KIT=IndicatesContents)
4. 530071442 Kit-Carburetor Minor Repair
( D= Indicates Contents)
17

Declaracibnde Garantia 18
ReglasdeSeguridad 18
Montaje 21
Uso 22
Mantenimiento 26
Servicio y Ajustes 28
Almacenaje 30
Tabla Diagnbstica 31
Declaraci6n de Emision 32
Lista de Piezas 15
Repuesto y Encargos Contratapa
GARANTIA DE UN AI_iO COMPLETO PARA LA _ORTADORA DE LINEA A
GASOLINA WEEDWACKER wDE CRAFTSMAN w
Durante un a6o, a partir de la fecha de compra, siempre que se haga el manten-
imiento, la lubricacion y los ajustes a esta Cortadora de Linea a Gasolina
Weedwacker de Craftsman segl_n las instrucciones de uso y mantenimiento en el
Manual del Usuario, Sears reparar& cualquier defecto de materiales o de mano
de obra gratuitamente. ,
Esta garantia excluye la hnea de nilbn, la bujna y el filfro de aire, que son piezas
fungibles que se gastan con el uso normal.
Si se usa esta Cortadora de linea Weedwacker de Craftsman pare fines comer-
ciales, esta garantia tendrd validez por sbla 90 dzas a partir de la fecha de com-
pra. Si se usa esta Cortandor de Ifnea Weedwacker de Craftsman para fines de
alquiler, esta garantia tendr& validez por s61a 30 dfas a partir de la fecha de com-
pra. Esta garantla tendrd validez dnicamente mientras se use este producto den-
tro de los Estados Unidos.
SE OBTENDFIA SERVICIO BAJO GARANTIA DEVOLVIENDO I_ACORTADORA DE LINEA
WEEDWACKER AL TIENDA DE SEARS O CENTRO DE SERVICIO MAS CERCANO EN
LOS ESTADOS UNIDOS.
Esta garanti'a confiere derechos legales especificos al propietario, que tal vez
tenga asimismo otros derechos que vanan entre estados.
Sears, Roebuck and Co., I)/817 WA, Hoffman Estates, IL 60179
_l ADVERTENClA: AI usarcualqui-
er herrarnienta de fuer-za de jardiner[a,
deber&n observarse precauciones bdsi-
cas de s.e(:juirdaden todo momento para
reducir el nesgo de incendio y graves heri-
des. Lea y cumpla con todas les instruc-
ciones.
iEsta herramienta de fuerza puede ser
_eligrosa! Cabe al usuario le responsa-
ilidad de cumplir con todas las adver-
tencias einstrucciones, iLea el Manual
del Usuario en su totalidad antes de
usar el aparato! Estd completamente fa-
miliarizado con los controles y con el
uso correcto del aparato. Limite el uso
de este aparato a aquellas personas
que hayan le{do y comprendido, y que
vayan a obedecer, todas las adverten-
cias e instrucciones tanto en el aparato
como en el manual. No permita nunca a
los niSos que usen este aparato.
MANUAL DEL
OPERADOR INFORMACION
DE SEGURIDAD
DEL APARATO
,i_ PELIGRO: Nunca use cuchillas ni
dispositivos desgranadores. El aparato
rue diseSado para set usado exclusiva-
mente como cortador aIfnea. El uso de
cualquier otra pieza o accesorio incre-
mentard el peligro de heridas.
@QQ
_ADVERTENClA: Lalineadecorte
arroja objetes violentamente. Ustes, al
igual que otras personas, puede quedar
ciego o herido. Use anteojes de segud-
18

dad y proteccibn en las piemas. Manten-
ga todas las partes del cuerpo alejadas
de la lines girante.
Use anteojos de seguridad
.
Mantenga a los nifios, los espectadores
lyanimales a una distancia minima de
5 metros (50 pies). Pare el motor
inmediatamente si alguien se le acerca.
Si acontece alguna situaci6n no prevista
en este manual, tenga cuidado y use
buen criterio. Si necesita ayuda, entre
en contacto con su Centro de Servicio
Searsmo Ilame al 1-800-235-5878.
SEGURIDAD DEL USUARIO
• Vistase apropiadamente. Siempre
use anteojos de seguridad o similar
proteccibn para los ojos cuando use
o d_ mantenimiento a este aparato
(anteojos de seguridad estdn dispo-
nibles). La proteccibn para los ojos
debe ser marcada con Z87.
•Siempre utilize mascarilla pare la
cara o mascarilla a prueba de polvo
si se va a trabajar en condiciones
donde hay polvo.
•Siempre utilize pantalones pesados
y largos, mangas largas, botas y
guantes. Se recomienda el uso de
pantorrilleras de seguridad.
• Siempre utilize protecci6n para los
pies. No trabaje descalzo ni en
sandatias. Evite la hnea girante.
•Mantenga el cabello por encima de
los hombros, atdndolo para tal efecto
si es necesario. No use ropa suelta
ni ropa con corbatas, tiras, borlas,
etc. que cuelgan libremente. Pueden
enredarse en las piezas en movi-
miento.
•Si estd completament tapado, estard
mas protegido de los escombros y
pedazos de plantas tbxicos arroja-
dos pot la linea girante.
•Mantengase alerta. No haga uso del
aparato estando cansado, enfermo,
trastomado o bajo la influencia del
alcohol, de drogas o de remedios.
Vigile bien Io que estd haciendo; use
del sentido comdn.
•Use proteccibn de oldos.
•Nunca porlga el aparato en marcha
ni Io deje _n marcha dentro de un
recinto cerrado. Respirar los vapores
del combustible Io puede matar.
•Mantenga las manijas libres de
aceite y de combustible.
SEGURIDAD DEL APARATO Y EN
EL MANTENIMIENTO
•Desconecte la bujla antes de hacer
cualquier mantenimiento menos los
ajustes al carburador.
•Inspeccione el aparato y cambie las
piezas dafiadas o flojas antes de
cada uso. Repare toda fuga de com-
bustible antes de usar el aparato.
Mantenga el aparato en buenas con-
diciones de uso.
•Cambie.todas las piezas del cabezal
que esten descantilladas, resquebra-
jades, quebradas o dafiadas de cu-
alquier otto modo, antes de usar el
aparato.
• Haga el mantenimiento del aparato
de acuerdo a los procedimientos re-
comendados. Mantenga la Ifnea de
corte el largo aprodiado.
•Use solamente Ilnea de didmetro 2
mm (0,080 de pulgada) de la marcha
Craftsman®. Nunca use alambre,
soga, hilo, etc.
•Instale la protector requerioa antes
de usar su aparato. Use la bobina
especificada. Asegdrese que la bo-
bina estd correctamente instalada y
estd bien fijo.
•Aseg_rese que el aparato est6 cor-
rectamente armado como se mues-
tra en el manual.
•Haga los ajustes al carburador con
el cabezal apoyado de modo que la
hnea no pueda tocar nada.
•Manten_a alejadas alas demds per-
sonas slempre que haga ajustes al
carburador.
• Use exclusivamente los accesorios y
•repuestos Craftsman recomendades.
Todo servicio y mantenimiento no
explicado en este manual deberd ser
efectuado pot un Centro de Servicio
Sears.
SEGURIDAD CON EL COMBUSTIBLE
•Mezcle y vierta el combustible al aire
libre.
•Mantdngalo alejado de las chispas y
de las llamas.
• Use recipiente aprobado para el
combustible.
•No fume ni permita que se fume cop
ca del combustible ni del aparato ni
mientras _ste est_ en uso.
• Evite derramar el combustible o el
aceite. Umpie todo el combustible
derramado.
•AI6jesa a por Io menos 3 metros (10
pies) del lugar de abastecimiento
antes de poner en marcha el motor.
19

•Pare el motor y permits que se enfrfe
el aparato antes de retirar la tapa del
tanque.
•Almacdne siempre combustible en
un recipiente aprobado pare los
liquidos-Inflamables.
SEGURIDAD AL CORTAR
ADVERTENCIA: Inspeccioneel
drea antes de cada uso. Retire losobje-
tos (piedras, viddoroto, clavos,alambre,
etc.) qua se puedan enredar en le lines
o que _.stapueda arrojar.Los objetos
durospueden da_ar el cabezal y dste
los puede arrojar,causandograves heri-
das.
•Use el aparato exclusivamentepara
recortar, para cortar cdsped y pare
barrer. No Io use pare cortar bordas,
para podar ni para rocortarseto.
•Mantenga el equd,brio, con los pies-
en una superficie estable. No se ex-
tienda demasiado.
•Mantenga todas las partes del ¢uer-
po alejadas de la Ifnea girante y del
silenciador. Mantenga el motor por
debajo del nwel de la cintura. Elsi-
lenciador puede causar graves que-
maduras cuando estfJcaliente.
•Corte siempre de derecha a izquierda.
Si se coda con la hneadel ladoiz-
quierdo del protector,los escombros
volardn en sentido opuestoal usuario.
•Use el aparato dnicamente de dia o
en luz artificial fuerte.
•Utilice el aparato solamente pare las
tare0s explicadas an este manual.
TRANSPORTIE Y ALMACENAMIENTO
•Espere que el motor se enfrre yfije
bien el aparato antes de quardado o
de transportado en un vehfculo.
•Vacie el tanque de combustibleantes
de guardar et aparato o de transpor-
tarlo.Consuma todo el combustible
restante en el carburadorponiendoel
motor en marchay dej_ldolo en mar-
cha hasta qua le motorse pare solo.
•Guarde el aparato yel combustible
en un lunar donde los vapores del
combushble no puedan alcanzar
chispas ni llamas prevenientes de
los termotanques, los motores o in-
terruptores eldctricos, los calefac-
tores centrales, etc.
•Guarde el aparato de modo que el
limitador de I|nea no pueda causar
herides accidentales. Se puede col-
gar el aparato por la caja el eje de
propuls,On.
•Guarde el aparato fuera del alcance
de los ni_os.
AVISO DE SEGURIDAD: El estar ex-
puesto a las vibraciones a travds del
uso prolongado de herramientas de
fuerza a gasolina puede causar dar_iosa
los vasos sangufneos o a los nervios ae
los dedos, las manos y las coyunturas
en aquellas personas que tienen pro-
pensidad alos trastomos de la cimula-
cibn o a las hinchazones anormales. El
uso prolongado en tiempo fdo ha side
asociado con dafios a los vasos san-
guineos de personas que por otra parte
se encuentran en perfecto astado de
salud. Si ocurren smtomas tales como el
entumecimlento, el dolor, la falta de fuer-
za, los cambios en et color o la texture
de la piel o falta de sentido en los de-
dos, las manos o las coyunturas, deje
de usar esta mdquina inmediatamente y
procure atenci6n m_lica. Los sistemas
de anti-vibracibn no garantizan que se
eviten tales problemas. Los usuanos
_ue hacen uso continuo y prolongando
e las herramientas de fuerza deben
fiscalizar atentamente su estado f(sico y
el estado del aparato.
AVISO ESPECIAL: Su aparato viene
equipada con sitenciador limitador de
temperatura y c.on rejilla antichispa que
cumpla los requisites de los C<_digos de
California 4442 y 4443. Todas les tierras
forestades federalas, rods los estados
de California, Idaho, Maine, Minnesota,
Nueva Jersey, Washington y Oregbn,
requieren por ley que muchos motores
de combusti6n intema est6n equipados
con rejilla antichispa. Si usted el aparato
en un estado y otra Iocalidad donde ex-
isten tales reglamentos, usted tiene la
responsabilidad juddica de mantener
astas piezas en correcto estado de fun-
cionamiento. De Io contrado, estard en
infracci_'_ de la ley. Pare el uso normal
del dueSo de la casa, el silenciador y la
rejil|a antichispa no requerir&n ningLJn
servicio. Despu6s de 50 horas de uso,
recomendarnos que al silenciador se le
de servicio o sea substitu_dopot un
Concesionario de Servicio Autorizado.
20

CONTENIDO DE LA CAJA
Use la siguiente lista para verificar que
todas la piezas hayan sido incluidas:
Modelo 358.794251
• Cortadora
•Protector
• Tuerca Madposa (atomillada en la
• protector)
Mango Auxiliar (con el tornillo y la
•perilla)
Recipiente de Aceite
•Bobina Adicional
Examine las piezas para verificar que
no haya da_os. No use piezas da_a-
das.
AVISO: Si necesita ayuda, si faltan
piezas o si hay piezas da_adas, Ilame
at n_mero 1-800-235-5878.
Es normal escuchar que el filtro de com-
bustible golpetee en el tanque vacto.
Es normal encontrar residuos de aceite
o de gasolina en el silenciador, debido a
los ajustes al carburador y alas pruebas
efectuadas por el fabdcante,
MONTAJE
ADVERTENCIA: Si recibib el
aparato ya armado, repita todos los
pasos para asegurar que el mismo se
encuentre correctamente armado y
bquetodos los fijadores se encuentren
ien ajustados.
Asegt_rese de colocar el mango err el
aparato antes de instalar el protector.
PARA INSTALAR EL MANGO
(algunas aparatos vienen con el man-
go ya insta|ado)
_)& ADVERTENCIA: AI ajustar el
mango, asegdrese que se mantenga
entre el gatillo y rbtulo de seguridad.
1. Monte el mango en el aparato
como se ilustra; asegdrese que la
parte inferior del mango se en-
cuentre en la ranura en la caja del
gatillo.
AVISO: La perilla de ajuste deberd
ser instalada en el lado izquierdo de el
a_arato como se muestra en el ilustra-
2. Asegt_rese de que el tornillo se en-
cuentre Iocalizado dentro del hue-
co en forma de hexagonal que se
encuentra en el mango.
3. Gire el mango hasta llegar a la po-
sicion rods confortable.
4. Asegu_l;esede ajustar firmemente
INSTALAClON DE LA PROTECTOR
_ADVERTENCIA: El protector
deber_, ser instalado correctamente. El
protector provee proteccibn parcial
contra e! desgo de los objetos arroja-
dos hac_a el usuario y otras personas
y viene equipado con un cuchilla limi-
tadora de Ifnea qua corta el exceso de
Ilnea. El cuchilla limitadora de tinea
len la parte inferior del protector) es
iloso y puede cortar. Para conseguir la
odentec=6n apropiada para el protector,
vea la ilustracibn CONOZCA SU APARATO
que se encuentra en la secci6n de uso.
1. Remueva la tuerca mariposa de la
protector.
2. Introduzca el soporte dentro de la
ranura como se muestra.
3. Haga girar la protector hasta que el
tomi,o pase atray,s del hueco en
el soporte.
4. Apriete firmemente la tuerca mari-
posa en el tornillo.
Ranura
Protector
Sopode
\
Cuchilla Limiladora
de L(nea
Tue_a
Madposa
21

CONOZCASU APARATO
LEA ESTE.MANUAL DEL USUARIO Y LAS REGLAS DE 8EGURIDAD ANTES DE PONER
EL APARATO EN MARCHA. Compare las ilustraciones con su aparato para familiari-
zarse con la ubicaci6n de los diversos controles y ajustes. Gusrde este manual
para uso futuro.
Mango Auxiliar
Silenciador
Interruptor
ON/OFF Acelerador
Mango de la
Cuerda de..
Arranque Palanca del
Cebador Protector
Bombeador
Tapa del Tanque
de Mezcla de
Combustible
Tubo
Cabezal
de Code
Gufa
pars
Bordes
de Unea
INTERRUPTOR ON/OFF
Se usa el interrupterON/OFFpara deten-
er el motor.Coloque el internJptoren la
posici6nOFF para detener el motor.
BOMBEADOR
El BOMBEADOR retira el aire de el car-
burador y de las Ifneas de combustible
y las Ilena de mezcla de combustible,
permitidndole poner el motor en mar-
cha con menos tirones de la cuerda de
arranque. Accione el bombeador opri-
mi6ndolo y luego dejando que este re-
cobre su forma original.
CEBADOR
El CEBAOOR ayuda a suministrar com-
bustible al motor para facilitar el arran-
que cuando el motor estd frio. Acione
el cebador colocando la palanca en la
posici6n FULL CHOKE. Despu6s que el
motor intente arrancar, mueva la pa-
lanca del cebador a la posici6n HALF
CHOKE. Despu6s que el motor se
haya puesto en mamha, pon_a la pa-
lanca del cebador en la posic=6n OFF
CHOKE.
GUlA PARA BORDES
La GUIA PARA BORDES impedird que el
aparato toque el suelo durante el pro-
cedimiento de bordear.
ANTES DE PONER EN MARCHA EL
MOTOR
_ADVERTENCIA: Lea
atentamente la informaci6n sobre el
combustible en laas reglas de
seguridad antes de comenzar. Si no
comprende las reglas de seguridad,
no intente abastecer el aparato de
combustible. Llame al numero
1-800-235-5878.
ABASTEClMIENTO DEL MOTOR
_IL ADVERTENClA: Remueva la
taps del tanque de combustible lenta-
mente al reabastecer combustible.
Este motor esta habilitado para
funcionar con gaselina sin plomo. Antes
de comenzar con el uso, se deberd
mezclar la gasolina con un aceite de
sintdtico de buena calidsd.para motores
de 2 tiempos enfriados a a_re.
Recomendamos el aceite de sintdtico
de la marca Craftsman. Mezcle la
gasolina con el aceite en la proporci6n
40:1. (Se obtiene una proporci6n de
40:1 mezclando 3.2 onzas de aceite
con carla gal6n de gasolina sin plomo).
NO USE aceite para autombviles ni para
barcas. Estos aceites da_aran el motor.
AI mezclar el combustible, siga las
instrucciones impresas en el resipiente.
22

Una vez haya a_adido el aceite a la
gasolina,agite al r_.iplente brevemente
para asegurar que et combustibleest6
completamente mezclado. Siempre lea
y siga las instruccionesde seguridad
que tienen que ver con el combustible
antes de abestecer el aparato.
IMPORTANTE
La experiencia indica que los combus-
tible mezclados con alcohol (los llama-
dos gasohol o los que contienen eta-
nolo metanol) pueden atraer la
humedad, Io que puede causar la se-
paracibn y la formaci6n de dcides du-
rante el almacenaje. La gasolina dcida
puede da6ar el ststema de combus-
tible del motor durante el almacenaje.
Para evitar problemas con el motor,
deberd vaciarse el sistema de com-
bustible antes de almacenar el aparato
pot 30 d|as o m_s. Vac|e el tanque de
combustible, ponga el motor en mar-
cha y ddjelo en marcha hasta que las
Iineas de combustible y el carburador
queden vacios. Use combustible fres-
co para la prbxima temporada.
Nunca useproductos de limpieza de
motor o carburader en el tanque de
combustible ya que de hacerla puede
_/revocar dafios permanentes.
a la secciOn de ALMACENAJE para
informaci6n adicional.
PARA DETENER EL MOTOR
•Para detener el motor, ponga el in-
terruptor ON/OFF en la posici6n OFF.
•Si el motor no se detiene, mueva el
cebador en la posici6n FULL CHOKE
(estrangulamiento total de aim).
Palanca del Cebador
Interruptor _
ON/OFF .,,.'_ ...
PARA PONER EN MARCHA
EL MOTOR
ADVERTENCIA: El cabezat de
code girard mientras se est6 intentan-
do poner en marcha el motor. Evite el
hacer ningun tipo de contacto con el
silenciador. Un silenciador caliente
podrla provocar quemaduras de gra-
vedad si se toca.
PAPA ARRANCAR CON MOTOR
FRIO (o motor caliente despuds de
quedar sin combustible)
1. Ponga el aparato en una superficie
plana.
2. Mueva el intermptor ON/OFF a la
posicidn ON.
3. Oprima lentamente el bombeador
6 veces.
4. Mueva la palanca del cebador a la
posici6n FULL CHOKE.
5. Apriete y sujete el gatillo durante
todos los pasos siguientes.
Palanca del
ebador
_Bombeador
6. Tire firmemente del mango de la
cuerda de arranque hasta que el
motor suene como si est6 intentan-
do arrancar, pero no tire de la
cuerda mds de 6 veces.
7. Tan pronto como el motor suene
como si fuera a arrancar, mueva la
palanca de cebador a la posici6n
HALF CHOKE.
8. Tire firmemente del mango de la
cuerda de arranque hasta que el
motor arranque, pero no m_s de 6
tirones. AVISO: Si el motor no ar-
ranca despu_s del sexto tirbn de la
cuerda de arranque (con la palan-
ca del cebador en la posicion HALF
CHOKE), mueva la palanca del ce-
bador a la posicibn FULL CHOKE y
_prima el bombeador 6 veces.
priete y sostenga el gatillo aceler-
ador y tire de la cuerda de arran-
que otras 2 veces. Mueva,la palan-
ca del cebador a la posicion HALF
CHOKE y tire de la cuerde de arran-
que hasta que el motor se ponga
en marcha, pero no mds de 6
veces. Si el motor no arranca, pro-
bablemente se encuentre ahoga-
do. Proceda con la seccibn AR-
RANQUE DE MOTOR AHOGADO.
23

9. Una vez qua el motor arranca, per- POSIClON DE USO
mlta que el motor marche por 10
segundos, luego mueva la palan- SIEMPRE USI::: •
cea del cebador en la posici6n OFF
CHOKE. Permita qua el motor mar-
cha por 30 segundos con la palan-
ca del cebador en la posici6n OFF Pantolones
CHOKE antes de soltar el gatillo Largos _ r_
acelerador. AVISO: Si el motor se Zapatos |1111I_
Gmesos"_
apaga con la palanca del cebador
en la posici6n OFF CHOKE, mueva
la palanca a la posici6n HALF
CHOKEy tire de la cuerda de arran-
qua hasta qua el motor se ponga
en marcha, pero no m_,sde 6 ttro-
nes.
PARA ARRANCAR CON EL MOTOR
CALIENTE
1. Mueva el interruptor ON/OFF a la
posici6n ON.
2. Mueva la palanca del cebador a la
posici6n HALFCHOKE.
3. Oprima y sostenga el gatiflo aceler-
ador. Mantenga el gatillo total-
mente oprimido hesta que el motor
marche sin problemas.
4. Tire firmemente del mango de la
cuerda de arranque hasta que el
motorse ponga en mamha, pero no
mdsde 5 tirones.
5. Permita que el motor marche por 15
segundos,entonces mueva la pa-
lancadel cebador a la posicibnOFF
CHOKE.
AVISO: Si el motor no arranca, tire de
la cuerda otras 5 veces. Si el motor no
arranca, probablemente estd ahogado.
ARRANQUE DE MOTOR AHOGADO
Lors motores ahogados pueden pon-
erse en mamha moviendo la palanca
del cebador a la posici6n OFF CHOKE;
luego, tire de la cuerda para aclarar el
exceso de combustible. Esto podrd re-
querir que se tire del mango de la
cuerda muchas veces dependiendo
cuan ahogado se encuentre el motor.
Si el aparato sigue sin ponerse en
marcha, vea la TABLADIAGNOSTICAo
llama al ndmero 1-800-235-5878.
INSTRUCClONES DE USO
Se recomlenda qua no opere el mo-
tor pot mas de un minuto a la velo-
cidad m=txima.
.,,--....
Protecci6n
paralosOjos
Corte de derecha a izquierda.
No haga marchar el motor a revolu-
ciones mfis altas que las necesarias.
La linea de corte cortardde una forma
mds eficientesin que el motorestd acel-
erado a rondo. A revolucionesmds ba-
jas, habrd menos ruidoy manorvibra-
ci6n del motor.La linea de corte durard
m_ Uempoy tendrd manorprobabilidad
de "fundirse" en la bobina.
Siempre que no se halle cortando,
suelte el gatillo acelerador y permita
que el motor vuelva a marcha lenta.
Para detener el motor:
•Suelte el gatillo acelerador.
• Para detener el motor, pon.g.ael in-
terruptor ON/OFF en ia pos_ctonOFF.
TWIST AND EDGE ((;IRE Y BORDE)
Su aparato puede set usado para bor-
dear en aceras, patios, caminos de
entrada, etc.
1. Hale la lengQeta hacia el motor.
2. Tuerza el tubo en la posici6n de
code; entonces, suelte la lengQeta.
AVANCE DE LA Li'NEA DE CORTE
La Ifnea de corte avanza aproximada-
mente 5 cm (2 pulgadas) cada vez
que se toca el cabezal contra el suelo
con el motor acelerado a fondo.
El largo mds eficiente de la linea es el
largo mdximo permitido por el limitador
dehnea.
24

Siemptemantengalacubiertaprotec- Lapunta de la linea
tora en su lugar slempre que el apara- es la quecoda
to est6 en uso.Para avanzar 16Ifnea:
•Acelere el motor a fondo. _l'_,_.
:osten_a el cabezal paralelo al suelo,
pot enclma de un _bea con c_sped.
Toque el cabezal de corte contra el
suelo levemente una vez. Con cada
toque, la Ifnea avanzard aproxima-
damente 5 cm (2 pulgadas). Correcto
Para que la Ifnea avarice toque el
cabezal de code contra el suelo una vez
El limitador de Iinea
corta la l/nea el largo
adecuado
Toque el cabezal contra el suelo
siempre en un drea con c6sped. Si se
hace tocar contra superficies como el
cemento o el asfalto, el cabezal podrfa
sufrir desgaste excesivo.
Si la iinea se ha gastado y cuenta con
5 cm(2 pulgadas) o menos, hard falta
rods de un toque para obtener el largo
de Ifnea mds eficiente.
_k ADVERTENCIA: Use dnica-
mente 10nea con didmetro de 2 mm
d0,080 de pulgada). Las lines de otros
i_metres no avanzardn debidamente
y pueden causar graves heddas. No
use otros materiales, tales, como el
alambrd, el hilo, 16cuerda, etc. El
alambre se puede quebrar al cortar,
convirti6ndose en un misil muy peligro-
so y causando heridas de gravedad.
METODOS DE CORTE
_ADVERTENCIA: Use la veloci-
dad minima y no acerque el aparato
demasiado al cortar cerca de objetos
s61idos (piedra, gravilla, postes, etc.):
estos pueden dafiar el cabezal; pue-
den enredarse en la I|nea o la Imea los
puede arrojar violentamente al aire,
causando serio peligro.
•La punta de la Ifnea es la que corta.
Se conseguird mejor rendimiento y
el minimo desgaste si no se mete la
linea dentro del material que se est_
cortando. La ilustraci6n a continua-
cibn muestra la forma correcta e in-
correcta de cortar.
La Ifnea estd meti-
da dentro del ma-
tedal de trabajo
Incorrecto
•La Ifnes retire fitcilmente el c_ped y
las malas hierbas de aTrededor de pa-
redes, cercados, _rboles y macizos de
flores; pero tambidn es capaz de cor-
tar la corteza tiema de drboles yar-
bustos y de marcar las cercas. Para
evitar dar_os, especialmente a la vege-
taci6n delicada o a los drbdes con
corteza fina, acorte la lines a unos 10
a13 cm (4 a 5 pulgadas) y use el
aparato sin acelerar a fondo.
•Para recortar o escalpar, use el apa-
rato sin acelerar a fondo, para incre-
mentar la vida dtil de la Ifnea y dismi-
nuir el desgaste del cabezal,
especialmente:
•AI hacer trabajos livianos.
•Cerca de objetos con los cuales la
linea se puede enredar, como son
los postes o drboles de poco didme-
troy el alambre de las cercas.
•Para cortar cdsped y barrer acelere
e motor a fondo para Iograr un buen
trabajo de limpieza.
'_ ADVERTENClA: Use siempre
protecci6n para los ojos. Nunca se in-
cline por encima del cabezal. La Ifnea
puede arrojar o hacer rebotar piedras
o desechos hacia los ojos y la cara,
pudiendo causar la p_rdida de la vista
u otras graves heridas.
PARA RECORTAR -Sostenga el ca-
bezal unos 8 cm (3 pulgadas) del Suelo
y.en dngulo. Unicamente la punta de la
linea deberd hacerel contacto con el
material a cortar. No meta la linea den-
tro del drea que se estd codando.
Para Recortar r,,= , o
.IT-
25

PARA ESCALPAR -La t_cnica del as-
calpado retira la vegetaci6n no desea-
da abajo a la tierra. Sostenga el cabe-
zal unos 8 cm (3 pulgadas) del suelo y
en dngulo. Deje que la punta de la
Ifneagolpee contra el suelo cerca de
los drboles, los postes, los monumen-
tos, etc. Esta tdcnica incrementa el
desgaste de la linea.
Pard Escalpar
PARA CORTAR CESPED -Este para-
to es ideal para cortar c_sped en lu-
gares donde las cortadoras conven-
cionales no Ilegan. En posici6n de
cortar crisped, mantenga la Ifnea para-
lela al suelo. Evite presionar el cabe_,al
contra el suelo, ya que de hacedo
podrfa escalpar la vegetacibn y da_ar
el aparato.
Para Cortar I_
C_ped _,_,
,_,L,_,'._ _,.
PARA BARRER -Se puede usar la
accibn ventiladora de la linea girante
para barrer rdpida y fdcilmente un drea
CRONOGRAMA DE MANTENIMIENTO
determinada. Mantenga la linea para-
lela al suelo directamente encima de
las superficies que se quiera barrer y
meuva el aparato de un Iodo al otro
rdpidamente. I
Para Barrer_. _ i .
.._ .,,_.T_.; _. _
PARA BORDEAR - Ajuste el aparato
a la posici6ndel bordeando (yea la
seccibn TWIST ANDEDGE). Mientras
se encuentre bordeando, permita que
sea la punta de la linea la que haga el
contacto con el material a bordear. No
fuerce la Ifnea. Mantenga mdxima pre-
caucibn al bordear ya que objetos
pueden ser arrojados al aire por la
linea de corte.
_ADVERTENCIA: Desconecte la bujfa antes de hacer cualquier manten-
imiento, con la excepci6n de los ajustes al carburador.
TAREA DE CUIDADO Y MANTENIMIENTO
Verificar que no haya piezas ni fijadores sueltos
Verificar que no haya piezas da_adas o gastadas
Inspeccione y limpie el aparato y sus placas
Umpiar el filtro de aire
Inspeccione el silenciador y la rejilla antichispa
Cambiar la bujia
RECOMENDAClONES GENERALES
La garantia de este aparato no cubre
los articulos que ban sido sometidos al
abuso o a la negligencia por parte del
usuado. Para recibir el valor completo
de la garantia, el usuario deberd man-
tenerel aparato segdn las instruc-
clones en este manual. Hard falta hac-
er varios ajustes peri_licamente para
mantener el aparato de forma debida.
CUANDO HACER
Antes de cada uso
Antes de cada uso
Despu6s de cada uso
Cada 5 horas de uso
Cada 50 heras de uso
Anualmente
VERIFIQUE QUE NO HAYA FIJA-
DORES NI PIEZAS SUELTAS
•Cubierta de la Bujia
•Filtro de Aire
•Tornillos de la Caja
• Tomillo del Mango Auxiliar
•Protector
26

VERIFIQUE QUE NO HAYA PIEZAS
DAI_ADAS O GASTADAS
Entre en contacto con el Centre de
Servicio Sears para el reemplazo de
piezas dafiadas o desgastadas.
•Interrupter ON/OFF -Asegurese de
que el mterruptor funclona correcta-
mente sostenlL=ndolo en la posici6n
OFF. Asegurese de que el motor se
haya detenido por completo, luego,
ponga el motoroen marcha nueva-
mente y continue.
•Taoque de Combustible -Deje de
usar el aparato si hay sefiales de
dafios o p6rididas en el tanque de
combustible.
•Protector -Deja de usar el aparato
si el protector estd dafiado.
INSPECClONE Y LIMPIE EL APARA-
TO Y SUS PLACAS
•Despuds de que cada uso, inspec-
cione la aparato completa para sa-
ber si hay plazas flojas o dafiadas.
Umpie el aparato y las placas usan-
do un trapo humedo con un deter-
gente suave.
•Seque el aparato usando un trapo
seco y limpio.
LIMPIE EL FILTRO DEL AIRE
Los filtros de aire sucios disminuyen la
vida dtil yel rendimiento del motor e
incrementan el consumo de combus-
tible y de emiciones nocivas. Limpie
siempre el filtro de aire despuds de
cada 5 horas de uso.
1. Limpie la tapa y el drea alrededor
de la tapa para evitar que caiga su-
ciedad o desechos en el carbura-
dor cuando se saque la tapa.
2. Retire las piezas como se ilustra.
AVISO: Pare evitar peligro de incen-
dio y de emiciones evaporativas noci-
vas, no limpie el filtro de aire con gaso-
lina ni cualquier otro solvente inflam-
able.
3. Limpie el filtro con agua y jab6n.
4. Permita qua el filtro se seque.
5. Aplique varias gotas de aceite al fil-
tro; expdma el filtro para distribuir el
aceite.
6. Reponga las piezas,
INSPECCIONE EL SILENCIADOR Y
LA REJILLA ANTICHISPAS
ADVERTENCIA: El silenciador
en este producto contiene las substan-
cias qurmicas que el estado de Califor-
nia reconoce como causantes de
cdncer.
ADVERTENCIA: El silenciador
es extremadamente caliente durante
el uso y despu6s de usar el aparato,
No toque el silenciador ni permita que
el material combustible tal como gaso-
lina o hierba seca hagan contacto.
A medida que se use el aparato, el si-
lenciador y la rejilla antichispas se van
carbonizando. Es necesario sacar la
carbonizacibn para evitar el riesgo de
inceLqdioo afectar el rendimiento del
motor.
Para el uso normal del due_o de la
casa, el silenciador y la rejilla antichispa
no requedrdn ningt_n servicio. Despu_s
de 50 horas de uso, recomendamos
que al silenciador sele de servicio o
sea substituido por un Concesionario de
Servicio Autorizado.
CAMBIE LA BUJIA
Deberd cambiarse la bujfa anualmente
para asegurar que el motor arranque
fdcilmente y tenga un major rendimein-
to. Ajuste la separacibn de los electro-
dos a0,025 de pulgada. El encendido
es fijo e inalterable.
1. Gire y saque la cubierta de la
bujsa.
2. Retire la bujia del cilindro y desk-
chela.
3. Cdmbiela por una buj(a Champion
RCJ-7Y y ajuste la bujia nueva con
una Ilave de cubo de 3/4 de pulga-
da (10 a 12 libras/pie).
4. Instale nuevamente la cubierta de
la bujia.
27

REEMPLAZO DE LA UNEA
1. Retire la bobina tirando del bot6n
de toque firmemente.
2. Limpie por entero la superficie del
cubo y de la bobina.
3. Reemplace la bobina por una pre-
viamente enrollada, o corte un pe-
dazo de 6 metros (20 pies) de lar-
go de hnea de 2 mm (0,080 de
pulgada) de la marca Craftsman ®.
Nunca use alambre, cuerda, hilo,
etc., los cuales pueden romperse y
convertirse en proyectiles petigro-
SOS.
4. Introduzca una de las puntas de la
Ifnea, alrededor de I cm (1/2 pul-
gada), dentro del hueco pequefio
que se encuentra en la parte interi- -
or de la bobina.
5. Enrolle la linea en la bobina de for-
rna pareja y ajustada. Enrolle [a
Ifnea en la direcci6n en que apunta
la flecha que se encuentra en la
bobina.
6. Introduzca la Iinea dentro de la
muesca, dejando de 7 a 12 cm (3
a 5 pulgadas) sin enrollar.
7. Introduzca la ffnea dentro del hue-
co de salida en el cubo como se
muestra en la ilustraci6n.
8. Alfnee la muesca con el hueco de
salida de la Ifnea.
9. Presione la bobina dentro del cubo
hasta que @sta encaje en su lugar.
10. "fire de la linea que se extiende
fuera del cubo para soltarla de la
muesca.
Hueco
"_"__-,t...._ Bobina
Introduzca la linea
dentro de la muesca
Cubo
Hueco de salida de la ffnea
AJUSTEALCARBURADOR
ADVERTENCIA: El cabezal de
corte se mantendrd girando durante la
mayor parte de este procedimiento.
Use su equipo protector y observe to-
das las precauciones de seguridad.
Verifique la marcha lenta despuds de
cada ajuste de mezcla.
El ajuste del carburador es de primor-
dial importancia. Si se hace incorrecta-
mente, puede dafiar tanto el motor
como el carburador permanente-
mente. Si necesita mds ayuda o no
estd seguro de c6mo hacer este pro-
cedimiento, Ilame al n=Jmero de ayuda
al consumidor 1-800-235-5878.
El combustible vencido, el filtro de aire
sucio, el filtro combustible sucio o el
motor ahogado pueden dar la impre-
si6n de carburacion desajustada. Veri-
fique estas condiciones antes de hac-
er cualquier ajuste al carburador.
El carburador ha sido ajustado cuida-
dosamente en la fabrica. Posible-
mente sea necesario hacer ajustes si
se nota cualquiera de las siguientes
condiciones:
•El motor no anda en marcha lenta.
Vea MARCHA LENTA bajo el procedi-
miento de ajuste.
• El motor se para o se ahoga cuando
debe acelerar. Vea VERIFICACION DE
ACELERACION bajo el procedimiento
de ajuste.
• Peridida de potencia de code. Vea
AJUSTE DE LA MEZCLA ( "L" O"H")
bajo el procedimiento de ajuste.
Hay tres tomillo de ajuste en le carbu-
rador. El tornillo de ajuste de baja
aceleraci6n est,. marcado con la letra
"L", yel tornillo de ajuste de alta acel-
eraci6n estd marcado con la letra "H".
El tercer tornillo es etornillo de ajuste
de la marcha lenta.
"H" Tomillo "L" Tomillo
Tomillo de Marcha Lenta
28

PROCEDIMIENTO DE AJUSTE
PRECAUCION: AI hacer ajustes no
fuerce las tapas limitadoras de pldstico
mds alld de los retenedores o podria
haber dafios. AsegOrese que la Ifnea
de corte est_ extendida el/argo maxi-
mo permitida por el cuchilla limitadora
de Ifnea.
Procedimiento Inicial
1. Gire el tomillos de ajuste de mez-
cla (L y H) hacia la izquierda hasta
que se detenga.
2. Gire el tomillo de marcha lenta ha-
cia la derecha hasta que se deten-
ga. Luego, gfrelo hacia la izquier-
da 4 vueltas y media.
3. Ponga el motor en marcha, corte la
hierba por 3 minutos, luego proce-
da a ajustar los tornillos de acuer-
do alas instrucciones indicas en la
siguiente secci6n. Si el funciona-
miento del motor es aceptable con
las posiciones anteriores, no hard
falta hacer ajustes. Si el motor no
arranca, yea la TABLA DIAGNOSTI-
CA. Si a_n es incapaz remediar la
situacibn, Ilamada
1-800-235-5878.
Marcha Lenta
Deje el motor en marcha lenta. Ajuste
las revoluciones hasta que el motor se
mantenga en marcha sin calarse.
• Gire el tomillo de marcha lenta hacia
la derecha para aumentar las revo-
luciones si el motor se ahoga o se
para.
•Gire el tornillo de marcha lenta ha-
cia la izquierda para reducir las re-
voluciones.
No hard falta ningOn otto ajuste si el
funcionamiento es satisfactorio.
Mezcla de Bajas Revoluciones "L"
1. Deje el motor en mamha lenta.
2. Gire el tomillo de las bajas revolu-
ciones "L" hacia la derecha hasta
que la velocidad empiece a dismi-
nuir.
3. Gire el tomillo de las bajas revolu-
ciones =L" hacia la izquierda hasta
que la velocidad aumente y luego
empiece a disminuir nuevamente.
4. Coloque el tomillo para bajas revo-
luciones "L" en un punto intermedio
entre las dos posiciones ante-
riores.
Vuelva a ajustar la marcha lenta (vea
MARCHA LENTA).
Mezcla para Altas Revoluciones "H"
PRECAUCION: No use el motor con
el aceleradora fondo per prolongados
periodos de tiempo mientras se
encuentre haciendo los adjustes de
altas revoluciones y que daSos al
motor podrian ocurrir. Ajuste el tornillo
de altas revoluciones por incrementos
de 1/16 de vuelta cada vez. Un 1/16
de vuelta es alrededor del mismo
didmetro que la renura que se
encuentra en la parte superior del
tomillo.
1. Deje el motor en marcha lenta.
2. Apriete el gatillo acelerador com-
pletamente. Gire el tomillo de altas
revoluciones "H" hacia la izquierda
hasta que se detenga.
3. Gire el tornillo de altas revolu-
clones "H" pot incrementos de 1/16
de vuelta cada vez hacia la dere-
cha basra que el motor marche sin
problemas.
Despuds de terminar ajustes, verifique
de aceleracibn. Reajuste en caso de
necesidad.
Verificaci6n de Aceleraci6n
Si el motor trata de parar en vez de
acelerar, gire el tornillo de la mezcla
para bajas revoluciones %" en contra
del sentido del reloj hasta que la acel-
eracibn sea estable.
29

ADVERTENCIA: Realice los
siguientes pasos despu6s de cada
uso:
• Permita que el motor se enfrfe y fije
bien el aparato antes de guardarlo o
transportarlo.
• Guarde el aparato y el combustible
en un lugar blen ventilado donde los
vapores del combustible no puedan
entrar en contacto con chispas ni lla-
mas abiertas provenlentes de clenta-
dores de a_lua, motores o interrup-
tores eldctncos, calefactores
centrales, etc.
•Guarde el aparato con todos los pro-
tectores en su lugar y coloquelo de
modo que las piezas cortantes no -
puedan causar heridas por acci-
dente.
•Guarde el aparato y el combustible
en un lugar completamente fuera del
alcance de los nifios.
ESTACIONAL ALMACENAJE
Prepare el aparato para almacenarlo
al final de la temporada o si no Io va a
usar pot mds de 30 dfas.
Siva a almacenar el aparato durante
un periodo largo de tiempo:
•Limpie el aparato por completo antes
del almacenaje.
•Almacene en un area limpia y seca.
•Aplique una pequefia cantidad de
aceite a las superficies externas
metdlicas.
SISTEMA DE COMBUSTIBLE
Vea el mensaje marcado como
IMPORTANTE, que se refiere al uso
de combustibles con mezcla de alco-
hol en su aparato, en la secci6n de
USO, bajo ABASTECIMIENTODEL MO-
TOR. Los estabilizadores de combus-
tible son una alternativa aceptable
para minimizar la formaci6n de depOsi-
tos de goma durante el almacenaje.
Afiada estabihzador a la gasolina en el
tanque de combustible o en el reci-
piente para almacenar el mismo. Siga
las instmcciones de mezcla que se en-
cuentran impresas en el envasa. Pon-
ga el motor en marcha y d_jelo en
marcha por unos 5 minutosdespu6s
de habede puesto estabilizador.
El aceite Craftsman 40:1 para motores
a 2 tiempos (enfdados a aire) viena
mezclado con estabilizador de com-
bustible. Si no usa este aceite de
Sears, usted podrd afiadir estabiliza-
dot al tanque de combustible.
INTERIOR DEL MOTOR
•Retire la bujfay vierta una cucharad-
ita de aceite 40:1 para motores a 2
tiempos (enfriados a aire) por la ab-
erlura para la buj=a.Lentamente, tire
de la cuerda de arranque de 8 a 10
veces para distribuir el aceite.
•Cambie la bujia por una nueva del
tipo y de la gama de calor recomen-
dados.
•Limpie el filtro de aire.
•Examine todo el aparato para verifi-
car que no haya tornillos, tuercas ni
pemos sueltos. Cambie todas la pie-
zas da_adas, quebradas o gasta-
das.
•AI principiode la pr6xima temporada,
use exclusivamente combustible
fresco con la proporci6n correcta de
gasolina a aceite.
OTROS
•No guarde la gasolina de una tempo-
rada a la prbxima.
•Cambie el recipiente de gasolina si
se empieza aoxidar.
3O

TABLA DIAGNOSTICA
ADVERTENCIA: Siempre apague el aparato ydesconecte la bujia antes
de hater cualquiera de las reparacionesrecomendadas acontinuaci6nque
no requieran que la unidad est_ en operaci6n.
SINTOMA
El motor no
!arranca.
El motor no
anda en
marcha lenta
como debe.
El motor no
acelera, le
falta
potencia o
se para bajo
carga.
El motor
humea ex-
cesiva-
mente
El motor
marcha con
temperature
elevada.
CAUSA
1. [] interruptor ON/OFF est_
en posici6n OFF.
2. B motor estd ahogado.
3. El tanque de combustible
est4 vacfo.
4. La buj|e no est4 haciendo
chispa.
5. El combustible no estd
Ilegando el carburador.
6. El carburador requier
ajuste.
1. El carburador requier
ajuste.
2. Las lunas del cigue_al
estdn gastadas.
3. La compresi6n est_ baja.
1. El filtrode aire estd sucio.
2. La bujia est4 carbonizada,
3. El carburador requiem
ajuste.
4. Acumulaci6n de Carb6n.
5. La compresi6n estd baja.
1. El cebador est_ parcial-
mente accionado.
2. La mezcla de combustible
se ha hecho incorrecta-
monte.
3. El filtro de aim estd sucio.
4. El carburador requiem
ajuste.
1. La mezola de combustible
eatd se he hecho
incorrectamente.
2. Se ha instalado la bujfa
incorrecta.
3. El carburedor requiem
ajusts.
4. Acumulaci6n de Carb6n.
SOLUCION
1. Coloque el intenuptor ON/OFF ala
poslci6n ON.
2. Vea "Arranque de Motor Ahogado"
en la seccl6n Uso.
3. Liens el tanquo con la mezcla
correcta de combustive.
4. Instele una bujfa nueva.
5. Veritique si el filtro de combustible no
est6 sucio; cdmbielo. VedFKluesi hay
dobleces en la II'neade combustible
o si est_ par, da; repdrela o cdmblela.
6. Vea =Ajuste al Cad)urador* en la
secci6n Servicio y Ajustes,
1. Vea "Ajuste al Carburador" en la
secci6n Servicioy Ajustes.
2. Entre en contacto con el Centro de
Servtcio Sears.
3. Entre en contacto con el Centro de
Servicio Sears.
1. Limpie o cambie el flltro de aire.
2. Umpie o cambie la bujl'ay calibre
la separaci6n.
3. Vea "Ajusteal Carburador"en la
secci6n Servicio y Ajustea.
4. Entre en contacto con el Centro de
Servicio Sears.
5, Entre en contacto con el Centro de
Servicio Sears.
1. Ajuste el cabador.
2. Vaci6 el tanqus de combustible y
Ildnelo de combustible con la mezcla
correcta.
3. Umpie o cambie el filtro de airs.
4. Vea =Ajusteal Carburador"en la
secci6n Servicio y Ajustes.
1. Vea "Abastecimiento del Motor" en la
secci6n Uso.
2.
3,
4,
Cambie por la bujfa correcta.
Vea "Ajuste al Carburador" en la
secci6n Servicio y Ajustes.
Entre en contacto con el Centro de
Servicio Sears.
31

I
SUS DERECHOS Y OBUGACIONES
DE GARANTIA: La Agencia de Pro-
tecci6n Ambiental de los Estados Uni-
dos, la Junta de Recursos Amblen-
tales de California y Seam, Roebuck
and Co., U.S.A, se complacen en ex-
plicar la garant[a con la que cuenta el
sistema de control de omisi6n en su
motor peque_o, modelo 2000-2003,
para uso fuera de carretera. En Cali-
fornia, todos los motores peque_os
para uso fuera de carretera deben ser
dise_ados, construidos y equipados
para satisfacer las dgurosas normas
antihumo que posee el estado. Sears
deberd _]arantizar el sistema de control
de emis_6n en su mdquina de motor-
pequefio para uso fuera de carretera
por los periodos de tiempo que expli-
camos a continuaci6n y con la condi-
ci6n de que su mdquina de motor pe-
qhue_opara uso fuera de carretera no
aya sufrido ningun tipo de abuso, ne-
gligencia o mantenimiento inapropia-
do. Su sistema de control de emisi6n
incluye piezas tales como el carbura-
dory el sistema de ignici6n. Donde
exista una condicibn que requiera re-
paraci6n bajo garantfa, Sears reparard
puratissu motor peque_o para uso
era de carretera. Los gatos cubier-
tos bajo la garantla incluyen el
diagn6stico, laspiezas y labor.
CUBIERTA DE GARANTIA DEL FAB-
RICANTE" Si cualquier pieza relacio-
nada con el sistema de emisi6n de su
motor (como hemos enumerado en la
lista de piezas de control de emisi6n
bajo garantia) se encontrara defectuo-
sa o defectos en el material o en la la-
bor del motor causaran que tal pieza
comenzara a fallar, la pieza serd repa-
rada o reemplazada por Seam. GA-
RANTIA DE RESPONSABILIDAD DE
DEL DUENO: Corno duefio de una
mdquina de motor peque_o para uso
fuera de carretera, usted serd re-
sponsable por el rnantenimiento ade-
cuado en los periodos previamente
programados y enumerados en su
Manual del Propietario. Sears recom-
ienda que guarde todos los recibos
que indiquen que se ha desempe_ado
mantenimiento en su mdquina de mo-
tor peque_o para uso fuera do carret-
era, pero Sears no podr8 negar el ser-
vicio bajo garantla Onicamente a
causa de la falta de recibos o por el
incumplimiento de su par_e en asegu-
rame que el mantenlmiento programa-
do haya sido desempeSado. Como
due_o de una m;tquina de motor pe-
queSo para uso fuera de carretera,
usted deberd contar con el conoci-
miento de queSears puede negar la
cubierta bajo garantia si su rndquina
de motor peque_o para uso fuera de
carretera o alguna pieza de la misma
ha dejado de funcionar debido al abu-
so, negligencia, mantenimiento inapro-
piado, modificaciones no aprobadas o
el uso de piezas que no hayan sido
fabdcadas o aprobadas por el fabri-
cante original del equipo. Es respon-
sabilidad suya el Ilevar su mdquina de
motor pequeSo para uso fuera de car-
retera a un centro de reparaci6n auto-
rizado Sears tan pronto como se pres-
ente el problema. Las reparaciones
bajo garant[a deberdn ser completa-
das en un perlodo de tiempo razon-
able, que no exceda los 30 dfas. Si
cuenta usted con alguna pregunta en
relaci6n a sus derechos y responsabi-
lidades de garantfa, usted deberd
comunicarse con su centro de servicio
autorizado mds cercano o Ilamar a
Sears al 1-800-469-4663. FECHA
DEL COMIENZA DE LA GARANTIA:
El per_odo de garanfia comienza en la
fecha de com.pra de la rndquina de
motor pequeno para uso fuera de car-
retera. DURAClON DE LA GARAN-
TIA: Esta garantfa cuenta con un per-
lodo de duracibn de dos aSos
comenzando en la fecha inicial de
compra. QUE CUBRE LA GARAN-
TIA: REPARACION O REEMPLAZO
DE PIEZAS. La reparaci6n o el reem-
plazo de cualquier pieza garantizada
serdn desempeSados y ofrecidos al
dueSo sin costo alguno en un Centro
de Servicio Seam. Si cuenta usted
con alguna pregunta en relaci6n a sus
derechos y responsabilidades de ga-
rantla, usted deberd comunicarse con
su centro de servicio autorizado rods
cercano o Ilamar a Sears al
1-800-469-4663. PERIODO DE GA-
RANTIA: Cualquier pieza garantizada
que no est(_ programada para ser re-
emplazada como parto del mantenimi-
ento requerido, o que estd programa-
da dnicamente para inspeccibn regular
para efectos de "reparacion o reempla-
zo si fuera necesario" deberd garanti-
32

zameporunperiodode dosaries.
CualquierpiezagaranUzadaque estd
programadapara set reemplazada
como parte oel mantenimiento requeri-
do deber& estar garantizada por el
_)ecerfodode tiempo que comienza en la
ha de compra inlcial hasta la fecha
del primer reemplazo programado
para dicha pieza. DIAGNOSTICO: No
se deberd cobrar al duefio ningun tipo
de cargos pot la labor de dlagn6stico
la cual determine que unapieza ga-
rantizada se encuentra defectuosa si
el traba_o de diagnbstico ha sido de-
sempenado por un Centro de Servicio
Sears. DANOS POR CONSECUE-
ClA: Sears podrd ser responsable de
da_os ocurridos a otras piezas del mo-
tor causados por la falla de una pieza
garantizada que se encuentre bajo el
perfodo de garantia. QUE NO
CUBRE LA GARANTIA: Todas las fal-
las causadas por el abuso, negligen-
cia o mantenimiento inaprop/ado no
estdn cubiertas. PIEZAS ANADIDAS
O MODIFICADAS: El uso de piezas
a_adidas o la modificaci6n de piezas
podrdn servir como base para 9ue se
anule la reclamacibn de garantta. La
garantia de Sears no se responsabili-
za por el mal funcionamtento debido al
uso de piezas a_adidas o de piezas
modificadas. COMO ENTABLAR
UNA RECLAMAClON: Si cuenta
usted con alguna pregunta relaciona-
da con sus derechos y responsabili-
dades de garant|a, usted deberd en-
trar en contacto con su centro de
servicio autodzado mds cercano o Ila-
mar a Sears al 1-800-469-4663,
DONDE OBTENER SERVIClO DE
GARANTIA: Servicio o reparaciones
bajo garant|a deberdn ser provistas en
todos los Centros de Servicio Seam.
Por favor comunlquese al
1-800-469-4663. MANTENIMIENTO,
REEMPLAZO Y REPARAClON DE
PIEZAS RELAClONADAS CON LA
EMISlON: Cualquier pieza de repues-
to Sears aprobada y utilizada en el de-
sempe_o de cualquier servicio de
mantenimiento o servicio de repara-
cibn bajo garantia de piezas relaciona-
das-con la emisi6n serd provisto sin
costo alguno al dueSo si la pieza se
encuentra bajo garantfa, LISTA SE
PIEZAS DE CONTROL DE EMISION
GARANTIZADAS: Carburador, Siste-
ma de Ignici6n: Buj;a (cubierta I_asta la
fecha de manten!miento programada),
Mddulo de Ignicion, Silenciador in-
cluyendo el Catalizador. DECLARA-
ClON DE MANTENIMIENTO: El
dueSo es responsable de adquirir todo
el mantenimiento requerido como Io
define en el Manual del Operador.
Se certifica este motor para satisfacer los requisitos de emisi6n para los uso
siguientes:
[] Moderado (50 horas)
[] Intermedio (125 horas)
[] Extendido (300 horas)
33



Get it fixe   at your home or ours!
For repair of major brand appliances in your own home...
no matter who made it, no matter who sold it!
1-800-4-MY-HOME sMAnytime, day or night
(1-800-469-4663)
www.sears.corn
To bring in products such as vacuums,
lawn equipment and electronics for repair, call for
the location of your nearest Sears Parts & Repair Center.
1-800-488-1222 Anytime, dayor night
www.sears.com
For the replacement parts, accessories and owner's manuals
that you need to do-it-yourself, call Sears PartsDirect sM!
1-800-366-PART 6arn-11p.mCST,
(1-800-366-7278) 7 days a week
www.sears.com/partsdirect
To purchase or inquire about a Sears Service Agreement:
1-800-827-6655
7 a.m, - 5 p.m. CST, Mort. - Sat.
Para pedir servicio de reparaci6n a domicd_o,
y para ordenar piezas con entrega a dornicd_o
1-888-SU-HOGAR s_
Au Canada pour service en franqais:
1-877-LE-FOYER s_
(1-888-784-6427 i SE_/ARS 1HomeCentrar
(1-877-533-6937)
® Registered Trademark /TM Trademark of Sears, Roebuck and Co
© Sears, Roebuck and Co ® Marca Reg=strada /TMMarca de F&bnca de Sears, Roebuck and Co