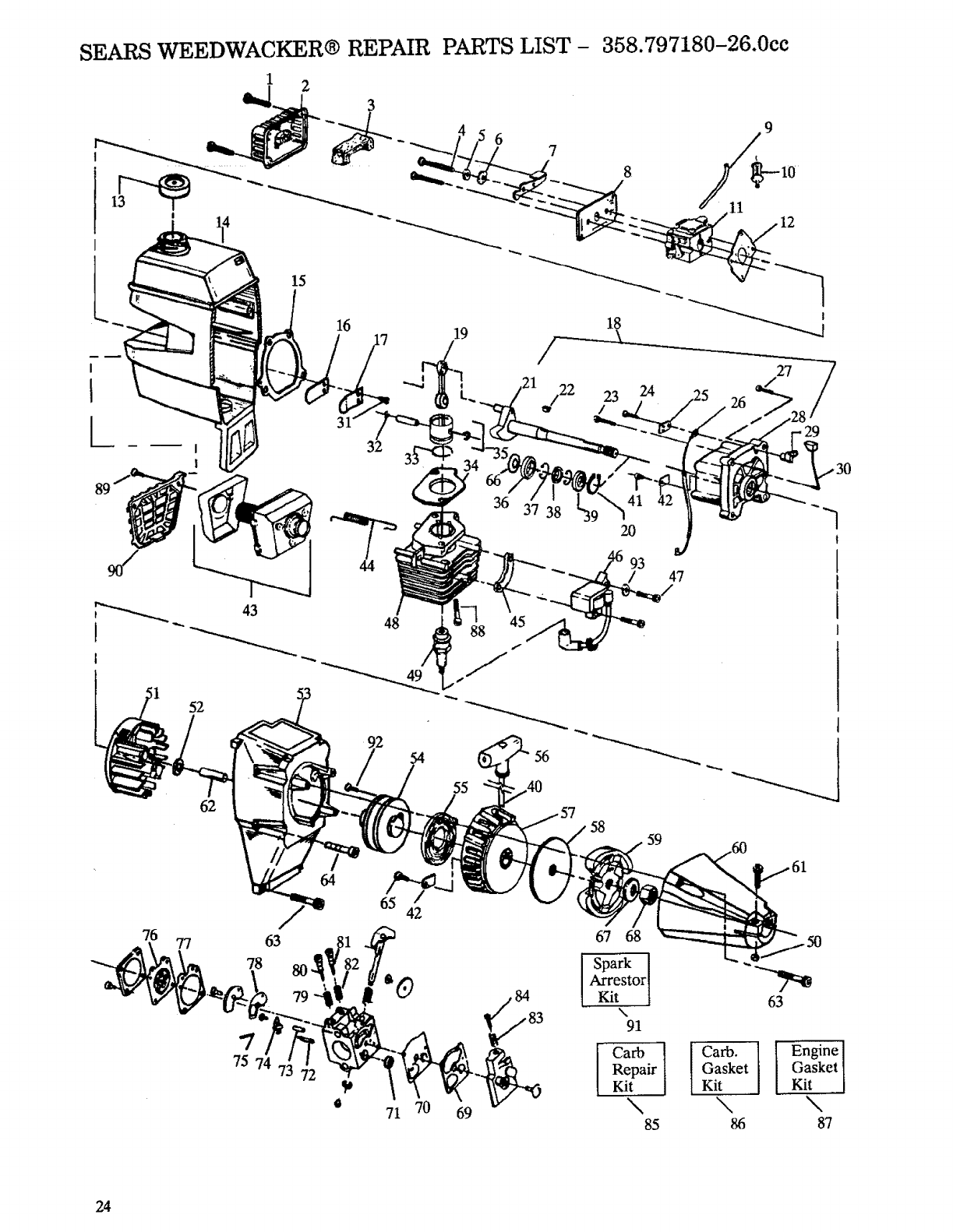
Craftsman 358797180 1008616L User Manual TRIMMER Manuals And Guides
User Manual: Craftsman 358797180 358797180 CRAFTSMAN TRIMMER - Manuals and Guides View the owners manual for your CRAFTSMAN TRIMMER #358797180. Home:Lawn & Garden Parts:Craftsman Parts:358797180 Craftsman Grass trimmer (weed wacker) Manual
Open the PDF directly: View PDF
.
Page Count: 28



























