Craftsman 580752370 User Manual PRESSURE WASHER Manuals And Guides L0603294
CRAFTSMAN Power Washer, Gas Manual L0603294 CRAFTSMAN Power Washer, Gas Owner's Manual, CRAFTSMAN Power Washer, Gas installation guides
User Manual: Craftsman 580752370 580752370 CRAFTSMAN PRESSURE WASHER - Manuals and Guides View the owners manual for your CRAFTSMAN PRESSURE WASHER #580752370. Home:Lawn & Garden Parts:Craftsman Parts:Craftsman PRESSURE WASHER Manual
Open the PDF directly: View PDF
.
Page Count: 52

Operator's Manual
®
PRESSU
7.0 HORSEPOWER
2800 PSI
2.5 GPM
Model No. 580.752370
WASHE
HOURS: Mort. - Fri. 8a.m. to 5 p.m. (CT)
!_!Ji WARNING
Before using this product, read this
manual and follow all Safety Rules
and Operating Instructions.
[[i! ' ADVERTENCIA
Antes de utilizar el producto, lea este
manual y siga todas las Reglas de
Seguridad eInstrucciones de Uso.
Sears, Roebuck and Co., Hoffman Estates, IL 60179 U.S.A.
Visit our Craftsman website: www.craftsman.com
Pall No. 200031G S Draft 0 (03,0?,2006)
• Safety
,Assembly
• Operation
•Maintenance
• Parts
• Espafiol, p, 30
0 J!JJ!

WARRANTY .................................... 2
SAFETY RULES ............................... 2-4
FEATURES AND CONTROLS ...................... 5
ASSEMBLY ................................... 6-8
OPERATION ................................. 9-12
SPECIFICATIONS ............................... 13
MAINTENANCE .............................. 14-18
STORAGE .................................. 19-20
TROUBLESHOOTING ............................ 21
REPLACEMENT PARTS ....................... 22-27
EMISSION CONTROL WARRANTY .............. 28-29
ESPANOL ................................... 30-51
HOW TO ORDER PARTS ................ BACK PAGE
One=Year Full Warranty on Craftsman Pressure Washer
When assembled, operated and maintained according to all supplied instructions, if this Craftsman Pressure
Washer fails due to a defect in material or workmanship within one year from the date of purchase, return it to
any Sears store or Parts & Repair Center or other Craftsman outlet in the United States for free repair (or
replacement if repair proves impossible).
This warranty excludes spark plugs and air filters, which are expendable parts that can wear out from normal
use in less than one year.
All warranty coverage applies for only 90 days from date of purchase if this pressure washer is ever used for
commercial or rental purposes.
This warranty gives you specific legal rights, and you may also have other rights which vary from state to state.
Sears, Roebuck and Co., Hoffman Estates, IL 60179
This is the safety alert symbol, it is used to alert you to potential personal injury hazards.
Obey all safety messages that follow this symbol to avoid possible injury or death.
_] ead this manual carefully and become
familiar with your pressure washer. Know its
applications, its limitations, and any hazards
involved.
The safety alert symbol (,A) is used with a signal
word (DANGER, CAUTION, WARNING), a pictorial
and/or a safety message to alert you to hazards.
DANGER indicates a hazard which, if not avoided, will
result in death or serious injury. WARNING indicates a
hazard which, if not avoided, could result in death or
serious injury. CAUTION indicates a hazard which, if
not avoided, might result in minor or moderate injury.
CAUTION, when used without the alert symbol,
indicates a situation that could result in equipment
damage. Follow safety messages to avoid or reduce
the risk of injury or death.
Hazard Symbols and Meanings
Toxic Fumes
Slippery Surface
Fire
Operator's Manual
5-
Fall
Electrical Shock
#"
Fluid Injection
Explosion Hot Surface
Moving Parts Flying Objects Kickback
© Sears Brands, LLC

WARNING
The engine exhaust from this product contains
chemicals known to the State of California to cause
cancer, birth defects, or other reproductive harm.
WARNING
Operate pressure washer ONLY outdoors.
Keep exhaust gas from entering a confined area through
windows, doors, ventilation intakes or other openings.
DO NOT operate pressure washer inside any building or
enclosure, even if doors or windows are open.
Use a respirator or mask whenever there is a chance
that vapors may be inhaled.
Read all instructions packed with mask so you are certain
mask will provide necessary protection against inhaling
harmful vapors.
WARNING
in safe direction and squeeze sprayALWAYS point gun
gun trigger, to release pressure and avoid kickback each
time, before starting engine. Engage trigger lock when
not in use.
When starting engine, pull cord slowly until resistance is
felt and then pull rapidly to avoid kickback.
After each starting attempt, where engine fails to run,
always point gun in a safe direction and squeeze spray
gun trigger to release high pressure.
Firmly grasp spray gun with both hands when using high
pressure spray to avoid injury when gun kicks back.
WARNING
Keep spray nozzle between 8 to 24 inches away from
cleaning surface.
Operate this unit on a stable surface.
Cleaning area should have adequate slopes and drainage
to reduce possibility of falls due to slippery surfaces.
Be extremely careful if you must use pressure washer from a
ladder, scaffolding or any other relatively unstable location.
Firmly grasp spray gun with both hands when using high
pressure spray to avoid injury when gun kicks back.
WARNING
WHEN ADDING OR DRAINING FUEL
Turn pressure washer OFF and let it cool at least 2
minutes before removing fuel cap. Loosen cap slowly to
relieve pressure in tank.
Fill or drain fuel tank outdoors.
DO NOT overfill tank. Allow space for fuel expansion.
Keep fuel away from sparks, open flames, pilot lights,
heat, and other ignition sources.
DO NOT light a cigarette or smoke.
VHEN STARTING EQUIPMENT
Ensure spark plug, muffler, fuel cap and air cleaner are
in place.
DO NOT crank engine with spark plug removed.
If fuel spills, wait until it evaporates before starting
engine.
VHEN OPERATING EQUIPMENT
•DO NOT tip engine or equipment at angle which causes
fuel to spill.
•DO NOT spray flammable liquids.
WHEN TRANSPORTING OR REPAIRING EQUIPMENT
•Transport/repair with fuel tank EMPTY or with fuel shutoff
valve OFF.
•Disconnect spark plug wire.
WHEN STORING FUEL OR EQUIPMENT WITH FUEL IN
TANK
Store away from furnaces, stoves, water heaters, clothes
dryers or other appliances that have pilot light or other
ignition source because they can ignite fuel vapors.
WARNING
NEVER aim spray gun at people, animals or plants.
DO NOT allow CHILDREN to operate pressure washer.
NEVER repair high pressure hose. Replace it.
NEVER repair leaking connections with sealant of any
kind. Replace o-ring or seal.
Keep high pressure hose connected to pump and spray
gun while system is pressurized.
ALWAYS point gun in safe direction and squeeze spray
gun trigger, to release high pressure, every time you stop
engine. Engage trigger lock when not in use.

WARNING
DO NOT touch hot surfaces and avoid hot exhaust gases.
Allow equipment to cool before touching.
Keep at least 5 ft. (152 cm) clearance on all sides of
pressure washer including overhead.
Code of Federal Regulation (CFR) Title 36 Parks,
Forests, and Public Property require equipment powered
by an internal combustion engine to have a spark
arrester, maintained in effective working order, complying
to USDA Forest service standard 5100-1C or later
revision. In the State of California a spark arrester is
required under section 4442 of the California Public
resources code. Other states may have similar laws.
WARNING
WHEN ADJUSTING OR MAKING REPAIRS TO YOUR
PRESSURE WASHER
Disconnect the spark plug wire from the spark plug and
place the wire where it cannot contact spark plug.
WHEN TESTING FOR ENGINE SPARK
Use approved spark plug tester.
DO NOT check for spark with spark plug removed.
WARNING
• DO NOT wear loose clothing, jewelry or anything that
may be caught in starter or other rotating parts.
• Tie up long hair and remove jewelry.
iWARNING i
• Keep water spray away from electric wiring or fatal
electric shock may result.
WARNING
Always wear safety goggles when using this equipment
or in vicinity of where equipment is in use.
Before starting the pressure washer, be sure you are
wearing adequate safety goggles.
CAUTION
DO NOT tamper with governed speed.
DO NOT operate pressure washer above rated pressure.
CAUTION
DO NOT secure spray gun in open position.
DO NOT leave spray gun unattended while machine is
running.
NEVER use a spray gun which does not have a trigger
lock or trigger guard in place and in working order.
Always be certain spray gun, nozzles and accessories
are correctly attached.
CAUTION
DO NOT point spray gun at glass when using MAX (pin
point) nozzle.
NEVER aim spray gun at plants.
CAUTION
If you have questions about intended use, ask dealer or
contact Sears.
NEVER operate units with broken or missing parts, or
without protective housing or covers.
DO NOT by-pass any safety device on this machine.
Before starting pressure washer in cold weather, check
all parts of the equipment to be sure ice has not formed
there.
NEVER move machine by pulling on hoses. Use handle
provided on unit.
Check fuel system for leaks or signs of deterioration,
such as chafed or spongy hose, loose or missing
clamps, or damaged tank or cap. Correct all defects
before operating pressure washer.
This equipment is designed to be used with Sears
authorized parts ONLY. If equipment is used with parts
that DO NOT comply with minimum specifications, user
assumes all risks and liabilities.

KNOW YOUR PRESSURE WASHER
I! ReadtheOperator'sManualandsafetyrulesbeforeoperatingyourpressurewasher,
.........................Compare the illustrations with your pressure washer to familiarize yourself with the locations of various
controls and adjustments, Save this manual for future reference,
Spray Gun Nozzle Extension
with Quick Connect
Quick Connect Spray Tips
Model Data Decal
High Pressure Hose
Oil Fill Cap and Dipstick
Waterlnlet
Throttle Control Lever
High Pressure Outlet
Air Filter
Pump equipped with
Automatic Cool Down System
Air Filter iProtects engine by filtering dust and
debris out of intake air.
Automatic Cool Down System -- Cycles water
through pump when water reaches 125°-155°F. Warm
water will discharge from pump onto ground. This
system prevents internal pump damage.
Choke Knob iUsed to help start a cold engine.
Detergent Siponing Tube and Filter - Use to draw
detergent from chemical bottle to the low pressure
water stream.
Fuel Cap - Fill engine with regular unleaded fuel here.
High Pressure Hose - Connect one end to the spray
gun and other end to the high pressure outlet.
High Pressure Outlet - Connection for high pressure
hose.
Model Data Decal - Provides model and serial number
of pressure washer. Please have these readily available
when calling for assistance.
Detergent Siphoning
Tube and Filter
Nozzle Extension with Quick Connect -- Allows you
to switch between five different spray tips.
Oil Fill Cap and Dipstick - Check and fill engine with
oil here.
Pump - Develops high pressure water.
Quick Connect Spray Tips iDetergent, 0°, 15°,
25 °, and 40°: for various cleaning applications.
Recoil Starter - Used for starting the engine
manually.
Spray Gun - Controls the application of water onto
cleaning surface with trigger device. Includes trigger
lock.
Throttle Control Lever- Sets engine in starting
mode for recoil starter and stops running engine.
Water Inlet - Connection for garden hose.

Yourpressurewasherrequiressomeassemblyandis
readyforuseonlyafterit hasbeenproperlyserviced
withtherecommendedoil andfuel.
if you have any problems with the assembly of
your pressure washer, please call the pressure
washer helpline at 1-800-222-3136.
UNPACK THE PRESSURE WASHER
1. Remove everything from carton except pressure
washer.
2. Open carton completely by cutting each corner
from top to bottom.
3. Remove pressure washer from carton.
CARTON CONTENTS
Check all contents. If any parts are missing or damaged,
call the pressure washer helpline at 1-800-222-3136.
The main unit
Handle
Accessory tray
Spray gun
High pressure hose
Nozzle extension with quick connect fitting and
spray tip holder
• Engine oil
• Parts bag (which includes items listed below)
• Operator's manual
• Registration card
• Safety goggles
• Bag containing 5 multi-colored quick connect
spray tips
• Handle fastening hardware kit (which
includes):
• Carriage bolt (2)
• Plastic knobs (2)
• Tree Clips (4)
Become familiar with each piece before assembling
the pressure washer. Check all contents against the
illustration on page 5. If any parts are missing or
damaged, call the pressure washer helpline at
1-800-222-3136.
ASSEMBLING YOUR PRESSURE
WASHER
Your Craftsman high pressure washer was mostly
assembled at the factory. However, you will need to
perform these tasks before you can operate your
pressure washer:
1. Fill out and send in registration card.
2. Attach handle and accessory tray.
3. Add oil to engine crankcase.
4. Add fuel to fuel tank.
5. Connect pressure hose to spray gun and pump.
6. Connect water supply to pump.
7. Attach nozzle extension to spray gun.
8. Select/attach quick connect spray tip to nozzle
extension.
Attach Handle and Accessory Tray
1. Place handle assembly onto handle supports
connected to main unit. Make sure holes in handle
align with holes on handle supports.
Align Holes E-_._.___..v_.1_,,_,"_
Handle
Supports
NOTE: It may be necessary to move the handle
supports from side to side in order to align the handle
so it will slide over the handle supports.
2. Insert carriage bolts through holes from front of
unit and attach plastic knob from back of unit.
Tighten by hand.

3. Placeaccessorytrayoverholesonhandle
(viewingfromfrontof unit).Pushtreeclipsinto
holesuntiltheysitflatagainstaccessorytray.
4. Insertsuppliedaccessoriesinspaces3rovidedin
accessorytray.See"Howto UseAccessoryTray".
Add Engine Oil
CAUTION! Any attempt to crank or start the engine
before it has been properly serviced with the
recommended oil may result in an engine failure.
1. Place pressure washer on a level surface.
2. Clean area around oil fill and remove oil dipstick.
3. Using oil funnel (optional), slowly pour entire
contents of provided oil bottle (18 oz.) into oil fill
opening.
4. Replace oil dipstick and fully tighten.
NOTE: See the section "Oil" on page 16 to review oil
recommendations.
Add Fuel
NOTE: This gasoline engine is certified to operate on
gasoline. Exhaust Emission Control System: EM
(Engine Modifications).
WARNING
WHEN ADDING FUEL
Turn pressure washer OFF and let it cool at least 2
minutes before removing fuel cap. Loosen cap slowly to
relieve pressure in tank.
Fill or drain fuel tank outdoors.
DO NOT overfill tank. Allow space for fuel expansion,
Keep fuel away from sparks, open flames, pilot lights,
heat, and other ignition sources,
DO NOT light a cigarette or smoke.
Use clean, fresh, regular unleaded fuel with a
minimum of 85 octane with equipment. DO NOT
use fuel which contains Methanol. DO NOT mix oil
with fuel. DO NOT use fuel that contains more
than 15% alcohol.
2. Clean area around fuel fill cap, remove cap.
3. Slowly add regular unleaded fuel to fuel tank. Be
careful not to overfill. Allow about 1.5" of tank
space for fuel expansion, as shown here.
4. Install fuel cap and wait for any spilled fuel to
evaporate.
CAUTION! Alcohol-blended fuels (called gasohol,
ethanol or methanol) can attract moisture, which leads
to separation and formation of acids during storage.
Acidic gas can damage the fuel system of an engine
while in storage.
To avoid engine problems, the fuel system should be
emptied before storage of 30 days or longer. Drain the
fuel tank, start the engine and let it run until the fuel lines
and carburetor are empty. Use fresh fuel next season.
See "Storage" on pages 19-20 for additional information.
NEVER use engine or carburetor cleaner products in
the fuel tank as permanent damage may occur.

Connect Hose and Water Supply to Pump
iMPORTANT: To avoid pump damage, you must
assemble the nozzle extension to the spray gun and
attach all hoses before you start the engine.
1. Uncoil high pressure hose and attach one end of
hose to base of spray gun. Tighten by hand.
NOTE: Remove and discard shipping caps from pump
inlet and outlet.
2. Attach other end of high pressure hose to high
pressure outlet on pump. Tighten by hand.
3. Before connecting garden hose to water inlet,
inspect inlet screen. Clean screen if it contains
debris or have it replaced if damaged. Refer to
section "O-Ring Maintenance" if inlet screen is
damaged. DO NOT run pressure washer if inlet
screen is damaged or missing.
"__ Inspect inlet screen.
DO NOT use if
damaged or missing;
clean if dirty.
4. Run water through garden hose for 30 seconds to
flush it of debris. Turn off water.
iMPORTANT: DO NOT siphon standing water for the
water supply. Use ONLY cold water (less than 100°F).
5. Connect garden hose (not to exceed 50 feet in
length) to water inlet. Tighten by hand.
CAUTION
•Damage to equipment resulting from failure to follow
this instruction will void warranty.
.Turn ON water, point gun in a safe direction and
squeeze trigger to purge pump system of air and
impurities.
WARNING
Always wear safety goggles when using this equipment
or in vicinity of where equipment is in use.
Before starting the pressure washer, be sure you are
wearing adequate safety goggles.
CHECKLIST BEFORE STARTING
ENGINE
Review the assembly to ensure you have performed
all of the following:
1. Check that oil has been added to proper level in
engine crankcase.
2. Add proper fuel to fuel tank.
3. Check for properly tightened hose connections
(high pressure and water supply) and for tight
connections and that there are no kinks, cuts, or
damage to the high pressure hose.
4. Provide proper water supply (not to exceed
100°F).
5. Be sure to read "Safety Rules" and "Operation"
sections before using the pressure washer.
6. If starting unit after storage, see "Storage" section
on pages 19-20.

HOW TO USE YOUR PRESSURE
WASHER
If you have any problems operating your pressure
washer, please call the pressure washer helpline at
1-800-222-3136.
Pressure Washer Location
Pressure Washer Clearance
i WARNING i
• Keep at least 5 ft. (152 cm) clearance on all sides of
pressure washer including overhead.
Place pressure washer in a well ventilated area, which
will allow for removal of deadly exhaust gas. DO NOT
place pressure washer where exhaust gas could
accumulate and enter inside or be drawn into a
potentially occupied building. Ensure exhaust gas is
kept away from any windows, doors, ventilation
intakes or other openings that can allow exhaust gas
to collect in a confined area. Prevailing winds and air
currents should be taken into consideration when
)ositioning pressure washer.
WARNING
Operate pressure washer ONLY outdoors.
Keep exhaust gas from entering a confined area through
windows, doors, ventilation intakes or other openings.
DO NOT operate pressure washer inside any building or
enclosure, even if doors or windows are open.
To Start Your Pressure Washer
To start your engine-powered pressure washer for the
first time, follow these instructions step-by-step. This
starting information also applies whenever you start
the engine after you have let the pressure washer sit
idle for at least a day.
1. Place pressure washer near an outside water
source capable of supplying water at a flow rate
greater than 3.5 gallons per minute and no less than
20 PSI at pressure washer end of garden hose.
2. Check that high pressure hose is tightly connected
to spray gun and pump. See "Assembling Your
Pressure Washer" for illustrations.
3. Make sure unit is in a level position.
4. Connect garden hose to water inlet on pressure
washer pump.
CAUTION
•Damage to equipment will result from failure to follow
this instruction.
5. Turn ON water, point gun in a safe direction and
squeeze trigger to purge pump system of air and
impurities.
6. Place quick connect spray tips in slots on holder
attached to nozzle extension.
Typical Pressure
Washer Shown
Exhaust Port
7. Attach nozzle extension to spray gun. Tighten by
hand.
8. Choose desired spray tip and insert into nozzle
extension. See "How to Use Spray Tips".
9. Engage safety latch to spray gun trigger.
__ Safety Latch

10.Movethrottleleverto"Fast"position,shownhere
asa rabbit.
\
\\ \
Throttle Lever in
"Fast" Position
11. Move choke knob to "Choke" position.
NOTE: For a warm engine, be sure the choke knob is
in the "Run" position.
12. When starting engine, position yourself as
recommended below. Grasp handle and pull recoil
starter lightly until you feel some resistance, then
pull briskly.
13. Return recoil starter slowly. DO NOT let rope
"snap back" against starter.
WARNING
in safe direction and squeeze sprayALWAYS point gun
gun trigger, to release pressure and avoid kickback each
time, before starting engine.
When starting engine, pull cord slowly until resistance is
felt and then pull rapidly to avoid kickback.
After each starting attempt, where engine fails to run,
always point gun in safe direction and squeeze spray
gun trigger to release high pressure.
Firmly grasp spray gun with both hands when using high
pressure spray to avoid injury when gun kicks back.
14. When engine starts, slowly move choke knob to
"Run" position as engine warms. If engine falters,
move choke knob to "Choke" position, then to
"Run" position.
15. After each starting attempt, where engine fails to
run, always point gun in safe direction and
squeeze spray gun trigger to release high
pressure. Move choke knob to "Run" position, and
repeat steps 12 through 14.
IMPORTANT: If engine floods, place choke knob in
"Run" position and crank until engine starts.
WARNING
DO NOT touch hot surfaces and avoid hot exhaust gases.
Allow equipment to cool before touching.
Keep at least 5 ft. (152 cm) clearance on all sides of
pressure washer including overhead.
Code of Federal Regulation (CFR) Title 36 Parks,
Forests, and Public Property require equipment powered
by an internal combustion engine to have a spark
arrester, maintained in effective working order, complying
to USDA Forest service standard 5100-1C or later
revision. In the State of California a spark arrester is
required under section 4442 of the California Public
resources code. Other states may have similar laws.
NOTE: Always keep the throttle lever in the "Fast"
position when operating the pressure washer.
How to Stop Your Pressure Washer
1. Let engine idle for two minutes.
2. Move throttle lever on engine to "Stop" position.
L O NOT stop engine by moving choke knob to "Choke"
position.
3. ALWAYS point gun in a safe direction and
squeeze spray gun trigger to release retained high
water pressure.
WARNING
10
,
Keep high pressure hose connected to pump and spray
gun while system is pressurized.
ALWAYS point gun in safe direction and squeeze spray
gun trigger, to release high pressure, every time you stop
engine. Engage trigger lock when not in use.
Engage trigger lock on spray gun when not in use.

How to Use Accessory Tray
The unit is equipped with an accessory tray with
places to store your spray gun and nozzle extension.
There is also a hook at the front of the accessory tray
to hold your high pressure hose.
NOTE: The extra hole in the tray is for storing a utility
brush. The extra clip in the tray is for storing a turbo
nozzle. The brush and turbo nozzle are NOT included
with your pressure washer. You can buy these items
as optional accessories.
1. Place nozzle extension through hole on accessory
tray, as shown.
Typical Pressure
Washer Shown
2. Place spray gun through hole on accessory tray
on right side of unit.
3. Hang high pressure hose on hook attached to
accessory tray on front of tray as shown.
How to Use Spray Tips
The nozzle extension quick-connect allows the use of
several different spray tips. Each spray tip provides a
different spray pattern.
Follow these instructions to change spray tips:
1. Engage safety latch on spray gun.
I A CAUTIO.
• NEVER exchange spray tips without engaging the safety
latch on the spray gun trigger.
Low Pressure
Use to apply
detergent
Black White
40 °
1
2. Pull back collar on quick-connect and pull current
spray tip off.
3. Select desired spray tip:
• For gentle rinse, select white 40 °or green 25°
spray tip.
• To scour surface, select yellow 15° or red 0°
spray tip.
• To apply detergent, select black spray tip.
4. Pull back on collar, insert new spray tip and
release collar. Tug on spray tip to make sure it is
securely in place.
5. For most effective cleaning, keep spray tip from
8 to 24 inches away from cleaning surface.
6. DO NOT get closer than 6 inches when cleaning
automobile tires.
Cleaning and Applying Detergent
IMPORTANT: Use detergents designed specifically
for pressure washers. Household detergents could
damage the pump.
CAUTION
Starting the engine without all the hoses connected and
without the water turned ON will damage the pump.
Damage to equipment resulting from failure to follow this
instruction will void warranty.
To apply detergent follow these steps:
1. Review spray tip use.
2. Prepare detergent solution as required by
manufacturer.
3. Place filter end of detergent siphoning tube into
detergent container.
CAUTION
When inserting the filter into a detergent solution bottle,
route the tube so as to keep it from inadvertently
contacting the hot muffler.
_ High
Pressure
Green Yellow Red
25 °15°0o
11

4. Makesureblackdetergentspraytipisinstalled.
NOTE:Detergentcannotbeappliedwiththehigh
pressurenozzles(White,Green,YelloworRed).
5. Makesuregardenhoseisconnectedtowater
inlet.Checkthathighpressurehoseisconnected
tospraygunandpumpandstartengine.
6. Applydetergenttoa drysurface,startingatlower
portionof areato bewashedandworkupward,
usinglong,even,overlappingstrokes.
7. Allowdetergenttosoakinbetween3-5minutes
beforewashingandrinsing.Reapplyasneededto
preventsurfacefromdrying.DONOTallow
detergentto dryon(preventsstreaking).
iMPORTANT: You must flush the injection system
after each use by placing the filter into a bucket of
clean water, then run the pressure washer in low
pressure for 1-2 minutes.
Pressure Washer Rinsing
For Rinsing:
1. Engage trigger lock on spray gun.
2. Remove black detergent spray tip from nozzle
extension,
3. Select and install desired high pressure spray tip
following instructions "How to Use Spray Tips",
4. Keep spray gun a safe distance from the area you
plan to spray,
WARNING
Keep spray nozzle between 8 to 24 inches away from
cleaning surface.
Operate this unit on a stable surface.
Be extremely careful if you must use the pressure
washer from a ladder, scaffolding or any other relatively
unstable location.
Firmly grasp spray gun with both hands when using high
pressure spray to avoid injury when gun kicks back.
5. Apply a high pressure spray to a small area and
then check the surface for damage. If no damage is
found, you can assume it is okay to continue rinsing.
6. Start at top of area to be rinsed, working down with
same overlapping strokes as you used for cleaning.
Cleaning Detergent Siphoning Tube
If you used the detergent siphoning tube, you must
flush it with clean water before stopping the engine.
1. Place detergent siphoning tube/filter in a bucket
full of clean water.
2. Engage trigger lock on spray gun.
3. Attach black detergent spray tip.
4. Disengage trigger lock on spray gun.
5. Flush for 1-2 minutes.
6. Shut off engine.
7. ALWAYS point gun in a safe direction and
squeeze spray gun trigger to release retained high
water pressure.
IMPORTANT: Spray gun traps high water pressure,
even when engine is stopped and water is disconnected.
Automatic Cool Down System
(Thermal Relief)
If you run the engine on your pressure washer for
3-5 minutes without pressing the trigger on the spray
gun, circulating water in the pump can reach
temperatures above 125°F. The system engages to
cool the pump by discharging the warm water onto
the ground.
12

ENGINE TECHNICAL INFORMATION
This is a single cylinder, overhead valve (OHV), air
cooled engine. It is a low emissions engine.
In the State of California, Model Series 120000
engines are certified by the California Air Resources
Board to meet emissions standards for 125 hours.
Such certification does not grant the purchaser, owner
or operator of this engine any additional warranties
with respect to the performance or operational life of
this engine. The engine is warranted solely according
to the product and emissions warranties stated
elsewhere in this manual.
Power Ratings
* The power ratings for an individual engine model are
initially developed by starting with SAE (Society of
Automotive Engineers) code J1940 (Small Engine
Power & Torque Rating Procedure) (Revision 2002-
05). Given both the wide array of products on which
our engines are placed, and the variety of
environmental issues applicable to operating the
equipment, it may be that the engine you have
purchased will not develop the rated horsepower when
used in a piece of power equipment (actual "on-site"
power). This difference is due to a variety of factors
including, but not limited to, the following: differences
in altitude, temperature, barometric pressure, humidity,
fuel, engine lubrication, maximum governed engine
speed, individual engine to engine variability, design of
the particular piece of power equipment, the manner in
which the engine is operated, engine run-in to reduce
friction and clean out of combustion chambers,
adjustments to the valves and carburetor, and other
factors. The power ratings may also be adjusted
based on comparisons to other similar engines utilized
in similar applications, and will therefore not
necessarily match the values derived using the
foregoing codes.
PRODUCT SPECIFICATIONS
Pressure Washer Specifications
Max Outlet Pressure ......... 2,800 PSI
Max Flow Rate ............. 2.5 GPM
Chemical Mix............... Use as directed
Water Supply Temperature .... Not to exceed 100°F
Shipping Weight ............ 74 Ibs.
Engine Specifications
Gross* Horsepower ........... 7 at 3600 rpm
Bore ....................... 2.69 in. (68mm)
Stroke ...................... 2.04 in. (52mm)
Displacement ................ 11.58 in. (190 cc)
Spark Plug
Long Life Platinum ......... Champion RC12PYP
Resistor ................. Champion RC12YC
Set Gap To: ............... 0.020inch (0.50ram)
Armature Air Gap: ............ 0.010-0.014 in.
(0.25-0.36mm)
Valve clearance with valve springs installedand piston 1/4 in.
(6 mm) past top dead center (check when engine is cold).
Intake ...................... 0.004-0.006 in.
(0.10-0.15 mm)
Exhaust .................... 0.004-0.008 in.
(0.10-0.20 mm)
Fuel Capacity ................ 1.6 Quarts
Oil Capacity ................. 22 Ounces
Oil Type:
Above 40° F ............... SAE 30
Below 40° F ............... SAE 5W-30 or 10W-30
NOTE: For practical operation, the horsepower
loading should not exceed 85% of rated horsepower.
Engine power will decrease 3-1/2% for each
1,000 feet (300 meters) above sea level and 1% for
each 10° F (5.6 ° C) above 77° F (25 ° C). It should
operate satisfactorily at an angle up to 15°.
13

OWNER'S RESPONSIBILITIES
Follow the hourly or calendar intervals, whichever occurs first.
More frequent service is required when operating in adverse conditions noted below.
MAINTENANCE SCHEDULE
FILL IN DATES AS YOU
COMPLETE REGULAR SERVICE
MAINTENANCE TASK
PRESSURE WASHER
Check/clean water inlet screen
Check high pressure hose
Check spray gun and assembly for leaks
Check detergent hose
Check in-line filter
Prepare pump for storage below 32°F
ENGINE
Before
Each
Use
x _
x
x
x
x
SERVICE DATES
I Every25 Every 50
Hours or Hours or
Yearly Yearly
See Storage on pages 19-20.
Every I00
Hours or
Yearly
SERVICE DATES
Check oil level
Clean debris
Service air cleaner
Change engine oil
Service spark arrester
Service spark plug
Clean cooling system
Prepare for storage
X
X
X3
X 2
X
X
X2
If unit is to remain idle for longer than 30 days
1 Clean if clogged. Replace if perforated or torn.
z Change oil after the first (5) operating hours and every 50 hours or yearly thereafter.
Change sooner when operating under dirty or dusty conditions.
Replace more often under dirty or dusty conditions.
GENERAL RECOMMENDATIONS
Regular maintenance will improve the performance
and extend the life of the pressure washer. See any
Sears or other qualified service dealer for service.
The pressure washer warranty does not cover items
that have been subjected to operator abuse or
negligence. To receive full value from the warranty,
the operator must maintain pressure washer as
instructed in this manual including proper storage as
detailed in "Storage" on pages 19-20.
Some adjustments will need to be made periodically to
properly maintain your pressure washer.
All service and adjustments should be made at least
once each season. Follow the requirements in the
"Maintenance Schedule" chart above.
NOTE: Once a year you should clean or replace the
spark plug and replace the air filter. A new spark plug
and clean air filter assure proper fuel-air mixture and
help your engine run better and last longer.
EMISSION CONTROL
Maintenance, replacement or repair of the emission
control devices and systems may be performed by any
non-road engine repair establishment or individual.
BEFORE EACH USE
1. Check engine oil level.
2. Clean debris.
3. Check water inlet screen for damage.
4. Check in-line filter for debris.
5. Check high pressure hose for leaks.
6. Check detergent siphoning tube/filter for damage.
7. Check gun and nozzle extension assembly for leaks.
8. Purge pump of air and contaminants.
PRESSURE WASHER
MAINTENANCE
Clean Debris
Daily or before use, clean accumulated debris from
pressure washer. Keep linkage, spring and controls
clean. Keep area around and behind muffler free from
any combustible debris.
Pressure washer parts should be kept clean to reduce
the risk of overheating and ignition of accumulated
debris.
14

CAUTION
•DO NOT insert any objects through cooling slots.
• Use a damp cloth to wipe exterior surfaces clean.
• Use a soft bristle brush to loosen caked on dirt, oil,
etc.
• Use a vacuum cleaner to pick up loose dirt and debris.
• Use low pressure air (not to exceed 25 psi) to blow
away dirt. Inspect cooling air slots and openings on
the pressure washer. These openings must be kept
clean and unobstructed.
Check and Clean Inlet Screen
Examine garden hose inlet screen. Clean if it is
clogged or replace if it is torn.
Check High Pressure Hose
High pressure hoses can develop leaks from wear,
kinking, or abuse. Inspect hose before each use.
Check for cuts, leaks, abrasions, bulging of cover, or
damage or movement of couplings. If any of these
conditions exist, replace hose immediately.
i WARNING i
• NEVER repair high pressure hose. Replace it.
• Replacement hose rating MUST exceed maximum
pressure rating of unit.
Check Gun and Nozzle Extension
Examine hose connection to spray gun and make sure
it is secure. Test trigger by pressing it and making
sure it springs back into place when you release it. Put
trigger lock in UP position and test trigger. You should
not be able to press trigger. Replace spray gun
immediately if it fails any of these tests.
Check Detergent Siphoning Tube
Examine the filter on the detergent tube and clean if
clogged. The tube should fit tightly on the barbed
fitting. Examine the tube for leaks or tears. Replace
the filter or tube if either is damaged.
Check In-Line Filter
Refer to the illustration and service the in-line filter if it
becomes clogged, as follows:
In-line Filter
Nozzle Extension O-rinc
1. Detach spray gun from high pressure hose.
Detach nozzle extension from spray gun and
remove o-ring and screen from nozzle extension.
Flush screen, spray gun, and nozzle extension
with clean water to clear debris.
2. Place in-line filter screen into threaded end of
nozzle extension. Direction does not matter. Push
screen in with eraser end of pencil until it rests flat
at bottom of opening. Take care to not bend
screen.
3. Place o-ring into recess. Push o-ring snugly
against in-line filter screen.
4. Assemble nozzle extension to spray gun, as
described earlier in manual.
Nozzle Maintenance
A pulsing sensation felt while squeezing the spray gun
trigger may be caused by excessive pump pressure.
The principal cause of excessive pump pressure is a
spray tip clogged or restricted with foreign materials,
such as dirt, etc. To correct the problem, immediately
clean the spray tip following these instructions:
1. Shut off engine and turn off water supply.
2. Remove spray tip from end of nozzle extension.
3. Remove in-line filter from other end of nozzle
extension.
,Use a small paper clip to free any foreign material
clogging or restricting spray tip.
Use wire here_ _._,.
to remove ('_'_ _
debris. -------_)_
5. Using a garden hose, remove additional debris by
back flushing water through nozzle extension.
Back flush between 30 to 60 seconds.
15

6. Reinstall spray tip and in-line filter into nozzle
extension.
7. Reconnect nozzle extension to spray gun.
8. Reconnect water supply, turn on water, and start
engine.
9. Test pressure washer by operating with each
quick connect spray tips.
O-Ring Maintenance
Purchase an O-Ring Repair Kit at your local Sears or by
calling 1-800-4-MY-HOME (469-4663) or online at
www.sears.com. It is not included with the pressure
washer. This kit includes replacement o-rings, rubber
washer and water inlet filter. Refer to the instruction
sheet provided in the kit to service your unit's o-rings.
I WARNING 1
• NEVER repair leaking connections with sealant of any
kind. Replace o-ring or seal.
Pump Oil Maintenance
This model does not require any pump maintenance.
The pump is pre-lubricated and sealed, requiring no
additional lubrication for the life of the pump.
ENGINE MAINTENANCE
WARNING
WHEN ADJUSTING OR MAKING REPAIRS TO YOUR
PRESSURE WASHER
Disconnect the spark plug wire from the spark plug and
place the wire where it cannot contact spark plug.
WHEN TESTING FOR ENGINE SPARK
Use approved spark plug tester.
DO NOT check for spark with spark plug removed.
Oil
Oil Recommendations
NOTE: When adding oil to the engine crankcase, use
only high quality detergent oil rated with API service
classification SF, SG, SH, SJ or higher. DO NOT use
special additives.
Choose a viscosity according to the following table:
]
'F _0 ,t , 2? 3_ 4? .10 ._0 ._:
°C 30 20 10 0 /0 20 30 40
STARTING TEMPERATURE RANGE ANTIC{PATED BEFORE NEXT OIL CHANGE
NOTE: Synthetic oil meeting ILSAC GF-2, API
certification mark and API service symbol with "SJ/CF
ENERGY CONSERVING" or higher, is an acceptable
oil at all temperatures. Use of synthetic oil does not
alter required oil change intervals.
* The use of multi-viscosity oils (5W-30, 10W-30, etc.)
in temperatures above 40°F (4°C) will result in higher
than normal oil consumption. When using a multi-
viscosity oil, check oil more frequently.
** If using SAE 30 oil in temperatures below 40°F
(4°C), it will result in hard starting and possible engine
bore damage due to inadequate lubrication.
Checking Oil Level
Oil level should be checked prior to each use or at least
every 5 hours of operation. Keep oil level maintained.
1. Make sure pressure washer is on a level surface.
2. Remove oil dipstick and wipe dipstick with clean
cloth. Replace and tighten dipstick. Remove and
and check oil level.
3. Verify oil is at "Full" mark on dipstick. Replace and
tighten dipstick.
Adding Engine Oil
1. Make sure pressure washer is on a level surface.
2. Check oil level as described in "Checking Oil Level".
3. If needed, slowly pour oil into oil fill opening to the
"Full" mark on dipstick. DO NOT overfill.
4. Replace and tighten dipstick.
16

ChangingEngineOil
Changeengine oil after the first 5 hours and every
50 hours thereafter. If you are using your pressure
washer under extremely dirty or dusty conditions, or in
extremely hot weather, change oil more often.
i A CAUtlO.
• Used motor oil has been shown to cause skin cancer in
certain laboratory animals.
• Thoroughly wash exposed areas with soap and water.
KEEP OUT OF REACH OF CHILDREN,
DON'T POLLUTE, CONSERVE
RESOURCES. RETURN USED OIL TO
COLLECTION CENTERS,
Service Air Cleaner
Your engine will not run properly and may be
damaged if you run it with a dirty air cleaner.
Service the air cleaner once every 25 hours of
operation or once each year, whichever comes first.
Service more often if operating under dirty or dusty
conditions. Replacements are available at your local
Sears service center.
To service the air cleaner, follow these steps:
1. Loosen screw and tilt cover down.
Tabs and Slots
Cartridge
Change oil while engine is still warm from running, as
follows:
1. Drain fuel tank by running pressure washer until
fuel tank is empty.
2. Disconnect spark plug wire and keep it away from
spark plug.
3. Clean area around oil fill, remove oil fill
cap/dipstick. Wipe dipstick clean.
4. Tip your pressure washer to drain oil from oil fill
into a suitable container making sure you tip your
unit away from spark plug. When crankcase is
empty, return pressure washer to upright position.
5. Slowly pour recommended oil (about 22 oz.) into
oil fill opening. Pause to permit oil to settle. Fill to
"Full" mark on dipstick.
6. Wipe dipstick clean each time oil level is checked.
DO NOT overfill.
7. Replace and tighten dipstick.
8. Wipe up any remaining oil.
9. Reconnect spark plug wire to spark plug.
Base
Screw Cover
2. Carefully remove cartridge assembly.
3. To clean cartridge, gently tap pleated paper side
on a flat surface.
4. Reinstall clean or new cartridge assembly inside
cover.
5. Insert cover's tabs into slots in bottom of base.
6. Tilt cover up and tighten screw securely to base.
NOTE: You can purchase new air filter elements by
calling 1-800-4-MY-HOME (469-4663).
17

Service Spark Plug
Service the spark plug every 100 hours of operation or
yearly, whichever occurs first.
1. Clean area around spark plug.
2. Remove and inspect spark plug.
3. Replace spark plug if electrodes are worn, or if
insulator is cracked or chipped.
4. For replacement use either the standard resistor
spark plug, Champion RC12YC or the long life
platinum spark plug, Champion RC12PYP.
5. Check electrode gap with wire feeler gauge and
set gap at 0.020 inches (0.50mm), if necessary.
_-_ _ ............--_
6. Install spark plug, tighten securely.
NOTE: You can purchase a new spark plug by calling
1-800-4-MY-HOME (469-4663),
Spark Attester Service
Your engine is not factory-equipped with a spark attester.
In some areas, it is illegal to operate an engine without a
spark arrester. Check local laws and regulations. A spark
arrester is available from your nearest Sears service
center. If you need to order a spark arrester, please call
1-800-4-MY-HOME (469-4663).
The spark arrester must be serviced every 50 hours to
keep it functioning as designed.
WARNING
DO NOT touch hot surfaces and avoid hot exhaust gases.
Allow equipment to cool before touching.
Keep at least 5 ft. (152 cm) clearance on all sides of
pressure washer including overhead.
Code of Federal Regulation (CFR) Title 36 Parks,
Forests, and Public Property require equipment powered
by an internal combustion engine to have a spark
arrester, maintained in effective working order, complying
to USDA Forest service standard 5100-1C or later
revision. In the State of California a spark arrester is
required under section 4442 of the California Public
resources code. Other states may have similar laws.
If the engine has been running, the muffler will be very
hot. Allow the muffler to cool before servicing the
spark arrester.
*Remove spark arrester screen for cleaning and
inspection.
*Replace if screen is damaged.
Air Cooling System
Over time debris may accumulate in cylinder cooling
fins and cannot be observed without partial engine
disassembly. For this reason, we recommend you
have a Sears or other qualified service dealer clean
the cooling system per recommended intervals (see
"Maintenance Schedule" on page 14). Equally
important is to keep top of engine free from debris.
See "Clean Debris".
18

AFTER EACH USE
Water should not remain in the unit for long periods of
time. Sediments or minerals can deposit on pump
parts and "freeze" pump action. Follow these
procedures after every use:
1. Flush detergent siphoning tube by placing the filter
into a pail of clean water while running pressure
washer in low pressure mode. Flush for one to two
minutes.
2. Shut off engine, turn off water supply, point gun in
a safe direction and squeeze trigger to relieve
trapped pressure, engage trigger lock on spray gun
and let engine cool.
WARNING
Keep high pressure hose connected to pump and spray
gun while system is pressurized.
ALWAYS point gun in safe direction and squeeze spray
gun trigger, to release high pressure, every time you stop
engine. Engage trigger lock when not in use.
3. Disconnect hose from spray gun and high
pressure outlet on pump. Drain water from hose,
gun, and nozzle extension. Use a rag to wipe off
the hose.
4. Empty pump of all pumped liquids by pulling recoil
handle about 6 times. This should remove most
liquid in pump.
5. Coil high pressure hose and properly hang it on
hook provided on accessory tray.
,
7.
Store unit in a clean, dry area.
If storing for more than 30 days see "Long Term
Storage" on next page.
WARNING
WHEN STORING FUEL OR EQUIPMENT WITH FUEL IN
TANK
Store away from furnaces, stoves, water heaters, clothes
dryers or other appliances that have pilot light or other
ignition source because they can ignite fuel vapors.
WINTER STORAGE
CAUTION
• Failure to do so will permanently damage your pump
and render your unit inoperable.
• Freeze damage is not covered under warranty.
To protect the unit from freezing temperatures:
1. Follow steps 1-5 in the previous section "After
Each Use".
2. Use pump saver, available at Sears retail item
71-74403, to treat pump. This minimizes freeze
damage and lubricates pistons and seals.
3. If pump saver is not available, connect a 3-foot
section of garden hose to water inlet adapter. Pour
RV-antifreeze (antifreeze without alcohol) into
hose. Pull recoil handle twice. Disconnect 3-foot
hose.
4. Store unit in a clean, dry area.
19

LONG TERM STORAGE
If you do not plan to use the pressure washer for more
than 30 days, you must prepare the engine and pump
for long term storage.
It is important to prevent gum deposits from forming in
essential fuel system parts such as the carburetor, fuel
filter, fuel hose or tank during storage. Also,
experience indicates that alcohol-blended fuels (called
gasohol, ethanol or methanol) can attract moisture,
which leads to separation and formation of acids
during storage. Acidic gas can damage the fuel
system of an engine while in storage.
Protect Fuel System
Fuel Additive:
If adding a fuel additive, fill the fuel tank with fresh
fuel. If only partially filled, air in the tank will promote
fuel deterioration during storage. Engine and fuel can
be stored up to 24 months with additive.
+ Add fuel additive following manufacturer's
instructions.
+ Make sure you have water supply to pump inlet
connected and turned ON.
+ Run the engine outdoors for several minutes to be
sure that treated fuel has replaced the untreated
fuel in the carburetor.
If fuel additive is not used, remove all fuel from tank
and run engine until it stops from lack of fuel.
Change Oil
While engine is still warm, drain oil from crankcase.
Refill with recommended grade. See "Changing
Engine Oil" on page 17.
Oil Cylinder Bore
+ Remove spark plug. Squirt about 1/2 oz. of clean
engine oil into the cylinder. Cover spark plug hole
with rag. Pull recoil handle slowly to distribute oil.
Avoid spray from spark plug hole.
+ Install spark plug. DO NOT connect spark plug
wire.
Protect Pump
To protect the pump use Sears pump saver to prevent
freeze damage and lubricate pistons and seals.
NOTE: Sears pump saver, item number 71-74403, is
available as an optional accessory. It is not included
with the pressure washer.
CAUTION
+ Failure to do so will permanently damage your pump
and render your unit inoperable.
+ Freeze damage is not covered under warranty.
To use the pump saver:
CAUTION
Always wear eye protection when using PumpSaver.
1. Attach hose on pump saver can to pump inlet.
2. Push in can top to dispense pump saver.
3. When pump saver fluid begins to exit pump outlet,
the pump is protected.
4. Remove pump saver from pump inlet.
OTHER
+ DO NOT store fuel from one season to another.
+ If possible, store your unit indoors and cover it to
give protection from dust and dirt. BE SURE TO
EMPTY THE FUEL TANK.
WARNING
DO NOT place a storage cover over a hot pressure
washer.
Let equipment cool for a sufficient time before placing
the cover on the equipment.
2O

Problem Cause Correction
Pump has following problems:
failure to produce pressure,
erratic pressure, chattering, loss
of pressure, low water volume.
Detergent fails to mix with spray.
1. Low pressure spray tip installed.
2. Water inlet is blocked.
3. Inadequate water supply,
4. Inlet hose is kinked or leaking,
5. Clogged inlet hose strainer.
6. Water supply is over 100°F.
7. High pressure hose is blocked
or leaks,
8. Gun leaks,
9. Spray tip is obstructed,
10. Pump is faulty,
1, Detergent siphoning tube is not
submerged,
2. Detergent siphoning tube/filter is
clogged or cracked,
3. Dirty in-line filter,
4. High pressure spray tip
installed,
Engine speed is too slow,
1. Replace spray tip with high
pressure spray tip.
2. Clear inlet,
3. Provide adequate water flow,
4. Straighten inlet hose, patch
leak,
5. Check and clean inlet hose
strainer,
6. Provide cooler water supply,
7. Clear blocks in outlet hose,
8. Replace gun.
9. Clean spray tip.
10. Contact Sears service facility.
1, Insert detergent siphoning tube
into detergent,
2. Clean or replace detergent
siphoning tube/filter.
3. See "Check In-Line Filter",
4. Replace spray tip with low
pressure spray tip.
Engine runs good at no-load but Move throttle control to FAST
position, If engine still "bogs down",
"bogs" when load is added, contact Sears service facility,
Engine will not start; or starts
and runs rough.
Engine shuts down during
operation.
1. Low oil level,
2. Dirty air cleaner,
3. Out of gasoline.
4. Stale gasoline,
5. Spark plug wire not connected
to spark plug.
6. Bad spark plug,
7. Water in gasoline,
8. Overchoking.
9. Excessively rich fuel mixture.
10. Intake valve stuck open or
closed,
11. Engine has lost compression,
Out of gasoline,
Dirty air filter,
Choke is opened too soon.
Engine lacks power.
Engine "hunts" or falters.
1. Fill crankcase to proper level,
2. Clean or replace air cleaner,
3. Fill fuel tank,
4. Drain gas tank; fill with fresh
fuel,
5. Connect wire to spark plug,
6. Replace spark plug,
7. Drain gas tank; fill with fresh
fuel,
8. Open choke fully and crank
engine,
9. Contact Sears service facility,
10. Contact Sears service facility,
11. Contact Sears service facility.
Fill fuel tank.
Replace air filter,
Move choke to halfway position until
engine runs smoothly,
21

CRAFTSMAN 2800 PSi Pressure Washer 580.752370
Main Unit m Exploded View and Parts List
1
item Part # Description item
1 200159GS ASSY, Base 10
2 M199108GS HANDLE 11
3 200160GS ASSY, Billboard/Decals 12
195964GS Clips, Tree 13
4 196138GS HOSE 14
5 192133GS KIT, Engine Mounting Hardware 15
6 192131GS KIT, Pump Mounting Hardware 16
7 200030GS KIT, Nozzle QC 900
195851ZZGS Nozzle, QC, Black
195983WGS Nozzle, QC, Red
195983XGS Nozzle, QC, Yellow
195983YGS Nozzle, QC, Green
195983ZGS Nozzle, QC, White
8 199117GS GUN
9 192199GS ASSY, Extension w/Nozzle Holder
Part #
192050GS
B2203GS
192310GS
196439GS
194298GS
23139DGS
198164GS
NSP
Description
E-RING
KIT, Handle Connector
KIT, Vibration Mount
KIT, Wheel
VALVE, Thermal Relief
KEY
ASSY, Pump (see page 23)
ENGINE (12G612-0110-E1)
Items Not illustrated
194256GS KIT, Tag Warning with Clip
200031GS MANUAL, Operator's
AB3061BGS OIL BOTTLE
275034 LABEL, Hot Surface Warning
87815GS GOGGLES
Optional
7175187GS
7175197GS
7175124GS
7175122GS
7175116GS
7175129GS
7175121GS
7174402GS
7174403GS
7174300GS
7174301GS
7174302GS
7174303GS
7174307GS
Accessories Garden Hose Quick Connect
Accessory Quick Connect
Rotating Brush Kit
30' Replacement Hose
O Ring Repair Kit
Turbo Nozzle
25' Extension Hose
Hose Reel
Pump Saver
House Wash Concentrate (makes 4 gallons)
Deck Wash Concentrate (makes 2 gallons)
Vehicle/Boat Wash Concentrate (makes 4 gallons)
Degreaser Concentrate (makes 4 gallons)
Mold/Mildew Concentrate (makes 2 gallons)
22

CRAFTSMAN 2800 PSi Pressure Washer 580.752370
Pump m Exploded View and Parts List
LL
item
19
28
45
62
76
A
B
C
D
E
F
G
H
m
½
o
O
I
L(5
Part #
190571GS
190574GS
190578GS
190581GS
194298GS
190594GS
190588GS
190589GS
193808GS
193806GS
190592GS
190593GS
193807GS
Description
CAP, Oil
MANIFOLD
PIN
CAP, 1/8
THERMAL RELIEF
KIT. UNLOADER
KIT.
KIT.
KIT.
KIT.
KIT.
KIT.
KIT.
WATER INLET, ANODIZED
OUTLET, ANODIZED
HEAD BRASS
CHECK VALVES
INLET CHECK
CHEMICAL INJECTION
SEAL SET
item Part #
J 189971GS
K 193971GS
L 193972GS
Description
KIT, CHEMICAL HOSE
KIT, PIPE FITTING
KIT, UNLOADER SEAT
items Not illustrated
B2384GS FILTER, Inlet
Optional Accessories
190585GS OIL BOTTLE
186452GS FILTER, Inlet, Bag of 10
NOTE: Items A - L are service kits and include all
parts shown within the box.
23

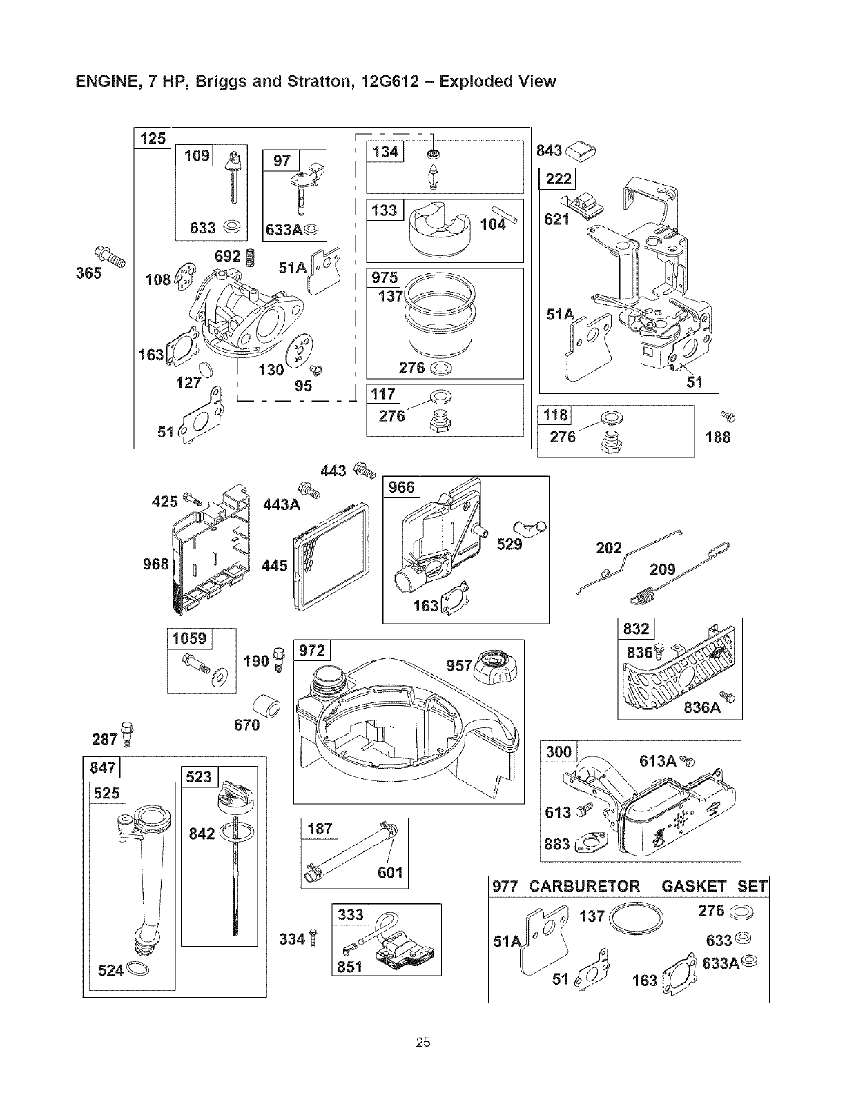
ENGINE, 7HP, Briggs and Stratton, 12G612 = E×ploded View
993
1029 830
_1034
1026
5O5
6150
404
_ 32_
32A
24_
GASKET SET
1022_
993__ ls8 2o_
24

ENGINE, 7HP, Briggs and Stratton, 12G612 - E×ploded View
365
5t
287_
524_
968_
633 G
692 _ 51A
95
0
276
670
443
334 _'
-- 601 977
276
%
188
8321_
_36A _
CARBURETOR
t37
883 _
GASKET SET
276
633
_ 163_ 633AG
25

ENGINE, 7HP, Briggs and Stratton, 12G612 = E×ploded View
55 592 ®
.... i
459
689 o
456
597
_I
58
60
121 CARBURETOR
OVERHAUL KiT
137
564
37
305_ 592 ®
78 930
358 ENGINE GASKET SET 332
32,,
1005_
26

ENGINE, 7HP, Briggs and Stratton, 12G612 = Parts List
Item Part#
1 697893
2 399269
3 299819
4 498983
5 895276
7 695166
8 495786
9 272481
10 891125
11 691260
12 892232
13 891137
15 691680
16 891457
20 399781
22 691092
23 697586
24 222698
25 690021
694167
694168
694169
26 499631
692785
692786
692787
27 691866
28 499423
29 499424
32 691664
32A 695759
33 499642
34 499641
35 691304
36 691304
37 694086
40 692194
43 691997
45 690977
46 694039
51 692668
51A 692799
55 691421
58 692259
60 281434
65 690837
78 691108
95 691636
97 499682
104 691242
108 691182
109 693866
117 692677
118 497315
121 692703
125 698953
127 694468
130 691203
133 398187
134 398188
137 693981
146 690979
163 692667
187 691050
188 691147
190 690940
192 694543
202 691303
209 691290
222 693378
227 690783
238 691300
276 271716
287 690940
300 697590
304 499676
305 691108
306 691232
307 690345
Description Item Part # Description
Cylinder Assembly 324 695161 Cup-Flywheel
Bushing/Seal Kit (Magneto Side) 332 690662 Nut (Flywheel)
Oil Seal 333 802574 Armature-Magneto
Engine Sump 334 691061 Screw (Magneto Armature)
Cylinder Head 337 692051 Sparkplug
Cylinder Head Gasket Note: For Platinum equivalent-696073-use 5066, 4173, or
Breather Assembly 4174 sold in multi-packs only. Reset gap to .020")
Breather Gasket
Screw (Breather Assembly) 356 692390 Wire-Stop
Breather Tube 358 694090 Engine Gasket Set
Crankcase Gasket 365 691136 Screw (Carburetor)
Screw (Cylinder Head) 404 690272 Washer (Governor Crank)
Oil Drain Plug 25 690670 Screw (Air Cleaner Cover)
Crankshaft 443 691637 Screw (Air Cleaner Primer Base)
Oil Seal (PTO Side) 443A 692523 Screw (Air Cleaner Primer Base)
445 491588 Filter- Air Cleaner Cartridge
Screw (Engine Sump)
Flywheel 456 692299 Retainer-Spring
Flywheel Key 459 281505 Plate-Pawl Friction
Piston Assembly (Standard) 472 693809 Choke Shaft Knob
Piston Assembly (.010" Oversize) 505 231082 Nut (Governor Control Lever)
Piston Assembly (.020" Oversize) 523 499621 Dipstick
524 92296 Dipstick Tube Seal
Piston Assembly (.030" Oversize)
Ring Set (Standard) 525 495265 Dipstick Tube
529 691923 Grommet
Ring Set (.010" Oversize)
Ring Set (.020" Oversize) 562 92613 Bolt (Governor Control Lever)
Ring Set (.030" Oversize) 564 693808 Screw (Control Cover)
Piston Pin Lock 584 692342 Breather Passage Cover
Piston Pin 585 691879 Breather Passage Gasket
Connecting Rod 592 690800 Nut (Rewind Starter)
597 691696 Screw (Pawl Friction Plate)
Screw (Connecting Rod)
Screw (Connecting Rod) 601 95162 Clamp-Hose
Exhaust Valve 604 693807 Cover-Control
Intake Valve 608 497680 Starter-Rewind
Valve Spring (intake) 613 691108 Screw (Muffler)
Valve Spring (Exhaust) 613A 691140 Screw (Muffler)
615 690340 Retainer-Governor Shaft
Flywheel Guard
Valve Retainer 616 691308 Crank-Governor
Governor/Oil Slinger 619 691108 Screw (Cylinder Head Plate)
Valve Tappet 621 692310 Switch-Stop
Camshaft 633 693867 Seal-Choke/Throttle Shaft
Intake Gasket 633A 691321 Seal-Choke/Throttle Shaft
Intake Gasket 635 66538 Boot-Sparkplug
Rewind Starter Housing 670 692294 Spacer-Fuel Tank
Starter Rope (Cut to Required Length) 684 690345 Screw (Breather Passage Cover)
Starter Rope Grip 689 691855 Spring-Friction
Screw (Rewind Starter) 692 690572 Spring-Detent
Screw (Flywheel Guard) 718 690959 Pin-Locating
Screw (Throttle Valve) 741 691830 Gear-Timing
Throttle Shaft 830 694544 Stud (Rocker Arm)
Float Hinge Pin 832 691466 Guard-Muffler
Choke Valve 836 691147 Screw (Muffler Guard)
Choke Shaft 836A 697551 Screw (Muffler Guard)
Main Jet (Standard) 842 691031 Dipstick/Tube Seal
843 691884 Lever Sleeve
Main Jet (High Altitude)
Carburetor Overhaul Kit 847 692047 Dipstick/Tube Assembly
Carburetor 851 493880 TerminaI-Sparkplug
Welch Plug 868 692044 Seal-Valve
Throttle Valve 883 691893 Gasket-Exhaust
Carburetor Float 886 696268 Gasket Kit-Cylinder/Plate
Needle/Seat Kit 914 691108 Screw (Rocker Cover)
Gasket-Float Bowl 914A 691127 Screw (Rocker Cover)
Timing Key 930 692675 Guard-Rewind
Air Cleaner Gasket 957 692046 Cap-Fuel Tank
Fuel Line (Cut to Required Length) 966 693863 Base- Air Cleaner Primer
968 692298 Cover-Air Cleaner
Screw (Control Bracket)
Screw (Fuel Tank) 972 693372 Fuel Tank
Rocker Arm Ball 975 493640 Bowl-Float
Mechanical Governor Link 977 692704 Gasket Set-Carburetor
Governor Spring 993 694088 Cylinder Head Plate Gasket
Control Bracket 1005 691346 Fan-Flywheel
Governor Control Lever 1022 691890 Gasket-Rocker Cover
Valve Cap 1023 499624 Cover-Rocker
1026 692045 Rod-Push
Sealing Washer
Screw (Dipstick Tube) 1029 691230 Rocker Arm
1034 691343 Guide-Push Rod
Muffler 1059 692311 Screw/Washer Kit
Housing-Blower
Screw (Blower Housing) 1095 694091 Valve Gasket Set
1102 691255 Guide-Pilot
Shield-Cylinder
Screw (Cylinder Shield) 1210 498144 Pulley/Spring Assembly (Pulley)
1211 498144 Pulley/Spring Assembly (Spring)
27

Sears, Roebuckand Co., U.S.A.(Sears),the California Air ResourcesBoard (CARE3)and
the United States Environmental Protection Agency (U.S.EPA)
Emissions Control System Warranty Statement
(Owner's DefectWarranty Rights and Obligations)
The California Air Resources Board (CARB), U.S. EPA and
Sears are pleased to explain the Emissions Control System
Warranty on your small offroad engine (SORE). In
California, new small offroad engines model year 2006 and
later must be designed, built and equipped to meet the
State's stringent anti-smog standards.
Elsewhere in the United States, new non-road, spark-ignition
engines certified for model year 1997 and later must meet
similar standards set forth by the U.S. EPA. Sears must
warrant the emissions control system on your engine for the
periods of time listed below, provided there has been no abuse,
neglect or improper maintenance of your small off-road engine.
Your emissions control system includes parts such as the
carburetor, air cleaner, ignition system, fuel line, muffler and
catalytic converter. Also included may be connectors and
other emissions related assemblies.
Where a warrantable condition exists, Sears will repair your
small off-road engine at no cost to you including diagnosis,
parts and labor.
Sears, Roebuck and Co. Emissions Control Defects
Warranty Coverage
Small off-road engines are warranted relative to emissions
control parts defects for a period of two years, subject to
provisions set forth below, if any covered part on your engine
is defective, the part will be repaired or replaced by Sears.
Owner's Warranty Responsibilities
As the small off-road engine owner, you are responsible for
the performance of the required maintenance listed in your
Operating and Maintenance instructions. Sears recommends
that you retain all your receipts covering maintenance on
your small off-road engine, but Sears cannot deny warranty
solely for the lack of receipts or for your failure to ensure the
performance of all scheduled maintenance.
As the small off-road engine owner, you should however be
aware that Sears may deny you warranty coverage if your
small off-road engine or a part has failed due to abuse,
neglect, improper maintenance or unapproved modifications.
You are responsible for presenting your small off-road
engine to an Authorized Sears Service Dealer as soon as a
problem exists.
The undisputed warranty repairs should be completed in a
reasonable amount of time, not to exceed 30 days.
If you have any questions regarding your warranty rights
and responsibilities, you should contact a Sears Service
Representative at 1-800-469-4663.
The emissions warranty is a defects warranty. Defects are
judged on normal engine performance. The warranty is not
related to an in-use emissions test.
Sears, Roebuck and Co. Emissions Control Defects
Warranty Provisions
The following are specific provisions relative to your
Emissions Control Defects Warranty Coverage. It is in
addition to the Sears engine warranty for non-regulated
engines found in the Operating and Maintenance Instructions.
1. Warranted Parts
Coverage under this warranty extends only to the parts
listed below (the emissions control systems parts) to the
extent these parts were present on the engine purchased.
a. Fuel Metering System
Cold start enrichment system
Carburetor and internal parts
Fuel Pump
Fuel line, fuel line fittings, clamps
b. Air induction System
Air cleaner
Intake manifold
c. Ignition System
Spark plug(s)
Magneto ignition system
d. Catalyst System
Catalytic converter
Exhaust manifold
Air injection system, Pulse valve
e. Miscellaneous Items
Vacuum, temperature, position, time sensitive valves
and switches
Connectors and assemblies
2. Length of Coverage
Sears warrants to the initial owner and each subsequent
purchaser that the Warranted Parts shall be free from
defects in materials and workmanship which caused the
failure of the Warranted Parts for a period of two years
from the date the engine is delivered to a retail purchaser.
3. No Charge
Repair or replacement of any Warranted Part will be
performed at no charge to the owner, including
diagnostic labor which leads to the determination that a
Warranted Part is defective, if the diagnostic work is
performed at an Authorized Sears Service Dealer.
4. Claims and Coverage Exclusions
Warranty claims shall be filed in accordance with the
provisions of the Sears Engine Warranty Policy.
Warranty coverage shall be excluded for failures
of Warranted Parts which are not original Sears parts or
because of abuse, neglect or improper maintenance as
set forth in the Sears Engine Warranty Policy. Sears is
not liable to cover failures of Warranted Parts caused by
the use of add-on, non-original, or modified parts.
5. Maintenance
Any Warranted Part which is not scheduled for
replacement as required maintenance or which is
scheduled only for regular inspection to the effect of
"repair or replace as necessary" shall be warranted as to
defects for the warranty period. Any Warranted Part which
is scheduled for replacement as required maintenance
shall be warranted as to defects only for the period of time
up to the first scheduled replacement for that part. Any
replacement part that is equivalent in performance and
durabilitymay be used in the performance of any
maintenance or repairs. The owner is responsible for the
performance of all required maintenance, as defined in the
Sears Operating and Maintenance Instructions.
6. Consequential Coverage
Coverage hereunder shall extend to the failure of any
engine components caused by the failure of any
Warranted Part still under warranty.
In the USA and Canada, a 24-hour hotline, 1-800-469-4663, has a menu of pre-recorded messages offering you product
maintenance information.
28

Emissions Durability Period and Air Index
Information On Your Engine Emissions Label
Engines that are certified to meet the California Air
Resources Board (CARB) Tier 2 Emission Standards must
display information regarding the Emissions Durability Period
and Air Index. The engine manufacturer makes this
information available to the consumer on emission labels.
The Emissions Durability Period describes the number of
hours of actual running time for which the engine is certified
to be emissions compliant, assuming proper maintenance in
accordance with the Operating & Maintenance Instructions.
The following categories are used:
Moderate: Engine is certified to be emission compliant for
125 hours of actual engine running time.
Intermediate: Engine is certified to be emission compliant
for 250 hours of actual engine running time.
Extended: Engine is certified to be emission compliant for
500 hours of actual engine running time.
For example, a typical walk-behind lawn mower is used
20 to 25 hours per year. Therefore, the Emissions
Durability Period of an engine with an intermediate rating
would equate to 10 to 12 years.
The Air Index is a calculated number describing the relative
level of emissions for a specific engine family. The lower the
Air Index, the cleaner the engine. This information is
displayed in graphical form on the emissions label.
Emissions Compliance Period On Engine
Emissions Compliance Label
After July 1,2000 certain Sears engines will be certified to
meet the United States Environmental Protection Agency
(USEPA) Phase 2 emission standards. For phase 2 certified
engines, the Emissions Compliance Period referred to on
the Emissions Compliance label indicates the number of
operating hours for which the engine has been shown to
meet Federal emission requirements. For engines less than
225 cc displacement, Category C = 125 hours, B = 250
hours and A = 500 hours. For engines of 225 cc or more,
Category C = 250 hours, B = 500 hours and A = 1000 hours.
This engine has a moderate rating with and Air Index of 3.
The EPA Emissions compliance period is Category C. The
displacement of this engine is 190 cc.
Below is a generic representation of the emission label
typically found on a certified engine.
29
Enginesemitcarbonmonoxide,
DONOTruninenclosedarea,

GARANTIA ................................ 30
INSTRUCCIONES DE SEGURIDAD ......... 30-32
CARACTERiSTICAS Y CONTROLES .......... 33
MONTAJE .............................. 34-36
OPERACION ........................... 37-40
ESPECIFICACIONES ....................... 41
MANTENIMIENTO ....................... 42-46
ALMACENAMIENTO ..................... 47-48
REPARACION DE DANOS REPUESTOS ....... 49
GARANTIA DEL CONTROL DE EMISIONES . .50-51
COMO ORDENAR PARTES .PAGINA POSTERIOR
Garantia completa de un a5o de la lavadora a presi6n Craftsman
Si, tras haberla montado, utilizado y mantenido de acuerdo con todas las instrucciones facilitadas, la limpiadora a presion
Craftsman falla debido a defectos de materiales o de mano de obra en el plazo de un aSo a partir de la fecha de compra,
devuelvala a cualquier almacen Sears, punto de venta de Craftsman o centro de reparacion y repuestos de Sears de los
Estados Unidos para su reparacion gratuita o, en caso de que esta no sea posible, para su sustitucion.
Esta garantia excluye las bujias y los filtros de aire, ya que son recambios que pueden desgastarse en menos de un aSo en
condiciones de use normales.
El periodo de garantia se reducira a 90 dias desde la fecha de compra si la limpiadora a presion se utiliza en algOn
momento con fines comerciales o de alquiler.
Esta garantia le otorga determinados derechos legales yes posible que tenga otros derechos que pueden variar de un pals
o estado a otro.
Sears, Roebuck and Co., Dept. 817 WA, Hoffman Estates, IL 60179
,_ Este es el simbolo de alerta de seguridad. Es usado para indicarle situaciones con peligros potenciales de
lesion para el personal. Siga las instrucciones de todos los mensajes de seguridad que aparecen despues de
este simbolo para evitar posibles lesiones o muerte.
Lea este manual minuciosamente y conozca a
fondo las partes y el funcionamiento de su
m&quina lavadora a presi6n. Conozca sus
aplicaciones, sus limitaciones y los peligros
involucrados.
El simbolo de alerta de seguridad (_,) es usado con una
palabra (PELIGRO, ADVERTENClA, PRECAUCION), un
mensaje por escrito o una ilustracion, para alertarlo acerca
de cualquier situacion de peligro que pueda existir.
PELIGRO indica un riesgo el cual, si no se evita, causar# la
muerte o una herida grave. ADVERTENClA indica un riesgo
el cual, si no se evita, puede causar la muerte o una herida
grave. PRECAUCl6N indica un riesgo, el cual, si no se
evita, puede causar heridas menores o moderadas.
PRECAUClON, cuando se usa sin el simbolo de alerta,
indica una situacion que podria resultar en el daSo del
equipo. Siga los mensajes de seguridad para evitar o reducir
los riesgos de heridas e inclusive la muerte.
Simbolos de Peligro y Significados
Gases Tdxicos
Superficies Resbatosas
Fuego
Manual del Operario
5-
Caer
Descarga Etectrica
Inyecci6n Liquida
Explosi6n Superficie Catiente
Partes en Movimiento Objetos Voladores Contragolpe
30

ADVERTENCIA
Opere el lavadora de presi6n SOLAMENTE al mire tibre.
Aseg0rese de que los gases de escape no puedan entrar per
ventanas, puertas, tomas de mire de ventilaci6n u otras
aberturas en un espacio cerrado en el que puedan acumularse.
NO opere el lavadora de presi6n dentro de un edificio o lugar
cerrado, aunque haya puertas o ventanas abiertas.
Utilice un respirador o mSscara siempre que exista ta
posibitidad de inhalar vapores.
Lea todas tas instrucciones de ta mascara para asegurarse de
que le brindar8 la protecci6n necesaria contra la inhalaci6n de
vapores noeivos.
ADVERTENCIA
Mantenga la boquilta de rociado de 8 a 24 pulgadas de ta
superficie de limpieza.
Sea extremadamente cuidadoso si usa la maquina lavadora a
presi6n desde una escalera, andamio o cuatquier superficie
relativamente inestable.
El area de limpieza debera tener inclinaciones y drenajes
adecuados para disminuir la posibilidad de caidas debido a
superficies resbalosas.
Opere y atmacene esta unidad sobre una superficie estable.
Sujete firmemente la pistola rociadora con ambas manes
cuando aplique un rociado a alta presi6n para evitar lesiones
cuando se produzca el retroceso de la pistola.
ADVERTENCIA
Antes de arrancar el motor, apunte SIEMPRE con ta pistola
rociadora hacia una direcci6n segura y apriete el gatillo para
descargar la presi6n y evitar el retroceso.
Cuando arranque el motor, tire lentamente del cable hasta
sentir una resistencia y, a continuaci6n, tire rapidamente de _I
para evitar su retrooeso.
Si el motor arranca y deja de funcionar o si la resistencia
aumenta al tirar del cable en intentos sucesivos de arranque,
apriete el gatilto de la pistola rociadora.
Sujete firmemente la pistola rociadora con ambas manes
cuando aplique un rociado aalta presi6n para evitar lesiones
cuando se produzca el retroceso de la pistola.
31
__ ADVERTENCIA
El escape del motor de este producto contiene
elementos quimicos reconocidos en el Estado de
California per producir c_ncer, defectos de nacimiento
u otros daSos de ripe reproductive.
ADVERTENCIA
CUANDO ANADA COMBUSTIBLE O VACiE EL
DEPOSITO
Apague el lavadora de presi6n (posici6n OFF) y dejelo enfriar at
menos per 2 minutes antes de remover la tapa de la
combustible. Afloje la tapa tentamente para dejar que ta presi6n
salga del tanque.
Llene o vacie el dep6sito de combustible a la intemperie.
NO Ilene demasiado et tanque. Permita al menos espacio para
ta expansi6n de! combustible.
Mantenga ta combustible alejada de chispas, llamas abiertas,
pilotos, cater y otras fuentes de ignici6n.
NO encienda un cigarrillo o fume.
;UANDO PONGA EN FUNCIONAMIENTO EL EQUIPO
Compruebe que la bujia, el silenciador, el tap6n det dep6sito de
combustible y el fittro de mire estan instalados.
NO arranque el motor sin la bujia instalada.
Si se ha derramado combustible, espere a que se evapore
antes de arrancar el motor.
;UANDO OPERE EL EQUIPO
oNO incline el motor o el equipo, de tal manera que la
combustible se pueda derramar.
oNO rocie liquidos inflamables.
CUANDO TRANSPORTE OREPARE EL EQUIPO
oTransporte o repare el equipo con el tanque de combustible
vacio, o con ta vSIvula para apagar el combustible, apagada
(posici6n OFF).
*Desconecte el cable de la bujia.
CUANDO ALMACENE O GUARDE EL EQUIPO CON
COMBUSTIBLE EN EL TANQUE
Almacene alejado de calderas, estufas, calentadores de agua,
secadoras de ropa u otros aparatos electrodom_sticos que
posean pilotos u otras fuentes de ignici6n, porque ellos pueden
encender los vapores de ta combustible.
ADVERTENCIA
NUNCA apunte ta pistola a la gente, animates o plantas.
NO permita en ningL_n memento que NliqOS operen ta maquina
tavadora a presi6n.
NUNCA repare ta manguera de alta presi6n. Remplacela.
NUNCA utilice ning0n tipo de sellador para reparar una fuga en
una conexi6n. Sustituya ta junta t6rica ota junta.
Mantenga conectada la manguera a la maquina o a la pistola de
rociado cuando el sistema este presurizado.
Siempre que pare el motor, apriete el gatillo de la pistola
rociadora para descargar la presi6n. Active el seguro del gatilto
de la pistola rociadora.

ADVERTENCIA
NO toque tas superficies calientes y evite los gases det escape
a atta temperatura.
Permita que el equipo se enfrie antes de tocarlo.
Deje un espacio minimo de 152 cm (5 pies) alrededor del
lavadora a presi6n, incluida la parte superior.
El C6digo de Normativa Federal (CFR, Titulo 36: Parques,
Bosques y Propiedad PL_blica) obliga a instatar una pantalla
apagachispas en los equipos con motor de combusti6n interno '_
a manteneda en buenas condiciones de funcionamiento,
conforme a la norma 5100-1C (o posterior) del Servicio Forestal
de ta USDA. En el Estado de California, la ley exige el uso de
una pantalta apagachispas (Seccidn 4442 del Cddigo de
Recursos P0blicos de California). En otros estados puede haber
leyes similares en vigor.
ADVERTENCIA
CUANDO AJUSTE O HAGA REPARACIONES A SU
MAQUINA LAVADORA DE PRESION
Siempre desconecte el alambre de la bujia y col6quelo donde
no pueda entrar en contacto con ta bujia.
CUANDO PRUEBE LA BUJiA DEL MOTOR
Utilice un comprobador de bujias homologado.
NO comprueba la chispa sin ta bujia instalada.
ADVERTENCIA
• NO use ropa suelta, joyas o elementos que puedan quedar
atrapados en el arranque o en otras partes rotatorias.
• Ate para arriba el pelo largo y quite ta joyeria.
ADVERTENCIA
•Mantenga el chorro del agua alejado de alambrados electricos,
de to contrario podrian ocurrir descargas electricas fatales.
ADVERTENCIA
Utitice siempre gafas de proteccidn cuando utilice este equipo o
si se encuentra cerca de donde se esta utilizando.
Antes de poner en marcha la timpiadora a presi6n, asegt_rese
de Ilevar gafas de proteccidn adecuadas.
PRECAUCION
NO juegue con partes que puedan aumentar o disminuir la
velocidad de mando.
NO opere la maquina lavadora a presi6n con un valor de
presidn superior a su ctasificacidn de presi6n.
PRECAUCION
NO asegure la pistola de rociado en la posicidn (open = abierto).
NO abandone la pistola de rociado cuando ta maquina este en
funcionamiento.
NUNCA utilice una pistola de rociado que no tenga un seguro
para gatitto o proteccidn para gatilto en su tugar y en buenas
condiciones.
Siempre asegQrese de que la pistola de rociado, boquittas y
accesorios est_n conectados correctamente.
PRECAUCl0N
NO dirija la pistola rociadora hacia un cristat cuando utilice ta
boquitla MAX (punta de alfiter).
NUNCA apunte ta pistola a plantas.
PRECAUCl0N
Si usted tiene alguna pregunta acerca de tas finalidades de uso
del generador, pregQntele a su concesionario o contacte a Sears.
NUNCA deberan ser operadas las unidades con partes rotas o
ausentes, o sin ta caja o cubiertas de proteccidn.
NO eluda ningQn dispositivo de seguridad de esta maquina.
Antes de poner en marcha ta maquina lavadora a presidn en
clima frio, revise todas tas partes del equipo y asegtJrese de
que no se haya formado hielo sobre etlas.
NUNCA mueva la maquina halando la manguera de atta
presidn. Utilice la manija que viene con la unidad.
Revise que el sistema de combustible no presente fugas o signos
de deterioro, como mangueras desgastadas o porosas,
sujetadores flojos o ausentes, tapa o tanque dafiados. Corrija
todos los defectos antes de operar la maquina lavadora a presidn.
El equipo de alta presi6n esta dise_ado para ser utilizado
UNICAMENTE con tas pares autorizadas Sears. Si utiliza este
equipo con pares que no cumplan con las especificaciones
minimas, el usuario asume todos los riesgos y responsabilidades.
32

CONOZCA SU MAQUINA LAVADORA DE ALTA PRESiON
Lea el manual del operario y las reglas de seguridad antes de poner en marcha su sistema de limpieza.
.... Compare las ilustraciones con su sistema de limpieza para familiarizarse con las ubicaciones de los diferentes
centreles y ajustes. Guarde este manual para referencias futuras.
Extension para Bequillas
Pistola de Roeiado con Conexion Rapida
Calcomania Ejemplar de Dates
Conexion Rapida de Puntas de Rociado Manguera de Alta Presion
Arrancador de Retroceso
Tapa de la Combustible
Perilla del Cebador
Tapa del
Deposito del
Aceite
Entrada de Agua
Toma de Alta Presion
Palanca de Regulacion
Filtro de Aire
Bomba equipped with
Automatico se Enfria Sistema
Filtro y Tubo para
Recoleccion de Detergente
Arrancador de Retroceeo - Usado para arrancar el motor
manualmente.
Autom_tico se Enfria Sietema - Los ciclos regan per
bomba cuando agua alcanza 125°-155°F. Entibiar agua
descargar& de la bomba en el suelo. Este sistema previene
el daSo interno de bomba.
Bomba - Desarrolla alta presi6n de agua.
Calcomania Ejemplar de Datos - Proporciona el modelo y
el nOmero de serie de arandela de presion. Tenga por favor
estos prontamente disponible cuando Ilamar para la ayuda.
Conexi6n R&pida de Puntas de Rociado - Detergente, 0 °,
15 °, 25 °, 40°: para diferentes alta presion aplicaciones de
limpieza.
Entrada de Agua - Conexion para la manguera de jardin.
Extensi6n para Boquillas con Conexi6n R_pida -Le
permite usar cinco boquillas de rociado diferentes.
Filtro de Aire - El elemento de filtro tipo seco limita la
cantidad de suciedad y polvo que se introduce en el motor,
Filtro y Tubo para Recolecci6n de Detergente -Usado
para succionar detergente de la botella de quimicos a la
corriente de agua de baja presion.
Manguera de Alta Presi6n -Conecte un extreme a la
pistola de rociado y el otro extremo a la toma de alta
presi6n.
Palanca de Regulaci6n - Coloca el motor en modo de
arranque para el arrancador de retroceso y detiene el motor
en funcionamiento.
Perilla del Cebador - Usada para arranque de motores
frios.
Pistola de Rociado - Controla la aplicaci6n de agua sobre
la superficie de limpieza con el gatillo. Incluye cerrojo de
seguridad.
Tapa de la Combustible - Llene el motor con combustible
regular sin contenido de plomo en este punto.
Tapa del Dep6sito del Aceite - Llene el motor con aceite
aqui.
Toma de Alta Presi6n - Conexi6n para la manguera de
alta presi6n.
33

Su m&quina lavadora a presion requiere de cierto ensamble
y estara lista para ser usada Onicamente despues de haber
depositado el combustible y el aceite recomendado.
Si tiene problemas con el ensamble de su m_quina
lavadora a presi6n, Ilarne a la linea de ayuda de la
m_quina lavadora a presi6n al 1-800-222-3136.
IMPORTANTE: Cualquier intento de hacer funcionar el
motor sin haber depositado el aceite recomendado resultara
en falla del mismo.
DESEMBALE LA LAVADORA A
PRESION
Saque todo el contenido de la caja de carton, a
excepci6n de la lavadora a presion.
2. Abra completamente la caja de carton cortando cada
una de sus esquinas de arriba abajo.
3. Saque la lavadora a presion de la caja de carton.
CONTENIDO DE LA CAJA
Revise el contenido de la caja. Si alguna de las partes no
esta presente o esta dafiada, Ilame a la linea de ayuda de
la maquina lavadora a presi6n al 1-800-222-3136.
La unidad principal
Manubrio
Bandeja accesoria
La manguera de alta presion
Pistola de rociado
Extensi6n de la boquilla con conector rapido y soporte
para puntas
Aceite para motor
Bolsa de accesorios (incluye Io siguiente):
Manual del operario
Tarjeta de registro del propietario
Gafas de seguridad
Bolsa con 5 puntas de rociado de conexiones
rapidas multicolores
Piezas para la manubrio (incluye Io siguiente):
Perno del Soporte (2)
Perilla Plastica (2)
Pinzas de arbol (4)
Familiaricese con cada parte antes de ensamblar la
maquina lavadora a presi6n. Compare el contenido con la
ilustraci6n de la pagina 33. Si alguna de la partes NO esta
presente o se encuentra dafiada, Ilame a la linea de ayuda
de la maquina lavadora a presi6n al 1-800-222-3136.
MONTAJE DE LA MAQUINA
LAVADORA A PRESION
La gran mayoria de su maquina lavadora a presion
Craftsman ha sido ensamblada en la fabrica. Sin embargo,
usted deber& Ilevar a cabo los siguientes procedimientos
antes de poner en funcionamiento su maquina lavadora a
presi6n:
1. Llene y mande en tarjeta de matricula.
2. Conecte manubrio a unidad principal, entonces conecte
bandeja accesoria a manubrio.
3. Deposite aceite en la caja del cigOefial del motor.
4. Deposite combustible en el tanque.
5. Conecte la manguera de alta presi6n a la pistola de
rociado y a la bomba.
6. Conecte el suministro de agua a la bomba.
7. Conecte boquilla la extensi6n al pistola rociadora.
8. Selecto/conecta r&pido conecta punta de rociado a la
extension de la boquilla.
Conecte el Manubrio y Bandeja Accesoria
1. Coloque el manubrio sobre los soportes del mismo que
ya estan adheridos a la unidad principal. AsegQrese de
que los orificios en el manubrio esten alineados con los
orificios en los soportes del mismo manubrio.
Orificios
Manubrie
NOTA: Tal vez ser& necesario mover los soportes del
manubrio de un lado a otro para alinear el manubrio de tal
manera que pueda deslizarse sobre los soportes del mismo
manubrio.
2. Inserte el perno del soporte a traves de los orificios desde
frente de la unidad y sujete una perilla de pl&stico desde
el trasero de la misma unidad. Apriete manualmente.
34

8. Coloque la bandeja de accesorios sobre los orificios del
ass (vista desde la parte delantera de la unidad).
Presione las pinzas de &rbol pars introducirlas en los
orificios hasta que queden anivel con la bandeja de
accesorios.
\
/
/
4.
/
z/ /
/
Inserte las accesorios en los espacios correspondientes
de la bandeja de accesorios. Consulte "Come Usar la
Bandeja de Accesorios".
Agregue Aceite de Motor
iPRECAUCION! Si intents arrancar el motor antes de
Ilenarlo con el aceite recomendado, puede provocar una
averia.
1. Coloque la lavadora a presion en una superficie plans y
nivelada.
2. Limpie la zona de alrededor del tapon de Ilenade de aceite
y quite la varilla de nivel de aceite.
8. Con la ayuda de un embudo (opcional), vierta
lentamente todo el contenido de la botella de aceite
(0,53 I - 18 onzas) per el erificio de Ilenado de aceite.
4. Vuelva a celocarla y ajQstela en su posici6n.
NOTA: Consulte la secci6n "Aceite", en la p&gina 44, pars
ver las recomendaciones relativas al aceite.
Agregue Gasolina
NOTA: Este motor est& certificado pars funcionar con
gasolina, Sistema de control de emisiones de gases de
escape: EM (Modificaciones del motor).
ADVERTENCIA
CUANDO ANADA COMBUSTIBLE
Apague el lavadora a presidn (posicidn OFF) y dejelo enfriar al
menes per 2 minutes antes de remover la taps de la
combustible. Afloje la taps tentamente pars dejar que ta presi6n
salga del tanque.
Llene el dep6sito de combustible a ta intemperie.
NO Ilene demasiado et tanque. Permits al menos espacio pars
ta expansidn del combustible.
Mantenga la combustible alejada de chispas, llamas abiertas,
pilotos, cater y otras fuentes de ignicidn.
NO encienda un cigarrillo o fume.
1. Utilice gasolina normal sin plomo, limpia y nueva con un
minimo de 85 octanes. NO utilice combustible que
contenga metanol ni mezcle aceite con combustible.
N'utilisez PAS de carburant qui contient plus de 15 %
d'alcool.
2. Limpie el &rea alrededor de la taps de Ilenado del
combustible, retire la taps.
3. Agregue lentamente gasolina regular "SIN PLOMO" al
tanque de combustible. Use un embudo pars evitar que
se derrame. Llene el tanque lentamente hasta
aproximadamente 1.5" per debajo de la parte la cima
del cuello del tube de Ilenado.
Combustible
4. Cierre el tapon y espere a que se evapore el
combustible que se hays podido derramar.
iPRECAUCION! Los combustibles con mezcla de alcohol
(gasohol, etanol o metanol) pueden atraer la humedad y
provocar la separacion y formaci6n de acidos durante el
almacenamiento. Los gases acidos pueden da_ar el circuite
de combustible y el motor durante el almacenamiento.
Pars evitar este tipo de problemas, vacie el circuito de
combustible cuando vaya a almacenar la unidad durante
30 dias e mas. Vacie el deposito de combustible, arranque
el motor y dejelo funcionar hasta que los conductos de
combustible y el carburador queden vacios. Utilice
combustible nuevo la proxima temporada. Pars obtener mas
informacion al respecto, consulte "Almacenamiento" en la
paginas 47-48.
NUNCA utilice productos limpiadores pars motores o
carburadores en el deposite de combustible, ya que podrian
provecar dafios permanentes.
35

Conecte la Manguera y el Suministro de
Agua ala Bomba
IMPORTANTE: Usted debera conectar todas las mangueras
antes de darle arranque al motor. La bomba resultara
dafiada si arranca el motor sin tener todas las mangueras
conectadas y el suministro agua abierto.
1. Desenrrolle la manguera de alta presi6n y conecte un
extremo de la manguera a la base de la pistola de
rociado. Apriete con la mano.
NOTA: Retire y deseche todos los tapones de transporte de
la bomba antes de conectar las mangueras.
2. Conecte el otto extremo de la manguera de alta presion
a la salida de alta presion de la bomba. Apriete con la
mane.
3. Antes de que conecte la manguera de jardin a la
entrada de agua, inspeccione el colador de la entrada.
Limpie el colador si tiene residuos o solicite su
remplazo siesta dafiado. Refierase a la secci6n
"Mantenimiento de los Anillos 'O'" si la colador de la
entrada se daSado. NO haga funcionar la lavadora a
presi6n si el filtro de entrada falta o est_ da_ado.
__/_'_ __.____ Inspeccione la
_ rejilla de entrada.
4. Haga correr el agua a traves de la manguera de su
jardin por 30 segundos para limpiar cualquier escombro
que se encuentre en ella. Desconecte el agua.
IMPORTANTE: Hace NO agua de parar de siphon para el
abastecimiento de agua. Use agua SOLO fria (menos que
100°F).
NO la use siesta
dafiada, limpiela
si se encuentra
sucia.
5. Conecte la manguera de jardin (no exceder 50 pies en
la Iongitud) a la entrada del agua. Apriete con la mano.
PRECAUCION
*El daSo a la lavadora a presidn, resultado de la desatenci6n a
esta precaucidn, no sera cubierto por ta garantia.
6. ABRA el agua, apunte con la pistola hacia una direccion
segura y apriete el gatillo para eliminar el aire y las
impurezas del sistema de bombeo.
ADVERTENCIA
Utitice siempre gafas de protecci6n cuando utilice este equipo o
si se encuentra cerca de donde se esta utitizando.
Antes de poner en marcha la timpiadora a presi6n, asegQrese
de Ilevar gafas de protecci6n adecuadas.
LISTA DE REVISION PREVlA AL
ARRANQUE DEL MOTOR
Revise la unidad para asegurarse que ha Ilevado a cabo los
siguientes procedimientos:
1. Revise que haya sido depositado aceite y este al nivel
correcto en la caja del cigOefial del motor.
2. Deposite la gasolina adecuada en el tanque del
combustible.
3. Revise que todas las conexiones de las mangueras
(alta presion y suministro de agua) esten apretadas
correctamente y que no existan dobleces, cortes o daSo
de la manguera de alta presion.
4. Proporcione el suministro de agua adecuado (que no
exceda los 100°F).
5. AsegQrese de leer las secciones "Reglas de Seguridad"
y "Operacion" antes de usar la maquina lavadora a
presion.
6. Si va a encender la unidad despues de haber estado
almacenada, consulte la seccion "Almacenamiento" en
la paginas 47-48.
36

COMO USAR SU MAQUINA C6mo Darle Arranque asu M_quina
LAVADORA A PRESION Lavadora a Presi6n
Si tiene problemas operando su maquina lavadora a
presion, por favor Ilame a la linea de ayuda para maquinas
lavadoras a presion al 1-800=222-3136.
Ubicaci6n del Lavadora a Presi6n
Espacio Libre Alrededor del Lavadora aPresi6n
I ADVERTENCIA i
•Deje un espacio minimo de 152 cm (5 pies) alrededor del
lavadora a presi6n, incluida la parte superior.
Sit0e el lavadora a presi6n en una zona bien ventilada que
permita la eliminacion de los gases de escape mortales. No
instale el lavadora a presi6n en lugares en los que los gases
de escape se puedan acumular o entrar en un edificio que
pueda estar ocupado. AsegLirese de que los gases de
escape no puedan entrar por ventanas, puertas, tomas de
aire de ventilaci6n u otras aberturas en un espacio cerrado
en el que puedan acumularse. Tenga en cuenta los vientos
y las corriente de aire preponderantes cuando elija la
ubicacion del lavadora a presi6n.
ADVERTENCIA
Opere el lavadora de presi6n SOLAMENTE al aire tibre.
Aseg_rese de que tos gases de escape no puedan entrar por
ventanas, puertas, tomas de aire de ventilaciOn u otras
aberturas en un espacio cerrado en el que puedan acumularse.
NO opere el lavadora de presi6n dentro de un edificio o lugar
cerrado, aunque haya puertas o ventanas abiertas.
/
Para darle arranque a su m&quina lavadora a presi6n
movida a motor por primera vez, siga estas instrucciones
paso a paso. Esta informacion acerca del arranque inicial
tambien se aplica cuando vaya a darle arranque al motor
despues de haber dejado de la maquina lavadora a presion
fuera de uso por al menos un dia.
1. Coloque la maquina lavadora a presi6n en un &rea
cercana a una suministro de agua exterior capaz de
abastecer agua a un volumen mayor de 3.5 galones pot
minuto en no menos que 20 PSI en el fin de arandela
de presion de la manga del jardin.
2. Revise que la manguera de alta presi6n se encuentre
conectada firmemente a la pistola de rociado y a la
bomba. Vea "Armado de Su M&quina Lavadora a Presion".
3. AsegQrese que la unidad este nivelada.
4. Conecte la manguera de jardin a la entrada del agua.
Aprietela con la mano.
PRECAUCION
Tipica Lavadora a
Presion Mostrada
El da_o a ta lavadora a presiOn, resultado de la desatenciOn a
esta precauciOn, no sera cubierto per la garantia.
5. Abra el agua, apunte con la pistola hacia una direccion
segura y apriete el gatillo para eliminar el aire y las
impurezas del sistema de bombeo.
6. Coloque el resto de las puntas de rociado con conector
rapido de colores en las ranuras del soporte unido al
prolongador de la boquilla.
7. Acople la boquilla de extension a la pistola aspersora.
Aprietela manualmente.
8. Seleccione la puntas de rocio de conexidn r&pida que
usted desee e insertela en el extremo de la boquilla de
extensi6n (Vea "Como Usar las Puntas de Rocio").
9. Fije el pestillo de seguridad al disparador de la pistola
aspersora.
Salida del Escape
Cerrojo de
Seguridad
37

10. Mueva el control de la v&lvula de regulacion a la
posicion "Rapido" ("Fast"), que se distingue con la
figura de un conejo.
\
Valvula de Regulaci6n
a la posicion "R&pido"
("Fast")
11. Mueva la perilla del cebador a la posicion "Ahogado"
("Choke").
NOTA: En el caso de que el motor este caliente, asegQrese
de que la perilla del cebador se encuentre en la posicion
"En marcha" ("Run").
12. Cuando arranque el motor, col6quese en la posici6n
que se recomienda a continuaci6n. Sujete la manija y
hale ligeramente la manija del arranque hasta que
sienta cierta resistencia. Despues h&lela r&pidamente.
13. Jale la cuerda de arranque lentamente. NO permita que
la cuerda regrese bruscamente en contra del arrancador.
ADVERTENClA
Antes de arrancar el motor, apunte SIEMPRE con ta pistola
rociadora hacia una direcci6n segura y apriete el gatillo para
descargar la presi6n y evitar el retroceso.
Cuando arranque el motor, tire lentamente del cable hasta
sentir una resistencia y, a continuaci6n, tire rapidamente de _!
para evitar su retroceso.
Despues que cada tentativa que empieza, donde motor falla de
correr, siempre se_alar el fusil en la direcci6n segura y el
disparador del fusil del rocio del estruj6n para liberar la presi6n alta.
Sujete firmemente ta pistola rociadora con ambas manos cuando
aplique un rociado a alta presi6n para evitar lesiones cuando se
produzca el retroceso de ta pistola.
14. Cuando arranque el motor, mueva lentamente la perilla
del cebador a la posicion "En marcha" ("Run"). Si el
motor falla, mueva la perilla del cebador a la posicion
"Ahogado" ("Choke"), y despues a la posicion "En
marcha" ("Run").
15. Despues que cada tentativa que empieza, donde motor
falla de correr, siempre seSalar el fusil en la direccion
segura y el disparador del fusil del rocio del estrujon
para liberar la presion alta. Mueva la perilla del cebador
a la posicion "En marcha" ("Run"), y repite los pasos
12 pot 14.
IMPORTANTE: Si el motor se desborda, coloque la perilla
del cebador en la posicion "Run" e intente arrancarlo hasta
conseguirlo.
ADVERTENClA
NO toque las superficies catientes y evite los gases del escape
a alta temperatura.
Permita que el equipo se enfrie antes de tocarto.
Deje un espacio minimo de 152 cm (5 pies) atrededor del
tavadora a presidn, inctuida la parte superior.
El Cddigo de Normativa Federal (CFR, Titulo 36: Parques,
Bosques y Propiedad PC_blica)obliga a instalar una pantatta
apagachispas en los equipos con motor de combustidn interno
a mantenerla en buenas condiciones de funcionamiento,
conforme a la norma 5100-1C (o posterior) del Servicio Forestal
de la USDA. En el Estado de California, la ley exige el uso de
una pantalla apagachispas (Secci6n 4442 del C6digo de
Recursos PC_blicosde California). En otros estados puede haber
teyes similares en vigor.
NOTA: Siempre mantenga la control de valvula de
regulacion en el "R&pido" ("Fast") posicione cuando operar
la arandela de la presion.
C6mo Detener su M_quina Lavadora a
Presi6n
1. Espere que el motor descanse.
2. Mueva la v&lvula de regulacion a la posicion "Stop"
("Parado").
L O coloque ta perilla del cebador en la posici6n "Choke" para
parar el motor.
3. SlEMPRE fusil de punto en una direcci6n segura y el
disparador del fusil del rocio del estrujon para liberar la
presion retenida de la pleamar.
38

iADVERTENCIA
• Mantenga conectada la manguera a ta maquina o a ta pistola de
rociado cuando el sistema este presurizado.
•StEMPRE que pare el motor, apunte con ta pistola rociadora
hacia una direcci6n segura y apriete el gatiilo para descargar la
presi6n y evitar el retroceso. Active el seguro del gatitlo cuando
no utilice la pistola.
4. Active el seguro del gatillo de la pistola rociadora
cuando no la utilice.
Utilizaci6n de la Bandeja de Accesorios
La unidad esta equipada con una bandeja de accesorios
con compartimentos para guardar la pistola rociadora y el
prolongador de la boquilla. La parte delantera de la bandeja
tambien incluye un gancho para sujetar la manguera de alta
presion.
NOTA: El orificio adicional de la bandeja permite guardar un
cepillo. La pinza adicional de la bandeja permite guardar
una boquilla turbo. La limpiadora a presion NO incluye el
cepillo ni la boquilla turbo Puede adquirir estos elementos
como accesorios opcionales.
1. Pase el prolongador de la boquilla por el orificio de la
bandeja de accesorios seg0n se indica.
Tipica Lavadora a
Presi6n Mostrada
La Presi6n
Baja Usada __/
para aplicar
detergente
Negra
40 °
Blanca
i2. Coloque la pistola rociadora en el orificio situado a la
derecha de la bandeja de accesorios.
3. Cuelgue la manguera de alta presion del gancho
situado en la parte delantera de la bandeja de
accesorios, como se muestra.
C6mo Usar las Puntas de Rocio
La conexi6n rapida de la extensi6n para boquillas le permite
usar cinco puntas de rocio diferentes. Las puntas de rocio
tienen diferentes patrones de rociado como se ilustra a
continuaci6n.
PRECAUCION
Siempre asegOrese de que la superficie que va a limpiar no
vaya a ser dafiada por el rociado de alta presi6n haciendo una
prueba en un area escondida.
Para cambiar las punta de rociado:
1. Coloque el pestillo de seguridad de la pistola de
rociado.
2. Desplace hacia atras el anillo del conector r&pido y tire
de la punta de rociado que este montada.
3. Seleccione la punta de rociado deseada:
Para enjuagado suave, seleccione la punta de
rociado blanca de 40 ° o verde de 25 °.
Para fregar la superficie, seleccione las puntas de
rociado amarilla de 15 ° 6 roja de 0°,
Para aplicar productos detergente, seleccione la
punta de rociado negra.
4. Desplace hacia atras el anillo, inserte la nueva punta de
rociado y suelte el anillo. Tire de la punta de rociado
para comprobar que est& bien montada.
5. Para una limpieza mas efectiva, mantenga la boquilla
de rociado de 8 a 24 pulgadas de la superficie de
limpieza. Si coloca la boquilla muy cerca, podria dafiar
la superficie que esta limpiando.
6. NO coloque la boquilla a menos de 6 pulgadas cuando
este limpiando Ilantas.
La Presi6n Alta
V T
25 ° 15 °
Verde Amarilla
0 o
Roja
39

Limpieza y Aplicaci6n del Detergente
IMPORTANTE: Utilice detergentes diseSados
especificarnente para m_quinas lavadoras a presi6n. Los
detergentes caseros podrian dafiar la bomba.
I PRECAUCION ]
°Arrancar el motor sin tener todas tas mangueras conectadas y
sin el suministro de agua ABIERTO (ON) causara el dafio de
ta bomba.
*El da_o a la lavadora a presidn, resultado de la desatenci6n a
esta precauci6n, no sera cubierto por ta garantia.
Para aplicar el detergente, siga los siguientes pasos:
1. Revise el uso de las puntas de rocio.
2. Prepare la solucion detergente siguiendo las
instrucciones del fabricante.
3. Coloque el extremo con el filtro del tubo para succion
de detergente en el recipiente del detergente.
I PRECAUCION ]
• Cuando coloque el fittro en la botetla del quimico, coloque el
tubo de manera que no entre en contacto accidentatmente con
el silenciador caliente.
4. AsegOrese de que la puntas de rocio negra este
instalada en la extension para boquillas.
NOTA: No se puede aplicar detergente con las punta de
rociado de alta presion (Blanca, Verde, Amarilla o Roja).
5. AsegOrese que la manguera de jardin este conectada a
la entrada del agua. Revise que la manguera de alta
presion este conectada a la pistola de rociado y a la
bomba. Dele arranque al motor.
6. Aplique el detergente sobre la superficie seca,
comenzando en la parte inferior del &rea y dirigiendose
hacia arriba, utilizando movimientos largos, parejos y
superpuestos.
7. Permita que el detergente penetre de 3 a 5 minutes antes
de enjuagar. Vuelva a aplicar cuando sea necesario para
evitar que la superficie se seque. NO permita que el
detergente se seque. Si permite que el detergente se
seque, la superficie podria quedar con manchas.
IMPORTANTE: Usted debera lavar el sistema de inyeccion de
quimicos despues de cada uso colocando el filtro en un balde
de agua limpia y haciendo funcionar la m&quina lavadora a
presion de 1 a 2 minutos en el modo de baja presion.
Enjuage de la M_quina Lavadora a Presi6n
Para Enjuage:
1. Coloque el cerrojo de seguridad a la pistola de rociado.
2. Retire la boquilla negra para quimicos de la extension
para boquillas.
3. Seleccione e instale la boquilla de alta presi6n que
desee siguiendo las instrucciones de "Como Usar las
Puntas de Rocio".
4. Mantenga la pistola de rociado a una distancia segura
del &rea que planea rociar.
ADVERTENCIA
Mantenga ta boquitla de rociado de 8 a 24 pulgadas de la
superficie de timpieza.
Opere y almacene esta unidad sobre una superficie estable.
Sea extremadamente cuidadoso si usa ta maquina lavadora a
presi6n desde una escalera, andamio o cualquier superficie
retativamente inestable.
Sujete la pistola de la hidrolavadora firmemente con ambas
manos cuando utilice el rociado a atta presi6n. De esta manera
evitara lesiones producidas por el posible golpe de ta pistola
hacia atras.
5. Aplique un rociado de alta presi6n en un area pequeSa,
despues revise si la superficie presenta daSos. Si no
encuentra dafios, puede continuar con el trabajo de
limpieza.
6. Comience en la parte superior del area que va a
enjuagar, dirigiendose hacia abajo con los mismos
movimientos superpuestos que utiliz6 para la limpieza.
Limpiando el Tubo
Si usted uso el tubo, usted debe lavarlo con agua limpia
antes de parar el motor.
1. Coloque el filtro y la inyeccion quimica en un balde
Ileno de agua limpia.
2. Coloque el cerrojo de seguridad a la pistola de rociado.
3. Conecte la puntas de rocio negra de baja presion.
4. Suelte el cerrojo de seguridad a la pistola de rociado.
5. Lave de 1 a 2 minutos.
6. Apague el motor.
7. SlEMPRE fusil de punto en una direcci6n segura y el
disparador del fusil del rocio del estrujon para liberar la
presion retenida de la pleamar.
IMPORTANTE: La pistola rociadora contiene agua a alta
presion incluso con el motor parado y el agua
desconectada.
Sistema de Enfriamiento Autom_tico
(Alivio T_rmico)
El agua que circula dentro de la bomba puede alcanzar
temperaturas entre los 125°-155°F si hace funcionar el
motor de su maquina lavadora a presion de 3 a 5 minutos
sin oprimir el gatillo de la pistola de rociado. El sistema de
enfriamiento automatica se activa a esta temperatura y
enfria la bomba descargando agua caliente en el piso,
evitando asi el dafio interno de la bomba.
4O

INFORMACION TECNICA SOBRE EL ESPECIFICACIONES DEL
MOTOR PRODUCTO
El motor es de uno cilindros, de v&lvulas en cabeza (OHV),
refrigerado por aire y de baja emisi6n.
En el Estado de California, los motores de la serie 120000
hart obtenido la certificaci6n del California Air Resources
Board (Consejo de recursos de aire de California) de
cumplimiento de la normativa sobre emisiones durante
125 horas. Esta certificacion no supone para el comprador,
el propietario o el usuario ninguna garantia adicional en Io
relativo al rendimiento y a la vida Qtil del motor. Las
garantias del motor ata_en exclusivamente al producto y a
las emisiones que se declaran en este manual.
Potencia Nominal
*Los valores de potencia nominal de un modelo de motor
se establecen en primer lugar con el codigo J1940
(Procedimiento de valoracion de potencia y par de
pequefios motores, Revision 2002-05) de la SAE (Society of
Automotive Engineers, Sociedad de ingenieros de
automocion). Dada la amplia variedad de productos que
utilizan nuestros motores y la multitud de factores
ambientales que pueden afectar a su funcionamiento, el
motor que ha adquirido puede no Ilegar a desarrollar su
potencia nominal cuando se utilice con un aparato mecanico
(potencia real "in situ"). Esta diferencia se debe, entre otros,
a los siguientes factores: diferencias de altitud, temperatura,
presion barometrica, humedad, combustible, lubricacion del
motor, velocidad maxima controlada del motor, variaciones
entre distintos motores del mismo modelo, disefio del equipo
mec&nico utilizado, manera de hacer funcionar el motor,
rodaje del motor para reducir la friccion y limpiar las
camaras de combustion, ajustes de las valvulas y el
carburador, etc. Los valores de potencia nominal tambien se
puede ajustar en funcion de las comparaciones con otros
motores similares utilizados en aplicaciones similares, por Io
que no coincidira necesariamente con los valores que se
obtienen al aplicar los codigos mencionados.
Espec!f!caciones de la M_quina Lavadora
a P'res|on
Presion de salida maxima ................... 2,800 PSi
Caudal m&ximo ............................ 2.5 GPM
Mezcla de quimicos ............ Use segQn instrucciones
Temperatura del suministro
de agua ..................... Que no exceda los 100°F
Peso que Embarca ........................... 74 Ibs.
Especificaciones del Motor
Caballos de Fuerza de Grueso* . ........... 7 a 3600 rpm
Diametro de camisa ............. 68 mm (2,69 pulgadas)
Carrera ....................... 52 mm (2,04 pulgadas)
Desplazamiento ................ 190 cc (11,58 pulgadas)
Bujia
Resistor: ....................... Champion RC12YC
Platino de Larga Duracion ........ Champion RC12PYP
Calibrar Separacion a: ........ 0.020 pulgadas (0.50mm)
Entrehierro del inducido: ................. 0,15-0,36 mm
(0,006-0,014
pulgadas)
Holgura de la valvula con muelles de valvula instalados y
piston de 6 mm (0,25 pulgadas) pasado el punto muerto
superior (comprobar con el motor en frio)
Admision .......... 0,10-0,15 mm (0,004-0,006 pulgadas)
Escape ........... 0,10-0,20 mm (0,004-0,008 pulgadas)
Capacidad de Gasolina ............... 1,51(1.6 Cuartos)
Capacidad de Aceite .................. 0,65 I (22 fl. oz.)
Tipo de Aceite
Sobre 40°F ............................... SAE 30
Debajo 40°F .................. SAE 5W-30 o 10W-30
NOTA: Para un mejor funcionamiento, la carga de potencia
no debe superar el 85% de la potencia nominal. La potencia
del motor se reducira un 3,5% por cada 300 metros
(1.900 pies) de altitud y un 1% por cada 5,6 °C (10 °F) a
partir de 25 °C (77 °C). Funcionara satisfactoriamente en un
angulo de hasta 15 °.
41

RESPONSABILIDADES DEL PROPIETARIO
Siga el programa de mantenimiento seg0n el nOmero de horas o segQn el calendario, Io que suceda primero.
Se requiere de servicio con mayor frecuencia cuando opere la unidad en las condiciones adversas descritas a continuacion.
CALENDARIO DE MANTENIMIENTO
ANOTE LAS FECHAS CONFORME INTERVALO DE OPERACI6N POR HORA
CUMPLA CON EL SERVICIO NORMAL FECHAS DE SERVICIO
Antes de Cada 25 Cada 50 Cada 100
TAREA DE MANTENIMIENTO Cada Use Horas o a A_o Horas o a A_o Horas o al A_o
LAVADORA A PRESI6N X_
Revise/limpie el filtro de la entrada de agua
Revise la manguera de alta presion X
Revise la pistola aspersora y verifique que X
no haya fugas en el ensamblaje
Revise la manguera del detergente X
Revise el fHtro en linea X
Prepare la bomba para almacenarla a Vea "AImacenamiento" en la paginas 47-48
menos de 32°F
Motor X
Verificar el nivel de aceite
Limpie los residuos X
Servicio al filtro de aire X3
Cambiar el aceite del motor X=
Servicio al sistema de la bujia X
Servicio a la bujia X
Limpie el sistema de refrigeraci6n X 2
Prepar almacenamiento Si la unidad permanecera sin uso por mas de 30 dias.
Limpiar si est8 obstruido. Remplazar siesta perforado o roto.
Cambiar el aceite despues de tas primeras (5) horas y despues cada 50 horas.
Hacer el cambio de aceite con mayor frecuencia cuando trabaje en condiciones de mucha suciedad o polvo.
Remplazar mas a menudo bajo condiciones de suciedad o polvo.
RECOMENDACIONES GENERALES
El mantenimiento peri6dico mejorar& el rendimiento y
prolongar& la vida 0til del lavadora a presion. Si necesita
asistencia, consulte con un distribuidor de Sears o con otto
distribuidor cualificado.
La garantia de la maquina lavadora a presion NO cubre los
elementos que hart sido sujetos a abuso o negligencia por
parte del operador. Para hacer valida la cobertura total de la
garantia, el operador debera mantener la lavadora de
presion tal y como se indica en el manual, incluyendo su
adecuado almacenamiento, como se describe en la seccion
"Almacenamiento" en la paginas 47-48.
Algunos ajustes tendran que hacerse periodicamente para
mantener adecuadamente su maquina lavadora a presion.
Todos los servicios y ajustes deberan hacerse por Io menos
una vez en cada estacion. Siga las instrucciones de la tabla
"Programa de Mantenimiento" descrita anteriormente.
NOTA: Una vez al afio, usted debera limpiar o remplazar la
bujia y el filtro de aire. Una bujia nueva y un filtro de aire
limpio garantizan una mezcla de combustible-aire adecuada
y le ayuda a su motor a funcionar mejor y a tenet una vida
Otil mas prolongada.
CONTROL DE EMISIONES
Cualquier establecimiento o individuo especializado en la
reparaci6n de motores que no sean de automocion puede
encargarse del mantenimiento, la sustitucion y la reparacion
de los dispositivos y sistemas de control de emisiones.
ANTES DE CADA USO
1. Revise el nivel de aceite del motor.
2. Limpie los residuos.
3. Revise si existen daSos en el colador de la entrada de
agua.
4. Revise si existen daSos en el filtro en linea.
5. Revise si existen fugas en la manguera de alta presion.
6. Revise si existen daSos en los filtros de quimicos.
7. Revise si existen fugas en el conjunto de la extension
para boquillas y pistola.
8. Elimine el aire y los contaminantes de la bomba.
42

MANTENIMIENTO DE LA MAQUINA
LAVADORA A PRESION
Limpie los Residuos
Limpie a diario, o antes de cada uso, los residues
acumulados en el lavadora a presion. Mantenga limpias las
conexiones, los muelles y los mandos. Limpie todo resto de
combustible de la zona que rodea al silenciador y de detras
del mismo.
Mantenga limpios los componentes del lavadora a presion
para reducir el riesgo de sobrecalentamiento e ignicion de
los residuos acumulados.
PRECAUCION
• NO inserte cualquier objeto a traves de las ranuras de
enfriamiento.
Utilice un trapo hOmedo para limpiar las superficies
exteriores.
Puede usar un cepillo de cerdas suaves para retirar la
suciedad endurecida, aceite, etc.
Puede usar una maquina aspiradora para eliminar
suciedad y residuos sueltos.
Puede usar aire a baja presion (que no exceda los 25 psi)
para eliminar la suciedad. Inspeccione las ranuras para
aire de enfriamiento y la apertura del lavadora a presion.
Estas aperturas deberan mantenerse limpias y
despejadas.
Revise y Limpie el Colador de Entrada
Examine el colador de entrada de la manguera de jardin.
Limpielo siesta tapado o remplacelo siesta rote.
Revise la Manguera de Alta Presi6n
Las mangueras de alta presion pueden desarrollar fugas
debido al desgaste, dobleces o abuso. Revise la manguera
antes de cada uso. Revise si existen cortes, fugas, abrasio-
nes, levantamiento de la cubierta, dafio o movimiento de los
acoplamientos. Si existe cualquiera de estas condiciones,
remplace la manguera inmediatamente.
IADVERTENCIA 1
•NUNCA repare la manguera de atta presi6n. Remplacela.
•Remplacela con una manguera que cumpla con la capacidad
minima de presi6n de su maquina lavadora a presi6n.
Revise la Pistola y la Extensi6n para
Boquillas
Examine la conexion de la manguera a la pistola y
cerciorese de que este en buen estado. Pruebe el gatillo
oprimiendolo y asegurandose de que se devuelve a su sitio
cuando Io suelte. Coloque el cerrojo de seguridad y pruebe
el gatillo. Usted no debe ser capaz de oprimir el gatillo.
Remplace la pistola inmediatamente si falla cualquiera de
estas pruebas.
Revise el Filtro en Linea
Consulte la ilustracion y suministre servicio al filtro en linea
si se tapa siguiendo estos pasos:
Filtro en Linea
Extension para Boquillas Anillo 'O
1. Retire la pistola y la extension para boquillas de la
manguera de alta presi6n. Retire la extension para
boquillas de la pistola y retire el anillo 'o' y el colador de
la extension para boquillas. Lave el colador, pistola y
extension para boquillas con agua limpia para eliminar
toda clase de residuos.
2. Coloque el colador del filtro en linea en el extremo con
rosca de la extension para boquillas. Su direccion NO
import& Coloque el colador ejerciendo presion con el
borrador de un I&piz hasta que se asiente pot complete
en el rondo de la abertura. Tenga cuidado de NO doblar
el colador.
3. Coloque el anillo 'o' en la ranura respectiva. Empuje el
anillo 'o' hasta que quede ajustado contra el colador del
filtro en linea.
4. Conecte la extension para boquillas a la pistola de rociado
de la manera descrita anteriormente en este manual.
Mantenimiento de la Boquilla
Si siente una sensacion pulsante al momento de apretar el
gatillo de la pistola rociadora, puede que sea causada por la
presion excesiva en la bomba. La causa principal de la
presion excesiva en la bomba es cuando la puntas de rocio
se encuentra atascada o tapada con materiales extrafios,
tales como tierra, etc. Para corregir el problema, limpie
inmediatamente la puntas de rocio siga las instrucciones
siguientes:
1. Apague el motor y apague el suministro de agua.
2. Remueva la puntas de rocio del extremo de la
extension de la boquilla.
3. Quite el en el filtro de la linea del otro fin de la
extension de boquilla.
4. Use el peque_o sujeta papeles para liberar cualquier
material extrafio que este tapando la puntas de rocio.
Use el alambre __ _,X_
aqui para eliminar 1f-_:_
los residues __
5. Usando una manguera de jardin, remueva cualquier
desecho adicional, poniendo agua en la extension de la
boquilla. Haga esto de 30 a 60 segundos.
43

6. Instale de nuevo la puntas de rocio yen el filtro en-linea
en la extension.
7. Conecte de nuevo la extension de la boquilla a la
pistola rociadora.
8. Conecte de nuevo el suministro de agua, prenda el
agua, y encienda el motor.
9. Pruebe el lavador a presion al hacer funcionar con cada
una de las puntas de rocio de conexiones rapidas que
viene con el lavador a presion.
Mantenimiento de los Anillos 'O'
Compre una O-Juego de Reparacion de Anillo en sus Sears
locales o Ilamando 1-800=4-MY-HOME (469-4663) o en linea
en www.sears.com. No se incluye con la arandela de la
presion. Este juego incluye los anillos del reemplazo O,
arandela de caucho y filtro de cala de agua. Refierase a la
hoja de la instruccion proporcionada en el juego para
atender a su unidad'los anillos de s O.
iADVERTENCIA I
•NUNCA utitice ning_n tipo de sellador para reparar una fuga en
una conexi6n. Sustituya la junta t6rica o ta junta.
Mantenirniento de Aceite de la Bomba
Esto modelo no requiere cualquier conservacion de bomba.
La pompe est pre-lubrifi6e et scellee, et il n'est pas
necessaire de la lubrifier a nouveau.
MANTENIMIENTO DEL MOTOR
ADVERTENCIA
CUANDO AJUSTE O HAGA REPARACIONES A SU
MAQUINA LAVADORA DE PRESION
Siempre desoonecte el alambre de la bujia y col6quelo donde
no pueda entrar en contacto con la bujia.
CUANDO PRUEBE LA BUJiA DEL MOTOR
Utilice un comprobador de bujias homologado.
NO comprueba la chispa sin ta bujia instalada.
Aceite
Recomendaciones sobre el aceite
NOTA: Cuando agregue aceite al compartimiento del motor,
utilice Onicamente aceite detergente de alta calidad, designado
con la clasificacion API de servicio SF, SG, SH, SJ o superior.
NO use aditivos especiales.
1. Seleccione una viscosidad de acuerdo a la tabla siguiente:
>F 20 0 20 32 40 60 80 100
°C 30 20 10 0 /0 20 30 40
Temperaturas de Uso Esperadas
NOTA: Todo aceite sintetico que cumpla las
especificaciones ILSAC GF-2, con marca de certificacion
API y con simbolo de servicio API con "SJ/CF ENERGY
CONSERVING" o superior es un aceite aceptable a todas
las temperaturas. El uso de aceite sintetico no altera los
intervalos de cambio de aceite indicados.
* El uso de aceites multigrado (5W-30, 10W-30, etc.) en
temperaturas mayores a los 40°F (4°C) ocasionara un
consumo de aceite mayor al normal. Cuando utilice un
aceite multigrado, revise con mayor frecuencia el nivel de
aceite del motor.
** Si utiliza aceite SAE 30 en temperaturas inferiores a los
40°F (4°C), ocasionara que el arranque sea mas dificil e
incluso que se desbiele el motor debido a su inadecuada
lubricacion interna.
Cornprobaci6n del Nivel de Aceite
Compruebe el nivel de aceite antes de cada uso o cada
5 horas de funcionamiento, como minimo. Rellene si es
necesario.
1. Coloque el lavadora a presion sobre una superficie
nivelada.
2. Retire la varilla de medicion y limpie la varilla de
medici6n. Instale el varilla de medicion, apriete
firmemente. Quite y verifique nivel del aceite.
3. Compruebe que el aceite hasta la marca "Full" de la
varilla de medicion. Instale el varilla de medicion, apriete
firmemente.
\
DEPOSlTAR LLENO
44

Adici6n de Aceite del Motor
1. Coloque el lavadora a presion sobre una superficie
nivelada.
2. Compruebe el nivel de aceite tal como se indica en la
seccion "Comprobacion del nivel de aceite".
3. Si es necesario, vierta lentamente aceite por el orificio
de Ilenado hasta la marca "Full" de la varilla de medicion.
NO Ilene excesivamente.
4. Instale el varilla de medicion, apriete firmemente.
Carnbio de Aceite del Motor
Cambie el aceite despues de las primeras 5 horas de
operacion. Cambie el aceite y el filtro cada 50 horas de ese
momento en adelante. 8i est& utilizando su generador bajo
condiciones de extrema suciedad o polvo, o en un clima
demasiado caliente, haga el cambio de aceite m&s
frecuentemente.
I PRECAUCION
Servicio del Depurador de Aire
Su motor no funcionara adecuadamente y puede daSarse si
usted Io hace funcionar con un depurador de aire sucio.
Suministre servicio al depurador de aire una vez cada
25 horas de operacion o una vez por aSo, Io que suceda
primero. Suministre servicio mas frecuentemente si la
unidad funciona bajo condiciones de mucha suciedad o
polvo. Los repuestos se encuentran disponibles en su centro
de servicio local Sears.
Para dar servicio al filtro de aire, siga los pasos que se
detallan a continuaci6n:
1. Afloje el tornillo y quite la cubierta.
Las etiquetas y las Ranuras
El cartucho
I
• Et aceite usado del motor ha sido mostrado al cancer de ta piel
de ta causa en ciertos animales del laboratorio.
• Completamente tavado expuso areas con el jab6n y et agua.
MANTENER FUERA DEL ALCANCE DE LOS
NINOS. NO CONTAMINE. CONSERVE LOS
RECURSOS. DEPOSITE EL ACEITE USADO EN
UN PUNTO DE RECOGIDA.
Carnbie el aceite cuando el motor siga estando caliente
despu_s de haber funcionado:
1. Drene el tanque del combustible haciendo funcionar la
maquina lavadora a presion hasta que el tanque este
vacio.
2. Desconecte alambre de bujia y Io mantiene lejos del
bujia.
3. Limpie el area alrededor de la abertura para Ilenado de
aceite, retire la varilla de medicion. Limpie la varilla de
medicion.
4. Incline su maquina lavadora a presion para drenar el
aceite a traves del orificio de Ilenado en un recipiente
adecuado asegurandose de inclinar la unidad hacia el
lado opuesto de la bujia. Cuando la caja del cigL_eSal
este vacia, vuelva a colocar la maquina lavadora a
presion en posicion vertical.
5. Vierta lentamente unos 0,65 litros (22 onzas) de aceite
por el orificio. Deposite el aceite recomendado hasta la
marca "Full" de la varilla de medicion.
6. Limpie la varilla de medicion cada vez nivel del aceite
se verifica. NO armada aceite en exceso.
7. Instale la varilla de medicion, apriete firmemente.
8. Limpie los residuos de aceite.
9. Conecte de nuevo alambre de bujia al bujia.
La base
El tornillo La cubierta
2. Remueva cuidadosamente el cartucho.
3. Para limpiar el cartucho, golpee ligeramente su costado
de papel plegado sobre una superificie firme.
4. Reinstale el juego de cartucho nuevo o limpio debajo de
la cubierta.
5. Inserte las leng0etas de la cubierta en las ranuras que
se encuentran en el fondo de la base.
6. Coloque la cubierta en su lugar y apriete el tornillo
firmemente a la base.
NOTA: Usted puede comprar los elementos del filtro de aire
nuevos Ilamando al 1-800-4-MY-HOME (469-4663).
45

Remplace la Bujia
Remplace la bujia anualmente o cada 100 horas de
operacion.
I. Limpie el &rea alrededor de la bujia y retirela.
2. Retire y revise la bujia.
3. Para el uso del reemplazo o el bujia uniforme de la
chispa de reostato, el Champion RCI2YC o el bujia
largo de la chispa de platino de vida, el Champion
RC 12PYP.
4. Revise la separacion del electrodo con un calibrador de
alambre y ajuste la separacion a 0.020 pulgadas
(0.50 mm), si es necesario.
_ j_- --------_
5. Instale la bujia y aprietela firmemente.
NOTA: Puede adquirir nuevos bujia al nOmero telefonico
1-800=4.-MY-HOME (469-4663).
Servicio del Apagachispas
El motor de su unidad no viene equipado de fabrica con un
apagachispas. En ciertas areas, es ilegal operar motores
que no tengan apagachispas. Revise las leyes y
regulaciones locales. Si necesita apagachispas, Io puede
comprar en su centro de servicio Sears mas cercano. Para
obtener el nOmero de parte Ilame al 1-800-4-MY-HOME
(469-4663).
Deber& suministrarle servicio al apagachispas cada
50 horas para conservarlo en buenas condiciones de
funcionamiento.
Si el motor ha estado funcionando, el silenciador estar&
bastante caliente. Deje que el silenciador se enfrie para
poder darle servicio al apagachispas.
ADVERTENClA
NO toque las superficies catientes y evite los gases del escape
a alta temperatura.
Permita que el equipo se enfrie antes de tocarto.
Deje un espacio minimo de 152 cm (5 pies) atrededor del
tavadora a presiOn, inctuida ta parte superior•
El C6digo de Normativa Federal (CFR, Titulo 36: Parques,
Bosques y Propiedad PL_blica) obliga a instatar una pantatla
apagachispas en los equipos con motor de combustion interne 3
a mantenerla en buenas condiciones de funcionamiento,
conforme a la norma 5100-1C (o posterior) del Servicio Forestal
de la USDA. En el Estado de California, la ley exige el uso de
una pantalla apagachispas (Secci6n 4442 del C6digo de
Recursos PL_blicos de California)• En otros estados puede haber
teyes similares en vigor.
Retire la pantalla del apagachispas para limpieza e
inspeccion.
Remplace la pantalla siesta da5ada.
Sistema de Refrigeraci6n de Aire
Con el tiempo, se pueden acumular residuos en las aletas
de refrigeracion del cilindro y pasar inadvertidos mientras no
se desmonte parcialmente el motor. Recomendamos que
encargue la limpieza del sistema de refrigeracion a un
distribuidor autorizado de servicio Sears siguiendo los
intervalos recomendados (consulte la seccion "Calendario
de Mantenimiento" en la pagina 42). Es igualmente
importante que no se acumulen residuos en el motor.
Consulte la seccion "Limpie los Residuos".
46

DESPUES DE CADA USO
No debera haber agua en la unidad por largos periodos de
tiempo. Los sedimentos de minerales se pueden depositar
en partes de la bombay "congelar" su funcionamiento.
Lleve a cabo estos procedimientos despues de cada uso:
1. Lave el tubo de succion de detergente colocando el
filtro en un balde de agua limpia al mismo tiempo que
hace funcionar la m&quina lavadora a presion en el
modo de baja presion. Lave por un minuto o dos
minutos.
2. Pare el motor, cierre la alimentacion de agua, apunte
con la pistola rociadora hacia una direcci6n segura y
apriete el gatillo para descargar la presion, active el
seguro del gatillo de la pistola rociadora y deje enfriar
el motor.
iADVERTENCIA i
• Mantenga conectada la manguera a la maquina o a ta pistola de
rociado cuando el sistema este presurizado.
• Siempre que pare el motor, apriete el gatillo de la pistola
rociadora para descargar ta presi6n. Active el seguro del gatillo
de ta pistola rociadora.
3. Desconecte manga del fusil del rocio y salida alta de
presion en la bomba. DesagL_e agua de la manga, del
fusil, y de la extension de boquilla. Use un harapo para
quitar la manga.
4. Saque todos los liquidos de la bomba halando la
manija de retroceso aproximadamente 6 veces. Esto
debera evacuar la mayoria del iiquido de ia bomba.
5. Enrolle la manguera y cuelguela del gancho situado en
el bandeja de accesorios.
6,
7.
Almacene la unidad en una area iimpia y seca.
Si pianea almacenar la unidad por mas de 30 dias, vea
la seccion "Almacenamiento Prolongado" en proxima
pagina.
ADVERTENCIA
CUANDO ALMACENE 0GUARDE EL EQUIPO CON
COMBUSTIBLE EN EL TANQUE
Almacene alejado de calderas, estufas, calentadores de agua,
secadoras de ropa u otros aparatos electrodom_sticos que
posean pilotos u otras fuentes de ignici6n, porque ellos pueden
encender los vapores de ta combustible.
ALMACENAMIENTO PARA
INVIERNO
PRECAUCION
*Si no Io hace, da_ara permanentemente ta bombay ta unidad
no podr8 funcionar.
.La garantia no cubre el da_o de ta unidad ocasionado por
congelamiento.
Para proteger la unidad de las temperaturas de
congelamiento:
1. Siga los pasos 1-5 en la seccion previa "Despues de
Cada Uso".
2. Utilice un protector de bomba, disponible en Sears con
el nOmero de catalogo 71-74403, para cuidar la bomba.
Aquel protege a la unidad contra el congelamiento y
lubrica tanto los pistones como los empaques.
3. Si el protector de bomba no esta disponible, conecte un
tramo de 3 pies de manguera de jardin a la entrada de
agua. Vierta anticongelante RV (anticongelante sin
alcohol) en la manguera. Jale la manija de arranque
dos veces. Desconecte despues la manguera de
3 pies.
4. Almacene la unidad en una area limpia y seca.
47

ALMACENAMIENTO PROLONGADO
Si usted no planea usar la m&quina lavadora a presion por
m&s de 30 dias, debera preparar el motor para un
almacenamiento prolongado.
Es importante evitar la formaci6n de depositos de goma en
las partes esenciales del sistema del combustible tales
como carburador, filtro del combustible, manguera o tanque
del combustible durante el almacenamiento. Tambien, la
experiencia indica que los combustibles con mezclas de
alcohol (llamados gasohol, etanol o metanol) pueden atraer
la humedad, Io que Ileva a la separacion y formacion de
acidos durante el almacenamiento. La gasolina acida puede
da_ar el sistema del combustible de un motor durante el
almacenamiento.
Proteja el Sistema de Combustible
Aditivo para Combustible:
Si va a usar aditivo para combustible, Ilene el tanque de
combustible con gasolina fresca. Si el tanque esta
parcialmente Ileno, el aire del tanque va a promover el
deterioro del combustible durante el almacenamiento. El
motor y el combustible pueden ser almacenados hasta
24 meses con aditivo.
Deposite el aditivo para combustible siguiendo las
instrucciones del fabricante.
AsegOrese de tener conectado y ABIERTO el suministro
de agua a la entrada de la bomba.
Ponga en funcionamiento el motor en un area
descubierta pot vados minutos para asegurarse de que la
gasolina tratada ha remplazado la gasolina no tratada del
carburador.
Si no usa aditivo para combustible, retire todo el
combustible del tanque y haga funcionar el motor hasta que
se detenga por falta de combustible.
Cambio de Aceite
Con el motor todavia caliente, drene el aceite de la caja del
cigL_eSal. Vuelva a Ilenarlo con el grado de aceite
recomendado. Yea "Cambio de Aceite del Motor" en la
pagina 45.
Aceite el Di_metro Interior del Cilindro
Retire la bujia. Rocie aproximadamente 1/2 onza de
aceite limpio para motor dentro del cilindro. Cubra el
orificio de la bujia con un trapo. Hale la manija de
retroceso lentamente para distribuir el aceite. Evite el
rociado del orificio de la bujia.
Instale la bujia. NO conecte el alambre de la bujia.
Protecci6n de la Bomba
A protege al salvador de bomba de uso de bomba Sears a
previene congelar el daSo y lubrica embolos y sellos.
NOTA: El protector de la bomba, nOmero de item Sears
n0mero 71-74403, estan disponible solo como un accesorio
opcional. No es incluido con la arandela de la presion.
PRECAUCIC)N
*Si no Io hace, da_ara permanentemente ta bombay ta unidad
no podr8 funcionar.
*La garantia no cubre el da_o de ta unidad ocasionado por
congelamiento.
AI uso el salvador de bomba:
PRECAUCION
Siempre de ojo de uso cuando se usa PumpSaver.
1. Conecte manga en el salvador de bomba puede a la
cala de la bomba.
2. El empujon en puede la cima a distribuye bomba
salvador.
3. Cuando liquido de salvador de bomba comienza a la
salida de la bomba de la salida, la bomba es protegida.
4. Quite bomba salvador de la cala de bomba.
OTROS
NO almacene gasolina de una estacion a otra.
Si es posible, almacene su unidad en un recinto cerrado
y cQbrala para protegerla del polvo y la suciedad.
ASEGURESE DE VACiAR EL TANQUE DEL
COMBUSTIBLE.
ADVERTENCIA
NO coloque una cubierta encima de un tavadora de presi6n
caliente.
Deje que la unidad se enfrie to suficientemente antes de que le
coloque ta cubierta.
48

Problema
La bomba presenta los
siguientes problemas: no
produce presi6n o produce
una presi6n errada,
traqueteo, p_rdida de
presi6n, bajo volumen de
agua,
El detergente no se mezcla
con el rociado.
El motor funciona bien
cuando no tiene cargas,
pero funciona "real" cuando
se conecta una carga.
El motor no arranca; o
arranca y funciona real,
Causa
1. Esta usando la boquilla de baja presi6n
(negra).
2. La entrada de agua est& bloqueada.
3. Suministro de agua inadecuado.
4. La manguera de entrada esta doblada
o presenta fugas.
5. El colador de la manguera de la
entrada de agua esta tapado.
6. El suministro de agua esta por encima
de los 100°F.
7. La manguera de alta presion esta
bloqueada o presenta fugas.
8. La pistola presenta fugas.
9. La boquilla esta obstruida.
10. Bomba defectuosa.
1. El tubo de succi6n de detergente no
est& sumergido.
2. El filtro de quimicos esta tapado.
3. Sucio en el filtro de la linea.
4. Esta usando la boquilla de alta presi6n.
La velocidad del motor es demasiado lenta.
1. Bajo nivel de aceite.
2. Depurador de aire sucio.
3. Sin gasolina.
4. Gasolina vieja.
5. El alambre de la bujia no esta
conectado a la bujia.
6. Bujia mala.
7. Agua en la gasolina.
8. Estrangulacion excesiva o inundado.
9. Mezcla de combustible demasiado rica.
10. V&lvula de entrada trabada en la
posicion abierta o cerrada.
11. El motor ha perdido compresion.
SoluciSn
1. Cambie la boquilla a una de las cuatro
boquilla de alta presion.
2. Limpie la entrada.
3. Proporcione flujo de agua adecuado.
4. Estire la manguera de entrada, coloque un
parche en la fuga.
5. Revise y limpie el colador de la manguera
de entrada.
6. Proporcione suministro de agua mas fria.
7. Retire las obstrucciones de la manguera
de salida.
8. Remplace la pistola.
9. Limpie la boquilla.
10. Pongase en contacto con el centro de
servicio Sears.
1. Coloque el tubo de succion de detergente
en el detergente.
2. Limpie o remplace el filtro/tubo de succion
de detergente.
3. Yea "Cheque En el Filtro de la Linea".
4. Use la boquilla de baja presion (negra).
Mueva el control de la valvula de regulacion a
la posicion FAST (RAPIDO). Si el motor
continua funcionando mal, p6ngase en
contacto con el centro de servicio Sears.
1. Llene la caja del cig0eSal hasta el nivel
correcto.
2. Limpie o remplace el depurador de aire.
3. Llene el tanque de combustible.
4. Drene el tanque de gasolina; Ilenelo con
combustible fresco.
5. Conecte el alambre a la bujia.
1. Sin gasolina.
El motor se apaga durante
la operaci6n. 2. Bajo nivel de aceite.
El motor no tiene fuerza. Filtro de aire sucio. Remplace el filtro de aire.
Cebador abierto demasiado rapido.El motor intenta estabilizarse
o su funcionamiento no es
constante.
6. Remplace la bujia.
7. Drene el tanque de gasolina; Ilenelo con
combustible fresco.
8. Abra el cebador por completo y haga girar
el motor.
9. Pongase en contacto con el centro de
servicio Sears.
10. Pongase en contacto con el centro de
servicio Sears.
11. Pongase en contacto con el centro de
servicio Sears.
1. Llene el tanque de combustible.
2. Llene la caja del cigQe_al hasta el nivel
correcto.
Mueva el cebador a la posicion intermedia
hasta que el motor funcione normalmente.
49

Sears, Roebuck and Co., U.S.A. (Sears), California Air Resources Board (Consejo de Recursos sobre el Aire de
California, BARB, por sus siglas en ingles) y United States Environmental Protection Agency (Agencia de Protecci6n
Ambiental de EE.UU., EPA, por sus siglas en ingles).
Declaraci6n de garantia del sistema de control de emisiones
(derechos y obligaciones del propietario para la garantia contra defectos)
California Air Resources Board (CARB), U.S. EPA y Sears le explican a
continuaci6n la garantia del sistema de control de emisiones de su
peque_o motor para maquinas de servicio (SORE_ Small Offroad Engine).
En California, los modelos de peque_os motores para maquinas de
servicio a partir del a_o 2006 deben estar dise_ados, fabricados y
equipados conforme a tos exigentes estandares de lucha contra la
contaminaci6n det Estado.
En otras regiones de Estados Unidos, tos nuevos motores para
interiores de ignici6n por chispa certificados para modelos a_o 1997 y
posteriores deben cumplir con normas similares establecidas por la EPA
de EE.UU. Sears debe garantizar el sistema de control de emisiones de
su motor para los periodos indicados a continuaci6n, siempre y cuando
no se haya abusado, descuidado o dado mantenimiento incorrecto at
motor pequeSo para exteriores.
Su sistema de control de emisiones incluye piezas como et carburador, el
flltro de aire, el sistema de arranque, el tubo de combustible, el silenciador
y el convertidor catalitico. Tambien puede incluir conectores y otros
conjuntos relacionados con las emisiones.
Cuando exista una condici6n que pueda ser cubierta por la garantia,
Sears reparara el motor pequeSo para exteriores sin costo atguno,
incluyendo el diagn6stico, las partes de repuesto y la mano de obra.
Cobertura de la garantia de Sears, Roebuck and Co, contra
defeetoe en el control de emisiones
Los pequeSos motores para maquinas de servicio estan garantizados
contra defectos de las piezas de control de emisiones durante un pedodo
de dos a5os, conforme alas siguientes disposiciones. Si cualquier pieza dei
motor con cobertura es defectuosa, sera reparada o sustituida por Sears.
Responsabilidades del propietario para la garantia
Como propietario del motor pequeSo para exteriores, usted es
responsable de realizar las actividades de mantenimiento requeridas que
se indican en tnstrucciones de uso y mantenimiento. Sears recomienda
que conserve todos los recibos que cubran el mantenimiento de su motor
pequeSo para exteriores, pero Sears no puede negar la garantia
solamente pot la fatta de recibos ni por su imposibiiidad de garantizar la
realizaci6n de todas las actividades de mantenimiento programadas.
Como propietario del motor pequeSo para exteriores, usted siempre
debe tener en cuenta que Sears podra negar la cobertura de la garantia
si su motor pequeSo para exteriores o una parte dei mismo presenta
fatlas debido a abuso, descuido, mantenimiento incorrecto o
modificaciones no aprobadas.
Usted es responsable de presentar su motor pequefio para exteriores a
un distribuidor autorizado de servicio de Sears aprobado tan pronto
como se presente el problem&
Las reparaciones cubiertas por la garantia se Itevaran a cabo en un
plazo razonable, no superior a 30 dias en ningQn caso.
Si tiene atguna pregunta con respecto a sus derechos y
responsabilidades para la garantia, p6ngase en contacto con un
representante de servicio Sears al 1-800-469-4663.
La garantia de emisiones es una garantia contra defectos. Los defectos
se juzgan en funci6n del rendimiento normal del motor. La garantia no
dependera de ninguna prueba de emisiones en funcionamiento.
Oisposiciones de la garantia de Sears, Roebuck and Co, contra
defeetos en el controt de emisionee
Las siguientes son disposiciones especificas relacionadas con la
cobertura de la garantia contra defectos en el control de emisiones. Se
al_ade a la garantia de motores de Sears para motores no regulados,
que figura en las tnstrucciones de uso y mantenimiento.
1. Partes garantizadas
La cobertura bajo esta garantia inctuye solamente aquellas partes
que se enumeran a continuaci6n (las partes del sistema de control
de emisiones) en la medida que dichas partes hayan estado
presentes en el motor adquirido.
a. Sistema de medici6n de combustible
Sistema de enriquecimiento para arranque en frio
Carburador y partes internas
Bomba de combustible
Tubo de combustible, acoplamientos del tubo de combustible,
abrazaderas
b. Sistema de inducci6n de aire
Filtro de aire
Cotector de entrada
c. Sistema de ignici6n
Bujias
Sistema de ignici6n por magneto
d. Sistema catatizador
Convertidor catalitico
Colector de escape
Sistema de inyecci6n de aire o valvula pot impulsos
e. Distintos elementos utilizados en los sistemas anteriores
Valvulas e interruptores de vacio, temperatura, posici6n y de
detecci6n de tiempo
Conectores y conjuntos
2. Vigeneia de la cobertura
Sears garantiza al propietario inicial y a cada comprador
subsiguiente que las partes garantizadas estaran libres de defectos
en material y en mano de obra, que ocasionen fallas de las partes
garantizadas durante un periodo de dos aSos a partir de la fecha
en que el motor sea entregado al comprador minorista.
3. No habr& cargos
La reparaci6n o reemplazo de cualquier parte garantizada se
realizara sin cargo alguno para el propietario, incluyendo la mano de
obra de diagn6stico que derive en la determinaci6n de que una parte
garantizada esta defectuosa, si la labor de diagn6stico se realiza en
un Centro de servicio Sears aprobado.
4. Reclamos y exclusiones de cobertura
Los reclamos vinculados con la garantia se presentaran conforme a
las disposiciones de la P61iza de garantia de Sears. La cobertura de
la garantia se excluira para aquetlas fallas de partes garantizadas
que no sean partes originales de Sears o debido a abuso, descuido
o mantenimiento incorrecto, segQn se establece en la P61iza de
garantia de motores de Sears. Sears no es responsabte por la
cobertura de fallas de partes garantizadas ocasionadas pot el uso
de partes adicionales, no originales o modificadas.
5. IVtantenimiento
Cuatquier parte garantizada cuyo reemplazo no est_ programado
como mantenimiento requerido o que est_ programada L_nicamente
para inspecci6n frecuente con el fin de "reparar o reemplazar
conforme sea necesario", estara garantizada en cuanto a defectos
por el periodo de la garantia. Cualquier parte garantizada cuyo
reemplazo este programado como mantenimiento requerido tendra
solamente una garantia contra defectos Onicamente por el periodo
hasta el primer reemplazo programado para esa parte. Se podra
utilizar cualquier parte de repuesto que tenga un rendimiento y
durabilidad equivatentes, al realizar cualquier actividad de
mantenimiento o reparaci6n. El propietario es responsable de
realizar todo el mantenimiento requerido, seg0n se define en
lnstrucciones de uso y mantenimiento de Sears.
6. Cobertura coneiguiente
La cobertura bajo la presente se ampliara a la falla de cualquier
componente del motor provocada por un desperfecto en cualquier
parte garantizada que siga gozando de la cobertura de la garantia.
En EE.UU. y Canada contamos con una linea de emergencia las 24 horas (1-800-469-4663), que ofrece un menu de mensajes pregrabados con
informaci6n sobre mantenimiento de productos.
50

Informaci6n Sobre el Periodo de
Durabilidad de las Emisiones y el indice
de Aire en la Etiqueta de Emisiones del
Motor
Los motores con certificaci6n de cumplimiento de la
normativa sobre emisiones de nivel 2 del California Air
Resources Board (CARB) deben mostrar informacion sobre
el periodo de durabilidad de las emisiones y el indice de
aire. El fabricante del motor ofrece esta informacion al
consumidor mediante etiquetas de emisiones.
El Periodo de Durabilidad de las Emisiones indica el
nOmero de horas durante las cuales el motor puede
funcionar cumpliendo las normas sobre emisiones, siempre
que se realicen las operaciones de mantenimiento que se
detallan en las instrucciones de uso y mantenimiento. Se
utilizan las siguientes categorias:
Moderado: El motor esta certificado para cumplir la
normativa sobre emisiones durante 125 horas de
funcionamiento real.
Intermedio: El motor est& certificado para cumplir la
normativa sobre emisiones durante 250 horas de
funcionamiento real.
Prolongado: El motor est& certificado para cumplir la
normativa sobre emisiones durante 500 horas de
funcionamiento real.
Por ejemplo, un cortacesped con operario a pie se suele
utilizar entre 20 y 25 horas al aSo. Por tanto, el Periodo de
Durabilidad de las Emisiones de un motor con
clasificacion intermedia equivaldria a 10-12 aSos.
El indice de Aire es un valor calculado que indica el nivel
relativo de emisiones de una gama concreta de motores.
Cuanto menor es el indice de Aire, m&s limpio es el motor.
Esta informacion se presenta en forma grafica en la etiqueta
de emisiones.
Periodo de Cumplimiento de la Normativa
de Emisiones en la Etiqueta de
Curnplimiento de Emisiones del Motor
Desde el 1 de julio de 2000, algunos motores Sears cuentan
con la certificacion de cumplimiento de la fase 2 de las
normas sobre emisiones de la United States Environmental
Protection Agency (USEPA, Agencia estadounidense de
proteccion del medioambiente ). En el caso de los motores
con certificacion de fase 2, el periodo de cumplimiento de la
normativa sobre emisiones que figura en la etiqueta de
cumplimiento de emisiones indica el nOmero de horas de
funcionamiento durante las cuales el motor ha demostrado
cumplir los requisitos federales sobre emisiones. Para
motores de menos de 225 cc, Categoria C = 125 horas, B =
250 horas y A = 500 horas. Para motores de 225 cc o m&s,
Categoria C = 250 horas, B = 500 horas y A = 1000 horas.
La clasificacion de este motor es moderado, con un indice
de aire de 3. El periodo de cumplimiento de la normativa
sobre emisiones de la EPA es de categoria C. El motor
tiene una cilindrada de 190 cc.
A continuacion se muestra una representacion generica de
la etiqueta de emisiones tipica de un motor certificado.
51
Enginesomitcarbonmonoxide,
DONOTruninenclosedarea.

_::__________#IIIII_IIIIIIHI_:_I_ _iiiiiH_:__HiiiiiHiiH_H#iiiiH_'_
[i_i[[[[ii[[[!![[[ii[[[ii[[[ii[[[ii[[ii_ _:_Uiiiiii[[!!ii!!iiiiiiiiii[[iiii
[i_i[[[%[ii[[[ii[[[[i[[!i_' %[[iiiiii_ii[[!!iiii[[
Your Home
Forrepair-inyourhome -of all majorbrandappliances,
lawn and garden equipment, or heating and cooling systems,
nomatterwhomadeit, nomatterwhosoldit! ......................
Forthereplacementparts, accessoriesand .....................
owner'smanualsthatyou needtodo-it-yourself. ............................................
For Sears professional installation of home appliances
anditemslikegaragedooropenersandwaterheaters.
1-800-4-MY-HOME ® (1-800-469-4663)
Call anytime, day or night (U.S.A. and Canada)
www.sears.comwww.sea,_.c_
Our Home ........
Forrepairofcarry-in itemslikevacuums, lawnequipment,
and electronics, call or go on-line for the location of your nearest ¢
Sears Parts& RepairCenter.
1-800-488-1222
Call anytime, dayor night (U.S.A. only)
www._ears.com
iHiiiiiiiiiiiiiiiiiiiiiil iii_iiiiiHiiiiiiiiiiiii!!i_
i_,_iiii_iiiiiiiiiiiiii_ii_ iiiiiiiiiiiiiiiiiiiiiiiiii
iiiiiiiiiiiiiiiiiiiiiiiii!1-800-827-6655 (U.S.A.) 1-800-361-6665 (Canada) iiiiiiiiiiiiiiiiiiiiiiiiii
iiiiiiiiHiiiHiiii_iiiii_iii...............................................................................................................................................................................................................................................................................................................................................................................................................................................................................................................................................................................................................................................................................................................iii_iiiiii_iiiiHiiii_iii!iii_
iiiiiiiiiiiiiiiiiiiiiiiiiiiiiiPara pedirservicio de reparaci6n Au Canada pourservce en fran_as iiiiiiiiiiiiii!ii!iiiiiiiillI
iiiiiiiiiiiiiiiiiiiiiiiiiiiiiiiadomicilio, yparaordenarpiezas: 1 800 LE FOYER MC iiiiiiii!iiiiii!iiiiii!!iii
iiiii 1-888-SU-HOGAR ® (1-800-533-6937)
i!!ii!!!!!!!!!!!!!!!!!!!!!!ilI.... (1-888-784-6427) www.sears.ca
................................Se /rs
_i!!iiiiiiii[[iiiiiii[i[i!!iiiiiiii!_H,...... ,:iiiiiiii[ii[iiii[[ii!!!![ii[iiiiii[[ii!'
......_H_ii!!ill_i_ii_ii!ii_!iiii_i_iiii_!!ii!iiii!ii!!ii!iiii!ii!!ii!iiii!ii!!ii!iiii!ii!!ii!iiii!ii!!ii!iiii!ii!!ii!iiii!ii!!ii!iiii!ii!!ii!iiii!ii!!ii!iiii!ii!!ii!iiii!ii!!ii!iiii!ii!!ii!iiii!ii!!ii!iiii!ii!!ii!iiii!ii!!ii!iiii!ii!!ii!iiii!ii!!ii!iiii!ii!i
TM SM
® Registered Trademark /Trademark /Service Mark of Sears Brands, LLC
TM
® Marca Registrada /Marca de Fabrics /aM Marca de Servicio de Sears Brands, LLC
MD
MCMarque de commerce /Marque ddposde de Sears Brands, LLC ® Sears Brands, LLC