Craftsman 580768110 User Manual HIGH PRESSURE WASHER Manuals And Guides L9050342
CRAFTSMAN Power Washer, Gas Manual L9050342 CRAFTSMAN Power Washer, Gas Owner's Manual, CRAFTSMAN Power Washer, Gas installation guides
User Manual: Craftsman 580768110 580768110 CRAFTSMAN HIGH PRESSURE WASHER - Manuals and Guides View the owners manual for your CRAFTSMAN HIGH PRESSURE WASHER #580768110. Home:Lawn & Garden Parts:Craftsman Parts:Craftsman HIGH PRESSURE WASHER Manual
Open the PDF directly: View PDF
.
Page Count: 30

Operators Manual
2 GPM
HIGH PRESSURE WASHER
Model No, 580.768110
HOURS: Mon. -Fri. 8 a.m. to 5 p.m. (CT)
CAUTION:
Before using this product, read this
manual and follow all its Safety Rules
and Operating Instructions.
Sears, Roebuck and Co., Hoffman Estates, IL 60179
Visit our Craftsman website: www.sears.€om/craftsman
•Safety
•Assembly
•Operation
•Maintenance
•Parts
Part No. B3774 Draft 1 (4/19/1999) printed in f_e U.S.A.

Safety Instructions ................... 2-3
Assembly ............................ 4
Operation .......................... 5-8
Maintenance ...................... 9-12
Storage. ........................... 13
Troubleshooting ...................... 14
Replacements Parts ................ 16-27
Order Parts /Request Service ..... Back Page
LIMITED ONE YEAR WARRANTY ON CRAFTSMAN HIGH PRESSURE WASHER
For one year from the date of purchase, when this Craftsman Cleaning System is maintained and operated
according to the instructions in the owner's manual, Sears will repair, free of charge, any defect in material and
workmanship.
If this washer is used for commercial purposes, this warranty applies.for only 90 days from the date of
purchase. If this high pressure washer is used for rental purposes, this warranty applies for only 30 days after
date of purchase.
This warranty does not cover:.
•Expendable items such as spark plugs or air filters, which become worn dudng normal use.
•Repairs necessary because of operator abuse or negligence, includingdamage resultingfrom no water
being supplied to pump or failure to maintain the equipment according to the instructionscontained inthe
owner's manual.
WARRANTY SERVICE IS AVAILABLE BY RETURNING THE HIGH PRESSURE WASHER TO THE
NEAREST SEARS SERVICE CENTER OR DEALER IN THE UNITED STATES.
This warranty gives you specific legal rights and you may also have other dghts,which vary from state to state.
Sears, Roebuck and Co., Dept. 817WA, Hoffman Estates, IL 60179
,_ CAUTION: Before using this product, read this
manual and follow all Safety Rules and
Operating Instructions.
ADANGER: When transporting, setting up,
adjusting or making repairs to your pressure
washer, always disconnect the spark plug wire
and place it where it cannot contact the spark
plug to prevent accidental starting.
Engine exhaust gases contain DEADLY carbon
monoxide gas. This dangerous gas, if breathed in
sufficient concentrations, can cause
unconsciousness or even death. Operate this
equipment only in the open air where adequate
ventilation is available.
•Gasoline is highly FLAMMABLE and its vapors are
EXPLOSIVE. Do not permit smoking, open flames,
sparks or heat in the vicinitywhile handling
gasoline. Avoi_ spilling gasoline on ahot engine.
Allow unit to dool for 2 minutes before refueling.
Comply with all laws regulating storage and
handling of gasoline.
•Locate this pressure washer in areas away from
combustible materials, combustiblefumes or dust.
•The high pressure equipment is designed to be
used with Sears authorized parts only. If you usa
tliis equipment with parts that do not comply with
minimum specifications, the user assumes all dsks
and liabilities.
•Some chemicals or detergents may be harmful if
inhaled or ingested, causing severe nausea,
fainting or poisoning. The harmful elements may
cause property damage or severe injury.
•Do not allow CHILDREN to operate the Pressure
Washer at any time.
2

• Operate engine only at govemecl speed. Running •
the engine at excessive speeds increases the
hazard of personal injury. Do not tamper with parts
which may increase or decrease the governed
speed.
•Do not wear loose clothing, jewelry or anything
that may be caught in the starter or other rotating
parts.
•Before startingthe pressure Washer in cold •
weather, check all pads of the equipment and be
sure ice has not formed there.
•Units with broken or missing pads, or without •
protective housing or covers should NEVER be
operated.
The muffler and air cleaner must be installed and
in good condition before operating the Pressure •
Washer. These components act as spark arrestors
if the engine backfires.
Check the fuel system for leaks or signs of
deterioration such as chafed or spongy hose,
loose or missing clamps or damaged tank or cap. •
Correct all defects before operating the Pressure
Washer.
/-_ Do not spray flammable liquids.
• Never allow any part of the body to come in
contact with the fluid stream. DO NOT come in
contact with afluid stream created by a leak in the
high pressure hose.
•High pressure streams of fluid this equipment
produces can pierce skin and its underlying
tissues, leading to serious injury and possible
amputation.
Never aim the gun at people, animals or plants.
•High pressure spray can cause paint chips or
other particles to become airborne and fly at high
speeds.
•Always wear eye protection when you use this
equipment or when you are in the vicinitywhere
the equipment is in use.
• Operate the pressure at no more than the PSI fluid
pressure rated for your pressure washer.
•Never move the machine by pulling on the high
pressure hose. Use the handle provided on the
top of the unit.
•Always be certain the spray gun, nozzles and
accessories are correctly attached.
Never use a spray gun which does not have a
trigger lock or trigger guard in place and in
working order.
Use a'respirator or mask whenever there is a
chance that vapors may be inhaled. Read all
instructionswith the mask so you are certain the
mask will provide the necessary protection against
inhaling harmful vapors.
High pressure spray may damage fragile items
includingglass. Do not point spray gun at glass
when in the jet spray mode.
Keep the hose connected to machine or the spray
gun while the system is pressurized.
Disconnectingthe hose while the unit is
pressurized is dangerous.
Hold the spray gun firmly in your hand before you
start the unit. Failure to do so could resuR in an
injuryfrom a whipping spray gun. Do not leave the
spray gun unattended while the machine is
running.
The cleaning area should have adequate slopes
and drainage to reduce the possibilityof a fall due
to slippery surfaces.
Keep water spray away from electdc wiring or fatal
electric shock may result..
Do not secure trigger gun in the pull-bask (open)
position.
Do not by-pass any safety device on this machine.
The muffler and engine heat up dudng operation
and remain hot immediately after shutting Rdown.
Avoid contact with ahot muffler or engine or you
could be severely burned.
Operate and store this unit on a stable surface.
High pressure hose can develop leaks from wear,
kinking,abuse, etc. Water spraying from a leak is
capable of injecting material into skin. Inspect
hose each time before using R.Check all hoses for
cuts, leaks, abrasions or bulging of cover, or
damage or movement of couplings. If any of these
conditions exist, replace hose immediately. Never
repair high pressure hose. Replace Rwith another
hose that meets minimum pressure rating of your
pressure washer.
I A LOOK FOR THIS SYMBOL TO POINT OUT IMPORTANT SAFETY PRECAUTIONS. IT
MEANS "ATTENTION!!! BECOME ALERT!!! YOUR SAFETY IS INVOLVED."
3

CARTON CONTENTS
The following parts are shipped loose with your
pressure washer:.
•Main Unit -- pressure washer with wheels, guide
handle.
•High Pressure Hose
•Parts Box (which includes items listed below)
Spray Gun
•Wand Extension with Hi/Lo Adjustable Nozzle.
•Engine Oil
•Manual Bag (which includes the Items listed
below)
•Owner's Manual
•Nozzle Cleaner Kit
• =O'-Ring Kit
Become familiar with each piece before assembling
the pressure washer. Check all contents against the
illustrationon Page 5. If any parts are missingor
damaged, call the Pressure Washer Helpline at
1-800-222-3136.
TO REMOVE PRESSURE WASHER FROM
CARTON
•Remove loose parts and parts box included with
pressure washer.
• Slice two comers at guide handle end of carton
from top to bottom so the panel can be folded
down flat.
•Raise guide handle, secure in place and rollthe
pressure washer out the open end of the carton.
HOW TQ SET UP YOUR PRESSURE
WASHER
For the most part, your Craftsman High Pressure
Washer has been assembled at the factory. You must,
however, assemble the spray gun, and attach the high
pressure hose to the pump and spray gun.
•Cut the tie wraps on the high pressure hose and
connect high pressure hose to gun. Tighten by hand.
•Remove plastic cap and connect high pressure
hose to pump. Tighten by hand.
Remove plastic
cap and attach
high pressure
hose here
Uft the handle to
upright position and
slide the locking
caps into place
•Check carton for additional loose pads.
• " Attach nozzle extension to spray gun.
•Place assembled spray gun on holder.

KNOW YOUR HIGH PRESSURE WASHER
Read this owner's manual and safety rules before operating your h|gh pressure washer.
Compare this illustrationwith your high pressure washer to familiarize yourseff with the locations of various
controls and adjustments. Save this manual for future reference.
High Pressure Hose
Spray Gun
Recoil Starter Detergent Pick_Up
Tube and Filter
Gas Cap
Throttle Control Lever
Oil Fill Cap
Air Filter High Pressure Outlet
Adjustable Nozzle
Water Inlet
Adjustable Nozzle - Adjust for highor low pressure;
narrow or fan spray.
Air Filter - Dry type filter element limits the amount of
dirt and dust that gets in the engine.
Detergent Pick-Up Tube and Filter - Use to suck
detergent from chemical bottle to the low pressure
water stream.
Gas Cap - Fill gas tank with regular unleaded
gasoline here.
High Pressure Hose - Connect one end to the spray
gun and other end to the high pressure outlet.
High Pressure Outlet - Connection for high pressure
hose.
Pump
J
Oil Fill Cap - Fill engine with oil here. See page 7 for
oil recommendations,
Pump - Develops high water pressure.
Recoil Starter - Used for starting the engine
manually.
Spray Gun - Controls the application of water onto
cleaning surface with trigger device. Includes safety
latch.
Throttle Control Lever - Sets engine in starting
mode for recoil starter and stops running engine.
Water Inlet - Connection for garden hose.
5

HOW TO USE YOUR PRESSURE WASHER
Read these instructionsand leam how to use your
pressure washer before you attempt to start your
pressure washer. If you have any problems
operating your pressure washer, please call the
pressure washer helpline at 1-800-222-3136.
How To Use the Adjustable Nozzle
,_ WARNING: Never adjust spray pattern whenspraying. Never put hands infront of the nozzle
when adjusting the spray.
• Push the nozzle forward for low pressure. Pull the
nozzle backward to achieve high pressure.
Pull nozzle Push nozzle forward
backward for high for low pressure.
pressure.
•Twisting the nozzle adjusts the spray pattern from a
narrowto a "fan" pattern.
Twist nozzle
clockwise for
narrow spray.
Twist nozzle
counterclockwise for
"fan" pattern.
•For most effective cleaning, keep spray nozzle
between 8 to 24 inches away from cleaning
surface.
•If you get the spray nozzle too close, especially
usinghigh pressure mode, you may damage the
surface being cleaned.
Cleaning W'dh The Adjustable Nozzle
IMPORTANT: Use soaps designed specificallyfor
pressure washers. Household detergents could
damage the pump.
IMPORTANT: You must attach all hoses before you
start the engine. Starting the engine without all the
hoses connected and without the water turned ON will
damage the pump.
To apply detergent follow these steps:
•Prepare the detergent solution as required by the
job.
•Hang the detergent solution on the hook on the
handle.
Hang detergent
bottle on this
hook.
•Place small filter on the clear, chemical injection
tube into the detergent container.
•Push the adjustable nozzle forward to low pressure
mode. Detergent cannot be applied with nozzle
in high pressure position.
•Review the use of the adjustable nozzle.
•Connect garden hose to water inlet (see =TO
START PRESSURE WASHER" on page 8), check
that high pressure hose is connected to spray gun
and pump (see"ASSEMBLY on page 4), and start
engine.
Note: The first cleaning step is applying an
appropriate cleaning solutionto penetrate and loosen
gdme. Apply at low pressure. Leave the solutionon
surface for 3 to 5 minutes to allow solution to work.
Reapply as needed to prevent surface from drying.
Note." The second step is cleaning the surface you
have prepared with the pressure washer and then
dnsing it clean.
•For cleaning, start at lower portion of area to be
washed and work upward, using long, even
overlapping strokes.
Allow the detergent to soak in between 3-5 minutes
before washing and rinsing. Reapply as needed to
prevent surface from drying.
6

Rinsing W'dh the Pressure Washer
&WARNING: Be extremely careful if you mustuse the pressure washer from a ladder,
scaffolding or any other relatively unstable
location. When you pressthe trigger, the recoil
from the initial spray couldforce you to fall, or if
you are too close to the cleaning surface, high
pressure could force you off aclimbing
appamtus.
•Hook up the water supply and start your pressure
washer (see TO START YOUR PRESSURE
WASHER on page 8).
•Pull adjustable nozzle backward for high pressure
mode. Wait for detergent to clear. Detergent will not
flow when in the high pressure mode.
•When detergent has cleared, you may want to
expand the spray pattern for a more gentle rinsing
action. Start at top of area to be rinsed, working
down with same action as for cleaning.
,_ CAUTION: Test a small area of the surface tobe cleaned. Make sure there is no damage
caused by the high pressure spray.
BEFORE STARTING THE PRESSURE
WASHER
_obe_etbe_giceyou_llneed_the_lowi_:
Add Engine Oil
Only use high quality detergent oil rated with API
service classification SF or SG. Select the oil's SAE
viscosity grade according to your expected operating
temperature:
colder _32°F _warmer
5W30 SAE 30
Although multi-viscosityoils (5W30, 10W30, etc.)
improve starting in cold weather, these muifi-viscosity
oils will result in increased oil consumption when used
above 32°F, Check your engine oil level more
frequently to avoid possible damage from runninglow
on oil.
Place pressure washer on a level surface
•Clean area around oil fill and remove oil dipstick.
Wipe dipstick clean.
Pour oil from enclosed bottle into the oil fill opening
until oil reaches full mark on the dipstick. Stop and
check the oil level periodically. Do not overfill.
Install oil dipstick, hand tighten securely.
Add Gasoline
•Use regular unleaded gasoline with the pressure
washer e.ngine. Fuel tank capacity is 1.5 U.S. quart.
,_ DANGER: Never fillfuel tank indoors. Never fillfuel tank when engine is running or hot. Do not
smoke when fillingfuel tank.
,i_ CAUTION: Do not overfill the fuel tank. Alwaysleave room for expansion.
,_ CAUTION: Experience indicates that alcohol
• blended fuels (called gasohol or usingethanol
or methanol) can attract moisture which leads to
separation and formation of acids during
storage. Acidic gas can damage the fuel system
of an engine while in storage.
To add fuel to engine:
•Clean area around fuel cap, remove cap.
•Add regular unleaded gasoline, slowly, to the fuel
tank.
Important: Never mix oil with gasoline.
•Install fuel cap e.nd wipe up any spilled gasoline.
7

TO START YOUR PRESSURE WASHER
•Place the pressure washer in an area close enough
to an outsidewater source that can flow at a rate of
at least 2 gallons per minute. Connect a garden
hose to the water spout.
•Check that the high pressure hose is tightly
connected to the spray gun and to the pump. See
ASSEMBLY section on page 4 for illustrations.
•Check inlet screen on the water inlet. If the screen
is dirty, clean before attaching a garden hose. If the
screen is damaged, do not connect to the garden
hose. Replace with screen provided in maintenance
kit or call 1-800-366-PART to order a replacement
inlet screen.
•Attach the the garden hose to the water inlet.
•Turn on the water.
A ARNING! Do not run pump without the watersupplyconnected and turned on. You must
follow this warning or the pump will be
damaged.
•Remove the adjustable nozzle extension from the
spray gun.
•Pull the trigger on the spray gun and hold until a
steady stream of water appears.
•Engage the safety latch on the spray gun.
•Attach adjustable nozzle extension onto spray gun.
•Move the throttlecontrol lever to the "Fast"
position.
\
Fast Slow
Note: For a recently run engine, be sure the throttle
control is in the =Fast" positionand the choke is in the
=Run" position.
•Grasp rope handle and pull slowly until you feel
some resistance. Then pull cord rapidly to
overcome compression, prevent kickback and start
the engine. Let rope return to starter slowly,
Note: Always keep the Throttle Control Lever in the
'Fast' position when operating the pressure washer.
•When the engine starts, gradually move the Choke
Lever from one position to the next until it is in the
"Run" position.
Note: If'after 3 pulls the engine fails to start, move the
Choke Lever to the 'Run' position, pull trigger on gun
to relieve pressure, reengage safety latch, and pull the
recoil starter handle rapidly (Max. 3 pulls).
HOW TO STOP YOUR PRESSURE
WASHER
•Move the Run/Stop Lever to the 'Stop' position.
•Simply shutting off the engine will not release
pressure in the system. Squeeze tdgger on the
spray gun to relieve pressure in the hose.
Note: A small amount of water will squid out when
you release the pressure.
•SIPHONING
We recommend that you DO NOT siphon standing
water for your water supply. Contaminated, brackish or
dirty water can damage the pump. Connect only to
household water supply.
TIPS
•Never use the garden hose inlet to siphon
detergent or wax.
•If you have the spray nozzle tee far away, the
cleaning will not be as effective.
•Set the choke lever to "Choke" position.
Choke Position /
8

CUSTOMER RESPONSIBILITIES
MAINTENANCE SCHEDULE
RLL IN DATES AS YOU COMPLETE
REGULAR SERVICE
HOURLY OPERATING
INTERVAL
Eveiy 25 Every 100
Before Each Hours or Hours or
MAINTENANCE TASK Use Yearly Yearly
PRESSURE WASHER
Check/clean water inlet screen
on quick-connect. Xt
Check high pressure hose, X
Check detergent hose. X
Check spray gun and assembly for leaks. X
Purge pump of air and contaminants. X
ENGINE
Check oil level. X
Change engine oil. X*
Service air cleaner. X_
Clean/replace spark plug. X
Prepare for storage. Prepare unit for storage if it is to
remain idle for longer than 30 days.
SERVICE DATES
Clean if clogged. Replace if perforated or tom.
• Change oil after the first (2) operating hours and every 25 hours thereafter. Change sooner when operating under dirty or dusty conditions.
_' Replace more often under dirty or dusty conditions.
PRODUCT SPECIFICATIONS
Pressure Washer Specifications
PRESSURE ................................... 1900 psi
FLOW RATE ........................................ 2 GPM
DETERGENT MIX....Use undiluted detement
WATER SUPPLY
TEMPERATURE ........ Not to Exceed 140°F
Engine Specifications
ENGINE MODEL ............... Briqqs & Stratton
RATED HORSEPOWER ............................... 5
SPARK PLUG: Type: ...Champion RJ-19LM
or equivalent. Set
Gap to: _.0.030 inch
(0.76mm)
GASOLINE CAPACITY .......... 1.5 U.S. quart
OIL ........................................... SAE 30 weiqht
SOLID STATE ..................... 0.006 - .010 inch
IGNITION AIR GAP
In the State of California a spark arrestor is required
by law (Section 4442 of the California Public
Resources Code). Other states may have similar laws.
Federal laws apply on federal lands.
Note: If you equip the engine of your pressure washer
with a spark arrestor muffler, the spark arrestor must
be maintained in effective working order by the
owner/operator.
You can order a spark arrestor (PIN 398067) through
your Sears Service Center.
GENERAL RECOMMENDATIONS
Thp warranty of the high pressure washer does not
cover items that have been subjected to operator
abuse or negligence. To receive full value from the
warr_lnty, operator must maintain high pressure
washer as instructed in this manual.
Some adjustments will need to be made periodicallyto
properly maintain your high pressure washer.
All adjustments in the Service and Adjustments
section of this manual should be made at least once
each season.
•Once a year you should clean or replace the spark
plug and replace the air filter and check the gun
and wand assembly for wear. A clean spark plug
and new air filter assure proper fuel-air mixture and
help your engine run better and last longer.

BEFORE EAcH USE
Check water inlet screen for damage.
•Check high pressure hose for leaks.
•Check detergent inlet hose and filter for damage.
•Check gun and wand assembly for leaks.
Purge pump of air and contaminants.
•Check engine oil level.
PRESSURE WASHER MAINTENANCE
Check and Clean Inlet Screen
Examine inlet screen. Clean if it is clogged or replace
if it is torn.
Check High Pressure Hose
High pressure hose can develop leaks from wear,
kinking, or abuse. Inspect hose each time before using
it. Check for cuts, leaks, abrasions, bulging of cover,
or damage or movement of couplings. If any of these
conditions exist, replace hose immediately.
A ANGER: Never repair a high pressure hose.
Replace with hose that meets the minimum
pressure rating of your pressure washer
Check Detergent Hose
Examine the filter on the detergent hose and clean if
clogged. Hose should fit tightly on barbed fitting.
Examine hose for leaks or tears. Replace the filter or
hose if either is damaged.
Check In-Une Rlter
Refer to the following illustrationand service the in-line
filter if it becomes clogged, as follows:
Filter Screen
O-ring
1. Detach gun end lance from high pressure hose.
Detach lance from gun and remove o-ring and
screen from lance. Flush the screen, gun, end
lance with clean water to clear debris.
2. If the screen is damaged, the o-ring kit contains a
replacement in-line filter screen and an o-ring. If
undamaged, reuse screen.
3. Place the in-line filter screen into the threaded end
of the lance. Direction does not matter. Push the
screen in with the eraser end of a pencil until it
rests flat at the bottom of the opening. Take care to
not bend the screen.
4. Place the o-ring into the recess. Push the o-ring
snugly against the in-line filter screen.
5. Assemble the lance to the spray gun, as described
earlier in this manual.
Check Gun and Wand
Examine hose connection to gun and make sure it is
secure. Test trigger by pressing it and making sure it
springs back into place when you release it. Put safety
latch in UP positionand test trigger. You shouldnot be
able to press trigger. Replace gun immediately if it
fails any of these tests.
Purge Pump of Air and Contaminants
To remove the air from the pump, followthese steps:
•Set up the pressure washer as described in the
ASSEMBLY section on page 4 and connect the
water supply.
Remove the wand extension from the gun.
•Pull the trigger on the gun and hold untila steady
stream of water appears.
To remove the contaminants from the pump, follow
these steps:
•Set up the pressure washer as described inthe
ASSEMBLY section, and connect the water supply.
•Remove the nozzle attachment from the gun.
•Start the engine according to instructionsin
OPERATION section.
Pull the trigger on the gun and hold.
•When the water supply is steady and constant,
engage the safety latch and refasten the nozzle
attachment.
Nozzle Maintenance
If the nozzle becomes restrictedor clogged with
foreign materials, such as dirt, excessive pump
pressure may develop. A partially clogged nozzle can
cause a pulsingsensation during use. This generally
is not a pump related problem, but rather a clogged or
partially restrictednozzle.
If the nozzle becomes clogged or partially restricted,
immediately clean.the nozzle with the kit included with
your pressure washer by following these instructions:
•Shut off the engine and turn off the water supply.
•" Separate the wand from the gun.
•, Rotate to stream setting.
•Remove nozzle from the end of the wand using the
allen wrench included with the kit or a 2ram or 5/64
allen wrench.
• Use the wire included in the kit or a small paper
clip to free the foreign materials clogging or
restrictingthe nozzle.
10

Insert wire into nozzle and turn back end forth to
clear obstruction,
Remove additional debris by back flushing water
supply through wand. Back flush between 30 to 60
seconds. Turn wand to stream spray and move
nozzle from low to high pressure while flushing.
• Reinstall nozzle into wand. DO NOT overtighten.
•Reconnect wand extension to spray gun.
•Reconnect the water supply, turn ON the water,
and start the engine.
•Test the pressure washer by operating with nozzle
in the high and the low pressure positions.
O-Ring Maintenance
Through the normal operation of your pressure
washer, O-Rings, which keep the connections of the
hoses and gun tight and leak-free may become worn
or damaged. Provided with your pressure washer is
an O-Ring Maintenance Kitwhich provides
replacement O-Rings, Rubber Washer and water inlet
screen.
Parts in the O-Ring Kit Include:
• 1 o-ring, red, (pin B2726) for the end of the spray
gun connection between gun and high/low spray
wand.
• 2 o-rings, yellow, (pin 132264)for the ends of the
high pressure hose.
Note: The above two o-rings are close in size.
Please match carefully to assure proper o-ring
"usage.
•1 rubber washer (pin B2385) for the inside of the
garden hose connector.
•. 1 water inlet screen (p/n B2384) for the garden
hose connector.
I
To remove a worn or damaged O-Ring:
•U,sea small flathead screwdriver to get
un_lemeath the o-ring and pry it off.
11

ENGINE MAINTENANCE
Maintenance, replacement or repair of the
emission control devices and systems may be
performed by any non-road engine repair
establishment or individual.
Checking Oil Level
Oil level should be checked prior to each use or at
least every 5 hours of operation. Keep oil level
maintained.
Changing Oil
Change engine oil after the firsttwo hoursand every
25 hours thereafter. If you are usingyour pressure
washer under extremely dirty or dusty conditions, or in
extremely hot weather, change oil more often.
Change oil while engine is still warm from running, as
follows:
• Drain fuel tank by running pressure washer until
fuel tank is empty.
•Clean area around oil fill, remove oil fill
cap/dipstick. Wipe dipstick clean.
•Tip your pressure washer to drain oil from the oil fill
tube into a suitable container. When crankcase is
empty, return the pressure washer to upright
position.
•Fill engine crankcase with recommended oil until oil •
level is at FULL point on dipstick. Do not overfill
above that mark. POUR SLOWLY.
•When engine crankcase is filled to proper level,
install and tighten oil cap/dipstick.
To clean or replace the air cleaner, follow these steps:
•Remove screw on the air cleaner cover.
•Remove dirty air cleaner carefully to prevent debds
from failing into carburetor. Discard.
Clean inside of filter case.
Install new air filter.
•Reassemble all parts and fasten securely to the
carburetor with the screw.
Clean /Replace Spark Plug
Clean or replace the spark plug yearly or every 100
hours o_operation.
A CAUTION! Disconnect spark plug wire from
spark plug and keep wire away from spark plug.
• Clean area around spark plug.
•Remove and inspect spark plug.
•Replace spark plug if the electrodes are pitted,
burned or porcelain is cracked. For replacement
use Champion RJ-19LM only.
•Check electrode gap with wire feeler gauge and set
gap at 0.030 inches if necessary.
Service Air Cleaner
Your engine will not run prepedy and may be
damaged if you run it with a dirty air cleaner.
Replace the air cleaner once every 100 hours of
operation or once each year, whichever comes first.
Replace more often if operating under dirty or dusty
conditions. Do not attempt to clean or oil filter.
Replacements are available at your local Sears
Authodzed Service Center.
• Installspark plug, tighten securely.
Carburetor
If you think your carburetor needs adjusting, sea your
nearest Sears Service Center. Engine performance
should not be affected at altitudes up to 5000 feet. For
operation at higher elevations, contact your nearest
Sears Service Center.
12

AFTER EACH USE
Water should not remain in the unit for long periods of
time. Sediments of minerals can deposit on pump
parts and =freeze"pump action. Follow these
procedures after every use:
•Flush detergent hose by placing the injectorfilter
into a pail of clear water while running Pressure
Washer with nozzle in low pressure mode. Flush
until you can see clear water running through the
tube.
•Shut off the engine and let it cool, then remove all
hoses.
,_ CAUTION: Be sure the Run/Stop Lever is in the
"Stop" positionbefore you continue. If you start
the engine withoutthe proper water supply
connected, you can damage the pump.
• Empty the pump of all pumped liquids by pulling
recoil handle about 6 times with the Run/Stop Lever
in the "Stop" position. This should remove most of
the liquid in the pump.
•Coil the high pressure hose and inspect it for
damage. Cuts in the hose or fraying of it could
result in leaks and loss of pressure. Should any
damage be found, replace the hose. DO NOT
attempt to repair a damaged hose. Replace the
hose with the genuine Craftsman part.
•Drain water from hose and propedy hang it on the
wire support provided on the guide handle.
•Store in a clean, dry area.
_k ANGER: Never store the engine with fuel in
the gas tank indoorsor in enclosed, peody
ventilated areas where fumes may reach an
open flame, a spark, or pilot light.
WINTER STORAGE
_k AUTION: You must protect your unit from
freezing temperatures. Failure to do so will
permanently damage your pump and render
your unit inoperable.
To protect the unit from freezing temperatures:
•Draw RV-Antifreeze (antifreeze without alcohol)
into the pump by pouring the washer fluid into a3-
foot section of garden hose connected to the inlet
adapter and pulling the recoil handle twice.
LONG TERM STORAGE
If you do not plan to use the Pressure Washer for
more than 30 days, you must prepare the engine for
long term storage.
Note: As always, prepare the pressure washer pump
as you would after each use.
It is important to prevent gum deposits from forming in
essential fuel system parts such as the carburetor, fuel
filter, fuel hose or tank during storage. Also,
experience indicates that alcohol-blended fuels (called
gasohol, ethanol or methanol) can attract moisture
which leads to separation and formation of acids
dudng storage. Acidic gas can damage the fuel system
of an en_]ine while in storage.
Protect Fuel System
,_ DANGER: Drain fuel into approved containeroutdoors, away from open flame. Be sure
engin_ is cool. Do not smoke.
• Remove all gasoline from the fuel tank to prevent
gum deposits from forming on these parts and
causing possible malfunction of engine.
•Run engine until engine stops from lack of fuel.
Make sure you have water supply to pump inlet
connected and turned ON.
Change Oil
While engine is still warm, drain oil from crankcase.
Refill with recommended grade. (See Changing Oil on
Page 12.)
Oil Cylinder Bore
•Remove spark plug and pour about 1 ounce (30 ml)
of engine oil into the cylinder. Cover spark plug
hole with rag. Crank slowly to distribute oil.
_AUTION: Avoid spray from spark plug hole
when cranking engine slowly.
•Install spark plug. Do not connect spark plug wire.
OTHER
•Do not store gasoline from one season to another.
•Replace your gasoline can if your can starts to rust.
Rust and/or dirt in your gasoline will cause
problems.
•If.possible, store your unit indoors and cover it to
give protection from dust and dirt. BE SURE TO
EMPTY THE FUEL TANK.
Cover your unit with a suitable protective cover that
does not retain moisture.
IMPORTANT: NEVER cover your pressure washer
while engine and exhaust area are warm.
13

PROBLEM
Pump has following problems:
failure to produce pressure, or
erratic pressure, chattering, loss of
pressure, low water volume.
Detergent fails to mix.
CAUSE
1. Nozzle in low pressure mode.
2. Water inlet is blocked.
3. Inadequate water supply
4. Inlet hose is kinked or leaking
5. Clogged water inlet screen.
6. Water supply is over 140°_.
7. Outlet hose is blocked.
8. Outlet hose leaks.
9. Gun leaks.
10. Nozzle is obstructed.
11. Pump is faulty.
1. Detergent line is not submerged.
detergent.
2. Chemical filter is clogged.
3. Nozzle is in high pressure mode.
Engine runs good when not spraying Engine speed is too slow.
but dies when you begin to spray.
Engine will not start; or starts 1. Dirty air cleaner
and runs rough 2. Out of gasoline.
3. Stale gasoline.
4. Spark plug wire not connected
to spark plug.
5. Bad spark plug.
6. Water in gasoline.
7. Overchoking or flooded
8. Excessively rich fuel mixture.
9. Intake valve stuck operj or closed.
CORRECTION
1. Pull nozzle backward for high
pressure mode.
2. Clear inlet
3. Provide adequate water flow at
least 2 gpm.
4. Straighten inlet hose, patch leak.
5. Replace /clean water inlet
screen.
6. Provide cooler water supply.
7. Clear blocks in outlet hose.
8. Replace outlet hose if leaking.
9. Replace o-dng or gun if
necessary.
10. Clear nozzle.
11. Contact Sears Service
Department.
1. Insert chemical line into
detergenL
2. Clean or replace filter/detergent
line.
3. Push nozzle forward for
low pressure mode.
Contact Sears Service Departrnent.
1. Clean or replace air cleaner.
2. Fill fuel tank.
3. Drain gas tank; fill with fresh fuel.
4. Connect wire to spark plug.
5. Replace spark plug.
6. Drain gas tank; till with fresh fuel.
7. Set engine throttle control lever to
fast position, choke in run
position.
8. Contact Seers Service
Department.
9. Contact Sears Service
Department.
Engine shuts down dudng
operation
Engine lacks power.
10. Engine has lost compresalon.
1. Out of gasoline.
2. Air filter dirty
Dirty air filter.
10. Contact Sears Service
Department.
1. Fill fuel tank.
2. Replace Air filter.
Replace air filter.
14

15

Craftsman 1900 PSI High Pressure Washer 580.768110
Briggs & Stratton 5HP Quantum, Model 12F802-2407-E2
615 O
230
585 d
7
383
307
337 306
"k REQUIRES SPECIAL TOOLS
TO INSTALL SEE REPAIR
INSTRUCTION MANUAL.
REF. PART REF. PART PART
NO. NO. DESCRIPTION NO. NO. DESCRIPTION NO. DESCRIPTION
I49s2r,o Cy1_derAssemb_
2 293706 Bushing
3.'x299819 Seal-Oil
5 214626 Hasd-Cytinder
7 *_272916 Gaaket-Cylinder Head
8 495786 Breather Asse_
9-_272481 Gasket-Breather
10 94650 Screw-Hex.
11 231685 Tube-Breather
13 94547 Screw-Hex.
51 *272199 Gasket-Intake
54 94526 Screw-Flex.
116 *280393 Seal-O-Ring
116A *280966 SeaJ-O-Ring
227 492349 Levef-Govemor
230 67072 Washer
284 94511 Screw-Shoulder
306 224324 Shield-Cylinder
307 94515 Screw-Hex.
337 802592 Pluoj_Spark
383 89838 Wre_ plug
523 495264 DiW, k_
525 495265 Tube-Oil Fill
562 92613 Bolt-Carriage
584 224328 Baffie-_inder
585 ,272238 Gasket-Breather
592 231082 Nu1-Hex.
615 94474 Retainer
REF.
NO.
616 263175 Crank-Govem_r
825 497465 Manifold-intake
/63S 66538 Boo_ Plug
847 495263 Di_ube
869 213512 Seat-VaJve
(ir_ake)
870 213513 Seat-Valve
(Exhaust)
871 262001 Bushing-Guide
(Exhaust Valve)
-- Note --
63709 Bushing-Guide
(Intake Valve)
1058 273693 Owner's Manual
* Included in Gasket Set-Part Number 497316.
• Inctuded in Cad_mtor W,d-PartNumber 498260. • Included in Carburetor Gasket Set-Part Number 498261.
Included in Valve Overhaul Ga_xet Set-Part NO. 498528.
Assemblies include all parts shown in frames.
16

Craftsman 1900 PSI High Pressure Washer 580.768110
Briggs & Stratton 5HP Quantum, Model 12F802-2407-E2
4O
35._Ao _45
161 "741
REF. PART PART REF. PART
NO. NO. DESCRIPTION NO. ,DESCRIPTION NO. NO. DESCRIPTION
16 498571 Crankshaft
24 222698 Key,-Flywheel
25 49_429 piston Assembly
(Standard)
26 499425 Ring Set
27 263190 Lock-Piston Pin
REF.
NO.
28 499423 Pin-Piston
(Standard)
29 499424 Rod-Connecting
(Standard)
32 94699 Screw-Hex.
33 262651 Valve-Exhatn;t
34 262652 Valve-]ntaks
35 262224 Spring-Valve
40 93312 Retainer-Valve
45 262204 +Tappet-Valve
146 94388 Key-Timing
741 262598 Gear-Tl-ning
Included in Gasket Set-Part Number 497316.
Included in Carburetor Kit-Pair Number 498260. 4k Included in Carburetor Gasket Set-Part Number 498261.
OIr_uded in Valve Overhaul Gasket Set-Part No. 498528.
Asscsmblles include all Darts shown in frames.
17

Craftsman 1900 PSI High Pressure Washer 580.768110
Brigg$ & Stratton 5HP Quantum, Model 12F802-2407-E2
15_ _
o o
20 _, 22
REF. PART REF. PART REF. PART
NO. NO. DESCRIPTION NO. NO. DESCRIPTION NO. NO. DESCRIPTION
4493279 Sump-Engine
12 *272198 Gasket-Crankcase
15 94720 Plug-Oil Drain
20 *399781 Seal-Oil
22 94220 Screw-Hex. 43 493737 Governor/Oil Slinger
46 498275 Gear-Cam
*induded in Gasket Set-Part Number 497316.
• Included in Carburetor WJt-Part Number 49e260. •IncludedinCarburetorGasketSet-Pad Number498261,
OIncludedin ValveOverhaulGasketSet-Pan No.498528.
Assemblies include all parts shown in frames.
18

Craftsman 1900 PSI High Pressure Washer 580.768110
Briggs & Stratton 5HP Quantum, Model 12F802-2407-E2
124
6_@ 634_
lO8
ICHOKE SYSTEM I
134
9751
137_
11o
REF. PART RER PART REF. PART
NO. NO. DESCRIPTION NO. NO. DESCRIPTION NO. NO. DESCRIPTION
94 e493765 Valve--Idle Adjustment
95 94098 Sorew-SIotted
98 396185 Screw-Idle Speed
104 e231371 Pin--FloatHinge
108 223471 Valve-Choke
110 e,_ Seal-O-Ring
(Sold in Kit Only)
117 498978 Jet-Main
(Standard)
497315 Jet-Main
(High Altitude)
124 94525 Screw-Hex.
125 499059 Carburetor
127 • Plug-Welch
(Sold in K_ Only)
130 22347oVaNo-Thro_e
131 493267 ShaJt-Throttle
133 398187 Float-Carburetor
134 e398188 Valve-Needle
.(Includes Seat)
137 e• Gasket-Float Bowl
(Sold in Kit Only)
141 494218 Shaft-Choke
617 e,270344 Seal,-IntakeManifold
634 e, Washer
(Soldin_ Only)
975 493640 Bowl-Float
* Included in Gasket Set-Part Number 497316.
•Jnduded in Carburetor W.d-Part Number 498260. •Included in Carburetor Gasket Set-Pad Number 498261.
2) Inc4udedin Valve Overhaul Gasket Set-Part No. 498528.
Assemblies include all parts shown In frames.
19

Craftsman 1900 PSI High Pressure Washer 580.768110
Briggs & stratton 5HP Quantum, Model 12F802-2407-E2
930 I Fj601 I334_
®284
- 670
2O9
202
RER PART REF. PART I_IER PART
NO. NO. DESCRIPTION NO. NO. DESCRIPTION NO. NO. DESCRIPTION
65 94696 Scr_ilRp6
181 397974 P-_Uel Tank
187 2ge049 Line-Fuel
(Cut To Required
Length)
188 94644 Screw-Hex.
188A 398540 Screw-Shoulder
202 262579 Unk-Mechanical Gov.
209 692488 Spring-Governor
:m_ 21514S Ctamp-Cas_g
267 94694 Sctew--,_lotted Hex.
284 94511 Screw-Shoulder
333 802574 Armature-Magneto
334 94731 Screw-He_
356 497833 Wire-Stop
601 95162 Clamp--Ho,_
(Green)
620 499737 Bracket-Control
621 396847 Switch-Stop
670 *493823 Spacer
670A 280512 Spacer-Fuel Tank
843 272616 Sleeve-Lever
930 281440 Cover-Blower Housing
972 495224 Tank-Fuel
Included in Gasket Set-Part Number 497316.
Induded in Carburetor W.xt-PaartNumber 498260. •Included in Carburetor Gasket Set-Part Number 498261.
OIncluded in Valve Overhaul Gasket Set-Part No. 498528.
Assemblies Include all parts shown in frames.
2O

Craftsman 1900 PSI High Pressure Washer 580.768110
Briggs & Stratton 5HP Quantum, Model 12F802-2407-E2
967
971
163_
11o36LABELKn'-EMISSlONI
REF. PART REF. REF. PART
NO. NO. DESCRIPTION NO. NO. NO. DESCRIPTION
23 492893 Rywbed
37 224611 Guard-Flywheel
61 223664 Lock-Muffler Screw
161 496116 Base-Air Cleaner
163.ee272653 Gasket-Air Cleaner
300 496106 Muffler--Ext_ust
304 493294 Housing-Blower
305 94744 Scmw-Hex.
PART
NO. DESCRIPTION
332 92284 Nut-Flywheel
346 94602 Screw-Hex.
455 235121 Cup-Flywheel
$29 281299 Grommet '
613 94231 Screw-Shoulder
832 494224 Guard-Muffler
967 491588 F'dter-Air
968 281340 Cover-Air Cleaner
969 94872 Screw-Slobed Hex.
971 94873 ScR_x.
971A 94749 Screw-Hex.
974 224815 Bracket-Support
976 496115 palmer-Carburetor
1036 499341 Lable Kit-Emission
994 398067 An'ester-Spark
* IncludedinGasketSet-Part Number497316.
•induded inCarburetorKit-Pad Number498260. •Included in Carburetor Gasket Set-Part Number 498261.
Included in Valve Overhaul Gasket Set-Part No. 498528.
Assemblies include all parts shown in frames.
21

Craftsman 1900 PSI High Pressure Washer 580.768110
Briggs & Stratton 5HP Quantum, Model 12F802-2407-E2
55
65A
373
459
RER PART
NO. NO. DESCRIPTION
55 497440 HOL6ing--Rewind
Starter
58 280399 Rope-Starter
(Cut To Required
Length)
REF. PART
NO. NO. DESCRIPTION
60 281434 Grip-Startar Rope
65A 94686 Screw-Hex.
144 498144 Pulley-Rope Start
373 92967 Nut-Hex.
456 281503 Retainer--Spring
REF. PART
NO. NO. DESCRIPTION
459 281505 PawS-Ratchet
461 94943 Screw-Shoulder
608 497680 Starter-Rewind
_9 2_ spm,.g--erict_
. trickled in Gasket Set-Part Number 497316.
• Included in Carburetor W.It-Part Number _. @|l_J_f_led in Cad_mtor _Set-Part Number 498261.
included in Valve Overha_ Gasket Set-Part NO. 498528.
Assemblies include all parts shown in frames.
22

Craftsman 1900 PSI High Pressure Washer 580.768110
Briggs & Stratton 5HP Quantum, Model 12F802-2407-E2
358 GASKET SET
116 O116A_
670 0163_
'
1095 VALVE OVERHAUL
GASKET SET 977 CARBURETOR
GASKET SET
617 _'_
163_ 110(_)
634_
121 CARBURETOR KIT
127_ 634 _)
._._ 110
13" ]_4_ "-_ 163
REF. PART REF. PART REF. PART
NO. NO. DESCRIPTION NO. NO. DESCRIPTION NO. NO. DESCRIPTION
3_3e819 Seal-Oil
7 *_272916 Gasket-Cylinder Head
9 *_272481 Gasket-Breather
12 *272198 Gasket-Crankcase
20 *385781 Seal-Oil
51 .27219_1 Gasket-intake
94 e48576S Valve--I_e A_ustment
104 e231371 Pin-FinatHinge
11000 Washer-Bowl
(Sold in _Only)
116 *280393 Seal-O-Ring
116A *280966 Seal-O-Ring
121 498260 Carburetor Kit
127 • Plug-Welch
(S_d inK_Only)
134 0398188 Valve-Needle
(I_ Seat)
13704k Gasket-Bowl
(So0dinm O_y)
163.oO272653 Gasket-Air Cleaner
358 497316 Gashet Set
585 *272238 _reather
Passage
617 eO270344 Seal-intake Manifold
634 e@ Wastler-Shett
(Sold in KitOnly)
670 *493823 Spacer
(includes 2)
977 498261 Gasket Set-
"Carburetor
1095 498528 Gasket Set-VaJve
Overhaul
* Included in Gasket Set-Part Number 497316.
•IncJudedin Carburetor I_t-Part Number 498260. 4k Included in Carburetor Gasket Set-Part Number 498261.
OIncluded in Valve Overhaul Gasket Set-Part No. 4.98528.
Assemblies Include al! pads shown in frames.
23

Craftsman 1900 PSI High Pressure Washer 580.768110
Pump
15 \o o__5/_
I0 I °'_21 55
1'7
22
21_/_ 18.._
20\Qp"_.19 q_'-8
_7 _ /,2
°131
24

Craftsman 1900 PSI High Pressure Washer 580.7681_10
Pump
Item Part # Qty Description Item Part #
1 98300 1 SEAL, Engine Donut 28 ......
2 97962 3 SHCS, M6 -1 x 25 29 ......
3 96795 3 SLEEVE, Grommet Spacer 30 B3513
4 21429 6 BUSHING, Rubber Mount 31 ......
5 97835 1 O-RING, Housing Seal 32 ......
6 21783 1 THERMAL RELIEF, GPW-EG 33 B3286
7 93680 3 SEAL, Oil Piston 15 TC4 34 97837
8 97831 3 SPACER, Pilot
9 B2702 1 HOUSING, Piston 35 97841
10 98227 1 ADAPTER, Engine 36 97840
11 B2310 0 KIT, AXIAL CAM SERV 37 40946
12 ...... 1 WASHER, Brg. 36 x 65 x 6 38 B4186
Thk 39 ......
13 ...... 1 ASSY., Brg. Cage 45 x 65 40 .... -..
14 ...... 1 WASHER, Brg. 45 x 65 x 1 41 B2312
15 ...... 1 CAM, Axial 5.6 VS 42 ......
16 ...... 1 BALL BEARING, 35 x 72 x 17 43 ......
17 B3829 0 KIT, CHEM INJECT 44 ......
18 ...... 1 FI'I-]'ING, Chem Inject 45 B1933
19 ...... 1 BALL, Chem Inject 1 ....
20 ...... 1 SPRING, Chem Inject 5....
21 ...... 1O-RING, Ventud 7 ....
22 ...... 1 VENTURI, Chem Inject 21 ....
23 B3828 0 KIT, UNLOADER 25 ....
24 ...... 1 CAP, Unloader 28 ....
25 ...... 1 O-RING, Unloader Cap 33 ....
26 ...... 1 SPRING, 2000 Unloader 34 ....
27 ...... 1 PISTON, Unloader
Qty Description
1 O-RING, .364 ID x .070
1 SEAT, 2000 Unloader
0 KIT, CHECK VALVES
6 O-RING, Check Valve
6 ASSY., Check Valve
3 SEAL, Double-Lip
1 O-RING, Hi-Pressure
Transfer
3 CAP, Outlet Check Valve
3 O-RING, Outlet CV Cap
•4 SHCS, M6-1.0 x 35
O KIT, HEAD CASTING SFG
1 HEAD, Pump
1 PLUG, 1/8-28 WNIRB
0 KIT, PISTON & SPRING
3 RETAINER, Piston Spring
3 PISTON, Dia. 15 x 65 Lg
3 SPRING, Piston Return
0 KIT, O-RING/SEAL SERV
1 SEAL, Engine Donut
1 O-RING, Housing Seal
3 SEAL, OII Piston 15 TC4
1 O-RING, Venturi
1 O-RING, Unloader Cap
1 O-RING, .3641D x .070
3 SEAL, Double-Lip
3 O-RING, Outlet CV Cap
Item numbers 11, 17, 23, 30, 38, 41, and 45 are service kits and include all parts shown withinthe box. Items
previously described are not listed under the service kit number.
25

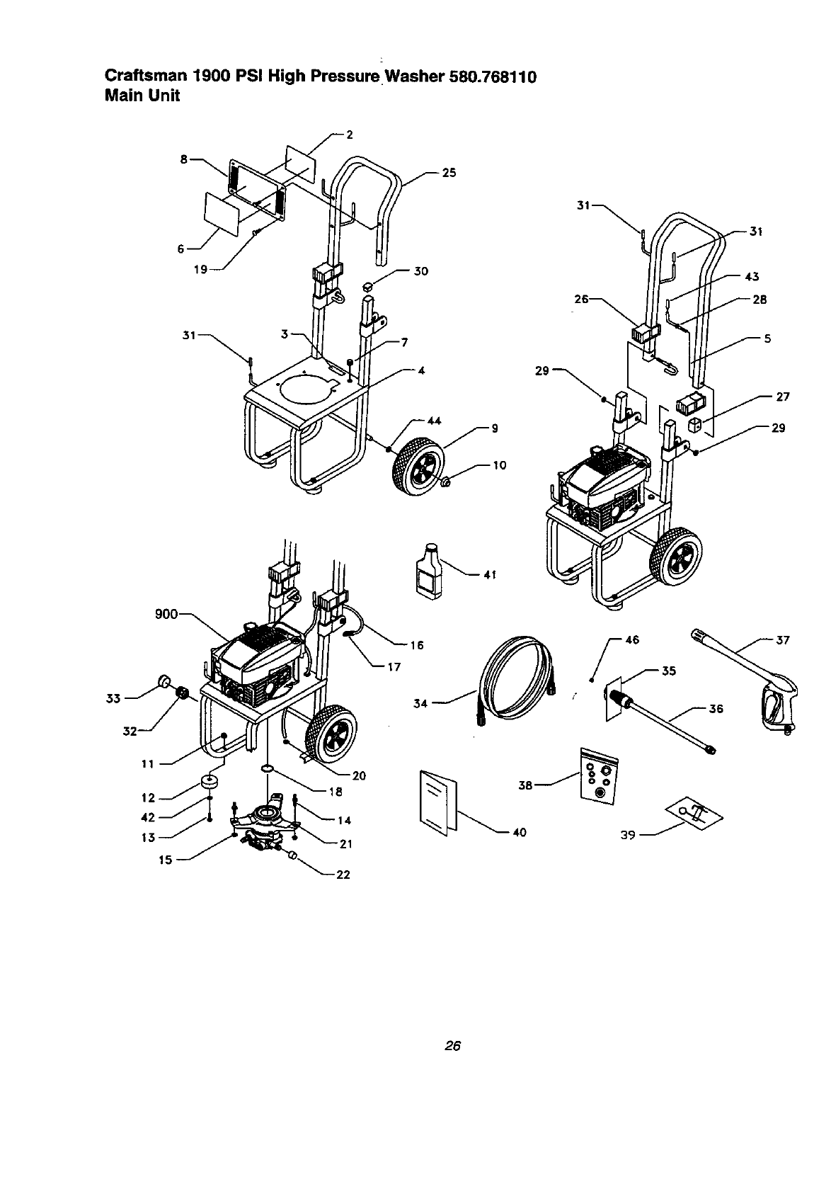
Craftsman 1900 PSI High Pressure Washer 580.768110
Main Unit
19
32
11
13
15
20
18
17
26

Craftsman 1900 PSI High Pressure Washer 580.768110
Main Unit
Item Part #Qty Description
2 B2200 1 DECAL, Instructions
3 96307 1 DECAL, 1-800 Number
4 DB3307 1 BASE, Gray Powder Coated
5 B1730A 1 BOLT, Eye
6 B3777 1 DECAL, 1900 PSI
7 30809 1 GROMMET, Chemical Hose
8 B1786A 1 BILLBOARD
9 21206 2 TIRE, 2" x 8" Black Mag
10 75402 2 PUSHNUT, 1/2"
11 52858 2 NUT, M8 Locking Flange
12 27007 2 MOUNT, Vibration
13 57821 2 HHCS, M8 -1.25 x 40
14 B1735 3 STUD, Double Ended
15 B1880 3 NUT, with Washer
16 A1040B 1 HOSE, Chemical
17 A1041 1 FILTER, Chemical Hose
18 98300 1 SEAL, Engine Donut
19 B1797 4 FASTENER, Clip
20 48031G 1 CLAMP, Hose 13/16"
21 B3468A 1 ASSY., Pump EG w/Thermal
22 97100 1 CAP, High Pressure
25 DB3330 1 HANDLE, Gray Powder Coated
26 B2791 2 COVER, Hinge
27 B2790 2 CAP, End
28 B2759A 1 HOOK, Chemical Bottle
29 B2071 2 NUT, 1/4-20 Locking Flange
30 81895 2 CAP, Plug
31 B2516 3 CAP, Vinyl
32 21424 1 CONNECTOR, Garden Hose
33 A1408 1 CAP, Hose Connector
34 B3607 1HOSE, 1/4" x 25'
35 97566 1 TAG, Nozzle Instructions
36 B3335 1 WAND, Adjustable Nozzle
37 B3263 1 GUN, High Pressure
38 B3057 1 KIT, Maintenance
39 B3708 1 KIT, Nozzle, Cleaning
40 B3774 1 MANUAL
41 AB3061B 1 OIL, Engine
42 50190 2 WASHER, M8 Flat
43 B1460 1 CAP, Vinyl
44 49808 2 WASHER, M12 Flat
46 21761 1 NOZZLE, Replacement
900 NSP 1 ENGINE, 5HP
Optional Accessories Not Illustrated
71-76485
71-75187
71-75199
71-75197
71-75115
71-75116
71-76450
Turbo Nozzle
Garden Hose Quick Connect
Rotating Brush
Accessory Quick Connect
Replacement Hose
O-Ring Repair Kit
25' Extension Hose
27

BRIGGS & STRATTON CORPORATION
(B&S) , THE CALIFORNIA AIR
RESOURCES BOARD (CARB) AND THE
UNITED STATES ENVIRONMENTAL
PROTECTION AGENCY (U.S. EPA)
EMISSION CONTROL SYSTEM
WARRANTY STATEMENT (OWNER'S
DEFECT WARRANTY RIGHTS AND
OBLIGATIONS)
In the interest of the environment, Briggs & Stretton
engines that meet strict emission requirements are
labeled, "Thisengine conforms to t 995-1998
California Emission Control Regulations for ULGE
engines and U.S. EPA Phase 1 regulations for small
non-road engines." EMISSION CONTROL
WARRANTY COVERAGE IS APPLICABLE ONLY TO
CERTIFIED ENGINES PURCHASED IN CALIFORNIA
IN 1995 AND THEREAFTER WHICH ARE USED IN
CALIFORNIA AND TO CERTIFIED MODEL YEAR
1997 AND LATER ENGINES WHICH ARE
PURCHASED AND USED ELSEWHERE IN THE
UNITED STATES.
California and United States Emission ConVol "
DefectsWarranty Statement
CARB, U.S. EPA and B&S are pleased to explain the
Emission Control System Warranty Statement on your
1996 and later utilityor lawn and garden equipment
(ULGE) engine. In California, new ULGE engines
produced on or after August 1, 1995 must be
designed, built and equipped to meet the State's
stringent anti-smog standards. Elsewhere in the United
States, new non-road, spark-ignition engines certified
for model year 1997 and alter, must meet similar
standards set forth by the U.S. EPA. B&S must
warrant the emission control system on your engine
for the periods of time listed below provided there has
been no abuse, neglect or improper maintenance of
your ULGE engine.
Your emission control system includes parts such as
the carburetor, air cleaner, ignition system, muffler and
catalytic converter. Also included may be connectors
and other emission related assemblies. Where a
warrantable condition exists, B&S will repair your
ULGE engine at no cost to you includingdiagnosis,
parts and labor.
Briggs and Stratton Emission Control Defects
Warranty Coverage
ULGE _ngines are warranted relative to emission
control parts defects for a period of two years, subject
to the provisions set forth below. If any covered part
on your engine is defective, the part will repaired and
replaced by B&S.
Owner's Warranty Responsibilities
As the ULGE engine owner you are responsiblefor
the performance of the required maintenance listed in
your Operetor/Owner Manual. B&S recommendsthat
you retain all of your receipts covedng maintenance
on your ULGE engine, but B&S cannot deny warranty
solely for the lack of receipts or for your failureto
ensure the performance of all scheduled maintenance.
As the ULGE engine owner, you should however be
aware that B&S may deny you warranty coverage if
your ULGE engine or a part has failed due to abuse,
neglect, improper maintenance or unapproved
modifications.
You are responsible for presenting your ULGE engine
to an Authorized B&S Service Dealer as soon as a
problem exists. The undisputed warranty repairs
should be completed in a reasonable amount of time,
not to exceed 30 days.
If you have any questions regarding your warranty
rights and responsibilities, you should contactaB&S
Service Represen'(ative at 1-414-259-5262.
The emission warranty is a defects warranty. Defects
are judged on normal engine performance. The
warranty is not related to an in-use emission test.
28

BRIGGS AND STRATTON EMISSION
CONTROL DEFECTS WARRANTY
PROVISIONS
The foUowingare specific provisions relative to your
Emissions Control Defects Warranty Coverage. It is in
additionto the B&S engine warranty for non-regulated
engines found in the Operator/Owner's Manual.
1. Warranted Parts
Coverage under this warranty extends only to the
parts listed below (the emission control systems
parts) to the extent these parts were present on the
engine purchased.
a. Fuel Metering System
•Cold start endchmant system (soft choke)
•Carburetor and internal parts
•Fuel Pump
b, Air Induction System
•Air cleaner
•Intake manifold
c. Ignition system
•Spark Plugs
•Magneto ignition system
d. Catalyst System
•Catalyst converter
•Exhaust manifold
•Air injection system or pulse valve
e. Miscellaneous Items Used in Above Systems
•Vacuum, temperature, position, time sensitive
valves and switches
•Connectors and Assemblies
2. Length of Coverage
B&S warrants to the initial owner and each
subsequent purchaser that the Warranted Parts
shall be free from defects in materials and
workmanship which caused the failure of the
Warranted Parts for a period of two years from the
date the engine is delivered to aretail purchaser.
3. No Charge
Repair or replacement of any Warranted Part will
be performed at no charge to the owner, including
diagnostic labor which leads to the determination
that a Warranted Part is defective, if the diagnostic
work is performed at an Authorized B&S Service
Dealer. for emissions warranty service contact your
nearest Authorized B&S Dealer as listed in the
=Yellow Pages" under "Engines, Gasoline,"
"Gasoline Engines,"=Lawn Mowers" or similar
category.
4. Claims and Coverage Exclusions
Warranty claims should be filed in accordance with
the provisions of the B&S Engine Warranty Policy.
Warranty coverage shall be excluded for failures of
Warranted Parts which are not original B&S parts
or because of abuse, neglect or improper
maintenance as set forth in the B&S Engine
Warranty Policy. B&S is not liable to cover failures
of Warranted Parts caused by the use of add-on,
non-original, or modified parts.
5. Maintenance
6,
Any Warranted Part which is not scheduled for
replacement as required by maintenance or which
is scheduled only for regular Lnspectionto the effect
of "repair or replace as necessary" shall be
warranted as to defects for the warranty period.
Any Warranted part which is scheduled for
replacement as required by maintenance shall be
warranted as to defects only for the period of time
up to the first scheduled replacement for that part.
Any replacement part that is equivalent in
performance and durability may be used in the
performance of any maintenance or repairs. The
owner is responsible for the performance of all
required maintenance, as defined in the B&S
Operator/Owner Manual.
Consequential Coverage
Coverage here.under shall extend to the failure of
any engine components caused by the failure of
any Warranted Part still under warranty.
29

For in-home major brand repair service:
Call 24 hours a day, 7 days a week
1-800-4-MY-HOME" (1-800-469 663)
Para pedir servicio de reparaci6n a domicilio - 1-800-876-5811
In Canada for all your service and parts needs call - 1-800-665-4455
Au Canada pour tout le service ou I_s pi_ces
For the repair or replacement parts you need:
Call 7 am - 7 pm, 7 days a week
1-800-366-PART (1-800-366-7278)
Para ordenar piezas con entrega a domicilio - 1-800-659-7084
For the location of a Sears Parts and Repair Center in your area:
Call 24 hoursa day, 7 days a week
1-800-488-1222
For information on purchasing a Sears Maintenance Agreement
or to inquire about an ex=stmg Agreement:
Call 9 am - 5 pm, Monday - Saturday
0
1-800-827-6655
p_
SEARS
HomeCentrar
il •
TheServiceSideof Sears"