Craftsman 917242484 User Manual 8 H.P. TILLER ATTACHMENT Manuals And Guides L0103377
CRAFTSMAN Accessories / Attachments, Gas Tiller Manual L0103377 CRAFTSMAN Accessories / Attachments, Gas Tiller Owner's Manual, CRAFTSMAN Accessories / Attachments, Gas Tiller installation guides
User Manual: Craftsman 917242484 917242484 CRAFTSMAN 8 H.P. TILLER ATTACHMENT - Manuals and Guides View the owners manual for your CRAFTSMAN 8 H.P. TILLER ATTACHMENT #917242484. Home:Lawn & Garden Parts:Craftsman Parts:Craftsman 8 H.P. TILLER ATTACHMENT Manual
Open the PDF directly: View PDF
.
Page Count: 24

Owner's Manual
ICRRFTSMRN I
8.0 HP
30 INCH TINE WIDTH
SLEEVE HITCH
TILLER ATTACHMENT
Model No.
917.242484
CAUTION:
Read and follow all Safety
Rules and Instructions
before operating this
equipment.
• Safety
•Assembly
•Operation
• Maintenance
•Repair Parts
[_ This product has a low emission engine which operates differentlyfrom previously built engines. Before you start the engine, read
and understandthis Owner's Manual.
Sears, Roebuck and Co., Hoffman Estates, II 60179
Visit our Craftsman website:www.sears.com/craftsman
PRINTED IN U.S.A. 179021 3.7.01 TR

SAFETY RULES
Safe Operation Practices for Tiller Attachments.
TRAINING
•Read the operating and service
o.
instruction manual
carefully. Be thoroughly familiar with the controls and
the proper use of the equipment. Know how to stop the
unit and disengage the controls quickly.
Never allow children to operate the equipment. Never
allow adults to operate the equipment without proper
instruction.
Keep the area of operation clear of all persons, particu-
larly small children, and pets.
PREPARATION
•Thoroughly inspect the area where the equipment is to
be used and remove all foreign objects.
•Disengage all clutches and shift into neutral before
startingthe engine (motor).
•Do notoperate the equipment withoutweadng adequate
outer garments. Wear footwear that will improvefooting
on slippery surfaces.
•Handle fuel with care; it is highly flammable.
•Use an approved fuel container.
•Never add fuel to arunning engine or hot engine.
•Fillfuel tank outdoorswithextreme care. Never fillfuel
tank indoors.
• Replace gasoline cap securely and clean up spilled
fuel before restarting.
Never attempt to make any adjustments while the
engine (motor) is running (except where specifically
recommended by manufacturer).
OPERATION
• Do not put hands or feet near or under rotating parts.
• Exercise extreme caution when operating on orcrossing
gravel drives, walks, or roads. Stay alert for hidden
hazards or traffic. Do not carry passengers.
• After striking a foreign object, stop the engine (motor),
remove the wire from the spark plug, thoroughly inspect
the tiller forany damage, and repair the damage before
restarting and operating the tiller.
• Exercise caution to avoid slipping or falling.
• If the unit should start to vibrate abnormally, stop the
engine (motor) and check immediately for the cause.
Vibration is generally a warning of trouble.
• Stop the engine (motor) when leaving the operating
position, before unclogging the tines, and when making
any repair, adjustments, and inspections.
• Take all possible precautions when leavingthe machine
unattended. Disengage the power take-off, lower the
attachment, shift into neutral, stop the engine, and
remove the key.
• Before cleaning, repairing, or inspecting, shut off the
engine and make certain all moving parts have stopped.
Disconnect the spark plug wire, and keep the wire away
from the plug to prevent accidental starting.
• Do not run the engine indoors; exhaust fumes are
dangerous.
• Never operate the tiller without proper guards, plates, or
other safety protective devices in place.
• Keep children and pets away.
• Do notoverload the machine capacity by attempting to
till too deep at too fast a rate.
• Never operate the machine at high speeds on slippery
surfaces. Look behind and use care when backing.
• Lift tiller out of the ground when turning corners.
• Do not put tractor in reverse gear while tiller is in the
ground.
• Never allow bystanders near the unit.
• Use only attachments and accessories approved by the
manufacturer of the tiller (such as wheel weights,
counterweights, cabs, etc.
• Never operate the tiller without good visibility or light.
MAINTENANCE AND STORAGE
• Keep machine, attachments, and accessories in safe
working condition.
• Check shear bolts, engine mounting bolts, and other
bolts at frequent intervals for proper tightness to be sure
the equipment is in safe working condition.
• Never store the machine with fuel in the fuel tank inside
a building where ignition sources are present, such as
hot water and space heaters, clothes dryers, etc. Allow
the engine to cool before storing in any enclosure.
• Always refer to the operator's guide instructions for
important details if the tiller is to be stored for an
extended period.
-IMPORTANT -
CAUTIONS, IMPORTANTS, AND NOTES ARE A MEANS
OF ATTRACTING ATTENTION TO IMPORTANT OR
CRITICAL INFORMATION IN THIS MANUAL.
IMPORTANT: USED TO ALERT YOU THAT THERE ISA
POSSIBILITY OF DAMAGING THIS EQUIPMENT.
NOTE: Gives essential information that will aid you to
better understand, incorporate, or execute a particular set
of instructions.
Look forthis symbol to point outimportant
safety precautions. It mean CAUTION!!!
BECOME ALERT!!! YOUR SAFETY IS
INVOLVED.
CAUTION: Always disconnect spark
plug wire and place wire where it cannot
contact spark plug in order to prevent
accidental starting when setting up,
transporting, adjusting or making re-
pairs.
WARNING
The engine exhaust from this product con-
tains chemicals known to the State of Califor-
nia to cause cancer, birth defects, or other
reproductive harm.
2

PRODUCT SPECIFICATIONS
GASOLINE CAPACITY: 1 Gallon
Unleaded Regular
OIL : SAE 30W (Above 32°F)
(Capacity: 22 oz.) SAE 5w-30 (Below 32°F)
TRANSMISSION OIL : SAE 30W
(Capacity: 40 oz.)
SPARK PLUG : Champion
(GAP: .030") RJ19LM or J19LM
CONGRATULATIONS on your purchase of a Sears tiller
attachment. It has been designed, engineered and manufac-
tured to give you the best possible dependability and
performance.
Should you experience any problems you cannot easily
remedy, please contact a Sears or other qualified service
Center, which has competent, well trained technicians and
the proper tools to service or repair this unit.
Please read and retain this manual. The instructions will
enable you to assemble and maintain your tillerattachment
properly. Always observe the "SAFETY RULES".
CUSTOMER RESPONSIBILITIES
•Read and observe the safety rules.
•Followa regular schedule inmaintaining, caringfor and
using your tiller attachment.
•Followthe instructionsinthe Customer ResponsibiliUes
and Storage sections of this Owner's Manual.
IMPORTANT= THIS UNIT IS EQUIPPED WITH AN
INTERNAL COMBUSTION ENGINE AND SHOULD NOT
BE USED ON OR NEAR ANY UNIMPROVED FOREST-
COVERED, BRUSH-COVERED OR GRASS COVERED
LAND UNLESS THE ENGINE'S EXHAUST SYSTEM IS
EQUIPPED WITH A SPARK ARRESTER MEETING
APPLICABLE LOCAL OR STATE LAWS (IF ANY). IF A
SPARK ARRESTER IS USED, IT SHOULD BE MAINTAINED
iN EFFECTIVE WORKING ORDER BY THE OPERATOR.
IN THE STATE OF CALIFORNIA THE ABOVE IS REQUIRED
BY LAW (SECTION 4442 OF THE CALIFORNIA PUBLIC
RESOURCES CODE). OTHER STATES MAY HAVE
SIMILAR LAWS. FEDERAL LAWS APPLY ON FEDERAL
LANDS. SEE YOUR SEARS SERVICE CENTER/
DEPARTMENT FOR SPARK ARRESTER. (REFER TO
REPAIR PARTS SECTION OF THIS MANUAL).
LIMITED ONE YEAR WARRANTY ON CRAFTSMAN TILLER ATTACHMENT
For one year from date of purchase, when this tiller attachment is maintained, lubricated, and tuned up according to the
operating and maintenance instructions in the owner's manual, Sears will repair free of charge any defect in material or
workmanship.
This warranty does not cover:
• Expendable items which become wom during normal use, such as tines, spark plugs, air cleaners and belts.
• Repairs necessary because of operator abuse or negligence, including bent crankshafts and the failure to maintain
the equipment according to the instructions contained in the owner's manual.
• If this Craftsman tiller attachment is used for commercial or rental purposes, this warranty applies for only 30 days
from the date of purchase.
WARRANTY SERVICE IS AVAILABLE BY RETURNING THIS CRAFTSMAN TILLER TO THE NEAREST SEARS
SERVICE CENTER/DEPARTMENT IN THE UNITED STATES. THIS WARRANTY APPLIES ONLY WHILE THIS
PRODUCT IS IN USE IN THE UNITED STATES.
This Warranty gives you specific legal rights, and you may also have other rights which vary from state to state.
SEARS, ROEBUCK AND CO., D/817 WA, HOFFMAN ESTATES, IL 60179
TABLE OF CONTENTS
SAFETY RULES ........................................................ 2
CUSTOMER RESPONSIBILITIES ....................... 3,7-9
WARRANTY ............................................................... 3
PRODUCT SPECIFICATIONS .................................... 3
ASSEMBLY ................................................................ 4
OPERATION ............................................................ 5-6
SERVICE & ADJUSTMENTS ................................... 10
STORAGE ................................................................ 11
TROUBLESHOOTING .............................................. 12
REPAIR PARTS -TILLER ................................... 13-16
REPAIR PARTS -ENGINE .................................. 17-19
3

ASSEMBLY
When R.H., (Right Hand) or L.H. (Left Hand) are used, it
means from a position behind the steering wheel as If you
were seated on the tractor seat and facing forward.
NOTE: Remove mower deck from tractor before mounting
tiller attachment.
• . Remove tiller from carton.
LEVEL TILLER
Place tiller on level ground so that tractor can be backed
up to it for assembly.
I
CAUTION: Tiller will be heavy when Iperforming the following step. I
Adjust tiller gauge wheels so that engine is level (Fig. 1).
• Remove retainer spring from drilled rivet.
• Remove rivet and adjust gauge wheels up or down as
required to level tiller. Replace rivet and retainer spring.
RETAINER
SPRING
FILL TUBE
M ODEL PLATE
TRANSMISSION
OIL FILL PLUG
ENGINE OIL
FIG. I
• Assemble sleeve hitch to tractor. See hitch Owner's
Manual.
• Adjust stabilizer bolts so that ends are about flush with
rear of hitch bail (Fig. 2 - Inset). Leave nuts loose.
• Lower hitch assembly and slide hitch yoke of ti!ler (Fig.
2 - Inset) over hitch tube of sleeve hitch so that the hitch
pin holes line up.
• Insert hitch pin until it extends from bottom of hitch yoke
(Fig. 2 -Inset). Insert retainer spring into hitch pin.
• Tighten both stabilizer bolts against the hitch yoke until
there is no looseness at the hitch point. (The frame
assembly does not swing sideways relative to the hitch
bail (Fig. 2). Be su rethe frame assembly is perpendicu-
lar (square) to the centerline (direction of travel) of the
tractor. This can be determined by measuring the
distance between the edge of tine shield (Fig. 2) and the
back of the rear tires. This distance should be the
same on the R.H. and L.H. sides within 1/2 inch.
Securely tighten the nuts on the stabilizer bolts.
NOTE: The stabilizer bolts should be loosened before
removing the tiller from the tractor. This will make it
easier to remove the hitch pin and to line up hitch pin
holes when installing another attachment. If tractor is to
be used without a rear attachment, the stabilizer bolt
should be secured by tightening the nuts (Fig. 2-Inset).
L ,
STABILIZER
BOLT
A'n'ACHING TILLER TO TRACTOR
Optional accessory tractorweights and/or tirechains should
be purchased to aidinthe operation of thistinerattachment.
•Install one ormore wheel weights to each rear wheel to
insure goodtractionwhen operating. Tire chains can be
used in place of, or in addition to, wheel weights.
•Install two front end weights to the front of the tractor.
This will aid steering control.
•Check tractor tires for proper air pressure. See your
tractor'sOwner's Manual.
4
NUT
HITCH BAIL
FiG. z
HITCH PIN

OPERATION
IMPORTANT: READ THE =RULES FOR SAFE OPERATION"
CAREFULLY BEFORE OPERATING YOUR TILLER
ATTACHMENT.
HOW TO USE YOUR TILLER
STOPPING (See Fig. 3)
TINES
•Move tine clutch lever to "DISENGAGED" position.
ENGINE
• Move engine throttle lever to "STOP" position.
• Never use choke to stop engine.
TO USE CHOKE CONTROL (See Fig. 3-Inset)
Use choke control whenever you are starting acold engine.
Do not use choke to start a warm engine.
• To engage choke, slowly move lever to desired position.
TO ADJUST TILLING DEPTH (See Figs. 4 & 5)
The tilling depth is controlled by the gauge wheels and to
some extent by the adjustable link sleeve. When deeper
tillingis required, the gauge wheels must be raised. Wheels
must be lowered for shallower tilling,
•Remove retainer spring from drilled rivet. Adjust gauge
wheels up or down as desired and replace rivet and
retainer spring.
NOTE: Each hole will raise or lower gauge wheels 1 inch.
•Tiller can be leveled from front to rear by turning
adjustable link sleeve. The adjustable link sleeve also
controls tilling depth. Shortening the adjustable link
sleeve and lift links will decrease tilling depth and
lengthening will increase tillingdepth.
TO OPERATE TILLER (See Fig. 3)
•Select desired tillingdepth.
•Raise tiller with tractor lift control and disengage tiller
clutch control.
•Start tillerengine. See"BEFORE STARTING ENGINE"
in this section of manual.
•Move tine clutch lever to "ENGAGED" position. Disen-
gage and engage several times to check the clutching
action of the belt.
• Slowly lowertillerwithtractor liftcontroland begintractor
forward movement.
• Never operate tractor in reverse when tiller is in the
ground.
•To stoptillerand engine, disengage tineclutchlever and
move throttle lever to "STOP" position.
BEFORE STARTING THE ENGINE
CHECK TRANSMISSION OIL LEVEL
(See Fig. 1)
• The transmission has been filled at the factory.
•Check transmission oil with the tiller leveled on level
ground.
• Remove oil fillplug. Oil should be level with the bottom
oftillerplug hole. If necessary add oil untilit is level with
hole.
CHECK ENGINE OIL LEVEL (See Fig. 1)
The engine on your tiller has been shipped fromthe factory,
already filledwith summer weight oil.
• Check engine oil with engine leveled on level ground.
•Remove dipstickand wipe clean, replace, wait for afew
seconds, remove and read oil level. If necessary, add oil
until "FULL" mark on dipstick is reach. Do not overfill.
• For cold weather operation you should change oil for
easier starting (See "OIL VISCOSITY CHARr" in the
Customer Responsibilities section of this manual).
• To change engine oil, see the Customer Responsibilities
section in this manual.
ADD GASOLINE
• Fill fuel tank. Use fresh, clean, regular unleaded gaso-
line with aminimum of 87 octane. Do not mix oil with
gasoline. Purchase fuel in quantities that can be used
within 30 days to assure fuel freshness.
IMPORTANT: WHEN OPERATING IN TEMPERATURES
BELOW 32°F (0°C), USE FRESH CLEAN WINTER GRADE
GASOLINE TO HELP INSURE GOOD COLD WEATHER
STARTING.
POSITION
TINE CLUTCH LEVER
"DISENGAGED"
POSITION
AIR
CLEANER
TILLER ENGINE
TH ROT]LE LEVER
STARTER
5 PI_.

OPERATION
CAUTION: Fill to bottom of gas tank I
filler neck. Do not overfill Wipe off any I
spilled oil or fuel, Do not store, spill or
use gasoline near an open flame.
WARNING: Experience indicates that alcohol blended
fuels called gasohol or using ethanol or methanol) can
attract moisture which leads to separation and formation
of acids during storage. Acidic gas can damage the fuel
system of an engine while in storage. To avoid engine
problems, the fuel system should be emptied before
storage of 30 days or longer. Drain the gas tank, start the
engine and let it run until the fuel lines and carburetor are
empty. Use fresh fuel next season. See Storage sections
of this manual for additional information. Never use
engine or carburetor cleaner products in the fuel tank or
permanent damage may occur.
TO START TILLER ENGINE (See Fig. 3)
CAUTION: Keep the tine clutch lever in I
"DISENGAGED" position when starting I
engine.
Make sure spark plug wire is connected to spark plug,
•Move choke control lever to =FULL CHOKE" positionfor
cold engine start. For warm engine start do not use
choke control.
• Move tiller engine throttle to midway between "FAST'
and "SLOW" positions.
• Grasp starter handle and pull rope out slowly until engine
reaches start of compression cycle (rope will pull slightly
harder at this point).
• Pull rope with a rapid, continuous, full arm stroke. Keep
a firm grip on starter handle and let rope rewind slowly.
Do not let starter handle snap back against starter.
• When engine starts, slowly move choke control on
engine "1/2 CHOKE" position and then to "NO CHOKE"
position as engine warms up.
• Move throttle control to desired running position.
• Allow engine to warm up for a few minutes before
engaging tines.
/
RETAINER
{SPRING
GAUGE
WHEEL
GAUGE
WHEEL
NOTE: If at a high altitude (Above 3000 feet) or in cold
temperatures (below 32°F), the carburetor fuel mixture
may need to be adjusted for best engine performance.
See "TO ADJUST CARBURETOR" in the Service and
Adjustments section of this manual.
TILLING
The most efficient tillage is obtained when tiller engine is
operated at full throttle. The sound of tiller engine will tell you
when tiller engine is lightly loaded. Raise gauge wheels to
increase tilling depth. If engine seems to be overloaded or
stalls out, lower gauge wheels for shallower tilling.
Operate tiller engine at full throttle and operate tractor in
slowest forward speed, with tractor engine at idle speed or
just above idle. You will soon learn the proper combination of
tilling depth and speed for good tillage.
Soil conditions will determine how deep tiller can penetrate
on the first pass. In extremely hard ground, several passes
may be necessary to till to a depth of 5 inches while in soft
ground, tiller may penetrate to a depth of 5 inches in the first
pass.
CULTIVATING
Set gauge wheels so that tiller will penetrate soil to a depth
of 2 to 3 inches. Place rivet in the second or third hole from
the bottom to attain this depth. The tiller engine should be ran
at full throttle except when cultivating small plants, a slower
engine speed is necessary to prevent burying the plants.
OPERATION DO'S AND DON'TS
Always disengage tine clutch lever (Fig. 3) and stop engine
when traveling to or from field (garden) or when not tilling.
Lift tiller out of the ground when turning corners.
Do not put tractor in reverse gear while tiller is in the ground.
Before leaving tractor seat, stop tractor, shift tractor to
"NEUTRAL" position, throttle down and stop tractor engine,
set parking brake, remove ignition key and then disengage
tine clutch lever, throttle down and stop tiller engine, lower
tiller to ground. Disconnect spark plug.
Disconnect spark plug wires before making any adjust-
ments, repairs or to remove debris in tines.
LIFT LINK
ADJUSTABLE
LINK SLEEVE
LIFT LINK _
I
I'IL_. _)
FIG. 4 6

CUSTOMER RESPONSIBILITIES
MAINTENANCE
SCHEDULE
FILL IN DATES
AS YOU COMPLETE
REGULAR SERVICE
Check Engine Oil Level If If
Change Engine Oil _1,2
Oil Pivot Points V'
Inspect Spark Arrester/Muffler If
Inspect Air Screen I_
Clean or Replace Air Cleaner Cartridge I_ 2
Clean Engine Cylinder Fins I/
Replace Spark Plug I/
SERVICE DATES
1- Change more often when operatingundera heavy load or inhigh ambienttemperatures.
2- Service more oftenwhen operatingin dirtyor dusty conditions.
GENERAL RECOMMENDATIONS
The warranty on this attachment does not cover items that
have been subjected to operator abuse or negligence. To
receive full value from the warranty, operator must maintain
unit as instructed in this manual.
Some adjustments will need to be made periodically to
properly maintain your unit.
All adjustments in the Service and Adjustments section of
this manual should be checked at least once each season.
•Once ayear you should replace the spark plug, clean or
replace air filter, and check tines and belts for wear. A
new spark plug and clean air filterassure proper air-fuel
mixture and help your engine run better and last longer.
BEFORE EACH USE
• Check engine oil level.
•Check brake operation.
•Check tire pressure.
•Check for loose fasteners.
TILLER
TRANSMISSION LUBRICATION (See Fig. 6)
Check transmission oil level after first five (5) hours of
operation and every ten (10) hours thereafter.
•Check transmission oil with the tiller leveled on level
ground.
•Remove oil fill plug. Oil should be level with the bottom
of filler plug hole. If necessary add SAE 30 motor oilor
equivalent. SAE 5W-30 motor oilmay be used in areas
where temperature is consistently 32°F or lower.
•Tighten oilfill plug securely each time you check the oil
level.
NOTE: It is not necessary to change the oil in tiller
transmission. If for any reason, it must be changed,
capacity is 1-1/4 quarts.
7

CUSTOMER RESPONSIBILITIES
FIG. 6
ENGINE
LUBRICATION
Use only high quality detergent oil rated with API service
classification SF or SG. Select the oil's SAE viscosity grade
according to your expected temperature.
-20 ° 0=30_32 o 40_ 60 ° . 80 _ 100 °
-30 o -20 o -10 o0 ° 10 _ 20 ° 30 ° 40 °
FIG. 7
NOTE: Although multi-viscosity oils (5W-30, 10W-30,
etc.) improve starting in cold weather, these multi-
viscosity oils will result in increased oil consumption
when used above 32°F (0°C). Check your engine oil level
more frequently to avoid possible engine damage from
running lowon oil.
Change the oil after every 25 hours of use, or at least
once a year if the tiller is not used for 25 hours in one
year.
Check the crankcase oil level before starting the engine
and after each five (5) hours of continuous use. Add SAE
30 motor oil or equivalent. Tighten oil filler plug securely
each time you check the oil level.
TO CHANGE ENGINE OIL (See Figs. 6 and 7)
Determine temperature range expected before oil change.
All oil must meet API service classification SF or SG.
•Be sure tiller engine is level.
• Oil will drain more freely when warm.
• Catch oil in a suitable container.
• Remove drain plug.
• Tip tiller forward to drain oil.
• After oil has drained completely, replace oil drain plug
and tighten securely.
• Remove oilfiller plug. Be careful not to allow dirt to enter
theengine.
• Refill engine with oil. See "CHECK ENGINE OIL
LEVEL" in the Operation section of this manual.
AIR FILTER FOAM PRE-CLEANER (See Fig.
8)
Your engine will not run properly and may be damaged by
using a dirty air filter. Remove cartridge every 25 hours and
tap to clean. Replace paper cartridge once a year or after
every 100 hours of operation, more often if used in very
dusty, dirty conditions.
• Remove wing nut and cover.
• Remove foam pre-cleaner element by sliding it off of the
paper cartddge.
• Wash foam pre-cleaner in liquid detergent and water.
• Wrap foam pre-cleaner in cloth and squeeze dry.
• Lightly coat foam pre-cleaner with clean engine oil.
Squeeze intowel to remove excess oil. Do not saturate.
•Install foam pre-cleaner over paper cartridge.
Reassemble cover and tighten wing nut securely.
-_ WINGNUT
COVER
PAPER
FOAM
PRE-CLEANER
PIG. 8
8

CUSTOMER RESPONSIBILITIES
COOLING SYSTEM (See Fig. 9)
Yourengineisaircooled Forproperengineperformanceand
long life keep your engine clean
•Clean air screen frequently using astiff bristled brush
•Remove blower housing and clean as necessary
•Keep cylinder fins free of dirt and chaff
MUFFLER
Do not operate tiller without muffler. Do not tamper with
exhaust system. Damaged mufflers or spark arresters could
create a fire hazard. Inspect periodically and replace if
necessary. If your engine is equipped with a spark arrester
screen assembly, remove every 50 hours for cleaning and
inspection. Replace if damaged.
SPARK PLUG
Replace spark plugs atthe beginning of each tilling season
or after every 50 hours of use, whichever comes first. Spark
plug type and gap setting is shown in "PRODUCT SPECIFI-
CATIONS" on page 3 of this manual.
CLEANING
•Clean engine, wheels, finish, etc of all foreign matter
•Keep finished surfaces and wheels free of all gasoline,
oil, etc.
•Protect painted surfaces with automotive type wax
We do notrecommend usinga garden hosetoclean your unit
unless the muffler, air filter and carburetor are covered to
keep water out Water in engine can result in a shortened
engine life
OPPOSITE
SIDE
AIR
CLEANER
CARBURETOR "
SCREEN
SPARK PLUG
WIRE AND COVER
.THROTTLE
CONTROL
BLOWER
HOUSING
9

SERVICE AND ADJUSTMENTS
I_ CitAhUTIluOgN"DisconnectsparkplugwiresfromsparkplugandplacewirewhereitcannotcomeintooontactI
TILLER
TO ADJUST GAUGE WHEELS
See 'q'OADJUSTTILLING DEPTH" inOperation section of
this manual.
TO ADJUST BELT (See Fig. 10)
The clutch is a belt-tightener type. Belt should be just tight
enough to prevent slipping. Over-tightening will reduce belt
life.
•To tighten belt, remove retainer spdng securing belt
tightener link to clutch lever and arm.
•Standing infront of tiller, turn link in a counterclockwise
direction one turn at a time, until belt no longer slips.
•After initial adjustment, a force of approximately 10 Ibs.
at the end of the lever should engage the clutch. This
would be heavy thumb pressure.
TO REPLACE BELT (See Fig. 10)
•Remove the three bolts holding belt guard to tiller.
Remove guard.
•Remove old belt.
•Install new belt so that lower side of belt is above idler
as shown.
•Adjust belt (see "TO ADJUST BELT" above).
•Replacebeltguard. Makesureallmovingpartswillclear
belt guard.
NOTE: If it should become necessary to remove the
engine sheave, be sure that it is reinstalled so that the
set screw end is toward the outside.
ENGINE
Maintenance, repair, or replacement of the emission control
devices and systems, which are being done at the custom-
ers expense, may be performed by any non-road engine
repair establishment or individual. Warranty repairs must be
performed by an authorized engine manufacturer's service
outlet.
TO ADJUST CARBURETOR
The carburetor has been preset at the factory and adjust-
ment should notbe necessary. However, minor adjustments
may be required to compensate for differences in fuel,
temperature, altitude or load. If the carburetor does need
adjustment, contact your nearest authorized srvice center/
department.
IMPORTANT: NEVER TAMPER WITH THE ENGINE
GOVERNOR, WHICH IS FACTORY SET FOR PROPER
ENGINE SPEED. OVER-SPEEDING THE ENGINE ABOVE
THE FACTORY HIGH SPEED SETTING CAN BE
DANGEROUS. tF YOU THINK THE ENGINE-GOVERNED
HIGH SPEED NEEDS ADJUSTING, CONTACT YOUR
NEAREST AUTHORIZED SERVICE CENTER, WHICH HAS
PROPER EQUIPMENT AND EXPERIENCE TO MAKE ANY
NECESSARY ADJUSTMENTS.
TINE CLUTCH ENGINE
LEVER - SHEAVE
(SET
SCREW
END)
CAUTION: BELT GUARD REMOVED.
TINE CLUTCH LEVER
)
"DISENGAGED" k
POSITION 10 LB. \
(HEAVY THUMB \
PRESSURE)
FIG. 1O
10

STORAGE
ENGINE OIL
Immediately prepare your tiller for storage at the end of the
season or if the unit will not be used for 30 days or more.
ACAUTION: Never store the tiller with
gasoline in the tank inside a building
where fumes may reach an open flame
or spark. Allow the engine to cool
before storing in any enclosure.
TILLER
Clean entire tiller (See "CLEANING" in the Customer
Responsibilities section of this manual).
Inspect and replace belts, if necessary (See belt re-
placement instructions in the Service and Adjustments
section of.this manual).
Lubricate as shown in the Customer Responsibilities
section of this manual.
Be sure that all nuts, bolts and screws are securely
fastened. Inspect moving parts for damage, breakage
and wear. Replace if necessary.
Touch up all rusted or chipped paint surfaces; sand
lightly before painting.
ENGINE
FUEL SYSTEM
IMPORTANT: IT IS IMPORTANT TO PREVENT GUM
DEPOSITS FROM FORMING IN ESSENTIAL FUEL SYSTEM
PARTS SUCH AS THE CARBURETOR, FUEL FILTER,
FUEL HOSE, OR TANK DURING STORAGE. ALSO,
EXPERIENCE INDICATES THAT ALCOHOL BLENDED
FUELS (CALLED GASOHOL OR USING ETHANOL OR
METHANOL) CAN ATTRACT MOISTURE WHICH LEADS
TO SEPARATION AND FORMATION OF ACIDS DURING
STORAGE. ACIDIC GAS CAN DAMAGE THE FUEL
SYSTEM OF AN ENGINE WHILE IN STORAGE.
• Drain the fuel tank.
•Start the engine and let it run until the fuel lines and
carburetor are empty,
•Never use engine or carburetor cleaner products in the
fuel tank or permanent damage may occur,
•Use fresh fuel next season.
NOTE: Fuel stabilizer is an acceptable alternative in
minimizing the formation of fuel gum deposits during
storage. Add stabilizer to gasoline in fuel tank or storage
container. Always follow the mix ratio found on stabilizer
container. Run engine at least 10 minutes after adding
stabilizer to allow the stabilizer to reach the carburetor.
Do not drain the gas tank and carburetor if using fuel
stabilizer.
Drain oil (with engine warm) and replace with clean oil. (See
"ENGINE" in the Customer Responsibilities section of this
manual).
CYLINDER(S)
• Remove spark plug,
•Pour 1 ounce (29 ml) of oilthrough spark plug hole into
cylinder.
•Pull starter handle slowly several times to distributeoil.
• Replace with new spark plug.
OTHER
• Do not store gasoline from one season to another.
•Replace your gasoline can if your can starts to rust,
Rust and/or dirt in your gasoline will cause problems,
• If possible, store your unit indoors and cover it to give
protection from dust and dirt.
•Cover your unitwitha suitable protectivecoverthat does
not retain moisture. Do not use plastic. Plastic cannot
breathe which allows condensation to form and will
cause your unit to rust.
IMPORTANT: NEVER COVER TILLER WHILE ENGINE
AND EXHAUST AREAS ARE STILL WARM.
11

TROUBLESHOOTING POINTS
PROBLEM
Will not start
Hard tostsrt
Loss of power
Engine overheats
Excessive bounce/
difficult handling
Soil balls up or clumps
Engine runs but tiller
tines won't move
Engine runs but labors
CAUSE
1. Out of fuel.
2. Engine not "CHOKED" properly.
3. Engine flooded.
4. Dirty air cleaner.
5. Water in fuel.
6. Clogged fuel tank.
7. Loose spark plug wire.
8. Bad spark plug or improper gap.
9. Carburetor out of adjustment.
1. Throttle control not set properly.
2. Dirty air cleaner.
3. Bad spark plug or improper gap.
4. Stale or dirty fuel.
5. Loose spark plug wire.
6. Carburetor out of adjustment.
1. Engine is overloaded.
2. Dirty air cleaner.
3. Low oil level/dirty oil.
4. Faulty spark plug.
5. Oil infuel.
6. Stale or dirty fuel.
7. Water in fuel.
8. Clogged fuel tank.
9. Spark plug wire loose.
10. Dirty engine air screen.
11. Dirty/clogged muffler.
12. Carburetor out of adjustment.
13. Poor compression.
1. Low oil level/dirty oil
2. Dirty engine air screen.
3. Dirty engine.
4. ParUally plugged muffler.
5. Improper carburetor adjustment.
1. Ground too dry and hard.
1. Ground too wet.
1. "fine clutch Control is not engaged.
2. V-belt not correctly adjusted.
3. V-belt is off pulley(s).
1. Tiningtoodeep.
2. Carburetor out of adjustment.
CORRECTION
1. Fill fuel tank.
2. See "TO START ENGINE" in Operation section.
3. Wait several minutes before attempting to start.
4. Replace air cleaner cartridge.
5. Drain fuel tank and carburetor, and refill tank with
fresh gasoline.
6. Remove fuel tank and clean.
7. Make sure spark plug wire is seated propedy on
plug.
8. Replace spark plug or adjust gap.
9. Make necessary adjustments.
1. Place throttle control in =FAST_ position.
2. Replace air cleaner cartridge.
3. Replace spark plug or adjust gap.
4. Drain fuel tank and refill with fresh gasoline.
5. Make sure spark plug wire is seated properly on
p_ug.
6. Make necessary adjustments.
1. Set depth stake for shallower tilling.
2. Replace air cleaner cartridge.
3. Check oil level/change oil.
4. Clean and regap or change spark plug.
5. Drain and clean fuel tank and refill, and clean
carburetor.
6. Drain fuel tank and refill with fresh gasoline.
7. Drain fuel tank and carburetor, and refill tank with
fresh line.
8. Remove fuel tank and clean.
9. Connect and tighten spark plug wire.
10. Clean engine air screen.
11. Clean/replace muffler.
12. Make necessary adjustments.
13. Contact an authorized Service Center.
1. Check oil level/change oil.
2. Clean engine air screen.
3. Clean cylinder fins, air screen, and muffler area.
4. Remove and clean muffler.
5. Adjust carburetor to dcher position.
Moisten ground or wait for more favorable soil
senditions.
1. Wait for more favorable soil conditions.
1. Engage tine clutch control.
2. Inspect/adjust V-belt.
3. Inspect V-belt.
1. Set gauge wheels for shallower tilling.
2. Make necessary adjustments.
12

SERVICE NOTES
13

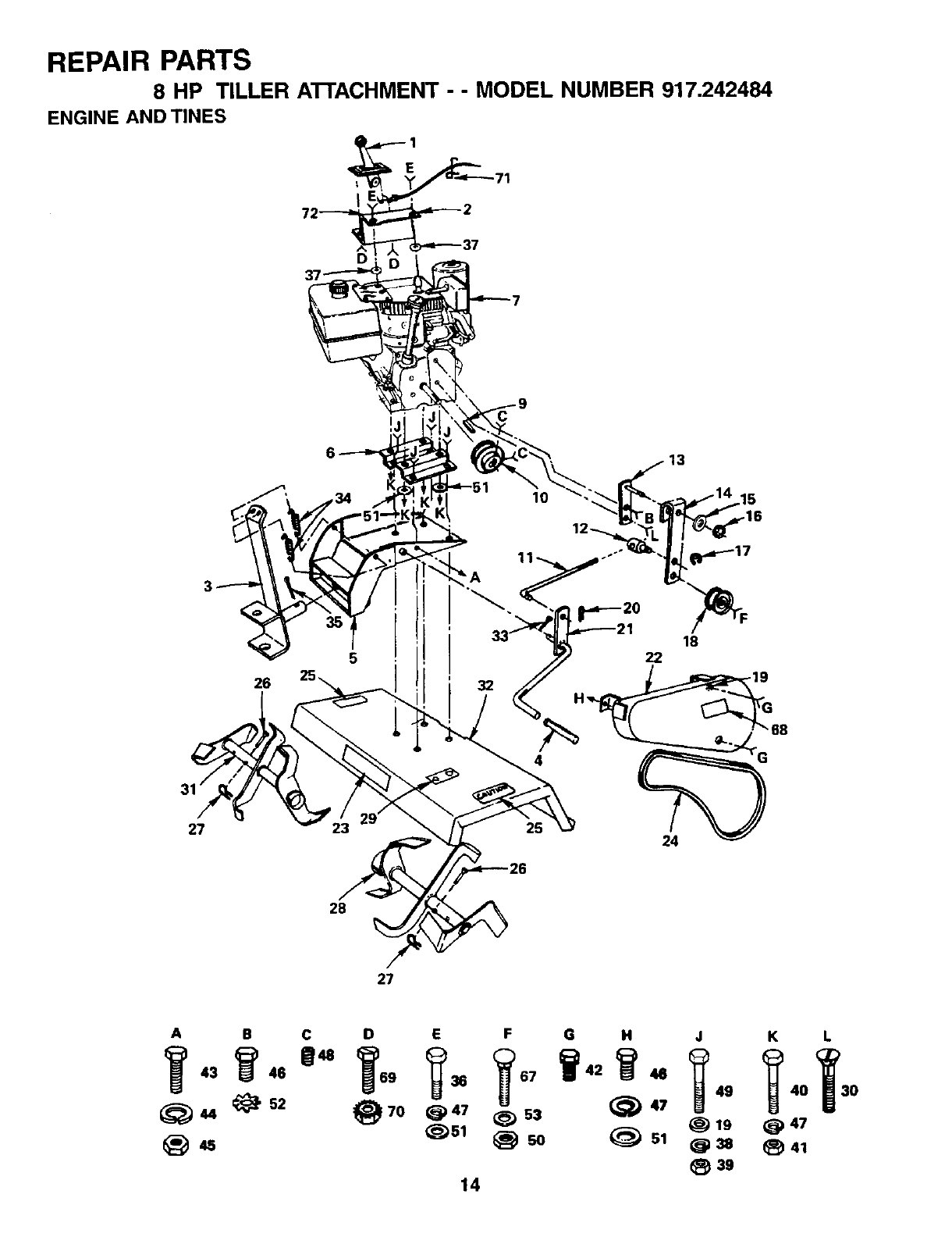
REPAIR PARTS
8 HP TILLER A'I-I'ACHMENT - - MODEL NUMBER 917,242484
ENGINE AND TINES
D
37-
27
26
28
5
4
24
27
+,-
43 46 69 36 67 42 46 49 40 30
_51 _) 50 51 19 @ 47
45 38 _41
39
14

REPAIR PARTS
8 HP TILLER ATTACHMENT - - MODEL NUMBER 917.242484
ENGINE AND TINES
KEY PART KEY PART
NO, NO. DESCRIPTION NO. NO,
i 132776 ControlThrottle 34 8905R
2 6924J Bracket, Throttle Control 35 76020824
3 67-7A860 Hitch Yoke Assembly 36 74760516
4132044 Cover, Handle 37 19131311
5 6"77A855 Hitch Channel Assembly 38 STD551137
66922R Plate, Adapter 39 STD541037
7 Engine Tecumseh 40 74760524
Model No. HM80-155644U 41 STD541031
9 4914H Square Key 1/4 x 1-1/4 42 15760512
10 8249R Engine Sheave
11 6652H. Belt Tightener Link 43 STD522510
12 6656H Adjusting Pin 44 STD551125
13 624A12 Idler Support Plate and Pivot 45 STD541025
14 2360J Idler Arm 46 74770512
15 19151116 Washer 15/32 x 11/16 x 16 Ga. 47 STD551131
(0 -2 as required) 48 23200506
16 12000015 *E-Ring
17 6683H E-Ring 49 STD523715
18 4933H Idler Pulley 50 STD541437
19 STD551037 Washer 13/32 x 7/8 x 14 Ga. 51 STD551031
20 4497H Clip, Hairpin 52 11050500
21 626A430 Lever and Arm 53 19121214
22 634A726558 Belt Guard and Supports 67 STD533717
23 163204 Decal, Craftsman 68 167258
24 102655X V-Belt 69 STD511005
25 120075X Decal,Caution 70 STD541462
26 4929H Ddlled Pan Hd. Rivet 3/8 x 1-3/4 71 4171R
27 3146R Clip, Hairpin 72 108591X
28 626A401 Tine Weldment, L.H. - - 179021
29 8212R Decal, On/Off
30 71180512 Screw, FI. Hd. Mech. 5/16-24
31 626A402 Tine Weldment, R.H.
32 8224R558 Tine Shield
33 76020516 Cotter Pin 5/32 x 1
DESCRIPTION
Spring
Cotter Pin 1/4 x 1-1/2
*Bolt, Hex 5/16-18 x 1 Gr. 2
Washer 13/32 x 13/16 x 11 Ga.
*Washer Lock, Hvy. Hel. Spring
*Nut, Hex 3/8-16 UNC
*Bolt, Hex 5/16-18 x 1-1/2 Gr. 2
*Nut, Hex 5/16-18 UNC
Hex Bolt with Sems Ext. Washer
Lock 5/16-18 UNC x 3/4
*Hex Bolt 1/4-20 x 1
*Washer Lock 1/4
*Hex Nut 1/4-20 UNC
*Hex Bolt 5/16-24 x 3/4
*Washer Lock 5/16
Hex Socket Set Screw
5/16-18x3/8
*Hex Bolt 3/8-16 x 1-1/2
*Hex Lock Nut 3/8-16 UNC
*Washer 11/32 x 11/16 x 16 Ga.
Washer Lock External Tooth 5/16
Washer
Bolt, Carriage 3/8-16 x 1-3/4
Decal, 8 H.P.
Screw
Nut, Keps #10-24 UNC
Clip - Ins
Decal, Throttle
Owner's Manual
*STANDARD HARDWARE--PURCHASE LOCALLY
NOTE: All component dimensions given in U.S. inches.
1 inch = 25.4 mm.
15

REPAIR PARTS
8 HP TILLER A'I'rACHMENT --MODEL NUMBER 917.242484
TRANSMISSION AND GAUGE WHEELS
15
16
33
34
36 12%
12
20
26
2O
19
18 17
10
14 13
/
16 15
4
7
/
A B D E F G
39 (_44
40 _,3
43
¢_44
_35
16

REPAIR PARTS
8 HP TILLER A'rrACHMENT --MODEL NUMBER 917,242484
TRANSMISSION AND GAUGE WHEELS
KEY PART
NO, NO.
1634A562
2 9135R
34929H
4634A61
5 634A559
6 169374
7 4898H
9 7356O600
10 5020J
12 4895H
13 92O4H
14 4932H
15 4910H
16 3039R
17 4877H1
18 634A553
19 2601R
2O 4870H
21 634A555
24 2600R
26 1370H
27 4912H
28 634A59
29 634A58
30 9858M1
31 634A57
32 5855H
33 6672H
34 4913H
35 1685H
36 13060400
37 634A554
38 4878H1
39 STD551137
4O STD541037
43 7850H
44 STD551031
45 STD523722
46 17860524
48 STD523120
49 20000524
50 74780596
51 15760512
DESCRIPTION
Transmission
Retainer Spring
Drilled Pan Head Rivet 3/8 x 1-3/4
Gauge Wheel Sleeve and Brackets
Gauge Wheel Adjusting Shaft and
Bracket
Wheel
Shoulder Bolt
Locknut 3/8-16 UNC Nylock
Needle Bearing
Needle Beadng
Locknut 1/2-20 UNF
Input Sheave
Oil Seal
Needle Bearing
Gear Case Shield L.H.
Gear Case and Bearings L.H. Half
(Inc. Key No's. 10,12,16 & 20)
Gasket
Thrust Cap
Tine Shaft and Sprocket
RollerChain
ThrustWasher
Gasket
2nd Reduction Shaft and Gears
1st Reduction Shaft and Gears
Woodruff Key 3/16 x 5/8
Input Shaft and Pinion
Relief Valve
Gear Shift Cover
Gasket
Locknut 5/16-18 UNC
Pipe Plug 1/2-14 N.P.T.
Gear Case and Bearings R.H. Half
(Inc. Key No's. 12, 16 & 20)
Gear Case Shield R.H.
*Washer Lock 3/8
*Hex Nut 3/8-16 UNC
Spacer
*Washer 11/32 x 11/16 x 16 Ga.
*Hex Bolt 3/8-16 x 2-1/4
Hex Hal. RolI-Lok Thd. Forming Screw 5/16-18 x 1-1/2
*Hex Bolt 5/16-18 x 2
Flat Hd. Slotted RolI-Lok Thd.
Forming Screws 5/16-18 x 3/4
Hex Bolt 5/16-18 x 6 Gr. 5
Screw Mach. Hex Hd. 5/16-18 x 3/4
*STANDARD HARDWARE--PURCHASE LOCALLY
NOTE: All component dimensions given in U.S. inches.
1 inch = 25.4 ram.
17

REPAIR PARTS
8 HP TILLER A'I-rACHMENT - - MODEL NUMBER 917.242484
ENGINE, TECUMSEH --MODEL NUMBER HM80-155644U
37
75 7
/
87
35
70
69
80
83 81
50_ I
169!
182
308
275
276
277
277A
101
20
25 26
I
I
"292
,d_ -325 ,110
18

REPAIR PARTS
8 HP TILLER ATTACHMENT --MODEL NUMBER 917,242484
ENGINE, TECUMSEH --MODEL NUMBER HM80-155644U
KEY PART KEY PART
NO. NO. DESCRIPTION NO. NO. DESCRIPTION
1 35385 Cylinder (Incl. 2, 20 & 72) 173 34696
227652 Dowel Pin 173A 32446
4 30968 Oil Drain Extension 174 650128
4A 32214 Oil Drain Elbow 45 Degrees 178 29752
14 28277 Washer 182 30088A
15 30699 Covemor Rod (Incl. 15A & 15B) 184 33263
15A 30700 Governor Yoke 185 34707
15B 650494 Screw, 6-40 x 5/16" 186 34667
16 37255A Governor Lever (Incl. 212A) 200 34664
17 29916 Governor Lever Clamp 203 31342
18 651028 Screw, T-15, 8-32 x 7/16" 204 651029
19 34663 Speed Control Spring 206 610973
20 35319 Oil Seal 207 37448
25 36460 Blower Housing Baffle 209 650821
26 650561 Screw, 1/4-20 x 19/32" 210 27793
28 30322 .Lock Nut, 8-32 211 28942
30 35372A Crankshaft 212A 36288
35 29826 Screw, 10-32 x 3/4" 223 650378
36 29918 Lock Washer 224 27915A
37 29216 Lock Nut, 10-32 227A 35044
38 29642 Retaining Ring
40 40011 Piston, Pin & Ring Set (Std.) 228 650851
40 40012 Piston, Pin & Ring Set (.010" OS) 232
41 40009 Piston & Pin Ass'y. (Std.) (Incl. 43) 234 650852
41 40010 Piston & Pin Ass'y. (.910" OS) (Incl. 43) 235 30675
42 40013 Ring Sot (Std.) 238 650163
42 40014 Ring Set (.010" OS) 239 27272A
43 27888 Piston Pin Retaining Ring 239A 34698A
45 36897 Connecting Rod Ass'y. (Incl. 47 & 49) 241A 37279
47 651033 Connecting Rod Bolt 242 34699
48 34034 Valve Lifter 245 34700B
49 36896 Oil Dipper 245A 34703
50 35375 Camshaft (MCR) 250 34702
60 33273A Blower Housing Extension 251 650886
65 650128 Screw, 10-24 x 1/2" 260 34833B
69 37342 * Cylinder Cover Gasket 261 650788
70 35376A Cylinder Cover (Incl. 71,75,80 Thru 84) 262 29747S
71 35377 Crankshaft Bushing 264A 650802
72 27642 Oil Drain Plug 265 33272D
75 35319 Oil Seal 275 34185B
80 37587 Governor Shaft 276 31588
81 651080 Washer 277 650729
82 37588 Governor Gear Ass'y. (Incl. 81) 277A 651036
83 30588A Governor Spool 278 36908
84 29193 Retaining Ring 280 36799A
86 650833 Screw, 1/4-20 x 1-3/16" 281 33013
87 650832 Screw, 1/4-20 x 1-11/16" 282 650760
89 32589 Flywheel Key 285 35985B
90 611090 Flywheel 287 29752
92 650880 Lock Washer 290 30705
93 650881 Flywheel Nut 292 26460
100 35135A Solid State Ignition (Incl. 101) 298 650665
101 610118 Spark Plug Cover 300 34156A
102 651024 Solid State Mounting Stud 301 36246
103 651007 Screw, T-15, 10-24 x 15/16" 304 35480
110 35187 Ground Wire 305 35554
119 36448 * Cylinder Head Gasket 307 35499
129 36449 Cylinder Head 308 35540
125 27878A Exhaust Valve (Std.) (Incl. 151) 310 36205
125 27880A Exhaust Valve (1/32" OS) (Incl. 151) 325 29443
126 34035 Intake Valve (Std.) (Incl. 151) 327 35392
127 650691 Washer 340 36598
128 650690 Belleville Washer 341 35834
130 650694A Screw, 5/16-18 x 2" 342 30063
130A 650727 Screw, 5/16-18 x 1-25/32" 370E 37089
130B 650273 Screw, 5/16-18 x 17/32" 380 640268
135 33636 Resistor Spark Plug (RJ17LM) 390 590746
139 33369 Governor Gear Bracket 400 36450C
140 650836 Screw, 10-24 x 1/2" 416 34479A
149 27882 Valve Spring Cap 429 730225A
149A 35862 Valve Spring Cap
150 27881 Valve Spring 756316S
151 32581 Valve Spring Keeper
169 27896A * Breather Gasket
170 28423 Breather Body
171 28424 Breather Element NOTE:
172 28425 Valve Cover
NOTE:
19
Breather Tube
Breather Tube Grommet
Screw, 10-24 x 1/2"
Nut & Lock Washer, 1/4-28
Screw, 1/4-28 x 1"
• Carburetor To Intake Pipe Gasket
Intake Pipe
Governor Link
Control Bracket (Incl. 19, 203 & 204)
Compression Spring
Screw, T-10, 5-40 x 7/16"
Terminal
Throttle Link
Screw, 10-32 x 1/2"
Conduit Clip
Screw, 10-32 x 3/8"
Bushing
Screw, T-30, 5/16-18 x 1-3/32"
* Intake Pipe Gasket
Air Cleaner Elbow Ass'y. (Incl. 228, 232, 239A
1 & 242)
Stud, 1/4-20 x 8.1
Pop Rivet (Purchase Locally)
Nut, 1/4-20
Air Cleaner Elbow Fitting
Screw, 10-32 x 7/8"
*Air Cleaner Gasket
*Air Cleaner Gasket
Air Cleaner Collar
Air Cleaner Bracket
Air Cleaner Filter
Air Cleaner Filter
Air Cleaner Cover
Wing Nut, 1/4-20
Blower Housing
Screw, 5/16-18 x 3/4"
Screw, T-40, 5/16-24 x 21/32"
Screw, 1/4-20 x 5/8"
Cylinder Head Cover
Muffler
Locking Plate
Screw, 5/16-18 x 3-3/16"
Screw, 5/16-18 x 3-31/32"
Spacer
Heat Shield (Incl. 277A & 278)
Starter Bubble Cover
Screw, 8-32 x 3/8"
Starter Cup
Nut & Lock Washer, 1/4-28
Fuel Line
Fuel Line Clamp
Screw, 1/4-15 x 3/4"
Fuel Tank (Incl. 292 & 301)
Fuel Cap
Fuel Cap Retainer
Oil Fill Tube
"O" Ring
Fill Tube Clip
Dipstick
Wire Clip
Screen Plug
Fuel Tank Bracket
Fuel Tank Bracket
Screw, T-30, 1/4-20 x 1/2"
AirCleaner Decal
Carburetor (Incl. 184 & 212A)
Rewind Starter
Gasket Set (Incl. Items Marked *)
Spark Arrestor Kit (Optional)
SAE 30 4-Cycle Engine Oil (Quart)
Replacement Engine
Shortblock
PRM Low 1700
RPM High 3350 to 3650
This engine could have been built with 590704 starter.
All component dimensions given in U.S. inches
1inch =25.4 mm

REPAIR PARTS
8 HP TILLER A'n'ACHMENT - - MODEL NUMBER 917.242484
ENGINE, TECUMSEH - - MODEL NUMBER HM80-155644U
1A_ KEY PART
NO. NO. DESCRIPTION
_37
.6_.37
25.
40t'4_LI
640268
1632798
1A 36288
2 631970
4 631184
5 631183
6 640109
7 650506
10 632217
11 632O43
12 631184
13 631183
14 632799
15 630735
16 632164
17 651025
18 630766
20 640027
20A 640053
25 631867
27 631024
28 632765
29 631028
30 631021
31 631022
36 640113
37 632547
40 640137
44 27110A
47 630748
48 631027
60 632760
Carburetor (Incl. 184 of Engine Parts
List)
Throttle Shaft & Lever Assembly
Link Bushing
Throttle Return Spring
* Dust Seal Washer
* Dust Seal (Throttle)
Throttle Shutter
* Shutter Screw
Choke Shaft & Lever Assembly
Choke Return Spring
* Dust Seal Washer
* Dust Seal (Choke)
Choke Shutter
Choke Positioning Spring
Fuel Fitting
Throttle Crack Screw/Idle Speed Screw
Tension Spdng
Idle Restrictor Screw
Idle Restrictor Screw Cap
Float Bowl
* Float Shaft
Float
* Float Bowl "O" Ring
* Inlet Needle, Seat & Clip (Incl. 31)
Spring Clip
Main Nozzle Tube
*"O" Ring, Main Nozzle Tube
High Speed Bowl Nut
Bowl Nut Washer
* Welch Plug, Idle Mixture Well
* Welch Plug, Atmospheric Vent
Repair kit (Incl. Items Marked *)
20

REPAIR PARTS
8 HP TILLER A'I-FACHMENT --MODEL NUMBER 917.242484
ENGINE, TECUMSEH - - MODEL NUMBER HM80-155644U
13 12
\8
61 _"6
_P_4
I 3
8_5
@_2
111
KEY PART
NO. NO. DESCRIP_ON
590746
1 590599A
2 590600
3 590679
4 590601
5 590678
6 590680
7 590412
8 590681
11 590747
12 590535
13 59O7O1
Recoil Starter
Spring Pin (Incl. 4)
Washer
Retainer
Washer
Brake Spring
Starter Dog
Dog Spring
Pulley & Rewind Spring Assembly
Starter Housing Assembly
Starter Rope (Length 98" x 9/64" dia.)
Starter Handle
13 12
B--5
O--2
KEY PART
NO. NO.
590704
1 590599A
2 590600
3 590696
4 590601
5 590697
6 590698
7 590699
8 590700
11 590705
12 590535
13 590701
DESCRIPTION
Recoil Starter
Spdng Pin (Incl. 4)
Washer
Retainer
Washer
Brake Spnng
Starter Dog
Dog Spnng
Pulley & Rewind Spnng Ass'y
Starter Housing Ass'y.
Starter Rope ( 98" X 9/64" dia.)
Starter Handle
21

SERVICE NOTES
22

SERVICE NOTES
23

Get it fixed, at your home or ours!
For repairof majorbrandappliances in your own home...
no matter who made it, no matter who sold it!
1-800-4-MY-HOME _ Anytime,dayornight
(1-800-469-4663) (U.S.A. and Canada)
WWW.Sears.com wlt_v.seal_.ca
For repair of carry-in products like vacuums, lawn equipment, and
electronics, call for the nearest Sears Parts and Repair Center.
1-800-488-1222 Any_me, dayor night (U.S.A. only)
w_Rv.seal_.com
For the replacement parts, accessories and owner's manuals
that you need to do-it-yourself, call Sears PartsDirectSM!
1-800-366-PART 6 a.m.- 11 p.m., 7days aweek
(1-800-366-7278) (U.S.A. only)
www.sears,conVparlsdirect
To purchase or inquire about a Sears Service Agreement
or Sears Maintenance Agreement:
1-800-827-6655 (u.s._) 1-800-361-6665 (Canada)
7 a.m. - 5 p.m., CST, Mort. - Sat. 9 a.m.- 8 p.m. EST, M- F, 4 p.m. Sat.
Parapedirserviciode repamci6na
domicilio, y para ordenar piezas:
1-888..SU4-1OGAR s_
(1-888-784,-6427)
Au Canada pour service en frarK;ais:
1-800-LE-FOYER Mc
(1_7)
www.sears.ca
© Seam,RoebuckandCo. HomeO ntral®J
®Registered Trademark /TM Trademark /SMService Mark of Seam, Roebuck and Co.
®Marca Registrada /TMMarca de F_brica /SMMarca de Servicio de Seam, Roebuck and Co.
MCMarque de commerce /MDMarque deposee de Seam, Roebuck and Co.