Craftsman 917254640 User Manual 12 H.P. 38 RIDING LAWN TRACTOR Manuals And Guides LR708037
CRAFTSMAN Lawn, Tractor Manual LR708037 CRAFTSMAN Lawn, Tractor Owner's Manual, CRAFTSMAN Lawn, Tractor installation guides
User Manual: Craftsman 917254640 917254640 CRAFTSMAN 12 H.P. 38 RIDING LAWN TRACTOR - Manuals and Guides View the owners manual for your CRAFTSMAN 12 H.P. 38 RIDING LAWN TRACTOR #917254640. Home:Lawn & Garden Parts:Craftsman Parts:Craftsman 12 H.P. 38 RIDING LAWN TRACTOR Manual
Open the PDF directly: View PDF
.
Page Count: 52

MODEL NO.
917.2546
Caution:
Read and Foflow
AH $Mety Rules
And instructions
Before Operating
This Equipment
LT 12 PiP ELECTRIC
- 38"
LAWN TRACTOR
TART
oAssembly
oOperation
®Maintenance
o Repair and Adjustment
e Repair Parts
,,==,,j ......................... ,,r ' .... "' '"1 ........... I.........
Sears, Roebuck and Co., Chicago, IL 60684 U.S.A.

I. Know the controls and how to stop quickly. READ THIS
OPERATOR'S MANUAL and instructionsFurnished with
attachments.
2. Do not allow children to operate the machine. Do not
allow adults to operate it Without proper instruction.
3. De not carP/passengers. Do not mow _,hee children and
others are around.
4. Alwaxs wear substantial footwear. Do not wear loose {it.
ring Elothing that could get caught in moving parts.
5. Keep your eyes and mind on xour tractor, mower and
the area bein_ cut. Do not let other interestsdistract ygu.
6. Do not attempt to operate your tractor or mower _,hee
not in the drivers seat.
7. Always get on or off your tractor from the operator's left
hand side.
8. Clear the work area of objects (wire, rocks, etc.) which
might be picked up and thrown.
9. Disengage all attachment dutches before attemp#ng to
start the engine.
10. Disengage power to attachments and stop the engine
before leaving the operator's position.
11. Disengage power to mower, stop the engine, and discon-
nect spa-rk plug wire(s) from spark plug(s) before clean:
ing, makin.g an adjustment, or repair, be careful to avoid
touching hot muttler or engine components.
12. Disengagepowertoa#achmentswhentransportingornot
In use.
13. Take all possible precautions when leaving the vehide
unatteeded. Di._ngage thepower.take-off,'7ower, the at-
tachments, shift into neutral, set the parking bratce, stop
the engine and remove the key.
14. Do not stop or start suddenly when going uphill or
downhill, fAow up and down the face of slopes (nat
_rleater than 15°j; never across the face. Refer to page
15. Reduce speed onslopes and make turnsgradually to pre-
vent tipping or loss of controL.Exercise extreme caution
when chen_glngdirection on slopes.
16. While going up or down slopes, place Gear Shift Con-
trol Lever m 7st gear positlon to negotiate the slope
without stopping.
17. Never mow m wet or slippery grass, when tr.action is un-
sure or at a speed whichcouFd cause a skid.
18. Stay alert for holes in the terrain and other hidden
hazards. Keep away from drop-arts.
19. Do not drive too dose to creeks, ditches and public
b. Limit loads to those you can safety control.
c. Do not turn sharply. Use care when backing.
d. Use counterwgight or wheel weights when suggested
in the owneKs manual.
24. Watch out for traffic when crossing or near.roadways.
25. When using any. attachments, never direct discharge of
material towar_l bystanders nor allow anyone near the
vehicle while in operation.
26. Handle gasoline with care -it is highly Flammable.
a. Use approved g.asoline contaitiers.
b. Never remove Fhefuel cap of the fuel tank or add
gasoline to arunning,or hot engine or an engine that
has not been allowe_l to cool for several minutes after
runnlna. Never fill tank indoors. Always clean up
sDilled'aasoline.
c. .Open doors if the engine is run in the garage -ex-
haust Fumesare dangerous. Do not run the engine
indoors.
27. Keep the vehicle and attachments in good operating con.
dition, and keep safety, devices in place and wo_ing.
28. Keep all nuts,,b'oltsancIscrews tight to be sure the equTp.
ment is in safe working condition.
29. Never store the equipmeet with gasoline in the tank in.
side abuilding where fumes may reach an open flame
or spark. Alllow the engine to cool before storing in any
enclosure.
30. To reduce fire hazard, keep the engine free of grass,
leaves or excessive grease. Do not c'/ean product while
engine _srunning.
3 I. Except for adjustments; DO NOT operate engine if air
cleaner or cover directly ever carburetor air intake is
removed. Removal of suchpart could create a fire hazard.
32. Donotoperatewithoutamufflerortamperwithexhaust
system. Damaged mufflers or spark arresters could create
afire hazaid. Inspect periodically and replace if
necessary.
33. The vehfde and attachments should be stopped and in.
spected for damage after striking aforeign ob_ect and
the damage, should be repairedbefore restar#ng and
operating the egulpment.
34. Do not change the engine governor settings or overspeed
.the..engine; sgvere 9ra.mage.or injury may result_ .
35. When using the vehicle with mower, proceea as tallows;
a. Mow only in daylight or in good artificial light.
b. Shut the engine off when unclogging chute.
c. Check the bTade mounting bolts-f_r proper tightness
highways, at frequent intervals.
20. Exercise special care when mowing around fixed oblects 36. Do not operate the mower wlthout the deflector shield in
in order to prevent the blades from striking them. hfever place.
deliberately run tractor or mower into or over any foreign 37. Disengage power to mower before backing up. Do not
objects, mow m reverse unless absolutely necessary and then on-
21. Never shift gears until tractor comes to astop. Iv after careful observation of the entire area behind the
22. Never place hands or feet under the mower, in discharge (newer.
chute or near any moving parts while tractor or mower 38. Under normal usage thegross catcher bag material issub.
is running. Always keep clear of discharge chute, ject to deterioration andwear. It should-be checked fre-
23. Use care when pulling loads or using heavy equipment, q.uently for bag replacement. Replacement bags should
a. Use only approt;ed drawbar h#_chpolnts. De checked to ensure compliance with the original
..................................... manufacturer's recommendallons or specifications_
LOOK FOR THIS SYMBOL TO POINT OUT IMPORTANT SAFETY PRECAUTIONS.
IT MEANS--ATTENTION! BECOME ALERT! YOUR SAFETY IS iNVOLVED.
CAUTIONL .LOOK FOR THIS WORD TO POINT OUT IMPORTANT EQUIPMENT PRECAUT!ONS. .........
ITHIS UNIT IS EQUIPPED WITH AN INTERNAL COMBUSTION ENGINE AND SHOULD NOT BE USED
/_ ON OR NEAR ANY UNIMPROVED FOREST COVERED, BRUSH COVERED, OR GRASS COVERED H
]{ _LAND UNLESS THE ENGINE SEXHAUST SYSTEM IS EQUIPPED WITH A SPARK ARRESTER MEET-
_ING APPLICABLE LOCAL OR STATE LAWS (IF ANY). IF A SPARK ARRESTER IS USED, IT SHOULD
BE MAINTAINED IN EFFECTIVE WORKING ORDER BY THE OPERATOR.
In the State of California the above is required by law (Section 4442 of the California Public Resources Code). Other
states may have similar laws. Federal laws apply on federal lands. Refer to the Repair Parts Section, page 32.

CONGRATULATBONS on your purchase of a Sears
Lawn Tractor. It has been designed, engineered and
manufactured to give you the best possible dependabili-
ty and performance. Should you experience any pro-
blem you cannot easily; remedy, please contact your
nearest Sears Service Department. We have compe-
tent, well-trained technicians and the proper tools to
service or repair this unit.
MAINTENANCE AGREEMENT
ASears Maintenance Agreement is available on this
product. See the nearest Sears store or service center
for details.
DATE OF PURCHASE
THE SERIAL NUMBER WiLL BE FOUND ON
THE MODEL PLATE UNDER THE SEAT.
YOU SHOULD RECORD THESE NUMBERS
AND KEEP FOR FUTURE REFERENCE.
L..... ,,
CUSTOMER RESPONSIBILITIES
Read and retain this manual. Study and observe the safety rules. Always use care when using your tractor.
Always keep your tractor and mower clean. Follow a regular schedule in maintaining, caring for, and using
your tractor. Awell cared for tractor will run better and last longer.
ATTACHMENTS
This unit can use many attachments now available at your Sears store, it cannot use attachments that engage
the ground like a plow, harrow, cultivator, or tiller. See page 49 for a list of available attachments.
............................................................ u_......... LJ .....................................................................................................................
LIMITED TWO YEAR WARRANTY
ON ELECTRIC START RiDiNG EQUIPMENT
For two years from date of purchase, when this riding equipment is maintained, lubricated, and tuned up accor-
ding to the operating and maintenance instruction in the owner's manual, Sears will repair free of charge any
defect in material or workmanship in this electric start riding equipment.
This warranty excludes blade(s), blade adapter(s), spark plug(s) air cleaner and belt(s), which are expendable
and become worn during normal use.
This warranty does not cover:
Tire replacement or repair caused by punctures from outside objects (such as nails, thorns, stumps,
or glass); and
repairs necessary because of operator abuse or negligence, including the failure to maintain the equip-
ment according to instructions contained in the owner's manual; and
riding equipment used for commercial or rental purposes.
FULL 90-DAY WARRANTY ON BATTERY
For 90 days from the date of purchase, if any battery included with this riding equipment proves defective in
material or workmanship and our testing determines the battery will not hold a charge, Sears will replace the
battery at no charge,
WARRANTY SERVICE IS AVAILABLE BY CONTACTING THE NEAREST SEARS SERVICE CENTER/DEPARTMENT
IN THE UNITED STATES. This warranty applies only while this product is in use in the United States.
This warranty gives you specific legal rights, and you may also have other rights which may vary from state
to state.
SEARS, ROEBUCK and CO., D/698-731A, Sears Tower, Chicago, II 60684
3

INDEX
A
Adjustments:
Brake ................... 14
Carburetor ............... 18
Mower Drive Belt ......... 22
Mower
Front-to-Rear ........... 22
Side-to-Side .......... 22
Throttle Control Cable ..... 18
Engine Valves ........... 18
Air Filter
Cleaning ................ 16
Element ............... 16
Air Intake Screen, Eng ...... 16
Assembly ................ 5-8
Attachments .............. 50
B
Battery:
Charging ................. 7
Cleaning ................ 15
Installation ............... 8
Levels .................. 75
Preparation ............... 7
Starting with Weak Battery .17
Storage ................. 23
Terminals ............... 15
Belt:
Motion Drive Replacement .. 19
Mower Drive Adjustment ... 22
Mower Drive,
Remove/Replace ........ 21
Blade:
Sharpening .............. 74
Replacement ............. 14
Brake Adjustment ........... 14
C
Carburetor Adjustment ....... 18
Controls, Tractor ............ 9
Cutting Level, Mower ........ 72
E
Engine:
Air Screen ............... 16
Oil Change .............. 16
Oil Level ................ 16
Oil Type ................ 16
Starting ................. 10
Storage ................. 23
Valve Adjustments ........ 18
F
Filter:
Air ............................................ 16
Fuel .......................................... 18
Fuel;
Type ................... 10
Storage ................. 23
Type ................... 10
Storage ................. 23
Fuse ..................... 20
H
Hood Removal ............. 20
L
Levelling Mower Deck ....... 22
Lubrication:
Chart ................... 24
Tractor Pivot Points ....... 17
M
Maintenance ............... 13
Air Filter ................ 16
Air Filter Element ......... 16
Air Screen ............... 16
Battery ................. 15
Blade Sharpening ......... 14
Brake Adjustment ......... 14
Engine Oil ............... 16
Fuel Filter ............... 18
Lubrication Chart ......... 24
Spark Plug .............. 18
Tire Care ................ 14
Mower:
Adjustment, Front-to-Rear . .23
Adjustment, Side-to-Side . , .22
Blade Sharpening ......... 14
Blade Replacement ........ 14
Cutting Level ........... 12
Installation .............. 21
Operation ............... 11
Removal ................ 20
Muffler ................... 17
Spark Arrester ............. 2
0
Oil:
Cold Weather Conditions . ..16
Engine .................. 16
Storage ................. 23
Operation ............... 9-12
Operating Your Mower ..... 11
Operating Your Tractor ..... 11
Starting the Engine ........ ! 1
Stopping Your Tractor ..... !0
Tractor Operation on Hills... 12
Options:
Attachments ............. 50
Spark Arrester ............. 2
P
Parking Brake ................ 9
Parts Bag .................. 5-6
R
Repair and Adjustments .... 14-24
Blade ..................... 15
Carburetor ................ 18
Fuse ..................... .20
Hood Removal ............ 20
Motion Drive Belt
Replacement .............. 70
Mower Drive Belt
Replacement ............. 20
Mower Adjustment
Side-to-Side .............. Z2
Mower Removal ........... 20
S
Safety Rules ................ 2
Seat ....................... 7
Service Record .............. 13
Slope Guide Sheet ........... 51
Spark Plug ................. 18
Speed Control Chart .......... 12
Starting the Engine ........... 11
Steering Wheel ............... 5
Stopping the Tractor ......... 10
Storage .................... 23
T
Throttle Control Cable
Adjustment ................ !8
Tires ...................... 14
Trouble Shooting Chart ....... 25
V
Valves Adjustments .......... 18
W
Warranty .................... 3
Wiring (Schematic) ........... 27

7. Unpack Tractor
a. Take items out of box. The box contains the
items shown below.
b. Cut down four corners of the carton with a utili-
ty knife and fold down sides.
c. Disengage Parking Brake.
d. Instafl Steering Wheel
7. Slide upper steering shaft over lower steer-
ing shaft until bolt holes fine up with slots
in lower steering shaft (Fig. 7).
2. Use two hex bolts 3/8 - 76xI- 7/4 and two
Iocknuts 3/8 - 76 to reta'in upper steering
shaft to lower steering shaft. Tighten
securely. Bolts and nuts found in bag of
parts.
3. Position Steering Sleeve over steering shaft
assembly.
4. For easier assembly, tilt tube towards front
of tractor.
5. Place bottom of Steering Sleeve over two
front prongs on steering bushing.
6. Squeeze the two steering sleeve retainers in-
ward to allow Steering Sleeve to pass over
retainers.
7. Push Steering Sleeve down aligning notch on
Steering Sleeve with tab on steering
0
iii ......
G H
A
F
a. seat e. owner's manual
b. Steering wheel f. parts bag
c. battery steering sleeve
d. battery acid _i upper steering shaft
ASSEMBLY
bushing.
8, Place steering wheel adapter on upper steer-
ing shaft.
9. With front wheels pointed straight ahead,
place steering wheel on steering wheel
adapter. Bars of steering wheel should point
straight across tractor.
10. Place 2 _t/4"" diameter washer on upper
steering shaft and instafl a 7/2" Iocknut
{washer and tocknut found in bag of parts).
Tighten securely.
t 1. Snap insert into steering wheel.
e. Remove plastic on tractor hood.
f. Raise attachment lift handle.
g. Roll Tractor off skid. Be careful of staples in skid.
The operation of any tractor can result in
foreign objects thrown into the eyes,
which can result in severe eye damage.
Always wear safety glasses or eye
shields before starting your tractor and;
while moving. We recommend Wide
Vision Safety Mask for over the spec-
tacles or standard safety glasses, avail-
able at Sears Retail or Catalog Stores.
Parts Bag Contents Not Shown Full Size:
iiiii ,i
_I IIIIlIIIIIII[IIIIIIIIIIIIIIIIIIIIFIIIIIIIIIIIIIIIII
(2) Battery Carriage Bolts -114-20 x 7-I/2
Terminal Guard
15°Slope Instruction
@(2) Keys
ring Wheel Adapter
Battery Caps
And Instructions Steering Wheel Insert

ASSEMBL (
ASSEMBL Y PANTS BAG CONTENTS SHOWN FULL SiZE
LOCATION
BATTERY
BA TTERY
TERMINALS
SEA T
UPPER
STEERING
SHAFT
STEERING
WHEEL
(2) Lockwasher, 1/4 Int/Ext Tooth (2) Wing Nut, 1/4-20
©
12) Hex Bolt, 1/4 -20 x 3/4 (2) Lockwasher 1/4
©_)
(21 Washer 9/32 x 5/8 x 16 Ga.
©
(2/Hex Nut, 1/4 -20
i1= 1.1.1.1.1.11.i i _111 i i
,j
(11 Hex Bolt, I/2 - 13 - x 1 (1) Loci(washer 1/2
{1) Washer 17/32 x 1 -
3/16 x 12 Ga.
(1) Shoulder bolt 5/16 - 18
ii
C_I
12) Hex Bolt 3/8 _16 x I 1/4
i.=. m.,.,.,H = HH'--I _11I '1_
(2) Hox Locknut 3/8 - 16
114" Dia. Washer
(1) Locknut, 1/2-20
6

To assemble tractor you will need:
(2) 7/t6" Wrenches Tire Pressure Gauge
(t) 1/2" Wrenches Screwdriver
(2) 9/16" Wrenches Utility Knife
(1) 3/4" Wrench
(2) 11/16" Wrenches
NOTE: RIGHT HAND (R.H.) AND LEFT HAND (LH.) ARE
DETERMINED FROM OPERA TOR'S POSITION
WHILE SEA TED ON THE TRACTOR.
......i,i] ,111,,111,,i,1,1,i
WEAR EYE AND FACE SHIELD.
WASH HANDS OR CLOTHING IM-
MEDIA TELY IF ACCIDENTALL Y IN
CONTACT WITH BATTERY ACID.
DO NOT SMOKE: FUMES FROM
CHARGED BATTERY ACID ARE
EXPLOSIVE.
READ THE INSTRUCTIONS INCLUD-
ED WITH THE BATTERY VENT CAPS
IN THE BAG OF PARTS. ALWAYS
WEAR GLOVES, CLOTHING AND
GOGGLES TO PROTECT YOUR
HANDS, SKIN AND EYES.
fl,,,,,, ,i ",
STEERING WHEEL
STEERING WHEEL_
ADAPTER ----_..._ -- .",,
UPPER
STEERING
SHAFT
BOLTS
JUTS
ER_NG
SHAFT
Y
TUBE
FIGURE 1
STEERING
SLEEVE
RETAINER
SPRING
2. Prepare Battery
Fill and charge battery (before installing), NOTE: SEE
DETAILED INSTRUCTIONS PACKAGED WITH BATTERY
VENT CAPS FOUND IN BAG OF PARTS.
a. Filleach cell with battery acid. Add the acid until
it reaches the bottom of the vent tubes (Fig. 3).
Do not add the acid beyond this level or the ad-
ditional acid can come out when the battery is
charged.
b. After cells are filled, tilt battery from side to side
to release air bubbles.
c. Allow battery to stand and settle for at least
thirty minutes. If the level of acid falls below
the point described in step (a), add more acid
until the correct level is reached. Install the bat-
tery caps, found in the bag of parts, to cover
the vent tubes. Wash the top of the battery with
water to remove any acid, then wipe dry.
d. Check battery case for leakage to make sure
that no damage has occured in handling.
e. Neutralize excess battery acid for disposal by
adding it to four inches of water in a five gallon
plastic container. Stir with a wooden or plastic
paddle while adding baking soda until the addi-
tion of more soda causes no more foaming.
f. It is recommended that the battery be charged
before use. Use a 12 volt battery charger.
Charge battery at a rate of 6 amperes for 1
hour. NOTE: OBSERVE SAFETY PRECAU-
TIONS, LISTED IN BOX ABOVE, REQUIRED
FOR BATTERY CHARGING. Check the acid
level after the battery is charged, ff the acid has
fallen below the correct level, add distilled or
iron free water."
3. Install Seat.
SLEEVE
RETAINER
SPRtNG
Seat position should be adjusted forward or backward
so that the operator can comfortably reach Clutch/Brake
Pedal and safely operate tractor.
a. Place seat on seat pan. Screw hex head machine
screw, lockwasher and flat washer into seat (Fig.
2). Screw shouider bolt into seat (Fig. 2). Machine
screw, shoulder bolt and washers found in bag of
parts (shown full size on page 6).
b. Tighten shoulder bolt and flat washer using a
1/2"" wrench, NOTE: THE SHOULDER BOLT
WILL BE LOOSE IN THE SEAT PAN SLOT.
c. Tighten machine screw, Iockwasher and flat
washer using a I/2" wrench.
d* Place seat in operating position. Sit on the seat
and press clutch/brake pedal all the way down.
If operating position is not comfortable, adjust
seat.
e. To adjust: Raise seat. Loosen machine screw.
Slide seat to desired position. Tighten machine
screw securely.
WASHER MUST BE TUGHTENED SECURE-

A$SEMBL Y
4. Check Tires
Check the air pressure in the tires. Tires with too much
air pressure will cause the unit to ride rough. The wrong
air pressure will also keep the mower from cutting level.
The correct air pressure is shown on the side of the tires.
If the air pressure is not shown, set to pressures shown
in the REPAIR AND ADJUSTMENT section (page 14).
J
, i1,,,
Instal} Battery
BEFORE INSTALLING BATTERY,
REMOVE METAL BRACELETS,
WRISTWATCH BANDS, RINGS, ETC.
FROM YOUR PERSON. TOUCHING
THESE ITEMS TO BATTERY TERMI-
NALS COULD RESULT IN BURNS.
_fAT PA_ __ SlAT
BOLT __.o_
#_Dln
.Wltt
OATfI_Y FIGURE 2
(*_£T AWAY VH:W I_ATTERY
CAP
L,-.--.-J
a. Lift seat (Fig. 2).
b. Lower battery into fender weft with battery ter-
minals toward front of tractor (Fig. 4). Make sure
battery rests in battery tray (Fig. 4).
TUDE
.BATTERY
CELL FIGURE 3
NOTE: BE SURE BATTERY DRAIN TUBE IS SECURELY
ATTACHED TO BATTERY TRAY DRAIN.
NOTE:
i ,11,1 iiiiUll,lrl,ii,_1,1u,1111ilU,
POSITIVE TERMINAL MUST BE CON-
NECTED FIRST TO PREVENT
SPARKS FROM ACCIDENTAL
GROUNDING.
ic. Connect RED battery cable to positive (+) bat-
tery terminal with hex bolt, flat washer,
Iockwasher and hex nut (shown full size on pg.
6) found in bag of parts. Tighten securely with
two 7/16" wrenches. (Fig. 4)
d. Connect BLACK ground cable to negative (-) bat-
tery terminal with remaining hex bolt, flat
washer, Iockwasher and hex nut (shown full size
on pg. 61 found in bag of parts. Tighten secure-
ly. (Fig. 4)
e. To prevent corrosion, apply grease to the bat-
tery terminals after installing cables.
f. Using the key hole on one side of the battery
support (Fig. 5) slide battery bott into frame key
hole (head of bolt down). Fasten the battery bolt
to the terminal guard using internal/external
Iockwasher, wing nut, (shown full size on pg. 6)
as shown in Fig. 5.
g. Assemble the remaining battery bolt to other
side of battery support and fasten terminal guard
to it with remaining internal/external Iockwasher,
wing nut, (shown full size on pg. 6) as shown
in Fig. 5.
KEEP TERMINAL ACCESS DOORS CLOSED
WHEN NOT IN USE.
WASHER
POSiTiVE
TERMINA /
POS_T;VE
CABLE tRED_
\
BATTERYTRAY FIGURE 4
BATTERY
BOLT \
KEY
HOLE FIGURE 5
CAUTION: DO NOT START ENGINE UNTIL YOU HAVE
REVIEWED THE OPERATION SECTION OF
THIS MANUAL.
6. Maintenance After First 2 Hours (Two
Mowings)
Changing oil after thBJ_rsttwo hours (or two mowings)
wilt help eliminate break-in residue which might be
oFamagingto your engine.

KNOW YOUR TRACTOR OPERA ON
RF_AD THiS OWNER'8 MANUAL OEFORE OFERA TING YOUR LAWN TRACTOR. ff you understand the unit and its opera-
tion, you will achieve efficient and peak performance. While reading the manual, compare the illustrations with your
Lawn Tractor to familiarize yourself with the location of various controls and adjustments. Study the operating instruc-
tions and safety precautions thoroughly to insure proper functioning of your Lawn Tractor and to prevent injury to yourself
and others. Be sure to pay strict attention to aft warnings and cautions: they are included for your safety. Save this
manual for future reference.
Light Switch
Clutch/Brake Pedal
Lever
Attachment
Lift Lever
Clutch
Height
Adjustment _,_
Knob
Gear Shift Lever
Parking Brake
ATTACHMENT CLUTCH LEVER: Push lever up to engage
attachment. There wil! be an engine hesitation as the
clutch engages.
ATTAC_NT L_cTLEVER: Use the attachment lift lever
to raise and lower the attachment mounted to your trac-
tor. Pull lever back slightly and push button, then move
the lift lever forward to lower attachment.
CLUTCH/BRAKE _DAL: The pedal has 2 functions; a
clutch and a brake. To engage the brake push the pedal
completely down.
A TTACHMENT HEIGHT ADJUSTMENT KNOB: Use the
height adjustment knob to adjust the mower height. With
the attachment lift lever in the "up'" position, turn knob
clockwise (f'_J to raise cutting height and
counterclockwise (/'_,) to lower cutting height.
GEARSHIFT'. Press the clutch/brake pedal down firmly
and move gear shift lever to desired speed.
IGNITION: Place key in ignition and turn to the right to
start. The switch spring returns from the start positon.
L_HT SWITCH: Turns the headlights on and off.
PARKING BRAKE: To set the parking brake, push the
clutch/brake pedal completely down. Hold the parking
brake lever in "'Engage" position and release pressure
from pedal. Clutch/brake pedal will remain in brake
position.
_TTLE/CHOKE COtJTROL: Use the throttle control
to increase or decrease the speed of the engine, and to
choke the engine for starting. Push lever to the right and
forward to choke.
g

OPERA TION
AIR
SCREEN
\
FUEL FILLER
CAP
TANK
FIGURE 6
/
/
MOWER BLADE
CLUTCH "ENGAGED".
POSITION
HEADLIGHT
"OISENGAGEO"
POSITION
"CLUTCH'*
POSITION
"DISENGAGED"
POSITION
/
GEARSHIFT
LEVER
FIGURE 7
7. Stopping Your Tractor
NOTE: REMOVE KEY WHEN LEAVING TRACTOR
TO PREVENT UNAUTHORIZED USE.
a. Push clutch-brake pedal into full "'BRAKE'"
position. Keep your foot on pedal. (Fig.7)
b. Place attachment clutch lever in
"'DISENGAGED" position. (Fig;7) ,,
c. Move gear shift lever to NEUTRAL
postion. ('Fig7)
d Place pePklng brake in "'ENGAGED" posi-
tion and release pressure from clutch/brake.
Pedal should remain in "'BRAKE" position.
(Fig.7)
e. Move throttle control to "'S" (slow)
position. (Fig.7) ,,
f . Turn i nition key to OFF" position.
use cr_nke to stop engine. (Fig.7) Never
2. Preparing The Engine ........I
LEARN TO START, STOP AND RE-
VERSE YOUR TRACTOR IN A LARGE,
OPEN AREA.
,,i ..........
a. This engine has been shipped filled with sum-
mer weight oil (For cold weather operation see
chart page 16). Check engine oil level. Refer to
REPAIRAND ADJUSTMENT section (page 16).
b. Fill fuel tank (Fig. 6). Use fresh, clean, regular
unleaded gasoline. Capacity is 5 quarts.
i,i1,1,1111,,11 ,111
FILL TO BOTTOM OF GAS TANK
FILLER NECK. DO NOT OVERFILL.
WiPE OFF ANY SPILLED OiL OR
FUEL. DO NOT STORE, SPILL OR USE
GASOLINE NEAR AN OPEN FLAME.
I
CAUTION: EXPERIENCE INDICATES THAT ALCOHOL
BLENDED FUELS (CALLED GASOHOL OR
USING ETHANOL OR METHANOL) CAN AT-
TRACT MOISTURE WHICH LEADS TO
SEPARATION AND FORMATION OF ACIDS
DURING STORAGE. ACIDIC GAS CAN
DAMAGE THE FUEL SYSTEM OF AN
ENGINE WHILE IN STORAGE .....
TO AVOID ENGINE PROBLEMS, THE FUEL
SYSTEM SHOULD BE EMPTIED BEFORE
STORAGE FOR 30 DAYS OR LONGER.
DRAIN THE GAS TANK, START THE
ENGINE AND LET IT RUN UNTIL THE FUEL
LINES AND CARBURETOR ARE EMPTY.
USE FRESH FUEL NEXT SEASON. SEE
STORAGE INSTRUCTIONS FOR ADDI-
TIONAL INFORMATION.
NEVER USE ENGINE OR CARBURETOR
CLEANER PRODUCTS IN THE FUEL TANK
OR PERMANENT DAMAGE MAY OCCUR.
10

3_ Starting The Engine
a. Move throttle control lever (Fig, 7)past "'FAST"
to the "CHOKE" position.
b, Turn ignition key to "'START" and release key
as soon as engine starts,
CAUTION: DO NOT RUN STARTER CONTINUOUSLY
FOR MORE THAN FIFTEEN SECONDS PER
MINUTE.
c. If engine does not start after four or five tries,
move throttle control lever to "FAST" position,
wait a few minutes and try again. If the engine
does not start after four or five more tries, see
the TROUBLESHOOTING Chart (page 25).
d. After the engine starts move throttle control
lever slowly to the "SLOW" position.
e. To start a hot engine move the throttle control
lever to a position between "'FAST" and
"SLOW".
HEIGHT
ADJUSTMENT
KNOB
OPERA TION
ATTACHMENT CLUTCH
LEVER "DISENGAGED"
POSITION ATTACHMENT CLUTCH
LEVER "'ENGAGED"
POSITION
LiFT LEVER
PLUNGER LIFT LEVER
•"HIGHEST"
OStTION
LIFT LEVER
POSITION
READ THE,, "RULES FOR SAFE
OPERATION CAREFULLY BEFORE
TiNG YOUR MOWER.
CAUTION: DO NOT ADD ADDITIONAL WEIGHT TO
THE TRACTOR OTHER THAN THE OP-
TIONAL WHEEL WEIGHTS. EXCESSIVE
WEIGHT MAY OVERLOAD AND DAMAGE
THE TRANSAXLE.
i,ii ALWAYS WEAR SUBSTANTIAL FOOT-
WEAR AND AVOID LOOSE FITTING
CLOTHING THAT COULD GET CAUGHT
iN MOVING PARTS.
CAUTION
TO AVOID INJURY
I. Read owner's manual,
2. Know location and function of all controls.
3. Keep guards, safety shield and switches in place
and working.
4, Remove objects that can be thrown by blades,
5. Do not mow when children and others are around.
6. Never carry children or passengers.
7. Always took behind machine before backing.
8. Do not mow where machine can tip or slip.
9, If machine stops going uphill, stop blades and back
slowly down.
10, Be sure blades and engine have stopped before plac-
ing hands or feet near the blades.
t 1, Remove key when leaving machine.
MAKE SURE PARKH_G BRAKEWeLL HOLD
TRACTOR SECURe.
NEVER PLACE YOUR HANDS OR FEET iN
OR UND_ER ANY POWERED ATTACH-_NT OR _.AR ANY _V6_ PART
WH_LE TRACTOR OR ANY POWERED
ATTACHMENT iS RUNN_G.
RUNNER
RGE
GUARD
FIGURE 8
4. Operating Your Lawn Tractor &Mower
DO NOT OPERATE THE MOWER WITH-
OUT EITHER THE ENTIRE GRASS
CATCHER, ON MOWERS SO EQUIPPED,
OR THE DEFLECTOR SHIELD IN PLACE
t,t, t,tt tt,,
NOTE: THIS TRACTOR IS EQUIPPED WITH AN
OPERATOR PRESENCE SENSING SWITCH. ANY
ATTEMPT BY THE OPERATOR TO LEAVE THE
SEAT WITH THE ENGINE RUNNING AND THE
ATTACHMENT CLUTCH LEVER ENGAGED
WILL SHUT OFF THE ENGINE,
a.Move the attachment lift lever to the high posi-
tion and adjust height of cut to mid range. See
Fig. 8.
b. Start the engine. (See Starting the Engine)
c. Move the throttle lever to mid range position.
Select a tow (1st or 2nd) gear until you become
more familiar with the operation of the unit.
d, Slowly release clutch brake pedal and proceed
to the mowing area.
e. Stop the unit, then select a mowing speed. (See
Speed Selection Guide, page 12).
f. Move throttle lever to half throttle and slowly
move attachment clutch lever to engaged posi-
tion, Fig. 8.
11

OPERA TION
g. Slowly release clutch brake pedal.
h, Move throttle lever to fast position.
i. Observe height of cut and readjust as desired,
CAUTION: BEFORE YOU MOVE THE GEAR SHIFT
LEVER, COME TO A COMPLETE STOP.
FAILURE TO DO SO CAN RESULT IN GEAR
BOX DAMAGE.
f
T
FIGURE 9
5. Mowing Tips
NOTE: TIRE CHAINS CANNOT'BE USED WITH THE
MOWER ATTACHED.
a. Mower should be adjusted properly front to back
and side to side for good mowing performance.
Refer to REPAIR AND ADJUSTMENT section
(page 22).
b. Use the runner on the R.H. side as a guide; the
blade cuts approximately an inch outside the
runner (Fig. 8).
c. Drive so that clippings are discharged onto the
area that has been cut. Have the cut area to the
right of the machine. This will result in a more
even distribution of clippings and more uniform
cutting.
d. When mowing large areas (Fig. 9), start by tur-
ning to the right so that the clippings will
discharge away from shrubs, fences, driveways,
etc. After two or three rounds, mow in the op-
posite direction making left hand turns until
finished.
e. If grass is extremely taft, it should be mowed
twice. The first time cut relatively high; the se-
cond time to the desired height.
f . The left hand side of mower should be used for
trimming.
g. See Speed Selection Chart.
h. Do not mow tall, dry (brown) grass over 6in-
ches tall. It is a fire hazard.
6. Operating The Tractor On Hills
DO NOT DRIVE UP OR DOWN HILLS
WITH SLOPES GREATER THAN 15 °
AND DO NOT DRIVE ACROSS ANY
SLOPE. REFER TO PAGE 51.
SPEED SELECTION GUIDE
,,i, I,IIM,II, i
GEARSHIFT THROTTLE
.... iii1,1,1.... ii
2or3
i
FUNCTION
i,11,,,111,,111,1,,
Normal
Mowing
Heavy Mowing
Snow Blowing
i
Snow Blade
' i ,"'m','m';
Transport
iii
Ior2
1
2
4-6
FAST
SLOW-
FAST
a . Move gear shift lever to "" I st'" gear before star-
ting up or down hills.
b. AVOID STOPPING OR SHIFTING ON HILLS.
c. If slowing is necessary, move throttle control
lever to slower position.
LEAVE ENOUGH ROOM WHEN STOP-
PiNG AND STARTING TO ALLOW U
._ SLIGHT TRACTOR ROLL DOWNHILL
AS CLUTCH-BRAKE PEDAL MOVES
THROUGH CLUTCH POSITION. !
q
d. If stopping is absolutely necessary, push
clutch/brake pedal quickly to brake position.
e . To restart tractor movement, make sure tractor
is in the lowest speed range ("1st'" Gear) and
release clutch-brake pedal SLOWLY.
f. Make all turns gradually.
7. Transporting Your Tractor
For pushing or towingyour tractor, place Gear Shift Lever in
"N" position. Do not tow or push at more than 6 MPH.
12

To keep your tractor running better, longer, per-
form necessary service using the following
maintenance schedule:
With Every Mewing
I. Make sure all nuts on bolts are tight and cotter pins
and retainer springs are secure,
2. Observe all safety precautions,
3. Keep tractor well lubricated (refer to page 17).
MAINTENANCE
BEFORE MAKING ANY iNSPECTiON,
ADJUSTMENT, OR REPAIR:
1. PUSH CLUTCH/BRAKE PEDAL COM-
PLETELY DOWN.
2. MOVE GEAR SHIFT CONTROL LEVER
TO NEUTRAL POSITION.
3. PLACE PARKING BRAKE IN "ENGAG-
ED" POSITION. REMOVE FOOT FROM
PEDAL.
4. DISENGAGE ATTACHMENT CLUTCH
LEVER.
5. SHUT OFF THE ENGINE.
6. MAKE ABSOLUTELY SURE THE
BLADES AND ALL MOVING PARTS
HAVE COMPLETELY STOPPED.
7. DISCONNECT THE SPARK PLUG WIRE
FROM THE SPARK PLUG AND KEEP
WIRE AWAY FROM THE SPARK PLUG
TO PREVENT INJURY FROM ACCI-
DENTAL STARTING. BE CAREFUL TO
AVOID TOUCHING HOT ENGINE OR
MUFFLER COMPONENTS.
SERVICE RECORD (Enter Date Maintenance Performed)
SERVICE RECORD SCHEDULE
FIRST EVERY EVERY EVERY EVERY
Fill in dates as you complete regular service 2 5 25 50 !00
HOURS HOURS HOURS HOURS HOUR_
Blades- sharpen
BrakeAdjustment
Check Battery
i
Change EngineOil _r t,j
i i
Check EngineOil Level _'
,,i ,, i
Clean Air C{eaner Element _,_
,11i1,,i
Check Muffler
i......... '
Clean Air Screen
Clear_Front Grill
,i,i,,,
LubricateTractor _'_
i
ReplaceSpark Plug _'
' ,i ...........
Replace Air Cleaner Element
Check Tire Pressure
_== ,LL ......... ,,
Replace Fue! Filter
.......,,,,,_,,,,,,,,,,,,, ,, ............
13

AND ADJUSTMENT
DISC BRAKE
BRAKE ROD
1•I/2"'
|WITH PARKING
BRAKE ENGAGED)
1. Brake Adjustment
This tractor is equipped with an adjustable brake system
mounted on the right side of the transaxle (Fig. I0).
.r.r,,. ............. _:_
IFTRACTOR REQUIRES MORE THAN
j_ SIX FEET STOPPING DISTANCE IN
HIGHEST GEAR, THEN BRAKE MUST
BE ADJUSTED.
a. Depress clutch/brake pedal and engage parking
brake.
b. Measure distance between brake operating arm
and nut "'A'" on brake rod.
c, If distance is other than I- 1/2"', loosen jam "'A ""
nut (Fig. t0) and turn nut until distance becomes
1-I/2", Retightenjam nut against nut "'A".
FIGURE 10
BL
WASHIER
L_KWASHER
HEX BOLT GR, 5_
FIGURE 11
FIGURE 12
)A GRADE 5 HEAT TREATED BOLT
CAN BE IDENTIFIED BY THREE
LINES ON THE BOLT HEAD AS
SHOWN AT LEFT.
WASHERS HUB
CAP
KLIP RING 14
w
Road test tractor for proper stopping distance as
stated above. Readjust if necessary.
Tire Care
a, Maintain tire pressure in front at 14 PSi and rear
tires at 12 PSI.
b.Keep tires free of gasoline, oil, or insect control
chemicals which can harm rubber.
c, Avoid stumps, stones, deep ruts and other
hazards that may cause tire damage.
d. Removing wheel for tire repair (Fig, 12).
1-Block up axle securely.
2-Remove hub cap, klip ring and washer to
allow wheel removal.
3-Repair tire and reassemble. Replace washers
and snap klip ring securely in axle groove.
Replace hub cap.
3. Blade Care
For best results mower blades must be kept sharp. The
blades can be sharpened with a few strokes of a file, or
on a grinding wheel We suggest they be sharpened after
every 25 hours of mowing. Do not attempt to sharpen
while on mower. If you mow in sandy soil check the
blades after each two mowings. The sand wears the
blade away rapidly.
a. Blade Replacement
Raise mower to highest position to permit access
to blades.
1. Remove the hex head bolt, Iockwasher and
flat washer (Fig. t 1) (turn counterclock-
wise) (f'_).
2. Remove and discard old blade.
3. Clean top and bottom of mower housing,
4. Install new blade with SHARP EDGE DOWN
and secure with flat washer, tockwasher
and hex head bolt, TIGHTEN SECURELY,
ALWAYS USE GRADE 5 HEAT TREAT- i
ED BOLTS TO ATTACH BLADES. DO
NOT USE PLATED BOLTS. CHECK _
BOLTS IN BLADES OCCASIONALLY
TO MAKE SURE BOLTS ARE TIGHT.
TORQUE BOLTS TO 30-35 FT.-LBS, J

REPAIR AND ADJUSTMENT
b.
C.
When grinding, care should be taken to maintain
blade balance and the blade should be checked
for proper balance before reinstallation on
mower. An unbalanced or bent blade will cause
excessive vibration when running, and eventual
damage to mower or engine. Replace bent or
damaged blades.
To check blade balance, drive a nail into a beam
or walt. Leave about one inch of the straight nail
exposed. Place center hole of clean blade over
the head of the nail (Fig. 13), NOTE: CENTER
HOLE OF BLADE ON NAIL, IF BLADE IS PROPER-
LY BALANCED, BLADE SHOULD REMAIN IN
POSITION SHOWN IN FIG. 13. IF EITHER END
OF THE BLADE MOVES DOWNWARD, BLADE
IS NOT BALANCED. SHARPEN THE HEAVY END
UNTIL BLADE IS BALANCED.
HOLE 0 -
lll , j !l! FIGURE 13
4. BATTERY CARE
Check Battery
a. Battery acid solution level in each battery cell
should be even with bottoms of vent tubes in
cells (Fig, 14), Add ONLY distilled or iron free
water if necessary. NOTE: DO NOT OVERFILL.
b. Keep battery and terminals clean.
c. Keep battery bolts tight.
d. Keep vent caps tight and small vent holes in caps
open,
e. Recharge at 6 amperes for 1 hour if necessary.
Clean Battery and Terminals
Corrosion and dirt on the battery and terminals cause
the battery to "leak'" power and hinders the opera-
tion of the charger.
LEAD-ACID BATTERIES GENERATE
EXPLOSIVE GASES. KEEP SPARKS,
FLAME AND SMOKING MATERIALS
AWAY FROM BATTERIES. ALWAYS
SHIELD YOUR EYES AROUND
BATTERIES.
, ,,,, ,,,,,,,,,
a. Remove terminal guard.
b. Disconnect BLACK battery cable, then RED bat-
tery cable, and remove battery from tractor.
c. Wash battery with four tablespoons of baking
soda to one gallon of water. NOTE: BE CAREFUL
NOT TO GET THE SODA SOLUTION INTO THE
CELLS.
d. Rinse the battery with plain water, dry and
reinstafl on tractor.
e . Clean terminals and battery cable ends with wire
brush until bright.
f.Replace battery cables, connecting RED battery
cable to positive terminal first, then BLACK bat-
tery cable to negative terminal. Coat terminal
connections with grease after installation of
cables.
g. Replace terminal guard.
CIJ! AWAY VI(W DATTI[RY
CAP
IATTERY
"" _VENT
• I TU_E
FtGURE14
15

REPAIR AND ADJUSTMENT
.20 °0o
5W-30
UIil
32 c
,!
60 ° 80 ° 100 °
n l i !3Ho-!
30or 70W-
FUEL _\_\
CAP
FIGURE15
FUEL
TANK
6. Check Engine Off Level
NOTE: DO NOT CHECK ENGINE OIL LEVEL WITH
ENGINE RUNNING.
Several minutes after stopping engine, check engine off
level with tractor on level ground. Wipe dipstick (Fig. 15)
clean, screw it down tight for a few seconds, remove
and read oil level. If necessary, add oil until "'FULL'" mark
is reached. (See chart above). NOTE: DO NOT
OVERFILL.
ENGINE 01L AIR CLEANER I -
FILLER CAP COVER
AND DIPSTICK
\, \
AIR
SCREEN FOAM
ELEMENT
FIGURE 18
AIR
CLEANER
BODY
5. Change Engine Oil
The best time to change engine oil is at the end of a day's
operation when all dirt and foreign materials are suspend-
ed in the hot off.
Capacity is 1-1/2 quarts. NOTE: DO NOT OVERFILL.
Dipstick assembly must be securely tightened into tube
at all times when engine is operating.
IMPORTANT: TO AVOID DAMAGE TO THE STAR-
TING SYSTEM, USE SAE 5W30 OIL
WHEN THE TEMPERATURE FALLS
BELOW 32 °.
Recommended SAE Viscosity Grades
Determine temperature range expected before next oil
change, All oil must meet A.P.I. service classification SD,
SE or SF. 16
7. Clean Air Cleaner Element {Fig. 16)
a. Remove two cover knobs and remove air cleaner
cover.
b. Remove foam pre-c/eaner.
- - Wash pre-cleaner in liquid detergent and warm water
to remove dirt.
-- Wrap pre-cleaner in cloth and squeeze dry.
-= Wipe foam with a light coat of engine oil. Do not
saturate, squeeze in rag or towel to remove excess oil.
c, Remove two nuts from top of cartridge.
d. Remove cartridge and clean air cleaner body carefully
to prevent dirt from entering carburetor.
e. Clean cartridge by gently tapping on flat surface. If
very dirty, replace cartridge.
f, Reassemble air cleaner,
NOTE: Nuts holding air cleaner cartridge must be installed with
fiber washers down on cartridge plate to prevent dirt from
entering carburetor, Tighten nuts by hand. Over tightening
could collapse cartridge,
NOTE: NEVER RUN ENGINE WlTH AIR CLEANER REMOVED,
8. Clean Air Screen and Engine Cooling Fins.
i i,i, i i,, J_'
ALWAYS WEAR EYE AND FACE
PROTECTION WHEN USING COMJ
PRESSED AIR. J
i, i,ii ii, ,11,1,11 ii, I
Air screen and cooling fins (Figs. 16 and 17) must be
kept free of dirt and chaff to prevent engine damage from
overheating. Clean with a wire brush or compressed air
to remove dirt and dried gum fibers.
a. Remove hood (page 20).
b. Remove aircieanercover (Fig. t6),
c, Remove 3 screws securing air cleaner body (Figs. 16
and 1 7) and remove, (Cover carburetor to prevent en-
try of dirt.)
d. Remove off dipstick and cover opening to prevent en-
try of dirt.
e. Remove 3 screws from blower housing and lift hous-
ing off engine (Fig. 17).
f,Use compressed air or stiff bristle brush to thoroughly
clean engine cooling fins (Fig, 1 7) and air screen (Fig.
16),
g. To reassemble, reverse above procedure.
h, Be certain carburetor tube, breather tube, and gaskets
are in place (Fig. 1 7),

FtEPAIFt
9. Check Muffler
Inspect and replace damaged muffler and/or deflector as
it could create a fire hazard and/or damage,
I..... ........................!
DO NOT TOUCH HOT MUFFLER,
CYLINDER OR FINS AS CONTACT
MAY CAUSE BURNS.
=i,,i, , i .. ,
10. Lubricate Pivot Points
Place several drops of SAE 30 off at points where parts
move against each other, expecially:
a. Front axle pivot
b. Hood hinges
c. Foot pedal shaft {both ends)
d. Lift shaft {both ends)
See Lubrication Chart page 24.
T1. Starting your Tractor With a Weak Battery
If your battery is too weak to start the engine, it should
be recharged, if "'jumper cables" are used for emergen-
cy starting, follow this procedure:
NOTE: YOUR TRACTOR IS EQUIPPED WITH A 12
VOLT NEGATIVE GROUNDED SYSTEM, THE
OTHER VEHICLE MUST ALSO BE A ! 2 VOLT
NEGATIVE GROUNDED SYSTEM.
..........iiiii1,1,11 i,
LEAD-ACID BATT=RIES GENERATE
EXPLOSIVE GASES. KEEP SPARKS,
FLAME AND SMOKING MATERIALS
AWAY FROM BATTERIES. ALWAYS
WEAR EYE PROTECTION WHEN
AROUND BATTERIES.
,i,i
ADJUSTMENT
AIR CLEANER COVER
\
HEX HID
SCREW
SCREWS
COOLtNG
FtNS
\
PLUG
:FLER FtGURE17
a. Connect each end of the RED cable to the
POSITIVE (+) terminals of each battery {tak-
ing care not to short against chassis). (Fig. t8)
b. Connect one end of the BLACK cable to the
NEGATIVE (-) terminal of fully charged
battery,
c, Connect the other end of the cable to the L.H.
side panel bolt (Fig. 19) NOTE: KEEP AWAY
FROM GAS TANK AND BATTERY.
d. Disconnect cables in reverse order:
1, L.H. side Panel Bolt (Fig. 19)
2. Negative terminal of fully charged battery
3. Positive terminals
DONOTUSEYOURT CTORBAKERYR
TO START OTHER VEHICLES
17

FtEPAIFtAND ADJUSTMENT
THROTTLE
LEVER I
•HOLES "A"
/
MIXTURE
SCREW
•,-...- FUEL
LINE
CLAMP
FUEL
FILTER
FIGURE 20
.030"FEELER
GAUGE
SPARK
FIGURE 21
I ^ sESUrETHEREARENOFUELUNEU
LEAKS AND THAT HOSE CLAMPS ARE J
PROPERLY INSTALLED
12. Throttle Control Cable Adjustment
DO NOT MAKE UNNECESSARY ADJUSTMENTS. FAC-
TORY SETTINGS ARE SATISFACTORY FOR MOST AP-
PLICATIONS AND CONDITIONS. IF ADJUSTMENTS
ARE NEEDED, PROCEED AS FOLLOWS.
a.
b. Make sure air cleaner is clean (see page 16).
With engine not running, place throttle con-
trol in "'FAST" detent (not in "CHOKE"
position). 18
c. Check that hole in throttle lever and hole in
plate line up (Fig, 20 -Insert). If holes "A"
are not aligned, loosen clamp screw and move
throttle cable until holes are aligned. Tighten
clamp screw.
d. tf holes do not align, repeat steps in throttle
cable adjustment.
1 3. Carburetor adjustment
NOTE :ADJUST THROTTLE CONTROL
CABLE BEFORE MAKING ANY AD-
JUSTMENT TO CARBURETOR.
a. With engine not running, turn mixture screw
clockwise (F',_J LIGHTLY to seat. CAUTION:
FORCING WILL CAUSE DAMAGE. Turn mix-
ture screw counterclockwise (/F_ ) one turn.
b. Start engine and allow to idle for five minutes.
I REFER" TO "STARTING THE ENGINE'" j
PAGE 10.
J ............ ......
c.Turn mixture screw clockwise (F_) until the
engine speed drops. NOTE THE SCREW
POSITION.
d. Turn mixture screw counterclockwise (F'_)
until the engine begins to run rough. Set mix-
ture screw between the two positions.
e. Push throttle lever to "'FAST" detent (not
"CHOKE"). If engine runs rough make small
adjustments on mixture screw until engine
runs smoothly.
f . tf engine idles too fast or too slow, adjust idle
with idle speed stop screw.
g. High speed stop is factory adjusted. DO NOT
ADJUST- DAMAGE MAY RESULT.
1 4. Replace Spark Plug
Replace spark plug at the beginning of each mowing
season or every 100 hours, whichever comes first. Gap
should be set a 0.030 inch (Fig. 21).
15. Adjust Valves on Engine
After approximately 200 hours of operation, the engine
valves will require adjustment, It is suggested that a
Sears Service Center do this work. Correct settings are:
Intake -. 002, Exhaust -. 004.
16. Replace In-Line Fuel Filter
ff fuel filter is clogged, obstructing fuel flow to car-
buretor, replacement is required.
a, With engine cool, remove filter and plug fuel line
sections which were removed from both ends of fuel filter
(Fig. 20).
b. Place new fuel filter in position in fuel line.

REPAIR
I7. Motion Drive Belt Removal
The tractor drive belt may be replaced without tools. Park
the tractor on level area. Engage parking brake. NOTE:
A BELT INSTALLATION DECAL IS UNDER LEFT
FOOTREST.
a. Remove mower, (See page 20).
b. Remove two retainer springs from belt guide
bracket below transaxle pulley. Remove
bracket (#ig, 22).
c . Swing belt guides away from belt, toward rear
of tractor (Fig, 22).
d, Roll belt over top of transaxle pulley.
e. Roll bett over engine pulley and off idler (Fig.
23),
f.Release parking brake. Pull belt as far as possi-
ble over top of clutch pulley,
g. Reset parking brake. Pull belt over top of
clutch pulley (Fig. 23).
h , Pull belt out through shift gate to remove from
tractor (Fig, 24).
Install belt by reversing above procedure.
NOTE: REPLACE ONLY WITH BELT LISTED tN MANUAL.
AND ADJUSTMENT
CLUTCH
PULLEY
ENGINE
PULLEY /
DRIVE BELT
INSTALLATION
DECAL
L,H. SIDE
BELT GUIDE
REAR
VIEWED FROM BOTTOM OF TRACTOR
FIGURE 23
TRANSAXLE
PULLEY
BELT BELT
f l
RETAINER BELT GUIDE RETAINER
SPRING BRACKET SPR_NG
FIGURF2 2
SHIFT GATE
FIGURE 24
19

REPAIR AND ADJUSTMENT
78, Fuse Replacement
Replace with 30 amp automotive - type plug-in fuse. The
fuse holder is located under the dash.
19. Hood Removal
a. To raise hood, lift at rear of hood.
b. To remove hood, grill and side panels, raise
hood and loosen one screw on each side panel.
(This screw remains in the side panel) (Fig. 25).
c. Unsnap headlight connection (Fig. 26).
d. Stand in front of tractor. Grasp hood and tilt
forward and lift off (Fig, 26).
SCRFW
e. To reinstall, reverse above procedure,
20. Mower Removal
FIGURE 25 /a. Remove mower belt per instructions under
"Mower Drive Belt Removal" through step{c),
HEADLIGHT
CONNECTION b. Remove retainer spring from clutch rod; pull
clutch rod out of clutch bracket. (Fig. 27)
c . Pull retainer springs out of rear suspension trun-
nions. Remove rear suspension trunnions from
lift brackets (Fig. 27).
d, Pull retainer spring out of rear hinge pin.
Remove rear hinge pin, (Fig, 27)
e. Pull retainer spring out of front hinge pin.
Remove front hinge pin (Fig, 27).
FIGURE26
RAN.
SUSPENSION
RETAINER ARM RETAINER
SPRING \SPRINGS
•y€'
s]PINS
REAR l
LIFT
BRACKET
f.
NOTE:
Use lift lever to raise suspension arms. Slide
mower out from under tractor.
IF AN ATTACHMENT OTHER THAN THE
MOWER DECK aSTO BE MOUNTED ON THE
TRACTOR, THE L.H. AND R.H. SUSPENSION
ARMS ( FaG.27) SHOULD BE REMOVED FROM
TRACTOR.
FIGURE27
2O

FtEPAIFt AND ADJUSTMENT
21. Mower Mstalletion
Your Mower installs without the use of tools. Raise At-
tachment Lift Lever (Fig. 28) to its highest position. Turn
height adjustment knob to lowest position (Fig. 29).
a . Slide Mower under tractor, discharge guard to
R.H. Side.
b. Install front hinge pin through axle and parallel
link (Fig. 30), Secure with retainer spring.
c. Install rear hinge pin through mower lift
brackets and parallel link {Fig. 30). Secure with
retainer spring,
d. Install clutch rod in clutch lever (Fig. 30).
e. Move Attachment lift lever (Fig. 28) forward
to lower suspension arms. Slide trunnions
through lift bracket holes and secure with re-
tainer springs (Fig. 27).
f.Roll belt over engine pulley. Make sure belt is
inside belt guides (Fig. 29). See belt drive
schematic decal on mower housing.
g. Use Attachment lift lever (Fig, 28) to raise
mower.
h. Turn height adjustment knob clockwise (F-_)
to the middle of its travel, or to desired cut
height (Fig. 29).
LtFT LEVER
NGER LIFT LEVER
"HIGHEST"
POSITION
I LIFT LEVER
""LOWEST"
POStTION
ENGINE_
PULLEY
'\ \
22. Mower DHve Belt Removal
NOTE: MOWER BELT INSTALLATION DECAL
LOCATED ON MOWER HOUSING.
REPLACE ONLY WITH THE BELTS SPECIFIED IN THIS
MANUAL.
a.Ptace attachment ctutch lever in "Disengaged"
position (Fig. 29). FIGURE29
b. Turn height adjustment knob to lowest posi-
tion. Move Attachment lift lever (Fig. 28) for-
ward to lower mower to its lowest position.
CLUTCH
ROD
PARALLEL
RETAINER LINK
SPR_NG
RETAINER
FRONT SPRINGS
AXLE
c. Roll belt off engine pulley (Fig. 29).
d. Pull belt off both mower deck pulleys..
e.Spring belt guide away from idler pulley and pull
belt off idler pulley.
f, Slide belt from under extension spring,
AR
HINGE
PIN
FRONT
HINGE
PiN
FIGURE30
21

REPAgR AND ADJUSTMENT
COTTER PIN
23, Mower Drive Belt Replacement
a. Slide belt under extension spring (Fig. 31).
b . Place belt on rear side of both mandrel pulleys.
c. Spring idler belt guide down and place belt
around rear side of idler pulley.
d. Roll belt over engine pulley.
e. Make sure belt is inside all belt guides.
24 Mower Drive Belt Adjustment
Your tractor has been manufactured with the ability to
readjust the mower belt drive to provide you with longer
belt life.
LIFT
LEVER
Bo"n'oM BOTTOM
OF CURL OF CURL
GROUND
LINE GROUND
LINE
FIGURE 32
SIDE.TO.SIDE
ADJUSTMENT
TRUNNION
If the attachment clutch lever travels 3-1/2'" up the slot
in the dash before spring resistance is evident, adjust-
ment is necessary. NOTE: CHECK FOR PROPERSPRING
TENSION WITH THE ENGINE OFF AND THE LIFT LEVER
IN THE HIGHEST POSITION.
a. Lower the mower deck for easier access.
b. Using (2) 7/16" wrenches, remove the bolt, nut
& D-shaped washers (Fig. 31 -Inset).
c. Move extension spring from lower end of slot
to upper end in rock shaft assembly and install
bolt, nut & the D-shaped washers.
d. Tighten bolt and nut to secure the D-shaped
washers (flat side down).
NOTE: WHEN INSTALLING A NEW BELT, EXTENSION
SPRING MUST BE RETURNED TO LOWER END
OF SLOT (ORGINAL POSITION) ON ROCK
SHAFT ASSEMBLY.
25. Level Mower Housing
Adjust the mower while tractor is parked on level ground
or driveway. Make sure tire pressures correct. If tires are
over or under inflated, you will not properly adjust your
mower.
Side-to-Side Mower Adjustment
a. Depress rift lever plunger and use lift lever to
raise mower to maximum cutting height.
b. Measure height from bottom of curl to ground
fine at front of mower. Distance "'A"should be
the same on both sides (Fig. 32),
c. If distance "A "' needs to be changed, snap out
access hole cover on LH. side above footrest.
Use 11/16" wrench on nuts "'B" and "'C'" at
side-to-side adjustment trunnion (Fig. 33).
d. To raise left side of mower, loosen nut "B'" and
tighten nut "'C".
e. To lower left side of mower, loosen nut "'C'" and
tighten nut "'B",
FIGURE33
22

FtEPAIR AND ADJUSTMENT
NOTE: ONE ROTATION OF ADJUSTMENT NUTS IS
EQUIVALENT TO APPROXIMATELY 3/16"
HEIGHT CHANGE.
f. Be sure all nuts are securely tightened.
g. Replace cover.
Front-To-Rear Mower Adjustment
a. To obtain the best cutting results, your mower
housing should be adjusted so the front and rear
flange distance "'D" (Fig. 34) is 1/2" lower in
front when the mower is positioned in the
highest cutting position.
NOTE: MEASURE DISTANCE "D" FROM
GROUND LINE TO BOTTOM OF CURL ON
RIGHT REAR FLANGE AND COMPARE TO
DISTANCE "D '° AT BOTTOM OF CURL ON
RIGHT FRONT FLANGE.
b. To raise rear of mower, loosen nut "E" on both
rear suspension arms. Screw both nuts "'F'" up
EQUAL NUMBER OF TURNS (Fig. 35).
c. When distance "'D'" is 1/2" lower at front than
rear tighten nuts "'E".
d. To lower rear of mower, loosen nut "F'" on both
rear suspension arms an EQUAL NUMBER OF
TURNS (Fig. 35).
e. When distance "D'" is 1/2" lower at front than
rear, retighten nuts "'E".
NOTE: WHEN ADJUSTING REAR SUSPENSION TRUN-
NIONSo ALWAYS ADJUST BOTH EQUALLY SO
MOWER WILL STAY LEVEL.
\
BOTTTOM
OF CU
D
GROUND
LINE REAR
SUSPENSION
TRUNN1ON
REAR
SUSPENSION
TRUNNION
NL
REAR
SUSPENSION
ARM
o
GROUND
LINE
FIGURE34
REAR
SUSPENSION
ARM
LIFT
BRACKET
26. Storage
Remove mower from tractor for winter storage. When
mower is to be stored for a period of time, clean it
thoroughly, remove all dirt, grease, leaves, etc, give
blades and underside of housing a good coat of grease
or rust preventative, Store in a clean dry area.
A. Fuel System
It is important to prevent gum deposits from form-
ing in essential fuel system parts such as the car-
buretor, fuel filter, fuel hose, or tank during storage.
Also, experience indicates that alcohol blended fuels
(called gasohol or using ethanol or methanol) can at-
tract moisture which leads to separation and forma-
tion of acids during storage. Acidic gas can damage
the fuel system of an engine while in storage. To
avoid engine problems, the fuel system should be
emptied before storage of 30 days or longer.
B. Engine Oil
Drain (with engine warm) and replace with clean
engine oil, (See chart page t6).
C, Cylinder
I, Remove spark plug.
2. Pour one ounce of oil through spark plug hole in-
to cylinder.
3. Turn ignition key to "'START" position for a few
seconds to distribute oil.
4. Replace with new spark plug. 23
D=
RGURE35
E°
Battery
1. Prior to storage, clean terminals and top of
battery.
2. Disconnect cable from positive side of battery.
General Cleaning
Clean engine, battery, seat, finish, etc. of all foreign
matter.
F_. Store in a clean, dry area.

REPAIR AND ADJUSTMENT
_SPINDLE
LUBRICATION
AXLE PIVOT
CHART
SPINDLE
_FRONT WHEEL
BEARING WHEEL
BEARING
_ENGINE-
_CLUTCH/BRAKE
PIVOT
_A TTACHMENT
ARM
CLUTCH PIVOT 1_
CLUTCH/BRAKE
PIVOT
ATTACHMENT LIFT ARM
MOWER CLUTCH
PIVOT
SAE 30 MOTOR OIL
_GENERAL PURPOSE GREASE
_REFER TO PAGE 16 FOR ENGINE
OIL SPECIFICATIONS.
24

TROUBLESHOOTING
WILL NOT START
PROBLEM CAUSE/REMEDY (SEE iNDEX)
WILL NOT TURN OVER
Push Clutch/Brake Pedal into Brake Position.
Move Attachment Clutch Laver to "Disengaged Position
Fil! Fuel Tank with Gasoline, Check Fuel Line and Carburetor
{clean tf necessary) Replace Fuel Filter
Check fuse for fault and replace
Recharge or replace Battery
Check Wiring
Replace Spark Plug and adjust gap
Adjust valves.
Charge Battery
Replace Ignition Switch
Depress Clutch/Brake Pedal
Disengage Attachment Clutch Lever
Replace Interlock Switch
Replace Solenoid
Replace Fuse
Check All Wire Connections
Replace Starter
ENGINE CLICKS BUT WON'T START Chargeor ReplaceBattery
HARD TO START
ENGINE MISSES OR LACKS POWER
ENGINE OVERHEATS
NO LIGHTS
WON'T CHARGE
OPERA TOR PRESENCE SYSTEM WILL NOT SHUT DOWN
WHEN OPERA TOR LEA VES SEA T.
Note: This tractor te equipped with an operator p_asance sans*
ing system. Any attempt by the operator to leave the seat with
the engine running and the attchment clutch engaged will shut
down the engine.
Place Throttle Control in "FAST" position
and run starter several times to clear out gas
Remove and clean Fuel Tank and lines. Replace Fuel FiPtsr
Remove Air Filter and clean
Replace Spark Plug and adjust gap
Replace Battery
Check the wiring and Spark Plug
Drain Fuel Tank and Carburetor, use fresh fuel and
replace Spark Plug
Make necesSary adjustments to Carburetor
Adjust valves
Major Engine Overhaul
Shift to a lower gear or reduce load
Remove and clean Fuel Tank; replace Fuel Filter
Remove and clean Air Cleaner
Make necesSary carburetor adjustments
Clean Air Screen
Add or change oil
Replace Spark Plug
Check Spark Plug and check for loose wires
Major Engine overhaul
Drain Fue! Tank and Carburetor end refill
Adjust valves
Clean Air Screen
Add or chang_ oil
Clean Engine Cooling Fins
Remove and clean Muffler or replace
Remove and clean A/r Filter
Use fresh fuel and adjust Carburetor
Check Fuse, Switch and wire connections, Replace
Headlight Bulbs
Check Fuse and replace
Replace Battery
Replace Regulator
Reolace Alternator
Engage attachment clutch
Check aft wire connections
Check seat switch Check operator presence relay.
Check PTO Switch.
25

TROUBLESHOOTING
UNSATISFACTORY MOWER PERFORMANCE
UNEVEN DISTRIBUTION OF CLIPPINGS
MOWER BLADES WILL NOT ROTATE
Place throttle control in "FAST" position,
Check air pressure in tires
Check front to rest and,aide to side mower adjust-
men t
Use a slower ground speed
Check engines RPM's (refer to Carburetor Adjustment)
Replace mower blades
Reinstall mower blades with top of blade up
Replace w/th proper mower blades
Re-adjust mower drive belt
Install new Mower Drive Belt
Reinstall Mower Drive Belt
Adjust Mower Drive Belt
Replace Frozen Mandrel
Replace Frozen Idler Pulley
Replace Bent or Unbalanced Blades
EXCESSIVE MOWER VIBRATION Replace Mandrel, Straighten Deck or replace
WIND ROWING STRIPPING OR DROPPING Let grass dry out
Clean underside of Mower Deck
OF GRASS CLIPPINGS Readjust Mower
UNEVEN CUT OR SCALPING ReadjustMower
26

12 H.P, 38" RmDmNGLAWN TRACTOR--MODEL NUMBER $17.25_
SCHEMATIC
RED BLACK
Tll
FUSE
30 AMP
RED I1
INTERLOCK SWITCHES I
cLUTCH/BRAKE ATT'mENt cLUTcH
(PEDAL UP) (CLUTCH OFFI Ii]
WHITE _'"__
SOLENOID i
BLACK _BLACK
SEAT
SWITCH
M O (NOT OCCUPIED)
IGNITION SWITCH
POSITION CIRCUIT
OFF M-G
ON B-L
START B-S
!
S
_= jIGNI.,,,_ l_ TION L
BLACKV !UNIT F
IGNITION
SWITCH
GG
(_,,,
l, BLACK ' "O @
BLACK SPARK PLUG
DIODE
0
AT 3600 RPM, BATTERY IN LINE
ORANGE
LIGHT
SWITCH
CHARGING
COIL
VOLTS AC (MIN)
BROWN BLACK
WIRING INSULATED CLIPS
NOTE: IF WIRING INSULATED CLIPS
OR Ties WERE REMOVED FOR SER-
VICING OF UNIT. THEY SHOULD BE
REPLACED TO PROPERLY SECURE
YOUR WIRING.
CHASSIS
GROUND
27

\2
I
3
3O

REPAmR PARTS
ELECTROCAL
KEY PART
NO. NO. DESCRIPTION KEY PART IDESCRIPT_
(O
17662J
2 110859X
3 121347X
4 109310X
5 1107t2X
6 104445X
77603J
8 109596X
9 STD365402
10 108824X
11 STD551125
12 STD541225
13 STD522505
14 73510400
15 108423X
16 11050400
17 719J
18 51t4J
19 I09553X
20 4207J
21 STD522507
Bulb, Light 22 STD551025
Harness, Light Socket 23 STD541025
Harness, ignition 24 121265×
Key, Molded 25 102476X
Switch, Light 26 STD541625
Switch, Interlock 27 11030400
Tray, Battery 28 72240460
Clamp, Hose
Switch, Ignition
Fuse, 30 Amp 29 109081X
Washer, Lock, 1/4 30 109787X
Nut, Hex Jam 1/4 - 20 31 109788X
*Bolt, He×, 1/4 - 20 x 1/2 Gr. 5 32 7192J
Nut, Keps 1/4 - 20 33 105687X
Cable Assembly 34 121305X
Washer Lock, Ext. Tooth, 1/4 35 19221616
Cover, Terminal 36 74641008
Cable, Battery
Switch,Interlock
Cable, Battery 37 73951000
*Bolt, Hex, 1/4 - 20 ×3/4 38 4171R
39 121264)(
40 121651X
A B C 41 11150400
_11_ _) 42 53203
(_12 13 36 --- 101539X
--- 121350X
@is
Washer 9/32 x 5/8 x 16 Ga.
uNut, Hex 1/4-20
Battery, 12V.,
Terminal Guard
Wing Nut 1/4-20
Int./Exto Tooth Lockwasher 1/4
Bolt - Rd. Hd. Sq. Nk. 1/4 - 20 x
7-1/12
Solenoid
Bezel - Ignition
Nut, Ignition
Cable Tie
Tube, Ptastic
Switch, Runger
Washer 11116 x 1 x 16 Ga.
Screw - Slotted Pan Hd. No. 10_32 x
1/2
Nut - Keps No. 10-32 x 112
Clip -Insulated
Battery Caps Set
Decal, Sears
Lockwasher 1/4 Internal Tooth
Clip, Insulated
Sheet - Instruction, Tractor 15 °
Owners Manual
"STANDARD HARDWARDE--PURCHASE LOCALLY

REPAUR$
ENCLOSURE
12 H.P. 38" RIDING LAWN TRACTOR - oMODEL HUMBER 917.254640
C
53, j
57
%
A
I
39

€0
.=b
REPAIR PARTS
12 H,P. 38"" RaD G LAWN TRACTOR--MODEL NUMBER 917o25 )
E_LOSU_
KEY PART DESCRIPTION KEY PART _$CRIPTI_
NO. NO. NO. NO.
1120039X Seat
2 17490612 Screw, Hex Washer Thd. Roll 35 110852X
3/8-16 x 3/4 Type TT 36 106927X
3 17490616 Screw, Hex Washer Thd. Rolling 37 106926X
3/8-16-1 38 121277X
41055 t 3X Bracket-Pivot, Seat 39 121306X
5 105529X Bolt, Shoulder, 5/16-18 40 121247X
6 73680500 Nut -Crownlock 5/16-18 41 105801X
7 121067X Spring, Seat 42 105806X
8 109872× Fender 43 105807X
9 19131312 Washer 13/32 x 13/16 x 12 Ga_ 44. 4900J
10 STD523707 _Bolto Hex Washer Thd. Roll 3/8 45 108428X
11 73680600 Nut, Crownlock 3/8-16 46 109199)(
12 17490608 Screw, Hex Washer Thd. Roll 3t8- 47 19132012
16 x t/2 48 STD551150
13 109873X Bracket, Fender 49 19171912
14 121144X Bolt-Shoulder
15 105465X Footrest, L.H. 50 STD523710
16 105464X Footrest, R.H. 51 121440X
17 STD533707 _Bolt, Carr. 3/8-16 x 3/4 52 121441X
18 105466X Pad, Footrest 53 10681 t X
19 108504X Bracket, Pivot, Grill, R.H. 54 106812X
20 108505X Bracket, Pivot, Grill, L.H. 55 106974)(
21 108067X Pal Nut 1/4-20 56 106909X
22 108361X Lens, L.H. 57 121093X
23 108360X Lens, R.H, 58 2751R
24 19131210 Washer 13132 x 3/4 x 10 Ga. 59 19131614
25 106911X Clip 60 19091216
26 110897X Bezel, Headlight 61 120579)(
27 74780816 Bolt, Hex 1/2-13 x 1 62 72170410
28 109745X Strap Assembly - Grill 63 73900400
29 106910X Washer 64 121251 ×
30 105797X Hinge, Hood, L.H. 65 12125OX
31 105792X Hinge, Hood, R.H. 66 121249)(
32 105682X013 Hood Assembly 67 121246X
33 105678X Grill Assembly 68 121248X
34 110853X Bracket, Frame, Pivot, R.H.
A B C D E F G
24 _9
O6 _ 1®l!
e12
Bracket, Frame, Pivot, L.H.
Side Panel, R.H.
Side Panel, LH.
Chassis Assembly
Drawbar
Pan - Seat
Decal - Fender
Decal, Grill, Craftsman
Decal, Grill, Stripe
Decal, Clutch/Brake
Decal, 36"
Decal, V-Belt Ground Drive
Washer 13/32 x 1-1/4 x 12 Ga.
Lockwasher 112
Washer 17/32 x %3116 ×12
Ga.
_ BOlt, Hex 3/8-16 × 1
Guide - Belt, Lower, Eng. Pulley, L.H.
Guide - Belt, Lower, Eng. Pulley. R.H.
Decal - Stripe, Side Panel, LH.
Decal - Stripe, Side Panel, R.H.
Decal - Caution
Screw - Special
Cap - Spring
Clip
Washer 13/32 x 1× 14 Ga.
Washer 9f32 ×314 × 16 Ge.
Pal Nut
Bolt, Carr 114-20 × 1 114
Nut, Hex Flange 1/4-20
Strip, Foam
Spring, Compression
Spacer, Split
Bracket, Switch Mount
Bushing, snap
_STANDARD HARDWARE--PURCHASE LOCALLY
H K L M NP R S T °'
_6 u 27 50 3 0
29 @48 _ _.47 (_21
12 _I1
U

REPAmRS
12 H.P, 38" RIDING LAWN TRACTOR ==I'_ODEL HUMBER 917.254640
DRIVE
I
72
58
34
HH
K
/3
63
66
18
59 88
/
OPTIONAL EQUIPMENT
Spark Arrester
32

EPAt PA{ TS
12 H.P. 38"" RIDmNG _WN TRACTOR--MODEL NUMBER 917,254640
_nVE
KEY PART DESCRIP3"8ON KEY PART DESCRPTJON
NO. NO. NO, NO.
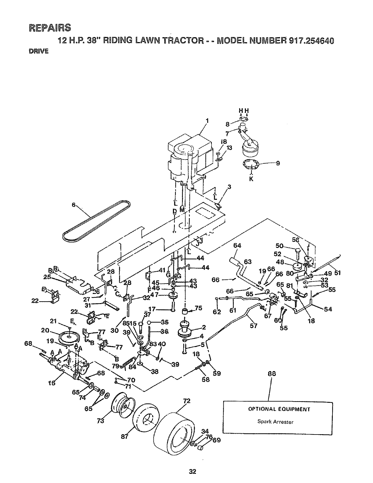
! 121342X Engine, 12 HP. Tecumseh 45 109070X
Model No. 143.396012 46 4470J
2 t05731X Pulley, Engine 47 4859J
3 120374X Valve, Drain Oil 48 106298X
4 STD551143 _ Washer, Lock 7/16 49 105705X
5 74770720 Belt, Hex 7/16-20 × t-1/4 50 STD523715
6 120302× V-Belt, Drive 51 1_05709X
7 108635X Muffler 52 110812X
8 2949R Gasket 53 12000039
9 101326L Deflector, Muffler 54 105710X
10 71070510 Hex Hd. Cap Screw 5/16-18 x5/8 55 76020412
11 STD551131 "Washer, Lock 5/16 56 t05724X
12 101200K Spacer 57 109127X
13 2751R Clip 58 t06888X
14 17490628 Screw, Ha× Washer Thd. Rolling 59 73350600
3/8-16 x1-3/4 60 19131316
15 STD551125 Bolt, Hex 3/8-16 ×2-3/4 61 105758X
16 120898X Transa×le Foots, 6 Speed, Model No. 62 71673
4360-7 (sea pages 40 and 41 far 63 109037X
parts breakdown) 64 8883R
17 STD523727 "Bolt, Hax 3/8-16 x 2-3/4 65 121749X
18 73680600 Nut, Crownlock 3/8-16 66 STD571810
19 STD580025 °Key, Woodruff No. 9 3116 × 3/4 67 106918X
20 105703× Pulley, Transaxle 68 STD580105
21 12000028 Ring, Retainer 69 104757X
22 109167X Bracket Transaxle 70 59192
23 STD523710 _ BOlt, Hex 3/8-16 xt 71 65139
24 17490512 Screw, Hex Washer Thread Rolling 72 106268X
5/16-18 x3/4 73 106108X
25 108171X Support, Battery 74 109502X
26 109368X Keeper, Belt, LH. 75 6404J
27 4921H Retainer, Spring 76 12000001
28 106190X Clamp 77 121520X
29 STD523107 _Bolt, Hex 5/16-18 x3/4 78 STD533707
30 73680500 Nut, Crewnleck 5/16-18 ×314 79 110422X
31 109370X Strap, Locator 80 t05706X
32 109369X Keeper, Belt, R.H. 81 106499X
33 STD523707 _ Bolt, Hex 3/8-16 x 3/4 8 2 17030_]08
34 121748X Washer 25/32 x 1-5/8 x t6 Ga.
35 106933X Knob, Shift 83 105700X
36 110458X Rod, Shift 84 t06919X
37 71040412 Bolt - Hex I/4-28 x 3/4 85 19091210
38 105701X Washer - Shift Plate 86 t 1050600
39 STD561210 _ Cotter Pin, 1/8 x 1 87 7152J
40 19151216 Washer 15/32 x 314 × 16 Ga. 88 121851X
41 104777X Retainer, Belt
42 17490612 Screw, Hex Washer Thd. Rolling 3/8
t6 x 314
43 19131312 Washer 13132 x 13/16 x 12 Ga.
44 105730X Keeper, Belt, Engine
Retainer Bett
Spacer
Idler, Flat
Pulley, Idler
Bellcrank Assembly (Inc. Key No. 86)
*Bolt, Hex 3/8-16 x%112
Spring, Return, Clutch
Washer, Hardened
Ring, Klip
Link, Clutch
Pin, Cotter 1/8 x3/4
Bracket, Clutch
Rod, Brake
Spring, Rod, Brake
Nut - Jam 318-16
Washer 13132 x 13116 x 16 Ga_
Rod, Brake, Parking
Cap _Plunger
Shaft, Foot Pedal
Cover - Pedal
Washer 25/32 x1-1/4 x16 Ga.
_Pin, Roll, 3/16 x1
Arm, Brake
"Key, Square 3/16 x 2
Cap, Hub
Cap, Valve
Stem, Valve
Tire, Rear - 18 x 9_50 × 8
Rim Assembly, Rear
Spacer
Spacer Engine Pulley
E-Ring
Strap, Torque, Transaxle
"Bolt, Carriage 318-16 x3t4
Spring - Brake
Bearing
Retainer -Belt
Screw -Spider Lock No. 8-18 x
I/2 ABTPS
Spring
Rate, Shift
Washer 9t32 x 3t4 x10 Ga.
Washer, Lock, Ext, Tooth 3/8
Tube, Tire (not furnished with tractor)
Spark Arraster
"STANDARD HARDWARE-PURCHASE LOCALLY
A
_18
OCD
030
F.. F G IJK L M
012
33

REPAmR PARTS
12 H.P.38" RIDING LAWNTRACTOR ==_,JIODELNUMBER 917.254640
51
51
49
5655 59
58 63
60
34

REPAnR PARTS
12 H.P. 38" RaDJNG LAWN TRACTOR--MODEL NUM R 9t7.25
STEERING AND FRONT AXLE
KEY PART _$CRIPTION KEY PART _SCRJPT|_I_
NO. NO, NO. NO.
1 109283X014
2 74180512
3 73510500
4109816×
5121299X
617080408
tO5621X
17190508
9120088X012
10 17490608
11 2751R
12 105810×
13 10071OL
14 73940800
15 t00712K
16 100713N
17 100711L
18 tO9285X
19 105643X
20 STD523712
21 73680600
22 17041008
23 108456X
24 IO9284X
25 IO9432X
26 17490612
27 6266H
28 108684X
29 106126X
30 12000029
31 101930X
32 109068X
33 2882J
34 74580
35 71208
Dash 36 108683X
Screw - Truss Hd. 5/16-18 x 314 37 105663X
Nut - Keps 5116 -18 38 105664X
Nyliner, Snap In 39 74761060
Control - Throttle 40 105669X
Screw -Hex Thread Cut. 4t 110438X
1/4-20 × 1/2 42 73901000
Dash -Lower 43 17490508
Screw -Hex Thread Cut.
5/16-18 x 1/2 44 108685X
Saddle 45 3366R
Screw -Hex Washer Hd., Thread 46 105715X
Rolling 3/8-16 x 1/2 47 120754×
Clip - Insulated 48 19131416
Decal - Steering Wheel Cap 49 760204t2
Insert -Steering Wheel 50 STD551137
Nut - Hex Jam Lock 1/2-20 5t STD541137
Washer 52 105727X
Wheel -Steering 53 105656X
Adapter -Steering Wheel 54 105654X
Sleeve - Steering 55 278H
Shaft - Steering Upper 56 9040H
"Bolt - Hex 3/8-16 x 1-1/4 57 106732X
Nut, Crownlock 3/8-16
Screw -Hex Self Tap. No. 58 59192
10-16x 1/2Type ABTPS 59 65139
Decal -Instruction, Operating 60 106222X
Bushing - Steering 61 121749X
BrackErt- Steering 62 104767X
Screw -Hex Washer Thread Rolling 63 59904
3/8-16 x3/4 Type TT
Bearing - Thrust 64 110130X
Gear - Sector 65 11150500
Key - Woodruff 66 110307X
Klip Ring 67 121748X
Washer, Hardened 68 19272016
Shaft -Steering, Lower 69 121232X
Pin - Drive 3/16 x 1
Spacer .627 x .88 x .695
Bushing
Rod - Steering
Support - Saddle, Rear
Support - Saddle, Front
Bolt -Hex 5/8-11 x 3-3/4
Axle -Front
Spacer, Bearing, Front Axle
Nut - Lock, Flange 5/8-11
Screw -Hex Washer Thread Rolling
5/16-18 x 1/2 Type TT
Gear, Pinion
Bearing
Rod - Tie
Bushing
Washer 13/32 x 7/8 x 16 Ga.
Pin - Cotter 1/8 x 314
Washer -Lock 3/8
Nut - Hex 3/8 - 24
Link - Drag
Spindle - L.H.
Spindle - R.H.
Fitting - Grease
Bearing - Flange
Rim - 6" - Front (Inc. 2 Each Key
No. 56)
Cap =Valve
Stem -Valve
Tire
Washer 25/32 x 1-114 x16 Ga.
Cap -Hub, Front
Tube - Front (Not furnished with
tractor)
Retainer, Steering
Washer, Lock, Int, Tooth 5/I 6
Stop - Mower, Clutch Lever
Washer 25/32 x 1-5/8 x 16 Ga.
Washer 27132 x1-1/4 x 16 Ga.
Spindle Cap
_STANDARD HARDWARE--PURCHASE LOCALLY
ABc
8
D E F G
35

REPAQRPARTS
12 H.P, 38" RIDING LAWN TRACTOR - - MODEL NUMBER 917.254640
LIFT ADJUSTMENT
16
15
12
9
E
¥
21 20
\\ t9 20
I=
°_B
%
-:35 F" ,
36

REPASR PARTS
12 H.P. 3S'" RUDDNGLAWN TRACTOR--MODEL NUMBER 917.2546,
LiFT ADJUSTMENT
KEY PART DFSCRIPTION KEY PART DESCRIPTION
NO. NO, NO. NO.
1
2
3
4
5
6
7
8
9
10
1!
12
13
14
15
16
17
18
19
20
21
22
23
24
25
26
27
28
29
3O
31
106448X Lever, Clutch, Mower 32 105723X
106932X Knob 33 109413X
106451X Bolt, Shoulder 34 4939M
73680600 Nut, Crownlock 3/8-16 35 110029X
106452X Bracket, Switch, Interlock 36 110447X
19171713 Washer 17/32 x 1-1/t6 x 13 Ga. 37 110448X
17021008 Screw, Hex, Tapping, No. 10-24 x 38 121598X
1/2 39 105848X
106447X Support, Lever, Clutch 40 121599X
121221X Cap, Fuel 4t 106308×
109202X Tank, Fuef 42 STD541250
101335K Line, Fuel 43 9135R
9151R Grommet 44 19171516
6999R Clamp - Hose 45 4921H
17490612 Screw, Hex Washer Thd. Rolling 46 105864X
3/8-t6 x3/4 47 106444X
106901X Clamp - Tank, Fuel 48 STD523707
106920X Panel, Dash, L.H. 49 109728X
121794X Cover, Access 50 76020412
106921X Panel, Dash, R.H. 51 106446X
19292016 Washer 29/32 x 1-1/4 x 16 Ga, 52 19131410
12000022 E Ring 53 105764X
100734K Knob
STD54t237 _Nut, Hex Jam 3/8-16 54 105767X
110809X Rod, Adjust, Lift 55 1068 IOX
76020308 Pin, Cotter 3/32 x t/2 56 72140606
2876H Spring 57 108236X
19131016 Washer 13132 x 5/8 x 16 Ga, 58 110807X
110810X Trunnion - Depth Stop 59 !10739X
19151216 Washer 15/32 x 3/4 x 16 Ga. 60 73980600
12000037 Klip Ring 61 73360700
120420X Shaft, Lift 62 73710700
105768X Lever, Assembly
Plunger
Grip, Handle
Retainer, Spring
Link, Lift
Trunnion, Lift
Link, Lift, Adjustable
Arm, Suspension, R.H.
Bolt, Shoulder, 3/8-16
Arm, Suspension, L.H.
Trunnion, Lift, Lower
_Nut - Hex 1/2-13
Retainer, Spring
Washer 17t32 x 15/16 x 16 Gao
Retainer, Spring
Bracket, Suspension
Bracket, Betfcrank
*Bolt, Hex 3t8-16 x 3/4
Bellcrank Assembly
Pin, Cotter, I18 x 314
Rod, Clutch, Primary
Washer 13/32 x 7/8 x 10 Ga.
Rod Assembly - Lever, Lift
(Includes Key 32)
Pin - Groove
Spring -Extension
Screw 3/8-t6 x 3/4
Bracket -Switch
Nut - Special
Washer _Spring
Nut -Flangelock 3/8-16
Nut, Hex Jam 7/16-20
Nut, Crownlock 7/16-20
*STANDARD HARDWARE--PURCHASE LOCALLY
A B C O E
,_ 60
37

REPAIR PARTS
12 H.P. 38" RBDnNG LAWN TRACTOR .-- MODEL NUMBER 917.254840
38" MOWER
43
54
/55 _/4
48 /I
45 58 59
44
A
44
I8
54
15
38

REPAIR PARTS •
12 H.P. 3S'" RtDDNG LAWN TRACTOR--MODEL NUMBER 917.254640
38" MOWER
KEY PART DESCRIPTION KEY PART DESCRIPTION
N0. NO. NO. NO.
1106085X V-Belt 38 12t 263X
2 121259X Housing 39 19132012
3 8417J Runner, R.H. 40 STD551137
4 73680600 Nut, Crownlock 3/8-16 41 STD623715
5 19111216 Washer 11/32 x 3/4 x 16 Ga. 42 108250X
6 72140505 Bolt, Carr., 5/16 - 18 x 5/8 43 108235X
7 !05896X Bracket, Deflector 44 4921H
8110452X Pushnut 45 STD560907
9106734X Spring, Deflector 46 I09892X
10 106735X Rod - Hinge 47 76020616
11 106736X Deflector - Shield 48 108247X
12 105814X Decal, V-Belt Mower Drive 49 72140606
13 105304X Cap 50 108243X
14 105662X Link, Parallel 51 108241X
15 105744X Pin -Hinge, Front 52 105857X
16 105872X Stop, Link 53 108673X
17 109835X Pin -Hinge, Rear 54 106578X
18 STD523707 Bdlt 3/8-16 x 3/4 55 106463X
19 73680500 Nut, Crownlock 5/16-18 56 108249X
20 109598X Bracket, Lift, R.H. 57 106456X
21 109597X Bracket, Lift, L.H. 58 !00672K
22 STD533107 Bdlt, Cart. 5/16-18 x 3/4 59 100673L
23 3713J Instruction -Caution Decal 60 19131614
24 109503X Support, Arm 61 74760688
25 109504X Stop, Deck, Front 62 7631J
26 Decal - Safety Standard - Not Serviced 63 19111016
27 121317X Guide Belt 64 72140610
28 STD523720 Bdtt 3/8-16 x 2 65 121343X
29 108832X Arm, Idler 66 122314X
30 106902X Spacer - Retainer 67 76020308
31 12t316X Pulley - Idler 68 72110506
32 106513X Washer, Wear, 1/16 69 STD522507
33 102669X Keeper, Belt 70 I09893X
34 121687X Mandrel Assembly 71 73680400
35 100668L Plate, Support Mandrel 72 110445X
36 17490612 Screw, Hex Washer Hd. 3/8-! 6 x 3/4 -- 122215X
37 17490620 Screw, Hex Washer Hd. 3/8-16 x 1-1/4 _STANDARD
Blade
Washer 13t32 x 1-1/4 x 12 Ga.
V_asher, Lock 3/8
Bdlt, Hex, 3/8-24 x 1-1/2 Gr. 5
Spring, Extension
Rod - Clutch, Mower
Spring -Retainer
Pih, Cotter 3/32 x 3/4
Rock Shaft Assembty
Pin, Cotter, 3/16 x 1
Rod, Brake, Primary
BSIt, Carr. 3/8-16 x 3t4
Bracket, Pivot, R.H.
Bracket, Pivot, L.H.
Bracket, Suspension, Rear, R.H.
Bracket, Suspension, Rear, L.H.
Brake Assembly
Rod, Brake, Secondary, L.H.
Rod, Brake, Secondary, R.H.
Bracket, Brake, Pivot
Spacer, Brake
Bracket, Support
Washer 13/32 x 1x14 Ga.
Bolt, 3/8-16 x 5-1/2
Runner, L.H.
Washer 11/32 x 5/8 x 16 Ga.
Bolt, 3/8-16 x 1-1/4
Decal -Warning
Spacer
Pin, Cotter, 3/32 x 1/2
Bolt, Carriage 5/16-18 x 3/4
Bdlt Hex 1/4-20 x 3t4
Washer, Special
Nut, Crownlock 1/4-20
L.H. Mandrel Support
Mower Assembly,Complete
HARDWARE--PURCHASE LOCALLY
ABCO E F G H
22 22 49 6 68 37
_5 _19 _19
® 19 _ 4 @ 19 @ 4
K L M
o
_) 71
39

J
26
25
28
./ 29
/f
3O
/31 •
27 32 1
36 33 "
34
53
54
19
f
/
55 56
_519
40
/
/
57
42
43 _"
/
44
/
/
59
56 55
59
45 46
,/ 47
48
49
/50
51 19
/" /
60
/
4O

REPAIR PARTS
12 H.P. 38" RIDING LAWN TRACTOR--MODEL NUMBER 917.254640
TRANSAXLE FOOTE - MODEL NUMBER 4360-7
TRANSAXLE
KEY PART DESORIPTION KEY PART D_=SCRIPTION
NO. NO, NO, NO.
120458X
2274J
3 68003
4 105904X
5 105905X
6 120460X
7 120461X
8 120462X
8 120463X
8 120464X
8 120465X
8 120466X
8 83818
8 120467X
9 2286J
10 2267J
11 3413J
11 2233J
11 2232J
11 2231J
11 2230J
11 2229J
11 2228J
1t 2227J
11 2226J
1t !05906X
12 6725J
13 t20415X
t4 2257J
15 110077X
16 110078X
17 105909X
18 !05910X
19 105911X
20 I08976X
2! 105913X
22 120468X
23 2242J
24 !20469X
25 2244J
26 105916X
27 t20470X
28 110070X
29 108977X
30 109254X
31 120405X
32 108980X
33 120406X
34 108455X
35 105925X
36 2232J
37 108978X
38 1t0079X
Housing. Upper 39 12047tX
Screw. Tapping. 40 120472X
1/4-20 x.734 Lg. 41 105928X
Ball. Detent 42 110084X
Spring, Detent 43 108983X
Screw. Set 43 105930X
Ass'y,, Shifter 43 105931X
O-Ring 43 ! 05932X
Washer. Plain..505 x .942 x .006 43 3417J
Washer, Plain..505 x .942 x .010 43 106097X
Washer, Plain..505 x .942 x .0!5 43 2264J
Washer. Plain..505 x .942 x .020 43 106098X
Washer. Plain..505 x .942 x .026 43 2265J
Washer. Plain..505 x .942 x .030 43 106586X
Washer. Plain..505 x .942 x .040 43 t06587X
Ring. Retaining 43 t 06588X
Ring. Retaining 43 2263J
• Washer. Plain..632 x 1.00 x .010 44 120473X
Washer. Plain..632 x 1.00 x .020 45 105933X
Washer. Plain..632 x 1.00 x .026 46 106151X
Washer. Plain..632 x 1.00 x .031 47 120407X
Washer. Plain..632 x 1.00 x .036 48 106589X
Washer. Plain..632 x 1.00 x .041 49 120408X
Washer. Plain..632 x 1.00 x .046 50 105937X
Washer. Plain..632 x 1.00 x .050 51 2226J
-Washer. Plain..632 x 1.00 x .060 52 2272J
• Washer. Plain..632 x 1.00 x .082 53 2263J
O-Ring 54 120474X
Washer. Plain..632 x 1.38 x 046 55 110081X
Key. Woodruff. #9 56 10594;X
Ass'y.. Kit. input Shaft 57 110071X
Pinion. Bevel. 14T. 58 t20952X
Ring. Retaining 59 ! 10082X
Chain. 24 Pitches 60 120475X
Bearing. Flange 61 120476X
Gear, Spur. 14T. 62 120961. X
Collar, Clutch 63 64260
Key. Clutch 64 108989X
Key. Woodruff. fl3 65 120953X
Shaft. Intermediate 66 1 20954X
Key. Woodruff _.61 67 120955X
Ring. Retaining 68 108992X
Sprocket. 18T. 69 108996X
Spacer 70 120956x
Gear. Spur. 37T. 71 73810500
Gear. Spur. 351. 72 t06596X
Gear. Spur. 30T.
Gear. Spur. 25T. 73 120993X
Gear. Spur. 22T. 74 120951X
Gear. Spur. 19T 75 120816X
Washer. Plain..640 x 1.37 x .081
Washer. Plain..632 x 1.00 x .026
Spacer..630 x 1.00 x .169
Ass'y.: Gear. Combo.. 12T. &
35T.
Shaft. ldter
Spacer..635 x .875 x .755
Sprocket. 9T
Gear. Bevef. 42T.
Washer. Plain..758 x 1.12 x .010
Washer. Plain..758 x 1.12 x .015
Washer. Plain..758 x 1.12 x .020
Washer. Plain..758 x 1.!2 x .025
Washer. Plain..758 x 1.25 x .020
Washer. Plain..758 x 1.25 x .025
Washer. Plain..758 x 1.25 x .031
Washer. Plain..758 x 1.25 x .035
Washer. Plain..758 x 1.25 x .040
Washer. Plain..758 x 1.25 x .045
Washer. Plain..758 x 1.25 x .050
Washer. Plain..758 x 1.25 x .055
Washer. Plain..758 x 1.25 x .062
Shaft. Drive
Gear. Spur. I2T.
Gear. Spur. 15T.
Gear. Spur. 20T.
Gear. Spur. 25T.
Gear. Spur. 28T.
Gear. Spur 31T
Washer. Plan..632 x 1.00 x .060
Seal _e!t
Washer. Pta_n..758 x 1.25 x .062
Axte. LH.
Gear. Miter. 15T.
R_n9, Retaining
Gea'. Spur. 32T.
Shaft. Cross
Gea'. Miter 15T.
Axle R.H.
Ho._Sing Lower
Puck. Fr_ction
D_SC Brake
Spacer
Ja_', B_ake
Pro. Dowe!
Screw. Tapping. 5/16 - 18 x 2.25
Le._er. Actuating
Washer. Plain..321 x 1.00 x .055
Bracket. Anb-Rotat_on
Nut. Lock 5/16-24
Screw. Tapping. 5,16-18 x 1.44
Lg.
Washer. Plain. .343 x .81 x .059
Puck. Friction
Grease
41

REPAIR PARTS
ENGINE
_39
_"'_" 37
58 127 //_ _34
/ 1
ij/40 i 33
42

REPAIR PARTS
12 H.P. 38" RSDING LAWN TRACTOR--MODEL NUMBER 917.254640
ENGRNE TECUMSEH -MODEL NUMBER 143.396012
ENGINE
Ref.
No.
1
2
3
4
5
6
7
8
9
10
!1
12
13
14
15
16
17
18
19
19
19
19A
19A
19A
20
20
20
21
22
23
23A
24
25
26
27
28
28A
29
30
31
32
33
34
35
36
37
38
39
4O
41
42
43
44
45
45A
46
47
49
50
51
Part
No.
35323A
28277
35324
35520
29916
650548
35521
35319
35326
650561
35336A
35327
27652
29826
30322
29918
29216
29642
35339
35340
35341
35329
35430
35431
34866
34867
34868
31919
35330A
650908
650882
35313
35314A
35315
35316
650128
30063
*35317
3571l
31356
31927
35319
35712
31707A
35479
35321
35322
29193
65O833
32589
611093
65O88O
650881
35135
610118
650872
650814
*35306
353O7
730218
Part Name
Cylinder Assy. 'i"i'ncL Nos. 8 _3_ 13i
Washer, Fiat
Rod, Governor
Lever, Governor
Clamp, Throttle lever
Screw, Hex washer hd., 8432 x 5/16
Spring, Control
Seal, Oil
Baffle, Blower housing
Screw, Hex washer hd. Durlok, 1/4-20
x 5/8
Crankshaft Assy. (Counterbalance)
Gear, Counterbalance
Pin, Dowe_
Screw, Hex washer hd., 10-32 x 3/4
Nut 8- Lockwasher, 8-32
Washer, E.T. Lock
Nut, Lock, 10-32
Ring, Retaining
Piston, Pin 8. Ring Assy. (Std.} (Incl.
Nos. 19A, 20 8.21)
Piston, Pin 8- Ring Assy. (.010 over-
size) (Incl. Nos. 19A, 20 8. 21)
Piston, Pin 8- Ring Assy, (.020 over-
size) (IncL Nos, 19A, 20 8- 21)
Piston 8. Pin Assy. (Std.) (incl. No. 21)
Piston 8- Pin Assy, {.010 oversize)
{lncl. No. 21)
Piston 8. Pin Assy. (.020 oversize)
(Incl, No. 21)
Ring Set, Piston (Std.)
Ring Set, Piston (.010 oversize)
Ring Set, Piston (.020 oversize)
Pin, Piston pin retaining
Rod Assy., Connecting (incl. Nos. 23
8. 23A)
Bolt, Connecting rod
Bolt, Connecting rod
Lifter, Valve
Camshaft (Mechanical Compression
Release) (incl. No. 24)
Weight Assy., Counterbalance
Extension, Blower heusing
Screw, Hex hd. Seres, 10-24 x1/2
Screw, Hex washer hd. Sems, 1/4-20
x1/2
Gasket, Mounting flange
Flange, Mounting (Incl, Nos. 32, 33 8.
34)
Pump Assy., Oil
Plug, Oil drain
Seal, Oit
Shaft, Governor
Spacer, Governor gear
Washer, Flat
Gear Assy,, Governor
Spool, Governor
Ring, Retaining
Screw, Hex washer hd, Powerlok,
1/4-20 x!-3/16
Key, Flywheel
Flywheel
Washer, Lock
Nut, Flywheel
Solid State Assy.
Cover, Spark plug
Stud, Solid state assy.
Screw, Hex hd. Sems, 10-24 x1
Gasket, Cylinder head
Head Assyo, Cylinder
Vaive Guide Kit (lncl, 2 of No. 52)
Ref.
No.
52
53
53
54
54
55
56
57
58
59
6O
60A
61
62
63
64
65
66
67
68
69
70
71
72
73
74
75
76
77
78
79
80
8!
82
83
84
85
86
86A
87
88
89
90
9OC
91
92
93
94A
94B
94C
94E
95
96A
97
98
99
100
101
Part
No.
792035
35308
35433
35309
35432
650691
650690
650746
650692
34046
t'33481
1-3348t
35475
35310
t.33484
650168
32610A
t'33509
t'34410
33510
33507
335O8
"r'35295
35296
65O878
35297
35298
t'28264
35466
t*35299B
35300
t'65o879
t'650903
*27896
28423
28424
28425
3535O
34148
650128
35301
650128
650517
35O43
*33263
35304
35522
35524
33802
650777
35516
35523
650902
792028
"33515
35288
650738
35338A
Part Name
Ring Retaining
Valve, Exhaust (Std.}
Valve, Exhaust (1/32" oversize)
Valve, Intake (Std.)
Valve, Intake (1/32" oversize)
Washer, Flat
Washer, Belleville
Screw, Hex hd., 5/16-18 x 3/8
Screw, Hex hd,, 5/16-!8 x t-3/4
Resistor Spark plug (Champion RL-
86C or equivalent)
"O" Ring
"'0" Ring
Tube, Push rod
Housing, Rocker arm
"O" Ring
Washer, Flat
Screw, Flanged hex hd., 1/4-20 x
29/32
"0" Ring (intake)
"0" Ring (Exhaust)
Cap, Valve spring
Spring, Valve
Cap, Valve spring keeper
"0'" Ring
Guide, Push rod
Stud, Rocker arm
Arm, Rocker
Bearing, Rocker arm
Nut, Lock (incl. No. 81)
Rod, Push
"0'" Ring Assy. (Incl. No. 80}
Cover, Rocker arm housing
Screw, Truss hal. w/sealing
Iockwasher, 8-32 x 1/2
Nut, Hex Jam
Gasket, Valve cover
Body, Breather
Element, Breather
Cover, Valve spring box
Tube, Breather
Spring, Coil
Screw, Hex hd. Sems, t0-24 x 1/2
Extension, Blower housing
Screw, Hex hal° Sems, 10-24 x 1/2
Screw, Hex hd. Sems, 1/4-20 x 27/32
Tube, Carburetor
Gasket, Carburetor to intake pipe
Pipe, Intake
Link, Governor
Bracket Assy., Control (Incl. Nos. 94B
8 94C)
Spring, Compression
Screw, Fil. hd., 6-32 x 21/32
Link, Control bracket
Link, Governor spring
Screw, Hexwasher hd., Seres, 10-32x
7/16
Screw, Hex hd. Sems, 5/16-18 x 7/8
Gasket, intake pipe
Brace, Intake pipe
Screw, Hex washer spinlock hd.
thread forming, 1/4-20 x 5/8
Housing, Blower
_lndicates Part Included in
Gasket Set, Ref. No. 174.
43

REPAIR PARTS
12 H.P. 38" RnDING LAWN TRACTOR--MODEL NUMBER 917.254640
ENGDNE TECUMSEH -MODEL NUMBER 143.3S60!2
ENGINE
105 _159
%
169
:,°_F'-139
j8
9 t20
62
51
94E
96A

REPAgR PARTS
12 H.P. 38" RIDING LAWN TRACTOR--MODEL NUMBER 917.254640
ENGmNE TECUMSEH -MODEL NUMBER 143.396012
ENGINE
Ref. Part
No. No.
t02 30063
103 29747B
104 35290
105 650273
106 30063
115 35411
115A
118 29774
119 26460
119A 34279A
120 27793
121 28942
125 35574
126 35576
127 35499
128 35402A
129 35404
130 35403
131 650875
132 *33629
133 35286
134 *35408
136 35405
137 650885
138 650825
138 650886
140 35406
141 35407
Part Name
Screw, Hex washer hd. Sems, i/4-20
x 1/2
Screw, Phil. Hex hd. Sems, 5/16-24 x
21/32
Cover, Cylinder head
Screw, Hex hd. Sems, 5/16-18 x 5/8
Screw, Hex washer hd. Sems, 1/4-20
x 1/2
Screen, Starter
Rivet (Can be purchased locally)
Line, Fuel
Clamp, Fuel line
Filter Fuel {IncL No. 119)
Clip, Conduit
Screw, Hex washer hd. Sems, 10-32 x
3/8
Tube, Oil fill
Dipstick, Oit
"0" Ring
Body, Air cleaner
Filter, Poly pre-cleaner
Element, Air cleaner (Incl. No. 138)
Screw, Fit. hd. Seres, 10-32 x 5-1/4
Gasket, Air cleaner elbow
Adpater, Air cleaner
Gasket, Air cleaner-to-housing
Cover, Air cleaner
Screw, Truss hd., 1/4-20 x 3-1/2
Nut 8- Lockwasher, 1/4-20 x (Sealing}
Nut, Wing !/4-20
Fitting, Breather tube
"O" Ring
Ref. Part
No. No.
i42 3 17
t43 650887
150 650873
151A 611113
152 610935
153 610921
154 610922
157 33997
158 35437
159 27275
160 34113
169 30063
170 34346
170A 34686
171 632518
173 33605
t74 35331B
175 35332
Part Name
Plate, Support
Screw, Hex washer hd. self-drill, self-
tap, 1/4-20 x 1
Screw, Hex hd. Some, 1/4-20 x 3/4
Coil Assy., Alternator (3 Amp D.C.)
(incl. Nos. 152, 153 8 154)
Diode
Connector, Body
Termfnal, Female
Clip, Oi filt tube
Clip, Oil fill tube
Clip, Wire
Plug, Starter
Screw, Hex washer hd. Sems, 1/4-20
x 1/2
Decal, Instruction
Decal, Name
Carburetor (Incl. No. 91)
Starter Motor (12 Volt)
Gasket Set (Incl. items marked t)
"'O"4_ing Kit (Incl. items marked t)
RPM Speed Settings:
Low, 1700; High, 3500.
*indicates Parts Included in
Gasket Set, Ref. No. 174.
¢lndicates Parts Included in
"O" Ring Kit, Ref. No. 175.
CARBURETOR NO, 632518
24 5A
32
J
45
Ref. Part
No. No.
632518
632471
632244
632517
650506
530766
650417
632472
632473
632429A
*630748
*631027
*631021
!
2
3
4
5
6
7
8
9
10
11
12
13 631022
14 632019
15 *631024
16 *631867
21 27110
22 ,632470
23 530740
24 *632281
25 *631028
27 531184
29 63197l
29A 631183
30 630739
31 63177.5
32 632347
Part Name
Carburetor
Shaft 8 Lever Asay., Throttle
Spring, Throttle return
Shutter, Throttle
Screw, Rd. hd., 4-40 x 3/16
Spring, Idle regulating screw
Screw, Idle regulating
Shaft E_ Lever Assy., Choke
Spring, Return
Shutter, Choke
Plug, Welch
Plug, Welch
Inlet Needle, Seat 8- Clip Assy.
(Incl. No. 13)
Cllp, Inlet needle
Float, Carburetor
Shaft, Float
Bowl, Float
Gasket, Bowl-to-body
Nut, Float bowl
"O" Ring
Screw, Idle adjustment
Gasket, Bowl-to-body
Washer
Seal, Dust
Sea!, Dust
Washer, Flat
Fitting, Fuel
Repair Kit (Incl. items marked *)

REPAaR PARTS
12 H.P. 38" RIDnNG LAWN TRACTOR--MODEL NUMBER 9!7,254640
ENGINE TECUMSEH - MODEL NUMBER 143.396012
ENGINE
STARTER MOTOR NO. 33605
11
18 13
17
19
14
12 No. No. Part Name
_5 Starting Motor, Complete
133451 Cover, Dust
2 33842 Ring, Retainer
3 33430 Retainer, Spring
4 33431 Spring, Anti-drift
5 33432 Gear
6 33_3 Nut. Engaging
7 33450 Nut, Lock
8 33434 Cap Assy., Drive end
9 33703 Armature
10 33759 Housing Assy.
11 33712 Card Assy., Brush (Incl. No. 12)
12 33705 Brush _Spring Kit (Incl. 4 pcs. of
No. 13)
13 33440 Spring, Brush
14 590500 Washer, Thrust
15 33449 Bolt, 10-32 x 4-1/4
16 33706 Cap Assy,, Commutator end
17 650168 Washer, Fiat
18 650723 Nut, Hex
19 34685 Terminal Insulators
46

47

48

49

AttachmentsThatAddtotheUsefulnessofYourCraftsmanLawnTractor
Searsoffersawidevarietyof attachmentsthatfityour tractor.Manyof theseare listedbelowwithbriefexpfanationsofhowtheycan helpyou.Thislist
wascurrentatthetimeof publication:however,itmaychangeinfutureyears-- moreattachmentsmaybeadded,changes(includingchangesinthestock
number)maybemadein theseattachments,orsomemayno longerbeavailable.
Mostof theseattachmentsdonot requireadditionalhitchesor conversionkits (thosethatdo areindicated)andaredesignedfor easyattachingand
detaching.Youmayordertheseattachmentsatmost Searsretailstores,catalogsalesoffices,andthroughthe catalog.
PERMANEXBAGGERletsyoucollectgrassclippingsandleavesfor ahealthierneater-lookinglawn,TwoPermanexcontainershold30-gallonplastic
bags.Stocknumber71-24940
LAWNSWEEPERSlet you collectgrassclippingsandloaves.
71-24030 30-in. 9.0 cu.It.
71-24032 32-in. 10.0cu.ft.
71-24033High-Performance 32in. 11.5cu. ft.
71-24038 38-in. 12.5cu.ft:
LAWNVACSfor powerfulcollectionsof heavygrassclippingsandleaves.Wandattachmentto pickupdebrisin hard-to-reachplaces.
71-2452 3HP 12 bu. 71-2647] chute
CARTSmakehaulingeasy.
71-24353 4 cu. ft. 400fb. Dumpcart
71-24354 10cu.ft. 1,000lb. Haulingcart
71-24355 10cu. ft. 1,000lb. Dumpcart
71-24356 14cu. ft. 1,250lb. Dumpcart
ROLLERfor smootherlawnsurface.36-inchwide,18inchdiameterwater-tightdrumholdsupto390lb.of weight.Roundededgespreventharmto turf.
Adjustablescraperautomaticallycleansdrum.Stocknumber71-24084.
SPREADER/SEEDERSmakeseeding,fertilizing,andweedkillingeasy.Broadcastspreadersarealsousefulforgranularde-icersandsand.
7t-24194 Droptype,36inch.12in. semi-pneumaticwheets.100lb.capoill steelhopper.
71-24394 Broadcastsovera5to8footswath.701b.capacitys_elhopper.Noncor_sivespreadingspinner,nylongearbox,sta[nlesss_el
shaft.
71-24395 Broadcasts8 to 10footswath.160lb. capacity.No-rustpo]ypropylenehopl_r andimpeller.Vinyl hoppercover.
CORINGAERATORtakessmaUplugsoutofsoiltoallowmoistureandnutrientstoreachgrassroots.36-inchswath.24hardenedsteelcoringtips.150
lb.capacityweighttray. Stocknumber71-25351
AERATORpromotesdeeproot growthfor a healthylawn.Tapered2.5"steel spikesmountedon 10-in.diameterdiscspunctureholesin soilat close
intervaIsto letmoisturesoakit. Steelweighttray forincreasedpenetration.Stocknumber71-2435.
DETHATCHERloosensand flipsthatchandmattedleavesto lawnsurfacefor easypickup. Twentyspringtineteeth.Usefulto preparebareareasfor
reseeding.40 inchrearmount:Stocknumber71-24313.38inchfrontmount:Stocknumber71-24301.
SPRAYERSuse12-voltDCelectricmotorthatconnectstothetractorbatteryorother12-voltsource.Includesboomsforautomatiosprayingwhenpulling,
andhandheldwandfor spotspraying.Wandhasadjustablespraypattern.For applyingherbicides,insecticides,fungicides,andliquidfertilizers.
71-2458 50 psi maximumpressurewith 12footwandlength.Spraysupto25feetwithwand.
71-24398 25 psi maximumpressurewith 10footwandlength.Spraysupto 18feetwithwand.
SNOWBLADEfor snowremovaionly.14 inchhigh,42 inchwidebladeclears38inchpathwhenangtedleftorright.Raises,lowerswithsidelever.
Adjustableskids:replaceable,reversiblescraperbar.(Usewith tirechains,wheelweights,orreardrawbarweight).Stocknumber71-24407.
SNO_HROWER has40-inchswath.Drum-typeaugerhandlespowderyandwet/heavysnow.Mountseasilywithsimplepinarangement.Discharge
chuteadjuststo 210degreearcfromtractorseat.6-inchdiameterspoutdischargessnow10to 50ft. Liftcontrolledat tractorseat.(Usewithtirechains,
wheelweights,or reardrawberweight).StockNo.71-24072.
TIRECHAINSareheavyduty; closelyspacedextra-largecrosslinksgive smoothride,outstandingtraction.StockNo.71-24952.
WHEELWEIGHTSforrearwheelsprovideneededtractionforsnowremovalordozingheavymaterials.Inpairs.StockNo. 71-24434(30lb. each)
TRACTORCABhas heavydul! vinylfabricovertubularstee_frame,ABSplastictop;clearplasticwindshieldoffers360 degreevisabilill.Hingedmetal
framedoorswith catch.Keepsoperatorwarmanddry. RemovevinylandwindshieldIoruse as sunprotectorinsummer.StockNo.71-24171.
Optionalacoessoriesfor tractorcab:tinted/temperedsolidsafetyglassw[ndsh[edwithhandoperatedwiper(StockNo.71-26168);12woltambercaution
lightfor mountingoncab top (StockNo.71-26169).
TRACTORCOVERprotectstractorfromweather.Madeof Evolution3 fabdc(water-repellent,extremelybreathable,light weight,soft,non-abrasive,
pliableinall temperatures,durable,stain-tear-punctureresistant,will notshrinkor stretch).StockNo.71-2460f.
5O

SIGHT A_D HOLD THIS LEVEL WITH
SKY L|_E OR TREE
Operate ,/our Tractor up and (Jown tile face o{ slopes (_o[
greater _han 15°1; _lever across ti_e (acu_ Make turns gfa_.Iu.
airy to prevent t_ppmg Or |OSS of control, Exercise extT_me
CautiOn when changing dlrecHon on slopes.

MODE,- NO.
917o25_)
HOW TO ORDER
REPAIR PARTS
LT 12 HP ELECTRIC START
6SPEED =38" MOWER
LAWN TRACTOR
The model number will be found on the Model Plate located under
the seat. Always provide the Model Number when requesting ser-
vice or repair parts for your Lawn Tractor.
Aft parts listed herein may be ordered from any Sears Service
Center/Departments and most Sears Stores,
WHEN ORDERING REPAIR PARTS, AL WAYS GIVE THE FOLLOW-
ING INFORMATION:
=THE PART NUMBER
•THE PART DESCRIPTION
•THE MODEL NUMBER
oTHE NAME OF MERCHANDISE
Your Sears merchandise has added value when you consider that
Sears has service units nationwide staffed with Sears trained
technicians...professional technicians specifically trained on Sears
products, having the parts, tools and the equipment to insure that
we meet our pledge to you, We Service What We Sell.
SEARS, ROEBUCK AND CO., Chicago, IL. 60684 U.S.A.
121350X2E 12.1.88
Printed IN U.S.A.