Craftsman 917377532 User Manual ROTARY MOWER Manuals And Guides L9080104
CRAFTSMAN Walk Behind Lawnmower, Gas Manual L9080104 CRAFTSMAN Walk Behind Lawnmower, Gas Owner's Manual, CRAFTSMAN Walk Behind Lawnmower, Gas installation guides
User Manual: Craftsman 917377532 917377532 CRAFTSMAN ROTARY MOWER - Manuals and Guides View the owners manual for your CRAFTSMAN ROTARY MOWER #917377532. Home:Lawn & Garden Parts:Craftsman Parts:Craftsman ROTARY MOWER Manual
Open the PDF directly: View PDF
.
Page Count: 30

Owner's Manual
rRnFTSMnN°
6.0 HORSEPOWER
22" REAR DISCHARGE
ROTARY LAWN MOWER
Model No.
917.377532
•Safety
•Assembly
•Operation
•Maintenance
•Espa_ol
•Repair Parts
CAUTION:
Read and follow all
Safety Rules and Instructions
before operating this equipment
Sears, Roebuck and Co., Hoffman Estates, IL 60179
Visitour Craftsman website:www.sears.condcraftsman

Warranty 2 Product Specifications 11
Safety Rules 2 Service and Adjustments 14
Assembly 4 Storage 16
Operation 6 Troubleshooting 17
Maintenance Schedule 10 Repair Parts 37
Maintenance 10 Parts Ordering Back Cover
LIMITED 1WO YEAR WARRANTY ON CRAFTSMAN POWER MOWER
For two years from date of purchase, when this Craftsman Lawn Mower is maintained,
lubricated, and tuned up according to the operating and maintenance instructions in
the owner's manual, Sears will repair free of charge any defect in material or workman-
ship.
If this Craftsman Lawn Mower is used for commercial or rental purposes, this warranty
applies for only 90 days from the date of purchase.
This Warranty does not cover:
• Expendable items which become worn during normal use, such as rotary mower
blades, blade adapters, belts, air cleaners and spark plug.
• Repairs necessary because of operator abuse or negligence, including bent
crankshafts and the failure to maintain the equipment according to the instructions
contained in the owner's manual.
Warranty service is available by returning the Craftsman power mower to the nearest
Sears Service Center/Department in the United States. This warranty applies only
while this product is in use in the United States.
This Warranty gives you specific legal rights, and you may also have other rights which
vary from state to state.
SEARS, ROEBUCKAND CO., D/817 WA, HOFFMAN ESTATES, ILLINOIS 60179
Safety standard's require operator
presence controls to mimimize the risk of
Injury. Your unit is equipped with such
controls. Do not attempt to defeat the
function of the operator presence controls
under any circumstances.
TRAINING:
•Read this operator's manual carefully.
Become familiar with the controls and
know how to operate your mower
propedy. Leam how to quickly stop
mower.
•Do not allow children to use your
mower. Never allow adults to use mower
without proper instructions.
•Keep the area of operation clear of all
persons, especially small children and
pets.
•Use mower only as the manufacturer
intended and as described in this
manual.
• Do not operate mower if it has been
dropped or damaged in any manner.
Always have damage repaired before
using your mower.
Do not use accessory attachments that
are not recommended by the manufac-
turer. Use ofsuch attachments may be
hazardous.
The blade turns when the engine is
running.
PREPARATION:
• Always thoroughlycheck the area to be
mowed and clear it of all stones, sticks,
wires, bones, and other foreign objects.
These objects will be thrown by the
blade and can cause severe injury.
•Always wear safety glasses or eye
shields when starting and while using
your mower.
2

•Dress properly. Do not operate mower
when barefoot or wearing open sandals.
Wear only solid shoes with good traction
when mowing,
•Check fuel tank before starting engine.
Do not fill gas tank indoors, when the
engine is running or when the engine is
hot. Allow the engine to cool for several
minutes before filling the gas tank.
Clean off any spilled gasoline before
starting the engine.
•Always make wheel height adjustments
before starting your mower. Never
attempt to do this while the engine is
running.
•Mow only in daylight or good artificial
light.
OPERATION:
• Keep your eyes and mind on your
mower and the area being cut. Do not
let other interests distract you.
•Do not mow wet or slippery grass. Never
run while operating your mower. Always
be sure of your footing - keep afirm hold
on the handles and walk.
•Do not put hands or feet near or under
rotating parts. Keep clear of the dis-
charge opening at all times.
•Always stop the engine whenever you
leave or are not using your mower, or
before crossing driveways, walks, reads,
and any gravel-covered areas.
•Never direct discharge of matedal
toward bystanders nor allow anyone
near the mower while you are operating
it.
•Before cleaning, inspecting, or repairing
your mower, stop the engine and make
absolutely sure the blade and all
moving parts have stopped. Then
disconnect the spark plug wire and keep
it away from the spark plug to prevent
accidental starting.
•Do not continue to run your mower if you
hit a foreign object. Follow the proce-
dure outlined above, then repair any
damage before restarting and operating
your mower.
•Do not change the governor settings or
overspeed the engine. Engine damage
or personal injury may result.
•Do not operate your mower if it vibrates
abnormally. Excessive vibration is an
indication of damage; stop the engine,
safely check for the cause of vibration
and repair as required.
•Do not run the engine indoors.Exhaust
fumes are dangerous.
•Never cut grass by pullingthe mower
towards you. Mow across the face of
slopes, never up and down or you might
lose your footing. Do not mow exces-
sively steep slopes. Use caution when
operatingthe mower on uneven terrain
or when changing directions - maintain
good footing.
• Never operate your mower without
proper guards, plates, grass catcher or
other safety devices in place.
MAINTENANCE AND STORAGE:
•Check the blade and the engine
mounting bolts often to be sure they are
tightened prepedy.
•Check all bolts, nuts and screws at
frequent intervals for proper tightness to
be sure mower is in safe working
condition.
•Keep all safety devices in place and
working.
•To reduce fire hazard, keep the engine
free of grass, leaves or excessive
grease and oil.
•Check grass catcher often for deteriora-
tion and wear and replace worn bags.
Use only replacement bags that are
recommended by and comply with
specifications of the manufacturer of
your mower.
•Always keep a sharp blade on your
mower.
•Allow engine to cool before storing in
any enclosure.
•Never store mower with fuel in the tank
inside a building where fumes may
reach an open flame or an ignition
source such as a hot water heater,
space heater, clothes dryer, etc.
_IICAUTION: Always disconnect spark
p-l'_'gwire and place wire where it cannot
contact spark plug in order to prevent
accider_tal starting when setting up,
transporting, adjusting or making repairs.
_eWARNING
engine exhaust from this product
contains chemicals known to the State of
California to cause cancer, birth defects, or
other reproductive harm.
3

These accessorieswere availablewhenthislawn mower was produced. They are not
shipped with your mower. They are alsoavailableat mostSears retailoutletsand service
centers. Most Sears storescan alsoorder repairparts for you, when you providethe model
numberof yourlawnmower. Some of these accessoriesmay notapplytoyour lawnmower.
LAWN MOWER PERFORMANCE
'CLIPPING DEFLECTOR
FOR REAR DISCHARGELAWNMOWERS MULCHER KITS
GRASS CATCHERS
FOR
REAR DISCHARGE
LAWN MOWERS
GRASS CATCHERS
FOR
SIDE DISCHARGE
LAWN MOWERS
STABILIZER
GAS CANS
LAWN MOWER MAINTENANCE
MUFFLERS
BELTS BLADES
AIR RLTERS SPARK PLUGS
BLADE ADAPTERS WHEELS ENGINE OIL
Read these instructions and this manual in
its entirety before you attempt to assemble
or operate your new lawn mower.
IMPORTANT: This lawn mower is shipped
WITHOUT OIL OR GASOLINE in the
engine.
Your new lawn mower has been as-
sembled at the factory with the exception of
those parts left unassembled for shipping
purposes. To ensure safe and proper
operation of your lawn mower, all parts and
hardware you assemble must be tightened
securely. Use the correct tools as neces-
sary to ensure proper tightness. All parts
such as nuts, washers, bolts, etc., neces-
sary to complete the assembly have been
placed in the parts bag.
TO REMOVE LAWN MOWER FROM
CARTON
•Remove loose parts included with mower.
•Cut down two end comers of carton and
lay end panel down flat.
•Remove all pacldng materials except
padding between upper and lower handle
and padding holding operator presence
control bar to upper handle. .
•Roll lawn mower out of carton and check
carton thoroughly for additional loose
parts.
4

HOWTOSETUPYOURLAWNMOWER
TO UNFOLD HANDLE
IMPORTANT: Unfold handles carefully so as
not to pinch or damage control cables
•Raise handles until lower handle section
locks into place in mowing position.
•Remove protective padding, raise upper
handle section into place on lower handle
and tighten both handle knobs.
•Remove handle padding holding operator
presence control bar to upper handle.
•Your lawn mower handle can be adjusted
for your mowing comfort. Refer to "Adjust
Handle" in the Service and Adjustment
section of this manual.
Operator presence control
bar \
Upper handle _Lift upj
_ Mowing position
Lower handle
TO INSTALL ATTACHMENTS
Your lawn mower was shipped ready to be
used as a mulcher. To convert to bagging or
discharging:
•Open rear door and remove mulcher plug.
Store mulcher plug in a safe place.
•You can now install catcher or optional
clipping deflector.
•To return to mulching operation, install
mulcher plug into discharge opening of
mowe_
Mulcher plug
CAUTION: Do not run your lawn
mower without mulcher plug in place or
approved clipping deflector or grass
catcher in place. Never attempt to
operate the lawn mower with the rear
door removed or propped open.
5

KNOW YOUR LAWN MOWER
READ THIS OWNER'S MANUALAND SAFETY RULES BEFORE OPERATING YOUR
LAWN MOWER: Compare the illustrationswith your lawn mower to familiarize yourself
with the location of various controls and adjustments. Save this manual for future
These symbols may appear on your lawn mower or in literature supplied with the
product. Learn and understand their meaning.
CAUTION ENGINE ENGINE FAST SLOW CHOKE FUEL OIL DANGER, KEEP HANDS
OR WARNING ON OFF AND FEET AWAY
Engine zone control cable _resence control bar
Starter handle
Drive control
lever
Grass catcher,.., knob
cap w/dipstick
Housing
Mulcher plug
Gasoline filler
Primer
IMPORTANT" This lawn mower is shipped
WITHOUT OIL OR GASOLINE in the
engine.
Drive cover
Wheel adjuster
(on every wheel)
MEETS CPSC SAFETY REQUIREMENTS
Sears rotary walk-behind power lawn mowers conform to the safety standards of the
American National Standards Institute and the U.S. Consumer Product Safety Commis-
sion. The blade turns when the engine is running.
Operator presence control bar -must
be held down to the handle to start the
engine. Release to stop the engine.
Primer -pumps additional fuel from the
carburetor to the cylinder for use when
starting a cold engine.
Starter handle- used for starting the
engine.
Drive control lever -used to engage
power-propelled forward motion of lawn
mower.
Mulcher plug - must be removed to
convert to bagging or discharging
operation.
6

The operation of any lawn mower can
result in foreign objects thrown into the
eyes, which can result in severe eye
damage. Always wear safety glasses or
eye shields while operating your lawn
mower or performing any adjustments or
repairs. We recommend a wide vision
safety mask over spectacles or standard
safety glasses.
HOWTO USE YOUR LAWN MOWER
ENGINE SPEED
The engine speed was set at the factory
for optimum performance. Speed is not
adjustable.
ENGINE ZONE CONTROL
&CAUTION: Federal regulations
require an engine control to be installed
on this lawn mower in order to minimize
the risk of blade contact injury. Do not
under any circumstances attempt to
defeat the function of the operator control.
The blade turns when the engine is
running.
• Your lawn mower is equipped with an
operator presence control bar which
requires the operator to be positioned
behind the lawn mower handle to start
and operate the lawn mower.
TO ADJUST CUTTING HEIGHT
• Raise wheels for low cut and lower
wheels for high cut.
• Adjust cutting height to suit your
requirements. Medium position is best
for most lawns.
• To change cutting height, squeeze
adjuster lever toward wheel. Move
wheel up or down to suit your require-
ments. Be sure all wheels are in the
same setting.
NOTE: Adjuster is properly positioned
when plate tab inserts into hole in lever.
Also, 9-position adjusters (if so equipped)
allow lever to be positioned between the
plate tabs.
Lower Wheels for High Cut Plate Tab
Lever
Raise Wheels for Low Cut
TO ATTACH GRASS CATCHER
• Close the flip lid. Flip lid must be
closed while operating lawn mower.
•Lift the rear door on the mower housing
and place the grass catcher frame onto
the formed tabs on the rear door hinge
bracket.
•The grass catcher is secured to the
lawn mower housing when the rear
door is lowered onto the grass catcher
frame.
_CAUTION: Do not run your lawn
mower without clipping deflector or
approved grass catcher in place. Never
attempt to operate the lawn mower with
the rear door removed or prepped open.
Rear door
Hinge " Grass
bracket catcher frame
tabs
TO EMPTY GRASS CATCHER
•To remove grass catcher, release
operator presence control bar to stop
engine.
•Lift up rear door and remove the grass
catcher by the handle.
NOTE: Do not drag the bag when empty-
ing; it will cause unnecessary wear.
7

DRNECONTROL
•Self-propelling is controlled by holding the
operator presence control bar down to the
handle and pushing the drive control lever
forward until it clicks; then release the drive
control lever.
•Forward motion will stop when the operator
presence control bar is released. To stop
forward motion without stopping engine,
release the operator presence control bar
slightly until the drive control disengages.
Hold operator presence control bar down
to handle to continue mowing without self-
propelling.
•To keep drive control engaged when
turning comers, push down on handle and
liftfront wheels off ground while tuming
lawn mower.
Operator presence
control bar
Drive Drive
control control
To engage Drive control
drive control disengaged
BEFORE STARTING ENGINE
OIL
Your lawn mower is shipped without oil in the
engine.
•Be sure mower is level and area around oil
fill is dean.
•Remove engine oil cap and fill to the full
line on the dipstick.
NOTE: Allow oil to settle down into
engine for accurate dipstick reading.
•Engine holds 20 ozs. of oil. For type and
grade of oil to use, see "ENGINE" in
Maintenance section of this manual.
•Pour on slowly. Do not over fin.
•Check oil level before each use. Add oil if
needed. Fill to full line on dipatick.
• To read proper level, tighten engine oil cap
each time.
•Reinstall engine oil cop and tighten.
•Change the oil after even/25 hours of
operation or each season. You may need
to change the oil more often under dusty,
dirty conditions.
GAS
•Fill fuel tank. Use fresh, clean, regular
unleaded gasoline with a minimum of 87
octane. Do not mix oil with gasoline.
Purchase fuel in quantities that can be
used within 30 days to assure fuel
freshness.
a_WARNING: Experience indicates that
hol blended fuels (called gasohol or
using ethanol or methanol) can attract
moisture which leads to separation and
formation of acids during storage. Acidic gas
can damage the fuel system of an engine
while in storage. To avoid engine problems,
the fuel system should be emptied before
storage of 30 days or longer. Drain the gas
tank, start the engine and let it run untilthe
fuel lines and carburetor are empty. Use fresh
fuel next season. See Storage Instructions for
additional information. Never use engine or
carburetor cleaner products in the fuel tank or
permanent damage may occur.
TO START ENGINE
•To start acold engine, push primer three
(3) times before trying to start. Use a firm
push. This step is not usually necessary
when starting an engine which has
already run for afew minutes.
•Hold operator presence control bar down
to the handle and pull starter handle
quickly. Do not allow starter rope to snap
back.
•To stop engine, release operator presence
control bar.
NOTE: In cooler weather it may be neces-
sary to repeat priming steps. In warmer
weather over priming may cause flooding
and engine wll not start. If you do flood
engine, wait a few minutes before attempting
to start and do not repeat priming steps.
Gasoline filler cap Engine oil cap
8

MOWING TIPS
• Under certain conditions, such as very
tall grass, it may be necessary to raise
the height of cut to reduce pushing
effort and to keep from overloading the
engine and leaving clumps of grass
clippings. It may also be necessary to
reduce ground speed and/or run the
lawn mower over the area a second
time.
• For extremely heavy cutting, reduce the
width of cut by overlapping previously
cut path and mow slowly.
•For better grass bagging and most
cutting conditions, the engine speed
should be set in the fast position.
• When using a rear discharge lawn
mower in moist, heavy grass, clumps of
cut grass may not enter the grass
catcher. Reduce ground speed
(pushing speed) and/or run the lawn
mower over the area a second time.
• If a trail of clippings is left on the right
side of a rear discharge mower, mow in
a clockwise direction with a small
overlap to collect the clippings on the
next pass.
• Pores in cloth grass catchers can
become filled with dirt and dust with
use and catchers will collect less grass.
To prevent this, regularly hose catcher
off with water and let dry before using.
• Keep top of engine around starter clear
and clean of grass clippings and chaff.
This will help engine air flow and
extend engine life.
MULCHING MOWING TIPS
IMPORTANT: For bast performance, keep
mower housing free of built-up grass and
trash. See "Cleaning" in MAINTENANCE
section of this manual.
•The special mulching blade will recut the
grass clippings many times and reduce
them in size so that as they fall onto the
lawn they will disperse into the grass and
not be noticed. Also, the mulched grass will
biodegrade quickly to provide nutrients for
the lawn. Always mulch with your highest
engine (blade) speed as this will provide
the best recutting action of the blades.
•Avoid cutting your lawn when it is wet. Wet
grass tends to form clumps and interferes
with the mulching action. The best time to
mow your lawn is the early afternoon. At
this time the grass has dried and the newly
cut area will not be exposed to the direct
sun.
•For best results, adjust the lawn mower
cutting height So that the lawn mower cuts
off only the top one-third of the grass
blades. If the lawn is overgrown it will be
necessary to raise the height of cut to
reduce pushing effort and to keep from
overloading the engine and leaving
clumps of mulched grass. For extremely
heavy mulching, reduce your width of cut
by overlapping previously cut path and
mow slowly.
• Certain types of grass and grass condi-
tions may require that an area be mulched
a second time to completely hide the
clippings. When doing a second cut, mow
across or perpendicular to the first cut path.
• Change your cutting pattern from week to
week. Mow north to south One week then
change to east to west the next week. This
will help prevent matting and graining of
the lawn.
9

MAINTENANCESCHEDULE
FILL IN DATES
AS YOU COMPLETE
REGULAR SERVICE
Check for Loose Fasteners
Clean,,lnspectGrass Catcher
If Equipped)
Clean Lawn Mower
Clean Under DriveCover
Power-Propelled Mowers)
Check drive belt/pulleys
Power-PropenedMowers)
Check/Sharpen/Replace Blade
LubricationChad
Clean Battery/Recharge
IElectdc Sta_ MowersI
Check En_lineOil Level
Change Engine Oil
Clean Air FiRer
InspectMuffler
Clean or Replace Spark Plug
Replace Air Filter Paper Cartridge
v' v'
!,' v'
V'4
!,'
V'=
SERVICE DATES
I * Change rnofe often when operating under a heavy load or In high ambient temperatures.
2. Service more olten ,#nen operating Indlrly or dusty condl_ons,
3 ÷Rel_ace blades more o_tenwhen mowing k_sandy soil.
4-Charge 48 hours at end of season.
GENERAL RECOMMENDATIONS
The warranty on this lawn mower does
not cover items that have been subjected
to operator abuse or negligence. To
receive full value from the warranty,
operator must maintain mower as
instructed in this manual.
Some adjustments will need to be made
periodically to properly maintain your unit.
All adjustments in the Service and
Adjustments section of this manual should
be checked at least once each season.
•Once a year, replace the spark plug,
replace air filter element and check
blade for wear. Anew spark plug and
clean/new air filter element assures
proper air-fuel mixture and helps your
engine run better and last longer.
•Follow the maintenance schedule in
this manual.
BEFORE EACH USE
•Check engine oil level.
•Check for loose fasteners.
LUBRICATION
Keep unit well lubricated (See "LUBRICA-
TION CHART").
LUBRICATION CHART
Wheel Adjuster
II
ne oil
"(_ Rear door
(_ Handle bracket hinge
mounting pin
(_ Spay lubricant
(_) Refer to MAINTENANCE "ENGINE"
section.
IMPORTANT: Do not oil or grease
plastic wheel bearings. Viscous lubricants
will attract dust and dirt that will shorten
the life of the self lubricating bearings. If
you feel they must be lubricated, use only
a dry, powdered graphite type lubricant
sparingly.
10

PRODUCT SPECIFICATIONS
MODEL NUMBER 917.377532
SERIAL NUMBER
DATE OF PURCHASE
HORSEPOWER: 6.0
DISPLACEMENT: 11.6 CU. IN.
GASOLINE CAPACITY/TYPE: 1.6QUARTS
UNLEADED REGULAR
OILTYPE (API-SF/SG/SH): SAE 30 (ABOVE 32°F)
SAE 5W-30 (BELOW 32°F)
OIL CAPACITY: 20 OZS.
SPARK PLUG(GAP: .030") CHAMPION RJ19LM OR J19LM
VALVE CLEARANCE: INTAKE: .005" - .007"
EXHAUST: .007" - .009"
SOLID STATE IGNITION
AIR GAP: .010 IN.
BLADE BOLT TORQUE: 35-40 FT. LBS.
The model and serial numbers will be found on a decal attached to the rear of the
lawn mower housing.Record both serial number and date of purchase in space
provided above.
LAWN MOWER
Always observe safety rules when
performing any maintenance.
TIRES
•Keep tires free of gasoline, oil, or insect
control chemicals which can harm
rubber.
• Avoid stumps, stones, deep ruts, sharp
objects and other hazards that may
cause tire damage.
BLADE CARE
For best results, mower blade must be
kept sharp. Replace bent or damaged
blades.
TO REMOVE BLADE
•Disconnect spark plug wire from spark
plug and place wire where it cannot
come in contact with spark plug.
• Turn lawn mower on its side. Make
sure air filter and carburetor are up.
• Use a wood block between blade and
mower housing to prevent blade from
tuming when removing blade bolt.
• Protect your hands with gloves and/or
wrap blade with heavy cloth.
• Remove blade bolt by turning counter-
clockwise.
• Remove blade and attaching hardware
(bolt, lock washer and hardened
washer).
NOTE: Remove the blade adapter and
check the key inside hub of blade
adapter. The key must be in good
condition to work properly. Replace
adapter if damaged.
11
TO REPLACE BLADE
• Position the blade adapter on the
engine crankshaft. Be sure key in
adapter and crankshaft keyway are
aligned.
•Position blade on the blade adapter
aligning the two (2) holes in the blade
with the raised lugs on the adapter.
• Be sure the trailing edge of blade
(opposite sharp edge) is up toward the
engine.
• Install the blade bolt with the lock
washer and hardened washer into
blade adapter and crankshaft.
• Use block of wood between blade and
lawn mower housing and tighten the
blade bolt, turning clockwise.
The recommended tightening torque is
35-40 ft. Ibs.

IMPORTANT: Blade bolt is grade 8 heat
treated.
TO SHARPEN BLADE
NOTE: We do not recommend sharpen-
ing blade - but if you do, be sure the
blade is balanced.
Care should be taken to keep the blade
balanced. An unbalanced blade wilt
cause eventual damage to lawn mower
or engine.
•The blade can be sharpened with a file
or on a grinding wheel. Do not attempt
to sharpen while on the mower.
•To check blade balance, drive a nail
into a beam or wall. Leave about one
inch of the straight nail exposed. Place
center hole of blade over the head of
the nail. If blade is balanced, it should
remain in a horizontal position. If either
end of the blade moves downward,
sharpen the heavy end until the blade
is balanced.
Crank-
Blade shaft
adapter /keYWaY
Blade Key_
B,ade\
shaft
Lockwa,h r/_'
Hardl_ned i r_ullng Blade
washer edge adapter
GRASSCATCHER
•The grass catcher may be hosed with
water, but must be dry when used.
•Check your grass catcher often for
damage or deterioration. Through
normal use it will wear. If catcher
needs replacing, replace only with a
manufacturer approved replacement
catcher. Give the lawn mower model
number when ordering.
DRIVE WHEELS
Check front drive wheels each time
before you mow to be sure they move
freely.
The wheels not turning freely means
trash, grass cuttings, etc. are in the drive
wheel area and must be cleaned to free
drive wheels.
If necessary to clean the drive wheels,
check both front wheels.
• Remove hubcaps, hairpin cotters and
washers.
•Remove wheels from wheel adjusters.
•Remove any trash or grass cuttings
from inside the dust cover, pinion and/
or drive wheel gear teeth.
•Put wheels back in place.
•If after cleaning, the drive wheels do
not turn freely, contact your nearest
authorized service center.
GEAR CASE
• To keep your drive system working
properly, the gear case and area
around the drive should be kept clean
and free of trash build-up. Clean under
the drive cover twice a season.
• The gear case is filled with lubricant to
the proper level at the factory. The only
time the lubricant needs attention is if
service has been performed on the
gear case.
• If lubricant is required, use only Texaco
Starplex Premium 1 Grease, Part No.
750369. Do not substitute.
ENGINE
LUBRICATION
Use only high quality detergent oil rated with
API service classification SF, SG or SH.
Select the oil's SAE viscosity grade according
to your expected operating temperature.
SAE VISCOSITY GRADES
.10=0=10" 30-
TEMPERATURE RANGE ANTICIPATED BEFORE NEXT OIL CHANGE
NOTE: Althoughmulti-viscosityoils (5W30,
10W30 etc.)improvesta_ng incoldweather,
these multi-viscosityoilswill resultin
increasedoil consumption when used above
32°F. Check yourengine oilleve(more
frequently to avoid possibleengine damage
from runninglow on oil.
Changethe oilafterevery 25 hoursof
operationor at least once a year if the lawn
mower is not used for 25 hoursinone year.
Check the crankcase oil level before starting
the engine and after each frye (5) hours of
continuous use. Tighten oil plug securely
each time you check the oil level.
12

TO CHANGE ENGINE OIL
NOTE: Before tipping lawn mower to drain
oil, drain fuel tank by running engine until fuel
tank is empty.
•Disconnect spark plug wire from spark
plug and place wire where it cannot come
in contact with spark plug.
• Remove engine oil cap; lay aside on a
clean surface.
• Tip lawn mower on its side as shown and
drain oil into asuitable container. Rock
lawn mower back and forth to remove any
oil trapped inside of engine.
• Wipe off any spilled oil on lawn mower and
on side of engine.
• Fill engine with oil. Fill only to the "FULL"
line on the dipstick. DO NOT overfill.
• Replace engine oil cap.
• Reconnect spark plug wire to spark plug.
_Container
AIR FILTER
Your engine will not run properly and may
be damaged by using a dirty air filter.
Replace the air filter every year, more
often if you mow in very dusty, dirty
conditions.
TO CLEAN AIR FILTER
• Loosen screw and tilt cover to remove.
• Carefully remove cartridge.
• Clean by gently tapping on aflat
surface. If very dirty, replace cartridge.
as_CAUTION" Petroleum solvents, such
erosene, are not to be used to clean
cartridge. They may cause deterioration
of the cartridge. Do not oil cartridge. Do
not use pressurized air to clean or dry
cartridge.
• Install cartridge, then replace cover
making sure the tabs are aligned with
the slots in the back plate. Fasten
screw securely.
Slots
Back
tabs
Cartridge Cover
MUFFLER
Inspect and replace corroded muffler as it
could create a fire hazard and/or dam-
age.
SPARK PLUG
Change your spark plug each year to
make your engine start easier and run
better. Set spark plug gap at .030 inch.
CLEANING
IMPORTANT: For best performance, keep
mower housing free of built-up grass and
trash. Clean the underside of your mower
after each use.
,_CAUTION: Disconnect spark plug
w=re from spark plug and place wire
where it cannot come in contact with the
spark plug.
•Tum lawn mower on its side. Make sure air
filter and carburetor are up. Clean the
underside of your lawn mower by scraping
to remove buildup of grass and trash.
•Clean engine often to keep trash from
accumulating. A clogged engine runs
hotter and shortens engine life.
•Keep finished surfaces and wheels free of
all gasoline, oil, etc.
•We do not recommend using a garden
hose to clean lawn mower unless the
electrical system, muffler, air ltlter and
carburetor are covered to keep water out.
Water in engine can result in shortened
engine life.
CLEAN UNDER DRIVE COVER
Clean underdrivecover at leasttwice a
season. Scrape undersideof cover with putty
knife or similar tool to remove any buildup of
trash or grass on underside of drive cover.
13

j_AUTION: BEFORE PERFORMING
SERVICE OR ADJUSTMENTS:
•Release control bar and stop engine.
•Make sure the blade and all moving
parts have completely stopped.
• Disconnect spark plug wire from
spark plug and place where it
cannot come in contact with plug.
LAWN MOWER
TO ADJUST CUTTING HEIGHT
See "TO ADJUST CUTTING HEIGHT" in
the Operation section of this manual.
REAR DEFLECTOR
The rear deflector, attached between the
rear wheels of your lawn mower, is
provided to minimize the possibility that
objects will be thrown out the rear of the
lawn mower into the operator's mowing
position. If the rear deflector becomes
damaged, it should be replaced.
TO REMOVE/REPLACE DRIVE BELT
•Remove drive cover. Remove belt by
pushing down on gear case pulley and
rolling belt off it.
•Turn lawn mower on its side with
carburetor and fuel cap up.
•Remove blade.
•Remove debris shield.
•Remove belt from engine pulley on
crankshaft.
•Install new belt by reversing above
steps.
• Always use factory approved belt to
assure fit and long life.
Drive
cover
• To change from medium low to medium
high position, the upper and lower handle
sections will have to be turned over.
•Remove the cable clips.
•Remove the controls and operator
presence control bar from the upper
handle.
•Remove the starter rope guide from the
upper handle.
•Remove hairpin cotters.
•Disconnect the lower handle from the
handle brackets.
•Turn the handle over and reassemble the
hairpin cotters that have been removed.
•Reassemble the starter rope guide.
•Reassemble the controls and the operator
_resence control bar to the upper handle.
CAUTION: The operator presence
control bar must pivot freely to permit
blade brake engagement when control
bar is released. Do not over tighten the
fasteners holding the controls to the
upper handle.
•To change from medium low to high
position only the upper handle section
will have to be turned over.
•To change from medium low to low
position, only the lower handle section
will have to be turned over.
Shipping position
Medium low Medium high
\
Push
down
TO ADJUST HANDLE
Your lawn mower handle can be raised or
lowered for your mowing comfort. Four
(4) positions are available: high, medium
high, medium low and low. Handles are
shipped mounted in the medium low
position.
High
Low
14

Lower handle
s°ooozoto
rem_
Hairpin cotter
_Handle
t bracket
TO ASSEMBLE GRASS CATCHER
•Insert leg of tubular frame through front
opening of grass catcher and thread
frame into sewn hem of bag.
NOTE: Keep bag hem gathered on the
straight leg of the tubular frame.
•When frame comes out the other end of
sewn hem, immediately work the end of
frame down inside the bag as shown in
inset.
•Slide sewn hem evenly around the
tubular frame until both ends of frame
are exposed out of the front opening.
• Assemble lower frame to tubular frame
as shown. Be sure handle is outside of
bag and frames are fully seated as
shown in inset.
•Slip vinyl bindings over frame.
NOTE: If vinyl bindings are too stiff, hold
them in warm water for afew minutes. If
bag gets wet, let it dry before using.
•Close the flip lid. Flip lid must be closed
while operating lawn mower.
_CAUTION; Do not run your lawn
mower without clipping deflector or
approved grass catcher in place. Never
attempt to operate the lawn mower with
the rear door removed or prepped open.
Tubular frameSe_ nhe:__
Sewn .=m Fliplid
Lower Frame
Tubular
Frame
(Frames must
,be fully
Lower frame handle
ENGINE
ENGINE SPEED
Your engine speed has been factory set.
Do not attempt to increase engine speed
or it may result in personal injury. If you
believe that the engine is running too fast
or too slow, take your lawn mower to an
authorized service center for repair and
adjustment.
CARBURETOR
Your carburetor is not adjustable. If your
engine does not operate properly due to
suspected carburetor problems, take your
lawn mower to an authorized service
center for repair and/or adjustment.
IMPORTANT: Never tamper with the
engine governor, which is factory set for
proper engine speed. Overspeeding the
engine above the factory high speed
setting can be dangerous. If you think the
engine-governed high speed needs
adjusting, contact your nearest
authorized service center, which has
proper equipment and experience to
make any necessary adjustments.
15

Immediately prepare your lawn mower for
storage at the end of the season or if the
unit will not be used for 30 days or more.
LAWN MOWER
When lawn mower is to be stored for a
period of time, clean it thoroughly, remove
all dirt, grease, leaves, etc. Store in a
clean, dry area.
•Clean entire lawn mower (See
"CLEANING" in the Maintenance
section of this manual).
•Lubricate as shown in the Maintenance
section of this manual.
•Be sure that all nuts, bolts, screws, and
pins are securely fastened. Inspect
moving parts for damage, breakage
and wear. Replace if necessary.
• Touch up all rusted or chipped paint
surfaces; sand lightly before painting.
HANDLE
You can fold your lawn mower handle for
storage.
• Squeeze the bottom ends of the lower
handle toward each other until the
lower handle clears the handle bracket,
then move handle forward.
• Loosen upper handle mounting bolts
enough to allow upper handle to be
folded back.
IMPORTANT: When folding the handle
for storage or transportation, be sure to
fold the handle as shown or you may
damage the control cables.
•When setting up your handle from the
storage position, the lower handle will
automatically lock into the mowing
position. Lower handle
Handle
racket
Squeeze to fold
Hairpin cotter
Operator presence control
bar "_ J,_
Upper Handle -----.._/_ ,f ,_)
forward for ___.:_"':" h,_ J
_tora,_e _'_'_._ /_' Fold
\ ao.wor0
__ Mowing
Lower handle position
ENGINE
FUEL SYSTEM
IMPORTANT: It is important to prevent
gum deposits from forming in essential
fuel system parts such as carburetor, fuel
filter, fuel hose, or tank during storage.
Also, experience indicates that alcohol
blended fuels (called gasohol or using
ethanol or methanol) can attract moisture
which leads to separation and formation
of acids during storage. Acidic gas can
damage the fuel system of an engine
while in storage.
• Drain the fuel tank.
•Start the engine and let it run until the
fuel lines and carburetor are empty.
•Never use engine or carburetor cleaner
products in the fuel tank or permanent
damage may occur.
• Use fresh fuel next season.
NOTE: Fuel stabilizer is an acceptable
alternative in minimizing the formation of
fuel gum deposits during storage. Add
stabilizer to gasoline in fuel tank or
storage container. Always follow the mix
ratio found on stabilizer container. Run
engine at least 10 minutes aftra" adding
stabilizer to allow the stabilizer to reach
the carburetor. Do not drain the gas tank
and carburetor if using fuel stabilizer.
ENGINE OIL
Drain oil (with engine warm) and replace
with clean engine oil. (See "ENGINE" in
the Maintenance section of this manual).
CYLINDER
•Remove spark plug.
•Pour one ounce (29 ml) of oil through
spark plug hole into cylinder.
• Pull starter handle slowly a few times to
distribute oil.
16 ° Replace with new spark plug.

OTHER
• Do notstoregasolinefrom one season
to another.
•Replace your gasoline can if your can
starts to rust. Rust and/or dirt in your
gasoline will cause problems.
•If possible, store your unit indoors and
cover it to give protection from dust and
dirt.
•Cover your unit with asuitable protec-
tive cover that does not retain moisture.
Do not use plastic. Plastic cannot
breathe which allows condensation to
form and will cause your unit to rust.
TROUBLESHOOTING CHART
PROBLEM CAUSE
Does not start
Lossofpower
Poor cut - uneven
IMPORTANT: Never cover mower while
engine and exhaust areas are still warm.
&CAUTION: Never store the lawn
mower with gasoline in the tank inside a
building where fumes may reach an open
flame or spark. Allow the engine to cool
before storing in any enclosure.
1. Dirty air filter.
2. Out of fuel.
3. Stale fuel.
4. Water in fuel.
5. Spark plug wire is
disconnected.
6. Bad spark plug.
7. Loose blade or broken blade
adapter.
8. Control bar in released
position.
9. Control bar defective.
1. Rear of lawn mower housinc
or cutting blade dragging
in heavy grass.
2. Cutting too much grass.
3. Dirty air filter.
4. Buildup of grass, leaves,
and trash under mower.
5. Too much oil in engine.
6. Walking speed too fast.
1. Worn, bent or loose blade.
2. Wheel heights uneven.
3. Buildup of grass, leaves
and trash under mower.
CORRECTION
1. Clean/replace air filter.
2. Fill fuel tank.
3. Drain tank and refill with
fresh clean fuel.
4. Drain fuel tank and
carburetor and refill tank
with fresh gasoline.
5. Connect wire to plug.
6. Replace spark plug.
7. Tighten blade bolt or
replace blade adapter.
8. Depress control bar to
handle.
9. Replace control bar.
1. Setto "Higher Cut"
position.
2. Set to "Higher Cut"
position.
3. Clean/replace air filter.
4. Clean underside of mower
housing.
5. Check oil level.
6. Cut at slower walking
speed.
1. Replace blade. "13ghten
blade bolt.
2. Set all wheals at same
height
3. Clean underside of
mower housing.
17

TROUBLESHOOTING CHART
PROBLEM CAUSE CORRECTION
Excessive
vibration
Starterrope hard
to pull
1. Replaceblade. "13ghten
blade bolt.
2. Contactan authorized
servicecenter.
1. Wom, bent or loose blade.
2. Bent engine crankshaft.
1. Engine flywheel brake is on
when control bar is released.
2. Bent engine crankshaft.
3. Blade adapter broken.
4. Blade dragging in grass.
Cutting height too low.
Lift on blade wom off.
Catcher not venting air.
Grass is too high or wheel
height is too low.
2. Rear of lawn mower
housing or blade dragging
in grass.
3. Grass catcher too full.
4. Handle height position not
right for you.
1. Depress control bar to
upper handle before
pulling starter rope.
J2. Contact an authorized
service canter.
3. Replace blade adapter.
4. Move lawn mower to cut
grass or to hard surface
Grass catcher 1. 1. Raise cuttingheight.
notfllling('d'so 2. 2. Replace blade.
equipped) 3. 3. Clean grasscatcher.
Hard to push 1. 1. Raise cuttingheight.
2. Raise rear of lawn mower
housing one (1) setting
higher.
3. Empty grass catcher.
4. Adjust handle height to
suit.
18

ROTARY LAWN MOWER-- MODEL NO. 917.377532
GEAR CASE ASSEMBLY PART NUMBER 702511
14
17
15
KEY
NO.
2
3
4
6
7
8
9
PART
NO.
17490416
137055X004
137053
57072
48373
77881
137051
137074
DESCRIPTION KEY PART
NO. NO. DESCR!PTION
Tapping Screw 1/4-20 x 10 57079 HardenedWasher
1-1/4 11 131484 ClutchYoke
EngagementBracket 12 700343 Bushing
Shifter 13 86447 Plug
Seal 14 137050 HelicalGear
Gear Case Halves Kit 15 750436X ClutchJaw
(Includes Key Nos. 4, 5, 16 750369 Grease
and 7) 17 12000003 E-Ring
Bearing 18 850848 Hi.ProKey
WormShaft 19 81585X004 Spring Bracket
Drive Shaft
NOTE: All component dimensions given
in U.S. inches. 1 inch = 25.4 mm
37

ROTARY LAWN MOWER MODEL NUMBER 917.377532
-1:1
52
41
3S
31-J
t3
27
28
62

ROTARY LAWN MOWER MODEL NUMBER 917.377532
KEY PART
NO. NO. DESCRIPTION KEY PART
NO. NO, DESCRIPTION
1165451X479
2 162788
4 150425
5 66426
6 136376
8 145793
9 151023
10 128415
11 150050
12 STD512505
13 77400
14 156374X479
15 700365X479
16 133190X479
17 140661X479
18 63601
2O 140540
22 84596
23 87677
25 83923
27 151158
28 142748
29 62335
30 145935X004
31 701037
32 700331X004
34 146630
35 700325X007
37 150078
39 151512X479
40 151511X479
UpperHandle
Engine ZoneControlCable
Mulcher Plug
WireTie
HandleKnob
ControlBar
Roar Door Kit
Pop Rivet
Se;f Tapping Screw #10-24 x5/8
Hex Tapping Screw w/Sems 1/4o20x 112
Hubcap
Back Plate
Side Baffle
Discharge Baffle
Rear Baffle
Keps Locknut 1/4-20
Rear Skfrt
Engine Pulley
Hi-Pro Key #505
Hex Flange Nut
Wheel
Shoulder Bolt 3/8-16 x 1
SpdngWasher
Axle ArmAssembly
Selector Knob
Selector Spring
Spacer
Wheel AdjustingBracket
Thread CuttingScrew w/Soms 5/16-18 x 3/4
Handle Bracket Assembly (Left)
Handle Bracket Assembly (Right)
41 150406
44 161769
46 851514
47 157101
48 851074
49 850263
50 851084
51 165548
52 85463
55 751592
56 88652
57 51793
58 157081X479
59 131959
61 132001
62 134612
64 ......
- - 161058
--166081
Hex Head Thread Rolling Screw 3/8-16 x 1-1/8
Lawn Mower Housing (Incl, Key #14, 15, 51)
BladeAdapter
Blade22"
HardenedWasher
Helical Washer 3/8o24 x 1-3/8 Gr. 8
Hex Head Machine Screw 3/8-24 x 1-3/8 Gr. 6
Front Baffle Kit
Danger Decal
Locknut 3/8-16
Hinge Screw 1/4-20 x 1-1/4
HairpinCotter
LowerHandle
Handle Bolt
Rope Guide
Debds Shield
EEngtne - Model Bdggsand Straffon 12H802-2675-E1
WarningDecal(Not Shown)
Owner'sManual (English/Spanish)
Available accessoriesnot includedwithlawn mower:
.°
.°
71 33303 ClippingDeflector
71 33623 Gas Can (2.5 gal.)
71 33500 Fuel Stabilizer
71 33300 SAE 30W Oil (20 oz.)
71 33417 DustShieM
71 33316 MowerCover
71 33723 HighWheel Kit

ROTARY LAWN MOWER MODEL NUMBER 917.377532
54
,\
\ \
14
I
_15 41
13
12
18 14
15
16
11

ROTARY LAWN MOWER MODEL NUMBER 917.377532
KEY PART KEY PART
NO. NO. DESCRIPTION NO. NO. DESCRIPTION
1 145755 ControlCable Assembly 28 154990
3 751152 Locknut#10-24 31 132010
4 158755 Pan Head Machine Screw 1/4 x 2.12 32 137052
5 146527 V-Belt 35 151521
6 150495 SpringRetainer 36 702511
8 77400 Hubcap 37 137090
9145212 Ranged Nut 38 63601
11 151156 Wheel & TireAssembly 40 75192
12 12000058 E-Ring 41 151520
13 137054 Pinion 53 144747
14 88080 DustCover 54 166069
15 88118 FeltWasher 55 86012
16 67725 Washer 1/2 x 1-1/2 x .134 57 144748
18 701037 Selector Knob
26 143603 Pan Head Tapping Screw #10-24 x 2-3/4
DriveCover
Hsx Flange Nut
Drive Pulley
Wheel Adjuster Assembly (Left)
Gear Case Assembly
Spring
Nut
Spring
Wheel Adjuster Assembly (Right)
FrameThroat
Grassbag Assembly
Driveshaft Cover
FrameTube

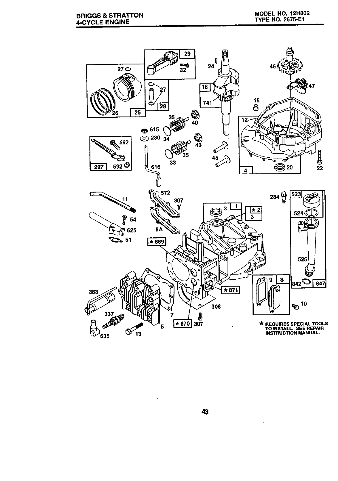
BRIGGS & STRATTON MODEL NO. 12H802
4-CYCLE ENGINE TYPE NO. 2675-E1
969
967
621 92_
258
968
_ _ 971A
@'°
163
%
124 _634
130
1_27 95 17
_134
110_) 91-"_
42

BRIGGS & STRATTON MODEL NO, 12H802
4-CYCLE ENGINE TYPE NO. 2675-E1
572 307
_54
r 625 9l
51
46t
15
_47
(_ 20 22
383
5 307
306
"k REQUIRES SPECIAL TOOLS
TO INSTALL SEE REPAIR
INSTRUCTION MANUAL.
43

BRIGGS & STRATTON MODEL NO. 12H802
4-CYCLE ENGINE TYPE NO. 2675-E1
670A
358 GASKET SET I
20 524
110
634 617
977 CARBURETOR GASKET SET
1095 VALVE OVERHAUL
GASKET SET
104 110 134 127
617 634
121 CARBURETOR KIT
i
670A
44

BRIGGS & STRATTON MODEL NO. 12H802
4-CYCLE ENGINE TYPE NO. 2675-E1
930
334
461
304
_332
455
1036 LABEL KIT - EMISSION I
45

BRIGGS & STRATTON MODEL NO. 12H802
4-CYCLE ENGINE TYPE NO. 2675-E1
PARr
NO. NO.
1 493260
2 399269
3 299819
4 493279
5 214368
7 272916
8 495786
9 272481
9A 272238
10 94650
11 231933
12 272198
13 94547
15 94720
16 498565
94388
20 399781
22 94220
94612
23 492177
24 222698
25 499429
26 499425
27 263190
28 499423
29 499424
32 94699
33 262651
34 262652
35 262224
40 93312
45 262204
46 498275
DESCRIPTION I<_EY PART
NO. NO. DESCRIPTION
CylinderAssembly 47 493737
Bushing,Cylinder 51 272199
•Seal, Oil 54 94526
Sump, Engine 55 4974420
Head, Cylinder 56 498144
.... Gasket, Cylinder Head 58 280399
BreatherAssembly
.... Gasket, Valve Cover 60 281434
"Gasket,Baffle Plate 65 94696
Screw, Hex Head 81 223664
Tube, Breather 95 94098
•Gasket, Crankcase 104 231371
Screw,CylinderHead 110 - - -
Plug,Oil Drain
Crankshaft 117 494870
TimingGear Key 121 498260
• Seal, Oil 124 94525
Screw, Hex Head
Screw, Hex Head 125 498170
(Used inHole Nearest 127 - - -
Breather)
Flywheel 130 224908
Key, Flywheel 131 493267
Piston Assembly, 133 398187
Standard Size 134 398188
Ring Set, Piston,
Standard Size 137 - - -
Lock, Piston Pin
Pin, Piston, Standard 163 272653
Size 187 492790
Rod,Connecting 188 398540
Screw, Connecting Rod 188A 94644
Valve, Exhaust 202 262579
Valve, Intake 209 263044
Spring, Valve
Retainer, Valve Spdng
Tappet, Valve
Gear, Cam ""
NOTE:
Slinger, Oil
•Gasket, Intake Elbow
Screw, Hex Head
Housing,Rewind Starter
Pulley, Rewind Starter
Rope, Rewind Starter
(CutTO88-5/8")
Gdp, Starter Rope
Screw, Phillips
Lock, Muffler Screw
Screw, RoundHead
•" Pin, Float Hinge
*•" Gasket, Sealing (Sold in
Kit Only)
Jet, Main
Carburetor Kit
Screw,Carburetor
Mounllng
Carburetor
*" Plug, Welch (Sold in Kit
O_y)
Valve, Throttle
Shaft, Throttle
Float, Carburetor
Valve, Inlet (Includes
Seat)
"'* Gasket, Bowl(Sold in Kit
Only)
•Gasket, AirCleaner
Hose,Fuel
Screw, Hex Head
Screw, Hex Head
Link, Governor
Spring, Governor
Included in Gasket Set (497316)
Included inCarburetor Kit (498260)
Included inboth Carburetor Kit (498260),
and Carburetor Gasket Set (498261)
Included in both Gasket Set (497316),
and Valve overhaul Gasket Set (498528).
Allcomponent dimensions given inU.S. inches
1 inch = 25.4 mm
46

BRIGGS & STRATTON MODEL NO. 12H802
4-CYCLE ENGINE TYPE NO. 2675-E1
PART
NO. NO.
227 492349
230 67072
258 94512
284 94511
300 497838
3O4 493293
305 94744
306 224324
307 94515
332 94877
333 802574
334 94731
337 802592
356 497833
358 497316
363 19069
383 89838
387 496115
455 225121
456 281503
459 281505
461 94943
515 263073
523 495264
624 280393
525 495265
529 281299
562 94852
572 224328
592 231082
601 93053
606 224615
608 497680
Includes:
949O4
949O8
613 94231
615 94474
616 263175
617 270344
620 499135
621 396847
625 497465
DESCRIPTION
Lever, Governor
Washer, Thrust
Screw, Hex Head
Screw, Hex Head
Muffler, Exhaust
Housing,Blower
Screw, Seres
Shield, Cylinder
Screw,Hex Head
Nut, Flywheel
Armature,Magneto
Screw,Sems
Plug, Spark
Wire, Ground
Gasket Set
Puller, Flywheel
Wrench, Spark Plug
Primer,Carburetor
Cup, Starter
Retainer, Starter
Pawi, Rachet
Screw,Shoulder
Spring,Retainer
Cap, Oil Filler
* Seal, FillerTube
Tube, Oil Fill
Grommet
Bolt, Governor Lever
Baffle, Cylinder
Nut, Hex
Cramp,Hose
Strap, Bracket
Starter, Rewind
Screw, Hex
Nut, Hex
Screw, Hex Head
Fastener
Crank, Govemor
••" Seal, Intake Elbow
Bracket, Carburetor
Switch, Stop
Tube, Fuel Intake
KEY PART
NO. NO. DESCRIPTION
634 -. - **" Washer, Shaft (Sold in
Kit Only)
635 66538 Elbow, Spark Plug
670 280512 Spacer, Fuel Tank
670A 493823 *Spacer, Bracket
741 262598 Gear, Timing
842 280966 " Seal, O-Ring
843 272616 Sleeve, Lever
847 495263 Tube Assembly, Oil
851 493880 Terminal, IgnitionCable
869 213512 Seat, Intake Valve
870 213513 Seat, Exhaust Valve
871 262001 Guide, Exhaust Valve
63709 Guide, Intake Valve
922 262640 Spdng, Brake
923 493442 Brake Assembly
930 497233 Guard,Finger
957 397974 Cap, FuelTank
966 496116 Base, Air Cleaner
967 491588 Filter,Air
968 281340 Cover,AirCleaner
969 94872 Screw, Hex Head
971 94873 Screw, Hex Head
971A 94749 Screw, Hex Head
972 495224 Tank, Fuel
975 493640 Bowl,Float
977 498261 Gasket Set, Carburetor
1036 499341 Label Kit,Emission
1095 498258 Gasket Set, Valve
Overhaul
2500 12J802-2915 ReplacementEngine
---- 498826 ReplacementShortblock
RPM Settings: Low: 1900-2100; High:
30003200
Included in Gasket Set (497316)
•* Included inCarburetor Kit (498260)
•** Includedin both Carburetor Kit (496260),
and Carburetor Gasket Set (498261)
.... Included in both Gasket Set (497316),
and Valve overhaul Gasket Set (498628).
NOTE: Allcomponent dimensionsgiven in U.S. inches
1 inch = 25.4 mm
47

For in-home major brand repair service:
Call 24 hours aday, 7 days aweek
1-800-4-MY-Home sM(1-800-469-4663)
Para pedir servicio de reparaci6n a domicilio
1-800-676-5811
In Canada for all your service and parts needs call
Au Canada pour tout le service ou les pi_ces
1-800-665-4455
For the repair or replacement parts you need:
Call 6 am-llpm CST, 7days aweek
PartsDirect SM
1-800-366-PART (1-800-366-7278)
Para ordenar piezas con entrega a domicilio
1-800-659-7084
For the location of a Sears Parts and Repair Center
in your area:
Call 24 Hours a day, 7 days aweek
1-800-488-1222
For information on purchasing a Sears Maintenance
Agreement or to inquire about an existing Agreement:
Call 9 am-5 pm, Monday -Saturday
1-800-827-6655
S£ 8
166081 Rev.1 05.24.99 VB Printedin U.S.A.