Craftsman 917388382 User Manual 6.0HP 21 ROTARY LAWN MOWER Manuals And Guides L0010005
CRAFTSMAN Walk Behind Lawnmower, Gas Manual L0010005 CRAFTSMAN Walk Behind Lawnmower, Gas Owner's Manual, CRAFTSMAN Walk Behind Lawnmower, Gas installation guides
User Manual: Craftsman 917388382 917388382 CRAFTSMAN CRAFTSMAN 6.0HP 21 ROTARY LAWN MOWER - Manuals and Guides View the owners manual for your CRAFTSMAN CRAFTSMAN 6.0HP 21 ROTARY LAWN MOWER #917388382. Home:Lawn & Garden Parts:Craftsman Parts:Craftsman CRAFTSMAN 6.0HP 21 ROTARY LAWN MOWER Manual
Open the PDF directly: View PDF
.
Page Count: 27

Owner's Manual
(RRFTSMRN°
6.0 HORSEPOWER
21" MULTI-CUT
ROTARY LAWN MOWER
Model No.
917.388382
• Safety
•Assembly
•Operation
• Maintenance
•Espa_ol
•Repair Parts
CAUTION:
Read and follow all
Safety Rules and Instructions
before operating this equipment
Sears, Roebuck and Co., Hoffman Estates, IL 60179
Visitour Craftsman website: www.sears.com/craffsman

Warranty
Safety Rules
Assembly
Operation +
Maintenance Schedule
Maintenance
2 Product Specifications 11
2 Service and Adjustments 13
4 Storage 14
6 Troubleshooting 15
10 Repair Parts 34
10 Parts Ordering Back Cover
LIMITED TWO YEAR WARRANTY ON CRAFTSMAN POWER MOWER
For two years from date of purchase, when this Craftsman Lawn Mower is maintained,
lubricated, and tuned up according to the operating and maintenance instructions in
the owner's manual, Sears will repair free of charge any defect in material or workman-
ship.
If this Craftsman Lawn Mower is used for commercial or rental purposes, this warranty
applies for only 90 days from the date of purchase.
This Warranty does not cover:.
•Expendable items which become worn during normal use, such as rotary mower
blades, blade adapters, belts, air cleaners and spark plug.
•Repairs necessary because of operator abuse or negligence, including bent
crankshafts and the failure to maintain the equipment according to the instructions
contained in the owner's manual.
Warranty service is available by returning the Craftsman power mower to the nearest
Sears Service Center/Department in the United States. This warranty applies only
while this product is in use in the United States.
This Warranty gives you specific legal rights, and you may also have other rights which
vary from state to state.
SEARS, ROEBUCKAND CO., D/817 WA, HOFFMAN ESTATES, ILLINOIS 60179
Safety standards require operator
presence control to minimize the risk of
injury. Your unit is equipped with cuch
controls, do not attempt to defeat the
function of the operator presence controls
under any circumstances.
TRAINING:
•Read this operator's manual carefully.
Become familiar with the controls and
know how to operate your mower
propedy. Learn how to quickly stop
mower.
•Do not allow children to use your
mower. Never allow adults to use
mower without proper instructions.
•Keep the area of operation clear of all
persons, especially small children and
pets.
•Use mower only as the manufacturer
intended and as described in this
manual.
• Do not operate mower if it has been
dropped or damaged in any manner.
Always have damage repaired before
using your mower.
•Do not use accessory attachments that
are not recommended by the manufac-
turer. Use of such attachments may be
hazardous.
•The blade tums when the engine is
running.
PREPARATION:
•Always thoroughly check the area to be
mowed and clear it of all stones, sticks,
wires, bones, and other foreign objects.
These objects will be thrown by the
blade and can cause severe injury.
•Always wear safety glasses or eye
shields when starting and while using
your mower.
• Dress properly. Do not operate mower
when barefoot or wearing open
2

sandals. Wear only solid shoes with
good traction when mowing.
•Check fuel tank before starting engine.
Do not fill gas tank indoors, when the
engine is running or when the engine is
hot. Allow the engine to cool for several
minutes before filling the gas tank.
Clean off any spilled gasoline before
starting the engine.
•Always make wheel height adjustments
before starting your mower. Never
attempt to do this while the engine is
running.
*Mow only in daylight or good artificial
light.
OPERATION:
•Keep your eyes and mind on your
mower and the area being cut. Do not
let other interests distract you.
•Do not mow wet or slippery grass.
Never run while operating your mower.
Always be sure of your footing -keep a
firm hold on the handles and walk.
•Do not put hands or feet near or under
rotating pads. Keep clear of the
discharge opening at all times.
•Always stop the engine whenever you
leave or are not using your mower, or
before crossing driveways, walks,
roads, and any gravel-covered areas.
•Never direct discharge of material
toward bystanders nor allow anyone
near the mower while you are operating
it.
•Before cleaning, inspecting, or repair-
ing your mower, stop the engine and
make absolutely sure the blade and all
moving parts have stopped. Then
disconnect the spark plug wire and
keep it away from the spark plug to
prevent accidental starting.
•Do not continue to run your mower if
you hit a foreign object. Follow the
procedure outlined above, then repair
any damage before restarting and
operating your mower.
•Do not change the governor settings or
overspeed the engine. Engine damage
or personal injury may result.
•Do not operate your mower if it vibrates
abnormally. Excessive vibration is an
indication of damage; stop the engine,
safely check for the cause of vibration
and repair as required.
•Do not run the engine indoors. Exhaust
fumes are dangerous.
3
•Never cut grass by pulling the mower
towards you. Mow across the face of
slopes, never up and down or you
might lose your footing. Do not mow
excessively steep slopes. Use caution
when operating the mower on uneven
terrain or when changing directions -
maintain good footing.
•Never operate your mower without
proper guards, plates, grass catcher or
other safety devices in place.
MAINTENANCE AND STORAGE:
• Check the blade and the engine
mounting bolts often to be sure they are
tightened properly.
•Check all bolts, nuts and screws at
frequent intervals for proper tightness to
be sure mower is in safe working
condition.
•Keep all safety devices in place and
working.
•To reduce fire hazard, keep the engine
free of grass, leaves or excessive
grease and oil.
•Check grass catcher often for deteriora-
tion and wear and replace worn bags.
Use only replacement bags that are
recommended by and comply with
specifications of the manufacturer of
your mower.
•Always keep a sharp blade on your
mower.
•Allow engine to cool before storing in
any enclosure.
•Never store mower with fuel in the tank
inside a building where fumes may
reach an open flame or an ignition
source such as a hot water heater,
space heater, clothes dryer, etc.
ALook for this symbol to point out
important safety precautions. It means
CAUTION!!! BECOMEALERTT!! YOUR
SAFETY IS INVOLVED.
ACAUTION: Always disconnect spark
plug wire and place wire where it cannot
contact spark plug in order to prevent
accidental starting when setting up,
transporting, adjusting or making repairs.
AWARNING: The engine exhaust from
this product contains chemicals known to
the State of California to cause cancer,
birth defects, or other reproductive harm.

"rheseasceesodes were availablewhen thislawnmowerwas produced.They are not
shipped with your mower.They arealsoavailableat mostSears retailoutletsandservice
centers. MostSears storescan alsoorderrepairpartsforyou,when youprovidethe model
numberof yourlawnmower. Some ofthese accessoriesmay notapplyto yourlawnmower.
LAWN MOWER PERFORMANCE
_,£___.,0='o. ".I
CLIPPING DEFLECTOR
FOR REAR DISCHARGE LAWN MOWERS MULCHER KITS
GRASS CATCHERS
FOR
REAR DISCHARGE
LAWN MOWERS GRASS CATCHERS
FOR
I SIDE DISCHARGE
LAWN MOWERS
LAWN MOWER MAINTENANCE
MUFFLERS
BELTS BLADES BLADE ADAPTERS
AIR FILTERS
WHEELS
2-
STABILIZER
GAS CANS
SPARK PLUGS
ENGINE OIL
Read these instructions and this manual in
its entirety before you attempt to assemble
or operate your new lawn mower.
IMPORTANT: This lawn mower is shipped
WITHOUT OIL OR GASOLINE in the
engine.
Your new lawn mower has been as-
sembled at the factory with the exception of
those pads left unassembled for shipping
purposes. To ensure safe and proper
operation of your lawn mower, all pads and
hardware you assemble must be tightened
securely. Use the correct tools as neces-
sary to ensure proper tightness. All parts
such as nuts, washers, bolts, etc., neces-
sary to complete the assembly have been
placed in the pads bag.
TO REMOVE LAWN MOWER FROM
CARTON
• Remove loose pads included with
mower.
•Cut down two end comers of carton and
lay end panel down flat.
•Remove all packing materials except
padding between upper and lower
handle and padding holding operator
presence control bar to upper handle.
•Roll lawn mower out of carton and check
carton thoroughly for additional loose
parts.
4

HOW TO SET UP YOUR LAWN Operatorpresence
MOWER control bar
TO UNFOLD HANDLE
IMPORTANT: Unfold handle carefully so
as not to pinch or damage control cables.
•Raise handles until lower handle
section locks into place in mowing
position.
•Remove protective padding, raise upper
handle section into place on lower
handle and tighten both handle knobs.
•Remove handle padding holding
operator presence control bar to upper
handle.
•Your lawn mower handle can be
adjusted for your mowing comfort. Refer
to "Adjust Handle" in the Service and
Adjustments section of this manual.
Upper handle
Lift up
Mowing position
Lower handle
TO INSTALL A'I-rACHMENTS
Your lawn mower was shipped ready to
be used as a mulcher. To convert to
bagging or discharging, see 'q'o convert
mower" in the OPERATION section of this
manual.
5

KNOWYOUR LAWN MOWER
READ THIS OWNER'S MANUALAND SAFETY RULES BEFORE OPERATING YOUR LAWN
MOWER. Compare the illustrationswith your lawn mower to familiarize yourselfwith the
location of various controls and adjustments. Save this manual for future reference.
These symbols may appear on your lawn mower or in literature supplied with the
product. Learn and understand their meanlng.
CAUTION ENGINE ENGINE FAST SLOW CHOKE FUEL OIL DANGER, KEEP HANDS
OR WARNING ON OFF AND FEET AWAY
Operator presence control
bar
Engine zone control cable
Handle knob
Grass catcher Engine oil cap
with dipstick
Mulcher door Lawn mower housing
IMPORTANT: This lawn mower is shipped
WITHOUT OIL OR GASOLINE in the Jster
en_line. (on each wheel)
MEETS CPSC SAFETY REQUIREMENTS
Sears rotary walk-behind power lawn mowers conform to the safety standards ofthe American
National Standards Institute and the U.S. Consumer Product Safety Commission. The blade
turns when the engine is running.
Operator Presence Control Bar- must be
held down to the handle to start the engine.
Release to stop the engine.
Pdmer -pumps additionalfuel from the
carburetor to the cylinder for use when
starling a cold engine.
Starter Handle- used for startingthe engine.
6

The operation of any lawn mower
can result in foreign objects thrown
into the eyes, which can result in
severe eye damage. Always wear safety
glasses or eye shields while operating your
lawn mower or performing any adjustments
or repairs. We recommend a wide vision
safety mask over spectacles or standard
safety glasses.
HOWTO USEYOUR LAWN MOWER
ENGINE SPEED CONTROL
The engine speed was set at the factory for
optimum performance. Speed is not adjust-
able.
ENGINE ZONE CONTROL
_I=CAUTION: Federal regulations require
an engine control to be installed on this
lawn mower in order to minimize the risk
of blade contact injury. Do not under any
cimumstances attempt to defeat the
function of the operator control. The blade
tums when the engine is running.
•Your lawn mower is equipped with an
operator presence control bar which
requires the operator to be positioned
behind the lawn mower handle to start and
operate the lawn mower.
TO ADJUST CUTTING HEIGHT
=Raise wheels for low cut and lower wheels
for high cut.
•Adjust cutting height to suit your require-
ments. Medium positionis best for most
lawns.
, To change cutting height, squeeze adjuster
lever toward wheel. Move wheel up or
down to suit your requirements. Be sure all
wheels are in the same setting.
NOTE: Adjuster is properly positioned when
plate tab inserts into hole in lever. Also, 9-
position adjusters (if so equipped) allow lever
to be positionedbetween the plate tabs.
LowerWheels for High Cut
Raise Wheels for Low Cut
TO CONVERT MOWER
Yourlawnmowerwas shipped readytobe
usedas a mulcher.Toconvert tobaggingor
discharging:
REAR BAGGING
•Lift rear door of the lawn mower and place
the grass catcher frame hooks onto the
doorpivotpins.
•To convert to mulching or discharging
operation, remove grass catcher and close
rear door.
Pivot pins
SIDE DISCHARGING
• Rear door must be dosed.
• Open mulcher door and install discharge
deflector under guard as shown,
• Mower is now ready for discharging
operation.
•To convert to mulching or bagging
operation, discharge deflector must be
removed and mulcher door must be
closed.
SIMPLE STEPS TO REMEMBER
WHEN CONVERTING YOUR LAWN
MOWER
FOR MULCHING -
•Rear door closed.
• Mulcher door closed.
FOR REAR BAGGING -
•Grass catcher installed.
•Mulcher door closed.
FOR SIDE DISCHARGING -
• Rear door dosed.
•Side discharge deflector installed.
ACAUTION: Do not run your lawn mower
without rear door closed or approved grass
catcher in place. Never attempt to operate the
lawn mower with the rear door removed or
prepped open.
Mulcher
door
7

Open
Mulcher Door
Discharge
deflector
BEFORE STARTING ENGINE
OIL
Your lawn mower is shipped without oil in the
engine.
•Be sure mower is level and area around oil
fillis dean.
•Remove engine oil cap and fillto the full
line on the dipstick.
NOTE: Allow oil to settle down into
engine for accurate dipstick reading.
•Engine holds 20 ozs. of oil. For type and
grade of oilto use, see "ENGINE' in
Maintenance section of this manual.
• Pour oilslowly. Do not over till.
•Check oil level before each use. Add oil if
needed. Fill to full line on dipstick.
•To read proper level, tighten engine oil cap
each time.
•Reinstall engine oil cap and tighten.
•Change the oil after every 25 hours of
operation or each season. You may need
to change the ell more often under dusty,
dirty cond'fdons.
ADD GASOUNE
NOTE: Beforefillingfuel tank, removeand
discardthe debrisplugthat is insidethe tank.
•Fillfuel tank. Use fresh, clean, regular
unleaded gasoline with a minimum of 87
octane. Do not mix oil with gasoline.
Purchase fuel in quantitiesthat can be
used within 30 days to assure fuel
freshness.
AWARNING: Experience indicates that
alcohol blended fuels (called gasohol or
using ethanol or methanol) can attract
moisture which leads to separation and
formation of acids during storage. Acidic
gas can damage the fuel system of an
engine while in storage. To avoid engine
problems, the fuel system should be
emptied before storage of 30 days or
longer. Drain the fuel tank, start the
engine and let it run until fuel lines and
carburetor are empty. Use fresh fuel next
season. See Storage Instructions for
additional information. Never use engine
or carburetor cleaner products in fuel tank
or permanent damage may occur.
_]LCAUTION: Fill to bottom of gas tank
filler neck. Do not overfill. Wipe off any
spilled oil or fuel. Do not store, spill or use
gasoline near an open flame.
Gasoline filler _Engine oil
cap _cap
(Discard _I_'_._X_'j_ l
debris plug _..'_'T" _,_
Inside) "_._
TO START ENGINE
•To start a cold engine, push primer three
(3) times before t_ing to start. Use a firm
push. This step is not usually necessary
when startingan engine which has already
run for afew minutes.
•Hold operator presence control bar down
to the handle and pull starter handle
quickly. Do not allow starter rope to snap
back.
•To stop engine, release operator presence
control bar.
NOTE: In cooler weather it may be necessary
to repeat primingsteps. In wanner weather
over priming may cause flooding and engine
will not start. If you do flood engine, wait a few
minutes before attempting to start and do not
repeatp mingsteps.
8

MOWINGTIPS
• Under certain conditions, such as very tall
grass, it may be necessary to raise the
height of cut to reduce push;_geffort and to
keep from overloading the engine end
leaving clumps of grass clippings. It may
also be necessary to reduce ground speed
end/or run the lawn mower over the area a
second time.
•FoPextremely heavy cutting, reduce the
width of cut by overlapping previously cut
path and mow slowly.
•For better grass bagging and most cutting
conditions,the engine speed should be set
inthe fast position.
•Pores in cloth grass catchers can become
tiltedwith dirt and dust with use and
catchers will collect less grass. To prevent
this, regularly hose catcher off with water
end let dry before using.
• Keep top of engine around starter clear
and clean of grass clippings and chaff.
This will help engine air flow and extend
engine life.
MULCHING MOWING TIPS
IMPORTANT: For best performance, keep
mower housing free of built-up grass and
trash. Clean UNDERSIDE OF MOWER
HOUSING after each use. See "Cleaning" in
MAINTENANCE section of this manual.
•The special mulching blade will recut the
grass clippings many times and reduce
them in size so that as they fallonto the
lawn they will disperse into the grass and
not be noticed. Also, the mulched grass will
biodegrade quicklyto provide nutrientsfor
the lawn. Always mulch with your highest
engine (blade) speed as this will provide
the best recuttingactionof the blades.
•Avoid cutting your lawn when it is wet. Wet
grass tends to form clumps and interferes
with the mulching action. The best time to
mow your lawn is the early afternoon. At
this time the grass has dried and the newly
cut area will not be exposed to the direct
sun.
•For best results,adjustthe lawn mower
cutting height so that the lawn mower cuts
off only the top one-third of the grass
blades. If the lawn is overgrown it will be
necessary to raise the height of cut to
reduce pushing effort end to keep from
overloading the engine and leaving
clumps of mulched grass. For extremely
heavy mulching, reduce your width of cut,
mow slowly and raise the rear of the lawn
mower one wheel adjuster setting higher
than the front.
•Certaintypesofgrassand grassconditione
may require that an area be mulched a
second time to completely hide the
clippings.Whendoinga secondcut,mow
across or perpendicular to the firstcut path.
•Change your cutting pattern from week to
week. Mow northto south one week then
change to east to westthe next week. This
wilt help prevent matting and graining of
the lawn.
9

MAINTENANCE SCHEDULE
FILL IN DATES
AS YOU COMPLETE
REGULAR SERVICE 3EFIVICE DATES
Check for Loose Fastenem
Clean/Ins_ Grass Catcher I
1Clean Lawn Mower
Clean Under Drive Cover
power-e_ Mowe,_) V'
Check ddve belt/pulleys
(Power-Propelled Mowers) I/'
CheckiSha qJen/ReplaceBlade V_a
L®_=UonCha. I/ I/
Clean Battery/Recharge
IElectdc Start MowersIV' I/4
Check Engine Oil Level !v'
Change Engine Oil I II_l.l
Clean Air Filter ll/ it
InspectMuffler
Clean or Replace Spark Rug
Replace Air FittorPaper Cartridge lilifit
1-Change more ofte_ when operatklg under a heavy load or in high ambient temperatures.
2 - Sentlce more often when operaing in dirty or dusty conditions.
3-Repkv:e bldes mo_e oiten when mow_ in q.md¥ soQ.
4 - Charge 48 houm al end of m,
GENERAL RECOMMENDATIONS
The warranty on this lawn mower does not
cover items that have been subjected to
operator abuse or negligence. To receive lull
value from the wanan_, operator must
maintain mower as instructed in this manual.
Some adjustments will need to be made
periodicallyto properly maintain your unit.
All I_:liusln'_s in ll'e Service and
Adjustments section of this manual should be
checked at leest orlce each season.
• Once a year, replace the spark plug,
replace air filterelement and check blade
for we_. A new spark plug and clean/new
air filterelement assures proper air-fuel
mixture and helps your engine run better
andlastk jer.
•Follow the maintenance schedule in this
manual.
BEFORE EACH USE
•Check engine oil level.
•Check for loose fasteners.
LUBRICATION
Keep unit well lubricated (See "LUBRICATION
CHART").
LUBRICATION CHART
Wheel
adjusters
/'
/
(_FI. Engine oil
ear
oDor I Handle bracket
hinge mounting pin
(_ SPRAY LUBRICANT
SAE 30 MOTOR OIL. REFER TO
(_ ENGINE- MAINTENANCE SECTION.
IMPORTANT: Do not oilor grease plastic
wheel bearings. Viscous lubricantswill attract
dust and dirtthat willshorten the lifeof the self
lubricatingbearings. If you feel they must be
lubricated,use only adry, powdered graphite
typelubricantspadng /.
10

PRODUCT SPECIFICATIONS
MODEL NUMBER 917.388382
SERIALNUMBER
DATE OF PURCHASE
GASOLINE CAPACITY/TYPE: 1.6 QUARTS
UNLEADED REGULAR
OlLTYPE (API-SF/SG/SH): SAE 30 (ABOVE 32°F)
SAE 5W-30 (BELOW 32°F)
OIL CAPACITY: 20 OZS.
SPARK PLUG(GAP: .030") CHAMPION RJ19LM OR J19LM
VALVE CLEARANCE: INTAKE: .004 - .008
EXHAUST: .004 -.008
SOLID STATE IGNITION
AIR GAP: .0125 IN.
BLADE BOLT TORQUE: 35-40 FT. LBS.
The model and serial numbers will be found on a decal attached to the roar of the
lawn mower housing.Record both serial number and date of purchase in space
provided above.
LAWN MOWER
Always observe safety rules when performing
any maintenance.
TIRES
•Keep tires free of gasoline, oil, or insect
control chemicals which can harm rubber.
•Avoid stumps, stones, deep ruts, sharp
objects and other hazards that may cause
tire damage.
BLADE CARE
For best results, mower blade must be
kept sharp. Replace bent or damaged
blades.
TO REMOVE BLADE
•Disconnect spark plug wire from spark
plug and place wire where it cannot
come in contact with spark plug.
•Tum lawn mower on its side. Make
sure air filter and carburetor are up.
•Use a wood block between blade and
mower housing to prevent blade from
turning when removing blade bolt.
•Protect your hands with gloves and/or
wrap blade with heavy cloth.
•Remove blade bolt by turning counter-
clockwise.
•Remove blade and attaching hardware
(bolt, lock washer and hardened
washer).
NOTE: Remove the blade adapter and
check the key inside hub of blade adapter.
The key must be in good condition to work
properly. Replace adapter if damaged.
TO REPLACE BLADE
•Position the blade adapter on the
engine crankshaft. Be sure key in
adapter and crankshaft keyway are
aligned.
•Position blade on the blade adapter
aligning the two (2) holes in the blade
with the raised lugs on the adapter.
•Be sure the trailing edge of blade
(opposite sharp edge) is up toward the
engine.
•Install the blade bolt with the lock
washer and hardened washer into
blade adapter and crankshaft.
•Use block of wood between blade and
lawn mower housing and tighten the
blade bolt, turning clockwise.
•The recommended tightening torque is
35-40 ft. Ibs.
IMPORTANT: Blade bolt is grade 8 heat
treated.
11

TO SHARPEN BLADE
NOTE: We do not recommend sharpen-
ing blade - but if you do, be sure the blade
is balanced.
Care should be taken to keep the blade
balanced. An unbalanced blade will
cause eventual damage to lawn mower or
engine.
•The blade can be sharpened with afile
or on a grinding wheel. Do not attempt
to sharpen while on the mower.
•To check blade balance, drive a nail
into a beam or wall. Leave about one
inch of the straight nail exposed. Place
center hole of blade over the head of
the nail. If blade is balanced, it should
remain in ahorizontal position. If either
end of the blade moves downward,
sharpen the heavy end until the blade
is balanced.
Crank shaft
keyway
Bolt Crank
Lockwasher Hardened Blade shaft
washer Trailing adapter
edge
GRASSCATCHER
* The grass catcher may be hosed with
water, but must be dry when used.
* Check your grass catcher often for damage
or deterioration.Through normal use it will
wear. If catcher needs replacing, replace
only with a manufacturer approved
replacement catcher. Give the lawn mower
model number when ordering.
ENGINE
LUBRICATION
Use only high quality detergent oil rated
with API service classification SF, SH or
SG. Select the oil's SAE viscosity grade
according to your expected operating
tem
NOTE: Although multi--viscosity oils
(5W30, 10W30 etc.) improve starting in
cold weather, these muiti--vlacosity oils
will result in increased oil consumption
when used above 32°F. Check your
engine oil level more frequently to avoid
possible engine damage from running
low on oil.
Change the oil after every 25 hours of
operation or at least once a year if the
lawn mower is not used for 25 hours in
one year.
Check the crankcase oil level before
starting the engine and after each five (5)
hours of continuous use. Tighten oil plug
securely each time you check the oil level.
TO CHANGE ENGINE OIL
NOTE: Before tipping lawn mower to
drain oil, drain fuel tank by running
engine until fuel tank is empty.
•Disconnect spark plug wire from spark
plug and place wire where it cannot
come in contact with spark plug.
•Remove engine oil cap; lay aside on a
clean surface.
•Tip lawn mower on its side and drain oil
into a suitable container. Rock lawn
mower back and forth to remove any oil
trapped inside of engine.
•Wipe off any spilled oil on lawn mower
and on side of engine.
•Fill engine with oil. Fill only to the
=FULL" line on the dipstick. DO NOT
OVER FILL.
•Replace engine oil cap.
•Reconnect spark plug wire to spark
plug.
AIR FILTER
Your engine will not run propedy and may
be damaged by using a dirty air filter.
Replace the air filter every year, more
often if you mow in very dusty, dirty
conditions. Do not wash air filter.
TO CLEAN AIR FILTER
•Loosen screw and tilt cover to remove.
•Carefully remove cartridge.
•Clean by gently tapping on a flat
surface. If very dirty, replace cartridge.
12

ACAUTION: Petroleum solvents, such as
kerosene, are not to be used to clean
cartridge. They may cause deterioration
of the cartridge. Do not oil cartridge. Do
not use pressurized air to clean or dry
cartridge.
•Install cartridge, then replace cover
making sure the tabs are aligned with
the slots in the back plate. Fasten
screw securely.
Back
Lip Slots plate
Cover
tabs
'Cover
Cartridge
MUFFLER
Inspect and replace corroded muffler as it
could create afire hazard and/or damage.
SPARK PLUG
Change your spark plug each year to
make your engine start easier and run
better. Set spark plug gap at .030 inch.
CLEANING
IMPORTANT: For best performance, keep
mower housing free of built--up grass
and trash. Clean underside of mower
housing after each use.
_CAUTION: Disconnect spark plug wire
from spark plug and place wire where it
cannot come in contact with the spark
plug.
•Turn lawn mower on its side. Make sure
air filter and carburetor are up. Clean
the underside of your lawn mower by
scraping to remove build--up of grass
and trash.
• Clean engine often to keep trash from
accumulating. A clogged engine runs
hotter and shortens engine life.
•Keep finished surfaces and wheels free
of all gasoline, oil, etc.
•We DO NOT recommend using a
garden hose to clean lawn mower
unless the electrical system, muffler, air
filter and carburetor are covered to
keep water out. Water in engine can
result in shortened engine life.
_I_CAUTION: Before performing any
service or adjustments:
•Release control bar and stop engine.
•Make sure the blade and all moving
parts have completely stopped.
•Disconnect spark plug wire from spark
plug and place where it cannot come in
contact with plug.
LAWN MOWER
TO ADJUST CUTTING HEIGHT
See "TO ADJUST CUTTING HEIGHT" in
the Operation section of this manual.
REAR DEFLECTOR
The rear deflector, attached between the
rear wheels of your lawn mower, is
provided to minimize the possibility that
objects will be thrown out the rear of the
lawn mower into the operator's mowing
.position.
If the rear deflector becomes damaged, it
should be replaced.
TO ADJUST HANDLE
The handle can be mounted in a high or
low position. The mounting holes in the
bottom of lower handle are off center for
raising or lowering the handle.
•Remove upper handle and all parts
attached to lower handle.
•Remove hairpin cotters from lower
handle bracket mounting pin.
•Squeeze lower handle in to remove it
from mounting pins.
•Turn lower handle over to raise or lower
handle.
•Squeeze lower handle in and position
holes onto mounting pins on handle
bracket.
•Reassemble upper handle and all parts
removed from lower handle.
13
Lower
_" _" 4 handle
.orate\

TOASSEMBLE GRASS CATCHER
•Put grass catcher frame into grass bag
with dgid part of bag on the bottom.
Make sure the frame handle is outside
of the bag top.
•Slip vinyl bindings over frame.
NOTE: If vinyl bindings are too stiff, hold
them in warm water for a few minutes. If
_g gets wet, let it dry before using.
CAUTION: Do not run your lawn
mower without clipping deflector or
approved grass catcher in place. Never
attempt to operate the lawn mower with
the rear door removed or prepped open.
Catchel"_-_ _-_/_=:::.._.,
frame
handle_
_' _rame
opening
ENGINE
CARBURETOR
Your carburetor has a non-adjustable fixed
main jet for mixture control. If your engine
does not operate properly due to suspected
carburetor problems, take your lawn mower to
an authorized service canter for repair or
adjustment.
IMPORTANT: Never tamper with the engine
governor, which is factory set for proper
engine speed. Overspeeding the engine
above the factory high speed setting can be
dangerous, if you think the engine-govemed
high speed needs adjusting, contact your
nearest authorized service canter, which has
proper equipment and experience to make
any necessary adjustments.
ENGINE SPEED
Your engine speed has been factoryset. Do
not attempt to increase engine speed or it
may result in personal injury. If you believe
that the engine is runningtoo fast or too slow,
take your lawn mower to an authorized
service canter for repair and adjustmerrL
Immed=at_yprepareyourlawn mowerfor
storageatthe and oftheseasonor ifthe unit
willnotbe usedfor30 days or more.
LAWNMOWER
When lawn mower is to be stored for a period
oftime, clean it thoroughly, remove all did,
grease, leaves, etc. Store in a clean, dry area.
•Clean entire lawn mower (See "CLEAN-
ING" in the Maintenance section of this
manual).
•Lubricate as shown in the Maintenance
section of this manual.
•Be sure that all nuts, belts, screws, and pins
are securely fastened. Ir_0ect moving
parts for damage, breakage and wear.
Replaceit necessary.
•Touch up all rusted or chipped paint
surfaces; sand lightlybefore painting.
HANDLE
You can fold your lawn mower handle for
storage.
•Squeeze the bottom ends of the lower
handle toward each other until the
lower handle clears the handle bracket,
then move handle forward.
•Loosen upper handle mounting bolts
enough to allow upper handle to be
folded back.
IMPORTANT: When folding the handle
for storage or transportation, be sure to
fold the handle as shown or you may
damage the control cables.
• When setting up your handle from the
storage position, the lower handle will
automatically lock into the mowing
position.
Lower handle Handle
bracket
Squeeze to
fold
Hairpin cotter
Control Bar
Upper
Handle
Fold Forward
For Storage
Fold
Backward
Mowing
Position
14 Lower Handle

ENGINE
FUEL SYSTEM
IMPORTANT: It is important to prevent
_luUmdeposits from forming in essential
el system parts such as carburetor, fuel
filter, fuel hose, or tank during storage.
Also, experience indicates that alcohol
blended fuels (called gasohol or using
ethanol or methanol) can attract moisture
which leads to separation and formation
of acids during storage. Acidic gas can
damage the fuel system of an engine
while in storage.
•Drain the fuel tank.
•Start the engine and let it run until the
fuel lines and carburetor are empty.
•Never use engine or carburetor cleaner
products in the fuel tank or permanent
damage may occur.
•Use fresh fuel next season.
NOTE: Fuel stabilizer is an acceptable
alternative in minimizing the formation of
fuel gum deposits during storage. Add
stabilizer to gasoline in fuel tank or
storage container. Always follow the mix
ratio found on stabilizer container. Run
engine at least 10 minutes after adding
stabilizer to allow the stabilizer to reach
the carburetor. Do not drain the gas tank
and carburetor if using fuel stabilizer.
ENGINEOIL
Drain oil (with engine warm) and replace
with clean engine oil. (See "ENGINE' ,n
the Maintenance section of this manual).
CYLINDER
Remove spark plug.
Pour one ounce (29 ml) of oil through
spark plug hole into cylinder.
•Pull starter handle slowly a few times to
distribute oil.
•Replace with new spark plug.
OTHER
•Do not store gasoline from one season
to another.
•Replace your _lasoline can if your can
starts to rust. Rust and/or dirt in your
gasoline will cause problems.
•If possible, store your unit indoors and
cover it to give protection from dust and
dirt.
•Cover your unit with a suitable protec-
tive cover that does not retain moisture.
Do not use plastic. Plastic cannot
breathe which allows condensation to
form and will cause your unit to rust.
IMPORTANT: Never cover mower while
engine and exhaust areas are still warm.
ACAUTION: Never store the lawn mower
with gasoline in the tank inside a building
where fumes may reach an open flame or
spark. Allow the engine to cool before
storing in any enclosure.
TROUBLESHOOTING CHART
PROBLEM CAUSE
Does not start 1. Dirty air filter.
2. Out of fuel.
3. Stale fuel.
4. Water in fuel.
5. Spark plug wire is
disconnected.
6. Bad spark plug.
7. Loose blade or broken blade
adapter.
8. Control bar in released
po6ition.
9. Control bar defective.
,
3.
.
CORRECTION
Clean/replace air filter.
RII fuel tank.
Drain tank and refillwith
fresh clean fuel.
Drain fuel tank and
carburetor and refilltank
with fresh gasoline.
5. Connect wire to plug.
6. Replace spark plug.
7. "l'_jhtenblade bolt or
replace blade adapter.
8. Depress control bar to
handle.
9. Replace control bar.
15

TROUBLESHOOTING CHART
PROBLEM CAUSE
Loss of power
Poor cut- uneven
Excessive
vlbraUon
Starter rope hard
topuu
Gmss catcher
not rang ('€so
eq pped)
Herdtopush
1. Rear of lawn mower housing
or cutting bladedragging
in heavy grass.
2, Cuffing too much grass.
3. Dirty air filter.
4. Buildup of grass, leaves,
and trash under mower.
5. Too much oil in engine.
6. Walking speed too fast.
1. Worn, bent or loose blade.
2. Wheel heights uneven.
3. Buildup of grass, leaves
and bash under mower.
1. Wom, bent or loose blade.
2. Bent engine crankshaft.
1. Engine flywheel brake is on
when control bar is released.
2. Bent engine cranksh_t.
3. Blade adapter broken.
4. Blade dragging in grass.
1. Cutting height too low.
2. Lift on blade worn off.
3. Catcher not venting air.
1. Grass is too high or wheel
height is too low.
2. Rear of lawn mower
housing or blade dragging
in grass.
3. Grass catcher too full.
4. Handle he'_ht pos'_on not
rightforyou.
CORRECTION
1. Set to =HigherCut"
position.
2. Set to "HigherCut"
position.
3. Clean/replace air filter.
4. Clean underside of mower
housing.
5. Check oil level.
6. Cut at slower walking
speed.
1. Replace blade. "lighten
blade belt.
2. Set all wheels at same
height
3. Clean underside of
mower housing.
1. Replace blade. "lighten
blade belt.
2. Contact an authorized
service center.
1. Depress controlbar to
upper handle before
pullingstarter rope.
2. Contact an authorized
service center.
3. Replace blade adapter,
4, Move lawn mower to cut
grass or to hard surface
1. Raise cutting height.
2. Re_ blade.
3. Clean grass catcher.
1. Raise cutting height
2. Raise rear of lawn mower
housing one (1) setting
higher.
3. Empty grass catcher.
4. Adjusthandlebrightto
suit.
16

68
67
37
14
CRAFTSMAN ROTARY LAWN MOWER --MODEL NO. 917.388382
34
37
44
4O

CRAFTSMAN ROTARY LAWN MOWER -- MODEL NO. 917.388382
KEY
NO.
1
2
3
4
5
6
7
9
10
11
12
13
14
15
16
17
18
19
20
21
22
23
24
25
26
27
28
29
3O
31
32
33
PART
NO.
86902
169709X479
169708X479
132001
636O1
131959
66426
154132
165754
162778
750097
86899X004
136376
51793
147286
165946X479
17600406
167132X004
167133X004
165858
168360X004
166875
751153
166111 X479
166112X479
851856
152124
160835X007
19112222
165760
169421X004
87877
KEY PART
DESCRIPTION NO. NO. DESCRIPTION
ControlBar
UpperHandle
LowerHandle
RopeGuide
Locknut1/4-20
HandleBolt
WireTie
HingeBracket
MulcherDoor
EngineZoneControlCable
Hex WasherHead Screw#10-24 x 112
Up-StopBracket
HandleKnob
HairpinCotter
HingeRod
SupportBracket
Screw
AxleArmAssembly- LF
AxleArmAssembly- RF
Rear Skirt
SelectorSpring- Front
Rear DoorAssemblyKit(Incl.Springs)
Locknut5/16-18
HandleBracketAssembly(Left)
HandleBracketAssembly(Right)
Screw 1/4-20 x 3/8
HingeSpring
WheelAdjustingBracket-Front
Spacer
Clipon DischargeGuard
SelectorSpring- Rear
SelectorKnob
34 165762X004 Axle Arm Assembly - LR
36 160828 Shoulder Bolt 5/16-18
37 151157 Wheel Assembly
39 83923 Flanged Locknut
40 77400 Hubcap
41 88652 Hinge Screw
42 165766 Spdng (LH)
43 165767 Spdng(RH)
44 165912 Door Bolt
45 150406 Hex Head Thread Rolling Screw 3/8-16 x 1
46 85463 Danger Decal
48 165761X004 Axle Arm Assembly- RR
52 166878 Housing Assembly (Incl. Ref. #17, 18 & 46)
53 851G84 Hex Head Screw 3/8-24 x 1-3/8 Grd. 8
54 850263 Helical Lockwasher
55 851074 Hardened Washer
56 16,5833 21" Blade
57 851514 Blade Adapter
67 166113 Grass Bag
68 165755 Catcher Frame
70 ...... Engine -(See Breakdown)
Briggs & Stratton 12H802-2675-B1
--161058 Warning Decal (Not Shown)
- - 171204 Owner'sManual
Availableaccessoriesnotincludedwithlawnmower:
7133623 Gas Can (2.5 gal.)
7133500 FuelStabilizer
7133000 SAE 30W Oil(20 oz,)

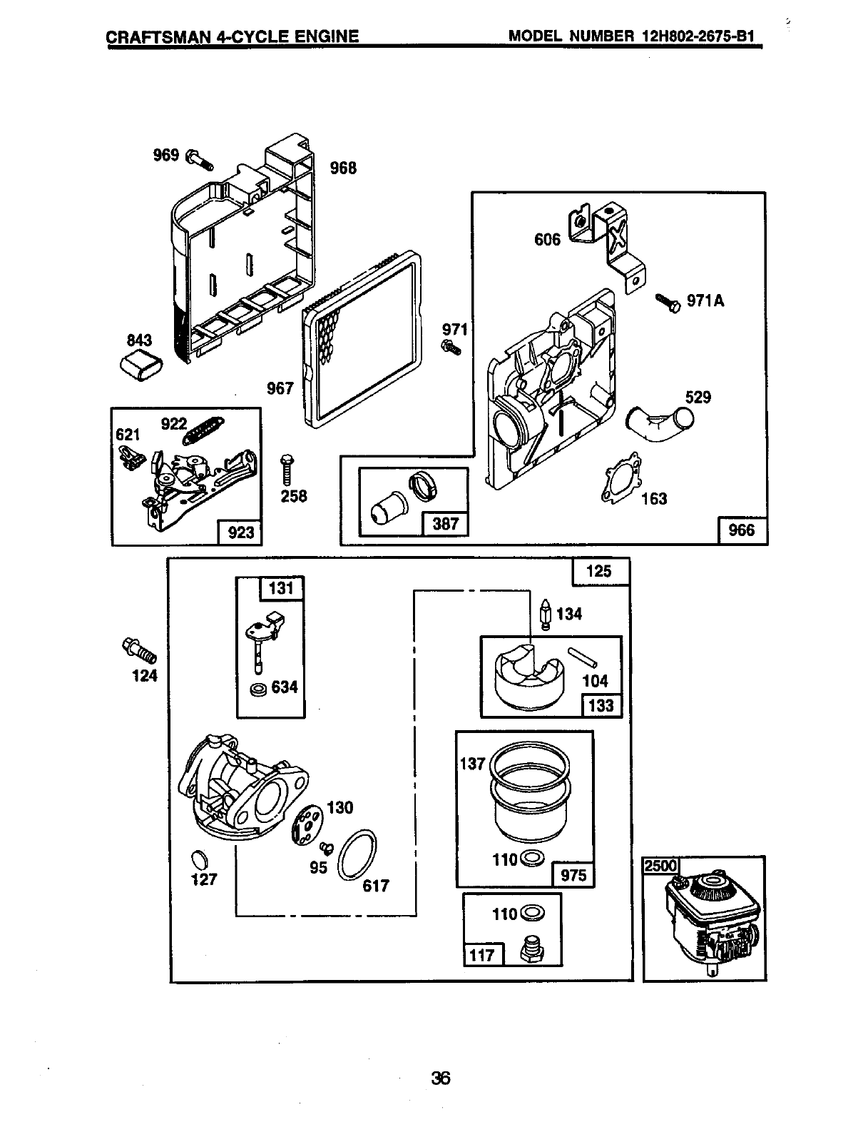
CRAFTSMAN 4-CYCLE ENGINE MODEL NUMBER 12H802-2675-B1
843
621
967
968
2_58
971
%
124 _634
30
6O6
_971A
529
_163
36

CRAFTSMAN 4-CYCLE ENGINE MODEL NUMBER 12H802-2675-B1
33
(__ 572 307
625 91
46
i47
22
383
306
"k REQUIRES SPECIAL TOOLS
TO INSTALL. SEE REPAIR
INSTRUCTION MANUAL.
37

CRAFTSMAN 4-CYCLE ENGINE MODEL NUMBER 12H802-2675-B1
_) 670A
9A
9
842 _
524
634 617
977 CARBURETOR GASKET SET
1095 VALVE OVERHAUL
GASKET SET
104 110 127
134 °
617 634
F121 CARBURETOR KIT
_88A
I
670A
38

CRAFTSMAN 4-CYCLE ENGINE MODEL NUMBER 12HS02-2675-B1
334
356
i
304
_332
455
11019 LABEL KIT - EMISSION ]
3t)

CRAFTSMAN 4-CYCLE ENGINE MODEL NUMBER 12H802-267S-B1
KEY PART
NO. NO. DESCRIPTION KEY PART
NO. NO. DESCRIPTION
1 493260 CylinderAssembly
2 399269 Bushing,Cylinder
3 299819 Seal, Oil
4 493279 Sump,Engine
5 214368 Head,Cylinder
7 272916 .... Gasket, CylinderHead
8 495786 BreatherAssembly
9 272481 .... Gasket, Valve Cover
9A 272238 Gasket, Baffle Plate
10 94650 Screw,Hex Head
11 231933 Tube,Breather
12 272198 Gasket, Crankcase
13 94547 Screw,CylinderHead
15 94720 Plug,Oil Drain
16 498565 Crankshaft
94388 TimingGear Key
20 399781 Seal, Oil
22 94220 Screw,Hex Head
94612 Screw,Hex Head
(Used inHole Nearest
Breather)
23 492177 Flywheel
24 222698 Key,Flywheel
25 499429 PistonAssembly,
StandardSize
499430 Piston Assy. (.010" O.S.)
499431 Piston Assy. (.020" O.S.)
499432 Piston Assy. (.030" O.S.)
26 499425 Ring Set, Piston,
StandardSize
499426 RingSet (.010' O.S.)
499427 RingSet (.020' O.S.)
499428 RingSat (.030=O.S.)
27 263190 Lock, Piston Pin
28 499423 Pin, Piston,Standard
Size
29 499424 Rod,Connecting
32 94699 Screw,ConnectingRod
33 262651 Valve, Exhaust
34 262652 Valve, Intake
35 262224 Spdng,Valve
40 93312 Retainer,Valve Spdng
45 262204 Tappet,Valve
46 498275 Gear,Cam
47 493737 Slinger, Oil
51 272199 Gasket, Intake Elbow
54 94526 Screw, Hex Head
55 4974420 Housing, Rewind Starter
56 498144 Pulley, Rewind Starter
58 280399 Rope, Rewind Starter
(Cut To 88-5/8")
60 281434 Gdp, Starter Rope
65 94696 Screw, Phillips
81 223664 Lock, Muffler Screw
95 94098 Screw, Round Head
104 231371 ** Pin, Float Hinge
110 - -- *** Gasket, Sealing
(Sold in Kit Only)
117 494870 Jet, Main
121 498260 Carburator Kit
124 94525 Screw, Carburetor
Mounting
125 498170 Carburetor
127 --- ** Plug, Welch
(Sold in Kit Or_ly)
130 224908 Valve, Throttle
131 493267 Shaft, Throttle
133 398187 Float, Carburator
134 398188 Valve, Inlet
(Includes Seat)
137 -- - *** Gasket, Bowl
(Sold in Kit Only)
163 272653 Gasket, Air Cleaner
187 492790 Hose, Fuel
188 398540 Screw, HexHead
188A 94644 Screw, Hex Head
202 262579 Link, Govemor
209 263044 Spdng, Governor
*t
t_,t
Includedin GasketSet (497316)
IncludedinCarburetorKit(498260)
Includedinboth CarburetorKit(498260),
and CarburetorGasket Set(498261)
Includedinboth GasketSat (497316),
and Valve overhaulGasketSet (498528).
NOTE: All component dimensions given
in U.S. inches 1 inch = 25,4 mm
4O

CRAFTSMAN 4-CYCLE ENGINE MODEL NUMBER 12HSO2-2675-B1
KEY PART
NO. NO. DESCRIPTION
227 492349 Lever, Governor
230 67072 Washer, Thrust
258 94512 Screw, Hex Head
284 94511 Screw, Hex Head
300 497838 Muffler, Exhaust
304 493293 Housing, Blower
305 94744 Screw, Sems
306 224324 Shield, Cylinder
307 94515 Screw, Hex Head
332 94877 Nut, Flywheel
333 802574 Armature, Magneto
334 94731 Screw, Sems
337 802592 Plug, Spark
356 497833 Wire, Ground
358 497316 Gasket Set
363 19069 Puller, Flywheel
383 69838 Wrench, Spark Plug
387 496115 Palmer,Carburetor
455 225121 Cup, Starter
456 281503 Retainer, Starter
459 281505 Pawi, Rac:het
461 94943 Screw, Shoulder
515 263073 Spring, Retainer
523 495264 Cap, Oil Filler
524 280393 Seal, Filler Tube
525 495265 Tube, Oil Fill
529 281299 Grommet
562 94852 Bolt, Governor Lever
572 224328 Baffle, Cylinder
592 231082 Nut, Hex
601 93053 Clamp, Hose
606 224815 Strap, Bracket
608 497680 Starter, Rewind
Includes: 94904 Screw,Hex
94908 Nut, Hax
613 94231 Screw,Hex Head
615 94474 Fastener
616 263175 Crank,Governor
617 270344 *** Seal, Intake Elbow
620 499135 Bracket,Carburetor
621 396847 Switch,Stop
625 497465 Tube, Fuel Intake
634 - - - *** Washer, Shaft
(Sold inKitOnly)
KEY PART
NO, NO. DESCRIPTION
635 66538 Elbow, Spark Plug
670 280512 Spacer, Fuel Tank
670A 493823 "Spacer, Bracket
741 262598 Gear, Timing
842 280966 Seal, O-Ring
843 272616 Sleeve, Lever
847 495263 Tube Assembly, Oil
851 493880 Terminal, Ignition Cable
869 213512 Seat, Intake Valve
870 213513 Seat, Exhaust Valve
871 262001 Guide, Exhaust Valve
63709 Guide, Intake Valve
922 262640 Spring, Brake
923 493442 Brake Assembly
930 497233 Guard, Finger
957 397974 Cap, FuelTank
966 496116 Base, Air Cleaner
967 491588 Filter, Air
968 281340 Cover, Air Cleaner
969 94872 Screw, Hex Head
971 94873 Screw, Hex Head
971A 94749 Screw, Hex Head
972 495224 Tank, Fuel
975 493640 Bowl, Float
977 498261 Gasket Set, Carburetor
1019 494256 Label Kit, Emission
1095 498258 Gasket Set, Valve
Overhaul
2500 12J802-2915 Replacement Engine
-- 498826 Replacement Shortblock
tt
NOTE:
in U.S.
RPM Settings: Low: 1900-2100;
High: 3000-3200
Included inGasket Set (497316)
Included in CaYouretorKit(498260)
IncludedIn bothCarburetorKit (498260),
andCarburetorGasketSet (498261)
Includedin both Gasket Set (497316),
and Valve overhaulGasket Set (498528).
All component dimensions given
inches 1 inch = 25.4 mm
41

42

43

For in-home major brand repair service:
Call 24 hours a day, 7 days a week
1-800-4-MY-HOME s" (1-800-469-4663)
Para pedir servicio de reparaci6n a domicilio
1-800-676-5811
In Canada for all your service and parts needs call
Au Canada pour tout le service ou les pi_ces
1-800-665-4455
For the repair or replacement parts you need:
Call 6 am - 11 pm CST, 7 days a week
PartsDirect s"
1-800-366-PART (1-800-366-7278)
Para ordenar piezas con entrega a domicilio
1-800-659-7084
For the location of a Sears Parts and Repair Center
in your area:
Call 24 hours a day, 7 days a week
1-800-488-1222
For information on purchasing a Sears Maintenance
Agreement or to inquire about an existing Agreement:
Call 9 am - 5 pm, Monday -Saturday
1-800-827-6655
171204 10.19.99 VB Printedin U.S.A.