Craftsman 917773730 User Manual WHEELED WEED TRIMMER Manuals And Guides L0702339
CRAFTSMAN Line Trimmers/Weedwackers, Gas Manual L0702339 CRAFTSMAN Line Trimmers/Weedwackers, Gas Owner's Manual, CRAFTSMAN Line Trimmers/Weedwackers, Gas installation guides
User Manual: Craftsman 917773730 917773730 CRAFTSMAN WHEELED WEED TRIMMER - Manuals and Guides View the owners manual for your CRAFTSMAN WHEELED WEED TRIMMER #917773730. Home:Lawn & Garden Parts:Craftsman Parts:917773730 Craftsman Grass trimmer (weed wacker) Manual
Open the PDF directly: View PDF
.
Page Count: 44

Owner's Manual
(RRFTSMRH °
WHEELED
WEEDTRIMMER
625 Series Briggs & Stratton Engine
22 Inch Cut
Model No.
917.773730
•EspaSol, p 17
_,CAUTION:
Read and follow all
Safety Rules and Instructions
before operating this equipment.
Sears, Roebuck and Co, Hoffman Estates, IL 60179
Visit our Craftsman website: www sears com/craftsman USA

Warranty ................................................... 2
Safety Rules .......................................... 2-4
Product Specifications .............................. 5
Assembly /Pre-Operation ........................ 5
Operation ............................................... 6-8
Maintenance Schedule ............................. 9
Maintenance ........................................ 9-11
Service and Adjustments ................... 12-13
Storage ................................................... 14
Troubleshooting ...................................... 15
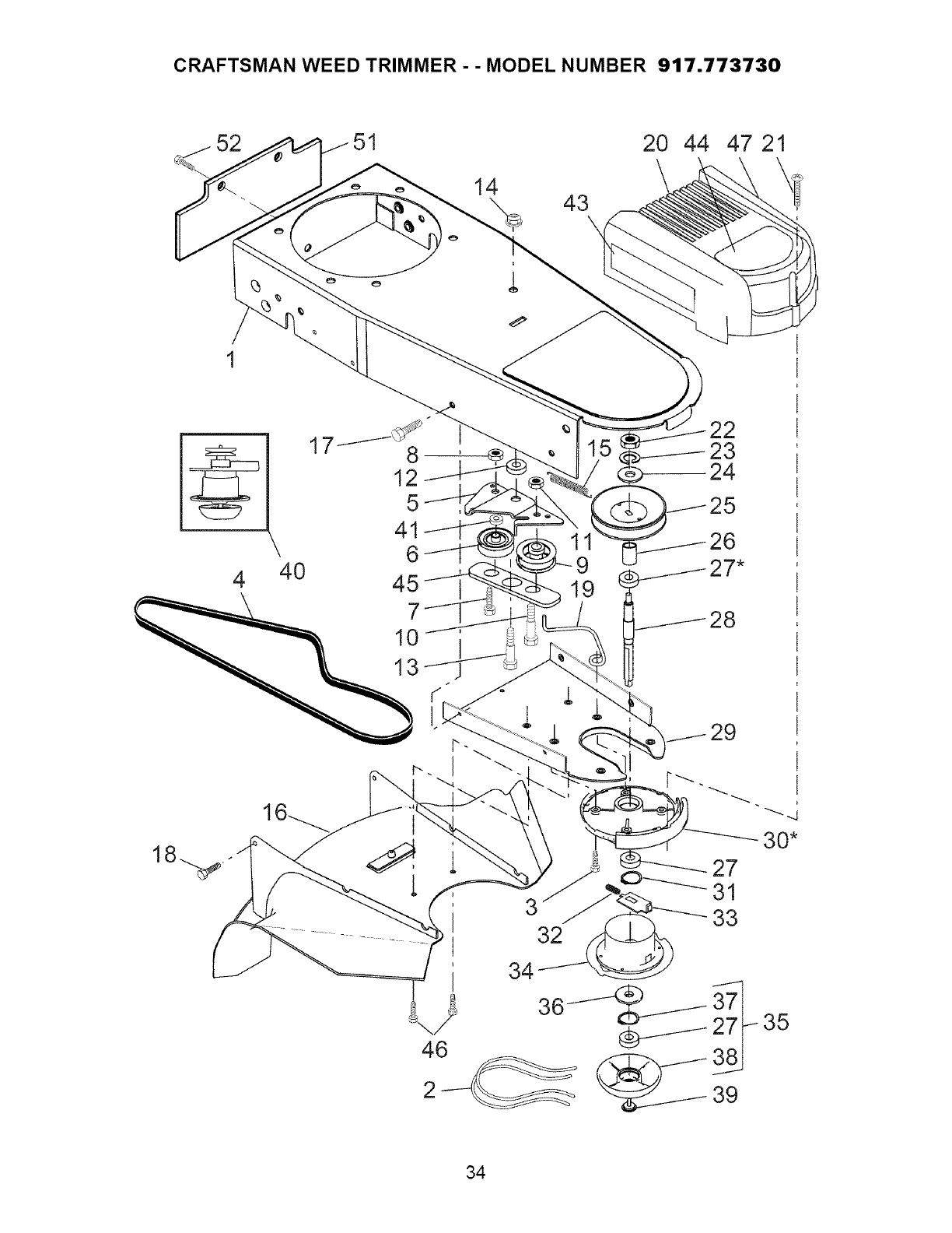
Repair Parts ....................................... 32-41
Sears Service .......................... Back Cover
LIMITED TWO YEAR WARRANTY ON CRAFTSMAN WEEDTRIMMER
For two (2) years from date of purchase, when this Craftsman Weedtrimmer is main-
tained, lubricated, and tuned up according to the operating and maintenance instruc-
tions in the owner's manual, Sears will repair free of charge any defect in material or
workmanship.
If this Craftsman Weedtrimmer is used for commercial or rental purposes, this warranty
applies for only 90 days from the date of purchase.
This Warranty does not cover:
• Expendable items which become worn during normal use, such as rotating lines,
belts, air cleaners and spark plug.
• Repairs necessary because of operator abuse or negligence, including bent crank-
shafts and the failure to maintain the equipment according to the instructions con-
tained in the owner's manual.
Warranty service is available by returning the Craftsman Weedtrimmer to the nearest
Sears Parts & Repair Center in the United States. This warranty applies only while this
product is used in the United States.
This Warranty gives you specific legal rights, and you may also have other rights which
vary from state to state.
Sears, Roebuck and Co., Dept. 817 WA, Hoffman Estates, IL 60179
_, WARNING: This trimmer is equipped with an internal combustion engine and should
not be used on or near any unimproved forest-covered, brush-covered or grass-covered
land unless the engine's exhaust system is equipped with a spark arrester meeting ap-
plicable local or state laws (if any). If a spark arrester is used, it should be maintained in
effective working order by the operator.
In the state of California the above is required by law (Section 4442 of the California
Public Resources Code). Other states may have similar laws. Federal laws apply on
federal lands. A spark arrester for the muffler is available through your nearest Sears
service center (see the REPAIR PARTS section of this manual).
SAFETYGLASSES
_&Look for this symbol to point out
important safety precautions. It means
CAUTIONN! BECOME ALERTN!
YOUR SAFETY IS INVOLVED.
The operation of any trimmer can result in foreign objects thrown into
the eyes, which can result in severe eye damage. Always wear safety
glasses or eye shields while operating your trimmer or performing any
adjustments or repairs. We recommend standard safety glasses or a
wide vision safety mask worn over spectacles.
WARNING: In order to prevent ac-
cidental starting when setting up, trans-
porting, adjusting or making repairs,
always disconnect spark plug wire and
2 place wire where it cannot contact plug.

_I:I,WARNING: Engine exhaust, some
of its constituents, and certain vehicle
components contain or emit chemicals
known to the State of California to
cause cancer and birth defects or other
reproductive harm.
A CAUTION: Muffler and other engine
parts become extremely hot during
operation and remain hot after engine has
stopped. To avoid severe burns on contact,
stay away from these areas.
I. GENERAL OPERATION
• Read, understand, and follow all instruc-
tions on the machine and in the manual
before starting. Be thoroughly familiar
with the controls and the proper use of
the machine before starting.
• Do not put hands or feet near or under
rotating parts.
• Keep all parts of your body away from
muffler and spinning line. A hot muffler
can cause serious burns.
• Only allow responsible individuals, who
are familiar with the instructions, to
operate the machine.
• Stay away from breakable objects, such
as house windows, auto glass, green-
houses, etc.
• Clear the area of objects such as rocks,
toys, wire, bones, sticks, etc., which
could be picked up and thrown by the
spinning lines.
• Be sure the area is clear of other people
before trimming, particularly small chil-
dren and pets. Stop machine if anyone
enters the area.
• Wear appropriate clothing such as a
long-sleeved shirt or jacket. Also wear
long trousers or slacks. Do not wear
shorts.
• Do not wear loose clothing which could
get caught in this equipment.
• Do not operate the machine when bare-
foot or wearing open sandals. Always
wear work gloves and sturdy footwear.
Leather work shoes or short boots work
well for most people. These will protect
the operator's ankles and shins from
small sticks, splinters, and other debris,
and improve traction. 3
• Do not pull machine backwards unless ab-
solutely necessary. Always Iookdown and
behind before and while moving backwards.
• Do not operate the machine without
proper guards, plates or other safety
protective devices in place.
• See manufacturer's instructions for
proper operation and installation of
accessories. Only use accessories ap-
proved by the manufacturer.
• Neveruse blades, wire, orfiailing devices.
This unit is designed for line trimmer use
only. Use of other accessories or attach-
ments will increase the risk of injury.
• Stop the rotating trimmer head when
crossing gravel drives, walks, or roads.
Wait for the cutting lines to stop rotating.
• Stop the engine (motor) whenever you
leave the equipment and allow it to cool,
before cleaning, repairing or inspecting
the unit. Be sure the trimmer head and
all moving parts have stopped.
• Operate only in daylight or good artificial
light.
• Do not operate the machine while under
the influence of alcohol or drugs.
• Never operate machine in wet grass. At-
ways be sure of your footing: keep a firm
hold on the handle and walk; never run.
• If the equipment should start to vibrate
abnormally, stop the engine (motor) and
check immediately for the cause. Vibra-
tion is generally a warning of trouble.
• Always wear safety goggles or safety
glasses with side shields when oper-
ating machine.
II, SLOPE OPERATION
Slopes are a major factor related to slip and
fall accidents which can result in severe injury.
All slopes require extra caution. If you feel
uneasy on a slope, do not trim it.
DO:
• Trim across the face of slopes: never up
and down. Exercise extreme caution
when changing direction on slopes.
• Remove obstacles such as rocks, tree
limbs, etc.
• Watch for holes, ruts, or bumps. Tall
grass can hide obstacles.
DO NOT:
• Do not trim near drop-offs, ditches or
embankments. The operator could lose
footing or balance.
• Do not trim excessively steep slopes.
• Do not trim on wet grass. Reduced foot-
ing could cause slipping.

III. CHILDREN
Tragicaccidentscanoccurif the opera-
tor is not alertto the presenceof chil-
dren. Childrenare oftenattractedto the
machineand the trimmingactivity. Never
assume that children will remain where
you last saw them.
• Keep children out of the trimming area
and under the watchful care of another
responsible adult.
• Be alert and turn machine off if children
enter the area.
• Before and while moving backwards,
look behind & down for small children.
• Never allow children to operate the
machine.
• Use extra care when approaching blind
corners, shrubs, trees, or other objects
that may obscure vision.
IV. SERVICE
• Use extra care in handling gasoline and
other fuels. They are flammable and
vapors are explosive.
Use only an approved container.
Never remove gas cap or add fuel with
with the engine running. Allow engine
to cool before refueling. Don't smoke.
- Never refuel the machine indoors.
- Never store the machine or fuel
container inside where there is an
open flame, such as a water heater.
- Move away from fueling site before
starting engine.
• Never run trimmer inside a closed area.
• Never make adjustments or repairs with
the engine (motor) running. Disconnect
the spark plug wire, and keep the wire
away from the spark plug to prevent ac-
cidental starting.
• Keep nuts and bolts, especially trimmer
head and engine bolts, tight and keep
equipment in good condition.
• Never tamper with safety devices.
Check their proper operation regularly.
• Keep machine free of grass, leaves, or
other debris buildup. Clean oil or fuel
spillage. Allow machine to cool before
cleaning or storing.
• Stop and inspect the equipment if you
strike an object. Repair, if necessary,
before restarting.
• Do not change the engine governor set-
ting or overspeed the engine.
• Clean and replace safety and instruction
decals as necessary.
Repair Protection
Congratulations on making a smart pur- •
chase. Your new Craftsman® product is
designed and manufactured for years of
dependable operation. But like all prod-
ucts, it may require repair from time to
time. That's when having a Repair Protec-
tion Agreement can save you money and
aggravation.
Purchase a Repair Protection Agreement
now and protect yourself from unexpected
hassle and expense.
Here's what's included in the Agreement:
• Expert service by our 12,000 profe-
sional repair specialists.
• Unlimited service and no charge for
parts and labor on all covered repairs.
• Product replacement if your covered
product can't be fixed.
• Discount of 10% from regular price of
service and service-related parts not
covered by the agreement; also, 10%
off regular price of preventive mainte-
nance check.
Agreements
Fast help by phone - phone support
from a Sears technician on products
requiring in-home repair, plus conve-
nient repair scheduling.
Once you purchase the Agreement, a
simple phone call is all that it takes for you
to schedule service. You can call anytime
day or night, or schedule a service ap-
pointment online.
Sears has over 12,000 professional repair
specialists, who have access to over 4.5
million quality parts and accessories.
That's the kind of professionalism you can
count on to help prolong the life of your
new purchase for years to come. Purchase
your Repair Protection Agreement today!
Some limitations and exclusions apply.
For prices and additional information
call 1-800-827-6655.
Sears Installation Service
For Sears professional installation of home
appliances, garage door openers, water
heaters, and other major home items, in
the U.S.A. call 1-800-4-1MIY-HOIMIE®.

SerialNumber:
Dateof Purchase:
GasolineCapacity/Type: 1.6 Quarts (Unleaded Regular)
Oil Type (API SG-SL): SAE 30 (above 32°F); SAE 5W-30 (below 32°F)
Oil Capacity: 20 Ounces
Spark Plug (Gap: .030") Champion RJ 19LM or J 19LM
Trimmer Line Length: 18.75 Inches (0.155 Inch Diameter
• The model and serial numbers will be found on a decal on the rear of the trimmer.
Record both serial number and date of purchase in the space provided above.
Read these instructions and this manual in
its entirety before you attempt to assemble
or operate your new trimmer.
IMPORTANT: This trimmer is shipped WITH-
OUT OIL OR GASOLINE in the engine.
Your new trimmer has been assembled
at the factory with the exception of those
parts left unassembled for shipping
purposes. All parts such as nuts, wash-
ers, bolts, etc., necessary to complete the
assembly have been placed in the parts
bag. To ensure safe and proper operation
of your trimmer, all parts and hardware
you assemble must be tightened securely.
Use the correct tools as necessary to
ensure proper tightness.
When right hand (RH) or left hand (LH) is
mentioned in this manual, it means when
you are in the operating position (standing
behind the handle).
Loose Parts Packed Separately
Bottle of oil Trimmer Lines (2) Sets
(0.155 diameter
x 18,75 inches long)
REMOVE TRIMMER FROM CARTON
1. Removeloose partsincluded with trimmer.
2. Cut down two end corners of carton
and lay end panel down flat.
3. Remove all packing materials.
4. Roll trimmer out of carton and check car-
ton thoroughly for additional loose parts.
HOW TO SET UP YOUR TRIMMER
TO UNFOLD HANDLE
IMPORTANT: Unfold handle carefully so
as not to pinch or damage control cables.
1. Loosen handle knob enough to allow
upper handle to be unfolded from the
shipping position.
2. Raise upper handle section into place on
lower handle and tighten handle knob.
3. Remove handle padding holding trim-
mer head control bar to upper handle.
Your trimmer handle can be adjusted for
your trimming comfort. Refer to "ADJUST
HANDLE" in the Service and Adjustments
section of this manual.
Upper handle
Handle
knob
Lower
handle
LIFT UP
5

KNOW YOUR TRIMMER
READ THIS OWNER'S MANUAL AND ALL SAFETY RULES BEFORE OPERATING
YOUR TRIMMER. Compare the illustrations with your trimmer to familiarize yourself with
the location of various controls and adjustments. Save this manual for future reference.
These symbols may appear on your trimmer or in literature supplied with the product. Learn
and understand their meaning.
FAST SLOW OILCAUTION ENGINE OFF FUEL
AVOIDSERIOUS
INJURYORDEATH
Throttle control
Trimmer head control bar
Starter handle
Handle
Gasoline cap
Air
Engine oil cap
with dipstick
Muffler
Chassis cover
Primer Trimmer head
IMPORTANT: This trimmer is shipped
WITHOUT OIL OR GASOLINE in the engine.
line
Trimmer head control bar - must be held
down to the handle to engage trimmer
head. Release to stop the trimmer head.
Primer - pumps additional fuel from the
carburetor to the cylinder for use when
starting a cold engine.
Throttle control - used for starting and
stopping the engine and allows you to se-
lect either FAST or SLOW engine speed.
Starter handle - used for starting the
engine.

The operationof anytrimmercan resultin
foreignobjectsbeingthrown intothe eyes,
whichcan resultin severeeyedamage.
Alwayswear safetyglassesor eye shields
whileoperatingyourtrimmeror performing
any adjustmentsor repairs. We recom-
mendstandardsafetyglassesor a wide
visionsafety maskworn over spectacles.
TO ADJUST TRIMMING HEIGHT
_ICAUTION: Stop the engine and wait for
all moving parts to stop. Disconnect spark
plug wire from spark plug and place wire
where it cannot come in contact with plug.
The height of cut can be set to six (6) dif-
ferent positions ranging from 1-1/2 inches
to 3 inches. Recommended cutting height
for the average yard is 2 inches.
1. To adjust trimming height, push in the
locking plate tab and move trimmer
head up or down to desired position.
2. Release tab and be sure head is
locked into one of the six (6) height
positions.
HOW TO USE YOUR TRIMMER
ENGINE SPEED
The engine speed is controlled by a throt-
tle located on the side of the upper handle.
FAST position is for starting and normal
trimming. SLOW is for light trimming and
fuel economy. STOP is for stopping the
engine.
Adj,
Trimmer
Head
Locking
Plate Tab
FAST
SLOW
/
TRIMMER HEAD DRIVE CONTROL
Your trimmer is equipped with a trimmer
head drive control bar which will require
the operator to be positioned behind the
trimmer handle to operate the trimmer.
• Trimmer head rotation is controlled by
holding the trimmer head control bar
down to the handle.
• Trimmer head rotation will stop when
the control bar is released.
y "\
7
BEFORE STARTING ENGINE
ADD OIL
Your trimmer is shipped without oil in the
engine. For type and grade of oil to use,
see "ENGINE" in the Maintenance section
of this manual.
i_ CAUTION: DO NOT overfill engine with
oil, or it will smoke heavily from the muffler
on startup.
1. Be sure trimmer is level.
2. Remove oil dipstick from oil fill spout.
3. You receive a container of oil with the
unit. Slowly pour the entire container
down the oil fill spout into the engine.
4. Insert and tighten dipstick.
IMPORTANT:
• Check oil level before each use. Add oil
if needed. Fill to full line on dipstick.
• Change the oil after every 25 hours of
operation or each season. You may
need to change the oil more often under
dusty, dirty conditions.

ADD GASOLINE
• Fill fuel tank to bottom of gas tank
filler neck. Do not overfill. Use fresh,
clean, regular unleaded gasoline with a
minimum of 87 octane. Do not mix oil
with gasoline. Purchase fuel in quanti-
ties that can be used within 30 days to
assure fuel freshness.
CAUTION: Wipe off any spilled oil or
fuel. Do not store, spill or use gasoline
near an open flame.
ACAUTION: Alcohol blended fuels
(called gasohol or using ethanol or
methanol) can attract moisture which
leads to separation and formation of acids
during storage. Acidic gas can damage
the fuel system of an engine while in
storage. To avoid engine problems, the
fuel system should be emptied before
storage of 30 days or longer. Empty
the gas tank, start the engine and let it
run until the fuel lines and carburetor
are empty. Use fresh fuel next season.
See Storage Instructions for additional
information. Never use engine or
carburetor cleaner products in the fuel
tank or permanent damage may occur.
Gasoline filler Engine
cap oil cap
Primer
TO STOP ENGINE
• To stop engine, move throttle control
lever to STOP position.
TO START ENGINE
1. To start a cold engine, push primer three
(3) times before trying to start. Use a
firm push. This step is not usually neces-
sary when starting an engine which has
already run for a few minutes.
2. Move throttle control lever to FAST
position.
3. Hold upper handle firmly and pull
starter handle quickly. Do not allow
starter rope to snap back.
NOTE: In cooler weather it may be
necessary to repeat priming steps. In
warmer weather overpriming may cause
flooding and engine will not start. If you
do flood engine, wait a few minutes before
attempting to start and do not repeat
priming steps.
\
Starter
handle
TRIMMING TIPS
• Set the throttle control in the FAST posi-
tion. If the weeds or grass are tall and
thick, operate the trimmer at a slower
walking speed.
• Frequently clean the underside of the
trimmer to remove any grass build up.
Keep top of engine around starter clear
and clean of grass clippings and chaff.
This will help engine air flow and extend
engine life.
• For best results and longer lasting line,
use the ends of the line to do the cutting.
This is easily done by moving slowly
through very thick and heavy weeds.
• Use the left side of trimmer when trim-
ming along fences, walls, flowerbeds
and other such objects.
• If trimmer lines become too short, it will
take longer to complete the job. If trim-
mer lines are worn to less than half their
original length, they should be replaced.
See "TO REPLACE TRIMMER LINE" in
the Maintenance section of this manual.
• Trimmer head contact with concrete, as-
phalt or other hard surfaces may cause
premature wear of the ball on bottom of
trimmer head.

MAINTENANCE
F,LL ,N DATES /__ _'¢'/_(3_. C5"£._F"
AS YOU COMPLETE /__y SEnRAVIlCE
REGULARSERVICE /_r y/£.._ _b_"r._/_.,'_y!b'<-'_r" DATES
TCheck for Loose Fasteners If
RClean Trimmer
I
MClean Under Engine Cover 1#12
I_ Check Drive Belt /Pulleys
RCheck /Replace Trimmer Lines 1_3
v'
v'
v'
v'
v'
Check Engine Oil Level I_
Change Engine Oil _1,2
Clean Air Filter I_ 2
Inspect Muffler 1/'
EClean or Replace Spark Plug I_
Replace Air Filter Paper Cartridge
1-Change more often when operating under a heavy load or in high ambient temperatures.
2 - Service more often when operating in dirty or dusty conditions.
3 - Replace trimmer lines when they have wom to half their original length.
GENERAL RECOMMENDATIONS
The warranty on this trimmer does not
cover items that have been subjected to
operator abuse or negligence. To receive
full value from the warranty, operator must
maintain trimmer as instructed in this
manual.
Some adjustments will need to be made
periodically to properly maintain your unit.
At least once a season, check to see if
you should make any of the adjustments
described in the Service and Adjustments
section of this manual.
• At least once a year, replace the spark
plug and replace air filter element. A
new spark plug and clean/new air filter
element assure proper air-fuel mixture
and help your engine run better and
last longer.
• Follow the maintenance schedule in
this manual.
BEFORE EACH USE
1. Check engine oil level.
2. Check for loose fasteners.
3. Clean under engine cover.
LU BRICATION
To prolong the useful life of your trimmer,
change engine oil as recommended in this
section of Owner's Manual.
IMPORTANT: Do not oil or grease plastic
wheel bearings. Viscous lubricants will
attract dust and dirt that will shorten the
life of the self- lubricating bearings. If you
feel they must be lubricated, use only a dry,
powdered graphite type lubricant sparingly.
9

TRIMMER
Always observe safety rules when per-
forming any maintenance.
TIRES
• Keep tires free of gasoline, oil, or insect
control chemicals which can harm rub-
ber.
• Avoid stumps, stones, deep ruts, sharp
objects and other hazards that may
cause tire damage.
TRIMMER LINE
For best results, replace trimmer lines
when they have worn to half their original
length. Use .155 inch diameter trimmer
line. Cut new trimmer line length to 18-3/4
inches. After new line is installed on
trimmer head, check all lines so they do
not vary more then one (1) inch in length.
This is important to make sure the trim-
mer head is balanced and will not vibrate
abnormally.
_WARNING: Use only the specified
trimmer line. Do not use other materials
such as wire, string, rope, etc. Wire can
break off during trimming and become a
dangerous missile that can cause serious
injury.
TO CUT LINE TO PROPER LENGTH
NOTE: Trimmer line pre-cut to proper
length is available for this unit; see the
Repair Parts section of this manual.
If trimmer line is purchased in bulk, it must
be cut to 18-3/4 inches before using. Use
the built-in length guage as follows:
1. From front of trimmer, place the end of
spooled trimmer line at the mark on the
side of the debris shield as shown.
2. Wrap trimmer line around front of chas-
sis cover to other side and cut at the
"22" mark (your unit's width of cut).
Chassis cover
TO REPLACE TRIMMER LINE
1. Disconnect spark plug wire from spark
plug and place wire where it cannot
come in contact with spark plug.
2. Remove worn trimmer line from line
carrier plate.
3. Fold new, cut to length, trimmer line
in half and insert folded end through
carrier plate opening to back side of
retainer clip.
4. With folded end of line at back side of
retainer clip, pull line outward until line
is fully seated under the retainer clip.
5. Repeat on other side of carrier plate.
6. Check all lines to be sure they are the
same length.
7. Reconnect spark plug wire to spark
plug.
Trimmer
line
Carrier plate
opening
WRAP
LINE
_,ROUND
Debris New
shield End of trimmer
mark spooled line line
10
Retainer
clip

ENGINE
LU BRICATION
Use only high quality detergent oil rated
with API service classification SG-SL.
Select the oil's SAE viscosity grade
according to your expected operating
temperature.
SAE VISCOSITY GRADES
F-20 0 30 32 40 60 80 100
o -_o -2_ -1_ _ 1'0 _0 io 4_
TEMPERATURE RANGE ANTICIPATED BEFORE NEXT OIL CHANGE
NOTE: Although multi-viscosity oils
(5W30, 10W30 etc.)improve starting in
cold weather, these multi-viscosity oils will
result in increased oil consumption when
used above 32°F. Check your engine oil
level more frequently to avoid possible
engine damage from running low on oil.
Change the oil after every 25 hours of
operation or at least once a year if the unit
is not used for 25 hours in one year.
Check the crankcase oil level before
starting the engine and after each five (5)
hours of continuous use. Tighten oil plug
securely each time you check the oil level.
TO CHANGE ENGINE OIL
NOTE: Before tipping trimmer to drain oil,
drain fuel tank by running engine until fuel
tank is empty.
1. Disconnect spark plug wire from spark
plug and place wire where it cannot
come in contact with spark plug.
2. Remove engine oil cap; lay aside on a
clean surface.
3. Tip trimmer on its side as shown and
drain oil into a suitable container. Rock
trimmer back and forth to remove any
oil trapped inside of engine.
Container
4. Wipe off any spilled oil from trimmer or
side of engine.
5. Fill engine with oil (See "ADD OIL" in
the Operation section of this manual). 11
6. Replace engine oil cap.
7. Reconnect spark plug wire to spark
plug.
AIR FILTER
Your engine will not run properly and may
be damaged by using a dirty air filter.
Replace the air filter cartridge every 100
hours of operation or every season, which-
ever occurs first. Service air cleaner more
often under dusty conditions.
TO CLEAN AIR FILTER
1. Loosen screw and tilt cover to remove.
2. Carefully remove cartridge.
3. Clean by gently tapping on a flat sur-
face. If very dirty, replace cartridge.
ACAUTION: Petroleum solvents, such
as kerosene, are not to be used to clean
cartridge. They may cause deterioration
of the cartridge. Do not oil cartridge. Do
not use pressurized air to clean or dry
cartridge.
4. Install cartridge, then replace cover
making sure the tabs are aligned with
the slots in the back plate. Fasten
screw securely.
Lip Back plate
Cartridge
Slot
Cover
Cover tab
MUFFLER
Inspect and replace corroded muffler as it
could create a fire hazard and/or damage.
SPARK PLUG
Replace spark plug at the beginning of
each mowing season or after every 100
hours of operation, whichever occurs
first. Spark plug type and gap setting
are shown in the "PRODUCT SPECIFIC-
ATIONS" section of this manual.
CLEANING
IMPORTANT: For best performance, keep
trimmer free of built-up grass and trash.
Clean the underside of your trimmer after
each use.

_CAUTION: Disconnectsparkplugwire
from sparkplugand placewirewhere it
cannotcomein contactwith plug.
• Turntrimmeron itsside. Makesure air
filter and carburetorare up. Cleanthe
undersideof yourtrimmerby scrapingto
removebuild-upof grassandtrash.
• Cleanengineoftento keeptrashfrom
accumulating.A cloggedengineruns
hotterandshortensengine life.
• Keepfinishedsurfacesand wheelsfree
of all gasoline,oil, etc.
• We do not recommendusinga garden
hoseto cleantrimmerunlessthe elec-
tricalsystem,muffler,air filter and car-
buretorare coveredto keepwaterout.
Waterin enginecanresultin shortened
engine life.
_L WARNING: To avoid serious injury,
before performing any service and
adjustments:
1. Stop engine.
2. Make sure the rotating lines and all
moving parts have completely stopped.
3. Disconnect spark plug wire from spark
plug and place wire where it cannot
come in contact with plug.
TRIMMER
TO ADJUST TRIMMING HEIGHT
See "TO ADJUST TRIMMING HEIGHT" in
the Operation section of this manual.
TO ADJUST HANDLE
The upper handle may be adjusted to dif-
ferent height positions.
• Loosen handle knob only enough to
allow the upper handle to pivot to the
desired position.
• Tighten handle knob securely.
NOTE: The handle knob and bolt may be
reversed for left handed operation.
Upper handle
TO REMOVE/REPLACE TRIMMER HEAD
DRIVE BELT
1. Remove screw at front of chassis
cover.
2. Lift cover up and away from trimmer.
3. Remove the two (2) screws on sides of
Chassis
trimmer securing the debris shield.
4. Turn trimmer on its side with carburetor
and fuel cap up.
5. Remove the two (2) screws on under-
side of trimmer securing the debris
shield.
6. Slide the debris shield rearward and
remove.
7. Remove belt from engine pulley on
crankshaft.
8. Remove belt from trimmer head pulley.
Engine
pulley
Handle knob
12
Debris shield screws

9. Note the position of the control cable
and idler return spring, then remove
idler assembly from chassis and re-
move belt and idler from trimmer.
10. Remove belt from idler assembly by
removing bottom belt keeper and idler
pulleys.
11. Assemble new belt, idler pulleys and
bottom belt keeper to idler bracket.
Tighten pulley bolts securely.
NOTE: Be sure belt is inside top belt
keeper on idler assembly.
12. Position belt and idler assembly in
trimmer, reconnect idler spring and as-
semble idler to chassis.
13. Install belt around trimmer head pulley
and engine pulley.
14. Replace debris shield and tighten the
four (4) screws securely.
15. Replace chassis cover and tighten
screw securely.
Always use Craftsman replacement parts
to assure proper fit and long life.
Engine pulley
Nut
Idler
spring
Idler bracket
Spacer \
Flatidler
Bottom
belt
keeper
Flat idler
Trimmer head pulley
ENGINE
ENGINE SPEED
Your engine speed has been factory set.
Do not attempt to increase engine speed
or it may result in personal injury. If you
believe that the engine is running too fast
or too slow, take your unit to a Sears or
other qualified service center for repair
and/or adjustment.
CARBURETOR
Your carburetor has a nonadjustable fixed
main jet for mixture control. If your engine
does not operate properly due to sus-
pected carburetor problems, take your unit
to a Sears or other qualified service center
for repair and/or adjustment.
IMPORTANT: Never tamper with the
engine governor, which is factory set
for proper engine speed. Overspeeding
the engine above the factory high speed
setting can be dangerous. If you think
the engine-governed high speed needs
adjusting, take your unit to a Sears or
other qualified service center, which has
proper equipment and experience to make
any necessary adjustments.
13

Immediately prepare your trimmer for stor-
age at the end of the season or if the unit
will not be used for 30 days or more.
TRIMMER
When trimmer is to be stored for a period
of time, clean it thoroughly, remove all dirt,
grease, leaves, etc. Store in a clean, dry area.
1. Clean entire trimmer(See "CLEANING" in
the Maintenance section of this manual).
2. Lubricate as shown in the Maintenance
section of this manual.
3. Be sure that all nuts, bolts, screws, and
pins are securely fastened. Inspect
moving parts for damage, breakage
and wear. Replace if necessary.
4. Touch up all rusted or chipped paint
surfaces; sand lightly before painting.
HANDLE
You can fold your trimmer handle for storage.
• Loosen handle knob enough to allow
upper handle to be folded forward.
IMPORTANT: When folding the handle for
storage or transportation, be sure to fold
the handle as shown or you may damage
the control cables.
Upper ',', ,"
handle ....
Handle knob
ENGINE
FUEL SYSTEM
IMPORTANT: It is important to prevent
gum deposits from forming in essential
fuel system parts such as carburetor, fuel
filter, fuel hose or tank during storage.
Also, alcohol blended fuels (called gasohol
or using ethanol or methanol) can attract
moisture which leads to separation and
formation of acids during storage. Acidic
gas can damage the fuel system of an
engine while in storage.
• Empty the fuel tank by starting the en-
gine and letting it run until the fuel lines
and carburetor are empty.
• Never use engine or carburetor cleaner
products in the fuel tank or permanent
damage may occur.
• Use fresh fuel next season.
NOTE: Fuel stabilizer is an acceptable
alternative in minimizing the formation
of fuel gum deposits during storage.
Add stabilizer to gasoline in fuel tank or
storage container. Always follow the mix
ratio found on stabilizer container. Run
engine at least 10 minutes after adding
stabilizer to allow the stabilizer to reach
the carburetor. Do not drain the gas tank
and carburetor if using fuel stabilizer.
ENGINE OIL
Drain oil (with engine warm) and replace
with clean engine oil. (See "ENGINE" in
the Maintenance section of this manual).
CYLINDER
1. Remove spark plug.
2. Pour one ounce (29 ml) of oil through
spark plug hole into cylinder.
3. Pull starter handle slowly a few times
to distribute oil.
4. Replace with new spark plug.
OTHER
• Do not store gasoline from one season
to another.
• Replace your gasoline can if your can
starts to rust. Rust and/or dirt in your
gasoline will cause problems.
• If possible, store your unit indoors and
cover it to protect it from dust and dirt.
• Cover your unit with a suitable protective
cover that does not retain moisture. Do
not use plastic. Plastic cannot breathe,
which allows condensation to form and
will cause your unit to rust.
IMPORTANT: Never cover trimmer while
engine and exhaust areas are still warm.
ACAUTION: Never store the trimmer
with gasoline in the tank inside a building
where fumes may reach an open flame
or spark. Allow the engine to cool before
14 storing in any enclosure.

TROUBLESHOOTING - See appropriate section in manual unless directed
PROBLEM
Does not start
to a Sears Parts & Repair Center,
CAUSE
1. Dirty air filter.
2. Out of fuel.
3. Stale fuel.
Loss of power
4. Water in fuel.
5. Spark plug wire is
disconnected.
6. Bad spark plug.
7. Throttle control lever not
in correct position
(if equipped).
1. Dirty air filter.
2. Buildup of grass, leaves,
and trash under trimmer.
3. Too much oil in engine.
4. Walking speed too fast.
CORRECTION
1. Clean/replace air filter.
2. Fill fuel tank.
3. Empty fuel tank and refill
with fresh, clean gasoline.
4. Empty fuel tank and refill
with fresh, clean gasoline.
5. Connect wire to spark plug.
6. Replace spark plug.
7. Move throttle lever to FAST
position.
1. Clean/replace air filter.
2. Clean underside of trimmer
and trimmer head.
3. Check oil level.
4. Trim at slower walking
speed.
Excessive 1. Lines uneven or broken. 1. Check trimmer lines.
Vibration 2. Loose nuts or bolts. 2. Check all hardware,
including engine bolts.
3. Damaged trimmer head. 3. Check/repair trimmer head.
Starter rope 1. Bent engine crankshaft. 1. Contact a Sears or other
hard to pull qualified service center.
Loss of head 1. Belt not driving. 1. Put belt on pulleys or
drive replace belt if broken.
Hard to push 1. Handle height position not 1. Adjust handle height
right for you. to suit.
1.
1. Trimmer line length is
too short.
2. Throttle control lever not
in correct position
(if equipped).
Poor trimming
performance
Trimmer head
does not
retain line
1. Trimmer line not
properly installed.
2. Broken line retainer clip.
3. Incorrect size of
trimmer line.
,
If line is worn or broken to
half of original length,
replace line.
Move throttle lever to FAST
position.
1. Follow instructions in
Maintenance section.
2. Replace string carrier plate
assembly.
3. Use .155 diameter
trimmer line.
15

Is- SLOPE UIDE
........ "O'"_'_R'_'8 SIGHT AND HOLD THIS GUIDE LEVEL WITH A VERTICAL
I ! ..,!:. ............... TREE, A CORNER OF A STRUCTURE, A POWER LINE
| s . :_::... I............. POLE, OR A FENCE,
!_: J . "............
I , .....
I_ _=.,t ' =_=-----_f__-_.¢J_]'_L_ .........
I .. _ _ i_amw.==
i_ "" I Operate a trimmer across the face
iI_=,_Z,,,=_I of slopes, never up or down slopes.
1
110 DI ES 15 DEGREES
(.O
Use this guide and do not trim on a slope greater than 15 degrees.
A 10 degree slope is ahill that increases In height at approximately 1.7 feet in 10 feet.
A 15 degree slope Is ahill that Increases In height at approximately 2.5 feet in 10 feet.
Use extreme care at all times and avoid sudden turns or maneuvers. Follow other Instructions in this
manual for safety in trimming on slopes. Operate a trimmer across the face of slopes, never up or down
slopes. Use extra care when operating on or near slopes and obstructions.

Garantia .......................................................... 17
Reglas de Seguridad ................................. 17-19
Especificaciones del Producto ........................ 20
Montaje /Pre-Operacion ................................ 20
Operaci6n .................................................. 21-23
Mantenimiento ........................................... 24-26
Programa de Mantenimiento .......................... 24
Servicio y Adjustes .................................... 27-28
Almacenamiento ............................................. 29
Identificacion de problemas ............................ 30
Partes de repuesto ................................... 32-41
Servicio Sears ................................... Contratapa
GARANTTA LIMITADA DE DOS ANOS PARA LA RECORTADORA PARA MALA HIERBA CRAFTSMAN
Por dos (2) a5os, a partir de la fecha de compra, cuando esta recortadora para mala hierba Crafts-
man se mantenga, lubrique y afine seg0n las instrucciones para la operacion y el mantenimiento
en el manual del due5o, Sears reparara gratis todo defecto en el material y la mano de obra.
Si la recortadora para mala hierba Craftsman se usa para fines comerciales o de arriendo, esta
garantia solo se aplica por noventa (90) dias a partir de la fecha de compra.
Esta Garantia no cubre:
• Articulos que se desgastan durante el uso normal tales como las lineas rotatorias, las correas,
los filtros de aire y las bujias.
• Reparaciones necesarias debido al abuso o a la negligencia del operador, incluyendose a los
cig0e5ales doblados y a la falta de mantenimiento del equipo seg0n las instrucciones que se
incluyen en el manual del due5o.
El servicio de garantia esta disponible al devolver la recortadora para mala hierba Craftsman al
Centro de Servicio Sears mas cercano en los Estados Unidos. Esta garantia se aplica solamente
mientras el producto este en uso en los Estados Unidos.
Esta Garantia le otorga derechos legales especificos, y puede que tambien tenga otros derechos
que varian de estado a estado.
Sears, Roebuck and Co., Dept. 817 WA, Hoffman Estates, Illinois 60179 U.S.A.
ADVERTENClA: Este recortadora viene equipado con un motor de combustion interna y no
se debe usar sobre, o cerca, de un terreno no desarrollado cubierto de bosques, de arbustos o
de cesped, o menos que el sistema de escape del motor venga equipado con un amortiguador de
chispas que cumpla con las leyes locales o estatales (si existen). Si se usa un amortiguador de
chispas, el operador debe mantenerlo en condiciones de trabajo eficientes.
En el estado de California, la ley exige Io anterior (Seccion 4442 del "California Public Resources
Code"). Otros estados pueden contar con otras leyes parecidas. Las leyes federales se aplican en
la tierras federales. Su Centro/Departamento de Servicio Sears mas cercano tiene disponible am-
ortiguadores de chispas para el silenciador. (Vea la seccion de Partes de Repuesto en el manual
Ingles del due_o.)
La operacion de cualquier recortadora puede hacer que salten objetos extra5os
dentro de sus ojos, Io que puede producir da5os graves en estos. Siempre use
anteojos de seguridad o proteccion para los ojos mientras opere su recortadora o
cuando haga ajustes o reparaciones. Recomendamos gafas de seguridad o una
mascara de vision amplia, de seguridad usada sobre las gafas.
_JLBusque este simbolo que se_ala las precau-
ciones de seguridad de importancia. Quiere
decir - iiiATENClON!!!iiiESTE ALERTO!!!
_SEGURIDAD ESTA COMPROMETtDA.
DVERTENClA: Siempre desconecte el
alambre de la bujia y pongalo donde no pueda
entrar en contacto con la bujia, para evitar el
arranque por accidente, durante la preparacion,
el transporte, el ajuste o cuando se hacen
,_paraciones. .
RECAUCION: El tubo de escape del motor,
algunos de sus constituyentes y algunos com-
productos quimicos conocidos en el Estado de
California como causa de cancer y defectos al
[l_cimiento u otros da5os reproductivos.
PRECAUClON: El silenciador y otras
piezas del motor Ilegan a sre extremadamente
calientes durante la operacion y siguen siendo
calientes despues de que el motor haya parado.
Para evitar quemaduras severas, permanezca
lejos de estas areas. _T'Y7 _
ponentes del vehiculo contienen o desprenden 17

I. OPERAClON GENERAL
• Antes de empezar, debe familiarizarse
completamente con los controles y el uso
correcto de la maquina. Para esto, debe leer
y comprender todas las instrucciones que
aparecen en la maquina y en los manuales
de operaci6n.
• No ponga las manos o los pies cerca o
debajo de las partes rotatorias.
• Mantener todas las partes del cuerpo lejos
del silenciador del escape y la linea de ro-
tacion. El silenciador caliente puede causar
serias quemaduras.
• Permita que solamente las personas re-
sponsables que esten familiarizadas con las
instrucciones operen la maquina.
• Mantenerse lejos de objetos que pueden
romperse, como cristales de casa, cristales
del choche, invernaderos, etc.
• Despeje el area de objetos tales como pie-
dras, juguetes, alambres, huesos, palos, etc.
que pueden ser recogidos y lanzados por las
lineas giradoras.
• Aseg_rese que el area no se hallen perso-
nas, y particularmente nifios pequefios y ca-
chorros antes de recortar. Pare la maquina
si alguien entra en el area.
• Use ropa apropaida, tal como camisa de
manga larga o chaqueta y pantalones largos.
No use pantalones cortos shorts.
• No use ropa suelta, ya que esta podria ator-
arse en el equipo.
• No opere la maquina sin zapatos o con sanda-
lias abiertas. Use siempre guantes de trabajo
y calzado fuerte. Los zapatos de trabajo de
piel o botas cortas son apropiados para la
mayoria de las personas. Estos no s61o prote-
gerian los tobillos y espinellas del operador de
pequefias ramas, astillas y otros desperdicios,
sino que ademas mejoraran la traccion.
• No tire de la maquina hacia atras a menos
que sea absolutamente necesario. Mire
siempre hacia abajo y hacia detras antes y
mientras que se mueve hacia atras.
• No opere la maquina sin los respectivos
resguardos, placas u otros aditamentos
disefiados para su protecci6n y seguridad.
• Refierase a las instrucciones del fabricante
para el funcionamiento einstalacion de
accesorios. Use _nicamente accesorios
aprobados por el fabricante.
• Nuca utilice cuchillas, cables o dispositivos
tipo mayal. Esta unidad esta proyectada
para fucionar solamente con una linea de
recortadora. La utilizaci6n de cualquier otro
material, acessorio o dispositivo secundario
aumenta el riesgo de lesi6nes y dafios a la
propiedad.
• Detenga la cabeza giratoria de la recorta-
dora cuando cruce por calzadas, caries o
caminos de grava. Espere que las cuerdas
de corte paren de girar.
• Pare el motor siempre que tenga que dejar el
equipo, antes de limpiar, reparar o inspeccio-
nar la unidad. Aseg_rese de que la cabeza
de la recortadora y todas las partes en
movimiento se hayan detenido.
• Opere solamente con luz del dia o con una
buena luz artificial.
• No opere la maquina bajo la influencia del
alcohol o de las drogas.
• Nunca opere la maquina cuando la hierba
este mojada. AsegQrese siempre de tener
buena traccion en sus pies; mantenga el
mango firmemente y camine; nunca corra.
• Si el equipo empezara a vibrar de una
manera anormal, pare el motor y revise de
inmediato para averiguar la causa. Gener-
almente la vibracion suele indicar que existe
alguna averia.
• Siempre use gafas de seguridad o anteojos
con proteccion lateral cuando opere la ma-
quina.
I1.OPERAClON EN PENDIENTE
Los accidentes ocurren con mas frecuencia en
las cuestas. Estos accidentes ocurren debido a
resbaladas o caidas, las cuales pueden resultar
en graves lesiones. Operar la recortadora en
cuestas requiere mayor concentraci6n. Si se
siente inseguro en una cuesta, no la recorte.
SI:
• Puede recortar a traves de la superficie de
la cuesta, nunca hacia arriba y hacia abajo.
Proceda con extrema precaucion cuando
cambie de direccion en las cuestas.
• Renueva todos los objetos extrafios, tales
como guijarros, ramas, etc.
• Debe prestar atencion a hoyos, baches o
protuberancias. Recuerde que la hierba alta
puede esconder obstaculos.
NO:
• No recorte cerca de pendientes, zanjas o
terraplenes. El operador puede perder la
traccion en los pies o el equilibrio.
• No recorte cuestas demasiado inclinadas.
• No recorte en hierba mojada. La reduccion
en la traccion de la pisada puede causar
resbalones.
III. NINOS
Se pueden producir accidentes tragicos si el
operador no presta atencion a la presencia
de los nifios. A menudo, los nifios se sienten
atraidos por la maquina y por la actividad de
la siega. Nunca suponga que los ni_os van a
permanecer en el mismo lugar donde los vio
por QItima vez.
• Mantenga a los nifios alejados del area de
la siega y bajo el cuidado estricto de otra
persona adulta responsable.
• Este alerta y apague la maquina si hay nifios
que entran al area.
• Antes y durante el retroceso, mire hacia
atras y hacia abajo para verificar si hay nifios
pequefios.
• Nunca permita que los nifios operen la ma-
quina.
• Tenga un cuidado extra cuando se acerque
a esquinas donde no hay visibilidad, a los
arbustos, arboles u otros objetos que pueden
interferir con su linea de vision.
18

IV. SERVlClO
• Tenga cuidado extra al manejar la gasolina y
los demas combustibles. Son inflamables y
los gases son explosivos.
Use solamente un envase aprobado.
Nunca remueva la tapa del dep6sito de
gasolina o agregue combustible con el
motor funcionando. Permita que el
motor se enfrie antes de volver a poner
combustible. No fume.
Nunca vuelva a poner combustible en
la maquina en recintos cerrados.
Nunca almacene la maquina o el
envase del combustible dentro de algQn
lugar en donde haya una llama expues-
ta, tal como la del calentador de agua.
• Alejarse de la zona de abastecimiento del
carburante antes de poner en marcha.
• Nunca haga funcionar una mg_quina dentro
de un area cerrada.
• Nunca haga ajustes o reparaciones mientras
el motor este en marcha. Desconecte el
cable de la bujia, y mantengalo a cierta
distancia de esta para prevenir un arranque
accidental.
• Mantenga las tuercas y los pernos, especial-
mente los pernos del motor y de la cabeza
de recortes, apretados y mantenga el equipo
en buenas condiciones.
• Nunca manipule de forma indebida los
dispositivos de seguridad. Controle regular-
mente su funcionamiento correcto.
• Mantenga la maquina libre de hierba, hojas u
otras acumulaciones de desperdicio. Limpie
los derrames de aceite o combustible. Per-
mita que la maquina se refresque antes de
limpiarla o almacenarla.
• Pare e inspeccione el equipo si le pega a un
objeto. Reparelo, si es necesario, antes de
hacerlo arrancar.
• No cambie el ajuste del regulador del motor
ni exceda su velocidad.
• Limpiar y sustituir las calcomanias relativas a
instrucciones y seguridad cuando necesario.
Acuerdos de Protecci6n para la Reparaci6n
Congratulaciones por su buena compra. Su
nuevo producto Craftsman@ esta diseSado
y fabricado para funcionar de modo fiable por
muchos aSos. Pero como todos los productos,
puede necesitar alguna reparacion de tanto
en tanto. En este caso tener un Acuerdo de
Protecci6n para la Reparaci6n puede hacerles
ahorrar dinero y fastidios.
Compre ahora un Acuerdo de Proteccion para
la Reparacion y protegese de molestias y gas-
tos inesperados.
Un Acuerdo incluye los puntos siguientes:
• Servicio experto de nuestros 12.000 espe-
cialistas profesionales en la reparacion.
• Servicio ilimitado sin cargo alguno para
las partes y la mano de obra sobre todas las
reparaciones garantizadas.
• Sustitucion del producto si su producto
garantizado no puede ser arreglado.
• Descuento del 10% sobre el precio cor-
riente del servicio y de las partes relativas al
servicio no cubiertas por el acuerdo; tambien
el 10% menos sobre el precio corriente de
un control de mantenimiento preventivo.
• Ayuda rapida por telefono - soporte tele-
f6nico por parte de un tecnico Sears sobre
productos que requieren un arreglo en casa,
y ademgls una programacion sobre los a
reglos mas convenientes.
Cuando se ha comprado el Acuerdo, basta con
una Ilamada telef6nica para programar el servi-
cio. Puede Ilamar cuando quiera, dia y noche o
fijar en linea una cita para obtener el servicio.
Sears tiene mas de 12.000 especialistas
profesionales en la reparacion, que tienen
acceso a mas de 4.5 millones de partes y
accesorios de calidad. Este es el tipo de
profesionalidad con que puede contar para
ayudar a alargar la vida del producto que acaba
de comprar, por muchos a5os. iCompre hoy su
Acuerdo de Protecci6n para la Reparaci6n!
Se aplican algunas limitaciones yexclu-
siones. Para conocer los precios y tener
m_s informacion, Ilame al 1-800-827-6655.
Servicio de Instalaci6n Sears
Para la instalacion profesional Sears de
aparatos de casa, puertas de garaje,
calentadores de agua y otros importantes
articulos para la casa, en U.S.A. Ilamar a
1-800-4-MY-HOME®.
19

Numero de Serie:
Fecha de Compra:
Capacidad y Tipo de Gasolina: 1.6 Cuartos (Regular sin Plomo)
Tipo de Aceite (API SG-SL): SAE 30 (Sobre 32°F); SAE 5W-30 (Debajo 32°F)
Capacidad de Aceite: 20 Onzas
Bujia (Abertura: .030") Champion RJ19LM o J 19LM
Longitud de la linea de la recortadora: 18.75 Inches (0.155 Inches Diametro)
• El nOmero del modelo y el de serie se encuentran en la calcomania adjunta a la parte trasera
de la caja de la recortadora. Debe registrar tanto el nOmero de serie come la fecha de compra y
mantengalos en un lugar seguro para refencia en el futuro.
Lea estas instrucciones y este manual comple-
tamente antes de tratar de montar u operar su
nueva recortadora.
IMPORTANTE: Esta recortadora viene SIN
ACEITE O GASOLtNA en el motor.
Su nueva recortadora ha sido montada en la
fabrica con la excepcion de aquellas partes que
se dejaron sin montar por razones de envio.
Todas las partes como las tuercas, las arande-
las, los pernos, etc., necesarias para completar
el montaje han sido colocadas en la bolsa de
partes. Para asegurarse que su recortadora
funcione de forma segura y adecuada, todas
las partes y los articulos de ferreteria que se
monten tienen que ser apretados firmemente.
Use las herramientas correctas adecuadas para
asegurar un apretado firme.
Cuando la mano derecha o la mano izquierda
estan mencionadas en este manual, significa
que usted esta situado en la posicion de opera-
dor, detras del mango.
Piezas sueltas empaquetadas por separado
IMPORTANTE: Despliegue el mango con
mucho cuidado para no apretar o dafiar los
cables de control.
1. Aflojar la perilla del mango Io suficiente
para permitir el mango superior ser desdo-
blado con respecto a la posicion de envio.
2. Levante la seccion del mango superior
hasta su lugar en el mango inferior, y
apriete la manilla del mango.
3. Remueva la curia del mango que sujeta la
barra del control del cabezal de la recorta-
dora al mango superior.
El mango de su recortadora puede ajustarse
segQn le acomode para recortar. Refierase
a "AJUSTE DEL MANGO" en la Seccion de
Servicio y Ajustes de este manual.
Mango superior
LEVANTAR
2 Juegosde cuerdade
Botellade recortadora (0.155de
aceite di_metrox 18.75)
PARA REMOVER LA RECORTADORA DE LA
CAJA DE CARTON
1. Remueva las partes sueltas que se in-
cluyen con la recortadora.
2. Corte las dos esquinas de los extremos
de la caja de cart6n y tienda el panel del
extremo piano.
3. Remueva todo el material de embalaje.
4. Haga rodar la recortadora hacia afuera
de la caja de cart6n y revisela cuidadosa-
mente para verificar si todavia quedan
pares sueltas adicionales. 20
Manilla
de mango
Mango
inferior

FAMILIARICESECONSURECORTADORA
LEA ESTE MANUAL DE USUARIO Y LAS REGLAS DE SEGURtDAD ANTES DE OPERAR SU
RECORTADORA. Compare las ilustraciones con su recortadora para familiarizarse con la ubi-
cacion de los diversos controles y ajustes. Guarde este manual para referencia en el futuro.
Estos simbolos pueden aparecer sobre su recortadora o en las p&ginas proporcionadas con
el producto. Aprenda y comprenda sus significados.
R/_,PIDO LENTO ATTENCION O MOTOR
ADVERTENCIA
A WARNING
COMBUSTIBLE ACEITE
APAGADO
AVOIDSERIOUS
INJURYORDEATH
Control de la
Barra de mando del cabezal de la recortadora
Cord6n arrancador
Manilla de mang,
Tapa del deposito de
aceite del motor con
de nivel
Tapa del deposito de la g_
Filtro de aire
Cubierta del
chasis
Cabeza de la
recortadora
IMPORTANTE: Esta recortadora viene
SIN ACEtTE O GASOLINA en el motor. Linea de la
recortadora
Barra de mando del cabizal de la recortadora
-debe ser presionada hacia el mango para
enganchar el cabezal de la recortadora.
Cebador- bombea combustible adicional
desde el carburador al cilindro para uso cuando
se necesita hacer arrancar un motor frio. 21
Control de la aceleracion - se usa para hacer
arrancar el motor y le permite.seleccionar la
velocidad del motor ya sea RAPtDA o LENTA.
Cordon arrancador - se usa para hacer ar-
rancar el motor.

SEGURIDAD
La operaci6n de cualquier recortadora puede
hacer que salten objetos extraSos dentro de
sus ojos, Io que puede producir daSos graves
en estos. Siempre use anteojos de seguridad
o proteccion para los ojos mientras opere su
recortadora o cuando haga ajustes o reparacio-
nes. Recomendamos gafas de seguridad o una
mascara de visi6n amplia, de seguridad usada
sobre las gafas.
COMO UTILIZAR SU RECORTADORA
CONTROL DE LA VELOCIDAD DEL MOTOR
La velocidad del motor es controlada por una
valvula reguladora situada al lado del mango
superior. La posicion R/kPIDA es para comen-
zar y para el recorte normal. LENTO es para
el recorte ligero y economizar combustible.
PARADA es para parar el motor.
LENTO @
P_PIDA
I
CONTROL DE LA IMPULSION DEL CA-
BEZAL DE LA RECORTADORA
Su recortadora viene equipada con una barra
de control de la impulsi6n del cabezal de la
recortadora que requiera que el operador este
colocado detras de la palanca de la recortadora
para operar la misma.
• La rotacion del cabezal de la recortadora se
controla manteniendo la barra de control del
cabezal hacia abajo al mango.
•La rotaci6n del cabezal de la recortadora se
parara cuando la barra de control sea soltada.
PARA AJUSTAR ALTURA DEL RECORTE
_PRECAUCI6N: Pare el motor y espere hasta
que todas la piezas m6viles se hayan detenido
completamente. Desconecte el alambre de la
bujia de la bujia y p6ngalo en donde no pueda
entrar en contacto con esta. La altura del corte
puede ser fijada en seis (6) diversas posiciones
que se extienden a partir de 1-1/2 pulgadas a 3
pulgadas. La altura de corte recomendada para
un cercado normal es 2 pulgadas.
1. Para ajustar la altura del recorte, empuje
la aleta tabulacion de la placa de bloque y
mueva el cabezal de la recortadora hacia
arriba o hacia abajo a la posici6n deseada.
2. Suelte la aleta y asegQrese que el cabezal
este situado en una de las seis (6) posicio-
nes de la altura.
Cabeza de
recortadora
Tabulacion
de la placa
de bloque
\
\\,
1
ANTES DE HACER ARRANCAR EL
MOTOR
AGREGUE ACEITE
Su recortadora fue enviada sin aceite en el mo-
tor. Para el tipo y el grado del aceite a utilizar,
vea el "MOTOR" en la seccion del Mantenimien-
to de este manual.
_PRECAUCI6N: NO sobrellene el motor con
aceite, o fumara pesa demante del silenciador
cuando Io valla a arrancar.
1. AsegQrese que la segadora este nivelada.
2. Remueva la varila medidora de aceite del tubo
de desarga de aceite.
3. Usted recibe un envase de aceite con la
unidad. Vierta lentamente el envase entero
de aceite en el tubo de relleno del motor.
4. Inserte y apriete la varilla medidora de
aceite.
IMPORTANTE:
• Revise el nivel del aceite antes de cada uso.
Agregue aceite si es necesario. Llene hasta la
linea de Ileno en la varilla medidora de nivel.
• Cambie el aceite despues de 25 horas de
operaci6n o una vez por temporada. Puede
necesitar cambiar el aceite mas a menudo cu-
ando las condiciones son polvorosas o sucias.
Tapa del rellenador de gasolina
Tapa del
deposito
de aceite
22

GASOLINA
• Llene el estanque de combustible hasta
la parte inferior del cuello de relleno del
estanque de gasolina. No Io Ilene demasiado.
Use gasolina regular, sin plomo, nueva y lim-
pia con el minimo de 87 octanos. No mezcle
el aceite con la gasolina. Para asegurar
que la gasolina utilizada sea fresca compre
estanques los cuales puedan ser utilizados
_i durante los primeros 30 dias.
PRECAUClON: Limpie el aceite o el
combustible derramado. No almacene, derrame
o use gasolina cerca de una llama expuesta.
,_PRECAUCl6N: Los combustibles
mezclados con alcohol (conocidos como
gasohol, o el uso de etanol o metanol) pueden
atraer la humedad, la que conduce a la
separaci6n y formaci6n de acidos durante el
almacenamiento. La gasolina acidica puede
dafiar el sistema del combustible de un motor
durante el almacenamiento. Para evitar los
problemas con el motor, se debe vaciar el
sistema del combustible antes de guardarlo
por un periodo de 30 dias o mas. Vacie el
estanque del combustible, haga arrancar el
motor y hagalo funcionar hasta que las lineas
del combustible y el carburador queden vacios.
La pr6xima temporada use combustible nuevo.
Vea las lnstrucciones Para El AImacenamiento
para mas informaci6n. Nunca use productos de
limpieza para el motor o para el carburador en
el estanque del combustible pues se pueden
producir dafios permanentes.
PARA PARAR EL MOTOR
• Para parar el motor, mueva la palanca de
control de la aceleracion a la posicion de
PARADA.
PARA HACER ARRANCAR EL MOTOR
1. Para hacer arrancar un motor frio, empuje
el cebador tres (3) veces antes de iniciar.
Empuje firmemente. Este paso normal-
mente no es necesario cuando se hace
arrancar un motor que ya ha estado funcio-
nando por unos cuantos minutos.
2. Mueva la palanca de control de la aceler-
aci6n a la posicion mas R/_,PIDA.
3. Sujete la barra de control superior y tire del
mango del arrancador rapidamente. No per-
mita que el cord6n arrancador se devuelva
abruptamente.
AVlSO: En climas mas frios puede que sea
necesario repetir los pasos del cebado. En
climas mas calurosos el cebar demasiado
puede producir el ahogo y el motor no va a
arrancar. Si se ahoga el motor espere unos
cuantos minutos antes de tratar de hacerlo
arrancar y no repita los pasos del cebado.
\
Corddn
arranoador
AVlSO PARA RECORTAR
• Fije el control de la aceleracion a la posicion
RAPIDA. Si las malas hierbas o el cesped
estan altos y gruesos, opere la recortadora a
una velocidad de paso mas lento.
• Limpie con frecuencia la superficie inferior de
la recortadora para remueva cualquier acu-
mulacion de hierba. Mantenga la superficie
del motor alrededor del arrancador despeja-
do y limpio de recortes. Esto facilitara el flujo
de aire de motor y alargara la vida del motor.
• Para mejores resultados y una linea du-
radera, utilice los extremos de la linea para
hacer el corte. Esto se puede hacer con
facilidad al mover lentamente traves de las
malas hierbas.
• Utilizar el lado izquierdo de la recortadora
cuando se recortan recintos, paredes, par-
terres y otros objetos de ese tipo.
• Si las lineas de la recortadora se vuelven
cortas, se necesitara mas tiempo para termi-
nar el trabajo. Si la linea de la recortadora se
desgasta a menos de la mitad de su Iongitud
original, debe ser substituida. Yea "PARA
SUBSTtTUIR LA LiNEA DE LA RECORTA-
DORA" en la seccion del Mantenimiento de
este manual.
• El contacto del cabezal con hormigon, asfalto
u otras superficies duras puede causar el
desgaste prematuro de la bola en la parte
inferior del cabezal de la recortadora.
23

P ROGRAMA DE MANTENIMIENTO o_f__ _ __J
o_ __ o_o%_ _' _o_ _
Revisar si hay sujetadores sueltos if I_
Limpiar la recortadora I_ I1_
Limpiar debajo de la cubierta del motor i_ 2 I_
Revisar las correas y las poleas
impulsadas I_
O
R
A
M
Verifique /reemplazar las lineas t_ 3
de la recortadora
Revisar el nivel del aceite I1_
Cambiar el aceite del motor _1,2
Limpiar el filtro de aire _2
Inspeccionar el silenciador
Limpiar o /cambiar la bujia
Cambiar el cartucho
de papel del filtro de aire iV'2
1-Cambiar mas a menudo cuando se opere bajo carga pesada o en ambientes con altas temperaturas.
2 - Dar servicio mas a menudo cuando se opere en condiciones sucias o polvorosas.
3 - Reemplazar las lineas de la recortadora cuando se hayan gastado hasta la mitad de su largura original.
RECOMENDACIONES GENERALES
La garantia de esta recortadora no cubre los
articulos que hart estado sujetos al abuso o a la
negligencia del operador. Para recibir todo el
valor de la garantia, el operador tiene que man-
tener la recortadora segQn las instrucciones
descritas en este manual.
Hay algunos ajustes que se tienen que hacer
en forma peri6dica para poder mantener su
unidad adecuadamente.
Todos los ajustes en la secci6n de Servicio y
Ajustes de este manual tienen que ser revisa-
dos por Io menos un vez por cada temporada.
•Una vez al afio, cambie la bujia y el el-
emento del filtro de aire. Una bujia nueva y
un elemento del filtro de aire limpio/nuevo
aseguran la mezcla de aire-combustible
adecuada y ayudan a que su motor funcione
mejor y que dure mas.
• Siga el programa de mantenimiento en este
manual.
ANTES DE CADA USO
1. Revise el nivel del aceite del motor.
2. Revise si hay sujetadores sueltos.
3. Limpiar debajo de la tapa del motor.
LUBRICACION
Para prolongar la vida de su recortadora, cam-
bie el aceite del motor como recomendado de
esta section de esta manual..
IMPORTANTE: No aceite o engrase los
rodamientos de la rueda de plastico. Los
lubricantes viscosos atraeran polvo y mugre,
Io que acortara la duraci6n de los rodamientos
auto lubricantes. Si cree que se tienen que
lubricar, use solamente un lubricante tipo
grafito, de polvo seco, en forma moderada.
RECORTADORA
Siempre observe las reglas de seguridad cu-
ando haga el mantenimiento.
LLANTAS
• Mantenga las Ilantas sin gasolina, aceite o
substancias quimicas para control de insec-
tos que pueden dafiar la goma.
• Evite los tocones, las piedras, las grietas pro-
fundas, los objetos afilados y otros peligros
que pueden dafiar alas Ilantas.
LiNEA DE LA RECORTADORA
Para un rendimiento 6ptimo, reemplazar las lineas
de la recortadora cuando se hayan gastado hasta
la mitad de su largura original. Utilice una linea
de recortadora de 155 inch de diametro. Corte
la nueva linea de la recortadora de 18-3/4 inch.
Tras instalar la nueva linea en el cabezal de la
recortadora, controle todas las lineas para que
la diferencia entre elias no sea mayor de un (1)
inch. Esto es importante para asegurarse de que
el cabezal de la recortadora este balanceado y
no vibre de modo an6malo.
24

_PRECAUCl6N: Utilice s61o la linea de
recortadora recomendada. No utilice otros
materiales como cables, cuerdas, cintas,
etc. un cable podria romperse durante el
funcionamiento y volverse un peligroso cohete
que podria causar heridas serias.
PARA CORTAR LA L[NEA
A LA LONGITUD APROPIA
NOTA: La linea de la recortadora precortada
a la Iongitud apropiada esta disponible para
esta unidad; vea la secci6n de las Piezas de
Recambio de este manual.
Si la linea de la recordadora se compra a por
mayor, debe ser cortada a 18-3/4 pulgadas
antes de usar. Utilice la medida de Iongitud
incorporada como sigue:
1. Del frente de la recortadora, ponga el ex-
tremo de la linea encanillada de la recorta-
dora en la marca en la cara del blindaje de
escombros segQn Io mostrado.
2. Envuelva la linea de la recortadora alre-
dedor del frente de la cubierta del chasis
a la otra cara y c6rtela en la marca "22"
(anchura de corte de su unidad).
Cubierta
del chasis
EN-
VUELVA
LA
LiNEA
ALREDEDOR
Marca del Nueva
blindaje de Extremc linea de la
escombros de la linea encanillada recortadora
4. Con la extremidad de la linea plagada en el
lado trasero del clip del sujetador, empujar
la linea hacia afuera hasta que la linea este
completamente colocada debajo del clip del
sujetador.
5. Repetir en el otro lado de la placa portante.
6. Controlar las lineas para asegurase que
sean de la misma largura.
7. Vuelva a conectar el alambre de la bujia a
esta.
Linea de la
recortadora
Apertura de la
placa portante
Clip del
sujetador
MOTOR
LUBRICACION
Use solamente aceite de detergente de alta cali-
dad clasificado con la clasificaci6n SG-SL de ser-
vicio API. Seleccione la calidad de viscosidad SAE
segOn su temperatura de operaci6n esperada.
SAE VISCOSITY GRADES
-20 0 30 32 40 60 80 100
-30 -20 -10 0 10 20 30 40
TEMPERATURE RANGE ANTICIPATED BEFORE NEXT OIL CHANGE
PARA REEMPLAZAR LAS L[NEA DE LA RE-
CORTADORA
1. Desconecte el alambre de la bujia y
p6ngalo de modo que no pueda entrar en
contacto con esta.
2. Remover la linea gastada de la placa por-
tante.
3. Plegar en dos la nueva linea cortada a la
medida e introducir la extremidad plegada a
traves de la placa portante abriendo el lado
AVlSO: A pesar de que los aceites de multi-
viscosidad (5W30, 10W30, etc.) mejoran el
arranque en clima frio, estos aceites de mul-
tiviscosidad van ha aumentar el consumo de
aceite cuando se usan en temperaturas sobre
32° E Revise el nivel del aceite del motor mas a
menudo, para evitar un posible dafio en el mo-
tor, debido a que no tiene suficiente aceite.
Cambie el aceite despues de 25 horas de
operacion o por Io menos una vez al afio si la
recortadora se utiliza menos 25 horas el afio.
trasero del clip del sujetador. 25

Revise el nivel del aceite del carter antes de
arrancar el motor y despues de cada cinco (5)
horas de uso continuado. Apriete el tap6n del
aceite en forma segura cada vez que revise el
nivel del aceite.
PARA CAMBIAR EL ACEITE DEL MOTOR
AVlSO: Antes de inclinar la recortadora
para drenar el aceite, drene el tanque de
combustible haciendo funcionar el motor hasta
que el tanque este vacio.
1. Desconecte el alambre de la bujia y
p6ngalo de modo que no pueda entrar en
contacto con esta.
2. Remueva la tapa del dep6sito del aceite;
dejela a un lado en una superficie limpia.
3. Incline la recortadora y hagala descansar en
su lado y drene el aceite en un envase ad-
ecuado. Mueva la recortadora de atras para
adelante para remover todo el aceite que se
haya quedado atrapado dentro del motor.
4. Limpie todo el aceite derramado en la
recortadora yen el lado del motor.
5. Llene el motor con aceite (Vea "AGREGUE
ACEITE" en la seccion de Operacion de
este manual).
6. Vuelva a poner la tapa en el dep6sito del
aceite.
7. Vuelva a conectarel alambre de la bujia a esta.
Envase
FILTRO DE AIRE
Su motor puede sufrir averias y funcionar de
manera incorrecta con un filtro del aire sucio.
Sustituir el papel del cartucho una vez al afio
o tras 100 horas de funcionamiento, mas a
menudo si se utiliza en condiciones de sucie-
dad y polvo particulares.
PARA LIMPtAR EL FtLTRO DE AIRE
1. Suelte el tornillo e incline la cubierta para
removerlo.
2. Cuidadosamente, remueva el cartucho.
3. Limpielo golpeandolo suavemente en una
superficie plana. Siesta muy sucio cambie
el cartucho.
_PRECAUCl6N: Los solventes de petr61eo,
tales como el keroseno, no se deben usar para
limpiar el cartucho. Pueden producir el deterioro
de este. No aceite el cartucho. No use aire a
presion para limpiarlo o secarlo.
.Instale el cartucho, luego vuelva a poner la
cubierta asegurandose que las orejas esten
alineadas con las ranuras en la plancha
trasera. Apriete el tornillo en forma segura.
Labio Plancha trasera
Ca_ucho
j/
Ranuras
_as de
Cubierta la cubierta
SILENClADOR
Inspeccione y cambie el silenciador si esta
corroido pues producir un peligro de incendio
y/o dafio.
BUJJA
Cambie el bujia al comienzo de cada tempo-
rada de siega o despues de cada 100 horas
de operacion, Io que suceda primero. El tipo de
bujia y el ajuste de la abertura aparecen en "ES-
PEClFICAClONES DEL PRODUCTO" seccion
de este manual.
LIMPIEZA
IMPORTANT: Para obtener el mejor
rendimiento, mantenga la caja de la recortadora
sin acumulaci6n de cesped y residuos. Limpie
la parte de su recortadora despues de cada
USO.
_PRECAUCl6N: Desconecte el alambre de
la bujia y p6ngalo en donde no pueda entrar en
contacto con esta.
• Haga descansar la recortadora en su lado.
AsegQrese que el filtro de aire y que el carbu-
rador queden mirando hacia arriba. Limpie la
parte inferior de su recortadora raspandola para
remover la acumulacion de cesped y residuos.
• Limpie el motor a menudo para evitar la
acumulacion de residuos. Un motor tapado
funciona a temperatura mas alta y se acorta
su duracion.
• Mantenga las superficies limpias y las ruedas
sin gasolina, aceite, etc.
• No recomendamos el uso de una manguera
de jardin para limpiar la recortadora a menos
que el sistema electrico, el silenciador, el
filtro de aire y el carburador esten tapados
para evitar que les entre el agua. El agua en
el motor puede acortar la duracion de este.
26

ADVERTENClA: Para evitar lesi6nes serias
ntes de dar cualquier sercicio o de hacer
ajustes:
1. Pare el motor.
2. AsegQrese que las lineas rotatorias y que
todas las partes movibles se hayan detenido
completamente.
3. Desconecte el alambre de la bujia y p6ngalo
en donde no pueda entrar en contacto con
esta.
SEGADORA
PARA AJUSTAR LA ALTURA DEL RECORTE
Yea "PARA AJUSTAR LA ALTURA DEL RE-
CORTE" en la seccion de Operaci6n de este
manual.
PARA AJUSTAR EL MANGO
El mango superior puede ser ajustado en dife-
rentes posiciones de altura
1. Afloje la perilla del mango Io suficiente para
permitir que el mango gire hasta la posici6n
deseada.
2. Apriete la perilla del mango de modo firme.
NOTA: La parrilla y la perno del mango pueden
ser invertidos para las operaciones sobre el
lado izquierdo.
Mango
superior
Manilla de
mango
PARA REMOVER/AJUSTAR LA CORREA DE
IMPULSION DEL CABEZAL DE LA RE-
CORTADORA
1. Remueva el tornillo en el frente de la cubi-
erta del chasis.
2. Gire la cubierta hacia arriba y a distancia de
la recortadora.
Cubierta
del chasis
3. Remueva los dos (2) tornillos de los lados
de la recortadora que aseguran el blindaje.
4. Ponga la recortadora en su lado con el
carburador y con el tap6n del combustible
hacia arriba.
5. Remueva los dos (2) tornillos de la parte
inferior de la recortadora que aseguran el
blindaje.
6. Desliza el blindaje hacia atras y remuevalo.
7. Remueva la correa de la polea del motor
sobre el cigQefial.
del
motor
Tornillos del blindaje
27

8. Remueva la correa de la polea del cabezal
de la recortadora.
9. Observe la posicion del cable de control y
del resorte de Ilamada del pifion Ioco. A
continuaci6n remueva el conjunto del pifion
Ioco del chasis y remueva la correa y el
pifion Ioco de la recortadora.
10. Remueva la correa del conjunto del pifion
Ioco al remover el fijador de correa inferior y
las poleas del pifion.
11. Monte la nueva correa, las poleas del pifion
Ioco y el fijador de correa inferior al soporte
del pifion. Apriete los pernos de la polea
con seguridad.
AVlSO: AsegOrese que la correa este en el
interior del fijador de la correa superior sobre el
conjunto del pifi6n.
Polea del motor
12. Instale la correa y el conjunto del pifion Ioco
en la recortadora, vuelva a conectar un
resorte del pifion Ioco y monte el pifion Ioco
al chasis. Apriete con seguridad.
13. Instale la correa alrededor de la polea del
cabezal de la recortadora y de la polea del
motor.
14. Substituya el blindaje y apriete los cuatro
(4) tornillos con seguridad.
15. Substituya la cubierta del chasis y apriete el
tornillo con seguridad.
Utilice siempre las piezas de recambio Crafts-
man para asegurar un ajuste adecuado y una
vida larga.
II
Ii
Conjunto del pi56n Ioco Engranaje
piano
Espaciador
Guia
Fijador
"_\ de oorrea
inferior
J/
.-" _ granaje
.piano
Polea del cabezal de la recoriadora
MOTOR
VELOCIDAD DEL MOTOR
La velocidad del motor ha sido ajustada en
la fabrica. No trate de aumentar la velocidad
del motor pues se pueden producir lesiones
personales. Si cree que el motor esta funcio-
nando demasiado rapido o demasiado lento,
Illeve su unidad a un centro de servicio Sears o
a un otro centro de servicio cualificado para la
reparacion y/o el ajuste.
CARBURADOR
Su carburador no es ajustable. Si su motor no
esta funcionando en forma adecuada debido
a problemas que se sospecha vienen del carbu-
rador, Ileve su unidad a un centro de servicio
Sears o a un otro centro de servicio cualificado
para la reparacion y/o el ajuste.
IMPORTANTE: Nunca manipulee el regulador
del motor, el que ha sido ajustado en la fabrica
para la velocidad del motor adecuada. Puede
ser peligroso hacer funcionar el motor a una
velocidad por sobre el ajuste de alta velocidad
de la fabrica. Si cree que la velocidad alta
regulada del motor necesita ajuste, leve su
unidad a un centro de servicio Sears o a un
otro centro de servicio cualificado, el que
cuenta con el equipo adecuado y la experiencia
para hacer los ajustes necesarios.
28

Prepare inmediatamente su recortadora para el
alma cenamiento al final de cada temporada o
si la unidad no se va a usar por 30 dias o mgls.
RECORTADORA
Cuando se va a guardarlarecortadoraporun
cierto periodo de tiempo, limpiela cuidadosa-
mente, remueva toda la mugre, la grasa, las
hojas, etc. Guardela en un area limpia y seca.
1. Limpie toda la recortadora (Vea "LIMPIEZA"
en la secci6n de Mantenimiento de este
manual).
2. Lubriquela seg0n se muestra en la seccion
de Mantenimiento de este manual.
3. Aseg0rese de que todas las tuercas y
clavijas y todos los pernos y tornillos esten
apretados en forma segura, tnspeccione
las partes que se mueven para verificar si
estan da_adas, quebradas o desgastadas.
Cambielas si es necesario.
4. Retoque todas las superficies que esten
oxidadas o con la pintura picada; use una
lija antes de pintar.
MANGO
Usted puede plegar el mango de su recortadora
para el almacenaje.
• Afloje la perilla del mango Io suficiente para
permitir al mango superior ser plegado hacia
adelante.
IMPORTANTE: Cuando doble el mango para
el alacenamiento o el trasporte, asegurese que
Io doble segun se muestra o puede danar los
cables de control.
Manc
Manilla de mango
MOTOR
SISTEMA DE COMBUSTIBLE
IMPORTANTE: Es importante evitar que se
formen depositos de partes fundamentales
del sistema de comustible tales como el
carburador, el filtro del combutible, la manguera
del combustible o en el estanque durante el
almacenmiento. Los combustibles mezclados
con alcohol (conocido come gasohol o que
tienen etanol o metanol) pueden atraer
humedad, Io que conduce a la separati6n y a la
formacion de acidos durante almacemamiento.
la gasolina acideca puede na5ar el sistema de
combustible de un motor durante el perido de
alcamenmiento.
• Vaciar el deposito del carburante poniendo
en marcha el motor y dejandolo funcionar
hasta que el carburante termine y el
carburador este vacio.
• Nunca use los productos para limpieza del
carburador o del motor en el estanque de
combustible pues se pueden producir da_os
permanentes.
• Use combustible nuevo la proxima temporada.
AVlSO: El estabilizador de combustible es
una alternativa aceptable para reducir a un
minimo la formacion de dep6sitos de goma
en el combustible durante el periodo de
almacenamiento. Agregue estabilizador a la
gasolina en el estanque de combustible o en
el envase para el almacenamiento. Siempre
siga la proporci6n de mezcla que se encuentra
en el envase del estabilizador. Haga funcionar
el motor por Io menos 10 minutos despues de
agregar el estabilizador, para permitir que este
Ilegue al carburador. No drene la gasolina del
estanque de gasolina y el carburador si se esta
usando estabilizador de combustible.
ACEITE DEL MOTOR
Drene el aceite (con el motor caliente) y cambielo
con aceite de motor limpio. (Vea "MOTOR" en la
seccion de Mantenimento de este manual.)
CILINDRO
1. Remueva la bujia.
2. Vacie una onza (29 ml) de aceite a traves
del agujero de la bujia en el cilindro.
3. Tire la manilla de arranque lentamente unas
cuantas veces para distribuir el aceite.
4. Vuelva a montar la nueva bujia.
OTROS
• No guarde la gasolina de una temporada a la
otra.
• Cambie el envase de la gasolina si se emp-
ieza a oxidar. La oxidaci6n y/o la mugre en
su gasolina produciran problemas.
• Si es posible, guarde su unidad en un recinto
cerrado y c0brala para protegerla contra el
polvo y la mugre.
• Cubra su unidad con un forro protector
adecuado que no retenga la humedad. No
use plastico. El plastico no puede respirar, Io
que permite la formaci6n de condensaci6n,
Io que producira la oxidacion de su unidad.
IMPORTANTE: Nunca cubra la recortadora
mientras el motor y las areas de escape todavia
estan calientes.
_PRECAUCI6N: Nunca almacene la
recortadora con gasolina en el dep6sito dentro
de un edificio en donde los gases pueden
alcanzar una llama expuesta o una chispa.
Permita que se enfrie el motor antes de
almacenarla en un lugar cerrado.
29

SOLUCION DE PROBLEMAS -Vea la secci6n apropiada en el manual amenos que
estd dirigido a un centro de servico Sears.
PROBLEMA CAUSA
No arranca 1. Filtro de aire sucio.
2. Sin combustible.
3. Combustible rancio.
Perdida de
potencia
Vibraci6n excesiva
Cord6n
arrancador
dificil de tirar
4. Agua en el combustible.
5. Alambre de la bujia
desconectado.
6. Bujia mala.
7. La palanca de control de la
aceleracion no esta en
posicion correcta (si existe).
1. Filtro de aire sucio.
2. Acumulacion de hierba, hojas
y residuos debajo de la
recortadora.
3. Demasiado aceite en
el motor.
4. Velocidad de recorrido
demasiado rapida.
.
2.
3.
Lineas irregulares o rotas.
Tuercas o pernos sueltos.
Cabezal de la recortadora
daSado.
1. CigQeSal del motor plegado.
CORRECCION
1. Limpie/cambie el filtro de aire.
2. Llene el estanque de combus
tible.
3. Vaciar el estanque y vuelva a
Ilenarlo con combustible limpio
y nueva.
4. Vaciar el estanque y vuelva a
Ilenarlo con combustible limpio
y nueva.
5. Conecte el alambre a la bujia.
6. Cambie la bujia.
7. Mover la palanca de aceleracion
en la posicion RAPIDA.
1. Limpie/cambie el filtro de aire.
2. Limpiar debajo de la recortadora
y del cabezal de la
recortadora.
3. Revise el nivel del aceite.
4. Corte a una velocidad de
recorrido mas lenta.
1. Controlar las lineas de la
recortadora.
2. Controlar toda la ferreteria,
incluidos los pernos del motor.
3. Controlar/arreglar el cabezal de
la recortadora.
Pongase en contacto con un
centro de servicio Sears o con
un otro centro de servicio
cualificado.
Perdida de 1. Correa que no marcha. 1. Colocar la correa en las poleas
movimiento o reemplazar la correa si esta
del cabezal rota.
Dificil de empujar 1. Posici6n de la altura del 1. Ajuste la altura del mango de
mango no adecuada para modo que le
usted, acomode.
Rendimiento de 1. La linea de la recortadora
corte escaso es demasiado corta.
.
.
2.
3.
La palanca de control de la
aceleracion no esta en
posicion correcta (si existe).
Linea de la recortadora no
correctamente ins
talada/reemplazada.
Clip del sujetador roto.
Linea de la recortadora de
medida incorrecta.
El cabezal de la
recortadora
mantiene la
linea
1. Si la linea esta gastada o rota
hasta la mitad de su largura
original, reemplazar la linea.
2. Mover la palanca de
aceleracion en la posicion
R/_,PIDA.
1. Seguir las instrucciones en la
seccion Mantenimiento.
2. Reemplazar el conjunto de la
placa portante de la cuerda.
3. Utilizar una linea de\
recortadora de diametro
.155 inch.
3O

÷ GUIA DE INCLINACION
............ "i'5...G...RADO VEA Y DETENGA ESTA GUiA DE NIVEL CON UN ARBOL EN POSICION
I-,,i ,........S...........VERTICAL,LA ESQUINA DE UNA ESTRUCTURA, UN POSTE DE LUZ O UNA CERCA.
"....;..................... .
_-_ ,, ...... _o_/^..
l"J " _" _ ....... _v.-._..PUNT_A,.
10GRADOS
Opere una recortadora de maleza en sentido diagonal a tra-
v_s de las cuestas, nunca cuesta arriba o cuesta abajo.
15 GRADOS
co
Utilice este guia, y no recorte en una cuesta mayor de 15 grados.
Una inclinaci6n de 10 grados es una cuesta que aumenta aproximadamente 1.7 pies de altura, por cada 10 pies.
Una inclinaci6n de 15 grados es una cuesta que aumenta aproximadamente 2.5 pies de altura, por cada 10 pies.
Use extrema precauci6n y evite camblos de direcci6n o movimientos bruscos y repentinos cuando recorte
en cuestas. Siga las instrucciones adicionales en este manual para recortar con seguridad en las cuestas.
Opere la recortadora de maleza en diagonal a trav6s de la cuesta, nunca cuesta arriba o cuesta abajo. Use
extrema precaucion cuando opere la recortadora en o cerca de las cuestas y cualquier obst=tculo que pu-
dlera obstruir la operaci6n.

CRAFTSMAN WEED TRIMMER - - MODEL NUMBER 917.773730
28 18
40
29
30
21 /
16 10
26
27
15
24
11
24
3
26
27
32

CRAFTSMAN WEED TRIMMER - - MODEL NUMBER 917.773730
KEY PART
NO. NO. DESCRIPTION
__ -
2 150406
3 179466
8
9
169821X479
150078
10 169797X479
11 170980
12 189713X428
15 179751
16 194788
18 66426
19 176983
20 177814
21 158755
22 178700X004
23 150078
24 52160
26 752063
27 409148
28 181699
29 178365
30 406678
33 132004
34 86899X004
35 750634
36 851084
37 850263
38 851074
39 111190X
40 83816
-- 412365
Engine, Briggs & Stratton,
Model No. 122T02-0863-E1
(See Breakdown)
Bolt, Engine Mounting 3/8-16
Pulley, Engine
(Includes Setscrew, Key #4)
Handle, Lower
Screw, Hex Washer Head
5/16-18 x .75
Handle, Upper
Bolt, Handle
Knob, Handle
Handle Adjuster Assembly
Guide, Rope
Wire Tire
Control Bar
Throttle Control
Screw, Hex Washer Head
Axle Shaft Assembly
Screw, Hex Washer Head
5/16-18 x .75
Washer, Axle
Wheel, 14 x 2
Nut, Hex, Flangelock 3/8-16
Drive Control Cable
Decal, Warning
Decal, Engine Cover
Nut
Bracket, Upstop
Screw, Threaded, Rolled
#10-24 x 5/8
Bolt, Hex Head
Washer, Lock
Washer, Flat, Hardened
Clamp, Cable
Screw
Owner's Manual
Available accessories not included with trimmer:
- - 71 33623 Gas Can (2.5 Gallon Container)
- - 71 33000 SAE 30W Oil (20 Ounce Bottle)
- - 71 79991 Trimmer Line
(Pack of 24 strings, .155 dia.)
NOTE: All component dimensions given in U.S. inches. 1 inch = 25.4 mm.
IMPORTANT: Use only Original Equipment Manufacturer (O.E.M.) replacement parts.
Failure to do so could be hazardous, damage your weed trimmer and void your warranty.
33

CRAFTSMAN WEED TRIMMER - - MODEL NUMBER 917.773730
52 20 44 47 21
_, 14
\ 43
1711 8
12
5
41
6
4 40 45
l
tl
19
22
23
24
25
26
27*
28
3
32
29
34
35
46
39
34

CRAFTSMAN WEED TRIMMER - - MODEL NUMBER
KEY PART
NO. NO.
1 174031X615
2 182219
3 173715
4 185476
5 172145X004
6 166042
7 173716
8 751592
9 166043
10 160829
11 155552
12 173717
13 174719
14 145212
15 173811
16 180268
17 57808
18 178848
19 199574
20 170553
21 149746
22 STD541137
23 STD551137
24 STD551037
25 180340
26 172551
27 174549
28 172520
29 169766X479
30 174543
31 174581
32 173973
33 172519
34 180338
35 182217
36 172516
37 174580
38 172523
39 180334
40 180333
41 174029
43 174042
44 404936
45 174596X479
46 17060408
47 174036
51 189006
52 178848
917.773730
DESCRIPTION
Chassis Assembly
Line, Trimmer .155 diameter x 18.75 long
Screw, Self-Tapping 5/16-18 x 1
V-Belt
Bracket, Idler
Pulley, Idler, V-Groove
Bolt, Hex Head 3/8-16 x 1.25
Locknut, Hex 3/6-16
Pulley, Idler, Flat
Bolt, Shoulder
Locknut 5/16-18
Spacer
Bolt, Shoulder
Locknut, Flange
Spring, Return
Deflector, Bottom
Screw 1/4-20 x 1/2
Screw #10-24 x 3/4
Belt Keeper
Cover, Chassis, Top
Screw #10-24 x 1-3/4
Nut, Hex 3/8-24 UNF
Washer, Lock 3/8
Washer, Flat 3/8
Pulley, Driven
Spacer, Pulley
Bearing
Jackshaft
Cover, Chassis, Bottom
Spindle Housing Assembly
(* Includes Upper Bearing, Key Number 27)
Ring, Retaining, External, 17mm
Spring, Locking Plate
Locking Plate
Carrier Plate Assembly
Mow Ball Assembly
(Includes Key Numbers 27, 37 and 38)
Cover, Bearing
Ring, Retaining, Internal, 40mm
Mow Ball
Bolt, Mow Ball
Spindle Assembly, Complete
(Includes Key Numbers 22-28 and 30-39)
Spacer
Decal, Instruction
Decal, Chassis Cover
Belt Keeper, Bottom
Screw, Self-Tapping
Decal, Instruction
Deflector, Rear
Screw
NOTE: All component dimensions given in U.S. inches. 1 inch = 25.4 mm.
IMPORTANT: Use only Original Equipment Manufacturer (O.E.M.) replacement parts.
Failure to do so could be hazardous, damage your weed trimmer and void your warranty.
35

BRIGGS & STRATTON 4-CYCLE ENGINE MODEL NUMBER 122T02-0863-E1
684
1j
20@
718 [_
287
524
34
1058 OPERATOR'S MANUAL I 188
lO
306
3o7_
36

BRIGGS &STRATTON 4-CYCLE ENGINE MODEL NUMBER 122T02-0863-E1
425
968
967
188 621
159
445
668
121 CARBURETOR OVERHAUL KIT
lo4_
127 (_ 163
276
137
617
633 137
95
617
977 CARBURETOR GASKET SET
276 @
617
633
1331_
137
276 (_
276
276
37

BRIGGS & STRATTON 4-CYCLE ENGINE MODEL NUMBER 122T02-0863-E1
563
6O4
564 [_ 78
_7o@ 1_o_
949
304
305
332
455
@
t330 REPAIR MANUAL
I 1036EMISS_ONSLABELI
[1329REPLACEMENTENG,.El
L
65 I_ 58
592
689 O
456
597 _r)
6O
38

BRIGGS & STRATTON 4-CYCLE ENGINE MODEL NUMBER 122T02-0863-E1
3© 358 ENGINE GASKET SET
585
2
2O
617 I
51 _ 668 @
163 842
615
404 @
334
616
o
Engine Power Rating Information
The gross power rating for individual gas engine models is labeled in accordance with SAE (So-
ciety of Automo-tive Engineers) code Jl1940 (Small Engine Power & Torque Rating Procedure),
and rating performance has been obtained and corrected in accordance with SAE J1995 (Revision
2002-5). Actual gross engine power will be lower and is affected by, among other things, ambi-
ent operating conditions and engine-to-engine variability. Given both the wide array of products
on which engines are placed and the variety of environmental issues applicable to operating the
equipment, the gas engine will not develop the rated gross power when used in a given piece of
power equipment (actual "on-site" or net horsepower). This difference is due to a variety of factors
including, but not limited to, accessories (air cleaner, exhaust, charging, cooling, carburetor, fuel
pump, etc.), application limitations, ambient operating conditions (temperature, humidity, altitude),
and engine-to-engine variability. Due to manufacturing and capacity limitations, Briggs & Stratton
may substitute an engine of higher rated power for this Series engine.
39

BRIGGS & STRATTON 4-CYCLE ENGINE MODEL NUMBER 122T02-0863-E1
KEY PART
NO. NO. DESCRIPTION
1 697322 Cylinder Assembly
2 399269 Kit-Bushing/Seal
3 299819S • Seal-Oil (Magneto Side)
4 493279 Sump-Engine
5 691160 Head-Cylinder
7 692249 Gasket-Cylinder Head
8 695250 Breather Assembly
9 696125 Gasket-Breather
10 691125 Screw (Breather Assembly)
11 691781 Tube-Breather
12 692232 • Gasket-Crankcase
13 690912 Screw (Cylinder Head)
15 691680 Plug-Oil Drain
16 691451 Crankshaft
20 399781S • Seal-Oil (PTO Side)
22 691092 Screw (Engine Sump)
23 691992 Flywheel
24 222698S Key-Flywheel
25 791097 Piston Assembly
(Standard Size)
25 791326 Piston Assembly
(.020" Oversize)
26 790360 Ring Set (Standard)
26 791324 Ring Set (.020" Oversize)
27 691866 Lock-Piston Pin
28 499423 Pin-Piston
29 499424 Rod-Connecting
32 691664 Screw (Connecting Rod)
32A 695759 Screw (Connecting Rod)
33 262651S Valve-Exhaust
34 262652S Valve-Intake
35 691270 Spring-Valve (Intake)
36 691270 Spring-Valve (Exhaust)
37 694086 Guard-Flywheel
40 692194 Retainer-Valve
43 691997 Slinger-Governor/Oil
45 690548 Tappet-Valve
46 691449 Camshaft
48 792738 Short Block
50 497465 Manifold-Intake
51 272199S ° Gasket-Intake
54 691650 Screw (Intake Manifold)
55 697670 Housing-Rewind Starter
58 697316 Rope-Starter
(Cut to Required Length)
60 281434S Grip-Starter Rope
KEY PART
NO. NO.
65 690837
78 691108
81 691740
95 691636
97 696565
104 691242
117 494870
118 498667
121 498260
125 790821
127 694468 O
130 696564
133 398187
134 398188 O
137 693981 O5
159 691753
163 272653S °05
187 791766
188 693399
190 690940
202 691829
209 691291
222 790143
227 690783
276 271716
287 690940
300 692038
304 493294
305 691108
306 690450
307 690345
332 690662
333 802574
334 691061
337 802592S
356 692390
358 497316
363 19069
365 692524
383 89838S
404 690272
425 690670
443 692523
445 491588S
DESCRIPTION
Screw (Rewind Starter)
Screw (Flywheel Guard)
Lock-Muffler Screw
Screw (Throttle Valve)
Shaft-Throttle
O Pin-Float Hinge
Jet-Main (Standard)
Jet-Main (High Altitude)
Kit-Carburetor Overhaul
Carburetor
Plug-Welch
Valve-Throttle
Float-Carburetor
Valve-Needle/Seat
Gasket-Float Bowl
Bracket-Air Cleaner Primer
Gasket-Air Cleaner
Line-Fuel
(Cut to Required Length)
Screw (Control Bracket)
Screw (Fuel Tank)
Link-Mechanical Governor
Spring-Governor
Bracket-Control
Control Lever-Governor
O 5 Sealing Washer
Screw (Dipstick Tube)
Muffler
Housing-Blower
Screw (Blower Housing)
Shield-Cylinder
Screw (Cylinder Shield)
Nut (Flywheel)
Armature-Magneto
Screw (Armature Magneto)
Spark Plug
Wire-Stop
Engine Gasket Set
Flywheel Puller
Screw (Carburetor)
Wrench-Spark Plug
Washer (Governor Crank)
Screw (Air Cleaner Cover)
Screw
(Air Cleaner Primer Base)
Filter-Air Cleaner Cartridge
40

BRIGGS & STRATTON 4-CYCLE ENGINE MODEL NUMBER 122T02-0863-E1
KEY PART
NO. NO. DESCRIPTION
455 791960
456 692299
459 281505S
505 691251
523 499621
524 692296
525 495265
529 691923
562 691119
563 691138
564 690351
584 697734
585 691879 •
592 690800
597 691696
601 791850
604 691757
608 697671
613 691340
615 690340
616 698801
617 270344S ,O_
621 692310
633 691321 O$
635 66538S
668 493823 •
670 692294
676 393760
677 690661
684 690345
689 691855
703 696309
718 690959
741 790345
842 691031 •
847 692047
851 493880S
868 697338
869 691155
870 690380
Cup-Flywheel
Plate-Pawl Friction
PawI-Ratchet
Nut
(Governor Control Lever)
Dipstick
Seal-Dipstick Tube
Tube-Dipstick
Grommet
Bolt
(Governor Control Lever)
Screw
(Debris Guard Cover)
Screw (Control Cover)
Cover-Breather Passage
Gasket-Breather Passage
Nut (Rewind Starter)
Screw (Pawl Friction Plate)
Clamp-Hose
Cover-Control
Starter-Rewind
Screw (Muffler)
Retainer-Governor Shaft
Crank-Governor
SeaI-O Ring
(Intake Manifold)
Switch-Stop
Seal-Choke/Throttle Shaft
Boot-Sparkplug
Spacer (Includes 2)
Spacer-Fuel Tank
Deflector-Muffler
Screw (Muffler Deflector)
Screw
(Breather Passage Cover)
Spring-Friction
Clip
Pin-Locating
Gear-Timing
SeaI-O Ring
(Dipstick Tube)
Assembly-Dipstick/Tu be
Terminal-Spark Plug
Seal-Valve
Seat-Valve (Intake)
Seat-Valve (Exhaust)
KEY PART
NO. NO. DESCRIPTION
871 262001
63709
949 696306
957 699985
966 792040
967 493537S
968 692298
970 691669
972 699374
975 493640
976 694395
977 498261
997 696310
1005 691992
1036
1058 MS3260
1059 692311
1210 498144
1211 498144
1329 126T02-0010
1330 270962
Bushing-Guide (Exhaust)
Bushing-Guide (Intake)
Guard-Debris Screen
Cap-Fuel Tank
Base-Air Cleaner Primer
Filter-Pre Cleaner
Cover-Air Cleaner
Screw
(Air Cleaner Bracket)
Tank-Fuel
Bowl-Float
Primer-Carburetor
Set-Carburetor Gasket
Shield-Debris
Fan-Flywheel
Label-Emissions (Available
from an Authorized Briggs
& Stratton Service Dealer)
Operator's Manual
Kit-Screw/Washer
Assembly-Pulley/Spring
(Pulley)
Assembly-Pulley/Spring
(Spring)
Replacement Engine
(Replacement Engine listed
is not available in the State
of California. Repair with
individual parts. Transfer
the Blower Housing,
Rewind Assembly and
related parts from the
original engine to the
replacement engine).
Repair Manual
-- 398067 SparkArrester
(available accessory)
• Included in Engine Gasket Set, Key No. 358
O Included in Carb. Overhaul Kit, Key No. 121
:1: Included in Carb. Gasket Set, Key No. 977
NOTE: All component dimensions given in U.S.
inches. 1 inch = 25.4 mm.
41

SERVICE NOTES
42

SERVICE NOTES
43

Your Home
For repair - in your home - of all major brand appliances,
lawn and garden equipment, or heating and cooling systems,
no matter who made it, no matter who sold it!
For the replacement parts, accessories and
owner's manuals that you need to do-it-yourself.
For Sears professional installation of home appliances
and items like garage door openers and water heaters.
1-800-4-MY-HOME ® Anytime, day or night
(1-800-469-4663) (U.S.A. and Canada)
www.sears.com www.sears.ca
Our Home
For repair of carry-in products like vacuums, lawn equipment,
and electronics, call or go on-line for the nearest
Sears Parts and Repair Center.
1-800-488-1222 Anytime, day or night (U.S.A. only)
www.sears.com
To purchase a protection agreement (U.S.A.)
or maintenance agreement (Canada) on a product serviced by Sears:
1-800-827-6655 (U,S,A,) 1-800-361-6665 (Canada)
Para pedir servicio de reparaci6n
a domicilio, y para ordenar piezas:
1-888-SU-HOGAR ®
(1-888-784-6427)
Au Canada pour service en frangais:
1-800-LE-FOYER Mc
(1-800-533-6937)
www.sears.ca
Serifs
©Sears Brands, LLC
® Registered Trademark /TMTrademark /SM Service Mark of Sears Brands, LLC
® Marca Registrada /TMMarca de Fabrica /sM Marca de Servicio de Sears Brands, LLC
MC Marque de commerce /MD Marque depos6e de Sears Brands, LLC
412365 02.13.07 BY Printed in U.S.A.