Craftsman 92116476 User Manual COMPRESSOR Manuals And Guides 1007089L
User Manual: Craftsman 92116476 92116476 CRAFTSMAN COMPRESSOR - Manuals and Guides View the owners manual for your CRAFTSMAN COMPRESSOR #92116476. Home:Tool Parts:Craftsman Parts:Craftsman COMPRESSOR Manual
Open the PDF directly: View PDF
.
Page Count: 40

Owner's Manual
i_i
P R 0 F E I O H A L
A CO PRESSOR
Oil Lubricated
Single Stage
Belt Drive, Electric
60 Gallon Vertical
Model No. 921.16476
CAUTION:
Before using this product,
read this manual and follow
all its Safety Rules and
Operating Instructions.
, Safety Instructions
, Installation &Operation
,Maintenance &Storage
, Troubleshooting Guide
,Parts List
,Espa5ol, p. 18
,Fran_:ais, p. 29
Sears Brands Management Corporation, Hoffman Estates, IL 60179
www.craffsman.com
5/7/2010
Part No. 200-2794
U.S.A.

WARRANTY ....................................... 2 SERVICE INTERVAL ............................... 11
SPECIFICATION CHART ............................ 2 TROUBLESHOOTING CHART ....................... 12
SAFETY GUIDELINES ............................. 3-4 PARTS DRAWINGS AND PARTS LISTS ............. 13-17
GLOSSARY OF TERMS ............................. 4
OVERVIEW ....................................... 5
ASSEMBLY ....................................... 5
TYPICAL INSTALLATION ............................ 6
COMPRESSOR CONTROLS ......................... 7
ELECTRICAL POWER REQUIREMENTS ............... 7
OPERATING INSTRUCTIONS ........................ 8
MAINTENANCE ................................. 9-11
CRAFTSMAN ONE YEAR FULL WARRANTY
FOR ONE YEAR from the date of purchase, this product is warranted against any defects in material
or workmanship. Defective product will receive free repair or free replacement if repair is unavailable.
For warranty coverage details to obtain repair or replacement, visit the web site: www.craftsman.com
This warranty does not cover the air filter or drive belt, which are expendable parts that can wear out
from normal use within the warranty period.
This warranty is void if this product is ever used while providing commercial services or if rented to
another person.
This warranty gives you specific legal rights, and you may also have other rights which vary from
state to state.
Sears Brands Management Corporation, Hoffman Estates, IL 60179 U.S.A.
APPROXIMATE APPROXIMATE
RUNNING TANK CAPACITY VOLTAGE/ CUT-IN CUT-OUT
MODEL NO. H.P. GALLONS AMPS/PHASE PRESSURE PRESSURE
921.16476 120 150
3.1 Vert. 60 (228 Liters) 230/15/1
(WLB3106016) (8,27 bar) (10,34 bar)
2 200-2794

ThefollowinginformationrelatestoprotectingYOURSAFETYandPREVENTINGEQUIPMENTPROBLEMS.Tohelpyourecognize
thisinformation,weusethefollowingsymbols.Pleasereadthemanualandpayattentiontothesesections.
__ =A POTENTIALHAZARDTHATWiLLCAUSESERIOUSiNJURY OR LOSS OF LIFE.
__= A POTENTIAL HAZARD THAT COULD CAUSE SERIOUS iNJURY OR LOSS OF LIFE.
__ = A POTENTIAL HAZARD THAT MAY CAUSE MODERATE iNJURY OR DAMAGE TO
EQUIPMENT.
RISK OF FIRE OR EXPLOSION.
RISK OF BURSTING.
RISK OF ELECTRICAL SHOCK.
RISK OF INJURY.
RISK OF BURSTING.
RISK OF BURNS.
RISK TO
BREATHiNG/INHALATION
HAZARD..
RISK TO BREATHING.
RISK OF EYE INJURY.
RISK OF BURSTING.
Never spray flammable liquids in a confined area. It is normal for the motor and pressure switch to
produce sparks while operating. If sparks come into contact with vapors from gasoline or other
solvents, they may ignite, causing fire or explosion. Always operate the compressor in a
well-ventilated area. Do not smoke while spraying. Do not spray where sparks or flame are
)resent. Keep compressor as far from spray area as possible. Store flammable materials in a
secure location away from compressor. Equip the area of operation with a fire extinguisher.
Do not weld, drill or modify the air tank of this compressor. Welding or modifications on the air
compressor tank can severely impair tank strength and cause an extremely hazardous condition.
Welding or modifying the tank in any manner will void the warranty. If tank develops a leak, replace
it immediately with a new tank or replace the entire compressor.
Never use an electric air compressor outdoors when it is raining or on a wet surface, as it may
cause an electric shock. Failure to provide adequate grounding to this product could result in
serious injury or death from electrocution. Make certain that the electrical circuit to which the
compressor is connected provides proper electrical grounding, correct voltage and adequate fuse
)rotection.
This unit starts automatically. ALWAYS shut off the main power disconnect, and bleed all pressure
from the system before servicing the compressor, and when the compressor is not in use. Do not
use the unit with the shrouds or belt guard removed. Serious injury could occur from contact with
moving parts. Stay alert and watch what you are doing when operating the compressor. Do not use
the compressor while tired or under the influence of drugs or alcohol.
Check the manufacturer's maximum pressure rating for air tools and accessories. Compressor
outlet pressure must be regulated so as to never exceed the maximum pressure rating of the tool.
Relieve all pressure through the hose before attaching or removing accessories. Never use
compressor to inflate small low pressure objects such as children's toys, footballs, basketballs, etc.
High temperatures are generated by the pump and manifold. To prevent burns or other injuries, DO
NOT touch the pump, manifold or transfer tube while the pump is running. Allow them to cool
before handling or servicing. Keep children away from the compressor at all times. Do not reach
around protective shrouds or attempt to maintenance until unit has been allowed to cool.
Always wear MSHhJNIOSH approved, properly fitting face mask or respirator and work in a
well ventilated area when using tools that generate dust. Some dust created by power
sanding, grinding, drilling and other construction activities contains chemicals known (to the State
of California) to cause cancer, birth defects or other reproductive harm. Some examples of these
chemicals are:
•lead from lead-based paints
•crystalline silica from bricks and cement and other masonry products
•arsenic and chromium from chemically treated lumber.
Be certain to read all labels when you are spraying paints or toxic materials, and follow the safety
instructions provided on the table or safety sheets for the materials you are spraying. Use a
MSHA/NIOSH approved respirator mask if there is a chance of inhaling anything you are spraying.
Read all instructions and be sure that your respirator mask will protect you. Work in an area with
good cross ventilation.
Always wear ANSI Z87.1 approved safety goggles when using an air compressor. Never point any
nozzle or sprayer toward a person, animal or any part of the body. Equipment can cause serious
injury if the spray penetrates the skin.
•Do not adjust the tank safety valve for any reason. Doing so voids all warranties. The relief valve
has been pre-set at the factory for the maximum pressure of this unit. Personal injury and/or
property damage may result if the relief valve is tampered with.
•Do not use plastic or pvc pipe for compressed air. Use only galvanized steel pipe and fittings for
compressed air distribution lines.
200-2794 3

RISK OF FIRE. Unattended operation of this compressor could result in personal injury or property damage. To
_I_. reduce the risk of fire, do not allow the compressor to operate unattended. Always disconnect
electrical power by turning the pressure switch to off and drain the tank daily or after each use.
RISK TO BREATHING. Air obtained directly from the compressor should never be used to supply air for human
consumption. The air stream may contain carbon monoxide, toxic vapors, or solid particles from
tank. Breathing these contaminant's can cause serious injury or death. In order to use air produced
by this compressor for breathing, suitable filters and in-line safety equipment must be properly
installed. In-line filters and safety equipment must be properly installed. In-line filters and safety
equipment used in conjunction with the compressor must be capable of treating air to all applicable
local and federal codes prior to human consumption.
RISK OF INJURY Always operate the compressor in a stable secure position to prevend accidental movement of the
unit. Never operate the compressor on a table, workbench, roof or other elevated position. Use
additional air hose to reach high locations.
RISK TO HEARING. Always wear hearing protection when using an air compressor. Failure to do so may result in
hearing loss.
The interconnect cord on this product contains lead, a chemical known to the State of California to
cause cancer, and birth defects or other reproductive harm. Wash hands after handling.
NOTE: ELECTRICAL WIRING. Refer to the air compressor's serial label for the unit's voltage and amperage requirements. Ensure
that all wiring is done by a licensed electrician, in accordance with the National Electrical code.
Drain the moisture from the tank on a daily basis. A clean, dry tank will help prevent corrosion.
Pull the tank safety valve ring daily to ensure that the valve is functioning properly, and to clear the valve of any possible obstructions.
To provide proper ventilation for cooling, the compressor must be kept a minimum d12 inches (31 cm) from the nearest wall, in a
welt-ventilated area. Restricting any of the compressor ventilation openings will cause overheating and could cause fire, never place
objects against or on top of compressor.
Fasten the compressor down securely if transporting is necessary. Pressure must be released from the tank before transporting.
Protect the air hose and interconnect cord from damage and puncture. Inspect them weekly for weak or worn spots, and replace if
necessary.
To reduce the risk of electric shock, do not expose to rain. Store indoors.
On oil-tubed compressors, oil can leak or spill and could result in fire or breathing hazard. Oil leaks wilt damage paint, carpet or other
surfaces in vehicles or trailers. Always place the compressor on a protective mat when transporting to protect against damage to
vehicle from leaks. Remove compressor from vehicle immediately upon arroval at your destination.
To prevent damage to tank and compressor on stationary models, the tank must be shimmed so the pump base is level within 1/8" to
distribute oil properly. All feet must be supported, shimming where necessary, prior to attaching to the floor. Fasten all feet to floor. We
also recommend the use of vibration pads (094-0137) under tank feet.
CFM: Cubic feet per minute; a unit of measure of air flow. shuts off is called "cut-out" pressure.
PSI: Pounds per square inch; a unit of measure of air pressure.
Cut-in pressure: While the motor is off, air tank pressure drops
as you continue to use your accessory. When the tank pressure
drops to factory set tow pressure point, the motor will restart
automatically. The tow pressure at which the motor automatically
restarts is called "cut-in" pressure.
Well-ventilated: Means of providing fresh air in exchange for
dangerous exhaust or vapors.
Dedicated circuit: An electrical circuit reserved for the exclusive
use of the air compressor.
Cut-out pressure: When an air compressor is turned on and
begins to run, air pressure in the air tank begins to build. It builds
to the factory set high pressure point before the motor
automatically shuts off, protecting your air tank from pressure
higher than its capacity. The high pressure at which the motor
4 200-2794

BASICAiR COMPRESSOR COMPONENTS
The basic components of the air compressor are the electric
motor, pump, pressure switch and tank (see Fig. 1)
The electric motor (see A) powers the pump. The electric
motor is equipped with an overload protector to help prevent
possible motor burnout. If the motor becomes overheated, the
overload protector wilt shut it down. Should this occur, allow the
motor to cool for 10-15 minutes, then press (never force) the
motor reset switch to restart the motor.
The pump (see B) compresses the air and discharges it into
the tank.
The tank (see C) stores the compressed air.
The pressure switch (see D) shuts down the motor when
the tank reaches a pre-set "cut-out" pressure. As compressed air
is used and the tank drops to a pre-set "cut-in" pressure, the
switch restarts the motor automaticaltly, and the pump resumes
compressing air.
a _.
A
g
Fig. 1
ASSEMBLING THE COMPRESSOR
This compressor was shipped with oil in the pump
crankcase. Check oil before operating the air compressor,
see Check Oil under Maintenance.
1. Unpack the air compressor. Inspect the unit for damage. If
the unit has been damaged in transit, contact the carrier
and complete a damage claim. Do this immediately
because there are time limitations to damage claims.
The carton should contain:
• air compressor
• operator/parts manual
2. Check the compressor's serial label to ensure that you
have received the model ordered, and that it has the
required pressure rating for its intended use.
3. Locate the compressor according to the following
guidelines:
d.
heated building when not in use. This will reduce
problems with lubrication, motor starting and freezing
of water condensation.
Remove the compressor from the shipping pallet and
place it on the floor or a hard, level surface. The
compressor must be level to ensure proper
lubrication of the pump and good drainage of the
moisture in the tank.
__The shipping pallet is not designed as a
base for an operating compressor. Operating the
compressor while it is on the pallet will void your
warranty.
e. To prevent damage to tank and pump, the tank must be
shimmed so the pump is level within 1/8" per lineal foot
maximum to distribute oil properly. Fasten to floor and
NEVER force tank feet to floor without shims when
tightening. We also recommend the use of vibration
pads (094-0137) under tank feet (E).
4. Connect an air hose (not included) to the compressor.
a. For optimum performance, locate the compressor close
to the power panel, as specified in ELECTRICAL
POWER REQUIREMENTS, and as close as possible to
the place where the air wilt be used. This ensures
maximum power to the compressor and maximum air
pressure to the tool. If both of these conditions
cannot be met, it is better to locate the compressor
close to the power panel, and use a longer air hose
to reach the usage area.
b The flywheel side of the compressor must be at least
12 inches (31 cm) from any wall or obstruction, in a
clean, well-ventilated area, to ensure sufficient air
flow and cooling.
c. In cold climates, locate the compressors in a
I
i
i
Fig. 2
200-2794 5

/
H
E
/
__Risk of bursting, resulting in injury.
Never use plastic pipe for compressed air.
_lh_Never use lubricator for paint spraying
or similar applications.
A Air flow
B Feeder line
C Drain leg
D Moisture trap with drain
E Non-lubricated supply line
F 1/4 turn valve
G Bypass
H Air dryer or aftercooler
J Line filter
K Drip tee with drain
L Air/water filter with petcock
M Regulator
N Lubricator
P Quick coupler
R Air hose to tool
T Flexible air line
Air dryers and after coolers
An air dryer or aftercooler is installed directly in the air line.
Moisture removal and air filtration
As the air cools, moisture will condense in the lines. This
moisture must be removed before it reaches the tool being used.
To remove this moisture, run the main air line downhill to a
moisture trap and drain. Air/water filters should also be installed
in the positions shown.
Air pressure regulation
The air pressure gauge on the pressure switch measures air
pressure inside the tank, not pressure in the airline. Install an air
regulator in the drop line for each tool, to regulate air pressure to
that tool. Never exceed the maximum pressure rating of the tool.
Air lubrication
Install an air lubricator only for those tools requiring
lubrication. Do not use a lubricator for paint spraying or similar
applications. The oil wilt contaminate the paint and ruin the job.
Shut=off valves
Install shut-off valves in each drop line, to isolate the tool
and its accessories for servicing. You can also install a bypass
line around an accessory.
6 200-2794

Main Power Disconnect
Install a main power disconnect switch in the power line to
the compressor, near the compressor's location. It is operated
manually, but when it is in the ON position, the compressor will
start up or shut down automatically based on air demand.
ALWAYS operate this switch to OFF when the compressor is not
being used.
Pressure switch (see A)
This switch turns on the compressor. It is operated manually,
but when in the ON position, it allows the compressor to start up
or shut down automatically, without warning, upon air demand.
ALWAYS set this switch to OFF when the compressor is not
being used, and before unplugging the compressor.
_L_For your safety, tank pressure is preset
within the switch and must never be tampered with.
If the pressure switch does not shut off the compressor at it's
"cut-out" pressure setting, the safety valve will protect against
high pressure by releasing tank pressure at it's factory set
pressure (slightly higher than the pressure switch "cut-out"
setting). To operate manually, pull the ring on the valve to relieve
air pressure in the tank.
Pressure Release Valve (see C)
The pressure release valve (located on the bottom of the
pressure switch), is designed to release compressed air from the
compressor head and outlet tube when the compressor reaches
"cut-out" or is shut off. The pressure valve allows the motor to
restart freely. When the motor stops running, air will be heard
escaping from this valve for a few seconds. No air should be
heard leaking when the motor is running or after brief release
after reaching "cut-out" pressure.
This switch must not be adjusted by the operator; doing so
will void the warranty. The pressure switch controls the level of air
pressure in the tank by automatically starting and stopping the
motor, as required to maintain the factory preset pressure level.
The pressure switch also automatically bleeds pressure from
the pump head when the pump stops. This feature eliminates
back pressure in the pump, ensuring easier starting.
Tank Pressure Gauge (see D)
This gauge measures
the pressure level of the
air stored in the tank. It is
not adjustable by the
operator, and does not
indicate line pressure.
Tank Safety Valve (see B)
Used to allow tank pressure to escape into the atmosphere.
MOTOR RESET SWITCH MAIN POWER DISCONNECT SWITCH
__Ensure that all guards and shrouds are in
place before pressing the reset switch to restart the
motor.
If the motor shuts down because of overload, wait 10-15
minutes so the motor can coot down, then press (NEVER force)
the reset switch (see D) to restart the motor (see Fig. 4).
Fig. 4
D
Install a main power disconnect switch in the line from the
panel to the compressor. The main power disconnect switch must
be located near the compressor, for ease of use and safety.
When turned OFF, the main power disconnect switch shuts off all
power to the compressor. When it is turned ON, the compressor
will start and stop automatically, controlled by the pressure
switch.
LOW VOLTAGE PROBLEMS
Low voltage will cause difficult starting or an overload. Low
voltage can be caused by a low supply voltage from the local
power company, other equipment running on the same line, or
inadequate wiring. If any other electrical devices are drawing from
the compressor's circuit, it may fail to start.
ELECTRICAL WIRING
Refer to the air compressor's serial label for the unit's voltage
and amperage requirements. Ensure that all wiring is done by a
licensed electrician, in accordance with the National Electrical
Code. Use electrical conduit to protect the wiring.
MAIN POWER PANEL
For best performance and reliable starting, the air
compressor must be installed on adedicated circuit, as
close as possible to the electrical power panel. Provide circuit
breaker or fuse protection at your main power panel. Use time
delay fuses on the circuit, because the compressor will
momentarily draw several times its specified amperage when first
started.
Low voltage to the compressor can be caused by a supply
wire of insufficient gauge for the distance between the
compressor and the power source. The longer the distance, the
larger the wire gauge (lower the number) must be, to overcome
the inherent voltage loss caused by the wire resistance. Refer to
the National Electrical Code to determine proper wire size for
your circuit.
If the wiring is not adequate, the input voltage will drop by 20
to 40 volts at startup. Low voltage or an overloaded circuit can
result in sluggish starting that causes the circuit breaker to trip,
especially in cold conditions.
GROUNDING INSTRUCTIONS
This product must be connected to a grounded, metallic,
permanent wiring system, or an equipment - grounding terminal
or lead on the product.
200-2794 7

BREAK-INOFTHEPUMP thetank.
1. Makesurethepowerisconnectedatthepowerpanel.
2. Checktheoillevelinthepump(see"CheckingtheOil"inthe
maintenancesection).
3. Openthepetcock(seeC).
__ Escaping air and moisture can
propel debris that may cause eye injury. Wear safety
goggles when opening petcock.
4, Turn ON the main power disconnect switch. Turn the
pressure switch to the AUTO position (see B). The motor
should start. Allow the compressor to run for 30 minutes, to
break in the internal parts.
NOTE: After about 30 minutes, if the unit does not operate
properly, SHUT DOWN IMMEDIATELY, and contact a
Sears or other qualified service center. DO NOT return
the unit to the store where it was purchased.
5. Shut OFF the main power disconnect. Close the petcock
(see D). Connect your air hose(s) to the tank outlet(s).
NOTE: As compressed air is used, the pressure switch will
restart the motor automatically to supply more
compressed air to the tank.
DAILY START-UP
1,
2,
3.
4.
Check the oil level in the pump (see "Checking the Oil" in the
maintenance section).
Make sure the main power disconnect switch is shut OFF.
Close the tank petcock (see D).
Turn ON the main power disconnect switch. Turn the
pressure switch to the AUTO position (see B). The pump wilt
start filling the tank with air. When the air pressure in the
tank reaches the level preset at the factory, the pressure
switch will turn off the electric motor. As air is used and the
pressure level in the tank drops, the pressure switch wilt start
the motor and the pump wilt begin refilling the tank.
__ High temperatures are generated
by the pump. To prevent burns or other injuries, DO
NOT touch the pump or transfer tube while the pump
is running. Allow it to cool before handling or
servicing. Keep children away from the compressor
at all times.
NOTE: If the unit does not operate properly, SHUT DOWN
IMMEDIATELY, and contact a Sears or other qualified
service center.
SHUTDOWN
1. Turn the pressure switch to the OFF position (see A).
2. Shut OFF the main power disconnect switch.
3. Reduce pressure in the tank through the outlet hose. You
can also pull the tank safety valve ring (see E) and keep it
open to relieve pressure in the tank.
__ Escaping air and moisture can
propel debris that may cause eye injury. Wear safety
goggles when opening petcock.
OFF (A)
(B) AUTO
/
i
', :
C OP!'
4. Open the petcock (see C) to allow moisture to drain from
8 200-2794

MAINTENANCE use. Do not use the unit with the shrouds or belt
__ To avoid personal injury, always shut off
and unplug the compressor and relieve all air pressure
from the system before performing any service on the air
compressor.
Regular maintenance will ensure trouble-free operation.
Your electric powered air compressor represents high-quality
engineering and construction; however, even high-quality
machinery requires periodic maintenance. The items listed below
should be inspected on a regular basis
DRAINING THE TANK
Drain the moisture from the tank (for instructions, see
"Shutdown" in the operating instructions section).
__Condensation will accumulate in
the tank. To prevent corrosion of the tank from the
inside, this moisture must be drained at the end of
every workday. Wear protective eyewear.
CHECKING THE OIL
To check the oil level in the pump, unscrew the dipstick (D)
and wipe off oil. Screw the dipstick all the way in and then
unscrew. The pump oil level should be between between add
(see C) and full (see B). Replace the dipstick. Do not overfill
or under fill.
guard removed. Serious injury could occur from
contact with moving parts.
Proper belt tension and pulley alignment must be maintained
for maximum drive efficiency and belt life. The correct tension
exists if a deflection (see A) of 1/2" (13 mm) occurs by placing 10
lbs. (4.6 kg) of force (see B) midway between the motor pulley
and the pump flywheel (See Fig. 8). This deflection can be
adjusted by the following procedure. The pulley should be
carefully aligned with the flywheel, and all setscrews should be
kept tight.
1. Remove the front of the beltguard by removing the 5 screws
using a Phillips head screwdriver.
2. Loosen the motor mounting bolts.
3. Shift the motor to the point where the correct deflection exists
(A & B).
4. Retighten the motor mounting bolts to 130-180 in.-lbs.
5. Check to ensure that the tension remained correct.
6. Reinstall the belt guard. All moving parts must be guarded.
Fig. 8
Motor
NOTE: Use synthetic, non-detergent air compressor oil.
CHANGING THE OIL
Remove the oil plug (see A) and drain the oil until it slows to
a drip, then close. Add compressor oil (approx. 18 oz.) until it is
between full (see B) and add (see C) when the dipstick (see D) is
screwed completely into the hole. Never overfill or underfitl the
pump.
NOTE: The compressor is pre-fitled with synthetic oil. Use
synthetic, non-detergent air compressor oil.
B = Full
C = Add
Fig. 7
DRIVE BELT TENSION ADJUSTMENT
NOTE: Drive belt tensioning and pulley alignment are done
at the same time. They are discussed separately for clarity.
__ This unit starts automatically.
ALWAYS shut off the main power disconnect, and
bleed all pressure from the system before servicing
the compressor, and when the compressor is not in
Motor
Motor
bolts
Pump
Flywheel
Compressor moy very #ore one shown
PULLEY ALIGNMENT
NOTE: Drive belt tensioning and pulley alignment are done at
the same time. They are discussed separately for clarity.
__This unit starts automatically.
ALWAYS shut off the main power disconnect, and
bleed all pressure from the system before servicing
the compressor, and when the compressor is not in
use. Do not use the unit with the shrouds or belt
guard removed. Serious injury could occur from
contact with moving parts.
200-2794 9

NOTE:Oncethemotorpulleyhasbeenmovedfromitsfactory
setlocation,thegroovesoftheflywheelandpulleymust
bealignedtowithin1/16"topreventexcessivebeltwear.
Tocheckpulleyalignment,removethebeltguardandplace
astraightedge(seeA)againstthepumpflywheel(seeB)(See
Fig. 9). Measure and record the distance from the straightedge to
the edge of the drive belt at point C. Then measure the distance
from the straightedge to the edge of the drive belt again at points
D and E. Both distances should be the same as at point C. If D or
E are different from C, there is a misalignment which must be
corrected before the compressor is run. To correct a pulley
misalignment, use the following procedure.
1. Remove the front of the bettguard by removing the 5 screws
using a Phillips head screwdriver.
2. Loosen the motor mounting bolts.
3. Loosen the setscrew on the motor pulley.
4. Align the motor pulley with the pump flywheel (C-D-E must
be equal ).
5. Retighten the motor pulley setscrew to 85-90 in.-tbs.
6. Adjust the proper belt tension.
7. Retighten the motor mounting bolts to 130-180 in.-tbs.
8. Reinstall the belt guard. All moving parts must be
guarded.
Fig. 9
pultey
Motor
Motor
boits
Compressor may vary from one shown
DRIVE BELT REPLACEMENT
__This unit starts automatically.
ALWAYS shut off the main power disconnect, and
bleed all pressure from the system before servicing
the compressor, and when the compressor is not in
use. Do not use the unit with the shrouds or belt
guard removed. Serious injury could occur from
contact with moving parts.
1. Remove the front of the bettguard by removing the 5 screws
using a Phillips head screwdriver.
2. Loosen the motor mounting bolts.
3. Shift the motor towards the pump to the point where the belt
can be easily removed and installed.
4. Remove and replace belt. NOTE: The belt must be centered
over the grooves on the flywheel and motor pulley.
5. Shift the motor back to the point where the correct deflection
exists (see "Drive Belt Tension Adjustment").
6. Retighten the motor mounting bolts to 130-180 in.-tbs.
7. Check to ensure that the tension remained correct.
8. Reinstall the belt guard. All moving parts must be guarded.
TO REPLACE OR CLEAN CHECK VALVE
__This unit starts automatically.
r ALWAYS shut off the main power disconnect, and
bleed all pressure from the system before servicing
the compressor, and when the compressor is not in
use. Do not use the unit with the shrouds or belt
guard removed. Serious injury could occur from
contact with moving parts.
1. Turn air compressor off,
remove the power cord
from the outlet or lock
out the power supply
and relieve all the air
pressure from the tank
(refer to "Shutdown" in
Operating Instructions).
Make sure the
compressor has cooled
down before servicing.
2. Using the appropriately
sized wrench, loosen the
compression nuts
(A) on the check valve
(B) and pump head (C).
Remove the transfer
tube (D).
3. Making note of the
To pump A
head -4-_
orientation for reassembly, unscrew the check valve from
the tank (counterclockwise) using a 7/8" open end wrench.
4. Using a pencil or screwdriver, carefully
push the valve disc up and down. If the
valve disc does not move freely up and
down, the check valve needs to be
cleaned or replaced.
5. Clean the check valve with warm soapy
water and make sure to dry thoroughly
before reinstalling. If the disc valve still
does not move freely up and down, it will
need to be replaced.
6. Apply thread sealant to the check valve
threads and reinstall into the tank by
turning clockwise.
7. Replace the transfer tube and tighten
compression nuts. Che_ Valve
8. Perform the "Break-in of the pump" procedure in the
Operating Instructions to make sure there are no leaks and
the check valve is working properly.
I Sc_wddver
pie°roi,
10 200-2794

CLEANINGTHEAIRFILTER
Adirtyairfilterwillreducethecompressor'sperformanceand
life.Toavoidanyinternalcontaminationofthepump,thefilter
shouldbecleanedfrequently,andreplacedonaregularbasis.
Feltfiltersshouldbecleanedinwarm,soapywater,rinsed,and
allowedtoairdrybeforereinstaltation.Paperfiltersshouldbe
replacedwhendirty.Donotallowthefiltertobecomefilledwith
dirtorpaint.Ifthefilterbecomesfilledwithpaint,itshouldbe
replaced.Directexposuretodirtyconditionsorpaintingareaswilt
voidyourwarranty.
CHECKING THE RELIEF VALVE
Pull the tank safety valve daily to ensure that it is operating
properly and to clear the valve of any possible obstructions.
TESTING FOR LEAKS
Check that all connections are tight. A small leak in any of
the hoses, transfer tubes, or pipe connections will substantially
reduce the performance of your air compressor. If you suspect a
leak, spray a small amount of soapy water around the area of the
suspected leak with a spray bottle. If bubbles appear, repair or
replace the faulty component. Do not over tighten any
connections.
STORAGE
Before storing the compressor for a prolonged period, use an
air blow gun to clean all dust and debris from the compressor.
Disconnect the power cord and coil it up. Pull the tank safety
valve to release all pressure from the tank. Drain all moisture
from the tank. Clean the filter element and filter housing; replace
the element if necessary. Drain the oil from the pump crankcase
and replace it with new oil. Cover the entire unit to protect it from
moisture and dust.
Daily or after Every 100
Perform the following maintenance at the intervals indicated below, each use operating hours
Inspect air filter (clean or replace as necessary) •
Check pump oil level •
Change pump oil (Use synthetic, non-detergent air compressor oil) •
Operate the tank safety valve •
Check belt tension •
Drain tank •
Check and tighten all bolts (do not over tighten) •
200-2794 11

Note: Troubleshooting problems may have similar causes and solutions.
PROBLEM POSSIBLE CAUSE SOLUTION
Excessive current draw Low voltage/motor overload Check that power supply is adequate and that compressor is on a
trips circuit breaker or dedicated circuit.
motor reset switch Drive belt too tight Readjust belt tension.
Restricted air passages Inspect and replace transfer tubes or the check valve, (see "To replace
or clean check valve" in the maintenance section).
Compressor stalls Low voltage to motor Furnish adequate power.
Bad check valve Replace the check valve (see "To replace or clean check valve" in the
maintenance section).
Seized pump Contact a Sears or other qualified service center.
Low discharge pressure Air leaks Tighten or replace leaking fittings or connections. Do not overtighten.
Leaking valves Contact a Sears or other qualified service center.
Restricted air intake Clean or replace air filter element(s).
Blown gaskets Contact a Sears or other qualified service center.
Worn piston rings or cylinder Contact a Sears or other qualified service center.
Compressor pump Loose motor pulley or pump Retighten pulley and flywheel. Check alignment.
knocking flywheel
Low oil level in pump crankcase Keep oil at proper level at all times.
Excess carbon on valves or top of Contact a Sears or other qualified service center.
3iston
Oil in discharge air Worn piston rings or cylinder Contact a Sears or other qualified service center.
Restricted air intake Clean or replace the air filter element(s).
Oil level too high Reduce to proper level.
Overheating Poor ventilation Relocate compressor to an area with cool, dry, welt circulated air, at
least 12 in. from nearest wall.
Dirty cooling surfaces Clean all cooling surfaces thoroughly.
Restricted air passages Inspect and replace transfer tubes or the check valve, (see "To replace
or clean check valve" in the maintenance section).
Excessive belt wear Pulley out of alignment Realign pulley with compressor flywheel.
Improper belt tension Readjust.
Pulley wobbles Replace the pulley and check for a damaged crankshaft or flywheel.
Compressor won't start Too much back pressure in tank Open petcock when starting motor.
in cold temperatures 40W oil in crankcase Use synthetic, non-detergent air compressor oil.
Compressor too cold Move compressor to a warmer location.
Air leaking through Dirty or defective check valve. Replace or clean the check valve (see "To replace or clean check
bleeder valve after valve" in the maintenance section).
compressor shuts off
12 200-2794

\\
Item Part No. Qty
Articulo N° de pieza Cant.
Article No /P Qte
1 034-0228
2 032-0025
3 071-0033
4 061-0216
5 N/A
6 136-0090
7 136-0073
*N/A
*N/A
*N/A
Description
1 Switch, pressure (includes items
3-4&6)
1 Gauge, 300# 114"bottom
connect
1 Strain relief
1 Screw
1 Nipple 1/4" X 2 1/2"
1 Valve, bleeder
1 Valve, ASME
Descripcion
Interruptor (incluye los articulos
3-4y6)
Man6metro
Alivio de esfuerzo
Tornitto
Latiguitto
Valvula
Valvula
-These are standard parts available at your local hardware store.
-Estas son piezas est4ndar disponibles en su ferreter/a local
-Ces pi#ces sont des pi#ces standard disponibles en quincaillerie.
Description
Interrupteur (inclut les #16ments
3-4 et 6)
Manometre
Soulagement de traction
Vis
Manchon fitete
Soupape
Soupape
200-2794 13

6
7
3
5
14 200-2794

Item Part No. Qty
Articulo N°de pieza Cant.
Article No/P Qte Description
1 125-0151 1 Belt guard, outer
2 N/A 5 Screw, #10-14
3 146-0016 1 Key
4 007-0037 1 V-Belt, 4L-530
5 006-0142 1 Pulley, 4.25 x 5/8" bore
6 N/A 5 Bolt, 5/16-18 x 1/2"
7 125-0152 1 belt guard, inner
8 N/A 4 Screw, 5/16-18 x 1.25
9 114-0726 2 Bracket
Descripcion
Protector
Tornitto
Chaveta
Correa
Polea
Pemo
Protector
Tornitto
Protector
Description
Garant
Vis
Cte
Courroie
Poulie
Boulon
Garant
Vis
Garant
10 N/A 4 Washer, fiat 5/16 Arandeta Rondette
11 N/A 4 Nut, 5/16-18 nylon stop
12 153-0123 1 Tank assembly
12A 513-0001 2 O-ring, 2"
12B 512-0042 1 Bushing 2" NPSM X 3/8NPT
12C 512-0041 1 Bushing 2" NPSM X I/4NPT
12D 072-0001 1 Petcock
13 098-3870 1 Label, warning
14 145-0084 1 Tube, bleeder 1/4" x 17"
15 See page 13 1 Manifold assembly
16 N/A 4 Bolt, 5/16 x 1.5"
17 See pages 16 & 1 Pump assembly
17
Tuerca
Dep6sito
Dep6sito
Buje
Buje
Grifo de purga
Etiqueta de advertencia
Tubo
Colector
Perno
Bomba
Ecrou
Ensemble du reservoir
Ensemble du reservoir
Bague
Bague
Robinet de purge
D'avertissement etiquette
Tube
Ensemble du collecteur
Boulon
Ensemble du pompe
18 031-0035 1 Check Valve, 1/2" x 1/2" Valvula Soupape
19 068-0002 1 Connector, male
20 058-0016 2 Nut, 1/2" O.D. tube
21 145-0623 1 Tube, transfer
22 068-0063 1 Connector, 1/4" X 1/2"
23 160-0266 1 Motor
23A 166-0055 1 Capacitor, start, black
23B 166-0018 1 Capacitor, run, silver
23C 166-0029 1 Cover, start capacitor
23D 166-0028 1 Cover, run capacitor
24 098-2856 1 Label, warning
25 026-0233 1 Cord, interconnect
Conector
Tuerca
Tubo
Conector
Motor
Condensador
Condensador
Tapa
Tapa
Etiqueta de advertencia
Cable
Connecteur
Ecrou
Tube
Connecteur
Moteur
Condensateur
Condensateur
Couvercle
Couvercle
D'avertissement etiquette
C_ble
*N/A - These are standard parts available at your local hardware store.
*N/A - Estas son piezas estandar disponibles en su ferreteria local.
*N/A - Ces pieces sont des pieces standard disponibles en quincaillerie.
200-2794 15

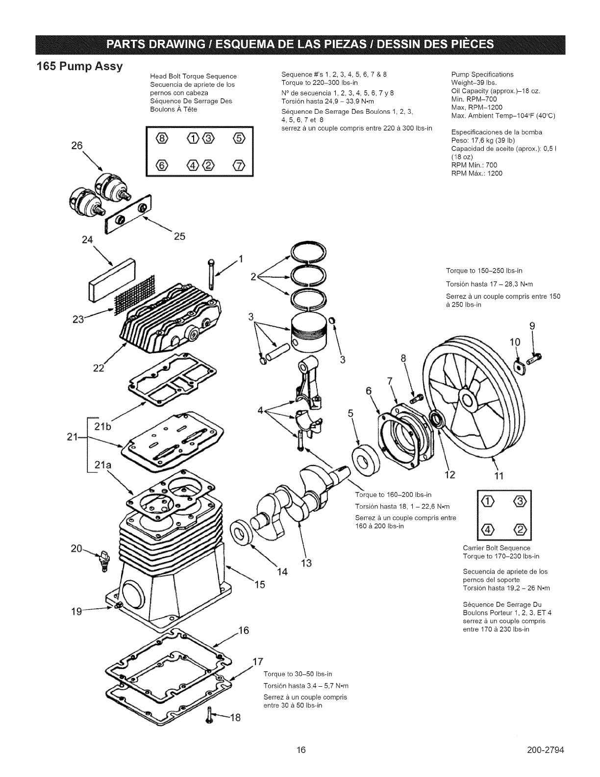
165 Pump Assy
26
Head Bolt Torque Sequence
Secuencia de apriete de los
pernos con cabeza
Sequence De Serrage Des
Boulons/_ T6te
® @® ®
@ @@
Sequence #'s 1,2, 3, 4, 5, 6, 7 & 8
Torque to 220-300 tbs-in
N° de secuencia 1,2, 3, 4, 5, 6, 7 y 8
Torsi6n hasta 24,9 - 33,9 N,m
Sequence De Serrage Des Boulons 1, 2, 3,
4, 5, 6, 7 et 8
serrez a un couple compris entre 220 _ 300 lbs-in
Pump Specifications
Weight-39 Ibs,
Oil Capacity (approx.)-18 oz.
Min, RPM-700
Max, RPM-1200
Max. Ambient Temp-104°F (40°C)
Especificaciones de ta bomba
Peso: 17,6 kg (39 tb)
Capacidad de aceite (aprox,): 0,5 I
(18 oz)
RPM Min.: 700
RPM MAx,: 1200
24
6
5
8
7
Torque to 150-250 lbs-in
Torsi6n hasta 17- 28,3 N-m
Serrez a un couple compris entre 150
250 Ibs-in
9
10
13
14
12 11
Torque to 160-200 tbs-in
Torsi6n hasta 18, 1 -22,6 Nom
Serrez a un couple compris entre
160 _ 200 lbs-in ® ®
Carrier Bolt Sequence
Torque to 170-230 tbs-in
Secuencia de apriete de los
pernos del soporte
Torsi6n hasta 19,2 - 26 N,m
Sequence De Serrage Du
Boulons Porteur 1, 2, 3, ET 4
serrez a un couple compris
entre 170 _ 230 lbs-in
17
Torque to 30-50 Ibs-in
Torsi6n hasta 3,4 - 5,7 N-m
Serrez a un couple compris
entre 30 a 50 lbs-in
16 200-2794

165 Pump Assy
Item Part No.
Articulo Num /P Cant
Article No/P Qte
1 059-0144 8
2 054-0112 1
3 048-0065 2
4 047-0092 2
5 051-0043 1
6 046-0149 1
Qty Description Descripcion Description
Screw, 5/16-18 x 2.50" lg Tornitlo Vis
Ring set Juego de anitlos Jeu d'anneaux
Piston assembly Pist6n Ensemble du piston
Rod, 165 pump Varitla Tige
Bearing Cojinete Roulement
Gasket Junta Joint
Soporte, incluye los articulos 5 y Support, inclut les #l#ments 5 et
7 045-0053 1 Carrier, includesitems 5 & 12 12 12
8 N/A 4 Screw, 5/16-18 x 1" lg Tornitlo Vis
9 N/A 1 Screw, 5/16-18 x 1.0" lg Tornitlo Vis
10 060-0053 1 Washer Arandeta Rondette
11 044-0064 1 Flywheel, 12" A width Volante, A Volant-moteur, A
12 046-0161 1 Seal Selto Joint
13 053-0043 1 Crankshaft, 165 pump CigOefial Vitebrequin
14 051-0013 1 Bearing Cojinete Roulement
15 049-0050 1 Crankcase, includes item 14 Carter, incluye los articulos 14 Carter, inclut les #l#ments 14
16 046-0263 1 Gasket Junta Joint
17 077-0148 1 Base Base Base
18 061-0113 14 Screw, #10-24 x 1/2 Tornitlo Vis
19 061-0112 1 Plug, 5/16-18 Tap6n Bouchon
20 056-0019 1 Dipstick Varitla de aceite Jauge de niveau
Conjunto de placa, incluye los Ensemble du plaque, inclut/es
21 043-0142 1 Plate, assy, includes 21a-21b ardculos 21a-21b #l#ments 21a-21b
21a 046-0152 1 Gasket Junta Joint
21b 046-0151 1 Gasket Junta Joint
22 042-0103 1 Head Cabezal T6te
23 118-0023 _ 1 Screen IVlalta Crepine
24 019-0052 1 Filter, felt Fittro Fittre
25 019-0096 1 Plate Placa Placa
26 019-0165 2 Filter, canister includes 26a Fittro Fittro
26a 019-0166 2Element E/emento E/emento
*N/A - These are standard parts available at your local hardware store.
*N/A - Estas son piezas estandar disponibles en su ferreteria local.
*N/A - Ces pieces sont des pieces standard disponibles en quincaillerie.
Felt filter models include items 23 and 24. Canister filter modelsinclude items 25 and 26.
Les modeles muni d'un filtre en feutre comprends art. 23 et 24. Les modeles muni d'un filtre en bofte comprends art. 25 et 26.
Los modelos defiltro de fieltro ncluyen art. 23 y24. Los modelos de filtro lata de incluyen art. 25 y26.
Available Service Kits
046-0159 1 Gaskets, complete set Juntas, conjunto completo Joints, jeu complet (inclut les elements 6,
(includes items 6, 16, incluye los articulos 6, 16, 16, 21a et 21b)
21a and 21b) 21a y21b)
165-0083 1 Overhaul kit, felt filter Juego de acondicionamiento, Jeu de pi_ces de reparation, le modele
model ncludes ring modelo de filtro de fieltro muni d'un filtre en feutre comprend des
and gasket sets, valve incluye conjuntos de anillo y _euxde bagues et de joints, I'assemblage
9late assembly and iunta, conjunto de la placa de de la plaque et dejoints, I'assemblage de
filter element Ia valvula y elemento del filtro la plaque de la soupape et I'element du
filtre
200-2794
040-0429 1 Pump assembly
includes items 1-24
excluding 9-10 and 11
Bomba (incluye los articulos
1-24 excepto 9-10 y 11)
17
Pompe (inclut les elements 1-24
I'exclusion de 9-10 et 11)

GARANTiA ....................................... 18 INTERVALOS DE SERVICIO ........................ 27
CUADRO DE ESPECIFICACIONES ................... 18 CUADRO DE DETECCION DE FALLOS ................ 28
PAUTAS DE SEGURIDAD ........................ 19-20 ESQUEMA DE PIEZAS Y LISTA DE PIEZAS ......... 13-17
GLOSARIO DE TI:I:RMINOS ......................... 20
RESUMEN GENERAL .............................. 21
MONTAJE ....................................... 21
INSTALACION TiPICA .............................. 22
CONTROLES DEL COMPRESOR .................... 23
REQUISlTOS DE ALIMENTACION ELI:I:CTRICA ....... 23-24
INSTRUCCIONES OPERATIVAS .................. 24-25
MANTENIMIENTO .............................. 25-27
UN ANO DE GARANTiA TOTAL DE CRAFTSMAN
DURANTE UN ANO desde la fecha de compra, este producto tiene garantia contra defectos en los
materiales o en la fabricaci6n. Los productos defectuosos se repararan gratuitamente o se
reemplazaran sin coste si la reparaci6n no es posible.
Para conocer los detaNes de cobertura de la garantia con el fin de obtener una reparaci6n o un
reemplazo, visite el sitio web www.craftsman.com.
Esta garantia no cubre el filtro de aire ni la correa de transmisi6n, que son piezas que con un uso
normal se pueden gastar durante el periodo de garantia.
Esta garantia no es v&Nda si el producto se utiNza para proporcionar servicios comerciales o si se
alquila a un tercero.
Esta garantia le proporciona derechos legales especificos yes posible que ademas tenga otros
derechos, dependiendo del pals o el estado.
Sears Brands Management Corporation, Hoffman Estates, IL 60179 EE. UU.
RUNNING PRESION DE PRESION DE
H.P. CAPACIDAD DEL VOLTAJE ENCENDIDO APAGADO
MODELO (CV) DEPOSITO - LITROS AMP/FASE (APROXIMADA) (APROXIMADA)
921.16476 120 150
3.1 Vert. 228 Litros 230/15/1
(WLB3106016) (8,27 bar) (10,34 bar)
18 200-2794

La informaci6n que sigue se refiere a la protecci6n de SU SEGURIDAD y ta PREVENCION DE PROBLEMAS DEL EQUIPO. Como
ayuda para reconocer esta informaci6n, usamos los siguientes simbolos. Lea por favor et manual y preste atenci6n a estas secciones.
__- RIESGO POTENClAL DE LESIONES GRAVES O LA PC:RDIDA DE LA VIDA.
__- RIESGO POTENClAL DE LESIONES GRAVES O PC:RDIDA DE LA VIDA.
,_IL_ " RIESGO POTENClAL DE LESIONES LEVES O DAI_OS EN EL EQUIPO.
RII=SGO DE INCENDIO Nunca rocie liquidos inflamables dentro de un area cerrada. Durante el funcionamiento, es normal que se
O EXPLOSION. _roduzcan chispas tanto en el motor como en el interruptor de presi6n. Si las chispas entran en contacto con
i_ vapores de gasolina u otros disolventes, se podria producir un incendio o una explosi6n. Utilice siempre el
compresor en un area bien ventilada. No fume mientras rocia. No rocie donde pueda haber chispas o llamas.
Mantenga el compresor tan alejado como sea posible del area donde vaya a utilizar el pulverizador. Almacene los
materiales inflamables en un lugar seguro y alejado del compresor. Tenga un extintor en el area de operaciones.
R.IESGO DE No realice soldaduras al dep6sito de aire de este compresor, nile practique agujeros, ni Io modifique. Realizar
EXPLOSI(DN. soldaduras o modificaciones al dep6sito de aire del compresor puede afectar a su resistencia estructural y crear
condiciones extremadamente peligrosas. Realizar soldaduras o modificaciones al dep6sito de aire invalidara la
garantia. Si detecta un escape en el dep6sito, reemplacelo inmediatamente con un nuevo dep6sito o reemplace
todo el compresor.
RIESGO DE DESCARGA Nunca utilice un compresor electrico de aire en el exterior cuando este Iloviendo o sobre una superficie mojada,
ELE_CTRICA. ya que se podria producir una descarga electrica. Si no se proporciona una toma a tierra adecuada a este
_b._ _roducto, se podrian producir lesiones graves o muerte por electrocuci6n. AsegOrese de que el circuito electrico al
que se conecte este compresor tenga una adecuada toma a tierra, un voltaje correcto y una protecci6n con
fusibles satisfactoria.
RIESGO BE LESIONES. Esta unidad se enciende automaticamente. SIEMPRE apague el interruptor general electrico y purgue toda la
r _resi6n del sistema antes de reparar el compresor y tambien cuando el compresor no se este utilizando. No utilice
_, la unidad si se le han retirado las cubiertas o el protector de la correa. Existe riesgo de lesi6n grave por contacto
!con partes mSviles. Cuando utilice el compresor, este alerta y atento a Io que hace. No utilice el compresor siesta
cansado o bajo la influencia de medicamentos o alcohol.
RIESGO DE Compruebe la maxima presi6n permitida por los fabricantes de herramientas y accesorios. Se debe regular la
EXPLOSION. salida de presi6n del compresor para que no se exceda la maxima presi6n permitida por la herramienta o
accesorio. Purgue todo el aire antes de retirar o ajustar los accesorios. Nunca utilice el compresor para inflar
objetos peque5os de baja presi6n como juguetes, balones, pelotas, etcetera.
RIESGO DE La bombay el colector pueden alcanzar altas temperaturas. Para evitar quemaduras u otras lesiones, NO toque
QUEMADURAS. la bomba, el colector ni la manguera de transferencia mientras la bomba este en funcionamiento. Espere a que se
enfrien antes de manipularlos o repararlos. No deje que los nidos se acerquen al compresor en ningOn momento.
No intente acceder a la parte posterior de las cubiertas protectoras ni reparar la unidad hasta que esta se haya
enfriado.
RIESGO Y PELIGRO Cuando utilice herramientas que generen polvo, use siempre mascaras o respiradores ajustados y
INHALACION. aprobados por la Administraci6n de Minas, Seguridad y Salud (Mine Safety and Health Administration,
MSHA) o el Instituto National para la Seguridad y Salud Ocupacional (National institute for Occupational
Safety and Health, NIOSH) de los EE. UU., y trabaje en areas bien ventiladas. El polvo que se genera al lijar,
triturar, perforar o al realizar otras actividades de construcci6n puede contener productos quimicos que, segOn el
estado de California, causan cancer, malformaciones de nacimiento u otros dados al sistema reproductor.
Algunos ejemplos de estos productos quimicos son:
• PIomo procedente de pinturas con plomo
• Silice cristalina procedente de ladrillos, cemento y otros productos de alba_ileria
• Arsenico y cromo procedentes de madera tratada con productos quimicos
RIESGO PARA LA AsegOrese de leer todas las etiquetas cuando este pulverizando pintura o materiales t6xicos, y siga todas las
RESPIRACK_)N. instrucciones de seguridad que se proporcionen en la etiqueta o las hojas de seguridad de los materiales que este
utilizando. Utilice mascaras de respiraci6n aprobadas por la MSHA/el NIOSH si existe riesgo de inhalaci6n de
vahos de la sustancia que este pulverizando. Lea todas las instrucciones y asegOrese de que la mascara de
respiraci6n le proteja. Trabaje en areas con buena ventilaci6n.
RIESGO DE LESIONES Utilice siempre gafas protectoras que cumplan la norma ANSI Z87.1 cuando utilice un compresor de aire. No
OCULARES. apunte nunca con un difusor o pulverizador a una persona o a un animal ni a ninguna parte del cuerpo. Si la
sustancia pulverizada penetra en la piel se pueden producir lesiones graves.
200-2794 19

RIESGO DE ,Nunca intente, por ningQn motivo, ajustar la valvula de seguridad del dep6sito. Hacerlo anulara la garantia. La
EXPLOSI()N. valvula de seguridad ha sido preconfigurada en fabrica a la presi6n maxima que soporta esta unidad. Si se manipula
_ la valvula de seguridad, existe el riesgo de que se produzcan lesiones personales o da_os materiales..No utilice
mangueras de plastico o pvc para aire comprimido. Use solo mangueras y conectores de acero galvanizado para
lineas de distribuci6n de aire comprimido.
RIESGO DE Dejar el compresor en funcionamiento sin vigilancia puede causar lesiones personales o da_os materiales. Para
_al_.Jj. INCENDIO reducir el riesgo de incendio, no permita que el compresor funcione sin vigilancia. Despues de cada uso, desconecte
siempre la corriente electrica colocando el interruptor en la posici6n OFF y purgue todo el aire del dep6sit
RIESGO PARA LA El aire obtenido directamente del compresor no se debe utilizar nunca como suministro para consumo humano. El
RESPIRACI()N. flujo de aire puede contener mon6xido de carbono, vapores t6xicos o particulas s61idas del dep6sito. Respirar este
aire puede causar lesiones graves o la muerte. Si se desea utilizar el aire producido por el compresor para respirar,
deben instalarse filtros adecuados y equipos de seguridad en linea. Se deben instalar adecuadamente los filtros y
equipos de seguridad en line& Los filtros y equipos de seguridad en linea utilizados junto con el compresor deben
ser capaces de tratar el aire para que cumpla con los c6digos locales y nacionales pertinentes antes de que sea
usado para consumo humano.
RIESGO DE Para su utilizaci6n, sitQe siempre el compresor en una posici6n segura y estable a fin de prevenir movimientos
_lr LESIONES. accidentales de la unidad. Nunca utilice el compresor encima de una mesa, un banco de trabajo, un tejado u otra
)osici6n elevada. Si necesita alcanzar lugares altos, utilice una manguera de aire adicional.
RIESGO PARA EL Utilice siempre protectores auditivos cuando use un compresor de aire. Si no Io hace, podria ufrir perdida de la
audici6n.
El cable de conexi6n de este producto contiene plomo, un producto quimico que, segOn el estado de California,
causa cancer, malformaciones de nacimiento y otros dahos al sistema reproductor. Lavese las manos despues de
manipularlo.
NO'rA: CABLI=ADO Consulte el r6tulo del nOmero de serie del compresor de aire para conocer los requerimientos de voltaje y amperaje
ELECTRICO. de la unidad. Cerci6rese de que un electricista cualificado instalada todo el cableado, de conformidad con el C6digo
Electrico Nacional.
Elimine la humedad del depdsito todos los dias. Un depdsito limpio y seco ayudara a evitar la corrosidn.
Tire de la anilla de la valvula de seguridad del dep6sito todos los dias para asegurarse de que la valvula funciona adecuadamente, y para
limpiar la valvula de cualquier obstrucci6n que pueda tenet.
Para que la unidad disponga de ventilaci6n suficiente para enfriarse, se debe mantener el compresor en un area bien ventilada a un minimo
de 31 cm de la pared mas cercana. Obstruir cualquiera de las aberturas del compresor causara un sobrecalentamiento y podria originar un
incendio; no apoye ningQn objeto contra el compresor ni encima de el.
Sujete el compresor muy bien si es necesario su transporte. Debe liberarse la presi6n del dep6sito antes de su transporte.
Proteja la manguera de aire y el cable de conexi6n de da_os y pinchazos. Reviselos cada semana para buscar puntos debiles o gastados, y
reemplacelos si fuera necesario.
Para reducir el riesgo de choque electrico, proteja la unidad de la Iluvia. Almacene en el interior.
En compresores lubricados con aceite, el aceite puede gotear o derramarse y ocasionar un peligro de incendio o causar problemas de
respiraci6n. El goteo de aceite podria da_ar la pintura, las alfombrillas u otras superficies de vehiculos o remolques. Deposite el compresor
siempre sobre una alfombrilla protectora cuando Io transporte para evitar da_os al vehiculo causados pot goteo de aceite. Cuando Ilegue a su
destino, retire inmediatamente el compresor del vehiculo.
Para evitar da_os al dep6sito y el compresor de modelos fijos, se debe calzar el dep6sito de manera que la base de la bomba quede nivelada
a menos de 3 mm (1/8"), a fin de distribuir correctamente el aceite. Se deben apoyar todos las patas, calzandolas donde sea necesario,
antes de fijarlas al piso. Asegure todos las piesal piso. Tambien se recomienda el uso de calzos antivibratorios (094-0137) debajo de las
patas del dep6sito.
I/rain: Litros pot minuto; una unidad de la medida de flujo de aire. este empieza a funcionar, la presi6n en el dep6sito de aire comienza
a subir. Cuando alcanza el nivel maximo establecido en fabrica, el
Bar: Es una unidad de medida de la presi6n del aire. motor se apaga automaticamente, protegiendo el dep6sito de aire de
Presi6n de encendido: Cuando el motor esta apagado, la presi6n presiones mas elevadas de las que puede soportar. Esta presi6n
de aire del dep6sito va bajando a medida que usted continQa maxima que hara que el motor se apague automaticamente se llama
utilizando su accesorio. Cuando la presi6n del dep6sito baje hasta un "presi6n de apagado" ("cut-out pressure").
nivel minimo establecido en fabrica, el motor se reiniciara
automaticamente. Esta presi6n minima que hara que el motor se Bien ventilado: Significa proveer aire fresco para contrarrestar el
inicie automaticamente se llama "presi6n de encendido" ("cut-in escape de gases o los vapores peligrosos.
pressure"). Circuito dedicado: Un circuito electrico reservado para uso
exclusivo del compresor de aire.
Presi6n de apagado: Cuando se enciende un compresor de aire y
20 200-2794

COMPONENTES BASICOS DEL COiVlPRESOR DE AIRE
Los componentes basicos det compresor de aire son et
motor etectrico, la bomba, et interruptor de presi6ny et dep6sito
(Fi_. 1).
El motor electrico (vea A) acciona la bomba. Et motor
electrico esta equipado con un protector contra sobrecarga
para ayudar a evitar que pueda quemarse. Si et motor llegara a
sobrecalentarse, el protector contra sobrecarga to apagar& En
caso de ocurrir esto, permita que et motor se enfrie durante 10 a
15 minutos y luego presione (nunca fuerce) et interruptor de
restablecimiento det motor para volver a arrancar et motor.
La bomba (vea B) comprime et aire y lo descarga hacia et
dep6sito.
Et dep6sito (vea C) almacena et aire comprimido.
El interruptor de presi6n (ver D) apaga et motor cuando et
dep6sito alcanza la presidn establecida como "presi6n de
apagado". A medida que se va utilizando et aire comprimido y ta
presi6n en et dep6sito baja hasta alcanzar la "presi6n de
encendido", et interruptor reinicia et motor automaticamente y la
bomba vuetve a comprimir et aire.
A
2 _o. _.,_, _s _ ......................... _,,_
Fig. 1
MONTAJE DEL COMPRESOR
Este compresor vJene con aceJte en el carter de la
bomba. Compruebe el nJvelde aceite antes de poner en
funcJonamiento el compresor de aire; consulte
"VerificacJon del nJvelde aceite", en la seccion de
MantenJmiento.
1, Desembale et compresor de aire. Inspeccione ta unidad
para verificar que no sufri6 daSos. Si ta unidad ha sido
dafiada durante et transporte, comuniquese con la
empresa transportadora y complete una rectamaci6n por
dafios. Haga esto de inmediato porque existen
limitaciones de tiempo respecto alas reclamaciones por
daSos.
La caja debe contener los etementos siguientes:
• compresor de aire
Manual de componentes /usuario
2. Verifique el r6tulo det nOmero de serie det compresor para
asegurarse de que haya recibido et modeto que pidi6
y que et mismo tenga la presi6n nominal requerida para et
uso deseado.
3. Ubique et compresor de acuerdo con las pautas
siguientes:
a. Para un rendimiento 6ptimo, coloque el compresor cerca
det panel de alimentaci6n, segQn se especifica en
REQUISlTOS DE ALIMENTACION ELFtCTRICA, y lo
mas cerca posible del lugar donde se utitizara et aire. De
este modo se garantiza la maxima potencia para et
compresor y la maxima presi6n de aire para ta
herramienta. Si no es posible satisfacer ambas
condiciones, es preferible situar et compresor cerca det
panel de alimentaci6n y utitizar una manguera de aire
mas targa para tlegar a la zona de uso.
b. El lado del volante det compresor se debe encontrar
como minimo a 31 cm (12 pulgadas) de cualquier
pared u obstaculo, en un area limpia y bien ventitada,
C.
d.
a fin de asegurar un flujo det aire y enfriamiento
adecuados.
En climas frios, ubique et compresor en un edificio con
calefacci6n para reducir probtemas con ta lubricaci6n, et
arranque det motor y et congetamiento det agua de
condensaci6n.
Coloque et compresor en el sueto o sobre una superficie
dura y nivetada. El compresor debe estar nivetado para
asegurar una buena tubricaci6n de la bomba del
compresor y un buen drenaje det agua condensada en
et dep6sito receptor.
A_
,ill "_ '' La paleta de embarque no esta
dJse#ada para servJr como base para un compresor en
funcJonamJento. Hacer funcJonar el compresor montado
sobre la paleta anulara la garantia.
e, Para evitar dafios al dep6sito y al compresor, se debe
calzar el dep6sito de manera que la bomba quede
nivetada dentro de 3 mm por pie lineal como maximo, a
fin de distribuir correctamente et aceite. Sujete los pies
det dep6sito al sueto y NUNCA los fuerce sin antes
haber colocado las cutlas, durante et apriete. Tambien
se recomienda et uso de calzos antivibratorios (094-
0137) debajo de los pies det dep6sito (E).
4. Conecte una manguera de aire (no inctuida) at compresor.
Fig. 2
200-2794 21

/
H
E
/
L
A_
AL_Existe et riesgo de lesiones por
quemaduras. Nunca use tuberia de plastico para aire
comprimido.
__Nunca use tubricador para rociar
pintura o aplicaciones simitares.
A Flujo det aire
B Linea de alimentaci6n
C Ramal de drenaje
D Colector de humedad con desag0e
E Linea de suministro no lubricada
F Valvula de 1/4 de vuetta
G Derivaci6n
H Secador de aire y/o post-enfriador
J Fittro de linea
K F de goteo con desag0e
L Fittro de aire/agua con grifo
M Regulador
N Lubricador
P Conexi6n rapida
R Manguera de aire hacia herramienta
T Linea de aire flexible
Secadores de aire y post=enfriadores
Et secador de aire o el post-enfriador se instalan
directamente en la linea de aire.
Eliminacion de la hurnedad y filtraci6n del aire
AI enfriarse et aire, ta humedad se condensa en tas lineas.
Esta humedad debe etiminarse antes de que alcance a la
herramienta. Para eliminar esta humedad, dirija ta tinea principal
de aire hacia un colector de humedad y proceda a a su vaciado.
Tambien deben instalarse fittros de aire/agua en las posiciones
indicadas.
Regulation de la presi6n del aire
El man6metro det interruptor de presi6n mide la presi6n de
aire en el interior de/receptor y no la presi6n en la finea de aire.
Instale un regulador de aire en la linea de caida para cada
herramienta, a fin de regular ta presi6n de aire hacia dicha
herramienta. Nunca debe sobrepasar /a presi6n nominal m#xima
de/a herramienta.
Lubrication de aire
Instale un tubricador de aire s61o para aquetlas herramientas
que requieran lubricaci6n. No utilice un lubricador para rociar
pintura o aplicaciones similares. Et aceite contaminara la pintura
y arruinara et trabajo.
Valvulas de apagado
Instale valvulas de apagado en cada linea de caida, a fin de
aistar la herramienta y sus accesorios para su reparaci6n.
Tambien puede instalar una linea de derivaci6n alrededor de un
accesorio.
22 200-2794

Interrupterprincipal de alimentaci6n
Instale un interrupter principal de desconexi6n en ta linea de
alimentaci6n hacia et compresor, cerca de la ubicaci6n de este.
Este interrupter apaga et compresor. Se opera manualmente,
pete cuando esta en ta posici6n de encendido ON, et compresor
arrancara o se detendra automaticamente al haber demanda de
aire. Coloque SIEMPRE este interrupter en la posici6n de
apagado OFF cuando et compresor no se esta usando.
Interrupter de presion (vea A)
Este interrupter enciende et compresor. Se opera manualmente,
pete cuando esta en ta posici6n ON, permite que et compresor
arranque o se pare automaticamente, sin aviso, segQn la
demanda de aire. Coloque SIEMPRE este interrupter en la
posici6n OFF cuando et compresor no este en use y antes de
desconectarlo.
__Para su seguridad, la presi6n del
tanque esta preestablecida dentro del interruptor yno
debe manipularse nunca.
Este interrupter no debe set ajustado per et operador; si 1o
hace, se anulara la garantia. Et interrupter de presi6n controla et
nivet de presi6n de aire en et receptor apagando y arrancando
automaticamente et motor, segQn sea necesario para mantener
et nivet de presi6n preestablecido en fabrica. Tambien purga et
aire de la bombay los tubes de transferencia al estar
desconectada la alimentaci6n, para evitar dificultades en et
arranque debido a una contrapresi6n en ta bomba.
Et interrupter de presi6n descarga tambien automaticamente
la presi6n det cabezal de la bomba det compresor cuando se
apaga et compresor. Esta propiedad etimina la contrapresi6n en
la bomba, asegurando asi un arranque mas facit
Valvula de seguridad del dep6sito (ver B)
Se usa para permitir aliviar la presi6n del dep6sito de aire. Si
et interrupter de presi6n no apaga et compresor cuando se
alcanza et nivet estabtecido de "presi6n de apagado", la valvula
de seguridad protegera et dep6sito aliviando la presi6n det mismo
cuando se sobrepase la presi6n maxima establecida en fabrica
(tigeramente superior a la "presi6n de apagado" det interrupter).
Para utitizar manualmente, tire de la anitla de la valvula para
purgar et aire det dep6sito.
Valvula para purgar o aliviar la presi6n (vet C)
La valvuta para aliviar la presi6n (situada debajo det
interruptor de presi6n) esta dise_ada para tiberar aire comprimido
de ta cabeza det compresor y ta manguera de salida cuando et
compresor alcanza ta "presi6n de apagado" o cuando se apaga
manualmente. La valvula de seguridad permite al motor
reiniciarse libremente. Cuando et motor deje de funcionar, se oira
durante unos segundos c6mo se escapa el aire por esta valvula.
No se debe escuchar c6mo se escapa el aire cuando et motor
esta en funcionamiento, ni tampoco una vez transcurridos unos
segundos despues de alcanzar la "presi6n de apagado".
Man6metro del dep6sito (vea D)
Este man6metro mide la presi6n del aire atmacenado en et
dep6sito. No es ajustable per et operador y no indica la presi6n
de la linea.
Fig. 3
(Mide la presion det
dep6sito y no la de la
linea)
INTERRUPTER DE RESTABLECIMIENTO DEL MOTOR unidad. Cerci6rese de que todo et cableado to instala un
__Asegurese de que todos los
protectores ycubiertas esten colocados en su lugar
antes de presionar el interrupter de restablecimiento
para velvet a arrancar el motor.
Si et motor se apaga debido a una sobrecarga, espere entre
10 y 15 minutes para que pueda enfriarse y luego presione
(NUNCA fuerce) el interrupter de restabtecimiento (vea D) para
velvet a arrancar et motor (Fig. 4).
Fig. 4
D
CABLEADO ELECTRICO
Consulte a ta etiqueta det nQmero de serie det compresor de
aire para conocer los requisites de voltaje y amperaje de la
200-2794
etecticista capacitado, de conformidad con et C6digo Etectrico
Nacional. Use tubo etectrico para proteger los cables.
PANEL PRINCIPAL DE ALIMENTACl6N
Para el mejor rendimiento y un arranque liable, el
compresor de aire debe Jnstalarse en un circuito exclusive,
tan cerca como sea posible del panel de alimentaci6n.
Coloque un disyuntor o proteja con fusibles et panel principal de
atimentaci6n. Use fusibles de acci6n retardada en et circuito
porque et compresor momentaneamente extraera varias veces
su amperaje especificado al arrancarse.
INTERRUPTER PRINCIPAL DE ALIMENTACl6N
Instale un interruptor principal de alimentaci6n en ta tinea
que va desde et panel hacia et compresor. Et interruptor debe
estar ubicado cerca det compresor, para facititar et uso y la
seguridad. AI estar APAGADO, este interruptor desconectara
toda alimentaci6n que ltega at compresor. AI encenderlo, el
compresor arrancara y se detendra automaticamente, segQn las
indicaciones det interruptor de presi6n.
23

PROBLEMASCAUSADOSPORBAJOVOLTAJE nemero)afindesobreponerseataperdidadevoltajeinherente
Unvoltajebajocausaradificultadesenetarranqueouna
sobrecarga.Elvoltajebajopuedesercausadoporunvoltajebajo
detsuministrodelaempresaetectricalocal,porotrosequipos
quefuncionanenlamismalinea,odebidoauncabteado
incorrecto.SihayalgQnotroequipoqueseestaalimentandoa
partirdetcircuitodetcompresor,etpropiocompresorpodriano
arrancar.
Unbajovoltajealcompresorpuedesercausadoporun
tamafiodecabledemasiadopequefioparatadistanciaentreet
compresorylafuentedeenergia.Cuantomaslargaesta
distancia,tantomayordeberaseretdiametrodetcable(menoret
debidoalaresistenciadetcable.ConsulteetC6digoEtectrico
Nacionalparadeterminarettamafiocorrectodetcableparasu
circuito.
INSTRUCCIONES DE PUESTA A TIERRA
Si et cabteado no es adecuado, et voltaje caera unos 20 a 40
voltios at arrancar. Un voltaje bajo o un circuito sobrecargado
puede dar como resultado un arranque lento que hara que satte
et disyuntor, especialmente en epocas frias. Este producto debe
conectarse a un sistema permanente de cabteado metalico de
puesta a tierra o a un terminal o cable de puesta a tierra det
producto.
PUESTA EN MARCHA INICIAL DE LA BOMBA
1. AsegQrese de que ta energia este conectada en et panel de
alimentaci6n.
2. Compruebe el nivet de aceite de la bomba (ver "Verificaci6n
det nivel de aceite" en ta secci6n de Mantenimiento).
3. Abra la valvula de drenaje (vea C).
__EI aire y la humedad que
escapan del deposito pueden hater salir desechos
susceptibles de provocarle daSo en los ojos. AI abrir
la valvula de drenaje, Ileve puestas galas de
seguridad.
4. Active et interruptor principal de atimentaci6n. Coloque et
conmutador de presi6n en la posici6n AUTO (vea B). Et
motor debera arrancar. Deje funcionar el compresor sin
carga durante 30 minutos, para practicar et rodaje de los
componentes internos.
descienda et nivet de presi6n det dep6sito, et interruptor de
presi6n pondra en marcha et motor y la bomba comenzara a
rettenar et dep6sito.
_La bomba genera altas
temperaturas. Para evitar quemaduras y otras
lesiones, NO toque la bomba ni el tubo de
transferencia mientras dicha bomba se encuentra
en funcionamiento. Permita que se enfrie antes de
manipularla orealizar tareas de mantenimiento.
Mantenga a los nifios alejados del compresor en
todo momento.
NOTA: Si la unidad no funciona correctamente, AP/kGUELA DE
INMEDIATO, y contacte con Sears o con otro centro de
reparaciones cualificado.
NOTA: Si despues de 30 minutos ta unidad no funciona
correctamente, APAGUELA INMEDIATAMENTE, y
p6ngase en contacto con Sears o con otro centro de
servicio cualificado.
5. Despues de aproximadamente 30 minutos, coloque et
conmutador de presi6n en la posici6n OFF.
6. Cierre et interruptor principal de alimentaci6n.
7. Cierre ta valvula de drenaje (vea D). Gireta hacia la derecha.
8. Coloque el conmutador de presi6n hasta la posici6n
AUTO. El compresor comenzara a funcionar, tlenara et
tanque hasta la presi6n de desconexi6n y dejara de
funcionar.
NOTA: A medida que se utitiza el aire comprimido, et interruptor
de presi6n reinicia et motor de forma automatica para
suministrar mas aire comprimido al dep6sito.
OFF(A)
(B) AUTO
ARRANQUE DIARIO
1. Compruebe et nivet de aceite de ta bomba (vet "Verificaci6n
det nivel de aceite" en ta secci6n de Mantenimiento).
2. Cerci6rese de que et interruptor principal de alimentaci6n
este APAGADO.
3. Cierre la valvula de drenaje (vea D).
4. Ponga et interruptor principal de alimentaci6n en la
posici6n de encendido ON. Coloque et conmutador activado
por presi6n en ta posici6n ENCENDIDO (vea B). La bomba
comenzara a ltenar et dep6sito con aire. Cuando ta presi6n
det aire alcance et nivet prefijado en fabrica, et interruptor de
presi6n apagara et motor etectrico. Cuando se utitice aire y
24 200-2794

PARADA
1. Coloque et interruptor de presi6n en la posici6n de apagado
OFF (vea A).
2. Desactive et interruptor principal de alimentaci6n.
3. Reduzca ta presi6n del dep6sito a traves de ta manguera de
salida. Tambien puede tirar de la anitla de la valvula de
seguridad (ver I::) y mantenerta abierta para aliviar la presi6n
det dep6sito.
_I___EI aire y la humedad que
escapan del deposito pueden hacer saiir desechos
susceptibies de provocarle dahos en los ojos. AI
abrir la valvuia de drenaje, Ileve puestas galas de
seguridad.
4. Abra ta valvula de drenaje (vea C) para vaciar la humedad
det dep6sito.
MANTENIMIENTO NOTA: El compresor viene de fabrica con aceite sintetico.
_lL_Para evitar lesiones personales,
apague y desenchufe siempre el compresor y aiivie toda
la presi6n de aire del sistema antes de realizar cualquier
operaci6n de mantenimiento en el compresor de aire.
El mantenimiento regular asegurara una operaci6n sin
probtemas. Su compresor de aire con alimentaci6n etectrica
representa 1omejor en ingenieria y construcci6n; sin embargo,
incluso la maquinaria de alta calidad requiere un mantenimiento
peri6dico. Los etementos enumerados a continuaci6n deben
inspeccionarse de manera regular.
VACIADO DEL DEPOSITO
Vacie ta humedad presente en et tanque (para conocer las
instrucciones, consulte "Parada" en la secci6n de instrucciones
de funcionamiento).
Utitice aceite sintetico sin detergente para compresores de aire.
AJUSTE DE LA TENSION DE LA CORREA DE
TRANSMISI6N
NOTA: Et ajuste de ta tensi6n de la correa de transmisi6n y la
atineaci6n de la polea se reatizan al mismo tiempo. Se explican
por separado para mayor claridad.
A_
A'ml_Esta unidad se enciende
autornaticamente. SIEMPRE apague el interruptor
general electrico y purgue toda la presi6n del
sistema antes de reparar el compresor y tambien
cuando el compresor no se este utilizando. No
utilice la unidad si se le hart retirado las cubiertas o
el protector de la correa. Existe riesgo de lesi6n
grave pot contacto con partes moviles.
A'La condensaci6n se
acurnulara en el deposito. Para prevenir la corrosion
en el interior del deposito, se debe eliminar la
hurnedad al final de cada dia de trabajo. Use
proteccion ocular.
VERIFICACI6N DEL NIVEL DE ACEITE
Para revisar et nivet de aceite en la bomba, desenrosque la
varitla de medici6n (D) de aceite y limpieta. Enrosque
completamente la varitla de medici6n y despues desenr6squeta.
El nivet de aceite de ta bomba debe estar entre las marcas
ranuradas superior e inferior (vea B y C). Coloque ta varitla de
nuevo en su sitio. No ltene por defecto ni por exceso.
NOTA: Use aceite sintetico no-detergente para et
compressor de aire.
CAMBIO DE ACEITE
Quite el tap6n det aceite
(vea A) y deje salir et aceite
hasta que empiece a gotear,
luego vuetva a poner et tap6n.
Afiada aceite para compresor
(532 mt) hasta que se
encuentre entre tas marcas
Lteno (vea B) y Agregar (vea
C) cuando la varitla de aceite
(vea D) se haya introducido
completamente en et orificio.
La bomba no puede ttenarse
nunca por defecto ni por exceso.
Debe mantenerse la tensi6n correcta de ta correa y la
alineaci6n adecuada de la polea para obtener una maxima
eficiencia de accionamiento y vida Qtit de la correa. La tensi6n es
correcta si ta deflexi6n es (vea A) de 13 mm (1/2") al colocar 4,6
kg (10 lb) de fuerza (vea B) en un punto intermedio entre ta polea
det motor y et volante det compresor (Fig. 8). Esta deflexi6n
puede ajustarse mediante et procedimiento siguiente. La polea
debe alinearse cuidadosamente con et volante y todos los
tornitlos de fijaci6n deben mantenerse ajustados.
1. Retire ta parte frontal det protector de la correa quitando los
5 tomitlos con un destomitlador de estretla (Phillips).
2. Afloje los pemos de montaje det motor.
3. Desplace et motor hasta et punto en et cual exista la
deflexi6n correcta (A y B).
4. Vuetva a apretar los pernos de montaje det motor hasta una
torsi6n de 14,7-20,3 N-m (130-180 pulg-tb).
5. Verifique para asegurarse de que la tensi6n se mantuvo
correcta.
6. Vuetva a instalar et protector de ta correa. Todas las
piezas m6vites deben estar protegidas.
200-2794 25

_nv Fig. 8 4. Alinee la polea det motor con et volante de ta bomba
(C-D-E deben ser iguales).
Polea
tel motor A5. Vuetva a apretar et tornitlo de fijaci6n de la polea det motor
hasta una torsi6n de 9,6-10,1 N-m (85-90 pulg-tb).
6. Ajuste la tensidn correcta de la correa.
7. Vuetva a apretar los pernos de montaje det motor hasta una
torsi6n de 14,7-20,3 N-m (130-180 pulg-lb).
8. Vuetva a instalar et protector de la correa. Todas tas
piezas m6vites deben quedar protegidas.
Tomillo de fijaci6n
del
Pemos de
montoje
del motor 14/
Volante
de la bomba
El compresor
puede set
distinto al
mostrado
Fig. 9
J , Bomba
i ...................................................._' Cor;ea en V /' de !! ,.o
.....................,i i.................................
dei ...... ............
motor
Tornillo de fijaci6n El compresor
del motor ..... puede ser
distinto a_
Pernos de mostrado,
montaje
det motor (4)
ALINEACION DE LA POLEA
NOTA: Et ajuste de ta tensi6n de ta correa de transmisi6n y ta
alineaci6n de ta polea se realizan al mismo tiempo. Se
explican por separado para mayor claridad.
_Esta unidad se enciende
automaticamente. SIEMPRE apague el Jnterruptor
general el6ctrico y purgue toda la presi6n del
sistema antes de reparar el compresor y tambi6n
cuando el compresor no se este utilizando. No
utilice la unJdad si se le hart retirado las cubiertas o
el protector de la correa. Existe riesgo de lesi6n
grave por contacto con partes m6viles.
NOTA: Una vez que ta polea det motor ha sido movida de su
posici6n de fabrica, las ranuras del volante y ta polea
deben alinearse hasta un margen de 1/16 pulgadas (1,6
mm) para evitar un desgaste excesivo de la correa.
Para verificar ta alineaci6n de ta polea, retire et protector de
la correa y coloque una regta (vea A) contra et volante de la
bomba (vea B) (Fig. 9). Mida y registre ta distancia desde la regta
al borde de ta correa de transmisi6n en el punto C. Luego mida la
distancia desde ta regta al borde de la correa de transmisi6n en
los puntos D y E. Ambas distancias deben ser iguales a la det
punto C. Si D o E resultan distintas de C, existe una mala
alineaci6n que debe ser corregida antes de hacer funcionar et
compresor. Para corregir una mala alineaci6n de ta polea,
aplique et procedimiento siguiente.
1. Retire ta parte frontal det protector de ta correa quitando los
5 tornitlos con un destornitlador de estretla (Phillips).
2. Afloje los pernos de montaje det motor.
3. Afloje et tornitlo de fijaci6n de la polea det motor.
CAMBIO DE LA CORREA DE TRANSMISiON
_ " " Esta unidad se enciende
automaticamente. SIEMPRE apague el interruptor
general el6ctrico y purgue toda la presi6n del
sistema antes de reparar el compresor y tambi6n
cuando el compresor no se este utilizando. No
utilice la unJdad si se le hart retirado las cubiertas o
el protector de la correa. Existe riesgo de lesi6n
grave por contacto con partes m6vJles.
1. Retire ta parte frontal det protector de la correa quitando los
5 tornitlos con un destorniltador de estretla (Phillips),
2. Afloje los pernos de montaje det motor,
3. Desplace et motor hacia la bomba hasta que se pueda retirar
e instalar facitmente ta correa.
4. Retire ta correa y cambieta. NOTA: Es necesario centrar ta
correa sobre las ranuras det volante y la polea del motor.
5. Desplace et motor otra vez hasta et punto en que se
produzca ta deflexi6n correcta (ver "Ajuste de ta tensi6n de la
correa de transmisi6n").
6. Vuetva a apretar los pernos de montaje det motor hasta una
torsi6n de 14,7-20,3 N-m (130-180 pulg-tb).
7. Verifique para asegurarse de que la tensi6n se mantuvo
correcta.
8. Vuetva a instalar et protector de ta correa. Todas las
piezas m6vites deben estar protegidas.
26 200-2794

PARA CAMBIAR O LIMPIAR LA VALVULA DE
RETENCl6N
_IL_ Esta unidad se enciende
automaticamente. SIEMPRE apague el interruptor
general electrico y purgue toda la presion del
sistema antes de reparar el compresor y tambien
cuando el ¢ompresor no se este utilizando. No
utilice la unidad si se le hart retirado las ¢ubiertas o
el protector de la correa. Existe riesgo de lesion
grave por contacto con partes moviles.
1. Apague el compresor de aire, A
desenchQfeto de ta pared o cierre AJacabeza
totalmente et suministro etectrico
y purgue todo el aire det dep6sito
(ver "Parada" en ta secci6n de
Instrucciones operativas).
AsegQrese de que et compresor
se ha enfriado antes de repararlo.
2. Con una llave det tamafio
adecuado, afloje las tuercas de c
compresi6n (A) en la valvula de
retenci6n (B) y la cabeza de ta
bomba (C). Retire la manguera de
transferencia (D).
3. Tomando nota de la orientaci6n para poder luego
recomponerla, desenrosque la valvula de retenci6n det
dep6sito (sentido contrario alas agujas det retoj) utitizando
una ttave abierta de 7/8 pulg.
4. Con un lapiz o destornillador, empuje con
cuidado el disco de ta valvula hacia arriba
y hacia abajo. Si et disco de la valvula no
se mueve tibremente hacia arriba y hacia
abajo, es necesario timpiar o cambiar la
valvula de retenci6n.
5. Limpie la valvula de retenci6n con agua
jabonosa templada y asegQrese de secarta
bien antes de volver a instalarla. Si et
disco de ta valvula todavia no se mueve
libremente hacia arriba y hacia abajo,
necesitara cambiarta.
6. Aplique setlador de rosca a ta rosca de la Wvuia_ere_e_i6n
valvula de retenci6n y vuetva a instalarta
en el dep6sito enroscandola en et sentido de las agujas det
retoj. AsegQrese de que tiene la misma orientaci6n que tenia
antes de retirarla.
7,
8.
Vuetva a colocar la manguera de purga y apriete las
tuercas de compresi6n.
Realice et procedimiento "Marcha inicial de ta bomba" en la
secci6n Instrucciones operativas para asegurarse de que no
haya fugas y de que la valvula de retenci6n este funcionando
correctamente.
LIMPIEZA DEL FILTRO DE AIRE
Un fittro de aire sucio reducira et rendimiento y la vida Qtit det
compresor. Para evitar cualquier contaminaci6n interna de ta
bomba det compresor, el fittro debe limpiarse frecuentemente y
reemplazarse de manera regular. Los fittros de papet deberan
sustituirse cuando esten sucios. No permita que los fittros se
ltenen de suciedad ni pintura. Si et fittro se ltena de pintura,
debera reemplazarse. La exposici6n directa a condiciones de
suciedad y zonas en las que esten pintando anulara su garantia.
REVISION DE LA VALVULA DE DESCARGA
Tire de ta vatvula de seguridad det dep6sito todos los dias
para asegurarse de que la valvula funciona adecuadamente, y
para timpiar ta valvula de cualquier obstrucci6n que pueda tener.
DETECCION DE FUGAS
Compruebe que todas las conexiones esten ajustadas. Una
pequefia fuga en cualquiera de las mangueras, tubos de
transferencia o tuberia reducira de manera substancial et
rendimiento de su compresor de aire. Si sospecha ta existencia
de una fuga, rocie una pequefia cantidad de agua jabonosa
alrededor de ta zona con un pulverizador. Si aparecen burbujas,
sette y ajuste nuevamente ta conexi6n. No ajuste en exceso.
ALMACENAMIENTO
Antes de almacenar et compresor durante periodos
prolongados, use una pistola de aire para limpiar todo el polvo y
suciedad det compresor. Desconecte et cable electrico,
enrollandolo. Tire de la valvula de seguridad para purgar todo el
aire det dep6sito. Elimine toda la humedad det dep6sito. Limpie
los etementos y et atojamiento det fittro; reemplacetos si fuera
necesario. Drene et aceite det carter de ta bomba y reemplaceto
con aceite nuevo. Cubra toda la unidad para protegerta de la
humedad y det polvo.
Realice el mantenimiento siguiente a los intervalos indicados acontinuacion.
Inspecci6n det fittro de aire (en caso necesario, proceder a su limpieza o sustituci6n)
Verificaci6n det nivet de aceite de la bomba
Cambio det aceite de la bomba (Use aceite sint6tico no-detergente para el compressor de aire.)
Compruebe et funcionamiento de la valvula de seguridad det dep6sito
Verificaci6n de la tensi6n de las correas
Drenaje det dep6sito
Verificaci6n y ajuste de todos los pernos (no ajuste en exceso)
200-2794 27
Todos los alias o
despues de cada Cada 100 horas
uso de operation
®
®
®
®
®
®
®

Nora: Los problemas de detecci6n de fallos pueden tener causas y soluciones similares.
PROBLEMA CAUSA POSIBLE SOLUCION
Consumo excesivo de la Voltaje bajo/sobrecarga det motor Verifique que et suministro de energia sea et adecuado y que et
corriente hace saltar el compresor se encuentre conectado en un circuito dedicado. Si
cortacircuito oel esta usando un cable prolongador, intente utitizar et equipo sin
interruptor de et mismo. Si et compresor de aire se conecta a un circuito
restablecimiento del protegido por un fusible, utitice fusibtes de acci6n retardada de
motor doble etemento (s61o Buss Fusetron tipo "T").
Demasiada tensi6n en la correa de Vuetva a ajustar la tensi6n de la correa.
transmisi6n
Conductos de aire restringidos Revise y cambie tas mangueras de transferencia o ta valvula de
retenci6n (vet "Para cambiar o timpiar la valvula de retenci6n"
en la secci6n de Mantenimiento).
Se detiene el compresor Bajo voltaje al motor Suministre la potencia adecuada.
Valvula de retenci6n da_ada Cambie la valvula de retenci6n (vet "Para cambiar o timpiar la
valvula de retenci6n" en la secci6n de Mantenimiento).
Bomba immovitizada P6ngase en contacto con Sears o con otro centro de servicio
cualificado.
Baja presi6n de descarga Fugas de aire Ajuste o reemplace los accesorios o las conexiones con fugas.
No a priete demasiado.
Valvulas con fugas P6ngase en contacto con Sears o con otto centro de servicio
cualificado.
Entrada de aire restringida Limpie o reemplace los etementos det fittro de aire.
Juntas salidas P6ngase en contacto con Sears o con otro centro de servicio
Golpeteo de la bomba del
compresor
Aceite en el aire de
descarga
Sobrecalentamiento
Desgaste excesivo de la
correa
Anitlos det pist6n o citindro desgastados
Polea det motor o volante det
compresor suetto
Bajo nivel de aceite en et carter de la
bomba
Demasiado carb6n en tas valvulas o en
la parte superior det pist6n
Anitlos de pist6n o citindros
desgastados
Entrada de aire restringida
Nivel de aceite demasiado alto
Mala ventitaci6n
cualificado.
P6ngase en contacto con Sears o con otro centro de servicio
cualificado.
Vuetva a ajustar la polea y et volante. Verifique la alineaci6n.
Mantenga en todo momento et nivel de aceite adecuado.
P6ngase en contacto con Sears o con otro centro de servicio
cualificado.
P6ngase en contacto con Sears o con otro centro de servicio
cualificado.
Limpie o reemplace los etementos det fittro.
Reduzca al nivel adecuado.
Vuetva a ubicar et compresor en una zona con aire fresco, seco
y con buena circulaci6n., por 1omenos a 30 cm (12") de la pared
mas cercana.
Superficies de refrigeraci6n sucias Limpie muy bien todas las superficies de refrigeraci6n.
Conductos de aire restringidos
La polea esta desalineada
Mala tensi6n de la correa
La polea se bambolea
Revise y cambie tas mangueras de transferencia o ta valvula de
retenci6n (vet "Para cambiar o timpiar la valvula de retenci6n"
en la secci6n de Mantenimiento).
Vuetva a alinear la polea con et volante det compresor.
Vuetva a ajustar.
Reemplace la polea y verifique si et eje o et volante esta
da_ado.
Abra la valvula de descarga al arrancar et motor.El compresor no arranee Demasiada contrapresi6n en et tanque
en temperaturas frias Aceite de 40W en et carter Use aceite sintetico no-detergente para et compressor de aire.
Et compresor esta demasiado frio Desplace et compresor hasta un lugar mas templado.
La valvula de purga Valvula de retenci6n sucia o Limpie o cambie ta valvula de retenci6n (vet "Para cambiar o
_ierde aire despues de defectuosa, timpiar la valvula de retenci6n" en la secci6n de Mantenimiento).
apagar el compresor
28

GARANTIE................................... 29 ENTRETIEN............................... 36-38
TABLEAUDESSPFI:CIFICATIONS................ 29 ENTRETIENPFI:RIODIQUE...................... 38
CONSlGNESDESFI:CURITFI: .................. 30-31 DEPANNAGE ................................. 39
GLOSSAIRE DES TERMES ...................... 31 DESSIN DES PIECES ET LISTE DE PIECES ..... 13-17
VUE D'ENSEMBLE ............................. 32
ASSEMBLAGE ................................ 32
INSTALLATION TYPIQUE ....................... 33
COMMANDES DU COMPRESSEUR ............... 34
SPFI:CIFICATIONS DE L'ALIMENTATION
FI:LECTRIQUES ................................ 34
MODE D'EMPLOI .............................. 35
GARANTIE COMPLieTE D'UN AN DE CRAFTSMAN
Ce produit est garanti PENDANT UN AN, a partir de la date d'achat contre tout defaut de pieces ou
de fabrication. Le produit defectueux sera repar6 gratuitement ou remplace sans aucuns frais s'il est
impossible de le reparer.
Pour obtenir de plus amples details au sujet de la couverture de la garantie, a savoir comment
obtenir une reparation ou un remplacement, visitez le site web " www.craftsman.com
Cette garantie ne couvre pas le filtre a air ou la courroie d'entrafnement, qui sont des pieces
consomptibles qui peuvent s'user Iors d'une utilisation normale durant la periode couverte par la
garantie.
Cette garantie devient nulle si ce produit est utilise a des fins commerciales ou Ioue a une autre
personne.
Cette garantie vous accorde des droits legaux precis et vous pouvez ben6ficier d'autres droits en
fonction de I'Fttat oR celle=ci s'applique.
Sears Brands Management Corporation, Hoffman Estates, IL 60179 FtTATS=UNIS
PRESSION PRESSION
RUNNING CAPACIT¢: DU TENSION/ APPROXIMATIVE APPROXIMATIVE
MODC:LE H.P. RC:SERVOIR - LITRES AMPS/PHASE DE CONJONCTION DE DISJONCTION
921.16476 120 150
3.1 Vert. 228 Litres 230/15/1
(WLB3106016) (8,27 bar) (10,34 bar)
200-2794 29

Les informations suivantes concernent VOTRE S#CURIT# et LA PROTECTION DU MAT#RIEL CONTRE LES PANNES. Pour vous
aider a identifier la nature de ces informations, nous utitisons les symboles suivants. Veuittez lire le manuel et pr6ter attention a ces
sections. - DANGERPOTENTIE"POUVANTENTRATNERDEGRAVESBLESSURESOU"AMORT.
_ _i__i_ = DANGER POUVANT CAUSER DES BLESSURES GRAVES VOIRE MORTELLES.
A_
A_ = DANGER POUVANT CAUSER DES BLESSURES MOYENNEMENT GRAVES OU
L'ENDOMMAGEMENT DE L'APPAREIL.
RISQUE D'INCENDIE OU Ne jamais vaporiser de liquides inflammables dans un endroit confin& II est normal que le moteur et le
D'EXPLOSION. manocontacteur produisent des etincelles Iorsqu'ils sont en marche. Si les etincelles entrent en contact avec des
_, vapeurs d'essence ou d'autres solvants, ces dernieres peuvent s'enfiammer et provoquer ainsi un incendie ou
une explosion. Toujours mettre en marche le compresseur darts un endroit bien ventil& Ne pas fumer Iorsque
vous vaporisez. Ne pas vaporiser a des endroits ok il risque d'y avoir des etincelles ou des fiammes hues. Tenir
le compresseur aussi loin que possible de la zone vaporis6e. Entreposer les materiaux inflammables darts un
endroit securitaire loin du compresseur. Pourvoir la zone d'utilisation d'un extincteur.
RISQUE Ne pas souder, percer ou modifier d'une quelconque fa_on le reservoir d'air de ce compresseur. Une soudure ou
D'I_CLATEMENT. des modifications apportees au reservoir d'air du compresseur peuvent affecter grandement la force du reservoir
et entrafner des conditions tres dangereuses. Toute soudure ou modification apportee au reservoir annulera la
garantie. Si une fuite est observee sur le r6servoir, le remplacer immediatement par un nouveau reservoir ou
remplacer le compresseur au complet.
RISQUE DE CNOC Ne jamais utiliser un compresseur electrique a air a I'exterieur Iorsqu'il pleut ou sur une surface humide, puisque
%._ €:LECTRIQUE. cela pourrait entrafner une decharge electrique. Omettre de bien mettre a la terre ce produit pourrait entrafner de
serieuses blessures ou un deces par 61ectrocution. S'assurer que le circuit electrique sur lequel le compresseur
est branche offre une mise a la terre et une tension appropriees ainsi qu'une protection par fusible ad6quate.
RISQUE DE BLESSURE. Cet appareil se met en marche automatiquement. Arr6ttez TOUJOURS le compresseur, debranchez-le de la
r )rise de courant et purgez toute la pression du circuit avant de proceder a I'entretien du compresseur ou Iorsque
b, vous ne I'utilisez pas. Ne pas utiliser I'appareil si les epaulements ou la protection de courroie ont et6 enlev6s.
Des blessures graves peuvent se produire a la suite d'un contact avec des pi6ces en mouvement. Demeurer
alerte et vigilant Iors de I'utilisation du compresseur. Ne pas utiliser le compresseur en etat de fatigue ou sous
I'influence de medicaments ou de I'alcool.
RISQUE Verifier la pression limite maximale du fabricant des outils a air et des accessoires. La pression de sortie du
D'ECLATEMENT. compresseur dolt 6tre r6glee afin de ne jamais exceder la pression limite maximale de I'outil. Enlever toute la
)ression contenue dans le tuyau avant de fixer ou d'enlever des accessoires. Ne jamais utiliser le compresseur
pour gonfier des objets a basse pression comme les jouets d'enfant, les ballons de football, de basketball, etc.
RISQUE DE BROLURES. Des temperatures 6levees sont g6ner6es par la pompe et par le collecteur. Afin de prevenir les brOlures et les
autres blessures, NE PAS toucher la pompe, le collecteur ou le tuyau de transfert Iorsque la pompe est en
marche. Les laisser refroidir avant de les manipuler ou de les r6parer. Tenir le compresseur eloign6 des enfants
en tout temps. Ne pas toucher au-dela des epaulements de protection ou essayer de r6aliser I'entretien de
I'appareil avant qu'il n'ait pu refroidir.
RISQUE Toujours porter un masque recouvrant le visage qui est conforme aux normes MSHA/NIOSH et travailler
RESPIRATOIRE. darts un endroit bien ventil6 lots de I'utilisation d'outils g6n6rant de la poussi6re. Certaines poussi6res
)rovenant du sablage, de I'affilage, du per£age ou d'autres activit6s de construction peuvent contenir des
)roduits chimiques reconnus (par I'Etat de la Californie) comme pouvant provoquer des cancers, des
malformations ou d'autres effets n6fastes sur la fonction de reproduction. Certains exemples de ces
)roduits chimiques comprennent :
du plomb provenant de peintures a base de plomb;
de la silice cristalline provenant des briques, du ciment et des autres produits de magonnerie;
de I'arsenic et du chrome provenant du bois trait&
RISQUE S'assurer de lire toutes les etiquettes Iorsque vous vaporisez differents types de peintures ou de produits toxiques
RESP_RATOIRE. et suivre toutes les directives de securit6 inscrites sur 1'6tiquette, ou la fiche signal6tique des produits que vous
vaporisez. Utiliser un masque respiratoire repondant aux normes MSHA/NIOSH s'il y a un risque d'inhalation Iors
de la vaporisation. Life toutes les instructions et s'assurer que votre masque respiratoire vous protege. Travailler
dans un endroit disposant d'une bonne ventilation transversale.
RESQUE DE Toujours porter des lunettes de securit6 repondant a la norme ANSI Z87.1 Iors de I'utilisation d'un compresseur
BLESSURE AUX air. Ne jamais pointer I'embout ou le vaporisateur vers une personne, un animal ou une pattie du corps.
YEUX. L'equipement peut provoquer des blessures graves si le vaporisateur transperce la peau.
30 200-2794

RISQUE *NepasajusterlasoupapedesQretedureservoirsousaucunpretexte.AjusterlasoupapedesQreteannule
D'ECLATEMENT. touteslesgaranties.LasoupapedesQreteaet6regl6eenusineselonlapressionlimitedecetappareil.Des
blessurescorporelleset/oudesdommagesalapropri6tepeuventsurvenirsilasoupapedesQreteestalter6e.
•NepasutiliserdetuyauxenplastiqueouenPVCpourpropulserdeFaircomprim&N'utiliserquedestuyauxet
desraccordsenaciergalvanisepourpropulserI'aircomprim&
R.ISQUED'INCENDJI=LefonctionnementsanssurveillanceducompresseurpourraitentraTnerdesblessurescorporellesoudes
dommagesalapropriet&Nepaslaisserlecompresseurenmarchesanssurveillanceafindereduirelesrisques
d'incendie.ToujoursdebrancherI'alimentationelectriqueencoupantlecontactdumanocontacteureten
vidangeantlereservoirquotidiennementouapreschaqueutilisation.
RISQUE L'airobtenudirectementducompresseurnedevraitjamais_treutilisepourlaconsommationhumaine.Lejetd'air
RESPIRATOIRE. 3eutcontenirdumonoxydedecarbone,desvapeurstoxiquesoudesparticulessolidesprovenantdureservoir.
Respirercescontaminantspeutprovoquerdesblessuresgravesoum6melamort.Afind'utiliserFairproduitpar
cecompresseuradesfinsrespiratoires,desfiltresadequatsetunequipementdesecurit6enseriedoivent6tre
installescorrectement.LesfiltresenligneetI'equipementdesecurit6doivent6treinstallescorrectement.Les
filtresenligneetI'equipementdesecurit6utilisessurlecompresseurdoivent6treenmesuredetraiterI'airselon
lesnormeslocalesetfed6ralesapplicablesavantd'6treutiliseepourlaconsommationhumaine.
RISQUEDEBLESSURE.Toujoursutiliserlecompresseurdansunepositionstableetsecuritaireafindeprevenirlesmouvements
accidentelsdeI'appareil.Nejamaisutiliserlecompresseursurunetable,unetabli,untoitousurunautreendroit
surelev&Utiliserletuyaud'airsupplementairepouratteindrelesendroitssur61eves.
R.ISQUE Portertoujoursdesprotecteursd'oreillesenutilisantuncompresseurd'air.Danslecascontraire,ilyarisquede
AUDITJF. 3erted'audition.
Lecordondeliaisondeceproduitcontientduplomb,unproduitchimiquereconnuparI'EtatdelaCalifornie
commepouvantprovoquerdescancers,desanomaliescongenitalesoud'autreseffetsnefastessurlafonction
dereproduction.Laver les mains apres I'avoir manipul&
RI=MARQUI=: CABLAGI= Pour savoir quelles sont les normes d'intensite et de tension de I'appareil, r6ferez-vous a I'etiquette du numero de
€:LECTJQUE. serie du compresseur d'air. Veillez ace que tout le c_blage soit effectue par un electicien qualifie conformement
au Code National Electrique des E.U.
Vidangez tousles jours I'humidite accumulee dans le reservoir. Pour eviter la corrosion, le reservoir dolt _tre propre et sec.
Tirer sur la bague de la soupape de sOrete du reservoir afin d'assurer que la soupape fonctionne correctement et pour nettoyer la soupape de
toute obstruction possible.
Le compresseur dolt 6tre maintenu a une distance de 12 pouces (31 cm) du mur le plus pres dans un endroit bien ventile afin de permettre
une ventilation adequate pour le refroidissement. Restreindre les ouvertures de ventilation du compresseur pourrait provoquer une surchauffe
qui pourrait causer un incendie. Ne jamais laisser d'objets appuyes sur le compresseur ou sur le dessus de celui-ci.
Si vous transportez le compresseur, fixez-le bien. Avant de le transporter, il faut d'abord depressuriser le reservoir.
Proteger le tuyau d'air et le cordon de liaison de tout dommage et de toute perforation. Les inspecter chaque semaine afin de determiner s'il y
des endroits affaiblis ou uses et les remplacer au besoin.
Pour reduire les risques de decharge electrique, protegez I'appareil de la pluie. Entreposez-le a I'interieur.
De I'huile peut s'egoutter ou s'echapper des compresseurs lubrifies a I'huile, ce qui peut provoquer un incendie ou un danger potentiel pour la
respiration. Les fuites d'huile peuvent endommager la peinture, la moquette ou les autres surfaces des vehicules ou des remorques. Toujours
placer le compresseur sur un tapis protecteur lots du transport afin d'eviter d'endommager le vehicule par des fuites. Retirer le compresseur
du vehicule immediatement lots de I'arrivee a votre destination.
Pour eviter tout endommagement du reservoir et du compresseur sur les modeles fixes, calez le reservoir de fa£on ace que la pompe soit
niveau a _+3 mm (1/8") pour distribuer correctement I'huile. Tousles pieds doivent 6tre soutenus et des cales doivent 6tre placees aux
endroits necessaires avant la fixation au sol. Fixez tous les pieds au sol. II est egalement recommande de placer des tampons
d'amortissement (094-0137) sous les pieds du reservoir.
CFM: Pieds cubes par minute ; une unite de mesure de debit
d'air.
Bar: Unite de mesure de pression d'air.
PressJon de conjonction : torsque le moteur est eteint, la
pression du reservoir d'air diminue pendant que vous continuez
utitiser votre accessoire. Le moteur redemarrera torsque la pression
diminuera au-deta du niveau de basse pression determine en
usine. La basse pression a taquetle le moteur demarre
automatiquement est appetee pression de <<conjonction >>.
PressJon de dJsjonctJon : lorsque le compresseur a air est mis
en marche et qu'it commence a fonctionner, la pression du
200-2794
reservoir d'air commence a augmenter. Etle s'accumule jusqu'au
point de haute pression determine en usine avant que te moteur
ne s'eteigne automatiquement, protegeant ainsi votre reservoir
d'air d'atteindre une pression superieure a sa capacit& La
pression etevee a laquette le moteur s'eteint est appetee pression
de <<disjonction >>.
Bien aere: Qualifie un endroit oQ tes gaz d'echappement ou les
vapeurs sont remplaces par de t'air frais.
Circuit reserve: Circuit electrique reserve exclusivement au
compresseur d'air.
31

I_LI_MENTSDEBASEDUCOMPRESSEURD'AIR
Les6tements de base du compresseur d'air sont le moteur D
etectrique, la pompe, le manostat et te reservoir.
Le moteur 61ectrique (A) actionne la pompe. It est equip6
d'un protecteur de surcharge pour ne pas gritter. Le protecteur de
surcharge arr6te te moteur des qu'it surchauffe. Dans cecas,
laissez-te refroidir pendant 10 a 15 minutes, puis appuyez sans
forcer sur l'interrupteur de remise en marche du moteur pour le
redemarrer.
La pompe (B) comprime t'air.
Le reservoir (C) contient l'air comprime.
Le manocontacteur (D) eteint le moteur lorsque le reservoir
atteint ta pression de <<disjonction >>pred6termin6e, Tandis que
l'air comprime est utitise et que le reservoir diminue jusqu'a ta
pression de <<conjonction >>pr6determin6e, le manocontacteur
met en marche le moteur automatiquement et la pompe
recommence a compresser l'air. Fig. 1
ASSEMBLAGE DU COMPRESSEUR adequats.
Ce compresseur a6to livre avec de I'huile dans le carter
de la pompe. Verifier I'huile avant d'utiliser le
compresseur bair, voir Verifier I'huile dans la section
Maintenance.
1,
2,
3,
Sortez le compresseur d'airde sa bofte. Inspectez-te pour
vous assurer qu'it n'est pas endommage. S'i a 6te
endommage pendant le transport, ref6rez-vous
l'etiquette de transport et declarez tes dommages aux
transporteur. Faites cette demarche immediatement etant
donne tes detais limites des demandes d'indemnisation.
Le carton dolt contenir:
ecompresseur d'air
emanuel de t'op6rateur/manuet de pieces
Verifiez l'etiquette du numero de serie du compresseur
pour vous assurer qu'it s'agit bien du modete commande
et que la pression nominale est conforme a l'utitisation
prevue.
Positionnez le compresseur conformement aux
recommandations suivantes :
a. Pour obtenir un rendement optimum, placez te
compresseur pres du panneau de tension (r6ferez-vous
aux SPE_CIFICATIONS DU COURANT ELECTRIQUES),
et aussi pres que possible de t'endroit o[J l'air sera
utitise. Ceta assure un niveau d'alimentation maximum
du compresseur et un niveau de pression d'air maximum
de t'outit. Si ces deux conditions ne peuvent pas _tre
respectees, il est preferable de placer le
compresseur pros du panneau de tension et
d'utiliser un tuyaur flexible plus long pour atteindre
la zone d'utilisation.
b. Le compresseur dolt 6tre situe a au moins 30 cm de tout
mur ou obstacle, darts un endroit propre et bien ventite,
afin d'assurer une circulation d'air et un refroidissement
c. Dans les zones climatiques froides, ptacez le
compresseur darts un b&timent chauffe pour minimiser
les problemes de graissage, de mise en marche du
moteur et de get de la condensation de l'eau.
d. Enlevez le compresseur de la palette d'expedition et
placez-te sur le sol ou sur une surface dure et
horizontale. Le compresseur dolt 6tre de niveau pour
assurer le graissage de la pompe et une vidange
correcte de t'eau condensee
_dans le reservoir recepteur.
La palette d'e×p6dition n'est pas c
on9ue pour servir de base aun compresseur en marche.
L'utilisation d'un compresseur toujours en place sur la
palette entra_ne I'annulation de la garantie.
e, Pour eviter tout endommagement du reservoir et de ta
pompe, des cales doivent 6tre placees sous te reservoir
de fagon a ce que la pompe soit de niveau, avec une
variation maximum de 3 mm (1/8") par pied courant, afin
que t'huite soit correctement repartie. Fixez-les pieds du
reservoir dans le sol mais neles forcez JAMAIS lors du
serrage si des cales n'ont pas et6 placees. Nous
recommandons egalement d'utitiser des tampons
d'amortissement de vibrations (094-0137) sous
les pieds du reservoir (E).
5. Retiez des tuyaux d'air (non inclus) au compresseur.
.... ........................... A I"'rr,r
................f ................
EFig. 2
32 200-2794

/
H
E
A Circulation d'air
B Tuyau d'alimentation
C Conduite de vidange
D Humidite enfermee a l'interieur de la vidange
E Conduite d'alimentation non lubrifiee
F Soupape rotative d'1/4
G Conduit de derivation
H Dessicateur et/ou radiateur secondaire
J Fittre de conduite
K F d'egouttage avec evacuation
L Fittre a air/eau avec robinet de decompression
M Regulateur
N Graisseur
P Coupleur
R Flexible a air
T Flexible a air
DessJcateurs et radiateurs secondaJres
Un secheur d'air ou radiateur secondaire est monte
directement sur la canalisation d'air.
DessJcation et filtrage de rair
Au fur eta mesure que l'air refroidit, l'humidite se condense
dans les conduites. Cette humidite dolt 6tre etimin6e avant qu'ette
/
L
A"_' ' ' Risque d'eclatement
pouvant entrafner des btessures. N'utitisez jamais
de tuyau en plastique pour de Fair comprim&
_i_i_N'utitisez Pas de tubrificateur pour
les travaux de pulverisation de peinture ou pour
des applications simitaires.
n'atteigne t'autit utitis& Pour etiminer cette humidite, acheminer ta
conduite d'air principale vers le bas jusqu'a un separateur d'eau
et vidanger. Les fittres a air/eau doivent 6tre installes aux
positions itlustrees.
Regulation de la pression d'aJr
Le manometre sur t'interrupteur de pression mesure ta
pression d'air b I'int6rieur du r6servoir et non pas la pression
clans la conduite d'air. Installer un regulateur d'air dans la
conduite de drainage de chaque outit pour reguler la pression
d'air de cet outit. Ne d6passez jamais la limfe de pression de
I'outil.
LubrificatJon de rair
Instaltez un lubrificateur d'air seulement sur tes outits qui ont
besoin d'etre tubrifi& N'utilisez pas de lubrificateur pour/es
travaux de pulv6risation de peinture ou pour des applications
similaires. L'huite se metange a la peinture et abfme le travail.
Soupapes d'arr6t
Installer des soupapes d'arr6t dans chaque conduite de
drainage afin d'isoler l'outit et ses accessoires pour I'entretien.
Vous pouvez egalement installer une conduite de derivation
autour de l'accessoire.
200-2794 33

Sectionneur de tension principale
Installez un sectionneur de tension principate sur ta ligne
d'alimentation du compresseur, a proximite de t'endroit oQ se
trouve le compresseur. Ce sectionneur est actionne
manuetlement, mais torsqu'it est SOUS TENSION, le
compresseur se met en marche ou s'arr6te automatiquement
seton la demande d'air. Mettez TOUJOURS ce sectionneur
HORS TENSION lorsque le compresseur est inutitis&
Interrupteur de pression (voir A)
Cet interrupteur met en marche te compresseur. It est
actionne manuetlement, mais, s'it se trouve sur la position ON, le
compresseur se met en marche ou s'arr6te automatiquement,
sans avertissement, en fonction de la demande d'air. Reglez
TOUJOURS cet interrupteur sur ta position OFF quand vous
n'utitisez pas le compresseur et avant de le debrancher.
__i__Pour votre securJt6, la pression
du reservoir est preregl6e b I'interieur de rinterrupteur et ce
reglage ne doit jamais _tre modifie.
Cet interrupteur ne doit pas _tre regt6 par t'utitisateur ;une
tette action entrafnerait l'annulation de ta garantie. L'interrupteur
de pression contr6te te niveau de pression d'air dans te recepteur
en arr6tant et en remettant en marche le moteur
automatiquement de fa(_on a maintenir le niveau de pression
prer6gt6 par l'usine.
L'interrupteur de pression purge aussi automatiquement la
pression par la t6te de la pompe du compresseur lorsque cetui-ci
s'arr6te. Ce dispositif permet d'etiminer tout reflux de pression
dans la pompe afin d'assurer une mise en marche plus facile.
Soupape de sl3ret6 du reservoir (voir B)
Utitise pour permettre a ta pression du reservoir de s'echapper
dans l'atmosphere. Si le manocontacteur n'eteint pas le
compresseur a sa pression de <<disjonction >>,la soupape de
sQrete protegera te reservoir des pressions elev6es en tiberant la
pression du reservoir jusqu'a ta pression etabtie en usine
(tegerement au-deta du regtage du manocontacteur de <<
disjonction >>).Pour faire fonctionner manueltement, tirer sur la
bague de la soupape afin de liberer la pression d'air du reservoir.
Soupape de sQrete contre les surpressJons (voir C)
La soupape de sQrete contre les surpressions (situee au bas
du manocontacteur) est con£ue pour liberer Fair comprime
l'interieur de ta t6te du compresseur et du tube de sortie lorsque
le compresseur atteint la pression de <<disjonction >>ou qu'it est
eteint. La soupape de sQrete contre les surpressions permet au
moteur de se mettre en marche facitement. Lorsque le moteur
arr6te de fonctionner, vous entendrez Fair s'echappant de cette
soupape pendant quetques secondes. L'air ne dolt pas
s'echapper de cet endroit torsque le moteur est en marche ou
apres ta courte liberation se produisant apres avoir atteint la
pression de <<disjonction >>.
Manometre de pression du reservoir (voir D)
Ce manometre mesure te niveau de pression d'air
emmagasine dans le recepteur. L'utitisateur ne peut pas le regter
et it n'indique pas la pression dans la conduite.
Fig. 3
INTERRUPTEUR DE REMISE EN MARCHE DU MOTEUR fiable, te compresseur doit 6tre instatte sur un circuit separe,
__Veillez & ce que routes les
securit6s et protections soient installees avant
d'appuyer sur rinterrupteur de remise en marche.
Site moteur s'arr6te a cause
d'une surcharge, attendez 10 a 15
minutes que le moteur ait refroidi, puis
appuyez SANS FORCER sur
l'interrupteur de remise en marche du
moteur (D) pour le redemarrer.
Fig. 4
/
...../
CABLAGE ELECTIQUE
Pour savoir quetles sont les normes d'intensite et de tension
de l'appareit, referez-vous a l'etiquette du numero de serie du
compresseur d'air. Veitlez ace que tout le c&blage soit effectue
par un etecticien quatifie conformement au Code National
Fttectrique des E.U. Utitisez un tube isolant pour proteger te
c_btage du compresseur et entre l'interrupteur de pression et le
moteur.
PANNEAU DE TENSION PRINCIPALE
Pour obtenir un rendement optimum et une mise en marche
aussi pres que possible du panneau de tension. Installer un
disjoncteur ou un dispositif de protection par fusible sur te
panneau de tension principale. Utitisez des fusibles a action
retardee sur le circuit parce que le compresseur tire
momentanement eta plusieurs reprises son intensite de courant
specifique tors de la mise en marche initiale.
SECTIONNEUR DE TENSION PRINCIPALE
Instaltez un sectionneur de tension principale dans ta
conduite situee entre te panneau et le compresseur. Le
sectionneur dolt 6tre installe pres du compresseur par commodite
et securit& Lorsqu'it est enclenche, te compresseur se met en
marche et s'arr6te automatiquement seton l'impulsion de
commande fournie par l'interrupteur de pression.
PROBLEMES DE TENSION TROP BASSE
Toute tension insuffisante entrafne des difficultes de mise en
marche ou une surcharge. Une insuffisance de tension peut 6tre
causee par une insuffisance de la tension d'alimentation fournie
par l'entreprise d'electricite locale, d'autres appareits branches
sur la meme ligne ou par un c&blage insuffisant. I1est possible
que le compresseur ne demarre pas si d'autres appareits
etectriques sont branches sur le m6me circuit.
34 200-2794

Itsepeutquetatensionducompresseursoitinsuffisantesi
lec&bteutitiseentrelecompresseuretlasourceducourantest
troppetitparrapportatadistance.Plusladistanceestlongue,
plustediametreducSbtedoit6tregrandpourcompenserlaperte
detensioninherentecauseepartaresistanceduc&bte.
R6ferez-vousauCodeNational€:tectrique des €:.U. pour
determiner la dimension correcte du c_ble a utitiser sur votre
circuit.
Si le c_btage n'est pas adequat, ta tension baisse de 20 a 40
volts au moment de ta mise en marche. La mise en marche tente
du compresseur causant le dectenchement du disjoncteur peut
resulter d'une insuffisance de tension ou de la surcharge du
circuit, specialement par temps froid.
INSTRUCTIONS POUR LA MISE ALA TERRE
Ce produit doit 6tre relie a une installation etectrique
permanente, metaltique et mise a ta terre, ou a un equipement
(prise de terre ou conducteur de terre) sur le produit.
RODAGE DE LA POMPE
1. Verifiez que te panneau de tension est sous tension.
2. 2.Verifier te niveau d'huite de la pompe (voir <<Verifier l'huite
>>de la section Maintenance).
3. Ouvrez te robinet de purge (voir C).
4,
_i__L'air et rhumidite quJ
s'echappent peuvent projeter des partJcules pouvant
causer des blessures aux yeux. Portez des lunettes
de protection Iorsque vous ouvrez le robinet de
purge.
Mettez te sectionneur de tension principale sous tension.
Tourner le manocontacteur en position MARCHE (B). Le
compresseur devrait se mettre en marche. Laissez marcher
le compresseur a vide pendant 30 minutes pour roder les
pieces internes.
REMARQUE: Apres environ 30 minutes, si t'appareil ne
fonctionne pas correctement, L'g:TEINDRE
IMMg:DIATEMENT et communiquer avec Sears ou
un autre centre de service qualifie.
5, Placer le manocontacteur en position ARRI2T (voir A).
Mettez le sectionneur de tension principale hors tension.
Fermez le robinet de decompression (voir D). Branchez votre
tuyau(s) flexible(s) sur te(s) orifice(s) de sortie du recepteur.
MISE EN MARCHE QUOTIDIENNE
1,
2.
3.
4.
2.Verifier le niveau d'huite de la pompe (voir <<Verifier l'huite
>>de ta section Maintenance).
Veitlez ace que le sectionneur de tension principale soit
HORS TENSION.
Fermer le robinet de purge (voir D).
Mettez le sectionneur de tension principale SOUS TENSION.
Tourner le manocontacteur en position MARCHE(voir B). Le
pompe commence alors a remplir te reservoir avec de Fair.
Lorsque la pression d'air dans le reservoir atteint le niveau
prer6gl6 par l'usine, l'interrupteur de pression arr6te le
moteur electrique. Au fur eta mesure que Fair est utitise et
que le niveau de pression baisse dans te reservoir,
l'interrupteur de pression remet en marche le moteur et le
pompe recommence a remplir le recepteur.
__EI moteur electrico y la
bomba del cornpresor genera altas temperaturas.
Para evJtar quemaduras yotras lesiones, NO toque
el cornpresor al estar en funcJonamJento. Permita
que se enfrie antes de manipular orealJzar el
servJcJo. Mantenga alos nJhos alejados del
compresor en todo momento.
REMARQUE: Si t'appareit ne fonctionne pas correctement,
L'g:TEINDRE IMM¢:DIATEMENT et communiquer
avec Sears ou un autre centre de service qualifie.
ARRI_T
1. Placer te manocontacteur en position ARRET (voir A).
2. Mettez le sectionneur de tension principale HORS
TENSION.
3. Reduire la pression du reservoir au moyen du tuyau de
sortie. Vous pouvez aussi tirer sur ta bague de ta soupape de
sQrete du reservoir (voir E) et ta tenir ouverte afin de liberer
la pression contenue dans le reservoir.
4,
Ardi,uM=_gg&_l_m L'aJr et I'hurnidit6 qui
s'echappent peuvent projeter des partJcules rJsquant
de causer des blessuresaux yeux. Portez des
lunettes de protection Jorsque vous ouvrez Je
robinet de purge.
Ouvrez le robinet de purge (voir C) pour vidanger
l'humidite du reservoir.
OFF (A)
(B) AUTO
:,,:: ::........................................
200-2794 35

ENTRETIEN AJUSTEMENT DE LA COURROIE D'ENTRAJNEMENT
__ Pour eviter les rJsques de
blessures, arr_tez et debranchez toujours le
compresseur et lib6rez toute la pressJon d'air dans le
circuit avant de proceder aI'entretien.
L'entretien regulier de l'appareit permettra d'assurer un
fonctionnement sans probtemes. Votre compresseur d'air
etectrique est un appareit de haute qualite ; toutefois, m6me tes
machines de haute qualite necessitent un entretien periodique.
Les composants enum6r6s ci-dessous doivent 6tre inspectes
requli6rement.
VIDANGE DU RESERVOIR
Vider l'humidite contenue dans le reservoir (pour obtenir les
instructions, voir <<Fermeture >>dans la section des instructions
de fonctionnement).
ADe la condensation
s'accumulera clans le reservoir. AfJn de prevenir la
corrosion de rinterieur du reservoir, rhumidite dolt
_tre vJdangee ala fin de chaque journee de travail.
Porter des lunettes de protection.
VITRIFICATION DU NIVEAU D'HUILE
Verifier le niveau d'huite de la pompe, devisser ta jauge
graduee (D) et essuyer t'huite. Visser ta jauge graduee au
complet et la devisser. Le niveau d'huite dolt se situer entre
ajouter (add) (voir C) et plein (full) (voir B). Replacer la jauge
graduee. Ne pas verser plus ou mains d'huite qu'it n'en faut.
REMARQUE: Utitisez uniquement une huite synthetique
pour air-compresseur non-detergente.
VIDANGE D'HUILE
Retirez te bouchon de l'orifice de vidange d'huite (A) et
vidangez t'huite jusqu'a ce que l'ecoulement ralentisse et que
l'huite ne fasse que s'egoutter. Ensuite, remettez le bouchon.
Ajoutez de t'huite pour compresseur (532 ml) jusqu'a ce que le
niveau d'huite se trouve entre le repere maximum (B) et le
repere minimum (C) de la jauge lorsque cetle-ci est
completement vissee dans l'orifice (D). Ne remplissez jamais trap
la pompe, ni insuffisamment.
REMARQUE: Le compresseur est prerempli d'huite
synthetique. Utitiser de l'huite a compresseur a air synthetique et
non nettoyante.
B = PleJn
C= Ajoutez
Fig. 7
REMARQUE : La tension de ta courroie et t'alignement de
la poulie se font simultanement. Chaque procedure est decrite
separ6ment par souci de clart&
__Cet appareil se met en
marche automatJquement. Arr_ttez TOUJOURS le
compresseur, debranchez=le de la prise de courant
et purgez route la pression du circuit avant de
proceder aI'entretJen du compresseur ou Iorsque
vous ne I'utilJsez pas. N'utHisez pas I'appareJl sans
les protections ou le garde-courroJe. Risque de
blessures graves en cas de contact avec les pieces
en mouvement !
Pour une efficacite d'entrafnement et une duree de vie
maximales de ta courroie, l'alignement de ta poulie et la tension
de la courroie doivent 6tre maintenus. La tension est correcte en
presence d'un flechissement (A) de 13 mm (1/2") apres
l'application d'une force (B) de 4,6 kg (10 tb) a mi-distance entre
la poulie du moteur et le volant-moteur de ta pompe (voir Fig. 8).
Ce flechissement peut 6tre regl6 en procedant comme suit. La
poulie dolt 6tre soigneusement atignee sur le volant-moteur et
toutes les vis d'arr6t doivent 6tre settees.
1. Enlever t'avant de t'ecran de protection de la courroie en
devissant tes 5 vis en utilisant un tournevis a t6te etoit6e.
2. Desserrez tes boulons de montage du moteur.
3. Decalez le moteur jusqu'au point o[4 te flechissement
correct est obtenu (A & B).
4. Resserrer les boulons de fixation du moteur avec un couple
de 130-180 po-tb.
5. Assurez-vous que la tension reste correcte.
6. Reinstallez te garde-courroie. Toutes tes pieces
en mouvement doivent 6tre proteg6es par une securit&
Fig. 8
Pouiiedu
A
Vis sans t6te
Bouions de
fixation du
mofeur
Rotor de
la pompe
Le compresseur peut varier d'un montr6
36 200-2794

ALiGNEMENTDELA POULIE
REMARQUE : La tension de la courroie et l'alignement de
la poulie se font simultanement. Chaque procedure est decrite
s6parement par souci de clart&
__Cet appareil se met en
marche automatJquement. Arr6ttez TOUJOURS le
compresseur, debranchez=le de la prise de courant
et purgez toute la pressJon du circuit avant de
proceder aI'entretJen du compresseur ou Iorsque
vous ne I'utJlJsez pas. N'utJlisez pas I'appareJl sans
les protections ou le garde-courroJe. Risque de
blessures graves en cas de contact avec les pieces
en mouvement !
REMARQUE : lorsque la poulie du moteur a et6 enlevee de son
emplacement determin6 a t'usine, les rainures du
rotor et de ta poulie doivent 6tre alignees a 1/16
pc afin d'emp6cher une usure excessive de la
courroie.
Pour verifier l'alignement de la poulie, placez une regle (A)
contre te volant-moteur du compresseur (B) (voir Fig. 9). Mesurez
et notez la distance entre la regte et te bard de la courroie
d'entrafnement au point C. Mesurez ensuite de nouveau ta
distance entre la regle et le bard de la courroie d'entrafnement
aux points D et E. Les deux distances doivent correspondre a la
meme distance qu'en C. Si D ou E est different de C, itexiste un
defaut d'alignement qu'it faut corriger avant de faire fonctionner te
compresseur. Pour corriger un defaut d'alignement de la poulie,
procedez comme suit :
1. Entever t'avant de t'ecran de protection de ta courroie en
devissant tes 5 vis en utilisant un toumevis a t6te etoit6e.
2. Desserrez tes boulons de montage du moteur.
3. Desserrez la vis d'arr6t sur la poulie du moteur.
4. Atignez ta poulie du moteur sur te volant-moteur de la
pompe (C=D-E doJt _tre egal).
5. Resserrer les vis sans t6te de ta poulie du moteur a un
couple de 85-90 po-tb.
6. Regtez correctement ta tension de ta courroie.
7. Resserrer les boulons de fixation du moteur avec un couple
de 130-180 pc-lb..
8. Reinstallez te garde-courroie. Toutes les pieces
en mouvement doivent 6tre protegees par une securit&
J
.... ,...... ompe
:: Moteur I_i_
4. Enutitisantuncrayonouuntournevis,
pousserdeticatementledisqueductapetde
hautenbas.Siledisqueductapetnese o_c_ay_,_
deplacepastibrementdehautenbas,
verifiersileclapetdenon-retourdoit6tre
nettoyeouremplac&
5. Nettoyerleclapetdenon-retouravecde
l'eausavonneusetiedeets'assurerdebien
lesecheravantdetereinstatter.Siledisque
ductapetnesedeplacepasencore
librementdehautenbas,cetui-cidevra6tre
remplac&
6. Appliquerduscetlantpourfitetagesurles clape_deno_reto_r
fitetagesduclapetdenon-retouretle
reinstallersurlereservoirentournantdanstesenshoraire.
S'assurerd'utitiserlam6meorientationquelorsquecetui-cia
eteretire.
7. Replacerletuyaudetransfertetresserrerlesecrousde
compression.
8. Effectuerlaprocedurede<<rodage>>detapompefournie
danstesinstructionsdefonctionnementafindevousassurer
qu'itn'yapasdefuiteetqueleclapetdenon-retour
fonctionneadequatement.
significativeenpresenced'unepetitefuited'airdanstestuyaux
flexibles,testubesdetransfertoutesraccordsdetuyauterie.Si
voussuspectezunefuite,vaporisezunpeud'eausavonneuse
autourdetazone.Sidesbullesapparaissent,reparezou
remplacezlecomposantdefectueux.Neserrezpastrop.
ENTREPOSAGE
Avantd'entreposertecompresseurpouruneperiode
prolongee,utitisezunesoufflettepournettoyertoutetapoussiere
ettouslesdebrisducompresseur.TirersurlasoupapedesOrete
dureservoirafindetiberertoutetapressiondureservoir.
Fi:vacueztoutet'humiditedureservoir.Nettoyezteselementset
lebowerdufittre; remplacezteselementsaubesoin.Vidangez
l'huiteducarterdelapompeetremptacez-tapardel'huiteneuve.
Couvreztoutl'appareitpourleprotegerdel'humiditeetdela
poussiere.
NETTOYAGE DU FILTRE A AIR
Un fittre a air sale reduira tes performances et ta duree de vie
du compresseur. Pour eviter toute contamination interne de ta
pompe, le fittre dolt 6tre nettoye frequemment et remptace
regulierement. Les fittres en feutre doivent 6tre nettoyes dans de
t'eau savonneuse tiede. Les fittres en papier doivent 6tre
remplaces quand its sont sales. It ne faut pas que tes fittres
soient remplis de saletes ou de peinture. Site fittre se remplit de
peinture, remplacez-te. Votre garantie sera annulee si l'appareit
est directement expose a des saletes et de la peinture.
VC:RIFICATION DE LA SOUPAPE DE De:CHARGE
Tirer sur la bague de ta soupape de sOrete du reservoir
quotidiennement afin d'assurer que la soupape fonctionne
correctement et pour nettoyer la soupape de toute obstruction
possible.
ESSAI D'I_TANCHI_ITI_
Assurez-vous que tousles raccords sont serres. Le
rendement de votre compresseur peut 6tre reduit de maniere
quotidiennement Toutes les 100
ou apres chaque heures de
Effectuez rentretien suivant au× intervalles indiques ci-dessous, utilisation fonctionnement
Inspecter le fittre a air (te nettoyer ou le remplacer au besoin) ®
Verifiez le niveau d'huite de la pompe ®
Changez l'huite de la pompe (Utilisez uniquement une huile synth_tique pour air-compresseur ®
non-d6tergente.)
Actionner la soupape de sOrete du reservoir ®
Verifiez la tension de la courroie ®
Vidangez le reservoir ®
Verifiez et serrez tous les boulons (Ne les serrez pas trop) ®
38 200-2794

Remarque : Les problemes de depannage peuvent avoir des causes et des solutions similaires.
CAUSE POSSIBLE
Tension insuffisante/surcharge
du moteur
PROBLEME
Le prelevement
excessif de courant
cause le
declenchement du
disjoncteur ou de
rinterrupteur de
remJse en marche du
moteur
SOLUTION
Veriflez que l'alimentation est adequate et que te compresseur est
branche sur un circuit separ& Verifiez que le compresseur est
branche sur son propre circuit. Si une rallonge est utitisee,
essayez sans utitiser ta ratlonge. Si te compresseur est branche sur un
circuit proteg6 par un fusible, utitisez des fusibles temporises a double
el6ment (Buss Fusetron de type <<T>>seulement).
Reajustez la tension de la courroie.
La tension de la courroie
d'entrafnement est trop tendue
Passages d'air colmates Inspecter et remplacer les tuyaux de transfer ou te ctapet de non-
retour (voir <<Pour remplacer ou nettoyer le clapet de non-retour >>
dans la section Maintenance).
Le compresseur cale Tension insuffisante vers le moteur Fournissez une puissance adequate.
Soupape d'arr6t defectueuse Remplacer te clapet de non-retour (volt <<Pour remplacer ou nettoyer
te clapet de non-retour >>dans la section Maintenance).
Grippage de la pompe Communiquer avec Sears ou un autre centre de service qualifi&
Pression de decharge Fuites d'air Serrez ou remplacez les raccords ou les connexions qui ne sont pas
insuffisante etanches. Ne serrez pas trop.
Fuites des soupapes Communiquer avec Sears ou un autre centre de service qualifi&
Admission d'air colmatee Nettoyez ou remplacez le ou les et6ment(s) du fittre a air.
Joints eclat6s Communiquer avec Sears ou un autre centre de service qualifi&
Usure des segments de piston ou du Communiquer avec Sears ou un autre centre de service qualifi&
cytindre
Cognement de la Poulie du moteur ou Resserrez la poulie et le volant-moteur. Verifiez l'alignement.
pompe volant-motoeur desserre
Niveau d'huite trop bas dans le carter Maintenez le niveau d'huite jusqu'au rep@e maximum en permanence.
de ta pompe
Exces de calamine sur les soupapes Communiquer avec Sears ou un autre centre de service qualifi&
ou sur le haut du piston
HuJle darts rair Usure des segments de piston ou du Communiquer avec Sears ou un autre centre de service qualifi&
evacue cytindre
Admission d'air colmatee Nettoyez ou remplacez le ou les et6ment(s) du fittre a air.
Niveau d'huite trop etev6 Ramenez au niveau correct.
Surchauffe Mauvaise aeration Ptacez le compresseur dans un endroit frais, sec et bien aer6, a une
distance de 30 cm (12 po.) du mur le plus proche.
Surfaces de refroidissement sales Nettoyez entierement toutes les surfaces de refroidissement.
Passages d'air colmates Remplacer te clapet de non-retour (volt <<Pour remplacer ou nettoyer
te clapet de non-retour >>dans la section Maintenance).
Usure excessive de la Defaut d'alignement de la poulie Realignez la poulie sur le volant-moteur du compresseur.
courroie Tension de courroie incorrecte Reajustez.
Oscillation de la poulie Remptacez ta poulie et verifiez que le vitebrequin ou le
volant-moteur n'est pas endommag&
Le compresseur ne Trop de pression de refoulement Ouvrez le robinet de purge quand vous mettez en marche le moteur.
demarre pas quand idans le reservoir
fair froid Huite 40W dans le carter-moteur
Une fuJte d'air a Ja
soupape de vJdange
demeure apres que le
cornpresseur air ere
eteint
200-2794
Le compresseur est trop froid
Clapet de non-retour sale ou
defectueux.
Utilisez uniquement une huite synthetique pour air-compresseur non-
detergente.
Placez le compresseur dans un endroit plus chaud.
Inspecter et remplacer le ctapet de non-retour (voir <<Pour remplacer
ou nettoyer le clapet de non-retour >>dans la section Maintenance).
39

Your Home
For troubleshooting, product manuals and expe_ advice:
www.managemylife.com
For repair - in your home - of all m_or brand appliances,
lawn and garden equipment, or heating and cooling systems,
no matter who made it, no ma_er who sold it!
For the replacement pa_s, accessories and
owner's manuals that you need to do-it-yourself.
For Sears professional installation of home appliances
and items like garage door openers and water heaters.
1-800-4-MY-HOME ®(1-800_69_663)
Call an_ime, day or night (U.S.A. and Canada)
wv_,w.sears.com _w.sears.ca
Our Home
For repair of carry-in items like vacuums, lawn equipment,
and electronics, call anytime for the location of your nearest
Sears PaNs & Repair Service Center
1-800-488-1222 (u,s A.) 1-800-4694663 (Canada)
vcww,sears.com www°sears,ca
To purchase a protection agreement on a product se_iced by Sears:
1- -27-800 8 6655 (U.S.A.)
Para pedir servicio de reparaci6n
a domicilio, y para ordenar piezas:
(1-888-784-6427)
www.sears._m
1-800-361-6665 (Canada)
Au Canada pour service en fran£ais:
1-8OO-LE-FOYER Mc
(i-800_533-6937)
www.sears,ca
® Registered Trademark /TM Trademark of KCD [P, LLC in the United States, or Sears Brands_ LLC in other countries
® Marca '_
Reg!strada /Mama de Fabrica de KCD [P, LLC en Estados Unidos, o Sears Brands, LLC in otros paises
_AcMarque de commerce fM_Marque depose de Sears Brands, LLC