Craftsman 944360050 User Manual HIGH WHEEL WEED TRIMMER Manuals And Guides L0301066
CRAFTSMAN Line Trimmers/Weedwackers, Gas Manual L0301066 CRAFTSMAN Line Trimmers/Weedwackers, Gas Owner's Manual, CRAFTSMAN Line Trimmers/Weedwackers, Gas installation guides
User Manual: Craftsman 944360050 944360050 CRAFTSMAN HIGH WHEEL WEED TRIMMER - Manuals and Guides View the owners manual for your CRAFTSMAN HIGH WHEEL WEED TRIMMER #944360050. Home:Lawn & Garden Parts:Craftsman Parts:944360050 Craftsman Grass trimmer (weed wacker) Manual
Open the PDF directly: View PDF
.
Page Count: 28

Owner's Manual
ICRRFTSMRN'I
4.0 HORSEPOWER
20 INCH CUT
WHEELED
WEEDTRIMMER
Model No.
944.360050
• Safety
• Assembly
•Operation
•Maintenance
•Repair Parts
_ILCAUTION:
Read and follow all
Safety Rules and Instructions
before operating this equipment.
Sears Canada, Inc., Toronto, Ontario M5B 2B8

Warranty ............................................... 2
Safety Rules ......................................... 3
Assembly .............................................. 5
Operation .............................................. 6
Maintenance Schedule ........................ 9
Maintenance ......................................... 9
Product Specifications .......................... 9
Service and Adjustments .................... 12
Storage ............................................... 14
Troubleshooting ................................. 15
Repair Parts ........................................ 16
Parts Ordering ..................... Back Cover
LIMITED TWO YEAR WARRANTY ON CRAFTSMAN WEEDTRIMMER
For Two years from date of purchase Sears Canada, Inc. will repair or replace at Sears
option free of charge parts which are defective as aresult of material or workmanship.
COMMERCIAL OR RENTAL USE:
Warranty on Weedtrimmer will be ninety (90) days from date of purchase if used for
commercial or rental purposes.
This Warranty does NOT cover:
•Pre-delivery set-up.
• Expendable items which become worn during normal use, such as rotating lines,
belts, air cleaners and spark plug.
•Repairs necessary because of operator abuse or negligence, including bent
crankshafts and the failure to maintain the equipment according to the instructions
contained in the owner's manual.
Warranty service is available by returning the Craftsman Weedtrimmers only while this
product is in use in Canada.
This warranty is in addition to any statutory warranty and does not exclude or limit legal
rights you may have but shall run concurrently with applicable provincial legislation.
Furthermore, some provinces do NOT allow limitation on how long an implied warranty
will last so the above limitations may not apply to you.
Sears Canada, Inc., Toronto, Ontario M5B 2B8
WARNING: This trimmer is equipped with an internal combustion engine and should
not be used on or near any unimproved forest-covered, brush-covered or grass-
covered land unless the engine's exhaust system is equipped with a spark arrester
meeting applicable local or state laws (if any). If a spark arrester is used, it should be
maintained in effective working order by the operator.
Aspark arrester for the muffler is available through your nearest authorized service
centerldepartment (See REPAIR PARTS section of this manual).
2

The operation of any trimmer can result in foreign objects thrown into
the eyes, which can result in severe eye damage. Always wear safety
glasses or eye shields while operating your trimmer or performing any
adjustments or repairs. We recommend a wide vision safety mask
over spectacles or standard safety glasses. The safety goggles
provided with your trimmer may be worn over spectacles.
I. GENERAL OPERATION
•Read, understand, and follow all
instructions on the machine and in the
manual before starting. Be thoroughly "
familiar with the controls and the proper
use of the machine before starting.
• Do not put hands or feet near or under
rotating parts.
,Keep all parts of your body away from
muffler and spinning line. A hot muffler
can cause serious bums.
• Only allow responsible individuals, who
are familiar with the instructions, to
operate the machine.
• Stay away from breakable objects, such
as house windows, auto glass, green-
houses, etc.
• Clear the area of objects such as rocks,
toys, wire, bones, sticks, etc., which
could be picked up and thrown by the
spinning lines. "
• Be sure the area is clear of other
people before trimming, particularly •
small children and pets. Stop machine
if anyone enters the area. "
• Wear appropriate clothing such as a
long-sleeved shirt or jacket. Also wear
long trousers or slacks. Do not wear
shorts.
•Do not wear loose clothing which could
get caught in this equipment.
• Do not operate the machine when
barefoot or wearing open sandals.
Always wear work gloves and sturdy
footwear. Leather work shoes or short
boots work well for most people. These
will protect the operator's ankles and
shins from small sticks, splinters, and
other debris, and improve traction.
• Do not pull machine backwards unless
absolutely necessary. Always look
down and behind before and while
moving backwards.
Do not operate the machine without
proper guards, plates or other safety
protective devices in place.
See manufacturer's instructions for
proper operation and installation of
accessories. Only use accessories
approved by the manufacturer.
Never use blades, wire, or flailing
devices. This unit is designed for line
trimmer use only. Use of other accesso-
ries or attachments will increase the risk
of injury.
Stop the rotating trimmer head when
crossing gravel drives, walks, or roads.
Wait for the cutting lines to stop rotating.
Stop the engine (motor) whenever you
leave the equipment, before cleaning,
repairing or inspecting the unit. Be sure
the trimmer head and all moving parts
have stopped.
Operate only in daylight or good
artificial light.
Do not operate the machine while
under the influence of alcohol or drugs.
Never operate machine in wet grass.
Always be sure of your footing: keep a
firm hold on the handle and walk; never
run,
If the equipment should start to vibrate
abnormally, stop the engine (motor)
and check immediately for the cause.
Vibration is generally a warning of
trouble.
Always wear safety goggles or safety
glasses with side shields when operat-
ing machine.
3

II. SLOPE OPERATION
Slopes are a major factor related to slip
and fall accidents which can result in
severe injury. All slopes require extra
caution. If you feel uneasy on aslope, do
not trim it.
DO:
• Trim across the face of slopes: never up
and down. Exercise extreme caution
when changing direction on slopes,
• Remove obstacles such as rocks, tree
limbs, etc.
• Watch for holes, ruts, or bumps. Tall
grass can hide obstacles.
DO NOT:
• Do not trim near drop-offs, ditches or
embankments. The operator could lose
footing or balance.
•Do not trim excessively steep slopes.
• Do not trim on wet grass. Reduced
footing could cause slipping.
III. CHILDREN
Tragic accidents can occur if the operator
is not alert to the presence of children.
Children are often attracted to the machine
and the trimming activity. Never assume
that children will remain where you last
saw them.
• Keep children out of the trimming area
and under the watchful care of another
responsible adult.
• Be alert and turn machine off if children
enter the area.
• Before and while moving backwards,
look behind and down for small
children.
•Never allow children to operate the
machine.
• Use extra care when approaching blind
corners, shrubs, trees, or other objects
that may obscure vision.
&
IV. SERVICE
•Use extra care in handling gasoline
and other fuels. They are flammable
and vapors are explosive,
Use only an approved container.
Never remove gas cap or add fuel
with the engine running. Allow
engine to cool before refueling. Do
not smoke.
Never refuel the machine indoors.
Never store the machine or fuel
container inside where there is an
open flame, such as a water heater.
- Move away from fueling site before
starting engine.
• Never run a machine inside aclosed
area,
•Never make adjustments or repairs
with the engine (motor) running.
Disconnect the spark plug wire, and
keep the wire away from the plug to
prevent accidental starting.
• Keep nuts and bolts, especially trimmer
head and engine bolts, tight and keep
equipment in good condition,
• Never tamper with safety devices.
Check their proper operation regularly.
•Keep machine free of grass, leaves, or
other debris buildup, Clean oil or fuel
spillage. Allow machine to cool before
storing.
• Stop and inspect the equipment if you
strike an object. Repair, if necessary,
before restarting.
•Do not change the engine governor
setting or overspeed the engine.
• Clean and replace safety and instruc-
tion decals as necessary.
,_Look for this symbol to point out impor-
tant salety precautions. It means CAU-
TlONf!! BECOME AWARE!!! YOUR
SAFETY IS INVOLVED.
_CAUTION: In order to prevent acci-
dental starting when setting up, transport-
ing, adjusting or making repairs, always
disconnect spark plug wire and place
wire where it cannot contact spark plug.
_WARNING: The engine exhaust from
this product contains chemicals known to
the State of California to cause cancer,
birth defects, or other reproductive harm.
4

Read these instructions and this manual in its
entirety before you attempt to assemble or
operate your new trimmer.
IMPORTANT: This _mmer is shipped
WITHOUT OIL OR GASOLINE in the engine.
Your new trimmer has been assembled at the
factory with the exception of those parts left
unassembled for shipping purposes. Air parts
such as nuts, washers, bolts, etc., necessary
to complete the assembly have been placed
in the parts bag. To ensure safe and proper
operation of your trimmer, all parts and
hardware you assemble must be tightened
securely. Use the correct tools as necessary
to ensure proper tightness.
Loose Parts Packed Separately
Safety 20 oz. Trimmer Unes
Goggles Bottle of oll (2) Sets
(0,130 diameter
x 16.75 inches long)
TO REMOVE TRIMMER FROM CARTON
•Remove loose parts included with trimmer.
• Cut down two end comers of carton and
lay end panel down flat.
•Remove all packing materials.
• Roll trimmer out of carton and check carton
thoroughly for additional loose parts.
HOWTO SET UP YOUR TRIMMER
TO UNFOLD HANDLE
IMPORTANT: Unfold handle carefully so as
not to pinch or damage control cables.
•Loosen handle knobs enough to allow
upper handle to be unfolded from the
shipping position.
• Raise upper handle section into place on
lower handle and tighten handle knobs.
• Remove handle padding holding ldmmer
head control bar to upper handle.
Handle knob
handle
Lift up
Lower handle
5

KNOW YOUR TRIMMER
READ THIS OWNER'S MANUALAND SAFETY RULES BEFORE OPERATING YOUR
TRIMMER. Compare the iUustra[_onsv_th your trimmer to fami{(ar(ze yourself with the {oca_n
of various contr,o_ and adiustments. 'Save _nk manual for future reference. , ,,
symbols may appear on your trimmer or In rfmmturesuppnndw_fftthe product, Learn and understand
C*%q_ _':_lt_ z_"
F_ST S_OW
iiI
Throttle Control
Trimmer head control bar
rammer head control lever
Starter handle
Handle knob
Engine
cover
Primer
Engine oil
cap w/
dipstick
head
IMPORTANT: This trimmer is shipped
WITHOUT OIL OR GASOLINE in the engine.
iii I I
Trimmer head control bar -must be held
down to the handle to engage trimmer head.
Release to stop the trimmer head.
Primer -pumps additional fuel from the
carburetor to the cylinder for use when
start oa cowengine.
•. Tnmmer line
II I
Throttle control - used for starting and
stopping the engine and allows you to select
either fast or slow enginaspeed.
Starter handle - used for start_ the engine.
Trimmer head control lever- used to
engage trimmer head,
6

The operation of any trimmer can result in
foreign objects thrown into the eyes,
which can result in severe eye damage.
Always wear safety glasses or eye shields
while operating your trimmer or perform-
ing any adjustments or repairs. We
recommend a wide vision safety mask
over spectacles or standard safety
glasses. The safety goggles provided with
your trimmer may be worn over spec-
tacles.
HOWTO USEYOURTRIMMER
ENGINE SPEED
The engine speed is controlled by a
throttle located on the side of the upper
handle. Fast position is for starting and
normal trimming. Slow is for light trimming
and fuel economy. Stop is for stopping the
engine.
TRIMMER HEAD DRIVE CONTROL
Your trimmer is equipped with a trimmer
head drive control bar and lever which
requires the operator to be positioned
behind the trimmer handle to operate the
trimmer.
•Trimmer head rotation is controlled by
holding the trimmer head control bar
down to the handle and pushing the
drive control lever forward until it clicks;
then release the lever,
• Trimmer head rotation will stop when
the control bar is released.
Drive
cor_t_ol
lever
Trimmer head
control bar
To engage
trimmer head Trimmer head
disengaged
7

BEFORE STARTING ENGINE
ADD OIL
Your trimmer is shipped without oil in the
engine.
• Be sure trimmer is level and area around oil
fill is clean.
• Remove engine oil cap and fill to the full
line on the dipstick.
NOTE: Allow oi! to settle down into engine
for accurate dipstick reading.
• Engine holds 20 oz. of oil. For type and
grade of oil to use, see "ENGINE" in
Maintenance section of this manual.
• Pour oil slowly, Do not over fill.
•Check oil level before each use. Add oil if
needed. Fill to full line on dipstick.
• To reed proper level, tighten engine oil cap
each time.
• Reiostall engine oil cap and tighten.
• Change the oil after every 25 hours of
operation or each season. You may need
to change the oil more often under dusty,
dirty conditions.
ADD GASOLINE
•Fill fuel tank. Use fresh, clean, regular
unleaded gasoline with a minimum of 87
octane. Do not mix oil with gasoline.
Purchase fuel in quantities that can be used
within 30 days to assure fuel freshness.
_WARNING: Experience indicates that
alcohol blended fuels (called gasohol or
using ethanol or methanol) con attract
moisture which leads to separation and
formation of acids during storage. Acidic
gas can damage the fuel system of an
engine while in storage. To avoid engine
problems, the fuel system should be
emptied before storage of 30 days or
longer. Drain the gas tank, start the
engine and let it run until the fuel lines
and carburetor are empty, Use fresh fuel
next season. See Storage Instructions for
additional information, Never use engine
or carburetor cleaner products in the fuel
tank or permanent damage may occur.
CAUTION: Fill to bottom of gas tank
filler neck. Do not overfill. Wipe off any
spilled oil or fuel. Do not store, spill or use
gasoline near an open flame.
Gasoline
Engine oil c_p_
8
TO START ENGINE
•To start a cold engine, push primer three
(3) times before trying to start, Use a firm
push. This step is not usually necessary
when starting an engine which has
already run for a few minutes.
•Move throttle control laver to fast position.
• Hold upper handle firmly and pull starter
handle quickly. Do not allow starter rope to
snap back.
TO STOP ENGINE
• To stop engine, move throttle control lever
to stop position.
NOTE: In cooler weather it may be
necessary to repeat priming steps. In
warmer weather overpriming may cause
flooding and engine will not start. If you
do flood engine, wait a few minutes
before attempting to start and do not
repeat priming steps.
Throttle
control
Starter
handle
TRIMMING TIPS
• Set the throttle control in the fast
position. If the weeds or grass are tall
and thick, operate the trimmer at a
slower walking speed.
•Frequently clean the underside of the
trimmer to remove any grass build up.
Keep top of engine around starter clear
and clean of grass clippings and chaff.
This will help engine air flow and extend
engine life. See TO REMOVE ENGINE
COVER in the Maintenance section of
this manual.
•For best results and longer lasting line,
use the ends of the line to do the cutting.
This is easily done by moving slowly
through very thick and heavy weeds,
•Use the left side of trimmer when
trimming along fences, walls, flowerbeds
and other such objects.
•If trimmer lines become too short, it will
take longer to complete the job. If
trimmer lines are worn to less than half
their original length, they should be
replaced. See TO REPLACE TRIMMER
LINE in the Maintenance section of this
manual.
•Trimmer head contact with concrete,
asphalt or other hard surfaces may
cause premature wear of the ball on
bottom of tdmmer head.

MAINTENANCESCHEDULE .,, ____ ___O_,_ _
Check for Loose Fasteners V' I# /
T
!RClean Tdmmer I_ I_
I
MClean Under Engine Cover V'2 t/
MCheck ddve belt/pulleys v'
RChecldRep_ace Trimmer Lines 1_3
Check Engine Oil Level
EChange Engine Oil 1_1,2
GN clean AirFilter I_ 2
IInspec| Muffler t_'
NClean or Replace Spark Plug V'
Replace Air Filter Paper Cartridge id#2
1 - Cha_ge more often when opera_u_Junder a heavy load o_ in high ambient tsnlperatures
2- Service i_ore often when openatmg in dirty or dusty cmld_Jons
3-Replac_ tdln=_ lines wl_e_ they have worn to half theiF_-_ginal k_ngth.
GENERAL RECOMMENDATIONS
The warranty on this trimmer does not
cover items that have been subjected to
operator abuse or negligence. To receive
full value from the warranty, operator must
maintain tdmmer as instructed in this
manual.
Some adjustments will need to be made
periodically to properly maintain your unit.
All adjustments in the Service and
Adjustments section of this manual should
be checked at least once each season.
•Once a year, replace the spark plug
and replace air filter element, A new
spark plug and clean/new air filter
element assures proper air-fuel mixture
and helps your engine run better and
last longer.
•Follow the maintenance schedule in
this manual,
BEFORE EACH USE
•Check engine oil level.
•Check for loose fasteners.
•Clean under engine cover.
LUBRICATION
To prolong the useful life of your trimmer,
change engine oil as recommended in
this section of Owner's Manual.
IMPORTANT: Do not oil or grease plastic
wheel bearings. Viscous lubricants will attract
dust and dirt that will shorten the life of the
self- lubricating bearings. If you feel they must
be lubricated, use only a dry, powdered
graphite type lubricant sparingly.
PRODUCT SPECIFICATIONS
Serial No.
Date of Purchase:
Gasoline Type:
Gasoline Capacity:
Oil Type:
(API-SF/SG/SH)
Oil Capacity:
Spark Plug :
(Gap: .030")
Valve Clearance:
Unleaded Regular
1.25 Quarts
SAE 30 (Above 32° F)
SAE 5W-30 (Below 32o F)
20 Ozs.
Champion J19LM
or RJ19LM
Intake: .004-.008
Exhaust: .004-.008
Trimmer Line Dla.: ,130 inch
Trimmer Line Length: 16,75 inches
The model and serial numbers will be found on
a decal attached to the rear of the trimmer.
Record both serial number and date of
purchase in space provided above.
9

TRIMMER
Atways observe safety rules when perform-
ing any maintenance.
TIRES
•Keep tires free of gasoline, oil, or insect
control chemicals which can harm rubber.
•Avoid stumps, stones, deep ruts, sharp
objects and other hazards that may cause
tire damage.
TRIMMER UNE
For best results, replace trimmer lines
when they have worn to half their original
length. Use ,130 inch diameter trimmer
line. Cut new trimmer line length to t6-3/4
inches. After new line is installed on
trimmer head, check all lines so they do
not vary more then one (1) inch in length.
This is important to make sure the trimmer
head is balanced and will not vibrate
abnormally.
_,WARNING: Use only the specified
trimmer line. Do not use other materials
such as wire, string, rope, etc. Wire can
break off during trimming and become a
dangerous missile that can cause serious
injury.
TO REPLACE TRIMMER LINE
•Disconnect spark plug wire from spark
plug and place wire where it cannot
come in contact with spark plug.
• Remove worn tnmmer line from line
carrier plate.
• Fold new, cut to length, trimmer line in
half and insert folded end through
carrier plate opening to back side of
retainer clip.
• With folded end of line at back side of
retainer clip, pull line outward until line
is fully seated under the retainer clip.
• Repeat on other side of carder plate.
•Check all lines to be sure they are the
same length.
• Reconnect spark plug wire to spark
plug.
Trimmer
line
Carrier plate
opening
ainer
clip
ENGINE
LUBRICATION
Use only high quality detergent oil rated
with API service classification SF, SG or
SH. Select the oil's SAE viscosity grade
according to your expected operating
temperature.
NOTE: Although multi-viscosity oils
(5W30, 10W30 etc.) improve starting in
cold weather, these multi-viscosity oils
will result in increased oil consumption
when used above 32°F. Check your
engine oil level more frequently to avoid
possible engine damage from running
low on oil.
Change the oil after every 25 hours of
operation or at least once a year if the
lawn mower is not used for 25 hours in
one year.
Check the crankcase oil level before
starting the engine and after each five (5)
hours of continuous use. Tighten oil plug
securely each time you check the oil
level.
10

TO CHANGE ENGINE OIL
NOTE: Before tipping trimmer to drain
oil, drain fuel tank by running engine
until fuel tank is empty.
• Disconnect spark plug wire from spark
plug and place wire where it cannot
come in contact with spark plug.
• Remove engine oil cap; lay aside on a
clean surface.
• Tip trimmer on its side as shown and
drain oil into a suitable container.
Rock trimmer back and forth to remove
any oil trapped inside of engine.
• Wipe off any spilled oil on trimmer and
on side of engine.
• Fill engine with oil. Fill only to the
"FULL" line on the dipstick. DO NOT
overfill.
• Replace engine oil cap.
• Reconnect spark plug wire to spark
plug.
Container
AIR FILTER
Your engine will not run properly and
may be damaged by using a dirty air
filter.
Replace the air filter every year, more
often if you mow in very dusty, dirty
conditions. Do not wash air filter.
TO CHANGE AIR FILTER
• Remove the air filter by turning
clockwise to the stop and pull away
from collar.
• Remove filter from inside of cover.
• Clean the inside of the cover and the
collar to remove any dirt accumulation.
• Insert new filter into cover.
• Put air filter cover and filter into collar
aligning the tab with the slot.
• Push in on cover and turn counter-
clockwise to tighten.
Collar
Turn
clockwise
to remove
Air filter
cover Turn
counterclockwise to
tighten
MUFFLER
Inspect and replace corroded muffler as
it could create a fire hazard and/or
damage.
SPARK PLUG
Change your spark plug each year to
make your engine start easier and run
better. Set spark plug gap at .030 inch.
CLEANING
IMPORTANT: For best performance,
keep trimmer free of built-up grass and
trash. Clean the underside of your
trimmer after each use.
ACAUTION- Disconnect spark plug wire
from spark plug and place wire where it
cannot come in contact with the spark
plug.
• Turn trimmer on its side. Make sure air
filter and carburetor are up. Clean the
underside of your trimmer by scraping
to remove build-up of grass and trash.
• Clean engine often to keep trash from
accumulating, A clogged engine runs
hotter and shortens engine life.
• Keep finished surfaces and wheels
free of all gasoline, oil,etc.
• We do not recommend using a garden
hose to clean trimmer unless the
electrical system, muffler, air filter and
carburetor are covered to keep water
out. Water in engine can result in
shortened engine life.
11

CLEAN UNDER ENGINE COVER
Clean under engine cover before each
use, or more frequently in heavy cutting
or dirty conditions. Engine cover screen
and engine air intake screen must be
kept free of dirt and chaffto prevent
engine damage from overheating.
Knob Engine
cover
• Unscrew knob on top of cover.
•Lift cover up and away from engine.
• Clean cover and cover screen thor-
oughly,
• Clean top of engine and air intake
screen.
• Replace engine cover and tighten
knob securely. Be sure the front tabs of
engine cover are located in the slots in
engine housing.
Threaded
Engine
cover
screen
Starter
rope
Air intake screen
Housing
slots
A, CAUTION: Before performing any
service and adjustments:
• Stop engine.
•Make sure the rotating lines and all
moving parts have completely stopped.
•Disconnect spark plug wire from spark
plug and place where it cannot come in
contact with plug.
TRIMMER
TO REMOVE/REPLACE TRIMMER HEAD
DRIVE BELT
•Remove screw at front of chassis cover.
• Lift cover up and away from trimmer.
•Turn trimmer on its side with carburetor and
fuel cap up.
•Remove belt from engine pulley on
crankshaft.
• Remove belt from trimmer head pulley.
• Remove idler assembly from chassis
and remove belt and idler from trimmer.
• Remove belt from idler assembly by
removing bottom belt keeper and idler
pulleys.
•Assemble new belt, idler pulleys and
bottom belt keeper to idler bracket.
Tighten pulley bolts securely.
•Be sure belt is inside top belt keeper on
idler assembly.
•Position belt and idler assembly in
trimmer and assemble idler to chassis.
Tighten securely.
• Install bolt around trimmer head pulley
and engine pulley.
•Replace chassis cover and tighten screw
securely,
•Always use Craftsman replacement parts
to assure proper fit and long life.
12

Chassis
,Screw
Chassis
Engine
pulley
Nut
Spa
V-idler
Idler
Jracket
Belt
Bolt
Idler
Flatidier
belt
keeper
Flat idler
. Trimmer
head pulley
ENGINE SPEED
Your engine speed has been factory set.
Do not attempt to increase engine speed
or it may result in personal injury. If you
believe that the engine is running too fast
or too slow, take your unit to a Sears or
other qualified service center for repair
and/or adjustment.
CARBURETOR
Your carburetor has a nonadjustable fixed
main jet for mixture control. If your engine
does not operate properly due to sus-
pected carburetor problems, take your
unit to a Sears or other qualified service
center for repair and/or adjustment.
IMPORTANT: Never tamper with the
engine governor, which is factory set for
proper engine speed. Overspeeding the
engine above the factory high speed
setting can be dangerous. If you think the
engine-governed high speed needs
adjusting, take your unit to a Sears or
other qualified service center, which has
proper equipment and experience to
make any necessary adjustments.
13

Immediately prepare your tdmmer for storage
at the end of the season or if the unit will not
be used for 30 days or more.
TRIMMER
When lfimmer is to be stored for a period of
time, clean it thoroughly, remove all dirt,
grease, leaves, etc. Store in a clean, dry ares.
•Clean entire trimmer (See "CLEANING" in
the Maintenance section of this manual).
•Lubncate as shown in the Maintenance
section of this manual.
• Be sure that all nuts, bolts, screws, and pins
are securely fastened. Inspect moving
parts for damage, breakage and wear.
Replace if necessary.
• Touch up all rusted or chipped paint
surfaces; sand lightly before paintJag.
HANDLE
YOUcan fold your trimmer handle for storage,
•Loosen handle knobs enough to allow
upper handle to be folded fonNard.
IMPORTANT: When folding the handle for
storage or transportation, be sure to fold the
handle as shown or you may damage the
control cables.
Upper
handle
Handle knob J
ENGINE
FUELSYSTEM
IMPORTANT: It is important to prevent gum
deposits from forming in essential fuel system
parts such as carburetor, fuel filter, fuel hose
or tank dunng storage. Also, experience
indicates that alcohol blended fuels ( called
gesohol or using ethanol or methanol) can
attract moisture which leads to separation and
formation of acids during storage. Acidic gas
can damage the fuel system of an engine
while in storage.
• Drain the fuel tank.
• Start the engine and let it run until the fuel
lines and carburetor are empty.
• Never use engine or carburetor cleaner
products in the fuel tank or permanent
damage may occur.
• Use flesh fuel next season. 14
NOTE: Fuel stabilizer is an acceptable
alternative in minimizing the formalion of fuel
gum deposits during storage. Add stabilizer
to gasoline in fuel tank or storage container.
Always follow the mix ratio found on stabilizer
container. Run engine at least 10 minutes
after adding stabilizer to allow the stabilizer to
reach the carburetor. Do not drain the gas
tank and carburetor if using fuel stabilizer.
ENGINEOIL
Drain oil (with engine warm) and replace with
clean engine oil. (See "ENGINE" in the
Maintenance section of this manual).
CYUNDER
•Remove spark plug.
•Pour one ounce (29 ml) of oil through
spark plug hole into cylinder.
• Pull starter handle slowly a few times to
distribute oil.
•Replace with new spark plug.
OTHER
• Do not store gasoline from one season to
another.
•Replace your gasoline can if your can
starts to rusL Rust and/or dirt in your
gasoline will cause problems.
•If possible, store your unit indoors and
cover it to give protection from dust and dirt.
• Cover your unit with a suitable protective
cover that does not retain moisture. Do
not use plastic. Plastic cannot bresthe
which allows condensation to form and will
cause your unit to rust.
IMPORTANT: Never cover trimmer while
engine and exhaust areas are still warm.
_,CAUTION: Never store the trimmer
with gasoline in the tank inside a building
where fumes may reach an open flame or
spark, Allow the engine to cool before
storing in any enclosure,

TROUBLESHOOTING CHART
PROBLEM CAUSE
Doesnotsta_ 1. Di_ airfilter.
Loss of power 1.
2.
3.
4.
Excessive 1.
Vibration 2.
3.
Starter rope hard 1.
topull
Loss of head 1.
drive
IPoortrimming 1.
performance
2.
Trimmer head 1.
does not
retain line 2.
3.
2. Out of fuel.
3. Stale fuel.
4. Water in fuel.
5. Spark plug wire is
disconnected.
6. Bad spark plug.
7. Throttle control lever not
in correct position
(if equipped).
Dirty air filter.
Buildup of grass, leaves,
and trash under trimmer.
Too much oil in engine.
Walking speed too fast.
Lines uneven or broken.
Loose nuts or bolts.
Damaged trimmer head.
Bent engine crankshaft.
Belt not driving.
Trimmer line length is
too short.
Throttle control lever not
in correct position
(if equipped).
Trimmer line not
properly installed.
Broken line retainer clip.
Incorrect size of
trimmer line.
CORRECTION
1. Clean/replace air filter.
2. Fill fuel tank.
3. Drain tank and refill with
fresh clean fuel.
4. Drain fuel tank and
carburetor and refill tank
with fresh gasoline.
5. Connect wire to plug.
6. Replace spark plug.
7. Move throttle lever to FAST
position.
1. Clean/replace air filter.
2. Clean underside of trimmer
and trimmer head.
3. Check oil level.
4. Trim at slower walking
speed.
1. Check trimmer lines.
2, Check all hardware,
including engine bolts.
3. Check!repair trimmer head.
1. Contact a Sears or other
qualified service center.
1. Put belt on pulleys or
replace belt if broken.
1, If line is worn or broken to
half original length,
replace line.
2. Move throttle lever to FAST
position.
1. Follow instructions in
Maintenance section.
2. Replace string carrier plate
assembly.
3. Use .130 diameter
trimmer line.
15

CRAFTSMAN WEED TRIMMER-- MODEL NO. 944.360050
\
20.
21.
1C
19
28 18
12
8
22 2
6
29 30 5
i I
tI
J
:'; 9 26
24 25

CRAFTSMAN WEED TRIMMER-- MODEL NO. 944.360050
KEY PART
NO. NO. DESCRIPTION
2150406
3 169791
4STD502502
5 174317
6174274
7 174030
8 169821)(479
9 150078
10 169797X479
11 131959
12 136376
16 153638
17 STD541025
t8 66426
19 171449
20 174038
21 158755
22 169787
23 150078
24 169789
25 57143
26 169795
27 83923
28 174037
29 174598
30 174032
31 172221
--169803
. - 174470
- - 174682
Engine Model No.143.004018
(See Breakdown)
Engine Bolt 3/8-16
Engine Pulley (Includes setscrew)
Setscrew, Pulley
Engine Cover w/screen
Engine Cover Knob
Engine Cover Stud
LowerHacldle
Screw Hx Wshd 5/16-18 x 75
UpperHandle
Handle Bolt
Handle Knob
RopeGuide
Locknut 1/4 x 20
WireTire
ControlBar
ThrottleControl
Hex WasherScrew
Axle Shaft
Screw hex Wshd 5/16-18 x .75
Axle Spacer
Wave Washer
Wheel 10 x 1.75
Hex Flange Lock.nut3/8-16
DriveControl
Decal. Warning
Decal - Engine Cover
Bracket - Axle Support
Safety Goggles (Not Shown)
Owner'sManual (English)
Owner'sM anual(French)
17

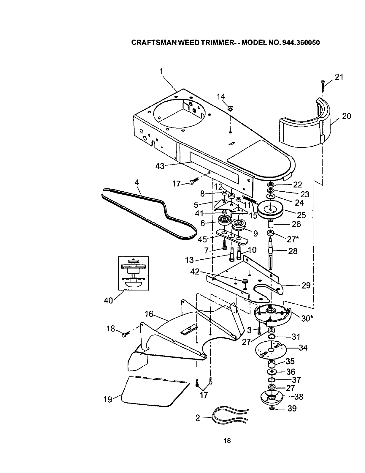
CRAFTSMAN WEED TRIMMER- -MODEL NO. 944.360050
14 V21
20
23
24
5
-- 26
I
19 17
0_31
18

CRAFTSMAN WEED TRIMMER-- MODEL NO. 944.360050
KEY PART
NO. NO. DESCRIPTION
1 174024X558 Chassis Assembly
2 174040 Line .130 Dia x 16.75
3 174591 Screw 5/16-18 x 1
4 169790 BeltV
5 172145;<004 Idler Bracket
6 166042 IdlerPulley V-Groove
7 173716 Hex Bolt3/8-16 x 1.25
8751592 Hex Locknut3/8-16
9 166043 IdlerPulley-Flat
10 160829 Shoulder Bolt
11 155552 Locknut5/16-18
12 173717 Spacer
13 142748 Shoulder Bolt
14 145212 FlangeLocknut
15 173811 ReturnSpdng
16 170552 DebrisShield
17 57808 Screw 1/4-20 x 112
18 85768 Screw #10*24 x 3/4
19 169800 Skirt
20 169764 Chassis Cover - Top
21 149746 Screw #10-24 x 1-314
22 STD541137 Nut 318-24UNF
23 STD551137 Lockwasher3/8
24 STD551037 Flatwasher3/8
25 1697_ Pulley- Driven
26 172551 Spacer- Pulley
27 174549 Bearing
28 172693 Jackshaft
29 169766X558 Cover. Bottom
30 174543 Spindle Hsg, Asm. (* Includes Upper Beadng Key No. 27)
31 174581 RetainingRing 17ram External
34 173531 Carder Plate Assembly (Fixed)
35 172635 Spacer
36 172516 Cover,Bearing
37 174580 RetainingRing 40mm Intern al
38 172523 MowBall
39 172636 Bolt,MowBall
40 173619 Head Assembly Complete (Includes Key Nos. 22-39)
41 174029 Spacer
42 751153 LoaknutFlanged 5/16-18
43 174510 Decal - Instruction
45 174596 BottomBeltKeeper
19

CRAFTSMAN 4-CYCLE ENGINE MODEL NO. 143.004018
40O
130
416
/
120
119
125
126
46
'72
238 250
2O

CRAFTSMAN 4-CYCLE ENGINE MODEL NO. 143.004018
KEY PART
NO. NO. DESCRIPTION
KEY PART
NO. NO. DESCRIPTION
174
1 37266 Cylinder (thcl, 2,20 & 150) 178
2 26727 Dowel Pin 179
6 33734 Breather Element 182
7 36557 BreatherAss'y. (Incl. 6 & 12A) 184
12 36775 Breather Tube 185
12A 36556 Breather Cover & Tube (Ind. 12B) 186
12B 36694 Breather Tube Elbow 200
14 28277 Washer 206
15 30589 Governor Rod (Incl. 14) 207
16 34839A Governor Lever 209
17 31335 Governor Lever Clamp 223
18 651018 Screw, Torx T-15, 8.32 x 19164" 224
19 37453 Extension Spring 238
20 32600 Oil Seal 239
30 36797 Crankshaft 241
40 40004 Piston, Pin & Ring Set (Std.) 245
40 40005 Piston, Pin & Ring Set (.010" OS) 250
41 36070 Piston & Pin Ass'y. (Std.) (IncL 43) 260
41 36071 Piston & Pin Ass'y. (.010" OS) 261
Incl. 43) 262
42 40006 Ring Set (Std.) 275
42 40007 Ring Set (.010" OS) 277
43 20381 Piston Pin Retaining Ring 285
45 36777 Connecting Rod Ass'y. (Incl. 46) 287
46 32610A Connecting Rod Bolt 290
48 27241 Valve Lifter 292
50 37460 Camshaft (Exhaust MCR)
(thc. ref 104) 300
301
52 29914 Oil Pump Ass'y. 305
69 37130 *Mounting Flange Gasket 306
70 34311E Mounting Flange 307
(Incl. 72 thru 83,306) 309
72 36083 Oil Drain Plug 310
75 27897 Oil Seal
80 30574A Governor Shaft
81 30590A Washer
82 30591 Governor Gear Ass'y. (Incl. 81)
83 30588A Governor Spool
86 650488 Screw, 1/4-20 x 1-1/4"
89 610961 Flywheel Key
90 611213 Flywheel
92 650815 Belleville Washer
93 650816 Flywheel Nut
100 34443B Solid State Ignition
101 610116 Spark Plug Cover
103 651007 Screw, Torx T-15, 10-24 x 15/16"
104 37480 Cam Bushing
110 36230 Ground Wire
119 36787 *Cylinder Head Gasket
120 36825 Cylinder Head
125 37288 Exhaust Valve (Std.) (Ind. 151)
126 37289 Intake Valve (Std.) (lncl, 151)
130 6021A Screw, 5/16-18 x 1-1/2"
135 35395 Resistor Spark Plug (RJ19LM)
156 31672 Valve Spring
151 31673 Valve Spring Cap
151A40017 Intake Valve Seal
169 36783 *Valve Cover Gasket
172 36784 Valve Cover
30200 Screw, 10-24 x9/16"
29752 Nut & Lock Washer, 1/4-28
30593 Retainer Clip
6201 Screw, 1/4-28 x 7/8"
26756 *Carburetor To Intake Pipe Gasket
36785 Intake Pipe
36201 Governor Link Spring
37134 Control Bracket (Incl. 206)
610973 Terminal
36200B Throttle Link
30200 Screw, 10-24 x9/16"
650451 Screw, 1/4-20 x 1"
36786 *Intake Pipe Gasket
650932 Screw, 10-32 x 49/64"
34338 *Air Cleaner Gasket
36919 Air Cleaner Collar
36905 Air Cleaner Filter
37122 Air Cleaner Cover
37213A Blower Housing
30200 Screw, 10-24 x 9/16"
650831 Screw, 1/4-20 x 1/2"
36790A Muffler
650988 Screw, 1/4-20 x 2-9/32"
35000A Starter Cup
650926 Screw, 8-32 x 21164"
34357 Fuel Line
26460 Fuel Line Clamp
35586 Fuel Tank (Incl. 292 & 301)
36246 Fuel Cap
35577 Oil Fill Tube
36996 *"O°-Ring
35499 "O°-Ring
650562 Screw, 10-32 x 3/8"
35578 Dipstick
313 34080
370A36261
370C 37318
380 640262
390 590739
4O0 36792B
Spacer
Lubdcation Decal
Pdmer Decal (3X)
Carburetor (Incl. 184)
Rewind Starter
Gasket Set (IncL Items Marked*)
416 36085 Spark Arrestor Kit
(Incl. 417)(Optional)
417 650821 Screw, 10-32 x 1/2" (Optional)
420 730225ASAE 30 4-Cycle Engine Oil
(Quart)
900 REPLACEMENT ENGINE
750848A.
ORDER FROM 71-199
900 REPLACEMENT SHORT BLOCK
750612C,
ORDER FROM 71-999
RPM High 3250 to 3550
RPM Low 2450 to 2750
NOTE: This engine could have been built with
590702 starter.
NOTE: All component dimensions given in U.S.
inches 1 inch =25.4 mm
21

CRAFTSMAN 4-CYCLE ENGINE MODEL NO. 143.004018
27
_37
22

CRAFTSMAN 4-CYCLE ENGINE MODEL NO. 143.004018
KEY PART
NO. NO.
----640262
1 631615
2 631767
4 631184 *
5 631183 *
6 640070
7 650506 *
16 631807
17 651025
16 630766
20 640018
20A 640200
25 631867
27 631024 *
28 632019
29 631028 *
30 631021 *
31 631022
35 640259
36 640080
36A 632766
37 632547 *
40 640175
44 27110A *
47 630748 *
48 631027 *
60 632760B
DESCRIPTION
Carburetor (Incl. 184 of Engine Parts List)
Throttle Shaft & Lever Assembly
Throttte Return Spring
Dust Seal Washer
Dust Seal (Throttle)
Throttle Shutter
Shutter Screw
Fuel Fitting
Throttle Crack Screwlldle Speed Screw
Tension Spring
Idle Restdctor Screw
tdle Restrictor Scrwe Cap (Black)
Float Bowl
Float Shaft
Float
Float Bowl "O" Ring
Inlet Needle, Seat, & Clip (Ind. 31)
Spring Clip
Primer Bulb/Retainer Ring
Main Nozzle Tube
Carburetor Tube
"(3" Ring, Main Nozzle Tube
High Speed Bowl Nut
Bowl Nut Washer
Welch Plug, Idle Mixture Well
Welch Plug, Atmospheric Vent
Repair kit (Ind. Items Marked *)
23

CRAFTSMAN 4-CYCLE ENGINE MODEL NO. 143.0040t8
12
II I! -7
KEY PART
NO. NO.
----590739
3 590740
6 590616
7 590617
8 590618A
11 590638
12 590535
13 590701
14 590760
DESCRIPTION
Rewind Starter
Retainer
Starter Dog
Dog Spring
Pulley & Rewind Spring Ass'y
Starter Housing Ass'y (40
degree grommet)
Starter Rope (Length 98 =x 9/
64" dia.)
Starter Handle
Spring Clip
24

CRAFTSMAN 4-CYCLE ENGINE MODEL NO. 143.004018
12 G:>
KEY
NO,
1
2
3
4
5
6
7
8
11
12
13
PART
NO.
----590702
590599A
590600
590696
590601
590697
590698
590699
590700
590703
590535
590701
O---_4
O--2
DESCRIPTION
Recoil Starter
Spring Pin (Incl. 4)
Washer
Retainer
Washer
Brake Spring
Starter Dog
Dog Spring
Pulley & Rewind Spring Ass'y.
Starter Housing Ass'y. (40
degree grommet)
Starter Rope ( 98" X 9/64"
dia.)
Starter Handle
25

26

27

NEED A PART?
SEARS HAS ACCESS TO OVER 800,000 PARTS
WHETHER IT'S A SPARK PLUG OR TRIMMER LINE.
SEARS PARTS AND SERVICE CAN SUPPLY YOU WITH
TOP QUALITY REPAIR PARTS FOR ALL YOUR PRODUCTS.
JUST CALL :
1-800-469-4663
174470 Rev.1 04.19.00 VB Pdnted in U.S.A.