Craftsman 247 88933 Users Manual
247889330 247889330 CRAFTSMAN 33-IN. WIDE CUT MOWER - Manuals and Guides L0704285 View the owners manual for your CRAFTSMAN 33-IN. WIDE CUT MOWER #247889330. Home:Lawn & Garden Parts:Craftsman Parts:Craftsman 33-IN. WIDE CUT MOWER Manual
CRAFTSMAN Walk Behind Lawnmower, Gas Manual L0704285 CRAFTSMAN Walk Behind Lawnmower, Gas Owner's Manual, CRAFTSMAN Walk Behind Lawnmower, Gas installation guides
!! Craftsman-40 Craftsman Lawn Mower Manuals - Lawn Mower Manuals – The Best Lawn Mower Manuals Collection
24788933 448285c3-fc32-d714-7d75-d065dd78f372 Craftsman Lawn Mower 247.88933 User Guide |
2015-01-05
: Craftsman Craftsman-247-88933-Users-Manual-160852 craftsman-247-88933-users-manual-160852 craftsman pdf
Open the PDF directly: View PDF
.
Page Count: 64

Operator's Manuam
CRAFTSMAN°
10.5 Horse power
33-inch Wide Cut Mower
Model No. 247.889330
CAUTION: Before using
this product, read this
manual and follow aim
safety fumes and operating
o SAFETY
ASSEMBLY
OPERATION
MAINTENANCE
PARTS LISTS
ESPANOL R 40
Sears, Roebuck and Co., Hoffman Estates, IL 60179, U.S.A.
Visit our web site: www.craftsman.com FORMNO,769-02963
1/15/2007

CraftsmanTwoYearLimited Warranty
If thisCraftsmanproductfailsdueto adefect inmaterialorworkmanshipwithintwoyearsfromthe dateof purchase,returnit to any Searsstore,
SearsServiceCenter,orotherCraftsmanoutletinthe UnitedStatesforfree repair,
Thiswarrantydoesnot include:
Expendableitemswhichcanwearout fromnormaluse withinthe warrantyperiod,suchas rotarymowerblades,bladeadapters,belts,air
cleaners,andsparkplug,
, Repairsnecessarybecauseof operatorabuseor negligence,includingbentcrankshaftsandthe failureto operateor maintainthe equip_
mentaccordingto allsuppliedinstructions,
Thiswarrantyappliesforonly 90 daysif this productis everusedfor commercialor rentalpurposes,
This warrantyappliesonly whilethisproductis usedinthe UnitedStates,
This warrantygivesyouspecificlegalrights,andyou mayalsohaveotherrightswhichvaryfromstateto state,
Sears, Roebuck and Co., Hoffman Estates, [L 60179
Repair Protection Agreements
Congratulationson makinga smart purchase,YournewCraftsman®
productis designedand manufacturedfor yearsof dependableopera=
fion,But likeallproducts,it mayrequirerepairfromtimeto time,That's
whenhavinga RepairProtectionAgreementcansaveyoumoneyand
aggravation,Here'swhat'sincludedinthe Agreement:
• Expertservice byour 12,000professionalrepairspecialists
= Unlimitedserviceand nochargefor partsand laboronall covered
repairs
= Productreplacementif yourcoveredproductcan't befixed
• Discountof 10%fromregularpriceof serviceandservice=related
partsnotcoveredby theagreement;also,10%off regularpriceof
preventivemaintenancecheck
• Fasthelpby phone- phonesupportfroma Searstechnicianon
productsrequiringin=homerepair,plusconvenientrepair
scheduling
Purchasea RepairProtectionAgreementnow andprotectyourself
fromunexpectedhassleandexpense,
Onceyou purchasethe Agreement,a simplephonecall is allthat it
takesforyou to scheduleservice,Youcancall anytimedayor night,or
schedulea serviceappointmentonline,
Searshasover 12,000professionalrepairspecialists,who have
accessto over4,5 millionqualitypartsandaccessories,That'sthe
kindof professionalismyoucan countonto help prolongthe life of
yournew purchaseforyearsto come,PurchaseyourRepairProtection
Agreementtoday!
Some [imitations and exclusions apply. For prices and additional
informationca[[ 1-800-827-6655.
Sears Installation Service
ForSearsprofessionalinstallationof homeappliances,garagedoor
openers,waterheaters,and othermaiorhomeitems,inthe U,S,A,call
1-800-4-MY-HOME®
HorsePower: 10,5
EngineOil: SAE30
Fuel: UnleadedGasoline
SparkPlug: Champion®RC12YC
Engine: Briggs& StrattonPowerBuiltTM
©SearsBrands,LLC
Mode[Number
Serial Number
Dateof Purchase
Recordthe modelnumber,serialnumber,
anddateof purchaseabove,

Thissymbolpointsoutimportantsafetyinstructions
which,ifnotfollowed,couldendangerthepersonal
safetyand/orpropertyofyourselfandothers,Read
andfollowallinstructionsinthismanualbefore
attemptingtooperatethismachine,Failuretocomplywiththese
instructionsmayresultinpersonaliniury,Whenyouseethissymbol,
HEEDITSWARNING!
YourResponsibility:Restricttheuseofthispowermachineto
personswhoread,understand,andfollowthewarningsandinstruc-
tionsinthismanualandonthemachine,
Thismachinewasbuilttobeoperatedaccordingtotherulesfor
safeoperationinthismanual,Aswithanytypeofpowerequipment,
carelessnessorerroronthepartoftheoperatorcanresultinserious
iniury,Thismachineiscapableofamputatinghandsandfeetand
throwingobiects,Failuretoobservethefollowingsafetyinstructions
couldresultinseriousiniuryordeath,
EngineExhaust,someofitsconstituents,andcertainvehicle
componentscontainoremitchemicalsknowntoStateofCaliforniato
causecancerandbirthdefectsorotherreproductiveharm,
Tragicaccidentscan occurif operatoris notalert to presenceof children.Chil-
drenareoftenattractedto mowerandmowingactivity.Theydo notunderstand
thedangers.Neverassumethat childrenwillremainwhereyoulast sawthem.
o Keepchildrenoutof the mowingareaand underwatchfulcareof a
responsibleadult otherthanthe operator.
o Bealert andturn mower off if a child entersthe area.
o Beforeandwhile movingbackwards,look behindand downfor small
children.
o Useextremecare whenapproachingblind corners,doorways,shrubs,
trees,orother objectsthat mayobscureyour vision of a childwho may
run intothe mower.
o Keepchildrenawayfrom hotor runningengines.Theycansufferburns
froma hot muffler.
o Neverallowchildrenunder 14years oldto operatea powermower.
Children14years old and overshouldreadand understandoperation
instructionsand safetyrulesin this manualandshouldbe trained and
supervisedbya parent.
GENERAL OPERATmON
Readthis operator'smanualcarefullyin its entiretybeforeattempting
to assemblethis machine.Read,understand,and followall instructions
onthe machineand inthe manual(s)beforeoperation.Becompletely
familiarwiththe controlsandthe properuseof this machinebefore
operatingit. Keepthis manualin a safeplaceforfuture and regular
referenceandfor orderingreplacementparts.
o Thismachineis a precisionpieceof powerequipment,not a plaything.
Therefore,exerciseextremecautionat alltimes.Your unit hasbeen
designedto performonejob: to mowgrass.Do notuseit for any other
purpose.
o Neverallowchildrenunder 14years oldto operatethis machine.
Children14years old and overshouldreadand understandthe instruc-
tionsinthis manualand shouldbetrainedand supervisedby a parent.
Only responsibleindividualswho are familiarwiththese rulesof safe
operationshould be allowedto usethis machine.
o Thoroughlyinspectthe areawherethe equipmentis to beused. Remove
allstones, sticks,wire,bones,toys andotherforeignobjectswhichcould
betrippedover or pickedupand thrownby the blade.Thrownobjects
cancauseseriouspersonalinjury.Planyour mowingpatternto avoid
dischargeof materialtowardroads,sidewalks,bystandersandthe like.
Also,avoiddischargingmaterialagainsta wall orobstructionwhich may
causedischargedmaterialto ricochetbacktowardthe operator.
To helpavoidbladecontactor a thrownobjectinjury,stay inoperator
zone behindhandlesandkeepchildren,bystanders,helpers,and petsat
least75feetfrom mowerwhile itis in operation.Stop machineif anyone
entersarea.
o Alwayswearsafetyglassesor safetygogglesduringoperationandwhile
performingan adjustmentor repairto protectyour eyes.Thrown objects
which ricochetcan causeserious injuryto the eyes.
o Wearsturdy,rough-soledworkshoesandclose-fittingslacksandshirts.
Shirts andpantsthat coverthe arms and legs andsteel-toed shoes
are recommended.Neveroperatethis machinein barefeet, sandals,
slippery orlight weight(e.g.canvas) shoes.
,, Donotput handsor feet nearrotatingpartsor undercutting deck.
Contactwith bladecanamputatehandsandfeet.
o A missingor damageddischargecovercan causebladecontactor
thrownobjectinjuries.
o Manyinjuriesoccuras a result ofthe mowerbeingpulledoverthe foot
duringa fall causedbyslippingortripping. Donot holdonto the mowerif
youare falling;releasethe handleimmediately.
o Neverpull the mowerbacktowardyou whileyouare walking.If youmust
back the mowerawayfroma wall or obstructionfirst look downand
behindto avoidtrippingandthen followthese steps:
a. Step backfrom mowerto fully extendyourarms.
b. Be sureyouarewell balancedwithsure footing.
c. Pull backslowly,no morethan halfwaytowardsyou.
d. Repeatthesestepsas needed.
o Donotoperatethe mowerwhile underthe influenceof alcoholordrugs.
o Donotengagethe self-propelledmechanismon unitsso equippedwhile
startingengine.
o The blade controlhandleis a safetydevice.Neverattemptto bypassits
operation.Doingso makesthe safetydeviceinoperativeandmayresult
in personalinjurythrough contactwiththe rotatingblade. The blade
controlhandlemustoperateeasily in bothdirectionsandautomatically
returnto the disengagedpositionwhenreleased.
o Neveroperatethe mowerinwet grass.Alwaysbe sureof yourfooting. A
slip andfall cancauseseriouspersonalinjury. Ifyou feelyou are losing
your footing,releasethe bladecontrolhandleimmediatelyandthe blade
will stoprotatingwithinthree seconds.
Mowonly in daylightorgood artificiallight. Walk,neverrun.
o Stopthe blade whencrossinggraveldrives,walks or roads.

Iftheequipmentshouldstarttovibrateabnormally,stoptheengineand
checkimmediatelyforthecause.Vibrationisgenerallyawarningof
trouble.
o Shuttheengineoffandwaituntilthebladecomestoacompletestop
beforeremovingthegrasscatcheroruncloggingthechute.
Thecuttingbladecontinuestorotateforafewsecondsaftertheengine
isshutoff.Neverplaceanypartofthebodyinthebladeareauntilyou
aresurethebladehasstoppedrotating.
o Neveroperatemowerwithoutpropertrailshield,dischargecover,grass
catcher,bladecontrolhandle,orothersafetyprotectivedevicesinplace
andworking.Neveroperatemowerwithdamagedsafetydevices.Failure
todosocanresultinpersonalinjury.
o Mufflerandenginebecomehotandcancauseaburn.Donottouch.
o Onlyusepartsandaccessoriesmadeforthismachinebymanufacturer.
Failuretodosocanresultinpersonalinjury.
o Ifsituationsoccurwhicharenotcoveredinthismanual,usecareand
goodjudgment.ContactyourSearsServiceCenterforassistance.
SLOPE OPERATION
Slopesarea majorfactorrelatedto slipandfall accidentswhichcan resultin
severeinjury'.Operationon slopesrequiresextracaution.Ifyoufeeluneasyon
a slope,do notmowit.Foryoursafety,usethe slopegaugeincludedas part
of this manualto measureslopesbeforeoperatingthis uniton a slopedor hilly
area.Ifthe slopeis greaterthan 15 degrees,do notmowit.
Do:
o Mowacrossthe faceof slopes;neverup anddown.Exerciseextreme
cautionwhenchangingdirectionon slopes.
o Watchfor holes,ruts, rocks,hiddenobjects,or bumpswhichcan cause
youto slipor trip.Tall grasscan hideobstacles.
o Alwaysbe sureof your footing.A slipandfall can causeseriouspersonal
injury.If youfeel youare losingyour balance,releasethe bladecontrol
handleimmediately,and thebladewill stop rotatingwithin 3 seconds.
Do Not:
o Donot mowneardrop-offs, ditchesor embankments,where youcould
loseyour footingor balance.
o Donot mowslopesgreaterthan 15 degreesas shownonthe
slopegauge.
o Donot mowonwet grass. Unstablefootingcouldcauseslipping.
SERVICE
Safe Handling Of Gasoline:
o Toavoidpersonalinjuryor propertydamage useextremecarein
handlinggasoline.Gasolineis extremelyflammableandthe vaporsare
explosive.Seriouspersonalinjurycanoccurwhengasolineis spilledon
yourselfor yourclotheswhichcan ignite.
o Washyourskin andchangeclothesimmediately.
o Useonly an approvedgasolinecontainer.
o Neverfill containersinsideavehicle or ona truck ortrailerbedwith a
plastic liner.Alwaysplacecontainerson the groundawayfromyour
vehiclebeforefilling.
o Removegas-poweredequipmentfromthetruck ortrailerand refuelit on
theground.If this is not possible,then refuelsuch equipmentona trailer
witha portablecontainer,ratherthan from a gasolinedispensernozzle.
o Keepthe nozzleincontactwith the rimof the fueltankor container
openingat alltimesuntil fueling is complete.Donot use a nozzle
lock-opendevice.
o Extinguishallcigarettes,cigars, pipesandothersources
of ignition.
o Neverfuel machineindoorsbecauseflammablevaporswillaccumulate
inthe area.
o Neverremovegascapor addfuel while engineis hotor running.
Allowengine to cool at leasttwo minutesbefore refueling.
o Neveroverfill fuel tank. Filltank to no morethan _ inchbelowbottom
of filler neckto providefor fuel expansion.
o Replacegasolinecapand tightensecurely.
o Ifgasoline isspilled, wipeit off the engineandequipment.Moveunit
to anotherarea.Wait5 minutesbeforestarting engine.
o Neverstorethe machineorfuelcontainer nearan openflame, spark
or pilot light as on a waterheater,spaceheater,furnace,clothesdryer,
or othergasappliances.
o To reducefire hazard,keepmowerfreeof grass,leaves,orother
debrisbuild-up.Cleanup oilor fuelspillageand removeanyfuel
soakeddebris.
o Allowa mowerto cool at least5 minutes beforestoring.
General Service:
o Neverrun an engineindoorsor ina poorlyventilatedarea.Engine
exhaustcontainscarbon monoxide,an odorlessand deadlygas.
o Beforecleaning,repairing,or inspecting,makecertainthe bladeand
all movingparts havestopped.Disconnectthe sparkplugwire and
ground againsttheengine to preventunintendedstarting.
o Checkthe blade andenginemountingboltsat frequentintervals
for propertightness.Also,visually inspectbladefor damage(e.g.,
bent,cracked,worn)Replacebladewith theoriginalequipment
manufacture's(O.E.M.)bladeonly, listedin this manual.Use of parts
which do not meetthe originalequipmentspecificationsmayleadto
improperperformanceand compromisesafetyE"
o Mowerbladesare sharpandcan cut.Wrapthe bladeorwear gloves,
and useextra cautionwhenservicingthem.
o Keepall nuts,bolts,andscrewstightto be sure the equipmentisin
safeworkingcondition.
o Nevertamperwith safetydevices.Checktheir proper
operationregularly.
o Afterstrikinga foreignobject, stopthe engine,disconnectthe spark
plug wireand groundagainstthe engine.Thoroughlyinspectthe
mowerfor anydamage.Repairthe damagebeforestartingand
operatingthe mower.
o Neverattemptto makea wheelor cutting heightadjustmentwhilethe
engineis running.
o Grasscatchercomponents,dischargecover,andtrailshieldare
subjectto wear anddamagewhichcould exposemovingparts or
allowobjectsto be thrown.Forsafetyprotection,frequentlycheck
componentsand replaceimmediatelywithoriginal equipment
manufacturer's(O.E.M.)partsonly,listedin this manual."Useof parts
which do not meetthe originalequipmentspecificationsmayleadto
improperperformanceand compromisesafetyE"
o Donotchangethe enginegovernorsettingor overspeedthe engine.
The governorcontrolsthe maximumsafeoperatingspeedof the
engine.
o Maintainor replacesafetylabels,as necessary.
o Observeproperdisposallawsand regulations.Improperdisposalof
fluids and materialscan harmthe environment.
4

o
8_
E
0
S
0_
0
E
T_
=s
o
O9
cd
09
cd
g_
Sight and how this levelwith a vertical tree...
15°

This page left intentionallyblank.
6

WARNING
This symbol pointsout important safety instructions
which, if not followed, could endanger the personal
safetyand/or property of yourself and others. Read and
follow all instructions in this manual before attempting
to operate this machine. Failureto comply with these
instructions may result in personal injury. When you see
this symbol HEEDITS WARNING!
Your ResponsibiJity
Restrictthe use of this power machineto persons who
read, understand,and followthe warningsand instruc-
tions in this manualand on the machine.
7

IMPORTANT:This unitis shippedwithoil inthe engine,After
assembly,see page12for fuel andoildetails,
IMPORTANT:Referenceto rightor left sideof the moweris observed
fromtheoperatingposition,
The mowingdeckis capableof throwingobiects,Failureto operate
the mowerwithoutthe dischargechuteinthe properoperatingposi-
tioncould resultin seriouspersonaliniuryand/or propertydamage,
Disconnectthe sparkplugwireand groundit againsttheengineto
preventunintendedstarting,
LOOSE PARTS mNCARTON
Thefollowingitemsarepackagedin abag:
Operator'sManual,Oildrainhose,Waterhosecoupler
TOOLS NEEDED FOR ASSEMBLY
A setof adiustablewrenchesandtiregauge
REMOVmNG THE UNmT FROM THE CRATE
1, Cutstraps,if present,securingunitto pallet,Leaveuniton pallet
duringassembly(to safelyremoveunitfrompallet,waituntilyou
haveassembledthe handle),
2, Removeany protectivepackagingandplastictie straps,
REMOVING THE CHUTE HOLDER
The chuteholdermustbe removedand discardedbeforeoperating
the mower,
1, Locatethe chuteholderwhichsecuresthe dischargechutein a
verticalposition,Figure1,
2, Pullchutebacktowardsthe engine,Whileholdingthe chutewith
onehand,removethe chuteholderusingyourotherhand,
3, Carefullylowerthe chuteagainstthe deckanddiscardthe chute
holder,
ASSEMBLING THE HANDLE
1, Removelowerstar knobsandcarriagescrewsfromlowerhandle,
Figure2,
2, Pivotupperhandleintooperatingposition,Figure3, Be careful
notto bendor kinkthe canes whenpivotingthe handle,
3, Installcarriagescrewsandknobsremovedearlier,
4, Tightenthe upperandlowerstarknobsandcarriagescrewsto
securethe upperhandleto the lowerhandle,Figure3,
f
f
8
Figure1
Figure2
Figure3

mNSTALLmNG THE GEAR SHIFT LEVER
1, Removethe 5/16=18screwandthe locknutthat holdthe shift
leverto theshift leverplate,Figure4,
2, Removethe remainingscrewandnutfromthe lowershift lever
plate,Figure4,
3, Positionthe uppershift leverintoa verticalpositionaligningthe
holesin the leverto the holes inthe shift plate,Figure5,
4, Securethe leverto the plateusingthe twoscrewsandtwo nuts
removedearlier,Figure5,
FINAL ADJUSTMENTS
Rear Tire Pressure
Neverexceedthe maximuminflationpressureshownonthe sidewall
of tire,
The recommendedoperatingreartire pressureis approximately20
psi forthe reartires,Checkthe tire pressureperiodicallyandmaintain
equalpressurein bothreartiresat alltimes,
IMPORTANT:Referto the tire sidewallfor exacttire manufacturer's
recommendedor maximumpsi,Do not overinfiate,Uneventire pres=
surecouldcausethecuttingdeckto mowunevenly,
f
Figure4
_f ""X
//
// //
,.. j
Figure5
9

GasCap
Throttb/Choke
ControlLever
DriveControl
Blade
Control
/-
JGearShiftLever
Figure6
Befamiliarwithall the controlsandtheirproperoperation,Know
howto stopthe machineanddisengagethe controls,
The operationof any lawnmowercan resultinforeignobiectsbeing
thrownintothe eyes,whichcandamageyoureyesseverely,Always
wearsafetyglasseswhileoperatingthe mower,orwhileperforming
any adiustmentsor repairson it,
Be surenooneotherthan the operatoris standingnearthe lawn
mowerwhilestartingengineoroperatingmower,Neverrunengine
indoorsor inenclosed,poorlyventilatedareas,Engineexhaust
containscarbonmonoxide,an odorlessand deadlygas,Keephands,
feet, hairand looseclothingawayfromany movingpartson engine
and lawnmower,
THROTTLE/CHOKE CONTROL LEVER
IMPORTANT:When operatingthe mowerwiththe
cuttingdeckengaged,becertainthatthe throttle/
chokecontrolleveris alwaysinthe fast position,
Thisleveris usedto adiustenginespeeds,to apply
the enginechoke,andto stopthe engine,Always
runengineat fast speedsettingfor bestmower
performance,
Choke:Usewhenstartinga coldengine
Fast:Useduringmoweroperation,
Slow:Usewhen idlingengine,
Stop:Stopsthe engine,
Choke Fast Slow/Idle EngineOff
DECK HEIGHT LEVER
Usethis leverto adiustthecutting height,To use,move
the leverto the left, thenplacethe leverin the notchbest
suitedforyour application,
GAS CAP
Removethe gas capto addfuel to the fueltank,
Useclean,fresh,regularunleadedgasolinewitha
minimumof 85 octane,
Turnthe engineoff andlet the enginecoolat bast two minutes
beforeremovingthe gas cap,
10

BLADE CONTROL
The bladecontrolis usedto engagethe
mowerdeck,Toengagethiscontrol,
pressand holdthe leveragainstthe
handlebargrip,Tostopthe blades,
releasethe bladecontrol,Always
disengagethe bladecontrolbefore
startingthe engine,This helpsto ensure
thatthe bladeswill not start turningwhen
the enginestarts,
DRIVE CONTROL
The drivecontrolis usedto engage
anddisengagedriveto thewheels,To
engagethiscontrol,squeezethedrive
controlagainstthe handlebargrip,To
stopthedrive,releasethe drivecontrol
IMPORTANT:Alwaysreleasethe drive
controlbeforechangingspeeds,
GEAR SHIFT LEVER
Usethis leverto select anyof fourforwardgroundspeeds,neutral,or
reverse,
Forward
Therearefour forwardspeeds,Positionone (1)is the slowestand
positionfour (4)is thefastest,
Reverse
To selectreverse,put the leverinthe Reverse(R) position,
Neutral
Putthe leverin neutral(N) beforestartingthe mower,to manuallypush
the mower,andwhenthe moweris not inuse,
Toavoiddamagingthe transmission,donot shiftgears whenthe
moweris moving,Releasedrivecontrolbeforeshiftinggears,
ENGmNE CONTROLS
Referto Figure7 for locationsof the enginecontrols,
Recoil Starter
The recoilstarter is usedto pull=startthe engine,
Oil Drain Vamve
Usethe oildrainvalveto drainoilfromthe engine,Referto the
Maintenancesectionfor instructions,
Air Cleaner Handme
The air cleanerhandleis usedto gainaccessto the aircleaner,The air
cleanercartridgecan be removedandcleanedor replaced,Referto
the Maintenancesectionfor details,
Ifcartridgeor coverareinstalledincorrectly,seriousiniuryor death
could resultfrombackfire,Donot attemptto start yourenginewith
themremoved,
Spark Plug/Spark Plug Wire
Referto the Maintenancesectionfor instructionson sparkplug
replacement,
Oil Cap/Dipstick
Referto the Maintenancesectionfor instructionson checkingthe oil,
11
Lookbehindthe mowerbeforeandduringreverseoperation,Stop
the mowerbladesbeforeoperatingin reverse,
RecoilStarter
Oil Cap/_ Handle
Dipstick
Oil Drain
Valve Mufflerand SparkPlug
MufflerGuard
SparkPlug
Wire
Figure7
J

The operationof any lawnmowercan resultinforeignobiectsbeing
thrownintothe eyes,whichcandamageyoureyesseverely,Always
wearsafetyglasseswhileoperatingthe mower,orwhileperforming
any adiustmentsor repairson it,
Useextremecarewhenhandlinggasoline,Gasolineis extremely
flammableandthe vaporsareexplosive,Neverfuel machineindoors
orwhilethe engineis hotor running,Extinguishcigarettes,cigars,
pipes,andothersourcesof ignition,
GAS AND OIL FILL°UP
Gas Fill
acidsduringstorage,Acidicgas candamagethefuel systemof an
enginewhilein storage,
To avoidengineproblems,the fuel systemshouldbeemptiedbefore
storagefor 30 daysor longer,Drainthe gastank, startthe engine
andbt it rununtil thefuel linesandcarburetorareempty,Use
freshfuel nextseason,SeeSTORAGEInstructionsfor additional
information,
ge mayoccur,
IMPORTANT:The moweris shippedwithoutgas in thefuel tank,
• Neverfill the fueltankcompletely,Fill the tankto nomorethan
1/2=inchbelowbottomof fillerneckto providespaceforfuel
expansion,
• Alwaysuseclean,fresh,unbadedgradeautomotivegasoline,
Fill thefuel tankoutdoorsand usea funnelorspoutto prevent
spilling,Makesurethatthe containerfromwhichyou pourthe
gasolineis cleanandfree fromrustorotherforeignparticles,
Makesureto wipe offany spilledfuelbeforestartingtheengine,
• At the endof thejob, emptythe fueltank if the moweris not
goingto beusedfor 30 daysor longer,Storegasolineina cban
containerandkeepthe cap in placeon the container,SeeSTOR=
AGEinstructionsforadditionalinformation,
Besureno oneotherthanthe operatoris standingnearthe lawn I
mowerwhile startingengineor operatingmower,Neverrunengine l
indoorsor inenclosed,poorlyventilatedareas,Engineexhaust
containscarbonmonoxide,anodorbss anddeadlygas, Keephands,I
feet,hair,andlooseclothingawayfromanymovingparts
Oil Fill
IMPORTANT:The moweris shippedwithmotoroil inthe engine;
however,you MUSTcheckthe oil levelbeforeoperating,Oil shouldbe
changedonce afterthefirst twohoursof operationandevery25hours
of operationthereafter,Usethegradeof engineoil specifiedinthe
Maintenancesection,
1, Removethe oilfill cap/dipstickfromthe oilfill tube,
2, Checkthatthe levelof oil is upto the FULLmarkon the dipstick,
Ifneeded,pouroil slowlyintothe oilfill tubeuntila FULLoil level
is achieved,
3, Replacethe oilfill cap/dipstick,
STARTmNG THE MOWER
1, Rebaseallcontrolsonthe mowerto preventwheelsor blades
fromrotating,
2, Movegearshift leverto neutral(N) position,
3, Movethe throttb/chokecontrolleverfullyupwardtochokesetting
I_1 to starta cold engineorto fast(rabbit)setting_11 to starta
warmengine,
4, Tostart engineusingrecoilstarter:
a, Standon bft side (asviewedfrombehindhandbbars)of ma-
chine,Besureyour feetaresafelyawayfromthe underside
of the mowerdeckandall mowercontrolsarereleased,
b, Graspstarterropehandb andpullslowlyuntil ropepulls
slightlyharder,Let roperewindslowly,Then pullropewitha
rapid,full arm stroke,Letropereturnslowly,Ifenginefailsto
start afterthreepulls,repeatinstructions(trysettingthrottle
at fast setting),
c, Whenenginestarts,operateinfast throttlesetting_1_
(movethrottle/chokecontrolbver fromchokesettingto fast
setting),
Lookbehindthe mowerbeforeandduringreverseoperation,Stop
the mowerbladesbeforeoperatingin reverse,
Ifyou strikea foreignobiect,stopthe engine,Removewirefromthe
sparkplug,thoroughlyinspectmowerforany damage,andrepair
damagebeforerestartingandoperating,Extensivevibrationof
mowerduringoperationis anindicationof damage,The unitshould
bepromptlyinspectedandrepaired,
12

Lookbehindthe mowerbeforeandduringreverseoperation.Stop
the mowerbladesbeforeoperatinginreverse.
USmNG THE MOWER
IMPORTANT:Alwaysreleasethe drivecontrolbeforechanging
speeds.Referto "Knowyour Mower"sectionfor mowercontroldetails.
Besure lawnis char of stones,sticks,wire,orother obiectswhich
coulddamagelawnmowerorengine.Suchobiectscouldbeaccidently
thrownby the mowerin anydirectionandcauseseriouspersonaliniury
to the operatorandothers.Forbestresults,do notcutwetgrassand
nevercut off morethanone=thirdof the totalbngth of the grass.
1. Oncethe engineis running,slowlysqueezethe drivecontrol
againstthe upperhandleto propelthe unit.To activatethe cutting
blades,squeezethe bladecontrolagainstthe upperhandle.
2. Tochangegears,releasethe drivecontrolbver and movethe
gearshiftleverto the desiredsetting.Whenfirst practicingwith
the mower,put the leverin No.1 position.Sebct forwardspeeds
accordingto mowingconditionsandterrain.Useslowerspeeds
on roughterrainor whengrassis heavyor thick.The forward
speedcanbe increasedonsmoothterrainorif the grasscoveris
light.Mow thewheelsto stopcompbtelybeforeshiftingfromone
speedintoanother.
iMPORTANT:Beawarethatwhenengagingthe drivecontrolleverwith
the gearshift bver in 3rdor 4thgear,the powerandtorquegenerated
maycausethe unitto lurchforward.To avoidthis,slowlysqueezethe
drivecontrolleveragainstthe upperhandb.
3. Tostopthe blades,rebase the bladecontrol.To stopthe drive
controlto the wheels,releasethedrive control.
STOPPING THE MOWER
1. Releasebladeanddrivecontrolto stopwheelsanddeck blades.
2. Movethrottle/chokecontrolleverdownto slow(turtb)
position.Wheneverpossible,graduallyreduceenginespeed
beforestoppingengine.
3. Movethrottle/chokecontrolbver allthe waydownto stop
position.
4. Disconnectsparkplugwirefromsparkplugandgroundagainst
the engine.
MOVmNG THE MOWER WITHOUT
ENGmNE POWER
The mowercan be manuallypushedor pulledby placingthe gearshift
leverintoN (neutral)positionandpressingthedrivecontrolagainstthe
handlebargrip.
MULCHING OR SmDE-DISCHARGE MOWmNG
Youcan usethe mowereitheras a mulchingmoweroras a side=
dischargemower.To usethe mulchingfeature,insertthe mulchplug
as describedbelow.Removethe mulchplugto side=dischargegrass
clippings.
The mulchplugis designedto keepthe dischargechuteraisedup
while mowing.Whenthe plugis removed,thedischargechutewill
loweritselffor side=dischargemowing.
Beforeinstallingorremovingmulchplug,stopengine,waitfor parts
to stopmoving,anddisconnectsparkplugwire.
To installor removemulchplug:
1. Stopthe engineandwaitfor all partsto stopmoving.
2. Disconnectthespark plugwirefromthe sparkplug.
3. To installthe mulchplug,insertthe right=sidetab (A) of the plug
into the bracketonthe deck, Figure8.
4. Insertthe coverintothe dischargeopening(B), Figure8.
5. Afterthe mulchplughas beenplacedintothedeckopening,push
the plugtowardsthe rearof the mower(C) to fit the plugproperly
into the opening,Figure8.
6. To removethe plug,slidethe coverto the right(frontof mower)to
disengagethe slotfromthe mowerdeckandthen prythe left=side
of the coverout andoff.
f
Figure8
Keephandsandfeetawayfromthedischargeopeningof thecutting
deck.
13

Alwaysstopengine,disconnectsparkplug,andgroundagainst
enginebeforeperforminganytypeof maintenanceon the mower,
GENERAL RECOMMENDATmONS
Alwaysobservesafetyruleswhen performingany typeof
maintenanceon the mower,
• Thewarrantyon thislawnmowerdoesnot coveritemsthathave
beensubiectedto operatorabuseor negligence,To receivefull
valuefromwarranty,operatormust maintainthe lawnmoweras
instructedin thismanual
• Changingof engine-governedspeedwill voidenginewarranty,
• Alladiustmentsshouldbecheckedat leastonceeach season,
, Periodicallycheckall fastenersand makesuretheyaretight,
2,
3,
f Electrode
ENGmNE MAINTENANCE
Checking the Spark Plug
Cleansparkplugandresetthe electrodegapto 0,030"at leastoncea
season;replaceevery100hoursof operation,
1, Cleanareaaroundthe sparkplugbase,Do notsandblastspark
plug,Sparkplugshouldbecleanedby scrapingorwire brushing
andwashingwitha commercialsolvent
Removeandinspectthe sparkplug,Checkgapto makesure it is
setat ,030",SeeFigure9,
Replacethe sparkplugif electrodesarepitted,burned,or the
porcelainis cracked,
Porcelain
Servicing the Air Cleaner
If filters,or coversarenotinstalledcorrectlyseriousiniuryordeath
could resultfrombackfire,Do not attemptto startthe enginewith
themremoved,
Do not usepressurizedairor solventsto cleanthe aircleaner
cartridge,
Cleanor replacethe aircleanerevery25 hoursof operation,
1, Pulluponair cleanerhandle,Figure10,and pullbacktowardsthe
engine,
2, Removethe aircleanercover,Figure10,
3, Carefullyremoveair cleanercartridgeand pre-cleaner(if
equipped)fromthe blowerhousing,
4, Cleanthe baseof the aircleanercartridgecarefullyto prevent
debrisfromenteringthe engine,
5, Placethe pre-cleaner,if equipped,and cartridgebackintothe
blowerhousing,The carNdgemustbe placedsecurelyinto
position,
6, Aligntabsoncoverwithslotsin blowerhousingand replacethe
cover,
f-
AirCleanerCover _-Air Cleaner Cartridge
\
AirCleanerHandle
Figure10
J
14

Changing the Engine Oim
The oil inthe engineshouldbe changedevery25 hoursof operation,
1, Togainaccessto the oil drainvalveonthe engine,the right
handlebracetubeshouldbe pivotedforward,
a, Removethe upperstarknobandcarriagescrewon the right
sideof the handle,Figure11,
b, Pivotthe bracetubetowardsthe frontof the mowerto allow
roomto connectthe oil drainhoseto theoil drainvalve,
Figure11,
2, Popoffthe protectivecap onthe endof the oil drainvalveto
exposethedrain port,Figure12,
3, Removethe oil fill cap/dipstickfromthe oil fill tube,Figure12,
4, Pushthe oildrainhose(packedwiththismanual)onto theoil
drainport,Routethe oppositeendof the hose intoanappropriate
oilcollectioncontainerwitha capacitygreatenoughto collectthe
usedoil,
5, Releasethe valvebyrotatingthe oil drainvalvecounterclockwise
andpulling,The oilwill beginto drainoutof the engine,
6, Afterthe oil hasfinisheddraining,pushthe oil drainvalvebackin,
rotateit clockwiseto lockthe valveclosed,removethe hose,and
re-capthe endof the oildrainvalveto keepdebrisfromentering
the drainport,
7, Refillthe enginewith newmotoroil untilthe oil levelonthe
dipstickreadsFULL,Replacethe oil fill cap/dipstick,
8, Pivotthe right handlebracetubebackinto position,Alignthe
middleholeinthe bracetubewiththe holein the handle,Secure
withthe starknobandcarriagescrewremovedearlier,
Onlyuse highqualitydetergentoil ratedwithAPIserviceclassification
SF orSG, Selectthe oil'sSAEviscositygradeaccordingtoyour
expectedoperatingtemperature,Figure13,Althoughmulti-viscosity
oils (5W30,10W30etc,) improvestartingin coldweather,thesemulti-
viscosityoilswill resultin increasedoilconsumptionwhenusedabove
32°RCheckyourengineoil levelmorefrequentlyto avoid possible
enginedamagefromrunninglowon oil
f
f
DrainValve
"\\
Figure11
Protective
DrainCaD
OilDrainHose
J
Figure12
J
J
fColder _ 2°F Warmer
SAE30
Oil Viscosit, Chart
Figure 13 1
15

Beforeperforminganytypeof maintenanceonthe machine,waitfor
all partsto stopmovinganddisconnectthe sparkplugwire,Failure
to followthisinstructioncould resultin personaliniuryor property
damage,
REMOVING THE BELT COVER
Thebelt covermustberemovedto performseveralmaintenanceand
serviceprocedures,Followthe instructionsbelowto removethe belt
cover,
1, Stopengine,waitfor all partsto stopmoving,anddisconnect
sparkplugwire,
2, Removethe threescrewsandwashersholdingthe coverto the
frame,Figure14,
3, Removethe belt cover,
4, Toreinstallthe beltcover,placethe coverinpositionandfasten
usingthreescrewsandwashersremovedearlier,
Donot operateunit withoutbeltcoverinstalled,Failuretofollowthis
instructioncouldresultin personaliniuryor propertydamage,
I
i
/
Figure14
REMOVING THE MOWER DECK
Whenservicingthe undersideof the mowerdeckforany reason,the
cuttingdeckshouldfirst beremoved,Followthe instructionsbelowto
removethe cuttingdeck:
1, Stoptheengine,waitfor all partsto stopmoving,anddisconnect
sparkplugwire,
2, Releaseall mowercontrols,
3, Removebelt coveras instructedunder"'Removingthe
BeltCover,"
4, Usethe deckheightleverto movethe cuttingdeckto its
highestposition,
5, Placesmallwoodenblocksunderthe deck,
6, Usethe deckheightleverto lowerthe deckso thatit restsupon
the woodenblocks,
7, Lookingat thecuttingdeckfromthe leftside of the mower,locate
the hairpinclip thatsecuresthe decksupportrodon the rearleft
side of the deck,Figure15,
8, Removethe hairpinclip thatsecuresthe supportrod, andcare-
fully removethe decksupportfromthedeck liftarm,Figure15,
9, Repeatsteps7 and8 onthe mower'srightside,When complete,
all four hairpinclipsshouldbe removed,
10, Pushthe cuttingdeckto the leftto unhookthe liftassemblyfrom
the deck,
11, Usethe deckheightleverto raisethe cuttingdeckto its highest
position,
12, Removethe woodenblocksfromunderthe deck,
13, Removethe drivebelt as instructedunder"Replacingthe Drive
Belt"instructions,
14, Slidethe cuttingdecktowardsthe rearof the unit,
15, Unhookthe drivespringcane fromthe idlerarmassembly,
Figure16,
16, Removethe cuttingdeck,
17, To installthe cuttingdeck,followthe abovestepsin reverseorder,
Figure15
16
Figure16

Beforeperforminganytypeofmaintenanceonthemachine,waitfor
allpartstostopmovinganddisconnectthesparkplugwire,Failure
tofollowthisinstructioncouldresultinpersonaliniuryorproperty
damage,
LUBRICATmON
Pivot Points & Linkage
Lubricateall thephzotpointsonthe drivesystemandlift linkageat
bast oncea season,or 25hoursof operation,withlightoil,
Rear Wheels
The rearwheelsshouldbe removedfromthe axlesoncea season,
Lubricatethe axlesandthe rimswellwithanall=purposegreasebefore
reinstallingthem,
Front Wheel Bearings
Greasefittingsarelocatedoneachcasterwheelandonthe frame
aboveeach frontcasterwheel,Figure17,Lubricatetheseareasusing
a greasegunafterevery50hoursof moweroperation,
To lubricateacasterwheelbearing,rotatethewheelso thatthe grease
fittingis inalignmentwiththe notchinthe bracket,Figure17- doing
thiswill allowroomto connectthe greaseguncoupbr onto thegrease
fitting,Youwill not needto usethe greasefittingon theoppositeside
of the wheel,
CLEANmNG THE ENGmNE AND DECK
Anyfuel oroil spilledonthe machineshouldbewipedoff promptly,Do
not allowdebristo accumulatearoundanycomponentsonthe mower,
Cmeaning the Engine
Enginepartsshouldbe keptcleanto reducethe riskof overheating
andignitionof debris,Thisis especiallyimportantif cuttingtall grass,
Cleaning the Cutting Deck
Deck WashSystemTM
Usethe DeckWashSystemTM to rinsegrassclippingsfromthe under-
sideof thedeckandto preventthe buildupof corrosivechemicab,
1, Threadthe hosecoupbr (packagedina bagwiththe Operator's
Manual)ontothe endof your gardenhose,Figure18,
2, Attachthe hoseandcoupbr to the waterport onthe deck
surface,Figure18,
3, Turnthe wateron,
4, Pointthedischargechuteawayfromanyobiectsor persons,
5, Startthe mowerandengagethe blades(pressandholdthe blade
controlagainstthe handlebargrip)for a minimumof two minutes,
Do notengagethe drivecontrol,
6, Whencomplete,disengagethe bladecontrol(releasethe blade
control)andturnthe engineoff,
7, Turnthe wateroff anddetachthe hosecoupbr fromthe water
port,
17
Do not usea pressurewasherto cban the mower,it maycause
damageto ebctrbal components,spindles,pulleys,bearings,orthe
engine,
\\\
Grease
fittingon
wheel
/
Figure17
Aligngreasefittingwith
notchin wheelbracket
J
f
GardenHosei_
HoseCoupler
\
/WaterPort
Figure18
J

Neverexceedthe maximuminflationpressureshownon the sidewall
of tire,
REAR TmRE PRESSURE
Therecommendedoperatingreartire pressureis approximately20
psi for the reartires,Checkthe tire pressureperiodicallyandmaintain
equalpressurein bothreartiresat alltimes,
IMPORTANT:Referto the tiresidewallfor exacttire manufacturer's
recommendedor maximumpsi,Do notoverinflate,Uneventire pres-
surecouldcausethecuttingdeckto mowunevenly,
REPLACmNG THE TRAIUNG SHIELD
1, Bend(bow)thetrailingshieldinwardoneachside to releasetabs
fromthe holesinthe mowerframe,Figure19,
2, Replacewith newtrailingshieldby bendingthe shieldto allow
eachtab to fit intoholes inmowerframe,
,f ....... i _ -'X
. _ ,_ i_ i
\'\ \
/
/f
iii 4:•
: ! _J
Figure19
18

SERVmCmNGTHE CUTTmNGBLADES
Be sureto shutthe engineoffanddisconnectthe sparkplugwire
andgroundagainstthe engineto preventunintendedstartingbefore
removingthe cuttingblade(s)for sharpeningor replacement,Protect
your handsby usingheavyglovesor a ragto graspthecutting blade,
Periodicallyinspectthe bladespindlesfor cracksor damage,espe=
ciallyif youstrikea foreignobiect,Replaceimmediatelyif damaged,
Mowerbladesaresharp,Whenworkingnearblades,wearheavy
leatherglovesor wrapbladesinthick ragsto protectyourselffrom
thesharpedges,
Blade Removal
1, Removethe deckfrombeneaththe mowerandgentlyflip the
deckoverto exposeits underside,Referto "Removingthe Mower
Deck"for instructions,
2, Placea 2x4blockof woodapproximately8,5" longbetweenthe
deckhousingandthe cuttingbladeto act as astabilizer,
Figure20,
3, Removethe hexflangenutthat securesthebladeto the spindle
assembly,Figure20,
Bmade Sharpening
IMPORTANT:Ifany metalseparationis present,replacethe blades
withnewones,
1, Toproperlysharpenthe cutting blades,removeequalamounts
of metalfrombothends of the bladesalongthe cuttingedges,
parallelto the trailingedge,at a 25° to 30° angle,Figure21,
a, It is importantthateachcuttingbladeedgebeground
equallyto maintainproperbladebalance,A poorlybalanced
bladewill causeexcessivevibrationand maycausedamage
to the mowerandresultin personaliniury,Thebladecan be
testedby balancingit on a roundshaft screwdriver,Grind
metalfromthe heavyside untilit balancesevenly,
Blade Installation
1, Wheninstallinga blade,placethe sideof the bladewitha part
numberstampedin it facingthegroundwhenthe moweris in the
operatingposition,
2, Useatorquewrenchto tightenthe spindleflangenutto between
70=90foot=pounds,
f
f
Removeflangenutto releaseblade
\
Useblockof wood to stabilizeblade.
Figure20
\\\
Figure21
-m
J
J
19

REPLACmNGBELTS
between beltsandpulleys.
Themowerusesthreebelts: 1)drivebelt,2) deckengagementbelt,
3) bladetimingbelt.Beforereplacinga belt,observehowthe belt
is routedaroundthe pulleysand bracketsto helpwheninstallinga
replacement.
IMPORTANT:The beltsonthe mowerarespeciallydesignedto
engageanddisengagesafely.Fora properworkingmachine,use
factoryapprovedbelts.
Replacing the Drive Belt
1. Stopengine,waitfor all partsto stopmoving,anddisconnect
sparkplugwire.
2. Releaseall mowercontrols.
3. Removebeltcoveras instructedearlierin thissection.
4. Loosenbelt keeper(A).The belt keeperis attachedto the
undersideof the mowerframe,Figure22.
5. Loosenthe idlerpulley(B)by looseningbolt andnut,Figure22.
6. Removebelt (C)fromaroundpulleys,Figure22.
7. Routenew beltaroundthe pulleysmakingsure to tightennuts,
bolts,andbelt keeper.
8. Replacethe belt cover.
Replacing the Deck Engagement Belt
1. Stopengine,waitfor allpartsto stopmoving,anddisconnect
sparkplugwire.
2. Releaseall mowercontrols.
3. Removebelt coveras instructedearlierinthissection.
4. Loosenthe boltandnut holdingbelt keeperrodto frame,
Figure23.
5. Loosenidlerpulley(A)by looseningthe nut andbolt,Figure24.
6. Loosenidlerpulley(B)by looseningnut,Figure24.
7. Removebelt (C) fromaroundpulleys,Figure24.
8. Routenewbelt aroundthe pulleysmakingsureto tightennuts,
bolts,and beltkeeper.
9. Replacethe beltcover.
\
0
Figure22 Figure24

Replacingthe BmadeTiming Belt
1, Stopengine,waitforallpartstostopmoving,anddisconnect
sparkplugwire,
2, Releaseallmowercontrols,
3, Removebeltcoverasinstructedearlierinthissection,
RemovingtheTimingBelt
4, Removespring(A)fromtimingbracketanddeck,Figure25,
5, Loosen3/8q6screwandnutattachedtodeckmount,Figure26,
6, Pivottheidlertimingbracket(B)toroutebeltaroundidlerpulley,
Figure25,
7, Pivotidlerarmassembly(C)andremovebelt(D)fromspindle
assemblies,Figure25,
InstallingtheTimingBelt
8, Beforeinstallingareplacementtimingbelt,themarksoneach
spindleassemblymustbepositionedinsuchawayastoensure
thebladesareperpendiculartoeachother,Figure27,
a, Turnthespacerspindleassembly(E)sothatthearrow
punchedonthespindleisfacingthefrontofthemower,
Figure25,
b, Turnthedrivespindleassembly(F)sothatthearrow
punchedonthespindleisfacingtotheoutsideofthecutting
deck,Figure25,
9, Routethenewbeltaroundpulleysmakingsuretotightennuts
andbolts,Installthespringremovedinstep4,
10,Replacethebeltcover,
_f
Figure25
21
f
Figure26
Figure27
J
J

MAINTENANCE SCHEDULE
Beforeperforminganytypeof maintenance/service,disengageall 1
controlsandstoptheengine,Waituntilallmovingpartshavecometo
acompletestop,Disconnectsparkplugwireandgroundit againstthe
enginetopreventunintendedstarting,Alwayswearsafetyglassesduring1
operationorwhileperforminganyadiustmentsor repairs, J
Followthe maintenanceschedulegiven below,Thischartdescribes
serviceguidelinesonly,Usethe ServiceLogcolumnto keeptrackof
completedmaintenancetasks,To locate the nearest Sears Service
Center or to schedule service, simply contact Sears at
loS00o4oMYoHOME®.
EachUse
1st2 hours
25 hours
50 hours
Annuallyor 100hours
BeforeStorage
1, Mowerblades
2, Looseor missinghardware
3, Belts
4, Engineoil level
5, Controls
6, Mulchplug(if fitted)
1, Engineoil
1, Engineoil
2, Aircleaner
3, Mowerblades
4, Controllinkagesand pivots
1, FrontWheeIBearings
1, Sparkplug
2, RearWheels
1, Fuelsystem
1, As required
2, Tightenorreplace
3, Check
4, Check
5, Checkfor properoperation
6, Checkfor properpluginstallation
1, Change
1, Change
2, Cleanorreplace
3, Sharpenandbalance
4, Lubewithlightoil
1, Grease
1, Clean,replace,re=gap
2, Grease
1, Run engineuntil it stopsfromlackof
fuel oradd agasolineadditiveto the
gas in thetank,
22

Neverstorelawnmowerwithfuel intankindoorsor inpoorly
ventilatedareaswherefuel fumesmayreachan openflame,spark,
or pilot lightas ona furnace,waterheater,clothesdryer,or gas
appliance,
PREPARING THE ENGmNE
Forenginesstoredover30days:
1, Topreventgumfromforminginfuel systemor oncarburetor
parts,runengineuntilit stopsfromlackof fuel oradda gasoline
additiveto thegas in the tank,If youuse a gasadditive,runthe
enginefor severalminutesto circulatethe additivethroughthe
carburetor--afterwhichthe engineandfuel canbe storedupto
six months,
2, Whileengineis still warm,changetheoil
3, Removesparkplugandpourapproximately1oz,(30 ml) of clean
engineoil intothe cylinder,Pullthe recoilstarterseveraltimesto
distributetheoil, and reinstallthe sparkplug,
4, Cleanengineof surfacedebris,
PREPARING THE LAWN MOWER
Whenstoringthe mowerinan unventilatedor metalstorageshed,
careshouldbetakento rustproofthe non-paintedsurfaces,Using
a lightoil orsilicone,coatthe equipment,especiallyany springs,
bearings,andcanes,
• Removeall dirt fromexteriorof engineandequipment,
, Followlubricationrecommendations,
, Storeequipmentina clean,dry area,Do notstoreinan area
whereequipmentis presentthat mayuse apilot light orhas a
componentthatcan createa spark,
Thefollowingattachmentsandaccessoriesare availablefor the lawnmower,Contacta SearsServiceCenter1-800-4-MY-HOME®for more
information,
PARTNO. _ DESCRIPTION
33731 TBaggerGrassCollector
23

Beforeperforminganytypeof maintenance/service,disengageall
controlsandstoptheengine,Waituntilallmovingpartshavecometo
a completestop,Disconnectsparkplugwireandgrounditagainstthe
Iengineto preventunintendedstarting,Alwayswearsafetyglassesduring
_operationorwhib performinganyadiustmentsorrepairs,
This section addresses minor service issues.To locate the nearest Sears Service Centeror to schedule service, simply contact Sears
at loSO0o4oMYoHOME®.
Enginefailsto start
Enginerunserratically
1, Chokenotactivated
2, Throttle/chokecontrolnotin correctposition
8, Sparkplug wiredisconnected
4, Faultysparkplug
5, Fueltank emptyorstalefuel
6, Blockedfuelline
1, Unitrunningwithchokeapplied
2, Sparkplug wireloose
8, Stabfuel
4, Waterordirt infuelsystem
5, Dirtyair cleaner
1, Engineoil levellow
2, Airflowrestricted
1,
2,
3,
4,
5,
6,
1,
2,
3,
4,
5,
1,
2,
Engineoverheats
Enginehesitatesat highRPMs 1, Sparkpluggapsettoo close 1,
Engineidles poorly 1, Fouledsparkplug 1,
2, Dirtyair cleaner 2,
Excessivevibration 1, Cuttingbladeslooseor unbalanced 1,
2, Damaged,dull,or bentcutting blade 2,
3, Loosehardware 3,
Unitfailsto propelitself 1, Drivebelt looseordamaged 1,
Poormowingperformance 1, Dullblade(s) 1,
2, Broken,loose,orworn belt(s) 2,
3, Blade(s)out of balance 3,
Placethrottle/chokecontrolleverintochokeposition,
Placethrottle/chokeleverinto fast position,
Connectwiresto sparkplug,
Clean,adiustgap,or replace,
Fill tankwithclean,freshgasoline,
Havefuel linecleanedby a Searsservicedealer,
Movethrottle/chokeleveroutof chokeposition,
Connectandtightensparkplugwire,
Fill tankwithfreshgasoline,
Drainfuel,Refillwithfreshfuel
Replaceair cleanercartridge,
Fill enginewithproperamountand typeof oil
Cleangrassclippingsanddebrisfromaroundthe
engine'scoolingfinsandblowerhousing,
Removesparkplugandadiustgap,
Replacesparkplugandadiustgap,
Replaceair cleanercartridge,
Tightenbladeandspindle,Balanceblade,
Replaceblade,
Tightenallnutsandbolts,
Replacedrive belt,
Sharpenor replaceblade(s),
Replacebelt(s),
Balanceor replaceblade(s),
24

25

33-inch Wide Cut Mower- Modem No. 247.889330
26

33qnch Wide Cut Mower -- Modem No. 247.889330
1 68_02277
2 68_02278
3 710-0449
4 710-0599
5 710-0606
6 712-04063
7 712-0442
8 720-0274
9 720-04072
10 731-0473
11 738-0140
12 738-1226
13 746-04343
14 746-04344
15 746-04346
16 746-04355
17 746-04361
18 749-04330
19 749-04331
20 749-04332
21 749-04333
22 78_01449
23 78_01490
78_01491
24 68_02255
25 68_02263
26 68_02264
27 68_02265
28 710-0627
LeverAssembly:LH
LeverAssembly:RH
Screw,Carriage:5/16-18x 2,25"
Screw,TT: 1/4-20x 0,500"
Screw,HHCap: 1/4-20x 1,50"
Nut, FlangeLock:5/16-18
Nut, LockCap:1/4-20
Grip: 1,0"IDx 5,0" Lg
Star Knob5/16-18
HandleGrip
Screw,Shoulder:,435"x,178-5/16
Screw,Shoulder:,375"x 1,355"x 1/4-20
CaNe,ClutchWheel
Cable,Brake,Transmission:RH
CaNe,ClutchDeck
CaNe,Throttle/Choke:38"x 1,1"Ext
Cable,Brake,Transmission:LH
LowerHandle
UpperHandle:LH
UpperHandle:RH
BraceTube
HandlePanel
CaNeMountBracket:RH
CaNeMountBracket:LH
FrameAssembly
CasterWheelBracketAssembly
DeckLift Assembly:RR
DeckLift Assembly:Front
Screw,HHCap:5/16-24x ,750"
29 710-04187 Screw,HL:1/4-15x ,50'
30 710-04312 Screw,HHCap:5/16-18x ,50"
31 712-04065 Nut,FlangeLock:3/8-16
32 714-0145 Click Pin:,092" x 1,64"
33 720-0311 HandleGrip1/2"
34 731-05684 BeltCover33"WideCut Mower
35 731-05791 SnapSpacer:,63" IDx ,75" LG
36 732-04418 DeckHeightLever
37 736-0242 Washer,Bell: ,340"x ,872"x ,060"
38 736-0343 Washer,Flat: ,330"x 125" x ,120"
39 736-0351 Washer,Flat: ,760"IDx 1,50"OD
40 737-3000 LubeFitting:3/16:LNC#70
41 738-04216A Bolt,Shoulder:,625"x 2,515"x 3/8-16
42 741-0860A FlangeBearing:,760"x ,941"x 1,0"
43 787-01496 HeightAdiustmentBracket
44 787-01510 LinkPivotBracket
45 787-01521 LeverPivotBracket
46 710-0604A Screw,TT: 5/16-18x ,625"
47 738-1225 Screw,Shoulder:,3175"x ,188"x 1/4-20
48 751-10480 FuelTank,2 GaL
49 751-10514 FuelCap
50 787-01507 FuelTankMountingBracket
51 634-04343 WheelCaster8" x 1,75"
52 710-1315 Screw,TT: 3/8-16x 1,25"
53 751-3142 Oil DrainCap
54 751-3140 Oil Drain
55 751-3141 Oil DrainHose
56 726-0205 HoseClamp
57 751-10349 FuelHose
58 736-0463 Washer,Flat: ,25x ,63x ,0515
27

33-inch Wide Cut Mower- Modem No. 247.889330
®
@
J
28

33qnch Wide Cut Mower -- Modem No. 247.889330
1 17840 TransaxleBracketMount
2 618-04452 Transmission4-Speed
3 710-0176 Screw,HHCap:5/16-18x 2,75"
4 710-0376 Screw,HHCap:5/16-18x 1,00"
5 710-04377 Screw,HHCap:7/16-20x 2,75"
6 710-0513 Screw,HHCap: 1/4-28x ,625"
7 710-0520 Screw,HHCap:3/8-16x 1,50"
8 710-1878 Screw,HHCap:3/8-16x 1,75"
9 710-3008 Screw,HHCap:5/16-18x ,75"
10 710-3015 Screw,HHCap: 1/4-20x ,75"
11 711-1000 Belt Keeper
12 712-04063 Nut, FlangeLock:5/16-18
13 712-04064 Nut, FlangeLock: 1/4-20
14 712-04065 Nut, FlangeLock:3/8-16
15 712-0700 Nut, Range:9/16-18
16 714-0145 HairpinClip:092" x 1,64"Long
17 718-0758A PulleyHub
18 720-0142 Grip
19 731-05766 TrailingShield
20 732-04409 ExtensionSpring
21 732-04443 ExtensionSpring
22 736-0105 Washer,Spring:,401"x ,870"x ,083"
23 736-0322 Washer,Flat: 450"x 1,250"x ,164"
24 736-0329 Washer,Lock: 1/4"
25 738-04256 Washer,Flat: ,39"x ,87"x ,06"
26 738-04188 Spacer,Shoulder:,50"x ,1475"
27 747-04635 Belt KeeperRod
28 747-04673 LoopLinkCoupling
29 747-04678 TransMountRod
30 754-04145 Belt,VType
31 756-04129 IdlerPulley:4,25" Dia,
32 756-04258 FlatSheave7,75"
33 756-04260 EnginePulley3,20" x 4,35"Dia,
34 756-04280 IdlerPulley3,50"Dia,
35 787-01469 ShiftRod,Lower
36 787-01470 ShiftRod,Upper
37 787-01473 BeltKeeper
38 787-01523 WheelDriveidlerBracket
39 818-04438 DriveSpindleAssembly
40 818-04439 SpacerSpindleAssembly
41 931-04011 MulchPlug
42 687-02251 IdlerArmAssembly
43 887-02254 DeckAssembly33-inch
44 710-0451 Bolt,Carriage:5/16-18x ,75"
45 710-0514 Screw,HHCap:3/8-16x 1,00"
46 710-3106A Screw,Carriage:3/8-16x 1,75"
47 710q260A Screw,LD:5/16-18x ,750"
48 710-3184 Screw,HHCap:3/8-16x 2,00"
49 631-04244 ChuteDeflectorAssembly
50 712-0417A Nut,Flange:5/8-18
51 712-0641 Nut,Hex
52 712-3017 Nut,Hex3/8-16
53 732-04406 ExtensionSpring:TimingBelt Tension
54 732-04411 ExtensionSpring:Deck Brake
55 736-0760 Washer,Lock
56 738-0347 Spacer,Shoulder:,625"x ,169"
57 738-04162A Spacer,Shoulder:,884"x ,190"
58 742-04154 Blade:17,9"
59 754-04138 Belt,Timing
60 754-04139 Belt,V Type
81 756-04129 IdlerPulley4,25"
82 756-04280 IdlerPulley3,50"
63 756-0616 IdlerPulleyV-Type5,0"
64 787-01440 IdlerTimingBracket
65 721-04041 WaterNozzleAdapter
66 737-04003C WaterNozzle
67 634-04285 Wheel 16x 4 x 8
88 738-0242 Washer,Bell: ,340"x ,872"x ,060"
89 710-0827 Screw,HHCap:5/16-24x ,75"
70 710-1315 Screw,TT: 3/8-16x 1,25"
71 710-1236 Screw,Carriage:5/16-18x 1,00"
29

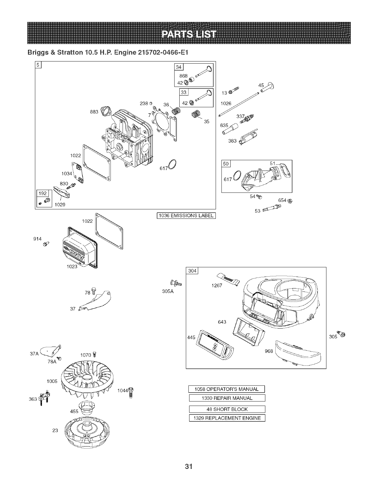
Briggs &Stratton 10.5 H.P. Engine 215702-0466-E1
2_ 27
38
883
24
741
1095 VALVE GASKET SET
868 _ 1022
358 ENGINE GASKET SET
12
20_ 6170
51 691 (_
8420
524
1022
1266
lO_11_
584_
9_
1264 1
868
1266A (_ 15 e
22_
3O
5240
2oO

Briggs & Stratton 10.5 H.P. Engine 215702-0466-E1
sl
883
1O22
1034
_3_
1022
914
1023
37A _ 1070
78A"_
1005
363 # 455_
238 ®
@35
6170
11036 EMISSIONS LABEL
13J 4_¢_
3_
S
54_b 654
53
305A
643
445% 968
1044_ 1058 OPERATOR'S MANUAL ]
I 1330REPAIRMANUALI
I 46SHORTBLOCK I
11329REPLACEMENT ENGINE I
sos
31

Briggs &Stratton 10.5 H.P. Engine 215702-0466-E1
240
105
127
o
1127
o
823
613A _b
883
81
51
95
104 ,_
121 CARBURETOR OVERHAUL KIT
987 @
6170 1266_
634 _ 1266A O
977 CARBURETOR GASKET SET
32

Briggs & Stratton 10.5 H.P. Engine 215702-0466-E1
356
57 @ 58
4s9_
689 _,_
456 _
597
,o,o _
614_ / _l 621'_
1266_
#
267
507_520 #
359 373
334 _
1266A
33

Briggs & Stratton 10.5 H.P. Engine 215702-0466-E1
1 BS-699045
2 BS-399265
3 BS-391086s °
4 BS-697106
5 BS-697396
7 B%273280s °+
9 BS-697109
10 BS-697157
11 BS-697113
12 BS-697110 °
13 BS-690360
15 BS-691680
16 BS-698382
20 BS-791892 °
22 BS-692125
23 BS-693555
24 BS-222698s
25 BS-698767
BS-698769
26 BS-698375
BS-698377
27 BS-698469
28 BS-697099
29 BS-791633
32 BS-791118
33 BS-695760
34 BS-695761
35 BS-691279
36 BS-691279
37 BS-697352
37A BS-697626
42 BS-499586
43 BS-691968
45 BS-690564
46 BS-790400
48 B%697740
50 BS-697361
51 BS-692137 °®:_÷
53 BS-690227
54 BS-691148
55 BS-695130
56 BS-695129
57 BS-695131
58 BS-695132
60 BS-494212
65 BS-697725
78 BS-691003
CylinderAssembly
Kit-Bushing/Seal(MagnetoSide)
Seal-Oil(MagnetoSide)
Sump-Engine
Head-Cylinder
Gasket-CylinderHead
Gasket-Breather
Screw(BreatherAssembly)
Tube-Breather
Gasket-Crankcase
Screw(CylinderHead)
Plug-OilDrain
Crankshaft
Seal-Oil(PTOSide)
Screw(CrankcaseCover)
Flywheel
Key-Flywheel
PistonAssembly(Standard)
PistonAssembly(,020"Oversize)
RingSet-Piston(Standard)
RingSet-Piston(,020"Oversize)
Lock-PistonPin
Pin-Piston(Standard)
Rod-Connecting(Standard)
Screw(ConnectingRod)
Valve-Exhaust
Valveqntake
Spring-Valve(Intake)
Spring-Valve(Exhaust)
Guard-Flywheel
Guard-Flywheel
Keeper-Valve
Slinger-Governor/Oil
Tappet-Valve
Camshaft
ShortBlock
Manifold-Intake
Gasketqntake
Stud(Carburetor)
Screw(intakeManifold)
Housing-RewindStarter
Pulley-Starter
Spring-RewindStarter
Rope-Starter
Grip-StarterRope
Screw(RewindStarter)
Screw(FlywheelGuard)
78A
81
94
95
98
104
105
108
117
118
121
125
127
130
131
133
135
137
141
146
187
188
192
202
209
216
222
227
232
238
240
265
267
300
304
305
305A
306
307
333
334
337
356
358
363
373
34
BS-690364
BS-691178
BS-695425
BS-690718
BS-695408
BS-694918
BS-696136
BS-698773
BS-699897
BS-699898
BS-698787
BS-791178
BS-690727
BS-698774
BS-698776
BS-694914
BS-698780
BS-698781
BS-698778
BS-691639
BS-791805
BS-691693
BS-691986
BS-691841
BS-792602
BS-691840
BS-694042
BS-691374
BS-691842
BS-691843
BS-394358s
BS-691024
BS-690804
BS-697048
BS-698473
BS-697102
BS-793376
BS-697359
BS-691003
BS-492341
BS-691061
BS-491055s
BS-398808
BS-697151
BS-19203
BS-691612
io
io
Screw(FlywheelGuard)
Lock-MufflerScrew
KitqdleMixture
Screw(ThrottleValve)
Kit-IdleSpeed
Pin-FloatHinge
Valve-FloatNeedle
Valve-Choke
Jet-Main(Standard)
Jet-Main(HighAltitude)
Kit-CarburetorOverhaul
Carburetor
Plug-Welch
Valve-Throttle
Kit-ThrottleShaft
Float-Carburetor
Tube-FuelTransfer
Gasket-FloatBowl
Kit-ChokeShaft
Key-Timing
Line-Fuel(Cutto RequiredLength)
Screw(ControlBracket)
Adjuster-RockerArm
Link-MechanicalGovernor
Spring-Governor
Link-Choke
Bracket-Control
ControlLever-Governor
Spring-GovernorLink
Cap-Valve
Filter-Fuel
Chmp-Casing
Screw(CasingClamp)
Muffler
Housing-Blower
Screw(BlowerHousing)
Screw(BlowerHousing)
Shield-Cylinder
Screw(CylinderShield)
Armature-Magneto
Screw(ArmatureMagneto)
SparkPlug
Wire-Stop
GasketSet-Engine
FlywheelPuller
Nut(GroundTerminal)

Briggs &Stratton 10.5 H.R Engine 215702-0466-E1
383 BS-89838s Wrench-SparkPlug
404 BS-691691 Washer(GovernorCrank)
431 BS-697122 Elbow-Intake
445 BS-698413 Filter-AirCleanerCartridge
455 BS-695113 Cup-Flywheel
456 BS-695128 Plate-PawIFriction
459 BS-281505s PawI-Ratchet
505 BS-691251 Nut(GovernorControlLever)
520 BS-691084 Terminal-Ground
521 BS-690581 Shield-Cable
523 BS-699908 Dipstick
524 BS-691032 'Seal-DipstickTube
525 BS-697184 Tube-Dipstick
552 BS-697144 Bushing-GovernorLever
562 BS-691119 Bolt(GovernorControlLever)
584 BS-697112 Cover_BreatherPassage
597 BS-691696 Screw(PawlFrictionPlate)
601 BS-791850 Clamp-Rose
608 BS-695058 Starter-Rewind
613 BS-691416 Screw(Muffler)
613A BS-691678 Screw(Muffler)
614 BS-691620 Pin-Cotter
616 BS-692012 Crank-Governor
617 BS-692138 '_ 0 RingSeal(intakeManifold)
621 BS-692310 Switch-Stop
634 BS-698779 ® Spring/SealAssembly
635 BS-691909 Boot-SparkPlug
643 BS-697155 Retainer-AirFilter
654 BS-690958 Nut(Carburetor)
691 BS-692407 o Seal-GovernorShaft
718 BS-690959 Pin-Locating
741 BS-697128 Gear-Timing
823 BS-698941 Screw(MufflerAdapter)
830 BS-691095 Stud(RockerArm)
842 BS-691031 'Seal-ORing(DipstickTube)
847 BS-790442 Dipstick/TubeAssembly
851 BS-692424 Terminal-SparkPlug
864 BS-697346 Adapter-Muffler
868 BS-690968 °+ Seal-Valve
883 BS-692236 'Gasket-Exhaust
914 BS-691108 Screw(RockerCover)
968 BS-697420 Cover_AirCleaner
975 BS-698783 Bowl-Float
977 BS-790032 Set-CarburetorGasket
987 BS-698777 ®' Seal-ThrottleShaft
1005 BS-699044 Fan-Flywheel
1022 BS-272475s
1023 BS-791079
1026 BS-697394
BS-697395
1029 BS-691751
1034 BS-690822
1036
1044 BS-698139
1058 BS-MS3787
1070 BS-690372
1091 BS-691333
1095 BS-691581
1263 BS-697124
1264 BS-697104
1266 BS-691917
1266A BS-697123
1267 BS-697419
1329 BS-215702-
0015
1330 BS-272147
Gasket-RockerCover
Cover_Rocker
Rod=Push(intake)
Rod=Push(Exhaust)
Arm-Rocker
Guide=PushRod
Label-Emissions(Availablefroman
AuthorizedBriggs& StrattonService
Dealer)
Screw(Flywheel)
Operator'sManual
Screw(FlywheelFan)
Cap-Limiter
GasketSet-Valve
Reed=Breather
Screw(BreatherReed)
0 RingSeal(intakeElbow)
0 RingSeal(intakeElbow)
Latch-BlowerRousing
ReplacementEngine
RepairManual
IncludedinEngineGasketSet,Key.No.358
(bIncludedinCarburetorOverhaulKit,Key.No. 121
Includedin CarburetorGasketSet,Key.No.977
+ Includedin ValveGasketSet,Key.No.1095
35

Transmission EP-17488
35A
157
8
70 6A
29B
67
/
47
3
/
13
31A
15
MODEL and SERIAL
NUMBERS HERE
18
4
_17 26 13
/
36
/
29B 56
57
58
59
63
31A
52
64 64
63
65 34
29
35
36

Transmission EP-17488
1 TC_772147 TransaxleCover 1
2 TC-780086A NeedleBearing(1/2"long) 2
3 TC-770128A TransaxleCase 1
4 TC-776395 Countershaft 1
5 TC_776409 OutputShaft 1
6 TC_778364 SpurGear(38%PM/SER) 1
6A TC-778369 SpurGear(15%PM/SER) 1
7 TC-778330 SpurGear(11%PM/SER) 1
8 TC_792180A ShiftKeySet (Qty,2) 2
9 TC-784352 ShiftCollar 1
10 TC-784378 ShiftRod & ForkAssembly 1
11 TC-778334 BevelGear(30%PM) 1
12 TC-778309 InputBevelPinion(13%PM) 1
13 TC_778368 BevelGear13T(Incl,ref,13& 14) 1
CompleteSetof 4_gears
14 TC-778368 BevelGear13T(Inckref,13& 14) 1
CompleteSetof 4_gears
15 TC-778370 RingGear(43T) 1
17 TC-786188 DrivePin 1
18 TC-786102 Spacer(1,130"x ,695") 1
20 TC-792077A Ball(StainlessSteel5/16"dia,) 1
21 TC-792211 Screw,3/8q6 x 3/8' 1
22 TC-792079 Spring 1
25 TC-792073A Screw,1/4-20x lq/4" 17
25A TC-792177 Screw,1/4-20x 1-3/8" 2
26 TC-792125 RetainingRing-packageof 2 4
27 TC-792035 RetainingRing 1
28 TC-788040 RetainingRing 1
29 TC-780072 Washer,627"ID ,031" 5
29A TC-780160 ThrustWasher(,563"IDx ,031") 1
29B TC-780051 ThrustWasher(,762"IDX ,031") 3
30 TC-780108 ShiftWasher(Cupped) 3
31 TC-780001 Washer,750"ID,56" 2
31A TC-780195 Washer,750"ID,062 2
32 TC-788083 Oil Seal5/8" 1
32A T0-792001 0 Ring(,823"OD) 1
34 TC-780194 Bushing(,563") 2
35 TC-780193 FlangedBushing(,625"ID) 2
35A TC-780197 FlangedBushing(,751"ID) 2
36 TC-790075 BrakeDisk 1
37 TC-790007 BrakePadPlate 1
38 TC-799021A BrakePad(pkg,of 2) 2
39 TC_786026 DowelPin ,3125"x,750" 2
40 TC-792076A Washer,312"ID ,059" 1
41 TC-790104 BrakeLever 1
42 TC-792177 Screw1/4-20x 1-3/8" 1
43 TC-792075 LockNut5/16-24 1
44 TC-790025 BrakePadHolder 1
46 TC-786086 Bracket 1
47 TC-775146 Axle(10,719"long)(Incl,26) 1
48 TC-775147 Axle(15,312"long)(Inck26) 1
49 TC-778338 SpurGear(27%PM/IC) 1
50 TC-778342 SpurGear(22%PM/IC) 1
51 TC-778313 SpurGear(19%PM/IC) 1
52 TC-778350 SpurGear(16%PM/IC) 1
56 TC-778337 SpurGear(13%PM/SER) 1
57 TC-778341 SpurGear(18%PM/SER) 1
58 TC-778351 SpurGear(21%PM/SER) 1
59 TC-778349 SpurGear(24%PM/SER) 1
63 TC_786071 CountershaftSpacerlq/8" x 3/8" 2
64 TC-786072 BrakeShaftSpacer1-3/8"x 3/8" 2
65 TC-780189 Washer,563"ID,062 1
66 TC-776472 InputShaft 1
67 TC-776396 BrakeShaft 1
69 TC-792170 RetainingRing(,75"x ,042") 1
70 TC-786187 Spacer(,890") 1
71B TC-788092 O-Ring 1
76 TC_780090 FlatWasher(1,128"IDx ,058") 1
77 TC-788078A RetainingRing(1,125"x ,050") 1
79 TC-792144 Spring 1
82 TC-778333 Bevel(30T) & SpurGear 1
83 TC-778338 SpurGear(27%PM/IC) 1
85 TC-792154 OilFill Plug 1
87 TC-788089A OilSeal9/16"ID 1
150 TC-788093A LiquidGasketRTVSilicon 1
157 TC-788088A OilSeal3/4"ID 2
180 TC-730229B GearOil80W90(32oz,) 1
37

(This page applicable in the U.S.A. and Canada only.)
Sears, Roebuck and Co., U.S.A. (Sears}, the California Air Resources Board (OAF{B)
and the United States EnvironmentaJ Protection Agency (U.S. EPA)
Emission Control System Warranty Statement (Owner's Defect Warranty Rights and Obligations)
EMISSIONCONTROLWARRANTYCOVERAGEISAPPLICABLETOCERT!- YEAR 1997ANDLATERENGINESWHICHARE PURCHASEDAND USED
FlEDENGINESPURCHASEDINCALIFORNIAIN1995ANDTHEREAF- ELSEWHEREINTHE UNITEDSTATES(ANDAFTERJANUARY1,2001 IN
TER,WHICHARE USEDINCALIFORNIA,ANDTOCERTIFIEDMODEL CANADA).
California and United States Emission Control Defects Warranty Statement
The CaliforniaAir ResourcesBoard(CARB),U.S.EPAandSearsare pleased enginefor the periodsof timelistedbelow,providedtherehas beenno abuse,
to explainthe EmissionControlSystemWarrantyonyour modelyear2000 and neglector impropermaintenanceof your smalloff-roadengine.Youremis-
latersmalloff-roadengine(SORE).In California,newsmall off-roadengines sion controlsystemincludespartssuch as thecarburetor,air cleaner,ignition
mustbe designed,builtand equippedto meettheState'sstringentanti-smog system,mufflerand catalyticconverter.Also includedmaybe connectorsand
standards.Elsewhereinthe UnitedStates,newnon-road,spark-ignition otheremissionrelatedassemblies.Wherea warrantableconditionexists,Sears
enginescertifiedfor modelyear 1997and latermustmeetsimilarstandardsset will repairyour smalloff-roadengine at nocost to you includingdiagnosis,parts
forthbythe U.S.EPA.Sears mustwarranttheemissioncontrolsystemon your and labor.
Sears Emission Control Defects Warranty Coverage
Smalloff-roadenginesarewarrantedrelativeto emissioncontrolpartsdefects part onyour engineisdefective,the partwillbe repairedor replacedbySears.
fora periodof oneyear,subjectto provisionsset forth below.Ifanycovered
Owner's Warranty Responsibilities
Asthe smalloff-roadengineowner,youare responsiblefor theperformanceof provedmodifications.Youare responsiblefor presentingyour smalloff-road
therequiredmaintenancelistedinyour Operatingand MaintenanceInstruc- engineto anAuthorizedSearsService Dealeras soonas a problemexists.The
tions.Searsrecommendsthatyou retainallyour receiptscoveringmaintenance undisputedwarrantyrepairsshouldbecompletedina reasonableamountof
on yoursmall off-roadengine,butSearscannot denywarrantysolelyforthe time,notto exceed30 days.Ifyou haveany questionsregardingyourwarranty'
lackof receiptsorfor yourfailureto ensuretheperformanceof allscheduled rightsand responsibilities,you shouldcontacta SearsServiceRepresentative
maintenance.Asthe smalloff-roadengineowner,you shouldhoweverbe at 1--800--469--4663.Theemissionwarrantyisa defectswarranty.Defectsare
awarethat Searsmaydenyyouwarrantycoverageif your smalloff-roadengine judgedon normalengineperformance.The warrantyis notrelatedto an in-use
ora parthasfaileddueto abuse,neglect,impropermaintenanceor unap- emissiontest.
Sears Emission Control Defects Warranty Provisions
Thefollowingare specificprovisionsrelativeto your EmissionControlDefectsWarrantyCoverage.It is in additionto theSearsenginewarrantyfor non-regulated
enginesfoundin theOperatingandMaintenanceInstructions.
1. WarrantedParts 3. NoCharge
Coverageunderthis warrantyextendsonly to the parts listed below(the Repairor replacementof any WarrantedPartwill be performedat no
emissioncontrolsystemsparts)to the extentthese parts werepresenton chargeto the owner,includingdiagnosticlabor whichleadsto the
theenginepurchased, determinationthata WarrantedPartis defective,ifthe diagnosticworkis
a. FuelMeteringSystem performedat an AuthorizedSears ServiceDealer.Foremissionswarranty
oColdstart enrichmentsystem servicecontact your nearestAuthorizedSearsService Dealeras listed in
oCarburetorand internalparts the "YellowPages"under"Engines,Gasoline,""GasolineEngines,""Lawn
oFuelPump Mowers,"or similarcategory.
b. Air InductionSystem 4. Claimsand CoverageExclusions
oAir cleaner Warrantyclaimsshall be filed in accordancewiththe provisionsofthe
oIntakemanifold SearsEngineWarrantyPolicy.Warrantycoverageshall beexcludedfor
c. IgnitionSystem failures of WarrantedPartswhichare not originalSearsparts or because
of abuse,neglector impropermaintenanceas setforth in theSears
oSparkplug(s) EngineWarrantyPolicy.Searsis notliable to coverfailuresof Warranted
oMagnetoignitionsystem Partscausedby the useof add-on,non-original,or modifiedparts.
d. CatalystSystem 5. Maintenance
oCatalyticconverter AnyWarrantedPartwhich is notscheduledfor replacementas required
oExhaustmanifold maintenanceor which is scheduledonly for regularinspectionto the effect
oAir injectionsystemor pulsevalve of repair or replaceas necessary"shall be warrantedas todefectsfor the
e. MiscellaneousItemsUsed inAboveSystems warrantyperiod.Any WarrantedPartwhich is scheduledfor replacement
oVacuum,temperature,position,timesensitivevalves as requiredmaintenanceshallbe warrantedasto defectsonly for the
andswitches periodof time upto the firstscheduledreplacementforthat part. Any
• Connectorsand assemblies replacementpart that is equivalentin performanceand durabilitymay
2. Lengthof Coverage be usedin theperformanceof any maintenanceor repairs.The owneris
Searswarrantsto the initialownerand eachsubsequentpurchaserthat responsibleforthe performanceof all requiredmaintenance,as definedin
theWarrantedParts shall befree from defectsin materialsandworkman- the SearsOperatingandMaintenanceInstructions.
ship whichcausedthe failureof the WarrantedPartsfor a periodof one 6. ConsequentialCoverage
yearfromthe datethe engineis deliveredto a retailpurchaser. Coveragehereundershallextend to thefailure of any enginecomponents
caused bythefailure of anyWarrantedPart still underwarranty.
Inthe USAand Canada,a 24 hourhot line, 1-800-469-4663,has a menuof pre-recordedmessagesofferingyou enginemaintenanceinformation.
38

Look For Relevant Emissions E)urabHity Period and
Air hde× mnformation On Your Engine Emissions Labe_
Engines that are certified to meet the California Air Resources Board (CARB) Tier 2 Emission Standards must
display information regarding the Emissions Durability Period and the Air index. Sears, Roebuck and Co., U.S.A.
makes this information available to the consumer on our emission labels.
The Emissions Durability Period describes the number of hours of actual running time for which the engine is
certified to be emissions compliant, assuming proper maintenance in accordance with the Operating & Mainte-
nance Instructions. The following categories are used:
Moderate: Engine is certified to be emission compliant for 125 hours of actual engine running time.
Intermediate: Engine is certified to be emission compliant for 250 hours of actual engine running time.
Extended: Engine is certified to be emission compliant for 500 hours of actual engine running time.
For example, a typical walk-behind lawn mower is used 20 to 25 hours per year. Therefore, the Emissions
Durability Period of an engine with an intermediate rating would equate to 10 to 12 years.
The Air Index is a calculated number describing the relative level of emissions for a specific engine family. The
lower the Air Index, the cleaner the engine. This information is displayed in graphical form on the emissions label.
After Ju_y 1,2000, Look For Emissions Compliance Period
On Engine Emissions Compliance Labe_
After July 1, 2000 certain Sears, Roebuck and Co., U.SoA. engines will be certified to meet the United States
Environmental Protection Agency (USEPA) Phase 2 emission standards. For Phase 2 certified engines, the Emis-
sions Compliance Period referred to on the Emissions Compliance label indicates the number of operating hours
for which the engine has been shown to meet Federal emission requirements.
For engines less than 225 cc displacement, Category C = 125 hours, B = 250 hours and A = 500 hours.
For engines of 225 cc or more, Category C = 250 hours, B = 500 hours and A = 1000 hours.
This is a generic representation of the emission labeltypically found on a certified engine.
39

Servicio y Mantenimiento ............................................... 51
AImacenamiento fuera de temporada ............................ 60
Aditamentos y Accesorios .............................................. 60
Soluci6n de problemas ................................................... 61
NQmero de servicio ............................... Cubierta posterior
Garantia de dos a_os de Craftsman
SiesteproductoCraftsmanfalla debidoa undefectoen losmateriabso la manodeobradentrode losdos ahosde lafechadecompra,sirvase
devolverloacualqubr tbnda Sears,Centrode servicioSears,u otropuntedeventaCraftsmanen los EstadosUnidosparasu reparaci6nsin
cargo.
Estagarantiano cubre:
Arficulosde duraci6nlimitadaquepuedendesgastarsebaiocondicionesnormabsdeuso duranteel perfododegaranfia,tabs como
cuchillasdecortadorarotativas,adaptadoresparaeuchillas,correas,filtrosde air& y buiiasdeeneendido.
Las reparacionesrequeridasdebidoa abusoo negligeneiadel operador,incluiyendoabolladurasdel cigqeRaly nooperaro mantenerel
equipode acuerdocon las instrueeionessuministradas.
Estagarantfas61otendr_validezdurante90 dias si esteproductose utilizaencualqubr mementoparafinescomerciabso dealquiler.
Estagaranfias61otendr_validezmientrasel productose utiliceen los EstadosUnidos.
Estagaranfialeotorgaderechoslegalesespedfieos,peroustedpodrfagozardeotrosdereehosen raz6nde su lugarde residencia.
Sears, Roebuck and Co., Hoffman Estates, IL 60179
Acuerdos de proteccion sobre reparaciones
Felicitacionespor haberrealizadounaadquisbi6ninteligente.El
productoCraftsman@queha adquiridoestAdiseRadoy fabrbado
parabrindarmuchosares de funcionambntoconfiable.Perocomo
todoslos productosa vecespuederequerirde reparaciones.Es en
ese mementocuandoeldisponerde unAcuerdode protecci6npara
reparacionesle puedeahorrardineroy
probbmas.ElAcuerdoincluye:
• Servicioexpertoprestadopernuestros12.000especialistasen
reparacionesprofesionabs
Servicioilimitadosincargo paralas piezasy la manode obraen
todaslasreparacionescubiertas
Reemplazodelproductosi noes posibb repararel producto
cubierto
Descuentode10%sobreelprecionormaldelservieioy de las
piezasrelacionadascon el mismoqueno estencubiertaspor el
aeuerdo;adem_s,10%de descuentosobreel precionormalde la
verifieaci6nde mantenimientoprevenfivo
Ayudar@idaportelefono- asisteneiatelef6nieaa cargode un
t@nicode Searsparalos productosque requierenreparaci6n
Caballosde fuerza:10.5
a domicilio,adem_sde unaconvenbnteprogramaci6nde la
reparaci6n
Adquieraahoraunaeuerdode proteeci6nparareparacionesy
proteiasedeproblemasy gastosinesperados.
Unavezadquiridoel aeuerdo,puedeprogramarel serviciocon
tan s61orealizarunaIlamadatelef6niea.PuedeIlamareneualquier
momentodel diao de la noche,o programarunservieioenlinea.
Searsdisponede m_sde 12.000espeeialistasen reparaeiones
profesionabsquetienenaceesoa m_sde4.5 millonesde piezas
y aeeesoriosde grancalidad.Estees el tipode profesionalismoen
elque puedeeonfiarparaqueleayudea prolongarlavida Otildel
productorecientementeadquiridodurantemuchosaRos.iAdquiera
hoysu aeuerdode protecci6nparareparaciones!
Seaplican determinadas limitaciones y exclusiones. Paraobtener
prec_ose informaci6n adicional llameal 1o800o827o6655.
Sewicio de instalaci6n de Sears
Parainstalaci6ndeartefactosdom6sticos,dispositivosdeaperturade
portonesde garage,cabntadoresdeagua,y otrosarficulosdel hogar
perprofesionabsde Sears,en los EstadosUnidosIlameal
1-800-4-MY-HOME@
Aceitedel motor:
Combusfibb:
Buiia:
Motor:
@SearsBrands,LLC
SAE30
Gasolinasin plomo
Champion@RC12YC
Briggs& StrattonPowerBuiltTM
Ntimero de modelo
Ntimero de serie
Fechadecompra
Registreel nOmerodemodelo,nOmerodeseriey fechade compra
mAsarriba.
40

Lapresenciadeeste s[mboloindicaquese tratade
instruccionesimportantesdeseguridadque sedeben
respetarparaevitar poneren peligrosu seguddad
personaly/o materialy la deotraspersonas.Leay siga
todas lasinstruccionesde estemanualantes deporter
enfuncionamientoesta maquina.Si no respetaestas instruccionespodffa
provocarlesionespersonales.Cuandoyea estesimbolo, [presteatenci6na
la advertencia!
Su responsabiHdad:Restr[niael usode estam_qu[namotor[zada
alas personasquelean,comprendany respetenlas advertenc[ase
instrucdonesqueaparecenen estemanualyen la mAqu[na,
Estamaquinafueconstruidaparaser operadade acuerdoconlas reglas
de seguridadcontenidasen estemanual.AI igualqueconcualquiertipo
de equipomotorizado,un descuidoo error por partedel operadorpuede
producirlesionesgraves.Estamaquinaes capazde amputarmanosy pies
y dearrojarobjetoscon granfuerza. Deno respetarlas instruccionesde
seguridadsiguientesse puedenproducirlesionesgraveso la muerte.
El escapedel motorde esteproducto,algunosde suscomponentesy
algunoscomponentesdel vehiculocontieneno liberan sustanciasquimicas
que el estadode Californiaconsideraque puedenproducircancer,defectos
de nacimientou otrosproblemasreproductivos.
Nmt OS
Puedenocurriraccidentestragicossi eloperadornoestaatentoa la presencia
deni[_os.PorIogenerala los ni_oslesatraenlascortadorasy laactividadde
cortarel cesped.Noentiendenlosriesgosnilos peligrosNuncaasumaquelos
ni_ospermaneceranenel mismolugardondelosvio porLiltimavez
o Mantengaa los ni_osfueradel Areade trabajoy bajoestrictavigilanciade
un adultoresponsableadernasdel operador.
o Estealertay apaguelapodadorasi unnifioingresaal Area.
o Antesde moversehaciaarrasy mientrasIoestehaciendo,mirehacia
arrasycuidequeno hayani[_os.
o Tengaextremaprecauci6ncuandose aproximea esquinasciegas,
entradasdepuertas,arbolesu otrosobjetosquepuedanobstaculizarlela
vistadeun ni_oquepudiesecorrerhaciala cortadora.
o Mantengaa los ni_osalejadosde losmotoresenmarchao calientes.
Puedensufrirquemadurascon unsilenciadorcaliente.
o Nuncapermitaque niF_osmenoresde 14ariesoperenestamaquina Los
ni_osmayoresde14 ariesdebenleery entenderlas instruccionesde
operaci6ny reglasde seguridadcontenidasenestemanual,y debenser
entrenadosy supervisadosper suspadres.
FUNC[ONAM[ENTO GENERAL
Leacuidadosamentetodaslasinstruccionescontenidasenestemanual
antesdeintentarmontarlamaquina.Lea,comprenday respetetodaslas
instruccionesquefiguranenla maquinayen el o los manualesantesde
hacerlafuncionar.Antesdeoperaresteequipo,familiar[cesetotalmente
con loscontrolesy el usocorrectodel mismo.Guardeestemanualen un
lugarseguroparaconsultasfuturasy periodicas,as[ comoparasolicitar
repuestos.
Estamaquinaesunequipodeprecision,nounjuguete.PorIotanto,tenga
muchocuidadoentodo momento.Estaunidadrue diseffadapara realizar
unatarea:cortarelcesped.Nola utiliceparaningOnotrofin.
o Nopermitanuncaque losniSosmenoresde 14ariesutilicenesta
maquina.LosniRosmayoresde14altos debenleeryentenderlas
instruccionesdeoperacioncontenidasenestemanual,y debenser
entrenadosy supervisadosper suspadres.$61ose debepermitirusar
estamaquinaa individuosresponsablesyfamiliarizadosconsus reglas
deseguridad.
o Reviseminuciosamenteel Areaderidese utilizaraelequipo.Retiretodas
laspiedras,palos,Ilantas,huesos,juguetesy otros objetosextraRosque
podr[anhacertropezary caero ser recogidosy arrojadospor laacci6n
delascuchillas.Losobjetosarrojadospor lamAquinapuedenproducir
lesionesgraves.Planifiqueelpatr6ndecortedel cespedque ha deseguir
paraevitarla descargade materialhacialoscaminos,lasveredas,los
observadores,etc.Eviteademasdescargarmaterialcontralasparedes
yobstruccionesquepodr[anprovocarqueel materialdescargadorebote
contrael operador.
o Paraayudara evitarelcontactoconlacuchillao unalesi6nper unobjeto
arrojado,mantengaseen lazonadel operadordetrasde lasmanijasy
mantengaa los nffios,observadores,ayudantesy mascotasapartadosal
41
menos25metrosde lacortadoramientrasestaenoperaci6n.Detengala
maquinasi alguienentraen lazona.
o Paraprotegerselosojos,utilicesiempregafaso lentesde seguridad
mientrasoperala maquinao mientraslaajustao repara.Losobjetos
arrojadosquerebotanpuedenproducirlesionesocularesgraves.
o Utilicezapatosdetrabajoresistentes,desuelafuerte,y pantalonesy
camisasajustados.Se recomiendavestircamisay pantalonparacubrir
brazosy piernasy usarzapatosconpunteradeacero.Nuncaopereesta
maquinadescalzo,consandalias,zapatosresbalososo livianos(perej.
de lena).
o Nopongalasmanoso los piescercadelaspiezasrotatoriasnidebajo
de laplataformadecorte.Elcontactoconlascuchillaspuedeproducirla
amputaci6nde manosy pies.
o Unacubiertadedescargafaltanteo da[_adapuedeprovocarel contacto
conla cuchillao lesionesperobjetosarrojados.
o Muchaslesionesocurrencomoresultadodepasarla cortadorasobre
los piesduranteunacaidaprovocadaalpatinarseo tropezarse.No
se sostengadelacortadorasiseestacayendo,sueltela manija
inmediatamente.
o Nuncatire lacortadorahaciaustedmientrascamina.Sideberetroceder
conla podadoraparaevitarunaparedu obstaculo,mireprimeroabajoy
atrasparaevitartropezarsey luegosigaestospasos:
a. Retrocedade la podadorahastaestirarcompletamentesus brazos.
b.AsegSresequeestabienequilibradoybienparado.
c.Tirelentamentehaciaatras,nomasaliade la mitadde ladistanciaentre
ustedy lacortadora.
d. RepitaestospasossegSnseanecesario.
o Noopereestacortadorabajolosefectosdel alcoholo lasdrogas.
o Noengancheel mecanismoautopropulsadoenlasunidadesequipadas
mientrasarrancael motor.
o Lamanijadecontrolde la cuchillaes un dispositivodeseguridad.
Nuncaintenteevitarsufuncionamiento.Dehacerlonofuncionarianlos
dispositivosde seguridady podrianproducirselesionespersonalespor
el contactoconlascuchillasrotatorias.La manijadecontroldela cuchilla
debefuncionarbienen ambasdireccionesy regresarautomaticamentea
la posiciondesconectadacuandose lasuelta.
o Nuncaopere lacortadorasobrecespedh8medo.Siempreest6segurode
su equilibrio.Sitropiezay cae puedelesionarsegravemente.Sisiente
que pierdeel equilibrio,suelteinmediatamentela manijadecontrolde la
cuchillayla cuchilladejaraderotarentres segundos.
Corteel cespedsolamenteconluzde d[ao conunabuenaluzartificial.
Camine,nuncacorra.
o Detengalacuchillacuandocrucesendas,senderoso caminosde grava.
o Si la mAquinacomenzaraavibrarde maneraanormal,detengaelmotor
y busqueinmediatamentelacausa.La vibraci6nperIo generales una
advertenciade algOnproblema.
o Apagueelmotory esperehastaquelacuchillasedetenga
completamenteantesde retirarel colectorde c6spedo de desbloquearel
canal.La cuchillacontinOarotandopor unoscuantossegundosdespues

queelmotorsehaapagado.Nuncacoloqueningunapartedelcuerpoen
elAreadelacuchillahastaqueesteseguroquelacuchillahadejadode
girar.
o Nuncaoperelacortadorasinotienecolocadosyfuncionandoelescudo
posteriorapropiado,lacubiertadedescarga,elcolectordecesped,
lamanijadecontroldelacuchillayotrosdispositivosdeseguridady
protecci6n.Nunca@erelacortadorasilosdispositivosdeseguridad
estandaF_ados.SinoIohace,puedenproducirselesionespersonales.
o Elsilenciadoryelmotorsecalientanypuedencausarquemaduras.No
lostoque.
o Utilicesolamentepiezasyaccesoriosoriginalesdefabrica.SinoIohace,
puedenproducirselesionespersonales.
o Sisepresentansituacionesquenoestanprevistasenestemanual,sea
cuidadosoyuseelsentidocomOn.Contacteconsucentrodeservicio
Searsparaobtenerayuda.
FUNCIONAMIENTO EN PENDIENTES
Laspendientessonunfactorimportanteenlosaccidentesocasionadospor
derrapesy ca[dasy puedenproducirlesionesgraves.Laoperaci6nenpendientes
requieremuchaprecauci6n.Si nosesienteseguroen una pendiente,norealice
elcorte.Parasusegurida&use elindicadordependientesquese incluyecomo
partedeestemanualparamedirla pendienteantesdeoperarla unidaden una
zonainclinada.Sila pendientesuperalos 15 grados,norealiceelcorte.
HagaIo siguiente:
o Corteelcespedde la pendienteensentidotransversal,nuncahaciaarriba
yabajo.Tengasumocuidadoalcambiardedirecci6nen unapendiente.
o Est6atentoa losagujeros,surcos,rocas,objetosocultoso bultosque
puedanprovocarquese resbaleo se tropiece.Elcespedaltopuede
ocultarobstaculos.
o Siempreest6segurodequeestabienafirmado.Sitropiezay cae
puedelesionarsegravemente.Sisientequepier@el equilibrio,suelte
inmediatamentela manijadecontrolde la cuchillay lacuchilladejarade
rotaren3 segundos.
NohagaIo siguiente:
o Nocorte elc6spedcercadehundimientos,zanjasoterraplenes,podr[a
perderelequilibrio.
o Nocorte elc6spedenpendientesmayoresde 15gradoscomose muestra
enel indicadorde pendiente.
o Nocorte elc6spedhOmedo.Si noestafirmementeparado,puede
resbalarse.
SERVIClO
Mane]o seguro de la gasolina:
o ParaevitarlesionespersonalesodaRosmaterialesseasumamente
cuidadosoal manipularla gasolina.Lagasolinaes sumamenteinflamable
ysusvaporespuedencausarexplosiones.Sise derramagasolinaencima
o sobrela ropase puedelesionargravementeya quese puedeincendiar.
o Lavesela pielycambiesede ropade inmediato.
o Utilices61olos recipientesparagasolinaautorizados.
o NuncaIlenelosrecipientesenel interiorde unveh[culoo cami6no caja
deremolquecon recubrimientosplasticos.Antesde Ilenarlos,coloque
siemprelosrecipientesenelsueloy lejosdel vehiculo.
o Retireel equipoa gasolinadel cami6no remolquey II@eloenelsuelo.Si
estono esposible,Ileneelequipoen unremolqueconcontenedorportatil,
envezde desdeunaboquilladispensadorade gasolina.
o Mantengala boquilla en contactocon elbordedel dep6sitode
combustibleo con laaberturadel recipienteen todo momento,hasta
terminarde cargar.No utiliceun dispositivoparaabrir/cerrarla boquilla.
o Apaguetodosloscigarrillos,cigarros,pipasy otrasfuentesde
combustion.
o Nuncacarguecombustibleenlamaquinaen interioresporquelosvapores
infiamablespodr[anacumularseenel Area.
o Nuncasaquelatapa de la gasolinaniagreguecombustiblemientrasel
motorestacalienteo enmarcha. Permitaqueel motorse enfr[epor Io
menosdosminutosantesdevolvera cargarcombustible.
o NuncaIleneenexcesoel depositodecombustible.Lleneel tanquea no
masde _Jzpulgadapordebajode la basedel cuellodel tap6ndecarga,
parapermitirla expansi6ndel combustible.
o Vuelvaa colocarlatapa de lagasolinayajOstelabien.
o Limpiela gasolinaquese puedahaberderramadosobreel motoroel
equipo.Trasladela maquinaa otrazona.Espere5 minutosantesde
encenderel motor.
o Nuncaalmacenelamb,quinao el recipientedecombustibleenun
espaciocerradodon@ hayafuego,chispasoaparatosconpilotocomo
por ejemplo,calentadoresde agua,calefactores,hornos,secadoresde
ropau otrosaparatosa gas.
o Parareducirel riesgodeincendiomantengalamaquinalimpia
de pasto,hojasy deacumulaci6nde otrosescombros.Limpie
los derramesde aceiteo combustibley saquetodos losresiduos
embebidosdecombustible.
o Permitaquelamaquinase enfr[epor Iomenos5 minutosantesde
almacenarla.
Servicio general:
o Nuncaenciendael motorenespacioscerradoso enunazonaconpoca
ventilaci6n.Elescapedel motorcontienemon6xidodecarbono,un gas
inodoroy letak
o Antesdelimpiar,repararo inspeccionarla maquina,compruebe
que lacuchillay todaslaspartesquese muevense hallandetenido.
Desconecteel cabledela buj[ay p6ngalohaciendomasacontrael
motorparaevitarquese enciendaaccidentalmente.
o Reviselospernosde montajede lacuchillay del motora intervalos
frecuentesparaverificarqueestenbienapretados.Inspeccione
ademasvisualmentelacuchillaenbuscadedafios(abolladuras,
desgaste,roturas,etc).Reemplacela cuchillaLinicamentecon equipo
originaldelfabricante(OEM)listadoenestemanual,iEI usode piezas
que nocumplenconlasespecificacionesdelequipooriginalpodria
tenercomoresultadounrendimientoincorrectoy ademasponeren
riesgola seguridad!.
o Lascuchillasde lascortadorasson muyafiladasy podriancortarlo.
Envuelvala cuchillao utiliceguantesy extremelasprecauciones
cuandoefect8emantenimiento.
o Mantengatodoslospernos,tuercasy tornillosbienajustadospara
asegurarsede que lamaquinaseencuentraencondicionessegurasde
operaci6n.
o Nuncaintentealterarlosdispositivosdeseguridad.Controle
peri6dicamentequefuncionencorrectamente.
o DespuesdegolpearalgSnobjetoextraRo,detengael motor,
desconecteelcablede la bujiay col6quelohaciendomasacontrael
motor.Inspeccioneminuciosamentela maquinaparadeterminarsiesta
daflada.RepareeldaRoantesdeencenderlay operarla.
o Nuncaintenteajustaruna ruedao la alturade cortemientrasel motor
estaen marcha.
o Loscomponentesdel colectorde c6sped,lacubiertade descargay el
escudoposterior,estansujetosa desgastey da_iosquepodrian@jar
expuestaslaspiezasm6vileso permitirquese arrojenobjetos.Para
protegersuseguridad,verifiquefrecuentementetodos loscomponentes
y reemplacelosinmediatamentesoloconpiezasdelosfabricantes
del equipooriginal,listadosenestemanual,iEI uso depiezasque
no cumplencon lasespecificacionesdel equipooriginalpodriatener
como resultadounrendimientoincorrectoy ademasporteren riesgola
seguridadk
o Nocambielaconfiguraciondel reguladordel motorni excedala
velocidaddel mismo.Elreguladorcontrolalavelocidadmaximasegura
de funcionamientodel motor.
o Mantengao reemplacelasetiquetasde seguridad,segLinsea
necesario.
o Respetelasleyesy normasaplicablesparadisponeradecuadamente
de losdesechos.La disposici6ninapropiadadeliquidoso materiales
puededa_iarel medioambiente.
42

(1)
_2L
©
©
z
E;b
(])
©
b_
©
_25
©
c_
_25
I:D
_25
o3
ed
c_
E
CI)
T25
_d
.--_ .2
2x
_N
2D _
AHneey sostengaeste nJvelcon un _rbol vertical...
a_.toiarg Odo ia _ o la esquinade unaconstrucci6n...
/rhea PUntea j _,_------ o el poste de
"_ _ _' _ unacerca.
|
E
5E
©el)
_ _25
CI) -_
o _
o
09
_. N
_N
--- _
_d _J
© ©
_,---
C__'_
o3
_J
_25
E

Estes[mbolo[nd[ca[nstrucc[onesdesegur[dad[mportantesquede
noseguirse,se podrh poneren peligrolaseguridadpersonaly/o
laprop[edadsuyay deterceros,Leay s[gatodaslas [nstrucc[ones
enestemanualantesde[n[c[arlaoperac[6ndeestamAqu[na,En
casodeno segu[restas [nstrucc[onespodriaprovocarles[ones
personales,Cuandovea estes[mbolo
StGALAADVERTENCIA
Suresponsab[l[dad:S61operm[taqueusenesta mAqu[naelectr[ca
las personasquelean,comprendany respetenlasadvertenc[asy
las [nstrucc[onesqueaparecenen estemanualyen la mAqu[na,
44

I[_tPORTANTE:Estaunidadse enviasin aceiteen elmotor,Despues
delmontaje,consultela pAgina49 paralos detallesdelcombustibley
el aceite.
IMPORTANTE:Las referenciasa los ladosderechoo [zquierdode
lacortadorade cespedse hacenobservandola m_quinadesdela
posici6ndeoperac[6n,
Laplataformadela cortadoradec6sped puedearrojarobjetos.Encaso
deoperarla cortadorade c6spedsincolocar el canalde descargaen la
posici6nadecuadaparaelfuncionamiento,podr[anproducirsegraves
lesionespersonalesy/o daRosmateriales.
Desconecteel cablede la buj[ay pdngalohaciendomasacontrael motor
paraevitarquese enciendaaccidentalmente.
PIEZAS SUELTAS DENTRO DE LA CAJA
ManualdelOperador
Manguerade drenaiedeace[te
Acopladorde MangueradeAgua
HERRAMIENTAS NECESARIAS PARA EL
MONTAJE
Un]uegode Ilavesa]ustablesy unman6metroparaneum_iticos
RETIRO DE LA UNIDAD DE LA CAJA DE
MONTAJE
1, Cortelastiras, s[las hay,queaseguranla un[dadalpb_let,Deje
la unidadsobreelp_iletduranteel montaje(pararetirarlaunidad
delpAletsin r[esgos,esperehastahabermontadolaman[ja,
2, Retiretodo elembalajeprotectory las tiraspl_isticasde uni&
Esnecesarioquitary desecharel soporte del canalantesde operarla
cortadorade c6sped.
f
f
F[gura1
:,:;:_.............
F[gura2
RETIRO OEL SOPORTE OEL CANAL
1, Ub[queel soportedel canalque sostieneel canaldedescargaen
pos[ci6nvertical,F[gura1,
2, Tireel canalparaatris hac[aelmotor,Mientrassostieneelcanal
con unamano,retireel soportedel canalcon laotra mano,
3, Bajeconcuidadoelcanalcontralaplataformay descarteel
soporte,
MONTAJE DE LA MANIJA
1, Retirelas perillasen estrellainferioresy lostornillosdelcarro de
la manilainferior,F[gura2,
2, Girela manijasuperiora la operaci6noperativa,F[gura3,Tenga
cuidadode nodoblarn[torcerloscablesalgirarla manija,
3, Instalelostornillosdelcarroy las perillasextraidosanteriormente,
4, Aiustelas perillasen estrellasuperiorese [nferioresy los tornillos
delcarroparaasegurarla maniiasuperiora lainferior,F[gura3,
45
F[gura3

mNSTALACI6N DE LA PALANCA DE CAMBIO
DE VELOCmDADES
1, Extraigaeltornillode 5/6-18"y latuercadeseguridadque
suietanlapalancadecambioa laplacade lapalancade cambio,
Figura4,
2, Extraigaeltornilloy latuercarestantesde laplacade lapalanca
decambioinferior,Figura4,
3, Coloquela palancade cambiosuperiorenposici6nvertical
alineandolos orificiosde la palancacon losde la placade
cambio,Figura5,
4, Asegurela palancaa laplaca usandolos dostornillosy lasdos
tuercasextraidasanteriormente,Figura5,
AJUSTES FINALES
Presidn de los neumaticos traseros
Nuncaexcedala presi6nmaximade infladoque se indicaen loslateralesd6
los neumaticos.
Lapresi6noperatk,'arecomendadaparalos neum&ticostraseroses
deaproximadamente20 p,s,i,Verifiquela presi6nde los neum_ticos
regularmentey mantengasiemprela mismapresi6nen ambos
neum_ticostraseros,
IMPORTANTE:Consultelos lateralesde las ruedasparaconocercon
exacfitudla presi6nma'ximaenpsi recomendadaporel fabricante,No
infle losneum_ticosenexceso,Lapresi6ndeneum_ticosdesigual
podriahacerque laplataformacorteel c6spedenformadespareia,
f
Figura4
/
J
/
/' i/
Figura5
J
J
46

f
Palancade altura
de la plataforma--
,_-_ap6n decombustible
Palancade controldel
regulador/Cebador Controlde
lascuchillas
Controlde latransmisi6n
Palancadecambiode velocidades
\\
Figura6
FamiliaHcesecon todos los controlesy su correctofuncionamiento.Sepa
como detenerla maquinay c6mo desconectarloscontroles.
AI operarunacortadorade cespedes posiblequeobjetos extra_ossean
arrojadosa los ojos, Iocual puededafiarlosgravemente.Utilice siempre
gafasdeseguridaddurantelaoperaci6nde la cortadoradec6spedo
mientrasla ajustao larepara.
PALANCA DE CONTROL DEL REGULADOR
/CEBADOR
IMPORTANTE:Cuandooperelacortadorade
cespedcon laplataformadecortecolocada, l,_ m
asegOresedequela palancade controldel !
regulador/cebadorest6siempreen laposici6n
r_pido,
Estapalancase usapara regularlavelocidaddel
motor,paraaplicarel cebadordel motor,y para
detenerel motor,Hagafuncionarel motorsiempre
a altavelocidadparaobtenermeioresresultados
decorte,
Cebador:Ufiliceloparaarrancarunmotorfifo
R_pido:Utiliceloduranteelfuncionamientode la
cortadora,
Lento:Utilicelodurantela marchalenta,
Parar:Detieneel motor,
AsegOreseque ningunapersonaaparte del operadorpermanezcacerca de
la podadoramientrasarrancael motoru opera la misma.Nuncaencienda
un motorenespacioscerradoso en unazonaconpocaventilaci6n.El
escape del motorcontienemon6xidode carbono,un gas inodoroy letal.
Mantengalasmanos,los pies,el cabelloy la ropasueltaalejadosde las
partesmovilesdel motory de la podadora.
PALANCA DE ALTURA DE LA
PLATAFORMA
Useestapalancaparaaiustarlaalturadecorte, Para
utilizarla,muevala palancahaciala izquierda,luego
col6quelaen la muescaquemeiorseadaptea la
aplicaci6ndeseada,
TAPON DE COMBUSTIBLE
Retireeltap6nde combustibleparaagregarcombustible
al tanquedecombustible,
Usegasolinalimpia,fresca,regular,sin plomocon un
octanaieminimode 85,
Apagueel motory d_jeloenfriar al menosdos minutesantesde quitarel
tap6nde Ilenadode combustible.
47

CONTROL DE LAS
CUCHILLAS
Seusa el controldelas cuchillaspara
engancharla plataformade lacortadora.
Paraengancharestecontrol,presioney
retengala palancacontralaempufladura
de labarrade control Paradetener
las cuchillas,suelteel controlde las
cuchillas.Desenganchesiempreel
controlde lascuchillasantesdearrancar
el motor.Asi se aseguradeque las
cuchillasno comenzarAna girarcuandoarrancaelmotor.
CONTROL DE LA
TRANSMISI6N
Elcontroldela transmisi6nse usapara
engranary desengranarla transmisi6n
de lasruedas.Paraenganchar
estecontrol,aprieteelcontrolde la
transmisi6ncontralaempufladura
de labarrade control Paradetener
latransmisi6n,suelteelcontrolde la
transmisi6n.
INPORTANTE:Sueltesiempreel
controlde latransmisi6nantesde
cambiarlasvelocidades.
CONTROLES DEL MOTOR
Consultela Figura7 paraver laubicaci6nde los controlesdelmotor.
Arrarloador de retrooeeo
Elarrancadorderetrocesose usaparaponeren funcionamientoel
motor,
PALANCA DE CAMBIO DE VELOCIDADES
Useestapahnca paraseleccionarunade cuatrovelocidadesde
marchadirecta,neutralo marchaarras.
Marcha directa
Haycuatrovelocidadesde marchadirecta.Laposicbn uno(1)es la
mAslenta,y laposici6ncuatro(4)es lamAsrapid&
Marcha atr_s
Paraseleccionarmarchaatr_s,pongalapalancaen laposici6nde
reversa(R).
Neutral
Pongalapalancaen neutral(N) antesde arrancarla cortadora,para
empuiadamanualmente,y cuandolacortadoranoest_en uso.
Paraevitardafiar latransmisbn, nocambie develocidadcuandola
cortadoraestaen movimiento.Sueltela manijade controlde latransmision
antesde cambiardevelocidad.
Miredetras dela cortadoraantesy duranteel funcionamientomarchaatras.
Detengalas cuchillasde lacortadoraantesde operarmarchaatras.
Valvula de drenaje de aceite
Uselav&lvulade drenaiede aceiteparadrenarel aceitedel motor.
Consultelasecci6nde Mantenimientoparaobtenerinstrucciones.
Manija del filtro de aire
La maniiadeldepuradorde airese usaparaaccederaldepurador
deaire. Elcartuchopurificadorde airese puedeextraerparalimpiar
o reemplazar.Consultela secci6nde Mantenimientoparaobtener
detalles.
Si se instalaincorrectamenteel cartuchoo la cubierta,se puedenproducir
lesionesgraveso lamuerte delas explosionesdelcarburador.No intente
arrancarel motorcuandono estan puestos.
Buj_a de encendido/Cable de la buj_a
Consultelasecci6nde Mantenimientoparaobtenerinstrucciones
sobreel reemplazode buiias.
Tap6n de aceiteivarilla de medici6n del nivel de
aceite
Consultelasecci6nde Mantenimientoparaobtenerinstrucciones
sobrec6moverificarelaceite.
de
retroceso
--_ Manijadel
Tap6nde filtrodeaire
aceite/varillade
medici6ndel nivel
de aceite
Wlvula de
drenajede
aceite Silenciado¢y Buiiade
protectordel encendido
silenciador
Figura7
CaMede la
buiia
J
48

AI operarunacortadoradecespedes posiblequeobietosextrahos
sean arroiadosa los oios,Iocual puededaharlosgravemente,Utilbe
sbmpre galas desegur[daddurantela operac[6nde lacortadorade
c6spedombntras la ajustao la repara,
Asegtiresequeningunapersonaapartedeloperadorpermanezcacercade la
podadoramientrasarrancael motoruoperalamisma.Nuncaenciendaunmotol
en espacioscerrsdoso en unazonaconpocaventilaci6n.Elescapedel motor
contienemon6xidodecarbono,ungasinodoroyletal.Mantengalasmanos,los
pies,el cabelloy lavestimentasueltaalejadosde laspiezasm6viles.
Tengasumocuidadoal man[pularla gasolina,Lagasolinaes suma-
mente[nflamabley susvaporespuedencausarexplos[ones,Nunca 1
carguecombustibleen lamAquinaen unespac[ocerradoo cuandoell
motorest_calbnte oen march&@ague cigarrillos,cigarros,pipasYl
otrasfuentesdecombustbn, j
LLENADO DE GASOUNA Y ACEITE
Lienado de gasolina
Loscombustiblescon mezcladealcohol(quese Ilamangasohol,
oque ut[lizanetanolo metanol)puedenatraerhumedad,Ioque
conducea la separaci6ny formaci6nde_cidosduranteelalmace-
nambnto,El gasaddbo puededaharel s[stemadecombustbledel
motormbntras la m_c[uinaest_ almacenada,
Paraevitarprobbmascon el motor,se debevaciarelsistemade
combustibbantesdealmacenarla m_quinadurante30dias o m_s,
Vacb el tanquede nafta,enciendael motory deielofuncionarhasta
que las lineasde combustibley el carburadorest6nvacios,La
siguientetemporadausecombustiblefresco,Consultelas Instruc-
cionesdeALMACENAMIENTOsi desea informaci6nadicional,
No usenuncaproductosdelimpiezaparamotoreso carburadores
en el dep6sitode combustible,sepuedenocasionardahosperma-
nentes,
IMPORTANTE:Lacortadorade@spedse entregasincombustibleen
eltanque,
NuncaIleneel tanquede combustblecompletamente,Lleneel
tanqueano m&sde 1/2pulgadapordeba]ode labase delcuello
de Ilenadodejandoespacioparaladilataci6ndelcombustbb,
Sbmpre use gasolinaparaautomotoressin plomo,limpiay
nueva,Lleneel tanquede combustibbala[re Ibre y useun em-
budoo pbo paraev[tarderramar,AsegOresede queel rec[piente
desdeelcual vbrte lagasolinaest6limp[oy noest6oxidadon[
contam[nadocon otrasparficulasextrahas,AsegOresede I[mpbr
el combusfibbquese hayaderramadoantesdearrancarel
motor,
, AIfinalizarel trabaio,vacb el tanquedecombusfibbs[la
cortadorade c6spednoser_ usadadurantelos sigubntes30
diaso m_s,AImacenelagasolinaen unrecipbnte limp[oy
mantengael recipientebientapado,Consultelas[nstruccionesde
ALMACENAMIENTOs[desea[nformaci6nadbionaL
Uenado de aceite
I[_tPORTANTE:La cortadorade cespedse entregacon aceiteen el
motor,noobstante,ustedDEBEverificarel nivelde aceiteantesde
operarla,Elaceitedebecambiarsedespuesde las primerasdos horas
de operaci6ny cada25 horasde operaci6ndeah[ enm_s, Utiliceel
tipo deaceitede motorespecificadoen lasecci6nMantenimiento,
1, Retireeltap6nde Ilenadodeaceite/la varilladenivelde aceite
del tubode Ilenado,
2, Controb queel niveldeaceiteIleguehastalamarcaFULL(lleno)
de lavarilladel niveldelaceite,S[es necesar[o,vbrta aceite
lentamenteen el tubode Ilenadohastaqueel niveldeaceite
alcancea Ileno,
3, Vuelvaacolocareltap6nde Ilenadodeaceite/varilladel nivel
del aceite,
ENCENDIDO DE LA CORTADORA DE CO:SPED
1, Sueltetodosloscontrobs de la cortadoraparaimpedirque las
ruedaso las cuchillasroten,
2, Muevalapalancadecamb[odevelocidadalaposici6nneutral(N),
3, Muevalapalancedecontroldelregulador/cebadortotalmente
haciaarribaala£osici nN cebadorparaarrancarunmotorlrio
o a la posici6n-'_"r@ido paraarrancarunmotorcaiiente,
4, Paraarrancarel motorusandoel arrancadorde retroceso:
a, Pb,rese delladoizquierdo(mirandodesde atr_sde las
barrasdecontrol)dela m_quina,AsegOresedetenerlos
piesbienleiosde lapartede abaiode la plataformade la
cortadoray quetodoslos controlesdela cortadoraestb.n
desenganchados,
b, Tomecon firmezala maniiade sogadelarrancadory tire
bntamentehastaquela sogaquedeunpocomb,s tirante,
Deiequelasoga seenrollelentamente,Luegotire de la
sogacon ungolper@idoy continuodetodo elbrazo,
Deiequelasoga seenrollelentamente,Si elmotornoha
arrancadodespuesde tres[ntentos,repitalas instrucciones
(intenteponerel reguladoren la posici6nr@ido),
c, Cuandoel motorarranque,hb,galofuncionaren la posici6n
de reguladorr@ida'_t(mueva la palancade controldel
regulador/cebadorde laposici6ncebadorala posici6n
rapido),
Miredetrasde lacortadoraantesy duranteelfuncionamientomarchaatras.
Detengalascuchillas de la cortadoraantesde operarmarchaatras.
Si golpeaunobjeto extra_o,detengael motor.Retireelcable de la bujia,
inspeccionedetenidamentela cortadoraparaverque notengadatios,y
repareel da[io antesde volvera encendery opersr. Elexcesodevibracion
de la cortadoradurantela operaciones una indicaci6nde da[_o.Se debe
inspeccionary repararla unidadIoantes posible.
49

Miredetrasde lacortadora antesyduranteel funcionamientomarchaatras.
Detengalas cuchillasdela cortadoraantesde operarmarchaatras.
USO DE LA CORTADORA DE CE_SPED
IMPORTANTE:Sueltesiempreel controlde latransmisi6nantesde
cambiarlasvelocidad,Consultela secci6n"Conozcasu cortadorade
c6sped"paraver los controlesde lacortadora,
AsegOresedequeel cespedest_libredepie@as,palos,cablesu
otrosobietosquepudiesendaharlacortadorao el motor,Dichos
obietospuedenserarroiadosaccidentalmenteporlacortadoraen
cualquierdirecci6ny provocarlesionespersonalesgravesal operador
y a otraspersonas,Paraobtenermeioresresultados,nocortecesped
mojadoy nuncacortem_sde unterciodela Iongitudtotaldelc6sped,
1, Unavezqueel motorestefuncionando,aprieteel controlde
transmisi6ncontrala maniiasuperiorparaimpulsarla m4quina,
Paraactivarlas cuchillasdecorte, aprieteel controlde las
cuchillascontralamanijasuperior,
2, Paracambiardevelocidad,liberelapalancadecontrolde la
transmisi6ny muevalapalancadecambiode velocidada la
posici6ndeseada,Parapracticarcon lacortadorainicialmente,
pongalapalancaen laposici6nNO1,Seleccionelasvelocidades
directassegOnlas condicionesdelterrenoy delcorte, Use
velocidadesm_sbajasenterrenosagrestesodondeelpastoes
m_spesadoo grueso,Lavelocidaddirectase puedeaumentar
sobreterrenoslisoso dondeel pastonoestb,muytupido,Permita
quelas ruedasse detengancompletamenteantesde cambiarde
unavelocidada otra,
IMPORTANTE:Tengapresentequeal engancharlapalancade
controlde latransmisi6ncon lapalancadecambioen3ra o 4ta
velocidad,lapotenciay el parmotorgeneradospuedenhacerque la
unidadse sacudahaciaadelante,Paraevitado,aprietelentamentela
pahnca de controlde latransmisi6ncontrala maniiasuperior,
3, Paradetenerlascuchillas,suelteel controlde lascuchillas,Para
detenerel controlde latransmisi6nalas ruedas,suelteelcontrol
dela transmisi6n,
DETENCI6N DE LA CORTADORA DE
CE_SPED
1, Suelteelcontrolde las cuchillasy latransmisi6nparadetenerlas
ruedasy las cuchillasde plataforma,
2, Muevalapalancadecontroldel reguladodcebadorhaciaabaio
a laposici6nlenta (tortuga)'_, Siemprequesea posible,
reduzcagradualmentela velocidaddel motorantesde detenerlo,
3, Muevalapalancadecontroldel regulador/cebadortotalmente
haciaabajoa la posici6nStop_ (detenci6n),
4, Desconecteel cablede labuiiay p6ngalohadendomasacontra
el motor,
TRASLADO DE LA OORTADORA BE C¢:SPED
CON EL MOTOR APAGADO
Sepuedeempuiaro tirar de lacortadoramanualmentecolocandola
palancade cambiodevelocidaden la posici6nN (neutral)y presion-
andoelcontrolde latransmisi6ncontralaempuhadurade labarrade
control
ABONO O CORTE CON DESCARGA LATERAL
Sepuedeusar lacortadoradec6spedtantocomocortadoraabo-
nadorao comocortadoracon descargalateral,Parausarla funci6n
de abono,insertelaclaviiade abonocomose indicaa continuad6n,
Retirelaclaviiadeabonoparadescargarlateralmentelos recortesde
c6sped,
Laclaviiadeabonoest_disehadaparamantenerel canalde descarga
levantadoduranteel corte,Cuandose retiralaclaviia,elcanalde
descargase baiasolo paracortarcon descargalateral,
Antes deinstalaro desinstalarla clavijade abono,detengael motor,espera
a quelas piezasdejen de moversey desconecteel cablede labujia.
Parainstalaro desinstalarla claviiade abono:
1, Detengael motory esperaquetodaslas piezasdeiende
moverse,
2, Desconecteel cablede la bui[a,
3, Parainstalarla claviiadeabono,insertela leng0etaderecha(A)
de laclaviiaenel soportede laplataforma,Figura8,
4, Insertela cubiertaen laaberturade descarga(B), Figura8,
5, Unavezquela daviiade abonoest_colocadaenlaaberturade la
plataforma,emp0jelahacialaparteposteriorde lacortadora(C)
paraquelaclaviiacalcecorrectamenteenla abertura,Figura8,
6, Pararetirarladaviia, @slice lacubiertahaciala derecha(frente
de lacortadora)paradesengancharlaranurade laplataformade
lacortadoray luegofuerceel ladoizquierdode lacubiertahacia
afueraparasoltarla,
Figura8
Mantengalas manosy piesaleiadosde laaberturadedescargade
laplataformade corte,
5O

Detengasiempreel motor,desconectela bujfay haga masacontrael motor
antes derealizarcualquiertareade mantenimientoenla cortadora.
RECOMENDACmONES GENERALES
Respetesbmpre las reglasde seguridadcuandorealice
cualqubr tareademantenimbntoenla cortadora,
• Lagaranfiadeestacortadoranocubreelementosquehan
estadosuietosal realusoo la negligenciadeloperador,Para
reciNrel reembolsototalde lagaranfia,el operadordeberb,dar
mantenimbntoa la podadoracomose indicaenestemanual,
• Elcambiode lavelocidadcontroladadelmotorinvalidarAla
garanth del motor,
• Todoslosaiustesdebenser verificadosporIo menosunavezen
cadaestaci6n,
• Reviseperi6dbamentetodoslos suietadoresy compruebeque
estenbienaiustados,
MANTENmMIENTO DEL MOTOR
Controm de la buj_a de encendido
Limpb la buiiay aiustela separaci6ndelebctrodo a 0,030"al menos
unavezporestaci6n,reemplacecada 100horasde funcionambnto,
1, Limpb el b,reaalrededorde labase dela buiia,No liie labuiia, Se
debelimpiarhs bujiasmedianteraspadoo talladocon cepillode
alambrey lavadocon unsolventecomerciaL
2, Saquee inspeccionela bujia,Verifiquelaseparaci6npara
asegurarsede queestafijadaen0,030",Veala Figura9,
3, Cambb labuiiasi losebctrodos est_npicados,quemadoso la
porcelanaestb.rota,
f_" Ebctrodo Porcelana
_, <--_ Separaci6nde 0,030pulg(0,76mm)
Figura9
Mantenimiento dem fimtro de aire.
Si se instalanincorrectamentelosfiltroso las cubbrtas, se pueden
producirlesionesgraveso la muertede las explosionesdel
carburador,Nointentearranearel motorcuandonoest_npuestos,
No use airepresurizadoni solventesparalimpiarel cartuchodelfiltro
de aire,
Limpieo reemplaceel filtrode airecada25 horasde funcionambnto,
1, Tire la maniiadel filtrode aireparaarriba, Figura10,y tire para
atr_shaeiael motor,
2, Retirelacubiertadelfiltro deaire, Figura10,
3, Extraigacon cuidadoel cartuehodel filtrodeairey elpre-filtro(si
est_ instalado)delaloiamientodel soplador,
4, Limpiela basedelcartuchodelfiltrodeairecon cuidadopara
evitarquelas impurezaspenetrenenel motor,
5, Coloqueelpre-filtro,si est_ instalado,y el cartuchonuevamente
en elaloiamientodelsoplador,El cartuchose debecolocar
firmementeensu posiei6n,
6, Alinelas bngOetasde laeubiertacon las ranurasdelaloiamiento
del sopladory vuelvaa coloearlaeubierta,
Cubiertadelfiltrode aire Cartuchodelfiltrode aire
\
Maniiadelfiltrodeaire
Figura10
51

Cambio de aceite del motor
Elaceitedel motorse debecambiarcada25 horasde funcionamiento,
1, Paraaccedera lavAIvulade drenaiedelaceitedel motor,se debe
girarhaciaadelanteelfirantetubularde la maniiaderecha,
a, Extraigala perillaenestrellasuperiory el tornillodel carro
delladoderechode la manija,Figura11,
b, Gireelfirantetubularhaciael frentede lacortadorapara
tenerlugarparaconectarlamangueradedrenaiedeaceite
a lavb,lvulade drenaiede aceite,Figura11,
2, Abraeltap6nprotectoren elextremode la vAIvuladedrenajede
aceiteparadeiarexpuestoel orificiode drenaie,Figura12,
3, Retireel tap6nde Ilenadode aceite/la varillade niveldeaceite
deltubo deIlenado,Figura12,
4, Insertela mangueradedrenaiedeaceite(empaquetadacon
estemanual)dentrodelorifido de drenaiedeaceite,Coloqueel
extremoopuestodela mangueraen undep6sitode recobccbn
deaceitequeposeacapacidadsuficientepararecogerel aceite
usado,
5, AbralavAIvulagirandola vAIvuladedrenaiede aceiteensentido
contrarioalas aguiasdelrelojy firando,ElaceitecomenzarAa
drenardelmotor,
6, Despu6sdequehayaterminadode drenarelaceite,vuelvaa
presionarlavAIvulade drena}edeaceitehaciaadentro,r6telaen
sentidode lasaguiasdel relojparacerrary bloquearlavAIvula,
retirela mangueray vuelvaa tapar elextremode la vAIvulade
drenaiedeaceiteparaevitarque ingresenresiduosal orificiode
drenaje,
7, Vuelvaa Ilenarel motorcon aceitede motornuevohastaqueel
niveldelaceiteenla varillade medici6nIleguea FULL(Ibno),
Vuelvaa colocarel tap6ndeIlenadode aceite/varilladel nivel
delaceite,
8, Gireeltirantetubularde la maniiaderechaa su posici6ninicial,
Alineel orificiocentraldeltirantetubularconel orificiodela
manija,Suietecon la perillaen estrellay el tornillodel carro
extraidosanteriormente,
Usesolamenteunaceitedetergentede alta calidadcuyaclasificaci6n
deservicioAPIsea SF o SG,Seleccioneel gradode viscosidadSAE
delaceitesegOnlatemperaturadeoperaci6nesperada,Aunque
los aceitesdeviscosidadmOItipb(5W30,10W30,etc,) meioranel
encendidocuandoel climaest_fifo, los mismosincrementanel
consumodeaceitecuandose usana mAsde32°R Compruebeel
niveldeaceitecon mayorfrecuenciaparaevitardahosdebidoa queel
motortrabaiecon unniveldeaceitebaio,
f
Valvuladedrenajedeaceite
Figura1!
f -m
Tap6nde Ilenadode
aceite/varillade medici6n
delnivelde aceite
Tap6nprotector
de drenaje
Manguerade
drenajede aceite
deaceite
Figura12
Figura13
52

AntesdeIlevara caboalgOntipode mantenimientoen la mAquina,
esperea quetodaslaspartesse detengany desconecteel cablede
labuiia. Sino se observanestasinstruccionesse puedenproducir
lesionespersonaleso dahosmateriales.
EXTRACCKSN DE LA CUBIERTA DE LA CORREA
Lacubiertade la correase debeextraerpararealizarvarios
procedimientosde mantenimientoy servicio.Sigalas siguientes
instruccionesparaextraerlacubiertade lacorrea.
1. Detengael motor,esperea quetodaslas partesdeiende
moversey desconecteelcable dela buiia.
2. Quitelos trestornillosy arandelasquesosfienenlatapa almarco,
la Figura14.
3. Extraigalacubiertadela correa.
4. Parainstalarde nuevolatapade cintur6n,coloquela tapaen
la posici6ny suietela utilizaci6nde trestornillosy arandelas
quitadasantes.
Nohagafuncionar la unidadsin la cubiertadela correa instalada.Sino se
observanestasinstruccionesse puedenproducirlesionespersonaleso
daF_osmateriales.
f
Figura14
EXTRACCI6N DE LA PLATAFORMA DE LA
CORTADORA DE CESPED
Antesdehacercualquierfipo de mantenimientoen la parteinferior
de lacortadora,se debeextraerla plataformadecorte. Sigalas
siguientesinstruccionesparaextraerlaplataformade corte:
1. Detengael motor,esperea quetodaslas partesdeiende
moversey desconecteel cablede labuiia.
2. Sueltetodosloscontrolesde la cortadorade cesped.
3. Saquelacubiertade lacorreacomosedetallaen "Extracci6nde
la cubiertade lacorrea."
4. Usela palancade alturade laplataformaparamoverla
plataformadecortea su posici6nm_.selevada.
5. Coloquetacosdemaderadebajodela plataforma.
6. Usela palancade alturade laplataformaparabaiarlaplataforma
y hacerladescansarsobrelostacos demadera.
7. Mire laplataformade cortedesdeel ladoizquierdode la
cortadoray Iocaliceel pasadorde horquillaquefija la varilla
de sostende la plataformaal lateralposteriorizquierdode la
plataforma,Figura15.
8. Extraigael pasadorde horquillaqueilia la varilladesost6n,y
extraigacon cuidadoel soportede laplataformadel brazode
elevaci6nde laplataforma,Figura15.
9. Repitalos pasos7 y 8 delladoderechode lacortadora.AI
terminar,se debenextraerlos cuatropasadoresde horquilla.
10. Empujelaplataformadecortehaciala izquierdapara
desengancharel montajede elevaci6nde la plataforma.
11. Usela maniiadeelevaci6nde laplataformaparalevantarla
plataformaasu posici6nm_salta.
12. Retirelostacosde maderade debaiode laplataforma.
13. Extraigalacorreadetransmisi6ncomose detallaen "Reemplazo
de la correade transmisi6n".
14. Deslicelaplataformadecortehacia laporte posteriordela
unidad.
15. Desengancheelcable resortede latransmisi6ndelmontajedel
brazosecundariolibre. Figura16.
16. Retirelaplataformade corte.
17. Parainstalarlaplataformadecorte,siga los )asosanterioresen
ordeninverso.
Figura15
53
Figura16

AntesdeIlevaracaboalgOntipodemantenimientoenlamAquina,
espereaquetodaslaspartessedetenganydesconecteelcanede
labuiia.S[noseobservanestas[nstruccionessepuedenproducir
lesionespersonalesodahosmateriales.
LUBRICACION
Puntos de pivote y varillaje
Lubr[quetodoslos puntosde p[votedels[stemadetransm[s[6ny el
varillaiede elevaci6nal menosunavezportemporada,ocada 25
horasdefuncionamiento,conaceiteligero.
Ruedas traseras
Sedebenextraerlas ruedastraserasde los e]esunavezpor
temporada.Lubriqueloseje y las Ilantasadecuadamentecon grasa
mult[usoantesde volvera [nstalarlos.
RodamJentos de Jas ruedas deJanteras
Hayaccesor[osdeengraseen cadarued[tayen el basfidorquecubre
cadarueditadelantera,Figura17.Lubr[queestas Areasusandouna
p[stolade engrasedespu6sde cada50 horasde trabajo.
Paralubr[carel rodam[entode unaruedita,rotela ruedaparaqueel
accesor[odeengrasese alineecon laranuradelsoporte,Figura17
- as[habrAlugarparaconectarel acoplede la p[stoladeengraseal
accesor[odeengrase.Notendr_necesidadde usarel accesor[ode
engrasedelotro ladodela rued&
UMPIEZA DEL MOTOR Y DE LA
PLATAFORMA
si se derramacombustibleo aceitesobrela m_quina,debelimpiarse
de [nmediato.No permitaquese acumulenresiduosalrededorde
n[ngOncomponentedela cortadora.
Limpieza deJ motor
Las partesdel motorsedebenmantenerlimp[asparareduc[rel
riesgodesobrecalentamientoy combusti6nde losresiduos.Es
part[cularmente[mportantecuandose cortacespedalto.
Limpieza de Ja pJataforma de corte
Deck WashSystemTM
Ufil[ceels[stemaDeckWashSystemTM (S[stemade lavadode la
plataforma)paralavarlaparte inferiorde laplataformay quitarlos
restosdec6spedrecortadoe [mped[rla acumulac[6nde sustanc[as
qdmicas corrosivas.
1. Enrosqueel acoplede mangueraalextremodela manguerade
iardin.Figura18.
2. Unael acopledela mangueraal puertodeaguaquese
encuentraen lasuperfic[ede laplataforma,Figura18.
3. Abraelsumin[strode agua.
4. Apunteel canaldedescargaleiosde las personasu obietos.
5. Enciendalacortadoray enganchehs cuchillas(presioney
retengael controlde lascuch[llascontralaempuRadurade
la barradecontrol)duranteunm[nimode dos minutos.No
engancheelcontrolde transm[s[6n.
6. AIcompletar,desengancheel controlde hs cuchilhs (libereel
control)y @agueel motor.
7. Desconecteel aguay retireelacopladorde lamangueradeel
puertodeagua.
No I[mpielacortadoradecespedcon unalavadoraa presi6n.Puede
producirdahosa los componentesel6ctricos,husillos,poleas,
rodam[entoso almotor.
X
Accesoriode
engraseen
la rueda
/
Alineeelaccesoriode
engraseconlaranuradel
soportedelarueda
Figura17
Mangueradejard[n_,_
Acopladorde
manguera
\\
/Puertodeagua
/
Figura18
54

Nuncaexcedalapresi6nmaximade infladoquese indicaen los
lateralesde losneumAticos,
PRESION DE LOS NEUMATmCOS TRASEROS
Lapresi6noperativarecomendadaparalos neum&ticostraseroses
deaproximadamente20 p,s,LVerifiquela presi6nde los neumaticos
regularmentey mantengasiemprela mismapresi6nen ambos
neumAticostraseros,
IMPORTANTE:Consultelos lateralesde las ruedasparaconocercon
exactitudla presi6nmb,ximaenpsi recomendadaporel fabricante,No
infle losneum_ticosenexceso,Lapresi6ndeneum&ticosdesigual
podriahacerque laplataformacorteel c6spedenformadespareia,
f
......J•
Figura19
J
REEMPLAZO DEL ESCUDO POSTERIOR
1, Dobleelescudoposteriorhaciaadentroa cada ladoparaliberar
las leng(]etasde losaguierosen elbastidorde lacortadora,
Figura19,
2, Reemplacecon unescudonuevodoblandoel escudopara
permitirquelas lengOetascalcenen losorificiosdel basfidorde
la cortadora,
55

MANTENJMJENTODELAS CUCHJLLAS DE CORTE
de retirar la o las cuchillas de corte para afilarlas o reemplazarlas.
Proteiaselasmanos usandoguantes gruesos o untrapo paraagarrar la
cuchilla de corte.
Inspeccione peri6dicamente los husillos de las cuchillas para controlar
si hayfisuras o da_os, especialmente despues de golpear un obieto
extra_o. Reemplacede inmediato si estan da_ados.
Las cuchillas de lascortadora son muy filosas. Ouando trabaie con
las cuchillas, useguantes de cuero grueso o envuelva las cuchillas en
trapos gruesos para protegerse de los bordes filosos.
Extraccion de Jas cuchiJJas
1, Retirela plataformadedebaiodela cortadoray volteela
plataformasuavementedeiandoa lavista laparte deabaio,
Consultelas instrucdonesde "Extracd6nde laplataformadela
cortadorade c6sped",
2, Coloqueuntacode madera2x4de aproximadamente8,5
pulgadasdelargoentreel aloiamientode laplataformay la
cuchilladecorte, paraqueact@ comeestabilizador,
Figura20,
3, Extraigalatuercade bridahexagonalqueaseguralacuchillaal
montaiedel husillo,Figura20,
Afilado de cuchiJJas
JMPORTANTE:Siexisteunaseparaci6nde metal,reemplacelas
cuchillasporotrasnuevas,
1, Paraafilar lascuchillasde cortedeformaadecuada,extraiga
cantidadesigualesde metaldeambosextremosdelas cuchillas
a Io largode los bordescortantes,deformaparalelaal bordede
caida,a un _ngulode25° a 30°, Figura21,
a, Es importantequecada bordede lacuchillade cortesea
pulidoporigualparamantenerel equilibrioadecuadode
lacuchilla,Unacuchilladesequilibradacausarb_vibraci6n
excesiva,y puedeocasionardahosmaterialesa lacortadora
queresultenenlesionespersonales,Sepuedeprobar
lacuchillabalance_ndohsobreundestornilladorde eje
circular,Afileel metaldel ladopesadohastaquequedebien
equilibrada,
Extraigalatuercadebrida)araliberar
lacuchilla
// jr
Useuntacode maderaparaestabilizarlacuchilla.
Figura 20
Figura21
JnstaJaci6n de cuchiJJas
1, Parainstalarlacuchilla,coloqueel ladode la cuchillaque fiene
el n0merodepiezaestampadomirandohaciaelsuelocuandola
cortadoraest_en posici6ndeoperaci6n,
2, UtiliceunaIlavedetorsi6nparaaiustarlatuercade bridadel
husillohastaentre70 y 90 piesdibras,
56

REE[V]PLAZODE LAS CORREAS
AntesdeIlevara caboalgOntipode mantenimientoen lamb,quina,
esperea quetodaslaspartesse detengany desconecteel cane de
labuiia. Sino se observanestasinstruccionesse puedenproducir
lesionespersonaleso dahosmateriales.
Evitela posibilidadde lesionesporcompresi6n.No coloquelos
dedosentre lascorreasy laspoleas.
Lacortadorautilizatrescorreas:1)correadetransmisi6n,2) correade
enganchedela plataforma,3) correadesincronizaci6nde lacuchilla.
Antesde reemplazarunacorrea,observepord6ndepasala correa
alrededorde las poleasy soportescomoayudaal instalarel repuesto.
IMPORTANTE:Lascorreasde la cortadorade cespedhansido
disehadasespecialmenteparaqueengraneny desengranensin
riesgo.Paraque lamb,quinafuncionedemaneraadecuada,use
correasaprobadasporel fabricante.
Reemplazo de la correa de transmisi6n
1. Detengael motor,esperea quetodaslas partesdeiende
moversey desconecteelcable dela buiia.
2. Sueltetodoslos controlesde lacortadoradec6sped.
3. Retirela cubiertadela correacomose ha indicadoantesen esta
secci6n.
4. Aflojeel guardacorrea(A). ElguardacorreaestAsujetoa la parte
inferiordel bastidorde la cortadora,Figura22.
5. Afloiela poleaIoca(B)afloiandoel pernoy la tuerca,Figura22.
6. Extraigalacorrea (C)de alrededorde las poleas,Figura22.
7. Pasela nuevacorreaalrededorde las poleasasegurAndosede
aiustarlas tuercas,pernos,y el guardacorrea.
8. Vuelvaa colocarla cubiertadela corre&
Reempmazo de la correa de enganche de la plataforma
1. Detengael motor,esperea quetodaslas partesdeiende
moversey desconecteel cane de labuiia.
2. Sueltetodosloscontrolesde la cortadorade c6sped.
3. Retirelacubiertade lacorreacomose haindicadoantesenesta
secci6n.
4. Afloieel pernoy latuercaquesuietanlavarilladelguardacorrea
al bastidor,Figura23.
5. Afloiela poleaIoca(A)afloiandolatuercay elperno,Figura24.
6. Afloiela poleaIoca(B) aflojandola tuerca,Figura24.
7. Extraigalacorrea(C) dealrededordelas poleas,Figura24.
8. Pasela nuevacorreaalrededorde las poleasasegurAndosede
aiustarlastuercas,pernos,y el guardacorrea.
9. Vuelvaacolocarlacubiertade lacorrea.
i !
J
Figura23
\
Figura22
57
Figura24

Reempiazode ia correa de sincronizacion de ia
cuchilia
1, Detengael motor,espereaquetodaslas partesdeiende
moversey desconecteelcane de la buiia,
2, Sueltetodoslos controlesde lacortadoradecesped,
3, Retirela eubiertade lacorreaeomose haindieadoantesen esta
secci6n,
Extraeci6nde lacorreade sincronizaci6n
4, Extraigael resorte(A)delsoportede sincronizaci6ny la
plataforma,Figura25,
5, Afloieeltornillode 3/8-16y la tuercaacopladosal montaiede la
plataforma,Figura26,
6, Gireelsoportede sincronizaci6ndela poleaIoca(B) parapasar
la correaalrededorde la poleaIoca,Figura25,
7, Gireel montajedel brazosecundario(C) y extraigalacorrea(D)
delos montaiesde husillo,Figura25,
Instalaci6nde lacorreadesincronizaci6n
8, Antesde instalarunacorreade sincronizaci6nderepuesto,se
debeasegurardeubicarlas marcasdecada montaiede husillo
detal maneraquelascuchillasquedenperpendicularesentresi
Figura27,
a, Gireel montaiedel husilloseparador(E)paraquela fiecha
estampadaen elhusillomire haciael frentede la cortadora
Figura25,
b, Gireel montajedel husillotransmisorparaquela flecha
estampadaen elhusillomire haciael exteriordela
plataformadecorte, Figura25,
9, Pasela nuevacorreaalrededorde las poleasasegur_.ndosede
aiustarlas tuercasy pernos,Instaleel resorteextraidoenel paso
4,
10, Vuelvaa colocarla cubiertadela correa,
f
Figura25
58
Figura26
f --,,
\
Frente
Figura27

PROGRAMA DE MANTEN(MIENTO
Antesderealizarcualquiertipodemantenimientoo servicio,desenganchetodos
loscontrolesy detengaelmotor.Esperea quesedetengancompletamente
todaslaspiezasm6viles,Desconecteelcabledelabuj(ay pongalohaciendo
masacontrael motorparaevitarquese enciendaaccidentalmente.Utilice
siempreanteojosdeseguridaddurantelaoperaci6no mientrasrealizaajusteso
reparaciones.
Sigael cronogramade mantenimientoquese presentaacontinuaci6n,
EstatabIas61odescribepautasdeservicio,UfiIice)acoIumnaRegistro
de Servicioparahacere)seguimientode )astareasdemantenimiento
compIetadas,Paraubicar o(Contro do Sorvicio Soars m_s corcano
oparaprogramar un sorvicio, simp(omonte comuniquoso con
Soars a(te(_fono 1-800-4-MY-HOME®
Cadauso 1,
2,
3,
4,
5,
6,
1,
2,
3,
4,
5,
Cuchillasdela cortadora
Piezassueltaso faltantes
Correas
Nivelde aceitedel motor
ControIes
CIavijadeabono(si est_
instaIada)
Aceitede)motor
Aceitedelmotor
Filtrode aire
Cuchillasdela cortadora
Varillaiesy pivotesdecontrol
Rodamientosde )asruedas
deIanteras
Buiiadeencendido
Ruedastraseras
Sistemadecombustible
6,
lras 2 horas 1, 1,
25 horas 1, 1,
2, 2,
3, 3,
4, 4,
50 horas 1, 1,
SegOnnecesidad
Aiustaro reemplazar
Verificar
Verificar
Verificare)funcionamientocorrecto
Verificar)acorrectainstaIaci6nde
laclaviia
Cambiar
Cambiar
Limpiaro reempIazar
AfiIary baIancear
Lubricarconaceite)igero
Engrasar
Anualmenteo cada 100 1, 1, Limpiar,reemplazar,regular
horas 2, 2, Engrasar
Antesde almacenar 1, 1, Hacerfuncionarel motorhastaque
se detengapor faItade combustible
o agregaraditivoparagasoIinaa )a
quese encuentraen eltanque,
59

Nuncaalmacenela cortadoradecespedcon combustibleenel tanqueen
unespaciocerradoo en areascon pocaventilaci6n,dondelosgasesdel
combustiblepuedanalcanzarel fuego,chispaso unaluz pilotocomola que
tienenalgunoshornos,calentadoresde agua,secadoresderopao algQn
otrodispositivoa gas.
PREPARACI6N DEL MOTOR
Paramotoresalmacenadosdurantem4sde30 dias:
1. Paraevitarquese formegomaenel sistemadecombustibleo en
las piezasdelcarburador,hagafuncionarel motorhastaquese
detengaporfaltade combustibleo agregueadifivoparagasolina
al combustibledeltanque.Siutilizaunaditivoparagasolina,
hagafuncionarel motordurantevariosminutosparaqueel
adifivocirculeporel carburador--despuesde estoelmotory el
combustiblese puedenalmacenarduranteunmAximode seis
meses.
2. Cambieel aceitemientraselmotorestb,todaviacaliente.
3. Extraigalabuiia deencendidoy viertaenel cilindro
aproximadamente1 onza(30 ml)de aceiteparamotorlimpio.
Tirevariasvecesdel arrancadorde retrocesoparadistribuirel
aceitey reinstalela buiia.
4. Limpieel motorde desechossuperficiales.
PREPARACI6N DE LA CORTADORA DE
CESPED
Cuandoalmacenela cortadorade c6speden ungalp6nmetb,lico,
tengaespecialcuidadode realizarleun tratamientoantioxidante
alas superficiesnopintadas.Cubraelequipocon unacapa de
aceitelivianoo silicona,especialmentelos resortes,loscoiinetes
y loscables.
• Eliminetodoel polvodel exteriordel motory del equipo.
• Sigalas recomendaci6ndelubricaci6n.
. Almaceneelequipoen unlugarlimpioy seco.No Ioalmacene
enun lugardondese encuentrenequiposqueusanpilotode
encendidoocon componentesquepuedengenerarchispas.
Puedeobtenerlossiguientesaditamentosy accesoriosparasu cortadorade c6sped.P6ngaseencontactocon u CentrodeservicioSearsenel
teldono 1=800=4=MY-HOME®param_,sinformaci6n.
No. de PIEZA DESCRIPCION
33731 Colectorde c6spedcon
sistemadeembolsado
6O

Antesderealizarcualquiertipodemantenimientooservicio,desenganchetodos
loscontrolesydetengael motor.Espereaquesedetengancompletamente
todaslaspiezasm@iles.Desconecteelcabledelabujfay p6ngalohaciendo
masacontrael motorparaevitarqueseenciendaaccidentalmente.Utilice
siempreanteojosde seguridaddurantela operaci6no mientrasrealizaajusteso
[reparacones.
Esta secci6n analiza probbmas menoresde servbio. Paraubbar el Centro de Servbio Sears m_s cercano o para programar un
servbio, simplemente comuniquese con Sears al tel_fono 1-800-4-MYoHOME®.
El motornoarranca
El motorfuncionade manera
emitba
El motorrecalienta
1.
2.
3.
4.
5.
6.
1.
2.
3.
4.
5.
1.
2.
Nose haactivadoel cebador
Elcontroldel regulador/cebadornoest_en
laposici6ncorrecta.
Sehadesconectadoelcablede la buiia
La buih no funcionacorrectamente
Eltanquedecombustibleest_vaciooel
combusfibbes vieio
La lineadelcombustibleest_bloqueada
La unidadest_funcionandoconel cebador
activado.
Elcablede la buih esbi flojo
Elcombustiblees vieio
Aguao sucbdaden el sistemade
combustible
Elfiltrode aireest_isucio
Elnivelde aceitedel motorest_baio
Fluiodeaire restringido
""L'2t_ lwI_ [o]_j
1. Coloquela palancadecontroldelregulador/cebador
enla posici6ncebador.
2. Coloquela palancadecontroldelregulador/cebador
enla posici6nr@ido.
3. Conectelos cablesa labuiia.
4. Limpie,aiustelaseparaci6n,o cambb labuih.
5. Lleneel tanquecon gasolinalimpiay fresca.
El motorvacilaa altas
revoluciones
El motorfuncionamalen Extraigala buiiay regub la separaci6n.
marchalenta Reemplaceel cartuchodelfiltrodeaire.
Demasiadavibraci6n Aprietela cuchillay el husillo.Balanceelacuchilla.
1.
1.
2.
1.
2.
3.
1.
1.
2.
3.
Laseparac[6nde losebctrodos de labuiia
es muypoca.
La buih de encend[doesbi sucia
Elfiltrode aireesbisuc[o
Lascuchillasdecorteest_nflojaso
desbalanceadas
Lacuchillade corteest_dahada,desafilada
odoblada.
Herraiesfloios
Lacorreadetransmisi6nest_fioia o
dahada
Cuchillasdesafiladas
Correasrotas,flqas o gastadas
Cuchillasdesbalanceadas
6, Pidaa un distribuidordeservicioSearsquele limpie
lalineade combustible,
1, Muevalapalancadel regulador/cebadorpara
sacarlodela posbi6n cebador,
2, Conectey aiusteel cablede la buiia,
3, Lleneeltanque con gasolinalimpia,
4, Dreneel combustibbCarguecombustiblenuevoen
eldep6sito.
5. Reemplaceel cartuchodelfiltrodeaire.
1. Lleneel motorcon lacantidady fipode aceite
adecuado.
2. Limpb losrecortesdepastoy sucbdadacumulados
alrededorde lasabtas derefrigeraci6ndel motory
delalojamientodel soplador,
Extraigala buiiay regulela separaci6n,
Reemplacela cuchilla.
1.
1.
2.
1.
2.
3.
1.
1.
2.
3.
A]ustetodoslos pernosy lastuercas,
La unidadnose autoimpulsa Reemplacela correade transmisi6n,
Baiorendimientode corte Afileo cambielas cuchillas,
Cambielascorreas,
Afileo cambielas cuchillas,
61

(Esta p4gina se aplica s61oen EE.UU. y Canadb,).
Sears, Roebuck and Coo, U.SoAo(Sears}, el Consejo de Recursos AmbientaBes de California (CARB)
y la Agencia de Protecci6n Ambientam de los Estados Unidos (ERA}
Declaraci6n de garantia demsisterna de controm de emisiones (derecbos y obmigaciones de la garantia de defectos dempropi-
etario}
LACOBERTURADE LAGARANTfADE CONTROLDEEMISiONESES
APLICABLEA LOSMOTORESCERTIFICADOSCOMPRADOSENCALIFOR-
NIAEN 1995Y POSTERIORMENTE,QUE SE UTILIZANENCALIFORNIA,
Deetaraci6n de garantia sobre defectos en el controt
ElConsejodeRecursosAmbientalesdeCalifornia(CARB),laEPA(Agencia
deProtecci6nAmbientaldelos EE.UU.)y Searstienen el gustode explicarla
garantiadel sistemade controlde emisionesparamotoresdel afio 2000y para
elfuturo con relaciona motorespequeSostodo terreno(SORE).En California,
los nuevosmotorespequeF_ostodo terrenodebenestardisefiados,construidos
yequipadosparacumplirconlas rigurosasnormasanti-smogdelestado.En
el restode losEstadosUnidos,losmotoresnuevostodoterrenodeencendido
perchispacertificadosparael afio 1997debencumplirestandaressimilares
establecidospor la EPA.Searsdebegarantizarel sistemade controlde emis-
Y PARALOSMODELOSCERTIFICADOSDELANO 1997YPOSTERIORES,
QUESE COMPRENY UTILICENEN CUALQUIERPARTEDE LOS ESTADOS
UNIDOS(Y A PARTIRDEL 1 DEENERODE2001 ENCANADa,).
de emieiones para California y los Eetados Unidos
Jonesdesu motorparalosperiodosdetiempoenumeradosa continuaci6n,
siemprequenohayaabuso,negligenciao mantenimientoindebidodesu
motortodoterrenopequeF_o.Su sistemadecontrolde emisionespuedeincluir
piezastalescomoel carburador,el filtrode aire, elsistemadeencendido,el
silenciadory elconversorcatalitico.Tambi6npuedeincluirconectoresy otras
unidadesrelacionadasconlas emisiones.Dondeexistaunacondici6ncubierta
potla garantia,Searsrepararasu pequefiomotortodo terrenosincostoalguno
incluyendodiagn6stico,piezasy manede obra
Cobertura de Bagarantla Sears para defectos en et control de emisiones
Losmotorestodo tenenopequd_osestangarantizadosen Io relativealcontrol a lasdisposicionesque se indiquena continuaci6n.Siuna partede su motor
deemisionesparadefectosenpiezasduranteunper[ododedosa[ios,sujeto cubiertapot la garantiaesdefectuosa,Searsrepararao sustituiradichaparte.
ResponsabiHdadee del propietario en remaci6n con la garantma
Comepropietariodel motortodo terrenopequeF_o,Ud.es responsablede la
realizaci6ndel mantenimientorequeridoquese incluyeenlas instrucciones
deoperaciony mantenimiento.Sears recomiendaquese conserventodoslos
recibosrelativosal mantenimientode su motortodoterrenopequefio,pore
nopude denegarlagarantiasimplementeporla faltadelosmismos,o por su
incumplimientodel mantenimientoprogramado.Comopropietariodel motor
pequeSotodoterrenodebesaberque, sinembargo,Sears lepuedenegar
lacoberturade lagaranfiasi su motortodoterrenopequefioo una piezadel
mismohanfalladodebidoa abuso,negligencia,mantenimientoindebidoo
a modificacionesno aprobadas.Ud.es responsabledepresentarsu motor
todoterrenopeque[ioa undistribuidorde serviciosSearsautorizadotan pronto
comeaparezcaunproblema.Lasreparacionesde la garanfiasinconflicto
debencompletarseenun plazodetiemporazonable,nosuperiora 30 dias.Si
tienealgunapreguntarespectoa sus derechosy responsabilidadesreferen-
tes a la garantia,debe contactarcon un representantede serviciosSearsal
1--800--469--4663.La garantiadeemisioneses unagarantiaper defectos.Los
defectossejuzgan deacuerdoconelfuncionamientonormalde unmotor.La
garantianoestarelacionadaconunapruebade emisionesenuso.
Disposiciones de magarantia Sears para defectos en el control de emisiones
Lassiguientessondisposicionesespedficas relacionadasconla coberturade la garantiaparadefectosen el controldeemisiones.Esunafiadidoa lagarantiade
motorSearsparamotoresnoreguladosque seencuentraen lasinstruccionesdefuncionamientoy mantenimiento.
1. Piezascongarantia
Lacoberturade estagarantiase extiende0nicamentealas piezas
que aparecena continuaci6n(las partesde los sistemasde controlde
emisiones),siemprequedichaspiezasestuvieranya en el motoren el
momentode su compra.
a. Sistemademedici6nde combustible
oSistemade enriquecimientoparaarranqueenfr[o
oCarburadory partesintemas
oBombade combustible
b. Sistemadeinducci6nde aire
oFiltrode aire
oColectordeadmisi6n
c. Sistemadeencendido
oBuj[a(s)deencendido
oSistemade encendidomagneto
d. Sistemadelcatalizador
oConvertidorcatalitico
oColectordeescape
oSistemade inyecci6nde aireo valvula de impulses
e. Elementosvariadosusadosenlos sistemasanteriores
oValvulasdevado, sensiblesa temperatura,posici6ny tiempo
e intenuptores
• Conectoresy montajes
2. Alcancedela cobertura
Searsgarantizaalposeedorinicialy a loscompradoressubsiguientes
que laspiezascon garantianotendrandefectosenmaterialesnimano
deobraque provoquenla falla delas mismasduranteunper[odede
dosaSosa partirdela fecha enqueel motorse entregaa un comprador
particular.
3. Sincargo
Lareparaci6no reemplazodecualquierpartecon garantiase realizara
sin cargoalgunoparael poseedor,incluyendotareasde diagnosticoque
permitandeterminarsiuna partecongarantiaes defectuosa,siempreque
dicho diagn6sticose realiceen undistribuidorde serviciosSearsautoriza-
do. Parael serviciode lagarantia deemisiones,contacteal distribuidorde
serviciosSears autorizadomascercanoincluidoen las'P_.ginasamarillas"
en lascategorias"Motores,gasolina","Motoresdegasolina","Podadoras
dec6sped",o similares.
4. Reclamacionesy exclusionesa la cobertura
Lasreclamacionesde lagaranfiadebenenviarsedeacuerdocon las
disposicionesdela politicade garantiaparamotoresSears.Lacobertura
de la garantiaexcluiradefectosen piezascongarant[aque noseanpartes
originalesSears,o abuso,negligenciao mantenimientoincorrecto,tal y
como se estableceen lapoliticade garantiaparamotoresSears.Searsno
es responsablede lasfallas en piezascongarant[aprovocadasperel use
de partesaF_adidas,que nosean originaleso que se hayanmodificado.
5. Mantenimiento
Cualquierpartecongarantiaque noeste programadaparaset reem-
plazadacomomantenimientorequerido,o que solo deba inspeccionarse
regularmenteal efectode"inspeccioneo reemplaceseg0n seanecesario",
estaragarantizadacontra defectosduranteel per[odedela garantia.Todas
las piezasgarantizadasqueest6n programadasparasu reemplazopara
cumplircon los requisitesdemantenimientoestarangarantizadass61o
por el periodoanterioral primerreemplazoprogramadoparadichapieza.
Cualquierpiezade recambioquesea equivalenteen funcionamientoy
durabilidadpuedeusarsepararealizarmantenimientoo reparaciones.El
propietarioes responsablede realizartodo el mantenimientorequerido,tal
y como sedefine en lasinstruccionesdefuncionamientoy mantenimiento
Sears
6. Coberturaindirecta
Perla presente,la coberturase extiendea lafalla decualquiercomponente
de motorprovocadaper lafalla de unapiezacongarantia queestetodav[a
en per[ododegarant[a.
Enlos EstadosUnidosy Canadahayunalineade atenci6nde24 horas,1-800-469u4663,quecuentacon un men0conmensajespre-grabadosquecontienen
informaci6nparael mantenimientode motores.

Busque el periodo de duraci6n de emisiones importantes yla informacion de cmasificacion de aire en
la etiqueta de emisiones de su motor
Los motores cuyo cumplimiento con los est&ndares de emisi6n Tier 2 de la Comisi6n de Recursos Ambientales de California (CARB)
est6 certificado deben exhibir la informaci6n relacionada con el periodo de duraci6n de las emisiones y la clasificaci6n de aire. Sears,
Roebuck and Co., de los Estados Unidos ponen esta informaci6n a disposbi6n del consumidor en nuestras etiquetas de emisiones.
El Periodo de Duraci6n de las Emisiones describe el n[imero de horas de tiempo real de funcionamiento para el cual se certifica que
el motor cumple con las reglas de emisi6n, descontando el mantenimbnto adecuado del mismo segQn las instrucciones de oper-
aci6n y mantenimiento. Se utilizan las siguientes categorias:
Moderado:Se certifica que el motor cumple con las reglas de emisi6n durante 125 horas de tiempo real de funcionamiento del motor.
lnmediato:Se certifica que el motor cumpJe con las reglas de emisi6n durante 250 horas de tiempo real de funcionamiento del motor.
Extendido:Se certifica que el motor cump{e con las reglas de emisi6n durante 500 horas de tiempo real de funcionamiento del motor.
Por ejemplo, una cortadora de c_sped tipica que se empuja desde atr&s se usa entre 20 y 25 horas por aSo. Pot Io tanto, el Pedodo
de Duraci_Sn de Emisiones de un motor con una clasificac{6n intermedia seria equivalente aentre 10y 12 a_os.
Lacmasificaci6n de aire es un nQmero calculado para describir el nivel relativo de emisiones para un grupo de motores en particular.
Cuanto menor sea la c{asificaci6n de aire, mayor es la limpieza del motor. La informaci6n se presenta de forma gr&fica en la etiqueta
de emisiones.
Despues dem 1 de juHo de 2000, busque el periodo de cumpHmiento de masregmas de
emisiones en la etiqueta de cumpiimiento de las regmas de emisiones dem motor
Despu6s del 1 de juiio de 2000 se certificar& que determinados motores Sears, Roebuck and Co., de los Estados Unidos
cumplen con los estb.ndares de emisiones de la fase 2 de la Agencia de Proteccidn Ambiental de los Estados Unidos (USED
PA). Para los motores certificados para la etapa 2, el periodo de cumplimiento con las reglas de emisiones al cual se hace
referencia en la etiqueta de cumplimiento con las reglas de emisiones indica el nQmero de horas de funcionamiento para el
cual se ha demostrado que el motor cumpJe con los requerimientos federales de emisi6n.
Para los motores con desplazamiento inferior a 225 cc, Categoria C = 125 horas, B = 250 horas y A = 500 horas.
Para los motores con desplazamiento de 225 cc o m&s, Categoria C = 250 horas, B = 500 horas y A = 1000 horas.
El desplazamiento de los motores de la serie modelo 150112 es 249 cc.
La presente es una representaciSn gen_rica de la etiqueta de emisiSn que se encuentra generalmente en un
motor certificado.
63

Your Home
For repair - in your home - of all major brand appliances,
lawn and garden equipment, or heating and cooling systems,
no matter who made it, no matter who sold it!
For the replacement parts, accessories and
owner's manuals that you need to do-it-yourself.
For Sears professional installation of home appliances
and items like garage door openers and water heaters.
1-800-4-MY-HOME ® (1-800-469-4663)
Call anytime, day or night (U.S.A. and Canada)
www.sears.com www.sears.ca
For expert home solutions advice: www.managemyhome.com
Our Home
For repair of carry-in items like vacuums, lawn equipment,
and electronics, call or go on-line for the location of your nearest
Sears Parts & Repair Service Center
1-800-488-1222 (U.S.A./ 1-800-469-4663 (Canada/
Call anytime, day or night
www.sears.com www.sears.ca
To purchase a protection agreement on a product serviced by Sears:
1-800-827-6655 (U.S.A.) 1-800-361-6665 (Canada)
Para pedir servicio de reparaci6n Au Canada pour service en fran_ais:
a domicilio, y para ordenar piezas: 1-800-LE-FOYER Mc
1-888-SU-HOGAR ® (1-800-533-6937)
(1-888-784-6427) www.sears.ca
,Se- //rs
® Registered Trademark /Trademark /sM Service Mark of Sears Brands, LLC
T_,T
® Marca Registrada / ' Marca de F_brica /sM Marca de Servicio de Sears Brands, LLC
MC _,ID
Marque de commerce /_ Marque d_pos_e de Sears Brands, LLC © Sears Brands, LLC