Craftsman 315 Series 139 53939D Owners Manual 3498
2014-12-12
: Craftsman Craftsman-315-Series-139-53939D-Owners-Manual-119526 craftsman-315-series-139-53939d-owners-manual-119526 craftsman pdf
Open the PDF directly: View PDF
.
Page Count: 80
- English
- Model/Modelo 139.53939D
- TABLE OF CONTENTS
- INTRODUCTION
- ASSEMBLY
- INSTALLATION
- Determine the Header Bracket Location
- Install the Header Bracket
- Attach the Rail to the Header Bracket
- Position the Opener
- Hang the Opener
- Install the Control Console
- Install the Battery
- Install the Lights
- Attach the Emergency Release Rope and Handle
- Electrical Requirements
- Install The Protector System® (Safety Sensors)
- Fasten the Door Bracket
- Connect Door Arm to Trolley
- ADJUSTMENT
- OPERATION
- PROGRAMMING
- REPAIR PARTS
- ACCESSORIES
- WARRANTY
- Spanish

GARAGE DOOR OPENER
ABRIDOR DE PUERTA DE COCHERA
For Residential Use Only/Sólo para uso residencial
Model/Modelo 139.53939D
Sears, Roebuck and Co., Hoffman Estates, IL 60179 U.S.A
www.sears.com/craftsman
Owner’s Manual/Manual Del Propietario
ENGLISH ESPAÑOL
Read and follow all safety rules
and operating instructions before
first use of this product.
Fasten the manual near the garage
door after installation.
Periodic checks of the opener are
required to ensure safe operation.
Leer y seguir todas las reglas de
seguridad y las instrucciones de
operación antes de usar este
producto por primera vez.
Guardar este manual cerca de la
puerta de la cochera.
Se deben realizar revisiones
periódicas del abridor de puertas
para asegurar su operación
segura.

2
Introduction 2-7
Safety symbol review and signal word review . . . . . . . . .2
Preparing your garage door . . . . . . . . . . . . . . . . . . . . . . .3
Tools needed . . . . . . . . . . . . . . . . . . . . . . . . . . . . . . . . . .3
Planning . . . . . . . . . . . . . . . . . . . . . . . . . . . . . . . . . . . .4-5
Carton inventory . . . . . . . . . . . . . . . . . . . . . . . . . . . . . . .6
Hardware inventory . . . . . . . . . . . . . . . . . . . . . . . . . . . . .7
Assembly 8-11
Assemble the rail and install the trolley . . . . . . . . . . . . . .8
Fasten the rail to the motor unit . . . . . . . . . . . . . . . . . . .9
Install the idler pulley . . . . . . . . . . . . . . . . . . . . . . . . . . . .9
Install the belt and attach the belt cap retainer . . . . . . .10
Set the tension . . . . . . . . . . . . . . . . . . . . . . . . . . . . . . . .11
Installation 11-26
Installation safety instructions . . . . . . . . . . . . . . . . . . . .11
Determine the header bracket location . . . . . . . . . . . . .12
Install the header bracket . . . . . . . . . . . . . . . . . . . . . . .13
Attach the rail to the header bracket . . . . . . . . . . . . . . .14
Position the opener . . . . . . . . . . . . . . . . . . . . . . . . . . . .15
Hang the opener . . . . . . . . . . . . . . . . . . . . . . . . . . . . . .16
Install the control console . . . . . . . . . . . . . . . . . . . . . . .17
Install the battery . . . . . . . . . . . . . . . . . . . . . . . . . . . . . .18
Install the lights . . . . . . . . . . . . . . . . . . . . . . . . . . . . . . .18
Attach the emergency release rope and handle . . . . . .18
Electrical requirements . . . . . . . . . . . . . . . . . . . . . . . . .19
Install The Protector System®(safety sensors) . . . .20-22
Fasten the door bracket . . . . . . . . . . . . . . . . . . . . . .23-24
Connect the door arm to the trolley . . . . . . . . . . . . .25-26
Adjustment 27-29
Program the travel limits . . . . . . . . . . . . . . . . . . . . . .27
Setting the force . . . . . . . . . . . . . . . . . . . . . . . . . . . . .28
Test the safety reversal system . . . . . . . . . . . . . . . . .29
Test The Protector System®(safety sensors) . . . . . .29
Operation 30-36
Operation safety instructions . . . . . . . . . . . . . . . . . . .30
Using your garage door opener . . . . . . . . . . . . . . . . .30
Using the wall-mounted control console . . . . . . . . . .31
Care of your opener . . . . . . . . . . . . . . . . . . . . . . . . . .32
To open the door manually . . . . . . . . . . . . . . . . . . . .32
Battery backup . . . . . . . . . . . . . . . . . . . . . . . . . . . . . .33
Having a problem (Troubleshooting) . . . . . . . . . . . . .34
Diagnostic chart . . . . . . . . . . . . . . . . . . . . . . . . . . . . .35
LCD motion detecting control
console messages . . . . . . . . . . . . . . . . . . . . . . . . . . .36
Programming 37-38
To add or reprogram a hand-held remote control . . .37
To erase all codes from motor unit memory . . . . . . .37
3-Function remotes . . . . . . . . . . . . . . . . . . . . . . . . . .37
To add, reprogram or change a
Keyless Entry PIN . . . . . . . . . . . . . . . . . . . . . . . . . . .38
Repair Parts 39-40
Rail assembly parts . . . . . . . . . . . . . . . . . . . . . . . . . .39
Installation parts . . . . . . . . . . . . . . . . . . . . . . . . . . . . .39
Motor unit assembly parts . . . . . . . . . . . . . . . . . . . . .40
Accessories 41
Warranty 41
Repair Parts & Service Back Cover
TABLE OF CONTENTS
INTRODUCTION
Safety Symbol Review
and Signal Word Review
When you see these Safety Symbols and Signal Words
on the following pages, they will alert you to the
possibility of serious injury or death if you do not
comply with the warnings that accompany them. The
hazard may come from something mechanical or from
electric shock. Read the warnings carefully.
When you see this Signal Word on the following pages, it
will alert you to the possibility of damage to your garage
door and/or the garage door opener if you do not comply
with the cautionary statements that accompany it. Read
them carefully.
This garage door opener has been designed and tested to offer safe service provided it is installed, operated,
maintained and tested in strict accordance with the instructions and warnings contained in this manual.
Mechanical
Electrical

3
Preparing your garage door
Before you begin:
• Disable locks.
• Remove any ropes connected to garage door.
• Complete the following test to make sure your garage
door is balanced and is not sticking or binding:
1. Lift the door about halfway as shown. Release the
door. If balanced, it should stay in place, supported
entirely by its springs.
2. Raise and lower the door to see if there is any
binding or sticking.
If your door binds, sticks, or is out of balance, call a
trained door systems technician.
To prevent damage to garage door and opener:
• ALWAYS disable locks BEFORE installing and operating the
opener.
• ONLY operate garage door opener at 120V, 60 Hz to avoid
malfunction and damage.
To prevent possible SERIOUS INJURY OR DEATH:
• ALWAYS call a trained door systems technician if garage
door binds, sticks, or is out of balance. An unbalanced
garage door may not reverse when required.
• NEVER try to loosen, move or adjust garage door, door
springs, cables, pulleys, brackets or their hardware, all of
which are under EXTREME tension.
• Disable ALL locks and remove ALL ropes connected to
garage door BEFORE installing and operating garage door
opener to avoid entanglement.
Tools needed
During assembly, installation and adjustment of the
opener, instructions will call for hand tools as
illustrated below.
Pliers
Wire Cutters
Claw Hammer
Hack Saw
Screwdriver Adjustable End Wrench
1/2" and 7/16" Sockets
and Wrench
Drill
Tape Measure
2
1
Stepladder
Pencil
3/16", 5/16" and
5/32" Drill Bits
Carpenter’s
Level (Optional)
Sectional Door
One-Piece Door

Safety Reversing Sensor
Header Wall
Access Door
— — — — — — — —
Safety
Reversing
Sensor
Gap between floor
and bottom of door
must not exceed 1/4" (6 mm).
Extension Spring
Horizontal and vertical reinforcement
is needed for lightweight garage doors
(fiberglass, steel, aluminum, door with
glass panels, etc.). See page 23 for details.
Support bracket &
fastening hardware
is required.
See page 16.
FINISHED CEILING
Motor unit
Rail
Wall-
mounted
Door
Control
OR
Torsion Spring
Vertical
Centerline
of Garage
Door
4
SECTIONAL DOOR INSTALLATION
Planning
Identify the type and height of your garage door. Survey
your garage area to see if any of the conditions below
apply to your installation. Additional materials may be
required. You may find it helpful to refer back to this page
and the accompanying illustrations as you proceed with
the installation of your opener.
Depending on your requirements, there are several
installation steps which may call for materials or
hardware not included in the carton.
• Installation Step 1 – Look at the wall or ceiling above
the garage door. The header bracket must be securely
fastened to structural supports.
• Installation Step 5 – Do you have a finished ceiling in
your garage? If so, a support bracket and additional
fastening hardware may be required.
• Installation Step 11 – Depending upon garage
construction, extension brackets or wood blocks may
be needed to install sensors.
• Installation Step 11 – Alternate floor mounting of the
safety reversing sensor will require hardware not
provided.
• Do you have an access door in addition to the garage
door? If not, Model 139.53702 Emergency Key
Release is required. See Accessories page.
• Look at the garage door where it meets the floor. Any
gap between the floor and the bottom of the door must
not exceed 1/4" (6 mm). Otherwise, the safety reversal
system may not work properly. See Adjustment Step 3.
Floor or door should be repaired.
SECTIONAL DOOR INSTALLATIONS
• Do you have a steel, aluminum, fiberglass or glass
panel door? If so, horizontal and vertical
reinforcement is required (Installation Step 12).
• The opener should be installed above the center of the
door. If there is a torsion spring or center bearing plate
in the way of the header bracket, it may be installed
within 4 feet (1.22 m) to the left or right of the door
center. See Installation Steps 1 and 12.
• If your door is more than 7 feet (2.13 m) high, see rail
extension kits listed on Accessories page.
CLOSED POSITION
Header
Wall
Garage
Door
Header
Bracket
Trolley
Straight
Door
Arm
Emergency Release
Rope & Handle
Door
Bracket
Curved
Door
Arm
Garage
Door
Spring
Belt
Trolley
Stop Bolt

5
Access
Door
Safety
Reversing Sensor
Safety
Reversing
Sensor
Gap between floor
and bottom of door
must not exceed 1/4" (6 mm).
Garage
Door
Header
Wall
Header
Bracket
Door
Bracket Straight
Door
Arm
Curved
Door Arm
Trolley
Emergency
Release
Rope &
Handle
Rail
Belt
Trolley Stop Bolt
CLOSED POSITION
Planning (Continued)
ONE-PIECE DOOR INSTALLATIONS
• Generally, a one-piece door does not require
reinforcement. If your door is lightweight, refer to the
information relating to sectional doors in Installation
Step 12.
• Depending on your door’s construction, you may need
additional mounting hardware for the door bracket
(Step 12).
Safety Reversing Sensor
Access
Door
FINISHED CEILING
Support bracket
& fastening
hardware is required.
See page 16.
Safety Reversing
Sensor
Header Wall
Gap between floor
and bottom of door must not exceed 1/4" (6 mm).
Wall-mounted
Door Control
Rail
Motor Unit
ONE-PIECE DOOR WITHOUT TRACK
CLOSED POSITION
Header
Wall
Header
Bracket
Trolley
Straight
Door
Arm
Emergency
Release
Rope & Handle
Door Bracket
Curved
Door
Arm
Garage
Door
Trolley Stop Bolt Belt
Rail
Without a properly working safety reversal system, persons
(particularly small children) could be SERIOUSLY INJURED
or KILLED by a closing garage door.
• The gap between the bottom of the garage door and the
floor MUST NOT exceed 1/4" (6 mm). Otherwise, the safety
reversal system may not work properly.
• The floor or the garage door MUST be repaired to eliminate
the gap.
ONE-PIECE DOOR WITH TRACK

6
Straight Door
Arm Section
Curved Door
Arm Section
Safety Labels
and
Literature
2-Conductor Bell Wire
White & White/Red
Idler Pulley
Motor Unit with 2 Light Lenses
Hanging Brackets
Plug-In Light Control
The Protector System
(2) Safety Reversing Sensors
(1 Sending Eye and 1 Receiving Eye)
with 2-Conductor White & White/Black
Bell Wire attached
Door Bracket
SECURITY✚®
3-Function Remote Control (2)
SECURITY✚®
3-Function Mini
Remote Control (1)
Trolley
Safety Reversing
Sensor Bracket (2)
Rail
Center/Back
Sections
“U” Bracket
Rail
Front (header)
Section
Motion Detecting
Control Console (LCD)
Header Bracket
Belt Cap Retainer
Battery
Laser Garage Parking Assist
Garage Door Monitor
Surge Protector
EntryEase
Fingerprint Keypad
Belt
®
Your garage door opener is packaged in one carton
which contains the motor unit and all parts illustrated
below. Accessories will depend on the model purchased.
If anything is missing, carefully check the packing
material. Parts may be stuck in the foam. Hardware for
assembly and installation is shown on the next page.
Save the carton and packing material until installation
and adjustment is complete.
Carton Inventory

7
Master
Link (2)
Idler Bolt (1)
Nut
3/8" (1)
Trolley Threaded Shaft (1)
Lock Washer
3/8" (1)
Lock Nut
1/4"-20 (2)
Wing Nut
1/4"-20 (2)
Carriage Bolt
1/4"-20x1/2" (2)
Handle
Nut 5/16"-18 (6)
Ring
Fastener (3)
Insulated
Staples (30)
Drywall Anchors (2)
Clevis Pin
5/16"x1" (1)
Rope
Carriage Bolt
5/16"-18x2-1/2" (2)
Lock Washer 5/16" (7)
Lag Screw
5/16"-9x1-5/8" (2)
Hex Bolt
5/16"-18x7/8" (4)
Clevis Pin
5/16"x1-1/4" (1)
Lag Screw
5/16"-18x1-7/8" (2)
Screw
6ABx1-1/4" (2) Screw 6-32x1" (2)
Clevis Pin
5/16"x1-1/2" (1)
Spacer (2)
Bolt 1/4"-20x1-3/4" (2)
Spring/Trolley Nut (1)
Hardware Inventory
Separate all hardware and group as shown below for the assembly and installation procedures.
ASSEMBLY HARDWARE
INSTALLATION HARDWARE

8
FRONT RAIL
(TOP)
KEEP LARGER
HOLE ON TOP
ASSEMBLY STEP 1
Assemble the Rail and Install the Trolley
To avoid installation difficulties, do not run the
garage door opener until instructed to do so.
Front Rail
(TO DOOR)
Window
Cut-Out
Screwdriver
Idler
Pulley
Hole
Tab s
Back Rails
(TO MOTOR UNIT)
Trolley
Tapered
End
Tapered
End
Inner Trolley
Wear Pads
Outer Trolley
Tapered
End
Tapered
End
To prevent INJURY from pinching, keep hands and fingers
away from the joints while assembling the rail.
The front rail has a cut out “window” at the door end (see
illustration). The hole above this window is larger on
the top of the rail than on the bottom. A smaller hole
3-1/2" (8.9 cm) away is close to the rail edge. Rotate the
back rail so it has a similar hole close to the opposite
edge, about 4-3/4" (12 cm) from the far end.
1. Remove the straight door arm and hanging bracket
packaged inside the front rail and set aside for
Installation Steps 5 and 12. NOTE: To prevent
INJURY while unpacking the rail carefully remove the
straight door arm stored within the rail section.
2. Align the rail sections on a flat surface as shown and
slide the tapered ends into the larger ones. Tabs along
the side will lock into place.
3. Place the motor unit on packing material to protect the
cover, and rest the back end of the rail on top. For
convenience, put a support under the front end of
the rail.
4. As a temporary stop, insert a screwdriver into the hole
10" (25 cm) from the front end of the rail, as shown.
5. Check to be sure there are 4 plastic wear pads inside
the inner trolley. If they became loose during shipping,
check all packing material. Snap them back into
position as shown.
6. Slide the trolley assembly along the rail from the back
end to the screwdriver.

9
To avoid SERIOUS damage to garage door opener, use ONLY
those bolts/fasteners mounted in the top of the opener.
ASSEMBLY STEP 2
Fasten the Rail to the Motor Unit
• Insert a 1/4"-20x1-3/4 bolt into the cover protection bolt
hole on the back end of the rail as shown. Tighten
securely with a 1/4"-20 lock nut. Do NOT overtighten.
• Remove the two bolts from the top of the motor unit.
• Place the “U” bracket, flat side down, on the motor unit
and align the bracket holes with the bolt holes. Fasten
with the previously removed bolts.
• Align the rail assembly with the top of the motor unit.
Slide the rail end onto the “U” bracket, all the way to
the stops that protrude on the top and sides of the
bracket.
ASSEMBLY STEP 3
Install the Idler Pulley
• Lay the belt beside the rail, as shown. Grasp the end
with the hooked trolley connector and pass
approximately 12" (30 cm) of belt through the window.
Keep the ribbed side toward the rail, and allow it to
hang until Assembly Step 5.
• Remove the tape from the idler pulley. The inside
center should be pre-greased. If dry, regrease to
ensure proper operation.
• Place the idler pulley into the window as shown.
• Insert the idler bolt from the top through the rail and
pulley. Tighten with a 3/8" lock washer and nut
underneath the rail until the lock washer is
compressed.
• Rotate the pulley to be sure it spins freely.
• Insert a 1/4"-20x1-3/4 bolt into the trolley stop hole in
the front of the rail as shown. Tighten securely with a
1/4"-20 lock nut.
Motor Unit
Belt Pulley
“U” Bracket
Lock Nut
Bolts
SLIDE RAIL TO STOPS
ON TOP AND SIDES
OF BRACKET
Cover
Protection
Bolt Hole
Bolt
Idler
Pulley
Trolley
Stop Hole
Bolt
Trolley
Connector
Pulley
Rail
Bolt
Nut Washer
Lock Washer
3/8"
Nut 3/8"
Idler
Bolt Screwdriver
Idler Pulley
Grease
Inside Pulley
Lock
Nut
Lock Nut
1/4"-20
Bolt 1/4"-20x1-3/4"
HARDWARE SHOWN ACTUAL SIZE
Nut 3/8" Lock Washer 3/8"
Idler Bolt Lock Nut 1/4"-20
Bolt 1/4"-20x1-3/4"
HARDWARE SHOWN ACTUAL SIZE

10
ASSEMBLY STEP 4
Install the Belt and Attach the Belt
Cap Retainer
1. Pull the belt around the idler pulley and toward the
trolley. The ribbed side must contact the pulley.
2. Hook the trolley connector into the retaining slot on
the trolley as shown.
3. With the trolley against the screwdriver, dispense the
remainder of the belt along the rail length toward the
motor unit and around the sprocket. The sprocket
teeth must engage the belt.
4. Check to make sure the belt is not twisted, then
connect it to the flat end of the trolley threaded shaft
with the master link, as illustrated:
• Push pins of master link bar through holes in end of
belt and trolley threaded shaft.
• Push master link cap over pins and past
pin notches.
• Slide clip-on spring over cap and onto pin notches
until both pins are securely locked
in place.
5. Insert the trolley threaded shaft through the hole in
the trolley. Be sure the belt is not twisted, and the
ribbed side faces the rail.
6. Hold the belt at the trolley shaft as you thread the
spring nut by hand onto the shaft until finger tight
against the trolley. Do not use any tools.
7. Remove the screwdriver.
8. Position the belt cap retainer over the motor unit
sprocket as shown and fasten to the mounting plate
with 8x3/8" hex screws provided.
To avoid possible SERIOUS INJURY to fingers from moving
garage door opener:
• ALWAYS keep hand clear of belt pulley while operating
opener.
• Securely attach belt pulley cover BEFORE operating.
Trolley
Connector
Idler Pulley
Retaining
Slot
Hole
Master Link
Clip-On Spring
Master Link Cap
Trolley
Threaded
Shaft
Master
Link Bar
Pin
Notch
Hex Screw 8x3/8"
HARDWARE SHOWN ACTUAL SIZE
Spring/Trolley Nut
Spring Nut
Belt Cap
Retainer
Mounting
Plate
Motor Unit
Belt Pulley
Hex Screws
#8x3/8"

11
ASSEMBLY STEP 5
Set the Tension
• Insert a screwdriver tip into one of the nut ring slots
and brace it firmly against the trolley.
• Place a 7/16" open end wrench on the square end.
Rotate the nut about 1/4 turn until the spring releases
and snaps the nut ring against the trolley.
This sets the spring to optimum belt tension.
You have now finished assembling your garage door
opener. Please read the following warnings before
proceeding to the installation section.
Nut Ring Nut Ring
Trolley
1" 1-1/4"
BEFORE AFTER RELEASE
Nut Ring Slot
Square End
Square
End
(2.5 cm) (3.18 cm)
INSTALLATION
IMPORTANT INSTALLATION INSTRUCTIONS
To reduce the risk of SEVERE INJURY or DEATH:
WARNING
WARNINGWARNING
WARNING
1. READ AND FOLLOW ALL INSTALLATION WARNINGS
AND INSTRUCTIONS.
2. Install garage door opener ONLY on properly balanced
and lubricated garage door. An improperly balanced door
may not reverse when required and could result in
SEVERE INJURY or DEATH.
3. ALL repairs to cables, spring assemblies and other
hardware MUST be made by a trained door systems
technician BEFORE installing opener.
4. Disable ALL locks and remove ALL ropes connected to
garage door BEFORE installing opener to avoid
entanglement.
5. Install garage door opener 7 feet (2.1 m) or more above
floor.
6. Mount emergency release handle 6 feet (1.8 m) above
floor.
7. NEVER connect garage door opener to power source until
instructed to do so.
8. NEVER wear watches, rings or loose clothing while
installing or servicing opener. They could be caught in
garage door or opener mechanisms.
9. Install wall-mounted garage control console:
• within sight of the garage door.
• out of reach of children at minimum height of 5 feet
(1.5 m).
• away from ALL moving parts of the door.
10. Place entrapment warning label on wall next to garage
control console.
11. Place manual release/safety reverse test label in plain
view on inside of garage door.
12. Upon completion of installation, test safety reversal
system. Door MUST reverse on contact with a 1-1/2"
(3.8 cm) high object (or a 2x4 laid flat) on the floor.
13. To avoid SERIOUS PERSONAL INJURY or DEATH from
electrocution, disconnect ALL electric and battery power
BEFORE performing ANY service or maintenance.

12
INSTALLATION STEP 1
Determine the Header Bracket
Location
Installation procedures vary according to garage door
types. Follow the instructions which apply to your door.
1. Close the door and mark the inside vertical centerline
of the garage door.
2. Extend the line onto the header wall above the door.
You can fasten the header bracket within 4 feet
(1.22 m) of the left or right of the door center only
if a torsion spring or center bearing plate is in the
way; or you can attach it to the ceiling (see
page 13) when clearance is minimal. (It may be
mounted on the wall upside down if necessary, to
gain approximately 1/2" (1 cm).)
If you need to install the header bracket on a 2x4
(on wall or ceiling), use lag screws (not provided)
to securely fasten the 2x4 to structural supports as
shown here and on page 13.
3. Open your door to the highest point of travel as
shown. Draw an intersecting horizontal line on the
header wall above the high point:
• 2" (5 cm) above the high point for sectional door
and one-piece door with track.
• 8" (20 cm) above the high point for one-piece door
without track.
This height will provide travel clearance for the top
edge of the door.
NOTE: If the total number of inches exceeds the
height available in your garage, use the maximum
height possible, or refer to page 13 for ceiling
installation.
To prevent possible SERIOUS INJURY or DEATH:
• Header bracket MUST be RIGIDLY fastened to structural
support on header wall or ceiling, otherwise garage door
might not reverse when required. DO NOT install header
bracket over drywall.
• Concrete anchors MUST be used if mounting header
bracket or 2x4 into masonry.
• NEVER try to loosen, move or adjust garage door, springs,
cables, pulleys, brackets, or their hardware, all of which are
under EXTREME tension.
• ALWAYS call a trained door systems technician if garage
door binds, sticks, or is out of balance. An unbalanced
garage door might not reverse when required.
Header Wall
Sectional door with curved track
Highest Point
of Travel
Door
2" (5 cm)
One-piece door with horizontal track
Door
Track
Header Wall
Highest Point
of Travel
2" (5 cm)
Track
Header Wall
Vertical Centerline
of Garage Door
Level
(optional)
2x4
2x4
Structural
Supports
OPTIONAL
CEILING
MOUNT
FOR
HEADER
BRACKET
Unfinished
Ceiling
Door
Jamb
Hardware
One-piece door without track:
jamb hardware
8" (20 cm)
Highest
Point
of Travel Door
Pivot
8" (20 cm)
One-piece door without track:
pivot hardware
Highest
Point
of Travel
Header Wall
Header Wall

13
Lag Screws
5/16"x9x1-5/8"
– Finished Ceiling –
Door
Spring
Header Wall
UP
Ceiling Mounting Holes
6" (15 cm) Maximum
Header
Bracket
Vertical
Centerline
of Garage Door
Garage Door
Vertical Centerline
of Garage Door
INSTALLATION STEP 2
Install the Header Bracket
You can attach the header bracket either to the wall
above the garage door, or to the ceiling. Follow the
instructions which will work best for your particular
requirements. Do not install the header bracket over
drywall. If installing into masonry, use concrete
anchors (not provided).
WALL HEADER BRACKET INSTALLATION
• Center the bracket on the vertical centerline with the
bottom edge of the bracket on the horizontal line as
shown (with the arrow pointing toward the ceiling).
• Mark the vertical set of bracket holes. Drill 3/16" pilot
holes and fasten the bracket securely to a structural
support with the hardware provided.
Lag Screw
5/16"-9x1-5/8"
HARDWARE SHOWN ACTUAL SIZE
CEILING HEADER BRACKET INSTALLATION
• Extend the vertical centerline onto the ceiling as
shown.
• Center the bracket on the vertical mark, no more than
6" (15 cm) from the wall. Make sure the arrow is
pointing away from the wall. The bracket can be
mounted flush against the ceiling when clearance
is minimal.
• Mark the side holes. Drill 3/16" pilot holes and fasten
bracket securely to a structural support with the
hardware provided.
UP
Wall Mount
Optional
Mounting Holes
Lag Screws
5/16"x9x1-5/8"
Highest Point of
Garage Door Travel
Vertical
Centerline
of Garage Door
Header
Wall
Garage
Door
Door Spring
2x4
Structural
Support
Vertical
Centerline
of Garage Door
Header
Bracket
Horizontal
Line

14
INSTALLATION STEP 3
Attach the Rail to the Header Bracket
NOTE: (Optional) With some existing installations, you
may re-use the old header bracket with the two plastic
spacers included in the hardware bag. Place the spacers
inside the bracket on each side of the rail, as illustrated.
• Position the opener on the garage floor below the
header bracket. Use packing material as a protective
base. NOTE: If the door spring is in the way, you will
need help. Have someone hold the opener securely on
a temporary support to allow the rail to clear the
spring.
• Position the rail bracket against the header bracket.
• Align the bracket holes and join with a clevis pin
as shown.
• Insert a ring fastener to secure.
Opener Carton or
Temporary
Support
Header Bracket
Idler Pulley
Header Wall
OPTION WITH
SOME EXISTING
INSTALLATIONS
Header
Bracket
Mounting
Hole
Existing
Header Bracket
Spacer
Mounting
Hole
Existing
Clevis Pin
Clevis Pin 5/16"x1-1/2" Ring Fastener
Garage
Door
HARDWARE SHOWN ACTUAL SIZE

15
ONE-PIECE DOOR WITHOUT TRACK
A 2x4 on its side is convenient for setting an ideal
door-to-rail distance.
• Remove foam packaging.
• Raise the opener onto a stepladder. You will need help
at this point if the ladder is not tall enough.
• Open the door all the way and place a 2x4 on its side
on the top section of the door beneath the rail.
• The top of the door should be level with the top of the
motor unit. Do not position the opener more than 4"
(10 cm) above this point.
INSTALLATION STEP 4
Position the Opener
Follow instructions which apply to your door type
as illustrated.
SECTIONAL DOOR OR ONE-PIECE DOOR WITH
TRACK
A 2x4 laid flat is convenient for setting an ideal
door-to-rail distance.
• Remove foam packaging.
• Raise the opener onto a stepladder. You will need help
at this point if the ladder is not tall enough.
• Open the door all the way and place a 2x4 laid flat on
the top section beneath the rail.
• If the top section or panel hits the trolley when you
raise the door, pull down on the trolley release arm
to disconnect inner and outer sections. Slide the outer
trolley toward the motor unit. The trolley can remain
disconnected until Installation Step 12 is completed.
To prevent damage to garage door, rest garage door opener
rail on 2x4 placed on top section of door.
Header
Bracket
Top of Door
2x4 is used to determine
the correct mounting height
from ceiling.
2x4 is used to determine
the correct mounting height
from ceiling.
Door
Rail
ENGAGED RELEASED
Trolley
Release Arm

16
INSTALLATION STEP 5
Hang the Opener
Three representative installations are shown. Yours may
be different. Hanging brackets should be angled
(Figure 1) to provide rigid support. On finished ceilings
(Figures 2 and 3), attach a sturdy metal bracket to
structural supports before installing the opener. This
bracket and fastening hardware are not provided.
1. Measure the distance from each side of the motor unit
to the structural support.
2. Cut both pieces of the hanging bracket to required
lengths.
3. Drill 3/16" pilot holes in the structural supports.
4. Attach one end of each bracket to a support with
5/16"-18x1-7/8" lag screws.
5. Fasten the opener to the hanging brackets with
5/16"-18x7/8" hex bolts, lock washers and nuts.
6. Check to make sure the rail is centered over the door
(or in line with the header bracket if the bracket is not
centered above the door).
7. Remove the 2x4. Operate the door manually. If the
door hits the rail, raise the header bracket.
NOTE: DO NOT connect power to opener at this time.
To avoid possible SERIOUS INJURY from a falling garage
door opener, fasten it SECURELY to structural supports of
the garage. Concrete anchors MUST be used if installing any
brackets into masonry.
Lag Screw 5/16"-18x1-7/8"
Hex Bolt
5/16"-18x7/8" Nut 5/16"-18 Lock Washer 5/16"
HARDWARE SHOWN ACTUAL SIZE
Measure
Distance Lag Screws
5/16"-18x1-7/8"
Structural
Supports
Bolt 5/16"-18x7/8"
Lock Washer 5/16"
Nut 5/16"-18
Bracket
(Not Provided)
Lag Screws
5/16"-18x1-7/8"
(Not Provided)
Bolt 5/16"-18x7/8"
Lock Washer 5/16"
Nut 5/16"-18
Hidden
Support
Bolt 5/16"-18x7/8"
Lock Washer 5/16"
Nut 5/16"-18
Bolt 5/16"-18x7/8"
Lock Washer 5/16"
Nut 5/16"-18
Lag Screws
5/16"-18x1-7/8"
(Not Provided)
Bolt 5/16"-18x7/8"
Lock Washer 5/16"
Nut 5/16"-18
FINISHED CEILING
FINISHED CEILING
Figure 1
Figure 2
Figure 3

17
To prevent possible SERIOUS INJURY or DEATH from
electrocution:
• Disconnect ALL electric and battery power BEFORE
performing ANY service or maintenance.
• Connect ONLY to 24 VOLT low voltage wires.
To prevent possible SERIOUS INJURY or DEATH from a
closing garage door:
• Install control console within sight of garage door, out of
reach of children at a minimum height of 5 feet (1.5 m), and
away from ALL moving parts of door.
• NEVER permit children to operate or play with control
console push buttons or remote controls.
• Activate door ONLY when it can be seen clearly, is properly
adjusted, and there are no obstructions to door travel.
• ALWAYS keep garage door in sight until completely closed.
NEVER permit anyone to cross path of closing garage door.
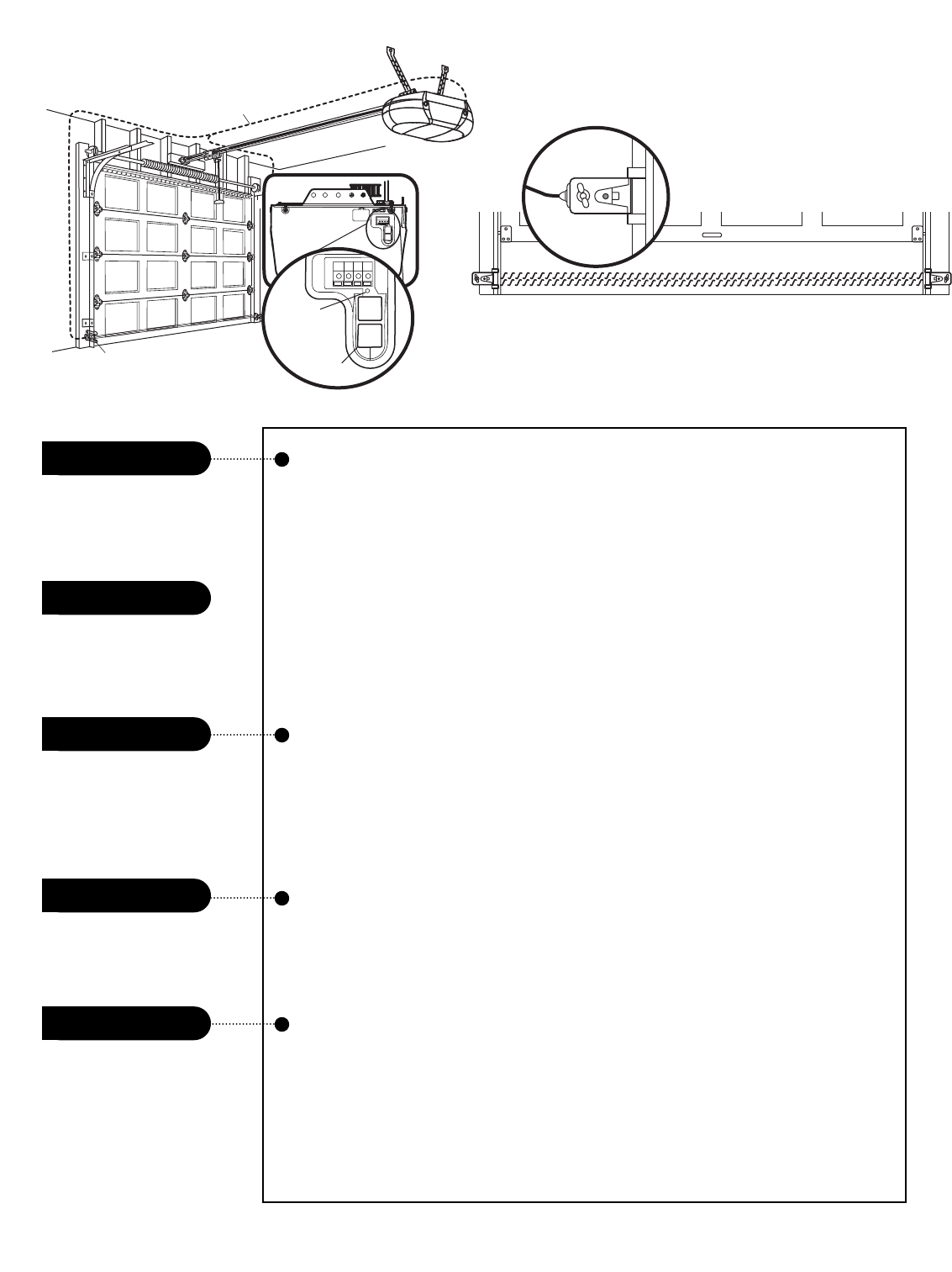
INSTALLATION STEP 6
Install the Control Console
Locate control console within sight of door, at a minimum
height of 5 feet (1.5 m) where small children cannot
reach, away from moving parts of door and door
hardware. If installing into drywall, drill 5/32" holes and
use the anchors provided. For pre-wired installations
(as in new home construction), it may be mounted to a
single gang box (Figure 2).
1. Strip 7/16" (11 mm) of insulation from one end of bell
wire and connect to the two screw terminals on back of
control console by color: white wire to 2 and white/red
wire to the 1.
2. Remove cover by gently prying at slot in top of the
cover with a small flat head screwdriver. Fasten with
6ABx1-1/4" self-tapping screws (drywall installation) or
6-32x1" machine screws (into gang box) as follows:
• Install bottom screw, allowing 1/8" (3 mm) to protrude
above wall surface.
• Position bottom of control console on screw head
and slide down to secure. Adjust screw for snug fit.
• Drill and install top screw with care to avoid cracking
plastic housing. Do not overtighten.
• Insert top tabs and snap on cover.
3. (For standard installation only) Run bell wire up wall
and across ceiling to motor unit. Use insulated staples
to secure wire in several places. Do not pierce wire
with a staple, creating a short or open circuit.
4. Strip 7/16" (11 mm) of insulation from end of bell wire.
Connect bell wire to the quick-connect terminals as
follows: white to white and white/red to red.
5. Position the antenna wire as shown.
6. Use tacks or staples to permanently attach entrapment
warning label to wall near control console, and manual
release/safety reverse test label in a prominent
location on inside of garage door.
NOTE: DO NOT connect power and operate opener at
this time. The trolley will travel to the full open position
but will not return to the close position until the sensor
beam is connected and properly aligned.
Drywall Anchors
Insulated
Staples
Screw 6ABx1-1/4"
Control Panel (std installation)
Screw 6-32x1"
Control Panel (pre-wired)
HARDWARE SHOWN ACTUAL SIZE
Outside Keylock Accessory Connections
To opener quick-connect terminals: white to white;
white/red to red.
24 Volt Bell Wire
PRE-WIRED INSTALLATION
REMOVE & REPLACE COVER
To Replace
Insert Top
Tabs First
Push Bar Cover
Strip wire 7/16" (11 mm)
Red GreyWhite
To release wire, push in
tab with screwdriver tip
Control Console Connections
7/16" (11 mm)
Terminal
Screws
(BACK VIEW)
Top
Mounting
Hole
Bottom
Mounting
Hole
W
2
R
1
Bell
Wire
Figure 1 Figure 2

18
INSTALLATION STEP 8
Install the Lights
• Press the release tabs on both sides of lens. Gently
rotate lens back and downward until the lens hinge is
in the fully open position. Do not remove the lens.
• Install up to a 100 watt maximum light bulb in each
socket. Light bulb size should be A19, standard neck
only. The lights will turn ON and remain lit for
approximately 4-1/2 minutes when power is
connected. Then the lights will turn OFF.
• Reverse the procedure to close the lens.
• If the bulbs burn out prematurely due to vibration,
replace with a Garage Door Opener bulb. Use A19,
standard neck garage door opener for replacement.
NOTE: Use only standard light bulbs. The use of short
neck or speciality light bulbs may overheat the endpanel
or light socket.
INSTALLATION STEP 9
Attach the Emergency Release Rope
and Handle
• Thread one end of the rope through the hole in the top
of the red handle so “NOTICE” reads right side up
as shown. Secure with an overhand knot at least
1" (2.5 cm) from the end of the rope to prevent
slipping.
• Thread the other end of the rope through the hole in
the release arm of the outer trolley.
• Adjust rope length so the handle is 6 feet (1.83 m)
above the floor. Ensure that the rope and handle clear
the tops of all vehicles to avoid entanglement. Secure
with an overhand knot.
NOTE: If it is necessary to cut the rope, heat seal the cut
end with a match or lighter to prevent unraveling.
To prevent possible SERIOUS INJURY or DEATH from a
falling garage door:
• If possible, use emergency release handle to disengage
trolley ONLY when garage door is CLOSED. Weak or
broken springs or unbalanced door could result in an open
door falling rapidly and/or unexpectedly.
• NEVER use emergency release handle unless garage
doorway is clear of persons and obstructions.
• NEVER use handle to pull door open or closed. If rope knot
becomes untied, you could fall.
Lens
Hinge
100 Watt (Max)
Standard Light Bulb
Release Tab
100 Watt (Max)
Standard
Light Bulb
Trolley
Release arm
NOTICE
Emergency
Release Handle
Overhand
Knot
Trolley
INSTALLATION STEP 7
Install the Battery
• Make sure motor unit is unplugged.
• Using a Phillips head screwdriver, remove the battery
cover on the motor unit.
• Partially insert battery into motor unit with terminals
facing out.
• Connect the red (+) and black (-) wires from motor unit
to corresponding terminals on battery.
• Replace battery cover.
Battery Cover
Battery
To prevent possible OVERHEATING of the endpanel or light
socket:
• DO NOT use short neck or specialty light bulbs.
• DO NOT use halogen bulbs. Use ONLY incandescent.
To prevent damage to the opener:
• DO NOT use bulbs larger than 100W.
• ONLY use A19 size bulbs.

19
INSTALLATION STEP 10
Electrical Requirements
To avoid installation difficulties, do not run the
opener at this time.
To reduce the risk of electric shock, your garage door
opener has a grounding type plug with a third grounding
pin. This plug will only fit into a grounding type outlet. If
the plug doesn’t fit into the outlet you have, contact a
qualified electrician to install the proper outlet.
If permanent wiring is required by your local code,
refer to the following procedure.
To make a permanent connection through the 7/8" hole
in the top of the motor unit:
• Remove the motor unit cover screws and set the cover
aside.
• Remove the attached 3-prong cord.
• Connect the black (line) wire to the screw on the brass
terminal; the white (neutral) wire to the screw on the
silver terminal; and the ground wire to the green
ground screw. The opener must be grounded.
• Reinstall the cover.
To avoid installation difficulties, do not run the
opener at this time.
RIGHT WRONG
To prevent possible SERIOUS INJURY or DEATH from
electrocution or fire:
• Disconnect ALL electric and battery power BEFORE
performing ANY service or maintenance.
• Garage door installation and wiring MUST be in compliance
with ALL local electrical and building codes.
• NEVER use an extension cord, 2-wire adapter, or change
plug in any way to make it fit outlet. Be sure the opener
is grounded.
Ground Tab
Green
Ground Screw
Ground Wire
Black Wire
PERMANENT WIRING
CONNECTION
White Wire
Black
Wire

20
Invisible Light Beam
Protection Area
Safety Reversing Sensor
6" (15 cm) max.
above floor
Safety Reversing Sensor
6" (15 cm) max.
above floor
Facing the door from inside the garage
INSTALLATION STEP 11
Install The Protector System®
(Safety Sensors)
The safety reversing sensor must be connected and
aligned correctly before the garage door opener will
move in the down direction.
IMPORTANT INFORMATION ABOUT THE SAFETY
REVERSING SENSOR
When properly connected and aligned, the sensor will
detect an obstacle in the path of its electronic beam. The
sending eye (with an amber indicator light) transmits an
invisible light beam to the receiving eye (with a green
indicator light). If an obstruction breaks the light beam
while the door is closing, the door will stop and reverse
to full open position, and the opener lights will flash
10 times.
The units must be installed inside the garage so that the
sending and receiving eyes face each other across the
door, no more than 6" (15 cm) above the floor. Either can
be installed on the left or right of the door as long as the
sun never shines directly into the receiving eye lens.
The mounting brackets are designed to clip onto the
track of sectional garage doors without additional
hardware.
If it is necessary to mount the units on the wall, the
brackets must be securely fastened to a solid surface
such as the wall framing. Extension brackets (see
accessories) are available if needed. If installing in
masonry construction, add a piece of wood at each
location to avoid drilling extra holes in masonry if
repositioning is necessary.
The invisible light beam path must be unobstructed. No
part of the garage door (or door tracks, springs, hinges,
rollers or other hardware) may interrupt the beam while
the door is closing.
Be sure power is NOT connected to the garage door opener
BEFORE installing the safety reversing sensor.
To prevent SERIOUS INJURY or DEATH from a closing
garage door:
• Correctly connect and align the safety reversing sensor.
This required safety device MUST NOT be disabled.
• Install the safety reversing sensor so beam is NO HIGHER
than 6" (15 cm) above garage floor.

21
DOOR TRACK MOUNT (RIGHT SIDE)
Indicator
Light
Lens
Lip
Sensor
Bracket
Door
Track
FLOOR MOUNT (RIGHT SIDE)
WALL MOUNT (RIGHT SIDE)
Indicator
Light
Sensor
Bracket
Lens
Extension
Bracket
(See Accessories)
Inside
Garage
Wall
(Provided with
Extension
Bracket)
(Provided with
Extension Bracket)
Figure 1
Figure 2
Figure 3
Figure 4
WALL MOUNT (RIGHT SIDE)
Attach with
Concrete Anchors
(Not Provided)
Inside
Garage
Wall
Sensor
Bracket
Lens
Indicator
Light
Inside
Garage
Wall
Indicator
Light Sensor
Bracket
Lens
Lag Screws
(Not Provided)
Fasten Wood Block to Wall with
Lag Screws (Not Provided)
INSTALLING THE BRACKETS
Be sure power to the opener is disconnected. Install
and align the brackets so the sensors will face each
other across the garage door, with the beam no higher
than 6" (15 cm) above the floor. They may be installed in
one of three ways, as follows.
Garage door track installation (preferred):
• Slip the curved arms over the rounded edge of each
door track, with the curved arms facing the door. Snap
into place against the side of the track. It should lie
flush, with the lip hugging the back edge of the track
(Figure 1).
If your door track will not support the bracket securely,
wall installation is recommended.
Wall installation (Figures 2 and 3):
• Place the bracket against the wall with curved arms
facing the door. Be sure there is enough clearance for
the sensor beam to be unobstructed.
• If additional depth is needed, an extension bracket
(see Accessories) or wood blocks can be used.
• Use bracket mounting holes as a template to locate
and drill (2) 3/16" diameter pilot holes on the wall at
each side of the door, no higher than 6" (15 cm) above
the floor.
• Attach brackets to wall with lag screws (not provided).
• If using extension brackets or wood blocks, adjust right
and left assemblies to the same distance out from the
mounting surface. Make sure all door hardware
obstructions are cleared.
Floor installation (Figure 4):
• Use wood blocks or extension brackets (see
Accessories) to elevate sensor brackets so the lenses
will be no higher than 6" (15 cm) above the floor.
• Carefully measure and place right and left assemblies
at the same distance out from the wall. Be sure all
door hardware obstructions are cleared.
• Fasten to the floor with concrete anchors as shown.
Wing Nut
1/4"-20
Staples
Carriage Bolt
1/4"-20x1/2"
HARDWARE SHOWN ACTUAL SIZE

22
Carriage Bolt
1/4"-20x1/2" Lens
Wing Nut
1/4"-20
Figure 5MOUNTING AND WIRING THE SAFETY
REVERSING SENSORS
• Slide a 1/4"-20x1/2" carriage bolt head into the slot on
each sensor. Use wing nuts to fasten sensors to
brackets, with lenses pointing toward each other
across the door. Be sure the lens is not obstructed by
a bracket extension (Figure 5).
• Finger tighten the wing nuts.
•Run the wires from both sensors to the opener. Use
insulated staples to secure wire to wall and ceiling.
• Strip 7/16" (11 mm) of insulation from each set of
wires. Separate white and white/black wires sufficiently
to connect to the opener quick-connect terminals. Twist
like colored wires together. Insert wires into
quick-connect holes: white to white and white/black
to grey (Figure 6).
ALIGNING THE SAFETY REVERSING SENSORS
•Plug in the opener. The indicator lights in both the
sending and receiving eyes will glow steadily if wiring
connections and alignment are correct.
The sending eye amber indicator light will glow
regardless of alignment or obstruction. If the green
indicator light in the receiving eye is off, dim, or flickering
(and the invisible light beam path is not obstructed),
alignment is required.
• Loosen the sending eye wing nut and readjust, aiming
directly at the receiving eye. Lock in place.
• Loosen the receiving eye wing nut and adjust sensor
until it receives the sender’s beam. When the green
indicator light glows steadily, tighten the wing nut.
TROUBLESHOOTING THE SAFETY
REVERSING SENSORS
1. If the sending eye indicator light does not glow steadily
after installation, check for:
• Electric power to the opener.
• A short in the white or white/black wires. These can
occur at staples, or at opener connections.
• Incorrect wiring between sensors and opener.
• A broken wire.
2. If the sending eye indicator light glows steadily but the
receiving eye indicator light doesn't:
• Check alignment.
• Check for an open wire to the receiving eye.
3. If the receiving eye indicator light is dim, realign either
sensor.
NOTE: When the invisible beam path is obstructed or
misaligned while the door is closing, the door will reverse.
If the door is already open, it will not close.
The opener lights will blink 10 times. See page 20.
Invisible Light Beam
Protection Area
Safety
Reversing
Sensor
Safety
Reversing
Sensor
Connect Wire to
Quick-Connect Terminals
Bell Wire
Bell Wire Finished
Ceiling
Quick-Connect Terminals
3. Insert into
appropriate terminals
1. Strip wire 7/16"
(11 mm)
2. Twist like colored
wires together
7/16" (11 mm)
Red Grey
White
Figure 6

23
Fiberglass, aluminum or lightweight steel garage doors
WILL REQUIRE reinforcement BEFORE installation of door
bracket. Contact your door manufacturer for
reinforcement kit.
INSTALLATION STEP 12
Fasten the Door Bracket
Follow instructions which apply to your door type
as illustrated below or on the following page.
A horizontal reinforcement brace should be long
enough to be secured to two vertical supports. A
vertical reinforcement brace should cover the height
of the top panel.
The illustration shows one piece of angle iron as the
horizontal brace. For the vertical brace, two pieces of
angle iron are used to create a U-shaped support
(Figure 1). The best solution is to check with your
garage door manufacturer for an opener installation door
reinforcement kit.
NOTE: Many vertical brace installations provide for direct
attachment of the clevis pin and door arm. In this case
you will not need the door bracket; proceed to
Installation Step 13.
SECTIONAL DOORS
1. Center the door bracket on the previously marked
vertical centerline used for the header bracket
installation. Note correct UP placement, as stamped
inside the bracket (Figure 2).
2. Position the bracket on the face of the door within the
following limits:
• The top edge of the bracket 2"-4" (5-10 cm) below
the top edge of the door.
• The top edge of the bracket directly below any
structural support across the top of the door.
Vertical
Centerline
of Garage
Door
Door
Bracket
Location
Header Bracket Horizontal and vertical reinforcement
is needed for lightweight garage doors
(fiberglass, aluminum, steel, doors with
glass panel, etc.). (Not Provided)
UP
Door Bracket
Inside Edge
of Door or
Reinforcement Board Door
Bracket
Nut
5/16"-18
Carriage Bolt
5/16"-18x2-1/2"
Lock Washer
5/16"
Vertical
Centerline
of Garage
Door
UP
Vertical
Reinforcement
Carriage Bolt
5/16"-18x2-1/2"
Nut 5/16"-18 Lock Washer 5/16"
HARDWARE SHOWN ACTUAL SIZE
Figure 1
Figure 2
• Mark and drill 5/16" left and right fastening holes.
Secure the bracket as shown in Figure 1 if there is
vertical reinforcement.
If your installation doesn't require vertical reinforcement
but does need top and bottom fastening holes for the
door bracket, fasten as shown in Figure 2.

24
Horizontal and vertical
reinforcement is needed for
lightweight garage doors
(fiberglass, aluminum, steel,
door with glass panel, etc.).
(Not Provided)
Header Wall
Vertical
Centerline
of Garage
Door
Finished Ceiling
Optional
Placement
of Door
Bracket
Header
Bracket
Door
Bracket
2x4
For a door with no exposed framing,
or for the optional installation, use
5/16"x1-1/2" lag screws (Not Provided)
to fasten door bracket.
Door
Bracket
Top of Door
(Inside Garage)
Carriage Bolt
5/16"-18x2-1/2"
Optional
Placement
Lock
Washer
5/16"
Nut
5/16"-18
Top Edge
of Door
ONE-PIECE DOORS
Please read and comply with the warnings and
reinforcement instructions on the previous page. They
apply to one-piece doors also.
• Center the door bracket on the top of the door, in line
with the header bracket as shown. Mark either the left
and right, or the top and bottom holes.
• Drill 5/16" pilot holes and fasten the bracket with
hardware supplied.
If the door has no exposed framing, drill 3/16" pilot holes
and fasten the bracket with 5/16"x1-1/2" lag screws
(not provided) to the top of the door.
NOTE: The door bracket may be installed on the top
edge of the door if required for your installation. (Refer to
the dotted line optional placement drawing.) Drill 3/16"
pilot holes and substitute 5/16"x1-1/2" lag screws (not
provided) to fasten the bracket to the door.
Carriage Bolt
5/16"-18x2-1/2"
Nut 5/16"-18 Lock Washer 5/16"
HARDWARE SHOWN ACTUAL SIZE

25
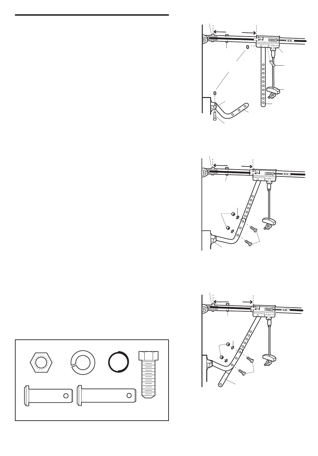
INSTALLATION STEP 13
Connect Door Arm to Trolley
Follow instructions which apply to your door type as
illustrated below and on the following page.
SECTIONAL DOORS ONLY
Make sure garage door is fully closed. Pull the
emergency release handle to disconnect the outer trolley
from the inner trolley. Slide the outer trolley back (away
from the pulley) about 8" (20 cm) (Figures 1, 2 and 3).
Figure 1:
•Fasten straight door arm section to outer trolley with
the 5/16"x1" clevis pin. Secure the connection with a
ring fastener.
• Fasten curved section to the door bracket in the same
way, using the 5/16"x1-1/4" clevis pin.
Figure 2:
• Bring arm sections together. Find two pairs of holes
that line up and join sections. Select holes as far apart
as possible to increase door arm rigidity.
Figure 3, Hole alignment alternative:
• If holes in curved arm are above holes in straight arm,
disconnect straight arm. Cut about 6" (15 cm) from the
solid end. Reconnect to trolley with cut end down
as shown.
• Bring arm sections together.
• Find two pairs of holes that line up and join with bolts,
lock washers and nuts.
Pull the emergency release handle toward the opener at
a 45° angle so that the trolley release arm is horizontal.
Proceed to Adjustment Step 1, page 27. Trolley will
re-engage automatically when opener is operated.
Trolley
Stop Bolt
Trolley
Stop Bolt
Trolley
Stop Bolt
Ring
Fastener
Door
Bracket
Straight
Door Arm
Curved Door Arm
Inner
Trolley
Outer
Trolley
Lock
Washers
5/16"Nuts
5/16"-18
Door Bracket
Bolts
5/16"-18x7/8"
Cut this end
Emergency
Release
Handle
Lock
Washers
5/16"
Nuts
5/16"-18
Bolts
5/16"-18x7/8"
Clevis Pin
5/16"x1"
Clevis Pin
5/16"x1-1/4"
Pulley
Pulley
Pulley
8" (20 cm) min.
8" (20 cm) min.
8" (20 cm) min.
Figure 1
Figure 2
Figure 3
Lock Washer 5/16"
Nut 5/16"-18 Ring Fastener
Hex Bolt
5/16"-18x7/8"
Clevis Pin
5/16"x1" (Trolley)
Clevis Pin
5/16"x1-1/4" (Door Bracket)
HARDWARE SHOWN ACTUAL SIZE

26
ALL ONE-PIECE DOORS
1. Assemble the Door Arm:
• Fasten the straight and curved door arm sections
together to the longest possible length (with a 2 or 3
hole overlap).
• Make sure the garage door is fully closed. Connect
the straight door arm section to the door bracket with
the 5/16"x1-1/4" clevis pin.
• Secure with a ring fastener.
• Pull the emergency release handle, disconnecting the
outer trolley from the inner trolley by pulling straight
down on the emergency release handle and sliding
the outer trolley back toward the motor unit.
• Connect the curved door arm section to the trolley
using the 5/16"x1-1/4" clevis pin and ring fastener.
NOTE: Adjusting the limits on the following page:
• The trolley will automatically connect. If not, review
the trolley lockout feature on page 32.
• When setting the up limit on the following page, the
door should not have a “backward” slant when fully
open as illustrated below. A slight backward slant will
cause unnecessary bucking and/or jerking operation
as the door is being opened or closed from the fully
open position.
Nuts
5/16"-18
Lock
Washers
5/16"
Ring
Fastener
Straight
Arm
Bolts
5/16"-18x7/8"
Door
Bracket
Clevis Pin
5/16"x1-1/4"
Curved
Door Arm
Door Arm
Closed
Door
Outer Trolley
Emergency Release Handle
Open Door
Door with
Backward Slant
(Incorrect)
Correct Angle
Inner Trolley
Inner Trolley
Outer Trolley
Figure 4
Figure 5

ADJUSTMENT STEP 1
Program the Travel Limits
Travel limits regulate the points at which the door
will stop when moving up or down. Follow the steps
below to set the limits.
To program the travel limits:
Adjust the position of the door by using the black and
purple buttons. Black moves the door UP (open) and
purple moves the door DOWN (close).
1. Setting the UP position: Press and hold the black
button until the yellow indicator light starts flashing
slowly then release.
2. Push and hold the black button until the door reaches
the desired UP (open) position (Figure 2).
NOTE: Check to be sure the door opens high enough for
your vehicle.
3. Push the remote control or door control (Figure 3).
This sets the UP (open) limit and begins closing the
door.
NOTE: Excessive movement of the motor unit will cause
premature wear. See Troubleshooting section.
4. Immediately when the door begins to move down,
press and release either the black or purple button.
This will stop the door.
5. Setting the DOWN position: Push and hold the
purple button until the door reaches the desired
DOWN (closed) position (Figure 4).
6. Once the door is closed, if there appears to have too
much pressure on the door, you may toggle the door
back and forth using the black and purple buttons to
reach the desired closed position.
7. Push the remote control or the door control (Figure 3).
This sets the DOWN (close) limit and should bring the
door to the open position.
• If the opener is not stopping exactly where you
would like it, repeat steps 1 through 8 and program
the limits again.
• When the unit stops in both the desired up (open)
and down (close) positions, proceed to
Adjustment Step 2, Setting the Force.
27
Without a properly installed safety reversal system, persons
(particularly small children) could be SERIOUSLY INJURED
or KILLED by a closing garage door.
• Incorrect adjustment of garage door travel limits will
interfere with proper operation of safety reversal system.
• NEVER use force adjustments to compensate for a binding
or sticking garage door.
• After ANY adjustments are made, the safety reversal system
MUST be tested. Door MUST reverse on contact with 1-1/2"
(3.8 cm) high object (or 2x4 laid flat) on floor.
To prevent damage to vehicles, be sure fully open door
provides adequate clearance.
BLACK
PURPLE
Push and hold
until the door
is at desired UP
position
Indicator Light
Push either
button to stop
door at desired
DOWN position
BLACK
PURPLE
Indicator Light
Figure 2
Figure 4
or
Figure 3
Black Button
Purple Button
Indicator Light
Figure 1

28
ADJUSTMENT STEP 2
Setting the Force
The force setting button is located on the left panel
of the motor unit. The force setting measures the
amount of force required to open and close the door.
1. Locate the purple button on the left panel of the motor
unit (Figure 1).
2. Push the purple button twice to enter the opener into
Force Adjustment Mode (Figure 2).The LED (Indicator
Light) will flash quickly.
3. Push the remote control or control console (Figure 3).
The door will travel to the DOWN (close) position.
Push the remote control or control console again, the
door will travel to the UP (open) position. Push the
remote control or control console a third time to send
the door to the DOWN (close) position.
The LED (Indicator Light) will stop flashing when the
force has been learned.
The opener has learned the forces required to open and
close your door.
The door must travel through a complete cycle, UP and
DOWN, in order for the force to be set properly. If the
opener cannot open and close your door fully, inspect
your door to insure that it is balanced properly and is not
sticking or binding. See page 3, “Preparing your
garage door.”
Without a properly installed safety reversal system, persons
(particularly small children) could be SERIOUSLY INJURED
or KILLED by a closing garage door.
• Too much force on garage door will interfere with proper
operation of safety reversal system.
• NEVER use force adjustments to compensate for a binding
or sticking garage door.
• After ANY adjustments are made, the safety reversal system
MUST be tested. Door MUST reverse on contact with 1-1/2"
(3.8 cm) high object (or 2x4 laid flat) on floor.
Figure 3
Figure 1
Black Button
Purple Button
Indicator Light
Black Button
Purple Button
Indicator Light
Push Purple button
twice to enter
unit into Force
Adjustment Mode
or
Figure 2

29
Without a properly installed safety reversal system, persons
(particularly small children) could be SERIOUSLY INJURED
or KILLED by a closing garage door.
• Safety reversal system MUST be tested every month.
• After ANY adjustments are made, the safety reversal
system MUST be tested. Door MUST reverse on contact
with 1-1/2" high (3.8 cm) object (or 2x4 laid flat) on
the floor.
ADJUSTMENT STEP 4
Test The Protector System®
(Safety Sensors)
• Press the remote control push button to open the door.
• Place the opener carton in the path of the door.
• Press the remote control push button to close the door.
The door will not move more than an inch (2.5 cm),
and the opener lights will flash.
The garage door opener will not close from a remote if
the indicator light in either sensor is off (alerting you to
the fact that the sensor is misaligned or obstructed).
If the opener closes the door when the safety
reversing sensor is obstructed (and the sensors are
no more than 6" (15 cm) above the floor), call for a
trained door systems technician.
Safety Reversing Sensor Safety Reversing Sensor
Without a properly installed safety reversing sensor, persons
(particularly small children) could be SERIOUSLY INJURED
or KILLED by a closing garage door.
1-1/2" (3.8 cm) board
(or a 2x4 laid flat)
ADJUSTMENT STEP 3
Test the Safety Reversal System
TEST
• With the door fully open, place a 1-1/2" (3.8 cm) board
(or a 2x4 laid flat) on the floor, centered under the
garage door.
• Operate the door in the down direction. The door must
reverse on striking the obstruction.
ADJUST
• If the door stops on the obstruction, it is not traveling
far enough in the down direction. Complete Adjustment
Steps 1 and 2.
NOTE: On a sectional door, make sure limit
adjustments do not force the door arm beyond a
straight up and down position. See Figure 3, page 25.
• Repeat the test.
• When the door reverses on the 1-1/2" (3.8 cm) board
(or 2x4 laid flat), remove the obstruction and run the
opener through 3 or 4 complete travel cycles to test
adjustment.
• If the unit continues to fail the Safety Reverse Test, call
for a trained door systems technician.
IMPORTANT SAFETY CHECK:
Test the Safety Reverse System after:
• Each adjustment of door arm length, limits, or force
controls.
• Any repair to or adjustment of the garage door
(including springs and hardware).
• Any repair to or buckling of the garage floor.
• Any repair to or adjustment of the opener.

30
OPERATION
Using Your Garage Door Opener
Your Security✚®opener and hand-held remote control
have been factory-set to a matching code which changes
with each use, randomly accessing over 100 billion new
codes. Your opener will operate with up to ten Security✚®
remote controls, one Security✚®Keyless Entry System,
and one accessory wall control. If you purchase a new
remote, or if you wish to deactivate any remote, follow
the instructions in the Programming section.
Activate your opener with any of the following:
•The hand-held Remote Control: Hold the large push
button down until the door starts to move.
•The wall-mounted control console: Hold the push
button or bar down until the door starts to move.
•The Keyless Entry (see Accessories): If provided with
your garage door opener, it must be programmed
before use. See Programming.
When the opener is activated (with the safety
reversing sensor correctly installed and aligned)
1. If open, the door will close. If closed, it will open.
2. If closing, the door will reverse.
3. If opening, the door will stop.
4. If the door has been stopped in a partially open
position, it will close.
5. If obstructed while closing, the door will reverse. If the
obstruction interrupts the sensor beam, the opener
lights will blink for five seconds.
6. If obstructed while opening, the door will stop.
7. If fully open, the door will not close when the beam is
broken. The sensor has no effect in the opening cycle.
If the sensor is not installed, or is misaligned, the door
won’t close from a hand-held remote. However, you can
close the door with the control console, the Outdoor Key
Switch, or Keyless Entry, if you activate them until down
travel is complete. If you release them too soon, the door
will reverse.
The opener lights will turn on under the following
conditions: when the opener is initially plugged in; when
power is restored after interruption; when the opener is
activated.
They will turn off automatically after 4-1/2 minutes or
provide constant light when the Light feature on the
Control Console is activated. Bulb size is A19. Bulb
power is 100 watts maximum.
Security
✚
®light feature: Lights will also turn on when
someone walks through the open garage door. With a
Motion Detecting Control Console, this feature may be
turned off as follows: With the opener lights off, press
and hold the light button for 10 seconds, until the light
goes on, then off again. To restore this feature, start with
the opener lights on, then press and hold the light button
for 10 seconds until the light goes off, then on again.
IMPORTANT SAFETY INSTRUCTIONS
To reduce the risk of SEVERE INJURY or DEATH:
WARNING
WARNINGWARNING
WARNING
1. READ AND FOLLOW ALL WARNINGS AND INSTRUCTIONS.
2. ALWAYS keep remote controls out of reach of children.
NEVER permit children to operate or play with garage
control console push buttons or remote controls.
3. ONLY activate garage door when it can be seen clearly, it is
properly adjusted, and there are no obstructions to door
travel.
4. ALWAYS keep garage door in sight until completely closed.
NO ONE SHOULD CROSS THE PATH OF THE MOVING
DOOR.
5. NO ONE SHOULD GO UNDER A STOPPED, PARTIALLY
OPEN DOOR.
6. If possible, use emergency release handle to disengage
trolley ONLY when garage door is CLOSED. Weak or broken
springs or unbalanced door could result in an open door
falling rapidly and/or unexpectedly.
7. NEVER use emergency release handle unless garage
doorway is clear of persons and obstructions.
8. NEVER use handle to pull garage door open or closed. If
rope knot becomes untied, you could fall.
9. If one control (force or travel limits) is adjusted, the other
control may also need adjustment.
10. After ANY adjustments are made, the safety reversal
system MUST be tested.
11. Safety reversal system MUST be tested every month.
Garage door MUST reverse on contact with 1-1/2" high
(3.8 cm) high object (or a 2x4 laid flat) on the floor.
12. ALWAYS KEEP GARAGE DOOR PROPERLY BALANCED
(see page 3). An improperly balanced door may not
reverse when required and could result in SEVERE INJURY
or DEATH.
13. ALL repairs to cables, spring assemblies and other
hardware, all of which are under EXTREME tension, MUST
be made by a trained door systems technician.
14. To avoid SERIOUS PERSONAL INJURY or DEATH from
electrocution, disconnect ALL electric and battery power
BEFORE performing ANY service or maintenance.
15. SAVE THESE INSTRUCTIONS.

31
Using the Wall-Mounted
Control Console
THE MOTION DETECTING CONTROL CONSOLE
Press the push button
to open or close the
door. Press again to
reverse the door
during the closing
cycle or to stop the
door while it’s
opening.
This control console
contains a motion
detector that will automatically turn on the light when it
detects a person entering the garage. This feature can be
easily turned off for extended work light use.
Light Feature
Press the Light button to turn the opener light on
or off. It will not control the opener lights when the door is
in motion. If you turn it on and then activate the opener,
the light will remain on for 4-1/2 minutes. Press again to
turn it off sooner. The 4-1/2 minute interval can be
changed to 1-1/2, 2-1/2, or 3-1/2 minutes as follows:
Press and hold the Lock button until the light blinks
(about 10 seconds). A single blink indicates that the timer
is reset to 1-1/2 minutes. Repeat the procedure and the
light will blink twice, resetting the timer to 2-1/2 minutes.
Repeat again for a 3-1/2 minute interval, etc., up to a
maximum of four blinks and 4-1/2 minutes.
When using the opener lights as working lights, we
recommend that you first disable the motion sensor.
Motion Detecting Light Feature: The opener light will
turn on automatically when a person walks in front of the
wall-mounted control console. This feature works by
detecting motion and body heat and may not work in
temperatures around 100˚F, 37.7C. The opener light will
come on for 5 minutes, then shut off automatically if no
additional motion or heat differential is calculated.
To disable this feature, press the Automatic Light
On/Off button on the left side of the control
console.
We recommend that you disable the motion sensor when
using the opener lights as working lights. Otherwise, they
will turn off automatically if you are working beyond the
sensor’s range.
Lock Feature
Designed to prevent operation of the door from
hand-held remote controls. However, the door will open
and close from the control console, the Outside Keylock
and the Keyless Entry Accessories.
To activate, press and hold the Lock button for 2
seconds. The push bar light will flash as long as the Lock
feature is on.
To turn off, press and hold the Lock button again for
2 seconds.The push bar light will stop flashing. The Lock
feature will also turn off whenever the “learn” button
is activated.
PROG <Learn> Feature
The control console is equipped with a PROG <LEARN>
button to assist in learning remote controls to the unit.
Press the PROG <LEARN> button once to initiate
LEARN mode and the display will show ‘Learn Remote
Control - Press Learn Button Again to Confirm.’ Press the
PROG <LEARN> button a second time and the display
will show ‘Learn Mode - Press Remote Control Button to
Learn Remote.’ Press the button of the remote control to
be learned and the worklight will blink to confirm the
remote control has been learned.
Hour and Minute Feature
Press or hold either of these side buttons
to increment the hour or minute displayed on the LCD
display.
<LANG> Language Feature
Press this side button to toggle between the three
languages - English, Spanish, and French.
Degrees F/C Feature
Press this side button to toggle the temperature
units between Fahrenheit and Celsius.
Additional feature when used with the 3-Function
hand-held remote
To control the opener lights:
1. With the door closed, press and
hold a small remote button that
you want to control the light.
2. Press and hold the Light button
on the control console.
3. While holding the Light button, press and hold the Lock
button on the control console.
4. After the opener lights flash, release all buttons.
Push Bar
Motion Detecting
Light On/Off
Prog <Learn>
Hour
Minute
Light Button
Lock Button
Language
Degrees (F/C)
LIGHT
LOCK
H M

32
Care of Your Opener
MAINTENANCE SCHEDULE
Once a Month
• Manually operate door. If it is unbalanced or binding,
call a trained door systems technician.
• Check to be sure door opens and closes fully. Adjust
limits and/or force if necessary (see pages 27 and 28).
• Repeat the safety reverse test. Make any necessary
adjustments (See Adjustment Step 3).
Once a Year
• Oil door rollers, bearings and hinges. The opener does
not require additional lubrication. Do not grease the
door tracks.
THE REMOTE CONTROL BATTERY
The lithium battery should
produce power for up to
5 years. To replace battery,
use the visor clip or
screwdriver blade to pry open
the case as shown. Insert
battery positive side up (+).
Dispose of old battery properly.
NOTICE: To comply with FCC and or Industry Canada rules (IC), adjustment or modifications of
this receiver and/or transmitter are prohibited, except for changing the code setting or replacing
the battery. THERE ARE NO OTHER USER SERVICEABLE PARTS.
Tested to Comply with FCC Standards FOR HOME OR OFFICE USE. Operation is subject to the
following two conditions: (1) this device may not cause harmful interference, and (2) this device
must accept any interference received, including interference that may cause undesired operation.
To prevent possible SERIOUS INJURY or DEATH:
• NEVER allow small children near batteries.
• If battery is swallowed, immediately notify doctor.
Open this end
first to avoid
cracking
housing
To Open the Door Manually
DISCONNECT THE TROLLEY:
The door should be fully closed if
possible. Pull down on the
emergency release handle (so
that the trolley release arm snaps
into a vertical position) and lift the
door manually. The lockout
feature prevents the trolley from
reconnecting automatically, and
the door can be raised and
lowered manually as often as
necessary.
TO RE-CONNECT THE
TROLLEY:
Pull the emergency release
handle toward the opener at an
angle so that the trolley release
arm is horizontal. The trolley will
reconnect on the next UP or
DOWN operation, either
manually or by using the control
console or remote.
To prevent possible SERIOUS INJURY or DEATH from a
falling garage door:
• If possible, use emergency release handle to disengage
trolley ONLY when garage door is CLOSED. Weak or
broken springs or unbalanced door could result in an open
door falling rapidly and/or unexpectedly.
• NEVER use emergency release handle unless garage
doorway is clear of persons and obstructions.
• NEVER use handle to pull door open or closed. If rope knot
becomes untied, you could fall.
Lockout position
(Manual disconnect)
NOTICE
Trolley
Release Arm
(In Manual
Disconnect
Position)
Trolley
NOTICE
Emergency
Release Handle
(Down and Back)
Trolley
Release
Arm
Trolley
To reconnect

33
NOTE: LED is most visible with worklight off.
GREEN LED:
All systems are normal.
• A solid LED light indicates the battery is fully charged.
• A flashing LED indicates the battery is being charged.
NOTE: Battery does not have to be fully charged to
operate the motor unit.
ORANGE LED:
The motor unit has lost power and is operating off of the
battery.
• A solid LED with beep, sounding approximately every
2 seconds, indicates the motor unit is activating the
door and is operating off of the battery.
• A flashing LED with beep, sounding every 30 seconds,
indicates battery is low.
• Once the power is restored the battery will recharge.
This is indicated by a flashing green LED.
RED LED:
• If a red LED remains on when the power is restored,
and is accompanied by a beep sounding every 30
seconds, please call for service.
• To obtain maximum battery life and prevent damage,
also disconnect the battery if you unplug the motor unit
while on vacation or any other extended period of
time.
Battery Backup
OPERATING INSTRUCTIONS
1. Test the installed battery with the motor unit.
To test the battery, disconnect the motor unit power cord
from the electrical outlet.
• A solid orange LED indicates the battery is operating
on battery power.
• A flashing orange LED with beep indicates the unit is
operating on battery power and that the battery charge
is low.
• To test the battery is functioning properly, open and
close the garage door.
• Re-connect the motor unit power cord back into the
electrical outlet.
• Verify that the green LED is flashing on the BBU
(indicates that the battery is now charging).
• Test completed.
2. Charge the battery.
• Battery will take 24 to 48 hours to fully charge.
A fully charged battery supplies 12V DC to the motor unit
for one to two days of normal operation during an
electrical power outage. If the battery voltage drops too
low, the batteries will disconnect and the motor unit will
no longer operate under battery power.
After the electrical power has been restored, the battery
will recharge within 48 hours. Under normal usage
batteries will last 3 to 5 years.
To obtain maximum battery life and prevent damage,
disconnect the battery when the motor unit is
unplugged for an extended period of time.
NOTE: Door operation may be limited until battery is fully
charged. The motor unit’s lights will not turn on during
battery mode.
To reduce the risk of FIRE or INJURY to persons:
• Disconnect ALL electric and battery power BEFORE
performing ANY service or maintenance.
• Use only Craftsman part #41B822 for replacement battery.
• Do NOT dispose of battery in fire. Battery may explode.
Check with local codes for disposal instructions.
Battery
Status LED
Battery
Door

34
Having a Problem (Troubleshooting)
NOTE: Always unplug battery prior to troubleshooting.
1. My door will not close and the light bulbs blink on
my motor unit: The safety reversing sensor must be
connected and aligned correctly before the garage
door opener will move in the down direction.
• Verify the safety reversing sensors are properly
installed, aligned and free of any obstructions. Refer
to Installation Step 11: Install The Protector System®.
• Check diagnostic LED for flashes on the motor unit
then refer to the Diagnostic Chart on the
following page.
2. My remotes will not activate the door:
• Verify your Motion Detecting Control Console does
not display “Lock Mode.” If it does, deactivate the
Lock Mode following the instructions for Using the
Motion Detecting Control Console.
• Reprogram remotes following the programming
instructions. Refer to Programming.
• If remote will still not activate your door, check
diagnostic LED for flashes on motor unit then refer to
Diagnostic Chart on the following page.
3. My door reverses for no apparent reason: Repeat
safety reverse test after adjustments to force or travel
limits. The need for occasional adjustment for the force
and limit settings is normal. Weather conditions in
particular can affect door travel.
• Manually check door for balance or any binding
problems.
• Refer to Adjustment Step 2, Setting the Force.
4. My door reverses for no apparent reason after fully
closing and touching the floor: Repeat safety
reverse test after adjustments to force or travel limits.
The need for occasional adjustment for the force and
limit settings is normal. Weather conditions in particular
can affect door travel.
• Refer to Adjustment Step 1, Program the
Travel Limits.
5. My lights will not turn off when door is open:
• The garage door opener is equipped with a security
light feature. This feature activates the light on when
the safety reversing sensor beam has been
obstructed. Refer to Operation section; Using the
Wall Mounted control console, Light Feature.
Safety Reversing Sensor
Bell Wire
“Learn”
Button LED
or Diagnostic
LED
6. My motor unit hums briefly:
• First verify that the trolley is against the stop bolt.
• Release the door from the opener by pulling the
Emergency Release Rope.
• Manually bring the door to a closed position.
• Loosen the belt by adjusting the outer nut 4 to 5
turns. This relieves the tension.
• Run the motor unit from the remote control or control
console. The trolley should travel towards the door
and stop. If the trolley re-engages with the door, pull
the Emergency Release Rope to disengage.
• Decrease the UP travel.
• Re-Tighten the outer nut until the trolley spring is
approximately 1-1/4" (3.18 cm) in length.
• If the trolley does not move away from the bolt,
repeat the steps above.
7. Battery status LED is not lit properly:
• Check battery connections.
1-1/4"
(3.18 cm)
Trolley
Receiving Eye
Safety Reversing Sensor
(Green Indicator Light)
Sending Eye Safety
Reversing Sensor
(Amber Indicator Light)

35
Installed
Safety Reversing
Sensor
Safety Reversing Sensor
Bell Wire
“Learn”
Button LED
or Diagnostic
LED “Learn”
Button
Your garage door opener is programmed with
self-diagnostic capabilities. The “Learn” button/diagnostic
LED will flash a number of times then pause signifying it
has found a potential issue. Consult Diagnostic Chart below.
Diagnostic Chart
Symptom: One or both of the Indicator lights on the safety reversing sensors
do not glow steady.
• Inspect sensor wires for a short (staple in wire), correct wiring polarity
(black/white wires reversed), broken or disconnected wires, replace/attach
as needed.
• Disconnect all wires from back of motor unit.
• Remove sensors from brackets and shorten sensor wires to 1-2 ft (30-60 cm) from
back each of sensor.
• Reattach sending eye to motor unit using shortened wires. If sending eye indicator
light glows steadily, attach the receiving eye.
• Align sensors, if the indicator lights glow replace the wires for the sensors. If the
sensor indicator lights do not light, replace the safety reversing sensors.
Symptom: LED is not lit on control console.
• Inspect control console/wires for a short (staple in wire), replace as needed.
• Disconnect wires at control console, touch wires together. If motor unit activates,
replace control console.
• If motor unit does not activate, disconnect control console wires from motor unit.
Momentarily short across red and white terminals with jumper wire. If motor unit
activates, replace control console wires.
Symptom: Sending indicator light glows steadily, receiving indicator light is
dim or flashing.
• Realign receiving eye sensor, clean lens and secure brackets.
• Verify door track is firmly secured to wall and does not move.
Symptom: RPM Sensor = Short travel 6-8" (15-20 cm).
• Unplug unit to reset. Try to operate motor unit, check diagnostic code.
• If it is still flashing 5 times and motor unit moves 6-8" (15-20 cm), replace RPM
sensor.
• If motor unit doesn’t operate, motor unit is overheated. Wait 30 minutes and retry. If
motor unit still will not operate replace logic board.
Possible RPM sensor
failure. Unplug to reset.
Safety reversing sensors
slightly misaligned
(dim or flashing LED).
Control console or
wire shorted.
Safety reversing sensors
wire shorted or
black/white wire
reversed.
Safety reversing sensors
wire open (broken
or disconnected).
1 FLASH
2 FLASHES
3 FLASHES
4 FLASHES
5 FLASHES
OR

36
Meaning: This message will appear if the Safety Reversing Sensors are out of
alignment, if they are blocked or if the wiring is disconnected. To clear message from
Control Console do the following:
• Check to see that area is clear between the Safety Reversing Sensors.
• Check to see that the Safety Reversing Sensors are not misaligned.
• Realign receiving eye sensor, clean lens and secure brackets.
• Verify door track is firmly secured to wall and does not move.
• Check to see that the Safety Reversing Sensors’ wires are connected to the motor unit.
• If message has not cleared after the above checks, refer to message #2.
Meaning: This message will appear if the Safety Reversing Sensors are miswired.
To clear the message, do the following:
• Inspect the safety reversing sensor wires for a short (staple in wire), correct wiring
polarity (black/white wires reversed), replace/attach as needed.
• Disconnect all wires from back of motor unit.
• Remove safety reversing sensors from brackets and shorten sensor wires to 1-2 ft.
(30-60 cm) from back of each sensor.
• Reattach sending eye to motor unit using shortened wires. If sending eye indicator light
glows steadily, attach the receiving eye.
• Align sensors, if the indicator lights glow replace the wires for the sensors. If the sensor
indicator lights do not light, replace the safety reversing sensors.
Meaning: This message will appear when the ‘LEARN’ button has been pressed on
the Control Console. Pressing the ‘LEARN’ button again will allow the user to
program an additional remote control to the opener.
Meaning: This message will appear when the ‘LEARN’ button has been pressed a
second time on the Control Console or anytime on the opener. The opener
is ready to program another remote control by simply pressing the remote control
button. Once the opener has ‘LEARNED’ the remote control, the worklight will blink
one time.
Meaning: This message will appear when the ‘LOCK’ button has been pressed and
held for more than one second. This feature will disable the opener from receiving
remote control signals. To exit ‘LOCK’ mode, press and hold the button
for more than one second.
Meaning: This message will appear when the ‘LANGUAGE’ button has been pressed.
Pressing the button will toggle to the next language.
Meaning: This message will appear when the Motion Sensing button is pressed. The
motion detector will toggle on or off with each press of the button.
LEARN REMOTE
CONTROL PRESS
LEARN BUTTON
TO CONFIRM
LEARN MODE PRESS
REMOTE CONTROL
BUTTON TO
PROGRAM REMOTE
LOCK MODE REMOTE
CONTROL LOCKED
OUT PRESS LOCK
BUTTON TO ENABLE
REMOTE
SAFETY SENSORS
MALFUNCTION
CHECK MISWIRING
SEE OWNER’S
MANUAL
Message
Message
Message
Message
Message
ENGLISH, FRANÇAIS
AND ESPAÑOL
Message
MOTION SENSING ON
MOTION SENSING
OFF
Message
LCD Motion Detecting Control
Console Messages
The following messages are contained within the LCD
Motion Detecting Control Console and may appear
during the operations of the unit:
SAFETY SENSORS
CHECK ALIGNMENT,
BLOCKAGE OR
MISWIRING SEE
OWNER’S MANUAL

37
*3-Function Remotes
If provided with your garage door opener, the large button
is factory programmed to operate it. Additional buttons on
any Security✚®3-Function
remote or compact remote
can be programmed to
operate other Security✚®
garage door openers.
To Erase All Codes From Motor
Unit Memory
To deactivate any unwanted remote, first
erase all codes:
Press and hold the purple “learn” button on
motor unit until the learn indicator light goes
out (approximately 6 seconds). All previous
codes are now erased. Reprogram each
remote or keyless entry you wish to use.
1. Press and release the “learn” button
on the motor unit. The learn indicator
light will glow steadily for 30
seconds.
2. Within 30 seconds, press and hold
the button on the hand-held remote*
that you wish to operate your garage
door.
3. Release the button when the motor
unit lights blink. It has learned the
code. If light bulbs are not installed,
two clicks will be heard.
To Add or Reprogram a Hand-held Remote Control
USING THE “LEARN” BUTTON USING THE MOTION DETECTING CONTROL CONSOLE
PROGRAMMING
1. Press the Learn button on the Motion
Detecting Control Console.
2. Press the Learn button again to confirm
Learn Mode.
3. Press the button on the hand-held
remote*that you wish to operate your
garage door.
4. When the motor unit lights blink, it has
learned the code. If light bulbs are not
installed, two clicks will be heard.
NOTICE: If this Security
✚
®garage door opener is operated with a non-rolling code transmitter, the technical measure in
the receiver of the garage door opener, which provides security against code-theft devices, will be circumvented. The
owner of the copyright in the garage door opener does not authorize the purchaser or supplier of the non-rolling code
transmitter to circumvent that technical measure.
Your garage door opener has already been programmed at the factory to operate with your hand-held remote control.
The door will open and close when you press the large push button.
Below are instructions for programming your opener to operate with additional Security✚®remote controls.

38
1. Press the Learn button on the Motion
Detecting Control Console.
2. Press the Learn button again to
confirm Learn Mode.
3. Enter a four digit personal
identification number (PIN) of your
choice on the keypad. Then press
ENTER.
4. When the motor unit lights blink, it
has learned the code. If light bulbs
are not installed, two clicks will be
heard.
1. Press and release the “learn” button
on motor unit. The learn indicator
light will glow steadily for 30
seconds.
2. Within 30 seconds, enter a four digit
personal identification number (PIN)
of your choice on the keypad. Then
press and hold the ENTER button.
3. Release the button when the motor
unit lights blink. It has learned the
code. If light bulbs are not installed,
two clicks will be heard.
To Add, Reprogram or Change a Keyless Entry PIN
NOTE: Your new Keyless Entry must be programmed to operate your garage door opener.
USING THE “LEARN” BUTTON USING THE MOTION DETECTING CONTROL CONSOLE
NOTE: This method requires two people if the Keyless
Entry is already mounted outside the garage.
To change an existing, known PIN
If the existing PIN is known, it may be changed by one
person without using a ladder.
1. Press the four buttons for the present PIN, then press and
hold the # button.
The opener light will blink twice. Release the # button.
2. Press the new 4-digit PIN you have chosen, then
press ENTER.
The motor unit lights will blink once when the PIN has been
learned.
Test by pressing the new PIN, then press ENTER. The door
should move.
To set a temporary PIN
You may authorize access by visitors or service people with
a temporary 4-digit PIN. After a programmed number of
hours or number of accesses, this temporary PIN expires
and will no longer open the door. It can be used to close the
door even after it has expired. To set a temporary PIN:
1. Press the four buttons for your personal entry PIN (not
the last temporary PIN), then press and hold the ✽button.
The opener light will blink three times. Release the
button.
2. Press the temporary 4-digit PIN you have chosen, then
press ENTER.
The opener light will blink four times.
3. To set the number of hours this temporary PIN will work,
press the number of hours (up to 255), then press ✽.
OR
3. To set the number of times this temporary PIN will work,
press the number of times (up to 255), then press #.
The opener light will blink once when the temporary PIN
has been learned.
Test by pressing the four buttons for the temporary PIN,
then press ENTER. The door should move. If the temporary
PIN was set to a certain number of openings, remember
that the test has used up one opening. To clear the
temporary password, repeat steps 1-3, setting the number
of hours or times to 0 in step 3.
One Button Close: Opener can be closed by pressing only the ENTER button if the one button close feature has been
activated. This feature has been activated at the factory. To activate or deactivate this feature press and hold buttons 1 and 9
for 10 seconds. The keypad will blink twice when the one button close is active. The keypad will blink four times when one
button close is deactivated.

39
10
9
12
7
NOTICE
4
11 13
1
2
16
3
14
15
8
6
5
12
3
5
46
7
Installation Parts
REPAIR PARTS
Rail Assembly Parts
KEY PART
NO. NO. DESCRIPTION
1 4A1008 Master link kit
2 41C5141-1 Complete trolley assembly
3 41A5665-2 Complete rail
4 41B4103-1 Spring trolley nut
5 144C54 Idler pulley
6 41A5250 Full belt assembly
7 12D598-1 “U” bracket
NOT SHOWN
183A163 Wear pads
KEY PART
NO. NO. DESCRIPTION
1 41A6317 Motion detecting control console (LCD)
2 41A6140-1 3-Function remote control case
(no circuit board)
3 10A20 3V 2032 Lithium battery
4 29B137 Visor clip
5 41D543-1 Keyless entry keypad cover
6 41D541 Keyless entry battery cover
7 41A2828 Emergency release rope and handle
assembly
8 41B4494-1 2-Conductor bell wire: white and
white/red
9 41A5047-3 Header bracket with clevis pin and
fastener
10 41A5047-1 Door bracket with clevis pin and
fastener
11 178B35 Curved door arm section
12 178B34 Straight door arm section
13 12B776 Hanging bracket
14 41A5034 Safety reversing sensor kit (receiving
and sending eyes) with 3' (.9 m)
2-conductor bell wire attached
15 41A5266-1 Safety reversing sensor bracket
16 41B822 Battery
NOT SHOWN
101D165 Push bar for wall control
41A5257-5 Installation hardware bag
(includes hardware listed on page 7)
114A3498 Owner’s manual

40
10
10
6
9
5
4
8
11 7
3
12
KEY PART
NO. NO. DESCRIPTION
1 41A537 Belt cap and pulley
2 41B4245 Line cord
3 41B4375-3 Terminal block with screws
4 41A6281 Wire harness kit
5 41D843 Motor with positioning sensor
6 41DB102-2 Receiver logic assembly
7 41A6268 End panel with battery door
and screw
KEY PART
NO. NO. DESCRIPTION
8 41C190 Transformer and harness
9 41D503-2 Cover
10 108D77 Light lens
11 175B88 Light socket
NOT SHOWN
41B822 Battery kit
Motor Unit Assembly Parts

41
ACCESSORIES
10 Foot (3 m) Rail Extension:
To allow a 10 foot (3 m) door to
open fully.
8 Foot (2.4 m) Rail Extension:
To allow a 8 foot (2.4 m) door to
open fully.
139.53754
139.53753
139.53728
139.53729
41A6344
139.53749
139.53702
SECURITY✚®3-Function Compact
Remote Control:
With loop for attaching key ring.
SECURITY✚®3-Function Remote
Control:
Includes visor clip.
Emergency Key Release:
Required for a garage with NO access
door. Enables homeowner to open
garage door manually from outside by
disengaging trolley.
Extension Brackets:
(Available only through Sears
Parts & Service)
(Optional) For safety reversing
sensor installation onto the wall
or floor.
41A5281
139.53752
SECURITY✚®Keyless Entry:
Enables homeowner to operate garage
door opener from outside by entering a
password. Also can add a temporary
password for visitors or service persons.
Door Clearance Brackets:
(For Sectional Doors Only)
Replaces top brackets and rollers on
door to reduce height of door travel. For
use when installing opener in garage
with low headroom clearance.
139.53709
139.53589
Wireless Control Console:
(Available only through Sears Parts
& Service)
One button control console for
additional control panel.
Plug-In Light Control:
Enables homeowner to turn on a lamp,
television or other appliance from car,
bedside, or anywhere in the home with
a remote.
WARRANTY
Support Brackets:
For finished ceilings or where
additional support is required, based
on garage construction. Includes
brackets and fastening hardware.
CRAFTSMAN GARAGE DOOR OPENER LIMITED WARRANTY
90-DAY IN-HOME FULL WARRANTY ON PRODUCT
For 90 days from the date of purchase, this product will be repaired, free of charge, if defective in material or workmanship.
ADDITIONAL LIMITED WARRANTY ON PARTS
From the 91st day up to 3 year from the date of purchase, replacement parts for any defective parts on this product will be furnished, free of charge. You pay for labor.
10-YEAR LIMITED WARRANTY ON MOTOR
From the 91st day and through 10 years, if the motor on this product is defective, a replacement motor will be furnished free of charge. You pay for labor.
WARRANTY RESTRICTION
This Craftsman Garage Door Opener Limited Warranty does not cover light bulbs or repair parts necessary because of operator abuse or negligence, including the failure to
install, adjust and operate this garage door opener according to instructions contained in the owner's manual. This limited warranty also does not cover any problems caused
by interference.
LIMITATION ON LIABILITY
Seller will not be liable for loss or damage to property or any incidental or consequential loss or expense from property damage due directly or indirectly to the use of
this product. Some states do not allow the exclusion or limitation of incidental or consequential damages, so the above limitation or exclusion may not apply to you.
DISCLAIMER OF IMPLIED WARRANTIES
Except for the motor, all implied warranties for this product, including but not limited to any implied warranties of merchantability and fitness for a particular purpose,
are limited in duration to the 91st day through 3-year limited warranty period set forth above. All implied warranties with respect to the motor are limited in duration to
the 91st day through 10-year limited warranty period set forth above. No implied warranties will exist or apply after such periods. Some States do not allow limitations
on how long an implied warranty lasts, so the above limitations may not apply to you.
FROM THE 91ST DAY, WARRANTY SERVICE IS AVAILABLE BY SIMPLY CONTACTING THE NEAREST SEARS STORE OR SEARS SERVICE CENTER IN
THE UNITED STATES.
WARRANTY SERVICE IS AVAILABLE BY CALLING 1-800-4-MY-HOME®.
This warranty applies only while this product is in use in the United States.
This warranty gives you specific legal rights, and you may also have other rights which vary from state to state.
Sears, Roebuck and Co., Dept. 817WA, Hoffman Estates, IL 60179

2
Introducción 2-7
Revisión de los símbolos y términos de seguridad . . . . . . . . . .2
Preparación de la puerta de su cochera . . . . . . . . . . . . . . . . . .3
Herramientas necesarias . . . . . . . . . . . . . . . . . . . . . . . . . . . . . .3
Planificación . . . . . . . . . . . . . . . . . . . . . . . . . . . . . . . . . . . . . .4-5
Inventario de la caja de cartón . . . . . . . . . . . . . . . . . . . . . . . . .6
Inventario de piezas . . . . . . . . . . . . . . . . . . . . . . . . . . . . . . . . . .7
Montaje 8-11
Monte el riel y instale el trole . . . . . . . . . . . . . . . . . . . . . . . . . . .8
Fije el riel a la unidad del motor . . . . . . . . . . . . . . . . . . . . . . . .9
Instale la polea loca . . . . . . . . . . . . . . . . . . . . . . . . . . . . . . . . . .9
Instale la banda y sujete el retén de la cubierta
de la banda . . . . . . . . . . . . . . . . . . . . . . . . . . . . . . . . . . . . . . .10
Fije la tensión de la banda . . . . . . . . . . . . . . . . . . . . . . . . . . . .11
Instalación 11-26
Instrucciónes importantes para la instalación . . . . . . . . . . .11
Determine dónde va a instalar la ménsula del cabezal . . .12
Instale la ménsula del cabezal . . . . . . . . . . . . . . . . . . . . . .13
Coloque el riel en la ménsula del cabezal . . . . . . . . . . . . .14
Coloque el abridor en posición . . . . . . . . . . . . . . . . . . . . . .15
Cuelgue el abridor . . . . . . . . . . . . . . . . . . . . . . . . . . . . . . .16
Instale la consola de control . . . . . . . . . . . . . . . . . . . . . . . . . .17
Instale la batería . . . . . . . . . . . . . . . . . . . . . . . . . . . . . . . . . . .18
Instale las luces . . . . . . . . . . . . . . . . . . . . . . . . . . . . . . . . . . . .18
Instale la manija y la cuerda de emergencia . . . . . . . . . . . . . .18
Requisitos para la instalación eléctrica . . . . . . . . . . . . . . . . . .19
Instale La Sistema de Protección® . . . . . . . . . . . . . . . . . . .20-22
Fije la ménsula de la puerta . . . . . . . . . . . . . . . . . . . . . . . .23-24
Conecte el brazo de la puerta al trole . . . . . . . . . . . . . . . .25-26
Ajustes 27-29
Ajuste el límite del recorrido . . . . . . . . . . . . . . . . . . . . . . . . . .27
Ajuste la fuerza . . . . . . . . . . . . . . . . . . . . . . . . . . . . . . . . . . . .28
Pruebe el sistema de retroceso de seguridad . . . . . . . . . . . . .29
Pruebe La Sistema de Protección® . . . . . . . . . . . . . . . . . . . . .29
Operación 30-36
Instrucciónes importantes de seguridad . . . . . . . . . . . . . . . . .30
Cómo usar su abridor de puerta de cochera . . . . . . . . . . . . . .30
Cómo usar la consola de control de pared . . . . . . . . . . . . . . .31
Mantenimiento de su abridor de puerta de cochera . . . . . . . .32
Cómo abrir la puerta manualmente . . . . . . . . . . . . . . . . . . . . .32
Reserva de batería . . . . . . . . . . . . . . . . . . . . . . . . . . . . . . . . .33
Si tiene algún problema (Diagnóstico de fallas) . . . . . . . . . . .34
Tabla de diagnóstico . . . . . . . . . . . . . . . . . . . . . . . . . . . . . . . .35
Mensajes de la consola de control
de detección de movimiento de la LCD . . . . . . . . . . . . . . . . . .36
Cómo Programar el Abridor 37-38
Cómo agregar o reprogramar un
control remoto manual . . . . . . . . . . . . . . . . . . . . . . . . . . . . . . .37
Para borrar todos los códigos de la memoria
de la unidad la motor . . . . . . . . . . . . . . . . . . . . . . . . . . . . . . . .37
Controles remotos de 3 funciones . . . . . . . . . . . . . . . . . . . . . .37
Cómo agregar, reprogramar o cambiar un
código de entrada sin llave . . . . . . . . . . . . . . . . . . . . . . . . . . .38
Accesorios 39
Garantía 39
Números de Servicio Contratapa
CONTENIDO
INTRODUCCIÓN
Revisión de los Símbolos y Términos
de Seguridad
Este abridor de puerta de cochera ha sido diseñado y probado para un funcionamiento seguro, siempre y cuando se instale, se
pruebe, se opere y se le dé mantenimiento como se indica en este manual, cumpliendo al pie de la letra con todas las advertencias e
instrucciones generales aquí contenidas.
Mecánica
PRECAUCIÓN
ADVERTENCIA
ADVERTENCIAADVERTENCIAADVERTENCIA
PRECAUCIÓN
ADVERTENCIA
ADVERTENCIAADVERTENCIAADVERTENCIA
PRECAUCIÓNPRECAUCIÓN
ADVERTENCIA
ADVERTENCIAADVERTENCIA
Eléctrica
Estas advertencias y/o símbolos de seguridad que aparecen en
este manual le alertarán de que existe el riesgo de una lesión
seria o de muerte si no se siguen las instrucciones
correspondientes. El peligro puede ser eléctrico (electrocución)
o mecánico. Lea las instrucciones con mucho cuidado.
Cuando vea esta palabra y/o símbolo de seguridad en este
manual, le alertará de que existe el riesgo de dañar la puerta
de la cochera y/o el abridor si no se siguen las instrucciones
correspondientes. Lea las instrucciones con mucho cuidado.

3
Pinzas
Cortadora de alambre Martillo
Sierra de mano
Destornillador
Llave inglesa
Llaves de tuercas 1/2,
7/16 de pulgada
Taladro
Cinta de medir
2
1
Escalera
Lápiz
Brocas de 3/16, 5/16
y 5/32 de pulgada
Nivel de
carpintería (opcional)
Preparación de la puerta de su cochera
Antes de comenzar:
• Quite los seguros.
• Retire cualquier cuerda o cable que esté conectado
a la puerta.
•Haga la siguiente prueba con su puerta para verificar que
esté balanceada y que no se atore ni se pandee:
1. Levante la puerta hasta la mitad de su recorrido como se
muestra. Suelte la puerta. Si está balanceada, deberá
mantenerse en esa posición con sólo el soporte de los
resortes.
2. Suba y baje la puerta; observe si se atora con algo o si
se pandea.
Si su puerta se atora o se pandea, o no está balanceada
llame a un técnico especializado en sistemas de puertas.
Puerta seccional
Puerta de una sola pieza
Herramientas necesarias
Durante el montaje, instalación y ajuste del abridor, las
instrucciones le indicarán cómo usar las herramientas que
aparecen en la siguiente ilustración.
Para evitar que se dañen el puerta y el abridor:
• SIEMPRE quite los seguros ANTES de instalar y/o de operar el
abridor.
• SOLAMENTE opere el abridor de puerta de cochera con corriente
de 120V, 60Hz con objeto de evitar su mal funcionamiento y que
el abridor se dañe.
Para evitar una LESIÓN GRAVE o INCLUSO LA MUERTE:
• SIEMPRE llame a un técnico profesional para que le dé servicio a
su puerta de cochera si ésta se atora, se pandea o está
desbalanceada. Una puerta de cochera que no esté bien
balanceada puede que no retroceda como se requiere.
• NUNCA intente aflojar, mover ni ajustar la puerta de su cochera,
los resortes de la puerta, los cables, las poleas, las ménsulas ni la
tornillería, pues todos estos elementos están bajo tensión
EXTREMA.
• Quite TODOS los seguros y retire TODAS las cuerdas conectadas
a la puerta de cochera ANTES de instalar y operar el abridor de la
puerta de cochera para evitar que se enreden.
PRECAUCIÓN
ADVERTENCIA
ADVERTENCIAADVERTENCIAADVERTENCIA
PRECAUCIÓNPRECAUCIÓN
ADVERTENCIA
ADVERTENCIAADVERTENCIA

Planificación
Identifique la altura y el tipo de su puerta de cochera. Revise el
área de su cochera y observe si alguna de las siguientes
instalaciones corresponden a la suya. A veces se requieren
materiales adicionales, así que tal vez sea conveniente tener
esta hoja y las ilustraciones correspondientes a mano cuando
inicie la instalación de su abridor.
Dependiendo de sus necesidades individuales, es posible que
en algunos casos vaya a necesitar materiales o herramientas
que no se incluyen con este producto.
• Instalación Paso 1 – Observe la pared o el cielo raso justo
por encima de la puerta de la cochera. La ménsula del
cabezal debe estar firmemente sujeta a los soportes de la
estructura.
• Instalación Paso 5 – Si el plafón o cielo raso de su cochera
tiene acabado, es posible que necesite una ménsula de
soporte y/o más pernos y tornillería para la instalación.
• Instalación Paso 11 – Dependiendo del tipo de construcción
de su cochera, es posible que necesite ménsulas de
extensión o bloques de madera para instalar los sensores.
• Instalación Paso 11 – El montaje en el piso del sensor que
activa el sistema de retroceso de seguridad podría requerir
piezas que no se incluyen.
• ¿Hay otra puerta que dé acceso a la cochera? Si no es así,
será necesario contar con el sistema de llave de emergencia
Modelo 139.53702. Vea la página de Accesorios.
• Observe el punto donde la puerta hace contacto con el piso.
El espacio entre la base de la puerta y el piso no debe
exceder 6 mm (1/4 de pulgada). Si no es así, se corre el
riesgo de que el sistema de retroceso de emergencia no
funcione correctamente. Vea Ajustes, Paso 3. Será necesario
reparar ya sea el piso o la puerta.
INSTALACIÓN CON UNA PUERTA SECCIONAL
• Si tiene una puerta de acero, aluminio, fibra de vidrio o con
paneles de vidrio, necesitará refuerzos verticales y
horizontales en la puerta. (Instalación, Paso 12.)
• El abridor se debe instalar por encima del centro de la
puerta, pero si existe algún resorte de tensión o placa de
apoyo en el paso de la ménsula del cabezal, se puede
instalar hasta a 1.22 m (4 pies) a la derecha o a la izquierda
del centro de la puerta. Vea Instalación, Pasos del 1 al 12.
• Si su puerta es de más de 2.13 m (7 pies) de altura, vea
Extensiones de riel en la sección de Accesorios.
4
— — — — — — — —
El espacio entre la base de
la puerta y el piso no debe
exceder 6 mm (1/4 de pulg.).
Resorte de extensión
O
Resorte de torsión
Sensor de seguridad de reversa
Los refuerzos verticales y horizontales son
necesarios para las puertas de cochera de
materiales más livianos (fibra de vidrio, acero,
aluminio o puertas con paneles de vidrio).
Vea la página 23, donde encontrará más detalles.
Se requiere ménsula de
soporte y tornillos o
sujetadores. Vea la página 16.
Pared delantera
CIELO RASO CON ACABADO
Puerta de
acceso
Unidad del motor
Unidad de
control de
la puerta,
instalada
en la pared
Sensor de seguridad de reversa
Línea
central
vertical de
la puerta de
garage
INSTALACIÓN CON UNA PUERTA SECCIONAL
Banda
Perno de
paro del trole
Ménsula
del cabezal
Trole
Brazo de
la puerta
recto
Cuerda y manija
del sistema de
liberación
de emergencia
Ménsula
de la
puerta
Puerta
de la
cochera
Brazo
curvo de
la puerta
Resorte
de la
puerta de
garaje
Pared
delantera
EN POSICI
Ó
N CERRADA

Sensor de seguridad
de reversa
Puerta de
acceso
Sensor de seguridad
de reversa
El espacio entre la base de
la puerta y el piso no debe de
exceder 6 mm (1/4 de pulg.).
EN POSICIÓN CERRADA
Pared
delantera
Perno de paro
del trole Banda Trole
Ménsula
del cabezal
Brazo de la
puerta curvo Riel
Cuerda y manija
del sistema de
liberación
de emergencia
Brazo recto
de la puerta
Ménsula de
la puerta
Puerta de
la cochera
5
Planificación (continúa)
INSTALACIÓN CON PUERTAS DE UNA SOLA PIEZA
• Generalmente una puerta de una sola pieza no requiere
refuerzos adicionales. Si usted tiene una puerta de material
liviano y quiere reforzarla, consulte la información respecto a
puertas seccionales, contenida en Instalación, Paso 12.
• Dependiendo del diseño de su puerta, tal vez necesite
piezas de montaje adicionales para la ménsula de la puerta
(Paso 12).
Sin un sistema de retroceso de seguridad que funcione
debidamente, al cerrar la puerta de la cochera se corre el riesgo de
que las personas (y en particular los niños pequeños) sufran
LESIONES GRAVES o INCLUSO LA MUERTE.
• El espacio entre la base de la puerta de la cochera y el piso NO
DEBE exceder 6 mm (1/4 de pulgada). De no ser así, el sistema
de retroceso de seguridad no va a funcionar debidamente.
• El piso o la puerta de la cochera SE DEBE reparar para eliminar
este espacio.
PRECAUCIÓN
ADVERTENCIA
ADVERTENCIAADVERTENCIAADVERTENCIA
CIELO RASO CON ACABADO
Se requiere ménsula de soporte
y tornillos o sujetadores.
Vea la página 16.
Sensor de seguridad
de reversa
Pared delantera
Puerta de
acceso
El espacio entre la base
la puerta y el piso no debe de
exceder 6 mm (1/4 de pulg.).
Unidad del motor
Unidad de control de la puerta,
instalada en la pared
Riel
Sensor de seguridad
de reversa
PUERTA DE UNA SOLA PIEZA
SIN CARRIL
Banda
Perno de paro
del trole
EN POSICIÓN CERRADA
Ménsula
del cabezal
Trole
Brazo recto
de la puerta
Cuerda y manija
del sistema de
liberación de
emergencia
Ménsula
de la puerta
Brazo
de la
puerta
curvo
Pared
delantera
Riel
Puerta de
la cochera
PUERTA DE UNA PIEZA CON CARRIL

6
SECURITY✚®
Controles remoto de 3 funciones (2)
Unidad del motor con dos lente
Trole
Polea Loca
Sección delantera
del riel (cabezal)
Secciones central
y posterior del riel
Ménsula en 'U'
Sección curva del
brazo de la puerta
Ménsulas para colgar
Ménsula del cabezal
Ménsula de la puerta
Cable de campana de 2 conductores
Blanco y blanco/rojo
Sección recta
del brazo de
la puerta
The Protector System®
Sensores del sistema de
retroceso de seguridad (un ojo emisor
y un ojo receptor) conectados a un cable
de campana de dos conductores.
Blanco y blanco/negro (2)
Ménsulas para los sensores del
sistema de retroceso de seguridad (2)
Etiquetas de
seguridad y
literatura
Banda
Cubierta de la banda
Batería
Consola de control de
detección de movimiento (LCD)
Llave digital de
huella digital
Guía de estacionamiento
SECURITY✚® Control remoto
compacto de 3 funciones (1)
Control de luz enchufable
Monitor de puerta
de garaje
Protector de sobrecarga
Su abridor viene empacado en una caja de cartón que contiene
el motor y las piezas que se muestran en la siguiente
ilustración. Tome nota de que los accesorios dependerán del
modelo que haya comprado. Si falta alguna pieza, revise con
cuidado el material de empaque ya que en ocasiones las
piezas se atoran en el mismo. Toda la tornillería y las piezas
necesarias para el montaje e instalación de su puerta se
ilustran en la siguiente página. Conserve la caja y los
materiales de empaque hasta que la instalación y el ajuste se
hayan terminado.
Inventario de la Caja de Cartón

7
Enlace maestro (2)
Perno loco (1)
Tuerca de
3/8 de pulg. (1)
Flecha roscada del trole (1)
Arandela de
3/8 de pulg. (1)
Espaciador (2)
Tuerca de
1/4-20 de pulg. (2)
Perno de
1/4-20x1-3/4 de pulg. (2)
Tuerca de mariposa
1/4-20 de pulg. (2)
Perno de coche
de 1/4-20x1/2 de pulg. (2)
Manija
Tuerca de
5/16-18 de pulg. (6)
Anillo sujetador (3)
Perno de coche de 5/16-18x2-1/2 de pulg. (2)
Tornillo de cabeza cuadrada
de 5/16-9x1-5/8 de pulg. (2)
Tornillo de cabeza cuadrada
de 5/16-18x1-7/8 de pulg. (2)
Pasador de chaveta
de 5/16x1-1/2 de pulg. (1)
Grapas con
aislamiento (30)
Taquete para muro falso (2)
Pasador de chaveta
de 5/16x1 de pulg. (1)
Cuerda
Arandela de 5/16 de pulg. (7)
Perno hexagonal
de 5/16-18x7/8 de pulg. (4)
Pasador de chaveta
de 5/16x1-1/4 de pulg. (1)
Tornillo 6ABx1-1/4 de pulg. (2) Tornillo de 6-32x1 pulg. (2)
Resorte / tuerca del trole (1)
Inventario de Piezas
Antes de la instalación, organice todas las piezas en grupos como se muestra en la siguiente ilustración.
TORNILLERÍA Y PIEZAS PARA EL MONTAJE
TORNILLERÍA Y PIEZAS PARA LA INSTALACIÓN

RIEL DELANTERO
(PARTE SUPERIOR)
MANTENGA EL
ORIFICIO MÁS
GRANDE
HACIA ARIBA
Destornillador
Riel delantero
(A LA PUERTA)
Ventana
Orificio de
a polea loca
Pestañas
Rieles posteriores
(AL MOTOR)
Trole
Extremo más
pequeño
Extremo más
pequeño
Extremo más
pequeño
Trole interno
Trole externo
Extremo más
pequeño
Cojinetes de desgaste
8
MONTAJE, PASO 1
Monte el Riel e instale el Trole
No encienda ni use el abridor hasta que llegue al paso de
la instalación correspondiente, de otra manera corre el
riesgo de complicar el proceso de instalación.
El riel delantero tiene una “ventana” cortada en el extremo de
la puerta (vea la ilustración). El orificio que se encuentra por
encima de esta ventana es más grande en la parte superior
del riel que en la parte inferior. Hay un orificio más pequeño
que se encuentra a 8.9 cm (3-1/2 de pulg.) y está cerca de la
orilla del riel. Gire el riel posterior de manera que tenga un
orificio similar cerca de la orilla opuesta, más o menos a 12 cm
(4-3/4 de pulg.) del extremo.
1. Quite el brazo recto de la puerta, las ménsulas para colgar y
el pasador de chaveta que viene empacado dentro del riel
delantero y póngalos a un lado para usarlos en el Paso 5 y
12 de la Instalación. NOTA: Para no sufrir una LESIÓN al
desempacar el riel, mueva con cuidado el brazo recto de la
puerta que está almacenado dentro de la sección de riel.
2. Alinee las secciones del riel sobre una superficie plana
exactamente como se indica y luego deslice los extremos
más pequeños dentro de los más grandes. Las pestañas
que se encuentran a lo largo de los lados del riel se van a
ajustar en su lugar.
3. Coloque el motor sobre el material de empaque para
proteger la cubierta del mismo y apoye el extremo posterior
del riel encima. Para que le resulte más cómodo, ponga
algún tipo de apoyo bajo el extremo delantero del riel.
4. Ponga en el riel un destornillador como tope temporal del
trole a 25 cm (10 pulg.) del centro del orificio de la polea
loca, como se indica en la ilustración.
5. Revise y cerciórese de que haya 4 cojinetes de desgaste
dentro del trole interno, estos cojinetes son de plástico. Si
los cojinetes se han soltado durante el transporte, revise
todo el material de empaque. Ponga los cojinetes de
desgaste en su lugar como se indica.
6. Deslice el trole a lo largo del riel desde el extremo posterior
hacia el destornillador.
Para evitar QUE SE PELLIZQUE, conserve los manos y dedos lejos
de las juntas cuando monte el reil.
PRECAUCIÓNPRECAUCIÓN
ADVERTENCIA
ADVERTENCIAADVERTENCIA

9
MONTAJE, PASO 2
Fije el Riel a la Unidad del Motor
• Coloque un perno de 1/4-20x1-3/4 de pulg. dentro del orificio
de la cubierta de protección que se encuentra en el extremo
posterior del riel, como se indica en la ilustración. Apriete
bien el perno con tuerca de1/4-20 de pulg.
NO ajuste demasiado la tuerca.
• Quite dos pernos de la parte superior del motor.
• Ponga la ménsula en ‘U’ sobre el motor con el lado plano
hacia abajo y alinee los orificios de la ménsula con los
orificios de los pernos. Sujete con los pernos que quitó
antes.
• Alinee el riel con la parte superior del motor. Deslice el
extremo del riel en la ménsula en ‘U’, hasta los topes que
sobresalen en la parte superior y a los lados de la ménsula.
Tuerca de
1/4-20 de pulg.
Perno de 1/4-20x1-3/4 de pulg.
ESTAS PIEZAS SE MUESTRAN EN SU TAMAÑO REAL
Rueda dentada del motor
Perno
Ménsula en 'U'
Perno
Orificio para
el perno en
la cubierta
de protección
Tuerca
DESLICE EL RIEL HASTA
LOS TOPES QUE ESTÁN EN
LA PARTE SUPERIOR Y A LOS
LADOS DE LA MÉNSULA
Use SÓLO el perno y la tuerca que vienen montados en la parte
superior del abridor para evitar que el abridor de la puerta de
cochera se dañe SERIAMENTE.
PRECAUCIÓNPRECAUCIÓN
ADVERTENCIA
ADVERTENCIAADVERTENCIA
MONTAJE, PASO 3
Instale la Polea Loca
• Ponga la cadena y cable a un lado del riel como se muestra
en la ilustración. Tome el extremo del cable y pase por la
ventana aproximadamente 30 cm (12 pulg.) Déjelo que
cuelgue hasta que lleque al Paso 5 de Montaje.
• Retire la cinta de la polea loca. El interior del centro debe
estar engrasado. Si se ha secado, vuelva a engrasarlo para
asegurar que la operación sea adecuada.
• Coloque la polea loca dentro de la ventana como se muestra
en la ilustración.
• Inserte el perno loco desde la parte superior y a través del
riel y la polea. Apriete con una arandela y una tuerca de 3/8
de pulg. por debajo del riel hasta que la arandela quede
comprimida.
• Haga girar la polea para cerciorarse de que da vuelta
libremente.
• Pase un perno de 1/4-20x1-3/4 de pulg. por el orificio de
paro del trole que se encuentra en la parte delantera del riel,
como se muestra en la ilustración. Apriete bien con una
tuerca de 1/4-20 de pulg.
Polea loca
Conector
del trole
Polea
Riel
Perno
Arandela Tuerca
Arandela de
3/8 de pulg.
Tuerca de
3/8 de pulg.
Perno
loco
Destornillador
Polea loca
Engrase el interior
de la polea
Orificio de
paro del trole
Perno
Tuerca
Tuerca de
3/8 de pulg.
Arandela de
3/8 de pulg.
Perno loco Tuerca de
1/4-20 de pulg.
Perno de 1/4-20x1-3/4 de pulg.
ESTAS PIEZAS SE MUESTRAN EN SU TAMAÑO REAL

10
MONTAJE, PASO 4
Instale la banda y sujete el retén de
la cubierta de la banda
1. Jale la banda alrededor de la polea loca hacia el trole.
El lado acanalado debe estar en contacto con la polea.
2. Enganche el conectador del trole en la ranura de retención
que se encuentra en el trole como se indica en la ilustración.
3. Ponga el trole contra las pinzas y alimente el resto de la
banda a todo lo largo del riel hacia la unidad del motor y
alrededor de la rueda dentada. Los dientes de la rueda
dentada deben retener la polea.
4. Verifique que la banda no esté torcida y luego conéctela al
lado plano de la flecha dentada del trole con el eslabón
maestro, como aparece en la ilustración.
• Ponga los pasadores de la barra del eslabón maestro a
través de los orificios que se encuentran en el extremo de
la banda y por la flecha dentada del trole.
• Ponga la cubierta del eslabón maestro sobre los pasadores
y más allá de las ranuras de los pasadores.
• Deslice el resorte de clip sobre la cubierta y en las ranuras
de los pasadores hasta que ambos pasadores queden
firmes y seguros en su lugar.
5. Inserte la flecha dentada del trole en el orificio del trole.
Cerciórese de que la banda no esté torcida y que el lado
acanalado esté hacia el riel.
6. Sostenga la banda en la flecha del trole a medida que
atornilla la tuerca de resorte manualmente en la flecha hasta
que esté bien ajustada contra el trole. No use herramientas
para hacer esto.
7. Quite el destornillador.
8. Coloque el retén de la cubierta de la banda sobre la rueda
dentada del abridor como se muestra en la ilustración, y
sujete la placa de montaje con los tornillo hexagonales de
8x3/8 de pulg. que se incluyen.
Tuerca de
resorte
Conector
del trole
Polea
loca
Orificio
redondo
Eje roscado
del trole
Indentación
del perno
Tapa del
enlace maestro
Barra del
enlace maestro
Resorte de clip
del enlace maestro
Tornillo hexagonal
8x3/8 de pulg. Resorte / tuerca del trole
ESTAS PIEZAS SE MUESTRAN
EN SU TAMAÑO NORMAL
Retén de la
cubierta de
la banda
Tornillo hexagonals
8x3/8 de pulg.
Polea
del motor
Placa de
montaje
Para evitar posibles LESIONES GRAVES en los dedos causadas por
las partes móviles del abridor de puerta de cochera:
• Aparte SIEMPRE la mano de la polea de la correa mientras haga
funcionar el abridor.
• Conecte bien la cubierta de la polea de la correa ANTES de
hacer funcionar.
PRECAUCIÓN
ADVERTENCIA
ADVERTENCIAADVERTENCIAADVERTENCIA

11
MONTAJE, PASO 5
Fije la tensión de la banda
• Ponga la punta de un destornillador dentro de una de las
ranuras del anillo de la tuerca y sujételo firmemente contra el
trole.
• Ponga una llave abierta de 7/16 de pulg en el extremo
cuadrado. Dé vuelta a la tuerca más o menos un 1/4 de su
giro completo hasta que se suelte el resorte y el anillo de la
tuerca quede contra el trole.
Esto fija el resorte a la tensión óptima de la banda.
Ya terminó de armar su abridor de puerta de cochera. Lea
les siguientes advertencias antes de continuar a la sección
de instalación.
Anillo de la tuerca Anillo de la tuerca
Trole
ANTES
1 pulg.
(2.5 cm)
DESPUES DE SUELTE
1-1/4 de pulg.
(3.18 cm)
Ranura del anillo de la tuerca
Extremo cuadrado
Extremo
cuadrado
INSTALACIÓN
INSTRUCCIONES IMPORTANTES PARA
LA INSTALACIÓN
1. LEA Y SIGA AL PIE DE LA LETRA TODAS LAS INSTRUCCIONES
PARA LA INSTALACIÓN.
2. Instale el abridor de puerta de cochera sólo si la puerta de la
cochera está debidamente balanceada y lubricada. Si la puerta no
está debidamente balanceada es posible que no retroceda cuando
se requiera, lo que podría ocasionar una LESIÓN GRAVE o
INCLUSO LA MUERTE.
3. Todas las reparaciones de los cables, resortes y otras piezas las
DEBE llevar a cabo un técnico especializado en sistemas de
puertas, ANTES de instalar el abridor.
4. Quite TODOS los seguros y retire TODAS las cuerdas conectadas a
la puerta de la cochera ANTES de instalar el abridor para de evitar
que se enreden.
5. Instale el abridor de la puerta de cochera a una distancia de 2.1 m
(7 pies) del piso.
6. Monte la manija de liberación de emergencia a una distancia de
1.8 m (6 pies) del piso.
7. NUNCA conecte el abridor de la puerta de cochera a una fuente de
energía eléctrica hasta que así se indique.
8. NUNCA lleve puestos relojes, anillos ni ropa muy floja mientras
esté instalando o dando servicio al abridor, pues podrían atorarse
en la puerta de la cochera o en los mecanismos del abridor.
9. Instale la consola de control de garaje de pared:
• de manera que quede a la vista desde la puerta de la cochera.
• fuera del alcance de los niños y a una altura mínima de
5 pies (1.5 m).
• lejos de TODAS las partes móviles de la puerta.
10. Coloque la calcomanía que advierte sobre el riesgo de atraparse cerca
del control de la puerta de la cochera, en la pared.
11. Coloque la calcomanía que contiene la prueba de retroceso de
seguridad y liberación de emergencia a plena vista en la parte
interior de la puerta de la cochera.
12. Al concluir la instalación, pruebe el sistema de retroceso de
seguridad. La puerta DEBE retroceder al entrar en contacto con
un objeto de 3.8 cm (1-1/2 de pulg.) o bien con un pedazo de
madera de 5x10 cm (2x4 pulg.) puesto plano sobre el piso.
13. Para evitar LESIONES PERSONALES GRAVES o MORTALES
debidas a electrocución, desconecte TODA la corriente eléctrica
y de la batería ANTES de realizar cualquier servicio
o mantenimiento.
Para reducir el riesgo de una LESIÓN GRAVE o
LA MUERTE:
ADVERTENCIA
ADVERTENCIA
ADVERTENCIAADVERTENCIA

12
INSTALACIÓN, PASO 1
Determine dónde va a instalar la Ménsula
del Cabezal
El proceso de instalación varía dependiendo de los diferentes
tipos de puerta de cochera. Siga las instrucciones que
correspondan a su puerta.
1. Cierre la puerta y marque la línea central vertical del interior
de la puerta.
2. Continúe marcando esta línea hacia arriba hasta llegar a la
pared delantera, por encima de la puerta.
Es posible instalar la ménsula del cabezal hasta una
distancia máxima de 1.22 m (4 pies) a cada lado del
centro de la puerta, pero únicamente si un resorte de
torsión o un placa central de apoyo se encuentra en el
recorrido. También cuando el espacio es reducido, se
puede instalar la ménsula en el cielo raso o plafón de la
cochera (vea la página 13). (Asimismo, se puede instalar
invertida sobre la pared si es necesario, esto le dará
aproximadamente 1 cm (1/2 pulg.) de espacio).
Si necesita instalar la ménsula del cabezal en un pedazo de
madera de 5x10 cm (2x4 pulg.) (ya sea en la pared o en el
techo), use tornillos de cabeza cuadrada o pijas (no se
incluyen) para sujetar el pedazo de madera a los soportes
estructurales, como se indica aquí y en la página 13.
3. Abra la puerta hasta el punto más alto de su recorrido como
se muestra. Marque una línea horizontal que intersecte en la
pared delantera y a del punto más alto del recorrido:
• 5 cm (2 pulg.) por encima del punto más alto en el caso
de puertas seccionales y puertas de una sola pieza con
riel.
• 20 cm (8 pulg.) por encima del punto más alto en el caso
de puertas de una sola pieza sin riel.
A esta altura, el extremo superior de la puerta tendrá
suficiente espacio para su recorrido.
NOTA: Si el número total de centímetros excede la altura
disponible en su cochera, use la altura máxima posible o
consulte la página 13 para la Instalación en el cielo raso o
plafón.
Pared de cabecera
Puerta seccional con guía curva
Guía
Punto más
alto de recorrido
Puerta
5 cm (2 pulg.)
Puerta de una pieza con riel guía horizontal
Puerta
Guía
Punto más
alto de recorrido
5 cm (2 pulg.)
Pared de cabecera
Accesorios
de montaje
de la puerta
Puerta de una pieza sin riel guía:
accesorios de montaje
20 cm (8 pulg.)
Punto
más
alto de
recorrido
Puerta
Articulación
20 cm (8 pulg.)
Puerta de una pieza sin riel guía:
accesorios de articulación
Punto
más
alto de
recorrido
Pared de cabecera
Pared de cabecera
Puerta
Cielo raso
sin acabado
INSTALACIÓN OPCIONAL DE
LA MÉNSULA DEL CABEZAL
EN EL CIELO RASO
Pedazo de madera
de 5x10 cm
Pared
delantera
Pedazo de madera
de 5x10 cm (2x4 pulg.)
Línea central
vertical de la
puerta de garaje
Nivel de
carpintería
(opcional)
Soportes de
la estructura
Para evitar una posible LESIÓN GRAVE o INCLUSO LA MUERTE:
• La ménsula del cabezal DEBE quedar RÍGIDAMENTE sujeta al
soporte estructural en la pared delantera o en el cielo raso, de no
ser así es posible que la puerta de la cochera no retroceda
cuando se requiera. NO instale la ménsula del cabezal en muros
falsos.
• Se DEBEN usar sujetadores para concreto si el montaje de la
ménsula del cabezal o del pedazo de madera de 5x10 cm
(2x4 pulg.) se hace en mampostería.
• NUNCA trate de aflojar, mover ni ajustar la puerta de la cochera,
los resortes, los cables, las poleas, las ménsulas ni la tornillería,
pues todas estas piezas están bajo una tensión EXTREMA.
• SIEMPRE llame a un técnico especializado en sistemas de puertas
si la puerta de cochera se pandea, se atora o si está
desbalanceada. Una puerta de cochera que no esté balanceada
puede no retroceder cuando se requiera.
PRECAUCIÓN
ADVERTENCIA
ADVERTENCIAADVERTENCIAADVERTENCIA

13
Tornillos de cabeza
cuadrada de
5/16x9x1-5/8 de pulg.
– Cielo raso con acabado –
Resorte de
la puerta
Pared delantera
UP
Orificios para la instalación
en el cielo raso
Máximo de 15 cm (6 pulg.)
Ménsula del
cabezal
Puerta de
la cochera Linea central
vertical de la
puerta de garaje
Linea central
vertical de la puerta de garaje
INSTALACIÓN, PASO 2
Instale la Ménsula del Cabezal
La ménsula del cabezal se puede fijar a la pared justo por
encima de la puerta de la cochera o en el cielo raso. Siga las
instrucciones que sean más adecuadas para su cochera.
No instale la ménsula del cabezal en un muro falso. Si va a
fijar la ménsula del cabezal a ladrillo o mampostería,
asegúrese de utilizar sujetadores de cemento
(no se incluyen).
INSTALACIÓN DE LA MÉNSULA DEL CABEZAL EN LA
PARED DELANTERA
• Coloque la ménsula sobre la línea central vertical con el
borde inferior sobre la línea horizontal, como se muestra en
la ilustración (con la flecha de la ménsula apuntando hacia
el techo).
• Marque los orificios de la ménsula que van en línea vertical.
Taladre los orificios con una broca de 3/16 de pulgada y
sujete la ménsula al soporte de la estructura con la tornillería
que se incluye.
Tornillos de cabeza cuadrada
de 5/16 por 9x1-5/8 de pulgadas
ESTAS PIEZAS SE MUESTRAN EN SU
TAMAÑO REAL
INSTALACIÓN DE LA MÉNSULA DEL CABEZAL EN EL
CIELO RASO
• Extienda la línea central vertical sobre el cielo raso como se
muestra en la ilustración.
• Coloque la ménsula en el centro de la línea a no más de 15
cm (6 pulg.) de la pared. Cerciórese de que la flecha de la
ménsula apunte hacia el lado opuesto de la pared. La
ménsula puede ser instalada pegada al cielo raso cuando el
espacio es muy reducido.
• Marque dónde va a taladrar los orificios laterales. Taladre los
orificios con una broca de 3/16 de pulgada y fije la ménsula
firmemente al soporte de la estructura con la tornillería que
se incluye.
UP
Montaje en la pared
Orificios opcionales
para la instalación
Tornillos de cabeza
cuadrada de
5/16x9x1-5/8 de pulg.
Punto más alto del
recorrido de la puerta
de la garaje
Pared
delantera
Puerta de la cochera
Resorte de la puerta
Pedazo de
madera de
5x10 cm
(2x4 pulg.)
Ménsula
del cabezal
Línea
horizontales
Linea central
vertical de la
puerta de garaje
Linea central
vertical de la
puerta de garaje

14
INSTALACIÓN, PASO 3
Coloque el Riel en la Ménsula del Cabezal
NOTA: (Opcional) Con algunas instalaciones anteriores puede
reutilizar la antigua ménsula del cabezal con los dos
espaciadores de plástico que se incluyen en la bolsa de
componentes. Coloque los espaciadores en el interior de la
ménsula, a cada lado del riel, tal y como se muestra en la
ilustración.
• Coloque el abridor sobre el piso de la cochera debajo de la
ménsula del cabezal. Use el material de empaque como
base para protegerlo. NOTA: Si el resorte de la puerta está
obstruyendo, va a necesitar ayuda. Otra persona tendrá que
sostener el abridor firmemente sobre un soporte temporal
para permitir que el riel pueda librar el resorte.
• Coloque el extremo del riel delantero dentro de la ménsula
del cabezal y una ambos elementos con un pasador de
chaveta de 5/16 por 1-1/2 pulg., como se muestra en la
ilustración.
• Sujételos con un anillo sujetador.
Pasador de chaveta de
5/16 por 1-1/2 de pulg. Anillo sujetador
Caja del abridor
o soporte temporal
Ménsula del cabezal
Polea loca
Pared delantera
OPCIÓN PARA ALGUNAS
INSTALACIÓNES PREVIA
Ménsula
del
cabezal
Orificio de
montaje
Ménsula de
cabezal existente
Espaciador Orificio
de montaje
Pasador de
chaveta
existente
Puerta de
la cochera
ESTAS PIEZAS SE MUESTRAN EN SU TAMAÑO REAL

15
PUERTA DE UNA SOLA PIEZA SIN CARRIL
Coloque un pedazo de madera de 5x10 cm (2x4 pulg.) sobre
su lado de ayuda al determinar la distancia ideal entre la puerta
y el riel.
• Retire la espuma de embalaje.
• Ponga el abridor sobre la escalera; si la escalera no es lo
suficientemente alta, va a necesitar ayuda.
• Abra completamente la puerta y coloque un pedazo de
madera de 5x10 cm (2x4 pulg.) sobre su lado en la sección
superior, de manera que quede debajo del riel.
• La parte superior de la puerta debe estar alineada con la
parte superior de la unidad del motor. No instale el abridor a
más de 10 cm (4 pulg.) por encima de este punto.
INSTALACIÓN, PASO 4
Coloque el Abridor en Posición
Siga las instrucciones correspondientes al tipo de puerta de su
cochera, como se muestra en la ilustración.
PUERTA SECCIONAL O PUERTA DE UNA SOLA PIEZA
CON CARRIL
Un pedazo de madera de 5x10 cm (2x4 pulg.) le será de
ayuda al determinar la distancia ideal entre la puerta y el riel.
• Retire la espuma de embalaje.
• Ponga el abridor sobre la escalera; si la escalera no es lo
suficientemente alta, va a necesitar ayuda.
• Abra completamente la puerta y coloque el pedazo de
madera de 5x10 cm (2x4 pulg.) en la sección superior, de
manera que quede debajo del riel.
• Si el panel superior golpea el trole al levantar la puerta, tire
hacia abajo el brazo de liberación del trole para desconectar
las secciones interna y externa del mismo. Deslice el trole
externo hacia el motor. El trole puede permanecer
desconectado hasta el final del Paso 12 de la sección de
Instalación.
Ménsula
de cabezal
Parte superior
El pedazo de madera de
5x10 cm (2x4 pulg.) se utiliza para determinar
la distancia correcta de instalación desde el techo.
El pedazo de madera de 5x10 cm (2x4 pulg.)
se utiliza para determinar la distancia correcta
de instalación desde el techo.
Riel
Puerta
CONECTADO SUELTO
Brazo de
liberación
del trole
Para evitar que la puerta de cochera sufra daños, apoye el riel del
abridor de la misma sobre un pedazo de madera de 5x10 cm
(2x4 pulg.) colocado en la sección superior de la puerta.
PRECAUCIÓNPRECAUCIÓN
ADVERTENCIA
ADVERTENCIAADVERTENCIA

16
INSTALACIÓN, PASO 5
Cuelgue el Abridor
Aquí se muestran tres ejemplos distintos para la instalación; sin
embargo, es posible que su cochera no concuerde con ninguno
de ellos. Las ménsulas de soporte deben estar en ángulo
(Figura 1), para que proporcionen un soporte rígido. En caso
de tener un cielo raso acabado (Figura 2 y Figura 3), instale
una ménsula de metal resistente en algún soporte de la
estrucura antes de instalar el abridor. No se incluye esta
ménsula ni la tornillería.
1. Mida la distancia desde cada lado de la unidad del motor
hasta el soporte de la estructura.
2. Corte las dos partes de las ménsulas colgantes a la medida
adecuada.
3. Taladre los orificios de 3/16 de pulgada en los soportes de la
estructura.
4. Fije un extremo de cada ménsula al soporte con tornillos de
cabeza cuadrada de 5/16 -18x1-7/8 de pulg.
5. Fije el abridor a las ménsulas colgantes con pernos
hexagonales de 5/16 -18x7/8 de pulg., y sus tuercas y
arandelas correspondientes.
6. Verifique que el abridor esté centrado sobre la puerta
(o alineado con la ménsula del cabezal, si la ménsula no
está centrada sobre la puerta).
7. Quite el pedazo de madera de 5x10 cm (2x4 pulg.). Haga
funcionar la puerta manualmente. Si la puerta golpea el riel,
suba la ménsula del cabezal.
NOTA: NO conecte el abridor a la fuente de energía eléctrica
en este momento.
Perno hexagonal
de 5/16-18x7/8 de pulg.
Tuerca de
5/16-18 de pulg. Arandela de 5/16 de pulg.
Tornillo de cabeza cuadrada
de 5/16-18x1-7/8 de pulg.
ESTAS PIEZAS SE MUESTRAN EN SU
TAMAÑO REAL
Soporte de la
estructura no visible
Ménsula
(no se incluye)
Tornillos de cabeza cuadrada
de 5/16-18x1-7/8 de pulg.
(No se incluyen)
Pernos de
5/16-18x7/8 de pulg.
Arandelas de 5/16 de pulg.
Tuercas de 5/16-18 de pulg.
Pernos de
5/16-18x7/8 de pulg.
Arandelas de
5/16 de pulg.
Tuercas de
5/16-18 de pulg.
Mida la
distancia
Pernos de
5/16-18x7/8 de pulg.
Arandelas de
5/16 de pulg.
Tuercas de
5/16-18 de pulg.
Soportes de
la estructura
Tornillos de cabeza
cuadrada de
5/16-18x1-7/8 de pulg.
Tornillos de cabeza cuadrada
de 5/16-18x1-7/8 de pulg.
(No se incluyen)
Pernos de
5/16-18x7/8 de pulg.
Arandelas de 5/16 de pulg.
Tuercas de 5/16-18 de pulg.
Pernos de
5/16-18x7/8 de pulg.
Arandelas de
5/16 de pulg.
Tuercas de
5/16-18 de pulg.
CIELO RASO CON ACABADO
CIELO RASO CON ACABADO
Figura 1
Figura 2
Figura 3
Para evitar la posibilidad de una LESIÓN GRAVE si se cae el abridor
de la puerta de cochera, sujételo FIRMEMENTE a los soportes
estructurales de la cochera. Se DEBEN usar sujetadores para
concreto si alguna de las ménsulas se va a instalar en
mampostería.
PRECAUCIÓN
ADVERTENCIA
ADVERTENCIAADVERTENCIAADVERTENCIA

17
Para evitar la posibilidad de una LESIÓN GRAVE o INCLUSO LA
MUERTE por electrocución:
• Desconecte TODA la corriente eléctrica y de la batería ANTES de
realizar CUALQUIER servicio o mantenimiento.
• Conecte el control SÓLO a cables de bajo voltaje de 24 VOLTIOS.
Para evitar la posibilidad de una LESIÓN GRAVE e INCLUSO
LA MUERTE cuando la puerta de la cochera se está cerrando:
• Instale el control de la puerta de manera que quede a la vista desde
la puerta de la cochera, fuera del alcance de los niños a una altura
mínima de 1.5 m (5 pies), y alejado de las partes móviles de la
puerta.
• NUNCA permita que los niños hagan funcionar o jueguen con los
botones de control de la puerta ni con los transmisores de control
remoto.
• Haga funcionar la puerta SÓLO si la puede ver claramente, si la
puerta está debidamente ajustada, y si no no hay ninguna
obstrucción en su recorrido.
• SIEMPRE tenga a la vista la puerta de la cochera hasta que esté
completamente cerrada. NUNCA permita que alguien se atraviese
en el recorrido de la puerta de la cochera cuando se está cerrando.
PRECAUCIÓN
ADVERTENCIAADVERTENCIA
ADVERTENCIAADVERTENCIA
W
2
R
1
(VISTA POSTERIOR)
Orificio
inferior
de montaje
Cable de
campana
Orificio
superior
de montaje
Tornillos
terminales
Gris
Rojo
Blanco
Para soltar el cable,
empuje la lengüeta
hacia dentro con la
punta de un
destornillador
Pele el cable 11 mm (7/16 pulg.)
11 mm (7/16 pulg.)
Conexiones de la consola de control
Sujetadores para muro falso
Grapas con
aislamiento
Tornillo para la consola de control de
6AB por 1-1/4 de pulg. (instalación estándar)
Tornillo para la consola de control de
6-32 por 1 pulg. (instalación precableada)
ESTAS PIEZAS SE MUESTRAN EN SU TAMAÑO REAL
Conexiones para la Unidad de Control Exterior
Conecte a las terminales de conexión rápida: el blanco al
blanco; blanco/rojo al rojo.
Cable de campana de
24 voltios de dos conductores
INSTALACI
Ó
N PRECABLEADA
QUITAR Y VOLVER A PONER LA TAPA
Para volver a ponerla,
primero inserte las
lengüetas superiores
Tapa de barra
pulsadora
INSTALACIÓN, PASO 6
Instale la Consola de Control
Ubique la consola de control de manera que quede a la
vista desde la puerta y a una altura mínima de 1.5 m
(5 pies) donde los niños pequeños no lo puedan alcanzar y
lejos de las partes móviles de la puerta y de la tornillería. Si se
va a instalar en un muro falso, taladre dos orificios de 5/32 de
pulg. y use los sujetadores que se incluyen. Para una
instalación precableada, (por ejemplo, en una casa en
construcción) los modelos de consola se pueden instalar en
una caja múltiple estándar (Figura 2).
1. Pele 11 mm (7/16 de pulg.) del extremo del cable de campana
y conéctelo a las terminales de tornillo correspondientes al
color del cable en la parte posterior de la unidad de control de
la puerta; blanco a 2 y blanco y rojo a 1.
2. Con un destornillador abra la tapa por el costado. Sujete con
un tornillo autorroscante de 6AB por 1-1/4 pulgadas
(instalación en muro falso) o con un tornillo para metales de 6-
32 por 1 pulgadas (dentro de la caja múltiple) como se indica a
continuación:
• Instale el tornillo de la parte inferior de manera que
sobresalga por lo menos 3 mm (1/8 de pulg.) de la pared.
• Coloque la parte inferior de la unidad de control de la
puerta sobre la cabeza del tornillo y deslícelo para
sujetarlo, vuelva a apretar el tornillo para un ajuste firme.
• Taladre y coloque el tornillo de la parte superior con
precaución de no romper la cubierta plástica de la unidad.
No apriete en exceso.
• Inserte las lengüetas superiores y cierre la cubierta.
3. (Únicamente para las instalaciones estándar) Corra el
cable de campana al motor a lo largo de la pared y el techo;
use grapas con aislamiento en varios puntos a lo largo del
cable para sujetarlo. Tenga cuidado de no perforar el cable al
engraparlo, creando así un corto circuito o un circuito abierto.
4. Pele 11 mm (7/16 pulg.) del aislamiento en un extremo del
cable de campana. Conecte el cable a las terminales de
conexión rápida de acuerdo a su color, como sigue: el blanco
al blanco y el blanco/rojo al rojo.
5. Coloque el cable de la antena como se indica.
6. Use tachuelas o grapas para sujetar permanentemente
la calcomanía de advertencia sobre el riesgo de quedar
atrapado; esta calcomanía debe estar en la pared y cerca
del control de la puerta. La calcomanía de advertencia de la
prueba de retroceso de seguridad y liberación manual debe
colocarse en un punto prominente del interior de la puerta de
la cochera.
NOTA: NO conecte el abridor a la energía eléctrica ni lo haga
funcionar en este momento. El trole hará el recorrido hasta
llegar a la posición completamente abierta, pero no regresará a
la posición cerrada hasta que el rayo del sensor esté
conectado y alineado debidamente.

18
INSTALACIÓN, PASO 7
Instale la Batería
• Asegúrese de que la unidad de motor esté desenchufada.
• Quite la tapa de la batería de la unidad de motor usando un
destornillador de cabeza Phillips.
• Introduzca parcialmente la batería en la unidad de motor con
los terminales apuntando hacia afuera.
• Conecte los cables rojos (+) y negros (-) de la unidad de
motor con los terminales correspondientes de la batería.
• Vuelva a colocar la tapa de la batería.
Tapa de la Batería
Batería
INSTALACIÓN, PASO 8
Instale las Luces
• Oprima las lengüetas de liberación a ambos lados
de la lente. Rote la lente suavemente hacia atrás y hacia
abajo hasta que la bisagra quede en la posición totalmente
abierta. No quite la lente.
• Instale bombillos de hasta 100 vatios como máximo en cada
portalámpara. Los bombillos deben serde A19 cuello
estandar sólo. En cuanto se conecte la electricidad, las luces
se ENCENDERÁN y permanecerán encendidas por
aproximadamente cuatro minutos y medio; luego las luces
se APAGAN.
• Invierta el procedimiento para cerrar la lente.
• Si los bombillos se funden prematuramente debido a la
vibración, use los bombillos para el abridor de puerta
de cochera.
• Para reemplazo uso los bombillos para abridorde puerta de
cochera de A19, estandar.
NOTA: Sólo utilice bombillos estándar. El uso de bombillos de
cuello corto o especiales puede sobrecalentar el panel o
la portalámpara.
INSTALACIÓN, PASO 9
Instale la Manija y la Cuerda
de Emergencia
• Pase un extremo de la cuerda a través del orificio que se
encuentra en la parte superior de la manija roja de manera
que la palabra “NOTICE” (aviso) sea legible, como se indica
en la ilustración. Asegúrela con un nudo por lo menos a
2.5 cm (1 pulg.) del extremo de la cuerda para evitar que
se resbale.
• Pase el otro extremo de la cuerda a través del orificio del
brazo de liberación del trole exterior.
• Ajuste el largo de la cuerda de tal manera que la manija
quede a 1.83 m (6 pies) del piso. Haga un nudo para
asegurarla. Para evitar que la cuerda o la manija se
enganche en algo, asegúrese de que no toquen el techo
de ningún vehículo.
NOTA: Si es necesario cortar la cuerda, queme con un cerillo
o un encendedor el extremo que cortó para sellarla y evitar que
se desenrede.
Lengüeta
de liberación
Bombillo estándar
de 100 vatios
(máximo)
Bisagra
de la lente
Bombillo estándar
de 100 vatios
(máximo)
Para evitar la posibilidad de una LESIÓN GRAVE o INCLUSO LA
MUERTE si la puerta de la cochera se cae:
• De ser posible, use la manija de emergencia para soltar el trole
SÓLO cuando la puerta de la cochera esté CERRADA. Si los
resortes está débiles o rotos, o bien si la puerta está
desbalanceada, la puerta abierta podría caerse rápida y/o
inesperadamente.
• NUNCA use la manija de emergencia a menos que la entrada a la
cochera esté libre de obstrucciones y no haya ninguna persona
presente.
• NUNCA use la manija para tirar de la puerta para abrirla o
cerrarla. Si el nudo de la cuerda se suelta, usted podría caerse.
PRECAUCIÓN
ADVERTENCIA
ADVERTENCIAADVERTENCIAADVERTENCIA
NOTICE
Brazo de
liberación
Manija de
emergencia
Nudo
Trole
Para evitar un posible SOBRECALENTAMIENTO del
portabombillas:
• NO utilice bombillas de cuello corto ni de tipo especial.
• NO utilice bombillas halógenas. Utilice SÓLO bombillas
incandescentes.
Para evitar daño al abridor:
• NO utilice bombillas más grande que 100W.
• SÓLO utilice bombillas de tamaño A19.
PRECAUCIÓNPRECAUCIÓN
ADVERTENCIA
ADVERTENCIAADVERTENCIA

19
Para evitar la posibilidad de una LESIÓN GRAVE o INCLUSO LA
MUERTE por electrocución o incendio:
• Cerciórese de que el abridor no esté conectado a la energía
eléctrica, y desconecte la alimentación eléctrica al circuito ANTES
de quitar la cubierta para establecer la conexión del cableado
permanente.
• Tanto la instalación como el cableado de la puerta de cochera
DEBEN cumplir con TODOS los códigos locales de construcción y
eléctricos.
• NUNCA use una extensión ni un adaptador de dos hilos, tampoco
modifique la clavija para poder enchufarla. Asegúrese de que el
abridor esté puesto a tierra.
PRECAUCIÓN
ADVERTENCIA
ADVERTENCIAADVERTENCIAADVERTENCIA
INSTALACIÓN, PASO 10
Requisitos para la Instalación Eléctrica
Para evitar dificultades con la instalación, no encienda ni
use el abridor en este momento.
Para reducir el riesgo de choque eléctrico, su abridor para
puerta de cochera viene con una clavija de conexión a tierra de
tres patas. Esta clavija sólo se puede conectar a una toma de
corriente puesta a tierra y con tres entradas. Si la clavija no
entra en la toma de corriente que usted tiene, diríjase a un
electricista profesional para que le instale la toma de corriente
correcta.
Si la reglamentación local exige que su abridor tenga
cableado permanente, siga los siguientes pasos.
Para conectar el abridor a la corriente eléctrica de forma
permanente a través del orificio de 7/8 pulg. localizado en la
parte superior del motor:
• Quite los tornillos de la cubierta de la unidad del motor y
deje la cubierta a un lado.
• Quite el cable de tres entradas.
• Conecte el cable negro (línea) al tornillo de la terminal de
cobre, el cable blanco (neutral) al tornillo de la terminal color
plata, y el cable verde (tierra) al tornillo verde de la puesta a
tierra. El abridor debe estar puesto a tierra.
• Vuelva a poner la cubierta en su lugar y atorníllela.
Para evitar dificultades con la instalación, no encienda ni
use el abridor en este momento.
CORRECTO INCORRECTO
Lengüeta
de la tierra
Tornillo verde
de puesta a tierra
Cable a tierra
Cable
negro
CONEXIÓN CON
CABLEADO PERMANENTE
Cable blanco
Cable
negro

20
Área de protección del
rayo electrónico invisible
Sensor de seguridad de reversa a
una distancia máxima
de 15 cm (6 pulg.) del piso
Sensor de seguridad de reversa a
una distancia máxima
de 15 cm (6 pulg.) del piso
Vista de la puerta desde el interior de la cochera
INSTALACIÓN, PASO 11
Instale La Sistema de Protección®
El sensor del sistema de retroceso de seguridad debe
estar instalado y alineado correctamente, antes de que el
abridor de la puerta de cochera mueva la puerta hacia
abajo.
INFORMACIÓN IMPORTANTE CON RESPECTO
AL SENSOR DEL SISTEMA DE RETROCESO
DE SEGURIDAD
Si se instala y se alinea correctamente, el sensor del sistema
de retroceso de seguridad detectará cualquier obstáculo que
se cruce en el recorrido del rayo electrónico. El ojo emisor (el
que tiene la luz indicadora de color ámbar) envía un rayo
electrónico invisible al ojo receptor (el que tiene la luz
indicadora de color verde).
Si algún objeto obstruyera este rayo invisible mientras la
puerta se está cerrando, la puerta se detendrá
automáticamente, retrocederá hasta abrirse por completo, y la
luz del abridor parpadeará diez veces.
Estos sensores se deben instalar en el interior de la cochera
de manera que el ojo emisor y el ojo receptor estén uno frente
al otro a ambos lados de la puerta y a una distancia máxima
de 15 cm (6 pulg.) del piso. Ambos sensores se pueden
instalar en cualquiera de los dos lados de la puerta, ya sea el
derecho o el izquierdo,
siempre y cuando nunca le dé el sol directamente a la lente del
ojo receptor.
Las ménsulas para la instalación han sido diseñadas para que
se sujeten directamente al carril de la puerta, sin la necesidad
de tornillería ni piezas adicionales.
Si es necesario instalar las unidades sobre la pared,
asegúrese de que todas las ménsulas estén sujetas a una
superficie sólida, por ejemplo, uno de los soportes de la pared.
Las ménsulas de extensión están disponibles, si se necesitan
(vea la sección de accesorios). Si va a instalar los sensores
sobre ladrillo o mampostería, use un pedazo de madera para
evitar hacer orificios innecesarios sobre la mampostería en
caso que necesite cambiarlos de lugar.
El trayecto del rayo elecrónico invisible debe estar libre de
cualquier obstrucción. Ninguna de las partes de la puerta
(los carriles, resortes, bisagras, rodillos, u otras piezas o
tornillería) debe interrumpir el rayo cuando la puerta se esté
cerrando.
Cerciórese de que la energía eléctrica no esté conectada al abridor
de la puerta de la cochera ANTES de instalar el sensor del sistema
de retroceso de seguridad.
Para evitar una LESIÓN GRAVE o INCLUSO LA MUERTE cuando la
puerta de la cochera se está cerrando:
• Conecte y alinee correctamente el sensor del sistema de retroceso
de seguridad. Este dispositivo de seguridad es necesario y NO SE
DEBE desactivar.
• Instale el sensor del sistema de retroceso de seguridad de
manera que el rayo NO ESTÉ a más de 15 cm (6 pulg.) del piso.
PRECAUCIÓN
ADVERTENCIA
ADVERTENCIAADVERTENCIAADVERTENCIA

21
Figura 1
Figura 2
Figura 3
Figura 4
Tornillos de cabeza cuadrada
(No se incluyen)
Fije el bloque de madera a la pared con
tornillos de cabeza cuadrada (No se incluyen)
Luz
indicadora
Lente
Reborde
Ménsula
del sensor
Carril de
la puerta
Pared
del
interior
de la
cochera
Lente
Luz
indicadora Ménsula
del sensor
(Se incluye en
el paquete de
las ménsulas
de extensión) Lente
Luz
indicadora
Ménsula
del sensor
(Se incluye en el
paquete de las
ménsulas de extensión)
Ménsula de extensión
(Vea Accesorios)
Pared
del
interior
de la
cochera
Pared
del
interior
de la
cochera
Lente
Luz
indicadora
Ménsula
del sensor
Use sujetadores
o pernos para
concreto
(No se incluyen)
INSTALACIÓN EN EL CARRIL DE LA PUERTA (LADO DERECHO)
INSTALACIÓN EN LA PARED (LADO DERECHO)
INSTALACIÓN EN LA PARED (LADO DERECHO)
INSTALACIÓN EN EL PISO (LADO DERECHO)
INSTALACIÓN DE LAS MÉNSULAS
Asegúrese de que el abridor no esté conectado a la
corriente eléctrica.
Instale y alinee las ménsulas de manera que los sensores
estén uno frente al otro en los lados opuestos de la puerta, a
una distancia máxima de 15 cm (6 pulg.) del piso. Instale las
ménsulas de una de las tres maneras siguientes:
Instalación en el carril de la puerta de la cochera
(recomendada):
• Deslice los brazos curvos sobre la orilla redondeada de cada
uno de los carriles de la puerta, con los brazos curvos
apuntando hacia la puerta. Colóquelos en su posición contra
el costado del carril. Debe quedar ras, con el reborde
pegado a la orilla posterior del carril, como se ilustra en la
Figura 1.
Si el carril de su puerta no soporta la ménsula firmemente, se
recomienda que la instale sobre la pared.
Instalación en la pared (Figura 2 y 3):
• Coloque la ménsula contra la pared con los brazos curvos
apuntando hacia la puerta. Cerciórese de que haya
suficiente espacio para que el rayo del sensor no esté
obstruido.
• Si es necesario tener más profundidad, puede usar
ménsulas de extensión (Vea Accesorios) o bloques
de madera.
• Use los orificios de montaje de la ménsula para marcar y
taladrar los (2) orificios de 3/16 de pulgada de diámetro a
cada lado de la puerta a una distancia máxima de 15 cm
(6 pulg.) del piso.
• Fije la ménsula a la pared con tornillos de cabeza cuadrada
(no se incluyen).
• Si está usando ménsulas de extensión o bloques de madera
por la falta de espacio, asegúrese de que las dos unidades
queden a la misma distancia de la superficie de montaje.
Asimismo, asegúrese de que no haya ninguna obstrucción.
Instalación en el piso (Figura 4):
• Use bloques de madera o ménsulas de extensión
(Vea Accesorios) para elevar las ménsulas de los sensores
de manera que las lentes queden a una distancia máxima de
15 cm (6 pulg.) del piso.
• Cuidadosamente mida e instale las unidades derecha y
izquierda a la misma distancia con respecto a la pared.
Asegúrese de que no haya ninguna obstrucción.
• Fije al piso las ménsulas para los sensores con los
sujetadores para cemento, como se muestra en
la ilustración.
Tuerca de mariposa
1/4-20 de pulg.
Grapas con
aislamiento
Perno de coche
de 1/4-20x1/2 de pulg.
ESTAS PIEZAS SE MUESTRAN EN SU TAMAÑO REAL

22
Perno de coche
de 1/4-20x1/2 de pulg. Lente
Tuerca de mariposa
1/4-20 de pulg.
Figura 5
MONTAJE Y CABLEADO DE LOS SENSORES DEL
SISTEMA DE SEGURIDAD DE REVERSA
• Deslice la cabeza de un perno de coche de 1/4-20x1/2 de
pulgada dentro de la ranura de los sensores. Use tuercas de
mariposa para sujetar los sensores a las ménsulas, con las
lentes de cada sensor frente a frente a ambos lados de la
puerta. Cerciórese de que la extensión de la ménsula no
obstruya las lentes (Figura 5).
• Apriete las tuercas de mariposa a mano.
• Lleve los cables de los dos sensores al abridor. Utilice grapas
con aislamiento para sujetar el cable a la pared y al cielo
raso.
• Pele 11 mm (7/16 pulg.) del aislamiento en cada juego de
cables. Separe los alambres blanco y blanco/negro los
suficiente para que pueda conectarlos a las terminales de
conexión rápida del abridor, de la forma siguiente. Tuerza
juntos los cables del mismo color. Inserte los cables en los
orificios de conexión rápida: el blanco al blanco y el
blanco/negro al gris (Figura 6).
CÓMO ALINEAR LOS SENSORES DE SEGURIDAD
DE REVERSA
• Conecte el abridor; las luces del sensor emisor y del
sensor receptor se deben de encender y permanecer
encendidas si todas las conexiones del cableado y la
alineación se han hecho correctamente.
La luz ámbar del sensor que emite el rayo se encenderá
aunque esté obstruido o fuera de alineación, pero si la luz
verde del sensor receptor del rayo está apagada, parpadea o
se ve baja, (y no hay ninguna obstrucción en el recorrido del
rayo de luz invisible), será necesario alinearlos.
• Afloje la tuerca de mariposa del sensor emisor y reajuste el
sensor. Apunte directamente al otro sensor y apriete la tuerca
de mariposa.
• Afloje la tuerca de mariposa del sensor receptor del rayo, y
reajuste hasta que reciba el rayo del sensor emisor. Una vez
que la luz verde brille continuamente, apriete la tuerca de
mariposa.
Sensor
de seguridad
de reversa
Sensor
de seguridad
de reversa
Área de protección del
rayo electrónico invisible
Conecte el cable a las
terminales de conexión rápida
Cable de campana
Cable de campana Cielo raso con acabado
Rojo GrisBlanco
Terminales de conexión rápida
3. Inserte en las
terminales apropiadas
1. Pele el cable
11 mm (7/16 pulg.)
2. Tuerza juntos los cables
del mismo color
7/16 pulg. (11 mm)
Figura 6
DIAGNÓSTICO DE FALLAS CON RESPECTO A LOS
SENSORES DEL SISTEMA DE SEGURIDAD DE REVERSA
1. Si la luz verde del sensor que emite el rayo no
permanece encendida después de la instalación, verifique
lo siguiente:
• El suministro de corriente eléctrica al abridor.
• Que haya un corto circuito en alguno de los cables, ya sea
el blanco, o el blanco/negro. Esto ocurre frecuentemente
donde hay alguna grapa.
• Algún error en la conexión de los cables de los sensores
al abridor.
• Algún cable roto.
2. Si la luz indicadora del sensor que emite el rayo enciende y
permanece encendida, pero la luz del otro sensor no
enciende:
• Verifique que estén correctamente alineados.
• Verifique que no haya un alambre roto en el cable del
sensor receptor.
3. Si la luz indicadora del sensor receptor esta débil o baja,
verifique la alineación de los sensores.
NOTA: Si la trayectoria del rayo invisible se ve obstruida o está
fuera de alineación, al tratar de cerrar la puerta ésta se abrirá
automáticamente. Si la puerta está abierta, simplemente no se
podrá cerrar, y las luces de abridor parpadearán diez veces.
Vea la página 20.

23
En el caso de puertas de fibra de vidrio, aluminio o acero ligero, ES
NECESARIO colocar un refuerzo ANTES de instalar el marco de la
puerta. Póngase en contacto con el fabricante de su puerta para
obtener un kit de refuerzo.
PRECAUCIÓNPRECAUCIÓN
ADVERTENCIA
ADVERTENCIAADVERTENCIA
INSTALACIÓN, PASO 12
Fije la Ménsula de la Puerta
Siga las instrucciones que correspondan al tipo de puerta de
cochera que usted tenga, como se muestra en la ilustración o
en la página siguiente.
Si usa un puntal horizontal, éste debe ser lo
suficientemente largo para sujetarlo a dos soportes
verticales. Si usa un puntal vertical, éste debe ser de la
altura del panel superior.
La ilustración muestra una pieza de hierro en ángulo como
puntal horizontal. Para el puntal vertical se deben usar dos
piezas de hierro en ángulo con objeto de crear un soporte en
“U” (Figura 1). La mejor solución es ponerse en contacto con la
compañía fabricante de la puerta de su cochera e informarse
acerca de los juegos de refuerzos de puertas para la
instalación de un abridor.
NOTA: Muchas de las instalaciones con soporte o
puntal vertical toman en cuenta la instalación directa de los
pasadores de chaveta y el brazo de la puerta. En este caso, no
necesitará instalar la ménsula para la puerta; proceda al
Paso 13.
PUERTAS SECCIONALES
1. Coloque la ménsula para la puerta sobre la línea central
vertical que había marcado previamente para la instalación
de la ménsula del cabezal. Asegúrese de que la leyenda
“UP” (arriba) esté en la posición correcta, como está
indicado en la parte interior de la ménsula (Figura 2).
2. Coloque la ménsula sobre la parte frontal de la puerta,
dentro de los límites siguientes:
• El borde superior de la ménsula 5-10 cm (2-4 pulg.) debajo
del borde superior de la puerta.
Ubicación de
la ménsula
de la puerta
Ménsula del cabezal Si su puerta es de metal, aluminio,
fibra de vidrio o con paneles de vidrio,
siempre son necesarios refuerzos
verticales y horizontales.
(No se incluyen)
HACIA
ARRIBA
Ménsula de la puerta
Orilla interior de la
puerta o del refuerzo
de madera Ménsula de
la puerta
Tuerca de
5/16-18 de pulg.
Perno de coche
de 5/16-18x2-1/2
de pulg.
Arandela de
5/16 de pulg.
Linea central
vertical de la
puerta de garaje
HACIA ARRIBA
Refuerzo vertical
Linea central
vertical de la
puerta de garaje
Perno de coche de
5/16-18 por 2-1/2 de pulg.
Tuerca de 5/16-18
de pulg. Arandela de 5/16 de pulg.
ESTAS PIEZAS SE MUESTRAN EN SU TAMAÑO REAL
Figura 1
Figura 2
• La orilla superior de la ménsula debe estar directamente
debajo de algún soporte de la estructura a lo largo de la
parte superior de la puerta.
• Marque y taladre dos orificios de 5/16 pulg. para los
sujetadores a la derecha y a la izquierda. Sujete la ménsula
al refuerzo vertical (si éste existe), como se muestra en la
Figura 1.
Si el tipo de instalación de su cochera no requiere refuerzos
verticales, pero sí necesita los orificios para los sujetadores de
la ménsula, taladre y fíjelos como se muestra en la Figura 2.

24
Si su puerta es de metal, aluminio,
fibra de vidrio o con paneles de
vidrio, siempre son necesarios
refuerzos verticales y horizontales
(No se incluyen.)
Pared delantera
Cielo raso con acabado
Colocación
opcional, para
la ménsula
de la puerta
Ménsula del cabezal
Ménsula de
la puerta
Madera de 5x10 cm
(2x4 pulg.)
Si su puerta no tiene un marco exterior
expuesto, o en caso de que tenga que
recurrir a la instalación opcional, use tornillos
de cabeza cuadrada de 5/16x1-1/2 de pulg.
para sujetar la ménsula de la puerta (Estos
tornillos no se incluyen.)
Ménsula
de la
puerta
Extremo
superior de la
puerta (interior
de la cochera)
Perno de coche
de 5/16-18 por
2-1/2 de pulg.
Colocación
opcional
Arandela
de 5/16 de pulg.
Tuerca
de 5/16-18
de pulg.
Orilla superior
de la puerta
Linea central
vertical de la
puerta de garaje
PUERTAS DE UNA SOLA PIEZA
Lea y respete todas las advertencias e instrucciones respecto
a los refuerzos, contenidas en la página anterior, Instalación de
puertas seccionales, ya que todos los refuerzos para su puerta
de una sola pieza son los mismos.
• Coloque la ménsula de la puerta en el centro de la parte
superior de la misma, alineada con la ménsula del cabezal,
según se indica en la ilustración. Marque ya sea los orificios
derecho e izquierdo o superior y inferior.
• Taladre los orificios piloto de 5/16 de pulg. y sujete la
ménsula con la tornillería que se incluye.
Si la puerta no tiene un marco exterior expuesto, taladre dos
orificios de 3/16 de pulg. y sujete la ménsula a la parte
superior de la puerta con tornillos de cabeza cuadrada de
5/16x1-1/2 de pulg. (no se incluyen).
NOTA: La ménsula para la puerta puede ser instalada sobre la
orilla superior de la puerta si es necesario para su instalación
en particular. (Vea la ilustración de colocación opcional,
señalada con la línea punteada). Taladre dos orificios de 3/16
de pulg. y sujete la ménsula a la parte superior de la puerta
con tornillos de cabeza cuadrada de 5/16x1-1/2 de pulgadas
(no se incluyen).
Perno de coche de
5/16-18 por 2-1/2 de pulg.
Tuerca de 5/16-18
de pulg. Arandela de 5/16 de pulg.
ESTAS PIEZAS SE MUESTRAN EN SU TAMAÑO REAL

25
INSTALACIÓN, PASO 13
Conecte el Brazo de la Puerta al Trole
Siga las instrucciones que correspondan al tipo de puerta de
cochera que usted tenga, como se muestra a continuación y en
la página siguiente.
SÓLO PARA PUERTAS SECCIONALES
Cerciórese de que la puerta de la cochera esté
completamente cerrada. Tire de la manija de emergencia para
desconectar el trole exterior del trole interior. Deslice el trole
exterior hacia atrás (en dirección opuesta a la polea) por lo
menos 20 cm (8 pulg.) como se indica en las Figuras 1, 2 y 3.
• Figura 1:
– Fije la sección recta del brazo de la puerta al trole exterior
usando un pasador de chaveta de 5/16x1 pulg. Asegure la
conexión con el anillo sujetador.
– Fije la sección curva del brazo a la ménsula de la puerta
de la misma manera, con un pasador de chaveta de 5/16
por 1-1/4 de pulg.
• Figura 2:
– Junte las dos secciones del brazo, localizando dos pares
de orificios que se puedan alinear. Seleccione dos orificios
que estén tan separados como sea posible para aumentar
la rigidez del brazo de la puerta.
•Figura 3, Opciones para alinear los orificios:
– En caso de que los orificios del brazo curvo no se puedan
alinear con los orificios del brazo recto, desconecte el
brazo recto y corte aproximadamente 15 cm (6 pulg.) del
extremo que no tiene orificios. Vuelva a conectarlo al trole,
con el extremo cortado hacia abajo, como se muestra.
– Junte las dos secciones de los brazos.
– Localice dos pares de orificios de ambas secciones que se
puedan alinear y únalos con tornillos, arandelas y tuercas.
Tire de la manija de emergencia hacia el abridor en un ángulo
de 45 grados, de manera que el brazo de liberación del trole
esté en posición horizontal. Proceda a la sección de Ajustes,
Paso 1, en la página 27. El trole volverá a estar listo
automáticamente, cuando se opere el abridor.
Perno de tope
del trole
Lo menos 20 cm
(8 pulg.)
Lo menos 20 cm
(8 pulg.)
Lo menos 20 cm
(8 pulg.)
Manija de
emergencia
Polea
Polea
Polea
Anillo
sujetador
Ménsula de
la puerta
Brazo
recto
Brazo curvo
Trole
interior
Trole
exterior
Pasador de chaveta
de 5/16x1 de pulg.
Pasador de chaveta
de 5/16x1-1/4 de pulg.
Arandelas
de 5/16
de pulg.
Tuercas de
5/16-18 de pulg.
Ménsula de la puerta
Pernos de
5/16-18x7/8
de pulg.
Corte este extremo
Arandelas
de 5/16
de pulg.
Tuercas de
5/16-18
de pulg.
Pernos de
5/16-18x7/8
de pulg.
Perno de tope
del trole
Perno de tope
del trole
Figura 1
Figura 2
Figura 3
Arandela de
5/16 de pulgada
Tuerca de
5/16-18 de pulgada
Anillo sujetador
Perno
hexagonal de
5/16-18x7/8
de pulgada
Pasador de chaveta de
5/16x1 de pulg. (para el trole)
Pasador de chaveta de
5/16x1-1/4 de pulg. (para
la ménsula de la puerta)
ESTAS PIEZAS SE MUESTRAN EN SU TAMAÑO REAL

Tuerca de
5/16-18
de pulg.
Arandela de
5/16 de pulg.
Anillo sujetador
Brazo recto
Pernos de
5/16-18x7/8
de pulg.
Ménsula de la puerta
Pasador de
chaveta de
5/16x1-1/4
de pulg.
Brazo curvo
26
TODAS LAS PUERTAS DE UNA SOLA PIEZA
1. Arme el brazo de la puerta:
• Sujete las dos secciones de los brazos de la puerta
(recto y curvo) a la mayor distancia posible, de manera que
dos o tres de los orificios se sobrepongan uno al otro.
• Cierre la puerta y fije la sección recta del brazo a la ménsula
de la puerta con el pasador de chaveta de 5/16x1-1/4 de
pulgada.
• Asegúrelos con un anillo sujetador.
• Tire hacia abajo de la manija de separación de emergencia,
desconectando el trole externo del trole interno y deslice el
trole externo hacia la unidad del motor.
• Conecte la sección curvada del brazo de la puerta a la
puerta usando la clavija horquilla de 5/16x1-1/4 de pulg. y
sujetador anular.
NOTA Ajuste los límites en la página siguiente:
• El trole se conecta automáticamente. Si no, consultar la
característica de traba del trole en la página 32.
• Al establecer el límite hacia arriba como se indica en la
página siguiente, la puerta no debe tener una inclinación
“hacia atrás” cuando esté totalmente abierta, como se ilustra
abajo. Una ligera inclinación hacia atrás ocasionará que la
puerta se pandee innecesariamente y/o que la operación no
sea uniforme al abrir o cerrar la puerta desde la posición
totalmente abierta.
Trole externo
Trole interno
Puerta
cerrada
Manija de emergencia
Brazo de la puerta
Ángulo de la puerta
(incorrecto)
Puerta abierta
Ángulo correcto
Trole externo
Trole interno
Figura 4
Figura 5

AJUSTES PASO 1
Programar los límites de recorrido
Los límites de recorrido regulan los puntos en que la
puerta debe parar cuando se desplaza hacia arriba o hacia
abajo. Siga los pasos indicados a continuación para
ajustar los límites.
Para programar los límites de desplazamiento:
Ajuste la posición de la puerta usando los botones de color
negro y morado. El negro mueve la puerta hacia ARRIBA (la
abre) y el morado mueve la puerta hacia ABAJO (la cierra).
1. Fijación de la posición ARRIBA: Oprima sin soltar el botón
negro hasta que la luz indicadora amarilla empiece a
destellar lentamente y después suéltelo.
2. Oprima sin soltar el botón negro hasta que la puerta alcance
la posición ARRIBA (abierta) deseada (Figura 2).
NOTA: Compruebe para asegurarse de que la puerta se abra
lo suficiente para su vehículo.
3. Oprima el control remoto o la consola de control (Figura 3).
Estro fija el límite de ARRIBA (apertura) y empieza a cerrar
la puerta.
NOTA: El movimiento excesivo de la unidad de motor causará
un desgaste prematuro. Vea la sección de Resolución
de problemas.
4. Inmediatamente cuando la puerta empiece a moverse hacia
abajo, oprima y suelte el botón negro o morado. Esto
detendrá la puerta.
5. Fijación de la posición ABAJO: Oprima sin soltar el botón
morado hasta que la puerta alcance la posición ABAJO
(cerrada) deseada (Figura 4).
6. Una vez que se cierre la puerta, si parece que hay mucha
presión en la puerta, puede mover la puerta hacia uno y otro
lado usando los botones negro y morado para alcanzar la
posición cerrada deseada.
7. Oprima el control remoto o la consola de control (Figura 3).
Esto fija el límite de ABAJO (cierre) y debe poner la puerta
en la posición abierta.
• Si el abridor no se detiene exactamente donde desea,
repita los pasos 1 a 8 y vuelva a programar los límites.
• Cuando la unidad se detenga en las posiciones deseadas
subida (abierta) y bajada (cerrada), vaya al paso 2 de
Ajuste, Fijación de la fuerza.
27
NEGRO
MORADO
Oprima y mantenga
oprimido hasta que
la puerta esté en la
posición hacia
ARRIBA deseada
Luz del indicador
MORADO
NEGRO
Luz del indicador
Oprima cualquiera de los
dos botones para detener
la puerta. Oprima y
mantenga oprimido el
botón morado para
establecer la posición
de ABAJO que usted desea
o
Botón morado
Botón negro
Luz del indicador
Si el sistema de retroceso de seguridad no se ha instalado
debidamente, las personas (y los niños pequeños en particular)
podrían sufrir LESIONES GRAVES o INCLUSO LA MUERTE cuando
se cierra la puerta de la cochera.
• El ajuste incorrecto de los límites del recorrido de la puerta de la
cochera interferirá con la operación adecuada del sistema de
retroceso de seguridad.
• NUNCA use los ajustes de la fuerza para compensar si la puerta
del garaje se atasca o se atora.
• Después de llevar a cabo CUALQUIER ajuste, SE DEBE probar el
sistema de retroceso de seguridad. La puerta DEBE retroceder al
entrar en contacto con un objeto de 3.8 cm (1-1/2 de pulg.) de
altura (o bien un pedazo de madera de 5x10 cm (2x4 pulg.)
acostado) en el piso.
PRECAUCIÓN
ADVERTENCIA
ADVERTENCIAADVERTENCIAADVERTENCIA
Para evitar que los vehículos sufran daños, cerciórese de que
cuando la puerta esté completamente abierta haya espacio
suficiente.
PRECAUCIÓNPRECAUCIÓN
ADVERTENCIA
ADVERTENCIAADVERTENCIA
Figura 1
Figura 2
Figura 3
Figura 4

28
Botón morado
Botón negro
Luz del indicador
Oprima el botón morado
dos veces para que la
unidad entre en el modo
Ajuste de la fuerza
o
AJUSTES PASO 2
Ajustar la fuerza
El botón de ajuste de la fuerza se encuentra en el panel
trasero de la unidad del motor. El ajuste de fuerza medida
la cantidad de potencia que se requiere para abrir y cerrar
la puerta.
1. Ubique el botón morado en el panel trasero de la unidad
(Figura 1).
2. Oprima el botón morado una vez para que la unidad entre
en modo Ajuste de la fuerza (Figura 2). El LED (luz del
indicador) parpadeará rápidamente.
3. Oprima el botón del control remoto o el control de la puerta
(Figura 3). La puerta se desplazará hasta la posición hacia
ABAJO (cerrada). Oprima el botón del control remoto o el
control de la puerta otra vez para que la puerta se desplace
hasta la posición hacia ARRIBA (abierta). Oprima el botón
del control remoto o el control de la puerta por tercera vez
para que la puerta alcance la posición hacia ABAJO
(cerrada).
El LED (luz del indicador) dejará de parpadear cuando la
unidad haya aprendido el ajuste de fuerza.
La unidad habrá aprendido las fuerzas necesarias para abrir y
cerrar la puerta.
La puerta debe pasar por un ciclo completo hacia ARRIBA y
hacia ABAJO para que la fuerza se establezca correctamente.
Si la unidad no puede abrir y cerrar la puerta por completo,
inspeccione la puerta para asegurarse de que esté
correctamente equilibrada y que no se atasque ni se atore.
Vea la página 3, Preparación de la puerta del garaje.
Si el sistema de retroceso de seguridad no se ha instalado
debidamente, las personas (y los niños pequeños en particular)
podrían sufrir LESIONES GRAVES o INCLUSO LA MUERTE cuando
se cierra la puerta de la cochera.
• El ajuste incorrecto de los límites del recorrido de la puerta de la
cochera interferirá con la operación adecuada del sistema de
retroceso de seguridad.
• NUNCA use los ajustes de la fuerza para compensar si la puerta
del garaje se atasca o se atora.
• Después de llevar a cabo CUALQUIER ajuste, SE DEBE probar el
sistema de retroceso de seguridad. La puerta DEBE retroceder al
entrar en contacto con un objeto de 3.8 cm (1-1/2 de pulg.) de
altura (o bien un pedazo de madera de 5x10 cm (2x4 pulg.)
acostado) en el piso.
PRECAUCIÓN
ADVERTENCIA
ADVERTENCIAADVERTENCIAADVERTENCIA
Figura 1
Figura 2
Figura 3
Botón morado
Botón negro
Luz del indicador

29
AJUSTES, PASO 3
Pruebe el sistema de reversa de seguridad
PRUEBA
• Abra completamente la puerta, coloque un pedazo de
madera de 3.8 cm (o un tablón de madera de 2x4 pulg.)
acostado sobre el piso al centro de la puerta del garaje.
• Opere la puerta en la dirección hacia abajo. La puerta
deberá entrar en reversa automáticamente al hacer contacto
con la obstrucción. Cuando logre ejecutar la prueba del
sistema de reversa con éxito, siga con Ajustes paso 4.
AJUSTE
• Si la puerta se detiene al toparse con la obstrucción, esto
significa que el recorrido HACIA ABAJO (cerrar) no es
suficiente. Termine los pasos de progresión 1 y 2 del ajuste
que programan los límites y las fuerzas.
NOTA: Si su puerta es seccional, asegúrese de que los
ajustes al límite no hagan que el brazo de la puerta se
mueva más allá de una posición recta hacia arriba y hacia
abajo. Vea Figura 3, de la página 25.
• Repita la prueba.
• Si la puerta retrocede automáticamente al hacer contacto
con el pedazo de madera de 3.8 cm, quite la obstrucción y
abra y cierre la puerta completamente por lo menos cuatro o
cinco veces para verificar que el ajuste sea adecuado.
• Si la unidad aún no pasa la prueba del sistema de reversa,
llame a un técnico especializado en sistemas de apertura de
puertas.
VERIFICACIÓN IMPORTANTE DE SEGURIDAD:
Pruebe del sistema de reversa de seguridad después de que:
• Se hagan ajustes al largo del brazo de la puerta, los límites
del recorrido, o los controles de la fuerza.
• Se hagan reparaciones o ajustes a la puerta del garaje
(incluyendo los resortes y la pernería).
• Se hagan reparaciones al piso del garaje porque está
desnivelado, etc.
• Se hagan reparaciones o ajustes al abre-puertas.
AJUSTES, PASO 4
Prueba la Sistema de Proteccion®
• Abra la puerta con el control remoto.
• Coloque en el piso la caja en la que vino embalado el abre-
puertas, adonde interfiera con el recorrido de la puerta.
• Comande el cierre de la puerta con el control remoto. La
puerta no se moverá más de 2.5 cm (1 pulgada) y la luz del
abre-puertas comenzará a destellar.
El abre-puertas no ejecutará el cierre con comando remoto si
la luz indicadora de cualquiera de los sensores de seguridad
estuviera apagada (adviertiendo al usuario que los sensores
están desalineados o hay una obstrucción).
Si el abre-puertas comanda el cierre de la puerta con una
obstrucción presente (y los sensores de seguridad no
están instalados a más de 15 cm (6 pulgadas) de altura
sobre el piso), llame a un técnico especializado para
reparar este problema.
Pedazo de madera de 3.8 cm (1-1/2 de pulg.),
(o un tablón de madera de 5x10 cm (2x4 pulg.)
acostado sobre el piso)
Si el sistema de reversa de seguridad no se ha instalado
debidamente, las personas (y los niños pequeños en particular)
podrían sufrir LESIONES GRAVES O INCLUSO LA MUERTE cuando
se cierre la puerta del garaje.
• El sistema de reversa de seguridad SE DEBE probar cada mes.
• Después de llevar a cabo cualquier ajuste, SE DEBE probar el
sistema de reversa de seguridad. La puerta DEBE retroceder al
entrar en contacto con un objeto de 3.8 cm (1-1/2 de pulg.) de
altura (o un tablón de madera de 2x4 pulg.) acostado en el piso.
PRECAUCIÓN
ADVERTENCIA
ADVERTENCIAADVERTENCIAADVERTENCIA
ADVERTENCIA
Sensor de reversa de seguridad Sensor de reversa de seguridad
Si el sistema de auto-reversa de seguridad no se ha instalado
debidamente, las personas (y los niños pequeños en particular)
podrían sufrir accidentes GRAVES o FATALES cuando se cierre la
puerta del garaje.
PRECAUCIÓN
ADVERTENCIA
ADVERTENCIAADVERTENCIAADVERTENCIA

30
Cómo Usar su Abridor de Puerta de Cochera
Su abridor Security✚®y el control remoto manual han sido
programados en la fábrica con un código coincidente que
cambia cada vez que se usa, accesando al azar más de
100,000 millones de códigos nuevos. Su abridor funcionará
hasta con 10 controles remotos Security✚®y un sistema de
entrada sin llave Security✚®. Si compra un control remoto
nuevo, o si desea desactivar algún control remoto, siga las
instrucciones que aparecen en la sección sobre Cómo
programar el abridor.
Active su abridor de alguna de las siguientes maneras:
•El Control remoto manual: Mantenga oprimido el botón
grande hasta que la puerta se empiece a mover.
•La Consola de control de pared: Mantenga oprimido el botón
hasta que la puerta se empiece a mover.
•La Entrada sin llave (Vea Accesorios):Si su abridor de
puerta de cochera viene con este accesorio, deberá estar
programado antes de usarlo. Vea Cómo programar el
abridor.
Una vez activado el abridor (con el sensor de seguridad de
retroceso correctamente instalado y alineado)
1. Si la puerta está abierta se va a cerrar. Si la puerta está
cerrada se va a abrir.
2. Si la puerta se está cerrando va a retroceder.
3. Si la puerta se está abriendo se va a detener.
4. Si la puerta se ha detenido en un punto parcialmente abierta,
se va a cerrar.
5. Si al cerrarse la puerta se topó con alguna obstrucción, va a
retroceder. Si la obstrucción interrumpe el rayo del sensor,
las luces del abridor van a parpadear durante cinco
segundos.
6. Si al abrirse la puerta se topó con alguna obstrucción, se va
a detener.
7. Si la puerta está completamente abierta, no va a cerrar si el
rayo está interrumpido. El sensor no tiene ningún efecto en
el ciclo de apertura.
Si el sensor no se ha instalado o está desalineado, la puerta no
se cerrará con el control remoto manual. Sin embargo, la
puerta se puede cerrar con el Control de la puerta, el
Interruptor de llave externo, o la Entrada sin llave, siempre y
cuando los active hasta que el recorrido hacia abajo haya
terminado. Si los suelta demasiado pronto, la puerta va a
retrocederá.
Las luces del abridor se encenderán en los siguientes casos:
Siempre que conecte el abridor inicialmente; cuando se
restaura el suministro de energía después de una interrupción;
cuando el abridor se activa.
Las luces se apagan automáticamente después de 4 minutos y
1/2 o se quedan encendidas cuando se activa Luz en la
consola de control. Los bombillos deben ser A19. El poder de
la bombillos es 100 máximo de vatios.
La función de la luz del Security
✚
®:Las luces se encenderán
también si alguien camina por la puerta de la cochera cuando
está abierta. Si tiene la consola de control de detección de
movimiento, esta función puede desactivarse como sigue: Con
las luces del abridor apagadas, oprima y mantenga oprimido el
botón de la luz durante 10 segundos hasta que la luz se
encienda y se apague de nuevo. Para volver a activar esta
función, empiece el procedimiento con las luces encendidas,
luego oprima y mantenga oprimido el botón de la luz durante
10 segundos hasta que la luz se apague y luego se encienda
de nuevo.
OPERACIÓN
INSTRUCCIONES IMPORTANTES DE SEGURIDAD
Para reducir el riesgo de LESIONES GRAVES o
LA MUERTE:
ADVERTENCIA
ADVERTENCIA
ADVERTENCIAADVERTENCIA
1. LEA Y SIGA TODAS LAS ADVERTENCIAS Y LAS INSTRUCCIONES
DE OPERACIÓN.
2. SIEMPRE conserve los controles remotos fuera del alcance de los
niños. NUNCA permita que los niños operen o jueguen con los
botones del control de la puerta de la cochera ni con los
controles remotos.
3. SÓLO active la puerta de la cochera siempre y cuando la pueda
ver con claridad, esté debidamente ajustada y no haya ninguna
obstrucción en el recorrido de la puerta al cerrarse.
4. SIEMPRE tenga la puerta de la cochera a la vista hasta que esté
completamente cerrada. NADIE DEBE ATRAVESAR EL RECORRIDO
DE LA PUERTA CUANDO ESTÁ EN MOVIMIENTO.
5. NADIE DEBE PASAR POR DEBAJO DE LA PUERTA SI ESTÁ
DETENIDA Y PARCIALMENTE ABIERTA.
6. De ser posible, use la liberación de emergencia para soltar el trole
SÓLO cuando la puerta de la cochera esté CERRADA. Si los
resortes están débiles o rotos, o bien si la puerta está
desbalanceada, puede que la puerta se caiga rápida y/o
inesperadamente cuando esté abierta.
7. NUNCA use la manija de liberación de emergencia a menos que la
entrada a la cochera esté libre de obstrucciones y no haya
ninguna persona presente.
8. NUNCA use la manija para tirar de la puerta para abrirla o cerrarla.
Si el nudo de la cuerda se suelta, usted podría caerse.
9. Si ajusta uno de los controles (límites de la fuerza o del
recorrido), es posible que sea necesario ajustar también el otro
control.
10. Después de llevar a cabo CUALQUIER ajuste, SE DEBE probar el
sistema de retroceso de seguridad.
11. El sistema de retroceso de seguridad SE DEBE probar cada mes.
La puerta DEBE retroceder al entrar en contacto con un objeto
de 3.8 cm (1-1/2 de pulg.) de altura (o bien un pedazo de
madera de 5x10 cm (2x4 pulg.) acostado) en el piso.
12. SIEMPRE MANTENGA LA PUERTA DE LA COCHERA
DEBIDAMENTE BALANCEADA (vea la página 3). Si la puerta no
está debidamente balanceada podría no retroceder cuando se
requiera, lo que podría ocasionar una LESIÓN GRAVE o
INCLUSO LA MUERTE.
13. Todas las reparaciones necesarias en los cables, resortes y otras
piezas las DEBE llevar a cabo un técnico especializado en
sistemas de puertas, pues todas estas piezas están bajo una
tensión EXTREMA.
14. Para evitar LESIONES PERSONALES GRAVES o MORTALES
debidas a electrocución, desconecte TODA la corriente eléctrica
y de la batería ANTES de realizar cualquier servicio
o mantenimiento.
15. CONSERVE ESTAS INSTRUCCIONES.

31
Cómo usar la consola de control
de pared
LA CONSOLA DE CONTROL DE DETECCIÓN
DE MOVIMIENTO
Oprima el botón iluminado
para abrir o cerrar la puerta.
Oprima de nuevo para que
la puerta retroceda en el
ciclo de cierre o para
detener la puerta cuando se
está abriendo.
Esta consola de control
contiene un detector de
movimiento que encenderá automáticamente la luz cuando
detecte la entrada de una persona en el garaje.
Esta característica puede apagarse fácilmente cuando se usen
extensivamente las luces de trabajo.
Luz
Oprima el botón de Luz para encender o apagar la
luz del abridor. Este botón no controla las luces del abridor
cuando la puerta está en movimiento. Si usted enciende la luz y
luego activa el abridor, la luz permanecerá encendida durante
cuatro minutos y medio. Oprima el botón nuevamente para que
la luz se apague antes. El intervalo de 4 minutos y 1/2 puede
cambiarse a 1 minuto y 1/2, 2 minutos y 1/2 o 3 minutos y 1/2,
como sigue: Oprima y mantenga oprimido el botón del seguro
(Lock) hasta que la luz empiece a parpadear (alrededor de 10
segundos). Si parpadea una vez, esto indica que el medidor de
tiempo se ha fijado a un minuto y medio. Repita el
procedimiento y la luz parpadeará dos veces, lo que significa
que el intervalo se ha fijado en 2 minutos y 1/2. Repita una vez
más si desea un intervalo de 3 minutos y 1/2, etc., hasta un
máximo de 4 minutos y 1/2, en cuyo caso la luz parpadeará
cuatro veces.
Al usar las luces del abre-puertas como luces de trabajo,
recomendamos que primero inhabilite el detector de
movimiento.
Característica de la Luz de detección de movimiento:
La luz del abridor se encenderá automáticamente cuando una
persona camine por delante de la consola de control de pared.
Esta característica funciona al detectar el movimiento y el calor
del cuerpo y tal vez no funcione a temperaturas de unos 100 °F,
37.7 °C. La luz del abridor se encenderá durante 5 minutos, y
después de apagará automáticamente si no se calcula una
diferencia de movimiento o calor adicionales.
Para desactivar esta característica, oprima el botón
de encendido/apagado automático de la luz del lado
izquierdo de la consola de control.
Recomendamos que desactive el sensor de movimiento cuando
use las luces del abridor como luces de trabajo. De lo contrario
se apagarán automáticamente si está trabajando más allá de la
gama del sensor.
Seguro
Esta función está diseñada para evitar la operación
de la puerta con los controles remotos manuales. No
obstante, la puerta se puede abrir y cerrar con los siguientes
accesorios: el Control de la puerta, el Interruptor de llave
externo, y la Entrada sin llave.
Para activar esta función, oprima y mantenga oprimido el botón
del seguro (Lock) por dos segundos. La luz del botón va a
parpadearán mientras esté activado el seguro.
Para desactivar la función, oprima y mantenga oprimido el
botón del seguro por dos segundos. La luz del botón dejará de
parpadear. La función del seguro también se apaga siempre
que el botón “aprender” del panel del motor esté activado.
Característica de Programación
La consola de control está equipada con un botón de PROG
<PROGRAMACIÓN> para asistir en la programación de los
controles remotos de la unidad. Oprima el botón de PROG
<PROGRAMACIÓN> una vez para iniciar la modalidad de
PROGRAMACIÓN y la pantalla mostrará Learn Remote
Control – Press Learn Button Again to Confirm (Control de
programación remoto – Oprima nuevamente el botón de
Programación para confirmar). Oprima el botón de PROG
<PROGRAMACIÓN> por segunda vez y la pantalla mostrará
‘Learn Mode - Press Remote Control Button to Learn Remote’
(Modalidad de Programación – Oprima el botón de control
remoto para programar el control remoto) Oprima el botón del
control remoto que se vaya a programar y la luz de trabajo
destellará para confirmar que se ha programado el control
remoto.
Característica de Horas y minutos
Oprima o mantenga oprimido uno de estos
botones laterales para aumentar las horas o minutos
mostrados en la pantalla LCD.
<LANG> Característica de Idioma
Oprima este botón lateral para moverse por los tres idiomas –
Inglés, español y francés.
Característica de Grados (F/C)
Oprima este botón lateral para pasar de grados
Fahrenheit a centígrados y viceversa.
Función adicional cuando se usa con el control remoto
manual de tres funciones
Para controlar las luces del abridor:
Además de la operación de la puerta, también puede
programar el control remoto para el funcionamiento de las
luces.
1. Con la puerta cerrada, oprima y mantenga oprimido un botón
pequeño del control remoto que desee usar para el control
de la luz.
2. Oprima y mantenga oprimido el botón de Luz del control de
la puerta.
3. Mientras mantiene oprimido el botón
de Luz, oprima y mantenga oprimido el
botón del seguro (Lock) del control de
la puerta.
4. Después de que las luces del abridor
se enciendan brevemente, suelte todos los botones.
Luz de Detección
de movimiento
(encendido o apagado)
Prog <Programación>
Hora
Minuto
Idioma
Grados (F/C)
Botón
del Seguro
Botón
de Luz
Barra
Pulsadora
LIGHT
LOCK
H M

32
La batería de litio debe producir
energía durante cinco años. Para
cambiar la batería use el clip del visor
o un destornillador para abrir la caja,
como se indica en la ilustración.
Inserte la batería de acuerdo con las
instrucciónes de polaridad indicadas
en el cubierto del control o en el
tablero electrónico.
Deseche las baterías viejas de la manera adecuada.
Abra este extremo
primero para
evitar que
la caja se
agriete
Para evitar la posibilidad de LESIONES GRAVES o INCLUSO
LA MUERTE:
• NUNCA permita que los niños pequeños estén cerca de
las baterías.
• Si alguien se traga una batería, llame al médico de inmediato.
PRECAUCIÓN
ADVERTENCIA
ADVERTENCIAADVERTENCIAADVERTENCIA
AVISO: Para cumplir con las reglas de la FCC y/o de Canadá (IC), ajustes o modificaciones de este
receptor y/o emisor están prohibidos, excepto por el cambio de la graduación del código o el reemplazo de
la pila. NO HAY OTRAS PIEZAS REPARABLES DEL USUARIO.
Se ha probado para cumplir con las normas de la FCC para USO DEL HOGAR O DE LA OFICINA. La
operación está sujeta a las dos condiciones siguientes:(1) este dispositivo no puede causar interferencia
perjudicial, y (2) este dispositivo debe aceptar cualquier interferencia recibida, incluyendo la interferencia
que puede causar una operación no deseable.
LA BATERÍA DEL CONTROL REMOTO
Mantenimiento de su Abridor de Puerta de
Cochera
CALENDARIO DE MANTENIMIENTO
Una vez al mes
• Haga funcionar la puerta manualmente. Si está
desbalanceada o se pandea, llame a un técnico
especializado en sistemas de puertas.
• Revise para cerciorarse de que la puerta se abra y se cierre
completamente. Ajuste los límites de ser necesario (Vea las
páginas 27 y 28).
• Repita la prueba de la retroceso de seguridad. Haga los
ajustes necesarios. (Vea Ajustes, Paso 3.)
Una vez al año
• Ponga aceite en los rodillos, los cojinetes y las bisagras de la
puerta. El abridor no necesita lubricación adicional. No
lubrique los carriles de la puerta.
Para evitar la posibilidad de una LESIÓN GRAVE o INCLUSO LA
MUERTE si la puerta de la cochera se cae:
• De ser posible, use la manija de liberación de emergencia para
soltar el trole SÓLO cuando la puerta de la cochera esté
CERRADA. Si los resortes están débiles o rotos, o bien si la
puerta está desbalanceada, la puerta abierta podría caerse rápida
y/o inesperadamente.
• NUNCA use la manija de liberación de emergencia a menos que la
entrada a la cochera esté libre de obstrucciones y no haya
ninguna persona presente.
• NUNCA use la manija para tirar de la puerta para abrirla o cerrarla.
Si el nudo de la cuerda se suelta, usted podría caerse.
PRECAUCIÓN
ADVERTENCIA
ADVERTENCIAADVERTENCIAADVERTENCIA
Cómo Abrir la Puerta Manualmente
CÓMO DESCONECTAR EL TROLE:
La puerta debe estar completamente
cerrada si es posible. Tire de la
manija de liberación de emergencia
(de manera que el brazo de
liberación del trole quede en una
posición vertical) y levante la puerta
manualmente. La función de seguro
evita que el trole se vuelva a
conectar automáticamente, y la
puerta pueda subirse y bajarse
manualmente con la frecuencia que
sea necesaria.
CÓMO RECONECTAR EL TROLE:
Tire de la manija de liberación de
emergencia hacia el abridor en un
ángulo que el brazo de liberación
del trole quede horizontal. El trole
se reconecta en la siguiente
operación HACIA ARRIBA o HACIA
ABAJO, ya sea manual o mediante
el uso del control de la puerta o del
control remoto.
Posición con el seguro
(desconexión manual)
NOTICE
Brazo de
liberación
(en la posición
de desconexión
manual)
Trole
Para reconectar
NOTICE
Brazo de
liberación
del trole
Trole
Manija de
liberación de
emergencia
(por debajo y por detrás)

33
NOTA: El indicador LED es mas visible con el luz apagado.
INDICADOR LED VERDE:
Todos los sistemas están normales.
• La luz sólida de un indicador LED indica que las baterías
están totalmente cargadas.
• Un indicador LED que parpadea indica que las baterías se
están cargando.
NOTA: Las baterías no deben estar totalmente cargadas para
operar la unidad de motor.
INDICADOR LED NARANJA:
La unidad de motor ha perdido energía y está operando fuera
de la batería.
• Un indicador LED sólido con bip, que suena
aproximadamente cada 2 segundos, indica que la unidad de
motor está activando la puerta y está operando fuera de la
batería.
• Un indicador LED que parpadea con bip, que suena cada 30
segundos, indica que las baterías están bajas.
• Una vez que se restaura la energía, se recargará la batería.
Esto se indica con un indicador LED verde que parpadea.
INDICADOR LED ROJO:
Se ha detectado un error y la batería se apagará
automáticamente. La batería intentará volver a encenderse
reconectándose a las baterías. Si el error sigue presente, se
apagará otra vez. Este proceso se repetirá cada 5 minutos o
hasta que se haya resuelto el error. Esto se usa para evitar
mayor fuga de las baterías.
• Si un indicador LED rojo permanece encendido cuando se
restaura la energía, y viene acompañado con un bip que
suena cada 30 segundos, favor de llamar para servicio.
Reserva de Batería
INSTRUCCIONES DE OPERACIÓN
1. Pruebe la batería con la unidad de motor.
Para probar la BBU, desconecte el cordón de la unidad de
motor de la salida eléctrica.
• Un indicador LED naranja sólido indica que la batería está
operando con energía de baterías.
• Un indicador LED naranja que parpadea con bip indica que
la unidad está operando con energía de batería y que la
carga de la batería está baja.
• Para probar que la batería está funcionando
adecuadamente, abra y cierre la puerta de garaje.
• Vuelva a conectar el cordón de energía de la unidad de
motor a la salida eléctrica.
• Verifique que el indicador LED verde está parpadeando en la
batería (indica que ahora se está cargando la batería).
• Prueba completada.
2. Cargue la batería.
• Permita que las baterías se carguen completamente de 24 a
48 horas antes de usar el sistema de la batería.
Una batería completamente cargada suministra 24V DC a la
unidad de motor durante uno o dos días de operación normal
durante una falla de energía eléctrica. Si el voltaje de la batería
cae a un nivel demasiado bajo, las baterías se desconectarán
y la unidad de motor ya no operará bajo el poder de la batería.
Después de que se ha restaurado la energía eléctrica, las
baterías se recargarán en las siguientes 48 horas. En uso
normal, las baterías durarán de 3 a 5 años.
Para obtener la vida máxima de la batería y evitar daño,
también desconecte el respaldo de batería si desconecta el
motor mientras está de vacaciones o durante cualquier
otro periodo extenso de tiempo.
NOTA: La operación de puertas puede ser limitada hasta que
las baterías estén completamente cargadas. Las luces de la
unidad de motor no se encenderán durante el modo batería.
Para reducir el riesgo de INCENDIO o LESIONES a las personas:
• Desconecte TODA la corriente eléctrica y de la batería ANTES de
realizar CUALQUIER servicio o mantenimiento.
• Use solamente la pieza Craftsman N° 41B822 como batería
de repuesto.
• NO arroje la batería al fuego. La batería puede estallar.
Compruebe las instrucciones de desechado en los
códigos locales.
PRECAUCIÓN
ADVERTENCIA
ADVERTENCIAADVERTENCIAADVERTENCIA
ADVERTENCIA
Estado de Batería (LED)
Puerta
de bateria

34
Tiene algún problema (Diagnóstico
de fallas)
NOTA: Desenchufe siempre la batería antes de resolver
problemas.
1. La puerta no cierra y las luces de la unidad del motor
parpadean: El sensor del sistema de retroceso de seguridad
debe estar instalado y alineado correctamente para que el
sistema de apertura de la puerta de la cochera se mueva en
sentido descendente.
• Asegúrese de que los sensores de seguridad estén
instalados y alineados correctamente, y que estén libres de
obstrucciones. Consulte la sección Instalación, Paso 11:
Instale La Sistema de Protección®.
• Compruebe los LED de diagnóstico de la unidad del motor
para ver si parpadean. Luego consulte la tabla de
diagnóstico en la siguiente página.
2. El control remoto no activa la puerta:
• Compruebe consola de control de detección de
movimiento para ver si parpadea. En caso afirmativo,
desactive el modo de bloqueo siguiendo las instrucciones
de Uso la consola de control de detección de movimiento.
• Vuelva a programar el control remoto según las
instrucciones. Consulte la sección sobre su programación.
• Si el control remoto sigue sin activar la puerta, compruebe
el LED de diagnóstico de la unidad del motor para ver si
parpadea; luego consulte la tabla de diagnóstico en la
siguiente página.
3. La puerta invierte el movimiento sin ninguna razón
aparente: ajuste la fuerza o los límites del recorrido y repita
la prueba de retroceso de seguridad. Es normal tener que
ajustar la fuerza y los límites del recorrido periódicamente.
Las condiciones atmosféricas pueden afectar al recorrido de
la puerta.
• Compruebe manualmente si la puerta tiene problemas de
equilibrado o si queda atascada.
• Consulte el apartado Ajustes, Paso 2: Ajuste la fuerza.
4. La puerta se cierra completamente, toca el suelo y se
vuelve a abrir, sin ningún motivo aparente: ajuste la
fuerza o los límites del recorrido y repita la prueba de
retroceso de seguridad. Es normal tener que ajustar la
fuerza y los límites del recorrido periódicamente. Las
condiciones atmosféricas pueden afectar al recorrido de la
puerta.
• Consulte el apartado Ajustes, Paso 1: Ajuste los límites del
recorrido hacia ARRIBA y hacia ABAJO.
5. Las luces no se apagan cuando la puerta se abre:
• El sistema de apertura de la puerta de la cochera cuenta
con una función de seguridad de luz. Esta función activa la
luz cuando el haz del sensor está obstruido; Uso la
consola de control de pared, Luz.
Cable de campana
Sensor de seguridad
de reversa
Botón
“Aprender”
LED o
Diagnóstico LED
6. La unidad del motor emite un breve zumbido:
• En primer lugar, compruebe si el trole está atascado en el
perno de tope.
• Libere la puerta del abridor tirando de la cuerda de
emergencia.
• Cierre la puerta manualmente.
• Afloje la cadena haciendo girar la tuerca exterior 4 ó 5
vueltas. Se aliviará la tensión.
• Haga funcionar la unidad del motor con el control remoto o
con el conmutador de pared. El trole debe desplazarse
hacia la puerta, y detenerse. Si se engrana con la puerta,
tire de la cuerda de liberación de emergencia para
desengranarlo.
• Disminuya el desplazamiento hacia arriba.
• Vuelva a apretar la tuerca exterior hasta que el resorte del
trole esté aproximadamente a 3.18 cm (1-1/4 de pulg.)
de longitud.
• Repita estos pasos si el trole no se libera del perno
de tope.
7. Indicador LED de estado de batería no illuminado:
• Compruebe los conexiónes de la batería.
3.18 cm
(1-1/4 de pulg.)
Trole
Sensor de seguirdad de reversa sensor
recepto (Luz indicadora verde)
Sensor de seguirdad de reversa sensor
emisor (Luz indicadora ámbar)

35
Cable de campana
Sensor de seguridad
de reversa
LED o
Diagnóstico
LED
Botón
“Aprender”
El sistema de apertura de la puerta cuenta con una función de
autodiagnóstico. El botón “Aprender”/LED de diagnóstico
parpadeará varias veces antes de detenerse, indicando que ha
encontrado un posible problema. Consulte la tabla de
diagnóstico a continuación.
Sensor de seguridad
de reversa instalada
Tabla de Diagnóstico
Síntoma: Una o ambas luces indicadoras de los sensores de seguridad no
permanecen encendidas.
• Inspeccione los cables de los sensores para determinar si presentan un cortocircuito
(grapa en el cable), corrija la polaridad de los cables (cables blanco y negro invertidos),
cables rotos o desconectados, sustituir/conectar según proceda.
• Desconecte todos los cables en el dorso de la unidad del motor.
• Quite los sensores de sus soportes y acorte sus cables a 30-60 cm (1-2 pies) desde la
parte posterior de cada sensor.
• Vuelva a conectar la célula transmisora con la unidad del motor, utilizando los cables
cortos. Si la luz indicadora de la célula transmisora permanece encendida, conecte la
célula receptora.
• Alinee los sensores. Si las luces indicadoras se encienden, sustituya los cables de los
sensores. Si las luces de los sensores no se encienden, sustituya los sensores de
seguridad.
Síntoma: El LED del consola de control no se enciende.
• Inspeccione la unidad de consola de control/cable para ver si tienen un cortocircuito
(grapa clavada en el cable) y sustituya lo que proceda.
• Desconecte los cables de la unidad de control de la puerta y haga puente con los
cables. Si la unidad del motor se activa, sustituya la unidad de control.
• Si el motor no se activa, desconecte del motor los cables de consola de control. Con
un cable, haga puente entre los terminales rojo y blanco. Si el motor se activa, cambie
los cables de consola de control.
Síntoma: La luz indicadora de la célula transmisora permanece encendida; la luz
de la célula receptora es débil o parpadea.
• Vuelva a alinear la célula del sensor del receptor, limpie la lente y asegure el soporte.
• Asegúrese de que el riel de la puerta esté fijado firmemente a la pared y que no se
mueva.
Síntoma: El motor está muy caliente; El motor no funciona correctamente o el trole
está atascado en el perno de tope = El motor emite un breve zumbido; Sensor de
RPM = Recorrido corto 15-20 cm (6-8 pulg.).
• Desconecte la unidad para reiniciarla. Intente hacer funcionar el motor, compruebe el
código de diagnóstico.
• Si sigue parpadeando 5 veces y el motor se mueve 15-20 cm (6-8 pulg.), cambie el
sensor de RPM.
• Si el motor no funciona, significa que está muy caliente. Deje pasar 30 minutos y
vuelva a intentarlo. Si el motor sigue sin funcionar, cambie el circuito impreso.
El motor se calienta o hay
un posible fallo de RPM.
Desconéctelo para
reiniciarlo.
Los sensores de seguridad
están ligeramente mal
alineados (LED débil o
parpadeante).
El consola de control o el
cable tienen un cortocircuito.
Hay un cortocircuito en el
cable de los sensores de
seguridad de reversa, o los
cables blanco y negro
están invertidos.
El circuito de los sensores
de seguridad de reversa
está abierto (cable roto o
desconectado).
1 PARPADEO
2 PARPADEOS
3 PARPADEOS
4 PARPADEOS
5 PARPADEOS
O BIEN

36
Significado: Este mensaje aparecerá si los sensores de inversión de seguridad están
desalineados, bloqueados o si los cables están desconectados. Haga lo siguiente para
borrar el mensaje de la consola de control:
• Compruebe para ver que el área esté despejada entre los sensors de inversión de seguridad.
• Compruebe para ver que los sensores de inversión de seguridad no estén desalineados.
• Vuelva a alinear el sensor de la célula fotoeléctrica de recepción, limpie la lente y fije los soportes.
• Verifique que el carril de la puerta esté firmemente sujeto a la pared y no se mueva.
• Compruebe para ver que los cables de los sensores de inversión de seguridad estén conectados
a la unidad de motor.
• Si no se ha borrado el mensaje después de las comprobaciones anteriores, consulte el mensaje 2.
Significado: Este mensaje aparecerá si los sensores de inversión de seguridad están mal
conectados. Haga lo siguiente para borrar el mensaje:
• Inspeccione los cables de los sensores de inversión de seguridad para ver si hay un cortocircuito
(grapa en el cable), polaridad correcta de las conexiones (cables negro/blanco invertidos),
reemplace/conecte según sea necesario.
• Desconecte todos los cables de la parte trasera de la unidad del motor.
• Desconecte los sensores de inversión de seguridad de los soportes y acorte los cables de los
sensores 1-2 pies (30-60 cm) de la parte trasera de cada sensor.
• Vuelva a conectar la célula fotoeléctrica de emisión a la unidad de motor usando cables acortados.
Si el indicador de la célula fotoeléctrica de emisión brilla de forma constante, conecte la célula
fotoeléctrica de recepción.
• Alinee los sensores, si las luces indicadoras brillan, reemplace los cables de los sensores.
Si no se encienden las luces indicadoras de los sensores, reemplace los sensores de
inversión de seguridad.
Significado: Este mensaje aparecerá cuando se haya oprimido el botón de PROGRAMACIÓN
de la consola de control. Al oprimir nuevamente el botón de PROGRAMACIÓN, se permitirá
que el usuario programe un control remoto adicional del abridor.
Significado: Este mensaje aparecerá cuando se haya oprimido el botón de programación por
segunda vez en la consola de control o en cualquier momento en el abridor. El abridor está
listo para programar otro control remoto oprimiendo simplemente el botón de control remoto.
Una vez que se haya PROGRAMADO el control remoto, la luz de trabajo destellará una
vez más.
Significado: Este mensaje aparecerá cuando se haya oprimido el botón de bloqueo sin
soltarlo durante más de un segundo. Esta característica desactivará el abridor de las señales
de control remoto de recepción. Para salir de la modalidad de BLOQUEO, oprima el botón sin
soltarlo durante más de un segundo.
Significado: Este mensaje aparecerá cuando se haya oprimido el botón de Idioma. Al oprimir
el botón se pasará al idioma siguiente.
Significado: Este mensaje aparecerá cuando se haya oprimido el botón de Detección de
movimiento. El detector de movimiento se encenderá y se apagará cada vez que se oprima
el botón.
APRENDA EL
CONTROL REMOTO,
OPRIMA BOTÓN
“APRENDER” OTRA
VEZ PARA CONFIRMAR
LISTO PARA APRENDER
CODIGO DEL CONTROL
REMOTO OPRIMA
BOTÓN DEL CONTROL
REMOTO PARA
APRENDER CODIGO
LISTO PARA
DESACTIVAR CONTROL
REMOTO (LOCK)
CONTROL REMOTO
DESACTIVADO OPRIMA
BOTÓN (LOCK) PARA
REACTIVAR CONTROL
REMOTO
FUNCIONAMIENTO
DEFECTUOSO DE LOS
SENSORES DE
SEGURIDAD
COMPRUEBE
CONEXIONES DEL
CABLEADO VEA EL
MANUAL DEL
PROPIETARIO
INGLÉS, FRANCÉS Y
ESPAÑOL
SENSOR DE MOVIMIENTO
ENCENDIDO, SENSOR DE
MOVIMIENTO APAGADO
Mensajes de la Consola de Control
de Detección de Movimiento de la LCD
Los mensajes siguientes están contenidos dentro de la consola de control de detección de movimiento de LCD y pueden aparecer
durante las operaciones de la unidad:
SENSORES DE
SEGURIDAD COMPRUEBE
EL ALINEAMIENTO
OBSTRUCCION O
CABLEADO VEA EL
MANUAL DEL
PROPIETARIO
Mensaje
Mensaje
Mensaje
Mensaje
Mensaje
Mensaje
Mensaje

Para Borrar Todos los Códigos de la
Memoria de la Unidad del Motor
Para desactivar cualquier control remoto que no desee usar,
antes que nada borre todos los códigos:
Oprima y mantenga oprimido el botón “Aprender”
de la unidad del motor, hasta que la luz del
indicador de Aprender se apague
(aproximadamente 6 segundos). Ya estarán
borrados todos los códigos anteriores. Vuelva a
programar cada uno de los controles remotos o la
entrada sin llave que desee usar.
*Controles Remotos de 3 Funciones
Si es provisto con su abridor de puerta de la cochera, el botón
grande ha sido programado en la fábrica para operación de su
abridor. Los botones
adicionales de cualquier
control remoto de funciones
múltiples Security✚®o de un
minicontrol remoto pueden
programarse para operar otros
abridores de puerta de
cochera Security✚®.
37
CÓMO PROGRAMAR EL ABRIDOR
Su abridor de puerta de cochera ya viene programado de fábrica para operar con su control remoto manual. La puerta se abrirá y se
cerrará cuando oprima el botón grande.
A continuación se proveen las instrucciones para programar su abridor para que opere con controles remotos Security✚®adicionales.
AVISO: Si utiliza este abre puertas de garaje Security
✚
®con un transmisor no dotado de un sistema de códigos de salto (código
aleatorio), se verán circunvenidas las medidas técnicas incorporadas en el receptor del abridor para proteger contra los aparatos de
captura de códigos. El propietario de los derechos propiedad intelectual del abridor no autoriza ni al comprador ni al proveedor de un
transmisor no dotado de un sistema de códigos de salto (código aleatorio) a circunvenir dichas medidas técnicas.
1. Oprima y suelte el botón “Aprender” de
la unidad del motor. La luz indicadora de
este botón estará encendida por 30
segundos.
2. En los 30 segundos, oprima y mantenga
oprimido el botón del control remoto
manual* que desee usar para su puerta
de cochera.
3. Suelte el botón cuando las luces de la
unidad del motor empiecen a parpadear.
Ya aprendió el código. Si no se han
puesto bombillos, se escucharán dos
chasquidos.
Cómo Agregar o Reprogramar un Control Remoto Manual
CÓMO USAR EL BOTÓN LEARN (APRENDER) USO DE LA CONSOLA DE CONTROL DE DETECCIÓN
DE MOVIMIENTO
1. Pulse el botón “Aprender” de la consola
de control de detección de movimiento.
2. Oprima nuevamente el botón “Aprender”
para confirmar la modalidad de
“Aprender”.
3. Oprima el botón del control remoto*
portátil que desee usar para la puerta de
su garaje.
4. Cuando destellen las luces de la unidad
de motor, tiene el código programado. Si
no se han instalado las bombillas, se
oirán dos clics.

38
NOTA: Este método requiere dos personas si la Entrada sin
llave ya está montada fuera de la cochera.
1. Oprima y suelte el botón “Aprender” de
la unidad del motor. La luz indicadora
de este botón estará encendida por 30
segundos.
2. En los 30 segundos, introduzca un
número de identificación personal (PIN)
que haya elegido, usando el teclado.
Luego oprima y mantenga oprimido el
botón ENTER.
3. Suelte el botón cuando las luces de la
unidad del motor empiecen a
parpadear. Ya aprendió el código. Si no
ha instalado bombillos, se escucharán
dos chasquidos.
Cómo Agregar, Reprogramar o Cambiar un Código de Entrada sin Llave
NOTA: Su nueva Entrada sin llave debe programarse para que opere el abridor de la puerta de su cochera.
CÓMO USAR EL BOTÓN LEARN (APRENDER) USO DE LA CONSOLA DE CONTROL DE DETECCIÓN
DE MOVIMIENTO
Para cambiar un PIN existente
Si el PIN existente ya es conocido, una persona lo puede
cambiar sin usar una escalera.
1. Oprima los cuatro botones que correspondan al PIN actual,
luego oprima y mantenga oprimido el botón #.
La luz del abridor parpadeará dos veces. Suelte el botón #.
2. Oprima el nuevo PIN de cuatro dígitos y luego oprima
ENTER.
Las luces de la unidad del motor parpadearán una vez cuando
el PIN se haya aprendido.
Pruebe oprimiendo el nuevo PIN, luego oprima ENTER.
La puerta debe moverse.
Para poner un PIN temporal
Usted puede autorizar el acceso a sus visitas o a personal de
servicio con un PIN temporal de cuatro dígitos. Después de un
determinado número de horas programadas, o número de
accesos, este PIN temporal expira y no vuelve a abrir la puerta.
Se puede usar para cerrar la puerta aún después de que haya
expirado. Haga lo siguiente para poner un PIN temporal:
1. Oprima los cuatro botones correspondientes a su PIN de
entrada personal (no el último PIN temporal); luego oprima y
mantenga oprimido el botón ✽.
La luz del abridor va a parpadear tres veces. Suelte el botón.
2. Oprima los cuatro dígitos del PIN temporal que haya elegido,
luego oprima ENTER.
La luz del abridor va a parpadeará cuatro veces.
3. Para fijar el número de horas que el PIN temporal debe
funcionar, oprima el número de horas (hasta 255), luego
oprima ✽.O
3. Para fijar el número de veces que el PIN temporal debe
funcionar, oprima el número de veces (hasta 255), luego
oprima #.
La luz del abridor parpadeará una vez cuando el PIN temporal
haya sido aprendido.
Pruebe oprimiendo los cuatro botones correspondientes al PIN
temporal, luego oprima ENTER. La puerta debe moverse. Si el
PIN temporal se ha fijado para abrir la puerta un determinado
número de veces, recuerde que la prueba constituye una vez.
Para borrar la contraseña temporal, repita los pasos del 1 al 3;
fijando el número de horas o de veces en 0, en el paso 3.
Cierre con un botón: El abridor se puede cerrar presionando sólo el botón ENTER si está activada la función de cierre con un
botón. Esta función viene activada de fábrica. Para activarla o desactivarla, presione y mantenga presionados los botones 1 y 9
durante 10 segundos. El teclado parpadeará dos veces cuando se active la función de cierre con un botón. y parpadeará cuatro
veces cuando se la desactive.
1. Pulse el botón “Aprender” de la consola
de control de detección de movimiento.
2. Oprima nuevamente el botón “Aprender”
para confirmar la modalidad de
“Aprender”.
3. Introduzca un número de identificación
personal (PIN) que haya elegido, usando
el teclado. Luego oprima y mantenga
oprimido el botón ENTER.
4. Cuando destellen las luces de la unidad
de motor, tiene el código programado.
Si no se han instalado las bombillas, se
oirán dos clics.

39
139.53754
41A6344
ACCESORIOS Ménsulas de soporte:
Para cielos rasos sin acabados o en los
casos en que se necesite soporte adicional,
basado en la construcción de la cochera.
Incluye las ménsulas y los sujetadores.
139.53729
139.53709
139.53702
Ménsulas para la altura de la puerta:
(Sólo para puertas seccionales)
Sustituyen a las ménsulas superiores y los
rodillos de la puerta para reducir la altura del
recorrido de la puerta. Para usarse cuando
se instala el abridor en una cochera con
poca tolerancia (altura).
Liberador de la llave de emergencia:
Se requiere en las cocheras que NO tienen
puerta de acceso. Permite al dueño de la
casa abrir la puerta de la cochera
manualmente desde el exterior,
desconectando el trole.
Extensión del riel de 2.4 m (8 pies):
Permite que una puerta de 2.4 m (8 pies) se
abra completamente.
Extensión del riel de 3 m (10 pies):
Permite que una puerta de 3 m (10 pies) se
abra completamente.
139.53728
139.53589
Ménsulas de extensión:
(Sólo están disponibles a través de
Refacciones y Servicio Sears)
(Opcionales) Para la instalación del sensor
de seguridad en la pared o en el piso.
41A5281
GARANTÍA
139.53753
139.53749
SECURITY✚®Control remoto compacto
de 3 funciones:
Con lazada para ponerse en el llavero.
SECURITY✚®Control remoto de
3 funciones:
Incluye el clip del visor.
Control de luz enchufable:
Permite al dueño de la casa encender una
lámpara, la televisión, u otro aparato
doméstico con el control remoto desde el
coche, la cama, o dondequiera que se
encuentre en la casa.
139.53752
SECURITY✚®Entrada sin llave:
Permite al dueño de la casa operar la
puerta de la cochera desde el exterior,
ingresando una contraseña. También puede
agregarse una contraseña temporal para
visitas o personal de servicio.
Consola de control sin cable
(Sólo están disponibles a través de
Refacciones y Servicio Sears)
Consola de control de un botón para un
panel de control adicional.
Garantía limitada de abridor de puerta de cochera Craftsman
Garantía completa en casa de 90 días por producto
Para 90 días a partir de la fecha de compra, este producto se reparar, sin cargo, si se determina que está defectuoso en su material o manufactura.
Garantía limitada adicional por las piezas
Desde el día 91 hasta 3 años después de la fecha de compra, las piezas del reemplazo para alguna parte defectuosa en este producto se proporcionarán, libre de la
carga. Usted paga por el trabajo.
Garantía limitada adicional por 10 años del motor
Desde el dia 91 hasta 10 años, si el motor en este producto es defectuoso, un motor del reemplazo se proporcionará libre la carga. Usted paga por el trabajo.
Restriccion de la garantía
Este garantía limitada del abridor de puerta de cochera de Craftsman no cubre las bombillas ni la reparación despiden necesario a causa del abuso de operario ni
negligencia, inclusive el fracaso para instalar, ajustar y operar este abridor de puerta de cochera según instrucciones contenidas en el manual. Este garantía limitada
también no cubre ningún problema causado por interferencia.
Límite de responsabilidad legal
El vendedor no sera responsible de la pérdida ni el daño a la propiedad ni ninguna pérdida ni el gasto casuals ni consecuentes del daño de la propiedad
debido directamenta ni indirectamenta al uso de este producto. Algunos estados no permiten la exclusion ni la limitación de daños casuals, así qe el
encima de la limitación ni la exclusión no puede aplicar a usted.
Denegacion de garantías implicitas
Menos el motor, todas garantías implícitas para este producto, inclusive pero no limitado a ninguna garantía implícita de merchantability y salud para un
propósito particular, se limitan en la duración al día 91 por de 3 años limitó la garantiía el conjunto del período adelante arrriba. Todas garantías implícitas
con respecto al motor se limitan en la duración al día 91 aunque de 10 años de la garantía adelante arriba. Algunos estados no permiten las limitaciones
en cuean laraga una garantía implícita duran, asi que el encima de limitaciones no puede aplicar a usted.
Servicio de la garantía esta disponible llamando 1-800-4-MY-HOME®
Esta garantiá aplica solo mientras este producto está en el uso en los Estados Unidos.
Esta garantía le da derechos legales específicos, y useted puede tener también otoros derechos que varían del estado para indicar.
Sears, Roebuck and Co., Dept. 817WA, Hoffman Estates, IL 60179

® Registered Trademark / ™ Trademark / SM Service Mark of Sears, Roebuck and Co.
® Marca Registrada / ™ Marca de Fábrica / SM Marca de Servicio de Sears, Roebuck and Co.
MC Marque de commerce / MD Marque déposée de Sears, Roebuck and Co.
114A3498 © 2007 Sears, Roebuck and Co.
Get it fixed, at your home or ours!
Your Home
For repair – in your home – of all major brand appliances,
lawn and garden equipment, or heating and cooling systems,
no matter who made it, no matter who sold it!
For the replacement parts, accessories and
owner’s manuals that you need to do-it-yourself.
For Sears professional installation of home appliances
and items like garage door openers and water heaters.
1-800-4-MY-HOME® (1-800-469-4663)
Call anytime, day or night (U.S.A. and Canada)
www.sears.com www.sears.ca
Our Home
For repair of carry-in items like vacuums, lawn equipment,
and electronics, call or go on-line for the location of your nearest
Sears Parts & Repair Center.
1-800-488-1222
Call anytime, day or night (U.S.A. only)
www.sears.com
To purchase a protection agreement (U.S.A.)
or maintenance agreement (Canada) on a product serviced by Sears:
1-800-827-6655 (U.S.A.) 1-800-361-6665 (Canada)
Para pedir servicio de reparación
a domicilio, y para ordenar piezas:
1-888-SU-HOGARSM
(1-888-784-6427)
Au Canada pour service en français:
1-800-LE-FOYER
MC
(1-800-533-6937)
www.sears.ca