Craftsman 358 797150 32Cc Important Owners Manual ManualsLib Makes It Easy To Find Manuals Online!
2014-12-12
: Craftsman Craftsman-358-797150-32Cc-Important-Owners-Manual-119517 craftsman-358-797150-32cc-important-owners-manual-119517 craftsman pdf
Open the PDF directly: View PDF
.
Page Count: 27

IMPORTANT MANUAL
Operator's
Manual
MODEL NO.
358.797150-32cc.
_7_ CuU_ _t_)
&WARNING:
Readtl__sManml
_FonowAnWam_
and Saf_y Instructions.
Fa_TO Do So Can R¢_
Do-.Not Throw Away
Always Wear Eye Protection During Operation
,_,gJ i-CRR FTSMR
32CC GAS WEEDWACKER ®
2Cycle Engine
"Assembly
•Operation
Fuel Mix 40:1
"Maintenance
• Repair Parts
Sears, Roebuck and Co., Hoffman Estate, IL 60179

TABLE OF CONTENTS
WARNINGS AND SAFETY INSTRUCTIONS .................. 3 GENERAL MAINTENANCE .......................................... 17
KNOW YOUR TRIMMER .................................................. 6 TROUBLE SHOOTING CHART ..................................... 22
ASSEMBLY .................................................. :......................... 7 REPAIR PARTS LIST ........................................................ 23
ACCESSORIF_; ................................................................ I0 INDEX ................................................................................. 26
ENGINE [NFORRLATION .................................................. II QUICK REFERENCE PAGE ............................................. 27-
USING YOUR TRIMMER_ 13

,,, i iiiiiii i i imllll iiiiiiii i iiiiiii i iiiii IIIIHIII I II I I IIIIII
L.m
kWARNINGS AND SAFETY INSTRUCTIONS
_I I I IIWJll I ._
AWARNING -- _ PO_ TOOL__LNG/ZO/_
Thlstooi cancau_ seriousinjuryorblindncsstoth_opemtorandolh¢_ Thevmrn_ _ _ __ in_is _
musfl_ followed Ioprovide_asona_ saf_ andefficiency in usingthis u_ol.The ol_ra_r is _ _ foll_ _
wamin_ and_inthis manu_andontl-ae_ool.Readtheenflre Operator'sMan_ _ __ _
lhislooU l_r_ theuse oftl_s powertool topersons whoread, undersland; and follow _ _ _ _
Infl_rsmanual and on the tool
ADANGER
NEVER U_'BLAD_ _ _ TOOL.
-- THE BLADE CAN COME OFF AND
SERIOUSLY INJURE YOU AND OTHER_
-- THIS TOOL IS DESIGNEO FOR,
LINE TRIMMER USE ONLY.
Aw (;
THE TRIMMER LINE CAN THROW OBJ_'CTS
VIOLENTLY.
-- YOU CAN BE BUNDED OR INJURED.
-- WEAR EYE AND LEG PROTECTION..
ZONE AW_G
HAZARD ZONE FOR THROWN OBJECTS.
-- THE TRIMMER LINE CAN THROW
OBJECTS VIOLENTLY.
--_OTHERS CAN BIEBUNOED OR -
iNJURED.
_-KEEP PEOPLEAND ANIMALS
3O FEET-AWAY,
RF-AD OPERATOR "SMANUAL.
--+-!I_WRUCTIONs.FOLLOWALL PI_FINIHGS AND +
,- _/ -- FAILURETODOSOCANRESULTIN
/smouslmu .


................................................. ,,,,, ,,,,,HH ,|,, I , ,,,,, , , ,,I --
&WARNINGSANDSAFE INSTRUCTIONS- .
AOPERATOR SAFETY
I. Always wear eye protectionwhen operating, se_icing.
or performing maimenance on your unit.
2. Keep hair. fingers, and all other parts of thebody av,W
from openings aM moving parts. AIv,-ayswear heavy,
long pants, boots,and gloves. Do not go barefootor wear
sandals, jewelry, short pants, loose clothing, or cloth-
ing with loosely hanging straps, ties. tassels, etc.: they
can be caught in moving parts. Secure hair so it is above
shoulder length. Being fully _red will help protect
you from pieces of toxic plants (such as poison ivy)
thrown by the TrimmerHead, which could be more of.
a hazard than touching the plant itself.
3. Donot_a-at_ thistoolwhea_a areti_, in, ortraderthe
influenc_ of alcohol, drugs,or uxxlication,
- 4. Alwa_ use the assist han01e.See 'l_ssembly?'
5. Wearhearing protoctionifyouuse thistool for more than
A¢U'/T/NG_
1, hspect thearea tobe cut hefore each use. 1_ _]ects
(rocks,brokenghss. nails,wir_ string,e_)which canbe
• rowa or b_om_ entaaglddia the trimmer head.
2. Keepothers including children, animals, bys_gters, and
hejpersoutsidethe60 footHazardZone.Stoptheengine
immediately if y0u are ap_oached.
3. Alwayslmepthe¢r,gineontherlghtskleofyourhedy.
4. Holdthetoolfirmlywithboth_
5. Do not _ or use from unsm_ surfaces such as
ladders,trees, steep slopcg _ etc. Use exwa care
when deaning on stairwa_ Keepfirm_andbalance
at alltimes,
6. Keeptrimawa"headbdow waistl_vel.
7. Do not raise _',,€engimabovcyour _ist, Theuimn_ head
can corr_ 0aagenmsty close toy0ur body. "
muffler whentheen#ne is running.
1½ hoursper day,
6.Nevtrstartornmtheergir_ihsid_$aclosedmomorbu_d- " ...... 9. Use only forjob_ cxplained in thismamiaL
ing. Bri_athiagexhaustfumescanldll. A_AL_S_L.Ik"Jg_,
7. Keep handles freeofoil and fuel.
I. Inspect entire tool before each use. Replace damaged
parts. Check for fitelleaks and make sure all handles.
guaM.s,and'fasteners ace in place and securely Fastened.
2. Replace trimmer head parts that are cracked, chipped,
brola.m,or damaged inanyother waybeforeusingthe tool
3. Use only .080" diameter Sears Laser Line.. Never use
wire, rope, string, etc.
4. Be sure the shield is properly attached.
_5.Useo_ thespech_ uimmerhead.S_ _"
Make sure ff_ _immer headis properly instal|edand
fastened. Refer to "Assembly"
6. Be.surethe trimmerheadstops turningwhen engineidles.
See "CarburetorAdjustments."
7.Mal_ carhuct_adjusanentswiththedriveshaRhousing
supported topreventthe trimmerline flora contacting any
objecLHold thetoolbyhand;.do notusetheoptional
8. Xeq,othmmwywhenma_ c_-bum__justm_as.
-9; Use onty accessor_r a_achmeatsas recom_aded for
this toot by Sear_
&FI,'I SAggrl"
!. Move at least 10feetawayfrom fueliegsit_ before smrt-
iag engifie.
2. Useacontainer_ forfuel.
3. Do notsmok_orallowsmokiagnearfuelor thetool or
whileusingthetoot.
4.Wipeupallfuelspillsbeforestartingeagine.
.......engineto coolbeforerefueling.
•"-6_Run fuelout of thefiwJsystem before storing the tool.
"7. Storetoolandfuelinanmeawherefuelvaixxscannotreach
sparksor open flamesfromwater heaters, electric motors
or switches, furnaces, etc.
l. Maintaia thetool accordingto_procedures.
Keep the trimmerline at the proper length.
2. Neverstart theenginewith theclutch shrtod remove. The
clutch can fly.apartand cause serious'injury.
3. _thesparkplugheforeperfom_ maht_mnce
except for _r adj_ts.
4. Make carburetor adjustments with the drive shaftho_ing
supported toprevent the trimmerline from cotaacting any
object. Hold the tool by hand; do not use the optional
shoulder strap for support.
5. Keep others away when making carburv,or adjumnents.
6_ L]_ o_ly genuine tep!___t rm_q__ recom_men.'!,_o5
bySears.
7. Have all maintenance and service not explained in
this manual performed by your Sears Service Center/
D_partment.
•&, TRANSPORTING AND STORAGE
L_____m_k_
_f__.-
t_ _<,It_r_ _ ina_el_deor_a_
3. Beforestming thetool, useup fitelleft inthe fuel lines and
carbu_ by starting theengine and lettiagitrununtil it
stops.
4. _ofe rod and furlinan area _ fuetwapotscannommch
sparksor open flamesfromwater heaters,electric motors
orswitches,farnac_ etc.
5. Store the tooI sutheline limitercannotaccidentallycaase
injury. The tool can be huagby the drivesha_ h_ing or
6. Storetool out ofreach ofchildren.
lf si_at_ns ocrurw_,ch are not co_eredln _ts _mml, _se
care and good _¢men_ Contaa your Sea_ _er_ce
C.ntedt_ i_you need asslstimce.
I _ to,'bratlonsthr_agh_,o!on_ useor__,hand _.c_.dcau_blood vessdornervedamagem_ _
Iott t ,

IIIIII I 1111 _ l ill i iiiiiiiiii i ii L ii + iiiiiiiiiiiiiiil l i ulm,,1111ul f "IL,I111'II11 11 1 111 .......................
-mow mum'rammvma¸
I II lllllJ J I I II IIII IIII I I I L lllllltllll_ _
•L INTRODUCTION
Your Trimmeris a versatile product designed to help
you give .yma-lawna finishedappearance.
trimmingscalping, sweeping.
spec veat.r=s
•_ O.tch
• Albp0sitimCartmr=_
•AdjustableAnfl-Vibe,cushiemaedAssistltandle
• Autmnatic Line Feed
• 17-C.tangl"ath
II. UNPACKING INSTRUCTIONS
1. Remove contents from the carton if you have not
doneso. + •
2. Check vans againstthe li_ bekr,,v. •
3. Examineparts fordamage..D6 notuse damagedpans_
4. Notify your Seam Store immediately if a part is miss-
ing or damaged.
NOI'E: Itisnormal to hear the fuel l'dterrattlemanempty
fuel tank.
J / _ i i ii iiiiiii I IIllllllllll Illllll
C. CA1L'rON C.O_
KEY
No+ fir,,,.
IEag_ 1
2 Ihive Shafl/llousing Assembly wlSafety Label 1
3 Shield 1
4Ts_r_ Head I
52-.cydeF__ Oil 1
-- Opemor'sManual_ Shown) 1
-- LoosePamBag _ot Show_) t
_PARTS BAG G3_:
6'FIexShaflL.bc
7:Screw-Shield :. _.
8.. Bracket+Shidd
9SquareHeadScrew- Ks._istHafi_el
10 Hex Nut- Asslst Handle
11 +T-Handle- Assist Ha.,_e
12 Hex Screw - Engine
13 HexNut - Engine +
14 DustCup +IMiveShaR Housing
15 Rex Wrench
16 Hex Screw -ThrottJ¢ Tdgger Housing
17 Hex Nut +Throttle Trigger Housing
1
2
1
1
1
2
2
I1
I
1
!
\D
6
16
*Hardware is shown in actual size drawings in the assembly
insUuctions_Compare the hatdwar_ imhe 1oo_ pare hag wi6__e
-hardware in thedrawingsto determine6_ecorrect Fartto use.
7
=
SPECIAL NOTICE
For users on U.$. Forest Land and in some states, including California (Public Resources Codes 4442 and 4443),
Idaho, Maine, Minnesota,'Ne_ Jersey, Oregon, and Was_ngtom Certain internal combustion engines operated on
forest, brush, and/or grass-coqered land in the above areas ar_ required to be equipped with a spark me__or, maintained
in effective vmrking order, or'th% engh'm:must be construct_, equipped, and maintained for the pr_eation of fire. Check
your state or local authorities for tegu!ations pe_ toLt_ requirements+ Failur_ to follow these requirements
is aviolation of the law. This unit is not factory-equipped with a spark arrestor; however, a spark arrestor'+isavail+
able as an optional part+ If a spark arrestor is required in your area, contact your Sears Service Center or Parts _-
......................................................................

II Illl!lllllllllllllll II Ull Illllll Ill I II Ill Illll -II I
_tslmltm_ forthe_)
iI I I JllllllIItllltIItIllll I Ill I I II
L itqlglP_
_ _'s°M_ z_s_d_.Zof_dtohctp_u
.asScm_€ the tool andio provideitssafeoperation, it is
_dm _readtl_ endremanual_I_omc
familiar_iththetooli_.foleyoubeginassembly.
H .......... i!,.i H
ii i i
B. ASSEMBLY STEPS
•1. DR/VE SHAI_ HOUSING .-- Figure 1
a.. Piacethe two Screws (from the loose parts bag) into .
theholesontheClmchShr6udasshowninFi_e 1. L
.b. Position the Ix_k:Nuts (from the loose parts bag)
in the hex openings in the Clutch Shroud.
c. T_hten tim_wwswith thesmall hexwrench provid-
ed just enough to hold thehardware together while
holding the Lock-Nuts with your other hand.
d. Remove the shipping cap from the straight end of the
Drive Sha_ Housing. Make sure the Flexible Dri'_x:
Shaft d,_ not f_l out r_,_-_ _
NOTE: Dirt on the Shaft will significantly reduce
_of the tool. If the Flenu'bleDrive Shaft fails out
of the Housing, clean,, relube_ then reinstall. See
Ftexa'ble Dri_?eShaft Lubricalicm" ia the Maintenance .-
r_-t.ion.
e.
g_
h_
i.
"lMm Handle around and position the Drive Shaft
Housing with the Arbor Shaft down as shown in
Figure. 1.
Align the bottom glXXWeon the Drive Shaft Housing
with the ridge on the inner lower wall of the Clutch
Shroud opening.
_theAex,rS_. _ _to ati_thesqua_
end of the FlexibleDriveShaft with the square in-
side theClutch Shroud opening.
Shroud until it contacts the Foam Grip or is within
1/8 inch. Figure 1.
Tighten the Screws alternately with the smal[kcx
wrench until secure.
II iii II IIII II
I. luta_ l'OOIt _'g Ma.tetlal.
=,a'=a, my.
b. Adjustable wrench."
c. Hot,Wrtnch provided with tool.
,Ill I I ,,I, I,,ll II I
II IIIII Illll_
I I
!!
II
DmV_SnAlzr
HO_._ING
RIDGE
Igigtlre 1
7

iCAUTION: | Do not bend the throttle cable.
a. Slid_ theThrottleTrigger Housing from the Foam Grip. "
Figure 2. .,
b. Insext the Throttle Cable through the tunnel m
the Foam Grip until the end of the Cable extends
at least 2 indies beyond Grip. Figure 3.
c. Hold the Trigger away from the Drive Shaft
Hou_ing and insert the barrel end of the Throttle [
C_le into the round opening in the Trigger as - Foam !
shown in l_ure 3..
When insexting the barrel end of the Throttle - \\X - Round Hole nd of
make sure that the barrel is completely inserted
(I_.._tre 4)and the Throttle Cable is located in the
split m the Arm. IPigu_ __'1L_3
d. Push the Cable backinto the splitin thearm. Fig-
ure 3. Guide the arm into the Foam Grip tunnel
until the Throttle Trigger Housing is flush
against the Grip. Figure 5.
e. Squeeze and hold the Trigger against the Foam
_GHp. Then install .th.e_and Nut Figure 5. __
] CAUTION" ] Do not overtzghten the screw. There
must be at least 1/8" free pla_. in the tagger. Fig-
_er can fully return to idle when the trigger
xs released_ The trimmer head must not turn at __ _+--_.%_
idle speed to avoid serious injuryto the operator "::?_
and others.
_dfl_tEi: HE&
FJlDII"q_ 6-,_ 7 WRO Screw 1/8" Play "_
3,TRIMME_ HEAD mn_ SHIELD -"
a. PLacethe Dust Cap on the Drive Shaft.Housing over
the hex nut that is assembled onthe Arbor Shaft.
Figme 6 Onset)
b. Thread the Trimmer Head onto the Arbor Shaft in
aclockwise direction. Hand tighten firmly against
the Dust Cup. Figure 6_
c. Hold the Dust Cap with a wrvnch to keep th¢ Arbor
Shaft from turning and tighten head secuwly.
Figure 6.
NOTE: Unless the Trimmer Head is tightened
adequately, it can unthread the first time the engine
is started. If this occurs reinstall the Trimmer Head
• a.-A tighten more seeu,_Iy. "
d. Pull a minimum of 4inches 0f line from the
Trimmer Head. Figure 6. Approximately 2 inches
of line can be advanced each time the Tap Button
is pressed_
Figure 4 Flgurt S
_6
NOI_ To remo_ Trimmer Head, holdthe Dust
Cupwitha wrench aadtmthreadtheTfimmer Head.
_WARNING
Failure to imtali the shield in the position shown in
Figures 7 and 8 can result in serious injury to the oper-
ator. The length of the shield must be aligned with the
of the shield toward the engine.
L_o.:l TheL_e 'r_i_ (onthe_
otthe shietd) is sharp and vm cut you.
(continued next page )

€. Match the Key (Raised area)on the Shield with the
Keyway ("V" slot) on the Drive Shaft Housing.
l_gure 7.
f. Restthebotto'moftheShield ontopofthe shoulder
of the Drive Shaft Housingabove the Dust Cup.
NOTE:Ihe boaomofthe Shield must rest on topof
the shoulder of the Drive Shaft Housing.
g. lnstatlthe _asshownin FIgure 7.
NOTE:Itis easiertostarttheScrewswitha _-
driver and finish ti&htcningwith a 3/8" w_nch.
h. T_m:n the 5crows evenly and securely.
NOTE: A small space may be left between the "
Bracket and the Sl'deld when hardware is fully
Eigh ae .
5. _swr_-,rtzu_ _ a e_9
a. Be sure.the Handle is positioned bi_ween the
Safety ISabel hind theTlirc_fleTrigger. Figure 8:."
b. Push the lower end of the Assist Handle onto the
Drive Shaft Housing.
c, Drop the threaded end of the square-head Assist
Handle Screw through the opening in the top of
the T-Handle. Figure 9.
d. Pull on tl_ threaded end of the Screw to bring
the square head of the Screw past the pin inside
the T-Handle. Twist the Screw to seat the head
of the Screw in the recessed square opening inside
the T-Handle. Figure 8.
e. Push the Nut into the hex opening in the Assist
H_n_dle and instal! the T-Handle into the round
opening. Figure 8.
f. Tighten the T-Handle firmly by hand only.
6. OPEKA_T_G POSITION .- _
a. Bd_ starting the Englne, stand as _in
F_ 10and check for the follovdng:
l). t_ arm_ ex_ndea,_ hol_ Assist
•Handle.
2). Rightarm slighdy bent, handholding the Foam
Grip, fingers onThrottleTrigger.
3). Enginebelo_vwaist level.
4). Weight oftool evenly distributed between _
5). Without operator bending over, the Trimmer
Headis near _axlparalId to theground and eas_y
b. Aaljest tl_ Asdst _ up er downtl_ D_
Shaft H_ng (but above the Salty Label) to a
comfortable position.
1). Inosen the T-Handleby hand, adjust Asdst Hart-
die. Retighten T-Handle by hand oth_
2). _ fl_eAssist HaMle from le& to right flit is
necess_ to tilt _heangle ofth_ Trimmer Head
such as when curling alarge, sloped area such as
aditchbank.
lrllurcS
TOPVIEw
OF
T_
r_p,_r_zo

i"i ii iHi ill li " imiHiql ii • ii I liNiiii ii ii HHII lllIHIL I
T i
ACC kqORIES
The following accessories a_ availablethroughSears RetailStores, CatalogOutlets, or Service Centers.
ITEM STOCKNO.
Safety Face Shield : .. 9-18613
gafety Goggles....... .. ............................................................ 9-1859
2-Cycle Engine Oil ................................................. _............. 71-30143
Spark Plug ........................................................... . .... .. . . .. 71-85854
Replacement Trimmer Head (available only through Sears Service Centers) ....... ....... 71-85805
Replacement .080" Dia. Nylon Trimmer Line
-- 400 ft.................................................................... . .. 71-85778
200 ft. .. 71-85608
100 ft. .. 71-85771
Replacement Spool with Line 71-85815
Shoulder Strap Kit. - .... .............. 71-85783
Flex Shaft Lube . 530-030102*•. . *
Spark Arrestor Kit .-,... _.. _. _/ .-.. _ ,: ..... o 952-701612*
*ArgUable through your SEARS SERVICE
NOrF.,S , ,_, •

ENGINE INFORMATION
i I iiiiiii ii
A. FUELING YOUR ENGINE
1.FUEL SAFETY
a.Useonly recommended fud mixtures.
b. Mix and pour fuel ouldoors and where there are
nosparksorflames.
c. Use a container approved for fud.
d. Do notsmoke or allow smoking nearfuelor the tool
or while using the tool.
e. Wipe up all furl spills before starting the engine_
f. Move at least 10 feet away from furling site
before starting engine.
g. Stop engine before-removing fuel calx Allow
the engine to cool before refueling.
h. Before storing toot; use up fad left in carbm_
lor by starting engiffe and letting 'it run until it
stops.
i. Store tool and fuel in an area where fuel vapors
cannot reach sparks or olden flames from water
heaters, eloctdc motors or switches, furnaces, etc.
•. FUEL MAXTIJRE
•Your tool is powered by a 2-cycle engine which
requires a furl _of regular unleaded gaso-
line and a high qu_ity engine oil specially made
for 2-¢ycle_ air cooled engines.
The internal design oftbe 2-c-ycle engine requires
lubrication of moving parts. I__brication is provided
when the reoommended mixture ofgasol ine andoil
is used.
•Genuine Sears40:l, 2-cycle engine oil is str_
recommended for the protection,of your unit.
Exte_iveengineeiingtestshavepi_veathat Sears
-2-cycle erigine o'flresists brzak-downa_-operatlng
in d_le l_rforulanc_ and longer engine life.
•Gasoline must bedean and not over two months
old. Aftera shortperiod of time, gasolin_willchem-
ically break down and form compounds thaf_ause
hard starting _damage in 2-cycle engines.
s The correct measure of gasoline to Oil is very
important. Toomuch oil in the mixtu_ will foul the
spark plug.
ICAUrloN:] Too little oH or incorrect oil will
cause the engine to overheat and seize.
3. USE THE FOLLOWING ONLY:
SEARS CRAFTSMAN 2-cycle engine oil
mixed at 40:1 is stronglyrecommended. Con-
suit the in.structions on the oil container for
Rroper nnxmg.
1PART OIL TO 40 PARTS GASOLINE=
3.2 ft. oz. oil to Igallon gasoline
8.0 ft. oz. off to 2.5 gallon gasoline
Not all air cooled 2-cycle engine oils ha_'e the
same qualities. If SEARS CRAFTSMAN 2-cycle
engine oil is not available, use a good quality,
2-cycle engine oil recommended for air-cooled
engines. Mix at a ratio of 40: I(3.2 oz. oil to i
gallon gasoline).
4.DO N0T USE:
"NMMA Oil-- National Ma'-ine Manufacturers
Association (formerly BIA)
-- Does not have proper additives for 2-cycle, air-
cooled engines and can cause engine damage.
-AUTOM{H_rE OIL__
-- Does not have proper additives for 2-cycle, air-
cooled engines and can cause engine damage.
CAIJTION
Experience LridlcaL_ Lhatalcoho! bknded fuels (_
gasohol or us_tg ethanol or methanol) can a_'act
moisture which leads to separation and formation of
d Ad egas the
syswan _an er_ne while mstorage, q[b avoid
probl_s, do not leave furl in the unit when storing for
30 _or longer. Start the engineand letit rnn unl_l the
User h . tt
season. ;see the Storage" si_ion for
_afm'mafion,-Neveruse englne.or _ cleaner-
.prodncts in the fuel tank-:Or permanent damage
"_ OCCUr.
NOTE: ff you do not want to remove the fuel from
your unit, SEARS CRAFTSMAN Fuel Stabilizer
(#'/1-33500) may be added to fuel left in the tank to
minimize gum deposits and acids. If the tank is almost
empty, mix stabilizer with fresh fuel ina_parate con-
tainer and add to the taidc.
.5. HOW TO MIX FUEL AND FILL TANK
:<_ Do, nOi__Taixgasoline and oil directly in
the fuel tank.
a. Pour the proper measure of engine oil into an
approved, marked fuel containei'. Then, fill the
container with regular unleaded gasoline.
If fuel is already in the container, add the
proper measure of engine oil. Then, close the
container tightly and shake it momentarily.
b. Slowly remove fuel cap.
c. Using a spout or funnel, fill the. fuel tank with
fuel mix.
d. Reinstall the fuel caps securely. I1

I lll l I ,I IIIIII lli III III I IIIIIIIIIIIIIIill I I IIIIIIIIIIIII [llllllili! I i•,H,, , H,, , ,, II HI I
B. PIglDOPERATION CHECKS
_WAKNINO I
_dew -a wma_ _ sat_ _n_om _ _
maual.
l_tore opera_ _m- tool, always:
1. _the ¢mt_ tool b_ore _ me. l_la_
damagedparts. Check for fuel leaks and make sure ai!
fasteners are in place and secun:ly fas_ned.
2. Replace trimmer head parts that are cracked,
chipped, or damaged before using this tool.
3_Useoral?J_O"_ SearSLaserLlne®.Never
use sci_, rope.,string,
4. Use only with the slMeld properly attached. '
ii mll IIIIIIH
5. U,,mly_,pedaed_hm_ See_
tiom." Make sure the trkam_ head t, _
tastamd,ad,ma_ _ Re_to'_emb_." "
Cx Be_ trhnm_ laad,*m- tara_ wheamMae
uk,. see'camam, M_"
2. M,d__ adl,,stna_,wah thedrtve,hart
hms__ t*Wm_tr_mm_ae from
tonlmatng u_ object. Soldtl_tool by hand; do not
8, Keep ethers away when maklag carbur,_
adJastmm_
9. Useonb,_ora_ as rteom-
_byS_rs tot tl_tooi.
i0. Oem thealrmmitalr_ beforeoimattngthetool.
to _'Specifieations," for air ffl_ location.
.,,,,. ,,,,,,,, ....................._..... _ , ,,,,, ,
C," b"rARTING INSTRUCTIONS (For location of €ontnKs, refeir'to "_tions,'_
,. mm,re,mrttng the en_e.
a. Fuel engine. Move at least 10 fee[away from
fueling site.
b. Extend 4-6 inch_ of Line from Trinmaer Head.
I
[ Thetrimmer head w_turnassoonasti_englnestarts."
e. Rest Engine and Shield on grotmd, _ Trim-
mer Head offthe ground away from trees, bushes,
onlookers, e_ F'igu_ 11.
d. If using optionalShoulder Strap, place Shoulder
Swap on your shoulder. Start engine before clipping
&%oulder &trap tothetool.
2,.1F_r a Cold Igngin_
a. Mo_,_OrdOffS_'itch to "on yFigure 12.
Ix Move Choke to "full'* position. Figure 13. -
._ GtasptbamGripandsquee_ThroaleTriggerfully. -.
Ktep lhrottleTn'ggerfullysqueezeduntilengine
•n_unoo_ (_roushsu_%9.
d. Pull Starter Ropesharply untilengine attempts to r_,
but no more than 8lmlls at full choke to avoid flooding
theengir_ The engine 'in, tempt tarun "maybehard.. "
to heat:. The operator must/iste, _ After 8
pulls, proceed to step "e;' even if engine has not
__;:V. Move Ch6__'"half' po?ition. Figure 13.
f. Pull Starter Rope sharply until engine attemps to run,
but no more than5 pulis.
NOYE: Ifengine has not started ate5 pulls, repeat
mps '_-thro_..f:'
g-Allow engine to run 10-15 seconds, then move
Choke to "off" position, Figure 13. Keep
Throttle Trigger fully squeezed.until engine runs
smoothly. "".i._.._
ON/OFF
I . "1"
Avc&l any _(_dm:t wi_lbemuffler w_ s_fing
a warmenglne. A hot mufl_cancau_ im_.
3. _ aWarm_
a. MoveOniOffSwitch to"on:' Figure12.
b. Mo_Cnoke to"t=ll _ posltion<:E_u_ I3..._:,_21
c. Graspr_amc__ an__ Thro_Tri_ _
K_ep lhrottl¢ Trigg¢r fuily squeezed unal ens_
runs.
d. P_II Stm"ter Rope sharply until engine runs, but
no more than 5 pulls..
NOTE: If engine does not mn after 5 pulis,
it is probably flooded. Wait a few minutes and
repeat procedure with Choke at "off '" position. '_
Figure 13.
NOTE: If_-gine dies with _ at "off" position, e. Move Choke to "oW'position. F_m_ t3.Keep 7h'g-
12 reoeat,q_ns ethrca .............................. :_..........................................................................................

iuul_ Ill , ,,,,,,± nn U II HU
A.LmE__
a. Alw-a_ _ar eye protection when operating, _rvieing.
or performing maintenance on your unit.
b. Keep hair, fingers, and aZlother parls oflhe body away
from openings and moving parts. Always ,,,,,carheavy.
hmg pan_ boots,andglc_es_.Don_ gobarefootorwear
.sandals.jewelry,shortpants,looseclothing,or cloth-
.• ing with h_)_ly hanging s_mps, ties, _¢ls, etc.: they
can be caught in-moving parts. Secme hair .so it is above
shoulder leith. Being fully co_d will help p_ect
\.Lm from picccs of toxic planL,_(s0ch as poison ivy)
Ihn_'n by thc Trimmer H_._d. which could be more o[
ah:.oard than touching the plant h._lf.
c. Do not operate this tool when you are tlred,
m, or under the influence of alcohol, drugs,
or _. •
d..Makesure the_mmerl_adh propedyinstalled
and securely fastened. Refer to '_,ss_ably:"
e. Besure me trimmer beadstolpsturn_when the
engine idles. See "Ca.,buretor Adjusunents."
f. Make carburet_ _ustmenls w#h the drive
-shalthoua_ mpl_,_ tol_eve_theivan:
met Unet_m coutact_ au_ object.Holdd_
tc_l wi_ ycgr lured;donotuse 0_ optional shoul-
d_ s_ fors_n.
_Keepothers awaywhen nudaugcadva_-tor
adjustments. -.
h. Use only accessories or attaclunents as recom-
mended forthistoolbySears.
3.curn_..
" ."a.:Inspecttbeareatobecatl_roreeachuse._
indangerofloslngyourbahnce.................................which _be _Oi_enum_ledin the
e. Never start or run the engine h_ide a dosed r0om
or building. Brr,aihing exhaust fumes can kill.
f. Keep handles free of oil and furl.
a. Insp_"c!entire [<×d i_G_ each u_. Replace danmgcd
paa__.Ch_k fi_r fucl Ical_s and make _ur¢ all handl_.
guard_, and lh.,;ter,.ersare in place and _curely lhstcncat.
b. Use only .080" dianmler Sem-s l.zaser IJne, Never
use wire, string, rope, etc.
c. Besure the shield is properly attached.
t6mmer head.
.-b. Alwayskeeptheengineon theright sideofyour
body.
c. Hold the toot firmly with _hands.
d. Keep gnnm footingandbalam_ Do notov_r-ccad_
e. Keep tl_ trimmer head bdow wai_ levd.
f. Do not ra_ the engh_ above your wa_.
•g: Keeo_UOartsor_ourbod_aw_rrommeOdm-
_ _neandmum_ _a_ m_neh_
h. Useonly for _bs_e_lained in thlsmanual.
ii Illlll I I H Ill II
8. _xrros_mc _ _J_vAs_c_
lul IHIHll ,,,,,,,,llllll IlllllJl.................... • lUlUl IIIII
.-_ Thetchnmerlineadvano_au_ast_ine
wears andn_duc_sth_cu_'_g path.
._Thelinewillwearfasterandwilladvancemorefre_
quen_wlw.ncuni_againsthardsurracessuchas "
•rocks, bricks,concte_ metal fences, etc., thanwhen -
cuuingagaln_x_y objectssuchasueesor_n
feax_.
If line does not advance properly:
-Opem_theen_e atfuUdxroaleandallowtheline
to strike a hard surface such as concrete or the_
ground.
_WA._nqG
of line willnot advance _and can cause serlous
rope, etc. W'_ can breakoff._._tt_ and
become a dangerous
WARNING
e_c),whkh can damageto thetrimmerhead, become
:mtangl_ in the _or be throwncausln_ aserious
h3_rd; "" "'" "
-- ffline is4"or less, stoptheengine and check for line
binding or tangling on the spool. See "Tdmm_r
Head"in the MaintemmctSection 6>r'_vinding
operated. Figure 14. Flk,ur_ 14

4, woeaw_trmgngin.(_ ttmuit_oat
eCguelg
a. Refuel engine. Move i0 feet away from the fuel-
ing site.
b. Move Igni'fi0nSwitchto "on?'F_e 12.
c. Move Cho_ _'_11" position. Ftgure 13.
d. Grasp Foam Grip and squeeze "I]l_roUleTrigger
fully. Keep Tluoule TrlggerfulIy squeezed until
enSine runs _c, .th_
e. eaq Stamraopesha_lyLm_e_ne atten_ to
ran, but no more than 5 pulls.
f. Move Chok_ m "olin' _. F_gum B.
g. Punstaa_ P_e un_ mginenms,_nomoretha
NOI'_ Ifeagi_has_, pull_ar_ RoI_
-5.mo_ l_. _gin¢ _ do_aotraa,itispro-
bablyhooded. Wai.ta few minutes and iepeat pro,
cedu_withCho_ _t"on"posi_. F_,ureI3.
L_III II ,I LU III1,,,,,111IIII I
II Im •III II
Ik OlPgRATINGINSTRU_rlON$
I. Before entering the material to be cut, bring the
engine to cutting speed by squeezing the throttli_
trigger.
msassa_ Thecatfir,glinew_ cutdFgiendy when
the engine is nm at less than full throttle. Atlov_r
_illllllll iii |' ',,,,,,,m,H ,ill i_
2. Atwaysrdeasetht Thro_ Trlgger_d anewthe
¢*_ •"4
engme to return to idle speed when not cutting.
3. Make sure the Trfummer Head stops tm-nlng when
_Thron_W,gg_'m_e.sedand_euCae runs
at tdle speed. For corridor, refert0 "Cadaactor
trimmerline will lastlongerand will be less likely 4. !b_stop the engine:
to "weld" onto the spool.
Ix Ifthe Tdmmer Head does not turn when the
engine is accelerated, make sure the Drive ShaR
Housing is proi_:rly seated in lhe Engine Shroud.
Refer to'_sembly-Driv¢ Shaft Housing:'
.... I I i J iiiii i i i ii i1,11iii ii,
, . i, ,,,,,,,,
a. 'Releasethe Throttle Trigger.
USING YOUR TRIMMER
=,, ' .................................. i iiiii iiiii i ]11111111111111111lUllll ¸ ii i Jttt
,iii
ZONE
L
Trimmer Head
#71-85805
acement
The rapidly moving line causes objects to be th_nvn
violently. The shield will not provide complete protection
the operatoror others. The operator must wear a safe-
ty face shield or goggles. Always wear heavy,long pants
and boot_. Keep others at least-30 feet away.
'_,W_G -- HAz,u_/,ONE
This tool will throw objects and cut. Keep others includ-
ing children, animals, bystanders, and helpers at least
30 feet away from the operator and tool Stop the eng_
_if you are approached.
&WARNING -- ntatugg
Trimmer head parts that are chipped, Cracked, broken, ot
damaged in any other way can fly apart and cause serious
injury. Do not use. Throw damaged _._ away. Replace
damaged parts before usir_ the tool.

........................... Illll •-II IIIIIllll
I_I I±I iiiiii i lllllllWlllliii II I i i
_O, MI"I"IIO_
The tip of the line does the cutting. You will achi_
the best performance and minimum line wear by not
cr(r,vding the line into the cutting area. The fight and
:wrong ways are shown in Figure 15+
• The line will easily remove grass and weeds from
around wai_ fences, trees, andflower beds, butit
also can cut the tender bark of trees or shrubs and
sctwfences. To avoid damage, especially to delicate
vegetation or tre_ with tender bark. use less than full
thr_e and keep a 3inch distance away. Keep in mind
that the line "_11 advance suddenly toa longer length
when it wears down to 4-5 inches.
•oFor bfmmingor scalping use less than full throttle
to' prevent line breakage and _cessive line usage:
+: duringlight dutycutting, +
-- near objects around which the line can wrap, such
as small posts, trees, or fence wire.
€ For mowing orsweeping, use full throttle for a good
¢kanjob.
Aw_J
,,me,he,,d._or ddxk am _,N'bcI{h,n,,mn{,,,Io
e_s and _¢t and cause bbdness or _a" sariom in_kwy.
I. -x6
Hold the_ of thetrimmer head alxaa3 inches alx_
above the grmmd and at an angle. Allow only thetip of
the line to ma_ contact. Do not fo_ the trimmer line
into the work area.
z. sca&en -. pn.e x7
The scalping U_chnique _move s unwanted vegetation.
Hold the bottmnff_trimmcr head alx_3 inches alx_
the grouml and at an angle. Allow the tip of the line to
strike the ground around trees, p6sts, monuments, etc.- "
This technique increases line wear.
3. MOWING -- Figure 18
Yourtrimm_is idcallbr ra_ in placesconveational
lawn mowers cannot re,ach. In the mowing position,
keep the line parallel to theground. Avoid pressing the
head into the ground as this can scalp the ground and
damage the tool+
4. SWEEPING--- Figure19
The fanningaction of the rotatinglinecan be used.for
aquick and easy clean up. Keepthelineparallel toand
above the surfaces being swept andmovetimtoolfrom
• side to side.
+
lglgm. X6 Flglm¢ la
Figure 17 Figure 19 t

• o
:_. : ii i ..... iiiiiii Jl ,,i i........................ i, i " :.:..- i
•For prolm'line feed:
--Use only genuine Sears pre-wound spools and
.080" diameter Sears Laser Line. Use of other
types of spools or lines can result in excessive
breakage, line v¢elding and improper line feed.
-- Ire-wound spools offer the most convenient
method for replacing line as well as optimum per-
formance.
•Always dean dirt and debris from thespool and hub
whenperforming any type maintenanc€.
Llns_g New Spool with L_e
a.. Hold theTdmn_rHead asshowninFigure 19.Piess
the Lock Tab and turn Cov_j counterclockwise.
• b. Remove the Cover and Spool. Figure 21.
c. Cleandirtand debrisfrom all part_
d. 1ns'_an_r_nmmerncadpamfordamme_Rephce".
Aw_mmNG
XHmmer head parts that are chipped, cracked, ]
broken, or damaged in any Other way can fly apart ]
and cause serious fin]my. Do not use. Replace[
damagedparts beforeusingthe tool. J
e. Insert about 6 inches of Lindfromthe inside of the
l-Iubtlucagh the LineExitHoletbtheoutside to ia_
the Line from backing into the head. Figure 22.
1".Roatethe Linebehindthe Balancing Pin(Figure 22)
while care_lly placing the Spool in the Hub.
g. pull onthe Line extending outsidethe Hubto make
surethe Line will not advance. See Inset, Figm_22.
This iadica_..s that the :Line_*routexipropedy.
h. Re_ Cower:
1.) Align the fourcatches onthe Hubwith the cut- .....
_ats ia the Cover. Figai¢ 21.. .._
2.) Pt_,s the Cover onto the Hub.
3.) "lhm Cover clockwise. Figure 20.
L°_k to make sure all four Calches and the Lock
Tab are properly fastened as shown in Figure 23, th_
.test_ Coverbytrig totaraitcouate_cl_kwise.
j. _0n theLineagainfromo_sidetheHub.IftheLine
canbepu!led fiomthe assembledhead, itisnot_
r_,:_ a,-,o,and"&eB_i_g I_ and vddl f_d cow
tinuously when the Trimmer Head turns. Rem-ove
Cover and r_-route Line as shown in Figure 22.
! : AwL- a.o ]
I AUrouraachesmustbetastmed_mdthe_cktabtatched
[eatotheconr. Ifinsta_ tm_, thecovercanny
[_az_db_a_e,, danm_ mls_.
tngure2o
]t_gur¢ _
l_gure _
Fligure _
IDC_ TAB

:z.tmtamng Laneon the +_
a. voliow"_ _oot w/Line/'steps"a-d" and
remove any Line remaining on the Spool.
b. Use a 40 foot length of .080 +Sears Laser Line.
c, Inert 1/16_to 1/8"of the end of u_eLine throughone
of the holes in the rim of the Spool. Allow no more
than 1/8 +Line to extend beyond the rim to avoid
interferenee with line ml_tse action. Figure 24.
d. W'mdthe Line onto lhe Spool in the dkection shown
by the-re'tow on the Spool and as lightly and evenly as
poss_le so theLinewiI! feed properly. Figure24.
tCAUTlON:'_Trimmer Head will nol_
pcup_iy tra_espo_ ist'dledbeyondtl_ notches
•atotmd theoutsldeedgeoftl__. ""
e. :'Eollow "Installing Spool w/Line" steps "e-j."
•De_snotadvance,orbreats_:_e _
-. tmpt+_>erlyroutedinhead.
- ._y _una on_spool
- L_'_o._. •
-- Tooli.le line outside head.
•Welds ontospool.
--Line sizeine_xrect.
- -- Incorrect spool.
o. I_leases eontlnuously+
-- Woundbeyond .no_h..eson spool,
Improperly pauted in head.
Line size incorrecL -
":: -- Shield !nstalled imp_periy.
* Usage is-excessive
--.Imp ropedy..routedin head.-
-- Line sizeincorrect. .- ,
-- Crowding _ against material being cut.-"
" _ Pulls back into head
-- Too little Iine outside of head.
W_CaLg_EON STOOL "
AS SHOWN i_" _,0"6_
•+Figure24 .........
. + . +
' _ ...... " .......... •:+ .......... . IIIII III
1. l_dntain the tool according to rec_nmended pro-
€_lures.Keep the trimmer line at the pfopex length. -
2. Never Start the engine with the dutch shroud
removed. The dutch can fly apart and cause serious
6. Be sure trimmer head stops turning when engine
idle_See"Carbu_orAdjustm_ts:"
7. Use duly .080" diameter Sears _ Line. Never
u_ wire, rope, string, etc.
3. Dis_nnect the spark plug before performing 8. Re_place trimmer head parts that are cr_'.ked,
',_motn_t_u_ m,_rJ f*'_r mr-bit r_trd- _id it_-4"m_n_ -chipped, br°ken, or dam_ in any°ther way
7..-_+_'-+'r_-.-.:-__'_"............•........ :'b_ore_the_. " ".... -
_.:___adjUs'_nentswititthed_ ..... .^_.. -- . /.-.- 7....::....-.: .__
,_!__tl_nk_Hr___=- v.use en_ genmne rel_acemem .parts as re,_nv
_::_.,,-.-_,_;_._g_,0b:ect;H01dtl_t6oP;Vith-,_._r_hand. :_.-.,,,_+_'bySear_ ......-.:...:.............
t._,_._-_t*ss6 +a_,,]. _1 . _ + ". d-'_'_' =_+'_.._.-_
do not use the Ot_ionaishould(r w'_ for sui_o rt- _-IO._eatiretaoLRepla_da_pa_,Checkftx
5. Keep others away when making cairburetor fuelleaks.Mak_ sure all fasteoers are mplace-and
K:"AIIt _-. ..?:- • +'- . +.
Adiny air filter d_rea.ses the lifeand per ft_rman_ tffthe
e_g.!he and increases fuelco.sump_ion.
r
_theAk F'_
_ys afterStanksofrud or _rsoro_J_n,+
•whklwver is less.
More frequently in dusty conditions.
L _ the two Sc_s on the Air Fdu_r Cov_r
enough to remove the Cover from the Engine.
F_gur_25.
2. Remove the Air Filter from_he Cover. Figure26+
3, Wash Filter in soap ar_ water.
4. SqueezeFilter dry and replace in Cover. /
[_MYI'ION:] Do nol clean the air Fdter in gasoline
E_" Stot (Figu_26)is plaoMover th_Cho_,: Lever..
theeorne_ofthecovertoheepdustfromenter-
ingtheengineandcausingengine0an_,e.

iiii i i i i iiim I
i
m,, i, ii
-- ,, = ,,,, i i,,,,,,,, iv•
C_ _KOPE
L"-" I
Ne_r _thc eng_ _ _'_ _ shm_ re_ The
• c_dl _.UJO _ and_se serious _'y.
Aw_o
Do net remove the retahCmgtab and screw to remo_
_rs. _ _rlng beimththep,meyisanderte,,_o,,
and can lly outcausiagse_ous injury. If any part e_the
p_m_hou_ass_b___ othert_.. _rope,
?d_ notusethe tool. Takeit toyour SearsService Center.
L Disconnect Spark Plug Wire. Figure 27.
2. Remove the Scww andHut_in_ the Throttle Trigger
Housing as shown inF'gure2. Hold theThrotfleTrigger
•away from Drive ShriftHousing and remove Throttle
Cable from Trigger. Pull Cable Out of Foam Grip =
_tunnel.- .......
3: Remove the four Cltitch Shroud Screws as shown in
Figure 27 with the small hex wrench provided.
4. _"para_theClutchShroudfromtheEng_. Figure2K
"A ccm¢
Use only a hand tool Wremove the clutch. Do not use any
qpe of mo_d _t or ar_ the dntch ln any way. Other-
wise, the dutch will fly apart andcausesedous injury.
Figure-2S
5. Hold the "Hats" of the Clutch (Figure 28) with an
adjustable wrench as Shown in Figure 29 (inset) and
remove the Nut.counterc!ockwise with a 3/8" socket
wrench.
NOTE: Clutch will slide off_eczankshaft intact. Do
not.disassemble Clutch.
6: Remove the BeveiedWasher, Cluteh,:md Large Flat
Washer as shown in Figure29." :
_::=__ the Pulley Housing from tl_ Engi_ Figure 29.
8. Remove Rope R_ntion Screw. Removeany _nain-
ingrope.
9. Hold PuUey Housing anglhand turn ihe:pulley cloek-
wise_. _ as it will go. Then, turn the Pulley counter-
clockwi_ untilthe Pulley blotch is aligned with the
H:_g Notch_ n_ to _e Retaining Tab and Screw.
_gttre 30. Next, tam the PUlley one complete turn
, -_c6nnterclockwi_€ untilthe notches are aligned again.
10. Insert the sm_l hex wrenchlin_thehole formed by
the Notches to hold the Pulley it_ position. Figure 30
0nse0.
11, U_ a42 '_length of replacement Rope.
12:,Move away 10 feet (3 meters) from the fueltank with
•the replacement Rope. 13se a match and melt both ends
nfth_ Ror'_Ao r_r_v_n! fravln¢,_
F.ttur_z9

iS "
the l_pe slill hot to obtainsmcx_h, Pohaed ends.
14. Ins_ one _I of the Rope throu_ the Handle and
sccu.,€ with a imot.
_. tmcmt_ o(_ €od_d_ Ror)€_ tl_RO_ Exit
Hole, intothe'msideoftheHousi_, intothePulley,
and up through the Pulley Hole. See Inset, Figure 30.
16. Wrap ROpe counterclockwise around the Pulley
Ratchet and tuck loose end under Ropewhere it comes
out of the Pulley Hole. Leave a l-inch tail laying flat
on top of the Pulley between the Retainer Rj'band the
rope Retention Screw/Post. Figure 30.
17. Reinstall the Rope Retention Screw into the reten_
fion post. Tightenuntil snug.
NOTE: Do not overtighten the Screw. Overtighten-
ing _ screw can cause the threads in the scow post
to strip out.
"18, Hold Rope taut at Rope Exit Hole so it will not move
and remove hex wrench.
19 Slo_vly feed rope into the Pulley Housing.
20. Make sure Spacer is in place as shownin Figure 29,
then re_r_ steps to re-assemble.
..... the nut just until the beveled _her is flattened
against the dutch. Over or under tightening the nut
e"
_: cancause ngme damage.
_l .................. ,,11HII I | II ,, IIl,II
n. m. xn)t v rw sn -r uJBnacA oN
•Lubricate the Flexible Drive Shaft:
-- After each ten (10) hours ofoperation.
Before operating if the unit has been stored for
• 90 days or longer.
•Use Flex Shaft Lube Part No. 530-030102.
NOTE: A tube of'Flex Shaft Imbe" has been supplied
with your unit to be used after the first 10 hours of
operation.
....•Use the following p_rocedure for bes_Jresults:
flex.A hot muffler cancause serious burns..
[€_rrloN:l Laythe _ drive slmtton adeansur-
Avoid hying the shaft on the floor, ground,oron
any sui-face that may have dirt or debris. Even after
•:wiping the shaft, grease residue can pick up dirt par-
ticks that can cause damage or l)_nmture failur_
Figure 3x Figure3z
|!OUS!N(;
NOTCH
,,,, ,
CIRCLE
Take care to avoid injuring your hands
and fingers with broken wires when checking for
damage or wiping the flexible drive shaft. A cloth will
not prevent the broken wires from pun_turlng or tear-
ing your skin.
i. Remove the Screw and Nut in the Throttle Trigger
Housing as shown in Figure 2.
2. Hold the Trigger away from the Drive Shaft Housing and_
rerm_vc the barrel end of the Cable from the Trigger as
shown in Figure 3.
!¢Ao'noN:J Donot bendthecable;, _,, _
4. Loosen (but do not_) the Hex Screws and
remove the Drive Sha_ Housing from the Clutch
Shrou& Ngure I.
5. Remove the Flexible Drive Shaft from the .Drive
Shaft Housing as shown in Figure 3I.
6. Check the Flexible DriveShaft for broken wires,twists,
or kinks and replace if damage is fiydnd.
7. Using a clean cloth, wipe the surface of the Flexible
Drive Shaft thoroughly to remove any old grease.
F_igu_32.
,.. ....... .:-2._j-. e
8. Apply auniform coat ofhbe to the entire su trace ofth
Flexible Drive Shaft.
9. Inject the_remainingcontents 0fthe tube into thetopo f
the Drive Shaft Housing.
10. Replace Flexible Drive Shaft in the Drive Shaft
Housing.
U" Follow the instructions in "Assembly" to reinstall the
Throttle Cable and the Drive Shaft Housing.
iiiii iiii ii i iiiiii iii '

CARBI_.E'roR AD]U_
•This is a complicated task and it is important to
i'ollow instructions in sequence as indicated.
AWAm mG
Make carburetor adj_-_nents with the drive shaft
housing supported to prevent the trimmer line from
contacting any object. Hold the tool with your hand;
do not use the optional shoulde_ strap for support.
_WARNING
Keep others away when making carburetor
adjustments.
AWXV.mNG
Serious injurY !o the operator and otherscan (z'cur if the
carburetor is not properly adjusled.
2.aASlCCARaURETORsE'rrmGs
NOTE: In most cases, your engine can be made torun
properly with minor carburetor adjustments. Refer to
"Trouble Shooting Suggestions" forthe _ndition you
areexperiencing and follow the instructions. Thebasie
carburetor settings are provided in case they are
_quired.
a. Turn the Low Speed Mixture Screw and-the High
Mixture Screw (Figme 33) clockwise until they
stop. Do not turn the screws until they are tight as
damage to the needle seats can occur.
b. Turn the Low Speed Mixture and High Speed Mix-
tureScrews one full turn counterclockwise.
c. Follow instructions "a. Preparation;" through "'f.
....... • Poor engine performance can be aresult of other ............ High Speed Mixture Adjustment"
o
causes such as dirty air filter, carbon build-up
on muffler outlets, etc. See "Trouble Shooting
Chart" before proceeding with carburetor
adjustments.
The carburetor has been carefiflly adjusted at the
factory. However, the operator must be sure that
adjustments are made when •any of the conditions
occur as mentioned in "Trouble Shooting Sugges-
tions" below.
oVery small adjustments can affect engine perfor-
mance/It is important to turn the screw a very small
amount pe.r adjustment and test performance before
making further adjustments. Each adjustment should
be no more than the width of the slot in the adjusting
SCreWS.
L TROUBLE SHOOTING SUGGE_rIONS
-- Engine will not continue to run _t idle posRion.
:Speed Mixture Adjtts4ment."
_- Trimmer Head continues to spin when the engine
idles, See "b. Idle Speed Adjustment" and "d.
Deceleration Check:
Engine diesor hesltateswhen itsimuldaccelerate.
See "c. Acceleration Check"
-- loss ofcutting power whichcannot be corrected
by cleaning the air f'dter. See "f. High Speed Mix-
ture Adjustmenl7
-- Engine does not return to idle from full throttle
within 2 seconds. See "d. Deceleration Check:'
--•Engine will not run. See "Trouble Shooting
Chart :' Then, if the carburetor requires adjust-
ment, begin with"2. Basic Carburetor Settings."
IThe trimmer line will be spinning during mostof this
anent and observe
3. PR04_DURE
a. PREPARATION
I..)Use a fr_h fuel mix. See "Fueling Your Engkn.e7
2. )Make sure the line extends to the length allowed
by the line limiter to provide correct load on
engine.
3.) Start the engine. Cut grass for 3 minutes towarm
engine. The engine musr be at operating temper-
ature before carburetor adjustments ean be per-
formed correaI2_
4.) Stop engine and remove air filter by pulling it out
with your fingers. Refer to "'Specifications'_ for
location.
•I_iDLESeEED_AP_F_)_STMEN_T
l.)AUow engine to idle. •
2.)Adjust Idle Speed Screw (Figur_ 33) uatil the
engine continues to nat without stalling and
without the trimmer head moving. • "
-- Turn screw c_e tq increase engine speed
if the engine stalls or dies."
-- Turn screw cotintercloch_e to slow engine
down and/or to keep trimmer head from
3.)Follow instructions in "c. Acceleration Check"
and "d. Deceleration Check:"
4.)No further adjustments are necessary if the
trimmer head does not lurnat idle speed and
if performance is satisfactory.
I AwARs o 1
Recheckidlespeed after each adjtistment. The trimmei [
head must not turn at !dlespeed to avoid seriousinjury I

€, _TION CHECK
l.)Allow engine to idle.
2.)Squeeze Trigger fully
a. lr is ,lnoceed to"d.
Deceleration Ch_k:'
b. lfthe engine does not accelerate smoothly,
mm the Low Speed Mixture Screw (Figure 33)
counterclockwise a small amount (no more
than the width of the slot in the adjusting
screw).
3.)Repeat step"2.)"until smooth acceleration is
obtained.
NOTE: It may be necessary to repeat '%. Idle
•Speed Adjustment, through "co Acceleration
Check" to obtain correct adjustments.
4.)Follow instructions in "d. Deceleration Check:'
d.DECELERATION.CHECK
l.)Aliow engine to idle, then squeege Throttle Trig-
ger fully.
2.)Allow engine 1o run at-full speed for about 1
.-second.
3.)Release the Throttle Trigger to the idle position
and listen to the deceleration of the engine. It must
return to idle smoothly and within ! to2 seconds.
a. If performance is satisfactory, proceed to
:step "4.)"
b. If the engine slowly or erratlcally ret urv_ to
idle or idles erratically, repeat "b. Idle Speed
Adjustment" or continue through Low Speed
Mixture and High Speed Mixture Adjustments
to obtain proper deceleration.
Ig.S'rORAGE
4.)Recheck idle speed.
COVER
lglgu_3_11
i ,i i
e. LOW SP_ M_rrol_ ADJUSTMENT
l.)Allow engine to idle.
2.) _m the Low Speed Mixture Screw (Figure 33)
slowly clockwise until the speed starts to drop.
Note this position.
3.)3Mrn the Low Speed Mixture Screw counter-
clockwiseunt_thespeedincreasesandthensiam
to drop again. Note this position.
4.)Set the Low Speed Mixture Screw at the mid-
point between the two positions.
5.)Follow isntructioas in "c. Acceleration Check"
and "d. Deceleration Check:'
f. HIGH SPEED MIXTURE _.DJIJ_
[€.AwIrlON:IDo not operate engine at full
chromeforprobngedperiodsWhaemaki.gmgh
speed adjustments as damage to the engine
OCCUlt',
l.)Support the drive shaft housing so the trimmer
line is offthe ground and will not make contact
with any object.
2. )Allow engine to idle, thensqneezeThrottle Trig-
:ger fully.
NOTE: Perform steps "'3.)" through "5,):"
at full throttle.
3.)Turn High Speed Mixture Screw (Figure 33) very
slowly clockwise until engine speed is reduced.
4.)'ibm High Speed Mixture Screw very slowly
counterclockwise. Stop when the engine begins
to run roughly.
5.)'Dam the screw slowly the minimum amount
clockwise until the engine runs smoothly.
6.)Followinstructions in "c. Accderation Check"
and "d. Deceleration Check:"
!f the en_ne does.notope_'_ate
accoralngtOthese anerrepea
.theadjustingsteps,do notusethetool.Take
it to your Sears Service Center.
g. RFANSTALL AIR FILTF_
Be stay filteris clean.See'gdrFdter" in the
....Maintenance Section for inar._ ." "
i 6 i:i r,ta r gto orthe
• ngtokeepd rtra aeaterlng e ea
causlng
ii .-- ,;,,:;, ,;,2,,,,,,', " ............."7" :,",......... ;., "' =,,"
•LAllow the engine t9 cool, empty the fuel system, and
secure the tool before transporting or storing.
2. EmtXy tbefuel systembeforestoringthetool. Useupfuel
left inthe fuel lines and carburetor b'ystmtingthe engine
and letting it run until it stops_
NOTE: If you do not want to renxwe the gasoline
'fromyourunit, SEARS CRAFISM#3q FuelStabilizer
(#71-33500) may be added to gasoline left in the tar&
to minimize gum deposits and acids. If the tankis almost
empty, mix stabilizer with fresh gasoiinein a sdpamte
container and add to the tank.
ALWAYS FOLLOW INSTRUCTIONS ON THE
STABILIZER CONTAINER. THEN, RUN THE
ENGINE AT LEAST. I0 MINUTES AFTER
STABILIZER [gADDED TO ALLOW MIXTURETO
• REACH CARBURETOR. S/ORE UNIT IN A SAFE
3. Store tool and fuel in an area where fuel vapors cannot
-. . -:.. - reach sparks or open flames from waterheaters, electric
motors or switches, furnaces, etc.
'4. Store tbe tool so the line limiter cannot aecidentally cause
inju_. The tool can be hung by,the drive shafthoufit_g.
$. StO_tool out of teach,children ......
I. AWA NG
Ittsimportanttopreventgum depositsfrom form-
,Lqginessential fuel system parts such as the carbu-
retor, fuel filter, fuel hose, or fuel tank during
storage. Experience indicates that alcohol blended
Mels (called Gasohol or using ethanol or methanol)
can attract moisture which leads to separation and
formation of acids during storage. Acidic ga_qc_n:
____a_a_ethe fuel s_em of an engine while in storage.

F. _X-itOuiIILlg $itiOOa_iLtqG (a-iART ......... °.....................
SXTVlVIOM
Englne wUtnotstart
or w'dl runonly for
a few seconds after
starting
• _.-.--__
Engine will not idle
properly
Engi_ winnot
acoelerate, lacks
power, or di_
under a load
Engine runs hot
.
3.
4.
..,.,
1.
2.
3.
4.
5.
Engine smokes 1.
excessively 2.
3.
Trimmer head turks
at idte speed
l,
2.
Tr'dnmerhead 1.
stops under a loador 2.
does not turn when 3.
engin_ is acce.lerated
,,,,,,,,,, ,,,,, ,
Linedoesnotad_
or
Line welds oa spool
,,,,,, ,,,,,,, ,,,,,,,,,,,,,,,,,,,,
Line releases continuously
Line usage is excessive
.U
CAUSE
L Fuel tank empty. I.
2. Engineflooded. 2.
3. Spark plug not firing. 3.
4, Fuel not reaching carburetor. 4.
5. Carburetor requires adjustment. 5.
6.None oftheabove. 6,
I. Idle speed set too fast or too slow.
low speed mixturerequires adj_t.
Throttle trigger scow too tight.
None of the above.
Air filterdirty.
Spark plug f_uled.
Carburetor reqnires adjustment. -
Muffler outlets plugged.
None of theab<rce.
Air filterdirty. -. 1.
Fuel mixture incorrect. 2.
High speed mixture requiresadjustment. 3.
1. Fuel mixture incorrect. "- 1.
2. High speed mixture set too low (lean). 2.
3. Spark plug incorrect. 3.
4. None of the above. 4.
Carburetor requires adjustment.
Throttle trigger screw too tight.
Clutch requires repair.
Drive shaft broken or not engaged.
Carburetor requires adjustments.
Clutch requires repair.
LLine improperly routed in head.
2. Line improperly wound onto spool: :, _
3.Line size incorrect. _;i..
4. Too little line outside head.
1. Line size _t.
2. lnco_ stx_l.
3. Crowding line against material being cut,
4.cutangat .....
"1. Line vamnd beyondnotches on spool,
2. Lineimproperly routedin h&ad.
3.Linesizeincorrect,
4. Shield installed improperly." t
1. Line improperly routed hahead. 1.
2. Line size incorrect. 2,
3: CuRing at high s_ around hard objects. 3.
4. Crowding line agains_ material being cut. 4.
Line pulls back into head 1. Too little line outside ofhead
Fill tank with correctfuel mixture.
See "'StartingIns_ctions:'
Install new plug/check ignition system.
Clean furl falter;inspectfuelline.
See '-cadmretor Adjustments:'
Contact_r SearsSeav_ Center.
1. See "-cadmretor Adjusanents:'
2. See Ca_uretorAdjustmen_
3. Loosen screw to free trigger.
4. Contact your Sears Sen, ice Center.
1. Clean or replaceair filter.
2. Clean or replace spark plug and legal).
3. See ''Carburetor Adjastmems:'
4. Contact yourSears Service Center.
5; Cgntact your _ Service Center.
Clean or replace air filter.
Refuel with correct fuel mixture.
See "'CarburetorAdjustments:"
See "'Fueling "fourUnit."
See *'CarburetorAdjustments.'"
Replace with correct plug.
Contact your Sea_ Service Center.
1. See "'Carburetor Adjustments:'
2- Loosen screw to free trigger.
3. Contact your Sears Service Cehter.
1. Replace or see '_ssenably:" _
2. See "'Carburetor Adjustments:
3. Contact your Sears Service Center._
2. ,Rewind line tightly madevenly:
3. Osebnly.080'SearsLaserLi_ ®.
4. Remove cover. Pull6" oflmetooutside.
1. Use only ,080" Sears Laser Hne ®.
2. Use proper spool.
3. Cut with tip of line.
4. R ,cec g m.
I. Rewind linefightly and evenly.
2. Remove cover. Check line routing.
3. Oseoniy.0_O_I_erLine ®.
4. Reinstall shield properly.
Remove cover. Check line routing.
Use ordy D80" Sears Laser Line®.
Reduce speedaround hard objects.
Cut with tip of line.
LRemove cover. Pull6" ofline to outside.

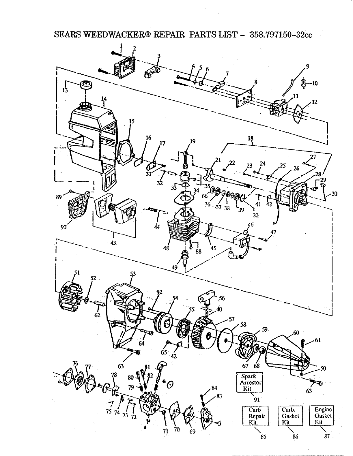
_ WEEDWACKER® REPAIR PARTS LIST - 358.797!50-32cc
29
3
20
WARNING
All repairs, adjustments
and maintenance not de-
scribed ha the Operator's
Manual must be per-
formedbyqualffied serv-
ice personnel
17_@ -- 15
19--_
i,,,,,,,,
14
Key
No.
9:
!0
11
12
IS
14
16
Part
lqo.
5-30-027-549
530-4)94641:,
ffrD54!O_
530-0109g_
_O-O'_T_xgS
530-015785
530-O6928O
STD511005
530-4_.,4570
8TD541410
530-094551
530-094543
530-092243
7_5805
Descriptipn Key
Throttle Cable Ass'y. 17
+Drive Shaft Housing 18 +
Loeknut "•.... 19
Anti-V/be Hafidle _0 :
+:.Drive _katt _rip 21
.22
Lod_ut 23
Shieldmt _'y. _4
(Incl. 9,10, & 11) 25
Screw 26
Line Limiter 27
Nut 28
Flem'ble Drive Shaft "29
Dust Cup 80 i
Screw 31
CuttingHead Ass'y. + +
_-r" Handle Ass'y.
Part
5:_04592
71--85815
530-094494.
952=030139
-530-015768
530-015774
sa0-oiogs9
530-067911
530-015775
530-031111
530-031098
530--027598
530-029159
530-027600
Description
Hub Ass'),.
Spool w/Line
Cover
B_mrkst:=
ShaftLubrication
Nut
Screw
ThrottleLeverAss'y.
Operator'sManual
Screw
Hex Wrench (5/32)
Hex Wrench (3/16),[-.+
Anti-VibeDecal '
ShaftWarning Decal
Shield Decal

I
I\\\\\

SEARS WEEDWACKER® REPAIR PARTS LIST - 358.797150-32cc
Key
Description No. Part
No. Description
530-061274
530-014040
Key Part
No. No. ,
5_15773
530-027529
53O-02753O
530-015849
53O-O27528
530-015254
5-3O-O27526
530-027527
530-069247
53O-O10897
530-O35259
530-019156
530-O10729
530-027606
530-019154 -
530-027593
530-027594
.....530-014015
53O-O10960
'530-015789
_530-0t09M
5304)15126
530--015772
53O-015780
530-027546
530-027547
530-015771
5.30-014016
530-027545
530-027543
S'IT)610603
53O--0i5162
53O-O25875
! 530-019178
530-069275
530-032103
! 530-015787
530-019158
! 530-032102
53O-069232
i 530-015777
i 530-0275-23
, 53O-O69257
[530-024903
!L 27527
530-039,34
/ 530-015128 "
53O-012235
53o-o 77
Screw 50 530-015768 Locknut ,
Air Filter Cover 51 530-039136 Flywheel Ass y.
Air Filter 52 530-347987 Washer
Screw 53 530-027517 Fan Housing
Spacer 54 5:30-069291 Starter Pulley Kit
Wave Washer (Ind.//92)
Choke Shutter _ 55 .530-029395 Starter Spring
Air Filter Plate 56 530-027569 Starter Handle
Fuel Line Kit 57 530-010961 Pulley Housing Ass'v.
Fuel Pick-upAss'y. 58 530-094189 Clutch Washer "
Carburetor" 59 530-069254 Clutch Ass'y. Kit
1 Carburetor G_ket 60 530-010964 Clutch Housing
,Fuel Cap Assy. , 61 530--015767 Screw
Shroud & Tank Ass y. 62 530-027511 Spacer
(Ind. #9,10 & 13) 63 530-015770 Screw
t Crankcase/Shroud Gasket 64 530-015769 . Screw -
Reed 65 530-015496 ,. Screw . "
Reed Stop 66 530-015788 Spacer
Crankcase/Crankshaft 1 67 530--015796 [.... Washer
Assy. (Inc1.#20,21:28) 168 ]STD541137 / Nut "
Connecting Rod Ass y. [ 69 I 530-035164 *+ Pump Gasket
OncL Bearings) [ 70 : 530-035166 ] *+ Pump Diaphragm. "
Crankshaft Retaining Ring I71 530--035178 ] + Inlet Screen
Crankshaft Ass'),. I 72 530-035106 + Inlet Needle Valve
Flywheel Key [73 530-035188 + Metering Lever Spring
Screw [74 530-035031 + Metering Lever
Screw [ 75 530--035028 + Metering Pin
Kill Switch Insulator I76 . 530--035014 * + Metering Diaphragm
Lead "Wire [ 77 530-035151 *+ Metering Diaphragm
Screw -] . Gasket "
Crankcase Ass'y.0ncL # [ 78 530-035147 + Circuit Plate Gasket
36-39) ]_ 530--03_q335 Hi Speed Needle Spring
Kill Switch Ramp, ' [80 530-035142 Hi Speed Needle
Switch Spring Ass y. [ 81 530--035141 Idle Needle
Screw .. [82 530-035023 Idle Needle Spring
P:_ton Pin Retainer [ 83 530-035208 Idh Speed Spring
Piston Ring [84 530-035203 Idle Speed., Screw
tCylinder G.asket ] 85 530-4)35260 Curb. Kwlk Re] _Kit
i Hston. Kit (Incl. #32,33, • I ...... r . .... ,,.(÷ __di'c___t_G _t_nts)
&pin) . - ._::__ 86 I sls5 C rb.C ..keVrhphraga
Inner I_ean?g ......_° [ Kit (*Indicates Content.,
Retaining Ring 87 [ 530-069276 EngineGasket Kit
Crankshaft Seal [ (t'Indieates Contents)
Beanng Outer 88 ] 530-015239 Screw
Rope KR 89 I 530-015717 Screw
Screw 90 ] 530-027781 MufflerGuard
Retainer 91 l 952-701612 Spark ArrestorKit
MufflerKit 92 | 530-015823 Screw
Muffler Attachment Spring , | -•
Spa. r !
Ignition Modde Kit Not Shown -.
Screw . ...... _._<,_ _ ':" " "
Cylinder 530-029732 Instruction Decal
Spark Plug Carton
Ass'y. Parts Bag
)i

!
INDEX
ACC_RIES .................................... 10
ADJUSTMF_,NTS .................................. 9
Assist Handle ............................. ...... 9
Carburetor .................................... 20
Line Advance... .............................. 14
Module Air Gap ............................... 2
AIRSffk Plug Gap ................................ 2
LTE,R ....... .......... ................... 17
ASSEMBLY
Assist Handle ... ............. ................. "..9
Drive Shaft Housing.'. ; ........................... 7
Prep, tion .. ...... 7
Shield .................................. _..... 8
Tlarottle Cable .................................. 8
Trimmer Head .. .................................. 8 --
AU'I_MAq['IC LINE FEED ........................ 14
CARBURETOR AD2USTMEN'IS ............... .... 20
CAKI_N CONIT_MI'S ................... .......... 6
COLD ENGINE STaG "" . 12
CONTROLS ...................................... 2
_TING METHODS ............................15
DRIVE SIIAFr HOUSING ASSEMBLY ...............7
ENGINE
Air Filter ..................................... 17
Carburetor ... .20
Controls......................................2
Fuel Mixture..................................11
Starter Pulley ................. ................. 18
Starting Instructions ............. ............... I2
Storage.......................................5
TroubleShooting..............................22
ENGINE OIL
Ratioto Gasoiine..............................ii
Types to Use; not to Use... : .................... I1
FILTER, AIR .................................... 17
FLEXIBLE DRIVE SHAFT LUBRICATION ......... 19
FUEL
Gasoline/Oil Mixture ........................... 11
Mixing Fuel .............. ; :: ................. 11
Pouring Fu_uel.._ ........ _......... =---_- ...... ..11
Safety ...................... . :.-_ _. ......... Zi(=
Storage ....................................... I1
GASOLINE
Ratio to Oil ...................... :............ 11
Types to Use; not to Use ........................ II
IDLE SPEED ADJUSTblENT. ..................... 20
-LINE
Advance ............. : .................... 14. 22
Breaking .... :............................. 13, 22
Length to Cut as Replaeemen_ ................ _... 17
Replacement ............. -.................. 16 '
R_ng or_ Spool ............................ 17
Routing in Head ..... 16
Safety ........................................ 14
Size to Use ................................... 17
Welding onto Spool. ......................... 17, 22
TroubleSh_'dng ................................22
LUBRICATION
Engine ............... ............. ........... U
Flexible Drive Shaft ............................ 19
MAINTENANCE
Air Filter ..... : ............................... 17
•Carburetor ..................................... 20
Flexible Drive Shaft, ............................ 19
safety ........................................I7
Starter Rope .................................. 18
Trinm,,er Head ........................ . ....... 16
Trouble Shooting Chart .................. - ...... 22
MODULE AIR GAP ............................... 2
OIL, FaNGINE
Ratio to Gasoline .............................. 11
-Types,to Use; not to Use .... _ ...;-. :............ 11
OPERATION
Advancing theLine ..... ....................... 14
Mowing ...._..................................15
Pre-OperationChecks ..........................12
Position ... ..................................... 9
Sfifety .... : ................................... 14
Scalping ...................................... 15
Starting the Engine ............................. 12
Speed........................................13
StoppingthdEngine............................13
Sweeping .............. ....................... 15
Trimming ............................. -. - :... 15
PARTS LIST .....................................23
PRF_OPERAT1ON CHECKS .......................12
PREWOUND SPOOLS ............................16
QUICK REFERENCE PAGEL ...........:..........27
REPAIR PARTS LIST ............................ 23
SAFETY INSTRUCTIONS, WARNINGS ...... _...... 3
SHIELD, ASSEMBLY .............................. g
SPARK PLUG GAP ............................... 2
SPARK ARRFS!V)R ........................ _._....6
SPECIFICATIONS ................................2
SPOOL
Installation .................. _................. 16
Maintee_.an¢* _. : ....... ; ...."._.... :... .......... 16
Prewound.......................................16
Rewinding .................................... 17
STARTER ROPE REPLACEMENT.- ................ 18
STARTING INSTRUCTIONS ...................... 12
STORAGE .......... . ........................ :..-_
TItROTIqLE CABLE ASSEMBLY .................... g
TRIMMER HEAD
Assembly ..................................... 8
Line Routing.. :_... ,...: ....................... :16
Removal ...... :...= ........................... g
Maintenance .................................. !6
TROUBLE SHOOTING CHART ...................22
IWARM ENGINE STARTING ......................12
WARM ENGINE STARTING AFTER RUNNING
OlYr OF FUEL " ... t3
WARNINGS AND SAFETY INSTRUCTIONS ...... 3 & 5
WARRANTY ......................................."2

ii ii i
QUICK REFERENCE PAGE
Read and Follow All Warnings, Safety [_ns, and Operat_g I_ns.
Failure to do so can result in serious injury.
Page No.
PREPARA'I_ON .................... ,............................... 3 & 5
1. Know all warnings and safety instructions in this manual.
2. Wear safety face shield or goggles for eye protection.
3. Dress safely - boots or safety shoes and heavy, long pants.
4_ Checktool for wom_ loose, missing, or damaged parts; repair or replace as necessary before using thetool.
5. Inspect and ensure the area to be cut is safe.
6. Keep children, bystanders, and animals 30 feet (t0 meters) away.
FUELING 11
1. Eliminate all sources of sparks or flame where fuel is mixed, poured, or stored.
2. Use 40 parts regular unleaded gasoline to I part air-cooled, 2-cycle engine oil.
3. Use clean and fresh fuel.
4. Mixand store fuel in an approved, marked container.
5. Mix and pour fuel in an outdoor area.
6. Move a minimum of 10 feet (3 meters) away. from the fuel and fueling site before starting engine.
STARTING THE ENGINE .......................... .. . ..... _. ..... .12
L Extend !ine 6 i_n_hes from Lhehead.
2. Rest the shield on the ground suppg._ing the trimmer head up offthe ground away from objects and on-lookers.
3. Keep throttle trigger squeezed fully until engine runs.
4. Pull the starter rope sharply and quickly.
OPERATING THE TOOL ........................................ 13
1. Do not operate the tool at a higher speed than necessary.
2. Release the throttle trigger and allow the engine to idle when not cutting.
3. Stop the engine by moving the ignition switch to the "Off" position.
o • o _ • • _ • • _ • • o _ _ _ • • u _ • • e • • _ o • t* • ! • m • • .D • • • • _ • •
1. Run fuel out of the unit before storing.
2. Disconnect spark plug before performing maintenance except for carburetor adjustments.
3. Clean air filter frequently but always after 5 tanks of fuel.
4. Store in a dry place out of the reach of children.