Craftsman 580 7523 Users Manual
580752380 580752380 CRAFTSMAN POWER WASHER - Manuals and Guides L0801811 View the owners manual for your CRAFTSMAN POWER WASHER #580752380. Home:Lawn & Garden Parts:Craftsman Parts:Craftsman POWER WASHER Manual
CRAFTSMAN Power Washer, Gas Manual L0801811 CRAFTSMAN Power Washer, Gas Owner's Manual, CRAFTSMAN Power Washer, Gas installation guides
5807523 2ad076eb-bc72-4c75-ad9c-8ce138511cdf Craftsman Pressure Washer 580.7523 User Guide |
2015-01-05
: Craftsman Craftsman-580-7523-Users-Manual-161035 craftsman-580-7523-users-manual-161035 craftsman pdf
Open the PDF directly: View PDF
.
Page Count: 60

Operator'sManual
®
3800 PSi
4.0 GPM
Model No. 580.752300
PRESSUREWASHER
CUSTOMERHELPLINE
HOURS: Non. - Fri. 8 a.m. to 5 p.m. (CT)
WARm.G
Before using this product, readthis
manual and follow all Safety Rules
and Operating Instructions.
ADVERTENCJA
Antes de utilizar el producto, lea este
manual y siga todas las Reglasde
Seguridade Instrucciones de Uso.
Sears, Roebuckand Co., RoffmanEstates,IL 60179 U.S.A.
Visit our Craftsman website:www.craftsmamcom
Part No. 205732GS Draft A (01/10/2008)
•Safety
,, Assembly
,, Operation
,, Maintenance
,, Parts
,, Espafiol, p. 34

WARRANTY.......................................... 2
SAFETYRULES...................................... 2-4
FEATURESANDCONTROLS.............................. 5
ASSEMBLY......................................... 6-8
OPERATION........................................ 9-13
SPECIFICATIONS..................................... 14
MAINTENANCE.................................... 14-20
STORAGE........................................ 21-22
TROUBLESHOOTING.................................. 23
REPLACEMENTPARTS.............................. 24-31
EMISSIONCONTROLWARRANTY ..................... 32-33
ESPANOL......................................... 34-59
HOW TO ORDERPARTS ........................ BACKPAGE
TWO-YEARFULLWARRANTYOH CRAFTSMANPRESSUREWASHER
If this pressure washerfails dueto a defect in material or workmanship within two years from the date of purchase, return it
to any Sears store, other Craftsman outlet, or Sears Parts & Repair Centerin the United States or Canadafor free repair (or
replacement if repair proves impossible).
All warranty coverageapplies for only 90 days from date of purchase if this pressure washer is ever used for commercial or
rental purposes.
This warranty gives you specific legal rights, and you may also have other rights which vary from state to state.
Sears, Roebuck and Co., Hoffman Estates, IL 60179
Sears Canada Inc., Toronto, Ontario, Canada M5B 288
This is the safety alert symbol.It is usedto alert youto potentialpersonal injuryhazards. Obey all safetymessages
that follow this symbol to avoid possibleinjury or death.
II_] Read this manual carefully and becomefamiliar
...................with your pressurewasher. Knowits applications,
its limitations, and any hazardsinvolved.
The safety alert symbol (_t:i.) is used with a signal word
(DANGER,CAUTION,WARNING),a pictorial and/or a safety
messageto alert you to hazards. DANGERindicates a hazard
which, if not avoided, will result in death or serious injury.
WARNINGindicates a hazardwhich, if not avoided, could
result in death or serious injury. CAUTIONindicates a hazard
which, if not avoided, might result in minor or moderate
injury. NOTICEindicates a situation that could result in
equipment damage.Follow safety messagesto avoid or
reducethe risk of injury or death.
Hazard Symbols and Meanings
ToxicFumes Kickback
2 5-
SlipperySurface Fall
Fire
ElectricalShock
FluidInjection
Explosion Operator'sManual
MovingParts Flying Objects HotSurface

WARHJNG
Theengineexhaustfromthisproductcontains
chemicalsknownto the State of California to cause
cancer,birthdefects,or otherreproductiveharm.
WARHJHG
Running engine gives off carbon monoxide, an
odorless, colorless, poison gas.
Breathing carbon monoxide can cause headache,
_ atigue, dizziness, vomiting, confusion, seizures,
nausea,fainting or death.
Some chemicals or detergents may be harmful if
inhaled or ingested, causing severe nausea,
fainting, or poisoning.
*OperatepressurewasherONLYoutdoors.
Keepexhaustgasfromenteringaconfinedareathrough
windows,doors,ventilationintakes,or otheropenings.
DONOTstart or runengineindoorsor in anenclosedarea,
evenif windowsanddoorsareopen.
Usea respiratoror maskwheneverthereis a chancethat
vaporsmaybeinhaled.
Readall instructionswith maskso you arecertainthe maskwill
providethe necessaryprotectionagainstinhalingharmful
vapors.
WARHIHG
_¢ isk of electrocution.
Contactwith power source can causeelectric
shock or burn.
* NEVERspraynearpowersource.
WARHIHG
s_ Contact with muffler area can result in serious
burns.
_ Exhaustheat/gases can ignite combustibles,
structures or damage fuel tank causing a fire.
DO NOTtouch hot parts and AVOID hot exhaust gases.
Allow equipment to cool before touching.
* Keep at least 5 feet (152 cm) of clearance on all sides of
pressure washer including overhead.
* Codeof FederalRegulation (CFR)Title 36 Parks, Forests,and
Public Property require equipment powered by an internal
combustion engine to have a spark arrester, maintained in
effective working order, complying to USDAForest service
standard 5100-1C or later revision. In the State of California a
spark arrester is required under section 4442 of the California
Public resources code. Other states may havesimilar laws.
WARHIHG
Fueland its vapors are extremely flammable and
explosive.
Fireor explosion can cause severe burns or
death.
WHENADDINGOR DRAININGFUEL
*TurnpressurewasherOFFandlet it coolat least2 minutes
beforeremovingfuelcap.Loosencapslowlyto relievepressure
in tank.
Fillor drainfueltankoutdoors.
DONOToverfilltank.Allowspacefor fuel expansion.
Iffuel spills,waituntil it evaporatesbeforestartingengine.
Keepfuelawayfromsparks,openflames,pilot lights,heat,and
otherignitionsources.
DONOTlight a cigaretteorsmoke.
WHENSTARTIN6EQUIPMENT
*Ensuresparkplug,muffler,fuel cap,andair cleanerarein
place.
. DONOTcrankenginewith sparkplugremoved.
WHENOPERATIN6EQUIPMENT
*DONOTtip engineor equipmentat anglewhichcausesfuel to
spill.
. DONOTsprayflammableliquids.
WHENTRANSPORTINGOR REPAIRINGEQUIPMENT
*Transport/repairwithfueltank EMPTYor withfuel shutoffvalve
OFF.
. Disconnectsparkplugwire.
WHENSTORINGFUELOREQUIPMENTWITH FUELIN TANK
*Storeawayfromfurnaces,stoves,waterheaters,clothes
dryers,or otherappliancesthathavepilot light or otherignition
sourcebecausetheycanignitefuelvapors.
WARHJHG
Starter cord kickback (rapid retraction) can result
in bodily injury. Kickbackwill pull handand arm
_,_< toward enginefaster than you can let go.
Broken bones, fractures, bruises, or sprains
could result.
• NEVERpullstartercord withoutfirst relievingspraygun
pressure.
Whenstartingengine,pullcord slowlyuntil resistanceis felt
andthen pullrapidlyto avoidkickback.
• Aftereachstartingattempt,whereenginefailsto run, always
pointspraygunin safedirection,pressredbuttonandsqueeze
sprayguntriggerto releasehighpressure.
• Firmlygraspspraygunwith both handswhenusing high
pressuresprayto avoidinjury whenspraygunkicksback.

WARHIHG
The high pressure stream of water that this
equipment produces can cut through skin and its
_ nderlying tissues, leading to serious injury and
)ossible amputation.
Spray gun traps high water pressure, even when
engine is stopped and water is disconnected,
which can cause injury.
•DONOTallow CHILDRENto operate pressure washer.
•NEVERrepair high pressure hose. Replaceit.
•NEVERrepair leaking connections with sealant of any kind.
Replace o-ring or seal.
•NEVERconnect high pressure hoseto nozzleextension.
Keep high pressure hose connectedto pump and spray gun
while system is pressurized.
•ALWAYS point spray gun in safe direction, press red button
and squeezespray gun trigger to releasehigh pressure, every
time you stop engine.
•NEVERaim spray gun at people, animals, or plants.
DO NOTsecure spray gun in open position.
•DO NOT leavespray gun unattendedwhile machine is running.
NEVERusea spray gun which does not havea trigger lock or
trigger guard in place and in working order.
Always be certain spray gun, spray tips and accessories are
correctly attached.
WARHIHG
Use of pressure washer can create puddles and
slippery surfaces.
Kickback from spray gun can cause you to fall.
•Operatepressure washer from a stable surface.
The cleaning area should haveadequate slopes and drainageto
reduce the possibility of a fall due to slippery surfaces.
•Be extremely careful if you must usethe pressure washer from
a ladder, scaffolding, or any other similar location.
•Firmly grasp spray gun with both hands when using high
pressure spray to avoid injury when spray gun kicks back.
WARHIHG
Unintentional sparking can result in fire or
_¢ electric shock.
WHEN ADJUSTING OR MAKING REPAIRS TO YOUR
PRESSUREWASHER
•Disconnect the spark plug wire from the spark plug and place
the wire where it cannot contact spark plug.
WHENTESTINGFORENGINESPARK
•Use approved spark plug tester.
•DONOTcheck for spark with spark plug removed.
WARHIHG
Starter and other rotating parts can entangle
hands, hair, clothing, or accessories.
*NEVERoperate pressure washer without protective housing or
covers.
.DONOTwear loose clothing, jewelry or anything that may be
caught in the starter or other rotating parts.
Tie up long hair and remove jewelry.
WARNING
Risk of eye injury.
_Spray can splash back or propel objects.
Always wear safety goggleswhen using this equipment or in
vicinity of where equipment is in use.
Before starting the pressure washer, be sure you are wearing
adequate safety goggles.
NEVERsubstitute safety glasses for safety goggles.
NOTICE
High pressure spray may damage fragile items including
lass.
DO NOTpoint spray gun at glasswhen using red (0°) spray tip.
NEVERaim spray gun at plants.
NOTICE
Improper treatment of pressure washer can damage it and
shorten its life.
If you have questions about intended use, ask dealer or contact
Sears.
NEVERoperate units with broken or missing parts, or without
protective housing or covers.
DONOT by-pass any safety device on this machine.
DONOTtamper with governed speed.
DONOToperate pressure washer above rated pressure.
DONOT modify pressure washer in any way.
Before starting pressure washer in cold weather, check all parts
of the equipment to besure ice has not formed there.
NEVERmove machine by pulling on hoses. Use handle
provided on unit.
Check fuel system for leaks or signs of deterioration, such as
chafed or spongy hose, loose or missing clamps, or damaged
tank or cap. Correct all defects before operating pressure
washer.
This equipment is designed to be used with Sears authorized
parts ONLY.If equipment is used with parts that DO NOT
comply with minimum specifications, user assumes all risks
and liabilities.

KNOWYOURPRESSUREWASHER
_Head the Operator'sIVianualand safety rules before operating your pressurewasher.
Comparethe illustrations with your pressurewasher to familiarize yourself with the locations of various controls and
adjustments. Savethis manual for future reference.
A - High PressureHose-- Connect one end to water pump
and the other end to spray gun.
B - Spray Tips -- Detergent,0°, 15°, 25° and 40°: for
various high pressure cleaning applications.
C - Air Filter -- Protects engine by filtering dust and debris
out of intake air.
O - HighPressureOutlet -- Connection for high pressure
hose.
E-Warning/Operating Instructions Tag-- Identifies hazards
and proper procedure to start/stop pressurewasher.
F - Pump -- Developshigh pressure.
G- AutomaticCool DownSystem -- Cycleswater through
pump when water reaches125°-155°F. Warm water will
dischargefrom pump onto ground. This system prevents
internal pump damage.
H-ChokeLever-- Preparesa cold engine for starting.
J-Fuel Valve -- Usedto turn fuel supply on and off to
engine.
K - Oil Drain Plug-- Drain engine oil here.
L - Recoil Starter -- Usedfor starting the engine manually.
M - Engine Switch -- Set switch to "On" for recoil starting.
Set switch to "Off" to stop a running engine.
H- ThrottleLever-- Setsengine in starting mode for recoil
start.
P- Fuel Tank-- Filltank with regular unleadedfuel. Always
leave room for fuel expansion.
H-Nozzle Extensionwith QuickConnect -- Allows you to
switch betweenfive different spray tips.
S-Spray Gunwith QuickConnect -- Controls the
application of water onto cleaning surface with trigger
device. Includes automatic trigger lock.
items Not Shown:
Data Tag (near rear of base plate) -- Provides model and
serial number of pressure washer. Pleasehavethese
numbers readily available if calling for assistance.
DetergentSiphoning Tube/Filter-- Useto siphon pressure
washer safe detergent into the low pressure stream.
Oil Fill/Dipstick -- Checkand add engine oil here.
Pressure Control Knob -- Varies pressure of high pressure
spray.
SafetyGoggles-- Always use the supplied safety goggles
when running your pressure washer.
Water Inlet -- Connection for garden hose.

Yourpressurewasherrequiressomeassemblyandisready
foruseonlyafterit hasbeenproperlyservicedwiththe
recommendedoilandfuel.
5. Verify pump oil dipstick (A) has beeninstalled into pump.
If you have any problemswith the assembly of your
pressurewasher, please call the pressurewasher helpline
at 1-800-222-3136.
IMPORTANT:Any attempt to run the engine before it has
been serviced with the recommended oil will result in an
engine failure.
Unpack the Pressure Washer
1. Remove everything from carton except pressure washer.
2. Opencarton completely by cutting each corner from top
to bottom.
3. Remove pressure washer from carton.
Carton Contents
Checkall contents. If any parts are missing or damaged,call
the pressurewasherhelplineat 1-888-222-3136.
• The main unit
• Handle
• Spray gun
• High pressure hose
• Nozzleextension with quick connect fitting
• Engineoil
• Parts bag (which includes items listed below)
• Owner's manual
• Registrationcard
• Bagcontaining 5 multi-colored quick connect spray
tips
• HandleFasteningHardwareKit (whichincludes):
• Carriage Bolt (2)
• Plastic Knobs (2)
Becomefamiliar with each piece before assembling the
pressure washer. Checkall contents against the illustration
on page5. if any parts are missing or damaged,call the
pressure washer helpline at 1-888-222-3136.
AssembJingYour Pressure Pasher
Your Craftsman pressure washer will need assembly before
operation:
1. Fill out and send in registration card.
2. Attach handle.
3. Add oil to engine crankcase.
4. Add fuel to fuel tank.
6. Connect pressure hose to spray gun and pump.
7. Connect water supply to pump.
8. Attach nozzleextension to spray gun.
9. Select/attach quick connect spray tip to nozzle
extension.
Attach HandJe
1. Placehandle (B) onto handle supports (C) connected to
main unit. Makesure holes (D) in handlealign with
holes (D) on handle supports.
NOTE:it may be necessaryto movethe handlesupports
from side to side in order to align the handle so it will slide
over the handle supports.
2. Insert carriage bolts (E)through holes from outside of
unit and attach a plastic knob (F) from inside of unit.
Tighten by hand.
3. Insert multi-colored spray tips in spaces provided in
handle.

Add Engine Oil
1. Place pressurewasher on a fiat, ]eve]surface.
2. Cleanareaaround oil fill and remove oil fill cap/dipstick.
NOTE:See OffRecommendations in Maintenancesection.
Verify provided oil bottle is the correct viscosity for current
ambienttemperature.
3. Using oil funnel (optional), slowly pour contents of both
provided oil bottles into oil fill openingto the point of
overflowing.
NOTICE
Improper treatment of pressurewasher can damage it and
shorten its life.
DONOTattemptto crankor startthe enginebeforeit hasbeen
properlyservicedwith the recommendedoil. Thismayresultin
anenginefailure.
4. Replaceoil fill cap/dipstick and fully tighten.
Add Fuel
WARHIHG
_Fue] and its flammable and
vapors are extremeJy
explosive.
Fire or explosion can causesevere burns or
death.
WHENADDINGFUEL
* TurnpressurewasherOFFandlet it coolat least2 rninutes
beforeremovingfuelcap.Loosencapslowlyto relievepressure
in tank.
. Fillfueltank outdoors.
*DONOToverfilltank.Allowspacefor fuelexpansion.
* If fuel spills,waituntil it evaporatesbeforestartingengine.
Keepfuelawayfromsparks,openflames,pilot lights,heat,and
otherignitionsources.
DONOTlight a cigaretteor smoke.
1. Useclean, fresh, regular UNLEADEDfuel with a
minimum of 86 octanewith equipment. DO NOTmix oil
with fuel.
2. Place pressure washer on a level surface. Cleanarea
around fuel fill cap, remove cap.
3. Slowly add regular unleadedfuel to fuel tank. Becareful
not to overfill. Allow about 1" of tank space for fuel
expansion, as shown here.
MaximumFuelLevel
4. Install fuel cap and wait for any spilled fuel to evaporate.
CAUTION!Alcohol-blended fuels (called gasohol, ethanol or
methanol) can attract moisture, which leads to separation and
formation of acids during storage. Acidic gas can damagethe
fuel system of an enginewhile in storage.
To avoid engine problems, the fuel system should be treated
with a fuel preserver or emptied before storage of 30 days or
longer. If adding a fuel preserver, fill the fuel tank with fresh
fuel. if only partially filled, air in the tank will promote fuel
deterioration during storage. If fuel preserver is not used,
drain the fuel tank, start the engine and let it run until the fuel
lines and carburetor are empty. Usefresh fuel next season.
SeeStorage for additional information.
NEVERuse engine or carburetor cleaner products in the fuel
tank as permanent damage may occur.

Connect Hose and Water Supply to Pump
NOTE:Removeand discardthe shipping caps from the pump's
high pressureoutlet andwater inletbeforeattaching hoses.
NOTICE
DO NOTrun the pump without the water supply connected
and turned on.
Damageto equipmentresultingfrom failureto followthis
instructionwill void warranty.
Uncoil high pressure hose and attach quick connect end
of hose to base of spray gun. Pull down on collar of
quick connect, slide onto spray gun and let go of collar.
Tug on hose to be sure of tight connection.
WARHIHG
The high pressure stream of water that this
_ quipment produces can cut through skin and its
underlying tissues, leadingto serious injury and
)ossible amputation.
*NEVERconnecthighpressurehoseto spraytip extension.
*Keephighpressurehoseconnectedto pumpandspraygun
whilesystemis pressurized.
*Alwaysbecertainspraygun,spraytips andaccessoriesare
correctlyattached.
2. Similarly, attach other end of high pressure hose to high
pressure outlet (A) on pump. Pull down on collar of
quick connect, slide onto pump and let go of collar. Pull
on hose to be sure of tight connection.
,Before connecting garden hose to water inlet, inspect
inlet screen (B). Cleanscreen if it contains debris or have
it replacedif damaged.DO NOTrun pressurewasher if
inlet screenis damagedor missing.
4. Run water through garden hose for 30 seconds to clean
out any debris. Turn off water.
IMPORTANT:DO NOTsiphon standing water for the water
supply. Use ONLYcold water (less than I O0°F).
NOTICE
Using a OneWay Valve (vacuum breaker or check valve) at
pump inlet can cause pump or inlet connector damage.
ThereMUSTbeat leastten feetof unrestrictedgardenhose
betweenthepressurewasherinletandanydevice,suchas a
vacuumbreakeror checkvalve.
Damageto equipmentresultingfrom failureto followthis
instructionwill void warranty.
5. Connectgarden hose (not to exceed50 feet in length) to
water inlet.Tighten by hand.
WARHIHG
Risk of eye injury.
_Spray can splash back or propel objects.
Alwayswearsafetygoggleswhen usingthis equipmentor in
vicinityof whereequipmentis in use.
Beforestartingthe pressurewasher,besureyouarewearing
adequatesafetygoggles.
NEVERsubstitutesafetyglassesfor safetygoggles.
6. Turn ONthe water, press red button (C) on the gun and
squeezethe trigger to purge the pump system of air and
impurities.
C>
Checklist Before Starting Engine
Reviewthe assembled unit to ensure you have performed all
of the following:
1. Besure to read Safety Rules and How To UsePressure
Washerbefore using pressurewasher.
2. Makesure handle is in place and secure.
3. Makesure shipping cap was removed and oil dipstick
was installed in pump.
4. Checkthat oil has beenadded to proper level in engine
crankcase.
5. Add proper fuel to fuel tank.
6. Checkfor properly attached hose connections.
7. Checkto makesure there are no kinks, cuts, or damage
to high pressure hose.
8. Provide a proper water supply at an adequateflow.

HOWTO USEYOURPRESSUREWASHER
If you haveany problems operating your pressure washer,
please call the pressure washer helpline at 1-800-222-3136.
Pressure Washer Location
PressureWasherClearance
WARNING
_ Exhaustheat/gases can ignitecombustibles,
structures or damage fuel tank causing a fire.
•Keepat least5ft. (152cm)clearanceonall sidesof pressure
washerincludingoverhead.
Placepressure washer outdoors in an areathat will not
accumulate deadly exhaust gas. DO NOTplace pressure
washer where exhaust gas (A) could accumulateand enter
inside or be drawn into a potentially occupied building.
Ensureexhaust gas is kept awayfrom any windows, doors,
ventilation intakes, or other openings that can allow exhaust
gas to collect in a confined area. Prevailingwinds and air
currents should be taken into consideration when positioning
_ressurewasher.
WARHIHG
Running engine gives off carbon monoxide, an
_ dorless, colorless, poison gas.
Breathingcarbon monoxide can causeheadache,
fatigue, dizziness, vomiting, confusion, seizures,
nausea,fainting or death.
. OperatepressurewasherONLYoutdoors.
•Keepexhaustgasfromenteringaconfinedareathrough
windows,doors,ventilationintakes,or otheropenings.
•DONOTstart or runengineindoorsor in anenclosedarea,
evenif windowsanddoorsareopen.
||
mJ
To Start Your Pressure Washer
To start your engine-powered pressure washer for the first
time, follow these instructions step-by-step. This starting
information also applies wheneveryou start the engine after
you have let the pressure washer sit idle for at least a day.
1. Placepressurewashernearan outsidewater source
capableof supplyingwater at a flow rate greaterthan
5.0 gallons per minuteand no lessthan 20 PSIat pressure
washerend of gardenhose.
2. Checkthat high pressure hose is tightly connected to
spray gun and pump. SeeAssemblyfor illustrations.
3. Makesure unit is in a level position.
4. Connect garden hose to water inlet on pressure washer
pump.
[NOTICE
IDO NOT the without the connected
run pump water supply
and turned on.
L amageto equipmentresultingfrom failureto followthis
instructionwill void warranty.
5. Turn ONthe water, press red button on the gun and
squeezethe trigger to purge the pump system of air and
impurities.
6. Attach nozzleextension to spray gun. Tighten by hand.
Choosespray tip you want to use, pull back on collar of
nozzleextension, insert spray tip and releasecollar. Tug
on spray tip to makesure it is securely in place. See
How to Use Spray Tips.
8. Movefuel valve lever (B) to "On" position.
OFF

9. Movethrottlelever(A)to"Fast"position,shownasa
rabbit.
10. Move choke lever (B) to "Closed" position.
12. When starting engine, position yourself as
recommended and grasp starter grip handleand pull
slowly until you feel some resistance.Then pull rapidly
to start engine.
CLOSED
NOTE:For a warm engine, be sure the choke lever is in the
"Open" position.
11. Move engine switch (6) to "On" position.
OFF
ON
IMPORTANT:Before starting the pressure washer, be sure
/ou are wearing adequatesafety goggles.
WARHIHG
,_ Risk of eye injury.
_Spray can splash back or propel objects.
Alwayswearsafetygoggleswhenusingthis equipmentor in
vicinityof whereequipmentis in use.
Beforestartingthe pressurewasher,be sureyou are wearing
adequatesafetygoggles.
NEVERsubstitutesafetyglassesfor safetygoggles.
WARHIHG
Starter cord kickback (rapid retraction) can result
in bodily injury. Kickbackwill pull handand arm
_,_.< toward enginefaster than you can let go.
Broken bones, fractures, bruises, or sprains
could result.
*NEVERpullstartercord withoutfirst relievingspraygun
pressure.
* Whenstartingengine,pullcord slowlyuntil resistanceis felt
andthen pullrapidlyto avoidkickback.
* Aftereachstartingattempt,whereenginefailsto run, always
pointspraygunin safedirection,pressredbuttonandsqueeze
sprayguntriggerto releasehighpressure.
* Firmlygraspspraygunwith both handswhenusing high
pressuresprayto avoidinjury whenspraygunkicksback.
13. Return recoil starter slowly. DO NOTlet rope "snap
back" against starter.
14. When engine starts, slowly movechoke lever to "Open"
position as engine warms. If engine falters, movechoke
lever to "Closed" position, then to "Open" position.
15. If enginefires, but does not continue to run,always point
gun in safe direction, press red botton and squeezespray
gun trigger to releasehigh pressure. Move choke lever to
"Open" position, and repeatsteps 12 through 14.
16. If enginefails to start after six pulls, movechoke lever to
"Open" position, and repeatsteps 12through 14.
NOTE:Always keepthe throttle lever in the "Fast" position
when operating the pressure washer.
10

WARHJHG
The high pressure stream of water that this
equipment produces can cut through skin and its
_ nderlying tissues, leadingto serious injury and
)ossible amputation.
Spray gun traps high water pressure, even when
engine is stopped and water is disconnected,
which can cause injury.
•DONOTallowCHILDRENto operatepressurewasher.
.Keephighpressurehoseconnectedto pumpandspraygun
whilesystemis pressurized.
•NEVERaim spraygunat people,animals,or plants.
.DONOTsecurespraygunin openposition.
•DONOTleavespraygununattendedwhile machineis running.
.NEVERusea spraygunwhichdoesnothavea triggerlockor
trigger guardin placeandin workingorder.
.Alwaysbecertainspraygun,nozzlesandaccessoriesare
correctlyattached.
WARHIHG
s_ Oontact with muffler area can result in serious
burns.
f,_ Exhaustheat/gases can ignite combustibles,
structures or damage fuel tank causing a fire.
.DONOTtouchhot partsandAVOIDhot exhaustgases.
•Allowequipmentto cool beforetouching.
•Keepat least5feet (152cm) of clearanceonall sidesof
pressurewasherincludingoverhead.
•Codeof FederalRegulation(CFR)Title36Parks,Forests,and
PublicPropertyrequireequipmentpoweredby aninternal
combustionengineto haveasparkarrester,maintainedin
effectiveworkingorder,complyingto USDAForestservice
standard5100-1Corlater revision.Inthe Stateof Californiaa
sparkarresteris requiredundersection4442of the California
Publicresourcescode.Otherstatesmayhavesimilarlaws.
How to Stop Your Pressure Washer
1. Releasespray gun trigger and let engine idle for two
minutes.
2. Movethrottle lever to "Slow" position, shown as a turtle.
WARNING
_ Backfire,fire or engine damagecould occur.
•DONOTstopenginebymovingchokeleverto "Clesed"position.
3. Move engine switch to "Off" position.
4. Move fuel valve lever to "Off" position.
5. ALWAYS point spray gun in a safe direction, push red
button and squeezespray gun trigger to release retained
high water pressure.
IMPORTANT:Spray gun traps high water pressure, even
when engine is stopped and water is disconnected.
WARHIHG
The high pressurestream of water that this
equipment produces can cut through skin and its
_ nderlying tissues, leadingto serious injury and
)ossible amputation.
Spray gun traps high water pressure, even when
engine is stopped and water is disconnected,
which can cause injury.
.Keephighpressurehoseconnectedto pumpandspraygun
whilesystemis pressurized.
.ALWAYSpointspraygunin safedirection,pressred button
andsqueezesprayguntrigger,to releasehighpressure,every
timeyoustop engine.
11

How to Use Spray Tips
The quick-connect on the nozzleextension allows you to
switch between four different quick connect spray tips. Spray
tips can be changed while pressure washer is running once
spray gun trigger lock is engaged. The spray tips vary the
spray pattern as shown below.
Follow these instructionsto changespraytips:
1. Pull back collar on quick-connect and pull current spray
tip off. Store spray tips in holes provided in the handle.
WARHIHG
The high pressure stream of water that this
_ quipment produces can cut through skin and its
underlying tissues, leadingto serious injury and
possible amputation.
. NEVERexchangespraytips withoutengagingthe triggerlock
onthe spraygun.
* DONOTtwist spraytips whilespraying.
2. Select desired spray tip:
. Forgentle rinse,select white 40° or green 25° spray
tip.
. To scour surface, select yellow 15° or red 0° spray
tip.
. To apply detergent, select black spray tip.
3. Pull back on collar, insert new spray tip and release
collar. Tug on spray tip to make sure it is securely in
place.
UsageTips
*For most effective cleaning, keep spray tip from 8 to
24 inches (20 to 61 cm) awayfrom cleaning surface.
. If you get spray tip too close, especially using a high
pressure spray tip, you may damagesurface being
cleaned.
. DO NOTget closer than 6 inches (15 cm) when cleaning
tires.
Cleaning and AppJyingDetergent
CAUTION
Chemicalscan cause bodily injury, and/or property
damage.
NEVERusecausticliquidwithpressurewasher.
UseONLYpressurewashersafedetergents/soaps.Followall
manufacturersinstructions.
To apply detergent, fellow these steps:
1. Pull back on collar, insert black detergent nozzleand
releasecollar. Tug on nozzleto make sure it is securely
in place.
NOTE:Detergentcannot be applied with the high pressure
spray tips (White, Green,Yellow, or Red).
2. Preparedetergent solution as required by job.
3. Placesmall filter end of detergent siphoning tube into
detergentcontainer.
NOTE:Makesure the filter is fully submerged in detergent
while applying detergent.
[NOTICE
Contact with the hot muffler can damage detergent
|s phon no tube.
Wheninsertingfilter into adetergentsolutionbottle,routetube
so asto keepit from inadvertentlycontactinghot muffler.
4. Makesure garden hose is connected to water inlet.
Checkthat high pressure hose is connected to spray gun
and pump. Turn on water.
NOTICE
You must attach all hosesbefore you start the engine.
Startingthe enginewithoutallthe hosesconnectedandwithout
thewaterturnedONwill damagethe pump.
Damageto equipmentresultingfrom failureto followthis
instructionwill void warranty.
5. Start engine following instructions How to Start Your
Pressure Washer.
Low Pressure
\
Useto
apply
detergent
Black
HighPressure
L 1 L r'L
White Green Yellow Red
4O° 25° 15° 0o
12

6. Applydetergenttoadrysurface,startingatlower
portionofareatobewashedandworkupward,using
long,even,overlappingstrokes.
7. Allowdetergentto"soakin"for3-5minutesbefore
washingandrinsing.Reapplyasneededtoprevent
surfacefromdrying.DONOTallowdetergenttodryon
(preventsstreaking).
IMPORTANT:Youmustflushthedetergentsiphoningsystem
aftereachusebyplacingthefilterintoabucketofclean
water,thenrunthepressurewasherwithblackdetergent
nozzlefor1-2minutes.
Pressure Washer Binsing
1. Remove black detergent nozzlefrom nozzleextension.
2. Selectand install desired high pressurespray tip
following instructions How to UseSpray Tips.
3. Keepspray gun a safe distance from areayou plan to
spray.
WARHIHG
Kickbackfrom spray gun can cause you to fall.
,Operatepressurewasherfrom astablesurface.
•Beextremelycarefulif youmust usethe pressurewasherfrom
a ladder,scaffolding,or anyothersimilarlocation.
,Firmlygraspspraygunwith bothhandswhenusinghigh
pressuresprayto avoidinjury whenspraygunkicksback.
4. Increase (decrease)spray pressure by turning pressure
control knob (A) clockwise (counterclockwise). Use
lower pressureto wash items such as a car or boat. Use
higher pressureto strip paint and degrease driveways.
Cleaning Detergent Siphoning Tube
If you used the detergentsiphoning tube, you must flush it
with clean water before stopping the engine.
1. Remove high pressurespray tip from nozzleextension.
2. Selectand installblack detergent nozzle.
3. Placedetergent siphoning tube/filter ina bucket full of
clean water.
4. Flushfor 1-2 minutes.
5. Shut off engine following instructions How to Stop
Pressure Washerand turn off water supply.
6. ALWAYS point spray gun in a safe direction, press red
button and squeezespray gun trigger to release retained
high water pressure.
IMPORTANT:Spray gun traps high water pressure, even
when engine is stopped and water is disconnected.
WARHIHG
The high pressurestream of water that this
equipment produces can cut through skin and its
,_ underlying tissues, leadingto serious injury and
)ossible amputation.
Spray gun traps high water pressure, even when
engine is stopped and water is disconnected,
which can cause injury.
,Keephighpressurehoseconnectedto pumpandspraygun
whilesystemis pressurized.
•ALWAYSpointspraygunin safedirection,pressredbutton
andsqueezesprayguntrigger,to releasehighpressure,every
timeyoustop engine.
Automatic Cool Down System
(ThermalRefief)
If you run the engine on your pressure washer for
3-5 minutes without pressing the trigger on the spray gun,
circulating water in the pump can reach temperatures above
125°F. The system engagesto cool the pump by discharging
the warm water onto the ground.
5. Apply a high pressure spray to a small areaand then
check the surface for damage. If no damage is found,
you can assume it is okay to continue rinsing.
6. Start at top of area to be rinsed, working down with
same overlapping strokes as you used for cleaning.
13

PRODUCTSPECIFICATIONS
Pressure Washer Specifications
Pressure ..................... 3,800 PSi
Flow Rate..................... 4.0 GPM
DetergentMix ................. Useas directed
Water Supply Temperature ....... Not to exceed IO0°F
Pump Oil Capacity.............. 12 fl. oz. (0.35 I)
Engine Specifications
RatedHorsepower ............... 13 at 3600 rpm
Bore .......................... 3.5 in. (88 ram)
Stroke ......................... 2.5 in. (64 ram)
Displacement................... 23.7 in. (389 cc)
Spark Plug
Resistor .................... NGK BPR6ES
Set GapTo: ................... 0.028-0.031in (0.70-0.80
ram)
IntakeValveClearance............ 0.15 _+0.02 mm (cold)
ExhaustValveClearance........... 0.20 _+0.02 mm (cold)
FuelCapacity ................... 1.72 Gallons
OilType ....................... SAE10W-30
This pressurewasher is rated in accordanceto the Pressure
Washer Manufacture Association (PWMA) standard PW101
(Testing and Rating Performance of PressureWashers).
OWNER'SRESPONSIBILITIES
Followthe hourly or calendar intervals, whichever occurs
first. More frequent service is requiredwhen operating in
adverse conditions noted below.
Maintenance Schedule
[i[ i[ i[i[i[[[ [ [ [ [ [ [ [ [[ [ [ [ [ [ [ [[
•Changeengine oil
2
3
4
5
•Check/clean water inlet screen1
Check high pressure hose
•Check detergentsiphoning hose
•Check spray gun and assembly for leaks
•Clean debris
•Check air filter
•Check engine oil level
[ [[[ iii [[[[[[[[
•Cleanair filter'
} }: }: } [ t : ii }f}}: }: }: }: }} } } } } } } } } } } } } } } } } } } } } } }_
•Changeengine oil
•Cleansediment cup
•Check/adjustspark plug
•Servicespark arrester1
•Cleanfuel tank and filter
-- =
•Changepump oil_
):):) ))))):):)):):) ))))))))))))))))))))))))
• Replaceair filters
•Replacespark plug
•Check adjust idle speed'
•Check adjust valve clearance_
[_J JJt[
•Cleancumbustion chamber'
tLtLtLt i_ }[iJ[ 1iLL: J[ [ [[i[[ [ [[[ ij[ [ [j[ [ [iij[ [ Li}iL LJL LLLLL L L L L L L L L L L L
•Check fuel tube (replace if necessary)'
Clean if clogged. Replace if perforated or torn.
Service more often under dirty or dusty conditions.
Replace paper element only.
These items should be serviced by your servicing dealer.
Change after first 50 hours of operation and then every 200 hours or 3 mooths,
whichever occurs first.
14

General Recommendations
Regular maintenancewill improve the performance and
extendthe life of the pressure washer. Seeany Sears or
other qualified service dealerfor service.
The pressure washer warranty does not cover items that
have been subjected to operator abuse or negligence.To
receivefull value from the warranty, the operator must
maintain pressure washer as instructed in this manual
including proper storage as detailed in Storage.
Some adjustments will needto be made periodically to
properly maintain your pressure washer.
All service and adjustments should be made at least once
each season. Follow the requirements in the Maintenance
Schedule chart.
NOTE:Oncea year you should clean or replace the spark
plug and replace the air filter. A new spark plug and clean air
filter assure proper fuel-air mixture and help your engine run
better and last longer.
Emissions Control
Maintenance, replacement, or repair of the emissions
controldevicesand systemsmay be performedby any non-
road engine repair establishmentor individual. However,
to obtain "no charge" emissions control service,the work
must be performed by a factory authorized dealer. Seethe
Emissions Warranty.
Before Each Use
1. Checkengine oil level.
2. Clean debris.
3. Checkwater inlet screen for damage.
4. Check high pressure hose for leaks.
5. Checkgun and nozzleextension assembly for leaks.
6. Purge pump of air and contaminants.
PRESSUREWASHERMAINTENANCE
Clean Debris
Dailyor before use, clean accumulated debris from pressure
washer. Keeplinkage, spring and controls clean. Keeparea
around and behind muffler free from any combustible debris.
Inspectcooling air slots and openings on the pressure
washer. These openings must be kept clean and
unobstructed.
Pressurewasher parts should be kept clean to reducethe
risk of overheatingand ignition of accumulated debris.
• Usea damp cloth to wipe exterior surfaces clean.
NOTICE
Jlmproper treatment of pressurewasher can damage it and
_horten its life. __ ....
[. DONOTinsertanyobjectsthroughcoolingslots.
• Usea soft bristle brush to loosen cakedon dirt, oil, etc.
• Usea vacuum cleaner to pick up loose dirt and debris.
Check and Clean Inlet Screen
Examinegarden hose inlet screen. Cleanif it is clogged or
replace if it is torn.
Check High Pressure Hose
High pressure hoses can develop leaksfrom wear, kinking,
or abuse, inspecthose before each use.Check for cuts,
leaks,abrasions, bulging of cover, or damage or movement
of couplings. If any of these conditions exist, replacehose
immediately.
WARHJHG
he high pressurestream of water th_
quipment produces can cut through skin and its
nderlying tissues, leadingto serious injury and
ossible amputation.
NEVERrepairhighpressurehose.Replaceit.
ReplacementhoseratingMUSTexceedmaximumpressure
ratingof unit.
Check Gunand Nozzle Extension
Examinehose connection to spray gun and makesure it is
secure. Test trigger by pressing it and making sure it springs
back into placewhen you releaseit. Do not depress red
button and test trigger. You should not be ableto press
trigger. Replacespray gun immediately if it fails any of these
tests.
Nozzle Maintenance
A pulsing sensation felt while squeezingthe spray gun trigger
may be caused by excessivepump pressure. The principal
cause of excessive pump pressure is a spray tip clogged or
restricted with foreign materials,such as dirt, etc. To correct
the problem, immediately clean the spray tip following these
instructions:
1. Shut off engine andturn off water supply.
2. ALWAYS point spray gun in a safe direction, press red
button and and squeezespray gun trigger to release
retained high water pressure.
WARHJHG
The high pressure stream of water that this
equipment produces can cut through skin and its
:_ underlying tissues, leading to serious injury and
)ossibie amputation.
Spray gun traps high water pressure, even when
engine is stopped and water is disconnected,
which can cause injury.
.Keephighpressurehoseconnectedto pumpandspraygun
whilesystemis pressurized.
•ALWAYSpointspraygunin safedirection,pressredbutton
andsqueezesprayguntrigger,to releasehighpressure,every
timeyoustop engine.
15

3. Removespraytipfromendofnozzleextension.
4. Useasmallpapercliptofreeanyforeignmaterial
cloggingorrestrictingspraytip(A).
5. Removenozzleextension from spray gun.
6. Using a garden hose, remove additional debris by back
flushing water through nozzle extension. Back flush
between 30 to 60 seconds.
7. Reinstall spray tip into nozzleextension.
8. Reconnectnozzleextension to spray gun.
9. Makesure garden hose is connected to water inlet.
Checkthat high pressure hose is connected to spray gun
and pump. Turn on water.
10. Start engine following instructions How to Start Your
Pressure Washer.
11. Test pressure washer by operating with each quick
connect spray tip.
O-Ring Maintenance
Purchasean O-Ring RepairKit at your local Searsor by calling
1-800-4-1VlY-HOIVlE(469-4663) or onlineat www.sears.com.It
is not includedwith the pressurewasher.This kit includes
replacemento-rings,rubberwasherandwater inletfilter. Referto
the instructionsheetprovidedin the kit to serviceyour unit's
o-rings.
WARHIHG
The high pressurestream of water that this
_ quipment produces can cut through skin and its
underlying tissues, leadingto serious injury and
_ossibleamputation.
• NEVERrepairleakingconnectionswith sealantof anykind.
Replaceo-ringor seal.
Pump Maintenance
ChangingPumpOil
Changeoil after first 50 hours of operation andthen every
200 hours or 3 months, whichever occurs first.
NOTE:When changing pump oil, use only high quality
nondetergent30 weight oil. Use no special additives.
Changepumpoil as follows:
1. Cleanareaaround brass oil drain plug at bottom of
pump.
2. Remove oil drain plug. Drain oil completely into an
approved container.
3. When oil has completely drained, install oil drain plug
and tighten firmly.
4. Cleanareaaround pump oil dipstick. Remove dipstick
and fill pump with recommended oil to "Full" mark on
dipstick (typically 0.35L or 12 oz.).
5. Install pump oil dipstick.
6. Wipe up any spilled oil.
16

ENGINEMAINTENANCE
WARHIHG
_ Unintentional sparking can result in fire or
_¢ electric shock.
WHENADJUSTINGORMAKINGREPAIRSTO YOUR
PRESSUREWASHEB
•Disconnectthe sparkplugwire fromthe sparkplugandplace
the wire whereit cannotcontactsparkplug.
WHENTESTINGFORENGINESPARK
•Useapprovedsparkplugtester.
•DONOTcheckfor sparkwith sparkplugremoved.
0il
Oil Recommendations
NOTE:When adding oil to the engine crankcase, use only
high quality 4-stroke automotive detergent oil rated with API
service classification SJ or SL rated SAE 10W-30 weight. DO
NOTuse specialadditives.
1. Choosea viscosity according to table below.
ChangingEngineOil
Changeengine oil after the first 20 hours and every
100 hours or 6 months, whichever comes first, thereafter, if
you are using your pressurewasher under extremely dirty or
dusty conditions, or in extremely hot weather, change oil
more often.
CAUTION
Avoid prolonged or repeatedskin contact with used motor
oil.
Usedmotoroil hasbeenshownto causeskincancerin certain
laboratoryanimals.
Thoroughlywashexposedareaswith soapandwater.
KEEPOUTOF REACHOF CHILDREN.DON'T
POLLUTE.CONSERVERESOURCES.RETURN
USEDOIL TO COLLECTIONCENTERS.
Changeoil while engine is still warm from running, as
follows:
1. Disconnect spark plug wire and keep it awayfrom spark
plug.
2. Placea suitable container below engine to catch used
oil. Removedipstick (A), drain plug (B) and washer.
3. Allow oil to drain completely. Reinstall drain plug and
washer. Tighten drain plug securely.
4. Placepressure washer on a level surface.
5. Slowly pour recommended oil into oil fill opening (C).
Pauseto permit oil to settle. Fill to edge of oil filler hole.
-20 O 20 40 60 80 IOO°F
-30 -20 -t0 O 10 20 30 40°C
AMBIENTTEMPERATURE
NOTE:Other viscosities shown in the chart may be used
when the averagetemperature in your areais within the
recommended range.
CheckingOil Level
Oil level should be checked prior to each use or at least every
8 hours of operation. Keepoil level maintained.
1. Make sure pressure washer is on a level surface.
2. Cleanareaaround dipstick. Removeoil dipstick and wipe
dipstick with clean cloth. Replacedipstick. Remove and
check oil level.
3. Verify oil is at "Full" mark on dipstick. Replaceand
tighten dipstick.
AddingEngineOil
1. Make sure pressure washer is on a level surface.
2. Check oil level as described in Checking Oil Level
3. If needed, slowly pour oil into oil fill opening. Pauseto
permit oil to settle. Fill to edge of oil filler hole.
4. Replaceand tighten dipstick.
6. Screw in the dipstick and tighten securely.
7. Wipe up any remaining oil.
8. Reconnectspark plug wire to spark plug.
LOWER LIMIT
17

Service Air Cleaner
Your engine will not run properly and may be damaged if you
run it with a dirty air cleaner.
Cleanthe air cleaner once every 50 hours of operation or
3 months, whichever comes first. Service more often if
operating under dirty or dusty conditions. Replacethe paper
filter element once every300 hours or once a year,
whichever comes first. Replacementsare available at your
local Sears service center.
Toservice the air cleaner, follow these steps:
1. Removewing nut (A) from air cleaner cover (B), and
remove cover.
¢.
6
2. Removewing nut (C) from air filter (O),and remove
filter.
3. Removefoam filter (E) from paper filter.
4. Inspectboth air filterelements. Replaceif damaged.
5. Cleanpaper air filterelement by tapping filter on a hard
surface to remove dirt, or blowcompressed air (not
exceeding30 psi) through filter elementfrom inside.
IMPORTANT:NEVERtry to brush off dirt; brushing will force
dirt into fibers.
6. Cleanfoam air filter element in warm soapy water, rinse
and allow to dry thoroughly. Or clean in nonflammable
solvent and allow to dry. Dip foam filter element in clean
engine oil, then squeezeout all excessoil.
IMPORTANT:Enginewill smoke when started if too much oil
is left in foam.
7. Using a moist rag, wipe dirt from inside of air cleaner
base and cover. Becareful to prevent dirt from entering
air duct that leadsto the carburetor.
8. Placefoam air filter element over paperelement and
reinstall assembledair filter. Besure gasket is in place
beneath air filter. Tighten air filter wing nut securely.
9. Install air cleaner cover andtighten cover wing nut
securely.
NOTE:You can purchase new air filter elements by calling
1-800-4-MY-HOME(46g-4663).
ServiceSparkPJug
Checkand adjust the spark plug every 100 hours of
operation or yearly, whichever occurs first. Replacethe spark
plug every300 hours of operation or yearly, whichever
occurs first.
1. Cleanarea around spark plug.
2. Remove and inspect spark plug.
3. Replacespark plug if electrodes are worn, or if insulator
is cracked or chipped.
4. Checkelectrode gap with wire feeler gaugeand set gap
at 0.028-0.031 inches (0.70-0.80 ram), if necessary.
_-_.. S Z --
5. install spark plug, tighten securely.
NOTE:You can purchasea new spark plug by calling
1-800-4-1VlY-HOIVlE(46g-4663).
Carburetor
if you think your carburetor needs adjusting, see your
nearest Searsservice center. Engineperformance may be
affected at altitudes above 5000 feet. For operation at higher
elevations,contact your nearestSears service center.
18

Spark Arrester Service
Your engine is not factory-equipped with a spark arrester. In
some areas,it is illegal to operate an engine without a spark
arrester. Checklocal laws and regulations. A spark arrester is
availablefrom your nearestSears service center. If you need
to order a spark arrester, please call 1-SOO-4-MY-HOIVlE
(469-4663).
The spark arrester must be serviced every 100 hours to keep
it functioning as designed.
If the engine has been running, the muffler will be very hot.
Allow the muffler to cool before servicing the spark arrester.
WARHIHG
s_ Contact with muffler area can result in serious
burns.
_ Exhaustheat/gases can ignite combustibles,
structures or damage fuel tank causing a fire.
. DONOTtouchhot partsandAVOIDhot exhaustgases.
*Allowequipmentto cool beforetouching.
. Keepat least5feet (152cm) of clearanceonall sidesof
pressurewasherincludingoverhead.
*Codeof FederalRegulation(CFR)Title36Parks,Forests,and
PublicPropertyrequireequipmentpoweredby aninternal
combustionengineto haveasparkarrester,maintainedin
effectiveworkingorder,complyingto USDAForestservice
standard5100-1Corlater revision.In the Stateof Californiaa
sparkarresteris requiredundersection4442of the California
Publicresourcescode.Otherstatesmayhavesimilarlaws.
1. Removethe two 8 mm nuts (A) and remove muffler (B)
from cylinder.
2. Removethe three 4 mm screws (C) from exhaust
deflector (D), and remove deflector.
3. Removethe four 5 mm screws (E) from muffler
protector (F) and remove muffler protector.
4. Remove 4 mm screws (G) from spark arrester (H) and
remove spark arrester from muffler.
5. Usea brush to remove carbon deposits from spark
arrestor screen. Be careful to avoid damaging screen.
IMPORTANT:The spark arrestor screen must befree of
breaks and holes. Replacespark arrestor if it is damaged.
6. Install spark arrestor, muffler protector, exhaust
deflector and muffler in reverseorder of disassembly.
Sediment Cup Cleaning
1. Move fuel valve to "Off" position, then remove fuel
sediment cup (J) and o-fin((K).
,
3.
4.
Wash sediment cup and o-ring in nonflammable solvent.
Dry thoroughly.
Place o-ring in fuel valve and install sediment cup.
Tighten sediment cup securely.
Move fuel valve to "On" position and check for leaks.
Replaceo-ring if there is any leakage.
19

AFTER EACHUSE
Water should not remain in the unit for long periods of time.
Sediments or minerals can deposit on pump parts and
"freeze" pump action. Followthese procedures after every
use:
1. Shut off engine, turn off water supply, point gun in a
safe direction, press red button and squeezetrigger to
relieve trapped pressure and let engine cool.
WARHJHG
The high pressure stream of water that this
equipment produces can cut through skin and its
_ nderlying tissues, leadingto serious injury and
)ossible amputation.
Spray gun traps high water pressure, even when
engine is stopped and water is disconnected,
which can cause injury.
.Keephighpressurehoseconnectedto pumpandspraygun
whilesystemis pressurized.
.ALWAYSpointspraygunin safedirection,pressredbutton
andsqueezesprayguntriggerto releasehighpressure,every
time youstopengine.
2. Disconnect hose from spray gun and high pressure
outlet on pump. Drain water from hose, gun, and spray
tip extension. Usea rag to wipe off the hose.
3. Empty pump of all pumped liquids by pulling recoil
handleabout 6 times. This should remove most liquid in
pump.
4. Coil high pressure hose on hook provided on handle.
5. Store unit in a clean, dry area.
6. If storing for more than 30 days see Long Term Storage
on next page.
WARHJHG
_ uel and its vapors are extremely flammable and
explosive.
Fire or explosion can cause severeburns or
death.
WHENSTORINGFUELOREQUIPMENTWITH FUELIN TANK
.Storeawayfromfurnaces,stoves,waterheaters,clothes
dryers,or otherappliancesthathavepilot light or otherignition
sourcebecausetheycanignitefuelvapors.
2O

WINTERSTORAGE
t¥ NOTICE
ou must protect your unit from freezing temperatures.
Failureto do so will permanentlydamageyour pumpand
renderyour unit inoperable.
Freezedamageis not coveredunderwarranty.
To protect the unit from freezing temperatures:
1. Follow steps 1-4 in the previous section After Each Use.
2. Use pump saver, available at Sears retail item 6039, to
treat pump. This minimizes freeze damageand lubricates
pistons and seals.
3. If pump saver is not available, connect a 3-foot section
of garden hose to water inlet adapter. Pour
RV-antifreeze (antifreeze without alcohol) into hose. Pull
recoil handletwice. Disconnect 3-foot hose.
4. Store unit in a clean, dry area.
LOHGTERM STORAGE
If you do not plan to use the pressure washer for more than
30 days, you must prepare the engine and pump for long
term storage.
It is important to prevent gum deposits from forming in
essential fuel system parts such as the carburetor, fuel filter,
fuel hose or tank during storage. Also, experienceindicates
that alcohol-blended fuels (called gasohol, ethanol or
methanol) can attract moisture, which leads to separation
and formation of acids during storage. Acidic gas can
damagethe fuel system of an engine while in storage.
Protect Fuel System
Fuel Additive:
If adding a fuel additive, fill the fuel tank with fresh fuel. If
only partially filled, air in the tank will promote fuel
deterioration during storage. Engine and fuel can be stored
up to 24 months with additive.
*Add fuel additive following manufacturer's instructions.
*Makesure you have water supply to pump inlet
connected and turned ON.
*Run the engine outdoors for 10 minutes to be sure that
treated fuel has replacedthe untreatedfuel in the
carburetor.
*Stop engineand move fuel valve lever to "Off" position.
DrainingFuel Tank and Carburetor:
If fuel additive is not used, removeall fuel from tank and
carburetor.
o
o
Placean approved fuel container below carburetor and
use a funnel to avoid spilling fuel.
Removecarburetor drain bolt (A) and sediment cup (B),
then move fuel valve lever to "On" position.
*After all fuel has drained into container, reinstall drain
bolt and sediment cup. Tighten both securely.
21

Ch3nge Engine Oil
While engine is still warm, drain oil from crankcase. Refill
with recommended grade. See Changing EngineOff.
Oil Cylinder Bore
* Removespark plug. Squirt about 1 tablespoon of clean
engine oil into the cylinder. Coverspark plug hole with
rag. Pull recoil handleslowly to distribute oil. Avoid spray
from spark plug hole.
*installspark plug. DO NOTconnect spark plug wire.
Protect Pump
To protect the pump from damage caused by mineral
deposits or freezing, use PumpSaver, Mode] 6039, to treat
pump. This prevents freezedamage and lubricates pistons
and seals.
ty NOTICE
ou must protect your unit from freezing temperatures.
Failureto do so will permanentlydamageyour pumpand
renderyour unit inoperable.
Freezedamageis not coveredunderwarranty.
NOTE:PumpSaveris available as an optional accessory. It is
not included with the pressurewasher. Contact your local
Searsservice center to purchase PumpSaver.
To use PumpSaver, makesure the pressurewasher is turned
off and disconnected from supply water. Readand follow all
instructions and warnings given on the PumpSavercontainer.
Other Storage Tips
1. DO NOTstore fuel from one seasonto another unless it
has beentreated as described in Protect Fuel System.
2. Replacefuel container if it starts to rust. Rust and/or dirt
in fuel can cause problems if it's used with this unit.
Coverunit with a suitable protective cover that does not
retain moisture.
WARHJHG
_ Storagecovers can be flammable.
*DONOTplacea storagecoveroverahot pressurewasher.
*Letequipmentcoolfor a sufficienttime beforeplacingthe
coveronthe equipment.
4. Store unit in a clean and dry area.
22

Problem Correction
Pomphas following problems:failure
to producepressure, erratic pressore,
chattering,loss of pressure, low water
volome.
Detergentfails to mix with spray.
Caus8
1. Low pressure spray tip installed.
2. Water inlet is blocked.
3. Inadequatewater supply.
4. Inlet hose is kinked or leaking.
5. Clogged inlet hose strainer.
6. Water supply is over IO0°F.
7. High pressure hose is blocked or
leaks.
8. Gun leaks.
9. Spray tip is obstructed.
10. Pump is faulty.
1. Detergentsiphoning tube is not
submerged.
2. Detergentsiphoning tube/filter is
clogged or cracked.
High pressurespray tip installed.
1. Replacespray tip with high pressure
spray tip.
2. Clear inlet.
3. Provide adequatewater flow.
4. Straighten inlet hose,patch leak.
5. Checkand clean inlet hose strainer.
6. Provide cooler water supply.
7. Clear blocks in outlet hose.
8. Replacegun.
9. Cleanspray tip.
10. Contact Searsservice facility.
1. Insert detergent siphoning tube into
detergent.
2. Cleanor replace filter/detergent
siphoning tube.
Replacespray tip with low pressure
spray tip.
3. 3.
Engine runs good at no-load hut "bogs" Enginespeed is too slow. Move throttle control to FASTposition, if
engine still "bogs down", contact Sears
when load is added, service facility.
Engine will not start; or starts and runs
rough.
Engineshutsdownduringoperation.
Enginelacks power.
Engine "hunts" or falters.
1. Low oil level.
2. Dirty air cleaner.
3. Out of fuel.
4. Stale fuel.
5. Spark plug wire not connected to
spark plug.
6. Badspark plug.
7. Water in fuel.
8. Overchoking.
9. Excessivelyrich fuel mixture.
10. Intake valve stuck open or closed.
1. Fiil crankcaseto proper level.
2. Cleanor replace air cleaner.
3. Fiil fuel tank.
4. Drain fuel tank; fiil with fresh fuel.
5. Connectwire to spark plug.
6. Replacespark plug.
7. Drain fuel tank; fill with fresh fuel.
8. Openchoke fully and crank engine.
9. Contact Searsservice facility.
10. Contact Searsservice facility.
11. Enginehas lost compression.
Out of fuel.
Dirty air filter.
Chokeis openedtoo soon.
11. Contact Searsservice facility.
till fuel tank.
Replaceair filter.
Move choke to halfway position until
engine runs smoothly.
23

CRAFTSMAH3800 PSi Pressure Washer 580.752300
Main Unit -- Exploded View and Parts List
] ---,\\ \
4
/P
8@ @@_
_ 8@8J
J
--9
fo_ 7
Item Part#
1 206055GS
2 AD201457GS
3 205734GS
4 196233GS
195983AGS
195983BGS
195983CGS
195983DGS
195846ZZGS
5 195294GS
6 192132GS
7 194411GS
191265GS
8 192796GS
9 199311GS
194298GS
23139DGS
10 95458GS
11 199310GS
Description Item Part #
BASE,w/Mounts 12 199956GS
HANDLE 13 193814GS
HOSE 14 203040GS
KIT, SprayTips 15 192310GS
Nozzle,QC,Red 900 NSP
Nozzle,QC,Yellow
Nozzle,QC,Green Items Not Illustrated
Nozzle,QC,White Part #
Nozzle,QC,Black 191267RGS
KIT, EngineMounting Hardware 205732GS
KIT, Pump Mounting Hardware 30809GS
KIT, Wheel AB3061BGS
E-Ring 87815GS
KIT, ChemicalHose/Filter 194355GS
ASSY, Pump (see page 25) 199571GS
Thermal Relief 205687GS
Key 202057GS
FITTING,Quick Connect 194256GS
KIT, GardenHoseInlet
Description
GUN
ASSY, Wand, OC
KIT, Handle Fastening
KIT, Vibration Mount
ENGINE(GX390UT1)(seepages26-31)
Description
AXLE
MANUAL,Operator's
GROMMET
OIL BOTTLE
GOGGLES
DECAL,EngSlow/Fast
DECAL,Choke
DECAL,Shroud
DECAL,Cvr, Air Cleaner
KIT, Tag,Warning, Srv
Optional Accessories
7175187GS
7175197GS
7175199GS
190249GS
7175116GS
7174400GS
100513GS
7174402GS
7174300GS
71743O1GS
7174302GS
7174303GS
7174307GS
GardenHoseQuick Connect
Accessory Quick Connect
Rotating Brush Kit
25' ReplacementHose
0 Ring Repair Kit
Turbo Nozzle
25' Extension Hose
Hose Reel
HouseWash Concentrate(makes 4 gallons)
Deck Wash Concentrate(makes 2 gallons)
Vehicle/BoatWash Concentrate(makes 4 gallons)
DegreaserConcentrate (makes4 gallons)
Mold/Mildew Concentrate(makes 2 gallons)
24

CRAFTSMAH3880 PSI Pressure Washer 580.752300
Pump -- Exploded View and Parts List
o
Q--
EL
H
E
8
H H
LL
H
C
66
/
20\E
F
Item
20
34
50
66
A
B
C
D
E
F
G
H
J
Part #
198851GS
198850GS
198849GS
198297GS
198736GS
198843GS
198844GS
192914GS
198845GS
198848GS
198852GS
198846GS
198847GS
Description
INJTR, Detergent3/8NPT
PLUG
CAP,Oil Dipstick
SCREW,M8 x 20
KIT, UNLOADER
KIT, VALVES
KIT, PISTON
KIT, HOSETAIL
KIT, WATERSEALS
KIT, SUPPORTRING
KIT, PUMPHEADHARDWARE
KIT, OIL SEALS
KIT, O-RINGS
item Part #Description
K 202902GS KIT, SEAT
NOTE:item letters A - Kare service kits and include all parts
shown within the box.
Parts Not illustrated
B2384GS
194298GS FILTER,Inlet
VALVE,Thermal Relief
Optional Accessories
6039 PUMPSAVER
6033 OIL BOTTLE,Pump
25

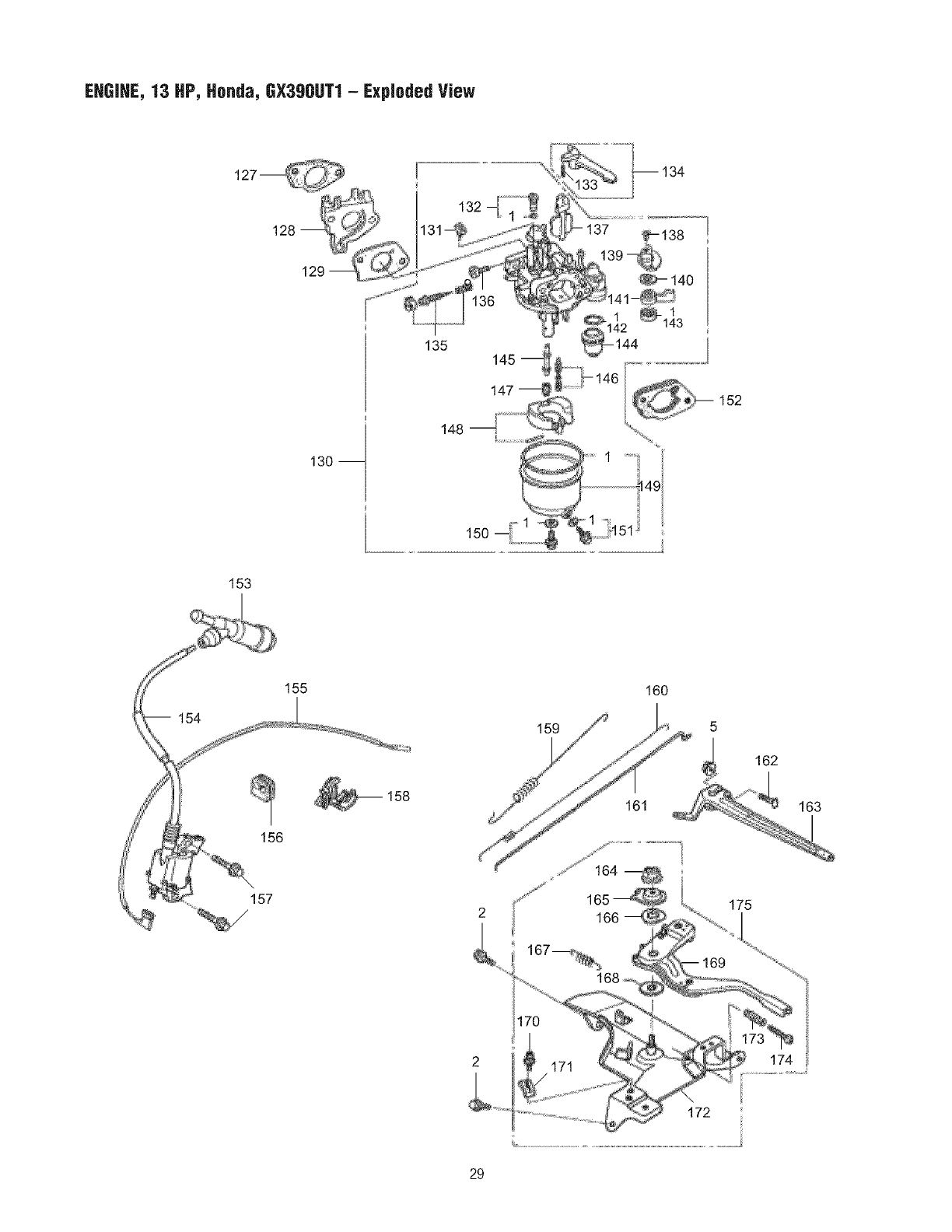
EHGIHE, 13 HP, Honda, GX390UT1 - Exploded View
10 11
9
8
4
13
17
12
29_
31
28
2O
21
34
39
36
43
38
45
26

EHGIHE, 13 HP, Honda, GX39OUT1- Exploded View
51
52
47
54
48 49
5O
73 74
72
73
55
56
61
75 66
75
27

EHGIHE, 23 HP, Honda, GX390UT1 - Exploded View
79
lOO
82
83
84
101_
115
102
115
82
89 90
91
6 110
99
93
111
113
94
95
98
114
120
121
28

EHGIHE, 13 HP, Honda, GX39OUT1- Exploded View
_138
14O
153
130
135
148
15o_L,_,,,,,II___ii_,_t_i_ ,
152
155
156
157
158
29
159
160
161
175
166
170
168
171
169
172
162
163

EHGIHE, 13 HP, Honda, GX39OUT1- Parts List
Item Part #Description
1 16010-ZE2-812 GASKETSET
2 90013-883-000 BOLT,FLANGE
3 91201-Z1C-003 OIL SEAL
4 91353-671-003 O-RING
5 94050-06000 NUT,FLANGE
6 94050-08000 NUT,FLANGE
7 96100-62020-00 BEARING,RADIAL BALL
8 90014-ZE2-000 BOLT,HEADCOVER
9 90441-ZE2-010 WASHER,HEADCOVER
10 12310-ZE2-020 COVER,HEAD
11 12391-ZE2-020 GASKET,HEADCOVER
12 95701-10080-00 BOLT,FLANGE
13 95005-11001-30M HOSE,VACUUM
14 12216-ZE2-300 CLIP,VALVEGUIDE
15 12205-ZE2-305 GUIDE,EX.VALVE
16 12204-ZE2-306 GUIDE,VALVE
17 12200-Z1C-406 CYLINDERHEAD
18 92900-08032-0E BOLT,STUD
19 98079-56846 SPARKPLUG
20 12251-ZF6-WO0 GASKET,CYLINDERHEAD
21 94301-12200 PIN, DOWEL
22 90042-ZE8-000 BOLT,STUD
23 95701-06012-00 BOLT,FLANGE
24 94050-10000 NUT,FLANGE
25 15510-ZE2-053 SWITCHASSY
26 12000-Z1C-407 CYLINDERASSY
27 94109-12000 WASHER,DRAINPLUG
28 90131-896-650 BOLT,DRAINPLUG
29 90446-KE1-000 WASHER
30 94251-10000 PIN, LOCK
31 16541-ZE3-010 SHAFT,GOVERNORARM
32 91203-952-771 OIL SEAL
33 34150-ZH7-013 ALERTUNIT, OIL
34 95701-08040-00 BOLT,FLANGE
35 15625-ZOT-800 GASKET,OIL FILLERCAP
36 15600-ZOT-820 CAPASSY
37 15600-Z1C-000 CAPASSY
38 96100-62070-00 BEARING,RADIAL BALL
39 94101-06800 WASHER
40 16510-ZE3-000 GOVERNORASSY
41 90602-ZE1-000 CLIP, GOVERNORHOLDER
42 16531-ZOA-O00 SLIDER,GOVERNOR
43 11300-Z1C-600 COVERASSY
44 11381-ZE3-801 GASKET,CASECOVER
45 90701-HC4-000 PIN, DOWEL
46 31100-ZE3-701 FLYWHEEL
47 90741-ZE2-000 KEY
48 19511-ZE3-000 FAN,COOLING
49 28451-ZE3-W01 PULLEY,STARTER
50 90201-ZE3-VO0 NUT,SPECIAL
Item Part #
51 90745-ZE2-600
52 13351-ZE3-010
53 13310-ZF6-W12
54 91001-ZF6-013
55 13010-Z5R-O04
56 90601-ZE3-000
57 13101-Z5T-O00
58 13111-ZF6-WO0
59 90001-ZE8-000
60 13200-Z1C-000
61 14781-ZE2-000
62 14751-Z1C-000
63 14775-ZE2-010
64 14721-ZE3-000
65 14711-ZE3-000
66 14773-ZE2-000
67 14771-ZE2-000
68 12209-ZE8-003
70 14100-ZF6-W01
71 14568-ZE1-000
72 90206-ZE1-000
73 14451-ZE1-013
74 14431-ZE2-010
75 90012-ZE0-010
76 14791-ZE2-010
77 14410-Z1C-000
78 14441-ZE2-000
79 17510-ZE3-O20ZB
80 17631-ZOT-801
81 17620-ZOT-813
82 95701-08025-00
83 17672-ZE2-W01
84 16854-ZH8-000
85 95002-40800-08
86 91424-Z5L-801
87 16955-ZE1-000
88 90004-ZE2-W01
89 28444-ZE2-W01
90 28441-ZE2-W01
91 28422-ZE2-W01
92 28443-ZE2-W01
93 28421-ZE3-W01
94 28442-ZE2-W01
95 28410-ZE3-WO1ZB
96 28461-ZE2-W02
97 28462-ZE3-W01
98 90008-ZE2-003
99 28400-ZE3-WO1ZB
100 90006-ZE2-000
Description
KEY
WEIGHT,BALANCER
CRANKSHAFT
BEARING,RADIAL BALL
RINGSET,PISTON
CLIP, PISTONPIN
PISTON
PIN, PISTON
BOLT,CONNECTINGROD
RODASSY
ROTATOR,VALVE
SPRING,VALVE
SEAT,VALVESPRING
VALVE, EX.
VALVE, IN.
RETAINER,EX.VALVESPRING
RETAINER,IN. VALVESPRING
SEAL,VALVESTEM
CAMSHAFTASSY
SPRING,WEIGHTRETURN
NUT,PIVOT
PIVOT,ROCKERARM
ARM, VALVEROCKER
BOLT,PIVOT
PLATE,PUSHRODGUIDE
ROD,PUSH
LIFTER,VALVE
TANK, FUEL
GASKET,FUELFILLERCAP
CAP,FUELFILLER
BOLT,FLANGE
FILTER,FUEL
RUBBER,SUPPORT
CLAMP,TUBE
TUBE,FUEL
JOINT, FUELTANK
SCREW,CENTER
RETAINER,SPRING
SPRING,FRICTION
RATCHET,STARTER
SPRING,RATCHET
PULLEY,RECOILSTARTER
SPRING,STARTERRETURN
CASE,RECOILSTARTER
GRIP,STARTER
ROPE,RECOILSTARTER
BOLT,FLANGE
STARTERASSY
SCREW,TAPPING
3O

EHGIHE, 13 HP, Honda, GX39OUT1- Parts List
Item Part #Description
101 90050-ZE1-000 SCREW,TAPPING
102 18320-ZE2-W61 PROTECTOR,MUFFLER
103 90055-ZE1-000 SCREW,TAPPING
104 18310-ZE2-W61 MUFFLER
105 18355-ZE2-WO0 ARRESTER,SPARK
106 18381-ZE2-W10 GASKET,MUFFLER
107 18323-ZE3-W40 PROTECTOR,EX. PIPE
108 18381-ZE2-800 GASKET,MUFFLER
109 18330-ZE2-WO0 PIPE,EX.
110 18333-ZF6-W01 GASKET,EX.PIPE
111 36100-ZF6-P82 SWITCHASSY
112 16731-ZE2-003 CLIP,TUBE
113 19631-ZE3-WO0 SHROUD
114 19610-ZE3-O10ZB COVER,FAN
115 90203-ZA0-800 WINGNUT
117 17232-891-000 GROMMET,AIR CLEANER
118 17210-ZE3-505 ELEMENT,AIR CLEANER
119 17218-ZE3-505 FILTER
120 17231-ZE3-W01 COVER,AIR CLEANER
121 17235-ZH9-N01 NOSE,MUFFLER
122 16271-ZE2-010 GASKET,ELBOW
123 90009-Z1C-000 BOLT-WASHER
124 17239-ZE1-000 COLLARB, AIR CLEANER
125 17238-ZE2-310 COLLAR,AIR CLEANER
126 17410-ZH9-NO0 ELBOW,AIR CLEANER
127 16223-ZE3-WO0 GASKET,INSULATOR
128 16211-ZF6-000 INSULATOR,CARBURETOR
129 16221-ZF6-800 GASKET,CARBURETOR
130 16100-Z1C-V01 CARBURETORASSY
131 16172-ZE3-W10 COLLAR,SETTING
132 99204-ZA0-0450 JET SET,PILOT
133 94305-20122 PiN, SPRING
134 16610-ZE1-000 LEVER,CHOKE
135 16016-ZH7-W01 SCREWSET,PILOT
136 16124-ZE0-005 SCREW,THROTTLESTOP
137 16044-ZE3-W20 CHOKESET
138 93500-03006-0H SCREW,PAN
139 16954-ZE1-812 PLATE,LEVERSETTING
140 16956-ZE1-811 SPRING,PETCOCKLEVER
Item Part # Description
141 16953-ZE1-812 LEVER,PETCOCK
142 16173-001-004 *GASKET,FUELSTRAINER
CUP
143 16957-ZE1-812 *GASKET,PETCOCK
144 16967-ZE0-811 CUP, FUELSTRAINER
145 16166-ZF6-VO0 NOZZLE,MAIN
146 16011-ZA0-931 VALVESET,FLOAT
147 99101-ZH8-0920 JET, MAIN
148 16013-Z1C-003 FLOATSET
149 16015-ZE8-005 CHAMBERSET,FLOAT
150 16028-ZE0-005 SCREWSET
151 16024-ZE1-811 SCREWSET,DRAIN
152 16220-ZA0-702 SPACER,CARBURETOR
153 30700-Z10-811 CAPASSY
154 30500-Z1C-023 COILASSY
155 36101-ZE2-701 WIRE,STOPSWITCH
156 31512-ZE2-000 GROMMET,WIRE
157 90015-883-000 BOLT,FLANGE
158 90684-ZA0-601 CLIP, HARNESS
159 16561-ZE3-000 SPRING,GOVERNOR
160 16562-ZE3-000 SPRING,THROTTLERETURN
161 16555-ZE3-000 ROD,GOVERNOR
162 90015-ZE5-010 BOLT,GOVERNORARM
163 16551-ZE3-000 ARM, GOVERNOR
164 90114-SA0-000 NUT, SELF-LOCK
165 16575-ZE2-WO0 WASHER,CONTROLLEVER
166 16574-ZE1-000 SPRING,LEVER
167 16592-883-310 SPRING,CABLERETURN
168 16578-ZE1-000 SPACER,CONTROLLEVER
169 16571-ZE3-WO0 LEVER,CONTROL
170 93500-05016-0A SCREW,PAN
171 16576-891-000 HOLDER,CABLE
172 16581-ZE3-WO0 BASE,CONTROL
173 16584-883-300 SPRING,CONTROL
ADJUSTING
174 93500-05032-0A SCREW,PAN
175 16570-ZE3-W20 CONTROLASSY
- INCLUDEDIN CARBURETORGASKETSET
31

Sears, Roebuck and Co., U.S.A. (Sears), the California Air Resources Board {CARD) and
the United States Environmental Protection Agency (U.S.EPA}
Emissions Control System Warranty Statement
{Owner's Defect Warranty Bights and Obligations)
TheCalifornia Air Resources Board (CARB), U.S. EPAand Sears are
pleasedto explain the Emissions Control System Warranty on your
small offroad engine (SORE).In California, new small offroad
engines model year 2006 and later must be designed, built and
equipped to meetthe State's stringent anti-smog standards.
Elsewherein the UnitedStates, new non-road,spark-ignition engines
certifiedfor model year 1997and later must meet similar standardsset
forth bythe U.S.EPA.Sears must warrant the emissions control
system on your engine for the periodsof time listed below, provided
there hasbeenno abuse,neglector improper maintenanceof your
small off-road engine.
Your emissions control system includes parts such as the
carburetor, air cleaner, ignition system, fuel line, muffler and
catalytic converter. Also included may beconnectors and other
emissions related assemblies.
Where a warrantable condition exists, Searswill repair your small
off-road engine at no cost to you including diagnosis, parts and
labor.
Sears, Roebuck and Co, Emissinns Cnntrni Defects Warranty
Coverage
Small off-road enginesare warranted relative to emissions control
parts defects for a period of two years, subject to provisions set
forth below. If any covered part on your engine is defective,the part
will be repaired or replaced by Sears.
Owner's Warranty Responsibilities
As the small off-road engine owner, you are responsible for the
performance of the required maintenance listed in your Operating
and Maintenance Instructions. Searsrecommends that you retain all
your receiptscovering maintenanceon your small off-road engine,
but Searscannot deny warranty solely for the lack of receipts or for
your failure to ensurethe performance of all scheduled maintenance.
As the small off-road engine owner, you should however beaware
that Sears may deny you warranty coverage if your small off-road
engine or a part has failed due to abuse, neglect, improper
maintenanceor unapproved modifications.
You are responsible for presenting your small off-road engineto an
Authorized Sears Service Dealer as soon as a problem exists.
The undisputed warranty repairs should be completed in a
reasonable amount of time, not to exceed30 days.
If you have any questions regarding your warranty rights and
responsibilities, you should contact a Sears Service Representative
at 1-800-469-4663.
The emissions warranty is a defects warranty. Defects are judged
on normal engine performance. The warranty is not related to an in-
use emissions test.
Sears, Roebuck and Co, Emissions Control Defects Warranty
Provisions
Thefollowing are specific provisions relative to your Emissions
Control DefectsWarranty Coverage.It is in addition to the Sears
enginewarranty for non-regulated enginesfound in the Operatingand
MaintenanceInstructions.
1. Warranted Parts
Coverageunder this warranty extendsonly to the parts listed
below (the emissions control systems parts) to the extent these
parts were present onthe enginepurchased.
a. Fuel Metering System
*Cold start enrichment system
*Carburetor and internal parts
*Fuel Pump
*Fuelline, fuel line fittings, clamps
.Fueltank, cap and tether
.Carbon canister
b. Air Induction System
.Air cleaner
.Intakemanifold
.Purge and vent line
c. Ignition System
.Spark plug(s)
.Magneto ignition system
d. Catalyst System
.Catalytic converter
.Exhaustmanifold
.Air injection system, Pulsevalve
e. Miscellaneous Items
.Vacuum, temperature, position, time sensitive valves and
switches
* Connectors and assemblies
2. Lengthof Coverage
Searswarrants to the initial owner and eachsubsequent
purchaser that the Warranted Parts shall befree from defects in
materials and workmanship which caused the failure of the
Warranted Parts for a period of two years from the date the
engineis deliveredto a retail purchaser.
3. No Charge
Repair or replacementof any Warranted Part will be performed
at no charge to the owner, including diagnostic labor which
leads to the determination that a Warranted Part is defective, if
the diagnostic work is performed at an Authorized Sears
Service Dealer.
4. Claims and Ceverage Exclusions
Warranty claims shall be filed in accordance with the provisions
of the Sears Engine Warranty Policy. Warranty coverageshall
be excluded for failures of Warranted Parts which are not
original Sears parts or becauseof abuse, neglect or improper
maintenanceas set forth in the SearsEngine Warranty Policy.
Searsis not liable to cover failures of Warranted Parts caused
by the use of add-on, non-original, or modified parts.
5. IV]aintenanse
Any Warranted Part which is not scheduled for replacementas
required maintenanceor which is scheduled only for regular
inspection to the effect of "repair or replaceas necessary"shall
bewarranted asto defects for the warranty period. Any
Warranted Part which is scheduledfor replacementas required
maintenanceshall be warranted as to defectsonly for the period
of time up to the first scheduled replacementfor that part. Any
replacementpartthat is equivalent in performanceand durability
may be used in the performanceof any maintenanceor repairs.
Theowner is responsible for the performanceof all required
maintenance,as defined in the Sears Operatingand Maintenance
Instructions.
6. Consequential Coverage
Coverage hereunder shall extendto the failure of any engine
components caused by the failure of any Warranted Part still
under warranty.
In the USAandCanada,a24-hourhotline,1-800-469-4663,hasa menuof pre-recordedmessagesofferingyou productmaintenance
information.
32

Emission information
Enginesthat are certified to meetthe CaliforniaAir Resources
Board(CARB) Emission Standards must display information
regardingthe Emissions Durability Periodand Air Index. The
engine manufacturer makesthis information availableto the
consumer on emission labels. The engine emission labelwill
indicate certification information.
The EmissionsDurabilityPeriod describes the number of
hours of actual running time for which the engine is certified
to beemissions compliant, assuming proper maintenancein
accordancewith the Operating & Maintenance Instructions.
The following categories are used:
Moderate: Engineis certified to be emission compliant for
125 hours of actual engine running time.
Intermediate: Engineis certified to beemission compliant
for 250 hours of actual engine running time.
Extended:Engineis certified to beemission compliant for
500 hours of actual engine running time.
Forexample, a typical walk-behind lawn mower is used 20 to
25 hours per year. Therefore, the EmissionsDurability
Period of an engine with an intermediate rating would
equateto 10to 12 years.
Certainengines will be certified to meetthe United States
Environmental Protection Agency (USEPA)Phase 2 emission
standards. For phase 2 certified engines, the Emissions
Compliance Period referred to on the Emissions Compliance
label indicates the number of operating hours for which the
engine has been shown to meet Federalemission
requirements.
For engines less than 225 cc displacement:
CategoryC = 125 hours
Category B = 250 hours
CategoryA = 500 hours.
For engines of 225 cc or more displacement:
CategoryC = 250 hours
Category B = 500 hours
CategoryA = 1000 hours.
33

GARANTIA..................................... 34
INSTRUCCIONESDESEGURIDAD................ 34-36
CARACTERJSTICASYCONTROLES.................. 37
MONTAJE................................... 38-40
OPERACION................................. 41-45
ESPECIFICACIONES............................. 46
MANTENIMIENTO ............................ 46-52
ALMACENAMIENTO........................... 53-54
REPARACIONDE DANOSREPUESTOS............... 55
GARANTIADEL CONTROLDEEMISIONES ......... 56-57
NOTAS ..................................... 58-59
COMOORDENARPARTES ......... PAGINAPOSTERIOR
Oarantia completa de dos afio de la limpiadora apresi6n Craftsman
Sila limpiadora a presi6n falla debido a defectos de materialeso mano de obra en el plazo de dos afios a partir de la fecha de compra,
devu_lvalaa cualquier almac_n Sears, punto de venta de Craftsman o centro de reparaci6ny repuestos de Searsde los Estados Unidos o
Canada.para su reparaci6n gratuita o, en caso de que _sta no sea posible, parasu sustituci6n.
El periodo degarantia se reducir_ a 90 dias desde la fecha de compra si la limpiadora a presi6n se utiliza en algt]n momento con fines
comerciales o de alquiler.
Esta garantia le otorga determinados derechos legales yes posible que tonga otros derechosque puedenvariar de un pais o estado a otro.
Sears, Roebuck and Co., Dept. 817 WA, Hoffman Estates, IL 60179
Sears Canada Inco, Toronto, Ontario, Canada IVISB288
,l_ Este esel simbolo de alerta de seguridad. Es usadopara indicarle sitnacionesconpeligrospotencialesde lesionpara el
personal. Siga las instru¢¢ionesde todos los rnensajesde seguridad que aparecen despues de este sirnbolo para evitar posibles
lesioneso muerte.
Lea estemanual minuciosarnente y conozcaa fondolas
_partesy el funcionarniento de su mdquina limpiadora a
presi6n. Conozcasus aplicaciones, suslirnitacionesy los
peligrosinvolucrados.
El simbolo de alerta de seguridad (,_) es usado con una palabra
(PELIGRO,ADVERTENCIA,PRECAUCION),un mensajepor escrito o
una ilustraciOn, pars alertarlo acercade cualquier situaciOnde
peligro que pueda existir. PELIGROindica un riesgo el cual, si no se
evita, causar# la muerte o una heridagrave. ADVERTENCIAindica un
riesgo el cual, si no se evita, puedecausar la muerte o una herida
grave. PRECAUTIONindica un riesgo, el cual, si no se evita, puede
causar heridas menores o moderadas. MISO indica una situaciOn
que podria resultar en el da_o del equipo. Siga los mensajesde
seguridad pars evitar o reducir los riesgos de heridas e inclusive la
muerte.
Simbolosde peiigroy significados
GasesT6xicos Contragolpe DescargaEl_ctrica
2%
SuperficiesResbalosas Caer Inyecci6nLiquida
PartesenMovimiento
Fuego
Objetos Voladores SuperficieCaliente
Explosi6n ManualdelOperario
34

ADVERTENCIA
El escape del motor de este preducto contiene eiementos
quimicosrecenocidos en el Estado de California
per producirc_ncer,defectos de nacimiento
g otros danes de ripe reproductive.
ADVERTENCIA
AI motor funcionar, se produce mon6xido de carbono,
un gas inodoro y venenoso.
Respirar mon6xido de carbono puede provocar dolor
de cabeza, fatiga, mareos, v6mitos, confusi6n,
ataques, n_useas, desmayos o incluso la muerte.
Algunas sustancias quimicas o los detergentes pueden
ser perjudiciales si inhalados o ingeridos, causando la
n_.usea severa, desmayando 0 para envenenar.
•Opere el limpiadora a presi6n SOLAMENTEal aire libre.
• Aseg0rese de que los gases de escape no puedan entrar por ventanas,
puertas, tomas de aim de ventilaci6n u otras aberturas en un espacio
cerrado en el que puedan acumularse.
• NO arranque ni deje funcionar el motor en interiores ni en zonas
cerradas, aunque hayaventanas y puertas abiertas.
• Utilice un respirador o m_iscarasiempre que exista la posibilidad de
inhalar vapores.
• Lea todas las instrucciones de la m_iscaraparaasegurarse de que le
brindar_t la protecci6n necesaria contra la inhalaci6n de vapores
nocivos.
ADVERTENCIA
_¢ iesgo de electrocuci6n.
El contacto con los cables el6ctricos puede provocar
electrocuci6n y quemaduras.
• NUNCA rocie cerca de una fuente de energia el_ctrica.
ADVERTENCIA
s_ Elcontactocon lazonadelsilenciadorpuedeproducir
quemaduras graves.
Los gases y el calor de escape pueden inflamar los
_ ateriales combustibles y las estructuras 0 da_ar el
dep6sito de combustible y provocar un incendio.
•NO toque las superficies calientes y EVlTE los gases del escape a alta
temperatura.
•Permita que el equipo se enfrie antes de tocarlo.
• Deje un espacio minimo de 152 cm (5 pies) alrededor del limpiadora a
presi6n, incluida la parte superior.
• El C6digo de I/ormativa Federal (CFR,Titulo 36: Parques, Bosquesy
Propiedad POblica)obliga a instalar una pantalla apagachispas en los
equipos con motor de combusti6n interno y a mantenerla en buenas
condiciones de funcionamiento, conforme a la norma 5100-1C (o
posterior) del Servicio Forestalde la USDA. Enel Estado deCalifornia,
la leyexige el use de una pantalla apagachispas (Secci6n 4442 del
C6digo de Recursos POblicosde California). En otros estados puede
haber leyes similares en vigor.
ADVERTENCIA
La gasolina y sus vapores son extremadamente
inflamables y explosivos.
El fuego o una explosi6n pueden causar quemaduras
severas e inclusive la muerte.
CUANBO AHADA COMBUSTIBLE O VACiEELDEPBSITO
• Apague el limpiadora a presi6n (posici6n OFF)y d_jelo enfriar al menos
por 2 minutos antes de remover la tapa de la combustible. Afloje la
tapa lentamente paradejar que la presi6n salga del tanque.
• Llene o vacie el dep6sito de combustible a la intemperie.
•NO Ilene demasiado el tanque. Permita al menos espacio para la
expansi6n del combustible.
•Si se ha derramado combustible, espere a que se evapore antes de
arrancar el motor.
•Mantenga la gasolina alejada de chispas, llamas abiertas, pilotos, calor
y otras fuentes de ignici6n.
•NO encienda un cigarrillo o fume.
CUANBO PONBA EN FUNCIONAMIENTO EL EQUiPO
• Compruebe que la bujia, el silenciador, el tap6n del dep6sito de
combustible y el filtro de aire estdn instalados.
• NO arranque el motor sin la bujia instalada.
CUANDO 8PEBE EL EQUIP8
• NO incline el motor o el equipo, de tal manera que la gasolina se pueda
derramar.
• NO rocie liquidos inflamables.
CUANBO TBAHSPOBTE 8 BEPABE EL EQUIPO
• Transporteo repare el equipo con el tanquede combustible vaoio, o
con la v_lvula para apagar el combustible, apagada (posici6n OFF).
•Desconecte el cable de la bujia,
CUAHU8 ALMACEHE 8GUABDE EL EQUIPO COB COMBUSTIBLE EH
EL TAHQUE
•Ah'naoenealejado de oalderas, estufas, oalentadores de agua, secadoras
de ropa u otros aparatos eleotrodorn_stioos que posean pilotos u otras
fuentes de ignici6n, porque ellos puedenencender los vapores de la
combustible.
ADVERTENCIA
Elretroceso(replieguer4pido)delcabledelarrancador
puede producir lesiones. El retroceso impedirA que el
_, usuario suelte el cable a tiempo y tirar_, de su mano y
brazohaciael motor,
Comoresultado,podrianproducirsefracturas,
contusiones 0 esguinces.
• I/UI/CA tire del cable del arrancador sin eliminar previamente la presi6n
de la pistola rociadora.
• Cuando arranque el motor, tire lentamente del cable hastasentir una
resistencia y, a continuaci6n, tire r_pidamente de _1para evitar su
retroceso.
• Despu6s que cada tentativa que empieza, donde motor falla de correr,
siempre seiialar el fusil en la direcci6n segura,presione el seguro
(bot6n rojo) y el disparador del fusil del rocio del estruj6n para liberar
la presi6n alta,
•Sujete firmemente la pistola rociadora con ambas manos cuando
aplique un rociado a alta presi6n paraevitar lesiones cuando se
produzca el retroceso de la pistola.
35

ADVERTEHCIA
El chorro de agua a alta presiOn que este equipo
produce,puedeatravesar la piely los tejidos
:_ subcut_.neos, provocando lesiones de gravedad que
podrian dar lugar a la amputaci6n de un miembro.
La pistola rociadora contiene agua a alta presiOn incluso
con el motor parado y el agua desconectada, que puede
causar la herida.
•NO permita en ningSn momento que NINOS operen la m_iquina
limpiadora a presi6n.
NUNCA repare la manguera de alta presi6n. Remplacela.
NUNCA utilice ningt_ntipo de sellador para reparar una fuga en una
conexi6n. Sustituya la junta tOrica o la junta.
NUNCA conecte la manguera de alta presiOnal prolongador de la
boquilla.
Mantenga conectada la manguera a la m_quina o a la pistola de rociado
cuando el sistema est6 presurizado.
SlEMPRE que pare el motor, apunte con la pistola rociadora hacia una
direcci6n segura Presione el seguro (bot6n rojo) y apriete el gatillo
para descargar la presi6n y evitar el retroceso.
• NUNCA apunte la pistola a la gente, animales o plantas.
• NO fije la pistola rociadora en la posici6n abierta.
• NO abandone la pistola rociadora cuando la m_iquinaest_ en
funcionamienfo.
• NUNCA utilice una pistola roeiadora euyo seguro o protecci6n para el
gatillo no est6 en perfecto estado de funcionarniento.
• Asegt_reseen todo momento de conectar correctamente la pistola
rociadora, las boquillas y los accesorios.
ADVERTEHCIA
El arrancador y otras piezas que rotan pueden enredarlas manos, el pelo,la ropa, o los accesorios.
• NUNCA utilice la limpiadora a presi6n sin sus carcasas o tapas de
protecci6n.
NO use ropa suelta, joyas o elementos que puedan quedar atrapados en
el arranque o en otras partes rotatorias.
Ate para arriba el pelo largo y quite la joyeria.
ADVERTENCIA
"_ Chispear involuntario puede tener como resultado el
¢ fuego o el golpe el_ctrico.
CUANDO AJUSTE 0 HAGA REPARACIONES ASU IVI,_QUINA
LllVIPIADORA A PRESION
• Siernpre desconecte el alarnbre de la bujia y col6quelo donde no pueda
entrar en contacto con la bujia.
CUANDO PRUEBE LA BUJiA DEL MOTOR
• Utilice un comprobador de bujias homologado.
• NO comprueba la chispa sin la bujia instalada.
%
ADVERTENCIA
El usodelimpiadoraapresi6npuedecrearloscharcos
y superficiesresbalosas.
Elretrocesode lapistolarociadorapuedeprovocar
caidas.
• Utilice la limpiadora a presi6n desde una superficie estable.
• El _treade limpieza deber_ tener inclinaciones y drenajes adecuados
para disminuir la posibilidad de caidas debido a superficies resbalosas.
• Extreme las precaueiones si necesita utilizar la limpiadora a presi6n
desde una escalera, un andamio u otro lugar similar.
• Sujete firmemente la pistola rociadora con ambas manos cuando
aplique un rociado a alta presi6n paraevitar lesiones cuando se
produzca el retroceso de la pistola.
ADVERTENCIA
Riesgo de lesiones oculares.
• El agua rociada puede salpicar 0 propulsar objetos.
Utilice siempre gafas de protecci6n cuando utilice este equipo o si se
encuentra cerca de donde se esterutilizando.
Antes de poner en marcha la limpiadora a presi6n, aseg_rese de Ilevar
gafas de protecci0n adecuadas.
Utilice SlEMPRElas galas de seguridad apropiadas.
AViSO
El rociado de alta presi6n puede dafiar elementos fr_.giles,
incluyendoel vidrio.
NO apunte la pistola rociadora hacia un cristal cuando utilice la punta
de rocio de roja de 0°.
NUNCA apunte la pistola a plantas.
AVISO
El tratamiento inadecuado del limpiadora a presi6n puede da_arlo
acortar su vida productiva.
Si usted tiene alguna pregunta acerca de las finalidades de uso del
generador, preg0ntele asu concesionario o contacte a Sears.
NUNCA deber_inser operadas las unidades con partes rotas o ausentes
o sin la caja o cubiertas de protecci6n.
NO eluda ningL_ndispositivo de seguridad de esta mdquina.
NO intente alterar la velocidad controlada.
NO utilice la limpiadora a presi6n por encima de su presi6n nominal.
NO haga ninguna modificaci6n en la limpiadora a presi6n.
Antes de porter en marcha la m_quina limpiadora a presi6n en clima
frio, revise todas las partes del equipo y aseg0rese de que no se haya
formado hielo sobre elias.
NUNCA mueva la m_iquina halando la manguera de alta presi6n. Utilice
la manija que viene con la unidad.
Revise que el sistema de combustible no presente fugas o signos de
deterioro, como mangueras desgastadas o porosas, sujetadores flojos
o ausentes, tapa o tanque daiiados. Corrija todos los defectos antes de
operar la m_iquina limpiadora a presi6n.
El equipo de alta presi6n est,1diseiiado para ser utilizado UNICAMENTE
con las partes autorizadas Sears. Si utiliza este equipo con partes que
no cumplan con las especificaciones minimas, el usuario asume todos
los riesgos y responsabilidades.
36

COHOZCASUMAQUiNA UiViPJADORAA PRESIOH
Lea el IVlanualdel Operario y las regJasde seguridadantes de pener en marcha su limpiadera apresi6n.
Compare las ilustraciones con su limpiadora a presi6n parafarniliarizarse con las ubicaciones de los diferentes controles y ajustes.
Guarde este manual para referencias futuras.
A - IVlanguerade alia presien -- Conecte un extreme a la pistola
de rociado y el otro extreme a la toma dealta preston.
B-Puntasde recto-- Detergente,0°, 15°, 25°, 40°: paradiferentes
aplicaciones de limpieza de alta presi6n.
C- Filtre de aire -- El elemento defiltro tipo seco limita la cantidad
de suciedady polvo que se introduce en el motor.
D - Tema de alia presi6n -- Conexi6n para la manguera de alta
preston.
E-Etiqgeta de advertencia einstrucciones-- Identifica los
riesgos e indica el procedimiento adecuado de arranque o
paradade la limpiadora a preston.
F - Bemba -- Suministra aguaa alta preston.
G - Sislema de enfriamienlo autom_tice -- Cuando el agua
alcanza los 51°-68° C (125°-1550 F), el sistema se activa y enffia
la bomba descargando agua caliente en el piso. Estesistema
evita que el interior de la bomba se da_e.
H- Palanca estrangnladora -- Enfria el motor para arrancarlo.
J - V_lvuia de combustible-- Se utiliza paraabrir y cerrar la
alimentaci6n de combustible al motor.
K-Tap6n deVaciado de Aceite -- Permitevaciar el aceitedel motor.
L- Arrancader de relrecese-- Se utiliza para arrancar
manualmente el motor.
M - interrupterde arranque-- Pongaelinterrupterenlaposici6n
"On"(Encendido)pararealizarunarranqueper retroceso.
Pongael interrupter en la posici6n "Off" (Apagado) para parar el
motor cuando est,. funcionando.
N- Palanca del acelerader -- Activa el mode de arranque del
motor para poder utilizar el arrancador de retroceso.
P - Tanque de cemhustihle -- Llene el tanque con gasolina regular
sin contenido de plomo en este punto. Siempre deje el espacio
suficiente come para que el combustible se expanda.
R- Extensi6npara bequillas cen cenexi6nr_pida -- Le permite
usar cinco puntas de rocio diferentes.
S - Pistola de reciade concenexi6n r;_pida-- Controla la
aplicaciOnde agua sobre la superficie de limpieza con el gatillo.
Incluye cerrojo de seguridad.
No moslrade:
Entradade agna -- Conexi6n para la manguerade jardin.
Etiqnetade dales (parle lrasera cercanaala plata de base)--
Proporciona el modelo y el nQmero de serie de la limpiadora a
preston. Tenga estos dates a la mane cuando solicite ayuda.
Gafas de pretecci6n-- Use siempre las galas suministradas para
usar la limpiadora a preston.
Perilla de controlde la presi6n-- Varia la presi6n de rociado de la
preston.
Tap6n de Ilenade de aceile/varilla de nivel -- Compruebe aqui el
nivel de aceite y a_adaaceite cuando sea necesario.
Tnbe/fillre de inyesci6nde detergente-- _selo para inyectar el
detergente con seguridad en el circuito de baja presi6n.
37

Su m_quina limpiadora a presiOn requiere de cierto ensamble y
estar_,lista para ser usada OnicamentedespuOsde haber depositado
el combustible y el aceite recomendado.
Si tiene prohlemas conel ensamhle de su m;_quina limpiadera a
presiOn,Ilame ala linea de ayuda de la m_quina limpiadora a
presiOnal 1-800-222-3136.
gesembaJe Ja limpiadora a presi_n
1. Saquetodo el contenido de la caja de carton, a excepciOnde la
limpiadora a presiOn.
2. Abra completamente la caja de carton cortando cada una de
sus esquinas de arriba abajo.
3. Saque la limpiadora a presiOnde la caja de carton.
Contenidode ia caja
Revise el contenido de la caja. Si alguna de las partes no est,.
presente o estAda_ada, Ilame a la linea de ayuda de la mAquina
limpiadora a presiOnal 1-800-222-3136.
° La unidad principal
° Manubrio
o La manguerade alta presiOn
° Pistola de rociado
o ExtensiOnde la lanzacon las piezasde conexiOn rApida
° Aceite para motor
o Bolsa de accesorios (incluye Io siguiente):
o Manual del propietario
° Tarjetade registro del propietario
o Bolsa con 5 lanzas de conexiones rApidas multicolores
o Piezaspara la manubrio (incluye Io siguiente):
o Perno del Soporte (2)
o Perilla Pldstica (2)
Familiaricesecon cada parte antes de ensamblar la m_quina
limpiadora a presiOn.Compare el contenido con la ilustraciOnde la
p_gina 35. Si alguna de la partes NOestd presente o se encuentra
da_ada,Ilame a la lineade ayuda de la mdquinalimpiadora a
presiOnal 1-800-222-3136.
MONTAJEDELA MAQUIHALAVADORAA
PRESION
La gran mayoriade su m_quina lirnpiadora a presiOnCraftsmanha
sido ensambladaen la f_brica.Sin embargo, usted deber_Ilevara
cabo los siguientesprocedimientosantes de poner en funcionamiento
su m_quina limpiadora a presiOn:
1. Llene y mande en tarjeta de matricula.
2. Fijar el manubrio.
3. Deposite aceite en la caja del cigiJe_aldel motor.
4. Deposite combustible en eltanque.
5. Verifiquelavarillaparaelaceite(A)esinstaleenla bomba.
f
Conectela manguerade alta presiOna la pistola de rociado y a
la bomba.
7. Conecteel suministro de agua a la bomba.
8. Conecteboquilla la extension al pistola rociadora.
9. Selecto/conecta rApido conecta boquilla a la extension de la
boquilla.
Fijar el manubrio
1. Coloque el manubrio (B) sobre los soportes del manubrio (C)
que ya se encuentran conectados a la unidad principal.
AsegOresede que los orificios en el manubrio (D) est_n
alineados con los orificios en los soportes del manubrio (D).
NOTA:Tal vez seanecesario mover los soportes del manubrio de
un lado a otro paraalinear el manubrio detal manera que pueda
deslizarse sobre los soportes del mismo manubrio.
2. Inserte el perno del soportes (E) a trav_s del orificios del
manubrio y fije la perillas de pldstico (F). Apriete la perillas
manualmente.
3. Inserte las puntas de rociado multicolores en los espacios
provistos en la manecilla.
38

Agregue aceite de motor
1. Coloquela limpiadoraa presi6n en una superficie plana y
nivelada.
2. Limpie la zona de alrededor del orificio de Ilenadodeaceite y
quite el tap6n.
NOTA:Consulte la secci6n Aceite, paraver las recomendaciones
relativas al aceite. Compruebe que la botella de aceite suministrada
tiene la viscosidad adecuadapara la temperatura ambienteactual.
3. Con la ayuda de un embudo (opcional), vierta lentamente el
contenido delas dos botellas de aceite por el orificio de
Ilenado hasta el punto de desbordamiento.
AVISO
Eltratarniento inadecuado del limpiadora a presi6n puede dafiarlo
'acortar su vida productiva.
NOprocureacodarni empezarel motoranteshasido atendidoa
apropiadamenteconelaceiterecomendado.Estopuedetenercomo
resultadounaaveriadel motor.
4. Vuelva a colocar el tap6n y apri_telo firmemente.
Agregue gasoHna
ADVERTENCIA
._La gasolina sus son extremadamente
Y vapores
inflamables y explosivos.
Elfuego o una explosi6n pueden causar quemaduras
severase inclusive la muerte.
CUANDOANADA COiVIBUSTIBLEELDEPOSITO
• Apague el limpiadora a presi6n (posici6n OFF)y d_jelo enfriar al menos
por 2 minutos antes de remover la tapa de la combustible. Afloje la
tapa lentamente para dejar que la presi6n salga del tanque.
• Llene el dep6sito de combustible a la intemperie.
• NO Ilene demasiado el tanque. Permita al menos espacio para la
expansi6n del combustible.
• Si se ha derramado combustible, espere a que se evapore antes de
arrancar el motor.
• Mantenga la gasolina alejada de chispas, llamas abiertas, pilotos, calor
y otras fuentes de ignici6n.
• NO encienda un cigarrillo o fume.
1. Utilice gasolina normal sin plomo, limpia y nueva con un
minimo de 86 octanos. NOmezcle aceite con combustible.
2. Limpie el _rea alrededor de la tapa de Ilenado del combustible,
retire la tapa.
3. Agregue lentamente gasolina regular "SIN PLOIVIO"al tanque de
combustible. Use un embudo para evitar que se derrame. Llene
el tanque lentamente hasta aproximadamente 1" por debajo de
la parte la cima del cuello deltubo de Ilenado.
Nivel m_ximo de combustible
3. Instale la tapa del tanque de combustible y la espera para
algOncombustible rociado paraevaporar.
iPRECAUCJON! Los combustibles con mezcla dealcohol (gasohol,
etanol o metanol) pueden atraer la humedad y provocar la
separaci6ny formaci6n de_.cidosdurante el almacenamiento. Los
gases_cidos puedenda_ar el circuito de combustible y el motor
durante el almacenamiento.
Paraevitar estetipo de problemas, vacie el circuito de combustible
cuando vayaa almacenar la unidad durante 30 dias o m_.s.Vacie el
dep6sito decombustible, arranque el motor y d_jelo funcionar hasta
que los conductos de combustible y el carburador queden vacios.
Utilice combustible nuevo la pr6xima temporada. Paraobtener m_.s
informaci6n al respecto, consulte Almacenamiento.
NUNCAutilice productos limpiadores para motores o carburadores
en el dep6sito de combustible, ya que podrian provocar da_os
permanentes.
39

Conecte la manguera yel snministro de agua a
la bomba
NOTA:Antes de conectar las mangueras, retire y desechelos
tapones de transporte de la salida de alta presi6n y de la entrada de
agua dela bomba.
AVISgO
JNO haga funcionar la bomba si no tiene el surninistro conectadoy
_bierto. __ ....
J. Eldaiio a lalimpiadoraa presi6n,resultadodela desatenci6naesta
L precauci6n,noser_cubiertoporla garantia.
1. Retrocedala manguera a alta presi6n y conecte el extremo de
la conexi6n r_pida de la mangueraa la base de la pistola
rociadora. Hale el collar de la conexi6n r_.pida,deslicelo en la
pistola rociadora y suelte el collar. H_lelo en la manguera para
asegurarse deque este conectado firmemente.
ADVERTEHCiA
EI chorro deagua a alta presiOnque este equipo
produce, puedeatravesar la piel y los tejidos
subcutAneos, provocando lesiones de gravedad que
podrian dar lugar a la amputaciOnde un miembro.
•NUNCAconectela mangueradealta presi6nal prolongadordela
boquilla,
Mantengaconectadalamangueraa lam_iquinao a la pistoladerociado
cuandoel sistemaest6presurizado.
AsegtJreseentodo momentodeconectarcorrectamentela pistola
rociadora,lasboquillasy losaccesorios.
De la misma manera, conecte el otto extremo de la mangueraa
alta presi6n, a la salida de alta presi6n (A) de la bomba. Hale el
collar de la conexi6n r_pida, deslicelo en la bombay suelte el
collar. Hale la manguera paraasegurarse que esta bien
conectada.
Antes de que conecte la manguera de jardin a la entrada de
agua, inspeccioneel colador de la entrada (B). Limpie el colador
si tiene residuos o solicite su remplazo si est,. da_ado. NOhaga
funcienarla lirnpiadoraa presi6nsi el filtro de entrada falta
oest_ dahado.
4. Hagacorrer el agua a trav_s de la manguera de su jardin por
30 segundos para limpiar cualquier escombro que se
encuentre en ella. Desconecteel agua.
llVlPORTANTE:Hace NOagua de parar de siphon para el
abastecimiento de agua. Use agua SOLOfria (menos que IO0°F).
AVISO
El uso de una%lvula unidireccional (igualador de presi6n o
vAIvula de retenci6n) en la entrada de la bomba puede producir
da_os en la bomba o en el conector de entrada.
DEBEhaberunminimode3 metros(5 pies)demanguerade riego
libreentrelaentradadela limpiadoraa presi6ny cualquierdispositivo.
comeunigualadordepresiOno unav_ilvuladeretenci6n).
Eldaiio a lalimpiadoraa presi6n,resultadodela desatenci6naesta
precauci6n,no ser_icubiertopor lagarantia.
5. Conecte la manguera de jardin (no exceder 50 pies en la
Iongitud) a la entrada del agua.Apriete con la mano.
AADVERTENClA
Riesgo de lesiones oculares.
• El agua rociada puede salpicar o propulsar objetos.
• Utilice siempre gafas de protecci6n cuando utilice este equipo o si se
encuentra cerca de donde se est9 utilizando.
• Antes de poner en marcha la limpiadora a presi6n, asegOresede Ilevar
gafas de protecci6n adecuadas.
• Utilice SIEMPRElas gafas de seguridad apropiadas.
6. ABRA el agua, apunte con la pistola hacia una direcci6n segura
presione el seguro (bot6n rojo) (C) y apriete el gatillo para
eliminar el aire y las impurezas del sistema de bombeo.
Listade revisionpreviaal arranque del motor
Revise la unidad para asegurarse que haIlevado a cabo los
siguientes procedimientos:
1. Aseg_rese de leer las secciones Reglasde Seguridady
OperaciSnantes de usar el limpiadora a presi6n.
2. Cerci6rese el manecilla es seguro.
3. Aseg_rese de que el tap6n de transporte se ha quitado y de
que la varilla de nivel de aceite se hainstalado en la bomba.
4. Revise que haya sido depositado aceitey est_ al nivel correcto
en la caja del cigOe_aldel motor.
5. Deposite la gasolina adecuadaen el tanque del combustible.
6. Revise quetodas las conexiones de las mangueras (alta
presi6n y suministro de agua) est_n apretadas correctamente y
que no existan dobleces, cortes o da_o de la manguera de alta
presi6n.
7. Proporcione el suministro de agua adecuado (que no exceda
los 100°%
4O

coMoUSARSUM .QUIHAUMPIADORAA
PRESl0N
Si tiene problemas con el funcionamiento de su m_.quinalimpiadora
a presi6n, por favor Ilameala lineade ayuda de la m_quina
limpiadora a presi6n al 1-808-222-3136.
Ubicaci6n del limpiadora apresi6n
Espaciolihre airededor del limpiadora a presi6n
,_ ADVERTENCIA
Los gases y el calor de escape puedeninflamarlos
materiales combustibles y lasestructuras o da_ar el
dep6sito decombustible y provocar un incendio.
• Dejeunespaciominimode152cm (5 pies)alrededordel limpiadoraa
presi6n,incluidala partesuperior.
Coloque la limpiadora a presi6n a la intemperie en una zona en
donde no se acumulen gases de escape mortales. Aseg0resede que
los gases de escape (A) no puedan entrar por ventanas, puertas,
tomas de aire de ventilaci6n u otras aberturas en un espacio
cerrado en el que puedan acumularse. Tengaen cuenta los vientos y
las corriente de aire preponderantes cuando elija la ubicaciOndel
limpiadora a presi6n.
,_ ADVERTENCIA
AI motor funcionar, se produce monOxido de carbono,
:_lun gas inodoro y venenoso.
Respirar monOxidode carbono puede provocar dolor
de cabeza,fatiga, mareos, vOmitos, confusi6n, ataques,
n_.useas,desmayos o incluso la muerte.
• Opereel limpiadoraa presi6nSOLAMENTEal airelibre.
• Aseg0resedequelosgasesde escapeno puedanentrarporventanas,
puertas,tomasdeairedeventilaci6nu otrasaberturasen unespacio
cerradoenel quepuedanacumularse.
• NOarranqueni dejefuncionarel motoreninterioresnienzonas
cerradas,aunquehayaventanasy puertasabiertas.
C6mp darle arranque a su m_quina limpiadora a
preslon
Paradarle arranque a su m_.quinalirnpiadora a presi6n movida a
motor por primera vez, siga estas instrucciones paso a paso. Esta
informaci6n acerca del arranque inicial tambi_n se aplica cuando
vaya a darle arranque al motor despu_s de haber dejado de la
m_.quinalimpiadora a presi6nn fuera de uso por al menos un dia.
1. Coloque la m_.quinalimpiadora a presi6n en un _.reacercana a
una suministro de agua exterior capaz de abasteceragua a un
volumen mayor de 5.0 galones por minuto en no menos que
20 PSI en el fin de arandelade presi6n de la manga del jardin.
2. Revise que la manguerade alta presi6n se encuentre
conectadafirmemente a la pistola de rociado y a la bomba. Yea
Montaje.
3. Aseg_rese que la unidad est6 nivelada.
4. Conecte la manguera de jardin a la entrada del agua. Aprietela
coil la mano.
NOhaga funcionar la bomba si no tiene el suministro conectado y
[abierto.
LE,da oa,a,impiadoraapree, ,,,resu,tadode,adesate,lci naestaJprecauci6n, no ser_ cubierto por la garantia.
5. Abra el agua, apunte con la pistola hacia una direcci6n segura
presione el seguro (bot6n rojo) y apriete el gatillo para eliminar
el aire y las impurezas del sistema de bombeo.
6. Acople la boquilla de extensi6n a la pistola aspersora. Apri_tela
manualmente.
Seleccionela puntas de rocio de conexi6n r_.pidaque usted
deseee ins_rtela en el extremo de la extensi6n de la lanza.Vea
Como Usar las Puntas de Rod&
il
||
mJ
Sitt_ela palancade la v_lvula de combustible (B) en la posici6n
"Encendido" ("On").
OFF
41

/,
10.
Sitt]e la palancadel acelerador (A) en la posici6n "R_pido"
("Fast"), que se distingue con la figura de un conejo.
Mueva la perilla del cebador (B) a la posici6n "Cerr6" ("Closed").
12. 6uando arranque el motor, colOqueseen la posiciOnque se
recomiendaa continuaci6n. Sujete la manija y haleligeramente
la manija del arranque hasta que sienta cierta resistencia.
Despu_s h_lela r_.pidamente.
)PEN
CLOSED
NOTA: En el caso de que el motor est_ caliente, asegOresede que la
perilla del cebador se encuentre en la posici6n "Abra"("Open").
11. SitOeel interruptor de arranque (C) en la posici6n "On"
(Encendido).
OFF
ON
IMPORTANTE:Antes de porter en marcha la limpiadora a presiOn,
asegOresedeIlevar gafas de protecci6n adecuadas.
ADVERTENCIA
Riesgo de lesiones oculares.
• El agua rociada puede salpicar o propulsar objetos.
• Utilicesiempregafasde protecci6ncuandoutiliceesteequipoo sise
encuentracercadedondeseesterutilizando.
• Antesdeponerenmarchalalimpiadoraa presi6n,asegOresede Ilevar
gafasdeprotecci6nadecuadas.
• UtiliceSIEMPRElasgalasdeseguridadapropiadas.
ADVERTEHCiA
El retroceso (repliegue rApido) del cable del arrancador
puede producir lesiones. El retroceso impedirA que el
_11_= usuario suelte el cable a tiempo y tirar_,de su manoy
brazo haciael motor•
Como resultado, podrian producirse fracturas,
contusiones o esguinces.
• NUNCAtire delcabledel arrancadorsin eliminarpreviamentela presi6n
dela pistolarociadora.
•Cuandoarranqueel motor,tire lentamentedel cablehastasentir una
resistenciay, a continuaci6n,tire r_ipidamentede_1paraevitarsu
retroceso.
• Despu6squecadatentativaqueempieza,dondemotorfalladecorrer,
siempreseiialarel fusilenladirecci6nsegura,presioneelseguro
(bot6nrojo)y el disparadordelfusil delrociodel estruj6nparaliberar
la presi6nalta.
• Sujetefirmementela pistolarociadoracon ambasmanoscuando
apliqueun rociadoaalta presi6nparaevitarlesionescuandose
produzcael retrocesodela pistol&
13. Jale la cuerda dearranquelentamente. NOpermita que la cuerda
regresebruscamenteen contra del arrancador.
14. Cuando arranque el motor, mueva lentamente la perilla del
cebadora la posici6n "Abra" ("Open"). Si el motor falla, mueva
la perilla del cebador a la posiciOn "Cerr6"("Clesed"), y despu_s
a la posici6n "Abra" ("Open").
15. Si los fuegos de motor, pero no contint]a correr, siempre
se_alar el fusil en la direcci6n segura, presione el seguro
(bot6n rojo) y el disparador del fusil del rocio del estrujOn para
liberar la presi6n alta. Mueva la perilla del cebadora la posiciOn
"Abra"("Open"),y repite los pasos 12 por 14.
16. Si el motor no arranca despu_s de 6 tirones, mueva la perilla
del cebadora la posici6n "Abra" ("Open"),y repite los pasos
12 por 14.
42

ADVERTEHCIA
El chorro de agua a alta presiOn que este equipo
produce,puedeatravesar la piely los tejidos
:_ subcut_.neos, provocando lesiones de gravedad que
podrian dar lugar a la amputaci6n de un miembro.
La pistola rociadora contiene agua a alta presiOn incluso
con el motor parado y el agua desconectada, que puede
causar la herida.
• NO permita en ningSn momento que NINOS operen la m_iquina
limpiadora a presiOn.
•Mantenga conectada la manguera a la m_iquinao a la pistola de rociado
cuando el sistema est6 presurizado.
•NUNCA apunte la pistola a la gente, animales o plantas.
NO fije la pistola rociadora en la posiciOn abierta.
•NO abandone la pistola rociadora cuando la m_iquinaest6 en
funcionamiento.
•NUNCA utilice una pistola rociadora cuyo seguro o protecciOn para el
gatillo no est6 en perfecto estado de funcionamiento.
•Asegt_reseen todo momento de conectar correctamente la pistola
rociadora, las boquillas y los accesorios.
ADVERTENCIA
s_ Elcontacto con la zona del silenciador puede producir
quemaduras graves.
Los gasesy el calor de escapepueden inflamar los
_ ateriales combustibles y las estructuras o da_ar el
depOsitode combustible y provocar un incendio.
• NO toque las superficies calientes y EVlTE los gases del escape a alta
temperatura.
• Permita que el equipo se enfrie antes de tocarlo.
• Deje un espacio minimo de 152 cm (5 pies) alrededor del limpiadora a
presiOn, incluida la parte superior.
• El COdigode Normativa Federal (CFR,Titulo 36: Parques, Bosquesy
Propiedad POblica)obliga a instalar una pantalla apagachispas en los
equipos con motor de combustion interno y a mantenerla en buenas
condiciones de funcionamiento, conforme a la norma 5100-1C (o
posterior) del Servicio Forestalde la USDA. Enel Estado deCalifornia.
la leyexige el uso de una pantalla apagachispas (SecciOn4442 del
COdigode Recursos POblicosde California). En otros estados puede
haber leyes similares en vigor.
NOTA:Siempremantengala palancadelaceleradorenel "R_pido"
("Fast")posicionecudndooperarla arandeladela presi6n.
C6mo detener su m_quina limpiadora apresi_n
1. Esperequeel motordescanse.
2.
3.
4.
Sitt]e la palanca del acelerador en la posiciOn"Slow" (Lento),
indicadacon una tortuga.
Muevala interruptor de arranque a la posiciOn"Off"("Lejes").
Sitt]e la palanca de la v_lvula de combustible en la posici6n
"Off"("Lejes").
ADVEBTENCIA
EImotorpodriapetardear,incendiarseoda_arse.
• NO coloque la palanca estranguladora en la posiciOn "Closed" para
parar el motor.
5. SIEMPREfusil de punto en una direcciOnsegura, presione el
seguro (bot6n rojo) y el disparador del fusil del rocio del
estrujOn para liberar la presiOnretenida de la pleamar.
IMPORTANTE: Lapistola rociadora contiene agua a alta presiOn
incluso con el motor parado y el agua desconectada.
ADVERTENCIA
El chorro de agua a alta presi6n que este equipo
produce, puedeatravesar la piel y los tejidos
_ ubcut_.neos,provocando lesiones de gravedad que
)odrian dar lugar a la amputaciOnde un miembro.
Lapistola rociadoracontieneaguaa alta presiOnincluso
con el motor paradoy el agua desconectada,quepuede
causarlaherida.
• Mantengaconectadalamangueraa lam_quinao a lapistoladerociado
cuandoel sistemaest6presurizado.
• SIEMPREquepareel motor,apuntecon la pistolarociadorahaciauna
direcciOnsegura,presioneelseguro(botChrojo)y aprieteelgatillo
paradescargarla presiOny evitarelretroceso.
43

C6mousarlas puntasde rocio
La extensi6n para boquillas de conexi6n r_pida le permite usar cinco
puntas de rocio diferentes. Siempre que est_activado el seguro del
gatillo dela pistola rociadora, se puedencambiar las puntas de rocio
con la limpiadora a presi6n en funcionamiento. Laspuntas de rocio
tienen diferentes patrones de rociado como se ilustra a continuaci6n.
Para cambiar las puntas de rocio:
1. Desplace haciaatr_s el anillo de conexiOn r_pida y tire de las
puntas de rocio. Guarde las puntas de rocio en el soporte
situado en el manubrio.
ADVERTEHCIA
El chorro deagua a alta pres[Onque este equipo
_ produce, puedeatravesar la piel y los tejidos
subcut_neos, provocando lesiones de gravedad que
podrian dar lugar a la amputaci6n de un miembro.
• NUNCAintercarnbiepuntasderociosin haberaseguradoelcerrojode
seguridaddel gatillo.
• NOtuerzalaspuntasderocioalrociar.
2. Seleccionela punta de rocio deseada:
•Paraenjuague suave, seleccione la punta de rocio blanca
de 400o verde de 25°,
•Parafregar la superficie, seleccione la punta de rocio
amarilla de 15° o roja de 0°.
•Paraaplicar productos detergentes, seleccione la punta de
rocio negra.
3. Desplace haciaatr_s el anillo, inserte la nueva punta de rocio y
suelte el anillo. Tire de la punta de rocio para comprobar que
est_ bien montada.
Sugerencias de use
o Para una limpieza m_.sefectiva, mantenga la boquilla de rociado
de 20 a 61 cm (8 a 24 pulgadas) de la superficie de limpieza.
. Si coloca la boquilla de rociado demasiado cerca podria dafiar la
superficie, especialmente cuando est_ usando el modo de alta
presiOn.
o NO coloque la boquilla a menos de 15 cm (6 pulgadas) cuando
est_ limpiando Ilantas.
Umpieza yaplicaci6n del detergente
, PRECAUCI6fl
Los productos quimicos pueden provocar lesiones de gravedad
/y/o dafios materiales.
NUNCAutiliceliquidosc_usticosconla lirnpiadoraa presi6n.
UseEXCLUSlVAMENTEdetergenteso jabonesespecialesparala
lirnpiadoraa presi6n.Sigatodaslas instruccionesdelfabricante.
Para apiicar el detergente, siga los siguientes pases:
1. Reviseel uso de las puntas de rocio.
2. Prepare la soluciOndetergente siguiendo las instrucciones del
fabricante.
3. Coloque el extremo pequefio del filtro del tubo de inyecciOnde
detergente dentro del contenedor del detergente.
NOTA:AsegQresede que el filtro est_totalmente sumergido
mientras aplica el detergente.
AViSO
El contacto con el silenciador a alta temperatura puede producir
dafios en el tubo de inyecci6nde detergente.
Cuandocoloqueelfiltro en labotelladeldetergente,coloqueeltubo de
rnaneraquenoentreencontactoaccidentalrnenteconelsilenciador
caliente.
4. AsegOresede que la puntas de rocio negra est_ instalada en la
extensi6n para boquillas.
NOTA:NO se puede aplicar detergente con las puntas de rocio de
alta presiOn(Blanca,Verde, Amarilla o Roja).
4. AsegOresede que la manguera del jardin estAconectada a la
entrada deagua. Compruebe que la manguera de alta presi6n
estAconectadaa la pistola rociadora y a la bomba. Abra la
alimentaci6n de agua.
AVlSO
Usted deberAconectar todas las mangueras antes de darle
arranque al motor.
Arrancarel motorsintenertodaslas rnanguerasconectadasy sinel
surninistrodeaguaABIERTO(ON)causar_eldaiiode la bornba.
Eldaiio a lalirnpiadoraa presi6n,resultadodela desatenci6naesta
precauci6n,no ser_cubiertopor lagarantia.
La Presi6n
Baja Usada __
paraaplicar
qdmicos
Negra
400
Blanca
La Presi6nAita
1,ji
250 15o
Verde Amarilla
0o
Roja
44

5. Marcha el motor siguiendo las instrucciones de la secci6n
C6mo porter en fundonamiento la fimpiadora a presidn.
6. Aplique el detergentesobre la superficie seca, comenzandoen
la parte inferior del _reay dirigi_ndose haciaarriba, utilizando
movimientos largos, parejos y superpuestos.
7. Permita que el detergente penetre de 3 a 5 minutos antes de
enjuagar. Vuelva a aplicar cuando sea necesario para evitar que
la superficie se seque. NOpermita que el detergente se seque.
Si permite que el detergente se seque, la superficie podria
quedar con manchas.
IMPORTANTE:Usteddeber_,lavar el sistema de inyecci6n de
quimicos despu6s de cada uso colocando el filtro en un balde de
agua limpia y haciendo funcionar la m_.quinalimpiadora a presi6n
de 1 a 2 minutos en el modo de bajapresi6n.
Enjuage de la m_quina limpiadora apresi6n
Para Enjuage:
1. Retire la punta de rocio negra para detergente de la extensi6n
para boquillas.
2. Seleccionee instale la punta de rocio de alta presi6n que desee
siguiendo las instrucciones de C6mo usar las puntas de rocfo.
3. Mantenga la pistola de rociado a una distancia segura del _.rea
que planearociar.
ADVEBTEHCIA
EI retroceso de la pistola rociadora puede provocarcaidas.
• Utilice la limpiadora a presi6n desde una superficie estable.
•Extreme las precauciones si necesita utilizar la limpiadora a presi6n
desde una escalera, un andamio u otro lugar similar.
•Sujete firmemente la pistola rociadora con ambas manos cuando
aplique un rociado a alta presi6n paraevitar lesiones cuando se
produzca el retroceso de la pistola.
Aumente (disminuya) la presi6n de rociado al darlevuelta a la
perilla (A) enla direcci6n de las manecillas del reloj (en
direcciOnopuesta). Use una presi6n m_s baja para lavar cosas
como carros o botes. Use una presi6n rods alta para eliminar
pintura y grasa de calzadas.
Limpieza del tubo de inyecci6n de detergente
Si us6 el tubo, debelavarlo con agua limpia antes de pararel motor.
1. Coloque el filtro y la inyecci6n de detergente en un balde Ileno
de agualimpia.
2. Quite la punta de rocio de alta presiOndel prolongador de la
boquilla.
3. Seleccionee instale la punta de rocio negra (detergente)
siguiendo las instrucciones de la secci6n C6mo usarlas puntas
de rocfo.
4. Lave de 1 a 2 minutos.
5. Pareel motor siguiendo las instrucciones de la secci6n C6mo
detener su limpiadora a presi6n y cierre la entrada de agua.
6. SIEMPREapunte la pistola rociador hacia una direcci6n
segura, optima el bot6n rojo y apriete el gatillo de la pistola
rociadora para liberar la presi6n.
llVIPORTANTE:La pistola rociadora contiene aguaa alta presi6n
incluso cuando el motor est_apagadoy el tubo de agua est_
desconectado.
ADVERTEHCIA
El chorro de agua a alta presi6n que este equipo
produce, puedeatravesar la piel y los tejidos
_ ubcut_.neos,provocando lesiones de gravedad que
)odrian dar lugar a la amputaciOnde un miembro.
Lapistola rociadoracontieneaguaa alta presi6nincluso
con el motor paradoy el agua desconectada,quepuede
causarla herida.
• Mantengaconectadalamangueraa lam_iquinao a lapistoladerociado
cuandoel sistemaest6presurizado.
•SIEMPREquepareel motor,apuntecon la pistolarociadorahaciauna
direcci6nsegura,presioneelseguro(bot6nrojo)y aprieteelgatillo
paradescargarla presi6ny evitarelretroceso.
Sistema de enfriamiento autom_tico (alivio
t6rmico)
Elagua que circula dentro de la bomba puede alcanzartemperaturas
entre los 125°-155°F si hacefuncionar el motor de su m_quina
limpiadora a presi6n de 3 a 5 minutos sin oprimir el gatillo de la
pistola de rociado. El sistema de enfriamiento autom_tica se activa a
estatemperatura y enfria la bomba descargande agua caliente en
el pise, evitande asi el dahe interne de la hemha.
5. Aplique un rociado de alta presi6n en un _reapequefia,
despu6s revise si la superficie presentadafios. Si no encuentra
dafios, puede continuar con el trabajo de limpieza.
6. Comience en la parte superior del _rea que va a enjuagar,
dirigi6ndose hacia abajo con los mismos movimientos
superpuestos que utiliz6 para la limpieza.
45

ESPECJFJCACIONESDELPRODUCTO
Especificaciones de la m_quina limpiadora a
preseon
Presi6n ........................................ 3,800 PSi
Velocidad de flujo ................................ 4,0 GPM
Mezcla de quimicos .................. Use segOninstrucciones
Temperaturadel suministro
de agua ............................ Que no excedalos IO0°F
Oapacidadde la bomba de aceite .............. 0.35 I (12 fl. oz.)
Especificaciones del motor
Caballosde Fuerza ........................... 13 a 3600 rpm
Di_metro de camisa .................... 88 mm (3,5 pulgadas)
Carrera .............................. 64 mm (2,5 pulgadas)
Desplazamiento ....................... 389 cc (23,7 pulgadas)
Bujia
Resistor: .................................. NGK BPR6ES
Calibrar Separaci6n a: ................. 0,028-0,031 pulgadas
(O,70-O,80mm)
AdmisiOn ......................... 0,15 mm _+0,02 mm (frio)
Escape .......................... 0,20 mm _+0,02 mm (frio)
Capacidadde Gasolina ......................... 1.72 galones
Tipo de Aceite ................................ SAE 10W-30
Estalimpiadoraa presi6nest_clasificadaconformeala norma
PWl01 (comprobaci6ny clasificaci6nde rendimientode
limpiadorasapresi6n)dela Asociaci6ndefabricantesdebombasa
presi6n(PressureWasherManufactureAssociation,PWMA).
RESPONSABJLJDADESDELPROPIETARIO
Sioa el programa de mantenimiento seg_n el nL'imerode horas o
seg_n el calendario, Io que sucedaprimero. Se requiere de servicio
con mayor frecuencia cuando opere la unidad en las condiciones
adversas descritas a continuaci6n.
Plan de mantenimiento
'* Cambie el aceite del motor
h as,o di [ i'i:: i}}ii}i}i}i}
[ [ii}:[ i i _:
" Revise/limpie el filtro de la entrada de agua1
', Revise la manguera dealta presi6n
', Revise la manguera del detergente
oRevise la pistola aspersora y verifique que no hayafugas en
el ensamblaje
• Limpie los residuos
', Compruebe el filtro de aire
', Compruebe el nivel de aceite
'* Limpie el filtro de aire2
[[ [ [ [ [[[ [[ [[}[ [i[[C [ i}[ [[ [[[
', Cambiar el aceite del motor
', Limpie el recipiente para sedimentos
', Compruebey ajuste la bujia
', Servicio al sistema de la bujia1
', Limpie el dep6sito de combustible y el filtro
}}L J[}[ J[}[ JJJ[ J[}_[[ J[[ } }}[[ [[} ][} [}J[ t[[i[]J[][ ]J[ :[]J][}[i[[[ tLtLtLtLtLtLtLtLtLtLtLtLtLtLft ft ft ft ft [
o Cambio del aceite de la bombas
i}[ [ [[ [[;[} [[ [[[ [ [[,i i[[ [[ [ [ [ [ [ [ [ [ [
" Sustituya el filtro de airP
" Sustituya la bujia
" Compruebe y ajuste el ralentP
', Compruebey ajuste de holgura de las v_.lvulas4
t
" Limpie la c_mara decombusti6n 4
• Oompruebe el tubo de combustible (sustituir si es
necesario)4
Limpiar si est_ obstruido. Remplazar si est_ perforado o roto.
2 SustitOyalo con m_s frecuencia en condiciones de suciedad o polvo.
3 Sustituya Onicamente el elemento de papel.
4 Para reparar estos elementos, acuda al servicio t_cnico de su distribuidor.
s Cambie el aceite despu_s de las primeras 50 horas de funcionamiento y luego,
cada 200 horas o 3 meses, Io que suceda antes.
46

RecomendacJones geileraJes
El mantenimiento peri6dico mejorar_ el rendimiento y prolongar_,la
vida Otildel limpiadora a presi6n. Si necesita asistencia, consulte
con un distribuidor de Sears o con otro distribuidor cualificado.
La garantiade la m_.quinalimpiadoraa presi6n NOcubre los
elementosque hansido sujetos a abusoo negligenciapor parte del
operador. Parahacerv_.lidala coberturatotal dela garantia,el
operadordeber_,mantenerla lavadoradepresi6n tal y como se indica
en el manual,incluyendo su adecuadoalmacenamiento,como se
describeen la secci6nAtmacenamientoen el Inviernoy
Afl_acenamientoprolongado.
NOTA: Unavez al a_o, usted deber_,limpiar o remplazar la bujia y el
filtro de aire. Una bujia nuevay un filtro de aire limpio garantizan
una mezcla decombustible-aire adecuaday le ayuda a su motor a
funcionar mejor y a tener unavida t]til m_s prolongada.
Control de emisiones
Cualquier establecimientoo individuoespecializadoen la
reparaci6nde metores que nosean de autemoci6n puede
encargarsedel mantenimiento, la sustituci6n y la reparaci6nde
los dispositivosy sistemas de controlde emisiones.Noobstante,
para realizarla revisi6n gratuita decontrol de emisiones, deber_
acudir a un distribuidor autorizado por el fabricante. V_ase Garantfa
deemisiones.
Antes de carla use
1. Revise el nivel de aceite del motor.
2. Limpie los residuos.
3. Revise si existen da_os en el colador de la entrada deagua.
4. Revise si existen da_os en el manguera de alta presi6n.
5. Revise si existen fugas en el conjunto de la extensi6n para
boquilla y pistola.
6. Elimine el aire y los contaminantes de la bomba.
MANTENIiViJENTODELA MAQUINA
LliViPJADORAA PRESI6N
Limpielos residues
Limpie a diario, o antes de cada uso, los residuos acumulados en el
limpiadora a presiOn.Mantenga limpias las conexiones, los muelles
y los mandos. Limpie todo resto de combustible de la zona que
rodea al silenciador y de detr_.sdel mismo. Inspeccionelas ranuras
para aire de enfriamiento y la aperturadel limpiadora a presiOn.
Estasaperturas deber_.nmantenerse limpias y despejadas.
Mantenga limpios los componentes del limpiadora a presi6n para
reducir el riesgo de sobrecalentamiento e igniciOnde los residuos
acumulados.
o Utilice un trapo hSmedo para limpiar las superficies exteriores.
AViSO
El tratamiento inadecuado del limpiadora a presi6n puede
acortar su vida productiva.
NOinsertecualquierobjetoa trav_sdelasranurasdeenfriamiento.
Puedeusaruncepillodecerdassuavespararetirarlasuciedad
endurecida,aceite,etc.
Puedeusarunam_quinaaspiradoraparaeliminarsuciedady
residuossueltos.
Revisey fimpie el coladorde entrada
Examineel colador de entrada de la manguera dejardin. Limpielo si
est,.tapado o remplacelo si est_ roto.
Revisela manguerade alta presidn
Las rnanguerasde alta presi6n pueden desarrollar fugas debido al
desgaste, dobleces o abuso. Revise la manguera antes de cada uso.
Revise si existen cortes, fugas, abrasiones, levantamiento de la
cubierta, da_o o movimiento de los acoplamientos. Si existe
cualquiera de estas condiciones, remplace la manguera
inmediatamente.
ADVERTENCIA
EI chorro deagua a alta presiOnque este equipo
produce, puedeatravesar la piel y los tejidos
subcut_.neos,provocando lesiones de gravedad que
)odrian dar lugar a la amputaci6n de un miembro.
• NUNCAreparela mangueradealtapresi6n.Remplacela.
• Remplacelaconunamangueraquecumplaconlacapacidadminimade
presi6ndesu mdquinalimpiadoraa presi6n.
Revisela pistolay la extensionparaboquiilas
Examinezle branchement du boyauau pistolet _.pulv_risation et
assurez-vous que le branchement est solide. FaitesI'essai de la
d_tente en appuyant sur le bouton rouge et en vous assurant que la
d_tente revient _ sa position initiale Iorsque vous la rel_.chez.Vous
ne devriezpas _tre en mesure d'actionner la d_tente sansavoir
appuy_ sur le bouton rouge. Remplacezle pistolet _.pulv_risation
imm_diatement s'il _choue un de ces essais.
Mantenimiento de las puntas de rocio
Si siente una sensaci6n pulsante al momento de apretar el gatillo de
la pistola rociadora, puedeque seacausadapor la presiOnexcesiva
enla bomba. La causa principal dela presi6n excesivaenla bomba
es cuando la punta de rocio se encuentra atascadao tapada con
materialesextra_os, tales como tierra, etc. Paracorregir el
problema, limpie inmediatamente la punta de rocio siguiendo las
instrucciones siguientes:
1. Apague el motor y el suministro de agua.
2. SIEMPREapunte la pistola rociadora hacia una direcci6n
segura, optima el bot6n rojo y apriete el gatillo de la pistola
rociadora para liberar la presi6n.
ADVERTENCJA
El chorro de agua a alta presi6n que este equipo
produce, puedeatravesar la piel y los tejidos
_ ubcut_.neos,provocando lesiones de gravedad que
)odrian dar lugar a la amputaci6n de un miembro.
Lapistola rociadoracontieneaguaa alta presi6nincluso
con el motor paradoy el agua desconectada,quepuede
causarlaherida.
•Mantengaconectadalamangueraa lam;iquinao a lapistoladerociado
cuandoel sistemaest_presurizado.
•SIEMPREquepareel motor,apuntecon la pistolarociadorahaciauna
direcci6nsegura,presioneelseguro(botOnrojo)y aprieteelgatillo
paradescargarla presi6ny evitarelretroceso.
47

3. Remuevala punta de rocio del extremo de la extension para
boquillas.
4. Use un sujetapapeles peque_o para liberar cualquier material
extra_o que est6 tapando la punta de rocio (A).
5. Retire la extension para boquillas de la pistola.
6. Usando una manguera de jardin, remueva cualquier desecho
adicional, poniendo agua en la extension de la boquilla. Haga
esto en un intervalo de 30 a 60 segundos.
7. Instale de nuevo la punta de rocio en la extension.
8. Conecte de nuevo la extension de la boquilla a la pistola
rociadora.
9. Aseg_rese de que la manguerade jardin estAconectadaa la
entrada de agua.Compruebe que la manguera de alta presiOn
est_ conectadaa la pistola rociadora y a la bomba. Abra la
entrada de agua.
10. Enciendael motor siguiendo las instrucciones de la secciOn
COmoarrancar su limpiadora a presiOn.
11. Pruebe la limpiadora a presiOn haciendo funcionar cada una de
las puntas de rocio de conexiOn rApidaque vienen con la
limpiadora a presiOn.
Mantenimiento de los anillos 'o'
Compre una O-Juego de ReparaciOndeAnillo en sus Sears locales
o Ilamando1-800-4-MY-HOME (469-4663) o en linea en
www.sears.com. No se incluye con la arandela de la presiOn. Este
juego incluye los anillos del reemplazoO, arandela de caucho y filtro
de cala de agua. Re%rase a la hoja de la instrucciOn proporcionada
en el juego para atender a su unidad'los anillos de s O.
ADVERTEHCiA
EI chorro deagua.a alta presiOnque este equipo
produce, puedeatravesar la piel y los tejidos
subcut_.neos,provocando lesiones de gravedad que
)odrian dar lugar a la amputaciOn de un miembro.
• NUNCAreparaciOnquesalelasconexionesconselladorde cualquier
tipo.Reemplaceelanillo '0' o elsello.
Mantenimiento de la bomba de aceite
Cambiode aceite de la bomba
Cambie el aceite despuOsde las primeras 50 horas de
funcionamiento y luego, cada 200 horas o 3 meses, Io que suceda
antes.
NOTA:AI cambiar el aceite de la bomba, use exclusivamente aceite
no detergentede alta calidad de viscosidad 30. NOutilice aditivos
especiales.
Camhieel aceite comose indica a continuaci6n:
1. Limpie la zona de alrededor del tapOn devaciado de aceite de
latOnque se encuentra en la parte inferior de la bomba.
2. Retire el tapOn devaciado de aceite. Vacie todo el aceite de la
bomba en un recipiente homologado.
3. Cuando la bomba se hayavaciado completamente de aceite,
vuelva a colocar el tapOnde vaciado y apri_telo firmemente.
4. Limpie la zona de alrededor de la varilla de nivel de aceite de la
bomba. Extraiga la varilla de nivel y Ilene la bomba con el
aceite recomendado (aproximadamente,0.351o 12 oz.) hasta
que el nivel alcance la marca "Full" (Lleno) de la varilla.
5. Instale la varilla de nivel de aceite.
6. Limpie el aceite que se hayapodido derramar.
48

MANTENJMIENTODELMOTOR
ADVERTENCIA
_ Chispear involuntariopuedetener como resultado el
¢ fuego o el golpe el_ctrico.
CUANDOAJUSTE 0 HAGA REPARACIONESA SU MAQUINA
LIMPJADORAA PRESJOH
•Siernpredesconecteelalar'nbredela bujiay col6quelodondeno pueda
entrarencontactoconlabujia.
CUANDOPRUEBE LA BUJ|A DEL MOTOR
• Utiliceun comprobadordebujiashomologado.
• NOcompruebalachispasin labujiainstalada.
Aceite
Recomendaciones sohre el aceite
NOTA:Cuandoa_adaaceite al c_.rterdel motor, utilice s61oaceite
detergentede automoci6n para motores decuatro tiempos dealta
calidad con clasificaci6n deservicio API SJ o SLy viscosidad SAE
10W-30. NOutilice aditivos especiales.
1. Seleccione unaviscosidad de acuerdo a la tabla siguiente.
_mlOV _ou _ mmm _
_B
-20 020 40 60 80 lOO°F J
-30 -20 -10 010 20 30 40°C
TemperaturaAmbiente
NOTA: Las otras viscosidades que se indican en la tabla se pueden
utilizar siempre que latemperatura media de su zona est_ dentro de
los limites recomendados.
Comprohaci6ndel nivel de aceite
Cornpruebeel nivel de aceite antes de cada uso o cada8 horas de
funcionamiento, como minimo. Rellenesi es necesario.
1. Coloque el limpiadora a presi6n sobre una superficie nivelada.
2. Retire lavarilla de medici6n y limpie la varilla de medici6n.
Instale el varilla de mediciOn.Quite y verifique nivel del aceite.
3. Compruebe que el aceite hasta la marca "Full" de la varilla de
medici6n. Instale el varilla de medici6n, apriete firmemente.
Adici6n de aceite del motor
1. Coloque el limpiadora a presi6n sobre una superficie nivelada.
2. Compruebe el nivel de aceitetal como se indica en la secci6n
ComprobaciSn del nivel deaceite.
3. Au besoin, videz lentement I'huile dans I'orifice de remplissage
d'huile, jusqu'_ ce qu'elle d_borde par I'orifice du couvercle de
remplissage d'huile.
4. Instale el varilla de medici6n, apriete firmemente.
Camhiode aceite del motor
Cambie el aceite del motor despu6s de las primeras 20 horas y cada
100 horas o 6 meses a partir de ese momento. Si est,. utilizando su
m_.quinalimpiadora a presi6n bajo condiciones de extrema suciedad
o polvo, o en un clima demasiado caliente, haga el cambio deaceite
con mayor frecuencia.
AVISO
Eviteel contacto prolongado o repetido de piel con aceite usado
de motor.
Elaceiteusadodel motor hasido mostradoal cancerde lapieldela
causaen ciertosanimalesdel laboratorio.
Completamentelavadoexpusoareasconeljab6ny el agua.
IVlANTENERFUERADELALCANCEDE LOSNINOS.NO
CONTAMINE.CONSERVELOS RECURSOS.DEPOSlTEEL
ACEITEUSADOENUN PUNTODERECOGIDA.
Cambie el aceite con el motor caliente despu_s del funcionamiento,
como se indica a continuaci6n:
1. Desconectealambre de bujia y Io mantiene lejos del bujia.
2. Coloque un recipiente adecuado debajo del motor para recoger
el aceite usado. Quite la varilla de nivel de aceite (A), el tap6n
devaciado (B) y la arandela.
Lirnite inferior
3. Vacie completamente el aceite. Vuelva a colocar eltap6n de
vaciado y la arandela.Apriete firmemente el tap6n de vaciado.
4. Coloquela limpiadoraa presi6n en una superficie plana.
5. Vierta lentamenteaceite en la abertura de Ilenado (C). Haga
pausas para permitir que el aceite se deposite. Llene hasta el
borde del orificio de Ilenado.
6. Enrosque la varilla de nivel de aceite y apri_tela firmemente.
7. Limpie los residuos de aceite.
8. Conecte de nuevoalambre de bujia al bujia.
49

Servicio del depurador de aire
Su motor no funcionar_ adecuadamentey puede dafiarse si usted Io
hace funcionar con un depurador de aire sucio.
Limpie elfiltro deaire cada50 horasdefuncionamientoo cadatres
meses,Io que sucedaantes.Suministre serviciomAsfrecuentementesi
la unidadfunciona bajocondicionesde muchasuciedado polvo. Cambie
elfiltro de papelcada300 horaso unavez alafio, Io que sucedaantes.
Los repuestosse encuentrandisponiblesen su centrodeservicio local
Sears.
Paradar servicio al filtro de aire, siga los pasos que se detallan a
continuaci6n:
1. Quite la tuerca de mariposa (A) de la tapa del filtro de aire (B)
y quite latapa.
2. Quitela tuerca de mariposa (C)del filtrode aire (D) y quite el
filtro.
3. Quite el filtro de espuma (E) del filtro de papel.
4. Inspeccione ambos elementos del filtro de aire. SustitOyalos si
presentan da_os.
5. Limpie el elemento de papel del filtro de aire golpet@.ndolo
contra una superficie dura para eliminar la suciedad.
Alternativamente, sople a trav_s del elemento del filtro con aire
comprimido (a no m_.sde 30 psi) desde el interior.
IIVlPORTANTE:NUNCAcepille el elemento para eliminar la suciedad,
s61oconseguiria incrustarla en las fibras.
6. Limpie el elemento de espuma del filtro de aire en agua
templada con jab6n, acl_.reloy s6quelo completamente.
Alternativamente, limpielo con un disolvente no inflamable y
d6jelo secar. Sumerja el elementode espuma en aceite de
motor limpio y escOrralo paraeliminar el exceso de aceite.
IIVIPORTANTE:El motor producir_, humo si la espuma contiene
demasiado aceite.
7. Utilice un trapo hOmedopara eliminar la suciedad desde el
interior dela base y la tapa del filtro de aire. No deje que la
suciedad entre por el conducto de aire que va hasta el
carburador.
8. Coloque el elementode espuma del filtro de aire sobre el
elementode papely vuelva a montar el conjunto del filtro de
aire. AsegOresede que la junta situada bajo el filtro de aire est6
bien colocada. Apriete firmemente la tuerca de mariposa del
filtro deaire.
9. Instale la tapa del filtro de aire y apriete firmemente su tuerca
de mariposa.
NOTA:Usted puede comprar los elementos del filtro de aire nuevos
Ilamandoal 1-800-4-1VlY-HOME{469-4663}.
Bempiace la bujia
Chequey ajusta la bujia anualmente o cada 100 horas de operaci6n.
Remplacela bujia anualmenteo cada 300 horas de operaci6n.
1. Limpie el _rea alrededor de la bujia.
2. Retire y revise la bujia.
3. Cambie la bujia si los electrodos est_n desgastados, o si el
aislador est_ roto o partido.
4. Revisela separaci6n del electrodo con un calibrador de
alambrey ajuste la separaci6n a 0.028-0.031 pulgadas (0.70-
0.80 mm), si es necesario.
5. Instale la bujia y aprietela firmemente.
NOTA:Puedeadquirir nuevosbujia al n_mero telef6nico
1-800-4-MY-HOME(469-466S}.
Carburader
Si usted cree que su carburador necesitaajuste, visite su centro de
servicio Sears m_.scercano. El funcionamientodel motor podria
resultar afectado a altitudes por encima de 5000 pies. Para
operaciones a elevacionesmayores, p6ngase en contacto con el
centro de servicio Sears m_.scercano.
5O

Servicio de] apaoachispas
El motor de su unidad no viene equipado def_brica con un
apagachispas. En ciertas _reas, es ilegaloperar motores que no
tengan apagachispas. Revise las leyes y regulaciones locales. Si
necesitaapagachispas, Io puede comprar en su centro de servicio
Sears m_.scercano. Para obtener el m]mero de parte Ilame al
1-800-4-MY-HOIVIE(469-4663).
Deber_ suministrarle servicio al apagachispascada 100 horas para
conservarlo en buenas condiciones defuncionamiento.
Si el motor ha estado funcionando, el silenciador estar_ bastante
caliente. Deje que el silenciador se enfrie para poder darle servicio al
apagachispas.
ADVERTENCIA
Elcontacto con la zona del silenciador puede producir
quemaduras graves.
Los gasesy el calor de escapepueden inflamar los
_ ateriales combustibles y las estructuras o da_ar el
depOsitode combustible y provocar un incendio.
•NO toque las superficies calientes y EVlTE los gases del escape a alta
ternperatura.
• Perrnita que el equipo se enfrie antes de tocarlo.
•Deje un espacio minirno de 152 crn (5 pies) alrededor del lirnpiadora a
presi6n, incluida la parte superior.
•El COdigode Norrnativa Federal (CFR,Titulo 36: Parques, Bosquesy
Propiedad POblica)obliga a instalar una pantalla apagachispas en los
equipos con motor de cornbusti6n interno y a rnantenerla en buenas
condiciones de funcionarniento, conforrne a la norrna 5100-1C (o
posterior) del Servicio Forestalde la USDA. Enel Estado deCalifornia.
la leyexige el use de una pantalla apagachispas (Secci6n 4442 del
COdigode Recursos POblicosde California). En otros estados puede
haber leyes sirnilares en vigor.
1. Quitelasdostuercasde8 mm(A)y extraigael silenciador(B)
delcilindro.
2. Quite los tres tornillos de 4 mm (C) del deflector de escape (D)
y retire el deflector.
3. Quite los cuatro tornillos de 5 mm (E) del protector del
silenciador (F) y retire el protector.
4. Quite los tornillos de 4 mm (6) del apagachispas (H) y separe
este del silenciador.
5. Utilice un cepillo para eliminar la carbonilla acumulada en la
pantalla delapagachispas. Tenga cuidado de no da_ar la
pantalla.
IMPORTANTE:La pantalla del apagachispasno debe estar rota ni
agujereada. Sustituya el apagachispas si presenta da_os.
6. Monte el apagachispas, el protector del silenciador, el deflector
de escapey el silenciador siguiendo el orden inverso de
desmontaje.
Limpieza del recipiente para sedimentos
1. Sitt]e la v_lvula de combustible en la posici6n "Off"y retire
despu_s el recipiente para sedimentos (J) y la junta t6rica (K).
2. Lave el recipiente y la junta tOrica con disolvente no inflamable.
Sequea fondo.
3. Coloque la junta t6rica en la vAIvulade combustible e instale el
recipiente para sedimentos. Apriete firmemente el recipiente
parasedimentos.
4. Sitt]e la v_lvula de combustible en la posiciOn"On"y
compruebe si hayfugas. Encaso afirmativo, sustituya la junta
t6rica.
51

DESPUESDE CADAUS8
No deberA haber aguaen la unidad por largosperiodos de tiempo.
Los sedimentos de minerales se pueden depositar en partes de la
bombay "congelar" su funcionamiento. Llevea cabo estos
procedirnientos despu_s de cada uso:
1. Pare el motor, cierre la alirnentaci6n de agua, apunte con la
pistola rociadora hacia una direcci6n segura, pulse el bot6n
rojo y apriete el gatillo para descargar la presi6n. Dejeenfriar
el motor.
ADVERTENCIA
Elchorro de agua a alta presi6n que este equipo
produce, puede atravesar la piel y los tejidos
_ subcutAneos, provocando lesiones de gravedad que
)odrian dar lugar a la amputaci6n de un miembro.
Lapistolarociadoracontieneaguaa alta presi6n incluso
con el motor paradoy el aguadesconectada,que puede
causarla herida.
Mantengaconectadala mangueraa la m_quinao a lapistoladerociado
cuandoelsistemaest6presurizado.
SlEMPREquepareelmotor,apunteconlapistolarociadorahaciauna
direcci6nsegura,presioneel seguro(bot6nrojo)y aprieteel gatillo
paradescargarlapresi6ny evitarel retroceso.
4.
5.
6.
Desconecte manga del fusil del rocio y salida alta de presi6n
en la bomba. DesagiJeagua de la manga,del fusil, y de la
extensi6n de boquilla. Use un harapopara quitar la manga.
Saquetodos los liquidos de la bomba halando la manija de
retroceso aproximadamente 6 veces. EstodeberAevacuar la
mayoria del liquido de la bomba.
Enrosque la manguera de alta presi6n en la abrazaderade la
manguera de la asa.
Almacene la unidad en una Arealimpia y seca.
Si planea almacenar la unidad por mAs de30 dias, vea la
secci6n Almacenamiento Protongado en pr6xima pAgina.
ADVERTENCIA
La gasolinay sus vapores son extrernadarnente
inflamables y explosivos.
El fuego o una explosi6n pueden causar quemaduras
severase inclusive la muerte.
CUANDOALIVlACENE0GUARDEELEQUIPOCONCOMBUSTIBLE
EN ELTANQUE
• Alrnacenealejadode calderas,estufas,calentadoresdeagua,secadoras
deropau otrosaparatoselectrodorndsticosqueposeanpilotosu otras
fuentesde ignici6n,porqueellos puedenencenderlosvaporesde la
combustible.
52

ALMACEHAMIEHTOPARAINVIERHO Proteja el sistema de combustible
AVISO
Usted deber_,proteger su unidad de las temperaturas de
_elamiento.
si no Iohace,daiiar_perrnanenternentela bornbayla unidadno podr_
funcionar.
Lagarantiano cubreeldaiiodelaunidadocasionadoporcongelarniento.
Para protegerla unidad de lastemperaturas de congelamiento:
1. Siga los pasos 1-4 en la secci6n previa Despues de CadaUso.
2. Utilice un protector de bomba, disponible en Sears con el
n[_merode cat,logo 6039 para cuidar la bomba. Aqu_l protege
a la unidad contra el congelamiento y lubrica tanto los pistones
como los empaques.
3. Si el protector de bomba no est_ disponible, conecte untramo
de 3 pies de manguera de jardin a la entrada de agua. Vierta
anticongelante RV (anticongelante sin alcohol) en la manguera.
Jale la manija de arranque dos veces. Desconectedespu6s la
manguera de 3 pies.
4. Almacene la unidad en una _rea limpia y seca.
ALMACENAMIEHTOPROLOHGADO
Si usted no planea usar la m_.quinalimpiadora a presi6n por m_s de
30 dias, deberApreparar el motor para un almacenamiento
prolongado.
Es importante evitar la formaci6n de dep6sitos de goma en las
partes esencialesdel sistema del combustible tales como
carburador, filtro del combustible, manguera o tanque del
combustible durante el almacenamiento. Tambi_n, la experiencia
indica que los combustibles con mezclasde alcohol (llamados
gasohol, etanol o metanol) pueden atraer la humedad, Io que Ilevaa
la separaci6ny formaci6n de _.cidosdurante el almacenamiento. La
gasolina Acidapuede da_ar el sistema del combustible de un motor
durante el almacenamiento.
ADVERTENCIA
La gasolinay sus vapores son extremadamente
inflamables y explosivos.
El fuego o una explosi6n pueden causar quemaduras
inclusive la muerte.
severase
CUANO0ALMACENEOGUARDEELEQUIPOCONCOMBUSTIBLE
ENELTANQUE
• Alrnacenealejadode calderas,estufas,calentadoresdeagua,secadoras
deropau otros aparatoselectrodorn6sticosqueposeanpilotosu otras
fuentesde ignici6n,porqueellospuedenencenderlosvaporesde la
combustible.
CUANDOVACJEEL OEPOSITODECOMBUSTIBLE
•Apagueellavadoradepresi6n(posici6nOFF)y d_jeloenfriaral rnenos
per 2 rninutosantesderemoverlatapadelacombustible.Aflojela
tapa lentarnenteparadejarquelapresi6nsalgadeltanque.
• Vacieel dep6sitodecombustiblea la internperie.
• Mantengala combustiblealejadadechispas,llamasabiertas,pilotos.
calory otrasfuentesdeignici6n.
• NOenciendauncigarrilloo fume.
Aditivo para combustible:
Siva a usar aditivo para combustible, Ilene el tanque de
combustible con gasolina fresca. Si el tanque est_ parcialmente
Ileno, el aire del tanque va a promover el deterioro del combustible
durante el almacenamiento. Elmotor y el combustible pueden ser
almacenados hasta 24 meses con aditivo.
•Deposite el aditivo para combustible siguiendo las instrucciones
del fabricante.
•AsegLiresede tener conectado y ABIERTOel suministro de agua
a la entrada de la bomba.
. Pongaen funcionamiento el motor enun _readescubierta por 10
minutos para asegurarsedeque la gasolinatratada ha
remplazadola gasolinano tratada del carburador.
• Pare el motor y sitOe la palanca de la%lvula de combustible en
la posici6n "Off".
Vaciado del dep6sitode combustibley del carhurador:
Si no utiliza aditivos para el combustible, vacietodo el combustible
del dep6sito y el carburador.
. Coloque un recipiente homologado bajo el carburador y utilice
un embudo para no derramar el combustible.
. Quite el tornillo devaciado del carburador (A) y el recipiente
para sedimentos (B) y sit_e la palancade la v_.lvulade
combustible en la posici6n "On".
o Una vez vaciado todo el combustible, vuelva a montar el tornillo
devaciado y el recipiente para sedimentos y apri_telos bien.
53

Cambio de aceite del motor
Con el motor todavia caliente, drene el aceite de la caja del
cigiJe_al.Vuelva a Ilena.rlocon el grado de aceite recomendado. Vea
Cambio deAceite del Motor en la secci6n Mantenimiento de/Motor.
Aceite el di_metro interior del cifindro
oRetire la bujia. Rocie aproximada.mente1 cuchar6n de aceite
limpio para motor dentro del cilindro. Cubra el orificio de la
bujia con un trapo. Hale la manijade retroceso lentamente para
distribuir el aceite. Evite el rociado del orificio de la bujia.
o Instale la bujia. NO conecte el alambre de la bujia.
Protecci_n de la bomba
Para proteger la bomba frente a los da_os que causan los
dep6sitos minerales o la congelaci6n, use PumpSaver,nL]merode
cat_.logo6039, para cuidar la bomba. Estoevita los da_os
derivados de la congelaci6n y lubrica los pistones y las juntas.
AVISO
Usted deber_tproteger su unidad de las temperaturas de
_elamiento.
si no Iohace,daiiar_permanentementela bombayla unidadno podr_
funcionar.
Lagarantiano cubreeldaiiodelaunidadocasionadoporcongelamiento.
NOTA:ElPumpSaverest_ndisponibles61ocomoun accesorio
opcional.NOes incluidocon laarandeladelapresi6n.AviseelmAs
cercanoservicioautorizadocentralparacomprarPumpSaver.
AIusoel PumpSaver,cerci6reselaarandeladelapresi6nseapagay
desconectadelaguadelsuministro.Leay sigatodasinstruccionesy
lasadvertenciasdadasenel contenedordePumpSaver.
8tras sugerencias para el almacenamiento
1. NO guarde combustible de unatemporada a otra a menos que
Io hayatratadocomoseindicaenlasecci6nAdidvopara
combustible.
2. Reemplacela canecadegasolinasi comienzaa oxidarse.El
6xidoy/o lasuciedadenlagasolinale causar_tproblemas.
3. Cubrasu unidadcon unacubiertadeprotecci6nadecuadaque
no retengahumedad.
,_ ADVERTENCIA
Las cubiertas paraalmacenamiento pueden ser
inflamables.
4.
NO coloque una cubierta encima de un limpiadora a presi6n caliente.
Deje que la unidad se enfrie Io suficientemente antes de que le coloque
la cubierta.
Almacene la unidad en un _.rea limpia y seca.
54

Problema
La bombopresontaJos
sigoientosprobJemas:no
producepresi6n o produce una
prosi_nerrodo, traqoetoo,
p_rdidode presi_n, bajo
voJumende agua.
EJdetergentenosemezcJocon
el rociadoo
Causa
Est_ usando la boquilla de baja presi6n
(neora).
2. La entrada de aouaest_ bloqueada.
3. Suministro de agua inadecuado.
4. La manguera de entrada est_ doblada o
presenta fugas.
5. El colador de la manguerade la entrada de
aguaest,. tapado.
6. El suministro de agua est_ por encima de
los IO0°F.
7. La manguera de alta presi6n est_ bloqueada
o presentafugas.
8. La pistola presentafugas.
9. La boquilla est,. obstruida.
10. Bomba defectuosa.
EI motorfonciono bien coandono
Uene cargos, perofonciono"real"
cooodose cooectaooa cargo.
EJmotornoarronca;oorroncoy
fofloiofla real.
Eltubo de succiOn de detergente no est,.
sumergido.
El filtro de quimicos est_tapado.
3. Est,. usando la boquilla de alta presi6n.
Lavelocidad del motor es demasiado lenta.
Bajo nivel deaceite.
2. Depurador de aire sucio.
3. Sin gasolina.
4. Gasolinavieja.
5. El alambre de la bujia no est_ conectado a la
bujia.
6. Bujia mala.
7. Agua en la gasolina.
8. EstrangulaciOnexcesivao inundado.
9. Mezcla de combustible demasiado rica.
10. %.lvula de entradatrabada en la posici6n
abierta o cerrada.
1. Elmotorhaperdidocompresi6n.
Soluci6n
Cambie la boquilla a una delas tres boquillas de
alta presi6n.
2. Limpie la entrada.
3. Proporcione flujo deagua adecuado.
4. Estire la manguera deentrada, coloque un
parche en la fuga.
5. Revisey limpie el colador de la manguera de
entrada.
6. Proporcione suministro de agua m_.sfria.
7. Retirelas obstruccionesdela manguerade
salida.
8. Remplacela pistola.
9. Limpiela boquilla.
10. P6ngaseencontactoconelcentrodeservicio
Sears.
Coloque el tubo de succi6n de detergente en el
detergente.
2. Limpie o remplace el filtro/tubo de succi6n de
detergente.
3. Use la boquilla de baja presiOn(negra).
Muevaelcontroldelav_.lvuladeregulaci6na la
msici6nFAST(RAPIDO).Siel motorcontinua
funcionandoreal,p6ngaseencontactocon elcentro
deservicioSears.
Llene la cajadel cigOefialhasta el nivel correcto.
2. Limpie o remplace el depurador de aire.
3. Llene el tanque de combustible.
4. Drene el tanque de gasolina; II_nelo con
combustible fresco.
5. Conecte el alambre a la bujia.
6. Remplacela bujia.
7. Drene el tanque de gasolina; II_nelo con
combustible fresco.
8. Abra el cebador por completo y haga girar el
motor.
9. P6ngaseencontactoconelcentrodeservicio
Sears.
10. POngaseencontactoconelcentrodeservicio
Sears.
1. POngaseencontactoconelcentrodeservicio
Sears.
El motor so apogoduronto la Sin gasolina. Llene el tanque de combustible.
oporaci6n.
EI motor no tione fuerzo. Filtro de aire sucio.
Cebador abierto demasiado r_pido.
EI motor intonto estohiiizarse o
su foncionamiento no es
constante.
Remplaceel filtro deaire.
Mueva el cebador a la posici6n intermedia hasta que
el motor funcione normalmente.
55

Sears,RoebuckandCo., U.S.A.(Sears),CaliforniaAir ResourcesBoard(Consejode Recgrsossobreel Aire de California,CARl},per
sossiglasen ingles)yUnitedStatesEnvironmentalProtectionAgency(AgenciadeProtecci6nAmhientaldeEE.UU., EPA,persos
siglasen ingles).
Declaraci6ndegarantiadel sistemadecontrolde emisiones
(derechosy obligacionesdel propietarioparala garantiacontradefectos)
California Air Resources Board (CARB), U.S. EPAy Sears le explican a continuaci6n
la garantia del sistema de control de emisiones de su peque_o motor para mdquinas
de servioio (SORE, Small Offroad Engine). En California, los modelos de peque_os
motores para m_quinas de servicio a partir del aFio2006 deben estar diseFiados,
fabricados y equipados conforme a los exigentes est_ndares de lucha contra la
contaminaci6n del Estado.
En otras regiones de Estados Unidos, los nuevos motores para interiores de
ignici6n per chispa certificados para modelos a_o 1997 y posteriores deben
cumplir con normas similares establecidas per la EPA de EE.UU. Sears debe
garantizar el sistema de control de emisiones de su motor para los periodos
indicados a continuaci6n, siempre y cuando no so haya abusado, descuidado o
dado mantenimiento incorrecto al motor peque_o para exteriores.
Su sistema de control de emisiones incluye piezas come el carburador, el filtro de
aire, el sistema de arranque, el tube de combustible, el silenciador y el converiidor
catalitico. Tambi6n puede inoluir conectores y otros conjuntos relacionados con las
emisiones.
Cuando exista una condici6n que pueda ser cubierta per la garantia, Sears
reparard el motor peque_o para exteriores sin costo alguno, incluyendo el
diagn6stico, las partes de repuesto y la mane de obra.
Cebertura de la garaotia de Sears, Roebuck and Co. contra defectos en el
control de emisioueo
Los peque_os motores para m_quinas de servicio estaingarantizados contra defectos
de las piezas de control de emisiones durante un periodo de dos aFios,conforme alas
siguientes disposiciones. Si cualquier pieza del motor con cobertura es defectuosa,
ser_ reparada o sustituida per Sears.
RospeusabilJdades del propietarJo para la garautia
Come propietario del motor peque_o para exteriores_ usted es responsable de
realizar las actividades de mantenimiento requeridas que so indican en
Instrucciones de use y mantenimiento. Sears recomienda que conserve todos los
recibos que cubran el mantenimiento de su motor peque_o para exteriores, pero
Sears no puede negar la garantia solamente per la falta de recibos ni per su
imposibilidad de garantizar la realizaci6n de todas las actividades de
mantenimiento programadas.
Come propietario del motor peque_o para exteriores, usted siempre debe tenor
on cuenta que Sears podr_ negar la cobertura de la garantia si su motor pequeFio
para exteriores o una parte del mismo presenta fallas debido a abuse, descuido,
mantenimiento incorrecto o modificaciones no aprobadas.
Usted es responsable de presentar su motor peque_o para exteriores aun
distribuidor autorizado de servicio de Sears aprobado tan pronto come so
presente el problema.
Las reparaciones cubiertas per la garantia so Ilevar_n a cabo on un plazo
razonable, 11osuperior a 30 dias on ning_n case.
Si tiene alguna pregunta con respecto a sus derechos y responsabilidades para la
garantia, p6ngase on contacto con un representante de servicio Sears al 1-800-
469-4663.
La garantia de emisiones es una garantia contra defectos. Los defeotos so juzgan
on funci6n del rendimiento normal del motor. La garantia no dependerd de
ninguna prueba de emisiones on funcionamiento.
BJsposJcienes de la garautJa de Sears, Roebuck and Co. contra detoctes en el
control de emisienes
Las siguientes son disposiciones especificas relacionadas con la cobertura de la
garantia contra defectos on el control de emisiones. Se aFiadea la garantia de
motores de Sears para motores no regulados, que figura on las Instrucciones de
use y mantenimiento.
1. Partes garantizadas
La cobertura bajo esta garantia inoluye solamente aquellas partes que se
enumeran a continuaci6n (las partes del sistema de control de emisiones)
en la medida que diohas partes hayan estado presentes en el motor
adquirido.
a. Sistema de medici6n de combustible
Sistema de enriquecimiento para arranque en frio
Carburador y partes internas
Bomba de combustible
Tube de combustible, acoplamientos del tube de combustible,
abrazaderas
Dep6sito de combustible, tap6n y cadena
Bote de carbono
b. Sistema de inducci6n de aire
Filtro de aire
Colector de entrada
Linea de purga y ventilaci6n
c. Sistema de ignici6n
Bujias
Sistema de ignici6n per magneto
d. Sistema catalizador
Convertidor catalitico
Colector de escape
Sistema de inyecci6n de aire o v_lvula per impulses
e. Distintos elementos utilizados en los sistemas anteriores
Wlvulas e interruptores de vacio, temperatura, posici6n y de
detecci6n de tiempo
Conectores y conjuntos
2. Vigeocia de la cobertera
Sears garantiza al propietario inicial y a cada comprador subsiguiente que
las partes garantizadas estar_tn libres de defectos en material y en mane de
obra, que ocasionen fallas de las partes garantizadas durante un periodo de
dos a_os a partir de la fecha en que el motor sea entregado al comprador
minorista.
3. No habr_ cargos
La reparaci6n o reemplazo de cualquier parte garantizada se realizar_ sin
cargo alguno para el propietario, incluyendo la mane de obra de diagn6stico
que derive en la determinaci6n de que una parte garantizada esterdefectuosa,
si la labor de diagn6stico so realiza en un Centre de servicio Sears aprobado.
4. Reclames yexclosJooes de cober|nra
Los reclamos vinculados con la garantia se presentar_n conforme alas
disposiciones de la P61izade garantia de Sears. La cobertura de la garantia
se excluir_ para aquellas fallas de partes garantizadas que no sean partes
originales de Sears o debido a abuse, descuido o mantenimiento incorrecto,
seglJn so establece on la P61izade garantia de motores de Sears. Sears 11o
es responsable per la cobertura de fallas de partes garantizadas ocasionadas
per el use de partes adicionales, no originales o modificadas.
5. Mautenimiento
Cualquier parte garantizada cuyo reemplazo no est6 programado come
mantenimiento requerido o que est6 programada _nicamente para
inspeoci6n frecuente con el fin de "reparar o reemplazar conforme sea
necesario", estar_ garantizada en cuanto a defectos per el periodo de la
garantia. Cualquier parte garantizada cuyo reemplazo est6 programado
come mantenimiento requerido tendr_ solamente una garantia contra
defectos Qnioamente per el periodo hasta el primer reemplazo programado
para esa parte. Se podr_ utilizar cualquier parte de repuesto que tonga un
rendimiento y durabilidad equivalentes, al realizar cualquier actividad de
mantenimiento o reparaci6n. El propietario es responsable de realizar todo
el mantenimiento requerido, segQn se define en Instrucciones de use y
mantenimiento de Sears.
6. Cobertura ceosiguJeote
La cobertura bajo la presente se ampliar_ a la falla de oualquier oomponente
del motor provocada per un desperfecto en cualquier parte garantizada que
siga gozando de la cobertura de la garantia.
En EE.UU. y Canada1contamos con una Iinea de emergencia las 24 horas (1-800-469-4663), que ofrece un men_ de mensajes pregrabados con informaci6n sobre
mantenimiento de productos.
56

InformatiOn sobre emisiones
Los motores con certificaci6n de cumplimiento de la normativa
sobre emisiones del California Air ResourcesBoard (CARB) deben
mostrar informaci6nsobre el periodo de durabilidad de las
emisiones y el indice de aire. Elfabricante del motor ofrece esta
informaci6nal consumidor mediante etiquetas de emisiones. La
etiqueta de emisiones del motor contiene la informaci6nde
certifica.ci6n.
El Periodo de Durabilidad de las Emisiones indica el nOmerode
horas durante las cuales el motor puedefuncionar cumpliendo las
normas sobre emisiones, siempre que se realicen las operaciones
de mantenimiento que se detallan en las instrucciones de uso y
mantenimiento. Seutilizan las siguientes categorias:
Mederado: El motor est,. certificado para cumplir la normativa
sobre emisiones durante 125 horas de funcionamiento real.
Intermedio: El motor est_ certificado para cumplir la normativa
sobre emisiones durante 250 horas de funcionamiento real.
Prolongado: El motor est_ certificado para cumplir la normativa
sobre emisiones durante 500 horas de funcionamiento real.
Por ejemplo, un cortac_spedcon operario a pie se suele utilizar
entre 20 y 25 horas al a_o. Por tanto, el Periodo de Burabilidad de
las Ernisienes de un motor con clasificaci6n intermedia equivaldria
a 10-12 a_os.
Algunos motores cuentan con la certificaci6n de cumplimiento de la
fase 2 de las normas sobre emisiones de la United States
Environmental Protection Agency (USEPA,Agencia estadounidense
de protecciOndel medioambiente). En el caso de los motores con
certificaci6n de fase 2, el periodo de cumplimiento de la normativa
sobre emisiones que figura en la etiqueta de cumplimiento de
emisiones indica el n0mero de horas de funcionamiento durante las
cualesel motor ha demostrado cumplir los requisitos federales
sobre emisiones.
Paramotoresdemenosde225cc:
CategoriaC = 125horas
CategoriaB= 250horas
CategoriaA = 500horas.
Paramotoresde225cco m_.s:
CategoriaC = 250horas
CategoriaB= 500horas
CategoriaA = 1000horas.
57

58

59

Your Home
For expert troubleshooting and home solutions advice:
www.managemyhome.com
For repair - in your home - of all major brand appliances,
lawn and garden equipment, or heating and cooling systems,
no matter who made it, no matter who sold it!
For the replacement parts, accessories and
owner's manuals that you need to do-it-yourself.
For Sears professional installation of home appliances
and items like garage door openers and water heaters.
1-800-4-MY-HOME ®(1-800-469-4663)
Call anytime, day or night (U.S.A. and Canada)
www.sears.com www.sears.ca
Our Home
For repair of carry-in items like vacuums, lawn equipment,
and electronics, call anytime for the location of your nearest
Sears Parts & Repair Service Center
1-800-488-1222 (U.S.A.) 1-800-469-4663 (Canada)
www.sears.com www.sears.ca
To purchase aprotection agreement on a product serviced by Sears:
1-800-827-6655 (U.S.A.)
Para pedir servicio de reparaci6n
a domicilio, y para ordenar piezas:
1-888-SU-HOGAR ®
(1-888-784-6427)
1-800-361-6665 (Canada)
Au Canada pour service en fran(_ais:
1-800-LE-FOYER Mc
(1-800-533-6937)
www.sears.ca
® Registered Trademark /_MTrademark /SMService Mark of Sears Brands, LLC
TM SM
® Marca Registrada /Marca de F&brica /Marca de Servicio de Sears Brands, LLC
MCMarque de commerce /MDMarque d6pos6e de Sears Brands, LLC © Sears Brands, LLC