Craftsman 917 254611 Users Manual
917254611 917254611 CRAFTSMAN TRACTOR - Manuals and Guides L0909634 View the owners manual for your CRAFTSMAN TRACTOR #917254611. Home:Lawn & Garden Parts:Craftsman Parts:Craftsman TRACTOR Manual
CRAFTSMAN Lawn, Tractor Manual L0909634 CRAFTSMAN Lawn, Tractor Owner's Manual, CRAFTSMAN Lawn, Tractor installation guides
917.254611 L0909634
2015-01-05
: Craftsman Craftsman-917-254611-Users-Manual-160827 craftsman-917-254611-users-manual-160827 craftsman pdf
Open the PDF directly: View PDF
.
Page Count: 52

OWNER'S
MANUAL
MODEL NO.
917.254611
Caution:
Read and follow
all Safety Rules
and Instructions
Before Operating
This Equipment
(RRFTXMRN®
12 HP
LECTRIC STA T
38" MOWER DECK
5 SPEED TRANSAXLE
LAWN TRACTOR
Assembly
Operation
Maintenance
Service and Adjustment
Repair Parts
LUW_U,lUl ..... ............ ..... ..........
Sears, Roebuck and Co., Chicago, IL 60684 _J.S.A.
_,_............................. _,_........ ..................... llll ,i ,,, , .... ,,_,,,,,,,,,,...= lip ,Jiii,ii,,

LOOK FOR THIS SYMBOL TO POINT I
OUT IMPORTANT SAFETY PRECAU-
TIONS. IT MEANS -ATTENTION! BE-
COME ALERT! YOUR SAFETY IS IN-
VOLVED.
RULES FOR
CAUTION: LOOK FOR THIS WORD TO POINT OUT
IMPORTANT EQUIPMENT PRECAUTIONS.
NOTE: LOOK FOR THIS WORD TO POINT OUT IM-
PORTANT INFORMATION ABOUT THE OPERATION
AND PERFORMANCE OF YOUR TRACTOR_
SAFE OPERATION
WARNING: This unit is equipped with an internalcombustion engine and shouldnot be used on or near any unimproved forest covered,
brush covered or grass covered land unless theengine's exhaust system is equipped witha spark arrestor meetingapplicable local orarea
laws (if any). If a spark arrestor is used, it should be maintained in effective working order by the operator..(See REPAIR PARTS for part
numoer identification).
In the State of Californiathe above is requiredby law (Section 4442 of the California Public Resources Code) Other States may have similar
Jaws.Federal laws apply on federal lands_
Know the controls and how to stop quickly. READ THIS
OWNER'S MANUAL and instructions furnished with attach-
monte.
2 Do not allow children to operate the machine Do not allow
adults to operate it without proper instruction.
3Do not carry passengers Do not mow when children and
others are around
4 Always wear substantial lootwear. Do not wear loose fitting
clothing that could get caught in moving parts.
5 Keep your eyes and mind on your tractor, mower, and the
area being cut Do not let other interests distract you.
6 Do not attempt to operate your tractor or mower when not in
the driver's seat
7. Always get on or off your tractor from the operator'sleft hand
side,
8, Clear the work area of objects (wire, rocks,etc )which might
be picked up and thrown
9. Disengage all attachment clutches before attempting to start
the engine..
10 Disengage power to attachments and stop the engine before
leaving 't_e operator's position
11 Disengage power tomower, stop the engine, and disconnect
spark plug wire(s) from spark plug(s) before cleaning, making
an adjustment, or repair, Be careful to avoid touching hot
muffler or engine components
12 Disengage power to attachments when transportingor not in
use,
13 Take all possible precautions when leaving the vehicle
unattended_ Disengage the power take-off, lower the attach-
ments, shift into neutral, se'_the parking brake, stop the
engine, and remove the key
14 Do not stop or start suddenly when going uphillordownhitt
Mow up and down the face ot slopes (not greater than 150),
never across the face Refer to page 51,
t5 Reduce speed onslopes and make turnsgradually toprevent
tipping or loss of control, Exercise extreme caution when
changing directionon slopes
16 White going up or down slopes, ptace gear shiftcontrol 1ever
in 1st gear position to negotiate the slope without stopping
t7 Never mow in wet or slipperygrass, when traction is unsure,
or at a speed which could cause a skid.
18 Stay alert for holes in the terrain and other hidden hazards
Keep away from drop-otis
t9 Do not drive too close to creeks, ditches, and public high.
ways_
20 Exercise special care when mowing around fixed objects in
order to prevent the blades from striking them. Never delib-
erately run tractor or mower into or over any foreign objects
21 Never shift gears until tractor comes to a stop
22 Never place hands or feet under the mower, in discharge
chute, or near any moving parts while tractor or mower is
running Always keep clear of discharge chute
23 Use care when pulling loads or using heavy equipment
a Use only approved drawbar hitch points
b. Limit loads to those you can safely control
c. Do not turn sharply Use care when backing
dUse counterweight orwheel weights when suggested in
owner's manuat.
24, Watch out for trafficwhen crossing or near roadways
25. When using any attachments, never direct discharge of
material toward bystanders nor allow anyone near the ve-
hicle while in operation,
26. Handle gasoline with care - it is highly tlammable.
a Use approved gasoline containers
b. Never remove the fuel cap of the fuel tank or add
gasoline to a running or hot engine or an enginethat has
not been allowed to coot for several minutes after run-
ning Never fill tank indoors Always clean up spilled
gasoline
cOpen doors ifthe engine is run in the garage - exhaust
fumes are dangerous Do not runtl_eengine indoors.
27 Keep the vehicle and attachments ingood operatingcondi-
tion, and keep safety devices in place and working,
28.. Keep all nuts, bolts, and screws tight to be sure the equip-
ment is in safe working condition,
29,. Never store the equipment withgasoline in the tank inside a
building where fumes may reach an open llame or spark,.
Altow the engine to cool before storingin any enclosure,.
30. To reduce fire hazard, keep the engine free of grass, leaves,
or excessive grease, Do not ctean product while engine is
running
3!_ Except for adjustments, DO NOToperate engine ifaircleaner
or cover directly over carburetor air intake is removed.
Removal of such part could create a fire hazard.
32. Do not operate without a muffler, or tamper with exhaust
system Damaged mufflers orspark arrestors couldcreate a
fire hazard_Inspect period)ca!iyand replace ifnecessary.
33. The vehicle and attachments should be stopped and in-
spected for damage after striking a foreign object, and the
damage should be repaired before restarting and operating
the equipment
34. Do notchange theengine governor settings oroverspeedthe
engine; severe damage or injury may result
35. When using the vehicle with mower, proceed as follows:
a Mow onty in daylight or in good artificial light.
b. Shut the engine off when unclogging chute_
c Check the blade mounting bolls for proper tightnessat
frequent intervals.
36.. Do not operate the mower without the entire grass catcher,
on mowers so equipped, or the deflector shield in place.
37. Disengage power to mower before backing up. Do not mow
in reverse unless abso!utely necessa_ and then only after
careful observation of the entire area behind the mower_
38 Under normal usage thegrass catcher bag material is subject
to deterioration and wear. itshould be checked trequentlyfor
bag replacement Replacement bags should be checked Io
ensure compliance with the original manufacturer's recom.-
mendations or specifications.

CLaONGR_ATULATIONS on YOUrpurchase of a Sears
wn Tractor. It has been designed, engineered and
manufactured to give you the best possible dependability
and performance. Should you experience any problem
you cannot easily remedy, please contact your nearest
Sears Service DepartrnenL We have competent, well-
trained technicians and the proper tools to service or
repair this unit.
MAINTENANCE AGREEMENT
A Sears Maintenance Agreement is available on this
prod[Jct. See the nearest Sears store or service centre
for details°
IIIII E E :II1'
SERIAL
NUMBER
DATE OF PURCHASE
THE SERIAL NUMBER WILL BE FOUND ON THEMODEL
PLATE UNDER THE SEAT.
YOU SHOULD RECORD THESE NUMBERS AND KEEP
FOR FUTURE REFERENCE.
i ,11,111iiii_ji i iiii _ .
CUSTOMER RESPONSIBILITIES
Read and retain this manual. Study and observe the safety rules. Always use care when using your tractor., Always
keep your tractor and mower clean+ Follow a regular schedule in maintaining, caring for, and using your tractor, A well
cared for tractor will run better and last tonger_
ATTACHMENTS
This unit can use many attachments now available at your Sears store. It cannot use attachmentsthat engage the ground
like a plow, harrow, cultivator, or tiller.+ See page 50 for a list of available attachments+
LIMITED ONE YEAR WARRANTY
ON ELECTRIC START RIDING EQUIPMENT
For one year from date of purchase, when this ridingequipment is maintained,lubricated,andtuned up accordingto
the operating and maintenance instructionin the owner's manual, Sears will repair free of charge any defect in
matedal or workmanship inthiselectric startridingequipment.
This warranty excludes blade(s), blade adapter(s), spark plug(s), air cleaner and belt(s), which are expendable and
become worn during normal use,.
This warranty does not cover:
-Tire replacement or repair caused by punctures from outside objects (such as nails, thorns, stumps, or
glass); and
•repairs necessary because of operator abuse or negligence, includingthe failure to maintain the equip-
merit according to instructionscontained in the owner's manual; and
. riding equipment used for commercial or rental purposes,.
FULL 90 DAY WARRANTY ON BATTERY
For 90 days fromthe date of purchase, if any battery includedwith thisridingequipmentproves defective in material
or workmanship and our testing determinesthe battery will not hold a charge, Sears will replace the battery at no
charge.
WARRANTY SERVICE IS AVAILABLE BY CONTACTING THE NE.AREST SEARS SERVICE CENTER/DEPART-
MENT.
This warranty gives you specific legal rights,and you may also have other rights which may vary from state to state_.
SEARS, ROEBUCK AND CO+, D/731CR-W SEARS TOWER, CHICAGO, iL 60684
NOTE: THE ILLUSTRATIONS SHOWN IN THIS MANUAL ARE TO AID tN THE ASSEMBLY AND OPERATION OF
YOUR TRACTOR+ THEY MAY OR MAY NOT SHOW THE ACTUAL MODEL YOU HAVE PURCHASED.+
3

iNDEX
A
Adjustments:
Brake .........................................14
Carburetor .............................. 18
Mower Drive Belt .................... 22
Mower
Front-To-Rear ...............................23
Side-T'ooSide..................... 22
Throttle Control Cable ............18
Engine Valves ...............................18
Air Cleaner ................................... 16
Air Screen, Engine ................................16
Assembly ..................................... 5_9
Attachments .........................................50
B
Battery:
Charging ..........................................7, 17
Cleaning ................................................15
Installation .............................................8
Levels ...........................................................15
Preparation .............................. 7
Starting with Weak Battery .... 17
Storage ..............................................23
Terminals ...................................15
Belt:Motion Drive
Removal/Replacement .........19
Mower Drive
Removal/Replacement .......22
Adjustment ...................................22
Blade:
Sharpening ...................................14
Replacement ............................14
Brake Adjustment ..............................14
C
Carburetor Adjustment ........................t8
Controls, Tractor ......................................9
Cutting Level, Mower .....................12,22
E
Engine:
Air Screen ...........................................16
Oil Change ....................................................15
Oil Level ......................................16
Oil Type ......................................16
Preparation ..........................................10
Repair Parts ..............................42-46
Starting ..............................................10
Storage ..................................................23
F
Filter:
Air Cleaner .............................. 16
Fuel ...........................................18
Fuel:
Type ..........................................10
Storage ................................................23
Fuse ...................................................................19
H
Hood Removal/Installation ..................20
L
Leveling Mower Deck .........................22
Lubrication:
Chart ...............................................24
Tractor Pivot Points .........................17
M
Maintenance ............................................................13
Air Cleaner ...............................16
Foam Pre-cleaner ...................16
Air Screen, Engine...................16
Battery ...........................................15
Blade Sharpening .......................14
Brake Adjustment .........................14
EngineOil....................................16
Fuel Filter ................................18
Lubrication Chart .......................24
Spark Plug .........................................18
Tire Care ...........................................8,14
Mower:
Adjustment, Front-to-Rear .....23
Adjustment, Side-to-Side ............22
Blade Sharpening ..............................!4
Blade Replacement .....................14
Cutting Level .........................t 2,22
Installation .............................................21
Operation ..........................................11
Removal ....................................21
Mowing Tips ......................................................12
Muffler .................................................17
Spark Arrester .................... 2,32
0
Oil:
ColdWeather Conditions........16
Engine....................................16
Storage ..................................23
Operation ......................................................9-12
Operating Your Mower .......... 11
Operating Your Tractor ..............11
Starting the Engine ......................10
Stopping Your Tractor ...................I0
Tractor Operation on Hills .......12
Options:
Attachments ........................... 50
Spark Arrester ....................2,32
P
ParkingBrake ................................9
Parts Bag .............. :..................... 5-6
Parts,- Replacement/Repair ..... 28-46
R
Repair and Adjustments ..........14-24
Blade .......................................14
Carburetor ........................................18
Fuse ......................................................19
Hood Remeval/Installation.....20
Motion Drive Belt
Removal/Replacement ..... 19
Mower Ddve Belt
Removal/Replacement .....22
Mower Adjustment
Front- to-Rear ..................23
Side-to-Side ........................22
Mower Removal ..............................21
TireCare .................................14
Repair Parts ............................28-46
S
Safety Rules ...................................................2
Seat ........................................................8
Service Record ...............................13
Slope Guide Sheet .......................51
Spark Plug ...................................18
Speed Control Chart ............................12
Starting the Engine................................11
Steering Wheel .................................................7
Stopping the Tractor ..............................10
Storage ...........................................23
T
Throttle Control Cable
Adjustment ............................................18
Tires .................................................8,14
Trouble Shooting Chart .............25-26
Transaxle:
Repair Parts ...............................40-41
Warranty ...................................48
Transporting ..........................................12
V
Valve Adjustments .............................18
W
Warranty ......................................................................3
Wiring Schematic ...........................27
4

ASSEMBLY
To assemble tractoryou wilt need:
(2) 7116"wrenches Tire Pressure Gauge
(1) 1!2" wrench Screwdriver
(2) 9/1 6"wrenches Utility Knife
(1) 3/4" wrench 5/16"Wrench
Take all of the Items out of the box. The box contatns the Items shown below. Open the parts bag and check the
contents (see page 6).
D
G
B
C
A
F
a, Seat d. Battery Acid
b, Steering wheel e Owner's Manual
c, Battery f Parts Bag
g, Steering Boot
Parts bag contents not shown full size
(2) Battery Carriage Boils- 1/4 x 20 x 7 1t2
Terminal Guard
(2) Keys
!5 °Slope Instruction
Battery Caps and
Instructions
Steering Wheel Adapter
Steering Wheel Insert
NOTE: RIGHT HAND(R,H,) AND LEFT HAND (L.H_) ARE
DETERMINED FROM OPERATOR'S POSITION
WHILE SEATED ON THE TRACTOR
The operation of any tractor can result in foreign objects
thrown into the eyes, which can result in severe eye dam-
age Always wear safety glasses or eye shields before start-
ing your tractor and while moving, We recommend Wide Vi-
sion Safety Mask for over the spectacles or standard safety
glasses, available at Sears Retail or Catalog Slores
5

ASSEMBLY
ASSEMBLY PARTS BAG CONTENTS SHOWN FULL SIZE
LOCATION
i ll,lll, ll,ll,/ ii, iii
BATTERY.
(2) Wing Nut 1/4-20
BATTERY
TERMINALS
SEAT
(2) Lock Washer 1/4
(2) Washer 9/32 x5/8 x 16 Ga
=
d
(1) Adjustment Bolt (1) Lock Washer 1/2
t
(1) Shoulder Bolt 5/16-18
STEERING
BUSHING
WHEEL
(2) Sheet Metal Screw 10-16 x t/2 ABTBS
ill =lllllllll =lllll= =llllllllH ==jlll/i i=
asher 2-1/4
©
(2) Hex Nut 1/4-20
(1) Washer 17t32x
1-3/16 x 12 Ga
(1) Locknut 1/2-20
6

1. Prepare Battery
WEAR EYE AND FACE SHIELD.
WASH HANDS OR CLOTHING IMMEDI-
ATELY IF ACCIDENTALLY IN CONTACT
WITH BATrERY ACID.
_DO NOT SMOKE. FUMES FROM
CHARGED BATTERY ACID ARE EX-
PLOSIVE
READ THE INSTRUCTIONS INCLUDED
WITH THE BATTERY VENT CAPS IN
THE BAG OF PARTS. ALWAYS WEAR
GLOVES, CLOTHING AND GOGGLES
TO PROTECT YOUR HANDS, SKIN AND
EYES.
Filland charge battery (before installing).NOTE: SEE DE-
TAILED INSTRUCTIONS PACKAGED WITH BATTERY
VENT CAPS FOUND IN BAG OF PARTS.
a. Filleach celt with battery acid, Add the acid untilit
reachesthe bottomof the venttubes (Fig.I)° Do not
add the acid beyond thislevel orthe additional acid
can come outwhen the battery is charged.,
bo Alter cells are filled, tiltbattery from sideto sideto
release air bubbles°
c. Allowbattery to stand and settle for at least thirty
minutes. If the levelof acid fallsbelow the pointde-
scribedin step (a), add more acid untilthe correct
level is reached°InstaUthebatterycaps,foundinthe
bag ofparts,to cover the venttubes°Washthe topof
the batterywithwater to removeany acid, thenwipe
dry.
d. Checkbatterycase forleakageto makesurethat no
damage has occurredin handling.
eo Neutralizeexcess battery acid for disposal by add-
ingitto2 gallons(7 litres) ofwater inafive gallon(20
litres) plasticcontainer. Stirwithawoodenorplastic
paddlewhile addingbakingsodauntilthe addition of
more soda causes no more foaming_.
In tt is recommended that the batterybe charged be-
foreuse. Llsea 12 voltbatterycharger_Chargebat-
tery at a rate of 6 amperes for 1 hour. NOTE: OB-
SERVE SAFETY PRECAUTIONS, LISTED tNBOX
ABOVE, REQUIRED FOR BATTERY CHARGING.
Check the acid level after the battery is charged, if
the acid has fallen below the correct level, add dis-
tilledor ironfree water_
2. Unpack Tractor
ao Cutdown four comers of the cartonwithutilityknife
and fold down sides.
bo Disengage parkingbrake and position frontwheels
straightahead (see page 9),
c Installsteering wheel
!_ Slide the steering bushing over the steering
shaft (Fig° 2).
2. Positionsteeringshaftforwarduntilscrew holes
indash lineupwithsteeringbushing install two
(2) screws (Fig, 2),
3, Positionsteeringboot over steeringshaft,
4_ Place bottom of steeringboot over two slots in
dash (Fig, 2),,
ASSEMBLY
CUT AWAY VIEW BATTERY
!......... VENT TUBE
lid
LEVEL
BATTERY
CELL
I_"NUT
2.1/4"DIA.WASHER_
STEERING
SCREW_
FIGURE 1
.,_STEERING
WHEEL
ADAPTER
STEERING
BOOT
STEERING
BUSHING
STEERING SHAFT
(REC'D. POSITION)
STEERING SHAFT
(INST. POSITION)
,,
7.
FIGU 2
Push steeringboot down into aligningsiot;son
dash.
Place steering whee! adapter on steering shaft
With frontwheels pointed straight ahead, place
steering wheel on steering wheel adapter.=Bars
of steering wheel should point straight across
tractor_
7

ASSEMBLY
SEAT
SEAT PAN
SHOULDER \
BOLT
ADJUSTMENT
BOLT LOCK
WASHER
FIGURE 3
POSITIVE WASHER
FLAT
WASHER
WASHER
HEX BOLTS
POSITIVE ...
CABLE
(RED)
NEGATIVE
.NEGATIVE
CABLE
(BLACK)
RGURE 4
WING NUT
tEX
TERMINAL WING NUT
BATTERY
BATTERY
BOLT
DOORS
FIGURE S
BATTERY
DRAIN TUBE HOLE
d_
e_
f
8. Place 2 1/4"diameterwasher on steeringshaft
and installa 1/2" iod_nut (washer and locknut
foundin bag of parts).Tighten securely.
9. Snap insert into steedng wheel.
Remove plastic on tractor hood.
Raise attachment lift handle (see page 9),.
Roll Tractoroff skid. Be careful of staples in skid,
3_ Install Seat
a_
b,,
C_
dr,
NOTE:
Remove cardboardfrom seat pan°
Place seat onseat pan_Screw adjustment bolt,lock
washer and flat washer into seat (Fig. 3). Screw
shoulder bolt into seat (Fig, 3), Adjustment bolt,
shoulder boll and washers found in bag of parts
(shown fullsize on page 6).
Tighten shoulderbolt using a 1/2"wrench. NOTE:
THE SHOULDER BOLT WILL BE LOOSE IN THE
SEAT PAN SLOT.
Tighten adjustmentboll, lock washer andflatwash-
er securely,
SEAT POSITION SHOULD BE ADJUSTED FOR-
WARD OR BACKWARD SO THAT THE OPERA-
TOR CAN COMFORTABLY REACH CLUTCH/
BRAKE PEDAL AND SAFELY OPERATE TRAC-
TOR°
e.. Place seat in operatingposition° Sit onthe seat and
pressclutch/brakepedal allthe way down. If oparat-
mg positionis not comfortable,adjust seal
fo To adjust: raiseseat. Loosenadjustmentboll_Slide
seatto desiredposition..Tightenadjustment bolt se-
curely.
AADJUSTMENT BOLT, LOCK WASHER
AND FLAT WASHER MUST BE TIGHT-
ENED SECUREI.Y TO PREVENT MOVE-
MENT OF SEAT.
4. Check Tires
Check the air pressure in the tires. Tires with too much air
pressure will cause the unit to ride rough_ The wrong air
pressure will also keep the mower fromcutting level. The
correct air pressure is shown on the side of the tires,if the air
pressure is not shown, set to pressures shown in the RE-
PAIR AND ADJUSTMENT section (page 14)_
5. Install Battery
BEFORE INSTALLING BATTERY, RE- !
MOVE METAL BRACELETS, WRIST |
WATCH BANDS, RINGS, ETC. FROM I
YOUR PERSON, TOUCHING THESE I
ITEMS TO BATTERY TERMINALS I
WEAR EYE AND FACE SHIELD,
WASH HANDS OR CLOTHING IMMEDI-
ATELY IF ACCIDENTALLY IN CONTACT
WITH BATTERY ACID.
DO NOT SMOKE. FUMES FROM
CHARGED BATTERY ACID ARE EX-
PLOSIVE.
READ THE INSTRUCTIONS INCLUDED
WITH THE BATTERY VENT CAPS IN
THE BAG OF PARTS. ALWAYS WEAR
GLOVES, CLOTHING AND GOGGLES
TO PROTECT YOUR HANDS, SKIN AND
EYES.
8

ASSEMBLY
aLiftseat (Fig 3).
b Lower batteryintofender wellwithbattery terminals
toward front of tractor (Fig 4). Make sure battery
rests in batterytray (Fig 5)
NOTE: BE SURE BATTERY DRAIN TUBE IS SECURELY
ATTACHED TO BATTERY TRAY DRAIN (Fig 5)
I
POSITIVE TERMINAL MUST BE CON-
NECTED FIRST TO PREVENT SPARKS
FROM ACCIDENTAL GROUNDING.
Connect RED battery cable to positive (+) battery
terminal with hex bolt, flat washer, lock washer and
hex nut (shown fult size on pg 6) found in bag ol
parts Tighten securely with two 7/16" wrenches
(Fig, 4)
i
J
CAUTION:
d.. Connect BLACK grobnd cable to negative (-) bat-
tery terminalwith remaininghex bolt, flat washer,
lockwasher and hex nut(shown full size on pg, 6)
foundin bag of parts, Tighten securely (Fig, 4),,
e, To prevent corrosion,applj grease to lhe batlery
terminals after installing cables_
f. Slide two battery bolts throughterminal guard and
start the wing nuts onto the threads (Fig. 5)
g. Position terminal guard o_;erbattery as shown (Fig.
5) and align bolt heads with key holes next to battery
tray (FigS)
hLower bolt heads into key holes and slide square
shaftsof bolts into slots of key holes(Fig 5)
Tightenwing nuts
Closeterminal accessdoors
DO NOT START ENGINE UNTIL YOU HAVE
REVIEWED THE OPERATION SECTION OF
THIS MANUAL,
LIFT LEVER PLUNGER OPERATION
IGNITION\
ATTACHMENT
CLUTCHLEVER_
LIGHT SWITCH__._!
THROTTLE/CHOKE-_,_
CONTROL _
CLUTCHIBRAKE
PEDAL "_"'-,.,,_
I
PARKtNG BRA_E "" /
/
GEARSHIFTLEVER
KNOW YOUR
ATTACHMENT CLUTCH LEVER: Push lever up to engage
attachment There will be an engine hesitation as the clutch
engages
ATTACHMENT LIFT LEVER: Use the attachment lift lever
to r3ise and lower the attachment mountedto your tractor.
Pull lever back slightly and push button, then move the lift
lever forwardto lower attachment
CLUTCHIBRAKE PEDAL: The pedal has 2 functions: a
clutch and abrake TO engage the brake push the pedal
completely down,
HEIGHT ADJUSTMENT: Use the height adjustment slots
to adjust the mower height, Push the attachment lift lever
plunger down and position the attachment lift lever into the
desired slot Release lift lever plunger
;HMENT
LIFT LEVER
\
HEIGHT ADJUST_
VENT SLOTS
T_
DECK
p..__ ADJUSTMENT
POSITIONING
NEUTRALLOCK OUTPOSITION
TRACTOR
GEARSHIFT: Press the clutch/brake pedal down firmly and
move gearshift lever to desired speed.
IGNITION: Place key in ignitionand turn to the right to start,
The switch spring returns from the start position
LIGHT SWITCH: Turns the headiights on and off.
PARKING BRAKE: To set the parking brake, push the
clutch/brake pedal completely down, Hold the parking brake
lever in "Engage" position and release pressure from pedal.
Clutch/brake peda! will remain in brake position,
THROTTLE/CHOKE CONTROL: Use the throttle control to
increase or decrease the speed of the engine, and to choke
the engine forstarting Push lever to the right andforward to
choke.
NEUTRAL LOCKOUT POSITION: Transmission is disen-
gaged when gearshift lever is inthis position,
9

OPERATION
FUEL TANK
AIR SCREEN
OIL FILLER
CAP/DIPSTICK
FUEL
CAP
FIGURE 6
/
OIL DRAIN
IGNITION KEY
ATTACHMENT CLUTCH LEVER
"ENGAGED" POSITION
"DISENGAGED"
POSITION
SWITCH
THROTTLE
CONTROL
PARKING
BRAKE
POSITION
GEARSHIFT
LEVER
"CLUTCH"
POSITION CLUTCH/BRAKE
I "DRIVE" POSITION
"BRAKE"
POSITION
CHOKE
FAST
SLOW
FIGURE 7
1. Stopping Your Tractor
NOTE: REMOVE KEY WHEN LEAVING TRACTOR TO
PREVENT UNAUTHORIZED USE:
aPushclutch-brake pedal intofull "BRAKE" position,,
Keep your foot on pedal (Fig 7).
b,, Place attachment clutch lever in "DISENGAGED"
position_
c. Move gear shiftlever tp "NEUTRAL" position,_
d_ Liftup to place parking brake in "ENGAGED" posi-
tion (Fig. 10) and release pressure from clutch/
brake_Pedal should remain in "BRAKE" position,,
eMove throttlecontrol to "S" (slow) position.
LTurnignitionkeyto"OFF" position_Never usechoke
to stop engine_
2, Preparing the Engine
LEARN TO STOP YOUR TRACTOR BE-
FORE ATTEMPTING TO START THE EN-
GINE
a This engine has been shipped filled with summer
weight oil (For cold weather operation see chart
page 16). Check engine oil level.. Refer to REPAIR
AND ADJUSTMENT section (page 16).
Changing oil after the first two hours (or two mowings) will
help eliminate break-in residue which might be damaging to
your engine..
b Fill fuet tank (Fig..6). Use fresh, clean, regular un-
leaded gasoline. Capacity is 5 quads (473 litres)..
10
NOTE: FRESH, CLEAN WINTER GRADE FUEL MUST
BE USED TO INSURE GOOD COLD WEATHER
STARTING
ffi
FILL TO BOTTOM OF GAS TANK
AFILLER NECK. DO NOT OVERFILL. |
WiPE OFF ANY SPILLED OIL OR FUEL. I
DO NOT STORE, SPILL OR USE GASO- |
LINE NEAR AN OPEN FLAME. !
CAUTION: EXPERIENCE INDICATES THAT ALCOHOL
BLENDED FUELS (CALLED GASOHOL OR
USING ETHANOL OR METHANOL) CAN AT-
TRACT MOISTURE WHICH LEADS TO
SEPARATION AND FORMATION OF ACIDS
DURING STORAGE.. ACIDIC GAS CAN
DAMAGE THE FUEL SYSTEM OF ANY EN-
GINE WHILE IN STORAGE
TO AVOID ENGINE PROBLEMS, THE FUEL
SYSTEM SHOULD BE EMPTIED BEFORE
STORAGE FOR 30 DAYS OR LONGER.
DRAIN THE GAS TANK, START THE EN-
GINE AND LET IT RUN UNTIL THE FUEL
LINES AND CARBURETOR ARE EMPTY.
USE FRESH FUEL NEXT SEASON SEE
STORAGE INSTRUCTIONS FOR ADDI-
TIONAL INFORMATION..
NEVER USE ENGINE OR CARBURETOR
CLEANER PRODUCTS IN THE FUEL TANK
OR PERMANENT DAMAGE MAY OCCUR

3. Starting the Engine
ao Move throttlecontrol lever (Fig°7) past "FAST" to
the =CHOKE" position.
bo Fullydepress clutch/Drakepedal,
co Turn ignition key to "START" and release key as
soon as engine starts,
CAUTION: DO NOT RUN STARTER CONTINUOUSLY
FOR MORE THAN FIFTEEN SECONDS PER
MINUTE.
d tfengine does not start after fouror live tries, move
throttlecontrol lever to "FAST" position, wait a few
minutes and try again If the engine does notstart
after four or five more tries, see the
TROUBLESHOOTING Chart (page 25)
e After the engine starts move throttle control lever
slowlyto the "SLOW" position
LTo start a hotengine move the throttlecontrollever
to a positionbetween "FAST" and "SLOW"
OPERATION
ATTACHMENT CLUTCH
LEVER =ENGAGED"
POSITION
ATTACHMENT CLUTCH LIFT LEVER
LEVER "DISENGAGED" PLUNGER
POSITION
LIFT LEVEP
"HIGHEST"
POSITION
LEVEF
"LOWEST"
POSITION
READ THE "RULES FOR SAFE OPERA-
TION" CAREFULLY BEFORE OPERAT-
ING YOUR MOWER,
&
DO NOT OVER LOAD TRACTOR BY
TOWING WEIGHTS GREATER THAN
150 POUNDS (68 KG).
ALWAYS WEAR SUBSTANTIAL FOOT-
WEAR AND AVOID LOOSE FITTING
CLOTHING THAT COULD GET
CAUGHT IN MOVING PARTS.
DO NOT OPERATE THE MOWER WITH-
OUT EITHER THE ENTIRE GRASS
CATCHER, ON MOWERS SO
EQUIPPED, OR THE DEFLECTOR
SHIELD IN PLACE.
R.H. RUNNER
DISCHARGE
GUARD RGURE8
WHEN PARKING BRAKE IS ENGAGED,
MAKE SURE IT WILL KEEP TRACTOR
FROM MOVING.NEVER PLACE YOUR HANDS OR FEET
INOR UNDER ANY POWERED ATTACH-
MENT OR NEAR ANY MOVING PART
WHILE TRACTOR OR ANY POWERED
ATTACHMENT IS RUNNING.
CAUTION
TO AVOID INJURY
1o Read owner's manuaL
2, Know location and functionof all controls,
3. Keep guards, safety shield and switches in place and
working°
4.. Remove objects that can be thrown by blades_
5o Do not mow when children and others are around
6, Never carry children or passengers
7. Always tookbehindmachine before backing.
8. Do not mow where machine can tip or slip.
9. If machine stops going uphill, stop blades and back
slowlydown,,
10. Be sureblades and engine have stopped before placing
hands or feet near the blades,
11.,Remove key when leaving machine_
11
4. Operating Your Lawn Tractor and Mower
NOTE: THIS TRACTOR IS EQUIPPED WITH AN OPERA-
TOR PRESENCE SENSING SWITCH. ANY AT-
TEMPT BY THE OPERATOR TO LEAVE THE
SEAT WITH THE ENGINE RUNNING AND THE
ATTACHMENT CLUTCH LEVER ENGAGED WILL
SHUT OFF THE ENGINE_
CAUTION: DO NOT ADD ADDITIONAL WEIGHT
TO THE TRACTOR OTHER THAN THE OP-
TIONAL WHEEL WEIGHTS. EXCESSIVE
WEIGHT MAY OVERLOAD AND DAMAGE THE
TRANSAXLE,
a. Depress lift lever plunger and move the attachment
lift lever to the highest position, See Fig. 8,
b, Start the engine,, (See Starting the Engine),
c. Move the throttle lever to mid range position, Fully
depress clutcWbrake pedal. Select a low (fst or2nd)
gear until you become more tamiliar with the opera-
tion of the unit.

OPERATION
[iiN ,H n _ ...
FIGURE 9
SPEED SELECTION GUIDE
II I IIIII IlL iiiii ....
GEARSHIFT THROTTLE
i,m
2or 3
lor2
1
2
4-5
i/1_ iiii
FUNCTION
Ill
Normal
Mowing
Heavy Mowing "
Snow Blowing
Snow Blade
Transport
,, ,,,,,
FAST
SLOW-
FAST
d. Slowly release clutch/brake pedal and proceed to
the mowing area,
e Stop the unit, then select amowing speed (See
Speed Selection Guide, page 12).
f, Move throttle lever to half throttle and slowly move
attachment clutch lever to engaged position, Fig 8..
g Slowly release clutch/brake pedal.
h. Move throttle lever to fast position..
i. Observe height of cut and readjust as desired (see
page 9)_
CAUTION: BEFORE YOU MOVE THE GEARSHIFT
LEVER, COME TO A COMPLETE STOP.
FAILURE TO DO SO CAN RESULT IN GEAR
BOX DAMAGE.
5. Mowing Tips
NOTE: TIRE CHAINS CANNOT BE USED WITH THE
MOWER ATTACHED_
a, Mower should be adjusted propedy front to back
and sideto sideforgood mowingperformance. Re-
fer to REPAIR AND ADJUSTMENT section(page
22),
b, Use the runner on the R,H. side as aguide; the
blade cutsapproximatelyan inchoutsidethe runner
(Fkj.8)
c Driveso thatclippingsare dischargedontothe area
that has been (_t Have the cut area to the right of
the _chine This willresultina more even distribu-
tion of clippingsand more uniformcutting.
d.. When mowing/arge areas (Fig. 9), start by turning
to the right so that the clippings will discharge away
from shrubs, fences, driveways, etc. After two or
three rounds, mow in the opposite direction making
left hand turns untilfinished_
e_ It grass is extremely tall, it shouldbe mowed twice
The first time cut relatively high; the second time to
tile desired heighL
f. The left hand side of mower should be usedfor trim-
ming.
g See Speed Selection Guide (above).
h_ Do not mow tall, dry (brown) grass over 6 inches
(1524 cm) tall, ft is a fire hazard.
6. Operating the Tractor on Hills
a_ Move gearshiftlever to "lst" gear before starting up
or down hills
b. AVOID STOPPING OR SHIFTING ON HILLS.
c. If slowing is necessary, move throttle controllever
to slower position.
!. LE,w ENOUGH ROOM WHEN STOP-
m ,...G,.,.os,,..T..GTo...Low
i_SLIGHT TRACTOR ROLL DOWNHILL
m,s ,OVE
I,,,DUG.cLU,C,POS.T,0.
d If stopping is absolutely necessary, push clutch/
brake pedal quickly to brake position_
e To restart tractor movement, make sure tractoris in
the lowest speed range ('1st" Gear) and release
clutch/brakepedal SLOWLY°
fMake all turns gradually.
7. Transporting Your Tractor
Forpushir_ ortowing your tractor, place gearshiftlever
in "N" posit|on Do not tow or push at more than 6 MPH
(9 7 KPH).
12

To keep your tractor running better and longer,
perform necessary service using the tollow-
ing maintenance schedule:
WITH EVERY MOWING
tMake sureall nutson bolts are tightandcotterpinsand
retainersprings are secure
=
2Observe all safetyprecautions
3 Keep tractorwell lubricated (refer to page 24),.
4Make sure areas around muffler, engine and mower
deck are clean and free of debris buildup,,
MAINTENANCE
FOR ANY AI_JUSTMENTS, INSPEC-
TION OR MAINTENANCE:
1.PUSH TRACTOR CLUTCH/BRAKE
PEDAL COMPLETELY INTO
"BRAKE"POSITION.
2. MOVE GEARSI'tlFT TO "N" NEUTRAL
POSITION.
3. PLACE PARKING BRAKE IN "EN_
GAGED" POSITION. REMOVE FOOT
FROM PEDAL,
4oPLACE ATTACHMENT CLUTCH
LEVER IN "DISENGAGED" POSI-
TION.
5. TURN IGNITION KEY TO "OFF" PO-
SITION.
6. MAKE ABSOLUTELY SURE THE
BLADES AND ALL MOVING PARTS
HAVE COMPLETELY STOPPED.
7. REMOVE THE IGNITION KEY.
8. DISCONNECT THE SPARK PLUG
WIRE FROM THE SPARK PLUG AND
KEEP WIRE AWAY FROM THE PLUG
TO PREVENT INJURY FROM ACCI-
DENTAL STARTING, BE CAREFUL
TO AVOID TOUCHING HOT ENGINE
OR MUFFLER COMPONENTS.
Change Engine Oil
Check Brake Operation
Check Tire Pressure
Clean Air Screen
Clean Air Cleaner
,,,,,,,,,
Lubricate Pivot Points (see page 24)
Check Battery Level and Recharge
Clean Battery and Terminals
camuretor Adjustment
V-Belt Adjustment ....
Clean Engine Cooling Fins .....
Check Muffler
Replace Air Cleaner Paper Cartridge
Replace Spark Plug
Replace Fuel Filter
V'
v'
v'
v'
v'
v'
...... .y_
I
Adjust Valves
v'
13

REPAIR AND ADJUSTMENT
IWITH PARKING
ENGAGED)
BRAKE
NUT"A"
JAM NUT
BRAKE ARM
DISC BRAKE
RGUREIO
HUB CAP WASHERS
KLIP RING
FIGURE 11
SQUARE KEY
(REARTIRE ONLY)
FIGURE 12
@A GRADE 5 HEAT TREATED
BOLT CAN BEIDENTIFIED BY
THREE LINES ON THE BOLT
HEAD ASSHOWN ATLEFT.
1. Brake Adjustment
This tractor is equipped with an adjustable brake system
mountedon the nghtside of the transaxle (Fig. 10).
II IIII UUlIIIIIIIII
IF TRACTOR REQUIRES MORE THAN
SIX FEET (1.8 METERS) STOPPING
DISTANCE IN HIGHEST GEAR, THEN
BRAKE MUST BE ADJUSTED.
a Depress clutctVbrakepedal and engage parking
brake.
b_ Measure distance between brake operating arm
and nut "A" on brake rod,,
c. tf distance is other than 1-1/2" (3.81 cm), loosen
jam nut (Fig, 10) and turn nut until distance be-
comes 1-1/2" (3,81 cm)_ Relighten jam nut against
nut "A".
Road test tractor for proper stopping distance as stated
above, Readjust ff necessary,, If stopping distance is still
greater than 6 feet (1.8 meters) in highest gear, further
maintenance is necessary Contact your local Sears Serv-
ice Center,
2. Tire Care
a, Maintain tire pressure in front at 14 PSI (lKg/cm 2)
and rear tires at 10 PSI (0,7 Kg/cm2)
bKeep tires free of gasoline, oil, or insect control
chemicals which can harm rubber,.
c Avoid stumps, stones, deep ruts, sharp objects and
other hazards that may cause tire damage.
d, Removing wheel for tire repair (Fig,,11).
1, Block up axle securely,
2. Remove hub cap, klip ring and washer to allow
wheel removal (rear wheel contains a square
key - Do Not Lose).
3. Repair tire and reassemble. Align slots in rear
wheel hub and axle. Insert square key. Re-
place washers and snap klip ring securely in
axle groove. Replace hub cap,,
NOTE: USE GREASE FITTINGS TO LUBRICATE FRONT
WHEELS WITH GENERAL PURPOSE GREASE,
APPLY AN ANTI-SEIZE OR GOOD GENERAL
PURPOSE GREASE TO LUBRICATE REAR AX-
LES,
3. Blade Care
For best results,mower blades must be kept sharp, The
blades can be sharpened with a few strokes of a file,or on a
grinding wheel, We suggest they be sharpened after every
25 hours of mowing, Do not attempt to sharpen while on
mower. If you mow in sandy soil check the blades alter each
two mowings. The sand wears the blades away rapidly,
a, Blade Replacement
Raise mower to highest position to permit access Io
blades,
1, Remove the hex head bolt, iockwasherand flat
washer (Fig 12) (tum counterclockwise).
2, Remove and discard old blade,
3., Clean top and bottom of mower housing
4 Install new blade with SHARP EDGE DOWN
and secure with flat washer, Iockwasher and
hex head boll TIGHTEN SECURELY_
ALWAYSUSEGRADESHEAT
TREATED BOLTS TO ATTACH
_1 BLADES. DO NOTUSE PLATED BOLTS.
CHECK BOLTS IN BLADES OCCASION-
ALLY TO MAKE SURE BOLTS ARE
TIGHT. TORQUE BOLTS TO 30-35
FT.-I_BS (41-47 Nm).
14

b_
C_
When grinding, care should be taken to maintain
bladebalance andthe bladeshouldbecheckedfor
properbalance before reinstallationon mower.An
unbalanced or bent blade will cause excessivevi-
bration when running, and eventual damage to
mowerorengine°Replacebentordamagedblades.
Tocheck blade balance,drive a nail into a beam or
wall Leave about one inch of the straightnail ex-
_eSed. Place center hole of clean blade over the
ad ot the nail (Fig. 13)oNOTE: CENTER HOLE
OF BLADE ON NAIL, IF BLADE IS PROPERLY
BALANCED, BLADE SHOULD REMAIN tN POSI-
TION SHOWN IN FIG. 13. IF EITHER END OFTHE
BLADE MOVES DOWNWARD, BLADE IS NOT
BALANCED. SHARPEN THE HEAVY END UNTIL
BLADE IS BALANCED,
REPAIR AND ADJUSTMENT
Ill/ /Ictllc
4. Battery Care
CHECK BATTERY
a° Battery'acidsolutionlevel ineach batterycellshould
be even withbottoms of vent tubes incells(Fig. 14),
Add ONLY distilledor ironfree water if necessary_
NOTE: DO NOT OVERFILL°
b,, Keep battery and terminals clean_
c, Keep battery bolts tight°
d. Keep vent caps tight and small vent holes incaps
open.
e,, Recharge with auto battery charger.
NOTE: OVERCHARGING WILL SHORTEN BATTERY
LIFE,
FIGURE 13
BATTERY
TUBE
LIQUID
LEVEL
CLEAN BATTERY AND TERMINALS
Corrosion and dirt on the battery and terminals cause the
battery to "leak" power and hinders the operation of the
charger°
LEAD-ACID BATTERIES GENERATE
EXPLOSIVE GASES. KEEP SPARKS,
FLAME AND SMOKING MATERIALS
AWAY FROM BATTERIES. ALWAYS
SHIELD YOUR EYES AROUND BAT-
TERIES .....................
BATTERY
CELL
FIGURE 14
a,, Remove terminalguard.
b DisconnectBLACK battery cable, thenRED battery
cable, and remove battery from tractor
c Wash battery with four tablespoons (6 grams) of
baking soda in one gallon (3.8 litres) of water,,
NOTE: BE CAREFULL NOT TO GET THE SODA
SOLUTION INTO THE CELLS,
do Rinse the battery with plain water, dry and reinstall
on tractor.,
e, Clean terminals and battery cable ends with wire
brush until bright
f, Replace batterycables,_,onnectingRED batteryca-
ble to positive terminal first, then BLACK battery ca t
ble to negativeterminal. Coat terminal connections
with grease after installation of cables_
g.. Replace terminal guard.,
5. Change Engine OII
The best time to change engine oil is at the end of a day's
operationwhen al!dirt and foreignmaterialsare suspended
in the hot oil,
Capacity is1quart (.94 Iitres). NOTE: DO NOTOVERFILL
Dipstick assembly must be securely tightened into tube at
all times when engine is operating. 15

REPAIR
FUEL CAP
AND ADJUSTMENT
AIR
SCREEN OIL FILLER
CAP/DIPSTICK
aRemove oil drain plugto drain engine oil=,Tighten
plug securelybefore fillingwith freshoilo
b Add oil throughthe oil fillercap/dipstick(Fig. 15)o
RECOMMENDEDSAE VISCOSITYGRADES
FIGURE 15
AIR CLEANER
COVER
ENGINE OIL \_
FILLER CAP
AND DIPSTICK
AIR
SCREEN
OIL DRAIN PLUG
,WING
NUTS
RBER
WASHERS
FOAM
ELEMENT
AIR CLEANER
BODY
FIGURE 16
IMPORTANT:
/
TO AVOID DAMAGE TO THE STARTING
SYSTEM, USE SAE 5W30 OIL WHEN
THE TEMPERATURE FALLS BELOW
32°F (0°C),,
RECOMMENDED SAE VISCOSITY GRADES
Determine temperature range expected before next oil
change.,Al!oilmust meet A.P.I..service classification SD, SE
or SF. 16
°F _20'_ 0° 32° 60° 80° 100°
°C -29° -18= 0° 16° 27° 38°
6. Check Engine Oil Level
NOTE: DO NOT CHECK ENGINE OIL LEVEL WITH EN-
GINE RUNNING,,
Several minutes alter stopping engine, check engine oil
level with tractor on level ground_ Wipe dipstick(Fig 15)
clean, screw it down tight for a few seconds, remove and
read oil level. If necessary, add oil until "FULL" mark is
reached. (See chart above}_ NOTE: DO NOT OVERFILL.
mClean Air Cleaner Element (Rg. 16)
a_ Remove two wing nuts ,_nd remove air cleaner
cover°
b. Remove foam pre-cleaner.
1, Wash pre-cleanerin liquiddetergent andwarm
water to remove dirt.
2_ Wrap pre-cleaner in cloth and squeeze dry.
3. Wipe foam with a light coat of engine oil. Do not
saturate. Squeeze inrag or towel to remove ex-
cess oil.
c,, Remove two nutsfrom top of cartridge_
d,, Remove cartridge and clean air cleaner body care-
fullyto prevent did from entering carburetor.
e. Clean cartridge by gently tapping onflat surface. If
very dirty, replace cartridge.
Reassemble air cleaner°
NUTS HOLDING AIR CLEANER CARTRIDGE
MUST BE INSTALLED WITH FIBER WASHERS
DOWN ON CARTRIDGE PLATE TO PREVENT
DIRT FROM ENTERING CARBURETOR.
TIGHTEN NUTS BY HAND. OVER TIGHTENING
COULD COLLAPSE CARTRIDGE,,
f_
NOTE:
NOTE: NEVER RUN ENGINE WITH AIR CLEANER RE-
MOVED,.
8. Clean Air Cleaner and Engine Cooling Fins
ALWAYS WEAR EYE AND FACE PRO-
TECTION WHEN USING COMPRESSED
AIR.
Air screen and cooling fins (Figs_ 16 and 17) must be kept
free of dirt and chaff to prevent engine damage from over-
heating. Clean with a wire brush or compressed air to re-
move dirt and dried gum fibers,.
aRemove hood (page 20)°
bRemove air cleaner cover (Fig. 16)o
c_ Remove 3 screws securing air cleaner body (Fig.
17) and remove. (Covercarburetorto prevent entry
of dirL)
d Remove oil dipstickand cover opening to prevent
entry of dirt,.
e. Remove 3 screws from blower' housing and lift
housingoff engine (Fig 17)_

f° Usecompressedairor stiffbristlebrushto thor-
oughlycleanengine coolingfins (Fig 17) and air
screen (Fig. 16).,
g, To reassemble, reverse above procedure.
ho Be certain carburetor tube, breather tube, and gas-
kets are in place (Fig t7).
9. Check Muffler
Inspect and reptace damaged mufflerand/or deflectoras it
could create a fire hazard ano/or aamage.
DO NOTTOUCH HOT MUFFLER, CYLIN-
DER OR FINS AS CONTACT MAY
CAUSE BURNS.
10. Lubrlcate Pivot Points
Place several drops of SAE 30 oil at points where metal
parts move against each other, see LubricationChart page
24.
11o Starting Your Tractor With a Weak Battery
If yourbatteryis tooweak to startthe engine, itshouldbe re-
charged. If "jumper cables"are usedforemergencystarting,
followthis procedure:
NOTE: YOUR TRACTOR IS EQUIPPED WITH A 12VOLT
NEGATIVE GROUNDED SYSTEM. THE OTHER
VEHICLE MUST ALSO BE A 12 VOLT NEGATIVE
GROUNDED SYSTEM
i....... LEAD-ACID BATrERIES""GENERATE I
A EXPLOSIVE GASES. KEEP SPARKS, U
!1 _FLAME AND SMOKING MATERIALS |
I! _AWAY FROM BATTERIES. ALWAYS
IWEAR EYE PROTECTION WHEN |
IAROUND BATTERIES. J
a. Connect each end o! the RED jumper cable to the
POSITIVE(+) terminalsof each battery(takingcare
notto short against chassis) (Fig 18).
b Connectoneendofthe BLACK jumpercabletothe
NEGATIVE (-) terminal of tullycharged battery
c Connectthe otherend of the BLACK jumpercable
to the LH side panel bolt (Fig 19) NOTE: KEEP
AWAY FROM GAS TANK AND BATTERY
d Disconnectcables inreverse order:
t LH side panel bolt (Fig 19)
2 Negative terminalof fullychargedbattery
3 Positiveterminals
I .....................................I
REPAIR AND ADJUSTMENT
HEX HEAD
SCREW
/-
BREATHER
TUBE
;KET
FINS
JRETOR
,'TUBE
SPARK
PLUG
POSITIVE
POSITIVE -....
CABLE
(RED)
WASHER
MUFFLER
CYLINDER
HEAD
COVER
FIG URE 17
WASHER NEGATIVE
MINAL
HEX BOLTS
NEGATIVE
CABLE
(BLACK)
HEX
PARKING
BRAKE
"ENGAGED"
POSI_ON
FIGURE 18
"BRAKE"
POSITION
DISENGAGED"
POSITION
GEAR-
SHIFT
LEVER
"CLUTCH"
POSITION
CLUTCH/BRAKE
17 "DRIVE" POSITION FIGURE 19

REPAIR AND ADJUSTMENT
;I
!
I
;!
IDLE
MIXTURE
SCREW
HIGH SPEED
MIXTURE
SCREW
FIGURE 20
FUEL
LINE
CLAMP
FUEL
FILTER
030 (0,762 mm)
FEELER GAUGE
SPARK PLUG
FIGURE 21
12 Throttle Control Cable Adjustment
| DO NOT MAKE UNNECESSARY AD
I A JUSTMENTS, FACTORY SETTINGS
|_ARE SATISFACTORY FOR MOST AP
|_PLICATIONS AND CONDITIONS IF AD
! JUSTMENTS ARE NEEDED, PROCEED
!. ..... ASFOLLOWS:.....
a. Make sure air cleaner is clean (see page 16).
bo With engine not running, place throttle control in
"FAST"position (not in "CHOKE" position)_
c. Checkthat holeinthrottleleverand hole inplateline
up (Fig. 20 - Insert)_ If holes =A" are not aligned,
loosen clamp screw and move throttle cable until
holes are aligned. Tighten clamp screw.
d. If holes do not align, repeat steps in throttlecable
adjustment°
13. Carburetor Adjustment
NOTE: ADJUSTTHROT__E CONTROL CABLE BEFORE
MAKING ANY ADJUSTM ENT TO CARBURETOR°
a. With engineofftum higl_speed m_ure screwcl_,k-
wise closing finger tight ONLY, and turn counter-
clockwise 1-1/2 turns.
NOTE: THE SCREW SEAT MAY BE DAMAGED BY
TURNING IT TOO FAR CLOCKWfSEo
b Turn idle mixture screw clockwise closing finger
tight only, and turn counterclockwise1-1/2 turns.
REFER TO "STARTING THE ENGINE"
PAGE 11.
co Start engine and allow to warm for five minutes,
Make final adjustmentwithengine runningandgear
shill lever in NEUTRAL position.
d_ With throttle control lever in "FAST"position, turn
high speed mixture screw clockwise until engine
runs "rough"and then turn counterclockwise 3/4
turn
e._ With throttlecontrol lever in "SLOW" position, turn
idle mixture screw counterclockwise until engine
runs "rough"and then turn clockwise untilengine
beginsto die, Turn idlemixture screwto apointmid-
way between these positions.
L W'dhthrottle control lever in "SLOW" positionen-
gine should idle at 1700 RPM, If engine idles too
slow, push throttlecontrollever above idle and turn
idle speed screw one turn clockwise. Set throttle
control lever at "SLOV'_. Repeat until satistactory
idle is attained
g If engine idles too fast with throttle control lever in
"SLOW" position push throttlecontrol lever above
idle and turn idle speed screw one turn counter-
clockwise. Set throttle control lever at "SLOW"°
Repeat untilsatisfactory idle is attained.
h_, High speed stopis factory adjusted.. DO NOT AD-
JUST- DAMAGE MAY RESULT.
14. Replace Spark Plug
Replace sparkplugat the beginningof each mowingseason
or every 100 hours, whichever comes first Gap should be
set a 0..030 inch (Fig 21).,
15. Adjust Valves on Engine
After approximately 200 hours of operation, the engine
valves will require adiustmenL it is suggested that a Sears
Service.Centerdo this work. Correct settings are: IntaKe-
,.002(_05 ram), Exhaust - _004 (_1mm)_
16. Replace In-Line Fuel Filter
BE SURE THERE ARE NO FUEL LINE LEAKS AND THAT
HOSE CLAMPS ARE PROPERLY INSTALLED.
If fuel filteris clogged, obstructingfuel flowtocarburetor, re-
placement is required.
a, With engine cool, remove fitter and plug fuel line
sections that were removed from both ends of fuel
filter (Fig,.20)._
18 b. Place new fuel filter in positionin fuel lineo

17. Motion Drive Belt Removal
The tractordrivebeltmaybe replacedwithouttools.Parkthe
tractoron levelarea. Engage parkingbrake. NOTE: A BELT
INSTALLATION DECAL IS UNDER LEFT FOOTREST°
a, Remove mower, (See page 21),
b, Remove two retainer springs from belt guide
bracket below transaxle pulley, Remove bracket
(Fig. 22).
c Swing belt guides away from belt, toward rear of
tractor (Fig_22).
d Rollbelt overtop of transaxle pulleyo
e, Rollbelt over engine pulleyand off idler(Fig,,23)_
fo Release parkingbrake, Pull belt as far as possible
overtop of clutchpJIley+
go Resetparkingbrake, Pullbeltovertopof clutchpul-
ley (Fig_23),,
ho Pullbeltoutthroughshiftgate to removefromtrac-
tor (Fig=24),
L Installbelt by reversingabove procedure,
I REPLACEBELTONLYw'; .E'.E,T
&
| LISTED IN THE REPAIR PARTS SEC-
! TION OF THIS MANUAL.
18, Fuse Replacement
Replace with 30 amp automotive-type plug-in fuse The
fuse holder is located underthe dash,
REPAIR AND ADJUSTMENT
BELT J i
TRANSAXLE
RETAINER BELT GUIDE RETAINER
SPRING BRACKET SPRING
ENGINE
PULLEY
FIGURE 22
BELT
CLUTCH INSTALLATION
PULLEY DECAL
IDLER
L.H. SIDE
BELT GUIDE
REAR
VIEWED FROM BOTTOM OF TRACTOR
FIGURE 23
SHIFT GATE
FIGURE 24
19

REPAIR AND ADJUSTMENT
GRASP
HERE
HOOD DASH
HOOD
SPRING
19. Hood Removal
............ !
............... iii u
KEEP FEET CLEAR FROM UND
MOWER DECK.
................ iiiiiiiiii
DO :NOT TOUCH HOT MUFFLE:R, EN- I
GINE CYLINDER OR COOLING FINS I
AS CONTACT MAY CAUSE BURN. i
a. Grasphood at edge nextto dash andopenhoodto
full up position(Fig_25).
b_ Disconnect headlightconnection(Fig_28).
c, Carefully remove hood springsfrom hingebrack-
ets (Fig. 25)_
FIGURE 25
HOOD
GRASP
HERE
HINGE
BRACKE1
HERE
d. Lower hood halfway andgrasp attile bottomof the
grill and at theupper hood edge (Fig,.26). Lilt hood
up, out and away from tractor.
e. Place hood carefully on the ground,,
20. Hood Installation
a. Pick hood up at top of grill and upper hood edge
(Fig 27)..
b Align hood pivot rod with hinge brac,kets. Rotate
f_x:)d half way down, slide pivot mo in and down
into hinge slots(Fig 27).
c. Open hood to full up position (Fig. 25)°
d. Carefully reinstall hood hinge springs (Fig 25),.
e Reconnect headlight connection,,
f, Close hood.
HEADLIGHT
CONNECTION
FIGURE 26
Gt
HERE HOOD
PIVOT
ROD
HINGE
BRACKET
HOOD_\
FIGURE 27 FIGURE 28
2O

21, Mower Removal
a, Remove mower belt per instructionsunder"Mower
Drive Belt Removal"through step (c).
b_ Remove retainer springfromclutchrod; pullclutch
rod out of clutch bracket. (Fig°29)
co Putt retainer springs out of rear suspensiontrun-
nionsoRemove rear suspensiontrunnionsfromlift
brackels (Fig 29).
do Pull retainer spring out of rear hinge pin, Remove
rear hingepin°(F_., 29)°
e. Pull retainerspring out of front hinge pin.,Remove
fronthinge pin (Fig. 29).
f, Use lift leverto raisesuspension arms. Slide mower
out from undertractor,
NOTE: tFAN ATTACHMENT OTHER THAN THE MOWER
DECK tS TO BE MOL.INTED ON THE TRACTOR,
THE LH AND R.Ho SUSPENSION ARMS (FIG.
29) SHOULD BE REMOVED FROM TRACTOR.
22, Mower Installation
Your Mower installswithoutthe use of tools. Raise attach-
ment liftlever (Fig, 30) to itshighestposition.
a, Slide mower under tractor,dischargeguardto R H,
side,.
b, Installfront hinge pin throughaxle and parallel link
(Fig. 32).,Secure with retainerspring,
c, install rear hinge pin through mower lift brackets
and parallel link (Fig. 32) Secure with retainer
spring..
d, Installclutch rod in clutch lever (Fig. 32).
e. Move attachment liftlever (Fig.,30) forwardto lower
suspension arms, Slide trunnions through lift
bracketholes and securewithretainersprings(Fig.
29)°
fo Rollbeltoverengine pulley.,Make sure belt isinside
beltguides(Fig 32). See belt driveschematicdecal
on mower housing
g_ Use attachment liftlever (Fig. 30) to raisemower,
hPush lift lever plunger down and position
attachment lift lever to desired cutting height (Fig.
31). Release lift lever plunger
REPAIR AND ADJUSTMENT
ATTACHMENT LIFT LEVER
CLUTCH LEVER PLUNGER
"DISENGAGED"
POSITION
iLIFT LEVER
"HIGHEST"
POSITION
LIFT LEVER
"LOWEST"
,POSITION
FIGURE 30
0
00
FIGURE 31
RETAINER
SPRING
\
REAR /
SUSPENSION
TRUNNIONS
RGURE 29
CLUTCH ROD
LIFT
BRACKET
R.H.
SUSPENTION
ARM
RETAINER
SPRINGS
HINGE
PINS
CLUTCH
ROD
RETAINER ENGINE RETAINER
SPRING PULLEY SPRINGS
/
MOWER
LIFT
BRACKETS
BELT
GUIDES FRONT
AXLE
PARALLEL
LINK
REAR
HINGE
PIN
7
FRONT
HINGE
PIN
FIGURE 32
21

REPAIR AND ADJUSTMENT
BELT ENGINE IDLER BELT
EXTENSION PULLEY GUIDE
SPRING ...._ IDLER SHAFT
LH. ASSEMBLY
f
COTTER
EXTENSION
SPRING
BRAKE__
ROD "--
COTTER PIN
LH. PIVOT
R,H. PIVOT
BRACKET'
FIGURE 33
LIR'
LEVER
BOTTOM E_ BOTTOM
OF CURL OF CURL
LINE
FIGURE 34
__ NUT "C"
SIDE TO SIDE'_L-'v'_'_PJ _/
ADJUSTMENT _ iNUT "B"
TRUNNION _J
FIGURE 35
23. Mower Drive Belt Removal
NOTE: MOWER BELT INSTALLATION DECAL LOC-
ATED ON MOWER HOUSING_
REPLACE ONLY WiTH THE BELTS SPECIFIED IN THIS
MANUAL.
a Placeattachmentclutchleverin"Disengaged"posi-
tion (Fig 30)
b,, MoveAttachmentliltle_er(Fig 30).forwardto lower
mowerto its lowestposition_
c_ Rollbelt off engine pulley_
d,. Pull belt off both mowerdeck pulleys._
e._ Springbeltguideaway fromidlerpulleyand pullbelt
off idler pulley
LSlide belt from underextensionspring.
24. Mower Drive Belt Replacement
a,. Slide belt under extensionspring(Fig. 33)_
b,_ Place belt on rearside o! both mandrelpulleys
c,. Sprin_ idlerbeltguide down and place beltaround
rear s_deo! idlerpulley
d. Rollbelt over engine pulley
e. Make surebelt is inside all belt guides,,
NOTE: WHEN INSTALLING A NEW BELT, EXTENSION
SPRING MUST BE RETURNED TO LOWER END
OF SLOT (ORIGINAL POSITION) ON ROCK
SHAFT ASSEMBLY.
25= Mower Drive Belt Adjustment
Yourtractorhas been manufactured withthe abilityto read-
justthe rnowerdrive belt to provideyouwith longer belt life,,
If the attachmentclutch lever travels 4-1t2" (11.43 cm) up
the slotinthe dash before spring resistanceis evident,ad-
justment is necessary, NOTE; CHECK FOR PROPER
SPRING TENSION WITH THE ENGINE OFF AND THE
LIFT LEVER IN THE HIGHEST POSITION.
a Lower the mower deck for easier access,.
b Using (2) 7/16"wrenches, removethe bolt, nut & D-
Shaped washers (Fig 33- inset).
c. Move extension spring from lower end of slot to up-
per end in rockshaft assembly and install bolt, nut&
the D-Shaped washers.
d Tighten bolt and nut to secure the D-shaped wash-
ers (flat side down)..
26. Level Mower Housing
Adjustthe mower while tractor is parkedon level ground or
driveway. Make sure tirepressureis correct, fl tires are over
or under inflated, you will not properly adjust your mower..
22
SIDE-TO-SIDE MOWER ADJUSTMENT
a. Depress liftlever plungerand use liftleverto raise
mower to maximumcuttingheight(Fig. 31),
b. Measure heightfrom bottomof cudto groundline at
front of mower. Distance"A" shouldbe the sameon
both sides (Fig,34),
c. If distance "A"needs to be changed, snap out ac-
cess hole cover on L.H, side above footresLUse
11/16"wrench on nuts "B" and "C" at side-to-side
adjustment trunnion(Fig=,35),.
d. To raise left side of mower, loosen nut "B" and
tightennut _C",
e To lower left side of mower, loosen nut "C" and
tightennut "B"..

NOTE:
f_
g_
ONE ROTATION OF ADJUSTMENT NUTS IS
EQUIVALENT TO APPROXIMATELY 3/16" (4.75
ram) HEIGHT CHANGE°
Be sureall nutsare securelytightened..
Replace cover.
FRONT-TO-REAR MOWER ADJUSTMENT
a. Toobtainthebestcuttingresults, yourmowerhous-
trig should be adjusted so the front and rearflange
distance"D"(Fig.36) is 112"(!327cm) _wer infront
when the moweris positionedinthe hignestcutting
position.
NOTE: MEASURE DISTANCE "D"FROM GROUND LINE
TO BOTTOM OF CURL ON RIGHT REAR
FLANGE AND COMPARE TO DISTANCE"D"AT
BOTTOM OF CURL ON RIGHT FRONT FLANGE.
b.. To raise rear of mower, loosennut"E" on both rear
suspensionarms. Screw both nuts =F_up EQUAL
NUMBER OF TURNS (Fig..37)..
co When distance =D" is 1/2"(1o27cm) lower at front
than rear tightennuts "E'..
d. To lower rear of mower, loosennut"F"onboth rear
suspensionarms an EQUAL NUMBER OF TURNS
(Fig. 37).
e. When distance "D"is 1/2" (1.27 cm) lower at front
than rear, retighten nuts"E.
NOTE: WHEN ADJUSTING REAR SUSPENSION TRUN-
NIONS, ALWAYS ADJUST BOTH EQUALLY SO
MOWER WiLL STAY LEVEL°
27. Storage
Remove mower from tractorforwinter storage.When mow-
er is to be stored fora period of time, clean itthoroughly,re-
move alldirt, grease, leaves, etc. Give blades andunderside
of housinga goodcoat of grease or rustpreventative.Store
in a clean dry area.
A. Fuel System
it is importantto prevent gum depositsfrom formingin es-
sontial fuel systemparts such as the cart_Jretor,fuel filter,
fuelhose, ortank duringstorage Also,experienceindicates
thatalcohol blendedfuels(calledgasoholorusingethanolor
methanol)can attract moisture which leads to separation
andformationof acidsduringstorage Acidicgas can oam-
age the fuel systemof an enginewhile instorage.To avoid
engineproblems,the fuel system shouldbe emptied before
storageof 30 days or longer.
B. Engine O11
Drain (with enginewarm) and replace withclean engine oil,
(See chart page 16)
C. Cylinder
1. Remove spark plug.
2. Pour one ounce (29_5ml) of oil throughspark plug
hole in to cylinder.
3. Turn ignition key to "START" position for a few sec-
onds to distributeoil.
4o Replace with new spark plug..
REPAIR AND ADJUSTMENT
,\
BOTTOM
OF CURL
\
\
\
REAR
SUSPENSION
ARM
REAR
SUSPENSION
TRUNNION
ID
GROUND
LINE
FIGURE 36
NUT "E"\
REAR
TRUNNION
NUT "F"
REAR
SUSPENSION
ARM
LIFT
BRACKET
D. Battery
FIGURE37
I1' IIIII1'1I'
&LEAD-ACID BATTERIES GENERATE
EXPLOSIVE GASES. KEEP SPARKS,
FLAME AND SMOKING MATERIALS
AWAY FROM BATTERIES. ALWAYS
WEAR EYE PROTECTION WHEN
AROUND BATTERIES.
I....................
1_ Prior to storage, clean terminals and top of
battery.
2.. Disconnect BLACK battery cabte from
negative side of battery.
3,, Disconnect RED battery cable from positive
side o! battery.
4. Position cables down and away from battery,
E. General Cleaning
Clean engine, battery, seat, finish, etc of all foreign matter.
23

REPAIR AND ADJUSTMENT
LUBRICATION CHART
QFRC
BEARING
QENGINE
J
I
!
FRONT' WHEEL Q
BEARING
MOWER
PIVOT Q
QSAE 30 MOTOR OIL
QGENERAL PURPOSE GREASE
QREFER TO PAGE 16 FOR
ENGINE OIL SPECIFICATIONS
24

TROUBLE SHOOTING
PROBLEM
WILL NOT START
WILL NOT TURN OVER
ENGINE CUCKS BUT WON'T START
HARD TO START
ENGINE MISSES OR LACKS POWER
ENGINE OVERHEATS
Cause/Remedy
Push Clutch/Brake Pedal intoBrake position
Move Attachment Clutch Lever to "Disengaged" position
Fill Tank with Gasoline. Check Fuel Line and Carburetor (clean if
necessary). Replace Fuel Filter_Use Fresh Fuel
=P Check Fuse for fault and replace
Recharge or replace Battery
,=," Check Wiring
=r Replace Spark Plug(s) and adjust gap
=r. AdjustValves
Push Clutch/Brake Pedal into brake position
=r Charge or replace Battery
w, Move Mower ClutchLever to "DISENGAGED" position
Replace ignitionSwitch
wReplace InterlockSwitch(es)
Replace Solenoid or Starter
Check for fault and replace Fuse
Check all Wire Connections and "Ground" Points
w. Clean Battery Terminals
w. Replace Starter or Solenoid
w. Charge or Replace Battery
Check Wire Connections and "Ground"Points
=r Ptace ThrottleContro! in=FAST" position and runstarter several times
to clear out gas
Remove Air Filter and clean
fReplace Spark Plug(s) and adjust gap
Recharge or replace Battery
Check the Wiring
Drain Fuel Tank and Carburetor. Use Fresh Fuel.=Replace Fuel Filter
=-. Make necessary adjustments to Carburetor
AdjustValves
=r Major Engine Overhaul
Shiftto a lower gear or reduce load
='_ Drain Gas Tank and Carburetor° Use Fresh Fuel
=r. Remove and clean Air Cleaner
Make necessary Carburetor adjustments
w- Clean Air Screen
_" Add or change oil
,r Replace Spark Plug(s) and adjust gap
w_Check for loose wires
w. Replace Fuel Filter
wr AdjustValves
Major Engine Overhaul
w. Shiftto lower gear or reduce load
,r Clean Air Screen
w=Add or change oil
w. Clean Engine Cooling Fins
,r Remove and clean Muffler or replace
,r Remove and clean Air Filter
25

TROUBLE SHOOTING
NO UGHTS
WON'T CHARGE
ENGINE WILL NOT SHUT DOWN
WHEN OPERATOR LEAVES SEAT
mP
_r
aP
_P
_P
Use fresh fuel and adjust Carburetor
Drain and replace oil for propertemperature
Check Fuse, Switchand Wire Connections_Replace Headlight Bulbs
Replace Switch
Check Fuse for fault and replace
Replace Battery
Replace Regulator
Replace Alternator
NOTE: This tractor is equipped with an operator presence sensing
system..Any attempt by theoperator to leave the seat wi!hthe engine
funningand the mower clutch engaged will shutdown the engine.
w. Check all Wire connections
Check Seat Switch
Check Operator Presence Relay
UNSATISFACTORY MOWER PERFORMANCE
UNEVEN DISTRIBUTION OF CUPPINGS
MOWER BLADES WILL NOT ROTATE
EXCESSIVE MOWER VIBRATION
WINDROWING STRIPPING OR
DROPPING OF GRASS CLIPPINGS
UNEVEN CUT OR SCALPING
Place Throttle Control in "FAST" position
Check air pressure in Tires
Check front-to-rear and side-to-side Mower adjustment
=" Use a slower ground speed
Replace Mower Blades
=_ Reinstall Mower Blades with Sharp Edge down
,=" Replace with proper Mower Blades
Readjust Mower Drive Belt
=r Clean undersideof Mower Deck
Correct Clutch mechanism interference
,=," Install new Mower Drive Belt
=r Adjust Mower Drive Belt
=_" Replace frozen Mandrel
=r Replace frozen Idler Pulley
_" Replace bentor unbalanced Blades
==" Replace Mandrel Replace Deck
,=- Set Throttle for maximum engine speed
=r Let grass dry out
Clean underside of Mower Deck
==," Readjust Mower front-to-rear and side-to-side
Replace Blades
Readjust Mower front-to-rear and side-to-side
=r Replace Blades
Replace bent Mandrel(s)
..................................................................... iii
26

12 HP 38" RiDiNG LAWN TRACTOR -- MODEL NUMBER 917.254611
SCHEMATIC
_ 12V
° olll,o
FUSE
30/_P
RED
IGNITIONSWITCH
POSITION _RCUIT
III I IIIIII
ON _L
START i_S
©B
WH_E
!
!
AT_MENTCLUTCHJ
CLUTCH/BRAKE (CLUTCHOFF)
pEDALUP)
I
INTERLOGKSWITCHESt- - i-\J
1 I v
I
I
I
tBLACK
.J
SOLENOID
IGNITION
SWITCH
BLACK
SEATSWITCH
(NOTOCCUPED)
BLACK
BLACK
SPARK
de-----
WIRING INSULATED CLIPS
NOTE: IF WIRING INSULATED CLIPS
OR CABETIESWERE REMOVED FOR
SERVICING OF UNIT, THEY SHOULD
BE REPLACED TO PROPERLY SE-
CURE YOUR WIRING.
NON-REMOVABLE CONNECTIONS
"O" REMOVABLE CONNECTIONS
DEODE CHARGING
eX){L
3AMPSDC \
AT3600RPM,BATTERY{NLINE \20 VOLTSAC (MIN)
UGHT I \ _/ I
swiTcH _1 .=_.,_ t_
o
,ou,,,,=o,,,,o,w,,,.
SPECIAL ALTERNATOR SYSTEM. THE ' \u u)-----"
LIGHTS ARE NOT CONNECTED TO THE
BATTERY, BUT HAVE THEIR OWN
ELECTRICAL SOURCE. BECAUSE OF
THIS,THE BRIGHTNESS OFTHE LIGHTS
WILL CHANGE WITH THE ENGINE
SPEED. AT IDLE SPEED, THE LIGHTS
WILL DIM. AS THE ENGINE IS SPEEDED
UP, THE LIGHTS WILL BECOME THEIR
BRIGHTEST.
CHUB
GROU/_D
27

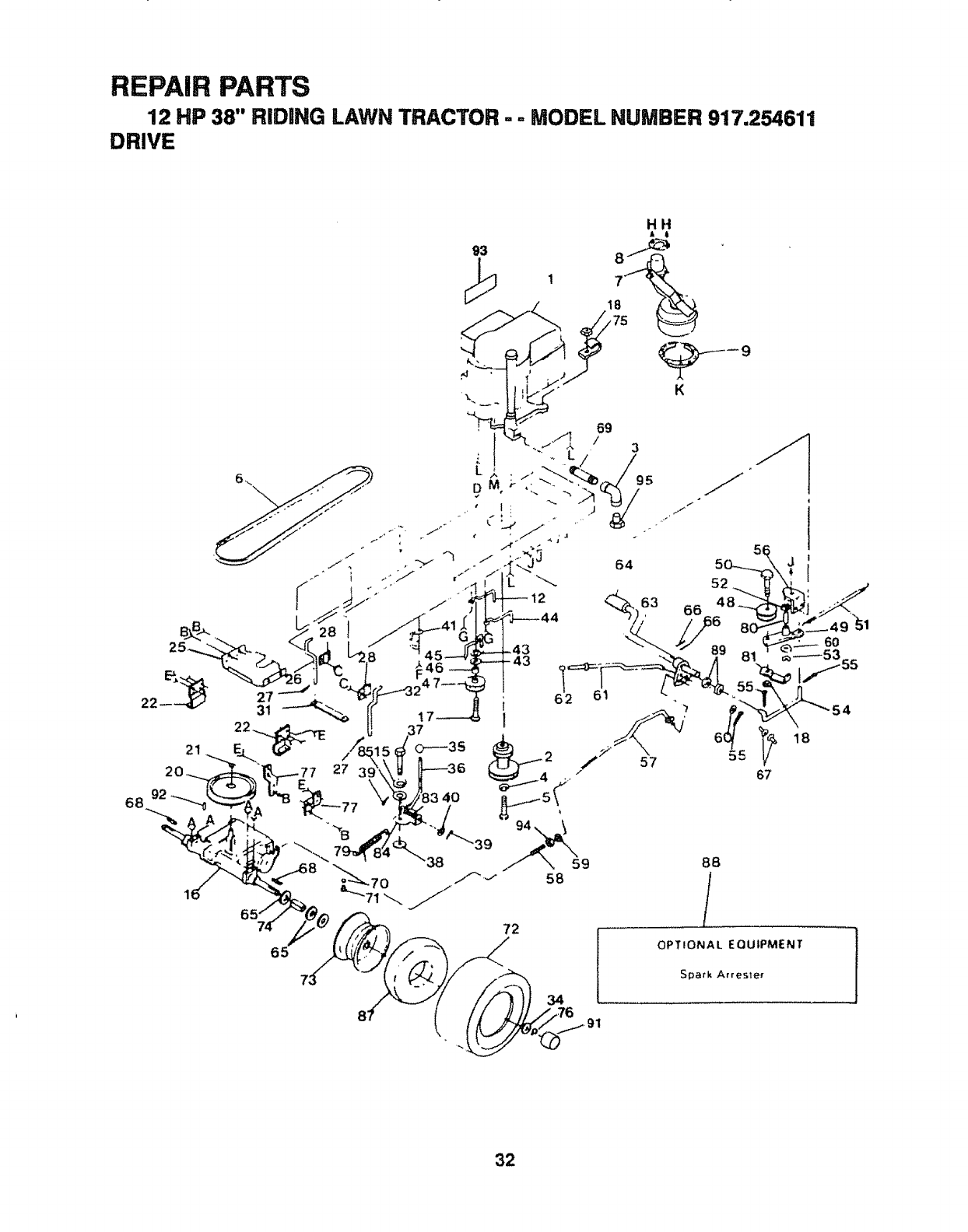
REPAIR PARTS
12 HP 38" RIDING LAWN TRACTOR -- MODEL NUMBER 917.254611
ELECTRICAL
32
32
8
_33
3O

REPAIR PARTS
12 HP 38" RIDING LAWN TRACTOR-- MODEL NUMBER 917.254611
ELECTRICAL
fo
co
KEY PART DESCRIPTION KEY PART
N O o NO, NO. NO.
t 7662J Bulb, Light 2B
2 124108X Harness, Light Socket
3 126399X Harness, Wiring 29
4109310X Key, Molded 30
5 110712X Switch, Light 3t
6IO4445X Sw_tch. Interlock
7 7603J Tray, Battery 32
8109596X Clamp, Hose 33
9 STD365402 ,Switch. Ignition 34
t0 108824X Fuse, 30 Amp 35
1t STD551125 * Washer. Lock. 1t4 36
12 STD541225 , Nut. Hex Jam 114 20
!3 STD522505 •Boft, Hex, 1/4 20 x 1/2 Gr. 5 37
14 STD541425 •Nut, Keps 114 20 3B
15 108423X Cable Assembly 39
16 11050400 Washer Lock. Ext. Tooth, 1/4 41
17 7 t 93 Cover, Terminal
18 5114J Cable. Battery
19 109553X Swttch,lntertock "'"
20 4207J Cable, Battery
2! STD522507 - Bolt, Hex, t/4 =20 x 3/4
22 STD551025 •Washer 9132 x 5/8 x 16 Ca.
23 STD541025 * Nut. Hex tt4-20
24 121265X Battery, 12V., 25 Amp
25 102476X Terminal Guard
26 123t98X Wing Nut 1t4-20 NOTE:
27 STD551125 • Washer, Lock HW Helical Spring
DESCRIPTION
72240460 Bolt Rd. Hd. Sq. Nk. 1/4 .20 x
7-1!12
109081X Solenoid
109787X Bezel •tgnition
109788X Nut, ignition
7192J Cable Tie
tO5687X Tube. Plastic
t21305X Switch, Plunger
STD601005 •Screw,Tap Hex Hd: #10 x 24 UNC
74641008 Screw -Slotted Pen Hd. No. 10-32 x
112
73951000 Nut Keps No. 10-32 x 112
4171R Clip .insulated
121264X Battery Caps Set
1!! 50400 Lockwasher 1/4 Internal Tooth
101539X Sheet, Instruction,Tractor, 15°
126795X Owner's Manual
All componentdimensionsgiven in U,S, inches,
!inch =25.4 ram.
"STANDARD HARDWARE--PURCHASE LOCALLY
AB C D

REPAIR PARTS
12 HP 38" RIDING LAWN TRACTOR - - MODEL NUMBER 917.254611
CHASSIS
55
22
4O
6O
o
L
38
33
13
F
15
A
37 A 36
A
G
56
31
D
61
30

REPAIR PARTS
12 HP 38" RIDING LAWN TRACTOR - - MODEL NUMBER 917.254611
CHASSIS
KEY PART DESCRIPTION KEY PART
NO, NO. NO. NO.
35 124479X
! 121075X Seat 36 t2435SX
2 t 749061 2 Screw. Hex Washer Thd, Rol! 37 121306X
3t8-t6 x314 38 t24294X
3174906t6 Screw. Hex Washer Thd. Ro!hng 39 125880X
3t8 16 t40 t24492X
4t 055 t 3x Bracket-P_vot. Seat 4t 49003
.5 ! 05529X Bolt. Shoulder= 5' 16 18 42 105809X
673680500 Nut Crownlock 5t16 18 43 109199X
7 124181X Spr_ng, Seat 44 19132012
8 109872X Fender 45 f 2 t 440X
9STD523707 * Bolt, Fin Hex 318x 16UNC x 3/4 46 12144tx
10 17030808 Screw, Spidedock Hex #Bx I/2AB 47 2751R
t I 73680600 Nut, Crowniock 3/8 16 48 19131614
12 }7490608 Screw. Hex Washer Thd Rol! 38 49 72t 70410
16 x_ 2 50 123976X
13 109873X Brackel. Fender 51 t 2125 t X
t 4 STD512505 • Bolt, Fin Hex 1/4 x 20 UNC x 1/2 52 121250X
15 105465X Footrest. L H 53 121249X
16 105464X Footrest. R.H 54 t 21246X
!7 STD533707 • Bott, RdHdSQNk 318 X 16 UNC x 3/4 55 124489X
t9STD551125 • Washer, Lock, Hvy Helical Spring 56 124490X
20 STD5237t0 • Bolt, Fin Hex 318 x 16 UNC x 157 123913X
2 t 19131312 Washer 13/32 x 13/16 x t2 Ca. 58 123914X
22 124029X Lens Assembly 59 124040X
24 19131210 Washer }3 32 x3.4 _ 10 Ga 60 123915X
25 124238X Cap, Spring 61 t05037X
26 105466X Pad, Footrest 62 121144X
27 t24493X Decal, 12 HP 63 STD5250!0
29 t22933X Rivot, Ratchet, Nylon 64 19171912
30 I24027X Shield, Hood, Heat 65 106974X
3t123665X Deflecior, Heat 66 750211
32 124025X Hood Assembtv 67 STD551150
33 _ 21248x Bushing. Snap
34 STD5414,37 * Nut, Crownlock 3t8 x 16 UNC
A B C D E F G H J
_2 ; 5 _ 9_1° _!4 _17 _17 _3 '_ 2°
24 _19 _ 11 1_ 34 _48 _ 44
DESCRIPTION
Washer, Black, Nylon
Chass,s Assembly
Drawbar
Pan •Seat
Deca| Fender
Decal, Grill, Craftsman
Decal, CtutchlBrake
Decal, Chassis, 5 Speed. 38"
Decal, V-Belt Ground Drwe
Washer 13/32 x_-1t4 x12 Ga.
Gutde Belt. Lower. Eng. Pulley, L,H.
Guide Belt, Lower, Eng. Pulley. R.P!.
Chp
Washer 13/32 x1 x !4 Ga.
BOlt,RdHd 114x 20 x !-1/4
Nut, Hex, Lg. Flange, Loc.
Strip. Foam
Spring, Seat, Compression
Spacer, Split
Bracket. Switch Mount
Decal Stnoe Hood L.H.
Decal Stnpe Hood R.H.
Bracket, Pivot, R.H.
Bracket, Pivot,LH.
Spring, Extension
Grill
Foam, Stript8
Bolt.Shoulder
• Bott,Fin Hex 1/2 - 13 UNC x I Gr. 5
Washer 17/32 x1-3/16 x12 Ca.
Decal, Caution
Decal, USA
•Washer, Lock Hvy=Helical Spring
NOTE: AUcomponentdimensionsgiven in U.S. inches.
1 inch= 25.4 ram.
"STANDARD HARDWARE ,PURCHASE LOCALLY
L M N O"
21
_50 (_) 11

REPAIR PARTS
12 HP 38" RiDiNG LAWN TRACTOR -=MODEL NUMBER 917,254611
DRIVE
HH
• i
K
65
Spark Arresler
32

REPAIR PARTS
12 HP 38" RIDING LAWN TRACTOR - - MODEL NUMBER 917.254611
DRIVE
KEY PART DESCRIPTION KEY PART DESCRIPTION
NO, NO+ NO+ NO,
2
3
4
5
6
7
8
9
10
11
12
13
14
15
16
17
18
19
20
21
22
23
24
25
26
27
28
29
30
31
32
33
34
35
36
37
38
39
40
41
42
43
44
46
46
47
126126X Engine, 12 HP, Tecumseh, Model 48 123766X Pu|ley, Idler
' Number 143+406152 49 123789X Arm, Idler
105731X Pulley+ Engine 50 STD5237!5 'Bolt, Hex 3/B 16 x 1 1,2
13200300 Elbow +STD 90 3/8 -18 NPT 51 105709X Spring, Return, Clutch
STD551143 • Washer, Lock, Hvy Helical Spring 52 1lOBI2X Washer Hardened
74770720 Bolt, Hex 7/1620 xI,I/4 53 12000039 Ring. Klip
t25907X V+Beh, Drive 54 105710X Link, Clutch
122983X Muffler 55 STD5612t0 • Pin Cotter i/8 x 34
2949R Gasket 56 123102X Bracket+ Clutch
101326L Deflector° Muffler 57 110437X Rod. Brake
123528X Screw, Hex Head Cap 58 tO688BX Spring, Rod, Brake
STD561131 " Washer. Lock 5116 59 73350600 Nut Jam 3/B t6
121218X Keeper, Belt, Engine 60 19131316 Washer 13/32 x 13 16 x ;6 Ga
STD55103t Washer !1/32 x 11/16 x 16 Ga+ 61 12563BX Rod Brake, Park_g
17490620 Screw, Hex Washer Thd. Rolling 62 124236X Cap Plunger
3/8 X 16 x 1+1/2 63 122424X Shaft Foot Pedat
STD561 t25 •Washer, Lock,HW. HelicalSpring 64 8883R Cover Pedal
122372X Transaxle, Tecumseh 5Speed, 65 12t749x Washer 25f32 x 1 1 4 x 16 Ga
143+920037(Seepages40 and41) 66 STD571810 "Prn. Roll 3t16 x 1
67 120183X Bearing, Nylon
STD523727 " Bolt, Hex 3/8+16 x 2-3/4 68 123583X Key. Square, 2,,5 x .1845A1865
STD541437 •Nut, Crownlock 3/8 16
73680500 Nut, Crownlock 5/16 x 18 69 13280324 Nipple, Pipe 3/BNPT 3"
123666X Pulley, Transaxie 70 59192 Cap Valve
71 65139 Stem. Valve
12000028 Ring, Retainer 72 3588R Tire, Rear
109167X Bracket Transaxte 73 106108X Rim Assembly, 8", Rear
STD523710 "Bolt, Hex 3/8+16 x I74 109501X Spacer
17490612 Screw. Hex Washer Thread Rolhng 75 2751R Clip, Fuel Line
5116.18 x 3/4
10817!X Support. Battery 76 12000001 ERing
123662X Keeper. Belt, L H 77 t2152OX Strap, Torque Transaxle
78 STD533707 ' Bolt. Carnage 3/8,16 x 3/4
4921H Retainer Spnng 79 110422X Sprlng Brake
106190X Clamp
STD523107 "Bolt. Hex 5/t6,18 x 3,4 BO t05706X Beanng
STD54t437 •Nut, Crownlock 51t6x 16 81 123205X Reta+ner Belt
123770X Strap Locator 82 17030808 Screw Sp+der Lock No 8+18
123663X Keeper+ Belt, R H X112 ABTPS
83 105700X Sprmg
STD523707 'Bolt, Hex 318+t6 x 3/4 84 108B43X Plate. Sh_ft
121748X Washer 25132 x 15/B x 16 Ga
106933X Knob Shift 85 19091210 Washer 9/32 x 3/4 x 10Ga
124379X Rod. Sh+ft 86 11050600 Washer Lock Ext Tooth 3/8
87 7t62J Tube Tire (not furnished with tractor)
71040412 Bolt Hex I/4.28 x 314
105701X Washer ,Shift Plate 88 12185tX Spark Arrester
5TD661210 " Cotter Pin, 1/8 x t89 STD551062 • Washer 21f32 x1x16 Ga+
19151216 Washer !5/32 x3/4 x 16 Ga 90 74760540 Bott, Hex 5/16x 16 x2-1/2
I04777X Retainer Belt 91 104757X Cap, Hub
t7490612 Screw+ Hex Washer Thd Rolling 3/8 92 STD580025 " Key, Woodruff #9 3/16 x 3/4
16 x 3!4 93 126629X Decal, Craftsman/Tecumseh 12 HP
19131312 Washer 13/32 x13/16 x 12 Ga 94 STD541437 *Nut, Lock Hex w/wsh ins 3/8 - 16
iO5730X Keeper, Belt. Engine 95 +-- See Key No. 72, Page 43
1O907OX Retainer Belt
4470J Spacer
123674X Idler Flat "STANDARD HARDWARE,PURCHASE LOCALLY
NOTE: Arlcomponent dimensions given in US. inches.
1inch = 25.4 ram.
A B C D E F G H J K L M
_19 _t8(_3(_43 (_11 _9)18 _86
33

53
34

REPAIR PARTS
12 HP 38" RiDiNG LAWN TRACTOR - - MODEL NUMBER 917.254611
STEERING AND FRONT AXLE
KEY PART DESCRIPTION KEY PART DESCBIPTION
NO. NO, NO, NO
t
2
3
4
5
6
7
8
9
lo
11
12
t3
14
15
16
17
18
!9
20
21
22
23
24
25
26
27
28
29
30
31
32
33
34
123o42Xo12
74180512
7351050o
1o9816x
124434X
1772o410
126684X
1244t7x
124466XOll
17490608
2751R
125879X
100710L
STD541350
1007 t2K
100713N
100711L
STDS51125
71O7O410
124030X
5479,1
STD611005
108456X
124373X
124036X
17490612
6266H
124034X
124035X
t2000029
57O79
124038X
122819X
104757X
Dash 36 t24033X Shaft, Pitman
Screw Truss Hd 5/1618 x 3/4 37 !O5663X Support SaQdle Rear
Nut - Keps 5tt6 18 38 105664X Support Saddle. Front
. Nytlner, Snap In 39 74761060 Bolt Hex 5!8 I t _ 3 3 4
Control .Throttle 40 t05669X Axte F+ont
Screw, Hex Thread Cut 41 110438X Spacer Bear=ng Fronl Axle
114x20xS/8 42 73901000 Nut Lock Flange 5 8 I 1
Washer5/Bx l/4x16Ga+ 43 17490508 Screw He_ Washer Threa,3 Rothrhq
Boot, SteeringShaft 5 16 18 x 12 Type TT
Saddle 44 124037X Gear. Ptnlor,
Screw Hex Washer Hd Thread 45 3366R Bea6ng
Rothng 3,8 t6 x1246 105715X Rod T+e
Chp Insulated 47 t 20754X Bushing
Decal Steer,ng Whee+ Cap 48 19131416 _Nasher 13 32 x7B • 16 G_
insert Steering Wheel 49 76020412 P,n Cotter ! 8 x 3 4
Nut Hex Jam Lock 1 220 50 STD551137 " Washer Lock 3 8
Washer 2-1t4 5 t 73610600 Nut, Fin Hex 316 x 24 UNF
Whee| Steering 52 124032X bnk Drag
Adapter Stee,ng Whee+ 53 tO5656X Spmd{e L H
Lockwasher 1/4 54 105654X Slmndle RH
Screw, Socket Hex I/4 x 20 x 5/8 55 278H F,tt,ng Grease
Bumper, Hood 56 9040H Bearing Flange
Plug, Button 57 106732X R,m 6 Front _lnc 2 Each Key
Screw Hex Self Tap No No 56_
t0 16 x I2Type ABTPS 58 59192 Cap Valve
Decal |nstruct_on tJperatmg 59 65t 39 Stem Valve
Bush+ng Steering 60 106222X Tile, Front
8racke! Steering 6_ 121749X Washer 25 32 x 1 1 4 x16 Ga
Screw Hex Washer Thread Ro_hng 63 59904 Tube Front tNot fumtshed w,_h
3 8 16 x3 4 Type TT tractor3
Bearing Thrust 64 121748X Washer 25/32 x 1-5/8 x 16 Go,
Gem Sector 65 STD551231 • Washer Lock. lnt Tooth 5 16
Shaft, Support 66 110307X Stop, Mower Clutch
Khp Ring 68 _9272016 Washer 27 32 x t I 4 x+6 Ga
Washer. Hardened 69 121232X Cap, Spindle
Shaft, Steering, Lower
Screw, Special
Cap, Hub *STANDARD HARDWARE PURCHASE LOCALLY
All component dimensions given in U,Soinches
1 inch = 25,4 mm
NOTE:
A B C
®3
D
)1o
FGH
_2
65
®3
35

REPAIR PARTS
12 HP 38" RiDiNG LAWN TRACTOR -,. MODEL NUMBER 917.254611
LiFT ADJUSTMENT
28
31
\
24
36

REPAIR PARTS
12 HP 38" RIDING LAWN TRACTOR - - MODEL NUMBER 917.254611
LIFT ADJUSTMENT
KEY PART DESCRIPTION KEY PART DESCRIPTION
NO NO, NO, NO,
t
2
3
4
5
6
7
8
9
I0
11
12
13
14
15
16
17
18
19
20
21
22
23
24
25
26
27
28
29
30
31
124429)(
IO6932X
106451X
73680600
t06452X
19171516
17021008
106447X
123549X
109202X
101335K
124028X
123487X
17490612
19091416
122795X
121794X
124031X012
19211416
STD58i062
!22365X
122512X
17490412
105736X
5320R
120183X
105839X
105838X
STD551025
122507X
I05751X
Handle C_utch Mower 32 122364X
Knob 33 125631X
Bolt Shoulder 34 4939M
Nut, Crownlock 3!8 16 35 110029X
Bracket Sw_tch Interlock 36 110447X
Washer 17132x 15/16 x 16Ga. 37 1t0448x
Screw Hex Tapping No TO 24 x 3B 121598X
!239 IO5848X
Support Lever C_utch 40 121599X
Cap Fuel 4 1 106308X
Tank Fuel 42 STD54t050
Lme Fuet 43 9135R
Grommet 44 19171516
Clamp Hose 45 4921H
Screw, Hex Washer Thd, Rolling 46 !05864X
3/8 x 16 x3t4 47 106444x
Washer 9F32x 7t8 x16Ga 48 STD523707
Panel Dash L H49 t09728X
Cover Access 50 STD5612t0
Panel Dash RH51 124444X
Washer 21/32 x 718x 16 Ga. 52 19131410
ER_ng 53 122514X
Button, Plunger 54 105767x
Spring, Compression 55 124446X
Screw, Hex Washer Thd Rolling 56 72 140606
1/4 --20 X 3/4 57 t O8236X
Shield, Heat 59 __0739x
Clip, Insulated 60 73980600
Bearing, Nylon 6_ 73360700
Receptacle, 114 Turn 62 73710700
Retainer, 1/4 Turn
Washer 9132 x 5t8 x 16 Ga
Shaft L_ft
Stud, 1/4 Turn
NOTE:
o
Plunger
Gr=p Handle
Retainer Srpmg
L,nk bh
Trunnion L_fl
L_nk Lift Adlustable
Arm Suspension RH
Bolt Shoulder 38 16
Arm Suspension L H
Trunnion Lift Lower
Nul Hex 1 2 13
Retainer Spring
Washer 17 32 x 15 16 = 16 Ga
Retainer Spring
Bracket Suspension
Bracket Bellcrank
Bolt Hex 3 8 !6 x 3 4
Bettcrank Assembly
Pin Cotter t 8 _ 3 4
Rod CIJIch, Primary
Washer 1332 . 7 8 x!OGa
F_od Assembly Lever
Pm Groove
Spring E wtens_on
Screw 3 8 16 x3 4
Bracket Swmtch
Washer Sprnng
Nut Flangetock 3 8_6
Nut Hex .Jam 7 16 20
Nut Crgwnlock 7 _6 20
"STANDARD HARDWARE PURCHASE LOCALLY
All component dimensions given in UoS inches,
1 inch = 254 mm,
A B C D E F
m4 Qs9 '
23
37

REPAIR PARTS
12 HP 38" RIDING LAWN TRACTOR - - MODEL NUMBER 917,254611
38" MOWER
38

REPAIR PARTS
12 HP 38" RIDING LAWN TRACTOR -- MODEL NUMBER 917.254611
38" MOWER
KEY PART DESCRIPTION KEY PART DESCRIPTION
NO NO NO NO
1
2
3
4
5
6
7
B
9
10
1!
12
13
14
15
16
t7
I8
19
2O
21
22
23
24
25
26
27
28
29
3O
31
32
33
34
35
36
37
106085X V-Belt
121259X Housing
84 t 7J Runner, R H.
73680600 Nut, Crowntock 318., 16
19111216 Washer 11t32 x 314 x 16Ga
72140505 Bolt. Cerr,. 5t16 -, 18 x 51B
105896X Bracket. Deflector
1t0452X Puahnut
1O6734X Spring_ Deflector
106735X Rod - Hinge
tO6736X Deflector _Shield
105814X Decal, V,IBelt Mower Drwe
1O5304X Cap
105662X Link. Parallel
10574-4X Pin Hinge. Front
105872X Stop. Link
109835X Pin , Hinge, Rear
STD523707 * Bolt 31816 x 3/4
73680500 Nut, Crown!ock 5/16 18
10959BX Bracket, Lift RH
109597X Bracket, Lift. L,H
STD533107 *Bolt. Cart 5/16,18 x 3/4
3713J Decaitlnstruction .Caution
tO9503X Support. Arm
109504X Stop, Deck. Front
Decal ,Safety Standard Not Serviced
126756X Guide Belt
74760632 Bolt 318-,t 6 x 2
123553X Arm° Idler
106902X Spacer - Retainer
!2131BX Pulley _,idler
1065!3X Washer. Wear 1tt6
102_9X Keeper. Belt
121687X Mandrel Assembly
1_6L Plate, Support Mandrel
17490614 Screw, Hex Washer Hd 3/8 x 16 x 7/8
17490620 Screw, Hex Washer Hd 3/8 x 16 x 1-1/4
A
®5
19
B C O E F
®19 _4 _19 _9
61
G
38 121263X Blade
39 19132012 Washer 13/32 x1 1/4 x12 Ga
40 STD551137 • Washer, Lock 318
41 STD623715 . Bolt, Hexo 31824 x 11112 Gr 5
42 108250X Spring, Extension
43 108235X Rod Clutch, Mower
44 4921H Spring Retainer
45 6404J Spacer 1/2 x 9/16
46 124066X Rock Shaft Assembly
47 76020616 Pin. Cotter. 3/16 x I
48 tO8247X Rod. Brake. Primary
49 72140606 Ball. Cart. 318-16 x 3/4
50 108243X Bracket. Pivot, R H
5_ lOB241X Bracket, Pivot, L H
52 105B57X Bracket. Suspension, Rear. R H
53 lOB673X BrackeL Suspension. Rear_ L H
54 _0657BX Brake Assembty
55 I106463X Rod Brake. Secondary. LH.
56 !08249X Rod Brake. Secondary. R H
57 t06456X Bracket_ Brake. Pivot
58 tO0672K Spacer_ Brake
59 t00673L BrackeL Support
60 t913t614 Washer 13t32 x1x14 Ga
61 74760688 Boll 3!8-16 x 5-1t2
62 7631J Runner L H.
63 t9111016 Washer 1 t/32 x 5t8 x 16 Ga
64 72140610 Bolt, 3tB-16 x 1-1t4
65 121343X Decat Warning
66 t22314X Spacer
67 STD560907 • Pin. Cotter, 3/32 x 1/2
68 72110506 Bolt. Carriage 5/16-18 x 314
69 74760412 Bolt Ftex 1/4-20 x 3/4
70 109893X Washer, Special
71 73680400 Nut. Crownlock 1/4.20
72 11 O445X Plate, Support, Mandrel, LH.
73 STD551037 • Washer 13/32 x 13/16 x 16Ga_
122215X Mower Assembly, Complete
* STANDARD HARDWARE -- PURCHASE LOCALLY
NOTE: All componentdimensions given in U,S, inches.
1inch = 25.4 ram,
36
H J K L M
37 !8 64 69
_4 _4 _70
71
39

REPAIR PARTS
12 HP 38" RiDiNG LAWN TRACTOR - - MODEL NUMBER 917.2546111
TRANSAXLE PEERLESS- MODEL NUMBER-143,920-037
21-..a _..,-2s Q_.-., 71
zo..,,._--z2 ', _--.= I =
",, I ' r J _"25
f q
i
72
34
15 _, 26
16
3O
75 66
34
57
58
74
4O
37
41
4O

REPAIR PARTS
12 HP 38" RIDING LAWN TRACTOR =,. MODEL NUMBER 917.254611
TRANSAXLE PEERLESS- MODEL NUMBER 143,920-037
Ref. Part Ref. Part
No. No. Part Name No. No. Part Name
1772094 Cover, Transaxte 39 786026
2 780086 Bearing, Needle 40 792076
3 770082 Case, Transaxle 40A 792128
4 776260 Shaft, Counter 41 790047
5776219 Shaft _t Pinion Assy. Output 42 792073
6 778139 Gear, Output
7 778136 Gear, Spur (15 teeth) 43 792075
8 792123A Key 44 790025
9 784216 Collar, Shifter 45 776273
10 784340 Rod _ForkAssy,, Shift 46 776135
11 778229 Gear, Bevel (42 teeth) 47 774690
12 778113A Bevel Pinion, input 48 774691
13 778221 Gear, Bevel 49 778191
14 778068 Gear. Bevel pinion 50 778124A
15 778165 Gear, Ring 5t 778123A
16 786101 Block, Bearing 52 778122A
17 786040 Pin, Drive 53 778209
t8 786121 Spacer, Neutral 54 778230
18A 786122 Spacer 55 778126A
20 792077 Ball, Steel (5/16" dia.) 56 778127A
21 792078 Set Screw, 3/8_16 x 3/8 57 778126A
22 792079 Spring 58 778163
23 788061 Ring, Felt 60 786081
25 792073 Screw, Flanged hex hd, thread form- 6t 786082
ing, 1/4_20 xI-1/4 62 786107
26 792125 Ring, Retainer (4 req, pkg of 2) 64 792074
27 7920-35 Ring, Retainer 65 780109
28 788040 Ring, Retainer 66 786067
29 780072 Washer, Thrust 67 792085
30 780108 Washer, Thrust
31 780001 Washer 68 786086
32 792001 °'0" Ring 6-9 780051
33 788051 Seal, Square cut 70 786118
34 780105A Bushing, Flanged 71 788069
35 780118A Bushing, Flanged 72 786116
36 790003 Disk, Brake 74 786071
37 790007 Plate, Brake pad 75 786072
38 790006 Pad, Brake
Pin, Dowel
Washer, Fiat
Washer, Flat
Lever, Brake
Screw, Flanged hex hd, thread form_
ing, 1/4-20 xI-1/4
Nut. Lock, 5/16-24
Holder. Brake pad
Shaft, Brake
Shaft. Input
Axle (11-15/16 long)
Axle (16-1t2" long)
Gear Spur (37 teeth)
Gear Spur (30teeth)
Gear Spur (25 teeth)
Gear Spur 122 teeth)
Gear Spur 1t9 teeth)
Gear Spur {12 teeth)
Gear Spur (20 teeth)
Gear Spur (25 teeth)
Gear Spur (26 teeth)
Gear Spur (31 teeth)
Chain Roller (No, 41 chain, 24 links)
Sprocket (9 teeth)
Sprocket 118 teeth)
Plug, Hex hd., 9/16-18 thread
Washer, Thrust
Spacer
Screw. Flanged hex hd. thread form-
ing 1/4-20 x 2-1/4
Bracket, Brake lever
Washer, Thrust
Spacer
Seal, Square cut
Disk
Spacer
Spacer
NOTE: All component dimensions given in U_Soinches,
1 inch = 25°4 ram,
41

CRAFTSMAN4oCYCLEENGINE MODEL:143.406152
L_i-- ......................... --
\
120
127
1461 121
143
-,js7
159,,,_,_.,_ "" -..
161 160
I
I
I
_A 216
210
211
Revised 1-18-90
3QSA 88

CRAFTSMAH
Ref. P_t
No. No.
1
2
14
15
16
17
18
19
2O
25
25A
26
30
31
35
36
37
38
40
40
40
41
41
41
42
42
42
43
45
46
47
48
50
51
52
50
61
64
55
7O
72
75
80
81
82
83
84
86
88
89
9O
92
93
100
t01
102
103
119
120
4-CYCLEEHGiNE
35323A
27652
28277
35324
35520
'29916
65O548
35521
35319
35326
3O322
650561
35336A
35327
29826
29918
29216
29642
35776
35777
35778
35773
35774
35775
35779
3578O
35781
35772
35330A
65O908
650882
35313
353t4A
35315
31356
35316
*35317
30063
650128
36711A
31927
35319
35712
35479
35321
35322
29193
650833
31707A
32589
611093
650880
650881
35135
610118
650872
650814
"35306A
35307
Part Name
CylinderAssyo(lnct, Nos_ 28_20)
Pin, Dowel
Washer, Flat
Rod, Governor
Lever, Governor
Clamp, Throttle lever
Screw, Hex washer hdr, 8-32 x 5!16
Spring, Control
Sea!, Oil
Baffle, Blower housing
Nut _Washer, 8-32 "keps"
Screw, Hex washer hd. Dudok, 1/4-20
x 5/8
CrankshaftAssy. (Counterbalance)
Gear, Counterbalance
Screw, Hex washer h6, 10-32 x 3/4
Washer, E.T, Lock
Nut, Lock, 10-32
Ring, Retaining
Piston, Pin eRing Assy,. (Std.) (Inci.
Nos. 41, 42 _43)
Piston, Pin _t Ring Assy, (,010 over-
size) ({nct. Nos. 4!, 42 Et 431
Piston, Pin 8' Ring Assyo(.020 over-
size)(incl. Nos. 41, 42 Et 43)
PistonIb Pin Assy_(StdJ (incl. No. 43)
Piston e Pin Assy. (.0!0 oversize)
IncloNo. 43)
_iston Et Pin Assy,, L020 oversize)
Incl,,No. 43)
Ring Set, Piston (Std,)
Ring Set, Piston (,010 oversize)
Ring Set, Piston (,,020oversize)
Ring, Piston pin retaining
Rod Assy, Connecting (Incl. Nos,.46
r_ 47)
Bolt, Connectingrod
Bolt, Connecting rod
Lifter, Valve
Camshaft (Mechanical Compression
Release) (Incl. No, 48)
Weight Assy., Counterbalance
Pump Assy., Oil
Extension, Blower housing
Gasket, Mounting flange
Screw, Hex washer hd. Seres, I/4-20
x112
Screw, Hex hd. Seres, 10-24 xi/2
Flange, Mounting (inclo Nee. 72, 75 El"
80)
Plug, Oil drain
Seal, Oil
Shaft, Governor
Washer, Flat
GearAssy.. Governor
Spool, Governor
Ring, Retaining
Screw, Hex washer hd_ Power!ok,
1/4-20 xt-3/16
Spacer, Governor gear
Key, Flywheel
Flywheel
Washer, Lock
Nut, Flywheel
Solid State Assy.
Cover, Spark plug
Stud, Solid state assy_
Screw, Torx hex washer hd° Seres,
10-24 x1
Gasket, Cylinderhead
Head Assy., Cylinder
Ref.
No.
121
t22
123
124
125
125
!26
126
127
128
129
130
135
141
142
!43
!44
145
146
147
148
149
150
15!
152
153
154
t55
156
!57
158
159
t60
161
162
169
170
171
172
173
174
180
t81
182
184
185
186
186A
202
2O5
207
209A
210
2tl
216
Part
No.
730218
792035
35288
650738
353O8
35433
35309
35432
65O691
65O69O
650746
65O692
34046
1"'33481
35475
35310
t'33484
650168
32610A
t'33509
t'34410
33510
335O7
33508
i"35295
35296
65O878
35297
35298
1"'28254
35486
t"35299B
353OO
t*650879
t°65O9O3
"27896A
28423
28424
28425
35350
650128
35301
650128
650517
"33253
35304
35522
35523
338O2
650777
35525
6509O2
27793
28942
35524
MODEL: 143.406152
Part Name
Valve Guide Kit (IncL 2 of No. 122)
Ring, Retaining
Brace, Intake pipe
Screw, Hex washer spinlock hd.
thread forming, 1/4_20 x 5/8
iVatve, Exhaust (Std.)
Valve, Exhaust (1/32" oversize)
Valve, Intake (Std.)
Valve, Intake (1f32" oversize)
iVVasher,Fiat
Washer, Bellevilte
Screw, Hex hd., 5/16-18 x 3/8
Screw, Hex hd., 5/16.18 x 1-3t4
Resistor Spark plug (Champion RL-
86C or equivalent)
"O" Ring
Tube, Push rod
Housing, Rocker arm
"0" Ring
Washer, Flat
Screw, Flanged hex hd., 1/4-20 x
29/32
"O" Ring (intake)
"0" Ring (Exhaust)
Cap, Valve spring
Spring, Valve
Cap, Valve spring keeper
"O" Ring
Guide, Push rod
Stud, Rockerarm
Arm, Rocker
Bearing, Rocker arm
Nut Assy., Lock (lncl. Nor 162)
Rod, Push
"O" Ring Assyo(tncL No. 16t)
Cover, Rocker arm housing
Screw, Truss hd. w!sealing
lockwasher, 8-32 x 1/2
Nut, Hex Jam
Gasket, Valve cover
Body, Breather
Element, Breather
Cover, Valve spring box
Tube, Breather
Screw, Hex hd. Same, 10-24 x 1t2
Extension,Blower housing
Screw, Hex hd, Seres, 10.24 x 1/2
Screw, Hex hd_ Sems, t/4-20 x t3/16
Gasket, Carburetorto intake pipe
Pipe, Intake
Link, Governor
Ltnk, Choke
Spring, Compression
Screw, Fit hd_,6-32 x 21/32
Link, Control bracket
Screw, Hex washer hd.., Seres, 10-32x
7/16
Clip, Conduit
Screw, Hex washer hd Seres, 10.32x
3/8
Bracket Assy, Override control (Inci
Nos, 202, 205)
"indicates Part included in
Gasket Set, Ref. No.,400,
1'Indicates Parts Inc;uded in
"O" Ring Set, Ref. No. 40!..
43

CRAFTSMAN4"CYCLEENGINE MODEL:143.406152
308A
Revised !+!8-90 _ "

CRAFTSMAN4=L ¢L[ ENGINE
Part
No. No.
237 35286
239 *_
240 35402B
243
245
246A
25O
251
251A
252
26O
26t
262
265
286
287
29O
292
292A
296
3O5
307
3oe
308A
310
650875
354O3
354O4
35405
65O886
650825
65O887
35793
30003
25747B
35290
35792
650938
29774
2646O
35884
34279B
35674
35499
33997
35437
35576
Part Name
Adpater, Air cleaner
Gasket, Air cleanerelbow
Gasket, Air cleaner-to-housing
BodyAssy., Air cleaner(tncL Noso239
239A)
Screw, Ftl. hd, Same, 1032 x 5-114
Element, Air cleaner (IncL No. 251A)
(paper)
Filter, Poly pre-cleener
Cover, Air cleaner
Nut, Wing 114-20
Nut _Lockweaher, 1/4-20 (Sealing)
Screw, Hex washer hd. self-drill, self-
tap, 114-20x 1
Housing, Blower
Screw, Hex hd. Seres, 1/4-20 x 1/2
Screw, Hex hd. Seres, 5/15-24x21t32
Cover, Cylinderhead
Screen, Debris
Screw, Hex washer hd. shoulder,
10-32 x 13132
Line, Fuel
Clamp, Fuel line
Clamp, Fuel filter to fuel tins
Rlter, Fuel (IncL Nee. 292 Et292A)
Tube, Olt fill
"O" Ring
Cllp, Oil fill tube
Clip, Oil fill tube
Dipstick, Oi!
_w
IReL
INO.
314
316
321
322
3,23
325
342
361
383
37O
380
395
40O
401
Part
NO.
66O873
611113
610935
610921
610922
27275
65O273
3O063
34148
34346
63249O
35783
35855
35332
MODEL: 143.406152
Part Name
Screw, Hex hd. Serns, 114-20x 314
Coil Assy,, Alternator (3 Amp D.C.)
(Incl. Nos. 321,322 8" 323)
Diode
Connector, Body
Terminal, Female
Clip, Wire
Screw, Hex hd. Seres,5/16-18 x 5/8
Screw, Hex washer hd. Seres, 1/4-20
x 1/2
Spring, Coll
Decal, Instruction
Carburetor (Incl. No. 1841
Starter Motor (12 Volt)
Gasket Set (IncL items marked *)
"O" Ring Kit (lncL itams marked 1")
RPM Setting:
High Speed: 3350- 3650
Low Speed: 1950 - 2250
*indicates Parts Included in
Gasket Set, Ref. No. 400°
tlndicates Parts Includedin
"O" Ring Kit, Ref. Noo 401.
45

CARBURETOR NO. 632490
Ii
_,'_',, 3°_,o! i
I_,..,,. 30_.@ -22
12 .I 5A_! "
L/i
RT,f. Part
o. No. Part Name
632490 CarbUretor .....................
1 632471 Shaft _LeverAssy,, Throttle
2 632244 Spring, Throttle return
3 632517 Shutter, Throttle
4 650506 Screw, Rd, hd., 440 x 3/16
5 630766 Spring, Idle regulatingscrew
5A 630738 Spring, Main adjustment screw
6 650417 Screw', Idle regulating
7 632472 Shaft Et Lever Assy., Choke
8 632473 Spring, Return
9 632429A Shutter, Choke
10 "630748 Plug, Welch
11 '631027 Plug. Welch
12 ;*631021 Inlet Needte, Seat _t Clip Assy.
(Incl, No. 13)
13 631022 Clip, Inlet needle
14 632019 Float, Carburetor
t5 "631024 Shaft, Float
t6 "631867 Bowl, Float
21 27110 Gasket, Bowl.to-body
22 "632239 Adjustment Screw Assy., Main
adjustment screw (Incl Nos, 5A,
2t, 23 _30)
I630740 "O" Ring
*632281 Screw, idleadjustment
25 "631028 Gasket, Bowl-to-body
27 631184 iWasher
29 631971 Seal, Dust
29A 631183 Seal, Dust
30 630739 Washer, Flat
31 631775 Fitting, Fuel
32 632347 .Repair,,Kit,,!lnct.it,e,,msmarked *}
STARTER MOTOR NO. 35763
_%"" 8
913
14
15
16
17
18
19
33440
59O5O0
33449
35766
650168
650723
34685
Part Name
Starting Motor, Complete
Cover, Dust
Ring, Retainer
Retainer, Spring
Spring, Anti-drift
Gear
Nut [:t Retainer (Incl. No 2)
Nut, Lock
Cap Assy., Drive end
Armature
Housing Assy.
Card Assy,, Brush (Inct, No. 12)
Brush Et Spring Kit (lncl 4 pcs of
No_. 13)
Spring, Brush
Washer, Thrust
Bolt, 10-32 x 4-!/4
Cap Assy., Commutator end
Washer, Fiat
Nut, Hex
Terminal insulators
46

SERVICE NOTES
47

SERVICE NOTES
48

SERVICE NOTES
49

Attachments That Add to the Usefulness of Your Craftsman Lawn Tractor
Sears offers a wide variety of attachments that fit your tractor. Many of these are listed belowwith brief explanations _howthey can help
you. This listwas current at the time of publication:however, it may change infuture years-- more attachments may oe aooeo, changes
(including changes in the stocknumber) may be made inthese attachments, or soma may no longer be availab_eo
Most of these attachments do not require additional hitches or conversion kits (those that do are indicated) and are designed for easy
attaching and detaching. You may order these attachments at mostSears retail stores, catalog sales offices, and through the catalog,
PERMANF..X BAGGER letsyou collect grass clippingsand leaves fora healthier, nearer-looking lawnoTwo Permanax containers hold30-
gallon plastic bags, Stock number 7t-24940
LAWN SWEEPERS let you collect grass clippingsand leaves°
'71-24030 30-in_ 9,0 "cu.ft,
71_24032 32-in, 10o0cu_fro
71-24033 High_Perf0rmance 32 in_ 11.5 cu, ft_
71_24038 38-in_ 12_5cu, fro
LAWN VACS for powerful collectionsof heavy grass clippingsand leaves; Wand attachment to pick up debris in hard-to*reach places.
71-2452 3HP 12 bu. 71-26471 chute
CARTS make haufing easy.
71-24353 4cu. ft, 400 Ib,, Dump cart
71-24354 10 cuoIt. 1,000 Ib, Haufing cart
71-24355 10 cu.,fL 1,000 lb., Dump cart
71-24356 14 cuofL t,250 lb. Dump cart
ROLLER for smoother lawn surface°36-inch wide, 18 inchdiameter water-tight drum holds upto 390 Ibs of weighL Rounded edges prevent
harm to turL Adjustable scraper automatically cleans drum_Stock number 71-24084,
SPREADERJSEEDERS make seeding, fertilizing,andweed killingeasy°Broadcastspreaders are also usefulforgranularde-icers and sand.
71-24194 Drop type, 36 inch. 12 inosemi-pneumatic wheels,, t00 lb, capcity steel hopper,
71_24394 Broadcasts over a 5 to 8 foot swath. 70 lb. capacity steel hopper. Noncorrosive spreading spinner, nylon gear box,
stainless steel shaft°
71-24395 Broadcasts 8 to 10 foot swath° 160 lb. capacity.No-rust polypropylene hopper and impeHeroVinyl hopper cover,,
CORING AERATORtakas small plugsoutofsoilto allowmoisture and nutrientsto reach grassroots°36-inch swath_24 hardened steelcoring
tips. 150 Ib, capacity weight tray_Stock number 7t-25351o
AERATOR promotes deep mot growth for ahealthy lawn Tapered 2.5" steel spikes mounted on 10-in. diameter discs puncture holes in
sol! at close intervals to let moisture soak !toSteel weight tray for increased penetration. Stock number 71-2435o
DETHATCHER loosens and flipsthatch and matted leaves to lawnsurface for easy pickup_Twenty springtins teeth, Useful to preparebare
areas for reseeding° 40 inch rear mount: Stock number 71_24313. 38 inch front mount: Stock number 71-24301_
SPRAYERS use t 2-volt DC electric motor that connectsto the tractorbattery or other 12-voltsource. Includes boomsfor automaticspraying
when pulling, and hand held wand for spot spraying_Wand has adjustable spray pattem. For applyingherbicides, insecticides,fungicides,
and liquid fsrtilizers.
71-2458 50 psi maximum pressure with t2 foot wand length. Sprays up to 25 feet with wand_
71-24398 25 psi maximum pressure with 10 foot wand length. Sprays up to 18 feet with wand°
SNOW BLADE for snow removal onty..14 inch high, 42 inch wide blade clears 38 inch path when angled left or right.. Raises, lowers with
sidelever° Adjustable skids:replaceable, reversible scraper bar, (Use with tire chains, wheel weights, or reardrawbar weight)° Stock number
71-244O7.
SNOWTHROWER has 40-inch swath. Drum-type auger handles powdery and wet/heavy snow. Mounts easily with simple pin arangemenL
Discharge chute adjusts to 210 degree arc from tractor seat. 6-inch diameter spout discharges snow 10 to 50 ft..Lift controlled at tractor seat_
(Use withtire chains, wheel weights, or rear drawbar weight)_Stock No_ 71-24072.
TIRE CHAINS are heavy' duty;, closely spaced extra-large cross links give smooth ride; outstandingtraction. Stock No, 71-24952.
WHEEL WEIGHTS for rear wheels provide needed traction for snow removal or dozing heavy mater!also In pairs_Stock No. 71_24434 (30
lb. each)
TRACTOR CAB has heavy duty vinylfabric over tubular steel frame, ABS plastic top; clear plastic windshield offers 360 degree visability.
Hinged metal frame doors with catch°Keeps operator warm and dry..Remove vinyland windshield for use as sun protectorin summer. Stock
No, 71-24t 7!.
Optional accessories for tractor cab: tinted/tempered solid satety glass windshied with hand operated wiper (Stock No.. 71-26168); 12-volt
amber caution lightfor mounting on cab top (Stock Noo71-26169).
TRACTOR COVER protects tractor from weather..Made of Evolution 3 fabric (water-repellent, extremely breathable, light weight, soft, non-
abrasive, pliable in all temperatures, durable, stain-tear-puncture resistant, will not shrinkor stretch). Stock No. 71-24601.
50

SUGGESTED GUIDE FOR SIGHTING SLOPES FOR SAFE OPERATION
,,,,1=
SIGHTING
ONLY RIDE UP AND DOWN HILL,
NOT ACROSS HILL
:3P__" ._
SIGHT AND HOLD THIS LEVEL WiTH
SKY LiNE OR TREE.
/
15oMAX.
IIIHIIIH IIII I II II IIIIIII
_i /_ Operate your Tractor up and down the face of slopes (not I
H _ greater than 15 °) never across the face. Make turns gradu- _
UO ally to prevent tipping or loss of control. Exercise extreme !
caution when changing direction on slopes. I
iiiiiiiiiiiiiiiiiiiiiiiiiiiiii iiii IIII IIIII IIII I, Ill

OWNER'S
MANUAL
MODEL NO.
917.254611
HOW TO ORDER
REPAIR PARTS
£RI:iFTSkiRN°
1 P
ELECTRIC START
38" MOWER
5 SPEED TRANSAXLE
LAWN TRACTOR
Each Tractor has its own model number. Each Engine has its own
model number.
The model number for your Tractor will be found on the Model Plate
located under the seat.
The model numberfor your Enginewill be foundon the BlowerHousing.
All parts listed herein may be ordered from any Sears, Roebuck and Co_
Service Centers and rrest Retail Stores.
WHEN ORDERING REPAIR PARTS, ALWAYS GIVE THE FOLLOWING
INFORMATION:
•PRODUCT - 12 HP LAWN TRACTOR
• MODEL NUMBER - 917.254611
•ENGINE MODEL NUMBER- 143A06152
• PART NUMBER
• PART DESCRIPTION
Your Sears merchandise has added value when you consider Sears has
service units natiorrwidestaffed with Sears trained technicians.°.,profes-
sional technicians specificallytrained to insure that we meet our pledge
to you, we servicewhat we sell.
iiHlllll i iiiii illlUll IL I I
IIIIIILII II IIllll IIllllllllll ......................... ....... " "_'%"_= _-- _'*_
Sears, Roebuck and Co., Chicag0, IL 60684 U.S.A.
126795XOE 210.90 PRINTED IN USA