Craftsman 917 271142 Users Manual
917271142 917271142 CRAFTSMAN TRACTOR - Manuals and Guides L0070093 View the owners manual for your CRAFTSMAN TRACTOR #917271142. Home:Lawn & Garden Parts:Craftsman Parts:Craftsman TRACTOR Manual
CRAFTSMAN Lawn, Tractor Manual L0070093 CRAFTSMAN Lawn, Tractor Owner's Manual, CRAFTSMAN Lawn, Tractor installation guides
917.271142 L0070093
2015-01-05
: Craftsman Craftsman-917-271142-Users-Manual-160797 craftsman-917-271142-users-manual-160797 craftsman pdf
Open the PDF directly: View PDF
.
Page Count: 60

Owner's Manual
ICRAFTSMAN°I
16.5 HP
ELECTRIC START
42" MOWER
AUTOMATIC
LAWN TRACTOR
Model No.
917.271142
•Safety
•Assem bly
•Operation
•Maintenance
•Repair Parts
CAUTION:
Read and follow all Safety Rules
and Instructionsbefore operat-
ingthisequipment.
For answers to your questions
about this product, Call:
1-800-659-5917
Sears Craftsman Help Line
5 am - 5 pm, Mon - Sat
Sears, Roebuck and Co, Hoffman Estates, II60179
Visit our Craftsman website:www.sears.com/craftsman

Warranty ............................................... 2
Safety Rules ......................................... 3
Product Specifications .......................... 5
Assembly .............................................. 7
Operation ............................................ 10
Maintenance Schedule ...................... 17
Maintenance ....................................... 17
Service and Adjustments .................... 21
Storage ............................................... 27
Troubleshooting ................................. 28
Repair Parts ........................................ 32
Parts Ordering ..................... Back Cover
LIMITED TWO YEAR WARRANTY ON CRAFTSMAN RIDING EQUIPMENT PARTS
For two (2) years from the date of purchase, if this Craftsman Riding Equipment is
maintained, lubricated and tuned up according to the instructions in the owner's
manual, Sears will repair or replace, free of charge, any parts found to be defective in
material or workmanship. Warranty service is available free of charge by taking your
Craftsman riding equipment to your nearest Sears Service Center. In-home warranty
service is available but a trip charge will apply. This warranty applies only while this
product is in the United States.
This Warranty does not cover:
• Expendable items which become worn during normal use, such as blades, spark
plugs, air cleaners, belts and oil filters.
• Tire replacement or repair caused by punctures from outside objects, such as nails,
thorns, stumps, or glass.
• Repairs necessary because of operator abuse, including but not limited to, damage
caused by towing objects beyond the capability of the riding equipment, impacting
objects that bend the frame or crankshaft, or over speeding the engine.
• Repairs necessary because of operator negligence, including but not limited to,
electrical and mechanical damage caused by improper storage, failure to use the
proper grade and amount of engine oil, failure to keep the deck clear of flammable
debris, or the failure to maintain the equipment according to the instructions
contained in the owner's manual.
• Engine (fuel system) cleaning or repairs caused by fuel determined to be contami-
nated or oxidized (stale). In general, fuel should be used within thirty (30) days of its
purchase date.
• Riding equipment used for commercial or rental purposes.
LIMITED 90 DAY WARRANTY ON BATTERY
For ninety (90) days from date of purchase, if any battery included with this riding
equipment proves defective in material or workmanship and our testing determines
the battery will not hold a charge, Sears will replace the battery at no charge. War-
ranty service is available free of charge by taking your Craftsman riding equipment to
your nearest Sears Service Center. In-home warranty service is available but a trip
charge will apply. This warranty applies only while this product is in the United States.
TO LOCATE THE NEAREST SEARS SERVICE CENTER OR TO SCHEDULE IN-
HOME WARRANTY SERVICE, SIMPLY CONTACT SEARS AT 1-800-4-MY-HOME
This Warranty gives you specific legal rights, and you may also have other rights
which may vary from state to state.
Sears, Roebuck and Co., D/817 WA, Hoffman Estates, IL 60179
2

IMPORTANT: This cutting machine is
capable of amputating hands and feet
and throwing objects. Failure to observe
the following safety instructions could
result in serious injury or death.
GENERAL OPERATION
•Read, understand, and follow all
instructions in the manual and on the
machine before starting.
• Only allow responsible adults, who are
familiar with the instructions, to operate
the machine.
• Clear the area of objects such as rocks,
toys, wire, etc., which could be picked
up and thrown by the blade.
• Be sure the area is clear of other
people before mowing. Stop machine if
anyone enters the area.
• Never carry passengers.
•Do not mow in reverse unless absolute-
ly necessary. Always look down and
behind before and while backing.
• Be aware of the mower discharge
direction and do not point it at anyone.
Do not operate the mower without
either the entire grass catcher or the
guard in place.
• Slow down before turning.
• Never leave a running machine
unattended. Always turn off blades, set
parking brake, stop engine, and remove
keys before dismounting.
• Turn off blades when not mowing.
• Stop engine before removing grass
catcher or unclogging chute.
• Mow only in daylight or good artificial
light.
• Do not operate the machine while
under the influence of alcohol or drugs.
• Watch for traffic when operating near or
crossing roadways.
• Use extra care when loading or
unloading the machine into a trailer or
truck.
• Data indicates that operators, age 60
years and above, are involved in a
large percentage of riding mower-
related injuries. These operators should
evaluate their ability to operate the
riding mower safely enough to protect
themselves and others from serious
injury.
SLOPE OPERATION
Slopes are a major factor related to loss-
of-control and tipover accidents, which
can result in "severe injury or death. All
slopes require extra caution. If you cannot
back up the slope or if you feel uneasy on
it, do not mow it.
DO:
• Mow up and down slopes, not across.
• Remove obstacles such as rocks, tree
limbs, etc.
• Watch for holes, ruts, or bumps. Uneven
terrain could overturn the machine. Tall
grass can hide obstacles.
• Use slow speed. Choose a low gear so
that you will not have to stop or shift
while on the slope.
• Follow the manufacturer's recommen-
dations for wheel weights or counter-
weights to improve stability.
• Use extra care with grass catchers or
other attachments. These can change
the stability of the machine.
• Keep all movement on the slopes slow
and gradual. Do not make sudden
changes in speed or direction.
• Avoid starting or stopping on a slope. If
tires lose traction, disengage the blades
and proceed slowly straight down the
slope.
DO NOT:
•Do not turn on slopes unless neces-
sary, and then, turn slowly and gradual-
ly downhill, if possible.
•Do not mow near drop-offs, ditches, or
embankments. The mower could
suddenly turn over if a wheel is over the
edge of a cliff or ditch, or if an edge
caves in.
•Do not mow on wet grass. Reduced
traction could cause sliding.
•Do not try to stabilize the machine by
putting your foot on the ground.
•Do not use grass catcher on steep
slopes.
CHILDREN
Tragic accidents can occur if the operator
is not alert to the presence of children.
Children are often attracted to the
machine and the mowing activity. Never
assume that children will remain where
you last saw them.
3

•Keep children out of the mowing area
and under the watchful care of another
responsible adult.
•Be alert and turn machine off if children
enter the area.
•Before and when backing, look behind
and down for small children.
• Never carry children. They may fall off
and be seriously injured or interfere
with safe machine operation.
• Never allow children to operate the
machine.
• Use extra care when approaching blind
corners, shrubs, trees, or other objects
that may obscure vision.
SERVICE
Use extra care in handling gasoline
and other fuels. They are flammable
and vapors are explosive.
Use only an approved container.
Never remove gas cap or add fuel
with the engine running. Allow
engine to cool before refueling. Do
not smoke.
Never refuel the machine indoors.
Never store the machine or fuel
container inside where there is an
open flame, such as a water
heater.
• Never run a machine inside a closed
area.
•Keep nuts and bolts, especially blade
attachment bolts, tight and keep
equipment in good condition.
• Never tamper with safety devices.
Check their proper operation regularly.
• Keep machine free of grass, leaves, or
other debris build-up. Clean oil or fuel
spillage. Allow machine to cool before
storing.
• Stop and inspect the equipment if you
strike an object. Repair, if necessary,
before restarting.
• Never make adjustments or repairs with
the engine running.
• Grass catcher components are subject
to wear, damage, and deterioration,
which could expose moving parts or al-
low objects to be thrown. Frequently
check components and replace with
manufacturer's recommended parts,
when necessary.
• Mower blades are sharp and can cut.
Wrap the blade(s) or wear gloves, and
use extra caution when servicing them.
• Check brake operation frequently. Ad-
just and service as required.
• Be sure the area is clear of other • Remove obstacles such as rocks, tree
people before mowing. Stop machine if
anyone enters the area.
• Never carry passengers or children
even with the blades off.
• Do not mow in reverse unless abso-
lutely necessary. Always look down and
behind before and while backing.
• Never carry children. They may fall off
and be seriously injured or interfere
with safe machine operation.
• Keep children out of the mowing area
and under the watchful care of another
responsible adult.
• Be alert and turn machine off if children
enter the area.
•Before and when backing, look behind
and down for small children.
•Mow up and down slopes (15 ° Max),
not across.
limbs, etc.
• Watch for holes, ruts, or bumps. Uneven
terrain could overturn the machine. Tall
grass can hide obstacles.
• Use slow speed. Choose a low gear so
that you will not have to stop or shift
while on the slope.
• Avoid starting or stopping on a slope. If
tires lose traction, disengage the blades
and proceed slowly straight down the
slope.
• If machine stops while going uphill,
disengage blades, shift into reverse
and back down slowly.
•Do notturn on slopes unless neces-
sary, and then, turn slowly and gradual-
ly downhill, if possible.
4

A, Look for this symbol to point o_ impor-
tant safety precautions. It means t.,,_u-
TION!!! BECOME AWARE!!! YOUR
SAFETY IS INVOLVED.
_CAUTION: in order to prevent acciden-
tal starting when setting up, transporting,
adjusting or making repairs always dis-
connect spark plug wire and place wire
where it cannot contact spark plug.
_CAUTION: Do not coast down a hill in
neutral, you may lose control of the trac-
tor.
=O,CAUTION: Tow only the attachments that
are recommended by and comply with
specifications of the manufacturer of your
tractor. Use common sense when towing.
Operate only at the lowest possible speed
when on a slope. Too heavy of a load, while
on a slope, is dangerous. "i3res can lose
traction with the ground and cause you to
lose control of your tractor.
_i,WARNING: Engine exhaust, some of its
constituents, and certain vehicle compo-
nents contain or emit chemicals known to
the State of California to cause cancer
and birth defects or other reproductive
harm.
_WARNING: Battery posts, terminals and
related accessories contain lead and lead
compounds, chemicals known to the State
of California to cause cancer and birth
defects or other reproductive harm. Wash
hands after handling.
PRODUCT SPECIFICATIONS
GASOLINE
CAPACITY
AND TYPE:
OILTYPE
API-SF/SG/SH):
1.25 GALLONS
UNLEADED
REGULAR
SAE 10W30
(ABOVE 32°F)
SAE 5W-30
(BELOW 32°F)
OIL CAPACITY: W/FILTER: 4.5 PINTS
W/O FILTER:4.0 PINTS
SPARK PLUG: CHAMPION
GAP: .030") RC12YC
GROUND FORWARD: 5.5
SPEED(MPH): REVERSE: 2.4
TIRE FRONT: 14 PSI
PRESSURE: REAR: 10 PSI
CHARGING 15 AMPS @3600 RPM
SYSTEM:
BA'I-I'E RY: AMP/HR: 30
MIN. CCA: 240
CASE SIZE:U1R
BLADE BOLT 27-35 FT. LBS
TORQUE:
;ONGRATULATIONS on your purchase
of a new Tractor. It has been designed,
engineered and manufactured to give you
the best possible dependability and
performance.
Should you experience any problem you
cannot easily remedy, please contact your
nearest authorized service center/
department. We have competent, well-
trained technicians and the propar tools to
service or repair this tractor.
Please read and retain this manual. The
instructions will enable you to assemble
and maintain your tractor properly.
Always observe the "SAFETY RULES".
REPAIR AGREEMENT
A Repair Agreement is available on this
product. Contact your nearest Sears store
for details.
CUSTOMER RESPONSIBILITIES
• Read and observe the safety rules.
• Follow a regular schedule in maintain-
ing, caring for and using your tractor.
• Follow the instructions under "Mainte-
nance" and =Storage" sections of this
owner's manual.
,A WARNING: This tractor is equipped
with an internal combustion engine and
should not be used on or near any
unimproved forest-covered, brush-
covered or grass-covered land unless the
engine's exhaust system is equipped with
a spark arrester meeting applicable local
or state laws (if any). If a spark arrester is
used, it should be maintained in effective
working order by the operator.
In the state of California the above is
required by law (Section 4442 of the
California Public Resources Code). Other
states may have similar laws. Federal
laws apply on federal lands. A spark
arrester for the muffler is available
through your nearest authorized service
center/department (See REPAIR PARTS
section of this manual).
5

Steering
Wheel
Adapter
Steering Wheel
Steering
Steering Extension
Sleeve Shaft
O
m
_(1) Hex Bolt
J _ \ /Steering I1
/_ _ Wheel | I
/k_ _eila)LhOC k '_
k ',zc
_L. /(1) Hex Bolt .
_ 5/16-18 x 1-1/4 _ (, )
jr .................... 5/16-18
__(1] WmsherSeat
@ 17/32 x1-3/16 x 12 Gauge
(1) Knob _
_( (1) Shoulder
Bolt 5/16-18
- iiiiiii
_im,.ppppppp I
Keys Video Cassette
G
(2) Keys
F-q
Slope Sheet
6

Your new tractor has been assembled at the factory with exception of those parts left
unassembled for shipping purposes. To ensure safe and proper operation of your
tractor all parts and hardware" you assemble must be tightened securely. Use the
correct tools as necessary to insure proper tightness.
TOOLS REQUIRED FOR ASSEMBLY
A socket wrench set will make assembly
easier. Standard wrench sizes you need
are listed below.
(1) 9/16" wrench (1) Pliers
(2) 1/2" wrench (1) Utility knife
(1) Tire pressure gauge
When right or left hand is mentioned in
this manual, it means, from your point of
view, when you are in the operating
position (seated behind the steering
wheel).
TO REMOVE TRACTOR FROM
CARTON
UNPACK CARTON
•Remove all accessible loose parts and
parts boxes from shipping carton.
• Cut, from top to bottom, along lines on
all four corners of shipping carton, and
lay panels flat.
•Check for any additional loose parts or
boxes and remove.
BEFORE REMOVING TRACTOR
FROM SKID
ATTACH STEERING WHEEL
ASSEMBLE EXTENSION SHAFT AND
BOOT
• Slide extension shaft onto lower
steering shaft. Align mounting holes in
extension and lower shafts and install
5/16 hex bolt and Iocknut. Tighten
securely.
• Place tabs of steering boot over tab
slots in dash and push down to secure.
INSTALL STEERING WHEEL
• Position front wheels of the tractor so
they are pointing straight forward.
•Remove steering wheel adapter from
steering wheel and slide adapter onto
steering shaft extension.
•Position steering wheel so cross bars
are horizontal (left to right) and slide
inside boot and onto adapter.
• Assemble large flat washer, 3/8 lock
washer, 3/8 hex bolt and tighten
securely.
•Snap steering wheel insert into center
of steering wheel.
• Remove protective materials from
tractor hood and grill.
IMPORTANT: Check for and remove any
staples in skid that may puncture tires
where tractor is to roll off skid.
_ _ Steering
_ Wheel Insert
Hex Bolt
_Lock Washer
fF_ _, _ _- Large Flat
____)) Washer
_ Steering Boot
Extension
Shaft __-----Adapter
5/16 Locknut__ "5/16 Hex Bolt
f- 4-.,_.
Lower Steering '_,-_I Tab
Shaft l"- Slots
7

HOW TO SET UP YOUR TRACTOR
CHECK BATTERY
•Lift seat pan to raised position and
open battery box door.
•If this battery is put into service after
month and year indicated on label
(label located between terminals)
charge battery for minimum of one hour
at 6-10 amps. (See "BATTERY" in
MAINTENANCE section of this manual
for charging instructions).
Seat
Battery Box
Door
Label
._rminal
INSTALL SEAT
Adjust seat before tightening adjustment
knob.
• Remove adjustment knob and flat
washer securing seat to cardboard
packing and set aside for assembly of
seat to tractor.
• Pivot seat upward and remove from the
cardboard packing. Remove the
cardboard packing and discard.
• Place seat on seat pan and assemble
shoulder bolt. Tighten shoulder bolt
securely.
• Assemble adjustment knob and flat
washer loosely. Do not tighten.
• Lower seat into operating position and
sit on seat.
• Slide seat until a comfortable position is
reached which allows you to press
clutch/brake pedal all the way down.
• Get off seat without moving its adjusted
position.
• Raise seat and tighten adjustment knob
securely.
Shoulder Bolt
Seat Pan
Seat
NOTE." You may now roll or drive you
tractor off the skid. Follow the appropriate
instruction below to remove the tractor
from the skid.
TO ROLLTRACTOR OFF SKID (See
Operation section for location and
function of controls)
•Press lift lever plunger and raise
attachment lift lever to its highest
position.
• Release parking brake by depressing
clutch/brake pedal.
•Place freewheel control in freewheeling
position to disengage transmission
(See "TO TRANSPORT" in the Opera-
tion section of this manual).
• Roll tractor forward off skid.
• Remove banding holding discharge
guard up against tractor.
TO DRIVE TRACTOR OFF SKID (See
Operation section for location and
function of controls)
_I, WARNING: Before starting, read,
understand and follow all instructions in
the Operation section of this manual. Be
sure tractor is in a well-ventilated area. Be
sure the area in front of tractor is clear of
other people and objects.
• Be sure all the above assembly steps
have been completed.
• Check engine oil level and fill fuel tank
with gasoline.
•Place freewheel control in "transmis-
sion engaged" position.
• Sit on seat in operating position,
depress clutch/brake pedal and set the
parking brake.
• Place motion control lever in neutral (N)
position.
• Press lift lever plunger and raise
attachment lift lever to its highest
position.
• Start the engine. After engine has
started, move throttle control to idle
position.
• Release parking brake.
• Slowly move the motion control lever
forward and slowly drive tractor oft skid.
• Apply brake to stop tractor, set parking
brake and place motion control lever in
neutral position.
•Turn ignition key to "OFF" position.
Continue with the instructions that follow.
Flat Washer
Adjustment Knob 8

INSTALL MULCHER PLATE
(If previously removed)
• Raise and hold deflector shield in
upright position.
•Place front of mulcher plate over front of
mower deck opening and slide into
place, as shown,
•Hook front latch into hole on front of
mower deck.
•Hook rear latch into hole on back of
mower deck.
,ACAUTION: Do not remove deflector
shield from mower. Raise and hold shield
when attaching mulcher plate and allow it
to rest on plate while in
Shield
Mulcher
Plate
Latch
Hooks
TO CONVERT TO BAGGING OR
DISCHARGING
Simply remove mulcher plate and store in
a safe place. Your mower is now ready for
discharging or installation of optional
grass catcher accessory.
NOTE: It is not necessary to change
blades. The mulcher blades are designed
for discharging and bagging also.
CHECK TIRE PRESSURE
The tires on your tractor were overinflated
at the factory for shipping purposes.
Correct tire pressure is important for best
cutting performance.
•Reduce tire pressure to PSI shown in
"PRODUCT SPECIFICATIONS" section
of this manual.
CHECK DECK LEVELNESS
For best cutting results, mower housing
should be properly leveled. See "TO
LEVEL MOWER HOUSING" in the Service
and Adjustments section of this manual.
CHECK FOR PROPER POSITION OF
ALL BELTS
See the figures that are shown for
replacing motion and mower blade drive
belts in the Service and Adjustments
section of this manual. Verify that the belts
are routed correctly.
CHECK BRAKE SYSTEM
After you learn how to operate your
tractor, check to see that the brake is
properly adjusted. See 'q'O ADJUST
BRAKE" in the Service and Adjustments
section of this manual.
V' CHECKLIST
BEFORE YOU OPERATE AND ENJOY
YOUR NEW TRACTOR, WE WISH TO
ASSURE THAT YOU RECEIVE THE BEST
PERFORMANCE AND SATISFACTION
FROM THIS QUALITY PRODUCT.
PLEASE REVIEW THE FOLLOWING
CHECKLIST:
J" All assembly instructions have been
completed.
,/No remaining loose parts in carton.
,/Battery is properly prepared and
charged. (Minimum 1 hour at 6 amps).
,/Seat is adjusted comfortably and
tightened securely.
,/All tires are properly inflated. (For
shipping purposes, the tires were
overinflated at the factory).
•/Be sure mower deck is properly leveled
side-to-side/front-to-rear for best cutting
results. (Tires must be properly inflated
for leveling).
,/" Check mower and drive belts. Be sure
they are routed properly around pulleys
and inside all belt keepers.
/Check wiring. See that all connections
are still secure and wires are properly
clamped.
4' Before driving tractor, be sure free-
wheel control is in drive position.
WHILE LEARNING HOW TO USE YOUR
TRACTOR, PAY EXTRAATTENTION TO
THE FOLLOWING IMPORTANT ITEMS:
,/Engine oil is at proper level.
,/Fuel tank is filled with fresh, clean,
regular unleaded gasoline.
/Become familiar with all controls - their
location and function. Operate them
before you start the engine.
,/Be sure brake system is in safe operat-
ing condition.
,/It is important to purge the transmission
before operating your tractor for the first
time. Follow proper starting and
transmission purging instructions (See
"TO START ENGINE" and "PURGE
TRANSMISSION" in the Operation
section of this manual).
9

These symbols may appear on your tractor or in literature supplied with the product.
Learn and understand their meaning.
BATTERY CAUTION OR
WARNING
ENGINE ON ENGINE OFF
REVERSE FORWARD FAST SLOW
OIL PRESSURE
A
LIGHTS ON OVER TEMP 1"
!
LIGHT
FUEL CHOKE MOWER HEIGHT PARKING BRAKE UNLOCKED MOWER LIFT
LOCKED
R N H L
ATTACHMENT REVERSE NEUTRAL HIGH LOW PARKING BRAKE
CLUTCH ENGAGED
KEEP AREA CLEAR SLOPE HAZARDS
ATTACHMENT
IGNITION CLUTCH DISENGAGED (SEE SAFETY RULES SECTION)
DANGER, KEEP HANDS AND FEET AWAY
FREE WHEEL
(Automatic Models only)
10

KNOW YOUR TRACTOR
READ THIS OWNER'S MANUAL AND SAFETY RULES BEFORE OPERATING
YOUR TRACTOR
Compare the illustrations with your tractor to familiarize yourself with the locations of
various controls and adjustments. Save this manual for future reference.
Attachment Ignition ht Switch
Clutch Lever Switch
/
Ammeter "" Lever
Plunger
Throttle/Choke
Control
Clutch/
Brake
ent
Lift Lever
Height
Adjustment
Knob
Free Wheel
Control =g Brake Lever
Control
Lever
Our tractors conform to the safety standards of the American National Standards
Institute.
AMMETER - Indicates charging (+) or
discharging (-) of battery.
ATTACHMENT CLUTCH LEVER -Used
to engage the mower blades_ or other
attachments mounted to your tractor.
ATTACHMENT LIFT LEVER - Used to
raise, lower, and adjust the mower deck
or other attachments mounted to your
tractor.
CLUTCH/BRAKE PEDAL - Used for
declutching and braking the tractor and
starting the engine.
HEIGHT ADJUSTMENT KNOB - Used to
adjust the mower cutting height.
MOTION CONTROL LEVER - Selects the
speed and direction of tractor.
FREEWHEEL CONTROL - Disengages
transmission for pushing or slowly
towing the tractor with the engine off.
IGNITION SWITCH - Used for starting
and stopping the engine.
LIFT LEVER PLUNGER - Used to
release attachment lift lever when
changing its position.
LIGHT SWITCH - Turns the headlights on
and off.
PARKING BRAKE LEVER - Locks
clutch/brake pedal into the brake
position.
THROTTLE/CHOKE CONTROL - Used
for starting and controlling engine speed.
11

The operation of any tractor can result in foreign objects thrown into
the eyes, which can result in severe eye damage. Always wear safety
glasses or eye shields while operating your tractor or performing any
adjustments or repairs. We recommend a wide vision safety mask
over spectacles or standard safety glasses.
HOW TO USE YOUR TRACTOR
TO SET PARKING BRAKE
Your tractor is equipped with an operator
presence sensing switch. When engine
is running, any attempt by the operator to
leave the seat without first setting the
parking brake will shut off the engine.
• Depress clutch/brake pedal into full
"BRAKE" position and hold.
• Place parking brake lever in "EN-
GAGED" position and release pressure
from clutch/brake pedal. Pedal should
remain in "BRAKE" position. Make sure
parking brake will hold tractor secure.
Attachment Clutch Lever
Throttle/Choke "Engaged" Position
Control _. -_--_"_ Ignition Key
__/ "Disengaged"
-1 Pos,tion
\ ".'_\", \\V_ Parking Brake
Clutch/-_.". _ "__._-'_ j.."Engaged"
Brake Pedal_', ,"J-_.... _ Position
Disengag ed". Adjus_nt /"---. Control
Position Knob "Brake" Lever
STOPPING Position
MOWER BLADES -
• To stop mower blades,move attachment
clutch lever to "DISENGAGED" position.
GROUND DRIVE-
• To stop ground drive, depress clutch/
brake pedal into full "BRAKE" position.
• Move motion control lever to neutral (N)
position.
IMPORTANT: The motion control lever
does not return to neutral (N) position
when the clutch/brake pedal is de-
pressed.
ENGINE -
• Move throttle control to slow position.
NOTE: Failure to move throttle control to
slow position and allowing engine to idle
before stopping may cause engine to
"backfire".
• Turn ignition key to "OFF" position and
remove key. Always remove key when
leaving tractor to prevent unauthodzed
use.
• Never use choke to stop engine.
IMPORTANT: Leaving the ignition switch
in any position other than "OFF" will cause
the battery to be discharged, (dead).
NOTE: Under certain conditions when
tractor is standing idle with the engine
running, hot engine exhaust gases may
cause "browning" of grass. To eliminate
this possibility, always stop engine when
stopping tractor on grass areas.
_IL CAUTION: Always stop tractor
completely, as described above, before
leaving the operator's position; to empty
grass catcher, etc.
TO USE THROTTLE CONTROL
Always operate engine at full throttle.
• Operating engine at less than full
throttle reduces the battery charging
rate.
• Full throttle offers the best bagging and
mower performance.
TO MOVE FORWARD AND BACKWARD
The direction and speed of movement is
controlled by the motion control lever.
• Start tractor with motion control lever in
neutral (N) position.
• Release parking brake and clutch/
brake pedal.
• Slowly move motion control lever to
desired position.
TO ADJUST MOWER CUTTING
HEIGHT
The cutting height is controlled by turning
the height adjustment knob in desired
direction.
• Turn knob clockwise (f_l) to raise
cutting height.
• Turn knob counterclockwise (1_-_)to
lower cutting height.
The cutting height range is approximately
1-1/2" to 4". The heights are measured
from the ground to the blade tip with the
engine not running. These heights are
approximate and may vary depending
upon soil conditions, height of grass and
types of grass being mowed.
12

• The average lawn should be cut to
approximately 2-1/2 inches during the
cool season and to over 3 inches
during hot months. For healthier and
better looking lawns, mow often and
after moderate growth.
•For best cutting performance, grass
over 6 inches in height should be
mowed twice. Make the first cut
relatively high; the second to desired
height.
TO ADJUST GAUGE WHEELS
Gauge wheels are properly adjusted
when they are slightly off the ground
when mower is at the desired cutting
height in operating position. Gauge
wheels then keep the deck in proper
position to help prevent scalping in most
terrain conditions.
• Adjust gauge wheels with tractor on a
flat level surface.
• Adjust mower to desired cutting height
(See "TO ADJUST MOWER CUTTING
HEIGHT" in the Operation section of this
manual).
• With mower in desired height of cut
position, gauge wheels should be
assembled so they are slightly off the
ground. Install gauge wheel in appro-
priate hole with shoulder bolt, 3/8
washer, and 3/8-16 Iocknut and tighten
securely.
• Repeat for opposite side installing
gauge wheel in same adjustment hole.
3/8-16
Locknut_
Gauge
Wheel
Mounting
Bracket
3/8
Gauge Wheel
3houlder
Bolt
TO OPERATE MOWER
Your tractor is equipped with an operator
presence sensing switch. Any attempt by
the operator to leave the seat with the
engine running and the attachment clutch
engaged will shut off the engine.
•Select desired height of cut.
• Lower mower with attachment lift
control.
•Start mower blades by engaging
attachment clutch control.
•TO STOP MOWER BLADES - disen-
gage attachment clutch control.
CAUTION: Do not operate the mower
without either the entire grass catcher, on
mowers so equipped, or the deflector
shield place.
Attachment Clutch Lever "Engaged"
Position ._rnnt Lift
Lever High
Position
•':::!'_ Low
Position
13
"Disenc
Position
Shield
TO OPERATE ON HILLS
_CAUTION: Do not drive up or down
hills with slopes greater than 15 ° and do
not drive across any slope.
•Choose the slowest speed before
starting up or down hills.
•Avoid stopping or changing speed on
hills.
•If slowing is necessary, move throttle
control lever to slower position.
•If stopping is absolutely necessary,
push clutch/brake pedal quickly to
brake position and engage parking
brake.
•Move motion control lever to neutral (N)
position.
IMPORTANT: The motion control lever
does not return to neutral (N) position
when the clutch/brake pedal is de-
pressed.
• To restart movement, slowly release
parking brake and clutch/brakepedal.
•Slowly move motion control lever to
slowest setting.
• Make all turns slowly.
TO TRANSPORT
When pushing or towing your tractor, be
sure to disengage transmission by
placing freewheel control in freewheeling
position. Free wheel control is located at
the rear drawbar of tractor.
• Raise attachment lift to highest position
with attachment lift control.
• Pull freewheel control out and down
into the slot and release so it is held in
the disengaged position.
• Do not push or tow tractor at more than
two (2) MPH.
•To reengage transmission, reverse
above procedure.

NOTE: To protect hood from damage
when transporting your tractor on a truck
or a trailer, be sure hood is closed and
secured to tractor. Use an appropriate
means of tying hood to tractor (rope, cord,
etc.).
TOWING,CARTS AND OTHER
ATrACHMENTS
Tow only the attachments that are
recommended by and comply with
specifications of the manufacturer of your
tractor. Use common sense when towing.
Too heavy of a load, while on a slope, is
dangerous. Tires can lose traction with the
ground and cause you to 10se control of
your tractor.
BEFORE STARTING THE ENGINE
CHECK ENGINE OIL LEVEL
•The e'ngine in your tractor has been
shipped, from the factory, already filled
with summer weight oil.
• Check engine oil with tractor on level
ground.
• Unthread and remove oil fill cap/
dipstick; wipe oil off. Reinsert the
dipstick into the tube and rest oil fill cap
on the tube. Do not thread the cap onto
the tube. Remove and read oil level. If
necessary, add oil until "FULL" mark on
dipstick is reached. Do not overfill.
• For cold weather operation you should
change oil for easier starting (See "OIL
VISCOSITY CHART" in the Mainte-
nance section of this manual).
• To change engine oil, see the Mainte-
nance section in this manual.
ADD GASOLINE
• Fill fuel tank. Use fresh, clean, regular
unleaded gasoline with a minimum of
87 octane. (Use of leaded gasoline
will increase carbon and lead oxide
deposits and reduce valve life). Do not
mix oil with gasoline. Purchase fuel in
quantities that can be used within 30
days to assure fuel freshness.
IMPORTANT: When operating in tem-
peratures below 32°F(0°C), use fresh,
clean winter grade gasoline to help insure
good cold weather starting.
AWARNING: Experience indicates that
alcohol blended fuels (called gasohol or
using ethanol or methanol) can attract
moisture which leads to separation and
formation of acids during storage. Acidic
gas can damage the fuel system of an
engine while in storage. To avoid engine
problems, the fue_ system should be
emptied before storage of 30 days or
Iong.er. Drain the gas tank, start the
engine and let it run until the fuel lines
and carburetor are empty. Use fresh fuel
next season. See Storage Instructions for
additional information. Never use engine
or carburetor cleaner products in the fuel
tank or permanent damage may occur.
ACAUTION: Fill to bottom of gas tank
filler neck. Do not overfill. Wipe off any
spilled oil or fuel. Do not store, spill or use
gasoline near an open flame.
TO START ENGINE
When starting the engine for the first time
or if the engine has run out of fuel, it will
take extra cranking time to move fuel from
the tank to the engine.
• Be sure freewheel control is in the
transmission engaged position.
• Sit on seat in operating position,
depress clutch/brake pedal and set
parking brake.
•Place motion control lever in neutral (N)
position.
• Move attachment clutch to "DISEN-
GAGED" position.
• Move throttle control to choke position.
NOTE: Before starting, read the warm
and cold starting procedures below.
14

•Insert key into ignition and turn key
clockwise to "START" position and
release key as soon as engine starts.
Do not run starter continuously for more
than fifteen seconds per minute. If the
engine does not start after several
attempts, move throttle control to fast
position, wait a few minutes and try
again. If engine still does not start,
move the throttle control back to the
choke position and retry.
WARM WEATHER STARTING (50° F and
above)
When enginestarts, movethethrottle
control to the fast position.
The attachments and ground drive
can now be used. If the engine does
not accept the load, restart the en-
gine and allow it to warm up for one
minute using the choke as described
above.
COLD WEATHER STARTING ( 50 °F and
below)
•When engine starts, allow engine to run
with the throttle control in the choke
position until the engine runs roughly,
then move throttle control to fast
position. This may require an engine
warm-up period from several seconds
to several minutes, depending on the
temperature.
AUTOMATIC TRANSMISSION WARM UP
•Before driving the unit in cold weather,
the transmission should be warmed up
as follows:
•Be sure the tractor is on level ground.
• Place the motion control lever in
neutral. Release the parking brake and
let the clutch/brake slowly return to
operating position.
• Allow one minute for transmission to
warm up. This can be done during the
engine warm up period.
• The attachments can also be used
during the engine warm-up period after
the transmission has been warmed up.
NOTE: if at a high altitude (above 3000
feet) or in cold temperatures (below 32 F)
the carburetor fuel mixture may need to
be adjusted for best engine performance.
See "TO ADJUST CARBURETOR" in the
Service and Adjustments section of this
manual.
PURGE TRANSMISSION
CAUTION: Never engage or disen-
gage freewheel lever while the engine is
running.
To ensure proper operation and perfor-
mance, it is recommended that the
transmission be purged before operating
tractor for the first time. This procedure will
remove any trapped air inside the
transmission which may have developed
during shipping of your tractor.
IMPORTANT: Should your transmission
require removal for service or replace-
ment, it should be purged after reinstalla-
tion before operating the tractor.
•Place tractor safely on level surface
with engine off and parking brake set.
• Disengage transmission by placing
freewheel control in freewheeling
position (See "TO TRANSPORT" in this
section of manual).
• Sitting in the tractor seat, start engine.
After the engine is running, move
throttle control to slow position. With
motion control lever in neutral (N)
position, slowly disengage clutch/brake
pedal.
•Move motion control lever to full forward
position and hold for five (5) seconds.
Move lever to full reverse position and
hold for five (5) seconds. Repeat this
procedure three (3) times.
NOTE: During this procedure there will
be no movement of drive wheels. The air
is being removed from hydraulic drive
system.
• Move motion control lever to neutral (N)
position. Shut- off engine and set
parking brake.
• Engage transmission by placing
freewheel control in driving position
(See "TO TRANSPORT" in this section
of manual).
• Sitting in the tractor seat, start engine.
After the engine is running, move
throttle control to half (1/2) speed. With
motion control lever in neutral (N)
position, slowly disengage clutch/brake
pedal.
• Slowly move motion control lever
forward, after the tractor moves approxi-
mately five (5) feet, slowly move motion
control lever to reverse position. After
the tractor moves approximately five (5)
feet return the motion control lever to
the neutral (N) position. Repeat this
procedure with the motion control lever
three (3) times.
• Your tractor is now purged and now
ready for normal operation.
15

MOWING TIPS
•Mower should be properly leveled for
best mowing performance. See "TO
LEVEL MOWER HOUSING" in the
Service and Adjustments section of this
manual.
• The left hand side of mower should be
used for trimming.
• Drive so that clippings are discharged
onto the area that has been cut. Have
the cut area to the right of the tractor.
This will result in a more even distribu-
tion of clippings and more uniform
cutting.
• When mowing large areas, start by
turning to the right so that clippings will
discharge away from shrubs, fences,
driveways, etc. After one or two rounds,
mow in the opposite direction making
left hand turns until finished.
• If grass is extremely tall, it should be
mowed twice to reduce load and
possible fire hazard from dried clip-
pings. Make first cut relatively high; the
second to the desired height.
• Do not mow grass when it is wet. Wet
grass will plug mower and leave
undesirable clumps. Allow grass to dry
before mowing.
•Always operate engine at full throttle
when mowing to assure better mowing
performance and proper discharge of
material. Regulate ground speed by
selecting a low enough gear to give the
mower cutting performance as well as
the quality of cut desired.
• When operating attachments, select a
ground speed that will suit the terrain
and give best performance of the
attachment being used.
MULCHING MOWING TIPS
IMPORTANT: For best performance,
keep mower housing free of built-up grass
and trash. Clean after each use.
• The special mulching btade will recut
the grass clippings many times and
reduce them in size so that as they fall
onto the lawn they will disperse into the
grass and not be noticed. Also, the
mulched grass will biodegrade quickly
to provide nutrients for the lawn.
Always mulch with your highest engine
(blade) speed as this will provide the
best recutting action of the blades.
• Avoid cutting your lawn when it is wet.
Wet grass tends to form clumps and
interferes with the mulching action. The
best time to mow your lawn is the early
afternoon. At this time the grass has
dried and the newly cut area will not be
exposed to the direct sun.
• For best results, adjust the mower
cutting height so that the mower cuts off
only the top one-third of the grass
blades. For extremely heavy mulching,
reduce your width of cut on each pass
and mow slowly.
• Certain types of grass and grass
conditions may require that an area be
mulched a second time to completely
hide the clippings. When doing a
second cut, mow across or perpendicu-
lar to the first cut path.
• Change your cutting pattern from week
to week. Mow north to south one week
then change to east to west the next
week. This will help prevent matting
and graining of the lawn.
Max 1/3"
16

FILL IN DATES
AsYOUCOMPLETE
REGULAR SERVICE t##__(-'_'_'TSERVlCE DATES
Check Brake Operation _/
Check Tire Pressure
Check Operator Presence and
TIntedock Systems
RCheck for Loose Fasteners If I1_?
ASharpan/RepleceMowe,Blades _,,
TLubrication Chart
0Check Battery Level
RClean Battery and Terminals V'
Check Transaxle Cooling b/
Adjust Blade Belt(s) Tension I_#s
Adjust Motion Onve Belt(s) Tension Q_'s
Check Engine Oi! Level _I1 #
Change Engine Oil l_1.=p I_
EClean Air Filter _2
NClean Air Screen V'2 !
Inspect MuffledSperk Arrester V'
Replace Oil Filter (If equipped) _:
N Clean Engine Cooling Fins
Replace Spark Plug _# V'
Replace Air Filter Paper Cartridge 1_2
Replace Fuel Filter V'
1-Change more often when operating under aheavy load or in high ambient temperatures. 5 - If equipped with adjustable system.
2-Service more o_en when operating in dirty ordusty conditions. 6 - Not required if equipped with malotermnce-free bahery
3 - ff equipped with oil rifler, change oil every 50 hours. 7 ° Tighten front axle pivot boltto 35 ft.-ib$, maximum.
4*Replace bkmde=more often when mowing in sandy soil. Do not overtighten.
GENERAL RECOMMENDATIONS LUBRICATION CHART
The warranty on this tractor does not
cover items that have been subjected to Zerk
operator abuse or negligence. To
receive full value from the warranty,
operator must maintain tractor as
instructed in this manual. _Front Wheel
Some adjustments will need to be made Bearing
periodically to properly maintain your Zerk
tractor.
All adjustments in the Service and
Adjustments section of this manual
should be chocked at least once each
Zerk
:Wheel
ng Zerk
season.
•Once a year you should replace the
spark plug, clean or replace air filter,
and check blades and belts for wear.
Anew spark plug and clean air filter
assure proper air-fuel mixture and
help your engine run better and last
longer.
BEFORE EACH USE
•Check engine oil level.
•Check brake operation.
•Check tire pressure.
•Check operator presence and
interlock systems for proper operation.
•Check for loose fasteners. 17
(DGeneral Purpose Grease
_)Refer to Maintenance "Engine" Section
IMPORTANT: Do not oil or grease the
pivot points which have special nylon
bearings. Viscous lubricants will attract
dust and dirt that will shorten the life of
the self-lubricating bearings. If you feel
they must be lubricated, use only a dry,
powdered graphite type lubricant
sparingly.

TRACTOR
Always observe safety rules when
performing any maintenance.
BRAKE OPERATION
If tractor requires more than six (6) feet
stopping distance at high speed in
highest gear, then brake must be ad-
justed. (See 'q'O ADJUST BRAKE" in the
Service and Adjustments section of this
manual).
TIRES
•Maintain proper air pressure in all tires
(See "PRODUCT SPECIFICATIONS"
section of this manual).
•Keep tires free of gasoline, oil, or insect
control chemicals which can harm
rubber.
•Avoid stumps, stones, deep ruts, sharp
objects and other hazards that may
cause tire damage.
NOTE: To seal tire punctures and prevent
flat tires due to slow leaks, tire sealant
may be purchased from your local parts
dealer. Tire sealant also prevents tire dry
rot and corrosion.
OPERATOR PRESENCE SYSTEM
Be sure operator presence and interlock
systems are working properly. If your
tractor does not function as described,
repair the problem immediately.
•The engine should not start unless the
clutch/brake pedal is fully depressed
and attachement clutch control is in the
disengaged position.
• When the engine is running, any
attempt by the operator to leave the
seat without first setting the parking
brake should shut off the engine.
•When the engine is running and the
attachment clutch is engaged, any
attempt by the operator to leave the
seat should shut off the engine.
• The attachment clutch should never
operate unless the operator is in the
seat.
BLADE CARE
For best results mower blades must be
kept sharp. Replace bent or damaged
blades.
BLADE REMOVAL
•Raise mower to highest position to
allow access to blades.
• Remove hex bolt, lock washer and flat
washer securing blade.
• Install new or resharpened blade with
trailing edge up towards deck as
shown.
IMPORTANT: To ensure proper assembly,
center hole in blade must align with star
on mandrel assembly.
• Reassemble hex bolt, lock washer and
flat washer in exact order as shown.
• Tighten bolt securely (27-35 Ft. Lbs.
torque).
IMPORTANT: Blade bolt is Grade 8 heat
treated.
Trailing Edge Up Mandrel Assembly
Blade Center
Hole
Flat Washer,
Lock Washer
_---Hex Bolt (Grade)
*A Grade 8 heat treated bolt can be identified
by six lines on the bolt head.
TO SHARPEN BLADE
NOTE: We do not recommend sharpen-
ing blade - but if you do, be sure the
blade is balanced.
Care should be taken to keep the blade
balanced. An unbalanced blade will
cause excessive vibration and eventual
damage to mower and engine.
• The blade can be sharpened with a file
or on a grinding wheel. Do not attempt
to sharpen while on the mower.
• To check blade balance, you will need
a 5/8" diameter steel bolt, pin, or a cone
balancer. (When using a cone bal-
ancer, follow the instructions supplied
with balancer.)
NOTE: Do not use a nail for balancing
blade. The lobes of the center hole may
appear to be centered, but are not.
• Slide blade on to an unthreaded
portion of the steel bolt or pin and hold
the bolt or pin parallel with the ground.
If blade is balanced, it should remain in
a horizontal position. If either end of
the blade moves downward, sharpen
the heavy end until the blade is
balanced.
5/8" e
Center Hole
BATTERY
Your tractor has a battery charging system
which is sufficient for normal use. How-
ever, periodic charging of the battery with
an automotive'charger will extend its life.
• Keep battery and terminals clean.
•Keep battery bolts tight.
•Keep small vent holes open.
•Recharge at 6-10 amperes for 1 hour.
18

NOTE: The original equipment battery on
your tractor is maintenance free. Do not
attempt to open or remove caps or covers.
Adding or checking level of electrolyte is
not necessary.
TO CLEAN BATTERY AND TERMINALS
Corrosion and dirt on the battery and
terminals can cause the battery to "leak"
power.
•Open battery box door.
• Disconnect BLACK battery cable first
then RED battery cable and remove .
battery from tractor.
•Rinse the battery with plain water and
dry.
• Clean terminals and battery cable ends
with wire brush until bright.
• Coat terminals with grease or petro-
leum jelly.
•Reinstall battery (See "REPLACING
BATTERY" in the SERVICE AND
ADJUSTMENTS section of this
manual).
V-BELTS
Check V-belts for deterioration and wear
after 100 hours of operation and replace if
necessary. The belts are not adjustable.
Replace belts if they begin to slip from
wear.
TRANSAXLE COOLING
The transmission fan and cooling fins
should be kept clean to assure proper
cooling.
Do not attempt to clean fan or transmis-
sion while engine is running or while the
transmission is hot. To prevent possible
damage to seals, do not use high pres-
sure water or steam to clean transaxle.
•Inspect cooling fan to be sure fan
blades are intact and clean.
•Inspect cooling fins for dirt, grass
clippings and other materials. To
prevent damage to seals, do not use
compressed air or high pressure
sprayer to clean cooling fins.
TRANSAXLE PUMP FLUID
The transaxle was sealed at the factory
and fluid maintenance is not required for
the life of the transaxle. Should the
transaxle ever leak or require servicing,
contact your nearest authorized service
center/department.
ENGINE
LUBRICATION
Only use high quality detergent oil rated
with API service classification SF, SG, or
SH. Select the oil's SAE viscosity grade
according to your expected operating
temperature.
I° """ "
*c _. _ .1o m 10- to, _- :_-
'flEMPERATUt_E RANG_ ANTICIPATED BEF_ NEXT OiL Cp.ANGE
Change the oil after every 50 hours of
operation or at least once a year if the
tractor is not used for 50 hours in one
year.
Check the crankcase oil level before
starting the engine and after each eight
(8) hours of operation. Tighten oil fill cap/
dipstick securely each time you check the
oil level.
TO CHANGE ENGINE OIL
Determine temperature range expected
before oil change. All oil must meet API
service classification SF, SG, or SH.
• Be sure tractor is on level surface.
• Oil will drain more freely when warm.
• Catch oil in a suitable container.
• Remove oil fill cap/dipstick. Be careful
not to allow dirt to enter the engine
when changing oil.
• Remove drain plug.
• After oil has drained completely,
replace oil drain plug and tighten
securely.
• Refill engine with oil through oil fill
dipstick tube. Pour slowly. Do not
overfill. For approximate capacity see
"PRODUCT SPECIFICATIONS" section
of this manual.
• Use gauge on oil fill cap/dipstick for
checking level. Insert dipstick into the
tube and rest the oil fill cap on the tube.
Do not thread the cap onto the tube
when taking reading. Keep oil at
"FULL" line on dipstick. Tighten cap
onto the tube securely when finished.
Cover Knob
Air Cle_g Nut
Cover [.--_, ,_---_Rubber
Foam-_'_ _ ]Grommet
Pre- _ _"'_Air Cleaner
Cleaner I" \ _ • .1-."_'' •
• _ Paper Cartridge
Air _\Air Cleaner
Ir_1"_'Base
bcreen ,,__ .) \
"_ "_q _'_'_/(_il Fil Cap/
._ '_ Dipstick
(, _jOil Drain
Plug
19

CLEAN AIR SCREEN
Air screen must be kept free of dirt and
chaff to prevent engine damage from
overheating. Clean with a wire brush or
compressed air to remove dirt and
stubborn dried gum fibers.
CLEAN AIR INTAKE/COOLING
AREAS
To insure proper cooling, make sure the
grass screen, cooling fins, and other
external surfaces of the engine are kept
clean at all times.
Every 100 hours of operation (more often
under extremely dusty, dirty conditions),
remove the blower housing and other
• cooling shrouds. Clean the cooling fins
and external surfaces as necessary. Make
sure the cooling shrouds are reinstalled.
NOTE: Operating the engine with a
blocked grass screen, dirty or plugged
cooling fins, and/or cooling shrouds
removed will cause engine damage due
to overheating.
AIR FILTER
Your engine will not run properly using a
dirty air filter. Clean the foam pre-cleaner
after every 25 hours of operation or every
season. Service paper cartridge every
100 hours of operation or every season,
whichever occurs first.
Service air cleaner more often under
dusty conditions.
•Remove knob and cover.
• Remove wing nut and air cleaner from
base.
TO SERVICE PRE-CLEANER
•Slide foam pre-cleaner off cartridge.
• Wash it in liquid detergent and water.
• Squeeze it dry in a clean cloth. Allow it
to dry.
• Saturate it in engine oil. Wrap it in
clean, absorbent cloth and squeeze to
remove excess oil.
TO SERVICE CARTRIDGE
• Replace a dirty, bent, or damaged
cartridge.
NOTE: Do not wash the paper cartridge
or use pressurized air, as this will damage
the cartridge.
•Reinstall the pre-cleaner (cleaned and
oiled) over the paper cartridge.
• Reassemble air cleaner, wing nut,
cover and tighten knob securely.
MUFFLER
Inspect and replace corroded muffler and
spark arrester (if equipped) as it could
create a fire hazard and/or damage. 20
SPARK PLUGS
Replace spark plugs at the beginning of
each mowing season or after every 100
hours of operation, whichever occurs first.
Spark plug type and gap setting are
shown in "PRODUCT SPECIFICATIONS"
section of this manual.
ENGINE OIL FILTER
Replace the engine oil filter every season
or every other oil change if the tractor is
used more than 100 hours in one year.
• Drain oil from engine crankcase (See
"TO CHANGE ENGINE OIL" in this
section of this manual, through step
remove drain plug).
• Remove oil filter and wipe off filter
adapter.
•Apply a thin coating of new engine oil
to the rubber gasket on replacement oil
filter.
• Install replacement oil filter on filter
adapter. Turn oil filter clockwise until
rubber gasket contacts the filter
adapter, then tighten filter an additional
1/2 turn.
• Fill crankcase with new oil (See 'q-O
CHANGE ENGINE OIL" in this section
of this manual). For approximate
capacity see "PRODUCT SPECIFICA-
TIONS" section of this manual.
• Start the engine and check for oil leaks.
Correct any leaks before placing
engine into full operation.
Oil
Filter
IN-LINE FUEL FILTER
The fuel filter should be replaced once
each season. If fuel filter becomes
clogged, obstructing fuel flow to carbure-
tor, replacement is required.
•With engine cool, remove filter and plug
fuel line sections.
•Place new fuel filter in position in fuel
line with arrow pointing towards
carburetor.
•Be sure there are no fuel line leaks and
clamps are properly positioned.
•Immediately wipe up any spilled
gasoline.
CI:u_PF_ Clamp

CLEANING
•Clean engine, battery, seat, finish, etc.
of all foreign matter.
•Keep finished surfaces and wheels
free of all gasoline, oil, etc.
•Protect painted surfaces with automo-
tive type wax.
We do not recommend using a garden
hose to clean your tractor unless the
electrical system, muffler, air filter and
carburetor are covered to keep water out.
Water in engine can result in a shortened
engine life.
CAUTION: Before performing any service or adjustments:
• Depress clutch/brake pedal fully and set parking brake.
• Place motion control lever in neutral (N) position.
• Place attachment clutch in "DISENGAGED" position.
• Turn ignition key "OFF" and remove key.
• Make sure the blades and all moving parts have completely stopped.
• Disconnect spark plug wire from spark plug and place wire where it cannot
come in contact with plug.
TRACTOR
TO REMOVE MOWER
Mower will be easier to remove from the
right side of tractor.
•Place attachment clutch in "DISEN-
GAGED" position.
•Move attachment lift lever forward to
lower mower to its lowest position.
•Roll belt off engine pulley.
•Remove small retainer spring, and lift
clutch spring off pulley bolt.
•Remove large retainer spring, slide
collar off and push housing guide out
of bracket.
•Disconnect anti-swaybar from chassis
bracket by removing retainer spring.
•Disconnect suspension arms from rear
deck brackets by removing retainer
springs.
Small Retainer Spring
Clutch Spdn!
Retainer
• Disconnect front links from deck by
removing retainer springs.
• Raise lift lever to raise suspension
arms. Slide mower out from under
tractor.
IMPORTANT: If an attachment other than
the mower deck is to be mounted on the
tractor, remove the front links and hook
the clutch spring Into square hole in
frame.
TO INSTALL MOWER
•Raise attachment lift lever to its highest
position.
•Slide mower under tractor with dis-
charge guard to right side of tractor.
•Lower lift lever to its lowest position.
•Install mower in reverse order of
removal instructions.
Front Link
Anti-Sway Retainer Springs
(Both Sides)
Housing
Guide Bracket
Large Retainer
Spring 21

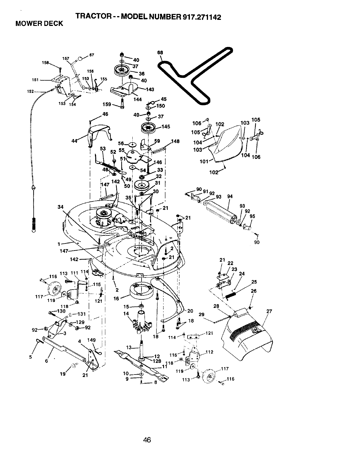
TO LEVEL MOWER HOUSING
Adjust the mower while tractor is parked
on level ground or driveway. Make sure
tires are properly inflated (See "PROD-
UCT SPECIFICATIONS" section of this
manual). If tires are over or underinflated,
you will not properly adjust your mower.
SIDE-TO-SIDE ADJUSTMENT
• Raise mower to its highest position.
• At the midpoint of both sides of mower,
measure height from bottom edge of
mower to ground. Distance "A" on both
sides of mower should be the same or
within 1/4" of each other.
• If adjustment is necessary, make
adjustment on one side of mower only.
• To raise one side of mower, tighten lift
link adjustment nut on that side.
• To lower one side of mower, loosen lift
link adjustment nut on that side.
NOTE:Each full turn of adjustment nut will
change mower height about 1/8".
• Recheck measurements after adjusting.
Bottom edge of Bottom edge of
mower to groun_ower to ground
rm
Lift Link AI_--
FRONT-TO-BACK ADJUSTMENT
IMPORTANT: Deck must be level side-to
side. If the following front-to-back adjust-
ment is necessary, be sure to adjust both
front links equally so mower will stay level
side-to-side.
To obtain the best cutting results, the
mower housing should be adjusted so
that the front is approximately 1/8" to 1/2"
lower than the rear when the mower is in
its highest position.
Check adjustment on right side of tractor.
Measure distance "D" directly in front and
behind the mandrel at bottom edge of
mower housing as shown.
• Before making any necessary adjust-
ments, check that both front links are
equal in length. Both links should be
approximately 10-3/8".
• If links are not equal in length, adjust
one link to same length as other link.
• To lower front of mower loosen nut "E"
on both front links an equal number of
turns.
• When distance "D" is 1/8" to 1/2" lower
at front than rear, tighten nuts "F"
against trunnion on both front links.
• To raise front of mower, loosen nut "F"
from trunnion on both front links.
Tighten nut "E" on both front links an
equal number of turns.
• When distance "D" is 1/8" to 1/2" lower
at front than rear, tighten nut "F" against
trunnion on both front links.
• Recheck side-to-side adjustment.
Mandrel
"D"
Both Front Links Should be Equal in Length
Nut
Front Links
TO REPLACE MOWER BLADE
DRIVE BELT
The mower blade drive belt may be
replaced without tools. Park the tractor on
level surface. Engage parking brake.
BELT REMOVAL-
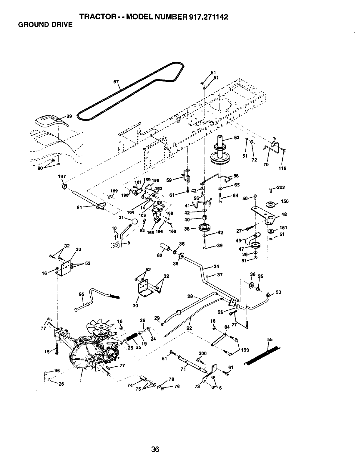
• Remove mower from tractor (See "TO
REMOVE MOWER" in this section of
this manual).
• Work belt off both mandrel pulleys and
idler pulleys.
• Pull belt away from mower.
BELT INSTALLATION -
• Install new belt in reverse order of
removal.
• Make sure belt is in all pulley grooves
and inside all belt guides.
• Install mower in reverse order of
removal instructions.
22

Mandrel Idler
Pull_ Pulleys
Pulley
TO ADJUST BRAKE
Your tractor is equipped with an adjust-
able brake system which is mounted on
the side of the transaxle.
If tractor requires more than six (6) feet
stopping distance at high speed in
highest gear, then brake must be
adjusted.
•Depress clutch/brake pedal and
engage parking brake.
• Measure distance between brake
operating arm and nut "A" on brake
rod.
• If distance is other than 1-9/16", loosen
jam nut and turn nut "A" until distance
becomes 1-9/16". Retighten jam nut
against nut "A".
• Road test tractor for proper stopping
distance as stated above. Readjust if
necessary. If stopping distance is still
greater than six (6) feet in highest
gear, further maintenance is neces-
sary. Contact your nearest authorized
service center/department.
With Parking Brake "Engaged"
Jam Nut
Arm
_J
Do not touch this nut. If further brake
adjustment is necessary contact your
nearest authorized service center/department
TO REPLACE MOTION DRIVE BELT
Park the tractor on level surface. Engage
parking brake. For assistance, there is a
belt installation guide decal on bottom
side of left footrest.
•Remove mower (See 'qO REMOVE
MOWER" in this section of this manual.)
• Remove belt from stationary idler and
clutching idler.
•Pull belt slack toward rear of tractor.
Carefully remove belt upwards from
transmission input pulley and over
cooling fan blades.
• Pull belt toward front of tractor and
remove downward from around engine
pulley.
• Install new belt by reversing above
procedure.
Engine Pulley--
Clutching Idler
Stationary Idler
Transmission
Input Pulley _0
TRANSMISSION REMOVAIJREPLACE-
MENT
Should your transmission require removal
for service or replacement, it should be
purged after reinstallation and before
operating the tractor. See "PURGE
TRANSMISSION" in the Operation section
of this manual.
TRANSAXLE MOTION CONTROL
LEVER NEUTRAL ADJUSTMENT
The motion control lever has been preset
at the factory and adjustment should not
be necessary.
• Loosen adjustment bolt in front of the
right rear wheel, and lightly tighten.
• Start engine and move motion control
lever until tractor does not move
forward or backward.
• Hold motion control lever in that
position and turn engine off.
• While holding motion control lever in
place, loosen the adjustment bolt.
23

•Move motion control lever to the neutral
(N) (lock gate) position.
• Tighten adjustment bolt securely.
NOTE: If additional clearance is needed
to get to adjustment bolt, move mower
deck height to the lowest position.
After above adjustment is made, if the
tractor still creeps forward or backward
while motion control lever is in neutral
position, follow these steps:
• Loosen the adjustment bolt.
• Move the motion control lever 1/4 to
1/2 inch in the direction it is trying to
creep.
• Tighten adjustment bolt securely.
• • Start engine and test.
• If tractor still creeps, repeat above steps
until satisfied.
Motion Control Neutral Lock Gate
/" !
Adjustment BoLt
TO ADJUST STEERING WHEEL ALIGN-
MENT
If steering wheel crossbars are not
horizontal (left to right) when wheels are
positioned straight forward, remove
steering wheel and reassemble per
instructions in the Assembly section of this
manual.
FRONT WHEEL TOE-IN/CAMBER
The front wheel toe-in and camber are not
adjustable on your tractor. If damage has
occurred to affect the front wheel toe-in or
camber, contact your nearest authorized
service center/department.
TO REMOVE WHEEL FOR REPAIRS
• Block up axle securely.
• Remove axle cover, retaining ring and
washers to allow wheel removal (rear
wheel contains a square key - Do not
lose).
•Repair tire and reassemble.
• On rear wheels only: align grooves in
rear wheel hub and axle. Insert square
key.
•Replace washers and snap retaining
ring securely in axle groove.
•Replace axle cover.
NOTE: To seal tire punctures and prevent
flat tires due to slow leaks, tire sealant
may be purchased from your local parts
dealer. Tire sealant also prevents tire dry
rot and corrosion.
Retaining Ring
Axle
Cover
I
Square Key /
(Rear Wheel Only)
TO START ENGINE WITH A WEAK
BA'I-rERY
ACAUTION: Lead-acid batteries
generate explosive gases. Keep sparks,
flame and smoking materials away from
batteries. Always wear eye protection
when around batteries.
If your battery is too weak to start the
engine, it should be recharged. (See
"BATTERY" in the MAINTENANCE
section of this manual).
If "jumper cables" are used for emergency
starting, follow this procedure:
IMPORTANT: Your tractor is equipped
with a 12 volt negative grounded system.
The other vehicle must also be a 12 volt
negative grounded system. Do not use
your tractor battery to start other vehicles.
TO ATTACH JUMPER CABLES -
• Connect each end of the RED cable to
the POSITIVE (+) terminal of each
battery, taking care not to short against
chassis.
• Connect one end of the BLACK cable to
the NEGATIVE (-) terminal of fully
charged battery.
• Connect the other end of the BLACK
cable to good CHASSIS GROUND,
away from fuel tank and battery.
TO REMOVE CABLES, REVERSE
ORDER -
• BLACK cable first from chassis and
then from the fully charged battery.
•RED cable last from both batteries.
24

Positive Terminal Negative Terminal _ Keps Nut
Hex
Positive Terminal Negative Terminal
REPLACING BA'I-rERY
ACAUTION: Do not short battery
terminals by allowing a wrench or any
other object to contact both terminals at
the same time. Before connecting battery,
remove metal bracelets, wristwatch
bands,rings,etc.
Positive terminal must be connected first
to prevent sparking from accidental
grounding.
•Lift seat pan to raised position and
open battery box door.
•Disconnect BLACK battery cable first
then RED battery cable and carefully
remove battery from tractor.
•Install new battery with terminals in
same position as old battery.
•First connect RED battery cable to
positive (+) terminal with hex bolt and
keps nut as shown. Tighten securely.
•Connect BLACK grounding cable to
negative (-) terminal with remaining hex
bolt and keps nut. Tighten securely.
• Close battery box door.
Seat
Batter
Box Door
.=(Red) (Black)
Cable Cable
TO REPLACE HEADLIGHT BULB
•Raise hood.
• Pull bulb holder out of the hole in the
backside of the grill.
• Replace bulb in holder and push bulb
holder securely back into the hole in the
backside of the grill.
•Close hood.
INTERLOCKS AND RELAYS
Loose or damaged wiring may cause your
tractor to run poorly, stop running, or
prevent it from starting.
•Check wiring. See electrical wiring
diagram in the Repair Parts section.
TO REPLACE FUSE
Replace with 15 amp automotive-type
plug-in fuse. The fuse holder is located
behind the dash.
TO REMOVE HOOD AND GRILL
ASSEMBLY
•Raise hood.
• Unsnap headlight wire connector.
•Stand in front of tractor. Grasp hood at
sides, tilt toward engine and lift off of
tractor.
•To replace, reverse above procedure.
ctor
ENGINE
Maintenance, repair, or replacement of
the emission control devices and systems,
which are being done at the customers
expense, may be performed by any non-
road engine repair establishment or
individual. Warranty repairs must be
performed by an authorized engine
25manufacturer's service outlet.

TO ADJUST THROTTLE CONTROL
CABLE
The throttle control has been preset at the
factory and adjustment should not be
necessary. Check adjustment as de-
scribed below before loosening cable. If
adjustment is necessary, proceed as
follows:
•With engine not running, move throttle
control lever from slow to choke
position. Slowly move lever from choke
to fast position.
•Check to see if hole in throttle lever and
hole in speed control bracket are
aligned.
•If holes are not aligned, loosen cable
clamp screw and align the holes by
inserting a pencil or a 1/4" drill bit
through both holes.
•Pull throttle cable up to remove slack
and tighten cable clamp screw. Re-
move alignment pencil or drill bit.
Cable
Clamp._____._----_
Screw 71t 7
Speed Control _/_ I
Throttle
Lever
TO ADJUST CARBURETOR
The carburetor has been preset at the
factory and adjustment should not be
necessary. However, minor adjustment
may be required to compensate for
differences in fuel, temperature, altitude or
load. If the carburetor does need adjust-
ment, proceed as follows:
In general, turning the adjusting needles
in (clockwise) decreases the supply of
fuel to the engine giving a leaner fuel/air
mixture. Turning the adjusting needles out
(countemlockwise) increases the supply
of fuel to the engine giving a richer fuel/air
mixture.
IMPORTANT: Damage to the needles and
the seats in carburetor may result if
needle is turned in too tight.
NOTE: The carburetor on this engine is
low emission. It is equipped with an idle
fuel adjusting needle with a limiter cap,
which allows some adjustment within the
limits allowed by the cap. 26
Do not attempt to remove the limiter cap.
The limiter cap cannot be removed
without breaking the adjusting needle.
• Be sure you have a clean air filter and
the throttle control cable is adjusted
properly (see above).
• Start engine and allow to warm for five
minutes. Make adjustments with engine
running and shift/motion control lever in
neutral (N) position.
• Idle speed setting - With throttle control
lever in slow position, engine should
idle at 1750 RPM. If engine idles too
slow or fast, turn idle speed adjusting
screw in or out until correct idle is
attained.
• Idle fuel needle setting - With throttle
control lever in slow position, turn idle
fuel adjustment needle in (clockwise)
until engine begins to die and then turn
out (counterclockwise) until engine
runs rough. Turn needle to a point
midway between those two positions.
• Recheck idle speed. Readjust if
necessary.
ACCELERATION TEST -
• Move throttle control lever from slow to
fast position. If engine hesitates or dies,
turn idle fuel adjusting needle out
(counterclockwise) 1/8 turn. Repeat test
and continue to adjust, if necessary,
until engine accelerates smoothly.
High speed stop is factory adjusted. Do
not adjust - damage may result.
IMPORTANT: Never tamper with the
engine governor, which is factory set for
proper engine speed. Overspeeding the
engine above the factory high speed
setting can be dangerous. If you think the
engine-governed high speed needs
adjusting, contact your nearest authorized
service center/department, which has
proper equipment and experience to
make any necessary adjustments.
Idle Speed
Adjusting
Screw
Idle Fuel
Needle

Immediately prepare your tractor for
storage at the end of the season or if the
tractor will not be used for 30 days or
more.
CAUTION: Never store the tractor
with gasoline in the tank inside a
building where fumes may reach an
open flame or spark. Allow the engine to
cool before storing in any enclosure:
_A_OR
Remove mower from tractor for winter
storage. When mower is to be stored for
a period of time, clean it thoroughly,
remove all dirt, grease, leaves, etc. Store
in a clean, dry area.
• Clean entire tractor (See "CLEANING"
in the Maintenance section of this
manual).
• Inspect and replace belts, if necessary
(See belt replacement instructions in
the Service and Adjustments section of
this manual).
• Lubricate as shown in the Mainte-
nance section of this manual.
• Be sure that all nuts, bolts and screws
are securely fastened. Inspect moving
parts for damage, breakage and wear.
Replace if necessary.
• Touch up all rusted or chipped paint
surfaces; sand lightly before painting.
BA'I-rERY
• Fully charge the battery for storage.
• After a period of time in storage,
battery may require recharging.
• To help prevent corrosion and power
leakage during long periods of
storage, battery cables should be
disconnected and battery cleaned
thoroughly (see 'q-O CLEAN BATTERY
AND TERMINALS" in the Maintenance
section of this manual).
• After cleaning, leave cables discon-
nected and place cables where they
cannot come in contact with battery
terminals.
• If battery is removed from tractor for
storage, do not store battery directly on
concrete or damp surfaces.
ENGINE
FUEL SYSTEM
IMPORTANT: It is important to prevent
_uUmdeposits from forming in essential
el system parts such as carburetor, fuel
filter, fuel hose, or tank during storage.
Also, experience indicates that alcohol
blended fuels called gasohol or using
ethanol or methanol) can attract moisture
which leads to separation and formation
of acids during storage. Acidic gas can
damage the fuel system of an engine
while in storage.
• Drain the fuel tank.
• Start the engine and let it run until the
fuel lines and carburetor are empty.
• Never use engine or carburetor
cleaner products in the fuel tank or
permanent damage may occur.
• Use fresh fuel next season.
NOTE: Fuel stabilizer is an acceptable
alternative in minimizing the formation of
fuel gum deposits during storage. Add
stabilizer to gasoline in fuel tank or
storage container. Always follow the mix
ratio found on stabilizer container. Run
engine at least 10 minutes after adding
stabilizer to allow the stabilizer to reach
the carburetor. Do not drain the gas tank
and carburetor if using fuel stabilizer.
ENGINEOIL
Drain oil (with engine warm) and replace
with clean engine oil. (See "ENGINE" in
the Maintenance section of this manual).
CYLINDER(S)
•Remove spark plug(s).
•Pour one ounce of oil through spark
plug hole(s) into cylinder(s).
•Turn ignition key to "START" position
for a few seconds to distribute oil.
•Replace with new spark plug(s).
OTHER
• Do not store gasoline from one season
to another.
• Replace your gasoline can if your can
starts to rust. Rust and/or dirt in your
gasoline will cause problems.
• If possible, store your tractor indoors
and cover it to give protection from
dust and dirt.
• Cover your tractor with a suitable
protective cover that does not retain
moisture. Do not use plastic. Plastic
cannot breathe which allows conden-
sation to form and will cause your
tractor to rust.
IMPORTANT: Never cover tractor while
engine and exhaust areas are still
warm.
27

TROUBLESHOOTING CHART
CAUSEPROBLEM
Willnotstart
Hard to start
Engine will not
turn over
Engine clicks but
will not start
Loss of power
•Out of fuel.
• Engine not "CHOKED"
properly.
• Engine flooded.
• Bad spark plug.
• Dirty air filter.
• Dirty fuel filter.
• Water in fuel.
• Loose or damaged wiring.
• Carburetor out of adjustment.
Service Adjustments
• Engine valves out of
adjustment.
• Dirty air filter.
• Bad spark plug.
• Weak or dead battery.
• Dirty fuel filter.
• Stale or dirty fuel.
•Loose or damaged wiring.
•Carburetor out of adjustment.
• Engine valves out of
adjustment.
• Clutch/brake pedal not
depressed
•Attachment clutch is
engaged.
• Weak or dead battery.
• Blown fuse.
• Corroded battery terminals.
• Loose or damaged wiring.
•Faulty ignition switch.
• Faulty solenoid or starter.
• Faulty operator presence
switch(es).
• Weak or dead battery.
• Corroded battery terminals.
• Loose or damaged wiring.
•Faulty solenoid or starter.
• Cutting too much grass/too
fast.
•Throttle in =CHOKE"
position.
CORRECTION
•Fill fuel tank.
• See "TO START ENGINE"
in Operation section.
• Wait several minutes before
attempting to start.
• Replace spark plug.
•Clean/replace air filter.
• Replace fuel filter.
• Drain fuel tank and carbure
tor, refill tank with fresh
gasoline and replace fuel
filter.
• Check all wiring.
• See "To Adjust Carburetor" in
section.
• Contact an authorized
service center/department.
• Clean/replace air filter.
• Rep ace spark plug.
• Recharge or replace battery.
• Replace fuel filter.
• Drain fuel tank and refill with
fresh gasoline.
• Check all wiring.
• See 'q'o Adjust Carburetor" in
Service Adjustments
section.
• Contact an authorized service
center/department.
• Depress clutch/brake pedal.
• Disengage attachment clutch.
•Recharge or replace battery,
• Replace fuse.
• Clean battery terminals.
•Check all wiring.
•Check/replace ignition switch,
•Check/replace solenoid or
starter.
•Contact an authorized service
center/department.
• Recharge or replace battery.
• Clean battery terminals.
•Check all wiring.
•Check/replace solenoid or
starter.
•Set in "Higher Cut" position/
reduce speed.
• Adjust throttle control.
28

TROUBLESHOOTING CHART
PROBLEM
Loss of power
(Continued)
Excessive
vibration
Engine continues
to run when
operator leaves
seat with
attachment
clutch engaged
Poorcut-uneven
Mowerbladeswill
not rotate
CAUSE
•Build-up of grass, leaves
and trash under mower.
• Dirty air filter.
•Low oil level/dirty oil.
•Faulty spark plug.
•Dirty fuel filter.
•Stale or dirty fuel.
• Water in fuel.
• Spark plug wire loose.
• Dirty engine air screen/fins.
•Dirty/clogged muffler.
•Loose or damaged wiring.
•Carburetor out of
adjustment.
•Engine valves out of
adjustment.
•Worn, bent or loose blade.
• Bent blade mandrel.
• Loose/damaged part(s).
• Faulty operator-safety
presence controlsystem.
•Wom, bent or loose blade.
• Mower deck not level.
•Buildup of grass, leaves,
and trash under mower.
•Bent blade mandrel.
•Clogged mower deck vent
from build-up of grass,
leaves, and trash around
mandrels.
• Obstruction in clutch
mechanism.
•Worn/damaged mower
drive belt.
•Frozen idler pulley.
•Frozen blade mandrel.
CORRECTION
• Clean underside of mower
housing.
• Clean/replace air filter.
• Check oil level/change oil.
•Clean and regap or change
spark plug.
•Replace fuel filter.
• Drain fuel tank and refill with
fresh gasoline.
• Drain fuel tank and carbure-
tor, refill tank with fresh
gasoline and replace fuel
filter.
•Connect and tighten spark
plug wire.
•Clean engine air screen/
fins.
•Clean/replace muffler.
•Check all wiring.
•See "To Adjust Carburetor"
in Service Adjustments
section.
•Contact an authorized
service center/department.
• Replace blade.
Tighten blade bolt.
•Replace blade mandrel.
•Tighten loose part(s).
Replace damaged parts.
• Check wiring, switches and
connections. If not corrected,
contact an authorized
service center/department.
•Replace blade. Tighten
blade bolt.
•Level mower deck.
•Clean underside of mower
housing.
•Replace blade mandrel.
•Clean around mandrels to
open vent holes.
•Remove obstruction.
•Replace mower drive belt.
•Replace idler pulley.
• Replace blade mandrel.
29

TROUBLESHOOTING CHART
PROBLEM
Poor grass
discharge
Headlight(s) not
working
(if so equipped)
Battery will not
charge
Loss of drive
Engine "backfires"
when turning
engine
"OFF"
CAUSE
•Engine speed too slow.
• Travel speed too fast.
• Wet grass.
•Mower deck not level.
•Low/uneven tire air pressure.
• Worn, bent or loose blade.
• Buildup of grass, leaves and
trash under mower.
• Mower drive belt worn.
• Blades improperly installed.
• Improper blades used.
• Clogged mower deck vent
holes from buildup of
grass, leaves, and trash
around mandrels.
• Switch is "OFF".
• Bulb(s) burned out.
•Faulty light switch.
• Loose or damaged wiring.
• Blown fuse.
•Bad battery ceil(s).
• Poor cable connections.
•Faulty regulator
(if so equipped).
• Faulty alternator.
•Freewheel control in
"disengaged" position.
• Motion drive belt worn,
damaged, or broken.
• Air trapped in transmission
during, shipment or
servicing.
• Engine throttle control not
set at "SLOW"
position for 30 seconds
stopping engine.
CORRECTION
• Place throttle control in
"FAST" position.
• Shift to slower speed.
• Allow grass to dry before
mowing.
• Level mower deck.
•Check tires for proper air
pressure.
• Replace/sharpen blade.
Tighten blade bolt.
• Clean underside of mower
housing.
•Replace mower drive belt.
• Reinstall blades sharp edge
down.
• Replace with blades listed in
this manual.
• Clean around mandrels to
open vent holes.
• Turn switch "ON".
• Replace bulb(s).
• Check/replace light switch.
• Check wiring and connec
tions.
• Replace fuse.
•Replace battery.
• Check/clean all connections.
• Replace regulator.
• Replace alternator.
°Place freewheel control in
"engaged" position.
• Replace motion drive belt.
•Purge transmission.
• Move throttle control to
"SLOW" position and allow
to idle for 30 seconds before
stopping engine.

SCHEMATIC
TRACTOR --MODEL NUMBER 917.271142
[BA]q'ERY SOLENOID
RED
AMMETER
WHITE
IGNITION
SWITCH
RED
FUSE STARTER
WHITE BLACK
1,
I CL_ TDH /BRAKEPEDALUP) .......
I
i f i
I_u E I 1
I FUEL
L....... J....
A]q-'MENT CLUTCH i
1I(CLUTCH
Ii --J-- i GREE N I[
86 i FUEL SHUT-OFF
SOLENOID
SEAT SWITCH (IF SO EQUIPPED)
(NOT OCCUPIED) BIJ_CK
L--o
I
i
OPERATOR
PRESENCE RELAY #1
8LACK
,_ED
h_
' _h L % -,.PLuGsSPARKoN _" I
dIGNITION PLUG 0--
UNIT GAP
RELAY #2 TWI_ CYL. ENGINES)
jyELLOW
L_ REGULATOR YELLOW
YELLOW ALTERNATOR
• 28 VOLTS AC @ 3850 RPM
l IR EGULATOR O_SCONNEC f ED)
QC,---_
OPERATORF_
PRESENCE RELAY #3 L
85 86 '/
8LLE _ I
:87 :301 _ _ACK
I . ,'t£0
, k )87A r
--0-- -C_......
NON-REMOVABLE REMOVABLE
CONNECTIONS CONNECTIONS
WIRING INSULATED CLIPS
=---_--q
RELAY
NOTE: iF WIRING NSLELATED CLIPS WERE REMOVED FOR
SERVICING OF UNi f, THE'( SHOULO BE REPLACED ]O
PROPERLY SECURE YOUR WIRING•
3•1

TRACTOR-- MODEL NUMBER 917.271142
ELECTRICAL
41
25
t
II
7O
I
t
s!
!
t !
t
/

ELECTRICAL
TRACTOR --MODEL NUMBER 917.271142
KEY PART
NO. NO, DESCRIPTION
1 163465 Battery
274760412 Bolt, Hex 1/4-20 x3/4
8 156417 Case Battery
16 161343 Switch Interlock
21 166182 Harness, Light Socket (w/4152J)
22 4152J Light Bulb
24 4799J Cable, Battery
25 146147 Cable, Battery
26 166180 Fuse
27 73510400 Nut Keps Hex 1/4-20 Unc
28 4207J Cable, Ground
29 160784 Switch, Seat
30 163_o_38 Switch, Ignition
33 140403 Key, Molded
40 170219 Harness, Ignition
41 71110408 Bolt BIk Fin Hex 1/4-20 UNC x 1/2
42 131563 Cover, Terminal
43 145673 Solenoid
45 122822X Ammeter
52 141940 Protection Wire Loop (Hour Meter)
70 170250 Hamess, Engine
81 109748X RelayAsm
NOTE: All component dimensions given in U.S. inches
1 inch = 25,4 mm
33

TRACTOR-- MODEL NUMBER 917.271142
CHASSIS AND ENCLOSURES
28
58 12
31
208
53
55
54
206 3
6O
74
13 ----..__
/'
2O8
34

TRACTOR -- MODEL NUMBER 917.271142
CHASSIS AND ENCLOSURES
KEY PART
NO. NO. DESCRIPTION
1 169830
2 169061
317060612
5 155272
9 168337X013
10 STD533710
11 155927
12 145660
13 172108
17 144983X558
18 126938X
25 19131312
26 STD541437
28 156725X558
29 155217X599
30 164918X558
31 139976
37 17490508
38 169834
51 73800400
52 19091416
53 145201
54 161464
55 145202
57 STD552507
58 150127
60 72140606
64 154798
74 STD541437
142 165867
143 154966
144 154207
145 156524
206 170165
207 17670508
208 17670608
212 165919
- - 5479J
Chassis
Drawbar
Screw 3/8-16 x 3/4
Bumper Hood/Dash
Dash
Bolt, Carriage 3/8-16 x 1
Panel, Dash, LH
Clip Tinnerman Grille P/L
Panel, Dash, RH
HoodAssembly
Bumber Hood
Washer 13/32 x 13/16 x 12 Gauge
Locknut, Hex, with insert 3/8-16 UNC
Grille/Lens Asm.
Lens, Grille
Fender/Footrest
Bracket, Fender/Support
Screw, ThdroL 5/16-18 x 1/2 TYT
Pivot Bracket Assembly, LH, Mower, Rear
Nut Lock W/Insert 1/4 - 20 UNC
Washer 9132 X 7/8 X 16 Ga.
Bracket Grille Pickoff LH
Screw, Hex Wshd #8-18 x 7/8
Bracket Grille Pickoff RH
Bolt FinHex 1/4 -20 UNC X.75
Air Duct
Bolt Rdhd Sqnk 3/8-16 UNC x 3/4
Dash Lower STLT
Nut Crownlock3/8-16 UNC
Plate Reinforcement STLT
Bracket Swaybar Chassis
Bracket Footrest STLT
Rod Pivot Chassis/Hood
Bolt Shoulder5/16-18TT
Screw Thdrol 5/16-18 x 1/2
Screw Thdrol 3/8-16 x 1/2
Insert Lens Reflective
Plug Button
NOTE: All component dimensions given in U.S. inches
1 inch = 25.4 mm
35

TRACTOR --MODEL NUMBER 917.271142
GROUND DRIVE
96
36

TRACTOR --MODEL NUMBER 917.271142
GROUND DRIVE
KEY PART KEY PART
NO. NO. DESCRIPTION NO. NO. DEScRIPTIoN
1 ...... Transaxle (See Breakdown) 64 71170764 Bolt Hex 7/16-20 x4 Gr. 5
Hydro Gr314-0510 65 STD551143 Washer
8 165866 Rod Shift Fender Adjust 66 154778 Keeper Belt Engine Hydro
10 STD561210 Pin Cotter 1/8 x 1 CAD 70 134683 Guide Belt RH Engine
14 10040400 Washer Lock Hvy Helical 71 169183 Strap Torque Lh
15 74490544 Bolt Hex FLGHD 5/16-18 GR.5 72 19132012 Washer 13/32 x 1-1/4 x12 Ga.
16 STD541431 Nut Lock Hex W/Ins. 5/16-18 Uric 73 169182 StrapTorqueRh
19 STD541437 Nut Lock Hex W/Wsh 3/8-16 Unc 74 137057 Spacer, Axle
21 130564 Knob, Deluxe 1/2-13 75 121749X Washer 25/32 x 1-1/4 x 16 Ga.
22 169498 Rod, BrakeHydro 76 STD581075 E-Ring
24 73350600 Nut, Hex Jam 3/8-16 Uric 77 123583X Key, Square
25 106888X Spring, Brake Rod 78 121748X Washer 25/32 x 1-5/8 x 16 Ga.
26 STD551037 Washer 81 165586 Shaft Asm Cross
27 STD561210 Pin Cotter 1/8 x 3/4 CAD. 82 165711 SpringTorsion
28 145204 Rod, Parking Brake 83 19171216 +Washer 17/32 x 3/4 x 16 Ga+
29 71673 Cap, Parking Brake 84 169594 LinkTransaxle
30 169592 Bracket, Transaxle 89 164890X428 Console, Shift
32 74760512 Bolt Hex Hd 5/16-18 Unc x3/4 90 124346X Nut Self-Thd Wsh-hd 1/4 Zinc
34 155071 Shaft, Foot Pedal 95 170201 Control Bypass
35 120183X Bearing, Nylon 96 4497H Retainer Spring 1" Zinc/Cad
36 19211616 Washer 116 72110610 Bolt Carr. 3/8-16 x 1.25
37 1572H Pin, Roll 150 165850 Bushing BellcrankGrd Drive
38 131494 Pulley, Idler, Flat 151 19133210 Washer 13/32 x 2 x 10 Ga.
39 74760644 Bolt 156 166002 Washer Srrted 5/161D x 1.125
40 4470J Spacer, Split 158 165589 Bracket Shift Mount
41 165838 Keeper, Belt Idler 159 165494 Hub Tappered Flange Shift Lt
42 19131312 Washer 13/32 x 13/16 x 12 Ga. 161 72140406 Bolt Rdhd Sqnk 1/4-20 x 3/4 Gr. 5
47 127783 Pulley, Idler, V-Groove 162 73680400 NutCrownlockl/4-20Unc
48 154407 Bellcrank Clutch Grad Drv STL 163 74780416 Bolt Hex Fin 1/4-20 Unc x 1 Gr. 5
49 123205X Retainer, Belt 164 19091010 Washer 5/8 x .281 x 10 Ga
50 STD523715 Bolt 165 165623 Bracket Pivot Lever
51 STD541437 NutCrownlock 3/8-16 UNC 166 166880 Screw 5/16-18 x 5/8
52 STD541431 Nut, Crownlock 5/16-18Unc 168 165492 BoltShoulder5/16-18x.561
53 105710X Link, Clutch 169 165580 Plate Fastening Lt
55 105709X Spring, Return, Clutch 197 169613 NylinerSnap-in
56 STD523712 Bolt Hex 3/8-16 x 1-1/4 198 169593 WasherNyliner
57 140294 V-Belt, Ground Drive 199 169612 BoltShoulder5/16-18UNC
59 169691 Keeper, Center Span 200 72140508 Bolt RDHD SQNK 5/16-18UNC x 1
61 17060612 Screw 3/8-16x3/4 202 72110612 BoltCarrSH3/8-16x1-1/2Gr,5
62 8883R Cover, Pedal
63 140186 Pulley, Engine NOTE: All component dimensions given in U.S. inches
1 inch = 25.4 mm
37

TRACTOR --MODEL NUMBER 917.271142
STEERING ASSEMBLY
4S _
...... -.... Is
_41
$2 44 •
11727
25
68
47
13
40
._ "29
3O
67 67
67
43
I/

TRACTOR - -MODEL NUMBER 917.271142
STEERING ASSEMBLY
KEY PART
NO. NO, DESCRIPTION
1 139768
2 154427
3 169840
4169839
5 6266H
6 121748X
7 19272016
8 12000029
9 3366R
10 169832
11 STD551137
13 136518
15 145212
17 156546
18 57079
19 160395
22 165857
23 165851
25 154406
26 126847X
27 136874
28 19131416
29 17060612
30 STD561210
32 130465
36 155099
37 152927
38 139769
39 19133812
40 STD541537
41 100711L
42 145054X428
43 121749X
44 153720
46 121232X
47 6855M
51 73800500
54 74780520
62 167902
63 74780616
65 160367
66 154404
67 72140618
68 169827
79 19132012
80 74950612
82 169835
85 133835
Steedng Wheel
Front Axle Assembly
Spindle Assembly, L.H.
Spindle Assembly, R.H.
Beadng, Race, Thrust, Hardened
Washer 25/32 x 1-5/8 x 16 Gauge
Washer 27/32 x 1-1/4 x 16 Gauge
Ring, Klip
Bearing, Steering Column
Link, Drag
Washer, Lock
Spacer, Beadng, Front Axle
Nut, Hexflange Lock
Shaft Assembly, Steering
Washer, Thrust .515 x .750 x .033
Support, Shaft
Screw hex Wshhd Torx
Pittman Shaft Assembly
Bracket, Steering
Bushing, Link, Drag
Gear, Sector
Washer 13/32 x 7/8 x 16 Gauge
Screw 3/8-16 x 3/4
Pin
Rod,Tie
Bushing, Steedng
Screw TT #10-32 x 5 x 3/8 Flange
Insert, Steering Wheel
Washer 13/32 x 2-3/8 x 12 Gauge
Lock Nut Center 3/8-24 UNF
Adaptor, Steering Wheel
Boot, Steering Dash P/L Mtl BIk
Washer 25/32 x 1-1/4 x 16 Gauge
Extension Steering Non-Adjust
Cap, Spindle
Fitting, Grease
Nut Lock Hx W/Ins 5/16-18 UNC
Bolt Fin Hex 5/16-18 UNC x 1-1/4
Kit, Steering Assembly, Service
Bolt Fin Hex 3/8-16 unc. x 1 Gr. 5
Spacer Brace Axle
Bearing Arm Pittman
Bolt Rdhd Sq 3/8-16 Unc x 2-1/4
Brace Axle
Washer 13/32 x 1-1/4 x 12 Ga
Bolt Hex Nylon 3/8-16 x 3/4
Bracket Susp Chassis Front
Fastener Christmas Tree
NOTE: All component dimensions given in U.S. inches
1 inch = 25.4 mm
39

ENGINE
TRACTOR - - MODEL NUMBER 917.271142
6
29
OPTIONAL EQUIPMENT
Spark Arrester
23
8O
13 77 _...,,,,..._
4O

ENGINE TRACTOR --MODEL NUMBER 917.271142
KEY PART
NO. NO.
1 162156
2 17720410
3.......
4 159420
13 12-041-03
14 13280328
15 13200300
16 STD551231
23 169837
29 137180
31 109202X
32 158990
33 123487)(
37 137040
38 .......
40 124028X
44 17670412
45 17000612
46 19091416
62 STD551131
77 19101216
79 M740108025
80 74760508
81 73510400
101 M73030800
DESCRIPTION
ControlThrot]Choke
Screw Hex Thd Cut 1/4-20x5/8T
Engine(See Breakdown) Kohler Model No.CV16S-43519
Muffler
Gasket
Nipple, Pipe 3/8 NPT x 3-1/2
Elbow, Std 90 Degree 3/8-18 Npt
Washer
Shield, BRN/DBR Guard
Arrestor, Spark
Tank, Fuel
Cap Assembly, Fuel Tank, Vented
Clamp Hose BIk
LineFuel
Plug Oil Drain (See Engine Breakdown)
Bushing, Snap, Fuel Line
Screw, Hex Washer Thdrol 1/4-20 x 3/4
Screw Hexwsh Thdr 3/8-16 x 3/4
Washer, 9/32 x 7/8 x 16 Gauge
Washer Lock Hvy Hlcl Spr 5/16
Washer 5/16 x 3/4 x 16 Gauge
Bort Hex
Bolt, Hex Hd 5/16-18 Unc x 1/2
Nut, Keps Hex 1/4-20 Unc
Nut Flange MB-1.25
NOTE: All component dimensions given in U.S. inches
1 inch = 25.4 mm
41

TRACTOR - - MODEL NUMBER 917.271142
SEAT ASSEMBLY
KEY PART
NO. NO.
1 140123
2 140551
3 71110616
4 19131610
5 145006
6 STD541437
7 124181X
8 17000616
9 19131614
10 155925
11 166369
KEY PART
DESCRIPTION NO. NO. DESCRIPTION
Seat 3450 BIk/blk Craftsman 12 121246X
Bracket Pnt Pivot Seat (blk) 13 121248X
Bolt Fin Hex 3/8-16unc X 1 14 72050412
Washer 13/32 X 3/4 X 10 Ga 15 134300
Clip Push in Hinged 16 121250X
Nut Hex Lock w/Ins 3/8-16 Unc 17 123976X
Spring Seat Cprsn 2 250 BIk Zi 21 171852
Screw 3/8-16 x 1.5 SMGML 22 STD541431
Washer 13/32 X 1X 14 Ga 24 19171912
Pan Pnt Seat (blk) 25 127018X
Knob Seat
Bracket Pnt Mounting Switch
Bushing Snap BIk Nyl 50 Id
Bolt Rdhd Sht Nk 1/4-20x1-1/2
Spacer Split 28 X 96 Zinc
Spring Cprsn 1 27 BIk Pnt
Nut Lock 1/4 Lge Fig Gr5 Zinc
Bolt Shoulder 5/16-18 Unc-2A
Nut Hex Lock w/Ins 5/16-18
Washer 17/32 X 1-3/16 X 12 Ga.
Bol1 Shoulder 5/16-18 X 62
NOTE: All component dimensions given in U.S. inches
1 inch = 25,4 mm
42

DECALS
TRACTOR -- MODEL NUMBER 917.271142
9
2
14
3
20
741
11 2
14
13
19
KEY PART
NO. NO.
1 156439
2 163205
3 171698
4 171699
5168920
6 133644
7 171765
9 163204
11 156811
13 146O46
14 163263
DESCRIPTION KEY PART
NO. NO.
Decal Fender DangerSears 15 160396
Decal Fend Auto Sears Gold 19 138047
Decal Hood Rh Craftsman 20 166887
Decal Hood Lh Craftsman 22 149516
Decal Engine - - 169210
Decal Maint Customer Sears Dom - - 138311
Decal Replacement Srs - - 165800X428
Decal Fender Craftsman Gold - - 165799X428
Decal Fender STLTH Oper Inst E/S - - 174967
Decal V-belt Dr Sch Tractor E - - 174968
Decal Dash Panel
DESCRIPTION
Decal Mower Drive Schematic
Decal, Battery Diehard Sears
Decal Deck Mower EZ3
Decal Battery
Decal By Pass Lt Hydro
Decal Lift Handle
Pad Footrest Lh STLT
Pad Footrest Rh STLT
Manual, Owner's (English)
Manual, Owner's (Spanish)
WHEELS & TIRES
4,10
,9
11
KEY PART
NO. NO. DESCRIPTION
1
2
3
4
5
6
7
8
9
10
11
59192 Valve Cap, Tire
65139 Stem, Valve
106222X Tire, Front
59904 Tube, Front Tire
(Not Provided, Service Item Only)
106732X427 Rim, Front
278H Fitting, Grease (Front Wheel Only)
9040H Bearing, Flange (Front Wheel Only)
106108X427 Rim, Rear
122082X Tire, Rear
7152J Tube, RearTire
(Not Provided, Service Item Only)
lO4757X Cap, Axle
144334 Sealant, Tire (10 oz. Tube)
NOTE: All component dimensions given in U.S. inches
1 inch = 25.4 mm
43

TRACTOR --MODEL NUMBER 917.271142
LIFT ASSEMBLY
29_ 28 27
2524 23
7
19 I
13
5
32
49
30
3
4 26
6
13
6
,8
.I I'
.I l'
I i'
.1 i'
20 20
44

TRACTOR - - MODEL NUMBER 917.271142
LIFT ASSEMBLY
KEY PART
NO. NO. DESCRIPTION
1 159460 Lift Lever Inner Wire Asm.
2159471 Shaft Asm. Lift
3 105767X Pin Groove
4 12000002 ERing
5 19211621 Washer 21/32 x 1 x 21 Ga.
6 120183X Beadng Nylon
7 125631X Grip Handle Fluted
8 122365X Button Plunger Red
11 139865 Link Lift LH.
12 139866 Link Lift R.H.
13 STD624008 Retainer Spring
15 173288 Link Front
16 73350800 Nut Jam Hex 1/2-13 Unc
17 130171 Trunnion
18 73800800 Locknut, Hex, with Washer Insert 1/2-13 Unc
19 139868 Arm Suspension Rear
20 163552 Retainer Spring
23 110807X Nut, Special
24 19131016 Washer 13/32 x 5/8 x 16 Ga.
25 2876H Spring
26 169484 RetainerClip
27 126971X Rod, Adjust Lift
28 73350600 Nut, Hex Jam 3/8-16 UNC
29 138057 Knob, Infinite Height Adjustment
30 150233 Trunnion, Inf. Height
31 169865 Bearing, Pvt. Lift
32 73540600 Nut Crownlock 3/8-24
49 145212 Nut, Hex Flange Lock
50 110452X Nut, Push Phos. &-Oil
NOTE: All component dimensions given in U.S. inches
1 inch = 25.4 mm
45

TRACTOR --MODEL NUMBER 917.271142
MOWER DECK
_147
34
|
68
40--_ 37
145
103 105
105
/
106
101
5
119 _
19 21
16
21 22
23 24
28 "" 27
/
46

TRACTOR --MODEL NUMBER 917.271142
MOWER DECK
KEY PART
NO. NO.
1
2
3
4
5
6
10
11
12
13
14
15
16
- 18
19
2O
21
22
23
24
25
26
27
28
29
30
31
32
33
34
35
36
37
40
44
_5
t6
_9
50
31
32
33
_4
55
56
59
37
38
165892
STD533107
138O17
165460
STD624008
130832
850857
STD551137
140296
134149
129895
137645
128774
110485X
140329
72140505
132827
159770
STD541431
134753
131267
105304X
123713X
110452X
130968X428
19111016
131491
157722
129963
153535
137266
STD533717
133835
131494
19131316
STD541437
140088
STD624003
137729
133944
174284
131340
STD541410
139888
131845
133943
155046
165723
141043
149846
144959
KEY PART
DESCRIPTION NO. NO. DESCRIPTION
Mower Housing 90 74760616
Bolt 91 132274
Bracket Assembly,Sway Bar,Front 92 STD541437
Bracket Sway Bar 38/42" 93 19171416
Retainer Spring 94 132264
Arm, Suspension, Rear 95 132273
Bolt, Hex 3/8-24 x 1.25 Gr. 8 101 136420
Washer, Lock 102 71081010
Washer, Hardened 103 19061216
Blade, Mulching 104 STD551110
Bearing, Ball 105 160793
Shaft Assembly, Mandrel, 106 2029J
Vented (Incl. Key Number 6) 111 155197
Housing, Mandrel, Vented 112 155198
Bearing, Bali, Mandrel 113 17060514
Stripper, Vented MowerDeck 114 73510500
Bolt, Carriage 5/16-18 x 5/8 115 72110504
Bolt, Shoulder 116 4898H
Baffle, Vortex 117 165746
Nut, Crownlock 5/16-18 UNC 118 73930600
Stiffener Bracket 119 19121414
Bracket, Deflector 121 143723
Cap, Sleeve 128 153390
Spring, Torsion, Deflector 129 19131312
Nut, Push 130 STD523710
Shield, Deflector 131 STD533710
Washer 11/32 x 5/8 x 16 Ga. 142 165890
Rod, Hinge 143 157109
Screw Thdrol Rolling Wsh Hd 144 158634
Washer, Spacer 145 165888
Pulley, Mandrel 146 171977
Nut, Toplock, Flanged 147 131335
Bolt 148 169022
Fastner, Christmas Tree 149 165898
Pulley, Idler, Flat 150 19091216
Washer 13/32 x 13/16 x 16 Ga. 151 169670
Nut, Crownlock 3/8-16 UNC 152 169676
Guard, Mandrel, L.H. 153 169674
Retainer 154 169675
Screw, Thd. Roll 1/4-20 x 5/8 155 169671
Washer, Hardened 156 169672
Roller Assembly, Cam Follower 157 169669
Bolt, Shoulder #10-24 Grade 5 158 17720410
Locknut 159 STD533717
Bolt, Shoulder 5/16-18 UNC - - 130794
Arm Assembly, Pad, Brake
Washer, Hardened - - 169583
Arm, Idler
Spacer, Retainer
Guard, Tuv Idler
Knob Custom Oval
V-Belt
Bolt Fin Hex 3/8-16 Unc x 1
Bracket Asm Noseroller LH
Locknut, Hex W/Wsh 3/8-16 UNe:
Washer 17/32 x 7/8 x 16 Ga.
RollerNose
Bracket Asm Noseroller RH
Cover Mulching 42" Black
Screw Pan Hd Phillip 10-24 x5/8
Washer#10
Washer Lock
Latch Asm Bagger
NutWeld
Bracket Gauge, Wheel LH
Bracket, Gauge, Wheel RH
Screw Tapping 5/16-18 Unc
Nut, Hex Keps 5/16-18 UNC
Bolt, Carriage 5/16 UNC x 1/2
Bolt, Shoulder
Wheel, Gauge
Nut, Crownlock 3/8-16
Washer 13/32 x 7/8 x 14 Ga.
Bracket
Washer Felt
Washer 13/32 x 13/16 x 12 Ga.
Bolt, Fin Hex 3/8-16 uncx 1 Gr.5
Bolt Rdhd Sqnk 3/8-16UNC x 1
Arm Spring Brake Mower
Bracket Arm Idler 42"
Keeper Belt 42" Clutch Cable
Pulley Idler Flat
Bolt Carraige Idler
Spring Extension
Spring Return Idler
Retainer Spring Yellow Zinc
Washer 9/32 x 3/4 x 16 Ga.
Bracket Clutch
Cable Clutch 42"
Washer flat 3/8" Type B
Spring Retainer
Spring Retention Lever
Spacer
Rod Clutch
Screw Hex Thd Cut 1/4-20 x 5/8
Bolt Rdhd Sqn 3/8-16 Uric x 1-3/4
Mandrel Assembly (Includes Key
Numbers 8-10, 12-15, 31 and 32)
Mower Deck, Complete (Std deck -
order separately mulcher plate
components key nos. 101-106)
NOTE: All component dimensions given in U.S.inches
1 inch =25.4 mm
47

81
77
79
73
17
16
32
12
35
64
\
93
6O
58
19
48
124
119-
120-
107
112
87
14
88
9OO
=o
0
=;_,
mO
! I
oO
zr-
_Z
=_,-
o1-,4

TRACTOR --MODEL NUMBER 917.271142
HYDRO GEAR TRANSAXLE - - MODEL NUMBER 314-0510
_EY PART KEY PART
_10. NO. DESCRIPTION NO. NO. DESCRIPTION
I170351 Main Housing, Assembly 58 170407
-_ 170352 Side Housing, Assembly 59 170408
] 170353 Center Section, Assembly 60 142883
170354 Swashplate, Trunion Machined 61 142881
5 169898 Block - Assembly 62 142887
170355 Sealant 10.50z 63 170410
7 170356 Hex Flange Screw 1/4-20 X 1.25
3 170357 Stud, 5/16-24 Hex Double End 64 142892
)170358 Shaft, Input 65 170411
10 170359 Ring-Retaining 66 170412
11 170360 Spacer 67 170413
12 169870 Ring-Retaining 68 170414
i3 170361 Seal, Lip .67 X 1.58 X .276 69 170415
14 169869 Ball Brg 17ram Id X 40mm 70 170416
OdX 12mm 71 170417
16 170362 Hex Flange Head Screw
5/16-24X0.75 72 170418
i7 170363 Lip Seal 18 X 32 X 7
18 170364 Arm, Control 73 142884
19 150771 Bearing, 30x52x13 Th rust
23 170365 Check Plug Assembly, Washer 74 170419
>-4 170366 Shaft, Motor 75 170420
->7 170367 Gear - Pinion, 13t
28 170368 10t/48t Gear 76 170421
-_9 170369 Gear, 10t Jackshaft 77 170422
30 170370 60t Bull Gear 78 142969
31 170371 Sleeve Bearing .75 X 1.575 X .625 79 142980
32 170389 SleeveBeadng(Outboard) 80 150778
.75xl .750x.625
33 142991 Washer, 81 170423
3/4 Id X 1-1/20d X .13 Thk 82 170424
34 170390 Lip Seal Axle Seal
35 170391 Shaft, Axle .75 X 11.39 (Key, 83 161162
R.H.) 84 170425
36 170392 Shaft, Axle .75 X 16.99 (Key, 85 170426
L.H.) 86 170427
37 150792 Miter Gear (Splined) 87 170424
38 150793 Miter Gear 15t (0.5 Id) 88 170429
39 150809 Shaft 90 170430
'_0 170393 Ring, Spiral Retaining 93 170431
1.1 170394 Pin, Jackshaft 107 170432
_12 170395 Magnet, Ring 108 170433
_13 170396 Spring, Bypass
_1. 150797 Hydro Mtg Screw3/8-24 X 2.5 109 170434
Long 111 170435
_-5 170397 Filter 112 170436
170398 Base, Filter 113 170437
_.7 170999 Actuator, Bypass
18 170400 Rod, Bypass Actuator 116 170438
_-9 170401 Arm, Bypass 119 170439
50 170202 Retaining Ring.250 External 120 170440
51 170403 Seal, Lip .741 X .250 X .250 Tc 121 170441
52 170404 Flat Washer, 122 170442
5/8 Id X 1.00d X .05 Thk 123 170443
53 170405 Retaining Ring 124 170444
54 170406 Bearing, Center Block
55 142977 Spring -Helical Compression 125 170445
56 142978 Washer 126 170446
57 150798 20w-50Oil 127 170447
900 166768
Brake Yoke
Rotor, Brake
Brake Puck
Puck Plate
Brake Actuating Pin
Hfhcs 1/4-20x2 W/Patch,
SpecialFlange
Bolt, 1/4-20 X 1 W/Patch
Spacer
Spring, Brake Arm Bias
Sq. Hd. Bolt 5/16-24-Ribbed
Arm, Brake
Slotted Hex Nut 5/16-24
Cotter Pin 3/32 X 3/4
Compression Spring Brake
Anti-Drag
Washer, Ht
.5 i.D. X 10.D. X .032
Flat - Washer
11/32 I.D. X 7/80.D
Oil Seal .625 X 1.0 X .25
Check Plug Assembly, .027,
Washer
Stud, 5/16-24 Friction Pack
Puck, .330 X 1.50 X .0975
Spring, Helical Comp
Spacer
Hex Lock Nut 5/16-24 Unf
(Nylon insert)
Wedge, Fdction Pack
Clip, Washer
.316x1.50x.1046 (Plated)
Pin, Standard Headless
Fitting, 5/16 Sae 5/32 Tube
Hose, Expansion Tank
Expansion Tank
Cap - Poppet Valve
Bolt, Self Tapping10-32 X 1/2
Puck, Inner Wedge
Spring Clip - Housing Thrust
Deflector
Washer,Motor Shaft
.71idxl.15odx.030thk
Plug, Sae #6
O-Ring .07 X .301 I.D.
Shield, Vent
Bracket, Support Expansion
Tank
Silicon Sponge
Fan, 7 In.
Pulley
Hex Lock Nut 1/2-20 (Nylon Insert)
Washer, Belleville
Belt Keeper
Center Section-Filter-Bypass
Assembly
Filter Assembly
Fan - Pulley Service Assembly
Seal - O-Ring Kit
Transaxle Complete
NOTE: All component dimensions given in U.S. Inches
1 inch = 25.4 mm
49

TRACTOR - - MODEL NUMBER 917.271142
KOHLER ENGINE-MODEL NUMBER CV16S, TYPE NUMBER PS-43519
CYLINDER HEAD, VALVE AND BREATHER I
2
12
13
t4
11
CRANKCASE I_1

TRACTOR -- MODEL NUMBER 917.271142
KOHLER ENGINE-MODEL NUMBER CV16S, TYPE NUMBER PS-43519
CYLINDER HEAD/VALVE/BREATHER CRANKCASE
KEY PART KEY PART
NO. NO. DESCRIPTION NO. NO. DESCRIPTION
1
2
3
4
5
6
7
8
9
10
11
12
13
14
15
16
17
18
19
20
21
22
25-351-01 Lifter, valve (2) 1 12-032-03
12-755-81 Kit, cylinder head (includes 2 ........
3-17)
12-041-01 Carburetor gasket(2) 3 12-445-02
12-041-02 Air cleaner base gasket 4 M-0839025
12-041-03 Exhaust maniford gasket
12-411-01 Rod, push (2) 5 12-380-17
12-041-10 Gasket, cylinder head 6 12-755-49
12-017-01 Valve, intake (Std.) 7 12-089-31
12-017-02 Valve, intake (.25) 8 12-422-08
12-016-01 Valve, exhaust (Std.) 12-422-09
12-016-02 Valve, exhaust (.25) 12-422-10
X-75-23 Plug, allen hd. pipe 1/8
12-318-19 Cylinder Head 12-422-11
25-186-01 Arm, rocker (2) 12-422-12
12-599-03 Pivot, rocker arm (2) 12-422-13
M-0640034 Screw, hex. flange 12-422-07
M6xl.0x34 (2) 9 12-144-27
12-089-01 Spring, valve (2) 10 12-874-07
12-173-01 Cap, valve spring (2)
12-755-03 Kit, retainer (2) 24-874-11
12-468-05 Washer, plain 13/32 12-874-08
12-t12-13 Spacer, head bolt exhaust 12-874-09
port 11 12-018-02
12-086-15 Screw, hex. flange 12 12-108-07
M10x1.5x81 (5) 12-108-08
X-426-9 Clamp, hose (2) 12-108-09
12-326-03 Hose, breather 13 12-067-05
M-0645020 Screw, hex. flange 12-067-06
M6xl.0x20 (5) 14 12-380-01
12-096-07 Cover, valve w/nipple 15 12-043-05
M-0545010 Screw, hex. flange 16 M-0631005
M5x0.8xlO 17 12-144-02
12-018-01 Retainer, breather reed 18 52-139-09
12-402-02 Reed, breather 19 12-755-64
23
24
21 X-25-102
22 12-032-01
23 SM-0631015
24 12-154-05
Seal, crankshaft
Block, cylinder (Use Short-
Block 12 522 18)
Strap, lifting
Screw, hex. flange
M8x1.25x25
Dowel, locating (4)
Kit, camshaft (Includes 7_8)
Spring, actuating
Shim, camshaft (A.R.) blue
Shim, camshaft (A.R.) red
Shim, camshaft (A.R.)
_ellow
him, camshaft (A.R.) green
Shim, camshaft (A.R.) gray
Shim, camshaft (A.R.) black
Shim, camshaft (A.R.) white
Shaft, balance
Piston w/Ring Set (Std.)
(Includes 11-12)
Piston w/Ring Set (.08)
Piston w/Ring Set (.25)
Piston w/Ring Set (.50)
Retainer, piston pin (2)
Ring Set (Std.)
Ring Set (.25)
Ring Set (.50)
Connecting Rod (Std.)
Connecting Rod (.25)
Pin, governor regulating
Gear, governor assembly
Washer, plain 6mm
Shaft, governor gear
Plug, cup
Kit, gov. cross shaft w/clip
(Includes 24)
Washer, plain 1/4
Seal, governor cross shaft
Washer, plain 6ram
Clip, hitch pin
51

TRACTOR o- MODEL NUMBER 917.271142
KOHLER ENGINE-MODEL NUMBER CV16S, TYPE NUMBER PS-43519
IGNITION /ELECTRICAL I
_-- 23
AIR INTAKE I 1-8
BLOWER HOUSING AND BAFFLES I
4
Is
6
0_7
?
52

TRACTOR --MODEL NUMBER 917.271142
KOHLER ENGINE-MODEL NUMBER CV16S, TYPE NUMBER PS-43519
IGNITION/ELECTRICAL BLOWER HOUSING & BAFFLES
KEY PART KEY PART
NO. NO. DESCRIPTION NO. NO. DESCRIPTION
1 12-086-14 Screw, hex. flange 1 M-0545010 Screw, hex. flange
MIOxl.5x46 M5x0.8xl0 (8)
2 12-468-03 Washer, plain 3/8 2 24-468-10 Washer, plain 1/4
3 24-162-03 Screen, grass 3 12-146-07 Plate, blower housing
4 M-0639016 Screw, hex. flange 4 24-086-18 Screw, phillip hd M4x0.7 X8
M6x1.0x16 (6) (2)
6 12-157-03 Fan 5 24-096-05 Cover, pinion
7 41-403-09 Regulator, rectifier 6 220534 Washer, plain 5/16 (2)
8 X-22-11 Washer, lock (2) 7 12-027-54 Housing, blower
9 236602 Connector 8 12-063-10 Baffle, intake side
10 X-42-15 Key 9 25-!54-02 Clip, mounting (3)
11 12-025-35 Flywheel 10 12-086-37 Screw, captive washerM5
12 41-155-02 Connector (4 contact) X0.8 X20 (3)
13 M-0548025 Screw, hex. cap M5x0.8x25 11 M-0645016 Screw, hex. flange
(."2) M6x1.0x16 (2)
14 12-085-01 Stator assembly - 15 amp 12 12-063-08 Baffle, cylinder head
15 12-132-02 Spark Plug 13 12-063-09 Baffle, cylinder
16 X-728-1 Clip, cable NOT ILLUSTRATED
17 M-0545010 Screw, hex. flange X-25-92 WASHER, PLAIN 3/16" (2)
M5x0.8xl0 (2)
18 12-584-08 Module, ignition
19 12-452-02 Terminal
20 12-086-35 Screw, hex. socket AIRINTAKE/FILTRATION
M5x0.8x20 (2)
21 M-0461013 Screw, pan head M4.2x13 KEY PART
(2) NO. NO. DESCRIPTION
22 12-584-12 Module, speed advance
23 25-086-47 Shoulder M6X1.0X16 (4)
NOT ILLUSTRATED
25-518-29 Lead
25-518-05 Lead
12-176-36 Harness
X-25-5 Washer, plain 5/16"
12-155-02 Connector
23-517-03 Clip Cable
1 25-341-03 Knob, air cleaner cover
2 12-096-24 Cover, air cleaner
3 12-083-12 Precleaner, element
4 12-083-10 Kit air cleaner element
(Includes 5,7)
5 1230046 Seal 3/4"
6 12-100-01 Wing Nut
7 12-032-11 Seal 1-7/16"
8 12-094-07 Base, air cleaner(Includes
10,11)
9 12-072-04 Stud, mounting plate
M6X1.0X75
10 12-086-01 Screw, #10 Hi-Lo thread
forming (2)
11 12-041-02 Gasket, air cleaner
NOT ILLUSTRATED
12-113-53 Decal, air cleaner
53

TRACTOR --MODEL NUMBER 917.271142
KOHLER ENGINE-MODEL NUMBER CV16S, TYPE NUMBER PS-43519
STARTING SYSTEM J
3--
g
o
o
GI
8-- l
ENGINE CONTROLS J
11
OIL PAN /LUBRICATION I
,_, '-2: @
_ --13
t-- 8
L--
0--4
5--
22--
20 19 15
O--16
54

TRACTOR --MODEL NUMBER 917.271142
KOHLER ENGINE-MODEL NUMBER CV16S, TYPE NUMBER PS-43519
STARTING SYSTEM ENGINE CONTROLS
KEY PART KEY
_10. NO. DESCRIPTION NO.
1 M-0839070 Screw, hex. flange 1
M8x1.25x70 (2) 2
2 25-098-05 Starter assembly (Includes 3
3-8)
3 12-755-54 Kit, drive end 4
4 12-227-06 Cap, drive end 5
5 12-170-05 Armature
6 12-221-01 Kit, brush & spring 6
7 12-227-13 Cap, commutator end
8 12-211-01 Bolt, hex, flange 1/4-20x4- 7
5/8 (2)
01L PAN!LUBRICATION
KEY PART
NO. NO. DESCRIPTION
Dipstick assembly (Includes
2-3)
Kit, oil fill cap (Includes 3)
O-Ring, oil fill cap
O-Ring, upper oi_fill tube
Tube, oil fill
Screw, hex. flange
M5x0.8x20
O-Ring, lower oil fill tube
Screen, oil pickup
Cover, oil pickup screen
Screw, hex. flange
MSx0.8x16
Valve, oil pressure relief
Filter, oil
Plug, sq, hd. solid 3/8
Pump, oil assembly
O-Ring, oil pump cover
Cover, oil pump
Screw, hex. flange
M5x0.8x16 (3)
Seal, oil (P.T.O. end)
Screw, hex. flange
M8x1.25x45 (11)
Screw, hex. flange
M8x1.25x45
Assembly, Pan, oil (Incl.
11,15-18)
1 12-038-01
2 25-755-13
3 12-153-03
4 12-153-02
5 12-123-04
6 M-0545020
7 12-153-01
8 25-162-07
9 12-096-03
10 M-0545016
11 25-462-09
13 52-050-02
14 X-75-10
15 12-393-01
16 12-153-06
17 12-096-34
18 M-0545016
19 12-032-03
20 24-086-16
21 24-086-17
22 12-199-53
PART
NO.
12-079-07
12-237-01
M-0664020
24-086-43
12-536-10
M-0443025
M-0443020
8 12-089-11
9 12-089-23
10 12-089-24
11 12-755-83
12 12-100-07
13 52-211-04
14 12-090-28
15 25-158-08
16 12-079-01
17 25-158-11
DESCRIPTION
Linkage, choke
Clamp, cable
Screw, lobed socket
M6xl.Ox20 (2)
Screw, hex. flange
Control, speed assembly
(Includes 6,8,9)
Screw, pan head
M4x0.7x25
Screw, pan head
M4x0.7x20
Spring, choke (2)
Spring, choke return
Spring, governor
Kit, governor lever (Includes
12-14)
Nut, hex flange 1/4 - 20"
Bolt, 1/4 - 20 X 1"
Lever, governor
Bushing, throttle linkage
Linkage, throttle
Bushing, throttle linkage
55

TRACTOR --MODEL NUMBER 917.271142
KOHLER ENGINE-MODEL NUMBER CV16S, TYPE NUMBER PS-43519
CRANKSHAFT J
2
ul
/
Z5
FUEL SYSTEM I
_a /s /iJ
C2_ 24 12
56

TRACTOR-- MODEL NUMBER 917.271142
' OHLER ENGINE-MODEL NUMBER CV16S, TYPE NUMBER PS-43519
-'UEL SYSTEM CRANKSHAFT
(EY PART KEY PART
,IO. NO. DESCRIPTION NO. NO. DESCRIPTION
1 M-0641060 Nut, hex. flange M6xl.0 (2) 1 12-014-37 Crankshaft (Includes 2)
3 X-22-11 Washer, star 1/4 2 12-139-01 Plug, cup
4 M-9629116 Stud M6xl.0x116 (2)
5 12-853-95 Kit, carburetor w/gasket
612-041-02
7 12-053-95
8 12-041-01
9 12-265-04
10 47-154-01
11 X-426-09
12 25-353-10
13 25-050-02
_IOTILLUSTRATED
12-757-02
12-757-03
12-041-01
12-041-02
12-041-65
12-041-06
12-632-06
12-757-33
12-041-06
12-454-01
25-452-20
12-454-03
M-0561010
M-0645020
(Includes 6,7,8 qty 1
12-454-01, 25452-20)
Gasket, air cleaner
Carburetor assembly
(For information only not
available separately)
Gasket, carburetor (2)
Deflector, heat
Clip cable
Clamp, hose (2)
Line, fuel 9"
Filter, fuel
Kit, float
Kit, carburetor repair
Gasket, carburetor
Gasket, air cleaner
Gasket, bowl
Gasket, bowl screw
Seal, solenoid
Kit, solenoid repair
Gasket, bowl screw
Tie, wire
Terminal
Tie cable
Screw, thread forming
M5X0.8X10
Screw, hex. flange
M6X1.0X20 (2)
EXHAUST
KEY PART
NO. NO. DESCRIPTION
1 25-072-04 Stud (2)
2 12-041-03 Gasket, exhaust manifold
4 12-126-11 Bracket, muffler
5 12-445-06 Strap, lifting
6 M-6645025 Screw, hex. flange
M6xl.0x25 (2)
12-522-18 Short Block
12-755-82 Gasket Set
57

58

SUGGESTED GUIDE FOR SIGHTING SLOPES FOR SAFE OPERATION
ONLY RIDE UP AND DOWN HILL,
NOT ACROSS HILL
o"1
Operate your Tractor up and down the face of slopes (not
greater than 15°), never across the face. Make turns gradu-
ally to prevent tipping or loss of control. Exercise extreme
caution when changing direction on slopes.

Get it fixed, at your home or ours!
For repair of major brand appliances in your own home...
no matter who made it, no matter who sold it!
1-800-4-MY-HOe E SMAnytime, dayor night
(1-800-469-4663)
www.sears.com
To bring in products such as vacuums,
lawn equipment and electronics for repair, call for
the location of your nearest Sears Parts & Repair Center.
1-800-488-1222 Anytime, day or night
www.sears.com
For the replacement parts, accessories and owner's manuals
that you need to do-it-yourself, call Sears PartsDirectSM!
1-800-366-PART 6a.m.- 11 p.m. CST,
(1-800-366-7278) 7 days a week
www.sears.com/partsdirect
To purchase or inquire about a Sears Service Agreement:
1-800-827-6655
7 a.m. - 5 p.m, CST, Mon.- Sat.
Para Dedirssrvicio de reparaci6n adomicilio.
yDaraoraenar piezas con entrega a domicilio:
1-888-SU-HOGAR s.
(1-888-784-6427)
Au Canada pour service en fran_als:
1-877-LE-FOYER s.
(1-877-533-6937)
© Sears, Roebuck and Co.
TM
® Registered Trademark /Trademark of Sears, Roebuck and Co.
®Mama Registrada /.rM Mama de Fdbrica de Sears, Roebuck and Co.
174967 06.07.00 RH Printed in U.S.A.