Craftsman Ez3 917 270711 Users Manual
917270711 917270711 CRAFTSMAN LAWN TRACTOR - Manuals and Guides 98080222 View the owners manual for your CRAFTSMAN LAWN TRACTOR #917270711. Home:Lawn & Garden Parts:Craftsman Parts:Craftsman LAWN TRACTOR Manual
CRAFTSMAN Lawn, Tractor Manual 98080222 CRAFTSMAN Lawn, Tractor Owner's Manual, CRAFTSMAN Lawn, Tractor installation guides
2015-01-05
: Craftsman Craftsman-Ez3-917-270711-Users-Manual-160497 craftsman-ez3-917-270711-users-manual-160497 craftsman pdf
Open the PDF directly: View PDF
.
Page Count: 64

Owner's Manual_
I:R-nFTSM.gllo
17.0 HP
ELECTRIC STAR'T
42" MOWER
6"SPEED TRANS_XLUE-
LAWN TRAG TOR
Modet N_.
917.270711
• Safety
• Assembly
• Operation
• Maintenance
•Repair Parts
CAUTION:
Read and follow all
Safety Rules and Instructions
before operating this equip-
ment.
For answers to your questions
about thisproduct,Call:
1-800-659-5917
Sears Craftsman Help Une
5 am -5 pm, Mon- Sat
Sears, Roebuck and Co., Hoffman Estates, IL 60179

Varrar_-_ ..... -. ............................... ......... 2
_afety Rules ........................................... 2 :
_rodObTS p°eCifiC_ti'on_ '...._......'...:.. :...::....5
ssembly,.. ...... ,.-,-,-,---.,---..------,--.-- ...... 8
)peration .............................................. 12
Ylaintenance Schedule.._i_,',i_ .............. 18
Nlaintenance......................................... 18
Service and Adjustments ...................... 22
Storage ................................................. 28
Troubleshooting.................................... 29
Repair Parts ......................................... 32
Parts Ordering ..:.................... Back Cover
.IMITF_,__TVyO YEAR WARRANTY ON CRAFTSMAN RIDII_G EQUIPMENT
"ortwo (2) years from the date of I_umh_se, if this Craftsman Riding Equipment is main-
=_ined,lubricated and tunedup according to the instructions in the owner's manual,
;ears will repair or replace, free of charge, any parts found to be defective in material or
,orkmanship.
"his Warra._n_ty_do__snot cover:.
Expendable items which become worn during normal use, such as blades, spark
plugs, air cleaners, belts, etc.
Tire replacement or repair caused by punctures from outside objects, such as nails,
thorns, stumps, or glass.
Repairs necessary because of operator abuse, negligence, improper storage or acci-
dent or the failure to maintain the equipment according to the instructions contained in
the owner's manual.
Ridingequipment used for commercial or rental purposes.
.IMITED 90 DAY WARRANTY ON BATTERY
"or ninety (90) days from date of purchase, if any battery included with this riding equip
lent proves defective in material or workmanship and our testing determines the bat-
.=rywill not hold a charge, Sears will replace the battery at no charge. In-home warranty
;ervice on your Craftsman riding equipment is available at no charge for 30 days from
lie date of purchase. Please contact your nearest service center. After 30 days from the
ateof purchase, warranty service is available by taking your Craftsman riding equip-
lent to your nearest Sears Service Center. (In-home warranty service will still be avail-
tble after 30 days from the date of purchase but a standard trip charge will apply). This
varranty applies only while this product is in the United States. This Warranty gives you
i;pecific legal rights, and you may also have other dghts which may vary from state to
;tate.
_ears, Roebuck and Co., D/817 WA, Hoffman Estates, IL 60179
._ENERAL OPERATION
Read, understand, and follow all instruc-
tions in the manual and on the machine
before starting.
Only allow responsible adults, who are
familiar with the instructions, to operate
the machine.
.Clear the area of objects such as rocks,
toys, wire, etc., which could be picked
up and_wn by the blade.
Be _ure _e area is clear of other people
befom_owmg. Stop machine if anyone
enters the area.
2
• Never.carry passengers.
• Do not mow in reverse unless absolute-
ly necessary. Always look down and
behind before and while backing.
•Be aware of the mower discharge direc-
tion and do not point it at anyone. Do
not operate the mower without either
the entire grass catcher or the guard in
place.
•Slow down before tuming.
•Never leave a running machine unat-
tended. Always tum off blades, s_eetpark-
ing brake, stop engine, and remove
keys before dismounting.

•Tum off blades when not mowing.
•Stol_engine before removing grass
catcher or unclogging chute.
•Mow only in daylight or good artificial
lighL
•Do not operate the machine while under
the influence of alcohol or drugs.
•Watch for traffic when operating near or
crossing roadways.
•Use extra care when loading or unload-
ing.the machine into a trm'le_or truck.
SLOPE OPERATION '_
Slopes are a major factor related to loss-
of-control and tipover accidents, which
can result in severe injury or death. All
sl.opes require extra caution. If you cannot
back up th-e-_s-l_peo_ iTyou feel uneasy on
it, do not mow it.
DO:
•Mow up and down slopes, not across.
•Remove obstacles such as rocks, tree
limbs, etc.
•Watch for holes, ruts, or bumps. Uneven
terrain_could overtum the machine. Tall
grass Can hide obstacles.
•Use slow speed. Choose a low gear so
that you will not have to stop or shift
while on the slope.
•Follow the manufacturer's recommen-
dations forwheel weights or counter-
weights to improve stability.
•Use extra care with grass catchers or
other attachments. These can change
the stability of the machine.
•Keep all movement on the slopes slow
and gradual. Do not make sudden
changes in speed or direction.
•Avoid starting or stopping on a slope. If
--tires lose traction, disengage the blades
and proceed slowly strai.ght down the
slope.
DO NOT:
•Do nottum on slopes unless necessary,
and then, tum slowly and gradually
downhill, if possible.
•Do not mow near drop-offs, ditches, or
embankments. The mower could sud-
denly turn over if a wheel is over the
edge of a cliff or ditch, or if an edge
caves in.
•Do not mow on:wet grass, Reduced
traet'N_'ffP_uld-_use sfiding.
•Do notby to stabilize the machine by
puttingyour foot on the ground.
•Do notuse grass catcher on steep
slopes.
CHILDREN •
Tragic accidents can occur if the operator
is not alert to the presence of children.
Children are often attracted to the
•machine and the mowing activity. Never
assume that children will remain where
you last saw them. --
-Keep children out of the mowing area
•and under the watchful care of another
responsible adulL
•Be alert and turn machine off if children
enter the area.
•Before and when backing, look behind
and down for small children. •
•Never carry children. They may fall off
and be seriously injured or interfere with
safe machine operation.
•Never allow children to operate the
machine.
•Use extra care when approaching blind
comers, shrubs, trees, or other objects
that may obscure vision.
SERVICE
•Useextra cam in handling gasoline and
other fuels. They are flammable and
vapors am explosive.
-Use only an approved container.
-Never remove gas cap or add fuel
with the engine running. Allow en-
gine to cool before refueling. DO not
smoke.
- Never rehJel the machine indoors.
-Never store the machine or fuel
container inside where there is an
open flame,such as a water heater.
•Never run a machine inside a closed
area.
• Keep nuts and belts, especially blade
attachment bolts, tight and keep equip-
ment in good condition.
•Never tamper with safety devices.
Check their proper operation regularly.
•Keep machine free of grass, leaves, or
other debris build-up. Clean oH or fuel
spillage. Allow machine to cool before
•" stodng,.
•Stop and.inspect the.equipment H you
strike an object. Repair, ifnecessary,
before restading,
•" 3" "

• Never make acljustments orrepairs with
engine running.
• Grass catcher components are subject
to wear, damage, and deterioration,
which could expose moving pads or
allow objects to be thrown. Frequently
check components and replace with
• Be sure the area is clear of other people
be_f_or_e__owj.n.g,Stop machine if anyone
enters the area.
* Never carry passengers.
• Do not mow in reverse unless absolute-
ly necessary.Always lookdown and
behind before and while backing.
•Never carry children. They may fall off
and be seriously injured or interfere with
-safemachine operation.
•Keep children out of the mowing area
and under the watchful care of another
• responsible adult.
•Be alert and tum machine off if children
enter the area.
•Before and when backing, look behind
and down for small children.
_Look for this symbol to point out impor-
tant safety precautions. It means CAU-
TIONI!! BECOME AWAREI!! YOUR SAFE-
TY !S INVOLVED.
_CAUTION: In order to prevent acciden-
tatst-arting when setting up, transporting,
adjusting or making repairs always discon-
nect spark plug wire and place wire where
it cannot contact spark plug.
manufacturer's recommended parts,
when necessary.
Mower blades are sharp and can cut.
Wrap the blade(s) or wear gloves, and
use extra caution when servicingthem.
Check brake operation frequently. _
Adjust and service as required.
• Mow up and down slopes (15° Max), not
across.
•Remove obstacles such•as rocks, tree
limbs, etc.
•Watch for holes, ruts, or bumps. Uneven
terrain could overtum the machine. Tall
grass can hide obstacles.
•Use slow speed. Choose a low gear so
that you will not have to stop or shift
while on the slope.
•Avoid startingor stopping on a slope. If
tires lose traction, disengage the blades
and proceed slowly straight down the
slope.
•Do not tum on slopes unless necessary,
and then, tum slowly and gradually
downhill, if possible.
_WARNING: The engine exhaust from
this product contains chemicals known to
the State of Caiifomia to cause cancer,
birth defects, or other reproductive harm.

.R0.u..orspE=RcA!n .s
.... 125 GALLONS
CAPACITY UNLEADED
- REGULAR
OIL TYPE SAE 30 (above320F)
SAE 5W-30
(below 32°F)
OIL CAPACITY: 3;0 PINTS
SPARK PLUG: Champion RC12YC
(GAP: .030")
INTAKE: .003"-.005"
EXHAUST: .005"-.007"
GROUND SPEED FORWARD:,
(MPH): •I sT 1.2
2ND 1.5
3RD 2.4
................ 4TM 3.5
5TM 4.8
6TM 5.4
REVERSE: 1.5
PRESSURE: FRONT: 14 PSI
REAR: 10 PSI
.... 3 AMPS BATTERY
SYSTEM: 5 AMPS HEADLIGHTS
AMP/HR: 25
MIN. CCA: 190
CASE SIZE: UIR
BLADE BOLT 27-35 FT. LBS.
CONGRATULATIONS on your purchase
of a Cra_an Tractor. It has been
designed, engineered and manufactured .
to give you the.best possible depondab, ity
ar;d performance.
ShoukJyou-e ,rk=nceanyproUemyou..
cannot easily remedy, please cor_tact your "
nearest Sears Authorized Service Center.
We have competent, well-trained technk
clans and the proper tools to service or
repair this tractor.
Please read and retain this manual. The
instructions will enable you to assemble
and maintain your tractor properly. Always
observe the "SAFETY RULES'.
MAINTENANCE AGREEMENT
A Sears Maintenance Agreement is avail-
able on this product. Contact your nearest
Sears store for details.
CUSTOMER RESPONSIBILITIES
•Read and observe the safety rules.
• Follow a regular schedule in maintain-
ing, caring for and using your tractor.
• Follow the instructions under =Mainte-
nance" and "Storage" sections of this
owner's r.-'mual.
_,WARNIhG: This tractor is equipped
with an internal combustion engine and
should not be used on or near any unim-
proved forest-covered, brush-covered or
grass-covered land unless the engine's
exhaust system is equipped with a spark
arrester meeting applicable local or state
laws ('_ any). If a spark an'ester is used, it
should be maintained in effective working
order by the operator.
In the state of Califomia the above is
required by law (Section 4442 of the
California Public Resources Code). Other
states may have similar laws. Federal
laws apply on federal lands. A spark
arrester for the muffler is available through
your nearest Sears Authorized Service
Center (See REPAIR PARTS section of
this manual).
5

PARTS BAG CONTENTS SHOWN FULL SIZE
_'_'- lr
(1) Large Flat Washer:
(1) Hex Bolt
3/8-16 x I
(1) Lockwasher
3/8
(1) Hex Bolt
5/16-18x 1-1/4 @(1) Locknut
5/16-18
(1) Shoulder Bolt
5/16-18
(1) Washer
.17/32 x 1-3/16 x 12 Q(1) Knob
6

"- PARTS BAG CONTENTS,-SHOWN:FULL SIZE •
(2) Weld Nuts
_#10
(2) Screws /_ (2) Lock
#10 x 5/8 _t_ Washem #10
(2) Washem
_/16 x 3/4 x 16 Gauge
Parts packet separately in carton
Seat
Video
Cassette
Mulcher /?/_
•Steermg Wheel
Boot i
Parts Bag contents not shown full size
_]ER. (_ (2) Washers
(2) Shoulder _3/8 x 7/8 x 14
Bolts
Centerlock Nuts (A' _f))
(2)
Steering Wheel
Adapter
Steedng
Wheel Insert
(2) .Gauge -Wheels
i_" _'_'_ I I I-,
(_ (2) Latch Hook
-Assemblies-:.
Steering "
Extension
Shaft
(2) Keys
Slope Sheet
7

Yot_rnew-tractorhasbeenassembledat thefactorywithexceptionof thosepartsleft
unassembledfor shippingpurposes.Toensuresafe andproperoperationof yourtractor
all partsandhardwareyou assemblemust be tightened securely. Use the correct tools
as necessary to insure proper tightness. Review the video cassette before you begin.
TOOLS REQUIRED FOR
ASSEMBLY
A socket wrench set will make assembly
easier. Standard wrench sizes you need
are listed below.
(1_)9/16" wrench
(2) 1/2" wrench
(1) Pliers
(1) Utility knife
(1) 3/4" wrench socket
drive.mchet .......
When right or left hand is mentioned in
this manual, it means, from your point of
view, when you are in the operating posi-
tion (seated behind the steering wheel).
(1) Phillips Screw
ddver
(1)Tirepressure
gauge
TO REMOVE TRACTOR FROM
CARTON
UNPAeK-CARTON
• Remove all accessible loose parts and
parts boxes from shipping carton (See
page 6),
•Cut, from top to bottom, along lines on
all four comers of shipping carton, and
lay panels flat.
•Check for any additional loose parts or
boxes and remove.
BEFORE ROLLING TRACTOR OFF
SKID
ATTACH STEERING WHEEL
ASSEMBLE EXTENSION SHAFT AND
_BOQT_
• Slide extension shaft onto lower steer-
ing shaft. Align mounting holes in exten-
sion and lower shafts and install 5/16
hex bolt and Iocknut. Tighten securely.
IMPORTANT: Tighten bolt and nut secure-
ly to 18-22 ft. Ibs. torque.
• • Place tabs of steering boot over tab
slots in dash and push down to secure.
INSTALL STEERING WHEEL
•Position front wheels of the tractor so
they are pointing straight forward.
• Slide steering'wheel adapter onto steer-
--ing'_raft -e_tension.
•Position steering wheel so cross bars
are horizontal (left to right) and slide
inside boot and onto adapter.
• Assemble large flat washer, 3/8 lock
washer, 3/8 hex bolt and tighten securely.
• Snap steering wheel insert into center
of steering wheel.
•Remove protective materials from trac-
tor hood and grill.
IMPORTANT: Check for and remove any
staples in skid that may puncture tires
where tractor is to roll off skid.
Insert
3/8 He_ Bolt
Lockwasher
Large Flat
Stee__iill r
Wheel
TOROLL TRACTOR OFF SKID (See
Operation section for location and
function of controls)
•Press lift lever plunger and raise attach-
ment lift lever to its highest position.
•Release parking brake by depressing
clutch/brake pedal.
• Place gearshift lever in neutral (N) posi-
tion.
•Roll tractor forward off skid.
•Remove banding holding discharge
guard up against tractor.
8

,tOW TO SET UP YOUR TRACTOR
CHECK BATTERY
Liftseat pan to _position and open.
batteyJ>ox_door.
• If this battery is put into service after
month and year•indicatedon label (label
located between terminals) charge bat-,
tery for minimum of one hour at 6-10
amps. (See "BATTERY": in MAINTE-
NANCE section of this manual for charg-
ing instructions).
.. . .. •
Seat Pan
BatteryBox ,Label
Door
-Terminal_
INSTALL SEAT
Adjust seat-beforetightening adjustment
knob.
• Remove cardboard packing on seat pan.
• Place seat on seat pan and assemble
shoulder bolt. _ghten shoulder bolt
securely.
•Assemble adjustment knob andfiat
washer loosely. Do not tighten.
•Lower seat into operating position and
sit on seat:
•Slide seat until a comfodable position is
reached which allows you .topress
clutch/brake pedal all the way down.
•(_et off seat without moving its adjusted
position. •-. ....
_Ralse's_at and tighten adjustment knob
securely.
Seat Pan
Shoulder
Bolt
Rat Washer
AdjustmentKnob
INSTALL MULCHER PLATE
•InstalltWOlatchh0oks tOimUlcher plate
using screw, washer, I_ Washer, and
weld nutas shown.
NOTE," Pre-assembla Weldnut to latch
hook by inseding weld nut fromthe top
with hook pointing down.
•Tighten hardware securely.
•Raise and hold deflector shield in up-
right position.
•Place front of mulcher plate over front of
mower de;.,_opening and slide into
place, as shown.
•Hook front latch into hole on front of
mower deck.
•Hook rear latch into hole on back of
mower deck.
4_CAUTION: Do not remove discharge
guard from mower; Raise and hold guard
•when attaching mulcher plate•and allow it
to rest onplate while in operation. •i
Weld
Weld Nut
The Top .,_
Lock
Washer
Screw
Latch
Hook Points
Down
Washer
Mulcher
Weld Nut
[-Lock, Washer
Washer
Screw.
9
Deflector
Shiekl
Latch
Hooks•

TO CONVERT TO BAGGING OR
DISCHARGING _-
Simply remove mulcher plate and store in
a safe-place. Your mower is now ready for
discharging or installationof optional
grass catcher accessory.
NOTE: It is not necessary to change
blades. The mulcher blades are designed
for discharging and bagging also.
_.SSEMBLE GAUGE WHEELS TO •
MOWER DECK
The gauge wheels are designed to keep
the mower deck in proper positionWhen
opemting-rnower. Be sure they are prop-
erly adjusted to ensure optimum mower
performance.
•Assemble gauge wheels with tractor on
aflat level surface.
_, Adjust-mewer-to_desired cutting height
(See "TO ADJUST MOWER CUTTING
HEIGHT" in the Operation section of
this manual).
•With mower in desired height of cut
position, gauge wheels should be
assembled so they are slightly offthe
ground. Install gauge wheel in appropri-
ate holewithshoulder bolt, 318washer,
and 3/8-16 Iocknut and tighten securely.
•Repeat for opposite side installing
gauge wheel in same adjustment hole.
Gauge Wheel MounUng
Bracket
CHECK TIRE PRESSURE .
The tires on your tractor were overinflated
at the factory for shipping purposes.
Correct tire pressure is important for best
cutting performance.
•Reduce tire pressure to PS! shown in
=PRODUCT SPECIFICATIONS" on
page 5 of this manual.
CHECK DECK LEVELNESS
For best Cutting results, mower housing
should be properly leveled. See "TO
LEVEL MOWER HOUSING" in the
Service and Adjustments section of this
manual. •
CHECK FOR PROPER POSITION OF
ALL BELTS
See the figures that are shown for replac-
ing motion and mower blade drive belts in
the Service and Adjustments section of
this manual. Verify that the belts are rout-
ed correctly.
CHECK BRAKE SYSTEM
After you leam how to operate your trac-
tor, check to see that the brake is properly
adjusted. See -TO ADJUST BRAKE" in
the Service and Adjustments section of
this manual.
3/8-16
Locknut
-..°
10

/CHECKLBT
PLEASE REVIEW'rFIE FOLLOWING
CHECKEIS'P.
,/ All assembly instructions have been
completed. .,_ _-.
/No remaining loose parts in carton.
,/ Battery is properly prepared and
charged. (Minimum I hour at 6 amps).
,/ Seat is adjusted comfortably and
tightened securely.
,/ All tires are propedy inflated. (For
shipping purposes, the tires were
• o_-rinftated at the factory). "
,/ Be sure ilrmwer deck is properly leveled
side-to-side/front-to-rear for best
cutting results. (Tires must be properly
inflatedfor ___veling).
,/ Check mower and drive belts. Be sure
they are routed propedy around pulleys
and inside all belt keepers.
,/ Check wiring. See that all connections
are still secure and wires are propedy
clamped.
WHILE LEARNING HOW TO USE YOUR
TRACTOR," PA_"EXTRA A'I-I'ENTION TO
THE FOLLOWING IMPORTANT ITEMS:
4' Engine oil is at proper level.
/Fuel tank is filled with fresh, clean,
regular unleaded gasoline.
,/ Become familiar with all controls - their
location and function. Operate them
"before you start the engine.
4' Be sure brake system is in safe
operating condition.
11

Th6_sesymbols may appear on yourtractor or in literature supplied with the product.
Learn and understand their meaning.
,= t
BATrERY CAUTIONOR REVERSE FORWARD SLOW
WARNING
FAST
FUEL CHOKE MOWER HEIGHT PARKING BRAKE UNLOCKED MOWER UFT
LOCKED
N H L c®) I
ATTACHMENT REVERSE NEUTRAL HIGH LOW PARKING BRAKE
CLUTCH ENGAGED
KEEP AREA CLEAR SLOPE HAZARDS
ATTACHMENT
IGNITION CLUTCH DISENGAGED (SEE SAFETY RULES SECTION)
DANGER, KEEP HANDS AND FEET AWAY
FREE WHEEL
(Automatic Models only)
12

;NOW YOUR TRACTOR
IEAD THIS OWNER'S MANUAL AND,SAFETY RULES BEFORE OPERATING YouR
"RAC'r_R
"ompa_ethe illustrations with your tractor to familiarize yourself with the locationsof
arious controls and adjustments. Save this manual for futurereference.
Ammeter
Throttle/Choke
Control
_.u_ral_
Pedal
\
Clutch Lever Ignition
s
J s %
,©
Ught
Switch
Lift Lever
Plunger
Attachment Lift
Lever
Parking Brake
Height
Adjustment
Knob Gearshift
Lever
Our tractors conform to the safety standards ofthe American
National Standards Institute.
ATTACHMENT cLUTCH _LEVER: Used GEARSHIFT LEVER: Selects the speed
to engage the mower blades, or other
attachments mounted to your tractor.
LIGHT SWITCH: Tums the headlights on
and off.
THROTTLE/CHOKE CONTROL: Used
for starting and controlling engine speed.
CLUTCH/BRAKE PEDAL: Used for
declutching and braking the tractor and
starting the engine.
PARKING BRAKE: Locks clutch/brake
pedal into the brake position,
HEI_JUS_rMENT KNOB: Used to
adjusHtm, mower cutting height.
and direction of tractor.
ATTACHMENT LIFT LEVER: Used to
raise, lower, and adjust the mower deck or
other attachments mounted to your trac-
tor.
LIFT LEVER PLUNGER: Used to release
attachment lift lever when changing its
position.
IGNmON SWITCH: Used for starting and
stopping the engine.
AMMETER: Indicates battery charging
(+) or discharging(-).
13

The operation of any tractor can result in foreign objects thrown into the
eyes, which can result in severe eye damage. Always wear safety glass-
es or eye shields while operating your tractor or performing any adjust-
ments or repairs. We recommend a wide visionsafety mask over specta-
cles, or standard safety glasses.
HOW TO USE YOUR TRACTOR
Your tractor is equipped with an operator
presence sensing switch, When engine
is running, any attempt by the operator to
leave the seatwithout first setting the
parkingbrake will shut off the engine.
TO SETPARKING BRAKE
•J)epress clutch/brake pedal into full
-=BRAKE"positionand hold.
•Placeparking brake lever in-
ENGAGED" position and ielease pres-
sure from clutch/brake pedal. Pedal
should remain in "BRAKE" position.
Make-sure-parkingbrake will holdtrac-
tor secure.
Throttle/Choke Attachment Clutch Lever
Control lever "Engaged" Position
_"Disengaged"
ClutCh/Brake _ _/Position
Peda-I-"D_d_- -_-_:_./Parking Brake
Position L "',_" \V_ "Engaged"
_hifl
"Disengaged" Adjustment "PositionLever
Position Knob
STOPPING
MOWER BLADES -
•To stop mower blades, move attach-
ment clutch lever to DISENGAGED"
position.
GROUND DRIVE-
•To stop ground ddve_ depress
clutch/Drake pedal into full "BRAKE"
position --.
• 7
•Move gearshift lever to neutral (N) posi-
tio-n.
ENGINE - _.
• Move throttle control to slow position.
NOTE-" Failure to move throttle control to
slow position and allowing engine to idle
before, stopping may cause engine to
"backfire'.
•Tum ignition key to "OFF" position and
remove key. Always remove key when
--le'_ tremor to prevent unauthodzed
•Never use choke to stop engine.
IMPORTANT: Leaving the ignition switch
in any position other than "OFF" will cause
the battery to be discharged (dead).
NOTE: Under certain conditions when
tractor is standing idle with the engine run-
ning, hot engine exhaust gases may
cause "browning" of grass. To eliminate
this possibility, always stop engine when
pping tractor on grass areas.
CAUTION: Always stop tractor com-
pletely, as described above, before leaving
the operator's position; to empty grass
catcher, etc.
THROTTLE CONTROL
Always operate engine at full throttle.
•Operating engine at less than full throt-
tle reduces the battery charging rate.
•Full throttle offers the best bagging and
mower performance.
TO MOVE FORWARD AND BACKWARD
The direction and speed of movement is
controlled by the gearshift lever.
•Start tractor with clutch/brake pedal
depressed and gearshift lever in neutral
(N) position.
•Move gearshift lever to desired posi-
tion.
•Slowly release clutch/brake pedal to
start movement.
IMPORTANT: Bdng tractor to a complete
stop before shifting or changing gears.
Failure to do so will shorten the useful life
of your transaxle.
TO ADJUST MOWER CUTTING HEIGHT
The cutting heiOht iS controlled by turning
the height adjustment knob in desired
direction.
•Turn knob clockwise (G) to raise cutting
height.
•Turn knob counterclockwise (O)to
lower cutting height.
The cutting height range is approximately
1-1/2" to 4". The heights are measured
from the ground to the blade tip with the
engine not running. These heights are ap-
proximate and may vary depending upon
soil conditions, height of grass and types
of grass being mowed.
14

•The average lawn should be cut to
approximately 2-t/2 inches dudngthe
cooLseason and to over3 inches during
hot_nonths. For healthier andbetter
looking lawns, mow often and after
moderate growth.
•For best cutting performance, grass
over 6 inches in height should be
- mowed twice. Make the first cut rela-
tively high; the second to desired
height.
TO OPERATE MOWER
Your tractor is equipped with an operator
pres_ce-sensing switch. Any attempt by
the operator to leave the seat with the
engine running and the attachment clutch
engaged will shut off the engine.
Select desired height of cut.
•Lowe_-r_o_-w_'li attachment lift con-
trol.
•Start mower blades by engaging attach-
ment clutch control.
•TO STOP MOWER BLADES -disen-
•gage attachment clutch control.
Attachment Clutch Attachment Lift Lever
Lever "Fngaged___ High Position
Position _'(
=Disengag_____Low .
ACAuTION: Do not operate the mower
without either the entire grass catcher, on
wnowers.so equipped, or:the discharge
guard in place.
TO OPERATE ON HILLS:
_kCAUTION: Do not drive up or down
"hills with slopes greater than 15°and do
not drive across any-slope_A slope guide
at the back of your manual isprovided for
your use. : "
•Choose:the slowest speed before start-
ing up or down hills. "
• ••Avoidstopping or changing speed on
i _."hillS,...i •" _.":..: .... "_
_ve_loslower position.:
" n isa ut necessary,
j_usl_clutch/Drake pedal quicklyto brake
position and engage parking broke.
•Move gearshift lever to 1st gear. Be
sure you have allowed room for tractor
to roll slightly as you: restart movemenL
• To restart movement, slowly release
parking brake and clutch/brake pedal.
• Make all tums slowly.
TO TRANSPORT
•Raise attachment lift to highest position
with attachment lift control.
• When pushing or towing your tractor, be
sure gearshift lever is in neutial (N)
position.
•Do not push or tow tractor at more than
five (5) MPH. .'.
NOTE: To protect hood from damage
when transporting your tractor on •a truck
or a trailer, be sure hood is closed and
secured to tractor. Use an appropriate
means of tying hood to tractor (rope, cord,
etc.).
BEFORE STARTING THE ENGINE
CHECK ENGINE OIL LEVEL
•The engine in your tractor has been
shipped, from the factory, already filled
with summer weight oil.
•Check engine oil with tractor on level
ground.
•Remove oil fillcap/diPStick and wipe
clean,reinsert the dipstick and screw
cap tight, wait for a few seconds,
remove and read oil level: If.necessary,
add oiluntil "FULL" mark on dipstickis
reached. Do not overfill.
•For cold weather operation you should
change oil for easier starting (See =OIL
VISCOSITY CHART" in the Mainten-
•ance section of this manual).
•To change engine oil, see the Mainten-
ance section in this manual.
ADD GASOLINE "
•Fillfuel tank. Use fresh, dean, regular
unleaded gasoline with a minimum of
87 .octane. (Use of leaded gasoline will
increase carbon and lead oxide
deposits and reduce valve life). Do not
mix oil with gasoline- Purchase fuel in
quantities that can be used within30
.days to assure fuel freshness.
IMPORTANT: When operating in tempera-
tures below 32"F(0°C), use fresh, clean .
winter grade gasoline to help insure good
coM weather starling; _
15

_WARNING: ExPerience indicates that
alcohol blended fuels (called gasohol or
usi'ng-eth_mol or methanol) can attract
moisture which leads to separation and
formation of acids during storage. Acidic
gas can damage the fuel system of an
engine while in storage. To avoid engine
problems, the fuel system should be emp-
tied before storage of 30 days or longer.
Drain the gas tank, start the engine and let
it run until the fuel lines and carburetor are
empty. Use fresh fuel next season. See
Storage Instructions for additional informa-
tion. Never use engine or carburetor
cleaner products in the fuel tank or perma-
nct amage may occur.
AUTION: Fill to bottom of gas tank
filler nec_De not overfill. Wipe off any
spilled oil or fuel. Do not store, spill or use
gasoline near an open flame.
TO START ENGINE
When starting the engine for the first time
or if the engine has run out of fuel, it will
take extra cranking time to move fuel from
the ta__nktothe engine.
•Sit on seat in operating position,
depress clutch/brake pedal and set
parking brake.
•Place gear shift lever in neutral (N) posi-
tion.
•Move attachment clutch to =DISEN-
GAGED" position.
•Move throttle control to choke position.
NOTE: Before Starting, read the warm
and cold starting procedures below.
•Insert key into ignition and turn key
clockwise to "START" position and
release key as soon as engine starts.
Do not run starter continuously for more
thaR fifteen seconds per minute. If the
engine does not stad after several
attempts, move throttle control to fast
position, wait a few minutes and try
again. If engine still does not start,
move the throttle control back to the
choke position and retry.
WARM WEATHER STARTING (50 ° Fand
above)
• When engine starts, move the throttle
control to the fast position.
• The attachments and ground drive can
now be used. If the engine does not
-- a_L_t tl'_load, restart the engine and
_..._i!ow _to warm up for one minute using
the choke as described above.
16
COLDWEATHER STARTING ( 50°F AND
BELOW)
•When engine starts, allow engine to run
with the throttle control in the choke
position until the engine runs roughly,
then move throttle control to fast posi-
tion. This may require an engine warm-
up period from several seconds to sev-
eral minutes, depending on the temper-
ature.
•The attachments can also be used dur-
ing the engine warm-up period.
NOTE: If at a high altitude (above 3000
feet) or in cold temperatures (below 32 F)
the carburetor fuel mixture may need to be
adjusted for best engine performance.
See "TO ADJUST CARBURETOR" in the
Service and Adjustments section of this
manual.
MOWING TIPS
•Tire chains cannot be used when the
mower housing isattached to tractor.
•Mower should be properly leveled for
best mowing performance. See "TO
LEVEL MOWER HOUSING" in the
Service and Adjustments section of this
manual.
° The left hand side of mower should be
used for trimming.
•Drive so that clippings are discharged
onto the area that has been cut. Have
the cut area to the right of the machine.
This will result in a more even distribu-
tion of clippingsand more uniformcut-
ting.
•When mowing large areas, startby tum-
ing to the dght so that clippingswill dis-
charge away from shrubs, fences, drive-
ways, etc. After one or two rounds,
mow in the-opposite direction making
left hand tums untilfinished
°If grass is extremely tall, it should be
mowed twice to reduce load and possi-
ble fire hazard from dried clippings.
Make first cut relatively high;the second
to the desired heighL
•Do not mow grass when it is wet. Wet
grass will plug mowerand leave unde-
sirable clumps. Allowgrass to dry
before mowing.
•Always operate engine at full throttle
when mowing to assure better mowing
performance and proper.discharge of
material. Regulate ground speed by se-
lecting a low enough geaHegive the
mower the best cutting performance as
well as the quality of cut desired.

* When operating:attachments, select a
-i- ,speed thatwm,s ttheterra
._and give best pedormance of.the at-
tacit.. _ent beingused.
.(
MULCHING MOWING TIPS
IMPORTANT: Forbest performance,
keep mower housing free of built-up grass
and trash. Clean after each use.
•The special •mulchingblade will recut
. the grass clippings many times and
reduc6_-mTn _i_6so that as they fall
onto the lawn they willdisperse into the
grass and not be noticed. Also, the
mulched grass will biodegrade quickly
to provide nutrients for the lawn.
Always mulchwith yourhighest engine
(blade) speed as this will provide the
best rgcu_ng_action of the blades.
•Avoid cutting your lawn when it is wet.
Wet grass tends to form clumps and
interferes with the mulching action. The
best time to mow your lawn is the early
afternoon. At this time the grass has
dried andthe newly Cutarea wgl not be
exposed to the direct sun.
• .For..l:_e_result,%adjustlhe mower cut-.
ting.heigMso _lhe mower cuts off;
onlytbe.top one-third of the grass .
blades. For extremely heavy mulching,
reduce your width of cut on each pass
and mow slowly.
•Certain types of grass and grass condi-
tions may require thatan area be
mulched a second time to completely
hide the clippings..When doing a sec-
ond cut, mow across or perpendicular to-
the first cutpath.
• Change your cuttingpattem from week
- to weel_. Mow .northto south one week
then change to east to west the next
week. This will help prevent matting
and graining of the lawn.
17

CUSTOMER RESPONSIBILITIES
AS YOU COMPLETE
REGULAR SERVICE ICE DATES
Check Tire Pressure I_ V e ._
Check Operator Presence and
TInterlock Systems -. Ik_.
R Checkfor Loo_ Fasteners V' t/, V'
A Sharpan/ReplaceMowerBlade= • t/,
T Lubr_a.onChat I/ V'
0 c_._€_Batteryt.qMDI V',
Rclean Battery and Tennirmls/Rectmrge V'
Check Transaxle Cooling V' "
Adjust Blade Belt(s) Tension ! Ks
Adjust Motion Drive Belt(s) Tension ik_s
Check Engine Oil Level VpV'
GENERAL RECOMMENDATIONS
The warranty on this tractor does notcover
items that have been subjected to operator
abuse or negligence. To receive full value
frbm the warranty, operator must maintain
tractor as instructed in this manual. Some
adjustments will need to be made periodi-
cally to properly maintain your tractor.
All adjustments in the Service and
Adjustments section of this manual should
be checked at least once each season.
•Once-a year you should replace the
spark plug, clean or replace air filter, and
check blades and belts for wear. A new
spark plug and clean air filter assure
proper air-fuel mixture and help your
engine run better.and last longer.
BEFORE EACH USE
•Check engine oil level.
•Check brake operation.
•Check tire pressure.
•Check operator presence and interlock
systems for proper operation.
• C_or Io_se fasteners.
BE Clean AW miter " VP= i
Clean Air Screen V'=
Inspect Muffler/Spark Attester V'
Rep_ o. RIt,.-(._._) v_=
N Clean.Englne CoolingFins
Replace Spark Plug _Vp
Replace Air Filter Paper Cartridge I_z
I_i-e_l_F._l_lYilter
I. Change moro often when operating under 8 heavy load or In high mmblent tmnPeratUreL S - If equipped wl81 =dJtmtable system.
2. Sefylr,,e more olten when operating kt dl_y _dusty €ondttlom=. S - Not rm_'Fdred If equipped with rrmbltemmce-froe batteqf-
3. It equipped wtlh oil _ter, change ol ever_ SO haum. 7 - _ Imnt axle pl_t bolt to 3S It.-Ibe. maxlmwn.
• LUBRICATION CHART
OSpindle
Zerk Zerk
•FrontWheel
Bearing Zerk
Front
Wheel
Bearing
Zerk
•Engine
O Attachment
Clutch
Pivot(s)
: O Gear-
shift
I
I' Pivots
0 SAE 30 or 10w30 Motor OIL
@General Purpose Grease
ORefer to Maintenance "Engine"Section
IMPORTANT: Do not oil or grease the
pivot points which have special nylon bear-
ings. Viscous lubricants will attract dust
and dirt that will shorten the life of the self-
lubricating bearings. If you feel they must
be lubricated; use only a dry, powdered
graphite type lubricant sparingly.
18

TRACTOR
Always observe safety rules when per-
forming,any maintenance.
BRAKEOPERATION
If tractor requires more than six (6) feet
stopping distance at high speed in highest
gear, then brake must be adjusted. (See
"TO ADJUST BRAKE" in the Service and
Adjustments section of this manual).
TIRES
•Maintain proper air pressure in all tires
(See PRODUCT SPECIFICATIONS" '
on page 3 of this manual)..
•"Keep tires free of.gasoline, oil, Orinsect
control-chemicalsWhichcan harm rub-
ber,
•Avoid stumps, stones, deep ruts, sharp
objects and other hazards that may
cause tire damage.
NOTE: :r_seaHire- punctures andprevent
flat tires due to slow leaks, tire sealant
may be purchased from your local parts
dealer. Tire sealant also prevents tire dry
rot and corrosion.
OPERATOR PRESENCE SYSTEM
Be sure that operator presence and inter-
lock systems are working properly.If your
tractordoes-not function as described
below, repair the problem immediately.
•The engine should not start unless_the
clutch!brakepedal is fullydepressed
and attachment clutch control is inthe
disengaged position.
• When the engine is running;any -
attempt by the operator to leave the
-seat without first settingthe parking
brake should shut offthe engine.
•When the engine is runningand the
attachment clutch is engaged, any
attempt by the operator to leave the
seat should shut off the engine.
•-The attachment clutch should never.
operate unless the operator is in the
seat.--: -;
BLADE CARE
For best results mower I_ladesmust be
kept sharp. Replace bent or damaged
- blades.
BLADE REMOVAL
•Raise mower to I_[ghestpositionto allow
- access to blades.
•Remove hex bolt, lock washer and flat
washer securing blade.
•Instal!.new orresharpened bladewith
•trailing _up towards:deck as shown.
IMPOFrrAN'ri To ensureproper assembly,
Centerl:_oleih:blade must•align with star
on-mmt!ltel as=embly.: •o
•Re_mble' hex bolt, lockwasher and
--tla_ash-_r in exact Orderas shown.
•TIghtan bolt securely (27-,35 Ft. Lbs.
torque).
IMPORTANT: Blade bolt is Grade 8 heat-
treated.
Trailing Blade MandrelAssembly
Center
Hole
Rat
Star
Lock Washer_._.
<_<'Hex Bolt (Grade 8)*
*A Grade 8 heat treated boltcan be
identifiedby six lines on the bolt head.
TO SHARPEN BLADE
NOTE: We do not recommend sharpening•
blade, but if you do, be sure the blade is
balanced.
Care should be taken to keep the blade
balanced. An unbalancedblade will cause
excessive vibration and eventual damage
to mower and engine.
• The blade can be sharpened with a file
or on a grindingwheel. Do notattempt
to sharpen while it is on the mower,
• To check blade balance, you will need a
5/8" diameter steel bolt, pin, or a cone
balancer, (When usinga cone balancer,
follow the instructionssupplied with bal-
ancer).
NOTE: Do not use a nail.for balancing
blade. The lobes ofthe center hole may
appear to be centered, butare not.
•Slide blade onto an unthreaded portion
ofthe steel bolt or pin and hold the bolt
or pin parallel with the ground. If blade
is balanced, it should remain in a hod- .
zontal position. If either end ofthe blade
moves downward, sharpen theheavy
end untilthe blade isbaianced_
CenterHole /
/
5/8" Bolt
or Pin
Blade
BATTERY
Yourtractor has a battery charging system
which is sufficientfor normaluse.• Howew
er, periodic charging of the .battery.withan
automotive charger will extend its:life. .::.
•. KeeP battery andterminals clean..:.:- .....
• Keep.battery bol_,tighL : .
•- Keep small.vent hOlesopen..
• "Recharge at 6-10 amperes fo_L1_hour.: "
19

NOTE::l'h_odginal equipment battery on
your tractor is maintenance free. Do not
attg_mptto open Or remove caps or covers.
Addihg or checking level of electrolyte is
not necessary.
TO CLEAN BATTERY AND TERMINALS
Corrosion and dirt on the battery and ter-
minals can cause the battery to "leak"
power.
• Open battery box door.
•DisconnectBLACK battery cable first
then RED battery cable and remove
battery from tractor.
•Rinse the battery with plain water and
-_,4ry_ - -••-
Clean terminals and battery cable ends
withwire brush untilbright.
•Coat terminals with grease or petroleum
jelly.
• Remstall,,ba=ttery(See =REPLACING
BA'I-I'ERY inthe SERVICE AND
ADJUSTMENTS section of this
manual).
V-BELTS
Check V-belts for deteriorationand wear
after 100 hours of operation and replace if
necessary. The belts are not adjustable.
Replace._be!ts_ifthey begin to slip from
wear.
TRANSAXLE COOLING
Keep transaxle free from build-up of dirt
and chaff which can restrictcooling.
ENGINE
LUBRICATION
Only use high quality detergent oil rated
with API service classification SF, SG or
-SH. Select the oil'sSAE viscosity grade
• according to your expected operating tem-
perature.
SAEVLSCOSITYGRADES
TO CHANGE ENGINE OIL
Determine temperature range expected
before oil change. All oilmust meet API
service classificationSF, SG or SH.
•Be sure tractor is on level surface.
•Oil will drain more freely when warm.
•Catch oi!in a sui_ble container.
• •Remove oilfill cap/dipstick, Be careful
notto allow dirtto enter the engine
when changing oil.
•Remove drain plug.
••Afteroil has drained completely, replace
oildrain plug and tighten securely.
•Refill engine with oilthrough oil filldip-
sticktube. Pour slowly.Do not overfill.
For approximate capacity see "PROD-
UCT SPECIFICATIONS =Ton page _of
this manual.
•Use gauge on oilfill cap/dipstick for
checking level. Be sure dipstick cap is
tightened securely for accurate reading.
Keep oil at =FULL" line on dipstick.
Oil Drain
AIR FILTER ..
Your engine will not runproperly using a
dirtyajrfllter. Clean the foam pre-cleaner
after every 25 hours of operation or every
season. Service paper cartridge every 100
hours of operation or every season,
whichever occurs first.
Service air cleaner more often under dusty"
conditions.
•Remove knob(s) and cover.
.,o. ,. • Wash it in liquid detergent and water.
•Squeeze it dry in a clean cloth.
TO SERVICE PRE-CLEANER
•Slide foam pre..cleaner off cartridge.
"rEM_I_llJRE RANGE _T_ATED 8EFI_E. NEXT OK.¢.,lt_C_
roll
•Saturate it in engine oil. Wrap it in clean,
NOTE: Although multi:Viscosityoils
(5W30, 10W30 etc.) improve startingin
cold weather, these multi-viscosityoils will
result in increased oilconsumption when
used above 32°F. "Checkyour engine oil
level more frequently to avoid possible
engine damage from running low on oil.
Change the oil after every 25 hours of
operation or at least once a year if the
tractor is not•used for 25 hOursin one
year,
Check thecrankcase oil level before start-
i_ng-tlNi_ngil_eand after each eight (8)
hours of operation. Tighten oil fillcap/dip-
:stlL"IL_ect_'ely each time you check the oil
level.
absorbent cloth and squeeze to remove
excess oil.
•If very dirtyor damaged, replace pre-
cleaner.
•Reinstall pre-cleaner over cartridge.
•Reinstallcover and secure with knob(s).
TO SERVICE CARTRIDGE
20
• Remove cartridge nut. .
•Carefully remove cartridge to prevent
debris from entering carburetor.Clean
base Carefully to prevent debris from
entering carburetor.
•Clean cartridge by tapping gently on flat
surface. If very dirty or damaged,
replace cartridge.

•Relns
.cover and secure _knob(s).
IMPORTANT: Petroleum solvents, such as
kerosene, are not to be used to clean the
cartridge. They may cause deterioration of
the cartridge. Do not oil cartridge. Do not
use pressurized air to clean or dry car-
tridge.
Cover
Knob
Cover Cartridge
Nut
Foam er#_
Pre-Clean Cartridge
...... _Base
CLEANAIR SCREEN
Air screen must be kept free of dirt and
chaff to prevent engine damage from over-
heating. Clean with a wire brush or com-
pressed air to remove dirt and stubbom
dried gum fibers.
ENGINECOOUNG FINS
Remove any dust, dirt or oil from engine
cooling fins to prevent enginedamage
from overheating.
•Remove screws from blower housing
and lift housing and dipstick tube
assembly off engine.
• Cover oil fill opening to prevent entry of
dirL
• Use compressed air or stiff bdstle brush
to thoroughly clean engine cooling fins.
•To reassemble, reverse above proce,
dure.
"_Scr_- .Blower ,Housing_Scrffws!_
-Dip - mr screen
Assemb /
MUFFLER- • .".
Inspect and replace corroded muffler+and
spark armster ('dequipped) as it could cre-
ate a fire hazard and/or damage.
SPARK PLUGS
Replace spark plugs at the beginning of
each mowing season Orrafter every 100
hours of operation, whichever occurs r,'st.
Spark plug type and gap setting are
shown in "PRODUCT SPECIFICAT|ONS"
on page 5 of this manual,
IN-LINE FUEL RLTER - --
The fuel filter should be replaced once
each season. If fuel filter becomes
dogged, obstructing fuel flow to carbure-
tor, replacement is required.
• With engine cool, remove filter and plug
fuel line sections.
• Place new fuel filter in position in fuel
line with arrow pointing towards carbu-
retor.
•Be sure there are no fuel line leaks and
clam.
CLEANING
•Clean engine, battery, seat, finish, etc.
of all foreign matter.
•Keep finished surfaces and wheels free
of all gasoline, oil, etc.
•Protect painted surfaces with automo-
tive type wax.
We do not recommend using a garden
hose to clean your tractor unless the ele¢-. -
trical system, muffler, air filter and carbure-
tor are covered to keep water out. Water
in engine can result in a shortened engine
life.
|-.
Plug
21

.m.
,ACABTION: Before performing any service or adjustments:
• [}epress clutch/brake pedal fully and set parking brake.
•Place gearshift lever in neutral (N) position.
•Place attachment clutch in "DISENGAGED" position.
•Turn ignition key'OFF" and removekey.
•Make sure the blades and all movingparts have completely stopped.
Disconnect spark plug wire from spark plug and place wire where it cannot come
in contact with plug.
TO REMOVE MOWER
Mower will be easier to remove from the
right sid8 of tractor.
• Place attachment clutch in "DISEN-
GAGED" position.
•Move attachment lift lever forward to
lower mower to its lowest position.
•Roll b-el_o-ff:_-ng3ri_pulley.
•Disconnect clutch rod from clutch lever
by removing retainer spring.
•Disconnect anti-swaybar from chassis
bracket by removing retainer spring.
•Disconnect suspension arms from rear
deck brackets by removing retainer
spri_ngs_..........
•Disconnectfront links from deck by
removing retainer springs.
•Raise liftlever to raise suspension
arms. Slide mower out from under trac-
tor.
IMPORTANT: If an attachment other than
the mower deck is to be mounted on the
tractor, remove the front links.
TO INSTALL MOWER ,
•Raise attachment lift lever to its highest
position.
•Slide mower under tractor with dis-
charge guard to right side of tractor.
•Lower lift lever to its lowest position.
•Install mower in reverse order of
removal instructions.
Clutch
Clutch Rod Retainer
Spring
Suspension
Arms Engine Pulley
Front
Unk
\
Retainer
Spdng
Retainer Springs
(Both Sides)
Springs
(Both Sides)
22

TO LEVEL MOWER HOUSING
Adju_the mower while b'a_or, is parked
on level ground or driveway. Make sure
tires _re pro_)erly inflated (See "PROD-
UCT SPECIFICATIONS" on page 5 of this
manual). If tires are over or unclednflat-
ed, you will not properly adjust your
mower.
SIDE-TO-SIDE ADJUSTMENT
• Raise mower to its highest position. '
• At the midpoint of both sides of mower,
measure heigM from bottom edge of.
mower to ground. Distance ,A" on both
si_=s ()f mower should be the same or
within 1/4" of each other.
•If adjustment is necessary, make adjust-
ment on one side of mower only.
-* To raise_oneside o.f mower, tighten lift
link adjustment nut on that side.
•To lower one side of mower, loosen lift
link adjustment nut on that side.
NOTE: Each full tum of adjustment nut
will change mower height about 1/8".
•Recheck measurements after adjusting.
Bottom , • Bottom
of CudS-- !_ _of Curl
• ....
• rr't-lj
Su pen io,',
A,m
FR "ONT.. TO-BACK ADJUSTMENT
IMPORTANT: Deck must be level side-to _
.=side. !f_the following front-to-back adjust-
ment is necessary, be sure to adjust both
front links equally so m_wer will stay
level side-to-side.
-To obtain the best cutting results, the
mower housing should be adjusted so that
the front is approximhtely 1/8" to 1/2"
lower than the rear when the mower is in
its highestposition. -
Check adjustment on right side of tractor.
Measure distance "D=directly in front and
behind the mandrel at bottom edge of
..mowet:housir)g ._."_:shoWni:i.--: " "
'. _fqC!_lli_[Iganynecessary adjuSt-
. n_rits, ch_ that both front linksare
-ec]1:1_in length. Both links should be
approximately 10-3/8".
• ff links am not equal in length, adjust
one link to same lengthas other link.
• To lower front of mower Iooasn nut "E"
on both front links an equal number of
turns.
• When distance "[7' is 1/8" to 1/2" lower
at front than rear, tighten nuts "IF"
against trunnion on both front links.
•To raise front of mower, loosen nut "F"
from trunnion on both front links.
"lighten nut =E" on both front links an
equalnumberof turns.
When distance "17' is 1/8" to 1/2" lower
at front than rear, tighten nut "F=against
trunnion on both front links.
•Recheck side-to-side adjustment.
Mandrel
Both Front Links Should be Equal in Length
Nut'E'
Nut,F" "
)"
Trunnion
Front Unks
TO REPLACE MOWER BLADE DRIVE
BELT (See Illustration Next Page)
The mower blade drive belt may be
replaced without tools. Park the tractor on
level surface. Engage parking brake.
BELT REMOVAL -
•Remove mower fromtractor (See "TO
REMOVE MOWER" in this section of
this manual).
•Work belt off both mandrel pu!leys"and
idler Pulleys. ::: ..i : _,;:...' :-. :.:. ,
•Pu!lbeit a_yfr.O.m_:-m0.we:c: -...
23

BELT INSTALLATION -
• Install new belt in reverse order of
rer_ovat:.
Mandrel
Pulley
*Make sure belt is in all pulley grooves
and inside all belt guides.
• Install mower in reverse order of "
removal instructions. .
Idler
Pulleys
Mandrel
Pulley
TO ADJUST BRAKE
Your tractor isequipped with an adjustable
brake system which is mounted on the
right side of the transaxle.
If tractor requires more than six (6) feet
stoppTn_oTst_h_:eat highspeed in high-
est gear, then brake must be adjusted.
•Depress clutch/brake pedal and engage
parking brake.
•Measure distance between brake oper-
ating arm and hut "A"on brake rod.
•If distance is other than 1-1/2", loosen
- jam nut and tum nut "A"untildistance
becomes 1-1/2". Retightenjam nut
against nut "A".
•Road test tractorfor properstopping
distance as stated above. Readjust if
- necessary. If stopping distance is still
greater than six (6) feet in highest gear,
•.further maintenance is necessary.
Contact your nearest authorizedser-
vice center. --.
W'dhParkingBrake "Engaged"
Nut "A"
Jam Nut
Arm
TO REPLACE MOTION DRIVE BELT
Park the tractor on level surface. Engage
parking brake. For assistance, there is a
belt installationguide decal on bottom side
ofleft footrest.
•Remove mower (See "TO REMOVE
MOWER" in this section of this manual.)
•Remove belt from stationary idler and
clutchingidler.
•Pull belt slack toward rear oftractor.
Remove belt upwards from tmnsaxle
pulley by deflecting belt keepers.
•Pull belt toward front of tractor and
remove downwards from around engine
pulley.
•Install new belt by reversing above pro-
cedure.
Clutching Idl
Sta_onary ,d,er_ _f "
24

rRANSAXLE SHIFTER UNKAGEAND
_DJUSTMENT
The transaxle should_in neutral when
the gear-shift.Jever is in the neutral (N).
:lock gate) position. The adjustment is
)reset at the factory;,however, if adjust-
1lent is needed, proceed as follows:
• Make sure tmnsaxle is inneutral (N).
• Loosen two Iocknuts on tie rod.
•-Tum center rod until gearshift lever falls
into neutral lock gate on fender console.
•Tighten Iocknuts securely.
Neutral Lock
Gate
Locknuts
Tie
Transaxle
TO ADJUST STEERING WHEEL AUGN-
MENT
If steering wheel crossbars are not hori-
zontal (left to right) when wheelsare posi-
tioned straight forward, remove steering
wheel and reassemble per instructions in
the-Assemblysectionofthis manual.
JERONT WHEEL TOE-IN/CAMBER
The front wheel toe-in and camber are not
adjustable on your tractor.-.!f damage has
occurred to affect the front wheel toe-in or
-camber; contact your nearest authorized
service center.
TO REMOVE WHEEl: FOR REPAIRS
•Block up axle securely.
• Remove axle cover, retaining ring and
washers to allow wheel removal (rear
wheel contains a square key -Do not
lose). "
• Repair tire and reassemble.-
•On.. _..ee_ only:.,align grooves_ in
rear Wheel hub and axle. Insert square
key.,':_ -_"
•Replace washers and snap retain'rag
ringsecurelyin axlegroove.
•Replaceaxlecover.
NOTE: To seal tire punctures and prevent
flat tires due to slow leaks; tire sealant
may be purchased from your local pads
dealer. Tire sealant also prevents tire dry
rot and corrosion.
Washers
• Ret=n_ng
R_
Axle Cover
!
"_Square Key
(Rear Wheel Only)
TO START ENGINE THAT HAS A WEAK
BATTERY
&CAUTION: Lead-acid batteries gener-
ate explosive gases. Keep sparks, flame
and smoking materials away from batter-
ies. Always wear eye protection when
around batteries.
If your battery is too weak to start the
engine, it should be recharged. (See
"BA'I-I:ERY" in the MAINTENANCE sec-
tion of this manual).
If=jumper cables', are used for emergency
starting, follow this procedure:
JLIMPORTANT: Your tractor Is equiped
with a 12 volt negative grounded system.
The other vehical must also be a 12 volt
negative grounded system. Do not use
your tractor battery to start other vehicais.
TO ATI'ACHJUMPER CABLES -
•Connect each end of the RED cableto
the POSITIVE (+)terminal of each bat-
tery, taking care not to short against
chassis.
•Connect one end of the BLACK cable to
the NEGATIVE (-) terminal of fully
charged battery.
•Connect the other end of the BLACK
cable to good CHASSIS GROUND,
away from fuel tank and battery.
TO REMOVE CABLES, REVERSE
ORDER- =: :
• BLACK cable first from chassis and
then from the fully charged battery.
•RED cablelast from both batteries.
25

PositiveTerm/.hal Hex Bolt
Positive Terminal
Charged
Battery
Negative Terminal
REPLACING •BATTERY
ACAUTION: Do not short battery termi-
nals by allowing a wrench or any other
object to contact both terminals at the
same time. •Before connecting battery,
remove metal bracelets, wristwatch
bands,rings,etc.
Positive terminal must be connected first
to prevent-sparking from accidental
grounding. '
•Lift seat pan to raised position and open
battery box door.
•Disconnect BLACK batterycable first
then RED battery cable and carefully
remove battery from tractor.
•.-Install new battery with terminals in
same position as old battery.
•First connect RED battery cable to posi-
tive (+) terminal with hex bolt and nut as
shown. Tighten securely.
ConnectBLACK grounding cable to
negative (-) terminal with remaining hex
boR and nut. Tighter_securely.
Close battery box door.
Seat Pan
Battery Box
Door
Positive (Red) Cable Negative (Black) Cable
TO REP=LACE HEADLIGHT BULB
•Raise hood.
•Pull bulb holder out of the hole in the
backside of the grill.
•Replace bulb in holder and push bulb
holder securely back intothe hole in the
backside of the grill.
•Close hood.
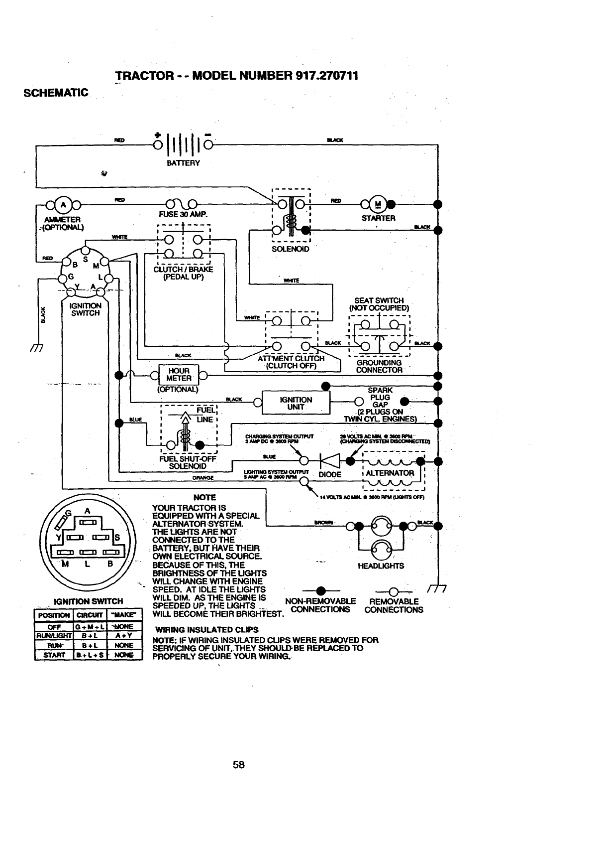
INTERLOCKS AND RELAYS
Loose or damaged wiring may cause your
tractor to run poorly, stoprunning, or pre-
vent it from starting.
•Check wiring. See electrical wiring dia-
gram in the Repair Parts section of this
manual.
TO REPLACE FUSE
Replace with 30 amp automotive-type
plug-in fuse. The fuse holder is located
behind the dash.
TO REMOVE HOOD AND GRILL
ASSEMBLY --;-
•Raise hood.
•Unsnap headlight wire connector.
•Stand in front of tractor. Grasp hood at
sides, tilt toward engine and lift off of
tractor.
•To replace, reverse above procedures.
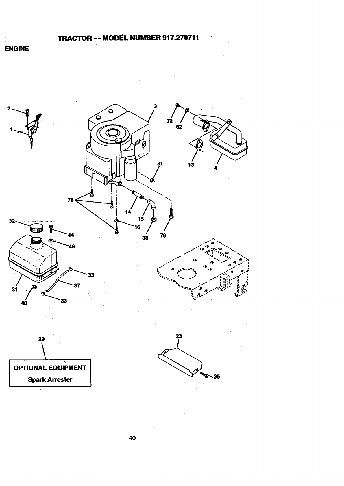
ENGINE
Maintenance, repair, or replacement of the
emission control devices and systems,
which are being done at the customers
expense, may be performed by any •non-
road engine repair establishment or indi-
vidual. Warranty repairs must be per-
formed by an authorized engine manufac-
26 turer's service outlet.

TOADJUST.'II'IROTTLECONTROL
CABLE --.
The tl_o_ttle _controlhas been preset at the
factory and adjustment should not be nec-
essary. Check adjustment as descn'bed
below before loosening cable, if adjust-
ment is necessary, proceed as follows:
•With engine not running, move throttle
- control lever from slow to cho!_e posi-
1ion. Slowly move lever from'choke to
astpos, .
• Check that holes "A" in governor control
lever and hole in govemor plate line-up.
ff _oles_A " are not aligned, loosen
clamp screw and move throttle cable
until holes are alii)ned. Tighten clamp
screw securely.
___Go_vemor_.... Governor
Control Lever Control Plate
\
Clamp Throttle
Holes "A" Screw :Cable
TO ADJUST CARBURETOR
NOTE: The carburetor on this engine is
low emission. It is equipped with an idle
fuel adjusting needle)with a limiter cap,
which allows some adjustment within the
limits allowed by the cap. Do not attempt
to remove the limiter cap. The limiter cap
cannot be removed without breaking the
adjusting needle.
_l'he carburetor has been'preset at the fac-
tory and adjustment should not be neces-
sary. However, minor adj;_rstment may be
required to compensate for differences in
-fuel,'temperature, altitude or load. If the
carburetor does need adjustment, proceed
as follows:
In general, turning idle mixture valve in
!cloc kw_ise) decreases the supply of fuel to
.,me engine giving a leaner fuel/air mixture.
.Tuming the idle mixture valve out " .
-(cou_.."terclockwisa)"mcreases the Supply of
luel.tothe engine givi.nga richerfuel/air
rnixture_. -.-----_-
IM.P.P.P.P.P.P.P.P.P_TAI_r:Damage to the needle valve
afid _sea_ in carburetor may result if
screw is turned in too tight. 27
PREMMINARY SETTING -
o. Air oleaner assembly must be essem-
bled to the carburetor when making car-
buretor adjustments.
•Be sure the throttle control cable is
adjusted properly (see above).
FINAL SETTING -
•Start engine and allow to warm for five
minutes. Make final adjustments with
engine running and shift/motion control
lever in neutral (14)position.
• Move throttle control lever to slow posi-
tion. With finger, rotate and hold throttle
lever against idle speed screw. Turn idle
speed screw to attain 1750 RPM.
•While still holding throttle lever against
idle speed screw, turn idle mixture valve
full travel clockwise then counterclock-
wise until engine runs rough. Turn valve
to a point midway between those two
positions. Release throttle lever.
ACCELERATION TEST -
•Move throttle control lever from slow to
fast position. If engine hesitates or dies,
turn idle mixture valve out (counter-
clockwise) 1/8 tum. Repeat test and
continue to adjust, if necessary, until
engine accelerates smoothly.
High speed stop is factory adjusted; Do
not adjust---d_,mage may resulL
IMPORTANT: Never tamper with the
engine governor, which is factory set for
proper enginespeed, overspeeding the
engine above the factory high speed set-
ting can be dangerous, if you think the
engine<3ovemed high speed needs
adjusting, contact.your nearest authorized
serviceconter, which has proper equip-
.ment to make any necessary adjusbn,ents.
Idle Speed Screw'- Tl_rottle
Lever
Valve W'_h.
_r

Immediately prepare your tractor for stor-
age at the end ofthe season or if the trac-
tor will not be used for 30 days or more.
,ACAI.rFION: Never store the tractorwith
gasoline in the tank inside a building
where fumes may reach an open flame or
spark. Allow the engine to cool before stor-
ing in any enclosure.
TRACTOR
Remove mower from tractor for winter
st6r'ag_ This will allow you to clean it thor-
oughly. Remove all dirt, grease, leaves,
etc. Store in a clean, dry area.
•Clean entire tractor (See "CLEANING" in
the Maintenance section of this manual).
• Inspect a_cTre_ie.cebelts, if necessary
(See belt replacement instructionsin the
Service and Adjustments section of this
manual).
•Lubricate as shown in the Maintenance
section of this manual.
•Be sure that all nuts, bolts and screws
am_sec_eLyfastened. Inspect moving
parts for damage, breakage and wear.
Replace if necessary.
•Touch up all rusted or chipped paint sur-
faces; sand lightlybefore painting.
BATTERY
• Fully charge the battery for storage.
•- After a'period of time in storage, battery
may require recharging.
.. To help prevent corrosion and power
leakage during long periods of storage,
battery cables should be disconnected
and battery cleaned thoroughly (see "TO
CLEAN BATTERY AND TERMINALS" in
the Maintenance section of this manual).
• After cleaning, leave cables disconnect-
ed and place cables where they cannot
come in contact with battery terminals.
• If battery is removed from tractor for
storage, do not store battery directly on
concrete or damp surfaces.
ENGINE
FUEL SYSTEM •
IMPORTANT: It is important to prevent
gum deposits from forming in essential fuel
system parts suqh as carburetor, fuel filter,
fuel _, or tank during storage. Also,
expe1_e ir_icates that alcohol blended
fuels (called gasohol or using ethanol or
methanol) can attract moisture which
leadsto separation and formation of acids
during storage. Acidic gas can damage the
fuel system of an engine while in storage.
•Drain the fuel tank.
•Start the engine and let it run untilthe
fuel lines and carburetor are empty.
•Never use engine or carburetorcleaner
productsin the fuel tank or permanent
damage may occur.
•Use fresh fuel next season.
NOTE: Fuel stabilizer is an acceptable
altemative in minimizing the formation of
fuel gum deposits during storage. Add sta-
bilizer to gasoline in fuel tank or storage
container.Always follow the mix ratio
found on stabilizer container. Run engine
at least 10 minutes after adding stabilizer
to allow the stabilizer to reach the carbure-
tor. Do not drain the gas tank and carbure-
tor if using fuel stabilizer.
ENGINE OIL
Drain oil (with engine warm) and replace
with clean engine oil. (See "ENGINE" in
the Maintenance section of this manual).
CYLINDER(S)
•Remove spark plug(s).
•Pour one ounce of oil through spark
plug hole(s) into cylinder(s).
•Tum ignition key to "START" position for
a few seconds to distribute oil.
•Replace with new spark plug(s).
OTHER -.
•Do not store gasoline from one season
to another.
•Replace your-gasoline can if it starts to
rust. Rust and/or dirt in your gasoline
will cause problems.
•If possible, store your tractor indoors
and cover itto give protection from dust
and dirt.
•Cover your tractorwith a suitable pro-
tective cover that does not retain mois-
ture. DOnot use plastic. Plastic cannot
breathe, which allows condensation to
form and cause your tractor to rust.
IMPORTANT: Never cover tractor while
engine and exhaust areas are still warm.
28

ROUBLESHOOTING CHART
t-CAUSE
• Out of fuel --
•Engine not =CHOKED"
properly.
• Engineflooded.
Hard to start
• Bad spark plug
• Dirty air filter.
•Dirty fuel filter.
•Waterin fuel
•Loose or damaged wiring.
• Carburetor out of adjust-
ment.
•Engine valves out of
adjustment.
•Dirty air filter.
•Bad spark plug.
•Weak or dead battery.
• Dirty fuel filter.
•Stale or dirty fuel
• Loose or damaged wiring.
•Carburetor out of adjust-
ment.
* Engine valves out of
adjustment.
CORRE¢;¥iON
•Fill fuel tank.
•See "TO START ENGINE" in
Operation section.
•Wait several minutes before
attempting to starL
•Replace spark plug.
•Clean/replace airfilter.
•Replace fuel filter.
• Drain fuel tank and carbure-
tor, refill tank with fresh
gasoline and replace fuel fil-
ter.
• Check all wiring.
• See "To Adjust Carburetor"
in Service and Adjustments
section.
•Contact an authorized ser-
vice center.
• Clean/replace air filter.
•Replace spark plug.
•Recharge or replace battery.
- Replace fuel filter.
• Drain fuel tank and refill with
fresh gasoline.
• Check all wiring.
, See "To Adjust Carburetor"
in Service and Adjustments
section.
•Contact an authorized ser-
vice center.
Engine will not turn
over
/,
Engine clicksbut
will not.,Slji_-.
•Clutch/brake pedalnot
depressed.
•Attachment clutchis
engaged.
•Weak or dead battery.
•Blown fuse.
• Corroded battery termi-
nals.
•Looseor damagedwiring. -
t-." Faulty ignition switch.
•Depress clutch/brake pedal.
•Faulty operator presence
switch(es).
•DiSengage attachment
clutch.
•:ReCharge or replace battery.
•Replace fuse. "
•Clean battery terminals.
•Check all wiring.
•Check/replace ignition
switch. :
•Faulty solenoidor:starter. " ,; Check/replace solenoid or
starter.
,; Contact an authorized ser-
vice center.
•. - ., ,".. :..
•Weak Ordead battery. _• Recharge or replace battery.
•Corroded battery termi- •Clean battery terminals.
nals.
29

TROUBLESHOOTING CHART .- "
PROBLEM
Engiae_clicksbut
will not start (con
t'd)
Loss Ofpower
CAUSE
• Loose or damaged wiring.
• Faulty solenoid or starter.
• Cutting too much
grass/too fast.
• Throttle in =CHOKE" posi-
CORRECTION
•Check all wiring.
• Check/replace solenoid or
starter.
•Set in "Higher Cut" posi-
tion/reduce speed.
•Adjust throttle control.
tieR. !.
• Build-up of grass, leaves
and trash under mower.
• Dirty air filter.
• Low oil level/didy oil.
•Faulty spark plug.
• Dirty fuel filter.
•Stale or dirty fuel.
Water in fuel.
•Spark plug wire loose.
•Dirty engine air
screen/fins.
•Clean Underside of mower
housing.
• Clean/replace air filter.
•Check oil level/change oil.
•Clean and regap or change
spark plug.
•Replace fuel filter.
•Drain fuel tank and refill with
fresh gasoline.
•Drain fuel tank and carbure-
tor, refill tank with fresh gaso-
line and replace fuel filter.
• Connect and tighten spark
plug wire.
• Clean engine air screen/fins.
Excessive vibration
"Engine cOntinues to
run when operator
leaves seat with
=attachment clutch
engaged
Poor cut -uneven
' Dirty/clogged muffler.
•Loose or damaged wiring.
•Carburetor out of adjust-
ment.
• Engine valves out of
adjustment.
•Wom, bent or loose blade.
•Bent blade mandrel.
•Loose/damaged part(s).
*_Faulty operator-safety
g.resencecontrol system.
•Wom, bentor loose blade.
tMower deck not level.
•Buildup of grass, leaves,
and trash under mower.
•Bent blade mandrel.
•Clean/replace muffler.
• Check all wiring.
• See "ToAdjust Carburetor" in
Service and Adjustments
section.
•Contact an authorized ser-
vice center.
•Replace blade. Tighten blade
boll
•Replace blade mandrel.
•Tighten loose part(s).
Replace damaged pads.
Check widng, switches and
connections. If not
corrected, contact an autho-
rized service center..
•Replace blade. Tighten blade
boll
• Level mower deck.
• Clean underside of mower
housing.
•Replace blade mandrel;
3O

TROUBLESHOOTINGCHART
PROBLEM CAUSE
• Cloggedmowerdeckvent
holesfrombuildupof
grass,leaves,andtrash
around mandrels.
Poo'r _cut--uneven
(cont'd)
CORRECTION
• Clean around mandrels to
open vent holes.
Vlowerblades wii
not rotate
Poor-grass di-
charge
•Obstruction in clutch
mechanism.
•Worn/damaged mower
drive belt.
•Frozen idler pulley.
•Frozen blade mandrel.
Headlight(s) not
•Engine speed too slow.
•Travel speed too fast.
• Wet grass.
• Mower deck not level.
• Low/uneven tire air pres-
sure.
•Wom, bent or loose blade.•
•Buildup of grass, leaves•
and trash under mower.
•Mower drive belt wom.
•Blades improperly
installed.
•Improper blades used.
•Clogged mower deck vent
holes from buildup of
•grass, leaves, and trash
around mandrels.
', Switch is "OFF'.
working (if so •- Bulb(s) bumed out.
equipped) •, Faulty light switch.
-_.... -_. Loose or damaged wiring.
• Blown fuse.
ii.
Battery will not • Bad battery Cell(s).
charge • Poor cable connections.
_; • Faulty regulator (if so
equipped).
•Faulty alternator.
Engine. =bac!dires"
when tuming;
engine 'OFF"
, Engine throttle control not
•setat "SLOW"
positionfor 30 seconds
before stopping engine.
•Remove obstruction.
•Replace mower drive belt.
•Replace idler pulley.
•Replace blade mandrel.
• Place throttle control in
"FAST" position.
•Shift to slower speed.
•Allow grass to dry before
mowing.
•Level mower deck.
•Check tires for proper air
pressure.
•Replace/sharpen blade.
Tighten blade belt. •
• •Clean underside of mower
housing.
•Replace mower drive belL•
•Reinstall blades `sharp edge
down.
•Replace with bladeslisted in •
this manual. •:
•Clean around mandrels tO
open vent holes.
• Turn switch'oN,.
• Replace bu!b(s).•
•Check/replace lightswitch.
•Checkwiringandconnectkx_
•Replace fuse.
•Replace battery.
• Check/clean all connections.
•Replace regulator.
•Replace altemator.. _
•Move throttle control to
.SLOW. a !a,ow••
to idlefor 30 secondsbefom '
stopping engine.. .:-.
31

ELECTRICAL
TRACTOR - - MODEL NUMBER 917.270711
r
i
I
i
i !
Ii
.i
7O
26
28
32

ELECTRICAL
TRACTOR .- MODEL NUMBER 917.270711
KEY PART
NO. NO. DESCRIPTION
1 144925
2 74760412
8 156417
16 153664
19 STD551125
2O 733504O0
21 147430
22 4152J
24 4799J
25 146147
26 108824X
27 73510400
28 4207J
_29 121305X
30 140301
31 124211X
32 141226
33 I O9310X
40 156442
41 71110408
42 131563
43 145673
44 7364O4OO
45 121433X
52 141940
70 140422
Battery12 VOLT 25 AMP
BoltHex Hd 1/4-20unc x 3/4
Case Battery
Switch,InterlockPush-In
Washer Lock 114
Nut Jam Hex 114-20Unc
Harness AsmLightw14152j
Bob Light#1156
Cable Battery 6 Ga 11"red
Cable Battery 6 Ga w/16 wirered
Fuse 30AMP AutoGreen
Nut, Keps Hex 1/4-20 UNC
Cable Ground6 Ga 12" black
SwitchPlungerNc Gray
SwitchIgn4 Pos
Nut Ignition
Cover Sw Key BIk I 25 Text SLT
Key Ign MoldedCraftsman
Harness IgnMan CI Am Hm 97
Bolt BIk. FinHex 1/4-20 Unc x 1/2
Cover TerminalRed
Solenoid
Nut Keps BIkHex 1/4-20 Unc
Ammeter Rectangular6 Amp
ProtectionWire Loop
Harness EngineB&S 14OHV
NOTE: Allcomponentdimenslonsgivein U.S. inches
1 inch = 25.4 mm

TRACTOR - - MODEL NUMBER 917_70711
CHASSIS AND ENCLOSURES
28
12
14
31
S53
55
54
141•

TRACTOR - - MODEL" NUMBER, 917.270711
CHASSIS AND ENCLOSURES
KEY PART
NO. NO. DESCRIPTION
1 160392
2 140356
3 17490612
4 19131216
5 155272
9 161917X013
10 STD533710
11 155927
12 145660
13 155936
14 17490608
17-- 144983X558
18 126938X
25 19131312
26 STD541437
28 145198X558
29 155217X599
3O 151287X558
31 139976
37 17490508
"38 139886
39 139887
51 73800400
52 19091416
53 145201
54 161464
55 145202
57 STD522507
60 72140606
54 154798
74 STD541437
114 158112
115 17490620
116 19131614
140 158418
142 156095
143 154966
144 154207
145 156524
- - 5479J
NOTE:
ChasdsAssembly
Drawbar
Screw,Thd. Roll. 3/8-16 x 3/4
Washer 13/32 x 3/4 x 16 Gauge
BumperHood/Dash
Dash
Bolt,Carriage 3/8-16 x 3/4
Panel, Dash, LH.
Clip"13nnermanGrille P/L
Panel, Dash, R.H.
ScrewThdrol 3/8-16 x 1/2
Hood Assembly
BumperHood
Washer 13/32 x 13/16 x 12 Gauge
Nut
Grille w/ClipsMS-558
Lens, Grille
Fend/Rrest Pnt STLTN HLD 558
Bracket,Fender Support
ScrewThdrol 5/16-18 x 1/2
PivotBracketAssembly,LH.
PivotBracketAssembly,R.H.
Nut Lockw/Insert 114-20 UNC
Washer 9/32 x 7/8 x 16 Ga.
BracketGrillePIckoffLH
Screw Hex Wshd 8-18 x 7/8
BracketGrille PlckoffRH
Bolt,Rn Hex 114-20UNC x .75
BoltRdhd Sqnk 3/8-16 UNC x 3/4
Dash Lower STLT
Nut Crownlock 3/8016 UNC
Keeper BeltRear LhSUP93O
Screw Thdrol3/8-16 x 1-114Tytt
Washer 13/32 x I x 14 Ga.
BracketSuspensionFront
Plate ReinforcementSTLT
BracketSwaybarChassis
BracketPnt FootrestSTLT
Rod PivotChassis/Fkx)d
Plug, Button
All componentdimensionsgive inU.S. inches
1 inch = 25.4 mm -
35

TRACTOR . - MODEL NUMBER 917.270711
GROUND DRIVE
26
1 27
36

TRACTOR - . MODEL NUMBER 917.270711
GROUND DRIVE
KEY PART KEY PART
NO. NO. DESCRIPTION NO. NO.
........ Transaxle (See Breakdown) 56 STD523712
Peedess 206-508B 57 130801
2 146682 Spring, Return,Brake 56 127274X
3 123666X Pulley,Transaxle 59 140312
4 12000028 Ring,Retainer 61 17490612
5 121520X Strap,Torque 62 8883R
6 17490512 Screw,Thd., Roll. 5/16-18 x 3/4 63 140186
8_:154792 Rod ShifterFender STLT 64 71170764
10 STD561210 - Pin, Cotter
11 105701X Washer,Shift Plate 65 STD551143
13 74550412 Bolt 1/4-28 UNF W/Patch Gr. 8 56 154778
14 STD551125 Washer
- 18 ST_D5_23!10_ ,.BQ_.FInHex 3/8-16 UNC x 1. 70 134683
Gr 5 72 19132012
19 STD541437 Nut 74 137057
21 106933X Knob 75 121749X
22 130804 Rod,Brake 76 STD581075
24 STD541237 Nut 77 123583X
25 106888X Spring,Brake Rod 78 121748X
26 STD551037 Washer
27 STD561210 Pin 79 2228M
28 145204 Rod, ParkingBrake 80 145090
29 _1-2-42_X ..... Cap, ParkingBrake, Red 81 161082
30 130807 Bracket,Transaxle 82 123782X
31 127275X Keeper, Belt,LH. 83 19171216
32 STD523107 Bolt 84 145643
34 155071 ShaftAssembly,Foot Pedal 85 150360
35 120163X Bearing,Nylon 86 157480
36 STD551062 Washer 87 19212016
37 STD571810 Roll Pin 88 12000008
38. 123674X Pulley,Idler,Flat 89 158391
39 STD523727 Bolt 90 124346X
40 4470J Spacer, Split .395 x .59 96 4497H
41 154777 Keeper, Belt, IdlerFool-Proof 112 19091210
42 19131312 Washer 13/32 x 13/16 x 12 Ga. 113 121520X
47 127763 Pulley,Idler,V-Groove, Plastic 116 72110610
48 154407 Bellcrank ClutchGmd Dry Stl 145 74490540
49 123205X Retainer,Belt 148 159103
50 STD523715 Bolt 149 122052X
_51 STD641437 NutCrown Lock 3/8-16 UNC 150 150935
52 STD541431 NutCrown Lock 5/16-18 UNC 151 19133210
53 105710X Link,Clutch NOTE:
55 105709X Spring,ClutchRetum
DESCRIPTION
Bolt Fin Hex 3/6-16 x 1-1/4
V-Belt, GroundDrive
Keeper, Belt, R.H.
Keeper, Belt, Center Span
Screw,Thd., RolL 3/8-16x 3/4
Cover, Pedal
Pulley,Engine
Bolt,Hex Head, Rn.
7116-20 x 4 Grade 5
Washer
Keeper, Belt, Engine,Fool-
Proof
GuIde, Mower DriveBelt, R.H.
Washer 13/32 x 1-1/4 x 12Ga.
Spacer,Axle
Washer 25/32 x 1-1/4 x 16 Ga.
E-Ring
Key, Square 2.0 x .1645/.1865
Washer 25/32 x 1-5/8 x 16
Gauge
Key Woodruff#9 3/16 x 3/4
Arm, Shilt
Shaft Assembly
Spdng, Torsion
Washer 17/32 x 3/4 x 16 Ga.
Tie Rod
Nut, Nylock
Bushing
Washer
E-Ring
Console,Shift,STLT
Nut, Self-Thding,Wsh Hd 1/4
Retainer Spring1"
Washer 9/32 x 3/4 x 10 Gauge
Strap TorqueI.h Lt
Bolt Rdhd Sqneck 3/6-16 x 1.25
Bolt,Hex Flghd 5/16-18 Gr. 5
Spacer
Spacer Retainer PM Mower
....BushingNylonCollered
Washer 13/32 x2 x 10 Ga.
All componentdimensionsgivein U.S.
inches 1 inch= 25.4 mm

TRACTOR - - MODEL NUMBER917.270711
STEERING ASSEMBLY
'T""_4a
I
:38

TRACTOR - - MODEL NUMBER 917.270711
STEERING ASSEMBLY
KEY PART
NO. NO. DESCRIPTION
1 139768 SteeringWheel
2 154427 AxleAssembly STMP DroppedSTL
3 156483 SpindleAssembly,LH.
4 157473 SpindleAssembly,R.H.
5 6266H Bearing,Race, Thrust,Hardened
6 121748X Washer 25/32 x 1-5/8 x 16 Gauge
7 19272016 Washer 27/32 x 1-1/4 x 16 Gauge
8 12000029 Ring, Klip
9 3366R Bearing,Steedng Column
10 156438 DraglinkExtendedStamped
11 STD551137 Washer, Lock
13 154779 BearingAxle STLT/GT
15- 73901000 Nut, Lock,Flange 5/8-11 UNC
17 156546 ShaftAssembly,Steering
18 57079 Washer,Thrust .515x .750 x .033
19 124035X Support,Shaft
20 126684X Washer, Shim1/4 x 5/8 x .062
22 71200410 Screw,Hex Socket 1/4-20 x 5/8
23 127501 PittmanShaftAssembly
25 154406 Bracket,Steering
26 126847X Bushing,link, Drag
27 136874 Gear, Sector
28 19131416 Washer 13/32 x 7/8 x 16 Gauge
29 17490612 Screw,Thd., Roll. 3/8-16 x3/4
3O STD561210 Pin
32 130465 Rod,"I'm
36 155099 Bushing,Steering
37 152927 Screw
38 139769 Insert,Steering Wheel
39 19133808 Washer 13/32 x 2-3/8 x 8 Gauge
40 STD541537 GripcoNut
41 100711L Adaptor,SteeringWheel
42 145054 Boot, SteeringShaft
43 121749X Washer 25/32 x 1-1/4 x 16 Gauge
44 153720 ExtensionShaftSteedng LR.LT
46 121232X Cap, Spindle
47 6855M F_ng, Grease
51 STD541431 NutLock Hex w/Ins. 5/16-18 UNC
54 74780520 BoltFin Hex 5/16-18 UNC x 1-114
62 156594 KitSteering Asm Service
63 STD523710 Boll Fin Hex 3/8-16 UNC x I Gr 5
65 154780 SpacerAxle
66 154404 BearingAnn Pittman....
67 74781044 Bolt,Fin Hex 5/8-11 UNC x 2-3/4
68 _. 154429 Axle, Brace
NOTE: All componentdimensionsgivenin U.S. inches
1 inch= 25.4 mm
39

TRACTOR - - MODEL NUMBER 917#.70711
ENGINE
31
40
38 78
33
33
3
1
29
_o
OPTIONAL EQUIPMENT
Spark Arrester
23
4O

ENGINF
TRACTOR -- MODEL NUMBER 917.270711
KEY PART
NO. NO.
1 162157
2 17720410
3 ......
_4 - 137352
13 165291
14 13280324
15 13200300
16 STD551237
23 159880
29 137180
31 109202X
32 158990
•33 123487X
35 17490512
37 137040
38 .......
40 124028X
44 17490412
46 19091416
62 STD551131
72 71070512
78 17490620
81 128861
DESCRIPTION
Control,Throttle/ChoiCe
Screw, Hex Head, Thread Cuffing 1/4-20 x 5/8
Engine,B&S, (See Breakdown)No. 311707, Type No.0132-E1
Muffler
Gasket, Exhaust
Nipple, Pipe 3/8 NPTx3
Elbow,Standard90°, 3/8-18 NPT
Washer
Shield, Brn/DbrGuard
Arrestor,Spark
Tank, Fuel
Cap Assembly,FuelTank,Vented
Clamp, Hose
ScrewThdrol5/16-18 x 3-4 Tyt
Une, Fuel
Plug, Oil Drain (Order FromEngine Manufacturer)
Bushing,Snap, Fuel Une
Screw, Hex Washer Head, Thd., Roll. 114-20x 3/4
Washer 9/32 x 7/8 x 16 Gauge
Washer,Lock
Screw, Hex Cap Head 5/16-18 x3/4
Screw, Thd., Roll. 3/8-16 x 1-1/4
Nut Range 1/4-20 StarterNut
NOTE: Allcomponentdimensionsgivenin U.S. inches
1 inch = 25.4 mm

TRACTOR-_-MODEL NUMBER 917.270711
SEAT ASSEMBLY
KE_; '-PART
NO. NO.
1 140123
2 140551
3 STD523710
4 19131610
5 145O06
6 STD541437
7 124181X
8 17490616
9 19131614
10 •155925 "
tl
;12
DESCRIPTION
Seat 3350 BlkfolkCraftsman
..BracketPntPivot Seat (l_k.)
BoltFin Hex 3/8-16uncX 1
-.Washer 13/32 X3/4 X lOGa
CHpPush In Hinged
Nut Hex Lockw/Ins3/8-16 Uric
SpdngSeat Cpmn 2 250 BIkZi
ScrewThdml 3/8-16 X 1 Ty-tt
Washer 13/32 X 1X14Ga
•Pan PrdSeat (blk)
1 08x.,ram+s.t1+.13
'+2+2,rex;+
KEY PART
NO. NO. DESCRIPTION
13 121248X
14. 7205O412
15 134300
16 121250X
17 123976X
21 153236
22 STD541431
24 19171912
25 .127018X
BushingSnapak NylSOId
Bolt_ShtNk 1/4-20x1-1/2
Spacersp_ _.9x9sZinc
SpdngCpmn 1 27 BIk Pnl
Nut Lock 1/4 I.ge Fig Gr 5 Zsnc
BoltShoulder5/16,18 Unc-2A =
Nut Hex Lock w/Ins5/16-18
Washer 17/32X 1-3/16 X 12 Ga.
BoltShoulder5/16-18 X 62
,OTF.:A.comp<memdimensions_n mu.s,mct_..
esl inch =25.4 mm ,
42

DECALS
TRACTOR - - MODEL NUMBER 917.270711
13 6 3
13 10
20
1
12
PART
NO.
KEY KEY PART
NO. DESCRIPTION NO. NO.
1 156368 Decal, Oper. Instr. 13 163254
2 1-6._ ........ Decal, Hp Engine 14 160396
3 163200 Decal, Hood, R.H. 20 149516
4 163202 Decal, Hood, LH. 21 163207
6 133644 Decal, Customer Maintenance - - 138311
8 163203 Decal, Deck Mower EZ - - 154515
9 .163204 Decal, Fender,Craftsman -- 154516
10 156439 Decal, Fender Danger -- 165434
12 146046 Decal, V-Belt DriveSchematic - - 165435
DESCRIPTION
Decal, Dash Panel B&S
Decal, V-BeltSchematic
Decal BatteryDngdPsn Eng
Decal, Fender Sd. Wht
Decal, LiftHandie
Pad FootrestLH STLT
Pad FootrestRH STLT
OwnersManualEngV_sh
OwneCsManual, Spanish
WHEELS & TIRES
2_ . S,8
"_b) iF._7" 4,!0 3,9
6_--. R__/ f_,.._rt_"" /11
KEY PART
NO. NO. DESCRIPTION
1 59192 ValveCap, Tire
2 65139 Stern, Valve
3 106222X Tire, Front
4 59904 --Tube, FrontTire
(Not Provided,ServiceItem
Only)
5 106732X42"/ Rim, Front
6 27811 FdlJng,Grease (FrontWheel
.... Only)
7 90401-1 Bearing,Flange (FrontWheel
Orgy)
8 106108X427 Rim, Rear
9 122082X Tire, Rear
10 7152J Tube, Rear Tire
(Not Provided,Service Item
Only)
11 104757X Cap, Axle
- - 144334 Sealant, Tim 10 oz.
NOTE: All componentdimensionsgiveninU.S. inches
1Inch = 25A mm
43

TRACTOR -- MODELNUMBER 917.270711
UFTASSEMBLY
28 27
2524
23
549.
13
_11
• 19
13
19
3O \
26
8
! i
/i
! i
/i
i'i:
5
44

TRACTOR-_ MODEL NUMBER 917.270711
LIFT ASSEMBLY "
KEY PART
NO. NO. DESCRIPTION
1 159460 LiftLever InnerWire Assembly
2 159471 ShaftAssembly,Lift
3 105767X Pin, Groove "
4 12000002 E-Ring
5 19211621 Washer 21/32 x 1 x21 Gauge
6 120183X Bearing,Nylon
7 125631X Grip, Handle, Fluted
8 122365X Button,Plunger,Red
11 139865 Link,Uft, LH.
12 139865 Link,Uft, R.H.
13 4939M RetainerSpring
15 127218 Unk, Front
16 73350800 Nut, Hex, Jam 1/2-13 UNC
17 130171 " Trunnion
18 73680800 Nut Crowniock1/2-13 UNC
19 139868 Arm, Suspension,Rear
20 163552 RetainerSpring
23 110807X Nut, Special
24 19131016 Washer 13/32x 5/8 x 16 Gauge
25 2876H Spring
26 76020308 Pin, Cotter 3/32 x 1/2
27 126971X Rod,Adjust,Lift
28 73350600 Nut, He)(, Jam 3/8-16 UNC
29 138057 Knob, InfiniteHeightAdjustment
30 150233 Trunnion,InfHeight
31 140302 Bearing,Pvt, Lift Spherical
32 73540600 Nut, Crownlock 3/8-24
49 145212 Nut Hex Flange Lock
50 110452X Nut Push Phos & 0t1
NOTE: Allcomponentdimensionsgivenin U.S. inches .
1 inch= 25.4 mm

MOWER DECK "
TRACTOR" - MODEL NUMBER 917.270711
21
46

TRACTOR -- MODEL NUMBER 917.2707!1
MOWER DECK ._
KEY PART KEY PART
NO. NO. DESCRIPTION NO. NO.
1
2
3
4
5
6
8
9
10
11
12
13
14
15
16
17
18
19
20
21
22
23
24
25
26
27
28
29..
30
31
32
33
34
35
36
37
40
41
43
44
45
46
48
49
5O
51
52
53
54
164961
STD533107
138017
138440
STD624008
13O832
850857
STD_51137
140296
134149
129895
137645
128774
11O485X
14O329
72110610
72140505
132827
159770
S'1"_0_431 _.
134753
131267
105304X
123713X
110452X
130968
19111016
131491
15-/722
129963
153535
137266
STD533717
133835
131494
19131316
STD541437
133551
140083
140088
STD624003
137729
133944
155O66
131340
STD541410
139888
131845
133943
MowerHous_j
Bolt
BracketAssembly,Sway Bar,
Front
BracketAssembly,Sway Bar
RetainerSpring
Arm, Suspension,Rear
Bolt,He)( 3/8-24 x 1.25
Grade 8
Washer, Lock
Washer, Hardened
Blade,Mulching
Beadng, Ball
ShaftAssembly,Mandrel,
Vented (IncludesKey
Number 6)
Housing,Mandrel,Vented
Bearing, Ball,Mandrel
Stdpper,Vented Mower Deck
Bolt,Carriage 3/8-16 x 1-114
Bolt,Carriage 5/16-18 x 5/8
Bolt, Shoulder
Baffle,Vortex
Nut Crownlock5/16-18 UNC
StiffenerBracket
Bracket, Deflector
Cap, Sleeve
Spdng,Torsion,Deflector
Nut, Push
Shield,Deflector
Washer 11/32 x 5/8 x 16
Gauge
Rod,Hinge
Screw ThdrolWasher Head
Washer,Spacer
Pulley,Mandrel
Nut, Toploc_ Flanged
Bolt ."
Faslmr, C_dstmasTree
•Pu,ey,k,er, Rat
Washer 13/32x 13/16 x 16
Gauge
Nut Crownlock3/8-16 UNC
Rod, PivOt;withNibs
Rod,Clutch,Secondary,with
Nibs
Guard, Mandrel,LH.
Retainer
Screw,Thd. Roll 1/4-20 x 5/8
Washer, Hardened
RollerAssembly,Cam Follower
Bolt, Shoulder #10-24 Grade 5
Locknut
Bolt,Shoulder 5/16-18 UNC
ArmAssembly,Pad, Brake
Washer, Hardened
DESCRIPTION
55 155046
56 1220523(
58 140O86
59 141043
67 162113
68 144200
71 142427
72 1318=/0
73 127647
74 121748X
75 12030029
76 128903
77 127845
78 160570
79 127498
80 153701
81 73350600
82 142026
83 120958X
64 156O84
85 72140620
92 STD541437
101 136426
102 "71161010
103 19061216-
104 STD551110
105 160793
106 2029J
111 155197
112 156198
113 17490512
114 73510500
115 7211.0504
116 137644
117 133957
118 73930600
119 19121414
121 .143723
128 " 153390
129 19131312
130 STD523710
131 STD533710
132 19132203
141 62661-1
- - 130794
- - 164963
Arm, Idler
Spacer, Retainer
Spring,TorsionBrakes
Guard, TUV Idler
Knob Ct_om Oval
V-Belt
Rod, Clutch,Primary,withNibs
Spring,P,emm
Arm, Clutch, Secondary
Washer 25/32 x 1-5/8 x 16
Gauge
Ring,V3_
Bolt,Shoulder 3/8-16 UNC x
1.44
Keeper, Spring
LeverAsm. ClutchPd PIm
STLT
Bushing,Large, Brass
Spring,Mower Clutch
Nut, Hex Jam 3/8-16 Unc
Tmonion,Adj.
WasherSintered
Keeper BeltIdler
BoltCarriage 3/8-1B x 2-1/2
Nut
MulcherCover
Screw
Washer #10
Washer,Lock
LatchAssembly,Bagger
Nut, Weld.
Bracket+Gauge, Wheel LH,
Bracket,Gauge, Wheel R.H.
• ScrewThdrol 5/16-18x3/4
Nut, Hex, Kepe 5/16-18 UNC
Bolt,carriage 5/16 UNC x 1/2
Bolt,Shoulder
Wheel, Gauge
Nut, Centedock3/8-16
Washer3t8 x 7/8 x 14 Gauge
Bracket
....Washer Felt
Washer 13/32 x13/16 x12 Ga.
Bolt, Fin Hax 3/8-16 UNC x 1
Gr. 5
Bolt,RDHD SQNK 3/8-16 UNC
xl
Spacer washer "13/32I.D. x 1-
3/8 O.D. x 1/4
WasherThrust.75 x 1.230
MaodreiAssembly(_udes
Key Numbers 8-10, 12-15, 31
and32)
MowerDeck,Complete
(StanderdDeck_Order
Separately Mulcher Plate and
Gauge Wheel Components,
Key Nos. 101-106 and 111-121)
NOTE: Allcomponentdimensionsgivenin U.S.inches
1 inch=25Amm
47

--"TRACTOR,- . MODEL NUMBER 917.270711
:PEERLESS TRANSAXLE- - MODEL NUMBER 206-508B
O..-2/
I- ''71
!
I
4B

TRACTOR -- MODEL NUMBER 917.270711
PEERLESS TRANSAXLE - - MODEL NUMBER 206-508B
REF PART REF PART
NO. NO. DESCRIPTION NO. NO.
1 772147 Transaxle Cover
2 78(X)86A Needle Bearing5/8"
3 770128 Tran_ Case
4 776395 Countershaft
5 776409 OutputShah
6778364 Spur Gear (38 teeth)
6A 778369 Spur Gear (15 teath)
7_'-- 778330 Spur Gear (11 teeth)
8 792180 ShiftKey -
8A 792047 WoodruffKey #9
9 784352 .ShiftCollar
10 784378 Shift Rod & Fork
11 778334 Bevel Gear (30 teeth)
12
13
14
15 778370
17 786188
18 786102
20 792077
21 792078
22 -792079 ......
25 792073A
25A 792177
26 792125
27 792035
28 788040
29 780072
29A 780160
29B 780051
29C 780199
30 780108
31 780001
31A 780195
32 788083
_34 780194
35 780193
35A -_ 780197
36 790075
37 790007
38 799021
39 _786026
40 792076A
"PI&._0"9...... fn-put Bevel Pinion(13 teeth)
778368 Bevel Gear (13 teeth)(Incl. 14)
778367 Bevel Pinion(13 teeth) (Incl.
13)
Ring Gear (43 teeth)
Drive Pin
Spacer
Ball 5/16" dia
Set Screw 3/8-16 x 3/8"
Spring
Screw 114-20x 1-1/4"
Screw 1/4-20 X 1-3/8"
RetainingRing (pkg of 2)
RetainingRing
RetainingRing
Washer
Washer
Thrust Washer(.762 ID)
Anti-RotationWasher
Washer
Washer (.056 wide)
(USE AS NEEDED)
Flat Washer (.062 wide)
OBSeel 5/8"
-Bushing
Flanged Bushing
Flanged Bushing3/4"
Brake Disk
BrakePad Plate
Brake Pad (pkg of 2)
Dowel Pin
Flat Washer
DESCRIPTION
41A 790079
42 792073A
42A 792085A
43 792075
44 790025
45 786066
46 786086
47 774690
46 774691
49 778356
5O 778338
51 778354
52 778352
53 77835O
54 778346
56 778355
57 778337
58 778353
59 778351
60 778349
61 778345
65 780189
66 776422
67 776396
69 792170
70 786187
71 788069
71B 788092
76 780090
77 788078A
79 792144
82 778333
63 778338
35 792154
87.. 788089
150 788093A
•157 788088
180 730229A
5ooR
Brake Lever
Screw 1/4-20 x 1-1/4"
Screw 1/4-20 x 2-1/4"
Loc_ut 5/16-24
Brake Pad Holder
spacer
Brake Lever Bracket
Axle (11-15/16" long)
/ode (16-1/2" long)
Spur Gear(29 teeth)
Spur Gear (27 teeth)
SpurGear (23 teeth)
SpurGear (19 teeth)
Spur Gear (16 teeth)
Spur Gear (15 teeth)
Spur Gear (11 teeth)
Spur Gear (13 teeth)
Spur Gear (17 teeth)
Spur Gear (21 teeth)
Spur Gear (24 teeth)
Spur Gear (25 teeth)
Washer
InputShaft
Shifter& Brake Shaft
Retaining Ring
Spacer.890
Square Cut Ring
(_XX_Ring
Washer
• InvertedRetaining Ring
Spdng
Bevel & Spur Gear (30 & 13
teeth)
Spur Gear (27 teeth)
Oil RII Plug
Oil Seal 9/16"
UquUGasketRTV_lk:one
OgSeal 3/4"
Gear Oil 80W90
Replacement206-508B
Transaxle
Partsmustbe ordered fromTecumseh ProductsCo.
NOI'_: AllcomponentdimensionsgiveninU.S. inches
1 inch= 25.4 mm

TRACTOR - - MODEL NUMBER 917.270711
BRIGGS & STRATTON ENGINE-MODEL NUMBER 311707, TYPE NUMBER 0132-E1
11
-k REOUIRF.8 SPECIAL TOOLS
TO INSTALL. SEE REPAIR
][_ISTRUGTION MANUAl_
5O

TRACTOR - - MODEL NUMBER 917.270711
BRIGGS & STRATTON ENGINE-MODE L NUMBER 311707, TYPE NUMBER 0132-E1
51

TRACTOR - - MODEL NUMBER 917.270711
BRIGGS & STRATTON ENGINE-MODEL NUMBER 311707, TYPE NUMBER 0132-E1
. RECWJmESS_CU_
_ _AL
127,
THIS CARBURETOR SERVICES BOTH CHOKE-A-.MATIC AND MANUAL CHOKE SYSTEMS
52

TRACTOR --MODEL NUMBER 917.270711
,. .....
BRIGGS & STRATTON ENGINE-MODEL NUMBER 311707, TYPE NUMBER 0132-E1
878
w
618_ 6@="
614
783
801
729A

TRACTOR - - MODEL NUMBER 917.270711
BRIGGS & STRATTON ENGINE-MODEL NUMBER 311707, TYPE NUMBER 0132-E1
!
304A
481
1005 1lm _-_r-_" I
.54

TRACTOR - - MODEL NUMBER 917.270711
BRIGGS & STRATTON ENGINE-MODEL NUMBER 311707, TYPE NUMBER 0132-E1
w
127(_ 9878 634_ 104_
1170 355 _95 _142_
A 105_
REQUIRESSPECIALTOOLS
87_ 11s _ lr_ 5_9 8r_
355_) 1370 7 51 061A_ I_)
55

TRACTOR - - MODEL NUMBER 917,270711
BRIGGS & STRAT'J'ON ENGINE-MODEL NUMBER 311707, TYPE NUMBER0132-E1
KEY PART
NO. NO.
:1:690156
2 399265
:: 3 391086
4494238
5-. 690188
694927
7 273763
8 4957'35
9"--+27803
10 94621
11 281246
12 271916
271997
13 94728
15 94239
16 690136
20 291675
22 95187
23 69O222
24 222698
25 692271
692272
-_9_273-
692274
26 690162
690164
690166
SSOlSe
27 263129
28 498319
49832O
29 499468
32 95190
33495856
34 49585"7
35 262811
4O 224641
43 40815
45 262411
46 496884
5O -69O193
51 261735
51A 273650
53 s_37
73 494439
75 225136
78 94821
87 491323
93 291346 "
94.498630
95 194098
DESCRIPTION
:c__
Bushing,Cy,nder
" Seal, Oil
Sump.Engine
Head, Cylinder
Washer.Rat
0* Gasket, CylinderHead
Brealher,ASsembly
• Gasket, Breather
Screw,Hex
-rube, Breather
• Gasket, Crankcase(.0156 Thk)
• Gasket, Crankcase_.005_ Thk)
Plug, Oil Drain
Crankshaft
• Seal, Oil
Screw,CrankcaseCover
Rywheel
Key,Rywhe_
Piston,Assembly(Std.)
Piston Assembly(.mOO O.S.)
.....PistonAssembly(.0206 O.S.)
Piston Assembly(.0306 O.S.)
RingSet, PLston(Std.)
RingSet' Piston(.010_ O.S.)
Ping Set; Piston(.0206 O.So)
Ring Set' Piston(.0306 O.S.)
Loc_ Piston Pm
PinAssemb_/,Piston(Std.)
Pin Assembly,Piston (.005_
O:S.)
Rod Assembly,Connecting
(Std.)
RodAssy.;Conneca_(.020
U.S.)
screw,Coen_ Rod
Valve, Exhaust
Valve,Intake
spdng;va_
Reran, Valve
GovJOtlSlinger
Tappe_Valve
Gear, Cam
Manifold,Intake
Gasket, Intake
Gasket, Intake
Stud, Cafo. Mounting
,scree_Rotat_j
washar,_
ScrewTor_
'Seal G0vemorShaft
eushV__hroraaShalt
- rave;_ _r_=_ant
+Scre+w_ch<:_errhrome
KEY
NO.
98
104
105
106
108
108A
110
116
117
121
123
125
127
130
131
133
137
•141
141A
142
146
163
171
186
187
PART
NO. DESCRIPTION
Screw,k_eSpeed
231789 • Pin, Float Hinge
231855 • Valve, Needle
231854 • Seat, Inlet
224558 Valve, Choke (Manual Choke)
224540 Valve,Choke (Choke-A-MatJc)
225137 : Washer,Rat
27o920" Seal.O-R!ng.
_2_118 • j_ MaintStandard)
•232119
sso_91
9516O
690194
224539
493379
494381
281165
495097
495931
188
192
199
2O5
205A
209
216
216A
222
224
227
232
RPMSeitJngs:
232117
94196
281051
281051
493496
298049
94627 _
492160
494768
94903
94073
260695
262766
262766
495611
95163
493935
:262785
Jet'Main(H_hAraude)
Cad_rator Oved_aulKit
Screw,Hex
Carburetor
•Plug, Welch (Soldin KitOnly)
Valve,Throttle
ThrottleShaft Kit
Float,Carburetor
•0. Gasket' FloatBowl
Choke Shaft Kit (Man. Choke)
Choke Shaft Kit (Choke-A-
Malic)
•Nozzle, Carburetor
Key,Timing
• Gasket,Nr Cteaner
Nut
Connector,Hose
Line, Fuel (C_ to Required
Le_)
Scraw Hex
Adjuster,RockerAnn
Valve,Shut_
Screw,Shoider
Screw,Shoulder
,Sp_. Govemor
Un_Choke
Unk, Choke
e_ket, Cor_
Screw,Ton_ He_
Lever,Gbvemor. •
Spdng,Unk _
Low:.1650-1850
H_j__0_0
- Induded In Gasket Set (690163).
•IndudedIn Carburetor Kit (69019!).
0-.-Induded in Carburet_ Gasket _at (690192).
Induded In Valveovertiaul Gasket Set (690190)
§IndudedInl_:Its"-0_.
.. + .
NONE:Aimmponento_k)ns giveninU.S._chas
1 inch= 25,4 rnm
238 262836 Cap, Valve
240:394358 Filter,Furl
265 221535 "Clanlp, Caslng
56

TRACTOR -- MODEL NUMBER 917.270711
BRIGGS & STRATTON ENGINE-MODEL NUMBER 311707, TYPE NUMBER 0132-E1
KEY PART
NO. NO. DESCRIPTION
294 810104 Adjuster,RockerArm
304 225511 Housing,Blower(Red Outer)
:304A 225017 Housing,Blower(Black Inner)
305 94682 Screw,Hex
305A 94822 Screw,Ton("
306 225020 Shield, Cylinder
307 94930 Screw, Hex
309_-497595 Motor,Starter
310 94003 Screw, Hex
311 497608 BrushSet
333 495859 Armature, Magneto
334 94731 Screw,ArmatureMounting
337 491055 Spark Plug
354 940f0 ........ Ndt, Hex
355 281164 -0 Washer
356 494705 Wire, Stop
358 690189 Gasket Set
363 19203 FlywheelPuller
381 94863 Screw, Hex
383 89838 Wrench, SparkPlug
461 94734 Screw, Torx', Hex
467 493903 Nut,Air Cleaner
474 -393zl74- ...... Alternator
482 93621 Screw, Hex
493 224968 Bracket,Mounting(Front)
493A 224969 Bracket,Mounting(Rear)
503 806000 Strap, Starter
510 " 497606 Drive,Starter
523 495230 Dipstick,Oil
525:496113 Tube, Oil Fill
529 281370 ° Seal, Fill Tube
5_ 496894 Filter,NC Element
544 497603 Armature, Starter
552 491986 Bushing,GovernorCrank
562 94907 Bolt,GovernorLever
592 231978 Nut, Hex
592A 92278 Nut, Hex
601 95162 Clamp, Fuel Une
614 93306 Pin, Cotter
615 263080 Ring,Retaining
616 495157 Crank,Governor
634 494453 • Seal, SpdugAssy.(Man.
Choke)
634A .494455 - Seal, Spring Assy.(Choke-A-
Ma_)
635 280872 Bopt,Spark Plug
646 224546 Brace
657 94905 Screw,SlottedHex
663 94929 Screw, Hex
663A 94704 Screw, Hex
668 805402 Spacer
689 262715 Spring,Friction
673 94896 Screw, Hex
718 230192 Dowel,Sleeve
726 399676 Gear, Ring
727- .;_4 " _" Cover, Starter Drive
728 .,_951 Screw, Torx"
729 _8139_ Clip, Wire
KEY PART
NO. NO. DESCRIPTION
729A 225170 Clip, Wire
741 262932 Gear, "ffming
757 213998 Link,Counterweight
758 499994 Counterweight
759 230787 Pin, Counterweight
761 94593 Screw, Hex
783 280104 Gear, Starter
789 497708 Harness, Wiring
801 497626 Cap, Drive
8O2 497607 Cap, End
803 497604 Housing,Starter
830 94555 Stud, RockerArm
847 496415 Dipstick/TubeAssy.
851 224110 Terminal, Cable
868 499236 *e Seal, Valve
871 262835 Bushing,Guide
875 495862 Base, Air Cleaner
. 877 393456 Wire, Allemator
878 393362 Harness,Aitemator
947 497672 Solenoid, Fuel
967 272403 Filter, Pre-Cleaner
968 281759 Cover,Air Cleaner
975 494933 Bowl, Float
977 690192 Gasket Set, Carburetor
987 281166 •Seal, ThrottieShaft
1005 281400 Fan, Flywheel
1006 224413 Retainer, Fan
1019 690180 Label Kit
1022 272475 *e Gasket, RockerCover
1023 225521 Cover, Rocker
1026 494432 Rod, Push (Intake)
1026A 495136 Rod, Push (Exhaust)
1029 224554 Arm, Rocker
1033 690190 Valve Overhaul Kit
1034 495248 Guide, Push Rod
1036 273807 Label Kit;Emission
1044 94673 Screw, Shoulder
1058 . 273686 Owner's Manual
1090 497605 Retainer, Brush
1091 261364 ....Cap, Umiter
RPM Settings: Low:1650 - 1850
High:3200 - 3400
"..Included inGasket Set, Part Number690189
• IncludedinCarburetor Kit, Part Number 690191
0 IncludedinCarburetor Gasket Set, Part
Number 690192
e.IncludedinValve Overhaul Gasket Set, Part
Number 690190
§IncludedinK'_s*,,0g
NOTE: All componentdimensionsgiven in U.S. inches
1 inch = 25.4 mm

SCHEMATIC
TRACTOR -- MODEL NUMBER 917.270711
- llllll
BATTERY
WHITE
BED
i-- T.... !
A'rPMENT CLUTCH "_
(CLUTCHOFF) ]
SEAT SWITCH
(NOT OCCUPIED)
GROUNDING
CONNECTOR
(OPTIONAL) SPARK
IGNITION SWITCH
•L-
! OFF IG+M.,I-_N_ I
IR_.,rrl . +t I A.v I
!Ru-i 8-,.L /,,K_'_.I.
I-_r_rr l.+_+st _I
IGNITION PLUG
GAP e _---< )
' UNIT
I(2 PLUGS ON
_ut i UNE i TWIN CYL ENGINES) | L
c_.G swn_ oun_n "
mVOLTSACMmLe3S00m_t
=_tP DCe _RPM (CHNR_MG SYSllEMOISCONNEC_D)
SOLENOID"l __..__ i _._ -', ..':'_'d_..'T'._'-'_T,._)
s_u_n_es_°un_n_ DIODE IAI.TERNATOR I;
..... (j !_,
l-_ '......... J
" NOTE _4vOL__ urn.• _eoom,M(U_,TS€_"_')
YOUR TRACTOR IS I
EQUIPPED WITH A SPECIAL I _
'ALTERNATOR-SYSTEM. i mow.. _ _ ).
THE LIGHTS ARE NOT " _ _ Tv,"
CONNECTEDTO THE /,_, l i
:BAI"FERY, BUT HAVE THEIR L_
OWN ELECTRICAL SOURCE. _o
BECAUSE OF THIS, THE .... HEADLIGHTS
BRIGHTNESS OF THE UGHTS
WILL CHANGE WITH ENGINE A/-
SPEED. AT IDLE THE UGHTS _7
WILL DIM. AS THE ENGINE IS NON-REMOVABLEV REMOVABLE_J
SPEEDED UP, THE LIGHTS .... " CONNECTIONS CONNECTIONS
WILL BECOME THEIR BRIGHTEST,
WIRING INSULATED CUPS
NOTE: IF WIRING INSULATED CUPS WERE REMOVED FOR
SERVICING OF UNIT,.THEY SHOUU_BE REPLACED TO
PROPERLY SECURE YOUR WIRING.
58

59



62

SUGGE_;TED GUIDE FOR SIGHTING SLOPES FOR SAFE OPERATION
ONLY RIDE UP AND DOWN HILL,
NOT ACROSS HILL .
O_
Co SIGHT AND HOLD THIS LEVEL WITH
SKY LINE OR TREE.
15°MAX.
Operate your Tractor up and down the face of slopes (not I
greater than 15"), never across the face. Make turns gradu- I
ally to prevent tipping or loss of control. Exercise extreme
caution when changing direcUon on slopes.

For the repair or replacement parts you need
delivered-directlyto your home
Call 7 am -7 pm, 7 days a week
1-800-366-PART
(1-800-366-7278)
Para ordenar piezas con entrega a
domicilio - 1-800-659-7084
For in-house major brand repair service
Gall 24 hours a day, 7 days a week
1-800-4-REPAIR
(1-800-473-7274)
Para pedir servicio de reparaci6n a
domicilio -1-800-676-5811
For the location of a Sears Parts and
Repair Center in your area
Call 24 hours a day, 7 days a week
1-_800-4_88-1222
For information on purchasing a Sears
- Maintenance Agreement or to inquire
about an existingAgreement
Call 9 am - 5 pm, Monday-Saturday
•1-800-827-6655
When requesting service or ordering
parts, always provide the following
information:
• Product Type •Part Number
• Model Number *Part Description
mmmmmm
mmmmmm
S£ARS
165434 Rev.2 7.23.98 JH/TR
Amenca'$ Repair Speciatssts
Printed in U.S.A.