Craftsman Professional Brake Bleeder And Automotive Kit One Man Bleeding Vacuum Pressure Pump Over 100 Other S Ow
2015-03-28
: Craftsman Craftsman-Professional-Brake-Bleeder-And-Automotive--Kit-One-Man-Brake-Bleeding-Vacuum-Pressure-Pump-Over-100-Other-s-Ow craftsman-professional-brake-bleeder-and-automotive--kit-one-man-brake-bleeding-vacuum-pressure-pump-over-100-other-s-owners-manual-659764 craftsman pdf
Open the PDF directly: View PDF
.
Page Count: 50

Operator’s Manual
AUTOMOTIVE TEST
& BrAkE BlEEd kIT
Model 14005
CAUTION: Before using this
product, read this manual and
follow all its Safety Rules
and Operating Instructions.
• Safety
• Operation
• Specications
• Vacuum Systems
• Diagnostics
• Parts and Accessories
• Español, p. 25
Sears, Roebuck and Co., Hoffman Estates, IL 60179, U.S.A.
www.craftsman.com

2
contents
Service Parts & Accessories ............................................................3
The Pump ........................................................................4
The Automotive Vacuum System ........................................................5
Diagnosing Mechanical Engine Conditions .................................................7
Positive Crankcase Ventilation System. . . . . . . . . . . . . . . . . . . . . . . . . . . . . . . . . . . . . . . . . . . . . . . . . . . .9
Fuel Pressure Regulator .............................................................10
Turbocharger Wastegate. . . . . . . . . . . . . . . . . . . . . . . . . . . . . . . . . . . . . . . . . . . . . . . . . . . . . . . . . . . . .12
Exhaust Gas Recirculation (EGR) .......................................................13
Spark Delay Valves (SDV) ...........................................................17
Electrical/Vacuum Solenoid ..........................................................18
Thermal-Controlled Vacuum Switching Valves .............................................18
Automatic Fluid Rell Kit ............................................................20
Brake Bleeding ...................................................................21
Spanish Section ...................................................................25
craftsman one year full warranty
If this Craftsman product fails due to a defect in material or workmanship within one year from the date of
purchase, RETURN IT TO ANY SEARS STORE OR OTHER CRAFTSMAN OUTLET IN THE UNITED STATES FOR FREE
REPLACEMENT.
This warranty applies for only 90 days from the date of purchase if this product is ever used for commercial
or rental purposes.
This warranty gives you specic legal rights, and you may also have other rights which vary from state to
state.
Sears, Roebuck and Co., Hoffman Estates, IL 60179

3
service parts & accessories
26
25
11
10
6
32
1
14
18
16
15
19
17
24 7
22
23
22
21 20
2
13
9
8
5
4
12
27
822391 –
Tubing (2 pieces)
MVA6913 – Bleed Adapter Kit MVA6912 – Diagnostic Adapter Kit 824645 –
Reservoir Kit
PUMP SERVICE KITS
823396 – Bottle Adapters
823398 –
Rell Plates
MVA6004 – Vacuum Caps MVA6915 – Replacement Case
Description 801330 MVM8900 MVA6183 801333 801334 801335 801336 824492 824493
1 Handle X
2 Screw X
3 Back Cap X
4 Piston Rod Seal X
5 Dowel Pin X
6 Spring X
7 Piston Assy X
8 Piston Seal X
9 Umbrella Valve X X
10 O-Ring X
11 Seal Plate X
12 Duckbill Valve X
13 O-Ring X
14 Screw X
15 Vac/Press Knob X
16 Lever X
17 Schrader Valve X X
18 E-Clip X
19 O-Ring X
20 Outlet Port X
21 Lever Pin X
22 O-Ring X
23 Vac/Press Valve X
24 Retaining Clip X
25 Gauge X
26 O-Ring X
27 Spring Washer X
824461 – Tube Connectors

4
The vacuum/pressure pump is an extremely ver-
satile service tool that can be used to test a variety
of automotive systems and perform a number of
useful tasks. Though the pump has obvious uses for
testing various vacuum motors, control valves and
vacuum sources, its applications don’t end there.
Almost any part or system that requires proper
sealing, pressure or vacuum to operate can be
tested with the vacuum pump. The pump and its
accessories also transfer fluids, help to bleed brakes
and aid in other tasks. The pump also meets diag-
nostic tool requirements when such tools are speci-
ed for some state vehicle inspection programs.
This section will describe the pump, give specica-
tions, tell how to use the pump and provide some
service tips to help you keep your pump in tip
top-shape.
DESCRIPTION
The hand-held vacuum/pressure pump is simple,
accurate, easy to use, and has many applications.
It consists of a pump body, moveable handle, com-
pound vacuum/pressure gauge, vacuum/pressure
converter switch, and connection tting. The pump
is easily held in your hand, and when the handle is
squeezed, either vacuum or pressure is produced
at the front tting. If the front tting of the pump
is connected to a closed container or system, the
gauge will show the vacuum or pressure level.
Selecting whether to have the pump produce either
vacuum or pressure at the connection tting is as
simple as turning the knob located on the front
left side of the pump. The vacuum/pressure valve
housing is marked with “Pressure” and “Vacuum”.
Rotate the knob such that the arrow aligns with
the desired output. Depending on the position of
the knob, either vacuum or pressure is produced
by squeezing the pump handle. The return of the
handle has no effect on the output.
VACUUM RELEASE
The vacuum or pressure can be released by lifting
up on the Release Lever. This action allows air to
enter the system, thus relieving the vacuum/pres-
sure. Vacuum/pressure will also be released when
the hose is detached from the front tting.
SPECIFICATIONS
Maximum Vacuum Approx. 25” Hg
@ Sea Level: (85 kPa)
Stroke Volume: 1 cu. in. (16cc)
Maximum Pressure: 30 psi (205 kPa)
Gauge Accuracy:
3% between 0% and 25% of span
2% between 25% and 75% of span
3% between 75% and 100% of span
USING THE PUMP
The pump is simple to use. In most cases, it’s at-
tached directly to a component, used in place of a
vacuum line or connected into a vacuum circuit with
a tee connector. The pump can be operated as a test
instrument in two ways:
1) When vacuum or pressure is desired for a test,
the converter switch is turned to the desired output,
and the movable handle of the pump is simply
squeezed with your hand, as in clenching your st.
Continue strokes until desired vacuum or pressure is
indicated on the gauge.
2) The pump can be connected into a vacuum
or pressure circuit and used to measure existing
amounts of vacuum or pressure, just as any gauge
would be used. When used this way, do not pump
the handle, or incorrect readings may result.
PROPER CARE
Your pump is a sturdily built, precision test
instrument. Do handle it carefully! Don’t drop or
handle roughly as the gauge accuracy may be
affected. Never exceed the rated pressure of the
gauge, as this can cause loss of accuracy and
permanent damage. Care for your pump and it will
give you years of trouble-free service.
LUBRICATION
The factory-installed lubricant is silicone oil and
should provide very long service. If you nd it
necessary to lubricate your pump, use silicone oil.
If unavailable, you may use DOT 5 (not DOT 3)
silicone-based brake fluid or a salad vegetable oil.
Do not use petroleum based uids or spray
lubricants (WD-40, motor oil, etc.), as these will
damage the pump.
the pump

5
This manual deals with vacuum and pressure, how
it is used in various automotive systems and how
the vacuum pump can be used to test and diagnose
these systems. This section discusses what vacuum
is, how it is measured, where it comes from on an
automobile, the system for distributing and using
vacuum, and some troubleshooting basics.
WHAT IS VACUUM?
Put simply, vacuum is empty space, and may exist
as either a total or partial vacuum. Vacuum does
not, of itself, create power. Rather, power for
vacuum devices depends on the presence of
atmospheric pressure. The atmosphere exerts a
pressure of 14.7 pounds per square inch (psi) on
everything at sea level. If a portion of the air is
removed from one side of a diaphragm (partial
vacuum), the atmospheric pressure will exert a
force on the diaphragm. The force is equal to the
pressure difference times the diaphragm area
(FIGURE 1). Generally, the less air (greater
vacuum) in a given space, the more the atmosphere
tries to get in and the more force is created.
HOW IS VACUUM MEASURED?
In the United States, vacuum is commonly measured
in inches of Mercury (“ Hg). It may also be
measured in centimeters of Mercury (cm Hg) and
kiloPascals (kPa). Atmospheric pressure will sup-
port a column of Mercury in a manometer gauge
about 30 inches high or about 76 cm high. This is
the barometric pressure in “ Hg which varies as the
weather changes. Vacuum readings in “ Hg are
really negative pressure readings. For example,
30” Hg vacuum would be a complete vacuum. Half
of a complete vacuum would be 15” Hg. A gasoline
engine at idle usually pulls about 16-22” Hg
vacuum. On deceleration, because the throttle is
closed, the vacuum will increase. The pump will pull
about 25” Hg as indicated on its vacuum gauge
which is calibrated in both “ Hg and kPa.
WHY ENGINES CREATE VACUUM
Vacuum is created when air is withdrawn from
a given volume, or a sealed volume is increased.
That is why vacuum is avail able in an engine.
On the intake stroke, the piston moves down, this
creates a partial vacuum because the volume of the
cylinder is increased. Air cannot rush through the
intake system fast enough to totally ll the space
created when the piston moves down (FIGURE 2).
This is the most common automotive vacuum
supply source.
GASOLINE VS. DIESEL VACUUM
Because a diesel engine does not produce as much
vacuum as a gasoline engine, a mechanical vacuum
pump must be employed to operate vacuum
devices. The pump is useful in testing devices
on both types of engines.
the automotive vacuum system
FIGURE 1:
VACUUM VS. ATMOSPHERIC PRESSURE
14.7 - 10.7 = 4 PSI
40 Pounds
14.7 PSI
10.7 PSI
Piston area 10 sq. in.
FIGURE 2: THE ENGINE AS A VACUUM SOURCE
Vacuum
Air
Vacuum Port
Intake Stroke
5

6
VACUUM DISTRIBUTION
All modern automobiles have a vacuum distribution
system (FIGURE 3), consisting of lines, hoses,
ttings and vacuum devices. This system must be
leak proof. If it is not, the engine air/fuel mixture
will be leaned out by the extra air entering the
system through the leaks, thus causing problems
such as burned exhaust valves, uneven idle, stalling,
pre-ignition, burned spark plugs, etc. Additionally,
any vacuum operated device affected by the
vacuum leak will not function properly.
A normal gasoline engine should develop 16-22”
Hg of intake manifold vacuum at idle. This is an
indication that the engine is breathing properly.
If the vacuum is lower, the engine is running less
efciently. The lower the manifold vacuum, the less
efciently the engine is running and the lower the
gas mileage will be.
The vacuum distribution system supplies vacuum
to vacuum motors (servos) in the air conditioning,
power brake booster, speed control servo, emission
controls, manifold absolute pressure (MAP) sensor,
and automatic transmission control sys tems. In older
vehicles, vacuum is also supplied to the distributor
vacuum advance or retard mechanism. These
devices can be connected directly to man ifold
vacuum, or can be controlled through electric
solenoids, thermostatic switches, or other
vacuum controls.
TROUBLESHOOTING THE VACUUM SYSTEM
Most vacuum problems can be traced to leaks, which
occur in hoses, connectors, motor diaphragms or
valves. Pinched lines or clogged valves will also not
allow vacuum ow. Problems can also be traced to
improper mechanical operation of devices driven by
vacuum motors.
The vacuum pump can be used to measure the
amount of vacuum in a hose. The vacuum gauge
feature is very useful for detecting a fluctuating
vacuum supply or a leaky hose. The vacuum pump
feature enables you to check all types of vacuum
operated devices.
On a vacuum motor, for example, the pump is used
to evacuate the diaphragm chamber, which allows
you to check the mechanical operation of the device
as well as the amount of vacuum required to
actuate it. Test for a leaking diaphragm by applying
10” Hg vacuum to the device (FIGURE 4). Observe
the gauge to see if the needle drops after the
actuator stops moving. If the needle continues
to drop, a leaking diaphragm is indicated. If the
diaphragm is okay, the vacuum should hold for
one minute with the needle steady.
the automotive vacuum system
FIGURE 3: TYPICAL VACUUM DISTRIBUTION SYSTEM
To Intake Manifold
To A/C
Heater
PRNDL Switch
Brake
Release Motor
Distributor
Advance
Power Brake
Booster
Intake Air Motor
To Speed
Control
Auto
Trans
VACUUM DISTRIBUTION BLOCK

the automotive vacuum system
DiaGnosinG mechanical enGine conDitions
FIGURE 4: TYPICAL CARBURETOR VACUUM SUPPLY POINTS
Carburetor or Throttle Body
EGR Vacuum
• Zero at closed throttle
• Still zero when “S” vacuum is on
• Equal to manifold at greater
throttle opening
Venturi Vacuum
• Weak or zero at cruise or idle
• Strong at wide open throttle
Position when “S” and “E”
vacuum are “on”
Throttle plate (closed position)
Manifold Vacuum
• Available with engine running
• Strongest at closed throttle
• Gradually weakens as throttle opens
• But stays strong if the choke is closed
Spark Port Vacuum
• No vacuum at
closed throttle
• Equal to manifold vacuum off idle
• Originally used to control “spark” vacuum
to distributor advance diaphragm
VACUUM GAUGE CHECKS & DIAGNOSIS
The pump’s vacuum gauge readings give indications
of possible mechanical problems, but they are not
foolproof. Observe the gauge carefully and follow
the vacuum readings with further tests, where
possible, to conrm your diagnosis.
Do not look for the engine to produce specic
(numerical) amounts of vacuum. Much more
important than specic numbers, are the range
of the vacuum readings and the movement of the
needle (FIGURE 5). Important things to notice about
the needle movement are HOW the needle moves
(in a smooth or jerky manner, erratic, etc.), what
direction it moves, whether movement is regular or
varying, and how far the needle moves.
The following gives some examples of what to
look for and the meanings of a variety of vacuum
gauge readings.
NORMAL ENGINE
Run engine at idle and connect the pump to an
intake manifold vacuum port. Watch the needle’s
movement on the gauge. At idle, the vacuum gauge
reading should be 16-22” Hg and steady.
BURNED OR LEAKING VALVE
At idle, burned or leaking valves will cause the
pointer on the gauge to drop to a low reading and
return to normal at a regular interval. The needle
will drop from 1 to 7” Hg at regular intervals
whenever the defective valve attempts to close.
STICKING VALVE
A sticking valve will exhibit a rapid, intermittent
drop from the normal pointer indication. This is
unlike the regular drop that characterizes a
burned or leaking valve.
A sticking valve condition may be pin-pointed by
directly applying lightweight oil to each valve guide.
When the sticking valve is reached, the situation will
be temporarily remedied.
WEAK OR BROKEN VALVE SPRING
Weak valve springs are indicated when the pointer
of the vacuum pump gauge fluctuates rapidly
between 10” and 21” Hg at idle. The uctuations
will increase with engine speed. A broken valve
spring will cause the needle to fluctuate rapidly
at a regular interval. Again, this will occur every
time the valve attempts to close.
WORN VALVE GUIDES
Worn valve guides admit air which upsets the air/
fuel mixture. The vacuum gauge reading will
be lower than normal and will fluctuate rapidly
in a range of about 3” Hg. As the speed of the
engine is increased, the needle will steady.
7

8
LEAKING PISTON RING
Vacuum at idle will be low but steady at about 12 to
16” Hg. Open the throttle and allow the engine to
pick up speed to about 2000 RPM, and then close
the throttle quick ly. The pointer should jump 2 to 5”
Hg above its low steady reading. A lesser gain may
indicate faulty rings, and a com plete cylinder
leakage or compression test should be done.
BLOWN CYLINDER HEAD GASKET
At idle, the vacuum pump gauge pointer will
fluctuate between normal and a low reading.
The needle will drop sharply about 10” Hg from
a normal reading and return each time the defective
cylinder or cylinders reach ring position.
EXHAUST RESTRICTION TEST
An exhaust restriction will cause normal or near nor-
mal performance at engine idle, but cause very poor
engine performance under load or at higher speeds.
1) Connect the pump hose to an intake manifold
vacuum tting. Operate the engine at idle and
note the vacuum reading and needle movement.
Compare readings and movements against
descrip tions listed for burned valves and late
ignition or valve timing.
2) Watch the vacuum gauge as engine speed is
increased to approximately 2500 RPM.
3) An increase in vacuum over that obtained at idle
indicates an exhaust system that is free of restrictions.
4) If the needle drops toward zero as engine RPM
is increased, either an exhaust restriction or an
over-active Exhaust Gas Recirculation (EGR) valve
is causing the problem.
5) Test the EGR valve separately. If it is found to
be in good condition, the problem is a restricted
exhaust. Check and replace if necessary.
INCORRECT IDLE AIR/FUEL MIXTURE
If the gauge needle drifts slow ly back and forth at
idle, over a range of 4 to 5” Hg, the fuel mixture is
too rich. A lean mixture will cause an irregular drop
of the needle over about the same range.
INTAKE MANIFOLD OR AIR INDUCTION
LEAKS
If there are any air leaks in the air induction
system, the gauge needle will be about 3 to 9” Hg
below normal, but will remain steady.
LATE IGNITION OR VALVE TIMING
An extremely low but steady reading at idle
indicates late ignition or valve timing, or a
uniformly close setting of the valve lash.
Perform separate tests to determine which
of these problems, if any, have affected
the engine.
DiaGnosinG mechanical enGine conDitions
FIGURE 5: VACUUM GAUGE READINGS
With motor at idle speed,
vacuum pointer should hold
steady between 16 and 22.
With motor at idle speed,
dropping back of vacuum
pointer indicates sticky
valves.
With motor at idle speed,
floating motion right and
left of vacuum pointer
indicates carburetor too rich
or too lean.
With motor at idle speed, low
reading of vacuum pointer
indicates late ignition timing
or intake manifold air leak.

SYSTEM OPERATION
The Positive Crankcase Ventilation (PCV) system is
used on all modern engines to reduce air pollution
by providing a more complete scavenging of crank-
case vapors. Air is drawn through a lter
located in the air cleaner, through a hose in the
valve cover, into the crankcase, across and up into
the rear of the intake manifold or opposite valve
cover, through the PCV valve, through a hose, into
the intake manifold. Intake manifold vacuum draws
in all vapors from the crankcase to be burned in
the engine
When air flow through the carburetor or throttle
body is high, added air from the PCV system has
no effect on engine operation. However, at idle, air
flow through the carburetor or throttle body is so
low that any large amount added by the ventilation
system would upset the air/fuel mixture, causing a
rough idle. For this reason, the PCV valve restricts
the ventilation system flow when intake manifold
vacuum is high.
SERVICE PROCEDURES
After a period of operation, the PCV valve may
become clogged and reduce the amount of crank-
case ventilation. The PCV valve should be
replaced periodically to prevent the formation of
acids in the crankcase, and the build up of excessive
crankcase pressure, which could force engine oil out
past the seals. Use the following procedure to check
the PCV system using your pump:
1) Inspect the system for kinked, plugged or
deteriorated hoses. Check to be sure all hoses
are connected properly. Repair as necessary.
2) Connect your pump to an intake manifold port
and check the vacuum reading of the warmed and
idling engine.
3) Clamp off the vacuum hose to the PCV valve.
The engine speed should decrease 100 RPM to
indicate the loss of the calibrated air leak into
the intake manifold. The vacuum gauge reading
should increase slightly, indicating that the vacu um
leak has been plugged. If this does not happen,
replace the PCV valve and/or replace any damaged,
plugged or loose hoses.
4) If the engine is idling too slow or is rough, this
may be caused by a clogged PCV valve or hose.
Do not adjust the idle speed without rst checking
the PCV system.
5) After installing a new PCV valve, always adjust
the idle speed, and if possible, the idle air mixture.
The installation of the wrong valve may cause too
much vapor to flow through the system if the
calibrated bleed is too large. This will lean out the
air/fuel mixture excessively. If the opening is too
small, the plugging effect will be nullied, emissions
will increase, acids will form and oil leaks may
develop. Be sure you get the correct PCV valve
for your car.
positive cranKcase ventilation system
9

10
fuel pressure reGulator
SYSTEM OPERATION
Fuel pressure regulators are used to maintain
fuel pressure at a steady level, consistent with the
requirements of the engine. Automotive manufac-
turers employ different methods for controlling
fuel pressure. Most utilize a mechanical spring and
diaphragm style pressure regulator such as the one
shown in gure 6. Mechanical regulators most often
utilize engine vacuum and/or pressure to vary fuel
pressure in response to immediate engine require-
ments. A vacuum or vacuum/pressure pump with
appropriate gauge is required to properly diagnose
these types of regulators.
Vacuum/pressure controlled fuel pressure regula-
tors are commonly mounted on or immediately
after the fuel rail, and inline with the flow of fuel.
When the fuel pump is not operating, the spring
causes the diaphragm to close so that no fuel can
pass. Once the fuel pump is activated, the pressure
it produces begins to overcome the spring force
and the diaphragm opens to allow fuel to flow. The
spring and diaphragm maintain a constant pressure
on the flow of fuel. This creates back-pressure in the
fuel system, which is commonly referred to as “fuel
pressure”. The job of the fuel pressure regulator is
to maintain the “fuel pressure” at a level specied
by the vehicle manufacturer.
A vacuum/pressure-modulated fuel pressure regu-
lator is connected to the intake manifold by a small
hose. Vacuum from the manifold assists the spring
in opening the diaphragm. When a load is placed
on the powertrain, engine vacuum drops. This drop
in vacuum causes the diaphragm to increase the
resistance to fuel flow. The additional resistance
increases the fuel pressure to the injectors to com-
pensate for the higher fuel demand of the engine.
On forced-air induction systems (turbochargers/
superchargers), the boost pressure created in the
manifold functions the opposite of the vacuum pro-
duced in normally aspirated systems. Under boost
conditions, the pressure in the manifold causes the
regulator to increase fuel pressure, resulting in a
richer fuel mixture.
SERVICE PROCEDURES
Visual Inspection
1) Consult the vehicle’s service manual to determine
if the pressure regulator is vacuum/pressure modu-
lated, and to identify its location.
2) Inspect the exterior of the pressure regulator for
fuel leaks, and the vacuum hose for visible damage
or cracks. Replace if necessary.
3) Disconnect the vacuum hose from the fuel pres-
sure regulator.
4) Check inside the hose for liquid fuel. If present,
replace the regulator. If not present, reconnect the
vacuum hose.
Diagnostics
5) Install a fuel pressure tester.
6) Start the engine and allow it to idle.
7) Disconnect the vacuum line from the fuel pres-
sure regulator.
8) Fuel pressure should increase 8 to 12 psi when
the line is disconnected. No change would indicate a
faulty regulator, or leaky or plugged vacuum line.
9) Connect the vacuum pump to the vacuum hose
extending from the manifold.
FIGURE 6:
PRESSURE
REGULATOR
Vacuum/Pressure
Connection
Spring
Diaphragm
Fuel In
Fuel Out

10) The pump gauge should indicate 16-22” Hg.
Consult the vehicle’s service manual for a more
accurate specication. No reading or a low reading
would indicate a leaky or plugged vacuum line, or
more serious engine problem.
11) Disconnect the vacuum pump from the vacuum
line, and plug the line temporarily. Connect the
pump to the vacuum port on the regulator.
12) Use the pump to apply vacuum to the regula-
tor while watching the gauge on the fuel pressure
tester.
13) Fuel pressure should increase one pound for
every two inches of Hg vacuum applied to the regu-
lator. If not, replace the fuel pressure regulator.
Turbochargers and Superchargers
14) For forced-air induction systems (turbochargers
and superchargers) switch the pump from “Vacuum”
to “Pressure” without disconnecting it from the
regulator.
15) Use the pump to apply pressure to the regula-
tor while watching the gauge on the fuel pressure
tester.
16) Fuel pressure should increase one pound for
every one pound of pressure applied to the regula-
tor. If not, replace the fuel pressure regulator.
fuel pressure reGulator
11

12
SYSTEM OPERATION
The turbocharger wastegate (exhaust bypass valve)
limits the amount of boost (intake manifold pres-
sure) created by the turbo. When intake manifold
pressure becomes too high, the wastegate opens
to allow some exhaust to bypass the turbo. This
reduces the turbo boost.
Most turbo wastegate actuators operate using a
mechanical spring and diaphragm design. Under
normal operating conditions, the spring holds the
wastegate valve closed, and all exhaust is directed
to the turbocharger. A small tube connects the
wastegate actuator to the intake manifold or turbo
air outlet. When boost pressure becomes too high, it
pushes against the diaphragm until it overcomes the
spring force, causing the wastegate to open.
Testing the function of the wastegate and wastegate
actuator involves attaching the hand pump to wa-
stegate and applying pressure.
SERVICE PROCEDURES
Follow the procedures below to diagnose a turbo- or
super-charger wastegate and actuator:
Cold Test for Visual Movement
1) Locate the wastegate actuator, and inspect it for
damage. Check the pressure hose for visible leaks
or cracks. Replace if necessary.
2) Disconnect the pressure hose from the wastegate
actuator and connect the hand pump in its place.
3) Use the pump to apply pressure according to the
manufacturer’s specication.
4) Watch for the control rod to move and then hold
its position.
5) If the rod doesn’t move or hold its position, or if
the pressure leaks down as indicated by the gauge
on the hand pump, replace or repair the wastegate
actuator.
6) If no leak is found, disconnect the actuator rod
and move the wastegate flapper lever to determine
if it is stuck or seized.
7) If it does not move freely, the wastegate should
be replaced or repaired.
Idle Test
8) Start with the exhaust system cold.
9) Disconnect the pressure hose from the wastegate
actuator and connect the hand pump in its place.
10) Start the engine and allow it to idle.
11) After a short time, the exhaust inlet to the wa-
stegate should warm up, but the bypass line out of
the wastegate should remain cool.
12) If the bypass line heats up at this point, exhaust
is leaking past the wastegate, and the wastegate
should be replaced or repaired.
13) Use the pump to apply pressure to open the
wastegate according to the manufacturer’s specica-
tion.
14) Feel the bypass line. It should begin to warm up
as the wastegate opens.
15) If not, the wastegate is stuck closed and should
be replaced or repaired.
16) Once testing is complete, bleed the pressure
from the pump and watch for the wastegate to
close.
Bench Testing
A hand pump should be used to bench testing the
turbocharger wastegate, and adjusting the control
arm after replacement or repair. Follow the manu-
facturer’s procedures for performing these precision
tests and adjustments.
turbocharGer wasteGate
FIGURE 7: TURBOCHARGER
Pressure
Connection Wastegate Actuator

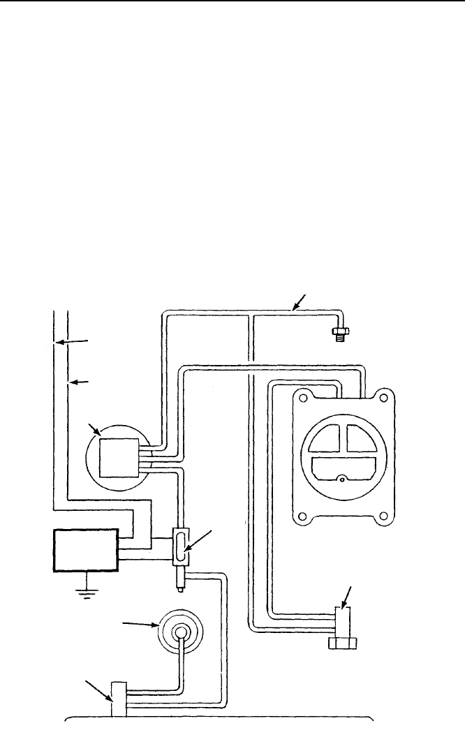
An Exhaust Gas Recirculation (EGR) sys tem is used
on most modern engines to reduce Oxides of
Nitrogen (NOx) emis sions. During the combustion
process, nitrogen, which makes up 80 percent of
the air, will mix with oxygen at tempera tures
above 2,500°F. During the combustion process,
temperatures in the cylinders go well above
3,500°F providing the ideal conditions for the
formation of NOx.
SYSTEM OPERATION
To reduce the formation of NOx, it is necessary to
lower the combustion temperature. This is most
often done by introducing exhaust gases back into
the combustion chamber through the use of an
EGR valve. The EGR valve (FIGURE 8) may be
operated by ported vacuum from above the
throttle plates, or by a sophisticated control
system that modu lates the amount of EGR
depending on the temperature of the coolant,
ambient air temperature, engine speed or load.
An EGR valve that does not have a sophisticated
control system must be fully closed with a vacuum
of less than 2” Hg and begin to open with 2 to 8.5”
Hg of vacu um. At idle and wide-open throttle, the
ported vacuum supply is low and the valve should
be closed.
Some cars have a Back-Pressure Transducer Valve
(BPV) to modulate the operation of the EGR system.
Some cars have a Venturi Vacuum Amplier (VVA)
to do the same job. The effect is to modulate the
amount of EGR according to the load on the engine.
To improve cold drivability, most cars are equipped
with some type of vacuum control device to shut off
EGR while the engine is cold.
EGR systems fail in two ways. Either the valve may
fail due to a fault of its own, such as a ruptured
diaphragm, or due to a loss of control vacuum.
Always check whether there is vacuum at the hose
connected to the EGR valve, before replacing the
valve. Connect the pump to the vacuum supply hose
at the EGR valve and check whether at 2000 RPM
there is at least 4 to 5” Hg vacuum avail able.
Remember also that clogged exhaust passages that
lead to or from the valve can restrict the flow even
if the valve is opening.
An EGR valve that remains open will cause the
engine to idle roughly, die at idle, and lose power
and full-throttle smoothness. Dirt or damage in the
valve seat area usually cause the valve to fail. An
EGR valve can operate nor mally with the engine
warm but remain open when the engine is cold.
That condi tion could be caused by a faulty thermal
switching device that does not cut off the vacuum
supply when the engine is cold.
eXhaust Gas recirculation (eGr)
FIGURE 8: EGR VALVE OPERATION
To Vacuum Source To Vacuum Source
Vacuum Signal Applied
Valve open, exhaust admitted to intake manifold
No Vacuum Signal
Valve closed, exhaust blocked

14
EGR SERVICE PROCEDURES/GENERAL TEST
EXCEPT GM OR BACKPRESSURE
CONTROLLED TYPE
If the symptoms of an engine lead you to believe
that an EGR valve is staying open, follow this
procedure:
1) Connect a tachometer to the engine and run
the engine at idle speed until it reaches normal
operating temperature. Use the pump to check for
at least 10” Hg vacuum at the valve. Replace the
hose and note the engine RPM.
2) Remove the vacuum hose from the valve and
notice whether engine RPM increases.
3) If engine speed does increase, there may be
some type of problem in the vacu um control
circuit. Check the routing of all vacuum hoses.
4) If engine speed or the quality of idle changes,
remove the valve and check the pintle and valve
seat to make sure both are clean. If they are not,
replace the valve, gasket and adapter if it is burned,
warped or damaged.
If the engine symptoms lead you to believe that
the EGR valve is staying closed, follow the
procedure below:
1) Operate the engine at idle until it reaches full
operating temperature. Use the pump to check for
the presence of 10” Hg vacuum at the valve. Set the
engine speed at approxi mately 2000 RPM. Plug the
vacuum supply hose. Connect the vacuum pump to
the EGR valve and apply 10 to 15” Hg vacuum.
2) The diaphragm should move to the open position
and a decrease in engine RPM should be noted. If
not, the valve is defective or the manifold passages
are plugged. Release the vacuum on the EGR valve.
3) The diaphragm should move to the closed
position and an increase in engine RPM should be
noted. Return the engine to idle and turn it off.
4) Connect the pump to the EGR valve and test by
applying at least 9” Hg of vacuum to the diaphragm
and watch the gauge careful ly for any vacuum loss.
5) If the valve diaphragm does not move, or cannot
hold vacuum, replace the EGR valve.
GM EGR VALVES
General Motors produces three types of EGR valves.
Each valve can be identied by the design of its
diaphragm plate (FIG URE 9). The rst valve is a
ported vacu um EGR that has only a circular rib on
the back of its diaphragm plate. The second is a
positive backpressure valve with X- shaped ribs that
are raised only slightly above the plate. Finally,
there is a negative back-pressure valve with
X-shaped ribs raised well above the diaphragm
plate. Both the ported vacuum and negative
back-pressure valves are tested the same way.
A separate test is listed to check the positive
back-pressure valve.
GM PORTED VACUUM AND NEGATIVE
BACK-PRESSURE EGR TEST
1) Make sure all vacuum hoses are routed
according to the emission control label.
2) Check the vacuum connection to the EGR valve
for obstructions.
eXhaust Gas recirculation (eGr)
FIGURE 9: GM EGR DIAPHRAGMS
Ported Vacuum Positive Backpressure Negative Backpressure

15
3) Connect the pump between the EGR valve and
the carburetor or vacuum source. Start the engine
and run it at idle until it reaches operating
temperature (195°F approx.). Check for vacuum
at 3000 RPM; it should be 5” Hg minimum.
4) If no vacuum is available in step 3, check for it
between the EGR thermal vacuum switch (TVS) and
the carburetor. If the vac uum is available there,
replace the TVS.
5) If the vacuum supply between the EGR and the
carburetor is adequate, connect the pump to the
EGR valve inlet. Depress the valve diaphragm and
apply approximately 10” Hg vacuum to the EGR.
Release the diaphragm and record the time it takes
for the diaphragm to return to its seated position.
6) If it takes less than 20 seconds for the valve to
seat, replace the valve.
GM POSITIVE BACKPRESSURE EGR TEST
1) Follow steps 1 through 4 of the ported vacuum
and negative back-pressure EGR test.
2) Remove the EGR valve from the engine.
Connect the pump to the EGR vacuum inlet and
apply 10” Hg of vacuum. The valve should not
open. If it does, replace the valve.
3) Continue the test by keeping the vacu um applied
and shooting a low-pressure stream of air into the
valve’s exhaust inlet. The valve should now open.
If it does not, replace the valve.
FIGURE 10: CHRYSLER VENTURI VACUUM-CONTROL EGR SYSTEM
To Starter Relay
Manifold Vacuum
To Ignition
Vacuum Amplier
EGR Delay
Solenoid
EGR Valve
EGR Delay
Timer
CCEGR Temperature Valve
Coolant Control Engine Vacuum Switch
eXhaust Gas recirculation (eGr)
15

16
EGR VENTURI VACUUM AMPLIFIER
Some engines utilize a Venturi Vacuum Amplier
that uses the weak vacuum sig nal from the throat of
the carburetor to allow the passage of the stronger
intake manifold vacuum to operate the EGR valve.
On most applications the amplier provides a 2” Hg
boost to the Venturi sig nal (FIGURE 10).
SERVICE PROCEDURES
1) Start the engine, and run it at idle until it reaches
normal operating temperature.
2) Make sure the intake manifold hose to the
amplier is properly connected. On those systems
with a reservoir, remove the hose from the reser-
voir and use a tee connector to join the hose to the
intake manifold vacuum hose.
3) With separate lengths of hose and dif ferent
connectors, bypass any and all vac uum valves or
coolant controlled valves between the amplier
and the EGR valve.
4) Use a tee connector to attach the pump into the
vacuum line between the amplier and EGR valve.
5) Increase engine speed to 1500 to 2000 RPM
and release the throttle. Let the engine return to
idle speed and remove the vacuum hose at the
carburetor venturi. The vacuum reading should be
within ± 0.3” Hg of the specied boost for that
amplier if other than zero boost is specied.
Zero boost may read from 0 to .5” Hg. Replace
amplier if it is out of specication.
6) Increase engine speed. Watching the vacuum
gauge, release the accelerator after a speed of
1500 to 2000 RPM is reached. If the vac uum gauge
reading shows an increase greater than 1” Hg
during acceleration period, the amplier should
be replaced.
7) Remove the pump from the output vac uum
line and reconnect the hoses, but still bypass other
valves. Connect the pump and apply 2 to 4” Hg of
vacuum to port on the amplier which is normally
connected to intake manifold vacuum. The EGR
valve should operate and engine idle should drop or
become erratic. If the EGR valve fails to move,
replace the amplier.
BACK-PRESSURE TRANSDUCER VALVE
(BPV) OPERATION
The Back-pressure Transducer Valve (BPV) controls
the amount of EGR accord ing to the load on the
engine. An exhaust pressure probe extends into
the exhaust crossover passageway to sample the
exhaust gas pressure. During light engine loads,
the pressure in the exhaust pas sageway is relatively
low, while during wide-open throttle operation
(WOT), the pressure is highest. This pressure signal
is transmitted to a diaphragm in the BPV and is used
to control the amount of vacu um applied to the EGR
valve (FIGURE 11).
SERVICE PROCEDURES
1) Remove the air cleaner and plug the intake
manifold tting. Start the engine and bring it to
normal operating tempera ture. Position the fast-idle
cam follower on the second step of the fast-idle cam
(to obtain about 1500 RPM), and then note engine
speed on a tachometer. Use the pump to check the
source vacuum at an intake manifold port (FIGURE
12). Note this reading.
2) Tee your pump into the vacuum pas sageway to
the BPV and the reading should be 1 to 2” Hg of
vacuum. Replace the BPV if it is not within specica-
tions.
3) Leave the vacuum gauge at this location, remove
the hose to the EGR valve, and plug the hose open-
ing. Read the vacuum pump gauge, which should be
the same as the intake manifold vacuum reading. If
it is not within 2” Hg of the source vacuum, replace
the BPV valve.
eXhaust Gas recirculation (eGr)
FIGURE 11:
EXHAUST BACKPRESSURE TRANSDUCER VALVE
To Distributor
Spark–
EGR Thermal
Vacuum Valve
Exposed to Exhaust Gas Pressure
To EGR
Valve

OPERATION
Spark Delay Valves (SDV) are used to delay vacuum
to the distributor vacuum advance actuator during
hard accelera tion, to delay the action of the
Thermactor Air Induction Reaction (AIR) system
during prolonged engine idling, and to delay the
application of vacuum to the automatic choke
pulldown diaphragm during cold engine operation.
A sintered metal valve is installed in the vacuum
advance (outer) diaphragm of the distributor con-
trol unit on some engines. The purpose of the valve
is to delay the spark advance during rapid accelera-
tion to minimize the formation of NOx. The sin tered
metal is porous and allows vacuum to bleed through
the valve acting like an orice of about 0.002” in
diameter. Control is obtained by varying the num-
ber of discs in each valve assembly so that the time
delay features can be tailored to the engine
(FIGURE 13).
SERVICE PROCEDURES
The time delay of the valve varies with engine
application. The different valves may be identied
by color and part number. Spark delay valves can-
not be repaired and must be replaced every 12,000
miles because the pores of the sintered metal ll
with dust, which can slow the performance of the
valve. NOTE: The spark delay valve is a one-way unit
that must be installed with the Black side facing the
car buretor vacuum port.
To determine if a spark delay valve is operating
correctly, the following service procedure should
be used:
1) With the transmission in neutral, set the carburetor
to the fast-idle position, remove the spark-delay valve
and tee your vacu um pump into the hose leading to
the car buretor spark port.
2) Record the vacuum reading, which should be
between 10 to 16” Hg.
3) Pinch off the vacuum hose and observe if the
gauge maintains the vacuum level. If the gauge
shows that the vacuum drops with the hose pinched
off, the gauge or vacuum hose has an external
leak, which must be corrected.
4) Now, connect the black side of the spark-delay
valve to the vacuum hose leading to the carburetor
spark port. Connect a section of vacuum hose to
your vacuum pump and attach the other end to the
distributor end of the spark delay valve. Observe
the time in seconds for the gauge to reach 6” Hg,
with a 10 to 16” Hg vacuum source. If the vacuum
reaches the 6” Hg level in less than two seconds,
regardless of type, the SDV should be replaced.
When checking the valve, care must be taken to
prevent oil or dirt from getting into the valve as
this will impair its function.
Attach the Pump Here
Transducer
Exhaust Gas Inlet
ERG
Valve
FIGURE 13: TYPICAL SPARK DELAY VALVE
Spark
Delay
Valve
FIGURE 12: TEST THE VACUUM SOURCE FOR
THE BPV WITH YOUR PUMP
sparK Delay valves (sDv)
17

18
SERVICE PROCEDURES
These control valves are called Ported Vacuum
Switches (PVS) when used on Ford engines. Thermal
Ignition Control (TIC) valves when used on Chrysler
prod ucts, and Distributor Thermal Vacuum-Switches
(DTVS) when used on General Motors engines.
The two-port valve is used to stop EGR while the
engine is cold. This type of thermal switch is needed
to provide good drivability by limiting the entrance
of EGR until the engine is warmed up.
The three-port valve is commonly called a cooling
system PVS because it switches the vacuum source to
the distributor from ported to full intake vacuum.
The four-port valve has been used in some Ford
engines to bypass the spark delay valve and cut
out the EGR system when the engine is cold.
SERVICE PROCEDURES
Follow this procedure to test the two-port
vacuum-switching valve:
1) Apply 10” Hg of vacuum to the bottom port of
the valve with your vacuum pump and measure the
results with a second vacuum gauge as shown in the
accompanying illustration (FIGURE 15).
2) The valves are color-coded and the green valve
should open and pass vacu um at 68°F, the black
valve at 100°F.
thermal-controlleD vacuum-switchinG valves
SERVICE PROCEDURES
1) Disconnect vacuum and electrical con nectors from
the solenoid. Connect the pump to port “B” and
attempt to apply vac uum with pump. Vacuum
should be released through port “A” (FIGURE 14).
2) Using jumper wires, connect negative solenoid
terminal to ground and apply 12 volts to the
positive terminal. Apply vacu um to port “B”.
Vacuum should hold and not bleed off. If the
solenoid does not hold vacuum, replace solenoid.
3) With solenoid still energized, move vac uum
pump to port “A”. Attempt to apply vacuum.
Vacuum should be released through the air lter
and no vacuum should be present at port “B”.
electrical /vacuum solenoiD
FIGURE 14: TYPICAL VACUUM SOLENOID
Air Filter
Port “A”
Positive Terminal
Port “B”
FIGURE 15: TESTING THE TWO-PORT PVS
1) Remove both hoses
from valve
Color code
2) Connect a vacuum gauge
to one port and a remote
vacuum supply to the other
4) Operate the engine
until the coolant warms
above the valve setting (see table)
3) Apply 10 inches
vacuum to the valve
5) See if there is a
vacuum reading on
this gauge
RESULTS:
No Vacuum Replace the PVS valve
Vacuum PVS valve is open
Vacuum when Replace the
coolant is cold PVS valve
Color Coolant Above
Code Temperature
Green 68°F
Black 100°F
Plain or Blue 133°F

1) Apply 10” vacuum
(cold engine)
4) When engine is
warm (coolant
above 125°F)
2) Gauge will read 10”
3) Gauge will
read zero
2) Apply 10” vacuum
When engine is cold,
vacuum reading
should be zero
1) Warm engine
(above 125°F)
3) Gauge must read
source vacuum
RESULTS:
Vacuum when warm Lower valve okay
No vacuum when warm Replace PVS
Vacuum Gauge
4-PORT PVS TEST
UPPER VALVE FLOW
LOWER VALVE FLOW
RESULTS:
No vacuum when warm Upper valve okay
Vacuum when warm Replace PVS
thermal-controlleD vacuum-switchinG valves
3) If full vacuum ows through the valve when
heated, it is okay. If there is no vacuum flow or
there is vacuum flow when the coolant is cold,
replace the valve.
Follow this procedure to test the three-port
vacuum-switching valve:
1) Apply 10” Hg of vacuum with your vac uum
pump to the middle port of the valve with a vacuum
gauge at each of the other two ports.
2) Refer to the same color-coded valves and same
temperature specications as for the two-port valve
above. If the vacu um switches at the specied
temperature, the valve is okay. If there is no
vacuum to the lower port above the specied
temper ature, replace the valve.
The four-port valve must be tested two times, once
at the top two ports and once at the bottom two
ports as shown in the accompanying illustration
(FIGURE 16).
1) Apply 10” Hg of vacuum with your vac uum
pump to one of the top two ports. The valve should
hold vacuum when above the specied operating
temperature.
2) If ow occurs when the valve is warm, replace it.
3) For the lower two ports, vacuum must pass
through the valve only when the engine is warm;
otherwise, replace the valve.
FIGURE 16: TESTING THE FOUR-PORT PVS
19

20
automatic fluiD refill Kit
Included in the pump kit are components designed
to automatically maintain a constant level of new
fluid in the master cylinder or hydraulic clutch
reservoir while vacuum bleeding. The components
include two cap adapters that t most pint and
quart brake uid bottles (1-1/4” side mouth), and
three master cylinder/reservoir rell plates.
SERVICE PROCEDURES
1) Evacuate as much old uid as possible from the
master cylinder or clutch reservoir.
2) Replace the lid on a pint or quart size bottle of
new brake fluid with the appropriate cap adapter.
3) Select the appropriate rell plate and place it on
top of the master cylinder or clutch reservoir.
4) Invert the bottle of uid with the feeder adapter
attached, and insert the feeder adapter into the
hole in the master cylinder plate. Push down on the
bottle until the feeder adapter snaps into the rell
plate.
5) Bleed the hydraulic brake or clutch system.
NOTE: Take care when inserting and removing the
brake fluid bottle to avoid spillage.
FIGURE 17: AUTOMATIC FLUID REFILL KIT

Many brake systems today feature Anti-Lock
functions and electronic controls. Many of these
systems use a high pres sure electric pump to keep
the system pressurized. When bleeding or servicing,
these systems require special procedures and
cautions.
• ALWAYS observe the following precautions when
servicing Anti-Lock brake system:
• ALWAYS wear safety goggles when servicing high
pressure brake systems.
• ALWAYS depressurize the ABS system prior to add-
ing fluid or attempting service or repair.
• Unless instructed to by the manufactur er’s
procedure, NEVER open a bleeder valve or
loosen a hydraulic line while the ABS system
is pressurized.
• ONLY use recommended brake uids. DO NOT use
silicone brake fluid in ABS equipped vehicles.
• Always refer to an appropriate repair manual for
additional information on Anti-Lock brake systems.
DEPRESSURIZING ANTI-LOCK
BRAKE SYSTEMS
Always refer to the vehicle owner’s manual or
appropriate service manual for additional
information on depressurizing procedure.
The procedure will work on most Anti-Lock brake
systems. Ensure ignition switch is in the OFF
position or disconnect the negative battery cable.
Pump the brake pedal 25 to 40 times. A noticeable
change is felt. Continue to pump the pedal a few
additional times. This should eliminate most system
pressure. Open fluid reservoir or brake lines
carefully. Top off reservoir fluid and reconnect
battery cable when nished.
BLEEDING ANTI-LOCK BRAKE SYSTEMS
Always refer to the vehicle owner’s manual or
appropriate service manual for manu facturer’s
brake bleeding procedure. The front brakes on
most Anti-Lock brake sys tems may be bled in the
conventional manner. Most hydraulic pump/pressure
accumulator units are tted with a bleeder valve
which must be bled when the system has lost fluid or
is being replaced. Some vehicles require that the sys-
tem be pres surized when the rear brakes are bled.
Some automotive manufacturers use bleeding
procedures which require specialized equipment.
BRAKE LINE BLEEDING
Most low and soft pedal problems are caused by air
in the hydraulic lines, which requires bleeding of
the hydraulic system. By using the pump with brake
bleeding accessories, the system can be bled easi ly.
Follow a wheel-to-wheel sequence beginning with the
wheel closest to the master cylinder.
The kit provides a simple, clean, and quick method
for bleeding the fluid lines in the automotive brake
system. The creation of a vacuum in the reservoir
jar causes fluid to be drawn into the reservoir jar.
It should be noted that a tiny stream of bubbles
may be noticed in the hose after all of the air is bled
from the lines. This is caused by air seeping around
the threads of the loos ened bleeder tting and
being drawn back through the tting by the suction
of the pump. Once the air is removed from within
the system, these tiny bubbles will in no way
jeopardize the bleeding operation, since they are
present only at the tting and do not enter the
system. If you wish, you can put grease or Teflon
tape around the threads of the tting to eliminate
most of the bubbles. The correct bleeding procedure
follows:
1) Always make certain that the master cylinder
reservoir is lled and that a supply of new, clean
brake fluid of the proper type is on hand to top off
the reservoir as the fluid level drops during bleeding.
Make sure that all the bleeding ttings are clean prior
to beginning of the bleeding procedure.
2) Bleed the hydraulic system in the following order:
A) Master cylinder bleeder ttings, if equipped.
If installing a new or rebuilt master cylinder,
follow the bench bleeding procedure which follows.
braKe bleeDinG

22
B) Bleeder ttings on the combination valve,
if equipped.
C) Wheel cylinders and calipers in succession
beginning with the wheel closest to the master
cylinder, and working to the farthest one.
NOTE: Follow manufacturer’s recommended bleeding
sequence (if known). The procedure given in this
article species to begin bleeding the wheel closest
to master cylinder. Regardless of sequence used,
always ensure all air is purged from system.
3) Slip 11⁄2” of tubing between the pump and the lid
of reservoir jar at port marked “TO PUMP”
(FIGURE 18).
4) Attach 31⁄2” plastic hose to the bottom of the cap.
5) Afx at least a 12” piece of tubing to the other
reservoir jar port. Be certain that the cover of the
reservoir jar is secure, but don’t over tighten.
6) Select the appropriate adapter(s). The L-shaped
universal adapters should t snugly over the brake
bleeding tting in order to seal properly. The
tapered adapters t inside the thru-hole of tting
and will generally seal well when inserted tightly
with a pressing and twisting motion. Attach adapter
to reservoir hose.
7) Place wrench on brake bleeding tting.
Attach adapter and pump assembly, and pump
10 to 15 times.
NOTE: If bubbles coming out of the tting are very
small and even in size, the air is probably coming
from within the system. It is not nec essary to
eliminate these bubbles as they do not affect brake
operation. If desired, these bubbles can generally be
eliminated by placing grease or Teflon tape around
the threads, to act as a seal.
8) Open tting slightly, only enough to cause the
fluid to enter jar, usually 1⁄4 to 1⁄2 turn.
9) After evacuating about 2” of uid into the jar,
close the tting and rell the master cylinder.
Repeat all previous steps on all remaining wheels.
If fluid is not drawn into the jar after opening the
tting, make certain the lid of the jar is tight. You
will not be able to produce the necessary vacuum
in the jar if the lid does not t securely. Occasionally
some dirt will get into the brake line, in which case
the pump may not be totally effective. If this
happens, have someone touch the brake pedal
once lightly, with the bleeding valve open, then
proceed to use the pump.
braKe bleeDinG
To Pump
FIGURE 18: BRAKE BLEEDING KIT

23
MOTORCYCLE BLEEDING PROCEDURE
Before bleeding the system, ensure that:
1) The brake caliper pistons are free to move
within the calipers.
2) The master cylinder piston is free to return to
the end of its stroke, and
3) Inspect the line to ensure that all ttings are tight.
FRONT BRAKE
1) Pump brake lever to seat caliper pads
against rotor.
2) Cover gas tank with plastic protective sheet
if using DOT 3 uid (not necessary if using
DOT 5 uid).
3) Remove master cylinder reservoir cap and
ll reservoir.
4) Select the appropriate adapter(s). The L-shaped
universal adapters should t snugly over the brake
bleeding tting in order to seal properly. The
tapered adapters t inside the thru-hole of tting
and will generally seal well when inserted tightly
with a pressing and twisting motion. Attach adapter
to reservoir hose.
5) Pump several times to create vacuum. Crack
bleeder valve with box wrench, extracting uid into
reservoir. (Stop and add uid when master cylinder
begins to get low. Do not allow air to enter line.).
At this point, all air should be out of system and
line full of uid. (Note: if air is entering the pump
hose from around bleeder tting, remove bleeder
tting and apply Teon tape to threaded portion
of bleeder screw only. This will prevent air seepage
around threads of bleeder screw.)
6) While maintaining vacuum on the pump line,
tighten bleeder tting.
7) Top off reservoir and reinstall cover. Check brake
by pumping lever several times. Pedal should have
a positive, solid feel. If not, repeat bleeding process
as more air may have entered the system. Inspect
line to ensure all ttings are tight. If brake still feels
slack, consult a service technician.
For dual disc front brakes, repeat bleeding process
as though there are two separate systems.
REAR BRAKE
Removing all air from the rear brake line is the
same as for the front. The rear brake reservoir is
usually located beneath one of the side covers.
1) Remove the master cylinder cap and ll
to near full.
2) Attach the pump hose to the bleeder tting and
pump the handle several times to create a vacuum.
3) Crack the bleeder with a box wrench. Because of
the short line, most of the air should be evacuated
the rst time.
4) By closing the valve and repeating the process,
all of the air should be eliminated from the system.
Stop and add more fluid when master cylinder
gets low.
5) Top off and recap the reservoir.
TROUBLESHOOTING
1) If, after bleeding procedure, the brake continues
to be unresponsive, you may have water in the
system, in which case it will need to be disassembled
and cleaned by a qualied service technician.
2) If the brake squeaks slightly after bleeding,
the disc and pads must be cleaned.
3) Although DOT 3 uid is recommended by
most manufacturers, it has a tendency to collect
moisture, which causes the common discoloration
you see - and that means decreased efciency.
DOT 5 is silicone based and does not have the same
tendency to collect moisture. It also has a higher
tolerance. DOT 5, however, is not always easy to
nd and the two types of uid must not be mixed.
4) Rubber hoses are supplied stock on most
motorcycles, but they have a tendency to expand,
which may result in a spongy brake feel after a lot
of riding. Braided steel line will not expand like this.
braKe bleeDinG

24
BENCH BLEEDNG THE MASTER CYLINDER
Whenever a master cylinder has been removed
from a vehicle or a new one is being installed,
the master cylinder must be bench bled. Failure
to bench bleed is the main reason for unsuccess-
ful master cylinder replacement. Bench bleeding
greatly decreases the chance that any air will
be caught in the cylinder upon rein stallation.
Follow this procedure:
1) Plug outlet holes of the master cylinder and
gently clamp it in a vise with the push rod end
slightly elevated. NOTE: Damage may result if
master cylinder is clamped by the bore or if
reservoirs are clamped too tightly.
2) Fill the master cylinder with an approved type
brake uid and keep it lled at all times during
the procedures.
3) Remove a plug from the master cylinder and
attach the proper adapter to this mas ter cylinder
outlet port. Connect the pump tube to the reservoir
jar and the jar tube to the adapter (FIGURE 19).
4) Operate the pump and observe air and uid
flowing into the reservoir until clear, bubble-free
fluid appears.
5) Plug the outlet tightly and repeat step 4 on the
other outlet ports.
6) Clamp master cylinder in a vise with the push rod
end down slightly. Slowly slide the master cylinder
push rod back and forth about 1⁄8”, until no air
bubbles can be seen in the reservoirs.
7) Remount the master cylinder with the push rod
end up and follow steps 3 & 4 on all outlet ports.
Plug ports tightly. The master cylinder is now free
of air and ready to install.
braKe bleeDinG
FIGURE 19: BENCH BLEEDING

25
Piezas de Servicio y Accesorios ........................................................26
Bomba de vacío ...................................................................27
Sistema de vacío del automóvil .......................................................28
Diagnosis de la condición mecánica del motor .............................................30
Sistema de ventilación positiva del cárter ................................................32
Regulador de presión de combustible ...................................................34
Válvula de derivación de los gases de escape .............................................35
Recirculación de los gases de escape ....................................................36
Válvulas de retraso de encendido ......................................................41
Solenoide eléctrico/de vacío ..........................................................42
Válvulas de intercambio de vacio accionadas termicamente ...................................42
Juego de relleno de uido automático ..................................................44
Purga de sistemas de freno ..........................................................44
conteniDo
25
GarantÍa completa De un aÑo De craftsman
Si este producto Craftsman falla debido a un defecto de materiales o fabricación en un plazo de un año
desde la fecha de compra, DEVUÉLVALO A CUALQUIER TIENDA SEARS O A OTRO DISTRIBUIDOR CRAFTSMAN
EN ESTADOS UNIDOS PARA OBTENER UN REEMPLAZO GRATUITO.
Esta garantía se aplica sólo durante 90 días a partir de la fecha de compra si este producto se usa alguna
vez para nes comerciales o de alquiler.
Esta garantía le da derechos legales especícos, y también puede tener otros derechos que varían de un
estado a otro.
Sears, Roebuck and Co., Hoffman Estates, IL 60179

26
pieZas De servicio y accesorios
26
25
11
10
6
32
1
14
18
16
15
19
17
24 7
22
23
22
21 20
2
13
9
8
5
4
12
27
822391 –
Tubo (2 piezas)
MVA6913 –
Juego de adaptador de purga MVA6912 –
Juego de adaptador de diagnóstico
824645 –
Conectores
de tubos
JUEGOS DE SERVICIO DE LA BOMBA
823396 –
Adaptadores de botellas
823398 –
Placas de relleno
MVA6004 – Tapas de vacío MVA6915 – Caso de reemplazo
Descripción 801330 MVM8900 MVA6183 801333 801334 801335 801336 824492 824493
1 Manija X
2 Tornillo X
3 Tapa trasera X
4 Sello de varilla de pistón X
5 Espiga X
6 Resorte X
7 Conjunto de pistón X
8 Sello de pistón X
9 Válvula de tipo hongo X X
10 Junta tórica X
11 Placa de sellado X
12 Válvula de pico de pato X
13 Junta tórica X
14 Tornillo X
15 Perilla de vacío/presión X
16 Palanca X
17 Válvula Schrader X X
18 Presilla en “E” X
19 Junta tórica X
20 Oricio de salida X
21 Pasador de palanca X
22 Junta tórica X
23 Válvula de vacío/presión X
24 Presilla de retención X
25 Indicador X
26 Junta tórica X
27 Arandela de resorte X
824461 –
Conectores de tubos

La bomba de vacío/presión es una herramienta
muy versátil que puede usarse para probar una
variedad de sistemas automotrices y efectuar una
serie de tareas útiles. Aunque la bomba tiene
usos evidentes para probar diversos motores de
vacío, válvulas de control y fuentes de vacío, sus
aplicaciones no terminan allí. Casi cualquier pieza o
sistema que requiera un sellado, una presión o un
vacío apropiados para operar puede probarse con la
bomba de vacío. La bomba y sus accesorios también
transere uidos, ayuda a purgar frenos y en otras
tareas. La bomba también cumple con los requisitos
de las herramientas de diagnóstico cuando dichas
herramientas se especican para algunos pro-
gramas de inspección de vehículos estatales.
Esta sección describirá la bomba, dará especicacio-
nes, indicará cómo usar la bomba y proporcionará
algunas recomendaciones de servicio para ayudar a
mantener su bomba en las mejores condiciones.
DESCRIPCIÓN
La bomba de vacío/presión portátil es sencilla,
precisa, fácil de usar y tiene muchas aplicaciones.
Consta de un cuerpo de bomba, palanca móvil,
indicador de vacío/presión compuesto, interruptor
de convertidor de vacío/presión y conexión. La
bomba se puede mantener fácilmente en la mano,
y cuando se aprieta la palanca, se produce vacío o
presión en la conexión delantera. Si la conexión
delantera de la bomba se conecta a un recipiente o
sistema cerrado, el indicador mostrará el nivel de
vacío o presión.
Para seleccionar si la bomba debe producir vacío o
presión en la conexión resulta tan simple como girar
la perilla ubicada en el lado delantero izquierdo de
la bomba. La caja de la válvula de vacío/presión
está marcada con las palabras “Pressure” (Presión)
y “Vacuum” (Vacío). Gire la perilla de modo que
la echa se alinee con la salida deseada. Depen-
diendo de la posición de la perilla, e produce vacío
o presión apretando la palanca de la bomba. El
retorno de la palanca no surte efecto en la salida.
ALIVIO DE VACÍO/PRESIÓN
El vacío o la presión pueden aliviarse levantando la
palanca de alivio. Esta acción permite la entrada de
aire en el sistema, aliviando así el vacío/la presión.
El vacío/la presión también se aliviarán cuando se
desconecte la manguera de la conexión delantera.
ESPECIFICACIONES
Vacío máximo a Apróx. 25” Hg
nivel del mar: (85 kPa)
Volumen de la embolada: 1 pulg3 (16cc)
Presión máxima: 30 lb/pulg (205 kPa)
Precisión del indicador de presión:
el 3% entre el 0% y el 25% del palmo
el 2% entre el 25% y el 75% del palmo
el 3% entre el 75% y 100% del palmo
USO DE LA BOMBA
Es fácil usare la bomba. En la mayoría de los casos,
está conectada directamente a un componente, se
usa en lugar de una tubería de vacío o se conecta a
un circuito de vacío mediante un conector en te. La
bomba puede operarse como instrumento de prueba
de dos maneras:
1) Cuando se desea un vacío o una presión para
hacer una prueba, el interruptor del convertidor se
gira a la salida deseada, y la palanca móvil de la
bomba se aprieta simplemente con la mano, como
al cerrar el puño. Continúe las emboladas hasta
lograr el vacío o la presión deseados según se mues-
tra en el indicador.
2) La bomba puede conectarse a un circuito de vacío
o presión y usarse para medir cantidades existentes
de vacío o presión, simplemente como se usaría
cualquier vacío. Cuando se usa de esta manera,
no bombee la palanca, ya que se pueden obtener
lecturas incorrectas.
CUIDADOS ADECUADOS
La bomba es un instrumento de precisión de
construcción sólida. ¡Manéjela con cuidado! No deje
caer el manómetro ni lo manipule de forma descui-
dada, ya que su precisión puede resultar
afectada. No exceda nunca la presión nominal del
manómetro, ya que esto puede causar la pérdida de
precisión y daños permanentes. Cuide la bomba y le
proporcionará años de servicio sin problemas.
LUBRICACIÓN
El lubricante de fábrica es un aceite de silicona que
permite usar la bomba durante mucho tiempo.
Si cree necesario lubricar la bomba, utilice un aceite
de silicona. Si no dispone de este aceite, utilice un
líquido de frenos a base de silicona DOT 5 (no DOT 3)
o un aceite vegetal comestible. No utilice líquidos de-
rivados del petróleo ni lubricantes de rociado (WD4O,
aceite de motor, etc.) ya que se dañará la bomba.
bomba De vacÍo
27

28
Este manual trata sobre el vacío, cómo se utiliza
en los diversos sistemas del automóvil y cómo
puede utilizar la bomba de vacío para probar y
diagnosticar estos sistemas. Esta sección explica lo
que es el vacío, cómo se mide, dónde se genera en
el automóvil, el sistema de distribución y uso del
vacío, y algunas recomendaciones básicas para
localizar y resolver problemas.
¿QUÉ ES EL VACÍO?
n pocas palabras, el vacío es falta de materia y
puede ser total o parcial. El vacío en sí mismo no
puede generar energía. La energía generada por
los aparatos de vacío depende de la presión
atmosférica. La atmósfera ejerce una presión de
14.7 lb/pulg2 sobre todos los objetos a nivel del
mar. Si se extrae cierta cantidad de aire de un
lado de un diafragma (vacío parcial), la presión
atmosférica ejercerá una fuerza sobre el otro lado
del diafragma. La fuerza ejercida es igual a la
diferencia de presión multiplicada por el área del
diafragma (FIGURA 1). Por lo general, cuanto
más aire se extraiga (más vacío se genere) en un
espacio, más fuerza ejercerá la presión atmosférica.
¿CÓMO SE MIDE EL VACÍO?
En Estados Unidos, el vacío se mide generalmente
en pulgadas de mercurio (“ de Hg). También puede
medirse en centímetros de mercurio (cm de Hg).
La presión atmosférica puede sostener una columna
de mercurio de aproximadamente 76 cm de altura
en la columna de un manómetro. Esta es la misma
presión barométrica medida en milímetros de Hg
que varía al cambiar las condiciones meteorológicas.
Las indicaciones de vacío en pulgadas de Hg son
en realidad indicaciones negativas de presión. Por
ejemplo, un vacío de 30” de Hg representa un vacío
completo. La mitad de un vacío completo serían 15”
de Hg. Un motor de combustible al ralentí suele
producir un vacío de 16 a 22” de Hg. Durante la
desaceleración, dado que el acelerador se mantiene
cerrado, el vacío aumentará. La bomba de vacío
puede generar aproximadamente 25” de Hg; el
manómetro de vacío está calibrado en pulgadas y
en kilopascales (kPa).
POR QUÉ CREAN VACÍO LOS MOTORES
El vacío se crea al extraer el aire de cierto espacio,
o al aumentar un volumen hermético. Éste es el
motivo por el que se dispone de vacío en el motor.
Durante el tiempo de admisión, el émbolo se mueve
hacia abajo, creando un vacío parcial al aumentar
el volumen del cilindro. El aire no puede entrar por
la válvula de admisión con suciente rapidez para
llenar totalmente el espacio creado al bajar el
émbolo (FIGURA 2). Ésta es la fuente de suministro
de vacío más común del automóvil.
el sistema De vacÍo Del automÓvil
FIGURA 1:
EL VACIÓ Y LA PRESIÓN ATMOSFÉRICA
14.7 lb/pulg2 - 10.7 lb/pulg2 = 4.0 lb/pulg2
40 libras
14.7 lb/pulg2
10.7 lb/pulg2
Área del émbolo 10 pulg2
FIGURA 2: EL MOTOR COMO FUENTE DE
ABASTECIMIENTO DE VACIÓ
Vacío
Aire
Oricio de vacío
Tiempo de
admision

29
VACÍO EN LOS MOTORES DE COMBUSTIBLE
Y DIESEL
Como Los motores diesel no generan tanto vacío
como los motores de gasolina, se necesita una
bomba mecánica de vacío para operar los disposi-
tivos que requieran vacío. La bomba de vacío sirve
coma herramienta útil para probar dispositivos en
ambos tipos de motores.
DISTRIBUCIÓN DE VACÍO
Todos los automóviles modernos cuentan con un
sistema de distribución de vacío (FIGURA 3) que
consiste en conductos, mangueras, conexiones y
dispositivos de vacío. Este sistema debe ser a prueba
de fugas. De lo contrario, la mezcla de aire y
combustible del motor se empobrecerá debido a la
entrada de aire adicional por las fugas, causando
problemas tales como válvulas de escape quemadas,
ralentí irregular, calado, encendido prematuro,
bujías quemadas, etc. Además, cualquier dispositivo
accionado por vacío, y que se vea afectado por
las fugas de vacío no funcionará correctamente.
Un motor normal de gasolina suele producir, en el
múltiple de admisión, un vacío de 16 a 22” de Hg
al ralentí. Ésta es una indicación de que el motor
está funcionando en buenas condiciones. Cuanto
menor sea el vacío del múltiple, menos eciente
será el funcionamiento del motor y menor será
la distancia recorrida por litro de combustible.
El sistema de distribución de vacío suministra vacío
a los motores de vacío (servos) del sistema de aire
acondicionado, reforzador del freno, servocontrol
de velocidad, controles de emisiones, sensor de
presión absoluta del múltiple (MAP) y sistemas de
control de la transmisión automática. En vehículos
más viejos, también se suministra vacío al mecanismo
de avance y retardo de vacío del distribuidor. Estos
dispositivos pueden estar conectados directamente
al vacío del múltiple, o pueden controlarse mediante
solenoides eléctricos, interruptores termostáticos u
otros controles de vacío.
LOCALIZACIÓN Y RESOLUCIÓN DE
PROBLEMAS DEL SISTEMA DE VACÍO
La mayoría de los problemas de vacío se deben a
fugas que se producen en mangueras, diafragmas
o válvulas de los motores. Los tubos aprisionados o
las válvulas obstruidas tampoco permiten producir
vacío. Los problemas también pueden deberse a
la operación mecánica defectuosa de dispositivos
impulsados por motores de vacío. La bomba de
vacío puede usarse para medir el vacío en una
manguera. El manómetro de vacío es muy útil para
detectar las fluctuaciones del suministro de vacío.
La bomba de vacío le permite probar todo tipo de
dispositivos operados por vacío. Por ejemplo, en un
motor de vacío, la bomba permite vericar la op-
eración mecánica del dispositivo así como también
medir el vacío necesario para hacerla funcionar.
el sistema De vacÍo Del automÓvil
FIGURA 3: SISTEMA TÍPICO DE DISTRIBUCIÓN DE VACÍO
Al Múltiple de Admisión
Al Aire Acondicionado,
Calentador
Interruptor PRNDL
Motor de Desconexión
del Freno
Avance del
Distribuidor
Reforzador
del Freno
Motor del Aire de Admisión
Al Control
de Velocidad
Transmisión
Automática
BLOQUE DE DISTRIBUIÓN DE VACÍO

30
COMPROBACIONES Y DIAGNOSIS DEL
MANÓMETRO DE VACÍO
Las lecturas del manómetro de vacío de la bomba
pueden dar indicaciones de posibles problemas
mecánicos, pero no sin errores. Observe el manómetro
detenidamente y siempre que sea posible, realice
más lecturas de vacío para conrmar la diagnosis.
No espere a que el motor dé unas indicaciones (nu-
méricas) especicas de vacío. Es mucho más
importante el intervalo de lecturas de vacío y el
movimiento de la aguja (FIGURA 5). Entre las cosas
importante que se pueden observar es CÓMO se
mueve la aguja (de modo uniforme o con sacudidas,
irregularmente, etc.), en qué sentido se mueve, si el
movimiento es regular o variable y que distancia se
mueve la aguja. A continuación se indican algunos
ejemplos sobre qué se debe observar y el signicado
de las distintas lecturas del manómetro de vacío.
MOTOR NORMAL
Mantenga el motor al ralentí y conecte la bomba
a una toma del múltiple de admisión. Observe el
movimiento de la aguja del manómetro. Al ralentí,
la lectura del manómetro de vacío debe ser estable
y estar comprendida entre 16” y 22” de Hg.
VÁLVULAS QUEMADAS O CON FUGAS
Con el motor al ralentí, las válvulas quemadas o con
fugas harán que la aguja del manómetro descienda
a una lectura baja y que vuelva a una lectura
normal en intervalos regulares. Cuando la válvula
defectuosa trate de cerrarse, la aguja bajará de
1 a 7” de Hg, en intervalos regulares.
VÁLVULAS AGARROTADAS
La presencia de una válvula agarrotada producirá
una bajada rápida e intermitente de la aguja con
relación a la lectura normal. Esto es distinto a la
bajada normal producida por una válvula quemada
o con fugas. Las válvulas agarrotadas pueden detec-
tarse aplicando directamente un aceite ligero a cada
guía de válvula. Cuando el aceite llegue a la válvula
defectuosa se resolverá el problema temporalmente.
RESORTE DE VÁLVULA FLOJO O ROTO
Los resortes de válvula ojos pueden detectarse
cuando la aguja del manómetro de la bomba varíe
entre 10” y 21” de Hg con el motor al ralentí. Las
uctuaciones aumentarán al aumentar la velocidad
del motor. La presencia de un resorte de válvula
roto hará que la aguja uctúe rápidamente en un
intervalo regular. Esto se produce también cada vez
que la válvula trate de cerrarse.
Para probar un diafragma, aplique un vacío de
10” de Hg al dispositivo (FIGURA 4). Observe el
manómetro para ver si la aguja sigue bajando
espués de que el dispositivo deje de funcionar.
Si la aguja sigue bajando, indica que existe una
fuga en el diafragma. Si el diafragma está en
buenas condiciones, el vacío se mantendrá durante
un minuto y con la aguja sin moverse.
el sistema De vacÍo Del automÓvil
DiaGnosis De las conDiciones mecÁnicas Del motor
FIGURA 4: PUNTOS TÍPICOS DE SUMINISTRO DE VACÍO DEL CARBURADOR
Cuerpo del Carburador o Acelerador
Vacío de Recirculación de los Gases de Escape
• Cero con el acelerador cerrado
• Sique siendo cero con el suministro de vacío “S”
• Igual al vacío del múltiple con el
acelerador mas abierto
Vacío de Venturi
• Débil o nulo en crucero o ralent
• Fuerte con el acelerador completamente abierto
Posición cuando el vacío “S” y
“E” están activados
Placa del acelerador (posición cerrada)
Vacío del Múltiple de Admisión
• Disponible con el motor en marcha
• Máximo con el acelerador cerrado
• Disminuye gradualmente a medida
que se abre el acelerador
• Pero se mantiene fuerte si se
mantiene cerrado el estrangulador
Vacío del Oricio de la Chispa
• Cero con el acelerador
cerrado
• Igual al vacío del múltiple
durante ralentí
• Antes se utilizaba para controlar el vacío de la
“chispa” al diafragma de avance del distribuidor

31
GUÍAS DE VÁLVULA DESGASTADAS
La guías de válvula desgastadas permiten el paso de
aire que descompensa la mezcla de combustible y aire.
La lectura del manómetro será menor que lo normal
y uctuará rápidamente en un margen de unas 3” de
Hg. La aguja se estabilizará al acelerar el motor.
AROS DE PISTÓN CON FUGAS
La lectura de vacío con el motor al ralentí será baja
pero estable, entre 12” y 16” de Hg. Acelere el
motor hasta 2000 rpm y a continuación deje de
acelerarlo instantáneamente. La aguja debe pasar de
2 a 5” de Hg por encima de la lectura normal. Un
incremento menor que el anterior puede indicar que
los aros son defectuosos, que el cilindro está rayado
o que se debe hacer una prueba de compresión.
JUNTA DE CULATA ROTA
Al ralentí, la aguja del manómetro de la bomba de
vacío uctuará entre una lectura normal y una
lectura baja. La aguja bajará rápidamente 10” de
Hg con respecto a la lectura normal y volverá a la
lectura normal cada vez que el cilindro o cilindros
defectuosos vuelvan a la posición de encendido.
PRUEBA DE RESTRICCIÓN EN EL SISTEMA
DE ESCAPE
La restricción del sistema de escape producirá un
rendimiento normal o casi normal con el motor al
ralentí pero muy bajo cuando el motor esté cargado
o funcione a mayores velocidades.
1) Conecte la manguera de la bomba a una conexión
de vacío del múltiple de admisión. Haga funcionar el
motor al ralentí y observe la lectura de vacío y
el movimiento de la aguja. Compare estas lecturas
y movimientos con las descripciones indicadas para
válvulas quemadas, retraso del encendido o
sincronización de las válvulas.
2) Observe el manómetro de vacío de la bomba
mientras se acelera el motor hasta 2500 rpm
aproximadamente.
3) Un aumento de vacío en comparación con la
lectura obtenida con el motor al ralentí signica que
no hay una restricción en el sistema de escape.
4) Si al aumentar las rpm del motor la aguja baja
hasta cero, signica que existe una restricción o que
hay una válvula de recirculación de los gases de
escape demasiado activa.
5) Haga una prueba por separado la válvula de
recirculación de los gases de escape. Si determina
que está en buenas condiciones, el problema se
debe a una restricción en el sistema de escape.
Compruebe y sustituya las piezas necesarias.
MEZCLA INCORRECTA DE AIRE Y
COMBUSTIBLE AL RALENTÍ
Cuando la aguja del manómetro se mueve lenta-
mente de un lado a otro con el motor al ralentí,
en un intervalo de 4 a 5” de Hg, signica que la
mezcla de combustible es demasiado rica. Una mezcla
demasiado pobre provocará una bajada irregular de
la aguja en aproximadamente el mismo intervalo.
PÉRDIDAS DE AIRE EN EL MÚLTIPLE
DE ADMISIÓN
Si hay fugas de aire en el sistema de admisión de
DiaGnosis De las conDiciones mecÁnicas Del motor
FIGURA 5: LECTURAS DEL VACUÓMETRO
Con el motor en ralenti, la aguja
del vacuómetro deberá manten-
erse suavemente entre 16” y
22” de Hg.
Si la aguja baja con el motor
en ralenti signica que
alguna válvula está
agarrotada.
Si con el motor en ralenti la
aguja se mueve flotando de
izquierda a derecha signica
que el carburador recibe
mucho o muy poco combus-
tible en la mezcla.
Si la aguja muestra una lectura
baja con el motor en ralenti sig-
nica que el temporizado de la
explosíon de la mezcla se realiza
tarde o indica una fuga en el
múltiple de admisión.

32
aire, la aguja del manómetro de la bomba estará
de 3 a 9” por debajo de la lectura normal pero
permanecerá estable.
RETRASO DEL ENCENDIDO O SINCRONI-
ZACIÓN DE LAS VÁLVULAS
Una lectura muy baja pero estable con el motor
al ralentí indica un retraso del encendido o
sincronización de las válvulas, o un juego de
válvulas uniformemente ajustado. Haga pruebas
por separado para determinar si alguno de estos
problemas afecta el funcionamiento del motor.
DiaGnosis De las conDiciones mecÁnicas Del motor
OPERACIÓN DEL SISTEMA
El sistema de ventilación positiva del cárter (PCV) se
usa en “T”odos los motores modernos para reducir
la contaminación de aire al extraer de forma más
completa los vapores del cárter. El aire se aspira
por un ltro ubicado en el ltro de aire, pasando al
cárter por una manguera en la tapa de las válvulas.
De ahí pasa transversalmente y hacia arriba a la
parte trasera del múltiple de admisión o a la tapa
opuesta de las válvulas, por la válvula PCV y por
una manguera al múltiple de admisión. El múltiple
de admisión aspira todos los vapores del cárter para
quemarlos en el motor.
Cuando la cantidad de aire que atraviesa el carbura-
dor o cuerpo del acelerador es alta, el aire añadido
procedente del sistema PCV no surte ningún efecto
en el funcionamiento del motor. Sin embargo, al
ralentí, la cantidad de aire que atraviesa el carbu-
rador o cuerpo del acelerador es tan pequeña que
cualquier cantidad grande agregada por el sistema
de ventilación descompensara la mezcla de aire y
combustible, ocasionando un ralentí irregular. Por
esta razón, la válvula PCV limita el paso de aire cu-
ando el vacío en el múltiple de admisión es alto.
PROCEDIMIENTOS DE REPARACIÓN
Tras cierto período de funcionamiento, la válvula
PCV puede obstruirse, reduciendo la ventilación del
cárter. Esta válvula debe reemplazarse periódica-
mente para impedir la formación de ácidos en el
cárter y un aumento excesivo de la presión en el
mismo que forzará la salida del aceite del motor
por las juntas. Use el procedimiento siguiente para
probar el sistema de ventilación usando la bomba:
1) Inspeccione el sistema para ver si hay mangueras
retorcidas, obstruidas o deterioradas. Asegúrese de
que todas las mangueras estén bien conectadas.
Realice las reparaciones necesarias.
2) Conecte la bomba a un oricio del múltiple de
admisión y compruebe la lectura de vacío con el
motor caliente y al ralentí.
3) Cierre a presión la manguera de vacío a la vál-
vula PCV. La velocidad del motor deberá
disminuir 100 rpm para indicar la fuga de aire
en el múltiple de admisión. La lectura del manó-
metro vacío deberá aumentar ligeramente.
Si esto no sucede, reemplace la válvula PCV o las
mangueras dañadas, obstruidas o aojadas.
4) Si el ralentí del motor es muy bajo o irregular,
se puede deber a una manguera o válvula PCV
obstruida. No ajuste la velocidad de ralentí sin
comprobar primero el sistema PCV.
5) Después de instalar una válvula PCV nueva,
ajuste siempre la velocidad de ralentí, y si es
posible, la mezcla de aire y combustible. La
instalación de una válvula equivocada puede
hacer que una cantidad excesiva de vapor circule
a través del sistema si la purga calibrada es
demasiado grande. Esto descompensara
excesivamente la mezcla de aire y combustible.
Si la abertura es demasiado pequeña, se anulará
el efecto de la obstrucción, las emisiones
aumentarán, se formaran ácidos en el cárter
y se podrán producir fugas de aceite. Cerciórese
de conseguir la válvula PCV correcta para su
automóvil.
sistema De ventilaciÓn positiva Del cÁrter

33
reGulaDor De presiÓn De combustible
OPERACIÓN DEL SISTEMA
Los reguladores de presión de combustible se usan
para mantener la presión de combustible a un
nivel constante según los requisitos del motor. Los
fabricantes de automóviles emplean diferentes
métodos para controlar la presión del combustible.
La mayoría utilizan un resorte mecánico y un
regulador de presión tipo diafragma como el de la
gura 6. Los reguladores mecánicos utilizan con
gran frecuencia el vacío o la presión del motor para
variar la presión del combustible como respuesta a
los requisitos inmediatos del motor. Se requiere una
bomba de vacío o una bomba de vacío/presión con
un manómetro apropiado para diagnosticar debida-
mente estos tipos de reguladores.
Los reguladores de presión de combustible controla-
dos por vacío/presión están montados normalmente
inmediatamente después del carril de combustible
y en serie con la circulación de combustible. Cuando
no funcione la bomba de combustible, el resorte
hace que el diafragma se cierre de modo que no
pueda circular combustible. Una vez que se active
la bomba de combustible, la presión que produce
empieza a superar la fuerza del resorte y el
diafragma se abre para permitir el paso de com-
bustible. El resorte y el diafragma mantienen una
presión constante en el combustible. Esto crea una
contrapresión en el sistema de combustible, que se
denomina comúnmente “presión de combustible”.
La función del regulador de presión de combustible
es mantener la “presión de combustible” a un nivel
especicado por el fabricante del vehículo.
Se conecta un regulador de presión de combustible
modulado por vacío/presión al múltiple de admisión
por medio de una manguera pequeña. El vacío
del múltiple ayuda al resorte a abrir el diafragma.
Cuando se conecta una carga al tren de fuerza, el
vacío del motor disminuye. Esta disminución del
vacío hace que el diafragma aumente la resistencia
al paso de combustible. La resistencia adicional
aumenta la presión de combustible a los inyectores
para compensar la mayor demanda de combustible
del motor. En sistema de inducción de aire forzado
(turbocompresores/sobrealimentador), la presión
de refuerzo producida en el múltiple se comporta
de forma opuesta al vacío producido en sistemas de
aspiración normal. En condiciones de refuerzo, la
presión del múltiple hace que el regulador aumente
la presión del combustible, produciendo una mezcla
de combustible más rica.
FIGURA 6: REGULADOR DE PRESIÓN
Conexión de
vacío/presión
Resorte
Diafragma
Entrada de combustible
Salida de combustible

34
PROCEDIMIENTOS DE SERVICIO
Inspección visual
1) Consulte el manual de servicio del vehículo para
determinar si el regulador de presión está modulado
por vacío/presión, y para identicar su posición.
2) Inspeccione el exterior del regulador de pre-
sión para ver si hay fugas de combustible, y la
manguera de vacío para ver si tiene daños visibles o
grietas. Reemplace si es necesario.
3) Desconecte la manguera de vacío del regulador
de presión de combustible.
4) Compruebe el interior de la manguera para ver
si hay combustible líquido. Si lo hay, reemplace el
regulador. Si no lo hay, reconecte la manguera de
vacío.
Diagnóstico
5) Instale un probador de presión de combustible.
6) Arranque el motor y deje que funcione al ralentí.
7) Desconecte la tubería de vacío del regulador de
presión de combustible.
8) La presión de combustible debe aumentar de
8 a 12 lb/pulg2 cuando se desconecte la tubería.
La ausencia de cambio indicará la presencia de un
regulador defectuoso o con fugas o una tubería de
vacío taponada.
9) Conecte la bomba de vacío a la manguera de
vacío que se extiende desde el múltiple.
10) El manómetro de la bomba debe indicar 16”
a 22” de Hg. Consulte el manual de servicio del
vehículo para obtener una especicación más ex-
acta. Una lectura cero o baja indicaría una tubería
de vacío con fugas o taponada, o un problema mas
grave del motor.
11) Desconecte la bomba de vacío de la tubería de
vacío, y tapone la tubería temporalmente. Conecte
la bomba al oricio de vacío del regulador.
12) Use la bomba para producir un vacío en el
regulador mientras observa el manómetro en el
probador de presión de combustible.
13) La presión de combustible debe aumentar una
libra por cada dos pulgadas de Hg de vacío aplicado
al regulador. Si no es así, reemplace el regulador de
presión de combustible
Turbocompresores y sobrealimentadores
14) Para sistemas de inducción de aire forzado
(turbocompresores y sobrealimentadores), cambie
la bomba de “vacío” a “presión” sin desconectarlo
del regulador.
15) Use la bomba para aplicar presión al regulador
mientras se observa el manómetro del probador de
presión de combustible.
16) La presión de combustible debe aumentar una
libra por cada libra de presión aplicada al regulador.
Si no es así, reemplace el regulador de presión de
combustible.
reGulaDor De presiÓn De combustible

35
OPERACIÓN DEL SISTEMA
La válvula de derivación de los gases de escape
del turbocompresor limita la cantidad de refuerzo
(presión del múltiple de admisión) producida por
el turbocompresor. Cuando la presión del múltiple
de admisión se hace demasiado alta, la válvula de
derivación se abre para permitir que parte de los
gases de escape no pasen por el turbocompresor.
Esto reduce el refuerzo del turbocompresor.
La mayoría de los accionadores de la válvula de
derivación del turbocompresor funcionan usando
un resorte mecánico y un diseño de diafragma.
En condiciones de operación normales, el resorte
mantiene cerrada la válvula de derivación, y todos
los gases de escape se dirigen al turbocompresor.
Hay un tubo pequeño que conecta el accionador de
la válvula de derivación al múltiple de admisión o
a la salida de aire del turbocompresor. Cuando la
presión de refuerzo sea demasiado alta, empuja el
diafragma hasta que supere la fuerza del resorte,
haciendo que se abra la válvula de derivación.
Las pruebas de la función de la válvula de deri-
vación y del accionador de la válvula de derivación
comprenden la conexión de la bomba de mano a la
válvula de derivación y ejercer presión.
PROCEDIMIENTOS DE SERVICIO
Siga estos procedimientos para diagnosticar una vál-
vula de derivación y accionador de turbocompresor
o sobrealimentador:
Prueba en frío de un movimiento visual
1) Ubique el accionador de la válvula de derivación,
e inspecciónelo para ver si está dañado. Compruebe
la manguera de presión ara ver si hay fugas o gri-
etas visibles. Reemplácelo si es necesario.
2) Desconecte la manguera de presión del acciona-
dor de la válvula de derivación y conecte la bomba
de mano en su lugar.
3) Use la bomba para producir presión según la
especicación del fabricante.
4) Observe el movimiento de la varilla de control y
después mantenga su posición.
5) Si la varilla no se mueve o no mantiene su
posición, o si se pierde presión según indicaciones
del manómetro de la bomba de mano, reemplace o
repare el accionador de la válvula de derivación.
6) Si no se descubren fugas, desconecte la varilla
del accionador y mueve la palanca de la aleta de
la válvula de derivación para determinar si está
atascada o agarrotada.
7) Si no se mueve libremente, se debe reemplazar o
reparar la válvula de derivación.
Prueba al ralentí
8) Arranque con el sistema de escape frío.
9) Desconecte la manguera de presión del acciona-
dor de la válvula de derivación y conecte la bomba
de mano en posición.
10) Arranque el motor y deje que funcione al
ralentí.
11) Después de un tiempo corto, se debe calentar la
entrada de los gases de escape a la válvula de deri-
vación, pero la tubería de derivación de la válvula
debe permanecer fría.
12) Si la tubería de derivación se calienta en este
punto, los gases de escape se fugan por la válvula
de derivación, y ésta debe reemplazarse o repa-
rarse.
13) Use la bomba para producir presión y abrir la
válvula de derivación de los gases de escape según
la especicación del fabricante.
14) Toque la tubería de derivación. Debe empezar
a calentarse a medida que se abre la válvula de
derivación de gases de escape.
vÁlvula De DerivaciÓn De los Gases De escape
FIGURA 7:
TURBOCOMPRESOR
Conexión
de presión
Activador de la válvula
de derivación de los
gases de escape

36
15) Si no es así, la válvula está atascada en la
posición cerrada y debe reemplazarse o repararse.
16) Una vez que se completen las pruebas, purgue
la presión de la bomba y observe el cierre de la
válvula de derivación.
Pruebas de banco
Se debe usar una bomba manual para efectuar
pruebas de banco de la válvula de derivación de
los gases de escape del turbocompresor, y ajustar el
brazo de control después de su reemplazo o repa-
ración. Siga los procedimientos del fabricante para
realizar estas pruebas y ajustes de precisión.
vÁlvula De DerivaciÓn De los Gases De escape
El sistema de recirculación de gases de escape se
usa en la mayoría de los motores modernos para
reducir las emisiones de óxidos de nitrógeno (NOx).
Durante el proceso de combustión, el nitrógeno, que
constituye el 80 por ciento del aire, se mezcla con
oxigeno a temperaturas superiores a 1400°C.
Durante este proceso de combustión, la temperatura
en el cilindro subirá por encima de 1900°C creando
las condiciones ideales para la formación de NOx.
OPERACIÓN DEL SISTEMA
Para reducir la formación de NOx es necesario reducir
la temperatura de combustión. Generalmente esto
se consigue recirculando los gases de escape a las
cámaras de combustión a través de una válvula.
Esta válvula (FIGURA 8) puede hacerse funcionar
mediante un vacío conectado por encima de las placas
del acelerador o mediante un sistema de control
sosticado que regula la cantidad de recirculación
de gases de escape dependiendo de la temperatura
del refrigerante, temperatura ambiente, velocidad o
carga del motor. Las válvulas de recirculación de los
gases de escape que no cuenten con un sistema de
control sosticado deben mantenerse totalmente
cerradas con un vacío de 2” de Hg, empezarse a abrir
entre 2” y 8.5”, y abrirse completamente por encima
de 8.5” de Hg. Con el motor al ralentí y con el
acelerador completamente abierto, el vacío conectado
es bajo y la válvula debe estar cerrada.
Algunos automóviles usan una válvula de transduc-
tor de contrapresión para modular la operación
del sistema de recirculación de los gases de escape,
mientras que otros disponen de un amplicador
de vacío para realizar la misma tarea. El efecto de
estos dispositivos es modular la cantidad recirculada
de gases de escape de acuerdo con la carga del
motor. Para mejorar la conducción en frío, muchos
automóviles están equipados con cierto tipo de
dispositivo de control de vacío para cerrar el paso
de los gases de escape cuando el motor esté frío.
recirculaciÓn De los Gases De escape
FIGURA 8: OPERACIÓN DE LA VÁLVULA DE RECIRCULACIÓN DE LOS GASES DE ESCAPE
Al Suministro de Vacío Al Suministro de Vacío
Señal de Vacío Aplicada
Válvula abierta, paso de los gases de escape al múltiple de admisión
No Hay Señal de Vacío
Válvula cerrada, gases de escape bloqueados

37
Los sistemas de recirculación de los gases de escape
suelen fallar de dos formas. La válvula puede fallar
debido a una avería propia, tal como la ruptura de
un diafragma, o debido a una pérdida del vacío que
la controla. Antes de sustituir la válvula, asegúrese
siempre de que la manguera conectada a la válvula
de recirculación de los gases de escape transmita
el vacío que ésta necesita. Conecte la bomba a la
manguera de suministro de vacío de la válvula de
recirculación de los gases de escape y compruebe
que a 2000 rpm existe un vacío de 4 a 5” de Hg.
Recuerde también que cuando los conductos de los
gases de escape conectados a la válvula estén
atascados, pueden limitar el flujo incluso cuando
se abra la válvula.
La válvula de recirculación que se mantenga abierta
continuamente hará que el ralentí del motor sea
irregular, que el motor se cale, y que pierda
compresión y suavidad con el acelerador comple-
tamente abierto. La válvula normalmente no se
cierra cuando hay suciedad o cuando el asiento está
dañado. Las válvulas de recirculación de los gases de
escape puede funcionar normalmente con el motor
caliente, pero pueden continuar abiertas con el motor
en frío. Esta situación puede surgir debido a algún
mecanismo interruptor térmico dañado que no corta
el suministro de vacío cuando el motor está frío.
PROCEDIMIENTO DE REPARACIÓN
– PRUEBA GENERAL (EXCEPTO LOS TIPOS
FABRICADOS POR GM O CONTROLADOS
POR CONTRAPRESIÓN)
Si los síntomas del motor le hacen pensar que
alguna válvula de recirculación de los gases de
escape se mantiene abierta constantemente, siga
este procedimiento:
1) Conecte un tacómetro al motor y haga funcionar
el motor al ralentí hasta que alcance la temperatura
normal de funcionamiento. Use la bomba para
probar si existen al menos 10” de presión en la vál-
vula. Vuelva a conectar la manguera y anote
las rpm del motor.
2) Desconecte la manguera de vacío del motor y
observe si aumentan las rpm del motor.
3) Si aumenta la velocidad del motor, es posible
que exista algún tipo de problema en el circuito de
control de vacío. Compruebe el tendido de todas las
mangueras de vacío.
4) Si cambia la velocidad del motor o la calidad del
ralentí, quite la válvula y compruebe el tetón y el
asiento de la válvula para asegurarse de que ambos
estén limpios. Si no están limpios, sustituya la
válvula, la junta y el adaptador si están quemados,
deformados o dañados.
Si los síntomas del motor le hacen pensar que al-
guna válvula de recirculación
de los gases de escape se mantiene cerrada
constantemente, siga este procedimiento:
1) Haga funcionar el motor al ralentí hasta que
alcance la temperatura normal de funcionamiento.
Use la bomba para probar si existen al menos 10”
de Hg de vacío en la válvula. Aumente la veloci-
dad del motor hasta unas 2000 rpm. Conecte la
manguera de suministro de vacío. Conecte la bomba
a la válvula de recirculación y aplique un vacío de
10 a 15” de Hg.
2) Se debe abrir el diafragma y se debe observar
una reducción de las RPM del motor. Si no es así,
la válvula es defectuosa o los conductos del múltiple
están atascados. Rompa el vacío en la válvula de
recirculación de los gases de escape.
recirculaciÓn De los Gases De escape
FIGURA 9: DIAFRAGMAS DE RECIRCULACIÓN DE LOS GASES DE ESCAPE FABRICADOS POR GM
PVacío Portado Contrapresion Positiva Contrapresion Negativa

38
recirculaciÓn De los Gases De escape
FIGURA 10: SISTEMA DE RECIRCULACIÓN DE LOS
GASES DEL ESCAPE DE CONTROL DE VACÍO POR
VENTURI DE CHRYSLER
Al Relé del
Estrangulador
Vacío del Múltiple
Al Encendido
Amplicador de Vacío
Solenoide de
Retraso del
Sistema de
Recirculación
de los Gases
de Escape
Válvula de Recirculación
de los Gases de Escape
Válvula de Temperatura
de Recirculación de los
Gases de Escape de
Control de Refrigerante
Interruptor de Vacío del motor
de control del refrigerante
3) Se debe cerrar el diafragma y se debe observar
un aumento en las rpm del motor. Vuelva a hacer
funcionar el motor al ralentí y apáguelo.
4) Conecte la bomba a la válvula de recirculación
de los gases de escape y sométala a una prueba
aplicando un vacío de al menos 9” de Hg al
diafragma. Observe la aguja del manómetro
detenidamente para ver si se pierde vacío.
5) Si el diafragma de la válvula no se mueve,
o no puede mantener el vacío, sustituya la válvula
de recirculación de los gases de escape.
PROCEDIMIENTO DE REPARACIÓN – VÁL-
VULAS DE RECIRCULACIÓN DE LOS GASES
DE ESCAPE DE GM
General Motors fabrica tres tipos de válvulas de
recirculación de los gases de escape. Cada una de
las válvulas puede identicarse mediante el diseño
de la placa del diafragma (FIGURA 9). La primera
válvula es de vacío conectado y tiene sólo una
nervadura circular en la parte anterior de la placa
del diafragma. La segunda válvula es de contrapre-
sión positiva con dos nervaduras cruzadas en forma
de X que sobresalen sólo un poco por encima del
diafragma. Finalmente, existe una tercera válvula
de contrapresión negativa con dos nervaduras cru-
zadas en forma de X que sobresalen mucho por en-
cima del diafragma. Las válvulas de vacío conectado
y de contrapresión negativa se prueban de la misma
forma. Se utiliza un método de prueba distinto para
las válvulas de contrapresión positiva.
PRUEBA DE LAS VÁLVULAS DE RECIRCU-
LACIÓN DE LOS GASES DE ESCAPE DE
CONTRAPRESIÓN NEGATIVA Y VACÍO
CONECTADO FABRICADAS POR GM
1) Asegúrese de que todas las mangueras de vacío

39
estén tendidas de acuerdo con la etiqueta de control
de emisiones.
2) Compruebe si hay obstrucciones en la conexión
de vacío a la válvula de recirculación de los gases
de escape.
3) Conecte la bomba entre la válvula de
recirculación de los gases de escape y el carburador
o el suministro de vacío. Arranque el motor y hágalo
funcionar al ralentí hasta que alcance la temperatura
normal de funcionamiento (195 °F aproximada-
mente). Compruebe el vacío a 3000 rpm. La lectura
debe ser de 5” de Hg como mínimo.
4) Si no se detecta ningún vacío en el paso 3,
observe la lectura entre el interruptor térmico de
vacío y el carburador. Si obtiene una lectura de
vacío en ese lugar sustituya el interruptor térmico
de vacío.
5) Si el suministro de vacío entre la válvula de
recirculación de los gases de escape y el carburador
es adecuado, conecte la bomba a la entrada de la
válvula de recirculación de los gases de escape.
Haga presión sobre el diafragma de la válvula y
aplique aproximadamente 10” de Hg de vacío a la
válvula. Suelte el diafragma y observe el tiempo
que tarda en volver a la posición de asiento.
6) Si tarda menos de 20 segundos, sustituya la válvula.
PRUEBA DE LAS VÁLVULAS DE
RECIRCULACIÓN DE LOS GASES DE
ESCAPE DE CONTRAPRESIÓN POSITIVA
FABRICADAS POR GM
1) Siga los pasos 1 a 4 de la prueba de la
válvulas de recirculación de los gases de escape
de contrapresión negativa y vacío conectado.
2) Quite la válvula del motor. Conecte la bomba a
la entrada de la válvula de aplique 10” de Hg de
vacío. La válvula no debe abrirse. Si se abre,
sustituya la válvula.
3) Continúe la prueba de la válvula manteniendo el
vacío aplicado y lanzando aire de baja presión por
la entrada de escape de la válvula. La válvula debe
abrirse. Si no se abre, sustituya la válvula.
AMPLIFICADOR DE VACÍO DE VENTURI DEL
SISTEMA DE RECIRCULACIÓN DE LOS GASES
DE ESCAPE
Algunos motores disponen de un amplicador de
vacío de venturi que utiliza la señal de vacío débil
procedente del cuello del carburador para permitir
el paso del vacío más fuerte del múltiple de
admisión a n de operar la válvula de recirculación.
En la mayoría de las aplicaciones el amplicador
proporciona un refuerzo de 2” de Hg a Ia señal del
venturi (FIGURA 10).
PROCEDIMIENTO DE REPARACIÓN
1) Haga funcionar el motor al ralentí hasta que
alcance la temperatura normal de operación.
2) Asegúrese de que la manguera que va desde
el múltiple de admisión al amplicador esté bien
conectada. En los sistemas que tengan un depósito,
desconecte la manguera del depósito y utilice un co-
nector en “T” para unir la manguera a la manguera
de vacío del múltiple de admisión.
3) Use tramos de manguera separados y conectores
diferentes para poner en derivación cualquiera o
todas las válvulas de vacío o las válvulas controla-
das por refrigerante ubicadas entre la válvula de
recirculación y el amplicador.
4) Utilice un conector en “T” para conectar la
bomba al conducto de vacío entre el amplicador
y la válvula de recirculación.
5) Aumente la velocidad del motor a 1500/2000
rpm y suelte el acelerador. Deje que el motor
vuelva al ralentí y desconecte la manguera de vacío
en el venturi del carburador. La lectura de vacío
debe tener una tolerancia de ±0.3” de Hg con
respecto al refuerzo especicado para ese ampli-
cador, en el caso de que se especique un vacío
distinto de cero. Un refuerzo cero puede indicar
entre 0” y 0.5” de Hg. Sustituya el amplicador si
no cumple con la
especicación.
6) Aumente la velocidad del motor. Observe la
lectura del manómetro de vacío y suelte el acelera-
dor cuando se alcancen de 1500 a 2000 rpm.
Si la lectura de vacío del manómetro muestra un
recirculaciÓn De los Gases De escape

40
recirculaciÓn De los Gases De escape
incremento superior a 1” de Hg durante el período
de aceleración, se debe sustituir el amplicador.
7) Desconecte la bomba del conducto de salida de
vacío y vuelva a conectar las mangueras, pero siga
derivando las demás válvulas. Conecte la bomba y
aplique un vacío de 2 a 4” de Hg al oricio del
amplicador conectado normalmente al vacío del
múltiple de admisión. La válvula de recirculación de
los gases de escape deberá funcionar y el ralentí del
motor debe disminuir o ser irregular. Si no se mueve
la válvula de recirculación sustituya el amplicador.
OPERACIÓN DE LA VÁLVULA
TRANSDUCTORA DE CONTRAPRESIÓN
La válvula transductora de contrapresión controla
la cantidad de gases recirculados según la carga del
motor. Se introduce una sonda de presión en el
conducto de cruce del escape para tomar una
muestra de los gases de escape. Durante el
funcionamiento del motor con cargas ligeras, la
presión en el cruce del escape es relativamente
pequeña, mientras que durante el funcionamiento
con el acelerador completamente abierto, la presión
es máxima. La señal de la presión se transmite al
diafragma de la válvula transductora de contrapre-
sión y se utiliza para controlar el vacío que se debe
aplicar a la válvula de recirculación de los gases de
escape (FIGURA 11).
PROCEDIMIENTOS DE REPARACIÓN
1) Quite el ltro de aire y tapone la conexión del
múltiple de admisión. Haga funcionar el motor al
ralentí hasta que alcance la temperatura normal de
operación. Coloque el seguidor de la leva de ralentí
alto en el segundo escalón de la leva de ralentí alto
(para obtener unas 1500 rpm). A continuación
observe las rpm del motor con un tacómetro y utilice la
bomba para probar el suministro de vacío en la fuente
del múltiple (FIGURA 12). Observe esta lectura.
2) Conecte la bomba con un conector en “T” al
conducto de vacío de la válvula transductora de
contrapresión. La lectura debe ser de 1 a 2” de Hg.
Sustituya la válvula transductora de contrapresión si
la lectura no cumple con las especicaciones.
3) Deje el manómetro de vacío en esta posición,
desconecte la manguera de la válvula de recircu-
lación de los gases de escape y tapone la abertura
de la manguera. Tome la lectura del manómetro de
la bomba. Esta lectura debe ser la misma que la
lectura del múltiple de admisión. Si esta lectura no
se aproxima menos de 2” de Hg a la lectura tomada
del suministro de vacío, sustituya la válvula
transductora de contrapresión.
FIGURA 11: VÁLVULA TRANSDUCTORA DE
CONTRAPRESIÓN DE GASES DE ESCAPE
A la Chispa del
Distribuidor
– Válvula Tér-
mica de Vacío
Expuesta a la Presión de los Gases de Escape
A la Válvula de
Recirculación
de los Gases
de Escape
Conecte la bomba aquí
Transductor
Entrada de los
gases de escape
Válvula de
recirculación
de los gases
de escape
FIGURA 12: PRUEBE CON LA BOMBA EL
SUMINISTRO DE VACÍO PARA LA VÁLVULA
TRANSDUCTORA DE CONTRAPRESIÓN

41
Las válvulas de retraso de encendido tienen como
función retrasar el suministro de vacío al mecanismo
activador de avance de vacío del distribuidor durante
aceleraciones bruscas, para retrasar la activación
del sistema termoactuador de reacción de inducción
de aire cuando el motor funciona al ralentí durante
períodos largos, y para retrasar la aplicación de
vacío al diafragma del estrangulador automático
durante el funcionamiento del motor en frío. En
algunos motores hay instalada una válvula de metal
sinterizado en el diafragma de avance
(exterior) de vacío de la unidad de control del
distribuidor. La función de esta válvula es retrasar
el avance del encendido durante las aceleraciones
rápidas para reducir al mínimo la formación de
NOx. El metal sinterizado es poroso y permite pur-
gar el vacío a través de la válvula comportándose
como un oricio de unos 0.05 mm de diámetro. El
control se obtiene variando el número de discos en
cada conjunto de válvula de modo que el retraso
pueda adaptarse al motor (FIGURA 13).
PROCEDIMIENTOS DE REPARACIÓN
El retraso de la válvula varía con la aplicación del
motor. Las distintas válvulas pueden identicarse
por el color y el número de pieza. Las válvulas de
retraso de encendido no pueden repararse y deben
sustituirse cada 12.000 millas, ya que los poros del
metal sinterizado se llenan de polvo, lo que puede
reducir el rendimiento de la válvula. NOTA: La
válvula de retraso de encendido sólo admite ujo
en una dirección, por lo que debe instalarse siempre
con la parte negra apuntando al oricio de vacío
del carburador. Para determinar si funciona bien
una válvula de retraso de encendido, siga el proced-
imiento de diagnóstico indicado a continuación:
1) Con la transmisión en neutral, ponga el carburador
en la posición de ralentí rápido, quite la válvula de
retraso de encendido y conecte la bomba de vacío
a la manguera que va hacia al oricio de encendido
del carburador usando un conector en “T”.
2) Anote la lectura de vacío. Debe estar comprendida
entre 10” y 16” de Hg.
3) Apriete la manguera de vacío cerrando el paso
y compruebe si el manómetro mantiene el nivel de
vacío. Si el manómetro muestra que el vacío baja con
la manguera apretada, el manómetro o la manguera
de vacío tienen fugas que deben corregirse.
4) Conecte ahora la parte negra de la válvula de
retraso de encendido a la manguera de vacío que
va al oricio de encendido del carburador. Conecte
un extremo de la manguera de vacío a la bomba
y el otro extremo al extremo del distribuidor de la
válvula de retraso de encendido. Mida los segundos
que tarda el manómetro en alcanzar 6” de Hg, con
un suministro de vacío de 10 a 16” de Hg. Si el
vacío alcanza una lectura de 6” de Hg en menos
de 2 segundos, independientemente del tipo de
válvula, ésta debe ser sustituida. Cuando compruebe
la válvula, debe tener cuidado de no permitir la
entrada de aceite o suciedad en la misma, ya que
puede impedir su funcionamiento.
operaciÓn De la vÁlvula De retraso De encenDiDo
FIGURA 13: VÁLVULA DE RETRASO DE
ENCENDIDO TÍPICA
Válvula de Retraso
de Encendido
Filtro de aire
Oricio “A”
Terminal positivo
Oricio “B”
FIGURA 14: SOLENOIDE DE VACÍO TÍPICO

42
PROCEDIMIENTO DE REPARACIÓN
1) Desconecte los conectores de vacío y eléctricos
del solenoide. Conecte la bomba al oricio “B” y
trate de aplicar vacío con la bomba. El vacío debe
romperse por el oricio “A” (FIGURA 14).
2) Use cables auxiliares para conectar el terminal
negativo del solenoide a tierra y aplicar 12 voltios
al terminal positivo. Aplique un vacío al oricio “B”.
El vacío debe mantenerse. Si el solenoide no puede
mantener el vacío, cámbielo.
3) Con el solenoide aún conectado eléctricamente,
conecte la bomba de vacío al oricio “A” e intente
aplicar vacío. El vacío debe romperse por el ltro de
aire y no debe haber vacío en el oricio “B”.
solenoiDe elÉctrico/De vacÍo
PROCEDIMIENTO DE REPARACIÓN
Estas válvulas de control se denominan interruptores
de vacío conectado (PVS) en los motores Ford,
válvulas de control de encendido térmico (TIC) en
los motores Chrysler e interruptores de vacío
térmicos del distribuidor (DTVS) en los motores
General Motors. La válvula de dos oricios se utiliza
para detener la recirculación de los gases de escape
cuando el motor está frío. Este tipo de interruptor
térmico es necesario para permitir una buena con-
ducción del vehículo al limitar la entrada de los gases
de recirculación hasta que el motor esté caliente. La
válvula de tres oricios se denomina normalmente
interruptor de vacío conectado del sistema de
enfriamiento porque cambia el vacío al distribuidor
de vacío conectado a vacío de admisión total.
La válvula de cuatro oricios se ha usado en ciertos
motores Ford para derivar la válvula de retraso de
encendido y anular el sistema de recirculación de los
gases de escape hasta que el motor esté caliente.
PROCEDIMIENTOS DE REPARACIÓN
Siga este procedimiento para probar la válvula
interruptora de vacío de dos oricios:
1) Aplique un vacío de 10” de Hg con la bomba al
oricio inferior de la válvula y mida los resultados
con un segundo manómetro de vacío según se
muestra en la ilustración (FIGURA 13).
2) Las válvulas están codicadas con colores. La
válvula verde debe abrirse y transmitir el vacío a
68°F y la válvula negra a 100°F.
3) Si el vacío se transmite totalmente por la válvula
cuando está caliente, esto signica que está en
buenas condiciones. Si el vacío no se transmite o
si se transmite cuando el refrigerante está frío,
sustituya la válvula.
Siga este procedimiento para probar la válvula
interruptora de vacío de tres oricios:
1) Aplique un vacío de 10” de Hg al oricio intermedio
de la válvula con la bomba y conecte un manómetro
de vacío a cada uno de los otros dos oricios.
2) Consulte las mismas válvulas codicadas por
color y las mismas especicaciones de temperatura
que para la válvula de dos oricios indicada arriba.
Si el vacío cambia a la temperatura especicada, la
válvula está en buenas condiciones. Si no hay vacío
en el oricio inferior por encima de la temperatura
especicada, sustituya la válvula.
La válvula de cuatro oricios debe probarse dos
veces, una vez en los dos oricios superiores y otra
vez en los dos oricios inferiores según se muestra
en la ilustración de la FIGURA 15.
1) Aplique un vacío de 10” de Hg con la bomba a
uno de los dos oricios superiores. La válvula debe
mantener el vacío cuando se alcance la temperatura
de operación especicada arriba.
2) Si el vacío se transmite cuando la válvula está
caliente, sustitúyala.
3) Para los dos oricios inferiores, el vacío debe
transmitirse por la válvula sólo cuando el motor
esté caliente. De no ser así, sustituya la válvula.
vÁlvulas De intercambio De vacio
accionaDas termicamente

43
1) Aplique un vacío
de 10 pulgadas
(motor en frío)
4) Cuando el motor está
caliente (el refrigerante debe
estar a más de 125 °F)
2) El manómetro
debe mostrar una
lectura de 10 pulgadas
3) El manómetro
debe mostrar una
lectura de cero
Manómetro de Vacío
FIGURA 15: PRUEBA DEL INTERRUPTOR DE VACÍO CONECTADO DE DOS ORIFICIOS
RESULTADOS:
Sin vacío con el motor caliente La válvula superior esta en buenas condiciones
Con vacío con el motor caliente Sustituya la válvula interruptora de vacío conectado
RESULTADOS:
Con vacío con el motor caliente La válvula inferior esta en buenas condiciones
Sin vacío con el motor caliente Sustituya la válvula interruptora de vacío conectado
PRUEBA DE LA VÁLVULA INTERRUPTORA DE
VACÍO CONECTADO DE CUATRO ORIFICIOS
FLUJO DE LA VÁLVULA SUPERIOR
2) Aplique un vacío de 10 pulgadas
Cuando el motor esté
frío la lectura de vacío
debe ser cero.
1) Cuando el motor esté caliente (el
refrigerante debe estar a más de 125 °F)
3) El manómetro debe indica el vacío de la fuente
FLUJO DE LA VÁLVULA INFERIOR
FIGURA 16: PRUEBA DEL INTERRUPTOR DE VACÍO CONECTADO DE CUATRO ORIFICIOS
1) Desconecte de
la válvula ambas
mangueras
Código
Color
2) Conecte el manómetro a un
oricio y un suministro remoto
de vacío al otro
4) Haga funcionar el motor
hasta que el refrigerante se caliente por encima
del ajuste de la válvula (vea el cuadro)
3) Aplique un vacío de
10” de Hg a la válvula
5) Compruebe si este
manómetro muestra alguna
lectura de vacío
RESULTADOS:
Sin vacío Sustituya la válvula del
interruptor de vacío conectado
Con vacío Válvula del interruptor de vacío
conectado abierta
Con vacío con el Sustituya la válvula del
refrigerante frío interruptor de vacío conectado
Código Refrigerante por encima
de Color de esta temperatura
Verde 68°F
Negro 100°F
Sin color 133°F
o azul
vÁlvulas De intercambio De vacio accionaDas termicamente

44
JueGo De relleno De fluiDo automÁtico
En el juego de la bomba se incluyen componentes
diseñados para mantener automáticamente un nivel
constante de fluido nuevo en el cilindro principal
o en el depósito del embrague hidráulico mientras
se purga en vacío. Los componentes incluyen dos
adaptadores de tapas que se adaptan a la mayoría
de las botellas de fluidos para frenos de una pinta
y de un cuarto de galón (1 1/4” lado de la boca) y
tres placas de relleno del cilindro principal/depósito.
OPERACIÓN DEL SISTEMA
1) Evacue tanto uido viejo como sea posible del
cilindro principal o del depósito del embrague.
2) Vuelva a poner la tapa en una botella de una
pinta o de un cuarto de galón de nuevo fluido para
frenos con el adaptador de tapa apropiado.
3) Seleccione la placa de relleno apropiada y pón-
gala en la parte de arriba del cilindro principal o del
depósito del embrague.
4) Invierta la botella de uido con el adaptador del
alimentador conectado, e introduzca el adaptador
del alimentador en el agujero de la placa del cilin-
dro principal. Empuje hacia abajo la botella hasta
que el adaptador del alimentador encaje a presión
en la placa de relleno.
5) Purgue el freno hidráulico o el sistema del
embrague.
NOTA: Tenga cuidado al insertar y quitar la botella
de fluido para frenos para evitar que se derrame.
FIGURE 17:
JUEGO DE RELLENO DE FLUIDO AUTOMÁTICO
Muchos sistemas de freno actuales vienen equipados
con funciones antibloqueo (ABS) y controles
electrónicos. Muchos de estos sistemas utilizan una
bomba eléctrica de alta presión para mantener el
sistema a presión. La reparación o purga de estos
sistemas de frenos requiere seguir procedimientos
especiales y tener en cuenta ciertas precauciones.
Observe las siguientes precauciones siempre que se
disponga a reparar sistemas de freno antibloqueo:
Lleve puestas SIEMPRE gafas protectoras cuando se
disponga a reparar sistemas de frenos de alta presión.
Descomprima SIEMPRE el sistema de freno antiblo-
queo antes de añadir líquido de frenos o antes de
reparar o realizar tareas de mantenimiento.
A menos que lo indique el procedimiento establecido
por el fabricante, no abra NUNCA ninguna válvula
de purga ni aoje ninguna tubería hidráulica con
el sistema de freno antibloqueo a presión. Utilice
SOLAMENTE líquidos de freno recomendados.
En vehículos equipados con sistemas de freno
antibloqueo, NO utilice líquidos de frenos a base
de silicona.
Para obtener información detallada sobre sistemas
de freno antibloqueo consulte siempre el manual de
reparaciones correspondiente.
ALIVIO DE PRESIÓN DE SISTEMAS DE
FRENO ANTIBLOQUEO
Para obtener información detallada sobre el
procedimiento de alivio de presión, consulte siempre
el manual de usuario del vehículo o un manual de
reparación apropiado. El procedimiento que se
indica a continuación suele ser válido para la
mayoría de los sistemas de freno antibloqueo.
Asegúrese de que el interruptor de arranque esté
en la posición de apagado, o desconecte el cable
negativo de la batería. Pise el pedal del freno de 25
a 40 veces. Cuando note un cambio considerable,
purGa De sistemas De freno

45
FIGURE 17:
JUEGO DE RELLENO DE FLUIDO AUTOMÁTICO
pise el pedal unas cuantas veces más. Esto aliviará
la presión en la mayoría de los sistemas. Abra con
cuidado el depósito del líquido de frenos o los tubos
del líquido de frenos. Rellene completamente el
depósito del líquido de frenos y cuando haya
terminado vuelva a conectar el cable de la batería.
PURGA DE SISTEMAS DE FRENO
ANTIBLOQUEO
Para obtener información detallada sobre el
procedimientos de purga del líquido de frenos,
consulte siempre un manual de reparación. Los
frenos delanteros en la mayoría de los sistemas de
freno antibloqueo se purgan manera convencional.
La mayoría de las bombas hidráulicas y acumula-
dores de presión están provistos de una válvula
de purga que se debe abrir para purgar el sistema
de frenos cuando el sistema haya perdido líquido
o se vaya a reemplazar. En algunos vehículos es
necesario que el sistema esté a presión al purgar
los frenos traseros. Algunos fabricantes automotri-
ces usan procedimientos de purga que requieren
equipos especializados.
PURGA DE LOS TUBOS DE LIQUIDO
DE FRENOS
La mayoría de los problemas relacionados con
pedales que haya que pisar demasiado o que se
sientan blandos suelen deberse a la presencia de
aire en los tubos hidráulicos, lo que hace necesario
purgar el sistema hidráulico. Este sistema puede
purgarse fácilmente usando la bomba y accesorios
de purga. Purgue las ruedas de una en una
empezando por la rueda más cercana al cilindro
maestro. El juego proporciona un método sencillo,
limpio y rápido para purgar los tubos del líquido de
frenos de automóviles. La creación de vacío en el
vaso del recipiente hace que el líquido sea aspirado
hacia el vaso. Se debe tener en cuenta que posible-
mente se observe un ujo pequeño de burbujas en
la manguera una vez que se haya purgado todo el
líquido de los tubos. Esto se debe a la aspiración de
la bomba que hace que se inltre aire por las roscas
de la conexión de purga aojada. Una vez que se
elimine todo el aire del sistema, estas pequeñas
burbujas no afectarán negativamente la purga,
ya que sólo están presentes en la conexión y no
pasarán al sistema. Si lo desea puede poner un poco
de grasa en las roscas de la conexión para eliminar
la mayoría de las burbujas. A continuación se indica
el procedimiento de purga correcto:
1) Asegúrese siempre de que el depósito del cilindro
maestro esté lleno y de tener a mano líquido
adicional de frenos nuevo para llenar al máximo
el depósito cuando el nivel de líquido baje durante
la purga. Asegúrese de que todas las conexiones de
purga estén limpias antes de empezar la purga.
2) Purgue el sistema hidráulico siguiendo este
orden: a) Conexiones de purga del cilindro maestro,
de haberlas. (Si va a instalar un cilindro maestro
nuevo o reconstruida siga el procedimiento indicado
a continuación para purgar en el banco de trabajo.
b) Las conexiones de purga de la válvula de
combinación, de haberlas. c) Los cilindros y
horquillas de las ruedas, en secuencia,
empezando por la rueda más próxima al cilindro
maestro y terminando por la rueda más alejada.
NOTA: Se recomienda seguir el orden del fabricante
(si se sabe). El procedimiento dado en este articulo
especica que se debe empezar a purgar la rueda
más próxima al cilindro maestro. Sea cual sea el
orden usado, asegúrese de purgar todo el aire
del sistema.
3) Introduzca deslizando 1½” de tubo entre la
bomba y la tapa del vaso del depósito, en el oricio
marcado “TO PUMP” (a la bomba) (FIGURA 18).
4) Conecte un tubo de plástico de unas 12” a la
parte inferior de la tapa.
5) Conecte aproximadamente un tubo de 12” al
otro oricio del vaso del depósito. Asegúrese de que
la tapa del depósito esté bien cerrada, pero no la
apriete demasiado.
6) Seleccione los adaptadores apropiados. Los
adaptadores universales en forma de L deben
encajar de forma ajustada sobre la conexión de
purga del freno para sellarla debidamente. Los
adaptadores cónicos encajan por el agujero
pasante y generalmente producirán un buen
sellado cuando se introduzcan de forma apretada
purGa De sistemas De freno

46
purGa De sistemas De freno
A la Bomba
FIGURA 18: JUEGO DE PURGA DEL FRENO
con un movimiento de presión y torsión. Conecte el
adaptador a la manguera del depósito.
7) Ponga la llave en la conexión de purga del
freno, conecte el conjunto de adaptador y bomba y
bombee de 10 a 15 veces.
NOTA: Si las burbujas que salen de la conexión son
muy pequeñas y de tamaño uniforme, es probable
que el aire proceda del interior del sistema. No es
necesario eliminar estas burbujas ya que no afectan
el funcionamiento de los frenos. Si se desea,
generalmente se pueden eliminar estas burbujas
aplicando grasa o una cinta adhesiva de Teflon en
las roscas para actuar coma un sello.
8) Aoje un poco la conexión, sólo lo suciente
como para hacer que el líquido entre en el vaso
(aproximadamente de 1⁄4 a 1⁄2 vuelta).
9) Apriete la conexión una vez evacuadas unas 2” de
líquido en el vaso. Mantenga el cilindro maestro lleno.
Repita todos los pasos anteriores en las demás rue-
das. Si no pasa líquido al vaso después de abrir la
conexión, asegúrese de que la tapa del vaso
esté bien apretada. Si la tapa no está apretada
rmemente no podrá generar suciente vacío en el
vaso. Ocasionalmente entrará suciedad en los tubos
del líquido de frenos. En ese caso es posible que la
bomba no sea completamente efectiva. Si ocurre
esto, pida a alguien que pise el pedal del freno
ligeramente una vez, con la válvula de purga abi-
erta, y después continúe usando la bomba.
PROCEDIMIENTO DE PURGA EN
MOTOCICLETAS
Antes de purgar el sistema, cerciórese de lo siguiente:
1) Los pistones de la horquilla del freno se pueden
mover libremente dentro de las horquillas.
2) El pistón del cilindro maestro puede regresar
libremente al nal de su carrera.
3) Inspeccione todas las conexiones del tubo para
comprobar que estén bien apretadas.
FRENO DELANTERO
1. Bombee la palanca del freno para asentar las
pastillas de la horquilla contra el rotor.
2. Cubra el depósito de gasolina con plástico si está
usando líquido DOT 3 (no es necesario hacer esto si
está usando líquido DOT 5.
3. Quite la tapa del depósito del cilindro maestro
y llénelo.
4. Seleccione los adaptadores apropiados. Los
adaptadores de presión (en forma de “L”) son de
distintos tamaños (pequeño, mediano y grande).
Debe poder apretarse bien en la conexión de purga
del freno para sellarlo bien. Los adaptadores
cónicos se ajustan dentro del agujero pasante de
la conexión y por lo general producirán un buen
sellado cuando se introducen de forma ajustada
haciendo fuerza y girando rmemente. Conecte el
adaptador a la manguera del depósito.

47
5. Bombee varias veces para producir un vacío.
Abra ligeramente la válvula de purga con una llave
de tubo para extraer líquido al recipiente. (Pare y
añada líquido cuando el nivel del cilindro maestro
sea bajo. No permita la entrada de aire en el tubo).
En este momento, todo el aire debe estar fuera del
sistema y el tubo debe estar lleno de líquido. (Nota:
Si entra aire en la manguera de la bomba alrededor
de la conexión de purga, quite la conexión de purga
y ponga cinta de Teflon solamente en la parte
roscada del tornillo de purga).
6. Apriete la conexión de purga a la vez que man-
tiene el vacío en el tubo de la bomba.
7. Rellene el depósito y vuelva a poner la tapa.
Compruebe el freno bombeando la palanca varias
veces. Al pisar el pedal se debe sentir una
resistencia rme y uniforme. Si no es así, repita
el procedimiento de purga, ya que puede haber
entrado más aire en el sistema. Inspeccione el tubo
para asegurarse de que todas las conexiones estén
bien apretadas. Si el freno parece estar aún flojo,
consulte con un técnico de servicio.
En el caso de frenos delanteros de discos dobles,
repita el procedimiento de purga como si se tratara
de dos sistemas separados.
FRENO TRASERO
El procedimiento para eliminar todo el aire del tubo
del freno trasero es idéntico al procedimiento para
el freno delantero. El depósito del freno trasero se
está ubicado generalmente debajo de una de las
tapas laterales.
1. Quite la tapa del cilindro maestro y llene el
depósito has casi Ilenarlo.
2. Conecte la manguera de la bomba a la conexión
de purga y bombee la palanca varias veces para
crear un vacío.
3. Abra ligeramente el purgador con una llave de
tubo. Debido a la cortedad del tubo, la mayor parte
del aire debe evacuarse la primera vez.
4. Al cerrar la válvula y repetir el proceso, se debe
eliminar todo el aire del sistema. Pare y añada más
líquido si baja el nivel en el cilindro maestro.
5. Rellene el depósito y vuelva a poner la tapa.
LOCALIZACIÓN Y RESOLUCIÓN
DE PROBLEMAS
1. Si, después del procedimiento de purga, el freno
sigue sin responder es posible que haya agua en el
sistema, en cuyo caso tendrá que ser desmontado y
limpiado por un técnico de servicio capacitado.
2. Si el freno chirría ligeramente después de purgarse,
habrá que limpiar el disco y las pastillas del freno.
3. Aunque la mayoría de los fabricantes
recomiendan el líquido liquido DOT 3, este tiene
tendencia a acumular humedad causando la pérdida
de color común que se puede observar, lo que
signica una menor eciencia. El DOT 5 está
basado en silicona y no tiene la misma tendencia
a acumular humedad. Por otro lado, el DOT 5
no es fácil de conseguir, y los dos líquidos no
deben mezclarse.
4. Las mangueras de goma son materiales de uso
general en las motocicletas, pero tienen la tendencia
de expandirse, lo que puede resultar en una
reacción esponjosa del freno después de haber
conducido el automóvil durante mucho tiempo. Las
mangueras de acero trenzado no se expandirán así.
purGa De sistemas De freno

48
PURGA DEL CILINDRO MAESTRO EN EL
BANCO DE TRABAJO
Siempre que se quite el cilindro maestro de un
vehículo o que se instale uno nuevo, se debe purgar
el cilindro en el banco de trabajo. No purgar este
cilindro en el banco es la causa principal de hacer
sustituciones incorrectas del cilindro. La purga en
el banco de trabajo reduce considerablemente la
posibilidad de que entre aire en el cilindro después
de volverlo a instalar. Siga este procedimiento:
1) Tapone los oricios de salida del cilindro maestro
y sujete el cilindro en una prensa de banco sin
apretar mucho y con el extremo de la varilla de
empuje un poco sacado. NOTA: Se puede dañar el
cilindro si se sujeta por el interior o si los depósitos
están demasiado apretados.
2) Llene el cilindro maestro con un líquido de
frenos adecuado y manténgalo lleno durante
todo este procedimiento.
3) Quite un tapón del cilindro maestro y conecte el
adaptador apropiado a este oricio de salida del
cilindro maestro. Conecte el tubo de la bomba al
vaso del depósito y el tubo del vaso a la manguera
al adaptador (FIGURA 19).
4) Accione la bomba y observe el paso de aire y
líquido al depósito hasta que aparezca un líquido
transparente sin burbujas.
5) Tapone bien el oricio de salida y repita el paso
4 en los otros oricios de salida.
6) Sujete el cilindro maestro en un tornillo de banco
con el extremo de la varilla de empuje ligeramente
bajado. Deslice lentamente la varilla de empuje
del cilindro maestro hacia adentro y hacia afuera
aproximadamente 1⁄8”, hasta que no observe
burbujas de aire en los depósitos.
7) Vuelva a montar el cilindro maestro con el
extremo de la varilla de empuje hacia arriba y re-
pita los pasos 3 y 4 con los demás oricios de
salida. Tapone bien los oricios. Ahora, el cilindro
maestro estará purgado y listo para instalarse.
purGa De sistemas De freno
FIGURA 19:
PURGA EN BANCO DE TRABAJO
49

50
Get it fixed, at your home or ours!
Your Home
For repair – in your home – of all major brand appliances,
lawn and garden equipment, or heating and cooling systems,
no matter who made it, no matter who sold it!
For the replacement parts, accessories and
owner’s manuals that you need to do-it-yourself.
For Sears professional installation of home appliances
and items like garage door openers and water heaters.
1-800-4-MY-HOME®(1-800-469-4663)
Call anytime, day or night (U.S.A. and Canada)
www.sears.com www.sears.ca
For expert home solutions advice: www.managemyhome.com
Our Home
For repair of carry-in items like vacuums, lawn equipment,
and electronics, call or go on-line for the location of your nearest
Sears Parts & Repair Service Center
1-800-488-1222 (U.S.A.) 1-800-469-4663 (Canada)
Call anytime, day or night
www.sears.com www.sears.ca
To purchase a protection agreement on a product serviced by Sears:
1-800-827-6655 (U.S.A.) 1-800-361-6665 (Canada)
Para pedir servicio de reparación
a domicilio, y para ordenar piezas:
1-888-SU-HOGAR®
(1-888-784-6427)
Au Canada pour service en français:
1-800-LE-FOYER
(1-800-533-6937)
www.sears.ca
®Registered Trademark / TM Trademark / SM Service Mark of Sears Brands, LLC
®Marca Registrada / TM Marca de Fábrica / SM Marca de Servicio de Sears Brands, LLC
MC Marque de commerce / MD Marque déposée de Sears Brands, LLC © Sears Brands, LLC
801544