DP 21 4000 User Manual PRIME FIT TREADMILL Manuals And Guides 1103732L
User Manual: DP 21-4000 21-4000 DP PRIME FIT TREADMILL - Manuals and Guides View the owners manual for your DP PRIME FIT TREADMILL #214000.
Open the PDF directly: View PDF
.
Page Count: 9

6 . {!3)wner's Manual
Prime Fit TM Treadmill
I. D. NO.: 2.8850 PART# 60085200
21-4000
MADE IN U.S.A.
TOOLSREQUIRED:
Phillips Screwdriver
Adjustable Wreneh
Pliers
BEFORE STARTING ANY EXERCISE
PROGRAM, IT IS RECOMMENDED THAT
YOU CONSULT YOUR PI._YSlCIAN.
=
- iii i i i] i]111 i ii ii
REPLACEMEI_ PARTS
Thank you for purchasing our pro_duct.Although we go
to great effort to ensure tl_equalify of out products, oc-
cas_onailyerrors or omissions occur. Should you find
that a part is either defective or missing, please contact
us for areplacement at-the following address or
telephone number.
You MUST have the serial number of this fitness equip-
mel_t ready forths Customer Service Representative in
all communications,
i
In the United States, call 1-800-633-5730, or write to:
Oiversified Products Coq:)oratlon
P.O. Box 100
Opelika, AL 36801
A=n.: Customer Service -Parts
If you live in the United Kingdom. Western Europe, or
the Middle East, contact:
DiverSified Products Limited
Gamgoch industrial Estate
Phoenix Way
Gomelnon, Swansea
United Kingdom
Attn,: Customer Service :Parts
Tel.: (0792) 893854
Telex: 48687 DIVPRO
This uinit is '[ntendled for household use only.
WARNING:
:.C,on"nect, this appliance to a properly
grounded outlet only. See Grounding-
Instructions,
69085200
::IMPORTANT SAFETY
INSTRUCTIONS
When using an electrical appliance, basic precautions
should always be followed, including the following:
Read all InstrlJC_lone before using this Treadmill,
DANG ER-- To,... the of,,°==
Always unplug the Treadmill from
the electrical outlet immediatley
after using and before cleaning.
WARNING =- To reduce the dSk of burns,
fire,and electric shock, or Injury
to persons:
1. The Treadmill shoutd never be left unattended when
_lugged in. Unplug from outlet when not in use and
ef0re putting on or taking off parts.
2. Do not allow childen on or around Treadmill.
3. Medical approval and close supervision is necessary
when thisappliance isused by, or near handicapp_d in-
dividuals.
4. 0o not place hands or feet under the Treadmill.
5, Always keep hands and tees off the Treadmill while
others are using _t.
8, Use t_e Tteedmtll only for' itsintended use as described
in this n'_nuai. Do not use attachments not recom-
mended in thismanual, .:: :
7. Never operate tl_e Treadmillif it has a damaged cord or
plug, if it is not working properly, if it has been dropped
or damaged, or exposed to water. Contact out customer
service department forservice recommendations.
8. Do not pull the Treadmill by power supply cord or use
cord as _thandle.
9. Keep cord away from heated sudacee and ol_en flame.
10, Never operatstt_e Treadmill with the air openings block-
ed. Keep the air openings free of lint, hair, and the like.
11. Never drop.or insert anything into Shy opening.
12. DOnot use outdoors....
13.13o not Operate where aerosol (Sl:_ay) products are
being used otwhere oxygen is being a,clmmtstered.
14.Always return the Treadmill to slow speed to l_rovlde for
•, sate dtmrnount a_l lowspeed re=an. "
i5. To disconnect, turn allconttots to the Off position, then
remove plug from outlet.
18. Start y0ut program stowty and very gr_uduallyincrease
your speed and dlstanc_.
! 7, Do notwalk or iog barefoot or in stocking feet. .
18. Do not watk or jog in loose fitting shoes or slippers.
19. Never walk or jog while wearing loose fitting, long gar-
ments such as Slacks, pajamas, dresses o(, ftoppybell
_ftoms.
20. When walkingpr ioggirtg alway srstay on the torwetd part'
of the treadbelt, Never walk or jog near the rear of the
machine.
21. Never walk or iog faster than is comfortable for yOU.
PLEASE RETAIN THIS MANUAL

Why Exercise?
Whyis heart disease so common today? A prime reason is our way of life, Look around you. We have become a sitting
,society. Most of us sit all day at the office and then drive home at nightto sit some more in front ot the T.V.
'Nalkingand jogging atereo_nized as two of the better forms of aerobic exercise, Unfortunately there are few places in our
._itleswhere one may waJKorjog safety, t-unnerrnore, aprogram ovoutdoorwe=Kingor jogging must rety on favorable weather,
making systematic exet¢_e difficult.
The PRIME FIT TM TREADMILL makes it possible for you tO embark an aprogram of physical self Improvement which could
prolong your health.
included inthis booklet is a program designed to put you on the road to an improved physical condition.
Good exercise habits will help you feel better, look better, and enjoy life mote fully.
PARTS LIST
.......................... iii iiiiiinl .....
ITEM PART NO. QTY. PART NAME
1200i 6000 2 #10 X1/2" Long Sheet Metal Screw
2 37028800 1 Monitor
....... _37023700, !..... ,Pulse. Pickup w/Stratn Relief Clip ................
39261400 1 iSwtt_ ._...,_p..--_ _+o
i,,,,,n,l..,i,,,.,p H i i,,i............
NOTE: The h.atdware may vary (!ype of head or length} from that specified, but the
vanatJonwill in no way affect the pro_ucrs quality.
Assembly
Step 1,
_tep 2.
FIGURE 1
Remove TREADMILL BASE and Components from carton (be sure that HARDWARE PACKET is also removed)
emove two HEX HEAD SCREWS (No. 111) from top of FRONT SUPPORT BRACKET (No, 109). Lift FRON_
UPPORT (No. 100) and fasten in updght pOsitionwith HEX HEAD SCREWS. `T=ghtenHEX HEAD SCREWS,
NOTE: It may be necessary to sltglltly move FRONT SUPPORTftom side tO side to,allgn hOleS. -. -.
Step 3, Push BELLOWS (No. 112) down until HINGE of FRONT SUPPORT (No, 100) iS coveted,
Slop 4. Lift RANDRAILS (No, 157) and insert upper end of HANDRAILS into ends of HANDLEBAR On FRONT SUPPORT
(No. 100) then fasten from bottom through SMALL HOLES with SCREWS (No. ,1).
Step 5, Tighten all SCREWS, BOLTS and LOCKNUTS, Check at least twice to be sure that none were missed.
Step 6. )_en BATTERY D(:X:)R of MONITOR (No. 2),, insert 4 "AA" Alkaline BATTERIES (Not Included), and close BAT-
RY 00<:)R.
Plug WIRE from CONSOLE (No, 102) into bottom of MONITOR (No. 2) and insert MONITOR,in CONSOLE.
_E PICKUP (No. 3) tnto MONITOR (No. 2).:..'_-'''4_' _,,r.rr, u ,_, ,_^,- *............ _' ,',,',,-',.",, =
.............. -...,,.,,._-,,U,_v. 41 ._u _,_, ;r, _,._,,_,.,,,_-
Grounding Instructions
This product must be grounded, if it should malfunction or breakdown, grounding
provides a path of least resistance for etectrfc current to reduce the dsk o! electric
sl'_c,k. The plug must be plugged into an appropriate outlet that is propedy =nstalled
ana grounded in accordance with all local codes and ordinances.
DANG equipment-groundingconduc-
torcan result in a risk of electric shock. !
'Check with a qualified electrician or serviceman if you are in doubt aS to whether
k'llp,product isproperly grounded. Do not modify the plug provided withthe product
r:_.lfit will not fit the outlet, have a proper outlet installed by a qualified electrician.
This product Is for use on a nominal 120 vott circuit and has a grounding plug that
looks similar to the plug illustrated _nFIGURE 2, No adapter should be used with
this product, Be sure that it iS connected to an outlet having the same configuration
as the plug.
GROUNDED
OUTLET
GROUNDED
FIGURE 2

CALORIES:
of 5 beats per minute.
CALORIES are based on AGE, SEX, and PULSE RATE. CALORIE MODE MUST BE USED IN CONJUNC-
TION WITH PULSE INPUT FROM THE PULSE PICKUP.
Press the Mode button until the small tdangle is visibleabove "AGE/SEX/CALORIE" and the=word"AGEo_o_
pears on tl_eleft sideof the display. Use the UP ocOOWN buttons to select your correct age. Press the MU
button tO set and asmall figure will appear on the left side of the display. Use the UP button to ¢ltoose the
figure descriptive of your sex (male or female). Press MODE once more to set. if necessary, set the display
to 0.0 by pressing both UP and DOWN buttons at the same time.
To begin, press START/STOP. To _lop, press START/STOP. Press it once more to resume.To use the"
CALORIE countdown feature, use the UP and DOWN buttons to set the number of calortes you desire to use
and=art by pressing START/STOP. An alarm witl sound for 10 seconds when you have used the set num-
ber of calories. 4
PULSE: PULSE displays yoyr pulse rate in beats per minute. Place
the PULSE PICKUP on your eadobe and plug the CORD
into the RECEPTACLE provided at Ule bottom of the
MONITOR.
The PULSE circuit is designed to identify consistent pulse
patterns, if aconsistent pattern cannot be detected, or if
it senses that aconsiste_ pattern has become irr_luiar,
the monitor displays the letter "P:', denoting that it cannot
find aretlaZslepulse. To =void this, _e r=_n relief ¢llp on
the wlre should be fastened to your collar or another piece
of clothing while you exemLse.
PULSE TARG ET: PULSE TARGET allows you to set a target range for your
pulse rate during a won_out. For funl_er information refer
to the exemise program az',dtraining chart,
To set the HIGH TARGET value, be sure that PULSE
TARGET mode is off (small triangle notflashing) and the
word HIGH ai_pears aton_ the right side of t_e d!sp!_,y:
Then use the UPor OOWNbuttons to sezect the aes_reo
UPPER PULSE RATE. Press MOOE to sell
To set the LOW TARG_ value, press MODE untrl*LOW"
appears along the right side of display and use the UP and
DOWN buttons to select the desired LOWER PULSE
RATE.
To begin,press the START/STOP button. To stop, press
START/STOP. Press it again to resume. A series of three
qu!ck beeps followed by a pause will be repeated if your
pulse rate exceeds the HIGH TARGET value you have
set, If your pulse rate descends below the LOWTARGET
value that you have set, a series of two beeps followed.by
apause will be sounded until the pulse rate is again within
the desired range.
SCAN:
...........STOP]
/
PULSE PICKUP
RECEPTACLE
SCAN will automatically cycle through all the displays except AGE, SEX, attd PULSE TARGET, changing
every" eight seconds. Press MODE until the word *SCAN" _ppears on the dght side of the display.
0sing The Pulse Pickup
Tile PULSE PICKUP (No. 3) iSused to detect your pulse for the MONITOR
(No. 2). FollOwthese steps for correct use:
Step 1. insert PULSE PICKUP PLUG into PULSE PICKUP RECEPTACLEof
your MONITOR (No. 2) - see DETAIL "A',
Step 2. Attach'STRAIN RELIEF CUP to your COLLAR or ot_terpiece of cloth-
_as Shown in DETAIL *e-,
TE, PULSE PICKUP CORD must notbe allowed to be in i strain,
•Step 3, Massage EARLOBE to increase circulation.
Step 4, Attach PULSE PICKUP to EARLOBE in avertical position as shown
In DETAIL "C'.
Step S. When exercise has been completed remove PULSE PICKUP from
EARLOBE and clip it to PULSEPICKUP CORD as shown =n0ETAIL
_A _t
1 III I I IIIIIIIII IIII 1 1 .....................
,& .i_l
MO_TOR
PULSE PULSE PICKUP
RECEPTACLE
CORD PLUG
DETAIL "A"

The Exercise Program*
[.= coNsuLT YOUR PHYSICIAN BEFORE PARTICIPATING IN THiS OR ANY SI
"_ TRAINING PROGRAM
i1_ ........ I i I I f t .... hi I iii II I I II II ........... _ _ I [I II II r r _ ......................... i i i i i iii i .........................
The tnfon'naiion contained herein is designed to guide you in a program of exercise. Since each person L_different in age, weight,
and overaJlfitness, each must tailor thett program to the=rown needs, The PRiM EFIT"rMTRP.J_OMtLLwith its MONITOR (No, 2),.
wfde speed t_ge, and easily adlu=able lncltne will simplify attainment of thiSgoal..
In any program of exemise, maxtmu .m1physicalbenefit will be _allzed only when exertion 0c.F_JtS:Howeve_ theoM iidage "No'
pain, No giln" It NOT true In terms of simpm ¢ardiovasoJlat training. Your pu[ie r_e IS a good Indicator of exertion, The PRIME i
FIT"r_TREADMILL allows you tO €ontinuously monitor your pulse rate and thus tailor your training program to suit your level of
fitness.
To begin, first determine at what level of fitness you are, We strongly urge that You involve your physician In this bulo d_.L_fon,
Then find _ur age group In Uie age ¢o!umn of the tratnlng chad(belOW) and _ad across the chart to the fight to find the ap-
propriate pulse rate tangs for you.use these numbers to set the pulse tatgeL_of your MONITOR,
t/_jt0u begin to use your PRIME FtT'P'.TRE,_DMILL work at the lower end of your targetpulse range. AS you progress you will
hat you will need to walk or log faster or increase the ingle of the TREAOMILL in on:letto st.ly|n the pulse rmlgeyou have
¢liosln. Thll it your body's way of telling you thiityour fitness _ increasing. As this o_curs you may begin to wo_ _the higher
er_ of your pulse range. If you started in t_e "Low F_ness" tralnlng program, you may mcrease your pulse rate ilittle eaCh week
after the fir= monthurttilyou a_ WO_!ng in the deslrad ta.,get __ise _t e_nge toe your age or_cKet.
What ever yo.ur gercetved fitness level, unless ,.youare already runn[ngseveral miles daily, plan to start your progr&m Slowly.=Set
the PRIM E FITTMTREADMILL at the level position and tram for only ashort petlod afew mtnutes eve_ other day for the firsttwo
weeks, Every week add = few minutes to the total minutes tratned per day until you are traming tot at least twenty minutes per
session,
Since the MONITOR will calculate tile number of _lodes used, you may decide to wed< Out until at least two hundred Caiodss '
dt'tavebeen used rather than _lying on time. As your fitness improves, you may wish to Vain five days aweek; work out three
ays, re= one day, work out two days, rest one day, repeat..
Each training session should consist of:
IA warm up pedod of from five to ten minutes of Stretching and cailsthentcs and a minute of rel_ed walking at astow pace.
Target pulse rate exercise.
3. A €ool down pedod of from one to two minutes of slow, relaxed walking and some gentle str=ching,
Training Chart*
AGE
12-I5
16 - 20
21 - 25
26 -30
31 -35
36 - 40
41 -45
46 - 50
5i - 55
56 -60
61 -65
LOW FITNESS
TRAINING
125- 135
....................... ........ i'IIGH =iTNESS....1
HiGH FITNESS CARDIOVASCULAR
TRAINING TRAINING
150-170
145-!65
i45-160
135-155
135-155
130-150
125-i45
125-140
120-i35
115-i30
120- 130
115- 125
115- 120
110- 120
110-115
105- ii5
100- 110
95- 105
90- 105
85- 100
i30- 150
125- 145
i 20- 145
120- t35
115- 135
115 - 130
i 10 -i25
i05 +125
105- 120
100- 115
"EXi_le program lad _&rtirting chart band on S,harkey, _ian J_, 1064. Physiolo_ of F;tnesi, 2rid ed., Human Kinedc= Publishers, In_, Cheapen, li.

Storage and Maintenance
The PRIME FIT TM TREADMILL can be moved and stored quite easily. Simply keep it in a.cle.an,dry, and convenient place, if
FREADMILL iSto be stored for more _an 30 days, it iSI_est to remove BATTERiES (Not Inczu_ed) from MONITOR(No. 2). The
:_ EADMILL should require little actual maintenance other _an perk_dtcallyspr.aymga silicon |ut_flcantunder TREADBELT (No.
):8), Keep TREADMILL clean to avoid deterioration of TREADBELT and ftnisn,
t'he TREADBELT (No. 128) has been factory pre-adjusted. However, if it shifts to one side or the other, follow these steps to
readiustit.
1, If TREADBELT has moved to dght, tlghten doht ADJUSTMENT BOLT (No, 133) 1i2 turn while TREADMILL is running and
no one ts on it. The TREADBELT should move towards left.
2. Let TREADMILL run several turns of TREADBELT and note any sideways movement.
3, If only asmall amount of ¢ttange occurred, loosen I_ft ADJUSTMENT BOLT (No. 133) 1/2 turn.
4. Repe=tt step 2.
Repeat steps i_mugh 4 untilTREADaELT is centered and remalns there dudng use, If TREADEELT has moved to LEFT, fop
low steps 1-4 but start wtttl LEFT side. -
_: if TREADaELT is slipping it will be necessary to ttg_en both ADJUSTMENT BOLTS until slipping has stopped, it may
then be necessary to repeat steps 1tl_mugt_4 for alignment.
CAUTION: DO NOT OVERTIGHTEN TREADBELT. Otertlgh'tenin_ Is denoted by Curling of the edges of the TREADBELT.
IF NO SPEED OR DISTANCE is displayed on MONITOR (No. 2) check the following:
i, The wine of REED SWITCH (No. 136) ftorn CONSOLE (No, i02) isplugged into the MONITOR (No. 2).
2. The BATTERIES are not weak or dead,
3. The REED SWITCH (No. 136) and MAGNET on the FRONT ROLLER (No. 126] =ireIn the correct position, it may be neces-
sary to te=llgn the REED SWITCH with the MAGNET, Follow these steps to realign it:
a, _.._: Unplug the TREADMILL. MAGNET i/8"
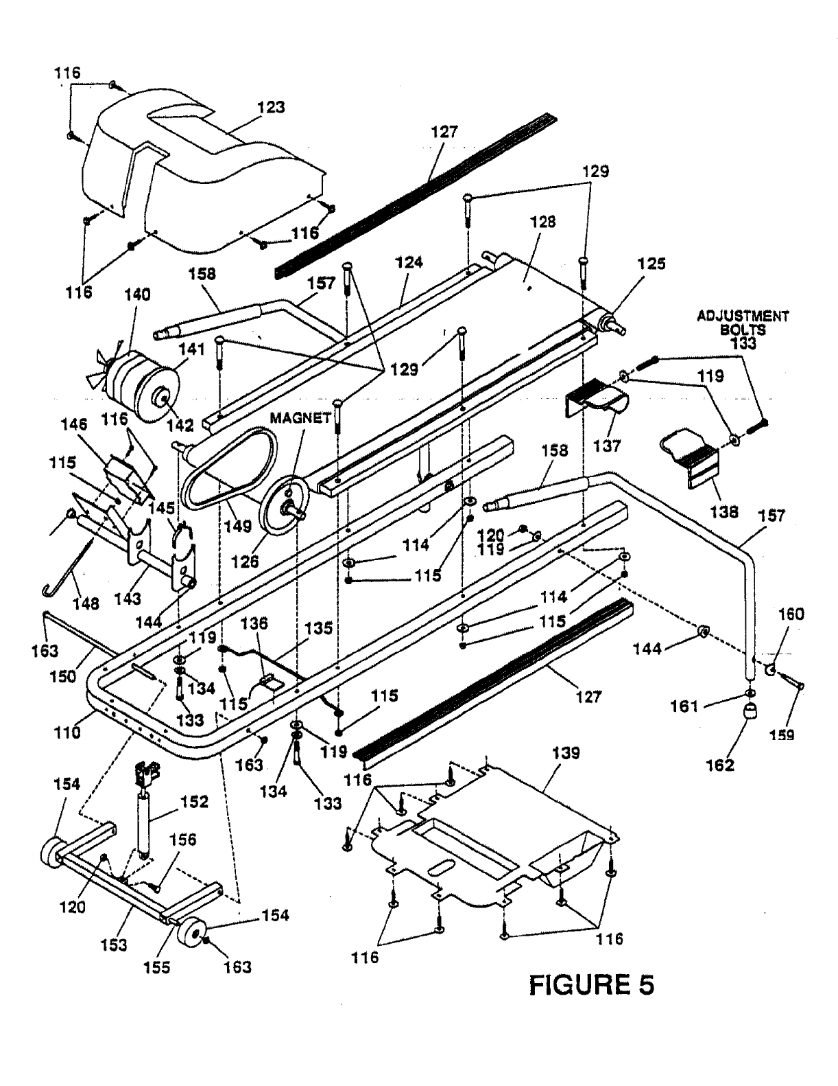
b, Remove MOTOR COVER (No. 123) -see Rgure 5,
c. Check spacing and allcjnrnent between MAGNET on left sideof FRONT ROLLER
(,NO,t28) and REED _WlTCH (NO. 136) on the TREAOMILLFRAME (No. 110)-
see FIGURE 3. The, spacing must be 1/8" and the edge of the REED SWITCH
|be aligned w_h the center of the MAGNET. Move REED SWITCH on
TREAOMILL_ FRAME,
_: 1/8" is equal to the thickness of two pennies.
d, Reattach MOTOR COVER (No. 123).
l=
BATTERIES: Use four "AA" batteries to power MONITOR (No. 2). It is recommended
that alkal{_e batteries be used for longer battery life. Rechargeable batteries ate not recom-
mended. TO extend battery life, turn MONITOR off after use.
SWITCH .................
' 136
FOR ANSWERS TO ANY OTHER MAINTENENCE QUESTIONS CONTACT OUR CUSTOMER SERVICE DEPARTMENT
FOR SERVICING RECOMMENDATIONS. SEE PHONE NUM8ERS ON FRONT PAGE.
FIGURE 3....

Preassembled Parts List
TE."A.; N01QW' 'A.T.AME
loo -_o'=_i_....1 "F_ont'sop="".........................................
10t 09134900 1 Console Bottom
102
103
104
105
t06
107
108
109
ii0
11i
13
114
115
116
117
118
1i9
120
121
122
123
i24
i25
126
127
128
129
130
131
132
133
134
I35
136
137
138
139
140
141
142
144
1,1.$
146
147
i4it
149
i50
!51
152
153
154
155
156
157
158
i59
160
16I
162
39312141 1
37027800 i
39215000 1
09099700 1
29326016 1
20016000 15
37030800 1
31242316 1
304146i 6 t
23018300 2
09104600 1
22008900
26000700
2501_100 9
20018800 18
37024500 1
22012600 2
26000400 6
2500Q800 4
39311100 1
37016900 1
1
39311200 1
39311600 1
39311400 1
09137600 2
09137300 1
23016300 6
21022200 2
26014100 4
25021200 2
22015500 4
26000100 2
31242410 1
37011100 1
09118500 1
09116600 1
09137200 1
37035300 1
39262900 t
29353400 1
38302310 1
29098500 4
39196600 2
37035600 1
25001500 1
23018400 1
09091000 1
31184500 1
26009700 1
39261900 1
38302416 1
09076600 2
31242600 1
22011500 1
30415316 2
04035800 2
22011200 2
26000667 2
26002200 2
02007700 2
25008900 4
Connote
Potenttometer
Speed Control KnOb
Incline AdPJSlment
Incline Adlustnlent Cable
#10 x 1/2" Long Sheet Met= Screw
On/Off SwJt=
Front Support Bracket
Frame
5/1 6- x I" Long Hex Washer Head Thread Rolling ScrmN
BellOwS
114"X2" wLO_tex Head 8ott
1/4" Fiat
1/4" Loc_nut
#10 x 5/8" Long Washer Head Sheet Metal Screw
Reset Switch
51i 6- x 3 3/4" Long Hex Head Bolt
5/16" Fiat Washer
5/16" Locknut
Power Cord
s=r=nRe,,ersus_t_,_ _ \
Moto¢ Cover O_ _, _-"
Tread Board
Rear Roller
Front Roller
Sk_etail
Tfe&d Belt
1/4" X 2 3/4" Long Carriage Bolt
#5 x 1 114' LongMachine Screw
#=3Flat Washer
#5 L_.knut
_16-x=1/_"_ HexHe=_Bo_
t6" Spilt Lockwasller
8ettguide Rod
Reed Switch
Right End Cover
Left End Cover
Motor Pan
Motor'
Flywheel Pulley=
1/8" x _1"Long Key
MOtOrMOunt
lOnBushing
ounttng Strap
otor controller
5/16" Locknut
"J"Bott
Ddve Belt
Pivot Rod
#10 Internal/External Tooth LockWasher (not s_nown)
Gas Spdng & Bracket
Incline Carriage
Wheel
Axle
5/16" x 1 1/4" Long Hex Head Bolt
Handrail
Handrail Grip
5tl 6" x 3 1/4" Long Hex Head EoR
Radius Washer
3/8" Flat t,_asher
Foo! Cap
5t16 Pushnut

102 107
103 105
101 106
Q
108
130
131
132
107
100
120 109
/
112
147
\
FIGURE 4
111
/
/
/
/
.,..s
J
js
ps
t""
/
118 116
/
121
/,
/
117
/
I
f
113
\
\
\
4
110
118
115

116
158 137
ADJUSTMENT
BOLTS
133
163
1
120
153
152
155
i56
!
!
136 1
134
!
I
54
163
138 157
160
1i5 127
139
133 .,""
1i6
FIGURE 5

TROUBLE SHOOTINGGUIDE
IT IS NOT NECE, =
THE:__MONITOR IS ;ARY TO RETURN THE ENTIRE TREADMILL FOR A MONITOR REPAIR
)VABLE FROM TREADMILL FOR REPAIR OR BATTERY REPLACEME'NT-
SEE PAGES 2 and 3.
,,ll=I I .....................
PROBLEM
,n Ji :.......... 'i...........................
1. -Treadmill Will Not Siart.
Of Roller.
31'Tf._beltSiips_..h,eindSel..............
•-::::: ...................... t..... ..................... Miir IIIIIilIIIjIL]" ";j _"L ................
4. Tteadbett Hesitates When Stepped
On,
5. Treadmill Makes "Rum€ling" NoiSe.
i.'.Ti:e=_mi,ls0_utt ToRoii,...............
._-iai==kParticlesco,acingUnder
'Treadmill, ..........................
10. Monitor Ooee Not Display Speed Or
Distance,
II ]1 iiilillllll i iiii iiii ii ii irl ir
11. Monitor Shuts Off.
12, No Pulse Displayed On Monitor
(See "Using The Pulse Pickup" On
Page 5),
CAUSE
1. -Not Plugged in.
Z............
3, ,_TreadmillReSetr,,$,.W_._,_..T_ped,
4. Unit Plugged Into InsufficientExten-
sion Co_,
#
e,"S_eedKno_NotTuine_TO
"SLOW',
The Treadbelt,
I, Treadbeit Tensioned Too High.
rreadl:)e_t.
1, Drive Belt IS Breaking in.
i. BatteriesAre Weak Or Dead,
i. Ree(I Switch Wire Not Connected
To Monitor.
2. Reed Switch Not Aligned Properly,
1, =Monitor Has Been Designed To
Shut Off After Four Minutes IfTread-
millis Not Operating.
2. net Damaaed Or Missing From
.. , ly on Pron_ Roller,
11Ul,..,, -: ..............................................................
3. Reed Switch Not Working Property,
I. Pulse Pickup Not Plugged into
Monitor.
2. Monitor Not In Pulse Mode.
31 'Purse Pickup Not Property AttaChed
To Eadot_e,
Much.
....€ORR,eC O ................
1, Plug Into Three Prong.(grounded}
1157120 Volt-60 Hz AGQutlet.
3. Reset Treadmill Reset Switch,
Short (less .Than _n=Fe=l, Heavy
Gauge (14 Gauge Qt Better) Exlen-
slonCoKl,
S( i;;iave QUaiji_dEl+ctrici_Checi<-
Voitage,
........TO oesired SpeeD, .................. ,..............
t. See *Storage And Maintenance"
Section Of Owners Manual.
...................................................... , ,,,r,,rr,, ,,r
1, See "Storage And Maintenance"
Section Of Owners Minual. '
.....
frea_belt,
TillNoise Ceases But Tree,belt
•Does Not SllpWhile In Use.
Ii e_a_si_Bi_ TOWi_*b_t_
Of T_e=dbelt.
1, Move To Hard Surface Or Low Cut
....carpetlng._...........................
1. vacuum Under Treadmill Pet._.
odlc,_lly ......._,'
1. Securely Piu¢I Reed Switch Wire
Into beck Of Monitor.
2. See "Storage And Matntenanee"
.....Sexton Of C_wne_ Manual,_:__:....
1, .Operate Treadmill And Check For A
5j_ed Reading, If No Speed .Ols
2. Replace Magnet.
3, Replace Reed Switch.
1, Plug Pulse Pickup into Monitor ....
Z Place MO;iiiOi;]n Pulse MOde_ey-__
_Pres_tr_Mode Key Until Indicator IS.
.., Pointin_To Pu!sm...................................
3. a, Massage Earlobe To Increase
Circulation And Reattach Pulse
Pickup.
b, Massage And Attach PulSe Pick-
up To Ott_er Ea_obe.
•To Move Hea_ Erratically. See
0ETAiL "C" On Page 5.
IF OTHER PROBLEMS ARE ENCOUNTERED OR ANY OF THE ABOVE PROBLEMS CAN NOT BE
CORRECTED, CALL TOLL FREE: 1-800-633-5730 FOR SERVICE