DZS SZ1624 SKYZHONE WI-FI ACCESS POINT User Manual SkyZhone 1x04 UG 121907B
Zhone Technologies, Inc. SKYZHONE WI-FI ACCESS POINT SkyZhone 1x04 UG 121907B
DZS >
Contents
- 1. USERS MANUAL
- 2. USERS MANUAL 1
- 3. USERS MANUAL 2
USERS MANUAL 2

SkyZhone 1604, 1404, 1204 Hardware
Installation Guide
For software version 1.2.x
January 2008
Document Part Number: 830-01809-01

2 SkyZhone 1604, 1404, 1204 Hardware Install Guide
Zhone Technologies
@Zhone Way
7001 Oakport Street
Oakland, CA 94621
USA
510.777.7000
www.zhone.com
info@zhone.com
COPYRIGHT ©2000-2007 Zhone Technologies, Inc. All rights
reserved.
This publication is protected by copyright law. No part of this publication may be copied,
distributed, displayed, modified, transmitted, stored in a retrieval system, or translated
without express written permission from Zhone Technologies, Inc.
Acculink, ADSL/R, Bitstorm, Comsphere, DSL the Easy Way, Etherloop, FrameSaver,
GigaMux, GranDSLAM, GrandVIEW, Hotwire, the Hotwire logo, iMarc, JetFusion,
Jetstream, JetVision, MALC, NextEDGE, Net to Net Technologies, Paradyne, the
Paradyne logo, Quick Channel, Raptor, ReachDSL, SkyZhone, SLMS, StormPort,
TruePut, Z-Edge, Zhone, ZMS, and the Zhone logo are trademarks owned by Zhone
Technologies, Inc., which may be registered in some jurisdictions.
Zhone Technologies makes no representation or warranties with respect to the contents
hereof and specifically disclaims any implied warranties of merchantability, non-
infringement, or fitness for a particular purpose. Further, Zhone Technologies reserves
the right to revise this publication and to make changes from time to time in the contents
hereof without obligation of Zhone Technologies to notify any person of such revision or
changes.
____________________________________________________________
WARNING!
The authority to operate this equipment is conditioned by the requirement
that no modifications will be made to the equipment unless the
manufacturer expressly approves the changes or modifications.
The SkyZhone Model 1x04 products are AC power device conforming to
UL 60950-1 standards. The AC Power cable must wired to an AC source
by a licensed electrician familiar with the NEC, CEC and all applicable
local codes.
Proper Safety Grounding is required to insure proper operation and
protection from lightning strikes and surges. A copper ground lug is
provided on the unit for this purpose. Connect a length of #10 AWG solid,
bare, copper wire to the grounding lug and firmly tighten the grounding
screw (see Figure 20). Connect the other end of the grounding wire to a
grounded surface or another earth ground such as a metal rod. This ground
must be install before applying power to the unit.

SkyZhone 1604, 1404, 1204 Hardware Installation Guide 3
SkyZhone provides both Primary and Secondary lightning and surge
protection to the SHDSL and PoE cable signals. The special POE + Console
cable has both protected signals (POE) and unprotected signals (Console).
This special cable is intended for unit configuration prior to installation. It
is not intended for outdoor use. Use the standard POE cable for outdoor
installations.
The National Electrical Code (NEC) and Canadian Electrical Code (CEC)
require the use of an agency listed (UL/CSA) Building Entrance Protector
for all power and data communications cables entering a building. This is to
protect the building and occupants from damage caused by transient
voltage and current surges.
A UL 497 (CSA C22.2 No. 226-92) approved primary protection device
must be used at the building entrance if the Ethernet port is used to provide
in-building access to the SkyZhone network. Also check with local wiring
codes.
Serious injury can occur if the antennas come in contact with electric power
lines. Carefully follow the instructions in this manual. During and after
installation, the antennas must be a minimum of 24 inches from any power
lines. Use caution when installing this outdoor equipment.
FCC RF Exposure Requirements (per OET-65) requires the SkyZhone
platform to be mounted such that the general public does not come within
10 inches of the antennae.
____________________________________________________________
Caution:
• This product requires professional installation.
• The unit is sealed at the factory and must not be opened in the field. The
unit shall be returned to the factory for repairs.
• The PoE (Power over Ethernet) connector sources power to other devices.
Some devices may not be compatible with this feature. In that case, do not
connect the wires that supply the power. The power is 48 volts DC, at a
maximum of 5 watts.
____________________________________________________________
Note:
• This equipment has been tested and found to comply with the limits for a
Class C digital device, pursuant to part 15, subpart C, of the FCC rules.
These limits are designed to provide reasonable protection against harmful
interference when the equipment is operated in a commercial environment.
This equipment generates, uses, and can radiate radio frequency energy and,
if not installed and used in accordance with the user manual, may increase
the potential for harmful interference to radio communications.
• This warning applies to the Skyzhone-1404 and SkyZhone-1604 only. This
equipment has been tested and found to comply with the limits for a Class
A digital device, pursuant to Part 15 of the FCC Rules. These limits are

4 SkyZhone 1604, 1404, 1204 Hardware Install Guide
designed to provide reasonable protection against harmful interference
when the equipment is operated in a commercial environment. This
equipment generates, uses, and can radiate radio frequency energy and, if
not installed and used in accordance with the instruction manual, may cause
harmful interference to radio communications. Operation of this equipment
in a residential area is likely to cause harmful interference in which the user
will be required to correct the interference at their own expense.
• The supplied cables and antennae must be used to ensure compliance with
Part 15, FCC Rules. The use of any other antennas will invalidate the unit's
FCC Part 15 certification.
• The 2.4 GHz band has been designed to operate with the antennae listed
below, and having a maximum gain of 5 dBi. Antennae not included in this
list (Comet Part Number CFA-245W-SR) or having a gain greater than 5
dBi are strictly prohibited for use with this device. The required antenna
impedance is 50 ohms.
• The 4.9 GHz band has been designed to operate with the antennae listed
below, and having a maximum gain of 5.3 dBi. Antennae not included in
this list (Comet Part Number SF-D49NW-SR) or having a gain greater than
5.3 dBi are strictly prohibited for use with this device. The required antenna
impedance is 50 ohms
• To reduce potential radio interference to other users, the antenna type and
its gain should be so chosen that the equivalent isotropic radiated power
(e.i.r.p.) is not more than that permitted for successful communication.
Operating the device with the supplied antennas will ensure that this
requirement is met.
• Operation is subject to the following two conditions: (1) this device may not
cause interference, and (2) this device must accept any interference,
including interference that may cause undesired operation of the device.
____________________________________________________________
SkyZhone 1604, 1404, 1204 Hardware Installation Guide 5
ABOUT THIS GUIDE............................................................................... 7
Style and notation conventions ........................................................................... 7
Typographical conventions............................................................................. 8
Related documentation........................................................................................ 8
Acronyms............................................................................................................ 8
Contacting Global Service and Support.............................................................. 9
Technical support.......................................................................................... 10
Service requirements..................................................................................... 10
THE SKYZHONE ACCESS POINT................................................ 11
Overview........................................................................................................... 11
SkyZhone models.......................................................................................... 12
SkyZhone features ............................................................................................ 13
Bonding......................................................................................................... 13
SHDSL Data Rates ....................................................................................... 14
Mounting options.......................................................................................... 15
Wall-Mounting Enclosure............................................................................. 15
Cables............................................................................................................ 16
Grounding ..................................................................................................... 19
SkyZhone ordering information........................................................................ 19
PREPARING FOR INSTALLATION............................................. 21
Installation precautions ..................................................................................... 21
Selecting the locations ...................................................................................... 23
Specifications.................................................................................................... 23
INSTALLING THE SKYZHONE ACCESS POINT............... 27
Equipment needed for installation .................................................................... 27
Pole-mounting kit.......................................................................................... 27
Wall-mounting enclosure kit......................................................................... 28
Wall-mount kit (without plastic cover)......................................................... 28
Customer supplied equipment....................................................................... 28
Mounting the SkyZhone to a pole..................................................................... 29
Mounting the SkyZhone to the side of a building............................................. 33
Grounding ......................................................................................................... 38
Initial Configuration.......................................................................................... 39
Using the factory defaults ............................................................................. 39
Changing the factory defaults ....................................................................... 39
Using the Ethernet interface.......................................................................... 40
Default settings ............................................................................................. 41
DIAGNOSTICS........................................................................................... 45
Status and LED ................................................................................................. 45
SAFETY, REGULATIONS, AND CERTIFICATIONS........ 47
Safety ................................................................................................................ 47
Grounding and isolation.................................................................................... 49
Installation safety precautions........................................................................... 49
6 SkyZhone 1604, 1404, 1204 Hardware Install Guide
Important Safety Instructions........................................................................ 49
EMI Notices.................................................................................................. 50
Supplier’s Declaration of Conformity .......................................................... 52
Notice to Users of the Canadian Telephone Network .................................. 53
CE Marking................................................................................................... 53
Contacting Global Service and Support............................................................ 54
Technical Support ......................................................................................... 54
Service Requirements ................................................................................... 54

SkyZhone 1604, 1404, 1204 Hardware Installation Guide 7
ABOUT THIS GUIDE
This guide is intended for use by installation technicians, system administrators,
and network administrators. It explains how to install the SkyZhone station and
how to provision the physical interfaces.
Style and notation conventions
The following conventions are used in this document to alert users to
information that is instructional, warns of potential damage to system equipment
or data, and warns of potential injury or death. Carefully read and follow the
instructions included in this document.
______________________________________________________
Caution: A caution alerts users to conditions or actions that could
damage equipment or data.
______________________________________________________
Note: A note provides important supplemental or amplified
information.
______________________________________________________
Tip: A tip provides additional information that enables users to more
readily complete their tasks.
______________________________________________________
WARNING! A warning alerts users to conditions or actions that could
lead to injury or death.
______________________________________________________

8 SkyZhone 1604, 1404, 1204 Hardware Install Guide
Typographical conventions
The following typographical styles are used in this guide to represent specific
types of information.
Bold Used for names of buttons, dialog boxes, icons,
menus, profiles when placed in body text, and
property pages (or sheets). Also used for commands,
options, parameters in body text, and user input in
body text.
Fixed Used in code examples for computer output, file
names, path names, and the contents of online files
or directories.
Fixed Bold Used in code examples for text typed by users.
Fixed Bold Italic
Used in code examples for variable text typed by
users.
Italic Used for book titles, chapter titles, file path names,
notes in body text requiring special attention, section
titles, emphasized terms, and variables.
PLAIN UPPER CASE Used for environment variables.
Command Syntax Brackets [ ] indicate optional syntax.
Vertical bar | indicates the OR symbol.
Related documentation
Refer to the following publication for additional information:
SkyZhone CLI Reference Guide explains how to use the Zhone command line
interface (CLI) and describes the system commands and parameters.
SkyZhone WEB Configuration Tool User Guide explains how to configure and
manage SkyZhone using the Web interface.
Refer to the release notes for software installation information and for changes
in features and functionality of the product, if any.
Acronyms
The following acronyms are related to Zhone products and may appear
throughout this manual:
Table 1: Acronyms and their descriptions
Acronym Description
ADSL Asymmetrical Digital Subscriber Line
AP Access Point
ACS Auto Configuration Server
DHCP Dynamic Host Configuration Protocol
DSL Digital Subscriber Line
EFM Ethernet in the First Mile

SkyZhone 1604, 1404, 1204 Hardware Installation Guide 9
MALC Multi-Access Line Concentrator
MIB Management Information Bases
NAT Network Address Translation
NMS Network Management System
RADIUS Remote Authentication Dial In User Service
SHDSL Symmetric High-bit-rate Digital Subscriber Line
SLMS Single Line Multi-Service
SNMP Simple Network Management Protocol
TFTP Trivial File Transfer Protocol
VoIP Voice over IP
VoWi-Fi Voice-over-Wifi
VPN Virtual Private Network
WEP Wired Equivalent Privacy
Wi-Fi Wireless Fidelity (IEEE 802.11 wireless networking)
WMM Wi-Fi Multimedia
WPA Wi-Fi Protected Access
ZMS Zhone Management System
Contacting Global Service and Support
Contact Global Service and Support (GSS) if you have any questions about this or
other Zhone products. Before contacting GSS, make sure you have the following
information:
• Zhone product you are using
• System configuration
• Software version running on the system
• Description of the issue

10 SkyZhone 1604, 1404, 1204 Hardware Install Guide
Technical support
If you require assistance with the installation or operation of your product, or if
you want to return a product for repair under warranty, contact GSS. The contact
information is as follows:
E-mail support@zhone.com
Telephone (North America) 877-ZHONE20 (877-946-6320)
Telephone (International) 510-777-7133
Internet www.zhone.com/support
If you purchased the product from an authorized dealer, distributor, Value
Added Reseller (VAR), or third party, contact that supplier for technical
assistance and warranty support.
Service requirements
If the product malfunctions, all repairs must be performed by the manufacturer
or a Zhone-authorized agent. It is the responsibility of users requiring service to
report the need for service to GSS.
SkyZhone 1604, 1404, 1204 Hardware Installation Guide 11
THE SKYZHONE ACCESS POINT
This chapter provides an overview of the SkyZhone Wi-Fi outdoor access point.
It includes these sections:
• Overview, page 11
• SkyZhone features, page 13
• SkyZhone ordering information, page 19
Overview
The SkyZhone access point (Models 1X04) are AC-powered carrier class
outdoor Wi-Fi access points with 22 Mbps symmetric DSL backhaul to every
unit. The SkyZhone supports a variety of applications including VoIP, internet
access, mobile video, and enterprise VPNs optimized for citywide Wi-Fi
deployments by telephone companies.
SkyZhone enables telephone companies to deploy a more reliable, lower
latency, higher speed and lower cost network than traditional mesh Wi-Fi
solutions.

12 SkyZhone 1604, 1404, 1204 Hardware Install Guide
Figure 1: SkyZhone with 2.4GHz 802.11b/g/n and 4.9 GHz 802.11a
antennae
SkyZhone models
The SkyZhone AC-powered access point is available in the following models:
• SkyZhone-1604 Wi-Fi Access Point
Supports wireless radio transmission of 2.4 GHz 802.11b/g, and 4.9 GHz
802.11a, using two separate radios. Four SHDSL lines with EFM Bonding
are used for backhaul. 120VAC power is required.
• SkyZhone-1404 Wi-Fi Access Point
Supports wireless radio transmission of 4.9 GHz 802.11a. Four SHDSL
lines with EFM Bonding are used for backhaul. 120VAC power is
required.
• SkyZhone-1204 Wi-Fi Access Point
Supports wireless radio transmission of 2.4 GHz 802.11b/g. Four SHDSL
lines with EFM Bonding are used for backhaul. 120VAC power is
required.
SkyZhone 1604, 1404, 1204 Hardware Installation Guide 13
Coverage area
With the SkyZhone access point, there is no need to use Wi-Fi links for
communication between stations. This eliminates issues associated with
buildings, trees, or hilly terrain that can impact node-to-node communications
for mesh access points.
The SkyZhone access point uses 5dBi antennas that provide a 26-degree beam-
width per antenna. Additionally, the three 2.4 GHz antennas are oriented to
provide complete coverage both horizontally and vertically. SkyZhone access
point’s signals extend up and down, and all around to minimize dead spots.
MIMO (Multiple-In, Multiple-Out) technology maximizes the receive signal
strength from typical low-power 802.11b/g client devices and enables SkyZhone
to maintain a reliable link at distances more than 50% greater than non-MIMO
solutions.
In Figure 1 on page 12, note that the 4.9 GHz 802.11a radio uses the bottom two
antennas and the 2.4 GHz 802.11b/g radio uses the top three antennas.
The 2.4 GHz radio operates in the unlicensed ISM band and can be used for a
variety of applications such as Internet Access, Voice over IP, Mobile Video, or
Enterprise VPN.
The 4.9 GHz radio operates in the licensed spectrum reserved for Public Safety
users including city government, police, fire and EMT.
SkyZhone features
The SkyZhone access points communicate with SkyZhone aggregators using
standards-based SHDSL-EFM uplinks to transport data traffic between access
points and the Central Office or remote cabinet.
After initial power up, the SkyZhone access point contacts the ACS Server,
downloads the latest software, downloads the configuration file, and registers
itself with the Network Management System (NMS) system.
The SkyZhone access points’ dual-radio architecture provides 2.4GHz access for
residential and commercial applications while simultaneously providing 4.9GHz
access for public safety applications, using industry standard IEEE 802.11 client
devices.
Remote configuration and troubleshooting is supported via SSH and HTTPS to
SkyZhone access points through a separate management VLAN. In addition, a
console port is provided for local access to the CLI.
SkyZhone also includes a Power-over-Ethernet (PoE) port which provides for
connectivity from the SkyZhone access point to a video camera or other
accessory.
Bonding
The SkyZhone access point supports Ethernet in the First Mile (EFM) bonding
on SHDSL lines. This bonding complies with the IEEE 802.3ah standard.
Additional SHDSL lines can be added as your bandwidth needs increase. The

14 SkyZhone 1604, 1404, 1204 Hardware Install Guide
SkyZhone access point automatically performs load balancing over the SHDSL
lines.
Figure 2 shows an example of a SkyZhone network configuration.
Figure 2: SkyZhone network configuration
The SkyZhone supports 4 SHDSL lines bonded as a single EFM interface and
connected to a SHDSL card installed in a SkyZhone Aggregator. Each SHDSL
line card in the SkyZhone Aggregator provides 24 ports and each SkyZhone
access point uses up to 4 ports. The data rates for the SHDSL card are shown in
Table 2.
SHDSL Data Rates
The SkyZhone Access Points support the following SHDSL data rates on 26
AWG cable.
Table 2: SHDSL Data Rates
Distance
(Feet)
1 Line
(Kbps)
2 Lines
(Kbps)
4 Lines
(Kbps)
4000 5696 11392 22784
5000 5120 10240 20480
6000 3776 7552 15104
7000 2944 5888 11776
8000 2432 4864 9728
9000 2048 4096 8192

SkyZhone 1604, 1404, 1204 Hardware Installation Guide 15
Distance
(Feet)
1 Line
(Kbps)
2 Lines
(Kbps)
4 Lines
(Kbps)
10000 1664 3328 6656
11000 1359 2718 5436
12000 1024 2048 4096
13000 768 1536 3072
14000 640 1280 2560
15000 512 1024 2048
16000 512 1024 2048
17000 384 768 1536
18000 320 640 1280
Mounting options
The SkyZhone access point can be mounted on a pole, at any angle (between
vertical and horizontal), on a streetlight, loop span, or wall.
Wall-Mounting Enclosure
When wall-mounted the SkyZhone access point may be contained in an
enclosed and “hidden” plastic casing that is supported on an aluminum
mounting shelf. The following figure shows the SkyZhone access point with the
enclosure lid removed.
Figure 3: Wall-Mount Enclosure with cover removed
See Wall-mounting enclosure kit on page 27 for using the wall-mounted enclosure kit.

16 SkyZhone 1604, 1404, 1204 Hardware Install Guide
Cables
The SkyZhone Port Connectors
The port connectors are located on either side of the SkyZhone unit. Figure 4
shows the SkyZhone access point port locations.
Figure 4: SkyZhone-1x04 port connectors

SkyZhone 1604, 1404, 1204 Hardware Installation Guide 17
SHDSL, Ethernet (PoE) + Console, and AC Power
connectors
Figure 5 displays the pinouts for the SHDL PLUG connector.
Figure 5: SHDSL PLUG connector
Table 3 lists the pinouts for the SHDSL cable. Each DSL line is composed of a
twisted-pair of wires. These SkyZhone models (1x04) do not support line power.
The four SHDSL pair are data only.
____________________________________________________________
Note: The mechanical configuration (SOCKET vs. PLUG) of the
SHDSL, POE + Console, and AC-Power connectors are unique
to prevent attaching a cable to the wrong connector.
____________________________________________________________
Table 3: SHDSL connector pinouts for data
Line Signal Color
1 Ring 1 Blue
Tip 1 White/Blue
2 Ring 2 Orange
Tip 2 White/Orange
3 Ring 3 Green
Tip 3 White/Green
4 Ring 4 Brown
Tip 4 White/Brown

18 SkyZhone 1604, 1404, 1204 Hardware Install Guide
Ethernet (PoE) + Console
Figure 6 displays the pinouts for a PoE SOCKET connector.
Figure 6: PoE + Console SOCKET connector
Table 4 lists the pinouts for the Ethernet (PoE) + Console cable. The Console
DCE_TXD and DCE_RXD connections are only used for initial SkyZhone
configuration in the lab. While these pins are available at the SkyZhone
bulkhead connector mounted on the unit, they are not available with the standard
external POE cable that mates with this connector. This is to avoid surges on
these unprotected pins. Therefore a special cable is required to access the
Console pins. Since the console pins are not provided with surge protection, this
special cable is not suitable for permanent installation. If the PoE connection is
unsed it must have a dust cap installed to maintain an IP66 rating for the unit.
Table 4: Power-over-Ethernet (PoE) connector pinouts
Pin Signal Color
A TX_P Blue
B TX_N White/Blue
C RX_P Orange
D RX_N White/Orange
E DCE_TXD (special cable
required)
White/Brown
F 48V Green
G Return_48V White/Green
H DCE_RXD (special cable
required)
Brown

SkyZhone 1604, 1404, 1204 Hardware Installation Guide 19
AC Power PLUG Connector
Figure 7 displays the pinouts of the 120 Volt AC Power PLUG connector.
Figure 7: AC Power PLUG connector
Table 5 lists the pinouts for the AC Power PLUG cable.
Table 5: AC Power PLUG connector pinouts
Pin Signal Color
1 Neutral White
2 No connection
3 Line Black
GND Chassis GND Green
Grounding
Proper grounding must be complete before you connect power to the unit. See
Grounding on page 37
SkyZhone ordering information
To order SkyZhone Wi-Fi outdoor access points by model number contact GSS,
see Contacting Global Service and Support on page 9.
20 SkyZhone 1604, 1404, 1204 Hardware Install Guide

SkyZhone 1604, 1404, 1204 Hardware Installation Guide 21
PREPARING FOR INSTALLATION
This chapter describes how to prepare your site for the installation of the SkyZhone.
It includes the following sections:
• Installation precautions, page 20
• Selecting the locations, page 22
• Specifications, page 22
Installation precautions
It is advisable to be aware of the following precautions:
____________________________________________________________
WARNING!
The authority to operate this equipment is conditioned by the requirement
that no modifications will be made to the equipment unless the
manufacturer expressly approves the changes or modifications.
The SkyZhone Model 1x04 products are AC power device conforming to
UL 60950-1 standards. The AC Power cable must wired to an AC source
by a licensed electrician familiar with the NEC, CEC and all applicable
local codes.
Proper Safety Grounding is required to insure proper operation and
protection from lightning strikes and surges. A copper ground lug is
provided on the unit for this purpose. Connect a length of #10 AWG solid,
bare, copper wire to the grounding lug and firmly tighten the grounding
screw (see Figure 20). Connect the other end of the grounding wire to a
grounded surface or another earth ground such as a metal rod. This ground
must be install before applying power to the unit.
SkyZhone provides both Primary and Secondary lightning and surge
protection to the SHDSL and PoE cable signals. The special POE + Console
cable has both protected signals (POE) and unprotected signals (Console).
This special cable is intended for unit configuration prior to installation. It
is not intended for outdoor use. Use the standard POE cable for outdoor
installations
The National Electrical Code (NEC) and Canadian Electrical Code (CEC)
require the use of an agency listed (UL/CSA) Building Entrance Protector
for all power and data communications cables entering a building. This is to
protect the building and occupants from damage caused by transient
voltage and current surges.
A UL 497 (CSA C22.2 No. 226-92) approved primary protection device
must be used at the building entrance if the Ethernet port is used to provide
in-building access to the SkyZhone network. Also check with local wiring
codes.

22 SkyZhone 1604, 1404, 1204 Hardware Install Guide
Serious injury can occur if the antennas come in contact with electric power
lines. Carefully follow the instructions in this manual. During and after
installation, the antennas must be a minimum of 24 inches from any power
lines. Use caution when installing this outdoor equipment.
FCC RF Exposure Requirements (per OET-65) requires the SkyZhone
platform to be mounted such that the general public does not come within
10 inches of the antennae.
____________________________________________________________
Caution:
• This product requires professional installation.
• The unit is sealed at the factory and must not be opened in the field. The
unit shall be returned to the factory for repairs.
• The PoE (Power over Ethernet) connector sources power to other devices.
Some devices may not be compatible with this feature. In that case, do not
connect the wires that supply the power. The power is 48 volts DC, at a
maximum of 5 watts.
____________________________________________________________
Note:
• This equipment has been tested and found to comply with the limits for a
Class C digital device, pursuant to part 15, subpart C, of the FCC rules.
These limits are designed to provide reasonable protection against harmful
interference when the equipment is operated in a commercial environment.
This equipment generates, uses, and can radiate radio frequency energy and,
if not installed and used in accordance with the user manual, may increase
the potential for harmful interference to radio communications.
• This warning applies to the Skyzhone-1404 and SkyZhone-1604 only. This
equipment has been tested and found to comply with the limits for a Class
A digital device, pursuant to Part 15 of the FCC Rules. These limits are
designed to provide reasonable protection against harmful interference
when the equipment is operated in a commercial environment. This
equipment generates, uses, and can radiate radio frequency energy and, if
not installed and used in accordance with the instruction manual, may cause
harmful interference to radio communications. Operation of this equipment
in a residential area is likely to cause harmful interference in which the user
will be required to correct the interference at their own expense.
• The supplied cables and antennae must be used to ensure compliance with
Part 15, FCC Rules. The use of any other antennas will invalidate the unit's
FCC Part 15 certification.
• The 2.4 GHz band has been designed to operate with the antennae listed
below, and having a maximum gain of 5 dBi. Antennae not included in this
list (Comet Part Number CFA-245W-SR) or having a gain greater than 5
dBi are strictly prohibited for use with this device. The required antenna
impedance is 50 ohms.

SkyZhone 1604, 1404, 1204 Hardware Installation Guide 23
• The 4.9 GHz band has been designed to operate with the antennae listed
below, and having a maximum gain of 5.3 dBi. Antennae not included in
this list (Comet Part Number SF-D49NW-SR) or having a gain greater than
5.3 dBi are strictly prohibited for use with this device. The required antenna
impedance is 50 ohms
• To reduce potential radio interference to other users, the antenna type and
its gain should be so chosen that the equivalent isotropic radiated power
(e.i.r.p.) is not more than that permitted for successful communication.
Operating the device with the supplied antennas will ensure that this
requirement is met.
• Operation is subject to the following two conditions: (1) this device may not
cause interference, and (2) this device must accept any interference,
including interference that may cause undesired operation of the device.
____________________________________________________________
Selecting the locations
Each installation is unique due to the physical environment. Before installing
each SkyZhone access point, perform a site survey to determine the optimum
placement of units for maximum range, coverage, and network performance.
The SkyZhone radio is susceptible to interference that can reduce data rate and
range. For best performance, follow these guidelines:
• Install the unit in an area where trees, buildings, and large steel
structures do not obstruct radio signals to and from the antenna. Be sure
to consider the future tree growth and construction when considering a
site. Direct line-of-sight operation is always best. Antennae must be
kept at least 10 inches away from contact with the general public
passing by the area.
• Install the units away from other possible sources of 2.4 GHz WLAN
interference. These sources include cordless phones and microwave
ovens, as well as other WiFi access points.
• Install the units, when wall-mounted, onto an area that can
accommodate the plastic casing and lid of 24 inches high and at least
36 inches wide.
Specifications
The following table lists SkyZhone’s technical specifications:
Table 6: SkyZhone technical specifications
Description Specifications
PHYSICAL
Dimensions 14” W x 6”H x 6”D

24 SkyZhone 1604, 1404, 1204 Hardware Install Guide
Description Specifications
Weight 18 lbs
Operating Temperature -31F to 131F (-35C to 55C)
Power 120VAC, 60Hz, 45W Maximum
Backhaul 22.8 Mbps symmetric backhaul using ITU G.991.2 (SHDSL)
on four Tip/Ring pairs.
Regulatory
Certifications
FCC Part 15, Subpart-C (15.247)
FCC Part 15, Class A
FCC Part 90
UL60950-1
Industry Canada RSS210 CAN/CSA-22.2 No. 60950-1-03
Enclosure/Humidity
and Dust
IP66, NEMA4X, IEC 60529
MANAGEMENT
Management
Interfaces
WEB I/F, Command Line I/F, SNMPv2, TR-069
Management Access HTTPS, SSH, TR-069
Mgmt Access Security RADIUS password authentication
Wi-Fi Access Security IEEE 802.1X, WPA/WPA2, WEP
Standards Compliance EN60950
IEEE 802.11b, g (2.4 GHz Wireless)
IEEE 802.11a (4.9 GHz Wireless)
IEEE 802.1D Bridging
K.20 Surge Immunity
IEEE 802.3ah (2Base-TL) Ethernet in the first mile
IEEE 802.1Q VLANS
IEEE 802.1p Priority
IEEE 802.3u 10/100 Base-TX (Power over Ethernet I/F)
ITU 991.2 Annex A and F
Frequency Band 2.412 - 2.462 GHz (2.4 GHz Wireless)
4.900 - 4.990 GHz (4.9 GHz Wireless)

SkyZhone 1604, 1404, 1204 Hardware Installation Guide 25
Description Specifications
Channel Width 20 MHz (2.4 GHz Wireless)
20 MHz (4.9 GHz Wireless)
Output Power (EIRP) 1.15 W (2.4 GHz Wireless)
4.74 W (4.9 GHz Wireless)
Antenna Type 3 x 5 dBi Omni (2.4 GHz Wireless)
2 x 5.3 dBi Omni (4.9 GHz Wireless)
Modulation Technique PSK, DQPSK, DBPSK, OFDM (2.4 GHz Wireless)
OFDM (4.9 GHz Wireless)
Data Rates (Mbps) 2.4 GHz Wireless (Channels 1-11)
b: 11, 5.5, 2, 1
g: 54, 48, 36, 24, 18, 12, 9, 6
4.9 GHz Wireless (4.96 GHz and 4.98 GHz center freq.)
a: 54, 48, 36, 24, 18, 12, 9, 6
Operating Distance Over 18,000 feet-AWG 26 (SHDSL I/F)
Up to 300 feet (Power over Ethernet I/F)
Up to 1800 feet 2.4 GHz 802.11 b/g and 4.9 GHz 802.11a
Connector Type 8 pin circular I/O PLUG (SHDSL I/F)
8 pin circular I/O SOCKET (POE + Console I/F)
4 pin circular I/O PLUG (AC Power I/F)
WAN I/F
Data Rate (per pair) Up to 5.7 Mbps Full Duplex
Number of pairs 4 (up to 22.8 Mbps total)
Loop Bonding IEEE 802.3ah (EFM)
Power over

26 SkyZhone 1604, 1404, 1204 Hardware Install Guide
Description Specifications
Ethernet I/F
Data Rate 10Mbps/100Mbps
Number of Ports 1
Output Power 48V DC, maximum 5W
Data Path
VLAN support IEEE 802.1Q
Traffic Prioritization IEEE 802.1p, 802.11e, IP TOS
Number of Priority
Queues
4
Traffic Classification Based on priority bits, protocol type, IP address
Rate Limiting Upstream and downstream rate limiting per classified flow

SkyZhone 1604, 1404, 1204 Hardware Installation Guide 27
INSTALLING THE SKYZHONE ACCESS POINT
This chapter describes how to mount the SkyZhone access point on a pole or on the
side of a building. It includes the following topics:
• Equipment needed for installation, page 26
• Mounting the SkyZhone to a pole, page 28
• Mounting the SkyZhone to the side of a building, page 32
• Grounding, page 37
• Initial Configuration, page 38
Note that:
• The AC Mains power cable installation for this product must be done by a
licensed electrician familiar with the NEC, CEC and all applicable local
electrical codes. Also, no power can be connected at the SkyZhone unit until the
Chassis Safety Ground in properly installed.
• The SkyZhone access point must always be mounted with the top of the unit
horizontal and level.
• It is best to mount the SkyZhone access point to a metal structure. The metal
mounting brackets are designed to make good contact with the pole, thereby
assuring good quality connection to the grounded structure.
• The SkyZhone access point ships in a container with the antennas. The antennas
are inside the protective foam, beneath the flap at the top. Do not throw away
the foam.
Equipment needed for installation
Pole-mounting kit
The SkyZhone access point’s pole-mounting kit (920-07821-01) contains the
following items:
• One universal pole bracket that can be oriented for use on small or large
diameter poles
• One SkyZhone support shelf with sun shield
• One nut to attach shelf to the center stud on the pole bracket
• Banding with screw clamps
• 4 screws to securely fasten shelf to the pole bracket
• 1 driver bit for the tamper-resistant screws
28 SkyZhone 1604, 1404, 1204 Hardware Install Guide
Wall-mounting enclosure kit
The SkyZhone access point wall-mounting enclosure kit (920-07811-01) contains the
following items:
• One wall bracket
• One paintable decorative cover
• 4 (four) tamper-resistant mounting screws to mount the unit to the bracket
• 6 (six) mounting screws for the decorative cover
• 1 driver bit for the tamper-resistant screws
• Not included: 4 screws that will go through the metal bracket, plastic cover and
into your wall’s surface.
Wall-mount kit (without plastic cover)
The SkyZhone access point wall-mount kit (without plastic cover) contains the
following items:
• One wall bracket
• 4 (four) tamper-resistant screws
• 1 driver bit for the tamper-resistant screws
Customer supplied equipment
For installation, you need the following items:
• Large slotted screw driver to secure the banding clamps
• 7/16-inch nut driver
• Cordless screwdriver with a 2 1/2 " extension to be able to secure the tamper-
resistant screws, or a screwdriver that can receive a tamper-resistant screw that
is at least three inches long.

SkyZhone 1604, 1404, 1204 Hardware Installation Guide 29
Mounting the SkyZhone to a pole
This section describes the steps to mount a pole for the SkyZhone access point. First
select a mounting location. You can attach the SkyZhone access point to any pipe or
pole.
1. Attach screw clamp bands to the pole mounting plate by threading them through
the slots on the mounting plate. The slots are for either horizontal or vertical
mounting on large or small diameter poles. Choose the one most appropriate for
this installation.
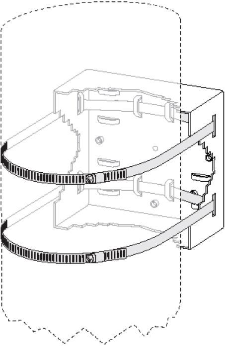
Figure 8: Threading screw clamp bands through mounting plate slots
2. Secure the screw clamp bands around the pole, using a large slotted screwdriver.

30 SkyZhone 1604, 1404, 1204 Hardware Install Guide
Figure 9: Mounting plate “strapped” around a pole
3. Tighten and if necessary, trim off any excess tension band.
4. Secure the mounting bracket to the pole, see Figure 11 on page 31.
The SkyZhone shelf is attached to the poll-mounting bracket. The shelf may need to
be adjusted so that it is level.

SkyZhone 1604, 1404, 1204 Hardware Installation Guide 31
Figure 10: Bracket attached to the mounting plate attached to the pole
5. Adjust the shelf until it is level by rotating the unit along the curved slot tracks.
6. Once the unit is level, securely tighten the center nut and four bolts that hold the
shelf to the pole mount bracket as shown in Figure 11.
7. Attach the antennas to the unit. Note the antennas are different sizes. The three
longer antennas are connected to the top of the unit. The two shorter antennas
are mounted to the bottom of the unit. The antennas are not interchangeable. It is
critical that the longer antennas are on the top, and the shorter ones on the
bottom of the unit.
8. Slide the unit into the sun shield housing.
9. Secure with 4 (four) tamper-resistant screws, provided in the mounting kit,
through the holes on the front of the unit.
_________________________________________________________
WARNING! Insure that the Chassis Ground is properly
connected before the next steps.
_________________________________________________________
10. Attach the SHDSL cable to the SHDSL connector.

32 SkyZhone 1604, 1404, 1204 Hardware Install Guide
11. Attach the Ethernet cable if it is being used.
12. Attach the AC power cable
13. Secure the cable(s) to the pole with cable ties to provide strain relief, if needed.
_________________________________________________________
Note: This previous procedure showed the SkyZhone station being
mounted to a vertical pole. The same instructions apply to the
installation on a horizontal pole or any other orientation as
shown in the figure below.
_________________________________________________________
Figure 11: The bracket and sunshield mounted on a horizontal
pole

SkyZhone 1604, 1404, 1204 Hardware Installation Guide 33
Mounting the SkyZhone to the side of a building
The wall mount enclosure kit is used when the SkyZhone is mounted to a
building. The cover is used to hide the unit for aesthetic purposes. This cover
can be painted, which allows the unit to blend in with the building. Figure 12
displays a fully-assembled SkyZhone with its cover.
Figure 12: SkyZhone with a cover
The SkyZhone wall mount enclosure kit (920-07811-01) includes the following
items:
• Lid
• front cover
• bracket and base
These items are also displayed in Figure 13:

34 SkyZhone 1604, 1404, 1204 Hardware Install Guide
Figure 13: Contents of wall mount enclosure kit (from left: the lid, the front cover,
the bracket and the base)
To mount the optional cover:
______________________________________________________
Note: The mounting of the SkyZhone unit should be as high as possible
to ensure maximum coverage. A flat surface measuring 24 inches high and 36
inches wide will be needed to mount the unit securely.
______________________________________________________
1. Find a flat surface that is at least 24 inches tall and 36 inches wide.
2. Drill the holes in the wall to align with the corresponding holes in the
mounting bracket. See Figure 14.
3. Obtain the proper screws (not included) to anchor the wall mount assembly
to the type of surface it is being mounted to.
4. Place the mounting bracket on the rear panel of the cover, lining up the
mounting holes.
5. Fasten the mounting bracket in the desired location with the appropriate
type of screw. Use the outside holes displayed in Figure 16. These should
line up with the holes in the cover.

SkyZhone 1604, 1404, 1204 Hardware Installation Guide 35
Figure 14: Mounting Bracket with screw locations
6. Attach the mounting bracket and the base to the wall (Figure 15). (The base
has an UP arrow cut into the plastic casing to ensure in proper orientation.)
Use a 1/4 inch drill masonry bit to install a 1 inch plastic insert to secure the
cover and the aluminum frame to the concrete wall with the appropriate
screws.
Figure 15: Bracket and Base
7. Attach the protective cover to the base and then attach the base to the
(concrete) wall. Note that the cover should be attached so that the top
contains the two cutouts for the angled antennas.

36 SkyZhone 1604, 1404, 1204 Hardware Install Guide
Figure 16: Base, Bracket, and Front Cover displaying two holes for
antennas
8. Attach the antennas to the SkyZhone access point.
Note that the antennas are different sizes. The three longer antennas are
connected to the top of the unit. The two shorter antennas are mounted to the
bottom of the unit. The antennas are not interchangeable. It is critical that the
longer antennas are on the top, and the shorter ones on the bottom of the unit.
9. Slide the SkyZhone station onto the wall mounting bracket.
10. Secure the SkyZhone to the wall mounting bracket with the 4 (four) tamper-
resistant screws, provided in the installation kit, through the holes on the front of
the unit.
_________________________________________________________
WARNING! Insure that the Chassis Ground is properly
connected before the next steps.
_________________________________________________________
11. Attach the SHDSL cable. Also connect the optional console cable and Ethernet
cables, if they are being used. In some installations, it might be easier to install
the cables before mounting the unit to the bracket.
12. Attach the AC power cable
13. Attach the lid of the protective cover and secure it with the screws provided in
the installation kit. The final assembly appears in Figure 17, and the final
installation appears in Figure 18.

SkyZhone 1604, 1404, 1204 Hardware Installation Guide 37
Figure 17: Wall Mount Kit - Final Assembly
Figure 18: Example of a wall-mounted SkyZhone

38 SkyZhone 1604, 1404, 1204 Hardware Install Guide
Grounding
To ensure proper grounding:
______________________________________________________
WARNING! To avoid safety hazards this procedure must be completed
before applying AC power to the SkyZhone unit.
______________________________________________________
• Connect a length of #10 AWG solid bare copper wire to the wire grounding
lug of the unit and tighten the grounding nut. See Figure 19.
• Connect the other end of the grounding wire strap that is attached to a
grounded surface or another earth ground such as a metal rod.
Figure 19: Grounding lug
SkyZhone 1604, 1404, 1204 Hardware Installation Guide 39
Initial Configuration
Using the factory defaults
• The factory defaults for the SkyZhone Access Point includes two VLANS.
• VLAN 1 is the default data VLAN.
Ports eth0 (SHDSL), eth1 (PoE), and wlan0 are all members of this VLAN.
• VLAN 7 is the default management VLAN.
Ports eth0 (SHDSL) and eth1 (PoE) are members of this VLAN.
Before using the SkyZhone Access point, use the CLI commands on the console
interface to assign an IP address to the SkyZhone access point. For your network,
determine the appropriate IP addresses as well as subnet mask, default gateway and
broadcast address settings. The SkyZhone access point can now be configured for
management.
In the following example, the values for the settings for the network are:
• IP address: 10.108.14.218
• Subnet mask: 255.255.255.0
• Broadcast Address: 10.108.14.255
• Default gateway: 10.108.14.254
Use the following three commands to configure VLAN management.
• config if interface brvlan7 ip 10.108.14.218 mask 255.255.255.0
broadcast 10.108.14.255
• config if route-add destination default gateway 10.108.14.254
• config admin-tools save running-config
After entering these commands, the system can be managed using SSH or HTTPS
over the SHDSL interface or the PoE interface.
Refer to the SkyZhone CLI Reference Guide for a list of supported commands to
configure advanced SkyZhone features.
Changing the factory defaults
If you are not using the factory default VLANs, you need to delete the default
VLANs and configure the VLANs that are appropriate for your network. In the
example below, VLAN 2 is used for management instead of the default VLAN 7.
Also, VLAN 122 is the data VLAN instead of VLAN 1.
40 SkyZhone 1604, 1404, 1204 Hardware Install Guide
1. Delete the default VLANS. The following commands remove the
default VLANs:
config vlan vlanconfig removeport interface eth0 vlanid 1
config vlan vlanconfig removeport interface eth1 vlanid 1
config vlan vlanconfig removeport interface wlan0 vlanid 1
config vlan vlanconfig removevlan vlanid 1
config vlan vlanconfig removeport interface eth0 vlanid 7
config vlan vlanconfig removeport interface eth1 vlanid 7
config vlan vlanconfig removevlan vlanid 7
2. Define the new management VLAN. In this example, VLAN 2 is
the management VLAN.
config vlan vlanconfig addvlan vlan_name management vlanid 2
config vlan vlanconfig addport interface eth0 vlanid 2 tagged
config vlan vlanconfig addport interface eth1 vlanid 2 untagged
config vlan portdefaults default-pvid vlanport eth1 pvid 2
3. Configure the management address. In this example, the device
address is 10.108.14.218.
config if interface brvlan2 ip 10.108.14.218 mask 255.255.255.0
broadcast 10.108.14.255
config if route-add destination default gw-addr 10.108.14.254
4. Define the data VLAN. In this example, the data VLAN is VLAN
122.
config vlan vlanconfig addvlan vlan_name data vlanid 122
config vlan vlanconfig addport interface wlan0 vlanid 122 tagged
config vlan vlanconfig addport interface eth0 vlanid 122 tagged
config vlan vlanconfig addport interface eth1 vlanid 122 tagged
config admin-tools save running-config
Using the Ethernet interface
The Ethernet port can be used to configure the SkyZhone access point using the
factory default settings. The Ethernet port on the SkyZhone has a default address

SkyZhone 1604, 1404, 1204 Hardware Installation Guide 41
of 192.168.1.1. If a static IP address is set on your PC that is on the same subnet
(for example, 192.168.1.100), then use HTTPS to configure the remaining
parameters. Note that the SkyZhone access point uses HTTPS and not HTTP.
The default login is admin and the default password is zhone.
Note that if the IP address of the management VLAN is changed, you lose your
connection to the SkyZhone unit. A new static IP address must be configured on
your PC that is compatible with the new IP address that you configured in the
SkyZhone unit.
Also, if any changes have been made to the VLAN definitions, the
corresponding changes will have to be made in the DSLAM that the SkyZhone
is connected to.
Default settings
Configuration Item SkyZhone 1224
Single 2.4 GHz
SkyZhone 1624
2.4 GHz, 4.9 GHz
SkyZhone 1424
Single 4.9 GHz
Login admin admin admin
Password zhone zhone zhone
WLAN 0 2.4GHz 2.4 GHz N/A
WLAN 1 N/A 4.9 GHz 4.9 GHz
Default VLANs 0 – internal
1 – data
7 - management
0 – internal
1 – data
7 - management
0 – internal
1 – data
7 - management
VLAN 1 port
membership
Eth0 – tagged
Eth1 – tagged
WLAN 0 - tagged
Eth0 – tagged
Eth1 – tagged
WLAN 0 - tagged
Eth0 – tagged
Eth1 – tagged
VLAN 7 port
membership
Eth0 – tagged
Eth1 – untagged
Eth0 – tagged
Eth1 – untagged
Eth0 – tagged
Eth1 – untagged
WLAN 0 SSID 1 SkyZhone SkyZhone N/A
WLAN 0 SSID 2 - - N/A
WLAN 0 SSID 3 - - N/A
WLAN 0 SSID 4 - - N/A
WLAN 0 SSID security none none N/A
WLAN 0 Admin State Up Up N/A
WLAN 0 Radio Name 2.4GHz 2.4GHz N/A
WLAN 0 Hardware
Mode
g g N/A
WLAN 0 Rates auto auto N/A
WLAN 0 Channel Policy Fixed Fixed N/A
WLAN 0 Channel 6 6 N/A
WLAN 0 Beacon
Interval
200 200 N/A
WLAN 0 Broadcast
SSID
Enabled Enabled N/A
WLAN 0 RTS Threshold 2347 2347 N/A
WLAN 0 Fragment
Threshold
2346 2346 N/A
WLAN 0 DTIM period 2 2 N/A
WLAN 0 Preamble Type Long Long N/A
WLAN 0 Antenna Power 0 dB 0 dB N/A

42 SkyZhone 1604, 1404, 1204 Hardware Install Guide
Configuration Item SkyZhone 1224
Single 2.4 GHz
SkyZhone 1624
2.4 GHz, 4.9 GHz
SkyZhone 1424
Single 4.9 GHz
Attenuation
WLAN 0 Antenna Select auto auto N/A
WLAN 1 SSID 1 N/A SkyZhone SkyZhone
WLAN 1 SSID 2 N/A - -
WLAN 1 SSID 3 N/A - -
WLAN 1 SSID 4 N/A - -
WLAN 1 SSID security N/A None None
WLAN 1 Admin State N/A Down Down
WLAN 1 Radio Name N/A 4.9 GHz 4.9 GHz
WLAN 1 Hardware
Mode
N/A a a
WLAN 1 Rates N/A auto auto
WLAN 1 Channel Policy N/A Fixed Fixed
WLAN 1 Channel N/A 192 192
WLAN 1 Beacon
Interval
N/A 200 200
WLAN 1 Broadcast
SSID
N/A Enabled Enabled
WLAN 1 RTS Threshold N/A 2347 2347
WLAN 1 Fragment
Threshold
N/A 2346 2346
WLAN 1 DTIM period N/A 2 2
WLAN 1 Preamble Type N/A Long Long
WLAN 1 Antenna Power
Attenuation
N/A 2 dB 2 dB
WLAN 1 Antenna Select N/A auto Auto
System Configuration
Host Name SkyZhone SkyZhone SkyZhone
Domain Name SkyZhoneDomain SkyZhoneDomain SkyZhoneDomain
Primary DNS 0.0.0.0 0.0.0.0 0.0.0.0
Secondary DNS 0.0.0.0 0.0.0.0 0.0.0.0
GPS Location
Latitude 0 0 0
Longitude 0 0 0
Date and Time
NTP disable disable disable
NTP Server 0.0.0.0 0.0.0.0 0.0.0.0
Date - - -
Time - - -
Time Zhone Eastern Eastern Eastern
Daylight Saving Disable Disable Disable
Save
Auto save Running
Config
Disable Disable Disable
Bridge Management
Interface
Interface Name br0 br0 br0
Interface Alias Internal Bridge Internal Bridge Internal Bridge
LAN IP 192.168.1.1 192.168.1.1 192.168.1.1
Netmask 255.255.255.0 255.255.255.0 255.255.255.0
Broadcast Address 192.168.1.255 192.168.1.255 192.168.1.255

SkyZhone 1604, 1404, 1204 Hardware Installation Guide 43
Configuration Item SkyZhone 1224
Single 2.4 GHz
SkyZhone 1624
2.4 GHz, 4.9 GHz
SkyZhone 1424
Single 4.9 GHz
Interface Name brvlan1 brvlan1 brvlan1
Interface Alias Bridge / VLAN 1 Bridge / VLAN 1 Bridge / VLAN 1
LAN IP 0.0.0.0 0.0.0.0 0.0.0.0
Netmask 0.0.0.0 0.0.0.0 0.0.0.0
Broadcast Address 0.0.0.0 0.0.0.0 0.0.0.0
Interface Name brvlan7 brvlan7 brvlan7
Interface Alias Bridge / VLAN 7 Bridge / VLAN 7 Bridge / VLAN 7
LAN IP 192.168.2.1 192.168.2.1 192.168.2.1
Netmask 255.255.255.0 255.255.255.0 255.255.255.0
Broadcast Address 192.168.2.255 192.168.2.255 192.168.2.255
44 SkyZhone 1604, 1404, 1204 Hardware Install Guide

SkyZhone 1604, 1404, 1204 Hardware Installation Guide 45
DIAGNOSTICS
This chapter describes the SkyZhone access point’s LED light.
Status and LED
The SkyZhone contains one red LED located on the bottom right of the unit
(Figure 20). The LED provides a quick verification as to whether it is operating
correctly or if it needs to be replaced.
Figure 20: LED Location
The following table describes the possible states of the LED light.
Color Operation Description
Red On solid Power is on and the software is not in an
operational state. If the LED stays in this state
for more than one minute, the unit should be
replaced.
Red One blink every
5 seconds
Power is on and the unit is operational.
Off Off There is no power
.
46 SkyZhone 1604, 1404, 1204 Hardware Install Guide

SkyZhone 1604, 1404, 1204 Hardware Installation Guide 47
SAFETY, REGULATIONS, AND CERTIFICATIONS
This chapter describes how to prepare your site for the installation of the SkyZhone
platform. It includes the following topics:
• Safety on page 42
• Grounding and isolation on page 44
• Installation safety precautions on page 44
• Contacting Global Service and Support, page 49
Safety
__________________________________________________________________
WARNING!
The authority to operate this equipment is conditioned by the requirement that no
modifications will be made to the equipment unless the manufacturer expressly
approves the changes or modifications.
The SkyZhone Model 1x04 products are AC power device conforming to UL 60950-
1 standards. The AC Power cable must wired to an AC source by a licensed
electrician familiar with the NEC, CEC and all applicable local codes.
Proper Safety Grounding is required to insure proper operation and protection
from lightning strikes and surges. A copper ground lug is provided on the unit for
this purpose. Connect a length of #10 AWG solid, bare, copper wire to the
grounding lug and firmly tighten the grounding screw (see Figure 20). Connect the
other end of the grounding wire to a grounded surface or another earth ground such
as a metal rod. This ground must be install before applying power to the unit.
SkyZhone provides both Primary and Secondary lightning and surge protection to
the SHDSL and PoE cable signals. The special POE + Console cable has both
protected signals (POE) and unprotected signals (Console). This special cable is
intended for unit configuration prior to installation. It is not intended for outdoor
use. Use the standard POE cable for outdoor installations.
The National Electrical Code (NEC) and Canadian Electrical Code (CEC) require
the use of an agency listed (UL/CSA) Building Entrance Protector for all power and
data communications cables entering a building. This is to protect the building and
occupants from damage caused by transient voltage and current surges.
A UL 497 (CSA C22.2 No. 226-92) approved primary protection device must be
used at the building entrance if the Ethernet port is used to provide in-building
access to the SkyZhone network. Also check with local wiring codes.

48 SkyZhone 1604, 1404, 1204 Hardware Install Guide
Serious injury can occur if the antennas come in contact with electric power lines.
Carefully follow the instructions in this manual. During and after installation, the
antennas must be a minimum of 24 inches from any power lines. Use caution when
installing this outdoor equipment.
FCC RF Exposure Requirements (per OET-65) requires the SkyZhone platform to
be mounted such that the general public does not come within 10 inches of the
antennae.
__________________________________________________________________
Caution:
• This product requires professional installation.
• The unit is sealed at the factory and must not be opened in the field. The unit shall be
returned to the factory for repairs.
• The PoE (Power over Ethernet) connector sources power to other devices. Some
devices may not be compatible with this feature. In that case, do not connect the
wires that supply the power. The power is 48 volts DC, at a maximum of 5 watts.
__________________________________________________________________
Note:
• This equipment has been tested and found to comply with the limits for a Class C
digital device, pursuant to part 15, subpart C, of the FCC rules. These limits are
designed to provide reasonable protection against harmful interference when the
equipment is operated in a commercial environment. This equipment generates, uses,
and can radiate radio frequency energy and, if not installed and used in accordance
with the user manual, may increase the potential for harmful interference to radio
communications.
• This warning applies to the Skyzhone-1404 and SkyZhone-1604 only. This
equipment has been tested and found to comply with the limits for a Class A digital
device, pursuant to Part 15 of the FCC Rules. These limits are designed to provide
reasonable protection against harmful interference when the equipment is operated in
a commercial environment. This equipment generates, uses, and can radiate radio
frequency energy and, if not installed and used in accordance with the instruction
manual, may cause harmful interference to radio communications. Operation of this
equipment in a residential area is likely to cause harmful interference in which the
user will be required to correct the interference at their own expense.
• The supplied cables and antennae must be used to ensure compliance with Part 15,
FCC Rules. The use of any other antennas will invalidate the unit's FCC Part 15
certification.
• The 2.4 GHz band has been designed to operate with the antennae listed below, and
having a maximum gain of 5 dBi. Antennae not included in this list (Comet Part
Number CFA-245W-SR) or having a gain greater than 5 dBi are strictly prohibited
for use with this device. The required antenna impedance is 50 ohms.
• The 4.9 GHz band has been designed to operate with the antennae listed below, and
having a maximum gain of 5.3 dBi. Antennae not included in this list (Comet Part

SkyZhone 1604, 1404, 1204 Hardware Installation Guide 49
Number SF-D49NW-SR) or having a gain greater than 5.3 dBi are strictly prohibited
for use with this device. The required antenna impedance is 50 ohms
• To reduce potential radio interference to other users, the antenna type and its gain
should be so chosen that the equivalent isotropic radiated power (e.i.r.p.) is not more
than that permitted for successful communication. Operating the device with the
supplied antennas will ensure that this requirement is met.
• Operation is subject to the following two conditions: (1) this device may not cause
interference, and (2) this device must accept any interference, including interference
that may cause undesired operation of the device.
__________________________________________________________________
Grounding and isolation
Proper grounding of the SkyZhone platform must be completed before you connect
power to the unit.
• The internal subassemblies signal/Logic ground is internally bonded to the Safety
Ground (chassis).
• Proper Safety Grounding is required to insure proper operation and protection from
lightning strikes and surges. A copper ground lug is provided on the unit for this
purpose. Connect a length of #10 AWG solid, bare, copper wire to the grounding lug
and firmly tighten the grounding screw (see Figure 20). Connect the other end of the
grounding wire to a grounded surface or another earth ground such as a metal rod.
Installation safety precautions
Observe the maximum recommended operating temperature as indicated here.
• Maximum ambient operating temperature should not exceed 500C (1310F).
• Minimum ambient operating temperature should not exceed -350C (-310F).
Do not block system air vents; this will deprive the system of the airflow required for
proper cooling. Sufficient clearance must exist on all sides of the rack to permit
equipment access. Connect the system to the power supply circuit as described in this
document. Do not overload the system or power supply circuit. Ensure that proper system
grounding is performed and maintained.
Important Safety Instructions
Read and follow all warning notices and instructions
marked on the product or included in the manual.
1. The SkyZhone Model 1x04 products are AC power device conforming to UL 60950-
1 standards. The AC Power cable must wired to an AC source be a licensed
electrician familiar with the NEC, CEC and all applicable local codes.
50 SkyZhone 1604, 1404, 1204 Hardware Install Guide
2. Do not attempt to service this product yourself, as opening or removing covers may
expose you to hazardous voltage or to other risks. Refer all servicing to qualified
service personnel.
3. When installed, the product must comply with the applicable Safety Standards and
regulatory requirements of the country in which it is installed. If necessary, consult
with the appropriate regulatory agencies and inspection authorities to ensure
compliance.
4. A rare phenomenon can create a voltage potential between the earth grounds of two
or more buildings. If products installed in separate buildings are interconnected, the
voltage potential may cause a hazardous condition. Consult a qualified electrical
consultant to determine whether or not this phenomenon exists and, if necessary,
implement corrective action prior to interconnecting the products.
5. In addition, since the equipment is to be used with telecommunications circuits, take
the following precautions:
Never install telephone wiring during a lightning storm.
Never install telephone jacks in wet locations unless the jack is specifically
designed for wet locations.
Never touch uninsulated telephone wires or terminals unless the telephone line
has been disconnected at the network interface.
Use caution when installing or modifying telephone lines.
Avoid using a telephone (other than a cordless type) during an electrical storm.
There may be a remote risk of electric shock from lightning.
Do not use the telephone to report a gas leak in the vicinity of the leak.
EMI Notices
The following are EMI notices.
United States - EMI Notice
• Changes or modifications not expressly approved by Zhone Technologies, Inc. could
void the user's authority to operate the equipment.
• The supplied cables and antennae must be used to ensure compliance with Part 15
and Part 90, FCC Rules.
• This device may only be used with approved antennae that are shipped with the unit
and installed per installation instructions. The use of any other antennas will
invalidate the unit's FCC Part 15 certification.
• The 2.4 GHz band has been designed to operate with the antennae listed below, and
having a maximum gain of 5 dBi. Antennae not included in this list (Comet Part
Number CFA-245W-SR) or having a gain greater than 5 dBi are strictly prohibited
for use with this device. The required antenna impedance is 50 ohms.
SkyZhone 1604, 1404, 1204 Hardware Installation Guide 51
• The 4.9 GHz band has been designed to operate with the antennae listed below, and
having a maximum gain of 5.3 dBi. Antennae not included in this list (Comet Part
Number SF-D49NW-SR) or having a gain greater than 5.3 dBi are strictly prohibited
for use with this device. The required antenna impedance is 50 ohms.
• To reduce potential radio interference to other users, the antenna type and its gain
should be so chosen that the equivalent isotropically radiated power (e.i.r.p.) is not
more than that permitted for successful communication. Operating the device with
the supplied antennas will ensure that this requirement is met.
• Operation is subject to the following two conditions: (1) this device may not cause
interference, and (2) this device must accept any interference, including interference
that may cause undesired operation of the device.
Canada - EMI Notice
This Class A and C digital apparatus complies with Industry Canada RSS-210.
52 SkyZhone 1604, 1404, 1204 Hardware Install Guide
Supplier’s Declaration of Conformity
Place of Issue: Zhone Technologies
8545 126th Avenue North
Largo, FL 33773-1502
USA
Date of Issue: January 20, 2008
Zhone Technologies, located at the above address, hereby certifies that the
SKYZHONE-1204/1404/1604 bearing the FCC identification numbers
PJZSZ1224, PJZSZ1424, PJZSZ1624 complies with the Federal
Communications Commission's ("FCC") Rules and Regulations pursuant
to part 15, subpart C (14.247), part 15 Class A and part 90, as appropriate.
Additionally, the Industry Canada identification numbers 3619ASZ1224,
3619ASZ1424, 3619ASZ1624 insures that the SKYZHONE-
1204/1404/1604 also meet the requirements of RSS-210. The unit has
network certification associated with ITU-T G.991.2.
Keith Nauman
Vice President
SkyZhone 1604, 1404, 1204 Hardware Installation Guide 53
Notice to Users of the Canadian Telephone Network
NOTICE: This equipment has been certified to ITU-T G991.2
CE Marking
When the product is marked with the CE mark on the equipment label, a
supporting Declaration of Conformity may be downloaded from the Zhone
World Wide Web site at www.zhone.com.

54 SkyZhone 1604, 1404, 1204 Hardware Install Guide
Contacting Global Service and Support
Contact Global Service and Support (GSS) if you have any questions about this or
other Zhone products. Before contacting GSS, make sure you have the following
information:
• Software version running on the system
• System configuration
• Zhone product you are using
• Description of the issue
Technical Support
If you require assistance with the installation or operation of your product, or if
you want to return a product for repair under warranty, contact GSS. The contact
information is as follows
E-mail support@zhone.com
Telephone (North America) 877-ZHONE20
Telephone (International) 510-777-7133
Internet www.zhone.com/support
If you purchased the product from an authorized dealer, distributor, Value
Added Reseller (VAR), or third party, contact that supplier for technical
assistance and warranty support.
Service Requirements
If the product malfunctions, all repairs must be performed by the manufacturer
or a Zhone-authorized agent. It is the responsibility of users requiring service to
report the need for service to GSS.