David Clark U9920 AIRCRAFT PUSH BACK FIXED PART GATEWAY CONTAINING DECT TRANSCEIVER (UPCS) User Manual 40993G 01 U9920 GPB
David Clark Company Inc. AIRCRAFT PUSH BACK FIXED PART GATEWAY CONTAINING DECT TRANSCEIVER (UPCS) 40993G 01 U9920 GPB
Users Manual

19541P‐41(02‐11)©2011DAVIDCLARKCOMPANYINCORPORATED
USER MANUAL
Push Back Gateway
U9920-GPB U9920-GPB(EU)
(P/N: 40993G-01) (P/N: 40993G-02)

1of9
19541P‐41(02‐11)
C
Ca
au
ut
ti
io
on
ns
s
a
an
nd
d
W
Wa
ar
rn
ni
in
ng
gs
s
READANDSAVETHESEINSTRUCTIONS.Followtheinstructionsinthisinstallation
manual.Theseinstructionsmustbefollowedtoavoiddamagetothisproductand
associatedequipment.Productoperationandreliabilitydependsonproperusage.
DONOTINSTALLANYDAVIDCLARKCOMPANYPRODUCTTHAT
APPEARSDAMAGED.UponunpackingyourDavidClarkproduct,
inspectthecontentsforshippingdamage.Ifdamageisapparent,
immediatelyfileaclaimwiththecarrierandnotifyyourDavidClark
productsupplier.
ELECTRICALHAZARD‐Disconnectelectricalpowerwhenmakingany
internaladjustmentsorrepairs.Allrepairsshouldbeperformedbya
representativeorauthorizedagentoftheDavidClarkCompany.
STATICHAZARD‐Staticelectricitycandamagecomponents.
Therefore,besuretogroundyourselfbeforeopeningorinstalling
components.
LI‐POLYMER‐ThisproductisusedwithLi‐Polymerbatteries.Donot
incinerate,disassemble,shortcircuit,orexposethebatterytohigh
temperatures.Batterymustbedisposedofproperlyinaccordance
withlocalregulations.

2of9
19541P‐41(02‐11)
O
Ov
ve
er
rv
vi
ie
ew
w
TheU9920‐GPB(40993G‐01)PushBackGatewayisaportablewirelesscommunicationdevice
thatwhenusedinconjunctionwithoneormoreU9910‐BSW(40992G‐01)orU9912‐BSW
WirelessBeltStationsprovidescommunicationforuptofourusersaswellasaninterfacetoan
aircraftintercomsystem.Onlyonegatewayisrequiredpersystem.Uptofourbeltstationscan
beconnectedtoonegateway.
Model U9920-GPB
Push Back Gateway
P/N 40993G-01
Rx Adjust Aircraft
Connector
Power
Button
Status LED
Battery
Compartment
Battery Release
Screw
Link/PTT
Button
Figure1:OverviewofGateway

3of9
19541P‐41(02‐11)
L
Li
in
nk
ki
in
ng
g
Beforeabeltstationandagatewaycanbeconnected,theymustfirstbelinked.Asasecurity
measure,theclose‐linkfeaturerequiresdevicestobeinproximityofabout1to3ft(0.3to0.9m)
inordertosuccessfullylink.Thisensuresthattheunitsarenotinadvertentlylinkedwithother
unitsonthepremises.
Linkingprocedure:
1. EnsurepowerisonforbothU9920‐GPBandbeltstation(seePower‐up/Power‐down)
2. Ensureunitsarewithin1to3ft(0.3to0.9m)ofeachother.
3. Simultaneously(within1‐2sec)pressandreleasethePTTbuttonontheU9920‐GPBand
thebeltstationtolinkwith.
4. AmberLED’swillflashonbothdevices.AmomentaryredLEDindicatesasuccessful
close‐link.
5. UponsuccessfullinktheU9920‐GPBwillattempttoestablishaconnectionwiththebelt
station.
6. UponsuccessfullyestablishingconnectiontheLEDonthegatewaywillflashagreen
patterncorrespondingtothenumberofbeltstationsconnected.
Tip:
Oncelinked,thedeviceswillnotneedtobelinkedagainunlesstheyarepurged(see
Purging).
Eachbeltstationisabletobelinkedtoonlyonegatewayatatime.Agatewaycanhaveuptosix
beltstationslinkedandbeconnectedtofourofthosesixatonetime.
S
St
ta
at
tu
us
s
I
In
nd
di
ic
ca
at
ti
io
on
ns
s
Thepowerbuttonhasamulti‐colorLEDinthecenterwhichservesasastatusindicationforthe
gateway.Table1belowliststhesestates.
Table1:LEDStatusIndications
LEDColorBlinkRateStatus
RedSolidInitializing/powerup
RedOnceConnectionDropped
RedOnceConnectionEstablished
RedAnyLowbattery(approx.1hrremaining)
OrangeSlowIdle/Disconnected
OrangeFastLink/ConnectioninProgress
OrangeSolidPTTasserted
GreenSlowConnected(patternindicates
numberofbeltstationsconnected)

4of9
19541P‐41(02‐11)
O
Op
pe
er
ra
at
ti
io
on
n
Power‐Up/Power‐Down
TopoweruptheU9920‐GPBPushBackGateway,pressandholdthePOWERbuttonfor
approximatelytwoseconds.TheLEDwillturnredandthenbeginflashingorange.Ifthereare
linkedbeltstationswithinrange,theywillautomaticallyconnecttothegatewayinafewseconds
afterpowerup.
TopowerdowntheU9920‐GPB,pressandholdthePOWERbuttonforapproximatelytwo
seconds.TheLEDwillturnredandthenturnoff.Thegatewayisnowpowereddown.
AircraftInterface
TheU9920‐GPBisdesignedforairportpushbackoperationsandcanbeconnectedtoanaircraft
intercomsystem.Onceconnected,uptofourbeltstation(U9910‐BSW)userscancommunicate
tothepilotoftheaircraftbypressingthePTTbuttononthebeltstation.APushBackCableis
requiredbetweentheU9920‐GPBandtheaircraft(cableP/N:41035G‐02includedwithgateway,
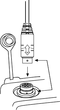
standard1/4"interphoneconnection).SeeFigure2below.
Line up
Orange Dots and Twist
Figure2:PushBackCableConnection
[additionalfigureshowingaircraftinterface]
AircraftLevelAdjustment
Audiolevelscanvarybetweenaircraft.Tocompensateforthis,theU9920‐GPBhasareceive
leveladjustknob(seeFigure1).Turningthisknobwillincreaseordecreasetheaudiolevel
comingfromtheaircraftandintothewirelessintercom.Byadjustingthisknob,optimum
performancecanbeachieved.

5of9
19541P‐41(02‐11)
ReceiveLevelAdjustmentProcedure
1. ConnectatleastonebeltstationtotheU9920‐GPBgatewayandensuresidetoneis
present(seebeltstationUserManual).
2. PressandholdPTT
3. WhileholdingPTT,beginspeakingandslowlyturnReceiveLevelAdjustknobonthe
U9920‐GPBgatewayclockwiseuntilyouhearanechoofyourownvoice.
4. TurntheReceiveLevelAdjustknobslightlycounter‐clockwiseuntiltheechostops.
5. ReleasePTT.
6. Youmaywishtoverifycommunicationwiththepilotorsomeonehard‐wiredtothe
aircraft’sintercom.
Communication
Note:Itishighlyrecommendedforwirelesspush‐backsystemsthateachheadsetuserinterface
throughanon‐VOXbeltstation(U9912‐BSW),asextremelyhighandvaryingnoiselevelswithin
thisenvironmentcanbecomechallengingtotheVOXfeature,resultinginunwantedrampnoise
beingpresentinaVOXbeltstationuser'sheadsetandcausinghim/hertofrequentlyadjustthe
VOXsetting.VOXbeltstationsmaybedesiredinmorestableandlessextremenoise
environments.
AllconnectedbeltstationswillbeabletocommunicatewitheachotherthroughtheU9920‐GPB
whileinrange.Additionally,allbeltstationuserswillalwayshearanytrafficontheaircraft
intercom.Tospeakovertheaircraftintercom,thebeltstationusermustpressandholdhis/her
PTTbutton.MultiplebeltstationusersmayPTTandthusspeakovertheaircraftintercom
simultaneously.Wirelessintercomforallconnectedbeltstationusersisalsoachievedinthis
manner.Formoreinformationconsulttheusermanualforthebeltstation.
Range
Therangeofabeltstationandagatewaycanbeupto300ft(100m).Ifyouareinan
environmentwithmetalorconcretewalls,thisrangecouldbereduced.Whenthebeltstation
travelsoutofrangeofthegateway,avoicealertwillindicatethattheconnectionhasbeenlost.
Toreconnect,simplymovebackintorangeandconnectionwiththegatewaywillautomatically
bereestablished,alsonotedbyavoicealert.
LowBattery
Undertypicalconditions,thebatteryinthegatewaywilllastupto24hoursorlonger.TheStatus
LEDturnsredtoindicatethatthebatteryisrunninglow.Atthispoint,approximately1hourof
operationremains.

6of9
19541P‐41(02‐11)
P
Pu
ur
rg
gi
in
ng
g
Insomecircumstancesitmaybenecessaryto“purge”theU9920‐GPBofsomeofitslinkedbelt
stations.Typicallypurgingisnotnecessaryunlesstherearemultiplegatewaysinthesame
vicinityandyouwishtoremoveabeltstationfromthisgatewayandlinktoadifferentgateway.
Agatewaycanlinkuptosixbeltstationswhereabeltstationcanbelinkedtoonlyonegateway
atatime.
FullPurge
AfullpurgeisthepurgemethodemployedbytheU9920‐GPBandclearsalllinksinthegateway.
Afterthisprocedurenobeltstationswillautomaticallyconnecttothisgatewayuntillinked.
FullPurgeprocedure
1. Powerdowngateway(seePower‐up/Power‐down).
2. PressandholdPTTbutton.Donotrelease.
3. Powerupthegateway(seePower‐up/Power‐down).
4. ReleasePOWERbutton.
5. ReleasePTTbutton.
6. StatusLEDwillflashredtoindicatesuccessfulpurge.
B
Ba
at
tt
te
er
ry
y
R
Re
em
mo
ov
va
al
l
&
&
C
Ch
ha
ar
rg
gi
in
ng
g
AllDavidClark9900‐serieswirelessbeltstationsandbatteryoperatedcontrollers/gatewaysusea
3.7VLi‐Polymerrechargeablebattery.Thisbatteryisremovedbylooseningthebatteryrelease
screw(SeeFigure1).ThebatteriesarechargedwiththeA99‐04CRG4‐baybatterycharger
(41034G‐01).
Wheninstallingabattery,takecaretoalignthebatteryproperlyandfullytightenthescrew(see
Figure3).

7of9
19541P‐41(02‐11)
Insert Battery
with Contacts
Down
Lift Door
Figure3:BatteryInsertion/Removal
T
Tr
ro
ou
ub
bl
le
es
sh
ho
oo
ot
ti
in
ng
g
Table2:Troubleshooting
ProblemSolution
GatewaywillnotturnonReviewPower‐up/Power‐downprocedure
Ensureafreshbatteryisinstalled
CannotlinkabeltstationReviewRegistrationprocedure
Ensureunitsarewithin1to3ft(0.3to0.9m)of
eachother
TryaFullPurge
CannotspeaktoaircraftPTTnotpressed
R
Re
ep
pl
la
ac
ce
em
me
en
nt
t
P
Pa
ar
rt
ts
s
• Battery(P/N:40688G‐90)
• Protectiveskin,orange(A99‐02SKN,P/N:40796G‐03)
• AircraftInterfaceCord,PJ‐051{1/4"plug}(P/N:41035G‐02)
• AircraftInterfaceCord,U‐174plug{Embraer}(P/N:41035G‐03)
o Note:NOTformilitaryaircraft(consultfactory)
• AircraftInterfaceCord,dualGeneralAviationplugs{Saab,others}(P/N:41035G‐04)

8of9
19541P‐41(02‐11)
C
Ca
ar
re
e
a
an
nd
d
M
Ma
ai
in
nt
te
en
na
an
nc
ce
e
TheU9920‐GPBisnotuserserviceable.Donotattempttoopentheenclosure.Ifthisproduct
requiresservice,pleasecontacttheDavidClarkCo.Inc.CustomerServicedepartment:
• Phone: 800.298.6235
• E‐Mail:serviceWWW@DavidClark.com
• ByMail:CustomerService
DavidClarkCompany
360FranklinStreet
Worcester,MA01604
Ifnecessary,theU9920‐GPBmaybewipeddownwithamildsoapandwatermixture.Although
itisasealeddevicedesignedtowithstandsubmersioninwaterto1meter,donotunnecessarily
submersethisproductinwater.
Avoidstorageofthisproductindirectsunlightorhightemperatureenvironments.
S
Sp
pe
ec
ci
if
fi
ic
ca
at
ti
io
on
ns
s
FrequencyRange1920MHz‐1930MHz(U.S.andCanada)
1880MHz‐1900MHz(EU)
AverageRFPowerOutput4mW(100mWpeak)(U.S.andCanada)
10mW(250mWpeak)(EU)
Range300ft(100m)line‐of‐sight(nominal)
BatteryLife24hrscontinuoususe(nominal)
OperatingTemperature‐14°Fto113°F(‐10°Cto+45°C)
StorageTemperature‐4°Fto140°F(‐20°Cto+60°C)
PowerRequirements3.7V@100mAnominal
BatteryType3.7V2000mAhLi‐Polymer
F
FC
CC
C
P
Pa
ar
rt
t
1
15
5
S
St
ta
at
te
em
me
en
nt
t
RADIOANDTELEVISIONINTERFERENCE
ThisequipmenthasbeentestedandfoundtocomplywiththelimitsforaClassBdigitaldevice,
pursuanttoPart15oftheFCCrules.Theselimitsaredesignedtoprovidereasonableprotection
againstharmfulinterferenceinaresidentialinstallation.Thisequipmentgenerates,usesandcan

9of9
19541P‐41(02‐11)
radiateradiofrequencyenergyand,ifnotinstalledandusedinaccordancewiththeinstructions,
maycauseharmfulinterferencetoradiocommunications.However,thereisnoguaranteethat
interferencewillnotoccurinaparticularinstallation.Ifthisequipmentdoescauseharmful
interferencetoradioortelevisionreception,whichcanbedeterminedbyturningtheequipment
offandon,theuserisencouragedtotrytocorrecttheinterferencebyoneormoreofthe
followingmeasures:
‐Reorientorrelocatethereceivingantenna.
‐Increasetheseparationbetweentheequipmentandthereceiver.
‐Connecttheequipmentintoanoutletonacircuitdifferentfromthattowhichthereceiveris
connected.
‐Consultthedealeroranexperiencedradio/TVtechnicianforhelp.
Youmayalsofindhelpfulthefollowingbooklet,preparedbytheFCC:"HowtoIdentify
andResolveRadio‐TVInterferenceProblems."ThisbookletisavailablefromtheU.S.
GovernmentPrintingOffice,WashingtonD.C.20402.
*InordertomaintaincompliancewithFCCregulationsshieldedcablesmustbeusedwith
thisequipment.Operationwithnon‐approvedequipmentorunshieldedcablesislikelytoresult
ininterferencetoradio&televisionreception.
I
In
nd
du
us
st
tr
ry
y
C
Ca
an
na
ad
da
a
S
St
ta
at
te
em
me
en
nt
t
ThisdevicecomplieswithIndustryCanadalicence‐exemptRSSstandard(s).Operationissubject
tothefollowingtwoconditions:(1)thisdevicemaynotcauseinterference,and(2)thisdevice
mustacceptanyinterference,includinginterferencethatmaycauseundesiredoperationofthe
device.
U
Un
na
au
ut
th
ho
or
ri
iz
ze
ed
d
C
Ch
ha
an
ng
ge
es
s
ChangesormodificationsnotexpresslyapprovedbyDavidClarkCompany,Inc.couldvoidthe
users’authoritytooperatetheequipment.
U
Us
sa
ag
ge
e
R
Re
es
st
tr
ri
ic
ct
ti
io
on
ns
s
USModels
DuetotheUPCSfrequenciesused,thisproductislicensedforoperationonlyintheUnitedStates
ofAmericaandCanada.
EUModels
DuetotheDECTfrequenciesused,thisproductislicensedforoperationonlyintheEuropean
Unioncountries.