Decatur Electronics CR-1KD Traffic Safety Radar User Manual GVP manual builder 12 99
Decatur Electronics Inc Traffic Safety Radar GVP manual builder 12 99
User Manual

1
GENESIS-VP™: User’s Manual
Decatur Electronics, Inc.
GENESIS-VP™
User’s Manual
715 Bright Street
Decatur, IL 62522
USA/Canada: 1.800.428.4315
FAX: 1.217.428.5302
INTL: 1.217.428.4315
www.decaturradar.com
Revised December 28, 1999

GENESIS-VP™: User’s Manual
2
INSERT
Genesis-VP
Instructions for use of the target direction tracking mode.
Your Genesis-VP speed radar pistol may have had target direction tracking
mode added to its program software during product configuration. The
following explanations and instructions apply to target direction tracking
mode with the Genesis-VP.
You can determine whether or not target direction tracking mode is on or off
by going into the secondary menu and toggling to the “dir” window. If it
says “on” then, of course, target direction tracking mode is on. If it says
“off” then, of course, it is off and the unit will function as a standard
Genesis-VP.
When operating the Genesis-VP in target direction tracking mode:
1. The Genesis-VP will lock onto the target that has the strongest return
signal and also attempt to determine that target’s direction of travel.
The target’s speed will be displayed in the left window and, if
successful in determining target direction, the target direction will be
displayed in the right window. A “t” for “towards” will be displayed for
a target moving toward the Genesis-VP and an “A” for “away” will be
displayed for a target moving away from the Genesis-VP. If the
Genesis-VP is not successful in determining the target’s direction of
travel then neither a “t” or an “A” will be displayed.
2. When you lock a target the locked target speed will be displayed in the
right window. The right display will alternately flash this locked speed
and the direction of the locked target (if the direction was determined).
3. If you use the faster target mode in conjunction with the target direction
tracking mode then this rule of thumb applies… When the right window
is not being used by another function then a “t” for “toward” or an “A”
for “away” will be displayed in the right window to indicate the target’s
direction of travel.

3
GENESIS-VP™: User’s Manual
Table of Contents
1. Quick Start Instructions ........................................... 4
2. Controls ..................................................................... 9
3. Displays ................................................................... 14
4. Modes of Operation ................................................ 16
5. Serial Communications Option ............................. 18
6. Field Tests ................................................................ 18
7. Care, Cleaning, and Storage .................................. 21
8. Limitations to Doppler RADAR .............................. 21
9. Warranty .................................................................. 25
10. Service Return Procedure ...................................... 26
Appendix 1, Specifications .............................................. 27
Appendix 2, FDA Notice ...................................................28
Appendix 3, FCC/ISC Documents ................................... 30
Appendix 4, Case Law ...................................................... 31
Copyright © 1998, Decatur Electronics, Inc.

GENESIS-VP™: User’s Manual
4
Figure 1:
Inserting Batteries
1. Quick Start Instructions
1.1 Insert VersaPak™ batteries
Remove VersaPak™ batteries from their package and charge them (please
refer to VersaPak™ instruction sheet). When the VersaPak™ batteries are
charged, insert them into the base of the handle grip as shown until you hear
them snap into place.
1.2 Turn on the power
Push the power button. The Genesis-VP™ will do a display test and beep
and then blank the speed windows.

5
GENESIS-VP™: User’s Manual
1.3 Set Menu Options
Primary menu
You may use the factory default settings listed below or you may select your
own settings. To select your own settings, press and hold the MENU button.
You will see “bL” (for back light) in the left window and “OFF” in the right
window. If you wish to change this to “ON,” then simply press the SEL
(select) button. (The SEL button is used to toggle/cycle through all available
values for a given parameter.) Release and press the MENU button again to
move to the next category and repeat the process. When finished, release the
buttons and your new settings will be in effect. The unit will “remember” the
last settings when turned off and will power up with the last set values in
each category. See section 2.3 on Menus for other settings.
Factory default settings:
bL (back light) .......................... = on
Aud (audio volume) .................. = 3
SEN (sensitivity) ...................... = 5
SLh (squelch) ........................... = on
Figure 2:
Primary Menu

GENESIS-VP™: User’s Manual
6
Secondary menu
You may use the factory default settings listed below or you may select your
own settings. To select your own settings, press and hold the SEL (select)
button and then press the MENU button. You will see “Prt” (for
communication port) in the left window and a “O” (for none) in the right
window. If you wish to change this to an other mode of serial port
communication, then simply release and press the SEL (select) button. (The
SEL button is used to toggle/cycle through all available values for a given
parameter.) Press the MENU button again to move to the next category and
repeat the process. When finished, release the buttons and your new settings
will be in effect. See section 2.3 on Menus for other settings.
Factory default settings:
Prt (communication port) ......... 0 = No serial communication
FSt (fastest vehicle style).......... 1 = Fastest-toggle
tSt (test) .................................... off
You are now ready to measure the speed of targets.
Figure 3:
Secondary Menu
Master Reset
To reset all parameters (except the “tSt” setting) to their default values, press
and hold the SEL (select) button while pressing the PWR (power) button
when turning the unit ON. The unit will generate a long tone, reset all
parameters to the default values (see lists above), and continue powering up.

7
GENESIS-VP™: User’s Manual
1.4 Measuring the speed of a target
Measuring the speed of a target in strongest signal mode.
Point the Genesis-VP™ at a moving vehicle; pull and hold the trigger. While
the trigger is being held, the Genesis-VP™ is transmitting a signal and
measuring speeds. You should see a speed in the left window. This is the
speed of the vehicle returning the strongest signal. To lock the speed, simply
release the trigger and pull (and hold) it again quickly (within a half of a
second) and the current speed will be locked in the right window while the
left window continues to track the vehicle’s speed. To clear the locked speed,
either lock another speed in the same manner or release the trigger for more
than half a second and pull the trigger again.
Measuring the speed of a target in fastest vehicle mode.
The Genesis-VP™ can operate in one of two “fastest vehicle” modes,
selected in the secondary menu, fast-hold and fast-toggle. See section 2.3 on
Menus for changing to the other fastest vehicle mode.
Fast-hold style.
Point the Genesis-VP™ at two or more moving vehicles; pull and hold the
trigger. While the trigger is being held, the Genesis-VP™ is transmitting a
signal and measuring speeds. You should see the speed of the vehicle with
the strongest return signal displayed in the left window. To switch to fastest
vehicle mode press and hold the
FAST
button. You should now see the speed
of the strongest of the faster vehicles in the left window. You will remain in
fastest mode until you release the
FAST
button. To lock the speed, release
the trigger and pull it again quickly (within a half of a second) and the speed
in the left window will be locked in the right window while the left window
continues to track the fastest vehicle’s speed. To clear the locked speed,
either lock another speed in the same manner or release the trigger for more
than half a second and pull the trigger again. See sections 2.3 and 4.2.

GENESIS-VP™: User’s Manual
8
Fast-toggle style.
Point the Genesis-VP™ at two or more moving vehicles; pull and hold the
trigger. While the trigger is being held, the Genesis-VP™ is transmitting a
signal and measuring speeds. You should see the speed of the vehicle with
the strongest return signal displayed in the left window. To switch to fastest
vehicle mode, press and release the
FAST
button. You should see the speed
of the vehicle returning the strongest signal in the left window and the speed
of the strongest of the faster vehicles in the right window. You will remain in
fastest mode until you either press the
FAST
button again (button toggles
between strongest signal mode and fastest target mode) or until you lock a
speed (which automatically switches you back to strongest signal mode). To
lock the speed, release the trigger and pull it again quickly (within a half of a
second) and the speed in the left window (the strongest signal in this case)
will be locked into the right window while the left window will continue to
track the speed of the vehicle with the strongest return signal. Note that in the
fast-toggle style of fastest vehicle mode you are actually locking strongest
signal speeds. To clear the locked speed, either lock another speed in the
same manner or release the trigger for more than half a second and pull the
trigger again. See sections 2.3 and 4.3.

9
GENESIS-VP™: User’s Manual
2. Controls
2.1 Faceplate
When pressing the button of a valid function on the front panel, the computer
acknowledges the command with a beep.
MENU
The MENU button allows you to view the user programmable categories. To
change the menu category, press the MENU button.
SEL
The SEL (select) button allows you to choose values (settings) in each of the
menu categories. To change the menu category value, press the SEL (select)
button.
TEST
When the TEST button is pressed the Genesis-VP™ will complete a self-test.
See section 6.1.
FAST
When the
FAST
button is pressed the Genesis-VP™ will enter fastest target
mode.
PWR
Turns Genesis-VP™ on and off
Figure 4:
Faceplate
MENU TEST PWR
FAST
POWER RFI LOW BAT LOCK FAST
MPH
XMIT HOLD ERROR KPH
SEL

GENESIS-VP™: User’s Manual
10
2.2 Other Controls and Features
Trigger
When the trigger is pulled, the Genesis-VP™ will transmit and receive
information. If the trigger is released and pulled again within half a second
then the speed displayed in the left window will be locked into the right
window. The lock will be cleared when the trigger is released for more than
half a second and pulled again.
Backlighting (controlled through primary menu)
Turns backlighting on and off.
Audio (controlled through primary menu)
Doppler tone volume control.
Sensitivity (controlled through primary menu)
Controls the maximum acquisition distance in five levels. Start with
maximum sensitivity and decrease until attaining the desired performance.
Squelch (controlled through primary menu)
Determines the type of Doppler audio heard. In squelched mode (SLh = ON),
the only sound heard is the Doppler tone for the displayed target. When
unsquelched (SLh = OFF) , the operator hears all of the Doppler tones -
vehicles, interference, and noises - received by the antenna.
Communications port (controlled through the secondary menu)
Determines which communications port configuration is used.
Fastest vehicle mode style (controlled through secondary menu)
Determines whether the fastest vehicle mode will be fastest-hold or fastest-
toggle.
Test (controlled through secondary menu)
Determines whether the unit automatically performs a “mini” self-test at
regular intervals (required in some states).

11
GENESIS-VP™: User’s Manual
2.3 Menus
The MENU button allows you to view the user programmable categories.
There are two menus; the Primary and the Secondary.
Primary
Press the MENU button to enter the first category of the primary menu. To
advance to the next menu category, press the MENU button again.
Symbol Meaning Range
bL Back light on / off
Aud Audio volume 0 - 6
SEN Sensitivity 0 - 5
SLh Squelch on / off
Figure 5:
Primary Menu

GENESIS-VP™: User’s Manual
12
Secondary
To enter the secondary menu, press the SEL (select) button and hold it.
While holding the SEL button, press the MENU button. To advance to the
next menu category value, press the MENU button again.
Symbol Meaning Range
Prt Communication port 0 = None
1 = VISIMAX sign/video
2 = ATV sign/video
3 = Reserved
4 = Reserved
5 = Reserved
6 = Speed Tracker™ software
7 = STAR™ software
8 = Reserved
9 = Reserved
10 = Reserved
FSt Fastest vehicle 0 = Fast-hold
1 = Fast-toggle
tSt Mini-test on / off
Figure 6:
Secondary Menu

13
GENESIS-VP™: User’s Manual
NOTES:
1. The Genesis-VP™ will exit menu mode if neither the MENU or SEL
buttons are pressed for two seconds. If either the MENU or SEL buttons are
held, the Genesis-VP™ will stay in menu mode.
2. The primary menu functions in real time. The Genesis-VP™ will continue
to transmit accurate audio and serial communications while in menu mode. A
system reset will always occur when exiting the secondary menu.
3. The unit will “remember” the last settings when turned off and will power
up with the last set values in each category.

GENESIS-VP™: User’s Manual
14
3. Displays
3.1 Number Segments
Left side: Three large digits
(888) display speeds and menu
categories.
Right side: Three small digits
(888) display speeds and
“select” values.
Displayed speed will be the
strongest signal, or, in fastest
mode, the next strongest signal
that is also going faster than the
strongest signal.
3.2 Status indicators (icons)
POWER
Indicates that power is on.
RFI
Indicates that there is radio frequency interference inhibiting the proper
operation of the unit. No new speeds will be displayed or transmitted via the
serial port while this icon is active. Locked speed will remain. Once the
condition no longer exists, the unit will operate properly. Possible causes of
this condition are patrol vehicle FM communications, proximity to radio
stations and other broadcast equipment.
LOW BAT
Indicates that the batteries need to be recharged. No new speeds will be
displayed or transmitted via the serial port while this icon is active. Locked
speed will remain.
LOCK
Indicates that the speed displayed in the secondary window is a stored value
that was previously displayed in the primary display window.
POWER RFI LOW BAT LOCK FAST
MPH
XMIT HOLD ERROR KPH
Figure 7:
Number Segments and
Status Indicators

15
GENESIS-VP™: User’s Manual
FAST
Indicates that the Genesis-VP™ is in fast mode. When not in fast mode, the
Genesis-VP™ is assumed to be in strongest signal mode (the default mode).
The Genesis-VP™ is capable of internally tracking multiple speeds
simultaneously. Each vehicle return signal is ranked by its strength and
speed.
XMIT
Indicates that the Genesis-VP™ is transmitting.
HOLD
Indicates that the Genesis-VP™ is not transmitting.
ERROR
Indicates that the Genesis-VP™ has suffered an internal hardware error
which could affect the operation of the unit. Please contact Decatur
Electronics, Inc. for instructions. 1.800.428.4315.
MPH
The MPH icon is not used. The Genesis-VP™ is assumed to be displaying
speeds in miles per hour.
KPH
Indicates that the Genesis-VP™ is displaying speeds in kilometers per hour.

GENESIS-VP™: User’s Manual
16
4. Modes of Operation
4.1 Strongest signal mode
The Genesis-VP™ sets itself to strongest signal tracking mode when you
turn it on (it will stay in this mode unless you press the “Fast” button). In
strongest signal tracking mode, the Genesis-VP™ will display the speed of
the vehicle with the strongest return signal in its field of view. This speed
will appear in the left window.
Strongest / fastest.
The Genesis-VP™ internally tracks multiple speeds simultaneously. In fast
(fastest target) mode the Genesis-VP™ takes the strongest vehicle return
signal present and uses it as a reference point to determine a faster vehicle.
The Genesis-VP™ looks at all other vehicle speeds and compares them to
the reference point. It determines which vehicles are going faster than the
reference point, and then, of those vehicles, which one has the strongest
signal. The speed of this vehicle will be displayed. This method of fastest
vehicle identification is used to add certainty to vehicle identification. There
are two styles of fastest mode operation available on the Genesis-VP™. The
unit can operate in only one method at a time (selected in the secondary
menu).
4.2 Fastest-hold
If your Genesis-VP™ uses the “fastest-hold” mode of operation and you
want to see the fastest vehicle speed, then you must press and continue to
hold the
FAST
button. When you hold the
FAST
button while measuring
speeds, the fastest vehicle speed (if one is present) will be displayed in the
left window. Removing your finger from the
FAST
button will cause the
Genesis-VP™ to return to strongest signal mode. You will know you are in
fastest target mode when the “FAST” icon is illuminated. If you lock a speed
by quickly releasing and pressing (and holding) the trigger while in this style
of fastest vehicle mode, the speed which is displayed in the left window
(fastest vehicle in this case) will be locked and displayed in the right window.
The Genesis-VP™ will remain in fastest vehicle mode as long as the
FAST
button is pressed.
Note that the vehicle returning the strongest signal may also be the fastest
vehicle. In this case this vehicle’s speed will be displayed in the left window
whether you are in strongest signal mode for fastest vehicle mode. See
section 2.3 on Menus for changing to the other fastest vehicle mode.

17
GENESIS-VP™: User’s Manual
4.3 Fastest-toggle
If your Genesis-VP™ uses the “fastest-toggle” mode of operation, then you
may toggle between fastest vehicle mode and strongest signal mode by
pressing the
FAST
button. Each time you press the
FAST
button, you switch
from one mode to the other. When you are measuring speeds in fastest mode
using the fastest-toggle style of operation, the strongest of the faster vehicles
speed will be displayed in the right window, and the speeds of the vehicle
with the strongest return signal will be displayed in the left window. You will
know you are in fastest vehicle mode when the “FAST” icon is illuminated.
In the “fastest-toggle” mode, only the strongest vehicle speed can be locked.
When the speed is locked the Genesis-VP™ will revert to strongest signal
only mode. See section 2.3 on Menus for changing to the other fastest
vehicle mode.
If the strongest signal is also the fastest signal, no display will appear in the
right window.
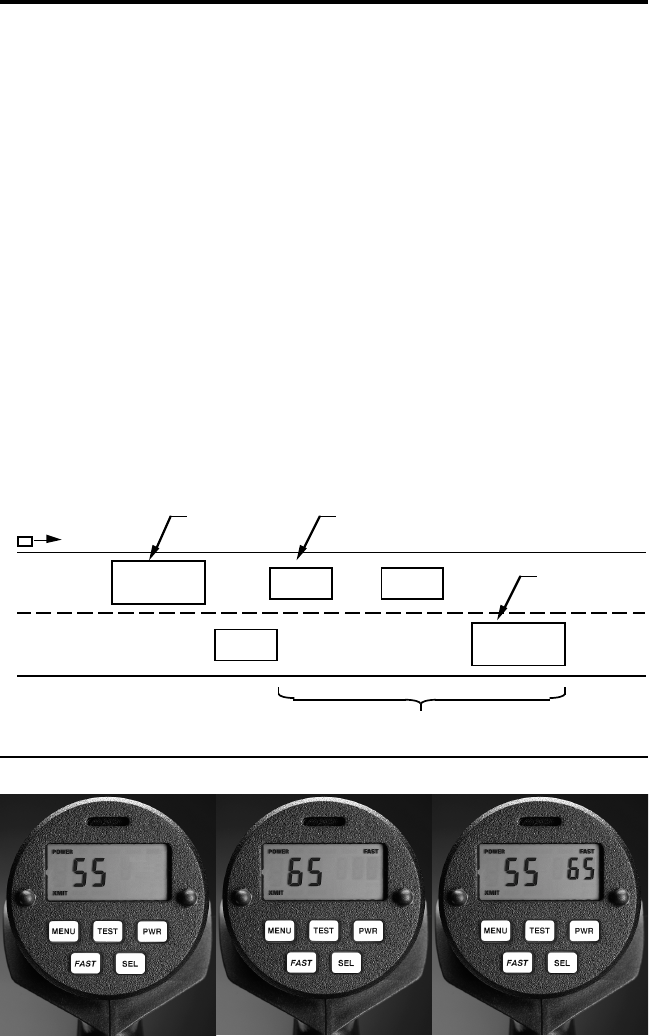
Fastest-toggleStrongest Signal Fastest-hold
Figure 8
Modes of Operation
55 65 70
50 85
Radar Strongest Strongest of the Faster Vehicles
Fastest
Faster Vehicles

GENESIS-VP™: User’s Manual
18
5. Serial Communications Option
If your Genesis-VP™ has a communications connector on the side, you may
connect it to Decatur’s large display signs, in-car video, or a Personal
Computer which is running Decatur Electronics’ software. If connecting to a
Personal Computer, plug the 9-pin end (DB-9 connector) of the computer
cable into the serial communications port on your computer. Use the cable(s)
that come with the sign or software (if purchased). Make sure you select the
correct value under “port” on the secondary menu.
6. Field Tests
There are two field tests to verify the accuracy of the GENESIS-VP™.
6.1 Self test
Pressing the TEST button on the display initiates a system self-test. This test
checks the left and right numeric displays and runs a simulation of the target
speeds. The Genesis-VP™ will not power down while a self-test is in
process.
Display (LCD) test
The segments in the left and right displays will be illuminated in a circular
pattern to test for faulty Liquid Crystal segments.
Circuitry (DSP) test
The Digital Signal Processor will be tested. “PASS” or “FAIL” will appear
on the display when test is completed.
Speed simulation
The Genesis-VP™ verifies vehicle speed acquisition using synthesized
Doppler frequencies corresponding to the series of four speeds listed below.
“PASS” or “FAIL” will appear on the display when test is completed.
The speeds are:
MPH 15, 30, 45, 60 (if your Genesis-VP™ is in MPH)
KPH 25, 50, 75, 100 (if your Genesis-VP™ is in KPH)

19
GENESIS-VP™: User’s Manual
6.2 Tuning Fork Test
NOTE: Keep Trigger pressed during entire test.
In addition to the system test, the operator can verify the overall system
accuracy by using a tuning fork.
After tapping one of the tines of a tuning fork, the fork vibrates at the
frequency stamped on the handle. When the operator places the tuning fork
in front of the antenna, the system detects the fork and displays a speed.
Compare the speed displayed to the speed stamped on the fork. The
displayed speed must be within one (1) mph (or kph if testing a kph unit) of
the speed stamped on the fork.
Tapping the tines against surfaces like metal and concrete may damage the
tines and invalidate the fork for future tests. Tap the tines against hard
plastics or wood to avoid unnecessary damage. Using the fork at temperature
extremes may also affect the readings.
Figure 11:
Tuning Fork

GENESIS-VP™: User’s Manual
20
The tuning fork test consists of the following steps:
• Grasp the tuning fork by the handle and tap one of the tines against a firm
surface.
• Hold the vibrating tuning fork approximately three (3) inches from the
front of the antenna.
• Verify that the displayed speed and speed marked on the tuning fork are
within one (l) mph of each other. If there is a large difference between the
displayed speed and the fork, check the tuning fork for damage. Repeat the
procedure with another, certified tuning fork. If the error is still greater than
one (l) mph, remove the unit from service.
• Verify that the Doppler audio is correct for the speed displayed and not
corrupted by noise. (Tone can be compared to the tones generated during a
test initiated with the TEST button.)
• The display should blank when the fork is not in front of the antenna or the
vibrations have ceased.
Figure 12:
Tuning Fork Placement

21
GENESIS-VP™: User’s Manual
7. Care, Cleaning, and Storage
Do not spill food, beverages or other liquids and substances on the Genesis-
VP™. When the Genesis-VP™ is not in use or when it is being transported,
store it in its original packaging. To clean the Genesis-VP™, dust it lightly
with a soft clean cloth. The cloth should be free from any cleaning solutions.
8. Limitations to Doppler RADAR
When properly used, the Doppler radar system is extremely accurate and
reliable. However, the variations in the environment can cause situations and
circumstances which may create speeds that appear incorrect.
8.1 Cosine Effect
The cosine effect causes the system to display a speed that is lower than
actual vehicle speed. This condition exists whenever the target vehicle’s path
is not parallel to the antenna, including curves and hills. In all uses of police
radar, there is always a slight angle between the patrol and target vehicle to
avoid collisions.
Whenever the angle between the beam of the antenna and the target vehicle
increases, the displayed speed decreases. Ideally, an angle of zero (0) degrees
is preferable, since the displayed speed will be the actual target vehicle
speed. The following table shows the effects that an increasing angle can
have on the speed displayed.
At angles less than 10°, there is not much difference between the target and
actual speed. As the angle increases, the error increases. At 90°, the TARGET
speed is zero mph - grossly incorrect.

GENESIS-VP™: User’s Manual
22
Table 1: Actual and Displayed Speeds at Different Antenna-to-Target Angles
lautcA deepS seergedni,elgnA
0135 01510203540609
hpm03039292929282826212510
hpm04049393939383734382020
hpm05059494949484643453520
hpm06069595959575651513030
hpm07079696968676560694530
hpm08089797978777579675040
Figure 13:
Possible Cosine Effect on Curve

23
GENESIS-VP™: User’s Manual
8.2 Interference
Radar systems, like any other radio system, are subject to external
interference. The two most common kinds are radio frequency interference
and undesired moving objects.
Radio Frequency
The system may inadvertently process radio frequency energy from airport
radar, streetlights, high-tension power lines, microwave transmission towers,
CB radio transmitters, and AM/FM transmission towers as Doppler speeds.
The Genesis-VP™ unit has a radio frequency interference (RFI) detection
circuit, designed to detect excess radio frequency energy. When stray radio
frequency energy reaches an excessive level, the system will illuminate the
“RFI” icon in the display. Once the source of radio interference ends, the
system will resume normal operation. Also, any locked speeds will return to
the lock window.
Moving Objects
The system may also detect other moving objects in the antenna’s beam. Fan
blades, in the patrol vehicle, can generate undesired Doppler signals.
Since these signals can be similar to moving cars, the operator needs to
discern between a valid target and a source of interference. Usually, a source
of moving interference exhibits the following characteristics:
•A reading when there is not a target vehicle in the operational range of
the antenna.
•A target vehicle, upon entering the operational range, will override the
interference signal-causing the displayed speed to change suddenly.
•The Doppler audio will be corrupted with noise, unlike a good, clear
Doppler tone.
•Interference is irregular and does not provide a valid tracking history.

GENESIS-VP™: User’s Manual
24
8.3 Multi-path Beam Cancellation
When multi-path beam cancellation occurs, the target vehicle speed display
will sporadically blank and reappear. This occurs when the radar looses track
of a target vehicle at semi-random intervals. The target vehicle is reflecting
two signals that are interfering with one another. When the phase of the two
signals is 180°, maximum interference occurs and the signals cancel, causing
the system to ignore the target vehicle. When there is only one target vehicle,
the system will reacquire the speed of the vehicle. However, when more
target vehicles are present, the system could lock onto another vehicle. The
operator can minimize the confusion of multi-path beam cancellation with an
accurate tracking history of the original target vehicle.
8.4 Scanning
All radar antennas, for police applications, are designed to be operated from
a fixed mounting, or to be hand-held in a steady position. Moving or
“scanning” the antenna past stationary objects can cause the system to detect
the motion. A speed-reading obtained from scanning requires deliberate
misuse.

25
GENESIS-VP™: User’s Manual
9. Warranty
TWO YEAR RADAR WARRANTY
Decatur Electronics, Inc. guarantees the Genesis-VP™ to be free from
defects in workmanship and material, and to operate within specifications for
a period of two years. During this period, Decatur Electronics, Inc. will
repair or replace, at its option, any component, except batteries or chargers,
found to be defective, without cost to the owner, provided the unit is returned
to the factory.
The full warranty on parts and workmanship does not include normal wear
and tear, crushing, dropping, fire, impact, immersion, or damage from
attempted repair or modifications by unauthorized service agents.
Simply return the unit (transportation prepaid) directly to the factory or to an
Authorized Decatur Electronics Warranty Service Center near you.
If you have any questions, or want a quick problem diagnosis, please call our
customer service hot-line and ask for the service department:
phone: 1.800.428.4315
fax: 1.217.428.5302
TWO YEAR WARRANTY EXCEPTION
If the unit was purchased under a special buying program (state purchase
contract, etc.), then the above warranty may not apply. Please refer to the
buying program contract for the appropriate warranty terms, or contact
Decatur Electronics, Inc. at the above phone number.
EXTENDED WARRANTY OPTIONS
If you are interested in an extended warranty, contact your sales
representative to discuss extended warranty options.

GENESIS-VP™: User’s Manual
26
10.Service Return Procedure
If it becomes necessary to return the Genesis-VP™ to the factory, please
follow the procedure below:
•Return ALL pieces of the Genesis-VP™ in the original packaging
•Include a note describing the malfunction of the system, or the incident
that resulted in a malfunction. Failure to do so may delay the return of
the system.
•Telephone the Customer Service Department, at Decatur Electronics: 1-
800-428-4315, to obtain a return authorization (RA) number. Write the
RA number on the note and shipping label.
•Return the system to:
Decatur Electronics, Inc.
715 Bright Street
Decatur, IL 62522 USA
RA#: xxxxxx
The shipping charges, for sending the system to Decatur Electronics, Inc., are
the responsibility of the customer.
If a system, still under warranty, is received COD from a customer, the
customer will be charged for the amount of the COD freight charges plus an
additional 10% for handling, after the system is repaired. The COD and 10%
handling fee will be added to the repair bill as out-of-warranty repairs.
Decatur Electronics, Inc. will pay the freight (up to $10.00 US) for shipment
of the system from the repair facility to the customer, provided that the
system is still under warranty. Any shipping charges, above the initial $10.00,
will be charged to the customer. If Express or Next Day Air is desired, the
customer will be invoiced for the freight charges, even if the system is still
under warranty.
An estimate can be furnished for repairs that are out-of-warranty, at the
customer’s request, for $50.00 US. Even if the customer decides to not have
the repairs completed, they will be invoiced for the $50.00, plus return
freight. If Decatur Electronics proceeds with the repairs, there will be no
charge for the estimate.

27
GENESIS-VP™: User’s Manual
Appendix 1, Specifications
Antenna Parameters
K-Band
IACP Type III
Nominal Transmission Frequency 24.150 ±50 MHz
Nominal Horizontal Beamwidth 12°
Polarization Circular
Nominal Microwave Power Output 10 mW
Maximum Aperture Power Density ≤1 mW/cm2
Environment
Ambient Operating Temperatures -30°C to +70°C
-22°F to +158°F
Maximum Humidity 90% relative humidity at 37°C
(non-condensing)
Water Resistance Meets International Robustness
Standard IEC 529:1989 and
European Community Standard
EN 60529 Classification IP55.
These set international standards
for immunity from damage by
solid protrusions and water.
Voltages
Supply Voltage 5.5 VDC — 8 VDC
Power supplied from replacable
Ni-Cad batteries
Low Voltage Threshold 5.5 VDC
Speed Range Parameters
Speed Display Ranges Minimum Maximum
Target: mph Option 5 200
kph Option 8 320

GENESIS-VP™: User’s Manual
28
Appendix 2, FDA Notice

29
GENESIS-VP™: User’s Manual

GENESIS-VP™: User’s Manual
30
Appendix 3, FCC/ISC Documents
This page reserved for Grant of Equipment Authorization.
Note: This equipment has been tested and found to comply with the limits of
a Class B digital device, pursuant to part 15 of the FCC rules. These limits
are designed to provide reasonable protection against harmful interference in
residential installation. This equipment generates, uses and can radiate radio
frequency energy and, if not installed and used in accordance with the
instructions, may cause harmful interference to radio communications.
However, there is no guarantee that interference will not occur in a particular
installation. If this equipment does cause harmful interference to radio or
television reception which can be determined by turning the equipment off
and on, the user is encouraged to try to correct the interference by one or
more of the following measures:
•Reorient or relocate the receiving antenna
•Increase the separation between the equipment and receiver
•Connect the equipment into an outlet on a circuit that is different
from that which the receiver is connected
•Consult the dealer or an experienced radio/TV technician for help.

31
GENESIS-VP™: User’s Manual
Appendix 4, Case Law
Judicial notice is an elementary principal of law. The principal applies to
facts that are common knowledge and states that it is necessary to introduce
evidence to prove what is common knowledge.
The following landmark rulings have made it simpler to introduce RADAR
SPEED MEASUREMENTS as evidence.
1. State v. Dantonio in June 1995, State of New Jersey.
The New Jersey Supreme Court took judicial notice of the Doppler Principle.
Other States quickly followed.
2. State v. Tomanelli in 1966.
The court pointed out that while the tuning fork method is acceptable, the
result of the test is only as good as the tuning fork used.
3. Honeycutt v. Commonwealth in 1966.
The court ruled that it is sufficient for an officer to have enough knowledge
and training to properly:
•Setup RADAR.
•Test its accuracy.
•Read the instrument to obtain the speed measurement.
4. State v. Hanson in 1978.
The court decreed that the officer must be able to testify:
•To having had adequate training and experience in the operation of
the moving RADAR.
•That the moving RADAR instrument was in proper working order
and that its testing had followed suggested methods.
•That the instrument was used in an area where road conditions
presented only the minimum possibility of distortion.
•That the patrol car’s speed was verified.
•That the instrument was expertly tested soon after the arrest and that
the testing did not rely on the instruments own internal circuit testing.

GENESIS-VP™: User’s Manual
32
Notes

33
GENESIS-VP™: User’s Manual

GENESIS-VP™: User’s Manual
34