Dekolink Wireless FBDAPCSA10W MW-FBDA-PCS-A-10W Bi-directional amplifier User Manual Installation and operating instructions
Dekolink Wireless Ltd MW-FBDA-PCS-A-10W Bi-directional amplifier Installation and operating instructions
Installation and operating instructions

:LUHOHVV6ROXWLRQV
,167$//$7,21$1'
23(5$7,1*,16758&7,216
)25
)LEHU/LQN
%,',5(&7,21$/$03/,),(5
0RGHO1R0:)%'$3&6$:

:LUHOHVV6ROXWLRQV
7$%/(2)&217(176
3$5$1R 3$5$*5$3+ 3$*(1R
5)LEHU RSWLFDOWUDQVFHLYHU
/,672)),*85(6

:LUHOHVV6ROXWLRQV
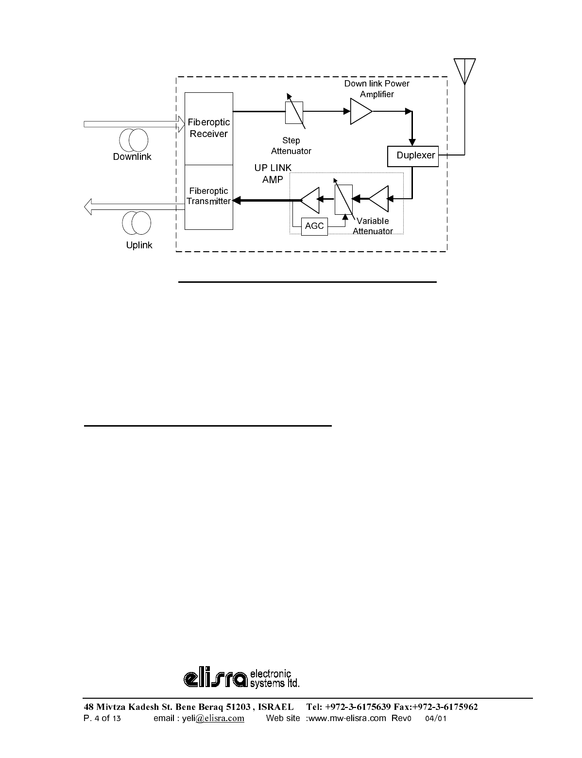
29(59,(:
7KH)%'$LVDQLQWHUIDFHXQLWEHWZHHQRSWLFDOVLJQDOVFDUU\LQJ5)LQIRUPDWLRQDQGD
5) DQWHQQD FRYHULQJ D GHILQHG XVHU DUHD 7KH V\VWHP FRQVLVWV RI XSOLQN SDWK DQG
GRZQOLQNSDWK
7KH XSOLQN SDWK UHFHLYHV 5) VLJQDOV IURP WKH $QWHQQD DQG DPSOLILHV WKHP DQG
FRQYHUWVWKHPWRRSWLFDOVLJQDOV7KHVHRSWLFDOVLJQDOVDUHVHQWWRWKH%76
7KHGRZQOLQNSDWKUHFHLYHVRSWLFDOVLJQDOVIURPWKH%76FRQYHUWVWKHPWR5)VLJQDOV
DQGDPSOLILHVWKHVHVLJQDOVXVLQJDKLJKSRZHUDPSOLILHU7KH$QWHQQDWUDQVPLWVWKHVH
5)VLJQDOVWRWKHXVHUV
$ GXSOH[LQJ ILOWHU VHSDUDWHV WKH IUHTXHQFLHV RI XSOLQN SDWK IURP WKH GRZQOLQN SDWK
HQDEOLQJ WKH XVH RI WKH VDPH DQWHQQD IRU UHFHLYLQJ DQG WUDQVPLWWLQJ 7KH )%'$
SURYLGHVDERXWG%5)JDLQLQERWKGLUHFWLRQV
'RZQOLQNJDLQFDQEHDGMXVWHGRYHUG%UDQJHLQG%VWHSVXVLQJVWHSDWWHQXDWRU
WRUHGXFHWKH)%'$GRZQOLQN5)JDLQLIQHHGHG
8SOLQNJDLQFDQEHDGMXVWHGE\G%FRQWLQXRXVWULPSRWXVXDOO\WKLVIHDWXUHLVQRW
XVHGDVLWFDQFDXVHUHGXFWLRQRIQRLVHILJXUHLQWKHXSOLQNSDWK
7KHGRZQOLQNSDWKXVHVD:DWWSRZHUDPSOLILHUZKLOHWKHXSOLQNXVHVDP:DWW
$*&DPSOLILHUWRGULYHWKHXSOLQN)2WUDQVPLWWHU7KH$*&LVVHWWRG%PZKLFKLV
WKHPD[SRZHUUHTXLUHGE\WKH)2WUDQVPLWWHU

:LUHOHVV6ROXWLRQV
)LJ)%'$5)%/2&.',$*5$0
&20321(176'(6&5,37,21
'83/(;(5
7KHGXSOH[HUVHUYHVWRIUHTXHQF\VHSDUDWHXSOLQNVLJQDOVIURPGRZQOLQNVLJQDOV7KH
GXSOH[HUKDVVKDUSRXWRIEDQGDWWHQXDWLRQIRUEHWWHULVRODWLRQEHWZHHQWKHUHFHLYLQJ
DQGWUDQVPLWWLQJSDWKVDQGUHGXFWLRQRILQWHUIHULQJVLJQDOVRQDLU
83/,1.$03/,),(5
7KLV XSOLQN DPSOLILHU FRQWDLQV $*& FRQWURO FLUFXLWU\ 7KH DPSOLILHU KDV D GLUHFWLRQDO
FRXSOHUDWLWVRXWSXWDQGDGHWHFWRUWRPRQLWRUWKHXSOLQNSRZHU:KHQDKLJKSRZHU
VLJQDO LV UHFHLYHG WKH DXWRPDWLF OHYHO FRQWURO GHWHFWV WKH DPSOLWXGH DQG VHQGV D
IHHGEDFN VLJQDO WR D YROWDJH YDULDEOH DWWHQXDWRU DW LWV LQSXW ZKLFK DWWHQXDWHV WKH
VLJQDO OHYHO VR WKDW WKH RXWSXW SRZHU RI WKH DPSOLILHU LV FRQVWDQW 7KH $*& IXQFWLRQ
2SWLFDO
)LEHU
72
02%,/(
72
%$6( 5;
7;

:LUHOHVV6ROXWLRQV
OLPLWV WKH VLJQDO DW WKH )LEHURSWLF WUDQVPLWWHU LQSXW ZKHQ KLJK SRZHU VLJQDOV DUH
UHFHLYHGZKLOHNHHSLQJKLJKJDLQZKHQORZSRZHUVLJQDOVDUHUHFHLYHG
7KH/('RQWKHDPSOLILHULOOXPLQDWHVZKHQWKHSRZHURXWSXWRIWKHDPSOLILHULVZLWKLQ
WKHVHWOLPLWZKHQWKH$*&LVHLWKHU2QRU2))
7KH6ZLWFKRQWKH5)DPSOLILHUHQDEOHVWKH$*&IXQFWLRQ,IWKH$*&LVGLVDEOHGWKHQ
WKHDPSOLILHUJLYHVPD[LPXPJDLQIRUDQ\LQSXW
:$77'2:1/,1.32:(5$03/,),(5
7KLVLVG%JDLQKLJKOLQHDULW\SRZHUDPSOLILHU
5)LEHURSWLFDOWUDQVFHLYHU
7KH5)LEHU SURGXFWLVDWUDQVFHLYHUWKDWLQFOXGHVDWUDQVPLWWHUDQGUHFHLYHUXQLW
7KHWUDQVPLWWHUFRQYHUWVWKH5)VLJQDOVLQWROLJKWZDYHVLJQDOVZKLFKDUHWKHQVHQW
RYHUILEHURSWLFFDEOHV7KHUHFHLYHUFRQYHUWVOLJKWZDYHVLJQDOVEDFNWR5)8VLQJ
ILEHURSWLFFDEOHDOORZVORQJGLVWDQFHWUDQVPLVVLRQXSWR.P
7KHPRGHOLQXVHLVWKDWLVDQXOWUDZLGHEDQGSURGXFWLQWKH*+]
IUHTXHQF\UDQJH
7KH5)LEHU VHULHVPDLQIHDWXUHVDUH
3URWRFROWUDQVSDUHQF\LHDQ\VWDQGDUGFDQEHIDLWKIXOO\WUDQVPLWWHG
$QRSWLRQDOVHULDOSRUW56LVLQVWDOOHGLQWRHDFKXQLW7KLVSRUWDOORZV
GDWDFRPPXQLFDWLRQRYHUWKHVDPHILEHURSWLFFDEOH
0DQXDO*DLQ&RQWUROLVVWDQGDUGLQUHFHLYHU
7KHIROORZLQJGUDZLQJVVKRZVDPSOHIURQWDQGUHDUSDQHOVRIWKH5)LEHU XQLW

:LUHOHVV6ROXWLRQV
)RUPRUHGHWDLOSOHDVHUHIHUWR5ILEHU,QVWDOODWLRQDQG8VHU¶V*XLGHPDQXDO

:LUHOHVV6ROXWLRQV
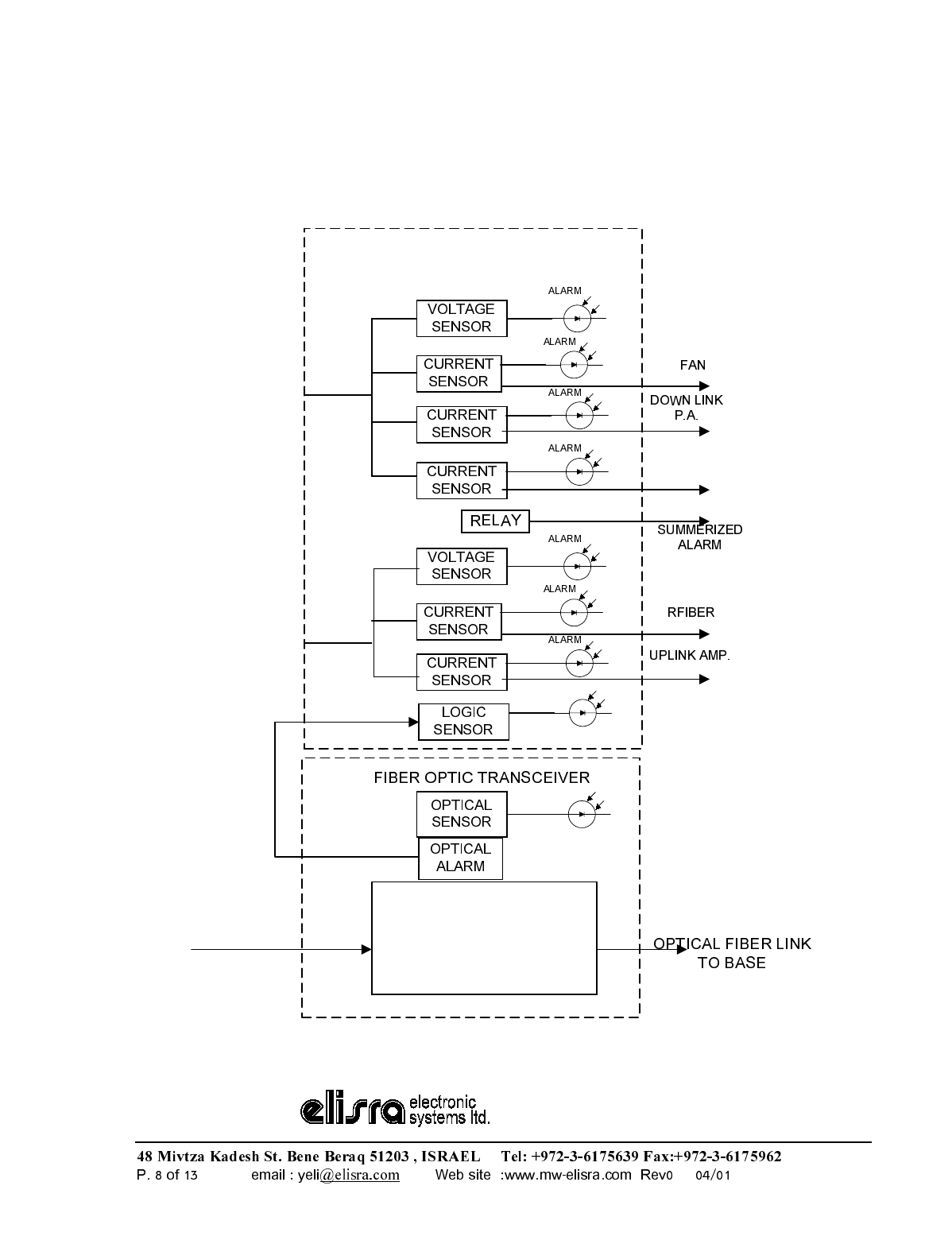
021,72581,7
7KH)%'$PRQLWRUSHUIRUPVWKHIROORZLQJIXQFWLRQV
D0RQLWRUVWKH'&VXSSO\YROWDJHRI WKH )%'$ 7KH IDXOW /(' LOOXPLQDWHV ZKHQWKH
YROWDJHLVEH\RQGWKHVSHFLILHGOLPLWV
E 0RQLWRUV WKH FXUUHQW WR HDFK DFWLYH HOHPHQW DQG WKH LQWHUQDO IDQ ,I WKH FXUUHQW LV
EHORZRUDERYHWKHVSHFLILHGOLPLWVWKHQD/('LOOXPLQDWHV
F0RQLWRUWKHRSWLFDOUHFHLYHVLJQDOXVLQJDODUPRXWSXWRIWKHRSWLFDOWUDQVFHLYHU
G3URYLGHVDXWRPDWLFDODUPIXQFWLRQ:KHQHYHUDQ\IDXOWRFFXUVRUZKHQWKHSRZHULV
UHPRYHGIURPWKH)%'$WKHXQLWVHQGVVXPPDUL]HGDODUPVLJQDOWRWKHEDVHVWDWLRQ
YLDWKH)LEHURSWLFWUDQVPLWWHUGDWDSRUW
H 3URYLGHVVHOI WHVW IRU WKH DODUP IXQFWLRQV 7KH SXVKEXWWRQ VZLWFK RQ WKH 0RQLWRU
XQLWWXUQVRQDOOWKHDODUP/('VDQGLQLWLDWHVWKHVXPPDUL]HGDODUP
)LJ021,725287/,1(
)DXOWOLVW
36SRZHUVXSSO\
)$1 IDQ
3$03'RZQOLQN:$03
5),%5'&5ILEUGFFXUUHQW
83/,1.$8SOLQNDPS
237$/52SWLFDOOLQN

:LUHOHVV6ROXWLRQV
5)$/$5081,7
6800(5,=('
$/$50 ),%(5237,&
75$160,77(56(5,$/
'$7$,1387
)LJ),%(5/,1.$/$506
%/2&.',$*5$0
'&,1
'&,1

:LUHOHVV6ROXWLRQV
32:(56833/<
7KLVLVDKLJKHIILFLHQF\VZLWFKLQJSRZHUVXSSO\SURYLGLQJ9'&XSWR$PS
5)(;32685(:$51,1*
,Q RUGHU WR VDWLVI\ WKH )&& 5) H[SRVXUH UHTXLUHPHQWV \RX PXVW HQVXUH WKDW WKH
LQVWDOODWLRQFRPSOLHVZLWKWKHIROORZLQJ
7KHDQWHQQDLVFRQQHFWHGYLDFDEOHWKDWKDVW\SLFDOaG%DWWHQXDWLRQGHSHQGVRQ
WKHOHQJWKRIWKHFDEOHWRWKH)%'$02%,/(SRUW7KLVDQWHQQDLVLQVWDOOHGRXWGRRU
DQGKDVYHU\VKDUSEHDP<DJLW\SHRUVLPLODUSRLQWHGWRWKHGRQRU%767KLVW\SH
RI DQWHQQD KDV DERXW G%L JDLQ 7\SLFDO VSHFLILFDWLRQV JDLQ G%G G%L
96:5EHWWHUWKDQ,PSHGDQFHRKP7KHRXWGRRUDQWHQQDPXVWEHLQVWDOOHG
WRSURYLGHDPLQLPXPVHSDUDWLRQGLVWDQFHRI P FPIURPSHUVRQV ZLWKLQ WKH
DUHD

:LUHOHVV6ROXWLRQV
63(&,),&$7,216
5)63(&,),&$7,216
8SOLQN5; 'RZQOLQN7;)UHTXHQF\5DQJH
0+] 0+]
1RLVH)LJXUH# &
RSWLFDOORVVOHVVWKDQG%
G%PD[ 1$
0DQXDO$WWHQXDWLRQ5DQJH WRGE
FRQWLQXRXV
WRG%LQG%
VWHSV
3DVVEDQG*DLQ#PLQDWWHQXDWLRQ G%1RP G%1RP
3DVVEDQG5LSSOH G%W\SLFDO
8S/LQN 2UGHU,QWHUPRGXODWLRQ
3URGXFWV#WZRWRQHVG%PHDFKDW
$PSOLILHU2XWSXW
G%FW\SLFDO 1$
'RZQ/LQN 2UGHU,QWHUPRGXODWLRQ
3URGXFWV#WZRWRQHVG%PHDFK
DW2XWSXW
1$ G%FW\SLFDO
,PSHGDQFH/HYHO 2KPV
96:5,Q W\S
96:52XW W\S

:LUHOHVV6ROXWLRQV
)%'$$/$5063(&,),&$7,216
5HPRWH)DXOW,QGLFDWLRQ
6XPPDUL]HGDODUP
$ODUPLVVHQWRQWKHVHULDOGDWDOLQNRIWKH)2WUDQVPLWWHU
)DXOW/LVW 3RZHU6XSSO\2YHUYROWDJHRU8QGHUYROWDJH
8SOLQN$PSOLILHU2YHU&XUUHQWRU8QGHU&XUUHQW
'RZQOLQN3RZHU$PSOLILHU2YHU&XUUHQWRU8QGHU&XUUHQW
)27UDQVFHLYHU2YHU&XUUHQWRU8QGHU&XUUHQW
)25HFHLYHU3RZHUIDOO%DG2SWLFDO&RQQHFWLRQ
)DQ2YHU&XUUHQWRU8QGHU&XUUHQW
(OHFWULFDO)DXOW
,QGLFDWLRQ/('
,OOXPLQDWHG/('RQ0RQLWRU%R[IRUHDFK(OHFWULFDO)DXOW
)LEHU2SWLF&RQQHFWLRQ
)DXOW,QGLFDWLRQ/('
,OOXPLQDWHG/('RQ)27UDQVFHLYHUZKHQ2SWLFDO
&RQQHFWLRQLVSHUIRUPLQJ&RUUHFWO\
/('LV2))ZKHQ)25HFHLYHU3RZHUIDOOV
0(&+$1,&$/63(&,),&$7,216
6L]H [[PPDSSUR[
:HLJKW NJ$SSUR[
7\SH :HDWKHUSURRI(QFORVXUHIRU:DOO
0RXQWHG,QVWDOODWLRQ
3RZHU6XSSO\ 9$&$
(19,5210(17$/&21',7,216
2SHUDWLQJWHPSHUDWXUH &WR &
6WRUDJHWHPSHUDWXUH &WR &
:HDWKHUSURRIFRQGLWLRQV 3URWHFWHGWR,3

:LUHOHVV6ROXWLRQV
)LJ0(&+$1,&$//$<287

:LUHOHVV6ROXWLRQV
)LJ0(&+$1,&$/287/,1(