Digigram PCXES PCI Sound Card User Manual UserManual LX6464ES
Digigram PCI Sound Card UserManual LX6464ES
Digigram >
Manual

D i g i g r a m
LX6464ES
EtherSound PCI Sound Card
User’s manual

D i g i g r a m
2
For technical support,
please contact your supplier
Digigram S.A.
Parc de Pré Milliet, 38330 Montbonnot - FRANCE
Tel: +33 (0)4 76 52 55 01• Fax: +33 (0) 4 76 52 53 07• E-mail: info@digigram.com
Digigram Inc.
2101 Wilson Boulevard, Suite 1004, Arlington, VA 22201-USA
Tel: +1 703 875 9100 • Fax: +1 703 875 9161 • E-mail: input@digigram.com
Digigram Asia Pte Ltd.
350 Orchard Road - #19-07 Shaw House Singapore, 238868-SINGAPORE
Tel: +65 6291 2234• Fax: +52 777 318 37 62• E-mail: info_asia@digigram.com

LX6464ES
User’s Manual
3
Table of Contents
INFORMATION FOR THE USER
.......................................................................4
IMPORTANT NOTICE
................................................................................................5
CONTENTS OF THIS PACKAGE
.......................................................................5
FEATURES
.............................................................................................................................6
LX6464ES main hardware features...............................................................................6
Main software features ......................................................................................................6
EtherSound features............................................................................................................ 6
HARDWARE REQUIREMENTS
..........................................................................7
Minimum requirements......................................................................................................7
Software requirements........................................................................................................ 7
Supported operating systems............................................................................................ 7
HARDWARE INSTALLATION
............................................................................7
Installing the card.................................................................................................................7
Interrupt and memory address.........................................................................................7
SOFTWARE INSTALLATION
................................................................................8
Installation under XP and Windows Server 2003....................................................... 8
Removing the driver under Windows XP and 2003 Server......................................9
HOW TO CHECK THE INSTALLATION
.................................................. 10
DIRECTSOUND CONTROL PANEL
............................................................. 11
ASIO CONTROL PANEL
........................................................................................ 11
CLOCK AND ROUTING
......................................................................................... 11
SPECIFICATIONS
......................................................................................................... 12
Configuration...................................................................................................................12
Inputs/Outputs................................................................................................................ 12
Connectors....................................................................................................................... 12
EtherSound ......................................................................................................................13
Audio specifications ....................................................................................................... 13
Development environments......................................................................................... 13
APPENDICES
.................................................................................................................... 14
LX6464ES schematic diagram .................................................................................. 14
Connectors....................................................................................................................... 14
Copyright 2006 Digigram. All rights reserved.
No portion of this manual may be reproduced without prior written consent from Digigram. The copyright protection
claimed here includes photocopying, translation and/or reformatting of the information contained in this manual.
While every effort has been made to ensure accuracy, Digigram is not responsible for errors and omissions, and
reserves the right to make improvements or changes in the products and programs described without notice.
Digigram, the Digigram logo, and LX6464ES are registered trademarks or trademarks of Digigram S.A.. All other
trademarks are property of their respective holders.

D i g i g r a m
4
INFORMATION FOR THE USER
This device complies with part 15 of FCC rules. Operation is subject to the following
two conditions: (1) This device may not cause harmful interference, and (2) This device
must accept any interference received, including interference that may cause undesired
operation.
This equipment has been tested and found to comply with the limits for a CLASS B
digital device, pursuant to Part 15 of the FCC Rules. These limits are designed to
provide reasonable protection against harmful interference in a residential installation.
This equipment generates, uses, and can radiate radio frequency energy and, if not
installed and used in accordance with the instructions contained in this data sheet, may
cause harmful interference to radio and television communications. However, there is
no guarantee that interference will not occur in a particular installation.
If this equipment does cause harmful interference to radio or television reception, which
can be determined by turning the equipment off and on, the user is encouraged to try to
correct the interference by one or more of the following measures:
* reorient or relocate the receiving antenna
* increase the separation between the equipment and the receiver
* connect the equipment into an outlet on a circuit different from that of the receiver
* consult the dealer or an experienced audio television technician.
Note: Connecting this device to peripheral devices that do not comply with CLASS B
requirements or using an unshielded peripheral data cable could also result in
harmful interference to radio or television reception. The user is cautioned
that any changes or modifications not expressly approved by the party
responsible for compliance could void the user’s authority to operate this
equipment. To ensure that the use of this product does not contribute to
interference, it is necessary to use shielded I/O cables.
Warning:
Electrostatic discharge (ESD) can damage several
components on the board. To avoid such damage in
handling the board, take the following precautions:
Bring the device and everything that contacts it to
ground potential by providing a conductive surface and
discharge paths. As a minimum, observe these
precautions:
• Disconnect all power and signal sources.
• Place the device on a grounded conductive work surface.
• Ground yourself via a grounding wrist strap or by holding a grounded
object.
• Ground any tool that will contact the device.

LX6464ES
User’s Manual
5
IMPORTANT NOTICE
This card has been tested and found to comply with the following standards:
• International: CISPR22 Class B.
• Europe: EMC 89/336/CEE (1992) specifications.
• United States: FCC Rules-Part 15-Class B (digital device).
CONTENTS OF THIS PACKAGE
Thank you for purchasing a Digigram LX EtherSound PCI sound card.
The package consists of the following components:
• the LX6464ES sound card,
• the User’s Manual at hand
• a CD-Rom*
• a registration form*
*These items are not delivered with the OEM version.

D i g i g r a m
6
FEATURES
The LX6464ES is an audio card for PCI bus. It is Universal PCI (32-bit/66
MHz), which means it can be plugged in 32-bit/33 MHz 5 V keyed PCI slots
as well as in 64-bit/66 MHz 3.3 V keyed PCI slots. The cards are also
compatible with PCI-X interfaces.
LX6464ES main hardware features
• 64 EtherSound ES-100 mono inputs at 44.1 kHz or 48 kHz
• 64 EtherSound ES-100 mono outputs at 44.1 kHz or 48 kHz
• 1 standard Word Clock input
Main software features
• Real-time, simultaneous record and playback in PCM (16 and 24 bits)
• Low latency DirectSound and ASIO drivers
EtherSound features
• EtherSound ES-100 compatible
• The card can generate the network audio clock, or it can synchronize on
the network audio clock
• Network clock frequencies supported:
48 kHz if the card is the audio clock source for the network
44.1 kHz or 48 kHz if the card synchronizes on the EtherSound network
• Audio sampling frequencies supported:
48 kHz, 96 kHz, 192 kHz at a network clock frequency of 48 kHz∗
44.1 kHz, 88.2 kHz, 176.4 kHz at a network clock frequency of 44.1 kHz∗
Note: the audio sampling frequency defines the number of available
inputs/outputs:
at 88.2 kHz or 96 kHz: 32 inputs and 32 outputs
at 176.4 kHz or 192 kHz: 16 inputs and 16 outputs
To define the audio sampling frequency settings, go to the Digigram control
panel (<Start> <Programs> <Digigram> <Digigram Control Center>).
Please refer to its online help.
∗
For the management of these modes, please refer to the corresponding question on our web
site in the FAQ section

LX6464ES
User’s Manual
7
HARDWARE REQUIREMENTS
Minimum requirements
• Pentium IV minimum (or equivalent)
• 512 MB RAM
• One free PCI or PCI-X slot (5 V or 3.3 V)
Software requirements
The LX6464ES requires installation of the drivers included in LX6464ES Kit
version 1.00 or higher. This kit includes:
• a WDM DirectSound driver (Microsoft DirectX 9 or a later version must
also be installed).
• an ASIO driver
Supported operating systems
LX6464ES cards run under Windows Server 20031 and Windows XP1.
HARDWARE INSTALLATION
The card has to be installed in the computer prior to installing its driver.
Installing the card
Gently plug the card in a free PCI slot and press it down to position it firmly.
Tighten the screw.
Interrupt and memory address
Hardware interrupt and addresses are automatically set up at start-up by the
PCI PnP BIOS.
1
version 32 bits

D i g i g r a m
8
SOFTWARE INSTALLATION
Please visit the Digigram web site at www.digigram.com for the most recent
driver.
In case you run a specific application developed or installed by a Digigram
Partner, this application might require the use of a specific driver version. In
this case, make sure that the updated driver has been approved by your
supplier.
Installation under XP and Windows Server 2003
If the driver has been downloaded from our web site, it has to be expanded
prior to the driver’s installation as follows: double-click on the downloaded
file (self-expanding). You can use the default destination location (Windows
temporary folder) or select another directory.
• Shut down your computer and insert the LX6464ES card.
• Restart your computer.
• Click on Cancel if the “Found New Hardware” Wizard appears.
• Double-click on the setup.exe icon to launch the driver installation.
• A welcome message is displayed, click Next to continue.
• The “License Agreement” window appears: read it, and click on Yes
to approve it. Do the same for the “Read Me First” window.
• Choose the destination folder where Setup will install the application
files. Note that the driver files are installed in
\windows\system32\Drivers\Digigram\LXES. Next.
• In the “Select components” window, make sure that the box
“Drivers for the LX6464ES board” is checked.
• Check the ASIO driver if you want it to be installed in addition to
DirectSound.
• Select the program folder where the program icons will be added
(default: DIGIGRAM). Next.
• Click on Next to start copying the files.
• Click on Continue anyway in the “Hardware installation” window.

LX6464ES
User’s Manual
9
WARNING:
if the firmware of your card requires an update, it will start
automatically at this stage. The update is recommended, it ensures optimal
performances and robustness of the system. The update MUST IN NO CASE BE
INTERRUPTED. If you do so, the card will have to be returned to our After Sales
Service.
To use the card via the DirectSound interface, you’ll have to configure the devices
you intend to use in the “DirectSound Device Builder” application, which is
launched automatically. One DirectSound stereo device is declared (channels 1
and 2). You can declare additional devices by using the “+” button, then enter the
first channel used by this device, the number of channels, and the name of the
device. A DirectSound device can be multichannel (the application must be able to
manage this type of device). For more details, please refer to the on line help of this
application.
• In the “Digigram drivers” window, select the granularity of the data
exchanges between card and driver, as well as the sampling rate of
the audio data. A granularity of 32 samples is the default value.
However, using many I/O channels may require a higher granularity
(maximum recommended is 128 samples). Click on Ok.
• Click on the Finish button to complete the driver installation.
Removing the driver under Windows XP and Windows
Server 2003
• Open the Windows Control Panel and double-click on the
Add/Remove Software icon.
• Select “Digigram LX6464ES Kit …”, and Change/Remove.
• Select Remove.
• Follow the instructions to finish the driver removal.

D i g i g r a m
10
HOW TO CHECK THE
INSTALLATION
Once driver and card installed according to the procedure described in this
manual, you can verify that the card works correctly as follows:
• Menu <Start>, <Settings>, <Control panel>, <Sound and
Multimedia>, tab “Audio”, <Default device> (Playback device,
Recording device). Pull-down menus allow for the card’s DirectSound
devices as declared during installation (e.g. “LX6464ES -01 (WDM)” by
default for the card’s first stereo channel). The card can be used with any
DirectSound application (see pages hereafter).
• If the ASIO option has been selected during installation, the card is
visible through any ASIO compliant application.
If the card is not displayed:
• Make sure that the box “Drivers for the LX6464ES board” is checked
in the “Select components” window.
• make sure that the card is correctly inserted in the PCI slot, and screwed
on the PC chassis.
• if necessary, uninstall the driver as described in this manual, and re-
install it.

LX6464ES
User’s Manual
11
DIRECTSOUND CONTROL PANEL
The card does not dispose of digital gain. Under the Windows ‘Volume’
control panel only a ‘Mute’ is available.
ASIO CONTROL PANEL
With the ASIO driver installed, the card’s settings can be adjusted through the
ASIO control panel. To launch this interface, go to <Start>, <Programs>,
<Digigram>, <ASIO HR Settings>.
For help on how to use this control panel, please refer to its on-line help.
CLOCK AND ROUTING
The clock management as well as the assignment of devices to EtherSound
channels (“I/O mapping”) are done through Digigram’s EScontrol application,
or a specific application conceived by one of our development partners.

D i g i g r a m
12
SPECIFICATIONS
Configuration
Bus/Format Universal PCI (32-bit/66 MHz),
PCI-X compatible, master mode
Size 175 mm x 99 mm x 20 mm
Power requirements
(+3.3 V /+5 V / +12 V / -12 V) 1 A / 0.2 A / 0 A / 0 A
Operating:
temp / humidity
(non-condensing)
0°C / +50°C • 5% / 90%
Storage: temp / humidity
(non-condensing) -5°C / +70°C • 0% / 95%
Inputs/Outputs
Inputs
64 EtherSound channels at 44.1 or 48 kHz
32 EtherSound channels at 88.2 kHz or 96 kHz
16 EtherSound channels à 176.4 kHz or 192 kHz
Outputs
64 EtherSound channels at 44.1 or 48 kHz
32 EtherSound channels at 88.2 kHz or 96 kHz
16 EtherSound channels à 176.4 kHz or 192 kHz
Other inputs
Word clock, 44.1 or 48 kHz
(can be used if card is the audio clock for the
EtherSound network)
Connectors
EtherSound IN (RJ45 female)
EtherSound OUT (RJ45 female)
Word Clock IN BNC female

LX6464ES
User’s Manual
13
EtherSound
Technology ES-100
Functions
Compatible with Ring Redundancy mode
Can generate the audio network clock in all
modes
Network clock frequencies
supported
Can generate a 48 KHz audio clock for the
EtherSound network
Can synchronize on an EtherSound network at
either 44.1 or 48 kHz
Other inputs
Word clock,
the card can generate a 44.1 or 48 kHz audio
clock synchronized on the Word Clock In
EtherSound virtual control
port
Virtual Ethernet interface (software) enabling an
application such as EScontrol, installed on the
same PC, to directly access an EtherSound
network with no need of an additional network
connection
Audio specifications
Audio sampling frequencies
supported
192 kHz, 96 kHz, 48 kHz∗
(at 48 kHz network clock frequency
176.4 kHz, 88.2 kHz, 44.1 kHz∗
(at 44.1 kHz network clock frequency)
Supported audio formats PCM 16, 24, 24 bits “packed” (packets of 32 bits)
Development environments
Management WDM DirectSound, ASIO
Supported operating
systems Windows XP1 and 2003 Server1
∗
For the management of these modes, please refer to the corresponding question on out web
site in the FAQ section
1
version 32 bits

D i g i g r a m
14
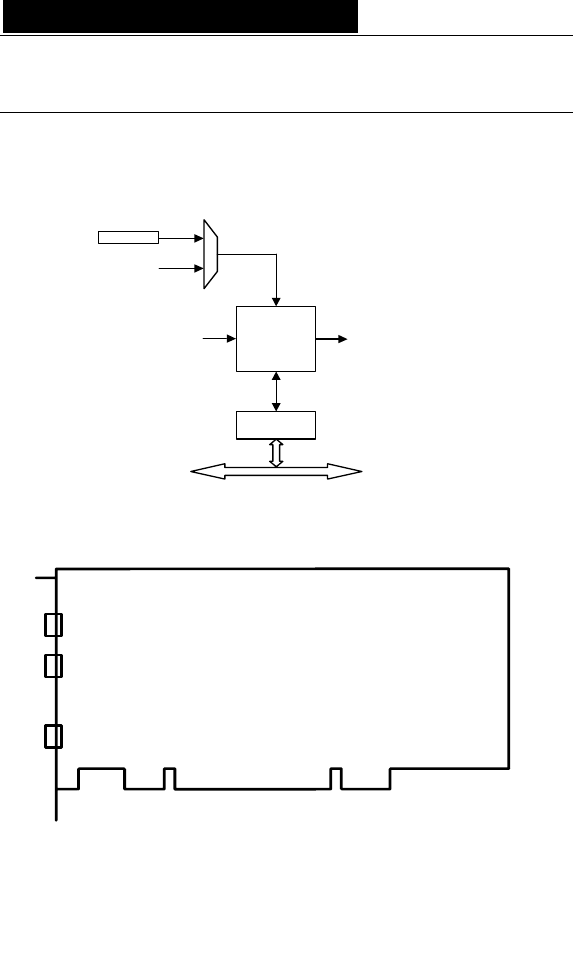
APPENDICES
LX6464ES schematic diagram
PCI BUS
EtherSound
Core
INTERFACE
Word Clock
CRYSTAL
EtherSound
OUT
EtherSound
IN
Connectors
LX6464ES
J1
J2
J3
J1 : EtherSound IN
J2 : EtherSound OUT
J3 : Word Clock IN