1013_FM_151_Radioactive_Decay_Demonstration_for_Recomp_II_Computer_Jul59 1013 FM 151 Radioactive Decay Demonstration For Recomp II Computer Jul59
1013_FM_151_Radioactive_Decay_Demonstration_for_Recomp_II_Computer_Jul59 1013_FM_151_Radioactive_Decay_Demonstration_for_Recomp_II_Computer_Jul59
User Manual: 1013_FM_151_Radioactive_Decay_Demonstration_for_Recomp_II_Computer_Jul59
Open the PDF directly: View PDF
.
Page Count: 23

REC01VIP
II
USERS'
PROORA}l
NO.
1013
PROGIWI
TITLE:
FM
151
RADIOACTIVE
DECAY
DEMONSTRATION
~'OR
RECO~1P
II
COMPUTER
PROORAM
CLASSIFICATION:
Service
Routine
AUTHUR:
1.
Halprin
Army
Signal
Research & Development Lab.
Data Equipment Branch
Fort
Monmouth,
New
Jersey
PURPOSE:
i~ter
entering
the
time
of
the
atomic
explosion
that
caused
the
present
radioactivity
level,
the computer
will
give upon
command;
(1) a
report
of
all
entered
positions
as
to
its
location,
its
measured
intensity,
and
the
time
of
measurement,
(2)
a
report
of
any
or
all
entered
positions
at
any
given time as
to
the
remaining
radiation
level
and
if
it
is
dangerous
or
not,
and
(3)
the
time
when
the
radiation
level
will
be
safe
if
it
is
not
already
safe.
EFFECTIVE
DATE:
July
1959
Published
by
RECO~1P
Users'
Library
at
AUTOI~TICS
INDUSTRIAL
PRODUCTS
A
DIVISIO~T
OF
NORTH
Al'1ERICAN
AVIATION,
INC.
3584
Wilshire
Blvd.,
Los
Angeles 5,
Calif.
!
........
r.
..
~

TABIE
OF
CORl'ElfI'S
1.
Introduction
- - - - - - - - - - - - - - - - - - - - - - 1
2.
~
- -
~
- -
~
- - -
~
-
~
- - -
~
- -
~
- - - - - - 2
3.
Time
of
Explosion - - - - - - - - - - - - - - - - - - - 5
4.
Position
Readings - - - - - - - -
~
- - - - - - - - - - 5
5.
Position
Report - - - - - - - - - - - - - - - - - - - - 10
6.
Intensity
Level - - - - - - - - - - - - - - - - - - - - 12
7.
Intensity
Sattey
Level - - - - - - - - - - - - - - - -
17
8.
Memory
Dump
- - - - -
~
-
~
~
~
-
~
-
~
- - -
~
-
~
- -
17
9.
Summar.y - -
~
- - - - - - - - - - - - - - - - -
~
-
~
-20

IP
RADIATION
DFCAY
DDDiS'l'RATION
1.
IntroductIon:
The
Radiation
Decay
demonstration
1s
ca.pable
of
storing
tor
one
to
sixteen
di:f't"erent
positions;
intonstlon
as
to
location
ot
the
posit1on,
the
radioa.ctiv1
ty
intensity
level
at
the
positIon,
and
the
time
ot
the
radioactivity
intensity
reading.
This
data
-.y
be
entered
in
IUlY'
rando.m
order
either
manua.lly
using
the
typewriter
or
autoaticaJ.ly
using
the
photo-tape
reader.
Af'ter
entering
the
time
of
the
atomic
explosion
that
caused
the
present
radioactivity
level,
the
computer
will
give
upon ccmaand;
(1)
a
report
o-r
all
entered
positions
as
to
its
location,
its
measured
intensity,
and
the
time
of
Deasuremnt,
(2)
a
report
ot
any
or
all
entered
positions
at
any
given
time
as
to
the
remaining
radiation
level
and
iilt
is
dangerous
or
not,
and
(3)
the
time
when
t.he
radiation
1evel
will
be
sate
if'
1 t
is
not
already
sate.
The
sa.ftey
level
that
is
considered
sate
can
be
determined
in
advance
by
the
operator
in
order
to
adjust
to
battle
condi
tiona.
Attention
1s
brought
to
the
\lOrd
"denonstration
tt
in
the
title
of
this
program.
A
very
accura.te
prediction
ot
intensity
levels
cannot
be
determined
without
additionaJ.
information
such
as
weather
conditions,
wind
speed
and
direction,·
type
of
bomb,
previous
radiation
level
before
the
bomb
explosion
and more
accurate
formulas.
These
omisions
were
purposely
made
in
order
to
have a
less
contusing
and
f'aster
operating
demonstration.
Under
average
conditions,
the
answers produced
by
the
deJD::)nstrat1on
should
be
vi.thin
a
few-
percent
of
the
correct
value.
The
typewriter
should
be
loaded
vi
th
8
inch
or
vider
paper,
the
switch
under
the
type
bin
cover
should
be
set
to
execute
"tabs"
traI
the
computer I
and
the
tab
stops
set
as
given
in
the
s\DIIl1Bry
at
the
end
ot
this
report.
'!'he program
descr1t1on
starts
with
an
outline
ot
the
-.thes.t1cal
theory
involved
followed
by
an
outline
ot
each
of
these
ajor
sections
ot
the
demonstration:
T:J.me
ot
Explosion,
Posi
t10n
Readings,
Position
Report,
Intens1ty
level,
Intensity
Saftey
level,
Memory
~,
and
SUDIlIU'"'Y.

2.
Theory:
Radioactivity
intensity
decays
e.xponentaJ.ly
from
the
t1ae
ot
an
atomic
explos
ion
according
to
the
equation:
I =
intensity
at
SOlie
t1ae
after
explosion
(R)
I 0
~:.
intensity
at
t1ae
of
explosion
(R)
t
:c
t1lle
~roll
expos
ion
(hours)
c
~
decay
constant
=: 0.35
The eOJlpUter
could
solve
this
equation
using
a
nor.l
Talor
series
expans
ion
such
as:
This
solution
however
would
take
too
.any
tenas
to
give
an
accurate
answer
so
by
using
the
Salle
series
expanded
about
1nf'1n1
ty
instead
ot
zero
gives:
2.
P
A
resonable
accurate
a.nsver
is
nov
possible
'W'1
th
just
the
first
3
tel"ltB.
In
the
exponential
equation
~
the
value
c
1s
detera1ned
by
the
radioactive
element
involved
in
the
explosion.
Noral.ly~-.ny
ele1lents
are
involved,
each
with
different
values
of
c
and
any
o't
these
elements
are
cOllpletly
non-radiating
w1th:f.n a
period
of
1.41
hours.
A
value
ot
c
that
1s
an
approx1at1on
ot
the
radiation
decq
a.:rter
an
average
atoJl1c
explosion
is
0.35
and
values
ot
t
less
then
1.40
hours
are
considered
the
Salle
as
t =
1.40
in
order
to
overcc.e
the
high
1nitial
inaccuracy
brought
about
by
the
very
fast
decay'
elew:nts
of
the
bomb.
Subst1
tuting
these
approxiat1ons
into
equation
g}resul
ts
in
A
dropping
out
and:
I = I
[~."'5'
+
o
6't
o~
I -
7.
[
".
-
rr
O.If-~
+
,.35
]
A-e
4t
=
jr,)rI.r
«t
I.
-
7iM.
At
I J

Hote
that
At
is
1il11
ted
to
&
period
ot
24
hours
atter
the
blast
tae
slnce
no
dates
are
involved.
Nor.l.ly,
however,
Io
is
not
known,
so
sow:
reading
I
is
taken
at
any
convenient
time
llt
after
the
explosion,
Equation
.lJwl11
then
solve
tor
Io.
Now,
a.t
S~
t1lle
6t
t
atter
taking
the
intensity
level
I,
• new
intensity
level
1s
desired
which
will
be
called
I'
•
Either
equation
7J
or
§}
Will
solve
tor
I'
•
?)
IF
(4-t
-+-
4't')
~
,.~O
HIfS;
I'
=
4;:A1:'"
[0.*5"
+
~'~
:5'A"t']
IF
(A1:
...
A-t
Y)
~
1."1-0 H"$;
I'::
I
It
can
then
be
cOIlpe.red
against
some
value
(such
as
25
~)
in
order
to
dete:t:"ll1ne
if
the
1ntens
1
ty
is
at
a sa:t'e
level
or
not.
If
the
intensity
1s
not.
sate,
the
time
t"
at
which
the
intensity
level
is
safe
is
detent1ned
by
first
sol
ving
tor
t $ ,
the
tilM
of'
blast
to
t1Jle
of
sa1"ety
(equation
9)
and
then
tor
t"
I
present
time
to
tiM
of
safety
(equation
10).
o +
Y;
+
f:~!Z:~
J
[(O.~E)(I.)J
2
Is
A
graph
of
the
intensity
level
versus
t1lle
rro.
explosion
as
derived
by
equation
'])18
shown
in
the
graph
on
the
next
page.
Bot1ce
that
the
top
of
the
graph
is
constant
due
to
the
eiteets
of
equation
§j(1l1n1Jl1zes
inaccuracies
around
the
first
hour
atter
the
explosion).
Froa
the
graph
it
1s
seen
that
I.
= I I where
I,
:&
intensity
one
hour
after
the
explos
ion.


The
plot
of
this
graph
1s
aJ.a:)st
exactly
the
sue
as
that
produced
by
equation
no
11:
I
-1.2.
!.Y
!'
=
,-t:
(R.)
t =
ttae
to
explosion
in
hours
Equation
gJ
is
presented
in
the
-.nual
ttThe
Effects
of
IfUclear
Weapons"
printed
by
the
Departaent
ot
the
ArIq
(DA
no.
39-3)
in
May 1957
and
1s
explained
on
page
432
as
a good
approxr..tion
of
the
radiation
level
at
a
given
point
SOlIe
tiE
a:rter
an
atoaic
explosion.
,.
p
This
equation
1s
introduced
llerely
as
a
check
against
the
presented
theory
as
it
was
not
discovered.
until
a:rter
the
~nstrat1OD.
vas
progrlll8ed.
3.
T~
ot
Explosion:
Pressing
preset
start
button
(or
transter
to
location
5200.0)
will
cause
the
coaputer
to
ask:
TIME
OF
EXeLOOICfi:
Arry
tour
digit
Military
tia!
group
troa
0000
to
2359
is
entered.
AD:f
deviation
froa
the
11.111
tary
t1.D!
format
will
cause
either
III/?????
\
IIII
ERROR
to
be
type.t\ and. a
new
t~
called
for.
After
a
t1Jle
entry
has
been
accepted,
all
previous
intensity
read.ings
are
erased
and
the
cOJl.PUter
asks
tor
DeW'
position
readings.
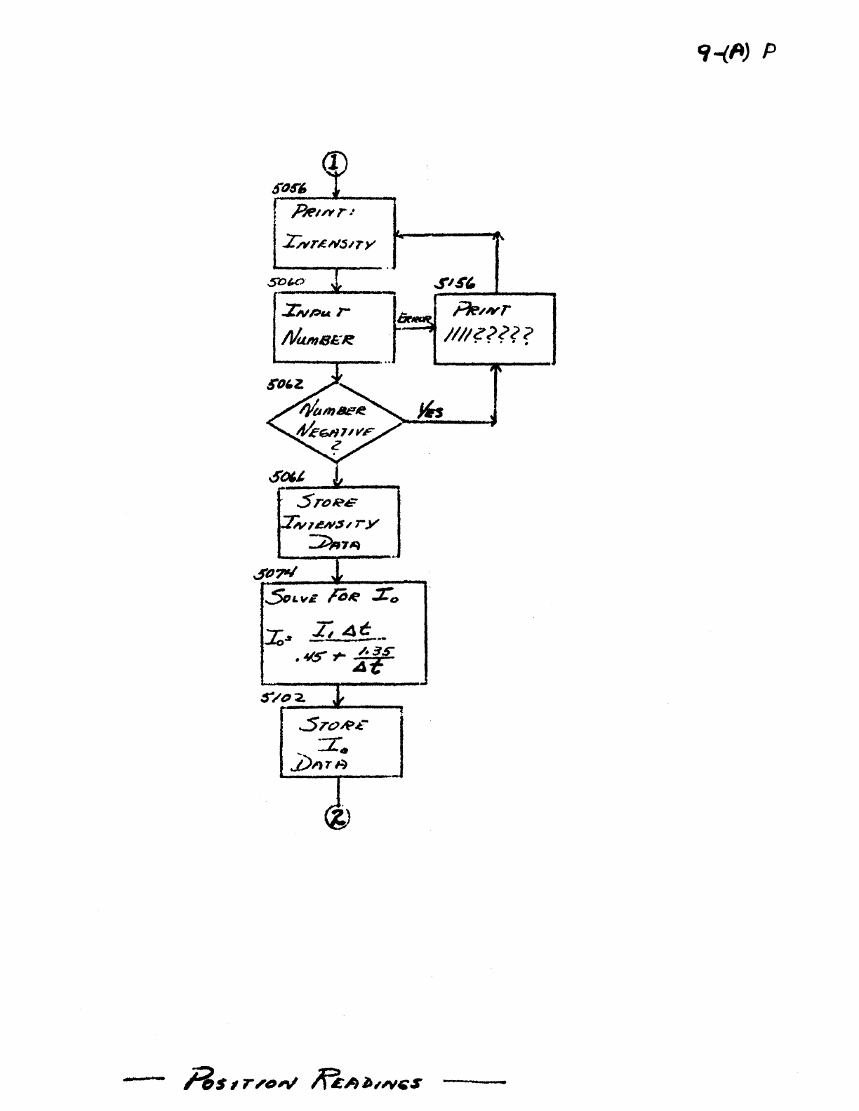
4.
Position
Readings:
Pressing
pre-set
start
button
DO.
2
(or
starting
at
location
5000.0)
will
cause
the
heading
"POSITION
READINGS"
to
be
printed
followed
by
the
question:
POSITICIf
NO:

oS
~O!:Jr-a.-
___
.&..-
P;f!/n'r
7/
/17e
c::?F
Gp~as/~IV
"aiO~
LPtf-T
/Jti,
/1J
,a~~
.f~.3
JTo/e.e
/J.5
8L/iJi
:-r;nJe
J;/1T/~
(L;,)
0'.1.30
c,t.WSC
~/..J..
~.ev''''tI~
hSIli',
~CUde.
J,.~r'#
I4
.:5rOA"'.<;G£'
t5/7t>
f6~/r/"N
~bIN~
;::kINT
IIII?????
f?e//}'I
1111
6R~o,e
~/N'-:
I'hTe/'/Slry
----..a.$:;~7
y
j..£t'£L
(ReNT, / /I,e )
IAlPur
50$.,2
E~.e
(~,ej)
~IIV'
1//1212~<
* • •
••
{jaNV4~r
-z;
t:£()ArIN~
;::6/NT'"
S
n:;'Ii'£
f)s
S,qFk-
r
},
L.VlirL
6.
p

A nUllber
of
1
thru
16
is
entered.
Negative
nUllbers"
non-nuar1e
characters"
or
nt1I1bers
over 16
rill
result
in
the
error
print-out:
IIII
NOllE
Af'ter
entering
a
correct
pos1tIon
mDlber"
the
cOJIpUter
asks
tor
the
position
location.
and
then
In
both
cases"
enter
a
positive
integer
or
five
digits
or
less.
A
negative
entry
or
a
non-nu.eric
entr,y
causes
the
replY:
1111m??
I
[
IIII
5
DIGITS
MAX.
The
tiM
ot
the
radiation
intensity
reading
is
asked
tor:
Enter
a 4
digit
a1litary
time
group
between
0000
to
2359.
!ilmbers
appearing
outside
ot
this
range
or
an
entry
of
a
DOD-J1UIIeric
char-
acter
causes
the
stataent:
[
IIII
ERROR
P'1al.ly"
the
intensity
reading
Vill
be
called
tor
With:
Any
po8itive
integer
~
be
entered
up
to
11
digits.
Negative
entries
or
non-~r1c
character
entries
are
detected
by
the
cC3pUter aDd
causee
the
type-back.
////?'1???

Arter
the
intensity
level
is
entered,
the
computer
ccmverts
all
entries
to
the
proper
format
and
stores
them
in
the
correct
locations
corespond1ng
to
the
desired
position.
A
nev
pos
1
tion
number
is
ca.lled
for
and
the
cycle
ot
entries
8.
f>
just
described
is
repea.ted
again.
As
post
t10n
reading
data
is
entered,
a:ny
previous
information
a.t
t,hat
position
is
replaced
by
the
new
readings.
A
table
ot
all
pos
i t1.on
readings
entered
v1ll
be
typed.
whenever
the
poe!
t10n
number
of
zero
is
entered.
In
order
to
automatice..lly
enter
a
complete
set
ot
radiation
intensi
ty
leve1s,
follOW'
these
instructions:
(1)
Enter
time
ot
explosion.
(2)
Enter
all
desired
position
readings
as
described
in
this
section.
(3)
Chec k
entries
by
pr1nting
out
the
table
ot
all
pos 1
tion
readings.
(4)
Using
the
inclosed
memory
dump
(see
section
8),
punch
out
all
data
between
the
locations
5600
to
5771.
(5)
Punch
the
explosion
time
data.
in
location
5225
to
5227.
(6)
Terminate
the
tape
(a.1so
see
section
8)
(7)
This
tape
may
nOW'
be
entered
at
any
time
by
loading
the
the
tape
in
the
photo-reader
and
pressing
the
Ut1ll"
button.
All
previous
readings
will
be
replaced
by
those
recorded
on
the
tape.

$/113
•..
----~
PRI/vr,'////
S'
.);,.,rs
jJJAk
I
ftUI
HI
Fit-'Nr:
f?:,~1
//ON
~Ai)IAlGS
..:f"WtJ
seT
tip
,.j),qrA
fj/)JIfl!:JSt!S
::z;.,
/;)u.
,-
.M.
Iff
1iJ~-1f
P;f!u'tlT.·
/II/?l???
PleiN.,.!
Y
:T,.,Pa,
~
N~AI8E~
:

P~/;YT.·
Ih'TLNS/7Y
SrO~G
INlbY:llry
~7~
~'/Nr
I//Ic~~~?
.
..
. . .

10.
F'
5.
Post
tion
RePort:
By
entering
a
position
no. 0
in
the
position
readings
section
or
the
Pl"Ograa
(pre-set
start
no.
2)
or
by
starting
the
cOIIpUter
at
location
5240.0,
a
coaplete
report
ot
all
positions
entered,
their
locations
J
time
ot
reading,
and
intensity
readings
are
typed
in
the
following
tOlWLt:
POSITICIi
REPORT
TDfE
OF
EXPLOSION:
1023
NO.
IroA'1!!CIf
TDIE
lJITENSI'l"'l
1 12105 00237
1058
400
2 09012 12315
1236
30
5 10000
04000
1309
5
9 00001 02000
0437
1005
14
00305 01212
1334
12
l5
o4olI.o
40404-
2144-
19
16
l2512
51252
0756
500
It
no
posl
t10n
has
been
entered
since
last
enteri1'lg
an
atOll1c
exploSion
tiE
(which
will
erase
&l.l
previous
readings),
then
this
report
1~
given:
POSITION'
REPORT
TDfE
OF
EXPLCX)IOlf:
1023
BO.
NOD
LOOATION
After
either
report,
con1Aro1
1s
transtered
to
the
"intensity
level"
section
ot
the
progr
..
which
is
described
next.

11l)"'H~Jr
/Jj)D~:S-$
7;
I~Y/)'r:
~;T/()'
Itu,r;"",
~,D,.?E""
7/h/£
~--t
Af,ql)l~.s
4,:'
£XPIJ:'6h!.JN
PR/Nr
eXPLc),,·/~N
7;/Ni
iklNr
IIN.4j)/If,'6:
~,
LO~l9r/~,f/
..:fe-orr
nil" r
Hn~
aFP"
S~'2~
____
~
____
_
/VeXT
i'J.s1
r"DN
~r
tJPL/,stJ
"--"--1
/6~ur/~N
)JJ9r~
/f~.eISS6S
PRINr
PoS/T/ON
lYu/'JCJ4,e
.5';
?If
!?e,NT
X
Lot!,:)
r
//:,N
PIC',Nr
r/t,'TIC-/tI
-1
,r"
R::~iJN'''~
11
r
4:1" r/c:t;V
,o,eINr
7iMI
o~
I'llT4W~/TY
~"i)IN.
II.P

12.
P
6.
Intens1
ty;
Level:
Preset
start
8W'1tch
no.
3,
location
no.
5320.0,
or
ten&1aat1on
ot
a
"position
report"
will
cause
the
c~ter
to
type
the
headiDg
IUI4
tiM
ot
the
last
entered
explosion:
Ilf!'ENSr.l'r
LEVEL
TDIE
OF
EXPLOOIOlf:
1023
TIME:
The
last
line
typed
vas
the
request
for
the
t1lle
you
wish
the
1ntensity
readings
rar.
Enter
a.
tour
digit
llilitary
tiM
group
between
0000
and
2359.
(note:
Since
the
date
is
not
entered
aJ.ong
with
the
tt.,
as
"intensity
level"
t:tae
entries
are
considered
as
being
within
24
hours
ot
the
"posit1on
re.d.ing"
t:t.e
tor
each
partIcular
position.
Also,
each
"posItion
read1ngl1
tilE
is
considered
as
being
within
24
hours
o~
the
t1Jle
ot
explosion.
To
avoid
e~1on,
try
to
keep
all
t~s,
both
"position
reading"
and.
"intensity
level"
within
24
hours
ot
the
tme
ot
explosion.)
TiE
entries
that
are
negative,
or
not
in
proper
tora
v1ll
resu1t
in
the
reply:
The
next
entry
request
is
far
the
position
mDIber.
Enter
~
positive
interger
between, 0
Illid
16.
Entries
other
then
this
will
bring
the
rem.nder:
["
IIII~_._J
Also,
it
a
particular
poB
'1
tion
nuaber
1s
called
~)r
that
vas
never
entered,
the
s
..
reply
is
given.
Ot.hervise,
the
intensity
level
at
the
"intensIty
level"
t1lle
requested
is
cOJIPUted
and
typed
tor
each
position
chosen.
It
the
intensity
level
f'aJ.ls below
..
pre-set
value,
the
words
"lfOII
DAlIlERClJS"
v.lll
be
typed
instead
of
the
intensity
level
value.
After
several
"position
no:"
entries,
the
fonat
will
look
like:

IIfrENSIT:i
I..EVEL
TIME
OF
EXPLOSION:
102,
TDE:
2000
POOITION
NO:
1
POOITICfi
NO:
9
POSITION
NO!
2
POSITIOB
NO:
8
1lfl'ENS!T'{: 232
:t:N'T.ENSITY:
512
INTENSIT'l:
Nor
DAl«lERWS
IIII
NONE
I1'
the
dea:>nst..rator
desires,
..
report
as
to
vhea
the
intensity
level
at
each
position
Yill
fall
below
the
p-re-set
sattey
leve1
is
aJ.so
presented.
To
obtain
this
add
1
tional
infor:..t1on"
sense
svi
tch
C
.ust
be
down. The
t'onat
tor
the
Salle
previous
exa.ple
will
nov
be:
Ilfl'ENSITr
LEVEL
TIME
OF
EXPI.£X3I(lf:
1023
TIME: 2000
POSITION
NO:
1
POSITION
HO:
9
POSITICIJ
NO:
2
POSITION
NO:
8
INTEN'SI'I'i:
232
INTENSI'lY:
572:
~SITr:
NOT
DAmEROOS
/
III
NONE
SAFE
m
20
HRS,
22
KIll.
SAFE
IN 47 BRS, 57
KIlf.
A
complete
report
ot:
what
all
intensl
ty
levels
would
be
for
each
entered
position
at
any
given
t1lle
can
be
had
by
entering
0
(zero)
when
asked
tor
the
positIon
number.
Again,
it
the
time
at
which
each
position
Yill
becOlIe
"safe"
is
desired,
Just
turn
on (dawn)
sense
SYitcb
C.
Therefore,
vhen
asking
the
cOIIIpUter
tor
position
nuJlber
0,
the
cc.puter
will
type,
depending
on
the
position
ot
sense
switch
C,
one
ot
the
following
eJCIUIples:

mTENSITr
LEVEL
TIMEOP
EXPLOSION:
1023
TIME 2000
POSmOlf
NO:
0
POSITION
1fO.
IlflmlSI'lY
1 232
2
NOT
IlAltGEROOS
5
NOT
DAl«JEROOS
9
572
14
Nor
DAlGEROUS
15
NOr
DJlIl.EROOS
16
320
II'l'EdSITf
LEVEL
TDfE
OF
EXPLOOICIl:
1023
TIME: 2000
POSITICIf
NO:
0
POSITION
NO.
1
2
5
9
.14
1;
16
IHTEllSITr
232
SAFE
IN
20
HRS,
22
MIN.
NOT
DAiGEROOS
N'O'1'
llA.NGEROOS
572
SAfE nr
47
HRS,
57
MIll.
HOT
DAlI}EROOS
NO!'
DAmEROOS
320
SAFE
:m
25
HAS,
8
MIR.
When
1m
1J1tensity
level
is
cCBpleted,
a
new
tiM
1s
requested.
If
no
1ntor..tion
was
entered
tor
any
positIon
swe
the
last
explosion
t1lle
was
entered"
the
word
"NONE"
will
be
printed
under
the
PCEITIOll
NO.
colUJlrl.

/ll>vn,,*,CE
70
/J/6Xr
;::b.s
I
T"MN
t:54'¥~
&mA'.Tb
/7N~
!'kllvr
7in,c
l~b'W
::zNrJlt.'61
r)'
Is
.:5.4'8"
C!evrlPltre
IJ.".,·;
P$/'tIr
Fkc,$e,,'r
:J.:vrlN$lry
J;~
Fico.",
J=h.:J~r~t7H
/U"l1P'186"''<'
....
:1er
t~p
...
""-
~--Ik)F.8~
OF-)
7';:;
1JJJ.i)
~~.1
se~
SS2D
FkIA'r
II£]i91u",,-:
/JD.:$I
rllJ/I,I
Ale
..
IA'7tl.:",'OS/r
y'
IS.P
c:5"6.?O
.¥...
____
-+-_
/?&n'r: j
-::I;n:..~rJ'
iMvliJ.
-,-;,.",4
Op-
eKPtlOS.'~·~
..5327
Pie/NT'
'BLI9$r
7//};e"
-
I,.,r.d.:J~ry
L
4V41.
_
,r.3.30
PR/~r:
7inJd
-To
1I"'U~5
.5.J~~
p~(jt/7':
f~.111·IO/JI
M,,'1I3p
400-_---
...
4"m
Pu
rlr
,4,.,
6
~.INT
Thrll
f,}It6NINT6N$'''Y
"I:s
S,.I'"
e()/IIQAr4
JlN~
'PIe/NT
~~Nr
Z,rSN~/rr
.rJlJ2.
PA?INT,'
7NT/I?N~
ITY
S£r
tI~
RiCF'e1f
])"Irll
f}
/)J)~~
s,sI!.'S

der
at:'
;f".er«~N
/I~.pRE,$S
$J71
(!op,pprlJ
7/11/.
FIWPI
/ka6
7i;
HIJP
111#
7/AI#
r,(D/II
L~.:J
r
~H~N6
-,;,
L"ST'
Vhllfr
..5,371,
&,,"';6-
::z;.,rneNoS"
T Y
IJ
T
VPI6'
O;t:
gk~r
:Z:-o
I1e/~r
IN.
V
/fA-lei
O,cr
"Ii
~Nt'6
ZN,sNslry
~T
Ll'Isr
A!I;U~N~
FIe/hr':
~"v
6 FEue
r",.,q
7;,.,
F~()m
8419
s r
7D
SAJI'I'iIr
'.
"':INTeNsITY
L$Y~4
~s
t.
sit.,.
f~{jff)4S'
XLi
2(Z.5)
lJelNS
7/mI
I1rFie6$6Nr
70
&.A.,"-
7/me
a .d-t
lit
I~I:-
t;-
:tNJ"t:I
1'Jllt-Ilre"S
NN~
.pbU.~"
fi!llVr
"'7N1iI
flcu~
VJ1LUG
!*Nvr7HI
.;l11A·«
rlES
It'."·
/fJtlr
,C.P

17.
p
7.
Intensi
ty
Sa:f'tey
Level:
Normally,
a
an
can
live
sately
in
an
area
that
has
a
radiat1on.
level
of
25
R/hr.
This
1s
the
val:ue
used
ror
the
1f
sa:tte
y"
level
:tn.
all
computatiOl'lS
with
this
demonstration.
ltowever,
you.,.
wish
to
change
thts
level
to
a
higher
value
because
·the
men B83
al.l
be
inside
·tanks
or
have
protective
clothing
on,
et.c.
Entering
the
program
at
location
5555.0
will
cause
the
computer
t....o
9,.9k
the
question:
Any
positive
int.el'ger
up
to
11
digits
JAY
be
entered
without
receiving
the
error
reply:
11I1
71117
T'his va.l.ue
is
then
stored
as
the
ftsa:t'e"
level
until
it
is
again
ch.an(.sed
by
using
t·ile same
procedure
as
above.
8..
MeJoc;ry
D!}!l?:
The
memory
dump
routine
is
entered
at
location
0101.0
and
begins
by
displaJrine
two
~oups
of
4
zeros
each
on
the
d1spla;y
tubes.
r±r
o
:I?IoIolll
I 1
oIofofoll
I ]
Pressing
any'
octal
n°um'ber
key
on
the
keyboard
(0
-7)
will
cause
that
number
to
be
entered
into
the
right
most
digit.
As
lIOre
keys
are
entered,
the
last
number
is
entered
at
the
right
and
the
previous
numbers
shifted
left
one
digit..
Only
the
last
eight
digits
entered
ere
displayed
with
the
"+",
"-",
u8
11
, and
119"
keys
being
ignored.
The
nclear
lt
key
vill
reset
the
dj.spJ.q
tubes
to
zero
as
shown
above.
The
resuJ.
ts
produced
by
pressing
keys
"start",
"ent.P..r",
or
It."
will
be
expla.1ned
separately.
A.
~.J4emory
Contents:
If
the
II
start"
key
is
depressed,
the
data
between
the
le:rt
and.
rig,ht
address
~howing
on
the
display
-tubes
at
that
time
are
typed
in
Rec01lp
COlIIIMnd
tonat
with
a
reference
address
typed
every
a words (one word
per
l1ne).

18.
P
B.
Punch
~ry
Coni;ents:
It
the
hent"
key
is
depressed,
the
data
between
the
left
and
riy)l.t
address
showing
on
the
displa\Y
tubes
at
that
t1Be
are
punched
in
alphanUJleric
forat
aJ.ong
with
a
leading
length
o't
blank.
tape
leader
and
a
location
code
corespond1ng
to
the
lett
address
~ocat1on.
c.
Punched
Tal?!
Term:Lna.t1on:
After
all
desired
a.reae
of
'8!!J!JIDr'y
are
punched
on
tape,
the
tape
is
terminated
by
pressing
the
key
arked
tf."
on
the
keyboard.
This
will
set
up
..
nev
location
code
corresponding
to
the
right
address
group
shown on
the
displq
tu.bes,
punch
a
HALT
code on
tape,
(or
it
sense
switch
D
1s
down.,
a
~
code
I)
punch
a
blank
tape
tra.1ler
I
and
ark
the
end
ot
the
tape
wi
th
an E
punched
on
the
tape.
The JIeJIOry dump
routine
~
be
used
to
g1
ve
a
listing
ot
any
area
ot
the
program
by
using
the
addresses
shown
on
the
now
charts
or
the
routine
..v
be
U.fSed
to
ptmch
add 1
t10nal
cop"ies
of
the
prograa.
When
punching
copies
ot
the
program,
remember
that
locations
within
the
.-n-y
dUJ'lp
portion
of
theprograa
are
changing.
Therefore,
the
tape
will
not
verifY
with
the
IllelJk)ry.
This
can
be
partially
taken
into
account
by
punching
the
1Lt'e8. 0000
to
0177
last
(JIIelW)ry
dump
routine)
and
then
when
the
verify
light
does
come
on,
lIOst
of
the
tape
shoul.d
a.lready
be
verified.
The
verify
error
l:tght
should
never
come
on
however
a:rter
first
tilling
the
tape
that
was
punched.

/f:.lVrc·A,
PI
~tt
,NtO
SHIFf'
o
r;
""~
I - . -
f'J1I#(1-I
I~
I
/tL'."I·I4NIJMrlCI(
'M()Pl
A
Lt
1)1'1
TI'I
If'
T tNfOtA.!
",/~J
T
If""
I.ltf
T
,,/)()lff'.f.J
I
'J.
P
I...OCIt"
,,,~
~
"003
-
0""
£111'1"6111V(( :
.00
l
(Pit{'fCr
rrttlt1-
,)
Ot>C'f
(f
r:;;, ;
/,fST'-
I7D~~tJt
FROM
~H
£' L
tF1
-
Fr;
tilt
PItS»
,r..s
0 r
T~r
$1'1""
1f~41s
Ttl(
CO,
,
_____
_
TV""
IN
('aM
1'111
A.//) ItJR
/'lifT
If'
l
nltll'f
.~7'WfeN
FMtlT
It~
t"ST
IUDItf'.,s.1
~----~------~------------~------------~

9.~:
Program Storage:
5000
to
5777
(program &lld
storage)
02,"{0
to
04,37
(special
data
output)
3000
to
3137
(data
input
routine)
0500
to
0517
(alpha.n.uRr1c
OUtput)
2O.p
0000
to
0171 ( memory
dump
and
preset
sta:r1i
locations)
TAB
Settings:
~~-+-
8*4-4¥-6-+-6~6+
6~6-+-6~6-·-·)"
Preset
start
Buttons:
1.
TiE
o"r
explosion
2.
Position
readings
(and
position
report)
:3.
Intens
i
ty
Level
( s )
Other
entq
locatlon~:
5240.0
----
Position
Report
5555.0
----
Intensity
Satte,y
Level
0101.0
----
~J
DuMp
Sense
SWitches:
B
...
_--
Not
used
C
----
(when on)
will
pri.nt
t1lle
when
intensity
level
is
sa.fe.
D ....
_-
(when on)
will
cause a memory d.uIIp
tape
to
be
terainated
with
a
"start"
instead
of
a
"halt
U code.
For
copies
of
this
demonstration
tape"
description
of
the
prograa,
or
additional.
information,
contact
the
following:
CODDal'lding
Ott1cer
USASRDL
Fort
Mo1S>uth, N.
J.
attn:
SIGni/EL-NPE,
Mr.
L.
Halprin