Owner's Manual 2006 Saturn Ion Owners
User Manual: 2006 Saturn ION Owners Manual PDF | SERVICE MANUAL OWNERS
Open the PDF directly: View PDF
.
Page Count: 392 [warning: Documents this large are best viewed by clicking the View PDF Link!]
- 2006 Saturn ION BookTOC
- Seats and Restraint Systems
- Front Seats
- Rear Seats
- Safety Belts
- Safety Belts: They Are for Everyone
- Questions and Answers About Safety Belts
- How to Wear Safety Belts Properly
- Driver Position
- Shoulder Belt Height Adjustment (Sedan)
- Safety Belt Use During Pregnancy
- Right Front Passenger Position
- Rear Seat Passengers
- Rear Safety Belt Comfort Guides
- Safety Belt Pretensioners
- Safety Belt Extender
- Child Restraints
- Airbag System
- Restraint System Check
- Features and Controls
- Keys
- Doors and Locks
- Windows
- Theft-Deterrent Systems
- Starting and Operating Your Vehicle
- New Vehicle Break-In
- Ignition Positions
- Retained Accessory Power (RAP)
- Starting the Engine
- Automatic Transaxle Operation
- Manual Transaxle Operation
- Parking Brake
- Shifting Into Park (P) (Automatic Transaxle)
- Shifting Out of Park (P)
- Parking Your Vehicle (Manual Transaxle)
- Parking Over Things That Burn
- Engine Exhaust
- Running the Engine While Parked
- Mirrors
- OnStar® System
- Storage Areas
- Sunroof
- Instrument Panel
- Instrument Panel Overview
- Hazard Warning Flashers
- Other Warning Devices
- Horn
- Tilt Wheel
- Turn Signal/Multifunction Lever
- Turn and Lane-Change Signals
- Headlamp High/Low-Beam Changer
- Flash-to-Pass
- Windshield Washer
- Windshield Wiper Lever
- Cruise Control
- Headlamps
- Daytime Running Lamps (DRL)
- Automatic Headlamp System
- Fog Lamps
- Instrument Panel Brightness
- Dome Lamp
- Entry Lighting
- Map Lamps
- Battery Run-Down Protection
- Accessory Power Outlet(s)
- Ashtray(s) and Cigarette Lighter
- Climate Controls
- Warning Lights, Gages, and Indicators
- Instrument Panel Cluster
- Speedometer and Odometer
- Trip Odometer
- Tachometer
- Safety Belt Reminder Light
- Passenger Safety Belt Reminder Light
- Airbag Readiness Light
- Passenger Airbag Status Indicator
- Battery Warning Light
- Up-Shift Light
- Brake System Warning Light
- Anti-Lock Brake System Warning Light
- Engine Coolant Temperature Gage
- Malfunction Indicator Lamp
- Oil Pressure Light
- Passlock® Warning Light
- Reduced Engine Power Light
- Highbeam On Light
- Fuel Gage
- Boost Gage
- Message Center
- Audio System(s)
- Instrument Panel Overview
- Driving Your Vehicle
- Your Driving, the Road, and Your Vehicle
- Defensive Driving
- Drunken Driving
- Control of a Vehicle
- Braking
- Anti-Lock Brake System (ABS)
- Braking in Emergencies
- Enhanced Traction System (ETS)
- Limited-Slip Differential
- Steering
- Off-Road Recovery
- Passing
- Loss of Control
- Racing or Other Competitive Driving
- Driving at Night
- Driving in Rain and on Wet Roads
- City Driving
- Freeway Driving
- Before Leaving on a Long Trip
- Highway Hypnosis
- Hill and Mountain Roads
- Winter Driving
- If Your Vehicle is Stuck in Sand, Mud, Ice, or Snow
- Rocking Your Vehicle to Get It Out
- Loading Your Vehicle
- Towing
- Your Driving, the Road, and Your Vehicle
- Service and Appearance Care
- Service
- Fuel
- Checking Things Under the Hood
- Headlamp Aiming
- Bulb Replacement
- Windshield Wiper Blade Replacement
- Tires
- Tire Sidewall Labeling
- Tire Terminology and Definitions
- Inflation - Tire Pressure
- Tire Inspection and Rotation
- When It Is Time for New Tires
- Buying New Tires
- Different Size Tires and Wheels
- Uniform Tire Quality Grading
- Wheel Alignment and Tire Balance
- Wheel Replacement
- Tire Chains
- If a Tire Goes Flat
- Changing a Flat Tire
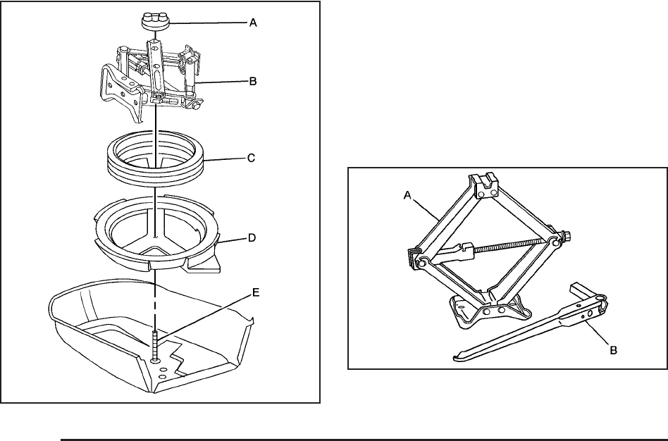
- Removing the Spare Tire and Tools
- Removing the Flat Tire and Installing the Spare Tire
- Storing a Flat or Spare Tire and Tools
- Compact Spare Tire
- Appearance Care
- Cleaning the Inside of Your Vehicle
- Fabric/Carpet
- Instrument Panel, Vinyl, and Other Plastic Surfaces
- Care of Safety Belts
- Weatherstrips
- Washing Your Vehicle
- Cleaning Exterior Lamps/Lenses
- Finish Care
- Windshield and Wiper Blades
- Aluminum Wheels
- Tires
- Sheet Metal Damage
- Finish Damage
- Underbody Maintenance
- Chemical Paint Spotting
- Vehicle Care/Appearance Materials
- Vehicle Identification
- Electrical System
- Capacities and Specifications
- Maintenance Schedule
- Maintenance Schedule
- Introduction
- Maintenance Requirements
- Your Vehicle and the Environment
- Using the Maintenance Schedule
- Scheduled Maintenance
- Additional Required Services
- Maintenance Footnotes
- Owner Checks and Services
- At Each Fuel Fill
- At Least Once a Month
- At Least Once a Year
- Recommended Fluids and Lubricants
- Normal Maintenance Replacement Parts
- Maintenance Record
- Maintenance Schedule
- Customer Assistance and Information
- Index

Seats and Restraint Systems ........................... 1-1
Front Seats ............................................... 1-2
Rear Seats ............................................... 1-9
Safety Belts ............................................. 1-11
Child Restraints ....................................... 1-32
Airbag System ......................................... 1-54
Restraint System Check ............................ 1-68
Features and Controls ..................................... 2-1
Keys ........................................................ 2-2
Doors and Locks ....................................... 2-7
Windows ................................................. 2-13
Theft-Deterrent Systems ............................ 2-16
Starting and Operating Your Vehicle ........... 2-17
Mirrors .................................................... 2-32
OnStar
®
System ...................................... 2-38
Storage Areas ......................................... 2-40
Sunroof .................................................. 2-41
Instrument Panel ............................................. 3-1
Instrument Panel Overview .......................... 3-4
Climate Controls ...................................... 3-18
Warning Lights, Gages, and Indicators ........ 3-25
Message Center ....................................... 3-43
Audio System(s) ....................................... 3-48
Driving Your Vehicle ....................................... 4-1
Your Driving, the Road, and Your Vehicle ..... 4-2
Towing ................................................... 4-36
Service and Appearance Care .......................... 5-1
Service ..................................................... 5-3
Fuel ......................................................... 5-4
Checking Things Under the Hood ............... 5-10
Headlamp Aiming ..................................... 5-48
Bulb Replacement .................................... 5-48
Windshield Wiper Blade Replacement ......... 5-56
Tires ...................................................... 5-57
Appearance Care ..................................... 5-90
Vehicle Identification ................................. 5-99
Electrical System ...................................... 5-99
Capacities and Specifications ................... 5-109
Maintenance Schedule ..................................... 6-1
Maintenance Schedule ................................ 6-2
Customer Assistance and Information .............. 7-1
Customer Assistance and Information ........... 7-2
Reporting Safety Defects ........................... 7-11
Index ................................................................ 1
2006 Saturn ION Owner Manual M

SATURN, the SATURN Emblem, and the name ION
are registered trademarks of Saturn Corporation.
GENERAL MOTORS and GM are registered trademarks
of General Motors Corporation.
This manual includes the latest information at the time
it was printed. We reserve the right to make changes
after that time without further notice.
Keep this manual in the vehicle, so it will be there if
it is needed while you are on the road. If the vehicle is
sold, leave this manual in the vehicle.
Canadian Owners
A French language copy of this manual can be obtained
from your dealer or from:
Helm, Incorporated
P.O. Box 07130
Detroit, MI 48207
How to Use This Manual
Many people read the owner manual from beginning
to end when they first receive their new vehicle. If this
is done, it can help you learn about the features
and controls for the vehicle. Pictures and words work
together in the owner manual to explain things.
Index
A good place to quickly locate information about the
vehicle is the Index in the back of the manual. It is
an alphabetical list of what is in the manual and
the page number where it can be found.
Litho in U.S.A.
Part No. 06ION B Second Printing
©
2005 General Motors Corporation. All Rights Reserved.
ii

Safety Warnings and Symbols
There are a number of safety cautions in this book. We
use a box and the word CAUTION to tell about things
that could hurt you if you were to ignore the warning.
{CAUTION:
These mean there is something that could hurt
you or other people.
In the caution area, we tell you what the hazard is.
Then we tell you what to do to help avoid or reduce
the hazard. Please read these cautions. If you do not,
you or others could be hurt.
You will also find a circle
with a slash through it in
this book. This safety
symbol means “Do Not,”
“Do Not do this” or
“Do Not let this happen.”
iii

Vehicle Damage Warnings
Also, in this manual you will find these notices:
Notice: These mean there is something that could
damage your vehicle.
A notice tells about something that can damage the
vehicle. Many times, this damage would not be covered
by your vehicle’s warranty, and it could be costly. But
the notice will tell what to do to help avoid the damage.
When you read other manuals, you might see
CAUTION and NOTICE warnings in different colors
or in different words.
There are also warning labels on the vehicle. They
use the same words, CAUTION or NOTICE.
Vehicle Symbols
The vehicle has components and labels that use
symbols instead of text. Symbols are shown along with
the text describing the operation or information
relating to a specific component, control, message,
gage, or indicator.
If you need help figuring out a specific name of a
component, gage, or indicator, reference the
following topics:
•Seats and Restraint Systems in Section 1
•Features and Controls in Section 2
•Instrument Panel Overview in Section 3
•Climate Controls in Section 3
•Warning Lights, Gages, and Indicators in Section 3
•Audio System(s) in Section 3
•Engine Compartment Overview in Section 5
iv

These are some examples of symbols that may be found on the vehicle:
v

✍NOTES
vi

Front Seats ......................................................1-2
Manual Seats ................................................1-2
Driver Seat Height Adjuster ..............................1-3
Manual Lumbar ..............................................1-3
Reclining Seatbacks ........................................1-4
Head Restraints .............................................1-6
Passenger Folding Seatback ............................1-7
Rear Seats .......................................................1-9
Split Folding Rear Seat ...................................1-9
Safety Belts ...................................................1-11
Safety Belts: They Are for Everyone ................1-11
Questions and Answers About Safety Belts ......1-15
How to Wear Safety Belts Properly .................1-16
Driver Position ..............................................1-16
Shoulder Belt Height Adjustment (Sedan) .........1-23
Safety Belt Use During Pregnancy ..................1-24
Right Front Passenger Position .......................1-24
Rear Seat Passengers ..................................1-24
Rear Safety Belt Comfort Guides ....................1-28
Safety Belt Pretensioners ...............................1-31
Safety Belt Extender .....................................1-31
Child Restraints .............................................1-32
Older Children ..............................................1-32
Infants and Young Children ............................1-34
Child Restraint Systems .................................1-38
Where to Put the Restraint .............................1-42
Lower Anchors and Tethers for Children
(LATCH) ..................................................1-43
Securing a Child Restraint in a
Rear Seat Position ....................................1-49
Securing a Child Restraint in the Right Front
Seat Position ............................................1-51
Airbag System ...............................................1-54
Where Are the Airbags? ................................1-56
When Should an Airbag Inflate? .....................1-59
What Makes an Airbag Inflate? .......................1-60
How Does an Airbag Restrain? .......................1-60
What Will You See After an
Airbag Inflates? .........................................1-61
Passenger Sensing System ............................1-62
Servicing Your Airbag-Equipped Vehicle ...........1-66
Adding Equipment to Your Airbag-Equipped
Vehicle ....................................................1-67
Restraint System Check ..................................1-68
Checking the Restraint Systems ......................1-68
Replacing Restraint System Parts
After a Crash ............................................1-69
Section 1 Seats and Restraint Systems
1-1

Front Seats
Manual Seats
{CAUTION:
You can lose control of the vehicle if you try to
adjust a manual driver’s seat while the vehicle
is moving. The sudden movement could startle
and confuse you, or make you push a pedal
when you do not want to. Adjust the driver’s
seat only when the vehicle is not moving. Lift the bar located under the front of the seat to unlock
it. Slide the seat to where you want it and release
the bar. Try to move the seat with your body to be sure
the seat is locked in place.
1-2

Driver Seat Height Adjuster
The driver’s seat height adjuster is located on the
outboard side of the seat.
To raise the seat, move the lever upward repeatedly
until the seat is at the desired height. To lower the seat,
move the lever downward repeatedly until the seat is
at the desired height.
Manual Lumbar
If your vehicle has this
feature, the knob is
located on the front of the
driver seat lower cushion
on the inboard side.
Turn the knob clockwise or counterclockwise to increase
or decrease the lumbar support.
1-3

Reclining Seatbacks
{CAUTION:
You can lose control of the vehicle if you try to
adjust a manual driver’s seat while the vehicle
is moving. The sudden movement could startle
and confuse you, or make you push a pedal
when you do not want to. Adjust the driver’s
seat only when the vehicle is not moving.
{CAUTION:
If the seatback is not locked, it could move
forward in a sudden stop or crash. That could
cause injury to the person sitting there. Always
push and pull on the seatback to be sure it is
locked.
Your seats have manual reclining seatbacks. The lever
used to operate them is located on the outboard
side of the seats.
To recline the seatback, do the following:
1. Lift the recline lever.
2. Move the seatback to the desired position, then
release the lever to lock the seatback in place.
3. Push and pull on the seatback to make sure it is
locked.
To return the seatback to an upright position, do the
following:
1. Lift the lever fully without applying pressure to the
seatback and the seatback will return to the upright
position.
2. Push and pull on the seatback to make sure it is
locked.
1-4

{CAUTION:
Sitting in a reclined position when your vehicle
is in motion can be dangerous. Even if you
buckle up, your safety belts cannot do their
job when you are reclined like this.
The shoulder belt cannot do its job because it
will not be against your body. Instead, it will be
in front of you. In a crash, you could go into it,
receiving neck or other injuries.
The lap belt cannot do its job either. In a crash,
the belt could go up over your abdomen. The
belt forces would be there, not at your pelvic
bones. This could cause serious internal
injuries.
For proper protection when the vehicle is in
motion, have the seatback upright. Then sit well
back in the seat and wear your safety belt
properly.
Do not have a seatback reclined if your vehicle is moving.
1-5

Head Restraints
Adjust the head restraint so that the top of the restraint
is at the same height as the top of the occupant’s
head. This position reduces the chance of a neck injury
in a crash.
Pull the head restraint
up to raise it. To lower
the head restraint,
press the button,
located on the top of
the seatback, and push
the restraint down.
1-6

Passenger Folding Seatback
Your vehicle may have a passenger seat that folds flat.
To fold the seatback, do the following:
{CAUTION:
If you fold the seatback forward to carry longer
objects, such as skis, be sure any such cargo
is not near an airbag. In a crash, an inflating
airbag might force that object toward a person.
This could cause severe injury or even death.
Secure objects away from the area in which
an airbag would inflate. For more information,
see Where Are the Airbags? on page 1-56
and Loading Your Vehicle on page 4-31.
{CAUTION:
Things you put on this seatback can strike
and injure people in a sudden stop or turn,
or in a crash. Remove or secure all items
before driving.
To fold the seatback flat, do the following:
1. Lift the bar under the seat to unlock it.
2. Slide the seat as far back as it will go and release
the bar. Try to move the seat with your body to
make sure it is locked into place.
1-7

3. Lift the recliner lever, located on the outboard side
of the seat, fully and fold the seat forward until the
seatback disengages.
4. Continue to fold the seat forward until it locks in the
folded position. Pull up on the seatback to be sure
it is locked.
1-8

To raise the seatback to an upright position, do the
following:
1. Lift the recliner lever, located on the outboard side
of the seat, fully and lift the seatback.
2. Push the seatback until it re-engages.
{CAUTION:
If the seatback is not locked, it could move
forward in a sudden stop or crash. That could
cause injury to the person sitting there. Always
push and pull on the seatback to be sure it is
locked.
3. Push and pull on the seatback to make sure it is
locked in place.
Rear Seats
Split Folding Rear Seat
You can fold either side of the rear seatback down for
more cargo space.
To lower the rear seatback, follow these steps:
1. Open the trunk and pull one or both of the small
handles located in the center of the trunk.
1-9

Notice: Folding a rear seat with the safety belts
still fastened may cause damage to the seat or the
safety belts. Always unbuckle the safety belts
and return them to their normal stowed position
before folding a rear seat.
2. Once the handle is pulled, the seatback can be
pushed open through the trunk, or pulled open
from the inside of the vehicle.
{CAUTION:
If the seatback is not locked, it could move
forward in a sudden stop or crash. That could
cause injury to the person sitting there. Always
pull forward on the top of the seatback at the
area of the latch to be sure it is locked.
{CAUTION:
A safety belt that is improperly routed, not
properly attached, or twisted will not provide
the protection needed in a crash. The person
wearing the belt could be seriously injured.
After raising the rear seatback, always check
to be sure that the safety belts are properly
routed and attached, and are not twisted.
To raise the rear seatback, lift it up and rearward until
you hear a click. Push and pull on the seatback to
be sure it is locked into place.
1-10

Safety Belts
Safety Belts: They Are for Everyone
This part of the manual tells you how to use safety
belts properly. It also tells you some things you should
not do with safety belts.
{CAUTION:
Do not let anyone ride where he or she cannot
wear a safety belt properly. If you are in a
crash and you are not wearing a safety belt,
your injuries can be much worse. You can hit
things inside the vehicle or be ejected from it.
You can be seriously injured or killed. In the
same crash, you might not be, if you are
buckled up. Always fasten your safety belt,
and check that your passengers’ belts are
fastened properly too.
{CAUTION:
It is extremely dangerous to ride in a cargo
area, inside or outside of a vehicle. In a
collision, people riding in these areas are more
likely to be seriously injured or killed. Do not
allow people to ride in any area of your vehicle
that is not equipped with seats and safety
belts. Be sure everyone in your vehicle is in a
seat and using a safety belt properly.
Your vehicle has indicators to remind you and your
passengers to buckle your safety belts. See Safety Belt
Reminder Light on page 3-29 and Passenger Safety
Belt Reminder Light on page 3-29.
1-11

In most states and in all Canadian provinces, the law
says to wear safety belts. Here is why: They work.
You never know if you will be in a crash. If you do have
a crash, you do not know if it will be a bad one.
A few crashes are mild, and some crashes can be so
serious that even buckled up, a person would not
survive. But most crashes are in between. In many of
them, people who buckle up can survive and sometimes
walk away. Without belts they could have been badly
hurt or killed.
After more than 30 years of safety belts in vehicles,
the facts are clear. In most crashes buckling up
does matter...a lot!
Why Safety Belts Work
When you ride in or on anything, you go as fast as it goes.
Take the simplest vehicle. Suppose it is just a seat
on wheels.
1-12

Put someone on it. Get it up to speed. Then stop the vehicle. The rider
does not stop.
1-13

The person keeps going until stopped by something.
In a real vehicle, it could be the windshield...
or the instrument panel...
1-14

or the safety belts!
With safety belts, you slow down as the vehicle does.
You get more time to stop. You stop over more distance,
and your strongest bones take the forces. That is why
safety belts make such good sense.
Questions and Answers About
Safety Belts
Q: Will I be trapped in the vehicle after an accident
if I am wearing a safety belt?
A: You could be — whether you are wearing a safety
belt or not. But you can unbuckle a safety belt,
even if you are upside down. And your chance of
being conscious during and after an accident,
so you can unbuckle and get out, is much greater
if you are belted.
Q: If my vehicle has airbags, why should I have to
wear safety belts?
A: Airbags are in many vehicles today and will be in
most of them in the future. But they are
supplemental systems only; so they work with
safety belts — not instead of them. Every airbag
system ever offered for sale has required the use of
safety belts. Even if you are in a vehicle that has
airbags, you still have to buckle up to get the most
protection. That is true not only in frontal collisions,
but especially in side and other collisions.
1-15

Q: If I am a good driver, and I never drive far from
home, why should I wear safety belts?
A: You may be an excellent driver, but if you are in an
accident — even one that is not your fault — you
and your passengers can be hurt. Being a good
driver does not protect you from things beyond
your control, such as bad drivers.
Most accidents occur within 25 miles (40 km)
of home. And the greatest number of serious
injuries and deaths occur at speeds of less
than 40 mph (65 km/h).
Safety belts are for everyone.
How to Wear Safety Belts Properly
This part is only for people of adult size.
Be aware that there are special things to know about
safety belts and children. And there are different
rules for smaller children and babies. If a child will be
riding in your vehicle, see Older Children on page 1-32
or Infants and Young Children on page 1-34. Follow
those rules for everyone’s protection.
First, you will want to know which restraint systems
your vehicle has.
We will start with the driver position.
Driver Position
Lap-Shoulder Belt
The driver has a lap-shoulder belt. Here is how to
wear it properly.
1. Close and lock the door.
2. Adjust the seat so you can sit up straight.
To see how, see “Seats” in the Index.
1-16

3. Pick up the latch plate and pull the belt across you.
Do not let it get twisted.
The shoulder belt may lock if you pull the belt
across you very quickly. If this happens, let the
belt go back slightly to unlock it. Then pull the belt
across you more slowly.
4. Push the latch plate into the buckle until it clicks.
If the belt stops before it reaches the buckle, let it
go back all the way and start again.
Pull up on the latch plate to make sure it is secure.
If the belt is not long enough, see Safety Belt
Extender on page 1-31.
Make sure the release button on the buckle is
positioned so you would be able to unbuckle the
safety belt quickly if you ever had to.
5. If your vehicle is a sedan, move the shoulder belt
height adjuster to the height that is right for you.
Improper shoulder belt height adjustment could
reduce the effectiveness of the safety belt in
a crash. See Shoulder Belt Height Adjustment
(Sedan) on page 1-23.
1-17

6. To make the lap part tight, pull up on the
shoulder belt.
The lap part of the belt should be worn low and snug on
the hips, just touching the thighs. In a crash, this applies
force to the strong pelvic bones. And you would be less
likely to slide under the lap belt. If you slid under it, the
belt would apply force at your abdomen. This could cause
serious or even fatal injuries. The shoulder belt should go
over the shoulder and across the chest. These parts of
the body are best able to take belt restraining forces.
The safety belt locks if there is a sudden stop or crash,
or if you pull the belt very quickly out of the retractor.
1-18

Q: What is wrong with this?
A: The shoulder belt is too loose. It will not give nearly
as much protection this way.
{CAUTION:
You can be seriously hurt if your shoulder belt
is too loose. In a crash, you would move
forward too much, which could increase injury.
The shoulder belt should fit against your body.
1-19

Q: What is wrong with this?
A: The belt is buckled in the wrong place.
{CAUTION:
You can be seriously injured if your belt is
buckled in the wrong place like this. In a crash,
the belt would go up over your abdomen. The
belt forces would be there, not at the pelvic
bones. This could cause serious internal
injuries. Always buckle your belt into the
buckle nearest you.
1-20

Q: What is wrong with this?
A: The shoulder belt is worn under the arm.
It should be worn over the shoulder at all times.
{CAUTION:
You can be seriously injured if you wear the
shoulder belt under your arm. In a crash, your
body would move too far forward, which would
increase the chance of head and neck injury.
Also, the belt would apply too much force to
the ribs, which are not as strong as shoulder
bones. You could also severely injure internal
organs like your liver or spleen.
1-21

Q: What is wrong with this?
A: The belt is twisted across the body.
{CAUTION:
You can be seriously injured by a twisted belt.
In a crash, you would not have the full width
of the belt to spread impact forces. If a belt
is twisted, make it straight so it can work
properly, or ask your retailer to fix it.
1-22

To unlatch the belt, just push the button on the buckle.
The belt should go back out of the way.
Before you close the door, be sure the belt is out of the
way. If you slam the door on it, you can damage both the
belt and your vehicle.
Shoulder Belt Height Adjustment
(Sedan)
Before you begin to drive, move the shoulder belt height
adjuster to the height that is right for you.
Adjust the height so that the shoulder portion of the
belt is centered on your shoulder. The belt should
be away from your face and neck, but not falling off
your shoulder. Incorrect positioning of the shoulder belt
can reduce the effectiveness of the safety belt.
To move it up or down,
press the square button (A)
in the center of the
height adjuster knob and
move the height adjuster to
the desired position.
After you move the height adjuster to where you want it,
try to move it up and down without touching the
square button to make sure it has locked into position.
1-23

Safety Belt Use During Pregnancy
Safety belts work for everyone, including pregnant
women. Like all occupants, they are more likely to be
seriously injured if they do not wear safety belts.
A pregnant woman should wear a lap-shoulder belt,
and the lap portion should be worn as low as possible,
below the rounding, throughout the pregnancy.
The best way to protect the fetus is to protect the
mother. When a safety belt is worn properly, it is more
likely that the fetus will not be hurt in a crash. For
pregnant women, as for anyone, the key to making
safety belts effective is wearing them properly.
Right Front Passenger Position
To learn how to wear the right front passenger’s safety
belt properly, see Driver Position on page 1-16.
The right front passenger’s safety belt works the same
way as the driver’s safety belt — except for one
thing. If you ever pull the shoulder portion of the belt out
all the way, you will engage the child restraint locking
feature. If this happens, just let the belt go back all
the way and start again.
Rear Seat Passengers
It is very important for rear seat passengers to buckle
up! Accident statistics show that unbelted people in
the rear seat are hurt more often in crashes than those
who are wearing safety belts.
Rear passengers who are not safety belted can be
thrown out of the vehicle in a crash. And they can strike
others in the vehicle who are wearing safety belts.
1-24

Lap-Shoulder Belt
All rear seat positions have lap-shoulder belts.
Here is how to wear one properly.
1. Pick up the latch plate and pull the belt across you.
Do not let it get twisted.
The shoulder belt may lock if you pull the belt
across you very quickly. If this happens, let the
belt go back slightly to unlock it. Then pull the belt
across you more slowly.
2. Push the latch plate into the buckle until it clicks.
If your vehicle has a center passenger position,
be sure to use the correct buckle when buckling
your lap-shoulder belt. If you find that the latch
plate will not go fully into the buckle, see if you
are using the buckle for the center passenger
position.
Pull up on the latch plate to make sure it is secure.
When the shoulder belt is pulled out all the way,
it will lock. If it does, let it go back all the way and
start again.
Make sure the release button on the buckle is
positioned so you would be able to unbuckle the
safety belt quickly if you ever had to.
1-25

3. To make the lap part tight, pull up on the
shoulder part.
The lap part of the belt should be worn low and snug on
the hips, just touching the thighs. In a crash, this applies
force to the strong pelvic bones. And you would be less
likely to slide under the lap belt. If you slid under it, the
belt would apply force at your abdomen. This could cause
serious or even fatal injuries. The shoulder belt should go
over the shoulder and across the chest. These parts of
the body are best able to take belt restraining forces.
The safety belt locks if there is a sudden stop or a crash,
or if you pull the belt very quickly out of the retractor.
1-26

{CAUTION:
You can be seriously hurt if your shoulder belt
is too loose. In a crash, you would move
forward too much, which could increase injury.
The shoulder belt should fit against your body.
To unlatch the belt, push the button on the buckle.
1-27

Rear Safety Belt Comfort Guides
Rear shoulder belt comfort guides may provide added
safety belt comfort for older children who have outgrown
booster seats and for some adults. When installed on
a shoulder belt, the comfort guide positions the belt
away from the neck and head.
There is one guide available for each outside passenger
position in the rear seat. Here is how to install a
comfort guide and use the safety belt:
1. Fold down the rear seatback of the desired seating
position. See Split Folding Rear Seat on page 1-9
for instructions about how to fold the rear seatback.
2. Remove the guide located on the trim behind the
seatback from its storage clip. Pull the guide
around the rear seatback.
1-28

{CAUTION:
If the seatback is not locked, it could move
forward in a sudden stop or crash. That could
cause injury to the person sitting there. Always
push and pull on the seatback to be sure it is
locked.
3. Return the rear seatback to its upright position and
make sure it is latched into place.
4. Slide the guide under and past the belt. The elastic
cord must be under the belt. Then, place the guide
over the belt, and insert the two edges of the
belt into the slots of the guide.
1-29

5. Be sure that the belt is not twisted and it lies flat.
The elastic cord must be under the belt and the
guide on top. {CAUTION:
A safety belt that is not properly worn may not
provide the protection needed in a crash. The
person wearing the belt could be seriously
injured. The shoulder belt should go over the
shoulder and across the chest. These parts of
the body are best able to take belt restraining
forces.
1-30

6. Buckle, position, and release the safety belt as
described in Rear Seat Passengers on page 1-24.
Make sure that the shoulder belt crosses the
shoulder.
To remove and store the comfort guides, squeeze the
belt edges together so that you can take them out of
the guides. Fold down the rear seatbacks. Store the
guides on their storage clips. Lift the rear seatbacks to
their original seating positions.
Safety Belt Pretensioners
Your vehicle has safety belt pretensioners for the driver
and right front passenger. Although you cannot see
them, they are located on the retractor part of the safety
belts. They help the safety belts reduce a person’s
forward movement in a moderate to severe frontal or
near frontal crash.
Pretensioners work only once. If they activate in a
crash, you will need to get new ones, and probably other
new parts for your safety belt system. See Replacing
Restraint System Parts After a Crash on page 1-69.
Safety Belt Extender
If the vehicle’s safety belt will fasten around you,
you should use it.
But if a safety belt is not long enough, your retailer
will order you an extender. It is free. When you go in
to order it, take the heaviest coat you will wear, so the
extender will be long enough for you. To help avoid
personal injury, do not let someone else use it, and use
it only for the seat it is made to fit. The extender has
been designed for adults. Never use it for securing
child seats. To wear it, just attach it to the regular
safety belt. For more information see the instruction
sheet that comes with the extender.
1-31

Child Restraints
Older Children
Older children who have outgrown booster seats should
wear the vehicle’s safety belts.
Q: What is the proper way to wear safety belts?
A: An older child should wear a lap-shoulder belt and
get the additional restraint a shoulder belt can
provide. The shoulder belt should not cross the
face or neck. The lap belt should fit snugly below
the hips, just touching the top of the thighs.
It should never be worn over the abdomen, which
could cause severe or even fatal internal injuries
in a crash.
Accident statistics show that children are safer if they
are restrained in the rear seat.
In a crash, children who are not buckled up can strike
other people who are buckled up, or can be thrown
out of the vehicle. Older children need to use safety
belts properly.
1-32

{CAUTION:
Never do this.
Here two children are wearing the same belt.
The belt can not properly spread the impact
forces. In a crash, the two children can be
crushed together and seriously injured. A belt
must be used by only one person at a time.
Q: What if a child is wearing a lap-shoulder belt,
but the child is so small that the shoulder belt
is very close to the child’s face or neck?
A: If the child is sitting in a seat next to a window,
move the child toward the center of the vehicle.
Also see Rear Safety Belt Comfort Guides on
page 1-28. If the child is sitting in the center rear
seat passenger position, move the child toward
the safety belt buckle. In either case, be sure that
the shoulder belt still is on the child’s shoulder,
so that in a crash the child’s upper body would
have the restraint the belts provide.
1-33

{CAUTION:
Never do this.
Here a child is sitting in a seat that has a
lap-shoulder belt, but the shoulder part is
behind the child. If the child wears the belt
in this way, in a crash the child might slide
under the belt. The belt’s force would then
be applied right on the child’s abdomen.
That could cause serious or fatal injuries.
Wherever the child sits, the lap portion of the belt
should be worn low and snug on the hips, just touching
the child’s thighs. This applies belt force to the child’s
pelvic bones in a crash.
Infants and Young Children
Everyone in a vehicle needs protection! This includes
infants and all other children. Neither the distance
traveled nor the age and size of the traveler changes
the need, for everyone, to use safety restraints.
In fact, the law in every state in the United States
and in every Canadian province says children up to
some age must be restrained while in a vehicle.
1-34

{CAUTION:
Children can be seriously injured or strangled if
a shoulder belt is wrapped around their neck
and the safety belt continues to tighten. Never
leave children unattended in a vehicle and never
allow children to play with the safety belts.
Every time infants and young children ride in vehicles,
they should have the protection provided by appropriate
restraints. Young children should not use the vehicle’s
adult safety belts alone, unless there is no other choice.
Instead, they need to use a child restraint. {CAUTION:
People should never hold a baby in their arms
while riding in a vehicle. A baby does not
weigh much — until a crash. During a crash a
baby will become so heavy it is not possible
to hold it. For example, in a crash at only
25 mph (40 km/h), a 12 lb (5.5 kg) baby will
suddenly become a 240 lb (110 kg) force on
a person’s arms. A baby should be secured
in an appropriate restraint.
1-35

{CAUTION:
Children who are up against, or very close to,
any airbag when it inflates can be seriously
injured or killed. Airbags plus lap-shoulder belts
offer protection for adults and older children,
but not for young children and infants. Neither
the vehicle’s safety belt system nor its airbag
system is designed for them. Young children
and infants need the protection that a child
restraint system can provide.
Q: What are the different types of add-on child
restraints?
A: Add-on child restraints, which are purchased by the
vehicle’s owner, are available in four basic types.
Selection of a particular restraint should take
into consideration not only the child’s weight, height
and age but also whether or not the restraint will
be compatible with the motor vehicle in which it
will be used.
1-36

For most basic types of child restraints, there are
many different models available. When purchasing
a child restraint, be sure it is designed to be
used in a motor vehicle. If it is, the restraint will
have a label saying that it meets federal motor
vehicle safety standards.
The restraint manufacturer’s instructions that come
with the restraint, state the weight and height
limitations for a particular child restraint. In addition,
there are many kinds of restraints available for
children with special needs.
{CAUTION:
Newborn infants need complete support,
including support for the head and neck. This is
necessary because a newborn infant’s neck is
weak and its head weighs so much compared
with the rest of its body. In a crash, an infant in
a rear-facing seat settles into the restraint, so
the crash forces can be distributed across the
strongest part of an infant’s body, the back and
shoulders. Infants always should be secured
in appropriate infant restraints.
{CAUTION:
The body structure of a young child is quite
unlike that of an adult or older child, for whom
the safety belts are designed. A young child’s
hip bones are still so small that the vehicle’s
regular safety belt may not remain low on the
hip bones, as it should. Instead, it may settle
up around the child’s abdomen. In a crash,
the belt would apply force on a body area that
is unprotected by any bony structure. This
alone could cause serious or fatal injuries.
Young children always should be secured in
appropriate child restraints.
1-37

Child Restraint Systems
An infant car bed (A), a special bed made for use in a
motor vehicle, is an infant restraint system designed
to restrain or position a child on a continuous flat
surface. Make sure that the infant’s head rests toward
the center of the vehicle.
A rear-facing infant seat (B) provides restraint with
the seating surface against the back of the infant.
The harness system holds the infant in place and,
in a crash, acts to keep the infant positioned in
the restraint.
1-38

A forward-facing child seat (C-E) provides restraint for
the child’s body with the harness and also sometimes
with surfaces such as T-shaped or shelf-like shields.
A booster seat (F-G) is a child restraint designed to
improve the fit of the vehicle’s safety belt system.
Some booster seats have a shoulder belt positioner,
and some high-back booster seats have a five-point
harness. A booster seat can also help a child to see
out the window.
1-39

Q: How Should I Use a Child Restraint?
A: A child restraint system is any device designed
for use in a motor vehicle to restrain, seat, or
position children. A built-in child restraint system is
a permanent part of the motor vehicle. An add-on
child restraint system is a portable one, which
is purchased by the vehicle’s owner. To help
reduce injuries, an add-on child restraint must be
secured in the vehicle. With built-in or add-on
child restraints, the child has to be secured within
the child restraint.
When choosing an add-on child restraint, be sure
the child restraint is designed to be used in a
vehicle. If it is, it will have a label saying that it
meets federal motor vehicle safety standards.
Then follow the instructions for the restraint.
You may find these instructions on the restraint
itself or in a booklet, or both.
Securing an Add-on Child Restraint
in the Vehicle
{CAUTION:
A child can be seriously injured or killed in a
crash if the child restraint is not properly
secured in the vehicle. Make sure the child
restraint is properly installed in the vehicle
using the vehicle’s safety belt or LATCH
system, following the instructions that came
with that restraint, and also the instructions
in this manual.
To help reduce the chance of injury, the child restraint
must be secured in the vehicle. Child restraint systems
must be secured in vehicle seats by lap belts or the
lap belt portion of a lap-shoulder belt, or by the LATCH
system. See Lower Anchors and Tethers for Children
(LATCH) on page 1-43 for more information. A child can
be endangered in a crash if the child restraint is not
properly secured in the vehicle.
1-40

When securing an add-on child restraint, refer to the
instructions that come with the restraint which may be on
the restraint itself or in a booklet, or both, and to this
manual. The child restraint instructions are important,
so if they are not available, obtain a replacement
copy from the manufacturer.
Keep in mind that an unsecured child restraint can
move around in a collision or sudden stop and injure
people in the vehicle. Be sure to properly secure
any child restraint in your vehicle — even when no
child is in it.
Securing the Child Within the
Child Restraint
There are several systems for securing the child within
the child restraint. One system, the three-point
harness, has straps that come down over each of the
infant’s shoulders and buckle together at the crotch.
The five-point harness system has two shoulder straps,
two hip straps, and a crotch strap. A shield may take
the place of hip straps. A T-shaped shield has shoulder
straps that are attached to a flat pad which rests low
against the child’s body. A shelf- or armrest-type shield
has straps that are attached to a wide, shelf-like
shield that swings up or to the side.
{CAUTION:
A child can be seriously injured or killed in a
crash if the child is not properly secured in the
child restraint. Make sure the child is properly
secured, following the instructions that came
with that restraint.
Because there are different systems, it is important to
refer to the instructions that come with the restraint.
A child can be endangered in a crash if the child is
not properly secured in the child restraint.
1-41

Where to Put the Restraint
Accident statistics show that children are safer if they
are restrained in the rear rather than the front seat.
We recommend that child restraints be secured in a
rear seat, including an infant riding in a rear-facing infant
seat, a child riding in a forward-facing child seat and
an older child riding in a booster seat.
Your vehicle has a rear seat that will accommodate a
rear-facing child restraint. A label on your sun visor
says, “Never put a rear-facing child seat in the front.”
This is because the risk to the rear-facing child is
so great, if the airbag deploys.
{CAUTION:
A child in a rear-facing child restraint can be
seriously injured or killed if the right front
passenger’s airbag inflates. This is because
the back of the rear-facing child restraint
would be very close to the inflating air bag.
CAUTION: (Continued)
CAUTION: (Continued)
Even though the passenger sensing system is
designed to turn off the passenger’s frontal
airbag if the system detects a rear-facing child
restraint, no system is fail-safe, and no one
can guarantee that an airbag will not deploy
under some unusual circumstance, even
though it is turned off. We recommend that
rear-facing child restraints be secured in the
rear seat, even if the airbag is off.
If you need to secure a forward-facing child
restraint in the right front seat, always move
the front passenger seat as far back as it will
go. It is better to secure the child restraint
in a rear seat.
Wherever you install a child restraint, be sure to secure
the child restraint properly.
Keep in mind that an unsecured child restraint can
move around in a collision or sudden stop and injure
people in the vehicle. Be sure to properly secure
any child restraint in your vehicle — even when no
child is in it.
1-42

Lower Anchors and Tethers for
Children (LATCH)
Your vehicle has the LATCH system. The LATCH
system holds a child restraint during driving or in a
crash. This system is designed to make installation of
a child restraint easier. The LATCH system uses
anchors in the vehicle and attachments on the child
restraint that are made for use with the LATCH system.
Make sure that a LATCH-compatible child restraint is
properly installed using the anchors, or use the vehicle’s
safety belts to secure the restraint, following the
instructions that came with that restraint, and also the
instructions in this manual. When installing a child
restraint with a top tether, you must also use either the
lower anchors or the safety belts to properly secure
the child restraint. A child restraint must never be
installed using only the top tether and anchor.
In order to use the LATCH system in your vehicle, you
need a child restraint equipped with LATCH attachments.
The child restraint manufacturer will provide you with
instructions on how to use the child restraint and its
attachments. The following explains how to attach a
child restraint with these attachments in your vehicle.
Your vehicle has lower anchors and top tether anchors.
Your child restraint may have lower attachments and
a top tether.
Not all vehicle seating positions or child restraints have
lower anchors and attachments or top tether anchors
and attachments.
Lower Anchors
Lower anchors (A) are metal bars built into the vehicle.
There are two lower anchors for each LATCH seating
position that will accommodate a child restraint with
lower attachments (B).
1-43

Top Tether Anchor
A top tether (A, C) anchors the top of the child restraint
to the vehicle. A top tether anchor is built into the
vehicle. The top tether attachment (B) on the child
restraint connects to the top tether anchor in the vehicle
in order to reduce the forward movement and rotation
of the child restraint during driving or in a crash.
Your child restraint may have a single tether (A) or a
dual tether (C). Either will have a single attachment (B)
to secure the top tether to the anchor.
Some top tether-equipped child restraints are designed
for use with or without the top tether being attached.
Others require the top tether always to be attached.
In Canada, the law requires that forward-facing
child restraints have a top tether, and that the tether be
attached. In the United States, some child restraints
also have a top tether. Be sure to read and follow the
instructions for your child restraint.
If the child restraint does not have a top tether, one
can be obtained, in kit form, for many child restraints.
Ask the child restraint manufacturer whether or not
a kit is available.
Lower Anchor and Top Tether Anchor
Locations
i(Top Tether Anchor):
Seating positions with
top tether anchors.
j(Lower Anchor):
Seating positions with
two lower anchors.
Rear Seat — Sedan
1-44

i(Top Tether Anchor):
Seating positions with
top tether anchors.
j(Lower Anchor):
Seating positions with
two lower anchors.
For sedan models, each rear seating position has
exposed metal lower anchors in the crease between
the seatback and the seat cushion. For coupe models,
each rear outboard seating position has exposed
metal lower anchors in the crease between the seatback
and the seat cushion.
To assist you in locating
the top tether anchors,
the top tether anchor
symbol is located on
the trim cover.
For sedan models, the top tether anchors are located
under the trim covers on the rear window trim panel.
Be sure to use an anchor located on the same side
of the vehicle as the seating position where the
child restraint will be placed.
For coupe models, the top tether anchors are located
under trim covers on the filler panel. Be sure to use
an anchor located on the same side of the vehicle as
the seating position where the child restraint will
be placed.
Rear Seat — Coupe
Sedan
Coupe
1-45

Do not secure a child restraint in the right front
passenger’s position if a national or local law requires
that the top tether be attached, or if the instructions that
come with the child restraint say that the top tether
must be attached. There is no place to attach the top
tether in this position.
Accident statistics show that children are safer if they
are restrained in the rear rather than the front seat. See
Where to Put the Restraint on page 1-42 for additional
information.
Securing a Child Restraint Designed for
the LATCH System
{CAUTION:
If a LATCH-type child restraint is not attached
to anchors, the restraint will not be able to
protect the child correctly. In a crash, the child
could be seriously injured or killed. Make sure
that a LATCH-type child restraint is properly
installed using the anchors, or use the vehicle’s
safety belts to secure the restraint, following
the instructions that came with that restraint,
and also the instructions in this manual.
{CAUTION:
Each top tether anchor and lower anchor in
the vehicle is designed to hold only one child
restraint. Attaching more than one child
restraint to a single anchor could cause the
anchor or attachment to come loose or even
break during a crash. A child or others could be
injured if this happens. To help prevent injury
to people and damage to your vehicle, attach
only one child restraint per anchor.
1-46

{CAUTION:
Children can be seriously injured or strangled
if a shoulder belt is wrapped around their neck
and the safety belt continues to tighten.
Secure any unused safety belts behind the
child restraint so children cannot reach them.
Pull the shoulder belt all the way out of the
retractor to set the lock, if your vehicle has
one, after the child restraint has been installed.
Be sure to follow the instructions of the child
restraint manufacturer.
Notice: Contact between the child restraint or the
LATCH attachment parts and the vehicle’s safety
belt assembly may cause damage to these parts.
Make sure when securing unused safety belts
behind the child restraint that there is no contact
between the child restraint or the LATCH attachment
parts and the vehicle’s safety belt assembly.
Folding an empty rear seat with the safety belts
secured, may cause damage to the safety belt or the
seat. When removing the child restraint, always
remember to return the safety belts to their normal
position before folding the rear seat.
1. Find the lower anchors, if equipped, for the desired
seating position.
2. If the desired seating position does not have lower
anchors or if your child restraint does not have
lower anchor attachments, see Securing a Child
Restraint in a Rear Seat Position on page 1-49 for
instructions on installing the child restraint using
the safety belts.
3. Put the child restraint on the seat.
4. Attach and tighten the lower attachments on the
child restraint to the lower anchors, if equipped,
in the vehicle. The child restraint instructions
will show you how.
1-47

5. If the child restraint is forward-facing, attach and
tighten the top tether to the top tether anchor.
Refer to the child restraint instructions and
the following steps:
5.1. Find the top tether anchor.
5.2. Pull open the top tether anchor trim cover to
expose the anchor.
5.3. Route and tighten the top tether according
to your child restraint instructions and the
following instructions:
If the position you are
using does not have a
head restraint and you
are using a single tether,
route the tether over
the seatback.
If the position you are
using does not have a
head restraint and you
are using a dual tether,
route the tether over
the seatback.
If the position you are
using has a fixed headrest
and you are using a
single tether, route the
tether over the head
restraint.
If the position you are
using has a fixed headrest
and you are using a
dual tether, route the tether
around the head restraint.
6. Push and pull the child restraint in different
directions to be sure it is secure.
1-48

Securing a Child Restraint in a
Rear Seat Position
If your child restraint is equipped with the LATCH
system, see Lower Anchors and Tethers for Children
(LATCH) on page 1-43.
If your child restraint does not have the LATCH system,
you will be using the lap-shoulder belt to secure the
child restraint. Be sure to follow the instructions
that came with the child restraint. Secure the child in
the child restraint when and as the instructions say.
1. Put the child restraint on the seat.
2. Pick up the latch plate, and run the lap and shoulder
portions of the vehicle’s safety belt through or
around the restraint. The child restraint instructions
will show you how.
3. Buckle the belt. Be sure the latch plate clicks when
you put it into the buckle. This means you are using
the correct buckle. Also, make sure the release
button is positioned so you would be able to
unbuckle the safety belt quickly if you ever had to.
1-49

4. Pull the rest of the shoulder belt all the way out of
the retractor to set the lock.
5. To tighten the belt, push down on the child restraint,
pull the shoulder portion of the belt to tighten the lap
portion of the belt and feed the shoulder belt back
into the retractor. If you are using a forward-facing
child restraint, you may find it helpful to use your
knee to push down on the child restraint as you
tighten the belt.
6. If your child restraint manufacturer recommends
using a top tether, attach and tighten the top tether to
the top tether anchor. Refer to the instructions that
came with the child restraint and to Lower Anchors
and Tethers for Children (LATCH) on page 1-43.
7. Push and pull the child restraint in different
directions to be sure it is secure.
1-50

To remove the child restraint, if the top tether is attached
to the top tether anchor, disconnect it. Unbuckle the
vehicle’s safety belt and let it go back all the way.
The safety belt will move freely again and be ready to
work for an adult or larger child passenger.
Securing a Child Restraint in the
Right Front Seat Position
Your vehicle has a right front passenger’s airbag. A rear
seat is a safer place to secure a forward-facing child
restraint. See Where to Put the Restraint on page 1-42.
In addition, your vehicle may have the passenger
sensing system. The passenger sensing system is
designed to turn off the right front passenger’s frontal
airbag when an infant in a rear-facing infant seat
or a small child in a forward-facing child restraint or
booster seat is detected. See Passenger Sensing
System on page 1-62 and Passenger Airbag Status
Indicator on page 3-31 for more information on
this including important safety information.
A label on your sun visor says, “Never put a rear-facing
child seat in the front.” This is because the risk to the
rear-facing child is so great, if the airbag deploys.
{CAUTION:
A child in a rear-facing child restraint can be
seriously injured or killed if the right front
passenger’s airbag inflates. This is because
the back of the rear-facing child restraint
would be very close to the inflating airbag.
Even though the passenger sensing system is
designed to turn off the passenger’s frontal
airbag if the system detects a rear-facing child
restraint, no system is fail-safe, and no one
can guarantee that an airbag will not deploy
under some unusual circumstance, even
though it is turned off. We recommend that
rear-facing child restraints be secured in the
rear seat, even if the airbag is off.
If you need to secure a forward-facing child restraint in
the right front seat position, move the seat as far
back as it will go before securing the forward-facing
child restraint. See Manual Seats on page 1-2.
If your child restraint is equipped with the LATCH
system, see Lower Anchors and Tethers for Children
(LATCH) on page 1-43.
1-51

There is no top tether anchor at the right front seating
position. Do not secure a child restraint in this position if
a national or local law requires that the top tether be
anchored or if the instructions that come with the child
restraint say that the top tether must be anchored.
See Lower Anchors and Tethers for Children (LATCH)
on page 1-43 if your child restraint has a top tether.
You will be using the lap-shoulder belt to secure
the child restraint in this position. Be sure to follow the
instructions that came with the child restraint. Secure
the child in the child restraint when and as the
instructions say.
1. Your vehicle has a right front passenger’s frontal
airbag. See Passenger Sensing System on
page 1-62. General Motors recommends that
rear-facing child restraints be secured in a rear
seat, even if the airbag is off. If your child restraint
is forward-facing, move the seat as far back as
it will go before securing the child restraint in this
seat. See Manual Seats on page 1-2.
When the passenger sensing system has turned off
the right front passenger’s frontal airbag, the off
indicator in the passenger airbag status indicator
should light and stay lit when you turn the ignition
to RUN or START. See Passenger Airbag
Status Indicator on page 3-31.
2. Put the child restraint on the seat.
3. Pick up the latch plate, and run the lap and shoulder
portions of the vehicle’s safety belt through or
around the restraint. The child restraint instructions
will show you how.
4. Buckle the belt. Make sure the release button is
positioned so you would be able to unbuckle the
safety belt quickly if you ever had to.
1-52

5. Pull the rest of the shoulder belt all the way out of
the retractor to set the lock.
6. To tighten the belt, push down on the child restraint,
pull the shoulder portion of the belt to tighten
the lap portion of the belt and feed the shoulder
belt back into the retractor. If you are using a
forward-facing child restraint, you may find it
helpful to use your knee to push down on the
child restraint as you tighten the belt. You should
not be able to pull more of the belt from the
retractor once the lock has been set.
1-53

7. Push and pull the child restraint in different
directions to be sure it is secure.
8. If your vehicle has a passenger sensing system and
the airbag is off, the off indicator on the instrument
panel will be lit and stay lit when the key is
turned to RUN or START.
If a child restraint has been installed and the on
indicator is lit, turn the vehicle off. Remove the child
restraint from the vehicle and reinstall the child restraint.
If after reinstalling the child restraint and restarting
the vehicle, the on indicator is still lit, check to make
sure that the vehicle’s seatback is not pressing the
child restraint into the seat cushion. If this happens,
slightly recline the vehicle’s seatback and adjust the
seat cushion if possible. Also make sure the child
restraint is not trapped under the vehicle head restraint.
If this happens, adjust the head restraint.
If the on indicator is still lit, secure the child in the
child restraint in a rear seat position in the vehicle
and check with your dealer.
To remove the child restraint, just unbuckle the vehicle’s
safety belt and let it go back all the way. The safety
belt will move freely again and be ready to work for
an adult or larger child passenger.
Airbag System
Your vehicle has a frontal airbag for the driver and a
frontal airbag for the right front passenger. Your vehicle
may also have roof-mounted side impact airbags.
Roof-mounted side impact airbags are available for the
driver and the passenger seated directly behind the
driver and for the right front passenger and the
passenger seated directly behind that passenger.
If your vehicle has roof-mounted side impact airbags,
the word AIRBAG will appear on the airbag covering on
the garnish trim near the ceiling and the side windows.
Frontal airbags are designed to help reduce the risk
of injury from the force of an inflating frontal airbag.
But these airbags must inflate very quickly to do their
job and comply with federal regulations.
1-54

Here are the most important things to know about the
airbag system:
{CAUTION:
You can be severely injured or killed in a crash
if you are not wearing your safety belt — even if
you have airbags. Wearing your safety belt
during a crash helps reduce your chance of
hitting things inside the vehicle or being ejected
from it. Airbags are “supplemental restraints”
to the safety belts. All airbags are designed to
work with safety belts but do not replace them.
Frontal airbags for the driver and right front
passenger are designed to deploy in moderate
to severe frontal and near frontal crashes.
They are not designed to inflate in rollover, rear
crashes, or in many side crashes. And, for some
unrestrained occupants, frontal airbags may
provide less protection in frontal crashes than
more forceful airbags have provided in the past.
CAUTION: (Continued)
CAUTION: (Continued)
Roof-mounted side impact airbags are designed
to inflate in moderate to severe crashes where
something hits the side of your vehicle. They
are not designed to inflate in frontal, in rollover
or in rear crashes. Everyone in your vehicle
should wear a safety belt properly — whether or
not there is an airbag for that person.
{CAUTION:
Both frontal and side impact airbags inflate
with great force, faster than the blink of an eye.
If you are too close to an inflating airbag, as you
would be if you were leaning forward, it could
seriously injure you. Safety belts help keep you
in position for airbag inflation before and during
a crash. Always wear your safety belt even with
frontal airbags. The driver should sit as far back
as possible while still maintaining control of the
vehicle. Occupants should not lean on or sleep
against the door.
1-55

{CAUTION:
Anyone who is up against, or very close to,
any airbag when it inflates can be seriously
injured or killed. Airbags plus lap-shoulder
belts offer the best protection for adults, but
not for young children and infants. Neither the
vehicle’s safety belt system nor its airbag
system is designed for them. Young children
and infants need the protection that a child
restraint system can provide. Always secure
children properly in your vehicle. To read how,
see Older Children on page 1-32 or Infants and
Young Children on page 1-34.
There is an airbag
readiness light on the
instrument panel cluster,
which shows the airbag
symbol.
The system checks the airbag electrical system for
malfunctions. The light tells you if there is an electrical
problem. See Airbag Readiness Light on page 3-30
for more information.
Where Are the Airbags?
The driver’s frontal airbag is in the middle of the
steering wheel.
1-56

The right front passenger’s frontal airbag is in the
instrument panel on the passenger’s side.
If your vehicle has a roof-mounted side impact airbag
for the driver and the person seated directly behind
the driver, it is in the ceiling above the side windows.
1-57

If your vehicle has a roof-mounted side impact airbag
for the right front passenger and the person seated
directly behind that passenger, it is in the ceiling above
the side windows.
{CAUTION:
If something is between an occupant and an
airbag, the bag might not inflate properly
or it might force the object into that person
causing severe injury or even death. The path
of an inflating airbag must be kept clear.
Do not put anything between an occupant and
an airbag, and do not attach or put anything
on the steering wheel hub or on or near any
other airbag covering. And, if your vehicle
has roof-mounted side impact airbags, never
secure anything to the roof of your vehicle
by routing the rope or tiedown through any
door or window opening. If you do, the path
of an inflating side impact airbag will be
blocked. The path of an inflating airbag
must be kept clear.
1-58

When Should an Airbag Inflate?
The driver’s and right front passenger’s frontal airbags
are designed to inflate in moderate to severe frontal or
near-frontal crashes. But they are designed to inflate only
if the impact exceeds a predetermined deployment
threshold. Deployment thresholds take into account a
variety of desired deployment and non-deployment
events and are used to predict how severe a crash is
likely to be in time for the airbags to inflate and help
restrain the occupants. Whether your frontal airbags will
or should deploy is not based on how fast your vehicle is
traveling. It depends largely on what you hit, the direction
of the impact and how quickly your vehicle slows down.
In addition, your vehicle has “dual stage” frontal
airbags, which adjust the restraint according to crash
severity. Your vehicle has an electronic frontal sensor
which help the sensing system distinguish between
a moderate frontal impact and a more severe frontal
impact. For moderate frontal impacts, the airbags inflate
at a level less than full deployment. For more severe
frontal impacts, full deployment occurs. If the front
of your vehicle goes straight into a wall that does not
move or deform, the threshold level for the reduced
deployment is about 16 to 20 mph (26 to 32 km/h),
and the threshold level for a full deployment is
25 to 30 mph (40 to 48 km/h). The threshold level can
vary, however, with specific vehicle design, so that it
can be somewhat above or below this range.
Frontal airbags may inflate at different crash speeds.
For example:
•If the vehicle hits a stationary object, the airbags
could inflate at a different crash speed than if the
vehicle hits a moving object.
•If the vehicle hits an object that deforms, the
airbags could inflate at a different crash speed than
if the vehicle hits an object that does not deform.
•If the vehicle hits a narrow object (like a pole), the
airbags could inflate at a different crash speed
than if the vehicle hits a wide object (like a wall).
•If the vehicle goes into an object at an angle, the
airbags could inflate at a different crash speed
than if the vehicle goes straight into the object.
Frontal airbags (driver and right front passenger) are
not intended to inflate during vehicle rollovers, rear
impacts, or in many side impacts.
Your vehicle may or may not have roof-mounted side
impact airbags. See Airbag System on page 1-54.
Roof-mounted side impact airbags are intended to inflate
in moderate to severe side crashes. A roof-mounted side
impact airbag will inflate if the crash severity is above the
system’s designed “threshold level.” The threshold level
can vary with specific vehicle design. Roof-mounted
side impact airbags are not intended to inflate in frontal
or near-frontal impacts, rollovers or rear impacts.
A roof-mounted side impact airbag is intended to
deploy on the side of the vehicle that is struck.
1-59

In any particular crash, no one can say whether an
airbag should have inflated simply because of the
damage to a vehicle or because of what the repair costs
were. For frontal airbags, inflation is determined by
what the vehicle hits, the angle of the impact, and how
quickly the vehicle slows down. For roof-mounted
side impact airbags, inflation is determined by the
location and severity of the impact.
What Makes an Airbag Inflate?
In an impact of sufficient severity, the airbag sensing
system detects that the vehicle is in a crash. The
sensing system triggers a release of gas from the
inflator, which inflates the airbag. The inflator, airbag,
and related hardware are all part of the airbag modules
inside the steering wheel and in the instrument panel
in front of the right front passenger. For vehicles
with roof-mounted side impact airbags, there are
also airbag modules in the ceiling of the vehicle,
near the side windows.
How Does an Airbag Restrain?
In moderate to severe frontal or near frontal collisions,
even belted occupants can contact the steering wheel
or the instrument panel. In moderate to severe side
collisions, even belted occupants can contact the inside
of the vehicle. The airbag supplements the protection
provided by safety belts. Airbags distribute the force of
the impact more evenly over the occupant’s upper
body, stopping the occupant more gradually. But the
frontal airbags would not help you in many types
of collisions, including rollovers, rear impacts, and many
side impacts, primarily because an occupant’s motion
is not toward the airbag. Side impact airbags would not
help you in many types of collisions, including many
frontal or near frontal collisions, rollovers, and rear
impacts, primarily because an occupant’s motion is
not toward those airbags. Airbags should never
be regarded as anything more than a supplement to
safety belts, and then only in moderate to severe frontal
or near-frontal collisions for the driver’s and right front
passenger’s frontal airbags, and only in moderate
to severe side collisions for side impact airbags.
1-60

What Will You See After an
Airbag Inflates?
After a frontal airbag inflates, it quickly deflates, so
quickly that some people may not even realize
the airbag inflated. Roof-mounted side impact airbags
deflate more slowly and may still be at least partially
inflated minutes after the vehicle comes to rest. Some
components of the airbag module — the steering wheel
hub for the driver’s airbag, the instrument panel for
the right front passenger’s bag or the garnish trim and
ceiling of your vehicle near the side windows for
roof-mounted side airbags — may be hot for a short
time. The parts of the bag that come into contact with
you may be warm, but not too hot to touch. There
will be some smoke and dust coming from the vents in
the deflated airbags. Airbag inflation does not prevent
the driver from seeing out of the windshield or being
able to steer the vehicle, nor does it stop people
from leaving the vehicle.
{CAUTION:
When an airbag inflates, there is dust in the
air. This dust could cause breathing problems
for people with a history of asthma or other
breathing trouble. To avoid this, everyone in
the vehicle should get out as soon as it is
safe to do so. If you have breathing problems
but cannot get out of the vehicle after an
airbag inflates, then get fresh air by opening a
window or a door. If you experience breathing
problems following an airbag deployment,
you should seek medical attention.
Your vehicle has a feature that may automatically
unlock the doors, turn the interior lamps on, and turn
the hazard warning flashers on, when the airbags inflate.
You can lock the doors, turn the interior lamps off,
and turn the hazard warning flashers off by using the
controls for those features.
1-61

In many crashes severe enough to inflate an airbag,
windshields are broken by vehicle deformation.
Additional windshield breakage may also occur from
the right front passenger airbag.
•Airbags are designed to inflate only once. After
an airbag inflates, you will need some new parts
for your airbag system. If you do not get them,
the airbag system will not be there to help protect
you in another crash. A new system will include
airbag modules and possibly other parts. The
service manual for your vehicle covers the need
to replace other parts.
•Your vehicle has a crash sensing and diagnostic
module which records information after a crash.
See Vehicle Data Collection and Event Data
Recorders on page 7-7.
•Let only qualified technicians work on your airbag
system. Improper service can mean that your
airbag system will not work properly. See your
retailer for service.
Passenger Sensing System
If your vehicle has one of the indicators pictured in the
following illustrations, then your vehicle has a passenger
sensing system. The passenger airbag status indicator
on the instrument panel will be visible when you turn your
ignition key to RUN or START. The words ON and OFF
or the symbol for on and off, will be visible during the
system check. When the system check is complete,
either the word ON or the word OFF, or the symbol for
on or the symbol for off will be visible. See Passenger
Airbag Status Indicator on page 3-31.
The passenger sensing system will turn off the right
front passenger’s frontal airbag under certain conditions.
The driver’s airbag and the side airbags (if equipped)
are not part of the passenger sensing system.
Passenger
Airbag Status
Indicator – United States
Passenger
Airbag Status
Indicator – Canada
1-62

The passenger sensing system works with sensors
that are part of the right front passenger’s seat.
The sensors are designed to detect the presence
of a properly-seated occupant and determine if the
passenger’s frontal airbag should be enabled (may
inflate) or not.
Accident statistics show that children are safer if
they are restrained in the rear rather than the front
seat. General Motors recommends that child restraints
be secured in a rear seat, including an infant riding
in a rear-facing infant seat, a child riding in a
forward-facing child seat, and an older child riding
in a booster seat.
Your vehicle has a rear seat that will accommodate a
rear-facing child restraint. A label on your sun visor
says, “Never put a rear-facing child seat in the front.”
This is because the risk to the rear-facing child is
so great, if the airbag deploys.
{CAUTION:
A child in a rear-facing child restraint can be
seriously injured or killed if the right front
passenger’s airbag inflates. This is because
the back of the rear-facing child restraint
would be very close to the inflating airbag.
Even though the passenger sensing system is
designed to turn off the passenger’s frontal
airbag if the system detects a rear-facing child
restraint, no system is fail-safe, and no one
can guarantee that an airbag will not deploy
under some unusual circumstance, even
though it is turned off. We recommend that
rear-facing child restraints be secured in the
rear seat, even if the airbag is off.
If you need to secure a forward-facing child
restraint in the right front seat, always move
the front passenger seat as far back as it will
go. It is better to secure the child restraint in
a rear seat.
1-63

The passenger sensing system is designed to turn off
the right front passenger’s frontal airbag if:
•the right front passenger seat is unoccupied
•the system determines that an infant is present in
a rear-facing infant seat
•the system determines that a small child is present
in a forward-facing child restraint
•the system determines that a small child is present
in a booster seat
•a right front passenger takes his/her weight off of
the seat for a period of time
•the right front passenger seat is occupied by a
smaller person, such as a child who has outgrown
child restraints
•or if there is a critical problem with the airbag
system or the passenger sensing system.
When the passenger sensing system has turned off the
right front passenger’s frontal airbag, the off indicator
on the instrument panel will light and stay lit to remind
you that the airbag is off.
If a child restraint has been installed and the on
indicator is lit, turn the vehicle off. Remove the child
restraint from the vehicle and reinstall the child restraint
following the child restraint manufacturer’s directions
and refer to Securing a Child Restraint in the Right Front
Seat Position on page 1-51.
If after reinstalling the child restraint and restarting the
vehicle, the on indicator is still lit, check to make
sure that the vehicle’s seatback is not pressing the child
restraint into the seat cushion. If this happens, slightly
recline the vehicle’s seatback and adjust the seat
cushion if possible. Also make sure the child restraint is
not trapped under the vehicle head restraint. If this
happens, adjust the head restraint.
If the on indicator is still lit, secure the child in the child
restraint in a rear seat position in the vehicle and
check with your dealer.
The passenger sensing system is designed to enable
(may inflate) the right front passenger’s frontal
airbag anytime the system senses that a person of adult
size is sitting properly in the right front passenger’s
seat. When the passenger sensing system has allowed
the airbag to be enabled, the on indicator will light
and stay lit to remind you that the airbag is active.
For some children who have outgrown child restraints
and for very small adults, the passenger sensing system
may or may not turn off the right front passenger’s
frontal airbag, depending upon the person’s seating
posture and body build. Everyone in your vehicle who
has outgrown child restraints should wear a safety
belt properly — whether or not there is an airbag for
that person.
1-64

If a person of adult-size is sitting in the right front
passenger’s seat, but the off indicator is lit, it could be
because that person is not sitting properly in the seat.
If this happens, turn the vehicle off and ask the person to
place the seatback in the fully upright position, then sit
upright in the seat, centered on the seat cushion, with the
person’s legs comfortably extended. Restart the vehicle
and have the person remain in this position for about
two minutes. This will allow the system to detect that
person and then enable the passenger’s airbag.
{CAUTION:
If the airbag readiness light in the instrument
panel cluster ever comes on and stays on,
it means that something may be wrong with
the airbag system. If this ever happens, have
the vehicle serviced promptly, because an
adult-size person sitting in the right front
passenger’s seat may not have the protection
of the frontal airbag. See Airbag Readiness
Light on page 3-30 for more on this, including
important safety information.
A thick layer of additional material such as a blanket,
or aftermarket equipment such as seat covers, seat
heaters, and seat massagers, can affect how well the
passenger sensing system operates. Remove any
additional material from the seat cushion before
reinstalling or securing the child restraint and before a
small occupant, including a small adult, sits in the
right front passenger position. You may want to consider
not using seat covers or other aftermarket equipment
if your vehicle has the passenger sensing system.
See Adding Equipment to Your Airbag-Equipped Vehicle
on page 1-67 for more information about modifications
that can affect how the system operates.
1-65

The passenger sensing system may suppress the
airbag deployment when liquid is soaked into the seat.
If this happens, the off indicator in the passenger
airbag status indicator and the airbag readiness light
on the instrument panel will be lit. The system should
resume normal operation after the seat is allowed to
dry. If the system operates incorrectly after the seat
has dried, have your dealer check the system.
{CAUTION:
Stowing of articles under the passenger’s
seat or between the passenger’s seat cushion
and seatback may interfere with the proper
operation of the passenger sensing system.
Servicing Your Airbag-Equipped
Vehicle
Airbags affect how your vehicle should be serviced.
There are parts of the airbag system in several places
around your vehicle. You do not want the system to
inflate while someone is working on your vehicle.
Your retailer and the service manual have information
about servicing your vehicle and the airbag system.
To purchase a service manual, see Service Publications
Ordering Information on page 7-12.
{CAUTION:
For up to 10 seconds after the ignition key is
turned off and the battery is disconnected, an
airbag can still inflate during improper service.
You can be injured if you are close to an airbag
when it inflates. Avoid yellow connectors.
They are probably part of the airbag system.
Be sure to follow proper service procedures,
and make sure the person performing work
for you is qualified to do so.
The airbag system does not need regular maintenance.
1-66

Adding Equipment to Your
Airbag-Equipped Vehicle
Q: Is there anything I might add to the front or
sides of the vehicle that could keep the
airbags from working properly?
A: Yes. If you add things that change your vehicle’s
frame, bumper system, height, front end or side
sheet metal, they may keep the airbag system from
working properly. Also, the airbag system may
not work properly if you relocate any of the airbag
sensors. If you have any questions about this,
you should contact Customer Assistance before
you modify your vehicle. The phone numbers
and addresses for Customer Assistance are in
Step Two of the Customer Satisfaction Procedure
in this manual. See Customer Satisfaction
Procedure on page 7-2.
Q: Because I have a disability, I have to get my
vehicle modified. How can I find out whether
this will affect my airbag system?
A: Changing or moving any parts of the front seats,
safety belts, the airbag sensing and diagnostic
module, steering wheel, instrument panel,
ceiling headliner, ceiling and pillar garnish trim,
roof-mounted airbag modules, or airbag wiring
can affect the operation of the airbag system.
If you have questions, call Customer Assistance.
The phone numbers and addresses for Customer
Assistance are in Step Two of the Customer
Satisfaction Procedure in this manual. See
Customer Satisfaction Procedure on page 7-2.
1-67

Restraint System Check
Checking the Restraint Systems
Now and then, make sure the safety belt reminder
light and all your belts, buckles, latch plates, retractors
and anchorages are working properly. Look for any
other loose or damaged safety belt system parts.
If you see anything that might keep a safety belt
system from doing its job, have it repaired. See Care
of Safety Belts on page 5-93 for more information.
Torn or frayed safety belts may not protect you in
a crash. They can rip apart under impact forces.
If a belt is torn or frayed, get a new one right away.
Also look for any opened or broken airbag covers, and
have them repaired or replaced. The airbag system
does not need regular maintenance.
Notice: If you damage the covering for the driver’s
or the right front passenger’s airbag, or the side
impact airbag covering (if equipped) on the ceiling
near the side windows, the airbag may not work
properly. You may have to replace the airbag
module in the steering wheel, both the airbag
module and the instrument panel for the right front
passenger’s airbag, or side impact airbag module
and ceiling covering for roof-mounted side impact
airbags (if equipped.) Do not open or break the
airbag coverings.
1-68

Replacing Restraint System Parts
After a Crash
{CAUTION:
A crash can damage the restraint systems
in your vehicle. A damaged restraint system
may not properly protect the person using
it, resulting in serious injury or even death
in a crash. To help make sure your restraint
systems are working properly after a crash,
have them inspected and any necessary
replacements made as soon as possible.
If you have had a crash, do you need new belts or
LATCH system parts?
After a very minor collision, nothing may be necessary.
But if the belts were stretched, as they would be if worn
during a more severe crash, then you need new parts.
If the LATCH system was being used during a more
severe crash, you may need new LATCH system parts.
If belts are cut or damaged, replace them. Collision
damage also may mean you will need to have LATCH
system, safety belt or seat parts repaired or replaced.
New parts and repairs may be necessary even if the belt
or LATCH system was not being used at the time of
the collision.
If your seat adjuster will not work after a crash, the
special part of the safety belt that goes through the
seat to the adjuster may need to be replaced.
If an airbag inflates, you will need to replace airbag
system parts. See the part about the airbag system
earlier in this manual.
If the frontal airbags inflate you will need to replace the
driver’s and right front passengers safety belt retractor
assembly. Be sure to do so. Then the new retractor
assembly will be there to help protect you in a collision.
After a crash you may need to replace the driver and
front passenger’s safety belt retractor assemblies, even
if the frontal airbags have not deployed. The driver
and front passenger’s safety belt retractor assemblies
contain the safety belt pretensioners. Have your
safety belt pretensioners checked if your vehicle has
been in a collision, or if your airbag readiness light stays
on after you start your vehicle or while you are driving.
See Airbag Readiness Light on page 3-30.
1-69

✍NOTES
1-70

Keys ...............................................................2-2
Remote Keyless Entry System .........................2-3
Remote Keyless Entry System Operation ...........2-4
Doors and Locks .............................................2-7
Door Locks ....................................................2-7
Power Door Locks ..........................................2-8
Delayed Locking .............................................2-8
Programmable Automatic Door Locks ................2-8
Rear Door Security Locks ................................2-9
Lockout Protection ........................................2-10
Rear Doors (Coupe) ......................................2-10
Trunk ..........................................................2-11
Windows ........................................................2-13
Manual Windows ..........................................2-13
Power Windows ............................................2-14
Sun Visors ...................................................2-15
Theft-Deterrent Systems ..................................2-16
Content Theft-Deterrent .................................2-16
Passlock
®
....................................................2-17
Starting and Operating Your Vehicle ................2-17
New Vehicle Break-In ....................................2-17
Ignition Positions ..........................................2-18
Retained Accessory Power (RAP) ...................2-20
Starting the Engine .......................................2-20
Automatic Transaxle Operation .......................2-22
Manual Transaxle Operation ...........................2-25
Parking Brake ..............................................2-27
Shifting Into Park (P) (Automatic Transaxle) ......2-28
Shifting Out of Park (P) .................................2-29
Parking Your Vehicle (Manual Transaxle) .........2-29
Parking Over Things That Burn .......................2-30
Engine Exhaust ............................................2-30
Running the Engine While Parked ...................2-31
Mirrors ...........................................................2-32
Manual Rearview Mirror .................................2-32
Manual Rearview Mirror with OnStar
®
..............2-32
Automatic Dimming Rearview Mirror with
OnStar
®
, Compass and Temperature
Display ....................................................2-32
Automatic Dimming Rearview Mirror with
Compass and Temperature Display ..............2-35
Outside Remote Control Mirror .......................2-37
Outside Power Mirrors ...................................2-37
Outside Convex Mirror ...................................2-38
OnStar
®
System .............................................2-38
Storage Areas ................................................2-40
Glove Box ...................................................2-40
Cupholder(s) ................................................2-40
Center Console Storage Area .........................2-40
Roof Rack System ........................................2-40
Convenience Net ..........................................2-41
Sunroof .........................................................2-41
Section 2 Features and Controls
2-1

Keys
{CAUTION:
Leaving children in a vehicle with the ignition
key is dangerous for many reasons. They
could operate the power windows or other
controls or even make the vehicle move. The
children or others could be badly injured or
even killed. Do not leave the keys in a vehicle
with children.
2-2

This key operates the
ignition and all of the lock
cylinders on the vehicle.
You may be able to obtain
a VALET key from your
retailer. The VALET
key only operates the
driver’s door and the
ignition. This a
theft-deterrent feature.
The VALET key should
always be used when
valet parking your
vehicle.
Notice: If you ever lock your keys in your vehicle,
you may have to damage the vehicle to get in.
Be sure you have spare keys.
Remote Keyless Entry System
If equipped, the keyless entry system operates on a
radio frequency subject to Federal Communications
Commission (FCC) Rules and with Industry Canada.
This device complies with Part 15 of the FCC Rules.
Operation is subject to the following two conditions:
1. This device may not cause interference.
2. This device must accept any interference received,
including interference that may cause undesired
operation of the device.
This device complies with RSS-210 of Industry Canada.
Operation is subject to the following two conditions:
1. This device may not cause interference.
2. This device must accept any interference received,
including interference that may cause undesired
operation of the device.
Changes or modifications to this system by other than
an authorized service facility could void authorization to
use this equipment.
2-3

At times you may notice a decrease in range. This is
normal for any remote keyless entry system. If the
transmitter does not work or if you have to stand closer
to your vehicle for the transmitter to work, try this:
•Check the distance. You may be too far from your
vehicle. You may need to stand closer during
rainy or snowy weather.
•Check the location. Other vehicles or objects may
be blocking the signal. Take a few steps to the
left or right, hold the transmitter higher, and
try again.
•Check to determine if battery replacement is
necessary. See “Battery Replacement” under
Remote Keyless Entry System Operation
on page 2-4.
•If you are still having trouble, see your retailer
or a qualified technician for service.
Remote Keyless Entry System
Operation
With this feature, you can lock and unlock the doors
or the trunk from about 26 feet (8 m) away using
the remote keyless entry transmitter supplied with
your vehicle.
Q(Lock): Press this
symbol on the remote
keyless entry transmitter
to lock the doors. This also
arms the theft-deterrent
system. See Content
Theft-Deterrent on
page 2-16.
Your vehicle can be programmed so that the parking
lamps will flash and/or the horn will sound when you lock
the doors with the remote keyless entry transmitter.
See your retailer for more information on programming
this feature.
2-4

W(Unlock): Press this symbol on the remote keyless
entry transmitter to unlock the driver’s door. This also
disarms the theft-deterrent system. See Manual
Rearview Mirror on page 2-32. Press the button again
to unlock the rest of the doors.
Your vehicle can be programmed so that the parking
lamps will flash and/or the horn will sound when
you unlock the doors with the remote keyless entry
transmitter. See your retailer for more information on
programming this feature.
L(Panic Alarm): The remote keyless entry
transmitter comes equipped with an instant panic alarm.
Press the horn symbol when the ignition is turned off.
The horn will sound and the parking lamps and
dome lamp will flash for up to two minutes. To stop
the instant panic alarm, press the symbol again.
V(Trunk): Press and hold this button for
approximately one second to open the trunk. If the
vehicle’s speed is faster than 2 mph (3 km/h), the
trunk will not open when this button is pressed.
The remote keyless entry transmitter is used to
arm/disarm the theft-deterrent system. The system
will arm when the lock button on the remote keyless
entry transmitter pressed. The system will disarm
when the unlock button is pressed.
Matching Transmitter(s) to
Your Vehicle
Each remote keyless entry transmitter is coded to
prevent another transmitter from unlocking your vehicle.
If a transmitter is lost or stolen, a replacement can
be purchased through your retailer. Remember to bring
any remaining transmitters with you when you go to
your retailer. When the retailer matches the replacement
transmitter to your vehicle, any remaining transmitters
must also be matched. Once your dealer has coded the
new transmitter, the lost transmitter will not unlock
your vehicle. Each vehicle can have a maximum of
four transmitters matched to it.
2-5

Battery Replacement
Under normal use, the battery in your remote keyless
entry transmitter should last about four years.
You can tell the battery is weak if the transmitter won’t
work at the normal range in any location. If you have
to get close to your vehicle before the transmitter works,
it’s probably time to change the battery.
Notice: When replacing the battery, use care not to
touch any of the circuitry. Static from your body
transferred to these surfaces may damage the
transmitter.
1. Use a flat thin object to pry open the transmitter.
2. Once the transmitter is separated, use a toothpick,
pen cap or similar object to remove the old battery.
Do not use a metal object.
3. Insert the new battery as the instructions under the
cover indicate.
4. Snap the transmitter back together tightly to be sure
no moisture can enter.
5. Check the operation of the transmitter.
2-6

Doors and Locks
Door Locks
{CAUTION:
Unlocked doors can be dangerous.
•Passengers, especially children, can easily
open the doors and fall out of a moving
vehicle. When a door is locked, the handle
will not open it. You increase the chance
of being thrown out of the vehicle in a
crash if the doors are not locked. So, wear
safety belts properly and lock the doors
whenever you drive.
•Young children who get into unlocked
vehicles may be unable to get out. A child
can be overcome by extreme heat and can
suffer permanent injuries or even death
from heat stroke. Always lock your vehicle
whenever you leave it.
•Outsiders can easily enter through an
unlocked door when you slow down or
stop your vehicle. Locking your doors can
help prevent this from happening.
There are several ways to lock your vehicle.
To lock a door from the outside, turn the key toward the
front of the vehicle or use the remote keyless entry
transmitter, if equipped.
From the inside, move the manual lock knob above the
door handle or use the power door lock switch.
2-7

Power Door Locks
Press the top of the
switch to unlock the doors.
Press the bottom of the
switch to lock the doors.
Delayed Locking
This feature will delay the actual locking of the doors
for up to five seconds when the power door lock switch
or remote keyless entry transmitter is used to lock
the vehicle.
If any door is open when locking the vehicle,
three chimes will be heard signaling that the delayed
locking feature is active. Five seconds after the last
door is closed, all of the doors will lock and the parking
lamps will flash. To cancel the delay and lock the
doors immediately, press the lock button a second time.
If the key is in the ignition this feature will not lock
the doors.
Programmable Automatic
Door Locks
With this feature, the doors will automatically lock when
the vehicle is shifted out of PARK (P) for vehicles
with an automatic transaxle, or the vehicle speed is
greater than 5 mph (8 km/h) for vehicles with a manual
transaxle. The doors will automatically unlock when
the ignition is turned off.
To turn the automatic door locking feature on or off,
do the following:
1. Turn the ignition to RUN with the engine off and
all of the doors closed.
2. Press and hold the power door lock button in the
lock position until the horn chirps twice.
To turn the automatic door unlocking feature on or off,
do the following:
1. Turn the ignition to RUN with the engine off and all
of the doors closed.
2. Press and hold the power door lock button in the
unlock position until the horn chirps twice.
2-8

Rear Door Security Locks
Your vehicle has rear door security locks. These
prevent passengers from opening the rear doors
from the inside.
The rear door security
locks are located on the
inside edge of each
rear door. You must open
the rear doors to access
them. The label depicting
lock and unlock positions
is located near the lock.
To set the locks, do the following:
1. Insert the key into the security lock slot and turn
it so the slot is in the horizontal position.
2. Close the door.
When you want to open a rear door when the security
lock is on, do the following:
1. Unlock the door using the remote keyless entry
transmitter, if the vehicle has one, the power door
lock switch, or by lifting the rear door manual lock.
2. Open the door from the outside.
To cancel the rear door security lock, do the following:
1. Unlock the door and open it from the outside.
2. Insert the key into the security lock slot and turn it
so the slot is in the vertical position.
Security Lock Label
shown
2-9

Lockout Protection
If you press the power door lock switch when the key is
in the ignition and any door is open, all the doors will
lock and the driver’s door will unlock. Be sure to remove
the key from the ignition when locking your vehicle.
The lockout protection can be overridden by pressing
and holding the power door lock in the lock position for
three seconds.
Rear Doors (Coupe)
Your vehicle has a driver’s and passenger’s side rear
access door. To open the rear access doors, first
you must open the driver’s or passenger’s door.
Then use the handle located on the front edge of the
rear door to open it.
When closing the doors, the rear door must be closed
and latched before you can close the driver’s or
passenger’s door.
2-10

Trunk
To unlock the trunk from the outside, use the vehicle
key or press the trunk button on the remote keyless
entry transmitter, if equipped.
{CAUTION:
It can be dangerous to drive with the trunk lid
open because carbon monoxide (CO) gas can
come into your vehicle. You cannot see or
smell CO. It can cause unconsciousness and
even death. If you must drive with the trunk lid
open or if electrical wiring or other cable
connections must pass through the seal
between the body and the trunk lid:
•Make sure all other windows are shut.
•Turn the fan on your heating or cooling
system to its highest speed and select the
control setting that will force outside air
into your vehicle. See Climate Control
System.
•If you have air outlets on or under the
instrument panel, open them all the way.
See Engine Exhaust on page 2-30.
Remote Trunk Release
Press the remote trunk
release button, located
on the lower left side of
the instrument panel,
to release the trunk lid.
Make sure the remote trunk release lockout feature is not
on. The remote trunk release will work when the ignition
is either in LOCK or ACC, the parking brake is engaged,
or the vehicle speed is less than 2 mph (3 km/h).
2-11

Remote Trunk Release Lockout
Your remote trunk release is equipped with a lockout
feature. The switch is located on the inside of the trunk
lid, mounted to the trunk lid latch.
To turn the lockout on,
slide the switch to the
lock symbol. To turn the
lockout off, slide the switch
to the unlock symbol.
When the lockout is on, the remote trunk release button
will not release the trunk lid. However, the trunk lid
can still be opened with the key, but not with the keyless
entry transmitter.
Emergency Trunk Release Handle
Notice: Do not use the emergency trunk release
handle as a tie-down or anchor point when securing
items in the trunk as it could damage the handle.
The emergency trunk release handle is only
intended to aid a person trapped in a latched trunk,
enabling them to open the trunk from the inside.
There is a glow-in-the-dark emergency trunk release
handle located on the inside of the trunk lid. This handle
will glow following exposure to light. Pull the release
handle and push the trunk lid open from the inside
to open the trunk.
2-12

Windows
{CAUTION:
Leaving children, helpless adults, or pets in a
vehicle with the windows closed is dangerous.
They can be overcome by the extreme heat
and suffer permanent injuries or even death
from heat stroke. Never leave a child, a
helpless adult, or a pet alone in a vehicle,
especially with the windows closed in warm
or hot weather.
Manual Windows
If your vehicle has manual windows, use the window
crank to open and close each window.
2-13

Power Windows
If your vehicle has power
windows, switches located
on the driver’s door
armrest control each of
the windows. This switch
panel is illuminated for
easier night time operation.
In addition, each passenger door has a window switch
that controls that door’s window. To operate each
window, press the switch forward to close the window
and rearward to open it.
Express-Down Window
The driver’s window has an express-down feature
which allows the window to lower all the way without
continuously pressing the switch. The switch is labeled
AUTO. Press the rear of the switch all the way down
and release.
To stop the window while it is lowering, press the front
of the switch.
Window Lockout
o(Window Lockout): The window lockout button
is located near the driver’s power window switches.
Press the right side of the button to prevent rear
passengers from using their windows. Press the left
side of the button to return to normal window operation.
2-14

Sun Visors
To block out glare, swing down the sun visors.
You can also swing them to the side.
Visor Vanity Mirrors
Your sun visors may have vanity mirrors.
If so, the driver’s mirror is covered. Lift the
cover to expose the mirror.
Passenger Visor Safety Belt Clip
(Coupe)
If you have a coupe, the sun visor on the passenger’s
side of the vehicle has a clip. This clip is designed
to hold the safety belt out of the way when entering and
exiting the rear seats. Be sure to remove the safety
belt from the clip when you are done.
Notice: Using the safety belt clip to enter or exit the
vehicle, or in any way other than as it was intended,
can damage your vehicle. Do not use the safety belt
clip in any way other than as it was intended.
2-15

Theft-Deterrent Systems
Vehicle theft is big business, especially in some cities.
Although your vehicle has a number of theft-deterrent
features, we know that nothing we put on it can make
it impossible to steal.
Content Theft-Deterrent
The remote keyless entry transmitter is used to
arm/disarm the theft-deterrent system. Your vehicle’s
theft-deterrent system can be programmed to
three different modes.
Active Arming: The system will arm when the lock
button on the remote keyless entry transmitter is
pressed. The system will disarm when the unlock
button is pressed.
Passive Arming: The system will arm itself one minute
after the ignition is turned off and the driver’s door
has been opened and closed. If the lock button on the
transmitter is pressed before the minute has passed,
the system will arm immediately. The system will disarm
when the unlock button is pressed.
Security System Disable: The system will not arm.
To change the mode that your vehicle is programmed to,
do the following:
1. Turn the ignition to RUN or ACC.
2. Press the panic alarm button on the transmitter
slowly four times within five seconds.
3. You must complete one of the following within
three seconds to change the mode.
•To select the active arming mode, press the
lock button on the transmitter.
•To select the passive arming mode, press the
lock button on the transmitter twice within
3 seconds.
•To select the security system disable mode,
press the unlock button on the transmitter.
A chime will sound once the mode has been selected.
If you accidentally set off the alarm when entering/exiting
the vehicle, you can shut it off by pressing any button
on the remote keyless entry transmitter other than
the panic alarm button.
If you hear three horn chirps when you press the unlock
button on the transmitter, that means the vehicle’s
alarm was triggered while you were away.
2-16

Passlock
®
Your vehicle is equipped with the
Passlock
®
theft-deterrent system.
Passlock
®
is a passive theft-deterrent system.
Passlock
®
enables fuel if the ignition lock cylinder is
turned with a valid key. If a correct key is not used or the
ignition lock cylinder is tampered with, fuel is disabled.
During normal operation,
the security light will
go off approximately
three seconds after the
key is turned to the
RUN ignition position.
If the engine stalls and the security light flashes,
wait until the light stops flashing before trying to
restart the engine. Remember to release the key
from START as soon as the engine starts.
If the engine is running and the security light comes on,
you will be able to restart the engine if you turn the engine
off. However, your Passlock
®
system is not working
properly and must be serviced by your retailer. Your
vehicle is not protected by Passlock
®
at this time. You
may also want to check the fuses, see Fuses and Circuit
Breakers on page 5-100. See your retailer for service.
Starting and Operating
Your Vehicle
New Vehicle Break-In
Notice: Your vehicle does not need an elaborate
break-in. But it will perform better in the long run if
you follow these guidelines:
•Do not drive at any one constant speed, fast
or slow, for the first 500 miles (805 km).
Do not make full-throttle starts. Do not exceed
5,000 engine rpm. Avoid downshifting to
brake, or slow, the vehicle.
•Avoid making hard stops for the first
200 miles (322 km) or so. During this time
your new brake linings are not yet broken in.
Hard stops with new linings can mean
premature wear and earlier replacement.
Follow this breaking-in guideline every time
you get new brake linings.
•Do not tow a trailer during the first 1,000 miles
(1 600 km). See Towing a Trailer on page 4-39
for the trailer towing capabilities of your vehicle
and more information.
Following break-in, engine speed and load can be
gradually increased.
2-17

Ignition Positions
With the key in the ignition switch, you can turn it to
four different positions.
Notice: Using a tool to force the key from the
ignition switch could cause damage or break the
key. Use the correct key and turn the key only
with your hand. Make sure the key is all the way in.
If it is, turn the steering wheel left and right while
you turn the key hard. If none of this works,
then your vehicle needs service.
9(LOCK): This position locks your steering column.
It is a theft-deterrent feature. You will only be able
to remove your key when the ignition is turned to LOCK.
If you have an automatic transaxle, the ignition switch
cannot be turned to LOCK unless the shift lever is
in PARK (P).
{CAUTION:
If you have a manual transaxle removing the
key from the ignition switch will lock the
steering column and result in a loss of ability to
steer the vehicle. This could cause a collision.
If you need to turn the engine off while the
vehicle is moving, turn the key to ACC.
ACC (ACCESSORY): This position operates some of
your electrical accessories. It unlocks the steering wheel
and ignition.
R(RUN): This is the position the switch returns to
after you start your engine and release the switch. The
switch stays in the RUN position when the engine is
running. But even when the ignition is not running, you
can use RUN to operate your electrical accessories
and to display some warning and indicator lights.
2-18

/(START): This position starts the engine. When
the engine starts, release the key. The ignition switch
will return to RUN for normal driving.
A warning tone will sound if you open the driver’s door
while in LOCK or ACC, when the key has not been
removed from the ignition.
Shift Lock Release
The following procedure allows the ignition to be turned
to LOCK and for ignition key removal in case of a
dead battery or low voltage battery.
1. Make sure the shift lever is in PARK (P).
2. Using a tool, pry off the cover from the bottom of
the steering column.
2-19

3. Place your finger into the access hole and locate
the plunger.
4. Press and hold the plunger toward the driver’s
door while turning the ignition key to LOCK.
Remove the key.
Have your vehicle serviced at your retailer as soon
as possible.
Retained Accessory Power (RAP)
Your vehicle is equipped with a Retained Accessory
Power (RAP) feature which will allow the radio, wipers,
power windows, sunroof and the rear power outlet
to work after the ignition is turned off.
Your radio will work when the ignition key is in RUN or
ACC. Once the key is turned from RUN to LOCK,
the radio will continue to work for up to 10 minutes or
until any door is opened.
Starting the Engine
Automatic Transaxle
Move the shift lever to PARK (P) or NEUTRAL (N).
The engine will not start in any other position — that
is a safety feature. To restart when you are already
moving, use NEUTRAL (N) only.
Notice: Shifting into PARK (P) with the vehicle
moving could damage the transaxle. Shift into
PARK (P) only when your vehicle is stopped.
2-20

Manual Transaxle
The shift lever should be in NEUTRAL and the parking
brake engaged. Hold the clutch pedal to the floor
and start the engine. Your vehicle will not start if
the clutch pedal is not all the way down — that is a
safety feature.
Starting Procedure
1. With your foot off the accelerator pedal, turn the
ignition to START. When the engine starts, let go
of the key. The idle speed will go down as your
engine gets warm.
Your vehicle has a Computer-Controlled Cranking
System. This feature assists in starting the
engine and protects the electrical system. If the
ignition key is turned to the START position,
and then released when the engine begins cranking,
the engine will continue cranking until the vehicle
starts or until it exceeds the maximum cranking time
allowed, approximately 15 seconds to prevent
cranking motor damage. To prevent starter-motor
gear damage, this system also prevents cranking if
the engine is already running. The engine cranking
can be stopped by turning the ignition switch to
the ACC or LOCK.
Notice: Holding your key in START for longer than
15 seconds at a time will cause your battery to be
drained much sooner. And the excessive heat can
damage your starter motor. Wait about 15 seconds
between each try to help avoid draining your battery
or damaging your starter.
2. If it does not start, wait about 15 seconds and try
again to start the engine by turning the ignition to
START. Wait about 15 seconds between each try.
When the engine has run about 10 seconds to
warm up, your vehicle is ready to be driven. Do
not run your engine at high speed when it is cold.
If the weather is below freezing (32°F or 0°C),
let the engine run for a few minutes to warm up.
3. If the engine still will not start, or starts but then
stops, it could be flooded with too much gasoline.
Try pushing your accelerator pedal all the way to
the floor and holding it there as you hold the key in
START for about three seconds. If the vehicle starts
briefly but then stops again, do the same thing, but
this time keep the pedal down for five or six seconds.
This clears the extra gasoline from the engine.
Notice: Your engine is designed to work with the
electronics in your vehicle. If you add electrical
parts or accessories, you could change the way the
engine operates. Before adding electrical equipment,
check with your retailer. If you do not, your engine
might not perform properly. Any resulting damage
would not be covered by your vehicle’s warranty.
2-21

Automatic Transaxle Operation
If your vehicle is equipped with an automatic
transaxle, the shift lever is located on the console
between the seats.
There are several
different positions for the
automatic transaxle.
PARK (P): This position locks your front wheels.
It is the best position to use when you start your
engine because your vehicle cannot move easily.
{CAUTION:
It is dangerous to get out of your vehicle if the
shift lever is not fully in PARK (P) with the
parking brake firmly set. Your vehicle can roll.
Do not leave your vehicle when the engine is
running unless you have to. If you have left the
engine running, the vehicle can move suddenly.
You or others could be injured. To be sure your
vehicle will not move, even when you are on
fairly level ground, always set your parking
brake and move the shift lever to PARK (P).
See Shifting Into Park (P) (Automatic Transaxle)
on page 2-28. If you are pulling a trailer, see
Towing a Trailer on page 4-39.
Ensure he shift lever is fully in PARK (P) before starting
the engine. Your vehicle has an automatic transaxle shift
lock control system. You have to fully apply your regular
brakes before you can shift from PARK (P) when the
ignition key is in RUN. If you cannot shift out of PARK (P),
ease pressure on the shift lever — push the shift lever
all the way into PARK (P) and also release the shift
lever button as you maintain brake application.
2-22

Then move the shift lever into the gear you wish.
Press the shift lever button before moving the shift lever.
See Shifting Out of Park (P) on page 2-29.
REVERSE (R): Use this gear to back up.
Notice: Shifting to REVERSE (R) while your vehicle
is moving forward could damage the transaxle.
The repairs would not be covered by your warranty.
Shift to REVERSE (R) only after your vehicle is
stopped.
To rock your vehicle back and forth to get out of snow,
ice or sand without damaging your transaxle, see
If Your Vehicle is Stuck in Sand, Mud, Ice, or Snow
on page 4-30.
NEUTRAL (N): In this position, your engine does not
connect with the wheels. To restart when you are
already moving, use NEUTRAL (N) only. Also, use
NEUTRAL (N) when your vehicle is being towed.
{CAUTION:
Shifting into a drive gear while your engine is
running at high speed is dangerous. Unless
your foot is firmly on the brake pedal, your
vehicle could move very rapidly. You could
lose control and hit people or objects. Do not
shift into a drive gear while your engine is
running at high speed.
Notice: Shifting out of PARK (P) or NEUTRAL (N)
while the engine is running at high speed may
damage the transaxle. The repairs would not be
covered by your warranty. Be sure the engine is not
running at high speeds when shifting your vehicle.
Notice: Shifting to a drive gear from NEUTRAL (N)
while the vehicle is moving could damage the
transaxle. Make sure the vehicle is stopped before
shifting from NEUTRAL (N) into a drive gear.
2-23

AUTOMATIC OVERDRIVE (D): This position is for
normal driving with the automatic transaxle. If you
need more power for passing, and you are:
•Going less than about 35 mph (55 km/h), push
your accelerator pedal about halfway down.
•Going about 35 mph (55 km/h), push your
accelerator all the way down.
INTERMEDIATE (I): This position is also used for
normal driving. However, it offers braking from
the engine for slight downgrades where the vehicle
would otherwise accelerate due to steepness of
grade. If repetitive shifts occur between third and
fourth gears on steep uphills, this position can be
used to prevent repetitive shifting. Fuel economy
will be lower than AUTOMATIC OVERDRIVE (D).
Here are some times you might choose
INTERMEDIATE (I) instead of AUTOMATIC
OVERDRIVE (D):
•When driving on hilly, winding roads.
•When towing a trailer, so there is less
shifting between gears.
LOW (L): This position gives you even more power
but lower fuel economy than INTERMEDIATE (I).
You can use it on very steep hills, or in deep snow or
mud. If the shift lever is put in LOW (L), the transaxle
will not shift into LOW (L) until the vehicle is going
slowly enough.
Notice: Spinning the tires or holding the vehicle
in one place on a hill using only the accelerator
pedal may damage the transaxle. If you are stuck,
do not spin the tires. When stopping on a hill,
use the brakes, or parking brake to hold the
vehicle in place.
2-24

Manual Transaxle Operation
This is your shift pattern.
Here is how to operate your transaxle:
FIRST (1): Press the clutch pedal and shift into
FIRST (1). Then, slowly let up on the clutch pedal as
you press the accelerator pedal.
You can shift into FIRST (1) when you are going less
than 20 mph (32 km/h). If you have come to a complete
stop and it is hard to shift into FIRST (1), put the shift
lever in NEUTRAL and let up on the clutch. Press
the clutch pedal back down. Then shift into FIRST (1).
SECOND (2): Press the clutch pedal as you let up
on the accelerator pedal and shift into SECOND (2).
Then, slowly let up on the clutch pedal as you press
the accelerator pedal.
THIRD (3), FOURTH (4) and FIFTH (5): Shift into
THIRD (3), FOURTH (4) and FIFTH (5), the same way
you do for SECOND (2). Slowly let up on the clutch
pedal as you press the accelerator pedal.
To stop, let up on the accelerator pedal and press
the brake pedal. Just before the vehicle stops, press
the clutch pedal and the brake pedal, and shift to
NEUTRAL.
NEUTRAL: Use this position when you start or idle
your engine.
REVERSE (R): To back up, press down the clutch
pedal, and shift into REVERSE (R). Let up on the clutch
pedal slowly while pressing the accelerator pedal.
To back up a Red Line model vehicle, press down the
clutch pedal, lift up the ring on the shift lever, and
shift into REVERSE (R). Let up on the clutch pedal
slowly while pressing the accelerator pedal.
Notice: Shifting to REVERSE (R) while your vehicle
is moving forward could damage the transaxle.
The repairs would not be covered by your warranty.
Shift to REVERSE (R) only after your vehicle is
stopped.
Also, use REVERSE (R), along with the parking brake,
for parking your vehicle.
2-25

Shift Speeds
{CAUTION:
If you skip a gear when you downshift, you
could lose control of your vehicle. You could
injure yourself or others. Do not shift down
more than one gear at a time when you
downshift.
Up-Shift Light
If you have a manual
transaxle, you may
have an up-shift light.
This light will show
you when to shift to the
next higher gear for
the best fuel economy.
When this light comes on, you can shift to the next
higher gear if weather, road, and traffic conditions let
you. For the best fuel economy, accelerate slowly
and shift when the light comes on.
While you accelerate, it is normal for the light to go
on and off if you quickly change the position of
the accelerator. Ignore the light when you downshift.
Notice: If you skip more than one gear when
you downshift, or if you race the engine when you
release the clutch pedal while downshifting, you
could damage the engine, clutch, driveshaft, or the
transaxle. Do not skip gears or race the engine
when downshifting.
For information on operating the illuminated ladder
tachometer, see Tachometer on page 3-28.
United States Only
2-26

Parking Brake
The parking brake lever is located between the
front seats.
To set the parking brake, hold the brake pedal down
and pull up on the parking brake lever. If the ignition
is on, the brake system warning light will come on.
See Brake System Warning Light on page 3-34.
To release the parking brake, hold the brake pedal
down. Pull the parking brake lever up until you can press
the release button. Hold the release button in as you
move the brake lever all the way down.
Notice: Driving with the parking brake on can
overheat the brake system and cause premature
wear or damage to brake system parts. Verify that
the parking brake is fully released and the brake
warning light is off before driving.
2-27

Shifting Into Park (P)
(Automatic Transaxle)
{CAUTION:
It can be dangerous to get out of your vehicle if
the shift lever is not fully in PARK (P) with the
parking brake firmly set. Your vehicle can roll.
If you have left the engine running, the vehicle
can move suddenly. You or others could be
injured. To be sure your vehicle will not move,
even when you are on fairly level ground, use
the steps that follow. If you are pulling a trailer,
see Towing a Trailer on page 4-39.
1. Hold the brake pedal down and set the
parking brake.
2. Move the shift lever into PARK (P) by holding
the button on the shift lever and pushing the
lever all the way toward the front of the vehicle.
3. Turn the ignition key to LOCK.
4. Remove the key and take it with you. If you
can leave your vehicle with the ignition key in
your hand, your vehicle is in PARK (P).
Leaving Your Vehicle With the
Engine Running
{CAUTION:
It can be dangerous to leave your vehicle with
the engine running. Your vehicle could move
suddenly if the shift lever is not fully in
PARK (P) with the parking brake firmly set.
And, if you leave the vehicle with the engine
running, it could overheat and even catch fire.
You or others could be injured. Do not leave
your vehicle with the engine running.
If you have to leave your vehicle with the engine
running, be sure your vehicle is in PARK (P) and
your parking brake is firmly set before you leave it.
After you have moved the shift lever into PARK (P),
hold the regular brake pedal down. Then, see if you
can move the shift lever away from PARK (P) without
first pushing the button. If you can, it means that the
shift lever was not fully locked into PARK (P).
2-28

Torque Lock
If you are parking on a hill and you do not shift your
transaxle into PARK (P) properly, the weight of the
vehicle may put too much force on the parking pawl in
the transaxle. You may find it difficult to pull the shift
lever out of PARK (P). This is called “torque lock.”
To prevent torque lock, set the parking brake and
then shift into PARK (P) properly before you leave the
driver’s seat. To find out how, see Shifting Into Park (P)
(Automatic Transaxle) on page 2-28.
When you are ready to drive, move the shift lever out of
PARK (P) before you release the parking brake.
If torque lock does occur, you may need to have another
vehicle push yours a little uphill to take some of the
pressure from the parking pawl in the transaxle, then you
will be able to pull the shift lever out of PARK (P).
Shifting Out of Park (P)
Your vehicle has an automatic transaxle shift lock
release system. You have to fully apply your regular
brakes before you can shift from PARK (P) when
the ignition is in RUN. See Automatic Transaxle
Operation on page 2-22.
The shift lock release is designed to do the following:
•Prevent the ignition key from being removed
unless the shift lever is in PARK (P), and
•Prevent movement of the shift lever out of PARK (P)
unless the ignition is in a position other than LOCK.
The shift lock release is always functional except in
the case of a dead battery or low voltage (less than
9 volt) battery.
If you cannot shift out of PARK (P), ease pressure
on the shift lever — push the shift lever all the way into
PARK (P), as you maintain brake application. Then
move the shift lever into the gear you wish. Press the
shift lever button before moving the shift lever.
Parking Your Vehicle
(Manual Transaxle)
Before leaving your vehicle, fully press the clutch pedal
in, move the shift lever into REVERSE (R), and firmly
apply the parking brake. Once the shift lever has
been placed in REVERSE (R) with the clutch pedal
pressed in, you can turn the ignition key to LOCK,
remove the key and release the clutch.
See Manual Transaxle Operation on page 2-25.
2-29

Parking Over Things That Burn
{CAUTION:
Things that can burn could touch hot exhaust
parts under your vehicle and ignite. Do not
park over papers, leaves, dry grass, or other
things that can burn.
Engine Exhaust
{CAUTION:
Engine exhaust can kill. It contains the gas
carbon monoxide (CO), which you cannot see or
smell. It can cause unconsciousness and death.
You might have exhaust coming in if:
•Your exhaust system sounds strange or
different.
•Your vehicle gets rusty underneath.
•Your vehicle was damaged in a collision.
•Your vehicle was damaged when driving
over high points on the road or over road
debris.
•Repairs were not done correctly.
•Your vehicle or exhaust system has been
modified improperly.
If you ever suspect exhaust is coming into your
vehicle:
•Drive it only with all the windows down to
blow out any CO; and
•Have your vehicle fixed immediately.
2-30

Running the Engine While Parked
It is better not to park with the engine running. But if you
ever have to, here are some things to know.
{CAUTION:
Idling the engine with the climate control
system off could allow dangerous exhaust into
your vehicle. See the earlier caution under
Engine Exhaust on page 2-30.
Also, idling in a closed-in place can let deadly
carbon monoxide (CO) into your vehicle even
if the climate control fan is at the highest
setting. One place this can happen is a garage.
Exhaust — with CO — can come in easily.
NEVER park in a garage with the engine
running.
Another closed-in place can be a blizzard.
See Winter Driving on page 4-26.
{CAUTION:
It can be dangerous to get out of your vehicle
if the shift lever is not fully in PARK (P) with
the parking brake firmly set. Your vehicle can
roll. Do not leave your vehicle when the engine
is running unless you have to. If you have
left the engine running, the vehicle can move
suddenly. You or others could be injured.
To be sure your vehicle will not move, even
when you are on fairly level ground, always
set your parking brake and move the shift
lever to PARK (P).
Follow the proper steps to be sure your vehicle will not
move. See Shifting Into Park (P) (Automatic Transaxle)
on page 2-28.
If you are parking on a hill and if you are pulling a
trailer, also see Towing a Trailer on page 4-39.
2-31

Mirrors
Manual Rearview Mirror
When you are sitting in a comfortable driving position,
adjust the mirror so you can see clearly behind your
vehicle. Grip the mirror in the center to move it up
or down and side to side. The day/night adjustment
allows you to adjust the mirror to avoid glare from the
lamps behind you. Push the tab forward for daytime
use and pull it for nighttime use.
Manual Rearview Mirror with
OnStar
®
If the vehicle has this mirror, while sitting in a comfortable
driving position, adjust the mirror so you can see clearly
behind the vehicle. Grip the mirror in the center and move
it up and down or side to side. The day/night control,
located at the bottom of the mirror, allows adjustment to
lessen glare from the lamps behind you. Push the lever
for daytime use; pull it for night use.
There are three OnStar
®
buttons located at the bottom
of the mirror face. For more information about OnStar
®
and the services it provides, see OnStar
®
System
on page 2-38.
Automatic Dimming Rearview
Mirror with OnStar
®
, Compass
and Temperature Display
The vehicle may have this feature. When on, an
automatic dimming mirror automatically dims to the
proper level to minimize glare from lights behind
you after dark.
The mirror also includes a dual display in the upper
right corner of the mirror face. The compass reading
and the outside temperature will both appear in
the display at the same time.
Y(On/Off): This is the on/off button.
2-32

Temperature and Compass Display
Press the on/off button, located to the far left, briefly to
turn the comp/temp display on or off.
If the display reads CAL, the compass needs to be
calibrated. See the information following on calibration.
To adjust between Fahrenheit and Celsius do the
following:
1. Press and hold the on/off button for approximately
four seconds until either a flashing °F, or °C appears.
2. Press the button again to change the display to the
desired unit of measurement. After approximately
four seconds of inactivity, the new unit will be locked
in and the compass/temperature display will return.
Automatic Dimming Mirror Operation
The automatic dimming mirror function is turned
on automatically each time the ignition is started.
To operate the automatic dimming mirror do
the following:
1. Make sure the green indicator light, located to the
left of the on/off button, is lit. If it’s not, press and
hold the on/off button for approximately six seconds
until the green light comes on, indicating that the
mirror is in automatic dimming mode.
2. Turn off the automatic dimming mirror function
by pressing and holding the on/off button for
approximately six seconds until the green indicator
light turns off.
2-33

Compass Calibration
The compass may need calibration from time to time.
In order to calibrate, CAL must be displayed in the mirror
compass windows. If CAL is not displayed, push in
the on/off button for approximately nine seconds or
until CAL is displayed.
The compass can be calibrated by driving the vehicle
in circles at 5 mph (8 km/h) or less until the display
reads a direction, or the word CAL disappears.
Compass Variance
The mirror is set in zone eight upon leaving the factory.
It will be necessary to adjust the compass to compensate
for compass variance if you live outside of zone eight.
Under certain circumstances, as during a long distance
cross-country trip, it will be necessary to adjust for
compass variance. Compass variance is the difference
between earth’s magnetic north and true geographic
north. If not adjusted to account for compass variance,
your compass could give false readings.
To adjust for compass variance do the following:
1. Find your current location and variance zone
number on the following zone map.
2. Press and hold the on/off button until a zone
number appears in the display. The compass is
now in zone mode.
3. Keep pressing the on/off button until the desired
zone number appears in the display. Release
the button. After approximately four seconds of
inactivity, the new zone number will be locked
in and the comp/temp display will return.
2-34

Cleaning the Mirror
When cleaning the mirror, use a paper towel or similar
material dampened with glass cleaner. Do not spray
glass cleaner directly on the mirror as that may cause
the liquid cleaner to enter the mirror housing.
Automatic Dimming Rearview
Mirror with Compass and
Temperature Display
If the vehicle has an automatic dimming mirror, it will
automatically dim to the proper level to minimize
glare from lights behind you after dark.
The mirror also includes a display in the upper right
corner of the mirror face. The compass reading and
the outside temperature will both appear in the display
at the same time.
Temperature Display
The temperature can be displayed by pressing the
TEMP button. Pressing the TEMP button for
approximately four seconds, will toggle the temperature
reading from Fahrenheit (°F) to Celsius (°C).
Automatic Dimming Mirror Operation
Press the TEMP button for approximately eight seconds
to turn the automatic dimming feature on and off. An
indicator light on the bottom of the mirror face will be
on when the automatic dimming feature is on.
Compass Operation
Press the COMP button once briefly to turn the compass
on or off.
When compass feature is on, the compass will show the
direction the vehicle is traveling, with a maximum of
two characters.
2-35

Compass Calibration
The compass may need calibration from time to time.
In order to calibrate, CAL must be displayed in the mirror
compass window. If CAL is not displayed, push in the
COMP button for approximately eight seconds or
until CAL is displayed.
The compass can be calibrated by driving the vehicle
in circles at 5 mph (8 km/h) or less until the display
reads a direction, or the word CAL disappears.
Compass Variance
The mirror is set in zone eight upon leaving the
factory. It will be necessary to adjust the compass to
compensate for compass variance if you live outside
zone eight. Under certain circumstances, as during
a long distance cross-country trip, it will be necessary
to adjust for compass variance. Compass variance is
the difference between earth’s magnetic north and
true geographic north. If not adjusted to account
for compass variance, your compass could give
false readings.
To adjust for compass variance:
1. Find your current location and variance zone
number on the following zone map.
2. Press and hold the COMP button for five seconds
until a zone number appears in the display.
3. Press the COMP button on the bottom of the mirror
until the new zone number appears in the display.
After you stop pressing the button, the display
will show a compass direction within a few seconds.
2-36

Cleaning the Mirror
Use a paper towel or similar material dampened with
glass cleaner. Do not spray glass cleaner directly on the
mirror as that may cause the liquid cleaner to enter
the mirror housing.
Outside Remote Control Mirror
Adjust the driver’s outside
mirror by moving the
control located on the
driver’s door.
The outside rearview mirrors should be adjusted so you
can see a little of the side of your vehicle while you
are sitting in a comfortable driving position.
To adjust the passenger’s outside mirror, sit in the driver’s
seat and have a passenger adjust the mirror for you.
Outside Power Mirrors
The controls are located
on the driver’s door
armrest.
Move the selector switch to the left or right to choose
the mirror you want to adjust; then press the dots
located on the four-way control pad to adjust the mirror.
2-37

Outside Convex Mirror
{CAUTION:
A convex mirror can make things (like other
vehicles) look farther away than they really are.
If you cut too sharply into the right lane, you
could hit a vehicle on your right. Check your
inside mirror or glance over your shoulder
before changing lanes.
The passenger’s side mirror is convex. A convex
mirror’s surface is curved so more can be seen from
the driver’s seat. It also makes things appear farther
away than they really are.
OnStar
®
System
OnStar
®
uses global positioning system (GPS) satellite
technology, wireless communications, and call centers
to provide you with a wide range of safety, security,
information, and convenience services.
A complete OnStar
®
user’s guide and the terms and
conditions of the OnStar
®
Subscription Service
Agreement are included in the vehicle’s glove box
literature. For more information, visit www.onstar.com or
www.onstar.ca. Contact OnStar
®
at 1-888-4-ONSTAR
(1-888-466-7827), or press the OnStar
®
button to speak
to an OnStar
®
advisor 24 hours a day, 7 days a week.
Terms and conditions of the Subscription Service
Agreement can be found at www.onstar.com or
www.onstar.ca.
2-38

OnStar
®
Services
The Safe and Sound Plan is included for the first year.
You can extend this plan beyond the first year, or
upgrade to the Directions and Connections Plan to meet
your needs. For more information, press the OnStar
®
button to speak with an advisor.
Safe and Sound Plan
•Automatic Notification of Airbag Deployment
•Emergency Services
•Roadside Assistance
•Stolen Vehicle Tracking
•AccidentAssist
•Remote Door Unlock/Vehicle Alert
•Remote Diagnostics
•Online Concierge
Directions and Connections Plan
•All Safe and Sound Plan Services
•Driving Directions
•RideAssist
•Information and Convenience Services
OnStar
®
Personal Calling
As an OnStar
®
subscriber, the Personal Calling
capability is an available hands-free wireless phone
that is integrated into the vehicle. Calls can be placed
nationwide using simple voice commands with no
additional contracts and no additional roaming charges.
To find out more about OnStar
®
Personal Calling,
refer to the OnStar
®
user’s guide in the vehicle’s glove
box or visit www.onstar.com or www.onstar.ca; or
speak with an OnStar
®
advisor by pressing the OnStar
®
button or by calling 1-888-4-ONSTAR (1-888-466-7827).
OnStar
®
Virtual Advisor
Your vehicle may have Virtual Advisor. It is a feature
of OnStar
®
Personal Calling that uses your minutes
to access weather, local traffic reports and stock
quotes. By pressing the phone button and giving a
few simple voice commands, you can browse through
the various topics. Customize your information profile
at www.myonstar.com. See the OnStar
®
user’s guide
for more information.
2-39

Storage Areas
Glove Box
Open the glove box by pulling back on the lever.
Close the glove box with a firm push.
Cupholder(s)
Your vehicle may have cupholders between the
rear seats.
Center Console Storage Area
Your vehicle has a center console storage area
between the front seats. It contains a storage area
for small items.
The center console storage area can be used as an
armrest. Push the lid of the center console forward
for additional arm support.
Roof Rack System
Your vehicle may be equipped with a roof rack system.
{CAUTION:
If you try to carry something on top of your
vehicle that is longer or wider than the luggage
carrier — like paneling, plywood, a mattress
and so forth — the wind can catch it as
you drive along. This can cause you to lose
control. What you are carrying could be
violently torn off, and this could cause you
or other drivers to have a collision, and of
course damage your vehicle. You may be
able to carry something like this inside.
But, never carry something longer or wider
than the luggage carrier on top of your vehicle.
Notice: Loading cargo on the luggage carrier that
weighs more than 100 lbs (45 kg) or hangs over
the rear or sides of the vehicle may damage your
vehicle. Load cargo so that it rests on the slats
as far forward as possible and against the side
rails, making sure to fasten it securely.
Do not exceed the maximum vehicle capacity when
loading your vehicle. For more information on vehicle
capacity and loading, see Loading Your Vehicle on
page 4-31.
2-40

To prevent damage or loss of cargo as you are
driving, check frequently to ensure your cargo is
securely fastened.
Convenience Net
If you have a convenience net, the net attaches to
the floor of the trunk. Put small loads behind the net.
The net is not for heavier loads. Store them as far
forward in the trunk as you can.
See your retailer for information on obtaining a
convenience net.
Sunroof
If the vehicle has a
sunroof, the switch that
operates it is located
on the headliner between
the map lamps.
The sunroof will only operate while the ignition is on, or
turned to ACC, or if Retained Accessory Power (RAP)
is active. See Retained Accessory Power (RAP)
on page 2-20.
Press the sunroof switch rearward to open the sunroof to
the vent position. If the sunshade is closed, it must be
opened manually in the vent position. Press and hold
the switch rearward a second time to open the sunroof.
If the sunshade is closed, it will open automatically when
the sunroof is opened.
To close the sunroof, press the switch forward and hold
it until the sunroof is closed. The sunroof will stop if the
switch is released. Close the sunshade by hand.
The sunroof glass panel cannot be opened or closed
if the vehicle has an electrical failure.
Notice: If you force the sunshade forward of the
sliding glass panel, damage will occur and the
sunroof may not open or close properly. Always
close the glass panel before closing the sunshade.
2-41

✍NOTES
2-42

Instrument Panel Overview ...............................3-4
Hazard Warning Flashers ................................3-6
Other Warning Devices ...................................3-6
Horn .............................................................3-6
Tilt Wheel .....................................................3-7
Turn Signal/Multifunction Lever .........................3-7
Turn and Lane-Change Signals ........................3-8
Headlamp High/Low-Beam Changer ..................3-8
Flash-to-Pass .................................................3-8
Windshield Washer .........................................3-9
Windshield Wiper Lever ...................................3-9
Cruise Control ..............................................3-10
Headlamps ..................................................3-13
Daytime Running Lamps (DRL) .......................3-14
Automatic Headlamp System ..........................3-14
Fog Lamps ..................................................3-15
Instrument Panel Brightness ...........................3-15
Dome Lamp .................................................3-16
Entry Lighting ...............................................3-16
Map Lamps .................................................3-16
Battery Run-Down Protection ..........................3-16
Accessory Power Outlet(s) .............................3-16
Ashtray(s) and Cigarette Lighter ......................3-17
Climate Controls ............................................3-18
Climate Control System
(Without Air Conditioning) ...........................3-18
Climate Control System
(With Air Conditioning) ...............................3-20
Outlet Adjustment .........................................3-22
Passenger Compartment Air Filter ...................3-23
Warning Lights, Gages, and Indicators ............3-25
Instrument Panel Cluster ................................3-26
Speedometer and Odometer ...........................3-27
Trip Odometer ..............................................3-27
Tachometer .................................................3-28
Safety Belt Reminder Light .............................3-29
Passenger Safety Belt Reminder Light .............3-29
Airbag Readiness Light ..................................3-30
Passenger Airbag Status Indicator ...................3-31
Battery Warning Light ....................................3-33
Up-Shift Light ...............................................3-33
Brake System Warning Light ..........................3-34
Anti-Lock Brake System Warning Light .............3-35
Engine Coolant Temperature Gage ..................3-36
Malfunction Indicator Lamp .............................3-36
Oil Pressure Light .........................................3-40
Passlock
®
Warning Light ................................3-40
Section 3 Instrument Panel
3-1

Reduced Engine Power Light .........................3-41
Highbeam On Light .......................................3-41
Fuel Gage ...................................................3-42
Boost Gage .................................................3-43
Message Center .............................................3-43
Low Traction Message ...................................3-44
Traction Off Message ....................................3-44
Cruise Control Message .................................3-44
Transaxle Fluid Hot Message .........................3-45
Change Engine Oil Message ..........................3-45
Check Gage Message ...................................3-45
Power Steering Message ...............................3-46
Trunk Ajar Warning Message .........................3-46
Check Gas Cap Message ..............................3-46
Low Fuel Warning Message ...........................3-46
Service Vehicle Message ...............................3-47
Error Message .............................................3-47
Audio System(s) .............................................3-48
Setting the Time (Without Date Display) ...........3-49
Setting the Time (With Date Display) ...............3-50
Radio with CD (Base) ...................................3-50
Radio with CD (MP3) ....................................3-55
Radio Reception ...........................................3-70
Care of Your CDs .........................................3-71
Care of the CD Player ...................................3-71
Fixed Mast Antenna ......................................3-72
XM™ Satellite Radio Antenna System .............3-72
Section 3 Instrument Panel
3-2

✍NOTES
3-3

Instrument Panel Overview
3-4

The main components of the instrument panel are the following:
A. Air Outlets. See Outlet Adjustment on page 3-22.
B. Turn Signal/Multifunction Lever. See Turn
Signal/Multifunction Lever on page 3-7.
C. Horn. See Horn on page 3-6.
D. Windshield Wiper Lever. See Windshield Wiper
Lever on page 3-9.
E. Hazard Warning Flasher Button. See Hazard
Warning Flashers on page 3-6.
F. Instrument Panel Cluster. See Instrument Panel
Cluster on page 3-26.
G. Enhanced Traction System (ETS) (If Equipped).
See Enhanced Traction System (ETS) on page 4-9.
H. Audio System. See Audio System(s) on page 3-48.
I. Hood Release. See Hood Release on page 5-10.
J. Trunk Release Button. See Trunk on page 2-11.
K. Fog Lamp (If Equipped)/Dimmer Switch. See Fog
Lamps on page 3-15 and Instrument Panel
Brightness on page 3-15.
L. Cruise Control Switches. See Cruise Control on
page 3-10.
M. Climate Control System. See Climate Control
System (Without Air Conditioning) on page 3-18
or Climate Control System (With Air Conditioning)
on page 3-20.
N. Transaxle Shift Lever. See Automatic Transaxle
Operation on page 2-22 or Manual Transaxle
Operation on page 2-25 Manual Transaxle
Operation.
O. Passenger Air Bag Status Indicator. See Passenger
Airbag Status Indicator on page 3-31.
P. Glove Box. See Glove Box on page 2-40.
3-5

Hazard Warning Flashers
Your hazard warning flashers let you warn others. They
also let police know you have a problem. Your front
and rear turn signal lamps will flash on and off.
The hazard warning
flasher button is located
in the center of the
instrument panel.
Your hazard warning flashers work no matter what
position your key is in, and even if the key is not in the
ignition switch.
Press the button to make the front and rear turn signal
lamps flash on and off. Press the button again to turn the
flashers off.
When the hazard warning flashers are on, your turn
signals will not work.
Other Warning Devices
If you carry reflective triangles, you can set them up
at the side of the road about 300 feet (100 m) behind
your vehicle.
Horn
Press near or on the horn symbols on your steering
wheel pad to sound the horn.
3-6

Tilt Wheel
A tilt wheel allows you to adjust the steering wheel
before you drive. You can raise it to the highest level
to give your legs more room when you exit and enter
the vehicle.
The lever that allows you to tilt the steering wheel is
located on the left side of the steering column.
To tilt the wheel, pull the lever down. Then, move the
wheel to a comfortable position and raise the lever
to lock the wheel in place.
Turn Signal/Multifunction Lever
The lever on the left side of the steering column
includes the following:
•Turn and Lane-Change Signals
•Headlamps
•Headlamp High/Low-Beam Changer
•Flash-to-Pass Feature
For additional information on the exterior lamps,
see Headlamps on page 3-13.
3-7

Turn and Lane-Change Signals
The turn signal has two upward (for right) and
two downward (for left) positions. These positions allow
you to signal a turn or a lane change.
To signal a turn, move the lever all the way up or down.
When the turn is finished, the lever will return
automatically.
An arrow on the instrument
panel cluster will flash in
the direction of the turn or
lane change.
To signal a lane change, just raise or lower the lever
until the arrow starts to flash. Hold it there until you
complete your lane change. The lever will return by
itself when you release it.
As you signal a turn or a lane change, if the arrows
flash rapidly, a signal bulb may be burned out and other
drivers won’t see your turn signal.
If a bulb is burned out, replace it to help avoid an
accident. If the arrows don’t go on at all when you signal
a turn, check the fuse, see Fuses and Circuit Breakers
on page 5-100 and for burned-out bulbs.
Turn Signal On Chime
If the turn signal is left on for about 1 mile (1.6 km),
a chime will sound to let you know you left the turn
signal on.
Headlamp High/Low-Beam Changer
Push the turn signal lever forward to change the
headlamps from low beam to high beam. Pull the turn
signal lever back and then release it to change from high
beam to low beam.
When the high beams
are on, this light on the
instrument panel cluster
will also be on.
Flash-to-Pass
This feature lets you use your high-beam headlamps to
signal a driver in front of you that you want to pass.
To use it, pull the turn signal/multifunction lever toward
you until the high-beam headlamps come on, then
release the lever to turn them off.
3-8

Windshield Washer
{CAUTION:
In freezing weather, do not use your washer
until the windshield is warmed. Otherwise the
washer fluid can form ice on the windshield,
blocking your vision.
L(Washer Fluid): Pull the windshield wiper lever
toward you to operate the windshield wipers. Washer
fluid will squirt onto the windshield and the wipers will run
for a few cycles to clear the windshield. For more wash
cycles, pull the lever toward you and hold it there.
Windshield Wiper Lever
The lever on the right side of the steering column
operates the windshield wipers.
7(Mist): Pull the lever down and release it for a
single wiping cycle. The lever will return to its original
position. For more cycles, hold the lever down before
releasing it.
9(Off): Put the lever in this position to turn off
the wipers.
3-9

&(Delay): Put the lever in this position to set a delay
between wipes. Turn the end of the lever to set the
length of the delay.
6(Low Speed): Put the lever in this position for
slow, steady wiping cycles.
1(High Speed): Put the lever in this position for
rapid wiping cycles.
Be sure to clear ice and snow from the wiper blades
before using them. If they’re frozen to the windshield,
gently loosen or thaw them. If the blades do become
damaged, install new blades or blade inserts.
Heavy snow or ice can overload the wiper motor. A
circuit breaker will stop the motor until it cools down.
Clear away snow or ice to prevent an overload.
Cruise Control
With cruise control, you can maintain a speed of about
25 mph (40 km/h) or more without keeping your foot on
the accelerator. This can really help on long trips. Cruise
control does not work at speeds below 25 mph (40 km/h).
{CAUTION:
Cruise control can be dangerous where you
cannot drive safely at a steady speed. So, do
not use your cruise control on winding roads
or in heavy traffic.
Cruise control can be dangerous on slippery
roads. On such roads, fast changes in tire
traction can cause excessive wheel slip,
and you could lose control. Do not use cruise
control on slippery roads.
3-10

Setting Cruise Control
{CAUTION:
If you leave your cruise control on when you
are not using cruise, you might hit a button
and go into cruise when you do not want to.
You could be startled and even lose control.
Keep the cruise control switch off until you
want to use cruise control.
The cruise control buttons are located on the steering
wheel.
J(On/Off): Press this button to turn the cruise
control system on and off.
+RES (Resume): Press this part of the button to
resume a set speed and to accelerate the speed.
−SET (Set): Press this part of the button to set a speed
and to decrease the speed.
To set a speed do the following:
1. Press the on/off button to turn cruise control on.
The indicator light on the button will come on.
2. Get to the speed you want.
3. Press the −SET part of the control button and
release it. The CRUISE message will display in
the instrument panel cluster to show the system
is engaged.
4. Take your foot off the accelerator pedal.
When the brakes are applied, the cruise control shuts off.
If the vehicle is in cruise control and the Enhanced
Traction System (ETS) begins to limit wheel spin,
the cruise control will automatically disengage. See
Enhanced Traction System (ETS) on page 4-9. When
road conditions allow, the cruise control can be
used again.
3-11

Resuming a Set Speed
Suppose you set your cruise control at a desired
speed and then you apply the brake. This, of course,
disengages the cruise control. The CRUISE message in
the instrument panel cluster will also go out indicating
cruise is no longer engaged. To return to your previously
set speed, you do not need to go through the set process
again. Once you’re going about 25 mph (40 km/h) or
more, you can press the +RES part of the button briefly.
This will take you back up to your previously chosen
speed and stay there.
Increasing Speed While Using
Cruise Control
There are two ways to go to a higher speed.
•Disengage the cruise control but do not turn it off.
Accelerate to a higher speed and reset the cruise
control.
•If the cruise control system is already engaged,
press the +RES part of the button. Hold it there until
you get up to the speed you want, and then release
the button. To increase your speed in very small
amounts, press the +RES part of the button briefly
and then release it. Each time you do this, your
vehicle will go about 1 mph (1.6 km/h) faster.
Reducing Speed While Using
Cruise Control
If the cruise control system is already engaged,
•Push and hold the −SET part of the button until you
reach the lower speed you want, then release it.
•To slow down in very small amounts, push
the −SET part of the button briefly. Each time you
do this, you’ll go about 1 mph (1.6 km/h) slower.
Passing Another Vehicle While Using
Cruise Control
Use the accelerator pedal to increase your speed.
When you take your foot off the pedal, your vehicle will
slow down to the cruise control speed you set earlier.
Using Cruise Control on Hills
How well your cruise control will work on hills depends
upon your speed, load and the steepness of the hills.
When going up steep hills, you may have to step on the
accelerator pedal to maintain your speed. When going
downhill, you may have to brake or shift to a lower gear to
keep your speed down. Of course, applying the brake
takes you out of cruise control. Many drivers find this to
be too much trouble and don’t use cruise control on
steep hills.
3-12

Ending Cruise Control
To end the cruise control session, step lightly on the
brake pedal or tap the clutch if your vehicle has a
manual transmission.
Stepping on the brake pedal or clutch will only end the
current cruise control session. Press the cruise control
on/off button to turn the system completely off.
Erasing Speed Memory
When you turn off the cruise control or the ignition,
your cruise control set speed memory is erased.
Headlamps
The exterior lamp control is located in the middle of the
turn signal/multifunction lever.
O(Exterior Lamp Control): Turn the control with this
symbol on it to operate the exterior lamps.
The exterior lamp control has the following four positions:
9(Off): Turning the control to this position turns off
all lamps except the Daytime Running Lamps (DRL).
On some vehicles, this position activates the automatic
headlamp system.
AUTO (Automatic): If your turn signal lever has this
position, turning the control to this position puts the
headlamps in automatic mode. AUTO mode will turn the
exterior lamps on and off depending upon how much
light is available outside of the vehicle.
;(Parking Lamps): Turning the control to this
position turns on the parking lamps together with the
following:
•Sidemarker Lamps
•Taillamps
•License Plate Lamps
•Instrument Panel Lights
5(Headlamps): Turning the control to this position
turns on the headlamps, together with the previously
listed lamps and lights.
Lamps On Reminder
If you open the driver’s door with the ignition off and the
lamps on, you will hear a warning chime.
3-13

Daytime Running Lamps (DRL)
Daytime Running Lamps (DRL) can make it easier for
others to see the front of your vehicle during the day.
DRL can be helpful in many different driving conditions,
but they can be especially helpful in the short periods
after dawn and before sunset. Fully functional daytime
running lamps are required on all vehicles first sold in
Canada. The vehicle has a light sensor on top of the
instrument panel. Make sure it is not covered or the
headlamps will be on when not needed.
The DRL system will make your amber turn signal bulb
come on in daylight when the following conditions
are met:
•The ignition is on.
•The exterior lamp band is in the off or AUTO
position.
When the DRL are on, your amber turn signal bulb will
be on. The taillamps, sidemarker and other lamps won’t
be on. Your instrument panel will not be lit up either.
When you turn the exterior lamp band to the headlamp
position, your headlamps will come on. The other lamps
that come on with your headlamps will also come on.
When you turn off the headlamps, the regular lamps will
go off, and your amber turn signal bulb will come on.
Automatic Headlamp System
If you have the automatic headlamps system, the
headlamps will come on automatically when it is dark
enough.
Your vehicle may have a
light sensor located on top
of the instrument panel.
Make sure it is not covered,
or the headlamps will be on
when you don’t need them.
The system may also turn on the headlamps when
driving through a parking garage or tunnel.
3-14

Fog Lamps
If your vehicle has this feature, use your fog lamps for
better visibility in foggy or misty conditions.
The button for your fog
lamps is located next to
the instrument panel
brightness control.
Push the button to turn the fog lamps on. Push the
button again to turn the fog lamps off.
When using fog lamps, the parking lamps or low-beam
headlamps must be on.
A light on the button will come on when the fog lamps
are on. The fog lamps will go off whenever the high-beam
headlamps come on. When the high-beam headlamps go
off, the fog lamps will come on again.
Some localities have laws that require the headlamps to
be on along with the fog lamps.
Instrument Panel Brightness
This feature controls the brightness of the instrument
panel lights.
The thumbwheel for this
feature is located on the
instrument panel to the left
of the steering column.
Turn the thumbwheel to the right to brighten the lights
or to the left to dim them.
3-15

Dome Lamp
The dome lamp switch has three positions.
ON: The lamp will stay on as long as the switch is in
this position.
DOOR: The lamp will come on when a door is opened.
See “Entry Lighting” for more information.
OFF: The lamp will not come on as long as the switch
is in this position.
Entry Lighting
If the dome lamp is to DOOR, the lamps inside your
vehicle will come on when any door is opened. In
addition, the light will come on when the remote keyless
entry unlock button is pressed. It will stay on for
20 seconds or until a door is opened. After the door
is opened the light will remain on and stay on for
20 seconds after the doors are closed, or until you put
the key in the ignition and turn the key to RUN. The light
will then gradually dim until it is no longer lit.
Map Lamps
These lamps are located on the headliner above the
rearview mirror. To turn the lamps on, press the lens.
Press the lens again to turn them off.
Battery Run-Down Protection
Your vehicle is equipped with a battery saver feature
designed to protect your vehicle’s battery.
When any interior lamp is left on and the ignition is
turned off, the battery rundown protection system will
automatically turn the lamp off after 20 minutes. This
will avoid draining the battery.
Accessory Power Outlet(s)
The accessory power outlets can be used to connect
electrical equipment such as a cellular phone or CB radio.
The accessory power outlets are located in the middle
and rear of the center console.
The front accessory power outlet has electrical power
available to it all the time. The rear accessory power
outlet only has electrical power when the ignition key
is turned on or the vehicle is operating on Retained
Accessory Power (RAP). See Retained Accessory
Power (RAP) on page 2-20.
To use the outlet, remove the cover. When not in use,
always cover the outlet with the protective cap.
Notice: Leaving electrical equipment on for
extended periods will drain the battery. Always turn
off electrical equipment when not in use and do not
plug in equipment that exceeds the maximum
amperage rating.
3-16

Certain electrical accessories may not be compatible
with the accessory power outlet and could result in blown
vehicle or adapter fuses. If you experience a problem,
see your retailer for additional information on the
accessory power outlet.
Notice: Adding any electrical equipment to your
vehicle may damage it or keep other components
from working as they should. The repairs would not
be covered by your warranty. Check with your
retailer before adding electrical equipment.
When adding electrical equipment, be sure to follow the
installation instructions included with the equipment.
Notice: Improper use of the power outlet can cause
damage not covered by your warranty. Do not hang
any type of accessory or accessory bracket from the
plug because the power outlets are designed for
accessory power plugs only.
Ashtray(s) and Cigarette Lighter
Your vehicle may have an ashtray and cigarette lighter.
To use the lighter, just push it in all the way and let
go. When it’s ready, it will pop back out by itself.
Notice: Holding a cigarette lighter in while it is
heating will not allow the lighter to back away from
the heating element when it is hot. Damage from
overheating may occur to the lighter or heating
element, or a fuse could be blown. Do not hold a
cigarette lighter in while it is heating.
To remove the ashtray, lift it straight up. To reinstall it,
press the ashtray down firmly until it is fully seated.
Notice: If you put papers, pins, or other flammable
items in the ashtray, hot cigarettes or other smoking
materials could ignite them and possibly damage
your vehicle. Never put flammable items in the
ashtray.
3-17

Climate Controls
Climate Control System
(Without Air Conditioning)
With this system you can control the heating and
ventilation for your vehicle.
Operation
To change the current mode, select one of the following:
H(Vent): This mode directs air to the instrument
panel outlets.
)(Bi-Level): This mode directs approximately half of
the air to the instrument panel outlets, and then directs
the remaining air to the floor outlets. Cooler air is directed
to the upper outlets and warmer air to the floor outlets.
6(Floor): This mode directs most of the air to the
floor outlets with some air directed to the windshield.
The left knob can also be used to select defog or
defrost mode. Information on defogging and defrosting
can be found later in this section.
A(Fan): Turn the center knob clockwise or
counterclockwise to increase or decrease the fan speed.
In any setting other than off, the fan will run continuously
with the ignition on.
9(Off): To turn the fan off, turn the knob all the way
counterclockwise to the off position.
Temperature Control: Turn the right knob clockwise
or counterclockwise to increase or decrease the
temperature inside your vehicle.
3-18

Defogging and Defrosting
Fog on the inside of windows is a result of high humidity
(moisture) condensing on the cool window glass. This
can be minimized if the climate control system is used
properly. There are two modes to clear fog or frost from
your windshield and side windows. Use the defog mode
to clear the windows of fog or moisture and warm the
passengers. Use the defrost mode to remove fog or frost
from the windshield more quickly. For best results, clear
all snow and ice from the windshield before defrosting.
Turn the left knob to select the defog or defrost mode.
-(Defog): This mode directs half of the air to the
windshield and the side window outlets and half to the
floor outlets. To defog the windows faster, turn the
temperature control knob clockwise to the warmest
setting.
0(Defrost): This mode directs most of the air to the
windshield, with some air directed to the side window
outlets and the floor outlets.
Rear Window Defogger
The rear window defogger uses a warming grid to
remove fog from the rear window.
The rear window defogger will only work when the
ignition is in RUN.
<(Rear): Press the button to turn the rear window
defogger on or off. Be sure to clear as much snow from
the rear window as possible. An indicator light above
the button will come on to let you know that the rear
window defogger is activated.
The rear window defogger will turn off approximately
15 minutes after the button is pressed. If turned on again,
the defogger will only run for approximately five minutes
before turning off. The defogger can also be turned off by
pressing the button again or by turning off the engine.
Notice: Do not use anything sharp on the inside of
the rear window. If you do, you could cut or damage
the warming grid, and the repairs would not be
covered by your warranty. Do not attach a temporary
vehicle license, tape, a decal or anything similar to
the defogger grid.
3-19

Climate Control System
(With Air Conditioning)
With this system you can control the heating, cooling
and ventilation for your vehicle.
Operation
To change the current mode, select one of the following:
H(Vent): This mode directs air to the instrument
panel outlets.
)(Bi-Level): This mode directs approximately half of
the air to the instrument panel outlets, and then directs
the remaining air to the floor outlets. Cooler air is directed
to the upper outlets and warmer air to the floor outlets.
6(Floor): This mode directs most of the air to the
floor outlets with some air directed to the windshield.
The left knob can also be used to select defog or defrost
mode. Information on defogging and defrosting can
be found later in this section.
A(Fan): Turn the center knob clockwise or
counterclockwise to increase or decrease the fan speed.
In any setting other than off, the fan will run continuously
with the ignition on. The fan must be turned on to run
the air conditioning compressor.
9(Off): To turn the fan off, turn the knob all the way
counterclockwise to the off position.
Temperature Control: Turn the right knob clockwise
or counterclockwise to increase or decrease the
temperature inside your vehicle.
>(Recirculate): This mode keeps outside air from
coming in the vehicle. It can be used to prevent outside
air and odors from entering your vehicle or to help heat or
cool the air inside your vehicle more quickly. An indicator
light will come on in this mode. The air-conditioning
compressor also comes on. Operation in this mode
during periods of high humidity and cool outside
temperatures may result in increased window fogging. If
window fogging is experienced, select the defrost mode.
3-20

#(Air Conditioning): Press this button to turn the
air-conditioning system on or off. When this button is
pressed, an indicator light above the button will come
on to let you know the air conditioning is activated.
On hot days, open the windows to let hot inside air
escape; then close them. This helps to reduce the time
it takes for your vehicle to cool down. It also helps the
system to operate more efficiently.
For quick cool down on hot days:
1. Select the recirculation mode.
2. Select air conditioning.
3. Select the coolest temperature.
4. Select the highest fan speed.
Using these settings together for long periods of time may
cause the air inside of your vehicle to become too dry. To
prevent this from happening, after the air in your vehicle
has cooled, turn off the recirculation by pressing the
button again.
The air-conditioning system removes moisture from the
air, so you may sometimes notice a small amount of
water dripping underneath your vehicle while idling
or after turning off the engine. This is normal.
Defogging and Defrosting
Fog on the inside of windows is a result of high humidity
(moisture) condensing on the cool window glass. This
can be minimized if the climate control system is used
properly. There are two modes to clear fog or frost from
your windshield and side windows. Use the defog mode
to clear the windows of fog or moisture and warm the
passengers. Use the defrost mode to remove fog or frost
from the windshield more quickly. For best results, clear
all snow and ice from the windshield before defrosting.
Turn the left knob to select the defog or defrost mode.
-(Defog): This mode directs half of the air to the
windshield and the side window outlets and half to the
floor outlets. When you select this mode the system runs
the air-conditioning compressor. To defog the windows
faster, turn the temperature control knob clockwise
to the warmest setting.
0(Defrost): This mode directs most of the air to the
windshield, with some air directed to the side window
outlets and the floor outlets. When you select this mode
the system runs the air-conditioning compressor.
3-21

Rear Window Defogger
The rear window defogger uses a warming grid to
remove fog from the rear window.
The rear window defogger will only work when the
ignition is in RUN.
<(Rear): Press the button to turn the rear window
defogger on or off. Be sure to clear as much snow from
the rear window as possible. An indicator light above the
button will come on to let you know that the rear window
defogger is activated.
The rear window defogger will turn off approximately
15 minutes after the button is pressed. If turned on again,
the defogger will only run for approximately five minutes
before turning off. The defogger can also be turned off by
pressing the button again or by turning off the engine.
Notice: Do not use anything sharp on the inside of
the rear window. If you do, you could cut or damage
the warming grid, and the repairs would not be
covered by your warranty. Do not attach a temporary
vehicle license, tape, a decal or anything similar to
the defogger grid.
Outlet Adjustment
Use the louvers located on the air outlets to change the
direction of the airflow.
Operation Tips
•Clear away any ice, snow, or leaves from the air
inlets at the base of the vehicle that may block
the flow of air into your vehicle.
•Use of non-GM approved hood deflectors may
adversely affect the performance of the system.
•Keep the path under the front seats clear of objects
to help circulate the air inside of your vehicle more
effectively.
3-22

Passenger Compartment Air Filter
Passenger compartment air is routed through a
passenger compartment filter. The filter removes certain
particles from the air, including pollen and dust particles.
Reductions in airflow, which may occur more quickly
in dusty areas, indicate that the filter needs to be
replaced early.
The filter should be replaced as part of routine
scheduled maintenance. See Scheduled Maintenance on
page 6-4 for replacement intervals. See your retailer for
details on changing the filter. To find out what type of filter
to use, see Normal Maintenance Replacement Parts
on page 6-15.
To access the passenger compartment air filter you
must go through the glove box.
1. Open the glove box and remove all articles from
the inside.
2. Locate the doorstop insulators on each side of the
glove box and remove them.
3. Tilt the glove box door down by squeezing on each
side of the glove box until the door can be lowered
from its track. Lower the glove box door completely.
3-23

4. Open the passenger compartment air filter door by
reaching through the opening in the back of the
glove box and raising the tab until the door can be
opened downward.
5. Remove the filter by sliding it out of the housing.
When installing a new air filter make sure the AIR FLOW
arrow is pointing downward. Reverse Steps 1 through 5
making sure the glove box door snaps back into place.
3-24

Warning Lights, Gages,
and Indicators
This part describes the warning lights and gages that may
be on your vehicle. The pictures will help you locate them.
Warning lights and gages can signal that something is
wrong before it becomes serious enough to cause an
expensive repair or replacement. Paying attention to your
warning lights and gages could also save you or others
from injury.
Warning lights come on when there may be or is a
problem with one of your vehicle’s functions. As you will
see in the details on the next few pages, some warning
lights come on briefly when you start the engine just to
let you know they’re working. If you are familiar with this
section, you should not be alarmed when this happens.
Gages can indicate when there may be or is a problem
with one of your vehicle’s functions. Often gages and
warning lights work together to let you know when there’s
a problem with your vehicle.
When one of the warning lights comes on and stays on
when you are driving, or when one of the gages shows
there may be a problem, check the section that tells you
what to do about it. Please follow this manual’s advice.
Waiting to do repairs can be costly — and even
dangerous. So please get to know your warning lights
and gages. They’re a big help.
Your vehicle also has a message center that works
along with the warning lights and gages. See Message
Center on page 3-43.
3-25

Instrument Panel Cluster
Your instrument cluster is designed to let you know at a glance how your vehicle is running. You will know how fast you
are going, about how much fuel you have used, and many other things you will need to know to drive safely and
economically.
United States version shown, Canada similar
3-26

Speedometer and Odometer
Your speedometer lets you see your speed in both
miles per hour (mph) and kilometers per hour (km/h).
Your odometer is located in your message center,
and shows how far your vehicle has been driven, in
either miles (used in the United States) or kilometers
(used in Canada).
When information messages need to be shown in the
message center, they will be shown in place of the
odometer. To display the odometer after a message(s)
is shown, clear each message by pressing the trip/reset
button located to the right of the speedometer. See
Message Center on page 3-43 for more information.
Your vehicle has a tamper-resistant odometer. You
may wonder what happens if your vehicle needs a new
odometer installed. If the new one can be set to the
mileage total of the old odometer, then that will be done.
If it can’t, it will be set at zero and a label must be put
on the driver’s door to show the old mileage reading when
the new odometer was installed. If the mileage is
unknown, the label should then indicate “previous
mileage unknown”.
Trip Odometer
Your trip odometer shows how far your vehicle has been
driven since the trip odometer was last reset. To reset the
trip odometer to zero, press and hold the trip/reset button
for about two seconds.
3-27

Tachometer
The tachometer is located on the instrument panel
and displays the engine speed in revolutions
per minute (rpm).
Notice: If you operate the engine with the
tachometer in the shaded warning area, your vehicle
could be damaged, and the damages would not be
covered by your warranty. Do not operate the engine
with the tachometer in the shaded warning area.
Your vehicle may also be equipped with an illuminated
ladder tachometer located on top of the steering column.
For more information see Boost Gage on page 3-43.
United States version shown, Canada similar
3-28

Safety Belt Reminder Light
When the key is turned to RUN or START, a chime
will come on for several seconds to remind people to
fasten their safety belts, unless the driver’s safety belt
is already buckled.
The safety belt light will
also come on and stay on
for several seconds, then it
will flash for several more.
If the driver’s belt is already buckled, neither the chime
nor the light will come on.
Passenger Safety Belt
Reminder Light
Several seconds after the key is turned to RUN or
START, a chime will sound for several seconds to
remind the front passenger to buckle their safety belt.
This would only occur if the passenger airbag is enabled.
See Passenger Sensing System on page 1-62 for more
information. The passenger safety belt light will also
come on and stay on for several seconds, then it will flash
for several more.
This chime and light will be
repeated if the passenger
remains unbuckled and
the vehicle is in motion.
If the passenger’s safety belt is buckled, neither the
chime nor the light will come on.
3-29

Airbag Readiness Light
There is an airbag readiness light on the instrument
panel, which shows the airbag symbol. The system
checks the airbag’s electrical system for malfunctions.
The light tells you if there is an electrical problem. The
system check includes the airbag sensor, the airbag
modules, the wiring and the crash sensing and diagnostic
module. For more information on the airbag system, see
Airbag System on page 1-54.
This light will come on
when you start your
vehicle, and it will flash for
a few seconds. Then the
light should go out. This
means the system is ready.
If the airbag readiness light stays on after you start the
vehicle or comes on when you are driving, your airbag
system may not work properly. Have your vehicle
serviced right away.
{CAUTION:
If the airbag readiness light stays on after you
start your vehicle, it means the airbag system
may not be working properly. The airbags in
your vehicle may not inflate in a crash, or they
could even inflate without a crash. To help avoid
injury to yourself or others, have your vehicle
serviced right away if the airbag readiness light
stays on after you start your vehicle.
The airbag readiness light should flash for a few seconds
when you turn the ignition key to RUN. If the light doesn’t
come on then, have it fixed so it will be ready to warn you
if there is a problem.
3-30

Passenger Airbag Status Indicator
If your vehicle has the passenger sensing system
then your instrument panel has a passenger airbag
status indicator.
When the ignition key is turned to RUN or START, the
passenger airbag status indicator will light ON and OFF,
or the symbol for on and off, for several seconds as a
system check. Then, after several more seconds, the
status indicator will light either ON or OFF, or either the
on or off symbol to let you know the status of the right
front passenger’s frontal airbag.
If the word ON or the on symbol is lit on the passenger
airbag status indicator, it means that the right front
passenger’s frontal airbag is enabled (may inflate).
{CAUTION:
If the on indicator comes on when you have a
rear-facing child restraint installed in the right
front passenger’s seat, it means that the
passenger sensing system has not turned off
the passenger’s frontal airbag. A child in a
rear-facing child restraint can be seriously
injured or killed if the right front passenger’s
airbag inflates. This is because the back of the
rear-facing child restraint would be very close
to the inflating airbag. Do not use a rear-facing
child restraint in the right front passenger’s
seat if the airbag is turned on.
Your vehicle has a rear seat that will accommodate a
rear-facing child restraint. A label on your sun visor says,
“Never put a rear-facing child seat in the front.”
Passenger
Airbag Status
Indicator – United States
Passenger
Airbag Status
Indicator – Canada
3-31

This is because the risk to the rear-facing child is so
great, if the airbag deploys.
{CAUTION:
Even though the passenger sensing system is
designed to turn off the passenger’s frontal
airbag if the system detects a rear-facing child
restraint, no system is failsafe, and no one can
guarantee that an airbag will not deploy under
some unusual circumstance, even though it is
turned off. We recommend that rear-facing
child restraints be secured in the rear seat,
even if the airbag is off.
If the word OFF or the off symbol is lit on the airbag
status indicator, it means that the passenger sensing
system has turned off the right front passenger’s frontal
airbag. See Passenger Sensing System on page 1-62
for more on this, including important safety information.
If, after several seconds, all status indicator lights remain
on, or if there are no lights at all, there may be a problem
with the lights or the passenger sensing system. See your
retailer for service.
{CAUTION:
If the off indicator and the airbag readiness light
ever come on together, it means that something
may be wrong with the airbag system. If this
ever happens, have the vehicle serviced
promptly, because an adult-size person sitting
in the right front passenger seat may not have
the protection of the frontal airbag. See Airbag
Readiness Light on page 3-30.
3-32

Battery Warning Light
The battery warning light
will come on briefly as a
check, when you turn
on the ignition. Then it
should go out when
the engine is started.
If the light does not come on when you start your
vehicle, have your vehicle serviced right away. This
condition may indicate your battery warning light is not
functioning properly. If this light comes on while you
are driving, be sure to turn off accessories such as the
radio and climate control system. Have your vehicle
serviced right away.
Up-Shift Light
Your vehicle may have an up-shift light. When this light
comes on, you should shift to the next higher gear if
weather, road, and traffic conditions allow you to.
This light is located in your
instrument panel cluster to
the left of the speedometer.
See Manual Transaxle Operation on page 2-25 for more
information.
United States Only
3-33

Brake System Warning Light
This light should come on briefly when you turn the
ignition to RUN. If it does not come on then, have it fixed
so it will be ready to warn you if there is a problem.
Your vehicle’s hydraulic brake system is divided into
two parts. If one part is not working, the other part can
still work and stop you. For good braking, though, you
need both parts working well.
If the brake system warning light comes on, there is a
brake problem. Have your brake system inspected
right away.
When the ignition is on, the BRAKE light will come on
when you set your parking brake. The light will stay on if
your parking brake does not release fully. A chime will
also sound if the parking brake is not fully released and
the vehicle is moving. If it stays on after your parking
brake is fully released, it means you have a brake
problem.
The BRAKE light will also come on to indicate a low brake
fluid level. See Brakes on page 5-39 for more information.
If the light comes on while you are driving, pull off the
road and stop carefully. You may notice that the pedal is
harder to push or the pedal may go closer to the floor.
It may take longer to stop. Make sure the parking brake
is fully released. Turn the ignition off and wait several
seconds to restart vehicle, if the light is still on, have the
vehicle towed for service. See Towing Your Vehicle on
page 4-36.
{CAUTION:
Your brake system may not be working properly
if the brake system warning light is on. Driving
with the brake system warning light on can lead
to an accident. If the light is still on after you
have pulled off the road and stopped carefully,
have the vehicle towed for service.
United States Canada
3-34

Anti-Lock Brake System
Warning Light
If your vehicle has anti-lock brakes, the anti-lock brake
system (ABS) warning light will come on briefly, as a
check, when you start your vehicle. If it doesn’t, have your
vehicle serviced so that the light works properly when it
needs to.
The ABS light is located
in the instrument panel
cluster, to the left of
the engine coolant
temperature gage.
If the light stays on longer than a few seconds after you
start your engine, or comes on and stays on while you
are driving, try resetting the system. To reset the system,
do the following:
1. If you are driving, pull over when it is safe to do so.
2. Be sure the vehicle is in PARK (P).
3. Turn off the ignition.
4. Then restart the engine.
If the light remains on after resetting the system or comes
on again while driving, your vehicle needs service. If the
ABS light is on, but the regular brake system warning light
is not on, you do not have anti-lock brakes, but you still
have regular brakes. Have your vehicle serviced right
away. If both brake lights are on, you do not have
anti-lock brakes, and there’s a problem with your regular
brakes as well. Have your vehicle towed for service.
See Towing Your Vehicle on page 4-36.
The anti-lock brake system warning light should come on
briefly when you turn the ignition key to RUN. If the light
does not come on then, have it fixed so it will be ready to
warn you if there is a problem.
3-35

Engine Coolant Temperature Gage
This gage on the left
measures the temperature
of the vehicle’s engine
coolant. If the pointer
moves into the shaded
area, your engine is
too hot!
If the engine coolant temperature reaches 253°F
(123°C) the CHK GAGE message will appear and a
chime will sound to alert you to the engine coolant
temperature gage. See Message Center on page 3-43.
If you have been operating your vehicle under normal
driving conditions, you should pull off the road and
stop your vehicle, be sure the air conditioning is off,
let the engine idle for a few minutes, then turn off
the engine.
If your engine control system detects a failure in the
engine coolant temperature circuit, the malfunction
indicator lamp (service engine soon) light will come on.
The coolant gage may read all the way hot or cold.
The engine cooling fan will be turned on to protect the
engine and transmission. See Malfunction Indicator
Lamp on page 3-36 for more information.
Malfunction Indicator Lamp
Check Engine Light
Your vehicle has a
computer which monitors
operation of the fuel,
ignition, and emission
control systems.
This system is called OBD II (On-Board
Diagnostics-Second Generation) and is intended to
assure that emissions are at acceptable levels for the life
of the vehicle, helping to produce a cleaner environment.
The check engine light comes on to indicate that there is
a problem and service is required. Malfunctions often
will be indicated by the system before any problem is
apparent. This may prevent more serious damage to
your vehicle. This system is also designed to assist
your service technician in correctly diagnosing any
malfunction.
3-36

Notice: If you keep driving your vehicle with this
light on, after awhile, your emission controls may not
work as well, your fuel economy may not be as good,
and your engine may not run as smoothly. This could
lead to costly repairs that may not be covered by
your warranty.
Notice: Modifications made to the engine, transaxle,
exhaust, intake, or fuel system of your vehicle or the
replacement of the original tires with other than those
of the same Tire Performance Criteria (TPC) can
affect your vehicle’s emission controls and may
cause this light to come on. Modifications to these
systems could lead to costly repairs not covered by
your warranty. This may also result in a failure to
pass a required Emission Inspection/Maintenance
test. See Accessories and Modifications on page 5-3.
This light should come on, as a check to show you it is
working, when the ignition is on and the engine is not
running. If the light does not come on, have it repaired.
This light will also come on during a malfunction in one
of two ways:
•Light Flashing — A misfire condition has been
detected. A misfire increases vehicle emissions and
may damage the emission control system on your
vehicle. Diagnosis and service may be required.
•Light On Steady — An emission control system
malfunction has been detected on your vehicle.
Diagnosis and service may be required.
If the Light Is Flashing
The following may prevent more serious damage to
your vehicle:
•Reducing vehicle speed
•Avoiding hard accelerations
•Avoiding steep uphill grades
•If you are towing a trailer, reduce the amount of
cargo being hauled as soon as it is possible
If the light stops flashing and remains on steady,
see “If the Light Is On Steady” following.
If the light continues to flash, when it is safe to do so,
stop the vehicle. Find a safe place to park your vehicle.
Turn the key off, wait at least 10 seconds and restart the
engine. If the light remains on steady, see “If the Light Is
On Steady” following. If the light is still flashing, follow the
previous steps, and see your retailer for service as soon
as possible.
3-37

If the Light Is On Steady
You may be able to correct the emission system
malfunction by considering the following:
Did you recently put fuel into your vehicle?
If so, reinstall the fuel cap, making sure to fully install
the cap. See Filling the Tank on page 5-7. The diagnostic
system can determine if the fuel cap has been left off or
improperly installed. A loose or missing fuel cap will allow
fuel to evaporate into the atmosphere. A few driving trips
with the cap properly installed should turn the light off.
Did you just drive through a deep puddle of water?
If so, your electrical system may be wet. The condition
will usually be corrected when the electrical system
dries out. A few driving trips should turn the light off.
Have you recently changed brands of fuel?
If so, be sure to fuel your vehicle with quality fuel. See
Gasoline Octane on page 5-5. Poor fuel quality will
cause your engine not to run as efficiently as designed.
You may notice this as stalling after start-up, stalling
when you put the vehicle into gear, misfiring, hesitation
on acceleration, or stumbling on acceleration. (These
conditions may go away once the engine is warmed up.)
This will be detected by the system and cause the light to
turn on.
If you experience one or more of these conditions,
change the fuel brand you use. It will require at least
one full tank of the proper fuel to turn the light off.
If none of the above steps have made the light turn off,
your retailer can check the vehicle. Your retailer has the
proper test equipment and diagnostic tools to fix any
mechanical or electrical problems that may have
developed.
3-38

Emissions Inspection and
Maintenance Programs
Some state/provincial and local governments have or
may begin programs to inspect the emission control
equipment on your vehicle. Failure to pass this
inspection could prevent you from getting a vehicle
registration.
Here are some things you need to know in order to help
your vehicle pass an inspection:
Your vehicle will not pass this inspection if the check
engine light is on or not working properly.
Your vehicle will not pass this inspection if the OBD
(on-board diagnostic) system determines that critical
emission control systems have not been completely
diagnosed by the system. The vehicle would be
considered not ready for inspection. This can happen if
you have recently replaced your battery or if your battery
has run down. The diagnostic system is designed to
evaluate critical emission control systems during normal
driving. This may take several days of routine driving.
If you have done this and your vehicle still does not pass
the inspection for lack of OBD system readiness, your
retailer can prepare the vehicle for inspection.
3-39

Oil Pressure Light
If you have a low engine oil
pressure problem, this light
will stay on after you start
your engine, or come on
when you are driving. This
indicates that your engine
is not receiving enough oil.
The engine could be low on oil, or could have some
other oil problem. Have it fixed immediately.
The oil light may also come on when the ignition is on but
the engine is not running, the light will come on as a test
to show you it is working, but the light will go out when
you turn the ignition to START. If it doesn’t come on with
the ignition on, you may have a problem with the fuse or
bulb. Have it fixed right away.
{CAUTION:
Do not keep driving if the oil pressure is low.
If you do, your engine can become so hot that
it catches fire. You or others could be burned.
Check your oil as soon as possible and have
your vehicle serviced.
Notice: Lack of proper engine oil maintenance may
damage the engine. The repairs would not be covered
by your warranty. Always follow the maintenance
schedule in this manual for changing engine oil.
Passlock
®
Warning Light
Your vehicle is equipped
with a Passlock
®
theft-deterrent system.
With this system, the
security light will flash
as you open the door if
your ignition is off.
For more information, see Passlock
®
on page 2-17.
3-40

Reduced Engine Power Light
This light will come on
briefly when you start
the engine.
This light, along with the service engine soon light will be
displayed when a noticeable reduction in the vehicle’s
performance may occur. Stop the vehicle and turn off the
ignition. Wait for 10 seconds and restart your vehicle.
This may correct the condition.
The vehicle may be driven at a reduced speed when the
reduced engine power light is on but acceleration and
speed may be reduced. The performance may be
reduced until the next time you drive your vehicle. If this
light stays on, see your retailer as soon as possible for
diagnosis and repair.
Highbeam On Light
This light will come on
when the high-beam
headlamps are in use.
See Headlamp High/Low-Beam Changer on page 3-8.
3-41

Fuel Gage
When the ignition is on, the
fuel gage on the right tells
you about how much fuel
you have left in your tank.
When the indicator nears empty, the LOW FUEL
message will come on. You still have a little fuel left,
but you should get more soon. See Low Fuel Warning
Message on page 3-46 for more information.
Here are four things that some owners ask about.
None of these show a problem with your fuel gage:
•At the service station, the fuel pump shuts off before
the gage reads full.
•It takes a little more or less fuel to fill up than the
gage indicated. For example, the gage may have
indicated the tank was half full, but it actually took a
little more or less than half the tank’s capacity to
fill the tank.
•The gage moves a little when you turn a corner or
speed up.
•The gage takes a few seconds to stabilize after the
ignition is turned on, and will go back to empty
when you turn the ignition off.
For your fuel tank capacity, see Capacities and
Specifications on page 5-109.
3-42

Boost Gage
If your vehicle is equipped with this gage, it is located
on the steering column.
This gage indicates vacuum during light to moderate
throttle and boost under heavier throttle.
This gage displays the air pressure level in the intake
manifold before it enters the engine’s combustion
chamber.
This gage is automatically centered at zero every time
the ignition is turned to RUN. Actual vacuum or boost
is displayed from this zero point.
The boost gage is also equipped with three pairs of
lights that are located on each side of the gage. These
lights are used to indicate three different engine rpm
levels. The default setting for the lower pair of lights is
4,400 rpm, the middle pair of lights is 5,600 rpm, and the
top pair of lights is 6,200 rpm. These settings can be
adjusted by turning the stem behind each light. To have
the light pair come on at a higher rpm level, turn the stem
counterclockwise. To have the light pair come on at a
lower rpm level, turn the stem clockwise. Each turn
adjusts the settings by 100 rpm. To restore the default
settings, press and hold any stem for three seconds.
The lights will flash three times.
To turn the lights off or on, press and release any stem.
Message Center
The message center is located in the instrument
panel cluster. It gives you important safety and
maintenance facts.
If there are several messages, each message will be
shown for a few seconds and will continue to repeat until
cleared. To clear a message, press the trip/reset button
while the message you want to clear is being displayed.
Many messages will also cause a chime to sound, to
alert you to the message.
United States Canada
3-43

Changing the Language (Canada Only)
Vehicles first sold in Canada have instrument panel
clusters that show messages in either English or French.
To change the language, do the following:
1. Turn the ignition on.
2. Press the trip/reset button until the current language
of ENGLISH or FRENCH is displayed.
3. Press and hold the trip/reset button for
several seconds until the language is changed.
4. Press the trip/reset button to return to the odometer
display.
Low Traction Message
If your vehicle has an
enhanced traction system
(ETS), this LOW TRAC
message will be displayed
when the system is
limiting wheel spin.
See Enhanced Traction System (ETS) on page 4-9 for
more information.
Traction Off Message
If your vehicle has an
enhanced traction system
(ETS), this TRAC OFF
message will be displayed
briefly when the system
has been turned off.
See Enhanced Traction System (ETS) on page 4-9 for
more information.
Cruise Control Message
The CRUISE message is
displayed briefly when your
cruise control system has
been activated, or set to a
desired speed.
See Cruise Control on page 3-10 for more information.
3-44

Transaxle Fluid Hot Message
If the TRANS HOT
message is displayed,
the automatic transaxle
fluid may be overheating.
See Engine Overheating on page 5-29 for more
information.
Change Engine Oil Message
When the CHG OIL
message is displayed,
it means that service
is required for your vehicle.
See Scheduled Maintenance on page 6-4 and Engine
Oil on page 5-15 for more information.
Check Gage Message
If the CHK GAGE message
is displayed, the engine
coolant may be
overheated. A chime will
also sound to alert
you to this message.
If this message is displayed, check your engine coolant
temperature gage. If the needle is in the red area, your
engine may be overheating. See Engine Coolant
Temperature Gage on page 3-36 and Engine
Overheating on page 5-29 for more information.
Notice: Driving with either the CHK GAGE message
or the COOLANT message displayed in the message
center and the Engine Coolant Temperature Gage on
your instrument panel in the red zone could cause
your vehicle to overheat. See Engine Overheating on
page 5-29. Your vehicle could be damaged and the
damages might not be covered by your warranty.
3-45

Power Steering Message
If the PWR STR message
is displayed, a problem
has been detected with the
electric power steering.
If you suspect electric power steering problems and/or
the PWR STR message is on, see your retailer for
service and repair.
Trunk Ajar Warning Message
When the TRUNK
message is displayed,
it means the trunk lid
is not fully closed.
Check Gas Cap Message
This message will come on
when the ignition is on and
the gas cap is open.
Low Fuel Warning Message
When the LOW FUEL
message is displayed,
you may have less
than 1.5 gallons (5.5 liters)
of fuel left. A chime will
also sound to alert you to
this message.
You should refuel your vehicle immediately. When the
fuel tank is filled to more than 3.3 gallons (11.5 liters),
this message will no longer be displayed.
3-46

Service Vehicle Message
If the SERVICE VEHICLE
message is displayed, a
non-emission related
problem has occurred
which requires the vehicle
be taken in for service.
These problems may not be obvious and may affect
vehicle performance and durability. See your retailer for
necessary repairs to maintain top vehicle performance.
Error Message
When the ERROR
message is displayed,
there is a problem with
your odometer system.
See your retailer for service and repair if this message
is displayed.
3-47

Audio System(s)
Determine which radio your vehicle has and then read the
pages following to familiarize yourself with its features.
Driving without distraction is a necessity for a safer
driving experience. See Defensive Driving on page 4-2.
By taking a few moments to read this manual and get
familiar with your vehicle’s audio system, you can use it
with less effort, as well as take advantage of its features.
While your vehicle is parked, set up your audio system
by presetting your favorite radio stations, setting the
tone and adjusting the speakers. Then, when driving
conditions permit, you can tune to your favorite
stations using the presets and steering wheel controls
if the vehicle has them.
{CAUTION:
This system provides you with a far greater
access to audio stations and song listings.
Giving extended attention to entertainment
tasks while driving can cause a crash and you
or others can be injured or killed. Always keep
your eyes on the road and your mind on the
drive — avoid engaging in extended searching
while driving.
Keeping your mind on the drive is important for safe
driving. For more information, see Defensive Driving
on page 4-2.
Here are some ways in which you can help avoid
distraction while driving.
While your vehicle is parked:
•Familiarize yourself with all of its controls.
•Familiarize yourself with its operation.
•Set up your audio system by presetting your favorite
radio stations, setting the tone, and adjusting the
speakers. Then, when driving conditions permit,
you can tune to your favorite radio stations using
the presets and steering wheel controls if the vehicle
has them.
Notice: Before adding any sound equipment to your
vehicle, such as an audio system, CD player, CB
radio, mobile telephone, or two-way radio, make sure
that it can be added by checking with your retailer.
Also, check federal rules covering mobile radio and
telephone units. If sound equipment can be added, it
is very important to do it properly. Added sound
equipment may interfere with the operation of your
vehicle’s engine, radio, or other systems, and even
damage them. Your vehicle’s systems may interfere
with the operation of sound equipment that has
been added.
3-48

Notice: The chime signals related to safety belts,
parking brake, and other functions of your vehicle
operate through the radio/entertainment system. If
that equipment is replaced or additional equipment
is added to your vehicle, the chimes may not work.
Make sure that replacement or additional equipment
is compatible with your vehicle before installing it.
See Accessories and Modifications on page 5-3.
Notice: Getting suntan lotion, hand lotion, or hand
cleaner on the radio, will soften the paint, and the
paint will eventually begin to peel. Repairs will not be
covered by your vehicle’s warranty. Try not to get
suntan lotion, hand lotion, or hand cleaner on the
radio. If you do, wipe the lotion or cleaner off
immediately.
Your vehicle has a feature called Retained Accessory
Power (RAP). With RAP, the audio system can be
played even after the ignition is turned off. See Retained
Accessory Power (RAP) on page 2-20 for more
information.
Setting the Time
(Without Date Display)
If your vehicle has a base AM/FM radio with a single
CD player and preset buttons numbered one through
six, the radio will have a clock button for setting the time.
You can set the time by following these steps:
1. Press the clock button until the hour numbers begin
flashing on the display. Press the clock button a
second time and the minute numbers will begin
flashing on the display.
2. While either the hour or the minute numbers are
flashing, rotate the tune knob clockwise or
counterclockwise to increase or decrease the time.
Instead of using the tune knob, you can also press
the SEEK, FWD, or REV buttons to adjust the time.
3. Press the clock button again until the clock
display stops flashing to set the currently displayed
time; otherwise, the flashing will stop after
five seconds and the current time displayed will be
automatically set.
To change the time default setting from 12 hour to
24 hour, press the clock button and then the pushbutton
located under the forward arrow label. Once the time
12H and 24H are displayed, press the pushbutton
located under the desired option or press the SEEK,
FWD, or REV buttons to select the default. Press
the clock button again to apply the selected default, or
let the screen time out.
3-49

Setting the Time (With Date Display)
If your vehicle has a radio with a single CD player, the
radio will have a clock button for setting the time and
date. Press the clock button and the HR, MIN, MM, DD,
YYYY (hour, minute, month, day, and year) will appear on
the display. Press the pushbutton located under any one
of the labels that you want to change. Every time the
pushbutton is pressed again, the time or the date if
selected, will increase by one. Another way to increase
the time or date, is to press the right SEEK arrow or FWD
button. To decrease, press the left SEEK arrow or REV
button. You can also rotate the tune knob to adjust the
selected setting.
If your vehicle has a radio with a six-disc CD player, the
radio will have a MENU button instead of the clock button
to set the time and date. Press the MENU button. Once
the clock option is displayed, press the pushbutton
located under that label. The HR, MIN, MM, DD, YYYY
will appear on the display. To change the time or date,
follow the instructions given earlier in this section.
To change the time default setting from 12 hour to
24 hour or to change the date default setting from
month/day/year to day/month/year, press the clock button
and then the pushbutton located under the forward arrow
label. Once the time 12H and 24H, and the date
MM/DD/YYYY (month, day, and year) and DD/MM/YYYY
(day, month, and year) are displayed, press the
pushbutton located under the desired option. Press
the clock or MENU button again to apply the selected
default, or let the screen time out.
Radio with CD (Base)
Playing the Radio
O(Power/Volume): Press this knob to turn the
system on and off.
Turn this knob clockwise to increase or counterclockwise
to decrease the volume.
The radio remembers the previous volume setting
whenever the radio is turned on. You can still manually
adjust the volume by using the volume knob.
3-50

Finding a Station
BAND: Press this button to switch between FM1, FM2
or AM. The display will show the selection.
f(Tune): Turn this knob to select radio stations.
©SEEK ¨:Press the right or left SEEK arrow to go
to the next or to the previous station and stay there.
To scan stations, press and hold either SEEK arrow for
a few seconds until you hear a beep. The radio will go
to a station, play for a few seconds, then go on to the next
station. Press either SEEK arrow again to stop scanning.
The radio will only seek and scan stations with a strong
signal that are in the selected band.
4(Information): Press this button to switch the display
between the radio station frequency and the time. When
the ignition is off, press this button to display the time.
Setting Preset Stations
Up to 18 stations (six FM1, six FM2, and six AM), can
be programmed on the six numbered pushbuttons,
by performing the following steps:
1. Turn the radio on.
2. Press BAND to select FM1, FM2, or AM.
3. Tune in the desired station.
4. Press and hold one of the six numbered
pushbuttons for three seconds until you hear a
beep. Whenever that pushbutton is pressed
and released, the station that was set will return.
5. Repeat the Steps 2-4 for each pushbutton.
Setting the Tone (Bass/Treble)
BASS/TREB (Bass/Treble): To adjust the bass or
treble, press the tune knob or bass/treble button
until the desired tone control label appears on the
display. Turn the tune knob clockwise to increase or
counterclockwise to decrease the setting. You can also
adjust the setting by pressing either the SEEK, FWD,
or REV buttons. The display will show the current bass
or treble level. If a station’s frequency is weak, or if
there is static, decrease the treble.
EQ (Equalization): Press this button to select preset
equalization settings.
To return to the manual mode, press the EQ button until
Manual appears on the display or start to manually
adjust the bass or treble by pressing the tune knob.
3-51

Adjusting the Speakers (Balance/Fade)
`BAL/FADE (Balance/Fade): To adjust the balance
or fade, press this button or the tune knob until the
desired speaker control label appears on the display.
Turn the tune knob clockwise or counterclockwise to
adjust the setting. You can also adjust the setting by
pressing either the SEEK, FWD, or REV buttons.
Radio Messages
Calibration Error: The audio system has been
calibrated for your vehicle from the factory. If Calibration
Error appears on the display, it means that the radio
has not been configured properly for your vehicle and it
must be returned to your retailer for service.
Playing a CD (Single CD Player)
Insert a CD partway into the slot, label side up. The
player will pull it in and the CD should begin playing.
If the ignition or radio is turned off with a CD in the
player, it will stay in the player. When the ignition or
radio is turned on, the CD will start playing where
it stopped, if it was the last selected audio source.
When a CD is inserted, the CD symbol will appear on
the radio display. As each new track starts to play, the
track number will appear on the display.
The CD player can play the smaller 3 inch (8 cm) single
CDs with an adapter ring. Full-size CDs and the
smaller CDs are loaded in the same manner.
If playing a CD-R, the sound quality may be reduced due
to CD-R quality, the method of recording, the quality of
the music that has been recorded, and the way the CD-R
has been handled. There may be an increase in skipping,
difficulty in finding tracks, and/or difficulty in loading and
ejecting. If these problems occur, check the bottom
surface of the CD. If the surface of the CD is damaged,
such as cracked, broken, or scratched, the CD will not
play properly. If the surface of the CD is soiled, see
Care of Your CDs on page 3-71 for more information.
If there is no apparent damage, try a known good CD.
Do not add any label to a CD, it could get caught in the
CD player. If a CD is recorded on a personal computer
and a description label is needed, try labeling the top of
the recorded CD with a marking pen instead.
Notice: If you add any label to a CD, insert more
than one CD into the slot at a time, or attempt to play
scratched or damaged CDs, you could damage the
CD player. When using the CD player, use only CDs
in good condition without any label, load one CD at a
time, and keep the CD player and the loading slot free
of foreign materials, liquids, and debris.
3-52

If an error appears on the display, see “CD Messages”
later in this section.
ZEJECT: Press the CD eject button to eject the
CD. If the CD is not removed, after several seconds,
the CD will be automatically pulled back into the player.
f(Tune): Turn this knob to select tracks on the CD
currently playing.
©SEEK ¨:Press the left SEEK arrow to go to the
start of the current track, if more than ten seconds have
played. Press the right SEEK arrow to go to the next
track. If either SEEK arrow is held or pressed multiple
times, the player will continue moving backward or
forward through the CD.
sREV (Reverse): Press and hold this button to
reverse playback quickly within a track. You will hear
sound at a reduced volume. Release this button
to resume playing the track. The elapsed time of the
track will appear on the display.
\FWD (Fast Forward): Press and hold this button to
advance playback quickly within a track. You will hear
sound at a reduced volume. Release this button to
resume playing the track. The elapsed time of the track
will appear on the display.
RDM (Random): With random, you can listen to
CD tracks in random, rather than sequential order.
To use random, do the following:
1. To play tracks from the CD you are listening to
in random order, press the RDM pushbutton.
The random icon will appear on the display.
2. Press the same pushbutton again to turn off
random play. The random icon will disappear
from the display.
RPT (Repeat): With repeat, one track or an entire
CD can be repeated (played over and over).
To use repeat, do the following:
•To repeat the track you are listening to, press and
release the RPT button. An arrow symbol will
appear on the display. Press RPT again to turn off
repeat play.
•To repeat the CD you are listening to, press and
hold the RPT button for a few seconds. An arrow
symbol will appear on the display. Press RPT again
to turn off repeat play. When repeat is off, the
symbol is no longer displayed.
3-53

4(Information): Press this button to switch the display
between the track number, elapsed time of the track,
and the time. When the ignition is off, press this button
to display the time.
BAND: Press this button to listen to the radio when a
CD is playing. The CD will remain safely inside the radio
for future listening.
CD/AUX (CD/Auxiliary): Press this button to play a CD
when a portable audio device is playing.
Your radio system has an auxiliary input jack located on
the lower right side of the faceplate. Connect an
external audio device such as a portable MP3 audio
player to the auxiliary input jack for use as another
source for audio listening.
Press the CD/AUX button again and the system will
begin playing audio from the connected portable audio
player. If a portable audio player is not connected,
“no input device found” will be displayed.
CD Messages
CHECK DISC: If this message appears on the display
and/or the CD comes out, it could be for one of the
following reasons:
•It is very hot. When the temperature returns to
normal, the CD should play.
•You are driving on a very rough road. When the
road becomes smoother, the CD should play.
•The CD is dirty, scratched, wet, or upside down.
•The air is very humid. If so, wait about an hour
and try again.
•There may have been a problem while burning
the CD-R.
•The label may be caught in the CD player.
If the CD is not playing correctly, for any other reason,
try a known good CD.
If any error occurs repeatedly or if an error cannot be
corrected, contact your retailer. If the radio displays
an error message, write it down and provide it to your
retailer when reporting the problem.
3-54

Using the Auxiliary Input Jack
Your radio system has an auxiliary input jack located on
the lower right side of the faceplate. This is not an
audio output; do not plug the headphone set into the
front auxiliary input jack. You can however, connect
an external audio device such as an iPod, laptop
computer, MP3 player, CD changer, or cassette tape
player, etc. to the auxiliary input jack for use as another
source for audio listening.
To use a portable audio player, connect a 3.5 mm
(1/8 inch) cable to the radio’s front auxiliary input jack.
When a device is connected, press the radio CD/AUX
button to begin playing audio from the device over
the car speakers.
O(Power/Volume): Turn this knob clockwise to
increase or counterclockwise to decrease the volume of
the portable player. You may need to do additional
volume adjustments from the portable device if
the volume does not go loud or soft enough.
BAND: Press this button to listen to the radio when a
portable audio device is playing. The portable audio
device will continue playing, so you may want to stop it
or power it off.
CD/AUX (CD/Auxiliary): Press this button to play a CD
when a portable audio device is playing. Press this button
again and the system will begin playing audio from the
connected portable audio player. If a portable audio
player is not connected, “no input device found” will be
displayed.
Radio with CD (MP3)
Radio with CD shown, Radio with
Six-Disc CD (MP3) similar
3-55

Radio Data System (RDS)
The audio system has a Radio Data System (RDS).
The RDS feature is available for use only on FM stations
that broadcast RDS information. This system relies
upon receiving specific information from these stations
and will only work when the information is available.
While the radio is tuned to an FM-RDS station,
the station name or call letters will appear on the display.
In rare cases, a radio station may broadcast incorrect
information that will cause the radio features to
work improperly. If this happens, contact the
radio station.
XM™ Satellite Radio Service
XM™ is a satellite radio service that is based in
the 48 contiguous United States and in Canada
(if available). XM™ offers over 100 coast-to-coast
channels including music, news, sports, talk,
traffic/weather, and children’s programming. XM™
provides digital quality audio and text information that
includes song title and artist name. A service fee is
required in order to receive the XM™ service. For more
information, contact XM™ at www.xmradio.com or
call 1-800-852-XMXM (9696).
Playing the Radio
O(Power/Volume): Press this knob to turn the
system on and off.
Turn this knob clockwise to increase or counterclockwise
to decrease the volume.
Finding a Station
BAND: Press this button to switch between AM, FM, or
XM™ (if equipped). The display will show the selection.
f(Tune): Turn this knob to select radio stations.
©SEEK ¨:Press the right or left SEEK arrow to go
to the next or to the previous station and stay there.
To scan stations, press and hold either SEEK arrow for a
few seconds until you hear a beep. The radio will go to a
station, play for a few seconds, then go on to the next
station. Press either SEEK arrow again to stop scanning.
The radio will only seek and scan stations with a strong
signal that are in the selected band.
3-56

4(Information) (XM™ Satellite Radio Service, MP3,
and RDS Features): Press the information button
to display additional text information related to the
current FM-RDS or XM™ station, or MP3 song. A choice
of additional information such as: Channel, Song,
Artist, CAT may appear. Continue pressing the
information button to highlight the desired label, or press
the pushbutton positioned under any one of the labels
and the information about that label will be displayed.
When information is not available, No Info will appear on
the display.
Storing a Radio Station as a Favorite
Drivers are encouraged to set up their radio station
favorites while the vehicle is parked. Tune to your
favorite stations using the presets, favorites button, and
steering wheel controls (if equipped). See Defensive
Driving on page 4-2.
FAV (Favorites): A maximum of 36 stations can be
programmed as favorites using the six pushbuttons
positioned below the radio station frequency labels and
by using the radio favorites page button (FAV button).
Press the FAV button to go through up to six pages
of favorites, each having six favorite stations available
per page. Each page of favorites can contain any
combination of AM, FM, or XM™ (if equipped) stations.
To store a station as a favorite, perform the
following steps:
1. Tune to the desired radio station.
2. Press the FAV button to display the page where
you want the station stored.
3. Press and hold one of the six pushbuttons until you
hear a beep. Whenever that pushbutton is pressed
and released, the station that was set will return.
4. Repeat the steps for each pushbutton radio station
you want stored as a favorite.
The number of favorites pages can be setup using the
MENU button. To setup the number of favorites
pages, perform the following steps:
1. Press the MENU button to display the radio
setup menu.
2. Press the pushbutton located below the
FAV 1-6 label.
3. Select the desired number of favorites pages by
pressing the pushbutton located below the
displayed page numbers.
4. Press the FAV button, or let the menu time out, to
return to the original main radio screen showing
the radio station frequency labels and to begin the
process of programming your favorites for the
chosen amount of numbered pages.
3-57

Setting the Tone (Bass/Treble)
BASS/MID/TREB (Bass, Midrange, or Treble):
To adjust bass, midrange, or treble, press the tune
knob until the tone control labels appear on the display.
Continue pressing to highlight the desired label, or
press the pushbutton positioned under the desired label.
Turn the tune knob clockwise or counterclockwise to
adjust the highlighted setting. You can also adjust
the highlighted setting by pressing either the SEEK,
FWD, or REV button until the desired levels are
obtained. If a station’s frequency is weak, or if there is
static, decrease the treble.
To quickly adjust bass, midrange, or treble to the middle
position, press the pushbutton positioned under the
BASS, MID, or TREB label for more than two seconds.
You will hear a beep and the level will be adjusted
to the middle position.
To quickly adjust all tone and speaker controls to the
middle position, press the tune knob for more than
two seconds until you hear a beep.
EQ (Equalization): Press this button to select preset
equalization settings.
To return to the manual mode, press the EQ button until
Manual appears on the display or start to manually adjust
the bass, midrange, or treble by pressing the tune knob.
Adjusting the Speakers (Balance/Fade)
BAL/FADE (Balance/Fade): To adjust balance or
fade, press the tune knob until the speaker control labels
appear on the display. Continue pressing to highlight
the desired label, or press the pushbutton positioned
under the desired label. Turn the tune knob clockwise or
counterclockwise to adjust the highlighted setting. You
can also adjust the highlighted setting by pressing either
the SEEK, FWD, or REV button until the desired
levels are obtained.
To quickly adjust balance or fade to the middle position,
press the pushbutton positioned under the BAL or FADE
label for more than two seconds. You will hear a beep
and the level will be adjusted to the middle position.
To quickly adjust all speaker and tone controls to the
middle position, press the tune knob for more than
two seconds until you hear a beep.
3-58

Finding a Category (CAT) Station
CAT (Category): The CAT button is used to find XM™
stations when the radio is in the XM™ mode. To find
XM™ channels within a desired category, perform
the following:
1. Press the BAND button until the XM™ frequency
is displayed. Press the CAT button to display the
category labels on the radio display. Continue
pressing the CAT button until the desired category
name is displayed.
2. Press either of the two buttons below the desired
category label to immediately tune to the first
XM™ station associated with that category.
3. Rotate the tune knob, press the buttons below the
right or left arrows displayed, or press the right or
left SEEK buttons to go to the next or previous
XM™ station within the selected category.
4. To exit the category search mode, press the
FAV button or BAND button to display your
favorites again.
Undesired XM™ categories can be removed through
the setup menu. To remove an undesired category,
perform the following:
1. Press the MENU button to display the radio
setup menu.
2. Press the pushbutton located below the XM
CAT label.
3. Rotate the tune knob to display the category you
want removed.
4. Press the pushbutton located under the Remove
label until the category name along with the word
Removed appears on the display.
5. Repeat the steps to remove more categories.
Removed categories can be restored by pressing the
pushbutton under the Add label when a removed
category is displayed or by pressing the pushbutton
under the Restore All label.
The radio will not allow you to remove or add
categories while the vehicle is moving faster than
five mph (eight kmh).
Radio Messages
Calibration Error: The audio system has been
calibrated for your vehicle from the factory. If Calibration
Error appears on the display, it means that the radio
has not been configured properly for your vehicle and it
must be returned to your retailer for service.
3-59

XM™ Radio Messages
Radio Display
Message Condition Action Required
XL (Explicit Language
Channels)
XL on the radio display,
after the channel name,
indicates content with
explicit language.
These channels, or any others, can be blocked at a
customer’s request, by calling 1-800-852-XMXM (9696).
XM Updating Updating
encryption code
The encryption code in the receiver is being updated, and
no action is required. This process should take no longer
than 30 seconds.
No XM Signal Loss of signal The system is functioning correctly, but the vehicle is in a
location that is blocking the XM™ signal. When you move
into an open area, the signal should return.
Loading XM Acquiring channel audio
(after 4 second delay)
The audio system is acquiring and processing audio and
text data. No action is needed. This message should
disappear shortly.
Channel Off Air Channel not in service This channel is not currently in service. Tune to another
channel.
Channel Unavail Channel no longer
available
This previously assigned channel is no longer assigned.
Tune to another station. If this station was one of the
presets, choose another station for that preset button.
No Artist Info Artist Name/Feature
not available
No artist information is available at this time on this
channel. The system is working properly.
No Title Info Song/Program Title
not available
No song title information is available at this time on this
channel. The system is working properly.
3-60

XM™ Radio Messages (cont’d)
Radio Display
Message Condition Action Required
No CAT Info Category Name
not available
No category information is available at this time on this
channel. The system is working properly.
No Information No Text/Informational
message available
No text or informational messages are available at this
time on this channel. The system is working properly.
CAT Not Found No channel available for
the chosen category
There are no channels available for the selected category.
The system is working properly.
XM Theftlocked Theft lock active The XM™ receiver in the vehicle may have previously
been in another vehicle. For security purposes, XM™
receivers cannot be swapped between vehicles. If this
message appears after having your vehicle serviced, check
with your retailer.
XM Radio ID Radio ID label
(channel 0)
If tuned to channel 0, this message will alternate with the
XM™ Radio eight digit radio ID label. This label is needed
to activate the service.
Unknown Radio ID not known
(should only be if
hardware failure)
If this message is received when tuned to channel 0, there
may be a receiver fault. Consult with your retailer.
Check XM Receivr Hardware failure If this message does not clear within a short period of time,
the receiver may have a fault. Consult with your retailer.
XM Not Available XM Not Available If this message does not clear within a short period of time,
the receiver may have a fault. Consult with your retailer.
3-61

Playing a CD (Single CD Player)
Insert a CD partway into the slot, label side up. The
player will pull it in and the CD should begin playing.
Playing a CD(s) (Six-Disc CD Player)
LOAD ^:Press this button to load CDs into the CD
player. This CD player will hold up to six CDs.
To insert one CD, do the following:
1. Press and release the load button.
2. Wait for the message to insert the disc.
3. Load a CD. Insert the CD partway into the slot,
label side up. The player will pull the CD in.
To insert multiple CDs, do the following:
1. Press and hold the load button for two seconds.
You will hear a beep and Load All Discs will be
displayed.
2. Follow the displayed instruction on when to insert
the discs. The CD player takes up to six CDs.
3. Press the Load button again to cancel loading
more CDs.
If the ignition or radio is turned off, with a CD in the
player, it will stay in the player. When the ignition or radio
is turned on, the CD will start playing where it stopped, if it
was the last selected audio source.
When a CD is inserted, the CD symbol will appear on
the CD. As each new track starts to play, the track
number will appear on the display.
The CD player can play the smaller 3 inch (8 cm) single
CDs with an adapter ring. Full-size CDs and the smaller
CDs are loaded in the same manner.
If playing a CD-R, the sound quality may be reduced
due to CD-R quality, the method of recording, the quality
of the music that has been recorded, and the way the
CD-R has been handled. There may be an increase in
skipping, difficulty in finding tracks, and/or difficulty in
loading and ejecting. If these problems occur, check the
bottom surface of the CD. If the surface of the CD is
damaged, such as cracked, broken, or scratched, the CD
will not play properly. If the surface of the CD is soiled,
see Care of Your CDs on page 3-71 for more information.
If there is no apparent damage, try a known good CD.
Do not add any label to a CD, it could get caught in the
CD player. If a CD is recorded on a personal computer
and a description label is needed, try labeling the top of
the recorded CD with a marking pen instead.
Notice: If you add any label to a CD, insert more
than one CD into the slot at a time, or attempt
to play scratched or damaged CDs, you could
damage the CD player. When using the CD player,
use only CDs in good condition without any
label, load one CD at a time, and keep the CD player
and the loading slot free of foreign materials,
liquids, and debris.
3-62

If an error appears on the display, see “CD Messages”
later in this section.
ZEJECT: Press the CD eject button to eject CD(s).
To eject the CD that is currently playing, press and
release this button. You will hear a beep and Ejecting
Disc will be displayed. Once the disc is ejected, Remove
Disc will appear on display. The CD can be removed.
If the CD is not removed, after several seconds, the CD
will be automatically pulled back into the player and
begin playing.
For the Six-Disc CD player, press and hold the eject
button for two seconds to eject all discs.
f(Tune): Turn this knob to select tracks on the CD
currently playing.
©SEEK ¨:Press the left SEEK arrow to go to the
start of the current track, if more than ten seconds have
played. Press the right SEEK arrow to go to the next
track. If either SEEK arrow is held, or pressed multiple
times, the player will continue moving backward or
forward through the tracks on the CD.
sREV (Reverse): Press and hold this button to
reverse playback quickly within a track. You will hear
sound at a reduced volume. Release this button to
resume playing the track. The elapsed time of the track
will appear on the display.
\FWD (Fast Forward): Press and hold this button to
advance playback quickly within a track. You will hear
sound at a reduced volume. Release this button
to resume playing the track. The elapsed time of the
track will appear on the display.
RDM (Random): With random, you can listen to the
tracks in random, rather than sequential order, on
one CD or all CDs in a six-disc CD player. To use
random, do one of the following:
•To play the tracks from the CD you are listening to
in random order, press the pushbutton positioned
under the RDM label until Random Current Disc is
displayed. Press the pushbutton again to turn off
random play.
•To play tracks from all CDs loaded in a six-disc CD
player in random order, press the pushbutton
positioned under the RDM label until Randomize
All Discs is displayed. Press the same pushbutton
again to turn off random play.
BAND: Press this button to listen to the radio when a
CD is playing. The CD will remain safely inside the radio
for future listening.
3-63

CD/AUX (CD/Auxiliary): Press this button to play a
CD when listening to the radio. The CD icon and track
number will appear on the display when a CD is in
the player.
Your radio system has an auxiliary input jack located on
the lower right side of the faceplate. You can connect
an external audio device such as a portable audio player
to the auxiliary input jack for use as another source
for playing CDs.
Press the CD/AUX button again and the system will
begin playing audio from the connected portable audio
player. If a portable audio player is not connected,
“no input device found” will be displayed.
Using an MP3 CD-R or CD-RW Disc
The radio will play MP3 files that were recorded on a
CD-R or CD-RW disc. The files can be recorded with the
following fixed bit rates: 32 kbps, 40 kbps, 56 kbps,
64 kbps, 80 kbps, 96 kbps, 112 kbps, 128 kbps,
160 kbps, 192 kbps, 224 kbps, 256 kbps, and 320 kbps
or a variable bit rate. Song title, artist name, and
album will be available for display by the radio when
recorded using ID3 tags version 1 and 2.
Compressed Audio
The radio will also play discs that contain both
uncompressed CD audio (.CDA files) and MP3 files.
By default the radio will read only the uncompressed
audio and ignore the MP3 files. Pressing the CAT button
will toggle between compressed and uncompressed
audio format.
MP3 Format
If you burn your own MP3 disc on a personal computer:
•Make sure the MP3 files are recorded on a CD-R
or CD-RW disc.
•Do not mix standard audio and MP3 files on
one disc.
•The CD player is able to read and play a maximum
of 50 folders, 50 playlists, and 255 files.
•Create a folder structure that makes it easy to find
songs while driving. Organize songs by albums
using one folder for each album. Each folder
or album should contain 18 songs or less.
•Avoid subfolders. The system can support up to
8 subfolders deep, however, keep the total
number of folders to a minimum in order to reduce
the complexity and confusion in trying to locate
a particular folder during playback.
3-64

•Make sure playlists have a .m3u or .wpl extension
(other file extensions may not work).
•Minimize the length of the file, folder or playlist
names. Long file, folder, or playlist names, or a
combination of a large number of files and folders,
or playlists may cause the player to be unable
to play up to the maximum number of files, folders,
playlists, or sessions. If you wish to play a large
number of files, folders, playlists, or sessions,
minimize the length of the file, folder, or playlist
name. Long names also take up more space on the
display, potentially getting cut off.
•Finalize the audio disc before you burn it. Trying to
add music to an existing disc may cause the disc
not to function in the player.
You can change playlists by using the previous and
next folder buttons, the tuner knob, or the seek buttons.
You can also play an MP3 CD-R that was recorded
using no file folders. If a CD-R contains more than the
maximum of 50 folders, 50 playlists, and 255 files,
the player will let you access and navigate up to the
maximum, but all items over the maximum will not
be accessible.
Root Directory
The root directory of the CD-R is treated as a folder. If the
root directory has compressed audio files, the directory
will be displayed as F1 ROOT. All files contained directly
under the root directory will be accessed prior to any root
directory folders. However, playlists (Px) will always be
accessed before root folders or files.
Empty Directory or Folder
If a root directory or a folder exists somewhere in the
file structure that contains only folders/subfolders and no
compressed files directly beneath them, the player will
advance to the next folder in the file structure that
contains compressed audio files and the empty folder
will not be displayed or numbered.
No Folder
When the CD-R contains only compressed files, the
files will be located under the root folder. The next and
previous folder functions will not be displayed on a
CD-R that was recorded without folders or playlists.
When displaying the name of the folder the radio
will display ROOT.
When the CD-R contains only playlists and compressed
audio files, but no folders, all files will be located
under the root folder. The folder down and the folder up
buttons will search playlists (Px) first and then go to
the root folder. When the radio displays the name of the
folder the radio will display ROOT.
3-65

Order of Play
Tracks recorded to the CD-R will be played in the
following order:
•Play will begin from the first track in the first playlist
and will continue sequentially through all tracks in
each playlist. When the last track of the last playlist
has been played, play will continue from the first
track of the first playlist.
•Play will begin from the first track in the first folder
and will continue sequentially through all tracks in
each folder. When the last track of the last
folder has been played, play will continue from the
first track of the first folder.
When play enters a new folder, the display will not
automatically show the new folder name unless
you have chosen the folder mode as the default display.
The new track name will appear on the display.
File System and Naming
The song name that will be displayed will be the song
name that is contained in the ID3 tag. If the song name is
not present in the ID3 tag, then the radio will display the
file name without the extension (such as .mp3) as the
track name.
Track names longer than 32 characters or four pages
will be shortened. The display will not show parts
of words on the last page of text and the extension of
the filename will not be displayed.
Preprogrammed Playlists
You can access preprogrammed playlists that were
created using WinAmp™, MusicMatch™, or Real
Jukebox™ software, however, you will not have playlist
editing capability using the radio. These playlists will
be treated as special folders containing compressed
audio song files.
Playing an MP3
Insert a CD-R partway into the slot (Single CD Player),
or press the load button and wait for the message to
insert disc (Six-Disc CD Player), label side up. The
player will pull it in, and the CD-R should begin playing.
If you turn off the ignition or radio with a CD-R in the
player it will stay in the player. When you turn on the
ignition or radio, the CD-R will start to play where it
stopped, if it was the last selected audio source.
As each new track starts to play, the track number and
song title will appear on the display.
The CD player can play the smaller 3 inch (8 cm) single
CDs with an adapter ring. Full-size CDs and the
smaller CDs are loaded in the same manner.
3-66

If playing a CD-R, the sound quality may be reduced due
to CD-R quality, the method of recording, the quality of
the music that has been recorded, and the way the CD-R
has been handled. There may be an increase in skipping,
difficulty in finding tracks, and/or difficulty in loading and
ejecting. If these problems occur, check the bottom
surface of the CD. If the surface of the CD is damaged,
such as cracked, broken, or scratched, the CD will not
play properly. If the surface of the CD is soiled, see
Care of Your CDs on page 3-71 for more information.
If there is no apparent damage, try a known good CD.
Do not add any label to a CD, it could get caught in the
CD player. If a CD is recorded on a personal computer
and a description label is needed, try labeling the top of
the recorded CD with a marking pen instead.
Notice: If you add any label to a CD, insert more
than one CD into the slot at a time, or attempt to play
scratched or damaged CDs, you could damage the
CD player. When using the CD player, use only CDs
in good condition without any label, load one CD at a
time, and keep the CD player and the loading slot free
of foreign materials, liquids, and debris.
If an error appears on the display, see “CD Messages”
later in this section.
ZEJECT: Press the CD eject button to eject CD-R(s).
To eject the CD-R that is currently playing, press and
release this button. You will hear a beep and Ejecting
Disc will be displayed. Once the disc is ejected, Remove
Disc will appear on display. The CD-R can be removed.
If the CD-R is not removed, after several seconds, the
CD-R will be automatically pulled back into the player and
begin playing. For the Six-Disc CD player, press and hold
the eject button for two seconds to eject all discs.
f(Tune): Turn this knob to select MP3 files on the
CD-R currently playing.
©SEEK ¨:Press the left SEEK arrow to go to the
start of the current MP3 file, if more than ten seconds
have played. Press the right SEEK arrow to go to
the next MP3 file. If either SEEK arrow is held or
pressed multiple times, the player will continue moving
backward or forward through MP3 files on the CD.
Sc(Previous Folder): Press the pushbutton
positioned under the Folder label to go to the first track
in the previous folder.
3-67

cT(Next Folder): Press the pushbutton positioned
under the Folder label to go to the first track in the
next folder.
sREV (Reverse): Press and hold this button to
reverse playback quickly within an MP3 file. You will
hear sound at a reduced volume. Release this button to
resume playing the file. The elapsed time of the file
will appear on the display.
\FWD (Fast Forward): Press and hold this button to
advance playback quickly within an MP3 file. You will
hear sound at a reduced volume. Release this button to
resume playing the file. The elapsed time of the file
will appear on the display.
RDM (Random): With random, you can listen to MP3
files on the CD-R in random, rather than sequential
order, on one CD-R or all discs in a six-disc CD player.
To use random, do one of the following:
1. To play MP3 files from the CD-R you are listening
to in random order, press the pushbutton positioned
under the RDM label until Random Current Disc
is displayed. Press the same pushbutton again to
turn off random play.
2. To play songs from all CDs loaded in a six-disc CD
player in random order, press the pushbutton
positioned under the RDM label until Randomize
All Discs is displayed. Press the same pushbutton
again to turn off random play.
h(Music Navigator): Use the music navigator
feature to play MP3 files on the CD-R in order by artist
or album. Press the pushbutton located below the
music navigator label. The player will scan the disc to
sort the files by artist and album ID3 tag information.
It may take several minutes to scan the disc depending
on the number of MP3 files recorded to the CD-R.
The radio may begin playing while it is scanning the disc
in the background. When the scan is finished, the
CD-R will begin playing again.
Once the disc has been scanned, the player will default
to playing MP3 files in order by artist. The current
artist playing is shown on the second line of the display
between the arrows. Once all songs by that artist are
played, the player will move to the next artist in
alphabetic order on the CD-R and begin playing MP3
files by that artist. If you want to listen to MP3 files
by another artist, press the pushbutton located below
either arrow button. You will go to the next or previous
artist in alphabetic order. Continue pressing either
button until the desired artist is displayed.
To change from playback by artist to playback by
album, press the pushbutton located below the
Sort By label. From the sort screen, push one of the
buttons below the album button. Press the pushbutton
below the Back label to return to the main music
navigator screen.
3-68

Now the album name is displayed on the second line
between the arrows and songs from the current
album will begin to play. Once all songs from that album
are played, the player will move to the next album in
alphabetic order on the CD-R and begin playing
MP3 files from that album.
To exit music navigator mode, press the button below
the Back label to return to normal MP3 playback.
BAND: Press this button to listen to the radio when a
CD is playing. The CD will remain safely inside the radio
for future listening.
CD/AUX (CD/Auxiliary): Press this button to play a
CD when listening to the radio. The CD icon and track
number will appear on the display when a CD is in
the player.
Your radio system has an auxiliary input jack located on
the lower right side of the faceplate. You can connect
an external audio device such as a portable audio player
to the auxiliary input jack for use as another source
for playing CDs.
Press the CD/AUX button again and the system will
begin playing audio from the connected portable audio
player. If a portable audio player is not connected,
“no input device found” will be displayed.
CD Messages
CHECK DISC: If this message appears on the display
and/or the CD comes out, it could be for one of the
following reasons:
•It is very hot. When the temperature returns to
normal, the CD should play.
•You are driving on a very rough road. When the
road becomes smoother, the CD should play.
•The CD is dirty, scratched, wet, or upside down.
•The air is very humid. If so, wait about an hour and
try again.
•There may have been a problem while burning
the CD.
•The label may be caught in the CD player.
If the CD is not playing correctly, for any other reason,
try a known good CD.
If any error occurs repeatedly or if an error cannot be
corrected, contact your retailer. If the radio displays
an error message, write it down and provide it to your
retailer when reporting the problem.
3-69

Using the Auxiliary Input Jack
Your radio system has an auxiliary input jack located on
the lower right side of the faceplate. This is not an audio
output; do not plug the headphone set into the front
auxiliary input jack. You can however, connect an
external audio device such as an iPod, laptop computer,
MP3 player, CD changer, or cassette tape player, etc. to
the auxiliary input jack for use as another source for audio
listening.
To use a portable audio player, connect a 3.5 mm
(1/8 inch) cable to the radio’s front auxiliary input jack.
When a device is connected, press the radio CD/AUX
button to begin playing audio from the device over
the car speakers.
O(Power/Volume): Turn this knob clockwise to
increase or counterclockwise to decrease the volume of
the portable player. You may need to do additional
volume adjustments from the portable device if the
volume does not go loud or soft enough.
BAND: Press this button to listen to the radio when a
portable audio device is playing. The portable audio
device will continue playing, so you may want to stop it or
power it off.
CD/AUX (CD/Auxiliary): Press this button to play a CD
when a portable audio device is playing. Press this button
again and the system will begin playing audio from the
connected portable audio player. If a portable audio
player is not connected, “no input device found” will be
displayed.
Radio Reception
You may experience frequency interference and static
during normal radio reception if items such as cellphone
chargers, vehicle convenience accessories, and
external electronic devices are plugged into the
accessory power outlet. If there is interference or static,
unplug the item from the accessory power outlet.
AM
The range for most AM stations is greater than for FM,
especially at night. The longer range can cause station
frequencies to interfere with each other. For better radio
reception, most AM radio stations will boost the power
levels during the day, and then reduce these levels during
the night. Static can also occur when things like storms
and power lines interfere with radio reception. When this
happens, try reducing the treble on your radio.
FM Stereo
FM stereo will give the best sound, but FM signals
will reach only about 10 to 40 miles (16 to 65 km).
Tall buildings or hills can interfere with FM signals,
causing the sound to fade in and out.
3-70

XM™ Satellite Radio Service
XM™ Satellite Radio Service gives digital radio
reception from coast-to-coast in the 48 contiguous
United States, and in Canada (if available). Just as with
FM, tall buildings or hills can interfere with satellite
radio signals, causing the sound to fade in and out.
In addition, traveling or standing under heavy foliage,
bridges, garages, or tunnels may cause loss of XM
signal for a period of time. The radio may display NO
XM SIGNAL to indicate interference.
Cellular Phone Usage
Cellular phone usage may cause interference with your
vehicle’s radio. This interference may occur when
making or receiving phone calls, charging the phone’s
battery, or simply having the phone on. This interference
is an increased level of static while listening to the radio.
If static is received while listening to the radio, unplug
the cellular phone and turn it off.
Care of Your CDs
Handle CDs carefully. Store them in their original cases
or other protective cases and away from direct sunlight
and dust. The CD player scans the bottom surface of the
disc. If the surface of a CD is damaged, such as cracked,
broken, or scratched, the CD will not play properly or not
at all. If the surface of a CD is soiled, take a soft, lint free
cloth or dampen a clean, soft cloth in a mild, neutral
detergent solution mixed with water, and clean it.
Make sure the wiping process starts from the center
to the edge.
Do not touch the bottom side of a CD while handling it;
this could damage the surface. Pick up CDs by grasping
the outer edges or the edge of the hole and the
outer edge.
Care of the CD Player
The use of CD lens cleaners for CD players is not
advised, due to the risk of contaminating the internal
lens of the CD optics with lubricants.
3-71

Fixed Mast Antenna
The fixed mast antenna can withstand most car washes
without being damaged. If the mast should ever become
slightly bent, straighten it out by hand. If the mast is badly
bent, replace it.
Check occasionally to make sure the mast is still
tightened to the antenna base located on the hood of
the vehicle. If tightening is required, tighten by hand.
XM™ Satellite Radio Antenna
System
The XM™ Satellite Radio antenna is located on the roof
of your vehicle. Keep this antenna clear of snow and ice
build up for clear radio reception.
If your vehicle has a sunroof, the performance of the
XM™ system may be affected if the sunroof is open.
Loading items onto the roof of your vehicle can interfere
with the performance of the XM™ system. Make sure
the XM™ Satellite Radio antenna is not obstructed.
3-72

Your Driving, the Road, and Your Vehicle ..........4-2
Defensive Driving ...........................................4-2
Drunken Driving .............................................4-3
Control of a Vehicle ........................................4-5
Braking .........................................................4-6
Anti-Lock Brake System (ABS) .........................4-7
Braking in Emergencies ...................................4-9
Enhanced Traction System (ETS) .....................4-9
Limited-Slip Differential ..................................4-10
Steering ......................................................4-11
Off-Road Recovery .......................................4-13
Passing .......................................................4-14
Loss of Control .............................................4-15
Racing or Other Competitive Driving ................4-16
Driving at Night ............................................4-17
Driving in Rain and on Wet Roads ..................4-18
City Driving ..................................................4-20
Freeway Driving ...........................................4-21
Before Leaving on a Long Trip .......................4-22
Highway Hypnosis ........................................4-23
Hill and Mountain Roads ................................4-24
Winter Driving ..............................................4-26
If Your Vehicle is Stuck in Sand, Mud,
Ice, or Snow .............................................4-30
Rocking Your Vehicle to Get It Out .................4-31
Loading Your Vehicle ....................................4-31
Towing ..........................................................4-36
Towing Your Vehicle .....................................4-36
Recreational Vehicle Towing ...........................4-36
Towing a Trailer ...........................................4-39
Section 4 Driving Your Vehicle
4-1

Your Driving, the Road, and
Your Vehicle
Defensive Driving
The best advice anyone can give about driving is: Drive
defensively.
Please start with a very important safety device in your
vehicle: Buckle up. See Safety Belts: They Are for
Everyone on page 1-11.
{CAUTION:
Defensive driving really means “Be ready for
anything.” On city streets, rural roads, or
expressways, it means “Always expect the
unexpected.” Assume that pedestrians or other
drivers are going to be careless and make
mistakes. Anticipate what they might do and
be ready. Rear-end collisions are about the
most preventable of accidents. Yet they are
common. Allow enough following distance.
Defensive driving requires that a driver
concentrate on the driving task. Anything that
distracts from the driving task makes proper
defensive driving more difficult and can even
cause a collision, with resulting injury. Ask a
passenger to help do these things, or pull off
the road in a safe place to do them. These
simple defensive driving techniques could
save your life.
4-2

Drunken Driving
Death and injury associated with drinking and driving is
a national tragedy. It is the number one contributor
to the highway death toll, claiming thousands of victims
every year.
Alcohol affects four things that anyone needs to drive
a vehicle:
•Judgment
•Muscular Coordination
•Vision
•Attentiveness
Police records show that almost half of all motor
vehicle-related deaths involve alcohol. In most cases,
these deaths are the result of someone who was
drinking and driving. In recent years, more than
16,000 annual motor vehicle-related deaths have been
associated with the use of alcohol, with more than
300,000 people injured.
Many adults — by some estimates, nearly half the adult
population — choose never to drink alcohol, so they
never drive after drinking. For persons under 21,
it is against the law in every U.S. state to drink alcohol.
There are good medical, psychological, and
developmental reasons for these laws.
The obvious way to eliminate the leading highway
safety problem is for people never to drink alcohol
and then drive. But what if people do? How much is
“too much” if someone plans to drive? It is a lot less
than many might think. Although it depends on
each person and situation, here is some general
information on the problem.
The Blood Alcohol Concentration (BAC) of someone
who is drinking depends upon four things:
•The amount of alcohol consumed
•The drinker’s body weight
•The amount of food that is consumed before
and during drinking
•The length of time it has taken the drinker to
consume the alcohol
4-3

According to the American Medical Association, a
180 lb (82 kg) person who drinks three 12 ounce
(355 ml) bottles of beer in an hour will end up with a
BAC of about 0.06 percent. The person would reach the
same BAC by drinking three 4 ounce (120 ml) glasses
of wine or three mixed drinks if each had 1-1/2 ounces
(45 ml) of liquors like whiskey, gin, or vodka.
It is the amount of alcohol that counts. For example, if
the same person drank three double martinis (3 ounces
or 90 ml of liquor each) within an hour, the person’s BAC
would be close to 0.12 percent. A person who consumes
food just before or during drinking will have a somewhat
lower BAC level.
There is a gender difference, too. Women generally
have a lower relative percentage of body water than men.
Since alcohol is carried in body water, this means that a
woman generally will reach a higher BAC level than a
man of her same body weight will when each has the
same number of drinks.
The law in most U.S. states, and throughout Canada,
sets the legal limit at 0.08 percent. In some other
countries, the limit is even lower. For example, it is
0.05 percent in both France and Germany. The
BAC limit for all commercial drivers in the United States
is 0.04 percent.
The BAC will be over 0.10 percent after three to
six drinks (in one hour). Of course, as we have seen, it
depends on how much alcohol is in the drinks, and
how quickly the person drinks them.
4-4

But the ability to drive is affected well below a BAC of
0.10 percent. Research shows that the driving skills
of many people are impaired at a BAC approaching
0.05 percent, and that the effects are worse at night. All
drivers are impaired at BAC levels above 0.05 percent.
Statistics show that the chance of being in a collision
increases sharply for drivers who have a BAC of
0.05 percent or above. A driver with a BAC level of
0.06 percent has doubled his or her chance of having a
collision. At a BAC level of 0.10 percent, the chance
of this driver having a collision is 12 times greater; at a
level of 0.15 percent, the chance is 25 times greater!
The body takes about an hour to rid itself of the alcohol
in one drink. No amount of coffee or number of cold
showers will speed that up. “I will be careful” is not the
right answer. What if there is an emergency, a need
to take sudden action, as when a child darts into
the street? A person with even a moderate BAC
might not be able to react quickly enough to avoid
the collision.
There is something else about drinking and driving that
many people do not know. Medical research shows that
alcohol in a person’s system can make crash injuries
worse, especially injuries to the brain, spinal cord, or
heart. This means that when anyone who has been
drinking — driver or passenger — is in a crash, that
person’s chance of being killed or permanently disabled
is higher than if the person had not been drinking.
{CAUTION:
Drinking and then driving is very dangerous.
Your reflexes, perceptions, attentiveness, and
judgment can be affected by even a small
amount of alcohol. You can have a serious — or
even fatal — collision if you drive after drinking.
Please do not drink and drive or ride with a
driver who has been drinking. Ride home in a
cab; or if you are with a group, designate a
driver who will not drink.
Control of a Vehicle
You have three systems that make your vehicle go
where you want it to go. They are the brakes, the
steering, and the accelerator. All three systems have to
do their work at the places where the tires meet the road.
Sometimes, as when you are driving on snow or ice, it
is easy to ask more of those control systems than
the tires and road can provide. That means you can
lose control of your vehicle. See Enhanced Traction
System (ETS) on page 4-9.
Adding non-Saturn accessories can affect your vehicle’s
performance. See Accessories and Modifications
on page 5-3.
4-5

Braking
See Brake System Warning Light on page 3-34.
Braking action involves perception time and
reaction time.
First, you have to decide to push on the brake pedal.
That is perception time. Then you have to bring up your
foot and do it. That is reaction time.
Average reaction time is about three-fourths of a
second. But that is only an average. It might be less
with one driver and as long as two or three seconds or
more with another. Age, physical condition, alertness,
coordination, and eyesight all play a part. So do alcohol,
drugs, and frustration. But even in three-fourths of a
second, a vehicle moving at 60 mph (100 km/h) travels
66 feet (20 m). That could be a lot of distance in an
emergency, so keeping enough space between
your vehicle and others is important.
And, of course, actual stopping distances vary greatly
with the surface of the road, whether it is pavement
or gravel; the condition of the road, whether it is
wet, dry, or icy; tire tread; the condition of your brakes;
the weight of the vehicle; and the amount of brake
force applied.
Avoid needless heavy braking. Some people drive in
spurts — heavy acceleration followed by heavy
braking — rather than keeping pace with traffic. This is
a mistake. Your brakes may not have time to cool
between hard stops. Your brakes will wear out much
faster if you do a lot of heavy braking. If you keep pace
with the traffic and allow realistic following distances,
you will eliminate a lot of unnecessary braking.
That means better braking and longer brake life.
If your engine ever stops while you are driving, brake
normally but do not pump your brakes. If you do,
the pedal may get harder to push down. If your engine
stops, you will still have some power brake assist.
But you will use it when you brake. Once the power
assist is used up, it may take longer to stop and
the brake pedal will be harder to push.
Adding non-Saturn accessories can affect your vehicle’s
performance. See Accessories and Modifications on
page 5-3.
4-6

Anti-Lock Brake System (ABS)
Your vehicle may have the Anti-Lock Brake System
(ABS), an advanced electronic braking system that will
help prevent a braking skid.
If your vehicle has ABS,
this warning light on the
instrument panel will
come on briefly when
you start your vehicle.
When you start your engine, or when you begin to drive
away, your ABS will check itself. You may hear a
momentary motor or clicking noise while this test is
going on, and you may even notice that your brake
pedal moves or pulses a little. This is normal. Let us say the road is wet and you are driving safely.
Suddenly, an animal jumps out in front of you. You slam
on the brakes and continue braking. Here is what
happens with ABS:
A computer senses that wheels are slowing down. If
one of the wheels is about to stop rolling, the computer
will separately work the brakes at each wheel.
4-7

ABS can change the brake pressure faster than any
driver could. The computer is programmed to make the
most of available tire and road conditions. This can
help you steer around the obstacle while braking hard.
As you brake, your computer keeps receiving updates
on wheel speed and controls braking pressure
accordingly.
Remember: ABS not change the time you need to get
your foot up to the brake pedal or always decrease
stopping distance. If you get too close to the vehicle in
front of you, you will not have time to apply your
brakes if that vehicle suddenly slows or stops. Always
leave enough room up ahead to stop, even though
you have ABS.
Using ABS
Do not pump the brakes. Just hold the brake pedal
down firmly and let anti-lock work for you. You may feel
a slight brake pedal pulsation or notice some noise,
but this is normal.
4-8

Braking in Emergencies
At some time, nearly every driver gets into a situation
that requires hard braking.
If you have ABS, you can steer and brake at the same
time. However, if you do not have ABS, your first
reaction — to hit the brake pedal hard and hold it
down — may be the wrong thing to do. Your wheels can
stop rolling. Once they do, the vehicle cannot respond
to your steering. Momentum will carry it in whatever
direction it was headed when the wheels stopped rolling.
That could be off the road, into the very thing you
were trying to avoid, or into traffic.
If you do not have ABS, use a “squeeze” braking
technique. This will give you maximum braking while
maintaining steering control. You can do this by pushing
on the brake pedal with steadily increasing pressure.
In an emergency, you will probably want to squeeze the
brakes hard without locking the wheels. If you hear or
feel the wheels sliding, ease off the brake pedal.
This will help you retain steering control. If you do have
ABS, it is different. See Anti-Lock Brake System
(ABS) on page 4-7.
In many emergencies, steering can help you more than
even the very best braking.
Enhanced Traction System (ETS)
Your vehicle may have an Enhanced Traction System
(ETS) that limits wheel spin. This is especially useful in
slippery road conditions. The system operates only if
it senses that one or both of the front wheels are
spinning or beginning to lose traction. When this
happens, the system reduces engine power and may
also upshift the transaxle to limit wheel spin.
The LOW TRAC message will be displayed when your
Enhanced Traction System is engaged and limiting
wheel spin. See Low Traction Message on page 3-44.
You may feel or hear the system working, but this
is normal.
If your vehicle is in cruise control when the Enhanced
Traction System begins to limit wheel spin, the
cruise control will automatically disengage. When road
conditions allow you to safely use it again, you may
re-engage the cruise control. See Cruise Control
on page 3-10.
The Enhanced Traction System operates in all transaxle
shift lever positions. But the system can upshift the
transaxle only as high as the shift lever position
you have chosen, so you should use the lower gears
only when necessary.
4-9

The Enhanced Traction System automatically comes
on whenever you start your vehicle. The light on
the traction control button will also come on to let you
know the system is on. To limit wheel spin, especially in
slippery road conditions, you should always leave the
system on. But you can turn the traction control system
off if you ever need to. You should turn the system
off if your vehicle ever gets stuck in sand, mud or
snow and rocking the vehicle is required. See
Rocking Your Vehicle to Get It Out on page 4-31 and
If Your Vehicle is Stuck in Sand, Mud, Ice, or Snow
on page 4-30.
To turn the system on or
off, press the enhanced
traction system button
located on the instrument
panel.
When you turn the system off, the TRAC OFF message
will be displayed. If the Enhanced Traction System is
limiting wheel spin when you press the button to turn the
system off, the TRAC OFF message will be displayed,
but the system will not turn off until there is no longer a
current need to limit wheel spin. You can turn the system
back on at any time by pressing the button again. The
TRAC OFF message will no longer be displayed.
Adding non-Saturn accessories can affect your vehicle’s
performance. See Accessories and Modifications on
page 5-3 for more information.
Limited-Slip Differential
Your vehicle may have this feature. A limited-slip
transaxle can give you additional traction on snow, mud,
ice, sand or gravel. It works like a standard transaxle
most of the time, but when one of the front wheels loses
traction, this feature will allow the wheel with traction
to move the vehicle.
4-10

Steering
Electric Power Steering
If the engine stalls while you are driving, the power
steering assist system will continue to operate until you
are able to stop the vehicle. If you lose power steering
assist because the system is not functioning, you
can steer but it will take much more effort.
If you turn the steering wheel in either direction
several times until it stops, or hold the steering wheel in
the stopped position for an extended amount of time,
you may notice a reduced amount of power steering
assist. The normal amount of power steering assist
should return shortly after a few normal steering
movements.
The electric power steering system does not require
regular maintenance.
If you suspect steering
problems and/or the
PWR STR message is
displayed, see your retailer
for service and repair.
See Power Steering
Message on page 3-46.
Steering Tips
It is important to take curves at a reasonable speed.
A lot of the “driver lost control” accidents mentioned on
the news happen on curves. Here is why:
Experienced driver or beginner, each of us is subject to
the same laws of physics when driving on curves.
The traction of the tires against the road surface makes
it possible for the vehicle to change its path when
you turn the front wheels. If there is no traction, inertia
will keep the vehicle going in the same direction. If
you have ever tried to steer a vehicle on wet ice, you
will understand this.
The traction you can get in a curve depends on the
condition of your tires and the road surface, the angle
at which the curve is banked, and your speed. While you
are in a curve, speed is the one factor you can control.
Suppose you are steering through a sharp curve.
Then you suddenly apply the brakes. Both control
systems — steering and braking — have to do their work
where the tires meet the road. Unless you have
four-wheel anti-lock brakes, adding the hard braking can
demand too much of those places. You can lose control.
4-11

The same thing can happen if you are steering through
a sharp curve and you suddenly accelerate. Those
two control systems — steering and acceleration — can
overwhelm those places where the tires meet the
road and make you lose control. See Enhanced Traction
System (ETS) on page 4-9.
What should you do if this ever happens? Ease up on
the brake or accelerator pedal, steer the vehicle the way
you want it to go, and slow down.
Speed limit signs near curves warn that you should
adjust your speed. Of course, the posted speeds
are based on good weather and road conditions. Under
less favorable conditions you will want to go slower.
If you need to reduce your speed as you approach
a curve, do it before you enter the curve, while your front
wheels are straight ahead.
Try to adjust your speed so you can “drive” through the
curve. Maintain a reasonable, steady speed. Wait to
accelerate until you are out of the curve, and then
accelerate gently into the straightaway.
Adding non-Saturn accessories can affect your vehicle’s
performance. See Accessories and Modifications on
page 5-3.
Steering in Emergencies
There are times when steering can be more effective
than braking. For example, you come over a hill and find
a truck stopped in your lane, or a car suddenly pulls
out from nowhere, or a child darts out from between
parked cars and stops right in front of you. You
can avoid these problems by braking — if you can stop
in time. But sometimes you cannot; there is not room.
That is the time for evasive action — steering around the
problem.
Your vehicle can perform very well in emergencies like
these. First apply your brakes — but, unless you
have anti-lock brakes, not enough to lock your wheels.
See Braking on page 4-6. It is better to remove as
much speed as you can from a possible collision. Then
steer around the problem, to the left or right depending
on the space available.
4-12

An emergency like this requires close attention and a
quick decision. If you are holding the steering wheel at
the recommended 9 and 3 o’clock positions, you
can turn it a full 180 degrees very quickly without
removing either hand. But you have to act fast, steer
quickly, and just as quickly straighten the wheel
once you have avoided the object.
The fact that such emergency situations are always
possible is a good reason to practice defensive driving
at all times and wear safety belts properly.
Off-Road Recovery
You may find that your right wheels have dropped off
the edge of a road onto the shoulder while you are
driving.
If the level of the shoulder is only slightly below the
pavement, recovery should be fairly easy. Ease off the
accelerator and then, if there is nothing in the way,
steer so that your vehicle straddles the edge of
the pavement. You can turn the steering wheel up to
one-quarter turn until the right front tire contacts
the pavement edge. Then turn your steering wheel to go
straight down the roadway.
4-13

Passing
The driver of a vehicle about to pass another on a
two-lane highway waits for just the right moment,
accelerates, moves around the vehicle ahead, then
goes back into the right lane again. A simple maneuver?
Not necessarily! Passing another vehicle on a two-lane
highway is a potentially dangerous move, since the
passing vehicle occupies the same lane as oncoming
traffic for several seconds. A miscalculation, an error in
judgment, or a brief surrender to frustration or anger
can suddenly put the passing driver face to face with the
worst of all traffic accidents — the head-on collision.
So here are some tips for passing:
•Drive ahead. Look down the road, to the sides and
to crossroads for situations that might affect your
passing patterns. If you have any doubt whatsoever
about making a successful pass, wait for a
better time.
•Watch for traffic signs, pavement markings and
lines. If you can see a sign up ahead that might
indicate a turn or an intersection, delay your pass.
A broken center line usually indicates it is all
right to pass, providing the road ahead is clear.
Never cross a solid line on your side of the lane or
a double solid line, even if the road seems empty
of approaching traffic.
•Do not get too close to the vehicle you want to
pass while you are awaiting an opportunity. For
one thing, following too closely reduces your area
of vision, especially if you are following a larger
vehicle. Also, you will not have adequate space
if the vehicle ahead suddenly slows or stops. Keep
back a reasonable distance.
•When it looks like a chance to pass is coming up,
start to accelerate but stay in the right lane and
do not get too close. Time your move so you will
be increasing speed as the time comes to move into
the other lane. If the way is clear to pass, you will
have a running start that more than makes up
for the distance you would lose by dropping back.
And if something happens to cause you to
cancel your pass, you need only slow down and
drop back again and wait for another opportunity.
•If other vehicles are lined up to pass a slow vehicle,
wait your turn. But take care that someone is not
trying to pass you as you pull out to pass the slow
vehicle. Remember to glance over your shoulder
and check the blind spot.
4-14

•Check your mirrors, glance over your shoulder,
and start your left lane change signal before moving
out of the right lane to pass. When you are far
enough ahead of the passed vehicle to see its front
in your inside mirror, activate your right lane
change signal and move back into the right lane.
Remember that your passenger side outside mirror
is convex. The vehicle you just passed may
seem to be farther away from you than it really is.
•Try not to pass more than one vehicle at a time on
two-lane roads. Reconsider before passing the
next vehicle.
•Do not overtake a slowly moving vehicle too rapidly.
Even though the brake lamps are not flashing, it
may be slowing down or starting to turn.
•If you are being passed, make it easy for the
following driver to get ahead of you. Perhaps
you can ease a little to the right.
Loss of Control
Let us review what driving experts say about what
happens when the three control systems — brakes,
steering, and acceleration — do not have enough
friction where the tires meet the road to do what the
driver has asked.
In any emergency, do not give up. Keep trying to steer
and constantly seek an escape route or area of less
danger.
Skidding
In a skid, a driver can lose control of the vehicle.
Defensive drivers avoid most skids by taking reasonable
care suited to existing conditions, and by not overdriving
those conditions. But skids are always possible.
The three types of skids correspond to your vehicle’s
three control systems. In the braking skid, your wheels
are not rolling. In the steering or cornering skid, too
much speed or steering in a curve causes tires to slip and
lose cornering force. And in the acceleration skid, too
much throttle causes the driving wheels to spin.
A cornering skid is best handled by easing your foot off
the accelerator pedal.
4-15

If you have the Enhanced Traction System (ETS),
remember: It helps to avoid only the acceleration skid.
See Enhanced Traction System (ETS) on page 4-9.Ifyou
do not have the Enhanced Traction System, or if the
system is off, then an acceleration skid is also best
handled by easing your foot off the accelerator pedal.
If your vehicle starts to slide, ease your foot off the
accelerator pedal and quickly steer the way you want
the vehicle to go. If you start steering quickly enough,
your vehicle may straighten out. Always be ready
for a second skid if it occurs.
Of course, traction is reduced when water, snow, ice,
gravel, or other material is on the road. For safety, you
will want to slow down and adjust your driving to
these conditions. It is important to slow down on slippery
surfaces because stopping distance will be longer and
vehicle control more limited.
While driving on a surface with reduced traction, try
your best to avoid sudden steering, acceleration,
or braking, including reducing vehicle speed by shifting
to a lower gear. Any sudden changes could cause
the tires to slide. You may not realize the surface is
slippery until your vehicle is skidding. Learn to recognize
warning clues — such as enough water, ice, or packed
snow on the road to make a mirrored surface — and
slow down when you have any doubt.
If you have the Anti-Lock Brake System (ABS),
remember: It helps avoid only the braking skid. If you do
not have ABS, then in a braking skid, where the
wheels are no longer rolling, release enough pressure
on the brakes to get the wheels rolling again. This
restores steering control. Push the brake pedal down
steadily when you have to stop suddenly. As long as the
wheels are rolling, you will have steering control.
Racing or Other Competitive Driving
See your warranty book before using your vehicle for
racing or other competitive driving. After reviewing your
warranty book, please see the GM Performance
Parts website or catalog and contact the race
sanctioning bodies, for example Sports Car Club of
America (SCCA) or Grand American, for parts and
equipment required for racing or other competitive
driving.
4-16

Driving at Night
Night driving is more dangerous than day driving.
One reason is that some drivers are likely to be
impaired — by alcohol or drugs, with night vision
problems, or by fatigue.
Here are some tips on night driving.
•Drive defensively.
•Do not drink and drive.
•Adjust the inside rearview mirror to reduce the
glare from headlamps behind you.
•Since you cannot see as well, you may need to
slow down and keep more space between you
and other vehicles.
•Slow down, especially on higher speed roads.
Your vehicle’s headlamps can light up only so
much road ahead.
•In remote areas, watch for animals.
•If you are tired, pull off the road in a safe place
and rest.
No one can see as well at night as in the daytime.
But as we get older these differences increase.
A 50-year-old driver may require at least twice as much
light to see the same thing at night as a 20-year-old.
What you do in the daytime can also affect your night
vision. For example, if you spend the day in bright
sunshine you are wise to wear sunglasses. Your eyes
will have less trouble adjusting to night. But if you
are driving, do not wear sunglasses at night. They may
cut down on glare from headlamps, but they also
make a lot of things invisible.
You can be temporarily blinded by approaching
headlamps. It can take a second or two, or even
several seconds, for your eyes to re-adjust to the dark.
When you are faced with severe glare, as from a
driver who does not lower the high beams, or a vehicle
with misaimed headlamps, slow down a little. Avoid
staring directly into the approaching headlamps.
Keep the windshield and all the glass on your vehicle
clean — inside and out. Glare at night is made
much worse by dirt on the glass. Even the inside of the
glass can build up a film caused by dust. Dirty glass
makes lights dazzle and flash more than clean
glass would, making the pupils of your eyes contract
repeatedly.
Remember that the headlamps light up far less of a
roadway when you are in a turn or curve. Keep your
eyes moving; that way, it is easier to pick out dimly lighted
objects. Just as the headlamps should be checked
regularly for proper aim, so should your eyes be
examined regularly. Some drivers suffer from night
blindness — the inability to see in dim light — and are
not even aware of it.
4-17

Driving in Rain and on Wet Roads
Rain and wet roads can mean driving trouble. On a wet
road, you cannot stop, accelerate, or turn as well
because your tire-to-road traction is not as good as on
dry roads. And, if your tires do not have much tread
left, you will get even less traction. It is always wise to
go slower and be cautious if rain starts to fall while
you are driving. The surface may get wet suddenly when
your reflexes are tuned for driving on dry pavement.
The heavier the rain, the harder it is to see. Even if your
windshield wiper blades are in good shape, a heavy
rain can make it harder to see road signs and
traffic signals, pavement markings, the edge of the road,
and even people walking.
It is wise to keep your windshield wiping equipment in
good shape and keep your windshield washer fluid
reservoir filled with washer fluid. Replace your
windshield wiper inserts when they show signs of
streaking or missing areas on the windshield, or when
strips of rubber start to separate from the inserts.
{CAUTION:
Wet brakes can cause accidents. They will not
work as well in a quick stop and may cause
pulling to one side. You could lose control of
the vehicle.
After driving through a large puddle of water
or a car wash, apply your brake pedal lightly
until your brakes work normally.
4-18

Driving too fast through large water puddles or even
going through some car washes can cause problems,
too. The water may affect your brakes. Try to avoid
puddles. But if you cannot, try to slow down before you
hit them.
Hydroplaning
Hydroplaning is dangerous. So much water can build up
under your tires that they can actually ride on the
water. This can happen if the road is wet enough and
you are going fast enough. When your vehicle is
hydroplaning, it has little or no contact with the road.
Hydroplaning does not happen often. But it can if your
tires do not have much tread or if the pressure in
one or more is low. It can happen if a lot of water is
standing on the road. If you can see reflections
from trees, telephone poles, or other vehicles, and
raindrops dimple the water’s surface, there could be
hydroplaning.
Hydroplaning usually happens at higher speeds. There
just is not a hard and fast rule about hydroplaning.
The best advice is to slow down when it is raining.
Driving Through Deep Standing Water
Notice: If you drive too quickly through deep
puddles or standing water, water can come in
through your engine’s air intake and badly damage
your engine. Never drive through water that is
slightly lower than the underbody of your vehicle.
If you cannot avoid deep puddles or standing water,
drive through them very slowly.
Driving Through Flowing Water
{CAUTION:
Flowing or rushing water creates strong forces.
If you try to drive through flowing water, as you
might at a low water crossing, your vehicle can
be carried away. As little as six inches of
flowing water can carry away a smaller vehicle.
If this happens, you and other vehicle
occupants could drown. Do not ignore police
warning signs, and otherwise be very cautious
about trying to drive through flowing water.
4-19

Some Other Rainy Weather Tips
•Besides slowing down, allow some extra following
distance. And be especially careful when you
pass another vehicle. Allow yourself more clear
room ahead, and be prepared to have your
view restricted by road spray.
•Have good tires with proper tread depth.
See Tires on page 5-57.
City Driving
One of the biggest problems with city streets is the
amount of traffic on them. You will want to watch out for
what the other drivers are doing and pay attention to
traffic signals.
4-20

Here are ways to increase your safety in city driving:
•Know the best way to get to where you are
going. Get a city map and plan your trip into
an unknown part of the city just as you would for a
cross-country trip.
•Try to use the freeways that rim and crisscross
most large cities. You will save time and energy.
See Freeway Driving on page 4-21.
•Treat a green light as a warning signal. A traffic
light is there because the corner is busy enough
to need it. When a light turns green, and just before
you start to move, check both ways for vehicles
that have not cleared the intersection or may
be running the red light.
Freeway Driving
Mile for mile, freeways — also called thruways,
parkways, expressways, turnpikes, or
superhighways — are the safest of all roads. But they
have their own special rules.
The most important advice on freeway driving is: Keep
up with traffic and keep to the right. Drive at the
same speed most of the other drivers are driving.
Too-fast or too-slow driving breaks a smooth traffic flow.
Treat the left lane on a freeway as a passing lane.
4-21

At the entrance, there is usually a ramp that leads to the
freeway. If you have a clear view of the freeway as you
drive along the entrance ramp, you should begin to check
traffic. Try to determine where you expect to blend with
the flow. Try to merge into the gap at close to the
prevailing speed. Switch on your turn signal, check your
mirrors, and glance over your shoulder as often as
necessary. Try to blend smoothly with the traffic flow.
Once you are on the freeway, adjust your speed to the
posted limit or to the prevailing rate if it is slower.
Stay in the right lane unless you want to pass.
Before changing lanes, check your mirrors. Then use
your turn signal.
Just before you leave the lane, glance quickly over your
shoulder to make sure there is not another vehicle in
your blind spot.
Once you are moving on the freeway, make certain
you allow a reasonable following distance.
Expect to move slightly slower at night.
When you want to leave the freeway, move to the
proper lane well in advance. If you miss your exit,
do not, under any circumstances, stop and back up.
Drive on to the next exit.
The exit ramp can be curved, sometimes quite sharply.
The exit speed is usually posted. Reduce your speed
according to your speedometer, not to your sense
of motion. After driving for any distance at higher
speeds, you may tend to think you are going slower
than you actually are.
Before Leaving on a Long Trip
Make sure you are ready. Try to be well rested. If you
must start when you are not fresh — such as after
a day’s work — do not plan to make too many miles that
first part of the journey. Wear comfortable clothing
and shoes you can easily drive in.
Is your vehicle ready for a long trip? If you keep it
serviced and maintained, it is ready to go. If it needs
service, have it done before starting out. Of course,
you will find experienced and able service experts
at Saturn retailers all across North America. They will
be ready and willing to help if you need it.
4-22

Here are some things you can check before a trip:
•Windshield Washer Fluid: Is the reservoir full?
Are all windows clean inside and outside?
•Wiper Blades: Are they in good shape?
•Fuel, Engine Oil, Other Fluids: Have you checked
all levels?
•Lamps: Are they all working? Are the lenses clean?
•Tires: They are vitally important to a safe,
trouble-free trip. Is the tread good enough for
long-distance driving? Are the tires all inflated to
the recommended pressure?
•Weather Forecasts: What is the weather outlook
along your route? Should you delay your trip a
short time to avoid a major storm system?
•Maps: Do you have up-to-date maps?
Highway Hypnosis
Is there actually such a condition as highway hypnosis?
Or is it just plain falling asleep at the wheel? Call it
highway hypnosis, lack of awareness, or whatever.
There is something about an easy stretch of road with
the same scenery, along with the hum of the tires on
the road, the drone of the engine, and the rush of
the wind against the vehicle that can make you sleepy.
Do not let it happen to you! If it does, your vehicle
can leave the road in less than a second, and you
could crash and be injured.
What can you do about highway hypnosis? First, be
aware that it can happen.
Then here are some tips:
•Make sure your vehicle is well ventilated, with a
comfortably cool interior.
•Keep your eyes moving. Scan the road ahead
and to the sides. Check your rearview mirrors
and your instruments frequently.
•If you get sleepy, pull off the road into a rest,
service, or parking area and take a nap, get some
exercise, or both. For safety, treat drowsiness
on the highway as an emergency.
4-23

Hill and Mountain Roads
Driving on steep hills or mountains is different from
driving in flat or rolling terrain.
If you drive regularly in steep country, or if you are
planning to visit there, here are some tips that can make
your trips safer and more enjoyable.
•Keep your vehicle in good shape. Check all fluid
levels and also the brakes, tires, cooling system,
and transaxle. These parts can work hard on
mountain roads.
{CAUTION:
If you do not shift down, your brakes could get
so hot that they would not work well. You would
then have poor braking or even none going
down a hill. You could crash. Shift down to let
your engine assist your brakes on a steep
downhill slope.
4-24

{CAUTION:
Coasting downhill in NEUTRAL (N) or with the
ignition off is dangerous. Your brakes will have
to do all the work of slowing down. They could
get so hot that they would not work well. You
would then have poor braking or even none
going down a hill. You could crash. Always
have your engine running and your vehicle in
gear when you go downhill.
•Know how to go down hills. The most important
thing to know is this: let your engine do some of
the slowing down. Shift to a lower gear when you
go down a steep or long hill.
•Know how to go uphill. You may want to shift down
to a lower gear. The lower gears help cool your
engine and transaxle, and you can climb the
hill better.
•Stay in your own lane when driving on two-lane
roads in hills or mountains. Do not swing wide
or cut across the center of the road. Drive at speeds
that let you stay in your own lane.
•As you go over the top of a hill, be alert. There
could be something in your lane, like a stalled car
or an accident.
•You may see highway signs on mountains that
warn of special problems. Examples are long
grades, passing or no-passing zones, a falling rocks
area, or winding roads. Be alert to these and take
appropriate action.
4-25

Winter Driving
Here are some tips for winter driving:
•Have your vehicle in good shape for winter.
•You may want to put winter emergency supplies
in your trunk.
Also see Tires on page 5-57.
Include an ice scraper, a small brush or broom, a
supply of windshield washer fluid, a rag, some winter
outer clothing, a small shovel, a flashlight, a red
cloth, and a couple of reflective warning triangles. And,
if you will be driving under severe conditions, include
a small bag of sand, a piece of old carpet, or a couple
of burlap bags to help provide traction. Be sure you
properly secure these items in your vehicle.
4-26

Driving on Snow or Ice
Most of the time, those places where the tires meet the
road probably have good traction.
However, if there is snow or ice between the tires and
the road, you can have a very slippery situation. You
will have a lot less traction, or grip, and will need to
be very careful.
What is the worst time for this? Wet ice. Very cold snow
or ice can be slick and hard to drive on. But wet ice
can be even more trouble because it may offer the least
traction of all. You can get wet ice when it is about
freezing, 32°F (0°C), and freezing rain begins to fall.
Try to avoid driving on wet ice until salt and sand crews
can get there.
Whatever the condition — smooth ice, packed, blowing,
or loose snow — drive with caution.
If you have the Enhanced Traction System (ETS), it will
improve your ability to accelerate when driving on a
slippery road. Even if your vehicle has ETS, you will
want to slow down and adjust your driving to the road
conditions. Under certain conditions, you may want to
turn the ETS off, such as when driving through deep
snow and loose gravel, to help maintain vehicle motion
at lower speeds. See Enhanced Traction System (ETS)
on page 4-9.
If you do not have ETS, accelerate gently. Try not to
break the fragile traction. If you accelerate too fast, the
drive wheels will spin and polish the surface under the
tires even more.
4-27

Unless you have the Anti-Lock Brake System (ABS), you
will want to brake very gently, too. If you do have ABS,
see Anti-Lock Brake System (ABS) on page 4-7. ABS
improves your vehicle’s stability when you make a hard
stop on a slippery road. Whether you have ABS or not,
you will want to begin stopping sooner than you would on
dry pavement. Without ABS, if you feel your vehicle begin
to slide, let up on the brakes a little. Push the brake pedal
down steadily to get the most traction you can.
Remember, unless you have ABS, if you brake so hard
that your wheels stop rolling, you will just slide. Brake
so your wheels always keep rolling and you can
still steer.
•Whatever your braking system, allow greater
following distance on any slippery road.
•Watch for slippery spots. The road might be fine
until you hit a spot that is covered with ice. On an
otherwise clear road, ice patches may appear in
shaded areas where the sun cannot reach, such as
around clumps of trees, behind buildings, or under
bridges. Sometimes the surface of a curve or an
overpass may remain icy when the surrounding
roads are clear. If you see a patch of ice ahead of
you, brake before you are on it. Try not to brake while
you are actually on the ice, and avoid sudden
steering maneuvers.
If You Are Caught in a Blizzard
If you are stopped by heavy snow, you could be in a
serious situation. You should probably stay with
your vehicle unless you know for sure that you are near
help and you can hike through the snow. Here are
some things to do to summon help and keep yourself
and your passengers safe:
•Turn on your hazard flashers.
•Tie a red cloth to your vehicle to alert police that
you have been stopped by the snow.
•Put on extra clothing or wrap a blanket around you.
If you do not have blankets or extra clothing, make
body insulators from newspapers, burlap bags,
rags, floor mats — anything you can wrap around
yourself or tuck under your clothing to keep warm.
4-28

You can run the engine to keep warm, but be careful.
{CAUTION:
Snow can trap exhaust gases under your
vehicle. This can cause deadly CO (carbon
monoxide) gas to get inside. CO could
overcome you and kill you. You cannot see it
or smell it, so you might not know it is in your
vehicle. Clear away snow from around the
base of your vehicle, especially any that is
blocking your exhaust pipe. And check around
again from time to time to be sure snow does
not collect there.
Open a window just a little on the side of the
vehicle that is away from the wind. This will
help keep CO out.
Run your engine only as long as you must. This saves
fuel. When you run the engine, make it go a little
faster than just idle. That is, push the accelerator
slightly. This uses less fuel for the heat that you get and
it keeps the battery charged. You will need a
well-charged battery to restart the vehicle, and possibly
for signaling later on with your headlamps. Let the
heater run for a while.
4-29

Then, shut the engine off and close the window almost
all the way to preserve the heat. Start the engine
again and repeat this only when you feel really
uncomfortable from the cold. But do it as little as
possible. Preserve the fuel as long as you can. To help
keep warm, you can get out of the vehicle and do
some fairly vigorous exercises every half hour or so until
help comes.
If Your Vehicle is Stuck in Sand,
Mud, Ice, or Snow
In order to free your vehicle when it is stuck, you will
need to spin the wheels, but you do not want to
spin your wheels too fast. The method known as rocking
can help you get out when you are stuck, but you
must use caution.
If your vehicle has the Enhanced Traction System (ETS),
the ETS can often help to free a stuck vehicle. See
Enhanced Traction System (ETS) on page 4-9.Ifthe
stuck condition is too severe for the ETS to free the
vehicle, turn the ETS off and use the rocking method.
{CAUTION:
If you let your tires spin at high speed, they
can explode, and you or others could be
injured. And, the transaxle or other parts of the
vehicle can overheat. That could cause an
engine compartment fire or other damage.
When you are stuck, spin the wheels as little
as possible. Do not spin the wheels above
35 mph (55 km/h) as shown on the
speedometer.
Notice: Spinning your wheels can destroy parts of
your vehicle as well as the tires. If you spin the
wheels too fast while shifting your transaxle back
and forth, you can destroy your transaxle. See
Rocking Your Vehicle to Get It Out on page 4-31.
For information about using tire chains on your vehicle,
see Tire Chains on page 5-74.
4-30

Rocking Your Vehicle to Get It Out
First, turn your steering wheel left and right. That
will clear the area around your front wheels. If your
vehicle has the enhanced traction system (ETS), you
should turn the ETS off. See Enhanced Traction System
(ETS) on page 4-9. Then shift back and forth between
REVERSE (R) and a forward gear, or with a manual
transaxle, between FIRST (1) or SECOND (2) and
REVERSE (R), spinning the wheels as little as possible.
Release the accelerator pedal while you shift, and
press lightly on the accelerator pedal when the transaxle
is in gear. By slowly spinning your wheels in the
forward and reverse directions, you will cause a rocking
motion that may free your vehicle. If that does not
get you out after a few tries, you may need to be
towed out. If you do need to be towed out, see
Towing Your Vehicle on page 4-36.
Loading Your Vehicle
It is very important to know how much weight your
vehicle can carry. This weight is called the vehicle
capacity weight and includes the weight of all occupants,
cargo, and all nonfactory-installed options. Two labels
on your vehicle show how much weight it may properly
carry, the Tire and Loading Information label and the
Certification/Tire label. Two labels on your vehicle
show how much weight it may properly carry, the
Tire and Loading Information label and the Vehicle
Certification label.
{CAUTION:
Do not load your vehicle any heavier than the
Gross Vehicle Weight Rating (GVWR), or either
the maximum front or rear Gross Axle Weight
Rating (GAWR). If you do, parts on your
vehicle can break, and it can change the way
your vehicle handles. These could cause you
to lose control and crash. Also, overloading
can shorten the life of your vehicle.
4-31

Tire and Loading Information Label
A vehicle specific Tire and Loading Information label is
attached to the vehicle’s center pillar (B-pillar). With
the driver’s door open, you will find the label attached
below the door lock post (striker). The tire and
loading information label lists the number of occupant
seating positions (A), and the maximum vehicle capacity
weight (B) in kilograms and pounds.
The Tire and Loading Information label also lists the
tire size of the original equipment tires (C) and the
recommended cold tire inflation pressures (D). For more
information on tires and inflation, see Tires on
page 5-57 and Inflation - Tire Pressure on page 5-64.
There is also important loading information on the
Certification label. It tells you the Gross Vehicle Weight
Rating (GVWR) and the Gross Axle Weight Rating
(GAWR) for the front and rear axle, see “Certification
Label” later in this section.
Steps for Determining Correct Load Limit
1. Locate the statement “The combined weight of
occupants and cargo should never exceed
XXX kg or XXX lbs” on your vehicle’s placard.
2. Determine the combined weight of the driver and
passengers that will be riding in your vehicle.
3. Subtract the combined weight of the driver and
passengers from XXX kg or XXX lbs.
4. The resulting figure equals the available amount of
cargo and luggage load capacity. For example, if
the “XXX” amount equals 1400 lbs and there will be
five 150 lb passengers in your vehicle, the amount
of available cargo and luggage load capacity is
650 lbs (1400 −750 (5 x 150) = 650 lbs).
Label Example
4-32

5. Determine the combined weight of luggage and
cargo being loaded on the vehicle. That weight
may not safely exceed the available cargo
and luggage load capacity calculated in Step 4.
6. If your vehicle will be towing a trailer, the load from
your trailer will be transferred to your vehicle.
Consult this manual to determine how this reduces
the available cargo and luggage load capacity
for your vehicle.
If your vehicle can tow a trailer, see Towing a Trailer
on page 4-39 for important information on towing
a trailer, towing safety rules, and trailering tips.
Item Description Total
A
Maximum Vehicle
Capacity Weight
for Example 1 =1,000 lbs (453 kg)
B
Subtract
Occupant Weight
150 lbs (68 kg) ×2=300 lbs (136 kg)
CAvailable Occupant
and Cargo Weight =700 lbs (317 kg)
Example 1
4-33

Item Description Total
A
Maximum Vehicle
Capacity Weight
for Example 2 =1,000 lbs (453 kg)
B
Subtract
Occupant Weight
150 lbs (68 kg) ×5=750 lbs (340 kg)
CAvailable Cargo
Weight =250 lbs (113 kg)
Item Description Total
A
Maximum Vehicle
Capacity Weight
for Example 3 =1,000 lbs (453 kg)
B
Subtract
Occupant Weight
200 lbs (91 kg) ×5=1,000 lbs (453 kg)
CAvailable Cargo
Weight =0 lbs (0 kg)
Refer to your vehicle’s tire and loading information label
for specific information about your vehicle’s maximum
vehicle capacity weight and seating positions. The
combined weight of the driver, passengers, and cargo
should never exceed your vehicle’s maximum vehicle
capacity weight.
Example 2 Example 3
4-34

Certification Label
A vehicle specific Certification label is found on the rear
edge of the driver’s door.
The label shows the gross weight capacity of your
vehicle, called the Gross Vehicle Weight Rating
(GVWR). The GVWR includes the weight of the vehicle,
all occupants, fuel, and cargo.
Never exceed the GVWR for your vehicle or the
Gross Axle Weight Rating (GAWR) for either the front
or rear axle.
And, if you do have a heavy load, spread it out. Do not
carry more than 150 lbs (68 kg) in your vehicle’s trunk.
{CAUTION:
Do not load your vehicle any heavier than the
Gross Vehicle Weight Rating (GVWR), or either
the maximum front or rear Gross Axle Weight
Rating (GAWR). If you do, parts on your
vehicle can break, and it can change the way
your vehicle handles. These could cause you
to lose control and crash. Also, overloading
can shorten the life of your vehicle.
Notice: Overloading your vehicle may cause
damage. Repairs would not be covered by your
warranty. Do not overload your vehicle.
4-35

If things like suitcases, tools, packages, or anything else
are put inside the vehicle, they will go as fast as the
vehicle goes. If you have to stop or turn quickly,
or if there is a crash, they will keep going.
{CAUTION:
Things you put inside your vehicle can strike
and injure people in a sudden stop or turn,
or in a crash.
•Put things in the trunk of your vehicle.
In a trunk, put them as far forward as you
can. Try to spread the weight evenly.
•Never stack heavier things, like suitcases,
inside the vehicle so that some of them
are above the tops of the seats.
•Do not leave an unsecured child restraint
in your vehicle.
•When you carry something inside the
vehicle, secure it whenever you can.
•Do not leave a seat folded down unless
you need to.
Towing
Towing Your Vehicle
Consult your dealer or a professional towing service
if you need to have your disabled vehicle towed.
See Roadside Assistance Program on page 7-5.
If you want to tow your vehicle behind another vehicle
for recreational purposes (such as behind a motorhome),
see “Recreational Vehicle Towing” following.
Recreational Vehicle Towing
Recreational vehicle towing means towing your vehicle
behind another vehicle — such as behind a motorhome.
The two most common types of recreational vehicle
towing are known as “dinghy towing” (towing your vehicle
with all four wheels on the ground) and “dolly towing”
(towing your vehicle with two wheels on the ground and
two wheels up on a device known as a “dolly”).
With the proper preparation and equipment, many
vehicles can be towed in these ways. See “Dinghy
Towing” and “Dolly Towing” following in this section.
4-36

Here are some important things to consider before you
do recreational vehicle towing:
•What’s the towing capacity of the towing vehicle?
Be sure you read the tow vehicle manufacturer’s
recommendations.
•How far will you tow? Some vehicles have
restrictions on how far and how long they can tow.
•Do you have the proper towing equipment?
See your dealer or trailering professional for
additional advice and equipment recommendations.
•Is your vehicle ready to be towed? Just as you
would prepare your vehicle for a long trip, you’ll
want to make sure your vehicle is prepared to
be towed. See Before Leaving on a Long Trip
on page 4-22.
Dinghy Towing (All Transaxles)
Notice: Dolly towing or dinghy towing your vehicle
may cause damage because of reduced ground
clearance. Always tow your vehicle using the dolly
towing or dinghy towing procedure listed in this
section or put your vehicle on a flatbed truck.
To tow your vehicle from the front with all four wheels
on the ground, do the following:
1. Set the parking brake.
2. Turn the ignition key to ACC to unlock the
steering wheel.
3. Shift your transaxle to NEUTRAL.
4. Release the parking brake.
To prevent battery rundown on long trips, remove the
IP BATT 2 fuse (#41) from the engine compartment
fuse block. See Engine Compartment Fuse Block
on page 5-102 for more information.
4-37

Once you have reached your destination, be sure to
replace this fuse back into its original location.
Notice: If you exceed 65 mph (105 km/h) while
towing your vehicle, it could be damaged. Never
exceed 65 mph (105 km/h) while towing your vehicle.
Notice: Towing your vehicle from the rear could
damage it. Also, repairs would not be covered by
the warranty. Never have your vehicle towed
from the rear.
Notice: Don’t tow a vehicle with the front drive
wheels on the ground if one of the front tires is a
compact spare tire. Towing with two different
tire sizes on the front of the vehicle can cause
severe damage to the transaxle.
Dolly Towing (All Transaxles)
Notice: Dolly towing or dinghy towing your vehicle
may cause damage because of reduced ground
clearance. Always tow your vehicle using the dolly
towing or dinghy towing procedure listed in this
section or put your vehicle on a flatbed truck.
To tow your vehicle from the front with two wheels on
the ground, do the following:
1. Put the front wheels on a dolly.
2. If you have an automatic transaxle, shift the
transaxle to PARK (P). If you have a manual
transaxle, shift the vehicle to SECOND (2).
3. Set the parking brake and then remove the key.
4. Clamp the steering wheel in a straight-ahead
position with a clamping device designed for towing.
5. Release the parking brake.
4-38

Towing a Trailer
{CAUTION:
If you do not use the correct equipment and
drive properly, you can lose control when you
pull a trailer. For example, if the trailer is too
heavy, the brakes may not work well — or even
at all. You and your passengers could be
seriously injured. You may also damage your
vehicle; the resulting repairs would not be
covered by your warranty. Pull a trailer only if
you have followed all the steps in this section.
Ask your dealer for advice and information
about towing a trailer with your vehicle.
Notice: Pulling a trailer improperly can damage
your vehicle and result in costly repairs not covered
by your warranty. To pull a trailer correctly, follow
the advice in this part and see your retailer for
important information about towing a trailer with
your vehicle.
Your vehicle can tow a trailer if it is equipped with the
proper trailer towing equipment. To identify the trailering
capacity of your vehicle, you should read the information
in “Weight of the Trailer” that appears later in this
section. Trailering is different than just driving your
vehicle by itself. Trailering means changes in handling,
durability and fuel economy. Successful, safe trailering
takes correct equipment, and it has to be used properly.
That’s the reason for this part. In it are many
time-tested, important trailering tips and safety rules.
Many of these are important for your safety and that of
your passengers. So please read this section carefully
before you pull a trailer.
Load-pulling components such as the engine,
transmission, rear axle, wheel assemblies and tires are
forced to work harder against the drag of the added
weight. The engine is required to operate at relatively
higher speeds and under greater loads, generating extra
heat. What’s more, the trailer adds considerably to
wind resistance, increasing the pulling requirements.
4-39

If You Do Decide to Pull a Trailer
If you do, here are some important points:
•There are many different laws, including speed limit
restrictions, having to do with trailering. Make sure
your rig will be legal, not only where you live
but also where you’ll be driving. A good source for
this information can be state or provincial police.
•Consider using a sway control. You can ask a hitch
dealer about sway controls.
•Don’t tow a trailer at all during the first 1,000 miles
(1 600 km) your new vehicle is driven. Your
engine, axle or other parts could be damaged. The
repairs would not be covered by your warranty.
•Then, during the first 500 miles (805 km) that you
tow a trailer, don’t drive over 50 mph (80 km/h)
and don’t make starts at full throttle. This helps your
engine and other parts of your vehicle wear in at
the heavier loads.
•Obey speed limit restrictions when towing a trailer.
Don’t drive faster than the maximum posted speed
for trailers, or no more than 55 mph (90 km/h),
to save wear on your vehicle’s parts.
•Don’t tow a trailer when the outside temperature is
above 100°F (38°C).
Three important considerations have to do with weight:
•the weight of the trailer,
•the weight of the trailer tongue
•and the total weight on your vehicle’s tires.
Weight of the Trailer
How heavy can a trailer safely be?
It should never weigh more than 1,000 lbs (454 kg).
But even that can be too heavy.
It depends on how you plan to use your rig. For
example, speed, altitude, road grades, outside
temperature and how much your vehicle is used to pull
a trailer are all important. It can also depend on any
special equipment that you have on your vehicle,
and the amount of tongue weight the vehicle can carry.
See “Weight of the Trailer Tongue” later in this
section for more information.
Maximum trailer weight is calculated assuming only the
driver is in the tow vehicle and it has all the required
trailering equipment. The weight of additional optional
equipment, passengers and cargo must be subtracted
from the maximum trailer weight.
You can ask your retailer for trailering information
or advice.
4-40

Weight of the Trailer Tongue
The tongue load (A) of any trailer is an important weight
to measure because it affects the total or gross weight
of your vehicle. The Gross Vehicle Weight (GVW)
includes the curb weight of the vehicle, any cargo you
may carry in it, and the people who will be riding in
the vehicle. And if you tow a trailer, you must add the
tongue load to the GVW because your vehicle will
be carrying that weight, too. See Loading Your Vehicle
on page 4-31 for more information about your
vehicle’s maximum load capacity.
If you’re using a weight-carrying hitch, the trailer
tongue (A) should weigh 10 percent of the total loaded
trailer weight (B). If you’re using a weight-distributing
hitch, the trailer tongue (A) should weigh 12 percent of
the total loaded trailer weight (B).
After you’ve loaded your trailer, weigh the trailer and then
the tongue, separately, to see if the weights are proper.
If they aren’t, you may be able to get them right simply
by moving some items around in the trailer.
Total Weight on Your Vehicle’s Tires
Be sure your vehicle’s tires are inflated to the upper
limit for cold tires. You’ll find these numbers on
the Tire-Loading Information label, See Loading Your
Vehicle on page 4-31. Then be sure you don’t go
over the GVW limit for your vehicle, including the
weight of the trailer tongue.
Hitches
It’s important to have the correct hitch equipment.
Crosswinds, large trucks going by and rough roads
are a few reasons why you’ll need the right hitch.
Here are some rules to follow:
•The rear bumper on your vehicle is not intended
for hitches. Do not attach rental hitches or other
bumper-type hitches to it. Use only a frame-mounted
hitch that does not attach to the bumper.
•Will you have to make any holes in the body of your
vehicle when you install a trailer hitch? If you do,
then be sure to seal the holes later when you remove
the hitch. If you don’t seal them, deadly carbon
monoxide (CO) from your exhaust can get into
your vehicle. See Engine Exhaust on page 2-30.
Dirt and water can, too.
4-41

Safety Chains
You should always attach chains between your vehicle
and your trailer. Cross the safety chains under the
tongue of the trailer so that the tongue will not drop to
the road if it becomes separated from the hitch.
Instructions about safety chains may be provided by the
hitch manufacturer or by the trailer manufacturer.
Follow the manufacturer’s recommendation for attaching
safety chains and do not attach them to the bumper.
Always leave just enough slack so you can turn
with your rig. And, never allow safety chains to drag on
the ground.
Trailer Brakes
If your vehicle has anti-lock brakes, don’t try to tap into
your vehicle’s hydraulic brake system. If you do,
both brake systems won’t work well, or at all.
Be sure to read and follow the instructions for the trailer
brakes, so you’ll be able to install, adjust and maintain
them properly.
Driving with a Trailer
Towing a trailer requires a certain amount of experience.
Before setting out for the open road, you’ll want to get
to know your rig. Acquaint yourself with the feel of
handling and braking with the added weight of the trailer.
And always keep in mind that the vehicle you are
driving is now a good deal longer and not nearly as
responsive as your vehicle is by itself.
Before you start, check the trailer hitch and platform
(and attachments), safety chains, electrical connector,
lamps, tires and mirror adjustment. If the trailer has
electric brakes, start your vehicle and trailer moving and
then apply the trailer brake controller by hand to be
sure the brakes are working. This lets you check your
electrical connection at the same time.
During your trip, check occasionally to be sure that the
load is secure, and that the lamps and any trailer
brakes are still working.
4-42

Following Distance
Stay at least twice as far behind the vehicle ahead as
you would when driving your vehicle without a trailer.
This can help you avoid situations that require
heavy braking and sudden turns.
Passing
You’ll need more passing distance up ahead when
you’re towing a trailer. And, because you’re a good deal
longer when towing a trailer, you’ll need to go much
farther beyond the passed vehicle before you can return
to your lane.
Backing Up
Hold the bottom of the steering wheel with one hand.
Then, to move the trailer to the left, just move that hand
to the left. To move the trailer to the right, move your
hand to the right. Always back up slowly and, if possible,
have someone guide you.
Making Turns
Notice: Making very sharp turns while trailering
could cause the trailer to come in contact with the
vehicle. Your vehicle could be damaged. Avoid
making very sharp turns while trailering.
When you’re turning with a trailer, make wider turns
than normal. Do this so your trailer won’t strike
soft shoulders, curbs, road signs, trees or other objects.
Avoid jerky or sudden maneuvers. Signal well in
advance.
Turn Signals When Towing a Trailer
When you tow a trailer, your vehicle may need a
different turn signal flasher and/or extra wiring. See your
retailer if you need information. The arrows on your
instrument panel will flash whenever you signal a turn or
lane change. Properly hooked up, the trailer lamps
will also flash, telling other drivers you’re about to turn,
change lanes or stop.
When towing a trailer, the arrows on your instrument
panel will flash for turns even if the bulbs on the trailer
are burned out. Thus, you may think drivers behind
you are seeing your signal when they are not. It’s
important to check occasionally to be sure the trailer
bulbs are still working.
4-43

Driving on Grades
Notice: Do not tow on steep continuous grades
exceeding 6 miles (9.6 km). Extended, higher than
normal engine and transaxle temperatures may result
and damage your vehicle. Frequent stops are very
important to allow the engine and transaxle to cool.
Reduce speed and shift to a lower gear before you start
down a long or steep downgrade. If you don’t shift
down, you might have to use your brakes so much that
they would get hot and no longer work well.
On a long uphill grade, shift down and reduce your
speed to around 45 mph (70 km/h) to reduce the
possibility of the engine and the transmission
overheating. If your engine does overheat, see
Engine Overheating on page 5-29.
Parking on Hills
{CAUTION:
You really should not park your vehicle, with a
trailer attached, on a hill. If something goes
wrong, your rig could start to move. People
can be injured, and both your vehicle and the
trailer can be damaged.
But if you ever have to park your rig on a hill, here’s
how to do it:
1. Apply your regular brakes, but don’t shift into
PARK (P) for an automatic transaxle, or into gear
for a manual transaxle.
When parking uphill, turn your wheels away from
the curb. When parking downhill, turn your wheels
into the curb.
2. Have someone place chocks behind the trailer
wheels.
4-44

3. When the chocks are in place, release the regular
brakes until the chocks absorb the load.
4. Reapply the regular brakes. Then apply your
parking brake and shift into PARK (P) for an
automatic transaxle or REVERSE (R) for a manual
transaxle.
5. Release the regular brakes.
When You Are Ready to Leave
After Parking on a Hill
1. Apply your regular brakes and hold the pedal
down while you:
•start your engine
•shift into a gear, and
•release the parking brake.
2. Let up on the brake pedal.
3. Drive slowly until the trailer is clear of the chocks.
4. Stop and have someone pick up and store the
chocks.
Maintenance When Trailer Towing
Your vehicle will need service more often when you’re
pulling a trailer. See Scheduled Maintenance on
page 6-4 for more information. Things that are
especially important in trailer operation are automatic
transaxle fluid (don’t overfill), engine oil, axle lubricant,
drive belt, cooling system and brake system. Each of
these is covered in this manual, and the Index will help
you find them quickly. If you’re trailering, it’s a good idea
to review this information before you start your trip.
Check periodically to see that all hitch nuts and bolts
are tight.
Engine Cooling When Trailer Towing
Your cooling system may temporarily overheat during
severe operating conditions. See Engine Overheating
on page 5-29.
Changing a Tire When Trailer Towing
If you get a flat tire while towing a trailer, be sure
to secure the trailer and disconnect it from the vehicle
before changing the tire.
4-45

✍NOTES
4-46

Service ............................................................5-3
Accessories and Modifications ..........................5-3
California Proposition 65 Warning .....................5-3
Doing Your Own Service Work .........................5-4
Adding Equipment to the Outside
of Your Vehicle ...........................................5-4
Fuel ................................................................5-4
Gasoline Octane ............................................5-5
Gasoline Specifications ....................................5-5
California Fuel ...............................................5-5
Additives .......................................................5-6
Fuels in Foreign Countries ...............................5-6
Filling the Tank ..............................................5-7
Filling a Portable Fuel Container .......................5-9
Checking Things Under the Hood ....................5-10
Hood Release ..............................................5-10
Engine Compartment Overview .......................5-12
Engine Oil ...................................................5-15
Engine Oil Life System ..................................5-20
Engine Air Cleaner/Filter ................................5-22
Automatic Transaxle Fluid ..............................5-24
Manual Transaxle Fluid ..................................5-24
Hydraulic Clutch ...........................................5-25
Engine Coolant .............................................5-25
Coolant Surge Tank Pressure Cap ..................5-29
Engine Overheating .......................................5-29
Cooling System ............................................5-31
Windshield Washer Fluid ................................5-38
Brakes ........................................................5-39
Battery ........................................................5-42
Jump Starting ...............................................5-43
Headlamp Aiming ...........................................5-48
Bulb Replacement ..........................................5-48
Halogen Bulbs ..............................................5-48
Headlamps (Coupe) ......................................5-49
Headlamps (Sedan) ......................................5-50
Front Turn Signal, Parking and Daytime
Running Lamps (DRL) (Coupe) ...................5-52
Front Turn Signal, Parking and Daytime
Running Lamps (DRL) (Sedan) ....................5-53
Center High-Mounted Stoplamp (CHMSL) .........5-54
Taillamps, Turn Signal, Stoplamps and
Back-up Lamps .........................................5-54
Replacement Bulbs .......................................5-55
Windshield Wiper Blade Replacement ..............5-56
Tires ..............................................................5-57
Tire Sidewall Labeling ...................................5-59
Tire Terminology and Definitions .....................5-62
Inflation - Tire Pressure .................................5-64
Tire Inspection and Rotation ...........................5-66
When It Is Time for New Tires .......................5-68
Buying New Tires .........................................5-68
Section 5 Service and Appearance Care
5-1

Different Size Tires and Wheels ......................5-70
Uniform Tire Quality Grading ..........................5-70
Wheel Alignment and Tire Balance ..................5-72
Wheel Replacement ......................................5-72
Tire Chains ..................................................5-74
If a Tire Goes Flat ........................................5-75
Changing a Flat Tire .....................................5-76
Removing the Spare Tire and Tools ................5-77
Removing the Flat Tire and Installing
the Spare Tire ..........................................5-82
Storing a Flat or Spare Tire and Tools ............5-87
Compact Spare Tire ......................................5-90
Appearance Care ............................................5-90
Cleaning the Inside of Your Vehicle .................5-90
Fabric/Carpet ...............................................5-92
Instrument Panel, Vinyl, and Other
Plastic Surfaces ........................................5-93
Care of Safety Belts ......................................5-93
Weatherstrips ...............................................5-93
Washing Your Vehicle ...................................5-94
Cleaning Exterior Lamps/Lenses .....................5-94
Finish Care ..................................................5-94
Windshield and Wiper Blades .........................5-95
Aluminum Wheels .........................................5-95
Tires ...........................................................5-96
Sheet Metal Damage .....................................5-96
Finish Damage .............................................5-96
Underbody Maintenance ................................5-97
Chemical Paint Spotting .................................5-97
Vehicle Care/Appearance Materials ..................5-98
Vehicle Identification ......................................5-99
Vehicle Identification Number (VIN) .................5-99
Service Parts Identification Label .....................5-99
Electrical System ............................................5-99
Add-On Electrical Equipment ..........................5-99
Windshield Wiper Fuses ...............................5-100
Power Windows and Other Power Options ......5-100
Fuses and Circuit Breakers ..........................5-100
Floor Console Fuse Block ............................5-100
Engine Compartment Fuse Block ...................5-102
Capacities and Specifications ........................5-109
Section 5 Service and Appearance Care
5-2

Service
Your Saturn retailer knows your vehicle best and wants
you to be happy with it. We hope you will go to your
retailer for all your service needs. You will get genuine
Saturn parts and Saturn-trained and supported
service people.
We hope you will want to keep your Saturn vehicle
all Saturn.
Genuine Saturn parts have one of these marks.
Accessories and Modifications
When you add non-Saturn accessories to your vehicle
they can affect your vehicle’s performance and
safety, including such things as, airbags, braking,
stability, ride and handling, emissions systems,
aerodynamics, durability, and electronic systems like
anti-lock brakes, traction control, and stability control.
Some of these accessories may even cause malfunction
or damage not covered by warranty.
Saturn accessories are designed to complement and
function with other systems on your vehicle. Your Saturn
retailer can accessorize your vehicle using genuine
Saturn accessories. When you go to your Saturn retailer
and ask for Saturn accessories, you will know that
Saturn-trained and supported service technicians will
perform the work using genuine Saturn accessories.
California Proposition 65 Warning
Most motor vehicles, including this one, contain and/or
emit chemicals known to the State of California to
cause cancer and birth defects or other reproductive
harm. Engine exhaust, many parts and systems
(including some inside the vehicle), many fluids, and
some component wear by-products contain and/or emit
these chemicals.
5-3

Doing Your Own Service Work
{CAUTION:
You can be injured and your vehicle could be
damaged if you try to do service work on a
vehicle without knowing enough about it.
•Be sure you have sufficient knowledge,
experience, the proper replacement parts,
and tools before you attempt any vehicle
maintenance task.
•Be sure to use the proper nuts, bolts,
and other fasteners. English and metric
fasteners can be easily confused. If you
use the wrong fasteners, parts can later
break or fall off. You could be hurt.
If you want to do some of your own service work, you
will want to use the proper service manual. It tells
you much more about how to service your vehicle than
this manual can. To order the proper service manual,
see Service Publications Ordering Information on
page 7-12.
Your vehicle has an airbag system. Before attempting
to do your own service work, see Servicing Your
Airbag-Equipped Vehicle on page 1-66.
You should keep a record with all parts receipts and
list the mileage and the date of any service work
you perform. See Maintenance Record on page 6-16.
Adding Equipment to the Outside
of Your Vehicle
Things you might add to the outside of your vehicle
can affect the airflow around it. This may cause
wind noise and affect windshield washer performance.
Check with your retailer before adding equipment to
the outside of your vehicle.
Fuel
The 8th digit of your vehicle identification number (VIN)
shows the code letter or number that identifies your
engine. You will find the VIN at the top left of the
instrument panel. See Vehicle Identification Number
(VIN) on page 5-99.
5-4

Gasoline Octane
If your vehicle has the 2.2L L4 engine (VIN Code F),
use regular unleaded gasoline with a posted octane
rating of 87 or higher. If the octane rating is less than 87,
you may notice an audible knocking noise when you
drive, commonly referred to as spark knock. If this
occurs, use a gasoline rated at 87 octane or higher as
soon as possible. If you are using gasoline rated at
87 octane or higher and you hear heavy knocking, your
engine needs service.
If your vehicle has the 2.4L L4 engine (VIN Code B) or
the 2.0L Supercharged engine (VIN Code P), use
premium unleaded gasoline with a posted octane rating
of 91 or higher. You may also use regular unleaded
gasoline rated at 87 octane or higher, but your vehicle’s
acceleration may be slightly reduced, and you may
notice a slight audible knocking noise, commonly
referred to as spark knock. If the octane is less than 87,
you may notice a heavy knocking noise when you
drive. If this occurs, use a gasoline rated at 87 octane
or higher as soon as possible. Otherwise, you might
damage your engine. If you are using gasoline rated at
87 octane or higher and you hear heavy knocking,
your engine needs service.
Gasoline Specifications
At a minimum, gasoline should meet ASTM
specification D 4814 in the United States or
CAN/CGSB-3.5 in Canada. Some gasolines may
contain an octane-enhancing additive called
methylcyclopentadienyl manganese tricarbonyl (MMT).
General Motors recommends against the use of
gasolines containing MMT. See Additives on page 5-6
for additional information.
California Fuel
If your vehicle is certified to meet California Emissions
Standards, it is designed to operate on fuels that
meet California specifications. See the underhood
emission control label. If this fuel is not available
in states adopting California emissions standards, your
vehicle will operate satisfactorily on fuels meeting
federal specifications, but emission control system
performance may be affected. The malfunction indicator
lamp may turn on and your vehicle may fail a
smog-check test. See Malfunction Indicator Lamp on
page 3-36. If this occurs, return to your authorized
Saturn retailer for diagnosis. If it is determined that the
condition is caused by the type of fuel used, repairs
may not be covered by your warranty.
5-5

Additives
To provide cleaner air, all gasolines in the United States
are now required to contain additives that will help
prevent engine and fuel system deposits from forming,
allowing your emission control system to work
properly. In most cases, you should not have to add
anything to your fuel. However, some gasolines contain
only the minimum amount of additive required to
meet U.S. Environmental Protection Agency regulations.
To help keep fuel injectors and intake valves clean,
or if your vehicle experiences problems due to
dirty injectors or valves, look for gasoline that is
advertised as TOP TIER Detergent Gasoline. Also, your
retailer has additives that will help correct and prevent
most deposit-related problems.
Gasolines containing oxygenates, such as ethers and
ethanol, and reformulated gasolines may be available in
your area. General Motors recommends that you use
these gasolines if they comply with the specifications
described earlier. However, E85 (85% ethanol) and other
fuels containing more than 10% ethanol must not be used
in vehicles that were not designed for those fuels.
Notice: Your vehicle was not designed for fuel that
contains methanol. Do not use fuel containing
methanol. It can corrode metal parts in your fuel
system and also damage the plastic and rubber
parts. That damage would not be covered under
your warranty.
Some gasolines that are not reformulated for low
emissions may contain an octane-enhancing additive
called methylcyclopentadienyl manganese tricarbonyl
(MMT); ask the attendant where you buy gasoline
whether the fuel contains MMT. General Motors
recommends against the use of such gasolines. Fuels
containing MMT can reduce the life of spark plugs
and the performance of the emission control system may
be affected. The malfunction indicator lamp may turn
on. If this occurs, return to your authorized Saturn
retailer for service.
Fuels in Foreign Countries
If you plan on driving in another country outside the
United States or Canada, the proper fuel may be hard
to find. Never use leaded gasoline or any other fuel
not recommended in the previous text on fuel. Costly
repairs caused by use of improper fuel would not
be covered by your warranty.
To check the fuel availability, ask an auto club, or
contact a major oil company that does business in the
country where you will be driving.
5-6

Filling the Tank
{CAUTION:
Fuel vapor burns violently and a fuel fire can
cause bad injuries. To help avoid injuries to
you and others, read and follow all the
instructions on the pump island. Turn off your
engine when you are refueling. Do not smoke
if you are near fuel or refueling your vehicle.
Keep sparks, flames, and smoking materials
away from fuel. Do not leave the fuel pump
unattended when refueling your vehicle — this
is against the law in some places. Keep
children away from the fuel pump; never let
children pump fuel.
The tethered fuel cap is located behind a hinged fuel
door on the passenger’s side of the vehicle.
To remove the fuel cap, turn it slowly counterclockwise.
The fuel cap has a spring in it; if the cap is released
too soon, it will spring back to the right.
5-7

While refueling, let the fuel cap hang by the tether
below the fuel fill opening.
{CAUTION:
If you spill fuel and then something ignites it,
you could be badly burned. Fuel can spray out
on you if you open the fuel cap too quickly.
This spray can happen if your tank is nearly
full, and is more likely in hot weather. Open
the fuel cap slowly and wait for any hiss noise
to stop. Then unscrew the cap all the way.
Be careful not to spill fuel. Do not top off or overfill the
tank and wait a few seconds after you have finished
pumping before removing the nozzle. Clean fuel
from painted surfaces as soon as possible. See
Washing Your Vehicle on page 5-94.
When replacing the fuel cap, turn it clockwise until it
clicks. Make sure the cap is fully installed. The
diagnostic system can determine if the fuel cap has
been left off or improperly installed. This would allow fuel
to evaporate into the atmosphere. See Malfunction
Indicator Lamp on page 3-36.
In addition, the CHECK GAS CAP message will be
displayed in the Message Center if the fuel cap is not
properly reinstalled. See Check Gas Cap Message
on page 3-46 for more information.
5-8

{CAUTION:
If a fire starts while you are refueling, do not
remove the nozzle. Shut off the flow of fuel by
shutting off the pump or by notifying the
station attendant. Leave the area immediately.
Notice: If you need a new fuel cap, be sure to get
the right type. Your dealer can get one for you.
If you get the wrong type, it may not fit properly.
This may cause your malfunction indicator lamp to
light and may damage your fuel tank and emissions
system. See Malfunction Indicator Lamp on
page 3-36.
Filling a Portable Fuel Container
{CAUTION:
Never fill a portable fuel container while it is in
your vehicle. Static electricity discharge from
the container can ignite the gasoline vapor.
You can be badly burned and your vehicle
damaged if this occurs. To help avoid injury to
you and others:
•Dispense gasoline only into approved
containers.
•Do not fill a container while it is inside a
vehicle, in a vehicle’s trunk, pickup bed, or
on any surface other than the ground.
•Bring the fill nozzle in contact with the
inside of the fill opening before operating
the nozzle. Contact should be maintained
until the filling is complete.
•Do not smoke while pumping gasoline.
5-9

Checking Things Under
the Hood
{CAUTION:
An electric fan under the hood can start up
and injure you even when the engine is not
running. Keep hands, clothing, and tools away
from any underhood electric fan.
{CAUTION:
Things that burn can get on hot engine parts
and start a fire. These include liquids like fuel,
oil, coolant, brake fluid, windshield washer and
other fluids, and plastic or rubber. You or
others could be burned. Be careful not to drop
or spill things that will burn onto a hot engine.
Hood Release
To open the hood, do the following:
1. Pull the interior hood
release handle with
this symbol on it. It is
located to the left
of the steering column
below the instrument
panel.
5-10

2. Push the secondary hood release lever, located
under the center of the hood above the grille, to
the right to disengage it.
3. Lift the hood, release the hood prop from its
retainer and put the hood prop into the slot in
the hood.
Before closing the hood, be sure all the filler caps are
on properly. Then lift the hood to relieve pressure on the
hood prop. Remove the hood prop from the slot in the
hood and return the prop to its retainer. Then just let the
hood down and close it firmly.
5-11

Engine Compartment Overview
When you open the hood on the 2.2L L4 engine (2.4L L4 engine similar), here is what you will see:
5-12

A. Engine Air Cleaner/Filter. See Engine Air
Cleaner/Filter on page 5-22.
B. Engine Oil Dipstick (Out of View). See “Checking
Engine Oil” under Engine Oil on page 5-15.
C. Engine Oil Fill Cap. See “When to Add Engine Oil”
under Engine Oil on page 5-15.
D. Brake Master Cylinder Reservoir. See “Brake Fluid”
under Brakes on page 5-39 and Hydraulic Clutch
on page 5-25.
E. Engine Compartment Fuse Block. See Engine
Compartment Fuse Block on page 5-102.
F. Remote Positive (+) Terminal. See Jump Starting on
page 5-43.
G. Engine Coolant Surge Tank. See Engine Coolant on
page 5-25.
H. Windshield Washer Fluid Reservoir. See “Adding
Washer Fluid” under Windshield Washer Fluid
on page 5-38.
5-13

When you open the hood on the 2.0L L4 Supercharged engine, here is what you will see:
5-14

A. Engine Oil Dipstick. See “Checking Engine Oil”
under Engine Oil on page 5-15.
B. Electric Engine Cooling Fan. See Cooling System on
page 5-31.
C. Engine Oil Fill Cap. See “When to Add Engine Oil”
under Engine Oil on page 5-15.
D. Intercooler System Pressure Cap. See Engine
Coolant on page 5-25.
E. Brake Master Cylinder Reservoir. See “Brake Fluid”
under Brakes on page 5-39 and Hydraulic Clutch
on page 5-25.
F. Engine Air Cleaner/Filter. See Engine Air
Cleaner/Filter on page 5-22.
G. Engine Compartment Fuse Block. See Engine
Compartment Fuse Block on page 5-102.
H. Remote Positive (+) Terminal. See Jump Starting on
page 5-43.
I. Engine Coolant Surge Tank. See Coolant Surge
Tank Pressure Cap on page 5-29.
J. Windshield Washer Fluid Reservoir. See “Adding
Washer Fluid” under Windshield Washer Fluid
on page 5-38.
Engine Oil
Checking Engine Oil
It is a good idea to check your engine oil every time you
get fuel. In order to get an accurate reading, the oil
must be warm and the vehicle must be on level ground.
The engine oil dipstick handle is a yellow loop. See
Engine Compartment Overview on page 5-12 for
the location of the engine oil dipstick.
1. Turn off the engine and give the oil several minutes
to drain back into the oil pan. If you do not do this,
the oil dipstick might not show the actual level.
2. Pull out the dipstick, clean it with a paper towel or
cloth and then push it back in all the way.
3. Pull out the dipstick again, keeping the tip down,
and check the level.
5-15

When to Add Engine Oil
If the oil is below the MIN (minimum) mark, you will
need to add at least one quart/liter of oil. But you must
use the right kind. This section explains what kind of
oil to use. For engine oil crankcase capacity, see
Capacities and Specifications on page 5-109.
Notice: Do not add too much oil. If your engine has
so much oil that the oil level gets above the upper
mark that shows the proper operating range,
your engine could be damaged.
See Engine Compartment Overview on page 5-12 for
the location of the engine oil fill cap.
Be sure to add enough oil to put the level somewhere
in the proper operating range. Push the dipstick all
the way back in when you are through.
2.2L L4 Engine and
2.4L L4 Engine
2.0L L4 Supercharged
Engine
5-16

What Kind of Engine Oil to Use
For Vehicles With the 2.2L or 2.4L L4
Engine
Look for two things:
•GM6094M
Your vehicle’s engine requires oil meeting GM
Standard GM6094M. You should look for and use
only an oil that meets GM Standard GM6094M.
•SAE 5W-30
As shown in the viscosity chart, SAE 5W-30 is best
for your vehicle.
These numbers on an oil container show its
viscosity, or thickness. Do not use other viscosity
oils such as SAE 20W-50.
Oils meeting these
requirements should also
have the starburst
symbol on the container.
This symbol indicates
that the oil has been
certified by the American
Petroleum Institute (API).
You should look for this information on the oil container,
and use only those oils that are identified as meeting
GM Standard GM6094M and have the starburst symbol
on the front of the oil container.
5-17

Notice: Use only engine oil identified as meeting
GM Standard GM6094M and showing the American
Petroleum Institute Certified For Gasoline Engines
starburst symbol. Failure to use the recommended
oil can result in engine damage not covered by your
warranty.
GM Goodwrench
®
oil meets all the requirements for
your vehicle.
If you are in an area of extreme cold, where the
temperature falls below −20°F (−29°C), it is
recommended that you use either an SAE 5W-30
synthetic oil or an SAE 0W-30 oil. Both will provide
easier cold starting and better protection for your engine
at extremely low temperatures.
For Vehicles with the 2.0L L4
Supercharged Engine Only
Look for two things:
•GM4718M
Your vehicle’s engine requires a special oil meeting
GM Standard GM4718M, such as Mobil 1
®
or
equivalent. Oils meeting this standard may be
identified as synthetic. However, not all synthetic oils
will meet this GM standard. You should look for and
use only an oil that meets GM Standard GM4718M.
5-18

Notice: If you use oils that do not have the
GM4718M Standard designation, you can cause
engine damage not covered by your warranty.
•SAE 5W-30
As shown in the viscosity chart, SAE 5W-30 is
best for your vehicle.
These numbers on an oil container show its
viscosity, or thickness. Do not use other viscosity
oils such as SAE 20W-50.
Oils meeting these
requirements should also
have the starburst
symbol on the container.
This symbol indicates
that the oil has been
certified by the American
Petroleum Institute (API).
You should look for this on the oil container, and
use only those oils that are identified as meeting
GM Standard GM4718M and have the starburst
symbol on the front of the oil container.
Your vehicle’s engine is filled at the factory with a
synthetic oil which meets all requirements for your
vehicle.
Substitute Engine Oil: When adding oil to maintain
engine oil level, oil meeting GM Standard GM4718M
may not be available. You can add substitute oil
designated SAE 5W-30 with the starburst symbol at all
temperatures. Substitute oil not meeting GM Standard
GM4718M should not be used for an oil change.
Engine Oil Additives
Do not add anything to your oil. The recommended
oils with the starburst symbol that meet GM standards
are all you will need for good performance and
engine protection.
5-19

Engine Oil Life System
When to Change Engine Oil
Your vehicle has a computer system that lets you know
when to change the engine oil and filter. This is based
on engine revolutions and engine temperature, and not
on mileage. Based on driving conditions, the mileage
at which an oil change will be indicated can vary
considerably. For the oil life system to work properly, you
must reset the system every time the oil is changed.
When the system has calculated that oil life has
been diminished, it will indicate that an oil change
is necessary. A CHG OIL message will come on.
See Change Engine Oil Message on page 3-45 for
more information on this message. Change your oil as
soon as possible within the next 600 miles (1 000 km).
It is possible that, if you are driving under the best
conditions, the oil life system may not indicate that
an oil change is necessary for over a year. However,
your engine oil and filter must be changed at least
once a year and at this time the system must be reset.
Your retailer has trained service people who will perform
this work using genuine Saturn parts and reset the
system. It is also important to check your oil regularly
and keep it at the proper level.
If the system is ever reset accidentally, you must
change your oil at 3,000 miles (5 000 km) since your
last oil change. Remember to reset the oil life system
whenever the oil is changed.
How to Reset the Engine Oil Life
System
The Engine Oil Life System calculates when to change
your engine oil and filter based on vehicle use.
Anytime your oil is changed, reset the system so it can
calculate when the next oil change is required. If a
situation occurs where you change your oil prior to the
CHG OIL message being turned on, reset the system.
5-20

After changing the engine oil, reset the system by doing
the following:
1. Press and release the trip/reset button until the
OIL LIFE message is displayed.
2. Then press and hold the trip/reset button until a
chime sounds five times, and RESET is displayed
in the message center.
When the system is reset, the odometer will again
be displayed in the message center.
3. Turn the key to LOCK.
If the CHG OIL message comes back on when you start
your vehicle, the engine oil life system has not reset.
Repeat the procedure.
Your vehicle has a unique oil filter element. When
installing the filler cap do not exceed 18 lb-ft (25 Y).
Inspect the condition of the O-ring and replace if
damaged. See your Saturn retailer for additional
information.
What to Do with Used Oil
Used engine oil contains certain elements that may be
unhealthy for your skin and could even cause cancer.
Do not let used oil stay on your skin for very long. Clean
your skin and nails with soap and water, or a good
hand cleaner. Wash or properly dispose of clothing or
rags containing used engine oil. See the manufacturer’s
warnings about the use and disposal of oil products.
Used oil can be a threat to the environment. If you
change your own oil, be sure to drain all the oil from the
filter before disposal. Never dispose of oil by putting it
in the trash, pouring it on the ground, into sewers, or into
streams or bodies of water. Instead, recycle it by taking
it to a place that collects used oil. If you have a problem
properly disposing of your used oil, ask your retailer, a
service station or a local recycling center for help.
5-21

When to Inspect the Engine
Air Cleaner/Filter
Inspect the air cleaner/filter at the Maintenance II
intervals and replace it at the first oil change after each
50,000 mile (83 000 km) interval. See Scheduled
Maintenance on page 6-4 for more information. If you
are driving in dusty/dirty conditions, inspect the filter
at each engine oil change.
How to Inspect the Engine
Air Cleaner/Filter
To inspect the air cleaner/filter remove the filter from
the vehicle and lightly shake the filter to release
loose dust and dirt. If the filter remains caked with dirt,
a new filter is required.
To inspect or replace the engine air cleaner/filter, do the
following:
1. Loosen the hose clamp that is on the inlet duct on
the cover and pull off the hose.
2. For vehicles equipped with the 2.2L L4 or 2.4L L4
engine, release the two clips and turn the cover
upward to unhook the hinges. For vehicles equipped
with the 2.0L L4 supercharged engine, remove
the three screws on the cover.
3. Pull the air cleaner/filter box cover out and remove
the air filter element from the air filter box. If the
element is dirty, you should replace it. If the element
is only dusty, it may be cleaned by blowing
compressed air through it from the clean side.
Make sure you are away from your engine
compartment when cleaning the air filter with
compressed air.
4. Wipe all dust from inside the housing and inspect
the air cleaner and air inlet tube for cracks, cuts
and deterioration. The air inlet tube must be
replaced if it is damaged.
5-23

5. Install the air filter element, hose, hose clamp and
cover.
6. For vehicles equipped with the 2.2L L4 or 2.4L L4
engine, latch the two clips. For vehicles equipped
with the 2.0L L4 supercharged engine, reinstall
the three screws.
{CAUTION:
Operating the engine with the air cleaner/filter
off can cause you or others to be burned.
The air cleaner not only cleans the air; it
helps to stop flames if the engine backfires.
If it is not there and the engine backfires,
you could be burned. Do not drive with it off,
and be careful working on the engine with
the air cleaner/filter off.
Notice: If the air cleaner/filter is off, a backfire can
cause a damaging engine fire. And, dirt can easily get
into your engine, which will damage it. Always have
the air cleaner/filter in place when you are driving.
Automatic Transaxle Fluid
It is not necessary to check the transaxle fluid level.
A transaxle fluid leak is the only reason for fluid loss.
If a leak occurs, take the vehicle to your retailer’s service
department and have it repaired as soon as possible.
Change the fluid and filter at the intervals listed in
Additional Required Services on page 6-6, and be sure
to use the transaxle fluid listed in Recommended
Fluids and Lubricants on page 6-13.
Notice: Use of the incorrect automatic transaxle
fluid may damage your vehicle, and the damages
may not be covered by your warranty. Always
use the automatic transaxle fluid listed in
Recommended Fluids and Lubricants on page 6-13.
Manual Transaxle Fluid
It is not necessary to check the transaxle fluid level.
A transaxle fluid leak is the only reason for fluid loss.
If a leak occurs, take the vehicle to your retailer’s service
department and have it repaired as soon as possible.
See Recommended Fluids and Lubricants on page 6-13
for the proper fluid to use.
5-24

Hydraulic Clutch
The hydraulic clutch linkage in your vehicle is
self-adjusting. This system does not have its own
reservoir. It receives fluid from the brake master
cylinder reservoir.
See Brakes on page 5-39 for more information.
Engine Coolant
The cooling system in your vehicle is filled with
DEX-COOL
®
engine coolant. This coolant is designed
to remain in your vehicle for five years or 150,000 miles
(240 000 km), whichever occurs first, if you add only
DEX-COOL
®
extended life coolant.
The following explains your cooling system and how
to add coolant when it is low. If you have a problem
with engine overheating, see Engine Overheating
on page 5-29.
A 50/50 mixture of clean, drinkable water and
DEX-COOL
®
coolant will:
•Give freezing protection down to −34°F (−37°C).
•Give boiling protection up to 265°F (129°C).
•Protect against rust and corrosion.
•Help keep the proper engine temperature.
•Let the warning lights and gages work as
they should.
Notice: Using coolant other than DEX-COOL
®
may
cause premature engine, heater core, or radiator
corrosion. In addition, the engine coolant may
require changing sooner, at the first maintenance
service after each 30,000 miles (50 000 km) or
24 months, whichever occurs first. Any repairs
would not be covered by your warranty. Always use
DEX-COOL
®
(silicate-free) coolant in your vehicle.
5-25

What to Use
Use a mixture of one-half clean, drinkable water and
one-half DEX-COOL
®
coolant which will not damage
aluminum parts. If you use this coolant mixture, you do
not need to add anything else.
{CAUTION:
Adding only plain water to your cooling
system can be dangerous. Plain water, or
some other liquid such as alcohol, can boil
before the proper coolant mixture will. Your
vehicle’s coolant warning system is set for the
proper coolant mixture. With plain water or the
wrong mixture, your engine could get too hot
but you would not get the overheat warning.
Your engine could catch fire and you or others
could be burned. Use a 50/50 mixture of clean,
drinkable water and DEX-COOL
®
coolant.
Notice: If you use an improper coolant mixture,
your engine could overheat and be badly damaged.
The repair cost would not be covered by your
warranty. Too much water in the mixture can freeze
and crack the engine, radiator, heater core, and
other parts.
If you have to add coolant more than four times a year,
have your retailer check your cooling system.
Notice: If you use extra inhibitors and/or additives
in your vehicle’s cooling system, you could
damage your vehicle. Use only the proper mixture
of the engine coolant listed in this manual for
the cooling system. See Recommended Fluids and
Lubricants on page 6-13 for more information.
5-26

Checking Coolant
The surge tank is located on the driver’s side of the
engine compartment. See Engine Compartment
Overview on page 5-12 for more information on location.
{CAUTION:
Turning the surge tank pressure cap when the
engine and radiator are hot can allow steam
and scalding liquids to blow out and burn you
badly. Never turn the surge tank pressure
cap — even a little — when the engine and
radiator are hot.
The vehicle must be parked on a level surface. When
your engine is cold, the coolant level should be near the
cold fill line. When your engine is warm, the level
should be at the cold fill line or a little higher.
If the COOLANT warning message comes on and stays
on, it means you are low on engine coolant.
5-27

Checking Intercooler System Coolant
(2.0L L4 Engine Only)
Park your vehicle on a level surface and turn off the
engine. When your engine is cold, the coolant level
should be just visible within the horizontal tube section
of the fill neck. When your engine is warm, the
coolant level could be as high as the FULL HOT line,
or a little higher. The FULL HOT line has an arrow
pointing down at it.
Notice: This vehicle has a specific coolant fill
procedure. Failure to follow this procedure could
cause your engine to overheat and be severely
damaged.
Adding Coolant
If you need more coolant, add the proper DEX-COOL
®
coolant mixture at the surge tank and/or intercooler fill
neck, but only when the engine is cool. See Cooling
System on page 5-31 for instructions on how to add
coolant to the coolant surge tank and/or intercooler
fill neck.
{CAUTION:
You can be burned if you spill coolant on hot
engine parts. Coolant contains ethylene glycol,
and it will burn if the engine parts are hot
enough. Do not spill coolant on a hot engine.
When replacing a pressure cap, make sure it is
hand-tight and fully seated.
5-28

Coolant Surge Tank Pressure Cap
Notice: If the pressure cap is not tightly installed,
coolant loss and possible engine damage may
occur. Be sure the cap is properly and tightly
secured.
If you replace your coolant surge tank pressure cap,
a Saturn cap is required.
Engine Overheating
You will find a coolant temperature gage and a low
coolant level warning message on your vehicle’s
instrument panel. See Engine Coolant Temperature
Gage on page 3-36 for more information.
You also have a check gage message and a transaxle
fluid hot message. See Check Gage Message on
page 3-45 and Transaxle Fluid Hot Message on
page 3-45.
Notice: Driving with either the CHK GAGE message
or the COOLANT message displayed in the message
center and the Engine Coolant Temperature Gage on
your instrument panel in the red zone could cause
your vehicle to overheat. See Engine Overheating on
page 5-29. Your vehicle could be damaged and the
damages might not be covered by your warranty.
If Steam Is Coming From Your Engine
{CAUTION:
Steam from an overheated engine can burn
you badly, even if you just open the hood.
Stay away from the engine if you see or hear
steam coming from it. Just turn it off and get
everyone away from the vehicle until it cools
down. Wait until there is no sign of steam or
coolant before you open the hood.
If you keep driving when your engine is
overheated, the liquids in it can catch fire.
You or others could be badly burned. Stop
your engine if it overheats, and get out of
the vehicle until the engine is cool.
Notice: If your engine catches fire because you
keep driving with no coolant, your vehicle can
be badly damaged. The costly repairs would not
be covered by your warranty.
5-29

If No Steam Is Coming From
Your Engine
If you get an engine overheat warning with no warning
messages, but see or hear no steam, the problem
may not be too serious. Sometimes the engine can get
a little too hot when you:
•Climb a long hill on a hot day.
•Stop after high-speed driving.
•Idle for long periods in traffic.
•Tow a trailer.
If you get the overheat warning with no sign of steam,
try this for a minute or so:
1. If you have an air conditioner and it is on, turn it off.
2. Turn on your heater to full hot at the highest fan
speed and open the windows as necessary.
3. Try to minimize engine load. If you are in a traffic
jam, shift to NEUTRAL (N); otherwise, shift to the
highest gear possible while driving.
If you no longer have the overheat warning, you can
drive. Just to be safe, drive slower for about 10 minutes.
If the warning does not come back on, you can drive
normally.
If the warning continues and you have not stopped, pull
over, stop, and park your vehicle right away.
If there is still no sign of steam, you can idle the engine
for three minutes while you are parked. If you still
have the warning, turn off the engine and get everyone
out of the vehicle until it cools down.
You may decide not to lift the hood but to get service
help right away.
5-30

Cooling System
When you decide it is safe to lift the hood, here is what
you will see:
A. Electric Engine Cooling Fan
B. Coolant Surge Tank with Pressure Cap
{CAUTION:
An electric engine cooling fan under the hood
can start up even when the engine is not
running and can injure you. Keep hands,
clothing and tools away from any underhood
electric fan.
If the coolant inside the coolant surge tank is boiling,
do not do anything else until it cools down. The vehicle
should be parked on a level surface.
2.2L L4 Engine shown, 2.4L L4 and
2.0L L4 Supercharged Engines similar
5-31

The coolant level should be at the cold fill line. If it is
not, you may have a leak at the radiator hoses, heater
hoses, radiator, water pump, or somewhere else in
the cooling system.
{CAUTION:
Heater and radiator hoses, and other engine
parts, can be very hot. Do not touch them.
If you do, you can be burned.
Do not run the engine if there is a leak. If you
run the engine, it could lose all coolant. That
could cause an engine fire, and you could be
burned. Get any leak fixed before you drive
the vehicle.
If there seems to be no leak, with the engine on, check
to see if the electric engine cooling fan is running.
If the engine is overheating, the fan should be running.
If it is not, your vehicle needs service. Turn off the
engine.
Notice: Engine damage from running your engine
without coolant is not covered by your warranty.
Notice: Using coolant other than DEX-COOL
®
may
cause premature engine, heater core or radiator
corrosion. In addition, the engine coolant may
require changing sooner, at 30,000 miles (50 000 km)
or 24 months, whichever occurs first. Any repairs
would not be covered by your warranty. Always use
DEX-COOL
®
(silicate-free) coolant in your vehicle.
5-32

How to Add Coolant to the Coolant
Surge Tank
If you have not found a problem yet, check to see if
coolant is visible in the surge tank. If coolant is visible
but the coolant level is not at the cold fill line, add a
50/50 mixture of clean, drinkable water and DEX-COOL
®
coolant at the coolant surge tank, but be sure the
cooling system, including the coolant surge tank
pressure cap, is cool before you do it. See Engine
Coolant on page 5-25 for more information.
{CAUTION:
Steam and scalding liquids from a hot cooling
system can blow out and burn you badly. They
are under pressure, and if you turn the coolant
surge tank pressure cap — even a little — they
can come out at high speed. Never turn the
cap when the cooling system, including the
coolant surge tank pressure cap, is hot. Wait
for the cooling system and coolant surge tank
pressure cap to cool if you ever have to turn
the pressure cap.
{CAUTION:
Adding only plain water to your cooling
system can be dangerous. Plain water, or
some other liquid such as alcohol, can boil
before the proper coolant mixture will. Your
vehicle’s coolant warning system is set for the
proper coolant mixture. With plain water or the
wrong mixture, your engine could get too hot
but you would not get the overheat warning.
Your engine could catch fire and you or others
could be burned. Use a 50/50 mixture of clean,
drinkable water and DEX-COOL
®
coolant.
5-33

Notice: In cold weather, water can freeze and crack
the engine, radiator, heater core and other parts.
Use the recommended coolant and the proper
coolant mixture.
{CAUTION:
You can be burned if you spill coolant on hot
engine parts. Coolant contains ethylene glycol
and it will burn if the engine parts are hot
enough. Do not spill coolant on a hot engine.
1. You can remove the coolant surge tank pressure
cap when the cooling system, including the upper
radiator hose, is no longer hot. Turn the pressure
cap slowly counterclockwise about one-quarter of a
turn. If you hear a hiss, wait for that to stop. This
will allow any pressure still left to be vented out the
discharge hose.
2. Then keep turning the pressure cap slowly, and
remove it.
5-34

3. Fill the coolant surge tank with the proper
DEX-COOL
®
coolant mixture, to the cold fill line.
4. With the coolant surge tank pressure cap off, start
the engine and let it run until you can feel the upper
radiator hose getting hot. Watch out for the
engine cooling fan.
By this time, the coolant level inside the coolant
surge tank may be lower. If the level is lower, add
more of the proper DEX-COOL
®
coolant mixture
to the coolant surge tank until the level reaches the
cold fill line.
5. Then replace the pressure cap. Be sure the
pressure cap is hand-tight and fully seated.
Check the level in the surge tank when the cooling
system has cooled down. If the coolant is not at
the proper level, repeat Steps 1 through 3 and reinstall
the pressure cap. If the coolant is not at the proper level
when the system cools down again, see your retailer.
5-35

How to Add Coolant to the
Intercooler System Fill Neck
(2.0L L4 Supercharged Engine Only)
If you have not found a problem yet, turn the engine off
and allow it to cool down, then check to see if coolant
is visible within the horizontal tube section of the
fill neck. If coolant is not visible, add a 50/50 mixture of
clean, drinkable water and DEX-COOL
®
coolant to
the fill neck. Be sure the Intercooler System, including
the Intercooler System pressure cap, is cool before
doing so. See Engine Coolant on page 5-25 for more
information.
{CAUTION:
Turning the Intercooler System pressure cap
when the engine and intercooler are hot can
allow steam and scalding liquids to blow out
and burn you badly. Never turn the Intercooler
System pressure cap, even a little, when the
engine and intercooler are hot.
{CAUTION:
Adding only plain water to your cooling system
can be dangerous. Plain water, or some other
liquid such as alcohol, can boil before the
proper coolant mixture will. Your vehicle’s
coolant warning system is set for the proper
coolant mixture. With plain water or the wrong
mixture, your engine could get too hot but you
would not get the overheat warning. Your
engine could catch fire and you or others could
be burned. Use a 50/50 mixture of clean,
drinkable water and DEX-COOL
®
coolant.
Notice: In cold weather, water can freeze and crack
the engine, radiator, heater core and other parts.
Use the recommended coolant and the proper
coolant mixture.
5-36

{CAUTION:
You can be burned if you spill coolant on hot
engine parts. Coolant contains ethylene glycol
and it will burn if the engine parts are hot
enough. Do not spill coolant on a hot engine.
1. You can remove the Intercooler System pressure
cap when the Intercooler System, including the
upper intercooler hoses, are no longer hot.
Turn the pressure cap slowly counterclockwise
about one-quarter of a turn. If you hear a hiss, wait
for that to stop. This will allow any pressure still
left to be vented.
2. Then keep turning the pressure cap slowly, and
remove it.
3. Add the proper DEX-COOL
®
coolant mixture to the
fill neck, until there is coolant visible in the horizontal
tube section of the fill neck.
4. With the Intercooler System pressure cap off, start
the engine and let it run for a couple of minutes.
Watch out for the engine cooling fan. Turn the
engine off.
By this time, the coolant level inside the fill neck
may be lower. If the level drops to where coolant is
no longer visible in the horizontal tube section of
the fill neck, with the engine off add more of
the DEX-COOL
®
coolant mixture to the fill neck
until the level is again visible in the horizontal tube
section.
5. Then replace the pressure cap. Be sure the
pressure cap is hand-tight and fully seated.
If the coolant is not at the proper level when the system
cools down again, see your retailer.
5-37

Windshield Washer Fluid
What to Use
When you need windshield washer fluid, be sure to
read the manufacturer’s instructions before use. If you
will be operating your vehicle in an area where the
temperature may fall below freezing, use a fluid that
has sufficient protection against freezing.
Adding Windshield Washer Fluid
Open the cap with the
washer symbol on it.
Add washer fluid until the
tank is full. See Engine
Compartment Overview
on page 5-12 for reservoir
location.
Notice:
•When using concentrated washer fluid,
follow the manufacturer’s instructions for
adding water.
•Do not mix water with ready-to-use washer
fluid. Water can cause the solution to freeze and
damage your washer fluid tank and other parts
of the washer system. Also, water does not clean
as well as washer fluid.
•Fill your washer fluid tank only three-quarters full
when it is very cold. This allows for expansion
if freezing occurs, which could damage the tank
if it is completely full.
•Do not use engine coolant (antifreeze) in your
windshield washer. It can damage your washer
system and paint.
5-38

Brakes
Brake Fluid
The hydraulic clutch and
brake master cylinder
use the same reservoir.
The reservoir is filled
with DOT-3 brake fluid.
See Engine Compartment
Overview on page 5-12
for the location of the
reservoir.
There are only two reasons why the brake fluid level
in the reservoir might go down. The first is that the brake
fluid goes down to an acceptable level during normal
brake lining wear. When new linings are put in, the fluid
level goes back up. The other reason is that fluid is
leaking out of the brake system or hydraulic clutch
system if you have a manual transaxle. If it is, you
should have both systems checked and the necessary
repairs made, since a leak means that sooner or
later your brakes and/or clutch will not work well, or
will not work at all.
So, it is not a good idea to top off your brake fluid.
Adding brake fluid will not correct a leak. If you add fluid
when your linings are worn, then you will have too much
fluid when you get new brake linings. You should add or
remove brake fluid, as necessary, only when work is
done on the brake and/or clutch hydraulic system.
{CAUTION:
If you have too much brake fluid, it can spill on
the engine. The fluid will burn if the engine is
hot enough. You or others could be burned,
and your vehicle could be damaged. Add brake
fluid only when work is done on the brake
and/or clutch hydraulic system.
When your brake fluid falls to a low level, your brake
warning light will come on. See Brake System Warning
Light on page 3-34.
5-39

Checking Brake Fluid
You can check the brake fluid level without removing
the reservoir cap by just looking at the brake fluid
reservoir. The fluid level should be at or below the
MAX fill mark. After work has been done on the brake
hydraulic system, make sure the level does not
exceed the MAX fill mark on the reservoir.
What to Add
When you do need brake fluid, use only DOT-3 brake
fluid. Use new brake fluid from a sealed container
only. See Recommended Fluids and Lubricants
on page 6-13.
Always clean the brake fluid reservoir cap and the
area around the cap before removing it. This will
help keep dirt from entering the reservoir.
{CAUTION:
With the wrong kind of fluid in your brake
system, your brakes may not work well, or they
may not even work at all. This could cause a
crash. Always use the proper brake fluid.
Notice:
•Using the wrong fluid can badly damage brake
system parts. For example, just a few drops of
mineral-based oil, such as engine oil, in your
brake system can damage brake system parts
so badly that they will have to be replaced. Do
not let someone put in the wrong kind of fluid.
•If you spill brake fluid on your vehicle’s painted
surfaces, the paint finish can be damaged. Be
careful not to spill brake fluid on your vehicle.
If you do, wash it off immediately. See Washing
Your Vehicle on page 5-94.
5-40

Brake Wear
Your vehicle has front disc brakes and rear drum brakes
or rear disc brakes.
Disc brake pads have built-in wear indicators that make
a high-pitched warning sound when the brake pads
are worn and new pads are needed. The sound
may come and go or be heard all the time your vehicle
is moving, except when you are pushing on the
brake pedal firmly.
{CAUTION:
The brake wear warning sound means that
soon your brakes will not work well. That
could lead to an accident. When you hear the
brake wear warning sound, have your vehicle
serviced.
Notice: Continuing to drive with worn-out brake
pads could result in costly brake repair.
Some driving conditions or climates may cause a brake
squeal when the brakes are first applied or lightly
applied. This does not mean something is wrong with
your brakes.
Properly torqued wheel nuts are necessary to help
prevent brake pulsation. When tires are rotated, inspect
brake pads for wear and evenly tighten wheel nuts in
the proper sequence to Saturn specifications.
The rear drum brakes do not have wear indicators,
but if you ever hear a rear brake rubbing noise, have the
rear brake linings inspected immediately. Also, the
rear brake drums should be removed and inspected
each time the tires are removed for rotation or changing.
When you have the front brake pads replaced, have
the rear brakes inspected, too.
Brake linings should always be replaced as complete
axle sets.
Brake Pedal Travel
See your retailer if the brake pedal does not return to
normal height, or if there is a rapid increase in pedal
travel. This could be a sign of brake trouble.
Brake Adjustment
Every time you make a moderate brake stop, your
brakes adjust for wear. If you rarely make a moderate
or heavier stop, then your brakes might not adjust
correctly. If you drive in that way, then — very
carefully — make a few moderate brake stops about
every 1,000 miles (1 600 km), so your brakes will
adjust properly.
5-41

Replacing Brake System Parts
The braking system on a vehicle is complex. Its many
parts have to be of top quality and work well together if
the vehicle is to have really good braking. Your vehicle
was designed and tested with top-quality brake parts.
When you replace parts of your braking system — for
example, when your brake linings wear down and you
need new ones put in — be sure you get new approved
Saturn replacement parts. If you do not, your brakes may
no longer work properly. For example, if someone puts in
brake linings that are wrong for your vehicle, the balance
between your front and rear brakes can change — for the
worse. The braking performance you have come to
expect can change in many other ways if someone puts
in the wrong replacement brake parts.
Battery
Your vehicle has a maintenance free battery. When it is
time for a new battery, get one that has the replacement
number shown on the original battery’s label. We
recommend an ACDelco
®
replacement battery.
Your vehicle’s battery is located in the trunk next to
the compact spare tire. To access the battery, use the
trunk’s floor carpet latch to lift the cover up.
Warning: Battery posts, terminals, and related
accessories contain lead and lead compounds,
chemicals known to the State of California to cause
cancer and reproductive harm. Wash hands after
handling.
Vehicle Storage
If you are not going to drive your vehicle for 25 days
or more, remove the black, negative (−) cable from
the battery. This will help keep your battery from
running down.
{CAUTION:
Batteries have acid that can burn you and
gas that can explode. You can be badly hurt
if you are not careful. See Jump Starting on
page 5-43 for tips on working around a battery
without getting hurt.
5-42

Jump Starting
If your vehicle’s battery has run down, you may want
to use another vehicle and some jumper cables to
start your vehicle. Be sure to use the following steps
to do it safely.
{CAUTION:
Batteries can hurt you. They can be dangerous
because:
•They contain acid that can burn you.
•They contain gas that can explode or
ignite.
•They contain enough electricity to
burn you.
If you do not follow these steps exactly, some
or all of these things can hurt you.
Notice: Ignoring these steps could result in costly
damage to your vehicle that would not be covered
by your warranty.
Trying to start your vehicle by pushing or pulling it
will not work, and it could damage your vehicle.
1. Check the other vehicle. It must have a 12-volt
battery with a negative ground system.
Notice: If the other vehicle’s system is not a 12-volt
system with a negative ground, both vehicles can
be damaged. Only use vehicles with 12-volt systems
with negative grounds to jump start your vehicle.
2. Get the vehicles close enough so the jumper cables
can reach, but be sure the vehicles are not touching
each other. If they are, it could cause a ground
connection you do not want. You would not be
able to start your vehicle, and the bad grounding
could damage the electrical systems.
To avoid the possibility of the vehicles rolling, set
the parking brake firmly on both vehicles involved
in the jump start procedure. Put an automatic
transaxle in PARK (P) or a manual transaxle in
NEUTRAL before setting the parking brake.
5-43

Notice: If you leave your radio or other accessories
on during the jump starting procedure, they could
be damaged. The repairs would not be covered
by your warranty. Always turn off your radio and
other accessories when jump starting your vehicle.
3. Turn off the ignition on both vehicles. Unplug
unnecessary accessories plugged into the cigarette
lighter or the accessory power outlet. Turn off
the radio and all lamps that are not needed. This
will avoid sparks and help save both batteries.
And it could save the radio!
4. Open the hoods and locate the positive (+) and
negative (−) terminal locations on each vehicle.
You will not need to access your battery for jump
starting. Your vehicle has a remote positive (+)
and a remote negative (−) jump starting terminal.
The remote positive (+) terminal is located on the
engine compartment fuse block, under a red
cap. See Engine Compartment Overview on
page 5-12 for more information on location.
The remote negative (−) ground terminal is a bolt
located under the metal frame that supports
the radiator. It is at the front of the engine
compartment, on the driver’s side of the vehicle,
and is marked with a label that says GND (−).
{CAUTION:
An electric fan can start up even when the
engine is not running and can injure you.
Keep hands, clothing and tools away from
any underhood electric fan.
5-44

{CAUTION:
Using a match near a battery can cause battery
gas to explode. People have been hurt doing
this, and some have been blinded. Use a
flashlight if you need more light.
Be sure the battery has enough water. You do
not need to add water to the battery installed
in your new vehicle. But if a battery has filler
caps, be sure the right amount of fluid is there.
If it is low, add water to take care of that first.
If you do not, explosive gas could be present.
Battery fluid contains acid that can burn you.
Do not get it on you. If you accidentally get it
in your eyes or on your skin, flush the place
with water and get medical help immediately.
{CAUTION:
Fans or other moving engine parts can injure
you badly. Keep your hands away from moving
parts once the engine is running.
5. Check that the jumper cables do not have loose or
missing insulation. If they do, you could get a
shock. The vehicles could be damaged too.
Before you connect the cables, here are some
basic things you should know. Positive (+) will go to
positive (+) or to a remote positive (+) terminal if
the vehicle has one. Negative (−) will go to a heavy,
unpainted metal engine part or to a remote
negative (−) terminal if the vehicle has one.
Do not connect positive (+) to negative (−)oryou
will get a short that would damage the battery
and maybe other parts too. And do not connect the
negative (−) cable to the negative (−) terminal on
the dead battery because this can cause sparks.
5-45

6. Remove the terminal cover and connect the red
positive (+) cable to the positive (+) terminal of
the dead battery. Use a remote positive (+) terminal
if the vehicle has one.
7. Do not let the other end touch metal. Connect it to
the positive (+) terminal of the good battery. Use a
remote positive (+) terminal if the vehicle has one.
8. Now connect the black negative (−) cable to the
negative (−) terminal of the good battery. Use a
remote negative (−) terminal if the vehicle has one.
Do not let the other end touch anything until the
next step. The other end of the negative (−) cable
does not go to the dead battery. It goes to a
heavy, unpainted metal engine part or to a remote
negative (−) terminal on the vehicle with the
dead battery.
9. Connect the other end of the negative (−) cable at
least 18 inches (45 cm) away from the dead battery,
but not near engine parts that move. The electrical
connection is just as good there, and the chance
of sparks getting back to the battery is much less.
Your vehicle has a remote negative (−) terminal
for this purpose.
10. Now start the vehicle with the good battery and run
the engine for a while.
11. Press the unlock button on the remote keyless
entry transmitter to disarm your security system,
if equipped.
12. Try to start the vehicle that had the dead battery.
If it will not start after a few tries, it probably needs
service.
5-46

Notice: If the jumper cables are connected or
removed in the wrong order, electrical shorting may
occur and damage the vehicle. The repairs would
not be covered by your warranty. Always connect
and remove the jumper cables in the correct
order, making sure that the cables do not touch
each other or other metal.
A. Heavy, Unpainted Metal Engine Part
B. Good Battery
C. Dead Battery
To disconnect the jumper cables from both vehicles,
do the following:
1. Disconnect the black negative (−) cable from the
vehicle that had the dead battery.
2. Disconnect the black negative (−) cable from the
vehicle with the good battery.
3. Disconnect the red positive (+) cable from the
vehicle with the good battery.
4. Disconnect the red positive (+) cable from the
other vehicle.
5. Return the red protector cap to its original position.
Jumper Cable Removal
5-47

Headlamp Aiming
Headlamp aim has been preset at the factory and
should need no further adjustment.
If your vehicle is damaged in an accident, the headlamp
aim may be affected. Aim adjustment to the low-beam
headlamps may be necessary if it is difficult to see
the lane markers (for horizontal aim), or if oncoming
drivers flash their high-beam headlamps at you
(for vertical aim). If you believe your headlamps need
to be re-aimed, we recommend that you take your
vehicle to your retailer for service.
Bulb Replacement
For the type of bulb to use, see Replacement Bulbs
on page 5-55.
For any bulb changing procedure not listed in this
section, contact your retailer.
Halogen Bulbs
{CAUTION:
Halogen bulbs have pressurized gas inside
and can burst if you drop or scratch the bulb.
You or others could be injured. Be sure to
read and follow the instructions on the bulb
package.
5-48

Headlamps (Coupe)
To change a headlamp bulb on a coupe model, do the
following:
1. Open the hood. See Hood Release on page 5-10
for more information.
2. Pull up on the headlamp retaining pins to remove
them from the headlamp assembly.
3. Pull the headlamp assembly away from the vehicle
and remove the electrical connector.
4. Raise the lock tab and pull the connector from the
base of the bulb to remove the electrical connector
from the headlamp bulb.
5. Remove the retaining nut by turning it
counterclockwise.
6. Remove the bulb and replace it with the
appropriate bulb.
7. Reverse the steps to reinstall the headlamp
assembly.
5-49

Headlamps (Sedan)
To change a headlamp bulb on a sedan model, do the
following:
1. Open the hood. See Hood Release on page 5-10
for more information.
2. Pull up on the headlamp retaining pins to remove
them from the headlamp assembly.
3. Pull the headlamp assembly away from the vehicle
and remove the electrical connector.
4. Access the bulb by turning the dust cap
counterclockwise to remove it.
5-50

5. Raise the lock tab and pull the connector (A) from
the base of the bulb to remove the electrical
connector. 6. Remove the bulb retaining nut by turning it
counterclockwise.
7. Remove the bulb and replace it with the
appropriate bulb.
8. Reverse the steps to reinstall the lamp assembly.
5-51

Front Turn Signal, Parking and
Daytime Running Lamps (DRL)
(Coupe)
To change this bulb on a coupe model, do the following:
1. Open the hood. See Hood Release on page 5-10
for more information.
2. Reach behind the headlamp from inside the hood.
3. Rotate the bulb socket counterclockwise to
remove it from the housing.
4. Pull the bulb from the socket and replace it with the
appropriate bulb.
5. Reinstall the bulb socket by turning it clockwise.
5-52

Front Turn Signal, Parking and
Daytime Running Lamps (DRL)
(Sedan)
To change this bulb on a sedan model, do the following:
1. Follow Steps 1 through 4 to remove the headlamp
assembly. See the headlamp removal for sedan
under Headlamps (Coupe) on page 5-49 or
Headlamps (Sedan) on page 5-50. This bulb is
located next to the high/low-beam headlamp.
2. Remove the bulb socket by rotating it
counterclockwise.
3. Remove the bulb and replace it with the
appropriate bulb.
4. Reverse the steps to reinstall the lamp assembly.
5-53

Center High-Mounted Stoplamp
(CHMSL)
To change a CHMSL bulb, do the following:
1. Remove the CHMSL cover by pulling down on the
cover edges from inside the vehicle.
2. Turn the bulb socket counterclockwise to remove it.
3. Replace with the appropriate bulb.
4. Reinstall the bulb socket by turning it clockwise.
5. Replace the cover.
Taillamps, Turn Signal, Stoplamps
and Back-up Lamps
To change one of these bulbs, do the following:
1. Open the trunk. See Trunk on page 2-11 for more
information.
2. Remove the three retaining screws from the
taillamp assembly.
3. Slide the taillamp assembly back and remove it
from the quarter panel.
5-54

4. Remove the bulb socket by turning it
counterclockwise.
5. Pull the bulb from the socket and replace it with the
appropriate bulb.
6. Reverse the steps to reinstall the taillamp assembly.
Replacement Bulbs
Exterior Lamp Bulb Number
Back-up Lamps 921
CHMSL PC-175
Front Turn Signal/
Parking Lamp/DRL 5702KA
1
Headlamps 9007
Stoplamp and
Taillamps (Top) 3057K
1
Phillips Only
For replacement bulbs not listed here, contact your
retailer.
5-55

Windshield Wiper Blade
Replacement
Windshield wiper blades should be inspected for wear
and cracking. See Scheduled Maintenance on page 6-4
for more information.
Replacement blades come in different types and are
removed in different ways. For proper type and length, see
Normal Maintenance Replacement Parts on page 6-15.
To replace the windshield wiper blade assembly do
the following:
1. Lift the wiper arm away from the windshield.
2. Push the release lever (B) to disengage the hook
and push the wiper arm (A) out of the blade (C).
3. Push the new wiper blade securely on the
wiper arm until you hear the release lever click
into place.
5-56

Tires
Your new vehicle comes with high-quality tires made by
a leading tire manufacturer. If you ever have questions
about your tire warranty and where to obtain service,
see your Saturn Warranty booklet for details. For
additional information refer to the tire manufacturer’s
booklet included with your vehicle.
{CAUTION:
•Poorly maintained and improperly used
tires are dangerous.
•Overloading your tires can cause
overheating as a result of too much
friction. You could have an air-out and
a serious accident. See Loading Your
Vehicle on page 4-31.
CAUTION: (Continued)
CAUTION: (Continued)
•Underinflated tires pose the same danger
as overloaded tires. The resulting accident
could cause serious injury. Check all tires
frequently to maintain the recommended
pressure. Tire pressure should be checked
when your tires are cold.
•Overinflated tires are more likely to be
cut, punctured, or broken by a sudden
impact — such as when you hit a pothole.
Keep tires at the recommended pressure.
•Worn, old tires can cause accidents.
If your tread is badly worn, or if your
tires have been damaged, replace them.
See Inflation - Tire Pressure on page 5-64
for inflation pressure adjustment for high
speed driving.
5-57

Low-Profile Performance Tire
(Red Line)
If your vehicle has 215/45ZR17 size tires, they are
classified as “low-profile performance” tires. These tires
are designed for very responsive driving on wet or
dry pavement. You may also notice more road noise
with low-profile performance tires and that they tend to
wear faster.
Notice: If your vehicle has low-profile tires, they
are more susceptible to damage from road hazards
or curb impact than standard profile tires. Tire
and/or wheel assembly damage can occur when
coming into contact with road hazards like,
potholes, or sharp edged objects, or when sliding
into a curb. Your GM warranty does not cover
this type of damage. Keep tires set to the correct
inflation pressure and, when possible avoid contact
with curbs, potholes, and other road hazards.
For cold weather driving conditions, you may prefer to
get tires designed for snow or ice. See your dealer
for details regarding winter tire availability and proper
tire selection. Also, see Buying New Tires on page 5-68.
If you choose to use winter tires:
•Use tires of the same brand and tread type on all
four wheel positions.
•Use only radial ply tires of the same size, load
range, and speed rating as your original
equipment tires.
Winter tires with the same speed rating as your original
equipment tires may not be available for H, V, W
and ZR speed rated tires. If you choose winter tires with
a lower speed rating, never exceed the tire’s maximum
speed capability.
5-58

Tire Sidewall Labeling
Useful information about a tire is molded into its
sidewall. The examples below show a typical passenger
vehicle tire and a compact spare tire sidewall.
(A) Tire Size: The tire size is a combination of letters
and numbers used to define a particular tire’s width,
height, aspect ratio, construction type, and service
description. See the “Tire Size” illustration later in this
section for more detail.
(B) TPC Spec (Tire Performance Criteria
Specification): Original equipment tires designed to
GM’s specific tire performance criteria have a TPC
specification code molded onto the sidewall. GM’s TPC
specifications meet or exceed all federal safety
guidelines.
(C) DOT (Department of Transportation): The
Department of Transportation (DOT) code indicates that
the tire is in compliance with the U.S. Department of
Transportation Motor Vehicle Safety Standards.
(D) Tire Identification Number (TIN): The letters and
numbers following DOT (Department of Transportation)
code is the Tire Identification Number (TIN). The
TIN shows the manufacturer and plant code, tire size,
and date the tire was manufactured. The TIN is molded
onto both sides of the tire, although only one side
may have the date of manufacture.
(E) Tire Ply Material: The type of cord and number
of plies in the sidewall and under the tread.
(F) Uniform Tire Quality Grading (UTQG): Tire
manufacturers are required to grade tires based on
three performance factors: treadwear, traction,
and temperature resistance. For more information
see Uniform Tire Quality Grading on page 5-70.
(G) Maximum Cold Inflation Load Limit: Maximum
load that can be carried and the maximum pressure
needed to support that load.
Passenger (P-Metric) Tire Example
5-59

(A) Temporary Use Only: The compact spare tire or
temporary use tire has a tread life of approximately
3,000 miles (5 000 km) and should not be driven
at speeds over 65 mph (105 km/h). The compact spare
tire is for emergency use when a regular road tire
has lost air and gone flat. If your vehicle has a compact
spare tire, see Compact Spare Tire on page 5-90
and If a Tire Goes Flat on page 5-75.
(B) Tire Ply Material: The type of cord and number
of plies in the sidewall and under the tread.
(C) Tire Identification Number (TIN): The letters
and numbers following the DOT (Department of
Transportation) code is the Tire Identification Number
(TIN). The TIN shows the manufacturer and plant code,
tire size, and date the tire was manufactured. The
TIN is molded onto both sides of the tire, although only
one side may have the date of manufacture.
(D) Maximum Cold Inflation Load Limit: Maximum
load that can be carried and the maximum pressure
needed to support that load.
(E) Tire Inflation: The temporary use tire or compact
spare tire should be inflated to 60 psi (420 kPa).
For more information on tire pressure and inflation
see Inflation - Tire Pressure on page 5-64.
(F) Tire Size: A combination of letters and numbers
define a tire’s width, height, aspect ratio, construction
type, and service description. The letter T as the
first character in the tire size means the tire is for
temporary use only.
(G) TPC Spec (Tire Performance Criteria
Specification): Original equipment tires designed to
GM’s specific tire performance criteria have a TPC
specification code molded onto the sidewall. GM’s TPC
specifications meet or exceed all federal safety
guidelines.
Compact Spare Tire Example
5-60

Tire Size
The following illustration shows an example of a typical
passenger vehicle tire size.
(A) Passenger (P-Metric) Tire: The United States
version of a metric tire sizing system. The letter P as
the first character in the tire size means a passenger
vehicle tire engineered to standards set by the U.S. Tire
and Rim Association.
(B) Tire Width: The three-digit number indicates the
tire section width in millimeters from sidewall to sidewall.
(C) Aspect Ratio: A two-digit number that indicates the
tire height-to-width measurements. For example, if the
tire size aspect ratio is 60, as shown in item C of the
illustration, it would mean that the tire’s sidewall is
60 percent as high as it is wide.
(D) Construction Code: A letter code is used to
indicate the type of ply construction in the tire. The
letter R means radial ply construction; the letter D means
diagonal or bias ply construction; and the letter B means
belted-bias ply construction.
(E) Rim Diameter: Diameter of the wheel in inches.
(F) Service Description: These characters represent
the load range and speed rating of the tire. The load
index represents the load carry capacity a tire is certified
to carry. The load index can range from 1 to 279. The
speed rating is the maximum speed a tire is certified
to carry a load. Speed ratings range from A to Z.
5-61

Tire Terminology and Definitions
Air Pressure: The amount of air inside the tire pressing
outward on each square inch of the tire. Air pressure
is expressed in pounds per square inch (psi) or
kilopascal (kPa).
Accessory Weight: This means the combined weight
of optional accessories. Some examples of optional
accessories are, automatic transmission, power steering,
power brakes, power windows, power seats, and air
conditioning.
Aspect Ratio: The relationship of a tire’s height to
its width.
Belt: A rubber coated layer of cords that is located
between the plies and the tread. Cords may be made
from steel or other reinforcing materials.
Bead: The tire bead contains steel wires wrapped by
steel cords that hold the tire onto the rim.
Bias Ply Tire: A pneumatic tire in which the plies are
laid at alternate angles less than 90 degrees to the
centerline of the tread.
Cold Inflation Pressure: The amount of air pressure
in a tire, measured in pounds per square inch (psi)
or kilopascals (kPa) before a tire has built up heat from
driving. See Inflation - Tire Pressure on page 5-64.
Curb Weight: This means the weight of a motor vehicle
with standard and optional equipment including the
maximum capacity of fuel, oil, and coolant, but without
passengers and cargo.
DOT Markings: A code molded into the sidewall of a
tire signifying that the tire is in compliance with the
U.S. Department of Transportation (DOT) motor vehicle
safety standards. The DOT code includes the Tire
Identification Number (TIN), an alphanumeric designator
which can also identify the tire manufacturer, production
plant, brand, and date of production.
GVWR: Gross Vehicle Weight Rating, see Loading
Your Vehicle on page 4-31.
GAWR FRT: Gross Axle Weight Rating for the front
axle, see Loading Your Vehicle on page 4-31.
GAWR RR: Gross Axle Weight Rating for the rear axle,
see Loading Your Vehicle on page 4-31.
5-62

Intended Outboard Sidewall: The side of an
asymmetrical tire, that must always face outward when
mounted on a vehicle.
Kilopascal (kPa): The metric unit for air pressure.
Light Truck (LT-Metric) Tire: A tire used on light duty
trucks and some multipurpose passenger vehicles.
Load Index: An assigned number ranging from 1 to 279
that corresponds to the load carrying capacity of a tire.
Maximum Inflation Pressure: The maximum air
pressure to which a cold tire may be inflated. The
maximum air pressure is molded onto the sidewall.
Maximum Load Rating: The load rating for a tire at the
maximum permissible inflation pressure for that tire.
Maximum Loaded Vehicle Weight: The sum of curb
weight, accessory weight, vehicle capacity weight,
and production options weight.
Normal Occupant Weight: The number of occupants a
vehicle is designed to seat multiplied by 150 lbs (68 kg).
See Loading Your Vehicle on page 4-31.
Occupant Distribution: Designated seating positions.
Outward Facing Sidewall: The side of an
asymmetrical tire that has a particular side that faces
outward when mounted on a vehicle. The side of the tire
that contains a whitewall, bears white lettering, or
bears manufacturer, brand, and/or model name molding
that is higher or deeper than the same moldings on
the other sidewall of the tire.
Passenger (P-Metric) Tire: A tire used on passenger
cars and some light duty trucks and multipurpose
vehicles.
Recommended Inflation Pressure: Vehicle
manufacturer’s recommended tire inflation pressure as
shown on the tire placard. See Inflation - Tire Pressure
on page 5-64 and Loading Your Vehicle on page 4-31.
Radial Ply Tire: A pneumatic tire in which the ply cords
that extend to the beads are laid at 90 degrees to the
centerline of the tread.
Rim: A metal support for a tire and upon which the tire
beads are seated.
5-63

Sidewall: The portion of a tire between the tread and
the bead.
Speed Rating: An alphanumeric code assigned to a
tire indicating the maximum speed at which a tire
can operate.
Traction: The friction between the tire and the road
surface. The amount of grip provided.
Tread: The portion of a tire that comes into contact
with the road.
Treadwear Indicators: Narrow bands, sometimes
called wear bars, that show across the tread of a tire
when only 1/16 inch (1.6 mm) of tread remains.
See When It Is Time for New Tires on page 5-68.
UTQGS (Uniform Tire Quality Grading Standards):
A tire information system that provides consumers
with ratings for a tire’s traction, temperature, and
treadwear. Ratings are determined by tire manufacturers
using government testing procedures. The ratings are
molded into the sidewall of the tire. See Uniform
Tire Quality Grading on page 5-70.
Vehicle Capacity Weight: The number of designated
seating positions multiplied by 150 lbs (68 kg) plus
the rated cargo load. See Loading Your Vehicle
on page 4-31.
Vehicle Maximum Load on the Tire: Load on an
individual tire due to curb weight, accessory weight,
occupant weight, and cargo weight.
Vehicle Placard: A label permanently attached to a
vehicle showing the vehicle’s capacity weight and
the original equipment tire size and recommended
inflation pressure. See “Tire and Loading Information
Label” under Loading Your Vehicle on page 4-31.
Inflation - Tire Pressure
Tires need the correct amount of air pressure to operate
effectively.
Notice: Do not let anyone tell you that
under-inflation or over-inflation is all right. It is not.
If your tires do not have enough air (under-inflation),
you can get the following:
•Too much flexing
•Too much heat
•Tire overloading
•Premature or irregular wear
•Poor handling
•Reduced fuel economy
5-64

If your tires have too much air (over-inflation), you
can get the following:
•Unusual wear
•Poor handling
•Rough ride
•Needless damage from road hazards
A Tire and Loading Information label is attached to the
vehicle’s center pillar, below the driver’s door latch
or inside the glove box. This label lists your vehicle’s
original equipment tires and their recommended cold
tire inflation pressures. The recommended cold tire
inflation pressure, shown on the label, is the minimum
amount of air pressure needed to support your vehicle’s
maximum load carrying capacity.
For additional information regarding how much weight
your vehicle can carry, and an example of the tire
and loading information label, see Loading Your Vehicle
on page 4-31. How you load your vehicle affects
vehicle handling and ride comfort, never load your
vehicle with more weight than it was designed to carry.
When to Check
Check your tires once a month or more. Do not forget
to check the compact spare tire, it should be at
60 psi (420 kPa). For additional information regarding
the compact spare tire, see Compact Spare Tire
on page 5-90.
How to Check
Use a good quality pocket-type gage to check tire
pressure. You cannot tell if your tires are properly
inflated simply by looking at them. Radial tires may look
properly inflated even when they’re under-inflated.
Check the tire’s inflation pressure when the tires are cold.
Cold means your vehicle has been sitting for at least
three hours or driven no more than 1 mile (1.6 km).
Remove the valve cap from the tire valve stem. Press
the tire gage firmly onto the valve to get a pressure
measurement. If the cold tire inflation pressure matches
the recommended pressure on the Tire and Loading
Information label, no further adjustment is necessary.
If the inflation pressure is low, add air until you reach the
recommended amount.
If you overfill the tire, release air by pushing on the
metal stem in the center of the tire valve. Recheck the
tire pressure with the tire gage.
Be sure to put the valve caps back on the valve stems.
They help prevent leaks by keeping out dirt and
moisture.
5-65

High Speed Operation (Red Line)
{CAUTION:
Driving at high speeds, 100 mph (160 km/h)
or higher, puts an additional strain on tires.
Sustained high-speed driving causes
excessive heat build up and can cause sudden
tire failure. You could have a crash and you or
others could be killed. Some high-speed rated
tires require inflation pressure adjustment for
high speed operation. When speed limits and
road conditions are such that a vehicle can
be driven at high speeds, make sure the tires
are rated for high speed operation, in excellent
condition, and set to the correct cold tire
inflation pressure for the vehicle load.
If your vehicle has 215/45ZR17 size tires, set the cold
tire inflation pressure to 33 psi (227 kPa) for the
front and rear tires when operating your vehicle under
high-speed conditions. When you end high-speed
driving, return the tires to the cold inflation pressure
shown on the tire and loading information label.
Tire Inspection and Rotation
Tires should be rotated every 5,000 to 8,000 miles
(8 000 to 13 000 km).
Any time you notice unusual wear, rotate your tires as
soon as possible and check wheel alignment. Also
check for damaged tires or wheels. See When It Is Time
for New Tires on page 5-68 and Wheel Replacement
on page 5-72 for more information.
The purpose of regular rotation is to achieve more
uniform wear for all tires on the vehicle. The first rotation
is the most important. See Scheduled Maintenance
on page 6-4.
When rotating non-directional tires, always use the
correct rotation pattern shown here.
Non-Directional Tires
5-66

If your vehicle has 215/45ZR17 size tires, they are
directional tires and must roll in a certain direction for
the best overall performance. The direction is shown
by an arrow on the tire sidewall. Because these tires
are directional, they should be rotated as shown
here. These tires should only be moved from front to
rear and rear to front on the same side of the vehicle.
Do not include the compact spare tire in your tire
rotation.
After the tires have been rotated, adjust the front and
rear inflation pressures as shown on the Tire and
Loading Information label. See Loading Your Vehicle
on page 4-31 for an example of the tire and loading
information label and its location on your vehicle.
Make certain that all wheel nuts are properly tightened.
See “Wheel Nut Torque” under Capacities and
Specifications on page 5-109.
{CAUTION:
Rust or dirt on a wheel, or on the parts to
which it is fastened, can make wheel bolts
become loose after a time. The wheel could
come off and cause an accident. When you
change a wheel, remove any rust or dirt from
places where the wheel attaches to the vehicle.
In an emergency, you can use a cloth or a
paper towel to do this; but be sure to use a
scraper or wire brush later, if you need to,
to get all the rust or dirt off. See Changing a
Flat Tire on page 5-76.
Directional Tires
5-67

When It Is Time for New Tires
One way to tell when it is
time for new tires is to
check the treadwear
indicators, which will
appear when your tires
have only 1/16 inch
(1.6 mm) or less of tread
remaining.
You need a new tire if any of the following statements
are true:
•You can see the indicators at three or more places
around the tire.
•You can see cord or fabric showing through the
tire’s rubber.
•The tread or sidewall is cracked, cut, or snagged
deep enough to show cord or fabric.
•The tire has a bump, bulge, or split.
•The tire has a puncture, cut, or other damage that
cannot be repaired well because of the size or
location of the damage.
Buying New Tires
GM has developed and matched specific tires for your
vehicle. The original equipment tires installed on
your vehicle, when it was new, were designed to meet
General Motors Tire Performance Criteria Specification
(TPC spec) system rating. If you need replacement
tires, GM strongly recommends that you get tires with
the same TPC Spec rating. This way, your vehicle
will continue to have tires that are designed to give the
same performance and vehicle safety, during normal
use, as the original tires.
GM’s exclusive TPC Spec system considers over a
dozen critical specifications that impact the overall
performance of your vehicle, including brake system
performance, ride and handling, traction control, and tire
pressure monitoring performance. GM’s TPC Spec
number is molded onto the tire’s sidewall by the
tire manufacturer. If the tires have an all-season tread
design, the TPC spec number will be followed by an
MS for mud and snow. See Tire Sidewall Labeling
on page 5-59 for additional information.
5-68

{CAUTION:
Mixing tires could cause you to lose control
while driving. If you mix tires of different sizes,
brands, or types (radial and bias-belted tires),
the vehicle may not handle properly, and you
could have a crash. Using tires of different
sizes, brands, or types may also cause
damage to your vehicle. Be sure to use the
correct size, brand, and type of tires on all
wheels. It is all right to drive with your
compact spare temporarily, as it was
developed for use on your vehicle. See
Compact Spare Tire on page 5-90.
{CAUTION:
If you use bias-ply tires on your vehicle, the
wheel rim flanges could develop cracks after
many miles of driving. A tire and/or wheel
could fail suddenly, causing a crash. Use only
radial-ply tires with the wheels on your vehicle.
If you must replace your vehicle’s tires with those that
do not have a TPC Spec number, make sure they
are the same size, load range, speed rating, and
construction type (radial and bias-belted tires) as your
vehicle’s original tires.
Your vehicle’s original equipment tires are listed on the
Tire and Loading Information Label. This label is
attached to the vehicle’s center pillar (B-pillar). See
Loading Your Vehicle on page 4-31, for more information
about the Tire and Loading Information Label and its
location on your vehicle.
5-69

Different Size Tires and Wheels
If you add wheels or tires that are a different size than
your original equipment wheels and tires, this may
affect the way your vehicle performs, including its
braking, ride and handling characteristics, stability,
and resistance to rollover. Additionally, if your vehicle
has electronic systems such as, anti-lock brakes,
traction control, and stability control, the performance
of these systems can be affected.
{CAUTION:
If you add different sized wheels, your
vehicle may not provide an acceptable level
of performance and safety if tires not
recommended for those wheels are selected.
You may increase the chance that you will
crash and suffer serious injury. Only use
Saturn specific wheel and tire systems
developed for your vehicle, and have them
properly installed by a Saturn certified
technician.
See Buying New Tires on page 5-68 and Accessories
and Modifications on page 5-3 for additional information.
Uniform Tire Quality Grading
Quality grades can be found where applicable on the
tire sidewall between tread shoulder and maximum
section width. For example:
Treadwear 200 Traction AA Temperature A
The following information relates to the system
developed by the United States National Highway Traffic
Safety Administration (NHTSA), which grades tires by
treadwear, traction, and temperature performance. This
applies only to vehicles sold in the United States. The
grades are molded on the sidewalls of most passenger
car tires. The Uniform Tire Quality Grading (UTQG)
system does not apply to deep tread, winter-type snow
tires, space-saver, or temporary use spare tires, tires with
nominal rim diameters of 10 to 12 inches (25 to 30 cm),
or to some limited-production tires.
While the tires available on General Motors passenger
cars and light trucks may vary with respect to these
grades, they must also conform to federal safety
requirements and additional General Motors Tire
Performance Criteria (TPC) standards.
5-70

Treadwear
The treadwear grade is a comparative rating based on
the wear rate of the tire when tested under controlled
conditions on a specified government test course.
For example, a tire graded 150 would wear one and
a half (1.5) times as well on the government course as
a tire graded 100. The relative performance of tires
depends upon the actual conditions of their use,
however, and may depart significantly from the norm
due to variations in driving habits, service practices, and
differences in road characteristics and climate.
Traction – AA, A, B, C
The traction grades, from highest to lowest, are AA, A,
B, and C. Those grades represent the tire’s ability
to stop on wet pavement as measured under controlled
conditions on specified government test surfaces of
asphalt and concrete. A tire marked C may have poor
traction performance.
Warning: The traction grade assigned to this tire is
based on straight-ahead braking traction tests, and does
not include acceleration, cornering, hydroplaning, or
peak traction characteristics.
Temperature – A, B, C
The temperature grades are A (the highest), B, and C,
representing the tire’s resistance to the generation
of heat and its ability to dissipate heat when tested
under controlled conditions on a specified indoor
laboratory test wheel. Sustained high temperature can
cause the material of the tire to degenerate and
reduce tire life, and excessive temperature can lead to
sudden tire failure. The grade C corresponds to a
level of performance which all passenger car tires must
meet under the Federal Motor Vehicle Safety Standard
No. 109. Grades B and A represent higher levels of
performance on the laboratory test wheel than the
minimum required by law.
Warning: The temperature grade for this tire is
established for a tire that is properly inflated and not
overloaded. Excessive speed, underinflation, or
excessive loading, either separately or in combination,
can cause heat buildup and possible tire failure.
5-71

Wheel Alignment and Tire Balance
The tires and wheels on your vehicle were aligned and
balanced carefully at the factory to give you the longest
tire life and best overall performance. Adjustments to
wheel alignment and tire balancing will not be necessary
on a regular basis. However, if you notice unusual tire
wear or your vehicle pulling to one side or the other, the
alignment may need to be checked. If you notice your
vehicle vibrating when driving on a smooth road, your
tires and wheels may need to be rebalanced. See your
retailer for proper diagnosis.
Wheel Replacement
Replace any wheel that is bent, cracked or badly rusted
or corroded. If wheel nuts keep coming loose, the
wheel, wheel bolts and wheel nuts should be replaced.
If the wheel leaks air, replace it (except some
aluminum wheels, which can sometimes be repaired).
See your retailer if any of these conditions exist.
Your retailer will know the kind of wheel you need.
Each new wheel should have the same load-carrying
capacity, diameter, width, offset and be mounted
the same way as the one it replaces.
If you need to replace any of your wheels, wheel bolts
or wheel nuts, replace them only with new Saturn
original equipment parts. This way, you will be sure to
have the right wheel, wheel bolts and wheel nuts
for your vehicle.
5-72

{CAUTION:
Using the wrong replacement wheels, wheel
bolts, or wheel nuts on your vehicle can be
dangerous. It could affect the braking and
handling of your vehicle, make your tires lose
air and make you lose control. You could have
a collision in which you or others could be
injured. Always use the correct wheel, wheel
bolts, and wheel nuts for replacement.
Notice: The wrong wheel can also cause problems
with bearing life, brake cooling, speedometer or
odometer calibration, headlamp aim, bumper height,
vehicle ground clearance, and tire or tire chain
clearance to the body and chassis.
See Changing a Flat Tire on page 5-76 for more
information.
Used Replacement Wheels
{CAUTION:
Putting a used wheel on your vehicle is
dangerous. You cannot know how it has been
used or how far it has been driven. It could fail
suddenly and cause a crash. If you have to
replace a wheel, use a new Saturn original
equipment wheel.
5-73

Tire Chains
{CAUTION:
If your vehicle has P195/60R15, P205/55R16 or
215/45ZR17 size tires, do not use tire chains,
there is not enough clearance.
Tire chains used on a vehicle without the
proper amount of clearance can cause damage
to the brakes, suspension or other vehicle
parts. The area damaged by the tire chains
could cause you to lose control of your vehicle
and you or others may be injured in a crash.
Use another type of traction device only if its
manufacturer recommends it for use on your
vehicle and tire size combination and road
conditions. Follow that manufacturer’s
instructions. To help avoid damage to your
vehicle, drive slowly, re-adjust or remove the
device if it is contacting your vehicle, and do
not spin your wheels.
If you do find traction devices that will fit,
install them on the front tires.
Notice: If your vehicle has a tire size other than
P195/60R15, P205/55R16 or 215/45ZR17 size
tires, use tire chains only where legal and only
when you must. Use only SAE Class “S” type chains
that are the proper size for your tires. Install them
on the front tires and tighten them as tightly as
possible with the ends securely fastened. Drive
slowly and follow the chain manufacturer’s
instructions. If you can hear the chains contacting
your vehicle, stop and retighten them. If the contact
continues, slow down until it stops. Driving too
fast or spinning the wheels with chains on will
damage your vehicle.
5-74

If a Tire Goes Flat
It is unusual for a tire to blowout while you are driving,
especially if you maintain your vehicle’s tires properly.
If air goes out of a tire, it is much more likely to leak out
slowly. But if you should ever have a blowout, here
are a few tips about what to expect and what to do:
If a front tire fails, the flat tire will create a drag that pulls
the vehicle toward that side. Take your foot off the
accelerator pedal and grip the steering wheel firmly.
Steer to maintain lane position, and then gently brake to
a stop well out of the traffic lane.
A rear blowout, particularly on a curve, acts much like a
skid and may require the same correction you would
use in a skid. In any rear blowout remove your foot from
the accelerator pedal. Get the vehicle under control
by steering the way you want the vehicle to go. It may
be very bumpy and noisy, but you can still steer. Gently
brake to a stop, well off the road if possible.
{CAUTION:
Lifting a vehicle and getting under it to do
maintenance or repairs is dangerous without
the appropriate safety equipment and training.
The jack provided with your vehicle is
designed only for changing a flat tire. If it is
used for anything else, you or others could be
badly injured or killed if the vehicle slips off
the jack. Use the jack provided with your
vehicle only for changing a flat tire.
If a tire goes flat, the next part shows how to use the
jacking equipment to change a flat tire safely.
5-75

Changing a Flat Tire
If a tire goes flat, avoid further tire and wheel damage
by driving slowly to a level place. Turn on your hazard
warning flashers.
{CAUTION:
Changing a tire can be dangerous. The vehicle
can slip off the jack and roll over or fall on you
or other people. You and they could be badly
injured or even killed. Find a level place to
change your tire. To help prevent the vehicle
from moving:
1. Set the parking brake firmly.
2. Put an automatic transaxle shift lever in
PARK (P), or shift a manual transaxle to
FIRST (1) or REVERSE (R).
3. Turn off the engine and do not restart
while the vehicle is raised.
4. Do not allow passengers to remain in the
vehicle.
CAUTION: (Continued)
CAUTION: (Continued)
To be even more certain the vehicle will not
move, you should put blocks at the front and
rear of the tire farthest away from the one
being changed. That would be the tire on the
other side, at the opposite end of the vehicle.
When you have a flat tire, use the following example as
a guide to assist you in the placement of wheel blocks.
The following information will tell you how to use the
jack and change a tire.
5-76

A. Cover
B. Retainer
C. Spare Tire
D. Wing Nut
E. Jack and Wheel Wrench
F. Bolt
3. Remove the retainer (B) that holds down the spare
tire. See Compact Spare Tire on page 5-90.
4. Remove the spare tire (C) by placing your hands at
the four and eight o’clock positions. Gently pull it up
and out of the trunk.
5. Remove the wing nut (D) that holds the jack and
remove the jack and wheel wrench (E).
5-78

A. Retainer
B. Jack and Wheel Wrench
C. Spare Tire
D. Foam Support
E. Bolt
3. Remove the retainer (A) that holds down the jack,
wheel wrench (B) and spare tire (C).
4. Remove the spare tire by placing your hands at the
four and eight o’clock positions. Gently pull it up
and out of the trunk.
The tools you will be using include the jack (A) and
wheel wrench (B).
5-80

You will need to turn the plastic wheel nut
counterclockwise to loosen the wheel wrench from
the jack.
Press the button and then pull on the end of the wheel
wrench to extend the handle.
5-81

Removing the Flat Tire and
Installing the Spare Tire
1. If your vehicle is equipped with plastic wheel
covers, use the wheel wrench to loosen the plastic
wheel nut caps.
Once you have loosened the plastic wheel nut caps
with the wheel wrench, you can finish loosening
them with your fingers. The plastic nut caps do not
come off. Using the flat end of the wheel wrench,
pry along the edge of the wheel cover until it
comes off.
If your vehicle has aluminum wheels, first remove
the center cap by pulling it out with the wheel
wrench. 2. Use the wheel wrench to loosen all the wheel nuts.
Do not remove them yet.
Notice: Make sure that the jack lift head is in the
correct position or you may damage your vehicle.
The repairs would not be covered by your warranty.
5-82

3. Position the jack lift head at the jack location
nearest the flat tire. The front location is about
7 inches (17.8 cm) rearward from the front wheel
opening. The rear location is about 2 inches
(5.1 cm) forward of the rear wheel opening.
Make sure the jack head is touching the metal
jacking flange under the body. Do not place the jack
under the plastic body panel.
4. Put the compact spare tire near you.
{CAUTION:
Getting under a vehicle when it is jacked up is
dangerous. If the vehicle slips off the jack you
could be badly injured or killed. Never get
under a vehicle when it is supported only by
a jack.
{CAUTION:
Raising your vehicle with the jack improperly
positioned can damage the vehicle and even
make the vehicle fall. To help avoid personal
injury and vehicle damage, be sure to fit the
jack lift head into the proper location before
raising the vehicle.
5-83

5. Raise the vehicle by turning the jack handle
clockwise. Raise the vehicle far enough off the
ground so there is enough room for the compact
spare tire to fit under the vehicle.
6. Remove all of the
wheel nuts.
5-84

{CAUTION:
Rust or dirt on the wheel, or on the parts to
which it is fastened, can make the wheel nuts
become loose after a time. The wheel could
come off and cause an accident. When you
change a wheel, remove any rust or dirt from
the places where the wheel attaches to the
vehicle. In an emergency, you can use a cloth
or a paper towel to do this; but be sure to use
a scraper or wire brush later, if needed, to get
all the rust or dirt off.
7. Remove any rust or dirt
from the wheel bolts,
mounting surfaces
and spare wheel.
8. Place the compact spare tire on the wheel-mounting
surface.
{CAUTION:
Never use oil or grease on studs or nuts. If
you do, the nuts might come loose. Your wheel
could fall off, causing a serious accident.
9. Reinstall the wheel nuts with the rounded end of
the nuts toward the wheel. Tighten each nut by
hand until the wheel is held against the hub.
5-85

10. Lower the vehicle by turning the jack handle
counterclockwise. Lower the jack completely.
{CAUTION:
Incorrect wheel nuts or improperly tightened
wheel nuts can cause the wheel to come loose
and even come off. This could lead to an
accident. Be sure to use the correct wheel
nuts. If you have to replace them, be sure to
get new GM original equipment wheel nuts.
Stop somewhere as soon as you can and have
the nuts tightened with a torque wrench to the
proper torque specification. See Capacities
and Specifications on page 5-109 for wheel nut
torque specification.
Notice: Improperly tightened wheel nuts can lead
to brake pulsation and rotor damage. To avoid
expensive brake repairs, evenly tighten the wheel
nuts in the proper sequence and to the proper
torque specification. See Capacities and
Specifications on page 5-109 for the wheel nut
torque specification.
5-86

11. Tighten the wheel nuts firmly in a crisscross
sequence, as shown.
Notice: Wheel covers will not fit on your compact
spare. If you try to put a wheel cover on the compact
spare, you could damage the cover or the spare.
Do not try to put a wheel cover on your compact spare
tire. It will not fit. Store the wheel cover in the trunk
until you have the flat tire repaired or replaced.
Storing a Flat or Spare Tire
and Tools
{CAUTION:
Storing a jack, a tire, or other equipment in
the passenger compartment of the vehicle
could cause injury. In a sudden stop or
collision, loose equipment could strike
someone. Store all these in the proper place.
5-87

A. Cover
B. Retainer
C. Jack and Wheel Wrench
D. Stow Bolt Extension
E. Spare Tire
F. Bolt
2.2L L4 and 2.4L Engine
5-88

A. Cover
B. Retainer
C. Jack and Wheel Wrench
D. Stow Bolt Extension
E. Spare Tire
F. Foam Support
G. Bolt
To store a flat or spare tire and tools, do the following:
1. Remove the stow bolt extension rod and sleeve
from the jack.
2. Re-attach the wheel wrench to the jack.
3. Place the flat tire face down into the spare tire hub.
Avoid scraping the aluminum wheel, if equipped, on
the hold-down bolt.
4. Screw the stow bolt extension rod and the sleeve
into the existing spare tire hold-down bolt.
5. Place the jack into the center of the flat tire, being
careful not to scratch the inside of the wheel.
6. Place the smaller jack hold-down nut in a safe
place for use when you put the compact spare
tire back into the trunk.
7. Remove the plastic sleeve from the stow bolt
extension rod. Secure the jack and road wheel
using the larger plastic retainer.
2.0L L4 Supercharged Engine
5-89

The compact spare tire is for temporary use only.
Replace the compact spare with a full-size tire as
soon as possible.
Compact Spare Tire
Although the compact spare tire was fully inflated when
the vehicle was new, it can lose air after a time.
Check the inflation pressure regularly. It should be
60 psi (420 kPa).
After installing the compact spare on the vehicle, stop
as soon as possible and make sure the spare tire
is correctly inflated. The compact spare is made to
perform well at speeds up to 65 mph (105 km/h)
for distances up to 3,000 miles (5 000 km), so you can
finish your trip and have the full-size tire repaired or
replaced at your convenience. Of course, it is best
to replace the spare with a full-size tire as soon as
possible. The spare tire will last longer and be in good
shape in case it is needed again.
Notice: When the compact spare is installed, do
not take your vehicle through an automatic car wash
with guide rails. The compact spare can get
caught on the rails. That can damage the tire and
wheel, and maybe other parts of your vehicle.
Do not use the compact spare on other vehicles.
And do not mix the compact spare tire or wheel with
other wheels or tires. They will not fit. Keep the
spare tire and its wheel together.
Notice: Tire chains will not fit your compact spare.
Using them can damage your vehicle and can
damage the chains too. Do not use tire chains on
your compact spare.
Appearance Care
Cleaning the Inside of Your Vehicle
Your vehicle’s interior will continue to look its best if
it is cleaned often. Although not always visible, dust and
dirt can accumulate on your upholstery. Dirt can
damage carpet, fabric, leather, and plastic surfaces.
Regular vacuuming is recommended to remove particles
from your upholstery. It is important to keep your
upholstery from becoming and remaining heavily soiled.
Soils should be removed as quickly as possible. Your
vehicle’s interior may experience extremes of heat
that could cause stains to set rapidly.
Lighter colored interiors may require more frequent
cleaning. Use care because newspapers and garments
that transfer color to your home furnishings may also
transfer color to your vehicle’s interior.
5-90

When cleaning your vehicle’s interior, only use
cleaners specifically designed for the surfaces being
cleaned. Permanent damage may result from using
cleaners on surfaces for which they were not intended.
Use glass cleaner only on glass. Remove any
accidental over-spray from other surfaces immediately.
To prevent over-spray, apply cleaner directly to the
cleaning cloth.
Notice: If you use abrasive cleaners when cleaning
glass surfaces on your vehicle, you could scratch
the glass and/or cause damage to the rear window
defogger. When cleaning the glass on your
vehicle, use only a soft cloth and glass cleaner.
Many cleaners contain solvents that may become
concentrated in your vehicle’s breathing space. Before
using cleaners, read and adhere to all safety
instructions on the label. While cleaning your vehicle’s
interior, maintain adequate ventilation by opening
your vehicle’s doors and windows.
Dust may be removed from small buttons and knobs
using a small brush with soft bristles.
Your retailer has a product for cleaning your vehicle’s
glass. Should it become necessary, you can also obtain
a product from your retailer to remove odors from
your vehicle’s upholstery.
Do not clean your vehicle using the following cleaners
or techniques:
•Never use a knife or any other sharp object to
remove a soil from any interior surface.
•Never use a stiff brush. It can cause damage to
your vehicle’s interior surfaces.
•Never apply heavy pressure or rub aggressively
with a cleaning cloth. Use of heavy pressure
can damage your interior and does not improve the
effectiveness of soil removal.
•Use only mild, neutral-pH soaps. Avoid laundry
detergents or dishwashing soaps with degreasers.
Using too much soap will leave a residue that
leaves streaks and attracts dirt. For liquid cleaners,
about 20 drops per gallon (3.78 L) of water is a
good guide.
•Do not heavily saturate your upholstery while
cleaning.
•Damage to your vehicle’s interior may result from
the use of many organic solvents such as naptha,
alcohol, etc.
5-91

Fabric/Carpet
Use a vacuum cleaner with a soft brush attachment
frequently to remove dust and loose dirt. A canister
vacuum with a beater bar in the nozzle may only
be used on floor carpet and carpeted floor mats. For
soils, always try to remove them first with plain water or
club soda. Before cleaning, gently remove as much
of the soil as possible using one of the following
techniques:
•For liquids: gently blot the remaining soil with a
paper towel. Allow the soil to absorb into the
paper towel until no more can be removed.
•For solid dry soils: remove as much as possible
and then vacuum.
To clean, use the following instructions:
1. Saturate a lint-free, clean white cloth with water or
club soda.
2. Wring the cloth to remove excess moisture.
3. Start on the outside edge of the soil and gently rub
toward the center. Continue cleaning, using a clean
area of the cloth each time it becomes soiled.
4. Continue to gently rub the soiled area until the
cleaning cloth remains clean.
5. If the soil is not completely removed, use a mild
soap solution and repeat the cleaning process
that was used with plain water.
If any of the soil remains, a commercial fabric cleaner or
spot lifter may be necessary. When a commercial
upholstery cleaner or spot lifter is to be used, test a
small hidden area for colorfastness first. If the locally
cleaned area gives any impression that a ring formation
may result, clean the entire surface.
After the cleaning process has been completed, a paper
towel can be used to blot excess moisture from the
fabric or carpet.
5-92

Instrument Panel, Vinyl, and
Other Plastic Surfaces
A soft cloth dampened with water may be used to
remove dust. If a more thorough cleaning is necessary,
a clean soft cloth dampened with a mild soap solution
can be used to gently remove dust and dirt. Never use
spot lifters or removers on plastic surfaces. Many
commercial cleaners and coatings that are sold to
preserve and protect soft plastic surfaces may
permanently change the appearance and feel of your
interior and are not recommended. Do not use silicone
or wax-based products, or those containing organic
solvents to clean your vehicle’s interior because
they can alter the appearance by increasing the gloss
in a non-uniform manner.
Some commercial products may increase gloss on your
instrument panel. The increase in gloss may cause
annoying reflections in the windshield and even make
it difficult to see through the windshield under certain
conditions.
Care of Safety Belts
Keep belts clean and dry.
{CAUTION:
Do not bleach or dye safety belts. If you do,
it may severely weaken them. In a crash,
they might not be able to provide adequate
protection. Clean safety belts only with mild
soap and lukewarm water.
Weatherstrips
Silicone grease on weatherstrips will make them last
longer, seal better, and not stick or squeak. Apply
silicone grease with a clean cloth. During very cold,
damp weather frequent application may be required.
See Recommended Fluids and Lubricants on page 6-13.
5-93

Washing Your Vehicle
The paint finish on your vehicle provides beauty, depth
of color, gloss retention and durability.
The best way to preserve your vehicle’s finish is to
keep it clean by washing it often with lukewarm or
cold water.
Do not wash your vehicle in the direct rays of the sun.
Use a car washing soap. Do not use strong soaps
or chemical detergents. Be sure to rinse the vehicle well,
removing all soap residue completely. You can get
approved cleaning products from your retailer.
See Vehicle Care/Appearance Materials on page 5-98.
Do not use cleaning agents that are petroleum
based, or that contain acid or abrasives. All cleaning
agents should be flushed promptly and not allowed
to dry on the surface, or they could stain. Dry the finish
with a soft, clean chamois or an all-cotton towel to
avoid surface scratches and water spotting.
High pressure car washes may cause water to enter
your vehicle.
Cleaning Exterior Lamps/Lenses
Use only lukewarm or cold water, a soft cloth and a car
washing soap to clean exterior lamps and lenses. Follow
instructions under Washing Your Vehicle on page 5-94.
Finish Care
Occasional waxing or mild polishing of your vehicle by
hand may be necessary to remove residue from the
paint finish. You can get approved cleaning products
from your Saturn retailer. See Vehicle Care/Appearance
Materials on page 5-98.
Your vehicle has a “basecoat/clearcoat” paint finish.
The clearcoat gives more depth and gloss to the colored
basecoat. Always use waxes and polishes that are
non-abrasive and made for a basecoat/clearcoat
paint finish.
Notice: Machine compounding or aggressive
polishing on a basecoat/clearcoat paint finish may
damage it. Use only non-abrasive waxes and
polishes that are made for a basecoat/clearcoat
paint finish on your vehicle.
Foreign materials such as calcium chloride and other
salts, ice melting agents, road oil and tar, tree sap, bird
droppings, chemicals from industrial chimneys, etc.,
can damage your vehicle’s finish if they remain
on painted surfaces. Wash the vehicle as soon as
possible. If necessary, use non-abrasive cleaners that
are marked safe for painted surfaces to remove
foreign matter.
5-94

Exterior painted surfaces are subject to aging, weather
and chemical fallout that can take their toll over a
period of years. You can help to keep the paint finish
looking new by keeping your vehicle garaged or covered
whenever possible.
Windshield and Wiper Blades
If the windshield is not clear after using the windshield
washer, or if the wiper blade chatters when running,
wax, sap, or other material may be on the blade
or windshield.
Clean the outside of the windshield with a glass
cleaning liquid or powder and water solution. The
windshield is clean if beads do not form when it is rinsed
with water.
Grime from the windshield will stick to the wiper blades
and affect their performance. Clean the blade by
wiping vigorously with a cloth soaked in full-strength
windshield washer solvent. Then rinse the blade
with water.
Check the wiper blades and clean them as necessary;
replace blades that look worn.
Aluminum Wheels
Notice: If you use strong soaps, chemicals,
abrasive polishes, cleaners, brushes, or cleaners
that contain acid on aluminum or chrome-plated
wheels, you could damage the surface of the
wheel(s). The repairs would not be covered by your
warranty. Use only Saturn-approved cleaners on
aluminum or chrome-plated wheels.
Keep the wheels clean using a soft clean cloth with mild
soap and water. Rinse with clean water. After rinsing
thoroughly, dry with a soft clean towel. A wax may then
be applied.
Notice: Using chrome polish on aluminum wheels
could damage the wheels. The repairs would not
be covered by your warranty. Use chrome polish on
chrome wheels only.
The surface of these wheels is similar to the painted
surface of the vehicle. Do not use strong soaps,
chemicals, abrasive polishes, abrasive cleaners,
cleaners with acid, or abrasive cleaning brushes on
them because the surface could be damaged. Do not
use chrome polish on aluminum wheels.
5-95

Notice: If you drive your vehicle through an
automatic car wash that has silicone carbide tire
cleaning brushes, you could damage the aluminum
or chrome-plated wheels. The repairs would not
be covered by your warranty. Never drive a vehicle
equipped with aluminum or chrome-plated wheels
through an automatic car wash that uses silicone
carbide tire cleaning brushes.
Do not take the vehicle through an automatic car wash
that has silicone carbide tire cleaning brushes. These
brushes can also damage the surface of these wheels.
Tires
To clean the tires, use a stiff brush with tire cleaner.
Notice: Using petroleum-based tire dressing
products on your vehicle may damage the paint
finish and/or tires. When applying a tire dressing,
always wipe off any overspray from all painted
surfaces on your vehicle.
Sheet Metal Damage
If the vehicle is damaged and requires sheet metal
repair or replacement, make sure the body repair shop
applies anti-corrosion material to parts repaired or
replaced to restore corrosion protection.
Original manufacturer replacement parts will provide the
corrosion protection while maintaining the warranty.
Finish Damage
Any stone chips, fractures or deep scratches in the
finish should be repaired right away. Bare metal
will corrode quickly and may develop into major repair
expense.
Minor chips and scratches can be repaired with touch-up
materials available from your Saturn retailer. Larger
areas of finish damage can be corrected in your Saturn
retailer’s body and paint shop.
5-96

Underbody Maintenance
Chemicals used for ice and snow removal and dust
control can collect on the underbody. If these are not
removed, corrosion and rust can develop on the
underbody parts such as fuel lines, frame, floor pan and
exhaust system even though they have corrosion
protection.
At least every spring, flush these materials from the
underbody with plain water. Clean any areas where mud
and debris can collect. Dirt packed in close areas of
the frame should be loosened before being flushed.
Your Saturn retailer or an underbody car washing
system can do this for you.
Chemical Paint Spotting
Some weather and atmospheric conditions can create a
chemical fallout. Airborne pollutants can fall upon and
attack painted surfaces on your vehicle. This damage
can take two forms: blotchy, ring-shaped discolorations,
and small, irregular dark spots etched into the paint
surface.
Although no defect in the paint job causes this, Saturn
will repair, at no charge to the owner, the surfaces
of new vehicles damaged by this fallout condition within
12 months or 12,000 miles (20 000 km) of purchase,
whichever occurs first.
5-97

Vehicle Care/Appearance Materials
Description Usage
Polishing Cloth
Wax-Treated
Interior and exterior
polishing cloth.
Tar and Road Oil
Remover
Removes tar, road oil
and asphalt.
Chrome Cleaner
and Polish
Use on chrome or
stainless steel.
White Sidewall
Tire Cleaner
Removes soil and black
marks from whitewalls.
Vinyl Cleaner Cleans vinyl.
Glass Cleaner Removes dirt, grime,
smoke and fingerprints.
Chrome and Wire
Wheel Cleaner
Removes dirt and grime
from chrome wheels
and wire wheel covers.
Finish Enhancer
Removes dust,
fingerprints, and
surface contaminants.
Spray on wipe off.
Description Usage
Swirl Remover Polish
Removes swirl marks, fine
scratches and other light
surface contamination.
Cleaner Wax Removes light scratches
and protects finish.
Foaming Tire Shine
Low Gloss
Cleans, shines, and
protects in one easy step,
no wiping necessary.
Wash Wax Concentrate
Medium foaming
shampoo. Cleans
and lightly waxes.
Biodegradable and
phosphate free.
Spot Lifter
Quickly and easily
removes spots and stains
from carpets, vinyl, and
cloth upholstery.
Odor Eliminator
Odorless spray odor
eliminator used on fabrics,
vinyl, leather, and carpet.
5-98

Vehicle Identification
Vehicle Identification Number (VIN)
This is the legal identifier for your vehicle. It appears on
a plate in the front corner of the instrument panel, on
the driver’s side. You can see it if you look through the
windshield from outside your vehicle. The VIN also
appears on the Vehicle Certification and Service Parts
labels and the certificates of title and registration.
Engine Identification
The eighth character in the VIN is the engine code.
This code will help you identify your vehicle’s engine,
specifications, and replacement parts.
Service Parts Identification Label
You will find this label on your spare tire cover.
It is very helpful if you ever need to order parts.
On this label, you will find the following:
•VIN
•Model designation
•Paint information
•Production options and special equipment
Do not remove this label from the vehicle.
Electrical System
Add-On Electrical Equipment
Notice: Do not add anything electrical to your
vehicle unless you check with your retailer first.
Some electrical equipment can damage your vehicle
and the damage would not be covered by your
warranty. Some add-on electrical equipment can
keep other components from working as they should.
Your vehicle has an airbag system. Before attempting to
add anything electrical to your vehicle, see Servicing
Your Airbag-Equipped Vehicle on page 1-66.
5-99

Windshield Wiper Fuses
The windshield wiper motor is protected by a circuit
breaker and a fuse. If the motor overheats due to heavy
snow or ice, the wiper will stop until the motor cools.
If the overload is caused by some electrical problem,
have it fixed.
Power Windows and Other Power
Options
Circuit breakers in the fuse panel protect the power
windows and other power accessories. When the current
load is too heavy, the circuit breaker opens and
closes, protecting the circuit until the problem is fixed.
Fuses and Circuit Breakers
The wiring circuits in your vehicle are protected from
short circuits by a combination of fuses. This greatly
reduces the chance of fires caused by electrical
problems.
Look at the silver-colored band inside the fuse. If the
band is broken or melted, replace the fuse. Be sure you
replace a bad fuse with a new one of the identical
size and rating.
Floor Console Fuse Block
Some fuses are in a fuse block on the driver’s side of
the floor console. To remove the floor console cover,
move the driver’s seat back as far as it will go, and pull
the floor console cover, starting near the front of the
vehicle, away from the floor console.
Then remove the fuse block cover to access the fuses.
5-100

Fuses Usage
FUEL PUMP Fuel Pump Relay
BCM ELECT Ignition Switch, Body Control
Module (BCM)
BCM (PWR) Entry Control, Trunk Release
DASH Instrument Panel, Dimming Switch
LIGHTER Cigar Lighter
PARK Headlamp Switch
CLUSTER Instrument Panel Cluster
Fuses Usage
PWR
WINDOWS Power Window Switches
STOP Stoplamp (Brake) Switch
HVAC Climate Control
CRUISE Cruise Control Module, Clutch Start
Switch
AIR BAG Airbags, Sensing and Diagnostic
Module (SDM)
WIPER SW Windshield Wipers and Washers,
Transaxle Shift Lock Control Switch
RADIO (BATT1) Radio Receiver, Entertainment
Memory
ONSTAR Entertainment, Mobile
Communications, OnStar
®
RADIO (ACC) Radio Receiver, Entertainment
IGN SW Ignition Switch
EPS Cruise Control Switches, EPS Unit
PWR OUTLET Auxiliary Power Outlet
SUN ROOF Power Sunroof, OnStar Mirror
5-101

Relay Usage
ALC/PARK
RELAY
OnStar
®
, Radio, Instrument Panel
Cluster, Body Control Module (Entry
Control), Cigar Lighter, Headlamp
Switch, License Lamp
FUEL PUMP
RELAY Fuel Pump
ACC RELAY
Power Windows, Sunroof, Radio,
Wiper/Washer Switch, Accessory
Power Outlet
RUN RELAY Climate Control (HVAC Blower,
Control Heads)
Engine Compartment Fuse Block
The engine compartment fuse block is located in
the engine compartment on the driver’s side of the
vehicle. See Engine Compartment Overview on
page 5-12 for more information on location.
2.2L L4 Engine
The Engine Control Module (ECM) Inline fuse is located
on the battery cable, near the battery.
Fuses Usage
1 Transaxle Control Module
2 Not Used
3 Not Used
4 Passenger’s Side Headlamp
5 Air Conditioning
6 Not Used
5-102

Fuses Usage
7 Not Used
8Anti-lock Brake System, Traction
Control Module
9 Engine Control Module
10
Canister Purge Solenoid, Canister
Vent Solenoid, Low Coolant Switch,
Oxygen Sensors
11
Electric Ignition Control Module,
Charging System, Neutral Stop
Back-Up Switch
12 Not Used
13 Transaxle
14 Transaxle Control Module, Neutral
Stop Back-Up
15 PRNDL, Back-up Switch
16 Fuel Injectors (Cylinder 1, 2, 3, 4)
17 Fog Lamps
18 Driver’s Side Headlamp
19 Windshield Wiper
Fuses Usage
20 Horn
21 Entertainment, Premium Radio
Amplifier
22 Anti-lock Brake System, Traction
Control Module
23 Rear Defogger
38 Starter/Ignition
39 Body Control Module 1
40 Anti-lock Brake System, Traction
Control Module
41 Body Control Module 2
42 Not Used
43 Electric Power Steering
44 Air Pump Relay Fuse
45 Cooling Fan
46 Crank
47 Body Control Module 1A
48 Body Control Module (IGN 3)
5-103

Relays Usage
24 Air Conditioning Clutch
25 Horn
26 Fog Lamps
27 Air Solenoid
28 Body Control Module
29 Powertrain
30 Engine Cooling Fan
31 Engine Control Module
32 Wiper System 1
33 Wiper System 2
34 Rear Window Defogger
Diodes Usage
35 §Air Conditioning Diode
36 §Not Used
37 §Wiper Diode
Miscellaneous Usage
49 Fuse Puller
2.0L L4 Supercharged Engine
Fuses Usage
1 Engine Control Module
2 Not Used
3 Not Used
4 Passenger’s Side Headlamp
5 Air Conditioning
6 Not Used
7 Not Used
5-104

Fuses Usage
8 Anti-lock Brake System
9 Engine Control Module
10
Canister Purge Solenoid, Canister
Vent Solenoid, Low Coolant Switch,
Oxygen Sensors
11
Electric Ignition Control Module,
Charging System, Neutral Safety
Stop Back-Up Switch
12 Not Used
13 Engine Control Module
14 Boost
15 Back-up Switch
16 Fuel Injectors
17 Fog Lamps
18 Driver’s Side Headlamp
19 Windshield Wiper
20 Horn
Fuses Usage
21 Entertainment, Premium Radio
Amplifier
22 Anti-lock Brake System
23 Rear Defogger
38 Starter/Ignition
39 Body Control Module 1
40 Anti-lock Brake System
41 Body Control Module 2
42 Not Used
43 Electric Power Steering
44 Cooling Fan 2
45 Cooling Fan 1
46 Crank
47 Body Control Module 1A
48 Body Control Module (IGN 3)
5-105

Relays Usage
24 Air Conditioning Clutch
25 Horn
26 Fog Lamps
27 After Cooler Pump
28 Starter/Crank
29 Powertrain
30 Engine Cooling Fan 1
31 Engine Control Module
32 Wiper System 1
33 Wiper System 2
34 Rear Window Defogger
Diodes Usage
35 §Air Conditioning Diode
36 §Not Used
37 §Wiper Diode
Miscellaneous Usage
49 Fuse Puller
2.4L LE5 Engine
Fuses Usage
1Engine Control Module, Transaxle
Control Module
2 Not Used
3 Not Used
4 Passenger’s Side Headlamp
5 Air Conditioning
6 Not Used
7 Not Used
8Anti-lock Brake System, Traction
Control Module
5-106

Fuses Usage
9Engine Control Module, Electronic
Throttle Control
10
Canister Purge Solenoid, Canister
Vent Solenoid, Low Coolant Switch,
Oxygen Sensors
11
Electric Ignition Control Module,
Charging System, Neutral Stop
Back-Up Switch
12 Not Used
13 Transaxle 2
14 Transaxle Control Module, Neutral
Stop Back-Up
15 PRNDL, Back-up Switch
16 Fuel Injectors (Cylinder 1, 2, 3, 4)
17 Fog Lamps
18 Driver’s Side Headlamp
19 Windshield Wiper
20 Horn
Fuses Usage
21 Entertainment, Premium Radio
Amplifier
22 Anti-lock Brake System, Traction
Control Module
23 Rear Defogger
38 Starter/Ignition
39 Body Control Module 1
40 Anti-lock Brake System, Traction
Control Module
41 Body Control Module 2
42 Not Used
43 Electric Power Steering
44 Cooling Fan 2
45 Cooling Fan
46 Crank
47 Body Control Module 1A
48 Body Control Module (IGN 3)
5-107

Relays Usage
24 Air Conditioning Clutch
25 Horn
26 Fog Lamps
27 Not Used
28 Run, Crank (IGN 1)
29 Powertrain
30 Engine Cooling Fan
31 Engine Control Module
32 Wiper System 1
33 Wiper System 2
34 Rear Window Defogger
Diodes Usage
35 §Air Conditioning Diode
36 §Not Used
37 §Wiper Diode
Miscellaneous Usage
49 Fuse Puller
5-108

Capacities and Specifications
The following approximate capacities are given in English and metric conversions. See Recommended Fluids and
Lubricants on page 6-13 for more information.
Application Capacities
English Metric
Air Conditioning Refrigerant R134a 0.9 lbs 0.41 kg
Cooling System
2.0L L4 Supercharged Engine 7.4 qt 7.0 L
2.2L L4 Engine 6.8 qt 6.5 L
2.4L L4 Engine 7.2 qt 6.8 L
Intercooler System (2.0L L4 Supercharged) 2.0 qt 1.9 L
Engine Oil with Filter
2.0L L4 Supercharged Engine 6.0 qt 5.7 L
2.2L L4 Engine and 2.4L L4 Engine 5.0 qt 4.7 L
Fuel Tank 13.0 gal 49.2 L
Transaxle, Automatic 7.0 qt 6.6 L
Transaxle, Manual (Complete Drain and Refill)
2.2L L4 and 2.4L L4 Engines 1.7 qt 1.6 L
2.0L L4 Engine Supercharged 1.6 qt 1.5 L
Wheel Nut Torque 100 lb ft 140 Y
All capacities are approximate. When adding, be sure to fill to the approximate level, as recommended in this
manual. Recheck fluid level after filling.
5-109

Engine Specifications
Engine VIN Code Transaxle Spark Plug Gap
2.0L L4 Supercharged P Manual 0.039 inches (1.0 mm)
2.2L L4 (L61) F Manual
Automatic 0.042 inches (1.06 mm)
2.4L B Manual
Automatic 0.042 inches (1.06 mm)
5-110

Maintenance Schedule ......................................6-2
Introduction ...................................................6-2
Maintenance Requirements ..............................6-2
Your Vehicle and the Environment ....................6-2
Using the Maintenance Schedule ......................6-2
Scheduled Maintenance ...................................6-4
Additional Required Services ............................6-6
Maintenance Footnotes ...................................6-8
Owner Checks and Services ............................6-9
At Each Fuel Fill ............................................6-9
At Least Once a Month .................................6-10
At Least Once a Year ...................................6-10
Recommended Fluids and Lubricants ...............6-13
Normal Maintenance Replacement Parts ..........6-15
Maintenance Record .....................................6-16
Section 6 Maintenance Schedule
6-1

Maintenance Schedule
Introduction
Important: Keep engine oil at the proper level and
change as recommended.
Maintenance Requirements
Notice: Maintenance intervals, checks, inspections,
replacement parts, and recommended fluids and
lubricants as prescribed in this manual are
necessary to keep your vehicle in good working
condition. Any damage caused by failure to follow
scheduled maintenance may not be covered by
warranty.
Your Vehicle and the Environment
Proper vehicle maintenance not only helps to keep your
vehicle in good working condition, but also helps the
environment. All recommended maintenance is
important. Improper vehicle maintenance can even
affect the quality of the air we breathe. Improper fluid
levels or the wrong tire inflation can increase the level
of emissions from your vehicle. To help protect our
environment, and to keep your vehicle in good condition,
be sure to maintain your vehicle properly.
Using the Maintenance Schedule
We at Saturn want to help you keep your vehicle in good
working condition. But we do not know exactly how
you will drive it. You may drive very short distances only
a few times a week. Or you may drive long distances
all the time in very hot, dusty weather. You may
use your vehicle in making deliveries. Or you may drive
it to work, to do errands, or in many other ways.
Because of all the different ways people use their
vehicles, maintenance needs vary. You may need more
frequent checks and replacements. So please read
the following and note how you drive. If you have any
questions on how to keep your vehicle in good condition,
see your Saturn retailer.
This schedule is for vehicles that:
•carry passengers and cargo within recommended
limits. You will find these limits on the Tire and
Loading Information label. See Loading Your
Vehicle on page 4-31.
•are driven on reasonable road surfaces within legal
driving limits.
•use the recommended fuel. See Gasoline Octane
on page 5-5.
6-2

The services in Scheduled Maintenance on page 6-4
should be performed when indicated. See Additional
Required Services on page 6-6 and Maintenance
Footnotes on page 6-8 for further information.
{CAUTION:
Performing maintenance work on a vehicle
can be dangerous. In trying to do some jobs,
you can be seriously injured. Do your own
maintenance work only if you have the
required know-how and the proper tools and
equipment for the job. If you have any doubt,
see your retailer to have a qualified technician
do the work. See Doing Your Own Service
Work on page 5-4.
Some maintenance services can be complex.
So, unless you are technically qualified and have the
necessary equipment, you should have your Saturn
retailer do these jobs.
When you go to your Saturn retailer for your service
needs, you will know that Saturn-trained and supported
service technicians will perform the work using
genuine Saturn parts.
If you want to purchase service information, see Service
Publications Ordering Information on page 7-12.
Owner Checks and Services on page 6-9 tells you what
should be checked, when to check it, and what you
can easily do to help keep your vehicle in good
condition.
The proper replacement parts, fluids, and lubricants to
use are listed in Recommended Fluids and Lubricants
on page 6-13 and Normal Maintenance Replacement
Parts on page 6-15. When your vehicle is serviced,
make sure these are used. All parts should be replaced
and all necessary repairs done before you or anyone
else drives the vehicle. We recommend the use of
genuine Saturn parts.
6-3

Scheduled Maintenance
When the CHG OIL message in the message center
comes on, it means that service is required for
your vehicle. See Change Engine Oil Message on
page 3-45. Have your vehicle serviced as soon
as possible within the next 600 miles (1 000 km). It is
possible that, if you are driving under the best
conditions, the engine oil life system may not indicate
that vehicle service is necessary for over a year.
However, your engine oil and filter must be changed at
least once a year and at this time the system must
be reset. Your Saturn retailer has Saturn-trained service
technicians who will perform this work using genuine
Saturn parts and reset the system.
If the engine oil life system is ever reset accidentally,
you must service your vehicle within 3,000 miles
(5 000 km) since your last service. Remember to reset
the oil life system whenever the oil is changed. See
Engine Oil Life System on page 5-20 for information on
the Engine Oil Life System and resetting the system.
When the CHG OIL message appears, certain
services, checks, and inspections are required.
Required services are described in the following for
“Maintenance I” and “Maintenance II.” Generally, it is
recommended that your first service be Maintenance I,
your second service be Maintenance II, and that you
alternate Maintenance Iand Maintenance II thereafter.
However, in some cases, Maintenance II may be
required more often.
Maintenance I— Use Maintenance Iif the CHG OIL
message comes on within 10 months since the
vehicle was purchased or Maintenance II was
performed.
Maintenance II — Use Maintenance II if the previous
service performed was Maintenance I. Always use
Maintenance II whenever the message comes on
10 months or more since the last service or if the
message has not come on at all for one year.
6-4

Scheduled Maintenance
Service Maintenance IMaintenance II
Change engine oil and filter. See Engine Oil on page 5-15. Reset oil life system.
See Engine Oil Life System on page 5-20.An Emission Control Service. ••
Visually check for any leaks or damage. See footnote (j). ••
Inspect engine air cleaner filter. If necessary, replace filter. See Engine
Air Cleaner/Filter on page 5-22.See footnote (l). •
Rotate tires and check inflation pressures and wear. See Tire Inspection and
Rotation on page 5-66 and “Tire Wear Inspection” in At Least Once a Month
on page 6-10.
••
Inspect brake system. See footnote (a). ••
Check engine coolant and windshield washer fluid levels. If you have the
2.0L L4 supercharged engine, check intercooler fluid level. Add fluid as needed. ••
Perform any needed additional services. See “Additional Required Services”
in this section. ••
Inspect suspension and steering components. See footnote (b). •
Inspect engine cooling system. See footnote (c). •
Inspect wiper blades. See footnote (d). •
Inspect restraint system components. See footnote (e). •
Lubricate body components. See footnote (f). •
Replace passenger compartment air filter. See footnote (k). •
Inspect throttle system. See footnote (g). •
6-5

Additional Required Services
The following services should be performed at the first maintenance service (Ior II) after the indicated miles (kilometers)
shown for each item.
Additional Required Services
Service and Miles (Kilometers) 25,000
(40 000)
50,000
(80 000)
75,000
(120 000)
100,000
(160 000)
125,000
(200 000)
150,000
(240 000)
Inspect fuel system for damage
or leaks. • •••••
Inspect exhaust system for loose or
damaged components. • •••••
Replace engine air cleaner filter. See
Engine Air Cleaner/Filter on page 5-22.•••
Change automatic transaxle fluid
(severe service). See footnote (h). •••
Change automatic transaxle fluid
(normal service). •
Replace spark plugs. An Emission
Control Service. •
6-6

Additional Required Services (cont’d)
Service and Miles (Kilometers) 25,000
(40 000)
50,000
(80 000)
75,000
(120 000)
100,000
(160 000)
125,000
(200 000)
150,000
(240 000)
Replace engine fuel filter. An Emission
Control Service. See footnote †. •
Engine cooling system service (or every
five years, whichever occurs first).
An Emission Control Service.
See footnote (i).
•
Except 2.0L L4 Supercharged engine:
Inspect engine accessory drive belt.
An Emission Control Service.
See footnote (m).
•
2.0L L4 Supercharged engine only:
Inspect engine accessory drive belt.
An Emission Control Service.
See footnote (m).
•••
6-7

Maintenance Footnotes
†The U.S. Environmental Protection Agency or the
California Air Resources Board has determined that the
failure to perform this maintenance item will not nullify
the emission warranty or limit recall liability prior to
the completion of the vehicle’s useful life. We, however,
urge that all recommended maintenance services be
performed at the indicated intervals and the
maintenance be recorded.
(a) Visually inspect brake lines and hoses for proper
hook-up, binding, leaks, cracks, chafing, etc. Inspect
disc brake pads for wear and rotors for surface
condition. Inspect drum brake linings/shoes for wear
or cracks. Inspect other brake parts, including drums,
wheel cylinders, calipers, parking brake, etc.
(b) Visually inspect front and rear suspension and
steering system for damaged, loose, or missing parts
or signs of wear.
(c) Visually inspect hoses and have them replaced if
they are cracked, swollen, or deteriorated. Inspect
all pipes, fittings, and clamps; replace with genuine
Saturn parts as needed. To help ensure proper
operation, a pressure test of the cooling system and
pressure cap and cleaning the outside of the radiator
and air conditioning condenser is recommended at least
once a year.
(d) Visually inspect wiper blades for wear or cracking.
Replace wiper blades that appear worn or damaged
or that streak or miss areas of the windshield.
(e) Make sure the safety belt reminder light and all your
belts, buckles, latch plates, retractors, and anchorages
are working properly. Look for any other loose or
damaged safety belt system parts. If you see anything
that might keep a safety belt system from doing its
job, have it repaired. Have any torn or frayed safety belts
replaced. Also look for any opened or broken airbag
coverings, and have them repaired or replaced.
The airbag system does not need regular maintenance.
(f) Lubricate all key lock cylinders, door hinges and
latches, hood hinges and latches, glove box hinges,
sunroof (if equipped), and any folding seat hardware.
More frequent lubrication may be required when
exposed to a corrosive environment. Applying silicone
grease on weatherstrips with a clean cloth will make
them last longer, seal better, and not stick or squeak.
(g) Check system for interference or binding and
for damaged or missing parts. Replace parts as needed.
Replace any components that have high effort or
excessive wear. Do not lubricate accelerator or cruise
control cables.
6-8

(h) Change automatic transaxle fluid and filter if the
vehicle is mainly driven under one or more of these
conditions:
−In heavy city traffic where the outside temperature
regularly reaches 90°F (32°C) or higher.
−In hilly or mountainous terrain.
−When doing frequent trailer towing.
−Uses such as found in taxi, police, or delivery
service.
(i) Drain, flush, and refill cooling system. This service
can be complex; you should have your retailer perform
this service. See Engine Coolant on page 5-25 for
what to use. Inspect hoses. Clean radiator, condenser,
pressure cap, and filler neck. Pressure test the
cooling system and pressure cap.
(j) A fluid loss in any vehicle system could indicate a
problem. Have the system inspected and repaired and
the fluid level checked. Add fluid if needed.
(k) Or every 12 months, whichever occurs first. If you
drive regularly under dusty conditions, the filter may
require replacement more often.
(l) If you drive regularly under dusty conditions, inspect
the filter at each engine oil change.
(m) Visually inspect belt for fraying, excessive cracks,
or obvious damage. Replace belt if necessary.
Owner Checks and Services
These owner checks and services should be performed
at the intervals specified to help ensure the safety,
dependability, and emission control performance of your
vehicle. Your Saturn retailer can assist you with these
checks and services.
Be sure any necessary repairs are completed at once.
Whenever any fluids or lubricants are added to your
vehicle, make sure they are the proper ones, as shown
in Recommended Fluids and Lubricants on page 6-13.
At Each Fuel Fill
It is important to perform these underhood checks at
each fuel fill.
Engine Oil Level Check
Check the engine oil level and add the proper oil if
necessary. See Engine Oil on page 5-15 for further
details.
Notice: It is important to check your oil regularly
and keep it at the proper level. Failure to keep your
engine oil at the proper level can cause damage
to your engine not covered by your warranty.
6-9

Engine Coolant Level Check
Check the engine coolant level and add DEX-COOL
®
coolant mixture if necessary. See Engine Coolant
on page 5-25 for further details.
Intercooler Coolant Level Check
(2.0L Supercharged Engine)
Check the coolant level and add DEX-COOL
®
coolant
mixture if necessary. See Engine Coolant on page 5-25
for further details.
Windshield Washer Fluid Level Check
Check the windshield washer fluid level in the windshield
washer fluid reservoir and add the proper fluid if
necessary.
At Least Once a Month
Tire Inflation Check
Visually inspect your vehicle’s tires and make sure they
are inflated to the correct pressures. Do not forget to
check the spare tire. See Tires on page 5-57 for further
details. Check to make sure the spare tire is stored
securely. See Changing a Flat Tire on page 5-76.
Tire Wear Inspection
Tire rotation may be required for high mileage highway
drivers prior to the Engine Oil Life System service
notification. Check the tires for wear and, if necessary,
rotate the tires. See Tire Inspection and Rotation on
page 5-66.
At Least Once a Year
Starter Switch Check
{CAUTION:
When you are doing this inspection, the
vehicle could move suddenly. If the vehicle
moves, you or others could be injured.
1. Before you start, be sure you have enough room
around the vehicle.
2. Firmly apply both the parking brake and the regular
brake. See Parking Brake on page 2-27.
Do not use the accelerator pedal, and be ready to
turn off the engine immediately if it starts.
6-10

3. On automatic transaxle vehicles, try to start the
engine in each gear. The vehicle should start
only in PARK (P) or NEUTRAL (N). If the vehicle
starts in any other position, contact your Saturn
retailer for service.
On manual transaxle vehicles, put the shift lever in
NEUTRAL, push the clutch pedal down halfway, and
try to start the engine. The vehicle should start only
when the clutch pedal is pushed down all the way to
the floor. If the vehicle starts when the clutch is not
pushed all the way down, contact your Saturn retailer
for service.
Automatic Transaxle Shift Lock Control
System Check
{CAUTION:
When you are doing this inspection, the
vehicle could move suddenly. If the vehicle
moves, you or others could be injured.
1. Before you start, be sure you have enough room
around the vehicle. It should be parked on a level
surface.
2. Firmly apply the parking brake. See Parking Brake
on page 2-27.
Be ready to apply the regular brake immediately if
the vehicle begins to move.
3. With the engine off, turn the ignition to RUN, but do
not start the engine. Without applying the regular
brake, try to move the shift lever out of PARK (P)
with normal effort. If the shift lever moves out
of PARK (P), contact your Saturn retailer for service.
Ignition Transaxle Lock Check
While parked, and with the parking brake set, try to turn
the ignition to LOCK in each shift lever position.
•With an automatic transaxle, the ignition should turn
to LOCK only when the shift lever is in PARK (P).
The key should come out only in LOCK.
•With a manual transaxle, the key should come out
only in LOCK.
Contact your Saturn retailer if service is required.
6-11

Parking Brake and Automatic Transaxle
Park (P) Mechanism Check
{CAUTION:
When you are doing this check, your vehicle
could begin to move. You or others could be
injured and property could be damaged. Make
sure there is room in front of your vehicle in
case it begins to roll. Be ready to apply the
regular brake at once should the vehicle begin
to move.
Park on a fairly steep hill, with the vehicle facing
downhill. Keeping your foot on the regular brake,
set the parking brake.
•To check the parking brake’s holding ability: With
the engine running and transaxle in NEUTRAL (N),
slowly remove foot pressure from the regular
brake pedal. Do this until the vehicle is held by the
parking brake only.
•To check the PARK (P) mechanism’s holding
ability: With the engine running, shift to PARK (P).
Then release the parking brake followed by the
regular brake.
Contact your Saturn retailer if service is required.
Underbody Flushing Service
At least every spring, use plain water to flush any
corrosive materials from the underbody. Take care
to clean thoroughly any areas where mud and other
debris can collect.
6-12

Recommended Fluids and
Lubricants
Fluids and lubricants identified below by name, part
number, or specification may be obtained from
your retailer.
Usage Fluid/Lubricant
Engine Oil
(2.2L and 2.4L
L4 engines)
Engine oil which meets
GM Standard GM6094M and
displays the American Petroleum
Institute (API) Certified for
Gasoline Engines starburst symbol.
GM Goodwrench
®
oil meets all
the requirements for your vehicle.
To determine the proper viscosity
for your vehicle’s engine, see
Engine Oil on page 5-15.
Usage Fluid/Lubricant
Engine Oil
(2.0L L4
Supercharged
engine)
The engine requires a special
engine oil meeting GM Standard
GM4718M. Oils meeting this
standard may be identified with the
American Petroleum Institute (API)
Certified for Gasoline Engines
starburst symbol. However, not all
synthetic API oils with the starburst
symbol will meet this GM standard.
You should look for and use only
an oil that meets GM Standard
GM4718M. GM Goodwrench
®
oil
meets all the requirements for your
vehicle. For the proper viscosity,
see Engine Oil on page 5-15.
Engine Cooling
System
50/50 mixture of clean, drinkable
water and use only DEX-COOL
®
Coolant. See Engine Coolant on
page 5-25.
Intercooler
System (2.0L L4
Supercharged
engine)
50/50 mixture of clean, drinkable
water and use only DEX-COOL
®
Coolant.
6-13

Usage Fluid/Lubricant
Hydraulic Brake
System
Delco
®
Supreme 11 Brake Fluid or
equivalent DOT-3 brake fluid.
Windshield
Washer Optikleen
®
Washer Solvent.
Parking Brake
Cable Guides
Chassis Lubricant
(GM Part No. 12377985,
in Canada 88901242) or lubricant
meeting requirements of NLGI #2,
Category LB or GC-LB.
Hydraulic Clutch
System
Delco
®
Supreme 11 Brake Fluid or
equivalent DOT-3 brake fluid.
Manual
Transaxle
(2.2L and 2.4L
L4 engines)
DEXRON
®
-III Automatic
Transmission Fluid. Look for
“Approved for the H-Specification”
on the label.
Manual
Transaxle
(2.0L L4
Supercharged
engine)
Manual Transmission Fluid
(Part No. 21018899).
Automatic
Transaxle
DEXRON
®
-VI Automatic
Transmission Fluid.
Usage Fluid/Lubricant
Key Lock
Cylinders
Multi-Purpose Lubricant, Superlube
(GM Part No. U.S. 12346241,
in Canada 10953474).
Hood Latch
Assembly,
Secondary
Latch,
Pivots, Spring
Anchor, and
Release Pawl
Lubriplate Lubricant Aerosol
(Saturn Part No. 21038869 or
GM Part No. U.S. 12346293,
in Canada 992723) or lubricant
meeting requirements of NLGI #2,
Category LB or GC-LB.
Hood, Trunk,
and Door
Hinges
Multi-Purpose Lubricant, Superlube
(GM Part No. U.S. 12346241,
in Canada 10953474).
Sunroof Track
Lubriplate Lubricant Aerosol
(Saturn Part No. 21038869 or
GM Part No. U.S. 12346293,
in Canada 992723) or lubricant
meeting requirements of NLGI #2,
Category LB or GC-LB.
Weatherstrip
Conditioning
Dielectric Silicone Grease
(GM Part No. U.S. 12345579,
in Canada 992887).
6-14

Normal Maintenance Replacement Parts
Replacement parts identified below by name, part number, or specification can be obtained from your dealer.
Part Saturn Part Number ACDelco
®
Part Number
Engine Air Cleaner/Filter
2.2L L4 and 2.4L L4 Engines 15800986 —
2.0L L4 Supercharged Engine 15036141 A2014C
Engine Oil Filter 12579143 PF456G
1
Passenger Compartment Air Filter Element 52493319 CF125
1
Spark Plugs
2.2L L4 Engine and 2.4L L4 Engine 12599232 41-981
1
2.0L L4 Supercharged Engine 12787099 PFR6T-10G
2
Windshield Wiper Blade
Driver’s Side — 21.5 inches (54.6 cm) 22660359 —
Passenger’s Side — 19.0 inches (47.5 cm) 22685192 —
1
AC Delco
®
Part Number
2
NGK Part Number
6-15

Maintenance Record
After the scheduled services are performed, record the date, odometer reading, who performed the service, and the
type of services performed in the boxes provided. See Maintenance Requirements on page 6-2. Any additional
information from Owner Checks and Services on page 6-9 can be added on the following record pages. You should
retain all maintenance receipts.
Maintenance Record
Date Odometer
Reading Serviced By Maintenance Ior
Maintenance II Services Performed
6-16

Maintenance Record (cont’d)
Date Odometer
Reading Serviced By Maintenance Ior
Maintenance II Services Performed
6-17

Maintenance Record (cont’d)
Date Odometer
Reading Serviced By Maintenance Ior
Maintenance II Services Performed
6-18

Customer Assistance and Information ...............7-2
Customer Satisfaction Procedure ......................7-2
Online Owner Center ......................................7-4
Customer Assistance for Text
Telephone (TTY) Users ................................7-4
GM Mobility Reimbursement Program ................7-5
Roadside Assistance Program ..........................7-5
Vehicle Data Collection and Event Data
Recorders ..................................................7-7
Collision Damage Repair .................................7-8
Reporting Safety Defects ................................7-11
Reporting Safety Defects to the
United States Government ..........................7-11
Reporting Safety Defects to the
Canadian Government ................................7-11
Reporting Safety Defects to Saturn ..................7-12
Service Publications Ordering Information .........7-12
Section 7 Customer Assistance and Information
7-1

Customer Assistance and
Information
Customer Satisfaction Procedure
Your satisfaction and goodwill are important to
your retailer and to Saturn. Together we are committed
to providing our customers with unparalleled service,
before, during and after the purchase of a Saturn
vehicle, for total customer satisfaction. We call this the
Saturn Difference. Normally, any concerns with the
sales transaction or the operation of your vehicle will be
resolved by your retailer’s sales or service departments.
If, for any reason, your ownership experience falls
below your expectations, we suggest you take
the following action:
STEP ONE: Contact the Retail Customer Assistance
Liaison. Any member of the retail management team has
the authority and the desire to resolve your concerns.
Normally, concerns can be quickly resolved at this level.
STEP TWO: Should you need additional assistance,
contact the Saturn Customer Assistance Center by
calling 1-800-553-6000. In Canada, contact the Saturn
Customer Communication Centre at 1-800-263-1999.
A Saturn Customer Assistance Center team member will
handle your call and assist in providing product and
warranty information, the nearest retailer location,
roadside assistance, brochures, literature and discuss
any concerns you may have.
We encourage you to call the toll-free number in order
to give your inquiry prompt attention. Please have
the following information available to give the Customer
Assistance Representative:
•Vehicle Identification Number. This 17-digit number
can be found on the vehicle registration or title, on
the upper driver’s side corner of the dash, or on
your roadside assistance key card.
•The name of your selling and servicing retail facility.
•Vehicle delivery date and present mileage.
•Your daytime and evening phone numbers.
7-2

If you wish to write to the Saturn Customer Assistance
Center, our address is:
Saturn Customer Assistance Center
100 Saturn Parkway
Mail Code 371-999-S24
Spring Hill, TN 37174-1500
In Canada, write to:
Saturn Customer Communication Centre
General Motors of Canada Ltd.
1908 Colonel Sam Drive
Oshawa, Ontario L1H 8P7
When contacting Saturn, please remember that your
concern will likely be resolved at a retailer’s facility.
That is why we suggest you follow Step One first if you
have a concern.
STEP THREE: Both Saturn and its retailers are
committed to making sure you are completely satisfied
with your Saturn vehicle. However, if you continue
to remain unsatisfied after following the procedure
outlined in Steps One and Two, Saturn and its retailers
offer the additional assistance of a neutral party
through our voluntary participation in a mediation/
arbitration program called BBB Auto Line. Canadian
owners refer to your Warranty and Owner Assistance
Information booklet, located in the front cover pocket
of your owner’s handbook, for information on the
Canadian Motor Vehicle Arbitration Plan (CAMVAP).
The BBB Auto Line Program is an out-of-court program
administered by the Council of Better Business
Bureaus to settle automotive disputes regarding vehicle
repairs or the interpretation of the New Vehicle
Limited Warranty. This program is available at no cost
to you, our customer.
We ask that you not resort to BBB Auto Line until after
Saturn and its retailers have been given the opportunity
to satisfy your vehicle concerns. However, U.S.
residents may file a claim at any time by contacting your
local Better Business Bureau at 1-800-955-5100.
Although you may be required to resort to this informal
dispute resolution program prior to filing a court
action, use of the program is free of charge and your
case will generally be heard within 40 days. If you do not
agree with the decision given in your case, you may
reject it and proceed with any other venue for relief
available to you.
7-3

You may contact the BBB Auto Line Program by using
the toll-free telephone number or by writing them at
the following address:
BBB Auto Line Program
Council of Better Business Bureaus, Inc.
4200 Wilson Boulevard
Suite 800
Arlington, VA 22203-1838
This program is available in all 50 states and the
District of Columbia. Eligibility is limited by vehicle
age, mileage and other factors. Saturn Corporation
reserves the right to change eligibility limitations
and/or discontinue its participation in this program.
Online Owner Center
The Owner Center is a resource for your ownership
needs. Specific vehicle information can be found in
one place.
The Online Owner Center allows you to:
•Get e-mail service reminders.
•Access information about your specific vehicle,
including tips and videos and an electronic
version of this owner manual (United States only).
•Keep track of your vehicle’s service history and
maintenance schedule.
•Find Saturn retailers for service nationwide.
•Receive special promotions and privileges only
available to members (United States only).
Refer to the web for updated information.
To register your vehicle, visit My Saturn within
www.saturn.com (United States) or My GM Canada
within www.gmcanada.com (Canada).
Customer Assistance for Text
Telephone (TTY) Users
To assist owners who have hearing difficulties, Saturn
has installed special TDD (Telecommunication Devices
for the Deaf) equipment in its Saturn Customer
Assistance Center.
Any hearing- or speech-impaired customer who has
access to a TDD or to a conventional Text Telephone
(TTY) can communicate with Saturn by dialing
1-800-TDD-6000. TTY users in Canada may dial
1-800-263-3830.
7-4

GM Mobility Reimbursement
Program
This program, available to qualified applicants, can
reimburse you up to $1,000 toward eligible aftermarket
driver or passenger adaptive equipment you may
require for your vehicle such as hand controls,
wheelchair/scooter lifts, etc.
The offer is available for a limited period of time from
the date of vehicle purchase/lease.
For more details, or to determine your vehicle’s
eligibility, visit your Saturn retailer or call the Saturn
Customer Assistance Center at 1-800-553-6000.
Text telephone (TTY) users, call 1-800-833-6000.
In Canada, customers may call the Saturn Customer
Communication Centre at 1-800-263-1999. TTY users
in Canada may call 1-800-263-3830.
Roadside Assistance Program
For vehicles purchased in the U.S. call 1-800-553-6000
(TTY: 1-800-833-6000).
For vehicles purchased in Canada call 1-800-268-6800.
As the proud owner of a new Saturn vehicle, you are
automatically enrolled in the Saturn Roadside
Assistance Program. This value-added service is
intended to provide you with peace of mind as you drive
in the city or travel the open road. Saturn’s Roadside
Assistance toll-free number is staffed by courteous and
capable Roadside Assistance Representatives who
are available 24 hours a day, 365 days a year.
We will provide the following services during the
Bumper-to-Bumper warranty period at no expense
to you:
•Fuel Delivery: Delivery of enough fuel
($5 maximum) for the customer to get to the
nearest service station.
•Lock-out Service (identification required):
Replacement keys or locksmith service will
be covered at no charge if you are unable to gain
entry into your vehicle. Delivery of the replacement
key will be covered within 10 miles (16 km).
7-5

•Emergency Tow: Tow to the nearest Saturn
retailer for warranty service or in the event of
a vehicle-disabling accident. Assistance provided
when the vehicle is mired in sand, mud, or snow.
•Flat Tire Change: Installation of a spare tire will be
covered at no charge. (The customer is responsible
for the repair or replacement of the tire if not
covered by a warrantable failure.)
•Jump Start: No-start occurrences which require a
battery jump start will be covered at no charge.
•Saturn Retailer Locator Service
In many instances, mechanical failures are covered
under Saturn’s Bumper-to-Bumper warranty. However,
when other services are utilized, our Roadside
Assistance Representatives will explain any payment
obligations you might incur.
For prompt and efficient assistance when calling, please
provide the following to the Roadside Assistance
Representatives:
•Your name, home address, and home
telephone number
•Telephone number of your location
•Location of the vehicle
•Model, year, color, and license plate number
•Mileage, Vehicle Identification Number and delivery
date of the vehicle
•Description of the problem
While we hope you never have the occasion to use our
service, it is added security while traveling for you
and your family. Remember we are only a phone call
away. Saturn Roadside Assistance: 1-800-553-6000;
text telephone (TTY) users, call 1-800-833-6000.
Saturn reserves the right to limit services or
reimbursement to an owner or driver when, in Saturn’s
judgment, the claims become excessive in frequency
or type of occurrence.
Roadside Assistance is not part of or included in the
coverage provided by the New Vehicle Limited Warranty.
Saturn reserves the right to make any changes or
discontinue the Roadside Assistance program at any
time without notification.
Canadian Roadside Assistance
Vehicles purchased in Canada have an extensive Saturn
Roadside Assistance program accessible from anywhere
in Canada or the United States. Please refer to the
Warranty and Owner Assistance Information book.
7-6

Vehicle Data Collection and Event
Data Recorders
Your vehicle, like other modern motor vehicles, has a
number of sophisticated computer systems that monitor
and control several aspects of the vehicle’s performance.
Your vehicle uses on-board vehicle computers to monitor
emission control components to optimize fuel economy,
to monitor conditions for airbag deployment and, if so
equipped, to provide anti-lock braking and to help the
driver control the vehicle in difficult driving situations.
Some information may be stored during regular
operations to facilitate repair of detected malfunctions;
other information is stored only in a crash event by
computer systems, such as those commonly called event
data recorders (EDR).
In a crash event, computer systems, such as the Airbag
Sensing and Diagnostic Module (SDM) in your vehicle
may record information about the condition of the vehicle
and how it was operated, such as data related to
engine speed, brake application, throttle position, vehicle
speed, safety belt usage, airbag readiness, airbag
performance, and the severity of a collision. This
information has been used to improve vehicle crash
performance and may be used to improve crash
performance of future vehicles and driving safety. Unlike
the data recorders on many airplanes, these on-board
systems do not record sounds, such as conversation of
vehicle occupants.
To read this information, special equipment is needed
and access to the vehicle or the device that stores
the data is required. GM will not access information
about a crash event or share it with others other than:
•with the consent of the vehicle owner or, if the
vehicle is leased, with the consent of the lessee,
•in response to an official request of police or similar
government office,
•as part of GM’s defense of litigation through the
discovery process, or
•as required by law.
In addition, once GM collects or receives data, GM may:
•use the data for GM research needs,
•make it available for research where appropriate
confidentiality is to be maintained and need is
shown, or
•share summary data which is not tied to a specific
vehicle with non-GM organizations for research
purposes.
Others, such as law enforcement, may have access to
the special equipment that can read the information
if they have access to the vehicle or the device
that stores the data.
If your vehicle is equipped with OnStar
®
, please check
the OnStar
®
subscription service agreement or manual
for information on its operations and data collection.
7-7

Collision Damage Repair
If your vehicle is involved in a collision and it is damaged,
have the damage repaired by a qualified technician using
the proper equipment and quality replacement parts.
Poorly performed collision repairs will diminish your
vehicle’s resale value, and safety performance can be
compromised in subsequent collisions.
Collision Parts
Genuine GM Collision parts are new parts made with the
same materials and construction methods as the parts
with which your vehicle was originally built. Genuine GM
Collision parts are your best choice to assure that your
vehicle’s designed appearance, durability and safety are
preserved. The use of Genuine GM parts can help
maintain your GM New Vehicle Warranty.
Recycled original equipment parts may also be used for
repair. These parts are typically removed from vehicles
that were total losses in prior accidents. In most
cases, the parts being recycled are from undamaged
sections of the vehicle. A recycled original equipment
GM part, may be an acceptable choice to maintain your
vehicle’s originally designed appearance and safety
performance, however, the history of these parts is not
known. Such parts are not covered by your GM New
Vehicle Limited Warranty, and any related failures
are not covered by that warranty.
Aftermarket collision parts are also available. These are
made by companies other than GM and may not
have been tested for your vehicle. As a result, these
parts may fit poorly, exhibit premature durability/
corrosion problems, and may not perform properly in
subsequent collisions. Aftermarket parts are not covered
by your GM New Vehicle Limited Warranty, and any
vehicle failure related to such parts are not covered
by that warranty.
Repair Facility
GM also recommends that you choose a collision repair
facility that meets your needs before you ever need
collision repairs. Your Saturn retailer may have a
collision repair center with GM-trained technicians and
state of the art equipment, or be able to recommend
a collision repair center that has GM-trained technicians
and comparable equipment.
7-8

Insuring Your Vehicle
Protect your investment in your GM vehicle with
comprehensive and collision insurance coverage. There
are significant differences in the quality of coverage
afforded by various insurance policy terms. Many
insurance policies provide reduced protection to your
GM vehicle by limiting compensation for damage repairs
by using aftermarket collision parts. Some insurance
companies will not specify aftermarket collision
parts. When purchasing insurance, we recommend that
you assure your vehicle will be repaired with GM
original equipment collision parts. If such insurance
coverage is not available from your current insurance
carrier, consider switching to another insurance carrier.
If your vehicle is leased, the leasing company may
require you to have insurance that assures repairs with
Genuine GM Original Equipment Manufacturer (OEM)
parts or Genuine Manufacturer replacement parts.
Read your lease carefully, as you may be charged at
the end of your lease for poor quality repairs.
If an Accident Occurs
Here is what to do if you are involved in an accident.
•Try to relax and then check to make sure you are
all right. If you are uninjured, make sure that no one
else in your vehicle, or the other vehicle, is injured.
•If there has been an injury, call 911 for help. Do not
leave the scene of an accident until all matters have
been taken care of. Move your vehicle only if its
position puts you in danger or you are instructed to
move it by a police officer.
•Give only the necessary and requested information
to police and other parties involved in the accident.
Do not discuss your personal condition, mental frame
of mind, or anything unrelated to the accident. This
will help guard against post-accident legal action.
•If you need roadside assistance, call GM Roadside
Assistance. See Roadside Assistance Program on
page 7-5 for more information.
•If your vehicle cannot be driven, know where the
towing service will be taking it. Get a card from the
tow truck operator or write down the driver’s name,
the service’s name, and the phone number.
•Remove any valuables from your vehicle before it is
towed away. Make sure this includes your insurance
information and registration if you keep these items
in your vehicle.
7-9

•Gather the important information you will need from
the other driver. Things like name, address, phone
number, driver’s license number, vehicle license
plate, vehicle make, model and model year, Vehicle
Identification Number (VIN), insurance company and
policy number, and a general description of the
damage to the other vehicle.
•If possible, call your insurance company from the
scene of the accident. They will walk you through
the information they will need. If they ask for a police
report, phone or go to the police department
headquarters the next day and you can get a copy
of the report for a nominal fee. In some states with
“no fault” insurance laws, a report may not be
necessary. This is especially true if there are no
injuries and both vehicles are driveable.
•Choose a reputable collision repair facility for your
vehicle. Whether you select a Saturn retailer or a
private collision repair facility to fix the damage,
make sure you are comfortable with them.
Remember, you will have to feel comfortable with
their work for a long time.
•Once you have an estimate, read it carefully and
make sure you understand what work will be
performed on your vehicle. If you have a question,
ask for an explanation. Reputable shops welcome
this opportunity.
Managing the Vehicle Damage
Repair Process
In the event that your vehicle requires damage repairs,
GM recommends that you take an active role in its
repair. If you have a pre-determined repair facility of
choice, take your vehicle there, or have it towed there.
Specify to the facility that any required replacement
collision parts be original equipment parts, either new
Genuine GM parts or recycled original GM parts.
Remember, recycled parts will not be covered by your
GM vehicle warranty.
Insurance pays the bill for the repair, but you must live
with the repair. Depending on your policy limits, your
insurance company may initially value the repair using
aftermarket parts. Discuss this with your repair
professional, and insist on Genuine GM parts.
Remember if your vehicle is leased you may be
obligated to have the vehicle repaired with Genuine
GM parts, even if your insurance coverage does not
pay the full cost.
7-10

If another party’s insurance company is paying for the
repairs, you are not obligated to accept a repair
valuation based on that insurance company’s collision
policy repair limits, as you have no contractual limits with
that company. In such cases, you can have control of
the repair and parts choices as long as cost stays within
reasonable limits.
Reporting Safety Defects
Reporting Safety Defects to the
United States Government
If you believe that your vehicle has a defect which could
cause a crash or could cause injury or death, you
should immediately inform the National Highway Traffic
Safety Administration (NHTSA), in addition to notifying
Saturn Corporation.
If NHTSA receives similar complaints, it may open an
investigation, and if it finds that a safety defect exists in
a group of vehicles, it may order a recall and remedy
campaign. However, NHTSA cannot become involved in
individual problems between you, your retailer or
Saturn Corporation.
To contact NHTSA, you may call the Vehicle
Safety Hotline toll-free at 1-888-327-4236
(TTY: 1-800-424-9153); go to http://www.safercar.gov;
or write to:
Administrator, NHTSA
400 Seventh Street, SW.
Washington, D.C. 20590
You can also obtain other information about motor
vehicle safety from http://www.safercar.gov.
Reporting Safety Defects to the
Canadian Government
If you live in Canada, and you believe that your vehicle
has a safety defect, you should immediately notify
Transport Canada, in addition to notifying General
Motors of Canada Limited. You may call them at
1-800-333-0510 or write to:
Transport Canada
Place de Ville Tower C
330 Sparks Street
Ottawa, Ontario K1A 0N5
7-11

Reporting Safety Defects to Saturn
In addition to notifying NHTSA (or Transport Canada)
in a situation like this, we certainly hope you’ll notify us.
U.S. customers can call the Saturn Customer
Assistance Center at 1-800-553-6000, or write:
Saturn Corporation
100 Saturn Parkway
Mail Drop 371-999-S24
Spring Hill, TN 37174-1500
In Canada, please call us at 1-800-263–1999.
Or, write to:
Saturn Customer Communication Centre
General Motors of Canada Limited
1908 Colonel Sam Drive
Oshawa, Ontario L1H 8P7
Service Publications Ordering
Information
Service Manuals
A variety of publications are available to you. Saturn
service manuals are written for trained technicians,
and in some cases, specialized tools and equipment
are necessary to complete certain repairs. However,
the manuals are available to owners who either have
the training, or wish to gain a greater understanding of
the technical aspect of their Saturn.
For additional publications information or to order
publications, call toll free 1-800-2-SATURN or visit
win.wallace.com/saturn to order on-line.
In Canada, Saturn service manuals are available by
calling toll free 1-800-551-4123.
7-12

Owner Publications
Information on how to obtain product bulletins and as
described below is applicable only in the fifty U.S. states
and the District of Columbia, and only for cars and
light trucks with a Gross Vehicle Weight Rating (GVWR)
less than 10,000 pounds (4 536 kg). Copies of
individual bulletins are also at your participating Saturn
retailer. You can ask to see them.
In Canada, information relating to product service
bulletins can be obtained by contacting your Saturn
retailer.
Service Bulletins
Saturn regularly sends its retailers useful service
bulletins about Saturn products. Saturn monitors product
performance in the field. We then prepare bulletins for
servicing our products better. You can get these
bulletins, too.
Bulletins cover various subjects. Some pertain to the
proper use and care of your vehicle. Some describe
costly repairs. Others describe inexpensive repairs
which, if done on time with the latest parts, may avoid
future costly repairs.
Some bulletins tell a technician how to repair a new or
unexpected condition. Others describe a quicker
way to fix your vehicle. They can help a technician
service your vehicle better.
Most bulletins apply to conditions affecting a small
number of vehicles. Your Saturn retailer or a qualified
technician may have to determine if a specific
bulletin applies to your vehicle. To order Saturn bulletins,
call Saturn Publications at 1-800-2-SATURN or visit
win.wallace.com/saturn to order online.
7-13

✍NOTES
7-14

A
Accessories and Modifications ............................ 5-3
Accessory Power Outlet(s) ............................... 3-16
Adding Equipment to Your Airbag-Equipped
Vehicle ....................................................... 1-67
Additives, Fuel ................................................. 5-6
Add-On Electrical Equipment ............................ 5-99
Air Cleaner/Filter, Engine ................................. 5-22
Air Conditioning ...................................... 3-18, 3-20
Airbag
Passenger Status Indicator ........................... 3-31
Readiness Light .......................................... 3-30
Airbag Sensing and Diagnostic Module (SDM) ...... 7-7
Airbag System ................................................ 1-54
Adding Equipment to Your Airbag-Equipped
Vehicle ................................................... 1-67
How Does an Airbag Restrain? ...................... 1-60
Passenger Sensing System ........................... 1-62
Servicing Your Airbag-Equipped Vehicle .......... 1-66
What Makes an Airbag Inflate? ...................... 1-60
What Will You See After an Airbag Inflates? ........ 1-61
When Should an Airbag Inflate? .................... 1-59
Where Are the Airbags? ............................... 1-56
Antenna, Fixed Mast ....................................... 3-72
Antenna, XM™ Satellite Radio Antenna
System ...................................................... 3-72
Anti-Lock Brake System (ABS) ........................... 4-7
Anti-Lock Brake, System Warning Light .............. 3-35
Appearance Care
Aluminum Wheels ........................................ 5-95
Care of Safety Belts .................................... 5-93
Chemical Paint Spotting ............................... 5-97
Cleaning Exterior Lamps/Lenses .................... 5-94
Cleaning the Inside of Your Vehicle ................ 5-90
Fabric/Carpet .............................................. 5-92
Finish Care ................................................. 5-94
Finish Damage ............................................ 5-96
Instrument Panel, Vinyl, and Other
Plastic Surfaces ....................................... 5-93
Sheet Metal Damage ................................... 5-96
Tires .......................................................... 5-96
Underbody Maintenance ............................... 5-97
Vehicle Care/Appearance Materials ................ 5-98
Washing Your Vehicle ................................... 5-94
Weatherstrips .............................................. 5-93
Windshield and Wiper Blades ........................ 5-95
Ashtray(s) ...................................................... 3-17
1

Audio System(s) ............................................. 3-48
Care of Your CD Player ............................... 3-71
Care of Your CDs ........................................ 3-71
Fixed Mast Antenna ..................................... 3-72
Radio with CD .................................... 3-50, 3-55
Setting the Time .................................. 3-49, 3-50
Understanding Radio Reception ..................... 3-70
XM™ Satellite Radio Antenna System ............ 3-72
Automatic Headlamp System ............................ 3-14
Automatic Transaxle
Fluid .......................................................... 5-24
Operation ................................................... 2-22
B
Battery .......................................................... 5-42
Run-Down Protection ................................... 3-16
Battery Warning Light ...................................... 3-33
Before Leaving on a Long Trip ......................... 4-22
Boost Gage ................................................... 3-43
Brake
Anti-Lock Brake System (ABS) ........................ 4-7
Emergencies ................................................ 4-9
Parking ...................................................... 2-27
System Warning Light .................................. 3-34
Brakes .......................................................... 5-39
Braking ........................................................... 4-6
Braking in Emergencies ..................................... 4-9
Break-In, New Vehicle ..................................... 2-17
Bulb Replacement ........................................... 5-48
Center High-Mounted Stoplamp (CHMSL) ......... 5-54
Front Turn Signal, Parking and Daytime
Running Lamps ................................ 5-52, 5-53
Halogen Bulbs ............................................ 5-48
Headlamp Aiming ........................................ 5-48
Headlamps ......................................... 5-49, 5-50
Replacement Bulbs ...................................... 5-55
Taillamps, Turn Signal, Stoplamps and
Back-up Lamps ........................................ 5-54
Buying New Tires ........................................... 5-68
C
Calibration ............................................. 2-32, 2-35
California Fuel .................................................. 5-5
California Proposition 65 Warning ....................... 5-3
Canadian Owners ................................................ ii
Capacities and Specifications .......................... 5-109
Carbon Monoxide ................... 2-11, 2-30, 4-26, 4-39
2

Care of
Safety Belts ................................................ 5-93
Your CD Player ........................................... 3-71
Your CDs ................................................... 3-71
Center Console Storage Area ........................... 2-40
Center High-Mounted Stoplamp (CHMSL) ........... 5-54
Chains, Tire ................................................... 5-74
Change Engine Oil Message ............................ 3-45
Check
Engine Light ............................................... 3-36
Check Gage Message ..................................... 3-45
Check Gas Cap Message ................................ 3-46
Checking Things Under the Hood ...................... 5-10
Chemical Paint Spotting ................................... 5-97
Child Restraints
Child Restraint Systems ............................... 1-38
Infants and Young Children ........................... 1-34
Lower Anchors and Tethers for Children .......... 1-43
Older Children ............................................. 1-32
Securing a Child Restraint in a
Rear Seat Position ................................... 1-49
Securing a Child Restraint in the
Right Front Seat Position .......................... 1-51
Where to Put the Restraint ........................... 1-42
Cigarette Lighter ............................................. 3-17
Cleaning
Aluminum Wheels ........................................ 5-95
Exterior Lamps/Lenses ................................. 5-94
Fabric/Carpet .............................................. 5-92
Finish Care ................................................. 5-94
Inside of Your Vehicle .................................. 5-90
Instrument Panel, Vinyl, and Other
Plastic Surfaces ....................................... 5-93
Tires .......................................................... 5-96
Underbody Maintenance ............................... 5-97
Washing Your Vehicle ................................... 5-94
Weatherstrips .............................................. 5-93
Windshield and Wiper Blades ........................ 5-95
Climate Control System ........................... 3-18, 3-20
Air Filter, Passenger Compartment ................. 3-23
Outlet Adjustment ........................................ 3-22
Clutch, Hydraulic ............................................. 5-25
Collision Damage Repair ................................... 7-8
Comfort Guides, Rear Safety Belt ..................... 1-28
Compact Spare Tire ........................................ 5-90
Compass ............................................... 2-32, 2-35
Competitive Driving, Racing or Other ................. 4-16
Content Theft-Deterrent .................................... 2-16
3

Control of a Vehicle .......................................... 4-5
Convenience Net ............................................ 2-41
Coolant
Engine Temperature Gage ............................ 3-36
Surge Tank Pressure Cap ............................. 5-29
Cooling System .............................................. 5-31
Cruise Control ................................................ 3-10
Cruise Control Message ................................... 3-44
Cupholder(s) .................................................. 2-40
Customer Assistance Information
Customer Assistance for Text
Telephone (TTY) Users ............................... 7-4
Customer Satisfaction Procedure ..................... 7-2
GM Mobility Reimbursement Program ............... 7-5
Reporting Safety Defects to Saturn ................ 7-12
Reporting Safety Defects to the
Canadian Government .............................. 7-11
Reporting Safety Defects to the
United States Government ......................... 7-11
Roadside Assistance Program ......................... 7-5
Service Publications Ordering Information ........ 7-12
D
Daytime Running Lamps .................................. 3-14
Defensive Driving ............................................. 4-2
Delayed Locking ............................................... 2-8
Differential, Limited-Slip .................................... 4-10
Doing Your Own Service Work ........................... 5-4
Dome Lamp ................................................... 3-16
Door
Delayed Locking ........................................... 2-8
Locks .......................................................... 2-7
Power Door Locks ......................................... 2-8
Programmable Automatic Door Locks ............... 2-8
Rear Door Security Locks ............................... 2-9
Rear Doors ................................................. 2-10
Driver
Position, Safety Belt ..................................... 1-16
Seat Height Adjuster ...................................... 1-3
Driving
At Night ..................................................... 4-17
City ........................................................... 4-20
Defensive ..................................................... 4-2
Drunken ....................................................... 4-3
Freeway ..................................................... 4-21
Hill and Mountain Roads .............................. 4-24
In Rain and on Wet Roads ........................... 4-18
Rocking Your Vehicle to Get it Out ................. 4-31
Winter ........................................................ 4-26
4

E
Electrical System
Add-On Equipment ...................................... 5-99
Engine Compartment Fuse Block ................. 5-102
Floor Console Fuse Block ........................... 5-100
Fuses and Circuit Breakers ......................... 5-100
Power Windows and Other Power Options ....... 5-100
Windshield Wiper Fuses ............................. 5-100
Engine
Air Cleaner/Filter ......................................... 5-22
Battery ....................................................... 5-42
Change Oil Message ................................... 3-45
Check and Service Engine Soon Light ............ 3-36
Coolant ...................................................... 5-25
Coolant Temperature Gage ........................... 3-36
Engine Compartment Overview ...................... 5-12
Exhaust ..................................................... 2-30
Oil ............................................................. 5-15
Oil Life System ........................................... 5-20
Overheating ................................................ 5-29
Reduced Power Light ................................... 3-41
Starting ...................................................... 2-20
Enhanced Traction System (ETS) ........................ 4-9
Entry Lighting ................................................. 3-16
Error Message ................................................ 3-47
Event Data Recorders (EDR) ............................. 7-7
Extender, Safety Belt ....................................... 1-31
F
Filter
Engine Air Cleaner ...................................... 5-22
Finish Damage ............................................... 5-96
Fixed Mast Antenna ........................................ 3-72
Flashers, Hazard Warning .................................. 3-6
Flash-to-Pass ................................................... 3-8
Flat Tire ........................................................ 5-75
Flat Tire, Changing ......................................... 5-76
Flat Tire, Storing ............................................. 5-87
Fluid
Automatic Transaxle ..................................... 5-24
Manual Transaxle ........................................ 5-24
Windshield Washer ...................................... 5-38
Fog Lamps .................................................... 3-15
Folding Rear Seat ............................................ 1-9
Folding Seatback, Passenger ............................. 1-7
Front Turn Signal, Parking and Daytime
Running Lamps ................................... 5-52, 5-53
Fuel ............................................................... 5-4
Additives ...................................................... 5-6
California Fuel .............................................. 5-5
Filling a Portable Fuel Container ..................... 5-9
Filling Your Tank ........................................... 5-7
Fuels in Foreign Countries .............................. 5-6
Gage ......................................................... 3-42
Gasoline Octane ........................................... 5-5
5

Fuel (cont.)
Gasoline Specifications .................................. 5-5
Low Warning Message ................................. 3-46
Fuses
Engine Compartment Fuse Block ................. 5-102
Floor Console Fuse Block ........................... 5-100
Fuses and Circuit Breakers ......................... 5-100
Windshield Wiper ....................................... 5-100
G
Gage
Boost ......................................................... 3-43
Engine Coolant Temperature ......................... 3-36
Fuel .......................................................... 3-42
Speedometer .............................................. 3-27
Tachometer ................................................. 3-28
Gas, Check Cap Message ............................... 3-46
Gasoline
Octane ........................................................ 5-5
Specifications ............................................... 5-5
Glove Box ..................................................... 2-40
GM Mobility Reimbursement Program .................. 7-5
H
Hazard Warning Flashers ................................... 3-6
Head Restraints ............................................... 1-6
Headlamp
Aiming ....................................................... 5-48
Headlamps .................................... 3-13, 5-49, 5-50
Automatic Headlamp System ......................... 3-14
Bulb Replacement ....................................... 5-48
Daytime Running Lamps ............................... 3-14
Flash-to-Pass ............................................... 3-8
Halogen Bulbs ............................................ 5-48
High/Low Beam Changer ................................ 3-8
Heater ................................................... 3-18, 3-20
Height Adjuster, Driver Seat ............................... 1-3
Highbeam On Light ......................................... 3-41
Highway Hypnosis ........................................... 4-23
Hill and Mountain Roads .................................. 4-24
Hood
Checking Things Under ................................ 5-10
Release ..................................................... 5-10
Horn ............................................................... 3-6
How to Use This Manual ...................................... ii
How to Wear Safety Belts Properly ................... 1-16
Hydraulic Clutch ............................................. 5-25
6

I
Ignition Positions ............................................. 2-18
Infants and Young Children, Restraints ............... 1-34
Inflation - Tire Pressure ................................... 5-64
Instrument Panel
Overview ..................................................... 3-4
Instrument Panel (I/P)
Brightness .................................................. 3-15
Cluster ....................................................... 3-26
J
Jump Starting ................................................. 5-43
K
Keyless Entry System ....................................... 2-3
Keys ............................................................... 2-2
L
Labeling, Tire Sidewall ..................................... 5-59
Lamps
Battery Run-Down Protection ......................... 3-16
Dome ........................................................ 3-16
Fog ........................................................... 3-15
Map .......................................................... 3-16
LATCH System
Child Restraints ........................................... 1-43
Light
Airbag Readiness ........................................ 3-30
Anti-Lock Brake System Warning ................... 3-35
Battery Warning .......................................... 3-33
Brake System Warning ................................. 3-34
Highbeam On ............................................. 3-41
Malfunction Indicator .................................... 3-36
Oil Pressure ............................................... 3-40
Passenger Airbag Status Indicator .................. 3-31
Passenger Safety Belt Reminder .................... 3-29
Passlock
®
Warning ....................................... 3-40
Reduced Engine Power ................................ 3-41
Safety Belt Reminder ................................... 3-29
Up-Shift ..................................................... 3-33
7

Lighting
Entry ......................................................... 3-16
Limited-Slip Differential .................................... 4-10
Loading Your Vehicle ....................................... 4-31
Lockout Protection .......................................... 2-10
Locks
Delayed Locking ........................................... 2-8
Door ........................................................... 2-7
Lockout Protection ....................................... 2-10
Power Door .................................................. 2-8
Programmable Automatic Door Locks ............... 2-8
Rear Door Security Locks ............................... 2-9
Loss of Control ............................................... 4-15
Low Fuel Warning Message ............................. 3-46
Lumbar
Manual Controls ............................................ 1-3
M
Maintenance Schedule
Additional Required Services ........................... 6-6
At Each Fuel Fill ........................................... 6-9
At Least Once a Month ................................ 6-10
At Least Once a Year .................................. 6-10
Introduction .................................................. 6-2
Maintenance Footnotes .................................. 6-8
Maintenance Record .................................... 6-16
Maintenance Requirements ............................. 6-2
Maintenance Schedule (cont.)
Normal Maintenance Replacement Parts ......... 6-15
Owner Checks and Services ........................... 6-9
Recommended Fluids and Lubricants ............. 6-13
Scheduled Maintenance ................................. 6-4
Using .......................................................... 6-2
Your Vehicle and the Environment ................... 6-2
Malfunction Indicator Light ................................ 3-36
Manual Lumbar Controls .................................... 1-3
Manual Seats ................................................... 1-2
Manual Transaxle
Fluid .......................................................... 5-24
Operation ................................................... 2-25
Manual Windows ............................................ 2-13
Map Lamps .................................................... 3-16
Message
Center ....................................................... 3-43
Change Engine Oil ...................................... 3-45
Check Gage ............................................... 3-45
Check Gas Cap .......................................... 3-46
Cruise Control ............................................. 3-44
Error .......................................................... 3-47
Low Fuel Warning ....................................... 3-46
Low Traction ............................................... 3-44
Power Steering ........................................... 3-46
Service Vehicle ........................................... 3-47
Traction Off ................................................ 3-44
Transaxle Fluid Hot ...................................... 3-45
Trunk Ajar Warning ...................................... 3-46
8

Mirrors
Automatic Dimming Rearview with Compass
and Temperature Display ............................ 2-35
Automatic Dimming Rearview with OnStar
®
,
Compass and Temperature Display .............. 2-32
Manual Rearview Mirror ................................ 2-32
Manual Rearview Mirror with OnStar
®
............. 2-32
Outside Convex Mirror ................................. 2-38
Outside Power Mirrors .................................. 2-37
Outside Remote Control Mirror ...................... 2-37
MyGMLink.com ................................................ 7-4
N
New Vehicle Break-In ...................................... 2-17
Normal Maintenance Replacement Parts ............ 6-15
O
Odometer ...................................................... 3-27
Odometer, Trip ............................................... 3-27
Off-Road Recovery .......................................... 4-13
Oil
Engine ....................................................... 5-15
Pressure Light ............................................. 3-40
Oil, Engine Oil Life System .............................. 5-20
Older Children, Restraints ................................ 1-32
Online Owner Center ........................................ 7-4
OnStar
®
System, see OnStar
®
Manual ............... 2-38
Other Warning Devices ...................................... 3-6
Outlet Adjustment ............................................ 3-22
Outlet(s), Accessory Power ............................... 3-16
Outside
Convex Mirror ............................................. 2-38
Power Mirrors ............................................. 2-37
Remote Control Mirror .................................. 2-37
Owner Checks and Services .............................. 6-9
Owners, Canadian ............................................... ii
P
Paint, Damage ............................................... 5-96
Park (P)
Shifting Into ................................................ 2-28
Shifting Out of ............................................ 2-29
Parking
Brake ........................................................ 2-27
Over Things That Burn ................................. 2-30
Parking Your Vehicle ....................................... 2-29
Passenger Airbag Status Indicator ..................... 3-31
Passenger Compartment Air Filter ..................... 3-23
Passenger Sensing System .............................. 1-62
Passing ......................................................... 4-14
Passlock
®
...................................................... 2-17
9

Power
Accessory Outlet(s) ...................................... 3-16
Door Locks .................................................. 2-8
Electrical System ....................................... 5-100
Reduced Engine Light .................................. 3-41
Retained Accessory (RAP) ............................ 2-20
Steering Message ........................................ 3-46
Windows .................................................... 2-14
Pretensioners, Safety Belt ................................ 1-31
Programmable Automatic Door Locks .................. 2-8
Q
Questions and Answers About Safety Belts ......... 1-15
R
Racing or Other Competitive Driving .................. 4-16
Radios .......................................................... 3-48
Care of Your CD Player ............................... 3-71
Care of Your CDs ........................................ 3-71
Radio with CD .................................... 3-50, 3-55
Setting the Time .................................. 3-49, 3-50
Understanding Reception .............................. 3-70
Rear Door Security Locks .................................. 2-9
Rear Doors .................................................... 2-10
Rear Safety Belt Comfort Guides ...................... 1-28
Rear Seat Passengers, Safety Belts .................. 1-24
Rearview Mirror, Automatic Dimming with
Compass and Temperature Display ................ 2-35
Rearview Mirror, Automatic Dimming with
OnStar
®
, Compass and Temperature Display ..... 2-32
Rearview Mirror with OnStar
®
........................... 2-32
Rearview Mirrors ............................................. 2-32
Reclining Seatbacks .......................................... 1-4
Recommended Fluids and Lubricants ................. 6-13
Recreational Vehicle Towing ............................. 4-36
Reduced Engine Power Light ............................ 3-41
Remote Keyless Entry System ............................ 2-3
Remote Keyless Entry System, Operation ............ 2-4
Removing the Flat Tire and Installing
the Spare Tire ............................................. 5-82
Removing the Spare Tire and Tools ................... 5-77
Replacement Bulbs ......................................... 5-55
Reporting Safety Defects
Canadian Government .................................. 7-11
Saturn ....................................................... 7-12
United States Government ............................ 7-11
Restraint System Check
Checking the Restraint Systems .................... 1-68
Replacing Restraint System Parts
After a Crash .......................................... 1-69
10

Retained Accessory Power (RAP) ...................... 2-20
Right Front Passenger Position, Safety Belts ...... 1-24
Roadside
Assistance Program ....................................... 7-5
Rocking Your Vehicle to Get it Out .................... 4-31
Roof Rack System .......................................... 2-40
Running the Engine While Parked ..................... 2-31
S
Safety Belt
Passenger Reminder Light ............................ 3-29
Pretensioners .............................................. 1-31
Reminder Light ............................................ 3-29
Safety Belts
Care of ...................................................... 5-93
Driver Position ............................................ 1-16
How to Wear Safety Belts Properly ................ 1-16
Questions and Answers About Safety Belts ..... 1-15
Rear Safety Belt Comfort Guides ................... 1-28
Rear Seat Passengers ................................. 1-24
Right Front Passenger Position ...................... 1-24
Safety Belt Extender .................................... 1-31
Safety Belt Use During Pregnancy ................. 1-24
Safety Belts Are for Everyone ....................... 1-11
Shoulder Belt Height Adjuster ........................ 1-23
Safety Warnings and Symbols .............................. iii
Scheduled Maintenance ..................................... 6-4
Seatback, Folding Passenger ............................. 1-7
Seats
Driver Seat Height Adjuster ............................. 1-3
Head Restraints ............................................ 1-6
Manual ........................................................ 1-2
Manual Lumbar ............................................. 1-3
Passenger Folding Seatback ........................... 1-7
Reclining Seatbacks ...................................... 1-4
Split Folding Rear Seat .................................. 1-9
Securing a Child Restraint
Rear Seat Position ...................................... 1-49
Right Front Seat Position .............................. 1-51
Service ........................................................... 5-3
Accessories and Modifications ......................... 5-3
Adding Equipment to the Outside
of Your Vehicle .......................................... 5-4
California Proposition 65 Warning .................... 5-3
Doing Your Own Work ................................... 5-4
Engine Soon Light ....................................... 3-36
Publications Ordering Information ................... 7-12
Vehicle Message ......................................... 3-47
Servicing Your Airbag-Equipped Vehicle .............. 1-66
Setting the Time ..................................... 3-49, 3-50
Sheet Metal Damage ....................................... 5-96
Shifting Into Park (P) ....................................... 2-28
11

Shifting Out of Park (P) ................................... 2-29
Shoulder Belt Height Adjuster ........................... 1-23
Signals, Turn and Lane-Change .......................... 3-8
Spare Tire
Compact .................................................... 5-90
Installing .................................................... 5-82
Removing ................................................... 5-77
Storing ....................................................... 5-87
Specifications, Capacities ............................... 5-109
Speedometer .................................................. 3-27
Split Folding Rear Seat ..................................... 1-9
Starting Your Engine ....................................... 2-20
Steering ........................................................ 4-11
Steering Wheel, Tilt Wheel ................................. 3-7
Storage Areas
Center Console Storage Area ........................ 2-40
Convenience Net ......................................... 2-41
Cupholder(s) ............................................... 2-40
Glove Box .................................................. 2-40
Roof Rack System ....................................... 2-40
Stuck in Sand, Mud, Ice, or Snow ..................... 4-30
Sun Visors ..................................................... 2-15
Sunroof ......................................................... 2-41
T
Tachometer .................................................... 3-28
Taillamps
Turn Signal, Stoplamps and Back-up Lamps ...... 5-54
Theft-Deterrent Systems ................................... 2-16
Content Theft-Deterrent ................................ 2-16
Passlock
®
................................................... 2-17
Tilt Wheel ........................................................ 3-7
Tires ............................................................. 5-57
Aluminum Wheels, Cleaning .......................... 5-95
Buying New Tires ........................................ 5-68
Chains ....................................................... 5-74
Changing a Flat Tire .................................... 5-76
Cleaning .................................................... 5-96
Compact Spare Tire ..................................... 5-90
Different Size .............................................. 5-70
If a Tire Goes Flat ....................................... 5-75
Inflation - Tire Pressure ................................ 5-64
Inspection and Rotation ................................ 5-66
Installing the Spare Tire ................................ 5-82
Removing the Flat Tire ................................. 5-82
Removing the Spare Tire and Tools ............... 5-77
Storing a Flat or Spare Tire and Tools ............ 5-87
Tire Sidewall Labeling .................................. 5-59
Tire Terminology and Definitions .................... 5-62
Uniform Tire Quality Grading ......................... 5-70
12

Tires (cont.)
Wheel Alignment and Tire Balance ................. 5-72
Wheel Replacement ..................................... 5-72
When It Is Time for New Tires ...................... 5-68
Towing
Recreational Vehicle ..................................... 4-36
Towing a Trailer .......................................... 4-39
Your Vehicle ............................................... 4-36
Traction
Enhanced Traction System (ETS) .................... 4-9
Limited-Slip Differential ................................. 4-10
Low Message ............................................. 3-44
Off Message ............................................... 3-44
Transaxle
Fluid, Automatic ........................................... 5-24
Fluid Hot Message ...................................... 3-45
Fluid, Manual .............................................. 5-24
Transaxle Operation, Automatic ......................... 2-22
Transaxle Operation, Manual ............................ 2-25
Transmission
Up-Shift Light .............................................. 3-33
Trip Odometer ................................................ 3-27
Trunk ............................................................ 2-11
Trunk Ajar Warning Message ............................ 3-46
Turn and Lane-Change Signals .......................... 3-8
Turn Signal/Multifunction Lever ........................... 3-7
U
Understanding Radio Reception ........................ 3-70
Uniform Tire Quality Grading ............................ 5-70
Up-Shift Light ................................................. 3-33
V
Vehicle
Control ........................................................ 4-5
Damage Warnings ........................................... iv
Loading ...................................................... 4-31
Parking Your ............................................... 2-29
Symbols ......................................................... iv
Vehicle Data Collection and Event Data
Recorders .................................................... 7-7
Vehicle Identification
Number (VIN) ............................................. 5-99
Service Parts Identification Label ................... 5-99
Ventilation Adjustment ...................................... 3-22
Visors ........................................................... 2-15
13

W
Warning Lights, Gages and Indicators ................ 3-25
Warnings
Hazard Warning Flashers ............................... 3-6
Other Warning Devices .................................. 3-6
Safety and Symbols ......................................... iii
Vehicle Damage .............................................. iv
Wheels
Alignment and Tire Balance .......................... 5-72
Different Size .............................................. 5-70
Replacement ............................................... 5-72
Where to Put the Restraint ............................... 1-42
Windows ....................................................... 2-13
Manual ...................................................... 2-13
Power ........................................................ 2-14
Windshield
Washer ........................................................ 3-9
Washer Fluid .............................................. 5-38
Windshield (cont.)
Wiper Blade Replacement ............................. 5-56
Wiper Blades, Cleaning ................................ 5-95
Wiper Fuses ............................................. 5-100
Wiper Lever ................................................. 3-9
Winter Driving ................................................ 4-26
X
XM™ Satellite Radio Antenna System ................ 3-72
Y
Your Vehicle and the Environment ....................... 6-2
14


