2008 Pathfinder Owner's Manual
User Manual: 2008-pathfinder
Open the PDF directly: View PDF
.
Page Count: 448 [warning: Documents this large are best viewed by clicking the View PDF Link!]

2008 Pathfinder Owner's Manual
Compare the VIN (vehicle identification number) information found on your vehicle's VIN plate
to the VIN information below to determine which Owner's Manual applies to your vehicle. The
VIN plate is located on top of the instrument panel, on the driver's side of your vehicle.
If your vehicle's VIN is XXXXXXXXXXX633672 or lower:
Select Owner's Manual - A in the bookmarks panel on the left side of the screen.
If your vehicle's VIN is XXXXXXXXXXX633673 or higher:
Select Owner's Manual - B in the bookmarks panel on the left side of the screen.

Welcome to the growing family of new NISSAN
owners. This vehicle is delivered to you with
confidence. It was produced using the latest
techniques and strict quality control.
This manual was prepared to help you under-
stand the operation and maintenance of your
vehicle so that you may enjoy many miles (kilome-
ters) of driving pleasure. Please read through this
manual before operating your vehicle.
A separate Warranty Information Booklet
explains details about the warranties cov-
ering your vehicle. The “NISSAN Service
and Maintenance Guide” explains details
about maintaining and servicing your ve-
hicle. Additionally, a separate Customer
Care/Lemon Law Booklet (U.S. only) will
explain how to resolve any concerns you
may have with your vehicle, as well as
clarify your rights under your state’s lemon
law.
Your NISSAN dealership knows your vehicle
best. When you require any service or have any
questions, they will be glad to assist you with the
extensive resources available to them.
Before driving your vehicle please read this Own-
er’s Manual carefully. This will ensure familiarity
with controls and maintenance requirements, as-
sisting you in the safe operation of your vehicle.
WARNING
IMPORTANT SAFETY INFORMATION RE-
MINDERS FOR SAFETY!
Follow these important driving rules to
help ensure a safe and comfortable trip
for you and your passengers!
●NEVER drive under the influence of al-
cohol or drugs.
●ALWAYS observe posted speed limits
and never drive too fast for conditions.
●ALWAYS give your full attention to driv-
ing and avoid using vehicle features or
taking other actions that could distract
you.
●ALWAYS use your seat belts and appro-
priate child restraint systems. Pre-teen
children should be seated in the rear
seat.
●ALWAYS provide information about the
proper use of vehicle safety features to
all occupants of the vehicle.
●ALWAYS review this Owner’s Manual
for important safety information.
For descriptions specified for four-wheel drive
models, a mark is placed at the begin-
ning of the applicable sections/items.
As with other vehicles with features for
off-road use, failure to operate four-wheel
drive models correctly may result in loss of
control or an accident. Be sure to read
“Driving safety precautions” in the “Start-
ing and driving” section of this manual.
ON-PAVEMENT AND OFF-ROAD DRIV-
ING
This vehicle will handle and maneuver
differently from an ordinary passenger
car because it has a higher center of
gravity for off-road use. As with other
vehicles with features of this type, fail-
ure to operate this vehicle correctly may
result in loss of control or an accident.
Be sure to read “On-pavement and off-
road driving precautions”, and “Avoid-
ing collision and rollover”, and “Driving
safety precautions”, in the “Starting and
driving” section of this manual.
FOREWORD READ FIRST—THEN DRIVE SAFELY
ZREVIEW COPY—
2008 Pathfinder (pat)
Owners Manual—USA_English (nna)
03/22/07—debbie
X

MODIFICATION OF YOUR VEHICLE
This vehicle should not be modified.
Modification could affect its
performance, safety or durability, and
may even violate governmental
regulations. In addition, damage or per-
formance problems resulting from modi-
fications may not be covered under
NISSAN warranties.
This manual includes information for all options
available on this model. Therefore, you may find
some information that does not apply to your
vehicle.
All information, specifications and illustrations in
this manual are those in effect at the time of
printing. NISSAN reserves the right to change
specifications or design without notice and with-
out obligation.
IMPORTANT INFORMATION ABOUT
THIS MANUAL
You will see various symbols in this manual. They
are used in the following ways:
WARNING
This is used to indicate the presence of a
hazard that could cause death or serious
personal injury. To avoid or reduce the
risk, the procedures must be followed
precisely.
CAUTION
This is used to indicate the presence of a
hazard that could cause minor or moder-
ate personal injury or damage to your ve-
hicle. To avoid or reduce the risk, the pro-
cedures must be followed carefully.
If you see this symbol, it means “Do not do this”
or “Do not let this happen.”
If you see a symbol similar to these in an illustra-
tion, it means the arrow points to the front of the
vehicle.
Arrows in an illustration that are similar to these
indicate movement or action.
Arrows in an illustration that are similar to these
call attention to an item in the illustration.
APD1005
WHEN READING THE MANUAL
ZREVIEW COPY—
2008 Pathfinder (pat)
Owners Manual—USA_English (nna)
03/22/07—debbie
X

CALIFORNIA PROPOSITION 65
WARNING
WARNING
Engine exhaust, some of its constituents,
and certain vehicle components contain
or emit chemicals known to the State of
California to cause cancer and birth de-
fects or other reproductive harm. In addi-
tion, certain fluids contained in vehicles
and certain products of component wear
contain or emit chemicals known to the
State of California to cause cancer and
birth defects or other reproductive harm.
CALIFORNIA PERCHLORATE
ADVISORY
Some vehicle parts, such as lithium batter-
ies, may contain perchlorate material. The
following advisory is provided: “Perchlorate
Material – special handling may apply, See
www.dtsc.ca.gov/hazardouswaste/perchlorate.”
BLUETOOTHtis a
trademark owned by
Bluetooth SIG, Inc.,
U.S.A. and licensed to
Xanavi Informatics
Corporation.
Gracenotetis a regis-
tered trademark of
Gracenote, Inc. The
Gracenote logo and
logo type, and the
“Powered by
Gracenote” logo are
trademarks of
Gracenote.
© 2007 NISSAN NORTH AMERICA, INC.
All rights reserved. No part of this Owner’s
Manual may be reproduced or stored in a retrieval
system, or transmitted in any form, or by any
means, electronic, mechanical, photocopying,
recording or otherwise, without the prior written
permission of Nissan North America, Inc.
ZREVIEW COPY—
2008 Pathfinder (pat)
Owners Manual—USA_English (nna)
03/22/07—debbie
X
NISSAN CARES...
Both NISSAN and your NISSAN dealer are dedicated to serving all your automotive needs. Your satisfaction with your vehicle and your NISSAN dealer are
our primary concerns. Your NISSAN dealer is always available to assist you with all your automobile sales and service needs.
However, if there is something that your NISSAN
dealer cannot assist you with or you would like to
provide NISSAN directly with comments or
questions, please contact the NISSAN Con-
sumer Affairs Department using our toll-free
number:
For U.S. customers
1-800-NISSAN-1
(1-800-647-7261)
For Canadian customers
1-800-387-0122
The Consumer Affairs Department will ask for the
following information:
– Your name, address, and telephone number
– Vehicle identification number (attached to the
top of the instrument panel on the driver’s
side)
– Date of purchase
– Current odometer reading
– Your NISSAN dealer’s name
– Your comments or questions
OR
You can write to NISSAN with the information at:
For U.S. customers
Nissan North America, Inc.
Consumer Affairs Department
P.O. Box 685003
Franklin, TN 37068-5003
For Canadian customers
Nissan Canada Inc.
5290 Orbitor Drive
Mississauga, Ontario L4W 4Z5
We appreciate your interest in NISSAN and thank you for buying a quality NISSAN vehicle.
NISSAN CUSTOMER CARE PROGRAM
ZREVIEW COPY—
2008 Pathfinder (pat)
Owners Manual—USA_English (nna)
03/22/07—debbie
X

Table of
Contents
Illustrated table of contents
Safety—Seats, seat belts and supplemental restraint system
Instruments and controls
Pre-driving checks and adjustments
Monitor, climate, audio, phone and voice recognition systems
Starting and driving
In case of emergency
Appearance and care
Maintenance and do-it-yourself
Technical and consumer information
Index
0
1
2
3
4
5
6
7
8
9
10

0 Illustrated table of contents
Airbags, seat belts and child restraints ...............0-2
Exterior front ......................................0-3
Exterior rear.......................................0-4
Passenger compartment ...........................0-5
Instrument panel...................................0-6
Engine compartment check locations ................0-8
Warning/indicator lights ...........................0-10
ZREVIEW COPY—
2008 Pathfinder (pat)
Owners Manual—USA_English (nna)
03/22/07—debbie
X

1. 2nd row seat belts (P. 1-12)
2. Roof-mounted curtain side-impact and
rollover supplemental air bags
(if so equipped) (P. 1-40)
3. Front seat belts (P. 1-12)
4. Supplemental front impact air bags
(P.1-40)
5. Seats (P. 1-2)
6. Occupant classification sensor
(pressure sensor) (P.1-47)
7. Seat belts with pretensioners (P. 1-54)
8. Front seat-mounted side-impact
supplemental air bags (if so equipped)
(P. 1-40)
9. LATCH (Lower Anchors and Tethers for
CHildren) (P. 1-22)
See the page number indicated in paren-
theses for operating details.
WII0047
AIRBAGS, SEAT BELTS AND CHILD
RESTRAINTS
0-2 Illustrated table of contents
ZREVIEW COPY—
2008 Pathfinder (pat)
Owners Manual—USA_English (nna)
03/22/07—debbie
X

1. Engine hood (P. 3-20)
2. Windshield wiper and washer switch
(P. 2-24)
3. Windshield (P. 8-20)
4. Power windows (P. 2-47)
5. Door locks, keyfob, keys, Intelligent Key
system (P. 3-4, 3-16, 3-2, 3-6)
6. Mirrors (P. 3-26)
7. Tire pressure (P. 9-11)
8. Flat tire (P. 6-2)
9. Tire chains (P. 8-40)
10. Replacing bulbs (P. 8-31)
11. Headlight and turn signal switch
(P. 2-27)
12. Fog light switch (if so equipped)
(P. 2-30)
13. Tow hooks (if so equipped) (P. 6-14)
See the page number indicated in paren-
theses for operating details.
WII0048
EXTERIOR FRONT
Illustrated table of contents 0-3
ZREVIEW COPY—
2008 Pathfinder (pat)
Owners Manual—USA_English (nna)
03/22/07—debbie
X

1. Roof rack (P. 2-46)
2. Vehicle loading (P. 9-12)
3. Glass hatch (P. 3-21)
4. Rear window washer (P.2-25)
5. Intelligent Key system request button
(P. 3-6)
6. Glass hatch release (P.3-21)
7. Lift gate release switch (P. 3-21)
8. Replacing bulbs (P. 8-31)
9. Fuel-filler cap, fuel recommendation
(P. 3-22, P. 9-3)
10. Fuel-filler door (P. 3-22)
11. Child safety rear door locks (P. 3-6)
See the page number indicated in paren-
theses for operating details.
WII0124
EXTERIOR REAR
0-4 Illustrated table of contents
ZREVIEW COPY—
2008 Pathfinder (pat)
Owners Manual—USA_English (nna)
03/22/07—debbie
X

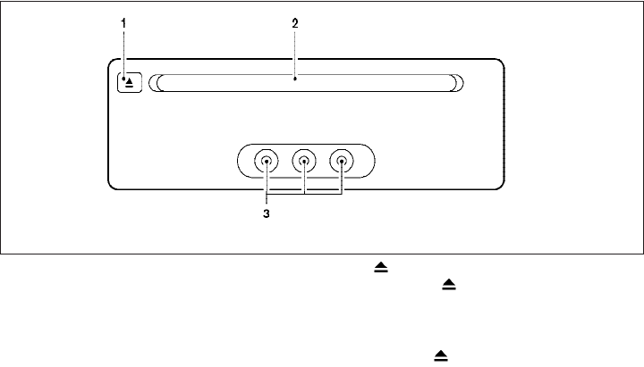
1. DVD entertainment system
(if so equipped) (P. 4-88)
2. Sunroof (if so equipped) (P. 2-50)
3. Map lights (P. 2-53)
4. Sun visors (P. 3-25)
5. HomeLinkTuniversal transceiver
(if so equipped) (P. 2-53)
6. Glove box (P. 2-39)
7. Front seats (P. 1-2)
8. 2nd row seats (P.1-10)
9. 3rd row seats (P. 1-11)
10. Luggage storage (P. 2-42)
See the page number indicated in paren-
theses for operating details.
WII0050
PASSENGER COMPARTMENT
Illustrated table of contents 0-5
ZREVIEW COPY—
2008 Pathfinder (pat)
Owners Manual—USA_English (nna)
03/22/07—debbie
X

1. Ventilators (P. 4-35)
2. Headlight/fog light (if so equipped)/turn
signal switch (P. 2-27)
3. Steering wheel switch for audio control
(if so equipped) (P. 4-85)
4. Driver supplemental air bag/horn
(P. 1-40, P. 2-31)
5. Meters, gauges and warning/indicator
lights (P. 2-3, 2-12)
6. Cruise control main/set switches
(P. 5-18)
7. Windshield wiper/washer switch and
rear window wiper/washer switch
(P. 2-24, P. 2-25)
8. Navigation system* (if so equipped)
9. Navigation system* controls
(if so equipped)
10. Front passenger supplemental air bag
(P. 1-40)
11. Upper and lower glove box (P. 2-39)
12. Power outlet (P. 2-34)
13. Heated seat switch (if so equipped)
(P. 2-32)
14. Hill descent control switch
(if so equipped) (P. 2-33)
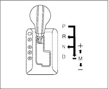
15. Shift selector lever (P. 5-12)
LIC1223
INSTRUMENT PANEL
0-6 Illustrated table of contents
ZREVIEW COPY—
2008 Pathfinder (pat)
Owners Manual—USA_English (nna)
03/22/07—debbie
X
16. Vehicle dynamic control (VDC) OFF
switch (P. 2-33)
17. 4WD shift switch (if so equipped)
(P. 5-21)
18. Storage
19. Passenger air bag status light (P. 1-49)
20. Climate controls (P. 4-36, 4-44)
21. Hazard warning flasher switch (P. 2-31)
22. Ignition switch (P. 5-8)
23. Tilt steering wheel control (P. 3-24)
24. Heated steering wheel switch
(if so equipped)
25. Pedal position adjustment switch
(if so equipped) (P. 3-24)
26. Outside mirror controls (P. 3-28)
*: Refer to the separate Navigation System Own-
er’s Manual (if so equipped).
See the page number indicated in paren-
theses for operating details.
Illustrated table of contents 0-7
ZREVIEW COPY—
2008 Pathfinder (pat)
Owners Manual—USA_English (nna)
03/22/07—debbie
X

VQ40DE engine
1. Windshield washer fluid reservoir
(P. 8-14)
2. Fuse/fusible link box (P. 8-23)
3. Fuse and relay box (P. 8-23)
4. Engine oil filler cap (P. 8-9)
5. Engine oil dipstick (P. 8-9)
6. Brake fluid reservoir (P. 8-13)
7. Air cleaner (P. 8-19)
8. Drive belt location (P.8-17)
9. Radiator cap (P. 8-8)
10. Power steering fluid reservoir (P. 8-13)
11. Battery (P. 8-15)
12. Engine coolant reservoir (P. 8-8)
See the page number indicated in paren-
theses for operating details.
VQ40DE
WDI0633
ENGINE COMPARTMENT CHECK
LOCATIONS
0-8 Illustrated table of contents
ZREVIEW COPY—
2008 Pathfinder (pat)
Owners Manual—USA_English (nna)
03/22/07—debbie
X

VK56DE engine
1. Windshield washer fluid reservoir
(P. 8-14)
2. Fuse/fusible link box (P. 8-23)
3. Engine oil dipstick (P. 8-9)
4. Engine oil filler cap (P. 8-9)
5. Brake fluid reservoir (P. 8-13)
6. Air cleaner (P. 8-19)
7. Drive belt location (P. 8-17)
8. Radiator cap (P. 8-8)
9. Power steering fluid reservoir (P. 8-13)
10. Fuse and relay box (P. 8-23)
11. Battery (P. 8-15)
12. Engine coolant reservoir (P. 8-8)
See the page number indicated in paren-
theses for operating details.
VK56DE
WDI0627
Illustrated table of contents 0-9
ZREVIEW COPY—
2008 Pathfinder (pat)
Owners Manual—USA_English (nna)
03/22/07—debbie
X

Warning
light
Name Page
or
Anti-lock Braking
System (ABS) warn-
ing light
2-13
Automatic transmis-
sion check warning
light (if so equipped)
2-13
Automatic transmis-
sion oil temperature
warning light
2-13
Automatic transmis-
sion park warning
light (
model)
2-13
or
Brake warning light 2-14
Charge warning
light
2-14
Warning
light
Name Page
Door open warning
light
2-15
Engine oil pressure
warning light
2-15
4WD warning light
(model)
2-15
Intelligent Key sys-
tem warning light (if
so equipped)
2-15
Low fuel warning
light
2-16
Low tire pressure
warning light
2-16
Low windshield
washer fluid warning
light
2-17
Seat belt warning
light and chime
2-17
Warning
light
Name Page
Shift P lock warning
light (if so equipped)
2-17
Supplemental air
bag warning light
2-17
Indicator
light
Name Page
Automatic transmis-
sion position indica-
tor light
2-18
Cruise main switch
indicator light
2-18
Cruise set switch
indicator light
2-18
4WD shift indicator
light (
model)
2-18
Front passenger air
bag status light
2-18
WARNING/INDICATOR LIGHTS
0-10 Illustrated table of contents
ZREVIEW COPY—
2008 Pathfinder (pat)
Owners Manual—USA_English (nna)
03/23/07—debbie
X

Indicator
light
Name Page
High beam indicator
light (Blue)
2-19
Hill descent control
indicator light (if so
equipped)
2-33
Malfunction indica-
tor lamp (MIL)
2-19
Overdrive off indica-
tor light (if so
equipped)
2-20
Security indicator
light
2-20
Slip indicator light 2-20
Transfer 4LO posi-
tion indicator light
(model)
2-20
Turn signal/hazard
indicator lights
2-21
Indicator
light
Name Page
Vehicle dynamic
control off indicator
light
2-21
Illustrated table of contents 0-11
ZREVIEW COPY—
2008 Pathfinder (pat)
Owners Manual—USA_English (nna)
03/23/07—arosenma
X
0-12 Illustrated table of contents
MEMO

1 Safety—Seats, seat belts and
supplemental restraint system
Seats ............................................1-2
Front manual seat adjustment
(if so equipped) ................................1-2
Front power seat adjustment
(if so equipped) ................................1-4
2nd row bench seat adjustment ..................1-5
Head restraint adjustment .......................1-7
Front-Seat Active Head Restraints................1-7
Armrest .......................................1-8
Flexible seating.................................1-8
Seat belts .......................................1-12
Precautions on seat belt usage..................1-12
Child safety...................................1-14
Pregnant women ..............................1-16
Injured persons................................1-16
Three-point type seat belt with retractor..........1-16
Seat belt extenders ............................1-19
Seat belt maintenance .........................1-19
Child restraints...................................1-20
Precautions on child restraints ..................1-20
LATCH (Lower Anchors and Tethers for
CHildren) system..............................1-22
Top tether strap child restraint ..................1-24
Child restraint installation using LATCH ..........1-25
Child restraint installation using the seat
belts .........................................1-28
Booster seats ....................................1-35
Precautions on booster seats ...................1-35
Booster seat installation ........................1-37
Supplemental restraint system .....................1-40
Precautions on supplemental restraint
system .......................................1-40
Supplemental air bag warning labels.............1-55
Supplemental air bag warning light ..............1-56
ZREVIEW COPY—
2008 Pathfinder (pat)
Owners Manual—USA_English (nna)
03/22/07—debbie
X

WARNING
●Do not ride in a moving vehicle when
the seatback is reclined. This can be
dangerous. The shoulder belt will not
be against your body. In an accident,
you could be thrown into it and receive
neck or other serious injuries. You
could also slide under the lap belt and
receive serious internal injuries.
●For the most effective protection when
the vehicle is in motion, the seat should
be upright. Always sit well back in the
seat with both feet on the floor and
adjust the seat properly. See “Precau-
tions on Seat Belt Usage” later in this
section.
●After adjustment, gently rock in the seat
to make sure it is securely locked.
●Do not leave children unattended inside
the vehicle. They could unknowingly ac-
tivate switches or controls. Unattended
children could become involved in seri-
ous accidents.
FRONT MANUAL SEAT
ADJUSTMENT (if so equipped)
ARS1152
SEATS
1-2 Safety—Seats, seat belts and supplemental restraint system
ZREVIEW COPY—
2008 Pathfinder (pat)
Owners Manual—USA_English (nna)
03/22/07—debbie
X

Forward and backward
Pull the lever up and hold it while you slide the
seat forward or backward to the desired position.
Release the lever to lock the seat in position.
Reclining
To recline the seatback, pull the lever up and lean
back. To bring the seatback forward, pull the lever
up and lean your body forward. Release the lever
to lock the seatback in position.
The reclining feature allows adjustment of the
seatback for occupants of different sizes for
added comfort and to help obtain proper seat
belt fit. See “Precautions on seat belt usage”later
in this section. Also, the seatback can be reclined
to allow occupants to rest when the vehicle is
stopped and the transmission is in P (Park).
Seat lifter (if so equipped for driver’s
seat)
Turn either dial to adjust the angle and height of
the seat cushion to the desired position.
WRS0175 WRS0176 WRS0131
Safety—Seats, seat belts and supplemental restraint system 1-3
ZREVIEW COPY—
2008 Pathfinder (pat)
Owners Manual—USA_English (nna)
03/22/07—debbie
X

FRONT POWER SEAT
ADJUSTMENT (if so equipped)
Operating tips
●The power seat motor has an auto-reset
overload protection circuit. If the motor
stops during operation, wait 30 seconds,
then reactivate the switch.
●Do not operate the power seat switch for a
long period of time when the engine is off.
This will discharge the battery.
See “Automatic drive positioner (if so equipped)”
in “Pre-driving checks and adjustments”for auto-
matic drive positioner operation.
Forward and backward
Moving the switch forward or backward will slide
the seat forward or backward to the desired
position.
Reclining
Move the recline switch backward until the de-
sired angle is obtained. To bring the seatback
forward again, move the switch forward and
move your body forward. The seatback will move
forward.
The reclining feature allows adjustment of the
seatback for occupants of different sizes for
added comfort and to help obtain proper seat
belt fit (see “Precautions on seat belt usage”later
in this section). Also, the seatback can be re-
clined to allow occupants to rest when the ve-
hicle is stopped and the transmission is in P
(Park).
WRS0163
1-4 Safety—Seats, seat belts and supplemental restraint system
ZREVIEW COPY—
2008 Pathfinder (pat)
Owners Manual—USA_English (nna)
03/22/07—debbie
X

Seat lifter (driver’s seat)
Push the front or rear end of the switch up or
down to adjust the angle and height of the seat
cushion.
Lumbar support (driver’s seat)
The lumbar support feature provides lower back
support to the driver. Move the lever up or down
to adjust the seat lumbar area.
2ND ROW BENCH SEAT
ADJUSTMENT
Reclining
To recline the outboard seatbacks, pull up on the
lever and lean back.
To recline the center seat, pull up on the strap
located on the lower right-hand portion of the
seatback, and lean back.
The recline feature allows adjustment of the seat
back for occupants of different sizes for added
comfort and to help obtain proper seat belt fit
(see “Precautions on seat belt usage” later in this
WRS0164 WRS0389 Outboard seats
WRS0468
Safety—Seats, seat belts and supplemental restraint system 1-5
ZREVIEW COPY—
2008 Pathfinder (pat)
Owners Manual—USA_English (nna)
03/22/07—debbie
X

section). Also, the seatback can be reclined to
allow occupants to rest when the vehicle is
stopped and the transmission is in P (Park).
WARNING
●After adjustment, gently rock in the seat
to make sure it is securely locked.
●Do not ride in a moving vehicle when
the seatback is reclined. This can be
dangerous. The shoulder belt will not
be against your body. In an accident,
you could be thrown into it and receive
neck or other serious injuries. You
could also slide under the lap belt and
receive serious internal injuries.
●For the most effective protection when
the vehicle is in motion, the seat should
be upright. Always sit well back in the
seat and adjust the seat belt properly.
See “Precautions on seat belt usage”
later in this section.
Tip up for easy entry to the 3rd row
The outboard seating positions on the 2nd row
bench seat can be tipped forward for easy entry
or exit from the 3rd row bench seat. To enter the
3rd row s
1lift up on the latch located on the
upper corner of the seatback on the 2nd row
bench seat and fold the seatback forward at an
angle over the seat base. This will release the
back of the seat so it may be tipped forward.
Then s
2lift up on the lower corner of the seat
base and tip the outboard seating position of the
2nd row bench seat forward. To exit the 3rd row
bench seat lift up on the same latch and fold the
seatback forward onto the seat base. Then lift up
on the seat base and tip it forward.
WRS0469 LRS0331
1-6 Safety—Seats, seat belts and supplemental restraint system
ZREVIEW COPY—
2008 Pathfinder (pat)
Owners Manual—USA_English (nna)
03/22/07—debbie
X

HEAD RESTRAINT ADJUSTMENT
To raise the head restraint, pull it up. To lower,
push and hold the lock knob and push the head
restraint down.
The head restraints on the 2nd and 3rd row seats
are removable.
WARNING
Head restraints should be adjusted prop-
erly as they may provide significant pro-
tection against injury in an accident. Do
not remove them. Check the adjustment
after someone else uses the seat.
Adjust the head restraint so the center is level
with the center of your ears. FRONT-SEAT ACTIVE HEAD
RESTRAINTS
WARNING
●Always adjust the head restraints prop-
erly as specified in this section. Failure
to do so can reduce the effectiveness of
the Active Head Restraint.
●Active Head Restraints are designed to
supplement other safety systems. Al-
ways wear seat belts. No system can
prevent all injuries in any accident.
WRS0470 WRS0134 SPA1025
Safety—Seats, seat belts and supplemental restraint system 1-7
ZREVIEW COPY—
2008 Pathfinder (pat)
Owners Manual—USA_English (nna)
03/22/07—debbie
X

●Do not attach anything to the head re-
straint stalks. Doing so could impair
Active Head Restraint function.
The Active Head Restraint moves forward utiliz-
ing the force that the seatback receives from the
occupant in a rear-end collision. The movement
of the head restraint helps support the occu-
pant’s head by reducing its backward movement
and helping absorb some of the forces that may
lead to whiplash type injuries.
Active Head Restraints are effective for collisions
at low to medium speeds in which it is said that
whiplash injury occurs most.
Active Head Restraints operate only in certain
rear-end collisions. After the collision, the head
restraints return to their original positions.
Properly adjust the Active Head Restraints as
described earlier in this section.
ARMREST
To use the center armrest on the 2nd row bench
seat, pull on the tab in the center of the seat and
fold it down to the resting position.
FLEXIBLE SEATING
WARNING
●Never allow anyone to ride in the cargo
area or on the rear seats when they are
in the fold-down position. In a collision,
people riding in these areas without
proper restraints are more likely to be
seriously injured or killed.
●Do not allow people to ride in any area
of your vehicle that is not equipped with
seats and seat belts. Be sure everyone
in your vehicle is in a seat and using a
seat belt properly.
●Do not fold down the rear seats when
occupants are in the rear seat area or
any luggage is on the rear seats.
●Head restraints should be adjusted
properly as they may provide significant
protection against injury in an accident.
Always replace and adjust them prop-
erly if they have been removed for any
reason.
●If the head restraints are removed for
any reason, they should be securely
stored to prevent them from causing
injury to passengers or damage to the
vehicle in case of sudden braking or an
accident.
●When returning the seatbacks to the
upright position, be certain they are
completely secured in the latched posi-
tion. If they are not completely secured,
passengers may be injured in an acci-
dent or sudden stop.
LRS0514
1-8 Safety—Seats, seat belts and supplemental restraint system
ZREVIEW COPY—
2008 Pathfinder (pat)
Owners Manual—USA_English (nna)
03/22/07—debbie
X

●Properly secure all cargo to help pre-
vent it from sliding or shifting. Do not
place cargo higher than the seatbacks.
In a sudden stop or collision, unsecured
cargo could cause personal injury.
Folding the front passenger’s seatback
(if so equipped)
To fold the front passenger’s seatback flat for
extra storage length when transporting long
items:
s
1Slide the seat to the rearmost position. Lift
up on the recline lever, located on the out-
side edge of the seat, and fold the seatback
forward as far as it will go. Then lift up on the
latch located on the upper corner of the
seatback to release the back of the seat.
s
2Once the seatback is released it will enable
you to fold the front passenger seatback flat
over the seat cushion.
3. To return the front passenger’s seat to a
seating position lift up on the seatback and
push it up to an upright position. Then pull up
on the recline lever and lean the seatback to
a proper seating position. Release the lever
to lock the seatback in position.
LRS0608 LRS0609
Safety—Seats, seat belts and supplemental restraint system 1-9
ZREVIEW COPY—
2008 Pathfinder (pat)
Owners Manual—USA_English (nna)
03/22/07—debbie
X

WARNING
●If you fold the front passenger’s seat-
back flat forward to carry longer ob-
jects, be sure this cargo is properly se-
cured and not near an air bag. In a
crash, an inflating air bag might force
that object toward a person. This could
cause severe injury or even death. Se-
cure objects away from the area in
which an air bag would inflate. See
“Precautions on supplemental restraint
system” later in this section.
●Never allow anyone to ride in the cargo
area or on the front passenger’s seat
when it is in the fold-down position. Use
of these areas by passengers could re-
sult in serious injury in an accident or
sudden stop.
Folding the 2nd row bench seat
To fold the 2nd row bench seat flat for maximum
cargo hauling:
s
1Lower the head restraints to the full “down”
position. Pull the strap forward, located in
the center of each seat cushion, and fold
each seat cushion toward the front of the
vehicle.
s
2Then lift up on the recline lever on the side of
the outboard seats to fold the outboard seat-
backs flat. To fold the center seatback flat,
pull up on the strap on the edge of the center
seat cushion and fold the seatback toward
the front of the vehicle.
WRS0472 LRS0494
1-10 Safety—Seats, seat belts and supplemental restraint system
ZREVIEW COPY—
2008 Pathfinder (pat)
Owners Manual—USA_English (nna)
03/22/07—debbie
X

s
3There is a carpet panel flap on the back of
each seat that can be folded toward the
back of the vehicle
s
4The carpet panel flap provides a level cargo
floor when the 3rd row seats are also folded
flat.
5. To return the outboard 2nd row bench seats
to a seating position reverse the process for
the outboard seats.
6. To return the center seat to a seating posi-
tion, lift up on the pull strap on the back of
the seat base while lifting on the seatback.
Then push the seat cushion back into place.
Make sure to properly raise the seat-
back to an upright position and push
the seat cushion down into place.
Folding the 3rd row seats
To fold the 3rd row seats flat for maximum cargo
capacity:
1. Make sure that the head restraints are low-
ered.
2. Stow the third row seat belts in the seat belt
hooks found on the sides of the cargo area.
See “Seat belt hook” later in this section.
3. Pull up on the latch located in the upper
corner of each seatback and lower the seat-
back forward over the seat base.
LRS0658 WRS0471 LRS0653
Safety—Seats, seat belts and supplemental restraint system 1-11
ZREVIEW COPY—
2008 Pathfinder (pat)
Owners Manual—USA_English (nna)
03/22/07—debbie
X

To return the 3rd row seats to a seating position
use the pull straps to raise each seatback. Pull
back until the seatbacks latch into position.
Make sure to properly raise each seatback
to an upright and secured position.
PRECAUTIONS ON SEAT BELT
USAGE
If you are wearing your seat belt properly ad-
justed and you are sitting upright and well back in
your seat with both feet on the floor, your chances
of being injured or killed in an accident and/or the
severity of injury may be greatly reduced.
NISSAN strongly encourages you and all of your
passengers to buckle up every time you drive,
even if your seating position includes a supple-
mental air bag.
Most U.S. states and Canadian provinces
or territories specify that seat belts be worn
at all times when a vehicle is being driven.
SSS0136
SEAT BELTS
1-12 Safety—Seats, seat belts and supplemental restraint system
ZREVIEW COPY—
2008 Pathfinder (pat)
Owners Manual—USA_English (nna)
03/22/07—debbie
X

WARNING
●Every person who drives or rides in this
vehicle should use a seat belt at all
times. Children should be properly re-
strained in the rear seat and, if appro-
priate, in a child restraint.
WARNING
●The seat belt should be properly ad-
justed to a snug fit. Failure to do so may
reduce the effectiveness of the entire
restraint system and increase the
chance or severity of injury in an acci-
dent. Serious injury or death can occur
if the seat belt is not worn properly.
SSS0134 SSS0016
Safety—Seats, seat belts and supplemental restraint system 1-13
ZREVIEW COPY—
2008 Pathfinder (pat)
Owners Manual—USA_English (nna)
03/22/07—debbie
X

WARNING
●Always route the shoulder belt over
your shoulder and across your chest.
Never run the belt behind your back,
under your arm or across your neck. The
belt should be away from your face and
neck, but not falling off your shoulder.
●Position the lap belt as low and snug as
possible AROUND THE HIPS, NOT THE
WAIST. A lap belt worn too high could
increase the risk of internal injuries in
an accident.
●Be sure the seat belt tongue is securely
fastened to the proper buckle.
●Do not wear the seat belt inside out or
twisted. Doing so may reduce its
effectiveness.
●Do not allow more than one person to
use the same seat belt.
●Never carry more people in the vehicle
than there are seat belts.
●If the seat belt warning light glows con-
tinuously while the ignition is turned
ON with all doors closed and all seat
belts fastened, it may indicate a mal-
function in the system. Have the system
checked by a NISSAN dealer.
●Once the pretensioner has activated, it
cannot be reused and must be replaced
together with the retractor. See your
NISSAN dealer.
●Removal and installation of the preten-
sioner system components should be
done by a NISSAN dealer.
●All seat belt assemblies, including re-
tractors and attaching hardware,
should be inspected after any collision
by a NISSAN dealer. NISSAN recom-
mends that all seat belt assemblies in
use during a collision be replaced un-
less the collision was minor and the
belts show no damage and continue to
operate properly. Seat belt assemblies
not in use during a collision should also
be inspected and replaced if either
damage or improper operation is noted.
●All child restraints and attaching hard-
ware should be inspected after any col-
lision. Always follow the restraint
manufacturer’s inspection instructions
and replacement recommendations.
The child restraints should be replaced
if they are damaged.
CHILD SAFETY
Children need adults to help protect them.
They need to be properly restrained.
In addition to the general information in this
manual, child safety information is available from
many other sources, including doctors, teachers,
government traffic safety offices, and community
organizations. Every child is different, so be sure
to learn the best way to transport your child.
SSS0014
1-14 Safety—Seats, seat belts and supplemental restraint system
ZREVIEW COPY—
2008 Pathfinder (pat)
Owners Manual—USA_English (nna)
03/22/07—debbie
X

There are three basic types of child restraint
systems:
●Rear facing child restraint
●Front facing child restraint
●Booster seat
The proper restraint depends on the child’s size.
Generally, infants up to about 1 year and less
than 20 pounds (9 kg) should be placed in rear
facing child restraints. Front facing child re-
straints are available for children who outgrow
rear facing child restraints and are at least 1 year
old. Booster seats are used to help position a
vehicle lap/shoulder belt on a child who can no
longer use a front facing child restraint.
WARNING
Infants and children need special protec-
tion. The vehicle’s seat belts may not fit
them properly. The shoulder belt may
come too close to the face or neck. The
lap belt may not fit over their small hip
bones. In an accident, an improperly fit-
ting seat belt could cause serious or fatal
injury. Always use appropriate child
restraints.
All U.S. states and Canadian provinces or terri-
tories require the use of approved child restraints
for infants and small children. See “Child Re-
straints” later in this section.
Also, there are other types of child restraints
available for larger children for additional protec-
tion.
NISSAN recommends that all pre-teens
and children be restrained in the rear seat.
According to accident statistics, children
are safer when properly restrained in the
rear seat than in the front seat.
This is especially important because your
vehicle has a supplemental restraint sys-
tem (Air bag system) for the front passen-
ger. See “Supplemental restraint system”
later in this section.
Infants
Infants up to at least 1 year old should be placed
in a rear facing child restraint. NISSAN recom-
mends that infants be placed in child restraints
that comply with Federal Motor Vehicle Safety
Standards or Canadian Motor Vehicle Safety
Standards. You should choose a child restraint
that fits your vehicle and always follow the manu-
facturer’s instructions for installation and use.
Small Children
Children that are over one year old and weigh at
least 20 lbs (9 kg) can be placed in a forward
facing child restraint. Refer to the manufacturer’s
instructions for minimum and maximum weight
and height recommendations. NISSAN recom-
mends that small children be placed in child
restraints that comply with Federal Motor Vehicle
Safety Standards or Canadian Motor Vehicle
Safety Standards. You should choose a child
restraint that fits your vehicle and always follow
the manufacturer’s instructions for installation
and use.
Larger children
Children who are too large for child restraints
should be seated and restrained by the seat belts
which are provided. The seat belt may not fit
properly if the child is less than 4 feet 9 inches
(142.5 cm) tall and weighs between 40 lbs (18
kg) and 80 lbs (36 kg). A booster seat should be
used to obtain proper seat belt fit.
NISSAN recommends that a child be placed in a
commercially available booster seat if the shoul-
der belt in the child’s seating position fits close to
the face or neck or if the lap portion of the seat
belt goes across the abdomen. The booster seat
should raise the child so that the shoulder belt is
properly positioned across the top, middle por-
tion of the shoulder and the lap belt is low on the
hips. A booster seat can only be used in seating
positions that have a three-point type seat belt.
The booster seat should fit the vehicle seat and
Safety—Seats, seat belts and supplemental restraint system 1-15
ZREVIEW COPY—
2008 Pathfinder (pat)
Owners Manual—USA_English (nna)
03/22/07—debbie
X

have a label certifying that it complies with Fed-
eral Motor Vehicle Safety Standards or Canadian
Motor Vehicle Safety Standards. Once the child
has grown so the shoulder belt is no longer on or
near the face and neck, use the shoulder belt
without the booster seat.
WARNING
Never let a child stand or kneel on any
seat and do not allow a child in the cargo
areas while the vehicle is moving. The
child could be seriously injured or killed in
an accident or sudden stop.
PREGNANT WOMEN
NISSAN recommends that pregnant women use
seat belts. The seat belt should be worn snug,
and always position the lap belt as low as pos-
sible around the hips, not the waist. Place the
shoulder belt over your shoulder and across your
chest. Never run the lap/shoulder belt over your
abdominal area. Contact your doctor for specific
recommendations.
INJURED PERSONS
NISSAN recommends that injured persons use
seat belts. Check with your doctor for specific
recommendations.
THREE-POINT TYPE SEAT BELT
WITH RETRACTOR
WARNING
●Every person who drives or rides in this
vehicle should use a seat belt at all
times.
●Do not ride in a moving vehicle when
the seatback is reclined. This can be
dangerous. The shoulder belt will not
be against your body. In an accident,
you could be thrown into it and receive
neck or other serious injuries. You
could also slide under the lap belt and
receive serious internal injuries.
●For the most effective protection when
the vehicle is in motion, the seat should
be upright. Always sit well back in the
seat with both feet on the floor and
adjust the seat belt properly.
Fastening the seat belts
s
1Adjust the seat. See “Seats” earlier in this
section.
Manual front seat shown
WRS0174
1-16 Safety—Seats, seat belts and supplemental restraint system
ZREVIEW COPY—
2008 Pathfinder (pat)
Owners Manual—USA_English (nna)
03/22/07—debbie
X

s
2Slowly pull the seat belt out of the retractor
and insert the tongue into the buckle until
you hear and feel the latch engage.
●The retractor is designed to lock during
a sudden stop or on impact. A slow
pulling motion permits the seat belt to
move, and allows you some freedom of
movement in the seat.
●If the seat belt cannot be pulled from
its fully retracted position, firmly pull
the belt and release it. Then smoothly
pull the belt out of the retractor.
s
3Position the lap belt portion low and snug
on the hips as shown.
s
4Pull the shoulder belt portion toward the
retractor to take up extra slack. Be sure the
shoulder belt is routed over your shoulder
and across your chest.
The front passenger seat and the rear seating
positions three-point seat belts have a locking
mechanism for child restraint installation. It is
referred to as the Automatic Locking Retractor
(ALR) mode or child restraint mode.
When the ALR is activated the seat belt cannot
be extended again until the seat belt tongue is
detached from the buckle and fully retracted.
Once retracted, the seat belt is in the Emergency
Locking Retractor (ELR) mode. See “Child re-
straints” later in this section for more information.
The ALR should be used only for child re-
straint installation. During normal seat belt
use by a passenger, the locking mode
should not be activated. If it is activated it
may cause uncomfortable seat belt ten-
sion. It can also change the operation of
the front passenger air bag. See “Front
passenger air bag and status light” later in
this section.
WARNING
When fastening the seat belts, be certain
that the seatbacks are completely se-
cured in the latched position. If they are
not completely secured, passengers may
be injured in an accident or sudden stop.
WRS0137 WRS0138
Safety—Seats, seat belts and supplemental restraint system 1-17
ZREVIEW COPY—
2008 Pathfinder (pat)
Owners Manual—USA_English (nna)
03/22/07—debbie
X

Unfastening the seat belts
s
1To unfasten the seat belt, press the button on
the buckle. The seat belt automatically re-
tracts.
Checking seat belt operation
Seat belt retractors are designed to lock seat belt
movement by two separate methods:
●When the seat belt is pulled quickly from the
retractor.
●When the vehicle slows down rapidly.
To increase your confidence in the seat belts,
check the operation as follows.
●Grasp the shoulder belt and pull forward
quickly. The retractor should lock and re-
strict further belt movement.
If the retractor does not lock during this check or
if you have any questions about seat belt opera-
tion, see a NISSAN dealer.
Shoulder belt height adjustment (front
and 2nd row outboard seats)
The shoulder belt anchor height should be ad-
justed to the position best for you. (See “Precau-
tions on seat belt usage” earlier in this section.)
To adjust, pull out s
1the adjustment button and
move the shoulder belt anchor s
2to the desired
position, so the belt passes over the center of the
shoulder. The belt should be away from your face
and neck, but not falling off your shoulder. Re-
lease the adjustment button to lock the shoulder
belt anchor into position.
WRS0139 Front and 2nd row outboard seats
LRS0242
1-18 Safety—Seats, seat belts and supplemental restraint system
ZREVIEW COPY—
2008 Pathfinder (pat)
Owners Manual—USA_English (nna)
03/22/07—debbie
X

WARNING
●After adjustment, release the adjust-
ment button and try to move the shoul-
der belt anchor up and down to make
sure it is securely fixed in position.
●The shoulder belt anchor height should
be adjusted to the position best for you.
Failure to do so may reduce the effec-
tiveness of the entire restraint system
and increase the chance or severity of
injury in an accident.
Seat belt hook
When the seat belt is not in use and when folding
down the rear seats, hook the rear seat belts on
the seat belt hooks.
SEAT BELT EXTENDERS
If, because of body size or driving position, it is
not possible to properly fit the lap-shoulder belt
and fasten it, an extender is available which is
compatible with the installed seat belts. The ex-
tender adds approximately 8 in (200 mm) of
length and may be used for either the driver or
front passenger seating position. See a NISSAN
dealer for assistance if an extender is required.
WARNING
●Only NISSAN seat belt extenders, made
by the same company which made the
original equipment seat belts, should
be used with NISSAN seat belts.
●Adults and children who can use the
standard seat belt should not use an
extender. Such unnecessary use could
result in serious personal injury in the
event of an accident.
●Never use seat belt extenders to install
child restraints. If the child restraint is
not secured properly, the child could be
seriously injured in a collision or a sud-
den stop.
SEAT BELT MAINTENANCE
●To clean the seat belt webbing, apply a
mild soap solution or any solution recom-
mended for cleaning upholstery or carpet.
Then wipe with a cloth and allow the seat
belts to dry in the shade. Do not allow the
seat belts to retract until they are completely
dry.
●If dirt builds up in the shoulder belt
guide of the seat belt anchors, the seat
belts may retract slowly. Wipe the shoulder
belt guide with a clean, dry cloth.
LRS0515
Safety—Seats, seat belts and supplemental restraint system 1-19
ZREVIEW COPY—
2008 Pathfinder (pat)
Owners Manual—USA_English (nna)
03/22/07—debbie
X

●Periodically check to see that the seat
belt and the metal components, such as
buckles, tongues, retractors, flexible wires
and anchors, work properly. If loose parts,
deterioration, cuts or other damage on the
webbing is found, the entire seat belt as-
sembly should be replaced.
PRECAUTIONS ON CHILD
RESTRAINTS WARNING
●Infants and small children should al-
ways be placed in an appropriate child
restraint while riding in the vehicle.
Failure to use a child restraint can re-
sult in serious injury or death.
●Infants and small children should never
be carried on your lap. It is not possible
for even the strongest adult to resist the
forces of a severe accident. The child
could be crushed between the adult and
parts of the vehicle. Also, do not put the
same seat belt around both your child
and yourself.
ARS1098 WRS0256
CHILD RESTRAINTS
1-20 Safety—Seats, seat belts and supplemental restraint system
ZREVIEW COPY—
2008 Pathfinder (pat)
Owners Manual—USA_English (nna)
03/22/07—debbie
X

●Even with the NISSAN Advanced Air
Bag System, never install a rear-facing
child restraint in the front seat. An in-
flating supplemental front air bag could
seriously injure or kill your child. A rear-
facing child restraint must only be used
in the rear seat.
●NISSAN recommends that the child re-
straint be installed in the rear seat. Ac-
cording to accident statistics, children
are safer when properly restrained in
the rear seat than in the front seat. If
you must install a front facing child re-
straint in the front seat, see “Child re-
straint installation using the seat belts”
later in this section.
●Improper use or improper installation
of a child restraint can increase the risk
or severity of injury for both the child
and other occupants of the vehicle and
can lead to serious injury or death in an
accident.
●Follow all of the child restraint manu-
facturer’s instructions for installation
and use. When purchasing a child re-
straint, be sure to select one which will
fit your child and vehicle. It may not be
possible to properly install some types
of child restraints in your vehicle.
●If the child restraint is not anchored
properly, the risk of a child being in-
jured in a collision or a sudden stop
greatly increases.
●Child restraint anchor points are de-
signed to withstand only those loads
imposed by correctly fitted child re-
straints. Under no circumstances are
they to be used for adult seat belts or
harnesses.
●Adjustable seatbacks should be posi-
tioned to fit the child restraint, but as
upright as possible.
●After attaching the child restraint, test it
before you place the child in it. Push it
from side to side while holding the seat
near the LATCH attachment or by the
seat belt path. Try to tug it forward and
check to see if the belt holds the re-
straint in place. The child restraint
should not move more than 1 inch (25
mm). If the restraint is not secure,
tighten the belt as necessary, or put the
restraint in another seat and test it
again. You may need to try a different
child restraint. Not all child restraints fit
in all types of vehicles.
●When your child restraint is not in use,
keep it secured with the LATCH System
or a seat belt to prevent it from being
thrown around in case of a sudden stop
or accident.
CAUTION
Remember that a child restraint left in a
closed vehicle can become very hot.
Check the seating surface and buckles
before placing your child in the child
restraint.
This vehicle is equipped with a universal child
restraint lower anchor system, referred to as the
Lower Anchors and Tethers for CHildren System
or LATCH. Some child restraints include two rigid
or webbing-mounted attachments that can be
connected to these lower anchors. For details,
see the “Lower Anchors and Tethers for CHildren
System (LATCH)” later in this section.
If you do not have a LATCH compatible child
restraint, the vehicle seat belts can be used. See
“Child restraint installation using the seat belts”
later in this section. In general, child restraints are
also designed to be installed with the lap portion
of a lap/shoulder seat belt.
Safety—Seats, seat belts and supplemental restraint system 1-21
ZREVIEW COPY—
2008 Pathfinder (pat)
Owners Manual—USA_English (nna)
03/22/07—debbie
X

Several manufacturers offer child restraints for
infants and small children of various sizes. When
selecting any child restraint, keep the following
points in mind:
●Choose only a restraint with a label certifying
that it complies with Federal Motor Vehicle
Safety Standard 213 or Canadian Motor
Vehicle Safety Standard 213.
●Check the child restraint in your vehicle to be
sure it is compatible with the vehicle’s seat
and seat belt system.
●If the child restraint is compatible with your
vehicle, place your child in the child restraint
and check the various adjustments to be
sure the child restraint is compatible with
your child. Choose a child restraint that is
designed for your child’s height and weight.
Always follow all recommended procedures.
All U.S. states and Canadian provinces or
territories require that infants and small
children be restrained in an approved child
restraint at all times while the vehicle is
being operated.
LATCH (Lower Anchors and Tethers
for CHildren) SYSTEM
Your vehicle is equipped with special anchor
points that are used with LATCH (Lower Anchors
and Tethers for CHildren) system compatible
child restraints.
The LATCH anchor points are provided to install
child restraints in the 2nd row outboard seating
positions only. Do not attempt to install a child
restraint in the center position using the LATCH
anchors.
LATCH lower anchor point locations
The LATCH system anchors are located at the
rear of the seat cushion near the seatback. A
label is attached to the seatback to help you
locate the LATCH system anchors.
WARNING
●Attach LATCH system compatible child
restraints only at the locations shown. If
a child restraint is not secured properly,
your child could be seriously injured or
killed in an accident.
LATCH system anchor locations
WRS0804
LATCH label locations 2nd row bench
WRS0805
1-22 Safety—Seats, seat belts and supplemental restraint system
ZREVIEW COPY—
2008 Pathfinder (pat)
Owners Manual—USA_English (nna)
03/22/07—debbie
X

●The LATCH system anchors are de-
signed to withstand only those loads
imposed by correctly fitted child re-
straints. Under no circumstance are
they to be used for adult seat belts or
harnesses.
Installing child restraint LATCH anchor
attachments
LATCH compatible child restraints include two
rigid or webbing-mounted attachments that can
be connected to two anchors located at certain
seating positions in your vehicle. With this sys-
tem, you do not have to use a vehicle seat belt to
secure the child restraint. Check your child re-
straint for a label stating that it is compatible with
LATCH. This information may also be in the in-
structions provided by the child restraint manu-
facturer.
LATCH child restraints generally require the use
of a top tether strap. See “Top tether strap child
restraint” later in this section for installation in-
structions.
When installing a child restraint, carefully read
and follow the instructions in this manual and
those supplied with the child restraint. See “Child
restraint installation using LATCH”in this section.
LATCH lower anchor location
WRS0700
LATCH webbing-mounted attachment
LRS0661
LATCH rigid-mounted attachment
LRS0662
Safety—Seats, seat belts and supplemental restraint system 1-23
ZREVIEW COPY—
2008 Pathfinder (pat)
Owners Manual—USA_English (nna)
03/22/07—debbie
X

TOP TETHER STRAP CHILD
RESTRAINT
If the manufacturer of your child restraint requires
the use of a top tether strap, it must be secured to
the anchor point.
WARNING
●Child restraint anchor points are de-
signed to withstand only those loads
imposed by correctly fitted child re-
straints. Under no circumstances are
they to be used for adult seat belts or
harnesses.
●The child restraint top tether strap may
be damaged by contact with items in
the cargo area. Secure any items in the
cargo area. Your child could be seri-
ously injured or killed in a collision if
the top tether strap is damaged.
Top Tether Anchor Point Locations
Anchor points are located in the following loca-
tions:
●2nd row bench on the floor behind the out-
board seating positions as shown.
●2nd row bench center seatback as shown.
If you have any questions when installing a
top tether strap child restraint on the rear
seat, consult your NISSAN dealer for de-
tails.
Installing top tether strap
First, secure the child restraint with the seat belt
or the LATCH system (rear outboard seat posi-
tions only), as applicable.
1. Top tether strap
2. Anchor point
For the 2nd row bench seat, install the top tether
strap as follows:
1. Position the top tether strap over the top of
the head restraint with the head restraint in
the full “down” position.
2nd row bench seat
LRS0659
1-24 Safety—Seats, seat belts and supplemental restraint system
ZREVIEW COPY—
2008 Pathfinder (pat)
Owners Manual—USA_English (nna)
03/22/07—debbie
X

2. Secure the tether strap to the tether anchor
point on the seat directly behind the child
restaint.
3. Tighten the tether strap according to the
manufacturer’s instructions to remove any
slack.
For best child restraint fit, see the child restraint
installation instructions in this section and the
child restraint manufacturer’s instructions.
CHILD RESTRAINT INSTALLATION
USING LATCH
WARNING
●Attach LATCH compatible child re-
straints only at the locations shown. For
the LATCH lower anchor locations, see
“Lower Anchors and Tethers for CHil-
dren System (LATCH)” in this section. If
a child restraint is not secured properly,
your child could be seriously injured or
killed in an accident.
●The LATCH anchors are designed to
withstand only those loads imposed by
correctly fitted child restraints. Under
no circumstance are they to be used for
adult seat belts or harnesses.
●Inspect the lower anchors by inserting
your fingers into the lower anchor area
and feeling to make sure there are no
obstructions over the LATCH anchors,
such as seat belt webbing or seat cush-
ion material. The child restraint will not
be secured properly if the LATCH an-
chors are obstructed.
Front-facing
Follow these steps to install a front-facing child
restraint in the 2nd row seats using LATCH:
1. Recline the seatback if the seatback is ad-
justable to assist in attaching the child re-
straint to the lower anchors.
2. Position the child restraint on the seat. Al-
ways follow the child restraint manufactur-
er’s instructions.
3. Secure the child restraint anchor attach-
ments to the LATCH lower anchors.
4. Return the seatback to its normal upright
and locked position.
The back of the child restraint should be secured
against the vehicle seatback. If necessary, adjust
or remove the head restraint to obtain the correct
child restraint fit. See “Head restraint adjust-
ment” in this section. If the head restraint is re-
moved, store it in a secure place. Be sure to
install the head restraint when the child restraint
is removed. If the seating position does not have
an adjustable head restraint and it is interfering
Front facing web-mounted – step 3
WRS0799
Safety—Seats, seat belts and supplemental restraint system 1-25
ZREVIEW COPY—
2008 Pathfinder (pat)
Owners Manual—USA_English (nna)
03/22/07—debbie
X

with the proper child restraint fit, try another
seating position or a different child restraint.
Check to make sure it is not contacting front
seats and preventing it from being properly se-
cured. If you are unable to properly secure the
child restraint, move it to another seating position
or try a different child restraint.
5. For child restraints that are equipped with
webbing mounted attachments, remove any
additional slack from the anchor attach-
ments. Press downward and rearward firmly
in the center of the child restraint with your
knee to compress the vehicle seat cushion
and seatback while tightening the webbing
of the anchor attachments.
6. If the child restraint is equipped with a top
tether strap, route the top tether strap and
secure the tether strap to the tether anchor
point. See “Top tether strap child restraint”in
this section.
7. Before placing the child in the child restraint,
hold the child restraint near the LATCH at-
tachment and use force to push the child
restraint from side to side, and tug it forward
to make sure that it is securely held in place.
It should not move more than 1 in (25 mm). If
it does move more than 1 in (25 mm), pull
again on the anchor attachments to further
tighten the child restraint. If you are unable to
properly secure the restraint, move the re-
straint to another seating position and try
again, or try a different child restraint. Not all
child restraints fit in all types of vehicles.
Front facing rigid-mounted – step 3
WRS0800
Front facing – step 5
LRS0671
Front facing – step 7
WRS0697
1-26 Safety—Seats, seat belts and supplemental restraint system
ZREVIEW COPY—
2008 Pathfinder (pat)
Owners Manual—USA_English (nna)
03/22/07—debbie
X

8. Check to make sure the child restraint is
properly secured prior to each use. If the
child restraint is loose, repeat steps 4
through 7.
Rear-facing
Follow these steps to install a rear-facing child
restraint in the 2nd row seats using LATCH:
1. Recline the seatback if the seatback is ad-
justable to assist in attaching the child re-
straint to the lower anchors.
2. Position the child restraint on the seat. Al-
ways follow the child restraint manufactur-
er’s instructions.
3. Secure the child restraint anchor attach-
ments to the LATCH lower anchors.
4. Return the seatback to its normal upright
and locked position.
Check to make sure it is not contacting front
seats and preventing it from being properly se-
cured. If you are unable to properly secure the
child restraint, move it to another seating position
or try a different child restraint.
5. For child restraints that are equipped with
webbing mounted attachments, remove any
additional slack from the anchor attach-
ments. Press downward and rearward firmly
in the center of the child restraint with your
hand to compress the vehicle seat cushion
and seatback while tightening the webbing
of the anchor attachments.
Rear facing web-mounted – step 3
WRS0801
Rear facing rigid-mounted – step 3
WRS0802
Safety—Seats, seat belts and supplemental restraint system 1-27
ZREVIEW COPY—
2008 Pathfinder (pat)
Owners Manual—USA_English (nna)
03/22/07—debbie
X

6. Before placing the child in the child restraint,
hold the child restraint near the LATCH at-
tachment and use force to push the child
restraint from side to side, and tug it forward
to make sure that it is securely held in place.
It should not move more than 1 in (25 mm). If
it does move more than 1 in (25 mm), pull
again on the anchor attachments to further
tighten the child restraint. If you are unable to
properly secure the restraint, move the re-
straint to another seating position and try
again, or try a different child restraint. Not all
child restraints fit in all types of vehicles.
7. Check to make sure the child restraint is
properly secured prior to each use. If the
child restraint is loose, repeat steps 3
through 6.
CHILD RESTRAINT INSTALLATION
USING THE SEAT BELTS
WARNING
●Even with the NISSAN Advanced Air
Bag System, never install a rear-facing
child restraint in the front passenger
seat. Supplemental front air bags in-
flate with great force. A rear-facing
child restraint could be struck by the
supplemental front air bag in a crash
and could seriously injure or kill your
child.
Rear facing – step 5
LRS0673
Rear facing – step 6
LRS0674 WRS0256
1-28 Safety—Seats, seat belts and supplemental restraint system
ZREVIEW COPY—
2008 Pathfinder (pat)
Owners Manual—USA_English (nna)
03/22/07—debbie
X

●NISSAN recommends that child re-
straints be installed in the rear seat.
However, if you must install a forward
facing child restraint in the front pas-
senger seat, move the passenger seat
to the rearmost position. Also, be sure
the front passenger air bag status light
is illuminated to indicate the passenger
air bag is OFF. See “Front passenger air
bag and status light” later in this sec-
tion for details.
●The three-point seat belt in your vehicle
is equipped with an Automatic Locking
Retractor (ALR) which must be used
when installing a child restraint.
●Failure to use the ALR mode will result
in the child restraint not being properly
secured. The restraint could tip over or
otherwise be unsecured and cause in-
jury to the child in a sudden stop or
collision. Also, it can change the opera-
tion of the front passenger air bag. See
“Front passenger air bag and status”
later in this section.
●A child restraint with a top tether strap
should not be used in the front passen-
ger seat.
The instructions in this section apply to child
restraint installation using the vehicle seat belts in
the rear seat or the front passenger seat.
Front-facing
Follow these steps to install a front-facing child
restraint using the vehicle seat belt in the rear
seats or in the front passenger seat:
1. If you must install a child restraint in
the front seat, it should be placed in a
front-facing direction only. Move the
seat to the rearmost position. Child
restraints for infants must be used in
the rear-facing direction and therefore
must not be used in the front seat.
Front-facing (front passenger seat) – step 1
WRS0699
Safety—Seats, seat belts and supplemental restraint system 1-29
ZREVIEW COPY—
2008 Pathfinder (pat)
Owners Manual—USA_English (nna)
03/22/07—debbie
X

2. Position the child restraint on the seat. Al-
ways follow the child restraint manufactur-
er’s instructions
The back of the child restraint should be secured
against the vehicle seatback. If necessary, adjust
or remove the head restraint to obtain the correct
child restraint fit. See “Head restraint adjust-
ment” in this section.
If the head restraint is removed, store it in a
secure place. Be sure to install the head restraint
when the child restraint is removed. If the seating
position does not have an adjustable head re-
straint and it is interfering with the proper child
restraint fit, try another seating position or a dif-
ferent child restraint.
When installing a child restraint in the 2nd or 3rd
row, check to make sure that it is not contacting
the seat directly in front of it. If you are unable to
properly secure the child restraint, move it to
another seating position or try a different child
restraint.
3. Route the seat belt tongue through the child
restraint and insert it into the buckle until you
hear and feel the latch engage. Be sure to
follow the child restraint manufacturer’s in-
structions for belt routing.
4. Pull the shoulder belt until the belt is fully
extended. At this time, the seat belt retractor
is in the Automatic Locking Retractor mode
(child restraint mode). It reverts to emer-
gency locking retractor mode when the seat
belt is fully retracted.
Front facing – step 3
WRS0680
Front facing – step 4
LRS0667
1-30 Safety—Seats, seat belts and supplemental restraint system
ZREVIEW COPY—
2008 Pathfinder (pat)
Owners Manual—USA_English (nna)
03/22/07—debbie
X

5. Allow the seat belt to retract. Pull up on the
shoulder belt to remove any slack in the belt. 6. Remove any additional slack from the seat
belt; press downward and rearward firmly in
the center of the child restraint with your
knee to compress the vehicle seat cushion
and seatback while pulling up on the seat
belt.
7. If the child restraint is equipped with a top
tether strap, route the top tether strap and
secure the tether strap to the tether anchor
point. See “Top tether strap child restraint”in
this section. Do not install child restraints
that require the use of a top tether strap to
seating positions that do not have a top
tether anchor.
Front facing – step 5
LRS0668
Front facing – step 6
WRS0681 Front facing – step 7 WRS0698
Safety—Seats, seat belts and supplemental restraint system 1-31
ZREVIEW COPY—
2008 Pathfinder (pat)
Owners Manual—USA_English (nna)
03/22/07—debbie
X

8. Before placing the child in the child restraint,
hold the child restraint near the seat belt
path and use force to push the child restraint
from side to side, and tug it forward to make
sure that it is securely held in place. It should
not move more than 1 in (25 mm). If it does
move more than 1 in (25 mm), pull again on
the shoulder belt to further tighten the child
restraint. If you are unable to properly secure
the restraint, move the restraint to another
seating position and try again, or try a differ-
ent child restraint. Not all child restraints fit in
all types of vehicles.
9. Check that the retractor is in the Automatic
Locking Retractor mode by trying to pull
more seat belt out of the retractor. If you
cannot pull any more belt webbing out of the
retractor, the retractor is in the Automatic
Locking Retractor mode.
10. Check to make sure the child restraint is
properly secured prior to each use. If the
seat belt is not locked, repeat steps 3
through 8.
11. If the child restraint is installed in the front
passenger seat, turn the ignition switch to
the ON position. The front passenger air bag
status light should illuminate. If this
light is not illuminated see 9Front passenger
air bag and status light9in this section.
Move the child restraint to another
seating position. Have the system
checked by a NISSAN dealer.
After the child restraint is removed and the seat
belt is fully retracted, the Automatic Locking Re-
tractor mode child restraint mode) is canceled.
Rear-facing
Follow these steps to install a rear-facing child
restraint using the vehicle seat belt in the rear
seats:
1. Child restraints for infants must be
used in the rear-facing direction and
therefore must not be used in the front
seat. Position the child restraint on the seat.
Always follow the restraint manufacturer’s
instructions.
Front facing – step 11
WRS0475 Rear-facing – step 1 WRS0256
1-32 Safety—Seats, seat belts and supplemental restraint system
ZREVIEW COPY—
2008 Pathfinder (pat)
Owners Manual—USA_English (nna)
03/22/07—debbie
X

When installing a child restraint in the 2nd or 3rd
row, check to make sure that it is not contacting
the seat directly in front of it. If you are unable to
properly secure the child restraint, move it to
another seating position or try a different child
restraint.
2. Route the seat belt tongue through the child
restraint and insert it into the buckle until you
hear and feel the latch engage. Be sure to
follow the child restraint manufacturer’s in-
structions for belt routing.
3. Pull the shoulder belt until the belt is fully
extended. At this time, the seat belt retractor
is in the Automatic Locking Retractor mode
(child restraint mode). It reverts to emer-
gency locking retractor mode when the seat
belt is fully retracted.
Rear facing – step 2
WRS0682
Rear facing – step 3
LRS0669
Safety—Seats, seat belts and supplemental restraint system 1-33
ZREVIEW COPY—
2008 Pathfinder (pat)
Owners Manual—USA_English (nna)
03/22/07—debbie
X

4. Allow the seat belt to retract. Pull up on the
shoulder belt to remove any slack in the belt. 5. Remove any additional slack from the child
restraint; press downward and rearward
firmly in the center of the child restraint to
compress the vehicle seat cushion and seat-
back while pulling up on the seat belt.
6. Before placing the child in the child restraint,
hold the child restraint near the seat belt
path and use force to push the child restraint
from side to side, and tug it forward to make
sure that it is securely held in place. It should
not move more than 1 in (25 mm). If it does
move more than 1 in (25 mm), pull again on
the shoulder belt to further tighten the child
restraint. If you are unable to properly secure
the restraint, move the restraint to another
rear seating position and try again, or try a
different child restraint. Not all child re-
straints fit in all types of vehicles.
Rear facing – step 4
LRS0670
Rear facing – step 5
WRS0683
Rear facing – step 6
WRS0684
1-34 Safety—Seats, seat belts and supplemental restraint system
ZREVIEW COPY—
2008 Pathfinder (pat)
Owners Manual—USA_English (nna)
03/22/07—debbie
X

7. Check that the retractor is in the Automatic
Locking Retractor mode by trying to pull
more seat belt out of the retractor. If you
cannot pull any more seat belt webbing out
of the retractor, the retractor is in the Auto-
matic Locking Retractor mode
8. Check to make sure that the child restraint is
properly secured prior to each use. If the belt
is not locked, repeat steps 3 through 7.
After the child restraint is removed and the seat
belt fully retracted, the Automatic Locking Re-
tractor mode (child restraint mode) is canceled.
PRECAUTIONS ON BOOSTER
SEATS
WARNING
●Infants and small children should al-
ways be placed in an appropriate child
restraint while riding in the vehicle.
Failure to use a child restraint or
booster seat can result in serious injury
or death.
●Infants and small children should never
be carried on your lap. It is not possible
for even the strongest adult to resist the
forces of a severe accident. The child
could be crushed between the adult and
parts of the vehicle. Also, do not put the
same seat belt around both your child
and yourself.
●NISSAN recommends that the booster
seat be installed in the rear seat. Ac-
cording to accident statistics, children
are safer when properly restrained in
the rear seat than in the front seat. If
you must install a booster seat in the
front seat, see “Booster seat installa-
tion” in this section.
●A booster seat must only be installed in
a seating position that has a
lap/shoulder belt. Failure to use a
three-point type seat belt with a
booster seat can result in a serious in-
jury in sudden stop or collision.
●Improper use or improper installation
of a booster seat can increase the risk
or severity of injury for both the child
and other occupants of the vehicle and
can lead to serious injury or death in an
accident.
ARS1098
BOOSTER SEATS
Safety—Seats, seat belts and supplemental restraint system 1-35
ZREVIEW COPY—
2008 Pathfinder (pat)
Owners Manual—USA_English (nna)
03/22/07—debbie
X

●Do not use towels, books, pillows or
other items in place of a booster seat.
Items such as these may move during
normal driving or a collision and result
in serious injury or death. Booster seats
are designed to be used with a
lap/shoulder belt. Booster seats are de-
signed to properly route the lap and
shoulder portions of the seat belt over
the strongest portions of a child’s body
to provide the maximum protection dur-
ing a collision.
●Follow all of the booster seat manufac-
turer’s instructions for installation and
use. When purchasing a booster seat,
be sure to select one which will fit your
child and vehicle. It may not be possible
to properly install some types of
booster seats in your vehicle.
●If the booster seat and seat belt is not
used properly, the risk of a child being
injured in a collision or a sudden stop
greatly increases.
●Adjustable seatbacks should be posi-
tioned to fit the booster seat, but as
upright as possible.
●After placing the child in the booster
seat and fastening the seat belt, make
sure the shoulder portion of the belt is
away from the child’s face and neck and
the lap portion of the belt does not
cross the abdomen.
●Do not put the shoulder belt behind the
child or under the child’s arm. If you
must install a booster seat in the front
seat, see “Booster seat installation”
later in this section.
●When your booster seat is not in use,
keep it secured with a seat belt to pre-
vent it from being thrown around in
case of a sudden stop or accident.
CAUTION
Remember that a booster seat left in a
closed vehicle can become very hot.
Check the seating surface and buckles
before placing your child in the booster
seat.
Booster seats of various sizes are offered by
several manufacturers. When selecting any
booster seat, keep the following points in mind:
●Choose only a booster seat with a label
certifying that it complies with Federal Motor
Vehicle Safety Standard 213 or Canadian
Motor Vehicle Safety Standard 213.
●Check the booster seat in your vehicle to be
sure it is compatible with the vehicle’s seat
and seat belt system.
LRS0455
1-36 Safety—Seats, seat belts and supplemental restraint system
ZREVIEW COPY—
2008 Pathfinder (pat)
Owners Manual—USA_English (nna)
03/22/07—debbie
X

●Make sure the child’s head will be properly
supported by the booster seat or vehicle
seat. The seat back must be at or above the
center of the child’s ears. For example, if a
low back booster seat s
1is chosen, the
vehicle seat back must be at or above the
center of the child’s ears. If the seat back is
lower than the center of the child’s ears, a
high back booster seat s
2should be used.
●If the booster seat is compatible with your
vehicle, place your child in the booster seat
and check the various adjustments to be
sure the booster seat is compatible with your
child. Always follow all recommended pro-
cedures.
All U.S. states and Canadian provinces or
territories require that infants and small
children be restrained in an approved child
restraint at all times while the vehicle is
being operated.
The instructions in this section apply to booster
seat installation in the rear seats or the front
passenger seat.
BOOSTER SEAT INSTALLATION
WARNING
NISSAN recommends that booster seats
be installed in the rear seat. However, if
you must install a booster seat in the front
passenger seat, move the passenger’s
seat to the rearmost position.
CAUTION
Do not use the lap/shoulder belt auto-
matic locking retractor mode when using
a booster seat with the seat belts.
Follow these steps to install a booster seat in the
rear seat or in the front passenger seat:
LRS0453 LRS0464
Safety—Seats, seat belts and supplemental restraint system 1-37
ZREVIEW COPY—
2008 Pathfinder (pat)
Owners Manual—USA_English (nna)
03/22/07—debbie
X

1. If you must install a booster seat in the
front seat, move the seat to the rear-
most position.
2. Position the booster seat on the seat. Only
place it in a front facing direction. Always
follow the booster seat manufacturer’s in-
structions.
3. The booster seat should be positioned on
the vehicle seat so that it is stable. If neces-
sary, adjust or remove the head restraint to
obtain the correct booster seat fit. See
“Head restraint adjustment” earlier in this
section. If the head restraint is removed,
store it in a secure place. Be sure to install
the head restraint when the booster seat is
removed. If the seating position does not
have an adjustable head restraint and it is
interfering with the proper booster seat fit,
try another seating position or a different
booster seat.
WRS0699 Rear center position
LRS0504
Rear outboard position
LRS0502
1-38 Safety—Seats, seat belts and supplemental restraint system
ZREVIEW COPY—
2008 Pathfinder (pat)
Owners Manual—USA_English (nna)
03/22/07—debbie
X

4. Position the lap portion of the seat belt low
and snug on the child’s hips. Be sure to
follow the booster seat manufacturer’s in-
structions for adjusting the belt routing.
5. Pull the shoulder belt portion of the seat belt
toward the retractor to take up extra slack.
Be sure the shoulder belt is positioned
across the top, middle portion of the child’s
shoulder. Be sure to follow the booster seat
manufacturer’s instructions for adjusting the
belt routing.
6. Follow the warnings, cautions and instruc-
tions for properly fastening a seat belt
shown in the “Three-point seat belt with
retractor” earlier in this section.
7. If the booster seat is installed in the front
passenger seat, turn the ignition switch to
the ON position. The front passenger air bag
status light may or may not illuminate,
depending on the size of the child and the
type of booster seat being used. See “Front
passenger air bag and status light” later in
this section.
Front passenger position
LRS0454 WRS0475
Safety—Seats, seat belts and supplemental restraint system 1-39
ZREVIEW COPY—
2008 Pathfinder (pat)
Owners Manual—USA_English (nna)
03/22/07—debbie
X
PRECAUTIONS ON
SUPPLEMENTAL RESTRAINT
SYSTEM
This Supplemental Restraint System (SRS) sec-
tion contains important information concerning
the driver and passenger supplemental front air
bags (NISSAN Advanced Air Bag System), front
seat-mounted side-impact supplemental air
bags, roof-mounted curtain side-impact and roll-
over supplemental air bags and pretensioner seat
belts.
Supplemental front impact air bag system:
The NISSAN Advanced Air Bag System can help
cushion the impact force to the head and chest of
the driver and front passenger in certain frontal
collisions.
Front seat-mounted side-impact supple-
mental air bag system (if so equipped): This
system can help cushion the impact force to the
chest area of the driver and front passenger in
certain side impact collisions. The supplemental
side air bag is designed to inflate on the side
where the vehicle is impacted.
Roof-mounted curtain side-impact and
rollover supplemental air bag (if so
equipped): This system can help cushion the
impact force to the head of occupants in front
and rear outboard seating positions in certain
side impact or rollover collisions. In a side impact,
the curtain air bags are designed to inflate on the
side where the vehicle is impacted. In a rollover
both curtain air bags are designed to inflate and
remain inflated for a short time.
These supplemental restraint systems are de-
signed to supplement the crash protection pro-
vided by the seat belts and are not a substitute
for them. Seat belts should always be correctly
worn and the occupant seated a suitable dis-
tance away from the steering wheel, instrument
panel and door finishers. See “Seat belts” earlier
in this section for instructions and precautions on
seat belt usage.
The supplemental air bags operate only
when the ignition switch is in the ON or
START position.
After turning the ignition key to the ON
position, the supplemental air bag warning
light illuminates. The supplemental air bag
warning light will turn off after about 7
seconds if the system is operational.
SUPPLEMENTAL RESTRAINT
SYSTEM
1-40 Safety—Seats, seat belts and supplemental restraint system
ZREVIEW COPY—
2008 Pathfinder (pat)
Owners Manual—USA_English (nna)
03/22/07—debbie
X

WARNING
●The supplemental front air bags ordi-
narily will not inflate in the event of a
side impact, rear impact, rollover, or
lower severity frontal collision. Always
wear your seat belts to help reduce the
risk or severity of injury in various kinds
of accidents.
●The front passenger air bag will not
inflate if the passenger air bag status
light is lit or if the front passenger seat
is unoccupied. See “Front passenger air
bag and status light” later in this
section.
●The seat belts and the supplemental
front air bags are most effective when
you are sitting well back and upright in
the seat. The front air bags inflate with
great force. Even with the NISSAN Ad-
vanced Air Bag System, if you are unre-
strained, leaning forward, sitting side-
ways or out of position in any way, you
are at greater risk of injury or death in a
crash. You may also receive serious or
fatal injuries from the supplemental
front air bag if you are up against it
when it inflates. Always sit back against
the seatback and as far away as practi-
cal from the steering wheel or instru-
ment panel. Always use the seat belts.
●The driver and front passenger seat belt
buckles are equipped with sensors that
detect if the seat belts are fastened. The
advanced air bag system monitors the
severity of a collision and seat belt us-
age then inflates the air bags. Failure to
properly wear seat belts can increase
the risk or severity of injury in an
accident.
●The front passenger seat is equipped
with an occupant classification sensor
(pressure sensor) that turns the front
passenger air bag OFF under some
conditions. This sensor is only used in
this seat. Failure to be properly seated
and wearing the seat belt can increase
the risk or severity of injury in an acci-
dent. See “Front Passenger air bag and
status light” later in this section.
●Keep hands on the outside of the steer-
ing wheel. Placing them inside the
steering wheel rim could increase the
risk that they are injured when the
supplemental front air bag inflates.
WRS0031
Safety—Seats, seat belts and supplemental restraint system 1-41
ZREVIEW COPY—
2008 Pathfinder (pat)
Owners Manual—USA_English (nna)
03/22/07—debbie
X

WARNING
●Never let children ride unrestrained or
extend their hands or face out of the
window. Do not attempt to hold them in
your lap or arms. Some examples of
dangerous riding positions are shown
in the illustrations.
ARS1133 ARS1041
1-42 Safety—Seats, seat belts and supplemental restraint system
ZREVIEW COPY—
2008 Pathfinder (pat)
Owners Manual—USA_English (nna)
03/22/07—debbie
X

WARNING
●Children may be severely injured or
killed when the supplemental front air
bags, side air bags or curtain side-
impact and rollover air bags inflate if
they are not properly restrained. Pre-
teens and children should be properly
restrained in the rear seat, if possible.
ARS1042 ARS1043 ARS1044
Safety—Seats, seat belts and supplemental restraint system 1-43
ZREVIEW COPY—
2008 Pathfinder (pat)
Owners Manual—USA_English (nna)
03/22/07—debbie
X

WARNING
●Even with the NISSAN Advanced Air
Bag System, never install a rear-facing
child restraint in the front seat. An in-
flating supplemental front air bag could
seriously injure or kill your child. See
“Child restraints” earlier in this section
for details.
WARNING
Front seat-mounted side-impact supple-
mental air bags (if so equipped) and roof-
mounted curtain side-impact and rollover
supplemental air bags (if so equipped):
●The supplemental side air bag and cur-
tain side-impact and rollover air bag
ordinarily will not inflate in the event of
a frontal impact, rear impact, or lower
severity side collision. Always wear
your seat belts to help reduce the risk or
severity of injury in various kinds of
accidents.
ARS1045 WRS0256 Do not lean against doors or windows.
WRS0431
1-44 Safety—Seats, seat belts and supplemental restraint system
ZREVIEW COPY—
2008 Pathfinder (pat)
Owners Manual—USA_English (nna)
03/22/07—debbie
X

WARNING
●The seat belts, the front seat-mounted
side-impact supplemental air bags and
roof-mounted curtain side-impact and
rollover supplemental air bags are most
effective when you are sitting well back
and upright in the seat. The side air bag
and curtain air bag inflate with great
force. Do not allow anyone to place
their hand, leg or face near the side air
bag on the side of the seatback of the
front seat or near the side roof rails. Do
not allow anyone sitting in the front
seats or rear outboard seats to extend
their hand out of the window or lean
against the door. Some examples of
dangerous riding positions are shown
in the previous illustrations.
Do not lean against doors or windows.
WRS0365
Do not lean against doors or windows.
SSS0162
Safety—Seats, seat belts and supplemental restraint system 1-45
ZREVIEW COPY—
2008 Pathfinder (pat)
Owners Manual—USA_English (nna)
03/22/07—debbie
X

WARNING
●When sitting in the 2nd row rear seat, do
not hold onto the seatback of the front
seat. If the side air bag inflates, you may
be seriously injured. Be especially care-
ful with children, who should always be
properly restrained. Some examples of
dangerous riding positions are shown
in the illustrations.
●Do not use seat covers on the front
seatbacks. They may interfere with
supplemental side air bag inflation.
WRS0363 SSS0159
1-46 Safety—Seats, seat belts and supplemental restraint system
ZREVIEW COPY—
2008 Pathfinder (pat)
Owners Manual—USA_English (nna)
03/22/07—debbie
X

1. Roof-mounted curtain side-impact and
rollover supplemental air bag modules
(if so equipped)
2. Roof-mounted curtain side-impact and
rollover supplemental air bags (if so
equipped)
3. Air bag Control Unit (ACU)
4. Supplemental front air bag modules
5. Crash zone sensor
6. Occupant classification system control
unit
7. Occupant classification sensor (pres-
sure sensor)
8. Satellite sensors
9. Seat belt buckle switches
10. Pretensioner retractor
11. Front seat-mounted side-impact
supplemental air bag modules (if so
equipped)
NISSAN Advanced Air Bag System
(front seats)
This vehicle is equipped with the NISSAN Ad-
vanced Air Bag System for the driver and front
passenger seats. This system is designed to
meet certification requirements under U.S. regu-
lations. It is also permitted in Canada. However,
WRS0474
Safety—Seats, seat belts and supplemental restraint system 1-47
ZREVIEW COPY—
2008 Pathfinder (pat)
Owners Manual—USA_English (nna)
03/22/07—debbie
X
all of the information, cautions and warn-
ings in this manual still apply and must be
followed.
The driver supplemental front air bag is located in
the center of the steering wheel. The passenger
supplemental front air bag is mounted in the
dashboard above the glove box. The supplemen-
tal front air bags are designed to inflate in higher
severity frontal collisions, although they may in-
flate if the forces in another type of collision are
similar to those of a higher severity frontal impact.
They may not inflate in certain frontal collisions.
Vehicle damage (or lack of it) is not always an
indication of proper supplemental front air bag
system operation.
The NISSAN Advanced Air Bag System has dual
stage inflators. It also monitors information from
the crash zone sensor, the Air bag Control Unit
(ACU), seat belt buckle sensors, occupant clas-
sification sensor (pressure sensor) and passen-
ger seat belt tension sensor. Inflator operation is
based on the severity of a collision and seat belt
usage for the driver. For the front passenger, it
additionally monitors the weight of an occupant
or object on the seat and seat belt tension. Based
on information from the sensors, only one front air
bag may inflate in a crash, depending on the
crash severity and whether the front occupants
are belted or unbelted. Additionally, the front
passenger air bag may be automatically turned
OFF under some conditions, depending on the
weight detected on the passenger seat and how
the seat belt is used. If the front passenger air bag
is OFF, the passenger air bag status light will be
illuminated (if the seat is unoccupied, the light will
not be illuminated, but the air bag will be off). See
“Front passenger air bag and status light” later in
this section for further details. One front air bag
inflating does not indicate improper performance
of the system.
If you have any questions about your air bag
system, please contact NISSAN or your NISSAN
dealer. If you are considering modification of your
vehicle due to a disability, you may also contact
NISSAN. Contact information is contained in the
front of this Owner’s Manual.
When a supplemental front air bag inflates, a
fairly loud noise may be heard, followed by the
release of smoke. This smoke is not harmful and
does not indicate a fire. Care should be taken to
not inhale it, as it may cause irritation and chok-
ing. Those with a history of a breathing condition
should get fresh air promptly.
Supplemental front air bags, along with the use of
seat belts, help to cushion the impact force on
the face and chest of the front occupants. They
can help save lives and reduce serious injuries.
However, an inflating front air bag may cause
facial abrasions or other injuries. Front air bags
do not provide restraint to the lower body.
Even with NISSAN advanced air bags, seat belts
should be correctly worn and the driver and pas-
senger seated upright as far as practical away
from the steering wheel or instrument panel. The
supplemental front air bags inflate quickly in order
to help protect the front occupants. Because of
this, the force of the front air bag inflating can
increase the risk of injury if the occupant is too
close to, or is against, the front air bag module
during inflation.
The front air bags deflate quickly after a collision.
The supplemental front air bags operate
only when the ignition switch is in the ON
or START position.
After turning the ignition key to the ON
position, the supplemental air bag warning
light illuminates. The supplemental air bag
warning light will turn off after about 7
seconds if the system is operational.
1-48 Safety—Seats, seat belts and supplemental restraint system
ZREVIEW COPY—
2008 Pathfinder (pat)
Owners Manual—USA_English (nna)
03/22/07—debbie
X

Front passenger air bag and status light
WARNING
The front passenger air bag is designed to
automatically turn OFF under some con-
ditions. Read this section carefully to
learn how it operates. Proper use of the
seat, seat belt and child restraints is nec-
essary for most effective protection. Fail-
ure to follow all instructions in this
manual concerning the use of seats, seat
belts and child restraints can increase the
risk or severity of injury in an accident.
Status light
The front passenger air bag status light is
located near the climate controls. The light oper-
ates as follows:
●Unoccupied passenger’s seat: The is
OFF and the front passenger air bag is OFF
and will not inflate in a crash.
●Passenger’s seat occupied by a small adult,
child or child restraint as outlined in this
section: The illuminates to indicate
that the front passenger air bag is OFF and
will not inflate in a crash.
●Occupied passenger seat and the passen-
ger meet the conditions outlined in this sec-
tion: The light is OFF to indicate that
the front passenger air bag is operational.
Front passenger air bag
The front passenger air bag is designed to auto-
matically turn OFF when the vehicle is operated
under some conditions as described below in
accordance with U.S. regulations. If the front
passenger air bag is OFF, it will not inflate in a
crash. The driver air bag and other air bags in your
vehicle are not part of this system.
The purpose of the regulation is to help reduce
the risk of injury or death from an inflating air bag
to certain front passenger seat occupants, such
as children, by requiring the air bag to be auto-
matically turned OFF. Certain sensors are used
to meet the requirements.
One sensor used is the occupant classification
sensor (pressure sensor). It is in the bottom of the
front passenger seat cushion and is designed to
detect an occupant and objects on the seat by
weight. It works together with seat belt sensors
described later. For example, if a child is in the
front passenger seat, the advanced air bag sys-
tem is designed to turn the passenger air bag
OFF in accordance with the regulations. Also, if a
child restraint of the type specified in the regula-
tions is on the seat, its weight and the child’s
weight can be detected and cause the air bag to
turn OFF. Occupant classification sensor opera-
tion can vary depending on the front passenger
seat belt sensors.
The front passenger seat belt sensors are de-
signed to detect if the seat belt is buckled and the
amount of tension on the seat belt, such as when
it is in the Automatic Locking Retractor mode
(child restraint mode). Based on the weight on
the seat detected by the occupant classification
sensor and the belt tension detected on the seat
belt, the Advanced Air Bag System determines
whether the front passenger air bag should be
automatically turned OFF as required by the
regulations.
WRS0475
Safety—Seats, seat belts and supplemental restraint system 1-49
ZREVIEW COPY—
2008 Pathfinder (pat)
Owners Manual—USA_English (nna)
03/22/07—debbie
X

Front passenger seat adult occupants who are
properly seated and using the seat belt as out-
lined in this manual should not cause the passen-
ger air bag to be automatically turned OFF. For
small adults it may be turned OFF, however if the
occupant takes his/her weight off the seat cush-
ion (for example, by not sitting upright, by sitting
on an edge of the seat, or by otherwise being out
of position), this could cause the sensor to turn
the air bag OFF. In addition, if the occupant
improperly uses the seat belt in the Automatic
Locking Retractor mode (child restraint mode),
this could cause the air bag to be turned OFF.
Always be sure to be seated and wearing the seat
belt properly for the most effective protection by
the seat belt and supplemental air bag.
NISSAN recommends that pre-teens and chil-
dren be properly restrained in a rear seat.
NISSAN also recommends that appropriate child
restraints and booster seats be properly installed
in a rear seat. If this is not possible, the occupant
classification sensor and seat belt sensors are
designed to operate as described above to turn
the front passenger air bag OFF for specified
child restraints as required by the regulations.
Failing to properly secure child restraints and to
use the Automatic Locking Retractor mode (child
restraint mode) may allow the restraint to tip or
move in an accident or sudden stop. This can
also result in the passenger air bag inflating in a
crash instead of being OFF. See “Child re-
straints” earlier in this section for proper use and
installation.
If the front passenger seat is not occupied the
passenger air bag is designed not to inflate in a
crash. However, heavy objects placed on the
seat could result in air bag inflation, because of
the object’s weight detected by the occupant
classification sensor. Other conditions could also
result in air bag inflation, such as if a child is
standing on the seat, or if two children are on the
seat, contrary to the instructions in this manual.
Always be sure that you and all vehicle occupants
are seated and restrained properly.
Using the passenger air bag status light, you can
monitor when the front passenger air bag is au-
tomatically turned OFF with the seat occupied.
The light will not illuminate when the front pas-
senger seat is unoccupied.
If an adult occupant is in the seat but the passen-
ger air bag status light is illuminated (indicating
that the air bag is OFF), it could be that the
person is a small adult, or is not sitting on the seat
properly or not using the seat belt properly.
If a child restraint must be used in the front seat,
the passenger air bag status light may or may not
be illuminated, depending on the size of the child
and the type of child restraint being used. If the air
bag status light is not illuminated (indicating that
the air bag might inflate in a crash), it could be
that the child restraint or seat belt is not being
used properly. Make sure that the child restraint is
installed properly, the seat belt is used properly
and the occupant is positioned properly. If the air
bag status light is not illuminated, reposition the
occupant or child restraint in a rear seat.
If the passenger air bag status light will not illu-
minate even though you believe that the child
restraint, the seat belts and the occupant are
properly positioned, the system may be sensing
an unoccupied seat (in which case the air bag is
OFF). Your NISSAN dealer can check that the
system is OFF by using a special tool. However,
until you have confirmed with your dealer that
your air bag is working properly, reposition the
occupant or child restraint in a rear seat.
The air bag system and passenger air bag status
light will take a few seconds to register a change
in the passenger seat status. For example, if a
large adult who is sitting in the front passenger
seat exits the vehicle, the passenger air bag
status light will go from OFF to ON for a few
seconds and then to OFF. This is normal system
operation and does not indicate a malfunction.
If a malfunction occurs in the front passenger air
bag system, the supplemental air bag warning
light , located in the meter and gauges area
1-50 Safety—Seats, seat belts and supplemental restraint system
ZREVIEW COPY—
2008 Pathfinder (pat)
Owners Manual—USA_English (nna)
03/22/07—debbie
X

in the center of the instrument panel, will blink.
Have the system checked by a NISSAN dealer.
Other supplemental front air bag precau-
tions
WARNING
●Do not place any objects on the steer-
ing wheel pad or on the instrument
panel. Also, do not place any objects
between any occupant and the steering
wheel or instrument panel. Such ob-
jects may become dangerous projec-
tiles and cause injury if the supplemen-
tal front air bag inflates.
●Immediately after inflation, several
front air bag system components will be
hot. Do not touch them; you may se-
verely burn yourself.
●No unauthorized changes should be
made to any components or wiring of
the supplemental air bag system. This is
to prevent accidental inflation of the
supplemental air bag or damage to the
supplemental air bag system.
●Do not make unauthorized changes to
your vehicle’s electrical system, sus-
pension system or front end structure.
This could affect proper operation of
the supplemental front air bag system.
●Tampering with the supplemental front
air bag system may result in serious
personal injury. Tampering includes
changes to the steering wheel and the
instrument panel assembly by placing
material over the steering wheel pad
and above the instrument panel or by
installing additional trim material
around the air bag system.
●Modifying or tampering with the front
passenger seat may result in serious
personal injury. For example, do not
change the front seats by placing mate-
rial on the seat cushion or by installing
additional trim material, such as seat
covers, on the seat that are not specifi-
cally designed to assure proper air bag
operation. Additionally, do not stow any
objects under the front passenger seat
or the seat cushion and seatback. Such
objects may interfere with the proper
operation of the occupant classifica-
tion sensor (pressure sensor).
●No unauthorized changes should be
made to any components or wiring of
the seat belt system. This may affect the
supplemental front air bag system.
Tampering with the seat belt system
may result in serious personal injury.
●Work on and around the supplemental
front air bag system should be done by
a NISSAN dealer. Installation of electri-
cal equipment should also be done by a
NISSAN dealer. The Supplemental Re-
straint System (SRS) wiring should not
be modified or disconnected. Unautho-
rized electrical test equipment and
probing devices should not be used on
the air bag system.
●A cracked windshield should be re-
placed immediately by a qualified re-
pair facility. A cracked windshield could
affect the function of the supplemental
air bag system.
●The SRS wiring harness connectors are
yellow and orange for easy
identification.
When selling your vehicle, we request that you
inform the buyer about the supplemental front air
bag system and guide the buyer to the appropri-
ate sections in this Owner’s Manual.
Safety—Seats, seat belts and supplemental restraint system 1-51
ZREVIEW COPY—
2008 Pathfinder (pat)
Owners Manual—USA_English (nna)
03/22/07—debbie
X

Front seat-mounted side-impact
supplemental air bags (if so equipped)
and roof-mounted curtain side-impact
and rollover supplemental air bag (if so
equipped) system
The front seat-mounted side-impact supplemen-
tal air bags are located in the outside of the
seatback of the front seats. The roof-mounted
curtain side-impact and rollover supplemental air
bags are located in the side roof rails in all 3 rows.
These systems are designed to meet voluntary
guidelines to help reduce the risk of injury to
out-of-position occupants. However, all of the
information, cautions and warnings in this
manual still apply and must be followed.
The front seat-mounted side-impact supplemen-
tal air bags and roof-mounted curtain side-
impact and rollover supplemental air bags are
designed to inflate in higher severity side colli-
sions, although they may inflate if the forces in
another type of collision are similar to those of a
higher severity side impact. They are designed to
inflate on the side where the vehicle is impacted.
They may not inflate in certain side collisions. As
a result, certain vehicle movements (for example,
during severe off roading) may cause the airbags
to inflate.
Roof-mounted curtain side-impact and rollover
supplemental air bags are also designed to inflate
in certain types of rollover collisions or near roll-
overs. As a result, certain vehicle movements (for
example, during severe off roading) may cause
the airbags to inflate.
Vehicle damage (or lack of it) is not always an
indication of proper supplemental side air bag
and curtain side-impact and rollover air bag op-
eration.
When the front seat-mounted side-impact
supplemental air bags and roof-mounted curtain
side-impact and rollover supplemental air bags
inflate, a fairly loud noise may be heard, followed
by release of smoke. This smoke is not harmful
and does not indicate a fire. Care should be taken
not to inhale it, as it may cause irritation and
choking. Those with a history of a breathing con-
dition should get fresh air promptly.
Front seat-mounted side-impact supplemental
air bags, along with the use of seat belts, help to
cushion the impact force on the chest of the front
occupants. Roof-mounted curtain side-impact
and rollover supplemental air bags help to cush-
ion the impact force to the head of occupants in
the front and rear outboard seating positions in all
rows. They can help save lives and reduce seri-
ous injuries. However, an inflating side air bag, or
curtain air bag may cause abrasions or other
injuries. Front seat-mounted side-impact supple-
mental air bags and roof-mounted curtain side-
impact and rollover supplemental air bags do not
provide restraint to the lower body.
The seat belts should be correctly worn and the
driver and passenger seated upright as far as
practical away from the supplemental side air
bag. Rear seat passengers should be seated as
far away as practical from the door finishers and
side roof rails. The front seat-mounted side-
impact supplemental air bags and roof-mounted
curtain side-impact and rollover supplemental air
bags inflate quickly in order to help protect the
occupants. Because of this, the force of the front
seat-mounted side-impact supplemental air bags
and roof-mounted curtain side-impact and roll-
over supplemental air bags inflating can increase
WRS0381
1-52 Safety—Seats, seat belts and supplemental restraint system
ZREVIEW COPY—
2008 Pathfinder (pat)
Owners Manual—USA_English (nna)
03/22/07—debbie
X

the risk of injury if the occupant is too close to, or
is against, these air bag modules during inflation.
The front seat-mounted side-impact supplemen-
tal air bags will deflate quickly after the collision is
over.
The front seat-mounted side-impact supplemen-
tal air bags and roof-mounted curtain side-
impact and rollover supplemental air bags will
remain inflated for a short time.
The front seat-mounted side-impact
supplemental air bags and roof-mounted
curtain side-impact and rollover supple-
mental air bags operate only when the ig-
nition switch is in the ON or START posi-
tions.
After turning the ignition key to the ON
position, the supplemental air bag warning
light illuminates. The supplemental air bag
warning light will turn off after about 7
seconds if the system is operational.
WARNING
●Do not place any objects near the seat-
back of the front seats. Also, do not
place any objects (an umbrella, bag,
etc.) between the front door finisher
and the front seat. Such objects may
become dangerous projectiles and
cause injury if the supplemental side air
bag inflates.
●Right after inflation, several front seat-
mounted side-impact supplemental air
bag and curtain side-impact and roof-
mounted curtain side-impact and roll-
over supplemental air bag system com-
ponents will be hot. Do not touch them;
you may severely burn yourself.
●No unauthorized changes should be
made to any components or wiring of
the front seat-mounted side-impact
supplemental air bags and roof-
mounted curtain side-impact and roll-
over supplemental air bag system. This
is to prevent accidental inflation of the
front seat-mounted side-impact
supplemental air bags and roof-
mounted curtain side-impact and roll-
over supplemental air bags or damage
to the front seat-mounted side-impact
supplemental air bags and roof-
mounted curtain side-impact and roll-
over supplemental air bag system.
●Do not make unauthorized changes to
your vehicle’s electrical system, sus-
pension system or side panel. This
could affect proper operation of the
supplemental curtain air bag system.
●Tampering with the front seat-mounted
side-impact supplemental air bags may
result in serious personal injury. For
example, do not change the front seats
by placing material near the seatbacks
or by installing additional trim material,
such as seat covers, around the front
seat-mounted side-impact supplemen-
tal air bags.
Safety—Seats, seat belts and supplemental restraint system 1-53
ZREVIEW COPY—
2008 Pathfinder (pat)
Owners Manual—USA_English (nna)
03/22/07—debbie
X

●Work around and on the roof-mounted
curtain side-impact and rollover
supplemental air bags should be done
by a NISSAN dealer. Installation of elec-
trical equipment should also be done by
a NISSAN dealer. The SRS wiring har-
nesses* should not be modified or dis-
connected. Unauthorized electrical test
equipment and probing devices should
not be used on the front seat-mounted
side-impact supplemental air bags or
roof-mounted curtain side-impact and
rollover supplemental air bag system.
* The SRS wiring harness or connectors are
yellow or orange for easy identification.
When selling your vehicle, we request that you
inform the buyer about the supplemental side air
bag and curtain air bag system and guide the
buyer to the appropriate sections in this Owner’s
Manual.
Seat belts with pretensioners (Front
seats)
WARNING
●The seat belts with pretensioners can-
not be reused after activation. It must
be replaced together with the retractor
and buckle as a unit.
●If the vehicle becomes involved in a
frontal collision but the pretensioner is
not activated, be sure to have the pre-
tensioner system checked and, if nec-
essary, replaced by your NISSAN
dealer.
●No unauthorized changes should be
made to any components or wiring of
the seat belts with pretensioners. This
is to prevent accidental activation of
the seat belts with pretensioners or
damage to the seat belts with preten-
sioners operation. Tampering with the
seat belts with pretensioners may result
in serious personal injury.
●Work around and on the seat belts with
pretensioners should be done by a
NISSAN dealer. Installation of electrical
equipment should also be done by a
NISSAN dealer. Unauthorized electrical
test equipment and probing devices
should not be used on the seat belts
with pretensioners.
●If you need to dispose of the preten-
sioner or scrap the vehicle, contact a
NISSAN dealer. Correct pretensioner
disposal procedures are set forth in the
appropriate NISSAN Service Manual.
Incorrect disposal procedures could
cause personal injury.
The front seat belts with pretensioners activates
in conjunction with the front supplemental air bag
systems. Working with the seat belt retractor, it
helps tighten the seat belt when the vehicle be-
comes involved in certain types of collisions,
helping to restrain front seat occupants.
The pretensioner is encased with the seat belt’s
retractor. These seat belts are used the same as
conventional seat belts.
When the pretensioner activates, smoke is re-
leased and a loud noise may be heard. This
smoke is not harmful and does not indicate a fire.
Care should be taken not to inhale it, as it may
1-54 Safety—Seats, seat belts and supplemental restraint system
ZREVIEW COPY—
2008 Pathfinder (pat)
Owners Manual—USA_English (nna)
03/23/07—debbie
X

cause irritation and choking. Those with a history
of a breathing condition should get fresh air
promptly.
After the pretensioners have activated, load lim-
iters allow the seat belt to release webbing (if
necessary) to reduce forces against the chest.
If any abnormality occurs in the pretensioners, the
supplemental air bag warning light will not
come on, will flash intermittently or will turn on for
7 seconds and remain on after the ignition key
has been turned to the ON or START position. In
this case, the pretensioner may not function
properly. They must be checked and repaired.
Take your vehicle to the nearest NISSAN dealer.
When selling your vehicle, we request that you
inform the buyer about the seat belts with preten-
sioners and guide the buyer to the appropriate
sections in this Owner’s Manual.
1. SRS Air bag warning labels
The warning labels are located on the sur-
face of the sun visor.
2. Front seat-mounted side-impact supple-
mental air bags warning label (if so
equipped)
The warning label is located on the side of
the passenger’s side center pillar.
SUPPLEMENTAL AIR BAG
WARNING LABELS
Warning labels about the supplemental front air
bags, front seat-mounted side-impact supple-
mental air bags and roof-mounted curtain side-
impact and rollover supplemental air bag systems
are placed in the vehicle as shown in the illustra-
tion.
LRS0397
Safety—Seats, seat belts and supplemental restraint system 1-55
ZREVIEW COPY—
2008 Pathfinder (pat)
Owners Manual—USA_English (nna)
03/23/07—debbie
X

SUPPLEMENTAL AIR BAG
WARNING LIGHT
The supplemental air bag warning light,
displaying in the instrument panel, moni-
tors the circuits of the supplemental front air bag,
front seat-mounted side-impact supplemental air
bags and roof-mounted curtain side-impact and
rollover supplemental air bag and seat belts with
pretensioners systems. The circuits monitored by
the supplemental air bag warning light are the Air
bag Control Unit (ACU), crash zone sensor, sat-
ellite sensors, rollover sensor, front air bag mod-
ules, side air bag modules, curtain air bag mod-
ules, pretensioner and all related wiring.
When the ignition key is in the ON or START
position, the supplemental air bag warning light
illuminates for about 7 seconds and then turns
off. This means the system is operational.
If any of the following conditions occur, the
supplemental front air bag, front seat-mounted
side-impact supplemental air bags, roof-
mounted curtain side-impact, rollover supple-
mental air bag and pretensioner seat belt sys-
tems need servicing:
●The supplemental air bag warning light re-
mains on after approximately 7 seconds.
●The supplemental air bag warning light
flashes intermittently.
●The supplemental air bag warning light does
not come on at all.
Under these conditions, the supplemental front
air bag, front seat-mounted side-impact supple-
mental air bags, roof-mounted curtain side-
impact and rollover supplemental air bag or pre-
tensioner systems may not operate properly. It
must be checked and repaired. Take your vehicle
to the nearest NISSAN dealer.
WARNING
If the supplemental air bag warning light
is on, it could mean that the supplemental
front air bag, front seat-mounted side-
impact supplemental air bags, roof-
mounted curtain side-impact and rollover
supplemental air bag and/or seat belt
with pretensioners will not operate in an
accident. To help avoid injury to yourself
or others, have your vehicle checked by a
NISSAN dealer as soon as possible.
Repair and replacement procedure
The supplemental front air bags, front seat-
mounted side-impact supplemental air bags,
roof-mounted curtain side-impact and rollover
supplemental air bag and pretensioners are de-
signed to inflate on a one-time-only basis. As a
reminder, unless it is damaged, the supplemental
air bag warning light remains illuminated after
inflation has occurred. Repair and replacement of
these supplemental air bag systems should be
done only by a NISSAN dealer.
When maintenance work is required on the ve-
hicle, the supplemental front air bags, front seat-
mounted side-impact supplemental air bags,
roof-mounted curtain side-impact and rollover
supplemental air bag, pretensioners and related
parts should be pointed out to the person per-
LRS0100
1-56 Safety—Seats, seat belts and supplemental restraint system
ZREVIEW COPY—
2008 Pathfinder (pat)
Owners Manual—USA_English (nna)
03/23/07—debbie
X

forming the maintenance. The ignition key should
always be in the LOCK position when working
under the hood or inside the vehicle.
WARNING
●Once a supplemental front air bag, front
seat-mounted side-impact supplemen-
tal air bags, roof-mounted curtain side-
impact and rollover supplemental air
bag has inflated, the air bag module will
not function again and must be re-
placed. Additionally, if any of the
supplemental front air bags inflate, the
activated seat belts with pretensioners
must also be replaced. The air bag mod-
ule and seat belts with pretensioners
should be replaced by a NISSAN dealer.
The air bag module and seat belts with
pretensioners cannot be repaired.
●The supplemental front air bag, roof-
mounted curtain side-impact and roll-
over supplemental air bag systems, and
the seat belts with pretensioners
should be inspected by a NISSAN
dealer if there is any damage to the
front end or side portion of the vehicle.
●If you need to dispose of the supple-
mental air bag, seat belts with preten-
sioners or scrap the vehicle, contact a
NISSAN dealer. Correct supplemental
air bag and seat belts with pretension-
ers disposal procedures are set forth in
the appropriate NISSAN Service
Manual. Incorrect disposal procedures
could cause personal injury.
Safety—Seats, seat belts and supplemental restraint system 1-57
ZREVIEW COPY—
2008 Pathfinder (pat)
Owners Manual—USA_English (nna)
03/23/07—debbie
X
2 Instruments and controls
Instrument panel...................................2-2
Meters and gauges ................................2-3
Speedometer and odometer .....................2-4
Trip computer (if so equipped) ...................2-5
Tachometer ....................................2-6
Engine coolant temperature gauge ...............2-6
Fuel gauge ....................................2-7
Engine oil pressure gauge .......................2-8
Voltmeter ......................................2-8
Compass display (if so equipped) ...................2-9
Compass display ...............................2-9
Warning/indicator lights and audible reminders ......2-12
Checking bulbs ...............................2-13
Warning lights ................................2-13
Indicator lights ................................2-18
Audible reminders .............................2-21
Security systems .................................2-22
Vehicle security system.........................2-22
NISSAN vehicle immobilizer system .............2-23
Windshield wiper and washer switch ...............2-24
Switch operation ..............................2-24
Rear window wiper and washer switch..............2-25
Rear window and outside mirror (if so equipped)
defroster switch ..................................2-26
Headlight and turn signal switch....................2-27
Headlight control switch........................2-27
Daytime running light system (Canada only) ......2-29
Instrument brightness control ...................2-30
Turn signal switch .............................2-30
Fog light switch (if so equipped) ................2-30
Hazard warning flasher switch .....................2-31
Horn ............................................2-31
Heated steering wheel (if so equipped) .............2-32
Heated seat (if so equipped).......................2-32
Vehicle dynamic control (VDC) off switch............2-33
Hill descent control switch (if so equipped)..........2-33
Power outlet .....................................2-34
Storage .........................................2-36
Storage trays .................................2-36
Storage bins ..................................2-37
2nd row under-seat storage bin .................2-38
Console box ..................................2-38
Glove box ....................................2-39
Sunglasses holder.............................2-39
ZREVIEW COPY—
2008 Pathfinder (pat)
Owners Manual—USA_English (nna)
03/23/07—debbie
X

Map pockets..................................2-40
Seat pockets..................................2-40
Cup holders ..................................2-40
Cargo area storage ............................2-42
Luggage hooks................................2-42
Cargo nets ...................................2-44
Roof rack .....................................2-46
Windows ........................................2-47
Power windows ...............................2-47
Sunroof (if so equipped)...........................2-50
Automatic sunroof .............................2-50
Interior lights .....................................2-51
Personal lights (if so equipped) ....................2-52
Map lights .......................................2-53
Cargo light ......................................2-53
HomeLinkTuniversal transceiver (if so equipped).....2-53
Programming HomeLinkT.......................2-54
Programming HomeLinkTfor Canadian
customers ....................................2-55
Operating the HomeLinkTuniversal
transceiver....................................2-55
Programming trouble-diagnosis .................2-56
Clearing the programmed information ............2-56
Reprogramming a single HomeLinkTbutton ......2-56
If your vehicle is stolen .........................2-56
ZREVIEW COPY—
2008 Pathfinder (pat)
Owners Manual—USA_English (nna)
03/23/07—debbie
X

1. Ventilators (P. 4-35)
2. Headlight/fog light (if so equipped)/turn
signal switch (P. 2-27)
3. Steering wheel switch for audio control
(if so equipped) (P. 4-85)
4. Driver supplemental air bag/horn
(P. 1-40, P. 2-31)
5. Meters, gauges and warning/indicator
lights (P. 2-3, 2-12)
6. Cruise control main/set switches
(P. 5-18)
7. Windshield wiper/washer switch and
rear window wiper/washer switch
(P. 2-24, P. 2-25)
8. Navigation system* (if so equipped)
9. Navigation system* controls
(if so equipped)
10. Front passenger supplemental air bag
(P. 1-40)
11. Upper and lower glove box (P. 2-39)
12. Power outlet (P. 2-34)
13. Heated seat switch (if so equipped)
(P. 2-32)
14. Hill descent control switch
(if so equipped) (P. 2-33)
15. Shift selector lever (P. 5-12)
LIC1223
INSTRUMENT PANEL
2-2 Instruments and controls
ZREVIEW COPY—
2008 Pathfinder (pat)
Owners Manual—USA_English (nna)
03/23/07—debbie
X

16. Vehicle dynamic control (VDC) OFF
switch (P. 2-33)
17. 4WD shift switch (if so equipped)
(P. 5-21)
18. Storage
19. Passenger air bag status light (P. 1-49)
20. Climate controls (P. 4-36, 4-44)
21. Hazard warning flasher switch (P. 2-31)
22. Ignition switch (P. 5-8)
23. Tilt steering wheel control (P. 3-24)
24. Heated steering wheel switch
(if so equipped)
25. Pedal position adjustment switch
(if so equipped) (P. 3-24)
26. Outside mirror controls (P. 3-28)
*: Refer to the separate Navigation System Own-
er’s Manual (if so equipped).
See the page number indicated in paren-
theses for operating details.
1. Warning/indicator lights
2. Tachometer
3. Speedometer
4. Fuel gauge
5. Voltmeter
6. Odometer/Twin trip odometer/Trip com-
puter (if so equipped)
7. Engine oil pressure gauge
8. Engine coolant temperature gauge
WIC1040
METERS AND GAUGES
Instruments and controls 2-3
ZREVIEW COPY—
2008 Pathfinder (pat)
Owners Manual—USA_English (nna)
03/23/07—debbie
X

1. Speedometer
2. Odometer
3. Change button
SPEEDOMETER AND ODOMETER
Speedometer
The speedometer indicates vehicle speed in
miles per hour (MPH) and kilometers per hour
(km/h).
Odometer/Twin trip odometer
The odometer/twin trip odometer is displayed
when the ignition switch is in the ON position.
The odometer records the total distance the ve-
hicle has been driven.
The twin trip odometer records the distance of
individual trips.
Changing the display:
For vehicles equipped with twin trip odometer,
pushing the change button changes the display
as follows:
Trip →Trip →Trip
WIC0912 With twin trip odometer
LIC0780
2-4 Instruments and controls
ZREVIEW COPY—
2008 Pathfinder (pat)
Owners Manual—USA_English (nna)
03/23/07—debbie
X

For vehicles equipped with trip computer, push-
ing the change button changes the display as
follows:
Trip →Trip →Distance to Empty →
Average speed →Average fuel consumption →
Journey time →Trip
For additional information, refer to “Trip com-
puter” later in this section.
For vehicles equipped with navigation system,
refer to “How to use the INFO button” in the
“Display screen, heater, air conditioner and audio
systems” section later in this manual.
Resetting the trip odometer:
Pushing the change button for more than 1 sec-
ond resets the trip odometer to zero.
TRIP COMPUTER (if so equipped)
The display of the trip computer is situated in the
speedometer display. When the ignition is turned
to ON, the display scrolls all the modes of the trip
computer and then shows the mode chosen be-
fore the ignition switch was turned OFF.
When the ignition switch is turned to ON, modes
of the trip computer can be selected by pushing
the trip computer change button. The following
modes can be selected:
Distance to empty (dte—mile or km)
The distance to empty (dte) mode provides you
with an estimation of the distance that can be
driven before refueling. The dte is constantly be-
ing calculated, based on the amount of fuel in the
fuel tank and the actual fuel consumption.
The display is updated every 30 seconds.
The dte mode includes a low range warning
feature: when the fuel level is low, the dte mode is
automatically selected and the digits blink in or-
der to draw the driver’s attention. Press the
change button if you wish to return to the mode
that was selected before the warning occurred.
The dte mark (dte) will remain blinking until the
vehicle is refueled.
When the fuel level drops even lower, the dte
display will change to (----).
NOTE:
●If the amount of fuel added while the
ignition switch is OFF is small, the dis-
play just before the ignition switch is
turned OFF may continue to be dis-
played.
●When driving uphill or rounding curves,
the fuel in the tank shifts, which may
momentarily change the display.
Average speed (MPH or km/h)
The average speed mode shows the average
vehicle speed since last reset. Resetting is done
by pressing the change button for more than
approximately 1 second. The display is updated
every 30 seconds. The first 30 seconds after a
reset, the display shows (----).
Average fuel consumption (Mpg or
l/100km)
The average fuel consumption mode shows the
average fuel consumption since the last reset.
Resetting is done by pressing the change button
With trip computer
LIC0781
Instruments and controls 2-5
ZREVIEW COPY—
2008 Pathfinder (pat)
Owners Manual—USA_English (nna)
03/23/07—debbie
X

for more than approximately 1 second. The dis-
play is updated every 30 seconds. At about the
first 1/3 miles (500 m) after a reset, the display
shows (----).
Journey time
The journey time mode shows the time since the
last reset. The displayed time can be reset by
pressing the change button for more than ap-
proximately 1 second.
Trip computer reset
Pushing the change button for more than 3 sec-
onds will reset all modes except Trip A and dis-
tance to empty (dte). TACHOMETER
The tachometer indicates engine speed in revo-
lutions per minute (rpm). Do not rev the engine
into the red zone s
1.
CAUTION
When engine speed approaches the red
zone, shift to a higher gear or reduce en-
gine speed. Operating the engine in the
red zone may cause serious engine
damage.
ENGINE COOLANT TEMPERATURE
GAUGE
The gauge indicates the engine coolant tempera-
ture. The engine coolant temperature is within the
normal range s
1when the gauge needle points
within the zone shown in the illustration.
The engine coolant temperature varies with the
outside air temperature and driving conditions.
LIC0738 LIC0739
2-6 Instruments and controls
ZREVIEW COPY—
2008 Pathfinder (pat)
Owners Manual—USA_English (nna)
03/23/07—debbie
X

CAUTION
If the gauge indicates coolant tempera-
ture near the hot (H) end of the normal
range, reduce vehicle speed to decrease
temperature. If the gauge is over the nor-
mal range, stop the vehicle as soon as
safely possible. If the engine is over-
heated, continued operation of the ve-
hicle may seriously damage the engine.
See “If your vehicle overheats” in the “In
case of emergency”section for immediate
action required.
FUEL GAUGE
The gauge indicates the approximate fuel level
in the tank.
The gauge may move slightly during braking,
turning, acceleration, or going up or down hills.
The gauge needle returns to E (Empty) after the
ignition key is turned to OFF.
The low fuel warning light comes on when the
amount of fuel in the tank is getting low.
Refill the fuel tank before the gauge regis-
ters E (Empty).
The indicates that the fuel-filler door is
located on the driver’s side of the vehicle.
CAUTION
●If the vehicle runs out of fuel,
the malfunction indicator light
(MIL) may come on. Refuel as soon as
possible. After a few driving trips,
the light should turn off. If the
light remains on after a few driving
trips, have the vehicle inspected by a
NISSAN dealer.
●For additional information, see “Mal-
function indicator light (MIL)” later in
this section.
LIC0740
Instruments and controls 2-7
ZREVIEW COPY—
2008 Pathfinder (pat)
Owners Manual—USA_English (nna)
03/23/07—debbie
X

ENGINE OIL PRESSURE GAUGE
The gauge indicates the engine lubrication sys-
tem oil pressure while the engine is running. The
needle should be in the middle of the gauge when
the engine is running.
CAUTION
●This gauge is not designed to indicate
low engine oil level. Use the dipstick to
check the oil level. (See “Engine oil” in
the “Maintenance and do-it-yourself”
section.)
●If the gauge needle does not move with
the proper amount of engine oil, have
the vehicle checked by a NISSAN
dealer. Continued vehicle operation in
such a condition could cause serious
damage to the engine.
VOLTMETER
When the ignition key is turned to the ON posi-
tion, the voltmeter indicates the battery voltage.
When the engine is running, it indicates the gen-
erator voltage.
While cranking the engine, the volts drop below
the normal range. If the needle is not in the normal
range (11 – 15 volts) s
1while the engine is
running, it may indicate that the charging system
is not functioning properly. Have the system
checked by a NISSAN dealer.
LIC0741 WIC1299
2-8 Instruments and controls
ZREVIEW COPY—
2008 Pathfinder (pat)
Owners Manual—USA_English (nna)
03/23/07—debbie
X

This unit measures terrestrial magnetism and in-
dicates heading direction of vehicle.
With the ignition switch in the ON position, press
the or button as described in the
charts below to activate various features of the
automatic anti-glare rearview mirror.
Type A
Push and hold
the
button for about:
Feature:
(Push button again for about 1 sec-
ond to change settings)
1 second Compass display toggles on/off
8 seconds Automatic anti-glare/indicator light
toggles on/off
11 seconds Compass zone can be changed to
correct false compass readings
13 seconds Compass enters calibration mode
Type B
Push and hold
the
button for about:
Feature:
(Push button again for about 1 sec-
ond to change settings)
1 second Compass display toggles on/off
8 seconds Compass zone can be changed to
correct false compass readings
10 seconds Compass enters calibration mode
For information about the automatic anti-glare
feature, refer to “Automatic anti-glare rearview
mirror” in the “Pre-driving checks and adjust-
ments” section.
COMPASS DISPLAY
Push the or button for about 1 sec-
ond when the ignition key is in the ON position to
toggle the outside temperature and compass
direction display s
1on or off. The display will
indicate the direction of the vehicle’s heading.
N: North
E: East
S: South
W: West
If the display reads “C”, calibrate the compass by
driving the vehicle in three complete circles at
less than 5 MPH (8 km/h).
Type A
WIC0904
COMPASS DISPLAY (if so equipped)
Instruments and controls 2-9
ZREVIEW COPY—
2008 Pathfinder (pat)
Owners Manual—USA_English (nna)
03/23/07—debbie
X

You can also calibrate the compass by driving
your vehicle on your everyday route. The com-
pass will be calibrated once it has tracked three
complete circles.
Type B
LIC0583
WIC0355
2-10 Instruments and controls
ZREVIEW COPY—
2008 Pathfinder (pat)
Owners Manual—USA_English (nna)
03/23/07—debbie
X

Zone variation change procedure
The difference between magnetic north and geo-
graphical north is known as variance. In some
areas, this difference can sometimes be great
enough to cause false compass readings. Follow
these instructions to set the variance for your
particular location if this happens:
1. Press and hold the button for about
11 seconds or the button for about 8
seconds. The current zone number will ap-
pear in the display. Release the button.
2. Find your current location on the zone map.
Refer to the illustration.
3. Press the or the button repeat-
edly to toggle through the zone numbers
until the desired number appears in the dis-
play. Once you have selected a zone num-
ber, the display will show a compass direc-
tion within a few seconds.
Inaccurate compass direction
The compass display is equipped with automatic
correction function. If the correct direction is not
shown, follow this procedure.
1. With the display turned on, press and hold
the button for about 13 seconds or
the for about 10 seconds. The “C”
icon in the compass display will illuminate.
2. Calibrate the compass by driving the vehicle
in three complete circles at a maximum
speed of 5 MPH (8 km/h).
3. After completing the circles, the display
should return to normal.
CAUTION
●Do not install a ski rack, antenna, etc.,
which are attached to the vehicle by
means of a magnet. They affect the op-
eration of the compass.
●When cleaning the mirror, use a paper
towel or similar material dampened
with glass cleaner. Do not spray glass
cleaner directly on the mirror as it may
cause the liquid cleaner to enter the
mirror housing.
Instruments and controls 2-11
ZREVIEW COPY—
2008 Pathfinder (pat)
Owners Manual—USA_English (nna)
03/23/07—debbie
X

or Anti-lock Braking System (ABS)
warning light
Low fuel warning light Front passenger air bag status light
Automatic transmission check warning light (if
so equipped)
Low tire pressure warning light High beam indicator light (Blue)
Automatic transmission oil temperature warn-
ing light
Low windshield washer fluid warning light Hill descent control indicator light (if so
equipped)
Automatic transmission park warning light
(model)
Seat belt warning light and chime Malfunction indicator light (MIL)
or Brake warning light Shift P warning light (if so equipped) Overdrive off indicator light (if so equipped)
Charge warning light Supplemental air bag warning light Security indicator light
Door open warning light Automatic transmission position indicator light Slip indicator light
Engine oil pressure warning light Cruise main switch indicator light Transfer 4LO position indicator light
(model)
4WD warning light ( model) Cruise set switch indicator light Turn signal/hazard indicator lights
Intelligent Key system warning light (if so
equipped)
4WD shift indicator light ( model) Vehicle dynamic control off indicator light
WARNING/INDICATOR LIGHTS AND
AUDIBLE REMINDERS
2-12 Instruments and controls
ZREVIEW COPY—
2008 Pathfinder (pat)
Owners Manual—USA_English (nna)
03/23/07—debbie
X

CHECKING BULBS
With all doors closed, apply the parking brake
and turn the ignition key to the ON position
without starting the engine. The following lights
will come on:
, or , , , ,
The following lights come on briefly and then go
off:
or , , , , , ,
,
If any light fails to come on, it may indicate
a burned-out bulb or an open circuit in the
electrical system. Have the system repaired
promptly.
WARNING LIGHTS
or Anti-lock Braking
System (ABS)
warning light
When the ignition switch is in the ON position,
the Anti-lock Braking System (ABS) warning light
illuminates and then turns off. This indicates the
ABS is operational.
If the ABS warning light illuminates while the
engine is running, or while driving, it may indicate
the ABS is not functioning properly. Have the
system checked by a NISSAN dealer.
If an ABS malfunction occurs, the anti-lock func-
tion is turned off. The brake system then operates
normally, but without anti-lock assistance. See
9Brake system9in the 9Starting and driving9sec-
tion.
Automatic transmission check
warning light (if so equipped)
When the ignition switch is turned ON, the light
comes on for about 2 seconds. If the light comes
on at any other time, it may indicate the automatic
transmission system is not functioning properly.
Have the system checked by a NISSAN dealer.
Automatic transmission oil
temperature warning light
This light comes on when the automatic transmis-
sion oil temperature is too high. If the light comes
on while driving, reduce the vehicle speed as
soon as safely possible until the light turns off.
CAUTION
Continued vehicle operation when the A/T
oil temperature warning light is on may
damage the automatic transmission.
Automatic transmission park
warning light ( model)
WARNING
●If the ATP light is ON, this indicates that
the automatic transmission P (Park) po-
sition will not function and the transfer
case is in neutral.
●When parking, always make sure that
the 4WD shift indicator light illuminates
and the parking brake is set. Failure to
engage the transfer position in 2WD,
AUTO, 4H or 4LO could result in the
vehicle moving unexpectedly, resulting
in serious personal injury or property
damage.
●Part time 4WD: Shift the 4WD switch
into the 2WD, 4H or 4LO position again
to turn off the ATP warning light when
the automatic transmission selector le-
ver is in the P position and the ATP
warning light is ON. (Before shifting the
4WD switch into the 4LO position, move
the automatic transmission selector le-
ver into the N position once, shift the
selector lever into P again and make
sure the ATP warning light is OFF.)
Instruments and controls 2-13
ZREVIEW COPY—
2008 Pathfinder (pat)
Owners Manual—USA_English (nna)
03/23/07—arosenma
X

●All mode 4WD: The warning light may
come on when the ignition switch is ON
and the automatic transmission lever is
shifted to the P position while shifting
the transfer case between 4H and 4LO.
Shift the 4WD shift switch to the 2WD,
AUTO, 4H, or 4LO position again to turn
off the ATP warning light when the
warning light comes on. (Before shift-
ing the 4WD switch into the 4LO posi-
tion or out of 4LO in the 4H position,
move the automatic transmission se-
lector lever into the N position.) Shift
the selector lever into the P position
and make sure that the 4WD shift indi-
cator light is ON and the ATP warning
light is OFF.)
This light indicates that the automatic transmis-
sion parking function is not engaged. If the trans-
fer control is not secured in any drive position
while the automatic transmission selector lever is
in the P (Park) position, the transmission will
disengage and the drive wheels will not lock.
or Brake warning light
This light functions for both the parking brake and
the foot brake systems.
Parking brake indicator
When the ignition key is in the ON position, the
light comes on when the parking brake is applied.
Low brake fluid warning light
When the ignition key is in the ON position, the
light warns of a low brake fluid level. If the light
comes on while the engine is running with the
parking brake not applied, stop the vehicle and
perform the following:
1. Check the brake fluid level. Add brake fluid
as necessary. See “Brake fluid” in the “Main-
tenance and do-it-yourself” section of this
manual.
2. If the brake fluid level is correct, have the
warning system checked by a NISSAN
dealer.
WARNING
●Your brake system may not be working
properly if the warning light is on. Driv-
ing could be dangerous. If you judge it
to be safe, drive carefully to the nearest
service station for repairs. Otherwise,
have your vehicle towed because driv-
ing it could be dangerous.
●Pressing the brake pedal with the en-
gine stopped and/or a low brake fluid
level may increase your stopping dis-
tance and braking will require greater
pedal effort as well as pedal travel.
●If the brake fluid level is below the
MINIMUM or MIN mark on the brake
fluid reservoir, do not drive until the
brake system has been checked at a
NISSAN dealer.
Charge warning light
If this light comes on while the engine is running,
it may indicate the charging system is not func-
tioning properly. Turn the engine off and check
the generator belt. If the belt is loose, broken,
missing, or if the light remains on, see a NISSAN
dealer immediately.
CAUTION
●Do not ground electrical accessories
directly to the battery terminal. Doing
so will bypass the variable control sys-
tem and the vehicle battery may not
charge completely. Refer to “Variable
voltage control system” in the “Mainte-
nance and do-it-yourself” section later
in this manual.
2-14 Instruments and controls
ZREVIEW COPY—
2008 Pathfinder (pat)
Owners Manual—USA_English (nna)
03/23/07—arosenma
X

●Do not continue driving if the generator
belt is loose, broken or missing.
Door open warning light
This light comes on when any of the doors are not
closed securely while the ignition key is in the ON
position.
Engine oil pressure warning
light
This light warns of low engine oil pressure. If the
light flickers or comes on during normal driving,
pull off the road in a safe area, stop the engine
immediately and call a NISSAN dealer or other
authorized repair shop.
The engine oil pressure warning light is not
designed to indicate a low oil level. Use the
dipstick to check the oil level. See “Engine oil” in
the “Maintenance and do-it-yourself” section of
this manual.
CAUTION
Running the engine with the engine oil
pressure warning light on could cause se-
rious damage to the engine almost imme-
diately. Such damage is not covered by
warranty. Turn off the engine as soon as it
is safe to do so.
4WD warning light
(model)
The 4WD warning light comes on when the key
switch is turned to ON. It turns off soon after the
engine is started.
If the engine or vehicle is not functioning properly,
the warning light will either remain illuminated or
blink. See “4WD warning light” in the “Starting
and driving” section.
CAUTION
●If the warning light comes on or blinks
during operation, have your vehicle
checked by a NISSAN dealer as soon as
possible.
●Do not drive on dry hard surface roads
in the 4H or 4LO position. If the 4WD
warning light turns on when you are
driving on dry hard surface roads:
– in the AUTO or 4H position, shift the
4WD shift switch to 2WD.
– in the 4LO position for all mode 4WD
vehicles, stop the vehicle and shift
the transmission selector lever to the
N position with the brake pedal de-
pressed and shift the 4WD shift
switch to 2WD.
– in the 4LO position for part time 4WD
vehicles, stop the vehicle and shift
the transmission selector lever to the
N position with the brake pedal de-
pressed and shift the 4WD shift
switch to 2WD.
●If the warning light is still on after the
above operation, have your vehicle
checked by a NISSAN dealer as soon as
possible.
Intelligent Key system warning
light (if so equipped)
The Intelligent Key system warning light illumi-
nates green when the ignition switch can be
turned. The Intelligent Key system warning light
illuminates red when the ignition switch cannot
be turned.
The Intelligent Key system warning light blinks
red if the Intelligent Key is taken outside of the
vehicle while the ignition switch is in the ACC or
ON position.
●If the Intelligent Key system warning light
blinks, make sure of the location of the Intel-
ligent Key as soon as possible. The Intelli-
gent Key should be carried by the driver
while operating the vehicle.
Instruments and controls 2-15
ZREVIEW COPY—
2008 Pathfinder (pat)
Owners Manual—USA_English (nna)
03/23/07—arosenma
X

●The Intelligent Key system warning light
turns off about 10 seconds after the Intelli-
gent Key is brought inside the vehicle.
The Intelligent Key system warning light blinks
green indicating that the Intelligent Key battery is
almost discharged.
See “Intelligent Key system” in the “Pre-driving
checks and adjustments” section.
Low fuel warning light
This light comes on when the fuel level in the fuel
tank is getting low. Refuel as soon as it is conve-
nient, preferably before the fuel gauge reaches E
(Empty). There will be a small reserve of fuel
in the tank when the fuel gauge needle
reaches E (Empty).
Low tire pressure warning
light
Your vehicle is equipped with a Tire Pressure
Monitoring System (TPMS) that monitors the tire
pressure of all tires except the spare.
The low tire pressure warning light warns of low
tire pressure or indicates that the TPMS is not
functioning properly.
After the ignition switch is placed in the ON
position, this light illuminates for about 1 second
and turns off.
Low tire pressure warning:
If the vehicle is being driven with low tire pres-
sure, the warning light will illuminate. If you select
the tire pressure information (if so equipped) in
the display, the LOW PRESSURE warning mes-
sage will be displayed. The tire pressure for each
tire will also be displayed.
When the low tire pressure warning light illumi-
nates, you should stop and adjust the tire pres-
sure to the recommended COLD tire pressure
shown on the Tire and Loading Information label.
The low tire pressure warning light does not
automatically turn off when the tire pressure is
adjusted. After the tire is inflated to the recom-
mended pressure, the vehicle must be driven at
speeds above 16 MPH (25 km/h) to activate the
TPMS and turn off the low tire pressure warning
light. Use a tire pressure gauge to check the tire
pressure.
For additional information, see “Tire Pressure
Monitoring System (TPMS)” in the “Starting and
driving”section and in the “In case of emergency”
section.
TPMS malfunction:
If the TPMS is not functioning properly, the low
tire pressure warning light will flash for approxi-
mately 1 minute when the ignition switch is
placed in the ON position. The light will remain on
after the 1 minute. Have the system checked by a
NISSAN dealer.
For additional information, see “Tire Pressure
Monitoring System (TPMS)” in the “Starting and
driving” section.
WARNING
●If the light does illuminate with the ig-
nition switch in the ON position, have
the vehicle checked by a NISSAN dealer
as soon as possible.
2-16 Instruments and controls
ZREVIEW COPY—
2008 Pathfinder (pat)
Owners Manual—USA_English (nna)
03/23/07—debbie
X

●If the light illuminates while driving,
avoid sudden steering maneuvers or
abrupt braking, reduce vehicle speed,
pull off the road to a safe location and
stop the vehicle as soon as possible.
Driving with under-inflated tires may
permanently damage the tires and in-
crease the likelihood of tire failure. Se-
rious vehicle damage could occur and
may lead to an accident and could re-
sult in serious personal injury. Check
the tire pressure for all four tires. Adjust
the tire pressure to the recommended
COLD tire pressure shown on the Tire
and Loading Information label to turn
the low tire pressure warning light OFF.
If the light still comes on while driving
after adjusting the tire pressure, a tire
may be flat. If you have a flat tire, re-
place it with a spare tire as soon as
possible.
●When a spare tire is mounted or a wheel
is replaced, tire pressure will not be
indicated, the TPMS will not function
and the low tire pressure warning light
will flash for approximately 1 minute.
The light will remain on after 1 minute.
Contact your NISSAN dealer as soon as
possible for tire replacement and/or
system resetting.
●Replacing tires with those not originally
specified by NISSAN could affect the
proper operation of the TPMS.
CAUTION
●The TPMS is not a substitute for the
regular tire pressure check. Be sure to
check the tire pressure regularly.
●If the vehicle is being driven at speeds
of less than 16 MPH (25 km/h), the
TPMS may not operate correctly.
●Be sure to install the specified size of
tires to the 4 wheels correctly.
Low windshield washer fluid
warning light
This light comes on when the windshield washer
fluid is at a low level. Add windshield washer fluid
as necessary. See “Window washer fluid” in the
“Maintenance and do-it-yourself” section of this
manual.
Seat belt warning light and
chime
The light and chime remind you to fasten your
seat belts. The light illuminates whenever the
ignition key is turned to the ON or START position
and remains illuminated until the driver’s seat belt
is fastened. At the same time, the chime sounds
for about 6 seconds unless the driver’s seat belt
is securely fastened.
The seat belt warning light may also illuminate if
the front passenger’s seat belt is not fastened
when the front passenger’s seat is occupied . For
7 seconds after the ignition switch is in the ON
position, the system does not activate the warn-
ing light for the front passenger.
Refer to “Seat belts” in the “Safety—Seats, seat
belts and supplemental restraint system” section
for precautions on seat belt usage.
Shift P warning light (if so
equipped)
This light blinks red and the key reminder chime
sounds if the shift selector lever is in any position
other than P (Park) and the ignition switch is in
the OFF position. Return the shift selector lever
to P (Park) with the ignition switch in the OFF
position and the light will turn off. Place the
ignition switch in the LOCK position and the
chime will turn off.
Supplemental air bag warning
light
When the ignition key is in the ON or START
position, the supplemental air bag warning light
Instruments and controls 2-17
ZREVIEW COPY—
2008 Pathfinder (pat)
Owners Manual—USA_English (nna)
03/23/07—debbie
X

illuminates for about 7 seconds and then turns
off. This means the system is operational.
If any of the following conditions occur, the
supplemental front air bags, front seat-mounted
side-impact supplemental air bags (if so
equipped), roof-mounted curtain side-impact
and rollover supplemental air bags (if so
equipped) and seat belt with pretensioner sys-
tems need servicing and your vehicle must be
taken to a NISSAN dealer:
●The supplemental air bag warning light re-
mains on after approximately 7 seconds.
●The supplemental air bag warning light
flashes intermittently.
●The supplemental air bag warning light does
not come on at all.
Unless checked and repaired, the supplemental
restraint system (air bag system) and/or the seat
belts with pretensioner systems may not function
properly. For additional details see “Supplemen-
tal restraint system” in the “Safety—Seats, seat
belts and supplemental restraint system” section
of this manual.
WARNING
If the supplemental air bag warning light
is on, it could mean that the supplemental
front air bag, front seat-mounted side-
impact supplemental air bags (if so
equipped), roof-mounted curtain side-
impact and rollover supplemental air bags
(if so equipped) and/or seat belts with
pretensioner systems will not operate in
an accident. To help avoid injury to your-
self or others, have your vehicle checked
by a NISSAN dealer as soon as possible.
INDICATOR LIGHTS
Automatic transmission
position indicator light
When the ignition key is turned to the ON posi-
tion, this indicator light shows the automatic
transmission selector lever position. See “Driving
the vehicle” in the “Starting and driving” section
of this manual.
Cruise main switch indicator
light
The light comes on when the cruise control main
switch is pushed. The light goes out when the
main switch is pushed again. When the cruise
main switch indicator light comes on, the cruise
control system is operational.
Cruise set switch indicator
light
The light comes on while the vehicle speed is
controlled by the cruise control system. If the light
blinks while the engine is running, it may indicate
the cruise control system is not functioning prop-
erly. Have the system checked by a NISSAN
dealer.
4WD shift indicator light
(model)
The light should turn off within 1 second after
turning the ignition switch to ON.
While the engine is running, the 4WD shift indi-
cator light will illuminate the position selected by
the 4WD shift switch.
The 4WD shift indicator light may blink
while shifting from one drive mode to the
other.
Front passenger air bag
status light
The front passenger air bag status light ( )
will be lit and the passenger front air bag will be
OFF depending on how the front passenger seat
is being used.
2-18 Instruments and controls
ZREVIEW COPY—
2008 Pathfinder (pat)
Owners Manual—USA_English (nna)
03/23/07—debbie
X

For front passenger air bag status light operation,
see “Front passenger air bag and status light” in
the “Safety — Seats, seat belts and supplemental
restraint system” section of this manual.
High beam indicator light
(blue)
This blue light comes on when the headlight high
beams are on and goes out when the low beams
are selected.
The high beam indicator light also comes on
when the passing signal is activated.
Hill descent control system on
indicator light (if so equipped)
When the ignition switch is turned ON, this light
comes on briefly and then turns off.
The light comes on when the hill descent control
system is activated.
If the hill descent control switch is on and the
indicator light blinks, the system is not engaged.
If the indicator light does not come on or blink
when the hill descent switch is on, the system
may not be functioning properly. Have the system
checked by a NISSAN dealer.
For additional information, see “Hill descent con-
trol switch” later in this section and “Hill descent
control system” in the “Starting and driving” sec-
tion of this manual.
Malfunction indicator light
(MIL)
If this indicator light comes on steady or blinks
while the engine is running, it may indicate a
potential emission control malfunction.
The malfunction indicator light may also come on
steady if the fuel-filler cap is loose or missing, or if
the vehicle runs out of fuel. Check to make sure
the fuel-filler cap is installed and closed tightly,
and that the vehicle has at least 3 gallons (11.4
liters) of fuel in the fuel tank.
After a few driving trips, the light should
turn off if no other potential emission control
system malfunction exists.
If this indicator light comes on steady for 20
seconds and then blinks for 10 seconds when
the engine is not running, it indicates that the
vehicle is not ready for an emission control sys-
tem inspection/maintenance test. See “Readi-
ness for inspection/maintenance (I/M) test”in the
“Technical and consumer information” section of
this manual.
Operation
The malfunction indicator light will come on in
one of two ways:
●Malfunction indicator light on steady — An
emission control system malfunction has
been detected. Check the fuel-filler cap. If
the fuel-filler cap is loose or missing, tighten
or install the cap and continue to drive the
vehicle. The light should turn off after
a few driving trips. If the light does not
turn off after a few driving trips, have the
vehicle inspected by a NISSAN dealer. You
do not need to have your vehicle towed to
the dealer.
●Malfunction indicator light blinking — An en-
gine misfire has been detected which may
damage the emission control system. To re-
duce or avoid emission control system dam-
age:
– do not drive at speeds above 45 MPH
(72 km/h).
– avoid hard acceleration or deceleration.
– avoid steep uphill grades.
– if possible, reduce the amount of cargo
being hauled or towed.
Instruments and controls 2-19
ZREVIEW COPY—
2008 Pathfinder (pat)
Owners Manual—USA_English (nna)
03/23/07—debbie
X

The malfunction indicator light may stop blinking
and come on steady. Have the vehicle inspected
by a NISSAN dealer. You do not need to have
your vehicle towed to the dealer.
CAUTION
Continued vehicle operation without hav-
ing the emission control system checked
and repaired as necessary could lead to
poor driveability, reduced fuel economy,
and possible damage to the emission con-
trol system.
Overdrive off indicator light
(A/T model) (if so equipped)
This light comes on when the overdrive function
is OFF.
The automatic transmission overdrive function is
controlled by the overdrive switch.
For additional information, see “Driving the ve-
hicle” in the “Starting and driving” section of this
manual.
Security indicator light
This light blinks whenever the ignition switch is in
the LOCK, OFF or ACC position. This function
indicates the security system equipped on the
vehicle is operational.
For additional information, see “Security sys-
tems” later in this section.
Slip indicator light
This indicator light will blink when the traction
control system is limiting wheel spin. Slippery
road conditions may exist if the slip indicator
blinks on. If this happens, adjust your driving
accordingly.
The slip indicator light also comes on when you
turn the ignition key to the ON position. The light
will turn off after about 2 seconds if the system is
operational. If the light does not come on or does
not go off, have the traction control system
checked by a NISSAN dealer.
If the battery is removed or discharged, the trac-
tion control system is disabled and the slip indi-
cator light will not turn off after 2 seconds when
the ignition switch is turned to the ON position.
To reset the system, you must perform the reset
procedure. Refer to “Vehicle dynamic control
(VDC) system” in the “Starting and driving” sec-
tion of this manual.
If the light does not go off after performing the
reset procedure, have the traction control system
checked by a NISSAN dealer.
Transfer 4LO position
indicator light ( model)
The light should turn off within 1 second after
turning the ignition switch to ON.
This light comes on when the 4WD shift switch is
set in the 4LO position with the ignition key in the
ON position.
The transfer case may be damaged if you shift the
switch while driving.
Make sure the transfer 4LO position indicator
light turns on when you shift the 4WD shift switch
to 4LO.
The indicator light may blink while shifting
from one drive mode to the other.
All mode 4WD (if so equipped)
If the 4WD shift switch is set in the 4LO position
and the light blinks, stop the vehicle, drive slowly
forward and the light will turn on.
When you shift between 4H and 4LO, stop the
vehicle and shift the transmission selector lever
to the N position with the brake pedal depressed,
then depress and turn the 4WD shift switch to
4LO or 4H.
2-20 Instruments and controls
ZREVIEW COPY—
2008 Pathfinder (pat)
Owners Manual—USA_English (nna)
03/23/07—debbie
X

You cannot move the transfer 4WD shift switch
between 4H and 4LO unless you stop the vehicle
and shift the transmission selector lever to the N
position with the brake pedal depressed.
Part time 4WD (if so equipped)
The 4LO indicator light must stop blinking and
remain illuminated or turn off before shifting the
transmission into gear. If the transmission selec-
tor lever is shifted from the N position to any other
gear when the 4LO indicator light is blinking, the
vehicle may move unexpectedly.
When you shift between 4H and 4LO, stop the
vehicle and shift the transmission selector lever
to the N position with the brake pedal depressed,
then depress and turn the 4WD shift switch to
4LO or 4H.
You cannot move the transfer 4WD shift switch
between 4H and 4LO unless you stop the vehicle
and shift the transmission selector lever to the N
position with the brake pedal depressed.
Turn signal/hazard indicator
lights
The appropriate light flashes when the turn signal
switch is activated.
Both lights flash when the hazard switch is turned
on.
Vehicle dynamic control off
indicator light
This indicator light comes on when the vehicle
dynamic control off switch is pushed to OFF, the
transfer case is in the 4LO position (
model), or when the vehicle dynamic control sys-
tem is not functioning properly. This indicates the
vehicle dynamic control system is not operating.
Push the vehicle dynamic control off switch again
or restart the engine and the system will operate
normally. See “Vehicle dynamic control (VDC)
system” in the “Starting and driving” section of
this manual.
The vehicle dynamic control light also comes on
when you turn the ignition key to the ON position.
The light will turn off after about 2 seconds if the
system is operational. If the light stays on or
comes on along with the SLIP indicator light
while you are driving, have the vehicle dynamic
control system checked by a NISSAN dealer.
If the battery is removed or discharged, the ve-
hicle dynamic control system is disabled and the
VDC indicator light will not turn off after 2 sec-
onds when the ignition switch is turned to the ON
position. To reset the system, you must perform
the reset procedure. Refer to “Vehicle dynamic
control (VDC) system” in the “Starting and driv-
ing” section of this manual.
If the light does not go off after performing the
reset procedure, have the traction control system
checked by a NISSAN dealer.
While the vehicle dynamic control system is op-
erating, you might feel slight vibration or hear the
system working when starting the vehicle or ac-
celerating, but this is normal.
AUDIBLE REMINDERS
Brake pad wear warning
The disc brake pads have audible wear warnings.
When a disc brake pad requires replacement, it
makes a high pitched scraping sound when the
vehicle is in motion, whether or not the brake
pedal is depressed. Have the brakes checked as
soon as possible if the warning sound is heard.
Key reminder chime
A chime sounds if the driver’s door is opened while
the key is left in the ignition switch. Remove the key
and take it with you when leaving the vehicle.
Light reminder chime
With the ignition switch in the OFF position, a
chime sounds when the driver’s door is opened if
the headlights or parking lights are on.
Turn the headlight control switch off before leav-
ing the vehicle.
Instruments and controls 2-21
ZREVIEW COPY—
2008 Pathfinder (pat)
Owners Manual—USA_English (nna)
03/23/07—debbie
X

Your vehicle has two types of security systems:
●Vehicle security system
●NISSAN Vehicle Immobilizer System
VEHICLE SECURITY SYSTEM
The vehicle security system provides visual and
audible alarm signals if someone opens the doors
when the system is armed. It is not, however, a
motion detection type system that activates when
a vehicle is moved or when a vibration occurs.
The system helps deter vehicle theft but cannot
prevent it, nor can it prevent the theft of interior or
exterior vehicle components in all situations. Al-
ways secure your vehicle even if parking for a
brief period. Never leave your keys in the ignition,
and always lock the vehicle when unattended. Be
aware of your surroundings, and park in secure,
well-lit areas whenever possible.
Many devices offering additional protection, such
as component locks, identification markers, and
tracking systems, are available at auto supply
stores and specialty shops. Your NISSAN dealer
may also offer such equipment. Check with your
insurance company to see if you may be eligible
for discounts for various theft protection features.
How to arm the vehicle security
system
1. Close all windows and the glass hatch. (The
system can be armed even if the win-
dows are open. However, the glass
hatch must be closed.)
2. Turn the ignition switch to the LOCK posi-
tion and remove the key.
3. Close all doors. Lock all doors. The doors
can be locked with:
●the power door lock switch (if the door is
opened, locked and then closed).
●the key — master or mechanical (Intelli-
gent Key models).
●any request switch (Intelligent Key mod-
els).
●the keyfob or Intelligent Key.
Keyfob and Intelligent Key operation:
●Push the button. All doors lock.
The hazard lights flash twice and the horn
beeps once to indicate all doors are
locked.
●When the button is pushed with
all doors locked, the hazard lights flash
twice and the horn beeps once as a re-
minder that the doors are already locked.
The horn may or may not beep. Refer to
“Silencing the horn beep feature” in the Pre-
driving checks and adjustments” section or
“Comfort & Convenience settings” in the
“Monitor, climate, audio, phone and voice
recognition systems” section.
WIC0841
SECURITY SYSTEMS
2-22 Instruments and controls
ZREVIEW COPY—
2008 Pathfinder (pat)
Owners Manual—USA_English (nna)
03/23/07—debbie
X

4. Confirm that the indicator light comes
on. The light stays on for about 30
seconds. The vehicle security system is now
pre-armed. After about 30 seconds the ve-
hicle security system automatically shifts
into the armed phase. The light begins
to flash once every 3 seconds. If, during the
30-second pre-arm time period, the driver’s
door is unlocked by the key, a request
switch, the keyfob or Intelligent Key, or if the
ignition switch is turned to ACC or ON, the
system will not arm.
●If the key is turned slowly when locking
the driver’s door, the system may not
arm. Furthermore, if the key is turned
beyond the vertical position toward the
unlock position to remove the key, the
system may be disarmed when the key
is removed. If the indicator light fails to
glow for 30 seconds, unlock the door
once and lock it again.
●Even when the driver and/or passen-
gers are in the vehicle, the system will
arm with all doors closed and locked
with the ignition key in the OFF posi-
tion.
Vehicle security system activation
The vehicle security system will give the following
alarm:
●The headlights blink and the horn sounds
intermittently.
●The alarm automatically turns off after ap-
proximately 50 seconds. However, the alarm
reactivates if the vehicle is tampered with
again. The alarm can be shut off by unlocking
the driver’s door with the key, a request
switch or by pressing the button on
the keyfob or Intelligent Key.
The alarm is activated by:
●opening a door without using the key or
keyfob (even if the door is unlocked by using
the inside lock knob or the power door lock
switch).
●opening the glass hatch without unlocking
the lift gate.
How to stop an activated alarm
The alarm stops only by unlocking the driver’s
door with the key, pressing the button on
the keyfob or Intelligent Key, or by unlocking all
doors with any request switch (Intelligent Key
models).
NISSAN VEHICLE IMMOBILIZER
SYSTEM
The NISSAN Vehicle Immobilizer System will not
allow the engine to start without the use of a
registered key.
If the engine fails to start using a registered key
(for example, when interference is caused by
another registered key, an automated toll road
device or automatic payment device on the key
ring), restart the engine using the following pro-
cedures:
1. Leave the ignition switch in the ON position
for approximately 5 seconds.
2. Turn the ignition switch to the OFF or LOCK
position, and wait approximately 10 sec-
onds.
3. Repeat steps 1 and 2.
4. Restart the engine while holding the device
(which may have caused the interference)
separate from the registered key.
If the no start condition re-occurs, NISSAN rec-
ommends placing the registered key on a sepa-
rate key ring to avoid interference from other
devices.
Instruments and controls 2-23
ZREVIEW COPY—
2008 Pathfinder (pat)
Owners Manual—USA_English (nna)
03/23/07—debbie
X

Statement related to Section 15 of FCC
Rules for NISSAN Vehicle Immobilizer Sys-
tem (CONT ASSY — IMMOBILIZER, ANT
ASSY — IMMOBILIZER)
This device complies with part 15 of the
FCC Rules and RSS-210 of Industry
Canada. Operation is subject to the follow-
ing two conditions;
(1) This device may not cause harmful in-
terference, and (2) this device must accept
any interference received, including inter-
ference that may cause undesired opera-
tion of the device.
CHANGES OR MODIFICATIONS NOT EX-
PRESSLY APPROVED BY THE PARTY RE-
SPONSIBLE FOR COMPLIANCE COULD
VOID THE USER’S AUTHORITY TO OPER-
ATE THE EQUIPMENT.
Security indicator light
The security indicator light blinks whenever the
ignition switch is in the LOCK, OFF or ACC
position. This function indicates the NISSAN Ve-
hicle Immobilizer System is operational.
If the NISSAN Vehicle Immobilizer System is mal-
functioning, the light will remain on while the
ignition key is in the ON position.
If the light still remains on and/or the en-
gine will not start, see a NISSAN dealer for
NISSAN Vehicle Immobilizer System ser-
vice as soon as possible. Please bring all
registered keys that you have when visiting
your NISSAN dealer for service.
SWITCH OPERATION
The windshield wiper and washer operates when
the ignition switch is in the ON position.
Push the lever down to operate the wiper at the
following speed:
s
1Intermittent (INT) — intermittent operation
can be adjusted by turning the knob toward
s
A(Slower) or s
B(Faster). Also, the inter-
mittent operation speed varies in accor-
dance with the vehicle speed. (For example,
when the vehicle speed is high, the intermit-
tent operation speed will be faster.)
LIC0474 WIC0843
WINDSHIELD WIPER AND WASHER
SWITCH
2-24 Instruments and controls
ZREVIEW COPY—
2008 Pathfinder (pat)
Owners Manual—USA_English (nna)
03/23/07—debbie
X

NOTE:
You can turn on or turn off the driving
speed dependent intermittent wiper func-
tion for vehicles with navigation system.
Refer to “Comfort & Convenience settings”
in the “Monitor, climate, audio, phone and
voice recognition systems” section later in
this manual.
s
2Low (LO) — continuous low speed operation
s
3High (HI) — continuous high speed opera-
tion
Push the lever up s
4to have one sweep opera-
tion (MIST) of the wiper.
Pull the lever toward you s
5to operate the
washer. The wiper will also operate several times.
WARNING
In freezing temperatures the washer solu-
tion may freeze on the windshield and
obscure your vision which may lead to an
accident. Warm the windshield with the
defroster before you wash the windshield.
CAUTION
●Do not operate the washer continu-
ously for more than 30 seconds.
●Do not operate the washer if the reser-
voir tank is empty.
●Do not fill the window washer reservoir
tank with washer fluid concentrates at
full strength. Some methyl alcohol
based washer fluid concentrates may
permanently stain the grille if spilled
while filling the window washer reser-
voir tank.
●Pre-mix washer fluid concentrates with
water to the manufacturer’s recom-
mended levels before pouring the fluid
into the window washer reservoir tank.
Do not use the window washer reservoir
tank to mix the washer fluid concen-
trate and water.
The rear window wiper and washer operate when
the ignition switch is in the ON position.
Turn the switch clockwise from the OFF position
to operate the wiper.
s
1Intermittent (INT) – intermittent operation
(not adjustable)
s
2ON – continuous low speed operation
Push the switch forward s
3to operate the
washer. The wiper will also operate several times.
WIC0844
REAR WINDOW WIPER AND
WASHER SWITCH
Instruments and controls 2-25
ZREVIEW COPY—
2008 Pathfinder (pat)
Owners Manual—USA_English (nna)
03/23/07—debbie
X

WARNING
In freezing temperatures the washer solu-
tion may freeze on the window and ob-
scure your vision. Warm the rear window
with the defroster before you wash the
rear window.
CAUTION
●Do not operate the washer continu-
ously for more than 30 seconds.
●Do not operate the washer if the reser-
voir tank is empty.
●Do not fill the window washer reservoir
tank with washer fluid concentrates at
full strength. Some methyl alcohol
based washer fluid concentrates may
permanently stain the grille if spilled
while filling the window washer reser-
voir tank.
●Pre-mix washer fluid concentrates with
water to the manufacturer’s recom-
mended levels before pouring the fluid
into the window washer reservoir tank.
Do not use the window washer reservoir
tank to mix the washer fluid concen-
trate and water.
To defrost the rear window glass and outside
mirrors (if so equipped), start the engine and
push the rear window defroster switch on. The
rear window defroster indicator light comes on.
Push the switch again to turn the defroster off.
The rear window defroster automatically turns off
after approximately 15 minutes.
CAUTION
When cleaning the inner side of the rear
window, be careful not to scratch or dam-
age the rear window defroster.
Type A
LIC0782
Type B
LIC1173
REAR WINDOW AND OUTSIDE
MIRROR (if so equipped)
DEFROSTER SWITCH
2-26 Instruments and controls
ZREVIEW COPY—
2008 Pathfinder (pat)
Owners Manual—USA_English (nna)
03/23/07—debbie
X

HEADLIGHT CONTROL SWITCH
Lighting
s
1When turning the switch to the posi-
tion, the front parking, tail, license plate and
instrument panel lights come on.
s
2When turning the switch to the posi-
tion, the headlights come on and all the other
lights remain on.
CAUTION
Use the headlights with the engine run-
ning to avoid discharging the vehicle
battery.
Type A
LIC0560
Type B
LIC0687
Type C
LIC0688
HEADLIGHT AND TURN SIGNAL
SWITCH
Instruments and controls 2-27
ZREVIEW COPY—
2008 Pathfinder (pat)
Owners Manual—USA_English (nna)
03/23/07—debbie
X

Autolight system (if so equipped)
The autolight system allows the headlights to be
set so they turn on and off automatically. The
autolight system can:
●Turn on the headlights, front parking, tail,
license plate and instrument panel lights au-
tomatically when it is dark.
●Turn off all the lights when it is light.
●Keep all the lights on for 45 seconds after
you turn the key to OFF and all doors are
closed.
To turn on the autolight system:
1. Turn the headlight switch to the AUTO posi-
tion s
1.
2. Turn the ignition key to ON.
3. The autolight system automatically turns the
headlights on and off.
Initially, if the ignition switch is turned OFF and a
door is opened and left open, the headlights
remain ON for 5 minutes. If another door is
opened during the 5 minutes, then the 5 minute
timer is reset.
To turn the autolight system off, turn the switch to
the OFF, ,or position. Be sure you do not put anything on top of
the autolight sensor s
1located on the top
side of the instrument panel. The autolight
sensor controls the autolight; if it is cov-
ered, the autolight sensor reacts as if it is
dark out and the headlights will illuminate.
If this occurs while parked with the engine
off and the key in the ON position, your
vehicle’s battery could become discharged.
LIC0561 LIC0835
2-28 Instruments and controls
ZREVIEW COPY—
2008 Pathfinder (pat)
Owners Manual—USA_English (nna)
03/23/07—debbie
X

Headlight beam select
s
1To select the high beam function, push the
lever forward. The high beam lights come on
and the light illuminates.
s
2Pull the lever back to select the low beam.
s
3Pulling and releasing the lever flashes the
headlight high beams on and off.
Battery saver system
If the ignition switch is turned OFF while the
headlight switch is in the or posi-
tion, the headlights will turn off after 5 minutes.
After the headlights automatically turn off with the
headlight switch in the or position,
the headlights will illuminate again for 5 minutes if
the headlight switch is moved to the OFF position
and then turned to the or position.
CAUTION
Even though the battery saver feature au-
tomatically turns off the headlights after a
period of time, you should turn the head-
light switch to the OFF position when the
engine is not running to avoid discharging
the vehicle battery.
DAYTIME RUNNING LIGHT SYSTEM
(Canada only)
The headlights automatically illuminate at a re-
duced intensity when the engine is started with
the parking brake released. The daytime running
lights operate with the headlight switch in the
OFF position or in the position. Turn the
headlight switch to the position for full
illumination when driving at night.
If the parking brake is applied before the engine is
started, the daytime running lights do not illumi-
nate. The daytime running lights illuminate when
the parking brake is released. The daytime run-
ning lights will remain on until the ignition switch
is turned off.
WARNING
When the daytime running light system is
active, tail lights on your vehicle are not
on. It is necessary at dusk to turn on your
headlights. Failure to do so could cause
an accident injuring yourself and others.
LIC0562
Instruments and controls 2-29
ZREVIEW COPY—
2008 Pathfinder (pat)
Owners Manual—USA_English (nna)
03/23/07—debbie
X

INSTRUMENT BRIGHTNESS
CONTROL
The instrument brightness control operates when
the headlight control switch is in
the , or AUTO position (with auto-
lights activated).
Turn the control s
Ato adjust the brightness of
instrument panel lights when driving at night.
TURN SIGNAL SWITCH
Turn signal
s
1Move the lever up or down to signal the
turning direction. When the turn is com-
pleted, the turn signals cancel automatically.
Lane change signal
s
2To signal a lane change, move the lever up or
down to the point where the indicator light
begins to flash, but the lever does not latch.
FOG LIGHT SWITCH (if so equipped)
To turn the fog lights on, turn the headlight switch
to the position, then turn the fog light
switch to the position.
To turn the fog lights on with the headlight switch
in the AUTO position (if so equipped), the head-
lights must be on, then turn the fog light switch to
the position.
To turn the fog lights off, turn the fog light switch
to the OFF position.
The headlights must be on and the low beams
selected for the fog lights to operate. The fog
lights automatically turn off when the high beam
headlights are selected.
WIC0917 LIC0563 LIC0393
2-30 Instruments and controls
ZREVIEW COPY—
2008 Pathfinder (pat)
Owners Manual—USA_English (nna)
03/23/07—debbie
X

Push the switch on to warn other drivers when
you must stop or park under emergency condi-
tions. All turn signal lights flash.
WARNING
●If stopping for an emergency, be sure to
move the vehicle well off the road.
●Do not use the hazard warning flashers
while moving on the highway unless
unusual circumstances force you to
drive so slowly that your vehicle might
become a hazard to other traffic.
●Turn signals do not work when the haz-
ard warning flasher lights are on.
The flashers will operate with the ignition switch
in any position.
Some state laws may prohibit the use of
the hazard warning flasher switch while
driving.
To sound the horn, push the area near the horn
icons on the steering wheel.
WARNING
Do not disassemble the horn. Doing so
could affect proper operation of the
supplemental front air bag system. Tam-
pering with the supplemental front air bag
system may result in serious personal
injury.
LIC0394 LIC0604
HAZARD WARNING FLASHER
SWITCH HORN
Instruments and controls 2-31
ZREVIEW COPY—
2008 Pathfinder (pat)
Owners Manual—USA_English (nna)
03/23/07—debbie
X

The heated steering wheel system is designed to
operate only when the surface temperature of the
steering wheel is below approximately 68°F
(20°C).
Push the heated steering wheel switch to warm
the steering wheel after the engine starts. The
indicator light will come on.
If the surface temperature of the steering wheel is
below 68°F (20°C), the system will heat the
steering wheel to approximately 86°F (30°C).
The heater is controlled by a thermostat, auto-
matically turning the heater on and off. The indi-
cator light will remain on as long as the switch is
on.
Push the switch again to turn the heated steering
wheel off manually. The indicator light will go off.
NOTE:
The heated steering wheel switch is
equipped with a 30 minute timer. After the
switch has been activated for 30 minutes,
the system will automatically turn off. If the
surface temperature of the steering wheel
is above 68°F (20°C) when the switch is
turned on, the system will not heat the
steering wheel. This is not a malfunction.
The front seats are warmed by built-in heaters (if
so equipped).
1. Start the engine.
2. Push the LO or HI position of the switch, as
desired, depending on the temperature. The
indicator light in the switch will illuminate.
The heater is controlled by a thermostat,
automatically turning the heater on and off.
The indicator light will remain on as long as
the switch is on.
3. When the seat is warmed or before you
leave the vehicle, be sure to turn the switch
off.
LIC0421 LIC1041
HEATED STEERING WHEEL (if so
equipped) HEATED SEAT (if so equipped)
2-32 Instruments and controls
ZREVIEW COPY—
2008 Pathfinder (pat)
Owners Manual—USA_English (nna)
03/23/07—debbie
X

CAUTION
●Do not use the seat heater for extended
periods or when no one is using the
seat.
●Do not put anything on the seat which
insulates heat, such as a blanket, cush-
ion, seat cover, etc. Otherwise, the seat
may become overheated.
●Do not place anything hard or heavy on
the seat or pierce it with a pin or similar
object. This may result in damage to the
heater.
●Any liquid spilled on the heated seat
should be removed immediately with a
dry cloth.
●When cleaning the seat, never use
gasoline, benzine, thinner, or any simi-
lar materials.
●If any abnormalities are found or the
heated seat does not operate, turn the
switch off and have the system checked
by your NISSAN dealer.
●The battery could run down if the seat
heater is operated while the engine is
not running.
The vehicle should be driven with the Vehicle
Dynamic Control (VDC) system on for most driv-
ing conditions.
If the vehicle is stuck in mud or snow, the VDC
system reduces the engine output to reduce
wheel spin. The engine speed will be reduced
even if the accelerator is depressed to the floor. If
maximum engine power is needed to free a stuck
vehicle, turn the VDC system off.
To turn off the VDC system, push the VDC OFF
switch. The indicator will come on.
Push the VDC OFF switch again or restart the engine
to turn ON the system. See “Vehicle dynamic control
(VDC) system” in the “Starting and driving” section.
WARNING
●Never rely solely on the hill descent
control system to control vehicle speed
when driving on steep downhill grades.
Always drive carefully when using the
hill descent control system and decel-
erate the vehicle speed by depressing
the brake pedal if necessary. Be espe-
cially careful when driving on frozen,
muddy or extremely steep downhill
roads. Failure to control vehicle speed
may result in a loss of control of the
vehicle and possible serious injury or
death.
WIC0534 LIC0743
VEHICLE DYNAMIC CONTROL (VDC)
OFF SWITCH HILL DESCENT CONTROL SWITCH (if
so equipped)
Instruments and controls 2-33
ZREVIEW COPY—
2008 Pathfinder (pat)
Owners Manual—USA_English (nna)
03/23/07—debbie
X

●The hill descent control may not control
the vehicle speed on a hill under all load
or road conditions. Always be prepared
to depress the brake pedal to control
vehicle speed. Failure to do so may re-
sult in a collision or serious personal
injury.
CAUTION
When the hill descent control system op-
erates continuously for a long time, the
temperature of the brake pads may in-
crease and the hill descent control system
may be temporarily disabled (the indicator
light will blink). If the indicator light does
not come on continuously after blinking,
stop using the system.
The hill descent control system is designed to
reduce driver workload when going down steep
hills. The hill descent control system helps to
control vehicle speed so the driver can concen-
trate on steering the vehicle.
To activate the hill descent control system:
●the automatic transmission selector lever
must be in forward or reverse gear,
●the 4WD switch must be in the 4L position
and the vehicle speed must be under 15
mph (25 km/h) or
●the 4WD switch must be in the 4H position
and the vehicle speed must be under 21
mph (35 km/h), and
●the hill descent control system switch must
be ON.
The hill descent control indicator light will come
on when the system is activated. Also, the
stop/tail lights illuminate while the hill descent
control system applies the brakes to control ve-
hicle speed.
If the accelerator or brake pedal is depressed
while the hill descent control system is on, the
system will stop operating temporarily. As soon
as the accelerator or brake pedal is released, the
hill descent control system begins to function
again if the hill descent control operating condi-
tions are fulfilled.
The hill descent control indicator light blinks if the
switch is on and all conditions for system activa-
tion are not met or if the system becomes disen-
gaged for any reason.
To turn off the hill descent control system, push
the switch to the OFF position.
For additional information, see “Hill descent con-
trol system on indicator light” earlier in this sec-
tion and “Hill descent control system” in the
“Starting and driving” section of this manual.
The power outlets are for powering electrical
accessories such as cellular telephones.
The bottom power outlet located on instrument
panel and the power outlet located in the cargo
area are powered directly by the vehicle’s battery.
The top power outlet (if so equipped) located on
the instrument panel and the power outlet lo-
cated inside the center console are powered only
when the ignition key is in the ACC or ON posi-
tion.
Open the cap to use a power outlet.
Front row
WIC1268
POWER OUTLET
2-34 Instruments and controls
ZREVIEW COPY—
2008 Pathfinder (pat)
Owners Manual—USA_English (nna)
03/23/07—debbie
X

CAUTION
●The outlet and plug may be hot during
or immediately after use.
●Only certain power outlets are designed
for use with a cigarette lighter unit. Do
not use any other power outlet for an
accessory lighter. See your NISSAN
dealer for additional information.
●Do not use with accessories that ex-
ceed a 12 volt, 120W (10A) power draw.
Do not use double adapters or more
than one electrical accessory.
●Use power outlets with the engine run-
ning to avoid discharging the vehicle
battery.
●Avoid using power outlets when the air
conditioner, headlights or rear window
defroster is on.
●Before inserting or disconnecting a
plug, be sure the electrical accessory
being used is turned OFF.
●Push the plug in as far as it will go. If
good contact is not made, the plug may
overheat or the internal temperature
fuse may open.
●When not in use, be sure to close the
cap. Do not allow water to contact the
outlet.
Center console
LIC0761
Luggage area
LIC0762
Instruments and controls 2-35
ZREVIEW COPY—
2008 Pathfinder (pat)
Owners Manual—USA_English (nna)
03/23/07—debbie
X

STORAGE TRAYS
WARNING
Do not place sharp objects in the trays to
help prevent injury in an accident or sud-
den stop.
Top center tray (if so equipped)
WIC1277
Bottom center tray
WIC1269
Right-hand side 3rd row tray
WIC0830
STORAGE
2-36 Instruments and controls
ZREVIEW COPY—
2008 Pathfinder (pat)
Owners Manual—USA_English (nna)
03/23/07—debbie
X

STORAGE BINS
Front row bin
WIC1270
Left-hand side 3rd row bin (if so equipped)
LIC0776
Instruments and controls 2-37
ZREVIEW COPY—
2008 Pathfinder (pat)
Owners Manual—USA_English (nna)
03/23/07—debbie
X

2ND ROW UNDER-SEAT STORAGE
BIN
To access the under-seat storage bins:
s
1Tip up the 2nd row bench seat. Refer to “Tip
up for easy entry to the 3rd row” in the
“Safety — Seats, seat belts and supplemen-
tal restraint system” section earlier in this
manual.
s
2Fold up the bottom cushion of the center
seat.
s
3Push the latch to release the storage bin
cover.
CONSOLE BOX
Pull up on the lever s
1to open the console box lid
s
2.
LIC0875 LIC0766
2-38 Instruments and controls
ZREVIEW COPY—
2008 Pathfinder (pat)
Owners Manual—USA_English (nna)
03/23/07—debbie
X

GLOVE BOX
To open the top portion of the glove box, push the
latch s
Aup and raise the lid.
To open the lower portion of the glove box, pull
the handle s
Bdown and lower the lid.
Use the master key to lock or unlock the glove
box. The valet key cannot be used to lock or
unlock the glove box.
WARNING
Keep glove box lid closed while driving to
help prevent injury in an accident or a
sudden stop.
SUNGLASSES HOLDER
To open the sunglasses holder, push and release.
Only store one pair of sunglasses in the holder.
WARNING
Keep the sunglasses holder closed while
driving to prevent an accident.
CAUTION
●Do not use for anything other than
sunglasses.
●Do not leave sunglasses in the sun-
glasses holder while parking in direct
sunlight. The heat may damage the
sunglasses.
LIC0768 WIC0673
Instruments and controls 2-39
ZREVIEW COPY—
2008 Pathfinder (pat)
Owners Manual—USA_English (nna)
03/23/07—debbie
X

MAP POCKETS SEAT POCKETS
A pocket is located on the back of the driver’s
seat.
CUP HOLDERS
The front cup holders have adapters that can be
removed to accommodate larger cups.
WARNING
The cup holder should not be used while
driving so full attention may be given to
vehicle operation.
LIC0772 LIC0575 Front
WIC1271
2-40 Instruments and controls
ZREVIEW COPY—
2008 Pathfinder (pat)
Owners Manual—USA_English (nna)
03/23/07—debbie
X

CAUTION
●Avoid abrupt starting and braking when
the cup holder is being used to prevent
spilling the drink. If the liquid is hot, it
can scald you or your passenger.
●Use only soft cups in the cup holder.
Hard objects can injure you in an
accident.
To open the 2nd row cup holders (rear of the front
console), lower the lid. To close, raise the lid.
2nd row (rear of front console)
WIC0771
3rd row — Type A
LIC0773
Instruments and controls 2-41
ZREVIEW COPY—
2008 Pathfinder (pat)
Owners Manual—USA_English (nna)
03/23/07—debbie
X

CAUTION
●Do not use bottle holder for any other
objects that could be thrown about in
the vehicle and possibly injure people
during sudden braking or an accident.
●Do not use bottle holder for open liquid
containers.
CARGO AREA STORAGE
To access the floor storage area, push down s
1
to raise the handle, then pull up on the handle s
2
to lift the luggage board.
LUGGAGE HOOKS
The luggage hooks can be used to secure cargo
with ropes or other types of straps.
3rd row — Type B
LIC0774
Bottle holder
LIC0784 LIC0777
2-42 Instruments and controls
ZREVIEW COPY—
2008 Pathfinder (pat)
Owners Manual—USA_English (nna)
03/23/07—debbie
X

WARNING
●Properly secure all cargo with ropes or
straps to help prevent it from sliding or
shifting. Do not place cargo higher than
the seatbacks. In a sudden stop or col-
lision, unsecured cargo could cause
personal injury.
●Use suitable ropes and hooks to secure
cargo.
●Never allow anyone to ride in the lug-
gage area. It is extremely dangerous to
ride in a cargo area inside of a vehicle.
In a collision, people riding in these
areas are more likely to be seriously
injured or killed.
●Do not allow people to ride in any area
of your vehicle that is not equipped with
seats and seat belts.
●The child restraint top tether strap may
be damaged by contact with items in
the cargo area. Secure any items in the
cargo area. Your child could be seri-
ously injured or killed in a collision if
the top strap is damaged.
●Be sure everyone in your vehicle is in a
seat and using a seat belt properly.
Side finisher
When hooking on ropes, do not apply a load of
more than 55 lb (245 N) to a single s
Ahook or 44
lb (196 N) to a single s
Bhook.
Floor hooks
Do not apply a load of more than 110 lb (490 N)
to a single hook.
WTI0125 LTI0126
Instruments and controls 2-43
ZREVIEW COPY—
2008 Pathfinder (pat)
Owners Manual—USA_English (nna)
03/23/07—debbie
X

CARGO NETS
WARNING
●Properly secure all cargo to help pre-
vent it from sliding or shifting. Do not
place cargo higher than the seatbacks.
In a sudden stop or collision, unsecured
cargo could cause personal injury.
●Be sure to secure all four hooks into the
retainers. The cargo restrained in the
net must not exceed 30 lbs. (13.6 kg) or
the net may not stay secured.
The cargo nets help keep packages in the cargo
area from moving around while the vehicle is in
motion.
To install the cargo net, attach the hooks to the
retainers.
To remove the cargo net, detach the hooks from
the cargo net retainers.
WARNING
●The cargo restrained in the luggage
side nets must not exceed 8.5 lb (3.9 kg)
for each net or the net may not stay
secured.
●Do not place sharp objects in the lug-
gage side nets. Such objects may be-
come dangerous projectiles and cause
injury when the vehicle is moving or if
the vehicle is involved in a collision.
Large net (if so equipped)
LIC0778
Right-hand luggage side
net (if so equipped)
LIC0793
2-44 Instruments and controls
ZREVIEW COPY—
2008 Pathfinder (pat)
Owners Manual—USA_English (nna)
03/23/07—debbie
X

To install a luggage side net, attach the net to the
retainers. To remove, detach the net from the
retainers.
The lift gate net is not removable.
WARNING
●The cargo restrained in the lift gate net
must not exceed 2 lb (1 kg) or the net
may not stay secured.
●Do not place sharp objects in the lug-
gage side nets. Such objects may be-
come dangerous projectiles and cause
injury when the vehicle is moving or if
the vehicle is involved in a collision.
Left-hand luggage side net
LIC0794
Lift gate net
LIC0795
Instruments and controls 2-45
ZREVIEW COPY—
2008 Pathfinder (pat)
Owners Manual—USA_English (nna)
03/23/07—debbie
X

ROOF RACK
WARNING
●Drive extra carefully when the vehicle is
loaded at or near the cargo carrying
capacity, especially if the significant
portion of that load is carried on the
roof rack.
●Heavy loading of the roof rack has the
potential to affect the vehicle stability
and handling during sudden or abnor-
mal handling maneuvers.
●Roof rack load should be evenly
distributed.
●Do not exceed maximum roof rack load
weight capacity.
●Properly secure all cargo with ropes or
straps to help prevent it from sliding or
shifting. In a sudden stop or collision,
unsecured cargo could cause personal
injury.
CAUTION
Use care when placing or removing items
from the roof rack. If you cannot comfort-
ably lift the items onto the roof rack from
the ground, use a ladder or stool.
WIC0914
2-46 Instruments and controls
ZREVIEW COPY—
2008 Pathfinder (pat)
Owners Manual—USA_English (nna)
03/23/07—debbie
X

Always distribute the luggage evenly on the roof
rack. Do not load more than 200 pounds (91 kg).
Be careful that your vehicle does not exceed the
Gross Vehicle Weight Rating (GVWR) or its
Gross Axle Weight Rating (GAWR front and
rear). The GVWR and GAWR are located on the
F.M.V.S.S. label (located on the driver’s door
pillar). For more information regarding GVWR
and GAWR, refer to “Vehicle loading information”
in the “Technical and consumer information” sec-
tion later in this manual.
The front and rear cross bars (if so equipped) can
be adjusted or removed.
To adjust:
1. Loosen the 2 TorxThead fasteners s
Aon
both ends of the crossbar.
2. Remove the plugs at the desired position
(s
C).
3. Slide the crossbar s
Bto the desired position
(s
C) so that the holes in the crossbar line up
with the holes in the sidebar.
4. Tighten the 2 TorxThead fasteners on both
ends of the crossbar.
5. Reinstall the plugs at the previous position
s
A.
6. Position your luggage on the crossbars and
secure the luggage with rope.
7. Always check the tightness of the TorxT
head fasteners.
To remove:
1. Loosen the 2 TorxThead fasteners s
Aon
both ends of the crossbar.
2. Remove the crossbar from the roof rack.
POWER WINDOWS
WARNING
●Make sure that all passengers have
their hands, etc. inside the vehicle while
it is in motion and before closing the
windows. Use the window lock switch
to prevent unexpected use of the power
windows.
●Do not leave children unattended inside
the vehicle. They could unknowingly ac-
tivate switches or controls and become
trapped in a window. Unattended chil-
dren could become involved in serious
accidents.
The power windows operate when the ignition
switch is in the ON position, or for about 45
seconds after the ignition switch is turned to the
OFF position. If the driver’s or passenger’s door
is opened during this period of about 45 sec-
onds, power to the windows is canceled.
WINDOWS
Instruments and controls 2-47
ZREVIEW COPY—
2008 Pathfinder (pat)
Owners Manual—USA_English (nna)
03/23/07—debbie
X

1. Window lock button
2. Power door lock switch
3. Front passenger’s side automatic
switch
4. Right rear passenger window switch
5. Left rear passenger window switch
6. Driver’s side automatic switch
Driver’s side power window switch
The driver’s side control panel is equipped with
switches to open or close the front and rear
passenger windows.
To open a window, push the switch and hold it
down. To close a window, pull the switch and
hold it up. To stop the opening or closing function
at any time, simply release the switch.
Front passenger’s power window
switch
The passenger’s window switch operates only
the corresponding passenger’s window. To open
the window, push the switch and hold it down s
1.
To close the window, pull the switch up s
2.
WIC1124 WIC1265
2-48 Instruments and controls
ZREVIEW COPY—
2008 Pathfinder (pat)
Owners Manual—USA_English (nna)
03/23/07—debbie
X

Rear power window switch
The rear power window switches open or close
only the corresponding windows. To open the
window, push the switch and hold it down s
1.To
close the window, pull the switch up s
2.
Locking passengers’ windows
When the window lock button is depressed, only
the driver’s side window can be opened or
closed. Push it again to cancel the window lock
function.
Automatic operation
To fully open a window equipped with automatic
operation, press the window switch down to the
second detent and release it; it need not be held.
The window automatically opens all the way. To
stop the window, lift the switch up while the
window is opening.
To fully close a window equipped with automatic
operation, pull the switch up to the second detent
and release it; it need not be held.
Auto-reverse function
The auto-reverse function can be activated when
a window is closed by automatic operation, when
the ignition key is in the ON position or for 45
seconds after the ignition key is turned to the
OFF position.
If the control unit detects something caught in a
window equipped with automatic operation as it
is closing, the window will be immediately low-
ered.
Depending on the environment or driving
conditions, the auto-reverse function may
be activated if an impact or load similar to
something being caught in the window oc-
curs.
WARNING
There are some small distances immedi-
ately before the closed position which
cannot be detected. Make sure that all
passengers have their hands, etc., inside
the vehicle before closing the window.
LIC0787 LIC0410
Instruments and controls 2-49
ZREVIEW COPY—
2008 Pathfinder (pat)
Owners Manual—USA_English (nna)
03/23/07—debbie
X

AUTOMATIC SUNROOF
The sunroof will only operate when the ignition
switch is in the ON position. The automatic sun-
roof is operational for about 45 seconds, even if
the ignition switch is turned to the ACC or OFF
position. If the driver’s door or the front passen-
ger’s door is opened during this period of about
45 seconds, power to the sunroof is canceled.
Sliding the sunroof
To fully open the sunroof, push the switch toward
DOWN/OPEN s
1.
To fully close the sunroof, push the switch toward
UP/CLOSE s
2.
To open or close the sunroof part way, push the
switch in any direction while the sunroof is sliding
to stop it in the desired position.
Tilting the sunroof
Close the sunroof by pushing the switch toward
UP/CLOSE s
2. Release the switch, then push
the UP/CLOSE switch again to tilt the sunroof
up.
To tilt the sunroof down, push the switch toward
DOWN/OPEN s
1.
WARNING
●In an accident you could be thrown from
the vehicle through an open sunroof.
Always use seat belts and child
restraints.
●Do not allow anyone to stand up or
extend any portion of their body out of
the sunroof opening while the vehicle is
in motion or while the sunroof is
closing.
CAUTION
●Remove water drops, snow, ice or sand
from the sunroof before opening.
●Do not place heavy objects on the sun-
roof or surrounding area.
Auto reverse function (when closing or
tilting down the sunroof)
The auto reverse function can be activated when
the sunroof is closed or tilted down by automatic
operation when the ignition key is in the ON
position or for about 45 seconds after the ignition
key is turned to the OFF position.
Depending on the environment or driving
conditions, the auto reverse function may
be activated if an impact or load similar to
something being caught in the sunroof oc-
curs.
WARNING
There are some small distances immedi-
ately before the closed position which
cannot be detected. Make sure that all
passengers have their hands, etc., inside
the vehicle before closing the sunroof.
When closing:
If the control unit detects something caught in the
sunroof as it moves to the front, the sunroof will
immediately open backward.
When tilting down:
If the control unit detects something caught in the
sunroof as it tilts down, the sunroof will immedi-
ately tilt up.
WIC0882
SUNROOF (if so equipped)
2-50 Instruments and controls
ZREVIEW COPY—
2008 Pathfinder (pat)
Owners Manual—USA_English (nna)
03/23/07—debbie
X

If the auto reverse function malfunctions and re-
peats opening or tilting up the sunroof, keep
pushing the tilt down switch within 5 seconds
after it happens; the sunroof will fully close gradu-
ally. Make sure nothing is caught in the sunroof.
WARNING
●In an accident you could be thrown from
the vehicle through an open sunroof.
Always use seat belts and child
restraints.
●Do not allow anyone to stand up or
extend any portion of their body out of
the sunroof opening while the vehicle is
in motion or while the sunroof is
closing.
CAUTION
●Remove water drops, snow, ice or sand
from the sunroof before opening.
●Do not place heavy objects on the sun-
roof or surrounding area.
Sunshade
Open and close the sunshade by sliding it for-
ward or backward.
If the sunroof does not close
Have your NISSAN dealer check and repair the
sunroof.
The interior lights have a three-position switch
and operate regardless of ignition switch posi-
tion.
When the switch is in the ON position s
1, the
interior lights illuminate, regardless of door posi-
tion. The lights will go off after about 30 minutes
unless the ignition key is in the ACC or ON
position.
Type A
LIC0789
INTERIOR LIGHTS
Instruments and controls 2-51
ZREVIEW COPY—
2008 Pathfinder (pat)
Owners Manual—USA_English (nna)
03/23/07—debbie
X

When the switch is in the O position s
2, the
interior lights will stay on for about 30 seconds
when:
●The doors are unlocked by the keyfob, a key
or the power door lock switch while all doors
are closed and the ignition switch is in the
OFF position.
●The driver’s door is opened and then closed
while the key is removed from the ignition
switch.
●The key is removed from the ignition switch
while all doors are closed.
The lights will turn off while the 30 second timer is
activated when:
●The driver’s door is locked by the keyfob, a
key, or the power door lock switch.
●The ignition switch is turned ON.
The lights will turn off automatically after 30 min-
utes while doors are open to prevent the battery
from becoming discharged.
When the switch is in the OFF position s
3, the
interior lights do not illuminate, regardless of door
position.
CAUTION
Do not use for extended periods of time
with the engine stopped. This could result
in a discharged battery.
To turn the personal lights on, press the switches.
To turn them off, press the switches again.
CAUTION
Do not use for extended periods of time
with the engine stopped. This could result
in a discharged battery.
Type B
LIC0792 LIC0790
PERSONAL LIGHTS (if so equipped)
2-52 Instruments and controls
ZREVIEW COPY—
2008 Pathfinder (pat)
Owners Manual—USA_English (nna)
03/23/07—debbie
X

To turn the map lights on, press the switches. To
turn them off, press the switches again.
CAUTION
Do not use for extended periods of time
with the engine stopped. This could result
in a discharged battery.
The cargo light on the overhead trim has a three-
position switch. To operate, push the switch to
the desired position.
ON: The light is illuminated.
Normal (center) position: The light illuminates
when any door is opened or unlocked by the
keyfob. The light turns off after 30 seconds when
all doors are closed.
OFF: The light does not illuminate regardless of
door position or lock status.
The HomeLinkTUniversal Transceiver provides a
convenient way to consolidate the functions of up
to three individual hand-held transmitters into
one built-in device.
HomeLinkTUniversal Transceiver:
●Will operate most Radio Frequency (RF)
devices such as garage doors, gates, home
and office lighting, entry door locks and se-
curity systems.
●Is powered by your vehicle’s battery. No
separate batteries are required. If the vehi-
cle’s battery is discharged or is discon-
nected, HomeLinkTwill retain all program-
ming.
Once the HomeLinkTUniversal Transceiver
is programmed, retain the original trans-
mitter for future programming procedures
(Example: new vehicle purchases). Upon
sale of the vehicle, the programmed
HomeLinkTUniversal Transceiver buttons
should be erased for security purposes. For
additional information refer to “Program-
ming HomeLinkT” later in this section.
LIC0791 LIC0590
MAP LIGHTS CARGO LIGHT HOMELINKTUNIVERSAL
TRANSCEIVER (if so equipped)
Instruments and controls 2-53
ZREVIEW COPY—
2008 Pathfinder (pat)
Owners Manual—USA_English (nna)
03/23/07—debbie
X

WARNING
●Do not use the HomeLinkTUniversal
Transceiver with any garage door
opener that lacks safety stop and re-
verse features as required by federal
safety standards. (These standards be-
came effective for opener models
manufactured after April 1, 1982). A ga-
rage door opener which cannot detect
an object in the path of a closing garage
door and then automatically stop and
reverse, does not meet current federal
safety standards. Using a garage door
opener without these features in-
creases the risk of serious injury or
death.
●During the programming procedure
your garage door or security gate will
open and close (if the transmitter is
within range). Make sure that people or
objects are clear of the garage door,
gate, etc. that you are programming.
●Your vehicle’s engine should be turned
off while programming the HomeLinkT
Universal Transceiver.
PROGRAMMING HOMELINKT
1. To begin, press and hold the two outer
HomeLinkTbuttons (to clear the memory)
until the indicator light s
1blinks (after 20
seconds). Release both buttons.
2. Position the end of the hand-held transmitter
1 - 3 inches (26 - 76 mm) away from the
HomeLinkTsurface.
3. Using both hands, simultaneously press and
hold both the HomeLinkTbutton you want to
program and the hand-held transmitter but-
ton.
DO NOT release the buttons until step 4 has
been completed.
WIC0986 WIC0987
2-54 Instruments and controls
ZREVIEW COPY—
2008 Pathfinder (pat)
Owners Manual—USA_English (nna)
03/23/07—debbie
X
4. Hold down both buttons until the indicator
light on the HomeLinkTflashes, changing
from a “slow blink” to a “rapidly flashing
blink”. This could take up to 90 seconds.
When the indicator light flashes rapidly, both
buttons may be released. The rapidly flash-
ing light indicates successful programming.
To activate the garage door or other pro-
grammed device, press and hold the pro-
grammed HomeLinkTbutton — releasing
when the device begins to activate.
5. If the indicator light on the HomeLinkTblinks
rapidly for 2 seconds and then turns solid,
HomeLinkThas picked up a “rolling code”
garage door opener signal. You will need to
proceed with the next steps to train the
HomeLinkTto complete the programming
which may require a ladder and another per-
son for convenience.
6. Press and release the “smart” or “learn” pro-
gram button located on the garage door
opener’s motor to activate the “training
mode”. This button is usually located near
the antenna wire that hangs down from the
motor. If the wire originates from under a
light lens, you will need to remove the lens to
access the program button.
NOTE:
Once you have pressed and released the
program button on the garage door open-
er’s motor and the “training light” is lit, you
have 30 seconds in which to perform step 7.
Use the help of a second person for conve-
nience to assist when performing this step.
7. Within 30 seconds of pressing and releas-
ing the garage door opener program button,
quickly and firmly press and release the
HomeLinkTbutton you’ve just programmed.
Press and release the HomeLinkTbutton up
to 3 times to complete the training.
8. Your HomeLinkTbutton should now be pro-
grammed. (To program the remaining
HomeLinkTbuttons for additional door or
gate openers, follow steps 2-4 only.)
NOTE:
Do not repeat step 1 unless you want to
“clear” all previously programmed
HomeLinkTbuttons.
If you have any questions or are having difficulty
programming your HomeLinkTbuttons, refer to
the HomeLinkTweb site at: www.homelink.com
or call 1-800-355-3515.
PROGRAMMING HOMELINKTFOR
CANADIAN CUSTOMERS
Prior to 1992, D.O.C. regulations required hand-
held transmitters to stop transmitting after 2 sec-
onds. To program your hand-held transmitter to
HomeLinkT, continue to press and hold the
HomeLinkTbutton (note steps2-4under “Pro-
gramming HomeLinkT”) while you press and re-
press (“cycle”) your hand-held transmitters every
2 seconds until the indicator light flashes rapidly
(indicating successful programming).
NOTE:
When programming a garage door opener,
etc., it is advised to unplug the device dur-
ing the “cycling” process to prevent pos-
sible damage to the garage door opener
components.
OPERATING THE HOMELINKT
UNIVERSAL TRANSCEIVER
The HomeLinkTUniversal Transceiver (once pro-
grammed) may now be used to activate the ga-
rage door, etc. To operate, simply press the ap-
propriate programmed HomeLinkTUniversal
Transceiver button. The red indicator light will
illuminate while the signal is being transmitted.
Instruments and controls 2-55
ZREVIEW COPY—
2008 Pathfinder (pat)
Owners Manual—USA_English (nna)
03/23/07—debbie
X
PROGRAMMING TROUBLE-
DIAGNOSIS
If the HomeLinkTdoes not quickly learn the hand-
held transmitter information:
●replace the hand-held transmitter batteries
with new batteries.
●position the hand-held transmitter with its
battery area facing away from the
HomeLinkTsurface.
●press and hold both the HomeLinkTand
hand-held transmitter buttons without inter-
ruption.
●position the hand-held transmitter1-3
inches (26 - 76 mm) away from the
HomeLinkTsurface. Hold the transmitter in
that position for up to 15 seconds. If
HomeLinkTis not programmed within that
time, try holding the transmitter in another
position – keeping the indicator light in view
at all times.
If you continue to have programming difficulties,
please contact the NISSAN Consumer Affairs
Department. The phone numbers are located in
the Foreword of this manual.
CLEARING THE PROGRAMMED
INFORMATION
Individual buttons cannot be cleared. However,
to clear all programming, press and hold the two
outside buttons and release when the indicator
light begins to flash (approximately 20 seconds).
REPROGRAMMING A SINGLE
HOMELINKTBUTTON
To reprogram a HomeLinkTUniversal Transceiver
button, complete the following.
1. Press and hold the desired HomeLinkTbut-
ton. Do not release the button until step 4
has been completed.
2. When the indicator light begins to flash
slowly (after 20 seconds), position the
hand-held transmitter1-3inches (26 - 76
mm) away from the HomeLinkTsurface.
3. Press and hold the hand-held transmitter
button.
4. The HomeLinkTindicator light will flash, first
slowly and then rapidly. When the indicator
light begins to flash rapidly, release both
buttons.
The HomeLinkTUniversal Transceiver button has
now been reprogrammed. The new device can
be activated by pushing the HomeLinkTbutton
that was just programmed. This procedure will
not affect any other programmed HomeLinkT
buttons.
IF YOUR VEHICLE IS STOLEN
If your vehicle is stolen, you should change the
codes of any non-rolling code device that has
been programmed into HomeLinkT. Consult the
Owner’s Manual of each device or call the manu-
facturer or dealer of those devices for additional
information.
When your vehicle is recovered, you will
need to reprogram the HomeLinkTUniver-
sal Transceiver with your new transmitter
information.
FCC Notice:
This device complies with FCC rules part 15
and RSS-210 of Industry Canada. Opera-
tion is subject to the following two condi-
tions:
(1) This device may not cause harmful in-
terference and (2) This device must accept
any interference that may be received, in-
cluding interference that may cause undes-
ired operation.
2-56 Instruments and controls
ZREVIEW COPY—
2008 Pathfinder (pat)
Owners Manual—USA_English (nna)
03/23/07—debbie
X
This transmitter has been tested and com-
plies with FCC and DOC/MDC rules.
Changes or modifications not expressly ap-
proved by the party responsible for compli-
ance could void the user’s authority to op-
erate the equipment.
DOC: ISTC 1763K1313
FCC I.D. CV2V67690
Instruments and controls 2-57
ZREVIEW COPY—
2008 Pathfinder (pat)
Owners Manual—USA_English (nna)
03/23/07—debbie
X
2-58 Instruments and controls
MEMO

3 Pre-driving checks and adjustments
Keys.............................................3-2
Intelligent keys (if so equipped) ..................3-2
NISSAN vehicle immobilizer system keys ..........3-3
Doors ............................................3-4
Locking with key................................3-4
Locking with inside lock knob ....................3-5
Locking with power door lock switch .............3-5
Child safety rear door lock.......................3-6
Intelligent Key system (if so equipped) ...............3-6
Operating range................................3-8
Door locks/unlocks precaution ...................3-8
Intelligent Key operation .........................3-9
How to use the remote keyless entry
function ......................................3-12
Warning signals ...............................3-14
Troubleshooting guide .........................3-14
Remote keyless entry system ......................3-16
How to use remote keyless entry system .........3-16
Hood ...........................................3-20
Lift gate .........................................3-20
Lift gate release ...............................3-21
Glass hatch......................................3-21
Fuel-filler door ...................................3-22
Opening the fuel-filler lid .......................3-22
Fuel-filler cap .................................3-22
Steering wheel ...................................3-24
Tilt operation..................................3-24
Pedal position adjustment (if so equipped) ..........3-24
Sun visors .......................................3-25
Vanity mirrors .................................3-25
Mirrors ..........................................3-26
Rearview mirror (if so equipped).................3-26
Automatic anti-glare rearview mirror
(if so equipped) ...............................3-26
Outside mirrors ...............................3-28
Automatic drive positioner (if so equipped) ..........3-29
Memory storage function .......................3-29
Entry/exit function .............................3-31
System operation..............................3-31
ZREVIEW COPY—
2008 Pathfinder (pat)
Owners Manual—USA_English (nna)
03/23/07—debbie
X

1. Two master keys (black) with transpon-
der chip and chrome NISSAN brand
symbol on one side
2. Valet key (black) with transponder chip
3. Key number plate
4. Transponder chip
A key number plate is supplied with your keys.
Record the key number and keep it in a safe place
(such as your wallet), not in the vehicle. If you lose
your keys, see a NISSAN dealer for duplicates by
using the key number. NISSAN does not record
key numbers so it is very important to keep track
of your key number plate.
A key number is only necessary when you have
lost all keys and do not have one to duplicate
from. If you still have a key, your NISSAN dealer
can duplicate it.
1. Two Intelligent Keys
2. Mechanical keys (inside Intelligent
Keys)
3. Key number plate
INTELLIGENT KEYS (if so equipped)
Your vehicle can only be driven with the Intelligent
Keys which are registered to your vehicle’s Intel-
ligent Key system components and NISSAN Ve-
hicle Immobilizer System components. As many
as 4 Intelligent Keys can be registered and used
with one vehicle. The new keys must be regis-
tered by a NISSAN dealer prior to use with the
Intelligent Key system and NISSAN Vehicle Im-
mobilizer System of your vehicle. Since the reg-
WPD0128 LPD0350
KEYS
3-2 Pre-driving checks and adjustments
ZREVIEW COPY—
2008 Pathfinder (pat)
Owners Manual—USA_English (nna)
03/23/07—debbie
X

istration process requires erasing all memory in
the Intelligent Key components when registering
new keys, be sure to take all Intelligent Keys that
you have to the NISSAN dealer.
CAUTION
●Do not allow the Intelligent Key, which
contains electrical components, to
come into contact with water or salt
water. This could affect the system
function.
●Do not drop the Intelligent Key.
●Do not strike the Intelligent Key sharply
against another object.
●Do not place the Intelligent Key for an
extended period in an area where tem-
peratures exceed 140°F (60°C).
●Do not attach the Intelligent Key with a
key holder that contains a magnet.
●Do not place the Intelligent Key near
equipment that produces a magnetic
field, such as a TV, audio equipment and
personal computers.
Mechanical key
The Intelligent Key contains the mechanical key,
which can be used in case of a discharged bat-
tery.
To remove the mechanical key, release the lock
knob on the back of the Intelligent Key.
To install the mechanical key, firmly insert it into
the Intelligent Key until the lock knob returns to
the lock position.
The mechanical key can be used for operation in
the same way as an ordinary key.
CAUTION
Always carry the mechanical key installed
in the Intelligent Key slot.
Valet hand-off
When you have to leave a key with a valet, give
them the Intelligent Key itself and keep the me-
chanical key with you to protect your belongings.
To prevent the glove box or console box from
being opened during valet hand-off, follow the
procedure below.
1. Remove the mechanical key from the Intelli-
gent Key.
2. Lock the glove box or console box with the
mechanical key.
3. Hand the Intelligent Key to the valet and
keep the mechanical key with you.
See “Storage” in the “Instruments and controls”
section.
NISSAN VEHICLE IMMOBILIZER
SYSTEM KEYS
You can only drive your vehicle using the master
or valet keys which are registered to the NISSAN
Vehicle Immobilizer System components in your
vehicle. These keys have a transponder chip in
the key head.
SPA1951
Pre-driving checks and adjustments 3-3
ZREVIEW COPY—
2008 Pathfinder (pat)
Owners Manual—USA_English (nna)
03/23/07—debbie
X

The master key can be used for all the locks.
The valet key cannot be used for the glove box
lock.
To protect belongings when you leave a key with
someone, give them the valet key only.
Never leave these keys in the vehicle.
Additional or replacement keys:
If you still have a key, the key number is not
necessary when you need extra NISSAN Vehicle
Immobilizer System keys. Your dealer can dupli-
cate your existing key. As many as five NISSAN
Vehicle Immobilizer System keys can be used
with one vehicle. You should bring all NISSAN
Vehicle Immobilizer System keys that you have to
your NISSAN dealer for registration. This is be-
cause the registration process will erase the
memory of all key codes previously registered
into the NISSAN Vehicle Immobilizer System.
After the registration process, these components
will only recognize keys coded into the NISSAN
Vehicle Immobilizer System during registration.
Any key that is not given to your dealer at the time
of registration will no longer be able to start your
vehicle.
Do not allow the immobilizer system key, which
contains an electrical transponder, to come into
contact with salt water. This could affect system
function.
WARNING
●Always have the doors locked while
driving. Along with the use of seat belts,
this provides greater safety in the event
of an accident by helping to prevent
persons from being thrown from the
vehicle. This also helps keep children
and others from unintentionally open-
ing the doors, and will help keep out
intruders.
●Before opening any door, always look
for and avoid oncoming traffic.
●Do not leave children unattended inside
the vehicle. They could unknowingly ac-
tivate switches or controls. Unattended
children could become involved in seri-
ous accidents.
LOCKING WITH KEY
The power door lock system allows you to lock or
unlock all doors at the same time.
Turning the key toward the front s
1of the vehicle
locks all doors.
Turning the key one time toward the rear s
2of the
vehicle unlocks that door. From that position,
returning the key to neutral s
3(where the key can
only be removed and inserted) and turning it
toward the rear again within 5 seconds unlocks
all doors s
4.
Driver’s side
LPD0240
DOORS
3-4 Pre-driving checks and adjustments
ZREVIEW COPY—
2008 Pathfinder (pat)
Owners Manual—USA_English (nna)
03/23/07—debbie
X

LOCKING WITH INSIDE LOCK
KNOB
To lock the door without the key, move the inside
lock knob to the lock position s
1, then close the
door.
To unlock the door without the key, move the
inside lock knob to the unlock position s
2.
LOCKING WITH POWER DOOR
LOCK SWITCH
To lock all the doors without a key, push the door
lock switch (driver’s or front passenger’s side), to
the lock position s
1. When locking the door this
way, be certain not to leave the key inside the
vehicle.
To unlock all the doors without a key, push the
door lock switch (driver’s or front passenger’s
side) to the unlock position s
2.
Lockout protection
When the power door lock switch (driver’s or
front passenger’s side) is moved to the lock
position with the key in the ignition and any door
open, all doors will lock and then unlock auto-
matically. This helps to prevent the keys from
being accidently locked inside the vehicle.
Inside lock
LPD0298
Door lock switch
WPD0381
Pre-driving checks and adjustments 3-5
ZREVIEW COPY—
2008 Pathfinder (pat)
Owners Manual—USA_English (nna)
03/23/07—debbie
X

CHILD SAFETY REAR DOOR LOCK
Child safety locks help prevent the rear doors
from being opened accidentally, especially when
small children are in the vehicle.
The child safety lock levers are located on the
edge of the rear doors.
When the lever is in the lock position, the
door can be opened only from the outside.
WARNING
Radio waves could adversely affect elec-
tric medical equipment. Those who use a
pacemaker should contact the electric
medical equipment manufacturer for the
possible influences before use.
The Intelligent Key system can operate all the
door locks using the remote controller function or
pushing the request switch on the vehicle without
taking the key out from a pocket or purse. The
operating environment and/or conditions may af-
fect the Intelligent Key system operation.
Be sure to read the following before using the
Intelligent Key system.
CAUTION
●Be sure to carry the Intelligent Key with
you when operating the vehicle.
●Never leave the Intelligent Key in the
vehicle when you leave the vehicle.
The Intelligent Key is always communicating with
the vehicle as it receives radio waves. The Intel-
ligent Key system transmits weak radio waves.
Environmental conditions may interfere with the
operation of the Intelligent Key system under the
following operating conditions.
●When operating near a location where
strong radio waves are transmitted, such as
a TV tower, power station and broadcasting
station.
●When in possession of wireless equipment,
such as a cellular telephone, transceiver,
and CB radio.
●When the Intelligent Key is in contact with or
covered by metallic materials.
●When any type of radio wave remote control
is used nearby.
●When the Intelligent Key is placed near an
electric appliance such as a personal com-
puter.
●When the vehicle is parked near a parking
meter.
In such cases, correct the operating conditions
before using the Intelligent Key function or use
the mechanical key.
Although the life of the battery varies depending
on the operating conditions, the battery’s life is
approximately 2 years. If the battery is dis-
charged, replace it with a new one.
When the Intelligent Key battery is low, the Intel-
ligent Key system warning light ( ) will blink
green for about 30 seconds after the ignition
switch is turned to the ON position.
LPD0299
INTELLIGENT KEY SYSTEM (if so
equipped)
3-6 Pre-driving checks and adjustments
ZREVIEW COPY—
2008 Pathfinder (pat)
Owners Manual—USA_English (nna)
03/23/07—debbie
X

Since the Intelligent Key is continuously receiving
radio waves, if the key is left near equipment
which transmits strong radio waves, such as sig-
nals from a TV and personal computer, the bat-
tery life may become shorter.
For information regarding replacement of a bat-
tery, see “Battery” in the “Maintenance and do-it-
yourself” section.
Because the steering wheel is locked electrically,
unlocking the steering wheel with the ignition
switch in the LOCK position is impossible when
the vehicle battery is completely discharged. Un-
locking the steering wheel is impossible even if
the Intelligent Key is inserted into the ignition
switch. Pay special attention that the vehicle bat-
tery is not completely discharged.
As many as 4 Intelligent Keys can be registered
and used with one vehicle. For information about
the purchase and use of additional Intelligent
Keys, contact a NISSAN dealer.
CAUTION
●Do not allow the Intelligent Key, which
contains electrical components, to
come into contact with water or salt
water. This could affect the system
function.
●Do not drop the Intelligent Key.
●Do not strike the Intelligent Key sharply
against another object.
●Do not change or modify the Intelligent
Key.
●Wetting may damage the Intelligent
Key. If the Intelligent Key gets wet, im-
mediately wipe until it is completely dry.
●Do not place the Intelligent Key for an
extended period in an area where tem-
peratures exceed 140°F (60°C).
●Do not attach the Intelligent Key with a
key holder that contains a magnet.
●Do not place the Intelligent Key near
equipment that produces a magnetic
field, such as a TV, audio equipment and
personal computers.
If an Intelligent Key is lost or stolen, NISSAN
recommends erasing the ID code of that Intelli-
gent Key from the vehicle. This may prevent the
unauthorized use of the Intelligent Key to operate
the vehicle. For information regarding the erasing
procedure, contact a NISSAN dealer.
Pre-driving checks and adjustments 3-7
ZREVIEW COPY—
2008 Pathfinder (pat)
Owners Manual—USA_English (nna)
03/23/07—debbie
X

OPERATING RANGE
The Intelligent Key functions can only be used
when the Intelligent Key is within the specified
operating range from the request switch s
1.
When the Intelligent Key battery is discharged or
strong radio waves are present near the operat-
ing location, the Intelligent Key system’s operat-
ing range becomes narrower, and the Intelligent
Key may not function properly.
The operating range is within 31.50 in (80 cm)
from each request switch s
1.
If the Intelligent Key is too close to the door glass,
handle or rear bumper, the request switches may
not function.
When the Intelligent Key is within the operating
range, it is possible for anyone, even someone
who does not carry the Intelligent Key, to push the
request switch to lock/unlock the doors.
DOOR LOCKS/UNLOCKS
PRECAUTION
●Do not push the door handle request switch
with the Intelligent Key held in your hand as
illustrated. The close distance to the door
handle will cause the Intelligent Key system
to have difficulty recognizing that the Intelli-
gent Key is outside the vehicle.
●After locking with the door handle request
switch, verify the doors are securely locked
by testing them.
●To prevent the Intelligent Key from being left
inside the vehicle, make sure you carry the
key with you and then lock the doors.
SPA2038 WPD0375
3-8 Pre-driving checks and adjustments
ZREVIEW COPY—
2008 Pathfinder (pat)
Owners Manual—USA_English (nna)
03/23/07—debbie
X

●Do not pull the door handle before pushing
the door handle request switch. The door
will be unlocked but will not open. Release
the door handle once and pull it again to
open the door.
INTELLIGENT KEY OPERATION
You can lock or unlock the doors without taking
the key out of your pocket or bag.
When you carry the Intelligent Key with you, you
can lock or unlock all doors by pushing the door
handle request switch within the range of opera-
tion.
Locking doors
1. Move the selector to the P (Park) position,
push the ignition switch to the LOCK posi-
tion and make sure you carry the Intelligent
Key with you.
2. Close all doors.
3. Push any door handle request switch s
1or
s
2while carrying the Intelligent Key with
you.
4. All doors and the rear liftgate will lock.
5. The hazard warning lights flash twice and
the outside buzzer sounds twice.
WRS0806 WRS0807
Pre-driving checks and adjustments 3-9
ZREVIEW COPY—
2008 Pathfinder (pat)
Owners Manual—USA_English (nna)
03/23/07—debbie
X

NOTE:
●Doors lock with the door handle request
switch while the ignition switch is not in the
LOCK position.
●Doors do not lock by pushing the door
handle request switch while any door is
open. However, doors lock with the me-
chanical key even if any door is open.
●Doors do not lock with the door handle
request switch with the Intelligent Key inside
the vehicle and a beep sounds to warn you.
However, when an Intelligent Key is inside
the vehicle, doors can be locked with an-
other Intelligent Key.
CAUTION
●After locking the doors using the re-
quest switch, make sure that the doors
have been securely locked by operating
the door handles or the rear liftgate
opener switch.
●When locking the doors using the re-
quest switch, make sure to have the
Intelligent Key in your possession be-
fore operating the request switch to
prevent the Intelligent Key from being
left in the vehicle.
●The request switch is operational only
when the Intelligent Key has been de-
tected by the Intelligent Key system.
Lockout protection
To prevent the Intelligent Key from being acci-
dentally locked in the vehicle, lockout protection
is equipped with the Intelligent Key system.
When the driver’s side door is open, the doors
are locked, and then the Intelligent Key is put
inside the vehicle and all the doors are closed;
the lock will automatically unlock and the door
buzzer sounds.
CAUTION
The lockout protection may not function
under the following conditions:
●When the Intelligent Key is placed on
top of the instrument panel.
●When the Intelligent Key is placed in-
side the glove box or a storage bin.
●When the Intelligent Key is placed in-
side the door pockets.
●When the Intelligent Key is placed in-
side or near metallic materials.
WRS0808 WPD0430
3-10 Pre-driving checks and adjustments
ZREVIEW COPY—
2008 Pathfinder (pat)
Owners Manual—USA_English (nna)
03/23/07—debbie
X

The lockout protection may function when
the Intelligent Key is outside the vehicle
but it is too close to the vehicle.
Unlocking doors
1. Carry the Intelligent Key.
2. Push the door handle request switch s
1or
s
2.
3. The hazard warning lights flash once and the
outside buzzer sounds once.
4. Push the door handle request switch s
1or
s
2again within 5 seconds to unlock all
doors.
If a door or the liftgate handle is pulled while
unlocking the doors, that door or liftgate may not
be unlocked. Returning the handle to its original
position will unlock the door or liftgate. If the door
or liftgate does not unlock after returning the
handle, push the door handle request switch to
unlock the door and liftgate.
All doors and the liftgate will be locked automati-
cally unless one of the following operations is
performed within 1 minute after pushing the re-
quest switch.
●Opening any door or the liftgate.
●Pushing the ignition switch.
The interior light timer illuminates for 30 seconds
when a door is unlocked and the room light
switch is in the DOOR position.
WRS0807 WRS0808
Pre-driving checks and adjustments 3-11
ZREVIEW COPY—
2008 Pathfinder (pat)
Owners Manual—USA_English (nna)
03/23/07—debbie
X

The interior light can be turned off without waiting
for 30 seconds by performing one of the follow-
ing operations.
●Placing the ignition switch in the ON posi-
tion.
●Locking the doors with the remote controller.
●Switching the room light switch to the OFF
position.
HOW TO USE THE REMOTE
KEYLESS ENTRY FUNCTION
The remote keyless entry function can operate all
door locks using the remote keyless function of
the Intelligent Key. The remote keyless function
can operate at a distance of 33 ft (10 m) away
from the vehicle. The operating distance de-
pends upon the conditions around the vehicle.
The remote keyless entry function will not func-
tion under the following conditions:
●When the Intelligent Key is not within the
operational range.
●When the doors or the rear liftgate are open
or not closed securely.
●When the Intelligent Key battery is dis-
charged.
CAUTION
When locking the doors using the Intelli-
gent Key, be sure not to leave the key in
the vehicle.
Locking doors
1. Place the ignition switch in the LOCK posi-
tion.
2. Close all doors.
3. Push the button on the Intelligent
Key.
4. The hazard warning lights flash twice and
the horn beeps once.
5. All doors will be locked.
WPD0430 WPD0359
3-12 Pre-driving checks and adjustments
ZREVIEW COPY—
2008 Pathfinder (pat)
Owners Manual—USA_English (nna)
03/23/07—debbie
X

CAUTION
After locking the doors using the Intelli-
gent Key, be sure that the doors have been
securely locked by operating the door
handles.
Unlocking doors
1. Push the button on the Intelligent Key.
2. The hazard warning lights flash once.
3. Push the button again within 5 sec-
onds to unlock all doors.
All doors will be locked automatically unless one
of the following operations is performed within 1
minute after pushing the button.
●Opening any doors.
●Pushing the ignition switch.
The interior light illuminates for 30 seconds when
a door is unlocked and the room light switch is in
the DOOR position.
The light can be turned off without waiting for 30
seconds by performing one of the following op-
erations.
●Placing the ignition switch in the ON posi-
tion.
●Locking the doors with the Intelligent Key.
●Switching the room light switch to the OFF
position.
Opening windows (if so equipped)
The Intelligent Key allows you to open windows
equipped with automatic operation simulta-
neously.
●To open the windows, press the but-
ton on the Intelligent Key longer than 3
seconds after all doors are unlocked.
The door windows will open while pressing
the button on the Intelligent Key.
The door windows cannot be closed by
using the Intelligent Key.
WPD0360
Pre-driving checks and adjustments 3-13
ZREVIEW COPY—
2008 Pathfinder (pat)
Owners Manual—USA_English (nna)
03/23/07—debbie
X

Using the panic alarm
If you are near your vehicle and feel threatened,
you may activate the panic alarm to call attention
by pushing and holding the button on the
Intelligent Key for longer than 0.5 second.
The panic alarm and headlights will stay on for 25
seconds.
The panic alarm stops when:
●it has run for 25 seconds, or
●any button is pushed on the Intelligent Key.
Silencing the horn beep feature
If desired, the horn beep feature can be deacti-
vated using the Intelligent Key.
To deactivate: Press and hold the
and buttons for at least 2 seconds.
The hazard warning lights will flash three times to
confirm that the horn beep feature has been
deactivated.
To activate: Press and hold the
and buttons for at least 2 seconds
once more.
The hazard warning lights will flash once and the
horn will sound once to confirm that the horn
beep feature has been reactivated.
Deactivating the horn beep feature does not si-
lence the horn if the alarm is triggered.
WARNING SIGNALS
To help prevent the vehicle from moving unex-
pectedly by erroneous operation of the Intelligent
Key or to help prevent the vehicle from being
stolen, a chime or buzzer sounds from inside and
outside the vehicle and a warning is displayed in
the instrument panel.
When a chime or beep sounds or a warning is
displayed, be sure to check the vehicle and the
Intelligent Key.
See the troubleshooting guide that follows and
“Vehicle information display indicator lights and
warnings” in the “Instruments and controls” sec-
tion.
TROUBLESHOOTING GUIDE
Verify the location of all Intelligent Keys that are
programmed for the vehicle. If another Intelligent
Key is in range or inside the vehicle, the vehicle
system may respond differently than expected.
WPD0374 WPD0362
3-14 Pre-driving checks and adjustments
ZREVIEW COPY—
2008 Pathfinder (pat)
Owners Manual—USA_English (nna)
03/23/07—debbie
X

Symptom Possible Cause Remedy
When pushing the ignition switch to stop
the engine
The SHIFT P warning appears on the dis-
play and the inside warning chime sounds
continuously.
The selector lever is not in the P (Park)
position.
Shift the selector lever to the P (Park)
position.
When opening the driver’s door to get out
of the vehicle
The inside warning chime sounds
continuously. The ignition switch is in the ACC position. Push the ignition switch to the OFF
position.
When closing the door after getting out of
the vehicle
The NO KEY warning appears on the
display, the outside chime sounds 3 times
and the inside warning chime sounds for
approximately 3 seconds.
The ignition switch is in the ACC or ON
position.
Push the ignition switch to the OFF
position.
The NO KEY warning appears on the dis-
play and the outside chime sounds
continuously.
The ignition switch is in the ACC position
and the selector lever is not in the P (Park)
position.
Move the selector lever to the P (Park) po-
sition and push the ignition switch to the
OFF position.
When closing the door with the inside lock
knob turned to LOCK
The outside chime sounds for approximately
3 seconds and all the doors unlock. The Intelligent Key is inside the vehicle. Carry the Intelligent Key with you.
When pushing the door handle request
switch to lock the door
The outside chime sounds for approximately
2 seconds.
The Intelligent Key is inside the vehicle. Carry the Intelligent Key with you.
A door is not closed securely. Close the door securely.
The door handle request switch is pushed
before the door is closed.
Push the door handle request switch after
the door is closed.
Pre-driving checks and adjustments 3-15
ZREVIEW COPY—
2008 Pathfinder (pat)
Owners Manual—USA_English (nna)
03/23/07—debbie
X

It is possible to lock/unlock all doors, turn on the
interior lights, and activate the panic alarm by
using the keyfob from outside the vehicle.
Some settings for the keyfob, such as horn beep,
can be adjusted. For vehicles without navigation
system, refer to “Silencing the horn beep feature”
later in this section. For vehicles with navigation
system, refer to “Vehicle electronic systems” in
the “Display screen, heater, air conditioner and
audio systems” section later in this manual.
Be sure to remove the key from the vehicle
before locking the doors.
The keyfob can operate at a maximum distance of
approximately 33 ft (10 m) from the vehicle. The
effective distance depends upon the conditions
around the vehicle.
As many as 5 keyfobs can be used with one
vehicle. For information concerning the purchase
and use of additional keyfobs, contact a NISSAN
dealer.
The keyfob will not function when:
●the battery is discharged.
●the distance between the vehicle and the
keyfob is over 33 ft (10 m).
The panic alarm will not activate when the
key is in the ignition switch.
CAUTION
Listed below are conditions or occur-
rences which will damage the keyfob:
●Do not allow the keyfob to become wet.
●Do not drop the keyfob.
●Do not strike the keyfob sharply against
another object.
●Do not place the keyfob for an extended
period in an area where temperatures
exceed 140°F (60°C).
If a keyfob is lost or stolen, NISSAN rec-
ommends erasing the ID code of that key-
fob. This will prevent the keyfob from un-
authorized use to unlock the vehicle. For
information regarding the erasing proce-
dure, please contact a NISSAN dealer.
HOW TO USE REMOTE KEYLESS
ENTRY SYSTEM
Locking doors
1. Close all windows.
2. Remove the key from the ignition switch.
3. Close the hood and all doors.
4. Push the button on the keyfob. All
the doors lock. The hazard warning lights
flash twice and the horn beeps once to
indicate all doors are locked.
LPD0209
REMOTE KEYLESS ENTRY SYSTEM
3-16 Pre-driving checks and adjustments
ZREVIEW COPY—
2008 Pathfinder (pat)
Owners Manual—USA_English (nna)
03/23/07—debbie
X

●When the button is pushed with all
doors locked, the hazard warning lights flash
twice and the horn beeps once as a re-
minder that the doors are already locked.
●If a door is open and you push the
button, the doors will lock but the horn will
not beep and the hazard warning lights will
not flash.
The horn may or may not beep. For vehicles
without navigation system, refer to “Silencing the
horn beep feature” later in this section. For ve-
hicles with navigation system, refer to “Comfort &
convenience settings” in the “Display screen,
heater, air conditioner and audio systems” sec-
tion later in this manual. Unlocking doors
Push the button on the keyfob once.
●Only the driver’s door unlocks.
●The hazard warning lights flash once if all
doors are completely closed with the ignition
key in any position except the ON position.
●The interior lights turn on and the light timer
activates for 30 seconds when the interior
light switch is in the DOOR position with the
ignition key in any position except the ON
position.
Push the button on the keyfob again within
5 seconds.
●All doors unlock.
●The hazard warning lights flash once if all
doors are completely closed.
The interior lights can be turned off without wait-
ing 30 seconds by inserting the key into the
ignition and turning to the ON or START position,
locking the doors with the keyfob or pushing the
interior light switch to the off position.
Auto relock
When the button on the keyfob is pushed,
all doors will lock automatically within 1 minute
unless one of the following operations is per-
formed:
●Any door is opened.
●A key is inserted into the ignition switch and
the key is turned from OFF to ON.
LPD0210
Pre-driving checks and adjustments 3-17
ZREVIEW COPY—
2008 Pathfinder (pat)
Owners Manual—USA_English (nna)
03/23/07—debbie
X

Opening windows (if so equipped)
The keyfob allows you to open the front windows
simultaneously.
●To open the front windows, press the
button on the keyfob for longer than 3
seconds after all doors are unlocked.
The door windows will open while pressing
the button on the keyfob.
The door windows cannot be closed by
using the keyfob.
Linking the keyfob to automatic drive
positioner memory
If the vehicle is equipped with automatic drive
positioner, the keyfob can be linked to a memory
setting.
See “Automatic drive positioner” later in this sec-
tion.
Using the panic alarm
If you are near your vehicle and feel threatened,
you may activate the panic alarm to call attention
by pushing and holding the button on the
keyfob for longer than 0.5 second.
The panic alarm and headlights will stay on for 25
seconds.
The panic alarm stops when:
●it has run for 25 seconds, or
●any button is pushed on the keyfob.
Silencing the horn beep feature
If desired, the horn beep feature can be deacti-
vated using the keyfob.
NOTE:
If you change the horn beep and lamp flash
feature with the keyfob, the display screen
(if so equipped) will not show the current
mode and cannot be used to change the
mode. Use the keyfob to return to the pre-
vious mode and re-enable the display
screen control.
To deactivate: Press and hold the
and buttons for at least 2 seconds.
LPD0211 LPD0262
3-18 Pre-driving checks and adjustments
ZREVIEW COPY—
2008 Pathfinder (pat)
Owners Manual—USA_English (nna)
03/23/07—debbie
X

The hazard warning lights will flash three times to
confirm that the horn beep feature has been
deactivated.
To activate: Press and hold the
and buttons for at least 2 seconds
once more.
The hazard warning lights will flash once and the
horn will sound once to confirm that the horn
beep feature has been reactivated.
Deactivating the horn beep feature does not si-
lence the horn if the alarm is triggered.
Using the panic alarm
If you are near your vehicle and feel threatened,
you may activate the panic alarm to call attention
by pushing and holding the button on the
keyfob for longer than 0.5 second.
The panic alarm and headlights will stay on for 25
seconds.
The panic alarm stops when:
●it has run for 25 seconds, or
●any button is pushed on the keyfob.
Using the interior lights
Push the button on the keyfob once to turn
on the interior lights.
For additional information, refer to “Interior lights”
in the “Instruments and controls”section earlier in
this manual.
LPD0211
Pre-driving checks and adjustments 3-19
ZREVIEW COPY—
2008 Pathfinder (pat)
Owners Manual—USA_English (nna)
03/23/07—debbie
X

s
1Pull the hood lock release handle located
below the driver’s side instrument panel. The
hood will spring up slightly.
s
2Push the lever at the front of the hood to the
side as illustrated with your fingertips and
raise the hood.
s
3Insert the support rod into the slot on the
underside of the hood.
When closing the hood, lower it slowly and make
sure it locks into place.
WARNING
●Make sure the hood is completely
closed and latched before driving. Fail-
ure to do so could cause the hood to fly
open and result in an accident.
●If you see steam or smoke coming from
the engine compartment, to avoid injury
do not open the hood.
WARNING
●Always be sure the lift gate has been
closed securely to prevent it from open-
ing while driving.
●Do not drive with the lift gate open. This
could allow dangerous exhaust gases
to be drawn into the vehicle. See “Ex-
haust gas” in the “Starting and driving”
section of this manual.
●Make sure that all passengers have
their hands, etc., inside the vehicle be-
fore closing the lift gate.
LPD0302
HOOD LIFT GATE
3-20 Pre-driving checks and adjustments
ZREVIEW COPY—
2008 Pathfinder (pat)
Owners Manual—USA_English (nna)
03/23/07—debbie
X

The power door lock system allows you to lock or
unlock all doors including the lift gate simulta-
neously.
To open the lift gate, press the hatch release
switch under the license finisher to release the
latch. Pull the lift gate open.
To close, lower and gently push the lift gate
down. The power latch will engage to securely
latch the lift gate.
LIFT GATE RELEASE
If the lift gate cannot be locked or unlocked with
the door lock switch or the keyfob due to a
discharged battery, follow these steps:
1. Remove the cover on the inside of the lift
gate.
2. Move the lever up to lock or down to unlock.
To open, pull up on the smaller outside handle to
release the glass hatch, then pull up on the glass
hatch. To close, lower and push the glass hatch
down securely.
LPD0300 LPD0251 LPD0301
GLASS HATCH
Pre-driving checks and adjustments 3-21
ZREVIEW COPY—
2008 Pathfinder (pat)
Owners Manual—USA_English (nna)
03/23/07—debbie
X

NOTE:
The lift gate must be unlocked in order to
open the glass hatch.
WARNING
Do not drive with the glass hatch open.
This could allow dangerous exhaust gases
to be drawn into the vehicle. See “Exhaust
gas” in the “Starting and driving” section
of this manual.
OPENING THE FUEL-FILLER LID
Pull on the finger tab to open.
FUEL-FILLER CAP
The fuel-filler cap is a ratcheting type. Turn the
cap counterclockwise to remove. To tighten, turn
the cap clockwise until ratcheting clicks are
heard.
Put the fuel-filler cap on the cap holder s
1while
refueling.
WPD0436 LPD0253
FUEL-FILLER DOOR
3-22 Pre-driving checks and adjustments
ZREVIEW COPY—
2008 Pathfinder (pat)
Owners Manual—USA_English (nna)
03/23/07—debbie
X

WARNING
●Gasoline is extremely flammable and
highly explosive under certain condi-
tions. You could be burned or seriously
injured if it is misused or mishandled.
Always stop the engine and do not
smoke or allow open flames or sparks
near the vehicle when refueling.
●Do not attempt to top off the fuel tank
after the fuel pump nozzle shuts off
automatically. Continued refueling may
cause fuel overflow, resulting in fuel
spray and possibly a fire.
●Use only an original equipment type
fuel-filler cap as a replacement. It has a
built-in safety valve needed for proper
operation of the fuel system and emis-
sion control system. An incorrect cap
can result in a serious malfunction and
possible injury. It could also cause the
malfunction indicator light to come on.
●Never pour fuel into the throttle body to
attempt to start your vehicle.
●Do not fill a portable fuel container in
the vehicle or trailer. Static electricity
can cause an explosion of flammable
liquid, vapor or gas in any vehicle or
trailer. To reduce the risk of serious
injury or death when filling portable fuel
containers:
– Always place the container on the
ground when filling.
– Do not use electronic devices when
filling.
– Keep the pump nozzle in contact
with the container while you are fill-
ing it.
– Use only approved portable fuel con-
tainers for flammable liquid.
CAUTION
●If fuel is spilled on the vehicle body,
flush it away with water to avoid paint
damage.
●Tighten until the fuel-filler cap clicks.
Failure to tighten the fuel-filler cap
properly may cause the mal-
function indicator light (MIL) to illumi-
nate. If the light illuminates be-
cause the fuel-filler cap is loose or
missing, tighten or install the cap and
continue to drive the vehicle.
The light should turn off after a
few driving trips. If the light
does not turn off after a few driving
trips, have the vehicle inspected by a
NISSAN dealer.
●For additional information, see the
“Malfunction indicator light (MIL)” in
the “Instruments and Controls” section
earlier in this manual.
Pre-driving checks and adjustments 3-23
ZREVIEW COPY—
2008 Pathfinder (pat)
Owners Manual—USA_English (nna)
03/23/07—debbie
X

TILT OPERATION
WARNING
Do not adjust the steering wheel while
driving. You could lose control of your
vehicle and cause an accident.
Pull the lock lever forward and hold it to adjust the
steering wheel up or down to the desired posi-
tion.
Release the lock lever to lock the steering wheel
in place.
The accelerator and brake pedals can be ad-
justed for driving comfort.
Use the pedal adjusting switch to adjust the
brake and accelerator pedal position forward s
1
or backward s
2. Pedal adjustment can only be
performed when:
●Ignition switch is in the LOCK or ACC posi-
tion
●Ignition switch is ON and the selector lever
is in the P (Park) position
The brake and accelerator pedals cannot be ad-
justed separately.
CAUTION
Do not adjust the pedal position with your
foot on the pedal.
LPD0304 LPD0305
STEERING WHEEL PEDAL POSITION ADJUSTMENT (if so
equipped)
3-24 Pre-driving checks and adjustments
ZREVIEW COPY—
2008 Pathfinder (pat)
Owners Manual—USA_English (nna)
03/23/07—debbie
X

s
1To block glare from the front, swing down the
main sun visor.
s
2To block glare from the side, remove the
main sun visor from the center mount and
swing the visor to the side.
s
3Slide the extension sun visor in or out as
needed.
CAUTION
●Do not store the sun visor before return-
ing the extension to its original
position.
●Do not pull the extension sun visor forc-
edly downward.
VANITY MIRRORS
To access the vanity mirror, pull the sun visor
down and flip open the mirror cover. Some vanity
mirrors are illuminated and turn on when the
mirror cover is open.
WPD0315
WPD0307
SUN VISORS
Pre-driving checks and adjustments 3-25
ZREVIEW COPY—
2008 Pathfinder (pat)
Owners Manual—USA_English (nna)
03/23/07—debbie
X

REARVIEW MIRROR (if so equipped)
The night position s
1reduces glare from the
headlights of vehicles behind you at night.
Use the day position s
2when driving in daylight
hours.
WARNING
Use the night position only when neces-
sary, because it reduces rear view clarity.
AUTOMATIC ANTI-GLARE
REARVIEW MIRROR (if so equipped)
The inside mirror is designed so that it automati-
cally dims according to the intensity of the head-
lights of the vehicle following you. The automatic
anti-glare feature operates only when the ignition
switch is in the ON position.
The indicator light s
1will illuminate when the
automatic anti-glare feature is operating.
NOTE:
Do not hang any objects over the sensors
s
2or apply glass cleaner to the sensors.
Doing so will reduce the sensitivity of the
sensors, resulting in improper operation. Type A
To turn off the anti-glare feature, push and hold
the button for about 8 seconds. The indi-
cator light will turn off.
To turn on the anti-glare feature again, push and
hold the button for about 8 seconds. The
indicator light will turn on.
With the ignition switch in the ON position, press
the button as described in the chart below
to activate various features of the automatic anti-
glare review mirror.
WPD0126 Type A
WPD0331
MIRRORS
3-26 Pre-driving checks and adjustments
ZREVIEW COPY—
2008 Pathfinder (pat)
Owners Manual—USA_English (nna)
03/23/07—debbie
X

Push and hold
the
button for about:
Feature:
(Push button again for about 1 sec-
ond to change settings)
1 second Compass/outside temperature dis-
play toggles on/off (if so equipped)
8 seconds Automatic anti-glare/indicator light
toggles on/off
11 seconds
Compass zone can be changed to
correct false compass readings (if
so equipped)
13 seconds Compass enters calibration mode (if
so equipped)
For more information about the compass and
outside mirror features (if so equipped), refer to
“Compass and outside temperature display” in
the “Instruments and controls” section. Type B
To turn off the automatic anti-glare feature, press
the button. The indicator light will turn off.
To turn on the automatic anti-glare feature, press
the button again. The indicator light will
turn on.
For information on HomeLinkTUniversal Trans-
ceiver operation, see “HomeLinkTUniversal
Transceiver” in the “Instrument and controls”sec-
tion of this manual.
For information on the compass and outside tem-
perature display, see “Compass and outside
temperature display” in the “Instrument and con-
trols” section of this manual.
Type B
WPD0333
Pre-driving checks and adjustments 3-27
ZREVIEW COPY—
2008 Pathfinder (pat)
Owners Manual—USA_English (nna)
03/23/07—debbie
X

OUTSIDE MIRRORS
The outside mirror remote control will operate
only when the ignition switch is in the ACC or ON
position.
Move the small switch s
1to select the right or left
mirror. Adjust each mirror to the desired position
using the large switch s
2.
WARNING
●Objects viewed in the outside mirror on
the passenger side are closer than they
appear. Be careful when moving to the
right. Using only this mirror could cause
an accident. Use the inside mirror or
glance over your shoulder to properly
judge distances to other objects.
●Do not adjust the mirrors while driving.
You could lose control of your vehicle
and cause an accident.
Heated mirrors (if so equipped)
Some outside mirrors can be heated to defrost,
defog, or de-ice for improved visibility. For addi-
tional information, see “Rear window and outside
mirror (if so equipped) defroster switch” in the
“Instrument and controls” section of this manual.
Foldable outside mirrors
Pull the outside mirror toward the door to fold it.
Reverse tilt-down feature (if so
equipped)
The reverse tilt-down feature will turn the se-
lected outside mirror surface downward to pro-
vide better rear visibility close to the vehicle.
When the ignition switch is in the ON position,
turn the outside mirror control switch to the left or
right position. Only one mirror can be selected at
a time.
LPD0237 LPD0259
3-28 Pre-driving checks and adjustments
ZREVIEW COPY—
2008 Pathfinder (pat)
Owners Manual—USA_English (nna)
03/23/07—debbie
X

Move the shift selector lever to R (Reverse). The
selected mirror will turn downward.
The selected mirror surface will return to its origi-
nal position when any of the following have oc-
curred:
●The shift selector lever is moved to any po-
sition other than R (Reverse).
●The outside mirror control switch is set to the
N (Neutral) position.
●The ignition switch is turned OFF.
NOTE:
If the outside mirror control switch is in the
neutral position, neither mirror will turn
downward when the shift selector lever is
moved to R (Reverse).
For more information regarding this feature and
how to save the R (Reverse) mirror tilt-down
adjustment in the automatic drive positioner
memory, refer to “Automatic drive positioner”later
in this section.
The automatic drive positioner system has two
features:
●Memory storage function
●Entry/exit function
MEMORY STORAGE FUNCTION
Two positions for the driver’s seat, accelerator
and brake pedals, and outside mirrors can be
stored in the automatic drive positioner memory.
Follow these procedures to use the memory sys-
tem.
1. Set the automatic transmission selector le-
ver to the P (Park) position.
2. Turn the ignition ON.
LPD0306
AUTOMATIC DRIVE POSITIONER (if
so equipped)
Pre-driving checks and adjustments 3-29
ZREVIEW COPY—
2008 Pathfinder (pat)
Owners Manual—USA_English (nna)
03/23/07—debbie
X

3. Adjust the driver’s seat, accelerator and
brake pedals, and outside mirrors to the
desired positions by manually operating
each adjusting switch. For additional infor-
mation, see “Seats” in the “Safety—Seats,
seat belts and supplemental restraint sys-
tem” section and “Pedal position adjust-
ment” and “Outside mirrors” earlier in this
section.
During this step, do not turn the ignition to
any position other than ON.
4. Push the SET switch and, within 5 seconds,
push the memory switch (1 or 2) fully for at
least 1 second.
The indicator light for the pushed memory
switch will come on and stay on for approxi-
mately 5 seconds after pushing the switch.
After the indicator light goes off, the se-
lected positions are stored in the selected
memory (1 or 2).
If a new memory is stored in the same memory
switch, the previous memory will be deleted.
Linking a keyfob to a stored memory
position
Each keyfob can be linked to a stored memory
position (memory switch 1 or 2) with the follow-
ing procedure.
1. Follow the steps for storing a memory posi-
tion.
2. While the indicator light for the memory
switch being set is illuminated for 5 sec-
onds, press the button on the keyfob.
The indicator light will blink. After the indica-
tor light goes off, the keyfob is linked to that
memory setting.
With the key removed from the ignition switch,
press the button on the keyfob. The driv-
er’s seat, accelerator and brake pedals, and out-
side mirrors will move to the memorized position.
NOTE:
If a new memory position is saved to the
memory switch, the keyfob automatically
re-links.
Confirming memory storage
●Turn the ignition ON and push the SET
switch. If the main memory has not been
stored, the indicator light will come on for
approximately 0.5 seconds. When the
memory has stored the position, the indica-
tor light will stay on for approximately 5 sec-
onds.
●If the battery cable is disconnected, or if the
fuse opens, the memory storage function will
be canceled and must be restarted before a
stored memory position can be set again.
Drive the vehicle over 25 MPH (40 km/h) to
restart the memory storage function. You
can also restart the memory storage function
using the following procedure.
1. Connect the battery cable or replace the
fuse.
2. Open and close the driver’s door more than
two times with the ignition key in the LOCK
position.
Once the memory storage function has been
restarted, you can store a memory position.
See “Memory storage function”earlier in this
section.
Selecting the memorized position
Set the shift selector lever to the P (Park) posi-
tion, then:
●Within 45 seconds of opening the driver’s
door, push the memory switch (1 or 2) fully
for at least 1 second, or
●Turn the ignition switch to the ON position
and push the memory switch (1 or 2) fully for
at least 1 second.
The driver’s seat, accelerator and brake pedals,
and outside mirrors will move to the memorized
position with the indicator light blinking, and then
the light will stay on for approximately 5 seconds.
3-30 Pre-driving checks and adjustments
ZREVIEW COPY—
2008 Pathfinder (pat)
Owners Manual—USA_English (nna)
03/23/07—debbie
X
ENTRY/EXIT FUNCTION
This system is designed so that the driver’s seat
will automatically move when the shift selector
lever is in the P (Park) position. This allows the
driver to get into and out of the driver’s seat more
easily.
The driver’s seat will slide backward:
●When the key is removed from the ignition
switch and the driver’s door is opened.
●When the driver’s door is opened with the
ignition key turned to LOCK.
●When the ignition key is turned from ACC to
LOCK with the driver’s door open.
The driver’s seat will return to the previous posi-
tion:
●When the key is inserted into the ignition
switch and the driver’s door is closed.
●When the driver’s door is closed with the key
turned to LOCK.
●When the key is turned from ACC to ON
while the shift selector lever is in the P (Park)
position.
The entry/exit function can be adjusted or can-
celed. For vehicles with navigation system, see
“Comfort & convenience settings” in the “Display
screen, heater, air conditioner and audio sys-
tems” section of this manual. For vehicles without
navigation system, see your NISSAN dealer.
Restarting the entry/exit function
If the battery cable is disconnected or if the fuse
opens, the entry/exit function will be disabled.
Drive the vehicle over 25 MPH (40 km/h) to
restart the entry/exit function. You can also restart
the entry/exit function using the following proce-
dure.
1. Connect the battery cable or replace the
fuse.
2. Open and close the driver’s door more than
two times with the ignition key in the LOCK
position.
The entry/exit function should now work properly.
SYSTEM OPERATION
The automatic drive positioner system will not
work or will stop operating under the following
conditions:
●When the vehicle speed is above 4 MPH (7
km/h).
●When any of the memory switches are
pushed while the automatic drive positioner
is operating.
●When the adjusting switch for the driver’s
seat is turned on while the automatic drive
positioner is operating.
●When the memory switch (1 or 2) is not
pushed and held for at least 1 second.
●When the seat has been already moved to
the memorized position.
●When no seat position is stored in the
memory switch.
●When the shift selector lever is moved from
P (Park) to any other position.
●When the driver’s door remains open more
than 45 seconds and the ignition switch is
not in the ON position.
The automatic drive positioner system can be
adjusted and canceled. For vehicles with naviga-
tion system, see “Comfort & convenience set-
tings” in the “Display screen, heater, air condi-
tioner and audio systems” section of this manual.
For vehicles without navigation system, see your
NISSAN dealer.
Pre-driving checks and adjustments 3-31
ZREVIEW COPY—
2008 Pathfinder (pat)
Owners Manual—USA_English (nna)
03/23/07—debbie
X

4 Monitor, climate, audio, phone and voice
recognition systems
Control panel buttons — color screen without
Navigation System (if so equipped) ..................4-2
How to use the NISSAN controller ...............4-3
How to select menus on the screen ..............4-4
How to use the STATUS button ..................4-4
How to use the INFO button .....................4-4
How to use the SETTING button .................4-9
OFF button .............................4-15
Control panel buttons — color screen with
Navigation System (if so equipped) .................4-16
How to use the NISSAN controller ..............4-17
How to use the touch screen ...................4-17
Start-up screen ...............................4-19
How to select menus on the screen .............4-19
How to use the STATUS button .................4-20
How to use the INFO button ....................4-20
How to use the SETTING button ................4-25
OFF button .............................4-33
Rearview monitor (if so equipped) ..................4-33
How to read the displayed lines .................4-33
Adjusting the screen ...........................4-34
Operating tips.................................4-34
Ventilators .......................................4-35
Heater and air conditioner (manual).................4-36
Controls......................................4-37
Heater operation ..............................4-38
Air conditioner operation (if so equipped) ........4-39
Air flow charts.................................4-40
Heater and air conditioner (automatic) ..............4-44
Automatic operation ...........................4-44
Manual operation ..............................4-45
Operating tips.................................4-45
Rear seat air conditioner ..........................4-46
Controls......................................4-47
Servicing air conditioner...........................4-47
Audio system ....................................4-47
Radio ........................................4-47
FM radio reception ............................4-48
AM radio reception ............................4-48
Satellite radio reception (if so equipped) .........4-48
Audio operation precautions ....................4-49
FM/AM radio with compact disc (CD) player
(if so equipped) ...............................4-54
ZREVIEW COPY—
2008 Pathfinder (pat)
Owners Manual—USA_English (nna)
03/23/07—debbie
X

FM/AM/SAT radio with compact disc (CD)
changer (if so equipped) .......................4-59
FM/AM/SAT radio with compact disc (CD)
player (if so equipped) .........................4-67
CompactFlash™ (CF) player operation
(if so equipped) ...............................4-72
Music Box hard-disk drive audio system
(if so equipped) ...............................4-74
CD/CF (CompactFlash™) care and cleaning......4-83
Steering wheel switch for audio control ..........4-85
Remote audio system controls
(if so equipped) ...............................4-86
Antenna ......................................4-87
NISSAN mobile entertainment system (MES)
(if so equipped) ..................................4-88
Digital video disc (DVD) player controls ..........4-89
Remote control................................4-90
Flip-down screen..............................4-90
Before operating the DVD mobile
entertainment system ..........................4-92
Playing a digital versatile disc (DVD) .............4-93
Remote control operation.......................4-98
Care and maintenance ........................4-100
How to handle the DVD .......................4-101
Car phone or CB radio...........................4-103
BluetoothTHands-Free Phone System with
Navigation System (if so equipped) ................4-104
Voice commands .............................4-106
Pairing procedure ............................4-107
Phonebook ..................................4-109
Making a call.................................4-110
Receiving a call ..............................4-111
During a call .................................4-112
Phone setting................................4-112
NISSAN Voice Recognition System
(if so equipped) .................................4-114
Command list ................................4-114
Using the system .............................4-123
System features ..............................4-125
Voice command learning function...............4-126
Voice recognition settings .....................4-129
Troubleshooting guide ........................4-131
ZREVIEW COPY—
2008 Pathfinder (pat)
Owners Manual—USA_English (nna)
03/23/07—debbie
X

WARNING
●Positioning of the heating or air condi-
tioning controls and display controls
should not be done while driving in or-
der that full attention may be given to
the driving operation.
●Do not disassemble or modify this sys-
tem. If you do, it may result in accidents,
fire, or electrical shock.
●Do not use this system if you notice any
abnormality, such as a frozen screen or
lack of sound. Continued use of the
system may result in accident, fire or
electric shock.
●In case you notice any foreign object in
the system hardware, spill liquid on it,
or notice smoke or smell coming from
it, stop using the system immediately
and contact your nearest NISSAN
dealer. Ignoring such conditions may
lead to accidents, fire or electrical
shock.
1. NISSAN controller (P. 4-3)
2. STATUS button (P. 4-4)
3. + (brightness control) button
4. OFF brightness control button
(P. 4-15)
5. INFO button (P. 4-4)
6. – (brightness control) button
7. SETTING button (P. 4-9)
8. BACK (previous) button (P. 4-3)
WHA0881
CONTROL PANEL BUTTONS — COLOR
SCREEN WITHOUT NAVIGATION
SYSTEM (if so equipped)
4-2 Monitor, climate, audio, phone and voice recognition systems
ZREVIEW COPY—
2008 Pathfinder (pat)
Owners Manual—USA_English (nna)
03/23/07—arosenma
X

When you use this system, make sure the engine
is running.
If you use the system with the engine not
running (ignition ON or ACC) for a long
time, it will discharge the battery, and the
engine will not start.
Reference symbols:
ENTER button — This is a button on the control
panel.
“Display”key — This is a select key on the screen.
By selecting this key you can proceed to the next
function.
HOW TO USE THE NISSAN
CONTROLLER
Use the NISSAN controller to choose an item on
the display screen. Select an item on the display
using the main directional buttons s
2or the
center dial s
3. Then press the ENTER button s
1
to select the item or perform the action.
The BACK button s
4button has two functions:
●Go back to the previous display (cancel).
If you press the BACK button s
4during setup,
the setup will be canceled and/or the display will
return to the previous screen.
●Finish setup.
In some screens pressing the BACK button s
4
accepts the changes made during setup.
WHA0883
Monitor, climate, audio, phone and voice recognition systems 4-3
ZREVIEW COPY—
2008 Pathfinder (pat)
Owners Manual—USA_English (nna)
03/23/07—debbie
X

HOW TO SELECT MENUS ON THE
SCREEN
Vehicle functions are viewed on the center dis-
play screen in menus. Whenever a menu selec-
tion is made or menu item is highlighted, different
areas on the screen provide you with important
information. See the following for details.
1. Header:
Shows the path used to get to the current
screen (for example, press the SETTING
button > then select the “Audio” key).
2. Menu Selections:
Shows the options to choose within that
menu screen (for example, Bass, etc.).
3. UP/DOWN Movement Indicator:
Shows that the NISSAN controller may be
used to move UP/DOWN on the screen and
select more options.
4. Screen Count:
Shows the number of menu selections avail-
able for that screen (for example, 5/6).
5. Footer/Information Line:
Provides more information (if available)
about the menu selection currently high-
lighted (for example, Enhances stereo imag-
ing and sound).
HOW TO USE THE STATUS
BUTTON
To display the status of the audio, climate control
system and fuel consumption, press the STATUS
button.
The following information will appear when the
STATUS button is pressed:
Audio →Audio and climate control system →
Audio, climate control temperature settings, av-
erage fuel economy and distance to empty →
Audio
HOW TO USE THE INFO BUTTON
Press the INFO button; the display screen shows
vehicle information for your convenience.
The information shown on the screen should be a
guide to determine the condition of the vehicle.
See the following for details.
LHA0914 LHA0915
4-4 Monitor, climate, audio, phone and voice recognition systems
ZREVIEW COPY—
2008 Pathfinder (pat)
Owners Manual—USA_English (nna)
03/23/07—debbie
X

Fuel economy
Press the INFO button then select the “Fuel
Economy” key using the NISSAN controller and
press the ENTER button to display Average Fuel
Economy, Distance to Empty and Fuel Economy
Record.
Distance to empty (MI or km)
The Distance To Empty (DTE) mode provides you
with an estimation of the distance that can be
driven before refueling. The DTE is constantly
calculated based on the amount of fuel in the fuel
tank and the actual fuel consumption. The display
is updated every 30 seconds. When the fuel level
is low, the DTE display will change to (*).
NOTE:
●If the amount of fuel added while the
ignition switch is OFF is small, the dis-
play just before the ignition switch is
turned OFF may continue to be dis-
played.
●When driving uphill or rounding curves,
the fuel in the tank shifts, which may
momentarily change the display.
Average fuel economy (MPG or L/100 km)
The Average Fuel Economy is calculated based
on fuel consumption since the last reset. The
display is updated every 30 seconds and 1/3
mile (500 m). After a reset or connecting the
battery cables, the display might show (**.*).
Resetting fuel economy
The average fuel economy calculation can be
reset to 0. Press the INFO button and select the
“Fuel Economy” key, then select the “Reset” key
using the NISSAN controller and press the EN-
TER button.
Fuel economy record
Press the INFO button, then select the “Fuel
Economy” key, then select the “View” key using
the NISSAN controller and press the ENTER
button.
The average fuel consumption history will be
displayed in a graph form along with the average
fuel for the previous Reset-to-Reset period.
LHA0921 LHA0922
Monitor, climate, audio, phone and voice recognition systems 4-5
ZREVIEW COPY—
2008 Pathfinder (pat)
Owners Manual—USA_English (nna)
03/23/07—debbie
X

Tire pressure information
To display tire pressure information, press the
INFO button, then select the “Tire Pressure” key
using the NISSAN controller and press the EN-
TER button.
Pressure indication in ** psi on the screen indi-
cates that the pressure is being measured. After
a few driving trips, the pressure for each tire will
be displayed randomly.
The order of tire pressure figures displayed on
the screen does not correspond with the actual
order of the tire position.
Tire pressure rises and falls depending on the
heat caused by the vehicle’s traveling condition
and the temperature.
In case of low tire pressure, a message is dis-
played on the screen:
LOW PRESSURE — Check All Tires.
WARNING
●When a spare tire is mounted or a wheel
is replaced, tire pressure will not be
indicated, the Tire Pressure Monitoring
System (TPMS) will not function and
the low tire pressure warning light will
flash for approximately 1 minute. The
light will remain on after 1 minute. Con-
tact your NISSAN dealer as soon as
possible for tire replacement and/or
system resetting.
●Replacing tires with those not originally
specified by NISSAN could affect the
proper operation of the TPMS.
Trip computer
Press the INFO button, then select the “Trip
Computer” key using the NISSAN controller and
press the ENTER button.
The trip computer will display the following items:
●Elapsed Time – Journey time since the last
reset up to a maximum of 99 hours and 59
minutes.
●Driving Distance – Distance driven (mile or
km) since the last reset.
●Average Speed – Average speed driven
(MPH or km/h) since the last reset.
LHA0923 LHA0924
4-6 Monitor, climate, audio, phone and voice recognition systems
ZREVIEW COPY—
2008 Pathfinder (pat)
Owners Manual—USA_English (nna)
03/23/07—debbie
X

Resetting the trip computer
Each item in the trip computer can be reset to 0.
Select the “Reset” key on the item that needs to
be reset using the NISSAN controller and press
the ENTER button.
To reset all of the items in the trip computer select
the “Reset ALL” key and press the ENTER button.
A confirmation screen will appear. Select the
“Yes” key and press the ENTER button.
Maintenance items
Press the INFO button and select the “Mainte-
nance” key using the NISSAN controller and
press the ENTER button; the maintenance infor-
mation will be displayed on the screen.
Changing the maintenance interval
Select one of the “Reminder (1 – 4)” keys using
the NISSAN controller and press the ENTER
button to display the screen to change the main-
tenance interval.
Select the “Interval” key using the NISSAN con-
troller and press the ENTER button. Use the
NISSAN controller to change the maintenance
interval; to accept the changes press the BACK
button.
LHA0925 LHA0926
Monitor, climate, audio, phone and voice recognition systems 4-7
ZREVIEW COPY—
2008 Pathfinder (pat)
Owners Manual—USA_English (nna)
03/23/07—debbie
X

Resetting the maintenance interval
To reset the reminder schedule (distance) to 0
miles (km), select the “Reset Distance” key using
the NISSAN controller and press the ENTER
button.
Displaying the maintenance notice re-
minder
Select the “Interval Reminder ON” key and press
the ENTER button to display the MAINTENANCE
INFORMATION automatically at the set mainte-
nance interval. The indicator light will illuminate
when it is ON.
The MAINTENANCE NOTICE screen will be au-
tomatically displayed as shown when both of the
following conditions are met:
●The vehicle is driven the set distance and the
ignition key is turned OFF.
●The ignition key is turned ON the next time
the vehicle will be driven.
To return to the previous display after the MAIN-
TENANCE NOTICE screen is displayed, press
the BACK button.
The MAINTENANCE NOTICE screen displays
each time the key is turned ON until one of the
following conditions are met:
●The “Reset” key is selected.
●The “Interval Reminder ON” key is set to
OFF (indicator light not illuminated).
●The maintenance interval is set again.
LHA0839
4-8 Monitor, climate, audio, phone and voice recognition systems
ZREVIEW COPY—
2008 Pathfinder (pat)
Owners Manual—USA_English (nna)
03/23/07—debbie
X

HOW TO USE THE SETTING
BUTTON
When the SETTING button is pressed, the SET-
TINGS screen will appear on the display. You can
select and/or adjust several functions, features
and modes that are available for your vehicle. Use
the NISSAN controller to select each item to be
set and press the ENTER button.
Display settings
Select the “Display” key and press the ENTER
button. The Display settings screen will appear.
Type A
LHA0927
Type B
WHA0937 LHA0929
Monitor, climate, audio, phone and voice recognition systems 4-9
ZREVIEW COPY—
2008 Pathfinder (pat)
Owners Manual—USA_English (nna)
03/23/07—debbie
X

Brightness/contrast:
Select the “Brightness” key or the “Contrast” key
to adjust the brightness or contrast of the map
background. Use the NISSAN controller to adjust
the brightness to darker or brighter and the con-
trast to lower or higher.
The new settings are automatically saved when
you exit the setting screen by pressing the BACK
button or any other mode button.
Display off:
Select the “Display ON” key. The indicator of the
“Display ON” turns amber and the message
above will be displayed briefly. When the audio,
HVAC (Heater and air conditioner), or any mode
button on the control panel is operated, the dis-
play turns on for that operation. If one of the
control panel buttons is pressed, the display will
not automatically turn off until that operation is
finished. Otherwise, the screen turns off auto-
matically after 5 seconds.
To turn the screen on:
●Press the SETTING button and select the
“Display” key and then select the “Display
ON”key. Then set the screen to on by press-
ing the ENTER button, or
●Hold the OFF button for approxi-
mately 2 seconds and the message “resum-
ing display”will appear and the “Display ON”
key will be automatically turned on (no am-
ber indicator).
Background color
Select the “Background Color” key; the display
color changes between day and night.
The new settings are automatically saved when
you exit the setting screen by pressing the BACK
button or any other mode button.
LHA0930 WHA0823
4-10 Monitor, climate, audio, phone and voice recognition systems
ZREVIEW COPY—
2008 Pathfinder (pat)
Owners Manual—USA_English (nna)
03/23/07—debbie
X

Beeps settings
Select the “Beeps” key and press the ENTER
button. The Beeps settings screen will appear.
With this option on (indicator light illuminated), a
beep will sound if any control panel button is
pressed.
Clock
The following display will appear after pressing
the SETTING button, then selecting the “Clock”
key using the NISSAN controller and pressing
the ENTER button.
On-screen Clock:
When this item is enabled (indicator light illumi-
nated), a clock is always displayed in the upper
right corner of the screen.
Clock Format:
Choose either the 12h (12 hour) clock display or
the 24h (24 hour) clock display.
Daylight Savings Time:
When this item is enabled (indicator light illumi-
nated), daylight savings time is on. To turn off the
daylight savings time, touch the “ON” key; the
amber indicator light will disappear.
LHA0931 LHA0932
Monitor, climate, audio, phone and voice recognition systems 4-11
ZREVIEW COPY—
2008 Pathfinder (pat)
Owners Manual—USA_English (nna)
03/23/07—debbie
X

Time Zone:
Select the “Time Zone” key; the Time Zone
screen will appear.
Select one of the following zones, depending on
the current location, by selecting the correct time
zone key and pressing the ENTER button to
enable that time zone (indicator light will illumi-
nate for that location).
●Pacific
●Mountain
●Central
●Eastern
●Atlantic
●Newfoundland
●Aleutian
●Hawaii
●Alaska
Clock Adjust:
Adjust the time by manually inputting the correct
time.
●0–9:
Select to change the number in the display.
●Modify:
Select to change the number at the cursor
position.
●>:
Select to move the cursor position to the
right.
●<:
Select to move the cursor position to the left.
LHA0933 LHA0943
4-12 Monitor, climate, audio, phone and voice recognition systems
ZREVIEW COPY—
2008 Pathfinder (pat)
Owners Manual—USA_English (nna)
03/23/07—debbie
X

●OK:
Select to accept the changes made and
return to the clock setting display.
After selection/settings, press the BACK button
or any other mode button to accept the changes.
Comfort & Convenience settings (if so
equipped)
Select the “Comfort & Conv.” key by using the
NISSAN controller and pressing the ENTER but-
ton. The comfort and convenience option screen
will be displayed.
You can set the following operating conditions by
selecting the desired item using the NISSAN
controller, then pressing the ENTER button. The
indicator light, box at the left of the selected item,
alternately turns on and off each time the ENTER
button is pressed.
Indicator light is illuminated — ON
Indicator light is not illuminated — OFF
LHA1015 LHA1016
Monitor, climate, audio, phone and voice recognition systems 4-13
ZREVIEW COPY—
2008 Pathfinder (pat)
Owners Manual—USA_English (nna)
03/23/07—debbie
X

Auto interior illumination: Select to turn on or
turn off the illumination of the interior lights when
any door is unlocked.
Speed sensing wiper interval: Select to turn
on or turn off the wiper interval adjusted automati-
cally according to the vehicle speed.
Remote key response horn: Select to turn on
or turn off the horn chirp mode used when the
LOCK button on the keyfob is pressed.
NOTE:
If you change the horn beep or the lamp
flash feature with the keyfob, the mode will
not be changed with the display. Use the
keyfob to return to the previous mode and
re-enable the display control.
Remote key response lights: Select to turn on
or turn off the hazard indicator flash mode used
when the LOCK or UNLOCK button on the key-
fob is pressed.
NOTE:
If you change the horn beep or the lamp
flash feature with the keyfob, the mode will
not be changed with the display. Use the
keyfob to return to the previous mode and
re-enable the display control.
Auto re-lock time: Select to set the length of
time before doors automatically re-lock.
Selective door unlock: When this item is
turned on, only the driver’s door is unlocked first
after the door unlock operation. When the door
handle request switch on the driver’s or front
passenger’s side door is pushed to be unlocked,
only the corresponding door is unlocked first. All
the doors can be unlocked if the door unlock
operation is performed again within 5 seconds.
When this item is turned to off, all the doors will
be unlocked after the door unlock operation is
performed once.
Reset all settings to default: Select to
change all the comfort and convenience systems
to their default settings.
Language / Units
Use the NISSAN controller to select the “Lan-
guage / Units” key and press the ENTER button.
Select which setting you want to change using
the NISSAN controller and selecting either the
“Select Language” key or the “Select Units” key
by pressing the ENTER button.
LHA0934
4-14 Monitor, climate, audio, phone and voice recognition systems
ZREVIEW COPY—
2008 Pathfinder (pat)
Owners Manual—USA_English (nna)
03/23/07—debbie
X

Select Language:
Select the “English” key, the “Français”key or the
“Español” key to change the language shown on
the display.
Select Units:
Select the “US” (Mile, °F, MPG) key or the “Met-
ric” (km, °C, L/100 km) key to change the units
shown on the display.
Audio settings
For audio settings, refer to “Audio System” later in
this section.
OFF BUTTON
To change the display brightness, press
the OFF button. Pressing the button again
will change the display to the day or the
night display. Then, adjust the brightness
by using the NISSAN controller.
The display brightness can also be adjusted us-
ing the + (brighter) button or the 2(dimmer)
button.
If no operation is done within 10 seconds, the
display will return to the previous display.
Press and hold the OFF button for more
than 2 seconds to turn the display off. Press the
button again to turn the display on.
LHA0935 LHA0936
Monitor, climate, audio, phone and voice recognition systems 4-15
ZREVIEW COPY—
2008 Pathfinder (pat)
Owners Manual—USA_English (nna)
03/23/07—debbie
X

1. STATUS button (P. 4-20)
2. DEST button*
3. NISSAN controller (P. 4-17)
4. PHONE button**
5. OFF brightness control button
(P. 4-33)
6. INFO button (P. 4-20)
7. SETTING button (P. 4-25)
8. VOICE button*
9. BACK (previous) button (P. 4-17)
10. ROUTE button*
11. ZOOM IN button*
12. MAP button*
13. ZOOM OUT button*
*For Navigation system control buttons, refer to
the separate Navigation System Owner’s
Manual.
**For information on the PHONE button, see
“BluetoothTHands-Free Phone System with
Navigation System” later in this section.
When you use this system, make sure the engine
is running.
If you use the system with the engine not
running (ignition ON or ACC) for a long
time, it will discharge the battery, and the
engine will not start.
Reference symbols:
ENTER button — This is a button on the control
panel.
“Display”key — This is a select key on the screen.
By selecting this key, you can proceed to the next
function.
LHA0880
CONTROL PANEL BUTTONS —
COLOR SCREEN WITH NAVIGATION
SYSTEM (if so equipped)
4-16 Monitor, climate, audio, phone and voice recognition systems
ZREVIEW COPY—
2008 Pathfinder (pat)
Owners Manual—USA_English (nna)
03/23/07—debbie
X

HOW TO USE THE NISSAN
CONTROLLER
Use the NISSAN controller to choose an item on
the display screen. Select an item on the display
using the main directional buttons s
2(certain
Navigation System functions use the additional
directional buttons s
6) or the center dial s
3.
Then press the ENTER button s
1to select the
item or perform the action.
The BACK button s
4button has two functions:
●Go back to the previous display (cancel).
If you press the BACK button s
4during setup,
the setup will be canceled and/or the display will
return to the previous screen.
●Finish setup.
In some screens pressing the BACK button s
4
accepts the changes made during setup.
For the VOICE button s
5functions, refer to the
separate Navigation System Owner’s Manual.
HOW TO USE THE TOUCH
SCREEN
CAUTION
●The glass screen on the liquid crystal
display may break if it is hit with a hard
or sharp object. If the glass breaks, do
not touch the liquid crystalline material,
which contains a small amount of mer-
cury. In case of contact with skin, wash
immediately with soap and water.
●To clean the display, never use a rough
cloth, alcohol, benzine, thinner or any
kind of solvent or paper towel with a
chemical cleaning agent. They will
scratch or deteriorate the panel.
●Do not splash any liquid such as water
or car fragrance on the display. Contact
with liquid will cause the system to
malfunction.
To help ensure safe driving, some functions can-
not be operated while driving.
The on-screen functions that are not available
while driving will be “grayed out” or muted.
Park the vehicle in a safe location and then oper-
ate the navigation system.
LHA0882
Monitor, climate, audio, phone and voice recognition systems 4-17
ZREVIEW COPY—
2008 Pathfinder (pat)
Owners Manual—USA_English (nna)
03/23/07—debbie
X

Touch screen operation
With this system, the same operations as those
for the NISSAN controller are possible using the
touch screen operation.
Selecting the item:
Touch an item to select. To select the “Audio” key,
touch the “Audio” key s
1on the screen. Touch
the “BACK” key s
2to return to the previous
screen.
Adjusting the item:
Touch the “+” key s
1or the “2” key s
2to adjust
the settings. Touch the “UP”key s
3to scroll up to
the previous page, or touch the “DOWN” key s
4
to scroll down to next page.
Inputting characters:
Touch the letter or number key s
1.
There are some options available when inputting
characters.
●Uppercase:
Shows uppercase characters.
●Lowercase:
Shows lowercase characters.
●Space:
Inserts a space.
WHA0885 WHA0887 WHA0889
4-18 Monitor, climate, audio, phone and voice recognition systems
ZREVIEW COPY—
2008 Pathfinder (pat)
Owners Manual—USA_English (nna)
03/23/07—debbie
X

●Symbols:
Shows symbols such as the question mark
(?).
●Delete:
Deletes the last character that has been
input with one touch. Touch and hold the
“Delete” key to delete all of the characters.
●OK:
Completes the character input.
Touch screen maintenance
If you clean the display screen, use a dry, soft
cloth. If additional cleaning is necessary, use a
small amount of neutral detergent with a soft
cloth. Never spray the screen with water or de-
tergent. Dampen the cloth first, and then wipe the
screen.
START-UP SCREEN
When you push the ignition switch to the ACC or
ON position, the SYSTEM START-UP warning is
displayed on the screen. When you read and
agree with the warning, press the ENTER button.
If you do not push the ENTER button, you will not
be able to use the navigation system.
To proceed to the next step, refer to the separate
Navigation System Owner’s Manual.
HOW TO SELECT MENUS ON THE
SCREEN
Vehicle functions are viewed on the center dis-
play screen in menus. Whenever a menu selec-
tion is made or menu item is highlighted, different
areas on the screen provide you with important
information. See the following for details.
1. Header:
Shows the path used to get to the current
screen (for example, press the SETTING
button > then select the “Comfort & Conv.”
key).
2. Menu Selections:
Shows the options to choose within that
menu screen (for example, Auto Interior Illu-
mination, etc.).
3. UP/DOWN Movement Indicator:
Shows that the NISSAN controller may be
used to move UP/DOWN on the screen and
select more options.
4. Screen Count:
Shows the number of menu selections avail-
able for that screen (for example, 1/14).
5. Footer/Information Line:
Provides more information (if available)
about the menu selection currently high-
lighted (for example, Cabin lighting when
unlocking doors).
LHA0890
Monitor, climate, audio, phone and voice recognition systems 4-19
ZREVIEW COPY—
2008 Pathfinder (pat)
Owners Manual—USA_English (nna)
03/23/07—debbie
X

HOW TO USE THE STATUS
BUTTON
To display the status of the audio, climate control
system, fuel consumption and navigation system,
press the STATUS button.
The following information will appear when the
STATUS button is pressed:
Audio →Audio and Climate control system →
Audio, climate control temperature settings, av-
erage fuel economy and distance to empty →
Audio, climate control temperature settings and
Navigation System →Audio
HOW TO USE THE INFO BUTTON
Press the INFO button; the display screen shows
vehicle and navigation information for your con-
venience.
The information shown on the screen should be a
guide to determine the condition of the vehicle.
See the following for details.
Fuel economy
Press the INFO button, then select the “Fuel
Economy” key using the NISSAN controller and
press the ENTER button to display Average Fuel
Economy, Distance to Empty and Fuel Economy
Record.
Distance to empty (MI or km)
The Distance To Empty (DTE) mode provides you
with an estimation of the distance that can be
driven before refueling. The DTE is constantly
calculated based on the amount of fuel in the fuel
tank and the actual fuel consumption. The display
is updated every 30 seconds. When the fuel level
is low, the DTE display will change to (*).
LHA0892 LHA0893
4-20 Monitor, climate, audio, phone and voice recognition systems
ZREVIEW COPY—
2008 Pathfinder (pat)
Owners Manual—USA_English (nna)
03/23/07—debbie
X

NOTE:
●If the amount of fuel added while the
ignition switch is OFF is small, the dis-
play just before the ignition switch is
turned OFF may continue to be dis-
played.
●When driving uphill or rounding curves,
the fuel in the tank shifts, which may
momentarily change the display.
Average fuel economy (MPG or L/100 km)
The Average Fuel Economy is calculated based
on fuel consumption since the last reset. The
display is updated every 30 seconds and 1/3
mile (500 m). After a reset or connecting the
battery cables, the display might show (**.*).
Resetting fuel economy
The average fuel economy calculation can be
reset to 0. Press the INFO button and select the
“Fuel Economy” key, then select the “Reset” key
using the NISSAN controller and press the EN-
TER button.
Fuel economy record
Press the INFO button, then select the “Fuel
Economy” key, then select the “View” key using
the NISSAN controller and press the ENTER
button.
The average fuel consumption history will be
displayed in a graph form along with the average
fuel for the previous Reset-to-Reset period.
Tire pressure information
To display tire pressure information, press the
INFO button, then select the “Tire Pressure” key
using the NISSAN controller and press the EN-
TER button.
Pressure indication in ** psi on the screen indi-
cates that the pressure is being measured. After
a few driving trips, the pressure for each tire will
be displayed randomly.
The order of tire pressure figures displayed on
the screen does not correspond with the actual
order of the tire position.
LHA0894 LHA0895
Monitor, climate, audio, phone and voice recognition systems 4-21
ZREVIEW COPY—
2008 Pathfinder (pat)
Owners Manual—USA_English (nna)
03/23/07—debbie
X

Tire pressure rises and falls depending on the
heat caused by the vehicle’s traveling condition
and the temperature.
In case of low tire pressure, a message is dis-
played on the screen:
LOW PRESSURE — Check All Tires.
WARNING
●When a spare tire is mounted or a wheel
is replaced, tire pressure will not be
indicated, the Tire Pressure Monitoring
System (TPMS) will not function and
the low tire pressure warning light will
flash for approximately 1 minute. The
light will remain on after 1 minute. Con-
tact your NISSAN dealer as soon as
possible for tire replacement and/or
system resetting.
●Replacing tires with those not originally
specified by NISSAN could affect the
proper operation of the TPMS.
Trip computer
Press the INFO button, then select the “Trip
Computer” key using the NISSAN controller and
press the ENTER button.
The trip computer will display the following items:
●Elapsed Time – Journey time since the last
reset up to a maximum of 99 hours and 59
minutes.
●Driving Distance – Distance driven (miles or
km) since the last reset.
●Average Speed – Average speed driven
(MPH or km/h) since the last reset.
Resetting the trip computer
Each item in the trip computer can be reset to 0.
Select the “Reset” key on the item that needs to
be reset using the NISSAN controller and press
the ENTER button.
To reset all of the items in the trip computer select
the “Reset ALL” key and press the ENTER button.
A confirmation screen will appear; select the
“Yes” key and press the ENTER button.
LHA0896
4-22 Monitor, climate, audio, phone and voice recognition systems
ZREVIEW COPY—
2008 Pathfinder (pat)
Owners Manual—USA_English (nna)
03/23/07—debbie
X

Maintenance items
Press the INFO button and select the “Mainte-
nance” key using the NISSAN controller and
press the ENTER button; the maintenance infor-
mation will be displayed on the screen.
Changing the maintenance interval
Select one of the “Reminder (1 – 4)” keys using
the NISSAN controller and press the ENTER
button to display the screen to change the main-
tenance interval.
Select the “Interval” key using the NISSAN con-
troller and press the ENTER button. Use the
NISSAN controller to change the maintenance
interval, to accept the changes, press the BACK
button.
Resetting the maintenance interval
To reset the reminder schedule (distance) to 0
miles (km), select the “Reset Distance” key using
the NISSAN controller and press the ENTER
button.
LHA0897 LHA0898
Monitor, climate, audio, phone and voice recognition systems 4-23
ZREVIEW COPY—
2008 Pathfinder (pat)
Owners Manual—USA_English (nna)
03/23/07—debbie
X

Displaying the maintenance notice re-
minder
Select the “Interval Reminder ON” key and press
the ENTER button to display the MAINTENANCE
INFORMATION automatically at the set mainte-
nance interval. The indicator light will illuminate
when it is ON.
The MAINTENANCE NOTICE screen will be au-
tomatically displayed as shown when both of the
following conditions are met:
●The vehicle is driven the set distance and the
ignition key is turned OFF.
●The ignition key is turned ON the next time
the vehicle will be driven.
To return to the previous display after the MAIN-
TENANCE NOTICE screen is displayed, press
the BACK button.
The MAINTENANCE NOTICE screen displays
each time the key is turned ON until one of the
following conditions are met:
●The “Reset” key is selected.
●The “Interval Reminder ON” key is set to
OFF (indicator light not illuminated).
●The maintenance interval is set again.
Other items
Press the INFO button and select the “Others”
key using the NISSAN controller and press the
ENTER button to view information on the naviga-
tion and voice recognition systems.
LHA0839 LHA0908
4-24 Monitor, climate, audio, phone and voice recognition systems
ZREVIEW COPY—
2008 Pathfinder (pat)
Owners Manual—USA_English (nna)
03/23/07—debbie
X

Voice recognition
If you use the voice recognition system for the
first time or you do not know how to operate it,
you can display the voice command list or the
user guide for confirmation. For more information,
see “NISSAN voice recognition system” later in
this section.
Command List:
Displays a list of voice commands that will work
with the system.
User Guide:
Displays a simplified operation manual of the
voice recognition system and how to use the
voice commands.
Navigation version
Refer to the separate Navigation System Own-
er’s Manual for information regarding this item.
Traffic Info.
Refer to the separate Navigation System Own-
er’s Manual for information regarding this item.
Where am I?
Refer to the separate Navigation System Own-
er’s Manual for information regarding this item.
GPS Satellite Info.
Refer to the separate Navigation System Own-
er’s Manual for information regarding this item. HOW TO USE THE SETTING
BUTTON
When the SETTING button is pressed, the SET-
TINGS screen will appear on the display. You can
select and/or adjust several functions, features
and modes that are available for your vehicle. Use
the NISSAN controller to select each item to be
set and press the ENTER button.
LHA0899 LHA0884
Monitor, climate, audio, phone and voice recognition systems 4-25
ZREVIEW COPY—
2008 Pathfinder (pat)
Owners Manual—USA_English (nna)
03/23/07—debbie
X

Display settings
Select the “Display” key and press the ENTER
button. The Display settings screen will appear.
Brightness/contrast:
Select the “Brightness” key or the “Contrast” key
to adjust the brightness or contrast of the map
background. Use the NISSAN controller to adjust
the brightness to darker or brighter and the con-
trast to lower or higher.
The new settings are automatically saved when
you exit the setting screen by pressing the BACK
button or any other mode button.
Display off:
Select the “Display ON” key. The indicator of the
“Display ON” turns amber and the message
above will be displayed briefly. When the audio,
HVAC (Heater and air conditioner), or any mode
button on the control panel is operated, the dis-
play turns on for that operation. If one of the
control panel buttons is pressed, the display will
not automatically turn off until that operation is
finished. Otherwise, the screen turns off auto-
matically after 5 seconds.
LHA0901 LHA0902 WHA0823
4-26 Monitor, climate, audio, phone and voice recognition systems
ZREVIEW COPY—
2008 Pathfinder (pat)
Owners Manual—USA_English (nna)
03/23/07—debbie
X

To turn the screen on:
●Press the SETTING button and select the
“Display” key and then select the “Display
ON”key. Then set the screen to on by press-
ing the ENTER button, or
●Hold the OFF button for approxi-
mately 2 seconds and the message “resum-
ing display”will appear and the “Display ON”
key will be automatically turned on (no am-
ber indicator).
Background color
Select the “Background Color” key; the display
color changes between day and night.
The new settings are automatically saved when
you exit the setting screen by pressing the BACK
button or any other mode button.
Clock
The following display will appear after pressing
the SETTING button, then selecting the “Clock”
key using the NISSAN controller and pressing
the ENTER button.
On-screen Clock:
When this item is enabled (indicator light illumi-
nated), a clock is always displayed in the upper
right corner of the screen.
This clock will indicate the time almost exactly
because it is always adjusted by the GPS system.
Clock Format:
Choose either the 12h (12 hour) clock display or
the 24h (24 hour) clock display.
Offset Adjust:
Adjust the time by increasing or decreasing per
minute.
Daylight Savings Time:
When this item is enabled (indicator light illumi-
nated), daylight savings time is on. To turn off the
daylight savings time, touch the “ON” key; the
amber indicator light will disappear.
LHA0904
Monitor, climate, audio, phone and voice recognition systems 4-27
ZREVIEW COPY—
2008 Pathfinder (pat)
Owners Manual—USA_English (nna)
03/23/07—debbie
X

Time Zone:
Select the “Time Zone” key; the Time Zone
screen will appear.
Select one of the following zones, depending on
the current location, by selecting the correct time
zone key and pressing the ENTER button to
enable that time zone (indicator light will illumi-
nate for that location).
●Pacific
●Mountain
●Central
●Eastern
●Atlantic
●Newfoundland
●Hawaii
●Alaska
After selection/settings, press the BACK button
or any other mode button to accept the changes.
Comfort & Convenience settings
Select the “Comfort & Conv.” key by using the
NISSAN controller and pressing the ENTER but-
ton. The comfort and convenience option screen
will be displayed.
You can set the following operating conditions by
selecting the desired item using the NISSAN
controller, then pressing the ENTER button. The
indicator light, box at the right of the selected
item, alternately turns on and off each time the
ENTER button is pressed.
Indicator light is illuminated — ON
LHA0905 LHA0938
4-28 Monitor, climate, audio, phone and voice recognition systems
ZREVIEW COPY—
2008 Pathfinder (pat)
Owners Manual—USA_English (nna)
03/23/07—debbie
X

Indicator light is not illuminated — OFF Auto interior illumination: Select to turn on or
turn off the illumination of the interior lights when
any door is unlocked.
Auto headlights sensitivity: Select to adjust
the sensitivity of the automatic headlights higher
(right) or lower (left).
Auto headlights off delay: Select to change
the duration of the automatic headlight off timer
from 0, 30, 45, 60, 90, 120, 150 and 180 second
periods.
Speed sensing wiper interval: Select to turn
on or turn off the wiper interval adjusted automati-
cally according to the vehicle speed.
Remote key response horn: Select to turn on
or turn off the horn chirp mode used when the
LOCK button on the keyfob is pressed.
NOTE:
If you change the horn beep or the lamp
flash feature with the keyfob, the mode will
not be changed with the display. Use the
keyfob to return to the previous mode and
re-enable the display control.
Remote key response lights: Select to turn on
or turn off the hazard indicator flash mode used
when the LOCK or UNLOCK button on the key-
fob is pressed.
NOTE:
If you change the horn beep or the lamp
flash feature with the keyfob, the mode will
not be changed with the display. Use the
keyfob to return to the previous mode and
re-enable the display control.
Auto re-lock time: Select to set the length of
time before doors automatically re-lock.
Selective door unlock: When this item is
turned on, only the driver’s door is unlocked first
after the door unlock operation. When the door
handle request switch on the driver’s or front
passenger’s side door is pushed to be unlocked,
LHA0939 LHA0940
Monitor, climate, audio, phone and voice recognition systems 4-29
ZREVIEW COPY—
2008 Pathfinder (pat)
Owners Manual—USA_English (nna)
03/23/07—debbie
X

only the corresponding door is unlocked first. All
the doors can be unlocked if the door unlock
operation is performed again within 5 seconds.
When this item is turned to off, all the doors will
be unlocked after the door unlock operation is
performed once.
Intelligent Key lock / unlock: Select to turn
on or turn off the door lock/unlock function by
pushing the door handle request switch.
Intelligent Key lock reply: Select to change
the sound of the Intelligent Key mode used when
a door handle request switch is pushed.
Select to turn off all sounds made when a door
handle request switch is pushed, by selecting the
“OFF” key.
Slide driver seat back on exit: Select to turn
on or turn off the driver’s seat moving backwards
for easy exit when the ignition switch is in the OFF
position and the driver’s door is opened. After
getting into the vehicle and pushing the ignition
switch to the ACC position, the driver’s seat
moves to the previous position.
Reset all settings to default: Select to
change all the comfort and convenience systems
to their default settings.
Others settings
Select the “Others” key by using the NISSAN
controller and pressing the ENTER button. Voice
recognition, language and units setting screen
will be displayed.
Voice Recognition:
Use the NISSAN controller to select the “Voice
Recognition” key and press the ENTER button;
the following options will be displayed:
●Command List
Displays the voice command list on the
screen.
●Minimize Voice Feedback
When this item is turned to ON, vocal feed-
back is reduced if the voice recognition sys-
tem is activated.
LHA0909 LHA0910
4-30 Monitor, climate, audio, phone and voice recognition systems
ZREVIEW COPY—
2008 Pathfinder (pat)
Owners Manual—USA_English (nna)
03/23/07—debbie
X

●Voice Command Learning
Select this item to have the NISSAN Voice
Recognition system learn the user’s voice.
The system can memorize the voices of up to
three persons. For the details of this func-
tion, refer to “NISSAN Voice Recognition
system” later in this section.
●User Guide
Select this item to learn the operation flow of
the NISSAN Voice Recognition system with
the help of a step-by-step guide.
Language / Units
Use the NISSAN controller to select the “Lan-
guage / Units” key and press the ENTER button.
Select which setting you want to change using
the NISSAN controller and selecting either the
“Select Language” key or the “Select Units” key
by pressing the ENTER button.
Select Language:
Select the “English” key or the “Français” key to
change the language shown on the display.
LHA0911 LHA0912
Monitor, climate, audio, phone and voice recognition systems 4-31
ZREVIEW COPY—
2008 Pathfinder (pat)
Owners Manual—USA_English (nna)
03/23/07—debbie
X

Select Units:
Select the “US” (Mile, °F, MPG) key or the “Met-
ric” (km, °C, L/100 km) key to change the units
shown on the display.
Audio settings
For audio settings, refer to “Audio System” later in
this section.
Navigation settings
Refer to the separate Navigation System Own-
er’s Manual for information regarding these set-
tings.
Volume and beeps settings
Navigation volume
For navigation volume settings refer to the sepa-
rate Navigation System Owner’s Manual for infor-
mation regarding these settings.
Phone volume
For phone volume settings refer to “BluetoothT
Hands-Free Phone System With Navigation Sys-
tem” later in this section.
Beep setting
With this option on (indicator light illuminated), a
beep will sound if any control panel button is
pressed.
Phone settings
For phone settings refer to “BluetoothTHands-
Free Phone System With Navigation System”
later in this section.
LHA0913 WHA0903
4-32 Monitor, climate, audio, phone and voice recognition systems
ZREVIEW COPY—
2008 Pathfinder (pat)
Owners Manual—USA_English (nna)
03/23/07—debbie
X

OFF BUTTON
To change the display brightness, press
the OFF button. Pressing the button again
will change the display to the day or the
night display. Then, adjust the brightness
by using the NISSAN controller.
If no operation is done within 10 seconds, the
display will return to the previous display.
Press and hold the OFF button for more
than 2 seconds to turn the display off. Press the
button again to turn the display on.
When the selector lever is shifted into the R
(Reverse) position, the monitor display shows the
view directly to the rear of the vehicle.
WARNING
●The system is designed as an aid to the
driver in detecting large stationary ob-
jects to help avoid damaging the ve-
hicle. The system will not detect small
objects below the bumper, and may not
detect objects close to the bumper or
on the ground.
●The rearview camera is a convenience
but it is not a substitute for proper back-
ing. Always turn and check that it is safe
to do so before backing up. Always
back up slowly.
●Objects viewed in the rearview monitor
differ from actual distance because a
wide-angle lens is used.
●Make sure that the lift gate is securely
closed when backing up.
●Do not put anything on the rearview
camera. The rearview camera is in-
stalled beside the license plate light.
●When washing the vehicle with high-
pressure water, be sure not to spray it
around the camera. Otherwise, water
may enter the camera unit causing wa-
ter condensation on the lens, a mal-
function, fire or an electric shock.
●Do not strike the camera. It is a preci-
sion instrument. Otherwise, it may mal-
function or cause damage resulting in a
fire or an electric shock.
CAUTION
There is a plastic cover over the camera.
Do not scratch the cover when cleaning
dirt or snow from the cover.
HOW TO READ THE DISPLAYED
LINES
Lines which indicate the vehicle clearance and
distances to objects with reference to the
bumper line s
Aare displayed on the monitor.
REARVIEW MONITOR (if so
equipped)
Monitor, climate, audio, phone and voice recognition systems 4-33
ZREVIEW COPY—
2008 Pathfinder (pat)
Owners Manual—USA_English (nna)
03/23/07—debbie
X

They are indicated as reference distances to
objects. The lines and colors in the display indi-
cate distances from the back bumper line s
Ain
the illustration.
s
11.5 feet (0.5 m) red
s
23 feet (1 m) yellow
s
37 feet (2 m) green
s
410 feet (3 m) green
The vehicle clearance lines are wider than
the actual clearance.
ADJUSTING THE SCREEN
To adjust the quality of the screen, press the
SETTING button.
●To adjust the Display ON/OFF, Brightness,
Tint, Color, Contrast, and Black Level of the
rearview monitor, press the SETTING button
with the rearview monitor on, then touch one
of the adjustment keys. Press the “–” or “+”
key on the item and adjust the level.
●Do not adjust the Brightness, Contrast, Tint
and Color of the rearview monitor while the
vehicle is moving.
OPERATING TIPS
●When the selector lever is shifted to R (Re-
verse), the monitor screen automatically
changes to the rearview monitor mode.
However, the radio can be heard.
●It may take some time until the rearview
monitor is displayed after the selector lever
has been shifted to R (Reverse). Objects
may be distorted momentarily until the rear-
view monitor screen is displayed completely.
When the selector lever is returned to a
position other than R (Reverse), it may take
some time until the screen changes. Objects
on the screen may be distorted until they are
completely displayed.
●When the temperature is extremely high or
low, the screen may not clearly display ob-
jects. This is not a malfunction.
●When strong light directly enters the cam-
era, objects may not be displayed clearly.
●Vertical lines may be seen in objects on the
screen. This is due to strong reflected light
from the bumper. This is not a malfunction.
●The screen may flicker under fluorescent
light. This is not a malfunction.
LHA0437 LHA1021
4-34 Monitor, climate, audio, phone and voice recognition systems
ZREVIEW COPY—
2008 Pathfinder (pat)
Owners Manual—USA_English (nna)
03/23/07—debbie
X

●The colors of objects on the rearview moni-
tor may differ somewhat from those of the
actual object.
●When the contrast of objects is low at night,
pressing the SETTING button may not
change the brightness.
●Objects on the monitor may not be clear in a
dark place or at night.
●If dirt, rain or snow attaches to the camera,
the rearview monitor may not display ob-
jects. Clean the camera.
●Do not use alcohol, benzine or thinner to
clean the camera. This will cause discolora-
tion. To clean the camera, wipe with a cloth
dampened with a diluted mild cleaning agent
and then wipe with a dry cloth.
●Do not damage the camera as the monitor
screen may be adversely affected.
●Do not use body wax on the camera window.
Wipe off the wax with a clean cloth damp-
ened with mild detergent diluted with water.
LHA0488
VENTILATORS
Monitor, climate, audio, phone and voice recognition systems 4-35
ZREVIEW COPY—
2008 Pathfinder (pat)
Owners Manual—USA_English (nna)
03/23/07—debbie
X

Adjust air flow direction for the driver and pas-
senger side windowss
1, driver and passenger
front s
2centers
3, rear passenger compartment
s
4and rear center console (if so equipped) ven-
tilatorss
5by moving the ventilator slide and/or
ventilator assemblies.
WARNING
●The air conditioner cooling function op-
erates only when the engine is running.
●Do not leave children or adults who
would normally require the assistance
of others alone in your vehicle. Pets
should also not be left alone. They
could accidentally injure themselves or
others through inadvertent operation of
the vehicle. Also, on hot, sunny days,
temperatures in a closed vehicle could
quickly become high enough to cause
severe or possibly fatal injuries to
people or animals.
●Do not use the recirculation mode for
long periods as it may cause the interior
air to become stale and the windows to
fog up.
rear center console ventilators
(if so equipped)
WHA0510
HEATER AND AIR CONDITIONER
(manual)
4-36 Monitor, climate, audio, phone and voice recognition systems
ZREVIEW COPY—
2008 Pathfinder (pat)
Owners Manual—USA_English (nna)
03/23/07—debbie
X

1. Fan control dial
2. Temperature control dial
3. Air flow control dial
4. Air conditioner button (if so equipped)
5. Rear window defroster button (if so
equipped)
6. Air recirculation button (if so equipped)
CONTROLS
Fan control dial
The fan control dial turns the fan on and off, and
controls fan speed.
Air flow control dial
The air flow control dial allows you to select the
air flow outlets.
MAX
A/C
— Air flows from center and side
vents with maximum cooling (air
conditioning if so equipped).
— Air flows from center and side
ventilators.
— Air flows from center and side
ventilators and foot outlets.
— Air flows mainly from foot outlets.
— Air flows from defroster outlets
and foot outlets.
— Air flows mainly from defroster
outlets.
Temperature control dial
The temperature control dial allows you to adjust
the temperature of the outlet air. To lower the
temperature, turn the dial to the left. To increase
the temperature, turn the dial to the right.
Air recirculation button
ON position (Indicator light on):
Interior air is recirculated inside the vehicle.
Push the button to the on position when:
●driving on a dusty road.
●to prevent traffic fumes from entering pas-
senger compartment.
●for maximum cooling when using the air con-
ditioner.
OFF position (Indicator light off):
Outside air is drawn into the passenger compart-
ment and distributed through the selected outlet.
Use the off position for normal heater or air con-
ditioner operation.
LHA0489
Monitor, climate, audio, phone and voice recognition systems 4-37
ZREVIEW COPY—
2008 Pathfinder (pat)
Owners Manual—USA_English (nna)
03/23/07—debbie
X

Air conditioner button (if so
equipped)
The button is provided only on vehicles equipped
with an air conditioner.
Start the engine, turn the fan control dial to the
desired (1 - 4) position and push the
button to turn on the air conditioner. The indicator
light comes on when the air conditioner is oper-
ating. To turn off the air conditioner, push
the button again.
The air conditioner cooling function oper-
ates only when the engine is running.
Rear window defroster switch (if so
equipped)
For more information about the rear window de-
froster switch, see “Rear window defroster
switch” in the “Instruments and controls” section
of this manual.
HEATER OPERATION
Heating
This mode is used to direct heated air to the foot
outlets. Some air also flows from the defrost
outlets.
1. Push the button to the off position for
normal heating.
2. Turn the air flow control dial to the
position.
3. Turn the fan control dial to the desired posi-
tion.
4. Turn the temperature control dial to the de-
sired position between the middle and the
hot position.
Ventilation
This mode directs outside air to the side and
center ventilators.
1. Push the button to the off position.
2. Turn the air flow control dial to the
position.
3. Turn the fan control dial to the desired posi-
tion.
4. Turn the temperature control dial to the de-
sired position.
Defrosting or defogging
This mode directs the air to the defrost outlets to
defrost/defog the windows.
1. Turn the air flow control dial to the
position.
2. Turn the fan control dial to the desired posi-
tion.
3. Turn the temperature control dial to the de-
sired position between the middle and the
hot position.
●To quickly remove ice or fog from the win-
dows, turn the fan control dial to 4 and the
temperature control lever to the full HOT
position.
●When the position is selected, the air
conditioner automatically turns on (however,
the indicator light will not illuminate) if the
outside temperature is more than 36°F
(2°C). The air conditioning system will con-
tinue to operate until the fan control dial is
turned to OFF or the vehicle is shut off, even
if the air flow control dial is turned to a
position other than the position. This
dehumidifies the air which helps defog the
windshield. The mode automatically
turns off, allowing outside air to be drawn
into the passenger compartment to further
improve the defogging performance.
Bi-level heating
This mode directs cooler air from the side and
center vents and warmer air from the floor outlets.
When the temperature control dial is moved to
the full hot or full cool position, the air between
the vents and the floor outlets is the same tem-
perature.
4-38 Monitor, climate, audio, phone and voice recognition systems
ZREVIEW COPY—
2008 Pathfinder (pat)
Owners Manual—USA_English (nna)
03/23/07—debbie
X

1. Push the button (if so equipped) to
the off position.
2. Turn the air flow control dial to the
position.
3. Turn the fan control dial to the desired posi-
tion.
4. Turn the temperature control dial to the de-
sired position.
Heating and defogging
This mode heats the interior and defogs the wind-
shield.
1. Turn the air flow control dial to the
position.
2. Turn the fan control dial to the desired posi-
tion.
3. Turn the temperature control dial to the de-
sired position between the middle and the
hot position.
●When the position is selected, the air
conditioner automatically turns on (however,
the indicator light will not illuminate) if the
outside temperature is more than 36°F
(2°C). The air conditioning system will con-
tinue to operate until the fan control dial is
turned to OFF or the vehicle is shut off, even
if the air flow control dial is turned to a
position other than the position. This
dehumidifies the air which helps defog the
windshield. The mode (if so
equipped) automatically turns off, allowing
outside air to be drawn into the passenger
compartment to further improve the defog-
ging performance.
Operating tips
Clear snow and ice from the wiper blades
and air inlet in front of the windshield. This
improves heater operation.
AIR CONDITIONER OPERATION (if
so equipped)
Start the engine, turn the fan control dial to the
desired (1 - 4) position, and push in the
button to activate the air conditioner. When the
air conditioner is on, cooling and dehumidifying
functions are added to the heater operation.
The air conditioner cooling function oper-
ates only when the engine is running.
Cooling
This mode is used to cool and dehumidify the air.
1. Push the button to the off position.
2. Turn the air flow control dial to the
position.
3. Turn the fan control dial to the desired posi-
tion.
4. Push the button. The indicator light
comes on.
5. Turn the temperature control dial to the de-
sired position.
●For quick cooling when the outside tem-
perature is high, push the button to
the on position (indicator light on). Be sure
to return the button to the off position
for normal cooling.
Dehumidified heating
This mode is used to heat and dehumidify the air.
1. Push the button to the off position.
2. Turn the air flow control dial to the
position.
3. Turn the fan control dial to the desired posi-
tion.
4. Push the button. The indicator light
comes on.
5. Turn the temperature control dial to the de-
sired position.
Monitor, climate, audio, phone and voice recognition systems 4-39
ZREVIEW COPY—
2008 Pathfinder (pat)
Owners Manual—USA_English (nna)
03/23/07—arosenma
X

Dehumidified defogging
This mode is used to defog the windows and
dehumidify the air.
1. Turn the air flow control dial to the
position.
2. Turn the fan control dial to the desired posi-
tion.
3. Push the button. The indicator light
comes on.
When the or are selected, the air
conditioner automatically turns on (however, the
indicator light will not illuminate) if the outside
temperature is more than 36°F (2°C). The air
conditioning system will continue to operate until
the fan control dial is turned to OFF or the vehicle
is shut off, even if the air flow control dial is turned
to a position other than the position. This
dehumidifies the air which helps defog the wind-
shield. The mode automatically turns off,
allowing outside air to be drawn into the passen-
ger compartment to further improve the defog-
ging performance.
4. Turn the temperature control dial to the de-
sired position.
Operating tips
●Keep the windows and sunroof (if so
equipped) closed while the air conditioner is
in operation.
●After parking in the sun, drive for 2 or 3
minutes with the windows open to vent hot
air from the passenger compartment. Then,
close the windows. This allows the air con-
ditioner to cool the interior more quickly.
●The air conditioning system should be
operated for approximately 10 minutes
at least once a month. This helps pre-
vent damage to the system due to lack
of lubrication.
●A visible mist may be seen coming from the
ventilators in hot, humid conditions as the air
is cooled rapidly. This does not indicate a
malfunction.
●If the engine coolant temperature
gauge indicates engine coolant tem-
perature over the normal range, turn
the air conditioner off. See “If your
vehicle overheats” in the “In case of
emergency” section of this manual.
AIR FLOW CHARTS
The following charts show the button and dial
positions for MAXIMUM AND QUICK heating,
cooling or defrosting. For additional information
on heating and cooling see “Heater and air con-
ditioner” in this section”. The air recirculation
() button should always be in the OFF
position for heating and defrosting.
4-40 Monitor, climate, audio, phone and voice recognition systems
ZREVIEW COPY—
2008 Pathfinder (pat)
Owners Manual—USA_English (nna)
03/23/07—debbie
X

WHA0780 WHA0781
Monitor, climate, audio, phone and voice recognition systems 4-41
ZREVIEW COPY—
2008 Pathfinder (pat)
Owners Manual—USA_English (nna)
03/23/07—debbie
X

WHA0782 WHA0783
4-42 Monitor, climate, audio, phone and voice recognition systems
ZREVIEW COPY—
2008 Pathfinder (pat)
Owners Manual—USA_English (nna)
03/23/07—debbie
X

WHA1063
Monitor, climate, audio, phone and voice recognition systems 4-43
ZREVIEW COPY—
2008 Pathfinder (pat)
Owners Manual—USA_English (nna)
03/23/07—debbie
X

1. Driver temperature control dial/AUTO
button
2. A/C ON/OFF button
3. Fan speed control (increase)
4. Front window defroster button
5. MODE button
6. Passenger temperature control dial/
DUAL button
7. System OFF
8. Fan speed control (decrease)
9. Rear window defroster button
10. Air recirculation button
WARNING
●The air conditioner cooling function op-
erates only when the engine is running.
●Do not leave children or adults who
would normally require the assistance
of others alone in your vehicle. Pets
should also not be left alone. They
could accidentally injure themselves or
others through inadvertent operation of
the vehicle. Also, on hot, sunny days,
temperatures in a closed vehicle could
quickly become high enough to cause
severe or possibly fatal injuries to
people or animals.
●Do not use the recirculation mode for
long periods as it may cause the interior
air to become stale and the windows to
fog up.
Start the engine and operate the controls to
activate the air conditioner.
AUTOMATIC OPERATION
Cooling or heating (auto)
This mode may be normally used all year round as
the system automatically works to keep a con-
stant temperature. Air flow distribution and fan
speed are also controlled automatically.
1. Push the AUTO button on. (AUTO will be
displayed.)
2. Turn the driver’s side temperature control
dial to the left or right to set the desired
temperature. Driver and passenger tem-
peratures can be set independently. Press
DUAL to activate dual climate control func-
tions. Turn the passenger’s side temperature
control dial to the left or right to set the
desired passenger’s temperature.
●Adjust the temperature dial to about 75°F
(24°C) for normal operation.
LHA0859
HEATER AND AIR CONDITIONER
(automatic)
4-44 Monitor, climate, audio, phone and voice recognition systems
ZREVIEW COPY—
2008 Pathfinder (pat)
Owners Manual—USA_English (nna)
03/23/07—debbie
X

●The temperature of the passenger compart-
ment will be maintained automatically. Air
flow distribution, fan speed and A/C on/off
are also controlled automatically.
●A visible mist may be seen coming from the
ventilators in hot, humid conditions as the air
is cooled rapidly. This does not indicate a
malfunction.
Dehumidified defrosting or defogging
1. Push the defroster control button to
turn the system on. The display will show the
defrost icon.
2. Turn the temperature dial to the left or right
to set the desired temperature.
●To quickly remove ice from the outside of the
windows, press the fan control speed button
until it reaches the maximum speed .
●As soon as possible after the windshield is
clean, push the AUTO button to return to the
auto mode.
●When the defroster control button is
activated, the air conditioner will automati-
cally be turned on at outside temperatures
above 36°F (2°C). If in defrost mode for
more than one minute, the air conditioning
system will continue to operate until the fan
control is turned OFF, the vehicle is shut off,
or the A/C button is pressed even if the air
flow MODE control button is used to select a
position other than the position. This
dehumidifies the air which helps defog the
windshield. The air recirculation mode auto-
matically turns off, allowing outside air to be
drawn into the passenger compartment to
further improve the defogging performance.
MANUAL OPERATION
Fan speed control buttons
Press the fan speed control buttons +/–
to manually control the fan speed.
Press OFF to turn the system off.
Push the AUTO button to return to automatic
control of the fan speed.
Air recirculation
The mode automatically turns off, allowing
outside air to be drawn into the passenger com-
partment to prevent fogging.
Push the air recirculation button to recir-
culate interior air inside the vehicle. Push the
AUTO button to return to automatic mode.
The air recirculation button will not be activated
when the air conditioner is in DEF, floor, or
floor/defrost mode.
Air flow control
Pushing the MODE button manually controls air
flow and selects the air outlet:
— Air flows from center and side
ventilators.
— Air flows from center and side
ventilators and foot outlets.
— Air flows mainly from foot outlets.
— Air flows from defroster and foot
outlets.
— Air flows from defroster outlets.
To turn system off
Press the OFF button.
OPERATING TIPS
●When the engine coolant temperature and
outside air temperature are low, the air flow
from the foot outlets may not operate for a
maximum of 150 seconds. However, this is
not a malfunction. After the coolant tempera-
ture warms up, air flow from the foot outlets
will operate normally.
Monitor, climate, audio, phone and voice recognition systems 4-45
ZREVIEW COPY—
2008 Pathfinder (pat)
Owners Manual—USA_English (nna)
03/23/07—debbie
X

The sunload sensor s
1, located on the top center
of the instrument panel, helps the system main-
tain a constant temperature. Do not put anything
on or around this sensor.
Rear seat temperature and fan speed can be
controlled from both the front seat overhead con-
sole controls or the rear seat controls (on back of
center console).
Press the REAR CTRL button to transfer control
of the rear climate functions to the rear passen-
ger’s.
To operate the rear air conditioner, the engine
must be running.
If the rear seat fan control dial is set to (0), the air
conditioner is turned off. If it is set to any of the fan
speed positions, air is discharged from the rear
vents at the corresponding speed.
1. Rear fan speed control dial.
2. Rear temperature control dial.
LIC0835 LHA0628
REAR SEAT AIR CONDITIONER
4-46 Monitor, climate, audio, phone and voice recognition systems
ZREVIEW COPY—
2008 Pathfinder (pat)
Owners Manual—USA_English (nna)
03/23/07—debbie
X

CONTROLS
Fan control dial
The fan control dial turns the rear vent fan on and
off, and controls fan speed.
Temperature control dial
The temperature control dial allows rear passen-
gers to adjust the temperature of the outlet air.
The air conditioner system in your NISSAN ve-
hicle is charged with a refrigerant designed with
the environment in mind.
This refrigerant does not harm the earth’s
ozone layer.
Special charging equipment and lubricant is re-
quired when servicing your NISSAN air condi-
tioner. Using improper refrigerants or lubricants
will cause severe damage to your air conditioner
system. See “Air conditioner system refrigerant
and lubricant recommendations” in the “Techni-
cal and consumer information” section of this
manual.
A NISSAN dealer is able to service your “environ-
mentally friendly” air conditioning system.
WARNING
The air conditioner system contains re-
frigerant under high pressure. To avoid
personal injury, any air conditioner ser-
vice should be done only by an experi-
enced technician with proper equipment.
RADIO
Turn the ignition key to the ACC or ON position
and press the VOL (volume)/ON·OFF (power)
knob to turn the radio on. If you listen to the radio
with the engine not running, the key should be
turned to the ACC position.
Radio reception is affected by station signal
strength, distance from radio transmitter, build-
ings, bridges, mountains and other external influ-
ences. Intermittent changes in reception quality
normally are caused by these external influences.
Using a cellular phone in or near the ve-
hicle may influence radio reception quality.
Radio reception
Your NISSAN radio system is equipped with
state-of-the-art electronic circuits to enhance ra-
dio reception. These circuits are designed to
extend reception range, and to enhance the qual-
ity of that reception.
However there are some general characteristics
of both FM and AM radio signals that can affect
radio reception quality in a moving vehicle, even
when the finest equipment is used. These char-
acteristics are completely normal in a given re-
ception area, and do not indicate any malfunction
in your NISSAN radio system.
WHA0630
SERVICING AIR CONDITIONER AUDIO SYSTEM
Monitor, climate, audio, phone and voice recognition systems 4-47
ZREVIEW COPY—
2008 Pathfinder (pat)
Owners Manual—USA_English (nna)
03/23/07—debbie
X
Reception conditions will constantly change be-
cause of vehicle movement. Buildings, terrain,
signal distance and interference from other ve-
hicles can work against ideal reception. De-
scribed below are some of the factors that can
affect your radio reception.
FM RADIO RECEPTION
Range: FM range is normally limited to 25 – 30
miles (40 – 48 km), with monaural (single chan-
nel) FM having slightly more range than stereo
FM. External influences may sometimes interfere
with FM station reception even if the FM station is
within 25 miles (40 km). The strength of the FM
signal is directly related to the distance between
the transmitter and receiver. FM signals follow a
line-of-sight path, exhibiting many of the same
characteristics as light. For example, they will
reflect off objects.
Fade and drift: As your vehicle moves away from
a station transmitter, the signals will tend to fade
and/or drift.
Static and flutter: During signal interference from
buildings, large hills or due to antenna position
(usually in conjunction with increased distance
from the station transmitter) static or flutter can
be heard. This can be reduced by adjusting the
treble control to reduce treble response.
Multipath reception: Because of the reflective
characteristics of FM signals, direct and reflected
signals reach the receiver at the same time. The
signals may cancel each other, resulting in mo-
mentary flutter or loss of sound.
AM RADIO RECEPTION
AM signals, because of their low frequency, can
bend around objects and skip along the ground.
In addition, the signals can be bounced off the
ionosphere and bent back to earth. Because of
these characteristics, AM signals are also sub-
ject to interference as they travel from transmitter
to receiver.
Fading: Occurs while the vehicle is passing
through freeway underpasses or in areas with
many tall buildings. It can also occur for several
seconds during ionospheric turbulence even in
areas where no obstacles exist.
Static: Caused by thunderstorms, electrical
power lines, electric signs and even traffic lights.
SATELLITE RADIO RECEPTION (if so
equipped)
When the satellite radio is first installed or the
battery has been replaced, the satellite radio may
not work properly. This is not a malfunction. Wait
more than 10 minutes with satellite radio ON and
the vehicle outside of any metal or large building
for satellite radio to receive all of the necessary
data.
The satellite radio mode will be skipped unless an
optional satellite receiver and antenna are in-
stalled and an XMTsatellite radio service sub-
scription is active. Satellite radio is not available
in Alaska, Hawaii and Guam.
Satellite radio performance may be affected if
cargo carried on the roof blocks the satellite radio
signal.
If possible, do not put cargo over the satellite
antenna.
A build up of ice on the satellite radio antenna can
affect satellite radio performance. Remove the
ice to restore satellite radio reception
4-48 Monitor, climate, audio, phone and voice recognition systems
ZREVIEW COPY—
2008 Pathfinder (pat)
Owners Manual—USA_English (nna)
03/23/07—debbie
X

AUDIO OPERATION PRECAUTIONS
Compact disc (CD) player
CAUTION
●Do not force a compact disc into the CD
insert slot. This could damage the CD
and/or CD changer/player.
●Trying to load a CD with the CD door
closed could damage the CD and/or CD
changer.
●Only one CD can be loaded into the CD
player at a time.
●Only use high quality 4.7 inches (12 cm)
round discs that have the “COMPACT
disc DIGITAL AUDIO” logo on the disc
or packaging.
●During cold weather or rainy days, the
player may malfunction due to the hu-
midity. If this occurs, remove the CD
and dehumidify or ventilate the player
completely.
●The player may skip while driving on
rough roads.
●The CD player sometimes cannot func-
tion when the compartment tempera-
ture is extremely high or low.
Decrease/increase the temperature
before use.
●Do not expose the CD to direct sun-
light.
●CDs that are in poor condition or are
dirty, scratched or covered with finger-
prints may not work properly.
●The following CDs may not work prop-
erly:
●Copy control compact discs (CCCD)
●Recordable compact discs (CD-R)
●Rewritable compact discs (CD-RW)
●Do not use the following CDs as they
may cause the CD player to malfunc-
tion:
●3.1 in (8 cm) discs with an adapter
●CDs that are not round
●CDs with a paper label
●CDs that are warped, scratched, or
have abnormal edges
●This audio system can only play pre-
recorded CDs. It has no capability to
record or burn CDs.
●If the CD cannot be played, one of the
following messages will be displayed.
LHA0099
Monitor, climate, audio, phone and voice recognition systems 4-49
ZREVIEW COPY—
2008 Pathfinder (pat)
Owners Manual—USA_English (nna)
03/23/07—debbie
X
CHECK DISC:
●Confirm that the CD is inserted cor-
rectly (the label side is facing up,
etc.).
●Confirm that the CD is not bent or
warped and it is free of scratches.
PRESS EJECT:
This is an error due to excessive tem-
perature inside the player. Remove the
CD by pressing the EJECT button. After
a short time, reinsert the CD. The CD
can be played when the temperature of
the player returns to normal.
UNPLAYABLE:
The file is unplayable in this audio sys-
tem (only MP3 CD).
CompactFlash™ (CF) player
●Do not force a CF card into the slot. This
could damage the CF card and/or player.
●During cold weather or rainy days, the player
may malfunction due to the humidity. If this
occurs, remove the CF card and dehumidify
or ventilate the player completely.
●The CF player sometimes cannot function
when the passenger compartment tempera-
ture is extremely high. Decrease the tem-
perature before use.
●Do not expose a CF card to direct sunlight.
●Confirm that a CF card is inserted correctly.
Compact Disc (CD)/CompactFlash™
(CF) with MP3 or WMA
Terms:
●MP3 — MP3 is short for Moving Pictures
Experts Group Audio Layer 3. MP3 is the
most well-known compressed digital audio
file format. This format allows for near “CD
quality” sound, but at a fraction of the size of
normal audio files. MP3 conversion of an
audio track from CD/CF can reduce the file
size by approximately 10:1 ratio (Sampling:
44.1 kHz, Bit rate: 128 kbps) with virtually no
perceptible loss in quality. MP3 compres-
sion removes the redundant and irrelevant
parts of a sound signal that the human ear
doesn’t hear.
●WMA — Windows Media Audio (WMA)* is a
compressed audio format created by Mi-
crosoft as an alternative to MP3. The WMA
codec offers greater file compression than
the MP3 codec, enabling storage of more
digital audio tracks in the same amount of
space when compared to MP3s at the same
level of quality.
●Bit rate — Bit rate denotes the number of
bits per second used by a digital music file.
The size and quality of a compressed digital
audio file is determined by the bit rate used
when encoding the file.
●Sampling frequency — Sampling frequency
is the rate at which the samples of a signal
are converted from analog to digital (A/D
conversion) per second.
●Multisession — Multisession is one of the
methods for writing data to media. Writing
data once to the media is called a single
session, and writing more than once is called
a multisession.
●ID3/WMA Tag — The ID3/WMA tag is the
part of the encoded MP3 or WMA file that
contains information about the digital music
file such as song title, artist, album title,
encoding bit rate, track time duration, etc.
ID3 tag information is displayed on the
Album/Artist/Track title line on the display.
* WindowsTand Windows MediaTare regis-
tered trademarks and trademarks of the Mi-
crosoft Corporation in the United States of
America and/or other countries.
4-50 Monitor, climate, audio, phone and voice recognition systems
ZREVIEW COPY—
2008 Pathfinder (pat)
Owners Manual—USA_English (nna)
03/23/07—debbie
X

CompactFlash™ is a trademark of the SanDiskT
Corporation in the United States of America
and/or other countries.
Playback order:
Music playback order of a CD/CF with MP3 or
WMA files is as illustrated.
●The names of folders not containing MP3 or
WMA files are not shown in the display.
●If there is a file in the top level of the disc,
“Root Folder” is displayed.
●The playback order is the order in which the
files were written by the writing software.
Therefore, the files might not play in the
desired order.
Playback order chart WHA0773
Monitor, climate, audio, phone and voice recognition systems 4-51
ZREVIEW COPY—
2008 Pathfinder (pat)
Owners Manual—USA_English (nna)
03/23/07—debbie
X

Specification chart:
Supported media CD, CD-R, CD-RW, CF
Supported file systems ISO9660 LEVEL1, ISO9660 LEVEL2, Apple ISO, Romeo, Joliet * ISO9660 Level 3 (packet writing) is not supported.
CompactFlash card: FAT12, FAT16, FAT32
Supported
versions*1
MP3
Version MPEG1, MPEG2, MPEG2.5
Sampling frequency 8 kHz - 48 kHz
Bit rate 8 kbps - 320 kbps, VBR*4
WMA*2 Version WMA7, WMA8, WMA9
Sampling frequency 32 kHz - 48 kHz
Bit rate 32 kbps - 192 kbps, VBR
Tag information ID3 tag VER1.0, VER1.1, VER2.2, VER2.3 (MP3 only)
WMA tag (WMA only)
Folder levels
With navigation system:
Folder levels: 8, Folders: 255 (including root folder), Files: 512 (Max. 255 files for one folder)
Without navigation system:
Folder levels: 8, Folders and files: 999 (Max. 255 files for one folder)
Text character number limitation With navigation system: 128 characters
Without navigation system: 64 characters
Displayable character codes*3 01: ASCII, 02: ISO-8859-1, 03: UNICODE (UTF-16 BOM Big Endian), 04: UNICODE (UTF-16 Non-BOM Big Endian), 05:
UNICODE (UTF-8), 06: UNICODE (Non-UTF-16 BOM Little Endian)
*1 Files created with a combination of 48 kHz sampling frequency and 64 kbps bit rate cannot be played.
*2 Protected WMA files (DRM) cannot be played.
*3 Available codes depend on what kind of media, versions and information are going to be displayed.
*4 When VBR files are played, the playback time may not be displayed correctly.
4-52 Monitor, climate, audio, phone and voice recognition systems
ZREVIEW COPY—
2008 Pathfinder (pat)
Owners Manual—USA_English (nna)
03/23/07—debbie
X

Troubleshooting guide:
Symptom Cause and Countermeasure
Cannot play
Check if the CD/CF was inserted correctly.
Check if the CD/CF is scratched or dirty.
Check if there is condensation inside the player. If there is, wait until the condensation is gone (about 1 hour) before using the player.
If there is a temperature increase error, the player will play correctly after it returns to the normal temperature.
Files with extensions other than “.MP3”, “.mp3” or “.wma” cannot be played. In addition, the character codes and number of characters for folder names
and file names should be in compliance with the specifications.
Check if the disc or the file is generated in an irregular format. This may occur depending on the variation or the setting of MP3/WMA writing applica-
tions or other text editing applications.
Check if the finalization process, such as session close and disc close, is done for the disc.
Check if the CD/CF is protected by copyright.
Poor sound quality Check if the CD/CF is scratched or dirty.
It takes a relatively long time
before the music starts
playing.
If there are many folders or file levels on the MP3/WMA CD/CF, or if it is a multisession disc, some time may be required before the music starts
playing.
Music cuts off or skips The writing software and hardware combination might not match, or the writing speed, writing depth, writing width, etc., might not match the
specifications. Try using the slowest writing speed.
Skipping with high bit rate
files
Skipping may occur with large quantities of data, such as for high bit rate data.
Moves immediately to the
next song when playing
When a non-MP3/WMA file has been given an extension of “.MP3”, “.WMA”, .“mp3”or “.wma”, or when play is prohibited by copyright protection, the
player will skip to the next song.
Songs do not play back in
the desired order
The playback order is the order in which the files were written by the writing software. Therefore, the files might not play in the desired order.
Monitor, climate, audio, phone and voice recognition systems 4-53
ZREVIEW COPY—
2008 Pathfinder (pat)
Owners Manual—USA_English (nna)
03/23/07—debbie
X

1. PRESET A·B·C button
2. CD eject button
3. MENU button
4. CD insert slot
5. CD button
6. FM·AM button
7. TUNE buttons
8. RPT button
9. Power/VOL control knob
10. RDM button
11. Station select (1 - 6) buttons
12. SEEK buttons
FM/AM RADIO WITH COMPACT
DISC (CD) PLAYER (if so equipped)
For all operation precautions, see 9Audio opera-
tion precautions9earlier in this section.
Power button and VOL control knob
Turn the ignition key to the ACC or ON position,
then press the power button. If you listen to the
radio with the engine not running, turn the key to
the ACC position. The mode (radio or CD) that
was playing immediately before the system was
turned off resumes playing.
When no CD is loaded, the radio comes on.
Pressing the power button again turns the sys-
tem off.
Turn the VOL control knob to the right to increase
volume or to the left to decrease volume.
MENU button (BASS, TREBLE, FADE, BAL-
ANCE and CLOCK):
Press the MENU button to change the mode as
follows:
BAS →TRE →FAD →BAL →CLOCK →Audio
or OFF →BAS
To adjust Bass, Treble, Fade and Balance, press
the MENU button until the desired mode appears
in the display. Press the SEEK button to adjust
Bass and Treble to the desired level. You can also
LHA0858
4-54 Monitor, climate, audio, phone and voice recognition systems
ZREVIEW COPY—
2008 Pathfinder (pat)
Owners Manual—USA_English (nna)
03/23/07—debbie
X

use the SEEK button to adjust Fader and Balance
modes. Fader adjusts the sound level between
the front and rear speakers and Balance adjusts
the sound between the right and left speakers.
Once you have adjusted the sound quality to the
desired level, press the MENU button repeatedly
until the radio or CD display reappears. Other-
wise, the radio or CD display will automatically
reappear after about 10 seconds.
NOTE:
If the clock is enabled, pressing the MENU
button will change the mode as follows:
BAS →TRE →FAD →BAL →CLOCK →
Hour adjustment →Minute adjustment →
Audio or OFF →BAS
For more information on setting the clock, see
“Clock set” later in this section.
Clock operation
Press the MENU button until CLOCK is dis-
played; use the SEEK button to turn the clock
display on (CLK ON) or off (CLK OFF).
Clock set
If the clock is not displayed with the ignition
switch in the ACC or ON position, you need to
select the CLK ON mode. Press the MENU but-
ton repeatedly until CLOCK is displayed. Use the
SEEK button to enable CLK ON mode.
1. Press the MENU button repeatedly until
CLOCK mode appears; press the SEEK
button until CLK ON appears.
2. Press the MENU button again; the hours will
start flashing.
3. Press the SEEK button or to
adjust the hour.
4. Press the MENU button again; the display
will switch to the minute adjustment mode.
5. The minutes will start flashing. Press SEEK
button or to adjust the minutes.
6. Press the MENU button again to exit the
clock set mode.
The display will return to the regular clock display
after 10 seconds, or press the MENU button
again to return to the regular clock display.
Resetting the time
Hold the MENU button down and then press the
TUNE/SEEK button; the time will reset as fol-
lows:
●If the displayed minutes before the reset are
in the range of :00 - :29, the hour displayed
before the reset will stay the same and the
minutes will be reset to :00.
●If the displayed minutes before the reset are
in the range of :30 - :59, the hour displayed
before the reset will advance by one hour
and the minutes will be reset to :00.
For example, if the MENU button and the
TUNE/SEEK button are pressed while the time
displayed is between 8:00 and 8:29, the display
will be reset to 8:00. If the buttons were pressed
while the time was between 8:30 and 8:59, the
display will be reset to 9:00. At the same time the
display will return to the audio.
FM/AM radio operation
FM·AM button:
Press the FM·AM button to change from AM ←→
FM reception.
The FM stereo indicator, ST, illuminates during
FM stereo reception. When the stereo broadcast
signal is weak, the radio automatically changes
from stereo to monaural reception.
TUNE buttons:
Manual tuning
Press the TUNE or button for less
than 0.5 seconds for manual tuning.
Monitor, climate, audio, phone and voice recognition systems 4-55
ZREVIEW COPY—
2008 Pathfinder (pat)
Owners Manual—USA_English (nna)
03/23/07—debbie
X

To move quickly through the channels, press and
hold either TUNE or button down
for more than 1.5 seconds.
SEEK buttons:
SEEK tuning
Press the SEEK or button to seek
through the frequencies. Seek tuning begins
from low to high frequencies, or high to low
frequencies, depending on which button is
pressed, and stops at the next broadcasting sta-
tion. Once the highest broadcasting station is
reached, the radio continues in the seek mode at
the lowest broadcasting station.
Station memory operations:
18 stations can be set for the FM and AM radio to
the A, B and C preset button in any combination
of AM or FM stations.
1. Press the PRESET A·B·C button to change
between storage banks. The radio displays
the icon A, B or C to indicate which set of
presets are active.
2. Tune to the desired station using manual
TUNE or SEEK tuning. Press and hold any of
the desired station memory buttons (1 – 6)
until a beep sound is heard. (The radio mutes
when the select button is pressed.)
3. The channel indicator will then come on and
the sound will resume. Programming is now
complete.
4. Other buttons can be set in the same man-
ner.
If the battery cable is disconnected, or if the fuse
opens, the radio memory will be canceled. In that
case, reset the desired stations.
Compact disc (CD) player operation
Turn the ignition key to the ACC or ON position,
and carefully insert the compact disc into the slot
with the label side up. The compact disc is auto-
matically pulled into the slot and starts to play.
If the radio is already operating, it automatically
turns off and the compact disc begins to play.
CD button:
When the CD button is pressed with a compact
disc loaded and the radio playing, the radio turns
off and the last used compact disc starts to play.
TUNE (rewind and fast
forward) buttons:
When the TUNE or button is
pressed while the compact disc is playing, the
compact disc plays at an increased speed while
rewinding or fast forwarding. When the button is
released, the compact disc returns to normal play
speed.
SEEK buttons:
When is pressed while the compact disc
is playing, the next track following the present
one starts to play from the beginning.
Press several times to skip several tracks.
Each time the button is pressed, the CD ad-
vances 1 additional track. The track number ap-
pears in the display window. (When the last track
on the compact disc is skipped, the first track is
played.)
When is pressed, the track being played
returns to the beginning. Press several
times to skip back several tracks. Each time the
button is pressed, the CD moves back one track.
SEEK (Scan CDs) button:
Press and hold the SEEK button for more
than 1.5 seconds to scan through the first 10
seconds of a track on the compact disc. The
SCAN icon is flashed during scan mode.
The scan mode is canceled once it scans through
all the tracks on the disc, or if the SEEK
or button is pressed during the scan
mode.
4-56 Monitor, climate, audio, phone and voice recognition systems
ZREVIEW COPY—
2008 Pathfinder (pat)
Owners Manual—USA_English (nna)
03/23/07—debbie
X

RPT button:
When the RPT button is pressed while the com-
pact disc is being played, the play pattern can be
changed as follows:
1←→ Normal
1: The track that is currently playing will be re-
peated.
RDM button:
When the RDM button is pressed while the com-
pact disc is being played, the play pattern can be
changed as follows:
RDM ←→ Normal
RDM: Tracks from the disc that is currently play-
ing will be played randomly.
CD EJECT button:
When the button is pressed with a com-
pact disc loaded, the compact disc will be
ejected.
When the button is pressed while the
compact disc is being played, the compact disc
will eject and the system will turn off.
CD IN indicator:
CD IN indicator appears on the display when the
CD is loaded with the system on.
Monitor, climate, audio, phone and voice recognition systems 4-57
ZREVIEW COPY—
2008 Pathfinder (pat)
Owners Manual—USA_English (nna)
03/23/07—debbie
X

1. RADIO AM·FM button*
2. PRESET A·B·C button
3. RPT button
4. speaker control button
5. RDM button
6. PAUSE·MUTE button
7. REAR CTRL button
8. SCAN button
9. TRACK button
10. SEEK/CAT button
11. TUNE/FLDR and AUDIO control knob
12. CD load button
13. Station and CD select (1 - 6) buttons
14. CD eject button
15. VOL/ON·OFF control knob
16. DISC·AUX button
LHA0944
4-58 Monitor, climate, audio, phone and voice recognition systems
ZREVIEW COPY—
2008 Pathfinder (pat)
Owners Manual—USA_English (nna)
03/23/07—debbie
X

*When the RADIO AM·FM button is
pressed, the satellite radio mode will be
skipped unless an optional satellite re-
ceiver and antenna are installed and an
XMTsatellite radio service subscription
is active. Satellite radio is not available
in Alaska, Hawaii and Guam.
FM/AM/SAT RADIO WITH
COMPACT DISC (CD) CHANGER (if
so equipped)
For all operation precautions, see “Audio opera-
tion precautions” earlier in this section.
The satellite radio mode will be skipped unless an
optional satellite receiver and antenna are in-
stalled and an XMTsatellite radio service sub-
scription is active. Satellite radio is not available
in Alaska, Hawaii and Guam.
Audio main operation
VOL/ON·OFF control:
Turn the ignition key to ACC or ON, and then
push the VOL/ON·OFF control knob while the
system is off to call up the mode (radio or CD)
which was playing immediately before the system
was turned off.
To turn the system off, press the VOL/ON·OFF
control knob.
Turn the VOL/ON·OFF control knob to adjust the
volume.
This vehicle has Speed Sensitive Volume (SSV)
for audio. The audio volume changes as the driv-
ing speed changes.
AUDIO knob (Bass, Treble, Fade and Bal-
ance):
Press the AUDIO knob to change the mode as
follows:
Bass →Treble →Fade →Balance
To adjust Bass, Treble, Fade and Balance, press
the AUDIO knob until the desired mode appears
in the display. Turn the Tuning knob to adjust
Bass and Treble to the desired level. You can also
use the Tuning knob to adjust Fader and Balance
modes. Fader adjusts the sound level between
the front and rear speakers and Balance adjusts
the sound between the right and left speakers.
Once you have adjusted the sound quality to the
desired level, press the AUDIO knob repeatedly
until the radio or CD display reappears. Other-
wise, the radio or CD display will automatically
reappear after about 10 seconds.
Speed Sensitive Volume (SSV):
To change the SSV mode from OFF to 5, press
the SETTING button. Then select the “Audio” key
using the NISSAN controller, then press the EN-
TER button; the audio settings screen will be
displayed. Select the “–” key or “+” key, then
press the ENTER button to change the SSV.
While in this screen you can also adjust the other
audio settings by selecting the corresponding
key.
Once you have adjusted the sound quality to the
desired level, press the BACK button.
LHA0927
Monitor, climate, audio, phone and voice recognition systems 4-59
ZREVIEW COPY—
2008 Pathfinder (pat)
Owners Manual—USA_English (nna)
03/23/07—debbie
X

For information on how to use the NISSAN con-
troller, see “How to use the NISSAN controller”
earlier in this section.
Precision phased audio (if so equipped):
To turn on or off the precision phased audio,
press the SETTING button. Select the “Audio”
key using the NISSAN controller, then press the
ENTER button, the audio settings screen will be
displayed. Select the “Precision Phased Audio”
key, then press the ENTER button. If the amber
indicator light is displayed the precision phased
audio is enabled. Pressing the ENTER button
again will turn off the precision phased audio, the
indicator light will disappear.
When this item is turned on, super high pitch
sound and super low pitch sound are empha-
sized and midrange sound is played naturally.
While in this screen, you can also adjust the other
audio settings by selecting the corresponding
key.
Once you have adjusted the sound quality to the
desired level, press the BACK button.
For information on how to use the NISSAN con-
troller, see “How to use the NISSAN controller”
earlier in this section.
Clock set
For setting the clock, see “Clock” earlier in this
section.
WHA0941 WHA0928
4-60 Monitor, climate, audio, phone and voice recognition systems
ZREVIEW COPY—
2008 Pathfinder (pat)
Owners Manual—USA_English (nna)
03/23/07—debbie
X

CD/MP3 display mode
While listening to a CD or an MP3/WMA CD
certain text might be able to be displayed (when
CD encoded with text is being used).
Depending on how the CD or MP3/WMA CD is
encoded the following text might be able to be
displayed by selecting the “Text” key using the
NISSAN controller and pressing the ENTER but-
ton:
●Folder displays the name of the current
folder being accessed.
●File displays the name of the file currently
playing.
●Song displays the ID3 encoded tag of the
song name.
●Album displays the ID3 encoded tag of the
album name.
●Artist displays the ID3 encoded tag of the
artist’s name.
●Disc displays the disc name of the CD cur-
rently playing.
●Track displays the name of the song on the
CD currently playing.
Some of this text or modes might not display
while playing a regular CD. Press the BACK
button to exit the CD text display screen.
PAUSE·MUTE button:
To mute or pause the audio sound, press the
PAUSE·MUTE button.
Press the PAUSE·MUTE button again to resume
the audio sound.
FM/AM/SAT radio operation
FM/AM/SAT band select:
Pressing the RADIO AM·FM button will change
the band as follows:
AM ←→ FM or SAT* (satellite, if so equipped)
When the RADIO AM·FM button is pressed while
the ignition switch is in the ACC or ON position,
the radio will come on at the station last played.
The last station played will also come on when
the VOL/ON·OFF control knob is pressed ON.
*When the RADIO AM·FM button is pressed, the
satellite radio mode will be skipped unless an
optional satellite receiver and antenna are in-
stalled and an XMTsatellite radio service sub-
scription is active. Satellite radio is not available
in Alaska, Hawaii and Guam.
If a compact disc is playing when the RADIO
AM·FM button is pressed, the compact disc will
automatically be turned off and the last radio
station played will come on.
WHA0946 WHA0947
Monitor, climate, audio, phone and voice recognition systems 4-61
ZREVIEW COPY—
2008 Pathfinder (pat)
Owners Manual—USA_English (nna)
03/23/07—debbie
X

The FM stereo indicator ST will illuminate during
FM stereo reception. When the stereo broadcast
signal is weak, the radio will automatically change
from stereo to monaural reception.
TUNE/FLDR (Tuning) knob:
To manually tune the radio, turn the TUNE/FLDR
knob to the right or left.
SEEK/CAT and TRACK
tuning buttons:
Press the SEEK/CAT button or the
TRACK button for less than 1.5 seconds
to tune from high to low or low to high frequen-
cies and stop at the next broadcasting station.
SCAN tuning:
Press the SCAN button to stop at each broad-
casting station for 5 seconds. Pressing the
SCAN button again during this 5 second period
will stop scan tuning and the radio will remain
tuned to that station. If the SCAN button is not
pressed within 5 seconds, scan tuning moves to
the next station.
PRESET A·B·C (Station memory opera-
tions):
18 stations can be set for the FM, AM and SAT
(satellite, if so equipped) radio to the A, B and C
preset button in any combination of FM, AM or
SAT stations.
1. Choose preset bank A, B or C using the
PRESET A·B·C select button.
2. Select the desired FM, AM or SAT station
band.
3. Tune to the desired station using manual,
SEEK or SCAN tuning. Press and hold any
of the desired station memory buttons (1 –
6) until a beep sound is heard.
4. The channel indicator will then come on and
the sound will resume. Programming is now
complete.
5. Other buttons can be set in the same man-
ner.
If the battery cable is disconnected, or if the fuse
opens, the radio memory will be canceled. In that
case, reset the desired stations.
Radio data system (RDS):
RDS stands for Radio Data System, and is a data
information service transmitted by some radio
stations on the FM band (not AM band). Cur-
rently, most RDS stations are in large cities, but
many stations are now considering broadcasting
RDS data.
RDS can display:
●Station call sign, such as “WHFR 98.3”.
●Station name, such as “The Groove”.
●Music or programming type such as “Clas-
sical”, “Country”, or “Rock”.
●Artist and song information.
If the station broadcasts RDS information, the
RDS icon is displayed.
Compact disc (CD) changer operation
Turn the ignition key to the ACC or ON position
and press the button, then press one of
the CD insert (1–6) slots. Insert the compact disc
into the slot with the label side facing up. The
compact disc will be guided automatically into
the slot and start playing.
If the radio is already operating, it will automati-
cally turn off and the compact disc will play.
If the system has been turned off while the com-
pact disc was playing, pressing the
VOL/ON·OFF control knob will start the compact
disc.
button:
To insert a CD in the CD changer, press
the button for less than 1.5 seconds. Se-
lect the loading slot by pressing the CD insert
select button (1 – 6), then insert the CD.
To insert 6 CDs to the CD changer, press and
hold the button for more than 1.5 seconds.
4-62 Monitor, climate, audio, phone and voice recognition systems
ZREVIEW COPY—
2008 Pathfinder (pat)
Owners Manual—USA_English (nna)
03/23/07—debbie
X

The slot numbers (1 – 6) will illuminate on the
display when CDs are loaded into the changer.
DISC·AUX button:
When the DISC·AUX button is pressed with the
system off and the compact disc loaded, the
system will turn on and the compact disc will start
to play.
When the DISC·AUX button is pressed with the
compact disc loaded with the radio playing, the
radio will automatically be turned off and the
compact disc will start to play.
SEEK/CAT and TRACK buttons:
When the SEEK/CAT button is pressed
while a compact disc is playing, the track being
played returns to its beginning. Press several
times to skip back through tracks. The compact
disc will go back the number of times the button
is pressed.
When the TRACK button is pressed while
the compact disc is playing, the next track will
start to play from its beginning. Press several
times to skip through tracks. The compact disc
will advance the number of times the button is
pressed. (When the last track on the compact
disc is skipped through, the first track will be
played.)
The NISSAN controller can also be used to se-
lect tracks when a CD is being played.
SEEK/CAT and TRACK (Rewind·Fast For-
ward) buttons:
Press and hold the SEEK/CAT (rewind)
button or the TRACK (fast forward) button
while a compact disc is playing, the compact disc
will play while rewinding or fast forwarding. When
the button is released, the compact disc will
return to normal play speed.
When the CD button is pressed with the system
off and the compact disc loaded, the system will
turn on and the compact disc will start to play.
When the CD button is pressed with the com-
pact disc loaded with the tape or the radio play-
ing, the tape or radio will automatically be turned
off and the compact disc will start to play.
TUNE FLDR (Folder) knob
While playing an MP3/WMA CD, turn the
TUNE/FLDR knob right or left to scan forward or
backward through available folders.
CD select buttons:
To play another CD that has been loaded, press a
CD select button (1 – 6).
RPT button:
When the RPT button is pressed while the com-
pact disc is played, the play pattern can be
changed as follows:
CD:
ALL DISC RPT →1 DISC RPT→1 TRK RPT →
ALL DISC RPT
MP3/WMA CD:
ALL DISC RPT →1 DISC RPT →1 FOLDER
RPT →1 TRK RPT →ALL DISC RPT
ALL DISC RPT: All discs loaded will be repeated.
1 DISC RPT: The disc that is currently playing will
be repeated.
1 TRK RPT: The track that is currently playing will
be repeated
1 FOLDER RPT: The folder that is currently being
accessed will be repeated.
RDM button:
When the RDM button is pressed while the com-
pact disc is played, the play pattern can be
changed as follows:
CD:
ALL DISC MIX →1 DISC MIX →ALL DISC MIX
Monitor, climate, audio, phone and voice recognition systems 4-63
ZREVIEW COPY—
2008 Pathfinder (pat)
Owners Manual—USA_English (nna)
03/23/07—debbie
X

MP3/WMA CD:
ALL DISC MIX →1 DISC MIX →1 FOLDER MIX
→ALL DISC MIX
ALL DISC MIX: All discs loaded will be played in
a mixed order.
1 DISC MIX: The tracks on the disc that is cur-
rently playing will be played in a mixed order.
1 FOLDER MIX: The tracks in the folder that is
currently being accessed will be played in a
mixed order.
SCAN button:
While listening to a CD, press the SCAN button
to preview the first 10 seconds of each track on
the CD playing. Pressing the SCAN button again
during this 10 second period stops the scan and
the CD remains on that track.
REAR CTRL:
Pressing the REAR CTRL button turns the rear
seat audio controller on. Rear Controls UN-
LOCKED will display. Pressing the REAR CTRL
button again to turn the rear seat audio controller
off. Rear Controls LOCKED will display. If the
vehicle is not equipped with a rear seat audio
controller, the display will show “Rear Controls
Not Available”.
Press and hold the REAR CTRL button for ap-
proximately 1.5 seconds to turn on the rear dis-
play screen. Rear Display ON will display. Press
and hold the REAR CTRL button again will turn
the rear display screen off. Rear Display OFF will
display. If the vehicle is not equipped with a rear
display screen, the display will show “Rear Con-
trols Not Available”.
(SPEAKER CONTROL) button:
Press the button to turn the rear speakers
off and headphones on. Press this button again
to turn rear seat speakers back on and head-
phones off.
CD EJECT:
Current/Selected disc:
●Press the button, then press the slot
number (1 – 6) for the desired disc. The
compact disc will be ejected. If no slot num-
ber (1 – 6) is pressed, the current loaded
disc will be ejected. Also, if the ejected disc
is not removed within 15 seconds, the disc
will reload.
All discs:
●Press and hold the button for more
than 1.5 seconds. The compact discs will be
ejected one by one. If a disc is not removed
within 15 seconds, or the button is
pressed again during the eject sequence,
the entire disc eject sequence will be can-
celed.
When this button is pressed while the compact
disc is being played, the compact disc will eject
and the last source will be played.
CD IN indicator:
The slot numbers (1 – 6) will illuminate if CDs
have been loaded into the changer in CD mode
only.
4-64 Monitor, climate, audio, phone and voice recognition systems
ZREVIEW COPY—
2008 Pathfinder (pat)
Owners Manual—USA_English (nna)
03/23/07—debbie
X

AUX jack (if so equipped)
The AUX jack s
1is located below the air condi-
tioner controls. The AUX audio input jack accepts
any standard analog audio input, such as from a
portable cassette tape player, MP3 player or
laptop computers.
Press the DISC·AUX button to play a compatible
device when it is plugged into the AUX jack.
LHA1017
Monitor, climate, audio, phone and voice recognition systems 4-65
ZREVIEW COPY—
2008 Pathfinder (pat)
Owners Manual—USA_English (nna)
03/23/07—debbie
X

1. PRESET A·B·C button
2. DISC/AUX button
3. speaker control button
4. REAR CTRL button
5. SCAN·RPT button
6. TRACK button
7. SEEK/CAT button
8. TUNE/FLDR and AUDIO control knob
9. CompactFlash insert slot
10. Station select (1 - 6) buttons
11. CD eject button
12. VOL/ON·OFF control knob
13. AM·FM/SAT button*
14. MUSIC BOX button
WHA0945
4-66 Monitor, climate, audio, phone and voice recognition systems
ZREVIEW COPY—
2008 Pathfinder (pat)
Owners Manual—USA_English (nna)
03/23/07—debbie
X

*When the AM·FM/SAT button is
pressed, the satellite radio mode will be
skipped unless an optional satellite re-
ceiver and antenna are installed and an
XMTsatellite radio service subscription
is active. Satellite radio is not available
in Alaska, Hawaii and Guam.
FM/AM/SAT RADIO WITH
COMPACT DISC (CD) PLAYER (if so
equipped)
For all operation precautions, see “Audio opera-
tion precautions” earlier in this section.
The satellite radio mode will be skipped unless an
optional satellite receiver and antenna are in-
stalled and an XMTsatellite radio service sub-
scription is active. Satellite radio is not available
in Alaska, Hawaii and Guam.
Audio main operation
VOL/ON·OFF control:
Turn the ignition key to ACC or ON, and then
push the VOL/ON·OFF control knob while the
system is off to call up the mode (radio or CD)
which was playing immediately before the system
was turned off.
To turn the system off, press the VOL/ON·OFF
control knob.
Turn the VOL/ON·OFF control knob to adjust the
volume.
This vehicle has Speed Sensitive Volume (SSV)
for audio. The audio volume changes as the driv-
ing speed changes.
AUDIO knob (Bass, Treble, Fade and Bal-
ance):
Press the AUDIO knob to change the mode as
follows:
Bass →Treble →Fade →Balance
To adjust Bass, Treble, Fade and Balance, press
the AUDIO knob until the desired mode appears
in the display. Turn the Tuning knob to adjust
Bass and Treble to the desired level. You can also
use the Tuning knob to adjust Fader and Balance
modes. Fader adjusts the sound level between
the front and rear speakers and Balance adjusts
the sound between the right and left speakers.
Once you have adjusted the sound quality to the
desired level, press the AUDIO knob repeatedly
until the radio or CD display reappears. Other-
wise, the radio or CD display will automatically
reappear after about 10 seconds.
Speed Sensitive Volume (SSV):
To change the SSV mode from OFF (0) to 5,
press the SETTING button. Then touch the “Au-
dio” key, the audio settings screen will be dis-
played. Touch the “–” key or “+” key, to change
the SSV.
While in this screen you can also adjust the other
audio settings by touching the corresponding
key.
Once you have adjusted the sound quality to the
desired level, touch the “BACK” key.
LHA0884
Monitor, climate, audio, phone and voice recognition systems 4-67
ZREVIEW COPY—
2008 Pathfinder (pat)
Owners Manual—USA_English (nna)
03/23/07—debbie
X

Precision phased audio (if so equipped):
To turn on or off the precision phased audio,
press the SETTING button. Then touch the “Au-
dio” key; the audio settings screen will be dis-
played. Touch the “Precision Phased Audio ON”
key. If the amber indicator light is displayed, the
precision phased audio is enabled. Touching the
“Precision Phased Audio ON” key again will turn
off the precision phased audio; the indicator light
will disappear.
When this item is turned on, super high pitch
sound and super low pitch sound are empha-
sized and midrange sound is played naturally.
While in this screen, you can also adjust the other
audio settings by touching the corresponding
key.
Once you have adjusted the sound quality to the
desired level, touch the “BACK” key.
Clock set
For setting the clock, see “Clock” earlier in this
section.
LHA0900 WHA0942
4-68 Monitor, climate, audio, phone and voice recognition systems
ZREVIEW COPY—
2008 Pathfinder (pat)
Owners Manual—USA_English (nna)
03/23/07—debbie
X

CD/MP3 display mode
While listening to a CD or an MP3/WMA CD
certain text might be able to be displayed (when
CD encoded with text is being used).
Depending on how the CD or MP3/WMA CD is
encoded the following text might be able to be
displayed by touching the “Text” key:
●Folder displays the name of the current
folder being accessed.
●File displays the name of the file currently
playing.
●Song displays the ID3 encoded tag of the
song name.
●Album displays the ID3 encoded tag of the
album name.
●Artist displays the ID3 encoded tag of the
artist’s name.
●Disc displays the disc name of the CD cur-
rently playing.
●Track displays the name of the song on the
CD currently playing.
Some of this text or modes might not display
while playing a regular CD. Press the BACK
button to exit the CD text display screen.
FM/AM/SAT radio operation
FM/AM/SAT band select:
Pressing the RADIO AM·FM button will change
the band as follows:
AM ←→ FM or SAT* (satellite, if so equipped)
When the RADIO AM·FM button is pressed while
the ignition switch is in the ACC or ON position,
the radio will come on at the station last played.
The last station played will also come on when
the VOL/ON·OFF control knob is pressed ON.
*When the RADIO AM·FM button is pressed, the
satellite radio mode will be skipped unless an
optional satellite receiver and antenna are in-
stalled and an XMTsatellite radio service sub-
scription is active. Satellite radio is not available
in Alaska, Hawaii and Guam.
If a compact disc is playing when the RADIO
AM·FM button is pressed, the compact disc will
automatically be turned off and the last radio
station played will come on.
The FM stereo indicator ST will illuminate during
FM stereo reception. When the stereo broadcast
signal is weak, the radio will automatically change
from stereo to monaural reception.
WHA0949 WHA0950
Monitor, climate, audio, phone and voice recognition systems 4-69
ZREVIEW COPY—
2008 Pathfinder (pat)
Owners Manual—USA_English (nna)
03/23/07—debbie
X

TUNE/FLDR (Tuning) knob:
To manually tune the radio, turn the TUNE/FLDR
knob to the right or left.
SEEK/CAT and TRACK
tuning buttons:
Press the SEEK/CAT button or the
TRACK button for less than 1.5 seconds
to tune from high to low or low to high frequen-
cies and stop at the next broadcasting station.
SCAN·RPT (SCAN tuning) button:
Press the SCAN·RPT button to initiate scan tun-
ing. Scan tuning will stop at each broadcasting
station for 5 seconds. Press the SCAN·RPT but-
ton again during this 5 second period to stop
scan tuning; the radio will remain tuned to that
station. If the SCAN·RPT button is not pressed
within 5 seconds, scan tuning moves to the next
station.
PRESET A·B·C (Station memory opera-
tions):
18 stations can be set for the FM, AM and SAT
(satellite, if so equipped) radio to the A, B and C
preset button in any combination of FM, AM or
SAT stations.
1. Choose preset bank A, B or C using the
PRESET A·B·C select button.
2. Select the desired FM, AM or SAT station
band.
3. Tune to the desired station using manual,
SEEK or SCAN tuning. Press and hold any
of the desired station memory buttons (1 –
6) until a beep sound is heard.
4. The channel indicator will then come on and
the sound will resume. Programming is now
complete.
5. Other buttons can be set in the same man-
ner.
If the battery cable is disconnected, or if the fuse
opens, the radio memory will be canceled. In that
case, reset the desired stations.
Radio data system (RDS):
RDS stands for Radio Data System, and is a data
information service transmitted by some radio
stations on the FM band (not AM band). Cur-
rently, most RDS stations are in large cities, but
many stations are now considering broadcasting
RDS data.
RDS can display:
●Station call sign, such as “WHFR 98.3”.
●Station name, such as “The Groove”.
●Music or programming type such as “Clas-
sical”, “Country”, or “Rock”.
●Artist and song information.
If the station broadcasts RDS information, the
RDS icon is displayed.
Compact disc (CD) player operation
Turn the ignition key to the ACC or ON position
and insert the compact disc into the slot with the
label side facing up. The compact disc will be
guided automatically into the slot and start play-
ing.
If the radio is already operating, it will automati-
cally turn off and the compact disc will play.
If the system has been turned off while the com-
pact disc was playing, pressing the
VOL/ON·OFF control knob will start the compact
disc.
DISC/AUX button:
When the DISC/AUX button is pressed with the
system off and the compact disc loaded, the
system will turn on and the compact disc will start
to play.
When the DISC/AUX button is pressed with the
compact disc loaded but the radio playing, the
radio will automatically be turned off and the
compact disc will start to play.
4-70 Monitor, climate, audio, phone and voice recognition systems
ZREVIEW COPY—
2008 Pathfinder (pat)
Owners Manual—USA_English (nna)
03/23/07—debbie
X

SEEK/CAT and TRACK buttons:
When the SEEK/CAT button is pressed
while a compact disc is playing, the track being
played returns to its beginning. Press several
times to skip back through tracks. The compact
disc will go back the number of times the button
is pressed.
When the TRACK button is pressed while
the compact disc is playing, the next track will
start to play from its beginning. Press several
times to skip through tracks. The compact disc
will advance the number of times the button is
pressed. (When the last track on the compact
disc is skipped through, the first track will be
played.)
The NISSAN controller can also be used to se-
lect tracks when a CD is being played.
SEEK/CAT and TRACK (Rewind·Fast For-
ward) buttons:
Press and hold the SEEK/CAT (rewind)
button or the TRACK (fast forward) button
while a compact disc is playing; the compact disc
will play while rewinding or fast forwarding. When
the button is released, the compact disc will
return to normal play speed.
When the CD button is pressed with the system
off and the compact disc loaded the system will
turn on and the compact disc will start to play.
When the CD button is pressed with the com-
pact disc loaded with the tape or the radio play-
ing, the tape or radio will automatically be turned
off and the compact disc will start to play.
TUNE FLDR (Folder) knob
While playing an MP3/WMA CD, turn the
TUNE/FLDR knob right or left to scan forward or
backward through available folders.
SCAN·RPT (random and repeat) button:
When the SCAN·RPT button is pressed while the
compact disc is being played, the play pattern
can be changed as follows:
CD:
1 DISC RPT →1 TRK RPT →1 DISC RDM →1
DISC RPT
MP3/WMA CD:
1 DISC RPT →1 FOLDER RPT →1 TRK RPT →
1 DISC RDM →1 FOLDER RDM →1 DISC RPT
1 DISC RPT: the entire disc will be repeated.
1 TRK RPT: the current track playing will be
repeated.
1 DISC RDM: all tracks will be played randomly.
1 FOLDER RPT: the folder currently being ac-
cessed will be repeated.
1 FOLDER RDM: the tracks in the current folder
being accessed will be played randomly.
REAR CTRL:
Pressing the REAR CTRL button turns the rear
seat audio controller on. Rear Controls UN-
LOCKED will display. Pressing the REAR CTRL
button again will turn the rear seat audio control-
ler off. Rear Controls LOCKED will display. If the
vehicle is not equipped with a rear seat audio
controller, the display will show “Rear Controls
Not Available”.
Press and hold the REAR CTRL button for ap-
proximately 1.5 seconds to turn on the rear dis-
play screen on. Rear Display ON will display.
Press and hold the REAR CTRL button again will
turn the rear display screen off. Rear Display OFF
will display. If the vehicle is not equipped with a
rear display screen, the display will show “Rear
Controls Not Available”.
(SPEAKER CONTROL) button:
Press the button to turn the rear speakers
off and headphones on. Press this button again
to turn rear seat speakers back on and head-
phones off.
CD EJECT button:
When the button is pressed with the com-
pact disc loaded, the compact disc will be
ejected.
Monitor, climate, audio, phone and voice recognition systems 4-71
ZREVIEW COPY—
2008 Pathfinder (pat)
Owners Manual—USA_English (nna)
03/23/07—debbie
X

When button is pressed while the com-
pact disc is being played, the compact disc will
eject and the system will turn off.
AUX jack (if so equipped)
The AUX jack s
1is located below the air condi-
tioner controls. The AUX audio input jack accepts
any standard analog audio input, such as from a
portable cassette tape player, MP3 player or
laptop computers.
Press the DISC/AUX button to play a compatible
device when it is plugged into the AUX jack.
COMPACTFLASH™ (CF) PLAYER
OPERATION (if so equipped)
Turn the ignition switch to the ACC or ON posi-
tion, and insert a CF card s
1into the Compact-
Flash™ player slot s
2. Then press the DISC/AUX
button repeatedly to switch to the Compact-
Flash™ mode.
If the system has been turned off while the Com-
pactFlash™ card was playing, pressing the
VOL/ON·OFF control knob will start the Com-
pactFlash™ card.
LHA1017 LHA1018
4-72 Monitor, climate, audio, phone and voice recognition systems
ZREVIEW COPY—
2008 Pathfinder (pat)
Owners Manual—USA_English (nna)
03/23/07—debbie
X

DISC/AUX button:
When the DISC/AUX button is pressed with the
system off and the CF card inserted, the system
will turn on. If another audio source is playing and
a CF card is inserted, press the DISC/AUX but-
ton repeatedly until the center display changes to
the CompactFlash™ mode.
CF display mode
While listening to CF certain text might be able to
be displayed.
Depending on how the files are encoded on the
CF the following text might be able to be dis-
played by touching the “Text” key:
●Folder displays the name of the current
folder being accessed.
●File displays the name of the file currently
playing.
●Song displays the ID3 encoded tag of the
song name.
●Album displays the ID3 encoded tag of the
album name.
●Artist displays the ID3 encoded tag of the
artist’s name.
Press the BACK button to exit the CF text display
screen.
WHA0953 WHA0954
Monitor, climate, audio, phone and voice recognition systems 4-73
ZREVIEW COPY—
2008 Pathfinder (pat)
Owners Manual—USA_English (nna)
03/23/07—debbie
X

SEEK/CAT and TRACK buttons:
Press the SEEK/CAT button or the
TRACK button while the CF card is being played,
the next track or the beginning of the current track
on the CF will be played.
Press and hold the SEEK/CAT (rewind)
button or the TRACK (fast forward) button
for more than approximately 1.5 seconds, the CF
card will play while rewinding or fast forwarding.
When the SEEK/CAT (rewind) button or
the TRACK (fast forward) button is re-
leased, the CF card will return to the normal
playing speed.
The NISSAN controller can also be used to se-
lect tracks when the CF card is being played.
For more information on how to use the NISSAN
controller, see “How to use the NISSAN control-
ler” earlier in this section.
Folder selection:
To change to another folder in the CF card either:
●Turn the TUNE/FLDR knob right or left.
●Touch the desired folder key on screen.
●Use the NISSAN controller.
SCAN·RPT button:
Pressing the SCAN·RPT button while the CF
card is playing, the play pattern can be changed
as follows:
1 CF CARD RPT →1 FOLDER RPT →1 TRK
RPT →1 CF CARD RDM →1 FOLDER RDM →
1 CF CARD RPT
1 CF CARD RPT: the entire CF card will be
repeated.
1 FOLDER RPT: the folder currently being ac-
cessed will be repeated.
1 TRK RPT: the current track playing will be
repeated.
1 CF CARD RDM: all the tracks on the CF card
will be played randomly.
1 FOLDER RDM: the tracks in the current folder
being accessed will be played randomly.
CF eject:
Press the knob next to the CF slot while a CF
card is inserted, the CF card will be ejected.
Troubleshooting messages:
The following messages will be displayed under
certain conditions:
●Reading CompactFlash™
The system is reading the CF card inserted
in the slot.
●No CompactFlash™ card
A CF card is not inserted in the slot.
●CompactFlash™ read error
The system cannot read the CF card.
●Unplayable file
The system cannot play a music file.
●No audio file
The CF card inserted in the slot or its folder
does not contain any music files.
Compatibility with other media:
If a commercially available CompactFlash™
adapter is inserted into the slot, other memory
media can also be used.
MUSIC BOX HARD-DISK DRIVE
AUDIO SYSTEM (if so equipped)
The Music Box hard-disk drive audio system can
store songs from CDs being played. The system
has a 9.3 gigabyte (GB) storage capacity and
can record up to 200 hours (approximately 2,900
songs).
The following CDs can be recorded in the Music
Box hard-disk drive audio system:
●CDs without MP3/WMA files.
●Hybrid Compact Disc Digital Audio (Hybrid
CD-DA) specification in Super Audio CDs.
4-74 Monitor, climate, audio, phone and voice recognition systems
ZREVIEW COPY—
2008 Pathfinder (pat)
Owners Manual—USA_English (nna)
03/23/07—debbie
X

●Compact Disc Digital Audio (CD-DA) speci-
fication in CD-Extras.
●First session of multisession disc.
Extreme temperature conditions [below 24°F
(220°C) and above 158°F (70°C)] could affect
the performance of the hard disk.
NOTE:
If the hard disk needs to be replaced due to
a malfunction, all stored music data will be
erased.
Recording songs
1. Operate the audio system to play a CD.
For information on playing CDs, see “Com-
pact Disc (CD) player operation” earlier in
this section.
2. Touch the “REC” key.
The system starts recording the track being
played and REC CD appears on the screen.
If the title information of the track being recorded
is stored either in the hard-disk drive or in the CD,
the title is automatically displayed on the screen.
For title acquisition from the hard-disk drive, mu-
sic recognition technology and related data are
provided by GracenoteT.
To view the details of the track, touch the “Text”
key on the screen or use the NISSAN controller
and press the ENTER button. The track name and
album title are displayed on the screen.
If a track is not recorded successfully due to
skipping sounds, the symbol is displayed
behind the track number.
The Music Box audio system cannot perform
recording under the following conditions:
●There is not enough space in the hard disk.
WHA0955 WHA0956
Monitor, climate, audio, phone and voice recognition systems 4-75
ZREVIEW COPY—
2008 Pathfinder (pat)
Owners Manual—USA_English (nna)
03/23/07—debbie
X

●The number of albums reaches the maximum
of 500.
●The number of tracks reaches the maximum
of 3,000.
Automatic recording:
If the “Automatic Recording” function is turned to
ON, recording starts when a CD is inserted. For
more information, see “Music Box settings” later
in this section.
Stopping recording:
To stop the recording, touch the “STOP” key on
the screen. If the CD is ejected, the audio system
is turned off or the ignition switch is turned to the
OFF position, the recording also stops. Playing recorded songs
Select the Music Box audio system by using one
of the following methods:
●Press the mode select switch on the steer-
ing wheel.
For information, see “Steering wheel switch
for audio control” later in this section.
●Press the MUSIC BOX button.
●Give voice commands.
For information, see “NISSAN voice recog-
nition system” later in this section.
Stopping playback:
The system stops playing when:
●Another mode (radio, CD, CompactFlash™
or AUX) is selected.
●The audio system is turned off.
●The ignition switch is turned to the OFF
position.
SEEK/CAT and TRACK buttons:
Press the SEEK/CAT button or the
TRACK button while a track is being played; the
next track or the beginning of the current track will
be played.
Press and hold the SEEK/CAT (rewind)
button or the TRACK (fast forward) button
for more than approximately 1.5 seconds; the
track will play while rewinding or fast forwarding.
When the SEEK/CAT (rewind) button or
the TRACK (fast forward) button is re-
leased, the track will return to the normal playing
speed.
The NISSAN controller can also be used to se-
lect tracks.
For more information on how to use the NISSAN
controller, see “How to use the NISSAN control-
ler” earlier in this section.
WHA0957
4-76 Monitor, climate, audio, phone and voice recognition systems
ZREVIEW COPY—
2008 Pathfinder (pat)
Owners Manual—USA_English (nna)
03/23/07—debbie
X

SCAN·RPT button:
Pressing the SCAN·RPT button while a track is
playing, the play pattern can be changed as fol-
lows:
ALL Playlist RPT →1 Playlist RPT →1 TRK RPT
→ALL Playlist RDM →1 Playlist RDM →ALL
Playlist RPT
ALL Playlist RPT: the entire playlist will be re-
peated.
1 Playlist RPT: the playlist currently being played
will be repeated.
1 TRK RPT: the current track playing will be
repeated.
ALL Playlist RDM: all the tracks in the playlist will
be played randomly.
1 Playlist RDM: the tracks in the current playlist
will be played randomly.
Music Box menu
There are some options available during play-
back. Touch the “Menu” key, then select one of
the following that are displayed on the screen, if
necessary. Refer to the following information for
each item:
●Play by Artist
Plays songs by an artist whose music is
currently being played. The artists are sorted
in alphabetical order.
●Play by Album
Plays tracks in each album. The albums are
sorted in alphabetical order.
●Play by Date
Plays tracks in each album. The albums are
sorted in order of the date when they were
stored in the system.
●Play by Mood
Plays music from one of the following
moods:
– Relaxing Music
– Lively Music
– Slow Music
– Upbeat Music
LHA0958 LHA0959
Monitor, climate, audio, phone and voice recognition systems 4-77
ZREVIEW COPY—
2008 Pathfinder (pat)
Owners Manual—USA_English (nna)
03/23/07—debbie
X

●Play by Category
Plays music from one of the following cat-
egories:
– My Favorites
– Hit Songs
– Kids’ Songs
– Rarely Played
●Search Artists
Displays a list of artists in alphabetical order.
Selecting an artist displays all of the tracks
by the artist and starts playing the first track.
●Search Albums
Displays a list of albums in order of the date
when they were stored in the system. Se-
lecting an album displays all of the tracks on
the album and starts playing the first track.
Touch the “Sort” key to re-sort albums in one
of the following order:
– Rec. (Recorded) Date
– Name
– Release Year
– Artist
●Search Song Details
Set the conditions and touch the “Start
Song Search” key to search for a desired
song that is stored in the system. The con-
ditions are as follows:
– Music Tempo (All, Slow, Normal and Fast)
– Decade (All, ’70s, ’80s, ’90s, ’00s, ’10s
and After)
– Group (All, Male Artist, Female Artist,
Group and Duo)
– Category (Rock, Pop, Latin, Jazz, R&B,
Hip Hop, Club/Dance, Punk, Reggae,
Folk, Blues, Country, Metal, Easy Listen-
ing, New Age, Soundtrack, Gospel & Re-
ligious, World, Classical, Children’s and
Other)
●Search Keywords
Input a search keyword using the keypad
displayed on the screen.
For information, see “How to use the touch
screen” earlier in this section.
●Edit Albums
Select a category (Rec. (Recorded) Date,
Name, Released Year and Artist) and edit
the details using the keypad displayed on
the screen.
For information, see “How to use the touch
screen” earlier in this section.
LHA0960
4-78 Monitor, climate, audio, phone and voice recognition systems
ZREVIEW COPY—
2008 Pathfinder (pat)
Owners Manual—USA_English (nna)
03/23/07—debbie
X
●Music Box System Info.
Displays the following information about the
Music Box audio system:
– Music Box Used / Free Space
Information about Saved Album, Saved
Track and Remaining Time is displayed.
– Mood Categories
Number of saved tracks and their catego-
ries Relaxing Music, Lively Music, Slow
Music, Upbeat Music and Others are dis-
played.
– Deleted Items
Information about the deleted tracks is
displayed.
– Search Missing Titles
If titles are not displayed for CDs that
have been recorded, titles can be ac-
quired using one of the following meth-
ods:
●Retrieve from HDD
Searches the title using the database in
the hard-disk.
●Retrieve from CF
Searches the title from the information
acquired on the Internet.
●Transfer Missing Titles to CF
Transfers the information of the album
recorded without titles to a Compact-
Flash™ card.
– Music Box Settings
For information, see “Music Box settings”
later in this section.
– CDDB Version
The version of the built-in GracenoteT
Database is displayed.
Monitor, climate, audio, phone and voice recognition systems 4-79
ZREVIEW COPY—
2008 Pathfinder (pat)
Owners Manual—USA_English (nna)
03/23/07—debbie
X

Music Box text display:
While listening to a track in the Music Box audio
system you can view certain text. Touch the “Text”
key to display the following information for each
item:
●Set Mood
Set the mood category of the track to “Re-
laxing Music”, “Lively Music”, “Slow Music”
or “Upbeat Music”.
●Delete Track
Delete the track being played.
●Edit Info.
Edit the name of the track being played and
its artist using the keypad displayed on the
screen.
For information, see “How to use the touch
screen” earlier in this section.
The category of the track can also be set to
Rock, Pop, Latin, Jazz, R&B, Hip Hop,
Club/Dance, Punk, Reggae, Folk, Blues,
Country, Metal, Easy Listening, New Age,
Soundtrack, Gospel & Religious, World,
Classical, Children’s and Others.
●Remove Track
Reset the mood setting of a track.
Restoring deleted data
Deleted music data can be restored by perform-
ing the following:
1. Touch the “Menu”key and then the touch the
“Music Box System Info.” key on the screen.
2. Touch the “Deleted Items” key and then the
“Album/Track” key.
3. Touch the “Restore Album/Track” key to re-
store the deleted music data.
LHA0961 LHA0962
4-80 Monitor, climate, audio, phone and voice recognition systems
ZREVIEW COPY—
2008 Pathfinder (pat)
Owners Manual—USA_English (nna)
03/23/07—debbie
X

You can also listen to the beginning of each track
that has been deleted by performing the follow-
ing:
1. Touch the “Menu” key and then the “Music
Box System Info.” key on the screen.
2. Touch the “Deleted Items” key and then the
“Play Sample” key.
Music Box settings
To set up the Music Box hard-disk drive audio
system to your preferred settings, touch the
“Menu” key during playback, then touch the “Mu-
sic Box System Info.” key, and then the “Music
Box Settings” key.
●Automatic Recording:
When this item is turned to ON, the Music
Box hard-disk audio system automatically
starts recording when a CD is inserted.
●Recording Quality:
Set the recording quality of 105 kbps or 132
kbps. The default is set to 132 kbps.
LHA0964 LHA0965 LHA0962
Monitor, climate, audio, phone and voice recognition systems 4-81
ZREVIEW COPY—
2008 Pathfinder (pat)
Owners Manual—USA_English (nna)
03/23/07—debbie
X

●Title Text Priority:
Set the priority to CDDB (Compact Disc
Data Base) to acquire track information from
the GracenoteTDatabase or set to CD
TEXT to acquire the information from CDs.
●Delete ALL Music Box Data:
Delete all music data stored on the hard disk.
GracenoteT
NOTE:
●The information contained in the
GracenoteTDatabase is not fully guaran-
teed.
●The service of the GracenoteTDatabase on
the Internet may be stopped without prior
notice for maintenance.
End-User License Agreement
USE OF THIS PRODUCT IMPLIES ACCEP-
TANCE OF THE TERMS BELOW.
GracenoteTMusicID™ Terms of Use
This device contains software from Gracenote,
Inc. of Emeryville, California (“Gracenote”). The
software from Gracenote (the “Gracenote Soft-
ware”) enables this application to do online disc
identification and obtain music-related informa-
tion, including name, artist, track, and title infor-
mation (“Gracenote Data”) from online servers
(“Gracenote Servers”) and to perform other func-
tions. You may use Gracenote Data only by
means of the intended End-User functions of this
device.
You agree that you will use Gracenote Data, the
Gracenote Software, and Gracenote Servers for
your own personal non-commercial use only. You
agree not to assign, copy, transfer or transmit the
Gracenote Software or any Gracenote Data to
any third party. YOU AGREE NOT TO USE OR
EXPLOIT GRACENOTE DATA, THE
GRACENOTE SOFTWARE, OR GRACENOTE
SERVERS, EXCEPT AS EXPRESSLY PERMIT-
TED HEREIN.
You agree that your non-exclusive license to use
the Gracenote Data, the Gracenote Software,
and Gracenote Servers will terminate if you vio-
late these restrictions. If your license terminates,
you agree to cease any and all use of the
Gracenote Data, the Gracenote Software, and
Gracenote Servers. Gracenote reserves all rights
in Gracenote Data, the Gracenote Software, and
the Gracenote Servers, including all ownership
rights. Under no circumstances will Gracenote
become liable for any payment to you for any
information that you provide. You agree that
Gracenote, Inc. may enforce its rights under this
Agreement against you directly in its own name.
The Gracenote MusicID Service uses a unique
identifier to track queries for statistical purposes.
The purpose of a randomly assigned numeric
identifier is to allow the Gracenote MusicID ser-
vice to count queries without knowing anything
about who you are. For more information, see the
web page for the Gracenote Privacy Policy for
the Gracenote MusicID Service.
LHA0963
4-82 Monitor, climate, audio, phone and voice recognition systems
ZREVIEW COPY—
2008 Pathfinder (pat)
Owners Manual—USA_English (nna)
03/23/07—debbie
X

The Gracenote Software and each item of
Gracenote Data are licensed to you “AS IS.”
Gracenote makes no representations or warran-
ties, express or implied, regarding the accuracy
of any Gracenote Data from in the Gracenote
Servers. Gracenote reserves the right to delete
data from the Gracenote Servers or to change
data categories for any cause that Gracenote
deems sufficient. No warranty is made that the
Gracenote Software or Gracenote Servers are
error-free or that functioning of Gracenote Soft-
ware or Gracenote Servers will be uninterrupted.
Gracenote is not obligated to provide you with
new enhanced or additional data types or cat-
egories that Gracenote may provide in the future
and is free to discontinue its online services at
any time.
GRACENOTE DISCLAIMS ALL WARRANTIES
EXPRESS OR IMPLIED, INCLUDING, BUT NOT
LIMITED TO, IMPLIED WARRANTIES OF MER-
CHANTABILITY, FITNESS FOR A PARTICULAR
PURPOSE, TITLE, AND NONINFRINGEMENT.
GRACENOTE DOES NOT WARRANT THE RE-
SULTS THAT WILL BE OBTAINED BY YOUR
USE OF THE GRACENOTE SOFTWARE OR
ANY GRACENOTE SERVER. IN NO CASE
WILL GRACENOTE BE LIABLE FOR ANY
CONSEQUENTIAL OR INCIDENTAL DAM-
AGES OR FOR ANY LOST PROFITS OR LOST
REVENUES.
Copyright:
Music recognition technology and related data
are provided by GracenoteT. Gracenote is the
industry standard in music recognition technol-
ogy and related content delivery. For more infor-
mation visit www.gracenote.com.
CD and music-related data from Gracenote, Inc.,
copyright © 2000-2006 Gracenote. Gracenote
Software, copyright © 2000-2006 Gracenote.
This product and service may practice one or
more of the following U.S. Patents: #5,987,525;
#6,061,680; #6,154,773, #6,161,132,
#6,230,192, #6,230,207, #6,240,459,
#6,330,593, and other patents issued or pend-
ing. Some services supplied under license from
Open Globe, Inc. for U.S. Patent: #6,304,523.
Gracenote and CDDB are registered trademarks
of Gracenote. The Gracenote logo and logotype,
and the “Powered by Gracenote” logo are trade-
marks of Gracenote.
CD/CF (CompactFlash™) CARE AND
CLEANING
CD:
●Handle a CD by its edges. Do not bend the
disc. Never touch the surface of the disc.
●Always place the discs in the storage case
when they are not being used.
●To clean a disc, wipe the surface from the
center to the outer edge using a clean, soft
cloth. Do not wipe the disc using a circular
motion.
LHA0049
Monitor, climate, audio, phone and voice recognition systems 4-83
ZREVIEW COPY—
2008 Pathfinder (pat)
Owners Manual—USA_English (nna)
03/23/07—debbie
X

●Do not use a conventional record cleaner or
alcohol intended for industrial use.
●A new disc may be rough on the inner and
outer edges. Remove the rough edges by
rubbing the inner and outer edges with the
side of a pen or pencil as illustrated.
CF cards:
CAUTION
Do not force the CompactFlash™ card into
the CompactFlash™ player slot. Forcing
the CF card could damage the pins inside
the CF player slot, especially if the CF card
is upside down or backwards.
●Never touch the terminal portion of the Com-
pactFlash™ cards. Do not bend the cards.
●Always place the cards in the storage case
when they are not being used.
●Do not place heavy objects on the cards.
●Do not store the cards in highly humid loca-
tions.
●Do not expose the cards to direct sunlight.
●Do not spill any liquids on the cards.
Refer to the CompactFlash™ card Owner’s
Manual for more details.
LHA1002
4-84 Monitor, climate, audio, phone and voice recognition systems
ZREVIEW COPY—
2008 Pathfinder (pat)
Owners Manual—USA_English (nna)
03/23/07—debbie
X

1. Volume control switch
2. MODE select switch
3. POWER on/off switch
4. Tuning switch
1. Volume control switch
2. Phone operation switch
3. POWER on and MODE select switch
4. Tuning switch
STEERING WHEEL SWITCH FOR
AUDIO CONTROL
The audio system can be operated using the
controls on the steering wheel.
POWER on/off switch
With the ignition key turned to the ACC or ON
position, push the POWER switch to turn the
audio system on or off.
If you have the Type B switch, with the ignition key
turned to the ACC or ON position push the
MODE switch to turn the audio system on.
MODE select switch
Push the mode select switch to change the mode
in the following sequence: PRESET A →PRE-
SET B →PRESET C →Music Box** (if so
equipped) →CD* →CompactFlash™* (if so
equipped) →DVD* (if so equipped) →AUX***.
*These modes are only available when compat-
ible media storage is inserted into the device.
**This mode is only available when music has
been downloaded into the Music Box hard-disk
drive audio system.
***This mode is only available when a compatible
auxiliary device is plugged into the AUX jack.
Volume control switch
Push the volume control switch up or down to
increase or decrease the volume.
Tuning
Memory change (radio):
While in one of the preset radio station banks (A,
B or C), push the tuning switch or
for less than 1.5 seconds to change to the next
preset station in memory.
Type A
WHA0611
Type B
WHA0612
Monitor, climate, audio, phone and voice recognition systems 4-85
ZREVIEW COPY—
2008 Pathfinder (pat)
Owners Manual—USA_English (nna)
03/23/07—debbie
X

Seek tuning (radio):
Push the tuning switch or for more
than 1.5 seconds to seek the next or previous
radio station.
Next/Previous track (CD/CF):
Push the tuning switch or for less
than 1.5 seconds to return to the beginning of the
present track or skip to the next track. Push
several times to skip back or skip through tracks.
This system searches for the blank intervals be-
tween selections. If there is a blank interval within
1 program or there is no interval between pro-
grams, the system may not stop in the desired or
expected location.
Next/Previous track (Music Box):
Push the tuning switch or for less
than 1.5 seconds to return to the beginning of the
present track or skip to the next track. Push
several times to skip back or skip through tracks.
Push and hold the tuning switch or
for more than 1.5 seconds to change playlists.
When the last playlist is playing, the next playlist
will be selected.
Change disc (CD) (if so equipped):
Push the tuning switch or for more
than 1.5 seconds to change the playing disc up
or down.
1. Infrared transmitter lens*
2. Rear display screen
*Red transmitters will be visible when infra-
red headphones are on.
REMOTE AUDIO SYSTEM
CONTROLS (if so equipped)
Press the REAR CTRL button on the front radio
control panel to allow the remote controller to
control some audio system functions. Press the
REAR CTRL button again to allow the audio
system to be controlled by only the front controls.
Press the button on the front radio control
panel; the headphones symbol and the message
LHA1062
4-86 Monitor, climate, audio, phone and voice recognition systems
ZREVIEW COPY—
2008 Pathfinder (pat)
Owners Manual—USA_English (nna)
03/23/07—debbie
X

“Headphones ON” illuminates on the front dis-
play when the headphones are on.
One or two infrared headphones and one remote
controller are included if the vehicle is equipped
with the DVD entertainment system.
For vehicles equipped with the FM/AM/SAT radio
with compact disc player, if the rear headphones
are turned on, the rear speakers will be disabled.
The rear passengers can use the wireless head-
phones to listen to a different media than the front
passengers. The rear passengers can listen to
the same media along with the front passengers
or they can listen to a different media.
For more information on the remote controller,
see “NISSAN Mobile Entertainment System
(MES)” later in this section.
VOL (volume) wireless headphones
dial:
The VOL dial on the wireless headphones allows
the rear passengers to adjust the headphone
volume level.
Speaker control (front panel)
button:
Press the button on the front radio control
panel to turn the rear speakers off and the wire-
less headphones on. Press the button
again to turn rear speakers back on and wireless
headphones off.
MODE (remote control) button:
The MODE button on the remote controller al-
lows the rear passengers to change between
Preset A, Preset B, Preset C, Music Box**, CD*,
CompactFlash*, DVD* and AUX. When a source
of media is selected, the media type will be dis-
played on the rear screen.
*These modes are only available when compat-
ible media storage is inserted into the device.
**This mode is only available when music has
been downloaded into the Music Box hard-disk
drive audio system.
Seek (remote control)
buttons:
In AM or FM mode, the or the seek
buttons on the remote controller allow the rear
seat passengers to find the next or previous
preset radio station.
In CD, Music Box hard-disk drive audio system
and CompactFlash™ mode, the or
the seek buttons allow the rear passen-
gers to find the next or previous selection.
REW and FF (remote
control) buttons:
When the (rewind) or the (fast for-
ward) button on the remote controller is pressed
while in AM or FM mode, the radio will tune to the
next frequency.
When the (rewind) or the (fast for-
ward) button on the remote controller is pressed
while in CD, Music Box hard-disk audio system,
or CompactFlash™, the media will play while re-
winding or fast forwarding.
ANTENNA
Window antenna
The antenna pattern is printed inside the rear
passenger and driver side windows.
CAUTION
●Do not place metalized film near the
rear driver or passenger side window
glass or attach any metal parts to it. This
may cause poor reception or noise.
●When cleaning the inside of the rear
driver or passenger side window, be
careful not to scratch or damage the
window antenna. Lightly wipe along the
antenna with a dampened soft cloth.
Monitor, climate, audio, phone and voice recognition systems 4-87
ZREVIEW COPY—
2008 Pathfinder (pat)
Owners Manual—USA_English (nna)
03/23/07—debbie
X

This vehicle is equipped with the mobile enter-
tainment system, which enables you to play a
Digital Versatile Disc (DVD), providing the im-
ages and sounds both in the front and rear dis-
play screens.
WARNING
●The driver must not attempt to operate
or view the Mobile Entertainment Sys-
tem while the vehicle is in motion so
that full attention may be given to ve-
hicle operation.
●Do not attempt to modify the system to
display a movie on the front screen
while the vehicle is being driven. Doing
so may distract the driver and may
cause a collision and serious personal
injury or death.
CAUTION
●The glass screen on the liquid crystal
display may break if hit with a hard or
sharp object. If the glass breaks, do not
touch the liquid crystalline material,
which contains a small amount of mer-
cury. In case of contact with skin, wash
immediately with soap and water.
●Use a damp, soft cloth when cleaning
the Mobile Entertainment System com-
ponents. Do not use solvents or clean-
ing solutions.
Do not attempt to use the system in extreme
temperature conditions [below -4°F (-20°C) or
above 158°F (70°C)].
To avoid discharging the vehicle battery, do not
operate the system more than 15 minutes without
starting the engine.
Movies will not be shown on the front display
while the vehicle is in any drive position to reduce
driver distraction. Audio is available when a movie
is played. To view movies in the front display, stop
the vehicle in a safe location, move the shift
selector lever to the P (Park) position and apply
the parking brake.
LHA1019
NISSAN MOBILE ENTERTAINMENT
SYSTEM (MES) (if so equipped)
4-88 Monitor, climate, audio, phone and voice recognition systems
ZREVIEW COPY—
2008 Pathfinder (pat)
Owners Manual—USA_English (nna)
03/23/07—debbie
X

1. EJECT button
2. DVD slot
3. Auxiliary input jack
DIGITAL VIDEO DISC (DVD) PLAYER
CONTROLS
1. EJECT button:
When the button is pressed with the
DVD loaded, it will be ejected.
The display will show the eject symbol in the
upper left corner of the display for 4 seconds
once the button is pressed.
If the DVD is not loaded, the display will
show “NO DISC”.
If the DVD comes out and is not removed
within 25 seconds, it will be pulled back into
the slot to protect it.
2. DVD slot:
Insert a DVD into the slot with the label side
facing up. The DVD will be guided automati-
cally into the slot.
3. Auxiliary input jack:
For information, see “DVD auxiliary input
jacks” later in this section.
WHA0967
Monitor, climate, audio, phone and voice recognition systems 4-89
ZREVIEW COPY—
2008 Pathfinder (pat)
Owners Manual—USA_English (nna)
03/23/07—debbie
X

1. POWER button
2. STOP button
3. NEXT TRACK/CHAPTER and PREVI-
OUS TRACK/CHAPTER button
4. TITLE button
5. ENTER button
6. DISPLAY button
7. MODE button
8. SUBTITLE button
9. AUDIO button
10. ANGLE button
11. CLEAR button
12. PAUSE button
13. PLAY button
14. FAST FORWARD/FAST REVERSE
button
15. MENU button
16. NAVIGATION keys
17. BACK button
18. NUMERIC KEYPAD
REMOTE CONTROL
Refer to “Remote control operation” later in this
section for the function of each button.
FLIP-DOWN SCREEN
The flip-down screen has a wireless remote con-
trol receiver s
1located at the bottom of the
screen.
CAUTION
●The glass screen on the liquid crystal
display may break if hit with a hard or
sharp object. If the glass breaks, do not
touch the liquid crystalline material,
which contains a small amount of mer-
cury. In case of contact with skin, wash
immediately with soap and water.
LHA0317
LHA0315
4-90 Monitor, climate, audio, phone and voice recognition systems
ZREVIEW COPY—
2008 Pathfinder (pat)
Owners Manual—USA_English (nna)
03/23/07—debbie
X

●The screen rotates down to view and up
into the housing to store when not in
use. Ensure that the screen is latched
securely into the housing when stored.
Headphones
Power ON/OFF:
Press the power button to turn the headphones
on or off.
Volume control:
Turn the volume control knob to adjust the vol-
ume.
The headphones will automatically be turned off
in 30 seconds if there is no sound during that
period. To prevent the battery from being dis-
charged, keep the power supply turned off when
not in use.
NOTE:
For optimum infrared headphone perfor-
mance, increase the volume on the rear
seat controller to the maximum level and
adjust the infrared headphone volume us-
ing the volume control on the headphones.
Using a lower volume setting on the rear
seat controller can cause static noise in the
infrared headphones.
SAA0720 SAA0721
Monitor, climate, audio, phone and voice recognition systems 4-91
ZREVIEW COPY—
2008 Pathfinder (pat)
Owners Manual—USA_English (nna)
03/23/07—debbie
X

BEFORE OPERATING THE DVD
MOBILE ENTERTAINMENT SYSTEM
Precautions
Start the engine when using the DVD entertain-
ment system.
WARNING
The driver must not attempt to operate the
DVD System or wear the headphones
while the vehicle is in motion so that full
attention may be given to vehicle
operation.
CAUTION
●Only operate the DVD while the vehicle
engine is running. Operating the DVD
for extended periods of time with the
engine OFF can discharge the vehicle
battery.
●Do not allow the system to get wet.
Excessive moisture such as spilled liq-
uids may cause the system to
malfunction.
While playing VIDEO-CD media, this DVD player
does not guarantee complete functionality of all
VIDEO-CD formats.
Copyright and trademark
●The technology protected by the U.S. patent
and other intellectual property rights owned
by Macrovision Corporation and other right
holders is adopted for this system.
●This copyright protected technology cannot
be used without a permit from Macrovision
Corporation. It is limited to be personal use,
etc., as long as the permit from Macrovision
Corporation is not issued.
●Modifying or disassembling is prohibited.
●Dolby digital is manufactured under license
from Dolby Laboratories, Inc.
●Dolby and the double D mark are trademarks
of Dolby Laboratories, Inc.
●DTS and DTS Digital Surround are regis-
tered trademarks of Digital Theater Systems,
Inc.
Parental level (parental control)
DVDs with the parental control setting can be
played with this system. Please use your own
judgement to set the parental control with the
system.
Disc selection
You can play the following disc formats with the
DVD drive:
●DVD-VIDEO
●VIDEO-CD
●CD-DA (Conventional Compact Disc) (CD
with MP3/WMA cannot be played.)
Use DVDs with a region code 1, ALL or 1 in-
cluded for your DVD entertainment system. The
region code is displayed as a small symbol
printed on the top of the DVD. This vehicle-
installed DVD player cannot play DVDs with a
region code other than 1 or ALL.
4-92 Monitor, climate, audio, phone and voice recognition systems
ZREVIEW COPY—
2008 Pathfinder (pat)
Owners Manual—USA_English (nna)
03/23/07—debbie
X

Display settings
Front display:
To adjust the front display mode, press the SET-
TING button while the DVD is being played,
select the “Display”key with the NISSAN control-
ler, and then press the ENTER button. To adjust
the display ON/OFF, brightness, tint, color, con-
trast and black level select each key using the
NISSAN controller and press the ENTER button.
Then you can adjust each item using the NISSAN
controller. After changes have been made press
the BACK button to save the settings.
Rear display:
To adjust the rear display mode, press the DISP
(Display) button on the remote controller.
To adjust the display brightness, tint, color and
contrast, select each key using the joystick on the
remote controller and tilt the joystick to right or
left.
Press the BACK button to apply the settings and
return to the previous display
PLAYING A DIGITAL VERSATILE
DISC (DVD)
With the DVD player, you can hear DVD videos,
video CDs and CDs using headphones. Passen-
gers in the rear seat can enjoy the sound inde-
pendently of the front seat.
Press the DISC/AUX button located on the front
controls to hear the sound of the DVD play
through the speakers.
Press the REAR CTRL button located on the
front controls to disable or enable rear seat audio
controls. For more information on rear seat audio
controls see, “Rear Audio Controls” earlier in this
section.
WHA0968 LHA0972
Monitor, climate, audio, phone and voice recognition systems 4-93
ZREVIEW COPY—
2008 Pathfinder (pat)
Owners Manual—USA_English (nna)
03/23/07—debbie
X

Pressing the button on the front controls
turns the rear speakers on or off and enables or
disables the wireless headphones .
It is possible to operate the DVD player by remote
control.
Headphones are a wireless type and no cables
are necessary. You can use them in almost all the
ranges in the rear seat. (It is not possible to use
the headphones in the front seat.)
DISC/AUX button
Park the vehicle in a safe location and
apply the parking brake for the front seat
occupants to operate the DVD drive while
watching the images.
Press the DISC/AUX button on the instrument
panel and turn the display to the DVD mode.
When a DVD is loaded, it will be replayed auto-
matically.
The operation screen will be turned on when the
DISC/AUX button located on the instrument
panel is pressed while a DVD is being played,
and it will turn off automatically after a period of
time. To turn it on again, press the DISC/AUX
button once more.
DVD operation keys
To operate the DVD drive, touch the preferred key
(if so equipped) or select the preferred key dis-
played on the operation screen using the
NISSAN controller.
NOTE:
If the display in your vehicle is not touch
screen enabled; use the NISSAN controller
and the ENTER button to operate the fol-
lowing functions. For more information on
how to operate the NISSAN controller, see
“How to use the NISSAN controller” earlier
in this section.
PAUSE key:
Touch the “ ” PAUSE key to pause the DVD.
To resume playing the DVD, touch the
“”PLAY key.
To pause the DVD, it is also possible to press
the button on the keypad of the remote
controller.
PLAY key:
Touch the “ ” PLAY key to start playing the
DVD, for example, after pausing the DVD
To start playing the DVD, it is also possible to
press the button on the keypad of the
remote controller.
STOP key:
Touch the “ ” STOP key to stop playing the
DVD.
To stop playing the DVD, it is also possible to
press the button on the keypad of the
remote controller.
SKIP (forward) key:
Touch the “ ” SKIP key to skip the chapter(
s) of the disc forward. The chapters will advance
the number of times the “ ” SKIP key is
touched.
Touch and hold the “ ” SKIP key for more
than 1.5 seconds to fast forward the disc. When
the “ ” SKIP key is released the disc will be
played normally.
To skip the chapter(s) forward, it is also possible
to press the button on the keypad of the
remote controller.
4-94 Monitor, climate, audio, phone and voice recognition systems
ZREVIEW COPY—
2008 Pathfinder (pat)
Owners Manual—USA_English (nna)
03/23/07—debbie
X

SKIP (rewind) key:
Touch the “ ”SKIP key to skip the chapter(s)
of the disc backward. The chapters will go back
the number of times the “ ” SKIP key is
touched.
Touch and hold the “ ” SKIP key for more
than 1.5 seconds to rewind the disc. When the
“” SKIP key is released the disc will be
played normally.
To skip the chapter(s) backward, it is also pos-
sible to press the button on the keypad of
the remote controller.
DVD settings
Touch the “Settings” key to adjust the following
settings while playing a DVD.
When all the changes have been made, press
BACK button to save all the settings.
LHA0969 LHA0970
Monitor, climate, audio, phone and voice recognition systems 4-95
ZREVIEW COPY—
2008 Pathfinder (pat)
Owners Manual—USA_English (nna)
03/23/07—debbie
X

Switch to DVD-AUX:
Switch the output source from the DVD drive to
another device connected to the auxiliary input
jacks located on the DVD player.
For more information, see “DVD auxiliary input
jacks” later in this section.
Menu:
Some menus specific to each DVD will be
shown. For details, see the instructions attached
to the DVD.
Top Menu:
Each title menu in the disc will be shown. For
details, see the instructions attached to the DVD.
Audio:
Some audio tracks specific to each DVD will be
shown. For details, see the instructions attached
to the DVD.
Subtitle:
Choose the preferred DVD subtitle language by
touching the “ ” key or the “ ” key.
Display Mode:
Choose from the Full, Wide, Normal or the Cin-
ema mode by touching the “ ” key or the
“” key.
Angle:
If the DVD contains different angles (such as
moving images), the current image angle can be
switched to another one.
Choose a different angle by touching the “–” key
or the “+” key; the angle will change if available.
Angle Mark:
When this item is turned on, an angle mark will be
shown on the bottom of the screen if the scene
can be seen from a different angle. Touch the
“ON” key to enable the angle mark; the indicator
light will illuminate.
10Key Search:
Touch the “10Key Search” key to open the num-
ber entry screen. Input the number you want to
search for and touch the “OK” key. The specified
Title/Chapter or Group/Track will be played.
Title Search:
The scene with the specified title will be dis-
played the number of times the “–” key or the “+”
key is touched.
Menu Skip:
DVD menus are automatically configured and the
contents will be played directly when the “Menu
LHA0971
4-96 Monitor, climate, audio, phone and voice recognition systems
ZREVIEW COPY—
2008 Pathfinder (pat)
Owners Manual—USA_English (nna)
03/23/07—debbie
X

Skip” key is turned on. Note that some discs may
not be played directly even if this item is turned
on.
DVD Language:
Touch the “DVD Language” key to open the num-
ber entry screen. Input the number correspond-
ing to the preferred language and touch the “OK”
key. The DVD top menu language will be
changed to the one specified.
DRC:
DRC (Dynamic Range Compression) allows you
to tune the dynamic range of the sound recorded
in the DolbyTDigital format. Touch the “–” key or
the “+” key to tune the DRC.
Auxiliary input jacks
The auxiliary input jacks are located on the front of
the DVD player which is located inside the center
console. NTSC and PAL compatible devices
such as video games, camcorders and portable
video players can be connected to the auxiliary
jacks.
The auxiliary jacks are color coded for identifica-
tion purposes.
●Yellow - video input
●White - left channel audio input
●Red - right channel audio input
Before connecting a device to a jack, power off
the portable device and turn off the DVD player.
To view something connected to the auxiliary
input jacks, press the DISC/AUX button until the
DVD mode appears, then touch the “Settings”
key. Then touch the “Switch to DVD-AUX” key.
The screen will change to the DVD-AUX mode.
DVD-AUX settings
Touch the “Settings” key to adjust the following
settings:
●Switch to DVD:
Touch this key to switch back to the DVD mode.
●Video Format:
If the auxiliary source is in a different video
format, touch the “ ” key or the “ ”
key, the video format will change.
●Display Mode:
Choose from the Full, Wide, Normal or Cin-
ema mode by touching the “ ” key or
the “ ” key.
LHA0973
Monitor, climate, audio, phone and voice recognition systems 4-97
ZREVIEW COPY—
2008 Pathfinder (pat)
Owners Manual—USA_English (nna)
03/23/07—debbie
X

When all the changes have been made, press the
BACK button to save all the settings.
REMOTE CONTROL OPERATION
For all operation precautions, see “Before oper-
ating the DVD Mobile Entertainment System”
earlier in this section.
The DVD system can also be controlled by using
the remote controller in the rear seats. See the
following items.
PWR on/off button:
With the ignition switch turned to the ACC or ON
position, press the PWR button to turn the DVD
rear display on or off.
NOTE:
The PWR button on the remote control only
turns the rear display on or off.
Insert the DVD into the slot with the label side
facing up. The DVD will be guided automatically
into the slot.
If the DVD player is off and a DVD is inserted, the
DVD player will automatically turn on.
CAUTION
Do not force the compact disc into the
slot. This could damage the player.
MODE select button:
Press the MODE button to select Audio/Video
source between DVD and AUX input (input jacks
on the faceplate, Red = right channel audio input,
White = left channel audio input, and Yellow =
Video input).
The display will show the “AUX” in the upper left
corner of the display for 4 seconds once the
Mode is changed to AUX.
To use the input jacks, refer to “Auxiliary input
jacks” in this section.
PLAY:
When the PLAY button on the remote
control is pressed, the player will play.
In play mode, the display will briefly show
on the upper left corner of the display.
FF (Fast Forward), REW:
Press (fast forward) / (Rewind) but-
tons to carry out the fast forward or rewind pre-
sentation at 5 times normal play speed.
Press (fast forward) / (Rewind) but-
tons again or PLAY button to resume the normal
play speed.
LHA0974
4-98 Monitor, climate, audio, phone and voice recognition systems
ZREVIEW COPY—
2008 Pathfinder (pat)
Owners Manual—USA_English (nna)
03/23/07—debbie
X

NEXT CHAPTER/
PREVIOUS CHAPTER:
When the (NEXT CHAPTER) button is
pressed while the DVD is being played, the pro-
gram next to the present one will start to play from
its beginning. Press several times to skip through
programs. The DVD will advance the number of
times the button is pressed. When the
(PREVIOUS CHAPTER) button is pressed, the
program being played returns to its beginning.
Press several times to skip back through pro-
grams. The DVD will go back the number of times
the button is pressed.
PAUSE:
When the PAUSE button on the remote
control is pressed, the player will pause playing of
the media. In pause mode, the player will
show on the upper left corner of the dis-
play until the player is changed to another mode.
STOP:
Press the STOP button once to stop playing the
media. The display will show in the upper
left corner of the display for 4 seconds, and the
last disc position will be stored. When the PLAY
button is pressed again, it will resume at the
stored disc track and time position.
If the STOP button is pressed again when the
player is already in Stop mode, it will reinitialize
the pointer to the beginning of the disc. In effect it
will ignore the last stored disc position and upon
receipt of the next play message it will begin at
the Title Menu, or at “the beginning of the disc”.
DISPLAY:
If the DISPLAY control is pressed for less than 2
seconds, the display menu will appear on the
screen.
●The display menu will remain on the screen
for 10 seconds if no subsequent control
activations occur.
●Use NAVIGATION KEYS to navigate within
the display menu, and use ENTER to select
the item.
NAVIGATION KEYS:
If media is in activated MENU mode, the NAVI-
GATION KEYS will be used to navigate Up,
Down, Left, and Right within the menu.
If display control menu is on, the NAVIGATION
KEYS will be used to navigate Up, Down, Left,
and Right within the menu.
ENTER:
In MENU mode, press the ENTER button to se-
lect MENU items.
In the display menu, press the ENTER button to
select items for modification, as per the on-
screen instructions.
MENU:
If the media is in PLAY mode and the MENU
button is pressed, the DVD menu will appear on
the screen. Use Navigation Keys to navigate
within the menu, and use ENTER to select the
item.
Press the MENU button again to return to PLAY
mode.
TITLE:
Press TITLE button to return the DVD media to
the “title” of the DVD.
Press TITLE button again to return to the previous
stop point and play.
BACK:
Press the BACK button to exit the current active
menu and return to the previous menu.
SUBTITLE:
Press the SUBTITLE button to call up subtitle
selection menu.
Repeatedly press the SUBTITLE button to cycle
through each available subtitle.
Monitor, climate, audio, phone and voice recognition systems 4-99
ZREVIEW COPY—
2008 Pathfinder (pat)
Owners Manual—USA_English (nna)
03/23/07—debbie
X

AUDIO:
Press the AUDIO button to call up audio menu.
Repeatedly press the AUDIO button to cycle
through each available audio track.
ANGLE:
Press the ANGLE button to call up camera angle
menu.
Repeatedly press the ANGLE button to cycle
through each available angle.
CLEAR:
Press the CLEAR button to clear all numeric
inputs, if actuated prior to expiration of the
3-second timer.
NUMERIC KEYPAD (0–9 & ≥10):
Press the NUMERIC KEYPAD to directly access
disc chapters, titles or tracks by inputting their
numeric value.
The “≥10” button input numbers greater than or
equal to 10, allowing up three digits to be input
for selecting chapter/title/track number.
The subsequent actuation of numeric buttons will
continuously shift the previously input number to
the “left”.
The chapter/title/track number will be automati-
cally selected (if valid, based on media content) if
3 seconds expire without any keypad inputs.
The operator can cancel the input
chapter/title/track number by actuating the
CLEAR control prior to the expiration of the
3-second timer.
These functions can be used only for the DVD
discs which correspond to them.
CARE AND MAINTENANCE
Use a lightly dampened, lint free cloth to clean the
surfaces of your NISSAN Mobile Entertainment
System (DVD player face, screen, remote control,
etc.).
Do not attempt to use the system in extreme
temperature conditions [below -4°F (-20°C) or
above 158°F (70°C)].
Do not attempt to operate the system in extreme
humidity conditions (less than 10% or more than
75%).
CAUTION
●Do not use any solvents or cleaning
solutions when cleaning the video
system.
●Do not use excessive force on the moni-
tor screen.
●Avoid touching or scratching the moni-
tor screen as it may become dirty or
damaged.
4-100 Monitor, climate, audio, phone and voice recognition systems
ZREVIEW COPY—
2008 Pathfinder (pat)
Owners Manual—USA_English (nna)
03/23/07—debbie
X

HOW TO HANDLE THE DVD
CAUTION
●Handle a DVD by its edges. Never touch
the surface of the disc.
●To clean a disc, wipe the surface from
the center to the outer edge using a
clean, soft cloth. Do not wipe the disc
using a circular motion.
●Do not use a conventional record
cleaner, benzine, thinner or alcohol in-
tended for industrial use.
●A new disc may be rough on its inner
and outer edges. Remove the rough
edges using the side of a pen or pencil
as illustrated.
●Never attempt to use a DVD that has
been cracked, deformed, or repaired
using adhesive. Doing so may cause
damage to the equipment.
●Handle the DVD carefully to avoid contami-
nation or flaws. Otherwise, signals may not
be read properly.
●Do not write, draw or attach anything on any
side of the DVD.
●Do not store the DVD in locations with direct
sunlight or in high temperatures or humidity.
●Always place discs in the storage case when
they are not being used.
●Do not put on any sticker or write anything
on either surface of the DVD.
DVD player operation precautions
Do not use the following DVDs as they may
cause the DVD player to malfunction:
●3.1 in (8 cm) discs with an adapter.
LHA0049
LHA0484
Monitor, climate, audio, phone and voice recognition systems 4-101
ZREVIEW COPY—
2008 Pathfinder (pat)
Owners Manual—USA_English (nna)
03/23/07—debbie
X

●DVDs with a region code other than
“1”. The region code s
Ais displayed in
a small symbol printed on the top of
the DVD s
B.
●DVDs that are not round.
●DVDs with a paper label.
●DVDs that are warped, scratched, or
have unequal edges.
●Recordable digital video discs
(DVD+R).
●Rewritable digital video discs
(DVD+RW).
If a DVD with a paper label is used and
becomes jammed, you may be able to reset
the unit and eject the jammed disc with the
following procedure:
1. Record the radio presets.
2. Disconnect the negative terminal from
the battery for five minutes.
3. Reconnect the negative battery termi-
nal.
4. Check to see if the jammed DVD has
been ejected. If it has not, try to eject
the DVD by pushing the eject button.
5. If the disc cannot be ejected see your
NISSAN dealer for further assistance.
6. Re-program the radio presets.
Remote control and headphones
battery replacement
Replace the battery as follows:
1. Open the lid.
2. Replace batteries with new ones.
●Size AA (remote control)
●Size AAA (headphones)
Make sure that the and ends on
the batteries match the markings inside the
compartment.
3. Close the lid securely.
LHA0318
4-102 Monitor, climate, audio, phone and voice recognition systems
ZREVIEW COPY—
2008 Pathfinder (pat)
Owners Manual—USA_English (nna)
03/23/07—debbie
X

If the battery is removed for any reason
other than replacement, close the lid se-
curely.
●If you will not be using the remote control for
long periods of time, remove the batteries.
●Replacement of the batteries is needed
when the remote control only functions at
extremely close distances to the DVD player
or not at all.
●Be careful not to touch the battery terminal.
●An improperly disposed battery can harm
the environment. Always confirm local regu-
lations for battery disposal.
●When changing batteries, do not let dust or
oil get on the remote control and head-
phones.
FCC Notice:
Changes or modifications not expressly ap-
proved by the party responsible for compli-
ance could void the user’s authority to op-
erate the equipment. This device complies
with Part 15 of the FCC Rules and RSS-210
of Industry Canada. Operation is subject to
the following two conditions: (1) This de-
vice may not cause harmful interference,
and (2) this device must accept any inter-
ference received, including interference
that may cause undesired operation of the
device.
When installing a CB, ham radio or car phone in
your NISSAN, be sure to observe the following
precautions, otherwise the new equipment may
adversely affect the engine control system and
other electronic parts.
WARNING
●A cellular telephone should not be used
while driving so full attention may be
given to vehicle operation. Some juris-
dictions prohibit the use of cellular tele-
phones while driving.
●If you must make a call while your ve-
hicle is in motion, the hands free cellu-
lar phone operational mode (if so
equipped) is highly recommended. Ex-
ercise extreme caution at all times so
full attention may be given to vehicle
operation.
●If a conversation in a moving vehicle
requires you to take notes, pull off the
road to a safe location and stop your
vehicle before doing so.
SAA0723
CAR PHONE OR CB RADIO
Monitor, climate, audio, phone and voice recognition systems 4-103
ZREVIEW COPY—
2008 Pathfinder (pat)
Owners Manual—USA_English (nna)
03/23/07—debbie
X

CAUTION
●Keep the antenna as far away as pos-
sible from the electronic control
modules.
●Keep the antenna wire more than 8 in
(20 cm) away from the electronic con-
trol system harnesses. Do not route the
antenna wire next to any harness.
●Adjust the antenna standing-wave ratio
as recommended by the manufacturer.
●Connect the ground wire from the CB
radio chassis to the body.
●For details, consult a NISSAN dealer.
●Do not ground electrical accessories
directly to the battery terminal. Doing
so, will bypass the variable voltage con-
trol system and the vehicle battery may
not charge completely. Refer to “Vari-
able voltage control system” in the
“Maintenance and do-it-yourself” sec-
tion later in this manual.
●Use electrical accessories with the en-
gine running to avoid discharging the
vehicle battery.
WARNING
●Use a phone after stopping your vehicle
in a safe location. If you have to use a
phone while driving, exercise extreme
caution at all times so full attention may
be given to vehicle operation.
●If you are unable to devote full attention
to vehicle operation while talking on
the phone, pull off the road to a safe
location and stop your vehicle before
doing so.
CAUTION
To avoid discharging the vehicle battery,
use a phone after starting the engine.
BLUETOOTHTHANDS-FREE PHONE
SYSTEM WITH NAVIGATION SYSTEM
(if so equipped)
4-104 Monitor, climate, audio, phone and voice recognition systems
ZREVIEW COPY—
2008 Pathfinder (pat)
Owners Manual—USA_English (nna)
03/23/07—debbie
X

Your NISSAN is equipped with the BluetoothT
Hands-Free Phone System. If you are an owner
of a BluetoothTenabled cellular phone, you can
set up the wireless connection between your
cellular phone and the in-vehicle phone module.
With BluetoothTwireless technology, you can
make or receive a hands-free telephone call with
your cellular phone in the vehicle.
Once your cellular phone is paired to the in-
vehicle phone module, no other phone connect-
ing procedure is required. Your phone is auto-
matically connected with the in-vehicle phone
module when the ignition switch is turned to the
ON position with the paired cellular phone turned
on and carried in the vehicle.
You can register up to 5 different BluetoothT
cellular phones to the in-vehicle phone module.
However, you can talk on only one cellular phone
at a time.
NISSAN Voice Recognition system supports the
phone commands, so dialing a phone number
using your voice is possible. For more details, see
“NISSAN Voice Recognition System” later in this
section.
Before using the BluetoothTHands-Free Phone
System, refer to the following notes.
●Set up the wireless connection between a
cellular phone and the in-vehicle phone
module before using the hands-free phone
system.
●Some BluetoothTenabled cellular phones
may not be recognized by the in-vehicle
phone module. Please visit
www.nissanusa.com/bluetooth for a recom-
mended phone list.
●You will not be able to use a hands-free
phone under the following conditions:
– Your vehicle is outside of the cellular ser-
vice area.
WHA0977
Monitor, climate, audio, phone and voice recognition systems 4-105
ZREVIEW COPY—
2008 Pathfinder (pat)
Owners Manual—USA_English (nna)
03/23/07—debbie
X
– Your vehicle is in an area where it is
difficult to receive cellular signal; such as
in a tunnel, in an underground parking
garage, near a tall building or in a moun-
tainous area.
– Your cellular phone is locked to prevent it
from being dialed.
●When the radio wave condition is not ideal
or ambient sound is too loud, it may be
difficult to hear the other person’s voice dur-
ing a call.
●Immediately after the ignition switch is
pushed to the ON position or the DVD-ROM
for the navigation system is inserted into the
player, it may be impossible to receive a call
for a short period of time.
●Do not place the cellular phone in an area
surrounded by metal or far away from the
in-vehicle phone module to prevent tone
quality degradation and wireless connection
disruption.
●While a cellular phone is connected through
the BluetoothTwireless connection, the bat-
tery power of the cellular phone may dis-
charge quicker than usual. The BluetoothT
Hands-Free Phone System cannot charge
cellular phones.
●If the hands-free phone system seems to be
malfunctioning, please refer to “Trouble-
shooting guide” later in this section. You can
also visit www.nissanusa.com/bluetooth for
troubleshooting help.
●Refer to the cellular phone owner’s manual
regarding the telephone charges, cellular
phone antenna and body, etc.
●The signal strength display on the monitor
will not coincide with the signal strength
display of some cellular phones.
This device complies with Part 15 of the
FCC Rules. Operation is subject to the fol-
lowing two conditions: (1) this device may
not cause harmful interference, and (2) this
device must accept any interference re-
ceived, including interference that may
cause undesired operation.
FCC Radiation Exposure Statement:
This equipment complies with FCC radiation ex-
posure limits set forth for an uncontrolled envi-
ronment. This equipment should be installed and
operated with minimum distance of 8 inches (20
cm) between the radiator and your body. This
Transmitter must not be co-located or operating
in conjunction with any other antenna or transmit-
ter.
VOICE COMMANDS
You can use voice commands to operate various
BluetoothTHands-Free Phone System features
using the NISSAN Voice Recognition system. For
more details, see 9NISSAN Voice Recognition
System9later in this section.
4-106 Monitor, climate, audio, phone and voice recognition systems
ZREVIEW COPY—
2008 Pathfinder (pat)
Owners Manual—USA_English (nna)
03/23/07—debbie
X

PAIRING PROCEDURE
1. Press the SETTING button, then select the
“Phone” key using the NISSAN controller
and press the ENTER button.
2. Scroll to the bottom of the list and select the
“Bluetooth Setup”key and press the ENTER
button.
3. Select the “Pair Phone” key and press the
ENTER button, then select one of the “None
(Add New)” keys by pressing the ENTER
button.
NOTE:
If pairing a phone for the first time, press-
ing the PHONE button twice will bring you
to the pair phone list.
4. When a PIN code appears on the screen,
operate the BluetoothTcellular phone to
enter the PIN code. The pairing procedure of
the cellular phone varies according to each
cellular phone manufacturer. See the cellular
phone owner’s manual for the details.
5. When the pairing is completed, the screen
will return to the BluetoothTsetup display.
LHA0884 LHA0978 LHA0979
Monitor, climate, audio, phone and voice recognition systems 4-107
ZREVIEW COPY—
2008 Pathfinder (pat)
Owners Manual—USA_English (nna)
03/23/07—debbie
X

LHA0980 LHA0981 LHA0982
4-108 Monitor, climate, audio, phone and voice recognition systems
ZREVIEW COPY—
2008 Pathfinder (pat)
Owners Manual—USA_English (nna)
03/23/07—debbie
X

PHONEBOOK
Up to 40 phone numbers can be stored in the
phonebook.
1. Press the SETTING button, then select the
“Phone” key and press the ENTER button.
2. Select the “Phonebook” key and press the
ENTER button.
3. Select one of the “None (Add New)” keys
from the name list of the phonebook and
press the ENTER button.
4. Select the “Transfer via Bluetooth” key in
order to transfer a phonebook entry from
your cellular phone to your phonebook in
your car.
5. Operate the cellular phone to send a per-
son’s name and phone number from the
memory of the cellular phone. The memory
sending procedure from the cellular phone
varies according to each cellular phone
manufacturer. See the cellular phone own-
er’s manual for more details.
6. After the download is registered in the
phonebook, the system will ask if you want to
add a voice tag for it. The Voice Tag screen
will be displayed.
If you want to add a voice tag select the
“Yes” key and press the ENTER button. For
example, if the person’s name is David,
speak “David” while the Store voice tag
screen is on the display. The David voice tag
is stored in the phonebook. Voice tag is a
useful function for easy dialing supported by
the voice recognition system. For more infor-
mation, see “NISSAN Voice Recognition
System” later in this section.
LHA0978 LHA0983 LHA0984
Monitor, climate, audio, phone and voice recognition systems 4-109
ZREVIEW COPY—
2008 Pathfinder (pat)
Owners Manual—USA_English (nna)
03/23/07—debbie
X

7. When the phonebook download is com-
pleted, the screen will return to the name list
of the phonebook.
There are different methods to input a phone
number. Select one of the following options in-
stead of the “Transfer via Bluetooth” key in step 4
above.
Enter Data by Keypad:
Input the name and phone number manually us-
ing the keypad displayed on the screen. For in-
formation on how to use the touch screen, see
“How to use the touch screen” earlier in this
section..
Copy from Downloaded Phonebook:
Copy a phonebook from the BluetoothTcellular
phone. The availability of this function depends
on each cellular phone. The copying procedure
from the cellular phone also varies according to
each cellular phone. See the cellular phone own-
er’s manual for more details.
Copy from Outgoing Call Logs:
Store the name and phone number from the
outgoing call list.
Copy from Incoming Call Logs:
Store the name and phone number from the
incoming call list.
Transfer via Bluetooth:
Transfer a contact from the BluetoothTcellular
phone. Availability of this function depends on
each cellular phone. The transferring procedure
from the cellular phone also varies according to
each cellular phone. See the cellular phone own-
er’s manual for more details.
Delete:
Delete a contact that is registered in the phone-
book.
MAKING A CALL
To make a call, follow the procedures below.
1. Press the PHONE button on the instrument
panel.
2. Touch the “Call (Phonebook)” key.
3. Touch one of the downloaded person’s key
from the list. Dialing will start.
4. After the call is over, perform one of the
following to finish the call.
a. Touch the “Hang Up” key.
b. Press and hold the phone button on the
steering wheel switches.
LHA0985 LHA0986
4-110 Monitor, climate, audio, phone and voice recognition systems
ZREVIEW COPY—
2008 Pathfinder (pat)
Owners Manual—USA_English (nna)
03/23/07—debbie
X

c. Press the PHONE button on the instrument
panel.
There are different methods to make a call. Select
one of the following options instead of the “Call
(Phonebook)” key in step 2 above.
Redial:
Dial the previously dialed number again.
Call (Call Logs):
Select the name or phone number from the in-
coming or outgoing call logs.
Call (Downloaded):
Select the name or phone number from the
downloaded call list.
Dial (Keypad):
Input the phone number manually using the key-
pad displayed on the screen. For information on
how to use the touch screen, see “How to use the
touch screen” earlier in this section.
RECEIVING A CALL
When you hear a phone ring, the display will
change to phone mode. To receive a call, follow
the one of the procedures listed below.
a. Touch the “Answer” key on the display.
b. Press the PHONE button on the instrument
panel.
c. Press the phone button on the steering
wheel switches.
There are some options available when receiving
a call. Select one of the following displayed on
the screen.
Answer:
Accept an incoming call to talk.
On Hold:
Put an incoming call on hold.
Reject Call:
Reject an incoming call.
To finish the call, follow one of the procedures
listed below.
a. Touch the “Reject Call” key on the display.
b. Press the PHONE button on the instrument
panel.
c. Press and hold the phone button on the
steering wheel switches.
LHA0987
Monitor, climate, audio, phone and voice recognition systems 4-111
ZREVIEW COPY—
2008 Pathfinder (pat)
Owners Manual—USA_English (nna)
03/23/07—debbie
X

DURING A CALL
There are some options available during a call.
Select one of the following displayed on the
screen if necessary.
Hang up:
Finish the call.
Use Handset:
Transfer the call to the cellular phone.
Mute:
Mute your voice to the person.
Dial (Keypad):
Brings up a keypad; enter digits when needed.
For example, entering your PIN number for voice-
mail.
Cancel Mute:
This will appear after the “Mute” key is touched.
Mute will be cancelled.
To adjust the person’s voice to be louder or
quieter, press the volume control switch located
on the steering wheel switches or turn the volume
control knob on the instrument panel while talking
on the phone. This adjustment is also available in
the SETTING mode.
PHONE SETTING
To set up the hands-free phone system to your
preferred settings, press the SETTING button,
then touch the “Phone” key on the display.
Phonebook:
See “Phonebook” earlier in this section for add-
ing, editing and deleting a contact.
Downloaded Phonebook:
See the following information for each item.
LHA0988 LHA0978
4-112 Monitor, climate, audio, phone and voice recognition systems
ZREVIEW COPY—
2008 Pathfinder (pat)
Owners Manual—USA_English (nna)
03/23/07—debbie
X

●Download All:
Transfer phonebook entries from your cellu-
lar phone to the vehicle’s phonebook. For
more information, see “Phonebook down-
load” earlier in this section.
●Delete Downloaded Phonebook:
Delete all of the downloaded phonebook
entries.
●Delete an Entry of Downloaded Phone-
book:
Delete a single entry from the downloaded
phonebook. Touch the corresponding letter
key, then touch on the name key you wish to
delete. Touch the “Yes” key to delete the
entry.
Automatic Hold:
If this item is turned on, an incoming call will be
placed on hold automatically after several rings.
Use Vehicle Ringtone:
If this item is turned on, a specific ringtone that is
different from the cellular phone’s will sound
when receiving a call.
Delete Call Logs:
Delete all the outgoing or incoming call logs from
the list.
Bluetooth Setup:
See the following information for each item.
●Bluetooth:
If this item is turned off, the connection be-
tween the cellular phone and the in-vehicle
phone module will be canceled.
●Bluetooth Info:
Check information about the device name,
vehicle name, device address device PIN
and connection status.
●Pair Phone:
See “Pairing Procedure” in this section.
●Priority Change
If multiple phones are registered to the sys-
tem, you can change the priority of the
phones on the shown list.
LHA0979 LHA0980
Monitor, climate, audio, phone and voice recognition systems 4-113
ZREVIEW COPY—
2008 Pathfinder (pat)
Owners Manual—USA_English (nna)
03/23/07—debbie
X

●Remove Paired Phone:
Delete a registered cellular phone from the
paired list.
●Paired Phone List:
Up to 5 registered cellular phones are
shown on the list.
●Edit Phone Name:
If you would like to change the way your
phone’s name is displayed, select this key; a
character input screen will be displayed.
The NISSAN Voice Recognition system allows
hands-free operation of the systems equipped on
this vehicle, such as the display, audio, climate
control, DVD, phone and navigation systems.
To operate NISSAN Voice Recognition, press
the button located on the steering wheel.
Then speak the command for the system you
wish to activate. The command given is picked up
by the microphone, and it is performed when it is
properly recognized. At this time NISSAN Voice
Recognition will provide a voice and message (in
the center display) to inform you of the command
results.
COMMAND LIST
Displaying command list
If you are controlling the system by voice com-
mands for the first time or do not know the
appropriate voice command, perform the follow-
ing procedure for displaying the voice command
list and help list.
1. Press the INFO button on the instrument
panel.
2. Touch the “Others” key, then touch the
“Voice Recognition” key.
3. Touch the “Command List” key.
4. Touch one of the category keys.
5. Touch one of the item keys in the category; a
command list will be shown.
6. If necessary, scroll the screen by touching
the “DOWN” key or the “UP” key to view the
entire list.
LHA0989 LHA0892
NISSAN VOICE RECOGNITION
SYSTEM (if so equipped)
4-114 Monitor, climate, audio, phone and voice recognition systems
ZREVIEW COPY—
2008 Pathfinder (pat)
Owners Manual—USA_English (nna)
03/23/07—debbie
X

7. Press the BACK button to return to the
previous screen.
For information on how to use the touch screen,
see “How to use the touch screen” earlier in this
section.
LHA0908 LHA0899 LHA0990
Monitor, climate, audio, phone and voice recognition systems 4-115
ZREVIEW COPY—
2008 Pathfinder (pat)
Owners Manual—USA_English (nna)
03/23/07—debbie
X

LHA0991 LHA0992
4-116 Monitor, climate, audio, phone and voice recognition systems
ZREVIEW COPY—
2008 Pathfinder (pat)
Owners Manual—USA_English (nna)
03/23/07—debbie
X

List of help commands
Navigation help:
See the separate Navigation System Owner’s
Manual for details.
Audio help:
●Music Box
COMMAND ACTION
Music Box Play Turns on the Music Box hard-disk drive audio system.
Play by Mood Plays the specified song matching your mood.
Relaxing Music Plays the specified relaxing music.
Lively Music Plays the specified lively music.
Slow Music Plays the specified slow music.
Upbeat Music Plays the specified upbeat music.
Play by Category Plays the specified song in the specified category.
My Favorites Plays your favorite song.
Hit Songs Plays the specified hit song.
Kids’ Songs Plays the specified song for children.
Rarely Played Plays a rarely played song.
Music Box OFF Turns off the Music Box.
Monitor, climate, audio, phone and voice recognition systems 4-117
ZREVIEW COPY—
2008 Pathfinder (pat)
Owners Manual—USA_English (nna)
03/23/07—debbie
X

●Radio
– Radio
COMMAND ACTION
Radio Play Turns the radio on, selecting the station and band last played.
Radio AM Turns to the AM band, selecting the station last played.
Radio FM Turns to the FM band, selecting the station last played.
Tune <87.7 - 107.9> Tunes to the specified FM frequency.
Tune <530 - 1710> Tunes to the specified AM frequency.
Preset <A - C> <1 - 6> Switches directly to the specified preset station in the specified preset bank.
Preset <A - C> Switches directly to the specified preset station in the specified preset bank.
Preset <1 - 6> Switches directly to the specified preset bank.
Radio OFF Turns the radio off.
Radio Menu Displays the radio menu.
– Satellite (if so equipped)
COMMAND ACTION
Satellite Radio Turns the SAT radio on, selecting the station and band last played.
Satellite Radio Channel <1 - 255> Tunes to the specified SAT frequency.
Preset <A - C> <1 - 6> Switches directly to the specified preset station in the specified preset bank.
Preset <A - C> Switches directly to the specified preset station in the specified preset bank.
Preset <1 - 6> Switches directly to the specified preset bank.
Radio OFF Turns the radio off.
Radio Menu Displays the radio menu.
4-118 Monitor, climate, audio, phone and voice recognition systems
ZREVIEW COPY—
2008 Pathfinder (pat)
Owners Manual—USA_English (nna)
03/23/07—debbie
X

●DVD (if so equipped)
NOTE:
DVD commands are available while a DVD is being played.
COMMAND ACTION
DVD Play Turns the DVD player on, selecting the track last played.
DVD Stop Stops playing the DVD.
Track <1 to 99> Switches to the specified DVD track.
Chapter <1 to 999> Switches to the specified DVD chapter.
Title <1 to 99> Switches to the specified DVD title.
Title <1 to 99> Chapter <1 to 999> Switches to the specified DVD title on the specified chapter.
Group <1 to 9> Switches to the specified DVD group.
Group <1 to 9> Play Track <1 to 99> Switches to the specified DVD group on the specified track.
Menu Skip DVD menus are automatically configured and the contents will be played directly.
Menu Skip OFF Turns off the menu skip.
DVD OFF Turns the DVD player off.
DVD Menu Switches to the specified DVD menu.
Monitor, climate, audio, phone and voice recognition systems 4-119
ZREVIEW COPY—
2008 Pathfinder (pat)
Owners Manual—USA_English (nna)
03/23/07—debbie
X

●CD
COMMAND ACTION
CD Play Starts to play a CD.
Track <1 - 512> Switches to the specified track.
Folder <1 - 255> Selects the specified MP3 folder and plays the first file.
Folder <1 - 255> Track <1 - 512> Switches to the specified track on the specified MP3 folder.
CD OFF Stops the CD playback.
CD Text Displays the information about the track currently being played.
CD Menu Displays the CD menu.
●Others
– Audio
COMMAND ACTION
Audio Play Turns the audio system on.
Audio OFF Turns the audio system off.
4-120 Monitor, climate, audio, phone and voice recognition systems
ZREVIEW COPY—
2008 Pathfinder (pat)
Owners Manual—USA_English (nna)
03/23/07—debbie
X

–CF
COMMAND ACTION
Compact Flash Play Starts to play the files saved in the CompactFlash™ card.
Track <1 - 512> Switches to the specified track.
Folder <1 - 255> Selects the specified folder in the CompactFlash™ card and plays the first file.
Folder <1 - 255> Track <1 - 512> Switches to the specified track in the specified folder in the CompactFlash™ card.
Compact Flash OFF Stops the playback of the CompactFlash™ card.
Compact Flash Text Displays the information about the file currently being played.
Compact Flash Menu Displays the CompactFlash™ menu.
Phone help:
COMMAND ACTION
Phone Redial Redials the phone number last dialed.
Phone Dial Dials the phone number given in the command.
Phone Dial <Phone number> Dials the phone number given in the command. Speak the phone number in one sequence. The number is automatically dialed.
Phonebook Shows the first page of the Phonebook list.
Phonebook< Voicetag> Dials the phone number registered in the specified “voicetag”.
Outgoing Calls Shows the outgoing call history (1 to 5).
Incoming Calls Shows the incoming call history (1 to 5).
Phone Select Selects another cellular phone registered in the system.
Play Phonebook Outputs the “Voicetags” registered in the system.
Monitor, climate, audio, phone and voice recognition systems 4-121
ZREVIEW COPY—
2008 Pathfinder (pat)
Owners Manual—USA_English (nna)
03/23/07—debbie
X

Climate control help:
COMMAND ACTION
Climate Control Turns the climate control system on and operates it in the AUTO mode.
Climate Control OFF Turns the climate control system off.
Temperature <60 - 90> or <18 - 32°C> Sets the climate control temperature to the value given in the command.
Driver Temperature <60 - 90> or <18 - 32°C> Sets the driver’s side temperature to the value given in the command.
Passenger Temperature <60 - 90> or <18 - 32°C> Sets the passenger’s side temperature to the value given in the command.
Others help:
●Vehicle
COMMAND ACTION
Fuel Economy Displays the Fuel Economy screen.
Trip Computer Displays the Trip Computer screen.
Maintenance Displays the Maintenance screen.
Tire Pressure Displays the Tire Pressure screen.
Status Displays the Status screen.
●Help
COMMAND ACTION
Help Displays the command list option screen.
4-122 Monitor, climate, audio, phone and voice recognition systems
ZREVIEW COPY—
2008 Pathfinder (pat)
Owners Manual—USA_English (nna)
03/23/07—debbie
X

Displaying the user guide
You can confirm how to use voice commands by
displaying a simplified User Guide or by display-
ing simulated voice command operations.
1. Press the INFO button on the instrument
panel.
2. Touch the “Others” key, then touch the
“Voice Recognition” key.
3. Touch the “User Guide” key.
Available items:
●Getting Started
Displays the simplified User Guide describ-
ing how to operate the voice recognition
system.
●Placing Calls
Simulates voice commands to make a phone
call by voice command operation.
●Help on Speaking
Displays useful tips for how to correctly
speak commands in order for them to be
properly recognized by the system.
●Voice Recognition Settings
Displays the description of voice recognition
settings.
●Adapting the System to Your Voice
Simulates an example of the operation to
adapt the system to your voice.
For the items “Using the Address Book” and
“Finding a Street Address”, refer to the separate
Navigation System Owner’s Manual for details.
For information on how to use the touch screen,
see “How to use the touch screen” earlier in this
section.
USING THE SYSTEM
Initialization
When the ignition switch is in the ON position,
NISSAN Voice Recognition is initialized, which
takes a few seconds. When completed, the sys-
tem is ready to accept voice commands. If
the button is pressed before the initializa-
tion completes, the display will show the mes-
sage: “Phonetic data downloaded. Please wait.”
LHA0993 LHA0994
Monitor, climate, audio, phone and voice recognition systems 4-123
ZREVIEW COPY—
2008 Pathfinder (pat)
Owners Manual—USA_English (nna)
03/23/07—debbie
X

Operating tips
To get the best performance out of NISSAN
Voice Recognition, observe the following:
●Keep the interior of the vehicle as quiet as
possible. Close the windows to eliminate the
surrounding noises (traffic noises, vibration
sounds, etc.), which may prevent the system
from recognizing the voice commands cor-
rectly.
●When the climate control is in the AUTO
mode, the fan speed decreases automati-
cally for easy recognition.
●Wait until a tone sounds before speaking a
command. Otherwise, the command will not
be received properly.
●Start speaking a command within 1.5 sec-
onds after the tone sounds.
●Speak in a natural voice without pausing
between words.
Giving voice commands
1. Press the button s
1.
2. The system announces: “Please say a com-
mand after a tone.”
3. After the tone sounds and the face icon of
the display changes, speak a command. For
additional information, see “List of help com-
mands” earlier in this section.
4. Voice and message feedback will be pro-
vided when the command is accepted.
●If the command is not recognized, the sys-
tem announces: “Please say again.” Repeat
the command in a clear voice.
LHA0995 LHA0996
4-124 Monitor, climate, audio, phone and voice recognition systems
ZREVIEW COPY—
2008 Pathfinder (pat)
Owners Manual—USA_English (nna)
03/23/07—debbie
X

●If you want to cancel the command, press
and hold the button for 2 seconds
during feedback. The system will announce:
“Voice cancelled.”
●If you want to adjust the volume of the voice
feedback, push the volume control
switch or the on the steering
wheel while being provided with the feed-
back.
Operating tips
●Voice commands cannot be accepted when
the face icon in the display is gray.
●If the command is not recognized, the sys-
tem announces, “Please say again”. Repeat
the command in a clear voice.
●Press the BACK button once to return to the
previous screen.
●If you want to cancel the command, press
and hold the TALK button for 1 sec-
ond. The message “Voice canceled” will be
announced.
●Press the TALK button again to pause
the operation. Press the TALK button
to restart the operation.
●If you want to adjust the volume of the sys-
tem feedback, push the volume control
switch or on the steering wheel
or use the audio system volume knob while
the system is making an announcement.
SYSTEM FEATURES
NISSAN Voice Recognition can activate the fol-
lowing systems:
●Navigation (if so equipped)
●Audio (radio and CD)
●DVD Mobile Entertainment System
●BluetoothTHands-Free Phone
●Climate Control
●Vehicle Systems
For additional information on the navigation sys-
tem, see the separate Navigation System Own-
er’s Manual.
How to say numbers
NISSAN Voice Recognition requires a certain
way to speak numbers in voice commands. Refer
to the following examples.
General rule: Either “zero”or “oh” can be used for
“0”.
Radio frequencies:
Speak radio frequencies according to the follow-
ing examples:
●930 kHz
– “Tune nine thirty AM”
– “Tune nine thirty”
●1000 kHz
– “Tune one thousand”
●1040 kHz
– “Tune ten forty”
●1710 kHz
– “Tune seventeen ten”
●97.9 MHz
– “Tune ninety seven point nine”
●100.5 MHz
– “Tune one hundred point five”
●101.1 MHz
– “Tune one oh one point one FM”
Monitor, climate, audio, phone and voice recognition systems 4-125
ZREVIEW COPY—
2008 Pathfinder (pat)
Owners Manual—USA_English (nna)
03/23/07—debbie
X

Temperatures (climate control):
Speak temperatures according to the following
examples:
●74°F
– “Temperature seventy four”
●21.5°C
– “Temperature twenty one point five”
– “Temperature twenty one and a half”
●19.0°C
– “Temperature nineteen point zero”
– “Temperature nineteen point oh.”
– “Temperature nineteen”
Phone numbers:
Speak phone numbers according to the following
examples:
●1-800-662-6200
●say “Dial” or “Phone dial” the system will
respond with “Please say the first group of
numbers”, then say:
– “one eight oh oh six six two six two oh oh”,
– “one eight hundred six six two six two oh
oh”, or
– “one eight zero zero six six two six two oh
oh”.
Note 1: For the best voice recognition phone
dialing results, say phone numbers as single dig-
its.
Note 2: You cannot say 555-6000 as “five five
five six thousand”.
Personal vocabulary (voicetags)
NISSAN Voice Recognition provides the function
called “voicetags”, which can be associated with
the phone and the navigation system (if so
equipped). Using your own voice, 40 voicetags
can be registered in the “Phonebook” (phone)
and 20 locations can be registered in the “Ad-
dress Book” (navigation system).
For additional information, see “BluetoothT
Hands-Free Phone System”earlier in this section
and/or the separate Navigation System Owner’s
Manual (if so equipped) for the method of “voic-
etag” registration.
VOICE COMMAND LEARNING
FUNCTION
The voice recognition system has a function to
learn the user’s voice for better voice recognition
performance. The system can memorize the
voices of up to three persons.
LHA0884
4-126 Monitor, climate, audio, phone and voice recognition systems
ZREVIEW COPY—
2008 Pathfinder (pat)
Owners Manual—USA_English (nna)
03/23/07—debbie
X

Having the system learn the user’s
voice
1. Press the SETTING button on the instru-
ment panel, touch the “Others” key on the
display.
2. Touch the “Voice Recognition” key.
3. Touch the “Voice Command Learning” key.
4. Touch one of the User number keys to have
your voice memorized by the system as that
user.
5. Touch a category to be learned by the sys-
tem from the following list:
●Audio
●Phone
●Vehicle Info.
●Others
The voice commands in the category are dis-
played.
LHA0909 LHA0910 LHA0997
Monitor, climate, audio, phone and voice recognition systems 4-127
ZREVIEW COPY—
2008 Pathfinder (pat)
Owners Manual—USA_English (nna)
03/23/07—debbie
X

6. Touch a voice command. The voice recogni-
tion system starts. 7. The system requests that you repeat a com-
mand after a tone.
8. After the tone sounds and the face icon on
the screen changes from to gray to orange,
speak the command that the system re-
quested.
9. When the system has recognized the voice
command, the voice of the user is learned.
Press the BACK button to return to the previous
screen. If the system has learned the command
correctly, the voice command indicator on the
screen turns on.
LHA0998 LHA1000 LHA0999
4-128 Monitor, climate, audio, phone and voice recognition systems
ZREVIEW COPY—
2008 Pathfinder (pat)
Owners Manual—USA_English (nna)
03/23/07—debbie
X

Learning function settings
While inside the Voice Command Learning
screen, touch the “Setting” key to enable the
following items:
●Edit Name:
Edit the user name using the keypad dis-
played on the screen.
●Store Result:
When this item is turned to ON, the voice
recognition system can easily recognize the
user’s voice that it has learned.
●Reset Result:
Resets the user’s voice that the voice recog-
nition system has learned.
●Continuous Learning:
When this item is turned to ON, you can
have the system learn the voice commands
in succession, without selecting commands
one by one.
VOICE RECOGNITION SETTINGS
Press the SETTING button, then touch the “Oth-
ers” key, then touch the “Voice Recognition” key;
the voice recognition settings screen will appear.
Command List:
For information, see “List of help commands”
earlier in this section.
Minimize Voice Feedback:
When this item is enabled (indicator is illumi-
nated), vocal feedback during voice recognition
is reduced when the system is activated.
LHA1001 LHA0884
Monitor, climate, audio, phone and voice recognition systems 4-129
ZREVIEW COPY—
2008 Pathfinder (pat)
Owners Manual—USA_English (nna)
03/23/07—debbie
X

Voice Command Learning:
For information, see “Voice command learning
function” earlier in this section.
User Guide:
For information, see “Displaying the user guide”
earlier in this section.
LHA0909 LHA0910
4-130 Monitor, climate, audio, phone and voice recognition systems
ZREVIEW COPY—
2008 Pathfinder (pat)
Owners Manual—USA_English (nna)
03/23/07—debbie
X

TROUBLESHOOTING GUIDE
The system should respond correctly to all voice
commands without difficulty. If problems are en-
countered, follow the solutions given in this guide
for the appropriate error.
Where the solutions are listed by number. Try
each solution in turn, starting with number one,
until the problem is resolved.
Symptom/error message Solution
Displays “COMMAND NOT RECOG-
NIZED” or the system fails to interpret the
command correctly.
1. Ensure that the command format is valid. See Command list in this section.
2. Speak clearly without pausing between words and at a level appropriate to the ambient noise level.
3. Ensure that the ambient noise level is not excessive, for example, windows open or defrost on.
NOTE:
If it is too noisy to use the phone, it is likely that voice commands will not be recognized.
4. If optional words of the command have been omitted, then the command should be tried with these in place.
The system consistently selects the wrong
voicetag.
1. Ensure that the voicetag requested matches what was originally stored. This can be confirmed by giving the Address Book Directory
or Phone Directory command.
2. Replace one of the voicetags being confused with a different voicetag.
Monitor, climate, audio, phone and voice recognition systems 4-131
ZREVIEW COPY—
2008 Pathfinder (pat)
Owners Manual—USA_English (nna)
03/23/07—debbie
X
4-132 Monitor, climate, audio, phone and voice recognition systems
MEMO

5 Starting and driving
Precautions when starting and driving................5-2
Exhaust gas (carbon monoxide) ..................5-2
Three-way catalyst..............................5-2
Tire Pressure Monitoring System (TPMS)..........5-3
On-pavement and off-road driving
precautions ....................................5-5
Avoiding collision and rollover....................5-5
Drinking alcohol/drugs and driving................5-6
Driving safety precautions .......................5-6
Ignition switch.....................................5-8
Intelligent Key System (if so equipped) ............5-8
Ignition switch positions.........................5-9
Automatic transmission.........................5-10
Key positions .................................5-10
Nissan vehicle immobilizer system ...............5-11
Before starting the engine .........................5-11
Starting the engine ...............................5-11
Driving the vehicle ................................5-12
Automatic transmission.........................5-12
Parking brake ....................................5-17
Cruise control....................................5-18
Precautions on cruise control ...................5-18
Cruise control operations.......................5-18
Break-in schedule ................................5-20
Increasing fuel economy...........................5-20
Using four wheel drive (4WD) .............5-21
Parking/parking on hills............................5-30
Power steering ...................................5-31
Brake system ....................................5-31
Brake precautions .............................5-31
Anti-lock Braking System (ABS).................5-32
Vehicle dynamic control (VDC) system ..............5-33
Hill descent control system (if so equipped) .........5-34
Hill start assist (HSA) system (if so equipped) .......5-35
Cold weather driving..............................5-36
Freeing a frozen door lock ......................5-36
Anti-freeze....................................5-36
Battery .......................................5-36
Draining of coolant water .......................5-36
Tire equipment ................................5-36
Special winter equipment.......................5-36
Driving on snow or ice .........................5-36
Engine block heater (if so equipped).............5-37
ZREVIEW COPY—
2008 Pathfinder (pat)
Owners Manual—USA_English (nna)
03/23/07—debbie
X

WARNING
●Do not leave children or adults who
would normally require the assistance
of others alone in your vehicle. Pets
should also not be left alone. They
could accidentally injure themselves or
others through inadvertent operation of
the vehicle. Also, on hot, sunny days,
temperatures in a closed vehicle could
quickly become high enough to cause
severe or possibly fatal injuries to
people or animals.
●Properly secure all cargo with ropes or
straps to help prevent it from sliding or
shifting. Do not place cargo higher than
the seatbacks. In a sudden stop or col-
lision, unsecured cargo could cause
personal injury.
EXHAUST GAS (carbon monoxide)
WARNING
●Do not breathe exhaust gases; they
contain colorless and odorless carbon
monoxide. Carbon monoxide is danger-
ous. It can cause unconsciousness or
death.
●If you suspect that exhaust fumes are
entering the vehicle, drive with all win-
dows fully open, and have the vehicle
inspected immediately.
●Do not run the engine in closed spaces
such as a garage.
●Do not park the vehicle with the engine
running for any extended length of time.
●Keep the lift gate and rear windows
closed while driving, otherwise exhaust
gases could be drawn into the passen-
ger compartment. If you must drive with
the lift gate or rear windows open, fol-
low these precautions:
1. Open all the windows.
2. Set the air recirculation but-
ton (if so equipped) to off and the fan
control dial to 4 (high) to circulate
the air.
●If electrical wiring or other cable con-
nections must pass to a trailer through
the seal on the lift gate or the body,
follow the manufacturer’s recommen-
dation to prevent carbon monoxide en-
try into the vehicle.
●The exhaust system and body should be
inspected by a qualified mechanic
whenever:
a. The vehicle is raised for service.
b. You suspect that exhaust fumes are
entering into the passenger
compartment.
c. You notice a change in the sound of
the exhaust system.
d. You have had an accident involving
damage to the exhaust system, un-
derbody, or rear of the vehicle.
THREE-WAY CATALYST
The three-way catalyst is an emission control
device installed in the exhaust system. Exhaust
gases in the three-way catalyst are burned at
high temperatures to help reduce pollutants.
WARNING
●The exhaust gas and the exhaust sys-
tem are very hot. Keep people, animals
or flammable materials away from the
exhaust system components.
PRECAUTIONS WHEN STARTING
AND DRIVING
5-2 Starting and driving
ZREVIEW COPY—
2008 Pathfinder (pat)
Owners Manual—USA_English (nna)
03/23/07—debbie
X

●Do not stop or park the vehicle over
flammable materials such as dry grass,
waste paper or rags. They may ignite
and cause a fire.
CAUTION
●Do not use leaded gasoline. Deposits
from leaded gasoline will seriously re-
duce the three-way catalyst’s ability to
help reduce exhaust pollutants.
●Keep your engine tuned up. Malfunc-
tions in the ignition, fuel injection, or
electrical systems can cause overrich
fuel flow into the three-way catalyst,
causing it to overheat. Do not keep driv-
ing if the engine misfires, or if notice-
able loss of performance or other un-
usual operating conditions are
detected. Have the vehicle inspected
promptly by a NISSAN dealer.
●Avoid driving with an extremely low fuel
level. Running out of fuel could cause
the engine to misfire, damaging the
three-way catalyst.
●Do not race the engine while warming it
up.
●Do not push or tow your vehicle to start
the engine.
TIRE PRESSURE MONITORING
SYSTEM (TPMS)
Each tire, including the spare (if provided),
should be checked monthly when cold and in-
flated to the inflation pressure recommended by
the vehicle manufacturer on the vehicle placard
or tire inflation pressure label. (If your vehicle has
tires of a different size than the size indicated on
the vehicle placard or tire inflation pressure label,
you should determine the proper tire inflation
pressure for those tires.)
As an added safety feature, your vehicle has been
equipped with a Tire Pressure Monitoring System
(TPMS) that illuminates a low tire pressure telltale
when one or more of your tires is significantly
under-inflated. Accordingly, when the low tire
pressure telltale illuminates, you should stop and
check your tires as soon as possible, and inflate
them to the proper pressure. Driving on a signifi-
cantly under-inflated tire causes the tire to over-
heat and can lead to tire failure. Under-inflation
also reduces fuel efficiency and tire tread life, and
may affect the vehicle’s handling and stopping
ability.
Please note that the TPMS is not a substitute for
proper tire maintenance, and it is the driver’s
responsibility to maintain correct tire pressure,
even if under-inflation has not reached the level to
trigger illumination of the TPMS low tire pressure
telltale.
Your vehicle has also been equipped with a
TPMS malfunction indicator to indicate when the
system is not operating properly. The TPMS mal-
function indicator is combined with the low tire
pressure telltale. When the system detects a
malfunction, the telltale will flash for approxi-
mately one minute and then remain continuously
illuminated. This sequence will continue upon
subsequent vehicle start-ups as long as the mal-
function exists. When the malfunction indicator is
illuminated, the system may not be able to detect
or signal low tire pressure as intended. TPMS
malfunctions may occur for a variety of reasons,
including the installation of replacement or alter-
nate tires or wheels on the vehicle that prevent
the TPMS from functioning properly. Always
check the TPMS malfunction telltale after replac-
ing one or more tires or wheels on your vehicle to
ensure that the replacement or alternate tires and
wheels allow the TPMS to continue to function
properly.
Additional information:
●The TPMS does not monitor the tire pres-
sure of the spare tire.
Starting and driving 5-3
ZREVIEW COPY—
2008 Pathfinder (pat)
Owners Manual—USA_English (nna)
03/23/07—debbie
X

●The TPMS will activate only when the vehicle
is driven at speeds above 16 MPH (25
km/h). Also, this system may not detect a
sudden drop in tire pressure (for example a
flat tire while driving).
●The low tire pressure warning light does not
automatically turn off when the tire pressure
is adjusted. After the tire is inflated to the
recommended pressure, the vehicle must be
driven at speeds above 16 MPH (25 km/h)
to activate the TPMS and turn off the low tire
pressure warning light. Use a tire pressure
gauge to check the tire pressure.
●Tire pressure rises and falls depending on
the heat caused by the vehicle’s operation
and the outside temperature. Low outside
temperature can lower the temperature of
the air inside the tire which can cause a
lower tire inflation pressure. This may cause
the low tire pressure warning light to illumi-
nate. If the warning light illuminates in low
ambient temperature, check the tire pres-
sure for all four tires.
●You can also check the pressure of all tires
(except the spare tire) on the display screen.
The order of the tire pressure figures dis-
played on the screen does not correspond
with the actual order of the tire position. See
“Tire pressure information” in the “Display
screen, heater, air conditioner and audio
systems” section.
For additional information, see “Low tire pressure
warning light” in the “Instruments and controls”
section, “Tire Pressure Monitoring System
(TPMS)” in the “In case of emergency” section.
WARNING
●If the low tire pressure warning light
illuminates while driving, avoid sudden
steering maneuvers or abrupt braking,
reduce vehicle speed, pull off the road
to a safe location and stop the vehicle
as soon as possible. Driving with under-
inflated tires may permanently damage
the tires and increase the likelihood of
tire failure. Serious vehicle damage
could occur and may lead to an acci-
dent and could result in serious per-
sonal injury. Check the tire pressure for
all four tires. Adjust the tire pressure to
the recommended COLD tire pressure
shown on the Tire and Loading Informa-
tion label to turn the low tire pressure
warning light OFF. If you have a flat tire,
replace it with a spare tire as soon as
possible. (See “Flat tire” in the “In case
of emergency” section for changing a
flat tire.)
●When a spare tire is mounted or a wheel
is replaced, tire pressure will not be
indicated, the TPMS will not function
and the low tire pressure warning light
will flash for approximately 1 minute.
The light will remain on after 1 minute.
Contact your NISSAN dealer as soon as
possible for tire replacement and/or
system resetting.
●Replacing tires with those not originally
specified by NISSAN could affect the
proper operation of the TPMS.
●Do not inject any tire liquid or aerosol
tire sealant into the tires, as this may
cause a malfunction of the tire pressure
sensors.
CAUTION
Do not place metalized film or any metal
parts (antenna, etc.) on the windows. This
may cause poor reception of the signals
from the tire pressure sensors, and the
TPMS will not function properly.
Some devices and transmitters may temporarily
interfere with the operation of the TPMS and
cause the low tire pressure warning light to illu-
minate.
5-4 Starting and driving
ZREVIEW COPY—
2008 Pathfinder (pat)
Owners Manual—USA_English (nna)
03/23/07—debbie
X

Some examples are:
– Facilities or electric devices using similar radio
frequencies are near the vehicle.
– If a transmitter set to similar frequencies is
being used in or near the vehicle.
– If a computer (or similar equipment) or a
DC/AC converter is being used in or near the
vehicle.
FCC Notice:
Changes or modifications not expressly ap-
proved by the party responsible for compli-
ance could void the user’s authority to op-
erate the equipment.
This device complies with Part 15 of the
FCC Rules and RSS-210 of Industry
Canada.
Operation is subject to the following two
conditions: (1) This device may not cause
harmful interference, and (2) this device
must accept any interference received, in-
cluding interference that may cause undes-
ired operation of the device.
ON-PAVEMENT AND OFF-ROAD
DRIVING PRECAUTIONS
Utility vehicles have a significantly higher
rollover rate than other types of vehicles.
They have higher ground clearance than passen-
ger cars to make them capable of performing in a
variety of on-pavement and off-road applications.
This gives them a higher center of gravity than
ordinary cars. An advantage of higher ground
clearance is a better view of the road, allowing
you to anticipate problems. However, they are not
designed for cornering at the same speeds as
conventional two-wheel drive vehicles any more
than low-slung sports cars are designed to per-
form satisfactorily under off-road conditions. If at
all possible, avoid sharp turns at high speeds. As
with other vehicles of this type, failure to operate
this vehicle correctly may result in loss of control
or vehicle rollover. In a rollover crash, an unbelted
person is significantly more likely to die than a
person wearing a seat belt.
Be sure to read the driving safety precautions
later in this section.
AVOIDING COLLISION AND
ROLLOVER
WARNING
Failure to operate this vehicle in a safe
and prudent manner may result in loss of
control or an accident.
Be alert and drive defensively at all times. Obey
all traffic regulations. Avoid excessive speed,
high speed cornering, or sudden steering ma-
neuvers, because these driving practices could
cause you to lose control of your vehicle. As with
any vehicle, loss of control could result in a
collision with other vehicles or objects, or
cause the vehicle to roll over, particularly if
the loss of control causes the vehicle to
slide sideways. Be attentive at all times, and
avoid driving when tired. Never drive when under
the influence of alcohol or drugs (including pre-
scription or over-the-counter drugs which may
cause drowsiness). Always wear your seat belt
as outlined in the “Safety – Seats, seat belts and
supplemental restraint system” section of this
manual, and also instruct your passengers to do
so.
Seat belts help reduce the risk of injury in colli-
sions and rollovers. In a rollover crash, an
unbelted or improperly belted person is
Starting and driving 5-5
ZREVIEW COPY—
2008 Pathfinder (pat)
Owners Manual—USA_English (nna)
03/23/07—debbie
X

significantly more likely to be injured or
killed than a person properly wearing a
seat belt.
DRINKING ALCOHOL/DRUGS AND
DRIVING
WARNING
Never drive under the influence of alcohol
or drugs. Alcohol in the bloodstream re-
duces coordination, delays reaction time
and impairs judgement. Driving after
drinking alcohol increases the likelihood
of being involved in an accident injuring
yourself and others. Additionally, if you
are injured in an accident, alcohol can
increase the severity of the injury.
NISSAN is committed to safe driving. However,
you must choose not to drive under the influence
of alcohol. Every year thousands of people are
injured or killed in alcohol-related accidents. Al-
though the local laws vary on what is considered
to be legally intoxicated, the fact is that alcohol
affects all people differently and most people
underestimate the effects of alcohol.
Remember, drinking and driving don’t mix! And
that is true for drugs, too (over-the-counter, pre-
scription, and illegal drugs). Don’t drive if your
ability to operate your vehicle is impaired by alco-
hol, drugs, or some other physical condition.
DRIVING SAFETY PRECAUTIONS
Your NISSAN is designed for both normal and
off-road use. However, avoid driving in deep wa-
ter or mud as your NISSAN is mainly designed for
leisure use, unlike a conventional off-road ve-
hicle.
Remember that two-wheel drive models are less
capable than four-wheel drive models for rough
road driving and extrication when stuck in deep
snow or mud, or the like.
Please observe the following precautions:
WARNING
●Drive carefully when off the road and
avoid dangerous areas. Every person
who drives or rides in this vehicle
should be seated with their seat belt
fastened. This will keep you and your
passengers in position when driving
over rough terrain.
●Do not drive across steep slopes. In-
stead drive either straight up or straight
down the slopes. Off-road vehicles can
tip over sideways much more easily
than they can forward or backward.
●Many hills are too steep for any vehicle.
If you drive up them, you may stall. If
you drive down them, you may not be
able to control your speed. If you drive
across them, you may roll over.
●Do not shift gears while driving on
downhill grades as this could cause
loss of control of the vehicle.
●Stay alert when driving to the top of a
hill. At the top there could be a drop-off
or other hazard that could cause an
accident.
●If your engine stalls or you cannot make
it to the top of a steep hill, never at-
tempt to turn around. Your vehicle
could tip or roll over. Always back
straight down in R (Reverse) gear. Never
back down in N (Neutral) or with the
clutch depressed (manual transmission
vehicles), using only the brake, as this
could cause loss of control.
●Heavy braking going down a hill could
cause your brakes to overheat and fade,
resulting in loss of control and an acci-
dent. Apply brakes lightly and use a low
gear to control your speed. Use the Hill
Descent Control feature (if so
equipped).
5-6 Starting and driving
ZREVIEW COPY—
2008 Pathfinder (pat)
Owners Manual—USA_English (nna)
03/23/07—debbie
X

●Unsecured cargo can be thrown around
when driving over rough terrain. Prop-
erly secure all cargo so it will not be
thrown forward and cause injury to you
or your passengers.
●To avoid raising the center of gravity
excessively, do not exceed the rated
capacity of the roof rack/gear bin (if so
equipped) and evenly distribute the
load. Secure heavy loads in the cargo
area as far forward and as low as pos-
sible. Do not equip the vehicle with tires
larger than specified in this manual.
This could cause your vehicle to roll
over.
●Do not grip the inside or spokes of the
steering wheel when driving off-road.
The steering wheel could move sud-
denly and injure your hands. Instead
drive with your fingers and thumbs on
the outside of the rim.
●Before operating the vehicle, ensure
that the driver and all passengers have
their seat belts fastened.
●Always drive with the floor mats in
place as the floor may become hot.
●Lower your speed when encountering
strong crosswinds. With a higher center
of gravity, your NISSAN is more af-
fected by strong side winds. Slower
speeds ensure better vehicle control.
●Do not drive beyond the performance
capability of the tires, even with 4WD
engaged.
●For 4WD equipped vehicles, do not at-
tempt to raise two wheels off the
ground and shift the transmission to
any drive or reverse position with the
engine running. Doing so may result in
drivetrain damage or unexpected ve-
hicle movement which could result in
serious vehicle damage or personal
injury.
●Do not attempt to test a 4WD equipped
vehicle on a 2-wheel dynamometer
(such as the dynamometers used by
some states for emissions testing), or
similar equipment even if the other two
wheels are raised off the ground. Make
sure you inform test facility personnel
that your vehicle is equipped with 4WD
before it is placed on a dynamometer.
Using the wrong test equipment may
result in drivetrain damage or unex-
pected vehicle movement which could
result in serious vehicle damage or per-
sonal injury.
●Accelerating quickly, sharp steering
maneuvers or sudden braking may
cause loss of control.
●If at all possible, avoid sharp turning
maneuvers, particularly at high speeds.
Your NISSAN four-wheel drive vehicle
has a higher center of gravity than a
two-wheel drive vehicle. The vehicle is
not designed for cornering at the same
speeds as conventional two-wheel
drive vehicles. Failure to operate this
vehicle correctly could result in loss of
control and/or a rollover accident.
Starting and driving 5-7
ZREVIEW COPY—
2008 Pathfinder (pat)
Owners Manual—USA_English (nna)
03/23/07—debbie
X

●Always use tires of the same type, size,
brand, construction (bias, bias-belted,
or radial), and tread pattern on all four
wheels. Install tire chains on the rear
wheels when driving on slippery roads
and drive carefully.
●Be sure to check the brakes immedi-
ately after driving in mud or water. See
“Brake system” later in this section for
“Wet brakes”.
●Avoid parking your vehicle on steep
hills. If you get out of the vehicle and it
rolls forward, backward or sideways,
you could be injured.
●Whenever you drive off-road through
sand, mud or water as deep as the
wheel hub, more frequent maintenance
may be required. See “Periodic mainte-
nance” in the “NISSAN Service and
Maintenance Guide.”
WARNING
●Never remove or turn the key to the
LOCK position while driving. The steer-
ing wheel will lock. This may cause the
driver to lose control of the vehicle and
could result in serious vehicle damage
or personal injury.
●Never turn the ignition switch to the
LOCK position while driving. The steer-
ing wheel will lock. This may cause the
driver to lose control of the vehicle and
could result in serious vehicle damage
or personal injury.
INTELLIGENT KEY SYSTEM (if so
equipped)
The ignition lock is designed so that the ignition
switch cannot be turned to LOCK until the selec-
tor lever is moved to the P (Park) position.
When turning the ignition switch, make sure the
selector lever is in the P (Park) position.
If the selector lever is not returned to the P (Park)
position, the ignition switch cannot be moved
toward LOCK.
When the ignition switch cannot be turned to-
ward the LOCK position while keeping the Intel-
ligent Key within range, proceed as follows:
LSD0171
IGNITION SWITCH
5-8 Starting and driving
ZREVIEW COPY—
2008 Pathfinder (pat)
Owners Manual—USA_English (nna)
03/23/07—debbie
X

1. Move the selector lever into the P (Park)
position.
2. Turn the ignition switch slightly in the ON
direction.
3. Turn the key toward the LOCK position.
The selector lever can be moved from the P
(Park) position if the ignition switch is in
the ON position and the foot brake pedal is
depressed.
There is an OFF position in between LOCK and
ACC, although it does not show on the lock
cylinder. When the ignition is in OFF the steering
wheel is not locked.
In order for the steering wheel to be locked, it
must be turned about 1/6 of a turn counterclock-
wise from the straight up position.
To lock the steering wheel, turn the ignition
switch to the LOCK position. To unlock the
steering wheel, push the ignition switch in
and turn it gently while rotating the steer-
ing wheel slightly right and left.
If the battery of the vehicle equipped with
the Intelligent Key system is discharged,
the ignition switch cannot be turned from
the LOCK position, even using the me-
chanical key.
IGNITION SWITCH POSITIONS
Push in the ignition switch to the s
Bposition
when you turn it.
LOCK (Normal parking position) s
A:
The ignition switch can only be locked in the
LOCK position.
The ignition switch will be unlocked when it is
pushed in, and turned to the ACC position s
C
while carrying the Intelligent Key.
ACC (Accessories) s
C:
This position activates electrical accessories
such as the radio, when the engine is not running.
ON (Normal operating position) s
D:
This position turns on the ignition system and the
electrical accessories.
START s
E:
This position starts the engine. As soon as the
engine has started, release the knob immediately.
It will automatically return to the ON position.
The ignition switch cannot be turned back to the
LOCK position unless the selector lever is in the
P (Park) position. (It can be turned only to the s
B
position.)
CAUTION
Do not leave the vehicle with the ignition
switch in ACC or ON positions when the
engine is not running for an extended pe-
riod. This can discharge the battery.
Starting and driving 5-9
ZREVIEW COPY—
2008 Pathfinder (pat)
Owners Manual—USA_English (nna)
03/23/07—debbie
X

AUTOMATIC TRANSMISSION
The ignition lock is designed so the key cannot be
turned to the LOCK position and removed until
the shift selector lever is moved to the P (Park)
position.
When removing the key from the ignition, make
sure the shift selector lever is in the P (Park)
position.
If the selector lever is not returned to P (Park)
position, the key cannot be moved to the LOCK
position.
To remove the key from the ignition switch:
1. Shift the selector lever to the P (Park) posi-
tion with the key in the ON position.
2. Turn the key to the LOCK position.
3. Remove the key from the ignition.
If the selector lever is shifted to the P (Park)
position after the key is turned to the OFF posi-
tion or when the key cannot be turned to the
LOCK position, proceed as follows to remove the
key.
1. Move the shift selector lever into the P (Park)
position.
2. Turn the ignition key slightly toward the ON
position.
3. Turn the key to the LOCK position.
4. Remove the key.
The shift selector lever is designed so it cannot
moved out of P (Park) and into any of the other
gear positions if the ignition key is turned to OFF
position or if the key is removed from the switch.
The shift selector lever can be moved if the
ignition switch is in the ON position and the
foot brake pedal is depressed.
There is an OFF position between the
LOCK and ACC positions. The OFF position
is indicated by a “1” on the key cylinder.
When the ignition is in the OFF position,
the steering wheel is not locked.
In order for the steering wheel to be locked, it
must be turned about 1/8 of a turn clockwise
from the straight up position.
To lock the steering wheel, turn the key to
the LOCK position. Remove the key. To
unlock the steering wheel, insert the key
and turn it gently while rotating the steer-
ing wheel slightly right and left.
If the key will not turn from the LOCK posi-
tion, turn the steering wheel to the left or
right while turning the key to unlock the
key cylinder.
KEY POSITIONS
LOCK: Normal parking position (0)
OFF: (Not used) (1)
ACC: (Accessories) (2)
This position activates electrical accessories
such as the radio when the engine is not running.
ON: Normal operating position (3)
This position turns on the ignition system and the
electrical accessories.
WSD0041
5-10 Starting and driving
ZREVIEW COPY—
2008 Pathfinder (pat)
Owners Manual—USA_English (nna)
03/23/07—debbie
X
START: (4)
This position starts the engine. As soon as the
engine has started, release the key. It automati-
cally returns to the ON position.
NISSAN VEHICLE IMMOBILIZER
SYSTEM
The NISSAN Vehicle Immobilizer System will not
allow the engine to start without the use of the
registered key.
If the engine fails to start using a registered key (for
example, when interference is caused by another
registered key, an automated toll road device or
automatic payment device on the key ring), restart
the engine using the following procedures:
1. Leave the ignition switch in the ON position
for approximately 5 seconds.
2. Turn the ignition switch to the OFF or LOCK
position, and wait approximately 10 sec-
onds.
3. Repeat steps 1 and 2.
4. Restart the engine while holding the device
(which may have caused the interference)
separate from the registered key.
If the no start condition re-occurs, NISSAN recom-
mends placing the registered key on a separate key
ring to avoid interference from other devices.
●Make sure the area around the vehicle is
clear.
●Check fluid levels such as engine oil, cool-
ant, brake fluid, and window washer fluid as
frequently as possible, or at least whenever
you refuel.
●Check that all windows and lights are clean.
●Visually inspect tires for their appearance
and condition. Also check tires for proper
inflation.
●Lock all doors.
●Position seat and adjust head restraints.
●Adjust inside and outside mirrors.
●Fasten seat belts and ask all passengers to
do likewise.
●Check the operation of warning lights when
the key is turned to the ON (3) position. See
“Warning/indicator lights and audible re-
minders” in the “Instruments and controls”
section of this manual.
1. Apply the parking brake.
2. Move the shift selector lever to P (Park) or N
(Neutral). P (Park) is recommended.
The shift selector lever cannot be
moved out of P (Park) and into any of
the other gear positions if the ignition
key is turned to the OFF position or if
the key is removed from the ignition
switch.
The starter is designed not to operate if
the shift selector lever is in any of the
driving positions.
3. Crank the engine with your foot off the
accelerator pedal by turning the ignition
key to START. Release the key when the
engine starts. If the engine starts, but fails to
run, repeat the above procedure.
●If the engine is very hard to start in ex-
tremely cold weather or when restarting,
depress the accelerator pedal a little (ap-
proximately 1/3 to the floor) and hold it
and then crank the engine. Release the
key and the accelerator pedal when the
engine starts.
BEFORE STARTING THE ENGINE STARTING THE ENGINE
Starting and driving 5-11
ZREVIEW COPY—
2008 Pathfinder (pat)
Owners Manual—USA_English (nna)
03/23/07—debbie
X

●If the engine is very hard to start because
it is flooded, depress the accelerator
pedal all the way to the floor and hold it.
Crank the engine for 5-6 seconds. After
cranking the engine, release the accel-
erator pedal. Crank the engine with your
foot off the accelerator pedal by turn-
ing the ignition key to START. Release the
key when the engine starts. If the engine
starts, but fails to run, repeat the above
procedure.
CAUTION
Do not operate the starter for more than
15 seconds at a time. If the engine does
not start, turn the key off and wait 10
seconds before cranking again, otherwise
the starter could be damaged.
4. Allow the engine to idle for at least 30 sec-
onds after starting. Do not race the engine
while warming it up. Drive at moderate
speed for a short distance first, especially in
cold weather.
In cold weather, keep the engine running for
a minimum of 2–3 minutes before shutting it
off. Starting and stopping the engine over a
short period of time may make the vehicle
more difficult to start.
AUTOMATIC TRANSMISSION
WARNING
●Do not depress the accelerator pedal
while shifting from P (Park) or N (Neu-
tral) to R (Reverse), D (Drive), 3, 2 or 1.
Always depress the brake pedal until
shifting is completed. Failure to do so
could cause you to lose control and
have an accident.
●Cold engine idle speed is high, so use
caution when shifting into a forward or
reverse gear before the engine has
warmed up.
●Never shift to P (Park) or R (Reverse)
while the vehicle is moving. This could
cause an accident.
CAUTION
●When stopping the vehicle on an uphill
grade, do not hold the vehicle by de-
pressing the accelerator pedal. The foot
brake should be used for this purpose.
●Do not downshift abruptly on slippery
roads. This may cause a loss of control.
The automatic transmission in your vehicle is
electronically controlled to produce maximum
power and smooth operation.
The recommended operating procedures for this
transmission are shown on the following pages.
Follow these procedures for maximum vehicle
performance and driving enjoyment.
Starting the vehicle
1. After starting the engine, fully depress the
foot brake pedal before moving the shift
selector lever out of the P (Park) position.
2. Keep the foot brake pedal depressed and
move the shift selector lever into a driving
gear.
3. Release the foot brake, then gradually start
the vehicle in motion.
The automatic transmission is designed so
the foot brake pedal MUST be depressed
before shifting from P (Park) to any drive
position while the ignition switch is in the
ON position.
The shift selector lever cannot be moved
out of P (Park) and into any of the other
gear positions if the ignition key is turned
to the LOCK, OFF or ACC position or if the
key is removed.
DRIVING THE VEHICLE
5-12 Starting and driving
ZREVIEW COPY—
2008 Pathfinder (pat)
Owners Manual—USA_English (nna)
03/23/07—debbie
X

To move the selector lever:
: Push the button while depressing the
brake pedal
: Push the button to shift
: Shift without depressing brake pedal or
pushing the button
Shifting
After starting the engine, fully depress the brake
pedal and move the shift selector lever out of the
P (Park) position while pressing the button.
WARNING
Apply the parking brake if the selector
lever is in any position while the engine is
not running. Failure to do so could cause
the vehicle to move unexpectedly or roll
away and result in serious personal injury
or property damage.
If the switch is turned to the OFF or ACC position
for any reason while the vehicle is in N (Neutral),
or any D (Drive) position, the switch cannot be
turned to the LOCK position and the key (if so
equipped) cannot be removed from the ignition
switch. Move the selector lever to the P (Park)
position, then the switch can be turned to LOCK.
P (Park):
Use this selector position when the vehicle is
parked or when starting the engine. Make sure
the vehicle is completely stopped. The brake
pedal should be depressed to move the
selector lever from N (Neutral) or any drive
position to P (Park). Apply the parking brake.
When parking on a hill, apply the parking brake
first, then shift the selector lever into the P (Park)
position.
Type A
LSD0151
Type B
WSD0213
Starting and driving 5-13
ZREVIEW COPY—
2008 Pathfinder (pat)
Owners Manual—USA_English (nna)
03/23/07—debbie
X

R (Reverse):
CAUTION
Use this position only when the vehicle is
completely stopped.
Use this position to back up. Make sure the
vehicle is completely stopped before selecting
the R (Reverse) position. The brake pedal
must be depressed to move the selector
lever from P (Park), N (Neutral) or any drive
position to R (Reverse).
N (Neutral):
Neither forward nor reverse gear is engaged. The
engine can be started in this position. You may
shift to N (Neutral) and restart a stalled engine
while the vehicle is moving.
D (Drive):
Use this position for all normal forward driving.
3 (Third gear) Type A only:
Use this position for driving up and down long
slopes where engine braking would be advanta-
geous.
Do not downshift into the 3 position at speeds
over the following and do not exceed the follow-
ing speeds in the 3 position.
2WD and AUTO:
62 MPH (100 km/h)
4H:
62 MPH (100 km/h)
4LO:
31 MPH (50 km/h)
2 (Second gear) Type A only:
Use this position for hill climbing or engine brak-
ing on downhill grades.
Do not downshift into the 2 position at speeds
over the following and do not exceed the follow-
ing speeds in the 2 position.
2WD and AUTO:
71 MPH (115 km/h)
4H:
62 MPH (100 km/h)
4LO:
31 MPH (50 km/h)
1 (Low gear) Type A only:
Use this position when climbing steep hills slowly
or slow driving through deep snow, sand or mud,
or for maximum engine braking on steep downhill
grades.
Do not downshift into the 1 position at speeds
over the following and do not exceed the follow-
ing speeds in the 1 position.
2WD and AUTO:
43 MPH (70 km/h)
4H:
43 MPH (70 km/h)
4LO:
31 MPH (50 km/h)
5-14 Starting and driving
ZREVIEW COPY—
2008 Pathfinder (pat)
Owners Manual—USA_English (nna)
03/23/07—debbie
X

Manual shift mode (if so equipped)
When the selector lever is shifted from D (Drive)
to the manual shift gate with the vehicle stopped
or while driving, the transmission enters the
manual shift mode. Shift ranges can be selected
manually.
In the manual shift mode, the shift range is dis-
played on the position indicator in the meter.
When shifting the shift lever to the manual shift
gate, the position indicator displays 1 (First) up to
5 (Fifth) depending on vehicle speed.
Shift ranges up or down one by one as follows:
1⇔2⇔3⇔4⇔5
M5 (Fifth):
Use this position for all normal forward driving.
M4 (Fourth):
For driving up or down long slopes where engine
braking would be advantageous.
M3 (Third) and M2 (Second):
Use for hill climbing or engine braking on downhill
grades.
M1 (First):
Use this position when climbing steep hills slowly
or driving slowly through deep snow, sand or
mud, or for maximum engine braking on steep
downhill grades.
●Remember not to drive at high speeds for
extended periods of time in lower than M4
range. This reduces fuel economy.
When shifting up:
Move the selector lever to the + (up) side. (Shifts
to higher range.)
When shifting down:
Move the selector lever to the 2(down) side.
(Shifts to lower range.)
●The transmission will automatically down-
shift the gears. (For example, if you select the
3rd range, the transmission will shift down
between the 3rd and 1st gears.)
●Moving the selector lever rapidly to the same
side twice will shift the ranges in succession.
When canceling the manual shift mode:
Return the selector lever to the D (Drive) position
to return the transmission to the normal driving
mode.
●In the manual shift mode, the transmis-
sion may not shift to the selected gear.
This helps maintain driving perfor-
mance and reduces the chance of ve-
hicle damage or loss of control.
●In the manual shift mode, the transmis-
sion may shift up automatically to a
higher range than selected if the en-
gine speed is too high. When the ve-
hicle speed decreases, the transmis-
sion automatically shifts down and
shifts to 1st gear before the vehicle
comes to a stop.
WSD0212
Starting and driving 5-15
ZREVIEW COPY—
2008 Pathfinder (pat)
Owners Manual—USA_English (nna)
03/23/07—debbie
X

Shift lock release
If the battery is discharged, the shift selector lever
may not be moved from the P (Park) position even
with the brake pedal depressed.
To move the shift selector lever, release the shift
lock. The shift selector lever can be moved to N
(Neutral). However, the steering wheel will be
locked unless the ignition switch is turned to the
ON position. This allows the vehicle to be moved
if the battery is discharged.
To push the shift lock release, complete the fol-
lowing procedure:
1. Turn the ignition switch to the LOCK posi-
tion and remove the key (if so equipped)
2. Apply the parking brake.
3. Remove the shift lock release cover as
shown.
4. Insert a small screwdriver in the shift lock
release slot and push down.
5. Press the shift lever button and move the
shift selector lever to the N (Neutral) position
while holding down the shift lock release.
6. Turn the ignition switch to the ON position to
unlock the steering wheel. Now the vehicle
may be moved to the desired location.
If the shift selector lever cannot be moved out of
P (Park), have a NISSAN dealer check the auto-
matic transmission system as soon as possible.
WARNING
If the selector lever cannot be moved from
the P (Park) position while the engine is
running and the brake pedal is depressed,
the stop lights may not work. Malfunction-
ing stop lights could cause an accident
injuring yourself and others.
Accelerator downshift
— in D position —
For passing or hill climbing, depress the accel-
erator pedal to the floor. This shifts the transmis-
sion down into a lower gear, depending on the
vehicle speed.
Type A
LSD0141
Type B
WSD0214
5-16 Starting and driving
ZREVIEW COPY—
2008 Pathfinder (pat)
Owners Manual—USA_English (nna)
03/23/07—debbie
X

Overdrive switch (if so equipped)
Each time your vehicle is started, the transmis-
sion is automatically “reset” to overdrive ON.
ON: With the engine running and the
shift selector lever in the D (Drive)
position, the transmission upshifts
into Overdrive as vehicle speed
increases.
Overdrive does not engage until the engine
has reached operating temperature.
OFF: For driving up and down long
slopes where engine braking is nec-
essary push the Overdrive switch
once. The O/D OFF indicator light
in the instrument panel comes on at
this time.
When cruising at a low speed or climbing a
gentle slope, you may feel uncomfortable shift
shocks as the transmission shifts into and out of
Overdrive repeatedly. In this case, depress the
Overdrive switch to turn the Overdrive off. The
O/D OFF indicator light in the instrument panel
comes on at this time.
When driving conditions change, depress the
Overdrive switch to turn the Overdrive on.
Remember not to drive at high speeds for ex-
tended periods of time with the Overdrive off.
This reduces fuel economy.
WARNING
●Be sure the parking brake is fully re-
leased before driving. Failure to do so
can cause brake failure and lead to an
accident.
●Do not release the parking brake from
outside the vehicle.
●Do not use the gear shift in place of the
parking brake. When parking, be sure
the parking brake is fully engaged.
●Do not leave children unattended in a
vehicle. They could release the parking
brake and cause an accident.
LSD0142
PARKING BRAKE
Starting and driving 5-17
ZREVIEW COPY—
2008 Pathfinder (pat)
Owners Manual—USA_English (nna)
03/23/07—debbie
X

To engage: Firmly depress the parking brake.
To release:
1. Firmly apply the foot brake.
2. Move the shift selector lever to the P (Park)
position.
3. Firmly depress the parking brake pedal and it
will release.
4. Before driving, be sure the brake warning
light goes out.
1. ACCEL/RES switch
2. COAST/SET switch
3. CANCEL switch
4. ON·OFF switch
PRECAUTIONS ON CRUISE
CONTROL
●If the cruise control system malfunctions, it
cancels automatically. The SET indicator
light in the instrument panel then blinks to
warn the driver.
●If the SET indicator light blinks, turn the
cruise control switch off and have the sys-
tem checked by a NISSAN dealer.
●The SET indicator light may blink when the
cruise control switch is turned ON while
pushing the ACCEL/RES, COAST/SET, or
CANCEL switch. To properly set the cruise
control system, use the following proce-
dures.
WARNING
Do not use the cruise control when driving
under the following conditions:
●When it is not possible to keep the
vehicle at a set speed.
●In heavy traffic or in traffic that varies in
speed.
●On winding or hilly roads.
●On slippery roads (rain, snow, ice, etc.).
●In very windy areas.
Doing so could cause a loss of vehicle
control and result in an accident.
CRUISE CONTROL OPERATIONS
The cruise control allows driving at a speed be-
tween 25 - 89 MPH (40 - 144 km/h) without
keeping your foot on the accelerator pedal.
To turn on the cruise control, push the main
switch. The CRUISE indicator light in the instru-
ment panel comes on.
LSD0158 LSD0159
CRUISE CONTROL
5-18 Starting and driving
ZREVIEW COPY—
2008 Pathfinder (pat)
Owners Manual—USA_English (nna)
03/23/07—debbie
X
To set cruising speed, accelerate the vehicle to
the desired speed, push the COAST/SET switch
and release it. The SET indicator light in the
instrument panel comes on. Take your foot off the
accelerator pedal. Your vehicle maintains the set
speed.
●To pass another vehicle, depress the ac-
celerator pedal. When you release the
pedal, the vehicle returns to the previously
set speed.
●The vehicle may not maintain the set speed
when going up or down steep hills. If this
happens, drive without the cruise control.
To cancel the preset speed, use one of the
following three methods.
●Push the CANCEL button; the SET indicator
light in the instrument panel goes out.
●Tap the brake pedal; the SET indicator light
goes out.
●Turn the main switch off. Both the CRUISE
indicator light and SET indicator light in the
instrument panel go out.
The cruise control is automatically canceled and
the SET light in the instrument panel goes out if:
●you depress the brake pedal while pushing
the ACCEL/RES or SET/COAST switch.
The preset speed is deleted from memory.
●the vehicle slows down more than 8 MPH
(13 km/h) below the set speed.
●you move the shift selector lever to N (Neu-
tral).
To reset at a faster cruising speed, use one
of the following three methods.
●Depress the accelerator pedal. When the
vehicle attains the desired speed, push and
release the COAST/SET switch.
●Push and hold the ACCEL/RES switch.
When the vehicle attains the speed you de-
sire, release the switch.
●Push and release the ACCEL/RES switch.
Each time you do this, the set speed in-
creases by about 1 MPH (1.6 km/h).
To reset at a slower cruising speed, use one
of the following three methods.
●Lightly tap the brake pedal. When the ve-
hicle attains the desired speed, push the
COAST/SET switch and release it.
●Push and hold the COAST/SET switch. Re-
lease the switch when the vehicle slows to
the desired speed.
●Push and release the COAST/SET switch.
Each time you do this, the set speed de-
creases by about 1 MPH (1.6 km/h).
To resume the preset speed, push and re-
lease the ACCEL/RES switch. The vehicle re-
turns to the last set cruising speed when the
vehicle speed is over 25 MPH (40 km/h).
Starting and driving 5-19
ZREVIEW COPY—
2008 Pathfinder (pat)
Owners Manual—USA_English (nna)
03/23/07—debbie
X

CAUTION
During the first 1,200 miles (2,000 km),
follow these recommendations to obtain
maximum engine performance and en-
sure the future reliability and economy of
your new vehicle. Failure to follow these
recommendations may result in short-
ened engine life and reduced engine
performance.
●Avoid driving for long periods at constant
speed, either fast or slow, and do not run the
engine over 4,000 rpm.
●Do not accelerate at full throttle in any gear.
●Avoid quick starts.
●Avoid hard braking as much as possible.
●Do not tow a trailer for the first 500 miles
(800 km). Your engine, axle or other parts
could be damaged.
●Accelerate slowly and smoothly. Maintain
cruising speeds with a constant accelerator
position.
●Drive at moderate speeds on the highway.
Driving at high speed lowers fuel economy.
●Avoid unnecessary stopping and braking.
Maintain a safe distance behind other ve-
hicles.
●Use a proper gear range which suits road
conditions. On level roads, shift into high
gear as soon as possible.
●Avoid unnecessary engine idling.
●Keep your engine tuned up.
●Follow the recommended periodic mainte-
nance schedule.
●Keep the tires inflated to the correct pres-
sure. Low tire pressure increases tire wear
and lowers fuel economy.
●Keep the front wheels in correct alignment.
Improper alignment increases tire wear and
lowers fuel economy.
●Air conditioner operation lowers fuel
economy. Use the air conditioner only when
necessary.
●When cruising at highway speeds, it is more
economical to use the air conditioner and
leave the windows closed to reduce drag.
●Use 4H or 4L position only when
necessary. Four-wheel drive operation low-
ers fuel economy.
BREAK-IN SCHEDULE INCREASING FUEL ECONOMY
5-20 Starting and driving
ZREVIEW COPY—
2008 Pathfinder (pat)
Owners Manual—USA_English (nna)
03/23/07—debbie
X

WARNING
●For 4WD equipped vehicles, do not at-
tempt to raise two wheels off the
ground and shift the transmission to
any drive or reverse position with the
engine running. Doing so may result in
drivetrain damage or unexpected ve-
hicle movement which could result in
serious vehicle damage or personal
injury.
●Do not attempt to test a 4WD equipped
vehicle on a 2-wheel dynamometer
(such as the dynamometers used by
some states for emissions testing), or
similar equipment even if the other two
wheels are raised off the ground. Make
sure you inform test facility personnel
that your vehicle is equipped with 4WD
before it is placed on a dynamometer.
Using the wrong test equipment may
result in drivetrain damage or unex-
pected vehicle movement which could
result in serious vehicle damage or per-
sonal injury.
CAUTION
●Do not drive the vehicle in the 4H or 4LO
position on dry hard surface roads. Driv-
ing on dry, hard surfaces in 4H or 4LO
may cause unnecessary noise, tire wear
and increased fuel consumption.
If the 4WD warning light turns on when
you are driving on dry hard surface
roads:
– in the 4H position, shift the 4WD shift
switch to 2WD.
– in the 4LO position for all mode 4WD
vehicles, stop the vehicle and shift
the transmission selector to the N
position with the brake pedal de-
pressed and shift the 4WD shift
switch to 2WD.
– in the 4LO position for part time 4WD
vehicles, stop the vehicle and shift
the transmission selector to the N
position with the brake pedal de-
pressed and shift the 4WD shift
switch to 2WD.
●If the warning light is still on after the
above operation, have your vehicle
checked by a NISSAN dealer as soon as
possible.
●The transfer case may be damaged if
you continue driving with the warning
light blinking rapidly.
All mode 4WD system (if so
equipped)
The all mode 4WD system provides 4 positions
(AUTO, 2WD, 4H and 4LO), so you can select
the desired drive mode according to the driving
conditions.
USING FOUR WHEEL DRIVE
(4WD)
Starting and driving 5-21
ZREVIEW COPY—
2008 Pathfinder (pat)
Owners Manual—USA_English (nna)
03/23/07—debbie
X

2WD or 4WD shift procedure:
4WD Shift
Switch Position Wheels
Driven
Indicator Light Use Conditions 4WD Shift Procedure
4WD shift Transfer 4LO position
AUTO
Rear
wheels or 4
wheels
For driving on paved or slippery
roads
Move the 4WD switch.
2WD <—> AUTO <—> 4H
4WD shift indicator light will indicate transfer shift position en-
gaged.
IT IS NOT NECESSARY TO MOVE THE TRANSMISSION SE-
LECTOR TO THE (N) POSITION IN THIS OPERATION. PER-
FORM THIS OPERATION WHEN DRIVING STRAIGHT.
2WD
Rear
wheels
For driving on dry, paved roads
(Economy drive) or state dyna-
mometer I/M testing
4H
4 wheels For driving on rocky, sandy or
snow-covered roads
Neutral
*1
May blink
Neutral disengages the automatic
transmission mechanical parking
lock, which will allow the vehicle
to roll. Do not leave the transfer
shift position in Neutral.*2
1. Stop the vehicle.
2. Shift the transmission selector to the (N) position.
3. Depress and turn the 4WD shift switch to 4LO or 4H with
the brake pedal depressed.
YOU CANNOT MOVE THE TRANSFER 4WD SHIFT SWITCH
BETWEEN 4H AND 4LO (OR 4LO TO 4H) UNLESS YOU
FIRST STOP THE VEHICLE DEPRESS THE BRAKE AND
SHIFT THE TRANSMISSION SELECTOR LEVER TO THE
NEUTRAL (N) POSITION, THEN DEPRESS AND TURN THE
4WD SHIFT SWITCH TO 4LO OR 4H. *3
4LO 4 wheels
Illuminated
For use when maximum power
and traction is required (for ex-
ample: on steep grades or rocky,
sandy, muddy roads)
*1: The transfer 4LO position indicator light may blink. Stop the vehicle. Be sure to shift the 4WD shift switch after the transmission selector has been shifted
to the N position. If the indicator light keeps blinking after the 4WD shift procedure in the previous page, drive slowly without abrupt maneuvers for a while.
Then the light will turn on or off.
• Avoid making a turn or abrupt starts while shifting to 4LO. Otherwise gears may grind, damaging the drive system.
*2: While changing in and out of 4LO, the ignition key must be ON and the vehicle’s engine must be running for a shift to take place and for the indicator
lights (4WD shift and 4LO position indicator) to be operable. Otherwise, the shift will not take place and no indicator lights will be on or flashing.
*3: Make sure the transfer 4LO position indicator light turns on when you shift the 4WD shift switch to 4LO. The indicator light (if so equipped) will
also turn on when 4LO is selected. See “Vehicle dynamic control system” later in this section.
5-22 Starting and driving
ZREVIEW COPY—
2008 Pathfinder (pat)
Owners Manual—USA_English (nna)
03/23/07—debbie
X

The transfer case 4WD shift switch is used to
select either 2WD or 4WD depending on the
driving conditions. There are four types of drive
modes available, AUTO, 2WD, 4H and 4LO.
The 4WD shift switch electronically controls the
transfer case operation. Rotate the switch to
move between each mode, 2WD, AUTO, 4H and
4LO.
You must depress the switch to select 4LO,
and the vehicle MUST be stationary and the
automatic transmission selector lever in
the N position when changing into or out of
4LO.
WARNING
When parking, apply the parking brake
before stopping the engine and make sure
that the 4WD shift indicator light is on and
the ATP warning light goes off. Otherwise,
the vehicle could unexpectedly move even
if the automatic transmission is in the P
position.
CAUTION
●Never shift the 4WD shift switch be-
tween 4LO and 4H while driving.
●The 4H position provides greater trac-
tion. Avoid excessive speed, as it will
cause increased fuel consumption and
higher oil temperatures, and could
damage drivetrain components.
Speeds over 62.5 MPH (100 km/h) in 4H
is not recommended.
●The 4LO position provides maximum
traction. Avoid raising vehicle speed ex-
cessively, as the maximum speed is ap-
proximately 31 MPH (50 km/h).
●When driving straight, shift the 4WD
shift switch to the 2WD, AUTO or 4H
position. Do not move the 4WD shift
switch when making a turn or reversing.
●Do not shift the 4WD shift switch (be-
tween 2WD, AUTO and 4H) while driving
on steep downhill grades. Use the en-
gine brake and low automatic transmis-
sion gears (D1 or D2) for engine
braking.
●Do not operate the 4WD shift switch
(between 2WD, AUTO and 4H) with the
rear wheels spinning.
●Do not drive on dry hard surface roads
in the 4H or 4LO position. Driving on dry
hard surfaces in 4H or 4LO may cause
unnecessary noise and tire wear.
NISSAN recommends driving in the
2WD or AUTO position under these
conditions.
●The 4WD transfer case may not be
shifted between 4H and 4LO at low am-
bient temperatures and the transfer
4LO position indicator light may blink
even when the 4WD shift switch is
shifted. After driving for a while you can
change the 4WD transfer case between
4H and 4LO.
When driving on rough roads,
●Set the 4WD shift switch to AUTO, 4H or
4LO.
●Drive carefully according to the road surface
conditions.
When the vehicle is stuck,
●Place stones or wooden blocks under the
tires to free the vehicle.
●Set the 4WD shift switch to 4H or 4LO.
Starting and driving 5-23
ZREVIEW COPY—
2008 Pathfinder (pat)
Owners Manual—USA_English (nna)
03/23/07—debbie
X

●If it is difficult to free the vehicle, repeat
forward and backward movement to in-
crease the movement.
●If the vehicle is stuck deep in mud, tire chains
may be effective.
CAUTION
●Do not spin the tires excessively. Tires
will sink deep into the mud, making it
difficult to free the vehicle.
●Avoid shifting gears with the engine
running at high speeds as this may
cause malfunction.
Part time 4WD system (if so
equipped)
The part time 4WD system provides 3 positions
(2WD, 4H and 4LO), so you can select the
desired drive mode according to the driving con-
ditions.
5-24 Starting and driving
ZREVIEW COPY—
2008 Pathfinder (pat)
Owners Manual—USA_English (nna)
03/23/07—debbie
X

2WD or 4WD shift procedure:
4WD Shift
Switch Position Wheels Driven Indicator Light Use Conditions 4WD Shift Procedure
4WD shift Transfer 4LO position
2WD
Rear wheels For driving on dry, paved roads
(Economy drive) or state dynamom-
eter I/M testing
Move the 4WD switch.
2WD <—> 4H
4WD shift indicator light will indicate transfer shift
position engaged.
IT IS NOT NECESSARY TO SHIFT THE TRANSMIS-
SION SELECTOR LEVER TO THE N POSITION IN
THIS OPERATION. PERFORM THIS OPERATION
WHEN DRIVING STRAIGHT.
4H
4 wheels For driving on rocky, sandy or
snow-covered roads
Neutral
*1
May blink
Neutral disengages the automatic
transmission mechanical parking
lock, which will allow the vehicle to
roll. Do not leave the transfer shift
position in Neutral.*2
1. Stop the vehicle.
2. Shift the transmission selector to the (N) posi-
tion with the brake pedal depressed.
3. Depress and turn the 4WD shift switch to 4LO
or 4H with the brake pedal depressed.
THE TRANSFER CASE DOES NOT ENGAGE BE-
TWEEN 4H AND 4LO (OR 4LO TO 4H) UNLESS
YOU HAVE FIRST STOPPED THE VEHICLE, DE-
PRESSED THE BRAKE PEDAL AND MOVED THE
TRANSMISSION SELECTOR TO NEUTRAL. *3
4LO 4 wheels
Illuminated
For use when maximum power and
traction is required (for example: on
steep grades or rocky, sandy,
muddy roads)
*1: Before moving the transmission selector shift lever from neutral, wait until the 4LO indicator light stays on steady. This indicates that the 4WD shift
procedure is completed and the transfer gear is correctly set in the 4LO position. If the vehicle is shifted into gear before the indicator is on steady, the
transfer gear may grind, not engage correctly or stay in the neutral position.
- If the 4WD warning light illuminates, perform the following procedure to return the transfer case to correct operating condition.
1. Turn off the engine by turning the ignition switch 9OFF9.
2. Start the engine.
- Check that the 4WD warning light turns off. If the 4WD light illuminates, have the system checked by a NISSAN dealer.
3. Apply the parking brake, depress the brake pedal and move the transmission selector lever to Neutral position.
4. With the brake pedal depressed, move the 4WD shift switch to desired mode.
- Be sure to wait until the transfer gear change completes before shifting the transmission selector lever from Neutral position.
*2: While changing in and out of 4LO, the ignition key must be ON and the vehicle’s engine must be running for a shift to take place and for the indicator
lights (4WD shift and 4LO position indicator) to be operable. Otherwise, the shift will not take place and no indicator lights will be on or flashing.
*3: Make sure the transfer 4LO position indicator light turns on when you shift the 4WD shift switch to 4LO. The indicator light (if so equipped) will
also turn on when 4LO is selected. See “Vehicle dynamic control system” later in this section.
Starting and driving 5-25
ZREVIEW COPY—
2008 Pathfinder (pat)
Owners Manual—USA_English (nna)
03/23/07—debbie
X

The transfer case 4WD shift switch is used to
select either 2WD or 4WD depending on the
driving conditions. There are three types of drive
modes available, 2WD, 4H and 4LO.
The 4WD shift switch electronically controls the
transfer case operation. Rotate the switch to
move between each mode, 2WD, 4H and 4LO.
To change into or out of 4LO, the vehicle
MUST be stationary, shift the transmission
selector to Neutral (N), and depress the
brake pedal. The switch must be depressed
and turned when changing into or out of
4LO.
WARNING
●When parking, apply the parking brake
before stopping the engine and make
sure that the 4WD shift indicator light is
on and the ATP warning light goes off.
Otherwise, the vehicle could unexpect-
edly move even if the automatic trans-
mission is in the P position.
●The 4LO indicator light must stop blink-
ing and remain illuminated or turn off
before shifting the transmission into
gear. If the transmission selector is
shifted from the (N) position to any
other gear when the 4LO indicator light
is blinking, the vehicle may move
unexpectedly.
CAUTION
●Never shift the 4WD shift switch be-
tween 4LO and 4H while driving.
●The 4H position provides greater trac-
tion. Avoid excessive speed, as it will
cause increased fuel consumption and
higher oil temperatures, and could
damage drivetrain components.
Speeds over 62.5 MPH (100 km/h) in 4H
is not recommended.
●The 4LO position provides maximum
traction. Avoid raising vehicle speed ex-
cessively, as the maximum speed is ap-
proximately 31 MPH (50 km/h).
●When driving straight, shift the 4WD
shift switch to the 2WD or 4H position.
Do not move the 4WD shift switch when
making a turn or reversing.
●Do not shift the 4WD shift switch (be-
tween 2WD and 4H) while driving on
steep downhill grades. Use the engine
brake and low automatic transmission
gears (D1 or D2) for engine braking.
●Do not operate the 4WD shift switch
(between 2WD and 4H) with the rear
wheels spinning.
●Do not drive on dry hard surface roads
in the 4H or 4LO position. Driving on dry
hard surfaces in 4H or 4LO may cause
unnecessary noise and tire wear.
NISSAN recommends driving in the
2WD position under these conditions.
●The 4WD transfer case may not be
shifted between 4H and 4LO at low am-
bient temperatures and the transfer
4LO position indicator light may blink
even when the 4WD shift switch is
shifted. After driving for a while you can
change the 4WD transfer case between
4H and 4LO.
When driving on rough roads,
●Set the 4WD shift switch to 4H or 4LO.
●Drive carefully according to the road surface
conditions.
5-26 Starting and driving
ZREVIEW COPY—
2008 Pathfinder (pat)
Owners Manual—USA_English (nna)
03/23/07—debbie
X

When the vehicle is stuck,
●Set the 4WD shift switch to 4H or 4LO.
●If it is difficult to free the vehicle, repeat
forward and backward movement to in-
crease the movement.
●If the vehicle is stuck deep in mud, place
stones or wooden blocks under the tires.
Then try the recovery procedures above. Tire
chains may be effective.
CAUTION
●Do not spin the tires excessively. Tires
will sink deep into the mud, making it
difficult to free the vehicle.
●Avoid shifting gears with the engine
running at high speeds as this may
cause malfunction.
4WD shift switch operations
●Shift the 4WD shift switch to either the
2WD, AUTO (Type A only), 4H or 4LO po-
sition, depending on driving conditions.
●With the switch set to the AUTO position
(Type A only), distribution of torque to the
front and rear wheels changes automatically,
depending on road conditions encountered
[ratio; 0 : 100 (2WD) →50 : 50 (4WD)].
This results in improved driving stability.
●If the 4WD shift switch is operated
while making a turn, accelerating or
decelerating or if the key switch is
turned off while in the AUTO (Type A
only), 4H or 4LO, you may feel a jolt.
This is not abnormal.
●When the vehicle is stopped after mak-
ing a turn, you may feel a slight jolt
after the selector lever is shifted to N or
P. This occurs because the transfer
clutch is released and not because of a
malfunction.
Type A
LSD0144
Type B
LSD0145
Starting and driving 5-27
ZREVIEW COPY—
2008 Pathfinder (pat)
Owners Manual—USA_English (nna)
03/23/07—debbie
X

CAUTION
●When driving straight, shift the 4WD
shift switch to the 2WD, AUTO or 4H
position. Do not move the 4WD shift
switch when making a turn or reversing.
●Do not shift the 4WD shift switch while
driving on steep downhill grades. Use
the engine brake and low automatic
transmission gears (D1 or D2) for en-
gine braking.
●Do not operate the 4WD shift switch
with the rear wheels spinning.
●Before placing the 4WD shift switch in
the 4H position from 2WD or AUTO,
ensure the vehicle speed is less than
62.5 MPH (100 km/h). Failure to do so
can damage the 4WD system.
●Never shift the 4WD shift switch be-
tween 4LO and 4H while driving.
●Engine idling speed is high while warm-
ing up the engine. Be especially careful
when starting or driving on slippery sur-
faces with the 4WD shift switch set in
AUTO.
4WD shift indicator light
The 4WD shift indicator light is located in the
odometer display.
The light should turn off within 1 second after
turning the ignition switch to the ON position.
While the engine is running, the 4WD shift indi-
cator light will illuminate the position selected by
the 4WD shift switch.
●The 4WD shift indicator light may blink
while shifting from one drive mode to
the other. When the shifting is com-
pleted, the 4WD shift indicator light
will come on. For all mode 4WD ve-
hicles, if the indicator light does not
come on immediately, make sure the
area around the vehicle is safe, and
drive the vehicle straight, accelerate or
decelerate or move the vehicle in re-
verse, then shift the 4WD shift switch.
●If the 4WD warning light comes on, the
4WD indicator light goes out.
CAUTION
●When the 4WD shift switch is turned to
the AUTO position at low ambient tem-
peratures, the 4WD shift indicator light
may show 4H. If this happens, all four
wheels are driven as torque distribution
is in the 4H position. Be careful as the
vehicle may become difficult to turn.
When the vehicle is driven, the 4WD
shift indicator light should change to
AUTO.
●If the 4WD shift indicator light indica-
tion changes to 2WD when the 4WD
shift switch is shifted to the AUTO or 4H
position at low ambient temperatures,
the 2WD mode may be being engaged
due to malfunctioning drive system. If
the indicator does not return to normal
and the 4WD warning light comes on,
have the system checked by the nearest
NISSAN dealer.
LSD0147
5-28 Starting and driving
ZREVIEW COPY—
2008 Pathfinder (pat)
Owners Manual—USA_English (nna)
03/23/07—debbie
X

4WD warning light
Warning light Comes on or blinks
when:
Comes on There is a malfunc-
tion in the 4–wheel
drive system
Blinks rapidly
The transfer case
oil temperature is
abnormally high (all
mode 4WD ve-
hicles)
Blinks slowly The difference in
wheel rotation is
large
The 4WD warning light is located in the meter.
The 4WD warning light comes on when the key
switch is turned to ON. It turns off soon after the
engine is started.
If any malfunction occurs in the 4WD system
when the key switch is ON, the warning light will
either remain illuminated or blink.
If the 4WD warning light comes on, the 4WD
shift indicator light goes out.
For all mode 4WD vehicles, high-temperature
transfer case oil makes the warning light blink
rapidly (about twice per second). If the warning
light blinks rapidly during operation, stop the ve-
hicle in a safe place immediately. Then if the light
goes off after a while, you can continue driving.
A large difference between the diameters of front
and rear wheels will make the warning light blink
slowly (about once per two seconds). Change
the 4WD shift switch into 2WD and do not drive
fast.
CAUTION
●If the warning light comes on or blinks
slowly during operation or rapidly after
stopping the vehicle for a while, have
your vehicle checked by a NISSAN
dealer as soon as possible.
●Shifting between 4H and 4LO is not
recommended when the 4WD warning
light turns on.
●When the warning light comes on, the
2WD mode may be engaged even if the
4WD shift switch is in AUTO or 4H. Be
especially careful when driving. If corre-
sponding parts are malfunctioning, the
4WD mode will not be engaged even if
the 4WD shift switch is shifted.
●Do not drive the vehicle in the 4H or 4LO
position on dry hard surface roads. Driv-
ing on dry, hard surfaces in 4H or 4LO
may cause unnecessary noise, tire wear
and increased fuel consumption.
If the 4WD warning light turns on when
you are driving on dry hard surface
roads:
– in the AUTO or 4H position, shift the
4WD shift switch to 2WD.
– in the 4LO position for all mode 4WD
vehicles, stop the vehicle and shift
the transmission selector to the N
position and shift the 4WD shift
switch to 2WD.
– in the 4LO position for part time 4WD
vehicles, stop the vehicle and shift
the transmission selector to the N
position with the brake pedal de-
pressed and shift the 4WD shift
switch to 2WD.
●If the warning light is still on after the
above operation, have your vehicle
checked by a NISSAN dealer as soon as
possible.
●The transfer case may be damaged if
you continue driving with the warning
light blinking rapidly.
Starting and driving 5-29
ZREVIEW COPY—
2008 Pathfinder (pat)
Owners Manual—USA_English (nna)
03/23/07—debbie
X

WARNING
●Do not stop or park the vehicle over
flammable materials such as dry grass,
waste paper or rags. They may ignite
and cause a fire.
●Safe parking procedures require that
both the parking brake be set and the
transmission placed into P (Park). Fail-
ure to do so could cause the vehicle to
move unexpectedly or roll away and re-
sult in an accident. Make sure the shift
lever has been pushed as far forward as
it can go and cannot be moved without
depressing the foot brake pedal.
●Never leave the engine running while
the vehicle is unattended.
●Do not leave children unattended inside
the vehicle. They could unknowingly ac-
tivate switches or controls. Unattended
children could become involved in seri-
ous accidents.
1. Firmly apply the parking brake.
2. Move the shift selector lever to the P (Park)
position.
3. To help prevent the vehicle from rolling into
traffic when parked on an incline, it is a good
practice to turn the wheels as illustrated.
●HEADED DOWNHILL WITH CURB: s
A
Turn the wheels into the curb and move the
vehicle forward until the curb side wheel
gently touches the curb.
●HEADED UPHILL WITH CURB: s
B
Turn the wheels away from the curb and
move the vehicle back until the curb side
wheel gently touches the curb.
●HEADED UPHILL OR DOWNHILL, NO
CURB: s
C
Turn the wheels toward the side of the road
so the vehicle will move away from the cen-
ter of the road if it moves.
4. Turn the ignition key to the LOCK position
and remove the key.
WSD0050
PARKING/PARKING ON HILLS
5-30 Starting and driving
ZREVIEW COPY—
2008 Pathfinder (pat)
Owners Manual—USA_English (nna)
03/23/07—debbie
X

The power assisted steering uses a hydraulic
pump, driven by the engine, to assist steering.
If the engine stops or the drive belt breaks, you
will still have control of the vehicle. However,
much greater steering effort is needed, especially
in sharp turns and at low speeds.
WARNING
If the engine is not running or is turned off
while driving, the power assist for the
steering will not work. Steering will be
harder to operate.
The brake system has two separate hydraulic
circuits. If one circuit malfunctions, you will still
have braking at two wheels.
BRAKE PRECAUTIONS
Vacuum assisted brakes
The brake booster aids braking by using engine
vacuum. If the engine stops, you can stop the
vehicle by depressing the brake pedal. However,
greater foot pressure on the brake pedal will be
required to stop the vehicle and stopping dis-
tance will be longer.
Using the brakes
Avoid resting your foot on the brake pedal while
driving. This will overheat the brakes, wear out the
brakes and pads faster, and reduce gas mileage.
To help reduce brake wear and to prevent the
brakes from overheating, reduce speed and
downshift to a lower gear before going down a
slope or long grade. Overheated brakes may
reduce braking performance and could result in
loss of vehicle control.
WARNING
●While driving on a slippery surface, be
careful when braking, accelerating or
downshifting. Abrupt braking or accel-
erating could cause the wheels to skid
and result in an accident.
●If the engine is not running or is turned
off while driving, the power assist for
the brakes will not work. Braking will be
harder.
Wet brakes
When the vehicle is washed or driven through
water, the brakes may get wet. As a result, your
braking distance will be longer and the vehicle
may pull to one side during braking.
To dry the brakes, drive the vehicle at a safe
speed while lightly pressing the brake pedal to
heat up the brakes. Do this until the brakes return
to normal. Avoid driving the vehicle at high
speeds until the brakes function correctly.
Parking brake break-in
Break-in the parking brake shoes whenever the
stopping effect of the parking brake is weakened
or whenever the parking brake shoes and/or
drum/rotors are replaced, in order to assure the
best brake performance.
POWER STEERING BRAKE SYSTEM
Starting and driving 5-31
ZREVIEW COPY—
2008 Pathfinder (pat)
Owners Manual—USA_English (nna)
03/23/07—debbie
X

This procedure is described in the vehicle service
manual and can be performed by a NISSAN
dealer.
ANTI-LOCK BRAKING SYSTEM
(ABS)
WARNING
●The Anti-lock Braking System (ABS) is a
sophisticated device, but it cannot pre-
vent accidents resulting from careless
or dangerous driving techniques. It can
help maintain vehicle control during
braking on slippery surfaces. Remem-
ber that stopping distances on slippery
surfaces will be longer than on normal
surfaces even with ABS. Stopping dis-
tances may also be longer on rough,
gravel or snow covered roads, or if you
are using tire chains. Always maintain a
safe distance from the vehicle in front
of you. Ultimately, the driver is respon-
sible for safety.
●Tire type and condition may also affect
braking effectiveness.
– When replacing tires, install the
specified size of tires on all four
wheels.
– When installing a spare tire, make
sure that it is the proper size and type
as specified on the Tire and Loading
Information label. See “Tire and
Loading Information label” in the
“Technical and consumer informa-
tion” section of this manual.
– For detailed information, see
“Wheels and tires” in the “Mainte-
nance and do-it-yourself” section of
this manual.
The Anti-lock Braking System (ABS) controls the
brakes so the wheels do not lock during hard
braking or when braking on slippery surfaces.
The system detects the rotation speed at each
wheel and varies the brake fluid pressure to pre-
vent each wheel from locking and sliding. By
preventing each wheel from locking, the system
helps the driver maintain steering control and
helps to minimize swerving and spinning on slip-
pery surfaces.
Using the system
Depress the brake pedal and hold it down. De-
press the brake pedal with firm steady pressure,
but do not pump the brakes. The ABS will oper-
ate to prevent the wheels from locking up. Steer
the vehicle to avoid obstacles.
WARNING
Do not pump the brake pedal. Doing so
may result in increased stopping
distances.
Normal operation
The ABS operates at speeds above3-6MPH(5
- 10 km/h).
When the ABS senses that one or more wheels
are close to locking up, the system electronically
controls the pressure applied to each brake.
This action is similar to pumping the brakes very
quickly. You may feel a pulsation in the brake
pedal and hear a noise from under the hood or
feel a vibration from the actuator when it is oper-
ating. This is normal and indicates that the ABS is
operating properly. However, the pulsation may
indicate that road conditions are hazardous and
extra care is required while driving.
Self-test feature
The ABS includes electronic sensors, electric
pumps, hydraulic solenoids and a computer. The
computer has a built-in diagnostic feature that
tests the system each time you start the engine
and move the vehicle at a low speed in forward or
reverse. When the self-test occurs, you may hear
a “clunk”noise and/or feel a pulsation in the brake
5-32 Starting and driving
ZREVIEW COPY—
2008 Pathfinder (pat)
Owners Manual—USA_English (nna)
03/23/07—debbie
X

pedal. This is normal and does not indicate a
malfunction. If the computer senses a malfunc-
tion, it switches the ABS off and illuminates the
ABS warning light on the instrument panel. The
brake system then operates normally, but without
anti-lock assistance.
If the ABS warning light illuminates during the
self-test or while driving, have the vehicle
checked by a NISSAN dealer.
When accelerating or driving on slippery sur-
faces, the tires may spin or slide. With the Vehicle
Dynamic Control (VDC) system, sensors detect
these movements and control the braking and
engine output to help improve vehicle stability.
●When the vehicle dynamic control (VDC)
system is operating, the SLIP indicator in
the instrument panel blinks.
●If the 4WD transfer case is shifted into 4LO
the indicator light will come on and
the VDC system will be turned off. See
“Transfer case shifting procedures” earlier in
this section.
●If the SLIP indicator blinks, the road condi-
tions are slippery. Be sure to adjust your
speed and driving to these conditions. See
“Slip indicator light”, and “Vehicle dynamic
control (VDC) off indicator light” in the “In-
struments and controls” section.
If the battery is removed or discharged, the trac-
tion control system may be disabled and the
SLIP and indicator lights will not turn off
after 2 seconds when the ignition switch is turned
to the ON position.
Perform the following procedure to reset the
system:
●Start the engine and set the steering wheel
in the straight forward position.
●Drive the vehicle at speeds above 10 mph
(15 km/h) for at least 10 minutes.
●The VDC OFF indicator light should go off
indicating the traction control system is op-
erational.
●If you interrupt the reset procedure by turn-
ing the ignition off, you will need to restart
the reset procedure.
If after driving the vehicle for more than 10 min-
utes and the SLIP and lights remain illumi-
nated in the instrument panel, have the vehicle
dynamic control system checked by a NISSAN
dealer.
If the vehicle is operated with the vehicle dynamic
control system off using the VDC OFF switch,
most VDC functions will be turned off. The VDC
system will still try to transfer power from a slip-
ping drive wheel to one with more traction when
the VDC system switch is OFF. The SLIP indica-
tor will flash if wheel spin is detected. The ABS
will still operate with the VDC system off.
When the VDC system is operating, you may feel
a pulsation in the brake pedal and hear a noise or
vibration from under the hood. This is normal and
indicates that the VDC system is working prop-
erly.
VEHICLE DYNAMIC CONTROL (VDC)
SYSTEM
Starting and driving 5-33
ZREVIEW COPY—
2008 Pathfinder (pat)
Owners Manual—USA_English (nna)
03/23/07—debbie
X

The computer has a built in diagnostic feature
that tests the system each time you start the
engine and move the vehicle forward or in reverse
at a slow speed. When the self-test occurs, you
may hear a clunk noise and/or feel a pulsation in
the brake pedal. This is normal and is not an
indication of a malfunction.
WARNING
●The vehicle dynamic control system is
designed to help improve driving stabil-
ity but does not prevent accidents due
to abrupt steering operation at high
speeds or by careless or dangerous
driving techniques. Reduce vehicle
speed and be especially careful when
driving and cornering on slippery sur-
faces and always drive carefully.
●If brake related parts such as brake
pads, rotors and calipers are not stan-
dard equipment or are extremely dete-
riorated, the vehicle dynamic control
system may not operate properly and
the vehicle dynamic control off indica-
tor light may come on.
●Do not modify the vehicle’s suspension.
If suspension parts such as shock ab-
sorbers, struts, springs, stabilizer bars
and bushings are not NISSAN approved
for your vehicle or are extremely dete-
riorated the vehicle dynamic control
system may not operate properly. This
could adversely affect vehicle handling
performance, and the VDC OFF indica-
tor light may come on.
●When driving on extremely inclined sur-
faces such as higher banked corners,
the vehicle dynamic control system may
not operate properly and the VDC OFF
indicator light may come on. Do not
drive on these types of roads.
●When driving on an unstable surface
such as a turntable, ferry, elevator or
ramp, the vehicle dynamic control off
indicator light may illuminate. This is
not a malfunction. Restart the engine
after driving onto a stable surface.
●If wheels or tires other than the recom-
mended ones are used, the vehicle dy-
namic control system may not operate
properly and the vehicle dynamic con-
trol off indicator light may come on.
●The vehicle dynamic control system is
not a substitute for winter tires or tire
chains on a snow covered road.
WARNING
●Never rely solely on the hill descent
control system to control vehicle speed
when driving on steep down hill grades.
Always drive carefully and attentively
when using the hill descent control sys-
tem and decelerate the vehicle speed
by depressing the brake pedal if neces-
sary. Be especially careful when driving
on frozen, muddy or an extremely steep
downhill roads. Failure to control ve-
hicle speed may result in a loss of con-
trol of the vehicle and possible serious
injury or death.
●
The hill descent control may not control
the vehicle speed on a hill under all load
or road conditions. Always be prepared
to depress the brake pedal to control
vehicle speed. Failure to do so may result
in a collision or serious personal injury.
The hill descent control system helps maintain
vehicle speed when driving under 15-21 mph
(25-35 km/h) on steeper downhill grades. Hill
descent control is useful when engine braking
alone in 4H or 4L cannot control vehicle speed.
Hill descent control applies the vehicle brakes to
control vehicle speed allowing the driver to con-
centrate on steering while reducing the burden of
brake and accelerator operation.
HILL DESCENT CONTROL SYSTEM (if
so equipped)
5-34 Starting and driving
ZREVIEW COPY—
2008 Pathfinder (pat)
Owners Manual—USA_English (nna)
03/23/07—debbie
X

●When additional braking is required on
steep downhill roads activate the hill de-
scent control system by pushing the switch
ON, see “Hill descent control switch” in the
“Instruments and controls” section.
●Once the system is activated the indicator
light will remain on in the instrument panel,
see “Hill descent control system on indicator
light” in the “Instruments and controls” sec-
tion.
If the accelerator or brake pedal is depressed
while the hill descent control system is on, the
system will stop operating temporarily. As soon
as the accelerator or brake pedal is released, the
hill descent control system begins to function
again if the hill descent control operating condi-
tions are fulfilled.
For the best results, when descending steep
downhill grades, the hill descent control switch
should be ON and the selector lever in 2 (Second
gear) or 1 (Low gear) for engine braking.
WARNING
●Never rely solely on the hill start assist
system to prevent the vehicle from mov-
ing backward on a hill. Always drive
carefully and attentively. Depress the
brake pedal when the vehicle is
stopped on a steep hill. Be especially
careful when stopped on a hill on frozen
or muddy roads. Failure to prevent the
vehicle from rolling backwards may re-
sult in a loss of control of the vehicle
and possible serious injury or death.
●The hill start assist system is not de-
signed to hold the vehicle at a standstill
on a hill. Depress the brake pedal when
the vehicle is stopped on a steep hill.
Failure to do so may cause the vehicle
to roll backwards and may result in a
collision or serious personal injury.
●The hill start assist may not prevent the
vehicle from rolling backwards on a hill
under all load or road conditions. Al-
ways be prepared to depress the brake
pedal to prevent the vehicle from rolling
backwards. Failure to do so may result
in a collision or serious personal injury.
The hill start assist system automatically keeps
the brakes applied to help prevent the vehicle
from rolling backwards in the time it takes the
driver to release the brake pedal and apply the
accelerator when the vehicle is stopped on a hill.
Hill start assist will operate automatically under
the following conditions:
●The selector lever is shifted to a forward or
reverse gear.
●The vehicle is stopped completely on a hill
by applying the brake.
The maximum holding time is 2 seconds. After 2
seconds the vehicle will begin to roll back and hill
start assist will stop operating completely.
Hill start assist will not operate when the selector
lever is shifted to N or P or on a flat and level road.
HILL START ASSIST (HSA) SYSTEM
(if so equipped)
Starting and driving 5-35
ZREVIEW COPY—
2008 Pathfinder (pat)
Owners Manual—USA_English (nna)
03/23/07—debbie
X

FREEING A FROZEN DOOR LOCK
To prevent a door lock from freezing, apply de-
icer through the key hole. If the lock becomes
frozen, heat the key before inserting it into the key
hole or use the remote keyless entry keyfob (if so
equipped).
ANTI-FREEZE
In the winter when it is anticipated that the tem-
perature will drop below 32°F (0°C), check the
anti-freeze to assure proper winter protection.
For details, see “Engine cooling system” in the
“Maintenance and do-it-yourself” section of this
manual.
BATTERY
If the battery is not fully charged during extremely
cold weather conditions, the battery fluid may
freeze and damage the battery. To maintain maxi-
mum efficiency, the battery should be checked
regularly. For details, see “Battery” in the “Main-
tenance and do-it-yourself” section of this
manual.
DRAINING OF COOLANT WATER
If the vehicle is to be left outside without anti-
freeze, drain the cooling system, including the
engine block. Refill before operating the vehicle.
For details, see “Changing engine coolant” in the
“Maintenance and do-it-yourself” section of this
manual.
TIRE EQUIPMENT
1. SUMMER tires have a tread designed to
provide superior performance on dry pave-
ment. However, the performance of these
tires will be substantially reduced in snowy
and icy conditions. If you operate your ve-
hicle on snowy or icy roads, NISSAN recom-
mends the use of MUD & SNOW or ALL
SEASON TIRES on all four wheels. Please
consult a NISSAN dealer for the tire type,
size, speed rating and availability informa-
tion.
2. For additional traction on icy roads, studded
tires may be used. However, some U.S.
states and Canadian provinces prohibit their
use. Check local, state and provincial laws
before installing studded tires.
Skid and traction capabilities of studded
snow tires on wet or dry surfaces may be
poorer than that of non-studded snow tires.
3. Tire chains may be used. For details see
“Tire chains” in the “Maintenance and do-it-
yourself” section of this manual.
SPECIAL WINTER EQUIPMENT
It is recommended that the following items be
carried in the vehicle during winter:
●A scraper and stiff-bristled brush to remove
ice and snow from the windows and wiper
blades.
●A sturdy, flat board to be placed under the
jack to give it firm support.
●A shovel to dig the vehicle out of snowdrifts.
●Extra window washer fluid to refill the reser-
voir tank.
DRIVING ON SNOW OR ICE
WARNING
●Wet ice (32°F, 0°C and freezing rain),
very cold snow or ice can be slick and
very hard to drive on. The vehicle will
have much less traction or “grip” under
these conditions. Try to avoid driving on
wet ice until the road is salted or
sanded.
COLD WEATHER DRIVING
5-36 Starting and driving
ZREVIEW COPY—
2008 Pathfinder (pat)
Owners Manual—USA_English (nna)
03/23/07—debbie
X

●Whatever the condition, drive with cau-
tion. Accelerate and slow down with
care. If accelerating or downshifting too
fast, the drive wheels will lose even
more traction.
●Allow more stopping distance under
these conditions. Braking should be
started sooner than on dry pavement.
●Allow greater following distances on
slippery roads.
●Watch for slippery spots (glare ice).
These may appear on an otherwise
clear road in shaded areas. If a patch of
ice is seen ahead, brake before reach-
ing it. Try not to brake while on the ice,
and avoid any sudden steering
maneuvers.
●Do not use the cruise control on slip-
pery roads.
●Snow can trap dangerous exhaust
gases under your vehicle. Keep snow
clear of the exhaust pipe and from
around your vehicle.
ENGINE BLOCK HEATER (if so
equipped)
WARNING
●Do not use your engine block heater
with an ungrounded electrical system
or a 2-pronged adapter. You can be se-
riously injured by an electrical shock if
you use an ungrounded connection.
●Disconnect and properly store the en-
gine block heater cord before starting
the engine. Damage to the cord could
result in an electrical shock and can
cause serious injury.
●Use a heavy-duty 3-wire, 3-pronged ex-
tension cord rated for at least 10 A. Plug
the extension cord into a Ground Fault
Interrupt (GFI) protected, grounded
110-VAC outlet. Failure to use the
proper extension cord or a grounded
outlet can result in a fire or electrical
shock and cause serious personal
injury.
Engine block heaters are available through
NISSAN dealers to assist in cold temperature
starting. The engine block heater should be used
when the outside temperature is 20° F (-7° C) or
lower.
To use the engine block heater:
1. Turn the engine off.
2. Open the hood and unwrap the engine block
heater cord.
3. Plug the engine block heater cord into a
grounded 3-wire, 3-pronged extension
cord.
4. Plug the extension cord into a Ground Fault
Interrupt (GFI) protected, grounded 110-
volt AC (VAC) outlet.
5. The engine block heater must be plugged in
for at least2-4hours, depending on outside
temperatures, to properly warm the engine
coolant. Use an appropriate timer to turn the
engine block heater on.
6. Before starting the engine, unplug and prop-
erly store the cord to keep it away from
moving parts.
Starting and driving 5-37
ZREVIEW COPY—
2008 Pathfinder (pat)
Owners Manual—USA_English (nna)
03/23/07—debbie
X
5-38 Starting and driving
MEMO

6 In case of emergency
First aid kit........................................6-2
Flat tire ...........................................6-2
Tire Pressure Monitoring System (TPMS)..........6-2
Changing a flat tire .............................6-3
Jump starting .....................................6-8
Push starting.....................................6-10
If your vehicle overheats ...........................6-10
Towing your vehicle ...............................6-11
Towing recommended by NISSAN ..............6-12
Vehicle recovery (freeing a stuck vehicle).........6-14
ZREVIEW COPY—
2008 Pathfinder (pat)
Owners Manual—USA_English (nna)
03/23/07—debbie
X

A first aid kit is located on the back door trim
panel. To remove the first aid kit:
s
1Squeeze the latch buttons.
s
2Pull the two straps apart to unfasten.
TIRE PRESSURE MONITORING
SYSTEM (TPMS)
This vehicle is equipped with the Tire Pressure
Monitoring System (TPMS). It monitors tire pres-
sure of all tires except the spare. When the low
tire pressure warning light is lit, one or more of
your tires is significantly under-inflated. If
equipped, the system also displays pressure of
all tires (except the spare tire) on the display
screen by sending a signal from a sensor that is
installed in each wheel. If the vehicle is being
driven with low tire pressure, the TPMS will acti-
vate and warn you of it by the low tire pressure
warning light. This system will activate only when
the vehicle is driven at speeds above 16 MPH
(25 km/h). For more details, refer to
“Warning/indicator lights and audible reminders”
in the “Instruments and controls” section, “Tire
pressure information” in the “Display screen,
heater, air conditioner and audio systems” sec-
tion and “Tire Pressure Monitoring System
(TPMS)” in the “Starting and driving” section.
LCE0104
FIRST AID KIT FLAT TIRE
6-2 In case of emergency
ZREVIEW COPY—
2008 Pathfinder (pat)
Owners Manual—USA_English (nna)
03/23/07—debbie
X

WARNING
●If the low tire pressure warning light
illuminates while driving, avoid sudden
steering maneuvers or abrupt braking,
reduce vehicle speed, pull off the road
to a safe location and stop the vehicle
as soon as possible. Driving with under-
inflated tires may permanently damage
the tires and increase the likelihood of
tire failure. Serious vehicle damage
could occur and may lead to an acci-
dent and could result in serious per-
sonal injury. Check the tire pressure for
all four tires. Adjust the tire pressure to
the recommended COLD tire pressure
shown on the Tire and Loading Informa-
tion label to turn the low tire pressure
warning light OFF. If you have a flat tire,
replace it with a spare tire as soon as
possible.
●When a spare tire is mounted or a wheel
is replaced, tire pressure will not be
indicated, the TPMS will not function
and the low tire pressure warning light
will flash for approximately 1 minute.
The light will remain on after 1 minute.
Contact your NISSAN dealer as soon as
possible for tire replacement and/or
system resetting.
●Replacing tires with those not originally
specified by NISSAN could affect the
proper operation of the TPMS.
●Do not inject any tire liquid or aerosol
tire sealant into the tires, as this may
cause a malfunction of the tire pressure
sensors.
CHANGING A FLAT TIRE
If you have a flat tire, follow the instructions be-
low.
Stopping the vehicle
1. Safely move the vehicle off the road and
away from traffic.
2. Turn on the hazard warning flashers.
3. Park on a level surface and apply the parking
brake. Move the shift selector lever to P
(Park).
4. Turn off the engine.
5. Raise the hood to warn other traffic and to
signal professional road assistance person-
nel that you need assistance.
6. Have all passengers get out of the vehicle
and stand in a safe place, away from traffic
and clear of the vehicle.
WARNING
●Make sure the parking brake is securely
applied and the automatic transmission
is shifted into P (Park).
●Never change tires when the vehicle is
on a slope, ice or slippery areas. This is
hazardous.
●Never change tires if oncoming traffic is
close to your vehicle. Wait for profes-
sional road assistance.
In case of emergency 6-3
ZREVIEW COPY—
2008 Pathfinder (pat)
Owners Manual—USA_English (nna)
03/23/07—debbie
X

Blocking wheels
Place suitable blocks s
1at both the front and
back of the wheel diagonally opposite the flat tire
s
2to prevent the vehicle from moving when it is
jacked up.
WARNING
Be sure to block the wheel as the vehicle
may move and result in personal injury.
1. Jack
2. Jack tools
Getting the spare tire and tools
1. Open the back door.
2. Lift the handle on the floor and open the
storage area.
3. Remove the jack and jack tools.
4. Find the oval-shaped opening above the
middle of the bumper. Pass the T-shaped
end of the jack rod through the opening and
direct it toward the spare tire winch, located
directly above the spare tire.
CAUTION
Do not insert the jack rod straight as it is
designed to be inserted at an angle as
shown.
WCE0044 LCE0105 LCE0106
6-4 In case of emergency
ZREVIEW COPY—
2008 Pathfinder (pat)
Owners Manual—USA_English (nna)
03/23/07—debbie
X

5. Fit the square end of the jack rod into the
square hole of the wheel nut wrench to form
a handle.
6. Seat the T-shaped end of the jack rod into
the T-shaped opening of the tire winch. Ap-
ply pressure to keep the jack rod engaged in
the spare tire winch and turn the jack rod
counterclockwise to lower the spare tire.
7. Once the spare tire is completely lowered,
reach under the vehicle, remove the retainer
chain, and carefully slide the tire from under
the rear of the vehicle.
CAUTION
Be sure to center the spare tire suspend-
ing plate on the wheel and then lift the
spare tire.
Jacking up vehicle and removing the
damaged tire
WARNING
●Never get under the vehicle while it is
supported only by the jack. If it is nec-
essary to work under the vehicle, sup-
port it with safety stands.
●Use only the jack provided with your
vehicle to lift the vehicle. Do not use the
jack provided with your vehicle on other
vehicles. The jack is designed for lifting
only your vehicle during a tire change.
●Use the correct jack-up points. Never
use any other part of the vehicle for jack
support.
●Never jack up the vehicle more than
necessary.
●Never use blocks on or under the jack.
●Do not start or run the engine while
vehicle is on the jack. It may cause the
vehicle to move. This is especially true
for vehicles with limited slip
differentials.
●Do not allow passengers to stay in the
vehicle while it is on the jack.
●Never run the engine with a wheel(s) off
the ground. It may cause the vehicle to
move.
Always refer to the illustration for the correct
placement and jack-up points for your specific
vehicle model and jack type.
Carefully read the caution label attached to
the jack body and the following instruc-
tions.
1. Loosen each wheel nut one or two turns by
turning counterclockwise with the wheel nut
wrench. Do not remove the wheel nuts
until the tire is off the ground.
LCE0107
In case of emergency 6-5
ZREVIEW COPY—
2008 Pathfinder (pat)
Owners Manual—USA_English (nna)
03/23/07—debbie
X

2. Place the jack directly under the jack-up
point as illustrated so the top of the jack
contacts the vehicle at the jack-up point. The
jack-up points are indicated by stamped ar-
rows on the side of the frame.
The jack should be used on firm and
level ground. 3. Install the assembled jack rod into the jack
as shown.
4. To lift the vehicle, securely hold the jack lever
and rod. Carefully raise the vehicle until the
tire clears the ground.
WCE0139 LCE0087
6-6 In case of emergency
ZREVIEW COPY—
2008 Pathfinder (pat)
Owners Manual—USA_English (nna)
03/23/07—debbie
X

5. Remove the wheel nuts and then remove the
tire.
Installing the spare tire
The spare tire is designed for emergency
use. See specific instructions under the
heading “Wheels and tires” in the “Mainte-
nance and do-it-yourself” section of this
manual.
1. Clean any mud or dirt from the surface be-
tween the wheel and hub.
2. Carefully put the spare tire on and tighten
the wheel nuts finger tight.
3. With the wheel nut wrench, tighten wheel
nuts alternately and evenly as illustrated until
they are tight.
4. Lower the vehicle slowly until the tire
touches the ground. Then, with the wheel
nut wrench, tighten the wheel nuts securely
in the sequence illustrated. Lower the ve-
hicle completely.
WARNING
●Incorrect wheel nuts or improperly
tightened wheel nuts can cause the
wheel to become loose or come off.
This could cause an accident.
●Do not use oil or grease on the wheel
studs or nuts. This could cause the nuts
to become loose.
●Retighten the wheel nuts when the ve-
hicle has been driven for 600 miles
(1,000 km) (also in cases of a flat tire,
etc.).
As soon as possible, tighten the wheel nuts
to the specified torque with a torque
wrench.
Wheel nut tightening torque:
98 ft-lb (133 N·m)
The wheel nuts must be kept tightened to
specification at all times. It is recom-
mended that wheel nuts be tightened to
specifications at each lubrication interval.
WCE0063
In case of emergency 6-7
ZREVIEW COPY—
2008 Pathfinder (pat)
Owners Manual—USA_English (nna)
03/23/07—debbie
X

Adjust tire pressure to the COLD pressure.
COLD pressure: After vehicle has been
parked for three hours or more or driven
less than 1 mile (1.6 km).
COLD tire pressures are shown on the Tire
and Loading Information label affixed to
the driver side center pillar.
After adjusting tire pressure to the COLD
tire pressure, the display of the tire pres-
sure information may show higher pres-
sure than the COLD tire pressure after the
vehicle has been driven more than 1 mile
(1.6 km). This is because the tire pressure
increases as the tire temperature rises.
This does not indicate a system malfunc-
tion.
5. Securely store the flat tire and jacking equip-
ment in the vehicle.
WARNING
●Always make sure that the spare tire
and jacking equipment are properly se-
cured after use. Such items can become
dangerous projectiles in an accident or
sudden stop.
●The spare tire is designed for emer-
gency use. See specific instructions un-
der the heading “Wheels and tires” in
the “Maintenance and do-it-yourself”
section of this manual.
To start your engine with a booster battery, the
instructions and precautions below must be fol-
lowed.
WARNING
●If done incorrectly, jump starting can
lead to a battery explosion, resulting in
severe injury or death. It could also
damage your vehicle.
●Explosive hydrogen gas is always
present in the vicinity of the battery.
Keep all sparks and flames away from
the battery.
●Do not allow battery fluid to come into
contact with eyes, skin, clothing or
painted surfaces. Battery fluid is a cor-
rosive sulfuric acid solution which can
cause severe burns. If the fluid should
come into contact with anything, imme-
diately flush the contacted area with
water.
●Keep battery out of the reach of
children.
●The booster battery must be rated at 12
volts. Use of an improperly rated battery
can damage your vehicle.
JUMP STARTING
6-8 In case of emergency
ZREVIEW COPY—
2008 Pathfinder (pat)
Owners Manual—USA_English (nna)
03/23/07—debbie
X

●Whenever working on or near a battery,
always wear suitable eye protectors (for
example, goggles or industrial safety
spectacles) and remove rings, metal
bands, or any other jewelry. Do not lean
over the battery when jump starting.
●Do not attempt to jump start a frozen
battery. It could explode and cause se-
rious injury.
●Your vehicle has an automatic engine
cooling fan. It could come on at any
time. Keep hands and other objects
away from it.
WARNING
Always follow the instructions below.
Failure to do so could result in damage to
the charging system and cause personal
injury.
1. If the booster battery is in another vehicle,
position the two vehicles to bring their bat-
teries near each other.
Do not allow the two vehicles to touch.
2. Apply the parking brake. Move the shift lever
to N (Neutral) (manual transmission) or to P
(Park) (automatic transmission). Switch off
all unnecessary electrical systems (lights,
heater, air conditioner, etc.).
3. Remove vent caps on the battery (if so
equipped). Cover the battery with an old
cloth to reduce explosion hazard.
4. Connect jumper cables in the sequence il-
lustrated (s
A,s
B,s
C,s
D).
WCE0054
In case of emergency 6-9
ZREVIEW COPY—
2008 Pathfinder (pat)
Owners Manual—USA_English (nna)
03/23/07—debbie
X

CAUTION
●Always connect positive (1) to positive
(1) and negative (2) to body ground (for
example, strut mounting bolt, engine
lift bracket, etc.) — not to the battery.
●Make sure the jumper cables do not
touch moving parts in the engine com-
partment and that the cable clamps do
not contact any other metal.
5. Start the engine of the booster vehicle and
let it run for a few minutes.
6. Keep the engine speed of the booster ve-
hicle at about 2,000 rpm, and start the en-
gine of the vehicle being jump started.
CAUTION
Do not keep the starter motor engaged for
more than 10 seconds. If the engine does
not start right away, turn the key off and
wait 3 to 4 seconds before trying again.
7. After starting the engine, carefully discon-
nect the negative cable and then the positive
cable.
8. Replace the vent caps (if so equipped). Be
sure to dispose of the cloth used to cover
the vent holes as it may be contaminated
with corrosive acid.
CAUTION
Automatic transmission models cannot
be push-started or tow-started. Attempt-
ing to do so may cause transmission
damage.
WARNING
●Do not continue to drive if your vehicle
overheats. Doing so could cause engine
damage or a vehicle fire.
●To avoid the danger of being scalded,
never remove the radiator or coolant
reservoir cap while the engine is still
hot. When the radiator or coolant reser-
voir cap is removed, pressurized hot
water will spurt out, possibly causing
serious injury.
●Do not open the hood if steam is com-
ing out.
If your vehicle is overheating (indicated by an
extremely high temperature gauge reading and
the illumination of the engine oil pressure/engine
coolant temperature high indicator light), or if you
feel a lack of engine power, detect abnormal
noise, etc. take the following steps.
1. Move the vehicle safely off the road, apply
the parking brake and move the shift lever to
P (Park).
Do not stop the engine.
2. Turn off the air conditioner. Open all the
windows, move the heater or air conditioner
temperature control to maximum hot and fan
control to high speed.
PUSH STARTING IF YOUR VEHICLE OVERHEATS
6-10 In case of emergency
ZREVIEW COPY—
2008 Pathfinder (pat)
Owners Manual—USA_English (nna)
03/23/07—debbie
X

3. Get out of the vehicle. Look and listen for
steam or coolant escaping from the radiator
before opening the hood. (If steam or cool-
ant is escaping, turn off the engine.) Do not
open the hood further until no steam or
coolant can be seen.
4. Open the engine hood.
WARNING
If steam or water is coming from the en-
gine, stand clear to prevent getting
burned.
5. Visually check drive belts for damage or
looseness. Also check if the cooling fan is
running. The radiator hoses and radiator
should not leak water. If coolant is leaking,
the water pump belt is missing or loose, or
the cooling fan does not run, stop the en-
gine.
WARNING
Be careful not to allow your hands, hair,
jewelry or clothing to come into contact
with, or get caught in, engine belts or the
engine cooling fan. The engine cooling
fan can start at any time.
6. After the engine cools down, check the cool-
ant level in the engine coolant reservoir tank
with the engine running. Add coolant to the
engine coolant reservoir tank if necessary.
Have your vehicle repaired at a NISSAN
dealer.
When towing your vehicle, all State (Provincial in
Canada) and local regulations for towing must be
followed. Incorrect towing equipment could dam-
age your vehicle. Towing instructions are avail-
able from a NISSAN dealer. Local service opera-
tors are generally familiar with the applicable laws
and procedures for towing. To assure proper
towing and to prevent accidental damage to your
vehicle, NISSAN recommends having a service
operator tow your vehicle. It is advisable to have
the service operator carefully read the following
precautions:
WARNING
●Never ride in a vehicle that is being
towed.
●Never get under your vehicle after it has
been lifted by a tow truck.
CAUTION
●When towing, make sure that the trans-
mission, axles, steering system and
powertrain are in working condition. If
any unit is damaged, dollies must be
used.
●Always attach safety chains before
towing.
TOWING YOUR VEHICLE
In case of emergency 6-11
ZREVIEW COPY—
2008 Pathfinder (pat)
Owners Manual—USA_English (nna)
03/23/07—debbie
X

For information about towing your vehicle behind
a recreational vehicle (RV), refer to “Flat towing”
in the “Technical and consumer information” sec-
tion of this manual.
TOWING RECOMMENDED BY
NISSAN
Two-wheel drive models
NISSAN recommends that your vehicle be towed
with the driving (rear) wheels off the ground or
place the vehicle on a flat bed truck as illustrated.
CAUTION
●Never tow automatic transmission
models with the rear wheels on the
ground or four wheels on the ground
(forward or backward), as this may
cause serious and expensive damage to
the transmission. If it is necessary to
tow the vehicle with the front wheels
raised always use towing dollies under
the rear wheels.
●When towing automatic transmission
models with the front wheels on the
ground or on towing dollies:
– Turn the ignition key to the OFF po-
sition, and secure the steering wheel
in a straight-ahead position with a
rope or similar device. Never secure
the steering wheel by turning the ig-
nition key to the LOCK position. This
may damage the steering lock
mechanism.
ACE1037
6-12 In case of emergency
ZREVIEW COPY—
2008 Pathfinder (pat)
Owners Manual—USA_English (nna)
03/23/07—debbie
X

If the speed or distance must necessarily be
greater, remove the propeller shaft before towing
to prevent damage to the transmission.
Four-wheel drive models
NISSAN recommends that towing dollies be
used when towing your vehicle or place the ve-
hicle on a flat bed truck as illustrated.
CAUTION
●Never tow 4WD models with any of the
wheels on the ground as this may cause
serious and expensive damage to the
transfer case and transmission.
WSD0097
In case of emergency 6-13
ZREVIEW COPY—
2008 Pathfinder (pat)
Owners Manual—USA_English (nna)
03/23/07—debbie
X

VEHICLE RECOVERY (freeing a stuck
vehicle)
Pulling a stuck vehicle
If your vehicle is stuck in sand, snow, mud, etc.,
use a tow strap or other device designed specifi-
cally for vehicle recovery. Always follow the re-
covery device manufacturer’s instructions.
Attach the tow strap to the towing hook.
WARNING
●Stand clear of a stuck vehicle.
●Do not spin your tires at high speed.
This could cause them to explode and
result in serious injury. Parts of your
vehicle could also overheat and be
damaged.
CAUTION
●Tow chains or cables must be attached
only to the main structural members of
the vehicle or the towing hooks (if so
equipped). Otherwise, the vehicle body
will be damaged.
●Use the towing hook (if so equipped)
only to free a vehicle stuck in sand,
snow, mud, etc. Never tow the vehicle
for a long distance using only the tow-
ing hook.
●The towing hook is under tremendous
force when used to free a stuck vehicle.
Never pull the hook at an angle.
●Always pull the cable straight out from
the front or rear of the vehicle.
●Pulling devices should be routed so
they do not touch any part of the sus-
pension, steering, brake or cooling
systems.
●Pulling devices such as ropes or canvas
straps are not recommended for use in
vehicle towing or recovery.
Rocking a stuck vehicle
If your vehicle is stuck in sand, snow, mud, etc.,
use the following procedure:
1. Turn off the Vehicle Dynamic Control System
(if so equipped).
2. Make sure the area in front and behind the
vehicle is clear of obstructions.
3. Turn the steering wheel right and left to clear
an area around the front tires.
4. Slowly rock the vehicle forward and back-
ward.
●Shift back and forth between R (Reverse)
and D (Drive).
●Apply the accelerator as little as possible
to maintain the rocking motion.
●Release the accelerator pedal before
shifting between R and D.
●Do not spin the tires above 35 mph (55
km/h).
5. If the vehicle cannot be freed after a few
tries, contact a professional towing service
to remove the vehicle.
LCE0103
6-14 In case of emergency
ZREVIEW COPY—
2008 Pathfinder (pat)
Owners Manual—USA_English (nna)
03/23/07—debbie
X

7 Appearance and care
Cleaning exterior ..................................7-2
Washing ......................................7-2
Waxing........................................7-2
Removing spots ................................7-3
Underbody ....................................7-3
Glass .........................................7-3
Aluminum alloy wheels ..........................7-3
Chrome parts ..................................7-3
Tire dressings..................................7-3
Cleaning interior...................................7-4
Floor mats .....................................7-4
Seat belts .....................................7-5
Corrosion protection...............................7-5
Most common factors contributing to vehicle
corrosion ......................................7-5
Environmental factors influence the rate of
corrosion ......................................7-5
To protect your vehicle from corrosion ............7-5
ZREVIEW COPY—
2008 Pathfinder (pat)
Owners Manual—USA_English (nna)
03/23/07—debbie
X

In order to maintain the appearance of your ve-
hicle, it is important to take proper care of it.
To protect the paint surfaces, please wash your
vehicle as soon as you can:
●after a rainfall to prevent possible damage
from acid rain.
●after driving on coastal roads.
●when contaminants such as soot, bird drop-
pings, tree sap, metal particles or bugs get
on the paint surface.
●when dust or mud builds up on the surface.
Whenever possible, store or park your vehicle
inside a garage or in a covered area.
When it is necessary to park outside, park in a
shady area or protect the vehicle with a body
cover.
Be careful not to scratch the paint surface
when putting on or removing the body
cover.
WASHING
Wash dirt off with a wet sponge and plenty of
water. Clean the vehicle thoroughly using a mild
soap, a special vehicle soap or general purpose
dishwashing liquid mixed with clean, lukewarm
(never hot) water.
CAUTION
●Do not use car washes that use acid in
the detergent. Some car washes, espe-
cially brushless ones, use some acid for
cleaning. The acid may react with some
plastic vehicle components, causing
them to crack. This could affect their
appearance, and also could cause them
not to function properly. Always check
with your car wash to confirm that acid
is not used.
●Do not wash the vehicle with strong
household soap, strong chemical deter-
gents, gasoline or solvents.
●Do not wash the vehicle in direct sun-
light or while the vehicle body is hot, as
the surface may become water-spotted.
●Avoid using tight-napped or rough
cloths, such as washing mitts. Care
must be taken when removing
caked-on dirt or other foreign sub-
stances so the paint surface is not
scratched or damaged.
Rinse the vehicle thoroughly with plenty of clean
water.
Inside flanges, seams and folds on the doors,
hatches and hood are particularly vulnerable to
the effects of road salt. Therefore, these areas
must be cleaned regularly. Take care that the
drain holes in the lower edge of the door are
open. Spray water under the body and in the
wheel wells to loosen the dirt and wash away
road salt.
A damp chamois can be used to dry the vehicle to
avoid water spots.
WAXING
Regular waxing protects the paint surface and
helps retain new vehicle appearance. Polishing is
recommended to remove built-up wax residue
and to avoid a weathered appearance before
re-applying wax.
A NISSAN dealer can assist you in choosing the
proper product.
●Wax your vehicle only after a thorough wash-
ing. Follow the instructions supplied with the
wax.
●Do not use a wax containing any abrasives,
cutting compounds or cleaners that may
damage the vehicle finish.
Machine compounding or aggressive polishing
on a base coat/clear coat paint finish may dull the
finish or leave swirl marks.
CLEANING EXTERIOR
7-2 Appearance and care
ZREVIEW COPY—
2008 Pathfinder (pat)
Owners Manual—USA_English (nna)
03/23/07—debbie
X

REMOVING SPOTS
Remove tar and oil spots, industrial dust, insects,
and tree sap as quickly as possible from the
surface of the paint to avoid lasting damage or
staining. Special cleaning products are available
at a NISSAN dealer or any automotive accessory
store.
UNDERBODY
In areas where road salt is used in winter, it is
necessary to clean the underbody regularly in
order to prevent dirt and salt from building up and
causing the acceleration of corrosion on the un-
derbody and suspension. Before the winter pe-
riod and again in the spring, the underseal must
be checked and, if necessary, retreated.
GLASS
Use glass cleaner to remove smoke and dust film
from the glass surfaces. It is normal for glass to
become coated with a film after the vehicle is
parked in the hot sun. Glass cleaner and a soft
cloth will easily remove this film.
CAUTION
When cleaning the inside of the windows,
do not use sharp-edged tools, abrasive
cleaners or chlorine-based disinfectant
cleaners. They could damage the electri-
cal conductors, radio antenna elements or
rear window defroster elements.
ALUMINUM ALLOY WHEELS
Wash the wheels regularly with a sponge damp-
ened in a mild soap solution, especially during
winter months in areas where road salt is used. If
not removed, road salt can discolor the wheels.
CAUTION
Follow the directions below to avoid
staining or discoloring the wheels:
●Do not use a cleaner that uses strong
acid or alkali contents to clean the
wheels.
●Do not apply wheel cleaners to the
wheels when they are hot. The wheel
temperature should be the same as am-
bient temperature.
●Rinse the wheel to completely remove
the cleaner within 15 minutes after the
cleaner is applied.
CHROME PARTS
Clean all chrome parts regularly with a non-
abrasive chrome polish to maintain the finish.
TIRE DRESSINGS
NISSAN does not recommend the use of tire
dressings. Tire manufacturers apply a coating to
the tires to help reduce discoloration of the rub-
ber. If a tire dressing is applied to the tires, it may
react with the coating and form a compound. This
compound may come off the tire while driving and
stain the vehicle paint.
If you choose to use a tire dressing, take the
following precautions:
●Use a water-based tire dressing. The coat-
ing on the tire dissolves more easily with an
oil-based tire dressing.
●Apply a light coat of tire dressing to help
prevent it from entering the tire
tread/grooves (where it would be difficult to
remove).
●Wipe off excess tire dressing using a dry
towel. Make sure the tire dressing is com-
pletely removed from the tire tread/grooves.
●Allow the tire dressing to dry as recom-
mended by tire dressing manufacturer.
Appearance and care 7-3
ZREVIEW COPY—
2008 Pathfinder (pat)
Owners Manual—USA_English (nna)
03/23/07—debbie
X

Occasionally remove loose dust from the interior
trim, plastic parts and seats using a vacuum
cleaner or soft bristled brush. Wipe the vinyl and
leather surfaces with a clean, soft cloth damp-
ened in mild soap solution, then wipe clean with a
dry, soft cloth.
Regular care and cleaning is required in order to
maintain the appearance of the leather.
Before using any fabric protector, read the manu-
facturer’s recommendations. Some fabric pro-
tectors contain chemicals that may stain or
bleach the seat material.
Use a cloth dampened only with water to clean
the meter and gauge lens.
CAUTION
●Never use benzine, thinner or any simi-
lar material.
●Small dirt particles can be abrasive and
damaging to leather surfaces and
should be removed promptly. Do not
use saddle soap, car waxes, polishes,
oils, cleaning fluids, solvents, deter-
gents or ammonia-based cleaners as
they may damage the leather’s natural
finish.
●Never use fabric protectors unless rec-
ommended by the manufacturer.
●Do not use glass or plastic cleaner on
meter or gauge lens covers. It may dam-
age the lens cover.
FLOOR MATS
The use of genuine NISSAN floor mats can ex-
tend the life of your vehicle carpet and make it
easier to clean the interior. No matter what
mats are used, be sure they are fitted for
your vehicle and are properly positioned in
the footwell to prevent interference with
pedal operation. Mats should be maintained
with regular cleaning and replaced if they be-
come excessively worn. Floor mat positioning aid (driver’s side
only)
This vehicle includes a front floor mat bracket to
act as a floor mat positioning aid. NISSAN floor
mats have been specially designed for your ve-
hicle model. The driver’s side floor mat has a
grommet hole incorporated in it. Position the mat
by placing the floor mat bracket hook through the
floor mat grommet hole while centering the mat in
the footwell.
Periodically check to make certain the mats are
properly positioned.
WAI0006
CLEANING INTERIOR
7-4 Appearance and care
ZREVIEW COPY—
2008 Pathfinder (pat)
Owners Manual—USA_English (nna)
03/23/07—debbie
X

SEAT BELTS
The seat belts can be cleaned by wiping them
with a sponge dampened in a mild soap solution.
Allow the belts to dry completely in the shade
before using them. See “Seat belt maintenance”
in the “Safety – Seats, seat belts and supplemen-
tal restraint system” section of this manual.
WARNING
Do not allow wet seat belts to roll up in the
retractor. NEVER use bleach, dye or
chemical solvents to clean the seat belts,
since these materials may severely
weaken the seat belt webbing.
MOST COMMON FACTORS
CONTRIBUTING TO VEHICLE
CORROSION
●The accumulation of moisture-retaining dirt
and debris in body panel sections, cavities,
and other areas.
●Damage to paint and other protective coat-
ings caused by gravel and stone chips or
minor traffic accidents.
ENVIRONMENTAL FACTORS
INFLUENCE THE RATE OF
CORROSION
Moisture
Accumulation of sand, dirt and water on the ve-
hicle body underside can accelerate corrosion.
Wet floor coverings will not dry completely inside
the vehicle, and should be removed for drying to
avoid floor panel corrosion.
Relative humidity
Corrosion will be accelerated in areas of high
relative humidity, especially those areas where
the temperatures stay above freezing and where
atmospheric pollution exists and road salt is
used.
Temperature
High temperatures accelerate the rate of corro-
sion to those parts which are not well ventilated.
Air pollution
Industrial pollution, the presence of salt in the air
in coastal areas, or heavy road salt use acceler-
ates the corrosion process. Road salt also accel-
erates the disintegration of paint surfaces.
TO PROTECT YOUR VEHICLE
FROM CORROSION
●Wash and wax your vehicle often to keep the
vehicle clean.
●Always check for minor damage to the paint
and repair it as soon as possible.
●Keep drain holes at the bottom of the doors
open to avoid water accumulation.
●Check the underbody for accumulation of
sand, dirt or salt. If present, wash with water
as soon as possible.
CORROSION PROTECTION
Appearance and care 7-5
ZREVIEW COPY—
2008 Pathfinder (pat)
Owners Manual—USA_English (nna)
03/23/07—debbie
X

CAUTION
●NEVER remove dirt, sand or other de-
bris from the passenger compartment
by washing it out with a hose. Remove
dirt with a vacuum cleaner or broom.
●Never allow water or other liquids to
come in contact with electronic compo-
nents inside the vehicle as this may
damage them.
Chemicals used for road surface de-icing are
extremely corrosive. They accelerate corrosion
and deterioration of underbody components
such as the exhaust system, fuel and brake lines,
brake cables, floor pan and fenders.
In winter, the underbody must be cleaned
periodically.
For additional protection against rust and corro-
sion, which may be required in some areas, con-
sult a NISSAN dealer.
7-6 Appearance and care
ZREVIEW COPY—
2008 Pathfinder (pat)
Owners Manual—USA_English (nna)
03/23/07—debbie
X

8 Maintenance and do-it-yourself
Maintenance requirements..........................8-2
General maintenance ..............................8-2
Explanation of general maintenance items .........8-2
Maintenance precautions...........................8-5
Engine compartment check locations ................8-6
Engine cooling system .............................8-8
Checking engine coolant level ...................8-8
Changing engine coolant........................8-9
Engine oil.........................................8-9
Checking engine oil level ........................8-9
Changing engine oil ...........................8-10
Changing engine oil filter .......................8-11
5-speed automatic transmission fluid ...............8-12
Power steering fluid...............................8-13
Brake fluid .......................................8-13
Brake fluid ....................................8-13
Window washer fluid .............................8-14
Window washer fluid reservoir ..................8-14
Battery ..........................................8-15
Jump starting .................................8-16
Variable Voltage Control System ...................8-16
Drive belt ........................................8-17
Spark plugs......................................8-18
Replacing spark plugs .........................8-18
Air cleaner .......................................8-19
In-cabin microfilter.............................8-19
Windshield wiper blades ..........................8-20
Cleaning .....................................8-20
Replacing ....................................8-21
Brakes ..........................................8-23
Fuses ...........................................8-23
Engine compartment...........................8-24
Passenger compartment .......................8-25
Battery replacement ..............................8-26
Keyfob .......................................8-26
Intelligent Key battery ..........................8-28
Lights ...........................................8-29
Headlights....................................8-29
Exterior and interior lights.......................8-30
Wheels and tires .................................8-33
Tire pressure..................................8-33
Tire labeling...................................8-37
Types of tires..................................8-39
Tire chains....................................8-40
Changing wheels and tires .....................8-40
ZREVIEW COPY—
2008 Pathfinder (pat)
Owners Manual—USA_English (nna)
03/23/07—debbie
X
Your new NISSAN has been designed to have
minimum maintenance requirements with long
service intervals to save you both time and
money. However, some day-to-day and regular
maintenance is essential to maintain your NIS-
SAN’s good mechanical condition, as well as its
emission and engine performance.
It is the owner’s responsibility to make sure that
the scheduled maintenance, as well as general
maintenance, is performed.
As the vehicle owner, you are the only one who
can ensure that your vehicle receives proper
maintenance. You are a vital link in the mainte-
nance chain.
Scheduled maintenance
For your convenience, both required and optional
scheduled maintenance items are described and
listed in your “NISSAN Service and Maintenance
Guide.” You must refer to that guide to ensure
that necessary maintenance is performed on your
NISSAN at regular intervals.
General maintenance
General maintenance includes those items which
should be checked during normal day-to-day op-
eration. They are essential for proper vehicle op-
eration. It is your responsibility to perform these
maintenance procedures regularly as prescribed.
Performing general maintenance checks requires
minimal mechanical skill and only a few general
automotive tools.
These checks or inspections can be done by you,
a qualified technician, or, if you prefer, a NISSAN
dealer.
Where to go for service
If maintenance service is required or your vehicle
appears to malfunction, have the systems
checked and corrected by a NISSAN dealer.
NISSAN technicians are well-trained specialists
who are kept up-to-date with the latest service
information through technical bulletins, service
tips, and in-dealership training programs. They
are completely qualified to work on NISSAN ve-
hicles before they work on your vehicle, rather
than after they have worked on it.
You can be confident that a NISSAN dealer’s
service department performs the best job to meet
the maintenance requirements on your vehicle —
in a reliable and economical way.
During the normal day-to-day operation of the
vehicle, general maintenance should be per-
formed regularly as prescribed in this section. If
you detect any unusual sounds, vibrations or
smells, be sure to check for the cause or have a
NISSAN dealer do it promptly. In addition, you
should notify a NISSAN dealer if you think that
repairs are required.
When performing any checks or maintenance
work, closely observe the “Maintenance precau-
tions” later in this section.
EXPLANATION OF GENERAL
MAINTENANCE ITEMS
Additional information on the following
items with “*” is found later in this section.
Outside the vehicle
The maintenance items listed here should be
performed from time to time, unless otherwise
specified.
Doors and engine hood Check that the doors
and engine hood operate properly. Also ensure
that all latches lock securely. Lubricate hinges,
latches, latch pins, rollers and links as necessary.
Make sure that the secondary latch keeps the
hood from opening when the primary latch is
released.
MAINTENANCE REQUIREMENTS GENERAL MAINTENANCE
8-2 Maintenance and do-it-yourself
ZREVIEW COPY—
2008 Pathfinder (pat)
Owners Manual—USA_English (nna)
03/23/07—debbie
X
When driving in areas using road salt or other
corrosive materials, check lubrication frequently.
Lights* Clean the headlights on a regular basis.
Make sure that the headlights, stop lights, tail
lights, turn signal lights, and other lights are all
operating properly and installed securely. Also
check headlight aim.
Road wheel nuts* When checking the tires,
make sure no wheel nuts are missing, and check
for any loose wheel nuts. Tighten if necessary.
Tire rotation* Tires should be rotated every
7,500 miles (12,000 km).
Tires* Check the pressure with a gauge often
and always prior to long distance trips. If neces-
sary, adjust the pressure in all tires, including the
spare, to the pressure specified. Check carefully
for damage, cuts or excessive wear.
Tire Pressure Monitoring System (TPMS)
transmitter components Replace the grom-
met seal, valve core and cap of the transmitter in
vehicles equipped with TPMS at every tire re-
placement or when reaching the wear limit of the
tires.
Wheel alignment and balance If the vehicle
should pull to either side while driving on a
straight and level road, or if you detect uneven or
abnormal tire wear, there may be a need for wheel
alignment. If the steering wheel or seat vibrates at
normal highway speeds, wheel balancing may be
needed.
●For additional information regarding tires,
refer to “Important Tire Safety Information”
(US) or “Tire Safety Information”(Canada) in
the Warranty Information Booklet .
Windshield Clean the windshield on a regular
basis. Check the windshield at least every six
months for cracks or other damage. Have a dam-
aged windshield repaired by a qualified repair
facility.
Windshield wiper blades* Check for cracks or
wear if they do not wipe properly.
Inside the vehicle
The maintenance items listed here should be
checked on a regular basis, such as when per-
forming periodic maintenance, cleaning the ve-
hicle, etc.
Additional information on the following
items with an “*” is found later in this sec-
tion.
Accelerator pedal Check the pedal for smooth
operation and make sure the pedal does not bind
or require uneven effort. Keep the floor mat away
from the pedal.
Automatic transmission P (Park) position
mechanism On a fairly steep hill check that your
vehicle is held securely with the selector lever in
the P (Park) position without applying any brakes.
Brake pedal Check the pedal for smooth opera-
tion and keep the floor mat away from the pedal.
Brakes Check that the brakes do not pull the
vehicle to one side when applied.
Parking brake Confirm that your vehicle is held
securely on a fairly steep hill with only the parking
brake applied.
Seats Check seat position controls such as seat
adjusters, seatback recliner, etc. to ensure they
operate smoothly and all latches lock securely in
every position. Check that the head restraints
move up and down smoothly and the locks (if so
equipped) hold securely in all latched positions.
Seat belts Check that all parts of the seat belt
system (for example, buckles, anchors, adjusters
and retractors) operate properly and smoothly,
and are installed securely. Check the belt web-
bing for cuts, fraying, wear or damage.
Steering wheel Check for changes in the steer-
ing system, such as excessive freeplay, hard
steering or strange noises.
Warning lights and chimes Make sure all
warning lights and chimes are operating properly.
Maintenance and do-it-yourself 8-3
ZREVIEW COPY—
2008 Pathfinder (pat)
Owners Manual—USA_English (nna)
03/23/07—debbie
X
Windshield wiper and washer* Check that
the wipers and washer operate properly and that
the wipers do not streak.
Windshield defroster Check that the air
comes out of the defroster outlets properly and in
sufficient quantity when operating the heater or
air conditioner.
Under the hood and vehicle
The maintenance items listed here should be
checked periodically (for example, each time you
check the engine oil or refuel).
Battery* Check the fluid level in each cell. It
should be between the MAX and MIN lines. Ve-
hicles operated in high temperatures or under
severe conditions require frequent checks of the
battery fluid level.
Brake fluid levels* Make sure that the brake
fluid level is between the MIN and MAX lines on
the reservoir.
Engine coolant level* Check the coolant level
when the engine is cold.
Engine drive belts* Make sure the drive belts
are not frayed, worn, cracked or oily.
Engine oil level* Check the level after parking
the vehicle on a level surface with the engine off.
Wait more than 10 minutes for the oil to drain
back into the oil pan.
Exhaust system Make sure there are no loose
supports, cracks or holes. If the sound of the
exhaust seems unusual or there is a smell of
exhaust fumes, immediately have the exhaust
system inspected by a NISSAN dealer. See the
carbon monoxide warning in the “Starting and
driving” section of this manual.
Fluid leaks Check under the vehicle for fuel, oil,
water or other fluid leaks after the vehicle has
been parked for a while. Water dripping from the
air conditioner after use is normal. If you should
notice any leaks or if gasoline fumes are evident,
check for the cause and have it corrected imme-
diately.
Power steering fluid level* and lines Check
the level when the fluid is cold, with the engine
off. Check the lines for proper attachment, leaks,
cracks, etc.
Radiator and hoses Check the front of the
radiator and clean off any dirt, insects, leaves,
etc., that may have accumulated. Make sure the
hoses have no cracks, deformation, rot or loose
connections.
Underbody The underbody is frequently ex-
posed to corrosive substances such as those
used on icy roads or to control dust. It is very
important to remove these substances from the
underbody, otherwise rust may form on the floor
pan, frame, fuel lines and exhaust system. At the
end of winter, the underbody should be thor-
oughly flushed with plain water, in those areas
where mud and dirt may have accumulated. See
the “Appearance and care” section of this
manual.
Windshield washer fluid* Check that there is
adequate fluid in the reservoir.
8-4 Maintenance and do-it-yourself
ZREVIEW COPY—
2008 Pathfinder (pat)
Owners Manual—USA_English (nna)
03/23/07—debbie
X

When performing any inspection or maintenance
work on your vehicle, always take care to prevent
serious accidental injury to yourself or damage to
the vehicle. The following are general precau-
tions which should be closely observed.
WARNING
●Park the vehicle on a level surface, ap-
ply the parking brake securely and
block the wheels to prevent the vehicle
from moving. Move the shift selector
lever to P (Park).
●Be sure the ignition key is in the OFF or
LOCK position when performing any
parts replacement or repairs.
●Never leave the engine or automatic
transmission related component har-
nesses disconnected while the ignition
switch is in the ON position.
●Never connect or disconnect the battery
or any transistorized component while
the ignition switch is in the ON position.
●
Your vehicle is equipped with an auto-
matic engine cooling fan. It may come on
at any time without warning, even if the
ignition key is in the OFF position and the
engine is not running. To avoid injury,
always disconnect the negative battery
cable before working near the fan.
●If you must work with the engine run-
ning, keep your hands, clothing, hair
and tools away from moving fans, belts
and any other moving parts.
●It is advisable to secure or remove any
loose clothing and remove any jewelry,
such as rings, watches, etc. before
working on your vehicle.
●Always wear eye protection whenever
you work on your vehicle.
●If you must run the engine in an en-
closed space such as a garage, be sure
there is proper ventilation for exhaust
gases to escape.
●Never get under the vehicle while it is
supported only by a jack. If it is neces-
sary to work under the vehicle, support
it with safety stands.
●Keep smoking materials, flame and
sparks away from the fuel tank and
battery.
●On gasoline engine models, the fuel
filter or fuel lines should be serviced by
a NISSAN dealer because the fuel lines
are under high pressure even when the
engine is off.
CAUTION
●Do not work under the hood while the
engine is hot. Turn the engine off and
wait until it cools down.
●Avoid contact with used engine oil and
coolant. Improperly disposed engine
oil, engine coolant and/or other vehicle
fluids can damage the environment. Al-
ways conform to local regulations for
disposal of vehicle fluid.
This “Maintenance and do-it-yourself” section
gives instructions regarding only those items
which are relatively easy for an owner to perform.
A genuine NISSAN service manual is also avail-
able. See “Owner’s Manual/Service Manual or-
der information” in the “Technical and consumer
information” section of this manual.
You should be aware that incomplete or improper
servicing may result in operating difficulties or
excessive emissions, and could affect warranty
coverage. If in doubt about any servicing,
have it done by a NISSAN dealer.
MAINTENANCE PRECAUTIONS
Maintenance and do-it-yourself 8-5
ZREVIEW COPY—
2008 Pathfinder (pat)
Owners Manual—USA_English (nna)
03/23/07—debbie
X

VQ40DE engine
1. Windshield washer fluid reservoir
2. Fuse/fusible link box
3. Fuse and relay box
4. Engine oil filler cap
5. Engine oil dipstick
6. Brake fluid reservoir
7. Air cleaner
8. Drive belt location
9. Radiator cap
10. Power steering fluid reservoir
11. Battery
12. Engine coolant reservoir
WDI0633
ENGINE COMPARTMENT CHECK
LOCATIONS
8-6 Maintenance and do-it-yourself
ZREVIEW COPY—
2008 Pathfinder (pat)
Owners Manual—USA_English (nna)
03/23/07—debbie
X

VK56DE engine
1. Windshield washer fluid reservoir
2. Fuse/fusible link box
3. Engine oil dipstick
4. Engine oil filler cap
5. Brake fluid reservoir
6. Air cleaner
7. Drive belt location
8. Radiator cap
9. Power steering fluid reservoir
10. Fuse and relay box
11. Battery
12. Engine coolant reservoir
NOTE:
Engine cover removed for clarity.
WDI0627
Maintenance and do-it-yourself 8-7
ZREVIEW COPY—
2008 Pathfinder (pat)
Owners Manual—USA_English (nna)
03/23/07—debbie
X

The engine cooling system is filled at the factory
with Genuine NISSAN Long Life
Antifreeze/Coolant to provide year-round anti-
freeze and coolant protection.The anti-freeze so-
lution contains rust and corrosion inhibitors. Ad-
ditional engine cooling system additives are not
necessary.
WARNING
●Never remove the radiator or coolant
reservoir cap when the engine is hot.
Wait until the engine and radiator cool
down. Serious burns could be caused
by high pressure fluid escaping from
the radiator. See precautions in “If your
vehicle overheats” found in the “In case
of emergency” section of this manual.
●The radiator is equipped with a pres-
sure type radiator cap. To prevent en-
gine damage, use only a genuine
NISSAN radiator cap.
CAUTION
When adding or replacing coolant, be sure
to use only a Genuine NISSAN Long Life
Antifreeze/Coolant (green) or equivalent
with the proper mixture ratio of 50% anti-
freeze and 50% demineralized or distilled
water. The use of other types of coolant
solutions or coolant colors, such as or-
ange, may damage the engine cooling
system.
Outside temperature
down to
Genuine
NISSAN
Long Life
Antifreeze/
Coolant or
equivalent
Demineral-
ized or dis-
tilled water
°C °F
-35 -30 50% 50%
CHECKING ENGINE COOLANT
LEVEL
Check the coolant level in the reservoir when
the engine is cold. If the coolant level is below
the MIN level, add coolant to the MAX level. If the
reservoir is empty, check the coolant level in the
radiator when the engine is cold. If there is
insufficient coolant in the radiator, fill the radiator
with coolant up to the filler opening and also add
it to the reservoir up to the MAX level.
The engine coolant reservoir is a pressur-
ized tank. When installing the cap, tighten
it until a clicking sound is heard.
LDI0436
ENGINE COOLING SYSTEM
8-8 Maintenance and do-it-yourself
ZREVIEW COPY—
2008 Pathfinder (pat)
Owners Manual—USA_English (nna)
03/23/07—debbie
X

If the cooling system frequently requires
coolant, have it checked by a NISSAN
dealer.
CHANGING ENGINE COOLANT
A NISSAN dealer can change the engine coolant.
The service procedure can be found in the
NISSAN Service Manual.
Improper servicing can result in reduced
heater performance and engine overheat-
ing.
WARNING
●To avoid the danger of being scalded,
never change the coolant when the en-
gine is hot.
●Never remove the radiator cap when the
engine is hot. Serious burns could be
caused by high pressure fluid escaping
from the radiator.
●Avoid direct skin contact with used
coolant. If skin contact is made, wash
thoroughly with soap or hand cleaner
as soon as possible.
●Keep coolant out of the reach of chil-
dren and pets.
Engine coolant must be disposed of properly.
Check your local regulations.
CHECKING ENGINE OIL LEVEL
1. Park the vehicle on a level surface and apply
the parking brake.
2. Start the engine and let it idle until it reaches
operating temperature.
3. Turn off the engine. Wait more than 10
minutes for the oil to drain back into
the oil pan.
4. Remove the dipstick and wipe it clean. Re-
insert it all the way.
5. Remove the dipstick again and check the oil
level. It should be between the H (High) and
L (Low) marks s
B. This is the normal oper-
ating oil level range. If the oil level is below
the L (Low) mark s
A, remove the oil filler cap
and pour recommended oil through the
opening. Do not overfill s
C.
6. Recheck oil level with the dipstick.
It is normal to add some oil between oil
maintenance intervals or during the
break-in period, depending on the severity
of operating conditions.
VQ40DE engine
LDI0437
VK56DE engine
LDI0628
ENGINE OIL
Maintenance and do-it-yourself 8-9
ZREVIEW COPY—
2008 Pathfinder (pat)
Owners Manual—USA_English (nna)
03/23/07—debbie
X

CAUTION
Oil level should be checked regularly. Op-
erating the engine with an insufficient
amount of oil can damage the engine, and
such damage is not covered by warranty.
CHANGING ENGINE OIL
1. Park the vehicle on a level surface and apply
the parking brake.
2. Start the engine and let it idle until it reaches
operating temperature, then turn it off.
3. Remove the oil filler s
Acap by turning it
counterclockwise.
4. Place a large drain pan under the drain plug
s
B.
5. Remove the drain plug s
Bwith a wrench by
turning it counterclockwise and completely
drain the oil.
LDI0371 VQ40DE engine
WDI0500
VK56DE engine
WDI0504
8-10 Maintenance and do-it-yourself
ZREVIEW COPY—
2008 Pathfinder (pat)
Owners Manual—USA_English (nna)
03/23/07—debbie
X

If the oil filter is to be changed, remove and
replace it at this time. See “Changing engine
oil filter” later in this section.
WARNING
●Prolonged and repeated contact with
used engine oil may cause skin cancer.
●Try to avoid direct skin contact with
used oil. If skin contact is made, wash
thoroughly with soap or hand cleaner
as soon as possible.
●Keep used engine oil out of reach of
children.
CAUTION
Be careful not to burn yourself. The engine
oil may be hot.
●Waste oil must be disposed of prop-
erly.
●Check your local regulations.
6. Clean and reinstall the drain plug and a new
washer. Securely tighten the drain plug with
a wrench. Do not use excessive force.
Drain plug tightening torque:
22 - 29 ft-lb (29 - 39 N·m)
7. Refill engine with recommended oil through
the oil filler opening, then install the oil filler
cap securely.
See “Capacities and recommended
fuel/lubricants” in the “Technical and con-
sumer information” section of this manual for
drain and refill capacity.
The drain and refill capacity depends on the
oil temperature and drain time. Use these
specifications for reference only. Always use
the dipstick to determine when the proper
amount of oil is in the engine.
8. Start the engine. Check for leakage around
the drain plug and oil filter. Correct as re-
quired.
9. Turn the engine off and wait more than 10
minutes. Check the oil level with the dipstick.
Add engine oil if necessary.
CHANGING ENGINE OIL FILTER
1. Park the vehicle on a level surface and apply
the parking brake.
2. Turn the engine off.
3. Place a large drain pan under the oil filter.
4. Unscrew the plate covering the oil filter ex-
posing the filter.
5. Loosen the oil filter s
Awith an oil filter
wrench by turning it counterclockwise. Then
remove the oil filter by turning it by hand.
VQ40DE
WDI0502
Maintenance and do-it-yourself 8-11
ZREVIEW COPY—
2008 Pathfinder (pat)
Owners Manual—USA_English (nna)
03/23/07—debbie
X

CAUTION
Be careful not to burn yourself. The engine
oil may be hot.
6. Wipe the engine oil filter sealing surface with
a clean rag.
Be sure to remove any old gasket material
remaining on the sealing surface of the en-
gine.
7. Coat the gasket on the new filter with clean
engine oil.
8. Screw on the oil filter until a slight resistance
is felt, then tighten an additional 2/3 turn.
9. Start the engine and check for leakage
around the oil filter. Correct as required.
10. Turn the engine off and wait more than 10
minutes. Check the oil level. Add engine oil if
necessary.
When checking or replacement is required, we
recommend your NISSAN dealer for servicing.
CAUTION
●Use only Genuine NISSAN Matic J ATF.
Do not mix with other fluids.
●Using automatic transmission fluid
other than Genuine NISSAN Matic J ATF
will cause deterioration in driveability
and automatic transmission durability,
and may damage the automatic trans-
mission, which is not covered by the
NISSAN new vehicle limited warranty.
The specified automatic transmission fluid is also
described on caution labels located in the engine
compartment.
VK56DE
WDI0505
5-SPEED AUTOMATIC
TRANSMISSION FLUID
8-12 Maintenance and do-it-yourself
ZREVIEW COPY—
2008 Pathfinder (pat)
Owners Manual—USA_English (nna)
03/23/07—debbie
X

The fluid level should be checked using the HOT
MAX range on the power steering fluid reservoir
at fluid temperatures of 122° - 176°F (50° -
80°C) or using the COLD MAX range on the
power steering fluid reservoir at fluid tempera-
tures of 32° - 86°F (0° - 30°C).
If the fluid is below the MIN line, add Genuine
NISSAN PSF. Remove the cap and fill through
the opening.
CAUTION
●DO NOT OVERFILL.
●Recommended fluid is Genuine
NISSAN PSF or equivalent.
For further brake fluid specification information,
refer to “Capacities and recommended
fuel/lubricants” in the “Technical and consumer
information” section of this manual.
WARNING
●Use only new fluid from a sealed con-
tainer. Old, inferior or contaminated
fluid may damage the brake system.
The use of improper fluids can damage
the brake system and affect the vehi-
cle’s stopping ability.
●Be sure to clean the filler cap before
removing.
CAUTION
Do not spill the fluid on any painted sur-
faces. This will damage the paint. If fluid is
spilled, immediately wash the surface
with water.
BRAKE FLUID
Check the brake fluid level in the reservoir. If the
fluid level is below the MIN line or the brake
warning light comes on, add Genuine NISSAN
Super Heavy Duty Brake Fluid or equivalent DOT
3fluid up to the MAX line. If fluid must be added
frequently, the system should be checked by a
NISSAN dealer.
WDI0256 VQ40DE
LDI0440
POWER STEERING FLUID BRAKE FLUID
Maintenance and do-it-yourself 8-13
ZREVIEW COPY—
2008 Pathfinder (pat)
Owners Manual—USA_English (nna)
03/23/07—debbie
X

WINDOW WASHER FLUID
RESERVOIR
Fill the window washer fluid reservoir periodically.
Add window washer fluid when the low window
washer fluid warning light comes on.
To fill the window washer fluid reservoir, lift the
cap off the reservoir tank and pour the window
washer fluid into the tank opening.
Add a washer solvent to the washer for better
cleaning. In the winter season, add a windshield
washer antifreeze. Follow the manufacturer’s in-
structions for the mixture ratio.
Refill the reservoir more frequently when driving
conditions require an increased amount of win-
dow washer fluid.
Recommended fluid is Genuine NISSAN Wind-
shield Washer Concentrate Cleaner & Anti-
freeze or equivalent.
CAUTION
●Do not substitute engine anti-freeze
coolant for window washer solution.
This may result in damage to the paint.
●Do not fill the window washer reservoir
tank with washer fluid concentrates at
full strength. Some methyl alcohol
based washer fluid concentrates may
permanently stain the grille if spilled
while filling the window washer reser-
voir tank.
●Pre-mix washer fluid concentrates with
water to the manufacturer’s recom-
mended levels before pouring the fluid
into the window washer reservoir tank.
Do not use the window washer reservoir
tank to mix the washer fluid concen-
trate and water.
VK56DE
LDI0374 LDI0441
WINDOW WASHER FLUID
8-14 Maintenance and do-it-yourself
ZREVIEW COPY—
2008 Pathfinder (pat)
Owners Manual—USA_English (nna)
03/23/07—debbie
X

●Keep the battery surface clean and dry.
Clean the battery with a solution of baking
soda and water.
●Make certain the terminal connections are
clean and securely tightened.
●If the vehicle is not to be used for 30 days or
longer, disconnect the negative (-) battery
terminal cable to prevent discharge.
WARNING
●Do not expose the battery to flames or
electrical sparks. Hydrogen gas gener-
ated by the battery is explosive. Do not
allow battery fluid to contact your skin,
eyes, fabrics or painted surfaces. After
touching a battery or battery cap, do not
touch or rub your eyes. Thoroughly
wash your hands. If the acid contacts
your eyes, skin or clothing, immediately
flush with water for at least 15 minutes
and seek medical attention.
●Do not operate the vehicle if the fluid in
the battery is low. Low battery fluid can
cause a higher load on the battery
which can generate heat, reduce bat-
tery life, and in some cases lead to an
explosion.
●When working on or near a battery, al-
ways wear suitable eye protection and
remove all jewelry.
●Battery posts, terminals and related ac-
cessories contain lead and lead com-
pounds. Wash hands after handling.
●Keep battery out of the reach of
children.
1. Remove the battery caps with a screwdriver
as shown. Use a cloth to protect the battery
case.
WDI0224
BATTERY
Maintenance and do-it-yourself 8-15
ZREVIEW COPY—
2008 Pathfinder (pat)
Owners Manual—USA_English (nna)
03/23/07—debbie
X

2. Check the fluid level in each cell. If it is
necessary to add fluid, add only distilled
water to bring the level up to the bottom of
the filler opening. Do not overfill.
Vehicles operated in high temperatures or under
severe conditions require frequent checks of the
battery fluid level.
JUMP STARTING
If jump starting is necessary, see “Jump starting”
in the “In case of emergency” section of this
manual. If the engine does not start by jump
starting, the battery may have to be replaced.
Contact a NISSAN dealer.
CAUTION
●Do not ground accessories directly to
the battery terminal. Doing so will by-
pass the variable voltage control sys-
tem and the vehicle battery may not
charge completely.
●Use electrical accessories with the en-
gine running to avoid discharging the
vehicle battery.
LDI0302
LDI0454
VARIABLE VOLTAGE CONTROL
SYSTEM
8-16 Maintenance and do-it-yourself
ZREVIEW COPY—
2008 Pathfinder (pat)
Owners Manual—USA_English (nna)
03/23/07—debbie
X

Your vehicle is equipped with a variable voltage
control system. This system measures the
amount of electrical discharge from the battery
and controls voltage generated by the generator.
If you add electrical accessories to your vehicle
ground it to the body ground s
Alocated near the
battery along the negative battery cable.
1. Power steering fluid pump
2. Cooling fan
3. Air conditioner
4. Crankshaft
5. Generator
1. Power steering fluid pump
2. Crankshaft
3. Generator
4. Air conditioner
5. Water pump
6. Cooling fan
WARNING
Be sure the ignition switch is in the OFF or
LOCK position before servicing drive belt.
The engine could rotate unexpectedly.
VQ40DE
LDI0449
VK56DE
LDI0399
DRIVE BELT
Maintenance and do-it-yourself 8-17
ZREVIEW COPY—
2008 Pathfinder (pat)
Owners Manual—USA_English (nna)
03/23/07—debbie
X

1. Visually inspect the belt for signs of unusual
wear, cuts, fraying or looseness. If the belt is
in poor condition or is loose, have it replaced
or adjusted by a NISSAN dealer.
2. Have the belt checked regularly for condi-
tion and tension in accordance with the
maintenance schedule found in the
“NISSAN Service and Maintenance Guide”.
REPLACING SPARK PLUGS
Iridium-tipped spark plugs
It is not necessary to replace iridium-tipped s
A
spark plugs as frequently as conventional type
spark plugs because they last much longer. Fol-
low the maintenance log shown in the “NISSAN
Service and Maintenance Guide”. Do not service
iridium-tipped spark plugs by cleaning or regap-
ping.
●Always replace spark plugs with rec-
ommended or equivalent ones.
WARNING
Be sure the engine and ignition switch are
off and that the parking brake is engaged
securely.
CAUTION
Be sure to use the correct socket to re-
move the spark plugs. An incorrect socket
can damage the spark plugs.
If replacement is required, see your NISSAN
dealer for assistance.
SDI1895
SPARK PLUGS
8-18 Maintenance and do-it-yourself
ZREVIEW COPY—
2008 Pathfinder (pat)
Owners Manual—USA_English (nna)
03/23/07—debbie
X

The air cleaner filter should not be cleaned and
reused. Replace it according to the maintenance
log shown in the “NISSAN Service and Mainte-
nance Guide.”When replacing the filter, wipe the
inside of the air cleaner filter housing and the
cover with a damp cloth.
To remove the air cleaner filter:
s
1Loosen the screw.
s
2Disconnect the electrical connector.
s
3Unlatch the clips and remove the air cleaner
cover. Remove the air cleaner filter.
WARNING
●Operating the engine with the air
cleaner removed can cause you or oth-
ers to be burned. The air cleaner not
only cleans the air, it stops the flame if
the engine backfires. If it isn’t there, and
the engine backfires, you could be
burned. Do not drive with the air cleaner
removed, and be careful when working
on the engine with the air cleaner
removed.
●Never pour fuel into the throttle body or
attempt to start the engine with the air
cleaner removed. Doing so could result
in serious injury.
IN-CABIN MICROFILTER
The in-cabin microfilter restricts the entry of air-
borne dust and pollen particles and reduces
some objectionable outside odors. The filter is
located behind the glove box. Refer to the
“NISSAN Service and Maintenance Guide” for
change intervals.
To replace the filter, perform the following proce-
dure:
1. Open the glove box and press in on the
sides so that it will open completely allowing
it to hang by the cord.
LDI0376 LDI0442
AIR CLEANER
Maintenance and do-it-yourself 8-19
ZREVIEW COPY—
2008 Pathfinder (pat)
Owners Manual—USA_English (nna)
03/23/07—debbie
X

2. Remove the filter cover bolt and remove the
filter cover. NOTE:
The filters are marked with air flow arrows.
The end of the filter with the arrow should
face the rear of the vehicle. The arrows
should face downward.
3. Insert the first filter into the housing and slide
it over to the right. Insert the second filter
into the housing.
4. Replace the filter cover.
5. Install the glove box door.
6. Fill out the date information on the small
replacement label and attach it to the glove
box lid.
CLEANING
If your windshield is not clear after using the
windshield washer or if a wiper blade chatters
when running, wax or other material may be on
the blade or windshield.
Clean the outside of the windshield with a washer
solution or a mild detergent. Your windshield is
clean if beads do not form when rinsing with clear
water.
Clean each blade by wiping it with a cloth soaked
in a washer solution or a mild detergent. Then
rinse the blades with clear water. If your wind-
shield is still not clear after cleaning the blades
and using the wiper, replace the blades.
CAUTION
Worn windshield wiper blades can dam-
age the windshield and impair driver
vision.
LDI0387 LDI0404
WINDSHIELD WIPER BLADES
8-20 Maintenance and do-it-yourself
ZREVIEW COPY—
2008 Pathfinder (pat)
Owners Manual—USA_English (nna)
03/23/07—debbie
X

REPLACING
Replace the wiper blades if they are worn.
1. Lift the wiper arm away from the windshield.
s
2Push the release tab, then move the wiper
blade down the wiper arm to remove.
s
3Remove the wiper blade.
4. Insert the new wiper blade onto the wiper
arm until it clicks into place.
5. Rotate wiper blade so the dimple is in the
groove.
CAUTION
●After wiper blade replacement, return
the wiper arm to its original position;
otherwise it may be damaged when the
hood is opened.
●Make sure the wiper blades contact the
glass; otherwise the arms may be dam-
aged from wind pressure.
If you wax the surface of the hood, be careful not
to let wax get into the washer nozzle s
A. This may
cause clogging or improper windshield washer
operation. If wax gets into the nozzle, remove it
with a needle or small pin s
B.
WDI0408 WDI0595
Maintenance and do-it-yourself 8-21
ZREVIEW COPY—
2008 Pathfinder (pat)
Owners Manual—USA_English (nna)
03/23/07—debbie
X

Rear window wiper blade
s
1Lift the wiper arm away from the rear win-
dow.
s
2Push the wiper blade in and pivot until the
blade becomes free.
s
3Insert a new blade onto the wiper arm and
snap into place.
WDI0292
8-22 Maintenance and do-it-yourself
ZREVIEW COPY—
2008 Pathfinder (pat)
Owners Manual—USA_English (nna)
03/23/07—debbie
X

If the brakes do not operate properly, have the
brakes checked by a NISSAN dealer.
Self-adjusting brakes
Your vehicle is equipped with self-adjusting
brakes.
The front and rear disc-type brakes self-adjust
every time the brake pedal is applied.
WARNING
See a NISSAN dealer for a brake system
check if the brake pedal height does not
return to normal.
Brake pad wear indicators
The disc brake pads on your vehicle have audible
wear indicators. When a brake pad requires re-
placement, a high pitched scraping or screech-
ing sound will be heard when the vehicle is in
motion. The noise will be heard whether or not the
brake pedal is depressed. Have the brakes
checked as soon as possible if the wear indicator
sound is heard.
Under some driving or climate conditions, occa-
sional brake squeak, squeal or other noise may
be heard. Occasional brake noise during light to
moderate stops is normal and does not affect the
function or performance of the brake system.
Proper brake inspection intervals should
be followed. For more information regarding
brake inspections, see the appropriate mainte-
nance schedule information in the “NISSAN Ser-
vice and Maintenance Guide”.
Two types of fuses are used. Type A is used in the
fuse boxes in the engine compartment. Type B is
used in the passenger compartment fuse box.
Type A fuses are provided as spare fuses. They
are stored in the passenger compartment fuse
box.
Type A fuses can be installed in the engine com-
partment and passenger compartment fuse
boxes.
LDI0455
BRAKES FUSES
Maintenance and do-it-yourself 8-23
ZREVIEW COPY—
2008 Pathfinder (pat)
Owners Manual—USA_English (nna)
03/23/07—debbie
X

If a type A fuse is used to replace a type B fuse,
the type A fuse will not be level with the fuse
pocket as shown in the illustration. This will not
affect the performance of the fuse. Make sure the
fuse is installed in the fuse box securely.
Type B fuses cannot be installed in the under-
hood fuse boxes. Only use type A fuses in the
underhood fuse boxes.
ENGINE COMPARTMENT
CAUTION
Never use a fuse of a higher or lower
amperage rating than specified on the
fuse box cover. This could damage the
electrical system or cause a fire.
If any electrical equipment does not come on,
check for an open fuse.
1. Be sure the ignition switch and the headlight
switch are OFF.
2. Open the engine hood.
3. Remove the fuse box cover by pushing the
tab and lifting the cover up.
4. Remove the fuse with the fuse puller. The
fuse puller is located in the center of the fuse
block in the passenger compartment.
LDI0457 LDI0444
8-24 Maintenance and do-it-yourself
ZREVIEW COPY—
2008 Pathfinder (pat)
Owners Manual—USA_English (nna)
03/23/07—debbie
X

5. If the fuse is open s
A, replace it with a new
fuse s
B.
6. If a new fuse also opens, have the electrical
system checked and repaired by a NISSAN
dealer.
Fusible links
If the electrical equipment does not operate and
fuses are in good condition, check the fusible
links. If any of these fusible links are melted,
replace with only genuine NISSAN parts.
PASSENGER COMPARTMENT
CAUTION
Never use a fuse of a higher or lower
amperage rating than specified on the
fuse box cover. This could damage the
electrical system or cause a fire.
If any electrical equipment does not operate,
check for an open fuse.
1. Be sure the ignition switch and the headlight
switch are OFF.
2. Pull the fuse box cover to remove.
3. Remove the fuse with the fuse puller.
4. If the fuse is open s
A, replace it with an
equivalent good fuse s
B.
5. Push the fuse box cover to install.
6. If a new fuse also opens, have the electrical
system checked and repaired by a NISSAN
dealer.
WDI0452 LDI0445 Type A
WDI0452
Maintenance and do-it-yourself 8-25
ZREVIEW COPY—
2008 Pathfinder (pat)
Owners Manual—USA_English (nna)
03/23/07—debbie
X

KEYFOB
Replace the battery in the keyfob as follows:
s
1Open the lid using a coin s
A.
s
2Remove the battery s
B.
s
3Install a new battery s
Cwith the “+” facing
down.
Recommended battery: CR2025 or equivalent.
s
4Close the lid securely.
Type B
LDI0456
LDI0484
BATTERY REPLACEMENT
8-26 Maintenance and do-it-yourself
ZREVIEW COPY—
2008 Pathfinder (pat)
Owners Manual—USA_English (nna)
03/23/07—debbie
X

5. Press the button, then the
button two or three times to check the key-
fob operation.
If the battery is removed for any reason
other than replacement, perform step 5.
●An improperly disposed battery can
hurt the environment. Always confirm
local regulations for battery disposal.
●The keyfob is water-resistant; how-
ever, if it does get wet, immediately
wipe completely dry.
●The operational range of the keyfob
extends to approximately 33 ft (10 m)
from the vehicle. This range may vary
with conditions.
FCC Notice:
Changes or modifications not expressly ap-
proved by the party responsible for compli-
ance could void the user’s authority to op-
erate the equipment.
This device complies with Part 15 of the
FCC Rules and RSS-210 of Industry
Canada.
Operation is subject to the following two
conditions: (1) This device may not cause
harmful interference, and (2) this device
must accept any interference received, in-
cluding interference that may cause undes-
ired operation of the device.
SDI1867
Maintenance and do-it-yourself 8-27
ZREVIEW COPY—
2008 Pathfinder (pat)
Owners Manual—USA_English (nna)
03/23/07—debbie
X

INTELLIGENT KEY BATTERY
Replace the battery in the Intelligent Key as fol-
lows:
1. Remove the mechanical key from the Intelli-
gent Key.
2. Insert a small screwdriver s
Ainto the slit s
B
of the corner and twist it to separate the
upper part from the lower part. Use a cloth to
protect the casing.
3. Replace the battery with a new one.
Recommended battery: CR2025 or equiva-
lent.
●Do not touch the internal circuit and elec-
tric terminals as doing so could cause a
malfunction.
●Hold the battery by the edges. Holding
the battery across the contact points will
seriously deplete the storage capacity.
●Make sure that the + side faces the bot-
tom of the case.
4. Close the lid securely as illustrated s
Cs
D.
5. Operate the buttons to check the operation.
See a NISSAN dealer if you need assistance for
replacement.
FCC Notice:
Changes or modifications not expressly ap-
proved by the party responsible for compli-
ance could void the user’s authority to op-
erate the equipment.
This device complies with Part 15 of the
FCC Rules and RSS-210 of Industry
Canada.
Operation is subject to the following two
conditions: (1) This device may not cause
harmful interference, and (2) this device
must accept any interference received, in-
cluding interference that may cause undes-
ired operation of the device.
WDI0535
8-28 Maintenance and do-it-yourself
ZREVIEW COPY—
2008 Pathfinder (pat)
Owners Manual—USA_English (nna)
03/23/07—debbie
X

HEADLIGHTS
The headlight is a semi-sealed beam type which
uses a replaceable headlight (halogen) bulb. A
bulb can be replaced from inside the engine
compartment without removing the headlight as-
sembly.
CAUTION
●High pressure halogen gas is sealed
inside the halogen bulb. The bulb may
break if the glass envelope is scratched
or the bulb is dropped.
●When handling the bulb, do not touch
the glass envelope.
●DO NOT TOUCH THE BULB WITH BARE
HANDS.
●Use the same number and wattage as
originally installed:
Wattage 65/55Bulb No. HB5/9007*
*: Always check with the Parts Depart-
ment at a NISSAN dealer for the latest
parts information.
●Do not leave the bulb out of the head-
light reflector for a long period of time
as dust, moisture and smoke may enter
the headlight body and affect the per-
formance of the headlight.
●Aiming is not necessary after replacing
the bulb. When aiming adjustment is
necessary, contact a NISSAN dealer.
Fog may temporarily form inside the lens of the
exterior lights in the rain or in a car wash. A
temperature difference between the inside and
the outside of the lens causes the fog. This is not
a malfunction. If large drops of water collect
inside the lens, contact a NISSAN dealer.
Removing the headlight bulb
1. Open the hood.
2. Disconnect the negative (-) battery cable.
3. Disconnect the electrical connector from the
rear end of the bulb.
LDI0446
LIGHTS
Maintenance and do-it-yourself 8-29
ZREVIEW COPY—
2008 Pathfinder (pat)
Owners Manual—USA_English (nna)
03/23/07—debbie
X

4. Turn the bulb retaining ring counterclock-
wise until it is free form the headlight reflec-
tor and then remove it s
A.
5. Carefully remove the headlight bulb. Do not
shake or rotate the bulb when removing it
s
B.
Replacing the headlight bulb
1. Insert the bulb.
DO NOT TOUCH THE BULB WITH BARE
HANDS.
2. Install and tighten the bulb retainer.
●Be sure the lip of the bulb socket con-
tacts the headlight body.
3. Push the electrical connector into the bulb
plastic base until it snaps and stops.
4. Connect the negative (-) battery cable.
5. Close the hood.
EXTERIOR AND INTERIOR LIGHTS
Item Wattage (W) Bulb No.*
1
Headlight 65/55 9007 (HB5)
Turn signal light/Parking light 28/8 3457AK*
2
Side marker 3.8 194
Rear combination light
Turn signal 27 3156AK
Stop/Tail 27/8 3157K
Back-up 18 921
License plate light*
2
5 2J6
Fog light*
2
55 H11
Personal lights*
2
8 AL38
Map lights 8 AL38
Cargo light 8 AL89
High-mounted stop light*
2
——
*
1
Always check with the Parts Department at a NISSAN dealer for the latest parts information.
*
2
The bulb is not serviceable in-vehicle. See a NISSAN dealer for assistance.
8-30 Maintenance and do-it-yourself
ZREVIEW COPY—
2008 Pathfinder (pat)
Owners Manual—USA_English (nna)
03/23/07—debbie
X

1. Map lights
2. Personal lights
3. Cargo light
4. High-mount stoplight
5. License plate light
6. Rear combination light
7. Headlight assembly
8. Fog light
Replacement procedures
All other lights are either type A, B, C or D. When
replacing a bulb, first remove the lens and/or cover.
: Indicates bulb removal
: Indicates bulb installation
LDI0450 WDI0295
Maintenance and do-it-yourself 8-31
ZREVIEW COPY—
2008 Pathfinder (pat)
Owners Manual—USA_English (nna)
03/23/07—debbie
X

Use a cloth s
1to protect the housing.
Map lights LDI0459
Cargo light
WDI0206
Rear combination light LDI0448
8-32 Maintenance and do-it-yourself
ZREVIEW COPY—
2008 Pathfinder (pat)
Owners Manual—USA_English (nna)
03/23/07—debbie
X
If you have a flat tire, see the “In case of
emergency” section of this manual.
TIRE PRESSURE
Tire Pressure Monitoring System
(TPMS)
This vehicle is equipped with the Tire
Pressure Monitoring System (TPMS). It
monitors tire pressure of all tires except
the spare. When the low tire pressure
warning light is lit, one or more of your
tires is significantly under-inflated. If
equipped, the system also displays pres-
sure of all tires (except the spare tire) on
the display screen by sending a signal
from a sensor that is installed in each
wheel.
The TPMS will activate only when the
vehicle is driven at speeds above 16 MPH
(25 km/h). Also, this system may not de-
tect a sudden drop in tire pressure (for
example a flat tire while driving).
For more details, refer to “Low tire pres-
sure warning light”in the “Instruments and
controls” section, “Tire pressure informa-
tion” in the “Display screen, heater, air
conditioner and audio systems” section,
“Tire Pressure Monitoring System
(TPMS)” in the “Starting and driving” sec-
tion, and “Flat tire” in the “In case of emer-
gency” section.
Tire inflation pressure
Check the tire pressures (including the
spare) often and always prior to long dis-
tance trips. The recommended tire pres-
sure specifications are shown on the
F.M.V.S.S./C.M.V.S.S. certification label
or the Tire and Loading Information label
(if so equipped) under the “Recom-
mended Cold Tire Inflation Pressure”
heading. This label is affixed to the driver
side center pillar. Tire pressures should
be checked regularly because:
●Most tires naturally lose air over time.
●Tires can lose air suddenly when
driven over potholes or other objects
or if the vehicle strikes a curb while
parking.
The tire pressures should be checked
when the tires are cold. The tires are
considered COLD after the vehicle has
been parked for 3 or more hours, or driven
less than 1 mile (1.6 km) at moderate
speeds.
Incorrect tire pressure, including un-
der inflation, may adversely affect
tire life and vehicle handling.
WHEELS AND TIRES
Maintenance and do-it-yourself 8-33
ZREVIEW COPY—
2008 Pathfinder (pat)
Owners Manual—USA_English (nna)
03/23/07—debbie
X

WARNING
●Improperly inflated tires can fail
suddenly and cause an accident.
●The Gross Vehicle Weight Rating
(GVWR) is located on the
F.M.V.S.S./C.M.V.S.S. certifica-
tion label. The vehicle weight ca-
pacity is indicated on the Tire and
Loading Information label (if so
equipped). Do not load your ve-
hicle beyond this capacity. Over-
loading your vehicle may result in
reduced tire life, unsafe operat-
ing conditions due to premature
tire failure, or unfavorable han-
dling characteristics and could
also lead to a serious accident.
Loading beyond the specified ca-
pacity may also result in failure of
other vehicle components.
●Before taking a long trip, or
whenever you heavily load your
vehicle, use a tire pressure gauge
to ensure that the tire pressures
are at the specified level.
●Do not drive your vehicle over 85
MPH (137 km/h) unless it is
equipped with high speed rated
tires. Driving faster than 85 MPH
(137 km/h) may result in tire fail-
ure, loss of control and possible
injury.
●For additional information re-
garding tires, refer to “Important
Tire Safety Information” (US) or
“Tire Safety Information”
(Canada) in the Warranty Infor-
mation Booklet.
8-34 Maintenance and do-it-yourself
ZREVIEW COPY—
2008 Pathfinder (pat)
Owners Manual—USA_English (nna)
03/23/07—debbie
X

Tire and loading information label
s
1Seating capacity: The maximum num-
ber of occupants that can be seated
in the vehicle.
s
2Vehicle load limit: See loading infor-
mation in the “Technical and con-
sumer information” section.
s
3Original tire size: The size of the tires
originally installed on the vehicle at
the factory.
s
4Cold tire pressure: Inflate the tires to
this pressure when the tires are cold.
Tires are considered COLD after the
vehicle has been parked for 3 or more
hours, or driven less than 1 mile (1.6
km) at moderate speeds. The recom-
mended cold tire inflation is set by the
manufacturer to provide the best bal-
ance of tire wear, vehicle handling,
driveability, tire noise, etc., up to the
vehicle’s GVWR.
s
5Tire size – refer to “Tire labeling” later
in this section.
s
6Spare tire size or compact spare tire
size (if so equipped).
LDI0485
Maintenance and do-it-yourself 8-35
ZREVIEW COPY—
2008 Pathfinder (pat)
Owners Manual—USA_English (nna)
03/23/07—debbie
X

Checking tire pressure
1. Remove the valve stem cap from the
tire.
2. Press the pressure gauge squarely
onto the valve stem. Do not press too
hard or force the valve stem side-
ways, or air will escape. If the hissing
sound of air escaping from the tire is
heard while checking the pressure,
reposition the gauge to eliminate this
leakage.
3. Remove the gauge.
4. Read the tire pressure on the gauge
stem and compare to the specifica-
tion shown on the Tire Placard (if so
equipped) or the Tire and Loading
Information label (if so equipped).
5. Add air to the tire as needed. If too
much air is added, press the core of
the valve stem briefly with the tip of
the gauge stem to release pressure.
Recheck the pressure and add or
release air as needed.
6. Install the valve stem cap.
7. Check the pressure of all other tires,
including the spare.
Size Cold Tire Infla-
tion Pressure
Front Original Tire:
P245/75R16
P265/65R17
P265/70R16
P265/75R16
P265/60R18
240 kPa, 35 PSI
Rear Original Tire:
P245/75R16
P265/65R17
P265/70R16
P265/75R16
P265/60R18
240 kPa, 35 PSI
Spare Tire:
P245/75R16
P265/65R17
P265/70R16
P265/75R16
P265/60R18
240 kPa, 35 PSI
LDI0393
8-36 Maintenance and do-it-yourself
ZREVIEW COPY—
2008 Pathfinder (pat)
Owners Manual—USA_English (nna)
03/23/07—debbie
X

TIRE LABELING
Federal law requires tire manufacturers to
place standardized information on the
sidewall of all tires. This information iden-
tifies and describes the fundamental
characteristics of the tire and also pro-
vides the tire identification number (TIN)
for safety standard certification. The TIN
can be used to identify the tire in case of a
recall.
s
1Tire size (example: P215/65R15 95H)
1. P: The 9P9indicates the tire is de-
signed for passenger vehicles (not all
tires have this information).
2. Three-digit number (215): This num-
ber gives the width in millimeters of
the tire from sidewall edge to side-
wall edge.
3. Two-digit number (65): This number,
known as the aspect ratio, gives the
tire’s ratio of height to width.
4. R: The 9R9stands for radial.
5. Two-digit number (15): This number
is the wheel or rim diameter in inches.
6. Two- or three-digit number (95): This
number is the tire’s load index. It is a
measurement of how much weight
each tire can support. You may not
find this information on all tires be-
cause it is not required by law.
7. H: Tire speed rating. You should not
drive the vehicle faster than the tire
speed rating.
Example WDI0394
Example
WDI0395
Maintenance and do-it-yourself 8-37
ZREVIEW COPY—
2008 Pathfinder (pat)
Owners Manual—USA_English (nna)
03/23/07—debbie
X

s
2TIN (Tire Identification Number) for a
new tire (example: DOT XX XX XXX
XXXX)
1. DOT: Abbreviation for the 9Depart-
ment Of Transportation.9The symbol
can be placed above, below or to the
left or right of Tire Identification Num-
ber.
2. Two-digit code: Manufacturer’s
identification mark
3. Two-digit code: Tire size
4. Three-digit code: Tire type code
(Optional)
5. Three-digit code: Date of Manufac-
ture
6. Four numbers represent the week
and year the tire was built. For ex-
ample, the numbers 3103 means the
31st week of 2003. If these numbers
are missing, then look on the other
sidewall of the tire.
s
3Tire ply composition and material
The number of layers or plies of rubber-
coated fabric in the tire. Tire manufactur-
ers also must indicate the materials in the
tire, which include steel, nylon, polyester,
and others.
s
4Maximum permissible inflation pres-
sure
This number is the greatest amount of air
pressure that should be put in the tire. Do
not exceed the maximum permissible in-
flation pressure.
s
5Maximum load rating
This number indicates the maximum load
in kilograms and pounds that can be car-
ried by the tire. When replacing the tires
on the vehicle, always use a tire that has
the same load rating as the factory in-
stalled tire.
s
6Term of “tubeless” or “tube type”
Indicates whether the tire requires an in-
ner tube (“tube type”) or not (“tubeless”).
Example
WDI0396
8-38 Maintenance and do-it-yourself
ZREVIEW COPY—
2008 Pathfinder (pat)
Owners Manual—USA_English (nna)
03/23/07—debbie
X

s
7The word “radial”
The word “radial” is shown if the tire has
radial structure.
s
8Manufacturer or brand name
Manufacturer or brand name is shown.
Other Tire-related Terminology
In addition to the many terms that are
defined throughout this section, Intended
Outboard Sidewall is (1) the sidewall that
contains a whitewall, bears white lettering
or bears manufacturer, brand, and/or
model name molding that is higher or
deeper than the same molding on the
other sidewall of the tire, or (2) the out-
ward facing sidewall of an asymmetrical
tire that has a particular side that must
always face outward when mounted on a
vehicle.
TYPES OF TIRES
WARNING
●When changing or replacing tires, be
sure all four tires are of the same type
(i.e., Summer, All Season or Snow) and
construction. A NISSAN dealer may be
able to help you with information about
tire type, size, speed rating and
availability.
●Replacement tires may have a lower
speed rating than the factory equipped
tires, and may not match the potential
maximum vehicle speed. Never exceed
the maximum speed rating of the tire.
●For additional information regarding
tires, refer to “Important Tire Safety In-
formation”(US) or “Tire Safety Informa-
tion” (Canada) in the Warranty Informa-
tion Booklet.
All season tires
NISSAN specifies All Season tires on some mod-
els to provide good performance all year, includ-
ing snowy and icy road conditions. All Season
tires are identified by ALL SEASON and/or M&S
on the tire sidewall. Snow tires have better snow
traction than All Season tires and may be more
appropriate in some areas.
Summer tires
NISSAN specifies summer tires on some models
to provide superior performance on dry roads.
Summer tire performance is substantially re-
duced in snow and ice. Summer tires do not have
the tire traction rating “M&S” on the tire sidewall.
If you plan to operate your vehicle in snowy or icy
conditions, NISSAN recommends the use of
SNOW tires or ALL SEASON tires on all four
wheels.
Snow tires
If snow tires are needed, it is necessary to select
tires equivalent in size and load rating to the
original equipment tires. If you do not, it can
adversely affect the safety and handling of your
vehicle.
Generally, snow tires have lower speed ratings
than factory equipped tires and may not match
the potential maximum vehicle speed. Never ex-
ceed the maximum speed rating of the tire.
If you install snow tires, they must be the same
size, brand, construction and tread pattern on all
four wheels.
For additional traction on icy roads, studded tires
may be used. However, some U.S. states and
Canadian provinces prohibit their use. Check
local, state and provincial laws before installing
Maintenance and do-it-yourself 8-39
ZREVIEW COPY—
2008 Pathfinder (pat)
Owners Manual—USA_English (nna)
03/23/07—debbie
X

studded tires. Skid and traction capabilities of
studded snow tires on wet or dry surfaces may be
poorer than that of non-studded snow tires.
TIRE CHAINS
Use of tire chains may be prohibited according to
location. Check the local laws before installing
tire chains. When installing tire chains, make sure
they are the proper size for the tires on your
vehicle and are installed according to the chain
manufacturer’s suggestions. Use only SAE
class “S” chains. Class “S” chains are used on
vehicles with restricted tire to vehicle clearance.
Vehicles that can use Class “S” chains are de-
signed to meet the minimum clearances between
the tire and the closest vehicle suspension or
body component required to accommodate the
use of a winter traction device (tire chains or
cables). The minimum clearances are determined
using the factory equipped tire size. Other types
may damage your vehicle. Use chain tensioners
when recommended by the tire chain manufac-
turer to ensure a tight fit. Loose end links of the
tire chain must be secured or removed to prevent
the possibility of whipping action damage to the
fenders or underbody. If possible, avoid fully load-
ing your vehicle when using tire chains. In addi-
tion, drive at a reduced speed. Otherwise, your
vehicle may be damaged and/or vehicle handling
and performance may be adversely affected.
Tire chains must be installed only on the
rear wheels and not on the front wheels.
Do not use tire chains on dry roads. Driving with
chains in such conditions can cause damage to
the various mechanisms of the vehicle due to
some overstress.
Use only the 2WD range when driving on clear
paved roads.
CHANGING WHEELS AND TIRES
Tire rotation
NISSAN recommends rotating the tires
every 7,500 miles (12,000 km).
See “Flat tire” in the “In case of emer-
gency” section in this manual for tire re-
placing procedures.
As soon as possible, tighten the
wheel nuts to the specified torque
with a torque wrench.
WDI0258
8-40 Maintenance and do-it-yourself
ZREVIEW COPY—
2008 Pathfinder (pat)
Owners Manual—USA_English (nna)
03/23/07—debbie
X

Wheel nut tightening torque:
98 ft-lb (133 N·m)
The wheel nuts must be kept tight-
ened to specifications at all times. It
is recommended that wheel nuts be
tightened to specification at each
tire rotation interval.
WARNING
●After rotating the tires, check and
adjust the tire pressure.
●Retighten the wheel nuts when
the vehicle has been driven for
600 miles (1,000 km) (also in
cases of a flat tire, etc.).
●Do not include the spare tire in
the tire rotation.
●For additional information re-
garding tires, refer to “Important
Tire Safety Information” (US) or
“Tire Safety Information”
(Canada) in the Warranty Infor-
mation Booklet.
1. Wear indicator
2. Location mark
Tire wear and damage
WARNING
●Tires should be periodically in-
spected for wear, cracking, bulg-
ing or objects caught in the tread.
If excessive wear, cracks, bulging
or deep cuts are found, the tire(s)
should be replaced.
●The original tires have built-in
tread wear indicators. When the
wear indicators are visible, the
tire(s) should be replaced.
●Tires degrade with age and use.
Have tires, including the spare,
over 6 years old checked by a
qualified technician because
some tire damage may not be ob-
vious. Replace the tires as neces-
sary to prevent tire failure and
possible personal injury.
●Improper service of the spare tire
may result in serious personal in-
jury. If it is necessary to repair the
spare tire, contact a NISSAN
dealer.
●For additional information re-
garding tires, refer to “Important
Tire Safety Information” (US) or
“Tire Safety Information”
(Canada) in the Warranty Infor-
mation Booklet.
WDI0259
Maintenance and do-it-yourself 8-41
ZREVIEW COPY—
2008 Pathfinder (pat)
Owners Manual—USA_English (nna)
03/23/07—debbie
X

Replacing wheels and tires
When replacing a tire, use the same size, tread
design, speed rating and load carrying capacity
as originally equipped. Recommended types and
sizes are shown in “Wheels and tires” in the
“Technical and consumer information” section of
this manual.
WARNING
●The use of tires other than those recom-
mended or the mixed use of tires of
different brands, construction (bias,
bias-belted or radial), or tread patterns
can adversely affect the ride, braking,
handling, ground clearance, body-to-
tire clearance, tire chain clearance,
speedometer calibration, headlight aim
and bumper height. Some of these ef-
fects may lead to accidents and could
result in serious personal injury.
●If the wheels are changed for any rea-
son, always replace with wheels which
have the same off-set dimension.
Wheels of a different off-set could
cause premature tire wear, degrade ve-
hicle handling characteristics and/or
interference with the brake
discs/drums. Such interference can
lead to decreased braking efficiency
and/or early brake pad/shoe wear. Re-
fer to “Wheels and tires” in the “Techni-
cal and consumer information” section
of this manual for wheel off-set
dimensions.
●When a spare tire is mounted or a wheel
is replaced, tire pressure will not be
indicated, the TPMS will not function
and the low tire pressure warning light
will flash for approximately 1 minute.
The light will remain on after 1 minute.
Contact your NISSAN dealer as soon as
possible for tire replacement and/or
system resetting.
●Replacing tires with those not originally
specified by NISSAN could affect the
proper operation of the TPMS.
●Do not install a damaged or deformed
wheel or tire even if it has been re-
paired. Such wheels or tires could have
structural damage and could fail with-
out warning.
●The use of retread tires is not
recommended.
●For additional information regarding
tires, refer to “Important Tire Safety In-
formation”(US) or “Tire Safety Informa-
tion” (Canada) in the Warranty Informa-
tion Booklet.
Four-wheel drive models
CAUTION
Always use tires of the same type, size,
brand, construction (bias, bias-belted or
radial), and tread pattern on all four
wheels. Failure to do so may result in a
circumference difference between tires
on the front and rear axles which will
cause excessive tire wear and may dam-
age the transmission, transfer case and
differential gears.
8-42 Maintenance and do-it-yourself
ZREVIEW COPY—
2008 Pathfinder (pat)
Owners Manual—USA_English (nna)
03/23/07—debbie
X
If excessive tire wear is found, it is recommended
that all four tires be replaced with tires of the
same size, brand, construction and tread pattern.
The tire pressure and wheel alignment should
also be checked and corrected as necessary.
Contact a NISSAN dealer.
Wheel balance
Unbalanced wheels may affect vehicle handling
and tire life. Even with regular use, wheels can get
out of balance. Therefore, they should be bal-
anced as required.
Wheel balance service should be per-
formed with the wheels off the vehicle.
Spin balancing the wheels on the vehicle
could lead to mechanical damage.
●For additional information regarding
tires, refer to “Important Tire Safety
Information” (US) or “Tire Safety Infor-
mation” (Canada) in the Warranty In-
formation Booklet .
Care of wheels
●Wash the wheels when washing the vehicle
to maintain their appearance.
●Clean the inner side of the wheels when the
wheel is changed or the underside of the
vehicle is washed.
●Do not use abrasive cleaners when washing
the wheels.
●Inspect wheel rims regularly for dents or
corrosion. Such damage may cause loss of
pressure or poor seal at the tire bead.
●NISSAN recommends waxing the road
wheels to protect against road salt in areas
where it is used during winter.
Maintenance and do-it-yourself 8-43
ZREVIEW COPY—
2008 Pathfinder (pat)
Owners Manual—USA_English (nna)
03/23/07—debbie
X
8-44 Maintenance and do-it-yourself
MEMO

9 Technical and consumer information
Capacities and recommended fuel/lubricants .........9-2
Fuel recommendation ...........................9-3
Engine oil and oil filter recommendations ..........9-5
Air conditioner system refrigerant and oil
recommendations ..............................9-6
Specifications.....................................9-7
Engine ........................................9-7
Wheels and tires ...............................9-8
Dimensions and weights ........................9-8
When traveling or registering your vehicle in
another country ...................................9-9
Vehicle identification ...............................9-9
Vehicle identification number (VIN) plate ..........9-9
Vehicle identification number
(chassis number) ...............................9-9
Engine serial number...........................9-10
F.M.V.S.S./C.M.V.S.S. certification label ..........9-10
Emission control information label ...............9-11
Tire and loading information label................9-11
Air conditioner specification label................9-11
Installing front license plate ........................9-12
Vehicle loading information ........................9-12
Terms ........................................9-12
Vehicle load capacity ..........................9-13
Securing the load..............................9-15
Loading tips ..................................9-16
Measurement of weights .......................9-16
Towing a trailer ...................................9-17
Maximum load limits ...........................9-17
Towing load/specification.......................9-20
Towing safety .................................9-20
Flat towing....................................9-26
Uniform tire quality grading ........................9-26
Emission control system warranty ..................9-27
Reporting safety defects (US only) .................9-28
Readiness for inspection/maintenance (I/M) test .....9-28
Event data recorders..............................9-29
Owner’s Manual/Service Manual order information . . .9-30
In the event of a collision .......................9-30
ZREVIEW COPY—
2008 Pathfinder (pat)
Owners Manual—USA_English (nna)
03/23/07—debbie
X

The following are approximate capacities. The actual refill capacities may be a little different. When refilling, follow the procedure
described in the “Maintenance and do-it-yourself” section to determine the proper refill capacity.
Capacity (Approximate) Recommended Fluids and Lubricants
US measure Imp measure Liter
Fuel 21-1/8 gal 17-5/8 gal 80 Unleaded gasoline with an octane rating of at least 87 AKI (RON 91) *1
Engine oil *7
Drain and Refill
With oil filter change VQ40DE 5-3/8 qt 4-1/2 qt 5.1
• Engine oil with API Certification Mark *2
• Viscosity SAE 5W-30
VK56DE 6-1/2 qt 5-1/2 qt 6.2
Without oil filter change VQ40DE 5-1/8 qt 4-1/4 qt 4.8
VK56DE 6-1/4 qt 5-1/4 qt 5.9
Cooling system With reservoir models w/o rear a/c 2-3/4 gal 2-1/4 gal 10.2 50% Genuine NISSAN Long Life Antifreeze/Coolant or equivalent
50% Demineralized or distilled water
With reservoir models with rear a/c 3-1/2 gal 3 gal 13.4
Automatic transmission fluid Refill to the proper level according to the
instructions in the “Maintenance and do-
it-yourself” section.
Genuine Nissan Matic J ATF *3
Power steering fluid (PSF) Genuine NISSAN PSF or equivalent.*4
Brake fluid Genuine NISSAN Super Heavy Duty Brake Fluid *5 or equivalent DOT 3
Multi-purpose grease — — — NLGI No. 2 (Lithium Soap base)
Air conditioning system refrigerant — — — HFC-134a (R-134a) *6
Air conditioning system oil — — — NISSAN A/C System Oil Type S or equivalent *6
Transfer fluid All mode 4WD — — — Genuine Nissan Matic D ATF (Continental U.S. and Alaska) or Canada
NISSAN Automatic Transmission Fluid *8
Part time 4WD — — —
Front final drive oil — — — Genuine NISSAN Differential Oil Hypoid Super GL-5 80W-90 or API GL-5
Viscosity SAE 80W-90 Gear Oil, *9
Rear final drive oil — — — API GL-5 Synthetic 75W–90 Gear Oil or equivalent, *10
Windshield washer fluid (shared between
front and rear wipers) 1-1/4 gal 1 gal 4.5 Genuine NISSAN Windshield Washer Concentrate Cleaner & Antifreeze fluid
or equivalent
*1: For further details, see “Fuel recommendation.”
*2: For further details, see “Engine oil and oil filter recommendations.”
*3: Using automatic transmission fluid other than Genuine Nissan Matic J ATF will cause deterioration in driveability and automatic transmission durability, and may damage the automatic
transmission, which is not covered by the NISSAN new vehicle limited warranty.
*4: For Canada, NISSAN Automatic Transmission Fluid (ATF), DEXRON™ VI or equivalent ATF may also be used.
*5: Available in mainland USA through your NISSAN dealer.
*6: For further details, see “Air conditioner specification label.”
*7: For further details, see “Changing engine oil.”
*8: Genuine NISSAN Matic D ATF or equivalent (if available) may also be used.
*9: For hot climates, viscosity SAE 90 is suitable for ambient temperatures above 0° C (32° F).
*10: See your NISSAN dealer for service.
CAPACITIES AND RECOMMENDED
FUEL/LUBRICANTS
9-2 Technical and consumer information
ZREVIEW COPY—
2008 Pathfinder (pat)
Owners Manual—USA_English (nna)
03/23/07—debbie
X

FUEL RECOMMENDATION
NISSAN recommends the use of unleaded pre-
mium gasoline with an octane rating of at least 91
AKI (Anti-Knock Index) number (Research oc-
tane number 96). If unleaded premium gasoline is
not available you may use unleaded regular gaso-
line with an octane rating of at least 87 AKI
number (Research octane number 91), but you
may notice a decrease in performance.
CAUTION
●Using a fuel other than that specified
could adversely affect the emission
control system, and may also affect the
warranty coverage.
●Under no circumstances should a
leaded gasoline be used, because this
will damage the three-way catalyst.
●Do not use E-85 fuel in your vehicle.
Your vehicle is not designed to run on
E-85 fuel. Using E-85 fuel can damage
the fuel system components and is not
covered by the NISSAN new vehicle lim-
ited warranty.
Gasoline specifications
NISSAN recommends using gasoline that meets
the World-Wide Fuel Charter (WWFC) specifi-
cations where it is available. Many of the automo-
bile manufacturers developed this specification
to improve emission control system and vehicle
performance. Ask your service station manager if
the gasoline meets the WWFC specifications.
Reformulated gasoline
Some fuel suppliers are now producing reformu-
lated gasolines. These gasolines are specially
designed to reduce vehicle emissions. NISSAN
supports efforts towards cleaner air and sug-
gests that you use reformulated gasoline when
available.
Gasoline containing oxygenates
Some fuel suppliers sell gasoline containing oxy-
genates such as ethanol, MTBE and methanol
with or without advertising their presence.
NISSAN does not recommend the use of fuels of
which the oxygenate content and the fuel com-
patibility for your NISSAN cannot be readily de-
termined. If in doubt, ask your service station
manager.
If you use oxygenate-blend gasoline, please take
the following precautions as the usage of such
fuels may cause vehicle performance problems
and/or fuel system damage.
●The fuel should be unleaded and have
an octane rating no lower than that
recommended for unleaded gasoline.
●If an oxygenate-blend other than
methanol blend is used, it should con-
tain no more than 10% oxygenate.
(MTBE may, however, be added up to
15%.)
●If a methanol blend is used, it should
contain no more than 5% methanol
(methyl alcohol, wood alcohol). It
should also contain a suitable amount
of appropriate cosolvents and corro-
sion inhibitors. If not properly formu-
lated with appropriate cosolvents and
corrosion inhibitors, such methanol
blends may cause fuel system damage
and/or vehicle performance problems.
At this time, sufficient data is not avail-
able to ensure that all methanol blends
are suitable for use in NISSAN ve-
hicles.
If any driveability problems such as engine stall-
ing and difficult hot-starting are experienced after
using oxygenate-blend fuels, immediately
change to a non-oxygenate fuel or a fuel with a
low blend of MTBE.
Technical and consumer information 9-3
ZREVIEW COPY—
2008 Pathfinder (pat)
Owners Manual—USA_English (nna)
03/23/07—debbie
X

Take care not to spill gasoline during refu-
eling. Gasoline containing oxygenates can
cause paint damage.
E–85 fuel
E-85 fuel is a mixture of approximately 85% fuel
ethanol and 15% unleaded gasoline. E-85 can
only be used in a Flexible Fuel Vehicle (FFV). Do
not use E-85 in your vehicle. U.S. government
regulations require fuel ethanol dispensing
pumps to be identified by a small, square, orange
and black label with the common abbreviation or
the appropriate percentage for that region.
Aftermarket fuel additives
NISSAN does not recommend the use of any
aftermarket fuel additives (for example, fuel injec-
tor cleaner, octane booster, intake valve deposit
removers, etc.) which are sold commercially.
Many of these additives intended for gum, varnish
or deposit removal may contain active solvents or
similar ingredients that can be harmful to the fuel
system and engine.
Octane rating tips
Using unleaded gasoline with an octane
rating lower than recommended can cause
persistent, heavy “spark knock.” (“Spark
knock” is a metallic rapping noise.) If se-
vere, this can lead to engine damage. If you
detect a persistent heavy spark knock even
when using gasoline of the stated octane
rating, or if you hear steady spark knock
while holding a steady speed on level
roads, have a NISSAN dealer correct the
condition. Failure to correct the condition
is misuse of the vehicle, for which NISSAN
is not responsible.
Incorrect ignition timing may result in spark
knock, after-run and/or overheating, which may
cause excessive fuel consumption or engine
damage. If any of the above symptoms are en-
countered, have your vehicle checked at a
NISSAN dealer.
However, now and then you may notice
light spark knock for a short time while
accelerating or driving up hills. This is not a
cause for concern, because you get the
greatest fuel benefit when there is light
spark knock for a short time under heavy
engine load.
CAUTION
●Your vehicle is not designed to run on
E-85 fuel. Using E-85 fuel in a vehicle
not specifically designed for E-85 fuel
can damage fuel system components
and is not covered by the NISSAN new
vehicle limited warranty.
●E-85 is a mixture of approximately 85%
fuel ethanol and 15% unleaded
gasoline.
●U.S. government regulations require
ethanol dispensing pumps to be identi-
fied by a small, square, orange and
black label with the common abbrevia-
tion or the appropriate percentage for
that region.
9-4 Technical and consumer information
ZREVIEW COPY—
2008 Pathfinder (pat)
Owners Manual—USA_English (nna)
03/23/07—debbie
X

ENGINE OIL AND OIL FILTER
RECOMMENDATIONS
Selecting the correct oil
It is essential to choose the correct grade, quality
and viscosity engine oil to ensure satisfactory
engine life and performance. See 9Capacities
and recommended fuel/lubricants9earlier in this
section. NISSAN recommends the use of an
energy conserving oil in order to improve fuel
economy.
Select only engine oils that meet the American
Petroleum Institute (API) certification or Interna-
tional Lubricant Standardization and Approval
Committee (ILSAC) certification and SAE vis-
cosity standard. These oils have the API certifica-
tion mark on the front of the container. Oils which
do not have the specified quality label should not
be used as they could cause engine damage.
Oil additives
NISSAN does not recommend the use of oil
additives. The use of an oil additive is not neces-
sary when the proper oil type is used and main-
tenance intervals are followed.
Oil which may contain foreign matter or has been
previously used should not be used.
Oil viscosity
The engine oil viscosity or thickness changes
with temperature. Because of this, it is important
to select the engine oil viscosity based on the
temperatures at which the vehicle will be oper-
ated before the next oil change. Choosing an oil
viscosity other than that recommended could
cause serious engine damage.
Selecting the correct oil filter
Your new NISSAN vehicle is equipped with a
high-quality genuine NISSAN oil filter. When re-
placing, use a genuine NISSAN oil filter or its
equivalent for the reason described in “Change
intervals”.
Change intervals
The oil and oil filter change intervals for your
engine are based on the use of the specified
quality oils and filters. Using engine oil and filters
that are not of the specified quality, or exceeding
recommended oil and filter change intervals
could reduce engine life. Damage to the engine
caused by improper maintenance or use of incor-
rect oil and filter quality and/or viscosity is not
covered by the NISSAN new vehicle limited war-
ranty.
WTI0183
Technical and consumer information 9-5
ZREVIEW COPY—
2008 Pathfinder (pat)
Owners Manual—USA_English (nna)
03/23/07—debbie
X

Your engine was filled with a high-quality engine
oil when it was built. You do not have to change
the oil before the first recommended change
interval. Oil and filter change intervals depend
upon how you use your vehicle.
Operation under the following conditions may
require more frequent oil and filter changes:
●repeated short distance driving at cold out-
side temperatures
●driving in dusty conditions
●extensive idling
●towing a trailer
●stop and go commuting
Refer to the “NISSAN Service and Maintenance
Guide” for the maintenance schedule.
AIR CONDITIONER SYSTEM
REFRIGERANT AND OIL
RECOMMENDATIONS
The air conditioner system in your NISSAN
vehicle must be charged with the refriger-
ant HFC-134a (R-134a) and the oil, NISSAN
A/C system oil Type S or the exact equiva-
lents.
CAUTION
The use of any other refrigerant or oil will
cause severe damage to the air condition-
ing system and will require the replace-
ment of all air conditioner system
components.
The refrigerant HFC-134a (R-134a) in your
NISSAN vehicle does not harm the earth’s ozone
layer. Although this refrigerant does not affect the
earth’s atmosphere, certain government regula-
tions require the recovery and recycling of any
refrigerant during automotive air conditioner sys-
tem service. A NISSAN dealer has the trained
technicians and equipment needed to recover
and recycle your air conditioner system refriger-
ant.
Contact a NISSAN dealer when servicing your air
conditioner system.
9-6 Technical and consumer information
ZREVIEW COPY—
2008 Pathfinder (pat)
Owners Manual—USA_English (nna)
03/23/07—debbie
X

ENGINE
Model VQ40DE VK56DE
Type Gasoline, 4-cycle, DOHC Gasoline, 4-cycle, DOHC
Cylinder arrangement 6-cylinder, V-block, Slanted at 60° 8-cylinder, V-block, Slanted at 90°
Bore x Stroke in (mm) 3.760 x 3.622 (95.5 x 92) 3.858 x 3.622 (98 x 92)
Displacement cu in (cm
3
) 241.30 (3,954) 338.78 (5,552)
Firing order 1–2–3–4–5–6 1–8–7–3–6–5–4–2
Idle speed
A/T (in “N” position) No adjustment is necessary.
Ignition timing (degree B.T.D.C. at idle
speed)
CO % at idle
Spark plug DILFR5A11 DILFR5A11
Spark plug gap (Nominal) in (mm) 0.043 (1.1) 0.043 (1.1)
Camshaft operation Timing chain Timing chain
The spark ignition system of this vehicle meets all requirements of the Canadian Interference-Causing Equipment Regulations.
SPECIFICATIONS
Technical and consumer information 9-7
ZREVIEW COPY—
2008 Pathfinder (pat)
Owners Manual—USA_English (nna)
03/23/07—debbie
X

WHEELS AND TIRES
Wheels
16 x 7.0J
17 x 7.5J
18 x 8.0J
Tires
P245/75R16
P265/70R16
P265/75R16
P265/65R17
P265/60R18
Spare tire Full size
DIMENSIONS AND WEIGHTS
Overall length in (mm) 192.3 (4884)
Overall width in (mm) 72.6 (1843)
Overall height
2WD S/SE with roof
rack
in (mm) 72.4 (1838)
2WD LE with roof rack in (mm) 72.5 (1841)
V8 2WD SE/LE with
roof rack
in (mm) 72.5 (1841)
4WD S/SE with roof
rack
in (mm) 72.8 (1849)
4WD SE-OR with roof
rack
in (mm) 73.3 (1861)
4WD LE with roof rack in (mm) 72.9 (1851)
V8 4WD SE/LE with
roof rack
in (mm) 72.9 (1851)
Front Track in (mm) 61.8 (1570)
Rear Track in (mm) 61.8 (1570)
Wheelbase in (mm) 112.2 (2850)
Gross vehicle weight rating lb (kg) See the “F.M.V.S.S./C.M.V.S.S.
certification label” on the center
pillar between the driver’s side
front and side doors.
Gross axle weight rating
Front lb (kg)
Rear lb (kg)
9-8 Technical and consumer information
ZREVIEW COPY—
2008 Pathfinder (pat)
Owners Manual—USA_English (nna)
03/23/07—debbie
X

When planning to drive your NISSAN ve-
hicle in another country, you should first find
out if the fuel available is suitable for your vehi-
cle’s engine.
Using fuel with an octane rating that is too low
may cause engine damage. All gasoline vehicles
must be operated with unleaded gasoline. There-
fore, avoid taking your vehicle to areas where
appropriate fuel is not available.
When transferring the registration of your
vehicle to another country, state, province
or district, it may be necessary to modify the
vehicle to meet local laws and regulations.
The laws and regulations for motor vehicle emis-
sion control and safety standards vary according
to the country, state, province or district; there-
fore, vehicle specifications may differ.
When any vehicle is to be taken into an-
other country, state, province or district
and registered, its modifications, transpor-
tation, and registration are the responsibil-
ity of the user. NISSAN is not responsible
for any inconvenience that may result.
VEHICLE IDENTIFICATION NUMBER
(VIN) PLATE
The vehicle identification number (VIN) plate is
attached as shown. This number is the identifica-
tion for your vehicle and is used in the vehicle
registration.
VEHICLE IDENTIFICATION NUMBER
(chassis number)
The vehicle identification number is located as
shown.
LTI0085 LTI0086
WHEN TRAVELING OR REGISTERING
YOUR VEHICLE IN ANOTHER
COUNTRY
VEHICLE IDENTIFICATION
Technical and consumer information 9-9
ZREVIEW COPY—
2008 Pathfinder (pat)
Owners Manual—USA_English (nna)
03/23/07—debbie
X

ENGINE SERIAL NUMBER
The number is stamped on the engine as shown.
F.M.V.S.S./C.M.V.S.S.
CERTIFICATION LABEL
The Federal/Canadian Motor Vehicle Safety
Standard (F.M.V.S.S./C.M.V.S.S.) certification la-
bel is affixed as shown. This label contains valu-
able vehicle information, such as: Gross Vehicle
Weight Ratings (GVWR), Gross Axle Weight
Rating (GAWR), month and year of manufacture,
Vehicle Identification Number (VIN), etc. Review
it carefully.
VQ40DE engine
LTI0127
VK56DE engine
WTI0095 WTI0099
9-10 Technical and consumer information
ZREVIEW COPY—
2008 Pathfinder (pat)
Owners Manual—USA_English (nna)
03/23/07—debbie
X

EMISSION CONTROL
INFORMATION LABEL
The emission control information label is at-
tached to the underside of the hood as shown.
TIRE AND LOADING INFORMATION
LABEL
The cold tire pressure is shown on the Tire and
Loading Information label. The label is located as
shown.
AIR CONDITIONER SPECIFICATION
LABEL
The air conditioner specification label is affixed to
the underside of the hood as shown.
WTI0173 WTI0100 WTI0167
Technical and consumer information 9-11
ZREVIEW COPY—
2008 Pathfinder (pat)
Owners Manual—USA_English (nna)
03/23/07—debbie
X

Use the following steps to mount the front license
plate:
1. Make holes on the plastic finisher at the
location mark (small dimple) using a 0.37 in
(9.5 mm) drill. Apply light pressure to the
drill. Insert two plastic grommets provided.
Install the license plate holder using the two
bolts (and washers) provided.
2. Mount the license plate using two M6-
14mm bolts.
License plate bolt tightening torque:
3.8 - 4.7 ft-lb (5.10 - 6.37 N·m)
WARNING
●It is extremely dangerous to ride
in a cargo area inside a vehicle. In
a collision, people riding in these
areas are more likely to be seri-
ously injured or killed.
●Do not allow people to ride in any
area of your vehicle that is not
equipped with seats and seat
belts.
●Be sure everyone in your vehicle
is in a seat and using a seat belt
properly.
TERMS
It is important to familiarize yourself with
the following terms before loading your
vehicle:
●Curb Weight (actual weight of your
vehicle) - vehicle weight including:
standard and optional equipment, flu-
ids, emergency tools, and spare tire
assembly. This weight does not in-
clude passengers and cargo.
●GVW (Gross Vehicle Weight) - curb
weight plus the combined weight of
passengers and cargo.
●GVWR (Gross Vehicle Weight Rat-
ing) - maximum total combined
weight of the unloaded vehicle, pas-
sengers, luggage, hitch, trailer
tongue load and any other optional
equipment. This information is lo-
cated on the F.M.V.S.S./C.M.V.S.S.
certification label.
●GAWR (Gross Axle Weight Rating) -
maximum weight (load) limit specified
for the front or rear axle. This informa-
tion is located on the
F.M.V.S.S./C.M.V.S.S. certification
label.
●GCWR (Gross Combined Weight
rating) - The maximum total weight
rating of the vehicle, passengers,
cargo, and trailer.
LTI0137
INSTALLING FRONT LICENSE PLATE VEHICLE LOADING INFORMATION
9-12 Technical and consumer information
ZREVIEW COPY—
2008 Pathfinder (pat)
Owners Manual—USA_English (nna)
03/23/07—debbie
X
●Vehicle Capacity Weight, Load limit,
Total load capacity - maximum total
weight limit specified of the load
(passengers and cargo) for the ve-
hicle. This is the maximum combined
weight of occupants and cargo that
can be loaded into the vehicle. If the
vehicle is used to tow a trailer, the
trailer tongue weight must be in-
cluded as part of the cargo load. This
information is located on the Tire and
Loading Information label (if so
equipped).
●Cargo capacity - permissible weight
of cargo, the subtracted weight of
occupants from the load limit.
VEHICLE LOAD CAPACITY
Before driving a loaded vehicle, confirm
that you do not exceed the Gross Vehicle
Weight Rating (GVWR) or the Gross Axle
Weight Rating (GAWR) for your vehicle.
Both the GVWR and GAWR are located
on the F.M.V.S.S./C.M.V.S.S. certification
label. See “Measurement of Weights”
later in this section.
Do not exceed the load limit of your ve-
hicle shown as “The combined weight of
occupants and cargo” on the Tire and
Loading Information label (if so
equipped). Do not exceed the number of
occupants shown as “Seating Capacity”
on the Tire and Loading Information label
(if so equipped).
To get “the combined weight of occu-
pants and cargo”, add the weight of all
occupants, then add the total luggage
weight. Examples are shown in the follow-
ing illustration.
Technical and consumer information 9-13
ZREVIEW COPY—
2008 Pathfinder (pat)
Owners Manual—USA_English (nna)
03/23/07—debbie
X

Steps for determining correct load
limit
1. Locate the statement “The combined
weight of occupants and cargo
should never exceed XXX kg or XXX
lbs” on your vehicle’s placard.
2. Determine the combined weight of
the driver and passengers that will be
riding in your vehicle.
3. Subtract the combined weight of the
driver and passengers from XXX kg
or XXX lbs.
4. The resulting figure equals the avail-
able amount of cargo and luggage
load capacity. For example, if the
XXX amount equals 1400 lbs. and
there will be five 150 lb. passengers
in your vehicle, the amount of avail-
able cargo and luggage load capac-
ity is 650 lbs. (1400-750 (5 X 150)
= 650 lbs) or (640-340 (5 X 70) =
300 kg.)
Example
LTI0152
9-14 Technical and consumer information
ZREVIEW COPY—
2008 Pathfinder (pat)
Owners Manual—USA_English (nna)
03/23/07—debbie
X

5. Determine the combined weight of
luggage and cargo being loaded on
the vehicle. That weight may not
safely exceed the available cargo and
luggage load capacity calculated in
Step 4.
6. If your vehicle will be towing a trailer,
load from your trailer will be trans-
ferred to your vehicle. Consult this
manual to determine how this re-
duces the available cargo and lug-
gage load capacity of your vehicle.
Before driving a loaded vehicle, confirm
that you do not exceed the Gross Vehicle
Weight Rating (GVWR) or the Gross Axle
Weight Rating (GAWR) for your vehicle.
See “Measurement of Weights” later in
this section.
Also check tires for proper inflation pres-
sures. See the Tire and Loading Informa-
tion label.
SECURING THE LOAD
There are tie down hooks located in the cargo
area as shown. The tie down hooks can be used
to secure cargo with ropes or other types of
straps.
Do not apply a total load of more than 55
lbs. (245 N) to a single s
Aplastic hook or 44
lbs. (196 N) to a single s
Bplastic hook
when securing cargo.
Do not apply a total load of more than 110
lbs. (490 N) to a single metal floor tie-down
hook when securing cargo.
WARNING
●Properly secure all cargo with ropes or
straps to help prevent it from sliding or
shifting. Do not place cargo higher than
the seatbacks. In a sudden stop or col-
lision, unsecured cargo could cause
personal injury.
●The child restraint top tether strap may
be damaged by contact with items in
the cargo area. Secure any items in the
cargo area. Your child could be seri-
ously injured or killed in a collision if
the top tether strap is damaged.
Cargo area ceiling tie-down hooks
WTI0125
Cargo area floor tie-down hooks
LTI0126
Technical and consumer information 9-15
ZREVIEW COPY—
2008 Pathfinder (pat)
Owners Manual—USA_English (nna)
03/23/07—debbie
X

●Do not load your vehicle any heavier
than the GVWR or the maximum front
and rear GAWRs. If you do, parts of your
vehicle can break, tire damage could
occur, or it can change the way your
vehicle handles. This could result in
loss of control and cause personal
injury.
LOADING TIPS
●The GVW must not exceed GVWR
or GAWR as specified on the
F.M.V.S.S./C.M.V.S.S. certification
label.
●Do not load the front and rear axle to
the GAWR. Doing so will exceed the
GVWR.
WARNING
●Properly secure all cargo with
ropes or straps to help prevent it
from sliding or shifting. Do not
place cargo higher than the seat-
backs. In a sudden stop or colli-
sion, unsecured cargo could
cause personal injury.
●Do not load your vehicle any
heavier than the GVWR or the
maximum front and rear GAWRs.
If you do, parts of your vehicle
can break, tire damage could oc-
cur, or it can change the way your
vehicle handles. This could result
in loss of control and cause per-
sonal injury.
●Overloading not only can shorten
the life of your vehicle and the
tire, but can also cause unsafe
vehicle handling and longer brak-
ing distances. This may cause a
premature tire failure which
could result in a serious accident
and personal injury. Failures
caused by overloading are not
covered by the vehicle’s
warranty.
MEASUREMENT OF WEIGHTS
Secure loose items to prevent weight
shifts that could affect the balance of your
vehicle. When the vehicle is loaded, drive
to a scale and weigh the front and the rear
wheels separately to determine axle
loads. Individual axle loads should not ex-
ceed either of the gross axle weight rat-
ings (GAWR). The total of the axle loads
should not exceed the gross vehicle
weight rating (GVWR). These ratings are
given on the vehicle certification label. If
weight ratings are exceeded, move or re-
move items to bring all weights below the
ratings.
9-16 Technical and consumer information
ZREVIEW COPY—
2008 Pathfinder (pat)
Owners Manual—USA_English (nna)
03/23/07—debbie
X

WARNING
Overloading or improper loading of a
trailer and its cargo can adversely affect
vehicle handling, braking and perfor-
mance and may lead to accidents.
CAUTION
●Do not tow a trailer or haul a heavy load
for the first 500 miles (800 km). Your
engine, axle or other parts could be
damaged.
●For the first 500 miles (800 km) that you
tow a trailer, do not drive over 50 mph
(80 km/h) and do not make starts at full
throttle. This helps the engine and other
parts of your vehicle wear in at the
heavier loads.
Your new vehicle was designed to be used pri-
marily to carry passengers and cargo. Remember
that towing a trailer places additional loads on
your vehicle’s engine, drive train, steering, brak-
ing and other systems.
A NISSAN Towing Guide (U.S. only) is available
on the website at www.nissanusa.com. This
guide includes information on trailer towing ca-
pability and the special equipment required for
proper towing.
MAXIMUM LOAD LIMITS
Maximum trailer loads
Never allow the total trailer load to exceed the
value specified in the “Towing
Load/Specification” chart found later in this sec-
tion. The total trailer load equals trailer weight
plus its cargo weight.
●When towing a trailer load of 3,500 lbs.
(1587 kg) or more, trailers with a brake
system MUST be used.
The maximum Gross Combined Weight Rating
(GCWR) should not exceed the value specified
in the following “Towing Load/Specification”
chart. The GCWR equals the combined weight of the
towing vehicle (including passengers and cargo)
plus the total trailer load. Towing loads greater
than these or using improper towing equipment
could adversely affect vehicle handling, braking
and performance.
The ability of your vehicle to tow a trailer is not
only related to the maximum trailer loads, but also
the places you plan to tow. Tow weights appro-
priate for level highway driving may have to be
reduced for low traction situations (for example,
on slippery boat ramps).
LTI0162
TOWING A TRAILER
Technical and consumer information 9-17
ZREVIEW COPY—
2008 Pathfinder (pat)
Owners Manual—USA_English (nna)
03/23/07—debbie
X

Temperature conditions can also affect towing.
For example, towing a heavy trailer in high outside
temperatures on graded roads can affect engine
performance and cause overheating. The engine
protection mode, which helps reduce the chance
of engine damage, could activate and automati-
cally decrease engine power. Vehicle speed may
decrease under high load. Plan your trip carefully
to account for trailer and vehicle load, weather
and road conditions.
WARNING
Overheating can result in reduced engine
power and vehicle speed. The reduced
speed may be lower than other traffic,
which could increase the chance of a col-
lision. Be especially careful when driving.
Pull to the side of the road to a safe area.
Allow the engine to cool and return to
normal operation. See “If your vehicle
overheats” in the “In case of emergency”
section of this manual.
CAUTION
Vehicle damage resulting from improper
towing procedures is not covered by
NISSAN warranties.
Tongue load
When using a weight carrying or a weight distrib-
uting hitch, keep the tongue load between 10 -
15 percent of the total trailer load within the
maximum tongue load limits shown in the follow-
ing “Towing Load/Specification” chart. If the
tongue load becomes excessive, rearrange cargo
to allow for proper tongue load.
Maximum Gross Vehicle Weight
(GVW)/maximum Gross Axle Weight
(GAW)
The GVW of the towing vehicle must not exceed
the Gross Vehicle Weight Rating (GVWR)
shown on the F.M.V.S.S./C.M.V.S.S. certification
label. The GVW equals the combined weight of
the unloaded vehicle, passengers, luggage,
hitch, trailer tongue load and any other optional
equipment. In addition, front or rear GAW must
not exceed the Gross Axle Weight Rating
(GAWR) shown on the F.M.V.S.S./C.M.V.S.S.
certification label.
WTI0160 ATI1025
9-18 Technical and consumer information
ZREVIEW COPY—
2008 Pathfinder (pat)
Owners Manual—USA_English (nna)
03/23/07—debbie
X

Towing capacities are calculated assuming a
base vehicle with driver and any options required
to achieve the rating. Additional passengers,
cargo and/or optional equipment, such as the
trailer hitch, will add weight to the vehicle and
reduce your vehicle’s maximum towing capacity
and trailer tongue load.
The vehicle and trailer need to be weighed to
confirm the vehicle is within the GVWR, Front
GAWR, Rear GAWR, Gross Combined Weight
Rating (GCWR) and Towing capacity.
All vehicle and trailer weights can be measured
using platform type scales commonly found at
truck stops, highway weigh stations, building
supply centers or salvage yards.
To determine the available payload capacity for
tongue load, use the following procedure.
1. Locate the GVWR on the
F.M.V.S.S./C.M.V.S.S. certification label.
2. Weigh your vehicle on the scale with all of
the passengers and cargo that are normally
in the vehicle when towing a trailer.
3. Subtract the actual vehicle weight from the
GVWR. The remaining amount is the avail-
able maximum tongue load.
To determine the available towing capacity, use
the following procedure.
1. Find the GCWR for your vehicle on the
9Towing Load/Specification9chart found
later in this section.
2. Subtract the actual vehicle weight from the
GCWR. The remaining amount is the avail-
able maximum towing capacity.
To determine the Gross Trailer Weight, weigh
your trailer on a scale with all equipment and
cargo, that are normally in the trailer when it is
towed. Make sure the Gross trailer weight is not
more than the Gross Trailer Weight Rating shown
on the trailer and is not more than the calculated
available maximum towing capacity.
Also weigh the front and rear axles on the scale to
make sure the Front Gross Axle Weight and Rear
Gross Axle Weight are not more than Front
Gross Axle Weight and Rear Gross Axle Weight
on the F.M.V.S.S./C.M.V.S.S. certification label.
The cargo in the trailer and vehicle may need to
be moved or removed to meet the specified rat-
ings.
Example:
●Gross Vehicle Weight (GVW) as weighed
on a scale - including passengers, cargo and
hitch - 5,425 lb. (2460 kg).
●Gross Vehicle Weight Rating (GVWR) from
F.M.V.S.S./C.M.V.S.S. certification label -
6,000 lb. (2721 kg).
●Gross Combined Weight Rating (GCWR)
from “Towing Load/Specification9chart -
11,133 lb. (5049 kg).
●Maximum Trailer towing capacity from “Tow-
ing Load/Specification9chart - 6,000 lb.
(2721 kg).
6,000 lb. (2721 kg) GVWR
– 5,425 lb. (2460 kg) GVW
= 575 lb. (260 kg) Available for tongue
weight
11,133 lb. (5049 kg) GCWR
– 5,425 lb. (2460 kg) GVW
= 5,708 lb. (2588 kg) Capacity available for
towing
575 lb. (260 kg) Available tongue weight
/ 5,708 lb. (2588 kg) Available capacity
= 10 % tongue weight
The available towing capacity may be less than
the maximum towing capacity due to the passen-
ger and cargo load in the vehicle.
Remember to keep trailer tongue weight be-
tween 10 - 15% of the trailer weight. If the tongue
Technical and consumer information 9-19
ZREVIEW COPY—
2008 Pathfinder (pat)
Owners Manual—USA_English (nna)
03/23/07—debbie
X

load becomes excessive, rearrange the cargo to
obtain the proper tongue load. Do not exceed the
10 - 15% tongue weight specification even if the
calculated available tongue weight is greater
than 15%. If the calculated tongue weight is less
than 10% , reduce the total trailer weight to
match the available tongue weight.
Always verify that available capacities are within
the required ratings.
Trailer frontal area
CAUTION
Exceeding the maximum trailer frontal
area specification may exceed the towing
capacity of the vehicle. This may affect the
towing performance and lead to vehicle
damage.
The trailer frontal area affects the towing load of a
trailer. The frontal area is the total area of the
vehicle and trailer that is affected by air resis-
tance while towing. Do not exceed the maximum
trailer frontal area specification shown in the
9Towing Load/Specification” chart. The frontal
area can be determined by multiplying the width
of the trailer by the height of the trailer. For
example, a trailer that is 8 feet wide by 6 feet tall
has a trailer frontal area of 48 square feet.
TOWING LOAD/SPECIFICATION
US & CAN
V6 V8
Towing
Capacity*1, *2
6,000 lb.
(2721 kg)
7,000 lb.
(3175 kg)
Tongue Load 600 lb.
(272 kg)
700 lb.
(318 kg)
Gross Com-
bined Weight
Rating
11,133 lb.
(5,049 kg)
12,570 lb.
(5,700 kg)
Maximum trailer
frontal area 60 sq ft (5.52 sq meters)
*1: The towing capacity values are calculated
assuming a base vehicle with driver and any
options required to achieve the rating. Additional
passengers, cargo and/or optional equipment
will add weight to the vehicle and reduce your
vehicle’s maximum towing capacity.
*2: Requires weight distribution hitch.
TOWING SAFETY
Trailer hitch
Your vehicle may be equipped with an optional
trailer tow package. The trailer tow package in-
cludes a receiver-type frame mounted hitch. This
hitch is rated for the maximum towing capacity of
this vehicle when the proper towing equipment is
used. Choose a proper ball mount and hitch ball
that is rated for the trailer to be towed. Genuine
Nissan ball mounts and hitch balls are available
from your NISSAN dealer.
If your vehicle is not equipped with the optional
trailer tow package, check the towing capacity of
your bumper hitch or receiver-type frame
mounted hitch. Choose a proper hitch for your
vehicle and trailer. A genuine Nissan trailer hitch
is available from your NISSAN dealer. Make sure
the trailer hitch is securely attached to the vehicle
to help avoid personal injury or property damage
due to sway caused by crosswinds, rough road
surfaces or passing trucks.
9-20 Technical and consumer information
ZREVIEW COPY—
2008 Pathfinder (pat)
Owners Manual—USA_English (nna)
03/23/07—debbie
X

WARNING
Trailer hitch components have specific
weight ratings. Your vehicle may be ca-
pable of towing a trailer heavier than the
weight rating of the hitch components.
Never exceed the weight rating of the
hitch components. Doing so can cause
serious personal injury or property
damage.
Hitch ball
Choose a hitch ball of the proper size and weight
rating for your trailer:
●The required hitch ball size is stamped on
most trailer couplers. Most hitch balls also
have the size printed on the top of the ball.
●Choose the proper class hitch ball based on
the trailer weight.
●The diameter of the threaded shank of the
hitch ball must be matched to the ball mount
hole diameter. The hitch ball shank should
be no more than 1/16” smaller than the hole
in the ball mount.
●The threaded shank of the hitch ball must be
long enough to be properly secured to the
ball mount. There should be at least 2
threads showing beyond the lock washer
and nut.
Ball mount
The hitch ball is attached to the ball mount and
the ball mount is inserted into the hitch receiver.
Choose a proper class ball mount based on the
trailer weight. Additionally, the ball mount should
be chosen to keep the trailer tongue level with the
ground.
Weight carrying hitches
A weight carrying or 9dead weight9ball mount is
one that is designed to carry the whole amount of
tongue weight and gross weight directly on the
ball mount and on the receiver.
Weight distribution hitch
This type of hitch is also called a “load-leveling”or
“equalizing” hitch. A set of bars attach to the ball
mount and to the trailer to distribute the tongue
weight (hitch weight) of your trailer. Many ve-
hicles can’t carry the full tongue weight of a given
trailer, and need some of the tongue weight
transferred through the frame and pushing down
on the front wheels. This gives stability to the tow
vehicle.
Another reason to have a weight distributing ball
mount is to comply with the rating on your re-
ceiver. Most receivers have a weight carrying
rating of 5,000 lbs. gross weight, 500 lbs. tongue
weight and a weight distribution rating of 10,000
lbs. gross weight, 1,000 lbs. tongue weight. This
means that without using a weight distributing
ballmount, the receiver is only designed to carry
5,000 lbs.
When hooking up a trailer using a weight distrib-
uting hitch, always refer to the hitch manufactur-
er’s instructions.
1. Park unloaded vehicle on a level surface.
With the ignition on and the doors closed,
allow the vehicle to stand for several minutes
so that it can level.
2. Measure the height of a reference point on
the front and rear bumpers at the center of
the vehicle.
3. Attach the trailer to the vehicle and adjust
the hitch equalizers so that the front bumper
height is within0-.5inches (0 – 13 mm) of
the reference height measured in step 2. The
rear bumper should be no higher than the
reference height measured in step 2.
Technical and consumer information 9-21
ZREVIEW COPY—
2008 Pathfinder (pat)
Owners Manual—USA_English (nna)
03/23/07—debbie
X

WARNING
Properly adjust the weight distributing
hitch so the rear of the bumper is no
higher than the measured reference
height when the trailer is attached. If the
rear bumper is higher than the measured
reference height when loaded, the vehicle
may handle unpredictably which could
cause a loss of vehicle control and cause
serious personal injury or property
damage.
Sway control device
Sudden maneuvers, wind gusts, and buffeting
caused by other vehicles can affect trailer han-
dling. Sway control devices may be used to help
control these affects. If you choose to use one,
contact a reputable trailer hitch supplier to make
sure the sway control device will work with the
vehicle, hitch, trailer and the trailer’s brake sys-
tem. Follow the instructions provided by the
manufacturer for installing and using the sway
control device.
Class I hitch
Class I trailer hitch equipment (receiver, ball
mount and hitch ball) can be used to tow trailers
of a maximum weight of 2,000 lb (909 kg).
Class II hitch
Class II trailer hitch equipment (receiver, ball
mount and hitch ball) can be used to tow trailers
of a maximum weight of 3,500 lb (1,510 kg).
Class III hitch
Class III trailer hitch equipment (receiver, ball
mount and hitch ball) can be used to tow trailers
of a maximum weight of 5,000 lb (2,272 kg).
The genuine NISSAN step bumper is considered
a Class III ball mount.
Class IV hitch
Class IV trailer hitch equipment (receiver, ball
mount and hitch ball) can be used to tow trailers
of a maximum weight of 10,000 lb (4,545 kg). A
weight distributing hitch should be used to tow
trailers that weigh over 5,000 lb (2,272 kg).
Your vehicle may be equipped with Class IV
trailer hitch equipment that has a 10,000 lb
(4,545 kg) maximum weight rating, but your ve-
hicle is only capable of towing the maximum
trailer weights shown in the “Towing
Load/Specification” chart earlier in this section.
CAUTION
●Special hitches which include frame re-
inforcements are required for towing
above 2,000 lb (907 kg). Suitable genu-
ine NISSAN hitches, ball mounts and
hitch balls for pickup trucks and sport
utility vehicles are available at a
NISSAN dealer.
●The hitch should not be attached to or
affect the operation of the impact-
absorbing bumper.
●Do not use axle-mounted hitches.
●Do not modify the vehicle exhaust sys-
tem, brake system, etc. to install a
trailer hitch.
●To reduce the possibility of additional
damage if your vehicle is struck from
the rear, where practical, remove the
receiver when not in use.
●Regularly check that all trailer hitch
mounting bolts are securely mounted.
●When towing with the hitch ball
mounted to the rear bumper, do not
make sharp turns. The trailer may con-
tact the bumper and cause damage to
the bumper or trailer.
9-22 Technical and consumer information
ZREVIEW COPY—
2008 Pathfinder (pat)
Owners Manual—USA_English (nna)
03/23/07—arosenma
X

Tire pressures
●When towing a trailer, inflate the ve-
hicle tires to the recommended cold
tire pressure indicated on the Tire
and Loading Information label.
●Trailer tire condition, size, load rating
and proper inflation pressure should
be in accordance with the trailer and
tire manufacturer’s specifications.
Safety chains
Always use suitable safety chains between your
vehicle and the trailer. The safety chains should
be crossed and should be attached to the hitch,
not to the vehicle bumper or axle. The safety
chains can be attached to the bumper if the hitch
ball is mounted to the bumper. Be sure to leave
enough slack in the chains to permit turning
corners.
Trailer lights
CAUTION
When splicing into the vehicle electrical
system, a commercially available power-
type module/converter must be used to
provide power for all trailer lighting. This
unit uses the vehicle battery as a direct
power source for all trailer lights while
using the vehicle tail light, stoplight and
turn signal circuits as a signal source. The
module/converter must draw no more
that 15 milliamps from the stop and tail
lamp circuits. Using a module/converter
that exceeds these power requirements
may damage the vehicle’s electrical sys-
tem. See a reputable trailer dealer to ob-
tain the proper equipment and to have it
installed.
Trailer lights should comply with federal and/or
local regulations. For assistance in hooking up
trailer lights, contact a NISSAN dealer or repu-
table trailer dealer. Vehicles equipped with the
trailer tow package are equipped with a 4-pin
trailer harness connector. If your trailer is
equipped with a 7-pin connector, an adapter will
be needed to connect the trailer lights to the
vehicle. Adapters are available at NISSAN deal-
ers as well as auto parts stores and hitch retail-
ers.
Trailer brakes
If your trailer is equipped with a braking system,
make sure it conforms to federal and/or local
regulations and that it is properly installed.
WARNING
Never connect a trailer brake system di-
rectly to the vehicle brake system.
Pre-towing tips
●Be certain your vehicle maintains a level
position when a loaded and/or unloaded
trailer is hitched. Do not drive the vehicle if it
has an abnormal nose-up or nose-down
condition; check for improper tongue load,
overload, worn suspension or other possible
causes of either condition.
●Always secure items in the trailer to prevent
load shift while driving.
●Keep the cargo load as low as possible in
the trailer to keep the trailer center of gravity
low.
●Load the trailer so approximately 60% of the
trailer load is in the front half and 40% is in
the back half. Also make sure the load is
balanced side to side.
Technical and consumer information 9-23
ZREVIEW COPY—
2008 Pathfinder (pat)
Owners Manual—USA_English (nna)
03/23/07—arosenma
X

●Check your hitch, trailer tire pressure, ve-
hicle tire pressure, trailer light operation, and
trailer wheel lug nuts every time you attach a
trailer to the vehicle.
●Be certain your rearview mirrors conform to
all federal, state or local regulations. If not,
install any mirrors required for towing before
driving the vehicle.
●Determine the overall height of the vehicle
and trailer so the required clearance is
known.
Trailer towing tips
In order to gain skill and an understanding of the
vehicle’s behavior, you should practice turning,
stopping and backing up in an area which is free
from traffic. Steering stability and braking perfor-
mance will be somewhat different than under
normal driving conditions.
●Always secure items in the trailer to prevent
load shift while driving.
●Lock the trailer hitch coupler with a pin or
lock to prevent the coupler from inadvert-
ently becoming unlatched.
●Avoid abrupt starts, acceleration or stops.
●Avoid sharp turns or lane changes.
●Always drive your vehicle at a moderate
speed.
●When backing up, hold the bottom of the
steering wheel with one hand. Move your
hand in the direction in which you want the
trailer to go. Make small corrections and
back up slowly. If possible, have someone
guide you when you are backing up.
Always block the wheels on both vehicle and
trailer when parking. Parking on a slope is not
recommended; however, if you must do so:
CAUTION
If you move the shift selector lever to the P
(Park) position before blocking the
wheels and applying the parking brake,
transmission damage could occur.
1. Apply and hold the brake pedal.
2. Have someone place blocks on the downhill
side of the vehicle and trailer wheels.
3. After the wheel blocks are in place, slowly
release the brake pedal until the blocks ab-
sorb the vehicle load.
4. Apply the parking brake.
5. Shift the transmission into P (Park).
6. Make sure the indicator light (if so
equipped) indicates the transfer case is in
4H, 4L, or 2H and that the ATP light is off. If
the indicator light is flashing, or the
ATP light is ON, make sure the transmission
is in P (Park) (AT) and turn the 4WD switch
to 2WD or 4H. See 9Automatic transmission
park warning light9in the 9Instruments and
controls9section and 9Using four wheel
drive9in the 9Starting and driving9section.
7. Turn off the engine.
To drive away:
1. Start the vehicle.
2. Apply and hold the brake pedal.
3. Shift the transmission into gear.
4. Release the parking brake.
5. Drive slowly until the vehicle and trailer are
clear from the blocks.
6. Apply and hold the brake pedal.
7. Have someone retrieve and store the blocks.
●When going down a hill, shift into a lower
gear and use the engine braking effect.
When going up a long grade, downshift the
transmission to a lower gear and reduce
speed to reduce chances of engine over-
loading and/or overheating. However, for
9-24 Technical and consumer information
ZREVIEW COPY—
2008 Pathfinder (pat)
Owners Manual—USA_English (nna)
03/23/07—debbie
X
long steep grades, do not stay in 1st gear
when driving above 35 MPH (56 km/h) or
2nd gear when driving above 58 MPH (93
km/h).
●If the engine coolant rises to an extremely
high temperature when the air conditioner
system is on, turn off the air conditioner.
Coolant heat can be additionally vented by
opening the windows, switching the fan
control to high and setting the temperature
control to the HOT position.
●Trailer towing requires more fuel than normal
circumstances.
●Avoid towing a trailer for your vehicle’s first
500 miles (805 km).
●For the first 500 miles (805 km) that you do
tow, do not drive over 50 MPH (80 km/h).
●Have your vehicle serviced more often than
at intervals specified in the recommended
Maintenance Schedule in the “NISSAN Ser-
vice and Maintenance Guide”.
●When making a turn, your trailer wheels will
be closer to the inside of the turn than your
vehicle wheels. To compensate for this,
make a larger than normal turning radius
during the turn.
●Crosswinds and rough roads will adversely
affect vehicle/trailer handling, possibly caus-
ing vehicle sway. When being passed by
larger vehicles, be prepared for possible
changes in crosswinds that could affect ve-
hicle handling.
Do the following if the trailer begins to sway:
1. Take your foot off the accelerator pedal to
allow the vehicle to coast and steer as
straight ahead as the road conditions allow.
This combination will help stabilize the ve-
hicle
– Do not correct trailer sway by steering or
applying the brakes.
2. When the trailer sway stops, gently apply the
brakes and pull to the side of the road in a
safe area.
3. Try to rearrange the trailer load so it is bal-
anced as described earlier in this section.
●Be careful when passing other vehicles.
Passing while towing a trailer requires con-
siderably more distance than normal pass-
ing. Remember, the length of the trailer must
also pass the other vehicle before you can
safely change lanes.
●Downshift the transmission to a lower gear
for engine braking when driving down steep
or long hills. This will help slow the vehicle
without applying the brakes.
●To maintain engine braking efficiency and
electrical charging performance, do not use
overdrive.
●Avoid holding the brake pedal down too long
or too frequently. This could cause the
brakes to overheat, resulting in reduced
braking efficiency.
●Increase your following distance to allow for
greater stopping distances while towing a
trailer. Anticipate stops and brake gradually.
●Do not use cruise control while towing a
trailer.
●Some states or provinces have specific
regulations and speed limits for vehicles that
are towing trailers. Obey the local speed
limits.
●Check your hitch, trailer wiring harness con-
nections, and trailer wheel lug nuts after 50
miles (80 km) of travel and at every break.
●When stopped in traffic for long periods of
time in hot weather, put the vehicle in the P
(Park) position.
Technical and consumer information 9-25
ZREVIEW COPY—
2008 Pathfinder (pat)
Owners Manual—USA_English (nna)
03/23/07—debbie
X

●When launching a boat, don’t allow the wa-
ter level to go over the exhaust tail pipe or
rear bumper.
●Make sure you disconnect the trailer lights
before backing the trailer into the water or
the trailer lights may burn out.
When towing a trailer, final drive gear oil
should be replaced and transmission
oil/fluid should be changed more fre-
quently. For additional information, see the
“Maintenance and do-it-yourself” section
earlier in this manual.
FLAT TOWING
Towing your vehicle with all four wheels on the
ground is sometimes called flat towing. This
method is sometimes used when towing a vehicle
behind a recreational vehicle, such as a motor
home.
CAUTION
●Failure to follow these guidelines can
result in severe transmission damage.
●Whenever flat towing your vehicle, al-
ways tow forward, never backward.
●DO NOT tow any automatic transmis-
sion vehicle with all four wheels on the
ground (flat towing). Doing so WILL
DAMAGE internal transmission parts
due to lack of transmission lubrication.
●For emergency towing procedures refer
to “Towing recommended by NISSAN”
in the “In case of emergency” section of
this manual.
Automatic Transmission
To tow a vehicle equipped with an automatic
transmission, an appropriate vehicle dolly MUST
be placed under the towed vehicle’s drive
wheels. Always follow the dolly manufacturer’s
recommendations when using their product.
DOT (Department of Transportation) Quality
Grades: All passenger car tires must conform to
federal safety requirements in addition to these
grades.
Quality grades can be found where applicable on
the tire sidewall between tread shoulder and
maximum section width. For example:
Treadwear 200 Traction AA Temperature A
Treadwear
The treadwear grade is a comparative rating
based on the wear rate of the tire when tested
under controlled conditions on a specified gov-
ernment test course. For example, a tire graded
150 would wear one and one-half (1 1/2) times
as well on the government course as a tire graded
100. The relative performance of tires depends
upon the actual conditions of their use, however,
and may depart significantly from the norm due to
variations in driving habits, service practices and
differences in road characteristics and climate.
Traction AA, A, B and C
The traction grades, from highest to lowest, are
AA, A, B, and C. Those grades represent the
tire’s ability to stop on wet pavement as mea-
sured under controlled conditions on specified
government test surfaces of asphalt and con-
crete. A tire marked C may have poor traction
performance.
UNIFORM TIRE QUALITY GRADING
9-26 Technical and consumer information
ZREVIEW COPY—
2008 Pathfinder (pat)
Owners Manual—USA_English (nna)
03/23/07—debbie
X

WARNING
The traction grade assigned to this tire is
based on straight-ahead braking traction
tests, and does not include acceleration,
cornering, hydroplaning, or peak traction
characteristics.
Temperature A, B and C
The temperature grades are A (the highest), B,
and C, representing the tire’s resistance to the
generation of heat, and its ability to dissipate heat
when tested under controlled conditions on a
specified indoor laboratory test wheel. Sustained
high temperature can cause the material of the
tire to degenerate and reduce tire life, and exces-
sive temperature can lead to sudden tire failure.
The grade C corresponds to a level of perfor-
mance which all passenger car tires must meet
under the Federal Motor Safety Standard No.
109. Grades B and A represent higher levels of
performance on the laboratory test wheel than
the minimum required by law.
WARNING
The temperature grade for this tire is es-
tablished for a tire that is properly inflated
and not overloaded. Excessive speed,
under-inflation, or excessive loading, ei-
ther separately or in combination, can
cause heat build-up and possible tire
failure.
Your NISSAN vehicle is covered by the following
emission warranties:
For USA
1. Emission Defects Warranty
2. Emissions Performance Warranty
Details of these warranties may be found with
other vehicle warranties in your Warranty Infor-
mation Booklet which comes with your NISSAN
vehicle. If you did not receive a Warranty Informa-
tion Booklet, or it is lost, you may obtain a re-
placement by writing to:
●Nissan North America, Inc.
Consumer Affairs Department
P.O. Box 685003
Franklin, TN 37068-5003
For Canada
Emission Control System Warranty
Details of these warranties may be found with
other vehicle warranties in your Warranty Infor-
mation Booklet which comes with your NISSAN
vehicle. If you did not receive a Warranty Informa-
tion Booklet, or it is lost, you may obtain a re-
placement by writing to:
●Nissan Canada Inc.
5290 Orbitor Drive
Mississauga, Ontario, L4W 4Z5
EMISSION CONTROL SYSTEM
WARRANTY
Technical and consumer information 9-27
ZREVIEW COPY—
2008 Pathfinder (pat)
Owners Manual—USA_English (nna)
03/23/07—debbie
X

If you believe that your vehicle has a de-
fect which could cause a crash or could
cause injury or death, you should immedi-
ately inform the National Highway Traffic
Safety Administration (NHTSA) in addi-
tion to notifying NISSAN.
If NHTSA receives similar complaints, it
may open an investigation, and if it finds
that a safety defect exists in a group of
vehicles, it may order a recall and remedy
campaign. However, NHTSA cannot be-
come involved in individual problems be-
tween you, your dealer, or NISSAN.
To contact NHTSA, you may call the Ve-
hicle Safety Hotline toll-free at 1-888-
327-4236 (TTY: 1-800-424-9153); go
to http://www.safercar.gov; or write to:
Administrator, NHTSA, 400 Seventh
Street, SW., Washington, D.C. 20590.
You can also obtain other information
about motor vehicle safety from
http://www.safercar.gov.
You may notify NISSAN by contacting our
Consumer Affairs Department, toll-free, at
1-800-NISSAN-1.
Due to legal requirements in some states and
Canadian Provinces, your vehicle may be re-
quired to be in what is called the “ready condi-
tion” for an Inspection/Maintenance (I/M) test of
the emission control system.
The vehicle is set to the “ready condition” when it
is driven through certain driving patterns. Usually,
the ready condition can be obtained by ordinary
usage of the vehicle.
If a powertrain system component is repaired or
the battery is disconnected, the vehicle may be
reset to a “not ready” condition. Before taking the
I/M test, check the vehicle’s
inspection/maintenance test readiness condi-
tion. Turn the ignition switch ON without starting
the engine. If the Malfunction Indicator Light
(MIL) comes on steady for 20 seconds and then
blinks for 10 seconds , the I/M test condition is
9not ready9. If the MIL does not blink after 20
seconds, the I/M test condition is 9ready.9If the
MIL indicates the vehicle is in a 9not ready9con-
dition, drive the vehicle through the following
pattern to set the vehicle to the ready condition. If
you cannot or do not want to perform the driving
pattern, a NISSAN dealer can conduct it for you.
WARNING
Always drive the vehicle in a safe and
prudent manner according to traffic con-
ditions and obey all traffic laws.
1. Start the engine when the engine coolant
temperature gauge needle points to C. Al-
low the engine to idle until the gauge needle
points between the C and H (normal oper-
ating temperature).
2. Accelerate the vehicle to 55 MPH (88
km/h), then quickly release the accelerator
pedal completely and keep it released for at
least 10 seconds.
3. Quickly depress the accelerator pedal for a
moment, then drive the vehicle at a speed of
53 - 60 MPH (86 - 96 km/h) for at least 9
minutes.
4. Stop the vehicle.
5. Accelerate the vehicle to 35 MPH (55 km/h)
and maintain the speed for 20 seconds.
6. Repeat steps 4 through 5 at least 10 times.
7. Accelerate the vehicle to 55 MPH (88 km/h)
and maintain the speed for at least 3 min-
utes.
REPORTING SAFETY DEFECTS (US
only) READINESS FOR INSPECTION/
MAINTENANCE (I/M) TEST
9-28 Technical and consumer information
ZREVIEW COPY—
2008 Pathfinder (pat)
Owners Manual—USA_English (nna)
03/23/07—debbie
X
8. Stop the vehicle. Place the transmission se-
lector lever in the P (Park) or N (Neutral)
position.
9. Turn the engine off.
10. Repeat steps1-8atleast one more time.
If steps 1 through 7 are interrupted, repeat the
preceding step. Any safe driving mode is accept-
able between steps. Do not stop the engine until
step 7 is completed.
This vehicle is equipped with an Event Data Re-
corder (EDR). The main purpose of an EDR is to
record, in certain crash or near crash-like situa-
tions, such as an air bag deployment or hitting a
road obstacle, data that will assist in understand-
ing how a vehicle’s systems performed. The EDR
is designed to record data related to vehicle
dynamics and safety systems for a short period of
time, typically 30 seconds or less. The EDR in this
vehicle is designed to record such data as:
●How various systems in your vehicle were
operating;
●Whether or not the driver and passenger
safety belts were buckled/fastened;
●How far (if at all) the driver was depressing
the accelerator and/or brake pedal; and,
●How fast the vehicle was traveling.
●Sounds are not recorded.
These data can help provide a better understand-
ing of the circumstances in which crashes and
injuries occur. NOTE: EDR data are recorded by
your vehicle only if a nontrivial crash situation
occurs; no data are recorded by the EDR under
normal driving conditions and no personal data
(e.g. name, gender, age and crash location) are
recorded. However, other parties, such as law
enforcement, could combine the EDR data with
the type of personally identifying data routinely
acquired during a crash investigation.
To read data recorded by an EDR, special equip-
ment is required and access to the vehicle or the
EDR is needed. In addition to the vehicle manu-
facturer and NISSAN dealer, other parties, such
as law enforcement, that have the special equip-
ment, can read the information if they have ac-
cess to the vehicle or the EDR. The EDR data
may be retrieved during routine vehicle servicing
or for special research. It might also be accessed
with the consent of the vehicle owner or lessee, in
response to a request by law enforcement, or as
otherwise required or permitted by law.
EVENT DATA RECORDERS
Technical and consumer information 9-29
ZREVIEW COPY—
2008 Pathfinder (pat)
Owners Manual—USA_English (nna)
03/23/07—debbie
X
A genuine NISSAN Service Manual is the best
source of service and repair information for your
vehicle. Filled with wiring diagrams, illustrations
and step-by-step diagnostic and adjustment pro-
cedures, this manual is the same one used by the
factory-trained technicians working at NISSAN
dealerships. Also available are genuine NISSAN
Owner’s Manuals, and genuine NISSAN Service
and Owner’s Manuals for older NISSAN models.
For USA
For current pricing and availability of genuine
NISSAN Service Manuals for the 2000 model
year and later contact:
Tweddle Litho Company
1-800-450-9491
www.nissan-techinfo.com
For current pricing and availability of genuine
NISSAN Service Manuals for the 1999 model
year and prior, see a NISSAN dealer, or contact:
Resolve Corporation
20770 Westwood Drive
Strongsville, OH 44149
1-800-247-5321
For current pricing and availability of genuine
NISSAN Owner’s Manuals for this model year
and prior, see a NISSAN dealer, or contact:
Resolve Corporation
20770 Westwood Drive
Strongsville, OH 44149
1-800-247-5321
For Canada
To purchase a copy of a genuine NISSAN Ser-
vice Manual or Owner’s Manual please contact
your nearest NISSAN dealer. For the phone num-
ber and location of a NISSAN dealer in your area
call the NISSAN Information Center at 1-800-
387-0122 and a bilingual NISSAN representa-
tive will assist you.
Also available are genuine NISSAN Service and
Owner’s Manuals for older NISSAN models.
IN THE EVENT OF A COLLISION
Unfortunately, accidents do occur. In this unlikely
event, there is some important information you
should know.
Many insurance companies routinely authorize
the use of non-genuine collision parts in order to
cut costs, among other reasons.
Insist on the use of genuine NISSAN
collision parts!
If you want your vehicle to be restored using parts
made to NISSAN’s original exacting specifica-
tions – if you want to help it to last and hold its
resale value, the solution is simple. Tell your
insurance agent and your repair shop to
only use Genuine NISSAN Collision Parts.
NISSAN does not warrant non-NISSAN parts,
nor does NISSAN’s warranty apply to damage
caused by a non-genuine part.
Using Genuine NISSAN Parts can help protect
your personal safety, preserve your warranty pro-
tection and maintain the resale value of your
vehicle. And if your vehicle was leased, using
Genuine NISSAN Parts may prevent or limit un-
necessary excess wear and tear expenses at the
end of your lease.
NISSAN designs its hoods with crumple zones to
minimize the risk that the hood will penetrate the
windshield of your vehicle in an accident. Non-
genuine (imitation) parts may not provide such
built-in safeguards. Also, non-genuine parts of-
ten show premature wear, rust and corrosion.
OWNER’S MANUAL/SERVICE
MANUAL ORDER INFORMATION
9-30 Technical and consumer information
ZREVIEW COPY—
2008 Pathfinder (pat)
Owners Manual—USA_English (nna)
03/23/07—debbie
X
Why should you take a chance?
In over 40 states, the law says you must be
advised if non-genuine parts are used to repair
your vehicle. And some states have enacted laws
that restrict insurance companies from authoriz-
ing the use of non-genuine collision parts during
the new vehicle warranty. These laws help pro-
tect you, so you can take action to protect your-
self.
It’s your right!
If you should need further information visit us at:
www.nissanusa.com (for U.S. customers) or
www.nissan.ca (for Canadian customers).
Technical and consumer information 9-31
ZREVIEW COPY—
2008 Pathfinder (pat)
Owners Manual—USA_English (nna)
03/23/07—debbie
X
9-32 Technical and consumer information
MEMO

10 Index
4WD warning light ...............2-15
A
Active Head Restraint ..............1-7
Adjusting pedal position ............3-24
Air bag (See supplemental restraint
system) .....................1-40
Air bag system
Front (See supplemental front impact air
bag system) .................1-47
Air bag warning labels .............1-55
Air bag warning light...........1-56, 2-17
Air cleaner housing filter ............8-19
Air conditioner
Air conditioner operation ..........4-39
Air conditioner service ...........4-47
Air conditioner specification label .....9-11
Air conditioner system refrigerant and oil
recommendations ..............9-6
Heater and air conditioner
controls ................4-36, 4-44
Rear seat air conditioner ..........4-46
Servicing air conditioner ..........4-47
Air flow charts..................4-40
Alarm system
(See vehicle security system) .........2-22
Anchor point locations .............1-24
Antenna .....................4-87
Anti-lock brake warning light..........2-13
Anti-lock Braking System (ABS)........5-32
Audible reminders................2-21
Audio system ..................4-47
Compact Disc (CD) changer .......4-62
Compact disc (CD) player .....4-56, 4-70
Audio System
CompactFlash (CF) player .........4-72
Audio system
FM/AM radio with compact disc (CD)
player ....................4-54
FM/AM/SAT radio with compact disc
(CD) changer ................4-59
FM/AM/SAT radio with compact disc
(CD) player .................4-67
Audio System
Music Box hard-disk drive audio
system ....................4-74
Audio system
Radio ....................4-47
Rear audio controls .............4-86
Audio System
Settings................4-59, 4-67
Audio system
Steering wheel audio control switch. . . .4-85
Autolight switch .................2-28
Automatic
Automatic drive positioner .........3-29
Automatic power window switch .....2-49
Automatic transmission position indicator
light .....................2-18
Driving with automatic transmission . . . .5-12
Transmission selector lever lock
release ....................5-16
Automatic anti-glare inside mirror .......3-26
AUX jack .................4-65, 4-72
B
Battery ......................8-15
Charge warning light ............2-14
Before starting the engine ...........5-11
Belt (See drive belt) ..............8-17
Block heater
Engine ....................5-37
BluetoothThands-free phone system . . . .4-104
Booster seats ..................1-35
Brake
Anti-lock Braking System (ABS)......5-32
Brake fluid ..................8-13
Brake light (See stop light).........8-30
Brake system ................5-31
Brake warning light .............2-14
Brake wear indicators ........2-21, 8-23
Parking brake operation ..........5-17
Self-adjusting brakes ............8-23
Brakes ......................8-23
Break-in schedule................5-20
Brightness control
Instrument panel ..............2-30
Brightness/contrast button .......4-15, 4-33
Bulb check/instrument panel..........2-13
Bulb replacement ................8-30
ZREVIEW COPY—
2008 Pathfinder (pat)
Owners Manual—USA_English (nna)
03/23/07—debbie
X

C
Capacities and recommended
fuel/lubricants...................9-2
Car phone or CB radio ............4-103
Cargo light ...................2-53
Cargo net ....................2-44
Cargo (See vehicle loading information) . . .9-12
CD care and cleaning .............4-83
CD changer (See audio system)........4-62
CD player (See audio system) .....4-56, 4-70
Child restraint with top tether strap ......1-24
Child restraints .......1-14, 1-15, 1-20, 1-22
Precautions on child
restraints............1-20, 1-28, 1-35
Top tether strap anchor point locations . .1-24
Child safety rear door lock............3-6
Chimes, audible reminders...........2-21
Cleaning exterior and interior ..........7-2
Clock ...............4-55, 4-60, 4-68
(models with navigation system) . .4-11, 4-27
Clock set .................4-11, 4-27
C.M.V.S.S. certification label..........9-10
Cold weather driving ..............5-36
Compact disc (CD) player .......4-56, 4-70
CompactFlash (CF) player ...........4-72
Console box...................2-38
Control panel buttons
Brightness/contrast button. .4-15, 4-16, 4-33
Enter button ..............4-2, 4-16
Setting button .............4-9, 4-25
Startup screen ...............4-19
Without navigation system..........4-2
Controls
Audio controls (steering wheel) ......4-85
Heater and air conditioner
controls ................4-36, 4-44
Rear audio controls .............4-86
Rear seat air conditioner ..........4-46
Coolant
Capacities and recommended
fuel/lubricants.................9-2
Changing engine coolant ..........8-9
Checking engine coolant level........8-8
Engine coolant temperature gauge .....2-6
Corrosion protection ...............7-5
Cruise control ..................5-18
Cup holders ...................2-40
Curtain side-impact and rollover air bag . . .1-52
D
Daytime running light system
(Canada only) ..................2-29
Defroster switch
Rear window and outside mirror defroster
switch ....................2-26
Digital video disc DVD .............4-88
Dimensions and weights .............9-8
Dimmer switch for instrument panel ......2-30
Display controls
(see control panel buttons) ........4-2, 4-16
Distance to empty .............4-5, 4-20
Door locks ....................3-4
Door open warning light ............2-15
Drive belt ....................8-17
Drive positioner, Automatic...........3-29
Driving
Cold weather driving ............5-36
Driving with automatic transmission . . . .5-12
Precautions when starting and driving . . .5-2
E
Economy - fuel .................5-20
Emission control information label .......9-11
Emission control system warranty .......9-27
Engine
Before starting the engine .........5-11
Block heater.................5-37
Capacities and recommended
fuel/lubricants.................9-2
Changing engine coolant ..........8-9
Changing engine oil ............8-10
Changing engine oil filter..........8-11
Checking engine coolant level........8-8
Checking engine oil level ..........8-9
Engine compartment check locations. . . .8-6
Engine coolant temperature gauge .....2-6
Engine cooling system ............8-8
Engine oil ...................8-9
Engine oil and oil filter recommendation . .9-5
Engine oil pressure warning light .....2-15
Engine oil viscosity ..............9-5
Engine serial number ............9-10
Engine specifications.............9-7
Starting the engine .............5-11
Engine oil pressure gauge ............2-8
Enter button ................4-2, 4-16
Event data recorders ..............9-29
Exhaust gas (Carbon monoxide) ........5-2
Eyeglass case..................2-39
10-2
ZREVIEW COPY—
2008 Pathfinder (pat)
Owners Manual—USA_English (nna)
03/23/07—debbie
X

F
First aid kit ....................6-2
Flashers
(See hazard warning flasher switch)......2-31
Flat tire ......................6-2
Floor mat positioning aid.............7-4
Fluid
Brake fluid ..................8-13
Capacities and recommended
fuel/lubricants.................9-2
Engine coolant ................8-8
Engine oil ...................8-9
Power steering fluid.............8-13
Window washer fluid ............8-14
F.M.V.S.S. certification label ..........9-10
Fog light switch .................2-30
Front air bag system
(See supplemental restraint system) .....1-47
Front seats ....................1-2
Fuel
Capacities and recommended
fuel/lubricants.................9-2
Fuel economy ................5-20
Fuel gauge ..................2-7
Fuel octane rating ..............9-4
Fuel recommendation ............9-3
Fuel-filler door and cap...........3-22
Fuses ......................8-23
Fusible links ...................8-25
G
Garage door opener, HomeLinkTUniversal
Transceiver ...................2-53
Gascap.....................3-22
Gauge
Engine coolant temperature gauge .....2-6
Engine oil pressure gauge ..........2-8
Fuel gauge ..................2-7
Odometer ...................2-4
Speedometer .................2-4
Tachometer ..................2-6
Trip computer .................2-5
Trip odometer .................2-4
Voltmeter ...................2-8
General maintenance ..............8-2
Glass hatch ...................3-21
Glove box ....................2-39
H
Hands-free phone system, BluetoothT. . .4-104
Hazard warning flasher switch .........2-31
Head restraints ..................1-7
Active Head Restraint ............1-7
Headlight and turn signal switch........2-27
Headlight control switch ............2-27
Headlights....................8-29
Headphones (See NISSAN mobile
entertainment system) .............4-91
Heated seats ..................2-32
Heated steering wheel .............2-32
Heater
Heater and air conditioner
controls ................4-36, 4-44
Heater operation ...........4-38, 4-45
Rear seat air conditioner ..........4-46
Hill descent control switch ...........2-33
Hill descent control system ..........5-34
Hill start assist (HSA) system .........5-35
HomeLinkTUniversal Transceiver .......2-53
Hood release ..................3-20
Hook
Luggage hook................2-42
Horn .......................2-31
I
Ignition switch ..................5-8
Immobilizer system .........2-23, 3-3, 5-11
Important vehicle information label.......9-10
In-cabin microfilter ...............8-19
Increasing fuel economy ............5-20
Indicator lights and audible reminders
(See warning/indicator lights and audible
reminders) ....................2-12
Inside automatic anti-glare mirror .......3-26
Inside mirror ...................3-26
Instrument brightness control .........2-30
Instrument panel ..............0-6, 2-2
Instrument panel dimmer switch ........2-30
Intelligent Key system ..............3-6
Key operating range .............3-8
Key operation .................3-9
Mechanical key ................3-3
Remote keyless entry operation ......3-12
Troubleshooting guide ...........3-14
10-3
ZREVIEW COPY—
2008 Pathfinder (pat)
Owners Manual—USA_English (nna)
03/23/07—debbie
X

Warning signals...............3-14
Interior light ...................2-51
ISOFIX child restraints .............1-22
J
Jump starting ...................6-8
K
Key ........................3-2
Keyfob battery replacement ..........8-26
Keyless entry
With Intelligent Key system
(See Intelligent Key system) ........3-12
Keyless entry system
(See remote keyless entry system) ......3-16
Keys, For Intelligent Key system .........3-2
L
Labels
Air conditioner specification label .....9-11
C.M.V.S.S. certification label........9-10
Emission control information label .....9-11
Engine serial number ............9-10
F.M.V.S.S. certification label ........9-10
Vehicle identification number (VIN) plate . .9-9
Warning labels (for SRS)..........1-55
LATCH (Lower Anchors and Tethers for
CHildren) System................1-22
License plate
Installing the license plate .........9-12
Lift gate .....................3-20
Light
Air bag warning light.........1-56, 2-17
Brake light (See stop light).........8-30
Bulb check/instrument panel........2-13
Bulb replacement ..............8-30
Charge warning light ............2-14
Fog light switch ...............2-30
Headlight and turn signal switch......2-27
Headlight control switch ..........2-27
Headlights..................8-29
Interior light .................2-51
Light bulbs..................8-29
Low tire pressure warning light ......2-16
Low washer fluid warning light.......2-17
Passenger air bag and status light.....1-49
Personal lights ...............2-52
Security indicator light ...........2-20
Warning/indicator lights and audible
reminders ..................2-12
Lights
Map lights ..................2-53
Lock
Child safety rear door lock..........3-6
Door locks ..................3-4
Power door locks...............3-5
Low fuel warning light .............2-16
Low tire pressure warning light ........2-16
Low washer fluid warning light.........2-17
Luggage hook..................2-42
Luggage (See vehicle loading information) . .9-12
Luggage storage
(see vehicle loading information)........2-42
M
Maintenance
Changing the maintenance
interval .................4-7, 4-23
Displaying the maintenance notice
reminder ................4-8, 4-24
General maintenance ............8-2
Inside the vehicle ...............8-3
Maintenance precautions ..........8-5
Outside the vehicle..............8-2
Resetting the maintenance interval. .4-8, 4-23
Seat belt maintenance ...........1-19
Setting .................4-7, 4-23
Under the hood and vehicle .........8-4
Malfunction indicator light ...........2-19
Manual front seat adjustment ..........1-2
Map lights ....................2-53
Map pocket ...................2-40
Meters and gauges................2-3
Instrument brightness control .......2-30
Mirror
Automatic anti-glare inside mirror .....3-26
Inside mirror .................3-26
Outside mirror control ...........3-28
Outside mirrors ...............3-28
Vanity mirror .................3-25
Music Box hard-disk drive audio system . . .4-74
N
NISSAN mobile entertainment system
(MES) ......................4-88
10-4
ZREVIEW COPY—
2008 Pathfinder (pat)
Owners Manual—USA_English (nna)
03/23/07—debbie
X

NISSAN vehicle immobilizer
system................2-23, 3-3, 5-11
NISSAN voice recognition system ......4-114
O
Octane rating (See fuel octane rating) .....9-4
Odometer .....................2-4
Oil Capacities and recommended
fuel/lubricants.................9-2
Changing engine oil ............8-10
Changing engine oil filter..........8-11
Checking engine oil level ..........8-9
Engine oil ...................8-9
Engine oil and oil filter recommendation . .9-5
Engine oil viscosity ..............9-5
Outside mirror control .............3-28
Outside mirrors .................3-28
Overdrive switch ................5-17
Overheat
If your vehicle overheats ..........6-10
Owner’s manual order form ..........9-30
Owner’s manual/service manual order
information....................9-30
P
Parking
Parking brake operation ..........5-17
Parking/parking on hills...........5-30
Pedal position adjustment ...........3-24
Personal lights .................2-52
Phone, BluetoothThands-free system. . . .4-104
Power
Front seat adjustment ............1-4
Power door locks...............3-5
Power outlet.................2-34
Power rear windows ............2-49
Power steering fluid.............8-13
Power steering system ...........5-31
Power windows ...............2-47
Rear power windows ............2-49
Precautions
Maintenance precautions ..........8-5
On-pavement and off-road driving
precautions ..................5-5
Precautions on child
restraints............1-20, 1-28, 1-35
Precautions on seat belt usage ......1-12
Precautions on supplemental restraint
system ....................1-40
Precautions when starting and driving . . .5-2
Pre-tensioner seat belt system.........1-54
Programmable features ..........4-9, 4-25
Push starting ..................6-10
R
Radio
Car phone or CB radio ..........4-103
Compact Disc (CD) changer .......4-62
FM/AM radio with compact disc (CD)
player ....................4-54
FM/AM/SAT radio with compact disc
(CD) changer ................4-59
FM/AM/SAT radio with compact disc
(CD) player .................4-67
Rear audio controls .............4-86
Steering wheel audio control switch. . . .4-85
Readiness for inspection maintenance
(I/M) test.....................9-28
Rear audio controls ...............4-86
Rear power windows ..............2-49
Rear seat air conditioner ............4-46
Rear view monitor................4-33
Rear window and outside mirror defroster
switch ......................2-26
Rear window wiper and washer switches. . .2-25
Recorders
Event data ..................9-29
Refrigerant recommendation ..........9-6
Registering your vehicle in another country. . .9-9
Remote controller (See NISSAN mobil
e entertainment system) ............4-90
Remote keyless entry system .........3-16
Reporting safety defects (US only) ......9-28
Resetting the fuel economy........4-5, 4-21
S
Safety
Child safety rear door lock..........3-6
Child seat belts ........1-20, 1-28, 1-35
Reporting safety defects (US only) . . . .9-28
Screen (See NISSAN mobile entertainment
system) .....................4-90
Seat adjustment
Front manual seat adjustment ........1-2
Front power seat adjustment ........1-4
Second row bench seats ..........1-5
Seat belt
Child safety .................1-14
Infants and small children .........1-15
10-5
ZREVIEW COPY—
2008 Pathfinder (pat)
Owners Manual—USA_English (nna)
03/23/07—debbie
X

Injured Person................1-16
Larger children ...............1-15
Precautions on seat belt usage ......1-12
Pregnant women ..............1-16
Pre-tensioner seat belt system.......1-54
Seat belt extenders .............1-19
Seat belt maintenance ...........1-19
Seat belts ..................1-12
Shoulder belt height adjustment ......1-18
Three-point type with retractor.......1-16
Seat belt warning light .............2-17
Seatback pockets................2-40
Seats
Adjustment ..................1-2
Automatic drive positioner .........3-29
Front seats ..................1-2
Heated seats ................2-32
Manual front seat adjustment ........1-2
Security indicator light .............2-20
Security system (NISSAN vehicle immobilizer
system), engine start ........2-23, 3-3, 5-11
Self-adjusting brakes ..............8-23
Service manual order form ...........9-30
Servicing air conditioner ............4-47
Setting button ...............4-9, 4-25
Shift lock release ................5-16
Shifting
Automatic transmission...........5-13
Shoulder belt height adjustment ........1-18
Side air bag system (See supplemental side air
bag, curtain and rollover air bag systems). . .1-52
Spark plug replacement ............8-18
Speedometer ...................2-4
SRS warning label ...............1-55
Starting
Before starting the engine .........5-11
Jump starting .................6-8
Precautions when starting and driving . . .5-2
Push starting ................6-10
Starting the engine .............5-11
Startup screen .................4-19
Steering
Heated steering wheel ...........2-32
Power steering fluid.............8-13
Power steering system ...........5-31
Tilting steering wheel ............3-24
Steering wheel audio control switch......4-85
Stop light ....................8-30
Storage .....................2-36
Storage bin................2-37, 2-42
Storage tray ...................2-36
Sun visors ....................3-25
Sunglasses case ................2-39
Sunglasses holder ...............2-39
Sunroof .....................2-50
Supplemental air bag warning labels .....1-55
Supplemental air bag warning light. . .1-56, 2-17
Supplemental front impact air bag system . .1-47
Supplemental restraint system
Information and warning labels.......1-55
Precautions on supplemental restraint
system ....................1-40
Supplemental restraint system
(Supplemental air bag system).........1-40
Switch
Autolight switch ...............2-28
Automatic power window switch .....2-49
Fog light switch ...............2-30
Hazard warning flasher switch .......2-31
Headlight and turn signal switch......2-27
Headlight control switch ..........2-27
Hill descent control switch .........2-33
Ignition switch ................5-8
Overdrive switch ..............5-17
Power door lock switch ...........3-5
Rear window and outside mirror defroster
switch ....................2-26
Rear window wiper and washer
switches ...................2-25
Turn signal switch..............2-30
Vehicle dynamic control (VDC) off
switch ....................2-33
Windshield wiper and washer switch . . .2-24
T
Tachometer ....................2-6
Temperature gauge
Engine coolant temperature gauge .....2-6
Theft (NISSAN vehicle immobilizer system),
engine start .............2-23, 3-3, 5-11
Three-way catalyst ................5-2
Tilting steering wheel ..............3-24
TireFlat tire ....................6-2
Spare tire ...................6-4
Tire chains..................8-40
Tire placard .................9-11
Tire pressure ................8-33
Tire rotation .................8-40
Tires of 4-wheel drive............8-42
Types of tires ................8-39
Uniform tire quality grading.........9-26
Wheels and tires ..............8-33
Wheel/tire size ................9-8
Tire pressure
Low tire pressure warning light ......2-16
10-6
ZREVIEW COPY—
2008 Pathfinder (pat)
Owners Manual—USA_English (nna)
03/23/07—debbie
X

Tire pressure display ...........4-6, 4-21
Tire Pressure Monitoring System (TPMS) . . .5-3
Tire rotation maintenance reminder . . .4-6, 4-21
Top tether strap child restraint .........1-24
Towing
2-wheel drive models............6-12
4-wheel drive models............6-13
Flat towing..................9-26
Tow truck towing ..............6-11
Towing load/specification .........9-20
Trailer towing ................9-17
Transceiver
HomeLinkTUniversal Transceiver .....2-53
Transmission
Driving with automatic transmission . . . .5-12
Selector lever lock release .........5-16
Travel (See registering your vehicle in another
country) ......................9-9
Trip computer ...................2-5
Trip odometer ...................2-4
Troubleshooting guide
(NISSAN voice recognition system) .....4-131
Turn signal switch................2-30
U
Uniform tire quality grading...........9-26
V
Vanity mirror ...................3-25
Vehicle dimensions and weights ........9-8
Vehicle dynamic control (VDC) off switch. . .2-33
Vehicle dynamic control (VDC) system . . . .5-33
Vehicle electronic system ........4-13, 4-28
Vehicle identification ...............9-9
Vehicle identification number (VIN)
(Chassis number).................9-9
Vehicle identification number (VIN) plate . . . .9-9
Vehicle loading information...........9-12
Vehicle recovery.................6-14
Vehicle security system.............2-22
Vehicle security system (NISSAN vehicle
immobilizer system), engine start
. .2-23, 3-3, 5-11
Ventilators ....................4-35
Visors ......................3-25
Voice recognition system ...........4-114
Voltmeter .....................2-8
W
Warning
4WD warning light .............2-15
Air bag warning light.........1-56, 2-17
Anti-lock brake warning light........2-13
Battery charge warning light ........2-14
Brake warning light .............2-14
Door open warning light ..........2-15
Engine oil pressure warning light .....2-15
Hazard warning flasher switch .......2-31
Low fuel warning light ...........2-16
Low tire pressure warning light ......2-16
Low washer fluid warning light.......2-17
Passenger air bag and status light.....1-49
Seat belt warning light ...........2-17
Vehicle security system...........2-22
Warning labels (for SRS)..........1-55
Warning/indicator lights and audible
reminders ..................2-12
Warning lights..................2-12
Washer switch
Rear window wiper and washer
switches ...................2-25
Windshield wiper and washer switch . . .2-24
Weights (See dimensions and weights) . . . .9-8
Wheels and tires ................8-33
Wheel/tire size ..................9-8
When traveling or registering your vehicle in
another country ..................9-9
Window washer fluid ..............8-14
Windows
Locking passengers’ windows .......2-49
Power rear windows ............2-49
Power windows ...............2-47
Rear power windows ............2-49
Windshield wiper and washer switch .....2-24
Wiper
Rear window wiper and washer
switches ...................2-25
Windshield wiper and washer switch . . .2-24
Wiper blades ................8-20
10-7
ZREVIEW COPY—
2008 Pathfinder (pat)
Owners Manual—USA_English (nna)
03/23/07—debbie
X
MEMO
MEMO
MEMO
MEMO
MEMO
MEMO
MEMO

RECOMMENDED FUEL:
NISSAN recommends the use of unleaded pre-
mium gasoline with an octane rating of at least 91
AKI (Anti-Knock Index) number (Research oc-
tane number 96). If unleaded premium gasoline
is not available you may use unleaded regular
gasoline with an octane rating of at least 87 AKI
number (Research octane number 91), but you
may notice a decrease in performance.
CAUTION
●Using a fuel other than that specified
could adversely affect the emission
control system, and may also affect the
warranty coverage.
●Under no circumstances should a
leaded gasoline be used, because this
will damage the three-way catalyst.
●Do not use E-85 fuel in your vehicle.
Your vehicle is not designed to run on
E-85 fuel. Using E-85 fuel can damage
the fuel system components and is not
covered by the NISSAN new vehicle lim-
ited warranty.
For additional information, see “Capacities and
recommended fuel/lubricants in the “Technical
and consumer information” section.
RECOMMENDED ENGINE OIL:
●Engine oil with API Certification Mark
●Viscosity SAE 5W-30
See “Engine oil and oil filter recommendation” in
the “Technical and consumer information” sec-
tion of this manual.
TIRE COLD PRESSURE:
See Tire and Loading Information label.
The label is typically located on the driver side
center pillar or on the driver’s door. For additional
information, see “Wheels and tires” in the “Main-
tenance and do-it-yourself” section.
RECOMMENDED NEW VEHICLE
BREAK-IN PROCEDURE:
During the first 1,200 miles (2,000 km) of vehicle
use, follow the recommendations outlined in the
“BREAK-IN SCHEDULE” information found in
the “Starting and driving” section of this manual.
Follow these recommendations for the future re-
liability and economy of your new vehicle. Failure
to follow these recommendations may result in
vehicle damage or shortened engine life.
GAS STATION INFORMATION
ZREVIEW COPY—
2008 Pathfinder (pat)
Owners Manual—USA_English (nna)
03/23/07—debbie
X

1. Power steering fluid 8-13
2. Battery 8-15
3. Engine coolant 8-8
4. Window washer fluid 8-14
5. Heater and air conditioner 4-36, 4-44
Audio system 4-47
6. Passenger supplemental air bag 1-40
7. Spare tire 6-2
8. Rear door lock 9-12
9. Fuel filler cap 3-22; Fuel recommenda-
tions 9-3
10. Seat belts 1-12
11. Door locks 3-4
12. Driver supplemental air bag 1-40
13. Hood release 3-20
14. Meters and gauges 2-3
15. Brake fluid 8-13
16. Engine oil 8-9
WGS0024
QUICK REFERENCE
ZREVIEW COPY—
2008 Pathfinder (pat)
Owners Manual—USA_English (nna)
03/23/07—debbie
X